- Tổng quan
- Nội dung
- Tiêu chuẩn liên quan
- Lược đồ
- Tải về
Tiêu chuẩn Quốc gia TCVN 7538-5:2007 Điều tra các vùng đô thị và vùng công nghiệp liên quan đến nhiễm bẩn đất
| Số hiệu: | TCVN 7538-5:2007 | Loại văn bản: | Tiêu chuẩn Việt Nam |
| Cơ quan ban hành: | Bộ Khoa học và Công nghệ | Lĩnh vực: | Tài nguyên-Môi trường |
|
Ngày ban hành:
Ngày ban hành là ngày, tháng, năm văn bản được thông qua hoặc ký ban hành.
|
2007 |
Hiệu lực:
|
Đã biết
|
| Người ký: | Đang cập nhật |
Tình trạng hiệu lực:
Cho biết trạng thái hiệu lực của văn bản đang tra cứu: Chưa áp dụng, Còn hiệu lực, Hết hiệu lực, Hết hiệu lực 1 phần; Đã sửa đổi, Đính chính hay Không còn phù hợp,...
|
Đã biết
|
TÓM TẮT TIÊU CHUẨN VIỆT NAM TCVN 7538-5:2007
Nội dung tóm tắt đang được cập nhật, Quý khách vui lòng quay lại sau!
Tải tiêu chuẩn Việt Nam TCVN 7538-5:2007
TIÊU CHUẨN QUỐC GIA
TCVN 7538-5 : 2007
ISO 10381-5: 2005
CHẤT LƯỢNG ĐẤT – LẤY MẪU – PHẦN 5: HƯỚNG DẪN QUI TRÌNH ĐIỀU TRA CÁC VÙNG ĐÔ THỊ VÀ VÙNG CÔNG NGHIỆP LIÊN QUAN ĐẾN NHIỄM BẨN ĐẤT
Soil quality – Sampling – Part 5: Guidance on the procedure for the investigation of urban and industrial sites with regard to soil contamination
Lời nói đầu
TCVN 7538-5 : 2007 hoàn toàn tương đương với ISO 10381-5 : 2005.
TCVN 7538-5 : 2007 do Ban kỹ thuật Tiêu chuẩn TCVN/TC 190 “Chất lượng đất” biên soạn, Tổng cục Tiêu chuẩn Đo lường Chất lượng đề nghị, Bộ Khoa học và Công nghệ công bố.
TCVN 7538 gồm các tiêu chuẩn sau, với tên chung Chất lượng đất – Lấy mẫu.
- TCVN 7538-1 : 2006 (ISO 10381-1 : 2002) Phần 1 : Hướng dẫn lập chương trình lấy mẫu.
- TCVN 7538-2 : 2005 (ISO 10381-2 : 2002) Phần 2 : Hướng dẫn kỹ thuật lấy mẫu.
- TCVN 7538-3 : 2005 (ISO 10381-3 : 2001) Phần 3 : Hướng dẫn an toàn.
- TCVN 7538-4 : 2007 (ISO 10381-4 : 2003) Phần 4 : Hướng dẫn qui trình điều tra các vùng tự nhiên, bán tự nhiên và vùng canh tác.
- TCVN 7538-5 : 2007 (ISO 10381-5 : 2005) Phần 5 : Hướng dẫn qui trình điều tra các vùng đô thị và vùng công nghiệp liên quan đến nhiễm bẩn đất.
- TCVN 5960 : 1995 (ISO 10381-6 : 1993) Hướng dẫn về thu thập, vận chuyển và lưu giữ mẫu đất để đánh giá các quá trình hoạt động của vi sinh vật hiếu khí tại phòng thí nghiệm.
Bộ tiêu chuẩn ISO 10381 còn các tiêu chuẩn sau
- ISO 10381-7 : 2005 Soil quality – Sampling – Part 7 : Guidance on sampling of soil gas.
- ISO 10381-8 : 2006 Soil quality – Sampling – Part 8 : Guidance on the sampling of stockpiles.
Lời giới thiệu
Tiêu chuẩn này là một trong bộ tiêu chuẩn liên quan đến các khía cạnh khác nhau của việc điều tra và lấy mẫu. Tiêu chuẩn này được sử dụng cùng với các tiêu chuẩn khác của bộ tiêu chuẩn TCVN 7538 (ISO 10381).
Phần lớn các trường hợp nhiễm bẩn đất nghiêm trọng xảy ra tại các vùng đô thị và vùng công nghiệp, có thể xảy ra nhiễm bẩn đất đai nông nghiệp nghiêm trọng (ví dụ do sử dụng thuốc bảo vệ thực vật, tưới tiêu dài hạn và bón chất thải hữu cơ). Trong các trường hợp này, kết hợp phương pháp nêu trong TCVN 7538-4 (ISO 10381-4) và TCVN 7538-5 (ISO 10381-5) có thể phù hợp. Nếu các mục đích của điều tra có liên quan tới sự phát triển cây trồng, cần tham khảo TCVN 7538-4 (ISO 10381-4).
Thuật ngữ chung được dùng theo ISO/TC 190 “Chất lượng đất” và theo thuật ngữ được đưa ra trong TCVN 6495 (ISO 11074).
Việc điều tra nước ngầm, khí đất và các vực nước mặt nằm ngoài phạm vi của tiêu chuẩn TCVN 7538 (ISO 10381). Để có thông tin thêm về lấy mẫu nước ngầm và nước mặt, xem TCVN 6663 (ISO 5667). Thông tin về lấy mẫu khi đất được đưa ra trong ISO 10381-7.
CHẤT LƯỢNG ĐẤT – LẤY MẪU – PHẦN 5: HƯỚNG DẪN QUI TRÌNH ĐIỀU TRA CÁC VÙNG ĐÔ THỊ VÀ VÙNG CÔNG NGHIỆP LIÊN QUAN ĐẾN NHIỄM BẨN ĐẤT
Soil quality – Sampling – Part 5: Guidance on the procedure for the investigation of urban and industrial sites with regard to soil contamination
1 Phạm vi áp dụng
Tiêu chuẩn này đưa ra các hướng dẫn về qui trình điều tra các vùng đô thị và vùng công nghiệp, nơi đã biết có nhiễm bẩn đất hoặc nghi ngờ có nhiễm bẩn đất. Tiêu chuẩn này cũng được áp dụng khi cần phải xác lập tình trạng nhiễm bẩn của vùng, hoặc cần thiết lập chất lượng môi trường của các vùng cho các mục đích khác nhau.
Tiêu chuẩn này bao gồm hướng dẫn về thu thập thông tin cần thiết cho đánh giá rủi ro và/hoặc xây dựng các kế hoạch cải tạo (ví dụ khi có yêu cầu về cải tạo và các đề xuất làm thế nào để việc cải tạo đạt được hiệu quả tốt nhất). Tuy nhiên, tiêu chuẩn này chỉ cung cấp các hướng dẫn về thông tin yêu cầu nói chung. Tiêu chuẩn này cũng nhấn mạnh đến các biện pháp cải tạo cụ thể có thể cần thông tin thêm.
Tiêu chuẩn này cũng được áp dụng cho các vùng dự đoán đất không bị nhiễm bẩn, nhưng cần xác định chất lượng đất (ví dụ, để đảm bảo rằng không có sự nhiễm bẩn).
Mặc dù các vùng được xét đến trong tài liệu này được xác định là các vùng đô thị và công nghiệp, nhưng hướng dẫn trong tiêu chuẩn này được áp dụng tương tự cho các vùng cần thiết lập mức độ và phạm vi nhiễm bẩn.
CHÚ THÍCH 1 Sự nhiễm bẩn được định nghĩa là kết quả tác động con người, tuy nhiên, phương pháp được mô tả cho điều tra cũng được áp dụng khi nồng độ tự nhiên các chất gây hại tiềm ẩn cao.
CHÚ THÍCH 2 Một số các mục đích lấy mẫu đất khác được liệt kê trong phụ lục A, theo các tham chiếu tới các phần tương ứng của tiêu chuẩn TCVN 7538 (ISO 10381).
CHÚ THÍCH 3 Mặc dù các phần tổng quát về thông tin đánh giá rủi ro và/hoặc xây dựng kế hoạch xử lý được thu thập khi áp dụng tiêu chuẩn này, tài liệu này không đưa ra hướng dẫn về quyết định và hành động tiếp theo điều tra tại hiện trường, ví dụ, đánh giá rủi ro và các quyết định về các yêu cầu đối với biện pháp xử lý (nếu có).
CHÚ THÍCH 4 Tiêu chuẩn này chỉ đề cập đến điều tra nền. Điều quan trọng là nhận biết được ở các vùng đô thị và công nghiệp cũ, có thể có các tòa nhà bỏ hoang và/hoặc nhà máy công nghiệp cũ đang đợi phá bỏ, tháo dỡ hoặc tân trang. Nếu không điều tra các tòa nhà này trước khi phá bỏ có thể đe dọa sự an toàn của công nhân hoặc dẫn đến sự phát tán nhiễm bẩn lên bề mặt và xung quanh địa điểm. Điều tra các tòa nhà bỏ hoang hoặc các tàn dư của nền móng nằm ngoài phạm vi áp dụng của tiêu chuẩn này.
CHÚ THÍCH 5 Trong nhiều trường hợp, có mối liên hệ chặt chẽ giữa nhiễm bẩn đất, nước ngầm, khí đất và nước mặt.
2 Tài liệu viện dẫn
TCVN 6495 (ISO 11074), Chất lượng đất – Thuật ngữ.
3 Thuật ngữ và định nghĩa
Trong tiêu chuẩn này áp dụng các thuật ngữ và định nghĩa trong TCVN 6495 (ISO 11074).
4 Mục đích
4.1 Khái quát
Hướng dẫn này cung cấp khung cho các giai đoạn và các pha khác nhau có thể tiến hành trong điều tra đất đai. Xác định kết quả của tình trạng nhiễm bẩn có thể dẫn đến đánh giá rủi ro và khi cần tạo thuận lợi để lựa chọn và áp dụng các hành động cải tạo phù hợp. Hướng dẫn về dữ liệu và yêu cầu thông tin cho các mục đích cụ thể được đưa ra trong một số các tiêu chuẩn sau ISO 15175, ISO 15176, ISO 15799 và ISO 15800.
4.2 Định nghĩa mục đích
Có nhiều lý do để điều tra vì vậy mục đích có thể khác nhau nhưng nói chung gồm:
- Để xác định và đánh giá rủi ro đối với người sử dụng địa điểm, và trong trường hợp xây dựng lại, đối với người sau đó sẽ sử dụng và người sinh sống tại đó;
- Để xác định và đánh giá rủi ro đối với môi trường, kể cả vùng đất đai liền kề, nước mặt và nước ngầm, hệ sinh thái và sức khỏe cộng đồng;
- Để xác định và đánh giá rủi ro đối với những người liên quan đến điều tra, cải tạo, xây dựng lại hoặc bảo dưỡng địa điểm;
- Để xác định và đánh giá tiềm ẩn đối với ảnh hưởng có hại lên vật liệu công trình.
Do vậy có thể đưa ra các quyết định về tầm quan trọng của các rủi ro và xem xét sự cần thiết phải tiến hành mọi hành động để xử lý chung.
Từ các mục đích chủ yếu của điều tra, có thể dẫn đến một số các mục đích phụ. Các mục đích đó có thể bao gồm:
a) Ra quyết định nếu phải hành động ngay để bảo vệ đối tượng chịu tác động;
b) Xác định các chất xuất hiện, hoặc có thể xuất hiện, là đại diện cho rủi ro đối với một hoặc nhiều đối tượng nhận rủi ro thực tế hoặc tiềm ẩn;
c) Xác định các đối tượng đang chịu rủi ro hoặc có thể chịu rủi ro trong tương lai (ví dụ con người, hệ sinh thái, nước ngầm);
d) Xác định con đường mà qua đó các đối tượng tiếp nhận cụ thể có thể bị phơi nhiễm với chất nhiễm bẩn;
e) Cung cấp dữ liệu và các thông tin khác để sử dụng trong đánh giá rủi ro;
f) Cung cấp thông tin giúp cho thiết kế các biện pháp bảo vệ hoặc cải tạo;
g) Cho phép định ra đặc tính của vật liệu bị nhiễm bẩn để đảm bảo an toàn, xử lý và thải bỏ phù hợp;
h) Cung cấp các dữ liệu tham khảo tương phản mà nhờ đó các kết quả của việc cải tạo có thể được đánh giá;
i) Cho phép các xét đoán về ảnh hưởng tương tự của việc liên tục sử dụng chất lượng đất của địa điểm;
j) Cung cấp thông tin để đánh giá rủi ro trách nhiệm môi trường (về mặt pháp lý) và các ảnh hưởng lên giá trị tài sản.
Các mục đích khái quát này sẽ định ra các yêu cầu cụ thể tùy thuộc vào từng mục đích của điều tra.
VÍ DỤ Một điều tra địa điểm trước khi mua để xây dựng khu nhà ở có thể có một hoặc nhiều mục đích sau:
- Thiết lập lịch sử của địa điểm và sự tiềm ẩn về nhiễm bẩn;
- Thiết lập bản chất, mức độ và sự phân bố của nhiễm bẩn (dự đoán) trong ranh giới điểm khảo sát;
- Xác định sự tiềm ẩn di chuyển nhiễm bẩn ra ngoài ranh giới bao gồm nước mặt và nước ngầm (điều này có thể chỉ ra các trách nhiệm môi trường pháp lý tiềm ẩn);
- Xác định mọi nguy hiểm tức thời tới sức khỏe cộng đồng, an toàn và môi trường;
- Xác định các bắt buộc liên quan đến xây dựng (rủi ro cho con người và môi trường) và các công việc cải tạo cần thiết và cung cấp dữ liệu từ đó xây dựng dự toán;
Cung cấp thông tin để tạo thuận lợi cho việc xây dựng báo cáo diễn giải đầy đủ bao gồm kết luận khuyến nghị và ngân sách cho các hành động cải tạo.
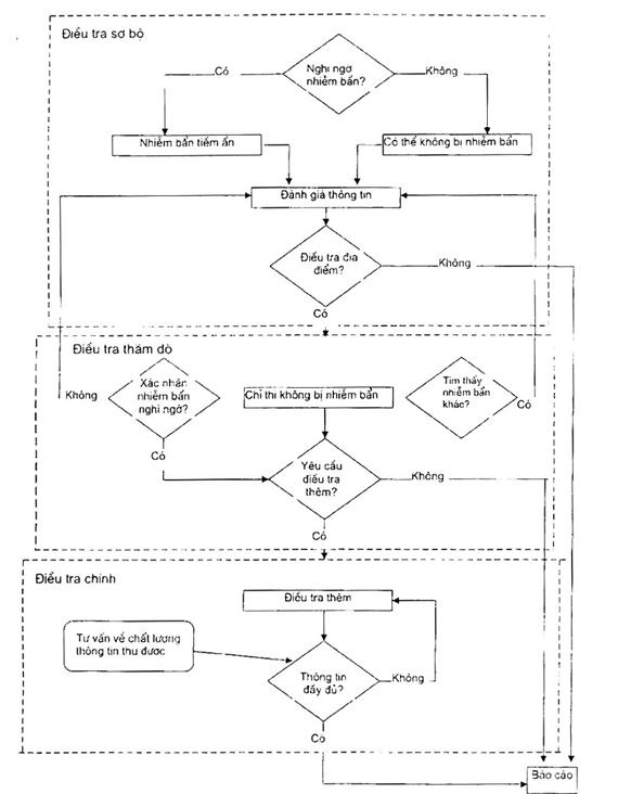
5 Kế hoạch tổng thể của điều tra địa điểm
5.1 Khái quát
Việc xác định phạm vi của vùng nhiễm bẩn và đặc biệt đánh giá rủi ro đối với con người và môi trường gây ra bởi sự nhiễm bẩn có thể phức tạp. Do sự phức tạp này, quá trình xác định, định lượng và đánh giá rủi ro liên quan đến đất đai bị nhiễm bẩn là một quá trình lặp với một số các giai đoạn điều tra (từng mục tiêu cụ thể có thể đạt được), để thu được dữ liệu phù hợp đầy đủ để định ra các đặc tính rủi ro tiềm ẩn, con đường và đối tượng tiếp nhận có liên quan. Phải xem xét lại mục đích ở mỗi giai đoạn, và các yêu cầu đối với điều tra thêm cũng được xem lại khi xây dựng quá trình đánh giá và điều tra.
Các pha chính là:
- Điều tra sơ bộ (xem 5.2),
- Điều tra thăm dò (xem 5.3, 7 và 8), và
- Điều tra chính (xem 5.4, 7 và 9).
Mối quan hệ giữa các pha được minh họa trong hình 1.
Có thể yêu cầu điều tra bổ sung tiếp theo điều tra chính để cung cấp thông tin phù hợp cho lựa chọn phương pháp cải tạo, hoặc thiết kế cải tạo của công trình xây dựng.
Sau khi hoàn thiện mỗi giai đoạn điều tra, cần phải chuẩn bị báo cáo đưa ra các kết quả.
Kế hoạch điều tra (điều tra sơ bộ, điều tra thăm dò hoặc điều tra chính) sẽ phụ thuộc vào các mục đích. Ví dụ, các yêu cầu khác nhau của điều tra địa điểm phục vụ mục đích mua bán, xác định nghi ngờ có nhiễm bẩn hay không hoặc việc xây dựng lại sẽ ảnh hưởng đến không gian vị trí mẫu và số mẫu được phân tích, chi phí của điều tra.
Trước khi bắt đầu mỗi giai đoạn hoặc pha điều tra, nhất thiết phải xác lập mục đích chất lượng dữ liệu và thông tin khác liên quan đến loại, số lượng và chất lượng (ví dụ chất lượng phân tích). Mục đích chất lượng dữ liệu này sẽ phụ thuộc một phần vào bản chất và độ tin cậy của quyết định được đưa ra dựa trên điều tra. Nếu không xác lập chất lượng dữ liệu khi bắt đầu có thể dẫn đến sự lãng phí tiền bạc đáng kể, ví dụ, nếu dữ liệu thu nhập là không phù hợp hoặc không đủ cho một đánh giá rủi ro tin cậy, hoặc để lại quá nhiều những điều không chắc chắn về “mô hình giả thiết” được xây dựng cho các địa điểm (xem 6.5 về định nghĩa mô hình giả thiết).
Khi quyết định kế hoạch, phải xem xét khả năng áp dụng và sử dụng phân tích tại chỗ và/hoặc các kỹ thuật đo tại chỗ. Tiêu chuẩn này không đưa ra hướng dẫn cụ thể về các chủ đề này.

Hình 1 – Sơ đồ các pha của điều tra địa điểm
5.2 Phạm vi của điều tra sơ bộ
Điều tra sơ bộ bao gồm nghiên cứu tài liệu và thăm quan hiện trường (điều tra, thanh tra địa điểm). Điều tra sơ bộ được tiến hành sử dụng các ghi chép về lại lịch thực địa và các nguồn khác để có được thông tin về việc sử dụng địa điểm trong quá khứ và hiện nay cũng như thông tin về đặc tính của đất, địa chất, thổ nhưỡng, địa chất thủy văn hoặc và môi trường.
Từ điều tra sơ bộ này, có thể suy ra khả năng nhiễm bẩn, và xây dựng giả thiết về bản chất, vị trí và sự phân bố của nhiễm bẩn.
Các giả thiết này tạo nên phần mô hình giả thiết toàn diện của địa điểm được xây dựng, không chỉ bao gồm các khía cạnh nhiễm bẩn, mà còn các đặc tính về địa chất, thổ nhưỡng, địa chất thủy văn, kỹ thuật địa chất và môi trường. Việc sử dụng địa điểm hiện tại và trong kế hoạch cũng là các khía cạnh quan trọng của mô hình giả thiết.
Điều tra sơ bộ phải cung cấp thông tin đầy đủ
- Cho kết luận ban đầu về rủi ro tiềm ẩn đối với con người và đối tượng khác chịu tác động hiện tại hoặc tiềm ẩn, và
- Để xác định sự cần thiết cần có thêm các hành động hay không.
Lượng và kiểu thông tin yêu cầu sẽ phụ thuộc vào mục đích của điều tra. Khối lượng công việc yêu cầu sẽ thay đổi tùy thuộc tuổi của địa điểm, sự phức tạp của việc sử dụng trong quá khứ và sự phức tạp của địa chất, …
Cần chú ý nhiễm bẩn địa điểm có thể phức tạp hơn biển hiện ban đầu (ví dụ, thông qua sử dụng hiện tại) và phải thu thập thông tin đầy đủ về lịch sử của địa điểm thông qua điều tra sơ bộ.
5.3 Phạm vi của điều tra thăm dò
Điều tra thăm dò liên quan đến điều tra tại chỗ, kể cả thu thập các mẫu đất hoặc nền đất, nước mặt, nước ngầm và khí đất, nếu cần, các phân tích tiếp sau hoặc thử nghiệm mẫu đã lấy. Dữ liệu và thông tin sau đó được đánh giá để xác định nếu các giả thuyết từ điều tra sơ bộ là đúng, và nếu cần, để kiểm tra các khía cạnh khác của mô hình giả thiết. Do vậy, nếu chủ yếu điều tra định tính chứ không phải là định lượng, thì sẽ phải phân tích một số mẫu.
Trong một số trường hợp khi giả thuyết là chính xác, thì có thể không cần tiến hành các điều tra thêm.
Tuy nhiên, có thể có trường hợp là rõ ràng từ kết quả điều tra thăm dò cho thấy cách thức nhiễm bẩn phức tạp hơn, hoặc nồng độ nhiễm bẩn cao hơn dự đoán, và điều đó có thể đã gây ra hoặc trong tương lai có thể gây ra độc hại. Trong trường hợp này, thông tin thu được có thể là không đủ để đưa ra quyết định với độ tin cậy yêu cầu, và sẽ cần phải tiến hành một điều tra chính để thu được đủ thông tin cho phép tiến hành đánh giá toàn bộ rủi ro, cần xác định các biện pháp bảo vệ hoặc cải tạo, theo trình tự các giai đoạn điều tra thêm để lựa chọn, thiết kế và áp dụng biện pháp bảo vệ hoặc cải tạo.
5.4 Phạm vi điều tra chính
Điều tra chính phục vụ cho xác định định lượng và sự phân bố theo không gian của chất nhiễm bẩn, các phần di động, có khả năng di động và khả năng lan truyền trong môi trường. Điều này bao gồm diễn biến nhiễm bẩn có thể xảy ra trong tương lai.
Điều tra yêu cầu thu thập và phân tích các mẫu đất hoặc nền đất, nước mặt, nước ngầm, và khí đất để thu được thông tin cần thiết cho phép đánh giá đầy đủ các rủi ro do sự có mặt ô nhiễm đối với con người và các đối tượng chịu tác động tiềm ẩn khác, và đồng thời cho phép (đôi khi) xác định các biện pháp ngăn chặn hoặc hành động cải tạo phù hợp, cùng với dự toán chi phí ban đầu. Việc phân tích các mẫu có thể được hỗ trợ bởi mô hình tính toán và kỹ thuật điều tra không cần lấy mẫu. Bản thiết kế chi tiết về công tác bảo vệ hoặc cải tạo có thể yêu cầu các giai đoạn điều tra thêm.
Lượng và bản chất thông tin yêu cầu từ điều tra chính (hoặc bất kỳ một giai đoạn đặt thù nào) sẽ thay đổi phụ thuộc vào bản chất địa điểm, và mục đích của điều tra. Những quyết định về hành động phải thực hiện tại địa điểm sẽ thay đổi tùy thuộc vào từng địa điểm. Thêm vào đó, số lượng và chất lượng thông tin yêu cầu cũng sẽ thay đổi tùy theo yêu cầu của quá trình ra quyết định (ví dụ đánh giá rủi ro, quyết định liên quan với yêu cầu và cách thức của hành động cải tạo). Tất cả các bên liên quan đến quá trình ra quyết định phải có đủ thông tin để đảm bảo rằng thông tin đưa ra là đầy đủ cho các mục đích định trước.
Sau khi hoàn thiện diễn giải thông tin chung, kể cả các đánh giá rủi ro, có thể cần phải xác định các biện pháp bảo vệ hoặc cải tạo và đưa ra khái quát về cách thức của các biện pháp phù hợp.
6 Điều tra sơ bộ
6.1 Giới thiệu
Điều tra sơ bộ nhằm thu được các thông tin liên quan, tính chính xác và tính hợp lý của thông tin và để xem xét tính không chắc chắn, mức độ thiếu hụt và tính phù hợp của chúng liên quan với mục đích của điều tra.
Điều tra sơ bộ bao gồm:
- Nghiên cứu trong phòng để thu nhập và xem xét cẩn thận thông tin về lịch sử và các khía cạnh liên quan khác của địa điểm;
- Nhận dạng địa điểm (thăm dò địa điểm, khảo sát);
Xây dựng mô hình giả thiết địa điểm, cụ thể là
1) Thiết lập giả thuyết về (các) kiểu và lượng nhiễm bẩn;
2) Con đường di chuyển (trong và ngoài địa điểm), sự phân bố theo không gian và thời gian, cùng với
3) Các giả thuyết liên quan đến các khía cạnh khác của địa điểm, như địa chất thủy văn;
- Kết luận sơ bộ về sự cần thiết và phạm vi điều tra thêm;
- Xác định nhu cầu đối với hành động kịp thời để bảo vệ con người hoặc môi trường (ví dụ hàng rào, loại bỏ trầm tích bề mặt).
Mục đích của điều tra sơ bộ phải được thiết lập chính thức trước khi điều tra bắt đầu để đảm bảo rằng phạm vi điều tra là phù hợp (ví dụ nguồn thông tin được tìm kiếm).
Trong phần lớn trường hợp, có thể lập các đánh giá sợ bộ về rủi ro (tiềm ẩn) đối với con người và các đối tượng chịu tác động khác.
Thông tin thu được phải cho phép
a) Thiết kế các giai đoạn hoặc các pha tiếp theo của điều tra xâm nhập để giảm thiểu rủi ro do sự lan truyền nhiễm bẩn hoặc tạo ra các con đường lan truyền mới (ví dụ lỗ khoan hoặc hố thử), và
b) Áp dụng các phương pháp làm việc an toàn phù hợp khi điều tra thâm nhập [xem TCVN 7538-3 (ISO 10381-3)].
Thông tin tối thiểu thu nhập trong điều tra sơ bộ được nêu trong 6.2 và 6.3 và qui trình về cách thu nhập thông tin được nêu trong 6.4. Hướng dẫn về báo cáo kết quả điều tra sơ bộ được đưa ra trong 6.6.
6.2 Thông tin về sử dụng địa điểm trong quá khứ và hiện tại
Sự phát triển nhanh chóng các vùng đô thị đã xâm nhập đến những nơi vốn trước đây là nông thôn và dẫn tới sự thay đổi sử dụng các vùng đất đai đô thị hiện tại. Do vậy, sự nhiễm bẩn trong các vùng đô thị là kết quả thường xuyên của quá trình công nghiệp mang tính lịch sử xảy ra ngay tại địa điểm, hoặc vùng gần đó và thông tin thu được đối với vùng đô thị và vùng công nghiệp là tương tự nhau.
Dữ liệu thu được về sự sử dụng trong quá khứ và hiện tại của địa điểm phải cung cấp thông tin dưới đây trong phạm vi có thể (tùy thuộc vào các mục đích đã định):
- Bất kỳ sự phát triển, các hoạt động xây dựng hoặc các hoạt động khác xảy ra tại địa điểm và ngay tại các vùng phụ cận;
- Bất kỳ hành động cụ thể xảy ra trong quá khứ, và mọi vật liệu được sử dụng (mô tả các thành phần hóa học), liên quan đến các hoạt động công nghiệp, xây dựng hoặc các hoạt động khác trên địa điểm;
- Các hoạt động công nghiệp hoặc các hoạt động khác là nguyên nhân tiềm ẩn (hoặc hiện tại) gây nên nhiễm bẩn đất (quá trình sản xuất, phương tiện lưu giữ, phương tiện vận chuyển vật liệu (kể cả vận chuyển dưới lòng đất) với chỉ thị cho (các) vị trí (càng chính xác càng tốt);
- Các chi tiết liên quan tới dây cáp, ống dẫn, các vùng phong cảnh, các vùng bề mặt, vùng có vật liệu rác thải, xử lý nước thải, thải bỏ bùn, mương thoát nước mặt, kho hóa chất, bể ngầm, vật liệu thải, gạch vụn…
- Thông tin về sự sử dụng vùng đất đai liền kề (hiện tại và tương lai) có ảnh hưởng tới các địa điểm thuộc điều tra.
Thông tin liên quan với các địa điểm tương tự có thể được sử dụng để so sánh.
6.3 Thông tin về địa chất, thổ nhưỡng, thủy văn và địa chất thủy văn
Phải thu được các thông tin về địa chất và thổ nhưỡng của địa điểm, thông tin về tình hình thủy văn và địa chất thủy văn nếu có. Mức độ các thông tin thu được và mức độ chi tiết yêu cầu chỉ có thể xác định được một cách chủ quan, nhưng phải liên quan với mục đích đã định trước của điều tra.
Thông tin thu nhập được phải bao gồm:
- Phẫu diện đất dự kiến (tự nhiên và nhân tác);
- Bản chất của lớp ngầm và độ sâu của địa tầng dưới đất;
- Độ sâu của nước ngầm và mọi thay đổi theo thời gian;
- (Các) hướng chảy nước ngầm theo chiều ngang và chiều thẳng đứng ở mức độ địa phương và vùng sự thay đổi theo thời gian (nếu có thể). (Sự tồn tại của các địa tầng không thấm nước có thể là đặc biệt quan trọng khi địa điểm này nằm trên một tầng ngậm nước);
- Các kiểu mương và vị trí của nguồn nước mặt, ngay cả khi các mương này được nước ngầm làm đầy;
- Sự có mặt của các giếng khoan và mạch nước ngầm, các điểm tách nước ngầm và các thiết bị monitoring nước ngầm và khí ngầm;
- Kết quả điều tra đất trước đây tại địa điểm hoặc các vùng lân cận như là lỗ khoang hoặc các dạng khác của điều tra (kỹ thuật địa chất), có liên quan đến, ví dụ, các hoạt động xây dựng, và kết quả của điều tra hóa chất;
- Các đặc tính của sự nhiễm bẩn có thể liên quan đến cấu trúc hoặc phẫu diện đất tại nơi đó (ví dụ mùn trong đất có thể hấp thụ các hợp chất hữu cơ ô nhiễm).
6.4 Phương pháp luận
6.4.1 Thu thập thông tin
Thông tin được nêu trong 6.1 và 6.3 phải được thu thập theo cách sau đây:
- Các bản đồ chi tiết chất lượng tốt phải được sử dụng làm cơ sở tham khảo, ví dụ bản đồ vùng theo tỉ lệ 1:25 000, bản đồ địa phương theo tỉ lệ 1:2 000 đến 1:2 500 với các đường nét chi tiết được chỉ rõ, bản đồ lịch sử, bản đồ đất, bản đồ địa chất thủy văn.
- Kiểm tra bản đồ và cơ sở dữ liệu liên quan đến địa chất, thổ nhưỡng, địa chất thủy văn và thủy văn của địa điểm và vùng;
- Kiểm tra các ảnh vệ tinh (trắng và đen, màu và hồng ngoại);
- Kiểm tra tài liệu lưu trữ, giấy phép của người chủ hoặc người sử dụng đất đai hiện nay hoặc trước đây, các kế hoạch xây dựng hiện tại hoặc trước đây, hoặc các thông tin có thể thu được từ các văn phòng đăng ký đất đai (ví dụ, của thành phố, tỉnh, các công ty phục vụ công cộng) về các vùng đang được xem xét và các vùng lân cận;
- Kiểm tra danh bạ thương mại và danh bạ đường phố để thiết lập danh sách những người sử dụng địa điểm trước đây và các hoạt động tiềm ẩn;
- Tham vấn những người có thẩm quyền về việc sử dụng địa điểm hiện tại bao gồm các giấy phép về môi trường, hoạt động và giấy phép phát thải;
- Khi cần, và thích hợp, phải phỏng vấn người chủ hoặc công nhân hiện tại hoặc trước đây, hàng xóm hiện tại hoặc trước đây, những thương gia lân cận, nhóm môi trường, công ty khai thác nước ngầm, công ty nước, thanh tra chất lượng nước… (Tính chính xác của các bằng chứng phải được xử lý cẩn thận trừ khi thông tin được xác nhận bởi các nguồn độc lập);
- Thăm địa điểm để thu được các quan sát hiện trường (nhận dạng địa điểm). Chuyến thăm phải được tiến hành sau khi thông tin lịch sử có sẵn và thông tin phù hợp khác đã được thu thập và đối chiếu.
6.4.2 Quan sát khi thăm địa điểm
Kết quả thăm địa điểm phải là báo cáo về các điều kiện của địa điểm hiện có với hàm ý liên quan đến nguyên nhân/sự lan truyền của nhiễm bẩn tiềm ẩn kể cả địa hình, mương bề mặt và mọi trường hợp bất thường. Cần phải chụp ảnh minh họa toàn bộ địa điểm và điểm đặc trưng phù hợp với điều tra.
Thăm địa điểm cũng sẽ hỗ trợ trong xác lập kế hoạch cho các công tác điều tra địa điểm tiếp sau, là điều tra trên thực tế và có tính đến các đặc điểm cụ thể của địa điểm. Trong khi thăm địa điểm, cần ghi lại càng nhiều càng tốt các quan sát tại hiện trường.
Các quan sát điển hình được thực hiện khi thăm địa điểm là:
- Cách sử dụng hiện tại và tình trạng của địa điểm;
- Tiếp cận địa điểm và di chuyển dễ dàng tại địa điểm, và các điều kiện có thể ngăn cấm việc lấy mẫu tại các vị trí đặc biệt (ví dụ các công trình hoặc kết cấu khác);
- Các điều kiện tại ranh giới với địa điểm và sử dụng vùng đất đai lân cận;
- Vùng gần nơi sinh sống và các khu xây dựng mới nhạy cảm;
- Rủi ro tiềm ẩn tại địa điểm (ví dụ đường dây cáp điện trên không, các dịch vụ và khoảng trống);
- Vật liệu nguy hại;
- Bằng chứng về sự thay đổi trong các mức địa điểm (tăng và giảm);
- Chỉ thị về ô nhiễm (ví dụ ức chế sinh dưỡng hoặc không có sự phát triển của cây trồng);
- Bằng chứng nhìn thấy về sự nhiễm bẩn đi vào hoặc thâm nhập từ địa điểm hoặc có chất gây mùi;
- Điều kiện của nước mặt;
- Bằng chứng của các điểm tách nước;
- Sự tồn tại của giếng monitoring nước ngầm hoặc khí đất.
Trong thăm dò địa điểm, các biện pháp về an toàn nên được chú ý đặc biệt và những người thực hiện phải nhận thức được các rủi ro vật lý có thể cũng như nhiễm bẩn hoặc rủi ro sinh học. Các công trình cũ, … có thể chưa được hoàn thiện cấu trúc và chỉ nên vào trong sau khi có lời khuyên của các chuyên gia [Hướng dẫn về an toàn, xem thêm TCVN 7538-3 (ISO 10381-3)].
6.5 Xây dựng mô hình giả thiết
6.5.1 Mô hình giả thiết tổng quát
Mô hình giả thiết trình bày và/hoặc mô tả địa điểm kết hợp chặt chẽ tất cả những điều đã biết về địa điểm (ví dụ sự nhiễm bẩn, địa chất, thổ nhưỡng, môi trường) và, nếu thích hợp, chỉ rõ con đường mà qua đó các đối tượng tiếp nhận hiện tại và trong tương lai có thể bị tác động do sự nhiễm bẩn hiện tại hoặc trong tương lai. Một khía cạnh quan trọng của mô hình giả thiết là hình thành các giả thuyết liên quan đến nhiễm bẩn.
Xây dựng mô hình giả thiết có thể giúp hiểu rõ địa điểm và rủi ro có thể xảy ra đối với con người và các đối tượng khác cũng như thiết kế các giai đoạn điều tra trong tương lai. Nó cũng giúp đưa ra quyết định về biện pháp cải tạo (nếu được yêu cầu) và tiến hành các công việc khác.
6.5.2 Thiết lập giả thuyết liên quan đến nhiễm bẩn
Dựa trên kết quả của điều tra sơ bộ, phải thiết lập giả thuyết liên quan đến bản chất, sự thay đổi và phân bố không gian của các chất nhiễm bẩn dự đoán trên địa điểm.
Trong khi lập giả thuyết thích hợp sẽ cần phải xác định các vùng khác nhau của một địa điểm để có thể áp dụng được các giả thuyết khác nhau. Việc xác định này thường cần cho một địa điểm lớn nhưng cũng thường phù hợp cho các địa điểm nhỏ.
Phải xây dựng giả thuyết liên quan đến từng chất (xem 6.5.4) mà sau đó có thể kết hợp thành một mô hình giả thiết, có tính đến tất cả các nguồn thông tin có sẵn và đưa thông tin vào mô hình tổng quát tương ứng với tình trạng nhiễm bẩn của một vùng. Có thể kết hợp mô hình giả thiết cho từng vùng thành một mô hình giả thiết cho toàn bộ địa điểm. Sử dụng mô hình giả thiết địa điểm rộng này trong lập kế hoạch lấy mẫu được áp dụng cho các giai đoạn tiếp sau của điều tra.
Tuy nhiên, trước khi quyết định kế hoạch lấy mẫu, điều quan trọng trước tiên là xác định từng vùng (và cho toàn bộ địa điểm) từ các nguồn thông tin có sẵn có đủ lý do để tin rằng các vùng hoặc địa điểm này có nhiễm bẩn hay không, nghĩa là vùng (hoặc địa điểm) phải được phân loại như “có thể không bị nhiễm bẩn” hoặc “có thể bị nhiễm bẩn”.
6.5.3 Giả thuyết về một địa điểm hoặc vùng “có thể bị nhiễm bẩn”
Dựa trên kết quả của điều tra sơ bộ, nếu không có lý do gì để cho rằng các hoạt động nhiễm bẩn đã từng xảy ra tại địa điểm, và không có thông tin cho thấy khả năng di chuyển của các chất nhiễm bẩn và địa điểm, giả thuyết được xác lập sẽ là địa điểm phải được phân loại là địa điểm “có thể không bị nhiễm bẩn”.
Rất khó để cung cấp bằng chứng rõ ràng một địa điểm là không bị nhiễm bẩn và không có bất kỳ một sự nhiễm bẩn nào. Do vậy, cần thường xuyên tiến hành điền tra thăm dò địa điểm sau khi hoàn thành điều tra sơ bộ. Điều tra thăm dò này phải theo hướng dẫn được đưa ra trong điều 8 dưới đây.
Câu hỏi liệu một địa điểm có thể được xem là không bị nhiễm bẩn sẽ phụ thuộc vào
- Mức độ các chất nhiễm bẩn tiềm ẩn;
- Các con đường gây nhiễm bẩn được kể đến;
- Mức nồng độ của các hợp phần thường xuyên gặp phải, và
- Mức độ mục tiêu đối với các hợp phần này được đặt ra trong luật pháp quốc gia hoặc khu vực.
CHÚ THÍCH Đối với các vùng đô thị và công nghiệp, thông thường nhiễm bẩn do sự lắng đọng của khí quyển.
Kết quả của điều tra thăm dò địa điểm có thể thống nhất với giả thuyết “không bị nhiễm bẩn”, nhưng hiếm khi sẽ cung cấp chứng cứ không thể phủ nhận về sự vắng mặt của chất nhiễm bẩn. Trong một điều tra thăm dò “địa điểm có thể không bị nhiễm bẩn”, thông thường sẽ xác định được một dải tương đối rộng các chất nhiễm bẩn trong một số mẫu giới hạn. Điều này nói lên mức độ của điều tra phải được thỏa thuận giữa các bên liên quan trước khi điều tra thực sự. Sau đó, mức độ của điều tra sẽ xác định cơ hội phát hiện thấy sự nhiễm bẩn không mong muốn.
6.5.4 Giả thuyết về địa điểm “có thể bị nhiễm bẩn”
Dựa trên điều tra sơ bộ, nếu có lý do để cho rằng các hoạt động nhiễm bẩn đã xảy ra tại địa điểm ở thời điểm nhất định, thì giả thuyết sẽ là địa điểm “có thể bị nhiễm bẩn”.
Trong trường hợp này, giả thuyết khác nhau phải định rõ chi tiết loại chất nhiễm bẩn dự đoán, sự phân bố không gian dự đoán tại địa điểm, các con đường di chuyển có thể và ảnh hưởng tiềm ẩn lên nước mặt và nước ngầm.
Khi thiết lập giả thuyết, các yếu tố sau phải được tính đến:
- Bản chất hóa học và lý học của chất nhiễm bẩn (nếu cần, một vài giả thuyết cho từng chất);
- Bản chất của nguồn và cách thức sự nhiễm bẩn đi vào đất (nhiễm bẩn khuếch tán hoặc điểm);
- Nếu trong đất hoặc nước ngầm, dự đoán được vị trí nhiễm bẩn, dựa trên quá trình di chuyển dự đoán (theo chiều ngang và chiều thẳng đứng), phụ thuộc vào bản chất của chất nhiễm bẩn;
- Sự xuất hiện tiềm ẩn của các con đường ưu tiên;
- Các đặc tính vật lý của chất nhiễm bẩn và khả năng thay đổi hoặc phân rã (kể cả phân hủy sinh học) thấm qua bề mặt và tính tan trong nước, tương tác với thành phần sét và các thành phần khác của đất;
- Quá trình hấp thu và tạo phức;
- Sự tương tác của các chất nhiễm bẩn với các chất hữu cơ trong đất;
- Khả năng chất tồn dư trong vùng thông qua sự di chuyển các chất nhiễm bẩn;
- Sự phát tán các khí của bãi chôn lấp và hợp chất dễ bay hơi;
- Kết cấu đất và sự phân tầng (ví dụ, đất cát có độ thấm cao hoặc đất than bùn hoặc đất sét có độ thấm cao, vết đứt gãy do co lại hoặc lỗ lớn và các hoạt động sinh học trong đất);
- Khoảng thời gian khi xảy ra nhiễm bẩn;
- Độ sâu của tầng nước ngầm.
Khi thiết lập giả thuyết liên quan đến các phần khác nhau của địa điểm (vùng) để đánh giá tốt nhất và để kết hợp các giả thuyết theo cách này, thì phải thiết kế kế hoạch điều tra tối ưu.
6.5.5 Giả thuyết liên quan đến phân bố không gian của nhiễm bẩn
6.5.5.1 Kiểu phân bố không gian của nhiễm bẩn
Với mục đích của thiết kế kế hoạch lấy mẫu, có thể xác định bốn kiểu phân bố không gian của nhiễm bẩn:
- Không có nhiễm bẩn hoặc nhiễm bẩn phân bố đồng nhất;
- Nhiễm bẩn phân bố không đồng nhất có nguồn điểm nhiễm bẩn đã biết vị trí;
- Nhiễm bẩn phân bố không đồng nhất có nguồn điểm nhiễm bẩn chưa biết vị trí;
- Nhiễm bẩn phân bố không đồng nhất nhưng không có các nguồn điểm nhiễm bẩn.
6.5.5.2 Phân bố không đồng nhất hay đồng nhất
Định nghĩa đồng nhất hay không đồng nhất chỉ thực sự liên quan trong từng địa tầng theo chiều ngang, vì trong chiều thẳng đứng nhỏ hơn, sự phân bố hầu như luôn được mô tả là không đồng nhất. Bản chất của chất nhiễm bẩn, bản chất của bề mặt và khoảng thời gian bị nhiễm bẩn sẽ tác động đến tất cả kiểu phân bố.
VÍ DỤ 1 Một vệt nhiễm bẩn trong giai đoạn đầu sẽ được coi là một nhiễm bẩn không đồng nhất, nhưng sau thời gian có sự lan truyền của vệt, diện tích chính có thể được coi như là nhiễm bẩn phân bố đồng nhất.
Giả thuyết về bản chất của sự phân bố là rất quan trọng, vì điều này sẽ tác động đến kế hoạch lấy mẫu tiếp theo.
Do vậy, giả thuyết rằng sự phân bố là đồng nhất thì,
- Kế hoạch lấy mẫu có thể chấp nhận một khoảng cách rộng hơn giữa các vị trí lấy mẫu vì dự đoán rằng sự nhiễm bẩn phải là tương tự nhau tại tất cả các vị trí (kế hoạch lấy mẫu này tất nhiên sẽ làm giảm sự xác định điểm nóng).
- Ngoài ra, đối với nhiễm bẩn đồng nhất, sử dụng các mẫu phức hợp có thể có hiệu quả về chi phí do chi phí phân tích có thể được giảm bớt trong khi kết quả phân tích là đại diện cho một diện tích tương đối lớn (xem thêm 7.4.6).
Tuy nhiên, nếu giả thuyết là phân bố không đồng nhất thì,
- Kế hoạch lấy mẫu cần qui định khoảng cách giữa các vị trí lấy mẫu để cho phép xác định diễn biến nồng độ chất nhiễm bẩn, và
- Có thể cũng bao gồm lấy mẫu phân đoán khi tính không đồng nhất được quy cho các nguồn nhiễm bẩn điểm “đã biết”.
Cần chú ý rằng định nghĩa nhiễm bẩn là “đồng nhất” hoặc “không đồng nhất” cơ bản phụ thuộc vào mức độ được sử dụng để điều tra nhiễm bẩn.
VÍ DỤ 2 Sự nhiễm bẩn được coi là đã gây nhiễm bẩn đồng nhất ở một địa điểm kích thước 100 m × 100 m, sẽ được nhìn nhận là đồng nhất, chừng nào điều tra không vượt quá giới hạn của vị trí đó. Tuy nhiên, khi nhìn vào chất lượng đất ở mức độ kích thước 1000 m × 1000 m, sự nhiễm bẩn tương tự sẽ được xác định là “điểm nóng” và được xem là không đồng nhất.
Do vậy, đồng nhất và không đồng nhất chỉ là các khái niệm định tính.
Trong thực tế, sự phân bố các chất ô nhiễm dường như là sự kết hợp các cách thức phân bố và kế hoạch lấy mẫu phải được xác định nhằm phục vụ từng kiểu phân bố.
Vì phải đặt điều kiện giả thuyết về phân bố không gian cho mỗi chất (hoặc nhóm các chất), nên kế hoạch lấy mẫu cuối cùng phải tính đến cách thức lấy mẫu khác nhau được yêu cầu theo sự xuất hiện của các chất nhiễm bẩn khác nhau trên địa điểm.
6.6 Báo cáo điều tra sơ bộ và mô hình giả thiết
Điều tra sơ bộ phải được báo cáo theo cách mà việc xác lập mô hình giả thiết ban đầu, và mỗi giả thuyết sẽ được ghi nhận rõ ràng, được xác định và là một phần của báo cáo.
Báo cáo điều tra sơ bộ phải bao gồm:
a) Thông tin thu được về việc sử dụng địa điểm trong quá khứ và hiện tại cùng với chi tiết về địa chất, thổ nhưỡng và địa chất thủy văn:
1) Tất cả các khía cạnh nêu trong 6.2 đến 6.3 phải được thảo luận, và chi tiết về các nguồn đã tham vấn được cung cấp;
2) Phải đưa ra được các chỉ thị về sự thiếu hụt trong thông tin thu được, mọi thỏa thuận bằng hợp đồng hoặc giới hạn của cuộc khảo sát;
b) Bản ghi về nơi tiếp cận nguồn thông tin nhưng không có thông tin cụ thể nào;
c) Bản ghi về bằng chứng có tính giai thoại đã được thu thập, cùng với
1) Tên của người được phỏng vấn, và
2) Ngày phỏng vấn,
3) (Mối quan hệ giữa người được phỏng vấn với địa điểm phải được ghi lại, vì điều này có thể giúp ích cho đánh giá mức độ tin cậy của thông tin);
d) Thảo luận và mô tả đầy đủ và sự xây dựng mô hình giả thiết của địa điểm, bao gồm
1) Giả thuyết đã được xác lập
2) Các kết luận liên quan đến có hay không có nhiễm bẩn (kiểu và bản chất), và
3) Sự phân bố không gian, và phác thảo chi tiết cho vùng cho các giả thuyết khác nhau đã được xác lập;
e) Trường hợp địa điểm “có thể không bị nhiễm bẩn”, phải bổ sung các lập luận hỗ trợ cho kết luận này;
f) Trường hợp địa điểm “có thể bị nhiễm bẩn”, phải thảo luận tất cả các yếu tố sau:
1) Bản chất của (các) nguồn nhiễm bẩn và cách thức chất nhiễm bẩn đi vào trong đất,
2) Danh mục các chất nhiễm bẩn có thể (và đặc điểm hóa học của chúng nếu áp dụng),
3) Sự phân bố không gian dự tính, sự phân bố và vị trí dự đoán bị nhiễm bẩn trong đất, nước mặt, nước ngầm và khí đất;
g) Các kết luận, khuyến nghị về yêu cầu và hình thức các hành động tiếp theo – đặc biệt là yêu cầu về điều tra địa điểm – được coi là phù hợp có tính đến mục đích.
Báo cáo phải được cấu trúc như sau (xem 9.6) và nội dung phải bao gồm:
- Mục lục;
- Tóm tắt;
- Giới thiệu;
- Mục đích;
- Chi tiết nghiên cứu (kể cả nguồn thông tin có thể được đưa vào phụ lục để thuận tiện tra cứu)
- Chi tiết của địa điểm (kể cả thông tin thu được và kết quả khảo sát địa điểm).
- Thảo luận và xác lập giả thuyết.
- Kết luận.
- Khuyến nghị;
- Phụ lục (gồm các bằng chứng tài liệu thực thi càng nhiều càng tốt).
7 Thiết kế điều tra xâm nhập
7.1 Giới thiệu
Điều này đưa ra các hướng dẫn có thể áp dụng khi thiết kế kiểu điều tra xâm nhập (ví dụ điều tra thăm dò và điều tra chính). Các phần sau đưa ra hướng dẫn liên quan đến từng kiểm điều tra cụ thể, hướng dẫn cho thiết kế tổng thể, lấy mẫu đất, tổ hợp mẫu và các kế hoạch phân tích và thử nghiệm.
7.2 Nội dung tổng quát của công việc hiện trường
Công việc hiện trường tại địa điểm bị nhiễm bẩn có thể đưa đến rủi ro đáng kể đối với sức khỏe của người điều tra. Cần tham khảo TCVN 7538-3 (ISO 10381-3) để có thêm thông tin về những rủi ro có thể và biện pháp đề phòng để kiểm soát các rủi ro đó.
Cần tham khảo TCVN 7538-1 (ISO 10381-1) và TCVN 7538-2 (ISO 10381-2) để có thông tin về các nội dung cụ thể của kỹ thuật lấy mẫu kể cả cách thức lấy mẫu, phương pháp thu thập mẫu bao gồm phương pháp dùng lỗ khoang, khoan thăm dò, hố thử, và bản quản mẫu. Cần chú ý rằng các kỹ thuật điều tra khác – không xâm nhập – có thể góp phần đáng kể để biết phân bố không gian của sự nhiễm bẩn.
Cần đảm bảo sẽ lấy đủ mẫu ngay khi bắt đầu công việc ngoài hiện trường. Thường không cần phân tích tất cả các mẫu đã lấy, nhưng có thể sẽ (rất) tốn kém nếu phải quay trở lại địa điểm để lấy mẫu thêm. Đặc biệt trong trường hợp mẫu được lấy tại độ sâu mong muốn trong phẫu diện đất. Tuy nhiên, cần tiến hành phân tích các thành phần dễ bay hơi và bán bay hơi càng sớm càng tốt sau khi lấy mẫu vì các thành phần này có thể không bảo quản được cho các phân tích sau.
Thay cho lấy mẫu, nên áp dụng các phương pháp tại chỗ và/hoặc tại địa điểm để thử nghiệm và phân tích.
Nếu tại bất kỳ thời điểm nào trong quá trình điều tra xuất hiện bằng chứng về kế hoạch thực thi không tối ưu, phải thay đổi ngay kế hoạch (ví dụ, mạch nước ngầm khác xa với độ sâu dự kiến). Trong một số trường hợp, có thể cần lấy thêm mẫu dựa trên kế hoạch đã điều chỉnh hoặc cần tính đến các điều kiện không dự đoán được. Tuy nhiên, nếu trường này không rõ ràng thì cần tuân thủ kế hoạch ban đầu.
Mô tả địa tầng phải được thực hiện ngay tại hiện trường sau khi đã hoàn tất vị trí lấy mẫu nếu việc này không thực hiện được trong quá trình hình thành. Ảnh chụp có bảng xác định vị trí lấy mẫu và tỉ lệ thường hữu ích cho mô tả các địa tầng.
7.3 Nội dung thiết kế tổng quát
7.3.1 Khái quát
Thiết kế điều tra tại chỗ (xâm nhập) liên quan đến lấy mẫu và thử nghiệm tại chỗ (nếu cần) phải dựa trên kết quả của điều tra sơ bộ và mục đích của điều tra thăm dò địa điểm (điều 8) hoặc điều tra chính (điều 9) khi phù hợp.
Việc thiết kế sẽ bao gồm xác định vị trí lấy mẫu, độ sâu, cỡ và kiểu mẫu được lấy, phương pháp luận mà nhờ đó các mẫu được lấy. Điều quan trọng là phải xác định vị trí của nơi lấy mẫu trước khi bắt đầu điều tra địa điểm, nhưng cho phép đội lấy mẫu đưa ra các xem xét chuyên môn tại hiện trường, để thay đổi vị trí và vị trí mẫu lấy thêm khi quan sát tại hiện trường.
Giả thuyết đã định có thể chỉ ra một số vùng bị nhiễm bẩn tiềm ẩn mà tại đó thông tin sơ bộ sẽ giúp cho việc thiết kế điều tra chính chi tiết hơn.
VÍ DỤ Ví dụ, thông tin sơ bộ về mức độ tiềm ẩn của dung môi clo bị đổ ra có thể giúp ích.
Thiết kế điều tra thăm dò địa điểm có thể xem xét đến các khía cạnh như vậy, và cung cấp thông tin để điều tra chính (và tốn kém hơn) được thiết kế nhằm đưa ra dữ liệu cần cho mục đích và để giảm thiểu khả năng xảy ra tình huống không dự đoán được.
Như đã đề cập ở trên, các giả thuyết khác nhau có thể được áp dụng cho các địa điểm khác nhau của một vùng, do vậy có thể áp dụng kế hoạch lấy mẫu khác nhau trong quá trình điều tra.
7.3.2 Lập công việc tại địa điểm
7.3.2.1 Lập kế hoạch
Người lập công việc tại chỗ nên tính đến việc thiết kế chương trình lấy mẫu và các khía cạnh thực tiễn liên quan đến sự thực thi các kế hoạch này. Kế hoạch này bao gồm:
- Vị trí, số lượng mẫu và cách thức lấy mẫu;
- Phương thức lấy mẫu (lỗ khoan, hố thử,… thiết bị lấy mẫu);
- Mẫu được lấy (đất, phần hạt, nước, khí);
- Các yêu cầu lấy mẫu đặc biệt (hợp chất dễ bay hơi, yêu cầu bảo quản);
- Yêu cầu về dụng cụ chứa mẫu;
- Yêu cầu về thử nghiệm tại chỗ và ngoài địa điểm;
- Các phân tích được tiến hành và mọi yêu cầu đặc biệt của phòng thí nghiệm liên quan đến thu thập, bảo quản và vận chuyển mẫu;
- Qui trình và các biện pháp đề phòng để đảm bảo sức khỏe và an toàn trong khi điều tra và các thiết bị bảo vệ cần thiết;
- Các biện pháp bảo vệ môi trường để ngăn ngừa sự di chuyển nhiễm bẩn trong và sau khi hoàn thành điều tra;
- Các yêu cầu thải bỏ phát sinh từ điều tra và yêu cầu vận chuyển vật liệu tới địa điểm, ví dụ vật liệu sạch để lấp các hố thử;
- Các yêu cầu về đảm bảo chất lượng;
- Sự cho phép và tiếp cận địa điểm dễ dàng (và các vùng lận cận khi cần).
- Vị trí và bản chất của vật cản trong quá trình thu thập mẫu tại hiện trường và cách thức khắc phục;
- Vị trí và tình trạng các thiết bị dịch vụ kể cả trên và dưới đất;
- Vị trí của địa điểm thích hợp cho văn phòng, đơn vị xử lý nhiễm bẩn, bảo dưỡng và lưu giữ mẫu;
- Các biện pháp đảm bảo sức khỏe và an toàn (cần tham khảo TCVN 7538-1 (ISO 10381-1), TCVN 7538-2 (ISO 10381-2) và TCVN 7538-3 (ISO 10381-3) về rủi ro đối với người điều tra và môi trường khi điều tra địa điểm. Các biện pháp đề phòng và hành động cần thiết nên được thiết kế trong phương pháp luận điều tra địa điểm);
- Thông tin liên lạc và kế hoạch khi tai nạn và cấp cứu, thông tin liên lạc với dịch vụ cấp cứu;
- Hành động để bảo vệ môi trường, ví dụ, thu hồi bụi và kiểm soát ngăn chặn sự di chuyển của nhiễm bẩn;
- Loại bỏ nước ngầm bị nhiễm bẩn (có thể), thải bỏ đất phát sinh do đào và vật liệu được sử dụng hoặc bị nhễm bẩn trong khi điều tra.
7.3.2.2 Điều tra tổng hợp
Điều tra kết hợp các yêu cầu về sự nhiễm bẩn với các khía cạnh kỹ thuật địa chất đôi khi mang lại một số ích lợi. ĐIều tra này có thể hỗ trợ cho thiết kế điều tra kỹ thuật địa chất phải xét đến các yêu cầu về bảo vệ sức khỏe, an toàn và môi trường.
Điều tra kết hợp có các ưu điểm:
- Đơn giản hóa quản lý dự án;
- Sử dụng thiết bị và qui trình thông dụng;
- Sử dụng các hố thăm dò cho nhiều mục đích với kết quả kinh tế;
- Đảm bảo sức khỏe và an toàn đối với điều tra;
- Cho phép xem xét kết hợp các dữ liệu tổng hợp.
Tuy nhiên, việc sử dụng điều tra tổng hợp không đưa đến các mục đích đạt được của một trong hai điều tra đơn lẻ. Ví dụ, vị trí mẫu bị nhiễm bẩn không được di chuyển khỏi cách thức ô đã lựa chọn nhằm thỏa mãn các yêu cầu kỹ thuật địa chất. Các phương pháp lấy mẫu kỹ thuật địa chất thường không nhất thiết là thích hợp cho lấy mẫu để phân tích hóa học và ngược lại. Ngoài ra, các yêu cầu ghi phẫu diện đất có thể khác nhau.
7.4 Cách thức và khoảng cách lấy mẫu đất
7.4.1 Khái quát
Kế hoạch lấy mẫu yêu cầu xem xét cách thức lấy mẫu được sử dụng, độ sâu lấy mẫu và kiểu, cỡ mẫu được lấy, TCVN 7538-1 (ISO 10381-1) trình bày các cách thức lấy mẫu. Cũng có thể ứng dụng thống kê trong cách thức lấy mẫu, đặc biệt giữa khoảng cách giữa các điểm lấy mẫu.
Có thể lựa chọn vị trí lấy mẫu dựa trên cách thức lấy mẫu là một sơ đồ bố trí vị trí lấy mẫu định trước (nghĩa là có hệ thống) hoặc dựa trên lấy mẫu phán đoán. Trong phần lớn điều tra, phải sử dụng kết hợp hai cách tiếp cận này.
Xác suất phát hiện nhiễm bẩn không phụ thuộc vào diện tích bề mặt của địa điểm đang điều tra. Nói cách khác, diện tích bề mặt càng lớn sẽ yêu cầu lấy thêm nhiều mẫu để xác định vị trí có thể bị nhiễm bẩn với cùng xác suất hoặc với cơ hội như nhau, phụ thuộc vào giả thuyết phân bố nhiễm bẩn. Trước khi xây dựng kế hoạch lấy mẫu, cần phải xác định khối lượng nhỏ nhất của vật liệu bị nhiễm bẩn để đạt được mục đích của điều tra. Cụ thể khi tiến hành một điều tra thăm dò với một địa điểm “có thể không bị nhiễm bẩn”, thì điều quan trọng là phải xác định mức độ nhiễm bẩn vì nếu không phát hiện thấy nhiễm bẩn thì có thể coi giả thuyết là đúng và không cần có thêm các hành động.
Số lượng mẫu được lấy cho từng vùng nhiễm bẩn tiềm ẩn phải tương ứng với cỡ vùng, và với số lượng mẫu tối thiểu như vậy luôn biết được chỉ thị của sự thay đổi về không gian trong cùng một vùng.
CHÚ THÍCH Thông thường yêu cầu khoảng sáu mẫu.
Đương nhiên độ tin cậy của ước lượng phân bố nhiễm bẩn sẽ tăng lên khi lấy nhiều mẫu hơn.
Khi lựa chọn cách thức lấy mẫu, cần nhớ rằng sự nhiễm bẩn hiếm khi tồn tại theo ranh giới đã định trước và có thể sử dụng các nồng độ tăng lên làm chỉ thị của nhiễm bẩn, ngay cả khi không lấy mẫu các vùng có nồng độ cao nhất.
Đối với điều tra thăm dò, lưới lấy mẫu chia ô điển hình là 30 m trung tâm nhưng sẽ giảm xuống 15 m trung tâm đối với điều tra chính. Mật độ lấy mẫu lớn hơn của lưới lấy mẫu chia ô có thể thích hợp khi đặt giả thuyết sự nhiễm bẩn không đồng nhất, ví dụ, địa điểm từng là nhà máy sản xuất thì 10 m trung tâm là phù hợp. Cần áp dụng lưới chia ô lấy mẫu có mật độ lớn khi độ tin cậy của kết quả đánh giá rủi ro yêu cầu mật độ này trong dữ liệu chất lượng đất (ví dụ đối với xây dựng nhà).
7.4.2 Lấy mẫu phán đoán
Có thể lựa chọn các vị trí lấy mẫu trên cơ sở lấy mẫu phán đoán, khi đã biết hoặc nghi ngờ một nguồn nhiễm bẩn cụ thể và có yêu cầu phải xác nhận sự xuất hiện hoặc mức độ nhiễm bẩn. Ngược lại, thông qua điều tra thăm dò có thể phát hiện vùng bị nhiễm bẩn và yêu cầu phải mô tả thêm là một trong các mục đích của điều tra chính.
Có thể lựa chọn vị trí lấy mẫu dựa trên nhóm chuyên gia (ví dụ vùng lân cận của một nguồn), nhưng tốt hơn là được định vị theo thuộc tính của chất nhiễm bẩn, chế độ thải, và yêu cầu để có thể diễn giải kết quả có ý nghĩa. Vị trí lấy mẫu có thể liên quan với cách thức lấy mẫu thông thường được sử dụng cho các diện tích khác nhau của một địa điểm, hoặc dự phòng để lấy mẫu tại các vị trí theo nhóm chuyên gia, các vị trí lấy mẫu có thể được bố trí dọc theo bán kính của nguồn hoặc điểm nghi ngờ có nồng độ cao. Nếu vệt nhiễm bẩn là mục tiêu, cần phải lựa chọn vị trí lấy mẫu theo giả thuyết có liên quan với vị trí và bản chất của nhiễm bẩn. Rất có thể cuối cùng phải lấy mẫu phán đoán khi điều tra thăm dò, nếu bắt gặp các vật liệu bị nhiễm bẩn nhìn thấy được hoặc nghi ngờ có nhiễm bẩn tại các vị trí lấy mẫu và phải lấy mẫu để xác định sự nghi ngờ trước khi điều tra chi tiết hơn trong điều tra chính.
7.4.3 Lấy mẫu thông thường
Các điều tra địa điểm (cả điều tra thăm dò và điều tra chính) thường phải tiến hành lấy mẫu hệ thống sao cho vị trí lấy mẫu được phân bố trong địa điểm (hoặc vùng) theo một cách thức thông thường. Tuy nhiên, có thể áp dụng cách thức lấy mẫu không theo hệ thống (đặc biệt lấy mẫu phán đoán) khi có lý do chính đáng để áp dụng cách thức này (ví dụ, khi cần kiểm tra con đường di chuyển tiềm ẩn) hoặc để bổ sung cho cách thức lấy mẫu có hệ thống.
Lý do để lựa chọn cách thức lấy mẫu hệ thống là:
a) Thiết lập vị trí lấy mẫu trên hiện trường là đơn giản hơn;
b) Tiến hành xác định diện tích bị nhiễm bẩn và thiết kế điều tra dễ dàng hơn.
Độ tin cậy của phép nội suy sẽ phụ thuộc chủ yếu vào mức độ thay đổi các tính chất đất. Trong tầng trầm tích, sự thay đổi nồng độ theo phương thẳng đứng có thể lớn hơn nhiều sự thay đổi theo phương nằm ngang.
Nếu trên địa điểm có kiểu địa hình cách đều nhau (ví dụ rãnh cách đều nhau, hệ thống gợn sóng của địa hình,…) thì cách thức lấy mẫu phải không được trùng với địa hình vì có thể tạo ra sai khác hoặc sai số hệ thống trong các mẫu. Có thể tránh được trường hợp này bằng cách lựa chọn cẩn thận các điểm cơ bản hoặc các điểm bắt đầu của lưới chia ô lấy mẫu và nếu cần, lựa chọn khoảng cách của lưới lấy mẫu.
Số lượng vị trí lấy mẫu theo cách thức được áp dụng sẽ thay đổi và phụ thuộc vào giả thuyết và pha điều tra.
- Trong điều tra thăm dò địa điểm, sẽ lấy ít mẫu hơn trong điều tra chính. Phải lựa chọn các vị trí lấy mẫu theo mục đích khẳng định giả thuyết và thiết lập được các vùng yêu cầu chú ý hơn so với điều tra chính.
- Ngược lại, điều tra địa điểm chính sẽ là điều tra chi tiết để thiết lập bức tranh tổng thể về tình trạng nhiễm bẩn của tất cả các phần của địa điểm. Số lượng mẫu được lấy và khoảng cách giữa các vị trí lấy mẫu phải liên quan với mục đích và mức độ tin cậy yêu cầu trong đánh giá tổng thể sự nhiễm bẩn, đánh giá rủi ro và yêu cầu về công tác cải tạo.
7.4.4 Phát hiện điểm nóng
7.4.4.1 Định nghĩa điểm nóng
“Hiệu quả” của một cách thức lấy mẫu thường được thể hiện về độ tin cậy khi “điểm nóng” của một diện tích cho trước sẽ được xác định hoặc sẽ không được xác định. Tuy nhiên, cần phải xem xét kỹ khái niệm và định nghĩa điểm nóng trong giai đoạn thiết kế của điều tra, và đặc biệt đối với điều tra chính.
Một điểm nóng có thể được xác định là
- Một diện tích bị nhiễm bẩn trong một diện tích không bị nhiễm bẩn;
- Một diện tích bị nhiễm bẩn nặng hơn nhiều trong một vùng bị nhiễm bẩn nói chung.
7.4.4.2 Kích thước của điểm nóng
Kích thước của điểm nóng thường không phải là một thông số cố định và phụ thuộc vào
a) Nguồn và bản chất của quá trình nhiễm bẩn (ví dụ, lấy mẫu một điểm nóng do hố đào bị nhiễm bẩn sẽ khác với lấy mẫu để xác định một điểm nóng do rò rỉ từ một bể chứa), và
b) Định nghĩa nồng độ của chất nhiễm bẩn đặc biệt được dự đoán là đáng chú ý khi đánh giá kết quả của điều tra.
Kích thước của một điểm nóng cần phát hiện sẽ liên quan đến việc xem xét diện tích tối đa chưa gây ra rủi ro không chấp nhận được đối với sức khỏe nếu không phát hiện ra trong khi điều tra địa điểm hoặc trong kết quả đánh giá sau đó. Do vậy, phải rất lưu ý đến diện tích bị nhiễm bẩn được quan tâm khi liên quan đến đánh giá rủi ro đối với sức khỏe con người.
VÍ DỤ Trường hợp xây dựng nhà ở có thể yêu cầu xác định diện tích bị nhiễm bẩn cỡ khoảng một vườn nhỏ hoặc thậm chí một phần của vườn nhỏ. Diện tích này chỉ khoảng 50 m2 (hoặc 0,5 % nếu địa điểm có diện tích khoảng 1 hecta)
7.4.4.3 Phát hiện điểm nóng, thiết kế điều tra và lấy mẫu
Trong thực tế, có thể làm tăng xác suất phát hiện điểm nóng nhờ thiết kế cẩn thận điều tra thăm dò địa điểm và điều tra chính tiếp theo.
Mật độ lấy mẫu dày hơn thường sẽ thích hợp với các diện tích nghi ngờ có nhiễm bẩn và mật độ lấy mẫu ít hơn với các diện tích không nghi ngờ bị nhiễm bẩn, tương ứng với giả thuyết liên quan đến các diện tích khác nhau của địa điểm.
CHÚ THÍCH Trong một số trường hợp, có thể sẽ tốn kém hơn khi chứng minh một phần địa điểm đặc biệt là “không bị nhiễm bẩn” với độ tin cậy cao. Trường hợp này thường sẽ yêu cầu mật độ lấy mẫu cao.
Nếu có dự đoán xảy ra nhiễm bẩn tại các điểm nóng đã biết vị trí thì từng vị trí dự đoán phải là đối tượng của điều tra.
- Trong điều tra thăm dò, một vị trí lấy mẫu nên được đặt tại trung tâm điểm nóng. Đối với nhiễm bẩn có thể quan sát được trên hiện trường thì một mẫu này là đủ. Nếu sự nhiễm bẩn không quan sát được trên hiện trường, và các thông tin về mức độ của nhiễm bẩn được yêu cầu thì phải đặt bốn vị trí lấy mẫu khác tại đường vòng quanh của vùng dự đoán nhiễm bẩn. Phải lấy mẫu tại từng vị trí và ở tất cả các độ sâu phù hợp. Nếu điểm nóng được tìm thấy (do tình cờ) trong điều tra thăm dò, các điểm nóng này nên được điều tra theo một cách tiếp cận như nhau.
- Trong điều tra chính, số lượng vị trí mẫu lấy bổ sung phụ thuộc vào mức độ nhiễm bẩn và độ tin cậy mong muốn.
7.4.5 Độ sâu và các tầng lấy mẫu
7.4.5.1 Yếu tố phải tính đến khi lấy mẫu theo độ sâu
Kế hoạch lấy mẫu mô tả ở trên chỉ áp dụng cho một chất nhiễm bẩn đơn trong một tầng. Sự phân bố các chất nhiễm bẩn khác nhau trên địa điễm có thể thay đổi theo độ sâu bởi vì chúng có nguồn gốc khác nhau, thậm chí nếu chúng xuất phát từ nguồn giống nhau thì chúng được biểu hiện khác nhau trong đất. Như vậy cần xây dựng các kế hoạch phù hợp để lấy mẫu theo độ sâu.
Ví dụ, điều quan trọng là phải tính đến:
- Sự thay đổi các đặc tính lý học và hóa học của đất theo độ sâu, đặc biệt khi xuất hiện các tầng dầy đáng kể hoặc có khác biệt lớn trong trầm tích tự nhiên;
- Nguồn nhiễm bẩn (ví dụ chất rắn, vật liệu rò rỉ và vật liệu sinh khí hoặc hơi, đường ống rò rỉ) có thể xác định được vị trí tại bất kì độ sâu nào trong phẫu diện đất;
- Độ sâu lộ ra phù hợp có thể tại bất kỳ tầng phẫu diện đất nào (vì dụ trong dự án tái thiết, cốt xây dựng cuối cùng có thể thấp hơn cốt hiện tại; liên hệ mật thiết giữa đất và các dịch vụ tại chỗ có thể tại độ sâu nào đó dưới bề mặt);
- Con đường di chuyển của các khí hoặc chất lỏng theo chiều thẳng đứng (và có thể bên cạnh) sẽ được xác định bằng đặc tính lý học của đất tại độ sâu phù hợp;
- Tình trạng sử dụng địa điểm.
Nếu một địa điểm được xác định là bị nhiểm bẩn tiềm ẩn thì tốt nhất là phải lấy mẫu các tầng đất được dự đoán là bị nhiểm bẩn (lấy mẫu sẽ tập trung vào diện tích nghi ngờ theo giả thuyết). Trong một số trường hợp, nếu địa điểm nằm trên một tầng không thấm ở độ sâu tương đối nông, thì có thể xác định cụ thể độ sâu lấy mẫu. Tuy nhiên, trước khi điều tra xâm nhập, thường rất khó chỉ rõ nơi nào bị nhiễm bẩn.
Mỗi mẫu phải được lấy ở một khoảng độ sâu giới hạn (từ 0,1 m đến 0,5 m) nhưng không vượt quá 1,0 m để đại diện cho phẫu diện đất và có tính đến giả thuyết. Các mẫu này thường bị giới hạn bởi một địa tầng cụ thể. Các mẫu được lấy phải đại diện cho địa tầng quan tâm đặc biệt (ví dụ sự xuất hiện). Nếu các mẫu này không bị giới hạn một điạ tầng đơn thì phải nêu các lý do trong báo cáo điều tra.
Tại tất cả các vị trí lấy mẫu,các mẫu phải được lấy tại tất cả các độ sâu quan tâm theo giả thuyết. Nếu nhiễm bẩn được chỉ ra tại độ sâu lớn hơn so với dự đoán trước khi điều tra địa điểm, thì phải lấy mẫu ở độ sâu lớn hơn được coi là phù hợp và khả thi.
Lấy mẫu theo các tầng tự nhiên luôn luôn có lợi: nếu không bị nhiểm bẩn, các mẫu này sẽ chỉ ra các điều kiện hóa học nền tự nhiên cần thiết để đánh giá rủi ro và đưa ra quyết định về các giá trị cải tạo.
7.4.5.2 Độ sâu lấy mẫu liên quan đến mục đích sử dụng địa điểm dự kiến
Độ sâu lấy mẫu phải phản ánh điều đã biết về mục đích sử dụng địa điểm (nghĩa là đối tượng tiếp nhận rủi ro) và con đường mà các chất nhiểm bẩn có thể xâm nhập vào môi trường.
VÍ DỤ 1 Phần lớn đối với xây dựng nhà ở, yêu cầu đào sâu ít nhất 1,5 m để lắp đặt thiết bị dịch vụ và làm móng. Có thể yêu cầu đào sâu hơn để lắp đặt đường cống.
VÍ DỤ 2 Đối với xây dựng công trình thương mại, có thể yêu cầu đào đến độ sâu mong muốn để xây dựng một số tầng hầm móng. Do vậy, công nhân xây dựng có thể gặp phải các vật liệu nhiểm bẩn tại các độ sâu này. Các vật liệu này có thể được đưa lên bề mặt, hoặc bị phát tán (nếu không được kiểm soát đầy đủ) hoặc phải được thải bỏ hoặc xử lý.
CHÚ THÍCH ISO 10381-8 đưa ra các hướng dẫn đối với điều tra đất được đào lên từ các loại địa điểm này.
Kế hoạch lấy mẫu phải tính đến khả năng lún của các tầng và do vậy cần lấy mẫu sâu hơn.
Ở nhiều điạ điểm, sẽ có sự tương quan giữa nhiễm bẩn trong tầng đất mặt và tầng đất cái. Thông thường, cũng sẽ tồn tại sự tương quan giữa nhiễm bẩn tầng đất cái và nhiễm bẩn nước ngầm.
7.4.5.3 Lấy mẫu liên quan đến phẫu diện nước ngầm và tầng ngậm nước
Sự nhiễm bẩn thường di chuyển vào nước ngầm theo cách lắng đọng và nước ngầm, hoặc phân bố dọc theo tầng phía trên của phẫu diện nước ngầm. Do vậy, cần thận trọng khi lấy mẫu đất tại các độ sâu này.
Tuy nhiên, điều này phụ thuộc nhiều vào mật độ của chất nhiễm bẩn; chất nhiễm bẩn như hydrocacbon được xử lý bằng clo [Chất lỏng ở pha đặc không ngậm nước (DNAPL)] cho thấy cách thức ngược lại và có thể cho nồng độ cao tại đáy của tầng ngậm nước.
7.4.6 Lượng mẫu và sử dụng mẫu phức hợp
7.4.6.1 Lượng mẫu
Thông tin về lượng vật liệu cần lấy mẫu đất được nêu trong TCVN 7538-1 (ISO 10381-1).
7.4.6.2 Tạo mẫu phức hợp
Mẫu phức hợp có thể được tạo ra ngoài hiện trường bằng cách kết hợp hai hoặc nhiều số gia mẫu.Ngoài ra, có thể kết hợp các mẫu đơn lẻ trong phòng thí nghiệm.
CHÚ THÍCH Trong cả hai trường hợp, cần xử lý sơ bộ (nghĩa là trộn) để thu được một mẫu phân tích đại diện.
7.4.6.3 Cân nhắc khi sử dụng mẫu phức hợp
Việc sử dụng mẫu phức hợp có thể được xem xét,phụ thuộc vào bản chất của điều tra, kế hoạch lấy mẫu đã định và mục đích điều tra. Trong một số trường hợp sử dụng mẫu phức hợp có thể dẫn đến hòa tan hoặc thất thoát các thành phần, do vậy dẫn đến rủi ro không phát hiện được nhiễm bẩn. Tuy nhiên mẫu phức hợp có thể làm tăng tính đại diện cho mẫu và có thể được xem xét trong một số các trường hợp cụ thể.
Cụ thể hơn,việc sử dụng mẫu phức hợp có thể được xem xét trong trường hợp
- Có phân bố đồng nhất;
- Có phân bố không đồng nhất trên khoảng cách nhỏ, nhưng ở khoảng cách lớn thì phân bố là đồng nhất;
- Các thành phần không bay hơi hoặc nửa bay hơi.
Có thể sử dụng mẫu phức hợp trong trường hợp khi có mức độ biến động các thành phần lớn vượt quá qui mô nhỏ, nhưng đối với qui mô lớn hơn, thì phân bố có thể được xem là đồng nhất, ví dụ, tro hoặc xỉ được trộn với đất. Trong trường hợp này, mẫu phức hợp có thể cho kết quả phân tích đại diện hơn.
7.4.6.4 Trường hợp mẫu phức hợp không thích hợp
Các mẫu phức hợp không thích hợp trong tất cả các trường hợp và loại chất nhiễm bẩn sẽ quyết định khả năng tạo mẫu phức hợp ở một mức độ lớn. Có thể không tạo được mẫu phức hợp khi không có thất thoát đáng kể các hợp chất dễ bay hơi. Nếu có các hợp chất nửa bay hơi, các mẫu đất phức hợp có thể được chuẩn bị trong phòng thí nghiệm. Xử lý sơ bộ các mẫu phức hợp là điều tối quan trọng để đảm bảo thu được kết quả đại diện.
Khi kết hợp một số các mẫu đơn lẻ thành một "mẫu phức hợp" để phân tích, có thể làm tăng cơ hội phát hiện sự nhiễm bẩn chung, cũng có thể quá trình trộn sẽ hòa tan nồng độ các điểm nóng dưới ngưỡng phát hiện và do vậy đưa đến chỉ thị sai về sự nhiễm bẩn của địa điểm. Mọi giá trị được sử dụng để phán đoán sự nhiễm bẩn phải được sửa lại theo hướng có tính đến tác động pha loãng này.
7.4.6.5 Mẫu nào phải được kết hợp
Khi kết hợp các mẫu trên hiện trường hoặc trong phòng thí nghiệm, chỉ được kết hợp các mẫu gần kề nhau trong cùng tầng. Kết hợp các mẫu từ các tầng đất khác nhau có thể làm mất thông tin, và khi kết hợp các mẫu gần kề cũng sẽ đảm bảo phát hiện được bất kỳ sự thay đổi không gian ở qui mô lớn về nồng độ trong các tầng đất.
7.5 Kế hoạch phân tích và thử nghiệm
7.5.1 Khái quát
Các mẫu được lấy từ đất, nước ngầm, nước mặt, trầm tích và khí đất phải được kiểm tra để
- Dự đoán các chất, dựa trên kết quả của giai đoạn hoặc pha điều tra trước đó (giả thuyết); và
- Lựa chọn các chất có ý nghĩa;
7.5.2 Phân tích mẫu đất
7.5.2.1 Phương pháp quyết định các thành phần phân tích
Khi quyết định các thành phần sẽ phân tích, có hai cách tiếp cận riêng biệt:
- Tiếp cận thành phần cụ thể: và
- Tiếp cận phổ rộng.
Cả hai tiếp cận này đều có thể được dùng trong điều tra thăm dò hoặc điều tra chính, phụ thuộc vào mục đích của điều tra và những thông tin đã biết về địa điểm.
Tiếp cận thành phần cụ thể là lựa chọn hợp lý nếu đã biết rõ các chất nhiễm bẩn và điều tra chỉ nhằm mục đích xác định lượng đất bị nhiễm bẩn.
Mặt khác, cách tiếp cận phổ rộng có thể là lựa chọn tiếp tốt nhất nếu muốn biết rõ về cách xử lý đất bị nhiễm bẩn, hoặc nếu yêu cầu thông tin chung về chất lượng đất.
7.5.2.2 Lựa chọn thông số thử nghiệm và phân tích
Các chất nhiễm bẩn như kim loại nặng (Cd, Cr, Cu, Hg, Ni, Pb, Zn), asen, hydrocacbon khoáng, EOX và PAH đã chứng tỏ hữu ích và phản ánh đầy đủ về sự nhiễm bẩn đất đô thị và công nghiệp. Do vậy, thông thường lựa chọn các chất này đủ để thử nghiệm giả thuyết địa điểm ''có thể không bị nhiễm bẩn'', và cũng được khuyến cáo đối với giả thuyết nghi ngờ nhiễm bẩn không rõ ràng. Các khuyến nghị quốc gia và từng vùng cũng được tham khảo.
Cần phải xác định phần vật liệu hữu cơ (mùn) và phần hạt mịn cùng với xác định các giá trị tham chiếu hoặc giá trị ngưỡng được chấp nhận để áp dụng tại địa điểm. (ví dụ, những giá trị này có thể bao gồm các giá trị nền tại chỗ.)
7.5.2.3 Sử dụng các mẫu riêng rẽ hoặc mẫu phức hợp
Phải tiến hành kết hợp các mẫu trong phòng thí nghiệm (nếu điều kiện cho phép) sau khi xử lý sơ bộ theo TCVN 6647 (ISO 11464) và ISO 14507.
Nói chung không được trộn lẫn mà phải phân tích các mẫu có sự khác nhau rõ ràng, ví dụ dựa vào bằng chứng cảm quan. Thông thường không được tạo các mẫu phức hợp từ các mẫu được lấy ở các tầng khác nhau hoặc tại các độ sâu khác nhau trong cùng một phẫu diện đất. Tuy nhiên, trong cả hai trường hợp, kế hoạch lấy mẫu dựa trên mô hình giả thiết sẽ xác định kế hoạch phân tích thích hợp nhất.
Nếu dùng mẫu phức hợp, mẫu gốc phải được bảo quản riêng. Khi cần, việc lưu giữ sẽ đảm bảo các mẫu gốc được dùng cho phân tích lặp ở giai đoạn tiếp sau. [Tất nhiên không thể bảo quản được các thông số thay đổi theo thời gian (ví dụ bay hơi) hoặc do xử lý mẫu (ví dụ xử lý sơ bộ)].
7.5.2.4 Bảo quản và vận chuyển mẫu
Hướng dẫn bảo quản và vận chuyển mẫu được nêu trong TCVN 7538-2 (ISO 10381-2).
8 Điều tra thăm dò
8.1 Khái quát
8.1.1 Cơ sở của điều tra thăm dò
Điều tra thăm dò tiếp sau điều tra sơ bộ và được tiến hành một cách cơ bản để kiểm tra tính chính xác của giả thuyết đã được xây dựng liên quan đến sự nhiễm bẩn của địa điểm, hoặc khái quát hơn, để kiểm tra tính chính xác của mô hình giả thiết được xây dựng cho địa điểm. Thiết kế kỹ điều tra thăm dò sẽ đưa đến khả năng chứng minh tính chính xác của giả thuyết với thời gian và nguồn lực tối thiểu.
Điều tra thăm dò thường sẽ cho lượng thông tin hạn chế. Tuy nhiên, phụ thuộc vào (các) mục đích của từng trường hợp cụ thể, thông tin thu được có thể là đủ để đưa ra quyết định, đặc biệt khi thu được các thông tin sau:
- Chất lượng kết quả của điều tra sơ bộ cao;
- Lập kế hoạch và thực hiện điều tra phù hợp; và
- Không yêu cầu quá cao độ tin cậy của kết quả.
Trong một số trường hợp khác, điều tra thăm dò nên theo các bước của điều tra chính (xem điều 9).
8.1.2 Các bước kết hợp
Điều tra thăm dò nên kết hợp các bước sau:
- Thiết kế một kế hoạch điều tra;
- Tiến hành điều tra địa điểm và phân tích mẫu liên quan;
- Xác định tín hiệu lực của giả thuyết;
- Xác định các yêu cầu để điều tra bổ sung.
8.1.3 Các khía cạnh được xem xét khi lập kế hoạch
Khi lập kế hoạch cho điều tra thăm dò, phải cân nhắc các khía cạnh sau
a) Giả thuyết;
b) Tính không chắc chắn có liên quan đến sự nhiễm bẩn và sự phân bố theo giả thuyết với yêu cầu phân loại để tạo điều kiện thuận lợi cho thiết kế điều tra chính đạt hiệu quả nhất;
c) Mọi rủi ro ảnh hưởng tới sức khỏe con người và môi trường.
Các khía cạnh này xác định
- Môi trường lấy mẫu (đất, nước mặt, nước ngầm, khí đất);
- Độ sâu và kỹ thuật lấy mẫu;
- Cách thức lấy mẫu;
- Số mẫu cần lấy;
- Khả năng sử dụng mẫu phức hợp;
- Số mẫu phân tích;
- Các chất nhiễm bẩn tiềm ẩn được xác định.
Trong điều tra thăm dò một số vị trí các mẫu sẽ được điều tra là tương đối lớn so với điều tra địa điểm chính. Tuy nhiên, đối với kinh tế thì điều quan trọng là phải đảm bảo ở chừng mực có thể,vị trí các mẫu được lựa chọn và kết quả thông tin thu nhập có thể được dùng trong các đánh giá tiếp theo của điều tra chính.
Đặc biệt trong các điều tra thăm dò, phải thận trọng khi lấy mẫu đại diện cho tất cả các bằng chứng về sự nhiễm bẩn nhưng sau đó chỉ phân tích các mẫu lựa chọn. Ví dụ, không cần phân tích tất cả các mẫu rõ ràng bị nhiễm bẩn ở giai đoạn này. Nhưng khi sử dụng đánh giá bằng mắt, phải chú ý không phải tất cả sự nhiễm bẩn đều có thể được xác định theo cách này.
Cần sử dụng người điều tra có kinh nghiệm trong thiết kế điều tra thăm dò và trong giám sát quá trình điều tra để kiểm tra giả thuyết, bao gồm kế hoạch lấy mẫu, số lượng mẫu được lấy và phân tích.
8.2 Kế hoạch lấy mẫu
8.2.1 Khái quát
Dựa trên kết quả của điều tra sơ bộ và giả thuyết được hình thành, kế hoạch lấy mẫu vùng "có thể không bị nhiễm bẩn" và "có thể bị nhiễm bẩn" là khác nhau.
Thông thường, đánh giá sự nhiễm bẩn đều xem xét các con đường phù hợp. Vì các lý do kinh tế, phải lựa chọn khoảng cách và độ sâu lấy mẫu, thậm chí tại điều tra thăm dò, để kết quả thu được có thể được dùng cho đánh giá rủi ro trong các bước điều tra sau này.
Phải tuân thủ các quy định quốc gia.
Điều tra sự nhiễm bẩn tiềm ẩn phải được tiến hành gần với điều tra các chất nền khác khi có thể có sự nhiễm bẩn, đặc biệt.
- Nước ngầm [xem TCVN 6663 (ISO 5667)]
- Nước mặt [ xem TCVN 6663 (ISO 5667)]
- khí đất ( xem ISO 10381-7).
8.2.2 Vị trí lấy mẫu
Có thể sử dụng hai phương pháp tiếp cận cơ bản trong điều tra thăm dò là lấy mẫu phán đoán và lấy mẫu hệ thống (xem 7.4).
Trong điều tra thăm dò, phần lớn kế hoạch lấy mẫu thông dụng là lấy mẫu phán đoán và nếu cần được hỗ trợ bởi lấy mẫu hệ thống với khoảng cách tương đối rộng.
Khoảng cách lấy mẫu phụ thuộc vào mục đích của điều tra và đa phần phụ thuộc tất cả các giả thuyết được hình thành. Không thể đưa ra các khuyến nghị cụ thể đối với khoảng cách mẫu. Trong nhiều trường hợp, cần chú ý khoảng cách mẫu không phụ thuộc vào diện tích của địa điểm. Khoảng cách mẫu phải được xác định dựa trên khả năng có thể tìm thấy diện tích bị nhiễm bẩn với một cỡ định trước.
Định nghĩa về khả năng tìm thấy (hoặc biến mất) các diện tích bị nhiễm bẩn cũng như cỡ của chúng là một quyết định chính sách. Do vậy, nên tuân thủ các quy định của quốc gia.
Áp dụng lấy mẫu phán đoán khi có có bằng chứng về nhiễm bẩn nguồn điểm (không đồng nhất). Sử dụng lấy mẫu hệ thống cho vùng nhiễm bẩn đồng nhất hoặc vùng có thể không bị nhiễm bẩn. Cần kết hợp cả hai kế hoạch lấy mẫu để thu được đặc tính tổng thể của địa điểm khi có bằng chứng về nhiễm bẩn nguồn điểm.
Nếu có bằng chứng rõ ràng về sự nhiễm bẩn nghiêm trọng, cách thức lấy mẫu trong điều tra thăm dò phải được thiết kế để tạo thuận lợi cho thiết kế điều tra chính sau này. Việc thiết kế này sẽ giúp cho lập kế hoạch điều tra thăm dò sẽ là tối ưu cho điều tra chính.
8.2.3 Độ sâu lấy mẫu
Giống như cách thức lấy mẫu, độ sâu lấy mẫu phụ thuộc vào giả thuyết và phạm vi điều tra (xem 7.4.5).
Qui định quốc gia có thể định ra độ sâu lấy mẫu liên quan đến các mục đích cụ thể đối với điều tra hoặc áp dụng các giá trị hướng dẫn.
8.2.4 Lựa chọn mẫu đất để phân tích
Thông thường, tốt hơn là lấy nhiều hơn số mẫu cần phân tích. Phải phân tích các mẫu đại diện và mẫu "nghi ngờ". Do vậy, nếu các mẫu ở các vị trí khác nhau trong cùng một tầng xuất hiện tương tự nhau thì có thể chỉ phân tích một số mẫu đại diện.
Phải phân tích đủ mẫu để kiểm tra giả thuyết. Phác thảo về sự phân bố nhiễm bẩn không phải là mục đích của điều tra thăm dò.
8.2.5 Lựa chọn các thông số để thử nghiệm và phân tích
Đối với kiểm tra giả thuyết địa điểm "có thể không bị nhiễm bẩn", một số các thành phần như kim loại nặng (Cd, Cr, Cu, Hg, Ni, Pb, Zn), As, hydrocacbon khoáng, EOX và PAH sẽ là đủ. Cần chú ý đến các đặc điểm của từng vùng và khuyến nghị của quốc gia.
CHÚ THÍCH Cách tiếp cận tương tự thường thích hợp với điều tra ban đầu đối với địa điểm nghi ngờ nhưng chưa biết các chất nhiễm bẩn.
Khi điều tra một địa điểm " có thể bị nhiểm bẩn", điều tra có thể chỉ giới hạn ở các chất dự đoán (theo giả thuyết dựa trên kết quả của điều tra sơ bộ). Tuy nhiên, có thể kết hợp hợp lý điều tra hạn chế trên với điều tra rộng hơn (các chất nhiễm bẩn cũng như cách thức lấy mẫu) để có thêm thông tin về chất lượng nói chung của địa điểm. Nhìn chung, việc lựa chọn chất nhiễm bẩn liên quan trực tiếp với (các) mục đích điều tra và giả thuyết định trước.
Nếu một giá trị tham chiếu cho một nhóm thông số bị vượt quá (ví dụ, giá trị tham chiếu đối với halogen hữu cơ được chiết xuất hoặc chỉ số phenol hoặc hydrocacbon khoáng), thì xác định nồng độ của từng chất nhiễm bẩn để có thêm các thông tin. Tuy nhiên, Không phải lúc nào các giá trị của nhóm thông số tăng lên cũng có nghĩa là nồng độ các chất nhiễm bẩn tăng. Ngoài ra, phân tích các chất nhiễm bẩn cụ thể có thể là một phần của điều tra chính thay cho giai đoạn bổ sung trong điều tra thăm dò.
8.3 Diễn giải điều tra thăm dò
8.3.1 Kiểm tra giả thuyết được xây dựng trong điều tra sơ bộ
Điều tra thăm dò cung cấp thông tin để kiểm tra giả thuyết được xây dựng trong điều tra sơ bộ. Qui trình kiểm tra được tiến hành theo cùng cách dùng để công nhận giả thuyết sau.
- Giai đoạn 1: Có nhiễm bẩn tại địa điểm không?
- Giai đoạn 2: Chất nhiễm bẩn được phát hiện có tương ứng với nhiễm bẩn dự đoán không?
- Giai đoạn 3: Vị trí nhiễm bẩn được xác định có tương ứng với vị trí dự đoán không?
- Giai đoạn 4: Sự phân bố không gian có tương ứng với sự phân bố không gian dự đoán không?
Trong qui trình thử nghiệm, thường áp dụng các giá trị ngưỡng (thường được ghi trong luật hoặc hướng dẫn của cơ qua có thẩm quyền) để xác định liệu một địa điểm có bị nhiễm bẩn không. Nếu không có sẵn giá trị ngưỡng, có thể dùng giá trị nền tại chỗ hoặc nếu cần sẽ áp dụng chung với giá trị ngưỡng.
8.3.2 Đánh giá rủi ro
Nếu điạ điểm bị nhiễm bẩn, cần đánh giá rủi ro tiếp theo đề xác lập tính nghiêm trọng cả sự nhiểm bẩn. Có thể tiến hành đánh giá rủi ro nếu chất lượng và số lượng dữ liệu đủ để đánh giá chính xác tình trạng nhiễm bẩn. Tuy nhiên, tùy thuộc vào mục đích và dữ liệu có sẵn, có thể dữ liệu (hoặc thông tin khác) thu được từ điều tra thăm dò là không đủ để cho phép đánh giá rủi ro chi tiết, cho dù có thể tiến hành đánh giá rủi ro.
8.3.3 Cân nhắc giả thuyết bằng vùng
Dựa trên kết quả của điều tra sơ bộ, nếu địa điểm được chia thành một số vùng với các giả thuyết riêng, thì mỗi giả thuyết phải được kiểm tra riêng biệt. Phải xem xét kết quả điều tra liên quan đến các vùng khác nhau này để xác định khả năng quan hệ lẫn nhau.
8.3.4 Thu nhập thông tin về chất lượng đất
Có thể thu được thông tin về chất lượng đất từ mô tả bề mặt trong quá trình lấy mẫu và đánh giá giả thuyết phải chú ý đến các hồ sơ ghi thông tin này.
8.3.5 Kiểm tra nếu kế hoạch điều tra là phù hợp
Phải tiến hành kiểm tra trong tất cả các trường hợp để xác lập kế hoạch điều tra có thực sự phù hợp về bản chất của kết quả trở nên có giá trị hay không, mà không quan tâm đến giả thuyết được chứng minh có giá trị hay không.
8.3.6 Kiểm tra lại giả thuyết
Giả thuyết địa điểm “ có thể không bị nhiễm bẩn” nên được loại bỏ nếu một số các chất phân tích vượt quá giá trị ngưỡng tương ứng hoặc vượt quá nhiều giá trị nền tại chỗ. Trong trường hợp này phải xây dựng một giả thuyết mới địa điểm “(có thể) bị nhiễm bẩn”
Nếu không phát hiện thấy chất nhiễm bẩn tiềm ẩn trong mẫu phân tích, hoặc ở nồng độ vượt hơn nhiều giá trị ngưỡng/ nồng độ nền hoặc các giá trị tương ứng khác, phải xếp địa điểm thuộc loại không bị nhiễm bẩn. Tuy nhiên, phải luôn chú ý giả thuyết này chỉ là một phán đoán tương đối, độ tin cậy của chúng phụ thuộc vào thiết kế và tăng cường lấy mẫu trong điều tra thăm dò. Không thể có bằng chứng hoàn chỉnh không có sự nhiễm bẩn.
Nếu tìm thấy một ô chất nhiễm vượt quá giá trị ngưỡng/nền tương ứng, phải kết luận có nhiễm bẩn đất và giả thuyết liên quan nên được chấp nhận.
Do mục đích giới hạn của điều tra thăm dò, sự hữu ích để kiểm tra giả thuyết liên quan đến phân bố không gian của nhiễm bẩn địa điểm có thể bị nhiễm bẩn bị hạn chế. Do vậy phải chỉnh sửa giả thuyết khi có thể, và bổ sung khi có thêm thông tin.
8.3.7 Ví dụ về giả thuyết cần phải sửa đổi hoặc loại bỏ
Các ví dụ sau đây cho thấy khi cần sửa đổi hoặc loại bỏ giả thuyết.
a) Nếu cho rằng đã biết vị trí nhiễm bẩn và các mẫu đã được phân tích từ các địa điểm xác định có nhiễm bẩn nhưng không chỉ ra được nồng độ các chất nhiễm bẩn vượt quá giá trị ngưỡng/nền, thì nên kết luận hoặc không xác định được vị trí hoặc không có nhiễm bẩn nguồn điểm đã dự kiến.
b) Nếu đặt giả thuyết một địa điểm “ có thể bị nhiễm bẩn” phân bố không đồng nhất và không biết vị trí túi nhiễm bẩn, thì để xác định vị trí nhiễm bẩn trong điều tra thăm dò, sẽ áp dụng cách thức lấy mẫu hệ thống trên toàn bộ địa điểm. Trong trường hợp này, phải dự đoán rằng sẽ có số lượng mẫu lớn hơn không gặp các túi nhiễm bẩn và do vậy sẽ không chỉ ra nhiễm bẩn đáng kể.
c) Nếu tìm thấy nhiều mẫu bị nhiễm bẩn, thì trường hợp này có thể cho thấy hoặc các điểm nóng nhiễm bẩn là lớn hơn dự đoán nhiều lần, hoặc sự nhiễm bẩn là phân bố đồng nhất hơn dự đoán.
8.3.8 Hành động cần làm nếu giả thuyết là không có giá trị
Nếu kết quả kiểm tra chỉ là giả thuyết không có giá trị, cần thực hiện một số hành động sau:
- Phải xem xét liệu điều tra thăm dò có chính xác và phạm vi đầy đủ hay không. Nếu không nhận được thông tin yêu cầu hoặc chưa đủ độ tin cậy thì cần sửa đổi công việc thực hiện hoặc cần điều tra bổ sung.
- Phải xem xét lại điều tra sơ bộ để xác định liệu giả thuyết ban đầu cần sửa đổi hay không, hoặc xây dựng một giả thuyết mới hay không.
- Nếu một giả thuyết mới/ sửa đổi có thể được xác nhận nhờ kết quả của điều tra thăm dò, thì có thể lập kế hoạch điều tra chính dựa trên cơ sở này.
- Nếu không thể xác nhận đầy đủ giả thuyết mới/ sửa đổi thì nên tiến hành điều tra bổ sung.
- Trong báo cáo phải đề cập các thảo luận về sự khác nhau giữa giả thuyết ban đầu và kết quả điều tra .
Cho dù điều tra bổ sung là một phần của điều tra thăm dò có giá trị hay không thì nó cũng sẽ phụ thuộc vào mục đích của điều tra. Ví dụ, nếu giả thuyết một địa điểm “ có thể không bị nhiễm bẩn” bị loại bỏ, phải đưa ra quyết định hoặc xem xét lại điều tra sơ bộ hoặc tiến hành điều tra thăm dò bổ sung.
8.4 Báo cáo điều tra thăm dò
Báo cáo điều tra thăm dò nhằm mục đích chứng minh bằng tài liệu và trình bày thông tin phù hợp để đưa ra quyết định. Nói chung, báo cáo phải bao gồm :
- (Các) mục đích điều tra thăm dò;
- Cơ sở điều tra bao gồm tham khảo tới điều tra sơ bộ, mô hình giả thuyết địa điểm và giả thuyết đã được xây dựng là một phần của mô hình giả thuyết kể cả thông tin về độ tin cậy;
- Lập kế hoạch và lý lẽ chứng minh kế hoạch điều tra;
- Phương pháp luận của điều tra;
- Mô tả công việc thực hiện kể cả kỹ thuật lấy mẫu ;
- Hồ sơ về tất cả những quan sát được tại hiện trường gồm mọi sự thay đổi so với phương pháp luận dự kiến và mọi bất thường trong điều tra;
- Lý lẽ chứng minh về sự lựa chọn mẫu để phân tích và tài liệu hóa tất cả chi tiết phù hợp liên quan đến bảo quản, vận chuyển, xử lý sơ bộ mẫu cũng như quá trình thực hiện và đánh giá phân tích;
- Mô tả kết quả phân tích kể cả thông tin về tính thay đổi và ranh giới sai số;
- Đánh giá kết quả điều tra, lựa chọn mức độ thích hợp và các giá trị tham chiếu được sử dụng để đánh giá rủi ro và so sánh các giá trị;
- So sánh kết quả điều tra giả thuyết và kết luận liên quan đến tính hiệu lực của giả thuyết;
- Kết luận liên quan đến tình trạng nhiễm bẩn của địa điểm và các khuyến nghị để đánh giá rủi ro nếu có;
- Khuyến nghị về điều tra bổ sung.
Phụ thuộc vào (các) mục đích điều tra, có thể phải bổ sung các khía cạnh khác.
Từ ngữ dùng trong báo cáo nên cung cấp cho những người quyết định và những người đã yêu cầu điều tra nét tổng quát phù hợp và các cơ sở tin cậy để đưa ra quyết định. Nên phân biệt rõ ràng sự kiện từ diễn giải và giả thuyết. Xem TCVN 7538-1 (ISO 10381 -1) về các yêu cầu chung.
8.5 Xác định nhu cầu cho điều tra chính
Một điều tra chính sẽ trở nên cần thiết nếu mục đích của điều tra yêu cầu thông tin chi tiết hơn về lượng và phân bố không gian của các chất nhiễm bẩn, phần di chuyển và bất động, khả năng di chuyển cũng như khả năng bị nhiễm bẩn do con người, động vật và cây trồng. Thường xảy ra các trường hợp khi
- Giả thuyết một địa điểm “ có thể bị nhiễm bẩn” có giá trị/ có sơ sở và nghi là nguy hiểm cho sức khỏe con người và môi trường được củng cố;
- Yêu cầu biết rõ về tình trạng nhiễm bẩn của địa điểm để quyết định với mức độ đủ tin cậy.
- Cho phép đánh giá rủi ro chi tiết và xác định lựa chọn để quản lý rủi ro tiềm ẩn đã được xác định.
9 Điều tra chính
9.1 Khái quát
Điều tra chính sau khi điều tra sơ bộ và điều tra thăm dò. Kết quả là khi thiết kế điều tra chính, phải xem xét lượng thông tin có sẵn bao gồm
- Chỉ thị rõ ràng về chất nhiễm bẩn hiện có;
- Chỉ thị về phạm vi của (các) địa điểm nhiễm bẩn (theo 3 kích thước);
- Chỉ thị về phân bố chất nhiễm bẩn (đồng nhất và không đồng nhất);
- Hiểu biết về thành phần của đất, địa chất và thổ nhưỡng của địa điểm;
- Hiểu biết về thủy văn và địa chất thủy văn (của địa phương hoặc ít nhất phải là vùng).
- Tất cả dữ liệu và thông tin đã được tập hợp đến thời điểm đó phải được đánh giá về độ hoàn thiện và độ tin cậy trước khi bắt đầu điều tra chính.
9.2 Mục đích và phạm vi
9.2.1 Mục đích chính
Điều tra chính sẽ có hai mục đích chủ yếu sau:
a) Để xác lập bản chất, phạm vi của diện tích nhiễm bẩn và mức độ nhiễm bẩn;
b) Để cung cấp đầy đủ dữ liệu cho phép đánh giá rủi ro.
9.2.2 Các khía cạnh chính cần xem xét khi xác lập phạm vi và xác định mục đích
Khi thiết lập phạm vi của điều tra, phải xác định xem xét năm khía cạnh chủ yếu sau:
- Sự nhiễm bẩn;
- Tình trạng sử dụng hiện nay và trong tương lai;
- Chế độ thủy văn ( chế độ nước mặt và nước ngầm);
- Đặc điểm địa chất và các đặc tính kỹ thuật địa chất;
- Con đường di chuyển hiện tại và tương lai và đối tượng nhận.
Điều tra chính phải nhằm mục đích thu nhập thông tin chi tiết về bản chất, mức độ và phạm vi của nhiễm bẩn và cung cấp đầy đủ dữ liệu để có thể mô tả được vùng nhiễm bẩn theo ba kích thước và đánh giá rủi ro.
9.2.3 Các mục đích khác
Phải thiết kế điều tra chính bao trùm được các mục đích sau:
- Đánh giá mối nguy và rủi ro đối với con người và môi trường.
- Cung cấp thông tin để cho phép
1) Đánh giá sự lựa chọn tài chính và kỹ thuật để xây dựng tiếp sau, và
2) Lựa chọn và lập kế hoạch hành động cải tạo.
- Đảm bảo sức khỏe, an toàn cho cộng đồng và các hoạt động công tác an toàn đối với người ngoài hiện trường;
- Cách tiếp cận và các yêu cầu đối với montitoring dài hạn và ngắn hạn.
Phạm vi thực sự của điều tra chính sẽ là địa điểm cụ thể cao. Do vậy ở đây không thể quy định các yêu cầu cụ thể của điều tra chính. Cần chú ý trong thiết kế điều tra để xác định rõ mục đích chính xác và các yêu cầu về sự phân bố vị trí lấy mẫu, các mẫu được lấy và phân tích.
9.3 Thiết kế điều tra
Mục đích của điều tra chính yêu cầu:
- Xác định bản chất và phạm vi của nhiễm bẩn tại địa điểm, kể cả sự di chuyển của nhiễm bẩn tại địa điểm và xâm nhập vào vùng xung quanh cũng như sự di chuyển của chất nhiễm bẩn ngoài thời gian điều tra. Chú ý sự di chuyển này sẽ đi vào nước ngầm và khí đất. Yêu cầu lấy mẫu nước ngầm và khí đất được quy định trong TCVN 6663 (ISO 5667) và ISO 10381 -7
- Xác định rủi ro đối với con người, động vật, cây trồng và môi trường do sự nhiễm bẩn;
- Xác định sự xuất hiện trầm tích phi tự nhiên và các cấu trúc ngầm tại địa điểm (ví dụ, vật liệu không bền theo qui luật tự nhiên, vật liệu cháy được (trầm tích than đá), nền móng sâu, bể chứa];
- Xác định, mô tả đặc tính và đánh giá đối tượng nhận tiềm ẩn và con đường di chuyển nhiễm bẩn;
- Cung cấp đầy đủ thông tin để đánh giá yêu cầu đối với hành động cải tạo;
- Xác định yêu cầu đối với monitoring dài hạn, ngắn hạn và duy trì bảo dưỡng;
- Xác định và lập kế hoạch ứng phó để bảo vệ môi trường và sức khỏe.
Mặc dù điều tra chính có thể là điều tra mở rộng nhưng vẫn chỉ một phần rất nhỏ của khối lượng đất thực sự sẽ lấy được mẫu và phân tích. Các đặc tính của nhiễm bẩn trên địa điểm được ước lượng từ các mẫu điều tra. Phải xem xét và giảm thiểu kết quả không chắc chắn bằng thiết kế điều tra cho đến khi cần thiết. Mặt khác, điều nay có nghĩa; nếu có thể dự đoán tình trạng nhiễm bẩn với độ chính xác tin cậy, thì không cần lấy mẫu hoặc điều tra thêm. Nếu tìm thấy một giả thuyết giá trị với độ tin cậy yêu cầu trước đây, thì không cần đặt lại giả thuyết.
Điều tra khí đất ( xem ISO 10381-7) và nước ngầm (xem TCVN 6663 (ISO 5667)] có thể bổ sung thêm cho điều tra chính đối với nhiễm bẩn đất. Tuy nhiên, cần chú ý là kết quả từ các điều tra này không cho phép ước lượng trực tiếp sự xuất hiện hoặc mức độ nhiễm bẩn đất.
Cần sử dụng người có kinh nghiệm điều tra địa điểm nhiễm bẩn trong thiết kế điều tra chính và đặc biệt kế hoạch lấy mẫu và số lượng mẫu được lấy và phân tích. Nên tuân thủ theo các yêu cầu của quốc gia và địa phương.
9.4 Kế hoạch lấy mẫu
9.4.1 Khái quát
Theo kết quả điều tra chính, mô hình giả thuyết về sự nhiễm bẩn địa điểm sẽ được cải thiện tới điểm đủ chính xác cho mục đích của điều tra và các quyết định được đưa ra. Vì vậy lượng lấy mẫu cần trong điều tra chính sẽ phụ thuộc vào mục đích và loại nhiễm bẩn. Ví dụ, nếu đã biết rõ chất nhiễm bẩn di chuyển từ điểm xâm nhập vào đất, con đường di chuyển và quá trình, có thể cải tiến mô hình giả thiết nhanh chóng hơn. Mặt khác, khi sự nhiễm bẩn được mô tả bằng vật liệu đất bị nhiễm bẩn không thường xuyên, sẽ cần lấy mẫu bổ sung để đạt được mức độ chính xác tương tự của mô hình giả thiết.
9.4.2 Vị trí lấy mẫu
Phải tính đến cách thức lấy mẫu (theo chiều ngang và thẳng đứng) của điều tra thăm dò trước đó (xem điều 8) và các giai đoạn của điều tra chính (xem 7.4).
Khi tăng mật độ cách thức lấy mẫu bậc thang ( địa điểm hoặc phẫu diện) có xem xét kết quả của các giai đoạn trước đó thường hiệu quả hơn so với bắt đầu bằng cách thức dầy đặc hơn.
Phải tăng cường lấy mẫu ở những phần của địa điểm khi có yêu cầu về thông tin quan trọng nhất hoặc sự không chắc chắn.
9.4.3 Độ sâu lấy mẫu
Phải quan tâm đến độ sâu lấy mẫu trong điều tra thăm dò trước (xem điều 8) cũng như các bước của điều tra chính (xem 7.4.5).
9.4.4 Lựa chọn thông số cho kiểm tra và phân tích
Điều tra thăm dò phải xác định các chất nhiễm bẩn quan tâm đặc biệt, do vậy thường không có chất nhiễm bẩn bổ sung phải được điều tra trong điều tra chính tiếp sau. Để định lượng phạm vi và khả năng di chuyển của sự nhiễm bẩn, cần phân tích thêm, ví dụ
- Chất nhiễm bẩn cụ thể (khi nhóm thông số đã được phân tích trước đây);
- Sản phẩm phân rã và phản ứng hóa học;
- Dạng liên kết của chất nhiễm bẩn.
Để xác định sự phân bố chất nhiễm bẩn, chỉ cần truy tìm các chất nhiễm bẩn đã lựa chọn (có thể thông số theo nhóm).
Nếu tìm thấy mối tương quan ý nghĩa giữa các chất nhiễm bẩn, thì nồng độ của một chất trong các chất này có thể được tính toán từ nồng độ của chất khác với độ tin cậy cao.
Nếu giá trị đơn đo được khi điều tra chính ít quan trọng hơn so với điều tra thăm dò, trong trường hợp đặc biệt, có thể sử dụng phương pháp xác định có độ chính xác thấp hơn và do vậy ít tốn kém hơn hoặc nhanh hơn. Kết quả của phương pháp này phải được kiểm tra liên tục có sử dụng phân tích ngụy biện.
9.5 Đánh giá điều tra chính
Đánh giá kết quả của điều tra chính không quá khác so với các mô tả trong 8.4 đối với điều tra thăm dò [xem TCVN 7538-1 (ISO 10381-1)]. Dựa trên hiểu biết thu thập được, mô hình giả thiết chi tiết hơn cho nhiễm bẩn là cơ sở cho việc phán đoán tình trạng nhiễm bẩn chung.
Có thể trên thực tế không thể biết chính xác về nhiễm bẩn, ngay cả khi áp dụng cách thức lấy mẫu rất dày đặc. Đánh giá phạm vi nhiễm bẩn đất có liên quan phép nội suy giữa các vị trí lấy mẫu. Độ tin cậy của ước lượng này sẽ phụ thuộc vào mật độ cách thức lấy mẫu nhưng phần lớn phụ thuộc vào loại, độ không đồng nhất của nhiễm bẩn và mức độ mà điều này được xem xét trong phép nội suy.
Đối với đánh giá rủi ro do nhiễm bẩn đất, cần biết rõ sự phân bố theo không gian và thời gian của các chất nhiễm bẩn. Điều này thường mang hàm ý dàn xếp giữa độ tin cậy mong muốn và chương trình điều tra khả thi (về tài chính). Cần ghi chép lại và định lượng về các kết quả không chắc chắn càng chi tiết càng tốt. Những cải thiện về sử dụng các giả thuyết nhiễm bẩn, ví dụ, tính toán các mô hình số có thể giảm thiểu sự không chắc chắn nếu thu thập đủ dữ liệu.
Cần chú ý sự phân bố chất nhiễm bẩn không có luật lệ rõ ràng, nên không thể thực hiện được phép nội suy. Dựa trên thay đổi quan sát được về nồng độ và về tần số xuất hiện các giá trị đo được trong các trường hợp này, có thể ước lượng sự phân bố, và phân biệt các diện tích có khả năng giống nhau về sự xuất hiện các lớp nồng độ đã định trước. Ví dụ trình bày kết quả như vậy về điểm nồng độ giống nhau có thể dẩn đến hiểu sai.
Áp dụng phương pháp thống kê hoặc thống kê địa chất trong đánh giá tình trạng nhiễm bẩn còn hạn chế. Phần lớn các trường hợp khi không có đủ dữ liệu, thành phần đất không đồng nhất, và một trong những yêu cầu quan trọng nhất của phương pháp thống kê, thì tính đồng nhất của quần thể mẫu được quan sát, là không có giá trị.
9.6 Báo cáo
Phần lớn báo cáo điều tra chính sẽ là cơ sở cho đánh giá rủi ro cuối cùng. Dựa trên thông tin từ báo cáo điều tra chính, sẽ quyết định cần phải có biện pháp cải tạo hay không.
Báo cáo phải bao gồm
- Mục đích điều tra chính;
- Tình trạng hiểu biết về địa điểm trước khi bắt đầu điều tra chính, và đưa ra giả thuyết nhiễm bẩn được hình thành nhờ sử dụng các kết quả của điều tra sơ bộ và được kiểm chứng qua điều tra thăm dò, kể cả đánh giá liên quan đến độ tin cậy của giả thuyết.
- Kế hoạch và lý lẽ chứng minh kế hoạch và thiết kế điều tra (nếu cần trong giai đoạn liên tiếp);
- Mô tả phương pháp luận được dùng trong điều tra;
- Mô tả công việc thực hiện và kỹ thuật lấy mẫu đã dùng;
- Tài liệu chứng minh kết quả về tất cả các quan sát hiện trường (kể cả mọi sai khác so với thông lệ trong áp dụng phương pháp dự kiến);
- Lý lẽ chứng minh lựa chọn mẫu để phân tích và tài liệu về mọi chi tiết phù hợp có liên quan đến lưu giữ, vận chuyển và xử lý sơ bộ mẫu cùng như quá trình thực hiện và đánh giá phân tích;
- Mô tả kết quả phân tích kể cả thông tin về độ biến động và ranh giới sai số;
- Đánh giá kết quả của điều tra, lựa chọn mức độ thích hợp và các giá trị tham chiếu được sử dụng cho đánh giá rủi ro và so sánh các giá trị;
- Mô tả quá trình cải tiến giả thuyết trong quá trình điều tra và tuyên bố liên quan đến tính giá trị và mức độ tin cậy của giả thuyết cuối cùng.
- Thông tin trình bày tóm tắt tình trạng nhiễm bẩn địa điểm và đánh giá rủi ro;
- Xem xét lại độ không chắc chắn và giới hạn của điều tra;
- Khuyến nghị về các biện pháp trong tương lai.
Có thể phải bổ sung các khía cạnh khác tùy thuộc vào tình hình địa phương và qui định của quốc gia hoặc khu vực.
Từ ngữ dùng trong báo cáo nên cung cấp cho những người quyết định và những người đã yêu cầu điều tra nét tổng quát phù hợp và các cơ sở tin cậy để đưa ra quyết định. Nên phân biệt rõ các sự kiện từ diễn giải và giả thuyết. Việc chuẩn bị báo cáo riêng rẽ và báo cáo diễn giải (hai khối riêng biệt) có thể là hữu ích nhưng nói chung không khuyến khích. Để tránh mất thông tin phải thực hiện đánh giá và diễn giải kết quả liên quan đến người điều tra, người đã lập kế hoạch và thực hiện điều tra.
Xem TCVN 7538-1 (ISO 10381-1) về khuyến nghị liên quan đến báo cáo điều tra.
Phụ lục A
(tham khảo)
Mục đích lấy mẫu đất
Bảng A.1 – Ví dụ mục đích lấy mẫu đất
| Mục đích | Sử dụng đất | Nồng độ trung bìnha | Sự thay đổi không gian theo chiều nganga | Sự thay đổi không gian theo chiều thẳng đứnga | Thay đổi theo thời giana | Tham khảo đến các điều của TCVN 7538 |
| 1 Lập bản đồ | Tất cả | - | + | + | - | 1,2,3,4 |
| 2 Phân loại | Tất cả | + | - | + | - | 1,2,3,4,8 |
| 3 Định thuế đất | Tất cả | +/- | + | +/- | Thời điểm | 1,2,3,4,5 |
| 4 Monitoring | Tự nhiên | +/- | + | + | + | 1,2,3,4 |
| Nông nghiệp | + | - | +/- | + | 1,2,3,4 | |
| Lâm nghiệp | +/- | + | + | + | 1,2,3,4 | |
| 5 Cải tạo chức năng đất | Nông nghiệp | + | - | - | +/- | 1,2,3,4,5 |
| 6 Xác định tải lượng tối đa | Nông nghiệp | + | - | +/- | + | 1,2,3,4,5 |
| 7 Đánh giá rủi ro | Đô thị/ công nghiệp | + | + | + | +c | 5,7,8 |
| 8 Phục hồi |
| + | + | + | - | 5 |
| 9 Mức độ | Đô thị/ công nghiệp | +/- | + | + | +/- | 5 |
| 10 Tính sử dụng lại của vật liệu đất | Tất cả | + | - | - | - | 5,8 |
| a –là “ không quan trọng”: +/- là “ không quá quan trọng”: + là “ quan trọng” b cung cấp dinh dưỡng/ tồn dư thuốc bảo vệ thực vật, các chất hữu cơ và kim loại ở dạng vết c lấy mẫu xuống dưới mực nước ngầm. | ||||||
DANH MỤC TÀI LIỆU THAM KHẢO
[1] TCVN ISO 9000 – Hệ thống quản lý chất lượng – Cơ sở và từ vựng
[2] TCVN 6663-1:2002 (ISO 5667 -1 : 1980): Chất lượng nước - Lấy mẫu. Phần 1: Hướng dẫn lập chương trình lấy mẫu
[3] TCVN 5992:1995 (ISO 5667-2 : 1991): Chất lượng nước - Lấy mẫu. Hướng dẫn kỹ thuật lấy mẫu.
[4] ISO 5667-3:2003 Water quality – Sampling – Part : Guidance on the preservation and handling of water samples
[5] TCVN 5994:1995 (ISO 5667-4 : 1987) Chất lượng nước - Lấy mẫu - Hướng dẫn lấy mẫu ở hồ ao tự nhiên.
[6] TCVN 5996:1995 (ISO 5667-6 : 1990) Chất lượng nước - Lấy mẫu - Hướng dẫn lấy mẫu ở sông và suối
[7] TCVN 6000:1995 (ISO 5667 -11 : 1993) Chất lượng nước - Lấy mẫu – Hướng dẫn lấy mẫu nước ngầm
[8] TCVN 7538-1:2006 (ISO 10381-1) Chất lượng đất - Lấy mẫu. Phần 1: Hướng dẫn lập chương trình lấy mẫu
[9] TCVN 7538-2:2005 (ISO 10381-2) Chất lượng đất - Lấy mẫu. Phần 2: Hướng dẫn kỹ thuật lấy mẫu
[10] TCVN 7538-3:2005 (ISO 10381-3) Chất lượng đất - Lấy mẫu. Phần 3: Hướng dẫn an toàn
[11] TCVN 7538-4:2007 (ISO 10381-4) Chất lượng đất - Lấy mẫu - Phần 4: Hướng dẫn qui trình điều tra các vùng tự nhiên, vùng bán tự nhiên và vùng canh tác
[12] TCVN 5960 1995 (ISO 10381-6): Chất lượng đất - Lấy mẫu – Hướng dẫn về thu thập, vận chuyển và lưu giữ mẫu đất để đánh giá các quá trình hoạt động của vi sinh vật hiếu khí tại phòng thí nghiệm
[13] ISO 10381-7, Soil quality - Sampling - Part 7: Guidance on sampling of soil gas
[14] TCVN 6857:2001 (ISO 11259) Chất lượng đất - Phương pháp đơn giản để mô tả đất
[15] TCVN 6647 (ISO 11464), Chất lượng đất- Xử lý sơ bộ đất để phân tích lý – hóa.
[16] ISO 14507, Soil quality - Pretreatment of samples for determination of organic contaminants.
[17] ISO 15175, Soil quality - Characterization of soil related to groundwater protection.
[18] ISO 15176, Soil Quality - Characterization of excavated soil and other soil materials intended for re-use
[19] ISO 15799, Soil quality - Guidance on the ecotoxicological characterization of soils and soil materials
[20] ISO 15800 - Soil quality - Characterization of soil with respect to human exposure
[21] Guidelines for soil description, Food and Agriculture Organization of the United Nations (FAO) Rome, July 1990, third edition.
Mục lục
Lời nói đầu
Giới thiệu
1 Phạm vi áp dụng
2 Tiêu chuẩn viện dẫn
3 Thuật ngữ và định nghĩa
4 Mục đích
4.1 Khái quát
4.2 Ý nghĩa mục đích
5 Kế hoạch tổng thể của điều tra địa điểm
5.1 Khái quát
5.2 Phạm vi của điều tra sơ bộ
5.3 Phạm vi của điều tra thăm dò
5.4 Phạm vi của điều tra chính
6 Điều tra sơ bộ
6.1 Giới thiệu
6.2 Thông tin về sử dụng địa điểm trong quá khứ và hiện tại
6.3 Thông tin về địa chất, thổ nhưỡng, thủy văn và địa chất thủy văn
6.4 Phương pháp luận
6.5 Xây dựng mô hình giả thiết
6.6 Báo cáo điều tra sơ bộ và mô hình giả thiết
7 Thiết kế điều tra xâm nhập
7.1 Giới thiệu
7.2 Nội dung tổng quát của công việc hiện trường
7.3 Nội dung thiết kế tổng quát
7.4 Cách thức và khoảng cách lấy mẫu đất
7.5 Kế hoạch phân tích và thử nghiệm
8 Điều tra thăm dò
8.1 Khái quát
8.2 Kế hoạch lấy mẫu
8.3 Diễn giải điều tra thăm dò
8.4 Báo cáo điều tra thăm dò
8.5 Xác định nhu cầu cho điều tra chính
9 Điều tra chính
9.1 Khái quát
9.2 Mục đích và phạm vi
9.3 Thiết kế điều tra
9.4 Kế hoạch lấy mẫu
9.5 Đánh giá điều tra chính
9.6 Báo cáo
Phụ lục A
Danh mục tài liệu tham khảo
Bạn chưa Đăng nhập thành viên.
Đây là tiện ích dành cho tài khoản thành viên. Vui lòng Đăng nhập để xem chi tiết. Nếu chưa có tài khoản, vui lòng Đăng ký tại đây!