- Tổng quan
- Nội dung
- Tiêu chuẩn liên quan
- Lược đồ
- Tải về
Tiêu chuẩn Việt Nam TCVN 6745-1:2000 IEC 794-1:1993 Cáp sợi quang - Phần 1: Quy định kỹ thuật chung
| Số hiệu: | TCVN 6745-1:2000 | Loại văn bản: | Tiêu chuẩn Việt Nam |
| Cơ quan ban hành: | Bộ Khoa học, Công nghệ và Môi trường | Lĩnh vực: | Khoa học-Công nghệ |
|
Ngày ban hành:
Ngày ban hành là ngày, tháng, năm văn bản được thông qua hoặc ký ban hành.
|
2000 |
Hiệu lực:
|
Đã biết
|
| Người ký: | Đang cập nhật |
Tình trạng hiệu lực:
Cho biết trạng thái hiệu lực của văn bản đang tra cứu: Chưa áp dụng, Còn hiệu lực, Hết hiệu lực, Hết hiệu lực 1 phần; Đã sửa đổi, Đính chính hay Không còn phù hợp,...
|
Đã biết
|
TÓM TẮT TIÊU CHUẨN VIỆT NAM TCVN 6745-1:2000
Nội dung tóm tắt đang được cập nhật, Quý khách vui lòng quay lại sau!
Tải tiêu chuẩn Việt Nam TCVN 6745-1:2000
TIÊU CHUẨN VIỆT NAM
TCVN 6745-1:2000
IEC 794-1:1993
WITH AMENDMENT 1 : 1994
AND AMENDMENT 2 : 1995
CÁP SỢI QUANG - PHẦN 1: QUY ĐỊNH KỸ THUẬT CHUNG
Optical fibre cables - Part 1: Generic specifications
Lời nói đầu
TCVN 6745-1 : 2000 hoàn toàn tương đương với tiêu chuẩn IEC 794-1 :1993, sửa đổi 1:1994 và Sửa đổi 2 :1995;
TCVN 6745-1 : 2000 do Ban kỹ thuật tiêu chuẩn TCVN/TC/E7 Cáp quang biên soạn, Tổng cục Tiêu chuẩn Đo lường Chất lượng đề nghị, Bộ Khoa học Công nghệ và Môi trường ban hành.
CÁP SỢI QUANG - PHẦN 1: QUY ĐỊNH KỸ THUẬT CHUNG
Optical fibre cables - Part 1: Generic specifications
Mục 1 - Qui định Chung
1.1. Phạm vi áp dụng và mục đích
Tiêu chuẩn này áp dụng cho cáp sợi quang dùng cho thiết bị viễn thông và thiết bị có kỹ thuật liên quan đến cáp sợi quang và áp dụng cho cáp gồm hỗn hợp cả sợi quang và dây dẫn điện.
Mục đích của tiêu chuẩn này là đưa ra các yêu cầu thống nhất về các đặc tính hình học, đặc tính truyền dẫn, đặc tính cơ và đặc tính khí hậu của cáp sợi quang và yêu cầu về điện, nếu có.
1.2. Tiêu chuẩn trích dẫn
IEC 68 - 1 :1988 Thử nghiệm môi trường. Phần 1 : Quy định chung và hướng dẫn;
IEC 68 - 2 - 10 : 1988 Thử nghiệm môi trường. Phần 2 : Thử nghiệm - Thử nghiệm J và hướng dẫn: Thử nghiệm nấm mốc;
IEC 68 - 2 - 14 : 1984 Thử nghiệm môi trường. Phần 2 : Thử nghiệm - Thử nghiệm N: Thử nghiệm thay đổi nhiệt độ;
IEC 189 -1: 1986 Cáp tần số thấp và dây có cách điện và vỏ bọc bằng PVC. Phần 1 : Phương pháp thử nghiệm chung và phương pháp đo;
TCVN 6610-2 : 2000 (IEC 227 - 2 : 1979) Cáp cách điện bằng PVC điện áp danh định đến và bằng 450 / 750 V. Phần 2 : Phương pháp thử nghiệm;
TCVN 6614 (IEC 332) Thử nghiệm cáp điện trong điều kiện cháy;
TCVN 5936 : 1995 (IEC 540 : 1982) Phương pháp thử nghiệm đối với cách điện và vỏ bọc của dây và cáp điện (hợp chất nhiệt dẻo và đàn hồi);
IEC 793-1:1992 Sợi quang. Phần 1 : Quy định kỹ thuật chung;
TCVN 6614 (IEC 811) Phương pháp thử nghiệm chung đối với vật liệu cách điện và vỏ bọc của cáp điện;
IEC 874 - 1 . 1987 Bộ nối dùng cho sợi quang và cáp. Phần 1 Quy định kỹ thuật chung.
1.3. Định nghĩa
Đang xem xét.
1.4. Cáp sợi quang
Cáp sợi quang có chứa các sợi quang và có thể cả các ruột dẫn điện gồm các loại sau đây:
1.4.1. Cáp dùng để chôn trực tiếp.
1.4.2. Cáp dùng để lắp đặt trong cống hoặc đường hầm.
1.4.3. Cáp treo.
1.4.4. Cáp đặt dưới nước (cáp thả sông, hồ qua một đoạn ngắn).
1.4.5. Cáp đặt trong nhà.
1.4.6. Cáp di động
1.4.7. Cáp dùng cho thiết bị.
1.4.8. Cáp dùng cho mục đích đặc biệt.
1.4.9. Cáp đặt dưới biển.
1.5. Vật liệu
1.5.1. Vật liệu sợi quang
Sợi quang phải đồng nhất về chất lượng và các đặc tính của chúng phải thỏa mãn các yêu cầu của IEC 793 - 1.
1.5.2. Ruột dẫn điện
Ruột dẫn điện phải đồng nhất về chất lượng và không có khuyết tật. Đặc tính của chúng phải phù hợp với các tiêu chuẩn liên quan như đã nêu trong quy định kỹ thuật cụ thể.
1.5.3. Vật liệu khác
Vật liệu sử dụng trong kết cấu của cáp sợi quang phải tương thích với các tính chất quang và lý của sợi quang và phải phù hợp với các tiêu chuẩn liên quan như đã nêu trong quy định kỹ thuật cụ thể.
1.6. Kết cấu của cáp
Kết cấu, kích thước, khối lượng, các đặc tính về quang và điện của mỗi loại cáp sợi quang phải như đã nêu trong qui định kỹ thuật cụ thể liên quan.
Mục 2 - Phương pháp đo kích thước
2.1. Mục đích
Các kích thước của sợi quang, ruột dẫn điện và cáp phải được xác định trên các mẫu chịu các thử nghiệm ở bảng 1. Các thử nghiệm được áp dụng, các chuẩn cứ để chấp nhận và số lượng mẫu phải được như đã nêu trong quy định kỹ thuật cụ thể.
Bảng 1 - Phương pháp đo kích thước
| Phương pháp thử nghiệm | Thử nghiệm | Các đặc tính được đề cập của phương pháp thử nghiệm |
| IEC 793 - 1 A1 | Trường khúc xạ gần | Đường kính lõi Đường kính lớp vỏ phản xạ Độ không tròn Sai lệch độ đồng tâm |
| IEC 793 - 1 - A1B | Phương pháp giao thoa ngang |
|
| IEC 793 - 1 - A2 | Phân bố trường ánh sáng gần | Đường kính lõi Đường kính lớp vỏ phản xạ Đường kính lớp bọc sơ cấp Đường kính lớp đệm Độ không tròn Sai lệch độ đồng tâm |
| IEC 793 - 1 - A3 | Bốn vòng tròn đồng tâm | Đường kính lõi Đường kính lớp vỏ phản xạ Độ không tròn Sai lệch độ đồng tâm |
| IEC 793 - 1 - A4 | Đo đường kính cơ học | Đường kính lớp vỏ phản xạ Đường kính lớp bọc sơ cấp Đường kính lớp đệm Độ không tròn |
| IEC XXX - 1 - A5 | Đo độ dài cơ học (đang xem xét) | Chiều dài cáp |
| IEC 793 - 1 - A6 | Trễ của xung truyền dẫn và/hoặc xung phản xạ | Chiều dài cáp |
| IEC 793 - 1 - C1C | Kỹ thuật tán xạ ngược | Chiều dài sợi |
| IEC 1891) | Cơ học | Đường kính ruột dẫn điện |
| TCVN 5936:1995 (IEC 5402) IEC 1891) | Cơ học | Chiều dày cách điện Chiều dày vỏ bọc Kích thước tổng thể |
1) Cáp tần số thấp và dây có cách điện và vỏ bọc PVC.
2) Phương pháp thử nghiệm đối với cách điện và vỏ bọc của cáp và dây điện (hợp chất nhiệt dẻo và đàn hồi).
Mục 3 - Phương pháp đo các đặc tính cơ
3.1. Mục đích
Mục này mô tả phương pháp đo để áp dụng cho các thử nghiệm cơ của cáp quang. Các phương pháp này được sử dụng để kiểm tra cáp sợi quang đối với mục đích thương mại.
Các đặc tính cơ của cáp sợi quang được xác định trên mẫu chịu các thử nghiệm ở bảng 2. Các thử nghiệm được áp dụng, các chuẩn cứ để chấp nhận và số lượng mẫu phải như đã nêu trong quy định kỹ thuật cụ thể.
Chú thích - Không phải tất cả các thử nghiệm đều được áp dụng cho tất cả các cáp.
Bảng 2 - Phương pháp đo các đặc tính cơ
| Phương pháp thử nghiệm | Thử nghiệm | Các đặc tính được đề cập của phương pháp thử nghiệm |
| TCVN 6745-1-E1 (IEC 794-1-E1) | Tính năng kéo | Độ bền cơ |
| IEC XXX-1-E2 | Mài mòn (đang xem xét) | |
| TCVN 6745-1-E3 (IEC 794-1-E3) | Nén | |
| TCVN 6745-1-E4 (IEC 794-1- E4) | Va đập | |
| lEC XXX-1- E5 | Áp suất thay đổi (đang xem xét) | |
| TCVN 6745-1-E6 (IEC 794-1-E6) | Uốn lặp lại | Không bị móc giữ ràng buộc |
| TCVN 6745-1-E7 (IEC 794-1-E7) | Xoắn | |
| TCVN 6745-1-E8 (IEC 794-1-E8) | Mềm dẻo | |
| TCVN 6745-1-E9 (IEC 794-1 -E9) | Giật | |
| TCVN 6745-1-E10 (IEC 794-1-E10) | Bẻ gập | |
| TCVN 6745-1-E11 (IEC 794-1-E11) | Uốn |
3.2. Các định nghĩa về vận hành
Đang xem xét.
3.3. Phương pháp TCVN 6745-1 -E1 (IEC 794 -1- E1) - Tính năng kéo
3.3.1. Mục đích
Phương pháp đo này áp dụng cho cáp sợi quang được thử nghiệm với độ bền kéo cụ thể để kiểm tra xu hướng suy hao và/ hoặc độ biến dạng của sợi dưới dạng hàm số của lực kéo cáp có thể xuất hiện trong quá trình lắp đặt. Phương pháp này được sử dụng làm phương pháp thử không phá huỷ (lực đặt vào phải nằm trong phạm vi các giá trị làm việc).
Dưới đây là hai phương pháp đo:
- Phương pháp E1A: quy trình để xác định sự thay đổi suy hao;
- Phương pháp E1B: quy trình để xác định độ giãn dài của sợi.
Phương pháp E1B có thể cung cấp các thông tin cả về lực kéo cho phép lớn nhất để lắp đặt ở hiện trường và độ giãn cho phép của cáp.
Phải sử dụng phương pháp này hoặc phương pháp kia, hoặc cả hai, hoặc riêng biệt hoặc hỗn hợp theo quy định kỹ thuật cụ thể hoặc theo thỏa thuận giữa người sử dụng và người chế tạo.
3.3.2. Chuẩn bị mẫu
a) Mẫu thử nghiệm
Một đoạn cáp đem thử, vừa đủ để đạt được độ chính xác mong muốn được lấy ra từ cuộn cáp hoặc lõi quấn
Mặt cắt ở hai đầu của sợi thử nghiệm phải được tạo thành mặt phẳng.
b) Sợi chuẩn
Xem IEC 793-1-phương pháp XXX (phương pháp đo độ giãn dài của sợi).
3.3.3. Thiết bị
a) phương pháp E1A: Thiết bị đo suy hao để xác định sự thay đổi suy hao (xem IEC 793-1 mục 4)
và/hoặc
Phương pháp E1B: Thiết bị đo độ biến dạng giãn dài của sợi (xem IEC 793-1 phương pháp XXX: Phương pháp đo độ giãn dài của sợi).
b) 1) thiết bị đo độ bền kéo có khả năng thích ứng với đoạn cáp ngắn nhất được thử nghiệm (xem hình 1).
2. cảm biến tải có sai số lớn nhất là ± 3% của dải lớn nhất.
3) thiết bị kẹp
Lô quấn có đường kính lõi thích hợp hoặc hệ thống tương đương. Cơ cấu chuyển hướng có đường kính thích hợp để làm gọn nhẹ hệ thống.
Chú thích - Cần lưu ý để phương pháp bắt chặt các phần tử của cáp không được làm ảnh hưởng đến kết quả.
c) nếu có yêu cầu, các phương tiện về điện hoặc cơ dùng để đo độ giãn dài của cáp phải được chuẩn bị đầy đủ.
Phép đo chiều dài của cáp cần đảm bảo độ chính xác tối thiểu là ± 0,01 %.
d) ví dụ về thiết bị thích hợp được cho trên hình 1
Khoảng cách giữa các cơ cấu chuyển hướng cũng như đường kính của cơ cấu chuyển hướng phải được kiểm tra sao cho chúng không ảnh hưởng đến điều kiện thử nghiệm.
3.3.4. Tiến hành thử nghiệm
a) thử nghiệm được tiến hành ở nhiệt độ môi trường
b) đặt cáp vào đồ gá thử kéo và kẹp chặt cáp. Ở cả hai đầu của đồ gá thử kéo phải sử dụng biện pháp an toàn cho cáp để giữ cáp sao cho tất cả các phần tử của cáp được khống chế trong giới hạn dịch chuyển của chúng. Đối với hầu hết các kết cấu (ví dụ như cáp bện) việc kẹp các phần tử cáp, trừ các sợi, được coi là thực tế và thích hợp nếu đạt được sự thay đổi suy hao và/hoặc cả tải kéo cho phép lớn nhất và độ giãn cho phép của cáp. Tuy nhiên đối với một số kết cấu (ví dụ như ống lồng đơn) có thể cần thiết phải đề phòng sự trượt cáp để đạt được kết quả giãn cho phép chính xác. Lô quấn hoặc trục quấn có ít nhất ba vòng cáp quấn quanh lô là thích hợp.
Khi sử dụng hành trình kép của cáp trên đồ gá nhằm thỏa mãn chiều dài nhỏ nhất quy định của cáp bị giãn, việc cố định ở đầu cáp ở chỗ cáp đi ngược trở lại phải đảm bảo quay tự do.
Chú thích - Đối với các loại cáp treo, nếu có yêu cầu của quy định kỹ thuật cụ thể thì việc kẹp cáp phải được thực hiện bảng các cơ cấu khóa néo tương ứng với loại cáp đó.
c) nối sợi cáp thử nghiệm vào thiết bị đo
Thực hiện thử nghiệm kéo. Đối với phương pháp E1B, và khi sử dụng phương pháp B của IEC 793 - 1 - XXX (phương pháp đo độ giãn dài của sợi) cần lưu ý để quá trình kéo mẫu không làm thay đổi chiều dài chuẩn.
d) lực kéo phải được tăng đều đặn đến giá trị quy định được cho trong quy định kỹ thuật cụ thể.
Chú thích - Tốc độ tăng lực kéo đang xem xét.
e) sự thay đổi suy hao và/hoặc độ giãn của sợi phải được ghi lại theo hàm của lực kéo hoặc độ giãn dài.
f) đối với cáp có nhiều sợi có thể sử dụng thiết bị đo đa năng để đo độ giãn của sợi và/hoặc suy hao.
g) số sợi đại diện và/hoặc số chu kỳ thử nghiệm phải được thỏa thuận giữa người chế tạo và khách hàng.
3.3.5. Kết quả
a) phép đo kết thúc
Suy hao và/hoặc độ giãn của mẫu không được vượt quá các giá trị cho trong quy định kỹ thuật cụ thể liên quan.
b) các dữ liệu sau đây phải được trình bày cùng với các kết quả:
1) chiều dài của cáp và chiều dài đem thử kéo;
2) phương pháp chuẩn bị các đầu sợi;
3) các nội dung chi tiết về cảm biến tải;
4) các nội dung chi tiết về điều kiện thử và thiết bị đo suy hao;
5) các nội dung chi tiết về thiết bị đo độ giãn dài, nếu sử dụng;
6) mức độ ngặt nghèo của thử nghiệm;
7) sự thay đổi suy hao và/hoặc độ giãn dài của sợi ở bước sóng quy định dưới dạng hàm của tải;
8) tốc độ tăng tải;
9) nhiệt độ:
10) đối với phương pháp E1B:
Nếu có yêu cầu bởi quy định kỹ thuật cụ thể thì phải đo độ giãn dài cho phép sau khi bỏ tải.
Tập dữ liệu này được trình bày cùng với các kết quả phải tính đến đường cong hiệu chuẩn hoặc hệ số của việc đảo pha đo hoặc độ trễ xung cản trở đến sự giãn dài của sợi tương ứng.
Ví dụ về mối quan hệ độ giãn dài của cáp và của sợi đối với cấu trúc ống lỏng được cho trên hình 2.
Nếu có yêu cầu cần xác định giá trị tải khi bắt đầu xuất hiện sự giãn của sợi, trên đồ thị giãn của sợi ứng với tải là giao điểm của đoạn tuyến tính của đường cong với trục tọa độ biểu diễn.
Chú thích - Ngoại trừ loại cáp có cấu trúc bọc chặt, với mức gần đúng ban đầu, chiều dài của sợi khi thử giãn dài được lấy bằng chiều dài của cáp khi thử tải kéo. Tuy nhiên cần lưu ý là giá trị tính toán của độ giãn dài bị ảnh hưởng bởi độ chính xác của chiều dài cáp và chiều dài vượt trội của sợi trong cáp mà điều này phụ thuộc vào thiết kế cáp (cấu trúc lỏng)

Hình 1 - Ví dụ về thiết bị đo tính năng kéo

Chú thích - To tương ứng với tải mà sợi quang bị giãn dài
Tmax tương ứng với tải kéo quy định lớn nhất
Hình 2 - Ví dụ về độ giãn dài của sợi và cáp dưới dạng hàm của tải
3.4 Phưong pháp TCVN 6745-1-E2 (IEC 794 - 1 - E2) - Mài mòn
3.4.1. Lời giới thiệu
Khả năng chịu mài mòn của cáp sợi quang gồm hai khía cạnh: 1) khả năng chịu mài mòn của vỏ bọc và 2) khả năng chịu mài mòn của nhãn cáp.
3.4.2. Phương pháp TCVN 6745-1-E2A (IEC 794 - 1 - E2A) - Khả năng chịu mài mòn của vỏ bọc cáp sợi quang
a) Mục đích
Mục đích của thử nghiệm này là để xác định khả năng chịu mài mòn của vỏ bọc cáp sợi quang.
b) Thiết bị
Thiết bị thử mài mòn gồm một dụng cụ được thiết kế để làm mòn bề mặt của cáp theo cả hai chiều song song với trục của cáp trên một đoạn dài 10mm ± 1mm với tần số 55 chu kỳ / min ± 5 chu kỳ / min. Một chu kỳ gồm một chuyển động của dao mài về mỗi hướng.
Dao mài phải có dạng hình kim bằng thép có đường kính như quy định trong quy định kỹ thuật cụ thể.
Thiết bị dạng điển hình được chỉ ra trên hình 3.
c) Điều kiện thử nghiệm
Thử nghiệm phải được thực hiện trong điều kiện khí quyển tiêu chuẩn cho thử nghiệm phù hợp với 5.3 của IEC 68-1.
d) Tiến hành thử nghiệm
Gá chắc chắn mẫu cáp, có chiều dài khoảng 750mm vào tấm đỡ nhờ kẹp cáp. Dao mài phải được tỳ với tải cần thiết để tạo ra lực như quy định trong quy định kỹ thuật cụ thể để tránh gây xốc mạnh trên cáp.
Mỗi mẫu phải được thực hiện bốn thử nghiệm bằng cách cho dao mài chuyển động tịnh tiến 100mm. Giữa các thử nghiệm xoay mẫu một góc 90° theo cùng một chiều.
e) Yêu cầu
Không được có lỗ thủng đối với vỏ bọc và tính liên tục về quang phải được bảo toàn sau khi thực hiện số chu kỳ thử nghiệm được quy định trong quy định kỹ thuật cụ thể.
3.4.3. Phương pháp TCVN 6745-1-E2B (IEC 794 - 1 - E2B) - Khả năng chịu mài mòn của nhãn cáp sợi quang
a) Mục đích
Mục đích của thử nghiệm này là để xác định khả năng chịu mài mòn của nhãn cáp sợi quang.
Tuỳ thuộc vào loại nhãn và chỉ dẫn trong quy định kỹ thuật cụ thể, một trong hai phuơng pháp sau đây phải được sử dụng .
Phương pháp 1 thích hợp cho kiểu nhãn liền vỏ bọc như in nổi, in chìm.
Phương pháp 2 được áp dụng cho kiểu nhãn khác với kiểu trên.
b) Thiết bị
1) Phương pháp 1
Thiết bị thử nghiệm có tính điển hình được chỉ ra trên hình 3.
Thiết bị được thiết kế để mài mòn nhãn của cáp, song song với trục dọc của cáp trên một đoạn dài 40 mm với tần số 55 chu kỳ / min ± 5 chu kỳ / min. Một chu kỳ gồm một chuyển động của dao mài về mỗi hướng.
Dao mài phải có dạng hình kim bằng thép có đường kính 1mm như quy định trong quy định kỹ thuật cụ thể.
2) Phương pháp 2
Thiết bị gồm:
- hệ thống thử nghiệm để đặt lực vào miếng phớt bằng len. Ví dụ điển hình được chỉ ra trên hình 4;
- miếng phớt bằng len có màu trắng;
- các quả cân để đặt lực vào mẫu.
c) Điều kiện thử nghiệm
Thử nghiệm được thực hiện trong các điều kiện khí hậu tiêu chuẩn cho thử nghiệp phù hợp với 5.3. của IEC 68 - 1.
d) Tiến hành thử nghiệm
1) Phương pháp 1
Gá chắc chắn mẫu cáp, có chiều dài khoảng 750mm vào tấm đỡ nhờ kẹp cáp. Mẫu được đặt sao cho nhãn cáp nằm ngang phía dưới của dao mài. Đặt tải vào dao mài nhờ những quả cân để tạo ra lực tỳ như quy định trong quy định kỹ thuật cụ thể tránh gây xốc mạnh trên cáp.
2) Phương pháp 2
Mẫu cáp có nhãn phải đặt nằm giữa hai miếng phớt bằng len.
Miếng phớt phải được ngấm nước hoàn toàn.
Lực bình thường (F) được cho trong quy định kỹ thuật cụ thể phải được đặt vào nhãn ở trên mẫu. Mẫu này được chuyển động tịnh tiến qua một đoạn dài 100mm. Số chu kỳ phải được quy định trong quy định kỹ thuật cụ thể.
e) Yêu cầu
Nhãn vẫn phải rõ ràng sau khi kết thúc toàn bộ thử nghiệm với số chu kỳ được quy định trong quy định kỹ thuật cụ thể.

Hình 3 - Hệ thống thử nghiệm điển hình đối với thử nghiệm E2A và E2B, phương pháp 1

Hình 4 - Hệ thống thử nghiệm điển hình đối với thử nghiệm E2B, phương pháp 2
3.5. Phương pháp TCVN 6745-1-E3 (IEC 794 - 1 - E3) - Nén
3.5.1. Mục đích
Mục đích của thử nghiệm này là để xác định khả năng chịu nén của cáp sợi quang.
3.5.2. Thiết bị
Thiết bị phải cho phép mẫu cáp được nén giữa tấm thép cố định và tấm thép di động được đặt một lực nén đều trên một đoạn mẫu dài 100mm.
Các mép của tấm thép di động phải được lượn tròn với bán kính khoảng 5mm. Các mép này không được tính vào phần phẳng 100mm của tấm thép. Thiết bị thích hợp được chỉ ra trên hình 5.
3.5.3. Điều kiện thử nghiệm
Thử nghiệm được thực hiện ở điều kiện khí hậu tiêu chuẩn cho thử nghiệm phù hợp với 5.3 của IEC 68 - 1.
3.5.4. Tiến hành thử nghiệm
Mẫu cáp được lắp đặt giữa các tấm thép sao cho mặt ép tránh nghiêng về một phía và lực được đặt từ từ không xảy ra thay đổi một cách gián đoạn. Nếu lực được đặt theo cách tăng nhảy bậc thì bậc tăng không được vượt quá 1,5 : 1.
Nếu không có quy định nào khác trong quy định kỹ thuật cụ thể thì lực phải được đặt tại ba vị trí khác nhau trên mẫu cách nhau không nhỏ hơn 500mm mà không xoay cáp.
Nếu có yêu cầu trong quy định kỹ thuật cụ thể thì thử nghiệm bổ sung hoặc thử nghiệm thay thế có thể thực hiện bằng cách đặt một hoặc nhiều trục thép (đường kính 25mm, nếu không có quy định nào khác trong quy định kỹ thuật cụ thể) vuông góc với mẫu nhằm thể hiện các điều kiện làm việc cụ thể của cáp.
Lực tổng cộng và thời gian đặt lực phải được quy định trong quy định kỹ thuật cụ thể.
3.5.5. Yêu cầu
Chuẩn cứ để chấp nhận đối với thử nghiệm phải được nêu ra trong quy định kỹ thuật cụ thể.

Hình 5 - Thử nghiệm nén
3.6. Phương pháp TCVN 6745-1-E4 (IEC 794 -1 - E4) - Va đập
3.6.1. Mục đích
Mục đích của thử nghiệm này là để xác định khả năng chịu va đập của cáp sợi quang.
3.6.2. Thiết bị
Thiết bị phải cho phép búa rơi theo phương thẳng đứng vào miếng kim loại để truyền va đập này vào mẫu cáp. Mẫu cáp này được cố định vào tấm đế bằng thép.
Thiết bị thích hợp được chỉ ra trên hình 6. Tuy nhiên thiết bị tương đương khác cũng có thể được sử dụng. Bề mặt của miếng thép trung gian tiếp giáp với mẫu phải được lượn tròn. Bán kính R của bề mặt này phải được quy định trong quy định kỹ thuật cụ thể.
3.6.3. Điều kiện thử nghiệm
Thử nghiệm phải được thực hiện ở điều kiện khí hậu tiêu chuẩn cho thử nghiệm phù hợp với 5.3 của IEC 68 - 1 hoặc 9.5.6 của TCVN 5936 - 1995 (IEC 540).
3.6.4. Tiến hành thử nghiệm
Khối lượng của quả cân và độ cao mà búa rơi xuống phải được điều chỉnh để đạt được giá trị thế năng ban đầu được chỉ ra trong quy định kỹ thuật cụ thể. Số lần va đập phải như quy định trong quy định kỹ thuật cụ thể.
3.6.5. Chuẩn cứ để chấp nhận
Chuẩn cứ để chấp nhận đối với thử nghiệm phải được nêu ra trong quy định kỹ thuật cụ thể.

Kích thước tính bằng milimét
Hình 6 - Thử nghiệm va đập
3.6.6. Thử nghiệm va đập
Thử nghiệm này được thực hiện theo điều 9 của TCVN 5936 - 1995 (IEC 540), ở nhiệt độ được chỉ ra trong quy định kỹ thuật cụ thể. Bổ sung vào yêu cầu 9.5.6 trong TCVN 5936 - 1995 (IEC 540), không một sợi nào được đứt trong quá trình thử nghiệm.
3.7. Phương pháp TCVN 6745-1-E5 (IEC 794 -1 - E5) - Áp suất thay đổi
Đang xem xét.
3.8. Phương pháp TCVN 6745-1-E6 (IEC 794 -1 - E6) - Uốn lặp lại
3.8.1. Mục đích
Mục đích của thử nghiệm này là để xác định khả năng chịu uốn lặp lại của cáp sợi quang.
3.8.2. Chuẩn bị mẫu
Mẫu phải được kẹp ở mỗi đầu vào bộ nồi hoặc theo cách thức nào đó để các sợi, vỏ bọc và mọi chi tiết biến dạng được kẹp cùng nhau theo cách thức đại diện.
3.8.3. Thiết bị
Thiết bị phải đảm bảo cho mẫu được uốn về hai phía ngược nhau với một góc 180°. Hai vị trí tới hạn tạo thành góc 90° ở cả hai phía so với phương thẳng đứng trong khi chịu tải kéo. Để thử nghiệm cáp, thiết bị thích hợp được chỉ ra trên hình 7. Để thử nghiệm tổ hợp cáp / bộ nối, thiết bị thích hợp được chỉ ra trên hình 8. Cũng có thể sử dụng các thiết bị tương đương khác.
3.8.4. Điều kiện thử nghiệm
Thử nghiệm được thực hiện ở điều kiện khí quyển tiêu chuẩn cho thử nghiệm phù hợp với 5.3 của IEC 68-1.
3.8.5. Tiến hành thử nghiệm
Mẫu phải được cố định vào thiết bị như chỉ ra trên hình 7 và 8 và đặt tải vào bằng quả cân. Khối lượng của quả cân, bán kính uốn R và kích thước L phải như chỉ dẫn trong quy định kỹ thuật cụ thể. Mẫu phải được uốn đi uốn lại, các vị trí tới hạn tạo thành góc 90° ở cả hai phía so với phương thẳng đứng. Mẫu được uốn từ vị trí thẳng đứng về vị trí tới hạn phía bên phải rồi về vị trí tới hạn phía bên trái và trở về vị trí thẳng đứng ban đầu. Toàn bộ quá trình này được coi là một chu kỳ. Tốc độ uốn một chu kỳ phải xấp xỉ trong 2 s. Số chu kỳ và giá trị a, b và c phải như quy định trong quy định kỹ thuật cụ thể.
3.8.6. Yêu cầu
Không một sợi nào bị đứt trong quá trình thử. Chuẩn cứ chấp nhận đối với thử nghiệm này phải được nêu ra trong quy định kỹ thuật cụ thể.
3.9. Phương pháp TCVN 6745-1-E7 (IEC 794 -1 - E7) - Xoắn
3.9.1. Mục đích
Mục đích của thử nghiệm này là để xác định khả năng chịu xoắn của cáp sợi quang.
3.9.2. Chuẩn bị mẫu
Mẫu phải được kẹp vào bộ nối hoặc bằng cách nào đấy để các sợi, vỏ bọc và chi tiết biến dạng được kẹp cùng nhau theo cách thức đại diện.
3.9.3. Thiết bị
Thử nghiệm phải được thực hiện bằng thiết bị gồm có kẹp bắt cố định và kẹp quay. Thiết bị thích hợp được cho trên hình 9 và 10. Tuy nhiên các thiết bị tương đương khác cũng có thể được sử dụng.
3.9.4. Điều kiện thử nghiệm
Thử nghiệm được thực hiện ở điều kiện khí quyển tiêu chuẩn cho thử nghiệm phù hợp với 5.3 của IEC 68 - 1.
3.9.5. Tiến hành thử nghiệm
Mẫu phải được lắp đặt vào thiết bị thử nghiệm bằng cách kẹp cáp vào kẹp cố định đủ chặt nhằm ngăn ngừa sự dịch chuyển vỏ bọc của cáp trong quá trình thử nghiệm. Bộ nối hoặc đầu nối phải được cố định vào kẹp quay. Kẹp quay này phải được quay theo chiều kim đồng hồ với số vòng quay được cho trong quy định kỹ thuật cụ thể. Mẫu sau đó được quay trở về vị trí ban đầu và sau đó được quay ngược chiều quay của kim đồng hồ với cùng số vòng quay nêu trên và lại trở về vị trí ban đầu. Toàn bộ quá trình này được coi là một chu kỳ. Chiều dài mẫu thử nghiệm, khối lượng của quả cân và số chu kỳ phải như quy định trong quy định kỹ thuật cụ thể.
3.9.6. Yêu cầu
Chuẩn cứ chấp nhận đối với thử nghiệm này phải được nêu ra trong quy định kỹ thuật cụ thể.

| Hình 7 - Thử nghiệm cáp | Hình 8 Thử nghiệm tổ hợp cáp/bộ nối |

Hình 9 - Thử nghiệm xoắn

Hình 10 - Thử nghiệm xoắn
3.10. Phương pháp TCVN 6745-1-E8 (IEC 794 - 1 - E8) - Mềm dẻo
3.10.1. Mục đích
Mục đích của thử nghiệm này là để xác định khả năng chịu uốn dẻo lặp lại của cáp sợi quang.
3.10.2. Chuẩn bị mẫu
Mẫu phải được kẹp ở mỗi đầu vào bộ nối hoặc theo cách thức nào đó để các sợi, vỏ bọc và mọi chi tiết được kẹp cùng nhau theo cách thức đại diện.
3.10.3. Thiết bị
Thử nghiệm được thực hiện theo TCVN 6610-2 : 2000 (IEC 227 - 2) nếu không có yêu cầu nào khác trong quy định kỹ thuật cụ thể.
Các puli phải có rãnh dạng nửa hình tròn đối với cáp tròn và rãnh dạng phẳng đối với cáp dẹt. Kẹp D phải được cố định để lực kéo luôn được đặt vào nhờ quả cân và do đó giá đỡ chuyển động ra xa được. Thiết bị tương đương cũng có thể được sử dụng.
3.10.4. Điều kiện thử nghiệm
Thử nghiệm được thực hiện ở điều kiện khí quyển tiêu chuẩn cho thử nghiệm phù hợp với 5.3 của IEC 68 -1.
3.10.5. Tiến hành thử nghiệm
Mẫu phải được đưa vào các puli như chỉ ra trên hình 11, mỗi đầu được mang tải bằng quả cân. Khối lượng của quả cân này và đường kính của các puli A và B phải được quy định trong quy định kỹ thuật cụ thể.
Mẫu phải được uốn với số chu kỳ được quy định trong quy định kỹ thuật cụ thể.

A và B - Puli
C - Giá đỡ
D - Kẹp hãm
Hình 11 - Thiết bị thử nghiệm độ mềm dẻo
3.10.6. Yêu cầu
Chuẩn cứ chấp nhận đối với thử nghiệm này phải được nêu trong quy định kỹ thuật cụ thể.
3.11. Phương pháp TCVN 6745-1-E9 (IEC 794 - 1 - E9) - Giật
3.11.1. Mục đích
Mục đích của thử nghiệm này là để xác định khả năng chịu tải giật đột ngột của cáp sợi quang.
3.11.2. Chuẩn bị mẫu
Mẫu phải được kẹp vào bộ nối hoặc theo cách thức nào đó để các sợi, vỏ bọc và các chi tiết biến dạng được kẹp cùng nhau theo cách thức đại diện.
3.11.3. Thiết bị
Móc treo có kích thước như chỉ ra trên hình 12 phải có khả năng chịu các tải đặt vào khác nhau. Bán kính của phần mà móc treo tiếp xúc với cáp phải lớn hơn bán kính của cáp. Ngoài ra, móc treo phải có kết cấu để không bị biến dạng trong quá trình thử nghiệm.
3.11.4. Điều kiện thử nghiệm
Thử nghiệm phải được thực hiện ở điều kiện khí quyển tiêu chuẩn cho thử nghiệm phù hợp với 5.3 của lEC 68 - 1.
3.11.5. Tiến hành thử nghiệm
Cáp phải được kẹp chặt giữa hai giá đỡ cứng tạo thành một cánh cung có khoảng vượt 4,5m và độ võng 300mm.
Sau khi tạo được hình cánh cung phải đo suy hao.
Móc treo cùng với vật nặng kèm theo phải được giữ hoặc đỡ ở phía trên cáp để đỉnh của móc treo được đặt ở phía trên chính giữa điểm thấp nhất của cáp, có chiều cao là 100mm.
Khối lượng của vật nặng này phải như quy định trong quy định kỹ thuật cụ thể. Móc treo sau đó được thả ra để đè lên cáp rồi kiểm tra lại suy hao. Đưa vật nặng ra khỏi cáp và nếu có yêu cầu trong quy định kỹ thuật cụ thể thì đo lại một lần nữa suy hao. Quá trình này tạo thành một chu kỳ. Số chu kỳ thực hiện phải được quy định trong quy định kỹ thuật cụ thể.
3.11.6. Yêu cầu
Trong quá trình thử nghiệm không sợi nào được đứt và độ dẫn điện liên tục, nếu áp dụng, phải được duy trì. Trong quá trình thử nghiệm có thể kiểm soát độ suy hao. Sau thử nghiệm, mức tăng độ suy hao phải được kiểm tra nếu có yêu cầu.

Hình 12 - Thử nghiệm giật
3.12. Phương pháp TCVN 6745-1-E10 (IEC 794 -1 E10) - Bẻ gập
3.12.1. Mục đích
Mục đích của thử nghiệm này là để kiểm tra xem việc bẻ gập cáp quang có làm đứt sợi quang trong cáp không. Tùy thuộc vào độ cứng của vỏ cáp, khi vòng uốn có kích thước đủ nhỏ dẫn đến bẻ gập vỏ bọc có thể xảy ra đứt sợi.
3.12.2. Mẫu
Lấy một đoạn cáp dài gấp 10 lần bán kính uốn nhỏ nhất của cáp.
3.12.3. Tiến hành thử nghiệm
Mẫu phải được giữ ở cả hai phía. Tạo thành hình vòng (xem hình 13). Đường kính của vòng phải được giảm dần đến giá trị nhỏ nhất quy định trong quy định kỹ thuật cụ thể bằng cách kéo từ từ hai đầu của cáp . Các lực đặt vào ở phía dưới của vòng phải cùng nằm trong một mặt phẳng.
Nhiệt độ của mẫu được cho trong quy định kỹ thuật cụ thể.
3.12.4. Yêu cầu
Không được xảy ra bẻ gập như chỉ ra trên hình 13.

Hình 13 - Thử nghiệm bẻ gập
3.13. Phương pháp TCVN 6745-1-E11 (IEC 794 - 1 E11) - Uốn cáp
3.13.1. Mục đích
Mục đích của thử nghiệm này là để xác định khả năng chịu uốn quanh trục thử nghiệm của cáp sợi quang có kích thước nhỏ.
3.13.2. Chuẩn bị mẫu
Mẫu phải được kẹp ở mỗi đầu vào bộ nối hoặc theo cách thức nào đó để các sợi, vỏ bọc và mọi chi tiết biến dạng được kẹp cùng nhau theo cách thức đại diện.
3.13.3. Thiết bị
Thiết bị có trục quấn phải đảm bảo cho mẫu được quấn sát vào nhau thành đường xoắn ốc khít quanh trục quấn.
3.13.4. Điều kiện thử nghiệm
Thử nghiệm được thực hiện ở điều kiện khí quyển tiêu chuẩn cho thử nghiệm phù hợp với 5.3 của IEC 68-1.
3.13.5. Tiến hành thử nghiệm
Tuỳ thuộc vào kết cấu và đường kính của cáp, và theo chỉ dẫn trong quy định kỹ thuật cụ thể, một trong hai cách tiến hành thử nghiệm sau đây phải được áp dụng.
Cách 1
Mẫu phải được quấn thành đường xoắn ốc khít quanh trục quấn với tốc độ đồng nhất một vòng trong 5s. Lực căng phải đặt vào đảm bảo cho mẫu bao quanh trục quấn. Sau đó mẫu được tở ra.
Một chu kỳ gồm một lần quấn vào và một lần tởi ra.
Đường kính của trục quấn thử nghiệm, số vòng quấn và số chu kỳ phải được chỉ ra trong quy định kỹ thuật cụ thể.
Cách 2
Mẫu phải được uốn quanh trục quấn một góc 180° (hình chữ U) và giữ căng trong quá trình uốn. Một chu kỳ gồm một lần uốn hình chữ U và tiếp theo là uốn hình chữ U ngược lại. Đường kính của trục quấn thử nghiệm và số chu kỳ phải được nêu ra trong quy định kỹ thuật cụ thể.
3.13.6. Yêu cầu
Trong quá trình thử nghiệm không một sợi nào được đứt. Vỏ bọc không được có vết nứt nhìn thấy được bằng mắt thường khi kiểm tra trong lúc vẫn còn quấn trên trục quấn. Nếu thích hợp, mức tăng suy hao sau thử nghiệm này không được vượt quá giá trị quy định trong quy định kỹ thuật cụ thể.
3.13.7. Thử nghiệm uốn cáp ở nhiệt độ thấp
Thử nghiệm này phải được thực hiện phù hợp với 9.1 của TCVN 5936 - 1995 (IEC 540) ở nhiệt độ được quy định trong quy định kỹ thuật cụ thể.
Ngoài yêu cầu ở 9.1 của TCVN 5936 - 1995 (IEC 540) ra, không một sợi nào được đứt trong quá trình thử nghiệm.
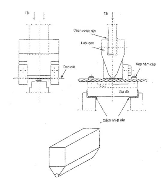
3.14. Phương pháp TCVN 6745-1-E12 (IEC 794 -1 - E12) - Khả năng chịu cắt
3.14.1. Mục đích
Mục đích của thử nghiệm này là để xác định khả năng chịu cắt của vỏ bọc cáp sợi quang (ví dụ cáp dùng trên máy bay).
3.14.2. Thiết bị thử nghiệm
Thiết bị thử nghiệm được thiết kế để đặt một lực cắt quy định với một tốc độ quy định. Ví dụ điển hình về thiết bị thích hợp được chỉ ra trên hình 14.
Bán kính của dao cắt được quy định trong quy định kỹ thuật cụ thể.
3.14.3. Tiến hành thử nghiệm
Nếu không có quy định nào khác lực được nâng từ từ với tốc độ 50 N/min ± 10 N/min tới mức chỉ ra trong quy định kỹ thuật cụ thể. Lực này được duy trì trong khoảng thời gian được quy định trong quy định kỹ thuật cụ thể.
Mẫu được kiểm tra bằng cách quan sát với độ phóng đại từ 5 đến 10 lần đối với các hỏng hóc sau thử nghiệm.
3.14.4. Điều kiện thử nghiệm
Quy định kỹ thuật cụ thể phải gồm:
- bán kính của dao cắt;
- nhiệt độ thử nghiệm;
- lực đặt vào;
- tốc độ đặt vào;
- thời gian đặt lực.
3.14.5. Yêu cầu
Không có vết cắt trên vỏ bọc quan sát thấy và vẫn phải duy trì được tính liên tục về quang (xem IEC 793 - 1 - C4).
3.15. Phương pháp TCVN 6745-1-E13 (IEC 794 - 1 - E13) - Tác động bằng súng bắn
3.15.1. Mục đích
Mục đích của thí nghiệm này là để xác định khả năng chịu tác động của súng bắn của cáp quang đặt ngoài trời.
3.15.2. Mẫu
Một đoạn cáp quang (điển hình là 3 m).

Hình 14 - Ví dụ về thiết bị thích hợp
3.15.3. Thiết bị
Thiết bị gồm:
a) súng bắn như quy định trong quy định kỹ thuật cụ thể.
Chú thích - Kiểu súng có thể khác nhau giữa các nước
b) khung để giữ mẫu cáp. Điều quan trọng là mẫu được di chuyển tự do và hệ thống thử nghiệm cần được lưu ý là đạn có thể phân tán theo hình elip tùy thuộc vào loại súng được sử dụng.
c) đạn của súng
1) Cỡ 4 hoặc 7 hoặc như quy định trong quy định kỹ thuật cụ thể.
Chú thích - Cỡ đạn có thể khác nhau giữa các nước và nó đặc trưng cho mức độ nguy hại trong quá trình lắp đặt.
2) Kiểu đạn phải được quy định trong quy định kỹ thuật cụ thể.
Chú thích - Thông thường đạn chì và đạn thép được sử dụng, tùy thuộc vào mỗi nước. Đạn chì bị biến dạng khi va đập và ít gây tác hại hơn đạn thép.
3) Kiểu đạn nổ phải được quy định trong quy định kỹ thuật cụ thể.
Chú thích - Thuốc nổ nạp trong đạn nổ có thể ảnh hưởng đến thử nghiệm
3.15.4. Tiến hành thử nghiệm
Mẫu cáp phải được lắp đặt vào khung và được bắn ở khoảng cách được quy định trong quy định kỹ thuật cụ thể.
Khoảng cách điển hình là 20m.
Số viên đạn gây ra vết va đập nhìn thấy được phải ít, điển hình là ba hoặc ít hơn để có được thử nghiệm tại lặp. Nếu nhiều hơn ba vết vào cáp thì sau đó thử nghiệm có thể được lặp lại, nếu không thỏa mãn yêu cầu.
3.15.5. Yêu cầu
Các sợi quang trong mẫu cáp vẫn phải đảm bảo tính liên tục về quang sau thử nghiệm này.
3.15.6. Nội dung ghi báo cáo thử nghiệm
a) kiểu súng.
b) cỡ đạn.
c) kiểu đạn.
d) kiểu đạn nổ.
e) khoảng cách giữa súng và mẫu.
f) nội dung cụ thể của hệ thống thử nghiệm, kể cả việc điều chỉnh cáp
g) mô tả dạng hỏng đã xảy ra, kể cả độ liên tục của sợi quang.
h) số thử nghiệm đã thực hiện để đạt được những vết va đập nhìn thấy được ít nhất.
3.16. Phương pháp TCVN 6745-1-E14 (IEC 794 - 1 - E14) - Chảy hợp chất độn
3.16.1. Mục tiêu
Mục đích của thử nghiệm này là để chứng tỏ rằng các hợp chất ở trong cáp không chảy ra khỏi cáp sợi quang có sử dụng hợp chất độn ở nhiệt độ đã chỉ ra.
3.16.2. Lấy mẫu và mẫu thử nghiệm
a) số lượng và dạng mẫu thử nghiệm
Nếu không có quy định nào khác trong quy định kỹ thuật cụ thể thì chuẩn bị năm mẫu cáp thử nghiệm từ mẫu cáp cần đánh giá. Mỗi mẫu cáp thử nghiệm phải là đại diện của loại cáp được quy định trong quy định kỹ thuật cụ thể.
b) chiều dài mẫu thử nghiệm
Nếu không có quy định nào khác trong quy định kỹ thuật cụ thể thì mỗi mẫu thử nghiệm phải có chiều dài là 300mm ± 5mm.
c) chuẩn bị mẫu thử nghiệm
Chuẩn bị từng mẫu cáp thử nghiệm như sau:
1) Cắt bỏ 130 mm ± 2,5 mm phần vật liệu làm vỏ bọc ở bên ngoài ở một đầu cáp.
2) Cắt bỏ toàn bộ các phần tử còn lại không thuộc bản chất của cáp (như giáp sắt, màn chắn, vỏ bọc bên trong, các phần tử xoắn ốc để làm tăng độ bền, băng chống ngấm nước, các lớp quấn lõi khác v.v…) một đoạn bằng 80mm ± 2,5mm ở cùng một đầu cáp. Không được làm ảnh hưởng đến phần còn lại của cáp (như các ống đệm có chứa các sợi quang, thành phần độn để làm tròn cáp v.v...).
3) Loại bỏ các chất kết dính của các vật liệu độn hoặc vật liệu ngâm tẩm gây ảnh hưởng đến 1) hoặc 2) nhưng phải đảm bảo cho mẫu thử nghiệm về căn bản vẫn giữ nguyên phần được bọc bằng vật liệu độn hoặc vật liệu ngâm tẩm (không được lau sạch).
4) Đối với thiết kế cáp có chứa các bộ phận như cụm sợi hoặc các băng dẹt mà có thể xê dịch do chính khối lượng bản thân của chúng trong quá trình thử nghiệm thì phải đảm bảo an toàn cho các bộ phận này ở phía đầu không được gia công của mẫu thử nghiệm theo cách thức nào đó mà không làm ảnh hưởng đến phần còn lại của mẫu thử nghiệm. Các bộ phận như vậy có thể giữ chặt bằng các kẹp, bằng cách gắn eboxi hoặc bằng các phương tiện khác thỏa mãn mục đích của quy trình thử nghiệm.
5) Khi quy định kỹ thuật cụ thể cho phép thì các đầu phía trên của ống đệm hoặc ống lỏng có thể gắn kín để mô phỏng các phần cáp có độ dài lớn.
3.16.3. Thiết bị
Thiết bị và hệ thống sau đây được yêu cầu để thực hiện thử nghiệm.
a) tủ
Tủ nhiệt đủ lớn để giữ cho mẫu thử nghiệm ở vị trí thẳng đứng có công suất nhiệt đủ để duy trì nhiệt độ quy định trong quá trình thử nghiệm. Nếu tủ nhiệt là loại lưu thông không khí thì không khí không được thổi trực tiếp vào mẫu thử nghiệm.
b) bộ chỉ thị nhiệt độ
Sử dụng dụng cụ chỉ thị nhiệt độ thích hợp.
c) khay chứa
Khay chứa không hút ẩm để hứng vật liệu chảy ra.
d) các dụng cụ điều chỉnh vị trí
Các kẹp thích hợp, giá đỡ, và các dụng cụ khác, nếu cần để điều chỉnh vị trí mẫu thử nghiệm khi thử nghiệm.
e) cân
Cân có độ chính xác ít nhất là ± 0,001 g và có khả năng cân được khối lượng của riêng khay chứa và khay chứa đã hứng được một số lượng vật liệu chảy cho phép.
3.16.4. Tiến hành thử nghiệm
a) tủ được gia nhiệt đến nhiệt độ quy định trong quy định kỹ thuật cụ thể.
b) đặt từng mẫu thử nghiệm đã chuẩn bị vào tủ ở trạng thái treo thẳng đứng có đầu cáp đã gia công quay xuống dưới. Đặt khay chứa sạch đã được cân trước ngay dưới mẫu thử (nhưng không được chạm) .
c) nếu quy định kỹ thuật cụ thể cho phép thì có thể tiến hành ổn định trước như chỉ ra từ 1) đến 3) dưới đây; ngược lại thì tiếp tục d).
1) Ổn định nhiệt độ tủ và nếu không có quy định nào khác trong quy định kỹ thuật cụ thể thì ổn định trước từng mẫu thử nghiệm trong khoảng thời gian 1h.
2) Khi kết thúc thời gian ổn định trước thấy khay chứa bằng một khay chứa sạch đã được cân trước. Cân khay chứa lúc ổn định trước để xác định lượng hợp chất độn hoặc hợp chất ngâm tẩm có thể đã chảy ra từ trong cáp trong quá trình ổn định trước. Lượng xác định được này nếu lớn hơn giới hạn quy định khi ổn định trước thì bị coi là không đạt. Nếu không có quy định nào khác trong quy định cụ thể thì giới hạn khi ổn định trước phải nhỏ hơn 0,5% khối lượng toàn bộ mẫu thử nghiệm của cáp hoặc 0,5g.
3) Tiếp tục thử nghiệm trong 23h, nếu không có quy định nào khác trong quy định kỹ thuật cụ thể thì tiếp tục e)
d) duy trì nhiệt độ của tủ và nếu không có quy định nào khác trong quy định kỹ thuật cụ thể thì thử nghiệm trong 24h.
e) khi kết thúc thời gian quy định lấy khay chứa ra và cân để xác định lượng hợp chất độn hoặc hợp chất ngâm tẩm có thể đã chảy ra từ cáp.
f) ghi lại lượng hợp chất độn hoặc hợp chất ngâm tẩm cho từng mẫu thử nghiệm của cáp. Nếu không có quy định nào khác trong quy định kỹ thuật cụ thể thì ghi “không chảy” khi lượng xác định được nhỏ hơn hoặc bằng 0,005g.
3.16.5. Yêu cầu
Nếu không có quy định nào khác trong quy định kỹ thuật cụ thể thì tất cả các mẫu thử nghiệm cáp được phép một lượng hợp chất chảy ra lớn nhất là 0,050 g. Nếu lượng hợp chất chảy ra từ một trong năm mẫu thử nghiệm cáp đầu tiên vượt quá 0,050 g nhưng ít hơn 0,100 g thì chuẩn bị năm mẫu thử nghiệm bổ sung phù hợp với 3.16.2 c) và thử nghiệm như ở 3.16.4 a) đến 3.16.4 f). Thử nghiệm được coi là đạt nếu không có mẫu thử nghiệm lần hai nào có lượng hợp chất chảy vượt quá 0,050g.
3.16.6. Tính toán và trình bầy kết quả
a) Tính toán
Ngoài phép tính trừ đơn giản của khối lượng khay chứa lúc kết thúc và khối lượng khay chứa bắt đầu không yêu cầu tính toán nào khác.
b) Độ chính xác và độ sai lệch
Độ chính xác của thử nghiệm này vẫn chưa được xác định. Không công bố được về độ sai lệch của thử nghiệm này đối với sự chảy hợp chất vì kết quả chỉ nêu ra xem có sự phù hợp với chuẩn cứ chấp nhận như quy định trong quy định kỹ thuật cụ thể hay không.
3.16.7. Nội dung cụ thể cần được qui định
Các thông tin sau đây phải được quy định trong quy định kỹ thuật cụ thể
a) nhiệt độ thử nghiệm;
b) nội dung cụ thể về ổn định trước (nếu cho phép):
1) Nêu ra rằng ổn định trước là cho phép;
2) Các ngoại lệ đối với thủ tục không có ổn định trước như quy định là 3.16.4 c);
3) Chuẩn cứ ổn định trước đạt / không đạt.
c) bất kỳ một ngoại lệ nào được áp dụng đối với yêu cầu của quy trình này.
d) chuẩn cứ chấp nhận (đạt / không đạt) trừ trường hợp không có.
3.16.8. Kết quả
Trình bày các thông tin sau đây đối với mỗi thử nghiệm
a) tên, số thử nghiệm TCVN 6745-1-E14 (IEC 794 - 1 - E14) và ngày tiến hành thử nghiệm;
b) loại cáp thử nghiệm và sự nhận dạng cáp khi sử dụng;
c) ngày thử nghiệm và người chịu trách nhiệm thử nghiệm;
d) nội dung cụ thể về ổn định trước, nếu có thực hiện (ví dụ như: nhiệt độ, thời gian, lượng hợp chất chảy ra khi ổn định trước) ;
e) nhiệt độ thử nghiệm;
f) những sai khác so với quy trình này có thể đã áp dụng (ví dụ như: thời gian thử nghiệm, chiều dài mẫu thử nghiệm, v.v...);
g) các kết quả thử nghiệm (ví dụ: lượng hợp chất chảy ra).
3.17. Phương pháp TCVN 6745-1-E15 (IEC 794 - 1 E15) - Rò rỉ và bay hơi
3.17.1. Mục đích
Mục đích của thử nghiệm này là để đo lượng rò rỉ và/hoặc bay hơi của hợp chất độn ở nhiệt độ cao.
Chú thích - Đây là thử nghiệm vật liệu được áp dụng phổ biến đối với hợp chất tiếp giáp với các sợi quang
3.17.2. Thiết bị
Thiết bị bao gồm:
- tủ nhiệt chạy bằng điện có thổi gió tự nhiên;
- cân phân tích có giới hạn sai số G = 0,1 mg;
- bộ dụng cụ thử nghiệm (xem hình 15) bao gồm:
a) phễu, lưới bằng nikel, 60 lỗ (số lỗ: 5; 6 trên mm2, đường kính dây lưới 0,19mm, kích thước lỗ 0,28mm) cùng với tay xách bằng dây.
Có thể sử dụng phễu bằng thép không gỉ (60 lỗ, kích thước lỗ 0,25mm) và độ rộng mối hàn nhỏ hơn 1mm với điều kiện phải chứng minh được là kết quả này sẽ không khác nhiều so với phễu thứ nhất;
b) cốc có dạng dài không cần có vòi, dung tích 200ml;
Chú thích - Nắp đậy không cần đến khi đo độ bay hơi.
c) thiết bị sấy khô
3.17.3. Tiến hành thử nghiệm
Cân lò đã sấy khô và sạch và ghi lại ví dụ M1 (cân đến phạm vi 1mg). Cân cả cụm cốc, phễu và giá treo phễu và ghi lại ví dụ M2. Đổ 10g mẫu vào phễu (bề mặt trên của mẫu phải nhẵn và lồi để chất lỏng không bị đọng lại và không được có vật liệu kết tụ ở các lỗ lưới). Cân toàn bộ thiết bị và mẫu và ghi lại ví dụ M3.
Gia nhiệt bộ dụng cụ thử nghiệm trong tủ ở nhiệt độ và thời gian như đã nêu trong quy định kỹ thuật cụ thể. Làm nguội nhiệt độ phòng trong thiết bị sấy khô. Cân lại toàn bộ thiết bị và ghi lại ví dụ M4. Lấy phễu ra một cách cẩn thận. Cân lại các và ghi lại ví dụ M5. Tính lượng phần trăm rò rỉ và bay hơi và ghi giá trị trung bình của các kết quả.
Lượng mẫu cần thử nghiệm phải được quy định trong quy định kỹ thuật cụ thể.
Tính toán:
% rò rỉ = ![]()
% bay hơi = ![]()
3.17.4. Yêu cầu
Kết quả trung bình tính được không được vượt quá giá trị lớn nhất cho trong quy định kỹ thuật cụ thể.
3.17.5. Nội dung cụ thể cần ghi
a) nhiệt độ thử nghiệm;
b) thời gian thử nghiệm;
c) kiểu phễu được sử dụng;
d) lượng mẫu thử nghiệm.

Kích thước tính bằng milimét
Hình 15 - Bộ dụng cụ thử nghiệm
3.18. Phương pháp TCVN 6745-1-E16 (IEC 794 - 1 - E16) - Bẻ gập ống
3.18.1. Mục đích
Mục đích của thử nghiệm này là để xác định khả năng chịu ứng suất cơ học của ống chứa các sợi quang trong quá trình lắp đặt và ghép nối cáp. Thử nghiệm được thực hiện trên các ống chứa sợi quang.
3.18.2. Thiết bị
Thiết bị bao gồm:
a) dụng cụ thử nghiệm (xem hình 16);
b) quạt khí nóng (tự chọn).
3.18.3. Điều kiện thử nghiệm
Thử nghiệm được thực hiện ở điều kiện khí quyển tiêu chuẩn cho thử nghiệm phù hợp với 5.3 của IEC 68 -1.
3.18.4. Tiến hành thử nghiệm
Mẫu (ví dụ, các sợi trong ống lỏng, cụm sợi trong ống lỏng) có chiều dài ít nhất là L1 + 50mm được lấy từ cáp sợi quang.
Tùy thuộc vào hệ thống lắp đặt và nếu có quy định trong quy định kỹ thuật cụ thể mẫu có thể được làm sạch bằng quạt khí nóng ở nhiệt độ khoảng 80°C. Cần lưu ý để không làm hỏng mẫu do quá nóng.
Mẫu được đánh dấu với độ dài L1 và lắp đặt vào dụng cụ thử nghiệm như chỉ ra trên hình 16 bằng các kẹp cố định và kẹp dịch chuyển được cách nhau một khoảng L2.
Kẹp dịch chuyển được phải được dịch chuyển giữa các vị trí 1 và 2 qua một khoảng L và trở về vị trí 1 với tốc độ khoảng 10mm/s. Sự dịch chuyển này là một chu kỳ. Trong chu kỳ cuối cùng, mẫu phải giữ lại ở vị trí 2 trong 60s.
Các giá trị của thông số thử nghiệm L, L1, L2 và số chu kỳ cần mô phỏng các điều kiện vận hành. Các giá trị này phải được thỏa thuận giữa người sử dụng và người chế tạo và phải được chỉ ra trong quy định kỹ thuật cụ thể.
3.18.5. Yêu cầu
Trong quá trình thử nghiệm không được có vết bẻ gập nhìn thấy được.
3.18.6. Kết quả
Các dữ liệu sau đây phải được thể hiện:
a) số chu kỳ;
b) các độ dài L, L1, L2;
c) có sử dụng quạt khí nóng để làm sạch;
d) những sai khác về điều kiện thử nghiệm.
3.18.7. Ghi chép thông tin
a) đường kính nhỏ nhất của vòng uốn không được cố định bởi đường cong trong thiết bị thử nghiệm mà chỉ kiểm soát bằng chiều dài L1 của mẫu thử nghiệm và độ dài dịch chuyển L tùy thuộc vào đường kính của ống.
b) số chu kỳ cần được quy định trong quy định kỹ thuật cụ thể. Số chu kỳ điển hình là 5.
c) cơ cấu dẫn hướng cố định đảm bảo vị trí xác định của mẫu. Nắp đậy trong suốt cho phép mẫu được giữ ở cùng một mặt phẳng và quan sát được trong khi thử nghiệm.

Hình 16 - Thử nghiệm bẻ gập ống
Mục 4 - Phương pháp đo các đặc tính truyền dẫn và đặc tính quang
4.1. Mục đích
Các đặc tính truyền dẫn và đặc tính quang của sợi quang trong cáp phải được kiểm tra bằng cách thực hiện các thử nghiệm chọn lọc từ bảng 3. Các thử nghiệm được áp dụng và chuẩn cứ để chấp nhận phải được quy định trong quy định kỹ thuật cụ thể.
Bảng 3 - Đặc tính truyền dẫn và đặc tính quang của các sợi quang
| Phương pháp thử nghiệm sợi đơn mode và đa mode | ||
| Phương pháp thử nghiệm | Thử nghiệm | Các đặc tính được đề cập trong phương pháp thử nghiệm |
| IEC 793 - 1 - C1A IEC 793 - 1 - C1B IEC 793 - 1 - C1C | Kỹ thuật cắt ngược Kỹ thuật suy hao xen Kỹ thuật tán xạ ngược | Suy hao |
| IEC 793 - 1 - A1A IEC 793- 1 - A1B IEC 793 - 1 - A2 | Phương pháp trường khúc xạ gần Phương pháp giao thoa ngang Phân bố trường ánh sáng gần | Mặt cắt chiết suất tương đối |
| IEC 793- 1 -C1C | Kỹ thuật tán xạ nguợc | Các sai lỗi điểm |
| IEC 793 - 1 - C4 IEC 793 - 1 - C1C | Công suất ánh sáng truyền dẫn và bức xạ Kỹ thuật tán xạ ngược | Tính liên tục về quang |
| IEC 793 - 1 - C5A lEC 793 - 1 - C5B | Phương pháp dịch pha Đo trễ nhóm phổ trong miền thời gian | Tán sắc thể |
| IEC 793 - 1 - C10A IEC 793 - 1 - C10B | Giám sát công suất truyền dẫn Giám sát tán xạ ngược | Sự thay đổi khả năng truyền dẫn quang trong khi thử nghiệm môi trường và cơ học |
| Phương pháp thử nghiệm sợi đa mode | ||
| IEC 793 - 1 - C2A IEC 793 - 1 - C2B | Đáp ứng xung Đáp ứng tần số | Đáp ứng băng gốc |
| IEC 793 - 1 - C6 | Phân bố trường xạ | Khẩu độ |
| Phương pháp thử nghiệm sợi đơn mode | ||
| IEC 793 - 1 - C3 | Độ nhạy uốn cong rất nhỏ | Độ nhạy uốn cong rất nhỏ |
| IEC 793 - 1 - C11 | Độ nhạy uốn cong lớn | Độ nhạy uốn cong lớn |
| IEC 793 - 1 - C5C IEC 793 - 1 - C5D | Dịch pha vi sai Giao thoa (sẽ xem xét) | Tán sắc thể |
| IEC 793 - 1 - C7A
IEC 793 -1 - C7B | Đo bước sóng cắt
Đo bước sóng cắt của cáp (đang xem xét) | Bước sóng cắt của sợi Bước sóng cắt của cáp |
| IEC 793 - 1 - C9A IEC 793 - 1 - C9B IEC 793 - 1 - C9C IEC 793 - 1 - C9D | Quét trường xạ Khẩu độ thay đổi được Quét trường gần Quét lưỡi dao (sẽ được xem xét) | Đường kính của trường mode |
Mục 5 - Phương pháp đo các đặc tính điện
5.1. Mục đích
Khi các ruột dẫn điện được lắp ghép bên trong cáp sợi quang thì việc kiểm tra các đặc tính về điện có thể cần đến. Các thử nghiệm điển hình được chỉ ra trong bảng 4. Các thử nghiệm được áp dụng và chuẩn cứ chấp nhận phải được đưa ra trong quy định kỹ thuật cụ thể.
Bảng 4 - Phương pháp đo các đặc tính điện
| Phương pháp thử nghiệm | Thử nghiệm | Các đặc tính được đề cập trong phương pháp thử nghiệm |
| IEC 189 - 1 | Điện trở các ruột dẫn Độ bền điện môi của cách điện Điện trở cách điện | Các đặc tính của ruột dẫn điện được cách điện |
Mục 6 - Phương pháp đo các đặc tính về môi trường
6.1. Mục đích
Mục này mô tả các phương pháp đo để áp dụng cho các thử nghiệm về môi trường của cáp sợi quang. Các phương pháp này cần được sử dụng để kiểm tra cáp sợi quang.
Khả năng của cáp thỏa mãn các yêu cầu về môi trường mà không bị suy giảm các tính chất cơ hoặc tính chất quang phải được kiểm tra qua các mẫu chịu các thử nghiệm ở bảng 5. Các thử nghiệm được áp dụng; các nhiệt độ và các điều kiện liên quan, số lượng mẫu và chuẩn cứ chấp nhận phải được đưa ra trong quy định kỹ thuật cụ thể.
Bảng 5 - Phương pháp đo các đặc tính về môi trường
| Phương pháp thử nghiệm | Thử nghiệm | Các đặc tính được đề cập trong phương pháp thử nghiệm |
| TCVN 6745-1-F1 (IEC 794 - 1 - F1) | Nhiệt độ biến đổi chu kỳ | Các đặc tính khí hậu |
| IEC XXX - 1 - F2 | Nhiễm bẩn | Chịu hóa chất |
| Thử nghiệm J của IEC 68-2-10 | Nấm mốc | Chịu sinh thái học |
| TCVN 6613 : 2000 (IEC 332) | Các điều kiện cháy | Tính năng của cáp trong điều kiện cháy |
| TCVN 6745-1-F3 (IEC 794 - 1 - F3) IEC XXX -1 - F4* | Vỏ bọc Áp suất tĩnh bên ngoài | Khuyết tật của vỏ bọc |
| TCVN 6745 -1 - F5 (IEC 794 - 1 - F5) | Ngấm nước | Chống ngấm nước |
| IEC 189 - 1 | Uốn lạnh | Tính mềm dẻo ở nhiệt độ thấp |
| IEC XXX - 1 - F6* | Băng giá | Chịu băng giá |
| IEC XXX - 1 - F7* | Bức xạ hạt nhân | Chịu bức xạ hạt nhân |
* Đang xem xét
6.2. Định nghĩa
Đang xem xét
6.3. Phương pháp TCVN 6745-1-F1 (IEC 794 - 1 - F1) - Nhiệt độ biến đổi chu kỳ
6.3.1. Mục đích
Phuơng pháp đo này áp dụng cho cáp sợi quang khí thử nghiệm nhiệt độ biến đổi chu kỳ nhằm xác định tính chất ổn định về suy hao của cáp chịu sự thay đổi nhiệt độ.
Sự thay đổi suy hao của cáp sợi quang có thể xảy ra do thay đổi nhiệt độ nhìn chung là do chùng hoặc do kéo căng của các sợi gây ra vì có sự khác nhau về hệ số giãn nở nhiệt của sợi và hệ số căng của cáp và các chi tiết ghép nối. Điều kiện thử nghiệm đối với phép đo phụ thuộc vào nhiệt độ, phải mô phỏng được các điều kiện xấu nhất.
Thử nghiệm này có thể sử dụng để kiểm soát tính chất của cáp trong dải nhiệt độ có thể xảy ra trong quá trình lưu kho, vận chuyển và sử dụng hoặc để kiểm tra, trong một dải nhiệt độ lựa chọn (thông thường rộng hơn dải yêu cầu đối với trường hợp nêu trên), tính chất ổn định suy hao liên quan đến tình trạng không bị uốn cong một cách đáng kể của các sợi trong kết cấu của cáp.
6.3.2. Chuẩn bị mẫu
Mẫu phải là đoạn cáp chế tạo hoặc mẫu có chiều dài vừa đủ như chỉ ra trong quy định kỹ thuật cụ thể, tuy nhiên phải là chiều dài thích hợp để đạt được độ chính xác mong muốn (xem chú thích).
Để nhận được các giá trị tái lập, mẫu cáp này phải được đưa vào tủ khí hậu ở dạng cuộn lỏng hoặc quấn trên lõi.
Chú thích - Ví dụ, chiều dài tối thiểu đưa đến để thử nghiệm không nhỏ hơn 1000 m đối với sợi A1 và 2000 m đối với sợi B.
Khả năng của sợi thích nghi với độ giãn và co vi sai (ví dụ do sự xê dịch trong cáp) có thể bị ảnh hưởng bởi bán kính cong của cáp vì vậy ổn định mẫu cần được thực hiện càng giống như điều kiện sử dụng bình thường càng tốt.
Trong trường hợp thử nghiệm trên lõi quấn, cáp được quấn theo cách nào đấy để tất cả những biến đổi về đặc tính của cáp (suy hao, chiều dài v.v) có thể xảy ra trong điều kiện sử dụng bình thường không được thay đổi.
Vấn đề đáng quan tâm là sự khác nhau giữa hệ số giãn của mẫu thử nghiệm và các bộ phận đỡ (cuộn, thùng, tấm v.v) mà điều này có gây ra ảnh hưởng đáng kể đến kết quả thử nghiệm trong các chu kỳ nhiệt nếu các điều kiện “không ảnh hưởng” không được thực hiện một cách đầy đủ.
Các thông số ảnh hưởng chủ yếu là: các điều kiện về ổn định, loại và vật liệu của các bộ phận đỡ, đường kính của lõi mẫu hoặc cuộn mẫu v.v.
Các khuyến cáo chung như sau:
- đường kính quấn phải đủ lớn để duy trì khả năng thích ứng của sợi với độ co và giãn vi sai. Có thể phải chọn đường kính quấn lớn hơn đáng kể so với đường kính quấn khi phân phối hàng.
- mọi rủi ro về giới hạn giãn (hoặc co) của cáp tạo ra do quá trình ổn định phải được khống chế. Cụ thể là phải lưu ý đặc biệt để tránh duy trì lực căng cáp trong quá trình thử nghiệm. Ví dụ không nên quấn chặt trên lô quấn vì điều này có thể hạn chế độ co của cáp ở nhiệt độ thấp. Mặt khác quấn chặt nhiều lớp có thể còn hạn chế độ giãn ở nhiệt độ cao.
- nên sử dụng cách quấn dây không có lõi quấn như cuộn quấn có đường kính lớn, lô quấn có đệm, có lớp xốp hoặc thiết bị không gây lực căng v.v
Để giới hạn chiều dài của cáp đem thử nghiệm, có thể nối một số sợi của cáp và đo các sợi đã được nối. Số lượng mối nối phải được giới hạn và chúng phải được bố trí ở ngoài tủ khí hậu. Tuy nhiên cũng cần lưu ý cả đến cách diễn giải kết quả. Để đạt được mục đích này, kỹ thuật tán xạ ngược có thể được sử dụng ngay cả khi kỹ thuật này không được xem như là phương pháp đo suy hao khuyến cáo.
6.3.3. Thiết bị
a) thiết bị đo suy hao thích hợp để xác định sự thay đổi độ suy hao.
Xem phương pháp thử nghiệm ở mục 4 của IEC 793 - 1.
b) tủ khí hậu
Tủ khí hậu phải có kích thước thích hợp để chứa được mẫu (xem 6.3.2) và nhiệt độ của tủ phải khống chế được để duy trì nhiệt độ thử nghiệm quy định trong phạm vi ± 3°C. Một ví dụ về tủ thích hợp được cho ở điều 2, thử nghiệm Nb của IEC 68 - 2 - 14.
6.3.4. Tiến hành thử nghiệm
a) Đo ban đầu
Mẫu phải được kiểm tra bằng mắt và các giá trị cơ bản đối với suy hao ở nhiệt độ ban đầu phải được xác định.
Điều kiện ổn định trước phải được thỏa thuận giữa người mua và người bán.
b) Ổn định
1) Mẫu ở nhiệt độ môi trường phải được đưa vào tủ khí hậu có cùng nhiệt độ.
2) Nhiệt độ trong buồng sau đó phải được hạ xuống đến nhiệt độ thấp TA với tốc độ làm mát thích hợp.
3) Sau khi đã đạt được độ ổn định nhiệt độ trong tủ mẫu được lưu ở điều kiện nhiệt độ thấp này trong khoảng thời gian thích hợp t1.
4) Nhiệt độ trong tủ sau đó được nâng lên đến nhiệt độ cao thích hợp TB với tốc độ làm nóng thích hợp.
5) Sau khi đã đạt được độ ổn định nhiệt độ trong tủ mẫu được lưu ở điều kiện nhiệt độ cao này trong khoảng thời gian thích hợp t1.
6) Nhiệt độ trong tủ sau đó được hạ xuống đến giá trị nhiệt độ môi trường với tốc độ làm mát thích hợp.
7) Quy trình này tạo thành một chu kỳ (xem hình 17).
8) Mẫu phải chịu hai chu kỳ nếu không có quy định nào khác trong quy định kỹ thuật cụ thể.
9) Quy định kỹ thuật liên quan phải chỉ ra:
i) Sự thay đổi suy hao và các kiểm tra trong quá trình ổn định.
ii) Giai đoạn mà sau đó việc kiểm tra được thực hiện.
10) Trước khi đưa mẫu ra khỏi tủ, mẫu thử nghiệm đã phải đạt tới độ ổn định nhiệt ở nhiệt độ môi trường.

Hình 17 - Quy trình của một chu kỳ
11) Nếu quy định kỹ thuật liên quan chỉ ra nhiều dải nhiệt độ khác nhau để bảo quản và sử dụng kết hợp thay cho hai thử nghiệm khác nhau thì được phép tiến hành thử nghiệm phù hợp với hình 18.

Hình 18 - Quy trình thử nghiệm kết hợp
12) Giá trị TA, TB và t1 phải được quy định trong quy định kỹ thuật cụ thể
Tốc độ làm mát (hoặc làm nóng) phải được quy định trong quy định kỹ thuật cụ thể. Cần lưu ý để nhiệt độ của lỗi cáp không khác biệt một cách đáng kể so với nhiệt độ quy định của tủ khí hậu khi kết thúc giai đoạn làm mát (hoặc làm nóng).
c) Phục hồi
1) Nếu nhiệt độ môi trường không phải là điều kiện khí quyển tiêu chuẩn cần sử dụng để thử nghiệm sau khi đưa mẫu ra khỏi tủ thì mẫu được phép đạt tới độ ổn định nhiệt độ ở điều kiện khí quyển tiêu chuẩn.
2) Quy định kỹ thuật cụ thể liên quan có thể đưa ra khoảng thời gian phục hồi riêng cho từng loại mẫu đã cho.
6.3.5. Kết quả
a) Đo kết thúc
Mẫu phải được kiểm tra bằng cách xem xét cũng như kiểm tra bằng phương pháp quang học và cơ học như yêu cầu trong quy định kỹ thuật liên quan.
b) Các dữ liệu sau đây phải được trình bày cùng với kết quả:
- đường kính của cuộn hoặc lõi mẫu;
- các chi tiết về quấn dây:
● cuộn, lõi quấn, chi tiết khác (cần được nêu ra trong trường hợp lõi có đệm, kiểu đệm được sử dụng);
● một lớp hoặc nhiều lớp;
● cuộn dây để hở hoặc bọc kiểu mạng;
● lực căng cuộn dây hoặc thiết bị khử lực căng, nếu có;
● kiểu và vật liệu của cơ cấu giá đỡ;
● bố trí mẫu (thẳng đứng / nằm ngang);
- chiều dài sợi và cáp được thử nghiệm. Kiểu mối nối giữa các sợi (nếu có);
- gia công đoạn đầu;
- các dữ liệu thử nghiệm kể cả kiểu thiết bị đo và các điều kiện ban đầu;
- mức ngặt nghèo của thử nghiệm (số chu kỳ, biểu đồ chu kỳ nhiệt độ). Nhiệt độ và số lần phải được ghi lại;
- độ ẩm có được khống chế hay không. Nếu độ ẩm được khống chế thì các mức ẩm ở các nhiệt độ cận biên cần được ghi lại;
- sự thay đổi độ suy hao ở bước sóng quy định dưới dạng hàm của chu trình nhiệt kể cả việc chỉ ra độ chính xác.
6.4. Phương pháp IEC XXX -1 - F2 - Nhiễm bẩn
Sẽ xem xét.
6.5. Phương pháp TCVN 6745-1-F3 (IEC 794 -1 - F3) - Tính nguyên vẹn của vỏ bọc
6.5.1. Mục đích
Phương pháp thử nghiệm này có thể áp dụng trên các cáp không độn đặt ngoài trời để khẳng định vỏ bọc cáp là liên tục và không có các lỗ. Điều này có thể thực hiện bằng thử nghiệm áp suất bên trong cáp hoặc thử nghiệm xung nếu vỏ bọc là loại chống ẩm.
6.5.2. Thử nghiệm áp suất bên trong
Đối với cáp không độn, vỏ bọc phải chịu áp suất khí bên trong từ 50 kPa đến 100 kPa trong 2 h sau khi đã cân bằng áp suất trên suốt chiều dài cáp mà không bị rò rỉ.
Chú thích - Không cần thực hiện thử nghiệm này nếu vỏ bọc được thử nghiệm phù hợp với 6.5.3.
6.5.3. Thử nghiệm phóng xung điện (nếu áp dụng)
Vỏ bọc phải chịu được điện áp thử nghiệm xung ít nhất là 8 kV xoay chiều (giá trị hiệu dụng) hoặc 12 kV một chiều.
Chú thích - Đối với cáp không độn không cần thực hiện thử nghiệm này nếu vỏ bọc được thử nghiệm phù hợp với 6 5.2.
6.6. Phương pháp IEC XXX - 1 - F4 - Áp suất tĩnh bên ngoài
Sẽ xem xét.
6.7. Phương pháp TCVN 6745 - 1 - F5 (IEC 794 - 1 - F5) - Ngấm nước
6.7.1. Mục đích
Thử nghiệm này áp dụng cho cáp có độn đặt ngoài trời (độn bằng hợp chất hoặc vật liệu thích hợp khác) nhằm kiểm tra các kẽ hở của cáp có được độn một cách liên tục để ngăn ngừa sự ngấm nước vào trong cáp.
Sự phù hợp phải được kiểm tra trên các mẫu cáp có độn bằng một trong hai phương pháp sau (F5A hoặc F5B), như trong quy định kỹ thuật cụ thể.
6.7.2. Chuẩn bị mẫu
6.7.2.1. Phương pháp F5A
Phần vỏ bọc theo chu vi cùng với bao gói có chiều rộng 25 mm phải được tách bỏ 3 m từ một đầu của đoạn cáp và ống nối kín nước được ôm vào lõi để trần bắc qua khe của vỏ bọc.
6.7.2.2. Phương pháp F5B
Mẫu cáp có chiều dài lớn hơn chiều dài đem thử 1 m nhưng không quá 3 m được lấy một cách ngẫu nhiên. Nếu có yêu cầu thì mẫu phải chịu quy trình uốn theo 3.13.5. Quy trình 2 (phương pháp E 11). Đoạn cáp dài nhất là 3 m phải được lấy ở phần giữa của mẫu.
6.7.3. Tiến hành thử nghiệm
Cáp được đặt ở vị trí nằm ngang và cột nước 1 m được áp vào trong 24 h ở nhiệt độ ( 20 ± 5)°C.
Phẩm phát sáng hòa tan trong nước có thể được sử dụng để hỗ trợ cho việc phát hiện sự rò rỉ.
Chú thích - Cần cẩn thận khi chọn phẩm phát sáng sao cho nó không tác dụng với các thành phần của cáp.
6.7.4. Yêu cầu
Nước không được phát hiện thấy ở đầu của đoạn cáp dài 3 m. Nếu sử dụng phẩm phát sáng thì có thể dùng ánh sáng cực tím để kiểm tra.
Chú thích:
1. Quy trình thử nghiệm nêu trên là yêu cầu cơ bản về sự phù hợp và dùng cho các thử nghiệm thường xuyên, các mẫu có chiều dài ngắn có thể được thử nghiệm trong thời gian ngắn hơn.
2. Mẫu được coi là đạt nếu có những giọt rò rỉ (một số ít) được phát hiện thấy ngoài khu vực lõi cáp và chỗ được bọc.

Hình 19a

Hình 19 - Thử nghiệm ngấm nước
6.8. Phương pháp IEC XXX -1 - F6 - Băng giá
Đang xem xét.
6.9. Phương pháp IEC XXX - 1 - F7 - Bức xạ hạt nhân
Đang xem xét.
Phụ lục A
(tham khảo)
HƯỚNG DẪN ĐỐI VỚI CÁP DÙNG CHO CỰ LY NGẮN
A.1. Quy định chung
A.1.1. Mục tiêu
Phụ lục này đưa ra hướng dẫn bổ sung liên quan đến cáp sợi quang để sử dụng vào các cự ly ngắn trong thiết bị thông tin. Phụ lục này cho phép thiết lập những yêu cầu thống nhất về các tính chất hình học, quang học truyền dẫn, cơ học và môi trường của cáp sợi quang.
A.1.2. Tiêu chuẩn trích dẫn
IEC 793 - 1 : 1992 Sợi quang - Phần 1: Quy định kỹ thuật chung;
IEC 793 - 2 : 1992 Sợi quang - Phần 2: Quy định kỹ thuật cho sản phẩm;
TCVN 6745-2 : 2000 (IEC 794 - 2 : 1989) Cáp sợi quang - Phần 2: Quy định kỹ thuật cho sản phẩm;
IEC 874 - 1 : 1987 Bộ nối dùng cho sợi quang và cáp sợi quang - Phần 1: Quy định kỹ thuật chung.
A.1.3 Phân loại sợi quang
Cáp sợi quang dùng trong những đoạn nối ngắn phải được trang bị bằng các sợi quang sau đây:
Loại A2: dùng cho những khoảng cách vài trăm mét đến 2 km;
Loại A3: dùng cho những khoảng cách vài trăm mét đến 1 km;
Loại A4: dùng cho những khoảng cách đến 100 m.
Đặc tính của cáp sợi quang sử dụng phải được quy định như trong quy định kỹ thuật cho sản phẩm liên quan.
A.2. Phương pháp đo các kích thước
Chú thích - Các phép đo các kích thước sợi quang phải được thực hiện, sử dụng các phương pháp quy định trong IEC 793-1.
A.2.1. Phương pháp đo đường kính
Các phương pháp đo đường kính được cho trong bảng 1 của tiêu chuẩn này và được áp dụng cho cáp sợi quang dùng cho các cự ly ngắn.
A.2.2. Đo chiều dài
Tiêu chuẩn này quy định hai cách đo chiều dài: hoặc bằng phương tiện cơ học hoặc bằng độ trễ của các xung truyền dẫn / hoặc xung phản xạ như quy định trong IEC 793 - 1.
Trong trường hợp đo cáp còn ở trong cuộn hoặc trên lõi quấn, phương pháp thứ hai (IEC 793 - 1 - A6) có thể được sử dụng. Hiện tại, ví dụ như dụng cụ đo phản xạ có độ phân dải cao được kiểm định tốt cho phép độ chính xác đến vài centimet trên đoạn cáp dài 100 m.
A.3. Phương pháp đo các đặc tính cơ
Khi cáp cần được sử dụng không có đầu nối ở đầu thì áp dụng các thử nghiệm mô tả trong tiêu chuẩn này.
Khi cáp cần được sử dụng có đầu nối thì các thử nghiệm chỉ áp dụng đối với cáp còn các thử nghiệm kết hợp đối với cáp cùng với đầu nối được thực hiện theo IEC 874 - 1.
A.3.1. Phương pháp đo các đặc tính cơ của cáp
| - Khả năng tháo dỡ | (đang xem xét) |
| - Tính năng kéo | TCVN 6745-1-E1 (IEC 794 - 1 - E1) |
| - Độ mài mòn | TCVN 6745-1-E2 (IEC 794 - 1 - E2) (đang xem xét) |
| - Nén | TCVN 6745-1-E3 (IEC 794 - 1 - E3) |
| - Va đập | TCVN 6745-1-E4 (IEC 794 - 1 - E4) |
| - Uốn lặp lại | TCVN 6745-1-E5 (IEC 794 - 1 - E6) |
| - Xoắn | TCVN 6745-1-E7 (IEC 794 - 1 - E7) |
| - Mềm dẻo | TCVN 6745-1-E8 (IEC 794 - 1 - E8) |
| - Giật | TCVN 6745-1-E9 (IEC 794 - 1 - E9) |
| - Bẻ gập | TCVN 6745-1-E10 (IEC 794 - 1 - E10) |
| - Uốn cáp | TCVN 6745-1-E11 (IEC 794 - 1 - E11) |
| A.3.2. Phương pháp đo các đặc tính cơ của đầu nối | |
| - Kích thước | (IEC 874 - 1, điều 26) |
| - Rơi tự do | (IEC 874 - 1, 28.17) |
| - Lực lắp vào và tháo ra | (IEC 874 - 1, 28.6) |
| - Độ bền cơ | (đang xem xét) |
| - Rung | (IEC 874 - 1, 28.2) |
| - Độ bền của cơ cấu truyền đồng ghép nối | (IEC 874 - 1, 28.8) |
| - Độ bền | (IEC 874 - 1, 28.7) |
| - Momen xoắn cáp | (IEC 874 - 1, đang xem xét) |
| - Tính hiệu quả của sợi hoặc giữ cáp bằng đai sắt | (IEC 874 - 1, 28.4) |
A.4. Phương pháp đo các đặc tính truyền dẫn và đặc tính quang
A.4.1. Suy hao
Kỹ thuật cắt ngược có các điều kiện phóng thay đổi nêu trong chú thích dưới đây cho kết quả chính xác đối với sợi quang ngắn.
Tuy nhiên, trong trường hợp đo sợi hoặc cáp ngắn phần bổ sung vào sai số đo không thể bỏ qua vì phần suy hao của sợi và cáp ngắn gần bằng với sai số đo.
Phương pháp suy hao xen vào có thể được sử dụng khi độ chính xác không quan trọng.
Kỹ thuật tán xạ ngược có độ phân dải cao như trình bày trong phương pháp IEC 793 - 1 - C1C có thể thích hợp đối với sợi loại A2, A3 và A4.
Chú thích - Phân bố không ổn định.
Trong trường hợp các chiều dài sợi phân bố ổn định thì các điều kiện phóng cần khác với điều kiện phân bố ổn định. Trong mọi trường hợp mà điều kiện phóng khác một cách đáng kể so với điều kiện ổn định trên đoạn sợi cần đo thì không thể nhận được các giá trị của hệ số suy hao có nghĩa là phân bố công suất phụ thuộc vào chiều dài. Phép đo giá trị suy hao trong điều kiện cụ thể cứ thế được quy định. Trong trường hợp này các điều kiện phải ghi lại, ví dụ:
a) bước sóng của nguồn;
b) độ rộng phổ;
c) biểu đồ bức xạ;
d) chiều dài sợi thử nghiệm:
e) ghép nối giữa nguồn và sợi thử nghiệm;
f) các điều kiện phóng riêng có thể cần cho phép đo suy hao, ví dụ các điều kiện phóng đầy đủ cho ở 4.11.1 của IEC 793 - 1 (xuất bản lần 4).
Nên sử dụng:
- khẩu độ số phóng bằng hoặc lớn hơn chút ít khẩu độ số lý thuyết lớn nhất của sợi thử nghiệm;
- giọt sáng phóng phải bằng hoặc lớn hơn chút ít đường kính lõi của sợi thử nghiệm. Hệ thống phóng chúng để đạt được điều kiện phóng đối với sợi ngắn được nêu ở A.4.2.
A.4.2. Điều kiện phóng
Vì sự tái lặp của khẩu độ số (NA) và phép đo suy hao của các sợi có chiết xuất bậc đang là vấn đề tranh cãi cho nên hệ thống phóng được thực hiện rõ ràng là cần thiết. Hệ thống này có thể đạt được nhờ sử dụng các linh kiện quang có sẵn trong thương mại và phải có khả năng cung cấp một dải rộng về kích cỡ các giọt sáng và khẩu độ số để đáp ứng tất cả các loại sợi quang.
A.4.2.1. Mô tả
Hệ thống này tạo ra ảnh của nguồn sáng ở đầu vào của sợi quang thử nghiệm. Đường kính của giọt sáng và góc lớn nhất của tia sáng tới ở đầu sợi quang được điều chỉnh một cách tương ứng nhờ màn chắn điều chỉnh được 7 và 11 (hình A1).
Kích cỡ của giọt sáng có thể xác định trên màn hình thông qua ánh sáng phản xạ từ đầu sợi quang và bộ tách tia sáng (nhờ đó mà có thể tạo ra sự trùng tâm của giọt sáng với tâm của lõi sợi quang).
Tùy thuộc vào khoảng cách giữa màn chắn 11) và đầu sợi quang, màn chắn này được điều chỉnh để nhận được góc phóng lớn nhất mong muốn. Nếu khoảng cách này được ấn định thì độ tại lặp nhận được một cách dễ dàng bởi vì ánh sáng phát ra từ đầu sợi quang phải hội tụ trên màn hình.
Đối với sợi quang A4 để đạt được phép đo suy hao mà không phụ thuộc vào chiều dài thì nên đặt bộ trộn mode (xem hình A2 và bảng A1) giữa sợi quang và màn chắn 11, còn các thành phần quang 4 và 6 đến 9, 13, 15 cần được đưa ra khỏi hệ thống. Kích cỡ của giọt sáng phải lớn hơn hoặc bằng kích cỡ của lõi sợi quang và khẩu độ số phóng phải lớn hơn hoặc bằng khẩu độ số lý thuyết của sợi quang cần đo. Đối với phép đo khẩu độ số cần được nghiên cứu tiếp.
A.4.2.2. Điều kiện thử nghiệm
Để nhận được các giá trị suy hao và khẩu độ số tái lập thì phải quy định những điều cần thiết sau:
- kích cỡ giọt sáng (theo phần trăm của đường kính lõi sợi quang);
- khẩu độ số phóng (theo phần trăm của NA lý thuyết của sợi quang):
- kích thước và số vòng của bộ trộn mode, nếu áp dụng

| 1) Nguồn (ví dụ bóng đèn 100W) | 9) Thấu kính (ví dụ f = 50,8 mm; F = 500 mm) |
| 2) Thấu kính (ví dụ f = 50,8 mm; F = 76,2 mm) | 10) Tấm kính (ví dụ F = 50 -10,95) |
| 3) Bộ lọc (ví dụ f = 50,8 mm; l = 850 ± 50 nm) | 11) Tấm chắn trường điều chỉnh được |
| 4) Thấu kính (ví dụ f = 50,5 mm; F = 76,2 mm) | 12) Dụng cụ đo cao tần |
| 5) Tấm ngăn | 13) Bộ giám sát video |
| 6) Thấu kính (ví dụ f = 50,8 mm; F = 125 mm) | 14) Bộ tách sóng |
| 7) Tấm chắn trường điều chỉnh được | 15) Màn hình |
| 8) Bộ tách tia sáng |
|
Hình A.1

Hình A.2
Bảng A.1
| Đường kính sợi quang mm | Chiều dài sợi quang m | Đường kính trục quấn mm | Khoảng cách giữa hai trục quấn mm | Số vòng hình số 8 |
| 1,00 | 20 | 42 | 3 | 10 |
| 0,75 | 15 | 35 | 3 | 20 |
| 0,50 | 10 | 32 | 2 | 40 |
A.4.3. Đáp ứng băng gốc
Về độ rộng của băng, phép đo bằng kỹ thuật xung đã được thực hiện trên đoạn ngắn của các sợi quang A4.
Các phép đo tương tự đối với sợi quang A2 và A3 sẽ được nghiên cứu tiếp.
A.4.4. Tính liên tục về quang
Đối với cả hai phương pháp nêu trong bảng 3, nên sử dụng phương pháp phát hoặc bức xạ công suất ánh sáng đối với các sợi quang ngắn, IEC 793 - 1 - C4.
A.4.5 Khẩu độ số
Nên sử dụng phương pháp phân bố trường xa (IEC 793 - 1 - C6) có điều kiện phóng thay đổi để áp dụng cho phép đo suy hao.
A.5. Phương pháp đo đối với các đặc tính môi trường
A.5.1. Quy định chung
Khi cáp cần được sử dụng không có đầu nối thì áp dụng các thử nghiệm nêu trong tiêu chuẩn này.
Khi cáp cần được sử dụng có đầu nối chỉ áp dụng các thử nghiệm trên cáp còn các thử nghiệm kết hợp trên cáp cùng với việc lắp ráp đầu nối thì thực hiện theo IEC 874 - 1.
A.5.2. Dải nhiệt độ làm việc
Dải nhiệt độ làm việc thông thường được tính đến gồm:
từ - 40°C đến + 65°C (áp dụng trên đất liền)
từ - 55°C đến + 85°C (máy bay dân dụng)
từ - 55°C đến + 125°C (cáp dùng cho quân đội)
từ - 55°C đến + 260°C (cáp dùng trong lĩnh vực hàng không học)
Các lớp bọc sợi quang thích hợp phải được sử dụng.
A.5.3 Phương pháp đo đối với cáp
| - Thử nghiệm cháy | (đang xem xét) |
| - Uốn lạnh | (đang xem xét) |
| - Nhiệt độ biến đổi chu kỳ | TCVN 6745-1-F1 (IEC 794 - 1 - F1) |
| - Nhiễm bẩn | TCVN 6745-1-F2 (IEC 794 - 1 - F2, đang xem xét) |
| - Tính nguyên vẹn của vỏ bọc | TCVN 6745-1-F3 (IEC 794 - 1 - F3) |
| - Áp suất tĩnh bên ngoài | TCVN 6745-1-F4 (IEC 794 - 1 - F4, đang xem xét) |
| - Ngấm nước | TCVN 6745-1-F5 (IEC 794 - 1 - F5) |
| - Băng giá | TCVN 6745- 1-F6 (IEC 794-1- F6, đang xem xét) |
| - Bức xạ hạt nhân | TCVN 6745-1-F7 (IEC 794 - 1 - F7, đang xem xét) |
5.4 Phương pháp đo đối với đầu nối
| - Trình tự khí hậu | (IEC 874- 1, 29.5) |
| - Sương muối | (IEC 874 - 1, 29.9 chỉ áp dụng cho đầu nối có các chi tiết bằng kim loại) |
Phụ lục B
(tham khảo)
HƯỚNG DẪN QUÁ TRÌNH ĐẶT MUA CÁP SỢI QUANG
B.1. Quy định chung
Quá trình đặt mua bao gồm toàn bộ quá trình nhờ đó mà người mua có thể nhận được cáp sợi quang cho một dự án cụ thể. Quá trình này gồm lập kế hoạch, lựa chọn sản phẩm và người thầu, định giá, thu xếp thời gian và các điều kiện, soạn thảo hợp đồng thích hợp hoặc đặt mua, đảm bảo giao hàng nhận hàng đúng hẹn giải quyết các vấn đề và những khiếu nại thu được cùng với các hành động xử lý và đảm bảo chất lượng.
Quá trình đặt mua hàng cần thực hiện chức năng dịch vụ, hỗ trợ để giảm chi phí, mặc dù không trực tiếp phát sinh thu nhập. Việc này sẽ đưa ra những kế hoạch ngắn hạn cũng như dài hạn phù hợp với nhu cầu của dự án về mặt thay đổi công nghệ và tình trạng cung cấp và các yêu cầu của thị trường. Quá trình đặt mua có thể tạo ra sự ủng hộ đáng kể, bằng cách cung cấp những thông tin về kế hoạch và dự báo phát triển sản xuất và thị trường về mặt vật liệu, nguồn cung ứng và những đổi mới về công nghệ.
Phụ lục này liên quan đến các phương pháp và quy trình cần thiết cho quá trình đặt mua cáp sợi quang và áp dụng cho quá trình đặt mua hàng nói chung. Tất cả các phuơng pháp và quy trình được mô tả có thể không áp dụng cho mọi trường hợp mua hàng. Những người mua khác nhau sẽ cân đối mức độ và chi phí về phẩm cấp của người thầu và quá trình thử nghiệm sản phẩm dựa trên số lượng hàng bán của họ và nguồn cung ứng có sẵn.
B.2. Các bước của quá trình đặt mua
Các bước của quá trình sau được đưa vào để cung cấp chu trình đặt mua điển hình đối với cáp sợi quang, và mô tả xem danh mục những nội dung kèm theo được sử dụng như thế nào.
B.2.1 Thiết lập chuẩn cứ
Bước thứ nhất trong quá trình này lập ra chuẩn cứ cho quá trình đặt mua cáp sợi quang và tìm kiếm thông tin sơ bộ.
B.2.1.1. Tiêu chuẩn cáp sợi quang
Nếu có thể, quy định kỹ thuật cho sản phẩm cần được thỏa thuận phải được ban hành dựa vào các tiêu chuẩn nội bộ, tiêu chuẩn quốc gia hoặc tiêu chuẩn quốc tế. Nếu không có thì danh mục chỉ ra ở bảng B.1 đến B.6 có thể sử dụng để xây dựng quy định kỹ thuật cho quá trình đặt mua thích hợp.
B.2.1.2. Yêu cầu về thông tin (RFI)
Thông tin chi tiết liên quan đến các thông số và đặc điểm riêng của các sản phẩm thầu khác nhau có thể nhận được bằng cách đưa RFI đến các người thầu. Trong RFI khách hàng có thể đưa ra bản tường thuật ngắn gọn về việc sử dụng và những điểm chính của yêu cầu làm căn cứ cho nhà chế tạo đáp ứng một cách chính xác. RFI thường thường là bước sơ bộ trong khi xây dựng quy định kỹ thuật cho quá trình đặt mua nhưng đó không phải là quy trình hoàn toàn cần thiết nếu khách hàng đã có đầy đủ các thông tin về kỹ thuật và thương mại của người thầu. Trong trường hợp này RFI có thể đơn giản đi một cách thích hợp.
Phần quy định kỹ thuật của RFI phải có những thông báo chung về công việc cần nghiên cứu và cho quy định những thông số và yêu cầu mà nhất thiết phải cần.
B.2.1.3 Yêu cầu về bản trích lục (RFQ)
Tìm kiếm và lựa chọn người cung ứng có năng lực được tiến hành sau quy trình RFI và là khía cạnh mấu chốt trong quá trình đặt mua. Để thực hiện việc này, việc đáp ứng RFI là do người thầu. Thông tin nhận được này sẽ dẫn đến việc bàn bạc tiếp theo với người thầu, và chủ yếu là trong quy định kỹ thuật cho quá trình đặt mua. Một khi bản quy định kỹ thuật cuối cùng đã được nhất trí thì RFQ được ban hành để lựa chọn người tốt nhất có thể có đối với cáp sợi quang.
B.2.2. Mua và chuẩn cứ đánh giá
Đánh giá bản trích lục bao gồm việc xem xét không chỉ giá cả mà còn phải xem xét các yếu tố như giao hàng, thời hạn và các điều kiện, dịch vụ, chi phí vận chuyển, tình trạng về tài chính của người thầu, vấn đề đàm đạo và các chỉ tiêu chất lượng về người thầu.
B.2.3. Hợp đồng và đơn đặt hàng của người mua
Sự phán quyết của người mua thường thường được thể hiện bằng việc soạn thảo hợp đồng hoặc đơn đặt hàng. Điều này có thể đa dạng về nội dung để đưa ra những điều kiện thuận lợi nhất cho việc mua bán.
B.2.4. Đảm bảo chất lượng và độ tin cậy
Trách nhiệm chính để chế tạo ra sản phẩm phù hợp với nhu cầu của người mua chủ yếu là ở người chế tạo. Khả năng của người chế tạo để thực hiện phụ thuộc vào hệ thống quản lý chất lượng tương xứng hiện có trong đó bao gồm khả năng thiết kế cáp thỏa mãn các yêu cầu về chức năng và chương trình tương xứng để điều hành các quá trình và sản phẩm trong quá trình chế tạo.
B.2.5. Đo nghiệm thu
Chương trình thử nghiệm tối thiểu để nghiệm thu phải được thỏa thuận giữa người chế tạo và khách hàng và thiết lập vào thời điểm đặt mua. Tất cả các kiểm tra viên phải được đào tạo tốt và có các dụng cụ và thiết bị thích hợp để kiểm tra đánh giá.
B.3. Danh mục kiểm tra yêu cầu đối với cáp sợi quang
Các bảng sau đây đưa ra danh mục kiểm tra để hỗ trợ việc xây dựng quy định kỹ thuật của quá trình đặt mua cáp sợi quang. Các đơn vị của mỗi thông số sẽ thấy trong quy định kỹ thuật sau tương ứng đối với sợi quang hoặc cáp. Các bảng này có thể sử dụng trong RFI, RFQ và các sử dụng có thể khác.
Cần lưu ý là không phải tất cả các vấn đề trong các bảng sau đều phải quy định. Quy định kỹ thuật quá mức có thể dẫn đến chi phí cao mà vẫn không mang lại những giá trị gì hơn cho người sử dụng. Chính vì vậy mà quá trình RFI và RFQ nên có những bước lặp lại vừa đủ để đảm bảo tính năng thích hợp với chi phí thực tế thống nhất. Khi làm theo danh mục này đối với đơn đặt hàng cụ thể, tất cả các giá trị và thông tin khác không cần thiết cho tính năng sản phẩm thỏa mãn thì nên loại bỏ.
Danh mục kiểm tra nên dựa vào quy định kỹ thuật của quá trình đặt mua đối với mỗi sản phẩm cụ thể.
Danh mục kiểm tra yêu cầu của cáp sợi quang
| Kiểu sợi quang; Số lượng sợi quang Sử dụng: Trong nhà; Ngoài trời; Loại sợi quang; Bước sóng; Dải nhiệt độ đối với: lưu kho; lắp đặt; sử dụng. Nhận xét khác (tên của người sử dụng, tùy ý) |
| Kết cấu của cáp (cần được xác định khi sau khi áp dụng) và các yêu cầu khác; Bảo vệ sợi quang: bộ phận đệm lỏng; bộ phận đệm chặt; lõi có khe; nhận xét khác. Mã màu; Nhận biết cáp: tên người sử dụng; tên người chế tạo; kiểu sợi quang; số lượng sợi quang; năm chế tạo; ghi ký hiệu đoạn*. Ruột dẫn kim loại Lớp bảo vệ ngoài / đai giáp: kết cấu kim loại hoặc phi kim loại kết cấu bảo vệ chịu nước Nhận xét khác |
* Số đầu tiên không được sử dụng Zero
Bảng B.2 - Yêu cầu và kích thước
| Thông số | Yêu cầu/quy định kỹ thuật | Phương pháp thử nghiệm | Nhận xét |
| Đường kính lõi* |
|
|
|
| Đường kính lớp vỏ thủy tinh |
|
|
|
| Độ không tròn của lõi* |
|
|
|
| Độ không tròn của lớp vỏ thủy tinh |
|
|
|
| Sai số đồng tâm của lõi/lớp vỏ thủy tinh* |
|
|
|
| Các thông số khác: Đường kính vỏ nhựa |
|
|
|
|
|
|
| |
| Đường kính ống đệm |
|
|
|
| Độ không tròn của vỏ nhựa |
|
|
|
| Chiều dài và dung sai cáp |
|
|
|
| Đường kính của ruột dẫn điện |
|
|
|
| Chiều dày cách điện |
|
|
|
| Chiều dày vỏ bọc |
|
|
|
| Kích thước toàn bộ của cáp |
|
|
|
* Chỉ áp dụng cho sợi đa mode. Độ đồng tâm của đường kính trường mode (lớp vỏ thuỷ tinh) của sợi đơn mode cho trong bảng B.4b
Bảng B.3 - Các yêu cầu về cơ
| Thông số | Yêu cầu/quy định kỹ thuật | Phương pháp thử nghiệm | Nhận xét |
| Độ bền kéo |
|
|
|
| Khả năng chịu nén |
|
|
|
| Khả năng chịu va đập |
|
|
|
| Áp suất tĩnh |
|
|
|
| Uốn lặp lại |
|
|
|
| Xoắn |
|
|
|
| Mềm dẻo |
|
|
|
| Giật |
|
|
|
| Bẻ gập |
|
|
|
| Uốn |
|
|
|
| Các yêu cầu về cơ khác |
|
|
|
Bảng B.4a - Yêu cầu về truyền dẫn và quang của sợi đa mode trong cáp
| Thông số | Chiều dài bước sóng làm việc | Yêu cầu/quy định kỹ thuật | Phương pháp thử nghiệm | Nhận xét |
| Suy hao |
|
|
|
|
| Tán xạ ngược |
|
|
|
|
| Đáp ứng của băng gốc / độ rộng băng |
|
|
|
|
| Khẩu độ số |
|
|
|
|
| Tán sắc tổng |
|
|
|
|
| Các yêu cầu khác |
|
|
|
|
Bảng B.4b - Yêu cầu về truyền dẫn và quang của sợi đơn mode trong cáp
| Thông số | Chiều dài bước sóng làm việc | Yêu cầu/quy định kỹ thuật | Phương pháp thử nghiệm | Nhận xét |
| Suy hao |
|
|
|
|
| Tán xạ ngược |
|
|
|
|
| Đường kính trường mode (MFD) |
|
|
|
|
| Độ đồng tâm của MFD |
|
|
|
|
| Tán sắc sắc thể |
|
|
|
|
| Bước sóng cắt |
|
|
|
|
| Các yêu cầu khác |
|
|
|
|
Bảng B.5 - Yêu cầu về điện
(chỉ áp dụng cho cáp hỗn hợp)
| Thông số | Yêu cầu/quy định kỹ thuật | Phương pháp thử nghiệm | Nhận xét |
| Điện trở ruột dẫn |
|
|
|
| Độ bền điện môi của cách điện |
|
|
|
| Điện trở cách điện |
|
|
|
| Các yêu cầu khác |
|
|
|
Bảng B.6 - Các yêu cầu về môi trường
| Thông số | Yêu cầu/quy định kỹ thuật | Phương pháp thử nghiệm | Nhận xét |
| Chu kỳ biến đổi nhiệt độ |
|
|
|
| Tính năng trong điều kiện cháy |
|
|
|
| Tính nguyên vẹn của vỏ bọc |
|
|
|
| Ngấm nước |
|
|
|
| Uốn lạnh |
|
|
|
| Băng giá |
|
|
|
| Bức xạ hạt nhân |
|
|
|
| Các yêu cầu khác |
|
|
|
MỤC LỤC
Mục 1 - Qui định chung
1.1. Phạm vi áp dụng và mục đích
1.2. Tiêu chuẩn trích dẫn
1.3. Định nghĩa
1.4. Cáp sợi quang
1.5. Vật liệu
1.6. Kết cấu của cáp
Mục 2- Phương pháp đo kích thước
2.1. Mục đích
Mục 3 - Phương pháp đo các đặc tính cơ
3.1. Mục đích
3.2. Các định nghĩa về vận hành
3.3. Phương pháp TCVN 6745-1-E1 (IEC 794-1-E1) - Tính năng kéo
3.4. Phương pháp TCVN 6745-1-E2 (IEC 794-1-E2) - Mài mòn
3.5. Phương pháp TCVN 6745-1-E3 (IEC 794-1-E3) - Nén
3.6. Phương pháp TCVN 6745-1-E4 (IEC 794-1-E4) - Va đập
3.7. Phương pháp TCVN 6745-1-E5 (IEC 794-1-E5) - Áp suất thay đổi
3.8. Phương pháp TCVN 6745-1-E6 (IEC 794-1-E6) - Uốn lặp lại
3.9. Phương pháp TCVN 6745-1-E7 (IEC 794-1-E7) - Xoắn
3.10. Phương pháp TCVN 6745-1-E8 (IEC 794-1-E8) - Mềm dẻo
3.11. Phương pháp TCVN 6745-1-E9 (IEC 794-1-E9) - Giật
3.12. Phương pháp TCVN 6745-1-E10 (IEC 794-1-E10) - Bẻ gập
3.13. Phương pháp TCVN 6745-1-E11 (IEC 794-1-E11) - Uốn cáp
3.14. Phương pháp TCVN 6745-1-E12 (IEC 794-1-E12) - Khả năng chịu cắt
3.15. Phương pháp TCVN 6745-1-E13 (IEC 794-1-E13) - Tác động bằng súng bắn
3.16. Phương pháp TCVN 6745-1-E14 (IEC 794-1-E14) - Chảy hợp chất độn
3.17. Phương pháp TCVN 6745-1-E15 (IEC 794-1-E15) - Rò rỉ và bay hơi
3.18. Phương pháp TCVN 6745-1-E16 (IEC 794-1-E16) - Bẻ gập ống
Mục 4 - Phương pháp đo các đặc tính truyền dẫn và đặc tính quang
4.1. Mục đích
Mục 5- Phương pháp đo các đặc tính điện
5.1. Mục đích
Mục 6 - Phương pháp đo các đặc tính về môi trường
6.1. Mục đích
6.2. Định nghĩa
6.3. Phương pháp TCVN 6745-1-F1 (IEC 794-1-F1) - Nhiệt độ biến đổi chu kỳ
6.4. Phương pháp IEC XXX-1-F2 - Nhiễm bẩn
6.5. Phương pháp TCVN 6745-1-F3 (IEC 794-1-F3) - Tính nguyên vẹn của vỏ bọc
6.6. Phương pháp IEC XXX-1-F4 - Áp suất tĩnh bên ngoài
6.7. Phương pháp TCVN 6745-1-F5 (IEC 794-1-F5) - Ngấm nước
6.8. Phuơng pháp IEC XXX-1-F6 - Băng giá
6.9. Phương pháp IEC XXX-1-F7 - Bức xạ hạt nhân
Phụ lục A Hướng dẫn đối với cáp dùng cho cự ly ngắn
Phụ lục B Hướng dẫn quá trình lắp đặt mua cáp sợi quang
Bạn chưa Đăng nhập thành viên.
Đây là tiện ích dành cho tài khoản thành viên. Vui lòng Đăng nhập để xem chi tiết. Nếu chưa có tài khoản, vui lòng Đăng ký tại đây!