- Tổng quan
- Nội dung
- Tiêu chuẩn liên quan
- Lược đồ
- Tải về
Tiêu chuẩn Quốc gia TCVN 7085:2007 Sữa - Đo nhiệt độ đông lạnh bằng điện trở nhiệt xác định điểm đóng băng
| Số hiệu: | TCVN 7085:2007 | Loại văn bản: | Tiêu chuẩn Việt Nam |
| Cơ quan ban hành: | Bộ Khoa học và Công nghệ | Lĩnh vực: | Khoa học-Công nghệ , Thực phẩm-Dược phẩm |
|
Ngày ban hành:
Ngày ban hành là ngày, tháng, năm văn bản được thông qua hoặc ký ban hành.
|
2007 |
Hiệu lực:
|
Đã biết
|
| Người ký: | Đang cập nhật |
Tình trạng hiệu lực:
Cho biết trạng thái hiệu lực của văn bản đang tra cứu: Chưa áp dụng, Còn hiệu lực, Hết hiệu lực, Hết hiệu lực 1 phần; Đã sửa đổi, Đính chính hay Không còn phù hợp,...
|
Đã biết
|
TÓM TẮT TIÊU CHUẨN VIỆT NAM TCVN 7085:2007
Nội dung tóm tắt đang được cập nhật, Quý khách vui lòng quay lại sau!
Tải tiêu chuẩn Việt Nam TCVN 7085:2007
TIÊU CHUẨN QUỐC GIA
TCVN 7085:2007
ISO 5764:2002
SỮA - XÁC ĐỊNH ĐIỂM ĐÓNG BĂNG - PHƯƠNG PHÁP SỬ DỤNG DỤNG CỤ ĐO NHIỆT ĐỘ ĐÔNG LẠNH BẰNG ĐIỆN TRỞ NHIỆT (PHƯƠNG PHÁP CHUẨN)
Milk - Determination of freezing point - Thermistor cryoscope method (Reference method)
Lời nói đầu
TCVN 7085:2007 thay thế TCVN 7085:2002;
TCVN 7085:2007 hoàn toàn tương đương với ISO 5764:2002/IDF 108:2002;
TCVN 7085:2007 do Ban kỹ thuật tiêu chuẩn TCVN/TC/F12 Sữa và sản phẩm sữa biên soạn, Tổng cục Tiêu chuẩn Đo lường Chất lượng đề nghị, Bộ Khoa học Công nghệ công bố.
Lời giới thiệu
Phương pháp qui định trong tiêu chuẩn này được sử dụng để xác định điểm đóng băng của sữa sử dụng dụng cụ đo điểm đông lạnh bằng điện trở nhiệt, có bể khống chế nhiệt độ làm lạnh bằng điện và dùng đầu dò điện trở nhiệt để đo điểm đóng băng.
Phương pháp này cần sử dụng các dụng cụ tìm điểm ổn định có cố định thời gian. Đối với các phép đo thông thường, có thể sử dụng các phương pháp khác, ví dụ sử dụng dụng cụ đo điểm đóng băng bằng điện trở nhiệt, có nghĩa là các qui trinh được cố định thời gian. Các hướng dẫn áp dụng các qui trình khác được đưa ra trong phụ lục B.
SỮA - XÁC ĐỊNH ĐIỂM ĐÓNG BĂNG - PHƯƠNG PHÁP SỬ DỤNG DỤNG CỤ ĐO NHIỆT ĐỘ ĐÔNG LẠNH BẰNG ĐIỆN TRỞ NHIỆT (PHƯƠNG PHÁP CHUẨN)
Milk - Determination of freezing point - Thermistor cryoscope method (Reference method)
1. Phạm vi áp dụng
Tiêu chuẩn này quy định phương pháp chuẩn để xác định điểm đóng băng của sữa tươi nguyên liệu, các loại sữa nguyên chất, sữa tách một phần chất béo và sữa gầy đã được thanh trùng, đã xử lý UHT hoặc đã tiệt trùng.
Điểm đóng băng có thể được sử dụng để đánh giá tỷ lệ của nước có nguồn gốc từ bên ngoài có mặt trong sữa. Vệc tính lượng nước có nguồn gốc từ bên ngoài là rất khó, do biến động hàng ngày, biến động theo mùa v.v... và nó không thuộc phạm vi áp dụng của tiêu chuẩn này.
Các kết quả thu được từ các mẫu có độ axit có thể chuẩn độ vượt quá 20 ml dung dịch natri hydroxit 0,1 mol/l trên 10 g chất khô không béo thì sẽ không đại diện cho sữa ban đầu.
CHÚ THÍCH: Việc tiệt trùng và thanh trùng bằng chân không có thể ảnh hưởng đến điểm đóng băng của sữa (xem [6]).
2. Tài liệu viện dẫn
Các tài liệu viện dẫn sau là rất cần thiết cho việc áp dụng tiêu chuẩn. Đối với các tài liệu viện dẫn ghi năm ban hành thì áp dụng phiên bản được nêu. Đối với các tài liệu viện dẫn không ghi năm ban hành thì áp dụng phiên bản mới nhất, bao gồm cả các sửa đổi.
ISO 1042, Laboratory glassware - One-mark volumetric flasks (Dụng cụ thủy tinh dùng trong phòng thử nghiệm - Bình định mức một vạch).
TCVN 4851 (ISO 3696), Nước dùng để phân tích trong phòng thử nghiệm. Yêu cầu kỹ thuật và phương pháp thử.
ISO 6091, Dried milk - Determination of titratable acidity (Reterence method) [Sữa bột - Xác định độ axit chuẩn độ (phương pháp chuẩn)].
3. Thuật ngữ và định nghĩa
Trong tiêu chuẩn này sử dụng các thuật ngữ và định nghĩa sau:
3.1. điểm đóng băng của sữa (freezing point of milk)
giá trị thu được sử dụng phương pháp qui định trong tiêu chuẩn này.
CHÚ THÍCH: Điểm đóng băng được biểu thị bằng mili độ C (m°C).
4. Nguyên tắc
Mẫu thử của sữa được làm lạnh dưới nhiệt độ đóng băng để có được nhiệt độ thích hợp và tạo kết tinh bằng cách đủ để giải phóng nhiệt tức thời kèm theo việc làm ấm mẫu đến nhiệt độ ổn định. Sự ổn định này đạt được khi việc tăng nhiệt độ không vượt quá 0,5 m°C trong suốt 20 giây sau cùng. Nhiệt độ thu được này tương ứng với điểm đóng băng của mẫu sữa.
Thiết bị được hiệu chuẩn bằng cách điều chỉnh để có được các số đọc đúng đối với hai dung dịch natri clorua chuẩn, sử dụng cùng một qui trình như đối với các phần mẫu thử của sữa.
5. Thuốc thử
Chỉ sử dụng thuốc thử đạt chất lượng tinh khiết phân tích, trừ khi có qui định khác.
5.1. Nước, phù hợp với loại 2 của TCVN 4851 (ISO 3696) hoặc nước có chất lượng tương đương được cất bằng dụng cụ thủy tinh bosilicat.
Nước phải được đun sôi và làm nguội đến 20 °C ± 2°C ngay trước khi sử dụng.
5.2. Natri clorua (NaCI), dạng bột mịn, đã được sấy trước 5 giờ trong lò nung bằng điện (6.7) ở 300 °C ± 25 °C hoặc được sấy trong tủ sấy (6.8) ở 130 °C ± 2 °C trong ít nhất 24 giờ, sau đó được làm nguội đến nhiệt độ phòng trong tủ hút ẩm (6.9).
5.3. Dung dịch chuẩn natri clorua
Cân một lượng thích hợp (xem Bảng 1) natri clorua khô đã chuẩn bị (5.2), chính xác đến 0,1 mg trong bình cần (6.5). Hòa tan trong nước (5.1) và chuyển sang bình định mức một vạch 1 000 ml (6.6). Pha loãng bằng nước (5.1) ở 20 °C ± 2 °C đến vạch mức 1 000 ml và lắc đều.
Cách khác và tốt nhất là tạo dung dịch chuẩn natri clorua theo gam trên kilogam (xem bảng 1, cột thứ hai) bằng cách cân một lượng yêu cầu của natri clorua đã chuẩn bị (5.2) chính xác đến 0,1 mg và hòa tan trong đúng 1 kg nước (5.1). Bảo quản các dung dịch chuẩn này ở 5 °C trong chai polyetylen được đậy kín (6.10) có dung tích không quá 250 ml.
Trước khi sử dụng dung dịch chuẩn, lật ngược và xoay nhẹ chai vài lần để trộn đều lượng chứa bên trong chai. Không được lắc quá mạnh vì điều này có thể làm lẫn không khí vào. Rót mẫu dung dịch chuẩn từ chai. Không dùng pipet để hút. Khi dung dịch chuẩn trong chai còn ít hơn một phần tư hoặc để quá 2 tháng, hoặc có nấm mốc nhìn thấy thì không được sử dụng dung dịch chuẩn này nữa.
Bảng 1 - Điểm đóng băng của các dung dịch chuẩn natri clorua
| Dung dịch NaCI ở 20 °C | Dung dịch NaCI | Điểm đóng băng |
| 6,731 | 6,763 | - 400,0 |
| 6,868 | 6,901 | - 408,0 |
| 7,587 | 7,625 | - 450,0 |
| 8,444 | 8,489 | - 500,0 |
| 8,615 | 8,662 | - 510,0 |
| 8,650 | 8,697 | - 512,0 |
| 8,787 | 8,835 | - 520,0 |
| 8,959 | 9,008 | - 530,0 |
| 9,130 | 9,181 | - 540,0 |
| 9,302 | 9,354 | - 550,0 |
| 9,422 | 9,475 | - 557,0 |
| 10,161 | 10,220 | - 600,0 |
Với phương pháp chuẩn này, chỉ được sử dụng các dung dịch chuẩn natri clorua không chứa chất bảo quản. Đối với các phương pháp thông dụng, có thể sử dụng các dung dịch chuẩn natri clorua có chất kháng nấm hoặc diệt nấm. Xem hướng dẫn ở Phụ lục B.
6. Thiết bị, dụng cụ
Sử dụng các thiết bị, dụng cụ của phòng thử nghiệm thông thường và các loại sau:
6.1. Dụng cụ đo nhiệt độ đông lạnh, bao gồm dụng cụ làm lạnh khống chế được nhiệt độ, đầu dò điện trở nhiệt được gắn với mạch và dụng cụ hiển thị, bộ khuấy trộn mẫu và dụng cụ tạo tinh thể (xem hình 1).
6.1.1. Dụng cụ làm lạnh
Có thể sử dụng một vài loại dụng cụ làm lạnh ổn định nhiệt. Các loại sau đây được đưa ra làm ví dụ:
- loại nhúng: bể làm lạnh có dung tích đệm thích hợp;
- loại tuần hoàn: hơi của chất lỏng làm lạnh lưu thông liên tục quanh ống mẫu.
- loại làm lạnh bằng khối: khối làm lạnh với lượng nhỏ chất lỏng làm lạnh.
Sau khi bắt đầu làm đông lạnh, giữ ổn định nhiệt độ của chất lỏng làm lạnh bao quanh ống mẫu ở nhiệt độ -7,0 °C ± 0,5 °C.
CHÚ THÍCH: Chất lỏng làm lạnh thích hợp là dung dịch propylen glycol 33 % (thể tích).
6.1.2. Dụng cụ đo, mạng kèm và dụng cụ hiển thị
Điện trở nhiệt phải là loại đầu dò bằng thủy tinh, có đường kính 1,60 mm ± 0,4 mm và có điện trở từ 3 Ω đến 30 kΩ ở 0 °C.
Kiểu loại và kích thước của vật liệu (bao gồm cả bộ lọc) không cho phép truyền nhiệt sang mẫu lớn hơn 2,5 x 10-3 J/s, dưới các điều kiện thao tác.
Khi đầu dò đã ở vị trí đo, thì đầu hạt của điện trở nhiệt phải nằm trên trục của ống mẫu và ở vị trí có các khoảng cách đến thành trong của ống và đến đáy trong của ống bằng nhau (xem hình 1).
Điện trở nhiệt và mạng kèm phải cho thấy sự phân biệt nhiệt độ bằng hoặc lớn hơn 1 m°C trên dải nhiệt độ từ - 400 m°C đến - 600 m°C.
Độ tuyến tính của mạch không được có sai số lớn hơn 1 m°C tại bất kỳ điểm nào trong dải từ -400 m°C đến -600 m°C khi dụng cụ được thao tác đúng.
Dụng cụ hiển thị phải cho thấy sự phân biệt nhiệt độ bằng hoặc lớn hơn 1 m°C trên dải nhiệt độ ít nhất từ -0 m°C đến -1 000 m°C.
6.1.3. Que khuấy, nhúng vào sữa, để khuấy phần mẫu thử trong suốt quá trình làm lạnh.
Que khuấy phải điều chỉnh được về biên độ và được dựng theo phương thẳng đứng theo chỉ dẫn của nhà sản xuất. Que khuấy phải chuyển động một bên với biên độ 2 mm đến 3 mm để đảm bảo nhiệt độ trong phần mẫu thử không thay đổi trong suốt quá trình làm lạnh. Trong quá trình thao tác bình thường không để que khuấy chạm vào đầu dò điện trở nhiệt hoặc chạm vào thành ống.
6.1.4. Dụng cụ làm đóng băng ban đầu, bất kỳ dụng cụ nào khi thao tác mà làm đóng băng tức thời phần mẫu thử khi đạt tới - 3,0 °C.
Dùng que khuấy (6.1.3) cho mục đích này. Có một phương pháp để tăng biên độ giao động lên 1 giây đến 2 giây, sao cho que khuấy chạm vào thành của ống mẫu (6.2).
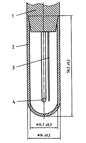
Kích thước tính bằng milimet

Chú giải
| 1. Trục | 3. Que khuấy |
| 2. Ống mẫu | 4. Đầu hạt điện trở nhiệt |
Hình 1 - Chi tiết về dụng cụ đo điện trở nhiệt
6.2. Ống mẫu, đối xứng, được làm bằng thủy tinh bosilicat và có chiều dài 50,5 mm ± 0,2 mm, đường kính ngoài 16,0 mm ± 0,2 mm và đường kính trong 13,7 mm ± 0,3 mm (xem hình 1).
Độ dày dọc thành ống chênh lệch nhau không quá 0,1 mm.
Các ống phải có hình dạng giống nhau sao cho các điểm đóng băng thu được là bằng nhau đối với các thể tích dung dịch mẫu như nhau. Kiểm tra sự bằng nhau trước khi sử dụng các ống.
6.3. Nguồn năng lượng chính, có thể thực hiện theo qui định của nhà sản xuất.
6.4. Cân phân tích, có thể cân chính xác đến 0,1 mg.
6.5. Bình cân.
6.6. Bình định mức một vạch, dung tích 1 000 ml, phù hợp với các yêu cầu của ISO 1042, loại A.
6.7. Lò nung bằng điện, có thể kiểm soát được ở 300 °C ± 25 °C.
6.8. Tủ sấy, có thể kiểm soát được ở 130 °C ± 2 °C.
6.9. Tủ hút ẩm.
6.10. Chai polyetylen, dung tích tối đa 250 ml, có nắp đậy thích hợp.
7. Lấy mẫu
Việc lấy mẫu không qui định trong tiêu chuẩn này. Nên lấy mẫu theo TCVN 6400 (ISO 707).
Điều quan trọng là mẫu gửi đến phòng thử nghiệm phải là mẫu đại diện và không bị hư hỏng hoặc thay đổi trong suốt quá trình bảo quản và vận chuyển.
Nếu cần, có thể bảo quản mẫu thử nghiệm ở 0 °C đến 6 °C.
Tốt nhất là thử nghiệm mẫu ngay khi đưa đến phòng thử nghiệm.
8. Hiệu chuẩn dụng cụ đo nhiệt độ đông lạnh bằng điện trở nhiệt
Đảm bảo rằng dụng cụ đo nhiệt độ đông lạnh (6.1) trong tình trạng làm việc tốt phù hợp với các chỉ dẫn của nhà sản xuất. Kiểm tra trạng thái của đầu dò, biên độ dao động của que khuấy và nhiệt độ của dụng cụ làm lạnh (6.1.1).
Chọn hai dung dịch tiêu chuẩn natri clorua (xem Bảng 1) có điểm đông lạnh gần với điểm đóng băng dự đoán của sữa cần kiểm tra. Chênh lệch giữa hai điểm đóng băng của hai dung dịch chuẩn natri clorua này không nhỏ hơn 100 m°C. Chú ý rằng, các nhiệt độ của các dung dịch chuẩn natri clorua đã chọn và của mẫu thử là giống nhau.
Rót 2,5 ml ± 0,1 ml dung dịch chuẩn natri clorua vào ống mẫu (6.2) khô, sạch và hiệu chuẩn thiết bị theo chỉ dẫn của nhà sản xuất. Sử dụng các ống mẫu (6.2) có cùng kiểu loại như đã được sử dụng trong suốt quá trình thử mẫu. Sau đó chuẩn bị sẵn sàng dụng cụ đo bằng điện trở nhiệt.
9. Chuẩn bị mẫu thử
9.1. Chuẩn bị
Nếu cần, loại bỏ hết các chất lạ nhìn thấy hoặc butterfat rắn ra khỏi mẫu thử bằng cách lọc sang một bình khô, sạch. Trộn mẫu nhẹ nhàng. Dùng một bộ lọc trơ đối với sữa và phù hợp khi được sử dụng ở nhiệt độ phòng thử nghiệm.
Kiểm tra các mẫu ở nhiệt độ bảo quản hoặc sau khi đạt tới nhiệt độ phòng thử nghiệm trước khi bắt đầu xác định. Tuy nhiên, nhiệt độ của các mẫu thử và các dung dịch chuẩn natri clorua cần phải như nhau khi tiến hành xác định (xem thêm điều 8).
9.2. Tình trạng mẫu
Nếu còn nghi ngờ về tình trạng mẫu, thì xác định độ axit chuẩn độ của mẫu thử bằng phương pháp qui định trong ISO 6091 cùng với thời điểm xác định điểm đóng băng.
Các kết quả thu được từ các mẫu thử bằng độ axit chuẩn độ mà vượt quá 20 ml dung dịch natri hydroxit 0,1 mol/l trên 10 g chất khô không chứa chất béo thì sẽ không đại diện cho mẫu sữa gốc.
10. Cách tiến hành
10.1. Kiểm tra ban đầu
Tiến hành kiểm tra thiết bị ban đầu theo các chỉ dẫn của nhà sản xuất.
10.2. Kiểm tra hiệu chuẩn hàng ngày
Trước mỗi dãy các phép xác định, đo điểm đóng băng của dung dịch chuẩn natri clorua (ví dụ: dung dịch có điểm đóng băng -512 m°C) cho đến khi các giá trị thu được trong hai phép xác định kế tiếp nhau không khác nhau quá 1 m°C.
Nếu giá trị trung bình của hai kết quả này khác với điểm đóng băng của dung dịch tiêu chuẩn natri clorua quá 2 m°C, thì hiệu chuẩn lại dụng cụ đo nhiệt độ đông lạnh như mô tả trong điều 8.
Nếu dụng cụ đo nhiệt độ đông lạnh được sử dụng tiếp tục, thì thực hiện kiểm tra hiệu chuẩn hàng ngày ít nhất mỗi giờ một lần.
10.3. Xác định
Lật ngược và quay vật chứa mẫu vài lần một cách nhẹ nhàng để trộn đều mẫu, tránh để lẫn không khí.
Dùng pipet chuyển phần mẫu thử 2,5 ml ± 0.1 ml của mẫu thử đã chuẩn bị (9.1) sang ống mẫu (6.2) khô, sạch. Đảm bảo rằng đầu dò và que khuấy (6.1.3) sạch và khô, dùng giấy khô, sạch. Lau khô cẩn thận bằng giấy mềm, sạch và không xơ, nếu cần.
Cho ống mẫu vào dụng cụ đo nhiệt độ đông lạnh (6.1) đã được hiệu chuẩn theo chỉ dẫn của nhà sản xuất. Bắt đầu cho làm lạnh phần mẫu thử và cho đóng băng ban đầu ở - 3,0 °C ± 0,1 °C.
Điểm cực đại đạt được khi nhiệt độ tăng trong 20 giây cuối không vượt quá 0,5 m°C. Đối với các thiết bị có sự phân giải không hơn 1 m°C, thì điểm cực đại đạt được sớm vì nhiệt độ được giữ không đổi trong 20 giây. Ghi lại nhiệt độ này.
Nếu vì một lý do nào đó, điểm đóng băng bắt đầu trước khi đạt tới nhiệt độ -3,0 °C ± 0,1 °C , thì hủy bỏ phép xác định. Lặp lại việc xác định với 2,5 ml phần mẫu thử khác.
Nếu phần mẫu thử thứ hai này cũng đóng băng trước nhiệt độ qui định, thì làm ấm mẫu thử 2,5 ml ± 0,1 ml đến khoảng 45 °C và duy trì ở nhiệt độ này trong 5 phút để làm tan các chất béo kết tinh. Sau đó làm mát mẫu thử đã chuẩn bị đến nhiệt độ thử nghiệm và tiến hành thử ngay.
CHÚ THÍCH: Khoảng thời gian mà nhiệt độ giữ ổn định và khoảng thời gian tính từ khi bắt đầu đóng băng đến khi đạt được nhiệt độ cao nhất sẽ khác nhau giữa các mẫu sữa và sẽ ngắn hơn đáng kể đối với nước và các dung dịch chuẩn natri clorua.
Sau mỗi lần xác định, tháo ống mẫu, tráng rửa đầu dò điện trở nhiệt và que khuấy bằng nước. Dùng khăn giấy khô, sạch, mềm, không xơ để lau khô.
Thực hiện phép xác định thứ hai trên phần mẫu thử khác. Nếu hai giá trị điểm đóng băng khác nhau lớn hơn giá trị lặp lại (xem 12.2), thì loại bỏ các kết quả và thực hiện hai phép xác định liên tiếp trên các phần mẫu thử mới.
11. Tính và biểu thị kết quả
11.1. Tính
Nếu việc hiệu chuẩn đã được khẳng định bằng kết quả hiệu chuẩn hàng ngày (10.2), thì lấy kết quả là trung bình của hai giá trị thu được, làm tròn đến ba chữ số sau dấu phẩy. Nếu việc hiệu chuẩn chưa được khẳng định, thì lặp lại qui trình (điều 10).
11.2. Biểu thị kết quả
Biểu thị kết quả thử của điểm đóng băng đến ba chữ số. Làm tròn kết quả trung bình như sau: nếu chữ số thứ tư là 5 thì làm tròn chữ số thứ ba đến số chẵn.
Ví dụ để làm tròn các kết quả trung bình của các giá trị điểm đóng băng (tính theo mili độ C) như sau:
| Các kết quả kép | Giá trị trung bình | |
| Kết quả 1 | Kết quả 2 | |
| - 540 | - 542 | - 541 |
| - 541 | - 542 | - 542 |
| - 540 | - 541 | - 540 |
12. Độ chụm
12.1. Phép thử liên phòng thử nghiệm
Các giá trị về độ lặp lại và độ tái lập thu được từ phép thử liên phòng thử nghiệm theo TCVN 6910-1 (ISO 5725-1) và TCVN 6910-2 (ISO 5725-2). Các chi tiết về phép thử liên phòng thử nghiệm này được đưa ra trong phụ lục A.
Các giá trị thu được này có thể không áp dụng được cho các dải nồng độ và chất nền khác với các giá trị đã nêu.
CHÚ THÍCH: IDF 135 đưa ra hướng dẫn cụ thể về các phép thử liên phòng thử nghiệm đối với các phương pháp phân tích sản phẩm sữa. Phương pháp này dựa trên ISO 5725.
12.2. Độ lặp lại
Chênh lệch tuyệt đối giữa hai kết quả thử nghiệm riêng rẽ độc lập, thu được khi sử dụng cùng phương pháp thử trên vật liệu thử giống hệt nhau, tiến hành trong cùng một phòng thử nghiệm do cùng một người phân tích, sử dụng cùng một thiết bị, trong một khoảng thời gian ngắn, không quá 5 % các trường hợp lớn hơn 4 m°C.
12.3. Độ tái lập
Chênh lệch tuyệt đối giữa hai kết quả thử nghiệm riêng rẽ, thu được khi sử dụng cùng phương pháp thử trên vật liệu thử giống hệt nhau, do các người phân tích khác nhau thực hiện trong các phòng thử nghiệm khác nhau, sử dụng các thiết bị khác nhau, không quá 5 % các trường hợp lớn hơn 6 m °C.
13. Báo cáo thử nghiệm
Báo cáo thử nghiệm phải chỉ ra:
- mọi thông tin cần thiết để nhận biết đầy đủ về mẫu thử;
- phương pháp lấy mẫu đã sử dụng, nếu biết;
- phương pháp thử đã sử dụng và viện dẫn tiêu chuẩn này;
- mọi chi tiết thao tác không qui định trong tiêu chuẩn này, cùng với các chi tiết bất thường nào khác có thể ảnh hưởng tới kết quả;
- độ axit có thể chuẩn độ được, nếu được xác định;
- kết quả thử nghiệm thu được, hoặc nếu độ lặp lại được kiểm tra thì nêu kết quả cuối cùng thu được.
PHỤ LỤC A
(tham khảo)
CÁC KẾT QUẢ CỦA PHÉP THỬ LIÊN PHÒNG THỬ NGHIỆM
A.1. Khái quát
Sau nghiên cứu sơ bộ vào tháng 10 năm 1998, một phép thử cộng tác quốc tế gồm mười chín phòng thử nghiệm và mười ba nước tham gia đã được thực hiện vào tháng 9 năm 1999. Phép thử đã thực hiện trên 18 mẫu thử, chia thành 36 mẫu kép:
- 6 cặp mẫu sữa gầy đã xử lý bằng UHT ở ba mức khác nhau;
- 6 cặp mẫu sữa nguyên chất đã xử lý bằng UHT ở ba mức khác nhau;
- 6 cặp mẫu sữa nguyên liệu ở ba mức khác nhau.
Phép thử này do Trạm kiểm soát sữa Netherlands, Zutphen (NL) và Ban thanh tra Bảo vệ sức khoẻ, Leeuwarden (NL) tổ chức. Các mẫu thử do Cecalait, Polygny (FR) chuẩn bị và cung cấp, đã được tiến hành phân tích thống kê phù hợp với TCVN 6910-1 (ISO 5725-1) và TCVN 6910 -2 (ISO 5725-2) để cho độ chụm như trong bảng A.1 đến bảng A.3.
A.2. Các kết quả thử nghiệm
Bảng A.1 - Các kết quả về sữa gầy đã xử lý bằng UHT
| Mẫu | 1 | 2 | 3 | 4 | 5 | 6 | Trung bình tổnga |
| Số phòng thử nghiệm tham gia sau khi trừ ngoại lệ | 17 | 16 | 17 | 18 | 18 | 17 |
|
| Giá trị trung bình, m°C | -497,4 | -498,8 | -512,0 | -518,1 | -536,1 | -539,4 | -517,0 |
| Độ lệch chuẩn lặp lại, sr, m°C | 1,2 | 1,0 | 1,2 | 1,1 | 1,2 | 1,0 | 1,1 |
| Giới hạn lặp lại, r (2,8 sr), m°C | 3,3 | 2,9 | 3,2 | 3,0 | 3,3 | 2,9 | 3,1 |
| Hệ số biến thiên lặp lại, % | 0,23 | 0,21 | 0,22 | 0,21 | 0,22 | 0,19 | 0,21 |
| Độ lệch chuẩn tái lập, sR. m°C | 1,2 | 1,3 | 1,2 | 1,6 | 1,4 | 2,0 | 1,5 |
| Giới hạn tái lập, R (2,8 sR), m°C | 3,5 | 3,6 | 3,3 | 4,5 | 4,0 | 5,6 | 4,2 |
| Hệ số biến thiên tái lập, % | 0,25 | 0,26 | 0,23 | 0,31 | 0,26 | 0,37 | 0,29 |
| a Các giá trị trung bình tổng được tính chỉ sử dụng các số liệu mẫu với các ngoại lệ đã loại bỏ. Giá trị trung bình mẫu tổng được tính theo trung bình. Tất cả các trung bình thống kê khác được tính từ căn bậc hai của trung bình độ lệch bình phương. | |||||||
Bảng A.2 - Các kết quả về sữa nguyên chất đã xử lý bằng UHT
| Mẫu | 1 | 2 | 3 | 4 | 5 | 6 | Trung bình tổnga |
| Số phòng thử nghiệm tham gia sau khi trừ ngoại lệ | 17 | 17 | 17 | 17 | 18 | 18 |
|
| Giá trị trung bình, m°C | -491,6 | -494,7 | -512,6 | -512,9 | -534,8 | -534,9 | -513,6 |
| Độ lệch chuẩn lặp lại, sr, m°C | 1,2 | 1,7 | 2,0 | 1,1 | 1,4 | 1,2 | 1,5 |
| Giới hạn lặp lại, r (2,8 sr), m°C | 3,5 | 4,7 | 5,5 | 3,1 | 3,9 | 3,4 | 4,1 |
| Hệ số biến thiên lặp lại, % | 0,25 | 0,34 | 0,38 | 0,22 | 0,26 | 0,22 | 0,28 |
| Độ lệch chuẩn tái lập, sR, m°C | 2,0 | 2,3 | 2,7 | 1,5 | 2,0 | 2,3 | 2,2 |
| Giới hạn tái lập, R (2,8 sR), m°C | 5,6 | 6,4 | 7,7 | 4,2 | 5,6 | 6,4 | 6,1 |
| Hệ số biến thiên tái lập, % | 0,41 | 0,46 | 0,53 | 0,29 | 0,38 | 0,43 | 0,42 |
| a Các giá trị trung bình tổng được tính chỉ sử dụng các số liệu mẫu với các ngoại lệ đã loại bỏ. Giá trị trung bình mẫu tổng được tính theo trung bình. Tất cả các trung bình thống kê khác được tính từ căn bậc hai của trung bình độ lệch bình phương. | |||||||
Bảng A.3 - Các kết quả đối với sữa nguyên liệu
| Mẫu | 1 | 2 | 3 | 4 | 5 | 6 | Trung bình tổnga |
| Số phòng thử nghiệm tham gia sau khi trừ ngoại lệ | 18 | 18 | 18 | 17 | 18 | 17 |
|
| Giá trị trung bình, m°C | -496,2 | -504,9 | -518,3 | -525,5 | -540,0 | -548,8 | -522,3 |
| Độ lệch chuẩn lặp lại, sr, m°C | 1,4 | 1,3 | 1,3 | 1,4 | 1,3 | 1,1 | 1,3 |
| Giới hạn lặp lại, r (2,8 sr), m°C | 3,8 | 3,6 | 3,7 | 3,8 | 3,6 | 3,2 | 3,6 |
| Hệ số biến thiên lặp lại, % | 0,28 | 0,25 | 0,26 | 0,26 | 0,24 | 0,21 | 0,25 |
| Độ lệch chuẩn tái lập, sR, m°C | 2,1 | 2,5 | 2,6 | 2,1 | 2,2 | 2,3 | 2,3 |
| Giới hạn tái lập, R (2,8 sR), m°C | 5,9 | 7,0 | 7,4 | 6,0 | 6,2 | 6,5 | 6,5 |
| Hệ số biến thiên tái lập, % | 0,42 | 0,50 | 0,51 | 0,41 | 0,41 | 0,42 | 0,45 |
| a Các giá trị trung bình tổng được tính chỉ sử dụng các số liệu mẫu với các ngoại lệ đã loại bỏ. Giá trị trung bình mẫu tổng được tính theo trung bình. Tất cả các trung bình thống kê khác được tính từ căn bậc hai của trung bình độ lệch bình phương. | |||||||
PHỤ LỤC B
(tham khảo)
HƯỚNG DẪN ÁP DỤNG CÁC PHƯƠNG PHÁP ĐO NHIỆT ĐỘ ĐÔNG LẠNH BẰNG ĐIỆN TRỞ NHIỆT THÔNG DỤNG
B.1. Giới thiệu
Tiêu chuẩn này mô tả phương pháp chuẩn sử dụng điện trở nhiệt để xác định điểm đóng băng của sữa. Trong thực tế, việc áp dụng các phương pháp sử dụng điện trở nhiệt khác có thể được sử dụng nhiều vì:
- đạt được trong thời gian thử ngắn, bằng cách ngừng thời điểm đo sớm hơn;
- giữ thiết bị đo trong cơ chế vận hành, về việc này thì sự thích nghi hoàn toàn với các yêu cầu của phương pháp chuẩn là không thể thực hiện được.
Các ví dụ của phương pháp và/hoặc các sai lệch trong sử dụng là:
- ngừng phép đo ở 30 giây, 50 giây, 60 giây hoặc 90 giây sau khi bắt đầu đóng băng;
- ngừng phép đo khi thiết bị hiển thị đã cho số đọc ổn định trong ± 1 m°C hoặc ổn định trong ± 1 m°C trong khoảng 20 giây;
- làm việc với các phần của thiết bị có các đặc trưng sai lệch;
- sử dụng các thể tích mẫu khác;
- áp dụng các nhiệt độ đóng băng khác.
Khi áp dụng các phương pháp thông dụng, cần điều chỉnh các kết quả thử thông dụng để thu được sự thống nhất với các phép đo chuẩn sử dụng dụng cụ đo diện trở nhiệt. Giá trị hiệu chỉnh cần được xác định đối với từng tình huống có liên quan. Phụ lục này đưa ra hướng dẫn để thiết lập các giá trị hiệu chỉnh.
B.2. Điều kiện quyết định
Phương pháp thông dụng được dùng cần phải đáp ứng đầy đủ các yêu cầu sau:
- sử dụng cùng nguyên tắc thử nghiệm, nghĩa là phương pháp dùng điện trở nhiệt;
- đạt được sự phân biệt bằng hoặc lớn hơn 1 m°C trên dải -400 m°C đến -600 m°C;
- có độ tuyến tính không có sai số lớn hơn 1 m°C trong dải -400 m°C đến -600 m°C;
- ngừng phép đo không sớm hơn 30 giây sau khi bắt đầu đông lạnh;
- có độ lặp lại không lớn hơn qui định trong 12.2.
B.3. Xác định giá trị hiệu chỉnh
B.3.1. Khái quát
Cần phải hiệu chỉnh qua các phép đo so sánh với phương pháp chuẩn và phương pháp thông dụng, sử dụng một lượng đủ mẫu sữa đại diện cần phân tích.
B.3.2. Lấy mẫu và xử lý mẫu
Mẫu được lấy phải là đại diện cho sản phẩm cần kiểm tra, tức là bao trùm dải trung bình trong dao động thành phần và dải các điểm đóng băng xuất hiện đối với loại mẫu cần kiểm tra (ví dụ: sữa nguyên liệu, sữa thanh trùng và/hoặc sữa gầy). Lấy mẫu và xử lý mẫu theo điều 7 và điều 9.
B.3.3. Số lượng mẫu thử
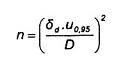
Số lượng mẫu tối thiểu, n, phải sao cho chênh lệch tới hạn không được vượt quá 0,4 m°C. Tính n bằng công thức sau:

trong đó
n là số lượng mẫu tối thiểu có trong phép thử;
dd là độ lệch chuẩn của các sai lệch giữa các phương pháp thử đối với các mẫu riêng lẻ;
U0,95 là giá trị bằng số của sự phân bố giảm chuẩn ở mức tin cậy 95 % một phía;
D là giá trị xác định đối với chênh lệch tới hạn.
Ví dụ: Đối với dd = 3,0 m°C, U0,95 = 1,645 và D = 0,4 m°C, n ≥ 152 mẫu.
B.3.4. Hiệu chuẩn và kiểm tra hiệu chuẩn
Phân tích các dung dịch chuẩn natri clorua (5.3) với các giá trị điểm đóng băng đã biết trong cùng một điều kiện như đối với các mẫu thử. Chú ý rằng các điều kiện đối với phương pháp chuẩn và phương pháp thông dụng là như nhau. Cũng sử dụng các dung dịch chuẩn natri clorua giống nhau cho cả hai phương pháp.
B.3.5. Đo các mẫu thử
Với các phương pháp thông dụng, có thể sử dụng các dung dịch chuẩn natri clorua (5.3) được bảo quản bằng chất diệt nấm hoăc kháng nấm. Tuy nhiên, việc bổ sung này không được ảnh hưởng quá + 1 m°C so với dung dịch không bảo quản có nồng độ natri clorua tương tự. Nếu sử dụng, thuốc thử phải là loại tinh khiết phân tích và việc sử dụng các loại thuốc thử này không bị hạn chế bởi các qui định về môi trường. Khi sử dụng chất bảo quản, nồng độ natri clorua hơi thấp hơn để giữ chính xác điểm đóng băng giống như đối với dung dịch chuẩn natri clorua không được bảo quản (xem Bảng 1). Thiết lập thời hạn sử dụng đúng dựa vào các nghiên cứu biến thiên.
Xác định điểm đóng băng của các mẫu thử kép bằng phương pháp chuẩn qui định trong tiêu chuẩn này.
Xác định điểm đóng băng của một dãy giống nhau các mẫu thử kép sử dụng phương pháp thông dụng, theo điều 9 và điều 10 của tiêu chuẩn này. Các chênh lệch giữa các phép đo liên tiếp hoặc giữa các phép đo của phương pháp chuẩn và phương pháp thông dụng cần được tránh, ví dụ: đảm bảo việc bảo quản đúng các mẫu (ở nhiệt độ từ 0 °C đến 6 °C) trong các chai đậy kín.
B.3.6. Tính các giá trị hiệu chỉnh
Hiệu chỉnh từng kết quả đơn lẻ bằng một lượng tương ứng với chênh lệch giữa điểm đóng băng của mẫu kiểm chứng được sử dụng (xem 5.3) và giá trị xác định được trong kiểm tra hiệu chuẩn gần nhất. Sau đó tính các giá trị trung bình của điểm đóng băng đối với các phép đo kép sử dụng phương pháp chuẩn. Tương tự, thực hiện đối với các phép đo sử dụng phương pháp thông dụng.
Tính độ lệch chuẩn s của các sai lệch đơn giữa các giá trị trung bình thu được bằng cả hai phương pháp. Bỏ đi các ngoại lệ, ví dụ các mẫu các sai lệch lớn hơn 3 s. Sau đó tính chênh lệch trung bình giữa các kết quả thu được bằng cả hai phương pháp. Làm tròn đến chữ số có nghĩa thứ hai. Sử dụng giá trị này làm giá trị hiệu chỉnh.
Một ví dụ với loạt mẫu đã giảm (n = 10) được đưa ra trong bảng B.1.
Bảng B.1 - Ví dụ
| Mẫu | Kết quả thu được bằng phương pháp chuẩn (1) | Kết quả thu được bằng phương pháp thông dụng (2) | Chênh lệch (2)-(1) | ||||||||
|
| sau khi hiệu chỉnh |
| sau khi hiệu chỉnh | ||||||||
| 1 | 2 | 1 | 2 | trung bình | 1 | 2 | 1 | 2 | trung bình | ||
| 512 mẫu kiểm chứng | -512,4 | -513,0 |
|
|
| -511,5 | -512,7 |
|
|
|
|
| 1 | -517,5 | -518,2 | -516,8 | -517,5 | -517,15 | -518,1 | -519,2 | -518,0 | -519,1 | -518,55 | -1,40 |
| 2 | -538,1 | - 536,9 | - 537,4 | -536,2 | -536,80 | -537,3 | -539,0 | -537,2 | -538,9 | -538,05 | -1,25 |
| 3 | -521,8 | -521,3 | -521,1 | -520,6 | -520,85 | -522,9 | -521,8 | -522,8 | -521,7 | -522,25 | -1,40 |
| 4 | -528,6 | - 529,9 | - 527,9 | -529,2 | -528,55 | -530,3 | -531,4 | -530,2 | -531,3 | -530,75 | -2,20 |
| 5 | -522,3 | - 520,9 | -521,6 | -520,2 | -520,90 | -527,3 | -529,2 | -527,2 | -529,1 | -528,15 | -7,25a |
| 6 | -515,7 | -518,1 | -514,9 | -517,3 | -516,10 | -517,7 | -518,9 | -518,1 | -519,3 | -518,70 | -2,60 |
| 7 | -523,4 | - 522,1 | - 522,6 | -521,3 | -521,95 | -525,2 | -524,7 | -525,6 | -525,1 | -525,35 | -3,40 |
| 8 | -512,2 | -513,8 | -511,4 | -513,0 | -512,20 | -514,1 | -513,4 | -514,5 | -513,8 | -514,15 | -1,95 |
| 9 | -516,1 | -514,2 | - 515,3 | -513,4 | -514,35 | -517,5 | -518,2 | -517,9 | -518,6 | -518,25 | -3,90 |
| 10 | -521,6 | -522,3 | -520,8 | -521,5 | -521,15 | -521,4 | -523,4 | -521,8 | -523,8 | -522,80 | -1,65 |
| 512 mẫu kiển chứng | -513,1 | -512,5 |
|
|
| -511,7 | -511,5 |
|
|
|
|
| Sai lệch trung bình | -2,7 | ||||||||||
| Giá trị của s | 1,73 | ||||||||||
| Sai lệch trung bình sau khi loại bỏ số mẫu ngoại lệ | -2,2 | ||||||||||
| Giá trị s sau khi loại bỏ mẫu ngoại lệ | 0,88 | ||||||||||
| a Ngoại lệ | |||||||||||
Chênh lệch trung bình giữa các kết quả khi đo bằng phương pháp thông dụng và phương pháp chuẩn trong ví dụ này là -2,2 m°C. Điều này cũng cần đến giá trị hiệu chỉnh khi sử dụng phương pháp đo thông dụng. Trong trường hợp này, nó có nghĩa là hiệu chỉnh đến nhiệt độ ấm hơn.
4. Tính hiệu lực
Giá trị hiệu chỉnh có hiệu lực đối với sự kết hợp cụ thể của loại mẫu thử và thuộc tính của phương pháp thông dụng, nghĩa là các đặc tính của thiết bị, thời điểm ngừng đo, thể tích phần mẫu thử và nhiệt độ đóng băng.
PHỤ LỤC C
(tham khảo)
VIỆC ĐIỀU CHỈNH GIÁ TRỊ ĐIỂM ĐÓNG BĂNG ĐƯỢC SỬ DỤNG LÀM GIÁ TRỊ ĐỐI CHỨNG CHO SỮA TỰ NHIÊN
Để đánh giá xem mẫu sữa có lẫn nước có nguồn gốc từ bên ngoài hay không, thì cần phải so sánh điểm đóng băng của mẫu thử và điểm đóng băng của “mẫu sữa tự nhiên”, nghĩa là sữa này đã biết trước là không bị bổ sung nước có nguồn gốc từ bên ngoài.
Đối với nhiều loại mẫu (ví dụ: sữa được chế biến từ hỗn hợp của nhiều trang trại cung cấp khác nhau) thì thường không thu được giá trị chuẩn đối với sữa tự nhiên. Trong các trường hợp như vậy, thì cần phải lập giá trị trung bình đối với sữa tự nhiên. Một số quốc gia đã đạt tới thoả thuận về điểm đóng băng đối với sữa tự nhiên sau khi kết thúc các nghiên cứu trên phạm vi rộng. Các quốc gia khác thỉ chấp nhận giá trị này dựa vào nhiều năm nghiên cứu.
Sự thay đổi trong thang nhiệt độ đóng băng gần như xuất hiện khi thay đổi phương pháp đã sử dụng đến phương pháp chuẩn mô tả trong tiêu chuẩn này. Sự thay đổi trong thang nhiệt độ này một phần cũng do chuẩn hóa hơn các thành phần và đặc trưng của thiết bị và một phần do việc xác định lại điểm “ngừng” trên đường cong của điểm đóng băng sữa.
Rõ ràng rằng, sự thay đổi này trong thang nhiệt sẽ làm tăng sự thay đổi trong các số đọc của điểm đóng băng từ các số đã ghi lại trước đó. Điều này cho thấy cần thiết áp dụng sự thay đổi nhỏ đến các giá trị liên quan trước đó được sử dụng cho sữa tự nhiên. Nếu không có sự điều chỉnh nào, thì có thể áp dụng sai số hệ thống để đánh giá phần nước bị lẫn vào sữa.
Do đó, khuyến cáo để điều chỉnh “chỉ một lần” giá trị áp dụng cho sữa tự nhiên để đưa vào khuôn với thang mới trong tiêu chuẩn này. Sự điều chỉnh này cần được xây dựng hoặc được thiết lập dưới sự giám sát của cơ quan có thẩm quyền của từng quốc gia.
Sự điều chỉnh này có thể được tạo ra theo qui trình đưa ra trong phụ lục B với các chú ý dưới đây:
a) Tìm hướng dẫn của nhà thống kê để thiết lập lượng mẫu cần thiết tối ưu trong sự so sánh để giữ cho sai số hệ thống ở mức thấp nhất có thể chấp nhận được.
b) Sử dụng các mẫu thử trong thử nghiệm tương ứng gần giống với loại sữa cần thử nghiệm.
c) Kiểm tra một loạt các mẫu trong thử nghiên cứu theo phương pháp chuẩn này.
d) Kiểm tra một loạt các mẫu kép bằng cách sử dụng phương pháp thử và các đặc trưng của thiết bị được sử dụng theo giá trị chuẩn liên quan trước đó đối với “sữa tự nhiên” đã được thiết lập.
e) Lưu giữ số liệu của nghiên cứu này để tham khảo sau này.
THƯ MỤC TÀI LIỆU THAM KHẢO
[1] TCVN 6400 (ISO 707), Sữa và sản phẩm sữa - Hướng dẫn lấy mẫu.
[2] TCVN 6910-1:2001 (ISO 5725-1:1994), Độ chính xác (độ đúng và độ chụm) của phương pháp đo và kết quả đo. Phần 1: Nguyên tắc và định nghĩa chung.
[3] TCVN 6910-2:2001 (ISO 5725-2:1994), Độ chính xác (độ đúng và độ chụm) của phương pháp đo và kết quả đo. Phần 2: Phương pháp cơ bản xác định độ lặp lại và độ tái lập của phương pháp đo tiêu chuẩn.
[4] IDF 135, Milk and milk products - Precision characteristics of analytical methods - Outline of collaborative study procedure.
[5] Bulletin of the International Dairy Federation (1983), No.154.
[6] Bulletin of the International Dairy Federation (1986), No.207.
Bạn chưa Đăng nhập thành viên.
Đây là tiện ích dành cho tài khoản thành viên. Vui lòng Đăng nhập để xem chi tiết. Nếu chưa có tài khoản, vui lòng Đăng ký tại đây!