- Tổng quan
- Nội dung
- VB gốc
- Tiếng Anh
- Hiệu lực
- VB liên quan
- Lược đồ
-
Nội dung hợp nhất
Tính năng này chỉ có tại LuatVietnam.vn. Nội dung hợp nhất tổng hợp lại tất cả các quy định còn hiệu lực của văn bản gốc và các văn bản sửa đổi, bổ sung, đính chính... trên một trang. Việc hợp nhất văn bản gốc và những văn bản, Thông tư, Nghị định hướng dẫn khác không làm thay đổi thứ tự điều khoản, nội dung.
Khách hàng chỉ cần xem Nội dung hợp nhất là có thể nắm bắt toàn bộ quy định hiện hành đang áp dụng, cho dù văn bản gốc đã qua nhiều lần chỉnh sửa, bổ sung.
- Tải về
Quyết định 3012/QĐ-BHXH 2022 Quy chế công tác văn thư ngành BHXH
| Cơ quan ban hành: | Bảo hiểm xã hội Việt Nam |
Số công báo:
Số công báo là mã số ấn phẩm được đăng chính thức trên ấn phẩm thông tin của Nhà nước. Mã số này do Chính phủ thống nhất quản lý.
|
Đang cập nhật |
| Số hiệu: | 3012/QĐ-BHXH | Ngày đăng công báo: | Đang cập nhật |
| Loại văn bản: | Quyết định | Người ký: | Nguyễn Thế Mạnh |
|
Ngày ban hành:
Ngày ban hành là ngày, tháng, năm văn bản được thông qua hoặc ký ban hành.
|
28/10/2022 |
Ngày hết hiệu lực:
Ngày hết hiệu lực là ngày, tháng, năm văn bản chính thức không còn hiệu lực (áp dụng).
|
Đang cập nhật |
|
Áp dụng:
Ngày áp dụng là ngày, tháng, năm văn bản chính thức có hiệu lực (áp dụng).
|
Đã biết
|
Tình trạng hiệu lực:
Cho biết trạng thái hiệu lực của văn bản đang tra cứu: Chưa áp dụng, Còn hiệu lực, Hết hiệu lực, Hết hiệu lực 1 phần; Đã sửa đổi, Đính chính hay Không còn phù hợp,...
|
Đã biết
|
| Lĩnh vực: | Hành chính, Bảo hiểm |
TÓM TẮT QUYẾT ĐỊNH 3012/QĐ-BHXH
Ngày 28/10/2022, Bảo hiểm xã hội Việt Nam đã ra Quyết định 3012/QĐ-BHXH về việc ban hành Quy chế về công tác văn thư ngành Bảo hiểm xã hội Việt Nam.
Theo đó, tất cả văn bản đi, văn bản đến phải được quản lý tập trung tại Văn thư cơ quan, đơn vị để làm thủ tục tiếp nhận, đăng ký (trừ những loại văn bản được đăng ký riêng theo quy định của pháp luật); phải được xử lý trên Hệ thống quản lý văn bản, trừ văn bản có độ mật và văn bản sử dụng hình thức văn bản giấy.
Ngoài ra, văn bản đi, văn bản đến thuộc ngày nào phải được đăng ký, phát hành hoặc chuyển giao trong ngày, chậm nhất là ngày làm việc tiếp theo; phải được theo dõi, cập nhật trạng thái gửi, nhận, xử lý. Văn bản đến có các mức độ khẩn phải được đăng ký, trình và chuyển giao ngay sau khi nhận. Văn bản đi có các mức độ khẩn phải được hoàn tất thủ tục phát hành và chuyển phát ngay sau khi văn bản được ký.
Bên cạnh đó, văn bản của cơ quan, đơn vị phải được soạn thảo và ban hành đúng thẩm quyền, trình tự, thủ tục, thể thức và kỹ thuật trình bày theo quy định của pháp luật và của BHXH Việt Nam. Công chức, viên chức được giao giải quyết, theo dõi công việc của cơ quan, đơn vị có trách nhiệm lập hồ sơ về công việc được giao và nộp lưu hồ sơ, tài liệu và Lưu trữ cơ quan theo quy định.
Quyết định có hiệu lực thi hành kể từ ngày ký.
Xem chi tiết Quyết định 3012/QĐ-BHXH có hiệu lực kể từ ngày 28/10/2022
Tải Quyết định 3012/QĐ-BHXH
|
BẢO HIỂM XÃ HỘI VIỆT NAM ________ Số: 3012 /QĐ-BHXH |
CỘNG HÒA XÃ HỘI CHỦ NGHĨA VIỆT NAM Hà Nội, ngày 28 tháng 10 năm 2022 |
QUYẾT ĐỊNH
Ban hành Quy chế về công tác văn thư ngành Bảo hiểm xã hội Việt Nam
__________
TỔNG GIÁM ĐỐC BẢO HIỂM XÃ HỘI VIỆT NAM
Căn cứ Nghị định số 89/2020/NĐ-CP ngày 04 tháng 8 năm 2020 của Chính phủ quy định chức năng, nhiệm vụ, quyền hạn và cơ cấu tổ chức của Bảo hiểm xã hội Việt Nam;
Căn cứ Nghị định số 30/2020/NĐ-CP ngày 05/3/2020 của Chính phủ về công tác văn thư;
Căn cứ Nghị định số 99/2016/NĐ-CP ngày 01/7/2016 của Chính phủ về quản lý và sử dụng con dấu;
Căn cứ Thông tư số 41/2017/TT-BTTTT ngày 19/12/2017 của Bộ Thông tin truyền thông quy định sử dụng chữ ký số cho văn bản điện tử trong cơ quan nhà nước;
Căn cứ Quyết định số 28/2018/QĐ-TTg ngày 12/7/2018 của Thủ tướng Chính phủ về việc gửi, nhận văn bản điện tử giữa các cơ quan trong hệ thống hành chính nhà nước;
Căn cứ Quyết định số 2596/QĐ-BHXH ngày 26/12/2018 của Tổng Giám đốc về việc ban hành Quy chế làm việc của Bảo hiểm xã hội Việt Nam;
Căn cứ Quyết định số 1166/QĐ-BHXH ngày 22/9/2020 của Tổng Giám đốc Bảo hiểm xã hội Việt Nam về việc ban hành Quy chế cung cấp, quản lý và sử dụng chứng thư số, dịch vụ chứng thực chữ ký số trong ngành Bảo hiểm xã hội;
Theo đề nghị của Chánh Văn phòng và Giám đốc Trung tâm Lưu trữ.
QUYẾT ĐỊNH:
Điều 1. Ban hành kèm theo Quyết định này Quy chế về công tác văn thư ngành Bảo hiểm xã hội Việt Nam.
Điều 2.
Quyết định này có hiệu lực thi hành kể từ ngày ký và thay thế Quyết định số 888/QĐ-BHXH ngày 18/8/2013 của Tổng Giám đốc Bảo hiểm xã hội Việt Nam ban hành Quy định về trình tự, thủ tục, thẩm quyền ban hành văn bản, quản lý văn bản và quản lý con dấu trong hệ thống Bảo hiểm xã hội Việt Nam; Quyết định số 599/QĐ-BHXH ngày 15/5/2018 của Tổng Giám đốc Bảo hiểm xã hội Việt Nam ban hành Quy chế quy định tạm thời việc quản lý, sử dụng văn bản, hồ sơ điện tử trên Hệ thống quản lý văn bản và điều hành của Bảo hiểm xã hội Việt Nam và các quy định khác của Bảo hiểm xã hội Việt Nam có liên quan trái với quy định tại Quy chế kèm theo quyết định này.
Điều 3. Chánh Văn phòng Bảo hiểm xã hội Việt Nam, Thủ trưởng các đơn vị trực thuộc Bảo hiểm xã hội Việt Nam; Giám đốc Bảo hiểm xã hội các tỉnh, thành phố trực thuộc Trung ương; Giám đốc Bảo hiểm xã hội quận, huyện, thị xã, thành phố thuộc tỉnh và thành phố chịu trách nhiệm thi hành Quyết định này./.
|
Nơi nhận: - Như Điều 3; - Tổng Giám đốc; - Các Phó Tổng Giám đốc; - Văn phòng Hội đồng quản lý; - VP BCSĐ, Văn phòng Đảng ủy, Công đoàn; - Lưu: VT, VP. |
TỔNG GIÁM ĐỐC
Nguyễn Thế Mạnh
|
|
BẢO HIỂM XÃ HỘI VIỆT NAM ________ |
CỘNG HÒA XÃ HỘI CHỦ NGHĨA VIỆT NAM |
Công tác văn thư ngành Bảo hiểm xã hội Việt Nam
(Kèm theo Quyết định số: 3012/QĐ-BHXH ngày 28 tháng 10 năm 2022 của Tổng Giám đốc Bảo hiểm xã hội Việt Nam)
Chương I
NHỮNG QUY ĐỊNH CHUNG
Điều 1. Phạm vi điều chỉnh và đối tượng áp dụng
1. Phạm vi điều chỉnh
Quy chế này quy định về công tác văn thư, bao gồm: soạn thảo, ký ban hành văn bản; quản lý văn bản; lập hồ sơ và nộp lưu hồ sơ, tài liệu vào Lưu trữ cơ quan; quản lý và sử dụng con dấu, thiết bị lưu khóa bí mật trong ngành Bảo hiểm xã hội (BHXH) Việt Nam.
Quy chế này không áp dụng đối với việc soạn thảo, ban hành, quản lý văn bản mật. Các nội dung liên quan đến văn bản mật được thực hiện theo Quy chế bảo vệ bí mật nhà nước của BHXH Việt Nam.
2. Đối tượng áp dụng
Các đơn vị chuyên môn giúp việc Tổng Giám đốc, các đơn vị sự nghiệp trực thuộc, các Ban Quản lý dự án thuộc BHXH Việt Nam (gọi chung là đơn vị trực thuộc); BHXH các tỉnh, thành phố trực thuộc Trung ương (gọi chung là BHXH tỉnh); BHXH quận, huyện, thị xã, thành phố thuộc tỉnh và thành phố (gọi chung là BHXH huyện); công chức, viên chức, người lao động thuộc ngành BHXH Việt Nam (gọi chung là công chức, viên chức).
Điều 2. Giải thích từ ngữ
Trong Quy chế này, những từ ngữ dưới đây được hiểu như sau:
1. “Văn bản điện tử” là văn bản dưới dạng thông điệp dữ liệu được tạo lập hoặc được số hóa từ văn bản giấy và trình bày đúng thể thức, kỹ thuật, định dạng theo quy định.
2. “Văn bản đi” là tất cả các loại văn bản do cơ quan, đơn vị ban hành.
3. “Văn bản đến” là tất cả các loại văn bản do cơ quan, đơn vị nhận được từ cơ quan, đơn vị, tổ chức, cá nhân khác gửi đến.
4. “Bản thảo văn bản” là bản được viết hoặc đánh máy hoặc tạo lập bằng phương tiện điện tử hình thành trong quá trình soạn thảo một văn bản của cơ quan, đơn vị.
5. “Bản gốc văn bản” là bản hoàn chỉnh về nội dung, thể thức văn bản, được người có thẩm quyền trực tiếp ký trên văn bản giấy hoặc ký số trên văn bản điện tử.
6. “Bản chính văn bản giấy” là bản hoàn chỉnh về nội dung, thể thức văn bản, được tạo từ bản có chữ ký trực tiếp của người có thẩm quyền.
7. “Bản sao y” là bản sao đầy đủ, chính xác nội dung của bản gốc hoặc bản chính văn bản, được trình bày theo thể thức và kỹ thuật quy định.
8. “Bản sao lục” là bản sao đầy đủ, chính xác nội dung của bản sao y, được trình bày theo thể thức và kỹ thuật quy định.
9. “Bản trích sao” là bản sao chính xác phần nội dung của bản gốc hoặc phần nội dung của bản chính văn bản cần trích sao, được trình bày theo thể thức và kỹ thuật quy định.
10. “Hồ sơ” là tập hợp các văn bản, tài liệu có liên quan với nhau về một vấn đề, một sự việc, một đối tượng cụ thể hoặc có đặc điểm chung, hình thành trong quá trình theo dõi, giải quyết công việc thuộc phạm vi, chức năng, nhiệm vụ của cơ quan, đơn vị, cá nhân.
11. “Danh mục hồ sơ” là bảng kê có hệ thống những hồ sơ dự kiến được lập trong năm của cơ quan, đơn vị.
12. “Lập hồ sơ” là việc tập hợp, sắp xếp văn bản, tài liệu hình thành trong quá trình theo dõi, giải quyết công việc của cơ quan, tổ chức, cá nhân thành hồ sơ theo những nguyên tắc và phương pháp nhất định.
13. “Hệ thống quản lý văn bản và điều hành” (Hệ thống quản lý văn bản) là phần mềm ứng dụng để quản lý văn bản; giải quyết công việc; lập hồ sơ, nộp lưu hồ sơ tài liệu vào Lưu trữ cơ quan.
14. “Ký số” là việc đưa khóa bí mật vào một chương trình phần mềm để tự động tạo và gắn chữ ký số vào văn bản.
15. “Văn thư cơ quan” là bộ phận thực hiện một số nhiệm vụ công tác văn thư của cơ quan.
16. “Văn thư đơn vị” là cá nhân kiêm nhiệm thực hiện một số nhiệm vụ công tác văn thư của đơn vị trực thuộc, các phòng thuộc BHXH tỉnh.
Điều 3. Nguyên tắc, yêu cầu
1. Nguyên tắc
Công tác văn thư được thực hiện thống nhất theo quy định của pháp luật và của BHXH Việt Nam.
2. Yêu cầu
a) Tất cả văn bản đi, văn bản đến phải được quản lý tập trung tại Văn thư cơ quan, đơn vị để làm thủ tục tiếp nhận, đăng ký (trừ những loại văn bản được đăng ký riêng theo quy định của pháp luật); phải được xử lý trên Hệ thống quản lý văn bản (QLVB), trừ văn bản có độ mật và văn bản sử dụng hình thức văn bản giấy (Phụ lục I).
b) Văn bản đi, văn bản đến thuộc ngày nào phải được đăng ký, phát hành hoặc chuyển giao trong ngày, chậm nhất là ngày làm việc tiếp theo; phải được theo dõi, cập nhật trạng thái gửi, nhận, xử lý. Văn bản đến có các mức độ khẩn phải được đăng ký, trình và chuyển giao ngay sau khi nhận. Văn bản đi có các mức độ khẩn phải được hoàn tất thủ tục phát hành và chuyển phát ngay sau khi văn bản được ký.
c) Văn bản của cơ quan, đơn vị phải được soạn thảo và ban hành đúng thẩm quyền, trình tự, thủ tục, thể thức và kỹ thuật trình bày theo quy định của pháp luật và của BHXH Việt Nam.
d) Công chức, viên chức (CCVC) được giao giải quyết, theo dõi công việc của cơ quan, đơn vị có trách nhiệm lập hồ sơ về công việc được giao và nộp lưu hồ sơ, tài liệu vào Lưu trữ cơ quan theo quy định.
đ) Con dấu, thiết bị lưu khóa bí mật của cơ quan, đơn vị phải được quản lý, sử dụng theo quy định của pháp luật.
Điều 4. Giá trị pháp lý của văn bản điện tử
Văn bản điện tử được ký số bởi người có thẩm quyền và ký số của cơ quan, tổ chức theo quy định của pháp luật có giá trị pháp lý như bản gốc văn bản giấy.
Điều 5. Trách nhiệm trong công tác văn thư
1. Trách nhiệm của Thủ trưởng cơ quan, đơn vị trực thuộc
a) Chánh Văn phòng quản lý văn bản đến, văn bản đi và sao văn bản; tổ chức thực hiện việc quản lý văn bản; theo dõi, đôn đốc, tổng hợp kết quả giải quyết văn bản đến; quản lý con dấu và thiết bị lưu khóa bí mật; hướng dẫn, kiểm tra nghiệp vụ công tác văn thư; xây dựng và tổ chức thực hiện kế hoạch ứng dụng khoa học và công nghệ vào công tác văn thư.
b) Thủ trưởng các đơn vị trực thuộc có trách nhiệm
Tổ chức xử lý văn bản, chỉ đạo, phân công đơn vị, cá nhân giải quyết theo quy định; chuyển trả ngay những văn bản không thuộc chức năng, nhiệm vụ của đơn vị, đề xuất đơn vị chủ trì giải quyết và thông báo để Văn phòng cập nhật, điều chỉnh; tổ chức thực hiện việc quản lý văn bản; đôn đốc, theo dõi kết quả giải quyết văn bản và chịu trách nhiệm trước Thủ trưởng cơ quan về kết quả và thời hạn giải quyết văn bản của đơn vị; quản lý con dấu (nếu có) và thiết bị lưu khóa bí mật; chủ động tham mưu, đề xuất, tổ chức triển khai thực hiện, giải quyết công việc thuộc lĩnh vực được giao phụ trách.
Theo dõi, đánh giá việc thực hiện văn bản do đơn vị tham mưu ban hành, kịp thời báo cáo Lãnh đạo cơ quan về tác động và tính khả thi của văn bản.
Phối hợp với Văn phòng xây dựng và tổ chức thực hiện kế hoạch ứng dụng khoa học công nghệ trong quản lý văn bản.
2. Trách nhiệm của Văn thư cơ quan, đơn vị
Tiếp nhận, đăng ký, thực hiện thủ tục phát hành, chuyển phát và theo dõi việc chuyển phát, lưu văn bản đi.
Tiếp nhận, đăng ký, trình, chuyển giao, lưu văn bản đến; theo dõi, đôn đốc, định kỳ hoặc đột xuất tổng hợp, báo cáo kết quả giải quyết văn bản; kịp thời báo cáo, đề xuất lãnh đạo đơn vị xem xét chuyển trả những văn bản không thuộc chức năng, nhiệm vụ của đơn vị, đề xuất đơn vị chủ trì giải quyết và thông báo cho nơi gửi biết.
Sắp xếp, bảo quản và phục vụ việc tra cứu, sử dụng bản lưu văn bản.
Quản lý Sổ đăng ký và Sổ chuyển giao văn bản.
Giúp Thủ trưởng đơn vị theo dõi, đôn đốc việc lập hồ sơ và giao nộp hồ sơ vào lưu trữ cơ quan.
Quản lý, sử dụng con dấu, thiết bị lưu khóa bí mật của cơ quan, đơn vị; các loại con dấu khác theo quy định.
Chịu sự kiểm tra, hướng dẫn, quản lý về nghiệp vụ công tác văn thư của Văn phòng.
3. Trách nhiệm công chức, viên chức
Công chức, viên chức trong quá trình theo dõi, giải quyết công việc có liên quan đến công tác văn thư phải thực hiện đúng quy định tại Nghị định số 30/2020/NĐ-CP, quy định của Ngành và các quy định của pháp luật có liên quan.
Chủ động nghiên cứu, tham mưu, đề xuất, xử lý và phối hợp xử lý văn bản theo chức trách, nhiệm vụ được giao đảm bảo tiến độ, chất lượng, hiệu quả công việc; ký số các văn bản phát hành theo thẩm quyền được giao; chịu trách nhiệm về ý kiến tham mưu, đề xuất và kết quả xử lý văn bản; cập nhật kết quả giải quyết văn bản trên Hệ thống QLVB.
Quản lý văn bản, thiết bị lưu khóa bí mật của cá nhân.
Chương II
QUẢN LÝ VĂN BẢN ĐẾN VÀ SAO VĂN BẢN Mục 1
QUẢN LÝ VĂN BẢN ĐẾN
Điều 6. Tiếp nhận và đăng ký văn bản đến
1. Đối với văn bản điện tử
a) Tiếp nhận
Văn thư kiểm tra tính xác thực, tính toàn vẹn của văn bản điện tử và thực hiện tiếp nhận trên Hệ thống.
Trường hợp văn bản không đáp ứng quy định, gửi sai nơi nhận Văn thư trả lại nơi gửi văn bản trên Hệ thống QLVB.
Trường hợp phát hiện có sai sót hoặc dấu hiệu bất thường, Văn thư báo ngay người có trách nhiệm giải quyết và thông báo cho nơi gửi văn bản.
b) Đăng ký
Văn thư đăng ký vào Hệ thống QLVB (cập nhật đầy đủ, rõ ràng, chính xác các trường thông tin đầu vào của dữ liệu quản lý văn bản đến theo quy định).
Số đến của văn bản được cấp tự động, liên tiếp theo thứ tự và trình tự thời gian trong năm trên Hệ thống QLVB.
2. Đối với văn bản giấy
a) Tiếp nhận
Văn thư kiểm tra số lượng, tình trạng bì văn bản, dấu niêm phong (nếu có), nơi gửi; đối chiếu số, ký hiệu ghi ngoài bì với số, ký hiệu của văn bản trong bì; phân loại bì theo độ mật, độ khẩn và bì được bóc, không được bóc. Trường hợp phát hiện có sai sót hoặc dấu hiệu bất thường, Văn thư báo ngay người có trách nhiệm giải quyết và thông báo cho nơi gửi văn bản.
Đối với những bì văn bản gửi đích danh cá nhân, tổ chức Đảng, đoàn thể, Hội đồng quản lý BHXH, Ban Cán sự đảng BHXH Việt Nam và các đơn vị sự nghiệp Văn thư không bóc bì, chỉ cập nhật thông tin trên sổ giao nhận văn bản và chuyển cá nhân, tổ chức theo nơi nhận. Những bì văn bản gửi đích danh cá nhân, nếu là văn bản liên quan đến công việc chung của cơ quan, đơn vị thì cá nhân nhận văn bản có trách nhiệm chuyển lại Văn thư cơ quan/ đơn vị để đăng ký.
Đối với đơn, thư hoặc văn bản khẩn mà ngày nhận cách quá xa ngày tháng của văn bản thì giữ lại bì và đính kèm với văn bản.
b) Đăng ký
Văn bản đến được đóng dấu “Đến” rõ ràng, ngay ngắn vào khoảng giấy trống, dưới số, ký hiệu (đối với những văn bản có tên loại), dưới trích yếu nội dung (đối với công văn) hoặc vào khoảng giấy trống phía dưới ngày, tháng, năm ban hành văn bản. Văn thư ghi số đến, ngày tháng năm, số hóa văn bản (scan), đăng ký (thực hiện như điểm b khoản 1 Điều này) và ký số trên Hệ thống QLVB.
Những văn bản đến không được đăng ký tại Văn thư thì đơn vị, cá nhân không có trách nhiệm giải quyết, trừ loại văn bản đến được đăng ký riêng theo quy định của pháp luật.
Số đến của văn bản được lấy liên tiếp theo thứ tự và trình tự thời gian tiếp nhận văn bản trong năm, thống nhất giữa văn bản giấy và văn bản điện tử.
Đối với văn bản sử dụng hình thức văn bản giấy (Phụ lục I), Văn thư đăng ký và lấy số đến trên Hệ thống QLVB (không số hóa văn bản và xử lý trên Hệ thống QLVB).
Điều 7. Trình, chuyển giao văn bản đến
Văn thư kịp thời trình người có thẩm quyền chỉ đạo giải quyết và chuyển giao cho đơn vị, cá nhân được giao xử lý; việc chuyển giao phải bảo đảm chính xác và giữ bí mật nội dung văn bản.
Đối với văn bản giấy n gười nhận phải ký nhận trên sổ chuyển giao văn bản. Trường hợp văn bản điện tử gửi kèm văn bản giấy thì bản giấy văn bản được chuyển giao cho đơn vị chủ trì xử lý theo ý kiến phân công giải quyết trên Hệ thống QLVB.
1. Nhóm văn bản chuyển trực tiếp các đơn vị giải quyết
Văn thư chuyển các đơn vị giải quyết theo chức năng, nhiệm vụ gồm các loại: văn bản trong ngành thuộc thẩm quyền giải quyết của đơn vị (không phải xin ý kiến chỉ đạo của lãnh đạo phụ trách); báo cáo định kỳ, báo cáo đột xuất, văn bản cung cấp số liệu... theo yêu cầu của đơn vị.
2. Nhóm văn bản trình Lãnh đạo phân công giải quyết
a) Đối với văn bản không thuộc quy định tại khoản 1 Điều này, Văn thư trình Chánh Văn phòng; căn cứ nội dung, tính chất văn bản, Chánh Văn phòng chuyển đơn vị có trách nhiệm giải quyết hoặc tham mưu, đề xuất Lãnh đạo cơ quan chỉ đạo, giao nhiệm vụ cá nhân, đơn vị chủ trì và đơn vị liên quan để phối hợp giải quyết.
b) Riêng đối với BHXH cấp huyện, Văn thư trình Giám đốc chỉ đạo, giao nhiệm vụ giải quyết.
Điều 8. Giải quyết và theo dõi, đôn đốc việc giải quyết văn bản đến
1. Thời hạn giải quyết văn bản đến
a) Văn bản có ấn định thời hạn, văn bản khẩn thì giải quyết theo thời gian ghi trên văn bản hoặc theo ý kiến chỉ đạo của Lãnh đạo cơ quan, đơn vị.
b) Đơn khiếu nại, tố cáo, kiến nghị, phản ánh giải quyết theo quy định của pháp luật về khiếu nại, tố cáo, kiến nghị, phản ánh và quy định của BHXH Việt Nam.
c) Văn bản không có yêu cầu về thời hạn, đơn vị nghiên cứu, trả lời, giải quyết xong trong thời hạn tối đa 05 ngày làm việc kể từ ngày đơn vị nhận được văn bản; trường hợp văn bản có nội dung phức tạp thì được gia hạn thêm nhưng không quá 03 ngày làm việc (không kể thời gian lấy ý kiến tham gia theo quy định tại khoản 3 Điều 13 và thời hạn thẩm định theo quy định tại khoản 2 Điều 18 Quy chế này).
d) Trường hợp không thể hoàn thành thời hạn giải quyết văn bản theo quy định, đơn vị, cá nhân báo cáo Lãnh đạo cơ quan, đơn vị xem xét gia hạn thời gian giải quyết.
2. Theo dõi, đôn đốc giải quyết văn bản đến
a) Chánh Văn phòng có trách nhiệm theo dõi, đôn đốc việc giải quyết văn bản đến và định kỳ tổng hợp, báo cáo Lãnh đạo cơ quan kết quả giải quyết văn bản của các đơn vị trực thuộc.
b) Thủ trưởng đơn vị được giao chủ trì chịu trách nhiệm trước Lãnh đạo cơ quan về chất lượng, tiến độ giải quyết văn bản.
Mục 2 SAO VĂN BẢN
Điều 9. Các hình thức bản sao
1. Sao y gồm: Sao y từ văn bản giấy sang văn bản giấy, sao y từ văn bản giấy sang văn bản điện tử, sao y từ văn bản điện tử sang văn bản giấy.
a) Sao y từ văn bản giấy sang văn bản giấy được thực hiện bằng việc chụp từ bản gốc hoặc bản chính văn bản giấy sang giấy.
b) Sao y từ văn bản điện tử sang văn bản giấy được thực hiện bằng việc in từ bản gốc văn bản điện tử ra giấy.
c) Sao y từ văn bản giấy sang văn bản điện tử được thực hiện bằng việc số hóa văn bản giấy và ký số của cơ quan, đơn vị.
2. Sao lục
a) Sao lục gồm: Sao lục từ văn bản giấy sang văn bản giấy, sao lục từ văn bản giấy sang văn bản điện tử, sao lục từ văn bản điện tử sang văn bản giấy.
b) Sao lục được thực hiện bằng việc in, chụp từ bản sao y.
3. Trích sao
a) Trích sao gồm: Trích sao từ văn bản giấy sang văn bản giấy, trích sao từ văn bản giấy sang văn bản điện tử, trích sao từ văn bản điện tử sang văn bản điện tử, trích sao từ văn bản điện tử sang văn bản giấy.
b) Bản trích sao được thực hiện bằng việc tạo lập lại đầy đủ thể thức, phần nội dung văn bản cần trích sao.
4. Thể thức và kỹ thuật trình bày bản sao y, sao lục, trích sao được thực hiện theo quy định tại Phần II Phụ lục I Nghị định số 30/2020/NĐ-CP.
Điều 10. Giá trị pháp lý của bản sao
Bản sao y, bản sao lục và bản trích sao được thực hiện theo đúng quy định tại khoản 4 Điều 9 Quy chế này và quy định của Nhà nước có giá trị pháp lý như bản chính.
Điều 11. Thẩm quyền sao văn bản
1. Hình thức sao văn bản từ văn bản giấy sang văn bản giấy và sao từ văn bản điện tử sang văn bản giấy (quy định tại điểm a, b khoản 1 Điều 9 Quy chế này) do Thủ trưởng cơ quan, Thủ trưởng đơn vị sự nghiệp, Chánh Văn phòng ký sao.
2. Hình thức sao văn bản từ văn bản giấy sang văn bản điện tử (quy định tại điểm c khoản 1 Điều 9 Quy chế này) trên Hệ thống QLVB do Văn thư thực hiện theo quy định tại Điều 22 Nghị định số 30/2020/NĐ-CP.
Chương III
SOẠN THẢO, THẦM ĐỊNH, KÝ BAN BAN HÀNH, QUẢN LÝ VĂN BẢN ĐI
Mục 1
SOẠN THẢO VÀ LẤY Ý KIẾN THAM GIA
Điều 12. Soạn thảo văn bản
1. Giao nhiệm vụ
Căn cứ chức năng, nhiệm vụ của đơn vị, Thủ trưởng các đơn vị trực thuộc, Giám đốc BHXH tỉnh, Giám đốc BHXH huyện giao nhiệm vụ cho phòng, bộ phận hoặc cá nhân chủ trì soạn thảo văn bản.
Trưởng phòng, bộ phận được giao chủ trì căn cứ nội dung, tính chất công việc giao cho một cá nhân chịu trách nhiệm soạn thảo văn bản.
2. Soạn thảo văn bản
a) Cá nhân được giao soạn thảo văn bản
Xác định tên loại, nội dung, độ mật, mức độ khẩn (nếu có); nơi nhận của văn bản cần soạn thảo; thu thập, xử lý các thông tin có liên quan đến nội dung văn bản; soạn thảo văn bản; trình duyệt dự thảo văn bản.
Tùy theo nội dung, tính chất công việc, đề xuất với Lãnh đạo lấy ý kiến của đơn vị, cá nhân liên quan; nghiên cứu, tiếp thu, chỉnh sửa, hoàn thiện dự thảo văn bản.
b) Yêu cầu đối với dự thảo văn bản
- Đảm bảo thể thức, kỹ thuật trình bày văn bản hành chính theo quy định tại Điều 7, Điều 8, Điều 9 Nghị Nghị định số 30/2020/NĐ-CP. Tuân thủ quy định về ký hiệu của văn bản. Văn bản có tên loại bao gồm chữ viết tắt tên loại văn bản và chữ viết tắt tên cơ quan ban hành. Văn bản không có tên loại: văn bản do cơ quan BHXH ban hành: bao gồm chữ viết tắt tên cơ quan và đơn vị soạn thảo; văn bản do đơn vị ban hành: bao gồm chữ viết tắt tên đơn vị và phòng soạn thảo; đối với đơn vị không có cấp phòng thì ký hiệu văn bản là chữ viết tắt tên đơn vị.
- Đảm bảo đúng nội dung mục đích, yêu cầu; cụ thể, ngắn gọn, dễ hiểu; không chồng chéo, trùng lắp; xác định rõ đối tượng, phạm vi điều chỉnh, thời điểm có hiệu lực của văn bản; đảm bảo phù hợp với thực tiễn, khả thi; không trái với quy định của pháp luật và quy định, quy chế của Ngành (không tự ý quy định thêm các thủ tục khi giải quyết công việc).
Điều 13. Lấy ý kiến tham gia
1. Các văn bản phải lấy ý kiến tham gia
a) Quy trình, quy định, quy chế, hướng dẫn có phạm vi điều chỉnh toàn ngành; văn bản có nội dung phức tạp liên quan đến chức năng, nhiệm vụ của hai đơn vị trở lên; đơn khiếu nại, tố cáo kéo dài.
b) Các quy định, quy chế quản lý nội bộ cơ quan.
c) Các văn bản khác theo yêu cầu của Lãnh đạo cơ quan.
2. Hồ sơ lấy ý kiến
a) Văn bản đề nghị tham gia ý kiến.
b) Dự thảo văn bản cần lấy ý kiến.
c) Tài liệu khác có liên quan.
d) Đối với văn bản có quy định về thủ tục hành chính, hồ sơ lấy ý kiến thực hiện theo quy định về kiểm soát thủ tục hành chính của BHXH Việt Nam.
3. Thời gian lấy ý kiến
a) Không ít hơn 03 ngày làm việc đối với văn bản quy định tại điểm b khoản 1 Điều này.
b) Không ít hơn 05 ngày làm việc đối với văn bản quy định tại điểm a khoản 1 Điều này.
c) Đối với văn bản khẩn; văn bản lấy ý kiến của các cơ quan ngoài Ngành, đơn vị chủ trì chủ động xác định thời gian cho phù hợp.
Điều 14. Trách nhiệm của đơn vị lấy ý kiến và đơn vị, cá nhân được lấy ý kiến.
1. Trách nhiệm của đơn vị lấy ý kiến
Chịu trách nhiệm toàn diện về nội dung, trình tự, thủ tục, thẩm quyền; thể thức, kỹ thuật trình bày văn bản.
Thực hiện gửi hồ sơ lấy ý kiến theo đúng thời hạn quy định tại khoản 3 Điều 13 Quy chế này.
Cung cấp thông tin, tài liệu có liên quan đến dự thảo văn bản trong hồ sơ gửi lấy ý kiến hoặc khi được yêu cầu bổ sung.
Tổng hợp, tiếp thu ý kiến tham gia của các đơn vị, cá nhân được lấy ý kiến và hoàn thiện dự thảo văn bản. Trường hợp không tiếp thu ý kiến phải có giải trình cụ thể, nêu rõ lý do.
2. Trách nhiệm của đơn vị, cá nhân được lấy ý kiến
Nghiên cứu kỹ nội dung được lấy ý kiến; tham gia ý kiến trực tiếp trên Hệ thống QLVB (qua các biểu mẫu, công cụ hỗ trợ của Hệ thống) hoặc bằng văn bản; chịu trách nhiệm về những nội dung đã cung cấp cho đơn vị chủ trì.
Việc tham gia ý kiến phải đảm bảo trên nguyên tắc trách nhiệm, gắn với chức năng, nhiệm vụ và trong thời hạn yêu cầu; trường hợp cần kéo dài thời gian tham gia ý kiến, phải trao đổi với đơn vị chủ trì soạn thảo. Nếu quá thời hạn mà không trả lời thì được coi là đồng ý với nội dung dự thảo.
Mục 2
THẨM ĐỊNH DỰ THẢO VĂN BẢN
Điều 15. Loại văn bản thẩm định
1. Quy định, quy trình, quy chế, văn bản hướng dẫn nghiệp vụ có phạm vi điều chỉnh toàn Ngành.
2. Văn bản, đề án xin ý kiến về chuyên môn, nghiệp vụ (không bao gồm đề án nghiên cứu khoa học) gửi Chính phủ, các Bộ, ngành; văn bản trao đổi, phối hợp với Ủy ban nhân dân tỉnh, thành phố trực thuộc Trung ương (nếu thấy cần thiết).
3. Văn bản cá biệt: liên quan đến xử lý vi phạm, xử lý kỷ luật, giải quyết tranh chấp; liên quan đến giải quyết đơn khiếu nại, tố cáo kéo dài, phức tạp; liên quan đến vụ việc đã có bản án của Tòa án; liên quan đến thời hạn, thời hiệu, hiệu lực của văn bản; liên quan đến vấn đề áp dụng pháp luật.
4. Các văn bản khác theo yêu cầu của Lãnh đạo Ngành.
Điều 16. Nội dung thẩm định
1. Thẩm định văn bản quy định tại khoản 1, khoản 2 Điều 15
Sự cần thiết ban hành văn bản.
Đối tượng, phạm vi điều chỉnh của dự thảo văn bản.
Sự phù hợp của nội dung dự thảo văn bản với đường lối, chủ trương, chính sách của Đảng, pháp luật của Nhà nước.
Tính hợp hiến, hợp pháp và tính thống nhất của dự thảo với các văn bản do BHXH Việt Nam ban hành.
Tính khả thi của dự thảo văn bản.
Việc tuân thủ thủ tục và trình tự soạn thảo văn bản.
Sự cần thiết; tính hợp lý; chi phí tuân thủ của thủ tục hành chính nếu trong dự thảo văn bản có quy định thủ tục hành chính.
2. Thẩm định văn bản quy định tại khoản 3 Điều 15
Thẩm định tính phù hợp của dự thảo văn bản đảm bảo không trái với các văn bản quy phạm pháp luật và văn bản do BHXH Việt Nam ban hành.
Điều 17. Hồ sơ thẩm định
1. Công văn đề nghị thẩm định của đơn vị chủ trì soạn thảo.
2. Phiếu trình giải quyết công việc.
3. Tờ trình Lãnh đạo cơ quan do Thủ trưởng đơn vị soạn thảo ký, đóng dấu đúng thẩm quyền (đối với các đơn vị có con dấu). Trong Tờ trình phải thuyết minh rõ nội dung chính của văn bản, đề án, luận cứ của các kiến nghị.
4. Dự thảo văn bản lần cuối đã có chữ “ký tắt” theo quy định.
5. Tiếp thu, giải trình ý kiến tham gia của các đơn vị, kể cả ý kiến tư vấn khác (nếu có); Ý kiến tham gia bằng văn bản của các đơn vị có liên quan.
6. Công văn đến đã qua xử lý (nếu có).
7. Ý kiến của Lãnh đạo cơ quan (nếu có).
8. Các tài liệu liên quan khác.
9. Riêng văn bản có quy định về thủ tục hành chính phải có thêm bản đánh giá tác động về thủ tục hành chính theo quy định của BHXH Việt Nam.
Điều 18. Tổ chức thẩm định
1. Trách nhiệm của đơn vị thẩm định và đơn vị gửi hồ sơ thẩm định
a) Trách nhiệm của đơn vị thẩm định
Vụ Pháp chế tiếp nhận và kiểm tra hồ sơ thẩm định, trường hợp thiếu hồ sơ, yêu cầu đơn vị chủ trì soạn thảo văn bản bổ sung; thẩm định nội dung văn bản do BHXH Việt Nam ban hành theo quy định tại Điều 16 Quy chế này; chuyển ý kiến thẩm định để đơn vị chủ trì soạn thảo tiếp thu, bổ sung, hoàn thiện hồ sơ trình Lãnh đạo Ngành.
Văn phòng BHXH tỉnh thẩm định văn bản theo hướng dẫn thực hiện công tác pháp chế của BHXH Việt Nam.
Đơn vị thẩm định trao đổi trực tiếp với đơn vị soạn thảo về những vấn đề cần làm rõ hoặc những vấn đề cần sửa đổi, bổ sung; yêu cầu đơn vị soạn thảo cung cấp thông tin, tài liệu liên quan đến dự thảo văn bản nếu thấy cần thiết; trường hợp không thống nhất được ý kiến, đơn vị thẩm định có quyền bảo lưu ý kiến, báo cáo Lãnh đạo cơ quan.
b) Trách nhiệm của đơn vị gửi hồ sơ thẩm định
Gửi hồ sơ thẩm định đầy đủ theo quy định tại Điều 17 Quy chế này.
Phối hợp trao đổi cung cấp thông tin cho đơn vị thẩm định về những vấn đề cần làm rõ.
2. Thời hạn thẩm định
Thời hạn thẩm định một dự thảo văn bản không quá 07 ngày làm việc (tính từ ngày nhận đủ hồ sơ), trừ trường hợp dự thảo văn bản có nội dung phức tạp hoặc văn bản cần rút ngắn thời gian thẩm định theo chỉ đạo của Lãnh đạo Ngành.
Mục 3 KÝ BAN HÀNH VĂN BẢN
Điều 19. Hồ sơ trình ký
1. Các văn bản, tài liệu theo quy định tại khoản 2, 3, 4, 5, 6, 7, 8, 9 Điều 17 Quy chế này.
2. Ý kiến của đơn vị thẩm định (nếu có)
3. Dự thảo văn bản của các lần trước (nếu có).
Điều 20. Ký tắt dự thảo văn bản
1. Đơn vị chủ trì soạn thảo
a) Văn bản do Tổng Giám đốc, Phó Tổng Giám đốc ký: Lãnh đạo đơn vị chủ trì soạn thảo ký tắt dự thảo văn bản.
b) Văn bản do Thủ trưởng đơn vị trực thuộc hoặc Giám đốc BHXH tỉnh ký: Lãnh đạo phòng chủ trì soạn thảo ký tắt dự thảo văn bản; đối với đơn vị không có cấp phòng thì cá nhân được giao soạn thảo ký tắt.
c) Văn bản do Giám đốc BHXH huyện ký: Lãnh đạo Tổ nghiệp vụ hoặc cá nhân được giao soạn thảo ký tắt (nếu không có tổ nghiệp vụ).
d) Chữ ký tắt được ký vào vị trí cuối nội dung văn bản (sau dấu ./.); kích cỡ không vượt quá 0,5 cm2.
2. Văn phòng
a) Đối với hồ sơ công việc trình giải quyết theo hình thức văn bản giấy, Văn phòng kiểm tra thủ tục, hồ sơ; thể thức, kỹ thuật trình bày. Lãnh đạo Văn phòng ký tắt dự thảo văn bản trước khi trình Lãnh đạo cơ quan, nếu văn bản do Lãnh đạo cơ quan ký; ký tắt dự thảo văn bản trước khi ban hành, nếu văn bản do Lãnh đạo đơn vị ký thừa lệnh.
Vị trí ký tắt sau dấu chấm (.) tại dòng cuối của phần “ Nơi nhận ”; kích cỡ không vượt quá 0,5 cm2.
b) Đối với hồ sơ công việc trình ký trên Hệ thống QLVB, Văn phòng không thực hiện ký tắt dự thảo văn bản.
Điều 21. Ký ban hành văn bản
Thẩm quyền ký ban hành văn bản thực hiện theo quy định tại Quy chế làm việc của BHXH Việt Nam, đơn vị trực thuộc, BHXH tỉnh, BHXH huyện. Riêng đối với các tổ chức làm việc theo chế độ tập thể, người đứng đầu hoặc người được phân công thay mặt tập thể lãnh đạo ký văn bản.
Mục 4
QUẢN LÝ VĂN BẢN ĐI
Điều 22. Kiểm tra thể thức, kỹ thuật trình bày văn bản và đăng ký văn bản
1. Kiểm tra thể thức và kỹ thuật trình bày văn bản
Văn thư tiếp nhận dự thảo văn bản đã được người có thẩm quyền ký; phụ lục và văn bản kèm theo (nếu có); kiểm tra thể thức, kỹ thuật trình bày văn bản.
a) Thực hiện kiểm tra ngay trong ngày hoặc chậm nhất là buổi sáng của ngày làm việc tiếp theo (nếu văn bản nhận vào cuối giờ của ngày làm việc hôm trước); đối với văn bản khẩn, kiểm tra ngay khi nhận văn bản;
c) Nếu văn bản đảm bảo thể thức, kỹ thuật trình bày, thực hiện thủ tục phát hành theo quy định;
d) Nếu văn bản chưa đảm bảo thể thức, kỹ thuật trình bày, trả lại đơn vị soạn thảo để bổ sung, hoàn chỉnh.
2. Đăng ký văn bản
a) Thực hiện đăng ký đầy đủ, chính xác các thông tin cần thiết của văn bản đi theo quy định tại Điều 16 Nghị định số 30/2020/NĐ-CP.
b) Số, thời gian ban hành và mã định danh văn bản được cấp tự động trên Hệ thống QLVB theo thứ tự và trình tự thời gian ban hành văn bản của cơ quan, đơn vị trong năm (bắt đầu liên tiếp từ số 01 vào ngày 01 tháng 01 và kết thúc vào ngày 31 tháng12 hàng năm). Số và ký hiệu văn bản là duy nhất trong một năm thống nhất giữa văn bản giấy và văn bản điện tử.
Mã định danh văn bản điện tử bao gồm: Mã định danh điện tử cơ quan, đơn vị; năm ban hành; số, ký hiệu của văn bản.
Điều 23. Phát hành văn bản và lưu văn bản đi
Văn bản đi phải hoàn thành thủ tục tại Văn thư và phát hành trong ngày văn bản được ký, chậm nhất là trong ngày làm việc tiếp theo. Văn bản khẩn phải được phát hành và gửi ngay sau khi ký văn bản.
1. Văn bản điện tử: Văn thư thực hiện ký số cơ quan, đơn vị; phát hành theo thành phần nơi nhận của văn bản; tạo bản chính văn bản giấy (đóng dấu, sắp xếp theo thứ tự đăng ký) lưu tại Văn thư và đơn vị chủ trì soạn thảo. Bản gốc văn bản điện tử lưu trên Hệ thống QLVB.
Trường hợp phát hành đồng thời văn bản giấy: Văn thư thực hiện in văn bản đã được ký số của người có thẩm quyền ra giấy, đóng dấu cơ quan, đơn vị, dấu chỉ độ mức độ khẩn (nếu có) và phát hành theo nơi nhận.
2. Phát hành văn bản điện tử từ văn bản giấy: Văn thư thực hiện số hóa từ bản gốc của văn bản giấy, ký số sao văn bản và phát hành như văn bản điện tử, lưu bản gốc tại Văn thư, bản chính lưu tại đơn vị chủ trì soạn thảo.
3. Văn bản sử dụng hình thức văn bản giấy (Phụ lục I): Văn thư thực hiện nhân bản; đóng dấu cơ quan, đơn vị; dấu chỉ mức độ khẩn (nếu có), phát hành theo nơi nhận và lưu bản gốc tại Văn thư.
4. Trường hợp gửi đến nhiều nơi mà trong văn bản không liệt kê đủ danh sách thì phải có phụ lục nơi nhận kèm theo.
5. Văn bản lưu tại Văn thư phải được đóng dấu ngay sau khi phát hành, sắp xếp theo thứ tự đăng ký.
Điều 24. Theo dõi việc chuyển phát văn bản đi
1. Việc theo dõi chuyển phát văn bản điện tử thực hiện trên Hệ thống QLVB.
2. Đối với văn bản phát hành theo hình thức văn bản giấy phải mở sổ theo dõi, ký nhận chuyển giao văn bản và chuyển phát qua dịch vụ bưu chính. Trường hợp cá nhân, đơn vị ngoài ngành nhận trực tiếp, người nhận phải có chứng minh thư nhân dân hoặc căn cước công dân, xác nhận hoặc giấy giới thiệu của cơ quan, đơn vị nhận văn bản; đối với văn bản mật phải có ý kiến của người có thẩm quyền.
3. Văn bản đi được chuyển phát qua dịch vụ bưu chính phải được đăng ký vào Sổ gửi văn bản đi và nhân viên bưu chính ký nhận.
4. Văn bản đã phát hành nhưng có sai sót về nội dung phải được sửa đổi, thay thế bằng văn bản có hình thức tương đương. Văn bản đã phát hành nhưng có sai sót về thể thức, kỹ thuật trình bày, thủ tục ban hành phải được đính chính bằng công văn của cơ quan, đơn vị ban hành văn bản.
5. Thu hồi văn bản
a) Đối với văn bản điện tử, trường hợp nhận được thông báo thu hồi, bên nhận trả lại văn bản điện tử bị thu hồi trên Hệ thống QLVB, đồng thời thông báo bên gửi biết.
b) Đối với văn bản giấy, trường hợp nhận được thông báo thu hồi, bên nhận chuyển trả nơi gửi theo yêu cầu.
Chương IV
LẬP HỒ SƠ VÀ NỘP LƯU HỒ SƠ, TÀI LIỆU VÀO LƯU TRỮ CƠ QUAN
Điều 25. Lập Danh mục hồ sơ
1. Tác dụng của Danh mục hồ sơ
a) Quản lý các hoạt động của cơ quan thông qua hệ thống hồ sơ.
b) Giúp cho cơ quan chủ động trong việc tổ chức lập hồ sơ và quản lý hồ sơ, tài liệu được chặt chẽ và khoa học.
c) Là căn cứ để kiểm tra, đôn đốc việc lập hồ sơ tại các đơn vị; góp phần nâng cao ý thức và trách nhiệm của mỗi cá nhân trong cơ quan đối với việc lập hồ sơ và chuẩn bị nộp lưu hồ sơ, tài liệu vào Lưu trữ cơ quan.
d) Là căn cứ để lựa chọn tài liệu để lưu trữ theo niên hạn quy định và phục vụ sử dụng.
2. Căn cứ lập Danh mục hồ sơ
Văn bản quy định về chức năng, nhiệm vụ, quyền hạn, cơ cấu tổ chức của cơ quan, đơn vị; quy chế làm việc của cơ quan; chương trình, kế hoạch công tác của cơ quan, đơn vị; danh mục hồ sơ của những năm trước; bảng thời hạn bảo quản tài liệu của hệ thống BHXH Việt Nam.
3. Nội dung lập Danh mục hồ sơ
a) Xây dựng khung đề mục của Danh mục hồ sơ
Khung đề mục của Danh mục hồ sơ được xây dựng theo cơ cấu tổ chức. Thực hiện như sau:
Lấy tên các đơn vị trong cơ quan làm đề mục lớn (các phần) của Danh mục hồ sơ.
Trong từng đề mục lớn bao gồm các đề mục nhỏ là các vấn đề thuộc chức năng nhiệm vụ của đơn vị.
Trong mỗi đề mục nhỏ, các hồ sơ được sắp xếp theo trình tự từ chung đến riêng, từ tổng hợp đến cụ thể, có kết hợp với vị trí và tầm quan trọng của hồ sơ.
Mẫu danh mục hồ sơ: Mẫu số 03 - Phụ lục IV
b) Xác định những hồ sơ cần lập, dự kiến tiêu đề hồ sơ và đơn vị hoặc người lập
Xác định những hồ sơ cần lập trong năm, đơn vị hoặc cá nhân chịu trách nhiệm lập hồ sơ dựa trên các căn cứ lập Danh mục hồ sơ tại khoản 2 Điều này; đặc biệt là chương trình kế hoạch và nhiệm vụ công tác năm của cơ quan và của các đơn vị, nhiệm vụ và công việc cụ thể của từng cá nhân trong đơn vị.
Tiêu đề hồ sơ cần ngắn gọn, rõ ràng nhưng phải khái quát được nội dung của các văn bản, tài liệu sẽ hình thành trong quá trình theo dõi, giải quyết công việc.
Mẫu một số loại tiêu đề hồ sơ tiêu biểu: Mẫu số 04 - Phụ lục IV.
c) Xác định thời hạn bảo quản của hồ sơ
Căn cứ Quy định thời hạn bảo quản hồ sơ, tài liệu hình thành trong hoạt động của hệ thống BHXH Việt Nam, thời hạn bảo quản của hồ sơ được xác định theo Bảng thời hạn bảo quản hồ sơ, tài liệu của hệ thống BHXH Việt Nam.
d) Đánh số, ký hiệu các đề mục và hồ sơ
Các đề mục lớn được đánh số liên tục bằng chữ số La Mã.
Các đề mục nhỏ (nếu có) trong từng đề mục lớn được đánh số riêng bằng chữ số Ả-rập.
Số, ký hiệu của hồ sơ bao gồm số thứ tự được đánh bằng chữ số Ả rập và ký hiệu (bằng các chữ viết tắt) của đề mục lớn. Chữ viết tắt của các đề mục lớn trong Danh mục hồ sơ do cơ quan quy định nhưng cần ngắn gọn, dễ hiểu, dễ nhớ.
Việc đánh số hồ sơ có thể áp dụng một trong hai cách sau:
+ Số của hồ sơ được đánh liên tục trong phạm vi từng đề mục lớn, bắt đầu từ số 01 (đối với Danh mục hồ sơ hồ sơ của cơ quan).
+ Số của hồ sơ được đánh liên tục trong toàn Danh mục, bắt đầu từ số 01 (đối với Danh mục hồ sơ của các đơn vị).
e) Mã hồ sơ điện tử
- Mỗi một mã hồ sơ điện tử là duy nhất, có chức năng định vị địa chỉ của hồ sơ trong một phông lưu trữ.
- Mã hồ sơ điện tử bao gồm:
+ Mã định danh điện tử của cơ quan, đơn vị.
+ Năm hình thành hồ sơ.
+ Số, ký hiệu hồ sơ.
+ Tên viết tắt của cán bộ lập hồ sơ.
- Năm hình thành hồ sơ và số, ký hiệu hồ sơ được xác định theo Danh mục hồ sơ được ban hành hàng năm. Các thành phần của mã hồ sơ được phân định bằng dấu chấm.
Ví dụ: G24.119.2022.26/LT.Hant là mã hồ sơ của “Hồ sơ xây dựng, ban hành văn bản hướng dẫn nghiệp vụ lưu trữ đối với BHXH các tỉnh, thành phố” của Phòng Hồ sơ nghiệp vụ, Trung tâm Lưu trữ, Bảo hiểm xã hội Việt Nam, do cán bộ Nguyễn Thị Hà lập. Trong đó:
+ G24.119 là mã định danh điện tử của Trung tâm Lưu trữ, BHXH Việt Nam.
+ 2022 là năm hình thành hồ sơ.
+ 26/LT là số, ký hiệu hồ sơ (quy định tại Danh mục hồ sơ năm 2022).
+ Hant là tên viết tắt của cán bộ lập hồ sơ.
4. Tổ chức lập Danh mục hồ sơ
a) Lập danh mục hồ sơ: Đơn vị dự kiến những hồ sơ cần lập trong năm kế tiếp, lập Danh mục hồ sơ của đơn vị gửi Lưu trữ cơ quan tổng hợp, trình Thủ trưởng cơ quan ký ban hành Danh mục hồ sơ của cơ quan vào đầu năm.
b) Căn cứ Danh mục hồ sơ hàng năm của cơ quan đã được ban hành, Văn thư đơn vị tạo cây danh mục hồ sơ của đơn vị, cập nhật các tiêu đề hồ sơ trên Hệ thống QLVB bao gồm các thư mục theo các cấp từ tổng hợp đến chi tiết.
c) Trong quá trình thực hiện, nếu có hồ sơ cần điều chỉnh thông tin hoặc phát sinh hồ sơ công việc mới thì cá nhân được giao nhiệm vụ giải quyết công việc kịp thời cập nhật thông tin hồ sơ vào Danh mục hồ sơ của đơn vị và đề nghị Lưu trữ cơ quan tổng hợp, trình Lãnh đạo cơ quan sửa đổi, bổ sung Danh mục hồ sơ.
Điều 26. Lập hồ sơ
1. Yêu cầu
a) Phản ánh đúng chức năng, nhiệm vụ của đơn vị, cơ quan, tổ chức.
b) Các văn bản, tài liệu trong một hồ sơ phải có sự liên quan chặt chẽ với nhau và phản ánh đúng trình tự diễn biến của sự việc hoặc trình tự giải quyết công việc.
2. Mở hồ sơ
a) Đối với hồ sơ điện tử, cá nhân được giao nhiệm vụ giải quyết công việc có trách nhiệm mở hồ sơ theo Danh mục hồ sơ đã được ban hành vào đầu năm, liên kết hồ sơ, tài liệu liên quan, cập nhật các trường thông tin về hồ sơ trên Hệ thống QLVB.
b) Đối với hồ sơ giấy, cá nhân mở hồ sơ, ghi bìa hồ sơ với những thông tin ban đầu về hồ sơ (như tên đơn vị; số, ký hiệu hồ sơ; tiêu đề hồ sơ; thời hạn bảo quản; thời gian bắt đầu); thu thập, cập nhật, bảo quản tập hồ sơ cho đến khi hoàn thành công việc, đóng hồ sơ và lưu giữ, khai thác. Trường hợp hồ sơ chưa hoàn thành, công việc được giao cho người khác giải quyết thì cá nhân phải bàn giao hồ sơ cho người tiếp quản công việc tiếp tục hoàn thiện hồ sơ.
c) Trường hợp các hồ sơ không có trong Danh mục hồ sơ, CCVC được giao nhiệm vụ giải quyết công việc tự xác định các thông tin: Tiêu đề hồ sơ, số và ký hiệu hồ sơ, thời hạn bảo quản hồ sơ theo quy định, người lập hồ sơ và thời gian bắt đầu.
3. Thu thập, cập nhật văn bản, tài liệu vào hồ sơ
a) Cá nhân có trách nhiệm thu thập, cập nhật văn bản, tài liệu hình thành trong quá trình theo dõi, giải quyết công việc vào hồ sơ tương ứng đã mở bao gồm tài liệu phim, ảnh, ghi âm (nếu có) đảm bảo sự toàn vẹn, đầy đủ của hồ sơ, tránh bị thất lạc.
b) Đối với tài liệu giấy, nếu hồ sơ dày quá 3cm thì tách thành các đơn vị bảo quản khác nhau (không nên tách dưới 1cm) để thuận tiện cho việc quản lý và sử dụng. Mỗi đơn vị bảo quản có tên đơn vị, mã hồ sơ, tiêu đề hồ sơ như nhau. Phân biệt các đơn vị bảo quản bằng cách thêm các hậu tố (tập 1, tập 2, quyển 1, quyển 2,...) vào cuối tiêu đề hồ sơ. Trường hợp trong hồ sơ có tài liệu phim, ảnh, thì bỏ vào bì; tài liệu băng, đĩa ghi âm, ghi hình thì bỏ vào hộp và sắp xếp vào cuối hồ sơ.
4. Kết thúc và biên mục hồ sơ
a) Hồ sơ được kết thúc khi công việc đã giải quyết xong.
b) Người lập hồ sơ có trách nhiệm: Rà soát lại toàn bộ văn bản, tài liệu có trong hồ sơ; loại ra khỏi hồ sơ bản trùng, bản nháp; xem xét lại thời hạn bảo quản của hồ sơ; chỉnh sửa tiêu đề, số và ký hiệu hồ sơ cho phù hợp; hoàn thiện, kết thúc hồ sơ.
c) Biên mục hồ sơ
- Đối với hồ sơ giấy: Người lập hồ sơ thực hiện đánh số tờ đối với hồ sơ có thời hạn bảo quản từ 05 năm trở lên và viết Mục lục văn bản đối với hồ sơ có thời hạn bảo quản vĩnh viễn (Mẫu số 06 - Phụ lục IV); viết chứng từ kết thúc đối với tất cả hồ sơ.
- Đối với hồ sơ điện tử: Người lập hồ sơ có trách nhiệm cập nhật vào Hệ thống các thông tin còn thiếu. Việc biên mục văn bản trong hồ sơ được thực hiện bằng chức năng của Hệ thống.
Điều 27. Nộp lưu hồ sơ, tài liệu vào Lưu trữ cơ quan
1. Hồ sơ, tài liệu nộp lưu vào Lưu trữ cơ quan phải đủ thành phần, đúng thời hạn và thực hiện theo trình tự, thủ tục quy định.
a) Trước khi giao nộp hồ sơ vào Lưu trữ cơ quan, các đơn vị, cá nhân có trách nhiệm kiểm tra, sắp xếp hồ sơ theo trật tự thời gian hình thành hồ sơ; lập Mục lục hồ sơ, tài liệu nộp lưu.
b) Hồ sơ giao nộp vào Lưu trữ cơ quan là những hồ sơ thời hạn bảo quản từ 05 năm trở lên, trừ những loại hồ sơ, tài liệu sau:
- Các hồ sơ nguyên tắc được dùng làm căn cứ để theo dõi, giải quyết công việc thuộc trách nhiệm của mỗi cá nhân, được cá nhân giữ và có thể tự loại hủy khi văn bản hết hiệu lực thi hành.
- Hồ sơ về những công việc chưa giải quyết xong.
- Hồ sơ phối hợp giải quyết công việc (trường hợp trùng với hồ sơ của đơn vị chủ trì).
- Các văn bản, tài liệu gửi để biết, để tham khảo.
2. Thời hạn nộp lưu hồ sơ, tài liệu vào Lưu trữ cơ quan
- Đối với hồ sơ thuộc lĩnh vực xây dựng cơ bản, trong thời hạn 03 tháng, kể từ ngày công trình được quyết toán. Văn thư đơn vị giao nộp hồ sơ vào Lưu trữ cơ quan vào ngày cuối cùng của mỗi quý trong năm.
- Đối với hồ sơ, tài liệu khác, trong thời hạn 01 năm, kể từ ngày công việc kết thúc. Văn thư đơn vị giao nộp hồ sơ vào Lưu trữ cơ quan vào quý 3 hằng năm.
3. Thủ tục nộp lưu hồ sơ, tài liệu vào Lưu trữ cơ quan
a) Đối với hồ sơ giấy
Khi nộp lưu tài liệu phải lập hai bản “Mục lục hồ sơ, tài liệu nộp lưu” (Mẫu số 05 - Phụ lục IV) và hai bản “Biên bản giao nhận hồ sơ, tài liệu” (Mẫu số 07 - Phụ lục IV). Đơn vị, cá nhân giao nộp tài liệu và Lưu trữ cơ quan giữ mỗi loại một bản.
b) Đối với hồ sơ điện tử
- Cá nhân được giao nhiệm vụ giải quyết công việc thực hiện lập hồ sơ và nộp lưu hồ sơ điện tử vào Kho Lưu hồ sơ của đơn vị trên Hệ thống QLVB.
- Định kỳ vào quý 3 hằng năm, Văn thư đơn vị có trách nhiệm lập, gửi Lưu trữ cơ quan Mục lục hồ sơ điện tử nộp lưu.
- Lưu trữ cơ quan có trách nhiệm kiểm tra, nhận hồ sơ theo Mục lục; liên kết chính xác dữ liệu đặc tả với hồ sơ; tiếp nhận hồ sơ vào Hệ thống Lưu trữ hồ sơ điện tử.
Điều 28. Trách nhiệm lập hồ sơ và nộp hồ sơ, tài liệu vào Lưu trữ cơ quan
1. Lưu trữ cơ quan chủ trì hướng dẫn, kiểm tra công tác lập hồ sơ và nộp hồ sơ, tài liệu vào lưu trữ.
2. Thủ trưởng đơn vị có trách nhiệm chỉ đạo lập Danh mục hồ sơ của đơn vị gửi Lưu trữ cơ quan tổng hợp; tổ chức lập hồ sơ, bảo quản hồ sơ và nộp lưu hồ sơ, tài liệu vào Lưu trữ cơ quan; chịu trách nhiệm trước Thủ trưởng cơ quan về việc lập hồ sơ và nộp lưu hồ sơ của đơn vị.
3. Công chức, viên chức trong quá trình theo dõi, giải quyết công việc, phải lập hồ sơ về công việc và chịu trách nhiệm về số lượng, thành phần, nội dung tài liệu trong hồ sơ; bảo đảm yêu cầu, chất lượng của hồ sơ theo quy định; có trách nhiệm nộp lưu những hồ sơ, tài liệu được xác định thời hạn bảo quản từ 05 năm trở lên vào Lưu trữ cơ quan
Trường hợp nghỉ hưu, thôi việc hoặc chuyển công tác, đi học tập dài ngày phải bàn giao hồ sơ, tài liệu cho đơn vị, người kế nhiệm hoặc Lưu trữ cơ quan theo quy định. Hồ sơ, tài liệu bàn giao phải được thống kê và lập biên bản giao nhận.
Trường hợp đơn vị hoặc cá nhân có nhu cầu giữ lại hồ sơ, tài liệu giấy đã đến hạn nộp lưu để phục vụ công việc thì phải được Thủ trưởng cơ quan, đơn vị đồng ý bằng văn bản và phải lập Danh mục hồ sơ, tài liệu giữ lại gửi Lưu trữ cơ quan. Thời gian giữ lại hồ sơ, tài liệu của đơn vị không quá 02 năm kể từ ngày đến hạn nộp lưu.
Chương V
QUẢN LÝ, SỬ DỤNG CON DẤU VÀ THIẾT BỊ LƯU KHÓA BÍ MẬT
Điều 29. Quản lý con dấu, thiết bị lưu khóa bí mật
1. Người đứng đầu cơ quan, đơn vị có trách nhiệm giao cho Văn thư cơ quan, đơn vị quản lý, sử dụng con dấu, thiết bị lưu khóa bí mật của cơ quan, đơn vị theo quy định của pháp luật và của Ngành.
2. Văn thư có trách nhiệm
a) Bảo quản an toàn con dấu, thiết bị lưu khóa bí mật của cơ quan, đơn vị tại trụ sở cơ quan; được đảm bảo tuyệt đối an toàn trong giờ cũng như ngoài giờ làm việc. Trường hợp mang con dấu, thiết bị lưu khóa bí mật của cơ quan, đơn vị ra ngoài trụ sở để giải quyết công việc phải được Thủ trưởng cơ quan, đơn vị đồng ý bằng văn bản.
b) Chỉ giao con dấu, thiết bị lưu khóa bí mật của cơ quan, đơn vị cho người khác khi được phép bằng văn bản của người có thẩm quyền. Việc bàn giao con dấu, thiết bị lưu khóa bí mật của cơ quan, đơn vị phải được lập biên bản.
c) Phải trực tiếp đóng dấu, ký số vào văn bản do cơ quan, đơn vị ban hành và bản sao văn bản.
d) Chỉ được đóng dấu, ký số của cơ quan, đơn vị vào văn bản đã có chữ ký của người có thẩm quyền và bản sao văn bản do cơ quan, đơn vị trực tiếp thực hiện.
3. Cá nhân có trách nhiệm tự bảo quản an toàn thiết bị lưu khóa bí mật và khóa bí mật của mình.
Điều 30. Sử dụng con dấu, thiết bị lưu khóa bí mật
1. Sử dụng con dấu
a) Dấu đóng phải rõ ràng, ngay ngắn, đúng chiều và dùng đúng mực dấu màu đỏ theo quy định.
b) Khi đóng dấu lên chữ ký, dấu đóng phải trùm lên khoảng 1/3 chữ ký về phía bên trái.
c) Dấu treo được đóng trên các văn bản ban hành kèm theo văn bản chính hoặc phụ lục: Dấu được đóng lên trang đầu, trùm một phần tên cơ quan, hoặc tiêu đề phụ lục.
d) Dấu giáp lai được đóng vào khoảng giữa mép phải của văn bản hoặc phụ lục văn bản, trùm lên một phần các tờ giấy; mỗi dấu đóng tối đa 05 tờ văn bản.
2. Sử dụng thiết bị lưu khóa bí mật
a) Thiết bị lưu khóa bí mật của cơ quan, đơn vị được sử dụng để ký số các văn bản điện tử do cơ quan, đơn vị ban hành và bản sao từ văn bản giấy sang văn bản điện tử.
b) Thiết bị lưu khóa bí mật của cá nhân được sử dụng để ký trên dự thảo văn bản, các văn bản liên quan, các ứng dụng điện tử theo quy định của nhà nước và của Ngành.
Chương VI TỔ CHỨC THỰC HIỆN
Điều 31. Trách nhiệm thực hiện
1. Thủ trưởng đơn vị trực thuộc, Giám đốc BHXH tỉnh, Giám đốc BHXH huyện có trách nhiệm phổ biến Quy định này đến CCVC thuộc phạm vi quản lý.
2. CCVC có trách nhiệm thực hiện nghiêm túc Quy chế này và các quy định hiện hành của Nhà nước về công tác văn thư.
3. Thủ trưởng đơn vị trực thuộc, Giám đốc BHXH tỉnh, Giám đốc BHXH huyện căn cứ Quy chế này có trách nhiệm xây dựng, ban hành Quy chế về công tác văn thư của cơ quan, đơn vị cho phù hợp.
4. Chánh Văn phòng theo dõi, kiểm tra, giám sát việc thực hiện Quy chế và đề xuất sửa đổi, bổ sung; ứng dụng, quản lý, đề xuất nâng cấp Hệ thống QLVB.
5. Trung tâm Lưu trữ chủ trì hướng dẫn, kiểm tra công tác lập hồ sơ và nộp lưu hồ sơ, tài liệu vào Lưu trữ cơ quan.
6. Trung tâm Công nghệ thông tin chủ trì nâng cấp, phát triển; quản lý, quản trị, vận hành hệ thống kỹ thuật, bảo mật, khai thác Hệ thống QLVB theo đúng quy định của Nhà nước và BHXH Việt Nam; cung cấp, quản lý và hướng dẫn sử dụng chứng thư số, dịch vụ chứng thực chữ ký số trong ngành BHXH Việt Nam.
7. Trong quá trình thực hiện nếu phát sinh vướng mắc, các đơn vị trực thuộc, BHXH tỉnh kịp thời phản ánh về BHXH Việt Nam (Văn phòng) để tổng hợp báo cáo Tổng Giám đốc xem xét sửa đổi, bổ sung cho phù hợp./.
Phụ lục I
DANH MỤC VĂN BẢN SỬ DỤNG HÌNH THỨC BẢN GIẤY VÀ ĐIỆN TỬ KÈM GIẤY
(Kèm theo Quyết định số: 3012/QĐ-BHXH ngày 28 tháng 10 năm 2022 của Tổng Giám đốc Bảo hiểm xã hội Việt Nam)
|
STT |
Nội dung |
|
I |
Văn bản đến sử dụng hình thức văn bản giấy (trình giải quyết và chuyển giao bản giấy, không số hóa) |
|
1 1. |
Văn bản, tài liệu mật |
|
2 |
- Đơn khiếu nại, tố cáo; phản ánh, kiến nghị về công tác tổ chức, cán bộ, thực thi công vụ, những vấn đề chưa được xác minh, làm rõ liên quan đến ngành ... - Kết luận điều tra về nhân sự, tài chính ... - Văn bản thuộc lĩnh vực đầu tư quỹ, tài chính: kết quả đấu thầu, tiền gửi, sao ký, thông tin số dư, sao kê tài khoản, chứng từ ngân hàng . |
|
3 2. |
Chứng từ tài chính yêu cầu dùng bản giấy theo quy định của nhà nước: Đối chiếu số dư, đối chiếu số liệu thanh toán, xác nhận số liệu kiểm toán, chứng từ ngân hàng; ... |
|
4 3. |
Văn bản, tài liệu khác theo yêu cầu của Lãnh đạo cơ quan |
|
5 4. |
Văn bản, tài liệu có dung lượng trên 50MB |
|
II |
Văn bản đi |
|
A |
Văn bản sử dụng hình thức văn bản giấy |
|
1 |
Văn bản, tài liệu mật. |
|
2 |
Tài liệu họp, lấy ý kiến, thông tin có nội dung liên quan bí mật nhà nước đang trong quá trình dự thảo hoặc thông tin, số liệu chưa công bố |
|
3 |
Văn bản về lĩnh vực đầu tư quỹ: hợp đồng tiền gửi, đối chiếu số dư đầu tư tài chính, ... |
|
4 |
Văn bản, tài liệu khác theo yêu cầu của Lãnh đạo cơ quan. |
|
B |
Văn bản điện tử |
|
1 |
Trình ký và phát hành văn bản điện tử - Tất cả văn bản đi đều phải trình ký và phát hành điện tử (trừ văn bản sử dụng hình thức văn bản giấy) - Hồ sơ trình ký: Nếu hồ sơ dung lượng trên 50MB thì phiếu trình, tờ trình, dự thảo văn bản, văn bản đến (nếu có), tiếp thu giải trình (nếu có) trình ký điện tử; hồ sơ còn lại trình bản giấy đồng thời với bản trình ký điện tử |
|
2 |
Văn bản điện tử kèm văn bản giấy |
|
|
- Lĩnh vực tổ chức: thành lập, giải thể đơn vị; chức năng, nhiệm vụ của đơn vị sự nghiệp, Văn phòng. - Lĩnh vực cán bộ: liên quan đến hồ sơ cán bộ, cá nhân cần lưu giữ: bổ nhiệm, điều động, kỷ luật, nghỉ hưởng chế độ BHXH, nâng lương; tuyển dụng, nâng ngạch, thăng hạng, xét chuyển chức danh nghề nghiệp ... - Công tác đầu tư xây dựng, tài chính, tài sản: văn bản về phê duyệt đầu tư, quyết toán công trình, xây dựng, sửa chữa trụ sở, giao dự toán, thanh lý, chuyển giao tài sản, . - Các văn bản, chứng từ tài chính khác theo yêu cầu của Lãnh đạo cơ quan và cơ quan, đơn vị liên quan |
|
3 |
Khi phát hành văn bản cần lưu ý một số nội dung sau: - Nếu nơi nhận văn bản chưa đủ điều kiện về kỹ thuật để nhận văn bản điện tử thì phải gửi văn bản giấy theo địa chỉ nơi nhận. - Đối với văn bản có chữ ký của nhiều bên liên quan (quy chế phối hợp, biên bản, .): phát hành văn bản điện tử, hồ sơ trình ký bản giấy. |
Phụ lục II
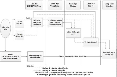
QUY TRÌNH TIẾP NHẬN, GIẢI QUYẾT VĂN BẢN ĐẾN
(Kèm theo Quyết định số: 3012/QĐ-BHXH ngày 28 tháng 10 năm 2022 của Tổng Giám đốc Bảo hiểm xã hội Việt Nam)
1. Sơ đồ

2. Quy trình
|
Người thực hiện |
Nội dung công việc |
|
Văn thư |
- Thường xuyên cập nhật Hệ thống QLVB. - Kịp thời tiếp nhận, đăng ký, trình, chuyển giao văn bản. - Kịp thời phân phối và chuyển đơn vị giải quyết đối với loại văn bản chuyển thẳng đơn vị giải quyết. - Đề xuất việc trình và giao đơn vị, cá nhân chủ trì giải quyết hoặc phối hợp giải quyết (nếu có). - Trình Chánh Văn phòng phân phối văn bản ngoài ngành và văn bản trong ngành còn lại. - Chuyển giao văn bản giấy cho văn thư đơn vị, lưu văn bản (nếu có). |
|
Chánh Văn phòng |
- Thường xuyên cập nhật Hệ thống QLVB. - Kịp thời nhận và xử lý văn bản. - Tùy theo nội dung và tính chất văn bản, Chánh Văn phòng chuyển đơn vị chuyên môn theo chức năng, nhiệm vụ để giải quyết theo thẩm quyền hoặc đề xuất đơn vị chủ trì, phối hợp, trình Lãnh đạo cơ quan, đồng thời chuyển đơn vị để kịp thời tham mưu giải quyết. |
|
Lãnh đạo cơ quan |
Cho ý kiến chỉ đạo giải quyết, phê duyệt hoặc điều chỉnh đề xuất phân phối văn bản của Chánh Văn phòng, giao thời hạn giải quyết (nếu có), chuyển đơn vị, cá nhân xử lý. |
|
Thủ trưởng đơn vị trực thuộc |
- Thường xuyên cập nhật Hệ thống QLVB; - Kịp thời nhận văn bản, phân phối văn bản, giao thời hạn giải quyết văn bản, giao đơn vị (nếu có cấp phòng), cá nhân chủ trì, phối hợp. - Tùy theo tính chất, nội dung văn bản, kịp thời tham mưu, đề xuất, báo cáo Lãnh đạo cơ quan phương án giải quyết. - Theo dõi, đôn đốc CCVC xử lý văn bản, lập hồ sơ công việc. |
|
Trưởng phòng, Tổ trưởng |
- Thường xuyên cập nhật Hệ thống QLVB. - Kịp thời nhận văn bản, phân phối văn bản, giao thời hạn giải quyết văn bản, giao cá nhân chủ trì, phối hợp. - Theo dõi, đôn đốc cá nhân xử lý văn bản, lập hồ sơ công việc. - Cập nhật trạng thái xử lý văn bản (nếu có). |
|
Công chức, viên chức |
- Thường xuyên cập nhật Hệ thống QLVB; kịp thời nhận văn bản. - Căn cứ nội dung văn bản, ý kiến chỉ đạo của lãnh đạo, nghiên cứu nội dung văn bản để giải quyết. - Cập nhật trạng thái xử lý văn bản. - Lập hồ sơ công việc, lưu giữ, bảo quản và nộp lưu tài liệu vào lưu trữ cơ quan |
Phụ lục III
QUY TRÌNH SOẠN THẢO, BAN HÀNH VĂN BẢN ĐI
(Kèm theo Quyết định số: 3012/QĐ-BHXH ngày 28 tháng 10 năm 2022 của Tổng Giám đốc Bảo hiểm xã hội Việt Nam)
1. Sơ đồ

2. Quy trình
|
Người thực hiện |
Nội dung công việc |
|
Công chức, viên chức |
- Căn cứ nội dung, xác định mức độ mật, mức độ khẩn (nếu có), nơi nhận văn bản. - Thu thập, xử lý các thông tin có liên quan đến nội dung văn bản. - Soạn thảo văn bản, đề xuất lấy ý kiến của đơn vị, cá nhân liên quan (nếu có), nghiên cứu tiếp thu, giải trình ý kiến tham gia, hoàn thiện dự thảo văn bản... đảm bảo đúng quy trình ban hành văn bản - Cập nhật các trường thông tin dự thảo văn bản (đối với văn bản điện tử). - Ký Phiếu trình; ký tắt tờ trình, dự thảo văn bản (nếu đơn vị không có cấp phòng) - Đề xuất gia hạn thời gian giải quyết (nếu có). - Trình Lãnh đạo phòng duyệt dự thảo văn bản. - Lập hồ sơ công việc, lưu giữ, bảo quản và nộp lưu tài liệu vào lưu trữ cơ quan. - Cập nhật trạng thái văn bản. |
|
Lãnh đạo phòng |
- Nhận dự thảo văn bản và hồ sơ trình. - Kiểm tra, phê duyệt nội dung, thể thức, kỹ thuật trình bày văn bản - Đề xuất gia hạn thời gian giải quyết (nếu có). - Trường hợp cần bổ sung, sửa đổi thì cho ý kiến và chuyển cá nhân chủ trì soạn thảo hoặc sửa trực tiếp vào dự thảo văn bản. - Nghiên cứu tiếp thu, giải trình ý kiến tham gia dự thảo văn bản; ý kiến chỉ đạo của Lãnh đạo đơn vị, Lãnh đạo cơ quan và chuyển cá nhân hoàn thiện hoặc trực tiếp sửa dự thảo văn bản. - Ký tắt dự thảo văn bản (nếu văn bản ký thừa lệnh). - Trình Lãnh đạo đơn vị duyệt dự thảo văn bản. |
|
Lãnh đạo đơn vị |
- Nhận dự thảo văn bản và hồ sơ trình. - Kiểm tra, phê duyệt nội dung, thể thức, kỹ thuật trình bày văn bản. - Gia hạn thời gian giải quyết văn bản hoặc đề xuất Lãnh đạo cơ quan gia hạn thời gian giải quyết (nếu có). - Trường hợp cần bổ sung, sửa đổi thì cho ý kiến và chuyển cá nhân chủ trì soạn thảo hoặc sửa trực tiếp vào dự thảo văn bản. - Tiếp thu ý kiến chỉ đạo của Lãnh đạo cơ quan, ý kiến tham gia của đơn vị liên quan và chuyển cá nhân hoàn thiện hoặc trực tiếp sửa dự thảo văn bản. - Chuyển đơn vị thẩm định (nếu có). - Ký Phiếu trình, Tờ trình, ký tắt dự thảo văn bản, trình Lãnh đạo cơ quan. - Ký số cá nhân, ký văn bản giấy (nếu có) đối với văn bản ký thừa lệnh, chuyển Văn phòng kiểm tra, phát hành. |
|
Vụ Pháp chế |
- Nhận hồ sơ thẩm định. - Thẩm định dự thảo văn bản theo quy định. - Gửi ý kiến thẩm định để đơn vị chủ trì soạn thảo tiếp thu, bổ sung hồ sơ trình Lãnh đạo cơ quan. |
|
Lãnh đạo Văn phòng |
- Đối với Đề án, hồ sơ công việc trình Lãnh đạo cơ quan giải quyết theo hình thức văn bản giấy + Nhận dự thảo văn bản, hồ sơ trình, kiểm tra thủ tục, hồ sơ, thể thức, kỹ thuật trình bày. + Nếu hồ sơ đầy đủ, đúng quy định ký tắt dự thảo văn bản trình Lãnh đạo cơ quan. + Nếu hồ sơ trình không đúng, đủ theo quy định, trả lại đơn vị chủ trì soạn thảo, nêu rõ lý do. - Ký tắt đối với văn bản Lãnh đạo đơn vị ký thừa lệnh. - Đối với văn bản điện tử không thực hiện ký tắt khi phát hành văn bản. |
|
Lãnh đạo cơ quan |
- Nhận dự thảo văn bản và hồ sơ trình. - Phê duyệt dự thảo văn bản. - Gia hạn thời gian giải quyết văn bản (nếu có). - Trường hợp có ý kiến sửa đổi, bổ sung, chuyển đơn vị chủ trì soạn thảo tiếp thu, hoàn thiện dự thảo. - Trường hợp thống nhất với dự thảo văn bản. + Ký số cá nhân, ký văn bản giấy (nếu có), chuyển phát hành. + Chuyển đơn vị chủ trì ký văn bản (đối với văn bản Thủ trưởng đơn vị ký thừa lệnh). |
|
Văn thư |
1. Đối với văn bản giấy - Tiếp nhận, kiểm tra thể thức, kỹ thuật trình bày, đăng ký, ghi số, ngày tháng năm, nhân bản, đóng dấu, phát hành, chuyển phát và lưu văn bản theo quy định. - Văn bản ký giấy, phát hành điện tử: scan, ký sao và phát hành theo “nơi nhận”. 2. Đối với văn bản điện tử - Tiếp nhận văn bản điện tử đã ký số của người có thẩm quyền. - Kiểm tra thể thức, kỹ thuật trình bày và thông tin xác thực chữ ký số cá nhân. - In văn bản giấy từ văn bản điện tử, đăng ký thông tin, ký số cơ quan, đơn vị và phát hành theo “nơi nhận”. - Đóng dấu bản chính, lưu theo quy định. |
Phụ lục IV
MẪU MỘT SỐ LOẠI VĂN BẢN
(Kèm theo Quyết định số: 3012/QĐ-BHXH ngày 28 tháng 10 năm 2022 của Tổng Giám đốc Bảo hiểm xã hội Việt Nam)
|
Mẫu 01 |
Phiếu trình giải quyết công việc |
|
Mẫu 02 |
Phiếu trình giải quyết văn bản đến |
|
Mẫu 03 |
Danh mục hồ sơ |
|
Mẫu 04 |
Một số loại tiêu đề hồ sơ tiêu biểu |
|
Mẫu 05 |
Mục lục hồ sơ, tài liệu nộp lưu |
|
Mẫu 06 |
Mục lục văn bản trong hồ sơ |
|
Mẫu 07 |
Biên bản giao nhận hồ sơ, tài liệu |
Mẫu 01 – Phiếu trình giải quyết công việc*
__________
|
BẢO HIỂM XÃ HỘI VIỆT NAM ĐƠN VỊ ... ______ |
CỘNG HÒA XÃ HỘI CHỦ NGHĨA VIỆT NAM ________________________ …., ngày….tháng.... năm....... |
PHIẾU TRÌNH GIẢI QUYẾT CÔNG VIỆC
Trình lần thứ ....
Kính gửi: Tổng Giám đốc
Vấn đề trình: .....................................................................................................................
Hồ sơ kèm theo (ghi rõ từng loại văn bản, tài liệu kèm theo): .................................................
1. Tóm tắt nội dung
……………………..
2. Đề xuất
……………………..
Cán bộ soạn thảo
(Ký, ghi rõ họ tên)
|
Ý kiến của Lãnh đạo phòng (nếu có)
(Ký, ghi rõ họ và tên) |
Ý kiến của Phó Tổng Giám đốc phụ trách
Ngày tháng năm |
|
|
Ý kiến của Lãnh đạo đơn vị (nếu có)
(Ký, ghi rõ họ và tên) |
||
|
Ý kiến của Tổng Giám đốc
Ngày .... tháng.... năm ..... |
||
|
Ý kiến của Lãnh đạo Văn phòng (nếu có)
(Ký, ghi rõ họ và tên) |
*Mẫu áp dụng tại Bảo hiểm xã hội Việt Nam; Nam; căn cứ mẫu phiếu trình giải quyết công việc BHXH các tỉnh, BHXH huyện điều chỉnh cho phù hợp.
Mẫu 02 - Mẫu Phiếu trình giải quyết văn bản đến*
__________
|
BẢO HIỂM XÃ HỘI VIỆT NAM VĂN PHÒNG ______
|
|
PHIẾU TRÌNH GIẢI QUYẾT VĂN BẢN ĐẾN
|
Số đến: ..................... Ngày đến: .................. □ Văn bản phải trả lời □ Thời hạn giải quyết.... |
|
||||||
□ Tổng Giám đốc
□ Phó TGĐ...... □ Phó TGĐ……..
□ Phó TGĐ.......................... □ Phó TGĐ..................................................................
____________
1. Đề xuất của Văn phòng:
- Đơn vị chủ trì giải quyết: ..................................................................................................
- Đơn vị phối hợp: .............................................................................................................
- Ngày Lãnh đạo Ngành trả tài liệu: .....................................................................................
Hà Nội, ngày tháng năm
CHÁNH VĂN PHÒNG
(Ký, ghi rõ họ và tên)
2. Ý kiến của Lãnh đạo đơn vị
- Giao Phòng, cá nhân chủ trì, phối hợp; thời hạn giải quyết (nếu có);
- Ngày, tháng, năm cho ý kiến; ký, họ và tên
3. Ý kiến của Lãnh đạo phòng
- Giao cá nhân chủ trì, phối hợp; thời hạn giải quyết (nếu có);
- Ngày, tháng, năm cho ý kiến; ký, họ và tên
4. Ý kiến đề xuất của người giải quyết
- Ý kiến đề xuất giải quyết văn bản đến của cá nhân;
- Ngày, tháng, năm đề xuất ý kiến; ký, họ và tên
__________
*Mẫu áp dụng tại BHXH Việt Nam; căn cứ mẫu phiếu trình giải quyết văn bản đến BHXH các tỉnh, BHXH huyện điều chỉnh cho phù hợp.
Mẫu 03 - Danh mục hồ sơ
____________
|
TÊN CQ, TC CHỦ QUẢN TÊN CƠ QUAN, TỔ CHỨC _______ |
CỘNG HÒA XÃ HỘI CHỦ NGHĨA VIỆT NAM Độc lập - Tự do - Hạnh phúc ________________________ |
DANH MỤC HỒ SƠ
Năm ...
(Kèm theo Quyết định số ... ngày ... tháng ... năm....của.....)
|
Số và ký hiệu hồ sơ |
Tên đề mục và tiêu đề hồ sơ |
Thời hạn bảo quản |
Người lập hồ sơ |
Ghi chú |
|
(1) |
(2) |
(3) |
(4) |
(5) |
|
|
I. TÊN ĐỀ MỤC LỚN |
|
|
|
|
|
1. Tên đề mục nhỏ |
|
|
|
|
01.TCCB |
Tiêu đề hồ sơ |
20 năm |
Họ và tên |
|
|
|
|
|
|
|
|
|
|
|
|
|
|
|
|
|
|
|
|
|
|
|
|
|
|
|
|
|
|
|
Danh mục hồ sơ này có............................. hồ sơ, bao gồm:
............................. hồ. sơ bảo quản vĩnh viễn;
............................. hồ. sơ bảo quản có thời hạn.
Hướng dẫn cách ghi:
Cột (1): Ghi số và ký hiệu của hồ sơ;
Cột (2): Ghi số thứ tự và tên đề mục lớn, đề mục nhỏ; tiêu đề hồ sơ;
Cột (3): Ghi thời hạn bảo quản của hồ sơ: Vĩnh viễn hoặc thời hạn bằng số năm cụ thể;
Cột (4): Ghi tên đơn vị hoặc cá nhân chịu trách nhiệm lập hồ sơ;
Cột (5): Ghi những thông tin đặc biệt về thời hạn bảo quản, về người lập hồ sơ, hồ sơ chuyển từ năm trước sang, hồ sơ loại mật...;
Mẫu 04 - Một số loại tiêu đề hồ sơ tiêu biểu
___________
MỘT SỐ LOẠI TIÊU ĐỀ HỒ SƠ TIÊU BIỂU
1. Tên loại văn bản - nội dung - thời gian - tác giả: áp dụng đối với các hồ sơ là chương trình, kế hoạch, báo cáo công tác thường kỳ của cơ quan, đơn vị.
Ví dụ 1: Chương trình kế hoạch, báo cáo công tác năm 2022 của Bảo hiểm xã hội Việt Nam.
Ví dụ 2: Báo cáo quyết toán năm 2022 của Bảo hiểm xã hội tỉnh Hưng Yên.
2. Tên loại văn bản - tác giả - nội dung - thời gian: áp dụng đối với các hồ sơ là chương trình, kế hoạch, báo cáo chuyên đề.
Ví dụ: Chương trình, kế hoạch, báo cáo của Bảo hiểm xã hội Việt Nam về thực hiện kế hoạch rà soát quy định hành chính, thủ tục hành chính năm 2022.
3. Tập lưu (quyết định, chỉ thị, công văn...) - thời gian - tác giả: áp dụng đối với các hồ sơ là tập lưu văn bản đi của cơ quan.
Ví dụ: Tập lưu công văn quý 1 năm 2022 của Bảo hiểm xã hội Việt Nam.
4. Hồ sơ hội nghị (hội thảo) - nội dung - tác giả (cơ quan tổ chức hoặc cơ quan chủ trì) - địa điểm - thời gian: áp dụng đối với hồ sơ hội nghị, hội thảo.
Ví dụ: Hồ sơ Hội nghị tổng kết công tác năm 2022 của Bảo hiểm xã hội Việt Nam.
5. Hồ sơ - vấn đề - địa điểm - thời gian: áp dụng đối với loại hồ sơ công việc.
Ví dụ: Hồ sơ về việc năng lương năm 2022 (nếu trong một năm có nhiều đợt nâng lương thì mỗi đợt nâng lương lập một hồ sơ).
6. Hồ sơ - tên người: áp dụng đối với hồ sơ nhân sự.
Ví dụ: Hồ sơ của ông Nguyễn Văn A
Mẫu 05 - Mục lục hồ sơ, tài liệu nộp lưu
________
|
TÊN CQ, TC CHỦ QUẢN TÊN ĐƠN VỊ ________ |
CỘNG HÒA XÃ HỘI CHỦ NGHĨA VIỆT NAM Độc lập - Tự do - Hạnh phúc ________________________ |
MỤC LỤC HỒ SƠ, TÀI LIỆU NỘP LƯU
Năm...
|
Số TT |
Số, ký hiệu hồ sơ |
Tiêu đề hồ sơ |
Thời gian tài liệu |
Thời hạn bảo quản |
Số tờ/ Số trang |
Ghi chú |
|
(1) |
(2) |
(3) |
(4) |
(5) |
(6) |
(7) |
|
|
|
|
|
|
|
|
Mục lục này gồm:…… hồ sơ (đơn vị bảo quản).
Viết bằng chữ: ... hồ sơ (đơn vị bảo quản).
|
Người lập (Ký và ghi rõ họ tên)
|
....., ngày.... tháng.... năm.... Thủ trưởng đơn vị |
* Thời hạn bảo quản: Bảo quản vĩnh viễn hoặc bảo quản có thời hạn. Mục lục hồ sơ, tài liệu bảo quản vĩnh viễn và Mục lục hồ sơ, tài liệu bảo quản có thời hạn được lập riêng thành 02 Mục lục khác nhau. Đối với Mục lục hồ sơ, tài liệu bảo quản vĩnh viễn bỏ cột (5) thời hạn bảo quản.
Hướng dẫn cách ghi các cột:
Cột (1): Ghi số thứ tự của hộp hoặc cặp tài liệu giao nộp.
Cột (2): Ghi số và ký hiệu của hồ sơ như trên bìa hồ sơ đối với hồ sơ giấy và mã hồ sơ đối với hồ sơ điện tử.
Cột (3): Ghi tiêu đề hồ sơ.
Cột (4): Ghi thời gian sớm nhất và muộn nhất của văn bản, tài liệu trong hồ sơ.
Cột (5): Ghi thời hạn bảo quản của hồ sơ.
Cột (6): Ghi tổng số tờ tài liệu có trong hồ sơ đối với hồ sơ giấy và tổng số trang tài liệu có trong hồ sơ đối với hồ sơ điện tử.
Cột (7): Ghi những thông tin cần chú ý về nội dung và hình thức của văn bản có trong hồ sơ./.
Mẫu 06 - Mục lục văn bản trong hồ sơ
________
MỤC LỤC VĂN BẢN, TÀI LIỆU
Số, ký hiệu hồ sơ:....
Năm:.....
|
STT |
Số, ký hiệu văn bản |
Ngày tháng năm văn bản |
Tên loại và trích yếu nội dung văn bản |
Tác giả văn bản |
Tờ số/ Trang số |
Ghi chú |
|
(1) |
(2) |
(3) |
(4) |
(5) |
(6) |
(7) |
|
|
|
|
|
|
|
|
|
|
|
|
|
|
|
|
* Áp dụng cho hồ sơ có thời hạn bảo quản vĩnh viễn.
Đối với hồ sơ điện tử, Mục lục văn bản, tài liệu trong hồ sơ được tạo sẵn, mặc định đính kèm theo mỗi hồ sơ vĩnh viễn theo Danh mục hồ sơ để người lập hồ sơ ghi trực tiếp nội dung vào các cột trên Hệ thống.
Hướng dẫn cách ghi các cột:
Cột (1): Ghi số thứ tự của văn bản, tài liệu trong hồ sơ (đơn vị bảo quản);
Cột (2): Ghi số và ký hiệu của văn bản, tài liệu;
Cột (3): Ghi ngày, tháng, năm của văn bản, tài liệu;
Cột (4): Ghi tác giả ban hành văn bản (không ghi tên cơ quan chủ quản);
Cột (5): Ghi tên loại và trích yếu nội dung văn bản (nếu không có trích yếu thì ghi nội dung tóm tắt của văn bản);
Cột (6): Ghi tờ số đối với hồ sơ giấy và trang số đối với hồ sơ điện tử (văn bản đó bắt đầu từ tờ số/trang số mấy);
Cột (7): Ghi chú những điều cần thiết về văn bản: bản thảo không dấu, bản photo, bản gốc, chữ ký, có bút tích,..../.
Mẫu 07 - Biên bản giao nhận hồ sơ, tài liệu
_________
|
TÊN CQ, TC CHỦ QUẢN TÊN CƠ QUAN, TỔ CHỨC _______ |
CỘNG HÒA XÃ HỘI CHỦ NGHĨA VIỆT NAM Độc lập - Tự do - Hạnh phúc _________________________ ...., ngày…. Tháng… năm.... |
BIÊN BẢN
Giao nhận hồ sơ, tài liệu
__________
Căn cứ Nghị định số 30/2020/NĐ-CP ngày 05 tháng 3 năm 2020 của Chính phủ về công tác văn thư;
Căn cứ.................. (Danh mục hồ sơ năm..., Kế hoạch thu thập tài liệu...),
Chúng tôi gồm:
BÊN GIAO: (tên cá nhân, đơn vị giao nộp hồ sơ, tài liệu)
Ông (bà):...................................................................................................................................................
Chức vụ công tác:...................................................................................................................................
BÊN NHẬN: (Lưu trữ cơ quan)
Ông (bà):.......................................................................................................................................................................
Chức vụ công tác:.......................................................................................................................................................
Thống nhất lập biên bản giao nhận tài liệu với những nội dung như sau:
1. Tên khối tài liệu giao nộp:.....................................................................................................................................
2. Thời gian của hồ sơ, tài liệu:.................................................................................................................................
3. Số lượng tài liệu:
a) Đối với hồ sơ, tài liệu giấy
- Tổng số hộp (cặp):....................................................................................................................................................
- Tổng số hồ sơ (đơn vị bảo quản):.................................................. Quy ra mét giá:.................................. mét.
b) Đối với hồ sơ, tài liệu điện tử
- Tổng số hồ sơ:
- Tổng số tệp tin trong hồ sơ:.....................................................................................................................................
4. Tình trạng tài liệu giao nộp:..................................................................................................................................
5. Mục lục hồ sơ, tài liệu nộp lưu kèm theo.
Biên bản này được lập thành hai bản; bên giao giữ một bản, bên nhận giữ một bản./.
|
ĐẠI DIỆN BÊN GIAO (Ký và ghi rõ họ và tên) |
ĐẠI DIỆN BÊN NHẬN |
Bạn chưa Đăng nhập thành viên.
Đây là tiện ích dành cho tài khoản thành viên. Vui lòng Đăng nhập để xem chi tiết. Nếu chưa có tài khoản, vui lòng Đăng ký tại đây!
Bạn chưa Đăng nhập thành viên.
Đây là tiện ích dành cho tài khoản thành viên. Vui lòng Đăng nhập để xem chi tiết. Nếu chưa có tài khoản, vui lòng Đăng ký tại đây!