- Tổng quan
- Nội dung
- Tiêu chuẩn liên quan
- Lược đồ
- Tải về
Tiêu chuẩn Việt Nam TCVN 7417-1:2004 IEC 61386-1:1996 Hệ thống ống dùng cho quản lý cáp
| Số hiệu: | TCVN 7417-1:2004 | Loại văn bản: | Tiêu chuẩn Việt Nam |
| Cơ quan ban hành: | Bộ Khoa học và Công nghệ | Lĩnh vực: | Công nghiệp |
|
Ngày ban hành:
Ngày ban hành là ngày, tháng, năm văn bản được thông qua hoặc ký ban hành.
|
2004 |
Hiệu lực:
|
Đang cập nhật |
| Người ký: | Đang cập nhật |
Tình trạng hiệu lực:
Cho biết trạng thái hiệu lực của văn bản đang tra cứu: Chưa áp dụng, Còn hiệu lực, Hết hiệu lực, Hết hiệu lực 1 phần; Đã sửa đổi, Đính chính hay Không còn phù hợp,...
|
Đã biết
|
TÓM TẮT TIÊU CHUẨN VIỆT NAM TCVN 7417-1:2004
Nội dung tóm tắt đang được cập nhật, Quý khách vui lòng quay lại sau!
Tải tiêu chuẩn Việt Nam TCVN 7417-1:2004
TIÊU CHUẨN VIỆT NAM
TCVN 7417-1 : 2004
IEC 61386-1 : 1996
WITH AMENDMENT 1 : 2000
HỆ THỐNG ỐNG DÙNG CHO QUẢN LÝ CÁP - PHẦN 1: YÊU CẦU CHUNG
Conduit systems for cable management - Part 1: General requirements
Lời nói đầu
TCVN 7417-1 : 2004 hoàn toàn tương đương với tiêu chuẩn IEC 61386-1 : 1996 và Sửa đổi 1: 2000;
TCVN 7417-1 : 2004 do Công ty SX & TM Thăng Long Hà nội đề xuất xây dựng, Ban kỹ thuật tiêu chuẩn TCVN/TC/E2 Thiết bị điện dân dụng biên soạn, Tổng cục Tiêu chuẩn Đo lường Chất lượng đề nghị, Bộ Khoa học và Công nghệ ban hành.
HỆ THỐNG ỐNG DÙNG CHO QUẢN LÝ CÁP - PHẦN 1: YÊU CẦU CHUNG
Conduit systems for cable management - Part 1: General requirements
1. Phạm vi áp dụng
Tiêu chuẩn này qui định các yêu cầu và các thử nghiệm đối với hệ thống ống, bao gồm ống và phụ kiện ống, dùng để bảo vệ và quản lý các dây dẫn có cách điện và/hoặc cáp cách điện trong hệ thống lắp đặt điện hoặc trong hệ thống truyền thông có điện áp đến 1 000 V xoay chiều và/hoặc 1 500 V một chiều. Tiêu chuẩn này áp dụng cho hệ thống ống kim loại, phi kim loại và hệ thống kết hợp cả kim loại và phi kim loại, kể cả các đầu kết thúc hệ thống, có ren và không có ren. Tiêu chuẩn này không áp dụng cho vỏ hộp và hộp đầu nối thuộc phạm vi áp dụng của IEC 670.
CHÚ THÍCH 1: Một số hệ thống ống cũng có thể thích hợp để sử dụng trong môi trường khí quyển nguy hiểm. Khi đó, cần chú ý đưa thêm các yêu cầu cần thiết đối với thiết bị được lắp đặt trong những điều kiện như vậy.
CHÚ THÍCH 2: Dây nối đất có thể được cách điện, có thể không được cách điện.
2. Tài liệu viện dẫn
IEC 417 : 1973, Graphical symbols for use on equipment. Index, survey and compilation of the single sheets, as well as all of the supplements A to L (Ký hiệu đồ họa để sử dụng trên thiết bị. Chỉ mục, khảo sát và lập tờ rơi, cũng như tất cả các bổ sung từ A đến L)
IEC 423 : 1993, Conduits for electrical purposes - Outside diameters of conduits for electrical installations and threads for conduits and fitting (Ống dùng cho mục đích điện - Đường kính ngoài của ống dùng cho lắp đặt điện và ren dùng cho ống và phụ kiện ống)
IEC 529 : 1989, Degrees of protection provided by enclosures (IP Code) (Cấp bảo vệ bằng vỏ ngoài (Mã IP))
IEC 670 : 1989, General requirements for enclosures for accessories for household and similar fixed electrical installations (Yêu cầu chung đối với vỏ bọc dùng cho các khí cụ điện dùng trong gia đình và các hệ thống lắp đặt điện cố định tương tự)
IEC 60695-2-1/1 : 1994, Fire hazard testing - Part 2: Test methods - Section 1/Sheet 1: Glow-wire end-product test and guidance (Thử nghiệm rủi ro cháy - Phần 2: Phương pháp thử - Mục 1/Tờ 1: Thử nghiệm thành phẩm bằng sợi dây nóng đỏ và hướng dẫn)
IEC 60695-2-4/1 : 1991, Fire hazard testing - Part 2: Test methods - Section 4/Sheet 1: 1 kW nominal pre-mixed test flame and guidance (Thử nghiệm rủi ro cháy - Phần 2: Phương pháp thử - Mục 4/Tờ 1: Ngọn lửa thử nghiệm trộn trước 1 kW danh nghĩa và hướng dẫn)
3. Định nghĩa
Tiêu chuẩn này áp dụng các định nghĩa sau đây:
3.1
hệ thống ống (conduit system)
hệ thống đi dây kín gồm các ống và phụ kiện ống để bảo vệ và quản lý dây dẫn và/hoặc cáp đã có cách điện trong hệ thống lắp đặt điện hoặc truyền thông, cho phép kéo, đẩy và/hoặc thay thế dây và/hoặc cáp trong hệ thống, nhưng không cho phép luồn từ phía bên.
3.2
ống (conduit)
bộ phận của hệ thống đi dây kín có mặt cắt tròn dùng cho các dây dẫn cách điện và/hoặc cáp cách điện trong hệ thống lắp đặt điện hoặc truyền thông, cho phép kéo, đẩy và/hoặc thay thế dây và/hoặc cáp nằm trong ống.
3.3
phụ kiện ống (conduit fitting)
bộ phận được thiết kế để nối một hoặc nhiều thành phần của hệ thống ống hoặc dùng để thay đổi hướng.
3.4
ống và/hoặc phụ kiện ống bằng kim loại (metallic conduit and/or conduit fitting)
ống hoặc phụ kiện ống chỉ bằng kim loại.
3.5
ống và/hoặc phụ kiện ống bằng vật liệu phi kim loại (non-metallic conduit and/or conduit fitting)
ống hoặc phụ kiện ống chỉ bằng vật liệu phi kim loại mà không có bất cứ thành phần kim loại nào.
3.6
ống và/hoặc phụ kiện ống kết hợp (composite conduit and/or conduit fitting)
ống hoặc phụ kiện ống có cả vật liệu kim loại lẫn vật liệu phi kim loại.
3.7
ống và/hoặc phụ kiện ống không cháy lan (non-flame propagating conduit and/or conduit fitting)
ống hoặc phụ kiện ống có thể bắt lửa do đặt ngọn lửa vào, nhưng không bị cháy lan, và khi rút ngọn lửa ra thì tự tắt sau một thời gian nhất định.
3.8
ống trơn (plain conduit)
ống có biên dạng bằng phẳng theo mặt cắt dọc (xem chú thích ở 3.9).
3.9
ống sóng (corrugated conduit)
ống có biên dạng sóng theo mặt cắt dọc.
CHÚ THÍCH: Cho phép chế tạo ống sóng có cả loại vòng tròn và loại xoắn ốc, và cũng cho phép kết hợp ống sóng và ống trơn.
3.10
ống cứng (rigid conduit)
ống không uốn được hoặc chỉ có thể uốn khi có trợ giúp về cơ khí, có hoặc không có xử lý đặc biệt.
3.11
ống uốn được (pliable conduit)
ống có thể uốn được bằng tay với lực vừa phải và không được thiết kế để uốn thường xuyên.
3.12
ống mềm (flexible conduit)
ống có thể uốn được bằng tay với lực nhỏ vừa phải và được thiết kế để uốn thường xuyên trong quá trình sử dụng.
3.13
ống tự phục hồi (self-recovering conduit)
ống uốn được, bị biến dạng khi đặt lực theo phương ngang trong một thời gian ngắn và sau khi loại bỏ lực này thì ống trở lại hình dạng ban đầu sau một thời gian ngắn.
3.14
ống và phụ kiện ống có ren (threadable conduit and conduit fitting)
ống và phụ kiện ống có ren để đầu nối, hoặc có thể tạo ren trong hoặc ren ngoài của ống.
3.15
ống và phụ kiện ống không ren (non-threadable conduit and conduit fitting)
ống và phụ kiện ống chỉ thích hợp cho đầu nối bằng phương tiện không phải là ren.
3.16
phụ kiện cuối ống (terminating conduit fitting)
phụ kiện ống để kết thúc một hệ thống ống.
3.17
ảnh hưởng bên ngoài (external influence)
các yếu tố có thể ảnh hưởng đến hệ thống ống.
CHÚ THÍCH: Ví dụ về các yếu tố này là nước, dầu hoặc vật liệu xây dựng, nhiệt độ cao, nhiệt độ thấp và chất ăn mòn hoặc chất nhiễm bẩn.
3.18
mạ kẽm nóng theo phương pháp nhúng (hot dip galvanising)
phủ kẽm và phủ các lớp hợp kim kẽm sắt bằng cách nhúng các vật dụng bằng thép hoặc bằng sắt đã chuẩn bị trước vào kẽm nóng chảy.
CHÚ THÍCH: Trong một số trường hợp, toàn bộ lớp phủ có thể gồm các lớp hợp kim kẽm.
3.19
tráng kẽm (sherardizing)
quá trình khuếch tán trong đó vật dụng được gia nhiệt tiếp xúc chặt chẽ với bột kẽm và môi trường trơ.
CHÚ THÍCH: Quá trình này thường được thực hiện trong một thùng chứa bịt kín quay chậm có nhiệt độ khoảng 385 0C. Khả năng chịu ăn mòn tỷ lệ với chiều dày lớp phủ khống chế được.
4. Yêu cầu chung
4.1 Ống và phụ kiện ống thuộc phạm vi áp dụng của tiêu chuẩn này phải được thiết kế và có kết cấu sao cho tính năng của ống và phụ kiện ống trong sử dụng bình thường là tin cậy và chúng có tác dụng bảo vệ người sử dụng hoặc các vật xung quanh.
Khi được lắp ráp phù hợp với hướng dẫn của nhà chế tạo, ống và phụ kiện ống là bộ phận của hệ thống ống, phải có tác dụng bảo vệ về cơ và, trong trường hợp có yêu cầu, phải có bảo vệ về điện cho các dây dẫn và cáp cách điện nằm bên trong chúng.
4.2 Đặc tính bảo vệ của mối nối giữa ống và phụ kiện ống không được thấp hơn đặc tính được công bố của hệ thống ống.
4.3 Ống và phụ kiện ống phải chịu được các ứng suất có khả năng xuất hiện trong quá trình vận chuyển, bảo quản, thực tế lắp đặt và ứng dụng theo khuyến cáo.
4.4 Kiểm tra sự phù hợp bằng cách thực hiện tất cả các thử nghiệm qui định có liên quan.
5 Điều kiện chung đối với các thử nghiệm
5.1 Thử nghiệm phù hợp với tiêu chuẩn này là thử nghiệm điển hình.
5.2 Nếu không có qui định nào khác thì các thử nghiệm phải được thực hiện ở nhiệt độ môi trường là (20 ± 5) 0C.
5.3 Nếu không có qui định nào khác, phải thực hiện mỗi thử nghiệm trên ba mẫu mới.
CHÚ THÍCH: Một số thử nghiệm, ví dụ như kiểm tra kích thước, không làm thay đổi thuộc tính của mẫu; do đó mẫu này được coi là mới và có thể dùng cho các thử nghiệm tiếp theo.
5.4 Các mẫu ống và phụ kiện ống phi kim loại, ống và phụ kiện ống kết hợp phải được ổn định trong thời gian ít nhất là 240 h ở nhiệt độ (23 ± 2) 0C và độ ẩm tương đối trong khoảng 40 % đến 60 %. Tất cả các thử nghiệm phải được tiến hành ngay sau khi ổn định chung.
5.5 Nếu không có qui định nào khác, các mẫu dùng cho mỗi thử nghiệm phải sạch và chưa qua sử dụng, các bộ phận được lắp vào vị trí như trong sử dụng bình thường. Sau khi kiểm tra các kích thước theo điều 8, và nếu không có qui định nào khác trong thử nghiệm liên quan, thì phụ kiện ống phải được lắp ráp với ống có chiều dài thích hợp thuộc loại mà phụ kiện ống được thiết kế để lắp cùng. Phải lưu ý đến chỉ dẫn của nhà chế tạo, đặc biệt khi lắp ráp các mối nối có yêu cầu đến lực.
CHÚ THÍCH: Trong trường hợp có yêu cầu giống nhau, nhà chế tạo, hoặc đại lý ủy quyền, và nơi thử nghiệm cần thỏa thuận về việc chọn các phụ kiện ống đại diện để thử nghiệm.
5.6 Trong trường hợp lối vào ống là một phần của phụ kiện ống loại lắp lỏng hoặc tháo rời được, phụ kiện ống tháo rời được phải có thể lắp ráp trở lại sau khi thử nghiệm, theo hướng dẫn của nhà chế tạo mà không bị suy giảm các đặc tính đã được công bố so với qui định của điều 6.
5.7 Nếu không có qui định nào khác, thì tiến hành thử nghiệm trên ba mẫu và các yêu cầu được đáp ứng nếu các mẫu thỏa mãn các thử nghiệm.
Nếu chỉ một trong số các mẫu này không thỏa mãn một thử nghiệm nào đó, do sai sót trong lắp ráp hoặc chế tạo, thì thử nghiệm đó và bất kỳ thử nghiệm nào trước đó có thể ảnh hưởng đến kết quả thử nghiệm đều phải thực hiện lại, đồng thời các thử nghiệm tiếp theo phải được tiến hành theo thứ tự yêu cầu trên một bộ mẫu đầy đủ khác, tất cả các mẫu phải phù hợp với các yêu cầu.
CHÚ THÍCH: Nếu bộ mẫu bổ sung không được giao đến thử nghiệm cùng thời gian với bộ mẫu thử nghiệm thì một mẫu không đạt yêu cầu sẽ dẫn đến cả bộ mẫu bị loại bỏ. Khi giao bộ mẫu thứ nhất, cũng có thể giao luôn bộ mẫu bổ sung để có thể sử dụng khi có một mẫu bị hỏng. Khi đó, nơi thử nghiệm sẽ thử nghiệm bộ mẫu bổ sung và chỉ loại bỏ chúng nếu xuất hiện một hỏng hóc khác mà không cần yêu cầu gì thêm.
5.8 Khi sử dụng các qui trình độc hại hoặc nguy hiểm, phải chú ý đến an toàn của con người trong khu vực thử nghiệm.
5.9 Hệ thống ống được sử dụng như một bộ phận cấu thành của thiết bị khác thì phải được thử nghiệm phù hợp với tiêu chuẩn liên quan áp dụng cho thiết bị đó.
6. Phân loại
CHÚ THÍCH: Phụ lục A đưa ra mã phân loại đối với các đặc tính công bố của hệ thống ống, mã phân loại này có thể kết hợp trong tài liệu của nhà chế tạo.
6.1 Theo đặc tính cơ
6.1.1 Khả năng chịu nén
1 Rất nhẹ
2 Nhẹ
3 Trung bình
4 Nặng
5 Rất nặng
6.1.2 Khả năng chịu va đập
1 Rất nhẹ
2 Nhẹ
3 Trung bình
4 Nặng
5 Rất nặng
6.1.3 Khả năng chịu uốn
1 Cứng
2 Uốn được
3 Uốn được/Tự phục hồi
4 Mềm
6.1.4 Độ bền kéo
1 Rất nhẹ
2 Nhẹ
3 Trung bình
4 Nặng
5 Rất nặng
6.1.5 Khả năng mang tải treo
1 Rất nhẹ
2 Nhẹ
3 Trung bình
4 Nặng
5 Rất nặng
6.2 Theo nhiệt độ
6.2.1 Dãy nhiệt độ thấp
Bảng 1 - Dãy nhiệt độ thấp
| Loại (số thứ nhất) | Vận chuyển, sử dụng và lắp đặt - Nhiệt độ không thấp hơn 0C |
| 1X | + 5 |
| 2X | - 5 |
| 3X | - 15 |
| 4X | - 25 |
| 5X | - 45 |
6.2.2 Dãy nhiệt độ cao
Bảng 2 - Dãy nhiệt độ cao
| Loại (số thứ hai) | Sử dụng và lắp đặt - Nhiệt độ không cao hơn 0C |
| X1 | 60 |
| X2 | 90 |
| X3 | 105 |
| X4 | 120 |
| X5 | 150 |
| X6 | 250 |
| X7 | 400 |
6.3 Theo đặc tính điện
6.3.1 Có đặc tính liên tục về điện
6.3.2 Có đặc tính cách điện
6.3.3 Vừa có đặc tính liên tục về điện vừa có cách điện
6.4 Theo khả năng chịu các ảnh hưởng từ bên ngoài
6.4.1 Bảo vệ chống sự xâm nhập của vật rắn: bảo vệ theo IEC 529, tối thiểu là IP3X.
6.4.2 Bảo vệ chống sự xâm nhập của nước: bảo vệ theo IEC 529, tối thiểu là IPX0.
6.4.3 Khả năng chống ăn mòn
6.4.3.1 Không có bảo vệ
6.4.3.2 Có bảo vệ như nêu chi tiết trong bảng 10
6.5 Theo khả năng chống cháy lan
6.5.1 Không cháy lan
6.5.2 Cháy lan
7. Ghi nhãn và tài liệu
7.1 Trên sản phẩm ống phải ghi nhãn bao gồm nhãn thương mại hoặc tên nhận biết nhà chế tạo hoặc đại lý ủy quyền.
Ngoài ra, ống cũng phải được ghi nhãn sao cho có thể nhận biết theo tài liệu của nhà chế tạo hoặc đại lý ủy quyền
7.1.1 Ống cũng có thể được ghi nhãn theo mã phân loại phù hợp với phụ lục A và phải gồm ít nhất bốn con số đầu.
7.1.2 Nhà chế tạo phải có trách nhiệm thể hiện tính tương thích của các bộ phận trong hệ thống ống.
7.2 Phụ kiện ống phải được ghi nhãn theo 7.1, nếu có thể thực hiện trên sản phẩm, nhưng nếu không thể thực hiện được thì ghi trên một tấm nhãn gắn hoặc bao bì chứa phụ kiện ống.
7.3 Ống và phụ kiện ống là vật liệu cháy lan phải có màu da cam. Không cho phép tạo màu da cam trên vật liệu bằng cách sơn hoặc bằng phương tiện phủ bề mặt khác.
Ống và phụ kiện ống là vật liệu không cháy lan có thể có màu bất kỳ, trừ màu vàng, da cam hoặc đỏ, nếu không thì phải có nhãn rõ ràng ghi trên sản phẩm là vật liệu không cháy lan.
7.4 Phương tiện nối đất phải được chỉ ra bằng ký hiệu nối đất bảo vệ phù hợp với IEC 417, ký hiệu 417- IEC- 5019-a. Ký hiệu này không được đặt trên các bộ phận dễ tháo rời, ví dụ như các vít.
7.5 Kiểm tra sự phù hợp với 7.1 đến 7.4 bằng cách xem xét.
7.6 Nhãn phải bền và dễ đọc
Kiểm tra sự phù hợp bằng cách xem xét và bằng cách dùng giẻ thấm đẫm nước chà sát bằng tay lên nhãn trong 15 s, sau đó dùng giẻ thấm đẫm xăng nhẹ chà sát thêm 15 s nữa.
CHÚ THÍCH 1: Xăng nhẹ được qui định là dung môi hécxan mạch hở có thành phần thơm tối đa là 0,1 % thể tích, giá trị kauri butanol là 29, điểm sôi ban đầu là 65 0C, điểm khô là 69 0C và khối lượng riêng xấp xỉ 0,68 g/cm3.
CHÚ THÍCH 2: Nhãn có thể áp dụng, ví dụ, bằng cách đúc, ép, khắc in, dán nhãn hoặc theo phương pháp trượt nước.
CHÚ THÍCH 3: Nhãn làm bằng phương pháp đúc, ép hoặc khắc không phải chịu thử nghiệm này.
Sau thử nghiệm, nội dung nhãn vẫn phải rõ ràng.
8 Kích thước
8.1 Đường kính ren và đường kính ngoài, nếu thích hợp, phải phù hợp với IEC 423.
Kiểm tra sự phù hợp bằng các dưỡng qui định trong IEC 423.
8.2 Các kích thước khác phải phù hợp với các yêu cầu của Phần 2 liên quan của tiêu chuẩn này.
9 Kết cấu
9.1 Bên trong hệ thống ống không được có gờ sắc, nhọn hoặc nhấp nhô bề mặt có khả năng làm hỏng dây dẫn hoặc cáp cách điện, hoặc gây bị thương cho người lắp đặt hoặc người sử dụng.
Nhà chế tạo phải có trách nhiệm cung cấp hướng dẫn để giúp cho việc lắp đặt an toàn hệ thống ống.
Kiểm tra sự phù hợp bằng cách xem xét, nếu cần sau khi cắt rời mẫu.
9.2 Vít, nếu có, dùng để liên kết các thành phần hoặc vỏ bọc với phụ kiện ống hoặc tại các chỗ nối với ống, không được làm hỏng cách điện của cáp khi đã chèn đúng cách. Vít phải có ren hệ mét ISO. Không được sử dụng vít cắt ren.
Vít dùng để cố định và kẹp cỡ nhỏ sử dụng với phụ kiện ống phi kim loại hoặc loại kết hợp không nhất thiết phải là vật liệu phi kim loại nếu chúng được cách ly với dây dẫn hoặc cáp cách điện.
Phương tiện cố định bằng vít phải được thiết kế sao cho chịu được các ứng suất cơ xuất hiện trong quá trình lắp đặt và trong sử dụng bình thường.
Kiểm tra sự phù hợp của việc cố định bằng vít có sử dụng ren tạo trước bằng thử nghiệm trong 9.3, sau đó kiểm tra bằng cách xem xét.
Kiểm tra sự phù hợp của việc cố định bằng vít có sử dụng vít tạo ren bằng thử nghiệm trong 9.4, sau đó kiểm tra bằng cách xem xét.
9.3 Vít có ren tạo trước dùng để lắp với ren là vật liệu phi kim loại và vít là vật liệu phi kim loại phải được xiết vào, nới ra 10 lần, còn tất cả các trường hợp khác thì xiết vào, nới ra 5 lần.
Thử nghiệm phải được tiến hành bằng cách sử dụng tuốc nơ vít hoặc chìa vặn thích hợp với mômen tương ứng nêu trong bảng 3. Không được xiết vít bằng động tác đột ngột hoặc giật.
Sau thử nghiệm này, không được hỏng vít hoặc đai ốc, như gẫy hoặc hỏng mũ hoặc ren vít đến mức ảnh hưởng xấu đến sử dụng tiếp theo của vít hoặc đai ốc.
9.4 Vít tạo ren được xiết vào rồi nới ra 10 lần đối với vít lắp với ren là vật liệu cách điện và 5 lần đối với tất cả các trường hợp khác. Vít lắp với ren là vật liệu cách điện phải được tháo ra hoàn toàn mỗi lần.
Thử nghiệm phải được tiến hành bằng cách sử dụng tuốc nơ vít hoặc clê thích hợp với mômen tương ứng nêu trong bảng 3. Không được xiết vít bằng động tác đột ngột hoặc giật.
Sau thử nghiệm này, không được có hỏng hóc như gẫy vít hoặc hỏng mũ vít hoặc ren đến mức ảnh hưởng đến sử dụng tiếp theo của vít.
Bảng 3 - Mômen thử nghiệm vít
| Đường kính danh nghĩa của ren mm | Mômen Nm | ||
| Lớn hơn | Đến và bằng | I (chú thích 1) | II (chú thích 2) |
| - | 2,8 | 0,4 | 0,4 |
| 2,8 | 3,0 | 0,5 | 0,5 |
| 3,0 | 3,2 | 0,6 | 0,6 |
| 3,2 | 3,6 | 0,8 | 0,8 |
| 3,6 | 4,1 | 1,2 | 1,2 |
| 4,1 | 4,7 | 1,8 | 1,8 |
| 4,7 | 5,3 | 2,0 | 2,0 |
| 5,3 | 6,0 | 2,5 | 3,0 |
| 6,0 | 8,0 | 3,5 | 6,0 |
| 8,0 | 10,0 | 4,0 | 10,0 |
| CHÚ THÍCH 1: Cột I áp dụng cho vít được xiết bằng tuốc nơ vít. CHÚ THÍCH 2: Cột II áp dụng cho vít và đai ốc được xiết bằng phương tiện không phải là tuốc nơ vít. | |||
9.5 Vật liệu bất kỳ, ví dụ như cao su, sợi, v.v…, bên trong mối nối có thể chịu các ảnh hưởng bên ngoài khi lắp ráp theo hướng dẫn của nhà chế tạo, thì ít nhất phải có cùng mức về khả năng chịu ảnh hưởng từ bên ngoài so với ống hoặc phụ kiện ống.
Kiểm tra sự phù hợp bằng thử nghiệm qui định trong điều 14.
9.6 Đối với hệ thống ống được lắp ráp không phải bằng ren, nhà chế tạo phải chỉ ra rằng hệ thống có thể tháo ra được hay không và nếu được thì bằng cách nào.
Kiểm tra sự phù hợp bằng cách xem xét và thử nghiệm bằng tay.
10. Đặc tính cơ
10.1 Độ bền cơ
10.1.1 Hệ thống ống phải có đủ độ bền cơ.
10.1.2 Khi chịu uốn hoặc nén, hoặc chịu va đập hoặc nhiệt độ tới hạn của giá trị qui định phù hợp với phân loại va đập và nhiệt độ công bố cho sản phẩm, trong hoặc sau khi lắp đặt theo hướng dẫn của nhà chế tạo, ống, theo phân loại, không được nứt và biến dạng đến mức gây trở ngại cho việc luồn cáp hoặc dây dẫn cách điện, hoặc đến mức có khả năng làm hỏng dây dẫn hoặc cáp cách điện đã lắp đặt khi đẩy kéo bên trong ống.
10.1.3 Hệ thống ống được thiết kế để đỡ một thiết bị khác phải có đủ độ bền cơ để đỡ thiết bị đó và chịu được lực cần thiết để vận hành thiết bị, cả trong và sau khi lắp đặt.
10.1.4 Kiểm tra sự phù hợp với 10.1.1 đến 10.1.3 bằng các thử nghiệm qui định trong 10.2 đến 10.8.
10.2 Thử nghiệm nén
10.2.1 Các mẫu ống, mỗi mẫu dài (200 ± 5) mm, phải chịu được thử nghiệm nén ở (23 ± 2) 0C, sử dụng thiết bị cho trên hình 1.
10.2.2 Trước khi thử nghiệm, phải đo đường kính ngoài của mẫu.
10.2.3 Mẫu phải được đặt trên một tấm đỡ phẳng bằng thép và một khối thép trung gian phải đặt ở đoạn giữa mẫu, như thể hiện trên hình 1.
10.2.4 Lực nén tăng đều để đạt đến giá trị cho trong bảng 4 trong khoảng thời gian là (30 ± 3) s phải được đặt lên khối thép trung gian.
10.2.5 Sau khi đặt lực nêu trong bảng 4 trong (60 ± 2) s, phải đo đường kính ngoài của mẫu ở chỗ bị làm bẹt, nhưng không bỏ lực nén.
Bảng 4 - Lực nén
| Loại | Ống | Lực nén Dung sai N |
| 1 | Rất nhẹ | 125 |
| 2 | Nhẹ | 320 |
| 3 | Trung bình | 750 |
| 4 | Nặng | 1 250 |
| 5 | Rất nặng | 4 000 |
10.2.6 Chênh lệch giữa đường kính ngoài ban đầu và đường kính của mẫu bị nén bẹt không được vượt quá 25 % đường kính ngoài ban đầu đo được trước khi thử nghiệm.
10.2.7 Sau đó, loại bỏ lực nén và khối thép trung gian, và sau (60 ± 2) s, phải đo lại đường kính ngoài của mẫu ở chỗ bị nén bẹt.
Chênh lệch giữa đường kính ngoài ban đầu và đường kính của mẫu bị nén bẹt không được vượt quá 10 % đường kính ngoài đo được trước khi thử nghiệm
10.2.8 Sau khi thử nghiệm, mẫu không được có vết nứt nhìn thấy được bằng mắt thường hoặc có điều chỉnh thị lực nhưng không phóng đại.
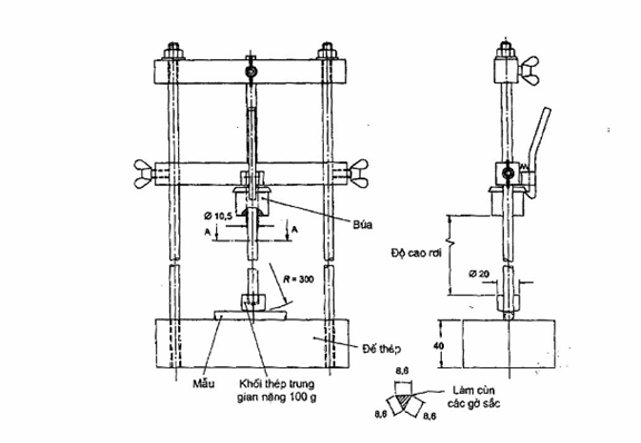
10.3 Thử nghiệm va đập
10.3.1 Mười hai mẫu ống, mỗi mẫu dài (200 ± 5) mm, hoặc mười hai phụ kiện ống chịu thử nghiệm va đập bằng dụng cụ thử nghiệm cho trên hình 2.
Trước khi thử nghiệm, mẫu được lắp tất cả các thành phần như trong sử dụng bình thường, kể cả ống được yêu cầu để tiến hành thử nghiệm.
CHÚ THÍCH: Khi thử nghiệm ống, không yêu cầu có phụ kiện ống.
Các bộ phận không chạm tới được khi lắp đặt trong sử dụng bình thường và phụ kiện ống nhỏ có kích thước lớn nhất không quá 20 mm không phải chịu thử nghiệm này.
10.3.2 Thiết bị thử nghiệm phải được đặt trên một miếng đệm có chiều dày khi chưa nén là (40 ± 1) mm bằng cao su xốp có lỗ và có khối lượng riêng là (538 ± 22) kg/m3.
Thiết bị thử nghiệm và mẫu phải được đặt trong tủ lạnh, nhiệt độ bên trong tủ phải được duy trì ở nhiệt độ công bố nêu trong bảng 1, dung sai là ± 2 0C.
Khi các mẫu đạt đến nhiệt độ qui định, hoặc sau 2 h, chọn thời gian nào dài hơn, đặt từng mẫu trên đế thép như thể hiện trên hình 2. Búa phải được thả rơi một lần trên mỗi mẫu. Khối lượng của búa và độ cao rơi phải như qui định trong bảng 5.
Thử nghiệm phải được thực hiện trên phần yếu nhất của phụ kiện ống nhưng không được đập vào lối vào ống trong phạm vi 5 mm. Mẫu ống được thử nghiệm ở đoạn giữa của chiều dài ống.
Bảng 5 - Giá trị thử nghiệm va đập
| Loại | Ống và phụ kiện ống | Khối lượng búa Dung sai kg | Chiều cao rơi Dung sai ± 1 % mm |
| 1 | Rất nhẹ | 0,5 | 100 |
| 2 | Nhẹ | 1,0 | 100 |
| 3 | Trung bình | 2,0 | 100 |
| 4 | Nặng | 2,0 | 300 |
| 5 | Rất nặng | 6,8 | 300 |
10.3.3 Sau thử nghiệm, khi mẫu đạt nhiệt độ (20 ± 5) 0C, ống phải có khả năng cho lọt qua dưỡng thích hợp qui định trong yêu cầu cụ thể liên quan (các phần 21, 22, 23, v.v…) bằng trọng lượng của bản thân dưỡng và không có tốc độ ban đầu, với mẫu đặt thẳng đứng. Không được có dấu hiệu vỡ hoặc nứt nhìn thấy được bằng mắt thường hoặc có điều chỉnh thị lực nhưng không phóng đại.
Ít nhất phải có chín trong số mười hai mẫu đạt thử nghiệm này.
10.4 Thử nghiệm uốn
Thử nghiệm này được qui định trong yêu cầu cụ thể liên quan (các phần 21, 22, 23, v.v…) của bộ tiêu chuẩn này.
10.5 Thử nghiệm độ mềm dẻo
Thử nghiệm này được qui định trong yêu cầu cụ thể liên quan (các phần 21, 22, 23, v.v…) của bộ tiêu chuẩn này.
10.6 Thử nghiệm ép theo chiều dọc
Thử nghiệm này được qui định trong yêu cầu cụ thể liên quan (các phần 21, 22, 23, v.v…) của bộ tiêu chuẩn này.
10.7 Thử nghiệm kéo
10.7.1 Độ bền kéo công bố của hệ thống ống phải được thử nghiệm như sau:
Một mẫu ống và hai phụ kiện ống hoặc phụ kiện cuối ống được lắp ráp theo hướng dẫn của nhà chế tạo sao cho tổng chiều dài xấp xỉ 300 mm. Cụm lắp ráp này chịu một lực kéo tăng đều để đạt đến giá trị cho trong bảng 6, ở (23 ± 2) 0C trong thời gian (30 ± 3) s. Sau đó, lực này được đặt trong 2 min ± 10 s.
10.7.2 Trong trường hợp xuất hiện giãn dài, nhà chế tạo phải cung cấp hướng dẫn trợ giúp cho việc lắp đặt an toàn hệ thống ống.
10.7.3 Đối với hệ thống ống không công bố độ bền kéo thì độ bền kéo của chỗ nối phải thỏa mãn các yêu cầu của thử nghiệm liên quan trong Phần 2 tương ứng.
10.7.4 Sau thử nghiệm, phụ kiện ống hoặc phụ kiện cuối ống vẫn thành một khối với ống và không được có hỏng hóc nhìn thấy được bằng mắt thường hoặc kính điều chỉnh thị lực nhưng không phóng đại.
Bảng 6 - Lực kéo
| Loại | Ống và phụ kiện ống | Lực kéo Dung sai N |
| 1 | Rất nhẹ | 100 |
| 2 | Nhẹ | 250 |
| 3 | Trung bình | 500 |
| 4 | Nặng | 1 000 |
| 5 | Rất nặng | 2 500 |
10.8 Thử nghiệm tải treo
Phụ kiện ống được nhà chế tạo công bố có khả năng chịu tải treo thì được gắn vào một kết cấu cứng bằng phương pháp do nhà chế tạo cung cấp, với phương tiện treo hướng xuống dưới.
Tải được treo bằng phương tiện cung cấp và được lắp đặt theo hướng dẫn của nhà chế tạo trong khoảng thời gian nêu trong bảng 7.
Phụ kiện phải được coi là đạt nếu ở cuối thử nghiệm, không có vết nứt nhìn thấy được bằng mắt thường hoặc kính điều chỉnh thị lực nhưng không phóng đại và phụ kiện ống không bị biến dạng làm ảnh hưởng đến sử dụng bình thường.
Đối với phụ kiện ống phi kim loại và phụ kiện ống kết hợp, phải tiến hành thử nghiệm trong tủ gia nhiệt, nhiệt độ bên trong tủ được duy trì ở giá trị lớn nhất công bố nêu trong bảng 2 với dung sai ± 2 0C.
Bảng 7 - Tải treo
| Loại | Phụ kiện ống | Tải Dung sai N | Lực kéo Dung sai h |
| 1 | Rất nhẹ | 20 | 48 |
| 2 | Nhẹ | 30 | 48 |
| 3 | Trung bình | 150 | 48 |
| 4 | Nặng | 450 | 48 |
| 5 | Rất nặng | 850 | 48 |
11. Đặc tính điện
11.1 Yêu cầu về điện
11.1.1 Hệ thống ống công bố các đặc tính liên tục về điện phải được kiểm tra bằng thử nghiệm nêu trong 11.2 ngay sau thử nghiệm qui định trong 14.2.
CHÚ THÍCH: Trong một số trường hợp, có thể sử dụng toàn bộ hoặc một phần hệ thống ống làm ruột dẫn bảo vệ trong hệ thống lắp đặt điện. Trong trường hợp đó, hệ thống sẽ được thử nghiệm theo các qui tắc lắp đặt sau khi lắp đặt hoàn chỉnh để khẳng định sự phù hợp với mục đích này.
11.1.2 Hệ thống ống làm bằng kim loại hoặc vật liệu kết hợp phải có kết cấu sao cho có thể nối đất các bộ phận kim loại chạm tới được.
Kiểm tra sự phù hợp bằng thử nghiệm trong 11.2.
11.1.3 Các bộ phận dẫn chạm tới được của hệ thống ống bằng kim loại hoặc vật liệu kết hợp có thể trở nên mang điện khi có sự cố thì phải được nối đất hiệu quả.
Kiểm tra sự phù hợp bằng thử nghiệm trong 11.2.
11.1.4 Hệ thống ống làm bằng vật liệu phi kim loại hoặc vật liệu kết hợp, nếu công bố, phải có đủ độ bền cách điện và điện trở cách điện.
Kiểm tra sự phù hợp bằng thử nghiệm trong 11.3.
11.2 Thử nghiệm liên kết điện
Ống và phụ kiện ống, gồm 10 đoạn ống, phải được ghép với nhau theo hướng dẫn của nhà chế tạo và hình 3, bằng các phụ kiện ống, có số lượng xấp xỉ bằng nhau, đại diện cho mỗi loại phụ kiện. Các phụ kiện ống phải đặt cách nhau trong khoảng 100 mm đến 150 mm. Cho dòng điện 25 A, tần số 50 Hz đến 60 Hz lấy từ nguồn xoay chiều có điện áp không tải không quá 12 V chạy qua khối lắp ráp trong (60 ± 2) s, sau đó đo điện áp rơi và tính điện trở thông qua dòng điện và điện áp rơi đó.
Điện trở không được vượt quá 0,1 Ω.
Nếu nhiều loại phụ kiện ống khác nhau không thể thực hiện trong một thử nghiệm duy nhất thì phải lặp lại thử nghiệm mô tả trên đây cho đến khi tất cả các loại phụ kiện khác nhau này đều được thử.
Trong trường hợp cần có thiết bị chuyên dùng để ghép nối ống và phụ kiện ống thì các thiết bị này phải có khả năng loại bỏ lớp phủ bảo vệ của ống hoặc lớp trang trí bảo vệ phải được loại bỏ theo hướng dẫn của nhà chế tạo.
11.3 Độ bền cách điện và điện trở cách điện
11.3.1 Ống
11.3.1.1 Mẫu ống được nhúng trong dung dịch nước muối ở nhiệt độ (23 ± 2) 0C, chiều dài nhúng là 1 m ± 10 mm, phần nhô lên khỏi bề mặt dung dịch là 100 mm, theo hình 4 hoặc hình 5.
Mẫu ống cứng do nhà chế tạo cung cấp có một đầu đã được gắn kín bằng vật liệu cách điện thích hợp có độ cách điện cao, ví dụ như vật liệu đàn hồi có chứa silic; xem hình 4.
Mẫu ống uốn được và ống mềm được uốn thành hình chữ "U" rồi nhúng vào dung dịch; xem hình 5.
Dung dịch nước muối có nồng độ natri clorua trong nước là 1 g/l.
Rót dung dịch nước muối qua đầu để hở của ống đến bằng với mức dung dịch bên ngoài. Đặt một điện cực vào trong ống và điện cực kia đặt trong bể chứa.
11.3.1.2 Sau 24 h ± 15 min, một điện áp có dạng sóng cơ bản là hình sin và có tần số 50 Hz đến 60 Hz được đặt lên hai điện cực theo cách tăng dần từ 1 000 V đến 2 000 V. Khi đạt đến 2 000 V, duy trì điện áp này trong khoảng 15 min
.
Biến áp cao áp dùng cho thử nghiệm được thiết kế sao cho khi đã điều chỉnh điện áp đầu ra đến giá trị thử nghiệm thích hợp, nếu ngắn mạch đầu ra thì dòng điện đạt tối thiểu là 200 mA. Rơle quá dòng không được tác động khi dòng điện nhỏ hơn 100 mA. Chú ý là giá trị hiệu dụng của điện áp thử nghiệm được đo với dung sai không quá ± 3 %.
Mẫu được coi là đủ độ bền cách điện nếu trong 15 min thử nghiệm, cơ cấu tác động 100 mA lắp trong mạch điện không tác động.
11.3.1.3 Ngay sau thử nghiệm ở 11.3.1.2, chính các mẫu này phải chịu thử nghiệm điện trở cách điện. Đặt điện áp 500 V một chiều lên hai điện cực.
11.3.1.4 Sau (60 ± 2) s đặt điện áp, đọc điện trở cách điện giữa hai điện cực. Ống được coi là có đủ điện trở cách điện nếu điện trở đo được lớn hơn 100 MΩ.
11.3.2 Phụ kiện ống
11.3.2.1 Mẫu phụ kiện ống phải được ngâm trong nước có nhiệt độ (23 ± 2) 0C trong 24 h ± 15 min, sau đó làm khô hoàn toàn ở nhiệt độ phòng.
11.3.2.2 Mẫu phụ kiện ống phải được lắp vào một đoạn ống ngắn theo hướng dẫn của nhà chế tạo. Tất cả các đầu hở khác được gắn kín bằng vật liệu cách điện thích hợp. Phía trong của phụ kiện được đổ đầy các viên bi bằng chì có đường kính từ 1,0 mm đến 1,5 mm, luồn qua ống một điện cực vào khối các viên chì này.
Điện cực bên ngoài là lá nhôm bọc xung quanh phía ngoài phụ kiện và được miết sao cho càng sát với mặt ngoài phụ kiện càng tốt.
11.3.2.3 Các mẫu phụ kiện ống phải được thử nghiệm phù hợp với 11.3.1.2 trong vòng 1 h sau khi lấy ra khỏi nước.
11.3.2.4 Ngay sau thử nghiệm ở 11.3.2.3, chính các mẫu này phải chịu thử nghiệm điện trở cách điện. Đặt điện áp 500 V một chiều vào hai điện cực.
11.3.2.5 Sau (60 ± 2) s đặt điện áp, đo điện trở cách điện giữa hai điện cực. Phụ kiện được coi là có đủ điện trở cách điện nếu giá trị điện trở lớn hơn 5 MΩ.
12. Đặc tính nhiệt
12.1 Ống phi kim loại và ống kết hợp phải có đủ khả năng chịu nhiệt.
Kiểm tra sự phù hợp bằng thử nghiệm ở 12.2 và kiểm tra xác nhận theo 12.3.
Tải dùng cho thử nghiệm gia nhiệt phải cùng loại với phân loại tải nén công bố.
12.2 Mẫu ống, mỗi mẫu dài (100 ± 5) mm, cùng với thiết bị thử nghiệm như thể hiện trên hình 8, phải được giữ trong tủ gia nhiệt trong thời gian 4 h ± 5 min ở nhiệt độ công bố cho trong bảng 2, với dung sai ± 2 0C.
Sau thời gian này, mỗi mẫu chịu tải trong 24 h ± 15 min trong thiết bị như cho trên hình 8, có khối lượng thích hợp đặt lên qua một thanh thép có đường kính (6,0 ± 0,1) mm, đặt thẳng góc với trục của ống.
Mẫu chịu tổng khối lượng, kể cả khối lượng của thanh thép, như cho trong bảng 8, đặt ở giữa mẫu.
Sau đó, mẫu đang chịu tải phải được để nguội về nhiệt độ phòng.
Bảng 8 - Tải dùng cho thử nghiệm gia nhiệt
| Loại | Ống | Khối lượng Dung sai kg |
| 1 | Rất nhẹ | 0,5 |
| 2 | Nhẹ | 1,0 |
| 3 | Trung bình | 2,0 |
| 4 | Nặng | 4,0 |
| 5 | Rất nặng | 8,0 |
12.3 Sau đó gỡ tải, ngay sau khi gỡ tải, ống phải có khả năng cho lọt qua dưỡng thích hợp qui định trong Phần 2 liên quan bằng chính khối lượng của dưỡng và không có tốc độ ban đầu, với mẫu đặt thẳng đứng.
13. Nguy hiểm cháy
13.1 Phản ứng với cháy
13.1.1 Mồi cháy
Không áp dụng.
CHÚ THÍCH: Hệ thống ống không tiếp xúc trực tiếp với phần mang điện.
13.1.2 Góp cháy
Đang xem xét.
13.1.3 Cháy lan
Hệ thống ống không cháy lan phải có đủ khả năng chịu ngọn lửa cháy lan.
13.1.3.1 Kiểm tra sự phù hợp của phụ kiện ống phi kim loại và phụ kiện ống kết hợp bằng cách sử dụng thử nghiệm sợi dây nóng đỏ qui định trong IEC 60695-2-1/1 : 1994.
Sợi dây nóng đỏ có nhiệt độ 750 0C phải được đặt lên mỗi mẫu một lần ở vị trí bất lợi nhất mà mẫu được thiết kế để sử dụng (với bề mặt thử nghiệm ở vị trí thẳng đứng).
Mẫu được coi là đạt thử nghiệm này nếu không có ngọn lửa nhìn thấy được hoặc than đỏ tồn tại liên tục hoặc nếu ngọn lửa hoặc than đỏ tự tắt trong 30 s sau khi rút sợi dây nóng đỏ ra.
13.1.3.2 Kiểm tra sự phù hợp của ống phi kim loại và ống kết hợp bằng cách đặt ngọn lửa 1 kW, như qui định của IEC 60695-2-1/1 : 1994.
13.1.3.2.1 Mẫu có chiều dài (675 ± 10) mm đặt thẳng đứng trong một hộp chữ nhật bằng kim loại có một mặt để hở, như thể hiện trên hình 6, trong một khu vực trên thực tế không có gió lùa.
Bố trí chung của thử nghiệm cho trên hình 7.
Mẫu được định vị bằng hai kẹp kim loại có chiều rộng xấp xỉ 25 mm, đặt cách nhau (550 ± 10) mm và cách hai đầu ống một khoảng bằng nhau.
Thanh thép có đường kính (2,0 ± 0,1) mm đối với cỡ ống đến 12 mm, (6,0 ± 0,1) mm đối với cỡ ống từ 16 mm đến 25 mm và (16,0 ± 0,1) mm đối với các ống có đường kính từ 32 mm trở lên, được luồn qua mẫu. Thanh thép được lắp cứng vững và độc lập rồi kẹp chặt ở đầu trên để giữ cho mẫu ở vị trí thẳng đứng. Phương tiện lắp đặt phải sao cho không cản trở các tàn lửa rơi xuống giấy bản.
Một bảng thích hợp bằng gỗ thông có chiều dày xấp xỉ 10 mm được phủ một lớp giấy bản trắng rồi đặt lên mặt đáy của hình hộp.
Khối lắp ráp gồm mẫu, thanh thép và kẹp được đặt theo phương thẳng đứng vào tâm của hình hộp. Mép trên của kẹp bên dưới cách bề mặt đáy của hình hộp một khoảng là (500 ± 10) mm.
13.1.3.2.2 Mỏ đèn được đỡ sao cho trục của mỏ đèn tạo thành góc (45 ± 2) 0 so với phương thẳng đứng.
Ngọn lửa được đặt vào mẫu sao cho khoảng cách từ điểm cao nhất của ống mỏ đèn đến mẫu, đo dọc theo trục của ngọn lửa là (100 ± 10) mm, và trục của ngọn lửa cắt bề mặt mẫu tại điểm (100 ± 5) mm tính từ mép trên của kẹp bên dưới, và sao cho trục của ngọn lửa cắt trục của mẫu.
13.1.3.2.3 Đặt ngọn lửa lên mẫu trong thời gian nêu trong bảng 9, rồi sau đó rút ngọn lửa ra. Trong thời gian đặt ngọn lửa, không được xê dịch ngọn lửa, trừ khi rút ra ở cuối giai đoạn thử nghiệm.
Cách xác định chiều dày vật liệu của ống trơn, ống sóng và ống sóng kết hợp với ống trơn được nêu trong phụ lục B. Chiều dày vật liệu được đo trên cả ba mẫu rồi tính chiều dày vật liệu trung bình cho từng mẫu. Sử dụng giá trị trung bình cao nhất để xác định thời gian đặt ngọn lửa theo bảng 9.
Bảng 9 - Thời gian đặt mẫu vào ngọn lửa
| Chiều dày vật liệu trung bình mm | Thời gian đặt ngọn lửa s Dung sai | |
| Lớn hơn | Đến và bằng | |
| - | 0,5 | 15 |
| 0,5 | 1,0 | 20 |
| 1,0 | 1,5 | 25 |
| 1,5 | 2,0 | 35 |
| 2,0 | 2,5 | 45 |
| 2,5 | 3,0 | 55 |
| 3,0 | 3,5 | 65 |
| 3,5 | 4,0 | 75 |
| 4,0 | 4,5 | 85 |
| 4,5 | 5,0 | 130 |
| 5,0 | 5,5 | 200 |
| 5,5 | 6,0 | 300 |
| 6,0 | - | 500 |
Khi thử nghiệm kết thúc và sau khi các điểm cháy trên mẫu đã tắt, lau sạch bề mặt của mẫu bằng miếng vải thấm đẫm nước.
13.1.3.2.4 Cả ba mẫu phải đạt thử nghiệm này.
Mẫu được coi là đạt thử nghiệm này nếu mẫu không bắt lửa.
Mẫu được coi là đạt thử nghiệm này nếu bắt lửa nhưng thỏa mãn tất cả các yêu cầu dưới đây:
- ngọn lửa hoặc than đỏ của mẫu tự tắt trong thời gian 30 s sau khi loại bỏ ngọn lửa thử nghiệm,
- giấy bản không bị cháy,
- sau khi ngọn lửa hoặc than đỏ trên mẫu đã tắt, không được có biểu hiện cháy hoặc than cách mép dưới của kẹp phía trên một khoảng dưới 50 mm.
13.1.4 Phản ứng phụ thêm vào đặc tính cháy.
Đang xem xét.
13.2 Khả năng chống cháy
Không áp dụng.
CHÚ THÍCH: Chỉ yêu cầu đối với ống chống cháy dùng cho các mạch điện có bảo vệ chống cháy.
14. Ảnh hưởng từ bên ngoài
14.1 Cấp bảo vệ bằng vỏ ngoài
Hệ thống ống khi được lắp ráp theo hướng dẫn của nhà chế tạo phải có đủ khả năng chống các ảnh hưởng từ bên ngoài phù hợp với loại công bố của nhà chế tạo, với yêu cầu tối thiểu là IP30.
Kiểm tra sự phù hợp bằng các thử nghiệm nêu trong 14.1.1 và 14.1.2.
14.1.1 Cấp bảo vệ chống sự xâm nhập của vật rắn bên ngoài
14.1.1.1 Một cụm ống gồm phụ kiện ống, mỗi lối vào của phụ kiện ống lắp một đoạn ống ngắn. Nếu cần, các đầu để hở của cụm này được nút lại, hoặc không là bộ phận của thử nghiệm này.
14.1.1.2 Cụm lắp ráp phải được thử nghiệm theo thử nghiệm thích hợp của IEC 529. Đối với số 5, áp dụng cấp 2.
14.1.1.3 Cụm lắp ráp, thử nghiệm với số 5 hoặc 6, phải được coi là đạt thử nghiệm này nếu không có bụi xâm nhập ở mức nhìn thấy bằng mắt thường hoặc có điều chỉnh thị lực nhưng không phóng đại.
14.1.2 Cấp bảo vệ chống sự xâm nhập của nước
14.1.2.1 Một cụm ống gồm một phụ kiện ống, mỗi lối vào của phụ kiện ống lắp một đoạn ống ngắn. Nếu cần, các đầu để hở của cụm này được nút lại, hoặc không là bộ phận của thử nghiệm này.
14.1.2.2 Cụm lắp ráp phải được thử nghiệm theo thử nghiệm thích hợp của IEC 529. Đối với số 3 và 4, phải sử dụng ống dao động.
14.1.2.3 Cụm lắp ráp, thử nghiệm với số 1 và các số lớn hơn, phải được coi là đạt thử nghiệm này nếu nước xâm nhập không đủ để tạo thành giọt nhìn thấy bằng mắt thường hoặc có điều chỉnh thị lực nhưng không phóng đại.
14.2 Khả năng chống ăn mòn
14.2.1 Hệ thống ống kim loại và hệ thống ống kết hợp, không kể cả các ren, phải có đủ khả năng chống ăn mòn ở cả phía trong và phía ngoài, phù hợp với phân loại nêu trong bảng 10.
Kiểm tra sự phù hợp của ống và phụ kiện ống bằng thép và kết hợp thép được sơn và mã kẽm bằng các thử nghiệm ở 14.2.2.
Đối với các hệ thống ống kết hợp và hệ thống ống kim loại không phải là sắt, nhà chế tạo phải cung cấp thông tin về bảo vệ chống ăn mòn.
14.2.2 Thử nghiệm khả năng chịu ăn mòn của hệ thống ống bằng thép và hệ thống ống kết hợp thép được sơn và mạ kẽm.
14.2.2.1 Ống và phụ kiện ống có mức bảo vệ phải được kiểm tra tính toàn vẹn của lớp phủ bảo vệ, ở cả phía trong và phía ngoài.
14.2.2.2 Ống và phụ kiện ống có mức vảo vệ trung bình phải được làm sạch bằng miếng vải bông thấm đẫm xăng nhẹ có giá trị kauributanol là 35 + 5.
Sau đó, ống và phụ kiện ống được nhúng chìm trong dung dịch chứa 0,75 % kali ferixianua [K3Fe (CN)6] và 0,25 % amoni persunphat [(NH4)2 S2O8] trong nước và phải thêm một lượng khoảng 0,1 % hoạt chất làm ướt thích hợp, ví dụ muối natri của một axit alkylnaphtalin sunfonic.
Dung dịch và mẫu phải được duy trì ở nhiệt độ (23 ± 2) 0C.
Phải thử nghiệm riêng từng mẫu, mỗi lần, sử dụng một dung dịch mới.
Sau khi ngâm 5 min s, lấy mẫu ra khỏi dung dịch và để khô ở nhiệt độ môi trường trong không khí. Sau khi hoàn thành thử nghiệm mô tả ở trên, mẫu không được có nhiều hơn hai vết màu xanh lam và không có vết màu xanh lam nào có đường kính vượt quá 1,5 mm trên mỗi cm2 bề mặt. Các vết gỉ sắt trên các gờ sắt, ren vít và bề mặt gia công cơ, cũng như các màng màu vàng nhạt có thể lau đi được thì phải được bỏ qua.
Bảng 10 - Phân loại khả năng chịu mòn
| Loại | Khả năng bảo vệ | Ví dụ |
| 1 | Bảo vệ mức thấp, phía trong và phía ngoài | Lớp sơn lót |
| 2 | Bảo vệ mức trung bình, phía trong và phía ngoài | Lớp men qua sấy / lớp mạ kẽm / lớp sơn khô tự nhiên |
| 3 | Bảo vệ hỗn hợp mức trung bình / cao phía trong: cấp 2 phía ngoài: cấp 4 |
Lớp men qua sấy Mạ kẽm |
| 4 | Bảo vệ mức cao, phía trong và phía ngoài | Mạ kẽm theo phương pháp nhúng nóng Mạ kẽm Thép không gỉ |
14.2.2.3 Ống và phụ kiện ống có mức bảo vệ cao phải được tẩy dầu mỡ bằng cách nhúng vào xăng nhẹ có giá trị kauri butanol là 35 + 5 trong 10 min s rồi lau khô bằng giẻ mềm. Sau đó, ống và phụ kiện ống được nhúng 15 s vào dung dịch chứa 2 % axit sunphuric trong nước, rửa sạch toàn bộ dưới vòi nước chảy rồi lau khô bằng giẻ sạch. Sau đó, lại nhúng từng mẫu ngập trong dung dịch sunphát đồng (CuSO4 5H2O) trong nước cất có khối lượng riêng 1,186 kg/l ở nhiệt độ (23 ± 2) 0C.
Dung dịch và mẫu phải được duy trì ở nhiệt độ (23 ± 2) 0C nhưng không khuấy.
CHÚ THÍCH: Dung dịch có được bằng cách hòa tan 360 g sunphát đồng kết tinh trong 1 lít nước cất rồi trung hòa với cácbonat đồng hoặc hyđrôxit đồng (khoảng 1 g/l). Sau đó, kiểm tra khối lượng và điều chỉnh lại nếu cần.
Thùng chứa phải là loại không phản ứng với dung dịch này và phải có kích thước để có khoảng hở giữa các vách thùng và mẫu ít nhất phải là 25 mm.
Từng mẫu phải được nhúng liên tiếp bốn lần vào cùng một dung dịch, mỗi lần 1 min s. Mỗi mẫu sử dụng một dung dịch sạch. Sau mỗi lần nhúng, mẫu phải được rửa sạch ngay lập tức dưới vòi nước chảy, sử dụng bàn chải để loại bỏ lớp bám tụ màu đen. Sau đó phải lau khô mẫu bằng giẻ mềm và sạch, rồi nhúng trở lại vào dung dịch, ngoại trừ sau lần nhúng thứ tư. Chú ý làm sạch tất cả các lỗ và các hốc.
Sau thử nghiệm này, mẫu không được có dấu hiệu đồng kết tủa đến mức không thể làm sạch dưới vòi nước chảy, nếu cần sau khi nhúng mẫu vào dung dịch axit clohidric 10 % trong 15 s.
Các vết đồng kết tủa trên ren vít, gờ sắc và bề mặt gia công cơ khí có thể được bỏ qua.
15 Tương thích điện từ
Sản phẩm thuộc phạm vi áp dụng của tiêu chuẩn này là sản phẩm mà trong sử dụng bình thường mang tính thụ động về các ảnh hưởng điện từ (phát xạ và miễn nhiễm).
CHÚ THÍCH: Trong trường hợp các sản phẩm được đề cập trong tiêu chuẩn này được lắp đặt như một bộ phận của hệ thống đi dây thì hệ thống lắp đặt này có thể phát ra hoặc có thể bị ảnh hưởng bởi tín hiệu điện từ. Mức độ ảnh hưởng sẽ phụ thuộc vào bản chất của hệ thống lắp đặt trong môi trường làm việc của nó và các trang thiết bị được nối bằng hệ thống đi dây.

Kích thước tính bằng milimét
CHÚ THÍCH: Hình vẽ này không phản ánh thiết kế mà chỉ để qui định kích thước.
Hình 1 - Bố trí để thử nghiệm nén

Kích thước tính bằng milimét
Hình 2 - Thiết bị thử va đập

Hình 3 - Cụm lắp ráp ống và phụ kiện ống để thử nghiệm liên kết điện

Hình 4 - Bố trí để thử nghiệm độ bền điện và khả năng cách điện - Ống cứng

Chú giải:
1 - Bề mặt phía sau kín
CHÚ THÍCH 1: Vật liệu: thép.
CHÚ THÍCH 2: Kích thước được cho là kích thước bên trong, tính bằng milimét.
Hình 6 - Hộp để thử nghiệm khả năng chống cháy lan

Kích thước tính bằng milimét
CHÚ THÍCH: Hình vẽ này không phản ánh thiết kế mà chỉ để qui định kích thước.
Hình 7 - Bố trí để thử nghiệm khả năng chống cháy lan

Hình 8 - Thiết bị thử nghiệm khả năng chịu nhiệt
Phụ lục A
(qui định)
Mã phân loại dùng cho hệ thống ống
CHÚ THÍCH: Phụ lục A thể hiện mã phân loại dùng cho các đặc tính công bố của hệ thống ống, các mã này có thể kết hợp trong tài liệu của nhà chế tạo.
| Con số thứ nhất - Khả năng chịu nén (xem 6.1.1) | |
| Độ bền nén rất nhẹ | 1 |
| Độ bền nén nhẹ | 2 |
| Độ bền nén trung bình | 3 |
| Độ bền nén nặng | 4 |
| Độ bền nén rất nặng | 5 |
| Con số thứ hai - Khả năng chịu va đập (xem 6.1.2) | |
| Độ bền va đập rất nhẹ | 1 |
| Độ bền va đập nhẹ | 2 |
| Độ bền va đập trung bình | 3 |
| Độ bền va đập nặng | 4 |
| Độ bền va đập rất nặng | 5 |
| Con số thứ ba - Dãy nhiệt độ thấp (xem 6.2.1) | |
| + 5 0C | 1 |
| - 5 0C | 2 |
| - 15 0C | 3 |
| - 25 0C | 4 |
| - 45 0C | 5 |
| Con số thứ tư - Dãy nhiệt độ cao (xem 6.2.2) | |
| +60 0C | 1 |
| +90 0C | 2 |
| +105 0C | 3 |
| +120 0C | 4 |
| +150 0C | 5 |
| +250 0C | 6 |
| +400 0C | 7 |
| Con số thứ năm - Khả năng chịu uốn (xem 6.1.3) | |
| Cứng | 1 |
| Uốn được | 2 |
| Uốn được / tự phục hồi | 3 |
| Mềm | 4 |
| Con số thứ sáu - Đặc tính điện (xem 6.3) | |
| Không công bố | 0 |
| Có đặc tính liên tục về điện | 1 |
| Có đặc tính cách điện | 2 |
| Có đặc tính cách điện và liên tục về điện | 3 |
| Con số thứ bảy - Bảo vệ chống sự xâm nhập của vật rắn (xem 6.4.1) | |
| Bảo vệ chống sự xâm nhập của vật rắn bên ngoài có đường kính ≥ 2,5 mm | 3 |
| Bảo vệ chống sự xâm nhập của vật rắn bên ngoài có đường kính ≥ 1,0 mm | 4 |
| Bảo vệ chống bụi | 5 |
| Kín bụi | 6 |
| Con số thứ tám - Bảo vệ chống sự xâm nhập của nước (xem 6.4.2) | |
| Không công bố | 0 |
| Bảo vệ chống nước nhỏ giọt | 1 |
| Bảo vệ chống nước nhỏ giọt khi hệ thống ống nghiêng một góc đến 15 0 | 2 |
| Bảo vệ chống tia nước | 3 |
| Bảo vệ chống nước bắn vào | 4 |
| Bảo vệ chống nước phun vào | 5 |
| Bảo vệ chống phun nước cường độ cao | 6 |
| Bảo vệ chống ảnh hưởng của ngâm tạm thời trong nước | 7 |
| Con số thứ chín - Khả năng chống ăn mòn (xem 6.4.3 và bảng 10) | |
| Bảo vệ mức thấp bên trong và bên ngoài | 1 |
| Bảo vệ mức trung bình bên trong và bên ngoài | 2 |
| Bảo vệ mức trung bình bên trong, bảo vệ mức cao bên ngoài | 3 |
| Bảo vệ mức cao bên trong và bên ngoài | 4 |
| Con số thứ mười - Độ bền kéo (xem 6.1.4) | |
| Không công bố | 0 |
| Độ bền kéo rất nhẹ | 1 |
| Độ bền kéo nhẹ | 2 |
| Độ bền kéo trung bình | 3 |
| Độ bền kéo nặng | 4 |
| Độ bền kéo rất nặng | 5 |
| Con số thứ mười một - Khả năng chống cháy lan (xem 6.5) | |
| Không cháy lan | 1 |
| Cháy lan | 2 |
| Con số thứ mười hai - Khả năng chịu tải treo (xem 6.1.5) | |
| Không công bố | 0 |
| Khả năng chịu tải treo rất nhẹ | 1 |
| Khả năng chịu tải treo nhẹ | 2 |
| Khả năng chịu tải treo trung bình | 3 |
| Khả năng chịu tải treo nặng | 4 |
| Khả năng chịu tải treo rất nặng | 5 |
Con số thứ mười ba - Ảnh hưởng của cháy
Đang xem xét.
Phụ lục B
(qui định)
Xác định chiều dày vật liệu
B.1 Chiều dày vật liệu của ống trơn
Chiều dày vật liệu được đo tại bốn vị trí phân bố ở các khoảng xấp xỉ đều nhau quanh 360 0C của ống, giá trị trung bình được tính như sau:
Chiều dày vật liệu trung bình =
B.2 Chiều dày vật liệu của ống sóng
Chiều dày vật liệu được đo tại đỉnh và đáy của sóng ở bốn vị trí phân bố ở các khoảng xấp xỉ đều nhau quanh 360 0C của ống, giá trị trung bình được tính như sau:
Chiều dày vật liệu trung bình =
B.3 Chiều dày vật liệu của ống trơn và ống sóng kết hợp
Chiều dày vật liệu được đo tại đỉnh và đáy của sóng và tại đoạn thẳng trên bốn vị trí, phân bố ở các khoảng xấp xỉ đều nhau quanh 360 0C của ống, giá trị trung bình được tính như sau:
Chiều dày vật liệu trung bình =
MỤC LỤC
Lời nói đầu
1 Phạm vi áp dụng
2 Tài liệu viện dẫn
3 Định nghĩa
4 Yêu cầu chung
5 Điều kiện chung đối với các thử nghiệm
6 Phân loại
7 Ghi nhãn và tài liệu
8 Kích thước
9 Kết cấu
10 Đặc tính cơ
11 Đặc tính điện
12 Đặc tính nhiệt
13 Nguy hiểm cháy
14 Ảnh hưởng từ bên ngoài
15 Tương thích điện từ
Các hình vẽ
Phụ lục A (qui định) Mã phân loại dùng cho hệ thống ống
Phụ lục B (qui định) Xác định chiều dày vật liệu
Bạn chưa Đăng nhập thành viên.
Đây là tiện ích dành cho tài khoản thành viên. Vui lòng Đăng nhập để xem chi tiết. Nếu chưa có tài khoản, vui lòng Đăng ký tại đây!