- Tổng quan
- Nội dung
- Tiêu chuẩn liên quan
- Lược đồ
- Tải về
Tiêu chuẩn Quốc gia TCVN 6530-7:2000 Vật liệu chịu lửa - Phương pháp thử - Phần 7: Xác định độ bền sốc nhiệt
| Số hiệu: | TCVN 6530-7:2000 | Loại văn bản: | Tiêu chuẩn Việt Nam |
| Cơ quan ban hành: | Bộ Khoa học, Công nghệ và Môi trường | Lĩnh vực: | Công nghiệp |
|
Ngày ban hành:
Ngày ban hành là ngày, tháng, năm văn bản được thông qua hoặc ký ban hành.
|
2000 |
Hiệu lực:
|
Đã biết
|
| Người ký: | Đang cập nhật |
Tình trạng hiệu lực:
Cho biết trạng thái hiệu lực của văn bản đang tra cứu: Chưa áp dụng, Còn hiệu lực, Hết hiệu lực, Hết hiệu lực 1 phần; Đã sửa đổi, Đính chính hay Không còn phù hợp,...
|
Đã biết
|
TÓM TẮT TIÊU CHUẨN VIỆT NAM TCVN 6530-7:2000
Nội dung tóm tắt đang được cập nhật, Quý khách vui lòng quay lại sau!
Tải tiêu chuẩn Việt Nam TCVN 6530-7:2000
TCVN 6530-7:2000
VẬT LIỆU CHỊU LỬA - PHƯƠNG PHÁP THỬ PHẦN 7: XÁC ĐỊNH ĐỘ BỀN SỐC NHIỆT
Refractories - Method of test Part 7: Determination of thermal shock resistance
Lời nói đầu
TCVN 6530-7:2000 do Ban kỹ thuật tiêu chuẩn TCVN/TC33 “Vật liệu chịu lửa” hoàn thiện trên cơ sở dự thảo của Viện Khoa học công nghệ vật liệu xây dựng, Bộ Xây dựng đề nghị, Tổng cục Tiêu chuẩn Đo lường Chất lượng xét duyệt, Bộ Khoa học, Công nghệ và Môi trường (nay là Bộ Khoa học và Công nghệ) ban hành.
Tiêu chuẩn này được chuyển đổi năm 2008 từ Tiêu chuẩn Việt Nam cùng số hiệu thành Tiêu chuẩn Quốc gia theo quy định tại khoản 1 Điều 69 của Luật Tiêu chuẩn và Quy chuẩn kỹ thuật và điểm a khoản 1 Điều 6 Nghị định số 127/2007/NĐ-CP ngày 1/8/2007 của Chính phủ quy định chi tiết thi hành một số điều của Luật Tiêu chuẩn và Quy chuẩn kỹ thuật.
VẬT LIỆU CHỊU LỬA - PHƯƠNG PHÁP THỬ PHẦN 7: XÁC ĐỊNH ĐỘ BỀN SỐC NHIỆT
Refractories - Method of test Part 7: Determination of thermal shock resistance
1. Phạm vi áp dụng
Tiêu chuẩn này quy định phương pháp xác định độ bền sốc nhiệt của vật liệu chịu lửa.
2. Nguyên tắc
Độ bền sốc nhiệt được xác định bằng số chu kỳ uốn gẫy hoặc số chu kỳ tối đa của mẫu thử hình lăng trụ sau khi nung nóng và làm lạnh trong không khí và chịu một lực uốn gãy xác định.
3. Thiết bị thử
3.1. Lò điện
Lò phải đạt được nhiệt độ lớn hơn 1 200oC và có khả năng điều chỉnh nhiệt độ với sai số ± 10oC và đạt trở lại nhiệt độ thí nghiệm trong vòng 5 phút sau khi đưa các mẫu đã làm lạnh vào lò.
3.2. Khung tải trọng
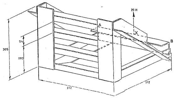
Khung được chế tạo bằng thép góc kích thước 64 mm x 38 mm x 2 mm và khối lượng phải đủ để khi đặt một lực 20 N hướng lên trên theo phương thẳng đứng vào vị trí (X) trên hình 1 thì khung sẽ nghiêng về phía đối diện.
Mặt đặt khung phải bằng phẳng, chắc chắn.
CHÚ THÍCH - Nếu cần thiết có thể bổ sung một khối lượng gắn chặt vào bộ phận AB của khung để đạt được tải trọng theo yêu cầu (xem hình 1).
3.3. Kìm cặp mẫu (xem hình 2)
3.4. Tủ sấy
Tủ sấy phải đạt nhiệt độ ≥ 110oC và có khả năng điều chỉnh nhiệt độ ổn định với sai số ± 10oC.
3.5. Cân kỹ thuật
Có giá trị vạch chia nhỏ nhất là 1 g.
Kích thước tính bằng milimét

Hình 1 - Khung dùng để xác định độ bền sốc nhiệt
Kích thước tính bằng milimét

Hình 2 - Sơ đồ tác động tải trọng lên mẫu thử
4. Chuẩn bị mẫu thử
4.1. Mẫu có hình lăng trụ, kích thước 75 mm x 50 mm x 50 mm, với sai lệch cho phép là +2mm, được cắt từ một viên gạch đã được lấy theo quy định.
4.2. Mẫu thử không được có vết rạn nứt và các khuyết tật trông thấy.
4.3. Mẫu thử được đánh dấu vị trí chính giữa kích thước dài nhất, cách đều mỗi đầu mẫu 37,5 mm.
5. Cách tiến hành
5.1. Trước khi thử, mẫu được sấy khô đến khối lượng không đổi ở nhiệt độ 105oC ± 5oC.
5.2. Đặt mẫu vào lò theo chiều thẳng đứng khi lò ở trạng thái nguội.
5.3. Nâng nhiệt độ của lò tới nhiệt độ thí nghiệm trong thời gian không ít hơn 3 giờ và lưu ở nhiệt độ đó trong 30 phút.
5.4. Nhiệt độ thí nghiệm quy định cho từng loại gạch như sau:
- gạch silic: 450oC;
- các loại gạch khác: 1 000oC hoặc 1 200oC (tùy theo yêu cầu kỹ thuật của sản phẩm).
5.5. Lấy nhanh mẫu ra khỏi lò, đặt đứng viên mẫu lên bề mặt của viên gạch chịu lửa nguội đã chuẩn bị sẵn.
5.6. Để mẫu thử 10 phút trong không khí (nhiệt độ phòng), quan sát bằng mắt thường các thay đổi ngoại quan của mẫu như vết nứt hoặc vết tróc gây mất khối lượng...
5.7. Dùng kìm kẹp chặt và đặt viên mẫu sao cho vị trí đã đánh dấu vào chính giữa khe hở trên cùng của khung tải trọng. ấn thẳng kìm xuống đến khi khung nâng tới vị trí cách mặt phẳng đặt khung 64 mm (được xác định bằng thanh định vị hình chữ L đặt ở cạnh khung, có chiều cao đúng bằng 64 mm), (xem hình 1 và 2).
CHÚ THÍCH - Khi thao tác chú ý không để kìm tiếp xúc với khung đặt tải trọng.
5.8. Ghi và đánh dấu các mẫu thử bị gẫy khi thử theo điều 5.7.
5.9. Đưa mẫu không bị gẫy trở lại lò nung, lưu 10 phút ở nhiệt độ thí nghiệm theo điều 5.4.
5.10. Lặp lại các thao tác theo điều từ 5.5 đến 5.8 cho đến khi mẫu thử bị gẫy. Nếu sau 30 chu kỳ mà mẫu không bị gẫy thì dừng phép thử.
CHÚ THÍCH:
1) Có thể tiến hành phép thử nhiều hơn 30 chu kỳ khi có thỏa thuận, nhưng phải ghi vào báo cáo thí nghiệm.
2) Nếu cần thiết phải dừng phép thử trong thời gian ngắn thì chỉ nên dừng sau khi đã hoàn thành một chu kỳ thử và các mẫu đã được đặt vào trong lò.
6. Đánh giá kết quả
6.1. Độ bền sốc nhiệt được biểu thị bằng số chu kỳ nung nóng, làm lạnh liên tiếp và chịu tải trọng uốn. Mẫu đạt yêu cầu khi không bị gãy sau ít nhất 30 chu kỳ thử hoặc theo yêu cầu riêng của sản phẩm.
6.2. Chu kỳ thử mà mẫu bị gãy thì không được tính vào kết quả.
6.3. Báo cáo kết quả thử nghiệm phải đầy đủ các nội dung sau:
- tên cơ sở sản xuất;
- ký hiệu mẫu;
- nhiệt độ thử và độ bền sốc nhiệt tương ứng;
- tên người và tổ chức thí nghiệm;
- số hiệu tiêu chuẩn này.
Kết quả thử có thể trình bày theo Phụ lục A.
Phụ lục A
(Tham khảo)
Mẫu báo cáo kết quả thử nghiệm độ bền sốc nhiệt
KẾT QUẢ THỬ NGHIỆM XÁC ĐỊNH ĐỘ BỀN SỐC NHIỆT
Tên cơ sở (sản xuất, gửi mẫu...):...............................................................................
Tên mẫu:..................................................................................................................
Số lượng:..................................................................................................................
| TT | Ký hiệu mẫu | Nhiệt độ thử (oC) | Độ bền sốc nhiệt (chu kỳ) | Ghi chú (Chu kỳ xuất hiện vết nứt đầu tiên; vị trí, đặc điểm của vết nứt và bề mặt gãy) |
|
|
|
|
|
|
Thí nghiệm theo TCVN 6530-7:2000.
| Cơ quan thí nghiệm | Ngày tháng năm |
Bạn chưa Đăng nhập thành viên.
Đây là tiện ích dành cho tài khoản thành viên. Vui lòng Đăng nhập để xem chi tiết. Nếu chưa có tài khoản, vui lòng Đăng ký tại đây!