- Tổng quan
- Nội dung
- Tiêu chuẩn liên quan
- Lược đồ
- Tải về
Tiêu chuẩn TCVN 9073:2011 Từ vựng, định nghĩa các loại quạt
| Số hiệu: | TCVN 9073:2011 | Loại văn bản: | Tiêu chuẩn Việt Nam |
| Cơ quan ban hành: | Bộ Khoa học và Công nghệ | Lĩnh vực: | Công nghiệp |
|
Ngày ban hành:
Ngày ban hành là ngày, tháng, năm văn bản được thông qua hoặc ký ban hành.
|
2011 |
Hiệu lực:
|
Đã biết
|
| Người ký: | Đang cập nhật |
Tình trạng hiệu lực:
Cho biết trạng thái hiệu lực của văn bản đang tra cứu: Chưa áp dụng, Còn hiệu lực, Hết hiệu lực, Hết hiệu lực 1 phần; Đã sửa đổi, Đính chính hay Không còn phù hợp,...
|
Đã biết
|
TÓM TẮT TIÊU CHUẨN VIỆT NAM TCVN 9073:2011
Nội dung tóm tắt đang được cập nhật, Quý khách vui lòng quay lại sau!
Tải tiêu chuẩn Việt Nam TCVN 9073:2011
TIÊU CHUẨN QUỐC GIA
TCVN 9073:2011
ISO 13349:2010
QUẠT - TỪ VỰNG VÀ ĐỊNH NGHĨA CÁC LOẠI QUẠT
Fans - Vocabulary and definitions of categories
Lời nói đầu
TCVN 9073:2011 hoàn toàn tương đương với ISO 13349: 2010.
TCVN 9073:2011 do Ban Kỹ thuật Tiêu chuẩn Quốc Gia TCVN/TC 117 Quạt công nghiệp biên soạn, Tổng cục Đo lường Tiêu chuẩn Chất lượng Việt Nam đề nghị, Bộ Khoa học và Công nghệ công bố.
QUẠT - TỪ VỰNG VÀ ĐỊNH NGHĨA CÁC LOẠI QUẠT
Fans - Vocabulary and definitions of categories
1. Phạm vi áp dụng
Tiêu chuẩn này quy định định nghĩa thuật ngữ và cho các loại quạt được sử dụng cho mọi mục đích. Tiêu chuẩn này không áp dụng cho an toàn điện.
2. Tài liệu viện dẫn
Các tài liệu viện dẫn sau rất cần thiết cho áp dụng tiêu chuẩn này. Đối với các tài liệu viện dẫn có ghi năm công bố thì áp dụng phiên bản đã nêu. Đối với các tài liệu viện dẫn không ghi năm công bố thì áp dụng phiên bản mới nhất (bao gồm cả các sửa đổi).
TCVN 8113-1:2009 (ISO 5167-1-2003), Đo lưu lượng chất lỏng bằng cơ cấu chênh áp được lắp vào đường ống dẫn chứa đầy chất lỏng có mặt cắt ngang tròn - Phần 1: Nguyên tắc chung và các yêu cầu);
ISO 5801:2007, Industrial fans - Performance testing using standardized airways (Quạt công nghiệp - Thử đặc tính khi sử dụng đường thông gió tiêu chuẩn);
ISO 5802:2001, Industrial fans - Performance testing in situ (Quạt công nghiệp - Thử đặc tính tại hiện trường);
ISO 13351, Fans - Dimensions (Quạt - Kích thước).
3. Thuật ngữ và định nghĩa
Tiêu chuẩn này áp dụng thuật ngữ và định nghĩa được cho trong ISO 5167-1 và ISO 5801 và các thuật ngữ, định nghĩa sau.
3.1. Quạt (fans)
3.1.1. Quạt (fan)
Máy có cánh quay nhận năng lượng cơ học và sử dụng năng lượng này bởi một hoặc nhiều bộ cánh được lắp với các lá cánh để duy trì dòng không khí hoặc khí khác chảy liên tục qua máy và công trên một đơn vị khối lượng của máy thường không vượt quá 25 kJ/kg.
CHÚ THÍCH 1: Thuật ngữ “quạt" được dùng theo nghĩa quạt như đã cung cấp mà không có bất cứ bộ phận bổ sung thêm nào cho cửa vào hoặc cửa ra trừ khi bộ phận bổ sung thêm này được quy định.
CHÚ THÍCH 2: Các quạt được định nghĩa theo lắp đặt chức năng, đường dẫn lưu chất và các điều kiện vận hành.
CHÚ THÍCH 3: Nếu công trên một đơn vị khối lượng vượt quá giá trị 25 kJ/kg thì máy được gọi là máy nén tuabô. Điều này có nghĩa là đối với mật độ không khí trong bình qua quạt 1,2 kg/m3, áp suất của quạt không vượt quá 1,2 x 25 kJ/kg, nghĩa là 30 kPa và tỷ số nén không vượt quá 1,30 vì áp suất khí quyển xấp xỉ bằng 100 kPa.
3.1.2. Quạt không có dẫn động (bare shaft fan)
Quạt không có các bộ phận (dẫn động) thiết bị phụ hoặc phụ tùng.
Xem ISO 12759.
3.1.3. Quạt bị dẫn động (driven fan)
Bộ cánh quạt được lắp hoặc được nối ghép với động cơ, có hoặc không có cơ cấu truyền động, thân quạt hoặc phương tiện thay đổi tốc độ truyền động.
Xem ISO 12759.
3.2. Không khí (air)
Thuật ngữ được gọi tắt cho cụm từ “không khí hoặc khí khác“.
3.3. Không khí tiêu chuẩn (standard air)
Không khí theo qui ước có tỷ trọng (khối lượng riêng) 1,2 kg/m3.
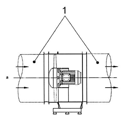
3.4. Các loại lắp đặt quạt theo bố trí đường ống dẫn (fan installation categories according to the arrangement of ducting)
Xem Hình 1.
3.4.1. Lắp đặt loại A (installation category A)
Lắp đặt có cửa vào và cửa ra tự do, có vách ngăn.
Xem ISO 5801 và ISO 5802.
3.4.2. Lắp đặt loại B (installation category B)
Lắp đặt có cửa vào tự do và cửa ra lắp ống dẫn.
Xem ISO 5801 và ISO 5802.
3.4.3. Lắp đặt loại C (installation category C)
Lắp đặt có cửa vào lắp ống dẫn và cửa ra tự do.
Xem ISO 5801 và ISO 5802.
3.4.4. Lắp đặt loại D (installation category D)
Lắp đặt có cửa vào lắp ống dẫn và cửa ra lắp ống dẫn.
Xem ISO 5801 và ISO 5802.
3.4.5. Lắp đặt loại E (installation category E)
Lắp đặt có cửa vào và cửa ra tự do, không có vách ngăn.
3.5. Các kiểu quạt theo chức năng của chúng (types of fan according to their fuction)
3.5.1. Quạt có lắp ống dẫn (ducted fan)
Quạt dùng để di chuyển không khí trong ống dẫn.
CHÚ THÍCH: Quạt này có thể được xếp vào lắp đặt loại B, C hoặc D (xem các Hình 2, Hình 3, Hình 4 và Hình 5).
3.5.2. Quạt vách ngăn (partition fan)
Quạt dùng để di chuyển không khí từ một không gian tự do sang một không gian khác được tách ly với không gian tự do bằng một vách ngăn có lỗ trong đó hoặc trên đó có lắp quạt.
CHÚ THÍCH: Quạt này có thể được xếp vào lắp đặt loại A (xem Hình 6).
3.5.3. Quạt phụt (jet fan)
Quạt để tạo ra một luồng không khí trong một không gian và không được nối ghép với bất cứ đường ống dẫn nào.
CHÚ THÍCH: Có thể sử dụng vòi phun không khí, ví dụ như để bổ sung động lượng cho không khí trong ống dẫn, đường hầm hoặc một không gian khác, hoặc để tăng cường truyền nhiệt trong một vùng xác định.
3.5.4. Quạt tuần hoàn (circulating fan)
Quạt dùng để di chuyển không khí trong một không gian không được nối với bất cứ đường ống nào và thường không có thân quạt.
Xem Hình 8.
3.5.5. Quạt tạo màn chắn không khí (air curtain unit)
Thiết bị di chuyển không khí để tạo ra một màn chắn bằng không khí.
Xem Hình 30.
3.5.5.1. Màn chắn không khí (air curtain)
Luồng không khí (airstream)
Luồng không khí có hướng điều chỉnh, được di chuyển cắt ngang qua toàn bộ chiều cao và chiều rộng của một ô cửa để có thể giảm sự lọt qua hoặc truyền qua của không khí từ một phía của ô cửa sang phía bên kia và ngăn cản không cho côn trùng, bụi hoặc các mảnh vụn lọt qua.
3.6. Các loại quạt theo đường dẫn lưu chất trong bộ cánh quạt (types of fan according to the fluid path within the impeller)
3.6.1. Quạt ly tâm (centrifugal fan)
Quạt trong đó theo hướng vuông góc với trục quạt không khí đi vào bộ cánh quạt theo đường hướng trục là chủ yếu và ra khỏi bộ cánh quạt.
Xem Hình 2.
CHÚ THÍCH 1: Quạt ly tâm cùng được biết đến như một quạt có dòng không khí hướng tâm.
CHÚ THÍCH 2: Bộ cánh quạt có thể có một hoặc hai cửa vào và có thể bao gồm một vỏ bảo vệ và/hoặc một tấm chắn phía sau (tấm đỡ ở giữa) (xem Hình 16).
CHÚ THÍCH 3: Bộ cánh quạt được định nghĩa là có cánh "nghiêng hoặc uốn cong về phía sau", “hướng tâm” hoặc “uốn cong về phía trước" tùy thuộc vào chiều hướng ra ngoài của cánh tại biên là hướng về phía sau, hướng tâm hoặc hướng về phía trước so với chiều quay (xem các Hình 9 và Hình 16).
CHÚ THÍCH 4: Quạt ly tâm có thể là kiểu áp suất thấp, trung bình hoặc áp suất cao theo tỷ số giữa đường kính cửa vào của quạt và đường kính ngoài của bộ cánh quạt. Thuật ngữ này chỉ ra rằng áp suất được tạo ra ở lưu lượng đã cho là thấp, trung bình hoặc cao.
CHÚ THÍCH 5: Hình 9 giới thiệu mặt cắt ngang của một họ các bộ cánh quạt có cùng một đường kính cửa vào. Các quạt có tỷ số giữa đường kính vào của quạt và đường kính ngoài của bộ cánh quạt lớn hơn khoảng 0,63 mm được xem là “tỷ số thấp", và nhỏ hơn khoảng 0,4 mm được xem là “tỷ số cao". Các quạt ly tâm có tỷ số trung bình là các quạt có tỷ số trung gian giữa hai tỷ số này.
CHÚ THÍCH 6: Đường kính của bộ cánh quạt và bán kính của vỏ xoắn tăng lên theo phạm vi áp suất được dùng để thiết kế quạt.
CHÚ THÍCH 7: Các loại quạt này cũng chịu ảnh hưởng của khả năng chạy ở tốc độ biên cần thiết (xem 5.2 và Bảng 1).
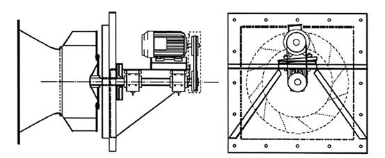
3.6.2. Quạt chiều trục (axial - flow fan)
Quạt trong đó không khí đi vào và rời khỏi bộ cánh quạt chủ yếu dọc theo các bề mặt trụ đồng trục với quạt.
Xem Hình 3.
CHÚ THÍCH 1: Quạt chiều trục có thể là kiểu có áp suất thấp, trung bình hoặc áp suất cao theo tỷ số giữa đường kính may ơ (vành trong) và đường kính ngoài của bộ cánh quạt. Các thuật ngữ này chỉ ra rằng áp suất được tạo ra ở lưu tốc đã cho là thấp, trung bình hoặc cao.
CHÚ THÍCH 2: Hình 10 giới thiệu mặt cắt ngang của một họ các bộ cánh quạt có cùng một đường kính ngoài. Các quạt có tỷ số đường kính may ơ/đường kính ngoài của cụm bệ cánh quạt nhỏ hơn khoảng 0,4 mm được xem là “tỷ số thấp", và lớn hơn khoảng 0,71 mm được xem là “tỷ số cao”. Các quạt chiều trục có tỷ số trung bình là các quạt có tỷ số trung gian giữa hai tỷ số này.
CHÚ THÍCH 3: Các loại quạt này cùng chịu ảnh hưởng của khả năng chạy ở tốc độ biên cần thiết.
3.6.2.1. Quạt quay ngược chiều (contra-rotating fan)
Quạt chiều trục có hai bộ cánh quạt được bố trí nối tiếp và quay theo chiều ngược nhau.
Xem Hình 32.
3.6.2.2. Quạt chiều trục đảo chiều (reversaible axial-flow fan)
Quạt chiều trục được thiết kế đặc biệt để quay theo cả hai chiều bất kể đặc tính của quạt theo hai chiều có giống nhau hay không.
3.6.2.3. Quạt kiểu chong chóng (propeller fan)
Quạt hướng trục có một bộ cánh với số lượng nhỏ các cánh rộng có chiều dày vật liệu đồng đều và được thiết kế để vận hành trong một lỗ (ô cửa).
3.6.2.4. Quạt chiều trục lắp trên tấm gá (plate-mounted axial-flow fan)
Quạt chiều trục trong đó bộ cánh quạt quay trong một lỗ hoặc đầu nối có chiều dài hướng trục tương đối ngắn, các cánh của bộ cánh quạt có prôfin của cánh máy bay.
3.6.2.5. Quạt hướng trục có cánh dẫn hướng (vane-axial fan)
Quạt hướng trục thích hợp cho các ứng dụng có đường ống dẫn, có các cánh dẫn hướng trước hoặc sau bộ cánh quạt hoặc cả trước và sau bộ cánh quạt.
3.6.2.6. Quạt hướng trục có đường ống (tube-axial fan)
Quạt hướng trục không có cánh dẫn hướng, thích hợp cho các ứng dụng có đường ống dẫn.
3.6.3. Quạt hỗn lưu (mixed-flow fan)
Quạt trong đó đường dẫn lưu chất qua bộ cánh quạt là trung gian giữa loại quạt ly tâm và quạt chiều trục.
Xem các Hình 5 và Hình 11.
3.6.4. Quạt có dòng chảy chéo (cross-flow fan)
Quạt trong đó đường dẫn lưu chất qua bộ cánh quạt gần như vuông góc với trục của nó ở cả đường vào và đường ra khỏi bộ cánh quạt tại biên của các cánh.
Xem Hình 12.
3.6.5. Quạt có dòng chảy theo chu vi (peripheral or side channel fan)
Cơ cấu di chuyển không khí trong đó sự tuần hoàn của lưu chất trong vỏ hình xuyến theo đường helicoit.
CHÚ THÍCH: Chuyển động quay của bộ cánh quạt có chứa một số cánh tạo ra quỹ đạo helicoit, quĩ đạo này bị chặn bởi một hoặc nhiều cánh tùy thuộc vào lưu tốc. Bộ cánh quạt truyền năng lượng cho lưu chất (xem Hình 15).
3.6.6. Quạt nhiều cấp (multi-stage fan)
Quạt có hai hoặc nhiều bộ cánh quạt làm việc nối tiếp.
VÍ DỤ: Quạt hai cấp hoặc quạt ba cấp.
CHÚ THÍCH 1: Quạt nhiều cấp có thể có các cánh dẫn hướng và các ống dẫn nối với nhau giữa các bộ cánh quạt kế tiếp.
CHÚ THÍCH 2: Các cánh của một bộ cánh quạt có thể có tiết diện định hình (như cánh máy bay) hoặc có chiều dày đồng đều (xem Hình 16).
3.6.7. Quạt ly tâm đồng trục (in-line centrifugal fan)
Quạt có bộ cánh quạt ly tâm được sử dụng trong kết cấu đường ống thẳng hàng.
Xem Hình 4.
3.6.8. Quạt tách đôi (bifurcated fan)
Quạt có bộ cánh quạt hướng trục, hỗn lưu hoặc ly tâm được lắp theo kết cấu đồng trục trong đó động cơ dẫn động chính được tách biệt khỏi dòng chảy của không khí bằng một khoang hoặc ống riêng.
Xem Hình 27 c).
3.6.9. Quạt dạng đầu cắm (plug fan)
Quạt có bộ cánh quạt không có thân được bố trí sao cho hệ thống lắp với bộ cánh quạt này hoạt động như một thân quạt cho phép hút không khí vào cửa vào của bộ cánh quạt.
Xem Hình 13.
3.6.10. Quạt có khoảng thông gió trần (plenum fan)
Quạt có bộ cánh ly tâm không có thân hút không khí vào bộ cánh quạt này thông qua cửa vào được bố trí trên tường chắn và một bánh dẫn được bố trí trên chính cửa vào này hoạt động như một bộ cánh quạt.
Xem Hình 14.
3.6.11. Quạt hộp và đồng trục (in-line and box fan)
Quạt có lắp các bộ cánh quạt ly tâm/hỗn lưu.
Xem các Hình 4 và Hình 31.
3.7. Các kiểu quạt theo điều kiện làm việc (type of fan according to operating conditions)
3.7.1. Quạt thông dụng (general-purpose fan)
Quạt thích hợp cho điều hòa không khí không độc hại, không bão hòa, không ăn mòn, không dễ bốc cháy, không chứa các hạt mài và ở trong phạm vi nhiệt độ từ - 20 °C đến + 80 °C.
CHÚ THÍCH: Ở nhiệt độ lớn hơn 40 °C, động cơ cần có sự quan tâm đặc biệt.
3.7.2. Quạt chuyên dụng (special-purpose fan)
Quạt được sử dụng cho các điều kiện làm việc chuyên dụng.
Xem 3.7.2.1 đến 3.7.2.12.
CHÚ THÍCH 1: Một quạt có thể có sự kết hợp của các đặc điểm chuyên dụng.
CHÚ THÍCH 2: Điều kiện làm việc được giới thiệu dưới đây (3.7.2.1 đến 3.7.2.12) đại diện cho một phạm vi điển hình, nhưng danh mục các loại quạt chưa được đầy đủ lắm. Nhà sản xuất và khách hàng có thể thỏa thuận về các kiểu quạt khác có các đặc điểm chuyên dùng thích hợp cho các ứng dụng riêng.
3.7.2.1. Quạt khí nóng (hot-gas fan)
Quạt được sử dụng để vận chuyển liên tục các khí nóng.
CHÚ THÍCH 1: Có thể đưa vào sử dụng các vật liệu đặc biệt khi cần thiết, đối với quạt có thể có dẫn động trực tiếp hoặc gián tiếp.
CHÚ THÍCH 2: Động cơ trên quạt được dẫn động trực tiếp có thể ở trong môi trường của dòng không khí nóng hoặc được tách ly khỏi dòng không khí nóng.
CHÚ THÍCH 3: Các quạt được dẫn động gián tiếp có thể lắp với phương tiện để làm mát các đai truyền, các ổ trục hoặc các chi tiết truyền động khác khi cần thiết (về ký hiệu, xem 5.3.2).
3.7.2.2. Quạt thông khói (smoke ventilating fan)
Quạt thích hợp cho vận chuyển khói nóng trong một thời gian/phạm vi nhiệt độ qui định.
CHÚ THÍCH 1: Có thể đưa vào sử dụng các vật liệu đặc biệt khi cần thiết, đối với quạt có thể dẫn động trực tiếp hoặc gián tiếp.
CHÚ THÍCH 2: Động cơ trên quạt được dẫn động gián tiếp có thể ở trong môi trường của dòng khói nóng hoặc được tách ly khỏi dòng khói nóng.
CHÚ THÍCH 3: Các quạt được dẫn động gián tiếp có thể lắp với phương tiện để làm mát các đai truyền, các ổ trục hoặc các chi tiết truyền động khác khi cần thiết (về ký hiệu, xem 5.3.2).
3.7.2.3. Quạt khí ẩm (wet gas fan)
Quạt thích hợp cho vận chuyển không khí có chứa các hạt nước hoặc bất cứ chất lỏng nào khác.
3.7.2.4. Quạt kín khí (gas tight fan)
Quạt có vỏ quạt được bít kín thích hợp để phù hợp với tốc độ rò rỉ quy định ở một áp suất qui định.
CHÚ THÍCH: Tùy thuộc vào đặc điểm rò rỉ, yêu cầu này có thể đòi hỏi phải có sự chú ý đặc biệt đến tất cả các bảo dưỡng vỏ quạt như các phương tiện kiểm tra, các dụng cụ bôi trơn và cung cấp điện cũng như các chi tiết của các mặt bích nối (để phân loại, xem 5.3.4).
3.7.2.5. Quạt hút bụi (dust fan)
Quạt thích hợp cho việc xử lý bụi không khí, được thiết kế phù hợp cho việc xử lý bụi.
3.7.2.6. Quạt vận chuyển (conveying fan) (transport fan)
Quạt thích hợp cho vận chuyển các chất rắn và bụi được kéo theo trong dòng không khí, được thiết kế để thích hợp với vật liệu được vận chuyển.
CHÚ THÍCH 1: Quạt vận chuyển có thể là kiểu được dẫn động trực tiếp hoặc gián tiếp tùy thuộc vào có hay không có vật liệu được vận chuyển đi qua bộ cánh quạt.
CHÚ THÍCH 2: Các ví dụ về chất rắn như vụn gỗ, phế liệu sản xuất dệt và các vật liệu nghiền thành bụi.
3.7.2.7. Quạt không bị tắc (non-clogging fan)
Quạt có bộ cánh quạt được thiết kế để giảm tới mức tối thiểu sự kẹt tắc do hình dạng chi tiết của nó hoặc do sử dụng các vật liệu đặc biệt.
CHÚ THÍCH: Quạt cũng có thể có các đặc điểm khác để cho phép bơm phun làm sạch và dễ dàng lấy ra mọi vật liệu làm tắc nghẽn.
3.7.2.8. Quạt chịu mài mòn (abrasion resistant fan)
Quạt được thiết kế để giảm tới mức tối thiểu sự mài mòn, có các chi tiết chịu mài mòn được thiết kế từ các vật liệu thích hợp cho chịu mài mòn và được thay thế một cách dễ dàng.
3.7.2.9. Quạt chịu ăn mòn (corrosion-resistant fan)
Quạt được thiết kế từ các vật liệu thích hợp cho chịu mài mòn hoặc được xử lý thích hợp để giảm tới mức tối thiểu sự ăn mòn bởi các chất qui định.
3.7.2.10. Quạt chống đánh lửa (spark-resistant fan)
Quạt được bảo vệ chống đánh lửa (ignition-protected fan)
Quạt có các đặc điểm được thiết kế để giảm tới mức tối thiểu rủi ro phát ra tia lửa hoặc các điểm nóng do tiếp xúc giữa các chi tiết di động và tĩnh tại có thể làm cho bụi hoặc các khí bốc cháy.
CHÚ THÍCH: Không đặt các ổ trục, các chi tiết truyền động hoặc thiết bị điện trong dòng không khí hoặc khi trừ khi chúng được thiết kế sao cho hư hỏng của các bộ phận này không thể đốt cháy dòng khí bao quanh (để phân loại, xem 5.3.4).
3.7.2.11. Quạt thông gió trên mái (powered-roof ventilator)
Quạt được thiết kế để lắp trên mái nhà và có bảo vệ đối với thời tiết bên ngoài.
3.7.2.12. Quạt thông gió áp lực dương (positive-pressure ventilator)
Quạt xách tay có thể được đặt vào vị trí liên quan với một ô cửa của một không gian hẹp và tạo cho quạt có áp lực dương bởi tốc độ của không khí xả.
CHÚ THÍCH: Quạt được sử dụng chủ yếu cho lính cứu hỏa để giảm nhẹ ảnh hưởng của khói và cũng được sử dụng để hỗ trợ cho bơm các khí cầu dùng không khí nóng.
3.8. Các thành phần của quạt (fan elements)
3.8.1. Cửa vào của quạt (fan inlet)
Cửa thường có dạng hình tròn hoặc hình chữ nhật qua đó không khí trước tiên đi vào vỏ quạt.
CHÚ THÍCH 1: Nếu quạt được trang bị mặt bích nổi hoặc đầu nối với cửa vào thì các kích thước của cửa vào của quạt được đo bên trong mối nối. Diện tích cửa vào là diện tích lớn nhất đo được bên trong mặt bích này, nghĩa là không trừ đi các phần chen vào như các động cơ và giá đỡ ổ trục.
CHÚ THÍCH 2: Khi diện tích cửa vào không được xác định rõ, cần có sự thỏa thuận giữa các bên tham gia hợp đồng.
3.8.2. Cửa ra của quạt (fan outlet)
Cửa thường có dạng hình tròn hoặc hình chữ nhật qua đó không khí cuối cùng rời khỏi vỏ quạt.
CHÚ THÍCH 1: Nếu quạt được trang bị mặt bích nối hoặc đầu nối với cửa ra thì các kích thước của cửa ra của quạt được đo bên trong mối nối khi quạt được cung cấp có miệng loe (bộ phận khuyếch tán) và chất lượng sử dụng được đánh giá bằng bộ phận này thì diện tích cửa ra của quạt có thể được lấy bằng diện tích cửa ra của miệng loe.
CHÚ THÍCH 2: Khi diện tích cửa ra không được xác định rõ, cần có sự thỏa thuận giữa các bên tham gia hợp đồng.
CHÚ THÍCH 3: Đối với các yêu cầu đặc biệt của quạt phụt, xem ISO 13350.
CHÚ THÍCH 4: Đối với các quạt thông gió trên mái và các quạt không có thân thì diện tích cửa ra có thể được xem là bằng tích số của chu vi lớn nhất các cánh sau và chiều rộng bộ cánh quạt hoặc diện tích lớn nhất của vỏ tại bộ cánh quạt đối với các quạt hướng trục.
3.8.3. Đường kính đỉnh bộ cánh quạt (impeller tip diameter)
Đường kính lớn nhất đo được tại đỉnh các cánh của bộ cánh quạt.
CHÚ THÍCH: Đường kính này được biểu thị bằng milimét.
Xem ISO 13351.
3.8.4. Ký hiệu cỡ quạt (size designation)
Đường kính danh nghĩa qua đỉnh bộ cánh quạt được định nghĩa là đường kính qua đỉnh bộ cánh quạt dùng làm cơ sở cho thiết kế quạt.
4. Ký hiệu và đơn vị
4.1. Ký hiệu
Áp dụng các ký hiệu và đơn vị cơ bản cho các thông số được liệt kê dưới đây:
| Thông số | Ký hiệu | Đơn vị |
| Lưu lượng thể tích | qv | m3/s |
| Áp suất của quạt | pF | Pa |
| Công suất | P | W |
| Moment xoắn |
| Nm |
| Mật độ (khối lượng riêng) của khí | r | kg/m3 |
| Tốc độ tại đỉnh bộ cánh quạt | u | m/s |
| Tốc độ tại cửa ra hoặc trong ống dẫn | v | m/s |
| Tần số quay | n | r/s |
| Tốc độ quay | N | r/min |
| Kích thước | - | mm |
| Momen quán tính | I | kg.m2 |
| Ứng suất |
| Pa |
| Năng lượng | E | J |
| Nhiệt độ | Q | K |
| Nhiệt độ | T | °C |
| Công trên đơn vị khối lượng | W | J/kg |
| Lực đẩy (được tính toán, được đo) | Tc, Tm | N |
| CHÚ THÍCH 1: Đối với các đơn vị âm thanh, xem ISO 13347-1. CHÚ THÍCH 2: Đối với các đơn vị hiệu suất, xem ISO 5801. | ||
4.2. Bội số của các đơn vị cơ bản
Việc lựa chọn bội số thích hợp cho một đơn vị thuộc hệ SI cần bảo đảm thuận tiện cho sử dụng. Bội số của một đơn vị lựa chọn cho một ứng dụng riêng phải đảm bảo sao cho có thể dẫn đến các giá trị bằng số trong một phạm vi có tính thực tế (ví dụ, kilopascal đối với áp suất, kilowat đối với công suất và megapascal đối với ứng suất).
4.3. Đơn vị thời gian
Giây là đơn vị thời gian cơ bản của hệ SI, mặc dù vậy, ngoài hệ SI, phút đã được Ủy ban quốc tế về cân và đo lường (CIPM) công nhận là cần thiết phải giữ lại cho sử dụng vì tầm quan trọng của đơn vị này trong thực tế. Do đó các nhà sản xuất có thể tiếp tục sử dụng vòng/phút (r/min) cho tốc độ quay.
4.4. Nhiệt độ của không khí hoặc khí
Kevin là đơn vị nhiệt độ động lực học cơ bản của hệ SI và là đơn vị được ưu tiên sử dụng cho hầu hết các mục đích khoa học và công nghệ. Độ celsius (°C) được chấp nhận cho các ứng dụng trong thực tế.
5. Các loại quạt
5.1. Quy định chung
Quạt có thể được phân loại theo:
a) sự thích hợp về áp suất quạt;
b) sự thích hợp của kết cấu (bao gồm cả các đặc điểm yêu cầu về thông khối, độ kín và bảo vệ chống bốc cháy);
c) bố trí truyền động;
d) các điều kiện của cửa vào và cửa ra;
e) phương pháp điều khiển quạt;
f) chuyển động quay và vị trí của các chi tiết, và
g) các kích thước đặc trưng.
Các ví dụ về sử dụng các định nghĩa và các loại để nhận dạng quạt theo đặc tính kỹ thuật được nêu trong Phụ lục A.
5.2. Sự thích hợp về áp suất quạt
Quạt cũng có thể được xác định là có áp suất thấp, trung bình hoặc cao theo mức công suất trên một đơn vị khối lượng và có thể phải tính đến ảnh hưởng của độ nén không khí hoặc khí được vận chuyển. Để có báo cáo chi tiết về những vấn đề này, xem ISO 5801.
Áp suất dưới của quạt được định nghĩa như là hệ số áp suất nhỏ hơn 1,02 kPa và số Mach chuẩn nhỏ hơn 0,15. Trị số này tương đương độ tăng áp suất nhỏ hơn 2 kPa khi nén không khí chuẩn.
Quạt có áp suất thấp được định nghĩa là có tỷ số áp suất (tỷ số nén) lớn hơn 1,02 kPa và nhỏ hơn 1,1 kPa. Số Mach chuẩn phải nhỏ hơn 0,15. Trị số này tương đương với độ tăng áp suất từ 2 kPa đến 10 kPa. Một quạt có áp suất cao được định nghĩa là có tỷ số áp suất và độ tăng áp suất lớn hơn các giá trị đã nêu trên.
5.2.1. Công trên một đơn vị khối lượng
Quy ước được sử dụng cho tất cả các quạt công nghiệp từ quạt phụt (xem ISO 13350) biểu thị công trên một đơn vị khối lượng là thương số của công suất và lưu lượng khối lượng của không khí. Áp suất của quạt xấp xỉ bằng tích số của công trên một đơn vị khối lượng và mật độ (khối lượng riêng) trung bình của lưu chất trong quạt.
5.2.2. Các loại quạt
Tùy theo tốc độ ở biên của các cánh mà một bộ cánh quạt có thể tạo ra áp suất lớn hay nhỏ. Tiêu chuẩn này định ra một phạm vi "các loại quạt” trong đó áp suất của quạt ở hiệu suất lớn nhất và tốc độ quay lớn nhất nhỏ hơn giá trị cho trong Bảng 1. Trong bất cứ trường hợp nào, áp suất của quạt đã được xác định này (như đã chỉ dẫn trong Bảng 1) cũng không được vượt quá 95 % áp suất lớn nhất do quạt tạo ra ở tốc độ lớn nhất của nó.
5.2.3. Thay đổi về mật độ (khối lượng riêng) của không khí
Các loại quạt này cũng phải được sử dụng để chỉ ra rằng phải quan tâm đến sự thay đổi hoặc không thay đổi trong mật độ (khối lượng riêng) của không khí quạt. Đối với áp suất thấp, sự thay đổi này có thể được bỏ qua. Đối với quạt áp suất cao, sự thay đổi này không bỏ qua được. Trong khi đối với quạt có áp suất trung bình, sự thay đổi này có thể được bỏ qua hoặc không được bỏ qua tùy thuộc vào độ chính xác yêu cầu. Thiết kế cơ khí chi tiết và kết cấu của các bộ phận quay được xác định bởi tốc độ ở biên và do đó quy định được áp suất của quạt. Đối với các ví dụ về quạt ly tâm, xem Hình 9.
Bảng 1 - Phân loại quạt theo áp suất của quạt
| Mô tả quạt | Mã | Áp suất lớn nhất của quạt (đối với không khí tiêu chuẩn) kPa | Loại |
| Áp suất thấp | L | > 0 và ≤ 0,7 > 0,7 và ≤ 1 > 1 và ≤ 1,6 > 1,6 và ≤ 2,0 | 0 1 2 3 |
| Áp suất trung bình | M | > 2,0 và ≤ 3,6 > 3,6 và ≤ 6,3 > 6,3 và ≤ 10 | 4 5 6 |
| Áp suất cao | H | > 10 và ≤ 16 > 16,0 và ≤ 22,4 > 22,4 và ≤ 30 | 7 8 9 |
5.3. Sự thích hợp của kết cấu
5.3.1. Phân loại theo kết cấu vỏ quạt
Quạt được sử dụng cho các mục đích rất khác nhau. Không khí hoặc khí được vận chuyển có thể là không khí hoặc khí sạch có độ ẩm hoặc các hạt rắn và có thể ở nhiệt độ môi trường xung quanh hoặc nhiệt độ khác. Mối nối với ống dẫn liên kết với quạt có thể bằng các chi tiết mềm dẻo hoặc ngược lại có thể được nối ghép trực tiếp và như vậy vỏ quạt phải chịu tác dụng của các tải trọng bổ sung do trọng lượng bản thân của các mối nối này. Khi có sự tác động của nhiệt độ cao hoặc thấp, tải trọng có thể tăng thêm do ảnh hưởng của sự giãn nở hoặc co lại. Chiều dày và độ cứng vững của vỏ quạt cũng được xác định bởi khả năng chịu được áp suất quy định của quạt và các tải trọng động lực học và bởi nhu cầu về độ bền dự phòng khi tính đến ảnh hưởng của bất cứ sự xói mòn nào. Vì tất cả các lý do nêu trên và các lý do khác, các phương pháp cấu tạo vỏ quạt và thiết kế chiều dày vỏ quạt khác nhau phải thích hợp cho ứng dụng.
Sự phân loại trong Bảng 2 phản ánh thực tế hiện nay và chỉ được sử dụng để hỗ trợ cho đặc tính kỹ thuật của quạt. Không có cách nào để chỉ ra bất cứ dạng phân loại nào. Loại 1 có giá trị cho quạt thông gió không khí sạch cũng như loại 3 được ưu tiên sử dụng cho các yêu cầu của ngành công nghiệp nặng.
Bảng 2 - Phân loại quạt theo phương pháp cấu tạo vỏ
| Loại | Đặc điểm điển hình của vỏ | Công dụng | Chiều dày vỏ |
| 1 | Kết cấu được tạo hình bằng kẹp chặt hàn điểm hoặc kẹp chặt bằng ren vít. Lắp ráp trên giá hoặc khung | - HVAC nhẹ không khí sạch | < 0,0025 D |
| 2 | Kết cấu được tạo hình bằng kẹp chặt, hàn lăn hoặc hàn liên tục. Kết cấu bán van năng có lắp ghép bulông trên các tấm bên | - HVAC nặng - Công nghiệp nhẹ - Bụi nhẹ hoặc hơi ẩm | < 0,0025 D |
| 3 | Lưu lượng cố định, được hàn hoàn toàn | - Công nghiệp nặng - Không khí bẩn có chứa hơi ẩm hoặc chất rắn - Áp suất cao hoặc - Công suất cao | < 0,00333 D |
| CHÚ THÍCH: D là đường kính danh nghĩa của bộ cánh quạt, tính bằng milimét. | |||
5.3.2. Ký hiệu đối với quạt khí nóng
Khi quạt thích hợp cho vận hành liên tục tới nhiệt độ lớn nhất quy định (đối với quạt khí nóng, xem 3.7.2.1) thì nhiệt độ này nên được chỉ dẫn trên tấm nhãn quy ước của quạt.
Phải sử dụng ký hiệu sau: T, kèm theo sau là nhiệt độ lớn nhất tính bằng độ Celsius (°C) cho vận hành liên tục.
VÍ DỤ: T/500 biểu thị quạt được định mức cho nhiệt độ liên tục lớn nhất là 500 °C.
5.3.3. Ký hiệu và đề nghị phân loại dùng cho quạt khói
Nếu quạt chỉ có thể vận hành trong thời gian ngắn ở nhiệt độ cao thì thông tin này phải được ghi rõ trên một nhãn riêng (xem 3.7.2.2).
5.3.4. Phân loại đối với quạt kín khí
Các quạt kín khí phải được phân loại phù hợp với Bảng 3 (xem 3.7.2.4). Lượng rò rỉ phụ thuộc vào áp suất bên trong vỏ quạt và thời gian duy trì áp suất này. Tốc độ rò rỉ thu được bằng cách khóa cửa vào và cửa ra của quạt và “bơm vào” hoặc trích ra từ vỏ quạt bằng một quạt thử phụ. Phải đo sự thay đổi của áp suất thử bằng một áp kế là hàm số của thời gian. Tốc độ rò rỉ được xác định từ lưu lượng của quạt thử phụ hoặc các nguồn áp suất khác. Tốc độ rò rỉ này phải nhỏ hơn giá trị được tính toán từ công thức thích hợp đối với loại quạt.
Thông thường quạt đứng yên tại chỗ trong thử nghiệm này. Tuy nhiên sự vận hành đúng của vòng bít kín trục phụ thuộc vào chuyển động quay của quạt thì thử nghiệm phải được thực hiện với bộ cánh quạt được tháo ra và cho phần còn lại của quạt vận hành.
Các loại A đến D thích hợp với các cấp được xác lập của tốc độ rò rỉ cho phép của đường ống dẫn được sử dụng trong công nghiệp điều hòa không khí. Loại E thường được quy định cho các hệ thống vận chuyển các khói độc hại, trong khi loại F và G được sử dụng cho các thiết bị hạt nhân và quốc phòng.
Bảng 3 - Phân loại các quạt kín khí - Rò rỉ là hàm số của áp suất thử
| Loại theo rò rỉ | Áp suất thử lớn nhất kPa | Thài gian ở áp suất lớn nhất min | Chuẩn mực chấp nhận/tốc độ rò rỉ lớn nhất |
| A B C D E F G H1 H2 | 0,5 1 2 2,5 2,5 3 10,5 1,5 1,5 | 15 15 15 15 15 60 15 60 60 | 0,027 x p0,65 0,009 x p0,65 0,003 x p0,65 0,001 x p0,65 0,0005 x p0,65 Hợp với p < 500 Pa Không có rò rỉ phát hiện được Hợp với p < 150 Pa Hợp với p < 15 Pa |
| CHÚ THÍCH 1: Các tốc độ rò rỉ trong các loại A, B, C, D và E được tính bằng lít trên giây trên mét vuông của diện tích bị ướt của vỏ và p là áp suất thử tính bằng pascal. CHÚ THÍCH 2: Trong các loại F, H1 và H2, rò rỉ được định nghĩa là sự tổn thất áp suất. Đặc biệt là khi đo tổn thất áp suất theo các loại H1 hoặc H2 cần chú ý đến các thay đổi của nhiệt độ khí bên trong vỏ quạt hoặc áp suất môi trường quanh trong quá trình đo vì chúng có thể ảnh hưởng đến kết quả một cách đáng kể. | |||
5.4. Bố trí truyền động
Sáu kiểu truyền động thường được sử dụng nhiều nhất như sau:
a) Truyền động trực tiếp từ trục của động cơ hoặc động cơ chính thức khác: bộ cánh quạt được lắp cố định trên phần kéo dài của trục.
b) Truyền động qua một khớp nối trục trực tiếp lắp đồng trục (thẳng hàng): trục dẫn động và trục bộ cánh quạt được lắp cố định với hai nửa của khớp nối trục này và quay với cùng một tốc độ.
c) Truyền động qua một khớp nối trục trượt: trục dẫn động được lắp cố định với nửa chủ động của khớp nối trục và trục bộ cánh quạt được lắp với nửa bị động của khớp nối trục để chúng có thể quay ở các vận tốc khác nhau, độ chênh lệch tương đối của các tốc độ (nghĩa là độ trượt) phụ thuộc vào tốc độ, momen xoắn được truyền và khi thích hợp, mức độ điều chỉnh đối với khớp nối trục.
d) Truyền động qua hộp số: trục dẫn động và trục bộ cánh quạt không cần thiết phải đồng trục, chúng có thể song song hoặc tạo thành với nhau một góc, các tốc độ của chúng được xác định bởi một hoặc nhiều tỷ số truyền đã cho.
e) Truyền động đai: trục dẫn động và trục bộ cánh quạt không đồng trục (thẳng hàng) nhưng song song với nhau, truyền động giữa hai trục được thực hiện bằng đai truyền phẳng, đai truyền răng hoặc đai truyền hình thang (hoặc các đai truyền có các tiết diện khác) và các bánh đai thích hợp. Các tốc độ của chúng được xác định theo tỷ số truyền đã cho và có tính đến độ trượt nhỏ trừ trường hợp đối với đai truyền.
f) Truyền động trực tiếp bằng động cơ: động cơ được đặt bên trong vỏ quạt hoặc bộ cánh quạt như một động cơ rôto bên ngoài.
Các quạt phải được phân loại theo các phương án bố trí truyền động của quạt, đặc biệt là đối với cả thiết bị dẫn động trực tiếp và dẫn động bằng đai truyền. Các phương án bố trí truyền động này được giới thiệu trong Bảng 4 đối với thiết bị quạt ly tâm và Bảng 5 đối với thiết bị quạt hướng trục.
Bảng 4 - Các phương án bố trí truyền động đối với quạt ly tâm
| Phương án bố trí | Mô tả | Vị trí của động cơ (xem Hình 24) | Minh họa |
| 1 | Quạt có một cửa vào dùng truyền động đai. Bộ cánh quạt được lắp công xôn trên trục đặt trên hai gối đỡ trục tiêu chuẩn hoặc một gối đỡ trục kép được đỡ bằng bệ đỡ. | - |
|
| 2 | Quạt có một cửa vào dùng truyền động đai. Bộ cánh quạt được lắp công xôn trên trục vận hành trong hai ổ trục được đỡ bởi một giá chìa gắn vào vỏ quạt. | - |
|
| 3 | Quạt có một cửa vào dùng truyền động đai. Bộ cánh quạt được lắp trên trục vận hành trong các ổ trục bố trí ở hai bên của vỏ quạt và được đỡ bởi vỏ quạt. | - |
|
| 4 | Quạt có một cửa vào dùng truyền động trực tiếp. Bộ cánh quạt được lắp công xôn trên trục động cơ. Động cơ được đặt trên bệ đỡ. | - |
|
| 5 | Quạt có một cửa vào, dùng truyền động trực tiếp. Bộ cánh quạt được lắp công xôn trên trục động cơ. Không có các ổ trục trên quạt. Động cơ được gắn vào mặt bên của vỏ bằng mặt bích ở đầu mút có vỏ che. | - |
|
| 6 | Quạt có hai cửa vào, dùng truyền động đai. Bộ cánh quạt được lắp trên trục vận hành trong các ổ trục được bố trí ở hai bên của vỏ quạt và được đỡ bởi vỏ quạt. | - |
|
| 7 | Quạt có một cửa vào, dùng truyền động khớp nối trục. Thông thường được bố trí như phương án No. 3 nhưng động cơ được đặt trên bệ đỡ. | - |
|
| 8 | Quạt có một cửa vào, dùng truyền động khớp nối trục. Thông thường được bố trí như phương án No.1 và động cơ được đặt trên bệ đỡ kéo dài. | - |
|
| 9 | Quạt có một cửa vào, dùng truyền động khớp nối trục. Thông thường được bố trí như phương án No.1 nhưng động cơ được lắp bên ngoài giá đỡ ổ. | W hoặc Z |
|
| 10 | Quạt có một cửa vào, dùng truyền động đai. Thông thường được bố trí như phương án No.1 nhưng với động cơ dẫn động ở bên trong giá đỡ ổ. | U |
|
| 11 | Quạt có một cửa vào, dùng truyền động đai. Thông thường được bố trí như phương án No.3 nhưng quạt và động cơ được đỡ bằng khung bệ chung. | W hoặc Z (Rất hiếm đối với X hoặc Y) |
|
| 12 | Quạt có một cửa vào, dùng truyền động đai. Thông thường được bố trí như phương án No.1 nhưng quạt và động cơ được đỡ bằng khung bệ chung. | W hoặc Z (Rất hiếm đối với X hoặc Y) |
|
| 13 | Quạt có một cửa vào, dùng truyền động đai. Thông thường được bố trí như phương án No.1 nhưng động cơ được cố định bên dưới bệ đỡ ổ trục. | U |
|
| 14 | Quạt có một cửa vào, dùng truyền động đai. Thông thường được bố trí như phương án No.3 nhưng động cơ được đỡ bằng vỏ xoắn của quạt. | V, W hoặc Z |
|
| 15 | Quạt có một cửa vào, dùng truyền động đai trực tiếp. Động cơ dẫn động được đặt trong bộ cánh quạt và vỏ quạt. |
|
|
| 16 | Quạt có hai cửa vào, dùng truyền động trực tiếp. Động cơ dẫn động được đặt trong bộ cánh quạt và vỏ quạt. |
|
|
| 17 | Quạt có hai cửa vào, dùng truyền động khớp nối trục. Thông thường được bố trí như phương án No. 6, nhưng động cơ dẫn động được trên bệ đỡ. |
|
|
| 18 | Quạt có hai cửa vào, dùng truyền động đai. Thông thường được bố trí như phương án No.6 nhưng quạt và động cơ được đỡ bằng khung bệ chung | W hoặc Z (Rất hiếm đối với X hoặc Y) |
|
| 19 | Quạt có hai cửa vào, dùng truyền động đai. Thông thường được bố trí như phương án No.6, nhưng động cơ được đỡ bằng xoắn của quạt. | V, W hoặc Z |
|
| CHÚ THÍCH: Cũng có thể đưa ra các phương án bố trí 1, 3, 6, 7, 8 và 17 với các ổ trục được đặt trên giá đỡ độc lập đối với thân quạt. | |||
Bảng 5 - Các phương án bố trí truyền động đối với quạt hướng trục
| Phương án bố trí | Mô tả | Vị trí của động cơ (xem Hình 24) | Minh họa |
| 1 | Truyền động đai. Bộ cánh quạt được lắp công xôn trên trục vận hành trong hai ổ trục được đỡ một cách thích hợp | - |
|
| 3 | Truyền động đai. Bộ cánh quạt được lắp công xôn trên trục vận hành trong hai ổ trục và được đỡ bằng thân quạt. | - |
|
| 4 | Truyền động trực tiếp. Bộ cánh quạt điện lắp công xôn trên trục động cơ dẫn động. Không có các ổ trục trên quạt. Động cơ dẫn động được lắp trên bệ hoặc được ghép nối trực tiếp với quạt. | - |
|
| 7 | Truyền động khớp nối trục. Thông thường được bố trí như phương án No.3, nhưng động cơ dẫn động được lắp đặt trên bệ. | - |
|
| 8 | Truyền động khớp nối trục. Thông thường bố trí như phương án No.1 cộng thêm một bệ kéo dài cho động cơ dẫn động | - |
|
| 9 | Truyền động đai. Thông thường được bố trí như phương án No.1, nhưng động cơ dẫn động ở bên ngoài và được đỡ bằng vỏ quạt | Xem Hình 21 |
|
| 11 | Truyền động đai. Thông thường được bố trí như phương án No.3, nhưng quạt và động cơ dẫn động ở bên ngoài và được đỡ bằng một khung bệ chung | U, V, W hoặc Z (Rất hiếm đối với X hoặc Y) |
|
| 12 | Truyền động đai. Thông thường được bố trí như phương án No.1 cộng thêm một bệ kéo dài cho động cơ dẫn động | U, V, W hoặc Z (Rất hiếm đối với X hoặc Y) |
|
Bảng 6 - Điều khiển phụ trợ cho cửa vào và ra của quạt
| Mã con | Mô tả | Minh họa | ||
| Quạt hướng trục | Quạt ly tâm có một cửa vào | Quạt ly tâm có hai cửa vào | ||
| U | Quạt có các cửa vào và cửa ra liền kề ngay với vỏ quạt |
|
|
|
| E | Quạt có cửa vào hình côn hoặc miệng loe và có cửa ra liền kề trực tiếp |
|
|
|
| D | Quạt có miệng loe trên cửa ra của quạt và có cửa vào liền kề trực tiếp |
|
|
|
| ED | Quạt có cửa vào hình côn hoặc miệng loe trên phía và miệng loe trên cửa ra |
|
|
|
| B | Quạt có uốn cong trên phía vào và cửa ra liền kề trực tiếp |
|
|
|
| BD | Quạt có chỗ uốn cong trên cửa vào và miệng loe trên cửa ra |
|
|
|
| S | Quạt có lối vào cửa vào dạng hộp ở bên cạnh và cửa ra liền kề trực tiếp |
|
|
|
| SD | Quạt có lối vào cửa vào dạng hộp ở bên cạnh và miệng loe trên cửa ra của quạt |
|
|
|
5.5. Các điều kiện cho cửa vào và ra
Hướng hoặc điều kiện của dòng không khí đi vào hoặc đi ra khỏi quạt có thể được sửa đổi bằng cách bổ sung thêm các điều kiện phụ trợ. Các điều kiện phụ trợ này được nhận bởi các mã con bằng chữ cái (xem Bảng 6).
5.6. Phương pháp điều chỉnh quạt
Là các phương pháp điều chỉnh quạt khác nhau thường được sử dụng để sửa đổi tính năng của quạt như sau:
a) Điều chỉnh tốc độ: tốc độ có thể được thay đổi liên tục hoặc theo từng bậc bằng động cơ có tốc độ thay đổi, khớp trục có tốc độ thay đổi, bộ biến tốc, bộ điều chỉnh áp hoặc bằng sử dụng động cơ được chuyển mạch điện tử hoặc động cơ được chuyển mạch từ trở.
CHÚ THÍCH 1: Ở các điều kiện vận hành có sự biến đổi lớn, điều chỉnh tốc độ có hiệu quả lớn hơn nhiều so với điều chỉnh bằng van điều tiết hoặc van.
b) Điều chỉnh bằng van điều tiết: tính năng của quạt được điều chỉnh bằng van điều tiết trên cửa vào hoặc trên cửa ra để tạo ra sức cần bổ sung thay đổi được của hệ thống.
c) Điều chỉnh bằng cánh: cánh được lắp tại cửa vào của quạt có thể được điều chỉnh để thay đổi tính năng của quạt bằng điều chỉnh dòng xoáy tại cửa vào của quạt.
d) Điều chỉnh bước cánh: điều chỉnh bước cánh có thể thay đổi được (thường chỉ dùng cho quạt hướng trục). Góc cánh quạt của bộ cánh có thể được thay đổi trong khi bộ cánh quạt đang quay, tất cả các cánh được thay đổi cùng một lúc bởi một thao tác.
e) Bước điều chỉnh được: nếu góc cánh của bộ cánh quạt chỉ có thể thay đổi được khi bộ cánh quạt đứng yên thì phương pháp điều chỉnh này được gọi bằng thuật ngữ “bước điều chỉnh được”.
CHÚ THÍCH 2: Khi góc cánh không thể thay đổi được thì quạt có thể được gọi là quạt có “bước cố định".
5.7. Ký hiệu chiều quay và vị trí của các bộ phận của tổ hợp quạt
5.7.1. Quy định chung
Phải sử dụng các qui ước được quy định trong điều này để ký hiệu chiều quay của quạt và vị trí của một số bộ phận của tổ hợp quạt.
5.7.2. Chiều quay
Theo quy ước chiều quay được xác định từ phía đối diện với cửa vào của bộ cánh quạt, với bất cứ vị trí nào của truyền động (xem các Hình 17, Hình 18 và Hình 19). Chiều quay được ký hiệu theo chiều kim đồng hồ (sang phải, ký hiệu RD) hoặc theo chiều ngược kim đồng hồ (sang trái, ký hiệu LG) theo chiều được nhìn dọc theo đường trục của quạt từ phía đối diện với cửa vào bộ cánh quạt. Đối với quạt quay ngược chiều, chuyển động quay của cấp thứ nhất sẽ xác định chiều quay.
CHÚ THÍCH 1: Đối với quạt ly tâm có hai cửa vào và quạt có dòng chảy chéo chiều quay được xác định khi nhìn từ phía dẫn động.
CHÚ THÍCH 2: Chuyển động quay theo chiều kim đồng hồ của quạt có thể đòi hỏi chuyển động quay theo chiều ngược kim đồng hồ của động cơ dẫn động. Chiều quay của động cơ luôn được xác định khi nhìn vào đầu mút dẫn động của trục động cơ.
5.7.3. Vị trí cửa ra của quạt ly tâm
Vị trí góc cửa ra của quạt ly tâm phải được xác định so với một đường thẳng góc vuông góc với bệ đỡ lắp quạt và đi qua trục quay (xem Hình 20 và Hình 21).
Vị trí cửa ra của quạt ly tâm được ký hiệu bằng ký hiệu của chiều quay, nghĩa là LG hoặc RD, theo sau là góc, tính bằng độ, giữa đường thẳng gốc và đường trục của dòng xả, góc được đo theo chiều quay như đã xác định trong 5.7.2 (ví dụ LG 135 hoặc RD 90) (xem Hình 17, Hình 20, và Hình 21).
5.7.4. Vị trí của các bộ phận cấu thành của quạt ly tâm có vỏ xoắn
Vị trí góc của động cơ, hộp hoặc đoạn uốn cong ở cửa vào, cửa kiểm tra hoặc bất cứ các bộ phận nào khác được ký hiệu của chiều quay (nghĩa là LG hoặc RD), theo sau là góc, tính bằng độ, giữa đường thẳng gốc như đã xác định trong 5.7.3 và đường trục của bộ phận này, góc được đo theo chiều quay như đã xác định trong 5.7.2 (xem Hình 22).
CHÚ THÍCH: Khi vỏ quạt không được trang bị chân đỡ thì vị trí của cửa ra được lấy bằng 0°.
5.7.5. Vị trí của các bộ phận cấu thành của quạt hướng trục, quạt hỗn lưu hoặc quạt có cửa vào và ra đồng trục khác
Vị trí góc của động cơ, hộp hoặc đoạn uốn cong ở cửa vào, đoạn uốn cong ở cửa ra, cửa kiểm tra, hộp đầu cáp, chân đỡ lắp ráp, dụng cụ bôi trơn kéo dài và đường trục của truyền đai hoặc trục đầu vào hộp số được xác định bằng góc, tính bằng độ, giữa đường thẳng góc và đường trục của bộ phận được đo khi nhìn dọc theo đường trục quay từ phía đối diện với cửa vào, bất kể chiều quay của quạt (xem Hình 23).
Trường hợp ngoại lệ là quạt hướng trục đảo chiều được nhìn từ phía dẫn động. Khi không áp dụng định nghĩa về đường thẳng gốc được cho trên Hình 23 thì có thể chọn một đường thẳng gốc tùy ý.
5.7.6. Vị trí của động cơ hoặc động cơ chính khác
5.7.6.1. Vị trí trên hình chiếu bằng của động cơ dùng cho truyền động đai hoặc xích
Vị trí của động cơ khi được nhìn theo hướng vuông góc với bệ đỡ lắp quạt phải được biểu thị bằng các chữ cái W, X, Y, Z như đã chỉ dẫn trên Hình 24 và phải quy định xem truyền động ở bên phía cửa vào hoặc bên phía đối diện với cửa vào.
5.7.6.2. Vị trí của động cơ trong quạt hướng trục được dẫn động trực tiếp, quạt hỗn lưu hoặc các quạt khác có cửa vào và cửa ra đồng trục
Vị trí của động cơ đối với quạt được dẫn động trực tiếp có trục nằm ngang hoặc thẳng đứng phải được ký hiệu như chỉ dẫn trên Hình 25.
5.8. Các kích thước đặc trưng và các bộ phận cấu thành
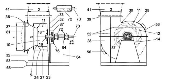
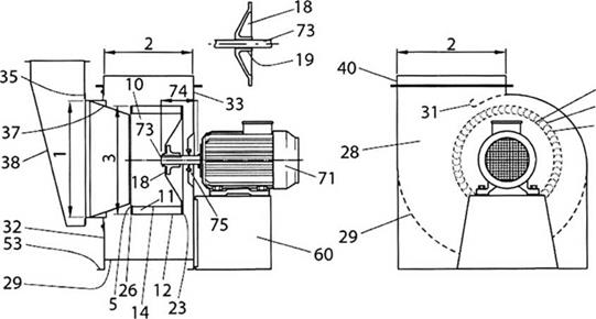
5.8.1. Các kích thước đặc trưng
Các ký hiệu của cỡ quạt và các mặt bích cửa vào và ra phải theo quy định trong ISO 13351. Định nghĩa của ký hiệu cỡ quạt được cho trong 3.8.4.
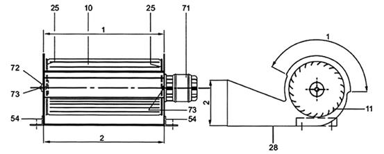
Các Hình 26 đến Hình 29 giới thiệu các phương án bố trí của các quạt điển hình. Trong mỗi trường hợp, cửa vào của quạt được nhận dạng bởi “1” trong khi cửa ra được nhận dạng bởi “2” và đường kính đỉnh bộ cánh quạt bởi “3”.
5.8.2. Thuật ngữ dùng cho các bộ phận cấu thành của quạt
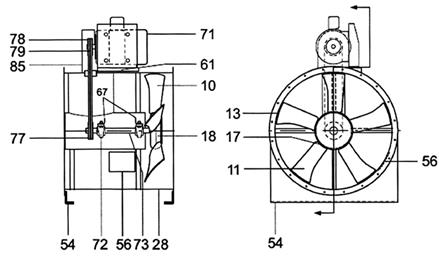
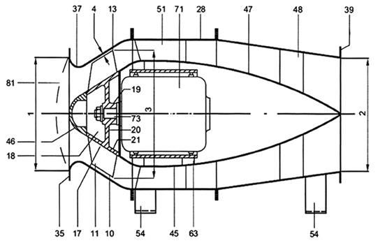
Các minh họa trên các Hình 26, Hình 27, Hình 28 và Hình 29 đã được lựa chọn làm ví dụ để chỉ ra các bộ phận cấu thành của quạt (Bảng 7 cho các ký hiệu bằng chữ cái của các bộ phận của quạt và Bảng 8 liệt kê các thuật ngữ ưu tiên dùng cho các bộ phận cấu thành của quạt). Có thể có nhiều đặc điểm và phương án bố trí khác nhau và không nên xem các hình minh họa đã lựa chọn là các thiết kế tiêu chuẩn cho các loại quạt có liên quan.

Hình 1 - Loại thiết bị

Hình 2 - Quạt ly tâm

CHÚ DẪN:
1 Ống dẫn
a Dòng không khí
Hình 3 - Quạt hướng trục

a Dòng không khí
Hình 4 - Quạt ly tâm đồng trục (thẳng hàng)

a Dòng không khí
Hình 5 - Quạt hỗn lưu

a Dòng không khí
Hình 6 - Quạt có vách ngăn

a Dòng không khí
Hình 7 - Quạt phụt

Hình 8 - Quạt tuần hoàn

a Dòng không khí
Hình 9 - Các bộ cánh quạt của quạt ly tâm

a Dòng không khí
Hình 10 - Bộ cánh quạt của quạt hướng trục

a Dòng thông khí
Hình 11 - Bộ cánh quạt của quạt hỗn lưu

a Dòng không khí
Hình 12 - Quạt có dòng chảy chéo

Hình 13 - Quạt dạng đầu cắm

Hình 14 - Quạt có khoảng thông gió trần

CHÚ DẪN
1) Lưu chất
2) Cánh
3) Vỏ quạt
4) Nhiệt độ cửa vào, °C
5) Nhiệt độ cửa ra, °C
Hình 15 - Quạt có dòng chảy theo chu vi

Hình 16 - Các kiểu bộ cánh quạt ly tâm

| a) LG - Quay ngược chiều kim đồng hồ | b) RD - Quay theo chiều kim đồng hồ |
a Dòng không khí
b Chiều quay
Chiều chuyển động của quạt có một cửa vào phải được xác định từ phía đối diện với cửa vào, không kể đến vị trí thực của truyền động
Hình 17 - Chiều quay của quạt ly tâm hướng tâm (kính)

| a) LG - Quay ngược chiều kim đồng hồ | b) RD - Quay theo chiều kim đồng hồ |
a Dòng không khí
b Chiều quay
CHÚ THÍCH: Chuyển động quay của quạt hướng trục được xác định từ phía đối diện của cửa vào
Hình 18 - Chiều quay của quạt hướng trục và quạt hỗn lưu

Hình 19 - Chiều quay của quạt có dòng chảy chéo

a Dòng không khí
Hình 20 - Ký hiệu qui ước của vị trí cửa ra của quạt ly tâm

Hình 21 - Các vị trí được khuyến nghị đối với cửa ra của quạt ly tâm

VÍ DỤ:
| Cửa ra LG 315 | Cửa ra RD 0 |
| Cửa quan sát LG 135 | Cửa quan sát RD 225 |
| Hộp cửa vào LG 45 | Hộp cửa vào RD 0 |
| Động cơ LG 40 | Động cơ RD 135 |
Hình 22 - Ký hiệu qui ước của vị trí góc của các bộ phận cấu thành của quạt ly tâm có vỏ xoắn

VÍ DỤ: Cửa quan sát 90o
Động cơ 315°
Hình 23 - Ký hiệu qui ước của vị trí góc của các bộ phận cấu thành của quạt hướng trục, quạt hỗn lưu và các quạt khác có cửa vào và cửa ra đồng trục

CHÚ DẪN:
1 Quạt
U Mức bên dưới ổ trục của quạt
V Mức bên trên ổ trục của quạt
Hình 24 - Ký hiệu qui ước của các vị trí lựa chọn trên hình chiếu bằng của một động cơ dòng cho quạt điện dẫn động bằng truyền động đai
|
| A Phía trước động cơ | B Phía sau động cơ | |
| Trục nằm ngang |
|
| |
| Trục thẳng đứng | U Xả lên trên |
|
|
| D Xả xuống dưới |
|
| |
Hình 25 - Ký hiệu qui ước của vị trí lựa động cơ trong quạt hướng trục, quạt hỗn lưu và các quạt khác được dẫn động trực tiếp có cửa vào và cửa ra đồng trục
Bảng 7 - Minh họa quạt bằng ký hiệu chữ cái
| Ký hiệu | Kiểu quạt | Đặc điểm |
| Aa Ab Ac Ad Ae Af Ag Ah | Ly tâm | Cánh cong về phía sau - Truyền động gián tiếp Cánh cong về phía trước - Truyền động trực tiếp Cánh khuấy - Truyền động gián tiếp Điều khiển bằng cánh - Truyền động khớp trục Hai cửa vào Nhiều cấp Hai cấp có mối nối ống dẫn (kép) Cánh hướng tâm |
| Ba Bb Bc Bd Be Bf | Hướng trục | Vỏ dài - Cánh dẫn hướng - truyền động trực tiếp Vỏ ngắn - Truyền động trực tiếp Truyền động gián tiếp Động cơ được bảo vệ (tách đôi) - Truyền động trực tiếp Nhiều cấp - Truyền động gián tiếp Quạt chong chóng |
| Ca | Hỗn lưu | Truyền động trực tiếp |
| Da | Dòng chảy chéo | Truyền động trực tiếp |
Bảng 8 - Danh mục các thuật ngữ ưu tiên cho các bộ phận cấu thành của quạt
| Bộ phận | Bộ phận cấu thànha) | Ab | Bb | Cb | Db | |||||||||||
| a | b | c | d | e | f | g | a | b | c | d | e | f | a | a | ||
| 10 | Bộ cánh quạt | a | b | c | d | e | f | g | a | b | c | d | e | f | a | a |
| 11 | Cánh | a | b | c |
| e | f |
| a | b | c | d | e | f | a | a |
| 12 | Đỉnh (đầu) cánh | a | b | c |
|
| f |
|
|
|
|
|
|
|
|
|
| 13 | Đỉnh (đầu) cánh |
|
|
|
|
|
|
| a | b | c | d | e | f | a |
|
| 14 | Cạnh (mép) vào của cánh | a | b | c |
|
| f |
|
|
|
|
|
|
|
|
|
| 15 | Cạnh trước của cánh |
|
|
|
|
|
|
| a | b |
|
| e | f |
|
|
| 16 | Cạnh sau của cánh |
|
|
|
|
|
|
| a | b |
|
| e | f |
|
|
| 17 | Chân cánh |
|
|
|
|
|
|
| a | b | c | d | e |
| a |
|
| 18 | May ơ (vành trong) | a | b |
|
| e |
|
| a | b | c | d | e | f | a |
|
| 19 | Thân may ơ | a | b | c |
| e | f |
| a | b |
|
|
|
| a |
|
| 20 | Đĩa may ơ |
| b |
|
|
|
|
| a | b |
|
|
|
| a |
|
| 21 | Vành may ơ |
|
|
|
|
|
|
| a | b |
|
|
|
| a |
|
| 22 | Nan hoa may ơ |
|
| c |
|
|
|
|
|
|
|
|
|
|
|
|
| 23 | Tấm chắn sau của bộ cánh quạt | a | b |
|
|
| f |
|
|
|
|
|
|
|
|
|
| 24 | Tấm đỡ giữa của bộ cánh quạt |
|
|
|
| e |
|
|
|
|
|
|
|
|
|
|
| 25 | Tấm chắn đầu mút của bộ cánh quạt |
|
|
|
|
|
|
|
|
|
|
|
|
|
| a |
| 26 | Vỏ bảo vệ bộ cánh quạt | a | b |
|
| e | f |
|
|
|
|
|
|
|
|
|
| 27 | Vỏ bảo vệ trung tâm của bộ cánh quạt | a |
|
|
|
|
|
|
|
|
|
|
|
|
|
|
| 28 | Vỏ quạt | a | b | c | d | e | f | g | a | b | c | d | e |
| a | a |
| 29 | Tâm xoắn vít | a | b | c | d | e | f | g |
|
|
|
|
|
|
|
|
| 30 | Phần cong chuyển tiếp của vỏ quạt | a |
| c |
|
| f |
|
|
|
|
|
|
|
|
|
| 31 | Phần cong chuyển tiếp kéo dài của vỏ quạt |
| b |
|
| e |
|
|
|
|
|
|
|
|
|
|
| 32 | Tấm mặt bên cửa vào của vỏ quạt | a | b | c | d | e | f | g |
|
|
|
|
|
|
|
|
| 33 | Tấm sau của vỏ quạt | a | b | c | d |
| f | g |
|
|
|
|
|
|
|
|
| 34 | Tấm che của vỏ quạt |
|
| c |
|
|
|
|
|
|
|
|
|
|
|
|
| 35 | Mặt bích cửa vào |
| b | c | d |
| f |
| a |
|
| d | e |
| a |
|
| 36 | Đầu nối cửa vào | a |
|
|
|
|
|
|
|
|
|
|
|
|
|
|
| 37 | Cửa vào được tạo hình | a | b |
|
| e |
|
| a | b |
|
|
|
| a |
|
| 38 | Hộp cửa vào |
| b |
|
|
|
|
| a |
|
|
|
|
|
|
|
| 39 | Mặt bích cửa ra | a |
| c |
|
| f | g | a |
|
| d | e |
| a |
|
| 40 | Đầu nối cửa ra |
| b |
|
| e |
|
|
|
|
|
|
|
|
|
|
| 41 | Phần biến thể ở cửa ra | a |
|
|
|
|
|
|
|
|
|
|
|
|
|
|
| 42 | Phần mở rộng ở cửa ra |
|
|
|
|
| f |
| a |
|
|
| e |
|
|
|
| 43 | Phần thu ở cửa ra |
|
| c |
|
|
|
|
|
|
|
|
|
|
|
|
| 44 | Ống dẫn nối liên kết |
|
|
|
|
|
| g |
|
|
|
|
|
|
|
|
| 45 | Chóp rê dòng (ở tâm quạt) |
|
|
|
|
|
|
|
|
|
|
|
|
| a |
|
| 46 | Chóp rê dòng ở đầu dòng (phía trước) |
|
|
|
|
|
|
| a |
|
|
| e |
| a |
|
| 47 | Chóp rê dòng ở cuối dòng (phía sau) |
|
|
|
|
|
|
| a |
|
|
| e |
| a |
|
| 48 | Giá đỡ chóp rê dòng |
|
|
|
|
|
|
| a |
|
|
| e |
| a |
|
| 49 | Cánh dẫn hướng (một bộ) |
|
|
|
|
| f |
|
|
|
|
| e |
|
|
|
| 50 | Cánh dẫn hướng ở đầu dòng (một bộ) |
|
|
|
|
|
|
| a |
|
|
|
|
|
|
|
| 51 | Cánh dẫn hướng ở cuối dòng (một bộ) |
|
|
|
|
|
|
| a |
|
|
| e |
| a |
|
| 52 | Các nẹp tăng cường cho vỏ quạt | a |
|
|
|
|
|
|
|
|
|
|
|
| a |
|
| 53 | Các thép góc của bệ đỡ | a | b | c | d |
|
|
|
|
|
|
| e |
|
|
|
| 54 | Chân đỡ |
|
|
|
| e |
|
| a |
| c |
|
|
| a | a |
| 55 | Rãnh thoát nước của vỏ quạt |
|
| c |
|
|
|
|
|
|
|
|
|
|
|
|
| 56 | Lối vào hoặc cửa kiểm tra | a |
| c |
|
|
|
| a |
| c |
|
|
|
|
|
| 57 | Vành lắp ráp (gỡ lắp) |
|
|
|
|
|
|
|
| b |
|
|
|
|
|
|
| 58 | Vầu lắp ráp |
|
|
|
|
|
|
|
| b |
|
|
|
|
|
|
| 59 | Tấm màng chắn |
|
|
|
|
|
|
|
|
|
|
|
| f |
|
|
| 60 | Bệ đỡ động cơ |
| b |
|
|
|
|
|
|
|
|
|
|
|
|
|
| 61 | Giá chìa lắp động cơ |
|
|
|
|
|
|
|
|
| c | d |
|
|
|
|
| 62 | Nan hoa động cơ |
|
|
|
|
|
|
|
| b |
|
|
| f |
|
|
| 63 | Giá đỡ động cơ |
|
|
|
|
|
|
| a |
|
|
|
|
| a |
|
| 64 | Gối đỡ ổ trục | a |
|
|
|
|
|
|
|
|
|
|
|
|
|
|
| 65 | Giá chìa lắp ổ trục |
|
| c |
|
|
|
|
|
|
|
| e |
|
|
|
| 66 | Bệ đỡ ổ trục |
|
|
| d |
|
|
|
|
|
|
|
|
|
|
|
| 67 | Giá đỡ ổ trục |
|
|
|
| e |
|
|
|
| c |
|
|
|
|
|
| 68 | Khung đế | a |
| c |
|
|
|
|
|
|
|
| e |
|
|
|
| 69 | Các trụ chống rung |
|
| c |
|
|
|
|
|
|
|
| e |
|
|
|
| 70 | Tấm đế liên hợp |
|
|
| d |
|
|
|
|
|
|
|
|
|
|
|
| 71 | Động cơ hoặc động cơ chính khác |
| b | c | d |
| f | g | a | b | c | d | e | f | a | a |
| 72 | Các ổ trục | a |
| c | d | e |
|
|
|
| c |
| e |
|
| a |
| 73 | Trục | a | b | c | d | e | f |
| a | b | c | d | e | f | a | a |
| 74 | Phần kéo dài của trục | a | b | c |
| e |
|
| a |
|
|
|
|
|
|
|
| 75 | Vòng bít kín trục |
| b |
|
|
|
|
|
|
|
|
|
|
|
|
|
| 76 | Đĩa làm mát (hoặc chong chóng) | a |
|
|
|
|
|
|
|
|
|
|
|
|
|
|
| 77 | Bánh đai (puli) quạt |
|
| c |
|
|
|
|
|
| c |
| e |
|
|
|
| 78 | Bánh đai (puli) động cơ |
|
| c |
|
|
|
|
|
| c |
| e |
|
|
|
| 79 | Đai truyền |
|
| c |
|
|
|
|
|
| c |
| e |
|
|
|
| 80 | Khớp trục |
|
|
| d |
|
|
|
|
|
|
|
|
|
|
|
| 81 | Lưới chắn bảo vệ cửa vào | a |
|
|
|
|
|
| a |
|
|
|
|
| a |
|
| 82 | Lưới chắn bảo vệ phía động cơ |
|
|
|
|
|
|
|
| b |
|
|
| f |
|
|
| 83 | Lưới chắn bảo vệ phía bộ cánh quạt |
|
|
|
|
|
|
|
| b |
|
|
| f |
|
|
| 84 | Vỏ che bảo vệ trục | a |
|
| d |
|
|
|
|
|
|
|
|
|
|
|
| 85 | Vỏ che bảo vệ truyền động |
|
| c |
|
|
|
|
| c |
| e |
|
|
|
|
| 86 | Vỏ che bảo vệ khớp trục |
|
|
| d |
|
|
|
|
|
|
|
|
|
|
|
| 87 | Vỏ che bảo vệ đĩa làm mát (hoặc chong chóng làm mát) | a |
|
|
|
|
|
|
|
|
|
|
|
|
|
|
| 88 | Bộ điều chỉnh cánh ở cửa vào |
|
|
| d |
|
|
|
|
|
|
|
|
|
|
|
|
| Các kích thước |
|
|
|
|
|
|
|
|
|
|
|
|
|
|
|
| 1 | Cửa vào của quạt | a | b | c | d |
| f | g | a |
|
| d | e |
| a | a |
| 2 | Cửa ra của quạt | a | b | c |
| e | f | g | a | b |
| d | e |
| a | a |
| 3 | Đường kính đỉnh bộ cánh quạt | a | b | c |
|
|
|
| a | b | c | d | e | f | a |
|
| 4 | Khe hở đỉnh bộ cánh quạt |
|
|
|
|
|
|
| a | b | c | d | e | f | a |
|
| 5 | Khe hở cửa vào bộ cánh quạt | a | b | c |
| e | f |
|
|
|
|
|
|
|
|
|
| a Xem các Hình 26, Hình 27, Hình 28 và Hình 29 b Xem Bảng 7. | ||||||||||||||||

a) Ví dụ 1

b) Ví dụ 2

c) Ví dụ 3
CHÚ THÍCH: Xem các Bảng 7 và Bảng 8.
Hình 26 - Hình vẽ minh họa quạt ly tâm

a) Ví dụ 1

b) Ví dụ 2

c) Ví dụ 3

d) Ví dụ 4

e) Ví dụ 5

f) Ví dụ 6
CHÚ THÍCH: Xem các Bảng 7 và Bảng 8.
Hình 27 - Hình vẽ minh họa quạt hướng trục

CHÚ THÍCH: Xem các Bảng 7 và Bảng 8.
Hình 28 - Hình vẽ minh họa quạt hỗn lưu tách đôi

CHÚ THÍCH: Xem Bảng 8.
Hình 29 - Hình vẽ minh họa quạt có dòng chảy chéo

CHÚ DẪN:
1 Quạt tạo màn chắn không khí
2 Vòi phun cửa ra
3 Màn chắn không khí
4 Dòng không khí
Hình 30 - Hình vẽ minh họa màn chắn không khí và quạt tạo màn chắn không khí

Hình 31 - Hình vẽ minh họa của quạt hộp

a Dòng không khí
Hình 32 - Hình vẽ minh họa quạt quay ngược chiều
Phụ lục A
(Tham khảo)
Các ví dụ
A.1 Ví dụ 1 - Quạt ly tâm
Quạt ly tâm truyền động bằng khớp trục, có chế độ làm việc nặng với bộ cánh quạt được bố trí giữa các ổ trục được thiết kế cho công suất 38 m3/s và áp suất của quạt 6,3 kPa.
Vỏ quạt nên thích hợp cho đỡ đường ống dẫn. Cửa vào có kết cấu hộp ở bên cạnh với cánh điều chỉnh và có miệng loe cùng với mặt bích ở cuối cửa ra để thích hợp với đường ống dẫn của khách hàng, vỏ quạt nên được trang bị cửa quan sát và thích hợp cho xử lý khớp phóng xạ mà không có rò rỉ phát hiện được.
| Loại lắp đặt | Loại D | 3.4 Hình 1 |
| Kiểu quạt theo chức năng | Quạt lắp ống dẫn | 3.5 |
| Kiểu quạt theo đường lưu chất | Ly tâm | 3.6 |
| Sự thích hợp đối với áp suất | Áp suất, Loại M/6 | 5.2, Bảng 1 |
| Kết cấu vỏ | Loại 3 | 5.3.1, Bảng 2 |
| Loại nhiệt độ | Quạt kín khí, Loại G | 5.3.4, Bảng 3 |
| Bố trí truyền động | Khớp nối đồng trục, phương án bố trí No. 7 | 5.4, Bảng 4 |
| Điều kiện cửa vào/ra | SD | 5.5, Bảng 6 |
| Phương pháp điều chỉnh quạt | Điều khiển cánh | 5.6 |
| Các bộ phận cấu thành | Cửa ra RD 45 | 5.8 các Hình 20, 21, 22 |
|
| Cửa kiểm tra RD 315 |
|
|
| Hộp cửa vào RD 0 |
|
| Vị trí động cơ | Đồng trục (thẳng hàng) | 5.8, Hình 22 |
A.2 Ví dụ 2 - Quạt hướng trục
Quạt hướng trục truyền động đai có động cơ lắp với ống dẫn cho cửa vào hở, cửa ra lắp với ống dẫn có miệng loe cho dòng xả. Áp suất quạt là 1,0 kPa và lưu lượng 20 m3/s ở mật độ (khối lượng riêng) không khí tiêu chuẩn. Quạt cũng được yêu cầu vận hành trong các tình trạng khẩn cấp với nhiệt độ của khí 300 °C trong 1 h. Có cửa kiểm tra trên vỏ quạt.
| Loại lắp đặt | Loại B | 3.4 Hình 1 |
| Kiểu quạt theo chức năng | Quạt lắp ống dẫn | 3.5 |
| Kiểu quạt theo đường lưu chất | Hướng trục | 3.6 |
| Sự thích hợp đối với áp suất | Áp suất trung bình | 5.2, Bảng 1 |
|
| Loại L/2 |
|
| Kết cấu vỏ | Loại 2 | 5.3.1, Bảng 2 |
| Loại nhiệt độ | Quạt thông khói, Loại D | 5.3.3 |
|
| (HT/300/1,0) |
|
| Bố trí truyền động | Truyền động đai: phương án bố trí No.9 | 5.3.4, Bảng 5 |
| Điều kiện cửa vào/ra | ED | 5.5, Bảng 6 |
| Phương pháp điều chỉnh quạt | Điều chỉnh cánh | 5.6 |
| Các bộ phận cấu thành | Quay RD | 5.7, Hình 18 |
|
| Cửa kiểm tra 90° |
|
| Vị trí động cơ | Động cơ 0 | 5.7, Hình 23 |
THƯ MỤC TÀI LIỆU THAM KHẢO
[1] ISO 12499, Industrial fans - Mechanical safety of fans - Guarding (Quạt công nghiệp - An toàn về cơ khí của quạt - Rào chắn bảo vệ).
[2] ISO 12759, Fans - Efficiency classification for fans1) (Quạt - Phân loại hiệu suất đối với quạt).
[3] ISO 13347-1, Industrial fans - Determination of fan sound power levels under standardized laboratory conditions - Part 1: General overview (Quạt công nghiệp - Xác định các mức công suất âm thanh của quạt trong các điều kiện chuẩn ở phòng thí nghiệm - Phần 1: Mô tả ngắn gọn chung).
[4] ISO 13347-2, Industrial fans - Determination of fan sound power levels under standardized laboratory conditions - Part 2: Reverberant room method (Quạt công nghiệp - Xác định các mức công suất âm thanh của quạt trong các điều kiện chuẩn ở phòng thí nghiệm - Phần 2: Phương pháp phòng dội lại âm thanh).
[5] ISO 13347-3, Industrial fans - Determination of fan sound power levels under standardized laboratory conditions - Part 3: Enveloping surface methods (Quạt công nghiệp - Xác định các mức công suất âm thanh của quạt trong các điều kiện chuẩn ở phòng thí nghiệm - Phần 3: Phương pháp bề mặt bao).
[6] ISO 13347-4, Industrial fans - Determination of fan sound power levels under standardized laboratory conditions - Part 4: Sound intensity method (Quạt công nghiệp - Xác định các mức công suất âm thanh của quạt trong các điều kiện chuẩn ở phòng thí nghiệm - Phần 4: Phương pháp cường độ âm thanh).
[7] TCVN 9072 (ISO 13348), Quạt công nghiệp - Dung sai, phương pháp chuyển đổi và trình bày các dữ liệu kỹ thuật.
[8] TCVN 9074 (ISO 13350), Quạt công nghiệp - Thử đặc tính của quạt phụt.
[9] TCVN 9075 (ISO 14694), Quạt công nghiệp - Đặc tính kỹ thuật về chất lượng cân bằng và các mức rung.
[10] TCVN 9076 (ISO 14695), Quạt công nghiệp - Phương pháp đo rung của quạt.
[11] ISO 27327-1, Fans - Air curtain units - Part 1: Laboratory methods of testing air curtain units for aerodynamic performance rating (Quạt - Bộ phận màn chắn không khí - Phần 1: Phương pháp phòng thí nghiệm để thử quạt bộ phận màn chắn không khí về hiệu suất khí động lực học danh định).
[12] ISO 80000-1, Quantities and units - Part 1: General (Các đại lượng và đơn vị - Phần 1: Quy định chung).
MỤC LỤC
Lời nói đầu
1. Phạm vi áp dụng
2. Tài liệu viện dẫn
3. Thuật ngữ và định nghĩa
4. Ký hiệu và đơn vị
4.1. Ký hiệu
4.2. Bội số của các đơn vị cơ bản
4.3. Đơn vị thời gian
4.4. Nhiệt độ của không khí hoặc khí
5. Các loại quạt
5.1. Quy định chung
5.2. Sự thích hợp về áp suất quạt
5.3. Sự thích hợp của kết cấu
5.4. Bố trí truyền động
5.5. Các điều kiện cho cửa vào và ra
5.6. Phương pháp điều chỉnh quạt
5.7. Ký hiệu chiều quay và vị trí của các bộ phận của tổ hợp quạt
Phụ lục A
Thư mục tài liệu tham khảo
1) Đang soạn thảo
Bạn chưa Đăng nhập thành viên.
Đây là tiện ích dành cho tài khoản thành viên. Vui lòng Đăng nhập để xem chi tiết. Nếu chưa có tài khoản, vui lòng Đăng ký tại đây!
























































