- Tổng quan
- Nội dung
- Tiêu chuẩn liên quan
- Lược đồ
- Tải về
Tiêu chuẩn TCVN 10235:2013 Urani dioxit - khối lượng riêng và phần thể tích các lỗ xốp
| Số hiệu: | TCVN 10235:2013 | Loại văn bản: | Tiêu chuẩn Việt Nam |
| Cơ quan ban hành: | Bộ Khoa học và Công nghệ | Lĩnh vực: | Khoa học-Công nghệ , Công nghiệp |
|
Ngày ban hành:
Ngày ban hành là ngày, tháng, năm văn bản được thông qua hoặc ký ban hành.
|
2013 |
Hiệu lực:
|
Đã biết
|
| Người ký: | Đang cập nhật |
Tình trạng hiệu lực:
Cho biết trạng thái hiệu lực của văn bản đang tra cứu: Chưa áp dụng, Còn hiệu lực, Hết hiệu lực, Hết hiệu lực 1 phần; Đã sửa đổi, Đính chính hay Không còn phù hợp,...
|
Đã biết
|
TÓM TẮT TIÊU CHUẨN VIỆT NAM TCVN 10235:2013
Nội dung tóm tắt đang được cập nhật, Quý khách vui lòng quay lại sau!
Tải tiêu chuẩn Việt Nam TCVN 10235:2013
TIÊU CHUẨN QUỐC GIA
TCVN 10235:2013
ISO 9278:2008
NĂNG LƯỢNG HẠT NHÂN - URANI DIOXIT DẠNG VIÊN - XÁC ĐỊNH KHỐI LƯỢNG RIÊNG VÀ PHẦN THỂ TÍCH CÁC LỖ XỐP HỞ VÀ LỖ XỐP KÍN
Nuclear energy - Uranium dioxide pellets - Determination of density and volume fraction of open and closed porosity
Lời nói đầu
TCVN 10235:2013 hoàn toàn tương đương với ISO 9278:2008;
TCVN 10235:2013 do Ban kỹ thuật Tiêu chuẩn quốc gia TCVN/TC 85 Năng lượng hạt nhân biên soạn, Tổng cục Tiêu chuẩn Đo lường Chất lượng đề nghị, Bộ Khoa học và Công nghệ công bố.
NĂNG LƯỢNG HẠT NHÂN - URANI DIOXIT DẠNG VIÊN - XÁC ĐỊNH KHỐI LƯỢNG RIÊNG VÀ PHẦN THỂ TÍCH CÁC LỖ XỐP HỞ VÀ LỖ XỐP KÍN
Nuclear energy - Uranium dioxide pellets - Determination of density and volume fraction of open and closed porosity
1 Phạm vi áp dụng
Tiêu chuẩn này quy định cụ thể phương pháp xác định khối lượng riêng toàn phần và phần thể tích của lỗ xốp hở và lỗ xốp kín của UO2 dạng viên đã thiêu kết. Phương pháp này có thể được áp dụng cho các vật liệu khác, ví dụ như dạng viên tươi (viên chưa thiêu kết), và UO2 - PuO2 hoặc UO2-Gd2O3 dạng viên.
2 Nguyên tắc
Phương pháp này dựa trên việc xác định thể tích viên và thể tích của các lỗ xốp hở và lỗ xốp kín bằng cách đo khối lượng khô, khối lượng bão hòa và khối lượng chất ngâm trong mẫu. Có thể lựa chọn các chất lỏng ngâm và các điều kiện bão hòa khác nhau miễn là có thể tạo ra hiệu quả thấm hoàn toàn trong suốt quá trình thực hiện.
3 Thiết bị, dụng cụ
3.1 Cân, phù hợp với khối lượng cần đo, độ chính xác đến 0,1 mg.
3.2 Lò sấy, có khả năng duy trì nhiệt độ () °C. Nên sử dụng lò sấy chân không cho mẫu có số lượng lớn lỗ xốp hở.
3.3 Dụng cụ cân, Phải cân được mẫu thử trong không khí và mẫu thử ngâm trong chất lỏng để đo được khối lượng bão hòa và khối lượng chất ngâm (xem Bảng 1, bước 1).
3.4 Vật chứa, cốc thủy tinh hoặc vật chứa tương tự có kích thước và hình theo mẫu. Sao cho khi mẫu và dụng cụ cân mẫu cân nhúng hoàn toàn trong chất lỏng ngâm cùng với mẫu sao cho mẫu hoàn toàn không tiếp xúc với vật chứa.
3.5 Thiết bị thấm trong chân không, có thể gồm các bộ phận bằng thủy tinh (xem Bảng 1, bước 2).
3.6 Bi thử nghiệm, được làm từ hợp kim cứng hoặc kim loại, ví dụ như cacbua kim loại.
Bán kính, r, nằm trong khoảng từ 5 mm đến 10 mm, với độ chính xác ± 0,5 µm, để xác định khối lượng riêng của chất lỏng ngâm (xem 4.1.4).
4 Cách tiến hành
Cảnh báo an toàn - Các tiêu chuẩn an toàn phải được tuân thủ khi thao tác với mẫu urani dioxit và các mẫu plutori dioxit
4.1 Phương pháp thấm etanol
Phương pháp thấm này sử dụng etanol cấp tinh khiết phân tích (có thể dùng chất thay thế, xem 4.2).
4.1.1 Xác định khối lượng khô (md)
Sấy viên trong lò (3.2) ở nhiệt độ 100° C trong ít nhất 2 h. Làm nguội về nhiệt độ phòng và cân. Sử dụng bình hút ẩm, máy hút chân không hoặc khí bảo vệ khô trong quá trình làm nguội nếu mẫu hút ẩm từ môi trường và không cho phép đạt được khối lượng cân không đổi.
Sau khi xác định khối lượng bão hòa và khối lượng chất ngâm (4.1.5 và 4.1.6), làm khô viên một lần nữa và cân. Lấy trung bình, md, của hai phép đo (xem Bảng 1, bước 1 và 8).
4.1.2 Thấm mẫu
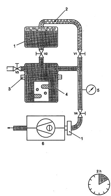
Sử dụng thiết bị thấm chân không để UO2 dạng viên thấm dung dịch etanol (3.5) (xem Bảng 1, bước 2). Đặt mẫu khô vào vật chứa rồi đặt vào thiết bị và tiến hành theo cách sau.
a) Mở máy bơm khi cả 4 van V1, V2, V3 và V4 đóng. Mở V4. Bơm cho đến khi áp suất đạt được nhỏ hơn 10 Pa. Bơm duy trì trong 1 h.
b) Đóng V4 rồi cẩn thận mở V1. Chờ đạt cân bằng trong 5 min.
c) Đóng V1 và V4 mở. Bơm cho đến khi áp suất đạt được 10 Pa.
d) Lặp lại từ bước b).
e) Đóng V1, mở V2 từ từ để đổ đầy etanol vào hộp chứa.
f) Tắt bơm. Mở V3 để không khí tràn vào thiết bị.
4.1.3 Điều chỉnh các yếu tố ảnh hưởng đến việc cân.
Quá trình thấm mẫu đạt được trạng thái cân bằng trong khoảng thời gian 1 h (xem Bảng 1, bước 3).
a) Các lỗ xốp hở được đổ đầy etanol dưới áp suất khí quyển.
b) Để chất lỏng đạt đến nhiệt độ phòng.
4.1.4 Xác định khối lượng riêng etanol
Khối lượng riêng etanol được xác định bằng cách sử dụng một viên bi thử nghiệm (3,6) có thể tích đã biết (xem Bảng 1, các bước 4 và 5).
Xác định khối lượng của viên bi thử nghiệm, trong không khí, m1.
Xác định giá trị khối lượng trên cân khi bỏ bi thử nghiệm ra bằng thiết bị treo và ngâm hoàn toàn trong etanol, m2.
CHÚ THÍCH: Xác định khối lượng riêng bằng bi thử nghiệm là một cách tiến hành tốt vì nó không phụ thuộc vào nhiệt độ thực và các yếu tố khác ảnh hưởng đến khối lượng riêng của chất lỏng ví dụ bi nhiễm bẩn. Cũng có thể sử dụng các phương pháp thay thế, ví dụ như đo nhiệt độ etanol, khi đó khối lượng riêng của etanol được coi như là một hàm của nhiệt độ.
4.1.5 Xác định khối lượng bão hòa (ms)
Sau khi điều chỉnh các yếu tố ảnh hưởng đến kết quả cân (xem 4.1.3), thấm ướt viên mẫu và cân xác định khối lượng bão hòa trong không khí, ms, (xem Bảng 1, bước 6).
Giá trị khối lượng bão hòa đại diện, ms, có thể thu được bằng cách tiến hành sau đây.
a) Thấm khô viên bằng cách lăn nhẹ vào một miếng vải thô không chứa lanh hoặc vải bông hoặc khăn giấy bão hòa etanol sao cho vẫn còn một màng mỏng etanol trên bề mặt.
b) Đặt viên mẫu trên thiết bị cân trong không khí nêu trong Bảng 1, bước 6.
c) Đọc liên tục hoặc ghi khối lượng bi suy giảm do sự bay hơi của màng chất lỏng trên bề mặt.
d) Xác định khối lượng, khi quan sát được sự thay đổi đột ngột của tốc độ bay hơi.
4.1.6 Xác định khối lượng chất ngâm (mi)
Sau khi xác định khối lượng bão hòa, chuyển ngay lập tức viên mẫu từ vị trí trong không khí đến vị trí trong chất lỏng bằng thiết bị treo (xem Bảng 1, bước 7).
Xác định khối lượng chất ngâm, mi, bằng cách đặt viên mẫu trên thiết bị cân (3.3) treo ở một đầu của đòn cân (3.1) (xem Bảng 1, bước 7).
Trước khi cân, chỉnh đĩa cân nhưng vẫn để nguyên thiết bị cân được treo và nhúng trong dung dịch etanol ở cùng một độ sâu như khi có mẫu.
4.2 Cải biên
Phương pháp thấm cũng có thể được thực hiện với các chất lỏng ngâm khác, ví dụ như nước, xyclohexan hoặc toluen. Cần thỏa mãn các điều kiện sau:
a) Không có phản ứng hóa học với các vật liệu thử nghiệm.
b) Dễ dàng loại bỏ các chất nhiễm bẩn.
c) Chất lỏng phải dễ dàng bay hơi ra khỏi các lỗ xốp hở.
d) Sức căng bề mặt trên thiết bị phải không đáng kể. Nếu sử dụng nước làm chất lỏng ngấm, cần bổ sung chất hoạt động bề mặt thích hợp.
e) Các chất lỏng được sử dụng có cấp tinh khiết phân tích.
5 Tính kết quả
5.1 Phương pháp tính
5.1.1 Tính khối lượng riêng của chất lỏng ngâm
Khối lượng riêng của chất lỏng ngấm ρ1, tính bằng gam trên centimet khối, tính theo Công thức (1):
![]()
(1)
Trong đó
r bán kính của viên bi thử nghiệm, tính bằng centimet;
m1 khối lượng của bi thử nghiệm trong không khí, tính bằng gam;
m2 khối lượng của bi thử nghiệm khi nó bị thấm trong chất lỏng ngâm, tính bằng gam.
5.1.2 Tính khối lượng riêng và phần thể tích lỗ xốp hở và lỗ xốp kín Thể tích hình học của viên, V, tính bằng centimet khối, tính theo Công thức (2):
(2)
Trong đó
ms khối lượng bão hòa, tính bằng gam;
mi khối lượng chất ngâm, tính bằng gam;
p1 khối lượng riêng của chất lỏng ngâm, được tính theo Công thức (1).
Tính thể tích các lỗ xốp hở, Vop, và các lỗ xốp kín, Vcp, tính bằng centimet khối, theo Công thức (3) và (4):
(3)
(4)
Trong đó
md khối lượng khô, tính bằng gam;
ρth khối lượng riêng lý thuyết, tính bằng gam trên centimet khối của mẫu (ρth = 10,96 đối với UO2 );
ρ1, ms và mi được xác định trong 5.1.1 và 5.1.2;
Tính khối lượng riêng toàn phần của UO2 , ρUO2, tính bằng gam trên centimet khối, và phần thể tích của tổng các lỗ xốp, φtot, lỗ xốp hở, φop, và lỗ xốp kín, φcp, tính bằng phần trăm, theo các Công thức (5), (6), (7) và (8):
(5)
(6)
(7)
(8)
Phần thể tích tương đối của các lỗ xốp hở, φop, trong tổng số các lỗ xốp, φtot, tính bằng phần trăm, tính theo Công thức (9):
(9)
6 Độ chụm
Độ lệch chuẩn tương đối của khối lượng riêng toàn phần nằm trong khoảng ± 0,05 % và độ lệch chuẩn tuyệt đối của phần thể tích các lỗ xốp hở, φop, và phần thể tích các lỗ xốp kín, φcp nằm trong khoảng ± 0,03 %.
7 Báo cáo thử nghiệm
Báo cáo thử nghiệm phải bao gồm các thông tin sau:
a) viện dẫn tiêu chuẩn này;
b) toàn bộ các thông tin chi tiết cần thiết cho việc nhận dạng mẫu thử nghiệm;
c) phương pháp thử nghiệm được sử dụng;
d) phương pháp làm khô mẫu thử nghiệm;
e) các điều kiện thấm;
f) chất lỏng ngấm được sử dụng;
g) các kết quả thu được;
h) mọi thao tác không quy định trong tiêu chuẩn này;
i) chi tiết các hiện tượng có thể ảnh hưởng đến kết quả thử.
Bảng 1 - Phương pháp ngâm etanol
| Bước | Hình minh họa | Quá trình quan sát/chú dẫn |
| Bước 1 |
| Xác định khối lượng khô Xem 4.1.1 CHÚ DẪN 1 UO2 dạng viên 2 Lỗ xốp hở 3 Lỗ xốp kín 4 Etanol 5 Bi thử nghiệm md khối lượng khô của viên trong không khí mT khối lượng bao bì |
|
| Quá trình thấm Xem 4.1.2 CHÚ DẪN 1 Etanol 2 Áp suất hơi của etanol 3 Mặt bích 4 Không khí 5 Áp suất: 1Pa ≤p≤10 Pa 6 Bơm chân không | |
| Bước 3 |
| Hiệu chỉnh các yếu tố ảnh hưởng đến khối lượng. Xem 4.1.3 CHÚ DẪN 1 Áp suất khí quyển t1 Nhiệt độ chất lỏng tR Nhiệt độ phòng |
| Bước 4 |
| Xác định khối lượng riêng của etanol Xem 4.1.4
CHÚ DẪN m1 khối lượng của viên bi thử nghiệm m2 khối lượng được đọc giá trị cân bằng khi bi thử nghiệm ngâm trong etanol mT khối lượng bao bì |
| Bước 5 |
| |
| Bước 6 |
| Xác định khối lượng bão hòa ms Xem 4.1.5 CHÚ DẪN ms khối lượng của viên và etanol ngấm trong các lỗ xốp mT khối lượng bao bì |
| Bước 7 |
| Xác định khối lượng ngấm mi Xem 4.1.6 CHÚ DẪN mi khối lượng đọc khi cân thăng bằng của mẫu ngập trong etanol mT khối lượng bao bì |
| Bước 8 |
| Kiểm soát khối lượng trong không khí Xem 4.1.1 CHÚ DẪN md khối lượng của viên khô trong không khí mT khối lượng bao bì |
Bạn chưa Đăng nhập thành viên.
Đây là tiện ích dành cho tài khoản thành viên. Vui lòng Đăng nhập để xem chi tiết. Nếu chưa có tài khoản, vui lòng Đăng ký tại đây!







