- Tổng quan
- Nội dung
- Tiêu chuẩn liên quan
- Lược đồ
- Tải về
Tiêu chuẩn Quốc gia TCVN 7833-1:2007 ISO 1986-1:2001 Điều kiện kiểm máy mài phẳng có trục chính bánh mài nằm ngang
| Số hiệu: | TCVN 7833-1:2007 | Loại văn bản: | Tiêu chuẩn Việt Nam |
| Cơ quan ban hành: | Bộ Khoa học và Công nghệ | Lĩnh vực: | Công nghiệp |
|
Ngày ban hành:
Ngày ban hành là ngày, tháng, năm văn bản được thông qua hoặc ký ban hành.
|
2007 |
Hiệu lực:
|
Đã biết
|
| Người ký: | Đang cập nhật |
Tình trạng hiệu lực:
Cho biết trạng thái hiệu lực của văn bản đang tra cứu: Chưa áp dụng, Còn hiệu lực, Hết hiệu lực, Hết hiệu lực 1 phần; Đã sửa đổi, Đính chính hay Không còn phù hợp,...
|
Đã biết
|
TÓM TẮT TIÊU CHUẨN VIỆT NAM TCVN 7833-1:2007
Nội dung tóm tắt đang được cập nhật, Quý khách vui lòng quay lại sau!
Tải tiêu chuẩn Việt Nam TCVN 7833-1:2007
TIÊU CHUẨN QUỐC GIA
TCVN 7833 - 1 : 2007
ISO 1986 -1 : 2001
ĐIỀU KIỆN KIỂM MÁY MÀI PHẲNG CÓ TRỤC CHÍNH BÁNH MÀI NẰM NGANG VÀ BÀN CHUYỂN ĐỘNG TỊNH TIẾN QUA LẠI – KIỂM ĐỘ CHÍNH XÁC – PHẦN 1 : MÁY CÓ CHIỀU DÀI BÀN ĐẾN 16000 MM
Test conditions for surface grinding machines with horizontal grinding wheel spindle and reciprocating table - Testing of accuracy - Part 1: Machines with a table length of up to 1600mm.
Lời nói đầu
TCVN 7833-1 : 2007 thay thế cho phần kiển độ chính xác của TCVN 1998 : 1977
TCVN 7833-1 : 2007 hoàn toàn tương đương với ISO 1986-1: 2001.
TCVN 7833-1 : 2007 do Ban kỹ thuật TCVN/TC39 – Máy công cụ biên soạn,
Tổng cục Tiêu chuẩn Đo lường Chất lượng đề nghị, Bộ Khoa học và Công nghệ công bố .
ĐIỀU KIỆN KIỂM MÁY MÀI PHẲNG CÓ TRỤC CHÍNH BÁNH MÀI NẰM NGANG VÀ BÀN CHUYỂN ĐỘNG TỊNH TIẾN QUA LẠI - KIỂM ĐỘ CHÍNH XÁC - PHẦN 1 : MÁY CÓ CHIỀU DÀI BÀN ĐẾN 1600MM
Test conditions for surface grinding machines with horizontal grinding wheel spindle and reciprocating table - Testing of accuracy- Part 1: Machines with a table length of up to 1600mm.
1. Phạm vi áp dụng
Tiêu chuẩn này qui định kiểm hình học và kiểm gia công trên các máy mài phẳng thông dụng độ chính xác thông thường có bàn chuyển động tịnh tiến qua lại đến chiều dài bàn 1600mm, có tham chiếu TCVN 7011-1: 2007.
Tiêu chuẩn này cũng qui định các dung sai có thể áp dụng tương ứng đối với các phép kiểm trên.
CHÚ THÍCH: Đối với máy có chiều dài bàn lớn hơn 1600mm theo ISO 1986-2.
Tiêu chuẩn này không áp dụng cho máy mài phẳng có bàn cố định và bàn xoay hoặc máy có đầu mài dịch chuyển dọc.
Tiêu chuẩn này chỉ áp dụng để kiểm độ chính xác hình học của máy, không áp dụng để kiểm vận hành máy (độ rung, độ ồn, chuyển động dính trượt của các bộ phận, v.v...) hoặc các đặc tính của máy (tốc độ trục chính, tốc độ tiến, v.v...).
Các phép kiểm này thường được tiến hành trước khi kiểm độ chính xác.
Tiêu chuẩn này quy định các thuật ngữ được sử dụng cho các bộ phận chính của máy và tên gọi của trục theo ISO 841[1].
2 Tài liệu viện dẫn
Trong tiêu chuẩn này có viện dẫn các tài liệu sau. Đối với các tài liệu viện dẫn ghi năm ban hành thì áp dụng bản dưới đây. Đối với các tài liệu viện dẫn không ghi năm ban hành thì áp dụng phiên bản mới nhất, bao gồm cả các sửa đổi.
TCVN 7011-1:2007 (ISO 230-1:1996) Qui tắc kiểm máy công cụ - Độ chính xác hình học của máy khi vận hành trong điều kiện không tải hoặc gia công tinh.
3 Thuật ngữ và tên gọi của trục
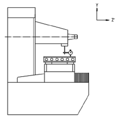
Xem Hình 1 và Bảng 1

Hình 1
Bảng 1
| Số tham chiếu | Tiếng Việt | Tiếng Anh |
| 1 | Trụ máy | Column |
| 2 | Băng máy | Bed |
| 3 | Bàn máy | Table |
| 4 | Rãnh chữ T | Reference T-slot |
| 5 | Đầu mài ( Ụ mài ) | Wheelhead |
| 6 | Bánh mài | Grinding wheel |
| 7 | Bộ phận bảo vệ bánh mài | Wheel guard |
| 8 | Bộ phận bảo vệ | Splash guard |
| 9 | Bàn trượt ngang | Saddle |
4 Qui định chung
4.1 Đơn vị đo
Trong tiêu chuẩn này toàn bộ kích thước dài, sai lệch và các dung sai tương ứng được biểu thị bằng milimét, kích thước góc được biểu thị bằng độ, sai lệch góc và dung sai tương ứng được biểu thị chủ yếu theo tỷ số nhưng trong một vài trường hợp, có thể sử dụng micrô-radian hoặc cung-giây. Phải tuân theo biểu thức đơn vị tương đương sau:
0,010/1 000 = 10mrad ≈ 2"
4.2 Tham chiếu tiêu chuẩn TCVN 7011-1
Để áp dụng tiêu chuẩn này, phải tham khảo TCVN 7011-1 đặc biệt là phần lắp đặt máy trước khi kiểm, làm nóng trục chính và các bộ phận chuyển động khác, mô tả các phương pháp đo và độ chính xác của thiết bị kiểm.
Các ô “quan sát “ của phép kiểm được mô tả trong các Điều 5 và 6, các hướng dẫn kèm theo các điều tham chiếu tương ứng trong TCVN 7011-1 trong trường hợp các phép kiểm có liên quan theo đúng các quy định của TCVN 7011.
4.3 Trình tự kiểm
Trình tự các phép kiểm trong tiêu chuẩn này không qui định cho kiểm thực tế. Để lắp đặt dụng cụ đo hoặc đầu đo dễ dàng, các phép kiểm có thể tiến hành theo bất kỳ thứ tự nào.
4.4 Thực hiện các phép kiểm
Để kiểm máy, không cần thiết phải kiểm toàn bộ các mục kiểm cho trong tiêu chuẩn này. Khi các phép kiểm được yêu cầu dùng cho kiểm nghiệm thu, người sử dụng lựa chọn các phép kiểm có liên quan đến các bộ phận hoặc các tính chất mà họ quan tâm theo thoả thuận với nhà chế tạo hoặc nhà cung cấp. Các phép kiểm này phải được qui định rõ ràng trong hợp đồng mua máy.
4.5 Dụng cụ đo
Dụng cụ đo chỉ dẫn trong các phép kiểm được mô tả trong Điều 5 và 6 chỉ là ví dụ. Có thể sử dụng dụng cụ đo khác có cùng đại lượng và cùng độ chính xác. Đồng hồ so phải có độ phân giải 0,001mm hoặc nhỏ hơn.
4.6 Dung sai nhỏ nhất
Khi thiết lập dung sai cho một chiều dài đo khác so với giá trị cho trong tiêu chuẩn này (xem 2.3.1.1 của TCVN 7011-1:2007) thì phải xem xét đến giá trị nhỏ nhất của dung sai là 0,001mm.
4.7 Kiểm gia công
Kiểm gia công chỉ tiến hành khi gia công tinh, không kiểm với gia công thô vì có khả năng tạo ra lực cắt đáng kể
4.8 Sơ đồ
Để đơn giản, các sơ đồ trong tiêu chuẩn này chỉ mô tả một kiểu máy.
5 Kiểm hình học
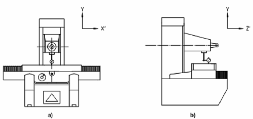
5.1 Trục thẳng
| Đối tượng | G1 | |
| Kiểm độ thẳng của chuyển động theo chiều dọc (trục X) của bàn máy. a) Trong mặt phẳng thẳng đứng XY; b) Trong mặt phẳng nằm ngang ZX. | ||
| Sơ đồ
| ||
| Dung sai Đối với a) và b) a) 0,010 trên chiều dài đo đến 1 000. b) 0,016 trên chiều dài đo lớn hơn 1 000. | Sai lệch đo được a) b) | |
| Dụng cụ đo Thước thẳng và đồng hồ so, dụng cụ đo giao thoa laze hoặc dây căng và kính hiển vi (chỉ đối với b). | ||
| Quan sát và tham chiếu 5.2.3.2.1 của TCVN 7011-1 Điều chỉnh thước thẳng để đạt được số chỉ như nhau tại mỗi đầu của chiều dài đo. Giá đỡ của đồng hồ so phải được đặt trên phần cố định của đầu mài, mũi dò của đồng hồ so tiếp xúc với thước thẳng. | ||
| Đối tượng | G2 | |
| Kiểm độ thẳng của chuyển động ngang của đầu trượt hoặc trụ máy hoặc đầu mài (trục Z) trong mặt phẳng thẳng đứng YZ. | ||
| Sơ đồ
| ||
| Dung sai 0,010 đối với chiều dài đo đến 500 0,015 đối với chiều dài đo lớn hơn 500 Dung sai cục bộ: 0,005 trên chiều dài đo 300 | Sai lệch đo được | |
| Dụng cụ đo Thước thẳng và đồng hồ so, ống lồng thẳng hàng hoặc dụng cụ đo giao thoa laze. | ||
| Quan sát và tham chiếu 5.2.3.2.1 của TCVN 7011-1 Điều chỉnh thước thẳng để đạt được số chỉ như nhau tại mỗi đầu của chiều dài đo. Giá đỡ của đồng hồ so phải được đặt trên phần cố định của đầu mài, kim của đồng hồ so tiếp xúc với thước thẳng. | ||
| Đối tượng Kiểm độ thẳng giữa dịch chuyển thẳng (trục X) của bàn và dịch chuyển ngang | G3 | |
| (trục Z) của bàn trượt hoặc trụ máy hoặc đầu mài. | ||
| Sơ đồ
| ||
| Dung sai 0,03 đối với mọi chiều dài đo 300 | Sai lệch đo được | |
| Dụng cụ đo Thước thẳng, ke vuông và đồng hồ so | ||
| Quan sát và tham chiếu 5.5.2.2.4 của TCVN 7011-1 Đồng hồ so phải đặt trên phần cố định của đầu mài. Đặt thước thẳng song song với dịch chuyển dọc của bàn rồi đưa bàn vào vị trí giữa của nó. Đặt ke vuông tiếp xúc với thước thẳng. Kiểm dịch chuyển ngang của bàn trượt hoặc trụ máy hoặc đầu mài. | ||
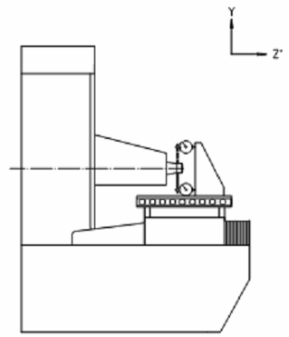
| Đối tượng | G4 | |
| Kiểm độ vuông góc giữa dịch chuyển thẳng đứng của đầu mài (trục Y) và dịch chuyển ngang của bàn trượt hoặc trụ máy hoặc đầu mài (trục Z). | ||
| Sơ đồ
| ||
| Dung sai 0,04 đối với chiều dài đo 300 | Sai lệch đo được | |
| Dụng cụ đo Đồng hồ so và ke vuông, thước thẳng và căn mẫu. | ||
| Quan sát và tham chiếu 5.5.2.2.4 của TCVN 7011-1 Đồng hồ so phải được đặt tại phần cố định của đầu mài . Đặt thước thẳng song song với dịch chuyển ngang của bàn máy rồi đưa bàn vào vị trí giữa của nó. Đặt ke vuông tiếp xúc với thước thẳng. Kiểm chuyển động thẳng đứng của đầu mài. | ||
5.2 Bàn máy
| Đối tượng a) Kiểm độ phẳng của bề mặt bàn. | G5 | |
|
| ||
| Sơ đồ
| ||
| Dung sai 0,01 đối với chiều dài đo đến 1 000 0,02 đối với chiều dài đo lớn hơn 1 000 Dung sai cục bộ: 0,005 đối với chiều dài đo 300 | Sai lệch đo được Chiều dài bàn =…. | |
| Dụng cụ đo Thước thẳng và căn mẫu hoặc nivô chính xác. | ||
| Quan sát và tham chiếu 5.3.2.2 và 5.3.2.3 của TCVN 7011-1 Các chuyển động ngang (X và Z) phải ở vị trí giữa. Nếu máy được trang bị một bàn từ, phép kiểm phải được tiến hành ở mặt trên của bàn từ. | ||
| Đối tượng Kiểm độ song song giữa bề mặt bàn máy và | G6 | |
| a) Dịch chuyển dọc của bàn (trục X); b) Dịch chuyển ngang của bàn trượt hoặc trụ máy hoặc đầu mài (trục Z). | ||
| Sơ đồ
| ||
| Dung sai a) 0,012 x L/1 000 Dung sai cục bộ: 0,003 trên chiều dài đo 300 b) 0,012 x L/1 000 ở đây L là chiều dài đo. | Sai lệch đo được a) b) | |
| Dụng cụ đo Đồng hồ so | ||
| Quan sát và tham chiếu 5.3.2.1.1; 5.4.2.2.2.1 và 5.4.2.2.1 của TCVN 7011-1 Đồng hồ so phải được đặt trên vị trí cố định của đầu mài. Mũi dò của đồng hồ so phải được đặt gần vị trí vị trí trung tâm mặt phẳng thẳng đứng của đường tâm trục chính mài. Nếu máy được trang bị bàn từ, phép kiểm phải được tiến hành trên mặt đỉnh. Nếu sự tiếp xúc trực tiếp của mũi dò đồng hồ so với bàn máy ảnh hưởng đến phép đo do rãnh chữ T hoặc lỗ thì có thể sử dụng căn mẫu được đặt giữa đồng hồ so và mặt bàn trong các điểm đo. | ||
| Đối tượng Kiểm độ song song giữa rãnh chữ T giữa hoặc rãnh chữ T chuẩn và dịch chuyển dọc | G7 | |
| của bàn máy (trục X). | ||
| Sơ đồ
| ||
| Dung sai 0,015 đối với chiều dài đo đến 1 000 0,020 đối với chiều dài đo lớn hơn 1 000 Dung sai cục bộ: 0,008 đối với chiều dài đo 300 | Sai lệch đo được | |
| Dụng cụ đo Đồng hồ so | ||
| Quan sát và tham chiếu 5.4.2.2.1 và 5.4.2.2.2.1 của TCVN 7011-1 Đồng hồ so phải được đặt lên phần cố định của đầu mài. Nếu máy được trang bị bàn từ, phép kiểm này phải được tiến hành trên cạnh chuẩn của nó. | ||
5.3 Trục chính
| Đối tượng Phép đo độ đảo hướng kính của đầu mút trục chính. | G8 | |
|
| ||
| Sơ đồ
| ||
| Dung sai 0,005 | Sai lệch đo được | |
| Dụng cụ đo Đồng hồ so | ||
| Quan sát và tham chiếu 5.6.1.2.1 và 5.6.1.2.2 của TCVN 7011-1 Mũi dò của đồng hồ so phải được đặt vuông góc đối với bề mặt và phép đo phải được tiến hành tại đầu mút côn nhỏ hơn. | ||
| Đối tượng Phép đo độ trượt chiều trục của trục chính. | G9 | |
|
| ||
| Sơ đồ
| ||
| Dung sai 0,005 | Sai lệch đo được | |
| Dụng cụ đo Đồng hồ so | ||
| Quan sát và tham chiếu 5.6.2.2.1 và 5.6.2.2.2 của TCVN 7011-1 Đường tác động của mũi dò của đồng hồ so phải đồng trục với trục chính. | ||
| Đối tượng Kiểm độ song song giữa đường tâm trục chính và chuyển động ngang của bàn trượt |
G10 | |
| hoặc trụ máy hoặc đầu mài (trục Z). | ||
| Sơ đồ
| ||
| Dung sai 0,025 / 300 a) a) Khoảng cách giữa hai điểm đo. | Sai lệch đo được | |
| Dụng cụ đo Đồng hồ so và ke vuông, thước thẳng và căn mẫu | ||
| Quan sát và tham chiếu 5.5.1.2.1; 5.5.1.2.4.2 của TCVN 7011-1 Đặt thước thẳng song song với dịch chuyển ngang của bàn rồi đưa bàn vào vị trí giữa. Đặt ke vuông tiếp xúc với thước thẳng. Kiểm đường tâm trục chính mài bằng cách quay đồng hồ so tỳ vào ke vuông. | ||
| Đối tượng Kiểm độ vuông góc giữa đường tâm trục chính mài ngoài và chuyển động dọc của bàn | G11 | |
| (trục X). | ||
| Sơ đồ
| ||
| Dung sai 0,015/ 300 | Sai lệch đo được | |
| Dụng cụ đo Đồng hồ so, cần đo chuyên dụng và trục kiểm. | ||
| Quan sát và tham chiếu 5.5.1.2.1 và 5.5.1.2.4.2 của TCVN 7011-1 Đặt thước thẳng nằm ngang tại giữa bàn, song song với chuyển động theo phương trục X của bàn. Đặt các chuyển động ngang và chuyển động dọc (X và Z) ở vị trí giữa. | ||
6 Kiểm gia công
| Đối tượng a) Mài phẳng 5 mẫu kiểm để chiều cao bằng nhau. | M1 | |
|
| ||
| Sơ đồ
| ||
| Dung sai 0,005 đối với khoảng cách giữa các mẫu kiểm là 300 (Khoảng cách giữa các mẫu kiểm nhỏ hơn 300: Dung sai phải tỷ lệ với khoảng cách này và không nhỏ hơn 0,001). Dung sai lớn nhất: 0,025 | Sai lệch đo được | |
| Dụng cụ đo Đồng hồ so chính xác | ||
| Quan sát và tham chiếu 3.1 ; 3.2.2; 4.1 và 4.2 của TCVN 7011-1 Bề mặt của mẫu kiểm cần tiếp xúc với bàn từ trước khi thử. Các mẫu kiểm phải được cố định tại các vị trí sau: - Một mẫu tại tâm điểm của bàn máy; - Bốn mẫu tại bốn góc của bàn máy. Vật liệu của mẫu kiểm theo quy định của nhà sản xuất. a) Gang b) Thép. Các mẫu kiểm phải có độ cứng như nhau. Kích thước của các bề mặt kiểm của các mẫu kiểm phải càng nhỏ càng có hiệu quả thực tế. Ví dụ, mẫu kiểm hình vuông 50 x 50, hoặc đường kính 50. | ||
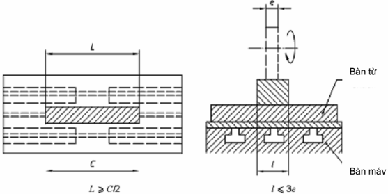
| Đối tượng Mài một mẫu kiểm hình chữ nhật được lắp với hệ chuyển động dọc và ngang | M2 | |
|
| ||
| Sơ đồ và cỡ của mẫu thử
e = Chiều dầy bánh mài L = Chiều dài mẫu kiểm l = Chiều dầy mẫu kiểm C = Hành trình của bàn Vật liệu của mẫu kiểm do nhà sản xuất quy định a) Gang b) Thép | ||
| Kiểm áp dụng Đối với bất kỳ vị trí nào của mẫu thử, chiều dày của các mẫu kiểm là không đổi. | ||
| Dung sai 0,005 đối với khoảng cách giữa các mẫu kiểm là 300 Dung sai lớn nhất: 0,020 | Sai lệch đo được | |
| Dụng cụ đo Đồng hồ so chính xác, la bàn | ||
| Quan sát và tham chiếu 3.1; 3.2.2; 4.1 và 4.2 của TCVN 7011-1 Độ cứng vững của mẫu kiểm phải không bị biến dạng trong khi thử. Đối với phép thử đầu tiên mẫu kiểm phải được cố định tại tâm bàn máy. Đối với phép thử tiếp theo mẫu kiểm phải được cố định tại bất kỳ vị trí nào khác, trên bàn máy. Bề mặt của mẫu kiểm phải được mài trước khi thử, tiếp xúc tốt với mặt bàn máy. | ||
THƯ MỤC TÀI LIỆU THAM KHẢO
[1] ISO 841 :2001 Industrial automation systems - Numerical control of machines - Coordinate system and motion nomenclature.(Hệ thống tự động công nghiệp - Máy điều khiển số - Hệ thống toạ độ và danh mục các chuyển động).
Bạn chưa Đăng nhập thành viên.
Đây là tiện ích dành cho tài khoản thành viên. Vui lòng Đăng nhập để xem chi tiết. Nếu chưa có tài khoản, vui lòng Đăng ký tại đây!












