- Tổng quan
- Nội dung
- Tiêu chuẩn liên quan
- Lược đồ
- Tải về
Tiêu chuẩn Quốc gia TCVN 7695-3:2007 Bánh răng - Quy trình kiểm FZG đặc tính mài mòn của dầu bôi trơn
| Số hiệu: | TCVN 7695-3:2007 | Loại văn bản: | Tiêu chuẩn Việt Nam |
| Cơ quan ban hành: | Đang cập nhật | Lĩnh vực: | Công nghiệp |
|
Ngày ban hành:
Ngày ban hành là ngày, tháng, năm văn bản được thông qua hoặc ký ban hành.
|
2007 |
Hiệu lực:
|
Đã biết
|
| Người ký: | Đang cập nhật |
Tình trạng hiệu lực:
Cho biết trạng thái hiệu lực của văn bản đang tra cứu: Chưa áp dụng, Còn hiệu lực, Hết hiệu lực, Hết hiệu lực 1 phần; Đã sửa đổi, Đính chính hay Không còn phù hợp,...
|
Đã biết
|
TÓM TẮT TIÊU CHUẨN VIỆT NAM TCVN 7695-3:2007
Nội dung tóm tắt đang được cập nhật, Quý khách vui lòng quay lại sau!
Tải tiêu chuẩn Việt Nam TCVN 7695-3:2007
TCVN 7695-3:2007
BÁNH RĂNG - QUY TRÌNH KIỂM FZG - PHẦN 3: PHƯƠNG PHÁP KIỂM FZG A/2,8/50 VỀ KHẢ NĂNG CHỊU TẢI GÂY TRÓC RỖ TƯƠNG ĐỐI VÀ ĐẶC TÍNH MÀI MÒN CỦA DẦU BÔI TRƠN
Gears - FZG test procedures - Part 3: FZG test method A/2,8/50 for relative scuffing load-carrying capacity and wear characteristics of semifluid gear greases
1. Phạm vi áp dụng
Tiêu chuẩn này quy định một phương pháp kiểm dựa trên máy kiểm bánh răng theo chu trình kín FZG1) để xác định khả năng chịu tải tương đối của dầu bôi trơn bánh răng loại nửa lỏng được xác định bởi sự tróc rỗ bề mặt răng.
Phương pháp này rất hữu ích để đánh giá khả năng chịu tải gây tróc rỗ của mỡ bôi trơn bánh răng loại nửa lỏng NLGI cấp 0 đến 000, được sử dụng điển hình trong ăn khớp bánh răng ứng suất cao của các truyền động bánh răng khép kín. Phương pháp này chỉ có thể được áp dụng cho các loại mỡ tạo ra đủ lưu lượng bôi trơn trong hộp bánh răng kiểm của máy kiểm FZG.
CHÚ THÍCH: Phương pháp kiểm này tương đương về mặt kỹ thuật với DIN Fachberich 74.
2. Tiêu chuẩn trích dẫn
Trong tiêu chuẩn có viện dẫn các tài liệu sau. Đối với các tài liệu viện dẫn ghi năm công bố thì áp dụng bản dưới đây. Đối với các tài liệu viện dẫn không ghi năm công bố thì áp dụng phiên bản mới nhất, bao gồm cả các sửa đổi.
TCVN 6910-2:2001 (ISO 5725-2), Độ chính xác của phương pháp đo và kết quả đo - Phần 2: Phương pháp cơ bản để xác định tính lặp lại và sự tái tạo lại của phương pháp đo tiêu chuẩn.
TCVN 7577-1:2007 (ISO 1328 -1:1995), Bánh răng trụ - Hệ thống độ chính xác ISO - Phần 1: Định nghĩa và giá trị cho phép của sai lệch các mặt răng tương ứng của răng bánh răng.
TCVN 7695-1:2007 Bánh răng - Quy trình thử FZG - Phần 1: Phương pháp thử A/8,3/90 cho dầu bôi trơn theo quy trình FZG để xác định khả năng chịu tải tróc rỗ tương đối.
ISO 4287, Geometrical Product Specifications (GPS) - Surface texture: Profile method - Terms, definitions and surface texture parameters (Đặc tính hình học của sản phẩm - Nhám bề mặt: Phương pháp prôfin - Thuật ngữ, định nghĩa và các thông số nhám bề mặt).
ISO 4964, Steel - Hardness conversions (Thép - Chuyển đổi độ cứng).
ASTM D 235, Specification for Mineral Spirits (Petroleum Spirits) (Hydro-carbon Dry Cleaning Solvent) (Đặc tính kỹ thuật về cồn khoáng (cồn có nguồn gốc dầu mỏ) (Dung môi làm sạch khô hyđrô-cacbon).
DIN 51818, Lubricants; consistency classification of lubricating greases NLGI grades (Dầu bôi trơn; phân loại thống nhất của mỡ bôi trơn; các mức NLGI).
3. Thuật ngữ và định nghĩa
Tiêu chuẩn này áp dụng các định nghĩa sau đây:
3.1. Tróc rỗ (Scuffing)
Dạng hư hỏng bề mặt răng đặc biệt nghiêm trọng trong đó xảy ra hiện tượng kẹt và dính lại với nhau của các vùng bề mặt răng do màng dầu bôi trơn không đủ hoặc bị phá vỡ giữa các bề mặt tiếp xúc trên sườn răng của các bánh răng ăn khớp do ảnh hưởng kết hợp của nhiệt độ cao, áp lực cao và các nhân tố khác.
CHÚ THÍCH 1: Tróc rỗ thường xảy ra khi tốc độ trượt trên bề mặt cao và cũng có thể xảy ra ở tốc độ trượt tương đối giữa hai bề mặt thấp khi các áp lực bề mặt răng đủ lớn hoặc thường do tải trọng không đều và hình dạng bề mặt gồ ghề ở các vùng riêng rẽ.
CHÚ THÍCH 2: Cần lưu ý rằng tróc rỗ không xảy ra và tróc rỗ được đánh sạch trước khi kết thúc thời gian vận hành ở các mức tải lớn.
3.2. Mài mòn (Wear)
Sự bóc đi liên tục lớp vật liệu bề mặt khi hai bề mặt lăn hoặc trượt tương đối với nhau.
3.3. Khả năng chịu tải gây tróc rỗ (Scuffing load-carrying capacity)
<của dầu bôi trơn> là tải trọng cực đại có thể chịu được ở các điều kiện xác định.
3.4. Điều kiện kiểm A/2,8/50 theo quy trình FZG (FZG test condition A/2,8/50)
Điều kiện kiểm trong đó A là dạng răng cụ thể của các bánh răng kiểm theo Bảng 1; số 2,8 là tốc độ tại vòng chia của bánh răng tính bằng m/s, còn 50 là nhiệt độ ban đầu của chất bôi trơn tính theo oC từ mức tải thứ 4 trở đi.

CHÚ THÍCH Hình này mô tả các thay đổi mặt răng điển hình của bánh răng nhỏ xảy ra trong thử nghiệm tróc rỗ theo quy trình FZG. Các thay đổi ở điều kiện bề mặt nguyên thủy (mài đan chéo nhau) có thể được mô tả bởi đặc điểm vật lý bề ngoài của chúng. Cùng một dạng phá hỏng mặt răng có thể được mô tả ở các nơi khác nhau trên thế giới với việc sử dụng các thuật ngữ khác nhau (ví dụ, tróc, xước, và mài mòn nghiêm trọng). Để tránh hiểu nhầm các thay đổi mặt răng bánh răng nhỏ xảy ra trong thử nghiệm, ở đây đưa ra các ví dụ điển hình về sự hư hỏng và không hư hỏng.
Hình 1 - Các thay đổi mặt răng (hư hỏng mặt răng) của bánh răng kiểu A theo FZG
3.5. Mức tải gây phá hỏng (Failure load stage)
Mức tải đạt được khi tổng chiều rộng hư hỏng do tróc rỗ trên vùng làm việc của mặt răng của 16 răng của bánh răng nhỏ vượt quá chiều rộng của một răng, ví dụ 20 mm.
CHÚ THÍCH: Ví dụ về sự phá hủy, hãy xem Hình 1. Các ví dụ về sự thay đổi mặt răng do mài mòn liên tục được chỉ ra trên Hình 2. Sự mài mòn liên tục không phải là tiêu chuẩn phá hủy của phép kiểm.

Hình 2 - Các thay đổi mặt răng do mài mòn liên tục của bánh răng kiểu A theo FZG
4. Mô tả tóm tắt về phương pháp
4.1. Giới thiệu chung
Một bộ các bánh răng kiểm theo quy định ở Điều 5, Bảng1 và 2, được cân với độ sai lệch khoảng 0,001g trước khi kiểm, được chạy với chất bôi trơn phép kiểm ở tốc độ không đổi với số vòng quay xác định theo kiểu bôi trơn nhúng chìm. Tải trọng của các răng được tăng theo các cấp giới thiệu trên Bảng 3. Bắt đầu với mức tải 5, nhiệt độ ban đầu của chất bôi trơn được điều chỉnh ở (50±3)oC. Trong quá trình kiểm ở mỗi mức tải, nhiệt độ chất bôi trơn được phép tăng tự do. Sau mức tải 4, sự mất mát trọng lượng của bộ bánh răng được xác định với sai lệch 0,001 g và sườn răng được kiểm tra hư hỏng bề mặt. Đối với mỗi giai đoạn tải tiếp theo kiểm tra hư hỏng bề mặt của mặt răng bánh răng nhỏ. Đối với mỗi mức tải tiếp sau phải kiểm tra hư hỏng bề mặt của mặt răng bánh răng nhỏ ở cuối mỗi mức tải và lưu ý đến bất cứ thay đổi nào xuất hiện. Một phép kiểm được coi là hoàn thành khi đáp ứng được chuẩn cứ hư hỏng hoặc khi chạy với mức tải 12 được chạy mà không đáp ứng được chuẩn cứ hư hỏng. Nếu đạt đến mức tải 12 mà không đáp ứng chuẩn hư hỏng thì sự mất mát khối lượng bộ bánh răng được xác định với sai lệch 0,001 g.
4.2. Độ chính xác
Các giá trị của tính lặp lại, r, và tái tạo lại, R, được định nghĩa ở TCVN 6912-2, không có giá trị cho quy trình kiểm này. Tuy nhiên, kinh nghiệm chỉ ra rằng có thể sử dụng các phương pháp tương tự (xem TCVN 7695-1). Các giá trị của TCVN 7695-1 được chỉ ra dưới đây:
Mức tải 1 r = 1
Mức tải 2 R = 2
CHÚ THÍCH: Các kết quả độ chính xác nói trên áp dụng cho phạm vi các mức tải phá hủy từ 5 đến 12.
5. Vật liệu kiểm
5.1. Bánh răng kiểm
Phải sử dụng một cặp bánh răng loại A có thông số kỹ thuật theo Bảng1 và Bảng 2 cho phép kiểm. Mỗi cặp bánh răng kiểm có thể được sử dụng cho hai lần kiểm, sử dụng cả hai sườn răng làm các mặt răng chịu tải.
5.2. Dung môi làm sạch
Sử dụng nhiên liệu dầu mỏ theo tiêu chuẩn ASTM D 235.
Bảng 1 - Đặc điểm của các bánh răng loại A kiểm theo quy trình FZG
| Kích thước | Ký hiệu | Giá trị bằng số | Đơn vị | |
| Khoảng cách trục |
| a | 91,5 | mm |
| Chiều rộng vành răng |
| b | 20 | mm |
| Đường kính vòng lăn | Bánh răng nhỏ | dW1 | 73,2 | mm |
|
| Bánh răng lớn | dW2 | 109,8 | mm |
| Đường kính vòng đỉnh răng | Bánh răng nhỏ | da1 | 88,77 | mm |
|
| Bánh răng lớn | da2 | 112,5 | mm |
| Mô đun |
| m | 4,5 | mm |
| Số răng | Bánh răng nhỏ | z1 | 16 |
|
|
| Bánh răng lớn | z2 | 24 |
|
| Hệ số dịch chỉnh prôphin | Bánh răng nhỏ | x1 | 0,853 2 |
|
|
| Bánh răng lớn | x2 | - 0,50 |
|
| Góc áp lực |
| a | 20 | độ |
| Góc áp lực làm việc |
| aw | 22,5 | độ |
| Vận tốc dài theo đường kính vòng lăn | vw | 2,8 | m/s | |
| Chiều cao ăn khớp đầu răng | Bánh răng nhỏ | ea1 | 14,7 | mm |
|
| Bánh răng lớn | ea2 | 3,3 | mm |
| Tốc độ trượt tại đỉnh răng | Bánh răng nhỏ | vga1 | 1,85 | m/s |
|
| Bánh răng lớn | vga2 | 0,42 | m/s |
| Hệ số trượt tại đỉnh răng | Bánh răng nhỏ | zE1 | 1,86 |
|
|
| Bánh răng lớn | zA2 | 0,34 |
|
| Hệ số trượt tại chân răng | Bánh răng nhỏ | zA1 | - 0,52 |
|
|
| Bánh răng lớn | zE2 | - 5,96 |
|
| Ứng suất tiếp xúc Hertz |
| pc | 14,7 | N/mm2 |
| a Fnt = Tải trọng pháp tuyến của răng tính bằng Niu tơn (xem Bảng 3) | ||||
Bảng 2 - Đặc điểm của các bánh răng loại A kiểm theo quy trình FZG
| Vật liệu | Thép thấm các bon độ cứng bị hạn chế đến 2/3 của dải khuyếch tán. Thành phần vật liệu như sau: C = 0,13 % đến 0,20 % Mo = 0,12 % cực đại Si = 0,40 % cực đại Ni = 0,30 % cực đại Mn = 1,00 % đến 1,30 % Al = 0,02 % đến 0,05 % P = 0,025 % cực đại B = 0,001 % đến 0,003 % S = 0,020 % đến 0,035 % Cu = 0,30 % cực đại Cr = 0,80 % đến 1,30 % |
| Xử lý nhiệt | Các bánh răng kiểm được thấm các bon và tôi bề mặt, làm cứng vỏ hộp. Độ sâu lớp thấm tôi ở độ cứng 550 HV10 phải từ 0,6 mm đến 0,9 mm. Độ cứng bề mặt sau khi tôi: 60 HRC đến 62 HRC, độ bền lõi ở tâm chân răng: 1000 N/mm2 đến 1250 N/mm2 (độ cứng HB xác định theo ISO 4964). Austenite dư thường là 20 %. |
| Cấp chính xác của bánh răng | Q5, theo TCVN 7577-1 |
| Độ nhám trung bình số học của mặt răng, Ra | Ra được xác định riêng cho các sườn răng trái và phải, được đo cho mỗi loại ở 3 sườn răng trên một bánh răng ngang qua tâm của răng song song với vòng chia; các thông số đo theo ISO 4287-1: Chiều dài được đo lt = 4,8 mm, Chiều dài cắt đi lc = 0,8 mm, Vận tốc vt = 0,5 mm/s; |
| Độ nhám trung bình (với loạt chế tạo có tối thiểu là 100 bánh răng) Bánh răng nhỏ: Ra = 0,35 µm ± 0, 1 µm Bánh răng lớn: Ra = 0,30 µm ± 0, 1 µm | |
| Độ nhám cực đại (lấy trung bình của 3 số đo theo phương pháp đã mô tả và có giá trị đối với 95 trong 100 bộ bánh răng được kiểm) Bánh răng nhỏ và bánh răng lớn: Ra = 0,5 µm | |
| Mài | Mài chéo (phương pháp 15o), tốc độ của đầu mài 154 vòng/min |
| Biến thể mặt răng | Không |
6. Thiết bị
6.1. Thiết bị kiểm bánh răng trụ răng thẳng của FZG
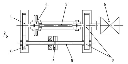
6.1.1. Thiết bị kiểm bánh răng trụ răng thẳng của FZG sử dụng nguyên lý chu trình khép kín năng lượng, cũng được gọi là cấu hình bốn hình vuông, để cung cấp mô men (tải) cố định cho cặp bánh răng kiểm chính xác. Sơ đồ thiết bị kiểm được chỉ ra trên các Hình 3 và 4. Hộp bánh răng chủ động và hộp bánh răng kiểm được kết nối với nhau thông qua hai trục xoắn. Trục 1 có khớp nối chất tải được dùng để tạo mô men nhờ sử dụng các quả cân đã biết theo Bảng 3 được treo ở cánh tay đòn 0,5 mét.
6.1.2. Hộp bánh răng kiểm có chứa các phần tử đốt nóng để duy trì và điều chỉnh nhiệt độ tối thiểu của chất bôi trơn. Một cảm biến nhiệt đặt ở một bên của hộp bánh răng kiểm được dùng để kiểm soát hệ thống sấy nóng theo yêu cầu của điều kiện kiểm.
CHÚ THÍCH: Các phần tử đốt nóng có mật độ nhiệt cực đại 3 W/cm2 đến 5 W/cm2 để giảm thiểu sự giảm nhiệt của chất bôi trơn phép kiểm.
6.1.3. Máy kiểm được dẫn động với tốc độ 500 vòng/min ± 3 % nhờ một động cơ điện cung cấp đủ mô men để kiểm.
6.1.4. Bảng danh mục kiểm tra để bảo trì thiết bị kiểm bánh răng của FZG được chỉ ra ở Phụ lục B.
6.2. Thiết bị đốt nóng
Sử dụng một lò hoặc thiết bị đốt nóng phù hợp để hâm nóng bánh răng kiểm từ 60oC đến 80oC để lắp lên trục.
6.3. Bộ đếm số vòng quay
Sử dụng một bộ đếm số vòng quay phù hợp để kiểm soát số vòng quay trong mỗi mức tải của phép kiểm. Bộ đếm phải có khả năng dừng máy kiểm ở số vòng quay thích hợp của bánh răng nhỏ.
6.4. Đo khối lượng
Sử dụng một cân phù hợp có khả năng cân tối thiểu là 1,3 kg với sai lệch giá trị đọc 0,001 g để xác định khối lượng của bánh răng kiểm.

| CHÚ DẪN: |
| |
| 1- bánh răng lớn; 4- khớp nối đo mô men; 7- nối tải; | 2- nhìn theo A; 5- trục 2; 8- trục 1; | 3- bánh răng nhỏ; 6- động cơ dẫn động; 9- các bánh răng chủ động của hộp bánh răng |
Hình 3 - Sơ đồ máy thử bánh răng theo FZG

CHÚ DẪN:
1 Bánh răng lớn
2 Bánh răng nhỏ
3 Mặt răng làm việc
Hình 4 - Lắp đặt các bánh răng kiểu A kiểm theo quy trình FZG (hình chiếu A của Hình 3)
7. Chuẩn bị thiết bị
7.1. Rửa hộp bánh răng kiểm hai lần bằng nhiên liệu gốc dầu mỏ, đảm bảo các ổ lăn được làm sạch hết chất bôi trơn cũ và thổi sạch và làm khô bằng không khí khô.
Nếu chất bôi trơn trước đó được kiểm tra thấy có chứa bất kỳ hạt bôi trơn cứng nào như graphite hoặc MoS2 thì cần tháo hoàn toàn máy kiểm và rửa sạch cẩn thận.
7.2. Đánh dấu bánh răng nhỏ và bánh răng lớn như chỉ ra trên Hình 4.
7.3. Làm sạch các bánh răng kiểm bằng nhiên liệu gốc dầu mỏ và thổi bằng không khí khô. Sau khi làm sạch dùng găng tay để giữ bánh răng.
7.4. Bằng mắt thường, kiểm tra các bánh răng về mòn, rỉ hoặc bất kỳ các hư hỏng khác. Loại bỏ các bánh răng nếu bị hư hỏng.
7.5. Cân mỗi bánh răng nhỏ và bánh răng lớn với độ chính xác 0,001 g.
7.6. Sấy nóng cả hai bánh răng đến giữa 60oC và lớn nhất là 80oC bằng các thiết bị đốt nóng thích hợp.
7.7. Lắp ráp hộp bánh răng kiểm (ngoại trừ nắp trên) với bánh răng nhỏ trên trục 1 (phía bên phải) và bánh răng lớn trên trục 2 (phía bên trái) như được giới thiệu trên Hình 3. Bảo đảm bánh răng nhỏ và bánh răng lớn ăn khớp đúng, tức là không có độ “giơ”. Đồng thời đảm bảo rằng các dấu được định vị trí như trên Hình 4.
7.8. Gạt cần xả dầu về vị trí đóng.
7.9. Đổ 1,25 lít chất bôi trơn kiểm tiêu chuẩn vào hộp bánh răng kiểm.
7.10. Cắm bộ đốt nóng.
7.11. Lắp nắp trên vào hộp bánh răng kiểm.
7.12. Đặt mức tải 12 ở vị trí bán kính 0,5 m (xem Bảng 3) trong thời gian 2 min đến 3 min, không chạy động cơ điện, để đưa các bánh răng kiểm và các khe hở trong hệ thống về vị trí làm việc đúng.
8. Quy trình kiểm
8.1. Chất tải tương đương với mức tải 1 (xem Bảng 3). Khởi động động cơ điện, bật bộ đốt nóng và cho chạy đến 21 700 vòng quay của động cơ (khoảng 45 min) theo Bảng 4.
8.2. Dừng động cơ và đặt mức tải 2. Khởi động lại và cho chạy theo Bảng 4 đến 21700 vòng của động cơ. Lặp lại cho mức tải 3 và mức tải 4.
8.3. Ở cuối mức tải 4, xả dầu bôi trơn khỏi hộp bánh răng và thu gom lại. Kiểm tra bánh răng nhỏ bằng quan sát xem có hư hỏng không. Ghi lại tình trạng của răng theo hướng dẫn ở ví dụ trên Hình 1.
8.4. Tháo và cân các bánh răng nhỏ và lớn với sai lệch 0,001 g.
8.5. Lắp lại hộp bánh răng kiểm theo 7.7 đến 7.12. Đảm bảo rằng các răng bánh răng nhỏ được nhúng chìm trong chất bôi trơn đang kiểm. Nếu cần, hãy bổ sung một lượng nhỏ chất bôi trơn cùng loại.
8.6. Trước khi khởi động kiểm cho mức tải cao hơn, hãy đảm bảo nhiệt độ chất bôi trơn trong hộp bánh răng kiểm là (50±3)oC. Điều này được thực hiện nhờ sử dụng nước làm mát hoặc sử dụng quy trình nêu ở 8.8.2. Khi nhiệt độ đạt đến (50±3)oC thì hãy khóa nguồn nước làm mát và tiếp tục kiểm. Nước làm mát phải được khóa trong khi kiểm.
8.7. Tiếp tục kiểm với mức tải tiếp theo (xem Bảng 3). Kiểm tra bằng quan sát tất cả các răng của bánh răng chủ động sau mỗi mức tải, đảm bảo nhiệt độ chất bôi trơn là (50±3)oC trước khi mức tải tiếp theo cao hơn. Tiếp tục kiểm cho đến khi đạt đến mức tải phá hủy theo 3.5. Nếu không đạt đến tiêu chuẩn phá hỏng thì dừng việc kiểm ở cuối mức tải 12.
8.8. Xác định mức tải phá hủy bằng cách tính tổng các hư hỏng mặt răng trên tất cả các răng của bánh răng nhỏ.
8.8.1. Nếu không đạt được tiêu chuẩn phá hủy thì tiếp tục kiểm với mức tải tiếp theo cao hơn cho đến tải ở mức tải cực đại 12.
8.8.2. Nếu máy bị dừng lúc kết thúc sau mức tải 4 trong một khoảng thời gian trước khi việc phép kiểm được hoàn thành và nhiệt độ dầu kiểm giảm xuống dưới 47oC thì hãy thực hiện các công việc sau đây trước khi tiếp tục kiểm:
a) Đặt mức tải 1, khởi động động cơ, bật bộ đốt nóng và cho chạy đến khi nhiệt độ dầu bôi trơn đạt đến (50±3)oC.
b) Dừng động cơ, ngắt bộ đốt nóng và đặt mức tải tiếp theo theo trình tự của quy trình. Tiếp tục kiểm theo 8.6 và 8.7.
8.9. Nếu phép kiểm được dừng sau mức tải 12 mà không đạt tới chuẩn hư hỏng thì cân các bánh răng chủ động và bị động với sai lệch mỗi bánh 0,001 g và xác định tổn hao khối lượng trong khi kiểm. Nếu phép kiểm được dừng tại hoặc trước mức tải 12 do hư hỏng về tróc rỗ thì không cần cân các bánh răng.
Bảng 3 - Các mức tải theo quy trình FZG
| Mức tải | Mô men xoắn bánh răng nhỏ N×m | Tải danh nghĩa của răng N | Ứng suất Hert tại tâm ăn khớp
| Tổng công truyền bởi các bánh răng thử đến cuối mức tải
| Khớp nối chất tải được đặt tải với: |
| 1 | 3,3 | 99 | 146 | 0,19 | H1 |
| 2 | 13,7 | 407 | 295 | 0,97 | H2 |
| 3 | 35,3 | 1 044 | 474 | 2,96 | H2 + K |
| 4 | 60,8 | 1 799 | 621 | 6,43 | H2 + K + W1 |
| 5 | 94,1 | 2 786 | 773 | 11,8 | H2 + K + W1 + W2 |
| 6 | 135,5 | 4 007 | 929 | 19,5 | H2 + K + W1 + W2 + W3 |
| 7 | 183,4 | 5 435 | 1080 | 29,9 | H2 + K + W1 + W2 + W3 + W4 |
| 8 | 239,3 | 7 080 | 1223 | 43,5 | H2 + K + W1 + W2 + W3 + W4 + W5 |
| 9 | 302,0 | 8 949 | 1386 | 60,8 | H2 + K + W1 + W2 + W3 + W4 + W5 + W6 |
| 10 | 372,6 | 11 029 | 1539 | 82,0 | H2 + K + W1 + W2 + W3 + W4 + W5 + W6 + W7 |
| 11 | 450,1 | 13342 | 1691 | 107,0 | H2 + K + W1 + W2 + W3 + W4 + W5 + W6 + W7 + W8 |
| 12 | 534,5 | 15826 | 1841 | 138,1 | H2 + K + W1 + W2 + W3 + W4 + W5 + W6 + W7 + W8 + W9 |
Bảng 4 - Điều kiện kiểm
| Thời gian chịu tải cho mỗi mức tải: | 21.700 vòng quay của động cơ (khoảng 45 min) |
| Tốc độ động cơ: | 500 vòng/min ± 3 % |
| Chiều quay a: | Theo chiều kim đồng hồ |
| Kiểm tra dầu bôi trơn | 1,25 l ± 0,05 l |
| Nhiệt độ ban đầu của dầu khi bắt đầu mức tải 1 | Nhiệt độ môi trường |
| Nhiệt độ dầu bôi trơn ban đầu khi bắt đầu mức tải 5 và mỗi mức tải kế tiếp: | (50 ± 3)oC (phải được đặt lại ở bộ điều chỉnh nhiệt độ) |
| a Chiều quay của bánh răng được nêu tại Hình 4. | |
9. Báo cáo kết quả
Báo cáo mức tải và mô men trên bánh răng nhỏ tương ứng khi xảy ra hư hỏng theo 3.5. Ghi lại các điều kiện kiểm như A/2,8/50. Nếu việc phép kiểm kết thúc mà không xảy ra hư hỏng thì hãy báo cáo “mức tải phá hủy lớn hơn 12” và báo cáo tổn thất khối lượng của bánh răng nhỏ và bánh răng lớn. Nếu phép kiểm bị dừng do tróc rỗ trước khi đạt đến mức tải 5 thì hãy báo cáo “mức tải phá hủy nhỏ hơn 5”. Một mẫu báo cáo điển hình được giới thiệu ở Phụ lục A.
Tính toán tổn thất khối lượng riêng, ∆mst, tính theo mg/(kW.h) khi sử dụng công thức:
![]()
trong đó
∆m12 là tổn thất khối lượng của bánh răng chủ động và bánh răng bị động sau mức tải 12;
∆m4 là tổn thất khối lượng của bánh răng chủ động và bánh răng bị động sau mức tải 4.
Nếu tổn thất khối lượng riêng nhỏ hơn 2 mg/(kW.h) thì hãy báo cáo “dưới 2 mg/(kW.h)”.
Phụ lục A
(tham khảo)
Báo cáo phép kiểm
Tên công ty: Biểu tượng của công ty
TCVN 7695 -3:2007
(ISO 14635 - 3:2000)
Bánh răng - Quy trình kiểm FZG
Phần 3: Phương pháp kiểm FZG A/2,8/50 về khả năng chịu tải gây tróc rỗ tương đối và đặc tính mài mòn của mỡ bôi trơn bánh răng loại nửa lỏng
BÁO CÁO KIỂM
Chất bôi trơn:
Nguồn gốc:
Phép kiểm theo FZG số:
Bộ bánh răng kiểm theo FZG số:
KẾT QUẢ KIỂM:
Mức tải phá hủy:
Mô men T1 trên bánh răng chủ động tại mức tải phá hủy (N.m)
Tổn thất khối lượng riêng [mg/(kW.h)]
Tổn thất khối lượng của mỗi bánh răng:
|
| Bánh răng nhỏ | Bánh răng lớn | Bánh răng nhỏ và Bánh răng lớn | |
| Tổn thất khối lượng | Sau mức tải 4, ∆m4, mg | ........................... | ........................... | ........................... |
| Sau mức tải 12, ∆m12, mg | ........................... | ........................... | ........................... | |
Ghi chú:
| Ngày ký: | Chữ ký |
Phụ lục B
(tham khảo)
Quy trình kiểm bổ sung để kiểm tra đặc điểm mài mòn mở rộng của chất bôi trơn
B.1. Giới thiệu chung
Đối với mỡ bôi trơn bánh răng nửa lỏng có khả năng chịu tải quá mức tải 12 theo quy trình kiểm được quy định ở tiêu chuẩn ISO14635, nên thực hiện một phép kiểm độ bền bổ sung. Không điều chỉnh nhiệt độ chất bôi trơn trong khi kiểm.
B.2. Quy trình kiểm
B.2.1. Lắp hộp bánh răng kiểm sử dụng cùng bộ bánh răng và các sườn răng đã hoàn thành mức tải 12 theo 7.7 đến 7.12. Đảm bảo rằng các răng của bánh răng chủ động được nhúng chìm vào chất bôi trơn kiểm. Nếu cần, bổ sung thêm một lượng nhỏ chất bôi trơn cùng loại.
B.2.2. Đặt mức tải 10 khi sử dụng điều kiện kiểm về tốc độ động cơ, chiều quay và dung tích chất bôi trơn theo Bảng 4. Nhiệt độ chất bôi trơn lúc bắt đầu kiểm phải bằng nhiệt độ môi trường.
B.2.3. Chỉnh bộ đếm số vòng quay để đếm 1 500 000 vòng quay của động cơ (tương ứng khoảng 50h).
B.2.4 Chỉnh bộ điều chỉnh nhiệt độ để hạn chế nhiệt độ cực đại của chất bôi trơn không quá (80 ± 3)oC.
B2.5. Khởi động động cơ. Ngắt thiết bị đốt nóng hộp bánh răng kiểm.
B.2.6. Ở cuối quá trình kiểm, kiểm tra các thay đổi sườn răng của bánh răng chủ động. Ghi lại các điều kiện kiểm như ví dụ hướng dẫn trên Hình 2.
B.2.7. Cân mỗi bánh răng chủ động và bánh răng bị động với sai lệch 0,001 g và xác định tổn thất khối lượng ∆m10 trong quá trình kiểm.
B.3. Báo cáo kết quả
Báo cáo tổn thất khối lượng của bánh răng nhỏ và bánh răng lớn (∆m10 + ∆m12) và báo cáo tổn thất khối lượng riêng ∆mSE.
mg/(kW.h)
Tổn thất khối lượng trong quá trình kiểm:
|
| Bánh răng nhỏ | Bánh răng lớn | Bánh răng nhỏ và Bánh răng lớn | |
| Tổn thất khối lượng | Sau mức tải 12, ∆m12, mg | .......................... | ...................... | ........................... |
| Sau mức tải 10, ∆m10, mg | .......................... | ...................... | ........................... | |
Phụ lục C
(tham khảo)
Danh mục bảo trì thiết bị kiểm bánh răng FZG
C.1. Cách nhận biết sự cố
C.1.1. Sự phân bố các vết tróc rỗ
Thường thường, sự chỉ báo yêu cầu phải bảo dưỡng máy được thể hiện ở sự phân bố các vết tróc rỗ qua chiều rộng bề mặt của các răng và xung quanh chu vi sau mỗi lần kiểm dầu bôi trơn bánh răng.
Sự phân bố không đều các vết tróc rỗ ngang qua chiều rộng mặt răng chỉ ra sự phân bố tải trọng không đều, và do biến dạng đàn hồi nên hiện tượng này thường gặp ở các mức tải thấp hơn là ở các mức tải cao. Hình C.1 chỉ ra sự phân bố các vết tróc rỗ đối với sự vận hành tốt và đối với sai lệch độ thẳng và độ đảo dẫn đến sự cố.
C.1.2. Vết tiếp xúc răng
Theo thời gian (ví dụ sau lần kiểm thứ 20), hoặc sau khi có dấu hiệu phân bố tải không đều, cần kiểm tra vết tiếp xúc bằng muội than hoặc phẩm màu xanh. ở điều kiện không tải, vết tiếp xúc răng phải được phân bố đều và bao phủ 70% hoặc lớn hơn diện tích mặt răng làm việc.
C.1.3. Cách phép kiểm với dầu chuẩn
Theo thời gian (ví dụ sau lần kiểm thứ 40), nên thực hiện một phép kiểm lặp lại về tróc rỗ với ít nhất là một trong 2 dầu bôi trơn chuẩn dùng cho phép kiểm. Sự sai lệch so với mức tải gây tróc rỗ điển hình của dầu chuẩn, sự phân tán cao giữa 2 phép kiểm và sự tăng hoặc giảm đều đặn của mức tải gây tróc rỗ so với các phép kiểm với dầu chuẩn trước đó có thể chỉ báo một sự cố.
Các tổ chức như CEC đã quy định các loại dầu chuẩn dùng cho việc kiểm so sánh.
C.1.4. Các chỉ báo khác
Cần kiểm tra tiếng ồn và rung động, nhiệt độ, mài mòn v.v...
C.2. Các chi tiết cần bảo trì
C.2.1. Hộp bánh răng kiểm
C.2.1.1. Các trục
Các ổ lăn phải được lắp ép nóng nhẹ trên các trục. Các ổ lăn không được trượt trên hoặc trượt khỏi trục ở cùng nhiệt độ (môi trường) của ổ lăn và trục. Mối ghép lỏng chỉ ra sự mài mòn chu vi hoặc thậm chí là sự xước trên trục và đường kính trong của ổ lăn khi vòng trong của ổ trượt trên trục trong quá trình làm việc.
Các bánh răng phải được lắp ép nóng nhẹ trên các trục. Các bánh răng không được trượt trên trục hoặc trượt khỏi trục một cách dễ dàng ở cùng nhiệt độ của bánh răng và trục. Sự ăn mòn nhẹ trên trục có thể không có hại vì có thể được đánh bóng bằng bột crôm đánh bóng. Các vết mòn chéo trên trục không thể bỏ qua.
Các trục mạ crôm cứng có xu thế bị nứt nhỏ ở lân cận các then. Có thể bỏ qua các vết nứt đến 5 mm dọc theo toàn bộ then.
Đường rạch khía mòn chéo tại chỗ lắp gioăng bao kín trên trục thường gây rò rỉ, ngay cả khi gioăng được thay mới.
C.2.1.2. Ổ lăn
Các ổ lăn phải có một độ “giơ” đủ nhỏ. Tuổi thọ của ổ lăn thường không bị hạn chế bởi sự mòn rỗ mà bởi sự mòn quá giới hạn.
Các ổ lăn phải được lắp ép nóng nhẹ trên trục (xem thêm C.2.1.1) và được lắp trượt với khe hở nhỏ trên lỗ (xem C.2.1.5).
C.2.1.3. Các then
Các then không được mòn hoặc biến dạng dẻo. Chúng phải được lắp vào trục với một khe hở nhỏ và không được phép nghiêng trên trục.
C.2.1.4. Các vòng đệm
Các vòng đệm giữa các ổ lăn và bánh răng phải được tôi cứng và mài phẳng các mặt mút song song với nhau. Các bề mặt này không được có vết mòn, xước, khía hoặc ba via.
Do kết cấu của ổ lăn, các moay ơ hoặc các vòng đệm quá rộng có thể gây lực ép trên các ổ lăn.
Kiểm tra chuyển động quay dễ dàng của các trục máy khi không có tải; kiểm tra lực chiều trục các vòng trong của ổ lăn. Kiểm tra nhiệt độ bình dầu sau mỗi mức tải của các phép kiểm tiêu chuẩn A/8,3/90; thường ở 6 mức tải đầu tiên nhiệt độ không được vượt quá 90oC.
C.2.1.5. Thân hộp bánh răng và nắp trên
Vòng ngoài của ổ lăn phải được lắp trượt trên thân hộp và nắp trước với khe hở hướng kính không phát hiện được.
Bề mặt làm kín (mặt trước và trên, thân hộp và nắp) phải phẳng, không có ba via và vết xước, không được dính bụi bẩn trong quá trình lắp.
Tất cả các bề mặt ren trên thân hộp phải làm việc tốt.
C.2.1.6. Vòng bít kín
Khi bị rò rỉ, hãy kiểm tra các đệm và vòng bít trên trục (xem C.2.1.1). Các vòng bít không được trượt trên trục có rãnh then không được bảo vệ để tránh hư hỏng bề mặt làm kín của vòng bít.
C.2.2. Các trục nối và mặt bích
C.2.2.1. Khớp nối chất tải
Hai nửa khớp nối chất tải phải dễ dàng vặn được vào nhau. Nếu không thì phải kiểm tra chốt định tâm trên các trục, kiểm tra các mặt của khớp nối chất tải và rãnh chữ T lắp các bu lông. Đánh sạch các chỗ mòn gỉ và bôi trơn các chi tiết nếu cần.
Xiết chặt các bu lông bằng các chìa vặn lực với mô men T = 100 N.m. Thay các bu lông hỏng ngay lập tức. Không vận hành thiết bị kiểm khi thiếu bu lông bắt chặt.
C.2.2.2. Thiết bị đo mô men
Thiết bị phải quay dễ dàng với ma sát thấp. Hãy kiểm tra ổ lăn ở khớp nối đo như sau: Các ổ lăn không được có các vết xước sâu; các ngõng trục phải trượt dễ dàng; do đó phải kiểm tra sự bôi trơn.
C.2.2.3. Ổ lăn khớp nối chất tải
Kiểm tra đảm bảo ổ lăn được bôi trơn tốt và chuyển động không có ma sát. Chỉ thay mới khi rất cần thiết.
C.2.2.4. Trục xoắn
Chỉ thay mới khi trục bị biến dạng dẻo.
Sau khi có sự hư hỏng răng hoặc quá tải, cần kiểm tra trục xoắn về sự thẳng hàng của các rãnh then. Kiểm tra ren ống trên trục xoắn.
C.2.2.5. Mặt bích
Tất cả các mặt bích phải được lắp ép nóng nhẹ trên các trục của nó. Cho phép có độ mòn nhỏ.
C.2.3. Hộp bánh răng chủ động
Đối với các trục, vòng bít, then,v.v... xem C.2.1.
C.2.3.1. Các bánh răng của hộp bánh răng chủ động
Kiểm tra các bánh răng của hộp bánh răng chủ động về tróc rỗ hoặc mòn. Thay hoặc xoay các bánh răng này khi có hiện tượng rỗ, tróc rỗ nhìn thấy hoặc có các vết mòn chéo.
C.2.3.2. Dầu bôi trơn
Kiểm tra mức dầu và đổ dầu tới gần tâm của trục nếu cần.
Sử dụng dầu bôi trơn bánh răng công nghiệp và các thành phần áp suất loại CKC hoặc CKD như được quy định trong ISO 6743-6 và đáp ứng các yêu cầu quy định trong ISO 12925-1. Nên dùng cấp độ nhớt 220 theo ISO.
Cũng có thể sử dụng các chất bôi trơn chất lượng API GL 4 của SAE J 306 cấp độ 90.
Thay dầu bôi trơn tùy thuộc vào số giờ vận hành, ít nhất là 1 năm 1 lần.
C.2.4. Các bộ phận khác
C.2.4.1. Đốt nóng
Kiểm tra để đảm bảo rằng các phần tử đốt nóng hoạt động tốt. Kiểm tra các chức năng bật, tắt bộ đốt nóng của thiết bị đo nhiệt độ.
C.2.4.2. Khớp nối đàn hồi
Kiểm tra để đảm bảo rằng các khối chất dẻo của khớp nối đàn hồi làm việc tốt.
C.2.4.3. Động cơ
Kiểm tra sự tăng tiếng ồn của động cơ. Bôi trơn hoặc thay các ổ lăn nếu cần.
C.3. Các khoảng thời gian gần đúng
Khi thực hiện 60 đến 80 lần kiểm trong 1 năm, thời gian gần đúng điển hình để thay các bộ phận như sau.
- Trục …………………………………………………………………….....2 năm
- ổ lăn Chạy phép kiểm dầu bôi trơn………………………………......1 đến 2 năm
Chạy phép kiểm mỡ bôi trơn ………………………………..….2 tháng
- Vòng bít……………………………………………… cao su chịu nhiệt/ 1 năm
- Hộp bánh răng.………………........ ………………………………….....5 đến 10 năm
Có thể có sự sai khác với các số liệu trên trong một phạm vi khá rộng tùy thuộc vào điều kiện vận hành và dầu bôi trơn.

CHÚ THÍCH: 1- Răng
2- Đỉnh răng
3- Chân răng
Hình C.1- Các vết tróc rỗ chỉ báo các sai số của máy
Thư mục tài liệu tham khảo
[1] ISO 1122-1, Vocabulary of gear terms - Part 1: Definitions related to geometry (Từ vựng về các thuật ngữ bánh răng - Phần 1: Các định nghĩa hình học).
[2] ISO 6743-6, Lubricants, industrial oils and related products (class L) - Classification - Part 6: Family C (Gears) (Các chất bôi trơn, dầu bôi trơn công nghiệp và các sản phẩm liên quan (cấp L) - Phân loại - Phần 6: Họ C (bánh răng).
[3] ISO 6743-9,Lubricants, industrial oils and related products (class L) - Classification - Part 9: Family X (Greases) (Các chất bôi trơn, dầu bôi trơn công nghiệp và các sản phẩm liên quan (cấp L) - Phân loại - Phần 9: Họ X (mỡ bôi trơn).
[4] ISO/TR 10064-4,Code of inspection practice - Part 4: Recommendations relative to surface texture and tooth contact pattern checking (Bánh răng trụ - Mã thực hành kiểm tra - Phần 4: Các đề nghị liên quan đến kiểm tra cấu trúc bề mặt và viết tiếp xúc răng).
[5] ISO 10825,Gears - Wear and damage to gear teeth - Terminology ( Bánh răng - Sự mài mòn và hư hỏng răng bánh răng - Thuật ngữ ).
[6] ISO 12925-1,Lubricants, industrial oils and related products (class L) - Family C (Gears) -- Part 1: Specifications for lubricants for enclosed gear systems (Các chất bôi trơn, dầu bôi trơn công nghiệp và các sản phẩm liên quan (cấp L) - Họ C (bánh răng) - Phần 1: Các thông số kỹ thuật đối với chất bôi trơn hệ thống bánh răng kín).
[7] ISO/TR 13989-1,Calculation of scuffing load capacity of cylindrical, bevel and hypoid gears - Part 1: Flash temperature method (Tính toán tải trọng gây tróc rỗ của các bánh răng trụ, bánh răng côn và bánh răng hypoid - Phần 1: Phương pháp nhiệt độ phát sáng).
[8] ISO/TR 13989-2,Calculation of scuffing load capacity of cylindrical, bevel and hypoid gears - Part 2: Integral temperature method (Tính toán tải trọng gây tróc rỗ của các bánh răng trụ, bánh răng côn và bánh răng hypoid - Phần 2: Phương pháp nhiệt độ tích hợp).
[9] ASTM D-5182-97, (Phương pháp kiểm tiêu chuẩn để đánh giá tải trọng gây tróc rỗ của dầu bôi trơn (phương pháp quan sát theo FZG).
[10] ISO 18265, Metallic materials - Conversion of hardness values (Vật liệu kim loại - Chuyển đổi các giá trị độ cứng).
[11] CEC L-07-A-95, Phép kiểm khả năng chịu tải đối với hệ bánh răng FZG với chất bôi trơn truyền động..
[12] DIN 4768, Xác định các giá trị thông số nhám bề mặt Ra, Rz, Rmax sử dụng các dụng cụ tiếp xúc điện; các khái niệm và các điều kiện đo.
[13] DIN 51354-2, Phép kiểm chất bôi trơn; thiết bị phép kiểm bánh răng FZG; phương pháp A/8,3/90 đối với dầu bôi trơn.
[14] IP 334, Xác định khả năng chịu tải của chất bôi trơn, phương pháp hệ bánh răng FZG.
[15] ASTM D 217, Phương pháp phép kiểm tiêu chuẩn đối với sự chảy vào của mỡ bôi trơn.
[16] DIN Fachbericht 74, Prufung von Getriebeflie Bfetten in einer FZG Zahnrad - Verspannungs - Prufmaschine.
[17] TCVN 7695-2:2007 (ISO 14635-2), Bánh răng - Quy trình kiểm FZG - Phần 2: Phương pháp kiểm tải nhiều mức A10/16,6 R/120 cho dầu bôi trơn EP cao theo quy trình FZG để xác định khả năng chịu tải tróc rỗ tương đối.
1) FZG = Trung tâm nghiên cứu bánh răng, Trường Đại học kỹ thuật Munich
Bạn chưa Đăng nhập thành viên.
Đây là tiện ích dành cho tài khoản thành viên. Vui lòng Đăng nhập để xem chi tiết. Nếu chưa có tài khoản, vui lòng Đăng ký tại đây!