- Tổng quan
- Nội dung
- Tiêu chuẩn liên quan
- Lược đồ
- Tải về
Tiêu chuẩn Quốc gia TCVN 10687-22:2018 Tuabin gió - Hướng dẫn thử nghiệm
| Số hiệu: | TCVN 10687-22:2018 | Loại văn bản: | Tiêu chuẩn Việt Nam |
| Cơ quan ban hành: | Bộ Khoa học và Công nghệ | Lĩnh vực: | Công nghiệp |
|
Ngày ban hành:
Ngày ban hành là ngày, tháng, năm văn bản được thông qua hoặc ký ban hành.
|
28/12/2018 |
Hiệu lực:
|
Đã biết
|
| Người ký: | Đang cập nhật |
Tình trạng hiệu lực:
Cho biết trạng thái hiệu lực của văn bản đang tra cứu: Chưa áp dụng, Còn hiệu lực, Hết hiệu lực, Hết hiệu lực 1 phần; Đã sửa đổi, Đính chính hay Không còn phù hợp,...
|
Đã biết
|
TÓM TẮT TIÊU CHUẨN VIỆT NAM TCVN 10687-22:2018
Tiêu chuẩn Quốc gia TCVN 10687-22:2018: Hướng dẫn thử nghiệm và chứng nhận sự phù hợp cho tuabin gió
Tiêu chuẩn Quốc gia TCVN 10687-22:2018 được ban hành dựa trên tiêu chuẩn quốc tế IEC 61400-22:2010, có hiệu lực từ ngày công bố và thay thế các tiêu chuẩn trước đó về tuabin gió. Tiêu chuẩn này do Ban kỹ thuật tiêu chuẩn Quốc gia TCVN/TC/E13 Năng lượng tái tạo biên soạn và được thực hiện bởi Tổng cục Tiêu chuẩn Đo lường Chất lượng.
Tiêu chuẩn TCVN 10687-22:2018 cung cấp hướng dẫn và quy trình cho việc thử nghiệm và chứng nhận sự phù hợp của các tuabin gió, đảm bảo các thiết kế và yêu cầu kỹ thuật được tuân thủ trong quá trình chế tạo và lắp đặt. Điều này không chỉ áp dụng cho tuabin gió cỡ lớn mà còn cho các tuabin nhỏ hơn, bảo đảm an toàn và hiệu suất trong quá trình hoạt động.
Tiêu chuẩn này xác định cụ thể các quy trình chứng nhận, bao gồm cả chứng nhận kiểu và chứng nhận dự án. Đối với chứng nhận kiểu, các tài liệu liên quan đến thiết kế, lắp đặt, vận hành và bảo trì tuabin gió cần được cung cấp. Chứng nhận dự án yêu cầu đánh giá sự phù hợp của các tuabin gió cụ thể với điều kiện ứng dụng tại địa điểm lắp đặt.
Nội dung quan trọng của tiêu chuẩn bao gồm:
- Quy trình đánh giá sự phù hợp: Tổ chức chứng nhận sẽ thực hiện kiểm tra đối với quá trình thử nghiệm, kiểm soát chất lượng và các yêu cầu về kỹ thuật.
- Giám sát quy trình chất lượng: Tiêu chuẩn yêu cầu tổ chức chứng nhận phải theo dõi thường xuyên để đảm bảo tuabin gió duy trì điều kiện về chất lượng.
- Yêu cầu tài liệu: Các bên tham gia trong quá trình chứng nhận cần cung cấp tài liệu liên quan như chứng minh thư, báo cáo thử nghiệm và các giấy tờ khác liên quan đến thiết kế và lắp đặt.
Để đảm bảo tuabin gió hoạt động an toàn, đúng thiết kế và tiêu chuẩn, việc tổ chức thử nghiệm và chứng nhận cần được thực hiện một cách chính xác và đúng quy trình. Ngoài ra, tiêu chuẩn cũng nhấn mạnh về sự cần thiết của việc thực hiện đánh giá định kỳ và giám sát liên tục trong quá trình vận hành của tuabin gió.
Với các quy định trên, TCVN 10687-22:2018 không những giúp các tổ chức và cá nhân trong lĩnh vực năng lượng tái tạo nắm bắt các quy trình cần thiết mà còn tạo điều kiện thuận lợi cho việc thừa nhận lẫn nhau giữa các tổ chức chứng nhận trong và ngoài nước.
Sự thực thi và áp dụng tiêu chuẩn này không chỉ phù hợp với yêu cầu kỹ thuật mà còn giúp tăng cường sự phát triển bền vững cho ngành công nghiệp năng lượng gió tại Việt Nam.
Tải tiêu chuẩn Việt Nam TCVN 10687-22:2018
TIÊU CHUẨN QUỐC GIA
TCVN 10687-22:2018
TUABIN GIÓ - PHẦN 22: HƯỚNG DẪN THỬ NGHIỆM VÀ CHỨNG NHẬN SỰ PHÙ HỢP
Wind turbines - Part 22: Guidelines for conformity testing and certification
Lời nói đầu
TCVN 10687-22:2018 được xây dựng trên cơ sở tham khảo IEC 61400-22:2010;
TCVN 10687-22:2018 do Ban kỹ thuật tiêu chuẩn Quốc gia TCVN/TC/E13 Năng lượng tái tạo biên soạn, Tổng cục Tiêu chuẩn Đo lường Chất lượng đề nghị, Bộ Khoa học và Công nghệ công bố.
Bộ tiêu chuẩn TCVN 10687 (IEC 61400) gồm các phần sau:
1) TCVN 10687-1:2015 (IEC 61400-1:2014), Tuabin gió - Phần 1: Yêu cầu thiết kế
2) TCVN 10687-21:2018 (IEC 61400-21:2008), Tuabin gió - Phần 21: Đo và đánh giá đặc tính chất lượng điện năng của tuabin gió nối lưới
3) TCVN 10687-22:2018, Tuabin gió - Phần 22: Hướng dẫn thử nghiệm và chứng nhận sự phù hợp
4) TCVN 10687-24:2015 (IEC 61400-24:2010), Tuabin gió - Phần 24: Bảo vệ chống sét
Ngoài ra bộ tiêu chuẩn IEC 61400 còn có các tiêu chuẩn sau:
1) IEC 61400-2:2013, Wind turbines - Part 2: Small wind turbines
2) IEC 61400-3:2009, Wind turbines - Part 3: Design requirements for offshore wind turbines
3) IEC 61400-4:2012, Wind turbines - Part 4: Design requirements for wind turbine gearboxes
4) IEC 61400-11:2012, Wind turbines - Part 11: Acoustic noise measurement techniques
5) IEC 61400-12-1:2017, Wind turbines - Part 12-1: Power performance measurements of electricity producing wind turbines
6) IEC 61400-12-2:2013, Wind turbines - Part 12-2: Power performance of electricity-producing wind turbines based on nacelle anemometry
7) IEC 61400-13:2015, Wind turbine - Part 13: Measurement of mechanical loads
8) IEC TS 61400-14:2005, Wind turbines - Part 14: Declaration of apparent sound power level and tonality values
9) IEC 61400-23:2014, Wind turbines - Part 23: Full-scale structural testing of rotor blades TCVN 10687-1:2015
10) IEC 61400-25-1:2017, Wind energy generation systems - Part 25-1: Communications for monitoring and control of wind power plants - Overall description of principles and models
11) IEC 61400-25-2:2015, Wind turbines - Part 25-2: Communications for monitoring and control of wind power plants - Information models
12) IEC 61400-25-3:2015, Wind turbines - Part 25-3: Communications for monitoring and control of wind power plants - Information exchange models
13) IEC 61400-25-4:2016, Wind energy generation systems - Part 25-4: Communications for monitoring and control of wind power plants - Mapping to communication profile
14) IEC 61400-25-5:2017, Wind energy generation systems - Part 25-5: Communications for monitoring and control of wind power plants - Compliance testing
15) IEC 61400-25-6:2016, Wind energy generation systems - Part 25-6: Communications for monitoring and control of wind power plants - Logical node classes and data classes for condition monitoring
16) IEC TS 61400-26-1:2011, Wind turbines - Part 26-1: Time-based availability for wind turbine generating systems
17) IEC TS 61400-26-2:2014, Wind turbines - Part 26-2: Production-based availability for wind turbines
18) IEC TS 61400-26-3:2016, Wind energy generation systems - Part 26-3: Availability for wind power stations
19) IEC 61400-27-1:2015, Wind turbines - Part 27-1: Electrical simulation models - Wind turbines
Lời giới thiệu
Tiêu chuẩn này đưa ra hướng dẫn và quy trình thử nghiệm và chứng nhận sự phù hợp của tuabin gió với các tiêu chuẩn và yêu cầu kỹ thuật đối với tuabin gió và trang trại gió. Tiêu chuẩn này được thiết kế để tạo thuận lợi cho việc thừa nhận lẫn nhau bởi các bên tham gia về kết quả thử nghiệm và giấy chứng nhận được cấp bởi các bên tham gia khác để đạt được chứng nhận ở cấp quốc gia và hoạt động trong phạm vi của bộ tiêu chuẩn TCVN 10687 (IEC 61400) và/hoặc IEC 61400 về tuabin gió.
Các quy trình chứng nhận trong tiêu chuẩn này bao gồm đánh giá sự phù hợp hoàn chỉnh của bên thứ ba cho một kiểu tuabin gió, một kiểu thành phần chính hoặc một hoặc nhiều tuabin gió ở vị trí cụ thể.
Ngoài việc kiểm tra xác nhận thiết kế và thử nghiệm, tiêu chuẩn này cung cấp thông tin để thừa nhận hoặc đánh giá phê duyệt hệ thống chất lượng của nhà cung cấp, giám sát định kỳ thông qua việc kiểm tra hệ thống chất lượng của nhà cung cấp và kế hoạch chất lượng, và thử nghiệm đánh giá mẫu. Tiêu chuẩn này dự kiến tạo lợi nhuận cho bên đăng ký bằng cách giảm thiểu số bước cần thiết để đạt chứng nhận hoặc phê chuẩn ở cấp quốc gia.
TUABIN GIÓ - PHẦN 22: HƯỚNG DẪN THỬ NGHIỆM VÀ CHỨNG NHẬN SỰ PHÙ HỢP
Wind turbines - Part 22: Guidelines for conformity testing and certification
1 Phạm vi áp dụng
Tiêu chuẩn này đưa ra hướng dẫn và quy trình đối với hệ thống chứng nhận tuabin gió (WT) bao gồm chứng nhận kiểu và chứng nhận dự án tuabin gió trên đất liền hoặc ngoài khơi. Hệ thống chứng nhận này đưa ra hướng dẫn cho các quy trình và quản lý để thực hiện đánh giá sự phù hợp tuabin gió và trang trại gió theo các tiêu chuẩn cụ thể và các yêu cầu kỹ thuật khác, liên quan đến an toàn, độ tin cậy, tính năng, thử nghiệm và tương tác với lưới điện. Tiêu chuẩn này đưa ra:
• định nghĩa các thành phần trong quá trình chứng nhận tuabin gió;
• quy trình đánh giá sự phù hợp trong hệ thống chứng nhận tuabin gió;
• quy trình giám sát sự phù hợp;
• hướng dẫn về tài liệu cần cung cấp bởi bên đăng ký đánh giá sự phù hợp; và
• yêu cầu đối với tổ chức chứng nhận, tổ chức giám định và phòng thử nghiệm.
Hướng dẫn và quy trình này không giới hạn cho một kích cỡ hoặc một kiểu cụ thể bất kỳ của tuabin gió. Tuy nhiên, có các hướng dẫn và quy trình riêng áp dụng cho các tuabin gió cỡ nhỏ (SWT). Một số yếu tố chứng nhận là bắt buộc, trong khi các điều khoản được thực hiện riêng cho các yếu tố khác là tùy chọn. Đối với chứng nhận kiểu, tài liệu mô tả các quy trình liên quan đến thử nghiệm sự phù hợp, thiết kế, chế tạo và kế hoạch để vận chuyển, xây dựng, lắp đặt và bảo trì. Các quy trình đề cập đến việc đánh giá tải và an toàn, thử nghiệm, các phép đo đặc tính và giám sát quá trình chế tạo. Đối với chứng nhận dự án, tài liệu mô tả quy trình liên quan đến đánh giá xem các tuabin gió cụ thể và các thiết kế về kết cấu đỡ/móng trong dự án có thích hợp cho ứng dụng hay không, và liên quan đến vận chuyển, lắp đặt, chạy thử, vận hành và bảo trì. Các quy trình đề cập đến đánh giá theo tất cả các môđun trong tài liệu này, ví dụ, điều kiện về vị trí, thiết kế của các thành phần cụ thể tại vị trí lắp đặt và giám sát quá trình chế tạo, vận chuyển, lắp đặt và vận hành.
Mục đích của các hướng dẫn và quy trình này nhằm cung cấp một cơ sở chung để chứng nhận tuabin gió và các dự án tuabin gió, và cũng là cơ sở để chấp nhận các tổ chức thực hiện (tức là tổ chức chứng nhận, tổ chức giám định và phòng thử nghiệm) và sự thừa nhận lẫn nhau về giấy chứng nhận.
Hướng dẫn và quy trình dự kiến được sử dụng cùng với tiêu chuẩn và hướng dẫn thích hợp, xem Điều 2.
2 Tài liệu viện dẫn
Các tài liệu viện dẫn dưới đây là cần thiết để áp dụng tiêu chuẩn này. Đối với các tài liệu có ghi năm công bố, chỉ áp dụng các bản được nêu. Đối với các tài liệu không ghi năm công bố, áp dụng bản mới nhất (kể cả các sửa đổi).
CHÚ THÍCH: Trong trường hợp tài liệu viện dẫn là phiên bản cũ hoặc đã bị hủy bỏ được sử dụng cùng tiêu chuẩn này thì các phiên bản cũ này phải được quy định trong Thỏa thuận về chứng nhận, xem 6.2 và trong công bố và giấy chứng nhận sự phù hợp.
TCVN 6450 (ISO/IEC Guide 2), Tiêu chuẩn hóa và các hoạt động có liên quan - Thuật ngữ chung và định nghĩa
TCVN 6627 (IEC 60034) (tất cả các phần), Máy điện quay
TCVN 10687-1 (IEC 61400-1), Tuabin gió - Phần 1: Yêu cầu thiết kế
TCVN 10687-21 (IEC 61400-21), Tuabin gió - Phần 21: Đo và đánh giá đặc tính chất lượng điện năng của tuabin gió nối lưới
TCVN 10687-24 (IEC 61400-24), Tuabin gió - Phần 24: Bảo vệ chống sét
TCVN ISO/IEC 17020 (ISO/IEC 17020), Đánh giá sự phù hợp - Yêu cầu đối với hoạt động của tổ chức tiến hành giám định
TCVN ISO/IEC 17021 (ISO/IEC 17021), Đánh giá sự phù hợp - Yêu cầu đối với tổ chức đánh giá và chứng nhận hệ thống quản lý
TCVN ISO/IEC 17025 (ISO/IEC 17025), Yêu cầu chung về năng lực của phòng thử nghiệm và hiệu chuẩn
TCVN ISO/IEC 17065 (ISO/IEC 17065), Yêu cầu chung đối với các tổ chức điều hành hệ thống chứng nhận sản phẩm
TCVN ISO 9001:2015 (ISO 9001:2015), Hệ thống quản lý chất lượng - Các yêu cầu
IEC 60050-415, International Electrotechnical Vocabulary - Part 415: Wind turbine generator systems (Từ vựng kỹ thuật điện quốc tế - Phần 415: Tương thích điện từ)
TCVN 10687 (IEC 61400) và/hoặc IEC 61400 (tất cả các phần), Wind turbines (Tuabin gió)
IEC 61400-2, Wind turbines - Part 2: Small wind turbines (Tuabin gió - Phần 2: Tuabin gió cỡ nhỏ)
IEC 61400-3:2009, Wind turbines - Part 3: Design requirements for offshore wind turbines (Tuabin gió - Phần 3: Yêu cầu thiết kế đối với tuabin gió ngoài khơi)
IEC 61400-4:2012, Wind turbines - Part 4: Design requirements for wind turbine gearboxes (Tuabin gió - Phần 4: Yêu cầu thiết kế đối với hộp số của tuabin gió)
IEC 61400-11, Wind turbines - Part 11: Acoustic noise measurement techniques (Tuabin gió - Phần 11: Kỹ thuật đo nhiễu âm thanh)
IEC 61400-12-1, Wind turbines - Part 12-1: Power performance measurements of electricity producing wind turbines (Tuabin gió - Phần 12-1: Phép đo công suất của tuabin gió sinh ra điện năng)
IEC TS 61400-13, Wind turbine generator systems - Part 13: Measurement of mechanical loads (Tuabin gió - Phần 13: Đo tải cơ học)
IEC/TS 61400-23, Wind turbines generator systems - Part 23: Full-scale structural testing of rotor blades (Tuabin gió - Phần 23 : Thử nghiệm kết cấu theo đúng tỷ lệ của cánh roto)
ISO 81400-4:2005, Wind turbines - Part 4: Design and specification of gearboxes (Tuabin gió - Phần 4: Thiết kế và quy định kỹ thuật của hộp số)
3 Thuật ngữ và định nghĩa
Tiêu chuẩn này áp dụng các thuật ngữ và định nghĩa dưới đây và các thuật ngữ và định nghĩa trong TCVN 6450 (ISO/IEC Guide 2) và IEC 60050-415.
3.1
Công nhận (accreditation)
Quy trình qua đó một tổ chức có thẩm quyền thừa nhận rằng một tổ chức có khả năng khách quan và có năng lực về kỹ thuật để thực hiện các nhiệm vụ cụ thể như chứng nhận, thử nghiệm, các kiểu thử nghiệm cụ thể, v.v...
CHÚ THÍCH: Công nhận được cấp khi đánh giá thành công và được giám sát thích hợp.
3.2
Bên đăng ký (applicant)
Đối tượng nộp hồ sơ để chứng nhận.
3.3
Người được cấp giấy chứng nhận (certificate holder)
Đối tượng giữ giấy chứng nhận sau khi giấy chứng nhận được cấp.
CHÚ THÍCH: Đối tượng này có thể không phải là bên đăng ký ban đầu, tuy nhiên phải chịu trách nhiệm duy trì giấy chứng nhận.
3.4
Chứng nhận (certification)
Quy trình qua đó bên thứ ba đưa ra sự đảm bảo bằng văn bản rằng sản phẩm, quá trình hoặc dịch vụ phù hợp với các yêu cầu quy định, cũng được gọi là đánh giá sự phù hợp.
3.5
Tổ chức chứng nhận (certification body)
Tổ chức thực hiện chứng nhận sự phù hợp.
3.6
Hệ thống chứng nhận (certification system)
Hệ thống với các hướng dẫn cụ thể về quy trình và quản lý để tiến hành chứng nhận sự phù hợp.
3.7
Chạy thử (commissioning)
Quá trình bao gồm các kiểm tra an toàn chức năng, nối tuabin gió vào lưới và đưa tuabin vào vận hành.
3.8
Bản tuyên bố sự phù hợp (conformity statement)
Tài liệu được cấp dựa trên sự hoàn thành thành công việc đánh giá của một phân đoạn chứng nhận. Bản tuyên bố này bao gồm thông tin người nhận, đối tượng, tài liệu quy định chính, báo cáo đánh giá và các báo cáo chuẩn đo lường, hiệu lực và tổ chức chứng nhận.
3.9
Đánh giá sự phù hợp (evaluation for conformity)
Kiểm tra có hệ thống mức độ mà sản phẩm, quá trình hoặc dịch vụ đáp ứng các yêu cầu quy định.
3.10
Báo cáo đánh giá cuối cùng (final evaluation report)
Báo cáo bao gồm các kết quả đánh giá sự phù hợp về chứng nhận kiểu.
Cơ sở để quyết định cấp giấy chứng nhận kiểu.
3.11
Giám định/kiểm tra (inspection)
Kiểm tra có hệ thống mức độ mà sản phẩm, quá trình hoặc dịch vụ đáp ứng các yêu cầu quy định bằng phương tiện đo, quan trắc, thử nghiệm hoặc đánh giá các đặc tính liên quan.
3.12
Lắp đặt (installation)
Quá trình bao gồm gia công, lắp ráp và lắp dựng tại hiện trường.
3.13
Chế tạo (manufacture)
Quá trình bao gồm gia công và lắp ráp trong nhà máy hoặc công xưởng.
3.14
Nhà chế tạo (manufacturer)
Tổ chức chế tạo tuabin gió hoặc, trong trường hợp liên quan, chế tạo các thành phần chính của tuabin gió.
3.15
Sửa đổi (modification)
Hệ thống lắp đặt mới hoặc thay đổi hệ thống lắp đặt hiện tại, có thay đổi về thiết kế/quy định kỹ thuật ban đầu.
3.16
Tổ chức thực hiện (operating body)
Tổ chức tiến hành chứng nhận sự phù hợp, thử nghiệm hoặc giám định.
3.17
Giấy chứng nhận dự án (project certificate)
Tài liệu được cấp dựa vào hoàn thành thành công việc chứng nhận dự án.
3.18
Chứng nhận dự án (project certification)
Quy trình qua đó tổ chức chứng nhận đưa ra sự đảm bảo bằng văn bản rằng một hoặc nhiều tuabin gió cụ thể, kể cả kết cấu đỡ và có thể cả các hệ thống lắp đặt khác phù hợp với các yêu cầu đối với một vị trí cụ thể.
3.19
Cụm lắp ráp rôto và thân tuabin (rotor nacelle assembly)
RNA
Bộ phận của tuabin gió được mang bởi kết cấu đỡ, xem 3.22.
3.20
Sửa chữa (repair)
Sửa chữa một khối hoặc một phần thiết bị so với thiết kế/quy định kỹ thuật ban đầu của nó.
3.21
Thay thế (replacement)
Thay thế một khối hoặc một mảnh thiết bị phù hợp với thiết kế/quy định kỹ thuật ban đầu của nó.
3.22
Kết cấu đỡ (support structure)
Bộ phận của tuabin gió bao gồm cột tháp, kết cấu nền và móng, xem Hình 1 của IEC 61400-3.
3.23
Giám sát (surveillance)
Theo dõi liên tục và kiểm tra xác nhận tình trạng của các quy trình, sản phẩm và dịch vụ, và phân tích hồ sơ liên quan đến tài liệu tham chiếu để đảm bảo các yêu cầu quy định được đáp ứng.
3.24
Giấy chứng nhận kiểu (type certificate)
Tài liệu được cấp dựa vào hoàn thành thành công việc chứng nhận kiểu.
3.25
Chứng nhận kiểu (type certification)
Quy trình qua đó tổ chức chứng nhận đưa ra sự đảm bảo bằng văn bản rằng một kiểu tuabin gió phù hợp với các yêu cầu cụ thể.
3.26
Thử nghiệm điển hình (type testing)
Hoạt động tiến hành thử nghiệm cho một kiểu tuabin gió cho trước theo các quy trình quy định.
3.27
Kiểu tuabin gió (wind turbine type)
Các tuabin gió có chung thiết kế, vật liệu và các thành phần chính, theo quá trình chế tạo chung và được mô tả duy nhất bởi các giá trị hoặc dải giá trị riêng của các tham số máy và điều kiện thiết kế.
4 Ký hiệu và chữ viết tắt
4.1 Ký hiệu
Tiêu chuẩn này sử dụng các ký hiệu liên quan trong TCVN 10687-1 (IEC 61400-1).
4.2 Chữ viết tắt
RNA cụm lắp ráp rôto và thân tuabin
SWT tuabin gió cỡ nhỏ
WT tuabin gió
5 Chấp nhận tổ chức thực hiện
5.1 Quy định chung
Tổ chức thực hiện phải có khả năng và năng lực thực hiện hoạt động của mình trong quá trình đánh giá sự phù hợp các thành phần của tuabin gió một cách khách quan và phải phù hợp với các tiêu chuẩn liên quan sau: TCVN ISO/IEC 17020, TCVN ISO/IEC 17021, TCVN ISO/IEC 17025, TCVN ISO/IEC 17065.
5.2 Công nhận
Tổ chức thực hiện phải được công nhận bởi tổ chức công nhận quốc gia đã được đánh giá quốc tế. Yêu cầu này nhằm tạo điều kiện thuận lợi về thỏa thuận thừa nhận ở mức độ quốc tế của giấy chứng nhận và kết quả thử nghiệm và để tăng sự tin tưởng của công chúng về năng lực và sự khách quan của tổ chức thực hiện.
5.3 Thỏa thuận thừa nhận
Tổ chức thực hiện phải tìm kiếm để đạt được các thỏa thuận thừa nhận đối với việc chấp nhận các công việc của nhau, tốt nhất là đa phương, ví dụ kết quả thử nghiệm hoặc giấy chứng nhận hệ thống chất lượng. Các thỏa thuận này phải được thiết lập theo các yêu cầu của tiêu chuẩn này.
Khi các tổ chức thực hiện đã được công nhận bởi một tổ chức công nhận chung hoặc trong trường hợp các thỏa thuận thừa nhận có sẵn giữa các tổ chức công nhận tương ứng thì việc công nhận tạo thành cơ sở để thừa nhận lẫn nhau về lĩnh vực công nhận.
Nếu không thể thực hiện thỏa thuận thừa nhận dựa trên công nhận thì thỏa thuận thừa nhận giữa các tổ chức thực hiện cần bao gồm:
- phạm vi của thỏa thuận;
- quy định kỹ thuật của các phần của hệ thống chứng nhận tuabin gió có chấp nhận không giới hạn;
- nhận biết các bên ký kết và tình trạng pháp lý của các bên ký kết;
- thỏa thuận về giám sát công việc của nhau;
- quy trình để giải quyết các khiếu nại và yêu cầu;
- xác định trách nhiệm của các bên;
- mô tả chi tiết các kênh trao đổi thông tin;
- thực hiện bảo mật và an ninh; và
- quy trình để duy trì đăng ký giấy chứng nhận, tuyên bố sự phù hợp và báo cáo thử nghiệm do các tổ chức cấp theo thỏa thuận.
5.4 Ban cố vấn
Tổ chức chứng nhận thực hiện chứng nhận kiểu và chứng nhận dự án theo tiêu chuẩn này phải tìm kiếm để thiết lập và tham gia vào một ban cố vấn chung. Ban cố vấn này cần được thiết lập theo luật và đưa ra lời khuyên cho các tổ chức thực hiện về:
- hài hòa các yêu cầu về tài liệu chứng nhận;
- thừa nhận lẫn nhau;
- sự cần thiết về sửa đổi, bổ sung quy trình và yêu cầu;
- giải thích quy trình và yêu cầu để lập thành văn bản đánh giá sự phù hợp; và
- giải thích các yêu cầu kỹ thuật.
Các khuyến cáo từ hội nghị ban cố vấn phải sẵn có cho các tổ chức công nhận hoặc các ban liên quan khác.
6 Quản lý hệ thống chứng nhận
6.1 Quy định chung
Hệ thống chứng nhận phải được quản lý và thực hiện theo TCVN/ISO/IEC 17065. Đối với việc chứng nhận dự án và chứng nhận nguyên mẫu, hệ thống có thể được quản lý và thực hiện theo TCVN ISO/IEC 17020, trong trường hợp này, các yếu tố của hệ thống chứng nhận theo 8.3 hoặc 9.5 phải được quản lý và thực hiện theo TCVN/ISO/IEC 17065.
6.2 Thỏa thuận chứng nhận
Tổ chức chứng nhận dựa trên yêu cầu phải chuẩn bị để thực hiện công việc chứng nhận tuabin gió hoặc các dự án trang trại gió theo hướng dẫn của tiêu chuẩn này. Dịch vụ của tổ chức chứng nhận phải sẵn có cho tất cả các bên đăng ký mà không kèm theo các điều kiện quá mức về tài chính hoặc các điều kiện khác.
Trước khi bắt đầu công việc chứng nhận, phải thực hiện một thỏa thuận giữa bên đăng ký và tổ chức chứng nhận. Ngoài các điều kiện về tài chính và các điều kiện thông thường khác theo hợp đồng thì thỏa thuận phải bao gồm:
- phạm vi chứng nhận;
- nhận dạng các tổ chức liên quan (tổ chức giám định hoặc tổ chức thử nghiệm), sự công nhận và trách nhiệm của họ;
- bộ tiêu chuẩn TCVN 10687 (IEC 61400) và/hoặc IEC 61400 và các yêu cầu kỹ thuật khác phải đánh giá sự phù hợp;
- bản mô tả phạm vi của tài liệu cần cung cấp bởi bên đăng ký để đánh giá, ví dụ xem Phụ lục A: tài liệu thiết kế; và
- điều kiện báo cáo và điều tra sự cố.
6.3 Cấp giấy chứng nhận và bản tuyên bố sự phù hợp
Hệ thống chứng nhận bao gồm việc cấp giấy chứng nhận và bản tuyên bố sự phù hợp.
Giấy chứng nhận hoặc bản tuyên bố sự phù hợp dựa trên đánh giá tài liệu tuabin gió và kết quả kiểm tra, giám sát hoặc thử nghiệm, trong trường hợp thuộc đối tượng áp dụng. Kết quả của việc đánh giá phải được lập thành văn bản trong báo cáo cuối cùng. Giấy chứng nhận hoặc bản tuyên bố sự phù hợp phải được cấp trên cơ sở đánh giá sự hoàn thiện và khắc phục theo (các) báo cáo đánh giá.
Trong trường hợp các vấn đề còn tồn tại không quan trọng về mặt an toàn thiết yếu của đối tượng được chứng nhận thì có thể cấp giấy chứng nhận hoặc bản tuyên bố sự phù hợp tạm thời trong một thời gian có hiệu lực giới hạn cho phép đánh giá và kiểm tra xác nhận các vấn đề còn tồn tại.
Giấy chứng nhận hoặc bản tuyên bố sự phù hợp phải có nhận biết phạm vi đánh giá, tuabin gió, nhà cung cấp, dữ kiện thiết kế và bộ tài liệu viện dẫn, tiêu chuẩn và các yêu cầu kỹ thuật khác. Ví dụ được nêu trong Phụ lục B thể hiện một mẫu thích hợp và thông tin tối thiểu.
6.4 Bảo mật tài liệu liên quan
Tổ chức chứng nhận phải giữ hồ sơ của tất cả các tài liệu nhận được liên quan đến giấy chứng nhận hoặc bản tuyên bố sự phù hợp. Hồ sơ này phải được giữ tại nơi hạn chế tiếp cận trong ít nhất 5 năm cộng với vòng đời thiết kế của đối tượng, tính từ ngày cấp giấy chứng nhận mới hoặc ngày hết hạn giấy chứng nhận. Sau đó, tài liệu và các bản sao của chúng phải được trả cho bên đăng ký hoặc hủy với thông báo bằng chữ trên đó.
6.5 Hiệu lực, duy trì và hết hạn giấy chứng nhận
6.5.1 Quy định chung
Thời gian hiệu lực và/hoặc thời gian xem xét lại hoặc theo dõi phải được công bố rõ ràng trên giấy chứng nhận. Thời gian hiệu lực đối với giấy chứng nhận kiểu và thành phần và bản tuyên bố sự phù hợp kèm theo không được quá 5 năm. Thời gian hiệu lực của giấy chứng nhận mẫu ban đầu không được quá 3 năm.
Thời gian hiệu lực của giấy chứng nhận hoặc bản tuyên bố sự phù hợp tạm thời trong thời gian đó, tất cả các vấn đề còn tồn tại phải được lập thành văn bản bởi bên đăng ký và được đánh giá bởi tổ chức chứng nhận không được quá 1 năm.
Giấy chứng nhận dự án có hiệu lực đối với hệ thống lắp đặt tại vị trí được quy định trong giấy chứng nhận và không có thời hạn hiệu lực. Đối với giấy chứng nhận hoặc bản tuyên bố sự phù hợp tạm thời thì trong thời gian đó, tất cả các vấn đề còn tồn tại phải được lập thành văn bản bởi bên đăng ký và được đánh giá bởi tổ chức chứng nhận không được quá 1 năm.
6.5.2 Duy trì giấy chứng nhận kiểu
Để duy trì hiệu lực của giấy chứng nhận kiểu, các yêu cầu dưới đây phải được đáp ứng bởi bên đăng ký và tổ chức chứng nhận:
- bên đăng ký phải chuẩn bị báo cáo hàng năm đối với tuabin gió đã được chứng nhận để gửi cho tổ chức đánh giá xem xét lại. Báo cáo này gồm thông tin về tuabin gió được lắp đặt và vận hành hoặc sự cố đã biết bởi người được cấp giấy chứng nhận và bất kỳ sửa đổi nhỏ nào;
- bên đăng ký phải báo cáo không chậm trễ các sửa đổi chính đối với sản phẩm đã được chứng nhận cho tổ chức chứng nhận và tài liệu thiết kế, quy trình, quy định kỹ thuật hoặc quá trình tương ứng. Trong trường hợp người được cấp giấy chứng nhận dự kiến duy trì và/hoặc mở rộng hiệu lực của giấy chứng nhận, cập nhật tất cả các tài liệu có ảnh hưởng bởi những sửa đổi này phải được cung cấp; và
- tổ chức chứng nhận phải thực hiện giám sát định kỳ để kiểm tra xem tuabin gió được chế tạo có tương ứng với tuabin gió đã được chứng nhận kiểu và đáp ứng việc giám sát cần thiết theo TCVN/ISO/IEC 17065 hay không. Thời hạn này nói chung không quá 2,5 năm khi bắt đầu loạt chế tạo. Việc giám sát như vậy phải trên tuabin gió đã lắp đặt gần đây hoặc trong nhà xưởng. Phạm vi giám sát phải hẹp hơn đáng kể so với giám định vì chúng được thực hiện như một phần của giấy chứng nhận kiểu. Nếu bên đăng ký không thực hiện hệ thống chất lượng được chứng nhận theo TCVN ISO 9001 thì tổ chức chứng nhận phải kiểm tra xác nhận ít nhất mỗi năm một lần rằng tuabin gió được chế tạo tiếp tục phù hợp với thiết kế đã được chứng nhận. Việc kiểm tra xác nhận này phải theo các yếu tố ở của 8.5.2 và 8.5.3.
6.5.3 Duy trì giấy chứng nhận dự án
Giấy chứng nhận dự án được cấp cho (các) tuabin gió và (các) lắp đặt bổ sung như được lắp đặt tại vị trí được quy định trong giấy chứng nhận tại thời điểm cấp.
Tổ chức chứng nhận có thể tiến hành giám sát vận hành và bảo trì, xem 9.16 để xác nhận việc vận hành và bảo trì được tiến hành theo hướng dẫn vận hành và bảo trì đã được chứng nhận định kỳ. Trong trường hợp này, những sửa đổi chính về vị trí hoặc tuabin gió phải được báo cáo không chậm trễ cho tổ chức chứng nhận.
Để cấp lại giấy chứng nhận dự án, bên đăng ký và tổ chức chứng nhận phải đáp ứng các yêu cầu sau:
- bên đăng ký phải chuẩn bị báo cáo hàng năm đối với dự án đã được chứng nhận để gửi cho tổ chức đánh giá xem xét lại. Báo cáo này gồm thông tin về (các) tuabin gió và (các) lắp đặt bổ sung được lắp đặt tại vị trí, vận hành sai khác đã biết bởi người được cấp giấy chứng nhận và bất kỳ sửa đổi nhỏ nào;
- bên đăng ký phải báo cáo không chậm trễ các sửa đổi chính đối với dự án đã được chứng nhận cho tổ chức chứng nhận. Trong trường hợp người được cấp giấy chứng nhận dự kiến cập nhật giấy chứng nhận thì tất cả các tài liệu cập nhật có ảnh hưởng bởi những sửa đổi này phải được cung cấp; và
- tổ chức chứng nhận phải thực hiện vận hành và bảo trì, xem 9.16 để kiểm tra xem hệ thống lắp đặt tuabin gió cụ thể hoặc dự án tuabin gió tại vị trí cụ thể có vận hành và bảo trì phù hợp với hướng dẫn liên quan được đề cập trong tài liệu thiết kế và đáp ứng việc giám sát yêu cầu theo TCVN/ISO/IEC 17065 hay không. Thời hạn này nói chung không quá 2,5 năm.
6.5.4 Giải quyết các vấn đề còn tồn tại
Giấy chứng nhận tạm thời hoặc bản tuyên bố sự phù hợp kèm theo có thể được cấp để cho phép chế tạo seri 0 cũng như cho phép các vấn đề còn tồn tại mà không ảnh hưởng đến an toàn.
Các vấn đề còn tồn tại cần được giới hạn ở:
- vấn đề không ảnh hưởng đến an toàn trong thời hạn hiệu lực (tối đa 1 năm); và
- vấn đề liên quan đến việc hoàn thiện các hướng dẫn và quy trình kiểm soát chất lượng.
Trong trường hợp giấy chứng nhận dự án đã được cấp dựa trên giấy chứng nhận kiểu tạm thời có các vấn đề còn tồn tại, người được cấp giấy chứng nhận phải thông báo với tổ chức chứng nhận dự án về các kết quả đánh giá và kiểm tra xác nhận của tổ chức chứng nhận kiểu về các vấn đề còn tồn tại.
Trường hợp giấy chứng nhận dự án đã được cấp dựa trên giấy chứng nhận kiểu tạm thời, tổ chức chứng nhận dự án phải đánh giá sự cần thiết phải thay đổi trong dự án, trên cơ sở các kết quả kiểm tra xác nhận của tổ chức chứng nhận kiểu về các vấn đề còn tồn tại. Chủ dự án phải được thông báo về tất cả các thay đổi cần thiết.
6.6 Hành động khắc phục
Tổ chức chứng nhận phải được thông báo, nếu người được cấp giấy chứng nhận nhận thấy từ các dữ liệu trong sổ theo dõi hoặc thông tin khác cho thấy tuabin gió hoặc dự án đang được xem xét không hoạt động theo quy định kỹ thuật về thiết kế và/hoặc các tiêu chí khác liên quan đến chứng nhận.
Khi người được cấp giấy chứng nhận nhận biết được các sự kiện liên quan đến an toàn của tuabin gió, dự án hoặc môi trường xung quanh thì phải báo cáo không chậm trễ cho tổ chức chứng nhận.
Nếu sau khi đánh giá sơ bộ, tổ chức chứng nhận xác định có sai lỗi nghiêm trọng ảnh hưởng đến an toàn của tuabin gió đang xem xét thì phải đình chỉ ngay giấy chứng nhận. Tổ chức chứng nhận phải thực hiện đánh giá toàn bộ sai lỗi này. Việc đánh giá sẽ cho kết quả là xác nhận lại hoặc thu hồi giấy chứng nhận.
7 Mở rộng chứng nhận
7.1 Quy định chung
Quy trình chứng nhận quy định trong tiêu chuẩn này bao gồm đánh giá sự phù hợp hoàn chỉnh của bên thứ ba về kiểu tuabin gió, kiểu thành phần chính hoặc một hoặc nhiều tuabin gió ở vị trí cụ thể, từ đánh giá thiết kế để theo dõi việc chạy thử và vận hành. Việc đánh giá cho một trong các kết quả sau:
- Giấy chứng nhận kiểu;
- Giấy chứng nhận dự án;
- Giấy chứng nhận thành phần; hoặc
- Giấy chứng nhận nguyên mẫu.
Giấy chứng nhận kiểu bao trùm một tuabin gió, kể cả cột tháp và kiểu đấu nối đề xuất giữa cột tháp và móng. Nó cũng bao gồm các yêu cầu điều chỉnh về móng, trong phạm vi mà các yêu cầu này nảy sinh từ thiết kế tuabin gió, và có thể bao gồm một hoặc nhiều móng.
Giấy chứng nhận dự án bao trùm một hoặc nhiều tuabin gió, kể cả (các) móng và hệ thống lắp đặt tùy chọn khác tại ví trí lắp đặt, được đánh giá với các điều kiện bên ngoài cụ thể tại ví trí lắp đặt. Giấy chứng nhận dự án được xem là giấy chứng nhận kiểu và bao gồm việc đánh giá điều kiện tại vị trí lắp đặt và đánh giá thiết kế móng như các môđun bắt buộc.
Giấy chứng nhận thành phần bao trùm một thành phần chính của tuabin gió như cánh tuabin hoặc hộp số.
Giấy chứng nhận nguyên mẫu bao trùm một tuabin gió chưa sẵn sàng để chế tạo hàng loạt tại vị trí cụ thể.
Cách tiếp cận được đưa ra trong tiêu chuẩn này có cấu trúc môđun để tính đến giải thích các yêu cầu để công bố sự phù hợp riêng rẽ, ví dụ đánh giá thiết kế.
Các tài liệu quy định, tức là tiêu chuẩn và các yêu cầu kỹ thuật quy định theo đó sự phù hợp được đánh giá trong quá trình chứng nhận, là các tiêu chuẩn quốc gia hoặc quốc tế, nếu có sẵn.
7.2 Chứng nhận kiểu
Mục đích của chứng nhận kiểu là để xác nhận rằng kiểu tuabin được thiết kế, lập thành văn bản và chế tạo phù hợp với các giả định về thiết kế, tiêu chuẩn cụ thể và các yêu cầu kỹ thuật khác. Việc chứng tỏ rằng có thể lắp đặt, vận hành và duy trì tuabin phù hợp với tài liệu thiết kế là bắt buộc. Chứng nhận kiểu áp dụng cho một seri tuabin gió có thiết kế và chế tạo chung. Chứng nhận kiểu bao gồm các môđun bắt buộc sau:
- đánh giá cơ sở thiết kế;
- đánh giá thiết kế tuabin gió;
- thử nghiệm điển hình;
- đánh giá quá trình chế tạo; và
- đánh giá cuối cùng;
và các môđun tùy chọn:
- đánh giá thiết kế móng;
- đánh giá chế tạo móng; và
- đo đặc tính điển hình.
Các môđun được minh họa trên Hình 1. Việc đánh giá sự thỏa đáng của từng môđun được kết luận bằng báo cáo đánh giá và bản tuyên bố sự phù hợp.

Hình 1 - Các môđun chứng nhận kiểu
Giấy chứng nhận kiểu được cấp cho tuabin gió được thiết kế và đánh giá phù hợp với các yêu cầu kỹ thuật của tiêu chuẩn này và TCVN 10687-1 (IEC 61400-1), IEC 61400-2 hoặc IEC 61400-3 trên cơ sở hoàn chỉnh và khắc phục theo báo cáo đánh giá cuối cùng.
Giấy chứng nhận kiểu cung cấp tài liệu về sự phù hợp cho tất cả các môđun bắt buộc và có thể cung cấp tài liệu bổ sung về sự phù hợp cho các môđun tùy chọn.
Các môđun và ứng dụng của chúng được mô tả trong Điều 8.
7.3 Chứng nhận dự án
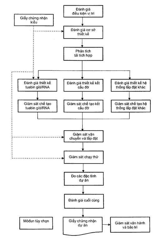
Mục đích của chứng nhận dự án là để đánh giá các tuabin gió đã được chứng nhận kiểu và các thiết kế về kết cấu đỡ/móng cụ thể là phù hợp với các điều kiện bên ngoài, kết cấu có thể áp dụng và các quy phạm về điện và các yêu cầu liên quan khác về vị trí cụ thể. Nếu không có giấy chứng nhận kiểu cấp cho tuabin gió thì giấy chứng nhận kiểu cho môđun bắt buộc trong chứng nhận dự án phải được thỏa mãn, xem Hình 2, và do đó, môđun bắt buộc của chứng nhận kiểu được đề cập trong chứng nhận dự án phải được đánh giá cho dự án cụ thể và các điều kiện cụ thể tại vị trí lắp đặt. Tổ chức chứng nhận sẽ đánh giá các điều kiện về gió, điều kiện khác về môi trường, điều kiện về lưới điện và các tính chất của đất tại vị trí lắp đặt phù hợp với các yêu cầu xác định trong tài liệu thiết kế cho kiểu tuabin gió và (các) móng. Đánh giá bao gồm an toàn và chất lượng.
Chứng nhận dự án các tuabin gió đã được chứng nhận kiểu bao gồm các môđun sau:
- đánh giá các điều kiện về vị trí lắp đặt;
- đánh giá cơ sở thiết kế;
- phân tích tải tích hợp;
- đánh giá thiết kế tuabin gió/RNA tại vị trí cụ thể;
- đánh giá thiết kế kết cấu đỡ;
- đánh giá thiết kế hệ thống lắp đặt khác;
- giám sát quá trình chế tạo tuabin gió/RNA;
- giám sát quá trình chế tạo kết cấu đỡ;
- giám sát quá trình chế tạo các hệ thống lắp đặt khác;
- đo các đặc tính của dự án;
- giám sát vận chuyển và lắp đặt;
- giám sát chạy thử;
- đánh giá cuối cùng; và
- giám sát vận hành và bảo trì.
Các môđun được minh họa trên Hình 2. Việc đánh giá sự thỏa đáng của từng môđun được kết luận bằng báo cáo đánh giá và bản tuyên bố sự phù hợp.

Hình 2 - Môđun chứng nhận dự án
Giấy chứng nhận dự án cung cấp tài liệu về sự phù hợp cho tất cả các môđun bắt buộc và có thể cung cấp tài liệu bổ sung về sự phù hợp cho các môđun tùy chọn. Giấy chứng nhận được cấp trên cơ sở hoàn thành và khắc phục theo các báo cáo đánh giá và công bố sự phù hợp.
Các môđun và ứng dụng của chúng được mô tả trong Điều 9.
7.4 Chứng nhận thành phần
Mục đích của chứng nhận thành phần tuabin gió là để xác nhận rằng thành phần chính của một kiểu cụ thể được thiết kế, lập thành văn bản và chế tạo phù hợp với thiết kế, tiêu chuẩn cụ thể và các yêu cầu kỹ thuật khác.
Chứng nhận thành phần gồm các môđun sau:
- đánh giá cơ sở thiết kế1;
- đánh giá thiết kế;
- thử nghiệm điển hình;
- đánh giá quá trình chế tạo; và
- đánh giá cuối cùng.
Các môđun này cũng như việc áp dụng cho quá trình chứng nhận kiểu được minh họa trên Hình 3. Các quy trình để chứng nhận thành phần cần thực hiện cùng với quy trình chứng nhận kiểu được mô tả trong Điều 8. Nội dung cụ thể của một môđun phụ thuộc vào thành phần thực tế. Trong trường hợp thuộc đối tượng áp dụng, các yếu tố đánh giá được mô tả trong Điều 8 cần được áp dụng. Đối với các thành phần được yêu cầu thử nghiệm điển hình quy định như một phần của môđun thử nghiệm điển hình đối với tuabin gió, thử nghiệm điển hình này cần được đưa vào là một phần của chứng nhận thành phần bất kỳ.

Hình 3 - Môđun chứng nhận thành phần và việc áp dụng chúng để chứng nhận kiểu
Phải đặc biệt chú ý trong tài liệu thiết kế đối với quy định kỹ thuật của giao diện giữa các thành phần và phần còn lại của hệ thống tuabin gió và quy định kỹ thuật của các điều kiện đặc biệt quan trọng, ví dụ như điều kiện vận hành, tải và các đặc tính động.
Giấy chứng nhận thành phần có thể được cấp cho các thành phần được thiết kế và đánh giá phù hợp với các yêu cầu kỹ thuật của TCVN 10687-1 (IEC 61400-1), IEC 61400-2 hoặc IEC 61400-3 trên cơ sở hoàn chỉnh và khắc phục theo báo cáo đánh giá cuối cùng. Giấy chứng nhận thành phần xác nhận rằng sự phù hợp được thiết lập cho tất cả các môđun đánh giá. Đánh giá sự thỏa đáng của từng môđun được kết luận cùng với báo cáo đánh giá và công bố sự phù hợp.
Ví dụ về giấy chứng nhận thành phần được cho trong Phụ lục B.
7.5 Chứng nhận nguyên mẫu
Mục đích của chứng nhận nguyên mẫu tuabin gió là để cho phép thử nghiệm một kiểu tuabin gió mới đạt được chứng nhận kiểu phù hợp với tiêu chuẩn này.
Giấy chứng nhận nguyên mẫu được cấp cho một tuabin gió chưa sẵn sàng để chế tạo hàng loạt tại vị trí cụ thể và trong một khoảng thời gian giới hạn tối đa là 3 năm.
Tổ chức chứng nhận đánh giá sự an toàn của nguyên mẫu trong thời gian quy định. Nếu nguyên mẫu được sửa đổi có ảnh hưởng đến an toàn của tuabin gió thì phải có giấy chứng nhận nguyên mẫu.
Chứng nhận nguyên mẫu gồm các môđun sau:
- đánh giá cơ sở thiết kế;
- đánh giá kế hoạch thử nghiệm nguyên mẫu; và
- thử nghiệm an toàn và chức năng.
Đánh giá cơ sở thiết kế bao gồm các môđun bắt buộc đánh giá cơ sở thiết kế và thiết kế tuabin gió, được mô tả trong 8.2 và 8.3. Việc đánh giá có thể chỉ cho hệ thống điều khiển và bảo vệ, tải và các trường hợp tải, cánh rôto, các thành phần kết cấu chính, thành phần điện và các vấn đề về an toàn người lao động.
Kế hoạch thử nghiệm đối với nguyên mẫu phải được giao nộp để đánh giá. Kế hoạch thử nghiệm xác định các thành phần chính cần được thử nghiệm, thời gian thử nghiệm và tải cần được lập thành văn bản trong các thử nghiệm.
Kế hoạch thử nghiệm nguyên mẫu gồm tối thiểu các yếu tố quy định ở 8.4. Thử nghiệm an toàn và chức năng phải được thực hiện và đánh giá như một phần của chứng nhận nguyên mẫu.
8 Chứng nhận kiểu
8.1 Quy định chung
Chứng nhận kiểu xác nhận rằng kiểu tuabin gió được thiết kế phù hợp với thiết kế, tiêu chuẩn cụ thể và các yêu cầu kỹ thuật khác. Việc này cũng xác nhận rằng quá trình chế tạo, quy định kỹ thuật thành phần, quy trình giám sát và thử nghiệm và tài liệu tương ứng là phù hợp với tài liệu thiết kế và nhà chế tạo vận hành một hệ thống chất lượng đã được chấp nhận. Ngoài ra, chứng nhận kiểu bao gồm thử nghiệm tuabin gió.
Tổ chức chứng nhận yêu cầu bên đăng ký cung cấp tài liệu đáp ứng tất cả các yêu cầu chi tiết nêu trong điều này. Kiểu tuabin gió phải được đánh giá sự phù hợp với yêu cầu kỹ thuật của tiêu chuẩn này, TCVN 10687-1 (IEC 61400-1) hoặc IEC 61400-2 và các giả thiết và yêu cầu bổ sung được công bố trong bản thiết kế bởi nhà thiết kế và được thỏa thuận với tổ chức chứng nhận.
8.2 Đánh giá cơ sở thiết kế
Mục đích của việc đánh giá cơ sở thiết kế là để kiểm tra cơ sở thiết kế có lập thành văn bản đúng và đủ cho thiết kế an toàn một kiểu tuabin gió.
Cơ sở thiết kế phải nhận biết tất cả các yêu cầu, giả thiết và phương pháp luận thiết yếu để thiết kế và lập thành văn bản thiết kế, bao gồm:
- quy phạm và tiêu chuẩn;
- tham số thiết kế, giả thiết, phương pháp luận và nguyên lý, và
- các yêu cầu khác, ví dụ như để chế tạo, vận chuyển, lắp đặt và nghiệm thu cũng như để vận hành và bảo trì.
Việc nhận biết này có thể được thực hiện thông qua việc tham chiếu tiêu chuẩn này, TCVN 10687-1 (IEC 61400-1), IEC 61400-2 hoặc IEC 61400-3 và các quy phạm và tiêu chuẩn được áp dụng khác, hoặc bằng cách liệt kê các khía cạnh và tham số thiết kế cụ thể. Đặc biệt, việc lựa chọn, các thông tin bổ sung và các sai khác liên quan đến thiết kế phải được chỉ ra rõ ràng trong cơ sở thiết kế, ví dụ như:
- tham số thiết kế bên ngoài;
- thiết kế các trường hợp tải;
- hệ số tải và hệ số giảm tải;
- hệ số an toàn từng phần đặt lên tải và vật liệu;
- thời gian mô phỏng và số lần mô phỏng;
- phương pháp phân tích tải/đáp ứng cực đoan và mỏi theo thiết kế;
- điều kiện môi trường liên quan đến lắp đặt;
- phạm vi và tần suất kiểm tra;
- tuổi thọ mục tiêu của thành phần, hệ thống và kết cấu, và
- yêu cầu về hệ thống theo dõi tình trạng.
8.3 Đánh giá thiết kế
8.3.1 Quy định chung
Mục đích của đánh giá thiết kế là để kiểm tra một kiểu tuabin gió được thiết kế và lập thành văn bản phù hợp với giả thiết thiết kế, tiêu chuẩn cụ thể và các yêu cầu kỹ thuật khác. Thông thường, việc đánh giá thiết kế bao gồm tất cả các yếu tố trên Hình 4.
Đối với SWT được thiết kế theo IEC 61400-2, tất cả các yếu tố ở Hình 4 và ngoài ra, yếu tố “đánh giá thử nghiệm dữ liệu thiết kế” phải được xem xét. Yếu tố “đánh giá cánh rôto” có thể được thay bằng yếu tố “đánh giá thử nghiệm cánh tĩnh”.
Đối với SWT, thử nghiệm cánh tĩnh, thử nghiệm dữ liệu thiết kế và thử nghiệm thành phần có thể được thực hiện trong nhà bởi nhà chế tạo nếu có thỏa thuận với tổ chức chứng nhận.
Tổ chức chứng nhận yêu cầu bên đăng ký cung cấp tất cả các tài liệu cần thiết để đánh giá thiết kế. Danh mục tài liệu thiết kế được nêu trong Phụ lục A. Danh mục này có thể được mở rộng hoặc giảm bớt tùy thuộc vào khái niệm tuabin gió và độ phức tạp của thiết kế.

Hình 4 - Các yếu tố đánh giá thiết kế
8.3.2 Kiểm soát thiết kế
Tổ chức chứng nhận đánh giá quy trình chất lượng được sử dụng để kiểm soát quá trình thiết kế. Các quy trình kiểm soát thiết kế phải được yêu cầu để:
- phù hợp với TCVN ISO 9001:2015, 8.3 về thiết kế và phát triển; và
- bao gồm kiểm soát tài liệu sao cho tình trạng xem xét lại của tất cả các tài liệu được rõ ràng cho tất cả các bên.
Yêu cầu đánh giá được thỏa mãn nếu hệ thống chất lượng của bên đăng ký được chứng nhận theo TCVN ISO 9001.
8.3.3 Hệ thống điều khiển và bảo vệ
Tổ chức chứng nhận phải đánh giá tài liệu của hệ thống điều khiển và bảo vệ, bao gồm:
- mô tả phương thức hoạt động của tuabin gió;
- thiết kế và chức năng của tất cả các phần tử;
- thiết kế an toàn của hệ thống bảo vệ;
- xử lý logic và phần cứng hệ thống;
- xác thực độ tin cậy của tất cả các cảm biến quan trọng đối với an toàn;
- phân tích (các) hệ thống phanh;
- theo dõi tình trạng, nếu thuộc đối tượng áp dụng; và
- kế hoạch thử nghiệm để kiểm tra xác nhận các chức năng của hệ thống điều khiển và bảo vệ.
8.3.4 Tải và các trường hợp tải
Tổ chức chứng nhận phải đánh giá tải và các trường hợp tải phù hợp với TCVN 10687-1 (IEC 61400-1), IEC 61400-2 hoặc IEC 61400-3 bằng cách phân tích độc lập.
Mô tả tải phải được cung cấp ở dạng cho phép tổ chức chứng nhận thực hiện phân tích độc lập.
Giá trị tải được giao nộp phải kèm theo mô tả trường hợp tải, mô tả mô hình tính toán và dữ liệu đầu vào như:
- giá trị tham số liên quan đến khí động lực;
- đặc điểm kết cấu; và
- giá trị tham số liên quan đến hệ thống điều khiển.
8.3.5 Cánh rôto
Tổ chức chứng nhận phải đánh giá thiết kế của các cánh rôto.
Cánh rôto phải được đánh giá sự phù hợp với yêu cầu của tiêu chuẩn này, TCVN 10687-1 (IEC 61400-1), IEC 61400-2 hoặc IEC 61400-3, IEC/TS 61400-232 và quy phạm và tiêu chuẩn bổ sung theo thỏa thuận như được xác định trong cơ sở thiết kế.
Tài liệu thiết kế liên quan đến cánh rôto thường bao gồm quy định kỹ thuật, bản mô tả, bản vẽ và tính toán thiết kế, có thể kèm theo báo cáo đo/thử nghiệm, sơ đồ và danh mục từng phần. Tổ chức chứng nhận phải yêu cầu tài liệu đề cập rõ ràng về cơ sở thiết kế và nhận biết cơ sở để thiết kế. Ngoài ra, tài liệu phải có đủ thông tin để đánh giá thiết kế, ví dụ như:
- quy phạm, tiêu chuẩn và tài liệu tham khảo;
- tải thiết kế và các điều kiện bên ngoài liên quan;
- hệ thống tĩnh và điều kiện biên;
- sự ảnh hưởng của các kết cấu và thành phần liền kề;
- vật liệu và ứng suất cho phép;
- vật liệu và chương trình thử nghiệm thành phần nhỏ;
- chương trình thử nghiệm cánh đúng cỡ;
- quá trình chế tạo;
- các dung sai ảnh hưởng đến thiết kế; và
- quy trình và mức kiểm soát chất lượng.
8.3.6 Thành phần máy và thành phần kết cấu
Tổ chức chứng nhận phải đánh giá thiết kế về kết cấu máy mang tải và các thành phần của tuabin gió, ví dụ như:
- các kết cấu đúc, rèn hoặc hàn;
- khung thân tuabin;
- cột tháp;
- hệ thống xoay tuabin và xoay cánh tuabin;
- ổ đỡ và ổ trục đàn hồi;
- hộp số;
- cơ cấu phanh, mối nối và thiết bị khóa;
- bu lông để nối các kết cấu và thành phần này;
- hệ thống làm mát và gia nhiệt; và
- hệ thống thủy lực.
Các kết cấu và thành phần máy phải được đánh giá sự phù hợp với các yêu cầu của tiêu chuẩn này, TCVN 10687-1 (IEC 61400-1), IEC 61400-2 hoặc IEC 61400-3 và quy phạm và tiêu chuẩn bổ sung theo thỏa thuận như được xác định trong cơ sở thiết kế.
Hộp số phải được đánh giá sự phù hợp với IEC 61400-4. Kết quả của thử nghiệm tại phân xưởng đối với hộp số nguyên mẫu cũng như chương trình thử nghiệm hộp số nguyên mẫu phải là một phần của đánh giá thiết kế.
Ngoài ra, các yêu cầu thử nghiệm thành phần trong khi chế tạo và lắp ráp phải được quy định và đánh giá.
Tài liệu thiết kế liên quan đến kết cấu và thành phần máy thường bao gồm quy định kỹ thuật, bản mô tả, bản vẽ và tính toán thiết kế mà có thể đi kèm với các báo cáo đo/thử, sơ đồ, tờ dữ liệu, giản đồ và danh sách bộ phận. Tổ chức chứng nhận sẽ yêu cầu tài liệu đề cập rõ ràng về cơ sở thiết kế và nhận biết cơ sở để thiết kế. Ngoài ra, tài liệu phải có đủ thông tin, ví dụ về:
- quy phạm, tiêu chuẩn và tài liệu viện dẫn;
- tải thiết kế và các điều kiện bên ngoài liên quan;
- hệ thống tĩnh và điều kiện biên;
- ảnh hưởng của các kết cấu và thành phần lân cận;
- ảnh hưởng của động lực truyền động kéo;
- vật liệu và ứng suất cho phép;
- các tờ kiểu/dữ liệu (đối với bộ phận chế tạo hàng loạt); và
- hướng dẫn công việc (đối với các kết nối bắt bu lông).
8.3.7 Thành phần điện
Tổ chức chứng nhận phải đánh giá thiết kế của tất cả các bộ phận điện của tuabin gió, ví dụ như:
- máy phát điện;
- máy biến áp;
- bộ chuyển đổi;
- thành phần trung áp và cao áp;
- bộ truyền động điện;
- thiết bị nạp và acquy tích điện;
- thiết bị đóng cắt và thiết bị bảo vệ;
- cáp và thiết bị lắp đặt điện; và
- bảo vệ chống sét.
Các thành phần điện phải được đánh giá sự phù hợp với các yêu cầu của tiêu chuẩn này, TCVN 10687-1 (IEC 61400-1), IEC 61400-2 hoặc IEC 61400-3 cũng như các tiêu chuẩn khác và quy phạm và tiêu chuẩn bổ sung theo thỏa thuận như được xác định trong cơ sở thiết kế.
Thiết bị chống sét được đánh giá theo TCVN 10687-24 (IEC 61400-24).
Thử nghiệm tại phân xưởng cho máy phát theo bộ TCVN 6627 (IEC 60034) phải được thực hiện và lập thành văn bản. Kết quả của thử nghiệm tại phân xưởng phải được xem xét trong quá trình đánh giá thiết kế.
Ngoài ra, các yêu cầu thử nghiệm thành phần trong khi chế tạo và lắp ráp phải được quy định và đánh giá.
Tài liệu thiết kế liên quan đến thành phần điện thường bao gồm quy định kỹ thuật, bản mô tả, bản vẽ, sơ đồ, tờ dữ liệu, báo cáo thử nghiệm điển hình và tính toán thiết kế mà có thể kết hợp với giản đồ và danh sách bộ phận. Tổ chức chứng nhận sẽ yêu cầu tài liệu đề cập rõ ràng về cơ sở thiết kế và nhận biết cơ sở để thiết kế. Ngoài ra, tài liệu phải có đủ thông tin, ví dụ về:
- quy phạm, tiêu chuẩn và tài liệu viện dẫn;
- các yêu cầu thiết kế và các điều kiện bên ngoài liên quan;
- điều kiện biên;
- ảnh hưởng của các kết cấu và thành phần lân cận; và
- vật liệu.
8.3.8 Vỏ ngoài
Tổ chức chứng nhận phải đánh giá các thiết kế của tất cả vỏ ngoài như:
- vỏ hub; và
- vỏ thân tuabin.
Vỏ ngoài phải được đánh giá sự phù hợp với các yêu cầu của tiêu chuẩn này, TCVN 10687-1 (IEC 61400-1), IEC 61400-2 hoặc IEC 61400-3 và quy phạm và tiêu chuẩn bổ sung theo thỏa thuận như được xác định trong cơ sở thiết kế.
Tài liệu thiết kế liên quan đến vỏ ngoài thường bao gồm quy định kỹ thuật, bản mô tả, bản vẽ và tính toán thiết kế mà có thể kết hợp với sơ đồ, tờ dữ liệu, báo cáo đo/thử, giản đồ và danh sách bộ phận. Tổ chức chứng nhận sẽ yêu cầu tài liệu đề cập rõ ràng về cơ sở thiết kế và nhận biết cơ sở để thiết kế. Ngoài ra, tài liệu phải có đủ thông tin, ví dụ về:
- quy phạm, tiêu chuẩn và tài liệu viện dẫn;
- tải thiết kế và các điều kiện bên ngoài liên quan;
- hệ thống tĩnh và điều kiện biên;
- ảnh hưởng của các kết cấu và thành phần lân cận; và
- vật liệu và ứng suất cho phép.
8.3.9 Đánh giá các thử nghiệm thành phần
Các yêu cầu về độ bền và chức năng của một số thành phần kết cấu, cơ hoặc điện chỉ có thể được lập thành văn bản bằng các kết quả đo hoặc thử nghiệm.
Nếu các phân tích liên quan đối với một thành phần là không thích hợp thì tổ chức chứng nhận có thể yêu cầu thực hiện các thử nghiệm và/hoặc phép đo cho thành phần bổ sung làm phân tích thay thế khác. Tổ chức chứng nhận phải đánh giá thiết kế của một thành phần trên cơ sở báo cáo đo và thử nghiệm và thiết lập các kết quả thử nghiệm được thực hiện đúng theo thiết kế.
Tổ chức chứng nhận yêu cầu các kết quả đo và thử nghiệm được nhận biết rõ ràng thành phần, các tiêu chuẩn hoặc quy trình thử nghiệm cũng như các điều kiện thực hiện thử nghiệm.
8.3.10 Yêu cầu về thiết kế móng
Tổ chức chứng nhận phải đánh giá các yêu cầu về thiết kế móng được nêu chi tiết trong tài liệu thiết kế đối với một tuabin về sự phù hợp của một hoặc nhiều thiết kế móng với TCVN 10687-1 (IEC 61400-1), IEC 61400-2 hoặc IEC 61400-3 và các quy phạm kết cấu liên quan theo thỏa thuận. Ngoài ra, việc đánh giá sẽ thiết lập rằng các thiết kế móng phù hợp với các yêu cầu hình học về giao diện (độ phẳng, độ cao, và dung sai mẫu bu lông) và các yêu cầu về độ bền được quy định trong tài liệu thiết kế tuabin.
Đối với tuabin gió ngoài khơi, các yêu cầu về thiết kế móng phải gồm có yêu cầu thiết kế đối với kết cấu nền nối cột tháp với móng.
Các tải đặc trưng và tải thiết kế tại giao diện của cột tháp, kết cấu nền và móng được nêu trong tài liệu thiết kế phải được sử dụng làm cơ sở để đánh giá. Các tải này gồm lực nằm ngang và thẳng đứng cũng như tất cả các mômen theo trục nằm ngang và thẳng đứng tại giao diện. Các tải động cực trị cũng như tải mỏi từ việc kết hợp tất cả các trường hợp tải liên quan phải được xem xét trong đánh giá thiết kế. Vì tần số rung tự nhiên và các chế độ của toàn bộ tuabin và hệ thống kết cấu đỡ có thể bị ảnh hưởng bởi độ mềm dẻo của móng nên dải cho phép đối với độ mềm dẻo của nền móng thẳng đứng, nằm ngang và quay tại giao diện giữa móng và kết cấu nền hoặc cột tháp phải được chỉ ra.
Độ bền và độ mềm dẻo của móng phải được đánh giá về mặt điều kiện đất đại diện tại vị trí thích hợp để lắp đặt móng. Các điều kiện về đất này phải được mô tả trong tài liệu thiết kế móng.
8.3.11 Quá trình chế tạo
Tổ chức chứng nhận đánh giá thiết kế tuabin có thể được chế tạo theo các yêu cầu chất lượng bất kỳ được nhận biết trong tài liệu thiết kế. Phải mô tả quá trình chế tạo liên quan đến chất lượng.
Về sơ bộ, quá trình chế tạo có thể được lập thành văn bản gồm:
- quy định kỹ thuật chế tạo;
- hướng dẫn công việc, quy định kỹ thuật về mua hàng; và
- quy trình kiểm soát chất lượng.
Ngoài ra, các yêu cầu đối với thử nghiệm tại phân xưởng phải được quy định.
Việc đánh giá theo phiên bản cuối cùng của các tài liệu này chậm nhất là một phần của đánh giá cuối cùng, xem 8.9.
8.3.12 Quá trình vận chuyển
Tổ chức chứng nhận phải xác nhận rằng tuabin có thể được vận chuyển theo yêu cầu bất kỳ được nhận biết trong tài liệu thiết kế.
Bản mô tả quá trình vận chuyển, trong trường hợp thuộc đối tượng áp dụng, phải bao gồm:
- quy định kỹ thuật áp dụng cho vận chuyển;
- các điều kiện giới hạn về môi trường;
- thỏa thuận về vận chuyển bao gồm bộ phận cố định, dụng cụ và thiết bị yêu cầu; và
- tải vận chuyển và điều kiện tải.
Quá trình vận chuyển có thể được lập thành văn bản trong sổ tay hướng dẫn vận chuyển/lắp đặt sơ bộ. Bản mô tả cuối cùng về quá trình vận chuyển phải được đánh giá chậm nhất là trong quá trình đánh giá cuối cùng, xem 8.9.
8.3.13 Quá trình lắp đặt
Quá trình lắp đặt phải được mô tả đầy đủ để cho phép tổ chức chứng nhận kiểm tra xác nhận sự thích hợp của thiết kế tuabin, có tính đến các quá trình lắp đặt quy định, kể cả chạy thử. Bản mô tả quá trình lắp đặt trong trường hợp thuộc đối tượng áp dụng, phải bao gồm:
- nhận biết các yêu cầu và kỹ năng về nguồn nhân lực;
- nhận biết các điểm giao diện và các quy định kỹ thuật yêu cầu bất kỳ về các công việc xây dựng dân dụng và điện kể cả hệ thống nối đất;
- nhận biết dụng cụ chuyên dụng và cơ cấu cố định hoặc thiết bị nâng hạ yêu cầu;
- các điểm kiểm tra kiểm soát chất lượng, đo đạc và kiểm tra, được yêu cầu khi thiết kế;
- bản mô tả biện pháp bảo vệ an toàn người lao động và biện pháp bảo vệ môi trường đã hoạch định;
- bản phác thảo hướng dẫn lắp đặt đã hoạch định;
- quy trình chạy thử và danh mục kiểm tra; và
- quá trình ghi chép chất lượng và lưu giữ hồ sơ.
Quá trình lắp đặt về sơ bộ có thể được lập thành văn bản bằng hướng dẫn lắp đặt/chạy thử. Bản mô tả quá trình lắp đặt phải được đánh giá chậm nhất là trong khi đánh giá cuối cùng, xem 8.9.
8.3.14 Quá trình bảo trì
Quá trình bảo trì phải được mô tả đầy đủ để cho phép tổ chức chứng nhận kiểm tra xác nhận sự thích hợp của thiết kế tuabin, có tính đến các quá trình bảo trì quy định. Bản mô tả quá trình bảo trì trong trường hợp thuộc đối tượng áp dụng, phải bao gồm:
- các hành động bảo trì theo lịch trình kể cả thời gian giám sát và hành động thường xuyên;
- nhận biết tất cả các quy trình vận hành liên quan đến an toàn hoặc các hoạt động bảo trì;
- bản mô tả các biện pháp bảo vệ môi trường đã hoạch định;
- nhận biết dụng cụ chuyên dụng và thiết bị bảo trì yêu cầu;
- nhận biết các yêu cầu và kỹ năng về nguồn nhân lực;
- bản phác thảo hướng dẫn vận hành và bảo trì đã hoạch định; và
- bản mô tả quá trình ghi chép chất lượng và lưu giữ hồ sơ.
Quá trình bảo trì về sơ bộ có thể được lập thành văn bản bằng sổ tay vận hành và bảo trì. Bản mô tả quá trình bảo trì cuối cùng phải được đánh giá chậm nhất là trong khi đánh giá cuối cùng, xem 8.9.
8.3.15 An toàn người lao động
Tổ chức chứng nhận phải đánh giá các khía cạnh về an toàn người lao động trong tài liệu thiết kế (bản vẽ, quy định kỹ thuật và hướng dẫn) phù hợp với TCVN 10687-1 (IEC 61400-1), IEC 61400-2 hoặc IEC 61400-3 và các quy phạm và tiêu chuẩn bổ sung theo thỏa thuận.
Các khía cạnh an toàn người lao động cần xem xét bao gồm:
- hướng dẫn an toàn;
- phương tiện dùng để leo trèo;
- tuyến tiếp cận và lối đi;
- chỗ đặt đứng, bệ và sàn;
- tay vịn và các điểm cố định;
- chiếu sáng;
- hệ thống điện và hệ thống nối đất;
- khả năng chống cháy;
- nút tắt khẩn cấp;
- các tuyến thoát hiểm dự phòng;
- dự phòng cho nơi ở khẩn cấp trong tuabin gió ngoài khơi trong một tuần; và
- thiết bị an toàn riêng ngoài khơi dùng cho tuabin gió ngoài khơi.
Tổ chức chứng nhận phải yêu cầu bên đăng ký nhận biết các phần tử trong tài liệu thiết kế gắn liền với an toàn người lao động.
8.3.16 Bản tuyên bố sự phù hợp của đánh giá thiết kế
Tổ chức chứng nhận sẽ cấp bản tuyên bố sự phù hợp dựa trên việc đánh giá thỏa đáng (các) báo cáo đánh giá thiết kế. Bản tuyên bố sự phù hợp phải gồm có:
- nhận biết kiểu tuabin gió;
- nhận biết bên đăng ký;
- danh sách bộ tiêu chuẩn TCVN 10687 (IEC 61400) và/hoặc IEC 61400 được sử dụng;
- quy định kỹ thuật về các điều kiện bên ngoài liên quan đến cấp tuabin gió và dữ liệu chính khác; và
- tài liệu tham khảo cụ thể cho báo cáo đánh giá.
Ví dụ về bản tuyên bố sự phù hợp được cho trong Phụ lục B.
8.4 Thử nghiệm điển hình
8.4.1 Yêu cầu chung
Mục đích của thử nghiệm điển hình là để cung cấp dữ liệu cần thiết để xác nhận tính năng về điện, các khía cạnh quan trọng về an toàn và kiểm tra xác nhận bổ sung bằng thực nghiệm cần thiết và tất cả các khía cạnh khác mà không thể đánh giá một cách tin tưởng bằng cách phân tích. Thử nghiệm điển hình gồm các yếu tố được thể hiện trên Hình 5.
Tổ chức chứng nhận đánh giá việc thử nghiệm các khía cạnh này, trong trường hợp thuộc đối tượng áp dụng, được thực hiện cho một tuabin hoặc thành phần của tuabin đại diện cho kiểu được chứng nhận. Hồ sơ kiểm tra phải được hoàn thiện, tốt nhất là trước các thử nghiệm này để chứng tỏ sự phù hợp thỏa đáng của tuabin hoặc thành phần với tài liệu thiết kế.
Chương trình thử nghiệm chi tiết phải được xác định bởi bên đăng ký và được phê duyệt bởi tổ chức chứng nhận trên cơ sở từng trường hợp.
x
Hình 5 - Yếu tố thử nghiệm điển hình
Các yếu tố thử nghiệm điển hình trên Hình 5 và thử nghiệm tuổi thọ phải được thực hiện bởi phòng thử nghiệm được công nhận hoặc tổ chức chứng nhận cần xác nhận rằng tổ chức thực hiện thử nghiệm phù hợp với tối thiểu là các tiêu chí của TCVN ISO/IEC 17025 hoặc TCVN ISO/IEC 17020, nếu thuộc đối tượng áp dụng. Yêu cầu đối với thử nghiệm được mô tả trong IEC 61400-2.
Tổ chức chứng nhận phải yêu cầu rằng thử nghiệm này và các kết quả thử nghiệm được đưa vào trong báo cáo thử nghiệm. Báo cáo thử nghiệm phải được đánh giá bởi tổ chức chứng nhận để đảm bảo rằng các thử nghiệm được thực hiện phù hợp với chương trình thử nghiệm chi tiết đã được phê duyệt và báo cáo thử nghiệm cung cấp tài liệu đúng về các khía cạnh được yêu cầu cho chứng nhận. Tổ chức chứng nhận phải xác nhận bằng kiểm tra các tính chất về an toàn người lao động quan trọng được thực hiện thỏa đáng cho tuabin gió đã được lắp đặt cần thử nghiệm.
Đánh giá sự thỏa đáng được kết luận bằng bản tuyên bố sự phù hợp. Người ký bản tuyên bố sự phù hợp phải khác với người chịu trách nhiệm cho báo cáo thử nghiệm, xác nhận các thử nghiệm và công nhận phòng thử nghiệm.
Đối với SWT được thiết kế theo IEC 61400-2, các phép đo tải và thử nghiệm cánh phải được thay bởi thử nghiệm tuổi thọ.
8.4.2 Thử nghiệm an toàn và thử nghiệm chức năng
Mục đích của thử nghiệm an toàn và thử nghiệm chức năng là để xác nhận rằng tuabin gió cần thử nghiệm đáp ứng được dự kiến như trong thiết kế.
Tổ chức chứng nhận phải xác nhận rằng các chức năng của hệ thống điều khiển và bảo vệ thể hiện thỏa đáng theo kế hoạch thử nghiệm đã được phê duyệt, xem 8.3.3. Kế hoạch thử nghiệm ít nhất phải gồm có thử nghiệm các chức năng dưới đây. Ngoài ra, đáp ứng động của tuabin gió ở tốc độ gió danh định hoặc cao hơn phải được xác nhận bằng cách thử nghiệm nếu chưa được xác nhận trong phạm vi các phép đo tải (xem 8.4.4).
Chức năng bảo vệ cần thử nghiệm phải gồm có các chức năng với một sự cố đơn lẻ của hệ thống điều khiển và bảo vệ.
Các yêu cầu chi tiết về thử nghiệm được nêu ở Phụ lục D.
8.4.3 Phép đo tính năng về điện
Mục đích của các phép đo tính năng về điện là để cung cấp tài liệu bằng đường cong công suất đo được và sản lượng điện hàng năm đối với một kiểu tuabin gió theo IEC 61400-12-1.
Tổ chức chứng nhận phải xác nhận rằng các quy trình đo phù hợp với IEC 61400-12-1 và các điều kiện đo, dụng cụ đo, hiệu chuẩn và phân tích được mô tả trong báo cáo thử nghiệm cũng phù hợp với IEC 61400-12-1.
8.4.4 Phép đo tải
Mục đích của phép đo tải là để đánh giá các tính toán thiết kế và để xác định độ lớn của tải trong các điều kiện cụ thể.
Tổ chức chứng nhận phải đánh giá các phép đo tải được thực hiện để chứng nhận kiểu và xem xét việc phân tích dữ liệu đo được do bên đăng ký cung cấp.
Phép đo và phân tích phải được thực hiện trên cơ sở các yêu cầu tối thiểu được nêu chi tiết trong Phụ lục C.
Các phép đo phải được thực hiện trên một tuabin gió có động lực và kết cấu tương tự nhưng cũng có thể khác về chi tiết (ví dụ như thiết kế cột tháp khác) so với tuabin gió được giao nộp để chứng nhận. Trong trường hợp khác nhau, bên đăng ký phải đánh giá sự khác nhau, ví dụ như dự kiến về tải thực hiện và đáp ứng động đối với tuabin gió cần thử nghiệm.
Hướng dẫn về quy trình thử nghiệm và đánh giá các thử nghiệm có thể có trong IEC/TS 61400-13.
8.4.5 Thử nghiệm cánh
Mục đích của thử nghiệm cánh là để xác nhận thiết kế kết cấu cánh và để đánh giá tính thích hợp của quá trình chế tạo. Thử nghiệm kết cấu đúng kích cỡ được yêu cầu cho tất cả các kiểu cánh mới. Một kiểu cánh được mô tả không chỉ về mặt kích cỡ và hình dạng của nó mà còn về mặt cấu trúc và kết cấu bên trong. Các thử nghiệm độ mỏi cũng như các thử nghiệm tĩnh được yêu cầu. Hướng dẫn đối với các quy trình thử nghiệm và đánh giá các thử nghiệm này có thể có trong quy định kỹ thuật thử nghiệm kết cấu của cánh trong bộ tiêu chuẩn TCVN 10687 (IEC 61400) và/hoặc IEC 61400.
Cánh thử nghiệm phải là đại diện cho thiết kế cánh được xem xét để đánh giá thiết kế. Các sai lệch phải được phê duyệt bởi tổ chức chứng nhận. Nếu thiết kế cánh có thay đổi thì tổ chức chứng nhận phải xác định sự cần thiết và các yêu cầu cho thử nghiệm mới bất kỳ, có ý kiến của nhà chế tạo. Các thử nghiệm mới phải được yêu cầu sau khi có thay đổi đáng kể về thiết kế cánh. Sự thay đổi như dưới đây có thể được xem là thay đổi lớn:
- hệ thống cấu trúc, kể cả bố trí làm cứng bên trong:
- đặc tính khí động lực;
- vật liệu làm các bộ phận mang tải tới hạn; và
- các vùng chuyển tiếp trong chân cánh.
8.4.6 Các thử nghiệm khác
Tổ chức chứng nhận có thể yêu cầu thực hiện các thử nghiệm/phép đo khác. Các thử nghiệm khác cũng có thể được yêu cầu bởi bên đăng ký để kết luận trong thử nghiệm điển hình. Các thử nghiệm này có thể gồm có:
- điều kiện nhiệt của các thành phần cơ và điện chính;
- điều kiện cơ (rung, khe hở, đáp ứng) của các thành phần cơ và điện chính;
- thử nghiệm môi trường của cụm lắp ráp điện tử; và
- thử nghiệm tương thích điện từ.
Thử nghiệm điển hình đối với tuabin gió được trang bị hộp số chính phải được thêm vào thử nghiệm trường đối với các hộp số chính như yêu cầu trong IEC 61400-4.
8.4.7 Báo cáo thử nghiệm
Báo cáo thử nghiệm điển hình phải phù hợp với các yêu cầu của TCVN ISO/IEC 17025 và các tiêu chuẩn liên quan được sử dụng để xác định các yêu cầu thử nghiệm. Ngoài ra, báo cáo thử nghiệm phải gồm có các mô tả về:
- tuabin gió hoặc thành phần, được nhận biết bằng số seri (và (các) lần sửa đổi phần mềm hệ thống điều khiển, trong trường hợp thuộc đối tượng áp dụng);
- những khác biệt bất kỳ giữa tuabin gió hoặc thành phần cần thử nghiệm với bộ phận tương ứng có trong chứng nhận; và
- đáp ứng không mong muốn đáng kể bất kỳ.
Sự xác nhận bởi tổ chức chứng nhận phải được ghi nhãn rõ ràng trong (các) báo cáo thử nghiệm điển hình cuối cùng.
8.4.8 Bản tuyên bố sự phù hợp thử nghiệm điển hình
Tổ chức chứng nhận sẽ cấp bản tuyên bố sự phù hợp dựa trên việc đánh giá sự thỏa đáng của báo cáo thử nghiệm. Bản tuyên bố sự phù hợp phải xác định:
- các thử nghiệm được thực hiện;
- tiêu chuẩn thử nghiệm được áp dụng; và
- nhận biết các báo cáo thử nghiệm.
Ví dụ về bản tuyên bố sự phù hợp được cho trong Phụ lục B.
8.5 Đánh giá quá trình chế tạo
8.5.1 Yêu cầu chung
Mục đích của đánh giá quá trình chế tạo nhằm đánh giá xem một kiểu tuabin gió xác định được chế tạo phù hợp với tài liệu thiết kế đã được xác nhận trong quá trình đánh giá thiết kế. Việc đánh giá này phải gồm các yếu tố dưới đây:
- đánh giá hệ thống chất lượng; và
- kiểm tra quá trình chế tạo.
Đánh giá quá trình chế tạo giả thiết trước rằng nhà chế tạo tuabin gió và các thành phần chính vận hành một hệ thống chất lượng. Việc này đòi hỏi chế tạo ít nhất một mẫu đại diện của một kiểu cần chứng nhận.
8.5.2 Đánh giá hệ thống chất lượng
Yêu cầu đánh giá hệ thống chất lượng được thỏa đáng nếu hệ thống chất lượng được chứng nhận phù hợp với TCVN ISO 9001. Việc chứng nhận hệ thống này phải được thực hiện bởi tổ chức được công nhận thực hiện theo TCVN ISO/IEC 17021.
Nếu hệ thống chất lượng chưa được chứng nhận thì tổ chức chứng nhận phải đánh giá hệ thống của bên đăng ký. Các khía cạnh dưới đây phải được đánh giá:
- trách nhiệm;
- kiểm soát tài liệu;
- thuê thầu phụ;
- mua hàng;
- kiểm soát quá trình;
- kiểm tra và thử nghiệm;
- biện pháp khắc phục;
- hồ sơ chất lượng;
- đào tạo; và
- nhận biết và truy xuất nguồn gốc sản phẩm.
8.5.3 Kiểm tra quá trình chế tạo
Phải đảm bảo rằng các yêu cầu được nhận biết trong quá trình đánh giá thiết kế liên quan đến các thành phần quan trọng và các quá trình chế tạo quan trọng được tuân thủ và thực hiện trong chế tạo và lắp ráp. Tổ chức chứng nhận sẽ xác nhận bằng cách kiểm tra ít nhất một mẫu đại diện được chế tạo theo thiết kế cần chứng nhận.
Việc kiểm tra bao gồm:
- kiểm tra xác nhận các quy định kỹ thuật về thiết kế được thực hiện đúng trong phân xưởng;
- các hướng dẫn trong phân xưởng, quy định kỹ thuật về mua hàng và hướng dẫn lắp đặt;
- đánh giá phân xưởng chế tạo, nếu liên quan;
- kiểm tra xác nhận các phương pháp chế tạo, các quy trình và bằng cấp của người lao động;
- xem xét các giấy chứng nhận vật liệu;
- kiểm tra ngẫu nhiên tính hiệu quả của các quy trình chấp nhận thành phần được mua; và
- kiểm tra ngẫu nhiên các quá trình chế tạo.
Kiểm tra các thành phần quan trọng phải do nhà chế tạo tuabin gió thực hiện trừ khi việc kiểm tra hàng hóa đầu vào của nhà chế tạo là không đủ để đảm bảo rằng các yêu cầu được nhận biết trong khi đánh giá thiết kế được đáp ứng.
Nói chung, các thành phần dưới đây phải được xem xét kiểm tra:
- cánh rôto;
- hub rôto;
- trục rôto;
- ổ đỡ trục chính, ổ đỡ xoay cánh và ổ đỡ xoay tuabin (truyền động xoay cánh và xoay tuabin);
- hộp ổ đỡ chính;
- hộp số;
- cơ cấu khóa và phanh cơ;
- máy phát, máy biến áp;
- khung chính, khung máy phát;
- cột tháp;
- kết cấu nền (tùy chọn);
- móng (tùy chọn);
- các đấu nối bắt bu lông; và
- cụm hub và thân tuabin (trong phân xưởng).
Nếu một thành phần quan trọng được tạo ra bởi nhiều nhà chế tạo thành phần và các thành phần này có quy định kỹ thuật và/hoặc quá trình chế tạo rất khác nhau thì tất cả các thành phần khác nhau này phải được xem xét kiểm tra.
Sự thay đổi về quá trình chế tạo ảnh hưởng đến chất lượng thành phần hoặc các đặc tính của thành phần phải được báo cáo cho tổ chức chứng nhận. Trong trường hợp có sự thay đổi lớn về quá trình thì phải gửi tài liệu để đánh giá lại và nếu cần, phải kiểm tra lại.
Phải kiểm tra lại quá trình chế tạo khi gia hạn giấy chứng nhận.
8.5.4 Bản tuyên bố sự phù hợp của quá trình chế tạo
Đánh giá sự phù hợp của quá trình chế tạo thỏa đáng được kết luận bằng bản tuyên bố sự phù hợp của quá trình chế tạo.
Ví dụ về bản tuyên bố sự phù hợp được cho trong Phụ lục B.
8.6 Đánh giá thiết kế móng
Mục đích của đánh giá thiết kế móng tùy chọn là để đưa vào một hoặc nhiều thiết kế móng trong giấy chứng nhận kiểu, như được chọn bởi bên đăng ký. Tổ chức chứng nhận sẽ đánh giá móng của tuabin bất kỳ có trong chứng nhận kiểu được thiết kế phù hợp với quy định kỹ thuật của móng được mô tả chi tiết trong tài liệu thiết kế sử dụng trong đánh giá thiết kế tuabin (xem 8.3.10) và phù hợp với các tiêu chuẩn và quy phạm áp dụng theo thỏa thuận.
Đối với một tuabin gió ngoài khơi, phạm vi của đánh giá thiết kế móng phải được đưa vào kết cấu nền nối móng với cột tháp.
Nếu thuộc đối tượng áp dụng, tổ chức chứng nhận sẽ yêu cầu rằng lớp cốt thép bê tông và các bố trí tuần tự về xây dựng được đưa vào tài liệu thiết kế móng. Các bố trí này phải được mô tả chi tiết đầy đủ để cho phép tổ chức chứng nhận xác nhận tính thích hợp của thiết kế móng, có tính đến quá trình xây dựng quy định.
Tổ chức chứng nhận sẽ cấp bản tuyên bố sự phù hợp dựa trên việc đánh giá sự thỏa đáng của báo cáo đánh giá thiết kế móng. Bản tuyên bố sự phù hợp phải có:
- nhận biết kiểu tuabin gió;
- bản mô tả các điều kiện giả định về đất và các điều kiện bên ngoài khác;
- nhận biết cấu hình cột tháp;
- nhận biết cấu hình của kết cấu nền; và
- nhận biết kiểu móng.
Ví dụ về bản tuyên bố sự phù hợp được cho trong Phụ lục B.
8.7 Đánh giá chế tạo móng
8.7.1 Yêu cầu chung
Mục đích của việc đánh giá này là để đánh giá một kiểu móng cụ thể của tuabin gió được chế tạo phù hợp với thiết kế theo tài liệu được xác nhận trong quá trình đánh giá thiết kế. Việc đánh giá này phải gồm các yếu tố sau:
- đánh giá hệ thống chất lượng; và
- kiểm tra quá trình chế tạo móng
Đánh giá quá trình chế tạo này giả thiết rằng nhà chế tạo móng điều hành một hệ thống chất lượng. Việc này đòi hỏi chế tạo ít nhất một mẫu đại diện của một kiểu cần chứng nhận.
Đối với tuabin gió ngoài khơi, đánh giá chế tạo móng gồm có đánh giá quá trình chế tạo kết cấu nền nối móng vào cột tháp.
8.7.2 Đánh giá hệ thống chất lượng
Yêu cầu đánh giá hệ thống chất lượng được đáp ứng nếu hệ thống chất lượng được chứng nhận phù hợp với TCVN ISO 9001. Việc chứng nhận hệ thống này phải được thực hiện bởi tổ chức được công nhận thực hiện theo TCVN ISO/IEC 17021.
Nếu hệ thống chất lượng chưa được chứng nhận thì tổ chức chứng nhận phải đánh giá hệ thống của bên đăng ký. Các khía cạnh dưới đây phải được đánh giá:
- trách nhiệm;
- kiểm soát tài liệu;
- thuê thầu phụ;
- mua hàng;
- kiểm soát quá trình;
- kiểm tra và thử nghiệm;
- biện pháp khắc phục;
- hồ sơ;
- đào tạo; và
- nhận biết và truy xuất nguồn gốc sản phẩm.
8.7.3 Kiểm tra chế tạo móng
Phải đảm bảo rằng các yêu cầu được nhận biết trong quá trình đánh giá thiết kế liên quan đến các quá trình chế tạo quan trọng được tuân thủ và thực hiện trong chế tạo. Tổ chức chứng nhận sẽ xác nhận bằng cách kiểm tra ít nhất một mẫu đại diện được chế tạo theo thiết kế cần chứng nhận.
Việc kiểm tra bao gồm:
- kiểm tra xác nhận các quy định kỹ thuật về thiết kế được thực hiện đúng tại vị trí lắp đặt (ví dụ như lớp cốt thép, bê tông và các bố trí tuần tự về xây dựng);
- các hướng dẫn chế tạo, quy định kỹ thuật về mua hàng và hướng dẫn lắp đặt;
- kiểm tra xác nhận các phương pháp chế tạo, các quy trình và bằng cấp của người lao động;
- xem xét lại các giấy chứng nhận vật liệu;
- kiểm tra ngẫu nhiên tính hiệu quả của các quy trình chấp nhận thành phần được mua; và
- kiểm tra ngẫu nhiên các quá trình chế tạo.
Nếu một móng được tạo ra bởi nhiều nhà chế tạo và móng này có quy định kỹ thuật và/hoặc quá trình chế tạo rất khác nhau thì tất cả các thành phần khác nhau này phải được xem xét kiểm tra.
Sự thay đổi về quá trình chế tạo ảnh hưởng đến chất lượng móng hoặc các đặc tính của móng phải được báo cáo cho tổ chức chứng nhận. Trong trường hợp có sự thay đổi lớn về quá trình thì phải gửi tài liệu để đánh giá lại và nếu cần thiết, phải kiểm tra lại.
Phải kiểm tra lại quá trình chế tạo khi gia hạn giấy chứng nhận.
8.5.4 Bản tuyên bố sự phù hợp về quá trình chế tạo
Đánh giá sự phù hợp của quá trình chế tạo thỏa đáng được kết luận bằng bản tuyên bố sự phù hợp của quá trình chế tạo.
Ví dụ về bản tuyên bố sự phù hợp được cho trong Phụ lục B.
8.8 Phép đo các đặc tính điển hình
8.8.1 Quy định chung
Mục đích của các phép đo đặc tính điển hình là để thiết lập các đặc tính liên quan đến tính năng của một kiểu tuabin gió mà không phải là đo tính năng về điện là một yếu tố bắt buộc của thử nghiệm điển hình (8.4.3). Các phép đo tùy chọn này có thể do bên đăng ký chọn lựa và phải phù hợp với bộ tiêu chuẩn TCVN 10687 (IEC 61400) và/hoặc IEC 61400 liên quan được liệt kê trong các điều dưới đây. Phép đo đặc tính điển hình gồm một hoặc nhiều yếu tố sau:
- thử nghiệm chất lượng điện năng;
- thử nghiệm khả năng phục hồi khi điện áp thấp; và
- các phép đo tạp âm được thể hiện trên Hình 6.

Hình 6 - Các yếu tố của phép đo đặc tính điển hình
Trong trường hợp không có sẵn các tiêu chuẩn áp dụng thì quy trình đo phải theo thỏa thuận giữa bên đăng ký và tổ chức chứng nhận.
Tổ chức chứng nhận đánh giá phép đo đặc tính được thực hiện trên một tuabin gió đại diện của kiểu cần chứng nhận. Hồ sơ kiểm tra phải được hoàn thành trước khi đo để chứng tỏ sự phù hợp thỏa đáng của tuabin với tài liệu thiết kế.
Các phép đo được thực hiện bởi phòng thử nghiệm được công nhận hoặc tổ chức chứng nhận cần xác nhận rằng tổ chức thực hiện thử nghiệm phù hợp với tối thiểu là các tiêu chí của TCVN ISO/IEC 17025 hoặc TCVN ISO/IEC 17020, nếu thuộc đối tượng áp dụng.
Kết quả đo và thử nghiệm phải được lập thành văn bản đưa vào trong báo cáo thử nghiệm và được đánh giá bởi tổ chức chứng nhận. Tổ chức chứng nhận phải đánh giá các phép đo được thực hiện phù hợp với chương trình thử nghiệm chi tiết đã được phê duyệt và báo cáo cung cấp tài liệu đúng về các đặc tính được yêu cầu chứng nhận.
Đánh giá sự thỏa đáng được kết luận bằng bản tuyên bố sự phù hợp được cấp bởi tổ chức chứng nhận, xác nhận rằng các phép đo được thực hiện phù hợp với các quy trình thử nghiệm thích hợp và với bộ tiêu chuẩn TCVN 10687 (IEC 61400) và/hoặc IEC 61400 liên quan.
Ví dụ về bản tuyên bố sự phù hợp được cho trong Phụ lục B.
8.8.2 Phép đo chất lượng điện năng
Để chứng nhận kiểu, trong đó có các phép đo chất lượng điện năng, tổ chức chứng nhận phải xác nhận rằng các quy trình đo phù hợp với TCVN 10687-21 (IEC 61400-21) và các điều kiện đo, dụng cụ đo, hiệu chuẩn và phân tích được mô tả trong báo cáo thử nghiệm cũng phù hợp với TCVN 10687-21 (IEC 61400-21). Mục đích của các phép đo này là để cung cấp tài liệu về chất lượng điện năng tạo ra bởi kiểu tuabin gió này.
8.8.3 Phép đo khả năng phục hồi khi điện áp thấp
Để chứng nhận kiểu, trong đó có các phép đo khả năng phục hồi khi điện áp thấp, tổ chức chứng nhận phải xác nhận rằng các quy trình đo phù hợp với các tiêu chuẩn liên quan và các điều kiện đo, dụng cụ đo, hiệu chuẩn và phân tích được mô tả trong báo cáo thử nghiệm cũng phù hợp với các tiêu chuẩn liên quan.
Các tiêu chuẩn liên quan gồm có:
- TCVN 10687-21 (IEC 61400-21); và
- các tiêu chuẩn khác theo thỏa thuận giữa tổ chức chứng nhận và bên đăng ký.
Mục đích của các phép đo này là để cung cấp tài liệu về khả năng phục hồi khi điện áp thấp của kiểu tuabin gió này.
8.8.4 Phép đo tạp âm
Để chứng nhận kiểu, trong đó có các phép đo phát xạ âm thanh, tổ chức chứng nhận phải xác nhận rằng các quy trình đo phù hợp với IEC 61400-11. Mục đích của các phép đo này là để cung cấp tài liệu về đặc tính phát xạ âm thanh của kiểu tuabin gió này. Nếu phép đo phát xạ âm thanh được đưa vào thì tổ chức chứng nhận phải xác nhận, tối thiểu là:
- mức công suất âm thanh biểu kiến ở tốc độ gió 8 m/s,
- chỉ số âm thanh có hướng tại ba vị trí yêu cầu, và
- âm của tiếng bất kỳ trên mức ngưỡng nhỏ nhất như xác định trong IEC 61400-11.
Tổ chức chứng nhận cũng xác nhận các điều kiện đo, dụng cụ đo, hiệu chuẩn và phân tích được mô tả trong báo cáo thử nghiệm phù hợp với IEC 61400-11.
8.8.5 Báo cáo thử nghiệm
Tổ chức chứng nhận yêu cầu báo cáo đo đặc tính điển hình phù hợp với các yêu cầu của TCVN ISO/IEC 17025 và các tiêu chuẩn liên quan được sử dụng để xác định các yêu cầu thử nghiệm. Ngoài ra, báo cáo thử nghiệm phải gồm có các mô tả về:
- tuabin gió thử nghiệm gồm số seri (và (các) lần sửa đổi phần mềm hệ thống điều khiển;
- những khác biệt bất kỳ giữa tuabin gió và kiểu tuabin gió cần chứng nhận; và
- đáp ứng không mong muốn đáng kể bất kỳ.
Sự xác nhận bởi tổ chức chứng nhận phải được ghi nhận rõ ràng trong (các) báo cáo đo đặc tính điển hình cuối cùng.
8.8.6 Bản tuyên bố sự phù hợp của các phép đo đặc tính điển hình
Tổ chức chứng nhận sẽ cấp bản tuyên bố sự phù hợp dựa trên việc đánh giá sự thỏa đáng của báo cáo thử nghiệm. Bản tuyên bố sự phù hợp phải xác định:
- các phép đo được thực hiện;
- tiêu chuẩn về phép đo được áp dụng; và
- nhận biết các báo cáo thử nghiệm.
Ví dụ về bản tuyên bố sự phù hợp được cho trong Phụ lục B.
8.9 Đánh giá cuối cùng
Mục đích của việc đánh giá kết thúc là để cung cấp tài liệu về tìm kiếm các tổ chức thực hiện tham gia vào việc đánh giá các yếu tố của việc chứng nhận kiểu.
Báo cáo đánh giá cuối cùng gồm có:
- danh mục tham khảo về tất cả các tài liệu sản phẩm hỗ trợ cho chứng nhận kiểu;
- báo cáo về việc tài liệu chi tiết là hoàn thiện và các kết quả thử nghiệm điển hình xác nhận tất cả các yêu cầu liên quan đưa ra trong tài liệu thiết kế; và
- xem xét tài liệu sản phẩm cuối cùng, bao gồm bản vẽ, danh mục thành phần, quy định kỹ thuật về cung ứng và sổ tay hướng dẫn (xem đoạn dưới đây), để xác nhận rằng việc này đồng nhất với báo cáo đánh giá quá trình chế tạo và với các tính toán thiết kế được cung cấp và các giả thiết thiết kế liên quan.
Tổ chức chứng nhận phải xác thực rằng việc lắp đặt, hướng dẫn cho người vận hành và sổ tay hướng dẫn bảo trì dựa vào các yêu cầu liên quan trong TCVN 10687-1 (IEC 61400-1), IEC 61400-2 và IEC 61400-3 cho tuabin gió ngoài khơi. Sổ tay hướng dẫn này phải được xem xét dựa vào các quá trình đã được phê duyệt tương ứng. Tổ chức chứng nhận phải xác minh rằng:
- mẫu và mô tả chi tiết phải sao cho nhân viên đã được đào tạo kỹ thuật có thể hiểu tài liệu này;
- các lưu ý về an toàn và quy định để ngăn ngừa tai nạn được bố trí ở dạng chữ được xuất hiện trước khi vận hành; và
- các lưu ý này phải được nhận biết rõ ràng cho các hạng mục an toàn liên quan.
Báo cáo đánh giá cuối cùng phải được đưa cho bên đăng ký và bản sao được giữ trong hồ sơ mật của tổ chức chứng nhận.
8.10 Giấy chứng nhận kiểu
Tổ chức chứng nhận sẽ cấp giấy chứng nhận kiểu dựa trên đánh giá thỏa đáng việc hoàn thiện và khắc phục theo báo cáo đánh giá cuối cùng. Giấy chứng nhận kiểu gồm các kết quả của môđun bắt buộc và, trong trường hợp thuộc đối tượng áp dụng, tài liệu thiết kế móng tùy chọn và đánh giá quá trình chế tạo (xem 8.6 và 8.7) và các phép đo đặc tính điển hình (xem 8.8).
Giấy chứng nhận kiểu có hiệu lực đối với kiểu tuabin gió được quy định trong giấy chứng nhận. Quy định kỹ thuật có thể bao gồm các thành phần và cấu hình thay thế. Phối hợp cho phép của các thay thế này phải được nhận biết rõ ràng.
Giấy chứng nhận kiểu sẽ tham chiếu theo cách thích hợp các tiêu chuẩn và tài liệu viện dẫn được sử dụng. Giấy chứng nhận kiểu phải bao gồm thông tin nêu trong Phụ lục B.
Tổ chức chứng nhận phải đưa vào các yêu cầu theo thỏa thuận bao trùm tính hiệu lực của giấy chứng nhận, xem 6.5.1.
Nếu bên đăng ký không vận hành một hệ thống chất lượng được chứng nhận theo TCVN ISO 9001 thì tổ chức chứng nhận phải xác nhận tối thiểu một lần một năm rằng tuabin gió được chế tạo phù hợp với thiết kế đã được chứng nhận. Việc chứng nhận này phải theo các yếu tố ở 8.5.
Ví dụ về giấy chứng nhận kiểu được cho trong Phụ lục B.
9 Chứng nhận dự án
9.1 Quy định chung
Chứng nhận dự án xác nhận rằng đối với một vị trí cụ thể mà tuabin gió đã được chứng nhận kiểu và thiết kế móng cụ thể đáp ứng các yêu cầu bao trùm bởi các điều kiện bên ngoài của vị trí cụ thể và phù hợp với các quy phạm và yêu cầu khác liên quan đến vị trí. Chứng nhận dự án cũng xác nhận sự phù hợp đối với các hệ thống lắp đặt khác liên quan đến hệ thống lắp đặt tuabin. Việc chứng nhận này sẽ xác nhận rằng điều kiện gió, điều kiện môi trường khác và điều kiện mạng điện, và đặc tính đất tại vị trí lắp đặt phù hợp với các điều kiện được xác định trong tài liệu thiết kế cho (các) kiểu tuabin gió và (các) móng.
Chứng nhận dự án cũng có thể xác nhận rằng hệ thống lắp đặt và đưa vào vận hành phù hợp với các tiêu chuẩn cụ thể và các yêu cầu kỹ thuật khác, và tuabin gió được vận hành và bảo trì phù hợp với các hướng dẫn liên quan.
Trong tiêu chuẩn này, giấy chứng nhận và bản tuyên bố sự phù hợp đối với chứng nhận dự án chỉ được cấp cho tuabin gió được chứng nhận kiểu theo các tiêu chí được mô tả chi tiết ở Điều 8.
Tổ chức chứng nhận yêu cầu bên đăng ký cung cấp tài liệu đề cập đến tất cả các khía cạnh được nêu chi tiết ở điều này. Tài liệu phải được đánh giá phù hợp với các yêu cầu kỹ thuật của tiêu chuẩn này, TCVN 10687-1 (IEC 61400-1), IEC 61400-2 hoặc IEC 61400-3 và các quy phạm và tiêu chuẩn được áp dụng khác được chọn bởi nhà thiết kế và theo thỏa thuận với tổ chức chứng nhận.
9.2 Đánh giá điều kiện tại vị trí lắp đặt
9.2.1 Quy định chung
Mục đích của việc đánh giá điều kiện tại vị trí lắp đặt là để kiểm tra sự phù hợp của các đặc tính về môi trường, điện và đất ở vị trí lắp đặt với các tham số được xác định trong tài liệu thiết kế.
9.2.2 Yêu cầu về đánh giá điều kiện tại vị trí lắp đặt
Tổ chức chứng nhận phải đánh giá việc đánh giá các điều kiện bên ngoài tại vị trí lắp đặt, như mô tả chi tiết trong TCVN 10687-1 (IEC 61400-1), IEC 61400-2 hoặc IEC 61400-3 đối với các dự án ngoài khơi, được thực hiện và lập thành văn bản thỏa đáng. Các điều kiện tại vị trí lắp đặt được phân loại theo các hạng mục sau đây:
- điều kiện gió;
- các điều kiện môi trường khác;
- điều kiện địa chấn;
- điều kiện mạng lưới điện; và
- các điều kiện kỹ thuật về địa chất.
Đối với vị trí ngoài khơi, các điều kiện này được bổ sung thêm:
- điều kiện biển, và
- cửa sổ thời tiết và thời tiết khi không làm việc
Việc đánh giá điều kiện tại vị trí lắp đặt dựa vào các phép đo tại vị trí cụ thể, được hỗ trợ bằng các bản đồ trường gió được thiết lập trên các dữ liệu thời tiết trước đó và/hoặc các tiêu chuẩn hoặc phương pháp áp dụng có hiệu lực đối với vị trí lắp đặt. Các phép đo tại vị trí cụ thể thường có tương quan với dữ liệu từ vị trí lân cận trong đó tồn tại các phép đo dài hạn. Thời gian quan sát đối với các phép đo tại vị trí cụ thể phải đủ để thu được dữ liệu tin cậy.
Tổ chức chứng nhận có thể thực hiện các tính toán độc lập đối với các tham số được chọn dựa trên dữ liệu về môi trường và dữ liệu kỹ thuật về địa chất được cung cấp.
Các phép đo điều kiện bên ngoài tại vị trí lắp đặt phải được thực hiện bởi phòng thử nghiệm được công nhận theo TCVN ISO/IEC 17025 hoặc tổ chức chứng nhận cần xác nhận chất lượng và độ tin cậy thỏa đáng của phép đo. Việc kiểm tra xác nhận bao gồm đánh giá:
- phương pháp thử nghiệm và hiệu chuẩn;
- thiết bị;
- liên kết chuẩn đo lường;
- đảm bảo chất lượng của các kết quả thử nghiệm và hiệu chuẩn; và
- báo cáo kết quả.
Tổ chức chứng nhận yêu cầu rằng người lao động có chuyên môn (nhà khí tượng học, kỹ sư hoặc nhà địa chất) thực hiện việc thu thập dữ liệu, phân tích và báo cáo các điều kiện bên ngoài tại vị trí lắp đặt.
Tổ chức chứng nhận đánh giá các báo cáo liên quan cung cấp đúng tài liệu về các điều kiện bên ngoài cũng như các dữ liệu được thu thập, các phương pháp thống kê áp dụng và các tham số thiết kế đối với các điều kiện bên ngoài.
9.2.3 Bản tuyên bố sự phù hợp về đánh giá các điều kiện tại vị trí lắp đặt
Việc đánh giá các điều kiện tại vị trí lắp đặt thỏa đáng được kết luận bằng bản tuyên bố sự phù hợp về đánh giá các điều kiện tại vị trí lắp đặt. Bản tuyên bố sự phù hợp phải bao gồm nhận biết các báo cáo đánh giá.
Ví dụ về bản tuyên bố sự phù hợp được cho trong Phụ lục B.
9.3 Đánh giá cơ sở thiết kế
9.3.1 Quy định chung
Mục đích của việc đánh giá điều kiện tại vị trí lắp đặt là để kiểm tra sự phù hợp của các đặc tính về môi trường, điện và đất ở vị trí lắp đặt với các tham số được xác định trong tài liệu thiết kế.
9.3.2 Yêu cầu về cơ sở thiết kế
Cơ sở thiết kế phải nhận dạng và bao gồm:
- tham số thiết kế đối với các điều kiện bên ngoài;
- phương pháp luận và nguyên lý thiết kế;
- quy phạm và tiêu chuẩn tạo thành cơ sở thiết kế;
- các yêu cầu hợp pháp liên quan khác (ví dụ chất hàng lên tàu, cứu hộ và ngừng hoạt động);
- kiểu tuabin gió; quy định kỹ thuật chính hoặc giấy chứng nhận kiểu có nhận biết các sai lệch;
- khái niệm về kết cấu đỡ;
- yêu cầu về chế tạo, vận chuyển, lắp đặt và chạy thử;
- yêu cầu về vận hành và bảo trì;
- yêu cầu về nối lưới; và
- các yêu cầu khác cho dự án, ví dụ từ chủ dự án.
Cơ sở thiết kế bao gồm tất cả các khía cạnh và tham số thiết kế liên quan cần áp dụng trong tính toán về điều kiện bên ngoài tại vị trí lắp đặt, tải, các trường hợp thiết kế tải, hệ số an toàn từng phần đặt lên tải và vật liệu, dung sai hình học, độ tăng cho phép về ăn mòn, v.v...
Cơ sở thiết kế phải mô tả các nguyên lý và phương pháp luận, bao gồm cách thiết lập các yếu tố sau:
- quy phạm và tiêu chuẩn;
- tham số thiết kế đối với các điều kiện bên ngoài;
- ảnh hưởng của thủy triều;
- các trường hợp thiết kế tải;
- hệ số tải và hệ số giảm tải;
- thời gian mô phỏng và số lần mô phỏng; và
- tải thiết kế cực trị và mỏi/phân tích đáp ứng.
Cơ sở thiết kế bao gồm các yêu cầu về chế tạo, vận chuyển, lắp đặt và chạy thử như:
- quy phạm và tiêu chuẩn;
- hệ thống quản lý chất lượng;
- điều kiện môi trường liên quan đến lắp đặt;
- các yêu cầu về hướng dẫn chế tạo, vận chuyển, lắp đặt và chạy thử.
Cơ sở thiết kế bao gồm các yêu cầu về vận hành và bảo trì như:
- quy phạm và tiêu chuẩn;
- hệ thống quản lý chất lượng;
- phạm vi và tần suất giám sát;
- tuổi thọ mục tiêu của thành phần, hệ thống và kết cấu;
- yêu cầu về hướng dẫn vận hành và bảo trì;
- yêu cầu về hệ thống theo dõi ổn định; và
- yêu cầu về an toàn người lao động.
9.3.3 Bản tuyên bố sự phù hợp về cơ sở thiết kế
Việc đánh giá cơ sở thiết kế thỏa đáng được kết luận bằng bản tuyên bố sự phù hợp về cơ sở thiết kế. Bản tuyên bố sự phù hợp phải bao gồm nhận biết các báo cáo đánh giá.
Ví dụ về bản tuyên bố sự phù hợp được cho trong Phụ lục B.
9.4 Phân tích tải tích hợp
9.4.1 Quy định chung
Mục đích của việc phân tích tải tích hợp là để kiểm tra tải tại vị trí cụ thể và hiệu ứng tải trên kết cấu tuabin gió tích hợp, bao gồm cụm lắp ráp thân tuabin-rôto cộng với kết cấu đỡ và đất đỡ, được suy ra là phù hợp với cơ sở thiết kế.
9.4.2 Yêu cầu về phân tích tải tích hợp
Nếu các điều kiện và yêu cầu trong cơ sở thiết kế liên quan đến tải và hiệu ứng tải tốt hơn giả thiết dùng cho chứng nhận kiểu đối với tuabin gió và kết cấu đỡ và các đặc tính tuabin gió được nhận biết thì không cần thực hiện thêm phân tích tải.
Nếu cần thực hiện phân tích tải thì bên đăng ký phải thể hiện các tính toán này có tính đủ các động lực về kết cấu hoàn chỉnh. Bên đăng ký phải cung cấp tài liệu đầy đủ cho tổ chức chứng nhận gồm các tính toán tải và so sánh với tải được giả định đối với chứng nhận kiểu.
Tổ chức chứng nhận phải đánh giá:
- phối hợp các điều kiện bên ngoài và tình trạng thiết kế (ví dụ bình thường, sự cố, vận chuyển, lắp đặt);
- hệ số an toàn tải từng phần tương ứng;
- phương pháp tính, ví dụ quy trình mô phỏng, số lần mô phỏng và phối hợp gió và tải sóng, nếu cần;
- các trường hợp tải kéo thiết kế được xác định theo các điều kiện tại vị trí lắp đặt và hệ thống vận hành và an toàn của tuabin gió; và
- chênh lệch bất kỳ giữa tải tại vị trí cụ thể và tải được giả thiết cho chứng nhận kiểu.
9.4.3 Bản tuyên bố sự phù hợp về phân tích tải tích hợp
Việc đánh giá thỏa đáng về phân tích tải tích hợp được kết luận bằng bản tuyên bố sự phù hợp.
Ví dụ về bản tuyên bố sự phù hợp được cho trong Phụ lục B.
9.5 Đánh giá thiết kế tuabin gió/RNA tại vị trí cụ thể
9.5.1 Quy định chung
Thiết kế tuabin gió tại vị trí cụ thể phải được đánh giá sự phù hợp với cơ sở thiết kế. Trong trường hợp thiết kế kết cấu đỡ tại vị trí cụ thể, việc đánh giá sẽ chỉ gồm có cụm rôto/thân tuabin.
Ngoài các điều kiện gió và biển, các điều kiện bên ngoài khác có thể ảnh hưởng đến tính toàn vẹn và an toàn của kế tuabin gió tại vị trí cụ thể, ví dụ bởi nhiệt, quang hóa, ăn mòn, cơ, điện hoặc tác động vật lý khác.
9.5.2 Yêu cầu về thiết kế tuabin gió tại vị trí cụ thể
Các điều kiện và giới hạn của chứng nhận kiểu tuabin gió phải được so sánh với các điều kiện tại vị trí thực như cho trong cơ sở thiết kế. Việc so sánh này phải là một phần của tài liệu thiết kế. Việc so sánh này ngoài các điều kiện tải thì bao gồm các điều kiện liên quan khác như:
- nhiệt độ;
- độ ẩm;
- bức xạ mặt trời;
- mưa, mưa đá, tuyết và đá;
- các hoạt chất hóa học;
- các phần tử cơ học hoạt tính;
- độ mặn;
- điều kiện điện; và
- sét, v.v...
Hoạt động được thực hiện liên quan đến các điều kiện liên quan phải được nêu trong tài liệu thiết kế.
Các thành phần kết cấu, cơ và điện phải được thiết kế ở điều kiện thích hợp tại vị trí lắp đặt. Hệ thống bảo vệ ăn mòn phải được đánh giá cho môi trường tại vị trí cụ thể. Phải lưu ý đặc biệt đến các ảnh hưởng của điều kiện tại vị trí cụ thể lên các thành phần điện như máy phát, bộ chuyển đổi, máy biến áp, thiết bị đóng cắt và vỏ ngoài3.
Tải tại vị trí cụ thể là kết quả từ sự phân tích tải tích hợp phải được đánh giá theo tải thiết kế được sử dụng để chứng nhận kiểu. Sự tăng bất kỳ của mức tải cũng như các thay đổi bất kỳ về tần số rung theo chế độ/tự nhiên phải được báo cáo và đánh giá cẩn thận. Việc đánh giá này sẽ xem xét sự liên quan và hiệu lực của phép đo tải, thử nghiệm chức năng và các thử nghiệm thành phần, ví dụ như thử nghiệm cánh. Ngoài ra, việc đánh giá cũng sẽ nhận biết các thành phần nào cần củng cố hoặc sửa đổi.
Tài liệu thiết kế phải được cung cấp cho các thành phần và hệ thống mới, có sửa đổi hoặc củng cố mà không được đề cập hoàn toàn trong giấy chứng nhận kiểu đối với tuabin gió.
Tài liệu thiết kế cho các thành phần và hệ thống điện mới hoặc có sửa đổi phải phù hợp với cơ sở thiết kế và, nếu có liên quan, phải phù hợp với các yêu cầu đối với chứng nhận kiểu.
9.5.3 Bản tuyên bố sự phù hợp về thiết kế tuabin gió tại vị trí cụ thể
Việc đánh giá thỏa đáng về thiết kế tuabin gió tại vị trí cụ thể được kết luận bằng bản tuyên bố sự phù hợp.
Ví dụ về bản tuyên bố sự phù hợp được cho trong Phụ lục B.
9.6 Đánh giá thiết kế kết cấu đỡ tại vị trí cụ thể
9.6.1 Quy định chung
Thiết kế kết cấu đỡ (cột tháp, kết cấu nền và móng) tại vị trí cụ thể phải được đánh giá sự phù hợp với cơ sở thiết kế đã được phê duyệt cũng như các tiêu chuẩn được liệt kê trong đó. Trong trường hợp phạm vi của cơ sở thiết kế không bao gồm kết cấu đỡ thì bên đăng ký có thể tham khảo tiêu chuẩn hoặc phương pháp thiết kế đã được chấp nhận với điều kiện là chúng được tổ chức chứng nhận chấp nhận. Trong mọi trường hợp, mức an toàn thu được phải tối thiểu là phù hợp với mức dự kiến trong bộ tiêu chuẩn TCVN 10687 (IEC 61400) và/hoặc IEC 61400 liên quan, tức là TCVN 10687-1 (IEC 61400-1), IEC 61400-2 hoặc IEC 61400-3.
9.6.2 Yêu cầu về đánh giá thiết kế kết cấu đỡ tại vị trí cụ thể
Đánh giá thiết kế kết cấu đỡ tại vị trí cụ thể tối thiểu bao gồm:
- đánh giá thiết kế kết cấu đỡ liên quan đến các kết quả phân tích tải tích hợp;
- độ cứng và độ giảm chấn đã tính toán của kết cấu đỡ so với giả thiết trong các tính toán tải;
- đánh giá tài liệu thiết kế kỹ thuật về địa chất dựa trên cơ sở thiết kế;
- đánh giá tài liệu thiết kế về kết cấu đỡ;
- đánh giá kế hoạch chế tạo, kế hoạch vận chuyển, kế hoạch lắp đặt và kế hoạch bảo trì, tuy nhiên chỉ cho toàn thể kết cấu của kết cấu đỡ đã lắp đặt cuối cùng (vĩnh viễn); và
- đánh giá (các) hệ thống bảo vệ chống ăn mòn được đề nghị tại các địa điểm thiết kế quy định trong cơ sở thiết kế.
Tài liệu thiết kế đối với kết cấu đỡ kể cả tài liệu về các khía cạnh kỹ thuật về địa chất tối thiểu phải gồm có bản vẽ thiết kế, danh mục bộ phận, quy định kỹ thuật chế tạo và các tính toán thiết kế, có thể kết hợp với báo cáo đo/thử nghiệm. Tổ chức chứng nhận yêu cầu tài liệu nhận biết rõ ràng cơ sở thiết kế và các quy phạm, tiêu chuẩn theo thỏa thuận cũng như các tải và điều kiện bên ngoài liên quan.
9.6.3 Bản tuyên bố sự phù hợp về thiết kế kết cấu đỡ tại vị trí cụ thể
Việc đánh giá thỏa đáng về thiết kế kết cấu đỡ tại vị trí cụ thể được kết luận bằng bản tuyên bố sự phù hợp.
Ví dụ về bản tuyên bố sự phù hợp được cho trong Phụ lục B.
9.7 Đánh giá thiết kế hệ thống lắp đặt khác
9.7.1 Quy định chung
Một dự án có thể gồm có các hệ thống lắp đặt khác như trạm, cáp, v.v, thiết kế của chúng phải được đánh giá theo yêu cầu của khách hàng. Thiết kế của các hệ thống lắp đặt khác này phải được đánh giá sự phù hợp với các tiêu chuẩn và quy định kỹ thuật khác trong cơ sở thiết kế đã được phê duyệt cũng như các tải và điều kiện tại vị trí cụ thể. Trong trường hợp cơ sở thiết kế không có thì bên đăng ký có thể tham khảo tiêu chuẩn hoặc phương pháp thiết kế đã được chấp nhận với điều kiện là chúng được tổ chức chứng nhận chấp nhận. Trong mọi trường hợp, mức an toàn thu được phải tối thiểu là phù hợp với mức dự kiến trong bộ tiêu chuẩn TCVN 10687 (IEC 61400) và/hoặc IEC 61400 liên quan, tức là TCVN 10687-1 (IEC 61400-1), IEC 61400-2 hoặc IEC 61400-3.
9.7.2 Yêu cầu về đánh giá thiết kế hệ thống lắp đặt khác
Đối với từng hệ thống lắp đặt khác đã nhận biết đòi hỏi đánh giá thiết kế, tổ chức chứng nhận phải xây dựng phạm vi công việc theo thỏa thuận với khách hàng. Đánh giá thiết kế của các hệ thống lắp đặt khác tối thiểu bao gồm:
- đánh giá tài liệu thiết kế;
- đánh giá thiết kế hệ thống lắp đặt khác liên quan đến các kết quả phân tích tải tích hợp;
- đánh giá tài liệu thiết kế kỹ thuật về địa chất dựa trên cơ sở thiết kế; và
- đánh giá (các) hệ thống bảo vệ chống ăn mòn được đề nghị tại các địa điểm thiết kế quy định trong cơ sở thiết kế.
Tài liệu thiết kế đối với hệ thống lắp đặt khác tối thiểu phải gồm có bản vẽ thiết kế, danh mục bộ phận, tài liệu về các khía cạnh kỹ thuật về địa chấn trong trường hợp liên quan, quy định kỹ thuật chế tạo và các tính toán thiết kế, có thể kết hợp với báo cáo đo/thử nghiệm. Tổ chức chứng nhận yêu cầu tài liệu nhận biết rõ ràng cơ sở thiết kế và các quy phạm, tiêu chuẩn theo thỏa thuận cũng như các tải và điều kiện bên ngoài liên quan.
9.7.3 Bản tuyên bố sự phù hợp về thiết kế hệ thống lắp đặt khác
Việc đánh giá thỏa đáng về thiết kế hệ thống lắp đặt khác được kết luận bằng bản tuyên bố sự phù hợp.
Ví dụ về bản tuyên bố sự phù hợp được cho trong Phụ lục B.
9.8 Giám sát chế tạo tuabin gió/RNA
9.8.1 Quy định chung
Chứng nhận kiểu của tuabin gió dựa trên đánh giá thiết kế, thử nghiệm và các phép đo điển hình cũng như đánh giá quá trình chế tạo, bao gồm đánh giá hệ thống chất lượng và kiểm tra quá trình chế tạo. Đánh giá hệ thống chất lượng chủ yếu dựa vào việc đã chứng nhận hệ thống TCVN ISO 9001. Kiểm tra quá trình chế tạo trong khi chứng nhận kiểu chỉ dựa vào một mẫu. Chứng nhận dự án ngoài việc kiểm tra quá trình chế tạo còn bao gồm hoạt động kiểm tra/đánh giá (giám sát), để xác nhận việc chế tạo tuabin gió đối với dự án cụ thể được thực hiện theo thiết kế đã phê duyệt và với chất lượng dự kiến.
9.8.2 Yêu cầu về giám sát
Phạm vi kiểm tra và đánh giá cần được thực hiện để chứng nhận dự án được đánh giá cho từng dự án đơn lẻ và kiểu tuabin gió.
Tổ chức chứng nhận sẽ điều chỉnh phạm vi công việc đối với dịch vụ kiểm tra. Phạm vi này sẽ bao gồm việc sử dụng các tiêu chuẩn quốc tế cùng với đầu vào từ đánh giá thiết kế. Đầu vào từ đánh giá thiết kế này có thể là:
- hạng mục/quá trình quan trọng đã được nhận biết trong quá trình đánh giá thiết kế;
- chương trình/quy trình thử nghiệm đối với chế tạo hàng loạt;
- tài liệu thiết kế được phê duyệt như bản vẽ và quy định kỹ thuật; và
- mô tả chi tiết từ thử nghiệm nguyên mẫu.
Các hạng mục dưới đây có ảnh hưởng cơ bản đến phạm vi được mô tả chi tiết đối với dịch vụ kiểm tra:
- kinh nghiệm của nhà chế tạo về phân phối hạng mục tuabin gió cụ thể;
- kinh nghiệm của tổ chức chứng nhận với nhà chế tạo;
- thời gian biểu và số hạng mục phân phối cụ thể;
- số lượng nhà máy chế tạo;
- kiểu quá trình chế tạo, ví dụ xếp chồng bằng tay lá thép hoặc phun chân không lá thép, hàn thủ công hoặc hàn tự động, v.v...;
- kiểu kiểm soát chất lượng, ví dụ thử nghiệm không phá hủy hoặc kiểm tra bằng mắt, phương pháp phân tích hoặc thử nghiệm từng hạng mục, v.v...;
- tính thích hợp của hệ thống chất lượng của nhà chế tạo liên quan đến quá trình chế tạo cụ thể và các hoạt động kiểm soát;
- phạm vi kiểm tra bởi người mua, ví dụ kiểm tra của nhà chế tạo cho từng trường hợp nhà cung cấp phụ;
- tính sẵn có của các tài liệu đã được chứng nhận quy định các yêu cầu chất lượng;
- quy phạm và tiêu chuẩn chế tạo được áp dụng, ví dụ quốc gia hoặc quốc tế;
- tính sẵn có của các tài liệu kiểm soát chất lượng liên quan như các yêu cầu đối với tài liệu chế tạo cuối cùng, chương trình thử nghiệm, quy trình thử nghiệm chấp nhận, quy trình thử nghiệm không phá hủy, quy trình hàn, bảo vệ ăn mòn, điều chỉnh, lưu hóa, xử lý nhiệt, các yêu cầu thử nghiệm về cơ, v.v...
- tiếp cận nhà cung cấp phụ các phương tiện chế tạo và các tài liệu chế tạo; và
- quy trình điều chỉnh các sai lệch so với yêu cầu, ví dụ như quy trình từ bỏ.
9.8.3 Bản tuyên bố sự phù hợp về giám sát chế tạo tuabin gió/RNA
Tổ chức chứng nhận cấp bản tuyên bố sự phù hợp dựa vào việc đánh giá thỏa đáng các báo cáo kiểm tra xác nhận, kiểm tra và giám sát.
Ví dụ về bản tuyên bố sự phù hợp được cho trong Phụ lục B.
9.9 Giám sát chế tạo kết cấu đỡ
9.9.1 Quy định chung
Phần dưới đây tóm tắt công việc liên quan đến khảo sát trong quá trình chế tạo kết cấu đỡ.
Chứng nhận dự án bao gồm các hoạt động kiểm tra/đánh giá (giám sát) để xác nhận việc chế tạo kết cấu đỡ đối với dự án cụ thể được thực hiện theo thiết kế đã phê duyệt và với chất lượng dự kiến.
Điều kiện đầu đối với giám sát chế tạo kết cấu đỡ là nhà chế tạo kết cấu đỡ hoặc các bộ phận chính của kết cấu đỡ vận hành một hệ thống chất lượng. Hoạt động kiểm tra/đánh giá tập trung vào hệ thống chất lượng được thực hiện trong khi chế tạo và đánh giá rằng hệ thống chất lượng là thích hợp.
9.9.2 Yêu cầu giám sát
Phạm vi kiểm tra và đánh giá cần thực hiện để chứng nhận dự án phải được xác định cho từng dự án. Các quá trình dưới đây có thể phải đánh giá tùy thuộc vào kiểu kết cấu:
- chế tạo tấm thép;
- chế tạo kết cấu thép mang tải sơ cấp;
- chế tạo kết cấu thép thứ cấp (tấm sàn, thang, v.v...); và
- xây dựng kết cấu bê tông.
Đối với từng quá trình trên, tổ chức chứng nhận sẽ điều chỉnh phạm vi công việc đối với dịch vụ kiểm tra. Phạm vi này sẽ bao gồm việc sử dụng các tiêu chuẩn quốc gia, quốc tế cùng với đầu vào từ đánh giá thiết kế. Đầu vào từ đánh giá thiết kế này có thể là:
- hạng mục/quá trình quan trọng đã được nhận biết trong quá trình đánh giá thiết kế;
- tài liệu thiết kế được phê duyệt như bản vẽ và quy định kỹ thuật.
Các hạng mục dưới đây cũng có ảnh hưởng cơ bản đến phạm vi được mô tả chi tiết đối với dịch vụ kiểm tra:
- kinh nghiệm của nhà chế tạo về phân phối hạng mục cụ thể cho phối hợp trong kết cấu đỡ;
- kinh nghiệm của tổ chức chứng nhận với nhà chế tạo;
- thời gian biểu và số hạng mục phân phối cụ thể;
- số lượng nhà máy chế tạo;
- kiểu quá trình chế tạo, ví dụ xếp chồng bằng tay lá thép hoặc phun chân không lá thép, hàn thủ công hoặc hàn tự động, v.v...;
- kiểu kiểm soát chất lượng, ví dụ thử nghiệm không phá hủy hoặc kiểm tra bằng mắt, phương pháp phân tích hoặc thử nghiệm từng hạng mục, v.v...;
- tính thích hợp của hệ thống chất lượng của nhà chế tạo liên quan đến quá trình chế tạo cụ thể và các hoạt động kiểm soát;
- phạm vi kiểm tra bởi người mua, ví dụ kiểm tra của nhà chế tạo cho từng trường hợp nhà cung cấp phụ;
- tính sẵn có của các tài liệu đã được chứng nhận quy định các yêu cầu chất lượng;
- quy phạm và tiêu chuẩn chế tạo được áp dụng, ví dụ quốc gia hoặc quốc tế;
- tính sẵn có của các tài liệu kiểm soát chất lượng liên quan như các yêu cầu đối với tài liệu chế tạo cuối cùng, chương trình thử nghiệm, quy trình thử nghiệm chấp nhận, quy trình thử nghiệm không phá hủy, quy trình hàn, bảo vệ ăn mòn, điều chỉnh, lưu hóa, xử lý nhiệt, các yêu cầu thử nghiệm về cơ, v.v...
- tiếp cận cơ sở chế tạo của nhà thầu phụ và các tài liệu chế tạo; và
- quy trình xử lý các sai lệch so với yêu cầu, ví dụ như quy trình từ bỏ.
9.9.3 Bản tuyên bố sự phù hợp về giám sát chế tạo kết cấu đỡ
Tổ chức chứng nhận cấp bản tuyên bố sự phù hợp dựa vào việc đánh giá thỏa đáng các báo cáo kiểm tra xác nhận, kiểm tra và giám sát.
Ví dụ về bản tuyên bố sự phù hợp được cho trong Phụ lục B.
9.10 Giám sát chế tạo các hệ thống lắp đặt khác
9.10.1 Quy định chung
Chứng nhận dự án bao gồm các hoạt động kiểm tra/đánh giá (giám sát) để xác nhận việc chế tạo các hệ thống lắp đặt khác đối với dự án cụ thể được thực hiện theo thiết kế đã phê duyệt và với chất lượng dự kiến.
Điều kiện đầu đối với giám sát chế tạo các hệ thống lắp đặt khác là nhà chế tạo hệ thống lắp đặt hoặc các bộ phận chính của hệ thống lắp đặt vận hành một hệ thống chất lượng. Hoạt động kiểm tra/đánh giá tập trung vào hệ thống chất lượng được thực hiện trong khi chế tạo và đánh giá rằng hệ thống chất lượng là thích hợp.
9.10.2 Yêu cầu giám sát
Phạm vi giám sát và đánh giá cần được thực hiện cho các hệ thống lắp đặt khác (thiết bị hoặc hệ thống lắp đặt hoàn chỉnh được lựa chọn) trong khi chứng nhận dự án phải được đánh giá cho từng dự án. Tổ chức chứng nhận sẽ xây dựng phạm vi công việc đối với dịch vụ kiểm tra theo thỏa thuận với khách hàng. Phạm vi này sẽ bao gồm việc sử dụng các tiêu chuẩn quốc tế cùng với đầu vào từ đánh giá thiết kế. Đầu vào từ đánh giá thiết kế này có thể là:
- hạng mục/quá trình quan trọng đã được nhận biết trong quá trình đánh giá thiết kế;
- chương trình/quy trình thử nghiệm đối với chế tạo hàng loạt;
- tài liệu thiết kế được phê duyệt như bản vẽ và quy định kỹ thuật.
Các hạng mục dưới đây cũng có ảnh hưởng cơ bản đến phạm vi được mô tả chi tiết đối với dịch vụ kiểm tra, tùy thuộc vào kiểu thiết bị hoặc hệ thống lắp đặt:
- kinh nghiệm của nhà chế tạo về phân phối hạng mục cụ thể cho phối hợp trong kết cấu đỡ;
- kinh nghiệm của tổ chức chứng nhận với nhà chế tạo;
- thời gian biểu và số hạng mục phân phối cụ thể;
- kiểu kiểm soát chất lượng, ví dụ thử nghiệm không phá hủy hoặc kiểm tra bằng mắt, phương pháp phân tích hoặc thử nghiệm từng hạng mục, v.v...;
- tính thích hợp của hệ thống chất lượng của nhà chế tạo liên quan đến quá trình chế tạo cụ thể và các hoạt động kiểm soát;
- phạm vi kiểm tra bởi người mua, ví dụ kiểm tra của nhà chế tạo cho từng trường hợp nhà cung cấp phụ;
- tính sẵn có của các tài liệu đã được chứng nhận quy định các yêu cầu chất lượng;
- quy phạm và tiêu chuẩn chế tạo được áp dụng, ví dụ quy phạm, tiêu chuẩn quốc gia hoặc quốc tế;
- tính sẵn có của các tài liệu kiểm soát chất lượng liên quan như các yêu cầu đối với tài liệu chế tạo cuối cùng, chương trình thử nghiệm, quy trình thử nghiệm chấp nhận, quy trình thử nghiệm không phá hủy, quy trình hàn, bảo vệ ăn mòn, điều chỉnh, lưu hóa, xử lý nhiệt, các yêu cầu thử nghiệm về cơ, v.v...
- tiếp cận cơ sở chế tạo của nhà thầu phụ và các tài liệu chế tạo; và
- quy trình xử lý các sai lệch so với yêu cầu, ví dụ như quy trình từ bỏ.
9.10.3 Bản tuyên bố sự phù hợp về giám sát chế tạo các hệ thống lắp đặt khác
Tổ chức chứng nhận cấp bản tuyên bố sự phù hợp dựa vào việc đánh giá thỏa đáng các báo cáo kiểm tra xác nhận, kiểm tra và giám sát.
Ví dụ về bản tuyên bố sự phù hợp được cho trong Phụ lục B.
9.11 Phép đo các đặc tính của dự án
9.11.1 Quy định chung
Mục đích của phép đo các đặc tính của dự án trong chứng nhận dự án là để thiết lập các đặc tính liên quan đến tính năng của một tuabin gió cụ thể hoặc dự án tuabin gió tại vị trí cụ thể ngoài các phép đo được thực hiện cho một tuabin gió đơn lẻ trong chứng nhận kiểu. Các phép đo tùy chọn này có thể do bên đăng ký chọn và phải phù hợp với bộ tiêu chuẩn TCVN 10687 (IEC 61400) và/hoặc IEC 61400 liên quan. Các phép đo bao gồm một hoặc nhiều yếu tố sau:
- tính tương thích của nối lưới theo các quy phạm về lưới;
- kiểm tra xác nhận tính năng về điện; và
- kiểm tra xác nhận phát xạ tạp âm.
Trong trường hợp không có sẵn tiêu chuẩn thì quy trình đo phải theo thỏa thuận giữa bên đăng ký và tổ chức chứng nhận.
Các phép đo phải được thực hiện bởi phòng thử nghiệm được công nhận hoặc tổ chức chứng nhận phải xác nhận rằng tổ chức tiến hành thử nghiệm phù hợp với tối thiểu là các tiêu chí của TCVN ISO/IEC 17020 hoặc TCVN ISO/IEC 17025, nếu thuộc đối tượng áp dụng.
Các phép đo và kết quả thử nghiệm phải được lập thành văn bản trong báo cáo thử nghiệm được đánh giá bởi tổ chức chứng nhận. Tổ chức chứng nhận phải đánh giá các phép đo được thực hiện theo chương trình chi tiết đã được phê duyệt và báo cáo cung cấp tài liệu đúng về các đặc tính được yêu cầu để chứng nhận.
Đánh giá thỏa đáng được kết luận bằng bản tuyên bố sự phù hợp cấp bởi tổ chức chứng nhận, xác nhận rằng các phép đo phù hợp với các quy trình thử nghiệm thích hợp và bộ tiêu chuẩn TCVN 10687 (IEC 61400) và/hoặc IEC 61400 liên quan.
Ví dụ về bản tuyên bố sự phù hợp được cho trong Phụ lục B.
9.11.2 Tính tương thích về nối lưới theo các quy phạm lưới điện
Phép đo tính tương thích của nối lưới phải được đánh giá bởi tổ chức chứng nhận để xác nhận các phản ứng quy định (ví dụ trong điều kiện sự cố lưới) được xác định trong các quy phạm lưới điện áp dụng tại vị trí lắp đặt. Đối với chứng nhận dự án, tổ chức chứng nhận sẽ đánh giá tính tương thích về nối lưới bằng cách so sánh các phép đo với mạng điện và các điều kiện cho trong quy phạm lưới điện. Tổ chức chứng nhận sẽ xác nhận rằng quy trình đo phù hợp với bộ tiêu chuẩn TCVN 10687 (IEC 61400) và/hoặc IEC 61400 liên quan và các quy phạm lưới điện, và xác nhận rằng các điều kiện đo, dụng cụ đo và thiết bị, hiệu chuẩn và phân tích được mô tả trong báo cáo thử nghiệm.
Mục đích của các phép đo này là để cung cấp tài liệu về tính tương thích về nối lưới của tuabin gió cụ thể hoặc dự án tuabin gió tại vị trí cụ thể.
9.11.3 Kiểm tra xác nhận tính năng về điện
Thử nghiệm và phép đo tính năng về điện phải được đánh giá bởi tổ chức chứng nhận để xác nhận sản lượng điện của một hoặc nhiều tuabin gió có tại vị trí lắp đặt của dự án. Đối với chứng nhận dự án, tổ chức chứng nhận sẽ đánh giá tính năng của (các) tuabin gió bằng cách so sánh các kết quả của thử nghiệm và phép đo với tính năng riêng rẽ chuẩn của tuabin gió do khách hàng cung cấp.
Tổ chức chứng nhận cũng xác nhận quy trình đo phù hợp với bộ tiêu chuẩn IEC 61400-12 liên quan và/hoặc các yêu cầu hoặc quy trình do khách hàng quy định. Tiêu chuẩn hoặc quy trình áp dụng và kết quả của việc đánh giá phải được đề cập và công bố rõ ràng trong bản tuyên bố sự phù hợp do tổ chức chứng nhận cấp.
Mục đích của các phép đo này là để cung cấp tài liệu về tính năng về điện của một tuabin gió cụ thể hoặc của tất cả hoặc một số tuabin gió được lắp đặt tại một dự án cụ thể.
9.11.4 Kiểm tra xác nhận phát xạ tạp âm
Phép đo tạp âm phải được đánh giá bởi tổ chức chứng nhận để xác nhận sự phù hợp với các tiêu chí phát xạ tạp âm được thiết lập bởi khách hàng hoặc các quy phạm cục bộ.
Tổ chức chứng nhận cũng xác nhận quy trình đo phù hợp với, trong phạm vi áp dụng được, bộ tiêu chuẩn TCVN 10687 (IEC 61400) và/hoặc IEC 614004 liên quan và với các tiêu chuẩn tham khảo và các tiêu chí phù hợp. Tiêu chuẩn tham khảo và các tiêu chí phù hợp phải được đề cập và công bố rõ ràng trong bản tuyên bố sự phù hợp do tổ chức chứng nhận cấp.
Mục đích của các phép đo này là để cung cấp tài liệu về phát xạ tạp âm của một tuabin gió cụ thể hoặc toàn bộ dự án tại vị trí cụ thể.
9.11.5 Báo cáo thử nghiệm
Tổ chức chứng nhận phải yêu cầu báo cáo đo các đặc tính của dự án phù hợp với các yêu cầu của TCVN ISO/IEC 17025 và các tiêu chuẩn liên quan dùng để xác định các yêu cầu thử nghiệm (ví dụ, quy phạm lưới điện). Ngoài ra còn yêu cầu bản mô tả về:
- tuabin gió cụ thể hoặc dự án tuabin gió được lắp đặt tại một dự án cụ thể, kể cả (các) tuabin gió thử nghiệm, số seri và (các) lần sửa đổi phần mềm hệ thống điều khiển; và
- đáp ứng không mong muốn đáng kể bất kỳ.
Xác nhận bởi tổ chức thực hiện phải được ghi rõ ràng trong (các) báo cáo đo đặc tính của dự án cuối cùng.
9.11.6 Bản tuyên bố sự phù hợp về phép đo đặc tính của dự án
Tổ chức chứng nhận sẽ cấp bản tuyên bố sự phù hợp dựa trên việc đánh giá thỏa đáng các báo cáo thử nghiệm. Bản tuyên bố sự phù hợp phải xác định:
- các phép đo được thực hiện;
- tiêu chuẩn đo áp dụng; và
- nhận dạng các báo cáo thử nghiệm.
Ví dụ về bản tuyên bố sự phù hợp được cho trong Phụ lục B.
9.12 Giám sát vận chuyển và lắp đặt
9.12.1 Quy định chung
Mục đích của việc giám sát vận chuyển và lắp đặt là để xác nhận sự phù hợp với các yêu cầu của cơ sở thiết kế và để xác nhận các tải trên thành phần và hệ thống phân nhỏ của tuabin gió không vượt quá biên thiết kế trong khi vận chuyển và lắp đặt và xác nhận có thể phát hiện hư hại khi vận chuyển và/hoặc bốc dỡ.
9.12.2 Yêu cầu về vận chuyển và lắp đặt
Nếu hệ thống quản lý chất lượng có các quá trình vận chuyển và lắp đặt thì có thể giám sát bằng cách đánh giá. Nếu không có thì tổ chức chứng nhận phải thực hiện giám sát bằng cách kiểm tra.
Tổ chức chứng nhận đánh giá tài liệu về các quá trình vận chuyển và lắp đặt (các) tuabin gió phù hợp với cơ sở thiết kế và các yêu cầu trong bộ tiêu chuẩn TCVN 10687 (IEC 61400) và/hoặc IEC 61400 liên quan, tức là TCVN 10687-1 (IEC 61400-1), IEC 61400-2 hoặc IEC 61400-3.
Tổ chức chứng nhận sẽ đảm bảo rằng các thành phần phải đã được kiểm tra về hư hại có thể xảy ra trong khi vận chuyển hoặc bốc dỡ. Việc này có thể bao gồm, nhưng không chỉ như vậy, hư hại về bảo vệ ăn mòn hoặc ăn mòn thực tế. Sau khi lắp đặt xong, phải kiểm tra bằng cách xem xét lần cuối cùng tất cả các thành phần liên quan.
Đối với các dự án ngoài khơi, việc giám sát bao gồm:
- theo dõi vận chuyển đường biển;
- sự phù hợp với các điều kiện thời tiết chấp nhận được trong khi vận chuyển và lắp đặt; và
- sự phù hợp với kết cấu đỡ và các quy trình lắp đặt tuabin gió.
Các hoạt động kiểm tra xác nhận, kiểm tra và giám sát phải được kết luận bằng các báo cáo mô tả các hoạt động đã thực hiện.
9.12.3 Bản tuyên bố sự phù hợp về vận chuyển và lắp đặt
Tổ chức chứng nhận sẽ cấp bản tuyên bố sự phù hợp dựa trên việc đánh giá thỏa đáng các báo cáo kiểm tra xác nhận, kiểm tra và giám sát.
Ví dụ về bản tuyên bố sự phù hợp được cho trong Phụ lục B.
9.13 Giám sát chạy thử
9.13.1 Quy định chung
Mục đích của việc giám sát chạy thử là để xác nhận tuabin gió được lắp đặt trong dự án cụ thể tại vị trí cụ thể được vận hành phù hợp với các hướng dẫn liên quan nêu trong tài liệu thiết kế (xem 8.9).
9.13.2 Yêu cầu về giám sát chạy thử
Tổ chức chứng nhận đánh giá việc chạy thử (các) tuabin gió phù hợp với các hướng dẫn do nhà chế tạo cung cấp theo các phần liên quan của bộ tiêu chuẩn TCVN 10687 (IEC 61400) và/hoặc IEC 61400. Các thử nghiệm khác cần được thực hiện trong khi chạy thử, ngoài các thử nghiệm theo hướng dẫn chung, có thể theo thỏa thuận với nhà chế tạo.
Việc đánh giá yêu cầu kiểm tra các hồ sơ chạy thử. Ngoài ra, tổ chức chứng nhận sẽ chứng kiến việc chạy thử của ít nhất là một tuabin gió và thêm ít nhất một tuabin gió cho mỗi 50 tuabin gió trong dự án.
Tổ chức chứng nhận tối thiểu phải xác nhận:
- các hướng dẫn chạy thử do nhà chế tạo cung cấp là đủ;
- các hướng dẫn do nhà chế tạo cung cấp được tuân theo trong khi chạy thử; và
- các báo cáo chạy thử cuối cùng là hoàn thiện.
Các hoạt động kiểm tra xác nhận và giám sát phải được kết luận bằng các báo cáo mô tả các hoạt động đã thực hiện.
9.13.3 Bản tuyên bố sự phù hợp về giám sát chạy thử
Tổ chức chứng nhận sẽ cấp bản tuyên bố sự phù hợp dựa trên việc đánh giá thỏa đáng các báo cáo kiểm tra xác nhận và giám sát.
Ví dụ về bản tuyên bố sự phù hợp được cho trong Phụ lục B.
9.14 Đánh giá cuối cùng
Mục đích của đánh giá cuối cùng là để cung cấp tài liệu về các phát hiện của tất cả các tổ chức thực hiện tham gia vào việc đánh giá các yếu tố của giấy chứng nhận dự án.
Sau khi đánh giá các báo cáo đánh giá và bản tuyên bố sự phù hợp, báo cáo đánh giá cuối cùng phải được chuẩn bị, bao gồm:
- danh mục tham khảo của tất cả các sản phẩm hỗ trợ và tài liệu dự án dùng cho giấy chứng nhận dự án; và
- báo cáo của tất cả các bản tuyên bố sự phù hợp cấp cho các môđun chứng nhận dự án đối với các vấn đề còn tồn tại.
Báo cáo đánh giá cuối cùng phải được đưa cho bên đăng ký và giữ lại bản sao trong hồ sơ mật của tổ chức chứng nhận.
9.15 Giấy chứng nhận dự án
Tổ chức chứng nhận sẽ cấp giấy chứng nhận dự án dựa trên đánh giá cuối cùng về việc hoàn thiện và khắc phục theo các báo cáo đánh giá và bản tuyên bố sự phù hợp. Giấy chứng nhận dự án sẽ bao gồm kết quả của các môđun bắt buộc và các môđun tùy chọn theo thỏa thuận.
Giấy chứng nhận dự án có hiệu lực đối với (các) tuabin gió và (các) hệ thống lắp đặt khi được lắp đặt tại vị trí được quy định trong giấy chứng nhận vào ngày cấp.
Giấy chứng nhận dự án viện dẫn theo cách thích hợp các tiêu chuẩn và tài liệu viện dẫn được sử dụng. Ví dụ về giấy chứng nhận dự án được cho trong Phụ lục B.
Tổ chức chứng nhận và bên đăng ký có thể thỏa thuận đưa vào giám sát vận hành và bảo trì để xác nhận hiệu lực của giấy chứng nhận dự án vào các khoảng thời gian định kỳ. Trong trường hợp này, các sửa đổi chính về vị trí lắp đặt hoặc tuabin gió phải được báo cáo không chậm trễ cho tổ chức chứng nhận. Việc giám sát phải được thực hiện theo 9.16.
9.16 Giám sát vận hành và bảo trì
9.16.1 Quy định chung
Mục đích của việc giám sát vận hành và bảo trì là để xác minh việc vận hành và duy trì của hệ thống lắp đặt tuabin gió cụ thể hoặc dự án tuabin gió ở vị trí cụ thể phù hợp với các hướng dẫn liên quan có trong tài liệu thiết kế (xem 8.9).
Việc giám sát yêu cầu kiểm tra các hồ sơ vận hành và bảo trì cũng như kiểm tra tuabin, hệ thống lắp đặt và các bộ phận khác được nêu trong giấy chứng nhận dự án.
Giám sát vận hành và bảo trì phải được thực hiện theo các khoảng thời gian đều đặn trên cơ sở thỏa thuận giữa bên đăng ký và tổ chức chứng nhận. Thỏa thuận này quy định các khoảng thời gian và phạm vi giám sát. Bản tuyên bố sự phù hợp về giám sát vận hành và bảo trì xác nhận sự phù hợp theo các hạng mục của thỏa thuận này.
9.16.2 Yêu cầu về giám sát vận hành và bảo trì
Tổ chức chứng nhận sẽ đánh giá các hồ sơ và báo cáo vận hành và bảo trì. Việc đánh giá tối thiểu phải xác minh:
- việc bảo trì được thực hiện bởi người lao động có thẩm quyền và có năng lực theo hướng dẫn bảo trì và trong các khoảng thời gian nêu trong hướng dẫn bảo trì;
- các chế độ điều khiển được kiểm tra về sự phù hợp với các giá trị giới hạn được quy định trong tài liệu thiết kế; và
- tất cả các sửa chữa, sửa đổi và thay thế (RMR) được thực hiện theo giấy chứng nhận bằng cách xem xét lại các hồ sơ RMR.
Cùng với đánh giá này, tổ chức chứng nhận sẽ kiểm tra điều kiện chung của tuabin và các hệ thống lắp đặt khác được nêu trong giấy chứng nhận. Phạm vi kiểm tra phải dựa trên:
- đánh giá các hồ sơ và báo cáo vận hành và bảo trì;
- tình trạng của các phát hiện vấn đề còn tồn tại từ việc kiểm tra trước đó;
- tình trạng của các khuyến nghị về vấn đề còn tồn tại từ việc kiểm tra trước đó; và
- tình trạng của dự án RMR đang diễn ra.
Hướng dẫn của người vận hành, hướng dẫn bảo trì và hồ sơ bảo trì phải được phát hành theo ngôn ngữ mà người lao động liên quan hiểu được. Báo cáo kiểm tra phải được gắn kèm hướng dẫn bảo trì tương ứng. Phải lưu ý đặc biệt đến các thành phần được sửa chữa và/hoặc sửa đổi để đảm bảo rằng chỉ được sửa chữa hoặc sửa đổi tương thích với giấy chứng nhận.
9.16.3 Bản tuyên bố sự phù hợp về vận hành và bảo trì
Việc đánh giá vận hành và bảo trì thỏa đáng được kết luận bằng các báo cáo kiểm tra và bản tuyên bố sự phù hợp.
Ví dụ về bản tuyên bố sự phù hợp được cho trong Phụ lục B.
Phụ lục A
(Tham khảo)
Tài liệu thiết kế (nếu áp dụng)
Bảng A.1 - Tài liệu thiết kế (nếu áp dụng)
| Hạng mục | Dữ liệu bản vẽ hình học | Các tính toán phân tích | Mô tả | Quy định kỹ thuật | Tờ dữ liệu | Sơ đồ | Dữ liệu thử nghiệm | |
| 1 | Mô tả chung về tuabin gió | |||||||
|
| Đặc tính, cấu hình và bố trí tuabin gió nói chung |
|
| √ |
|
| √ |
|
|
| Mô tả tuabin và quy định kỹ thuật chung | √ |
| √ | √ |
|
|
|
|
| Khối lượng của thành phần chính và tâm trọng lực |
|
|
| √ |
|
|
|
|
| Các giới hạn vận hành |
|
|
| √ |
|
|
|
|
| Hệ thống điện lực |
|
| √ |
|
| √ |
|
|
| Các điều kiện bên ngoài và cấp thiết kế |
|
| √ |
|
|
|
|
|
| Quy phạm và tiêu chuẩn |
|
| √ |
|
|
|
|
|
| Hệ thống phối hợp | √ |
| √ |
|
|
|
|
| 2 | Quy trình kiểm soát thiết kế | |||||||
|
| Bản mô tả tài liệu và tổ chức phù hợp với TCVN ISO 9001 |
|
| √ |
|
|
|
|
| 3 | Hệ thống điều khiển và bảo vệ | |||||||
|
| Lưu đồ điều khiển logic chi tiết |
|
|
|
|
| √ |
|
|
| Nguyên lý điều khiển và bảo vệ |
|
| √ |
|
|
|
|
|
| Chế độ vận hành |
|
| √ |
|
|
|
|
|
| Phần mềm hệ thống điều khiển |
|
| √ | √ |
| √ |
|
|
| Phát hành và phiên bản phần mềm điều khiển |
|
| √ |
|
|
|
|
|
| Danh sách điểm đặt |
|
|
| √ |
|
|
|
|
| Điều khiển/theo dõi từ xa |
|
| √ | √ |
| √ |
|
|
| Logic hệ thống bảo vệ |
|
| √ |
|
| √ |
|
|
| Hệ thống điều khiển điện (kết cấu, quy trình khởi động và dừng,...) |
|
| √ |
|
| √ |
|
|
| Phân tích sự cố |
| √ | √ |
|
|
|
|
|
| Kết cấu của hệ thống bảo vệ | √ |
| √ |
|
| √ |
|
|
| Bản mô tả khía cạnh an toàn và quy định kỹ thuật về thành phần kể cả bộ chuyển đổi và cảm biến (chế độ đặt, hằng số thời gian,...) |
|
| √ | √ |
|
|
|
|
| Hệ thống phanh (kết cấu, hằng số thời gian, đặc tính, đường cong mômen hãm,...) | √ | √ | √ | √ |
| √ |
|
|
| Sơ đồ mạch điện và mạch thủy lực |
|
| √ |
|
| √ |
|
|
| Theo dõi điều kiện |
|
| √ | √ | √ | √ |
|
|
| Hướng dẫn an toàn |
|
| √ |
|
|
|
|
|
| Cảm biến quá tốc độ |
|
|
| √ |
| √ |
|
|
| Cảm biến quá công suất/ dòng điện |
|
|
| √ |
| √ |
|
|
| Cảm biến rung |
|
|
| √ |
| √ |
|
|
| Nút tắt khẩn cấp |
|
| √ |
|
| √ |
|
|
| Hệ thống điều khiển giám sát trang trại gió (điều khiển từ xa công suất ra, các tham số điều chỉnh mặt đón gió của cánh/điều chỉnh tuabin theo hướng gió,...) |
|
| √ |
|
|
|
|
|
| Kế hoạch thử nghiệm |
|
| √ |
|
|
|
|
| 4 | Tải và các trường hợp tải |
|
|
|
|
|
|
|
|
| Quy định chung: |
|
|
|
|
|
|
|
|
| Lưu đồ cấu hình trang trại gió | √ |
|
|
|
| √ |
|
|
| Dữ liệu tại vị trí lắp đặt (ví dụ điều kiện môi trường và điều kiện biển, độ nhớt động học, mật độ không khí, độ mặn, đất, ...) |
| √ | √ |
|
|
|
|
|
| Phân bố khối lượng, độ cứng, tần số tự nhiên và hệ số giảm tải đối với tất cả các thành phần kết cấu (rôto, cánh, hệ thống truyền động, kết cấu đỡ,...) |
| √ |
| √ |
|
|
|
|
| Tốc độ gió đóng mạch/mở mạch/danh định |
|
|
| √ |
|
|
|
|
| Tốc độ rôto/máy phát |
|
|
| √ |
|
|
|
|
| Tổn hao về cơ/điện |
|
|
| √ |
|
|
|
|
| Dữ liệu của máy phát (công suất danh định, tốc độ đồng bộ, độ trượt danh nghĩa/lớn nhất, hằng số thời gian liên quan) |
|
|
|
| √ |
|
|
|
| Dữ liệu về thân tuabin/rôto (khối lượng, kích thước, trọng tâm, v.v... | √ | √ |
| √ |
|
|
|
|
| Phương pháp phân tích chung (ví dụ hệ thống phối hợp được sử dụng) | √ | √ | √ |
|
|
|
|
|
| Bản mô tả mô hình hệ thống động lực |
|
|
|
|
|
|
|
|
| Mức độ tự do |
|
| √ |
|
| √ |
|
|
| Phân bố khối lượng và độ cứng |
|
|
| √ |
|
|
|
|
| Đầu vào khí động lực (biến dạng cánh, bảng, hình dạng cánh, hệ số nâng và trôi,...) |
| √ |
| √ |
| √ |
|
|
| Hệ số an toàn từng phần |
| √ |
| √ |
|
|
|
|
| Hiệu lực của mô hình tính toán |
|
|
|
|
|
|
|
|
| Phân tích |
| √ |
|
|
|
|
|
|
| So sánh với dữ liệu thử nghiệm |
| √ |
|
|
|
| √ |
|
| Đáp ứng động của hệ thống và của các thành phần chính riêng rẽ |
|
|
|
|
|
|
|
|
| Sơ đồ Campbell |
| √ |
|
|
| √ |
|
|
| Đồ thị phổ/tần số |
| √ |
|
|
|
| √ |
|
| Dạng và tần số của chế độ |
| √ |
|
|
|
|
|
|
| So sánh giữa giả định và đo |
| √ |
|
|
|
| √ |
|
| Các trường hợp tải (từ IEC 61000-1,-2,-3 và các trường hợp được nhận biết khác) |
|
|
|
|
|
|
|
|
| Tải mỏi đối với một số phần tuabin gió (phần cột tháp, trục/hub chính, chân cánh, phần cánh) |
| √ |
|
|
|
|
|
|
| Tải tối đa đối với một số phần tuabin gió (phần cột tháp, trục/hub chính, chân cánh, phần cánh) |
| √ |
|
|
|
|
|
|
| Ma trận Markov đối với hệ thống truyền động và các tải phần cánh |
| √ |
|
|
|
|
|
|
| Phổ phân phối thời gian tải đối với hệ thống truyền động và các tải ổ trục ngang |
| √ |
|
|
|
|
|
|
| Tải chân cột tháp |
| √ |
|
|
|
|
|
|
| Phân tích độ lệch cánh tối đa |
| √ |
|
|
|
|
|
|
| Độ lệch tới hạn (cánh/cột tháp) |
| √ |
|
|
|
|
|
|
| Chế độ hỏng |
| √ |
|
|
|
|
|
|
| Bộ điều khiển tuabin (ví dụ sơ đồ mạch khóa, tín hiệu vào và ra, v.v...) |
|
| √ |
|
| √ |
|
| 5 | Cánh rôto |
|
|
|
|
|
|
|
|
| Kết cấu | √ |
| √ | √ |
|
|
|
|
| Đấu nối cánh |
| √ |
| √ |
|
|
|
|
| Dữ liệu về vật liệu được sử dụng (sợi, nhựa, bọt, v.v...) |
|
|
| √ |
|
|
|
|
| Dữ liệu hình học | √ |
|
| √ |
|
| √ |
|
| Phân tích ứng suất cực trị |
| √ |
|
|
|
|
|
|
| Phân tích ứng suất mỏi |
| √ |
|
|
|
|
|
|
| Phân tích phương thức |
| √ |
|
|
|
|
|
|
| Phân tích ứng suất ổn định |
| √ |
|
|
|
|
|
|
| Trình tự chế tạo | √ |
|
| √ |
|
|
|
|
| Chân cánh | √ | √ |
|
|
|
|
|
|
| Đấu nối cánh/hub | √ | √ |
|
|
|
|
|
|
| Cơ chế phanh khí động lực | √ | √ |
| √ |
|
|
|
|
| Thử nghiệm vật liệu và cánh |
| √ |
|
|
|
| √ |
| 6 | Thành phần máy và kết cấu | |||||||
|
| Quy định chung: |
|
|
|
|
|
|
|
|
| Bản vẽ cụm lắp ráp | √ |
| √ |
|
|
|
|
|
| Dữ liệu vật liệu |
| √ |
| √ |
|
| √ |
|
| Hộp số và hệ thống truyền động (bao gồm máy phát, phanh và bộ ghép nối, tỷ lệ, quán tính) |
| √ |
| √ |
|
|
|
|
| Động lực học hệ thống truyền động | √ | √ | √ | √ | √ |
|
|
|
| Hệ thống thủy lực |
| √ | √ | √ | √ | √ |
|
|
| Hệ thống xoay cánh tuabin: |
|
|
|
|
|
|
|
|
| Truyền động | √ | √ |
| √ | √ | √ |
|
|
| Nguồn điện | √ | √ |
| √ |
|
|
|
|
| Ổ đỡ | √ | √ |
| √ |
|
|
|
|
| Khóa xoay cánh tuabin | √ | √ |
| √ |
|
|
|
|
| Mối nối | √ | √ |
| √ |
|
|
|
|
| Hub: |
|
|
|
|
|
|
|
|
| Kết cấu | √ | √ |
| √ |
|
|
|
|
| Hệ thống bập bênh | √ | √ |
| √ |
|
|
|
|
| Hệ thống xoay cánh tuabin (kể cả nguồn điện) | √ | √ |
| √ | √ |
|
|
|
| Đấu nối trục tốc độ thấp/cao | √ | √ |
| √ |
|
|
|
|
| Trục tốc độ thấp: |
|
|
|
|
|
|
|
|
| Trục chính | √ | √ |
| √ |
|
|
|
|
| Ổ đỡ chính | √ | √ |
| √ |
|
|
|
|
| Thân ổ đỡ | √ | √ |
| √ |
|
|
|
|
| Khóa rôto | √ | √ |
| √ |
|
|
|
|
| Ghép nối |
| √ |
| √ |
|
|
|
|
| Dầu bôi trơn ổ trục |
|
|
| √ | √ |
|
|
|
| Hộp số: |
|
|
|
|
|
|
|
|
| Hộp số | √ | √ |
| √ |
|
|
|
|
| Vật chống xoắn | √ | √ |
| √ |
|
|
|
|
| Mối nối với khung chính, ổ đỡ | √ | √ |
| √ | √ |
|
|
|
| Hệ thống làm mát và gia nhiệt | √ | √ |
| √ | √ |
| √ |
|
| Trục tốc độ cao: |
|
|
|
|
|
|
|
|
| Phanh cơ học | √ | √ |
| √ |
|
|
|
|
| Ghép nối | √ | √ |
| √ |
|
|
|
|
| Khung: |
|
|
|
|
|
|
|
|
| Khung chính | √ | √ |
| √ |
|
|
|
|
| Khung máy phát | √ | √ |
| √ |
|
|
|
|
| Mối nối khung chính và khung chính đến khung máy phát | √ | √ |
| √ |
|
|
|
|
| Hệ thống xoay tuabin: |
|
|
|
|
|
|
|
|
| Truyền động | √ | √ |
| √ | √ | √ |
|
|
| Ổ trục | √ | √ |
| √ |
|
|
|
|
| Khóa xoay tuabin | √ | √ |
| √ |
|
|
|
|
| Mối nối | √ | √ |
| √ |
|
|
|
|
| Cột tháp: |
|
|
|
|
|
|
|
|
| Kết cấu | √ |
|
| √ |
|
|
|
|
| Mối nối | √ | √ |
|
|
|
|
|
|
| Phân tích động lực của cột tháp (tuabin gió) |
| √ |
|
|
|
|
|
|
| Phân tích địa chấn |
| √ |
|
|
|
|
|
|
| Phân tích cực trị và mỏi đối với các mối nối hàn và bắt bu lông của cột tháp |
| √ |
|
|
|
|
|
|
| Phân tích gần đúng khung cửa và các khoảng hở khác | √ | √ |
|
|
|
|
|
|
| Hệ thống bảo vệ chống ăn mòn |
|
|
| √ |
|
|
|
|
| Xoắn cáp |
|
| √ | √ |
| √ |
|
|
| Treo cáp | √ |
|
| √ |
|
|
|
|
| Thang, bục, thang máy | √ | √ |
| √ |
|
|
|
| 7 | Thành phần điện | |||||||
|
| Sơ đồ một sợi (Mạch điện cơ bản có các thiết bị an toàn) |
|
|
|
|
| √ |
|
|
| Tham số đặc trưng của các thành phần điện (truyền động định vị, máy phát,...) |
|
| √ | √ |
|
|
|
|
| Bản mô tả chức năng và hướng dẫn bảo trì |
|
| √ |
|
|
|
|
|
| Sơ đồ mạch điện | √ |
|
|
|
| √ |
|
|
| Dữ liệu bộ bảo vệ ngắn mạch và quá dòng |
|
|
|
|
| √ |
|
|
| Sơ đồ hệ thống điện (kể cả mạch phụ trợ như cần trục, thang nâng, v.v...) | √ |
| √ | √ |
| √ |
|
|
| Danh sách các bộ phận (bao gồm cảm biến, cơ cấu đóng cắt và tất cả các thiết bị điện quan trọng) |
|
|
|
|
| √ |
|
|
| Hệ thống nguồn điện khẩn cấp và hệ thống báo cháy | √ |
| √ |
|
| √ |
|
|
| Thiết bị nạp và acquy |
|
| √ | √ | √ | √ |
|
|
| Tóm tắt các thiết bị đo điện | √ |
| √ |
|
| √ |
|
|
| Hồ sơ thử nghiệm thường xuyên theo TCVN 6627-1 (IEC 60034-1) |
|
| √ | √ |
|
| √ |
|
| Bộ chuyển đổi điện | √ |
|
| √ |
| √ |
|
|
| Cáp cao áp | √ |
| √ |
| √ |
|
|
|
| Máy phát |
|
| √ | √ |
| √ | √ |
|
| Mối nối đến máy phát | √ | √ |
| √ |
|
|
|
|
| Ổ đỡ máy phát | √ | √ |
| √ |
|
|
|
|
| Khái niệm luồng không khí, hệ thống làm mát |
|
| √ |
|
|
|
|
|
| Tụ điện |
|
| √ |
| √ |
|
|
|
| Thiết bị ngắt điện cao áp | √ |
| √ |
| √ | √ |
|
|
| Thiết bị ngắt điện hạ áp | √ |
| √ |
| √ | √ |
|
|
| Máy biến áp trung áp | √ |
| √ | √ |
| √ |
|
|
| Hồ sơ thử nghiệm điển hình của máy biến áp theo TCVN 6306 (IEC 60076-1) |
|
| √ |
|
|
| √ |
|
| Bảo vệ nối đất và chống sét (bao gồm vùng bảo vệ chống sét, thanh chống sét và dây dẫn, điện cực đất, vị trí của thanh liên kết, đấu nối vào các tòa nhà riêng rẽ) | √ |
| √ | √ |
| √ |
|
| 8 | Vỏ ngoài |
|
|
|
|
|
|
|
|
| Vỏ của trục quay và thân tuabin | √ | √ |
| √ |
|
|
|
|
| Vỏ bọc (vật liệu, chi tiết thiết kế, xem xét chung, v.v...) | √ | √ |
| √ |
|
| √ |
|
| Phân tích cực trị (đối với các phần thép, bu lông và chất dẻo gia cường bằng sợi, v.v...) |
| √ |
|
|
|
|
|
| 9 | Thử nghiệm đánh giá thiết kế thành phần | |||||||
|
| Báo cáo thử nghiệm |
|
|
|
|
|
| √ |
| 10 | Móng | |||||||
|
| Kết cấu | √ |
|
| √ |
|
|
|
|
| Tham số thiết kế |
|
| √ | √ |
|
|
|
|
| Vật liệu |
|
| √ | √ |
|
|
|
|
| Thể hiện chi tiết kế hoạch gia cường | √ |
| √ |
|
| √ |
|
|
| Gia cường (kiểu thép; đường kính, hình dạng, số lượng và vị trí của các thanh) | √ | √ | √ | √ |
|
|
|
|
| Phân tích mối nối cột tháp và móng (thép đóng vào hoặc bu lông neo) | √ | √ |
|
|
|
|
|
|
| Phân tích cực trị và mỏi đối với tất cả các bộ phận bằng bê tông mang tải |
| √ |
|
|
|
|
|
|
| Xác định lực của cọc trong trường hợp móng bằng cọc (đơn cọc, ba cọc, vỏ bọc) |
| √ |
|
|
|
|
|
|
| Kiểm tra xác nhận kỹ thuật về địa chất (độ trượt, độ lún, khả năng đỡ) |
| √ |
|
|
|
|
|
|
| Kết cấu, vận chuyển và lắp đặt |
|
| √ |
|
|
|
|
| 11 | Quá trình chế tạo | |||||||
|
| Quy định kỹ thuật về mua hàng |
|
|
| √ |
|
|
|
|
| Quy định kỹ thuật về chế tạo |
|
|
| √ |
|
|
|
|
| Hướng dẫn công việc | √ |
| √ |
|
| √ |
|
|
| Quy trình kiểm soát chất lượng |
|
|
| √ | √ |
|
|
|
| Hướng dẫn chế tạo | √ |
| √ | √ | √ | √ |
|
| 12 | Quá trình vận chuyển | |||||||
|
| Quy định về kỹ thuật |
|
|
| √ |
|
|
|
|
| Điều kiện giới hạn về môi trường |
|
| √ | √ |
|
|
|
|
| Hướng dẫn công việc | √ |
| √ |
|
| √ |
|
|
| Quy trình kiểm soát chất lượng |
|
|
| √ | √ |
|
|
|
| Hướng dẫn vận chuyển | √ |
| √ | √ | √ | √ |
|
| 13 | Quá trình lắp đặt | |||||||
|
| Quy định kỹ thuật về lắp đặt |
|
|
| √ |
|
|
|
|
| Hướng dẫn công việc | √ |
| √ |
|
|
|
|
|
| Quy trình kiểm soát chất lượng |
|
|
| √ | √ |
|
|
|
| Hướng dẫn lắp đặt | √ |
| √ | √ | √ | √ |
|
| 14 | Quá trình bảo trì | |||||||
|
| Hướng dẫn công việc | √ |
| √ |
|
| √ |
|
|
| Quy trình kiểm soát chất lượng |
|
|
| √ | √ |
|
|
|
| Hướng dẫn bảo trì | √ |
| √ | √ | √ | √ |
|
| 15 | An toàn người lao động |
|
|
|
|
|
|
|
|
| Hướng dẫn an toàn |
|
| √ | √ |
| √ |
|
|
| Phương tiện leo trèo, lối tiếp cận, lối đi, bệ, sàn, tay vịn, điểm cố định | √ | √ | √ | √ |
|
|
|
|
| Chiếu sáng |
|
| √ | √ | √ |
|
|
|
| Chống cháy |
|
| √ | √ | √ |
|
|
|
| Lối thoát dự phòng |
|
| √ | √ |
| √ |
|
| CHÚ THÍCH 1: Bản vẽ thường là bản vẽ kỹ thuật xác định rõ ràng các kích thước của thành phần hoặc sơ đồ điện. Các bản vẽ này cũng có thể bao gồm quy định kỹ thuật của vật liệu, hướng dẫn đúc hoặc quy định kỹ thuật hoàn thiện khi đề cập đến một thành phần cụ thể có trên bản vẽ. CHÚ THÍCH 2: Việc phân tích thường đề cập đến các tính toán về kỹ thuật như phân tích hoặc tính toán ứng suất của tải kết cấu hoặc của tải điện cũng như phân tích thống kê. Việc phân tích dựa trên cơ sở các quy định kỹ thuật về yêu cầu kết cấu, vật liệu, thành phần điện và cơ. Việc này cũng bao gồm vẽ đồ thị các kết quả và so sánh với kết quả thử nghiệm. CHÚ THÍCH 3: Bản mô tả bao gồm các đoạn chữ mô tả nhiệm vụ, chức năng, thành phần liên quan, v.v... CHÚ THÍCH 4: Quy định kỹ thuật là các yêu cầu đối với các thành phần nhất định của tuabin gió. Chúng có thể gồm tính năng và yêu cầu kích thước đối với hộp số, yêu cầu hoàn thiện đối với bản mô tả hộp số, ổ đỡ, nhu cầu về điện đối với thành phần diện, các yêu cầu về kích thước đối với thành phần cơ khí, quy định kỹ thuật về tính năng đối với nguồn điện phụ trợ thủy lực hoặc tài liệu chất lượng. CHÚ THÍCH 5: Tờ dữ liệu là danh mục các dữ liệu liên quan đối với các thành phần, bộ phận, chi tiết tương ứng, v.v... CHÚ THÍCH 6: Sơ đồ là đồ thị dữ liệu, lưu đồ, biểu đồ và các minh họa khác (điện, động lực và thủy lực). CHÚ THÍCH 7: Dữ liệu thử nghiệm thường đề cập đến các báo cáo thử nghiệm và phép đo. CHÚ THÍCH 8: Dấu tích (√) biểu thị cần có tài liệu tương ứng để chứng nhận. | ||||||||
Phụ lục B
(Tham khảo)
Ví dụ về mẫu giấy chứng nhận
Ví dụ về mẫu giấy chứng nhận kiểu
TC - (Số)
Giấy chứng nhận kiểu
Giấy chứng nhận này cấp cho
XXXX
Đường/Phố
Thành phố
Quốc gia
đối với tuabin gió
XXXX
Giấy chứng nhận này xác nhận sự phù hợp với IEC 61400-1 cấp xx (hoặc IEC 61400-2) liên quan đến thiết kế và chế tạo. Giấy chứng nhận này dựa trên các tài liệu viện dẫn sau đây:
| DE-(Số) | : | Bản tuyên bố sự phù hợp về đánh giá thiết kế |
| ngày | : | dd.mm.yy |
| TT-(Số) | : | Bản tuyên bố sự phù hợp về thử nghiệm điển hình |
| ngày | : | dd.mm.yy |
| MC-(Số) | : | Bản tuyên bố sự phù hợp về chế tạo |
| ngày | : | dd.mm.yy |
| FDE-(Số) | : | Bản tuyên bố sự phù hợp về đánh giá thiết kế móng |
| ngày | : | dd.mm.yy |
| TC-(Số) | : | Bản tuyên bố sự phù hợp về đặc tính điển hình |
| ngày | : | dd.mm.yy |
| ER-(Số) | : | Báo cáo đánh giá cuối cùng |
| ngày | : | dd.mm.yy |
Việc đánh giá sự phù hợp được thực hiện theo TCVN 10687 (IEC 61400-22): Tuabin gió - Phần 22: Thử nghiệm và chứng nhận sự phù hợp.
Kiểu tuabin gió này được quy định ở trang 2 của giấy chứng nhận này.
Các thay đổi về thiết kế hệ thống hoặc hệ thống chất lượng của nhà chế tạo được phê duyệt bởi (tổ chức chứng nhận). Không có sự phê duyệt này thì giấy chứng nhận này sẽ mất hiệu lực.
Giấy chứng nhận này có hiệu lực đến: dd.mm.yy.
(Địa điểm), dd.mm.yy.
ee/ss (Tổ chức chứng nhận)
Chữ ký
TC - (Số)
Giấy chứng nhận kiểu, trang 2
Quy định kỹ thuật kiểu tuabin gió:
Thông số về máy:
Model
Nhà chế tạo WT và quốc gia
Cấp WT theo IEC
Công suất danh định [kW]
Tốc độ gió danh định Vr [m/s]
Đường kính rôto [m]
Các độ cao hub [m]
Độ cao hub vận hành trong dải tốc độ gió Vin - Vout [m/s]
Tuổi thọ thiết kế [y]
Điều kiện gió:
Cường độ luồng xoáy đặc trưng |15 ở Vhub = 15 m/s [-]
Tốc độ gió trung bình hàng năm ở độ cao hub Vave [m/s]
Tốc độ gió chuẩn Vref [m/s]
Góc nghiêng trung bình [độ]
Tốc độ gió cực trị 50 năm ở độ cao hub Ve50 [m/s]
Điều kiện lưới điện:
Điện áp và dải điện áp cung cấp danh nghĩa [V]
Tần số và dải tần số cung cấp danh nghĩa [Hz]
Mất cân bằng điện áp [V]
Thời gian tối đa mất điện lưới [ngày]
Số lần mất điện lưới [1/y]
Các điều kiện khác về môi trường (trong trường hợp có tính đến):
Điều kiện thiết kế trong trường hợp WT ngoài khơi (độ sâu của nước, điều kiện sóng, v.v...)
Dải nhiệt độ bình thường và cực trị [ºC]
Độ ẩm tương đối của không khí [%]
Mật độ không khí [kg/m3]
Bức xạ mặt trời [W/m2]
Mô tả hệ thống bảo vệ chống sét
Mô hình và tham số địa chấn
Độ mặn [g/m3]
Thành phần chính
Kiểu cánh [-]
Kiểu hộp số [-]
Kiểu máy phát [-]
Kiểu cột tháp [-]
Ví dụ về mẫu bản tuyên bố sự phù hợp về đánh giá thiết kế
DE - (Số)
Bản tuyên bố sự phù hợp về đánh giá thiết kế
Bản tuyên bố này cấp cho
XXXX
Đường/Phố
Thành phố
Quốc gia
đối với tuabin gió
XXXXXX
Bản tuyên bố này xác nhận sự phù hợp với IEC 61400-1 cấp xx (hoặc IEC 61400-2) liên quan đến thiết kế. Bản tuyên bố này dựa trên các báo cáo đánh giá sau đây:
| Báo cáo đánh giá | : | Hệ thống điều khiển và bảo vệ |
| ngày | : | dd.mm.yy |
| người lập | : | tên |
| Báo cáo đánh giá | : | Tải và các trường hợp tải |
| ngày | : | dd.mm.yy |
| người lập | : | tên |
| Báo cáo đánh giá | : | Thành phần kết cấu |
| ngày | : | dd.mm.yy |
| người lập | : | tên |
| Báo cáo đánh giá | : | Thành phần cơ và điện |
| ngày | : | dd.mm.yy |
| người lập | : | tên |
| ….. |
|
|
Việc đánh giá sự phù hợp được thực hiện theo TCVN 10687 (IEC 61400-22): Tuabin gió - Phần 22: Thử nghiệm và chứng nhận sự phù hợp.
Các thay đổi về thiết kế hệ thống được phê duyệt bởi (tổ chức chứng nhận). Không có sự phê duyệt này thì giấy chứng nhận này sẽ mất hiệu lực.
Kiểu tuabin gió này được quy định ở trang 2 của bản tuyên bố này (xem quy định kỹ thuật về tuabin gió trong Giấy chứng nhận kiểu).
(Địa điểm), dd.mm.yy.
ee/ss (Tổ chức chứng nhận)
Chữ ký
Ví dụ về mẫu bản tuyên bố sự phù hợp về thử nghiệm điển hình
TT - (Số)
Bản tuyên bố sự phù hợp về thử nghiệm điển hình
Bản tuyên bố này cấp cho
XXXX
Đường/Phố
Thành phố
Quốc gia
đối với tuabin gió
XXXXXX
Bản tuyên bố này xác nhận rằng tuabin gió được đánh giá bởi (tổ chức chứng nhận) liên quan đến thử nghiệm điển hình. Bản tuyên bố này dựa trên các tài liệu viện dẫn sau đây:
| Báo cáo đo | : | Thử nghiệm an toàn và chức năng |
| ngày | : | dd.mm.yy |
| được cấp bởi | : | phòng thử nghiệm |
| Báo cáo đo | : | Đo tính năng về điện |
| ngày | : | dd.mm.yy |
| được cấp bởi | : | phòng thử nghiệm |
| Báo cáo đo | : | Thử nghiệm cánh |
| ngày | : | dd.mm.yy |
| được cấp bởi | : | phòng thử nghiệm |
| Báo cáo đo | : | Các thử nghiệm về thành phần khác |
| ngày | : | dd.mm.yy |
| được cấp bởi | : | phòng thử nghiệm |
| …… |
|
|
Việc đánh giá sự phù hợp được thực hiện theo TCVN 10687 (IEC 61400-22): Tuabin gió - Phần 22: Thử nghiệm và chứng nhận sự phù hợp.
Kiểu tuabin gió này được quy định ở trang 2 của bản tuyên bố này (xem quy định kỹ thuật về tuabin gió trong Giấy chứng nhận kiểu). Các thay đổi về thiết kế được phê duyệt bởi (tổ chức chứng nhận). Không có sự phê duyệt này thì giấy chứng nhận này sẽ mất hiệu lực.
Kiểu tuabin gió này được quy định ở trang 2 của bản tuyên bố này (xem quy định kỹ thuật về tuabin gió trong Giấy chứng nhận kiểu).
(Địa điểm), dd.mm.yy.
ee/ss (Tổ chức chứng nhận)
Chữ ký
Ví dụ về mẫu bản tuyên bố sự phù hợp về chế tạo
MC - (Số)
Bản tuyên bố sự phù hợp về chế tạo
Bản tuyên bố này cấp cho
XXXX
Đường/Phố
Thành phố
Quốc gia
đối với tuabin gió
XXXXXX
Bản tuyên bố này xác nhận sự phù hợp với IEC 61400-1 cấp xx (hoặc IEC 61400-2) liên quan đến hệ thống chất lượng của nhà chế tạo. Bản tuyên bố này dựa trên các tài liệu viện dẫn sau đây:
| Báo cáo đánh giá | : | Hệ thống điều khiển và bảo vệ |
| ngày | : | dd.mm.yy |
| người lập | : | tên |
| Báo cáo đánh giá | : | Tải và các trường hợp tải |
| ngày | : | dd.mm.yy |
| người lập | : | tên |
Việc đánh giá sự phù hợp được thực hiện theo TCVN 10687 (IEC 61400-22): Tuabin gió - Phần 22: Thử nghiệm và chứng nhận sự phù hợp.
Kiểu tuabin gió này được quy định ở trang 2 của bản tuyên bố này (xem quy định kỹ thuật về tuabin gió trong Giấy chứng nhận kiểu).
Các thay đổi về hệ thống chất lượng của nhà chế tạo được phê duyệt bởi (tổ chức chứng nhận). Không có sự phê duyệt này thì giấy chứng nhận này sẽ mất hiệu lực.
Bản tuyên bố sự phù hợp về chế tạo này có hiệu lực đến (hiệu lực của giấy chứng nhận ISO 9001 hoặc ngày đánh giá tiếp theo...).
(Địa điểm), dd.mm.yy.
ee/ss (Tổ chức chứng nhận)
Chữ ký
Ví dụ về mẫu giấy chứng nhận dự án
PC - (Số)
Giấy chứng nhận dự án
Giấy chứng nhận này cấp cho
XXXX
Đường/Phố
Thành phố
Quốc gia
đối với (các) tuabin gió tại vị trí lắp đặt
XXXX
Địa chỉ
Quốc gia
Giấy chứng nhận này xác nhận sự phù hợp với IEC 61400-XX. Giấy chứng nhận này dựa trên các tài liệu tham khảo sau đây:
| TC-(Số) | : | Giấy chứng nhận kiểu |
| ngày | : | dd.mm.yy |
| SC-(Số) | : | Bản tuyên bố sự phù hợp về đánh giá các điều kiện tại vị trí lắp đặt |
| ngày | : | dd.mm.yy |
| DB-(Số) | : | Bản tuyên bố sự phù hợp về đánh giá cơ sở thiết kế |
| ngày | : | dd.mm.yy |
| ILA-(Số) | : | Bản tuyên bố sự phù hợp về phân tích tải tích hợp |
| ngày | : | dd.mm.yy |
|
| . |
|
|
| . |
|
|
| . |
|
| CO-(Số) | : | Bản tuyên bố sự phù hợp về chạy thử |
| ngày | : | dd.mm.yy |
| OMS-(Số) | : | Bản tuyên bố sự phù hợp về giám sát vận hành và bảo trì |
Việc đánh giá sự phù hợp được thực hiện theo TCVN 10687 (IEC 61400-22): Tuabin gió - Phần 22: Thử nghiệm và chứng nhận sự phù hợp.
Giấy chứng nhận dự án có hiệu lực cho (các) tuabin gió và cùng với (các) hệ thống lắp đặt khi được lắp đặt tại vị trí được quy định trong giấy chứng nhận vào ngày cấp.
Kiểu tuabin gió này được quy định ở trang 2 của giấy chứng nhận này (xem quy định kỹ thuật về tuabin gió trong Giấy chứng nhận kiểu)..
(Địa điểm), dd.mm.yy.
ee/ss (Tổ chức chứng nhận)
Chữ ký
Ví dụ về mẫu bản tuyên bố sự phù hợp về điều kiện tại vị trí lắp đặt
SC - (Số)
Bản tuyên bố sự phù hợp về điều kiện tại vị trí lắp đặt
Bản tuyên bố này cấp cho
XXXX
Đường/Phố
Thành phố
Quốc gia
đối với (các) tuabin gió tại vị trí lắp đặt
XXXX
Địa chỉ
Quốc gia
Bản tuyên bố này xác nhận sự phù hợp với IEC 61400-XX liên quan đến đánh giá tại vị trí lắp đặt. Bản tuyên bố này dựa trên các báo cáo đánh giá sau đây:
| Báo cáo đánh giá | : | Điều kiện gió |
| ngày | : | dd.mm.yy |
| người lập | : | tên |
| Báo cáo đánh giá | : | Các điều kiện khác về môi trường |
| ngày | : | dd.mm.yy |
| người lập | : | tên |
| Báo cáo đánh giá | : | Điều kiện điện |
| ngày | : | dd.mm.yy |
| người lập | : | tên |
| Báo cáo đánh giá | : | Điều kiện đất |
| ngày | : | dd.mm.yy |
| người lập | : | tên |
Việc đánh giá sự phù hợp được thực hiện theo TCVN 10687 (IEC 61400-22): Tuabin gió - Phần 22: Thử nghiệm và chứng nhận sự phù hợp.
Kiểu tuabin gió này được quy định ở trang 2 của bản tuyên bố này (xem quy định kỹ thuật về tuabin gió trong Giấy chứng nhận kiểu).
(Địa điểm), dd.mm.yy.
ee/ss (Tổ chức chứng nhận)
Chữ ký
Ví dụ về mẫu bản tuyên bố sự phù hợp về giám sát vận hành và bảo trì
OMS - (Số)
Bản tuyên bố sự phù hợp về giám sát vận hành và bảo trì
Bản tuyên bố này cấp cho
XXXX
Đường/Phố
Thành phố
Quốc gia
đối với (các) tuabin gió tại vị trí lắp đặt
XXXX
Địa chỉ
Quốc gia
Bản tuyên bố này xác nhận sự phù hợp với IEC 61400-XX liên quan đến giám sát vận hành và bảo trì. Bản tuyên bố này dựa trên các tài liệu viện dẫn sau đây:
| TC (Số) | : | Giấy chứng nhận kiểu |
| ngày | : | dd.mm.yy |
| người lập | : | tên |
| Hướng dẫn | : | Hướng dẫn vận hành và bảo trì |
| ngày | : | dd.mm.yy |
| người lập | : | tên |
| Báo cáo đánh giá | : | Kiểm tra xác nhận, giám sát và/hoặc đánh giá |
| ngày | : | dd.mm.yy |
| người lập | : | tên |
Việc đánh giá sự phù hợp được thực hiện theo TCVN 10687 (IEC 61400-22): Tuabin gió - Phần 22: Thử nghiệm và chứng nhận sự phù hợp.
Kiểu tuabin gió này được quy định ở trang 2 của bản tuyên bố này (xem quy định kỹ thuật về tuabin gió trong Giấy chứng nhận kiểu).
Bản tuyên bố sự phù hợp này có hiệu lực đến (ngày đánh giá tiếp theo...).
(Địa điểm), dd.mm.yy.
ee/ss (Tổ chức chứng nhận)
Chữ ký
Ví dụ về mẫu giấy chứng nhận thành phần
CC - (Số)
Giấy chứng nhận thành phần
Giấy chứng nhận này cấp cho
XXXX
Đường/Phố
Thành phố
Quốc gia
đối với thành phần của tuabin gió
XXXX
Giấy chứng nhận này xác nhận sự phù hợp với IEC 61400-XX liên quan đến thiết kế và chế tạo. Giấy chứng nhận này dựa trên các tài liệu viện dẫn sau đây:
| DE-(Số) | : | Bản tuyên bố sự phù hợp về đánh giá thiết kế |
| ngày | : | dd.mm.yy |
| TT-(Số) | : | Bản tuyên bố sự phù hợp về thử nghiệm điển hình |
| ngày | : | dd.mm.yy |
| MC-(Số) | : | Bản tuyên bố sự phù hợp về chế tạo |
| ngày | : | dd.mm.yy |
| ER-(Số) | : | Báo cáo đánh giá cuối cùng |
| ngày | : | dd.mm.yy |
Việc đánh giá sự phù hợp được thực hiện theo TCVN 10687 (IEC 61400-22): Tuabin gió - Phần 22: Thử nghiệm và chứng nhận sự phù hợp.
Thành phần của tuabin gió được quy định ở trang 2 của giấy chứng nhận này.
Các thay đổi về thiết kế hệ thống hoặc hệ thống chất lượng của nhà chế tạo được phê duyệt bởi (tổ chức chứng nhận). Không có sự phê duyệt này thì giấy chứng nhận này sẽ mất hiệu lực.
Giấy chứng nhận thành phần này có hiệu lực đến dd.mm.yy
(Địa điểm), dd.mm.yy.
ee/ss (Tổ chức chứng nhận)
Chữ ký
Phụ lục C
(Tham khảo)
Yêu cầu tối thiểu đối với các phép đo tải
C.1 Quy định chung
Mục đích của các phép đo tải đối với chứng nhận kiểu là để làm hiệu lực các tính toán thiết kế và để xác định trực tiếp các tải trong điều kiện cụ thể. Các yêu cầu tối thiểu dưới đây đối với các phép đo này phải được đáp ứng.
C.2 Chương trình đo tải
Chương trình đo tải phải dựa trên và bao gồm các phép đo trường hợp tải càng sát càng tốt với các trường hợp tải thiết kế được quy định trong TCVN 10687-1 (IEC 61400-1) hoặc IEC 61400-2. Phép đo các trường hợp tải bao gồm tất cả các điều kiện vận hành và sự cố bình thường và quan trọng (ví dụ mất điện lưới, dừng khẩn cấp, sự cố hệ thống bảo vệ, v.v...), tính năng hãm và đáp ứng xoay tuabin. Thử nghiệm phải đủ để đặc trưng hóa đáp ứng vận hành điển hình trong toàn bộ dải tốc độ gió thiết kế. Lượng dữ liệu lớn theo thống kê đối với tốc độ gió liên quan và cường độ luồng xoáy phải được thu thập.
C.3 Dữ liệu đo được
Các dữ liệu đo được tối thiểu bao gồm tải, tham số khí tượng và dữ liệu vận hành của tuabin gió. Phải đo các tải ở các tuyến tải quan trọng nằm trong kết cấu này, việc này cho phép so sánh hiệu lực với các tải dự đoán và đặc tính đáp ứng động của tuabin gió. Các tải này có thể bao gồm mômen uốn (lật cánh và gập cánh) chân cánh, tải trục (uốn và xoắn), tải đỉnh và chân cột tháp (theo hai hướng). Các tham số khí tượng bao gồm tốc độ gió ở độ cao hub, hướng gió, áp suất và nhiệt độ khí quyển. Dữ liệu vận hành của tuabin gió liên quan bao gồm tốc độ rôto, công suất điện, góc chúc, góc phương vị rôto, tư thế xoay tuabin và tình trạng tuabin phải được đo.
C.4 Phân tích dữ liệu
Dữ liệu phải được phân tích sao cho có thể có phép so sánh có hiệu lực với tải và tần số tính được. Phải đánh giá ít nhất các giá trị trung bình, nhỏ nhất và lớn nhất, sai lệch chuẩn, số chu kỳ, mật độ và biểu đồ cột phổ công suất của dữ liệu tải theo dải tốc độ gió và luồng xoáy được ghi lại và dữ liệu liên quan trong báo cáo thử nghiệm.
Phụ lục D
(Tham khảo)
Yêu cầu đối với thử nghiệm an toàn và chức năng
D.1 Quy định chung
Mục đích của yếu tố thử nghiệm an toàn và chức năng của chứng nhận kiểu tuabin gió được mô tả ở 8.4.2. Phụ lục này quy định các yêu cầu chung để thực hiện các thử nghiệm này. Yêu cầu này được nêu dưới đây.
D.2 Định nghĩa về chức năng bảo vệ
Chức năng bảo vệ phải phù hợp với TCVN 10687-1 (IEC 61400-1) và phải được xác định trong tài liệu thiết kế. Chức năng bảo vệ là mục đích của thử nghiệm an toàn và chức năng.
D.3 Kế hoạch thử nghiệm
Kế hoạch thử nghiệm an toàn và chức năng bao gồm các chức năng quan trọng của hệ thống điều khiển và bảo vệ đòi hỏi kiểm tra xác nhận thử nghiệm, như quy định trong tài liệu thiết kế. Các chức năng quan trọng ít nhất phải bao gồm
- các chức năng bảo vệ chính liên quan đến:
• mất điện lưới,
• ngắt điện khẩn cấp,
• quá tốc độ tuabin gió, và
• các trường hợp dừng quan trọng khác có thể thấy trong khi thiết kế,
- các chức năng bảo vệ phụ liên quan đến:
• một sự cố trong hệ thống bảo vệ chính,
• mất điện lưới, và
• ngắt điện khẩn cấp,
- hoạt động bình thường của các chức năng điều khiển tuabin liên quan đến:
• các tiêu chí thiết kế quan trọng được xác định khi thiết kế, ví dụ như vị trí xoay cánh đối với tuabin điều chỉnh xoay cánh.
Tổ chức chứng nhận sẽ xác nhận hệ thống điều khiển và bảo vệ thể hiện thỏa đáng các hạng mục nêu trên.
Ngoài các thử nghiệm này, theo tài liệu thiết kế cũng có thể bao gồm một hoặc một số trường hợp sau:
- dừng khẩn cấp trong khi vận hành mà không có thêm sự cố;
- các mức rung khi vận hành và bảo vệ chống rung quá mức;
- bảo vệ quá tốc độ ở tốc độ gió danh định hoặc lớn hơn;
- khởi động và dừng ở tốc độ gió cao hơn tốc độ gió danh định;
- điều khiển xoay tuabin (bao gồm xoắn cáp);
- thử nghiệm các trường hợp được mô tả ở ba gạch đầu dòng đầu đối với tốc độ gió lớn hơn công suất danh định.
Cơ sở đối với thử nghiệm này là tài liệu thiết kế và mô phỏng thiết kế. Báo cáo thử nghiệm có thể bao gồm mô phỏng sự kiện thử nghiệm, kể cả các điều kiện thực tế (tức là tốc độ gió, luồng xoáy, trượt gió, v.v...). Từng thử nghiệm phải được mô tả trong kế hoạch thử nghiệm5. Trong nhiều trường hợp, một vài thành phần không đạt chế độ hoặc các sự kiện quan trọng sẽ dẫn đến đáp ứng tương tự của hệ thống điều khiển và bảo vệ và có thể được thực hiện bằng thử nghiệm đơn lẻ.
Đối với từng thử nghiệm, kế hoạch thử nghiệm sẽ nêu chi tiết các đại lượng vật lý cần đo, dụng cụ đo và hệ thống thu thập dữ liệu và chế độ hiệu chuẩn và vận hành đối với hệ thống điều khiển, cơ cấu chấp hành đặc biệt, nam châm hoặc thiết bị đóng cắt bằng điện được yêu cầu, nếu cần, và tất cả các yêu cầu về điều kiện bên ngoài liên quan đến thử nghiệm.
Các quy trình thực hiện từng thử nghiệm, kể cả các biện pháp an toàn thích hợp, phải được mô tả trong kế hoạch thử nghiệm. Là một phần của kế hoạch thử nghiệm, tổ chức chứng nhận cũng sẽ nhận biết các tiêu chí đối với đáp ứng chấp nhận được của hệ thống tuabin gió (kể cả đáp ứng động). Điều này thường được thấy trong tài liệu thiết kế. Các tiêu chí này phải được phê chuẩn bởi tổ chức chứng nhận và bên đăng ký.
Tổ chức chứng nhận sẽ xác nhận thêm về bản mô tả được nêu trong kế hoạch thử nghiệm là thích hợp để thực hiện thành công thử nghiệm.
D.4 Hoạt động thử nghiệm tại vị trí lắp đặt
Thử nghiệm phải được thực hiện theo kế hoạch thử nghiệm đã phê duyệt. Bất kỳ sửa đổi nào về kế hoạch thử nghiệm được xem là cần thiết trong khi thử nghiệm phải được lập thành văn bản và được phê duyệt.
D.5 Phân tích và báo cáo
Báo cáo thử nghiệm phù hợp với các yêu cầu ở 8.4.7 phải được chuẩn bị. Việc phân tích dữ liệu tối thiểu gồm có vẽ đồ thị chuỗi thời gian của từng đại lượng vật lý quan trọng đo được và lập bảng các giá trị tính được của các phép đo thống kê các dữ liệu biến thiên (bao gồm giá trị lớn nhất và nhỏ nhất) hoặc đồ thị thống kê thích hợp như biểu đồ cột, các đường cong vượt quá hoặc mật độ phổ công suất. Việc phân tích bao gồm nhận biết các tần số tự nhiên quan trọng của toàn bộ hệ thống được thể hiện ở dạng dữ liệu. Thông tin được báo cáo sẽ chứng minh rằng thử nghiệm và các tiêu chí chấp nhận theo thỏa thuận được đáp ứng.
D.6 Kiểm tra an toàn người lao động
Tổ chức chứng nhận sẽ kiểm tra các khía cạnh về an toàn người lao động, được mô tả trong tài liệu thiết kế, xem 8.3.15. Nhìn chung, tất cả các phương tiện an toàn phải được kiểm tra sự phù hợp với tài liệu thiết kế và lắp ráp đúng.
Tổ chức chứng nhận tối thiểu phải kiểm tra các khía cạnh an toàn người lao động dưới đây.
- Hướng dẫn an toàn
• Hướng dẫn an toàn phải sẵn có cho tất cả những người làm việc hoặc vận hành tại vị trí lắp đặt hoặc trong tuabin gió.
- Phương tiện trèo
• Phương tiện trèo và các điểm cố định phải được kiểm tra lắp ráp đúng và đầy đủ chức năng.
- Lối tiếp cận và lối đi
• Lối tiếp cận và lối đi phải đảm bảo việc rời khỏi tuabin gió bất kỳ lúc nào.
• Lối tiếp cận và lối đi phải đảm bảo lối vào để giải cứu công nhân.
- Chỗ đứng, bệ và sàn
• Phải tránh được các nguy hại do vấp ngã hoặc phải được ghi rõ ràng.
• Bệ, sàn và lối đi phải được trang bị bề mặt chống trượt.
• Cửa sập của bệ phải có thể khóa được.
- Tay vịn và các điểm cố định
• Tay vịn và các điểm cố định phải được cố định đúng.
• Tay vịn phải được kiểm tra các gờ sắc.
- Chiếu sáng
• Phải kiểm tra có thiết bị chiếu sáng thích hợp.
• Phải kiểm tra chức năng của chiếu sáng khẩn cấp.
- Hệ thống điện và nối đất
• Thiết bị điện phải được nối đất, cách điện tốt và phù hợp với tài liệu thiết kế.
• Thành phần dẫn điện phải được ghi nhãn rõ ràng.
- Chống cháy
• Phải kiểm tra nội dung ngăn ngừa và kiểm soát cháy.
- Nút tắt khẩn cấp
• Nút tắt khẩn cấp phải nhận biết được một cách rõ ràng, dễ nhìn và dễ tiếp cận.
• Chức năng của nút tắt khẩn cấp phải được kiểm tra.
- Dự phòng về lối thoát hiểm thay thế
• Dự phòng về lối thoát hiểm thay thế phải được mô tả và chuẩn bị cho tất cả những người làm việc hoặc vận hành trên trang trại gió nếu đó là một phần của tài liệu thiết kế.
- Dự phòng về việc ở lại khẩn cấp ở tuabin gió ngoài khơi trong một tuần
• Phải có sẵn nguồn lực đủ và các dự phòng cho việc ở lại khẩn cấp ở tuabin gió ngoài khơi trong một tuần.
- Thiết bị an toàn riêng ở ngoài khơi đối với tuabin gió ngoài khơi
• Phải kiểm tra việc có các thiết bị an toàn riêng ở ngoài khơi.
Cơ sở của việc kiểm tra này là tài liệu thiết kế đã được đánh giá.
Tổ chức chứng nhận sẽ xác nhận sự phù hợp của các phương tiện an toàn đã lắp ráp với tài liệu thiết kế.
Phụ lục E
(Tham khảo)
Hệ thống theo dõi tình trạng tuabin gió
E.1 Quy định chung
Với một hệ thống theo dõi tình trạng (CMS), có thể phát hiện sự thay đổi về tình trạng của các thành phần được theo dõi của tuabin gió.
Hệ thống CMS thường đo độ rung tại các thành phần của tuabin gió, ví dụ tại thành phần của hệ thống truyền động và cột tháp, và thu thập các tham số vận hành, ví dụ như công suất ra, tốc độ, nhiệt độ dầu và ổ đỡ. Hệ thống CMS cũng có thể bao gồm các hệ thống khác như theo dõi điều kiện liên tục của dầu, ví dụ ghi lại các phần tử kim loại trong dầu.
Dữ liệu ghi được sẽ được xử lý và so sánh với các giá trị ngưỡng. Các giá trị ngưỡng này cần được thiết lập sao cho các hư hại dự kiến trước được phát hiện càng sớm càng tốt và số lượng báo động “sự cố” được giữ ở mức hợp lý. Việc thiết lập các giá trị ngưỡng là một quá trình liên tục trong suốt tuổi thọ của tuabin gió.
Phụ lục này áp dụng cho các hệ thống theo dõi tình trạng được lắp đặt trong các tuabin gió đã hoạt động cũng như cho các hệ thống tích hợp trong tuabin gió và các thành phần của chúng.
Hệ thống CMS sẽ được cấp giấy chứng nhận nếu tài liệu về chúng được đánh giá thành công, nếu việc phát triển và chế tạo chúng phù hợp với các yêu cầu của TCVN ISO 9001 và nếu chế độ hoạt động của chúng được kiểm tra trong chương trình thử nghiệm.
E.2 Phạm vi đánh giá
Mô tả chi tiết đánh giá và công bố liên quan về sự phù hợp phải theo thỏa thuận giữa bên đăng ký và tổ chức chứng nhận.
Để đánh giá tài liệu của hệ thống CMS, phải cung cấp tài liệu hoàn chỉnh, ví dụ ở dạng quy định kỹ thuật, các phép tính toán, bản vẽ, sơ đồ mạch điện, danh sách bộ phận và lưu đồ.
Ít nhất phải nộp và đánh giá tài liệu sau đây cho kiểu hệ thống CMS: bản mô tả chung; mô tả chế độ hoạt động (bao gồm sơ đồ mạch điện); bản mô tả phần mềm (bao gồm nội dung lưu trữ dữ liệu) và bản mô tả chế độ đặt các giá trị ngưỡng; bản mô tả phần cứng và các tờ dữ liệu; bản mô tả cách thu được giá trị trung bình, loại giá trị được sử dụng và cách tránh mất các dữ liệu quan trọng đối với nội suy; bản mô tả cách các giá trị ngưỡng được giám sát trong tuabin gió có tốc độ biến thiên; bản mô tả các biện pháp được thực hiện để bảo vệ chống nhiễu điện từ gây ra bởi tuabin gió hoặc do sự cố về điện; sổ tay hướng dẫn (hướng dẫn lắp đặt, hướng dẫn chạy thử, hướng dẫn vận hành, hướng dẫn bảo trì có kế hoạch bảo trì).
E.3 Yêu cầu về hệ thống CMS
Các giá trị ngưỡng bị vượt quá phải được chuyển tiếp ngay và tự động bởi hệ thống CMS thường như chuông báo/cảnh báo sớm và chuông báo chính.
Hệ thống truyền động có các ổ đỡ cũng như hộp số ăn khớp thường là những thiết bị ưu tiên chính trong giám sát tuabin gió.
Dải tần số thích hợp được chọn đối với cảm biến rung phụ thuộc vào thành phần được giám sát.
Số lượng cảm biến đối với giám sát rung của hệ thống truyền động phụ thuộc vào thiết kế kết cấu.
Số lượng cảm biến và vị trí của chúng tại hộp số phải được chọn sao cho tất cả các tần số sai lệch tiềm ẩn có thể đo được.
Các tham số vận hành thường được truyền từ hệ thống điều khiển của tuabin gió và tích hợp vào đánh giá dữ liệu hệ thống CMS.
Các hướng dẫn áp dụng thông thường đối với xử lý tín hiệu số (ví dụ liên quan đến tốc độ lấy mẫu và lọc khử răng cưa) được áp dụng.
Để có thể tra cứu dữ liệu lịch sử đối với hư hại dùng để đánh giá và thiết lập các giá trị ngưỡng, các giá trị đặc trưng và phổ liên quan cần được lưu giữ ngay cả nếu không vượt quá giá trị ngưỡng.
Thư mục tài liệu tham khảo
[1] TCVN 6627-1 (IEC 60034-1), Máy điện quay - Phần 1: Thông số đặc trưng và tính năng
[2] TCVN 6036-1 (IEC 60076-1), Máy biến áp điện lực - Phần 1: Quy định chung
[3] IEC 61400-22:2010, Wind turbines - Part 22: Conformity testing and certification (Tuabin gió - Phần 22: Thử nghiệm và chứng nhận sự phù hợp)
MỤC LỤC
Lời nói đầu
Lời giới thiệu
1 Phạm vi áp dụng
2 Tài liệu viện dẫn
3 Thuật ngữ và định nghĩa
4 Ký hiệu và chữ viết tắt
5 Chấp nhận tổ chức thực hiện
6 Quản lý hệ thống chứng nhận
7 Phạm vi chứng nhận
8 Chứng nhận kiểu
9 Chứng nhận dự án
Phụ lục A (tham khảo), Tài liệu thiết kế (nếu có)
Phụ lục B (tham khảo), Ví dụ về mẫu giấy chứng nhận
Phụ lục C (tham khảo), Yêu cầu tối thiểu đối với phép đo tải
Phụ lục D (tham khảo), Yêu cầu đối với thử nghiệm an toàn và chức năng
Phụ lục E (tham khảo), Hệ thống theo dõi tình trạng tuabin gió
Thư mục tài liệu tham khảo
1 Quá trình này bắt đầu với đánh giá cơ sở thiết kế của thành phần hoặc đánh giá thiết kế nếu cơ sở thiết kế đối với kiểu tuabin gió mà thành phần này được áp dụng và đã được đánh giá.
2 Nội dung và toàn bộ chương trình thử nghiệm để lập thành văn bản độ bền cánh rôto được kiểm tra xác nhận dựa vào IEC/TS 61400-23. Yêu cầu để thử nghiệm kích thước thực được nêu ở 8.4.5. Sự phù hợp giữa yêu cầu thiết kế và kết quả thử nghiệm được đánh giá ở 8.9.
3 Cần xác nhận rằng hệ thống điện của tuabin gió kể cả các đầu nối tuabin đáp ứng các yêu cầu trong cơ sở thiết kế đã phê duyệt về:
- thiết kế của hệ thống điện đảm bảo nguy hại tối thiểu cho con người cũng như hư hại tiềm ẩn tối thiểu cho tuabin gió và hệ thống điện bên ngoài trong khi vận hành và bảo trì của tuabin gió trong các điều kiện bình thường và cực trị;
- thiết kế hệ thống điện có tính đến tính chất dao động của điện năng phát ra từ tuabin gió;
- các điều khoản được thực hiện để đảm bảo bảo vệ đủ tất cả các thành phần điện và hệ thống điện khỏi ảnh hưởng của ăn mòn.
4 IEC 61400-11 và các tiêu chuẩn liên quan đến tạp âm khác.
5 Một số thử nghiệm có thể được thực hiện thay thế như một phần của phép đo tải trong Phụ lục C (xem IEC 61400-3 để có hướng dẫn).
Bạn chưa Đăng nhập thành viên.
Đây là tiện ích dành cho tài khoản thành viên. Vui lòng Đăng nhập để xem chi tiết. Nếu chưa có tài khoản, vui lòng Đăng ký tại đây!