• Tổng quan
  • Nội dung
  • Tiêu chuẩn liên quan
  • Lược đồ
  • Tải về
Lưu
Đây là tiện ích dành cho tài khoản Tiêu chuẩn hoặc Nâng cao . Vui lòng Đăng nhập tài khoản để xem chi tiết.
Theo dõi VB
Đây là tiện ích dành cho tài khoản Tiêu chuẩn hoặc Nâng cao . Vui lòng Đăng nhập tài khoản để xem chi tiết.
Ghi chú
Báo lỗi
In

Tiêu chuẩn TCVN 10170-1:2025 Kiểm trung tâm gia công - Kiểm hình học máy có trục chính nằm ngang

Ngày cập nhật: Thứ Ba, 26/08/2025 10:54 (GMT+7)
Số hiệu: TCVN 10170-1:2025 Loại văn bản: Tiêu chuẩn Việt Nam
Cơ quan ban hành: Bộ Khoa học và Công nghệ Lĩnh vực: Công nghiệp
Trích yếu: ISO 10791-1:2015 Điều kiện kiểm trung tâm gia công - Phần 1: Kiểm hình học máy có trục chính nằm ngang (trục Z nằm ngang)
Ngày ban hành:
Ngày ban hành là ngày, tháng, năm văn bản được thông qua hoặc ký ban hành.
17/06/2025
Hiệu lực:
Đã biết
Tiện ích dành cho tài khoản Tiêu chuẩn hoặc Nâng cao. Vui lòng Đăng nhập tài khoản để xem chi tiết.
Người ký: Đang cập nhật
Tình trạng hiệu lực:
Cho biết trạng thái hiệu lực của văn bản đang tra cứu: Chưa áp dụng, Còn hiệu lực, Hết hiệu lực, Hết hiệu lực 1 phần; Đã sửa đổi, Đính chính hay Không còn phù hợp,...
Đã biết
Tiện ích dành cho tài khoản Tiêu chuẩn hoặc Nâng cao. Vui lòng Đăng nhập tài khoản để xem chi tiết.

TÓM TẮT TIÊU CHUẨN VIỆT NAM TCVN 10170-1:2025

Tiêu chuẩn quốc gia TCVN 10170-1:2025 về kiểm tra trung tâm gia công với trục chính nằm ngang
Ngày 17/06/2025, Bộ Khoa học và Công nghệ đã công bố Tiêu chuẩn quốc gia TCVN 10170-1:2025, quy định về điều kiện kiểm trung tâm gia công - Phần 1: Kiểm hình học máy có trục chính nằm ngang (trục Z nằm ngang). Tiêu chuẩn này có hiệu lực từ ngày ban hành.

Tiêu chuẩn này áp dụng cho các trung tâm gia công, cụ thể là các máy điều khiển số với trục chính nằm ngang và ba trục tịnh tiến điều khiển số. Nó hướng đến việc cung cấp các phép kiểm hình học chất lượng cao nhằm xác nhận, bảo trì và nghiệm thu máy móc cho các nhà sản xuất và người dùng.

Nội dung và mục đích của tiêu chuẩn
Mục tiêu của TCVN 10170-1:2025 là cung cấp các thông tin đầy đủ về các phép kiểm có thể được thực hiện nhằm đánh giá và chứng nhận độ chính xác của các trung tâm gia công. Tiêu chuẩn này được xây dựng dựa trên các quy định thông qua các tài liệu liên quan của ISO 230, bao gồm nhiều kiểu kiểm tra khác nhau cho máy móc trong sản xuất.

Các phép kiểm chính
Tiêu chuẩn nêu rõ các phép kiểm hình học cho trung tâm gia công có trục chính ngang, bao gồm nhưng không giới hạn ở:

  1. Kiểm độ thẳng của trục X, Y, Z: Các phép kiểm này đo chính xác độ thẳng của các chuyển động tịnh tiến của máy.
  2. Kiểm sai số góc: Lập kế hoạch kiểm tra cho các chuyển động trục X, Y, Z để đảm bảo góc di chuyển là chính xác theo dung sai đã quy định.
  3. Kiểm độ vuông góc giữa các trục: Đảm bảo rằng độ vuông góc giữa các trục tịnh tiến đảm bảo đáp ứng yêu cầu sản xuất.
  4. Kiểm trục chính: Các phép kiểm này nhằm xác nhận độ chính xác của trục chính và khả năng hoạt động của nó trong quá trình gia công.

Phụ lục quy định các kiểu bàn máy
Các phụ lục trong tiêu chuẩn đưa ra mô tả chi tiết về nhiều thiết kế bàn máy và các tham chiếu kỹ thuật liên quan. Điều này bao gồm bàn máy không quay, bàn máy quay và bàn máy nghiêng, tất cả đều ảnh hưởng đến lưu trình kiểm soát chất lượng.

Tiêu chuẩn này không chỉ cung cấp cơ sở cho việc kiểm tra hình học mà còn là thông tin tham khảo cho việc cải thiện sản xuất và nâng cao độ chính xác trong ngành công nghiệp cơ khí, làm tiền đề cho những nâng cấp công nghệ trong tương lai.

Tải tiêu chuẩn Việt Nam TCVN 10170-1:2025

Tải văn bản tiếng Việt (.pdf) Tiêu chuẩn Việt Nam TCVN 10170-1:2025 PDF (Bản có dấu đỏ)

Đây là tiện ích dành cho tài khoản thành viên. Vui lòng Đăng nhập để xem chi tiết. Nếu chưa có tài khoản, Đăng ký tại đây!

Tình trạng hiệu lực: Đã biết
Hiệu lực: Đã biết
Tình trạng hiệu lực: Đã biết

TIÊU CHUẨN QUỐC GIA

TCVN 10170-1:2025

ISO 10791-1:2015

ĐIỀU KIỆN KIỂM TRUNG TÂM GIA CÔNG - PHẦN 1: KIỂM HÌNH HỌC MÁY CÓ TRỤC CHÍNH NẰM NGANG (TRỤC Z NẰM NGANG)

Test conditions for machining centres - Part 1: Geometric tests for machines with horizontal spindle (horizontal Z-axis)

Lời nói đầu

TCVN 10170-1:2025 thay thế TCVN 10170-1:2013 (ISO 10791-1:1998).

TCVN 10170-1:2025 hoàn toàn tương đương với ISO 10791-1:2015.

TCVN 10170-1:2025 do Ban kỹ thuật tiêu chuẩn quốc gia TCVN/TC 39 Máy công cụ biên soạn, Viện Tiêu chuẩn Chất lượng Việt Nam đề nghị, Ủy ban Tiêu chuẩn Đo lường Chất lượng Quốc gia thẩm định, Bộ Khoa học và Công nghệ công bố.

Bộ TCVN 10170 (ISO 10791), Điều kiện kiểm trung tâm gia công bao gồm các phần sau:

TCVN 10170-1:2025 (ISO 10791-1:2015), Phần 1: Kiểm hình học máy có trục chính nằm ngang (trục Z nằm ngang);

- TCVN 10170-2:2013 (ISO 10791-2:2001), Phần 2: Kiểm hình học cho máy có trục chính thẳng đứng hoặc các đầu vạn năng có trục tâm quay chính thẳng đứng (trục Z thẳng đứng);

- TCVN 10170-3:2013 (ISO 10791-3:1998), Phần 3: Kiểm hình học cho máy có các đầu phân độ nguyên khối hoặc vạn năng liên tục (trục Z thẳng đứng);

- TCVN 10170-4:2014 (ISO 10791-4:1998), Phần 4: Độ chính xác và khả năng lặp lại định vị của các trục tịnh tiến và quay;

- TCVN 10170-5:2014 (ISO 10791-5:1998), Phần 5: Độ chính xác và khả năng lặp lại định vị của các palét kẹp phôi;

- TCVN 10170-6:2025 (ISO 10791-6:2014), Phần 6: Độ chính xác của tốc độ và phép nội suy;

- TCVN 10170-7:2025 (ISO 10791-7:2020), Phần 7: Độ chính xác của mẫu kiểm hoàn thiện;

- TCVN 10170-8:2014 (ISO 10791-8:2001), Phần 8: Đánh giá đặc tính tạo công tua trong ba mặt phẳng tọa độ;

- TCVN 10170-9:2014 (ISO 10791-9:2001), Phần 9: Đánh giá thời gian vận hành thay dao và thay palét;

- TCVN 10170-10:2014 (ISO 10791-10:2007), Phần 10: Đánh giá các biến dạng nhiệt.

 

Lời giới thiệu

Trung tâm gia công là một máy công cụ điều khiển số có khả năng thực hiện nhiều nguyên công gia công, bao gồm phay, doa, khoan và cắt ren, cũng như thay dao tự động từ một ổ chứa dao hoặc cụm chứa tương tự theo một chương trình gia công.

Mục đích của bộ tiêu chuẩn này là cung cấp thông tin rộng và toàn diện đến mức có thể đối với các phép kiểm có thể được thực hiện để so sánh, nghiệm thu, bảo dưỡng hoặc bất kỳ mục đích nào khác được xem là cần thiết bởi người sử dụng hoặc nhà sản xuất/nhà cung cấp. Tiêu chuẩn này quy định, có tham chiếu các phần liên quan của bộ tiêu chuẩn ISO 230, các họ phép kiểm cho các trung tâm gia công có trục chính nằm ngang, được bố trí riêng biệt hoặc được tích hợp trong các hệ thống sản xuất linh hoạt.

Tiêu chuẩn này cũng thiết lập các dung sai cho các kết quả kiểm tương ứng đối với các trung tâm gia công thông dụng và độ chính xác thường.

Tiêu chuẩn này cũng có thể áp dụng được, toàn bộ hay một phần, cho các máy điều khiển số khác, nếu dạng cấu hình, các bộ phận và các chuyển động của các máy này tương thích với các phép kiểm được mô tả.

Các ụ trục chính phụ, nêu trong các Phụ lục A đến Phụ lục C trong phiên bản trước của tiêu chuẩn này, nay được nêu chi tiết hơn trong ISO 17543-1 do chúng không chỉ được sử dụng trong các trung tâm gia công.

Trong tiêu chuẩn này, các phép kiểm độ phẳng bàn máy (G15 ở phiên bản trước) đã bị xóa bỏ vì nhiều lý do, trong đó có:

- bề mặt bàn máy không được sử dụng một cách thông thường làm chuẩn tham chiếu cho việc định vị chi tiết gia công;

- đôi khi, máy được cung cấp kèm theo một số đồ gá được lắp sẵn trên bàn máy;

- đôi khi, máy được trang bị một bộ nhận trong đó có thể lắp nhiều palét kẹp;

- đối với các phép kiểm được thực hiện trong vòng đời làm việc của máy, bề mặt bàn máy có thể không còn đủ phù hợp đối với các phép đo độ chính xác, chủ yếu trên các máy lớn.

 

ĐIỀU KIỆN KIỂM TRUNG TÂM GIA CÔNG - PHẦN 1: KIỂM HÌNH HỌC MÁY CÓ TRỤC CHÍNH NẰM NGANG (TRỤC Z NẰM NGANG)

Test conditions for machining centres - Part 1: Geometric tests for machines with horizontal spindle (horizontal Z-axis)

1 Phạm vi áp dụng

Tiêu chuẩn này quy định các phép kiểm hình học cho các trung tâm gia công (hoặc các máy điều khiển số khác, nếu áp dụng được) có trục chính nằm ngang (nghĩa là trục Z nằm ngang) có tham chiếu ISO 230-1.

Tiêu chuẩn này áp dụng cho các trung tâm gia công có ba trục tịnh tiến điều khiển số (trục X có chiều dài đến 5000 mm, trục Y dài đến 3200 mm, trục Z dài đến 2000 mm), nhưng cũng tham khảo cho các chuyển động phụ, như các chuyển động của các bàn máy quay, nghiêng và xoay. Các chuyển động khác với các chuyển động nói trên được xem là các đặc tính đặc biệt và các phép kiểm liên quan không được đề cập trong tiêu chuẩn này.

Các Phụ lục A đến Phụ lục D đưa ra bốn kiểu có thể có của các bàn máy, cố định và quay, như được mô tả dưới đây:

- Phụ lục A: các bàn máy không quay nằm ngang;

- Phụ lục B: các bàn máy quay quanh trục đứng B’;

- Phụ lục C: các bàn máy quay quanh trục đứng B’ và nghiêng quanh trục ngang A’;

- Phụ lục D: các bàn máy quay quanh trục ngang A’ và xoay quanh trục đứng B'.

Tiêu chuẩn này không xét đến các ụ trục chính phụ, chúng được quy định trong ISO 17543-1.

Tiêu chuẩn này chỉ đề cập việc kiểm tra xác nhận độ chính xác hình học của máy và không áp dụng để kiểm vận hành máy, chúng thường được kiểm riêng. Các phép kiểm không liên quan đến độ chính xác hình học thuần túy của máy được đề cập trong các phần khác của bộ tiêu chuẩn này.

2 Tài liệu viện dẫn

Các tài liệu viện dẫn sau là cần thiết cho việc áp dụng tiêu chuẩn này. Đối với các tài liệu viện dẫn ghi năm công bố thì áp dụng phiên bản được nêu. Đối với các tài liệu viện dẫn không ghi năm công bố thì áp dụng phiên bản mới nhất, bao gồm cả các sửa đổi (nếu có).

TCVN 10170-6:2025 (ISO 10791-6:2014), Điều kiện kiểm trung tâm gia công - Phần 6: Độ chính xác của tốc độ và phép nội suy

ISO 230-1:2012 1) , Test code for machine tools - Part 1: Geometric accuracy of machines operating under no-load or quasi-static conditions (Quy tắc kiểm máy công cụ - Phần 1: Độ chính xác hình học của máy khi vận hành trong điều kiện không tải hoặc bán tĩnh)

ISO 230-7:2015 2) , Test code for machine tools - Part 7: Geometric accuracy of axes of rotation (Quy tắc kiểm máy công cụ - Phần 7: Độ chính xác hình học của các trục tâm của chuyển động quay)

ISO 841, Industrial automation systems and integration - Numerical control of machines - Coordinate system and motion nomenclature (Hệ thống tự động và tích hợp công nghiệp - Điều khiển số máy - Hệ tọa độ và danh pháp chuyển động)

3 Lưu ý ban đầu

3.1 Đơn vị đo

Trong tiêu chuẩn này, tất cả các kích thước thẳng, các sai lệch thẳng và các dung sai tương ứng được thể hiện bằng milimét; các kích thước góc được tính bằng độ, các sai lệch góc và các dung sai tương ứng chủ yếu được thể hiện bằng các tỉ số, nhưng trong một số trường hợp, để cho rõ ràng dễ hiểu có thể sử dụng đơn vị microradian hoặc giây (cung). Có thể sử dụng biểu diễn sau để chuyển đổi các đơn vị sai lệch hoặc dung sai góc:

0,010/1000 = 10 μrad ≈ 2"

3.2 Tham chiếu ISO 230-1

Để áp dụng tiêu chuẩn này, phải tham chiếu ISO 230-1, đặc biệt đối với việc lắp đặt máy trước khi kiểm, chạy khởi động trục chính và các bộ phận chuyển động khác, mô tả các phương pháp đo và độ không đảm bảo đo khuyến nghị của thiết bị kiểm.

Trong ô "Xem" của các phép kiểm được mô tả trong Điều 4 và các Phụ lục, các hướng dẫn được kèm theo bằng việc tham chiếu tới nội dung tương ứng của ISO 230-1 trong trường hợp phép kiểm được đề cập tuân theo các quy định kỹ thuật của tiêu chuẩn đó.

3.3 Tham chiếu TCVN 10170-6 (ISO 10791-6)

Trong TCVN 10170-6:2025 (ISO 10791-6:2014), các Phụ lục A, B và C, mô tả các phép kiểm động học dùng để kiểm chuyển động nội suy tròn bằng điều khiển ba trục đồng thời (AK1, AK2, BK1, BK2, CK1, CK2). Các phép kiểm này dựa trên việc sử dụng các cảm biến độ dịch chuyển cùng với một trục kiểm có đầu dạng cầu hoặc sử dụng một thanh bi.

Các phép kiểm động học này có thể được sử dụng để xác định vị trí và hướng của các trục quay so với các trục tịnh tiến.

Phép kiểm động học BK2 c) [CK2 c)] trong TCVN 10170-6:2025 (ISO 10791-6:2014) có thể được sử dụng làm một phương pháp thay thế cho các phép kiểm sau nếu tất cả các hàm bù sai số hình học liên quan là giống nhau: BG8, BG9, CG8, CG10, DG9 và DG11.

3.4 Trình tự kiểm

Trình tự các phép kiểm được trình bày trong tiêu chuẩn này không xác định thứ tự kiểm thực tế. Để thực hiện việc lắp đặt các dụng cụ hoặc đồng hồ so dễ dàng, có thể thực hiện các phép kiểm theo thứ tự bất kỳ.

3.5 Các phép kiểm được thực hiện

Khi kiểm máy, không phải lúc nào cũng cần thiết hoặc có thể thực hiện tất cả các phép kiểm được mô tả trong tiêu chuẩn này. Khi các phép kiểm được yêu cầu cho mục đích nghiệm thu, người sử dụng lựa chọn các phép kiểm có liên quan đến các bộ phận và/hoặc các đặc tính của máy mà họ quan tâm theo thỏa thuận với nhà sản xuất/nhà cung cấp. Các phép kiểm này cần được nêu rõ ràng khi đặt mua máy. Chỉ tham chiếu tiêu chuẩn này cho các phép kiểm nghiệm thu mà không có quy định các phép kiểm được tiến hành và không có sự thỏa thuận về chi phí liên quan, không thể bị coi là ràng buộc đối với bất kỳ bên nào tham gia hợp đồng.

3.6 Dung sai

Trong tiêu chuẩn này, tất cả các giá trị dung sai (xem 4.1, ISO 230-1:2012) đều là các khuyến nghị. Khi chúng được sử dụng cho mục đích nghiệm thu, có thể lấy các giá trị khác theo thỏa thuận giữa người sử dụng và nhà sản xuất/nhà cung cấp. Các giá trị dung sai yêu cầu/thỏa thuận này cần được nêu rõ ràng khi đặt mua máy.

Khi thiết lập dung sai cho một chiều dài đo khác với chiều dài đo cho trong tiêu chuẩn này, giá trị dung sai có thể được xác định theo quy tắc tỷ lệ (xem 4.1.2, ISO 230-1:2012). Phải lưu ý rằng giá trị dung sai nhỏ nhất là 0,005 mm.

3.7 Phương tiện đo

Phương tiện đo được nêu trong các phép kiểm được mô tả trong các phần dưới đây chỉ là các ví dụ. Có thể sử dụng phương tiện đo khác có khả năng đo cùng đại lượng và có cùng độ không đảm bảo đo hoặc nhỏ hơn. Phải thực hiện tham chiếu tới Điều 5, ISO 230-1:2012, ở đó chỉ ra mối quan hệ giữa độ không đảm bảo đo và dung sai.

Khi nhắc đến "đồng hồ so", nó không chỉ có nghĩa là các bộ chỉ thị số (DTI), mà còn là bất kỳ kiểu cảm biến độ dịch chuyển tuyến tính nào như các đồng hồ so mặt số hoặc tương tự, các bộ chuyển đổi vi sai biến thiên tuyến tính (LVDT), các đồng hồ đo độ dịch chuyển tỷ lệ tuyến tính, hoặc các cảm biến không tiếp xúc, khi áp dụng cho phép kiểm liên quan (xem Điều 4, ISO 230-1:2012).

Tương tự, khi nhắc đến "thước thẳng", nó có nghĩa là bất kỳ vật tham chiếu độ thẳng nào, như thước thẳng bằng đá granit hoặc gốm hoặc thép hoặc gang, một cạnh của ke vuông, một đường sinh trên khối trụ vuông, bất kỳ đường thẳng nào trên một khối lập phương chuẩn, hoặc một vật đặc biệt, chuyên dụng được chế tạo vừa khít với các rãnh chữ T hoặc các chuẩn tham chiếu khác.

Theo cách tương tự, khi nhắc đến "ke vuông", nó có nghĩa là bất kỳ vật tham chiếu độ vuông góc, như ke vuông bằng đá granit hoặc gốm hoặc thép hoặc gang, ke vuông dạng trụ, khối lập phương chuẩn, hoặc một vật đặc biệt, chuyên dụng.

Khi nhắc đến "đầu dò 3D", nó có nghĩa là ba (03) cảm biến độ dịch chuyển được lắp trong một ổ chứa, sử dụng để đo các thay đổi vị trí của tâm một khối cầu chính xác; khi ổ chứa và quả cầu này được dịch chuyển cùng nhau dọc theo một đường chạy dao đã được lập trình.

3.8 Sơ đồ

Để đơn giản, các sơ đồ trong tiêu chuẩn này chỉ minh họa cho một kiểu máy.

3.9 Palét

Đối với máy làm việc với nhiều palét, các phép kiểm liên quan đến các đặc tính hình học nội tại hoặc thuộc tính của chúng so với các trục của máy (các phép kiểm trong các Phụ lục A đến D) được thực hiện đối với chỉ một palét đại diện được kẹp đúng vị trí, trừ khi có quy định khác theo thỏa thuận giữa người sử dụng và nhà cung cấp/nhà sản xuất. Đối với việc kiểm các palét khác, xem TCVN 10170-5 (ISO 10791-5).

3.10 Bù bằng sử dụng phần mềm

Khi các công cụ phần mềm được tích hợp sẵn để dùng cho việc bù các sai lệch hình học, việc sử dụng chúng trong các phép kiểm cho mục đích nghiệm thu phải trên cơ sở thỏa thuận giữa người sử dụng và nhà sản xuất/nhà cung cấp, với sự xem xét về máy công cụ dự định sử dụng. Khi sử dụng bù bằng phần mềm, việc này phải được nêu trong báo cáo kiểm. Phải lưu ý là khi sử dụng bù bằng phần mềm, không được khóa các trục cho mục đích kiểm.

3.11 Dạng cấu hình máy

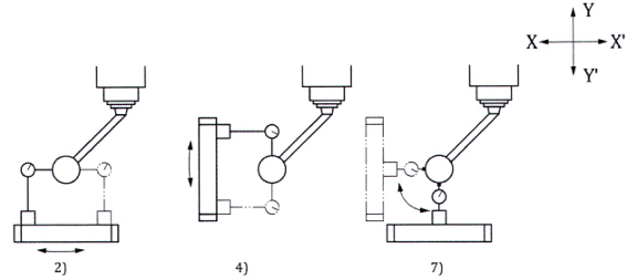
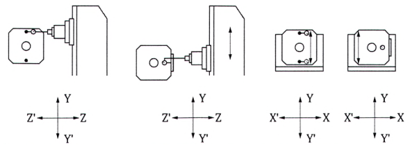
Hình 1 và Bảng 1 thể hiện các dạng cấu hình có thể có của các trung tâm gia công, với các cấu trúc khác nhau và các bộ phận khác nhau di chuyển dọc theo các trục tịnh tiến. Các dạng cấu hình này được nhận biết bằng các số từ 01 đến 12 tham chiếu Hình 1 và Bảng 1. Đối với hướng và tên gọi các trục, nên tham chiếu ISO 841.

3.12 Ký hiệu

Ký hiệu được cho trong Bảng 1 để xác định cấu trúc của một trung tâm gia công, là một mã ngắn; ký hiệu này gồm:

- số hiệu tiêu chuẩn này,

- chữ cái H đối với "horizontal - nằm ngang", và

- một danh mục các bộ phận kết cấu và chuyển động từ phôi gia công đến dụng cụ cắt.

Bảng 1 thể hiện các ví dụ về ký hiệu máy tham chiếu cho các dạng cấu hình máy thể hiện trên Hình 1, trong đó:

- xích động học của các trục chuyển động được mô tả trong ngoặc kép,

- trục không định vị NC được trình bày trong ngoặc đơn [tức là (C)], và

- "w", "t" và "b", lần lượt thể hiện bàn máy mang phôi, dụng cụ cắt và băng máy.

Thứ tự này có thể là từ bàn máy mang phôi đến dụng cụ cắt hoặc từ dụng cụ cắt đến bàn máy mang phôi.

Bảng 1 - Ký hiệu của dạng cấu hình máy thể hiện trên Hình 1

01

TCVN 10170-1 H [w X' Z' b Y(C) t]

02

TCVN 10170-1 H [w Z' b X Y(C) t]

03

TCVN 10170-1 H [w X' Z' Y' b(C) t]

04

TCVN 10170-1 H [w Z' X' b Y(C) t]

05

TCVN 10170-1 H [w b Z X Y(C) t]

06

TCVN 10170-1 H [w X' Y' b Z(C) t]

07

TCVN 10170-1 H [w X' b Z Y(C) t]

08

TCVN 10170-1 H [w b X Z Y(C) t]

09

TCVN 10170-1 H [w Y' X' b Z(C) t]

10

TCVN 10170-1 H [w X' b Y Z(C) t]

11

TCVN 10170-1 H [w b X Y Z(C) t]

12

TCVN 10170-1 H [w Y' b X Z(C) t]

3.13 Trục không kiểm

Trong quá trình thực hiện một số phép kiểm hình học trên một trục chuyển động, vị trí của các trục khác không kiểm có thể ảnh hưởng đến kết quả. Do đó, vị trí của các trục này, cũng như các độ lệch về phía dụng cụ cắt và phía phôi gia công, sẽ được ghi lại trong báo cáo kiểm.

Hình 1 - Các dạng cấu hình có thể có của các trục tịnh tiến (các trục quay và xoay của bàn máy được thể hiện trong các Phụ lục B đến D)

4 Kiểm hình học

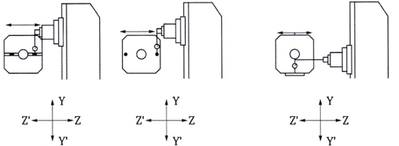
4.1 Sai số độ thẳng của các chuyển động tịnh tiến

Đối tượng

G1

Kiểm độ thẳng chuyển động trục X:

a) trong mặt phẳng thẳng đứng XY (E YX )

b) trong mặt phẳng nằm ngang ZX (E ZX )

Sơ đồ

Dung sai

X ≤ 500

a) và b)

 

0,010

 

500 < X ≤ 800

a) và b)

 

0,015

 

800 < X ≤ 1250

a) và b)

 

0,020

 

1250 < X ≤ 2000

a) và b)

 

0,025

 

2000 < X ≤ 3200

a)

0,050

b)

0,032

3200 < X ≤ 5000

a)

0,065

b)

0,040

Dung sai cục bộ 0,007 đối với chiều dài đo 300

 

Sai lệch đo được

Đối với X = .........

a)

b)

Sai lệch cục bộ lớn nhất:

a)

b)

 

Phương tiện đo

a) Thước thẳng và đồng hồ so hoặc các phương pháp quang học

b) Thước thẳng và đồng hồ so hoặc kính hiển vi và dây căng hoặc các phương pháp quang học

Xem và tham chiếu 8.2 và 8.2.2, ISO 230-1:2012

Đối với tất cả các dạng cấu hình máy, thước thẳng hoặc dây căng hoặc gương phản xạ độ thẳng phải được đặt trên bàn máy. Nếu trục chính có thể khóa được, thì đồng hồ so hoặc kính hiển vi hoặc giao thoa kế có thể được lắp trên nó; nếu trục chính không thể khóa được, thì phương tiện đo phải được đặt trên ụ trục chính của máy.

Đường thẳng đo cần đi qua gần với tâm bàn máy nhất có thể. Độ cao của đường thẳng tham chiếu phía trên bàn máy phải được nêu trong báo cáo kiểm.

Không được áp dụng các phương pháp dựa trên các phép đo góc (12.1.3, ISO 230-1:2012) do các phương pháp này bị hạn chế đối với các đại lượng đo của các bề mặt chức năng.

 

Đối tượng

G2

Kiểm độ thẳng chuyển động trục Z:

a) trong mặt phẳng thẳng đứng YZ (E YZ );

b) trong mặt phẳng nằm ngang ZX (E XZ ).

Sơ đồ

Dung sai

Z ≤ 500

a) và b)

0,010

500 < Z ≤ 800

a) và b)

0,015

800 < Z ≤ 1250

a) và b)

0,020

1250 < Z ≤ 2000

a) và b)

0,025

Dung sai cục bộ 0,007 đối với chiều dài đo 300

Sai lệch đo được

Đối với Z = .........

a)

b)

Sai lệch cục bộ lớn nhất:

a)

b)

 

Phương tiện do

a) Thước thẳng và đồng hồ so hoặc các phương pháp quang học

b) Thước thẳng và đồng hồ so hoặc kính hiển vi và dây căng hoặc các phương pháp quang học

Xem và tham chiếu 8.2 và 8.2.2, ISO 230-1:2012

Đối với tất cả các dạng cấu hình máy, thước thẳng hoặc dây căng, hoặc gương phản xạ độ thẳng phải được đặt trên bàn máy. Nếu trục chính có thể khóa được, thì đồng hồ so hoặc kính hiển vi hoặc giao thoa kế có thể được lắp trên nó; nếu trục chính không thể khóa được, thì phương tiện đo phải được đặt trên ụ trục chính của máy.

Đường thẳng đo cần đi qua gần với tâm bàn máy nhất có thể. Độ cao của đường thẳng tham chiếu phía trên bàn máy phải được nêu trong báo cáo kiểm.

Không được áp dụng các phương pháp dựa trên các phép đo góc (12.1.3, ISO 230-1:2012) do các phương pháp này bị hạn chế đối với các đại lượng đo của các bề mặt chức năng.

 

Đối tượng

G3

Kiểm độ thẳng chuyển động trục Y:

a) trong mặt phẳng XY (E XY );

b) trong mặt phẳng YZ (E ZY ).

Sơ đồ

Dung sai

Đối với a) và b)

Y ≤ 500

0,010

 

500 < Y ≤ 800

0,015

 

800 < Y ≤ 1250

0,020

 

1250 < Y ≤ 2000

0,025

 

2000 < Y ≤ 3200

0,032

Dung sai cục bộ 0,007 đối với chiều dài đo 300

Sai lệch đo được

Đối với Y = .........

a)

b)

Sai lệch cục bộ lớn nhất:

a)

b)

 

Phương tiện đo

Đối với a) và b); Ke vuông và đồng hồ so hoặc kính hiển vi và dây căng hoặc các phương pháp quang học

Xem và tham chiếu 8.2 và 8.2.2, ISO 230-1:2012

Đối với tất cả các dạng cấu hình máy, ke vuông hoặc dây căng hoặc gương phản xạ độ thẳng phải được đặt tại tâm bàn máy. Nếu trục chính có thể khóa được, thì đồng hồ so hoặc kính hiển vi hoặc giao thoa kế có thể được lắp trên nó; nếu trục chính không thể khóa được, thì phương tiện đo phải được đặt trên ụ trục chính của máy.

Đường thẳng tham chiếu áp dụng phải được nêu trong báo cáo kiểm.

Không được áp dụng các phương pháp dựa trên các phép đo góc (12.1.3, ISO 230-1:2012) do các phương pháp này bị hạn chế đối với các đại lượng đo của các bề mặt chức năng.

4.2 Sai số góc của các chuyển động tịnh tiến

Đối tượng

G4

Kiểm sai số góc của chuyển động trục X:

a) trong mặt phẳng thẳng đứng XY vuông góc với đường tâm trục chính (lắc dọc (pitch) E CX );

b) trong mặt phẳng nằm ngang ZX (lắc ngang (yaw) E BX );

c) trong mặt phẳng thẳng đứng YZ song song với đường tâm trục chính (lắc xoay (roll) E AX ).

Sơ đồ

Dung sai

Đối với a), b) và c)

X ≤ 2000

0,060/1000 hoặc 12"

 

2000 < X ≤ 3200

0,065/1000 hoặc 13"

 

3200 < X ≤ 5000

0,070/1000 hoặc 14"

Dung sai cục bộ 0,016/1000 (hoặc 16 μrad hoặc 3,2") đối với chiều dài đo 300

Sai lệch đo được

X = .........

a)

b)

c)

Sai lệch cục bộ lớn nhất:

a)

b)

c)

 

Phương tiện đo

a) (Lắc dọc E CX ) Nivô chính xác hoặc các phương tiện đo sai lệch góc quang học

b) (Lắc ngang E BX ) Các phương tiện đo sai lệch góc quang học

c) (Lắc xoay E AX ) Nivô chính xác

Xem và tham chiếu 8.4 và 8.4.2, ISO 230-1:2012

Phương tiện đo phải được đặt trên bộ phận có thể chuyển động được:

a) (Lắc dọc E CX ) dọc trục;

b) (Lắc ngang E BX ) nằm ngang;

c) (Lắc xoay E AX ) ngang.

Các phép đo phải được thực hiện ít nhất tại năm vị trí cách đều nhau dọc theo hành trình theo cả hai chiều chuyển động tại từng vị trí. Độ chênh lệch giữa các số đọc lớn nhất và nhỏ nhất là sai số sẽ được ghi trong báo cáo.

Khi chuyển động trục X gây ra dịch chuyển góc của cả ụ trục chính và bàn máy mang phôi, phải tiến hành đo độ chênh của hai dịch chuyển góc này và kết quả này phải được công bố. Trong trường hợp này, khi sử dụng các nivô chính xác để đo, nivô tham chiếu phải được đặt trên bộ phận không chuyển động của máy (ụ trục chính hoặc bàn máy mang phôi).

 

Đối tượng

G5

Kiểm sai số góc của chuyển động trục Z:

a) trong mặt phẳng thẳng đứng YZ song song với đường tâm trục chính (lắc dọc E AZ );

b) trong mặt phẳng nằm ngang ZX (lắc ngang E BZ );

c) trong mặt phẳng thẳng đứng XY vuông góc với đường tâm trục chính (lắc xoay E CZ ).

Sơ đồ

Dung sai

Đối với a), b) và c)

Z ≤ 2000

0,060/1000 hoặc 12"

Dung sai cục bộ 0,016/1000 (hoặc 16 μrad hoặc 3,2") đối với chiều dài đo 300

Sai lệch đo được

Z = .........

a)

b)

c)

Sai lệch cục bộ lớn nhất:

a)

b)

c)

 

Phương tiện đo

a) (Lắc dọc E AZ ) Nivô chính xác hoặc các phương tiện đo sai lệch góc quang học

b) (Lắc ngang E BZ ) Các phương tiện đo sai lệch góc quang học

c) (Lắc xoay E CZ ) Nivô chính xác

Xem và tham chiếu 8.4 và 8.4.2, ISO 230-1:2012

Phương tiện đo phải được đặt trên bộ phận có thể chuyển động được:

a) (Lắc dọc E AX ) dọc trục;

b) (Lắc ngang E BZ ) nằm ngang;

c) (Lắc xoay E CZ ) ngang.

Các phép đo phải được thực hiện ít nhất tại năm vị trí cách đều nhau dọc theo hành trình theo cả hai chiều chuyển động tại từng vị trí. Độ chênh lệch giữa các số đọc lớn nhất và nhỏ nhất là sai số sẽ được ghi trong báo cáo.

Khi chuyển động trục Z gây ra dịch chuyển góc của cả ụ trục chính và bàn máy mang phôi, phải tiến hành đo độ chênh của hai dịch chuyển góc này và kết quả này phải được công bố. Trong trường hợp này, khi sử dụng các nivô chính xác để đo, nivô tham chiếu phải được đặt trên bộ phận không chuyển động của máy (ụ trục chính hoặc bàn máy mang phôi).

 

Đối tượng

G6

Kiểm sai số góc của chuyển động trục Y:

a) trong mặt phẳng thẳng đứng YZ song song với đường tâm trục chính (E AY );

b) trong mặt phẳng thẳng đứng XY vuông góc với đường tâm trục chính (E CY );

c) trong mặt phẳng nằm ngang ZX (lắc xoay E BY ).

Sơ đồ

Dung sai

Đối với a), b) và c)

Y ≤ 500

0,040/1000 hoặc 8"

 

500 < Y ≤ 1250

0,050/1000 hoặc 10"

 

1250 < Y ≤ 3200

0,060/1000 hoặc 12"

Dung sai cục bộ 0,016/1000 (hoặc 16 μrad hoặc 3,2") đối với chiều dài đo 300

Sai lệch đo được

Y = .........

a) b) c)

Sai lệch cục bộ lớn nhất:

a) b) c)

Phương tiện đo

a) và b): Nivô chính xác hoặc các phương tiện đo sai lệch góc quang học

c) (Lắc xoay E BY ) Ke vuông dạng trụ, nivô chính xác và đồng hồ so, hoặc khối lập phương chính xác và đồng hồ so, hoặc máy quét laze chỉnh thẳng

Xem và tham chiếu 8.4 và 8.4.2, ISO 230-1:2012

Các phép đo phải được thực hiện ít nhất tại năm vị trí cách đều nhau dọc theo hành trình theo cả hai chiều chuyển động tại từng vị trí. Độ chênh lệch giữa các số đọc lớn nhất và nhỏ nhất là sai số sẽ được ghi trong báo cáo.

Đối với a) (E AY ) và b) (E CY ), khi chuyển động trục Y gây ra dịch chuyển góc của cả ụ trục chính và bàn máy mang phôi, phải tiến hành đo độ chênh của hai dịch chuyển góc này và kết quả này phải được công bố. Trong trường hợp này, khi sử dụng các nivô chính xác để đo, nivô tham chiếu phải được đặt trên bộ phận không chuyển động của máy (ụ trục chính hoặc bàn máy mang phôi).

Đối với c) (Lắc xoay E BY ), khi sử dụng máy quét laze chỉnh thẳng, đặt ke vuông dạng trụ (hoặc khối lập phương chính xác) trên bàn máy, gần song song với trục Y, và chỉnh đặt đầu đo của một đồng hồ so được lắp trên một cần đặc biệt tì vào ke này. Ghi lại các số đọc và đánh dấu các chiều cao tương ứng trên ke. Di chuyển trục X và di chuyển đồng hồ so sang phía mặt khác của ụ trục chính sao cho đầu đo có thể tiếp xúc lại với ke dọc theo cùng một đường thẳng. Sai lệch do lắc xoay có thể có của chuyển động trục X phải được đo và được đưa vào tính toán (nếu khối lập phương chính xác được sử dụng thì không yêu cầu chuyển động trục X). Đồng hồ so phải được chỉnh đặt lại về 0 và các phép đo mới phải được thực hiện tại cùng chiều cao giống như các phép đo trước đó, rồi ghi lại. Đối với mỗi chiều cao đo, tính hiệu Δ của hai số đọc. Giá trị đại số lớn nhất và nhỏ nhất của các hiệu này phải được chọn và kết quả của (Δmax - Δmin)/d là sai số sẽ được báo cáo, "d" là khoảng cách giữa hai vị trí của đồng hồ so.

Nếu sử dụng máy quét laze chỉnh thẳng, mặt phẳng quét sẽ được căn chỉnh gần song song với mặt phẳng XY của máy. Quy trình đo giống như ở trên, trong đó đồng hồ so sẽ được thay thế bởi bia laze và không đòi hỏi chuyển động trục X.

4.3 Sai số độ vuông góc giữa các chuyển động tịnh tiến

Đối tượng

G7

Kiểm sai số độ vuông góc E C(0X)Y của chuyển động trục Y so với chuyển động trục X.

Sơ đồ

Dung sai

Y ≤ 2000

0,040/1000 hoặc 8"

2000 < Y ≤ 3200

0,050/1000 hoặc 10"

 

Sai lệch đo được

Y = .........

Phương tiện đo

Thước thẳng hoặc tấm kiểm, ke vuông và đồng hồ so

Xem và tham chiếu 10.3 và 10.3.2, ISO 230-1:2012

Trong Bước 1), thước thẳng hoặc tấm kiểm phải được đặt song song với trục X, hoặc sự thiếu song song phải được xem xét trong phép đo này.

Trong Bước 2), tiếp đó trục Y phải được kiểm bằng một ke vuông đặt trên thước thẳng hoặc trên tấm kiểm.

Nếu trục chính có thể khóa được, có thể lắp đồng hồ so lên trục chính; nếu trục chính không thể khóa được, đồng hồ so phải được đặt lên ụ trục chính của máy.

Giá trị góc α, nhỏ hơn, bằng hoặc lớn hơn 90° phải được ghi lại.

 

Đối tượng

G8

Kiểm sai số độ vuông góc E A(0Z)Y của chuyển động trục Y so với chuyển động trục Z.

Sơ đồ

Dung sai

Y ≤ 2000

0,040/1000 hoặc 8"

2000 < Y ≤ 3200

0,050/1000 hoặc 10"

 

Sai lệch đo được

Y = ...........

Phương tiện đo

Thước thẳng hoặc tấm kiểm, ke vuông và đồng hồ so

Xem và tham chiếu 10.3 và 10.3.2, ISO 230-1:2012

Trong Bước 1), thước thẳng hoặc tấm kiểm phải được đặt song song với trục Z, hoặc chưa đạt độ song song này phải được xem xét trong phép đo này.

Trong Bước 2), tiếp đó trục Y phải được kiểm bằng một ke vuông đặt trên thước thẳng hoặc trên tấm kiểm.

Nếu trục chính có thể khóa được, có thể lắp đồng hồ so lên trục chính; nếu trục chính không thể khóa được, đồng hồ so phải được đặt lên ụ trục chính của máy.

Giá trị góc α, nhỏ hơn, bằng hoặc lớn hơn 90° phải được ghi lại.

 

Đối tượng

G9

Kiểm sai số độ vuông góc E B(0X)Z hoặc E B(0Z)X của chuyển động trục Z so với chuyển động trục X.

Sơ đồ

Dung sai

0,040/1000

Sai lệch đo được

Phương tiện đo

Thước thẳng, ke vuông và đồng hồ so

Xem và tham chiếu 10.3 và 10.3.2, ISO 230-1:2012

Trong Bước 1), thước thẳng phải được đặt song song với trục X đối với E B(0X)Z hoặc song song với trục Z đối với E B(0Z)X , hoặc chưa đạt độ song song này phải được xem xét trong phép đo này.

Trong Bước 2), trục Z (hoặc trục X) phải được kiểm bằng một ke vuông đặt trên bàn máy có một mặt tựa vào thước thẳng.

Phép kiểm này có thể được thực hiện mà không cần thước thẳng, bằng chỉnh thẳng một cạnh của ke vuông dọc theo một trục và kiểm trục kia theo cạnh còn lại của ke vuông.

Nếu trục chính có thể khóa được, có thể lắp đồng hồ so lên trục chính; nếu trục chính không thể khóa được, đồng hồ so phải được đặt lên ụ trục chính của máy.

Độ cao trên bàn máy phải được công bố trong báo cáo kiểm.

Giá trị góc α, nhỏ hơn, bằng hoặc lớn hơn 90° phải được ghi lại.

4.4 Trục chính

Đối tượng

G10

Kiểm chuyển động có sai số dọc trục của trục chính.

Sơ đồ

Dung sai

0,005

Sai lệch đo được

Phương tiện đo

Đồng hồ so với mũi đầu đo phẳng

Xem và tham chiếu 9.1, ISO 230-1:2012 (xem thêm ISO 230-7)

Xem phép kiểm ER1 trong Phụ lục E.

 

Đối tượng

G11

Kiểm độ đảo mặt côn trong của trục chính:

a) tại vị trí gần đầu mút trục chính nhất có thể

b) tại vị trí cách 200 mm so với vị trí đo đầu tiên trong a)

Sơ đồ

Dung sai

a)

0,010

b)

0,015

 

Sai lệch đo được

a)

b)

 

Phương tiện đo

Trục kiểm và đồng hồ so

Xem và tham chiếu 12.5.3, ISO 230-1:2012 (xem thêm ISO 230-7)

Xem phép kiểm ER1 trong Phụ lục E.

Để lấy số đọc dễ hơn, trục chính nên được quay chậm ở tốc độ không vượt quá 100 min -1 (rpm).

Báo cáo kiểm phải được công bố trong đó việc quay trục chính được thực hiện bởi động cơ trục chính hay bằng tay.

 

Đối tượng

G12

Kiểm sai số độ song song của đường tâm trục chính với chuyển động trục Z.

a) E A(0Z)C trong mặt phẳng thẳng đứng YZ

b) E B(0Z)C trong mặt phẳng nằm ngang ZX

Sơ đồ

Dung sai

Đối với a) và b)

0,050/1000 (0,015/300)

(hoặc 0,050 μrad hoặc 10")

Sai lệch đo được

a)

b)

 

Phương tiện đo

Trục kiểm và đồng hồ so

Xem và tham chiếu 3.6.2, 10.1.4 và 10.1.4.3, ISO 230-1:2012

Trục Z ở vị trí tâm hành trình.

Các dấu hiệu của các sai số độ song song trong cả hai mặt phẳng phải được báo cáo.

 

Đối tượng

G13

Kiểm sai số độ vuông góc E B(0X)C của đường tâm trục chính với chuyển động trục X.

Sơ đồ

Dung sai

0,050/1000 (0,015/300)

(hoặc 0,050 μrad hoặc 10")

Sai lệch đo được

 

Phương tiện đo

Thước thẳng, cần chuyên dùng và đồng hồ so

Xem và tham chiếu 10.3 và 10.3.3, ISO 230-1:2012

Trục Z sẽ được khóa lại, nếu có thể (xem 3.9).

Thước thẳng phải được chỉnh đặt song song với trục X, hoặc chưa đạt độ song song này phải được xem xét trong phép đo này.

Phép kiểm này cũng có thể được thực hiện mà không có thước thẳng, bằng cách lắp đồng hồ so lên bàn máy và chạm đầu đo vào một điểm trên một cần chuyên dùng cố định trên trục chính, do vậy làm cho việc lấy số đọc dễ hơn. Đường tâm trục chính phải được xoay 180° và trục X phải được dịch chuyển để làm cho đầu đo tiếp xúc với cần chuyên dùng ở cùng một vị trí. Trong trường hợp này, phép đo bị ảnh hưởng bởi sai số độ thẳng theo phương ngang E ZX của trục X.

Sai số độ vuông góc nhận được với phép kiểm này có thể được kiểm tra chéo với các kết quả của các phép kiểm G9 và G12b).

Giá trị góc α, nhỏ hơn, bằng hoặc lớn hơn 90° phải được ghi lại.

 

Đối tượng

G14

Kiểm sai số độ vuông góc E A(0Y)C của đường tâm trục chính với chuyển động trục Y.

Sơ đồ

Dung sai

0,050/1000 (0,015/300)

(hoặc 0,050 μrad hoặc 10")

Sai lệch đo được

 

Phương tiện đo

Ke vuông, cần chuyên dùng và đồng hồ so

Xem và tham chiếu 10.3 và 10.3.3, ISO 230-1:2012

Trục Z sẽ được khóa lại, nếu có thể (xem 3.9).

Cạnh của ke vuông để đo nên được chỉnh đặt song song với trục Y, hoặc chưa đạt độ song song này phải được xem xét trong phép đo này. Cần chuyên dùng phải đủ cứng vững để ngăn ngừa bất kỳ sai số đọc có thể có nào do chính độ võng có thể có của nó ở hai vị trí đo.

Phép kiểm này cũng có thể được thực hiện mà không có ke vuông, bằng cách đặt giá đỡ đồng hồ so lên bàn máy và chạm đầu đo vào một điểm trên một cần chuyên dùng cố định trên trục chính, do vậy tránh được bất kì độ võng nào của cần đồng hồ so và làm cho việc lấy số đọc dễ hơn. Đường tâm trục chính phải được xoay 180° và trục Y phải được dịch chuyển để làm cho đầu đo tiếp xúc với cần chuyên dùng ở cùng một vị trí. Trong trường hợp này, phép đo bị ảnh hưởng bởi sai số độ thẳng E ZY của trục Y.

Sai số độ vuông góc nhận được với phép kiểm này có thể được kiểm tra chéo với các kết quả của các phép kiểm G8 và G12a).

Giá trị góc α, nhỏ hơn, bằng hoặc lớn hơn 90° phải được ghi lại.

 

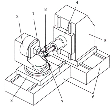
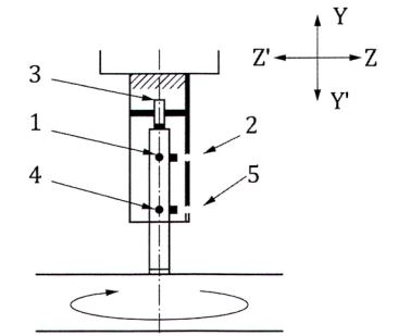
Phụ lục A

(quy định)

Các bàn máy không quay nằm ngang

Hình A.1 dưới đây thể hiện một ví dụ điển hình của một trung tâm gia công với trục chính nằm ngang và một bàn máy không quay nằm ngang.

CHÚ DẪN:

1 bàn máy

2 bàn trượt bàn máy (trục Z')

3 ụ trục chính (trục Y)

4 trụ máy (trục X)

5 băng máy (b)

6 trục chính [(C)]

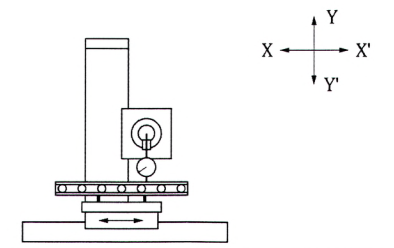
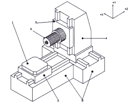
Hình A.1 - Ví dụ điển hình của một trung tâm gia công ngang với một bàn máy không quay nằm ngang, Trung tâm gia công TCVN 10170-1 (ISO 10791-1) H [w Z' b X Y (C) t] (xem 3.12)

 

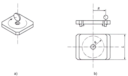
Đối tượng

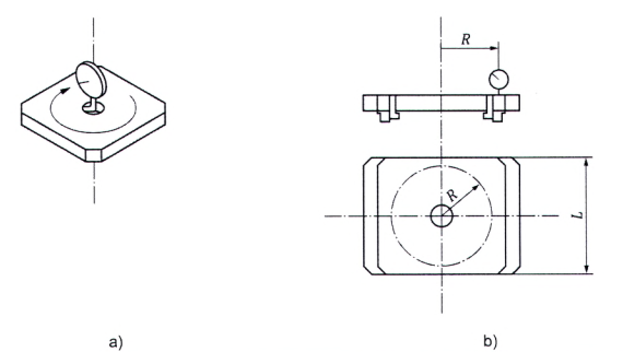
AG1

Kiểm sai số độ song song E C(0X)T của bề mặt bàn máy 1) với chuyển động trục X.

1) Bàn máy tích hợp sẵn hoặc một palét không quay đại diện được kẹp đúng vị trí.

Sơ đồ

Dung sai

L ≤ 500

0,020

500 < L ≤ 800

0,025

800 < L ≤ 1250

0,030

1250 < L ≤ 2000

0,040

2000 < L ≤ 3200

0,060

Trong đó L là chiều dài bàn máy theo phương X

Sai lệch đo được

Đối với L = ............

Phương tiện đo

Thước thẳng, các khối cách có chiều cao bằng nhau và đồng hồ so

Xem và tham chiếu 12.3.2.5, ISO 230-1:2012

Đầu đo của đồng hồ so được đặt gần sát tại vị trí làm việc của dụng cụ cắt. Phép đo này có thể được thực hiện trên một thước thẳng được đặt song song với bề mặt bàn máy. Nếu bàn máy được mài và mới, hoặc vừa mới được xử lý lại thì đầu đo đồng hồ so có thể tiếp xúc trực tiếp với bề mặt bàn máy.

Nếu trục chính có thể khóa được, có thể lắp đồng hồ so lên trục chính. Nếu trục chính không thể khóa được, đồng hồ so phải được đặt lên ụ trục chính của máy.

Đối với phép kiểm này, độ chênh lệch giữa số đọc lớn nhất và nhỏ nhất của đồng hồ so là sai số sẽ được ghi trong báo cáo.

 

Đối tượng

AG2

Kiểm sai số độ song song E A(0Z)T của bề mặt bàn máy 1) với chuyển động trục Z.

1 ) Bàn máy tích hợp sẵn hoặc một palét không quay đại diện được kẹp đúng vị trí.

Sơ đồ

Dung sai

W ≤ 500

0,020

500 < W ≤ 800

0,025

800 < W ≤ 1250

0,030

1250 < W ≤ 2000

0,040

Trong đó W là chiều rộng bàn máy theo phương Z

Sai lệch đo được

Đối với W = ...........

Phương tiện đo

Thước thẳng, các khối cách có chiều cao bằng nhau và đồng hồ so

Xem và tham chiếu 10.3, 10.3.3 và 12.3.2.5, ISO 230-1:2012

Trục Y được khóa lại nếu có thể.

Đầu đo của đồng hồ so được đặt gần sát tại vị trí làm việc của dụng cụ cắt. Phép đo này có thể được thực hiện trên một thước thẳng được đặt song song với bề mặt bàn máy. Nếu bàn máy được mài và mới, hoặc vừa mới được xử lý lại thì đầu đo đồng hồ so có thể tiếp xúc trực tiếp với bề mặt bàn máy.

Nếu trục chính có thể khóa được, có thể lắp đồng hồ so lên trục chính. Nếu trục chính không thể khóa được, đồng hồ so phải được đặt lên ụ trục chính của máy.

Đối với phép kiểm này, độ chênh lệch giữa số đọc lớn nhất và nhỏ nhất của đồng hồ so là sai số sẽ được ghi trong báo cáo.

 

Đối tượng

AG3

Kiểm sai số độ vuông góc E A(0Z)T của bề mặt bàn máy 1) với chuyển động trục Y:

a) E C(0Y)T trong mặt phẳng thẳng đứng XY vuông góc với đường tâm trục chính

b) E A(0Y)T trong mặt phẳng thẳng đứng YZ song song với đường tâm trục chính

1) Bàn máy tích hợp sẵn hoặc một palét không quay đại diện được kẹp đúng vị trí.

Sơ đồ

Dung sai

Đối với a) và b)

0,050/1000 (= 0,015/300)

Sai lệch đo được

a)

b)

 

Phương tiện đo

Tấm kiểm, ke vuông hoặc ke vuông dạng trụ và đồng hồ so

Xem và tham chiếu 12.4.5, ISO 230-1:2012

a) Trục X được khóa lại nếu có thể.

b) Trục Z được khóa lại nếu có thể.

Tấm kiểm phải được đặt lên tâm của bàn máy và một ke vuông hoặc ke vuông dạng trụ được đặt lên nó. Nếu không sử dụng tấm kiểm thì sai số độ vuông góc có thể bị ảnh hưởng nặng nề bởi bất kỳ khiếm khuyết nhỏ nào của bề mặt bàn máy nằm dưới đế hẹp của ke vuông hoặc ke vuông dạng trụ. Trong trường hợp này phép kiểm sẽ chỉ được thực hiện trên bàn máy được mài và mới hoặc vừa mới được xử lý lại.

Nếu trục chính có thể khóa được, có thể lắp đồng hồ so lên trục chính. Nếu trục chính không thể khóa được, đồng hồ so phải được đặt lên ụ trục chính của máy.

Sai số độ vuông góc đo được bởi phép kiểm này có thể được kiểm tra chéo với các kết quả của các phép kiểm sau:

Đối với a), các phép kiểm G7 và AG1;

Đối với b), các phép kiểm G8 và AG2.

 

Đối tượng

AG4

Kiểm sai số độ song song E B( 0 X)T của:

a) rãnh chữ T ở giữa hoặc rãnh chữ T chuẩn theo chiều dọc, hoặc

b) đường tâm của các lỗ chỉnh thẳng (nếu theo chiều dọc), hoặc

c) chốt định vị mép theo chiều dọc của bàn máy 1) với chuyển động trục X.

1 ) Bàn máy tích hợp sẵn hoặc một palét không quay đại diện được kẹp đúng vị trí.

Sơ đồ

Dung sai

Đối với a), b) và c)

0,025 trên một chiều dài đo 500

Sai lệch đo được

Phương tiện đo

Các căn mẫu hoặc chốt chuẩn và đồng hồ so

Xem và tham chiếu 12.3.2.5, ISO 230-1:2012

Trục Z được khóa lại nếu có thể.

Nếu trục chính có thể khóa được, có thể lắp đồng hồ so lên trục chính. Nếu trục chính không thể khóa được, đồng hồ so phải được đặt lên ụ trục chính của máy.

Khi có một rãnh T chuẩn hoặc một rãnh mộng, chèn hai căn mẫu vào trong rãnh này, cách đều tâm bàn máy. Chỉnh đồng hồ so về không (zero) khi tì vào một căn mẫu. Số đọc của đồng hồ so trên căn mẫu còn lại, chia cho khoảng cách giữa hai căn mẫu chính là sai số sẽ được báo cáo. Ghi lại chiều của sai số.

Khi có các lỗ chỉnh thẳng thì phải sử dụng hai chốt chuẩn lắp khít vào các lỗ này và có phần nhô ra có cùng đường kính.

 

Đối tượng

AG5

Kiểm sai số độ song song E B(0Z)T của:

a) đường tâm của các lỗ chỉnh thẳng (nếu theo chiều ngang), hoặc

b) chốt định vị mép theo chiều ngang của bàn máy 1) với chuyển động trục Z.

1) Bàn máy tích hợp sẵn hoặc một palét không quay đại diện được kẹp đúng vị trí.

Sơ đồ

Dung sai

Đối với a) và b)

0,025 trên một chiều dài đo 500

Sai lệch đo được

Phương tiện đo

Các căn mẫu hoặc chốt chuẩn và đồng hồ so

Xem và tham chiếu 12.3.2.5, ISO 230-1:2012

Trục X được khóa lại nếu có thể.

Nếu trục chính có thể khóa được, có thể lắp đồng hồ so lên trục chính. Nếu trục chính không thể khóa được, đồng hồ so phải được đặt lên ụ trục chính của máy.

Khi có một rãnh T chuẩn hoặc một rãnh mộng chữ thập, chèn hai căn mẫu vào trong rãnh này, cách đều tâm bàn máy. Chỉnh đồng hồ so về không (zero) khi tì vào một căn mẫu. Số đọc của đồng hồ so trên căn mẫu còn lại, chia cho khoảng cách giữa hai căn mẫu chính là sai số sẽ được báo cáo. Ghi lại chiều của sai số.

Khi có các lỗ chỉnh thẳng thì phải sử dụng hai chốt chuẩn lắp khít vào các lỗ này và có phần nhô ra có cùng đường kính.

 

Phụ lục B

(quy định)

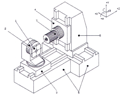
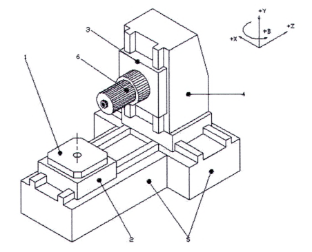
Các bàn máy quay quanh trục thẳng đứng B'

Hình B.1 dưới đây thể hiện một ví dụ điển hình của một trung tâm gia công với trục chính nằm ngang và một bàn máy nằm ngang quay quanh trục thẳng đứng B'.

CHÚ DẪN:

1 bàn máy

2 bàn trượt bàn máy (trục Z')

3 ụ trục chính (trục Y)

4 trụ máy (trục X)

5 băng máy (b)

6 trục chính [(C)]

Hình B.1 - Ví dụ điển hình của một trung tâm gia công ngang với một bàn máy quay quanh trục thẳng đứng B', Trung tâm gia công TCVN 10170-1 (ISO 10791-1) H [w B' Z' b X Y (C) t] (xem 3.12)

Đối tượng

BG1

Kiểm:

a) độ đảo lỗ tâm của bàn máy 1) (khi lỗ tâm được sử dụng cho mục đích định vị);

b) chuyển động có sai số của bề mặt bàn máy 2) .

1) Bàn máy quay tích hợp sẵn hoặc một palét đại diện được kẹp đúng vị trí.

2 ) Đối với các bàn phân độ, kiểm tại ít nhất bốn vị trí cách nhau 90°.

Sơ đồ

Dung sai

a) 0,025

 

 

b)

L ≤ 500

0,030

 

500 < L ≤ 800

0,040

 

800 < L ≤ 1250

0,050

 

1250 < L ≤ 2000

0,060

Trong đó L là chiều dài cạnh ngắn của bàn máy hoặc palét.

Sai lệch đo được

Đối với L = .........

a) b)

 

Phương tiện đo

a) đồng hồ so

b) căn mẫu và đồng hồ so

 

Xem và tham chiếu 12.5.2 và 12.5.2.3, ISO 230-1:2012

a) Nếu trục chính có thể khóa được, có thể lắp đồng hồ so lên trục chính. Nếu trục chính không thể khóa được, đồng hồ so phải được đặt lên ụ trục chính của máy.

b) Bán kính R phải lớn nhất có thể. Phép kiểm b) cũng có thể được thực hiện mà không có sự tiếp xúc liên tục giữa đầu đo và bề mặt bàn máy, bằng cách sử dụng một căn mẫu trung gian và đo tại các vị trí rời rạc (ví dụ 8 điểm tại các bước cách nhau 45°).

Xem thêm phép kiểm ER2 trong Phụ lục E, đặc biệt là nếu bàn máy quay được dự kiến cho các nguyên công tiện.

 

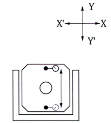
Đối tượng

BG2

Kiểm:

a) sự giao nhau của đường tâm của rãnh chữ T ở giữa theo chiều dọc, hoặc của rãnh mộng chữ thập (nếu có) hoặc đường thẳng giữa các lỗ chỉnh thẳng, với trục quay B' của bàn máy.

b) sự cách đều của các lỗ chỉnh thẳng với trục quay B' của bàn máy 1) .

1 ) Bàn máy quay tích hợp sẵn hoặc một palét đại diện được kẹp đúng vị trí.

Sơ đồ

Dung sai

Đối với a) và b) 0,030

Sai lệch đo được

a)

b)

 

Phương tiện đo

a) các căn mẫu hoặc chốt chuẩn và đồng hồ so

b) chốt chuẩn và đồng hồ so

Xem và tham chiếu ISO 230-1

a) Khi có một rãnh T chuẩn hoặc một rãnh mộng chữ thập, chèn hai căn mẫu vào trong rãnh này, cách đều trục quay. Điều chỉnh trục B' để có rãnh T song song với trục X (hoặc trục Z). Song song có nghĩa là hai số đọc trên hai căn mẫu là giống nhau. Khi đó chỉnh đặt đồng hồ so được đặt trên phần cố định của ụ trục chính về không. Xoay bàn máy 180° và điều chỉnh lại trục B' để có cùng số đọc trên hai căn mẫu, không chỉnh đặt lại đồng hồ so. Một nửa giá trị số đọc mới trên đồng hồ so là sai số sẽ được báo cáo.

Khi có các lỗ chỉnh thẳng thì phải sử dụng hai chốt chuẩn lắp khít vào các lỗ này và có phần nhô ra có cùng đường kính để thay cho các căn mẫu. Sau đó làm theo quy trình giống như trên.

b) Các số đọc sẽ được so sánh là các số đọc hướng kính lớn nhất trên mỗi chốt chuẩn, chúng cũng có thể không tương ứng một cách chính xác với các số đọc tại 180° từ mỗi chốt, vì sai lệch đọc trong a).

 

Đối tượng

BG3

Kiểm sai số độ song song E B(0X)T của:

a) rãnh chữ T ở giữa hoặc rãnh chữ T chuẩn theo chiều dọc, hoặc

b) đường tâm của các lỗ chỉnh thẳng (nếu theo chiều dọc), hoặc

c) chốt định vị mép theo chiều dọc

của bàn máy 1) với B' = 0° với chuyển động trục X.

1) Bàn máy quay tích hợp sẵn hoặc một palét đại diện được kẹp đúng vị trí.

Sơ đồ

Dung sai

Đối với a), b) và c)

0,025 trên một chiều dài đo 500

Sai lệch đo được

Phương tiện đo

a) căn mẫu và đồng hồ so

b) chốt chuẩn và đồng hồ so

c) đồng hồ so

Xem và tham chiếu 12.3.2.5, ISO 230-1:2012

Trục Z được khóa lại nếu có thể.

Nếu trục chính có thể khóa được, có thể lắp đồng hồ so lên trục chính. Nếu trục chính không thể khóa được, đồng hồ so phải được đặt lên ụ trục chính của máy.

Khi có một rãnh T chuẩn hoặc một rãnh mộng, chèn hai căn mẫu vào trong rãnh này, cách đều trục quay B'. Chỉnh đồng hồ so về không (zero) khi tì vào một căn mẫu. Số đọc của đồng hồ so trên căn mẫu còn lại, chia cho khoảng cách giữa hai căn mẫu chính là sai số sẽ được báo cáo. Ghi lại chiều của sai số.

Khi có các lỗ chỉnh thẳng thì phải sử dụng hai chốt chuẩn lắp khít vào các lỗ này và có phần nhô ra có cùng đường kính.

CHÚ THÍCH: Kết quả của phép kiểm này bao gồm sai lệch vị trí E BB có thể có của trục B' tại 0°.

 

Đối tượng

BG4

Kiểm sai số độ song song E B(0Z)T của:

a) đường tâm của các lỗ chỉnh thẳng (nếu theo chiều ngang), hoặc

b) chốt định vị mép theo chiều ngang của bàn máy 1) với B' = 0° với chuyển động trục Z.

1 ) Bàn máy quay tích hợp sẵn hoặc một palét đại diện được kẹp đúng vị trí.

Sơ đồ

Dung sai

Đối với a) và b)

0,025 trên một chiều dài đo 500

Sai lệch đo được

Phương tiện đo

a) chốt chuẩn và đồng hồ so

b) đồng hồ so

Xem và tham chiếu 12.3.2.5, ISO 230-1:2012

Trục X được khóa lại nếu có thể.

Nếu trục chính có thể khóa được, có thể lắp đồng hồ so lên trục chính. Nếu trục chính không thể khóa được, đồng hồ so phải được đặt lên ụ trục chính của máy.

Khi có một rãnh T chuẩn hoặc một rãnh mộng chữ thập, chèn hai căn mẫu vào trong rãnh này, cách đều tâm bàn máy. Chỉnh đồng hồ so về không (zero) khi tì vào một căn mẫu. Số đọc của đồng hồ so trên căn mẫu còn lại, chia cho khoảng cách giữa hai căn mẫu chính là sai số sẽ được báo cáo. Ghi lại chiều của sai số.

Khi có các lỗ chỉnh thẳng thì phải sử dụng hai chốt chuẩn lắp khít vào các lỗ này và có phần nhô ra có cùng đường kính.

CHÚ THÍCH: Kết quả của phép kiểm này bao gồm sai lệch vị trí E BB có thể có của trục B' tại 0°.

 

Đối tượng

BG5

Kiểm sai số độ vuông góc E C(0X)B của trục quay B' của bàn máy 1) , hoặc của bộ nhận, với chuyển động của trục X.

1) Bàn máy quay tích hợp sẵn hoặc palét bất kỳ được kẹp đúng vị trí.

Sơ đồ

Dung sai

0,030/1000 (= 0,015/500)

Sai lệch đo được

Phương tiện đo

Căn mẫu và đồng hồ so

Xem và tham chiếu ISO 230-1

Trục Y được khóa lại nếu có thể.

Đặt một căn mẫu lên một cạnh bàn máy, theo phương X cách xa so với trục quay; cố định đồng hồ so trên trục chính nếu nó có thể khóa được, hoặc trên ụ trục chính; đưa đầu đo vào tiếp xúc với căn mẫu và chỉnh đồng hồ so về không. Quay bàn máy 180° và dịch chuyển trục X cho đến khi đầu đo chạm lại vào căn mẫu tại cùng một vị trí. Số đọc của đồng hồ so chia cho khoảng dịch chuyển X là sai số sẽ được báo cáo.

Ghi lại chiều của sai số. Quy ước ký hiệu của sai số phải tương ứng với ký hiệu độ vuông góc giữa các trục B' và X theo 3.6.7, Chú thích 2, ISO 230-1:2012.

Phép kiểm này có thể bị ảnh hưởng bởi sai số độ thẳng phương đứng E YX của trục X.

Giá trị góc α, nhỏ hơn, bằng hoặc lớn hơn 90° phải được ghi lại.

Sai số độ vuông góc nhận được với phép kiểm này có thể được kiểm tra chéo với các kết quả của các phép kiểm G7 và BG10b).

 

Đối tượng

BG6

Kiểm sai số độ vuông góc E A(0Z)B của trục quay B' của bàn máy, hoặc của bộ nhận, với chuyển động của trục Z.

Sơ đồ

Dung sai

0,030/1000 (= 0,015/500)

Sai lệch đo được

Phương tiện đo

Căn mẫu và đồng hồ so

Xem và tham chiếu ISO 230-1

Trục Y được khóa lại nếu có thể.

Đặt một căn mẫu lên một cạnh bàn máy, theo phương Z cách xa so với trục quay; cố định đồng hồ so trên trục chính nếu nó có thể khóa được, hoặc trên ụ trục chính; đưa đầu đo vào tiếp xúc với căn mẫu và chỉnh đồng hồ so về không. Quay bàn máy 180° và dịch chuyển trục Z cho đến khi đầu đo chạm lại vào căn mẫu tại cùng một vị trí. Số đọc của đồng hồ so chia cho khoảng dịch chuyển Z là sai số sẽ được báo cáo.

Giá trị góc α, nhỏ hơn, bằng hoặc lớn hơn 90° phải được ghi lại. Quy ước ký hiệu của sai số phải tương ứng với ký hiệu độ vuông góc giữa các trục B' và Z theo 3.6.7, Chú thích 2, ISO 230-1:2012.

Phép kiểm này có thể bị ảnh hưởng bởi sai số độ thẳng phương đứng E YZ của trục Z.

Sai số độ vuông góc nhận được với phép kiểm này có thể được kiểm tra chéo với các kết quả của các phép kiểm G8 và BG10a).

 

Đối tượng

BG7

Kiểm sai số độ song song của trục quay B' của bàn máy, hoặc của bộ nhận, với chuyển động của trục Y:

a) E A(0Y)B trong mặt phẳng thẳng đứng YZ

b) E C(0Y)B trong mặt phẳng thẳng đứng XY

Sơ đồ

Dung sai

Đối với a) và b) 0,040/1000 (= 0,020/500)

Sai lệch đo được

a)

b)

 

Phương tiện đo

Ke vuông dạng trụ với đế dạng bích, hoặc khối cầu kiểm cho phương pháp thay thế, và đồng hồ so

Xem và tham chiếu 3.6.3, 10.1.4, 10.1.4.3, ISO 230-1:2012, hoặc 10.1.4.4 cho phương pháp thay thế

a) Trục Z được khóa lại nếu có thể.

b) Trục X được khóa lại nếu có thể.

Nếu trục chính có thể khóa được, có thể lắp đồng hồ so lên trục chính. Nếu trục chính không thể khóa được, đồng hồ so phải được đặt lên ụ trục chính của máy.

1) Cố định một ke vuông dạng trụ với đế dạng bích trên bàn máy, và định tâm nó xấp xỉ với trục quay.

2) Cố định đồng hồ so trên ụ trục chính với đầu đo được định hướng theo phương trục Z đối với a) và theo phương trục X đối với b).

3) Chạm đầu đo vào ke vuông, gần với đáy trụ, và tìm số đọc lớn nhất bằng các dịch chuyển nhỏ dọc theo trục X đối với a) và dọc theo trục Z đối với b). Đưa đồng hồ so về không.

4) Dịch chuyển ụ trục chính xa khỏi bàn máy dọc theo trục Y, và tiếp xúc lại với ke vuông gần phía đỉnh của nó. Ghi lại chiều dài hành trình Y. Tìm số đọc lớn nhất của đồng hồ so bằng các dịch chuyển nhỏ dọc theo trục X đối với a) và dọc theo trục Z đối với b) và ghi lại số đọc mới.

5) Quay bàn máy góc 180° và lặp lại các bước 3) và 4).

6) Đối với hai phép đo a) và b), giá trị trung bình (một nửa tổng đại số) của hai số đọc đồng hồ so trên phần đỉnh của ke vuông chia cho chiều dài hành trình Y là sai số sẽ được báo cáo. Quy ước ký hiệu của sai số phải tương ứng với ký hiệu độ song song giữa các trục B' và Y theo 3.6.3, Chú thích 2, ISO 230-1: 2012.

Phương pháp khác. Lắp một khối cầu kiểm lên ụ trục chính của máy và lắp đồng hồ so lên lên bàn máy. Khối cầu này phải được định tâm theo đường trung bình của trục B' bằng cách dịch chuyển các trục X và Z, trong khi quay trục B'. Tiếp đó trục Y phải được dịch chuyển đến vị trí khác. Đồng hồ so được định lại vị trí để đọc số đọc khi tì vào khối cầu tại vị trí mới này. Sai số trong việc định tâm phải được ghi lại là một nửa độ chênh lệch của các số đọc của đồng hồ so tại các vị trí đối diện nhau trên khối cầu. Phương pháp thay thế này có thể được sử dụng khi có khả năng tiếp xúc trọn vẹn một vòng chu vi nằm ngang của khối cầu.

Xem thêm phép kiểm ER2 trong Phụ lục E, đặc biệt là nếu bàn máy quay được dự kiến cho các nguyên công tiện.

 

Đối tượng

BG8

Kiểm để thấy rằng trục quay B' của bàn máy và đường tâm trục chính nằm ở cùng một mặt phẳng YZ tại một vị trí đã định trước (nghĩa là đo sai lệch E X(0C)B theo phương X)

Sơ đồ

Dung sai

0,010

Sai lệch đo được

Phương tiện đo

Trục kiểm và đồng hồ so

Xem và tham chiếu ISO 230-1

1) Dịch chuyển trục X bằng điều khiển số đến vị trí trung tâm tại đó trục quay B' của bàn máy và đường tâm trục chính cần nằm trong cùng mặt phẳng YZ.

2) Cố định trục kiểm trong trục chính, và đồng hồ so trên bàn máy với đầu đo song song với bề mặt bàn máy theo phương hướng kính.

3) Với đầu đo đồng hồ so được định hướng theo phương trục X tiếp xúc với trục kiểm, gần với đầu mút trục chính, và tìm số đọc lớn nhất bằng các dịch chuyển nhỏ dọc theo trục Y. Đưa đồng hồ so về không.

4) Dịch chuyển ụ trục chính lên dọc theo trục Y, để đưa trục kiểm ra khỏi đồng hồ so. Xoay cả bàn máy và trục chính góc 180°, và mang trục kiểm tiếp xúc lại với đồng hồ so bằng cách dịch chuyển trục Y.

5) Tìm số đọc lớn nhất bằng các dịch chuyển nhỏ dọc theo trục Y.

6) Giá trị một nửa số đọc mới này trên đồng hồ so là sai số sẽ được báo cáo.

CHÚ THÍCH 1: Nếu phép kiểm này được thực hiện ở các vị trí khác nhau của trục Z, nó bị ảnh hưởng bởi sai số độ song song E B(0Z)C giữa đường tâm trục chính và trục Z và bởi sai số độ thẳng nằm ngang E XY của trục Z.

CHÚ THÍCH 2: Nếu phép kiểm này được thực hiện ở các vị trí khác nhau của trục Y, nó bị ảnh hưởng bởi sai số độ song song E C(0Y)B giữa trục quay B' của bàn máy và trục Y và bởi sai số độ vuông góc E XY của trục Y.

 

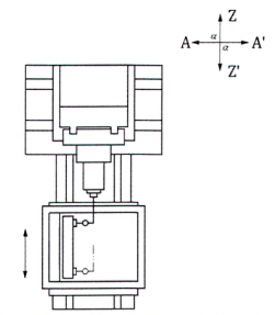
Phụ lục C

(quy định)

Các bàn máy quay quanh trục thẳng đứng B' và nghiêng quanh trục nằm ngang A'

Hình C.1 dưới đây thể hiện một ví dụ điển hình của một trung tâm gia công với trục chính nằm ngang và một bàn máy quay quanh trục B' và nghiêng quanh trục nằm ngang A'.

CHÚ DẪN:

1 bàn máy quay (trục B')

2 bàn kẹp (trục A')

3 bàn đỡ

4 bàn trượt bàn máy (trục Z')

5 ụ trục chính (trục Y)

6 trụ máy (trục X)

7 băng máy (b)

8 trục chính [(C)]

Hình C.1 - Ví dụ điển hình của một trung tâm gia công năm trục ngang với một bàn máy quay quanh trục thẳng đứng B' và nghiêng quanh trục nằm ngang A', Trung tâm gia công TCVN 10170-1 (ISO 10791-1) H [w B' A' Z' b X Y (C) t] (xem 3.12)

 

Đối tượng

CG1

Kiểm:

a) độ đảo lỗ tâm của bàn máy (khi lỗ tâm được sử dụng cho mục đích định vị);

b) chuyển động có sai số của bề mặt bàn máy 1) .

1 ) Bàn máy quay tích hợp sẵn hoặc một palét đại diện được kẹp đúng vị trí.

Sơ đồ

Dung sai

 

 

 

a)

 

0,025

b)

L ≤ 500

0,030

 

500 < L ≤ 800

0,040

 

800 < L ≤ 1250

0,050

 

1250 < L ≤ 2000

0,060

Trong đó L là chiều dài cạnh ngắn của bàn máy hoặc palét.

Sai lệch đo được

Đối với L = ..........

a)

b)

 

Phương tiện đo

a) đồng hồ so

b) căn mẫu và đồng hồ so

 

Xem và tham chiếu 9.1, ISO 230-1:2012 (xem thêm ISO 230-7)

Nếu trục chính có thể khóa được, có thể lắp đồng hồ so lên trục chính. Nếu trục chính không thể khóa được, đồng hồ so phải được đặt lên ụ trục chính của máy.

b) Bán kính R phải lớn nhất có thể. Phép kiểm b) cũng có thể được thực hiện mà không có sự tiếp xúc liên tục giữa đầu đo và bề mặt bàn máy, bằng cách sử dụng một căn mẫu trung gian và đo ở các vị trí rời rạc (ví dụ 8 điểm tại các bước cách nhau 45°).

Xem thêm phép kiểm FR1 trong Phụ lục F.

 

Đối tượng

CG2

Kiểm:

a) sự giao nhau của đường tâm của rãnh chữ T ở giữa theo chiều dọc, hoặc của rãnh mộng chữ thập (nếu có) hoặc đường thẳng giữa các lỗ chỉnh thẳng, với trục quay B' của bàn máy.

b) sự cách đều của các lỗ chỉnh thẳng với trục quay B' của bàn máy.

Sơ đồ

Dung sai

Đối với a) và b) 0,030

Sai lệch đo được

a)

b)

 

Phương tiện đo

a) thước thẳng, các căn mẫu hoặc chốt chuẩn và đồng hồ so

b) chốt chuẩn và đồng hồ so

Xem và tham chiếu ISO 230-1

a) Khi có một rãnh T chuẩn hoặc một rãnh mộng chữ thập, chèn hai căn mẫu vào trong rãnh này, cách đều trục quay. Điều chỉnh trục B' để có rãnh T song song với trục X (hoặc trục Z). Song song có nghĩa là hai số đọc trên hai căn mẫu là giống nhau. Khi đó chỉnh đặt đồng hồ so được đặt trên phân cố định của ụ trục chính về không. Xoay bàn máy 180° và điều chỉnh lại trục B' để có cùng số đọc trên hai căn mẫu, không chỉnh đặt lại đồng hồ so. Giá trị nửa số đọc mới trên đồng hồ so là sai số sẽ được báo cáo.

Khi có các lỗ chỉnh thẳng thì phải sử dụng hai chốt chuẩn lắp khít vào các lỗ này và có phần nhô ra có cùng đường kính để thay cho các căn mẫu. Sau đó làm theo quy trình giống như trên.

b) Các số đọc sẽ được so sánh là các số đọc hướng kính lớn nhất trên mỗi chốt chuẩn, chúng cũng có thể không tương ứng một cách chính xác với các số đọc tại 180° từ mỗi chốt, vì sai lệch đọc trong a).

 

Đối tượng

CG3

Kiểm sai số độ song song của:

- rãnh chữ T ở giữa hoặc rãnh chữ T chuẩn theo chiều dọc, hoặc

- đường tâm của các lỗ chỉnh thẳng (nếu theo chiều dọc), hoặc

- chốt định vị mép theo chiều dọc của bàn máy 1) với B' = 0° với chuyển động trục X:

a) E B(0X)T với bàn máy ở vị trí nằm ngang (A' = 0°)

b) E C(0X)T với bàn máy ở vị trí thẳng đứng (A' = - 90°)

1) Bàn máy quay tích hợp sẵn hoặc một palét đại diện được kẹp đúng vị trí.

Sơ đồ

Dung sai

Đối với tất cả các loại

0,025 trên một chiều dài đo 500

Sai lệch đo được

a)

b)

 

Phương tiện đo

Căn mẫu, chốt chuẩn và đồng hồ so

Xem và tham chiếu 12.3.2.5, ISO 230-1:2012

a) Trục Z được khóa lại nếu có thể.

b) Trục Y được khóa lại nếu có thể.

Nếu trục chính có thể khóa được, có thể lắp đồng hồ so lên trục chính. Nếu trục chính không thể khóa được, đồng hồ so phải được đặt lên ụ trục chính của máy.

Khi có một rãnh T chuẩn hoặc một rãnh mộng, chèn hai căn mẫu vào trong rãnh này, cách đều trục quay A'. Chỉnh đồng hồ so về không (zero) khi tì vào một căn mẫu. Số đọc của đồng hồ so trên căn mẫu còn lại, chia cho khoảng cách giữa hai căn mẫu chính là sai số sẽ được báo cáo. Ghi lại chiều của sai số.

Khi có các lỗ chỉnh thẳng thì phải sử dụng hai chốt chuẩn lắp khít vào các lỗ này và có phần nhô ra có cùng đường kính.

CHÚ THÍCH: Kết quả của phép kiểm này bao gồm sai số vị trí E BB có thể có của trục B' tại 0°.

 

Đối tượng

CG4

Kiểm sai số độ song song E B(0Z)T của:

- đường tâm của các lỗ chỉnh thẳng (nếu theo chiều ngang), hoặc

- chốt định vị mép theo chiều ngang của bàn máy 1) ở vị trí nằm ngang (A' = 0°), với B' = 0°, với chuyển động trục Z

1) Bàn máy quay tích hợp sẵn hoặc một palét đại diện được kẹp đúng vị trí.

Sơ đồ

Sai lệch đo được

Phương tiện đo

Căn mẫu hoặc chốt chuẩn và đồng hồ so

Xem và tham chiếu 12.3.2.5, ISO 230-1:2012

Trục X được khóa lại nếu có thể.

Nếu trục chính có thể khóa được, có thể lắp đồng hồ so lên trục chính. Nếu trục chính không thể khóa được, đồng hồ so phải được đặt lên ụ trục chính của máy.

Khi có một rãnh T chuẩn hoặc một rãnh mộng, chèn hai căn mẫu vào trong rãnh này, cách đều tâm bàn máy. Chỉnh đồng hồ so về không (zero) khi tì vào một căn mẫu. Số đọc của đồng hồ so trên căn mẫu còn lại, chia cho khoảng cách giữa hai căn mẫu chính là sai số sẽ được báo cáo. Ghi lại chiều của sai số.

Khi có các lỗ chỉnh thẳng thì phải sử dụng hai chốt chuẩn lắp khít vào các lỗ này và có phần nhô ra có cùng đường kính.

Kết quả của phép kiểm này bao gồm sai số vị trí E BB có thể có của trục B' tại 0°.

 

Đối tượng

CG5

Kiểm sai số độ song song E C(0Y)T của:

- đường tâm của các lỗ chỉnh thẳng (nếu theo chiều ngang), hoặc

- chốt định vị mép theo chiều ngang của bàn máy 1) ở vị trí thẳng đứng (A' = - 90°), với B' = 0°, với chuyển động trục Y

1 ) Bàn máy quay tích hợp sẵn hoặc một palét đại diện được kẹp đúng vị trí.

Sơ đồ

Dung sai

0,025 trên một chiều dài đo 500

Sai lệch đo được

Phương tiện đo

Căn mẫu hoặc chốt chuẩn và đồng hồ so

Xem và tham chiếu 12.3.2.5, ISO 230-1:2012

Trục X được khóa lại nếu có thể.

Nếu trục chính có thể khóa được, có thể lắp đồng hồ so lên trục chính. Nếu trục chính không thể khóa được, đồng hồ so phải được đặt lên ụ trục chính của máy.

Khi có một rãnh T chuẩn hoặc một rãnh mộng, chèn hai căn mẫu vào trong rãnh này, cách đều tâm bàn máy. Chỉnh đồng hồ so về không (zero) khi tì vào một căn mẫu. Số đọc của đồng hồ so trên căn mẫu còn lại, chia cho khoảng cách giữa hai căn mẫu chính là sai số sẽ được báo cáo. Ghi lại chiều của sai số.

Khi có các lỗ chỉnh thẳng thì phải sử dụng hai chốt chuẩn lắp khít vào các lỗ này và có phần nhô ra có cùng đường kính.

Kết quả của phép kiểm này bao gồm sai số vị trí E BB có thể có của trục B' tại 0°.

 

Đối tượng

CG6

Kiểm sai số độ vuông góc của trục quay B' của bàn máy, hoặc của bộ nhận, với chuyển động của trục X:

a) E C( 0 X)B với bàn máy ở vị trí nằm ngang (A' = 0°)

b) E B(0Y)B, A' = - 90 với bàn máy ở vị trí thẳng đứng (A' = - 90°)

Sơ đồ

Dung sai

Đối với a) và b)

0,040/1000

Sai lệch đo được

a)

b)

 

Phương tiện đo

Căn mẫu và đồng hồ so

Xem và tham chiếu 10.3 và 10.3.3, ISO 230-1:2012

a) Trục Y được khóa lại nếu có thể.

b) Trục Z được khóa lại nếu có thể.

Đặt một căn mẫu lên một cạnh bàn máy, theo phương X cách xa so với trục quay; cố định đồng hồ so trên trục chính nếu nó có thể khóa được, hoặc trên ụ trục chính; đưa đầu đo vào tiếp xúc với căn mẫu và chỉnh đồng hồ so về không. Quay bàn máy 180° và dịch chuyển trục X cho đến khi đầu đo chạm lại vào căn mẫu tại cùng một vị trí. Số đọc của đồng hồ so chia cho khoảng dịch chuyển X là sai số sẽ được báo cáo.

Ghi lại chiều của sai số. Quy ước ký hiệu của sai số phải tương ứng với ký hiệu độ vuông góc theo 3.6.7, Chú thích 2, ISO 230-1:2012.

Phép kiểm a) có thể bị ảnh hưởng bởi sai số độ thẳng phương đứng E YX của trục X, và phép kiểm b) bị ảnh hưởng bởi sai số độ thẳng phương ngang E ZX của trục X.

Giá trị góc α, nhỏ hơn, bằng hoặc lớn hơn 90° phải được ghi lại.

 

Đối tượng

CG7

Kiểm sai số độ vuông góc E A(0Z)B của trục quay B' của bàn máy, hoặc của bộ nhận, ở vị trí nằm ngang (A' = 0°) với chuyển động của trục Z

Sơ đồ

Dung sai

0,040/1000

Sai lệch đo được

Phương tiện đo

Căn mẫu và đồng hồ so

Xem và tham chiếu 10.3 và 10.3.3, ISO 230-1:2012

Trục Y được khóa lại nếu có thể.

Đặt một căn mẫu lên một cạnh bàn máy, theo phương Z cách xa so với trục quay; cố định đồng hồ so trên trục chính nếu nó có thể khóa được, hoặc trên ụ trục chính; đưa đầu đo vào tiếp xúc với căn mẫu và chỉnh đồng hồ so về không. Quay bàn máy 180° và dịch chuyển trục Z cho đến khi đầu đo chạm lại vào căn mẫu tại cùng một vị trí.

Số đọc của đồng hồ so chia cho khoảng dịch chuyển Z là sai số sẽ được báo cáo.

Ghi lại chiều của sai số. Quy ước ký hiệu của sai số phải tương ứng với ký hiệu độ vuông góc giữa các trục B' và Z theo 3.6.7, Chú thích 2, ISO 230-1:2012.

Kết quả của phép kiểm này bao gồm sai số vị trí E AA có thể có của trục A' tại 0°.

Phép kiểm này có thể bị ảnh hưởng bởi sai số độ thẳng phương đứng E YX của trục Z.

 

Đối tượng

CG8

Kiểm sai số độ vuông góc E A(0Y)B,A' = -90 của trục quay B' của bàn máy, hoặc của bộ nhận, ở vị trí thẳng đứng (A' = - 90°) với chuyển động của trục Y

Sơ đồ

Dung sai

0,040/1000

Sai lệch đo được

Phương tiện đo

Căn mẫu và đồng hồ so

Xem và tham chiếu 10.3 và 10.3.3, ISO 230-1:2012

Trục Z được khóa lại nếu có thể.

Đặt một căn mẫu lên một cạnh bàn máy, theo phương Y cách xa so với trục quay; cố định đồng hồ so trên trục chính nếu nó có thể khóa được, hoặc trên ụ trục chính; đưa đầu đo vào tiếp xúc với căn mẫu và chỉnh đồng hồ so về không. Quay bàn máy 180° và dịch chuyển trục Y cho đến khi đầu đo chạm lại vào căn mẫu tại cùng một vị trí.

Số đọc của đồng hồ so chia cho khoảng dịch chuyển Y là sai số sẽ được báo cáo.

Ghi lại chiều của sai số. Quy ước ký hiệu của sai số phải tương ứng với ký hiệu độ vuông góc theo 3.6.7, Chú thích 2, ISO 230-1:2012

Kết quả của phép kiểm này bao gồm sai số vị trí E AA có thể có của trục A' tại -90°.

Phép kiểm này có thể bị ảnh hưởng bởi sai số độ thẳng E ZY của trục Y.

 

Đối tượng

CG9

Kiểm sai số độ song song của trục quay B' của bàn máy, hoặc của bộ nhận, ở vị trí nằm ngang (A' = 0°) với chuyển động của trục Y:

a) E A(0Y)B trong mặt phẳng thẳng đứng YZ

b) E C(0Y)B trong mặt phẳng thẳng đứng XY

Sơ đồ

Dung sai

Đối với a) và b) 0,040/1000 (= 0,020/500)

Sai lệch đo được

a)

b)

 

Phương tiện đo

Ke vuông dạng trụ với đế dạng bích, hoặc khối cầu kiểm cho phương pháp thay thế, và đồng hồ so

Xem và tham chiếu 3.6.3, 10.1.4, 10.1.4.3, ISO 230-1:2012, hoặc 10.1.4.4 cho phương pháp thay thế

a) Trục Z được khóa lại nếu có thể. Kết quả của phép kiểm a) bao gồm sai số vị trí E AA có thể có của trục A' tại 0°.

b) Trục X được khóa lại nếu có thể.

1) Cố định một ke vuông dạng trụ với đế dạng bích trên bàn máy, và định tâm nó xấp xỉ với trục quay.

2) Cố định đồng hồ so trên ụ trục chính với đầu đo được định hướng theo phương trục Z đối với a) và theo phương trục X đối với b).

3) Chạm đầu đo vào ke vuông, gần với đáy trụ, và tìm số đọc lớn nhất bằng các dịch chuyển nhỏ dọc theo trục X đối với a) và dọc theo trục Z đối với b). Đưa đồng hồ so về không.

4) Dịch chuyển ụ trục chính ra xa bàn máy dọc theo trục Y, và tiếp xúc lại với ke vuông gần phía đỉnh của nó. Ghi lại chiều dài hành trình Y. Tìm số đọc lớn nhất của đồng hồ so bằng các dịch chuyển nhỏ dọc theo trục X đối với a) và dọc theo trục Z đối với b) và ghi lại số đọc mới.

5) Quay bàn máy góc 180° và lặp lại các bước 3) và 4).

6) Đối với hai phép đo a) và b), giá trị trung bình (một nửa tổng đại số) của hai số đọc đồng hồ so trên phần đỉnh của ke vuông chia cho chiều dài hành trình Y là sai số sẽ được báo cáo. Quy ước ký hiệu của sai số phải tương ứng với ký hiệu độ song song giữa các trục B' và Y theo 3.6.3, Chú thích 2, ISO 230-1:2012.

Phương pháp khác. Lắp một khối cầu kiểm lên ụ trục chính của máy và lắp đồng hồ so lên lên bàn máy. Khối cầu này được định tâm theo đường trung bình của trục B' bằng cách dịch chuyển các trục X và Z, trong khi quay trục B'. Tiếp đó trục Y phải được dịch chuyển đến vị trí khác. Đồng hồ so được định lại vị trí để đọc số đọc khi tì vào khối cầu tại vị trí mới này. Sai số trong việc định tâm phải được ghi lại là một nửa độ chênh lệch của các số đọc của đồng hồ so tại các vị trí đối diện nhau trên khối cầu. Phương pháp thay thế này có thể được sử dụng khi có khả năng tiếp xúc trọn vẹn một vòng chu vi nằm ngang của khối cầu.

Xem thêm phép kiểm ER2 trong Phụ lục E, đặc biệt là nếu bàn máy quay được dự kiến cho các nguyên công tiện.

 

Đối tượng

CG10

Kiểm sai số độ song song của trục quay B' của bàn máy, hoặc của bộ nhận, ở vị trí thẳng đứng (A' = - 90°) với chuyển động của trục Z:

a) E A(0Z)B trong mặt phẳng thẳng đứng YZ

b) E B(0Z)B trong mặt phẳng nằm ngang ZX

Sơ đồ

CHÚ THÍCH: Phương pháp thay thế khác được đề cập ở CG9 không được sử dụng để khắc phục các khó khăn.

Dung sai

Đối với a) và b) 0,050/1000 (= 0,025/500)

Sai lệch đo được

a)

b)

 

Phương tiện đo

Ke vuông dạng trụ với đế dạng bích, hoặc khối cầu kiểm cho phương pháp thay thế, và đồng hồ so

Xem và tham chiếu 3.6.3, 10.1.4, 10.1.4.3, ISO 230-1:2012, hoặc 10.1.4.4 cho phương pháp thay thế

a) Trục Y được khóa lại nếu có thể. Kết quả của phép kiểm a) bao gồm sai số vị trí E AA có thể có của trục A' tại -90°.

b) Trục X được khóa lại nếu có thể.

1) Cố định một ke vuông dạng trụ với đế dạng bích trên bàn máy, và định tâm nó xấp xỉ với trục quay.

2) Cố định đồng hồ so trên ụ trục chính với đầu đo được định hướng theo phương trục Y đối với a) và theo phương trục X đối với b).

3) Chạm đầu đo vào ke vuông, gần với đáy trụ, và tìm số đọc lớn nhất bằng các dịch chuyển nhỏ dọc theo trục X đối với a) và dọc theo trục Y đối với b). Đưa đồng hồ so về không.

4) Dịch chuyển ụ trục chính ra xa bàn máy dọc theo trục Z, và tiếp xúc lại với ke vuông gần phía đỉnh của nó. Ghi lại chiều dài hành trình Z. Tìm số đọc lớn nhất của đồng hồ so bằng các dịch chuyển nhỏ dọc theo trục X đối với a) và dọc theo trục Y đối với b) và ghi lại số đọc mới.

5) Quay bàn máy góc 180° và lặp lại các bước 3) và 4).

6) Đối với hai phép đo a) và b), giá trị trung bình (một nửa tổng đại số) của hai số đọc đồng hồ so trên phần đỉnh của ke vuông chia cho chiều dài hành trình Z là sai số sẽ được báo cáo. Quy ước ký hiệu của sai số phải tương ứng với ký hiệu độ song song giữa các trục B' và Z theo 3.6.3, Chú thích 2, ISO 230-1:2012.

 

Đối tượng

CG11

Kiểm sai số độ song song của trục quay A' của bàn kẹp bàn máy với chuyển động của trục X:

a) E B(0X)A trong mặt phẳng nằm ngang ZX

b) E C(0X)A trong mặt phẳng thẳng đứng XY

Sơ đồ

Dung sai

0,050/1000

Sai lệch đo được

a)

b)

 

Phương tiện đo

Thước thẳng hoặc căn mẫu và đồng hồ so

Xem và tham chiếu ISO 230-1

1) Thiết lập bàn máy nằm ngang (A' = 0°). Cố định một thước thẳng trên bàn máy, gần song song với trục X với cả hai mặt phẳng tham chiếu. Để đồng hồ so lắp trên ụ trục chính tiếp xúc với mặt trên thước thẳng theo phương trục Y. Đo tại cả hai đầu của khoảng đo L, đọc đồng hồ so ở a1 và a2 và ghi lại độ chênh lệch Δa = (a2 - a1).

2) Xoay đồng hồ so về phương trục Z và tiếp xúc với mặt bên thước thẳng. Đo tại cả hai đầu của khoảng đo L, đọc đồng hồ so ở b1 và b2 và ghi lại độ chênh lệch Δb = (b2 - b1).

3) Thiết lập bàn máy thẳng đứng (A' = -90°). Với đồng hồ so theo phương trục Z tiếp xúc với mặt trên thước thẳng ở cùng hai vị trí giống như ở 1), lấy các số đọc ở c1 và c2 và ghi lại độ chênh lệch Δc = (c2 - c1).

4) Xoay đồng hồ so về phương trục Y và tiếp xúc với mặt bên thước thẳng. Đo ở cùng hai vị trí giống như ở 2), lấy các số đọc ở d1 và d2 và ghi lại độ chênh lệch Δd = (d2 - d1).

a) Sai số độ song song trong mặt phẳng ngang ZX được cho bởi công thức sau:

E B(0X)A = 1/2 (- Δa + Δb + Δc - Δd) chia cho khoảng đo L.

b) Sai số độ song song trong mặt phẳng thẳng đứng YZ được cho bởi công thức sau:

E C( O X)A = 1/2 (Δa + Δb - Δc - Δd) chia cho khoảng đo L.

 

Đối tượng

CG12

Kiểm để thấy rằng trục B' của chuyển động quay bàn máy và trục A' của chuyển động nghiêng bàn kẹp nằm trong cùng một mặt phẳng (đối với các bề mặt bàn máy thấp hơn trục A') E Z(0A)B (chỉ đối với các máy có độ lệch bằng không (0) theo danh nghĩa giữa trục A' và B' và không có các công cụ bù cho bất kỳ sai lệch lượng bù nào).

Sơ đồ

Dung sai

0,03

Sai lệch đo được

 

Phương tiện đo

Khối cầu kiểm và đồng hồ so

Xem và tham chiếu 10.4.3, ISO 230-1:2012

1) Cố định cần đỡ khối cầu vào trục chính nếu nó có thể khóa được, hoặc trên ụ trục chính. Cố định đồng hồ so trên bàn máy với đầu đo song song với bề mặt bàn máy theo phương hướng kính.

2) Với bàn máy ở vị trí nằm ngang (A' = 0°), căn chỉnh trục B' của chuyển động quay bàn máy nằm trên tâm khối cầu, bằng cách xoay quanh B' và điều chỉnh dọc theo X và Z.

3) Khóa các trục X và Z.

4) Xoay bàn máy đến vị trí thẳng đứng (A' = -90°) và căn chỉnh lại trục B' của chuyển động quay bàn máy nằm trên tâm khối cầu, bằng cách xoay quanh B' và điều chỉnh dọc theo Y.

5) Khóa trục Y lại.

6) Với bàn máy ở vị trí nằm ngang (A' = 0°), đặt một đồng hồ so với đầu đo phẳng lên mặt trên của bàn máy, đầu đo được hướng theo phương thẳng đứng, tiếp xúc vào khối cầu và đưa đồng hồ so về không.

7) Xoay bàn máy đến vị trí thẳng đứng (A' = -90°) và ghi lại số đọc đồng hồ so.

Một nửa giá trị số đọc mới này trên đồng hồ so là sai số sẽ được báo cáo. Ghi lại chiều của sai số.

Cần của đồng hồ so phải đủ cứng vững để ngăn ngừa bất kỳ sai số số đọc có thể có nào gây ra do độ võng của nó ở các vị trí đo khác nhau.

 

Đối tượng

CG13

Kiểm để thấy rằng trục quay B' của bàn máy và đường tâm trục chính nằm trong cùng mặt phẳng YZ ở một vị trí đã định trước, với bàn máy ở vị trí nằm ngang (A' = 0°) (nghĩa là đo sai lệch E X[0(C)]B theo phương X)

Sơ đồ

Dung sai

0,010

Sai lệch đo được

Phương tiện đo

Trục kiểm và đồng hồ so

Xem và tham chiếu ISO 230-1

1) Điều chỉnh trục A' của chuyển động quay của bàn kẹp cho đến khi trục B' của chuyển động quay bàn máy vuông góc với trục Z.

2) Di chuyển trục X đến vị trí trung tâm tại đó trục B' của chuyển động quay bàn máy và đường tâm trục chính cần nằm trong cùng mặt phẳng YZ.

3) Cố định trục kiểm trong trục chính và đồng hồ so trên bàn máy với đầu đo song song với bề mặt bàn máy theo phương hướng kính.

4) Với đầu đo đồng hồ so được định hướng theo phương trục X tiếp xúc với trục kiểm, gần với đầu mút trục chính, và tìm số đọc lớn nhất của đồng hồ so bằng các dịch chuyển nhỏ dọc theo trục Y. Đưa đồng hồ so về không.

5) Di chuyển ụ trục chính lên trên dọc theo trục Y để đưa trục kiểm ra xa đồng hồ so. Xoay cả bàn mày và trục chính góc 180°, và đưa trục kiểm trở lại tiếp xúc với đồng hồ so bằng cách dịch chuyển trục Y.

6) Tìm số đọc lớn nhất của đồng hồ so bằng các dịch chuyển nhỏ dọc theo trục Y.

7) Một nửa giá trị số đọc mới này trên đồng hồ so là sai số sẽ được báo cáo.

CHÚ THÍCH 1: Nếu phép kiểm này được thực hiện ở các vị trí khác nhau của trục Z, nó sẽ bị ảnh hưởng bởi sai số độ song song E B(0Z)(C) giữa đường tâm trục chính và trục Z và ảnh hưởng bởi sai số độ vuông góc nằm ngang E XZ của trục Z.

CHÚ THÍCH 2: Nếu phép kiểm này được thực hiện ở các vị trí khác nhau của trục Y, nó sẽ bị ảnh hưởng bởi sai số độ song song E C(0Y)(B) giữa trục quay B' của bàn máy và trục Y và ảnh hưởng bởi sai số độ vuông góc E XY của trục Y.

 

Đối tượng

CG14

Kiểm độ trùng nhau của trục quay B' của bàn máy và đường tâm trục chính ở một vị trí đã định trước, với bàn máy ở vị trí thẳng đứng (A' = -90°);

a) E X(0(C))B, A' = - 90 dọc theo trục X nằm ngang

b) E Y(0(C )) B, A' = - 90 dọc theo trục Y thẳng đứng

Sơ đồ

Dung sai

0,010

Sai lệch đo được

a) dọc theo trục X

b) dọc theo trục Y

 

Phương tiện đo

Trục kiểm và đồng hồ so

Xem và tham chiếu 10.2, ISO 230-1:2012

1) Điều chỉnh trục A' của chuyển động quay của bàn kẹp cho đến khi trục B' của chuyển động quay bàn máy song song với trục Z.

2) Di chuyển trục X và trục Y đến vị trí lý thuyết ở đó trục quay B' của bàn máy và đường tâm trục chính cần trùng nhau.

3) Cố định trục kiểm trong trục chính và đồng hồ so trên bàn máy với đầu đo song song với bề mặt bàn máy theo phương hướng kính.

4) Với đầu đo đồng hồ so được định hướng theo phương trục X đối với a) và theo phương trục Y đối với b), tiếp xúc với trục kiểm, gần với đầu mút trục chính, và tìm số đọc lớn nhất của đồng hồ so bằng các dịch chuyển nhỏ [dọc theo trục Y đối với a) và dọc theo trục X đối với b)]. Đưa đồng hồ so về không.

5) Xoay cả bàn mày và trục chính góc 180°.

6) Tìm số đọc lớn nhất của đồng hồ so như ở 4).

7) Một nửa giá trị số đọc mới này trên đồng hồ so là sai số sẽ được báo cáo.

Cần của đồng hồ so phải đủ cứng vững để ngăn ngừa bất kỳ sai số số đọc có thể có nào gây ra do độ võng của nó ở các vị trí đo khác nhau.

CHÚ THÍCH: Nếu phép kiểm này được thực hiện ở các vị trí khác nhau của trục Z, nó sẽ bị ảnh hưởng bởi sai số độ song song giữa đường tâm trục chính và trục Z và giữa trục quay B' của bàn máy với trục Z, trong cả hai mặt phẳng ZX và YZ.

 

Phụ lục D

(quy định)

Các bàn máy quay quanh trục nằm ngang A' và xoay quanh trục thẳng đứng B'

Hình D.1 thể hiện một ví dụ điển hình của một trung tâm gia công với trục chính nằm ngang và một bàn máy thẳng đứng, quay quanh trục nằm ngang A' và nghiêng quanh trục thẳng đứng B'.

CHÚ DẪN:

1 bàn máy quay (trục A')

2 bàn xoay (trục B')

3 bàn trượt bàn máy (trục Z')

4 ụ trục chính (trục Y)

5 trụ máy (trục X)

6 băng máy (b)

7 trục chính [(C)]

Hình D.1 - Ví dụ điển hình của một trung tâm gia công năm trục ngang với một bàn máy thẳng đứng quay quanh trục nằm ngang A' và nghiêng quanh trục thẳng đứng B', Trung tâm gia công TCVN 10170-1 (ISO 10791-1) H [w A' B' Z' b X Y (C) t] (xem 3.12)

 

Đối tượng

DG1

Kiểm:

a) độ đảo lỗ tâm của bàn máy 1) (khi lỗ tâm được sử dụng cho mục đích định vị) và

b) chuyển động có sai số của bề mặt bàn máy 1) .

1) Bàn máy quay tích hợp sẵn hoặc một palét đại diện được kẹp đúng vị trí.

Sơ đồ

Dung sai

a)

 

0,025

b)

L ≤ 500

0,030

 

500 < L ≤ 800

0,040

 

800 < L ≤ 1250

0,050

 

1250 < L ≤ 2000

0,060

Trong đó L là chiều dài cạnh ngắn của bàn máy hoặc palét.

Sai lệch đo được

Đối với L = .........

a)

b)

 

Phương tiện đo

a) đồng hồ so

b) căn mẫu và đồng hồ so

 

Xem và tham chiếu 9.1, ISO 230-1:2012 (xem thêm ISO 230-7)

Đối với a) và b), Nếu trục chính có thể khóa được, có thể lắp đồng hồ so lên trục chính. Nếu trục chính không thể khóa được, đồng hồ so phải được đặt lên ụ trục chính của máy.

Đối với b), bán kính R phải lớn nhất có thể. Phép kiểm b) cũng có thể được thực hiện mà không có sự tiếp xúc liên tục giữa đầu đo và bề mặt bàn máy, bằng cách sử dụng một căn mẫu trung gian và đo ở các vị trí rời rạc (ví dụ 8 điểm tại các bước cách nhau 45°).

Xem thêm phép kiểm GR1 trong Phụ lục G.

 

Đối tượng

DG2

Kiểm:

a) sự giao nhau của đường tâm của rãnh chữ T ở giữa theo chiều dọc, hoặc của rãnh mộng chữ thập (nếu có) hoặc đường thẳng giữa các lỗ chỉnh thẳng, với trục quay A' của bàn máy, và

b) sự cách đều của các lỗ chỉnh thẳng với trục quay A' của bàn máy 1) .

1 ) Bàn máy quay tích hợp sẵn hoặc một palét đại diện được kẹp đúng vị trí.

Sơ đồ

Dung sai

Đối với a) và b) 0,030

Sai lệch đo được

a)

b)

 

Phương tiện đo

a) thước thẳng, các căn mẫu hoặc chốt chuẩn và đồng hồ so

b) chốt chuẩn và đồng hồ so

Xem và tham chiếu ISO 230-1

a) Khi có một rãnh T chuẩn hoặc một rãnh mộng chữ thập, chèn hai căn mẫu vào trong rãnh này, cách đều trục quay. Điều chỉnh trục A' để có rãnh T song song với trục X (hoặc trục Z). Song song có nghĩa là hai số đọc trên hai căn mẫu là giống nhau. Khi đó chỉnh đặt đồng hồ so được đặt trên phần cố định của ụ trục chính về không. Xoay bàn máy góc 180° và điều chỉnh lại trục A' để có cùng số đọc trên hai căn mẫu, không chỉnh đặt lại đồng hồ so. Giá trị nửa số đọc mới trên đồng hồ so là sai số sẽ được báo cáo.

Khi có các lỗ chỉnh thẳng thì phải sử dụng hai chốt chuẩn lắp khít vào các lỗ này và có phần nhô ra có cùng đường kính để thay cho các căn mẫu. Sau đó làm theo quy trình giống như trên.

b) Các số đọc sẽ được so sánh là các số đọc hướng kính lớn nhất trên mỗi chốt chuẩn, chúng cũng có thể không tương ứng một cách chính xác với các số đọc tại 180° từ mỗi chốt, vì sai lệch đọc trong a).

 

Đối tượng

DG3

Kiểm sai số độ song song E C(0X)T của:

- rãnh chữ T ở giữa hoặc rãnh chữ T chuẩn theo chiều dọc, hoặc

- đường tâm của các lỗ chỉnh thẳng (nếu theo chiều dọc), hoặc

- chốt định vị mép theo chiều dọc của bàn máy 1) , chỉnh đặt vuông góc với đường tâm trục chính (B' = 90°), với A' = 0°, với chuyển động trục X:

1) Bàn máy quay tích hợp sẵn hoặc một palét đại diện được kẹp đúng vị trí.

Sơ đồ

Dung sai

Đối với tất cả các loại

0,025 trên một chiều dài đo 500

Sai lệch đo được

Phương tiện đo

Đồng hồ so và căn mẫu hoặc chốt chuẩn

Xem và tham chiếu 12.3.2.5, ISO 230-1:2012

Trục Y được khóa lại nếu có thể.

Nếu trục chính có thể khóa được, có thể lắp đồng hồ so lên trục chính. Nếu trục chính không thể khóa được, đồng hồ so phải được đặt lên ụ trục chính của máy.

Khi có một rãnh T chuẩn hoặc một rãnh mộng chữ thập, chèn hai căn mẫu vào trong rãnh này, cách đều trục quay A'. Chỉnh đồng hồ so về không (zero) khi tì vào một căn mẫu. Số đọc của đồng hồ so trên căn mẫu còn lại chia cho khoảng cách giữa hai căn mẫu chính là sai số sẽ được báo cáo. Ghi lại chiều của sai số.

Khi có các lỗ chỉnh thẳng thì phải sử dụng hai chốt chuẩn lắp khít vào các lỗ này và có phần nhô ra có cùng đường kính.

Kết quả của phép kiểm này bao gồm sai số vị trí E AA có thể có của trục A' tại 0°.

 

Đối tượng

DG4

Kiểm sai số độ song song E A(0Z)T của:

- rãnh chữ T ở giữa hoặc rãnh chữ T chuẩn theo chiều dọc, hoặc

- đường tâm của các lỗ chỉnh thẳng (nếu theo chiều dọc), hoặc

- chốt định vị mép theo chiều dọc của bàn máy 1) , chỉnh đặt song song với đường tâm trục chính (B' = 0° hoặc 180°), với A' = 0°, với chuyển động trục Z:

1) Bàn máy quay tích hợp sẵn hoặc một palét đại diện được kẹp đúng vị trí.

Sơ đồ

Dung sai

Đối với tất cả các loại

0,025 trên một chiều dài đo 500

Sai lệch đo được

Phương tiện đo

Căn mẫu hoặc chốt chuẩn và đồng hồ so

Xem và tham chiếu 12.3.2.5, ISO 230-1:2012

Trục Y được khóa lại nếu có thể.

Nếu trục chính có thể khóa được, có thể lắp đồng hồ so lên trục chính. Nếu trục chính không thể khóa được, đồng hồ so phải được đặt lên ụ trục chính của máy.

Khi có một rãnh T chuẩn hoặc một rãnh mộng chữ thập, chèn hai căn mẫu vào trong rãnh này, cách đều trục quay A'. Chỉnh đồng hồ so về không (zero) khi tì vào một căn mẫu. Số đọc của đồng hồ so trên căn mẫu còn lại chia cho khoảng cách giữa hai căn mẫu chính là sai số sẽ được báo cáo. Ghi lại chiều của sai số.

Khi có các lỗ chỉnh thẳng thì phải sử dụng hai chốt chuẩn lắp khít vào các lỗ này và có phần nhô ra có cùng đường kính.

Kết quả của phép kiểm này bao gồm sai số vị trí E AA có thể có của trục A' tại 0°.

 

Đối tượng

DG5

Kiểm sai số độ song song của:

- đường tâm của các lỗ chỉnh thẳng (nếu theo chiều ngang), hoặc

- chốt định vị mép theo chiều ngang của bàn máy 1) với chuyển động trục Y:

a) E A(0Y)T với bàn máy song song với đường tâm trục chính (B' = 0° hoặc 180°)

b) E C(0Y)T với bàn máy vuông góc với đường tâm trục chính (B' = 90°)

1) Bàn máy quay tích hợp sẵn hoặc một palét đại diện được kẹp đúng vị trí.

Sơ đồ

Dung sai

Đối với tất cả các loại

0,025 trên một chiều dài đo 500

Sai lệch đo được

a)

b)

 

Phương tiện đo

Căn mẫu hoặc chốt chuẩn và đồng hồ so

Xem và tham chiếu 12.3.2.5, ISO 230-1:2012

a) Trục Z được khóa lại nếu có thể.

b) Trục X được khóa lại nếu có thể.

Nếu trục chính có thể khóa được, có thể lắp đồng hồ so lên trục chính. Nếu trục chính không thể khóa được, đồng hồ so phải được đặt lên ụ trục chính của máy.

Khi có một rãnh T chuẩn hoặc một rãnh mộng, chèn hai căn mẫu vào trong rãnh này, cách đều tâm bàn máy. Chỉnh đồng hồ so về không (zero) khi tì vào một căn mẫu. Số đọc của đồng hồ so trên cặn mẫu còn lại chia cho khoảng cách giữa hai căn mẫu chính là sai số sẽ được báo cáo. Ghi lại chiều của sai số.

Khi có các lỗ chỉnh thẳng thì phải sử dụng hai chốt chuẩn lắp khít vào các lỗ này và có phần nhô ra có cùng đường kính.

Kết quả của phép kiểm này bao gồm sai số vị trí E AA có thể có của trục A' tại 0°.

 

Đối tượng

DG6

Kiểm sai số độ vuông góc E B(0X)A của trục quay A' của bàn máy, hoặc của bộ nhận, với bàn máy vuông góc với đường tâm trục chính (B' = 90°), với chuyển động trục X

Sơ đồ

Dung sai

0,040/1000

Sai lệch đo được

Phương tiện đo

Căn mẫu và đồng hồ so

Xem và tham chiếu 10.3 và 10.3.3, ISO 230-1:2012

Trục Z được khóa lại nếu có thể. Kết quả của phép kiểm này bao gồm sai số vị trí có thể có của trục B'.

Đặt một căn mẫu lên một cạnh bàn máy, theo phương X cách xa so với trục quay; cố định đồng hồ so trên trục chính nếu nó có thể khóa được, hoặc trên ụ trục chính; đưa đầu đo vào tiếp xúc với căn mẫu và chỉnh đồng hồ so về không. Xoay bàn máy góc 180° và dịch chuyển trục X cho đến khi đầu đo chạm lại vào căn mẫu tại cùng một vị trí. Số đọc của đồng hồ so chia cho khoảng dịch chuyển X là sai số sẽ được báo cáo.

Ghi lại chiều của sai số. Quy ước ký hiệu của sai số phải tương ứng với ký hiệu độ vuông góc theo 3.6.7, Chú thích 2, ISO 230-1:2012.

Phép kiểm này có thể bị ảnh hưởng bởi sai số độ thẳng phương ngang E ZX của trục X.

Kết quả của phép kiểm này bao gồm sai số vị trí E BB có thể có của trục B' tại 90°.

 

Đối tượng

DG7

Kiểm sai số độ vuông góc E B(0Z)A của trục quay A' của bàn máy, hoặc của bộ nhận, với bàn máy song song với đường tâm trục chính (B' = 0° hoặc B' = 180° như thể hiện trên sơ đồ), với chuyển động trục Z

Sơ đồ

Dung sai

0,040/1000

Sai lệch đo được

Phương tiện đo

Căn mẫu và đồng hồ so

Xem và tham chiếu 10.3 và 10.3.3, ISO 230-1:2012

Trục X được khóa lại nếu có thể. Kết quả của phép kiểm này bao gồm sai số vị trí có thể có của trục B'.

Đặt một căn mẫu lên một cạnh bàn máy, theo phương Z cách xa so với trục quay; cố định đồng hồ so trên trục chính nếu nó có thể khóa được, hoặc trên ụ trục chính; đưa đầu đo vào tiếp xúc với cặn mẫu và chỉnh đồng hồ so về không. Xoay bàn máy góc 180° và dịch chuyển trục Z cho đến khi đầu đo chạm lại vào căn mẫu tại cùng một vị trí. Số đọc của đồng hồ so chia cho khoảng dịch chuyển Z là sai số sẽ được báo cáo.

Ghi lại chiều của sai số. Quy ước ký hiệu của sai số (α) phải tương ứng với ký hiệu độ vuông góc theo 3.6.7, Chú thích 2, ISO 230-1:2012.

Kết quả của phép kiểm này bao gồm sai số vị trí E BB có thể có của trục B' (tại 0° hoặc tại 180°).

Giá trị góc α, nhỏ hơn, bằng hoặc lớn hơn 90° phải được ghi lại.

 

Đối tượng

DG8

Kiểm sai số độ vuông góc của trục quay A' của bàn máy, hoặc của bộ nhận, với chuyển động trục Y:

a) E C(0Y)A với bàn máy song song với đường tâm trục chính (B' = 0° hoặc B' = 180° như thể hiện trên sơ đồ)

b) E A(0Y)A với bàn máy vuông góc với đường tâm trục chính (B' = 90°)

Sơ đồ

Dung sai

0,040/1000

Sai lệch đo được

a)

b)

 

Phương tiện đo

Căn mẫu và đồng hồ so

Xem và tham chiếu 10.3 và 10.3.3, ISO 230-1:2012

a) Trục X được khóa lại nếu có thể.

b) Trục Z được khóa lại nếu có thể.

Đặt một căn mẫu lên một cạnh bàn máy, theo phương Y cách xa so với trục quay; cố định đồng hồ so trên trục chính nếu nó có thể khóa được, hoặc trên ụ trục chính; đưa đầu đo vào tiếp xúc với căn mẫu và chỉnh đồng hồ so về không. Xoay bàn máy góc 180° và dịch chuyển trục Y cho đến khi đầu đo chạm lại vào căn mẫu tại cùng một vị trí. Số đọc của đồng hồ so chia cho khoảng dịch chuyển Y là sai số sẽ được báo cáo.

Ghi lại chiều của sai số. Quy ước ký hiệu của sai số phải tương ứng với ký hiệu độ vuông góc theo 3.6.7, Chú thích 2, ISO 230-1:2012.

Phép kiểm a) có thể bị ảnh hưởng bởi sai số độ thẳng E XY của trục Y và phép kiểm b) có thể bị ảnh hưởng bởi sai số độ thẳng E ZY .

 

Đối tượng

DG9

Kiểm sai số độ song song của trục quay A' của bàn máy, hoặc của bộ nhận, với bàn máy vuông góc với đường tâm trục chính (B' = 90°) với chuyển động trục Z:

a) E A(0Z)A trong mặt phẳng thẳng đứng YZ

b) E B(0Z)A trong mặt phẳng nằm ngang ZX

Sơ đồ

Dung sai

Đối với a) và b) 0,040/1000 (= 0,020/500)

Sai lệch đo được

a)

b)

 

Phương tiện đo

Ke vuông dạng trụ với đế dạng bích, hoặc khối cầu kiểm cho phương pháp thay thế, và đồng hồ so

Xem và tham chiếu 3.6.3, 10.1.4, 10.1.4.3, ISO 230-1:2012, hoặc 10.1.4.4 cho phương pháp thay thế

a) Trục Y được khóa lại nếu có thể.

b) Trục X được khóa lại nếu có thể. Kết quả của phép kiểm b) bao gồm sai số vị trí E BB có thể có của trục B' tại 90°.

1) Cố định một ke vuông dạng trụ với đế dạng bích trên bàn máy, và định tâm nó xấp xỉ với trục quay.

2) Cố định đồng hồ so trên ụ trục chính với đầu đo được định hướng theo phương trục Y đối với a) và theo phương trục X đối với b).

3) Chạm đầu đo vào ke vuông, gần với đáy trụ, và tìm số đọc lớn nhất của đồng hồ so bằng các dịch chuyển nhỏ dọc theo trục X đối với a) và dọc theo trục Y đối với b). Đưa đồng hồ so về không.

4) Dịch chuyển ụ trục chính ra xa bàn máy dọc theo trục Z, và tiếp xúc lại với ke vuông gần phía đỉnh của nó. Ghi lại chiều dài hành trình Z. Tìm số đọc lớn nhất của đồng hồ so bằng các dịch chuyển nhỏ dọc theo trục X đối với a) và dọc theo trục Y đối với b) và ghi lại số đọc mới.

5) Xoay bàn máy góc 180° và lặp lại các bước 3) và 4).

6) Đối với hai phép đo a) và b), giá trị trung bình (một nửa tổng đại số) của hai số đọc đồng hồ so trên phân đỉnh của ke vuông chia cho chiều dài hành trình Z là sai số sẽ được báo cáo. Quy ước ký hiệu của sai số phải tương ứng với ký hiệu độ song song giữa các trục A' và Z theo 3.6.3, Chú thích 2, ISO 230-1:2012.

 

Đối tượng

DG10

Kiểm sai số độ song song của trục quay A' của bàn máy, hoặc của bộ nhận, với bàn máy song song với đường tâm trục chính (B' = 0° hoặc B' = 180° như thể hiện trên sơ đồ) với chuyển động trục X:

a) E C(0X)A trong mặt phẳng thẳng đứng XY

b) E B( 0 X ) A trong mặt phẳng nằm ngang ZX

Sơ đồ

Dung sai

Đối với a) và b) 0,040/1000 (= 0,020/500)

Sai lệch đo được

a)

b)

 

Phương tiện đo

Ke vuông dạng trụ với đế dạng bích, hoặc khối cầu kiểm cho phương pháp thay thế, và đồng hồ so

Xem và tham chiếu 3.6.3, 10.1.4, 10.1.4.3, ISO 230-1:2012

a) Trục Y được khóa lại nếu có thể.

b) Trục Z được khóa lại nếu có thể. Kết quả của phép kiểm b) bao gồm sai số vị trí E BB có thể có của trục B' tại 0°.

Nếu trục chính có thể khóa được, có thể lắp đồng hồ so lên trục chính. Nếu trục chính không thể khóa được, đồng hồ so phải được đặt lên ụ trục chính của máy.

1) Cố định một ke vuông dạng trụ với đế dạng bích trên bàn máy, và định tâm nó xấp xỉ với trục quay.

2) Cố định đồng hồ so trên ụ trục chính với đầu đo được định hướng theo phương trục Y đối với a) và theo phương trục Z đối với b).

3) Chạm đầu đo vào ke vuông, gần với đáy trụ, và tìm số đọc lớn nhất của đồng hồ so bằng các dịch chuyển nhỏ dọc theo trục Z đối với a) và dọc theo trục Y đối với b). Đưa đồng hồ so về không.

4) Dịch chuyển ụ trục chính ra xa bàn máy dọc theo trục X, và tiếp xúc lại với ke vuông gần phía đỉnh của nó. Ghi lại chiều dài hành trình X. Tìm số đọc lớn nhất của đồng hồ so bằng các dịch chuyển nhỏ dọc theo trục Z đối với a) và dọc theo trục Y đối với b) và ghi lại số đọc mới.

5) Xoay bàn máy góc 180° và lặp lại các bước 3) và 4).

6) Đối với hai phép đo a) và b), giá trị trung bình (một nửa tổng đại số) của hai số đọc đồng hồ so trên phần đỉnh của ke vuông chia cho chiều dài hành trình X là sai số sẽ được báo cáo. Quy ước ký hiệu của sai số phải tương ứng với ký hiệu độ song song giữa các trục A' và X theo 3.6.3, Chú thích 2, ISO 230-1:2012.

 

Đối tượng

DG11

Kiểm sai số độ song song của trục quay B' của bàn xoay với chuyển động trục Y:

a) E C(0Y)B trong mặt phẳng thẳng đứng XY

b) E A(0Y)B trong mặt phẳng thẳng đứng YZ

Sơ đồ

Dung sai

0,050/1000

Sai lệch đo được

Phương tiện đo

Thước thẳng hoặc căn mẫu và đồng hồ so

 

Xem và tham chiếu ISO 230-1

1) Thiết lập bàn máy song song với đường tâm trục chính (B' = 180° trên sơ đồ), cố định một thước thẳng trên bàn máy, gần song song với trục Y với cả hai mặt phẳng tham chiếu. Để đồng hồ so lắp trên trục chính tiếp xúc với mặt trên thước thẳng theo phương trục X. Đo tại cả hai đầu của khoảng đo L, đọc đồng hồ so ở a1 và a2 và ghi lại độ chênh lệch Δa = (a2 - a1).

2) Xoay đồng hồ so về phương trục Z và tiếp xúc với mặt bên thước thẳng. Đo tại cả hai đầu của khoảng đo L, đọc đồng hồ so ở b1 và b2 và ghi lại độ chênh lệch Δb = (b2 - b1).

3) Xoay trục B' tới vị trí 90° (bàn máy vuông góc với đường tâm trục chính). Với đồng hồ so theo phương trục Z tiếp xúc với mặt trên thước thẳng ở cùng hai vị trí giống như ở 1), lây các số đọc ở c1 và c2 và ghi lại độ chênh lệch Δc = (c2 - c1).

4) Xoay đồng hồ so về phương trục X và tiếp xúc với mặt bên thước thẳng. Đo ở cùng hai vị trí giống như ở 2), lấy các số đọc ở d1 và d2 và ghi lại độ chênh lệch Δd = (d2 - d1).

a) Sai số độ song song trong mặt phẳng thẳng đứng XY được cho bởi công thức sau:

E C( 0 Y)B = 1/2 (Δa + Δb - Δc - Δd) chia cho khoảng đo L.

b) Sai số độ song song trong mặt phẳng thẳng đứng YZ được cho bởi công thức sau:

E A(0Y)B = 1/2 (- Δa + Δb + Δc - Δd) chia cho khoảng đo L.

Đối tượng

DG12

Kiểm để thấy rằng trục A' của chuyển động quay bàn máy và trục B' của chuyển động xoay bàn xoay nằm trong cùng một mặt phẳng (đối với các bàn máy với trục B' năm phía ngoài bề mặt bàn máy); E Z(0B)A (chỉ đối với các máy có độ lệch bằng không (0) theo danh nghĩa giữa trục A' và B' và không có các công cụ bù cho bất kỳ sai lệch độ lệch nào).

Sơ đồ

Dung sai

0,03

Sai lệch đo được

Phương tiện đo

Khối cầu kiểm và đồng hồ so

Xem và tham chiếu 10.4.3, ISO 230-1:2012

1) Cố định cần đỡ khối cầu vào trục chính nếu nó có thể khóa được, hoặc trên ụ trục chính. Cố định đồng hồ so trên bàn máy với đầu đo song song với bề mặt bàn máy theo phương hướng kính.

2) Với bàn máy song song với đường tâm trục chính (B' = 0° hoặc B' = 180°), căn chỉnh trục A' của chuyển động quay bàn máy nằm trên tâm khối cầu, bằng cách xoay quanh A' và điều chỉnh dọc theo Y và Z.

3) Khóa các trục Y và Z.

4) Xoay bàn máy vuông góc với đường tâm trục chính (B' = 90°) và căn chỉnh lại trục A' của chuyển động quay bàn máy nằm trên tâm khối cầu, bằng cách xoay quanh A' và điều chỉnh dọc theo X.

5) Khóa trục X lại.

6) Với bàn máy vuông góc với đường tâm trục chính (B' = 90°), đặt một đồng hồ so với đầu đo phẳng lên mặt trên của bàn máy, đầu đo được hướng song song với đường tâm trục chính, tiếp xúc vào khối cầu và đưa đồng hồ so về không.

7) Xoay bàn máy song song với đường tâm trục chính (B' = 0° hoặc B' = 180°), và ghi lại số đọc đồng hồ so.

Giá trị nửa số đọc mới này trên đồng hồ so là sai số sẽ được báo cáo. Ghi lại chiều của sai số.

Cần của đồng hồ so phải đủ cứng vững để ngăn ngừa bất kỳ sai số số đọc có thể có nào gây ra do độ võng của nó ở các vị trí đo khác nhau.

 

Đối tượng

DG13

Kiểm để thấy rằng trục quay A' của bàn máy và đường tâm trục chính nằm trong cùng mặt phẳng ZX ở một vị trí đã định trước, với bàn máy song song với đường tâm trục chính (B' = 0° hoặc B' = 180°) (nghĩa là đo sai lệch E Y(0(C))A theo phương Y)

Sơ đồ

Dung sai

0,010

Sai lệch đo được

Phương tiện đo

Trục kiểm và đồng hồ so

Xem và tham chiếu ISO 230-1

1) Điều chỉnh trục B' của bàn xoay cho đến khi trục quay A' của bàn máy vuông góc với trục Z.

2) Di chuyển trục Y đến vị trí thẳng đứng tại đó trục quay A' của bàn máy và đường tâm trục chính cần nằm trong cùng mặt phẳng ZX.

3) Cố định trục kiểm trong trục chính và đồng hồ so trên bàn máy với đầu đo song song với bề mặt bàn máy theo phương hướng kính.

4) Với đầu đo đồng hồ so được định hướng thẳng đứng theo phương trục Y tiếp xúc với trục kiểm, gần với đầu mút trục chính, và tìm số đọc lớn nhất của đồng hồ so bằng các dịch chuyển nhỏ dọc theo trục X. Đưa đồng hồ so về không.

5) Di chuyển trục X để đưa trục kiểm ra xa đồng hồ so. Xoay cả bàn mày và trục chính góc 180°, và đưa trục kiểm trở lại tiếp xúc với đồng hồ so bằng cách dịch chuyển trục X.

6) Tìm số đọc lớn nhất của đồng hồ so bằng các dịch chuyển nhỏ dọc theo trục X.

7) Giá trị nửa số đọc mới này trên đồng hồ so là sai số sẽ được báo cáo.

Cần của đồng hồ so phải đủ cứng vững để ngăn ngừa bất kỳ sai số số đọc có thể có nào gây ra do độ võng của nó ở các vị trí đo khác nhau.

CHÚ THÍCH 1: Nếu phép kiểm này được thực hiện ở các vị trí khác nhau của trục Z, nó sẽ bị ảnh hưởng bởi sai số độ song song E A(0Z)(C) giữa đường tâm trục chính và trục Z và ảnh hưởng bởi sai số độ vuông góc thẳng đứng E YZ của trục Z.

CHÚ THÍCH 2: Nếu phép kiểm này được thực hiện ở các vị trí khác nhau của trục X, nó sẽ bị ảnh hưởng bởi sai số độ song song E C(0Z)(A) giữa trục quay A' của bàn máy và trục X và ảnh hưởng bởi sai số độ vuông góc thẳng đứng E YX của trục X.

 

Đối tượng

DG14

Kiểm độ trùng nhau của trục quay A' của bàn máy và đường tâm trục chính ở một vị trí đã định trước, với bàn máy song song với trục X:

a) E X(0(C))A dọc theo trục X nằm ngang

b) E Y(0(C))A dọc theo trục Y thẳng đứng

Sơ đồ

Dung sai

0,010

Sai lệch đo được

a) dọc theo trục X

b) dọc theo trục Y

 

Phương tiện đo

Trục kiểm và đồng hồ so

Xem và tham chiếu 10.2, ISO 230-1:2012

1) Điều chỉnh trục B' của bàn xoay cho đến khi trục A' của chuyển động quay bàn máy song song với trục Z.

2) Di chuyển trục X và trục Y đến vị trí lý thuyết ở đó trục quay B' của bàn xoay và đường tâm trục chính cần trùng nhau.

3) Cố định trục kiểm trong trục chính và đồng hồ so trên bàn máy với đầu đo song song với bề mặt bàn máy theo phương hướng kính.

4) Với đầu đo đồng hồ so được định hướng theo phương trục X đối với a) và theo phương trục Y đối với b), tiếp xúc với trục kiểm, gần với đầu mút trục chính, và tìm số đọc lớn nhất của đồng hồ so bằng các dịch chuyển nhỏ [dọc theo trục Y đối với a) và dọc theo trục X đối với b)]. Đưa đồng hồ so về không.

5) Xoay cả bàn mày và trục chính góc 180°.

6) Tìm số đọc lớn nhất của đồng hồ so như ở 4).

7) Giá trị nửa số đọc mới này trên đồng hồ so là sai số sẽ được báo cáo.

Cần của đồng hồ so phải đủ cứng vững để ngăn ngừa bất kỳ sai số số đọc có thể có nào gây ra do độ võng của nó ở các vị trí đo khác nhau.

CHÚ THÍCH: Nếu phép kiểm này được thực hiện ở các vị trí khác nhau của trục Z, nó sẽ bị ảnh hưởng bởi sai số độ song song giữa đường tâm trục chính và trục Z và giữa trục quay A' của bàn máy với trục Z, trong cả hai mặt phẳng ZX và YZ.

 

Phụ lục E

(tham khảo)

Chuyển động có sai số của trục chính mang dụng cụ cắt và các đường tâm bàn máy quay mang phôi gia công

E.1 Chuyển động có sai số của đường tâm (C) trục chính mang dụng cụ cắt

Đối tượng

ER1

Chuyển động có sai số của đường tâm quay đối với các trục chính mang dụng cụ cắt (C)

a) chuyển động có sai số hướng kính E XY(C)

b) chuyển động có sai số hướng trục E Z(C)

c) chuyển động có sai số nghiêng E AB(C)

Sơ đồ

Dung sai 1)

ở phần trăm tốc độ quay lớn nhất

10 %

50 %

100 %

a) giá trị chuyển động có sai số hướng kính tổng E XY(C)

b) giá trị chuyển động có sai số hướng trục tổng E Z(C)

c) giá trị chuyển động có sai số nghiêng tổng E AB(C)

CHÚ THÍCH: Nếu tốc độ quay nhỏ nhất lớn hơn 10 % tốc độ quay lớn nhất thì thay vào đó trục chính cần được vận hành ở tốc độ quay nhỏ nhất.

Có thể lựa chọn các tốc độ quay của trục chính khác theo thỏa thuận giữa nhà sản xuất/nhà cung cấp và người sử dụng.

1) Nếu theo thỏa thuận giữa nhà sản xuất/nhà cung cấp và người sử dụng đưa phép kiểm này vào trong quy trình nghiệm thu máy theo hợp đồng, khi đó cũng cần có thỏa thuận để xác định các dung sai tương ứng sẽ được áp dụng. Phiên bản tiếp theo của tiêu chuẩn này có thể cung cấp các dung sai cho phép kiểm này khi các dữ liệu chắc chắn từ các phép đo như vậy đối với đặc tính bàn máy trong môi trường công nghiệp là sẵn có.

Sai lệch đo được

a)

b)

c)

Phương tiện đo

Trục kiểm, các đầu dò không tiếp xúc và phương tiện đo góc hoặc hai khối cầu chính xác được đặt hơi lệch tâm với đường trung bình của bàn máy và các đầu dò không tiếp xúc

Xem và tham chiếu ISO 230-7

Phép kiểm này là một phép kiểm bàn máy với chiều cảm biến quay (5.4, ISO 230-7:2015).

Sau khi cài đặt phương tiện đo, trục chính phải được chạy khởi động ở tốc độ 50 % tốc độ quay trục chính lớn nhất trong khoảng thời gian 10 min, trừ khi có quy định khác theo thỏa thuận giữa nhà sản xuất/nhà cung cấp và người sử dụng.

Chuyển động có sai số tổng được định nghĩa trong 3.2.4, ISO 230-7:2015, giá trị chuyển động có sai số tổng trong 3.5.1, ISO 230-7:2015

a) giá trị chuyển động có sai số hướng kính tổng E XY(C) (sử dụng các đầu dò 4 và 5)

Phép đo chuyển động có sai số hướng kính được mô tả trong 5.4.2, ISO 230-7:2015. Chuyển động có sai số hướng kính phải được đo gần với bề mặt bàn máy nhất có thể (các cảm biến 4 và 5 trên sơ đồ của phép kiểm).

Đối với chuyển động có sai số hướng kính E XY(C) , một đồ thị tọa độ cực chuyển động có sai số tổng (3.3.1, ISO 230-7:2015) với một tâm đường tròn bình phương nhỏ nhất (LSC) (3.4.3, ISO 230-7:2015) phải được cung cấp.

b) giá trị chuyển động có sai số hướng trục tổng E Z(C) (sử dụng đầu dò 3)

Phép đo chuyển động có sai số hướng trục được mô tả trong 5.4.4, ISO 230-7:2015.

Đối với chuyển động có sai số hướng trục E Z(C) , một đồ thị tọa độ cực chuyển động có sai số tổng (3.3.1, ISO 230-7:2015) với một tâm biểu đồ cực (PC) (3.4.1, ISO 230-7:2015) phải được cung cấp.

c) giá trị chuyển động có sai số nghiêng tổng E AB(C) (sử dụng các đầu dò 1, 2, 4, 5)

Phép đo chuyển động có sai số nghiêng được mô tả trong 5.4.3, ISO 230-7:2015. Chuyển động có sai số nghiêng cũng có thể được kiểm chỉ với hai đầu dò không tiếp xúc (xem 5.4.3.1 và 5.4.3.2, ISO 230-7:2015).

Đối với chuyển động có sai số nghiêng E AB(C) , một đồ thị tọa độ cực chuyển động có sai số tổng (3.3.1, ISO 230-7:2015) vơi một tâm biểu đồ cực (PC) (3.4.1, ISO 230-7:2015) phải được cung cấp.

Đối với các phép kiểm này phải công bố các thông số sau:

a các vị trí hướng kính, hướng trục hoặc theo mặt tại đó thực hiện các phép đo;

b sự nhận biết tất cả các vật, bia và đồ gá được sử dụng;

c vị trí thiết lập phép đo;

d việc định vị của bất kỳ giai đoạn định vị thẳng hoặc quay nào mà được kết nối với thiết bị được thử;

e góc phương của chiều cảm biến, ví dụ các góc hướng trục, hướng kính hoặc trung gian khi thích hợp;

f trình bày kết quả đo, ví dụ như: giá trị chuyển động có sai số, đồ thị tọa độ cực, đồ thị theo thời gian, đồ thị tần số;

g tốc độ quay của bàn máy (bằng không đối với chuyển động có sai số tĩnh);

h thời gian tính bằng giây hoặc số vòng quay của bàn máy;

i quy trình chạy khởi động máy hoặc chạy rà thích hợp;

j đáp ứng tần số của phương tiện đo, tính bằng héc (hz) hoặc chu kỳ trên vòng quay, bao gồm cả đặc tính làm giảm (roll-off) của bấy kỳ bộ lọc điện tử nào. Trong trường hợp phương tiện đo dạng kỹ thuật số, độ phân giải độ dịch chuyển và tốc độ lấy mẫu;

k vòng cấu trúc, bao gồm vị trí và hướng của các cảm biến so với vỏ bàn máy từ đó chuyển động có sai số được báo cáo, các đối tượng được quy định theo đó các trục bàn máy và các trục tọa độ tham chiếu được định vị trí và các phần tử kết nối với các đối tượng này (3.3.1, ISO 230-1:2012);

l thời gian và ngày đo;

m loại và tình trạng hiệu chuẩn của tất cả các phương tiện đo;

n các điều kiện vận hành khác có thể ảnh hưởng đến phép đo như nhiệt độ môi trường.

Nếu các phép đo nghiêng là không cần thiết (theo thỏa thuận giữa nhà cung cấp và người sử dụng), khi đó chỉ cần sử dụng ba cảm biến độ dịch chuyển (3, 4 và 5) và có thể thay trục kiểm bằng khối cầu kiểm chính xác.

E.2 Chuyển động có sai số của bàn máy quay mang phôi gia công (xem Phụ lục B)

Đối tượng

ER2

Chuyển động có sai số của đường tâm quay đối với bàn máy mang phôi gia công

a) chuyển động có sai số hướng kính theo phương X, E XB

b) chuyển động có sai số hướng kính theo phương Z, E ZB

c) chuyển động có sai số hướng trục E YB

d) chuyển động có sai số nghiêng quanh trục X, E AB

e) chuyển động có sai số nghiêng quanh trục Z, E CB

Sơ đồ

Dung sai 1)

ở phần trăm tốc độ quay lớn nhất

10 %

50 %

100 %

a) giá trị chuyển động có sai số hướng kính tổng E XB

b) giá trị chuyển động có sai số hướng kính tổng E ZB

c) giá trị chuyển động có sai số hướng trục tổng E YB

d) giá trị chuyển động có sai số nghiêng tổng E AB

e) giá trị chuyển động có sai số nghiêng tổng E CB

CHÚ THÍCH: Nếu tốc độ quay nhỏ nhất lớn hơn 10 % tốc độ quay lớn nhất thì thay vào đó bàn máy cần được vận hành ở tốc độ quay nhỏ nhất. Có thể lựa chọn các tốc độ quay của bàn máy khác theo thỏa thuận giữa nhà sản xuất/nhà cung cấp và người sử dụng.

1) Nếu theo thỏa thuận giữa nhà sản xuất/nhà cung cấp và người sử dụng đưa phép kiểm này vào trong quy trình nghiệm thu máy theo hợp đồng, khi đó cũng cần có thỏa thuận để xác định các dung sai tương ứng sẽ được áp dụng. Phiên bản tiếp theo của tiêu chuẩn này có thể cung cấp các dung sai cho phép kiểm này khi các dữ liệu chắc chắn từ các phép đo như vậy đối với đặc tính bàn máy quay trong môi trường công nghiệp là sẵn có.

Sai lệch đo được

a)

b)

c)

d)

e)

Phương tiện đo

Trục kiểm, các đầu dò không tiếp xúc và phương tiện đo góc hoặc hai khối cầu chính xác được đặt hơi lệch tâm với đường trung bình của bàn máy và các đầu dò không tiếp xúc

Xem và tham chiếu ISO 230-7

Phép kiểm này là một phép kiểm với chiều cảm biến cố định (5.5, ISO 230-7:2015).

Nếu bàn máy có thể được sử dụng cho các nguyên công tiện, sau khi cài đặt phương tiện đo, bàn máy được chạy khởi động ở tốc độ 50 % tốc độ quay bàn máy lớn nhất trong khoảng thời gian 10 min, trừ khi có quy định khác theo thỏa thuận giữa nhà sản xuất/nhà cung cấp và người sử dụng.

Chuyển động có sai số tổng và giá trị chuyển động có sai số tổng được định nghĩa lần lượt trong 3.2.4 và 3.5.1, ISO 230-7:2015.

a), b) các giá trị chuyển động có sai số hướng kính tổng E X(B) và E Z(B) (sử dụng các đầu dò 4 và 5)

Phép đo chuyển động có sai số hướng kính được mô tả trong 5.5.3, ISO 230-7:2015. Chuyển động có sai số hướng kính phải được đo gần với bề mặt bàn máy nhất có thể (các cảm biến 4 và 5 trên sơ đồ).

Đối với mỗi chuyển động có sai số hướng kính E X(B) và E Y(B) , một đồ thị tọa độ cực chuyển động có sai số tổng (3.3.1, ISO 230-7:2015) với một tâm đường tròn bình phương nhỏ nhất (LSC) (3.4.3, ISO 230-7:2015) phải được cung cấp.

c) giá trị chuyển động có sai số hướng trục tổng E Y(B) (sử dụng đầu dò 3)

Phép đo chuyển động có sai số hướng trục được mô tả trong 5.4.4, ISO 230-7:2015.

Đối với chuyển động có sai số hướng trục E Y(B) , một đồ thị tọa độ cực chuyển động có sai số tổng (3.3.1, ISO 230-7:2015) vơi một tâm biểu đồ cực (PC) (3.4.1, ISO 230-7:2015) phải được cung cấp.

d), e) giá trị chuyển động có sai số nghiêng tổng E A(B) và E C(B) (sử dụng các đầu dò 2 và 5, 1 và 4)

Phép đo chuyển động có sai số nghiêng được mô tả trong 5.5.5, ISO 230-7:2015. Chuyển động có sai số nghiêng bất kỳ cũng có thể được kiểm chỉ với một đầu dò không tiếp xúc (xem 5.5.5.2 và 5.5.5.4, ISO 230-7:2015).

Đối với mỗi chuyển động có sai số nghiêng E A(B ) và E C(B) , một đồ thị tọa độ cực chuyển động có sai số tổng (3.3.1, ISO 230-7:2015) với một tâm biểu đồ cực (PC) (3.4.1, ISO 230-7:2015) phải được cung cấp.

Đối với các phép kiểm này phải công bố các thông số sau:

- các vị trí hướng kính, hướng trục hoặc theo mặt tại đó thực hiện các phép đo;

- sự nhận biết tất cả các vật, bia và đồ gá được sử dụng;

- vị trí thiết lập phép đo;

- việc định vị của bất kỳ giai đoạn định vị thẳng hoặc quay nào mà được kết nối với thiết bị được thử;

- góc phương của chiều cảm biến, ví dụ các góc hướng trục, hướng kính hoặc trung gian khi thích hợp;

- trình bày kết quả đo, ví dụ như: giá trị chuyển động có sai số, đồ thị tọa độ cực, đồ thị theo thời gian, đồ thị tần số;

- tốc độ quay của bàn máy (bằng không đối với chuyển động có sai số tĩnh);

- thời gian tính bằng giây hoặc số vòng quay của bàn máy;

- quy trình chạy khởi động máy hoặc chạy rà thích hợp;

- đáp ứng tần số của phương tiện đo, tính bằng héc (hz) hoặc chu kỳ trên vòng quay, bao gồm cả đặc tính làm giảm của bấy kỳ bộ lọc điện tử nào. Trong trường hợp phương tiện đo dạng kỹ thuật số, độ phân giải độ dịch chuyển và tốc độ lấy mẫu;

- vòng cấu trúc, bao gồm vị trí và hướng của các cảm biến so với vỏ bàn máy từ đó chuyển động có sai số được báo cáo, các đối tượng được quy định theo đó các trục bàn máy và các trục tọa độ tham chiếu được định vị trí và các phần tử kết nối với các đối tượng này;

- thời gian và ngày đo;

- loại và tình trạng hiệu chuẩn của tất cả các phương tiện đo;

- các điều kiện vận hành khác có thể ảnh hưởng đến phép đo như nhiệt độ môi trường.

Nếu các phép đo nghiêng là không cần thiết (theo thỏa thuận giữa nhà cung cấp và người sử dụng), khi đó chỉ cần sử dụng ba cảm biến độ dịch chuyển (1, 2 và 3) và có thể thay trục kiểm bằng khối cầu kiểm chính xác.

 

Phụ lục F

(tham khảo)

Chuyển động có sai số của đường tâm quay của bàn máy quay và nghiêng

(xem Phụ lục C)

Đối tượng

FR1

Chuyển động có sai số của đường tâm quay đối với bàn máy mang phôi gia công (trục B')

a) chuyển động có sai số hướng kính theo phương X, E XB

b) chuyển động có sai số hướng kính theo phương Z, E ZB

c) chuyển động có sai số hướng trục E YB

d) chuyển động có sai số nghiêng quanh trục X, E AB

e) chuyển động có sai số nghiêng quanh trục Z, E CB

Sơ đồ

CHÚ DẪN:

1 bàn máy quay (trục B')

2 bàn kẹp (trục A')

3 bàn đỡ

4 bàn trượt bàn máy (trục Z)

5 ụ trục chính (trục Y)

6 trụ máy (trục X)

7 băng máy

8 khối cầu chính xác

9 cụm cảm biến

Thiết lập I: Cụm cảm biến được lắp trong trục chính và khối cầu chính xác được lắp trên bàn máy.

Thiết lập II: Khối cầu chính xác được lắp trong trục chính và cụm cảm biến được lắp trên bàn máy.

Dung sai

 

CW

CW

Tĩnh

Liên tục

Tĩnh

Liên tục

a) chuyển động có sai số hướng kính theo phương X, E XB

 

 

 

 

b) chuyển động có sai số hướng kính theo phương Z, E ZB

 

 

 

 

c) chuyển động có sai số hướng trục E YB

 

 

 

 

d) chuyển động có sai số nghiêng quanh trục X, E AB

 

 

 

 

e) chuyển động có sai số nghiêng quanh trục Z, E CB

 

 

 

 

Các dung sai sẽ được áp dụng theo thỏa thuận giữa nhà sản xuất/nhà cung cấp máy với người sử dụng.

Đối với phép kiểm tĩnh, trục B' được dừng ở các vị trí góc đã cho, ví dụ ở mỗi góc 30° và sau đó đo dịch chuyển của khối cầu. Đối với phép kiểm liên tục (bán tĩnh (quasi-static)), dịch chuyển của khối cầu được đo một cách liên tục khi trục B' quay ở tốc độ đủ thấp, hoặc ở một tốc độ đại diện cho vận hành máy bình thường. Tốc độ của bàn máy quay sẽ theo thỏa thuận giữa nhà sản xuất/nhà cung cấp máy và người sử dụng. Tốc độ quay sử dụng phải được báo cáo.

Sai lệch đo được

 

CW

CW

Tĩnh

Liên tục

Tĩnh

Liên tục

a) chuyển động có sai số hướng kính theo phương X, E XB

 

 

 

 

b) chuyển động có sai số hướng kính theo phương Z, E ZB

 

 

 

 

c) chuyển động có sai số hướng trục E YB

 

 

 

 

d) chuyển động có sai số nghiêng quanh trục X, E AB

 

 

 

 

e) chuyển động có sai số nghiêng quanh trục Z, E C B

 

 

 

 

Tốc độ quay của bàn máy đo được: min - 1 (rpm)

 

Phương tiện đo

Khối cầu chính xác và cụm cảm biến (hoặc đầu dò 3D).

Chỉ dành cho thiết lập I: Khối trụ chính xác/trục kiểm hoặc khối cầu chính xác kép (nghĩa là gồm hai khối cầu trên một trục gá tách riêng trục) và cụm cảm biến.

Cụm cảm biến có thể là loại tiếp xúc và/hoặc không tiếp xúc.

Xem và tham chiếu ISO 230-7

Phép kiểm này được thực hiện tĩnh và động lực theo chiều cảm biến cố định (5.5, ISO 230-7:2015).

Các phép đo phải được thực hiện theo chiều kim đồng hồ cũng như ngược chiều kim đồng hồ, tốt nhất là kết hợp trong một phép đo. Nhiều vòng quay có thể được đo và được yêu cầu để tính toán các chuyển động có sai số đồng bộ và không đồng bộ của trục quay.

Trục chính được khóa lại cho phép kiểm này.

Khối cầu chính xác (tức thiết lập I) hoặc gốc của cụm cảm biến (tức thiết lập II) phải gần bàn máy nhất có thể để hạn chế ảnh hưởng của chuyển động có sai số nghiêng trục B' nhưng ngăn ngừa va chạm giữa trục chính và/hoặc cụm cảm biến và bàn máy.

Khối cầu chính xác (tức thiết lập I) hoặc cụm cảm biến (tức thiết lập II) được đặt gần trục quay của trục B' sao cho khối cầu vẫn nằm trong phạm vi đo của cụm cảm biến. Khi khối cầu chính xác hoặc cụm cảm biến không thể lắp đủ gần với trục quay B' thì các trục X và Z cần được dịch chuyển đi theo khối cầu chính xác đó. Trong trường hợp như vậy, các sai lệch đo được không chỉ bao gồm các chuyển động có sai số hướng kính, nghiêng, hướng trục của trục B' mà còn gồm các chuyển động có sai số của các trục tịnh tiến cũng như các sai số độ vuông góc giữa X, Z và trục B', do chỉ có độ chênh lệch giữa hai chuyển động tròn (tức là trục quay B' và các chuyển động trục X và Z kết hợp) được đo bởi cụm cảm biến. Phép kiểm này được mô tả trong BK2, TCVN 10170-6 (ISO 10791-6).

Phép đo chuyển động có sai số hướng kính được mô tả trong 5.5.3, ISO 230-7:2015 và tối đa bằng giá trị chuyển động có sai số tổng. Nó có thể được chia thành chuyển động có sai số đồng bộ và không đồng bộ. Chuyển động có sai số hướng kính được cung cấp dưới dạng một đồ thị tọa độ cực.

Phép đo chuyển động có sai số hướng trục được mô tả trong 5.4.4, ISO 230-7:2015 và tối đa bằng giá trị chuyển động có sai số tổng và nó có thể được chia thành chuyển động có sai số đồng bộ và không đồng bộ cơ bản, dư. Chuyển động có sai số hướng trục được cung cấp dưới dạng một đồ thị tọa độ cực.

Phép đo chuyển động có sai số nghiêng được mô tả trong 5.5.5, ISO 230-7:2015 và thu được, nếu cần, bằng cách trừ đi chuyển động có sai số hướng kính được xác định ở các độ cao khác nhau (tức là đối với thiết lập I bằng cách sử dụng trục gá khối cầu ngắn và dài hoặc bằng cách sử dụng một trục kiểm; đối với thiết lập II bằng cách lắp cụm cảm biến ở các độ cao khác nhau phía trên bàn máy) chia cho khoảng cách. Việc này chỉ thực hiện cho phép đo tĩnh. Chuyển động có sai số nghiêng có thể được chia thành chuyển động có sai số đồng bộ và không đồng bộ và được cung cấp dưới dạng một đồ thị tọa độ cực.

Chuyển động có sai số tổng và giá trị chuyển động có sai số tổng được xác định lần lượt trong 3.2.4 và 3.5.1, ISO 230-7:2015 và biểu thị các sai số lớn nhất của trục B' theo hướng tương ứng (tức là hướng kính, nghiêng hoặc hướng trục).

Thiết lập I

Cụm cảm biến (hoặc đầu dò 3D) được lắp trong trục chính của máy và các trục đo của nó được căn chỉnh và vẫn giữ cố định với các trục X, Y, Z của máy.

Thiết lập II

Các trục đo của cụm cảm biến quay cùng với bàn máy (tức là biểu thị các tọa độ của chi tiết gia công) được căn chỉnh với các trục X, Y, Z của máy với trục B' ở vị trí 0.

Để thu được các chuyển động có sai số hướng kính (và nghiêng nếu cần) theo chiều cảm biến cố định, đòi hỏi các phép biến đổi tọa độ để chống lại hoạt động trục quay B', tức là khung tọa độ của cụm cảm biến vẫn giữ nguyên theo hướng của khung tọa độ của máy.

Khuyến nghị nên bù các chuyển động có sai số của các trục tịnh tiến trước khi thực hiện phép kiểm này để hạn chế tác động của chúng đối với kết quả thu được nếu phép kiểm không được thực hiện tại trục quay của trục B'.

CHÚ THÍCH: Về nguyên tắc, cả hai thiết lập là tương đương nhau và việc chọn thiết lập nào phụ thuộc vào khả năng lắp đặt sẵn có.

Nếu vị trí và hướng của trục B' được đánh giá với cùng một thiết lập, thì cần yêu cầu chiều dài dụng cụ cắt và nên được đo với độ chính xác vừa đủ (tức là sử dụng một bộ cài đặt dụng cụ cắt). Độ lệch của cụm cảm biến trong phương X nên bằng không (zero) (hoặc đã biết) với độ chính xác vừa đủ, xem TCVN 10170-6:2025 (ISO 10791-6:2014).

Đối với các phép kiểm này phải công bố các thông số sau:

- vị trí thiết lập phép đo;

- độ cao của tâm khối cầu chính xác trên bàn máy tính bằng milimét đối với thiết lập I;

- độ cao của gốc cụm cảm biến trên bàn máy tính bằng milimét đối với thiết lập II;

- vị trí của các trục khác A, X, Y và Z;

- phạm vi đo trục B';

- chiều quay (đối với phép kiểm một chiều: CW hoặc CCW);

- sự nhận biết tất cả các vật (tức là khối cầu chính xác hoặc trục kiểm), cụm cảm biến, đồ gá được sử dụng;

- trình bày kết quả đo, ví dụ như: giá trị chuyển động có sai số, đồ thị tọa độ cực, đồ thị theo thời gian, đồ thị theo góc trục B', đồ thị tần số;

- tốc độ quay của bàn máy (bằng không đối với chuyển động có sai số tĩnh);

- thời gian tính bằng giây hoặc số vòng quay của bàn máy;

- quy trình chạy khởi động máy;

- tình trạng hiệu chuẩn của tất cả các phương tiện đo được sử dụng:

- sai số độ tròn của khối cầu hoặc trục kiểm tính bằng milimét;

- độ không đảm bảo đo của cụm cảm biến tính bằng milimét;

- ngày và quy trình hiệu chuẩn cụm cảm biến;

- thời gian và ngày đo;

- các điều kiện vận hành có thể ảnh hưởng đến kết quả đo như nhiệt độ môi trường.

Đối với thiết lập I, khối cầu chính xác có thể được thay thế bằng một khối trụ chính xác/trục kiểm để xác định các chuyển động có sai số nghiêng của trục B' một cách trực tiếp do điều này cho phép đo đồng thời cả hai chuyển động có sai số hướng kính được thực hiện ở các độ cao khác nhau trong một thiết lập. Cụm cảm biến phải tương thích với khối trụ chính xác đó có ít nhất hai cảm biến hướng kính tách biệt chiều trục.

 

Đối tượng

FR2

Chuyển động có sai số của đường tâm quay đối với trục nghiêng A' (đối với các bàn máy thấp hơn trục A')

a) chuyển động có sai số hướng kính theo phương Y, E YA

b) chuyển động có sai số hướng kính theo phương Z, E ZA

c) chuyển động có sai số hướng trục E XA

d) chuyển động có sai số nghiêng quanh trục Y, E BA

e) chuyển động có sai số nghiêng quanh trục Z, E CA

Sơ đồ

CHÚ DẪN:

1 bàn máy quay (trục B')

2 bàn kẹp (trục A')

3 bàn đỡ

4 bàn trượt bàn máy (trục Z)

5 ụ trục chính (trục Y)

6 trụ máy (trục X)

7 băng máy

8 khối cầu chính xác

9 cụm cảm biến

Thiết lập I: Cụm cảm biến được lắp trong trục chính và khối cầu chính xác được lắp trên bàn máy.

Thiết lập II: Khối cầu chính xác được lắp trong trục chính và cụm cảm biến được lắp trên bàn máy.

Dung sai

 

CW

CW

Tĩnh

Liên tục

Tĩnh

Liên tục

a) chuyển động có sai số hướng kính theo phương Y, E YA

 

 

 

 

b) chuyển động có sai số hướng kính theo phương Z, E ZA

 

 

 

 

c) chuyển động có sai số hướng trục E XA

 

 

 

 

d) chuyển động có sai số nghiêng quanh trục Y, E BA

 

 

 

 

e) chuyển động có sai số nghiêng quanh trục Z, E CA

 

 

 

 

Các dung sai sẽ được áp dụng theo thỏa thuận giữa nhà sản xuất/nhà cung cấp máy với người sử dụng.

Đối với phép kiểm tĩnh, trục A' được dừng ở các vị trí góc đã cho, ví dụ ở mỗi góc 10° và sau đó đo dịch chuyển của khối cầu. Đối với phép kiểm liên tục (bán tĩnh), dịch chuyển của khối cầu được đo một cách liên tục khi trục A' quay ở tốc độ đủ thấp, hoặc ở một tốc độ đại diện cho vận hành máy bình thường. Tốc độ quay của bàn kẹp sẽ theo thỏa thuận giữa nhà sản xuất/nhà cung cấp máy và người sử dụng. Tốc độ quay sử dụng phải được báo cáo.

Sai lệch đo được

 

CW

CW

Tĩnh

Liên tục

Tĩnh

Liên tục

a) chuyển động có sai số hướng kính theo phương Y, E YA

 

 

 

 

b) chuyển động có sai số hướng kính theo phương Z, E ZA

 

 

 

 

c) chuyển động có sai số hướng trục E XA

 

 

 

 

d) chuyển động có sai số nghiêng quanh trục Y, E BA

 

 

 

 

e) chuyển động có sai số nghiêng quanh trục Z, E CA

 

 

 

 

Tốc độ quay đo được: min - 1 (rpm)

 

Phương tiện đo

Khối cầu chính xác và cụm cảm biến (hoặc đầu dò 3D).

Chỉ dành cho thiết lập I: Khối trụ chính xác/trục kiểm hoặc khối cầu chính xác kép (nghĩa là gồm hai khối cầu trên một trục gá tách riêng trục) và cụm cảm biến.

Cụm cảm biến có thể là loại tiếp xúc và/hoặc không tiếp xúc.

Xem và tham chiếu ISO 230-7

Phép kiểm này được thực hiện tĩnh và động lực theo chiều cảm biến cố định (5.5, ISO 230-7:2015).

Các phép đo phải được thực hiện theo chiều kim đồng hồ cũng như ngược chiều kim đồng hồ, tốt nhất là kết hợp trong một phép đo. Nhiều đoạn hoặc cung tròn có thể được đo và được yêu cầu để tính toán các chuyển động có sai số đồng bộ và không đồng bộ của trục quay.

Trục chính được khóa lại cho phép kiểm này.

Khối cầu chính xác (tức thiết lập I) hoặc gốc của cụm cảm biến (tức thiết lập II) phải được lắp gần với trục quay của trục A' nhất có thể.

Khối cầu chính xác (tức thiết lập I) hoặc cụm cảm biến (tức thiết lập II) được đặt gần trục quay của trục A' sao cho khối cầu vẫn nằm trong phạm vi đo của cụm cảm biến. Các chuyển động của trục Y và Z đi theo khối cầu chính xác chỉ được phép khi khối cầu chính xác hoặc cụm cảm biến không thể được lắp đủ gần với trục quay của trục A'.

Máy được điều khiển lệnh để dịch chuyển/quay trục A' trong khi các trục Y và Z đi theo tốt nhất có thể, nếu cần thiết. Trong suốt chu trình này, các chuyển động/dịch chuyển tương đối giữa khối cầu chính xác và cụm cảm biến được đo.

Trong trường hợp trục Y và Z phải theo độ chênh lệch giữa hai chuyển động tròn (tức là trục quay A' và các chuyển động trục Y và Z kết hợp) được đo bởi cụm cảm biến. Khi đó các sai lệch đo được bao gồm bên cạnh các chuyển động có sai số hướng kính, nghiêng và hướng trục của trục A' mà còn có các chuyển động có sai số của các trục tịnh tiến Y và Z cũng như các sai số độ vuông góc giữa trục Y, Z và trục A', do chỉ có độ chênh lệch giữa hai chuyển động tròn (tức là trục quay A' và các chuyển động trục Y và Z kết hợp) được đo bởi cụm cảm biến.

Phép đo chuyển động có sai số hướng kính được mô tả trong 5.5.3, ISO 230-7:2015 và tối đa bằng giá trị chuyển động có sai số tổng. Nó có thể được chia thành chuyển động có sai số đồng bộ và không đồng bộ. Chuyển động có sai số hướng kính được cung cấp dưới dạng một đồ thị tọa độ cực.

Phép đo chuyển động có sai số hướng trục được mô tả trong 5.4.4, ISO 230-7:2015 và tối đa bằng giá trị chuyển động có sai số tổng và nó có thể được chia thành chuyển động có sai số đồng bộ và không đồng bộ cơ bản, dư. Chuyển động có sai số hướng trục được cung cấp dưới dạng một đồ thị tọa độ cực.

Phép đo chuyển động có sai số nghiêng được mô tả trong 5.5.5, ISO 230-7:2015 và thu được, nếu cần, bằng cách trừ đi chuyển động có sai số hướng kính được xác định ở các vị trí trục X khác nhau (tức là bằng cách sử dụng trục gá khối cầu ngắn và dài hoặc bằng cách sử dụng một trục kiểm) chia cho khoảng cách. Chuyển động có sai số nghiêng có thể được chia thành chuyển động có sai số đồng bộ và không đồng bộ và được cung cấp dưới dạng một đồ thị tọa độ cực.

Chuyển động có sai số tổng và giá trị chuyển động có sai số tổng được xác định lần lượt trong 3.2.4 và 3.5.1, ISO 230-7:2015 và biểu thị các sai số lớn nhất của trục A' theo hướng tương ứng (tức là hướng kính, nghiêng hoặc hướng trục).

Thiết lập I

Cụm cảm biến (hoặc đầu dò 3D) được lắp trong trục chính của máy và các trục đo của nó được căn chỉnh và vẫn giữ cố định với các trục X, Y, Z của máy.

Thiết lập II

Các trục đo của cụm cảm biến quay cùng với bàn máy (tức là biểu thị các tọa độ của chi tiết gia công) được căn chỉnh với các trục X, Y, Z của máy với trục A' ở vị trí 0.

Để thu được các chuyển động có sai số hướng kính (và nghiêng nếu cần) theo chiều cảm biến cố định, đòi hỏi các phép biến đổi tọa độ để chống lại hoạt động trục quay A', tức là khung tọa độ của cụm cảm biến vẫn giữ nguyên theo hướng của khung tọa độ của máy.

Khuyến nghị nên bù các chuyển động có sai số của các trục tịnh tiến trước khi thực hiện phép kiểm này để hạn chế tác động của chúng đối với kết quả thu được nếu phép kiểm không được thực hiện tại trục quay của trục A'.

CHÚ THÍCH: Về nguyên tắc, cả hai thiết lập là tương đương nhau và việc chọn thiết lập nào phụ thuộc vào khả năng lắp đặt sẵn có.

Nếu vị trí và hướng của trục A' được đánh giá với cùng một thiết lập, thì cần yêu cầu chiều dài dụng cụ cắt và nên được đo với độ chính xác vừa đủ (tức là sử dụng một bộ cài đặt dụng cụ cắt). Độ lệch của cụm cảm biến trong phương Y (so với đường trung bình của đường tâm trục chính) nên bằng không (zero) (hoặc đã biết) với độ chính xác vừa đủ, xem TCVN 10170-6:2025 (ISO 10791-6:2014).

Đối với các phép kiểm này phải công bố các thông số sau:

- vị trí thiết lập phép đo;

- độ cao của tâm khối cầu chính xác và trục A' trên bàn máy tính bằng milimét đối với thiết lập I;

- độ cao của gốc cụm cảm biến và trục A' trên bàn máy tính bằng milimét đối với thiết lập II;

- vị trí của các trục khác B, X, Y và Z;

- phạm vi đo trục A';

- chiều quay (đối với phép kiểm một chiều: CW hoặc CCW);

- sự nhận biết tất cả các vật (tức là khối cầu chính xác hoặc trục kiểm), cụm cảm biến, đồ gá được sử dụng;

- trình bày kết quả đo, ví dụ như: giá trị chuyển động có sai số, đồ thị tọa độ cực, đồ thị theo thời gian, đồ thị theo góc trục A', đồ thị tần số;

- tốc độ quay của bàn kẹp (bằng không đối với chuyển động có sai số tĩnh);

- thời gian tính bằng giây hoặc số vòng quay của bàn kẹp;

- quy trình chạy khởi động máy;

- tình trạng hiệu chuẩn của tất cả các phương tiện đo được sử dụng:

- sai số độ tròn của khối cầu hoặc trục kiểm tính bằng milimét;

- độ không đảm bảo đo của cụm cảm biến tính bằng milimét;

- ngày và quy trình hiệu chuẩn cụm cảm biến;

- thời gian và ngày đo;

- các điều kiện vận hành có thể ảnh hưởng đến kết quả đo như nhiệt độ môi trường.

Đối với thiết lập I: Khối cầu chính xác có thể được thay thế bằng một khối trụ chính xác/trục kiểm để xác định các chuyển động có sai số nghiêng của trục A' một cách trực tiếp do điều này cho phép đo đồng thời cả hai chuyển động có sai số hướng kính được thực hiện ở các độ cao khác nhau trong một thiết lập. Cụm cảm biến phải tương thích với khối trụ chính xác đó có ít nhất hai cảm biến hướng kính tách biệt chiều trục.

 

Phụ lục G

(tham khảo)

Chuyển động có sai số của đường tâm quay của bàn máy quay và xoay (xem Phụ lục D)

Đối tượng

GR1

Chuyển động có sai số của đường tâm quay đối với bàn máy mang phôi gia công (trục A')

a) chuyển động có sai số hướng kính theo phương Y, E YA

b) chuyển động có sai số hướng kính theo phương Z, E ZA

c) chuyển động có sai số hướng trục E XA

d) chuyển động có sai số nghiêng quanh trục Y, E BA

e) chuyển động có sai số nghiêng quanh trục Z, E CA

Sơ đồ

CHÚ DẪN:

1 bàn máy quay (trục A')

2 bàn đỡ đứng (trục B')

3 bàn trượt bàn máy (trục Z')

4 ụ trục chính (trục Y)

5 trụ máy (trục X)

6 băng máy

7 khối cầu chính xác

8 cụm cảm biến

Thiết lập I: Cụm cảm biến được lắp trong trục chính và khối cầu chính xác được lắp trên bàn máy.

Thiết lập II: Khối cầu chính xác được lắp trong trục chính và cụm cảm biến được lắp trên bàn máy.

Dung sai

 

CW

CW

Tĩnh

Liên tục

Tĩnh

Liên tục

a) chuyển động có sai số hướng kính theo phương Y, E YA

 

 

 

 

b) chuyển động có sai số hướng kính theo phương Z, E ZA

 

 

 

 

c) chuyển động có sai số hướng trục Exa

 

 

 

 

d) chuyển động có sai số nghiêng quanh trục Y, E BA

 

 

 

 

e) chuyển động có sai số nghiêng quanh trục Z, E CA

 

 

 

 

Các dung sai sẽ được áp dụng theo thỏa thuận giữa nhà sản xuất/nhà cung cấp máy với người sử dụng.

Tốc độ của bàn máy quay sẽ theo thỏa thuận giữa nhà sản xuất/nhà cung cấp máy và người sử dụng. Đối với các phép đo động lực, khuyến nghị nên sử dụng một tốc độ quay đại diện cho vận hành máy bình thường. Tốc độ quay sử dụng phải được báo cáo.

Sai lệch đo được

 

CW

CW

Tĩnh

Liên tục

Tĩnh

Liên tục

a) chuyển động có sai số hướng kính theo phương Y, E YA

 

 

 

 

b) chuyển động có sai số hướng kính theo phương Z, E ZA

 

 

 

 

c) chuyển động có sai số hướng trục E XA

 

 

 

 

d) chuyển động có sai số nghiêng quanh trục Y, E BA

 

 

 

 

e) chuyển động có sai số nghiêng quanh trục Z, E CA

 

 

 

 

Tốc độ quay đo được: min - 1 (rpm)

 

Phương tiện đo

Khối cầu chính xác và cụm cảm biến (hoặc đầu dò 3D).

Khối trụ chính xác/trục kiểm hoặc khối cầu chính xác kép (nghĩa là gồm hai khối cầu trên một trục gá tách riêng trục) và cụm cảm biến.

Cụm cảm biến có thể là loại tiếp xúc và/hoặc không tiếp xúc.

Xem và tham chiếu ISO 230-7

Phép kiểm này được thực hiện tĩnh và động lực theo chiều cảm biến cố định (5.5, ISO 230-7:2015).

Các phép đo phải được thực hiện theo chiều kim đồng hồ cũng như ngược chiều kim đồng hồ, tốt nhất là kết hợp trong một phép đo. Nhiều vòng quay có thể được đo và được yêu cầu để tính toán các chuyển động có sai số đồng bộ và không đồng bộ của trục quay.

Trục chính được khóa lại cho phép kiểm này.

Khối cầu chính xác (tức thiết lập I) hoặc gốc của cụm cảm biến (tức thiết lập II) phải gần bàn máy nhất có thể để hạn chế ảnh hưởng của chuyển động có sai số nghiêng trục A' nhưng ngăn ngừa va chạm giữa trục chính và/hoặc cụm cảm biến và bàn máy.

Khối cầu chính xác (tức thiết lập I) hoặc cụm cảm biến (tức thiết lập II) được đặt gần trục quay của trục A' sao cho khối cầu vẫn nằm trong phạm vi đo của cụm cảm biến. Các chuyển động của trục Y và Z đi theo khối cầu chính xác chỉ được phép khi khối cầu chính xác hoặc cụm cảm biến không thể được lắp đủ gần với trục quay của trục A'.

Máy được điều khiển lệnh để dịch chuyển/quay trục A' trong khi các trục Y và Z đi theo tốt nhất có thể, nếu cần thiết. Trong suốt chu trình này, các chuyển động/dịch chuyển tương đối giữa khối cầu chính xác và cụm cảm biến được đo.

Trong trường hợp trục Y và Z phải theo độ chênh lệch giữa hai chuyển động tròn (tức là trục quay A' và các chuyển động trục Y và Z kết hợp) được đo bởi cụm cảm biến. Khi đó các sai lệch đo được bao gồm bên cạnh các chuyển động có sai số hướng kính, nghiêng và hướng trục của trục A' mà còn có các chuyển động có sai số của các trục tịnh tiến Y và Z cũng như các sai số độ vuông góc giữa trục Y, Z và trục A'.

Phép đo chuyển động có sai số hướng kính được mô tả trong 5.5.3, ISO 230-7:2015 và tối đa bằng giá trị chuyển động có sai số tổng. Nó có thể được chia thành chuyển động có sai số đồng bộ và không đồng bộ. Chuyển động có sai số hướng kính được cung cấp dưới dạng một đồ thị tọa độ cực.

Phép đo chuyển động có sai số hướng trục được mô tả trong 5.4.4, ISO 230-7:2015 và tối đa bằng giá trị chuyển động có sai số tổng và nó có thể được chia thành chuyển động có sai số đồng bộ và không đồng bộ cơ bản, dư. Chuyển động có sai số hướng trục được cung cấp dưới dạng một đồ thị tọa độ cực.

Phép đo chuyển động có sai số nghiêng được mô tả trong 5.5.5, ISO 230-7:2015 và thu được, nếu cần, bằng cách trừ đi chuyển động có sai số hướng kính được xác định ở các vị trí trục X khác nhau (tức là bằng cách sử dụng trục gá khối cầu ngắn và dài hoặc bằng một trục kiểm) chia cho khoảng cách nhau. Chuyển động có sai số nghiêng có thể được chia thành chuyển động có sai số đồng bộ và không đồng bộ và được cung cấp dưới dạng một đồ thị tọa độ cực.

Chuyển động có sai số tổng và giá trị chuyển động có sai số tổng được xác định lần lượt trong 3.2.4 và 3.5.1, ISO 230-7:2015 và biểu thị các sai số lớn nhất của trục A' theo hướng tương ứng (tức là hướng kính, nghiêng hoặc hướng trục).

Thiết lập I

Cụm cảm biến (hoặc đầu dò 3D) được lắp trong trục chính của máy và các trục đo của nó được căn chỉnh và vẫn giữ cố định với các trục X, Y, Z của máy.

Thiết lập II

Các trục đo của cụm cảm biến quay cùng với bàn máy (tức là biểu thị các tọa độ của chi tiết gia công) được căn chỉnh với các trục X, Y, Z của máy với trục A' ở vị trí 0.

Để thu được các chuyển động có sai số hướng kính (và nghiêng nếu cần) theo chiều cảm biến cố định, đòi hỏi các phép biến đổi tọa độ để chống lại hoạt động trục quay A', tức là khung tọa độ của cụm cảm biến vẫn giữ nguyên theo hướng của khung tọa độ của máy.

Khuyến nghị nên bù các chuyển động có sai số của các trục tịnh tiến trước khi thực hiện phép kiểm này để hạn chế tác động của chúng đối với kết quả thu được nếu phép kiểm không được thực hiện tại trục quay của trục A'.

CHÚ THÍCH: Về nguyên tắc, cả hai thiết lập là tương đương nhau và việc chọn thiết lập nào phụ thuộc vào khả năng lắp đặt sẵn có.

Nếu vị trí và hướng của trục A' được đánh giá với cùng một thiết lập, thì cần yêu cầu chiều dài dụng cụ cắt và nên được đo với độ chính xác vừa đủ (tức là sử dụng một bộ cài đặt dụng cụ cắt). Độ lệch của cụm cảm biến trong phương Y nên bằng không (zero) (hoặc đã biết) với độ chính xác vừa đủ, xem TCVN 10170-6:2025 (ISO 10791-6:2014).

Đối với các phép kiểm này phải công bố các thông số sau:

- vị trí thiết lập phép đo;

- khoảng cách giữa tâm khối cầu chính xác và bàn máy tính bằng milimét đối với thiết lập I;

- khoảng cách giữa gốc cụm cảm biến và bàn máy tính bằng milimét đối với thiết lập II;

- vị trí của các trục khác B, X, Y và Z;

- phạm vi đo trục A';

- chiều quay (đối với phép kiểm một chiều: CW hoặc CCW);

- sự nhận biết tất cả các vật (tức là khối cầu chính xác hoặc trục kiểm), cụm cảm biến, đồ gá được sử dụng;

- trình bày kết quả đo, ví dụ như: giá trị chuyển động có sai số, đồ thị tọa độ cực, đồ thị theo thời gian, đồ thị theo góc trục A', đồ thị tần số;

- tốc độ quay của bàn máy (bằng không đối với chuyển động có sai số tĩnh);

- thời gian tính bằng giây hoặc số vòng quay của bàn máy;

- quy trình chạy khởi động máy;

- tình trạng hiệu chuẩn của tất cả các phương tiện đo được sử dụng:

- sai số độ tròn của khối cầu hoặc trục kiểm tính bằng milimét;

- độ không đảm bảo đo của cụm cảm biến tính bằng milimét;

- ngày và quy trình hiệu chuẩn cụm cảm biến;

- thời gian và ngày đo;

- các điều kiện vận hành có thể ảnh hưởng đến kết quả đo như nhiệt độ môi trường.

Đối với thiết lập I: Khối cầu chính xác có thể được thay thế bằng một khối trụ chính xác/trục kiểm để xác định các chuyển động có sai số nghiêng của trục A' một cách trực tiếp do điều này cho phép đo đồng thời cả hai chuyển động có sai số hướng kính được thực hiện ở các độ cao khác nhau trong một thiết lập. Cụm cảm biến phải tương thích với khối trụ chính xác đó có ít nhất hai cảm biến hướng kính tách biệt chiều trục.

 

Đối tượng

GR2

Chuyển động có sai số của đường tâm quay đối với trục xoay (trục B')

a) chuyển động có sai số hướng kính theo phương X, E XB

b) chuyển động có sai số hướng kính theo phương Z, E ZB

c) chuyển động có sai số hướng trục E YB

d) chuyển động có sai số nghiêng quanh trục X, E AB

e) chuyển động có sai số nghiêng quanh trục Z, E CB

Sơ đồ

CHÚ DẪN:

1 bàn máy quay (trục A')

2 bàn đỡ đứng (trục B')

3 bàn trượt bàn máy (trục Z')

4 ụ trục chính (trục Y)

5 trụ máy (trục X)

6 băng máy

7 khối cầu chính xác

8 cụm cảm biến

Thiết lập I: Cụm cảm biến được lắp trong trục chính và khối cầu chính xác được lắp trên bàn máy.

Thiết lập II: Khối cầu chính xác được lắp trong trục chính và cụm cảm biến được lắp trên bàn máy.

Dung sai

 

CW

CW

Tĩnh

Liên tục

Tĩnh

Liên tục

a) chuyển động có sai số hướng kính theo phương X, E XB

 

 

 

 

b) chuyển động có sai số hướng kính theo phương Z, E ZB

 

 

 

 

c) chuyển động có sai số hướng trục E YB

 

 

 

 

d) chuyển động có sai số nghiêng quanh trục X, E AB

 

 

 

 

e) chuyển động có sai số nghiêng quanh trục Z, E CB

 

 

 

 

Các dung sai sẽ được áp dụng theo thỏa thuận giữa nhà sản xuất/nhà cung cấp máy với người sử dụng.

Tốc độ của bàn máy quay sẽ theo thỏa thuận giữa nhà sản xuất/nhà cung cấp máy và người sử dụng. Đối với các phép đo động lực, khuyến nghị nên sử dụng một tốc độ quay đại diện cho vận hành máy bình thường. Tốc độ quay sử dụng phải được báo cáo.

Sai lệch đo được

 

CW

CW

Tĩnh

Liên tục

Tĩnh

Liên tục

a) chuyển động có sai số hướng kính theo phương X, E XB

 

 

 

 

b) chuyển động có sai số hướng kính theo phương Z, E ZB

 

 

 

 

c) chuyển động có sai số hướng trục E YB

 

 

 

 

d) chuyển động có sai số nghiêng quanh trục X, E AB

 

 

 

 

e) chuyển động có sai số nghiêng quanh trục Z, E CB

 

 

 

 

Tốc độ quay đo được: min - 1 (rpm)

 

Phương tiện đo

Khối cầu chính xác và cụm cảm biến (hoặc đầu dò 3D).

Khối trụ chính xác/trục kiểm hoặc khối cầu chính xác kép (nghĩa là gồm hai khối cầu trên một trục gá tách riêng trục) và cụm cảm biến.

Cụm cảm biến có thể là loại tiếp xúc và/hoặc khống tiếp xúc.

Xem và tham chiếu ISO 230-7

Phép kiểm này được thực hiện tĩnh và động lực theo chiều cảm biến cố định (5.5, ISO 230-7:2015).

Các phép đo phải được thực hiện theo chiều kim đồng hồ cũng như ngược chiều kim đồng hồ, tốt nhất là kết hợp trong một phép đo. Nhiều đoạn hoặc cung tròn có thể được đo và được yêu cầu để tính toán các chuyển động có sai số đồng bộ và không đồng bộ của trục quay.

Trục chính được khóa lại cho phép kiểm này.

Khối cầu chính xác (tức thiết lập I) hoặc gốc của cụm cảm biến (tức thiết lập II) phải gần trục B' nhất có thể để hạn chế ảnh hưởng của chuyển động có sai số nghiêng trục B' nhưng ngăn ngừa va chạm giữa trục chính và/hoặc cụm cảm biến và bàn máy.

Khối cầu chính xác (tức thiết lập I) hoặc cụm cảm biến (tức thiết lập II) được đặt gần trục quay của trục B' sao cho khối cầu vẫn nằm trong phạm vi đo của cụm cảm biến. Các chuyển động của trục X và Z đi theo khối cầu chính xác chỉ được phép khi khối cầu chính xác hoặc cụm cảm biến không thể được lắp đủ gần với trục quay của trục B'.

Máy được điều khiển lệnh để dịch chuyển/quay trục B' trong khi các trục X và Z đi theo tốt nhất có thể, nếu cần thiết. Trong suốt chu trình này, các chuyển động/dịch chuyển tương đối giữa khối cầu chính xác và cụm cảm biến được đo.

Trong trường hợp trục X và Z phải theo độ chênh lệch giữa hai chuyển động tròn (tức là trục quay B' và các chuyển động trục X và Z kết hợp) được đo bởi cụm cảm biến. Khi đó các sai lệch đo được bao gồm bên cạnh các chuyển động có sai số hướng kính, nghiêng và hướng trục của trục B' mà còn có các chuyển động có sai số của các trục tịnh tiến X và Z cũng như các sai số độ vuông góc giữa trục X, Z và trục B'.

Phép đo chuyển động có sai số hướng kính được mô tả trong 5.5.3, ISO 230-7:2015 và tối đa bằng giá trị chuyển động có sai số tổng. Nó có thể được chia thành chuyển động có sai số đồng bộ và không đồng bộ. Chuyển động có sai số hướng kính được cung cấp dưới dạng một đồ thị tọa độ cực.

Phép đo chuyển động có sai số hướng trục được mô tả trong 5.4.4, ISO 230-7:2015 và tối đa bằng giá trị chuyển động có sai số tổng và nó có thể được chia thành chuyển động có sai số đồng bộ và không đồng bộ cơ bản, dư. Chuyển động có sai số hướng trục được cung cấp dưới dạng một đồ thị tọa độ cục.

Phép đo chuyển động có sai số nghiêng được mô tả trong 5.5.5, ISO 230-7:2015 và thu được, nếu cần, bằng cách trừ đi chuyển động có sai số hướng kính được xác định ở các vị trí trục Y khác nhau (tức là bằng cách sử dụng trục gá khối cầu ngắn và dài hoặc bằng một trục kiểm) chia cho độ chênh chiều cao hoặc khoảng cách. Chuyển động có sai số nghiêng có thể được chia thành chuyển động có sai số đồng bộ và không đồng bộ và được cung cấp dưới dạng một đồ thị tọa độ cực.

Chuyển động có sai số tổng và giá trị chuyển động có sai số tổng được xác định lần lượt trong 3.2.4 và 3.5.1, ISO 230-7:2015 và biểu thị các sai số lớn nhất của trục B' theo hướng tương ứng (tức là hướng kính, nghiêng hoặc hướng trục).

Thiết lập I

Cụm cảm biến (hoặc đầu dò 3D) được lắp trong trục chính của máy và các trục đo của nó được căn chỉnh và vẫn giữ cố định với các trục X, Y, Z của máy.

Thiết lập II

Các trục đo của cụm cảm biến quay cùng với bàn máy (tức là biểu thị các tọa độ của chi tiết gia công) được căn chỉnh với các trục X, Y, Z của máy với trục B' ở vị trí 0.

Để thu được các chuyển động có sai số hướng kính (và nghiêng nếu cần) theo chiều cảm biến cố định, đòi hỏi các phép biến đổi tọa độ để chống lại hoạt động trục quay B', tức là khung tọa độ của cụm cảm biến vẫn giữ nguyên theo hướng của khung tọa độ của máy.

Khuyến nghị nên bù các chuyển động có sai số của các trục tịnh tiến trước khi thực hiện phép kiểm này để hạn chế tác động của chúng đối với kết quả thu được nếu phép kiểm không được thực hiện tại trục quay của trục B'.

CHÚ THÍCH: Về nguyên tắc, cả hai thiết lập là tương đương nhau và việc chọn thiết lập nào phụ thuộc vào khả năng lắp đặt sẵn có.

Nếu vị trí và hướng của trục B' được đánh giá với cùng một thiết lập, thì cần yêu cầu chiều dài dụng cụ cắt và nên được đo với độ chính xác vừa đủ (tức là sử dụng một bộ cài đặt dụng cụ cắt). Độ lệch của cụm cảm biến trong phương X nên bằng không (zero) (hoặc đã biết) với độ chính xác vừa đủ, xem TCVN 10170-6:2025 (ISO 10791-6:2014)

Đối với các phép kiểm này phải công bố các thông số sau:

- vị trí thiết lập phép đo;

- khoảng cách giữa tâm khối cầu chính xác và bàn máy tính bằng milimét đối với thiết lập I;

- khoảng cách giữa gốc cụm cảm biến và bàn máy tính bằng milimét đối với thiết lập II;

- vị trí của các trục khác A, X, Y và Z;

- phạm vi đo trục B';

- chiều quay (đối với phép kiểm một chiều: CW hoặc CCW);

- sự nhận biết tất cả các vật (tức là khối cầu chính xác hoặc trục kiểm), cụm cảm biến, đồ gá được sử dụng;

- trình bày kết quả đo, ví dụ như: giá trị chuyển động có sai số, đồ thị tọa độ cực, đồ thị theo thời gian, đồ thị theo góc trục B', đồ thị tần số;

- tốc độ quay của bàn máy (bằng không đối với chuyển động có sai số tĩnh);

- thời gian tính bằng giây hoặc số vòng quay của bàn máy;

- quy trình chạy khởi động máy;

- tình trạng hiệu chuẩn của tất cả các phương tiện đo được sử dụng:

- sai số độ tròn của khối cầu hoặc trục kiểm tính bằng miiimét;

- độ không đảm bảo đo của cụm cảm biến tính bằng milimét;

- ngày và quy trình hiệu chuẩn cụm cảm biến;

- thời gian và ngày đo;

- các điều kiện vận hành có thể ảnh hưởng đến kết quả đo như nhiệt độ môi trường.

Đối với thiết lập I: Khối cầu chính xác có thể được thay thế bằng một khối trụ chính xác/trục kiểm để xác định các chuyển động có sai số nghiêng của trục B' một cách trực tiếp do điều này cho phép đo đồng thời cả hai chuyển động có sai số hướng kính được thực hiện ở các độ cao khác nhau trong một thiết lập. Cụm cảm biến phải tương thích với khối trụ chính xác đó có ít nhất hai cảm biến hướng kính tách biệt chiều trục.

 

Thư mục tài liệu tham khảo

[1] ISO 8526-1:1990, Modular units for machine tools - Workholding paléts - Part 1: Workholding paléts up to 800 mm nominal size (Các đơn vị mô đun của máy công cụ - Palét kẹp phôi - Palét kẹp phôi có cỡ kích thước danh nghĩa đến 800 mm)

[2] ISO 8526-2:1990/Cor 1:1992, Modular units for machine tools - Workholding paléts - Part 2: Workholding paléts of nominal size greater than 800 mm (Các đơn vị mô đun của máy công cụ - Palét kẹp phôi - Palét kẹp phôi có cỡ kích thước danh nghĩa lớn hơn 800 mm)

 

MỤC LỤC

Lời nói đầu

Lời giới thiệu

1 Phạm vi áp dụng

2 Tài liệu viện dẫn

3 Lưu ý ban đầu

4 Kiểm hình học

Phụ lục A (quy định) Các bàn máy không quay nằm ngang

Phụ lục B (quy định) Các bàn máy quay quanh trục thẳng đứng B’

Phụ lục C (quy định) Các bàn máy quay quanh trục thẳng đứng B’ và nghiêng quanh trục nằm ngang A’

Phụ lục D (quy định) Các bàn máy quay quanh trục nằm ngang A’ và xoay quanh trục thẳng đứng B’

Phụ lục E (tham khảo) Chuyển động có sai số của trục chính mang dụng cụ cắt và các đường tâm bàn máy quay mang phôi gia công

Phụ lục F (tham khảo) Chuyển động có sai số của đường tâm quay của bàn máy quay và nghiêng (xem Phụ lục C)

Phụ lục G (tham khảo) Chuyển động có sai số của đường tâm quay của bàn máy quay và xoay (xem Phụ lục D)

Thư mục tài liệu tham khảo

Bạn chưa Đăng nhập thành viên.

Đây là tiện ích dành cho tài khoản thành viên. Vui lòng Đăng nhập để xem chi tiết. Nếu chưa có tài khoản, vui lòng Đăng ký tại đây!

* Lưu ý: Để đọc được văn bản tải trên Luatvietnam.vn, bạn cần cài phần mềm đọc file DOC, DOCX và phần mềm đọc file PDF.

văn bản cùng lĩnh vực

văn bản mới nhất

CHÍNH SÁCH BẢO VỆ DỮ LIỆU CÁ NHÂN
Yêu cầu hỗ trợYêu cầu hỗ trợ
Chú thích màu chỉ dẫn
Chú thích màu chỉ dẫn:
Các nội dung của VB này được VB khác thay đổi, hướng dẫn sẽ được làm nổi bật bằng các màu sắc:
Sửa đổi, bổ sung, đính chính
Thay thế
Hướng dẫn
Bãi bỏ
Bãi bỏ cụm từ
Bình luận
Click vào nội dung được bôi màu để xem chi tiết.
×