- Tổng quan
- Nội dung
- VB gốc
- Tiếng Anh
- Hiệu lực
- VB liên quan
- Lược đồ
-
Nội dung hợp nhất
Tính năng này chỉ có tại LuatVietnam.vn. Nội dung hợp nhất tổng hợp lại tất cả các quy định còn hiệu lực của văn bản gốc và các văn bản sửa đổi, bổ sung, đính chính... trên một trang. Việc hợp nhất văn bản gốc và những văn bản, Thông tư, Nghị định hướng dẫn khác không làm thay đổi thứ tự điều khoản, nội dung.
Khách hàng chỉ cần xem Nội dung hợp nhất là có thể nắm bắt toàn bộ quy định hiện hành đang áp dụng, cho dù văn bản gốc đã qua nhiều lần chỉnh sửa, bổ sung.
- Tải về
Quyết định 750/QĐ-SGDHN 2017 Quy trình Giao dịch trái phiếu Chính phủ, trái phiếu được Chính phủ bảo lãnh
| Cơ quan ban hành: | Sở Giao dịch Chứng khoán Hà Nội |
Số công báo:
Số công báo là mã số ấn phẩm được đăng chính thức trên ấn phẩm thông tin của Nhà nước. Mã số này do Chính phủ thống nhất quản lý.
|
Đang cập nhật |
| Số hiệu: | 750/QĐ-SGDHN | Ngày đăng công báo: | Đang cập nhật |
| Loại văn bản: | Quyết định | Người ký: | Nguyễn Thị Hoàng Lan |
|
Ngày ban hành:
Ngày ban hành là ngày, tháng, năm văn bản được thông qua hoặc ký ban hành.
|
01/09/2017 |
Ngày hết hiệu lực:
Ngày hết hiệu lực là ngày, tháng, năm văn bản chính thức không còn hiệu lực (áp dụng).
|
Đang cập nhật |
|
Áp dụng:
Ngày áp dụng là ngày, tháng, năm văn bản chính thức có hiệu lực (áp dụng).
|
Đã biết
|
Tình trạng hiệu lực:
Cho biết trạng thái hiệu lực của văn bản đang tra cứu: Chưa áp dụng, Còn hiệu lực, Hết hiệu lực, Hết hiệu lực 1 phần; Đã sửa đổi, Đính chính hay Không còn phù hợp,...
|
Đã biết
|
| Lĩnh vực: | Chứng khoán |
TÓM TẮT QUYẾT ĐỊNH 750/QĐ-SGDHN
Nội dung tóm tắt đang được cập nhật, Quý khách vui lòng quay lại sau!
Tải Quyết định 750/QĐ-SGDHN
|
SỞ GIAO DỊCH Số: 750/QĐ-SGDHN |
CỘNG HÒA XÃ HỘI CHỦ NGHĨA VIỆT NAM Hà Nội, ngày 01 tháng 09 năm 2017 |
QUYẾT ĐỊNH
Về việc ban hành Quy trình Giao dịch trái phiếu Chính phủ,
trái phiếu được Chính phủ bảo lãnh và trái phiếu chính quyền địa phương
tại Sở Giao dịch Chứng khoán Hà Nội
_________________________
TỔNG GIÁM ĐỐC
SỞ GIAO DỊCH CHỨNG KHOÁN HÀ NỘI
Căn cứ Quyết định số 01/2009/QĐ-TTg ngày 02/01/2009 của Thủ tướng Chính phủ về việc thành lập Sở Giao dịch Chứng khoán Hà Nội;
Căn cứ Điều lệ Tổ chức và Hoạt động của Sở Giao dịch Chứng khoán Hà Nội ban hành kèm theo Quyết định số 2882/QĐ-BTC ngày 22/11/2013 của Bộ trưởng Bộ Tài chính;
Căn cứ Luật Chứng khoán số 70/2006/QH11 ngày 29/06/2006 và Luật sửa đổi, bổ sung một số điều của Luật Chứng khoán số 62/2010/QH12 ngày 24/11/2010;
Căn cứ Nghị định số 58/2012/NĐ-CP ngày 20/7/2012 của Chính phủ về việc quy định chi tiết và hướng dẫn thi hành một số điều của Luật Chứng khoán và Luật sửa đổi, bổ sung một số điều của Luật Chứng khoán;
Căn cứ Nghị định số 60/2015/NĐ-CP ngày 26/6/2015 của Chính phủ sửa đổi, bổ sung một số điều của Nghị định số 58/2012/NĐ-CP ngày 20/7/2012 của Chính phủ quy định chi tiết và hướng dẫn thi hành một số điều của Luật Chứng khoán và Luật sửa đổi, bổ sung một số điều của Luật Chứng khoán;
Căn cứ Nghị định số 01/2011/NĐ-CP ngày 05/01/2011 của Chính phủ về việc phát hành Trái phiếu Chính phủ, Trái phiếu được Chính phủ bảo lãnh và Trái phiếu Chính quyền địa phương;
Căn cứ Thông tư 234/2012/TT-BTC ngày 28/12/2012 của Bộ trưởng Bộ Tài chính Hướng dẫn Quản lý giao dịch trái phiếu Chính phủ, trái phiếu được Chính phủ bảo lãnh và trái phiếu chính quyền địa phương ban hành;
Cán cứ Thông tư số 10/2017/TT-BTC ngày 06/02/2017 của Bộ trưởng Bộ Tài chính sửa đổi, bổ sung một số điều của Thông tư 234/2012/TT-BTC ngày 28/12/2012 của Bộ trưởng Bộ Tài Chính hướng dẫn Quản lý Giao dịch trái phiếu Chính phủ, trái phiếu được Chính phủ bảo lãnh và trái phiếu chính quyền địa phương;
Căn cứ Quy chế Giao dịch trái phiếu Chính phủ, trái phiếu được Chính phủ bảo lãnh và trái phiếu chính quyền địa phương ban hành kèm theo Quyết định số 501/QĐ-SGDHN ngày 05/07/2017 của Tổng Giám đốc Sở Giao dịch Chứng khoán Hà Nội;
Theo đề nghị của Giám đốc Phòng Thị trường trái phiếu,
QUYẾT ĐỊNH:
Điều 1. Ban hành, kèm theo Quyết định này Quy trình Giao dịch trái phiếu Chính phủ, trái phiếu được Chính phủ bảo lãnh và trái phiếu chính quyền địa phương tại Sở Giao dịch Chứng khoán Hà Nội.
Điều 2. Quyết định này có hiệu lực thi hành kể từ ngày 01/09/2017 và thay thế Quyết định số 164/QĐ-SGDHN ngày 23/03/2015 của Tổng Giám đốc Sở Giao dịch chứng khoán Hà Nội về việc ban hành Quy trình Giao dịch trái phiếu Chính phủ, trái phiếu được Chính phủ bảo lãnh và trái phiếu chính quyền địa phương tại Sở Giao dịch chứng khoán Hà Nội.
Điều 3. Chánh Văn phòng, Giám đốc Phòng Thị trường trái phiếu, Thủ trưởng các đơn vị thuộc Sở Giao dịch Chứng khoán Hà Nội và các cá nhân liên quan chịu trách nhiệm thi hành Quyết định này./.
|
Nơi nhận: |
KT. TỔNG GIÁM ĐỐC |
|
SỞ GIAO DỊCH |
CỘNG HÒA XÃ HỘI CHỦ NGHĨA VIỆT NAM |
QUY TRÌNH
Giao dịch trái phiếu Chính phủ, trái phiếu được Chính phủ bảo lãnh
và trái phiếu chính quyền địa phương tại Sở Giao dịch chứng khoán Hà Nội
(Ban hành kèm theo Quyết định số 750/QĐ-SGDHN ngày 01 tháng 09 năm 2017
của Tổng Giám đốc Sở Giao dịch Chứng khoán Hà Nội)
A. Quy định chung
1. Mục đích ban hành
- Nhằm quy định nội dung và thứ tự các bước tác nghiệp trong hoạt động giao dịch trên Hệ thống Giao dịch Trái phiếu Chính phủ tại Sở Giao dịch Chứng khoán Hà Nội.
2. Phạm vi áp dụng
- Áp dụng đối với các thành viên giao dịch Trái phiếu Chính phủ của Sở Giao dịch Chứng khoán Hà Nội;
- Áp dụng đối với hoạt động vận hành hệ thống giao dịch Trái phiếu Chính phủ của thành viên.
3. Giải thích thuật ngữ và các từ viết tắt
|
STT |
Thuật ngữ/Từ viết tắt |
Giải thích |
|
1 |
SGDCK |
Sở Giao dịch Chứng khoán Hà Nội |
|
2 |
Thành viên |
Là thành viên giao dịch trên hệ thống giao dịch TPCP của SGDCK, gồm: Thành viên thông thường, thành viên đặc biệt và Kho bạc Nhà nước |
|
3 |
Hệ thống BTS |
Hệ thống Giao dịch từ xa |
|
4 |
Hệ thống E-BTS |
Hệ thống Giao dịch trực tuyến |
|
5 |
ĐDGD |
Đại diện giao dịch |
|
6 |
NĐT |
Nhà đầu tư: là khách hàng của thành viên giao dịch |
|
7 |
TPCP |
Trái phiếu chính phủ |
|
8 |
TPĐCPBL |
Trái phiếu được Chính phủ bảo lãnh |
|
9 |
TPCQĐP |
Trái phiếu Chính quyền địa phương |
|
10 |
Vendor |
Tổ chức kết nối với Hệ thống giao dịch từ xa |
|
11 |
Outright |
Giao dịch thông thường |
|
12 |
Repos |
Giao dịch mua bán lại |
|
13 |
SBB |
Giao dịch Bán kết hợp mua lại |
|
14 |
SBL |
Giao dịch Vay trái phiếu |
|
15 |
Vay để bán |
Giao dịch Vay trái phiếu để bán |
|
16 |
Lệnh Inquiry |
Lệnh yêu cầu chào giá |
|
17 |
Lệnh Firm |
Lệnh chào với cam kết chắc chắn |
|
18 |
Lệnh BCGD |
Lệnh Báo cáo giao dịch |
|
19 |
TVLK |
Thành viên lưu ký |
|
20 |
ĐCLS |
Đường cong lợi suất |
|
21 |
TTLKCK |
Trung tâm lưu ký chứng khoán |
|
22 |
HTGD |
Hệ thống giao dịch |
|
23 |
HĐGD |
Hợp đồng giao dịch |
|
24 |
Giao dịch Vay tín chấp |
Là Giao dịch Vay trái phiếu có Giá trị Tài sản đảm bảo nằm ngoài mức giới hạn phù hợp tại thời điểm nhập lệnh tính từ ĐCLS |
4. Lưu đồ tổng quan

Mô tả lưu đồ
Quy trình giao dịch TPCP tại SGDCK được kết cấu gồm 03 phần lớn là:
A. Quy định chung: gồm 05 mục lớn như sau:
- Phạm vi áp dụng
- Mục đích ban hành
- Giải thích thuật ngữ và các từ viết tắt
- Nguyên tắc chung
- Viện dẫn
B. Quy trình tác nghiệp: gồm 03 mục lớn như sau:
- Quy trình thiết lập thông tin chung: bao gồm các chức năng của hệ thống áp dụng chung cho hoạt động vận hành của thành viên, được sử dụng khi thiết lập lần đầu hoặc khi có thay đổi.
- Quy trình tác nghiệp: bao gồm các chức năng của hệ thống áp dụng riêng cho hoạt động giao dịch của thành viên, được sử dụng hàng ngày như nhập lệnh, sửa lệnh...
- Các tiện ích hỗ trợ: bao gồm in phiếu lệnh, và báo cáo, trao đổi dữ liệu hai chiều giữa hệ thống giao dịch và hệ thống ĐCLS, công cụ tính toán, gửi mail, chat message, nhận mail/SMS kết quả giao dịch, quản lý phí giao dịch và quản lý hợp đồng giao dịch.
C. Phụ lục quy trình: bao gồm 11 phụ lục, trong đó có:
- 05 phụ lục hướng dẫn tác nghiệp cho 05 nghiệp vụ Outright, Repo, SBB, SBL và Vay để bán trái phiếu;
- 01 phụ lục về Hợp đồng giao dịch;
- 01 phụ lục về Quản lý Phí giao dịch;
- 01 phụ lục về Trái phiếu tương đương;
- 01 phụ lục về các Mẫu văn bản;
- 01 phụ lục về Danh sách báo cáo;
- 01 phụ lục về Thông tin nhập.
5. Nguyên tắc chung
- Việc truy cập và sử dụng Hệ thống BTS và Hệ thống E-BTS phải tuân thủ quy định vận hành nêu trong Quy trình này.
- Thành viên giao dịch có trách nhiệm thực hiện các chính sách, biện pháp phòng ngừa, giám sát, kiểm tra và ngăn chặn để bảo mật tài khoản và mật khẩu truy cập Hệ thống BTS và Hệ thống E-BTS đã được cấp cho ĐDGD của thành viên. Trường hợp phát hiện các hình thức truy cập trái phép từ tài khoản đã được cấp của thành viên; hoặc tài khoản bị mất, bị đánh cắp hoặc bị lộ các thông tin về mật khẩu hay các thông tin bảo mật khác; hoặc trường hợp có phát sinh sự cố kỹ thuật khi tác nghiệp trên hệ thống giao dịch TPCP, thành viên giao dịch phải thông báo ngay bằng điện thoại, email và bằng văn bản (trong trường hợp cần thiết) cho SGDCK để phối hợp khắc phục.
- Thành viên giao dịch chịu trách nhiệm về tất cả tác nghiệp xuất phát từ tài khoản đã được cấp cho các đại diện giao dịch của thành viên.
- Thời gian thành viên thực hiện giao dịch trên hệ thống giao dịch TPCP tuân thủ theo quy định tại Quy chế giao dịch TPCP, TPĐCPBL và TPCQĐP ban hành kèm theo Quyết định số 501/QĐ-SGDHN ngày 05/07/2017 của Tổng Giám đốc SGDCK, cụ thể là:
+ Phiên buổi sáng từ 9h00 đến 11h30;
+ Phiên buổi chiều từ 13h00 đến 14h45.
Thời gian giao dịch trên áp dụng chung cho hệ thống giao dịch TPCP. Đối với hệ thống E-BTS, thành viên có thể nhập lệnh vào tất cả thời gian trong ngày, ngoại trừ thời gian Hệ thống có trạng thái Đóng cửa thị trường.
B. Quy trình tác nghiệp

I. Quy trình thiết lập thông tin hệ thống
1. Quản trị hệ thống
1.1. Phân quyền/Cấp lại mật khẩu cho tài khoản ĐDGD
1.1.1. Nội dung nghiệp vụ
- Thực hiện phân quyền sử dụng hệ thống giao dịch TPCP đối với tài khoản của ĐDGD;
- Thực hiện cấp lại mật khẩu cho tài khoản của ĐDGD.
1.1.2. Phạm vi áp dụng
- Hệ thống áp dụng: hệ thống BTS và hệ thống E-BTS
- Đối tượng áp dụng: ĐDGD
1.1.3. Lưu đồ

1.1.4. Trình tự tác nghiệp
1.1.4.1. Phân quyền cho tài khoản ĐDGD
Bước 1: Thực hiện Phân quyền tài khoản ĐDGD
- Truy cập vào hệ thống BTS bằng tài khoản ĐDGD đóng vai trò admin;
- Tác nghiệp tại chức năng “Quản lý người sử dụng”;
- Phân bổ quyền theo yêu cầu cho tài khoản ĐDGD đã chọn. Nội dung phân quyền gồm: quyền truy cập (các) thị trường, (các) loại hình giao dịch được thực hiện; (các) thông tin được quyền truy xuất, quyền được thực thi, sử dụng các tiện ích trên hệ thống, cấp hạn mức giao dịch, quản lý thông tin NĐT.
Bước 2: Kiểm tra thông tin phân quyền
Kiểm tra thông tin phân quyền:
- Nếu thông tin chính xác, việc phân quyền đã hoàn tất;
- Nếu thông tin chưa chính xác, thực hiện điều chỉnh lại các quyền.
1.1.4.2. Cấp mới lại mật khẩu cho tài khoản ĐDGD
Bước 1: Thực hiện Cấp mới mật khẩu cho tài khoản ĐDGD khác
- Truy cập vào hệ thống BTS và/hoặc hệ thống E-BTS;
- Tác nghiệp tại chức năng “Quản lý người sử dụng”;
- Khai báo thông tin mật khẩu mới cho tài khoản ĐDGD;
- Thông báo mật khẩu mới cho ĐDGD.
Bước 2: Kiểm tra thông tin mật khẩu cấp mới
- ĐDGD được cấp mới mật khẩu thực hiện truy cập vào hệ thống BTS và/hoặc hệ thống E-BTS bằng mật khẩu mới.
1.2. Cấp tài khoản người sử dụng cho nhà đầu tư
1.2.1. Nội dung nghiệp vụ
- Thực hiện cấp mới tài khoản cho NĐT sử dụng hệ thống E-BTS;
- Thực hiện điều chỉnh thông tin tài khoản, tạm ngừng hoặc kích hoạt sử dụng trở lại tài khoản của NĐT trên hệ thống E-BTS trong trường hợp cần thiết.
1.2.2. Phạm vi áp dụng
- Hệ thống áp dụng: Hệ thống E-BTS
- Đối tượng áp dụng: ĐDGD
1.2.3. Lưu đồ

1.2.4. Trình tự tác nghiệp
Bước 1: Thêm mới/sửa/tạm ngừng hoặc kích hoạt trở lại tài khoản NĐT
- Tác nghiệp trên chức năng “Quản lý người sử dụng”
- Cung cấp các thông tin của NĐT khi thêm mới, theo nội dung chi tiết tại Biểu 2 Mục B Phụ lục 11- Thông tin nhập đính kèm Quy trình.
- Hoặc thực hiện điều chỉnh thông tin hoặc tạm ngừng hay kích hoạt trở lại sử dụng hệ thống E-BTS đối với tài khoản NĐT đã có trên hệ thống.
Bước 2: Kiểm tra thông tin tài khoản NĐT
- Nếu thông tin nhập chính xác:
+ Đối với thêm mới tài khoản NĐT, thực hiện tiếp bước 3;
+ Đối với tạm ngừng hoặc kích hoạt tài khoản NĐT, việc tạm ngừng hoặc kích hoạt NĐT đã hoàn tất;
- Nếu thông tin chưa chính xác, thực hiện sửa hoặc tạm ngừng hay kích hoạt trở lại tài khoản NĐT theo bước 1.
Bước 3: Thực hiện Phân bổ/điều chỉnh quyền
Thực hiện phân bổ quyền/điều chính quyền cho các tài khoản NĐT. Nội dung phân quyền gồm: (các) loại hình giao dịch được thực hiện, (các) thông tin được quyền truy xuất, quyền được thực thi, sử dụng các tiện ích trên Hệ thống E-BTS.
Bước 4: Kiểm tra thông tin phân quyền tài khoản NĐT
- Nếu thông tin chính xác, việc cấp mới tài khoản NĐT đã hoàn tất;
- Nếu thông tin chưa chính xác, thực hiện điều chỉnh thông tin phân quyền cho tài khoản NĐT.
2. Cấp hạn mức giao dịch
2.1. Nội dung nghiệp vụ
- Cấp hạn mức giao dịch cho thành viên và phân bổ hạn mức giao dịch cho các ĐDGD theo các tiêu chí công cụ giao dịch, mua/bán, nghiệp vụ (môi giới/tự doanh)
- Điều chỉnh tăng/giảm hạn mức giao dịch cho chính thành viên và các ĐDGD của thành viên.
2.2. Phạm vi áp dụng và thời điểm thực hiện
- Hệ thống áp dụng: Hệ thống BTS và Hệ thống E-BTS
- Đối tượng áp dụng: ĐDGD
- Thời điểm thực hiện: 01 ngày làm việc trước ngày hạn mức giao dịch cấp mới có hiệu lực. Đối với điều chỉnh tăng/giảm hạn mức giao dịch đang hiệu lực, hạn mức giao dịch mới sẽ có hiệu lực ngay sau khi điều chỉnh.
2.3. Lưu đồ

2.4. Trình tự tác nghiệp
Bước 1: Cấp mới/Điều chỉnh hạn mức giao dịch cho chính thành viên và (các) ĐDGD
- Tác nghiệp tại chức năng “Quản lý hạn mức giao dịch”;
- Cung cấp thông tin về hạn mức giao dịch cấp cho chính thành viên và thông tin phân bổ hạn mức giao dịch cho (các) ĐDGD khi cấp mới;
- Hoặc thực hiện điều chỉnh thông tin hạn mức giao dịch của thành viên và (các) ĐDGD đã có trên hệ thống.
Bước 2: Kiểm tra thông tin cấp hạn mức
- Nếu thông tin chính xác, việc cấp hạn mức giao dịch đã hoàn tất;
- Nếu thông tin chưa chính xác, thực hiện điều chỉnh hạn mức giao dịch theo bước 1.
3. Đăng ký hạn mức Vay tín chấp
3.1. Nội dung nghiệp vụ
- Đăng ký hạn mức Vay tín chấp với đối tác để hệ thống giao dịch TPCP hỗ trợ thực hiện giao dịch Vay tín chấp;
- Điều chỉnh hạn mức Vay tín chấp đã xác định với đối tác.
3.2. Phạm vi áp dụng và thời điểm thực hiện
- Hệ thống áp dụng: Hệ thống BTS và Hệ thống E-BTS
- Đối tượng áp dụng: ĐDGD
- Thời điểm thực hiện: 01 ngày làm việc trước ngày hạn mức vay tín chấp đăng ký mới có hiệu lực. Đối với điều chỉnh hạn mức vay tín chấp đang hiệu lực, hạn mức vay tín chấp mới sẽ có hiệu lực ngay sau khi được SGDCK kích hoạt tính năng hỗ trợ thực hiện giao dịch Vay tín chấp.
3.3. Lưu đồ

3.4. Trình tự tác nghiệp
Bước 1: Gửi văn bản thông báo với SGDCK về việc đăng ký hạn mức Vay tín chấp với đối tác
- Thành viên có nhu cầu thực hiện Giao dịch Vay tín chấp gửi Công văn thông báo cho SGDCK về việc đăng ký hạn mức Vay tín chấp với đối tác.
Bước 2: Thực hiện Đăng ký/Điều chỉnh hạn mức Vay tín chấp hạn mức với đối tác
- Tác nghiệp tại chức năng “Quản lý hạn mức Vay tín chấp”;
- Cung cấp thông tin về hạn mức Vay tín chấp với đối tác; hoặc thực hiện điều chỉnh thông tin hạn mức Vay tín chấp với đối tác đã có trên hệ thống, theo nội dung chi tiết tại Biểu 06 Mục B Phụ lục 11 - Thông tin nhập đính kèm Quy trình.
Bước 3: Kiểm tra thông tin hạn mức Vay tín chấp với đối tác
- Nếu thông tin chính xác, thực hiện tiếp bước 4;
- Nếu thông tin chưa chính xác, thực hiện Sửa hoặc Xóa hạn mức Vay tín chấp với đối tác (Hạn mức Vay tín chấp có trạng thái “Chưa duyệt” được phép Xóa).
Bước 4: Duyệt thông tin hạn mức Vay tín chấp với đối tác
- Tác nghiệp tại chức năng “Quản lý hạn mức Vay tín chấp” đối với đăng ký hạn mức Vay tín chấp hoặc đối với điều chỉnh thông tin hạn mức Vay tín chấp với đối tác đã có trên hệ thống;
- Nếu thông tin chính xác, Duyệt thông tin hạn mức Vay tín chấp;
- Nếu thông tin chưa chính xác, Từ chối duyệt thông tin hạn mức Vay tín chấp.
Bước 5: SGDCK ghi nhận và kích hoạt tính năng hỗ trợ thành viên thực hiện giao dịch Vay tín chấp
Căn cứ vào Công văn đăng ký/điều chỉnh hạn mức Vay tín chấp của thành viên, SGDCK thực hiện:
- Nếu thông tin chính xác, Kích hoạt tính năng hỗ trợ thực hiện giao dịch Vay tín chấp của thành viên;
- Nếu thông tin chưa chính xác, Từ chối kích hoạt tính năng thực hiện giao dịch Vay tín chấp và nêu rõ lý do từ chối để thành viên sửa lại.
4. Quản lý Nhà đầu tư
4.1. Đăng ký thông tin NĐT
4.1.1. Nội dung nghiệp vụ
- Thực hiện thêm mới/điều chỉnh thông tin NĐT cho chính thành viên và các khách hàng của thành viên;
4.1.2. Phạm vi áp dụng
- Hệ thống áp dụng: Hệ thống BTS và hệ thống E-BTS
- Đối tượng áp dụng: ĐDGD
4.1.3. Lưu đồ

4.1.3.1. Trình tự tác nghiệp
Bước 1: Thêm mới/điều chỉnh thông tin NĐT
- Tác nghiệp tại chức năng “Quản lý thông tin NĐT” thuộc nhóm chức năng “Khởi tạo thông tin trao đổi với Vendor”;
- Cung cấp đầy đủ các thông tin của NĐT khi thêm mới hoặc điều chỉnh theo nội dung chi tiết tại Biểu 1 Mục B Phụ lục 11 - Thông tin nhập đính kèm Quy trình.
Bước 2: Kiểm tra thông tin NĐT
- Nếu thông tin chính xác, thực hiện tiếp bước 3;
- Nếu thông tin chưa chính xác, thực hiện Sửa hoặc Xóa thông tin NĐT (Thông tin NĐT có trạng thái “Chưa duyệt” được phép Xóa).
Bước 3: Duyệt thông tin NĐT
- Tác nghiệp tại chức năng “Quản lý thông tin NĐT” đối với thêm mới thông tin NĐT hoặc tại chức năng “Điều chỉnh thông tin NĐT” đối với điều chỉnh thông tin NĐT đã phê duyệt;
- Nếu thông tin chính xác, Duyệt thông tin NĐT;
- Nếu thông tin chưa chính xác, Từ chối duyệt thông tin NĐT.
Bước 4: Kiểm tra thông tin NĐT đã duyệt
Kiểm tra thông tin NĐT đã duyệt tại chức năng “Quản lý thông tin NĐT”: NĐT đã duyệt thành công có trạng thái phê duyệt là “Đã duyệt” và trạng thái hoạt động là “Đang hoạt động”.
4.2. Quản lý số dư sở hữu chứng khoán của NĐT
4.2.1. Nội dung nghiệp vụ
- Thực hiện các nghiệp vụ làm tăng, giảm số dư sở hữu chứng khoán của NĐT không thông qua giao dịch hoặc đấu thầu. Các nghiệp vụ này bao gồm:
+ Ký gửi/rút chứng khoán;
+ Chuyển khoản chứng khoán;
+ Chuyển khoản theo chỉ định thu hồi TVLK.
4.2.2. Phạm vi áp dụng
- Hệ thống áp dụng: Hệ thống BTS và Hệ thống E-BTS
- Đối tượng áp dụng: ĐDGD
4.2.3. Lưu đồ

4.2.4. Trình tự tác nghiệp
4.2.4.1. Ký gửi/Rút chứng khoán
Bước 1: Ký gửi/Rút chứng khoán
- Tác nghiệp tại chức năng “Ký gửi/Rút chứng khoán” thuộc nhóm chức năng “Hạch toán số dư sở hữu chứng khoán”;
- Cung cấp các thông tin khi thực hiện ký gửi hoặc rút CK, theo nội dung chi tiết tại Biểu 3 Mục B Phụ lục 11 - Thông tin nhập đính kèm Quy trình.
Bước 2.1: Phê duyệt hạch toán
- Tác nghiệp tại chức năng “Phê duyệt giao dịch hạch toán” thuộc nhóm chức năng “Hạch toán số dư sở hữu chứng khoán”;
- Nếu thông tin chính xác, Duyệt giao dịch Ký gửi/rút chứng khoán;
- Nếu thông tin chưa chính xác, Từ chối duyệt giao dịch Ký gửi/rút chứng khoán.
Bước 3: Kiểm tra giao dịch hạch toán
- Tác nghiệp tại chức năng “Tra cứu số dư NĐT”;
- Kiểm tra số lượng chứng khoán tăng/giảm khớp đúng với số lượng thực hiện Ký gửi/rút chứng khoán;
- Khi giao dịch chuyển trạng thái “Đã duyệt", số dư sở hữu chứng khoán của NĐT phải được cập nhật tăng giảm tương ứng.
4.2.4.2. Chuyển khoản chứng khoán
Bước 1: Chuyển khoản chứng khoán
- Bên chuyển thực hiện chuyển khoản chứng khoán;
- Tác nghiệp tại chức năng “Chuyển khoản chứng khoán” thuộc nhóm chức năng “Hạch toán số dư sở hữu chứng khoán”;
- Cung cấp các thông tin khi thực hiện chuyển khoản chứng khoán, theo nội dung chi tiết tại Biểu 4 Mục B Phụ lục 11 - Thông tin nhập đính kèm Quy trình.
Bước 2.1: Phê duyệt hạch toán
- Bên chuyển thực hiện phê duyệt giao dịch chuyển khoản chứng khoán;
- Tác nghiệp tại chức năng “Phê duyệt giao dịch hạch toán” thuộc nhóm chức năng “Hạch toán số dư sở hữu chứng khoán”;
- Nếu thông tin chính xác, Duyệt giao dịch chuyển khoản chứng khoán:
+ Đối với chuyển khoản chứng khoán cùng thành viên, thực hiện tiếp bước 3;
+ Đối với chuyển khoản chứng khoán khác thành viên, thực hiện tiếp bước 2.2;
- Nếu thông tin chưa chính xác, Từ chối duyệt giao dịch chuyển khoản chứng khoán.
Bước 2.2: Xác nhận giao dịch chuyển khoản
- Thành viên đối ứng thực hiện xác nhận giao dịch chuyển khoản chứng khoán;
- Tác nghiệp tại chức năng “Chuyển khoản chứng khoán” thuộc nhóm chức năng “Hạch toán số dư sở hữu chứng khoán”;
- Nếu đồng ý xác nhận giao dịch chuyển khoản chứng khoán, ĐDGD của thành viên đối ứng cung cấp thông tin bên nhận chuyển khoản và thực hiện xác nhận giao dịch chuyển khoản chứng khoán có trạng thái “Đã duyệt bên chuyển”; giao dịch chuyển sang trạng thái “Đã hoàn thành”;
- Nếu Từ chối xác nhận giao dịch chuyển khoản, ĐDGD bên chuyển phải thực hiện nhập lại giao dịch này.
Bước 2.3: Phê duyệt giao dịch chuyển khoản
- Thành viên đối ứng thực hiện phê duyệt giao dịch chuyển khoản chứng khoán;
- Tác nghiệp tại chức năng “Phê duyệt giao dịch hạch toán” thuộc nhóm chức năng “Hạch toán số dư sở hữu chứng khoán”;
- Nếu thông tin chính xác, Duyệt giao dịch chuyển khoản chứng khoán;
- Nếu thông tin chưa chính xác, Từ chối duyệt giao dịch Chuyển khoản chứng khoán.
Bước 3: Kiểm tra giao dịch hạch toán
- Tác nghiệp tại chức năng “Tra cứu số dư NĐT”;
- Kiểm tra số lượng chứng khoán tăng/giảm khớp đúng với số lượng thực hiện Chuyển khoản chứng khoán.
- Khi giao dịch chuyển sang trạng thái “Đã duyệt”/“Đã hoàn thành”, số dư sở hữu chứng khoán của NĐT đã được cập nhật tăng giảm.
4.2.4.3. Chuyển khoản chứng khoán theo chỉ định thu hồi của TVLK
Bước 1: Chuyển khoản chứng khoán theo chỉ định thu hồi của TVLK
- Bên chuyển thực hiện Chuyển khoản chứng khoán theo chỉ định thu hồi của TVLK;
- Tác nghiệp tại chức năng “Chuyển khoản chứng khoán theo chỉ định thu hồi của TVLK” thuộc nhóm chức năng “Hạch toán số dư sở hữu chứng khoán”;
- Cung cấp các thông tin khi thực hiện chuyển khoản chứng khoán, theo nội dung chi tiết tại Biểu 5 Mục B Phụ lục 11 - Thông tin nhập đính kèm Quy trình.
Bước 2.1: Phê duyệt hạch toán
- Bên chuyển thực hiện phê duyệt giao dịch chuyển khoản chứng khoán theo chỉ định thu hồi của TVLK;
- Tác nghiệp tại chức năng “Phê duyệt giao dịch hạch toán” thuộc nhóm chức năng “Hạch toán số dư sở hữu chứng khoán”
- Nếu thông tin chính xác, Duyệt giao dịch chuyển khoản chứng khoán;
- Nếu thông tin chưa chính xác, Từ chối duyệt giao dịch chuyển khoản chứng khoán.
Bước 2.2: Xác nhận giao dịch chuyển khoản
- Thành viên đối ứng thực hiện xác nhận giao dịch chuyển khoản chứng khoán theo chỉ định thu hồi của TVLK;
- Tác nghiệp tại chức năng “Chuyển khoản chứng khoán theo chỉ định thu hồi của TVLK” thuộc nhóm chức năng “Hạch toán số dư sở hữu chứng khoán”;
- Nếu đồng ý xác nhận giao dịch chuyển khoản, ĐDGD của thành, viên đối ứng cung cấp thông tin bên nhận chuyển khoản và thực hiện xác nhận giao dịch chuyển khoản chứng khoán có trạng thái “Đã duyệt bên chuyển”; giao dịch chuyển sang trạng thái “Đã hoàn thành”;
- Nếu Từ chối xác nhận giao dịch chuyển khoản, ĐDGD bên chuyển phải thực hiện nhập lại giao dịch này.
Bước 2.3: Phê duyệt giao dịch chuyển khoản
- Thành viên đối ứng thực hiện phê duyệt giao dịch chuyển khoản chứng khoán theo chỉ định thu hồi của TVLK;
- Tác nghiệp tại chức năng “Phê duyệt giao dịch hạch toán” thuộc nhóm chức năng “Hạch toán số dư sở hữu chứng khoán”;
- Nếu thông tin chính xác, Duyệt giao dịch chuyển khoản chứng khoán;
- Nếu thông tin chưa chính xác, Từ chối duyệt giao dịch Chuyển khoản chứng khoán.
Bước 3: Kiểm tra giao dịch hạch toán
- Tác nghiệp tại chức năng “Tra cứu số dư NĐT”;
- Kiểm tra số lượng chứng khoán tăng/giảm khớp đúng với số lượng thực hiện Chuyển khoản chứng khoán theo chỉ định thu hồi của TVLK;
- Khi giao dịch chuyển sang trạng thái “Đã duyệt”/“Đã hoàn thành”, số dư sở hữu chứng khoán của NĐT đã được cập nhật tăng giảm.
5. Thiết lập kết nối với Vendor
Tổng quan về thiết lập kết nối với Vendor:

Mô tả lưu đồ:
- Phạm vi áp dụng: Hệ thống E-BTS
- Thông tin phải thiết lập gồm:
+ Đăng ký kết nối với Vendor;
+ Gán mã định, danh cho Vendor;
+ Phân quyền duyệt lệnh NĐT.
5.1. Đăng ký kết nối với Vendor
5.1.1. Nội dung nghiệp vụ
- Thiết lập kết nối với Vendor để nhận các giao dịch từ Vendor về hệ thống E-BTS;
- Tạm ngừng/kích hoạt trở lại kết nối Vendor ngay trong phiên giao dịch.
5.1.2. Phạm vi áp dụng và thời điểm thực hiện
- Hệ thống áp dụng: Hệ thống E-BTS
- Đối tượng áp dụng: ĐDGD
- Thời điểm thực hiện: 01 ngày làm việc trước ngày kết nối với Vendor có hiệu lực.
5.1.3. Lưu đồ

5.1.4. Trình tự tác nghiệp
Bước 1: Thực hiện Thêm mới/Điều chỉnh thông tin đăng ký kết nối với Vendor
- Tác nghiệp tại chức năng “Đăng ký kiểm soát giao dịch từ Vendor” thuộc nhóm chức năng “Khởi tạo thông tin trao đổi với Vendor”;
- Cung cấp đầy đủ các thông tin khi thêm mới Vendor cần kết nối, chi tiết theo Biểu 1 Mục C Phụ lục 11 - Thông tin nhập đính kèm Quy trình.
- Hoặc thực hiện điều chỉnh thông tin kết nối với Vendor đã có trên hệ thống.
Bước 2: Kiểm tra thông tin Thêm mới/điều chỉnh đăng ký kết nối với Vendor
- Nếu thông tin nhập chính xác, việc thêm mới/điều chỉnh thông tin đăng ký kết nối với Vendor đã hoàn tất;
- Nếu thông tin chưa chính xác, thực hiện sửa thông tin đăng ký kết nối. Thông tin sửa đổi có trạng thái “Đang có hiệu lực” sẽ có hiệu lực ngay sau khi chỉnh sửa thành công.
5.2. Gán mã định danh Vendor cho NĐT
5.2.1. Nội dung nghiệp vụ
- Thực hiện khai báo thông tin mã định danh Vendor cho NĐT đã đăng ký trước khi tiếp nhận giao dịch gửi về Hệ thống của Vendor.
- Thực hiện tạm ngừng hoặc kích hoạt trở lại mã định danh Vendor của NĐT trong trường hợp cần thiết.
5.2.2. Phạm vi áp dụng và thời điểm thực hiện
- Hệ thống áp dụng: Hệ thống E-BTS
- Đối tượng áp dụng: ĐDGD
- Thời điểm thực hiện: 01 ngày làm việc trước ngày mã định danh Vendor có hiệu lực.
5.2.3. Lưu đồ

5.2.4. Trình tự tác nghiệp
Bước 1: Thực hiện Gán/Sửa/Tạm ngừng/Kích hoạt mã định danh Vendor cho NĐT
- Tác nghiệp tại chức năng “Gán mã định danh cho Vendor” thuộc nhóm chức năng “Khởi tạo thông tin trao đổi với Vendor”;
- Cung cấp đầy đủ các thông tin khi gán mã định danh Vendor của NĐT, chi tiết nêu tại Biểu 2 Mục C Phụ lục 11 - Thông tin nhập đính kèm Quy trình;
- Hoặc thực hiện điều chỉnh thông tin hoặc tạm ngừng hay kích hoạt trở lại đối với mã định danh Vendor của NĐT đã có trên hệ thống.
Bước 2: Kiểm tra thông tin Gán mã định danh Vendor cho NĐT
- Nếu thông tin chính xác, việc gán/sửa mã định danh Vendor cho NĐT đã hoàn tất;
- Nếu thông tin chưa chính xác, thực hiện Sửa hoặc Xóa thông tin gán mã định danh Vendor của NĐT (Thông tin mã định danh có trạng thái “Chưa hiệu lực” được phép Xóa).
5.3. Phân quyền duyệt lệnh NĐT
5.3.1. Nội dung nghiệp vụ
- Trường hợp thành viên lựa chọn có kiểm soát Back/Front office khi đăng ký kết nối Vendor, thành viên chỉ định một ĐDGD có quyền đầy đủ thực hiện phân quyền phê duyệt lệnh của NĐT cho các ĐDGD còn lại.
5.3.2. Phạm vi áp dụng
- Hệ thống áp dụng: Hệ thống E-BTS
- Đối tượng áp dụng: ĐDGD
5.3.3. Lưu đồ

5.3.4. Trình tự tác nghiệp
Bước 1: Phân quyền duyệt lệnh NĐT
- Tác nghiệp tại chức năng “Phân quyền duyệt lệnh NĐT” thuộc nhóm chức năng “Khởi tạo thông tin trao đổi với Vendor”;
- Thực hiện phân quyền phê duyệt lệnh của NĐT, chi tiết thông tin nhập nêu tại Biểu 3 Mục C Phụ lục 11 - Thông tin nhập đính kèm Quy trình.
Bước 2: Kiểm tra thông tin phân quyền duyệt lệnh NĐT
- Nếu thông tin chính xác, việc phân quyền duyệt lệnh NĐT đã hoàn tất;
- Nếu thông tin chưa chính xác, thực hiện chỉnh sửa thông tin NĐT. Thông tin chỉnh sửa có trạng thái “Đang hiệu lực” sẽ có hiệu lực ngay sau khi chỉnh sửa thành công.
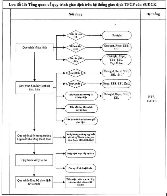
II. Quy trình giao dịch trên hệ thống

Mô tả lưu đồ
Quy trình giao dịch trên hệ thống giao dịch của SGDCK hướng dẫn hoạt động giao dịch của thành viên diễn ra hàng ngày, bao gồm các nội dung sau:
- Quy trình nhập lệnh: hướng dẫn trình tự nhập lệnh đối với các hình thức nhập lệnh điện tử toàn thị trường, điện tử tùy chọn, báo cáo giao dịch và lệnh giao dịch Vay để bán trái phiếu;
- Quy trình sửa/hủy lệnh đã thực hiện: hướng dẫn sửa lệnh đã thực hiện lần 1 và lần 2, hủy giao dịch tương lai đã thực hiện và hủy kết giao giao dịch Vay để bán;
- Quy trình xử lý trong trường hợp mất khả năng thanh toán: hướng dẫn xử lý trong trường hợp một trong hai bên tham gia giao dịch bị mất khả năng thanh toán trong giao dịch Repo, SBB và SBL lần 2;
- Quy trình xử lý sự cố: hướng dẫn trong trường hợp nhập lệnh trực tiếp tại sàn; thành viên nhờ SGDCK nhập hộ lệnh và trong trường hợp phát sinh các sự cố kỹ thuật khác.
- Quy trình đồng bộ giao dịch từ Vendor: hướng dẫn thực hiện tiếp nhận, kiểm tra và xử lý các giao dịch nhận về từ Vendor.
Ngoài ra, đối với nội dung về nhập lệnh, sửa/hủy lệnh đã thực hiện, hướng dẫn chi tiết tham khảo thêm tại các Phụ lục 01, 02, 03, 04, 05 đính kèm Quy trình.
1. Quy trình nhập lệnh
1.1. Lệnh thỏa thuận điện tử toàn thị trường
1.1.1. Nội dung nghiệp vụ
- Thực hiện lệnh thỏa thuận điện tử toàn thị trường đối với nghiệp vụ Outright.
1.1.2. Phạm vi áp dụng
- Hệ thống áp dụng: hệ thống BTS và hệ thống E-BTS
- Đối tượng áp dụng: ĐDGD, NĐT
1.1.3. Lưu đồ

1.1.4. Trình tự tác nghiệp
Bước 1: Nhập lệnh điện tử
- Tác nghiệp tại chức năng “Nhập lệnh điện tử” và cung cấp đầy đủ thông tin trên màn hình Nhập lệnh; Thông tin nhập lệnh chi tiết nêu tại Điểm 1.3 Mục A.I.1 tại Phụ lục 11 - Thông tin nhập đính kèm Quy trình.
Bước 2: Kiểm tra lệnh
Lệnh đã nhập thành công sẽ hiển thị tại Sổ lệnh Chờ thực hiện/Sổ lệnh điện tử, có trạng thái “Chờ thực hiện”:
- Nếu thông tin lệnh nhập chính xác, thực hiện tiếp bước 3;
- Nếu thông tin lệnh nhập chưa chính xác, thực hiện Sửa/Hủy hoặc Treo lệnh điện tử vừa nhập.
Bước 3: Đối tác xác nhận lệnh
- Tác nghiệp tại Bảng điện tử/Sổ lệnh điện tử toàn thị trường đối với lệnh có trạng thái “Chờ thực hiện”;
- Đối tác xác nhận lệnh phải cung cấp thông tin tài khoản lưu ký.
Bước 4: Kiểm tra lệnh đã xác nhận
Lệnh đã xác nhận sẽ hiển thị tại Sổ lệnh kết quả, có trạng thái là “Đã thực hiện”.
- Đối với lệnh thực hiện trên Hệ thống BTS, việc nhập lệnh đã hoàn tất.
- Đối với lệnh thực hiện trên Hệ thống E-BTS, chuyển sang bước 5.
Bước 5: Đẩy lệnh - Duyệt lệnh
5.1. Đẩy lệnh
Đối với lệnh do NĐT nhập, thực hiện đẩy lệnh:
- Tác nghiệp tại Sổ lệnh kết quả đối với lệnh có trạng thái là “Chờ đẩy” hoặc “Đã đẩy mua” hoặc “Đã đẩy bán”;
- Nếu thông tin lệnh chính xác, thực hiện Đẩy lệnh. Lệnh đã được đẩy thành công sẽ hiển thị tại Sổ lệnh kết quả, có trạng thái là "Đã đẩy Mua - Bán" hoặc “Đã đẩy mua” hoặc “Đã đẩy bán”;
- Nếu thông tin lệnh chưa chính xác, thực hiện Từ chối đẩy lệnh. Để điều chỉnh thông tin lệnh từ chối đẩy, tham khảo Quy trình sửa/hủy lệnh đã thực hiện tại Điểm 2 Mục B.II Quy trình này.
5.2. Phê duyệt lệnh
Đối với lệnh cần phê duyệt, thực hiện duyệt lệnh:
- Tác nghiệp tại Sổ lệnh Chờ kiểm soát đối với lệnh có trạng thái “Chờ xử lý” hoặc “Chờ duyệt Front” hoặc “Chờ duyệt Back”;
- Nếu thông tin lệnh chính xác, thực hiện Duyệt lệnh. Tùy theo phân cấp, phê duyệt lệnh 01 cấp hoặc 02 cấp, thành viên sẽ phê duyệt lệnh 01 lần hoặc 02 lần. Lệnh đã Duyệt thành công gửi vào hệ thống BTS sẽ có trạng thái duyệt là "Đã Duyệt”.
- Nếu thông tin lệnh chưa chính xác, thực hiện Từ chối duyệt lệnh. Để điều chỉnh thông tin lệnh từ chối duyệt, tham khảo Quy trình sửa/hủy lệnh đã thực hiện tại Điểm 2 Mục B.II Quy trình này.
Bước 6: Kiểm tra lệnh đã gửi vào Hệ thống BTS
- Lệnh đã được gửi vào Hệ thống BTS thành công sẽ hiển thị tại Sổ lệnh giao dịch từ BTS/Sổ lệnh kết quả, có trạng thái “Đã thực hiện”.
1.2. Lệnh thỏa thuận điện tử tùy chọn
1.2.1. Nội dung nghiệp vụ
- Thực hiện lệnh thỏa thuận điện tử tùy chọn sử dụng đối với các nghiệp vụ Outright, Repo, SBB và SBL.
1.2.2. Phạm vi áp dụng
- Hệ thống áp dụng: hệ thống BTS và hệ thống E-BTS
- Đối tượng áp dụng: ĐDGD, NĐT
1.2.3. Lưu đồ

1.2.4. Trình tự tác nghiệp
Bước 1: Nhập lệnh yêu cầu chào giá (lệnh Inquiry)
- Tác nghiệp tại chức năng “Nhập lệnh Inquiry” và cung cấp đầy đủ thông tin trên màn hình Nhập lệnh; Thông tin nhập lệnh chi tiết nêu tại Điểm 1.1 Mục A.I.1, Mục A.II.1, Mục A.III.1, Mục A.IV.1 tại Phụ lục 11 - Thông tin nhập đính kèm Quy trình.
Bước 2: Kiểm tra lệnh Inquiry
Lệnh đã nhập thành công sẽ hiển thị tại Sổ lệnh Chờ thực hiện/Sổ lệnh In và firm, có trạng thái “Chờ chào giá”:
- Nếu thông tin lệnh nhập chính xác, thực hiện tiếp bước 3;
- Nếu thông tin lệnh nhập chưa chính xác, thực hiện Treo/Sửa/Hủy hoặc Đóng lệnh Inquiry vừa nhập.
Bước 3: Tạo lệnh Firm trên lệnh Inquiry nhận được
- Đối tác nhận lệnh Inquiry thực hiện tạo lệnh Firm để chào giá lại lệnh Inquiry;
- Tác nghiệp tại Sổ lệnh chờ thực hiện/Sổ lệnh In và firm đối với lệnh Inquiry có trạng thái “Chờ chào giá” được gửi cho ĐDGD/NĐT;
- Cung cấp đầy đủ thông tin lệnh khi thực hiện “Tạo lệnh Firm”; Thông tin nhập lệnh chi tiết nêu tại Điểm 1.2 Mục A.I.1, Mục A.II.1, Mục A.III.1, Mục A.IV.1 tại Phụ lục 11 - Thông tin nhập đính kèm Quy trình.
Bước 4: Kiểm tra lệnh Firm
Đối tác thực hiện kiểm tra lệnh Firm vừa tạo: Lệnh đã nhập thành công sẽ hiển thị tại Sổ lệnh Chờ thực hiện/Sổ lệnh In và firm, có trạng thái “Chờ thực hiện”:
- Nếu thông tin lệnh nhập chính xác, việc tạo lệnh Firm đã hoàn tất;
- Nếu thông tin lệnh nhập chưa chính xác, thực hiện Sửa/Hủy hoặc Treo lệnh Firm vừa nhập.
Bước 5: Xác nhận lệnh Firm
- Bên gửi lệnh Inquiry thực hiện xác nhận lệnh Firm do đối tác gửi;
- Tác nghiệp trên Sổ lệnh chờ thực hiện/Sổ lệnh In và firm đối với lệnh Firm có trạng thái “Chờ thực hiện”;
- Cung cấp thông tin tài khoản lưu ký.
Bước 6: Kiểm tra lệnh đã xác nhận
Lệnh đã xác nhận sẽ hiển thị tại Sổ lệnh kết quả, có trạng thái “Đã thực hiện”.
- Đối với lệnh thực hiện trên Hệ thống BTS, việc nhập lệnh Inquiry - Firm đã hoàn tất;
- Đối với lệnh thực hiện trên Hệ thống E-BTS, thực hiện tiếp bước 7.
Bước 7: Đẩy lệnh - Duyệt lệnh
7.1. Đẩy lệnh
Đối với lệnh do NĐT nhập, thực hiện đẩy lệnh:
- Tác nghiệp tại Sổ lệnh kết quả đối với lệnh có trạng thái là “Chờ đẩy” hoặc “Đã đẩy mua” hoặc “Đã đẩy bán”;
- Nếu thông tin lệnh chính xác, thực hiện Đẩy lệnh. Lệnh đã được đẩy thành công sẽ hiển thị tại Sổ lệnh kết quả, có trạng thái là "Đã đẩy Mua - Bán" hoặc “Đã đẩy mua” hoặc “Đã đẩy bán”;
- Nếu thông tin lệnh chưa chính xác, thực hiện Từ chối đẩy lệnh. Để điều chỉnh thông tin lệnh từ chối đẩy, tham khảo Quy trình sửa/hủy lệnh đã thực hiện tại Điểm 2 Mục B.II Quy trình này.
7.2. Phê duyệt lệnh
Đối với lệnh cần phê duyệt, thực hiện duyệt lệnh:
- Tác nghiệp tại Sổ lệnh Chờ kiểm soát đối với lệnh có trạng thái “Chờ xử lý” hoặc “Chờ duyệt Front” hoặc “Chờ duyệt Back”;
- Nếu thông tin lệnh chính xác, thực hiện Duyệt lệnh. Tùy theo phân cấp, phê duyệt lệnh 01 cấp hoặc 02 cấp, thành viên sẽ phê duyệt lệnh 01 lần hoặc 02 lần. Lệnh đã Duyệt thành công gửi vào hệ thống BTS sẽ có trạng thái duyệt là "Đã Duyệt”.
- Nếu thông tin lệnh chưa chính xác, thực hiện Từ chối duyệt lệnh. Để điều chỉnh thông tin lệnh từ chối duyệt, tham khảo Quy trình sửa/hủy lệnh đã thực hiện tại Điểm 2 Mục B.II Quy trình này.
Bước 8: Kiểm tra lệnh đã gửi vào hệ thống BTS
- Lệnh đã được gửi vào Hệ thống BTS thành công sẽ hiển thị tại Sổ lệnh giao dịch từ BTS/Sổ lệnh kết quả, có trạng thái “Đã thực hiện”.
1.3. Lệnh báo cáo giao dịch
1.3.1. Nội dung nghiệp vụ
- Thực hiện lệnh báo cáo giao dịch đối với các nghiệp vụ Outright, Repo, SBB và SBL.
1.3.2. Phạm vi áp dụng
- Hệ thống áp dụng: hệ thống BTS và hệ thống E-BTS
- Đối tượng áp dụng: ĐDGD và NĐT
1.3.3. Lưu đồ

1.3.4. Trình tự tác nghiệp
Bước 1: Nhập lệnh báo cáo giao dịch
- Tác nghiệp trên chức năng “Nhập lệnh Báo cáo giao dịch” và nhập đầy đủ thông tin trên màn hình Nhập lệnh; Thông tin nhập lệnh chi tiết nêu tại Điểm 2 Mục A.I Mục A.II, Mục A.III, Mục A.IV tại Phụ lục 11 - Thông tin nhập đính kèm Quy trình.
- Bước 2: Kiểm tra lệnh đã nhập
Lệnh đã nhập thành công sẽ hiển thị tại Sổ lệnh Chờ thực hiện/Sổ lệnh báo cáo giao dịch, có trạng thái “Chờ thực hiện”:
- Nếu thông tin lệnh nhập chính xác, thực hiện tiếp bước 3;
- Nếu thông tin lệnh nhập chưa chính xác, thực hiện Sửa/Hủy hoặc Treo lệnh báo cáo giao dịch vừa nhập.
Bước 3: Đối tác xác nhận lệnh
- Tác nghiệp tại Sổ lệnh chờ thực hiện/Sổ lệnh báo cáo giao dịch đối với lệnh có trạng thái “Chờ thực hiện”;
- Đối tác xác nhận lệnh phải cung cấp thông tin tài khoản lưu ký.
Bước 4: Kiểm tra lệnh đã xác nhận
Lệnh đã xác nhận sẽ hiển thị tại Sổ lệnh kết quả, có trạng thái “Đã thực hiện”.
- Đối với lệnh thực hiện trên Hệ thống BTS, việc nhập lệnh đã hoàn tất.
- Đối với lệnh thực hiện trên Hệ thống E-BTS, chuyển sang bước 5.
Bước 5: Đẩy lệnh - Duyệt lệnh
5.1. Đẩy lệnh
Đối với lệnh do NĐT nhập, thực hiện đẩy lệnh:
- Tác nghiệp tại Sổ lệnh kết quả đối với lệnh có trạng thái là “Chờ đẩy” hoặc “Đã đẩy mua” hoặc “Đã đẩy bán”;
- Nếu thông tin lệnh chính xác, thực hiện Đẩy lệnh. Lệnh đã được đẩy thành công sẽ hiển thị tại Sổ lệnh kết quả, có trạng thái là "Đã đẩy Mua - Bán" hoặc “Đã đẩy mua” hoặc “Đã đẩy bán”;
- Nếu thông tin lệnh chưa chính xác, thực hiện Từ chối đẩy lệnh. Để điều chỉnh thông tin lệnh từ chối đẩy, tham khảo Quy trình sửa/hủy lệnh đã thực hiện tại Điểm 2 Mục B.II Quy trình này.
5.2. Phê duyệt lệnh
Đối với lệnh cần phê duyệt, thực hiện duyệt lệnh:
- Tác nghiệp tại Sổ lệnh Chờ kiểm soát đối với lệnh có trạng thái “Chờ xử lý” hoặc “Chờ duyệt Front” hoặc “Chờ duyệt Back”;
- Nếu thông tin lệnh chính xác, thực hiện Duyệt lệnh. Tùy theo phân cấp, phê duyệt lệnh 01 cấp hoặc 02 cấp, thành viên sẽ phê duyệt lệnh 01 lần hoặc 02 lần. Lệnh đã Duyệt thành công gửi vào hệ thống BTS sẽ có trạng thái duyệt là "Đã Duyệt”.
- Nếu thông tin lệnh chưa chính xác, thực hiện Từ chối duyệt lệnh. Để điều chỉnh thông tin lệnh từ chối duyệt, tham khảo Quy trình sửa/hủy lệnh đã thực hiện tại Điểm 2 Mục BII Quy trình này.
Bước 6: Kiểm tra lệnh đã gửi vào Hệ thống BTS
- Lệnh đã được gửi vào Hệ thống BTS thành công sẽ hiển thị tại Sổ lệnh giao dịch từ BTS/Sổ lệnh kết quả, có trạng thái “Đã thực hiện”.
1.4. Lệnh giao dịch Vay để bán
1.4.1. Nội dung nghiệp vụ
- Thực hiện lệnh giao dịch Vay để bán trái phiếu nhằm giao kết một giao dịch Vay trái phiếu (giao dịch SBL) và một giao dịch Bán thông thường trái phiếu vừa vay (giao dịch Outright).
1.4.2. Phạm vi áp dụng
- Hệ thống áp dụng: hệ thống BTS và hệ thống E-BTS
- Đối tượng áp dụng: ĐDGD
1.4.3. Lưu đồ

1.4.4. Trình tự tác nghiệp
1.4.4.1. Giao dịch Vay và Giao dịch Bán trái phiếu thực hiện độc lập
Bước 1: Xác định 01 giao dịch Vay trái phiếu đã thực hiện
- Xác định 01 giao dịch Vay trái phiếu sẽ sử dụng tại Sổ lệnh kết quả SBL. Giao dịch Vay trái phiếu được thực hiện theo hình thức thỏa thuận điện tử tùy chọn hoặc thỏa thuận thông thường;
- Giao dịch Vay trái phiếu phải có trạng thái “Đã thực hiện” và đã gửi vào hệ thống BTS thành công.
Bước 2: Xác định 01 giao dịch Bán thông thường đã thực hiện
- Xác định 01 giao dịch Bán trái phiếu sẽ sử dụng tại Sổ lệnh kết quả Outright. Giao dịch Bán trái phiếu được thực hiện theo hình thức thỏa thuận điện tử hoặc thỏa thuận thông thường;
- Giao dịch Bán trái phiếu phải có trạng thái “Đã thực hiện” và đã gửi vào hệ thống BTS thành công.
Bước 3: Giao kết giao dịch Vay với giao dịch Bán trái phiếu
- Tác nghiệp tại Sổ lệnh Kết giao Giao dịch Vay để bán đối với Giao dịch Vay và giao dịch Bán trái phiếu nhập trong ngày giao dịch hiện tại, cùng mã Trái phiếu và cùng Khối lượng. Bên Vay trong giao dịch Vay chính là bên Bán trong giao dịch Outright.
- Thực hiện giao kết Giao dịch Vay và Giao dịch Bán trái phiếu.
Bước 4: Kiểm tra lệnh Vay để bán đã thực hiện
- Lệnh Vay để bán đã kết giao thành công sẽ hiển thị tại Sổ lệnh kết quả giao dịch Vay để bán, có trạng thái lệnh là “Đã thực hiện” và trạng thái kết giao là “Đã kết giao”.
1.4.4.2. Giao dịch Vay và Giao dịch Bán trái phiếu thực hiện đồng thời
Bước 1: Nhập lệnh Vay để bán
- Nhập lệnh theo hình thức thỏa thuận thông thường; thông tin nhập lệnh chi tiết nêu tại Điểm 1, Điểm 2 Mục A.V tại Phụ lục 11 - Thông tin nhập đính kèm Quy trình.
Bước 2: Kiểm tra lệnh
- Lệnh Vay để bán đã nhập thành công sẽ hiển thị tại Sổ lệnh Chờ thực hiện Vay để bán; có trạng thái lệnh là “Chờ thực hiện” và trạng thái kết giao là “Đã kết giao”.
- Các lệnh thành phần hiển thị tại các sổ lệnh sau:
+ Lệnh Vay trái phiếu có trạng thái “Chờ thực hiện” tại Sổ lệnh kết quả SBL;
+ Lệnh Bán trái phiếu có trạng thái “Chờ thực hiện” tại Sổ lệnh kết quả Outright.
- Nếu thông tin lệnh nhập chính xác, thực hiện tiếp bước 3;
- Nếu thông tin lệnh nhập chưa chính xác, thực hiện Hủy kết giao giao dịch Vay để bán trái phiếu để Sửa/Hủy lệnh.
Bước 3: Đối tác xác nhận lệnh
Đối tác trong Giao dịch Vay trái phiếu và đối tác trong Giao dịch Bán trái phiếu thực hiện xác nhận Giao dịch Vay và Giao dịch Bán trái phiếu:
- Đối với lệnh Vay trái phiếu, bên Cho vay trái phiếu xác nhận lệnh:
+ Tác nghiệp tại Sổ lệnh chờ thực hiện/Sổ lệnh báo cáo giao dịch SBL đối với lệnh có trạng thái “Chờ thực hiện”;
+ Cung cấp thông tin tài khoản lưu ký.
- Đối với lệnh Bán trái phiếu, bên Mua trái phiếu xác nhận lệnh:
+ Tác nghiệp tại Sổ lệnh chờ thực hiện/Sổ lệnh báo cáo giao dịch Outright đối với lệnh có trạng thái “Chờ thực hiện”;
+ Cung cấp thông tin tài khoản lưu ký.
Bước 4: Kiểm tra lệnh Vay để bán đã thực hiện
- Lệnh đã xác nhận sẽ hiển thị tại Sổ lệnh kết quả giao dịch Vay để bán, có trạng thái “Đã thực hiện”
- Các lệnh thành phần hiển thị tại các sổ lệnh sau:
+ Lệnh Vay trái phiếu có trạng thái “Đã thực hiện” tại Sổ lệnh kết quả SBL;
+ Lệnh Bán trái phiếu có trạng thái “Đã thực hiện” tại Sổ lệnh kết quả Outright.
- Đối với lệnh thực hiện trên Hệ thống BTS, việc nhập lệnh đã hoàn tất.
- Đối với lệnh thực hiện trên Hệ thống E-BTS, thực hiện tiếp bước 5.
Bước 5: Đẩy lệnh (áp dụng đối với trường hợp đối tác là NĐT)
- Tác nghiệp tại Sổ lệnh kết quả đối với lệnh có trạng thái là “Chờ đẩy” hoặc "Đã đẩy mua" hoặc "Đã đẩy bán";
- Nếu thông tin lệnh chính xác, thực hiện Đẩy lệnh. Lệnh đã được đẩy thành công sẽ hiển thị tại Sổ lệnh kết quả, có trạng thái là "Đã đẩy Mua - Bán" hoặc "Đã đẩy mua" hoặc "Đã đẩy bán";
- Nếu thông tin lệnh chưa chính xác, thực hiện Từ chối đẩy lệnh. Để điều chỉnh thông tin lệnh từ chối đẩy, tham khảo Quy trình sửa/hủy lệnh đã thực hiện tại Điểm 2 Mục B.II Quy trình này.
Bước 6: Duyệt lệnh
Đối với lệnh cần duyệt, đối tác trong giao dịch Vay và giao dịch Bán thực hiện duyệt lệnh:
- Tác nghiệp tại Sổ lệnh Chờ kiểm soát đối với lệnh có trạng thái “Chờ xử lý” hoặc “Chờ duyệt Front” hoặc “Chờ duyệt Back”;
- Nếu thông tin lệnh chính xác, thực hiện Duyệt lệnh. Tùy theo phân cấp, phê duyệt lệnh 01 cấp hoặc 02 cấp, thành viên sẽ phê duyệt lệnh 01 lần hoặc 02 lần. Lệnh đã Duyệt thành công gửi vào hệ thống BTS sẽ có trạng thái duyệt là "Đã Duyệt”.
- Nếu thông tin lệnh chưa chính xác, thực hiện Từ chối duyệt lệnh. Để điều chỉnh thông tin lệnh từ chối duyệt, tham khảo Quy trình sửa/hủy lệnh đã thực hiện tại Điểm 2 Mục B.II Quy trình này.
Bước 7: Kiểm tra lệnh Vay để bán đã thực hiện
- Lệnh Vay để bán đã thực hiện thành công sẽ hiển thị tại Sổ lệnh kết quả giao dịch Vay để bán; có trạng thái lệnh là “Đã thực hiện” và trạng thái kết giao là “Đã kết giao”.
2. Quy trình sửa/hủy lệnh đã thực hiện
2.1. Sửa/hủy lệnh đã thực hiện chưa gửi vào hệ thống BTS
2.1.1. Nội dung nghiệp vụ
- Sửa/hủy lệnh đã thực hiện Outright, Repo, SBB, SBL trên Hệ thống E-BTS chưa gửi vào hệ thống BTS.
2.1.2. Phạm vi áp dụng
- Hệ thống áp dụng: Hệ thống E-BTS
- Đối tượng áp dụng: ĐDGD và NĐT
2.1.3. Lưu đồ

2.1.4. Trình tự tác nghiệp
Để sửa/hủy lệnh Outright và Repo, SBB, SBL đã thực hiện trên hệ thống E-BTS chưa gửi vào Hệ thống BTS, ĐDGD/NĐT thực hiện như sau:
Bước 1: Thống nhất nội dung lệnh sửa/hủy
- Hai bên đối tác Mua và Bán liên hệ thỏa thuận với nhau về nội dung sửa/hủy lệnh giao dịch.
Bước 2: Sửa/hủy lệnh
- Tác nghiệp tại Sổ lệnh kết quả đối với lệnh có trạng thái “Đã thực hiện”;
- Thực hiện sửa/hủy lệnh đối với lệnh có trạng thái duyệt là “Từ chối duyệt” hoặc trạng thái đẩy là “Từ chối đẩy”;
Bước 3: Kiểm tra lệnh sửa/hủy
- Lệnh đã sửa/hủy thành công sẽ hiển thị tại Sổ lệnh kết quả:
+ Trường hợp bên Mua và bên Bán cùng ĐDGD: Lệnh sửa có trạng thái “Đã thực hiện”; Lệnh hủy có trạng thái là “Chấp nhận hủy”.
+ Trường hợp bên Mua và bên Bán khác ĐDGD: Lệnh sửa có trạng thái “Chờ xác nhận sửa”; Lệnh hủy có trạng thái là “Chờ xác nhận hủy”.
- Đối với lệnh sửa/hủy có trạng thái “Chờ xác nhận sửa” hoặc “Chờ xác nhận hủy”, thực hiện tiếp bước 4;
- Đối với lệnh sửa có trạng thái “Đã thực hiện” thực hiện tiếp bước 6;
- Đối với lệnh hủy có trạng thái “Chấp nhận hủy”, việc hủy lệnh đã hoàn tất.
Bước 4: Xác nhận lệnh sửa/hủy
- Tác nghiệp tại Sổ lệnh kết quả đối với lệnh có trạng thái “Chờ xác nhận sửa” hoặc “Chờ xác nhận hủy”;
- Đối tác thực hiện xác nhận lệnh sửa/hủy:
+ Nếu thông tin lệnh sửa/hủy chính xác, thực hiện “Xác nhận sửa” hoặc “Xác nhận hủy”;
+ Nếu thông tin lệnh sửa/hủy chưa chính xác, thực hiện “Từ chối xác nhận sửa” hoặc “Từ chối xác nhận hủy”. Đồng thời, liên hệ với bên đối tác để sửa lại lệnh.
Bước 5: Kiểm tra lệnh sửa/hủy đã xác nhận
- Lệnh sửa/hủy đã xác nhận sẽ hiển thị tại Sổ lệnh kết quả:
+ Nếu bên đối tác chấp nhận sửa/hủy: Lệnh sửa có trạng thái “Đã thực hiện”; Lệnh hủy có trạng thái là “Chấp nhận hủy” và việc hủy lệnh đã hoàn tất.
+ Nếu bên đối tác không chấp nhận sửa/hủy: Lệnh sửa có trạng thái “Không xác nhận sửa”; lệnh hủy có trạng thái “Không chấp nhận hủy”. Lệnh ĐTH gốc là lệnh duy nhất có hiệu lực.
Bước 6: Đẩy lệnh - Duyệt lệnh
6.1. Đẩy lệnh
Đối với lệnh do NĐT sửa, NĐT thực hiện đẩy lệnh:
- Tác nghiệp tại Sổ lệnh kết quả đối với lệnh có trạng thái là “Chờ đẩy” hoặc “Đã đẩy mua” hoặc “Đã đẩy bán”;
- Nếu thông tin lệnh chính xác, thực hiện Đẩy lệnh. Lệnh đã được đẩy thành công sẽ hiển thị tại Sổ lệnh kết quả, có trạng thái là "Đã đẩy Mua - Bán" hoặc “Đã đẩy mua” hoặc “Đã đẩy bán”.
- Nếu thông tin lệnh chưa chính xác, thực hiện Từ chối đẩy lệnh để sửa lại lệnh.
6.2. Phê duyệt lệnh
Đối với lệnh cần phê duyệt, ĐDGD thực hiện duyệt lệnh:
- Tác nghiệp tại Sổ lệnh Chờ kiểm soát đối với lệnh có trạng thái “Chờ xử lý” hoặc “Chờ duyệt Front” hoặc “Chờ duyệt Back”;
- Nếu thông tin lệnh chính xác, thực hiện Duyệt lệnh. Tùy theo phân cấp, phê duyệt lệnh 01 cấp hoặc 02 cấp, thành viên sẽ phê duyệt lệnh 01 lần hoặc 02 lần. Lệnh đã Duyệt thành công gửi vào hệ thống BTS sẽ có trạng thái duyệt là "Đã Duyệt”.
- Nếu thông tin lệnh chưa chính xác, thực hiện Từ chối duyệt lệnh để sửa lại lệnh.
Bước 7: Kiểm tra lệnh đã gửi vào Hệ thống BTS
- Lệnh sửa đã gửi vào Hệ thống BTS thành công sẽ hiển thị tại Sổ lệnh sửa/hủy giao dịch từ BTS, có trạng thái là “Đã thực hiện”.
2.2. Sửa lệnh thực hiện trong ngày đã gửi vào hệ thống BTS
2.2.1. Nội dung nghiệp vụ
- Sửa Giao dịch Outright và Giao dịch Repo, SBB, SBL lần 1 thực hiện trong ngày và đã gửi lệnh vào Hệ thống BTS;
2.2.2. Phạm vi áp dụng và thời điểm thực hiện
- Hệ thống áp dụng: hệ thống BTS và hệ thống E-BTS
- Đối tượng áp dụng: ĐDGD và NĐT
- Thời điểm thực hiện:
+ Đối với sửa lệnh đã thực hiện trong giờ giao dịch: Thời gian sửa lệnh đã thực hiện phải hoàn tất chậm nhất 10 phút trước khi phiên giao dịch kết thúc;
+ Đối với sửa lệnh sau giờ giao dịch: Thời gian sửa lệnh đã thực hiện phải hoàn tất chậm nhất 10 phút sau khi phiên giao dịch kết thúc.
2.2.3. Lưu đồ

2.2.4. Trình tự tác nghiệp
Để sửa lệnh Outright và Repo, SBB, SBL đã thực hiện trong ngày đã gửi vào Hệ thống BTS, ĐDGD thực hiện như sau:
Bước 1: Thống nhất nội dung lệnh sửa
- Bên Mua và Bán liên hệ thỏa thuận với nhau về nội dung sửa lệnh giao dịch.
Bước 2: Gửi hồ sơ sửa lệnh cho SGDCK
- Thành viên gây lỗi gửi fax cho SGDCK (Phòng Thị trường trái phiếu) các giấy tờ sau:
+ Đề nghị sửa lệnh giao dịch đã thực hiện (Mẫu tại Phụ lục 09 - Mẫu văn bản đính kèm Quy trình);
+ Phiếu lệnh gốc của khách hàng hoặc các giấy tờ tương đương.
- Trường hợp sửa lệnh sau giờ giao dịch, thành viên gây lỗi gửi bản fax hồ sơ sửa lệnh đã thực hiện đầy đủ, hợp lệ cho SGDCK chậm nhất vào thời điểm phiên giao dịch kết thúc.
Bước 3: Sửa lệnh
- Tác nghiệp tại Sổ lệnh kết quả hoặc Sổ lệnh sửa/hủy từ BTS (chỉ áp dụng đối với trường hợp thành viên sửa lệnh trên hệ thống E-BTS) đối với lệnh có trạng thái “Đã thực hiện”;
- Thực hiện sửa lệnh.
Bước 4: Kiểm tra lệnh sửa
- Lệnh đã sửa thành công sẽ hiển thị tại Sổ lệnh kết quả hoặc Sổ lệnh sửa/hủy giao dịch từ BTS (chỉ áp dụng đối với trường hợp thành viên sửa lệnh trên hệ thống E-BTS):
+ Trường hợp bên Mua và bên Bán cùng ĐDGD:
● Trên hệ thống BTS: Lệnh sửa có trạng thái “Chờ kiểm soát sửa”;
● Trên hệ thống E-BTS: Lệnh sửa có trạng thái “Đã thực hiện”;
+ Trường hợp bên Mua và bên Bán khác ĐDGD: Lệnh sửa có trạng thái “Chờ xác nhận sửa”.
- Đối với lệnh sửa có trạng thái “Chờ xác nhận sửa”, thực hiện tiếp bước 5;
- Đối với lệnh sửa có trạng thái “Đã thực hiện”, thực hiện tiếp 7;
- Đối với lệnh sửa có trạng thái “Chờ kiểm soát sửa”, thực hiện tiếp bước 9.
Bước 5: Xác nhận lệnh sửa
- Tác nghiệp tại Sổ lệnh kết quả hoặc Sổ lệnh sửa/hủy giao dịch từ BTS (chỉ áp dụng đối với trường hợp thành viên sửa lệnh trên hệ thống E-BTS) đối với lệnh có trạng thái “Chờ xác nhận sửa”;
- Đối tác thực hiện xác nhận lệnh sửa:
+ Nếu thông tin lệnh sửa chính xác, thực hiện “Xác nhận sửa”;
+ Nếu thông tin lệnh sửa chưa chính xác, thực hiện “Từ chối xác nhận sửa”. Đồng thời, liên hệ với bên đối tác để sửa lại lệnh.
Bước 6: Kiểm tra lệnh sửa đã xác nhận
- Lệnh sửa đã xác nhận sẽ hiển thị tại Sổ lệnh kết quả hoặc Sổ lệnh sửa/hủy giao dịch từ BTS (chỉ áp dụng đối với trường hợp thành viên sửa lệnh trên hệ thống E-BTS):
+ Nếu bên đối tác chấp nhận sửa:
● Trên hệ thống BTS: Lệnh sửa có trạng thái “Chờ kiểm soát sửa”;
● Trên hệ thống E-BTS: Lệnh sửa có trạng thái “Đã thực hiện”;
+ Nếu bên đối tác không chấp nhận sửa: Lệnh sửa có trạng thái “Không xác nhận sửa”.
- Đối với lệnh sửa trên Hệ thống BTS, thực hiện tiếp bước 9.
- Đối với lệnh sửa trên Hệ thống E-BTS, thực hiện tiếp bước 7.
Bước 7: Đẩy lệnh - Duyệt lệnh
7.1. Đẩy lệnh
Đối với lệnh do NĐT nhập, NĐT thực hiện đẩy lệnh:
- Tác nghiệp tại Sổ lệnh kết quả đối với lệnh có trạng thái là “Chờ đẩy” hoặc “Đã đẩy mua” hoặc “Đã đẩy bán”;
- Nếu thông tin lệnh chính xác, thực hiện Đẩy lệnh. Lệnh đã được đẩy thành công sẽ hiển thị tại Sổ lệnh kết quả, có trạng thái là "Đã đẩy Mua - Bán" hoặc “Đã đẩy mua” hoặc “Đã đẩy bán”;
- Nếu thông tin lệnh chưa chính xác, thực hiện Từ chối đẩy lệnh để sửa lại lệnh.
7.2. Phê duyệt lệnh
Đối với lệnh cần phê duyệt, ĐDGD thực hiện duyệt lệnh:
- Tác nghiệp tại Sổ lệnh Chờ kiểm soát đối với lệnh có trạng thái “Chờ xử lý” hoặc “Chờ duyệt Front” hoặc “Chờ duyệt Back”;
- Nếu thông tin lệnh chính xác, thực hiện Duyệt lệnh. Tùy theo phân cấp, phê duyệt lệnh 01 cấp hoặc 02 cấp, thành viên sẽ phê duyệt lệnh 01 lần hoặc 02 lần. Lệnh đã Duyệt thành công gửi vào hệ thống BTS sẽ có trạng thái duyệt là "Đã Duyệt”.
- Nếu thông tin lệnh chưa chính xác, thực hiện Từ chối duyệt lệnh để sửa lại lệnh.
Bước 8: Kiểm tra lệnh sửa đã gửi vào hệ thống BTS
- Lệnh sửa đã gửi vào Hệ thống BTS thành công sẽ hiển thị tại Sổ lệnh sửa/hủy giao dịch từ BTS, có trạng thái là “Đã thực hiện”.
Bước 9: Kiểm soát sửa lệnh (SGDCK chỉ thực hiện kiểm soát sửa lệnh khi hai bên đồng ý sửa lệnh)
- Trường hợp SGDCK chấp thuận việc sửa lệnh: Lệnh gốc chuyển sang trạng thái “Không hiệu lực” và lệnh sửa có trạng thái “Đã thực hiện”.
- Trường hợp SGDCK không chấp thuận việc sửa lệnh: Lệnh gốc trở về trạng thái “Đã thực hiện” và lệnh sửa chuyển sang trạng thái “Không cho phép sửa”.
Bước 10: Bên gây lỗi gửi bản gốc hồ sơ sửa lệnh đã thực hiện
- Chậm nhất vào 11h00 ngày làm việc kế tiếp, thành viên gây lỗi phải gửi bản gốc Đề nghị sửa lệnh giao dịch đã thực hiện và bản sao Phiếu lệnh gốc của khách hàng có đóng dấu treo hoặc các giấy tờ tương đương cho SGDCK.
2.3. Sửa giao dịch lần 2
2.3.1. Nội dung nghiệp vụ
- Sửa Giao dịch Repo, SBB, SBL lần 2 chưa đến hạn thanh toán hoặc đến hạn thanh toán trong ngày.
2.3.2. Phạm vi áp dụng và thời điểm thực hiện
- Hệ thống áp dụng: hệ thống BTS và hệ thống E-BTS;
- Đối tượng áp dụng: ĐDGD;
- Thời điểm thực hiện:
+ Đối với sửa lệnh đã thực hiện trong giờ giao dịch: Thời gian sửa lệnh đã thực hiện phải hoàn tất chậm nhất 10 phút trước khi phiên giao dịch kết thúc;
+ Đối với sửa lệnh sau giờ giao dịch: Thời gian sửa lệnh đã thực hiện phải hoàn tất chậm nhất 10 phút sau khi phiên giao dịch kết thúc.
2.2.3. Lưu đồ

2.2.4. Trình tự tác nghiệp
Để sửa lệnh Repo, SBB, SBL lần 2, ĐDGD thực hiện như sau:
Bước 1: Thống nhất nội dung lệnh sửa
- Bên Mua và Bán liên hệ thỏa thuận với nhau về nội dung sửa lệnh giao dịch.
Bước 2: Gửi hồ sơ sửa lệnh cho SGDCK
- ĐDGD của thành viên gây lỗi gửi fax cho SGDCK (Phòng Thị trường trái phiếu): Đề nghị sửa lệnh giao dịch lần 2 đã thực hiện (Mẫu tại Phụ lục 09 - Mẫu văn bản đính kèm Quy trình);
- Trường hợp sửa lệnh sau giờ giao dịch, thành viên gây lỗi gửi bản fax hồ sơ sửa lệnh đã thực hiện đầy đủ, hợp lệ cho SGDCK chậm nhất vào thời điểm phiên giao dịch kết thúc.
Bước 3: Sửa lệnh
- Tác nghiệp tại Sổ lệnh giao dịch lần 2/Sổ lệnh hoàn trả trái phiếu hoặc Sổ sửa lệnh lần 2 từ BTS (chỉ áp dụng đối với trường hợp thành viên sửa lệnh trên E-BTS) đối với lệnh có trạng thái “Đã thực hiện”;
- Thực hiện sửa lệnh.
Bước 4: Kiểm tra lệnh sửa
- Lệnh đã sửa thành công sẽ hiển thị tại Sổ lệnh giao dịch lần 2/Sổ lệnh hoàn trả trái phiếu hoặc Sổ sửa lệnh lần 2 từ BTS (chỉ áp dụng đối với trường hợp thành viên sửa lệnh trên hệ thống E-BTS):
+ Trường hợp bên Mua và bên Bán cùng ĐDGD:
● Trên hệ thống BTS: Lệnh sửa có trạng thái “Chờ kiểm soát sửa”;
● Trên hệ thống E-BTS: Lệnh sửa có trạng thái “Đã thực hiện”;
+ Trường hợp bên Mua và bên Bán khác ĐDGD: Lệnh sửa có trạng thái “Chờ xác nhận sửa”.
- Đối với lệnh sửa có trạng thái “Chờ xác nhận sửa”, thực hiện tiếp bước 5;
- Đối với lệnh sửa có trạng thái “Đã thực hiện”, thực hiện tiếp 7;
- Đối với lệnh sửa có trạng thái “Chờ kiểm soát sửa”, thực hiện tiếp bước 9.
Bước 5: Xác nhận lệnh sửa
- Tác nghiệp tại Sổ lệnh giao dịch lần 2/Sổ lệnh hoàn trả trái phiếu hoặc Sổ sửa lệnh lần 2 từ BTS (chỉ áp dụng đối với trường hợp thành viên sửa lệnh trên hệ thống E-BTS) đối với lệnh có trạng thái “Chờ xác nhận sửa”;
- Đối tác thực hiện xác nhận lệnh sửa:
+ Nếu thông tin lệnh sửa chính xác, thực hiện “Xác nhận sửa”;
+ Nếu thông tin lệnh sửa chưa chính xác, thực hiện “Từ chối xác nhận sửa”. Đồng thời, liên hệ với bên đối tác để sửa lại lệnh.
Bước 6: Kiểm tra lệnh sửa đã xác nhận
- Lệnh sửa đã xác nhận sẽ hiển thị tại Sổ lệnh giao dịch lần 2/Sổ lệnh hoàn trả trái phiếu hoặc Sổ sửa lệnh lần 2 từ BTS (chỉ áp dụng đối với trường hợp thành viên sửa lệnh trên hệ thống E-BTS):
+ Nếu bên đối tác chấp nhận sửa:
● Trên hệ thống BTS: Lệnh sửa có trạng thái “Chờ kiểm soát sửa”;
● Trên hệ thống E-BTS: Lệnh sửa có trạng thái “Đã thực hiện”;
+ Nếu bên đối tác không chấp nhận sửa: Lệnh sửa có trạng thái “Không xác nhận sửa”.
- Đối với lệnh sửa trên Hệ thống BTS, thực hiện tiếp bước 9.
- Đối với lệnh sửa trên Hệ thống E-BTS, thực hiện tiếp bước 7.
Bước 7: Đẩy lệnh - Duyệt lệnh
7.1. Đẩy lệnh
Đối với lệnh do NĐT nhập, NĐT thực hiện đẩy lệnh:
- Tác nghiệp tại Sổ lệnh kết quả đối với lệnh có trạng thái là “Chờ đẩy” hoặc “Đã đẩy mua” hoặc “Đã đẩy bán”;
- Nếu thông tin lệnh chính xác, thực hiện Đẩy lệnh. Lệnh đã được đẩy thành công sẽ hiển thị tại Sổ lệnh kết quả, có trạng thái là "Đã đẩy Mua - Bán" hoặc “Đã đẩy mua” hoặc “Đã đẩy bán”;
- Nếu thông tin lệnh chưa chính xác, thực hiện Từ chối đẩy lệnh để sửa lại lệnh.
7.2. Phê duyệt lệnh
Đối với lệnh cần phê duyệt, ĐDGD thực hiện duyệt lệnh:
- Tác nghiệp tại Sổ lệnh Chờ kiểm soát đối với lệnh có trạng thái “Chờ xử lý” hoặc “Chờ duyệt Front” hoặc “Chờ duyệt Back”;
- Nếu thông tin lệnh chính xác, thực hiện Duyệt lệnh. Tùy theo phân cấp, phê duyệt lệnh 01 cấp hoặc 02 cấp, thành viên sẽ phê duyệt lệnh 01 lần hoặc 02 lần. Lệnh đã Duyệt thành công gửi vào hệ thống BTS sẽ có trạng thái duyệt là "Đã Duyệt”.
- Nếu thông tin lệnh chưa chính xác, thực hiện Từ chối duyệt lệnh để sửa lại lệnh.
Bước 8: Kiểm tra lệnh sửa đã gửi vào hệ thống BTS
- Lệnh sửa đã gửi vào Hệ thống BTS thành công sẽ hiển thị tại Sổ sửa lệnh lần 2 từ BTS, có trạng thái là “Đã thực hiện”.
Bước 9: Kiểm soát sửa lệnh (SGDCK chỉ thực hiện kiểm soát sửa lệnh khi hai bên đồng ý sửa lệnh)
- Trường hợp SGDCK chấp thuận việc sửa lệnh: Lệnh gốc chuyển sang trạng thái “Không hiệu lực” và lệnh sửa có trạng thái “Đã thực hiện”.
- Trường hợp SGDCK không chấp thuận việc sửa lệnh: Lệnh gốc trở về trạng thái “Đã thực hiện” và lệnh sửa chuyển sang trạng thái “Không cho phép sửa”.
Bước 10: Bên gây lỗi gửi bản gốc hồ sơ sửa lệnh đã thực hiện
- Chậm nhất vào 11h00 ngày làm việc kế tiếp, thành viên gây lỗi phải gửi bản gốc Đề nghị sửa lệnh giao dịch lần 2 đã thực hiện cho SGDCK.
2.4. Sửa/Hủy giao dịch tương lai đã thực hiện đã gửi vào hệ thống BTS
2.4.1. Nội dung nghiệp vụ
- Sửa/hủy lệnh tương lai đã thực hiện đã gửi vào hệ thống BTS, do hai bên đối tác Mua và Bán tự thỏa thuận với nhau.
2.4.2. Phạm vi áp dụng
- Hệ thống áp dụng: Hệ thống BTS và hệ thống E-BTS
- Đối tượng áp dụng: ĐDGD và NĐT
2.4.3. Lưu đồ

2.4.4. Trình tự tác nghiệp
Để thực hiện sửa/hủy lệnh tương lai đã thực hiện đã gửi vào hệ thống BTS, thực hiện theo trình tự sau:
Bước 1: Thống nhất nội dung sửa/hủy
- Hai bên đối tác Mua và Bán liên hệ thỏa thuận với nhau về nội dung sửa hoặc hủy lệnh giao dịch.
Bước 2: Sửa/hủy lệnh
- Tác nghiệp tại Sổ lệnh kết quả hoặc Sổ lệnh sửa/hủy giao dịch từ BTS (chỉ áp dụng đối với trường hợp thành viên sửa/hủy lệnh trên hệ thống E-BTS) đối với lệnh tương lai có trạng thái “Đã thực hiện”;
- Thực hiện sửa hoặc hủy lệnh.
Bước 3: Kiểm tra lệnh sửa/hủy
- Lệnh đã sửa/hủy thành công sẽ hiển thị tại Sổ lệnh kết quả hoặc Sổ lệnh sửa/hủy giao dịch từ BTS (chỉ áp dụng đối với trường hợp thành viên sửa/hủy lệnh trên E-BTS):
+ Trường hợp bên Mua và bên Bán cùng ĐDGD: Lệnh sửa có trạng thái “Đã thực hiện”; Lệnh hủy có trạng thái là “Chấp nhận hủy”.
+ Trường hợp bên Mua và bên Bán khác ĐDGD: Lệnh sửa có trạng thái “Chờ xác nhận sửa”; Lệnh hủy có trạng thái là “Chờ xác nhận hủy”.
- Đối với lệnh sửa/hủy có trạng thái “Chờ xác nhận sửa” hoặc “Chờ xác nhận hủy”, thực hiện tiếp bước 4;
- Đối với lệnh sửa có trạng thái “Đã thực hiện”:
+ Nếu sửa lệnh trên hệ thống BTS: việc sửa lệnh đã hoàn tất;
+ Nếu sửa lệnh trên hệ thống E-BTS: thực hiện tiếp bước 6.
- Đối với lệnh hủy có trạng thái “Chấp nhận hủy”, việc hủy lệnh đã hoàn tất.
Bước 4: Xác nhận lệnh sửa/hủy
- Tác nghiệp tại Sổ lệnh kết quả hoặc Sổ lệnh sửa/hủy giao dịch từ BTS (chỉ áp dụng đối với trường hợp thành viên sửa/hủy lệnh trên E-BTS) đối với lệnh có trạng thái “Chờ xác nhận sửa” hoặc “Chờ xác nhận hủy”;
- Đối tác thực hiện xác nhận lệnh sửa/hủy:
+ Nếu thông tin lệnh sửa/hủy chính xác, đối tác xác nhận lệnh thực hiện “Xác nhận sửa” hoặc “Xác nhận hủy”;
+ Nếu thông tin lệnh sửa/hủy chưa chính xác, thực hiện “Từ chối xác nhận sửa” hoặc “Từ chối xác nhận hủy”. Đồng thời, liên hệ với bên đối tác để sửa lại lệnh.
Bước 5: Kiểm tra lệnh sửa/hủy đã xác nhận
- Lệnh sửa/hủy đã xác nhận sẽ hiển thị tại Sổ lệnh kết quả hoặc Sổ lệnh sửa/hủy giao dịch từ BTS (chỉ áp dụng đối với trường hợp thành viên sửa/hủy lệnh trên hệ thống E-BTS):
+ Nếu bên đối tác chấp nhận sửa/hủy: Lệnh sửa có trạng thái “Đã thực hiện”; Lệnh hủy có trạng thái là “Chấp nhận hủy”.
+ Nếu bên đối tác không chấp nhận sửa/hủy: Lệnh sửa có trạng thái “Không xác nhận sửa”; Lệnh hủy có trạng thái “Không chấp nhận hủy”. Lệnh ĐTH gốc là lệnh duy nhất có hiệu lực.
- Nếu sửa/hủy lệnh trên hệ thống BTS và hủy lệnh trên hệ thống E-BTS, việc sửa/hủy lệnh đã hoàn tất.
- Nếu sửa lệnh trên hệ thống E-BTS, thực hiện tiếp bước 6.
Bước 6: Đẩy lệnh - Duyệt lệnh
6.1. Đẩy lệnh
Đối với lệnh do NĐT sửa, NĐT thực hiện đẩy lệnh:
- Tác nghiệp tại Sổ lệnh kết quả đối với lệnh có trạng thái là “Chờ đẩy” hoặc “Đã đẩy mua” hoặc “Đã đẩy bán";
- Nếu thông tin lệnh chính xác, thực hiện Đẩy lệnh. Lệnh đã được đẩy thành công sẽ hiển thị tại Sổ lệnh kết quả, có trạng thái là "Đã đẩy Mua - Bán" hoặc “Đã đẩy mua” hoặc “Đã đẩy bán”.
- Nếu thông tin lệnh chưa chính xác, thực hiện Từ chối đẩy lệnh để sửa lại lệnh.
6.2. Phê duyệt lệnh
Đối với lệnh cần phê duyệt, ĐDGD thực hiện duyệt lệnh:
- Tác nghiệp tại Sổ lệnh Chờ kiểm soát đối với lệnh có trạng thái “Chờ xử lý” hoặc “Chờ duyệt Front” hoặc “Chờ duyệt Back”;
- Nếu thông tin lệnh chính xác, thực hiện Duyệt lệnh. Tùy theo phân cấp, phê duyệt lệnh 01 cấp hoặc 02 cấp, thành viên sẽ phê duyệt lệnh 01 lần hoặc 02 lần. Lệnh đã Duyệt thành công gửi vào hệ thống BTS sẽ có trạng thái duyệt là "Đã Duyệt”.
- Nếu thông tin lệnh chưa chính xác, thực hiện Từ chối duyệt lệnh để sửa lại lệnh.
Bước 7: Kiểm tra lệnh sửa đã gửi vào Hệ thống BTS
- Lệnh sửa đã gửi vào Hệ thống BTS thành công sẽ hiển thị tại Sổ lệnh sửa/hủy giao dịch từ BTS, có trạng thái là “Đã thực hiện”.
2.5. Hủy kết giao Giao dịch Vay để bán
2.5.1. Nội dung nghiệp vụ
- Hủy kết giao Giao dịch Vay và Giao dịch bán trái phiếu trong Giao dịch Vay để bán trái phiếu. Giao dịch Vay (giao dịch SBL) và giao dịch Bán thông thường trái phiếu (giao dịch Outright) sau khi hủy kết giao được đối xử như 02 giao dịch độc lập.
2.5.2. Phạm vi áp dụng
- Hệ thống áp dụng: Hệ thống BTS và hệ thống E-BTS
- Đối tượng áp dụng: ĐDGD bên Vay trái phiếu
2.5.3. Lưu đồ

2.5.4. Trình tự tác nghiệp
Để Hủy kết giao Giao dịch Vay để bán trái phiếu, ĐDGD của bên Vay trái phiếu thực hiện theo trình tự sau:
Bước 1: Thực hiện Hủy kết giao giao dịch Vay để bán trái phiếu
- Tác nghiệp tại Sổ lệnh Chờ thực hiện Vay để bán đối với lệnh Vay để bán có trạng thái “Chờ thực hiện”;
- Tác nghiệp tại Sổ lệnh Kết quả Giao dịch Vay để bán đối với lệnh Vay để bán có trạng thái “Đã thực hiện”;
- Thực hiện Hủy kết giao giao dịch Vay và giao dịch Bán trái phiếu;
Bước 2: Kiểm tra giao dịch sau khi hủy kết giao
- Lệnh Vay để bán trái phiếu Chờ thực hiện được hủy kết giao thành công sẽ hiển thị tại Sổ lệnh Chờ thực hiện Vay để bán, có trạng thái “Hủy kết giao”; Các lệnh thành phần sẽ hiển thị tại các Sổ lệnh sau:
+ Lệnh Vay trái phiếu sẽ hiển thị tại Sổ lệnh chờ thực hiện SBL, có trạng thái “Chờ thực hiện”;
+ Lệnh Bán trái phiếu sẽ hiển thị tại Sổ lệnh chờ thực hiện Outright, có trạng thái “Chờ thực hiện”.
- Lệnh Vay để bán trái phiếu Đã thực hiện được hủy kết giao thành công sẽ hiển thị tại Sổ lệnh Kết quả giao dịch Vay để bán, có trạng thái “Hủy kết giao”. Các lệnh thành phần sẽ hiển thị tại các Sổ lệnh sau:
+ Lệnh Vay trái phiếu sẽ hiển thị tại Sổ lệnh kết quả SBL, có trạng thái “Đã thực hiện;
+ Lệnh Bán trái phiếu sẽ hiển thị tại Sổ lệnh kết quả Outright, có trạng thái “Đã thực hiện”.
2.6. Sửa lệnh đã thực hiện sau giờ giao dịch
2.6.1. Nội dung nghiệp vụ
- Sửa lệnh đã thực hiện sau giờ giao dịch tại TTLKCK.
2.6.2. Phạm vi và nguyên tắc áp dụng
- Đối tượng áp dụng: Thành viên gây lỗi;
- Nguyên tắc áp dụng: Thành viên gây lỗi thực hiện sửa lệnh đã thực hiện sau giờ giao dịch theo quy trình sửa lỗi của TTLKCK.
2.6.3. Lưu đồ

2.6.4. Trình tự tác nghiệp
Trường hợp phát hiện lỗi đối với giao dịch đã thực hiện sau giờ giao dịch, thành viên gây lỗi thực hiện theo trình tự như sau:
Bước 1: Báo cáo bằng văn bản tới SGDCK về giao dịch lỗi ngay trong ngày thực hiện giao dịch;
Bước 2: Thực hiện sửa lỗi sau giao dịch theo quy định của TTLKCK;
Bước 3: Báo cáo bằng văn bản kết quả sửa lỗi cho SGDCK trong vòng 03 ngày làm việc kể từ ngày hoàn tất việc sửa lỗi tại TTLKCK.
Bước 4: Căn cứ vào báo cáo kết quả sửa lỗi của thành viên và Công văn thông báo về việc sửa lỗi sau giờ giao dịch của TTLKCK, SGDCK ghi nhận giao dịch lỗi trên các hệ thống liên quan của SGDCK (nếu cần thiết).
3. Quy trình xử lý trong trường hợp mất khả năng thanh toán
3.1. Nội dung nghiệp vụ
- Mô tả các bước xử lý trong trường hợp trước hoặc đến ngày thanh toán lần 2 của giao dịch Repos, SBB, SBL lần 2, một trong hai bên đối tác tham gia giao dịch không thực hiện thanh toán theo đúng thỏa thuận.
3.2. Phạm vi áp dụng
- Hệ thống áp dụng: hệ thống BTS
- Đối tượng áp dụng: ĐDGD
3.3. Lưu đồ

3.4. Trình tự tác nghiệp
3.4.1. Nếu trước ngày thanh toán lần 2 của giao dịch Repos, SBB, SBL, thành viên thông báo cho SGDCK về việc mất khả năng thanh toán
Nếu một trong hai bên đối tác tham gia giao dịch Repos, SBB, SBL thông báo về việc mất khả năng thanh toán trước ngày thanh toán lần 2, thực hiện xử lý như sau:
Bước 1. Thông báo với SGDCK về việc mất khả năng thanh toán giao dịch lần 2
- Bên mất khả năng thanh toán gửi công văn đến SGDCK thông báo về việc mất khả năng thanh toán vào ngày thanh toán lần 2 của giao dịch Repo, SBB, SBL đính kèm các giấy tờ sau:
+ Phiếu lệnh có liên quan;
+ Biên bản hoặc thỏa thuận về phương án xử lý đã được sự đồng thuận của cả hai bên.
Bước 2. SGDCK hủy giao dịch lần 2 trên hệ thống
Căn cứ theo công văn thông báo về việc mất khả năng thanh toán của thành viên, SGDCK thực hiện hủy giao dịch Repo, SBB, SBL lần 2 trên Hệ thống BTS (không đẩy dữ liệu thanh toán giao dịch Repo, SBB, SBL lần 2 sang TTLKCK).
3.4.2. Nếu tại ngày thanh toán lần 2 của giao dịch Repos, SBB, SBL, thành viên thông báo cho SGDCK về việc mất khả năng thanh toán
Nếu tại ngày thanh toán lần 2 của giao dịch Repos, SBB, SBL, một trong hai bên đối tác tham gia giao dịch không thực hiện thanh toán theo đúng thỏa thuận, thực hiện xử lý như sau:
- Nếu Bên Bán/Cho vay (trong giao dịch lần 1) mất khả năng thanh toán tiền: Bên Mua/Vay (trong giao dịch lần 1) thực hiện bán thanh lý (các) mã trái phiếu trong giao dịch Repos, SBB, SBL;
- Nếu Bên Mua/Vay (trong giao dịch lần 1) mất khả năng thanh toán trái phiếu: hai bên tham gia giao dịch thực hiện báo cáo SGDCK về phương án xử lý trước khi thực hiện và sau khi hoàn tất.
3.4.2.1. Trường hợp Bên Bán/Cho vay (trong giao dịch lần 1) không thực hiện nghĩa vụ thanh toán
Bên Mua/Vay (trong giao dịch lần 1) thực hiện xử lý mã trái phiếu sử dụng trong giao dịch Repo, SBB, SBL theo trình tự sau:
Bước 1. Bên Mua/Vay (trong giao dịch lần 1) chuẩn bị bản thanh lý (các) mã TPCP
- Gửi thông báo bằng văn bản tới SGDCK về việc bán thanh lý (các) mã TPCP (trong giao dịch lần 1), kèm theo các giấy tờ sau:
+ Trường hợp hai bên không thống nhất được phương án xử lý: (i) Phiếu lệnh hoặc các giấy tờ tương đương có liên quan; (ii) Xác nhận của TTLKCK về việc bên đối tác đã không thực hiện nghĩa vụ thanh toán giao dịch; (iii) Thông báo bằng văn bản về việc bán thanh lý TPCP đã được hai bên nhất trí;
+ Trường hợp hai bên thống nhất được phương án xử lý: (i) Phiếu lệnh có liên quan; (ii) Biên bản hoặc thỏa thuận về phương án xử lý đã được sự đồng thuận của cả hai bên.
Bước 2. Bên Mua/Vay (trong giao dịch lần 1) thực hiện bán thanh lý (các) mã TPCP
- Chào bán công khai (các) mã TPCP thanh lý theo hình thức giao dịch thỏa thuận điện tử toàn thị trường trên Hệ thống BTS.
Bước 3. Thông báo kết quả thanh lý TPCP cho SGDCK
- Trong vòng 03 ngày làm việc kể từ ngày bắt đầu chào bán thanh lý (các) mã TPCP trên Hệ thống BTS, Bên Mua/Bên Vay trong giao dịch lần 1 gửi hồ sơ thông báo kết quả hoàn tất thực hiện thanh lý bằng văn bản tới SGDCK, bao gồm:
+ Thông báo kết quả thanh lý;
+ Các phiếu lệnh giao dịch (phiếu chào bán, phiếu kết quả giao dịch);
+ Bản xác nhận giao dịch đã hoàn tất thanh toán (tiền và TPCP) của TTLKCK (hoặc các chứng từ tương đương).
3.4.2.2. Trường hợp Bên Mua/Vay (trong giao dịch lần 1) không thực hiện nghĩa vụ thanh toán
- Việc xử lý nghĩa vụ thanh toán tiền trong giao dịch TPCP được thực hiện bên ngoài hệ thống;
- Hai bên tham gia giao dịch phải báo cáo bằng văn bản đến SGDCK về phương án xử lý thay đổi thỏa thuận về nghĩa vụ và quyền lợi của mỗi bên trước khi thực hiện và ngay sau khi hoàn tất.
4. Quy trình xử lý sự cố
4.1. Nhập lệnh trực tiếp tại sàn hoặc thành viên nhờ SGDCK nhập hộ lệnh
4.1.1. Nội dung nghiệp vụ
- Trong trường hợp cần thiết, thành viên được ủy quyền cho ĐDGD đến nhập lệnh trực tiếp tại Sàn hoặc đề nghị SGDCK nhập lệnh hộ thành viên.
4.1.2. Phạm vi áp dụng
- Hệ thống áp dụng: Hệ thống BTS
- Đối tượng áp dụng: ĐDGD
4.1.3. Lưu đồ

4.1.4. Trình tự tác nghiệp
Bước 1: Thành viên gửi hồ sơ cho SGDCK
- Thành viên gửi cho SGDCK (Phòng Thị trường trái phiếu) các Tài liệu cần thiết liên quan tối thiểu 45 phút trước giờ Kết thúc nhận lệnh giao dịch.
- Đối với văn bản gửi qua đường bưu điện/fax, thời điểm nhận được văn bản sẽ là căn cứ để xử lý hồ sơ.
- Đối với trường hợp ĐDGD đến nhập lệnh trực tiếp tại Sàn: hồ sơ bao gồm:
+ Công văn đề nghị nhập lệnh trực tiếp tại Sàn (theo Mẫu 08a tại Phụ lục 09 - Mẫu văn bản đính kèm Quy trình), trong đó ghi rõ lý do nhập lệnh tại sàn:
● Do lỗi đường truyền kết nối của cả hai Hệ thống BTS và hệ thống E-BTS;
● Hoặc do chuyển địa điểm kết nối;
● Hoặc trong trường hợp bất khả kháng không thể nhập lệnh tại địa điểm đăng ký kết nối.
+ Các giấy tờ liên quan tới ĐDGD đến nhập lệnh trực tiếp tại Sàn, cụ thể: Quyết định công nhận ĐDGD, chứng minh thư hoặc giấy tờ tương đương.
- Đối với trường hợp thành viên đề nghị Sở nhập lệnh hộ: hồ sơ bao gồm:
+ Công văn đề nghị SGDCK nhập lệnh hộ (theo Mẫu 08b tại Phụ lục 09 - Mẫu văn bản đính kèm Quy trình).
+ Phiếu lệnh hoặc chứng từ giao dịch theo các Mẫu phiếu đã được quy định tại Quy chế giao dịch với chữ ký, họ tên, chức danh, đóng dấu của người có thẩm quyền.
- Trường hợp hồ sơ của thành viên đầy đủ và hợp lệ, thực hiện tiếp bước 2.
- Trường hợp hồ sơ của thành viên chưa đầy đủ và hợp lệ, SGDCK thông báo ngay để thành viên kịp bổ sung theo quy định.
Bước 2: SGDCK xử lý yêu cầu của thành viên giao dịch
- Trường hợp ĐDGD nhập lệnh trực tiếp tại Sàn: tối thiểu 15 phút trước giờ Kết thúc nhận lệnh giao dịch:
+ Cán bộ Quản lý giao dịch của SGDCK chuyển địa chỉ IP của ĐDGD được ủy quyền sang máy trạm đặt tại SGDCK.
+ ĐDGD sử dụng đúng tài khoản và mật khẩu của mình nhập lệnh trên máy trạm do Cán bộ QLGD chỉ định và phải đảm bảo hoàn thành nhập lệnh trước giờ Kết thúc nhận lệnh giao dịch.
+ Sau khi ĐDGD hoàn thành việc nhập lệnh, Cán bộ QLGD chuyển địa chỉ IP tại máy trạm của SGDCK về địa chỉ IP tại địa điểm đăng ký kết nối của thành viên.
- Trường hợp SGDCK nhập lệnh hộ thành viên: Tối thiểu 15 phút trước giờ Kết thúc nhận lệnh giao dịch, cán bộ Quản lý giao dịch của SGDCK nhập lệnh giao dịch theo đề nghị của thành viên, cụ thể:
+ Chuyển địa chỉ IP của ĐDGD của thành viên sang máy trạm đặt tại SGDCK và thiết lập lại mật khẩu;
+ Thực hiện nhập lệnh giao dịch;
+ Sau khi hoàn thành việc nhập lệnh, chuyển địa chỉ IP tại máy trạm của SGDCK về địa chỉ IP tại địa điểm đăng ký kết nối của thành viên giao dịch;
+ Thông báo mật khẩu truy cập cho ĐDGD qua email do thành viên đăng ký tại Công văn đề nghị SGDCK nhập lệnh hộ.
Bước 3: Ký biên bản
- Trường hợp ĐDGD nhập lệnh trực tiếp tại Sàn: sau khi hoàn thành nhập lệnh, ĐDGD ký xác nhận Biên bản nhập lệnh trực tiếp tại Sàn (theo Mẫu 09a tại Phụ lục 09 - Mẫu văn bản đính kèm Quy trình);
- Trường hợp thành viên giao dịch đề nghị SGDCK nhập lệnh hộ: ĐDGD ký xác nhận vào Biên bản nhập lệnh hộ thành viên giao dịch (theo Mẫu 09b tại Phụ lục 09 - Mẫu văn bản đính kèm Quy trình); Bản gốc hồ sơ được thành viên gửi cho SGDCK vào ngày làm việc kế tiếp.
4.2. Các sự cố kỹ thuật khác
4.2.1. Nội dung nghiệp vụ
- Thành viên phối hợp với SGDCK khắc phục các sự cố kỹ thuật phát sinh khi thao tác trên hệ thống BTS và hệ thống E-BTS.
4.2.2. Phạm vi áp dụng
- Hệ thống áp dụng: Hệ thống BTS và hệ thống E-BTS
- Đối tượng áp dụng: ĐDGD và NĐT
4.2.3. Lưu đồ

4.2.4. Trình tự tác nghiệp
Bước 1: Thành viên thông báo về sự cố cho SGDCK
- Ngay khi xảy ra sự cố kỹ thuật, thành viên thông báo tới SGDCK (Phòng Thị trường trái phiếu) bằng điện thoại, email hoặc văn bản (trong trường hợp cần thiết).
Bước 2: SGDCK tiếp nhận và hỗ trợ thành viên xử lý sự cố
- Sau khi nhận được thông báo từ thành viên, SGDCK phải xác minh lỗi và trả lời cho thành viên về kế hoạch chỉnh sửa (nếu có).
Bước 3: SGDCK thông báo cho thành viên sau khi khắc phục sự cố
- Sau khi khắc phục xong sự cố, SGDCK sẽ thông báo cho thành viên bằng điện thoại, email hoặc văn bản (trong trường hợp cần thiết) về việc sự cố đã được khắc phục và đề nghị thành viên kiểm tra lại đối với một số nội dung có thể kiểm tra hoặc khi phát sinh tình huống tương tự.
5. Quy trình giao dịch thông qua Hệ thống của Vendor
5.1. Nội dung nghiệp vụ
- Tiếp nhận, kiểm tra và xử lý các giao dịch nhận về từ Hệ thống của Vendor theo các quy tắc giao dịch trên thị trường TPCP.
5.2. Phạm vi áp dụng
- Hệ thống áp dụng: Hệ thống E-BTS
- Đối tượng áp dụng: ĐDGD
5.3. Lưu đồ

5.4. Trình tự tác nghiệp
Bước 1: Tiếp nhận các giao dịch nhận về từ Hệ thống của Vendor
- Tiếp nhận các giao dịch chào giá và đã thực hiện trong ngày/tương lai từ Hệ thống của Vendor.
Bước 2: Kiểm tra các giao dịch nhận về từ Hệ thống của Vendor
Kiểm tra các giao dịch nhận về từ Hệ thống của Vendor theo nguyên tắc sau:
- Tại Sổ lệnh Kết quả từ Vendor:
+ Hiển thị các lệnh đã thực hiện của giao dịch Outright/Repos/SBB/SBL lần 1 và giao dịch lần 2 chưa đến hạn thanh toán;
+ Các giao dịch thỏa mãn tham số hệ thống, có trạng thái duyệt là “Chờ xử lý” hoặc “Đã duyệt”;
+ Các giao dịch không thỏa mãn các tham số hệ thống, có trạng thái là “Lệnh bị loại”;
- Tại Sổ lệnh chào giá từ Vendor: hiển thị các giao dịch chào giá từ Vendor;
Bước 3: Xử lý giao dịch nhận về từ Hệ thống của Vendor
- Tại Sổ Duyệt lệnh từ Vendor: ĐDGD bên mua/bán được phân quyền phê duyệt lệnh thực hiện “Duyệt lệnh từ Vendor” đối với các lệnh có trạng thái “Chờ xử lý”;
- Lệnh đã duyệt sẽ hiển thị tại Sổ lệnh kết quả từ Vendor, có trạng thái là “Đã thực hiện”.
III. Các tiện ích hỗ trợ
1. Mục đích
Hệ thống BTS và/hoặc Hệ thống E-BTS cung cấp một số tiện ích hỗ trợ thành viên/NĐT như sau:
- Các tiện ích trên cả Hệ thống BTS và hệ thống E-BTS:
+ In các phiếu lệnh, hợp đồng giao dịch và báo cáo giao dịch;
+ Công cụ tính toán và hỗ trợ chuyển kết quả tính toán từ phân vùng tính toán sang phân vùng nội dung lệnh;
+ Gửi email các báo cáo kết quả giao dịch, thông tin về hàng hóa niêm yết, thành viên giao dịch, tổ chức phát hành, thông tin trao đổi khác;
+ Tạo mới, chia sẻ và tra cứu mẫu hợp đồng giao dịch;
- Các tiện ích trên Hệ thống BTS:
+ Chào giá trên Hệ thống BTS hoặc Hệ thống ĐCLS và đẩy lệnh chào này sang Hệ thống còn lại;
+ Tạo mới biểu phí giao dịch cho NĐT;
- Các tiện ích trên Hệ thống E-BTS:
+ Import lệnh chào giá với cam kết chắc chắn từ file excel để gửi vào Hệ thống BTS;
+ Chat message và gửi lệnh giao dịch qua màn hình Chat.
+ Tra cứu biểu phí giao dịch cho NĐT do thành viên tạo trên hệ thống BTS.
2. Tác nghiệp
2.1. In phiếu lệnh, hợp đồng giao dịch, báo cáo
- Thực hiện xem, in các phiếu lệnh, hợp đồng giao dịch và báo cáo giao dịch:
+ Đối với xem, in phiếu lệnh: tác nghiệp tại Sổ lệnh kết quả giao dịch;
+ Đối với in hợp đồng giao dịch: tác nghiệp tại chức năng “Quản lý hợp đồng giao dịch” và/hoặc Sổ lệnh kết quả giao dịch;
+ Đối với báo cáo giao dịch: xem, in báo cáo tại chức năng “Báo cáo giao dịch”. Danh sách báo cáo chi tiết nêu tại Phụ lục 10 - Danh sách báo cáo đính kèm Quy trình.
2.2. Trao đổi dữ liệu hai chiều giữa Hệ thống giao dịch TPCP và Hệ thống ĐCLS
2.2.1. Trao đổi dữ liệu hai chiều giữa Hệ thống BTS và Hệ thống ĐCLS
- Trường hợp thành viên đẩy giao dịch chào giá từ Hệ thống ĐCLS sang Hệ thống BTS:
+ Tác nghiệp tại Sổ lệnh Điện tử trong ngày hoặc Bảng điện tử toàn thị trường;
+ Giao dịch chào giá được tự động đẩy từ Hệ thống ĐCLS sang Hệ thống BTS.
- Trường hợp thành viên đẩy giao dịch chào giá từ Hệ thống BTS sang Hệ thống ĐCLS:
+ Tác nghiệp tại Sổ lệnh Đẩy lệnh trên Hệ thống BTS sang Hệ thống ĐCLS. Sổ lệnh này hiển thị tất cả những giao dịch chào giá của các mã Benchmark.
+ Thành viên thực hiện lựa chọn giao dịch để đẩy sang Hệ thống ĐCLS.
2.2.2. Import thông tin chào giá từ Hệ thống E-BTS
Để thực hiện import lệnh chào giá với cam kết chắc chắn từ file excel để gửi vào Hệ thống BTS, ĐDGD/NĐT thao tác theo trình tự tác nghiệp như sau:
- Bước 1: Thực hiện download biểu mẫu file excel import từ chức năng “Import dữ liệu chào giá” và nhập thông tin vào biểu mẫu file excel.
- Bước 2: Import lệnh chào giá từ biểu mẫu file excel. Sau khi Import thành công, ĐDGD có thể kiểm tra danh sách lệnh chào giá đã import thành công tại Sổ lệnh Import chào giá và Sổ lệnh chờ kiểm soát Outright trong ngày.
- Bước 3: Phê duyệt danh sách lệnh chào giá đã import tại Sổ lệnh chờ kiểm soát Outright trong ngày. Sau khi duyệt thành công, ĐDGD/NĐT có thể kiểm tra danh sách lệnh chào giá đã gửi vào Hệ thống BTS dưới hình thức lệnh thỏa thuận điện tử toàn thị trường Outright tại Sổ lệnh Chờ thực hiện Outright đã chuyển vào BTS.
2.3. Quản lý phí giao dịch
- Để tạo mới biểu phí giao dịch trên hệ thống BTS, ĐDGD thực hiện theo trình tự sau:
Bước 1: Tạo mới biểu phí giao dịch cho NĐT
+ Tác nghiệp tại chức năng “Quản lý biểu phí GD-TV” thuộc nhóm chức năng “Quản lý phí”;
+ Thực hiện “Thêm mới” biểu phí và nhập đầy đủ các thông tin về biểu phí, chi tiết nêu tại Phụ lục 07 - Quản lý phí giao dịch đính kèm Quy trình.
Bước 2: Kiểm tra biểu phí giao dịch cho NĐT
+ Sau khi nhập biểu phí thành công, ĐDGD kiểm tra thông tin biểu phí. Nếu cần điều chỉnh thông tin, ĐDGD thực hiện Sửa hoặc Xóa biểu phí.
2.4. Quản lý Hợp đồng giao dịch
- Thực hiện tạo mới mẫu hợp đồng giao dịch, gồm hợp đồng giao dịch khung và hợp đồng giao dịch với đối tác;
- Thực hiện chia sẻ mẫu hợp đồng khung cho các thành viên/NĐT khác;
- Thực hiện tra cứu mẫu hợp đồng giao dịch.
2.4.1. Tạo mới Hợp đồng khung
Bước 1: Tạo mới Hợp đồng giao dịch khung
- Tác nghiệp tại chức năng “Quản lý Hợp đồng giao dịch”;
- Thực hiện thêm mới thông tin hợp đồng và nhập thông tin về hợp đồng khung, chi tiết nêu tại Phụ lục 06 - Quản lý hợp đồng giao dịch đính kèm Quy trình.
- Kiểm tra thông tin hợp đồng khung vừa tạo. Nếu cần điều chỉnh, thực hiện Sửa hoặc Xóa hợp đồng khung.
Bước 2: Duyệt Hợp đồng khung
- Tác nghiệp tại chức năng “Quản lý Hợp đồng giao dịch”;
- Thực hiện phê duyệt Hợp đồng khung.
2.4.2. Tạo mới Hợp đồng với đối tác
Để tạo mới mẫu Hợp đồng giao dịch với đối tác từ hợp đồng khung, ĐDGD/NĐT thao tác theo trình tự tác nghiệp như sau:
Bước 1: Tạo mới Hợp đồng giao dịch với đối tác
- Tác nghiệp tại chức năng “Quản lý Hợp đồng giao dịch” đối với Hợp đồng khung vừa tạo tại;
- Thực hiện “Thêm mới” và nhập thông tin về hợp đồng với đối tác, chi tiết nêu tại Phụ lục 06 - Quản lý hợp đồng giao dịch đính kèm Quy trình.
- Kiểm tra thông tin hợp đồng giao dịch với đối tác vừa tạo. Nếu cần điều chỉnh, thực hiện Sửa hoặc Xóa hợp đồng giao dịch với đối tác.
Bước 2: Duyệt Hợp đồng với đối tác
- Tác nghiệp tại chức năng "Quản lý Hợp đồng giao dịch”;
- Thực hiện phê duyệt Hợp đồng giao dịch với đối tác.
2.4.3. Chia sẻ hợp đồng khung
Để chia sẻ mẫu hợp đồng giao dịch khung của mình cho các thành viên/NĐT khác. ĐDGD/NĐT thao tác theo trình tự tác nghiệp như sau:
Bước 1: Chọn Thành viên/NĐT được chia sẻ mẫu Hợp đồng khung tại chức năng “Quản lý Hợp đồng giao dịch";
Bước 2: Thực hiện chia sẻ hợp đồng khung.
2.5. Công cụ tính toán
ĐDGD/NĐT thực hiện tính toán các thông tin tính giá của trái phiếu tại chức năng “Tool tính toán” trên các màn hình lệnh (ngoại trừ lệnh Inquiry) và chuyển kết quả tính toán từ phân vùng tính toán sang phân vùng nội dung lệnh.
2.6. Gửi email
ĐDGD thực hiện gửi email các báo cáo kết quả giao dịch, thông tin về hàng hóa niêm yết, thành viên giao dịch, tổ chức phát hành, thông tin trao đổi khác tại chức năng “Gửi mail” thuộc nhóm chức năng “Tra cứu thông tin”.
2.7. Chat message
ĐDGD/NĐT thực hiện Chat message (trao đổi thông tin theo group, public hoặc private) và gửi lệnh giao dịch qua màn hình Chat trên hệ thống E-BTS.
2.8. Nhận Email/SMS kết quả giao dịch
ĐDGD/NĐT thực hiện đăng ký việc nhận thông tin giao dịch TPCP (kết quả giao dịch, các giao dịch tương lai đến hạn trong ngày và giao dịch lần 2 đến hạn trong ngày, các giao dịch bị thay đổi do điều chỉnh lịch giao dịch, lịch chốt quyền trả gốc/lãi) bằng Email/SMS. Việc lựa chọn nhận thông tin sẽ do ĐDGD/NĐT tự tích chọn.
C. Mẫu biểu, tài liệu liên quan
|
STT |
Văn bản |
|
1 |
Phụ lục 01: Hướng dẫn về giao dịch Outright |
|
2 |
Phụ lục 02: Hướng dẫn về giao dịch Repo |
|
3 |
Phụ lục 03: Hướng dẫn về giao dịch Bán kết hợp mua lại (SBB) |
|
4 |
Phụ lục 04: Hướng dẫn về giao dịch Vay trái phiếu (SBL) |
|
5 |
Phụ lục 05: Hướng dẫn về giao dịch Vay TPCP để bán (Vay để bán) |
|
6 |
Phụ lục 06: Quản lý hợp đồng giao dịch |
|
7 |
Phụ lục 07: Quản lý phí giao dịch |
|
8 |
Phụ lục 08: Hướng dẫn về Trái phiếu tương đương trong giao dịch TPCP tại SGDCK |
|
9 |
Phụ lục 09: Mẫu văn bản |
|
10 |
Phụ lục 10: Danh sách Báo cáo |
|
11 |
Phụ lục 11: Thông tin nhập |
PHỤ LỤC 01
HƯỚNG DẪN VỀ GIAO DỊCH OUTRIGHT
(Ban hành kèm theo Quy trình Giao dịch trái phiếu Chính phủ, trái phiếu được Chính phủ bảo lãnh và trái phiếu chính quyền địa phương tại SGDCK)
I. Nhập lệnh
Trình tự nhập lệnh như sau:
Bước 1: Nhập lệnh
- Chọn hình thức lệnh: (i) Lệnh thỏa thuận điện tử toàn thị trường; (ii) Lệnh thỏa thuận điện tử tùy chọn; (iii) Lệnh báo cáo giao dịch.
- Các thông tin cần nhập: chi tiết nêu tại Điểm 1, Điểm 2 Mục A.I tại Phụ lục 11 - Thông tin nhập.
- Nơi tác nghiệp: Màn hình nhập lệnh - Giao dịch Outright:
+ Hệ thống BTS: Nhập lệnh\Giao dịch Outright\Nhập lệnh Điện tử\Inquiry\BCGD;
+ Hệ thống E-BTS: Giao dịch trên E-BTS\Nhập lệnh Giao dịch Outright\Nhập lệnh Điện tử\Inquiry\BCGD;
- Đối với tạo lệnh Firm trên lệnh Inquiry nhận được: tác nghiệp tại Sổ lệnh Chờ thực hiện\Sổ lệnh In và Firm:
+ Hệ thống BTS: Sổ lệnh trong ngày\Giao dịch Outright\Sổ lệnh In và Firm;
+ Hệ thống E-BTS: Sổ lệnh trên E-BTS\Giao dịch Outright\Sổ lệnh Chờ thực hiện - Sổ lệnh In và Finn.
Bước 2: Kiểm tra lệnh
Lệnh đã nhập thành công sẽ hiển thị tại Sổ lệnh Chờ thực hiện/Sổ lệnh điện tử/Sổ lệnh In và Firm hoặc Sổ lệnh Báo cáo giao dịch, có trạng thái “Chờ thực hiện”:
- Nếu thông tin lệnh nhập chính xác, thực hiện tiếp bước 3;
- Nếu thông tin lệnh nhập chưa chính xác, thực hiện Sửa/Hủy hoặc Treo lệnh điện tử vừa nhập.
Bước 3: Đối tác xác nhận lệnh
- Nơi tác nghiệp: Bảng điện tử/Sổ lệnh điện tử toàn thị trường/Sổ lệnh In và Firm hoặc Sổ lệnh Báo cáo giao dịch
+ Hệ thống BTS: Sổ lệnh trong ngày\Giao dịch Outright\Bảng điện tử hoặc Sổ lệnh điện tử toàn thị trường hoặc Sổ lệnh In và Firm hoặc Sổ lệnh Báo cáo giao dịch
+ Hệ thống E-BTS: Sổ lệnh trên E-BTS\Giao dịch Outright\Sổ lệnh điện tử toàn thị trường hoặc Sổ lệnh Chờ thực hiện - Sổ lệnh In và Firm hoặc Sổ lệnh Báo cáo giao dịch
- Bên đối ứng thực hiện xác nhận lệnh có trạng thái “Chờ thực hiện”, nhập TKLK của mình và kích hoạt “Thực hiện” để xác nhận lệnh.
Bước 4: Kiểm tra lệnh đã xác nhận
- Lệnh được xem là hoàn tất sẽ có trạng thái lệnh “Đã thực hiện" tại Sổ lệnh kết quả Outright
+ Hệ thống BTS: Sổ lệnh trong ngày\Giao dịch Outright\Sổ lệnh kết quả
+ Hệ thống E-BTS: Sổ lệnh trên E-BTS\Giao dịch Outright\Sổ lệnh kết quả
- Nếu nhập lệnh trên Hệ thống BTS, việc nhập lệnh đã hoàn tất.
- Nếu nhập lệnh trên Hệ thống E-BTS, thực hiện tiếp bước 5.
Bước 5: Đẩy lệnh (áp dụng đối với lệnh do NĐT nhập)
- Nơi tác nghiệp: Sổ lệnh kết quả Outright (Sổ lệnh trên E-BTS\Giao dịch Outright\Sổ lệnh kết quả);
- Chọn lệnh ĐTH có trạng thái đẩy “Chờ đẩy" hoặc "Đã đẩy Mua" hoặc "Đã đẩy bán” và chọn chức năng “Đẩy lệnh” hoặc “Từ chối đẩy lệnh”.
Bước 6: Duyệt lệnh (áp dụng đối với lệnh nhập phải phê duyệt trên Hệ thống E-BTS)
- Nơi tác nghiệp: Sổ lệnh chờ kiểm soát (Sổ lệnh trên E-BTS\Giao dịch Outright\Sổ lệnh chờ kiểm soát);
- Thành viên mua và bán phải duyệt các lệnh ĐTH của chính thành viên và của NĐT đã đẩy cho thành viên;
- Chọn lệnh ĐTH có trạng thái “Chờ xử lý” hoặc “Chờ duyệt Front” hoặc “Chờ duyệt Back” và chọn chức năng “Duyệt lệnh” hoặc “Từ chối duyệt”;
- Lệnh được duyệt thành công sẽ có trạng thái duyệt là "Đã duyệt" tại Sổ lệnh chờ kiểm soát.
Bước 7: Kiểm tra lệnh đã gửi vào hệ thống BTS
- Lệnh gửi vào Hệ thống BTS thành công sẽ hiển thị tại Sổ lệnh kết quả Outright gửi từ BTS, có trạng thái lệnh là “Đã thực hiện” (Sổ lệnh giao dịch gửi từ BTS\Giao dịch Outright\Sổ lệnh kết quả)
II. Sửa/hủy lệnh
Trường hợp muốn sửa giao dịch Bán trái phiếu (giao dịch Outright) trong Giao dịch Vay để bán trái phiếu, thực hiện “Hủy kết giao ” giao dịch Vay và Giao dịch bán trái phiếu, sau đó tiến hành sửa lệnh.
1. TH1: Đối với lệnh chưa thực hiện (lệnh chưa xác nhận bởi đối tác ở bước 3 phần I nêu trên):
- Nội dung sửa lệnh: Ngoại trừ thông tin Thị trường của lệnh, ĐDGD/NĐT được sửa tất cả các nội dung đã nhập.
- Nơi tác nghiệp: Sổ lệnh chờ thực hiện Outright
+ Hệ thống BTS: Sổ lệnh trong ngày\Giao dịch Outright\Sổ lệnh chờ thực hiện;
+ Hệ thống E-BTS: Sổ lệnh trên E-BTS\Giao dịch Outright\Sổ lệnh chờ thực hiện.
- Thực hiện chức năng Treo/Sửa/Hủy lệnh đối với Lệnh Điện tử, Lệnh Inquiry - Firm và Lệnh Báo cáo giao dịch.
2. TH2: Đối với lệnh đã thực hiện
2.1. Sửa/hủy lệnh ĐTH chưa gửi vào hệ thống BTS
Trình tự sửa lệnh như sau:
Bước 1: Thống nhất nội dung sửa/hủy lệnh
Nội dung sửa lệnh: ngoại trừ thông tin Mua/bán, thông tin thị trường và thông tin thành viên đối tác, ĐDGD/NĐT có thể sửa tất cả thông tin còn lại đã thỏa thuận trên lệnh.
Bước 2: Sửa/hủy lệnh
- Thực hiện sửa/hủy lệnh đối với lệnh có trạng thái duyệt là “Từ chối duyệt” hoặc trạng thái đẩy là “Từ chối đẩy”;
- Nơi tác nghiệp: Sổ lệnh kết quả Outright (Sổ lệnh trên E-BTS\Giao dịch Outright\Sổ lệnh kết quả).
Bước 3: Kiểm tra lệnh sửa/hủy
- Lệnh đã sửa/hủy thành công sẽ hiển thị tại Sổ lệnh kết quả Outright:
+ Trường hợp bên Mua và bên Bán cùng ĐDGD: Lệnh sửa có trạng thái “Đã thực hiện”; Lệnh hủy có trạng thái là “Chấp nhận hủy”.
+ Trường hợp bên Mua và bên Bán khác ĐDGD: Lệnh sửa có trạng thái “Chờ xác nhận sửa”; Lệnh hủy có trạng thái là “Chờ xác nhận hủy”.
Đối với lệnh sửa/hủy có trạng thái “Chờ xác nhận sửa” hoặc “Chờ xác nhận hủy”, thực hiện tiếp bước 4;
- Đối với lệnh sửa có trạng thái “Đã thực hiện” thực hiện tiếp bước 6;
- Đối với lệnh hủy có trạng thái “Chấp nhận hủy”, việc hủy lệnh đã hoàn tất.
Bước 4: Xác nhận sửa/hủy lệnh
- Đối tác thực hiện xác nhận sửa/hủy lệnh: chọn lệnh cần sửa/hủy và chọn chức năng “Xác nhận sửa/hủy” hoặc “Từ chối xác nhận sửa/hủy”
- Nơi tác nghiệp: Sổ lệnh kết quả Outright (Sổ lệnh trên E-BTS\Giao dịch Outright\Sổ lệnh kết quả);
Bước 5: Kiểm tra lệnh sửa/hủy đã xác nhận
- Lệnh sửa/hủy đã xác nhận sẽ hiển thị tại Sổ lệnh kết quả Outright:
+ Nếu bên đối tác chấp nhận sửa/hủy: Lệnh sửa có trạng thái “Đã thực hiện”; Lệnh hủy có trạng thái là “Chấp nhận hủy” và việc hủy lệnh đã hoàn tất.
+ Nếu bên đối tác không chấp nhận sửa/hủy: Lệnh sửa có trạng thái “Không xác nhận sửa”; lệnh hủy có trạng thái “Không chấp nhận hủy”. Lệnh ĐTH gốc là lệnh duy nhất có hiệu lực.
Bước 6: Đẩy lệnh (áp dụng đối với lệnh do NĐT nhập)
- Nơi tác nghiệp: Sổ lệnh kết quả Outright (Hệ thống E-BTS: Sổ lệnh trên E-BTS\Giao dịch Outright\Sổ lệnh kết quả);
- Chọn lệnh ĐTH có trạng thái đẩy “Chờ đẩy" hoặc "Đã đẩy Mua" hoặc "Đã đẩy bán” và chọn chức năng “Đẩy lệnh” hoặc “Từ chối đẩy lệnh”.
Bước 7: Duyệt lệnh (áp dụng đối với lệnh nhập phải phê duyệt trên Hệ thống E-BTS)
- Nơi tác nghiệp: Sổ lệnh chờ kiểm soát Outright (Sổ lệnh trên E-BTS\Giao dịch Outright\Sổ lệnh chờ kiểm soát);
- Thành viên mua và bán phải duyệt các lệnh ĐTH của chính thành viên và của NĐT đã đẩy cho thành viên;
- Chọn lệnh ĐTH có trạng thái “Chờ xử lý” hoặc “Chờ duyệt Front” hoặc “Chờ duyệt Back” và chọn chức năng “Duyệt lệnh” hoặc “Từ chối duyệt”;
- Lệnh được duyệt thành công sẽ có trạng thái duyệt là "Đã duyệt" tại Sổ lệnh chờ kiểm soát (Sổ lệnh trên E-BTS\Giao dịch Outright\Sổ lệnh chờ kiểm soát).
Bước 8: Kiểm tra lệnh đã gửi vào Hệ thống BTS
- Lệnh gửi vào Hệ thống BTS thành công sẽ hiển thị tại Sổ sửa/hủy lệnh từ BTS, có trạng thái lệnh là “Đã thực hiện” (Sổ lệnh trên E-BTS\Giao dịch Outright\Sổ lệnh sửa/hủy lệnh từ BTS)
2.2. Sửa lệnh ĐTH trong ngày đã gửi vào hệ thống BTS
Trình tự sửa lệnh như sau:
Bước 1: Thống nhất nội dung sửa lệnh
Nội dung sửa lệnh: ngoại trừ thông tin Mua/bán, thông tin thị trường và thông tin thành viên đối tác, ĐDGD/NĐT có thể sửa tất cả thông tin còn lại đã thỏa thuận trên lệnh.
Bước 2: Gửi hồ sơ sửa lệnh cho SGDCK
- Hồ sơ sửa lệnh gồm:
+ Đề nghị sửa lệnh giao dịch Outright đã thực hiện (theo Mẫu 01 tại Phụ lục 09 - Mẫu văn bản);
+ Phiếu lệnh gốc của khách hàng hoặc các giấy tờ tương đương.
Bước 3: Sửa lệnh
- Thực hiện sửa lệnh đối với lệnh có trạng thái “Đã thực hiện”;
- Nơi tác nghiệp: Sổ lệnh kết quả Outright
+ Hệ thống BTS: Sổ lệnh trong ngày\Giao dịch Outright\Sổ lệnh kết quả;
+ Hệ thống E-BTS:
● Sổ lệnh trên E-BTS\Giao dịch Outright\Sổ lệnh kết quả;
● Hoặc Sổ lệnh trên E-BTS\Giao dịch Outright\Sổ sửa/hủy lệnh từ BTS;
Bước 4: Kiểm tra lệnh sửa
- Lệnh đã sửa thành công sẽ hiển thị tại Sổ lệnh kết quả Outright hoặc Sổ sửa/hủy lệnh Outright từ BTS (chỉ áp dụng đối với trường hợp thành viên sửa lệnh trên E-BTS):
+ Trường hợp bên Mua và bên Bán cùng ĐDGD:
● Hệ thống BTS: Lệnh sửa có trạng thái “Chờ kiểm soát sửa”;
● Hệ thống BTS: Lệnh sửa có trạng thái “Đã thực hiện”;
+ Trường hợp bên Mua và bên Bán khác ĐDGD: Lệnh sửa có trạng thái “Chờ xác nhận sửa”;
- Đối với lệnh sửa có trạng thái “Chờ xác nhận sửa”, thực hiện tiếp bước 5;
- Đối với lệnh sửa có trạng thái “Đã thực hiện”, thực hiện tiếp bước 7.
- Đối với lệnh sửa có trạng thái “Chờ kiểm soát sửa”, thực hiện tiếp bước 10.
Bước 5: Xác nhận lệnh sửa
- Đối tác thực hiện xác nhận sửa lệnh.
- Nơi tác nghiệp: Sổ lệnh kết quả Outright:
+ Hệ thống BTS: Sổ lệnh trong ngày\Giao dịch Outright\Sổ lệnh kết quả;
+ Hệ thống EBTS:
● Sổ lệnh trên E-BTS\Giao dịch Outright\Sổ lệnh kết quả;
● Hoặc Sổ lệnh trên E-BTS\Giao dịch Outright\Sổ sửa/hủy lệnh từ BTS.
Bước 6: Kiểm tra lệnh sửa đã xác nhận
- Lệnh sửa đã xác nhận sẽ hiển thị tại Sổ lệnh kết quả hoặc Sổ sửa/hủy lệnh từ BTS (chỉ áp dụng đối với trường hợp thành viên sửa lệnh trên E-BTS):
+ Nếu bên đối tác chấp nhận sửa:
● Trên BTS: Lệnh sửa có trạng thái “Chờ kiểm soát sửa”;
● Trên E-BTS: Lệnh sửa có trạng thái “Đã thực hiện”;
+ Nếu bên đối tác không chấp nhận sửa: Lệnh sửa có trạng thái “Không xác nhận sửa”.
- Đối với lệnh sửa trên Hệ thống BTS, thực hiện tiếp bước 10.
- Đối với lệnh sửa trên Hệ thống E-BTS, thực hiện tiếp bước 7.
Bước 7: Đẩy lệnh (áp dụng đối với lệnh do NĐT nhập)
- Nơi tác nghiệp: Sổ lệnh kết quả Outright (Hệ thống E-BTS: Sổ lệnh trên E-BTS\Giao dịch Outright\Sổ lệnh kết quả);
- Chọn lệnh ĐTH có trạng thái đẩy “Chờ đẩy" hoặc "Đã đẩy Mua" hoặc "Đã đẩy bán” và chọn chức năng “Đẩy lệnh” hoặc “Từ chối đẩy lệnh”.
Bước 8: Duyệt lệnh
- Nơi tác nghiệp: Sổ lệnh chờ kiểm soát Outright (Sổ lệnh trên E-BTS\Giao dịch Outright\Sổ lệnh chờ kiểm soát);
- Thành viên mua và bán phải duyệt các lệnh ĐTH của chính thành viên và của NĐT đã đẩy cho thành viên;
- Chọn lệnh ĐTH có trạng thái “Chờ xử lý” hoặc “Chờ duyệt Front” hoặc “Chờ duyệt Back” và chọn chức năng “Duyệt lệnh” hoặc “Từ chối duyệt”;
- Lệnh được duyệt thành công sẽ có trạng thái duyệt là "Đã duyệt" tại Sổ lệnh chờ kiểm soát (Sổ lệnh trên E-BTS\Giao dịch Outright\Sổ lệnh chờ kiểm soát).
Bước 9: Kiểm tra lệnh đã gửi vào hệ thống BTS
- Lệnh ĐTH gửi vào Hệ thống BTS sẽ hiển thị tại Sổ sửa/hủy lệnh Outright từ BTS, có trạng thái “Đã thực hiện” (Sổ lệnh trên E-BTS\Giao dịch Outright trong ngày\Sổ sửa/hủy lệnh từ BTS)
Bước 10: SGDCK kiểm soát sửa lệnh (chỉ thực hiện khi hai bên đồng ý sửa lệnh)
- Trường hợp SGDCK chấp thuận việc sửa lệnh: Lệnh gốc chuyển sang trạng thái “Không hiệu lực” và lệnh sửa có trạng thái “Đã thực hiện”.
- Trường hợp SGDCK không chấp thuận việc sửa lệnh: Lệnh gốc trở về trạng thái “Đã thực hiện” và lệnh sửa chuyển sang trạng thái “Không cho phép sửa”.
Bước 11: Thành viên gây lỗi gửi bản gốc hồ sơ xin sửa lệnh đã thực hiện
- Chậm nhất vào 11h00 ngày làm việc kế tiếp, thành viên gây lỗi phải gửi bản gốc Đề nghị sửa lệnh Outright đã thực hiện và bản sao Phiếu lệnh gốc của khách hàng có đóng dấu treo hoặc các giấy tờ tương đương cho SGDCK.
2.3. Sửa/hủy lệnh ĐTH tương lai đã gửi vào hệ thống BTS
Trình tự sửa lệnh như sau:
Bước 1: Thống nhất nội dung sửa/hủy lệnh
Nội dung sửa lệnh: ngoại trừ thông tin Mua/bán, thông tin thị trường và thông tin thành viên đối tác, ĐDGD/NĐT có thể sửa tất cả thông tin còn lại đã thỏa thuận trên lệnh.
Bước 2: Sửa/hủy lệnh
- Thực hiện sửa/hủy lệnh đối với lệnh có trạng thái “Đã thực hiện”;
- Nơi tác nghiệp: Sổ lệnh kết quả Outright
+ Hệ thống BTS: Sổ lệnh trong ngày\Giao dịch Outright\Sổ lệnh kết quả;
+ Hệ thống E-BTS:
● Sổ lệnh trên E-BTS\Giao dịch Outright\Sổ lệnh kết quả;
● Hoặc Sổ lệnh trên E-BTS\Giao dịch Outright\Sổ sửa/hủy lệnh từ BTS;
Bước 3: Kiểm tra lệnh sửa/hủy
- Lệnh đã sửa/hủy thành công sẽ hiển thị tại Sổ lệnh kết quả Outright hoặc Sổ sửa/hủy lệnh Outright từ BTS (chỉ áp dụng đối với trường hợp thành viên sửa lệnh trên E-BTS):
+ Trường hợp bên Mua và bên Bán cùng ĐDGD:
● Hệ thống BTS: Lệnh sửa có trạng thái “Đã thực hiện”; Lệnh hủy có trạng thái là "Chấp nhận hủy”.
● Hệ thống E-BTS: (Lệnh sửa có trạng thái “Chờ xác nhận sửa”; Lệnh hủy có trạng thái là “Chờ xác nhận hủy”.
+ Trường hợp bên Mua và bên Bán khác ĐDGD: Lệnh sửa có trạng thái “Chờ xác nhận sửa”; lệnh hủy có trạng thái là “Chờ xác nhận hủy”.
- Đối với lệnh sửa/hủy có trạng thái “Chờ xác nhận sửa” hoặc “Chờ xác nhận hủy”, thực hiện tiếp bước 4;
- Đối với lệnh hủy có trạng thái “Chấp nhận hủy”, việc hủy lệnh đã hoàn tất;
- Đối với lệnh sửa có trạng thái “Đã thực hiện”:
+ Nếu sửa lệnh trên hệ thống BTS: việc sửa lệnh đã hoàn tất;
+ Nếu sửa lệnh trên hệ thống E-BTS: thực hiện tiếp bước 6.
- Đối với lệnh hủy có trạng thái “Chấp nhận hủy”, việc hủy lệnh đã hoàn tất.
Bước 4: Xác nhận sửa/hủy lệnh
- Đối tác thực hiện xác nhận sửa/hủy lệnh
- Nơi tác nghiệp: Sổ lệnh kết quả Outright:
+ Hệ thống BTS: Sổ lệnh trong ngày\Giao dịch Outright\Sổ lệnh kết quả;
+ Hệ thống EBTS:
● Sổ lệnh trên E-BTS\Giao dịch Outright\Sổ lệnh kết quả;
● Hoặc Sổ lệnh trên E-BTS\Giao dịch Outright\Sổ sửa/hủy lệnh từ BTS;
Bước 5: Kiểm tra lệnh sửa đã xác nhận
- Lệnh sửa đã xác nhận sẽ hiển thị tại Sổ lệnh kết quả hoặc Sổ sửa/hủy lệnh Outright từ BTS (chỉ áp dụng đối với trường hợp thành viên sửa lệnh trên E-BTS):
+ Nếu bên đối tác chấp nhận sửa/hủy: Lệnh sửa có trạng thái “Đã thực hiện”; Lệnh hủy có trạng thái là “Chấp nhận hủy”.
+ Nếu bên đối tác không chấp nhận sửa/hủy: Lệnh sửa có trạng thái “Không xác nhận sửa”; lệnh hủy có trạng thái “Không chấp nhận hủy”. Lệnh ĐTH gốc là lệnh duy nhất có hiệu lực.
- Nếu sửa/hủy lệnh trên hệ thống BTS và hủy lệnh trên hệ thống E-BTS, việc sửa/hủy lệnh đã hoàn tất.
- Nếu sửa lệnh trên hệ thống E-BTS, thực hiện tiếp bước 6.
Bước 6: Đẩy lệnh (áp dụng đối với lệnh do NĐT nhập)
- Nơi tác nghiệp: Sổ lệnh kết quả Outright (Hệ thống E-BTS: Sổ lệnh trên E-BTS\Giao dịch Outright\Sổ lệnh kết quả);
- Chọn lệnh ĐTH có trạng thái đẩy “Chờ đẩy" hoặc "Đã đẩy Mua" hoặc "Đã đẩy bán” và chọn chức năng “Đẩy lệnh” hoặc “Từ chối đẩy lệnh”.
Bước 7: Duyệt lệnh
- Nơi tác nghiệp: Sổ lệnh chờ kiểm soát Outright (Sổ lệnh trên E-BTS\Giao dịch Outright\Sổ lệnh chờ kiểm soát);
- Thành viên mua và bán phải duyệt các lệnh ĐTH của chính thành viên và của NĐT đã đẩy cho thành viên;
- Chọn lệnh ĐTH có trạng thái “Chờ xử lý” hoặc “Chờ duyệt Front” hoặc “Chờ duyệt Back” và chọn chức năng “Duyệt lệnh” hoặc “Từ chối duyệt”;
- Lệnh được duyệt thành công sẽ có trạng thái duyệt là "Đã duyệt" tại Sổ lệnh chờ kiểm soát (Sổ lệnh trên E-BTS\Giao dịch Outright\Sổ lệnh chờ kiểm soát).
Bước 8: Kiểm tra lệnh đã gửi vào hệ thống BTS
- Lệnh ĐTH gửi vào Hệ thống BTS sẽ hiển thị tại Sổ sửa/hủy lệnh Outright từ BTS, có trạng thái “Đã thực hiện” (Sổ lệnh trên E-BTS\Giao dịch Outright\Sổ sửa/hủy lệnh từ BTS)
III. Tra cứu thông tin
1. Tra cứu thông tin về hoạt động giao dịch trên Hệ thống BTS:
- Đối với thông tin giao dịch trong ngày: tra cứu thông tin tại các sổ lệnh trong ngày, bảng điện tử bao gồm:
+ Bảng điện tử Outright toàn thị trường;
+ Sổ lệnh chờ thực hiện Outright gồm: Sổ lệnh Điện tử, Sổ lệnh In và Firm và Sổ lệnh Báo cáo giao dịch;
+ Sổ lệnh kết quả Outright: bao gồm các lệnh đã thực hiện trong ngày và tương lai;
+ Thông tin về các mức giá, kỳ hạn của giao dịch Outright.
- Đối với thông tin giao dịch nhiều ngày, tra cứu thông tin tại các sổ lệnh quá khứ bao gồm:
+ Sổ lệnh chờ thực hiện Outright quá khứ gồm: Sổ lệnh Điện tử quá khứ, Sổ lệnh In và Firm quá khứ và Sổ lệnh Báo cáo giao dịch quá khứ;
+ Sổ lệnh kết quả Outright quá khứ;
+ Sổ lệnh Outright tương lai hết hiệu lực.
- Đối với thông tin giao dịch thông qua Hệ thống của Vendor, thực hiện tra cứu thông tin tại các sổ lệnh trong ngày và nhiều ngày tại nhóm chức năng “Trao đổi dữ liệu với Vendor” bao gồm:
+ Sổ lệnh kết quả từ Vendor;
+ Sổ lệnh chờ duyệt từ Vendor;
+ Sổ lệnh kết quả từ Vendor quá khứ.
2. Tra cứu thông tin về hoạt động giao dịch từ Hệ thống E-BTS:
- Đối với thông tin giao dịch trong ngày, thực hiện tra cứu thông tin tại các sổ lệnh trên E-BTS, bao gồm:
+ Sổ lệnh chờ thực hiện Outright gồm: Sổ lệnh Điện tử, Sổ lệnh In và Firm và Sổ lệnh Báo cáo giao dịch;
+ Sổ lệnh kết quả Outright;
+ Sổ lệnh Chờ kiểm soát Outright;
+ Sổ sửa/hủy lệnh Outright từ BTS;
- Đối với thông tin giao dịch nhiều ngày, thực hiện tra cứu thông tin tại các sổ lệnh quá khứ, bao gồm:
+ Sổ lệnh chờ thực hiện Outright quá khứ gồm: Sổ lệnh Điện tử quá khứ, Sổ lệnh In và Firm quá khứ và Sổ lệnh Báo cáo giao dịch quá khứ;
+ Sổ lệnh kết quả Outright quá khứ;
+ Sổ lệnh Chờ kiểm soát Outright quá khứ;
+ Sổ sửa/hủy lệnh Outright từ BTS quá khứ.
PHỤ LỤC 02
HƯỚNG DẪN VỀ GIAO DỊCH REPO
(Ban hành kèm theo Quy trình Giao dịch trái phiếu Chính phủ, trái phiếu được Chính phủ bảo lãnh và trái phiếu chính quyền địa phương tại SGDCK)
I. Nhập lệnh
Trình tự nhập lệnh như sau:
Bước 1: Nhập lệnh
- Chọn hình thức lệnh: (i) Lệnh thỏa thuận điện tử tùy chọn; (ii) Lệnh báo cáo giao dịch.
- Các thông tin cần nhập: chi tiết nêu tại Điểm 1, Điểm 2 Mục A.II tại Phụ lục 11 - Thông tin nhập.
- Nơi tác nghiệp: Màn hình nhập lệnh - Giao dịch Repo:
+ Hệ thống BTS: Nhập lệnh\Giao dịch Repo\Nhập lệnh Inquiry hoặc Nhập lệnh BCGD;
+ Hệ thống E-BTS: Giao dịch trên E-BTS\Nhập lệnh Giao dịch Repo\Nhập lệnh Inquiry hoặc Nhập lệnh BCGD.
- Đối với tạo lệnh Firm trên lệnh Inquiry nhận được: tác nghiệp tại Sổ lệnh Chờ thực hiện\Sổ lệnh In và Firm:
+ Hệ thống BTS: Sổ lệnh trong ngày\Giao dịch Repo\Sổ lệnh In và Firm;
+ Hệ thống E-BTS: Sổ lệnh trên E-BTS\Giao dịch Repo\Sổ lệnh Chờ thực hiện - Sổ lệnh In và Firm.
Bước 2: Kiểm tra lệnh
Lệnh đã nhập thành công sẽ hiển thị tại Sổ lệnh Chờ thực hiện/Sổ lệnh In và Firm hoặc Sổ lệnh Báo cáo giao dịch, có trạng thái “Chờ thực hiện”:
- Nếu thông tin lệnh nhập chính xác, thực hiện tiếp bước 3;
- Nếu thông tin lệnh nhập chưa chính xác, thực hiện Sửa/Hủy hoặc Treo lệnh vừa nhập.
Bước 3: Đối tác xác nhận lệnh
- Nơi tác nghiệp: Sổ lệnh chờ thực hiện Repo;
+ Hệ thống BTS: Sổ lệnh trong ngày\Giao dịch Repo\Sổ lệnh chờ thực hiện - Sổ lệnh In và Firm hoặc Sổ lệnh báo cáo giao dịch;
+ Hệ thống E-BTS: Sổ lệnh trên E-BTS\Giao dịch Repo\Sổ lệnh chờ thực hiện - Sổ lệnh In và Firm hoặc Sổ lệnh báo cáo giao dịch;
- Bên đối ứng thực hiện xác nhận lệnh có trạng thái “Chờ thực hiện”, nhập TKLK của mình và kích hoạt “Thực hiện” để xác nhận lệnh;
Bước 4: Kiểm tra lệnh đã xác nhận
- Lệnh được xem là hoàn tất sẽ có trạng thái lệnh “Đã thực hiện” tại Sổ lệnh kết quả Repo
+ Hệ thống BTS: Sổ lệnh trong ngày\Giao dịch Repo\Sổ lệnh kết quả
+ Hệ thống E-BTS: Sổ lệnh trên E-BTS\Giao dịch Repo\Sổ lệnh kết quả
- Nếu nhập lệnh trên Hệ thống BTS, việc lệnh đã hoàn tất.
- Nếu nhập lệnh trên Hệ thống E-BTS, thực hiện tiếp bước 5.
Bước 5: Đẩy lệnh (áp dụng đối với lệnh do NĐT nhập)
- Nơi tác nghiệp: Sổ lệnh kết quả Repo (Sổ lệnh trên E-BTS\Giao dịch Repo\Sổ lệnh kết quả);
- Chọn lệnh ĐTH có trạng thái đẩy “Chờ đẩy" hoặc "Đã đẩy Mua" hoặc "Đã đẩy bán” và chọn chức năng “Đẩy lệnh” hoặc “Từ chối đẩy lệnh”;
Bước 6: Duyệt lệnh (áp dụng đối với lệnh nhập cần phê duyệt trên Hệ thống E-BTS)
- Nơi tác nghiệp: Sổ lệnh chờ kiểm soát (Sổ lệnh trên E-BTS\Giao dịch Repo\Sổ lệnh chờ kiểm soát);
- Thành viên mua và bán phải duyệt các lệnh ĐTH của chính thành viên và của NĐT đã đẩy cho thành viên;
- Chọn lệnh ĐTH có trạng thái “Chờ xử lý” hoặc “Chờ duyệt Front” hoặc “Chờ duyệt Back” và chọn chức năng “Duyệt lệnh” hoặc “Từ chối duyệt”;
- Lệnh được duyệt thành công sẽ có trạng thái duyệt là "Đã duyệt" tại Sổ lệnh chờ kiểm soát.
Bước 7: Kiểm tra lệnh đã gửi vào hệ thống BTS
- Lệnh gửi vào Hệ thống BTS thành công sẽ hiển thị tại Sổ lệnh kết quả Repo gửi từ BTS, có trạng thái lệnh là “Đã thực hiện” (Sổ lệnh giao dịch gửi từ BTS\Giao dịch Repo\Sổ lệnh kết quả).
II. Sửa/hủy lệnh
1. TH1: Đối với lệnh chưa thực hiện (lệnh chưa xác nhận bởi đối tác ở bước 3 phần I nêu trên)
- Nội dung sửa lệnh: Ngoại trừ thông tin Thị trường của lệnh, ĐDGD/NĐT được sửa tất cả các nội dung đã nhập.
- Nơi tác nghiệp: Sổ lệnh chờ thực hiện Repo
+ Hệ thống BTS: Sổ lệnh trong ngày\Giao dịch Repo\Sổ lệnh chờ thực hiện;
+ Hệ thống E-BTS: Sổ lệnh trên E-BTS\Giao dịch Repo\Sổ lệnh chờ thực hiện.
- Thực hiện chức năng Treo/Sửa/Hủy lệnh đối với Lệnh Inquiry - Firm và Lệnh Báo cáo giao dịch.
2. TH2: Đối với lệnh đã thực hiện
2.1. Sửa/hủy lệnh lần 1
2.1.1. Sửa/hủy lệnh ĐTH chưa gửi vào hệ thống BTS
Trình tự sửa lệnh như sau:
Bước 1: Thống nhất nội dung sửa/hủy lệnh
Nội dung sửa lệnh: ngoại trừ thông tin Mua/bán, thông tin về thị trường và thông tin thành viên đối tác, ĐDGD/NĐT có thể sửa tất cả thông tin còn lại đã thỏa thuận trên lệnh.
Bước 2: Sửa/hủy lệnh
- Nơi tác nghiệp: Sổ lệnh kết quả Repo (Sổ lệnh trên E-BTS\Giao dịch Repo\Sổ lệnh kết quả);
- Thực hiện sửa/hủy lệnh đối với lệnh có trạng thái duyệt là “Từ chối duyệt” hoặc trạng thái đẩy là “Từ chối đẩy”.
Bước 3: Kiểm tra lệnh sửa/hủy
- Lệnh đã sửa/hủy thành công sẽ hiển thị tại Sổ lệnh kết quả Repo:
+ Trường hợp bên Mua và bên Bán cùng ĐDGD: Lệnh sửa có trạng thái “Đã thực hiện”; Lệnh hủy có trạng thái là “Chấp nhận hủy”.
+ Trường hợp bên Mua và bên Bán khác ĐDGD: Lệnh sửa có trạng thái “Chờ xác nhận sửa”; Lệnh hủy có trạng thái là “Chờ xác nhận hủy”.
- Đối với lệnh sửa/hủy có trạng thái “Chờ xác nhận sửa” hoặc “Chờ xác nhận hủy”, thực hiện tiếp bước 4;
- Đối với lệnh sửa có trạng thái “Đã thực hiện” thực hiện tiếp bước 6;
- Đối với lệnh hủy có trạng thái “Chấp nhận hủy”, việc hủy lệnh đã hoàn tất.
Bước 4: Xác nhận sửa/hủy lệnh
- Nơi tác nghiệp: Sổ lệnh kết quả Repo (Sổ lệnh trên E-BTS\Giao dịch Repo\Sổ lệnh kết quả);
- Đối tác thực hiện “Xác nhận sửa/hủy” hoặc “Từ chối xác nhận sửa/hủy”.
Bước 5: Kiểm tra lệnh sửa/hủy đã xác nhận
- Lệnh sửa/hủy đã xác nhận sẽ hiển thị tại Sổ lệnh kết quả Repo:
+ Nếu bên đối tác chấp nhận sửa/hủy: Lệnh sửa có trạng thái “Đã thực hiện”; Lệnh hủy có trạng thái là “Chấp nhận hủy” và việc hủy lệnh đã hoàn tất.
+ Nếu bên đối tác không chấp nhận sửa/hủy: Lệnh sửa có trạng thái “Không xác nhận sửa”; lệnh hủy có trạng thái “Không chấp nhận hủy”. Lệnh ĐTH gốc là lệnh duy nhất có hiệu lực.
Bước 6: Đẩy lệnh (áp dụng đối với lệnh do NĐT nhập)
- Nơi tác nghiệp: Sổ lệnh kết quả Repo (Hệ thống E-BTS: Sổ lệnh trên E-BTS\Giao dịch Repo\Sổ lệnh kết quả);
- Chọn lệnh ĐTH có trạng thái đẩy “Chờ đẩy" hoặc "Đã đẩy Mua" hoặc "Đã đẩy bán” và chọn chức năng “Đẩy lệnh” hoặc “Từ chối đẩy lệnh”.
Bước 7: Duyệt lệnh (áp dụng đối với lệnh cần phê duyệt)
- Nơi tác nghiệp: Sổ lệnh chờ kiểm soát (Sổ lệnh trên E-BTS\Giao dịch Repo\Sổ lệnh chờ kiểm soát);
- Thành viên mua và bán phải duyệt các lệnh ĐTH của chính thành viên và của NĐT đã đẩy cho thành viên;
- Chọn lệnh ĐTH có trạng thái “Chờ xử lý” hoặc “Chờ duyệt Front” hoặc “Chờ duyệt Back” và chọn chức năng “Duyệt lệnh” hoặc “Từ chối duyệt”;
- Lệnh được duyệt thành công sẽ có trạng thái duyệt là "Đã duyệt" tại Sổ lệnh chờ kiểm soát (Sổ lệnh trên E-BTS\Giao dịch Repo\Sổ lệnh chờ kiểm soát).
Bước 8: Kiểm tra lệnh đã gửi vào Hệ thống BTS
- Lệnh gửi vào Hệ thống BTS thành công sẽ hiển thị tại Sổ sửa/hủy lệnh từ BTS, có trạng thái lệnh là “Đã thực hiện” (Sổ lệnh trên E-BTS\Giao dịch Repo\Sổ sửa/hủy lệnh từ BTS).
2.1.2. Sửa lệnh ĐTH trong ngày đã gửi vào hệ thống BTS
Trình tự sửa lệnh như sau:
Bước 1: Thống nhất nội dung sửa/hủy lệnh
Nội dung sửa lệnh: ngoại trừ thông tin Mua/bán, thông tin thị trường và thông tin thành viên đối tác, ĐDGD/NĐT có thể sửa tất cả thông tin còn lại đã thỏa thuận trên lệnh.
Bước 2: Gửi hồ sơ sửa lệnh cho SGDCK
- Hồ sơ sửa lệnh gồm:
+ Đề nghị sửa lệnh giao dịch Repo lần 1 đã thực hiện (theo Mẫu 02 tại Phụ lục 09 - Mẫu văn bản);
+ Phiếu lệnh gốc của khách hàng hoặc các giấy tờ tương đương.
Bước 3: Sửa lệnh
- Nơi tác nghiệp: Sổ lệnh kết quả Repo
+ Hệ thống BTS: Sổ lệnh trong ngày\Giao dịch Repo\Sổ lệnh kết quả;
+ Hệ thống E-BTS:
● Sổ lệnh trên E-BTS\Giao dịch Repo\Sổ lệnh kết quả;
● Hoặc Sổ lệnh trên E-BTS\Giao dịch Repo\Sổ sửa/hủy lệnh từ BTS.
- Thực hiện sửa lệnh đối với lệnh có trạng thái “Đã thực hiện”;
Bước 4: Kiểm tra lệnh sửa
- Lệnh đã sửa thành công sẽ hiển thị tại Sổ lệnh kết quả Repo hoặc Sổ sửa/hủy lệnh Repo từ BTS (chỉ áp dụng đối với trường hợp thành viên sửa lệnh trên E-BTS):
+ Trường hợp bên Mua và bên Bán cùng ĐDGD:
● Hệ thống BTS: Lệnh sửa có trạng thái “Chờ kiểm soát sửa”;
● Hệ thống BTS: Lệnh sửa có trạng thái “Đã thực hiện”;
+ Trường hợp bên Mua và bên Bán khác ĐDGD: Lệnh sửa có trạng thái “Chờ xác nhận sửa”;
- Đối với lệnh sửa có trạng thái “Chờ xác nhận sửa”, thực hiện tiếp bước 5;
- Đối với lệnh sửa có trạng thái "Đã thực hiện”, thực hiện tiếp bước 7.
- Đối với lệnh sửa có trạng thái “Chờ kiểm soát sửa”, thực hiện tiếp bước 10.
Bước 5: Xác nhận lệnh sửa
- Đối tác thực hiện xác nhận sửa lệnh.
- Nơi tác nghiệp: Sổ lệnh kết quả Repo
+ Hệ thống BTS: Sổ lệnh trong ngày\Giao dịch Repo\Sổ lệnh kết quả;
+ Hệ thống EBTS:
● Sổ lệnh trên E-BTS\Giao dịch Repo\Sổ lệnh kết quả;
● Hoặc Sổ lệnh trên E-BTS\Giao dịch Repo\Sổ sửa/hủy lệnh từ BTS.
Bước 6: Kiểm tra lệnh sửa đã xác nhận
- Lệnh sửa đã xác nhận sẽ hiển thị tại Sổ lệnh kết quả hoặc sổ sửa/hủy lệnh từ BTS (chỉ áp dụng đối với trường hợp thành viên sửa lệnh trên E-BTS):
+ Nếu bên đối tác chấp nhận sửa:
● Trên BTS: Lệnh sửa có trạng thái “Chờ kiểm soát sửa”;
● Trên E-BTS: Lệnh sửa có trạng thái “Đã thực hiện”;
+ Nếu bên đối tác không chấp nhận sửa: Lệnh sửa có trạng thái “Không xác nhận sửa”.
- Đối với lệnh sửa trên Hệ thống BTS, thực hiện tiếp bước 10.
- Đối với lệnh sửa trên Hệ thống E-BTS, thực hiện tiếp bước 7.
Bước 7: Đẩy lệnh (áp dụng đối với lệnh do NĐT nhập)
- Nơi tác nghiệp: Sổ lệnh kết quả Repo (Hệ thống E-BTS: Sổ lệnh trên E-BTS\Giao dịch Repo\Sổ lệnh kết quả)
- Chọn lệnh ĐTH có trạng thái đẩy “Chờ đẩy" hoặc "Đã đẩy Mua" hoặc "Đã đẩy bán” và chọn chức năng “Đẩy lệnh” hoặc “Từ chối đẩy lệnh”.
Bước 8: Duyệt lệnh (áp dụng đối với lệnh nhập cần phê duyệt trên hệ thống EBTS)
- Nơi tác nghiệp: Sổ lệnh chờ kiểm soát (Sổ lệnh trên E-BTS\Giao dịch Repo\Sổ lệnh chờ kiểm soát);
- Thành viên mua và bán phải duyệt các lệnh ĐTH của chính thành viên và của NĐT đã đẩy cho thành viên;
- Chọn lệnh ĐTH có trạng thái “Chờ xử lý” hoặc “Chờ duyệt Front” hoặc “Chờ duyệt Back” và chọn chức năng “Duyệt lệnh” hoặc “Từ chối duyệt”;
- Lệnh được duyệt thành công sẽ có trạng thái duyệt là "Đã duyệt" tại Sổ lệnh chờ kiểm soát (Sổ lệnh trên E-BTS\Giao dịch Repo\Sổ lệnh chờ kiểm soát).
Bước 9: Kiểm tra lệnh đã gửi vào hệ thống BTS
- Lệnh ĐTH gửi vào Hệ thống BTS sẽ hiển thị tại Sổ sửa/hủy lệnh từ BTS, có trạng thái “Đã thực hiện” (Sổ lệnh trên E-BTS\Giao dịch Repo\Sổ sửa/hủy lệnh từ BTS)
Bước 10: SGDCK kiểm soát sửa lệnh (chỉ thực hiện khi hai bên đồng ý sửa lệnh)
- Trường hợp SGDCK chấp thuận việc sửa lệnh: Lệnh gốc chuyển sang trạng thái “Không hiệu lực” và lệnh sửa có trạng thái “Đã thực hiện”.
- Trường hợp SGDCK không chấp thuận việc sửa lệnh: Lệnh gốc trở về trạng thái “Đã thực hiện” và lệnh sửa chuyển sang trạng thái “Không cho phép sửa”.
Bước 11: Thành viên gây lỗi gửi bản gốc hồ sơ xin sửa lệnh đã thực hiện
- Chậm nhất vào 11h00 ngày làm việc kế tiếp, thành viên gây lỗi phải gửi bản gốc Đề nghị sửa lệnh Repo đã thực hiện và bản sao Phiếu lệnh gốc của khách hàng có đóng dấu treo hoặc các giấy tờ tương đương cho SGDCK.
2.1.3. Sửa/hủy lệnh ĐTH tương lai đã gửi vào hệ thống BTS
Trình tự sửa lệnh như sau:
Bước 1: Thống nhất nội dung sửa/hủy lệnh
Nội dung sửa lệnh: ngoại trừ thông tin Mua/bán, thông tin thị trường và thông tin thành viên đối tác, ĐDGD/NĐT có thể sửa tất cả thông tin còn lại đã thỏa thuận trên lệnh.
Bước 2: Sửa/hủy lệnh
- Nơi tác nghiệp: Sổ lệnh kết quả Repo
+ Hệ thống BTS: Sổ lệnh trong ngày\Giao dịch Repo\Sổ lệnh kết quả;
+ Hệ thống EBTS:
● Sổ lệnh trên E-BTS\Giao dịch Repo\Sổ lệnh kết quả;
● Hoặc Sổ lệnh trên E-BTS\Giao dịch Repo\Sổ sửa/hủy lệnh từ BTS;
- Thực hiện sửa/hủy lệnh đối với lệnh có trạng thái “Đã thực hiện”;
Bước 3: Kiểm tra lệnh sửa/hủy
- Lệnh đã sửa/hủy thành công sẽ hiển thị tại Sổ lệnh kết quả Repo hoặc Sổ lệnh sửa/hủy giao dịch Repo từ BTS (chỉ áp dụng đối với trường hợp thành viên sửa lệnh trên E-BTS):
+ Trường hợp bên Mua và bên Bán cùng ĐDGD:
● Hệ thống BTS: Lệnh sửa có trạng thái “Đã thực hiện”; Lệnh hủy có trạng thái là “Chấp nhận hủy”.
● Hệ thống E-BTS: (Lệnh sửa có trạng thái “Chờ xác nhận sửa”; Lệnh hủy có trạng thái là “Chờ xác nhận hủy”.
+ Trường hợp bên Mua và bên Bán khác ĐDGD: Lệnh sửa có trạng thái “Chờ xác nhận sửa”; lệnh hủy có trạng thái là “Chờ xác nhận hủy”.
- Đối với lệnh sửa/hủy có trạng thái “Chờ xác nhận sửa” hoặc “Chờ xác nhận hủy”, thực hiện tiếp bước 4;
- Đối với lệnh hủy có trạng thái “Chấp nhận hủy”, việc hủy lệnh đã hoàn tất;
- Đối với lệnh sửa có trạng thái “Đã thực hiện”:
+ Nếu sửa lệnh trên hệ thống BTS: việc sửa lệnh đã hoàn tất;
+ Nếu sửa lệnh trên hệ thống E-BTS: thực hiện tiếp bước 6.
- Đối với lệnh hủy có trạng thái “Chấp nhận hủy”, việc hủy lệnh đã hoàn tất.
Bước 4: Xác nhận sửa/hủy lệnh
- Nơi tác nghiệp: Sổ lệnh kết quả Repo:
+ Hệ thống BTS: Sổ lệnh trong ngày\Giao dịch Repo\Sổ lệnh kết quả;
+ Hệ thống EBTS:
● Sổ lệnh trên E-BTS\Giao dịch Repo\Sổ lệnh kết quả;
● Hoặc Sổ lệnh trên E-BTS\Giao dịch Repo\Sổ sửa/hủy lệnh từ BTS;
- Đối tác thực hiện xác nhận sửa/hủy lệnh;
Bước 5: Kiểm tra lệnh sửa đã xác nhận
- Lệnh sửa đã xác nhận sẽ hiển thị tại Sổ lệnh kết quả hoặc Sổ sửa/hủy lệnh từ BTS (chỉ áp dụng đối với trường hợp thành viên sửa lệnh trên E-BTS):
+ Nếu bên đối tác chấp nhận sửa/hủy: Lệnh sửa có trạng thái “Đã thực hiện”; Lệnh hủy có trạng thái là “Chấp nhận hủy”.
+ Nếu bên đối tác không chấp nhận sửa/hủy: Lệnh sửa có trạng thái “Không xác nhận sửa”; lệnh hủy có trạng thái “Không chấp nhận hủy”. Lệnh ĐTH gốc là lệnh duy nhất có hiệu lực.
- Nếu sửa/hủy lệnh trên hệ thống BTS và hủy lệnh trên hệ thống E-BTS, việc sửa/hủy lệnh đã hoàn tất.
- Nếu sửa lệnh trên hệ thống E-BTS, thực hiện tiếp bước 6.
Bước 6: Đẩy lệnh (áp dụng đối với lệnh do NĐT nhập)
- Nơi tác nghiệp: Sổ lệnh kết quả Repo (Hệ thống E-BTS: Sổ lệnh trên E-BTS\Giao dịch Repo\Sổ lệnh kết quả);
- Chọn lệnh ĐTH có trạng thái đẩy “Chờ đẩy" hoặc "Đã đẩy Mua" hoặc "Đã đẩy bán” và chọn chức năng “Đẩy lệnh” hoặc “Từ chối đẩy lệnh”.
Bước 7: Duyệt lệnh (áp dụng đối với lệnh nhập cần phê duyệt trên hệ thống EBTS)
- Nơi tác nghiệp: Sổ lệnh chờ kiểm soát Repo (Hệ thống E-BTS: Sổ lệnh trên E-BTS\Giao dịch Repo\Sổ lệnh chờ kiểm soát);
- Thành viên mua và bán phải duyệt các lệnh ĐTH của chính thành viên và của NĐT đã đẩy cho thành viên;
- Chọn lệnh ĐTH có trạng thái “Chờ xử lý” hoặc “Chờ duyệt Front” hoặc “Chờ duyệt Back” và chọn chức năng “Duyệt lệnh” hoặc “Từ chối duyệt”;
- Lệnh được duyệt thành công sẽ có trạng thái duyệt là "Đã duyệt" tại Sổ lệnh chờ kiểm soát (Sổ lệnh trên E-BTS\Giao dịch Repo\Sổ lệnh chờ kiểm soát).
Bước 8: Kiểm tra lệnh đã gửi vào hệ thống BTS
- Lệnh ĐTH gửi vào Hệ thống BTS sẽ hiển thị tại Sổ sửa/hủy lệnh từ BTS, có trạng thái “Đã thực hiện” (Sổ lệnh trên E-BTS\Giao dịch Repo\Sổ sửa/hủy lệnh từ BTS)
2.2. Sửa lệnh lần 2
Trình tự sửa lệnh như sau:
Bước 1: Thống nhất nội dung lệnh sửa
- Hai bên đối tác Mua và Bán liên hệ thỏa thuận với nhau về việc sửa lệnh giao dịch. Nội dung sửa lệnh:
+ Lãi suất Repos;
+ Kỳ hạn Repos;
+ Lãi suất trên lãi coupon (nếu có);
+ Trái phiếu tương đương: Hai bên thống nhất để chọn mới danh sách trái phiếu tương đương hoặc chọn thanh toán bằng trái phiếu tương đương.
Bước 2: Gửi hồ sơ sửa lệnh cho SGDCK
Hồ sơ sửa lệnh gồm: Đề nghị sửa giao dịch Repo lần 2 đã thực hiện (theo Mẫu 05 tại Phụ lục 09 - Mẫu văn bản);
Bước 3: Sửa lệnh
- Nơi tác nghiệp: Sổ lệnh Repo lần 2:
+ Trên hệ thống BTS: Sổ lệnh giao dịch Repo lần 2 (Sổ lệnh trong ngày\Giao dịch Repo\Sổ lệnh giao dịch lần 2)
+ Trên hệ thống E-BTS: Sổ Sửa lệnh Repo lần 2 từ BTS (Sổ lệnh trên E-BTS\Giao dịch Repo\Sổ sửa lệnh Repo lần 2 từ BTS);
- Thực hiện sửa lệnh đối với lệnh có trạng thái “Đã thực hiện”;
- Đối với chọn mới danh sách trái phiếu tương đương, cung cấp các thông tin chi tiết nêu tại Điểm 1 Mục B.I Phụ lục 08 - Hướng dẫn về trái phiếu tương đương trong giao dịch TPCP tại SGDCK;
- Đối với chọn thanh toán bằng trái phiếu, cung cấp các thông tin chi tiết nêu tại Điểm 1 Mục B.II Phụ lục 08 - Hướng dẫn về trái phiếu tương đương trong giao dịch TPCP tại SGDCK.
Bước 4: Kiểm tra lệnh sửa
- Lệnh đã sửa thành công số hiển thị tại Sổ lệnh giao dịch lần 2 hoặc Sổ sửa lệnh Repo lần 2 từ BTS (chỉ áp dụng đối với trường hợp thành viên sửa lệnh trên E-BTS):
+ Trường hợp bên Mua và bên Bán cùng ĐDGD:
● Trên BTS: Lệnh sửa có trạng thái “Chờ kiểm soát sửa”;
● Trên E-BTS: Lệnh sửa có trạng thái “Đã thực hiện”;
+ Trường hợp bên Mua và bên Bán khác ĐDGD: Lệnh sửa có trạng thái “Chờ xác nhận sửa”.
- Đối với lệnh sửa có trạng thái “Chờ xác nhận sửa”, thực hiện tiếp bước 5;
- Đối với lệnh sửa có trạng thái “Đã thực hiện”, thực hiện tiếp 7;
- Đối với lệnh sửa có trạng thái “Chờ kiểm soát sửa”, thực hiện tiếp bước 9.
Bước 5: Xác nhận lệnh sửa
- Nơi tác nghiệp:
+ Trên hệ thống BTS: Sổ lệnh giao dịch Repo lần 2 (Sổ lệnh trong ngày\Giao dịch Repo\Sổ lệnh giao dịch lần 2)
+ Trên hệ thống E-BTS: Sổ sửa lệnh Repo lần 2 từ BTS (Sổ lệnh trên E-BTS\Giao dịch Repo\Sổ Sửa lệnh Repo lần 2 từ BTS);
- Đối tác thực hiện Xác nhận sửa hoặc Từ chối xác nhận sửa.
Bước 6: Kiểm tra lệnh sửa đã xác nhận
- Lệnh sửa đã xác nhận sẽ hiển thị tại Sổ lệnh giao dịch Repo lần 2 hoặc Sổ sửa lệnh Repo lần 2 từ BTS (chỉ áp dụng đối với trường hợp thành viên sửa lệnh trên E-BTS):
+ Nếu bên đối tác chấp nhận sửa:
● Trên BTS: Lệnh sửa có trạng thái “Chờ kiểm soát sửa”;
● Trên E-BTS: Lệnh sửa có trạng thái “Đã thực hiện”;
+ Nếu bên đối tác không chấp nhận sửa: Lệnh sửa có trạng thái “Không xác nhận sửa”.
- Đối với lệnh sửa trên Hệ thống BTS, thực hiện tiếp bước 9.
- Đối với lệnh sửa trên Hệ thống E-BTS, thực hiện tiếp bước 7.
Bước 7: Duyệt lệnh (áp dụng đối với lệnh thực hiện trên E-BTS)
- Nơi tác nghiệp: Sổ lệnh Chờ kiểm soát (Sổ lệnh trên E-BTS\Giao dịch Repo\Sổ lệnh chờ kiểm soát);
- Thành viên mua và bán phải duyệt các lệnh ĐTH của chính thành viên và của NĐT đã đẩy cho thành viên;
- Chọn lệnh ĐTH có trạng thái “Chờ xử lý” hoặc “Chờ duyệt Front” hoặc “Chờ duyệt Back” và chọn chức năng “Duyệt lệnh” hoặc “Từ chối duyệt”;
- Lệnh được duyệt thành công sẽ có trạng thái duyệt là "Đã duyệt" tại Sổ lệnh chờ kiểm soát.
Bước 8: Kiểm tra lệnh đã gửi vào hệ thống BTS
- Lệnh gửi vào Hệ thống BTS thành công sẽ hiển thị tại Sổ sửa lệnh Repo lần 2 từ BTS, có trạng thái lệnh là “Đã thực hiện” (Sổ lệnh trên E-BTS\Giao dịch Repo\Sổ sửa lệnh Repo lần 2 từ BTS)
Bước 9: SGDCK kiểm soát sửa lệnh (chỉ thực hiện khi hai bên đồng ý sửa lệnh)
- Trường hợp SGDCK chấp thuận việc sửa lệnh: Lệnh gốc chuyển sang trạng thái “Không hiệu lực” và lệnh sửa có trạng thái “Đã thực hiện”.
- Trường hợp SGDCK không chấp thuận việc sửa lệnh: Lệnh gốc trở về trạng thái “Đã thực hiện” và lệnh sửa chuyển sang trạng thái “Không cho phép sửa”.
Bước 10: Thành viên gây lỗi gửi bản gốc hồ sơ xin sửa lệnh đã thực hiện
- Chậm nhất vào 11h00 ngày làm việc kế tiếp, thành viên gây lỗi phải gửi bản gốc Đề nghị sửa lệnh Repo lần 2 đã thực hiện cho SGDCK.
III. Tra cứu thông tin
1. Tra cứu thông tin về hoạt động giao dịch trên Hệ thống BTS:
- Đối với thông tin giao dịch trong ngày: tra cứu thông tin tại các sổ lệnh trong ngày, bảng điện tử bao gồm:
+ Bảng điện tử Repo toàn thị trường;
+ Sổ lệnh chờ thực hiện Repo gồm: Sổ lệnh In và Firm và Sổ lệnh Báo cáo giao dịch;
+ Sổ lệnh kết quả Repo: bao gồm các lệnh Repo lần 1 đã thực hiện trong ngày và tương lai;
+ Sổ lệnh kết quả Repo lần 2: bao gồm các lệnh Repo lần 2 đến hạn hoặc chưa đến hạn trong ngày;
+ Thông tin về các mức giá, kỳ hạn của giao dịch Repo.
- Đối với thông tin giao dịch nhiều ngày, tra cứu thông tin tại các sổ lệnh quá khứ bao gồm:
+ Sổ lệnh chờ thực hiện Repo quá khứ gồm: Sổ lệnh In và Firm quá khứ và Sổ lệnh Báo cáo giao dịch quá khứ;
+ Sổ lệnh kết quả Repo quá khứ;
+ Sổ lệnh kết quả Repo lần 2 quá khứ;
+ Sổ lệnh Repo tương lai hết hiệu lực;
- Đối với thông tin giao dịch thông qua Hệ thống của Vendor, thực hiện tra cứu thông tin tại các sổ lệnh trong ngày và nhiều ngày tại nhóm chức năng “Trao đổi dữ liệu với Vendor” bao gồm:
+ Sổ lệnh kết quả từ Vendor;
+ Sổ lệnh chờ duyệt từ Vendor;
+ Sổ lệnh kết quả từ Vendor quá khứ;
2. Tra cứu thông tin về hoạt động giao dịch từ Hệ thống E-BTS:
- Đối với thông tin giao dịch trong ngày, thực hiện tra cứu thông tin tại các sổ lệnh trên E-BTS, bao gồm:
+ Sổ lệnh chờ thực hiện Repo gồm: Sổ lệnh In và Firm và Sổ lệnh Báo cáo giao dịch;
+ Sổ lệnh kết quả Repo;
+ Sổ sửa/hủy lệnh Repo từ BTS;
+ Sổ sửa lệnh Repo lần 2 từ BTS;
+ Sổ lệnh Chờ kiểm soát Repo;
- Đối với thông tin giao dịch nhiều ngày, thực hiện tra cứu thông tin tại các sổ lệnh quá khứ trên E-BTS, bao gồm:
+ Sổ lệnh chờ thực hiện Repo quá khứ gồm: Sổ lệnh In và Firm quá khứ và Sổ lệnh Báo cáo giao dịch quá khứ;
+ Sổ lệnh kết quả giao dịch Repo quá khứ;
+ Sổ sửa/hủy lệnh Repo từ BTS quá khứ;
+ Sổ sửa lệnh Repo lần 2 từ BTS quá khứ;
+ Sổ lệnh Chờ kiểm soát Repo quá khứ.
PHỤ LỤC 03
HƯỚNG DẪN VỀ GIAO DỊCH BÁN KẾT HỢP MUA LẠI (SBB)
(Ban hành kèm theo Quy trình Giao dịch trái phiếu Chính phủ, trái phiếu được Chính phủ bảo lãnh và trái phiếu chính quyền địa phương tại SGDCK)
I. Nhập lệnh
Trình tự nhập lệnh như sau:
Bước 1: Nhập lệnh
- Chọn hình thức lệnh: (i) Lệnh thỏa thuận điện tử tùy chọn; (ii) Lệnh báo cáo giao dịch.
- Các thông tin cần nhập: chi tiết nêu tại Điểm 1, 2 Mục A.III tại Phụ lục 11 - Thông tin nhập.
- Nơi tác nghiệp: Màn hình nhập lệnh - Giao dịch SBB:
+ Hệ thống BTS: Nhập lệnh\Giao dịch SBB\Nhập lệnh Inquiry hoặc Nhập lệnh BCGD;
+ Hệ thống E-BTS: Giao dịch trên E-BTS\Nhập lệnh Giao dịch SBB\Nhập lệnh Inquiry hoặc Nhập lệnh BCGD.
- Đối với tạo lệnh Firm trên lệnh Inquiry nhận được: tác nghiệp tại Sổ lệnh Chờ thực hiện\Sổ lệnh In và Firm:
+ Hệ thống BTS: Sổ lệnh trong ngày\Giao dịch SBB\Sổ lệnh In và Firm;
+ Hệ thống E-BTS: Sổ lệnh trên E-BTS\Giao dịch SBB\Sổ lệnh Chờ thực hiện - Sổ lệnh In và Firm.
Bước 2: Kiểm tra lệnh
Lệnh đã nhập thành công sẽ hiển thị tại Sổ lệnh Chờ thực hiện/Sổ lệnh In - Firm hoặc Sổ lệnh báo cáo giao dịch, có trạng thái “Chờ thực hiện”:
- Nếu thông tin lệnh nhập chính xác, thực hiện tiếp bước 3;
- Nếu thông tin lệnh nhập chưa chính xác, thực hiện Sửa/Hủy hoặc Treo lệnh vừa nhập.
Bước 3: Xác nhận lệnh
- Nơi tác nghiệp: Sổ lệnh chờ thực hiện SBB
+ Hệ thống BTS: Sổ lệnh trong ngày\Giao dịch SBB\Sổ lệnh chờ thực hiện - Sổ lệnh In và Firm hoặc Sổ lệnh báo cáo giao dịch;
+ Hệ thống E-BTS: Sổ lệnh trên E-BTS\Giao dịch SBB\Sổ lệnh chờ thực hiện - Sổ lệnh In và Firm hoặc Sổ lệnh báo cáo giao dịch.
- Bên đối ứng thực hiện xác nhận lệnh có trạng thái “Chờ thực hiện”, nhập TKLK của mình và kích hoạt “Thực hiện” để xác nhận lệnh;
Bước 4: Kiểm tra lệnh đã xác nhận
- Lệnh được xem là hoàn tất sẽ có trạng thái lệnh “Đã thực hiện” tại Sổ lệnh kết quả SBB:
+ Hệ thống BTS: Sổ lệnh trong ngày\Giao dịch SBB\Sổ lệnh kết quả
+ Hệ thống E-BTS: Sổ lệnh trên E-BTS\Giao dịch SBB\Sổ lệnh kết quả
- Nếu nhập lệnh trên Hệ thống BTS, việc nhập lệnh đã hoàn tất
- Nếu nhập lệnh trên Hệ thống E-BTS, thực hiện tiếp bước 5.
Bước 5: Đẩy lệnh (Áp dụng đối với lệnh do NĐT nhập)
- Nơi tác nghiệp: Sổ lệnh kết quả SBB (Sổ lệnh trên E-BTS\Giao dịch SBB\Sổ lệnh kết quả)
- Chọn lệnh ĐTH có trạng thái đẩy “Chờ đẩy" hoặc "Đã đẩy Mua" hoặc "Đã đẩy bán” và chọn chức năng “Đẩy lệnh” hoặc “Từ chối đẩy lệnh”.
Bước 6: Duyệt lệnh (Áp dụng đối với lệnh nhập cần phê duyệt trên Hệ thống E-BTS)
- Nơi tác nghiệp: Sổ lệnh chờ kiểm soát (Sổ lệnh trên E-BTS\Giao dịch SBB trong ngày\Sổ lệnh chờ kiểm soát).
- Thành viên mua và bán phải duyệt các lệnh ĐTH của chính thành viên và của NĐT đã đẩy cho thành viên;
- Chọn lệnh ĐTH có trạng thái “Chưa duyệt” và chọn chức năng “Duyệt lệnh” hoặc “Từ chối duyệt”.
- Lệnh được duyệt thành công sẽ có trạng thái duyệt là "Đã duyệt" tại Sổ lệnh chờ kiểm soát.
Bước 7: Kiểm tra lệnh đã gửi vào hệ thống BTS
- Lệnh gửi vào Hệ thống BTS thành công sẽ hiển thị tại Sổ lệnh kết quả SBB gửi từ BTS, có trạng thái lệnh là “Đã thực hiện” (Sổ giao dịch gửi từ BTS\Giao dịch SBB\Sổ lệnh kết quả)
II. Sửa/hủy lệnh
1. TH1: Đối với lệnh chưa thực hiện (lệnh chưa xác nhận bởi đối tác ở bước 3 phần I nêu trên)
- Nội dung sửa lệnh: Ngoại trừ thông tin Thị trường của lệnh, ĐDGD/NĐT được sửa tất cả các nội dung đã nhập.
- Nơi tác nghiệp: Sổ lệnh chờ thực hiện SBB
+ Hệ thống BTS: Sổ lệnh trong ngày\Giao dịch SBB\Sổ lệnh chờ thực hiện;
+ Hệ thống E-BTS: Sổ lệnh trên E-BTS\Giao dịch SBB\Sổ lệnh chờ thực hiện.
- Thực hiện chức năng Treo/Sửa/Hủy lệnh đối với Lệnh Inquiry - Firm và Lệnh Báo cáo giao dịch.
2. TH2: Đối với lệnh đã thực hiện
2.1. Sửa/hủy lệnh lần 1
2.1.1. Sửa/hủy lệnh ĐTH chưa gửi vào BTS
Trình tự sửa lệnh như sau:
Bước 1: Thống nhất nội dung sửa/hủy lệnh
Nội dung sửa lệnh: ngoại trừ thông tin Mua/bán, thông tin về thị trường và thông tin thành viên đối tác, ĐDGD/NĐT có thể sửa tất cả thông tin còn lại đã thỏa thuận trên lệnh.
Bước 2: Sửa/hủy lệnh
- Nơi tác nghiệp: Sổ lệnh kết quả SBB (Sổ lệnh trên E-BTS\Giao dịch SBB\Sổ lệnh kết quả);
- Thực hiện sửa/hủy lệnh đối với lệnh có trạng thái duyệt là “Từ chối duyệt” hoặc trạng thái đẩy là “Từ chối đẩy”.
Bước 3: Kiểm tra lệnh sửa/hủy
- Lệnh đã sửa/hủy thành công sẽ hiển thị tại Sổ lệnh kết quả SBB:
+ Trường hợp bên Mua và bên Bán cùng ĐDGD: Lệnh sửa có trạng thái “Đã thực hiện”; Lệnh hủy có trạng thái là “Chấp nhận hủy”.
+ Trường hợp bên Mua và bên Bán khác ĐDGD: Lệnh sửa có trạng thái “Chờ xác nhận sửa”; Lệnh hủy có trạng thái là “Chờ xác nhận hủy”.
- Đối với lệnh sửa/hủy có trạng thái “Chờ xác nhận sửa” hoặc “Chờ xác nhận hủy”, thực hiện tiếp bước 4;
- Đối với lệnh sửa có trạng thái “Đã thực hiện” thực hiện tiếp bước 6;
- Đối với lệnh hủy có trạng thái “Chấp nhận hủy”, việc hủy lệnh đã hoàn tất.
Bước 4: Xác nhận sửa/hủy lệnh
- Nơi tác nghiệp: Sổ lệnh kết quả SBB (Sổ lệnh trên E-BTS\Giao dịch SBB\Sổ lệnh kết quả);
- Đối tác thực hiện “Xác nhận sửa/hủy” hoặc “Từ chối xác nhận sửa/hủy”.
Bước 5: Kiểm tra lệnh sửa/hủy đã xác nhận
- Lệnh sửa/hủy đã xác nhận sẽ hiển thị tại Sổ lệnh kết quả SBB:
+ Nếu bên đối tác chấp nhận sửa/hủy: Lệnh sửa có trạng thái “Đã thực hiện”; Lệnh hủy có trạng thái là “Chấp nhận hủy” và việc hủy lệnh đã hoàn tất.
+ Nếu bên đối tác không chấp nhận sửa/hủy: Lệnh sửa có trạng thái “Không xác nhận sửa”; lệnh hủy có trạng thái “Không chấp nhận hủy”. Lệnh ĐTH gốc là lệnh duy nhất có hiệu lực.
Bước 6: Đẩy lệnh (áp dụng đối với lệnh do NĐT nhập)
- Nơi tác nghiệp: Sổ lệnh kết quả SBB (Hệ thống E-BTS: Sổ lệnh trên E-BTS\Giao dịch SBB\Sổ lệnh kết quả);
- Chọn lệnh ĐTH có trạng thái đẩy “Chờ đẩy" hoặc "Đã đẩy Mua" hoặc "Đã đẩy bán” và chọn chức năng “Đẩy lệnh” hoặc “Từ chối đẩy lệnh”.
Bước 7: Duyệt lệnh (áp dụng đối với lệnh cần phê duyệt)
- Nơi tác nghiệp: Sổ lệnh Chờ kiểm soát SBB (Sổ lệnh trên E-BTS\Giao dịch SBB\Sổ lệnh chờ kiểm soát).
- Thành viên mua và bán phải duyệt các lệnh ĐTH của chính thành viên và của NĐT đã đẩy cho thành viên;
- Chọn lệnh ĐTH có trạng thái “Chờ xử lý” hoặc “Chờ duyệt Front” hoặc “Chờ duyệt Back” và chọn chức năng “Duyệt lệnh” hoặc “Từ chối duyệt”;
- Lệnh được duyệt thành công sẽ có trạng thái duyệt là "Đã duyệt" tại Sổ lệnh chờ kiểm soát (Sổ lệnh trên E-BTS\Giao dịch SBB\Sổ lệnh chờ kiểm soát).
Bước 8: Kiểm tra lệnh đã gửi vào Hệ thống BTS
- Lệnh gửi vào Hệ thống BTS thành công sẽ hiển thị tại Sổ sửa/hủy lệnh SBB từ BTS, có trạng thái lệnh là “Đã thực hiện” (Sổ lệnh trên E-BTS\Giao dịch SBB\Sổ sửa/hủy lệnh từ BTS).
2.1.2. Sửa lệnh ĐTH trong ngày đã gửi vào BTS
Trình tự sửa lệnh như sau:
Bước 1: Thống nhất nội dung sửa lệnh
Nội dung sửa lệnh: ngoại trừ thông tin Mua/bán, thông tin về thị trường và thông tin thành viên đối tác, ĐDGD/NĐT có thể sửa tất cả thông tin còn lại đã thỏa thuận trên lệnh.
Bước 2: Gửi hồ sơ sửa lệnh cho SGDCK
- Hồ sơ sửa lệnh gồm:
+ Đề nghị sửa lệnh giao dịch SBB lần 1 đã thực hiện (theo Mẫu 03 tại Phụ lục 09 - Mẫu văn bản);
+ Phiếu lệnh gốc của khách hàng hoặc các giấy tờ tương đương.
Bước 3: Sửa lệnh
- Thực hiện sửa lệnh đối với lệnh có trạng thái “Đã thực hiện”;
- Nơi tác nghiệp: Sổ lệnh kết quả SBB
+ Hệ thống BTS: Sổ lệnh trong ngày\Giao dịch SBB\Sổ lệnh kết quả;
+ Hệ thống E-BTS:
● Sổ lệnh trên E-BTS\Giao dịch SBB\Sổ lệnh kết quả;
● Hoặc Sổ lệnh trên E-BTS\Giao dịch SBB\Sổ sửa/hủy lệnh từ BTS;
Bước 4: Kiểm tra lệnh sửa
- Lệnh đã sửa thành công sẽ hiển thị tại Sổ lệnh kết quả hoặc Sổ sửa/hủy lệnh từ BTS (chỉ áp dụng đối với trường hợp thành viên sửa lệnh trên E-BTS):
+ Trường hợp bên Mua và bên Bán cùng ĐDGD:
● Hệ thống BTS: Lệnh sửa có trạng thái “Chờ kiểm soát sửa”;
● Hệ thống BTS: Lệnh sửa có trạng thái “Đã thực hiện”;
+ Trường hợp bên Mua và bên Bán khác ĐDGD: Lệnh sửa có trạng thái “Chờ xác nhận sửa”;
- Đối với lệnh sửa có trạng thái “Chờ xác nhận sửa”, thực hiện tiếp bước 5;
- Đối với lệnh sửa có trạng thái “Đã thực hiện”, thực hiện tiếp bước 7.
- Đối với lệnh sửa có trạng thái “Chờ kiểm soát sửa”, thực hiện tiếp bước 10.
Bước 5: Xác nhận lệnh sửa
- Nơi tác nghiệp: Sổ lệnh kết quả
+ Hệ thống BTS: Sổ lệnh trong ngày\Giao dịch SBB\Sổ lệnh kết quả;
+ Hệ thống E-BTS:
● Sổ lệnh trên E-BTS\Giao dịch SBB\Sổ lệnh kết quả;
● Hoặc Sổ lệnh trên E-BTS\Giao dịch SBB\Sổ sửa/hủy lệnh từ BTS;
- Đối tác thực hiện “Xác nhận sửa” hoặc “Từ chối xác nhận sửa” lệnh;
- Đối với lệnh sửa trên hệ thống BTS, thực hiện tiếp bước 8;
- Đối với lệnh sửa trên hệ thống E-BTS, thực hiện tiếp bước 7;
Bước 6: Kiểm tra lệnh sửa đã xác nhận
- Lệnh sửa đã xác nhận sẽ hiển thị tại Sổ lệnh kết quả hoặc Sổ sửa/hủy lệnh từ BTS (chỉ áp dụng đối với trường hợp thành viên sửa lệnh trên E-BTS):
+ Nếu bên đối tác chấp nhận sửa:
● Trên BTS: Lệnh sửa có trạng thái “Chờ kiểm soát sửa”;
● Trên E-BTS: Lệnh sửa có trạng thái “Đã thực hiện”;
+ Nếu bên đối tác không chấp nhận sửa: Lệnh sửa có trạng thái “Không xác nhận sửa”.
- Đối với lệnh sửa trên Hệ thống BTS, thực hiện tiếp bước 10.
- Đối với lệnh sửa trên Hệ thống E-BTS, thực hiện tiếp bước 7.
Bước 7: Đẩy lệnh (áp dụng đối với lệnh do NĐT nhập)
- Nơi tác nghiệp: Sổ lệnh kết quả SBB (Hệ thống EBTS: Sổ lệnh trên E-BTS\Giao dịch SBB\Sổ lệnh kết quả).
- Chọn lệnh ĐTH có trạng thái đẩy “Chờ đẩy” hoặc "Đã đẩy Mua” hoặc "Đã đẩy bán” và chọn chức năng “Đẩy lệnh” hoặc “Từ chối đẩy lệnh”.
Bước 8: Duyệt lệnh (áp dụng đối với lệnh nhập cần phê duyệt trên hệ thống EBTS)
- Nơi tác nghiệp: Sổ lệnh Chờ kiểm soát (Sổ lệnh trên E-BTS\Giao dịch SBB\Sổ lệnh chờ kiểm soát).
- Thành viên mua và bán phải duyệt các lệnh ĐTH của chính thành viên và của NĐT đã đẩy cho thành viên;
- Chọn lệnh ĐTH có trạng thái “Chờ xử lý” hoặc “Chờ duyệt Front” hoặc “Chờ duyệt Back” và chọn chức năng “Duyệt lệnh” hoặc “Từ chối duyệt”;
- Lệnh được duyệt thành công sẽ có trạng thái duyệt là "Đã duyệt" tại Sổ lệnh chờ kiểm soát (Sổ lệnh trên E-BTS\Giao dịch SBB\Sổ lệnh chờ kiểm soát).
Bước 9: Kiểm tra lệnh đã gửi vào hệ thống BTS
- Lệnh ĐTH gửi vào Hệ thống BTS sẽ hiển thị tại Sổ sửa/hủy lệnh từ BTS, có trạng thái “Đã thực hiện” (Sổ lệnh trên E-BTS\Giao dịch SBR\Sổ sửa/hủy lệnh từ BTS)
Bước 10: SGDCK kiểm soát sửa lệnh (chỉ thực hiện khi hai bên đồng ý sửa lệnh)
- Trường hợp SGDCK chấp thuận việc sửa lệnh: Lệnh gốc chuyển sang trạng thái “Không hiệu lực” và lệnh sửa có trạng thái “Đã thực hiện”.
- Trường hợp SGDCK không chấp thuận việc sửa lệnh: Lệnh gốc trở về trạng thái “Đã thực hiện” và lệnh sửa chuyển sang trạng thái “Không cho phép sửa”.
Bước 11: Thành viên gây lỗi gửi bản gốc hồ sơ xin sửa lệnh đã thực hiện
- Chậm nhất vào 11h00 ngày làm việc kế tiếp, thành viên gây lỗi phải gửi bản gốc Đề nghị sửa lệnh SBB đã thực hiện và bản sao Phiếu lệnh gốc của khách hàng có đóng dấu treo hoặc các giấy tờ tương đương cho SGDCK.
2.1.3. Sửa/hủy lệnh ĐTH tương lai đã gửi vào hệ thống BTS
Trình tự sửa lệnh như sau:
Bước 1: Thống nhất nội dung sửa/hủy lệnh
Nội dung sửa lệnh: ngoại trừ thông tin Mua/bán, thông tin về thị trường và thông tin thành viên đối tác, ĐDGD/NĐT có thể sửa tất cả thông tin còn lại đã thỏa thuận trên lệnh.
Bước 2: Sửa/hủy lệnh
- Nơi tác nghiệp: Sổ lệnh kết quả SBB
+ Hệ thống BTS: Sổ lệnh trong ngày\Giao dịch SBB\Sổ lệnh kết quả;
+ Hệ thống EBTS:
● Sổ lệnh trên E-BTS\Giao dịch SBB\Sổ lệnh kết quả;
● Hoặc Sổ lệnh trên E-BTS\Giao dịch SBB\Sổ sửa/hủy lệnh từ BTS;
- Thực hiện sửa/hủy lệnh đối với lệnh có trạng thái “Đã thực hiện”;
Bước 3: Kiểm tra lệnh sửa/hủy
- Lệnh đã sửa/hủy thành công sẽ hiển thị tại Sổ lệnh kết quả SBB hoặc Sổ lệnh sửa/hủy giao dịch SBB từ BTS (chỉ áp dụng đối với trường hợp thành viên sửa lệnh trên E-BTS);
+ Trường hợp bên Mua và bên Bán cùng ĐDGD:
● Hệ thống BTS: Lệnh sửa có trạng thái “Đã thực hiện”; Lệnh hủy có trạng thái là “Chấp nhận hủy”.
● Hệ thống E-BTS: (Lệnh sửa có trạng thái “Chờ xác nhận sửa”; Lệnh hủy có trạng thái là “Chờ xác nhận hủy”.
+ Trường hợp bên Mua và bên Bán khác ĐDGD: Lệnh sửa có trạng thái “Chờ xác nhận sửa”; lệnh hủy có trạng thái là “Chờ xác nhận hủy”.
- Đối với lệnh sửa/hủy có trạng thái “Chờ xác nhận sửa” hoặc “Chờ xác nhận hủy”, thực hiện tiếp bước 4;
- Đối với lệnh hủy có trạng thái “Chấp nhận hủy”, việc hủy lệnh đã hoàn tất;
- Đối với lệnh sửa có trạng thái “Đã thực hiện”:
+ Nếu sửa lệnh trên hệ thống BTS: việc sửa lệnh đã hoàn tất;
+ Nếu sửa lệnh trên hệ thống E-BTS: thực hiện tiếp bước 6.
- Đối với lệnh hủy có trạng thái “Chấp nhận hủy”, việc hủy lệnh đã hoàn tất.
Bước 4: Xác nhận sửa/hủy lệnh
- Nơi tác nghiệp: Sổ lệnh kết quả SBB:
+ Hệ thống BTS: Sổ lệnh trong ngày\Giao dịch SBB\Sổ lệnh kết quả;
+ Hệ thống EBTS:
● Sổ lệnh trên E-BTS\Giao dịch SBB\Sổ lệnh kết quả;
● Hoặc Sổ lệnh trên E-BTS\Giao dịch SBB\Sổ sửa/hủy lệnh từ BTS;
- Đối tác thực hiện xác nhận sửa/hủy lệnh;
Bước 5: Kiểm tra lệnh sửa đã xác nhận
- Lệnh sửa đã xác nhận sẽ hiển thị tại Sổ lệnh kết quả SBB hoặc Sổ lệnh sửa/hủy giao dịch SBB từ BTS (chỉ áp dụng đối với trường hợp thành viên sửa lệnh trên E-BTS):
+ Nếu bên đối tác chấp nhận sửa/hủy: Lệnh sửa có hạng thái “Đã thực hiện”; Lệnh hủy có trạng thái là “Chấp nhận hủy”.
+ Nếu bên đối tác không chấp nhận sửa/hủy: Lệnh sửa có trạng thái “Không xác nhận sửa”; lệnh hủy có trạng thái “Không chấp nhận hủy”. Lệnh ĐTH gốc là lệnh duy nhất có hiệu lực.
- Nếu sửa/hủy lệnh trên hệ thống BTS và hủy lệnh trên hệ thống E-BTS, việc sửa/hủy lệnh đã hoàn tất.
- Nếu sửa lệnh trên hệ thống E-BTS, thực hiện tiếp bước 6.
Bước 6: Đẩy lệnh (áp dụng đối với lệnh do NĐT nhập)
- Nơi tác nghiệp: Sổ lệnh kết quả SBB (Hệ thống E-BTS: Sổ lệnh trên E-BTS\Giao dịch SBB\Sổ lệnh kết quả);
- Chọn lệnh ĐTH có trạng thái đẩy “Chờ đẩy" hoặc "Đã đẩy Mua" hoặc "Đã đẩy bán” và chọn chức năng “Đẩy lệnh” hoặc “Từ chối đẩy lệnh”.
Bước 7: Duyệt lệnh
- Nơi tác nghiệp: Sổ lệnh chờ kiểm soát SBB (Sổ lệnh trên E-BTS\Giao dịch SBB\Sổ lệnh chờ kiểm soát);
- Thành viên mua và bán phải duyệt các lệnh ĐTH của chính thành viên và của NĐT đã đẩy cho thành viên;
- Chọn lệnh ĐTH có trạng thái “Chờ xử lý” hoặc “Chờ duyệt Front” hoặc “Chờ duyệt Back” và chọn chức năng “Duyệt lệnh” hoặc “Từ chối duyệt”;
- Lệnh được duyệt thành công sẽ có trạng thái duyệt là "Đã duyệt" tại Sổ lệnh chờ kiểm soát (Sổ lệnh trên E-BTS\Giao dịch SBB\Sổ lệnh chờ kiểm soát).
Bước 8: Kiểm tra lệnh đã gửi vào hệ thống BTS
- Lệnh ĐTH gửi vào Hệ thống BTS sẽ hiển thị tại Sổ sửa/hủy lệnh từ BTS, có trạng thái “Đã thực hiện” (Sổ lệnh trên E-BTS\Giao dịch SBB\Sổ sửa/hủy lệnh từ BTS)
2.2. Sửa lệnh lần 2
Trình tự sửa lệnh như sau:
Bước 1: Thống nhất nội dung lệnh sửa
- Hai bên đối tác Mua và Bán liên hệ thỏa thuận với nhau về việc sửa lệnh giao dịch. Nội dung sửa lệnh:
+ Giá yết lần 2;
+ Ngày kết thúc giao dịch;
+ Trái phiếu tương đương: Hai bên thống nhất để chọn mới danh sách trái phiếu tương đương hoặc chọn thanh toán bằng trái phiếu tương đương.
Bước 2: Gửi hồ sơ sửa lệnh cho SGDCK
Hồ sơ sửa lệnh gồm: Đề nghị sửa lệnh giao dịch SBB lần 2 đã thực hiện (theo Mẫu 06 tại Phụ lục 09 - Mẫu văn bản);
Bước 3: Sửa lệnh
- Nơi tác nghiệp: Sổ lệnh SBB lần 2:
+ Trên hệ thống BTS: Sổ lệnh giao dịch SBB lần 2 (Sổ lệnh trong ngày\Giao dịch SBB\Sổ lệnh giao dịch lần 2)
+ Trên hệ thống E-BTS: Sổ Sửa giao dịch lần 2 từ BTS (Sổ lệnh trên E-BTS\Giao dịch SBB\Sổ Sửa lệnh SBB lần 2 từ BTS);
- Thực hiện sửa lệnh đối với lệnh có trạng thái “Đã thực hiện”;
- Đối với chọn mới danh sách trái phiếu tương đương, cung cấp các thông tin chi tiết nêu tại Điểm 1 Mục B.I Phụ lục 08 - Hướng dẫn về trái phiếu tương đương trong giao dịch TPCP tại SGDCK;
- Đối với chọn thanh toán bằng trái phiếu, cung cấp các thông tin chi tiết nêu tại Điểm 1 Mục B.II Phụ lục 08 - Hướng dẫn về trái phiếu tương đương trong giao dịch TPCP tại SGDCK.
Bước 4: Kiểm tra lệnh sửa
- Lệnh đã sửa thành công sẽ hiển thị tại Sổ lệnh giao dịch lần 2 hoặc Sổ sửa lệnh SBB lần 2 từ BTS (chỉ áp dụng đối với trường hợp thành viên sửa lệnh trên E-BTS):
+ Trường hợp bên Mua và bên Bán cùng ĐDGD:
● Trên BTS: Lệnh sửa có trạng thái “Chờ kiểm soát sửa”;
● Trên E-BTS: Lệnh sửa có trạng thái “Đã thực hiện”;
+ Trường hợp bên Mua và bên Bán khác ĐDGD: Lệnh sửa có trạng thái “Chờ xác nhận sửa”.
- Đối với lệnh sửa có trạng thái “Chờ xác nhận sửa”, thực hiện tiếp bước 5;
- Đối với lệnh sửa có trạng thái “Đã thực hiện”, thực hiện tiếp 7;
- Đối với lệnh sửa có trạng thái “Chờ kiểm soát sửa”, thực hiện tiếp bước 9.
Bước 5: Xác nhận lệnh sửa
- Nơi tác nghiệp: Sổ lệnh SBB lần 2:
+ Trên hệ thống BTS: Sổ lệnh giao dịch SBB lần 2 (Sổ lệnh trong ngày\Giao dịch SBB\Sổ lệnh giao dịch lần 2)
+ Trên hệ thống E-BTS: Sổ Sửa lệnh SBB lần 2 từ BTS (Sổ lệnh trên E-BTS\Giao dịch SBB\Sổ Sửa lệnh SBB lần 2 từ BTS);
- Đối tác thực hiện Xác nhận sửa hoặc Từ chối xác nhận sửa.
Bước 6: Kiểm tra lệnh sửa đã xác nhận
- Lệnh sửa đã xác nhận sẽ hiển thị tại Sổ lệnh giao dịch SBB lần 2 hoặc Sổ sửa lệnh SBB lần 2 từ BTS (chỉ áp dụng đối với trường hợp thành viên sửa lệnh trên E-BTS):
+ Nếu bên đối tác chấp nhận sửa:
● Trên BTS: Lệnh sửa có trạng thái “Chờ kiểm soát sửa”;
● Trên E-BTS: Lệnh sửa có trạng thái “Đã thực hiện”;
+ Nếu bên đối tác không chấp nhận sửa: Lệnh sửa có trạng thái “Không xác nhận sửa”.
- Đối với lệnh sửa trên Hệ thống BTS, thực hiện tiếp bước 9.
- Đối với lệnh sửa trên Hệ thống E-BTS, thực hiện tiếp bước 7.
Bước 7: Duyệt lệnh (áp dụng đối với lệnh thực hiện trên EBTS)
- Nơi tác nghiệp: Sổ lệnh Chờ kiểm soát (Sổ lệnh trên E-BTS\Giao dịch SBB\Sổ lệnh chờ kiểm soát);
- Thành viên mua và bán phải duyệt các lệnh ĐTH của chính thành viên và của NĐT đã đẩy cho thành viên;
- Chọn lệnh ĐTH có trạng thái “Chờ xử lý” hoặc “Chờ duyệt Front” hoặc “Chờ duyệt Back” và chọn chức năng “Duyệt lệnh” hoặc “Từ chối duyệt”;
- Lệnh được duyệt thành công sẽ có trạng thái duyệt là "Đã duyệt" tại Sổ lệnh chờ kiểm soát.
Bước 8: Kiểm tra lệnh đã gửi vào hệ thống BTS
- Lệnh gửi vào Hệ thống BTS thành công sẽ hiển thị tại Sổ sửa lệnh SBB lần 2 từ BTS, có trạng thái lệnh là “Đã thực hiện” (Sổ lệnh trên E-BTS\Giao dịch SBB\Sổ sửa lệnh SBB lần 2 từ BTS)
Bước 9: SGDCK kiểm soát sửa lệnh (chỉ thực hiện khi hai bên đồng ý sửa lệnh)
- Trường hợp SGDCK chấp thuận việc sửa lệnh: Lệnh gốc chuyển sang trạng thái “Không hiệu lực” và lệnh sửa có trạng thái “Đã thực hiện”.
- Trường hợp SGDCK không chấp thuận việc sửa lệnh: Lệnh gốc trở về trạng thái “Đã thực hiện” và lệnh sửa chuyển sang trạng thái “Không cho phép sửa”.
Bước 10: Thành viên gây lỗi gửi bản gốc hồ sơ xin sửa lệnh đã thực hiện
- Chậm nhất vào 11h00 ngày làm việc kế tiếp, thành viên gây lỗi phải gửi bản gốc Đề nghị sửa lệnh SBB lần 2 đã thực hiện cho SGDCK.
III. Tra cứu thông tin
1. Tra cứu thông tin về hoạt động giao dịch trên Hệ thống BTS:
- Đối với thông tin giao dịch trong ngày: tra cứu thông tin tại các sổ lệnh trong ngày, bảng điện tử bao gồm:
+ Bảng điện tử SBB toàn thị trường;
+ Sổ lệnh chờ thực hiện SBB gồm: Sổ lệnh In và Firm và Sổ lệnh Báo cáo giao dịch;
+ Sổ lệnh kết quả SBB: bao gồm các lệnh SBB đã thực hiện trong ngày và tương lai;
+ Sổ lệnh kết quả SBB lần 2: bao gồm các lệnh SBB lần 2 đến hạn hoặc chưa đến hạn trong ngày.
- Đối với thông tin giao dịch nhiều ngày, tra cứu thông tin tại các sổ lệnh quá khứ bao gồm:
+ Sổ lệnh chờ thực hiện SBB quá khứ gồm: Sổ lệnh In và Firm quá khứ và Sổ lệnh Báo cáo giao dịch quá khứ;
+ Sổ lệnh kết quả SBB quá khứ;
+ Sổ lệnh SBB tương lai hết hiệu lực;
- Đối với thông tin giao dịch thông qua Hệ thống của Vendor, thực hiện tra cứu thông tin tại các sổ lệnh trong ngày và nhiều ngày tại nhóm chức năng “Trao đổi dữ liệu với Vendor” bao gồm:
+ Sổ lệnh kết quả từ Vendor;
+ Danh sách lệnh chưa duyệt từ Vendor;
+ Sổ lệnh kết quả từ Vendor quá khứ.
2. Tra cứu thông tin về hoạt động giao dịch từ Hệ thống E-BTS:
- Đối với thông tin giao dịch trong ngày, thực hiện tra cứu thông tin tại các sổ lệnh trong ngày trên E-BTS, bao gồm:
+ Sổ lệnh chờ thực hiện SBB gồm: Sổ lệnh In và Firm và Sổ lệnh Báo cáo giao dịch;
+ Sổ lệnh kết quả SBB;
+ Sổ lệnh Chờ kiểm soát SBB;
+ Sổ sửa/hủy lệnh SBB từ BTS;
+ Sổ sửa lệnh SBB lần 2 từ BTS;
- Đối với thông tin giao dịch nhiều ngày, thực hiện tra cứu thông tin tại các sổ lệnh quá khứ trên E-BTS, bao gồm:
+ Sổ lệnh chờ thực hiện SBB quá khứ gồm: Sổ lệnh In và Firm quá khứ và Sổ lệnh Báo cáo giao dịch quá khứ;
+ Sổ lệnh kết quả SBB quá khứ;
+ Sổ lệnh Chờ kiểm soát SBB quá khứ;
+ Sổ sửa/hủy lệnh SBB từ BTS quá khứ;
+ Sổ sửa lệnh SBB lần 2 từ BTS quá khứ.
PHỤ LỤC 04
HƯỚNG DẪN VỀ GIAO DỊCH VAY TRÁI PHIẾU (SBL)
(Ban hành kèm theo Quy trình Giao dịch trái phiếu Chính phủ, trái phiếu được Chính phủ bảo lãnh và trái phiếu chính quyền địa phương tại SGDCK)
Trường hợp giao dịch Vay trái phiếu có Giá trị TSĐB nằm ngoài mức giới hạn phù hợp tại thời điểm nhập lệnh tính từ ĐCLS được coi là giao dịch Vay tín chấp. Để thực hiện giao dịch Vay tín chấp, thành viên phải thông báo hạn mức Vay tín chấp đến SGDCK và được SGDCK kích hoạt tính năng hỗ trợ giao dịch Vay tín chấp.
I. Nhập lệnh
Trình tự nhập lệnh như sau:
Bước 1: Nhập lệnh
- Chọn hình thức lệnh: (i) Lệnh thỏa thuận điện tử tùy chọn; (ii) Lệnh báo cáo giao dịch.
- Các thông tin cần nhập: chi tiết nêu tại Điểm 1,2 Mục A.IV tại Phụ lục 11 - Thông tin nhập.
- Nơi tác nghiệp: Màn hình nhập lệnh - Giao dịch SBL:
+ Hệ thống BTS: Nhập lệnh\Giao dịch SBL\Nhập lệnh Inquiry hoặc Nhập lệnh BCGD;
+ Hệ thống E-BTS: Giao dịch trên E-BTS\Nhập lệnh Giao dịch SBL\Nhập lệnh Inquiry hoặc Nhập lệnh BCGD.
- Đối với tạo lệnh Firm trên lệnh Inquiry nhận được: tác nghiệp tại Sổ lệnh Chờ thực hiện\Sổ lệnh In và Firm:
+ Hệ thống BTS: Sổ lệnh trong ngày\Giao dịch SBL\Sổ lệnh In và Firm;
+ Hệ thống E-BTS: Sổ lệnh trên E-BTS\Giao dịch SBL\Sổ lệnh Chờ thực hiện - Sổ lệnh In và Firm.
Bước 2: Kiểm tra lệnh
Lệnh đã nhập thành công sẽ hiển thị tại Sổ lệnh Chờ thực hiện/Sổ lệnh In và Firm hoặc Sổ lệnh Báo cáo giao dịch, có trạng thái “Chờ thực hiện”:
- Nếu thông tin lệnh nhập chính xác, thực hiện tiếp bước 3;
- Nếu thông tin lệnh nhập chưa chính xác, thực hiện Sửa/Hủy hoặc Treo lệnh vừa nhập.
Bước 3: Đối tác xác nhận lệnh
- Nơi tác nghiệp: Sổ lệnh chờ thực hiện SBL
+ Hệ thống BTS: Sổ lệnh trong ngày\Giao dịch SBL\Sổ lệnh chờ thực hiện - Sổ lệnh In và Firm hoặc Sổ lệnh báo cáo giao dịch;
+ Hệ thống E-BTS: Sổ lệnh trên E-BTS\Giao dịch SBL\Sổ lệnh chờ thực hiện - Sổ lệnh In và Firm hoặc Sổ lệnh báo cáo giao dịch;
- Bên đối ứng thực hiện xác nhận lệnh có trạng thái “Chờ thực hiện”, nhập TKLK của mình và kích hoạt “Thực hiện” để xác nhận lệnh.
Bước 4: Kiểm tra lệnh đã xác nhận
- Lệnh được xem là hoàn tất sẽ có trạng thái lệnh “Đã thực hiện” tại Sổ lệnh kết quả SBL:
+ Hệ thống BTS: Sổ lệnh trong ngày\Giao dịch SBL\Sổ lệnh kết quả;
+ Hệ thống E-BTS: Sổ lệnh trên E-BTS\Giao dịch SBL\Sổ lệnh kết quả;
- Nếu nhập lệnh trên Hệ thống BTS, việc nhập lệnh đã hoàn tất.
- Nếu nhập lệnh trên Hệ thống E-BTS, thực hiện tiếp bước 5.
Bước 5: Đẩy lệnh (áp dụng đối với lệnh do NĐT nhập)
- Nơi tác nghiệp: Sổ lệnh kết quả SBL (Sổ lệnh trên E-BTS\Giao dịch SBL\Sổ lệnh kết quả)
- Chọn lệnh ĐTH có trạng thái đẩy “Chờ đẩy" hoặc "Đã đẩy Mua" hoặc "Đã đẩy bán” và chọn chức năng “Đẩy lệnh” hoặc “Từ chối đẩy lệnh”.
Bước 6: Duyệt lệnh (áp dụng đối với lệnh nhập cần phê duyệt trên Hệ thống E-BTS)
- Nơi tác nghiệp: Sổ lệnh chờ kiểm soát SBL (Sổ lệnh trên E-BTS\Giao dịch SBL\Sổ lệnh chờ kiểm soát)
- Thành viên mua và bán phải duyệt các lệnh ĐTH của chính thành viên và của NĐT đã đẩy cho thành viên;
- Chọn lệnh ĐTH có trạng thái “Chờ xử lý” hoặc “Chờ duyệt Front” hoặc “Chờ duyệt Back” và chọn chức năng “Duyệt lệnh” hoặc “Từ chối duyệt”;
- Lệnh được duyệt thành công sẽ có trạng thái duyệt là "Đã duyệt" tại Sổ lệnh chờ kiểm soát.
Bước 7: Kiểm tra lệnh đã gửi vào hệ thống BTS
Lệnh gửi vào Hệ thống BTS thành công sẽ hiển thị tại Sổ lệnh kết quả SBL gửi từ BTS, có trạng thái lệnh là “Đã thực hiện” (Sổ lệnh giao dịch gửi từ BTS\Giao dịch SBL\Sổ lệnh kết quả)
II. Sửa/hủy lệnh
Trường hợp muốn sửa giao dịch Vay trái phiếu (giao dịch SBL) trong Giao dịch Vay để bán trái phiếu, thực hiện “Hủy kết giao” giao dịch Vay và Giao dịch bán trái phiếu, sau đó tiến hành sửa lệnh.
1. TH1: Đối với lệnh chưa thực hiện (lệnh chưa xác nhận bởi đối tác ở bước 3 phần 1 nêu trên)
- Nội dung sửa lệnh: Ngoại trừ thông tin Thị trường của lệnh, ĐDGD/NĐT được sửa tất cả các nội dung đã nhập.
- Nơi tác nghiệp: Sổ lệnh chờ thực hiện SBL
+ Hệ thống BTS: Sổ lệnh trong ngày\Giao dịch SBL\Sổ lệnh chờ thực hiện;
+ Hệ thống E-BTS: Sổ lệnh trên E-BTS\Giao dịch SBL\Sổ lệnh chờ thực hiện.
- Thực hiện chức năng Treo/Sửa/Hủy lệnh đối với Lệnh Inquiry - Firm và Lệnh Báo cáo giao dịch.
2. TH2: Đối với lệnh đã thực hiện
2.1. Sửa/hủy lệnh lần 1
2.1.1. Sửa/hủy lệnh ĐTH chưa gửi vào BTS
Trình tự sửa lệnh như sau:
Bước 1: Thống nhất nội dung sửa/hủy lệnh
Nội dung sửa lệnh: ngoại trừ thông tin Mua/bán, thông tin thị trường và thông tin thành viên đối tác, ĐDGD/NĐT có thể sửa tất cả thông tin còn lại đã thỏa thuận trên lệnh.
Bước 2: Sửa/hủy lệnh
- Nơi tác nghiệp: Sổ lệnh kết quả SBL (Sổ lệnh trên E-BTS\Giao dịch SBL\Sổ lệnh kết quả);
- Thực hiện sửa/hủy lệnh đối với lệnh có trạng thái duyệt là “Từ chối duyệt” hoặc trạng thái đẩy là “Từ chối đẩy”.
Bước 3: Kiểm tra lệnh sửa/hủy
- Lệnh đã sửa/hủy thành công sẽ hiển thị tại Sổ lệnh kết quả SBL:
+ Trường hợp bên Mua và bên Bán cùng ĐDGD: Lệnh sửa có trạng thái “Đã thực hiện”; Lệnh hủy có trạng thái là “Chấp nhận hủy”.
+ Trường hợp bên Mua và bên Bán khác ĐDGD: Lệnh sửa có trạng thái “Chờ xác nhận sửa”; Lệnh hủy có trạng thái là “Chờ xác nhận hủy”.
- Đối với lệnh sửa/hủy có trạng thái “Chờ xác nhận sửa” hoặc “Chờ xác nhận hủy”, thực hiện tiếp bước 4;
- Đối với lệnh sửa có trạng thái “Đã thực hiện” thực hiện tiếp bước 6;
- Đối với lệnh hủy có trạng thái “Chấp nhận hủy”, việc hủy lệnh đã hoàn tất.
Bước 4: Xác nhận sửa/hủy lệnh
- Nơi tác nghiệp: Sổ lệnh kết quả SBL (Sổ lệnh trên E-BTS\Giao dịch SBL\Sổ lệnh kết quả);
- Đối tác thực hiện “Xác nhận sửa/hủy” hoặc “Từ chối xác nhận sửa/hủy”.
Bước 5: Kiểm tra lệnh sửa/hủy đã xác nhận
- Lệnh sửa/hủy đã xác nhận sẽ hiển thị tại Sổ lệnh kết quả SBL:
+ Nếu bên đối tác chấp nhận sửa/hủy: Lệnh sửa có trạng thái “Đã thực hiện”; Lệnh hủy có trạng thái là “Chấp nhận hủy” và việc hủy lệnh đã hoàn tất.
+ Nếu bên đối tác không chấp nhận sửa/hủy: Lệnh sửa có trạng thái “Không xác nhận sửa”; lệnh hủy có trạng thái “Không chấp nhận hủy”. Lệnh ĐTH gốc là lệnh duy nhất có hiệu lực.
Bước 6: Đẩy lệnh (áp dụng đối với lệnh do NĐT nhập)
- Nơi tác nghiệp: Sổ lệnh kết quả SBL (Sổ lệnh trên E-BTS\Giao dịch SBL\Sổ lệnh kết quả).
- Chọn lệnh ĐTH có trạng thái đẩy “Chờ đẩy" hoặc "Đã đẩy Mua" hoặc "Đã đẩy bán” và chọn chức năng “Đẩy lệnh” hoặc “Từ chối đẩy lệnh”.
Bước 7: Duyệt lệnh (áp dụng đối với lệnh cần phê duyệt)
- Nơi tác nghiệp: Sổ lệnh chờ kiểm soát (Sổ lệnh trên E-BTS\Giao dịch SBL\Sổ lệnh chờ kiểm soát);
- Thành viên mua và bán phải duyệt các lệnh ĐTH của chính thành viên và của NĐT đã đẩy cho thành viên;
- Chọn lệnh ĐTH có trạng thái “Chờ xử lý” hoặc “Chờ duyệt Front” hoặc “Chờ duyệt Back” và chọn chức năng “Duyệt lệnh” hoặc “Từ chối duyệt”;
- Lệnh được duyệt thành công sẽ có trạng thái duyệt là "Đã duyệt" tại Sổ lệnh chờ kiểm soát (Sổ lệnh trên E-BTS\Giao dịch SBL\Sổ lệnh chờ kiểm soát).
Bước 8: Kiểm tra lệnh đã gửi vào Hệ thống BTS
- Lệnh gửi vào Hệ thống BTS thành công sẽ hiển thị tại Sổ sửa/hủy lệnh SBL từ BTS, có trạng thái lệnh là “Đã thực hiện” (Sổ lệnh trên E-BTS\Giao dịch SBL\Sổ sửa/hủy lệnh từ BTS).
2.1.2. Sửa/hủy lệnh ĐTH trong ngày đã gửi vào BTS
Trình tự sửa lệnh như sau:
Bước 1: Thống nhất nội dung sửa lệnh
Nội dung sửa lệnh: ngoại trừ thông tin Mua/bán, thông tin thị trường và thông tin thành viên đối tác, ĐDGD/NĐT có thể sửa tất cả thông tin còn lại đã thỏa thuận trên lệnh.
Bước 2: Gửi hồ sơ sửa lệnh cho SGDCK
- Hồ sơ sửa lệnh gồm:
+ Đề nghị sửa lệnh giao dịch SBL lần 1 đã thực hiện (theo Mẫu 04 tại Phụ lục 09 - Mẫu văn bản);
+ Phiếu lệnh gốc của khách hàng hoặc các giấy tờ tương đương.
Bước 3: Sửa lệnh
- Nơi tác nghiệp: Sổ lệnh kết quả SBL
+ Hệ thống BTS: Sổ lệnh trong ngày\Giao dịch SBL\Sổ lệnh kết quả
+ Hệ thống EBTS:
● Sổ lệnh trên E-BTS\Giao dịch SBL\Sổ lệnh kết quả;
● Hoặc Sổ lệnh trên E-BTS\Giao dịch SBL\Sổ sửa/hủy lệnh từ BTS;
- Thực hiện sửa lệnh đối với lệnh có trạng thái “Đã thực hiện”;
Bước 4: Kiểm tra lệnh sửa
- Lệnh đã sửa thành công sẽ hiển thị tại Sổ lệnh kết quả hoặc Sổ sửa/hủy lệnh từ BTS (chỉ áp dụng đối với trường hợp thành viên sửa lệnh trên E-BTS):
+ Trường hợp bên Mua và bên Bán cùng ĐDGD:
● Hệ thống BTS: Lệnh sửa có trạng thái “Chờ kiểm soát sửa”;
● Hệ thống BTS: Lệnh sửa có trạng thái “Đã thực hiện”;
+ Trường hợp bên Mua và bên Bán khác ĐDGD: Lệnh sửa có trạng thái “Chờ xác nhận sửa”;
- Đối với lệnh sửa có trạng thái “Chờ xác nhận sửa”, thực hiện tiếp bước 5;
- Đối với lệnh sửa có trạng thái “Đã thực hiện”, thực hiện tiếp bước 7.
- Đối với lệnh sửa có trạng thái “Chờ kiểm soát sửa”, thực hiện tiếp bước 10.
Bước 5: Xác nhận lệnh sửa
- Đối tác thực hiện xác nhận sửa lệnh.
- Nơi tác nghiệp: Sổ lệnh kết quả SBL
+ Hệ thống BTS: Sổ lệnh trong ngày\Giao dịch SBL\Sổ lệnh kết quả;
+ Hệ thống EBTS:
● Sổ lệnh trên E-BTS\Giao dịch SBL\Sổ lệnh kết quả;
● Hoặc Sổ lệnh trên E-BTS\Giao dịch SBL\Sổ sửa/hủy lệnh từ BTS.
Bước 6: Kiểm tra lệnh sửa đã xác nhận
- Lệnh sửa đã xác nhận sẽ hiển thị tại Sổ lệnh kết quả hoặc Sổ sửa/hủy lệnh từ BTS (chỉ áp dụng đối với trường hợp thành viên sửa lệnh trên E-BTS):
+ Nếu bên đối tác chấp nhận sửa:
● Trên BTS: Lệnh sửa có trạng thái “Chờ kiểm soát sửa”;
● Trên E-BTS: Lệnh sửa có trạng thái “Đã thực hiện”;
+ Nếu bên đối tác không chấp nhận sửa: Lệnh sửa có trạng thái “Không xác nhận sửa”.
- Đối với lệnh sửa trên Hệ thống BTS, thực hiện tiếp bước 10.
- Đối với lệnh sửa trên Hệ thống E-BTS, thực hiện tiếp bước 7.
Bước 7: Đẩy lệnh (áp dụng đối với lệnh do NĐT nhập)
- Nơi tác nghiệp: Sổ lệnh kết quả SBL (Sổ lệnh trên E-BTS\Giao dịch SBL\Sổ lệnh kết quả)
- Chọn lệnh ĐTH có trạng thái đẩy “Chờ đẩy" hoặc "Đã đẩy Mua" hoặc "Đã đẩy bán” và chọn chức năng “Đẩy lệnh” hoặc “Từ chối đẩy lệnh”.
Bước 8: Duyệt lệnh (áp dụng đối với lệnh nhập cần phê duyệt trên hệ thống E-BTS)
- Nơi tác nghiệp: Sổ lệnh chờ kiểm soát (Sổ lệnh trên E-BTS\Giao dịch SBL\Sổ lệnh chờ kiểm soát);
- Thành viên mua và bán phải duyệt các lệnh ĐTH của chính thành viên và của NĐT đã đẩy cho thành viên;
- Chọn lệnh ĐTH có trạng thái “Chờ xử lý” hoặc “Chờ duyệt Front” hoặc “Chờ duyệt Back” và chọn chức năng “Duyệt lệnh” hoặc “Từ chối duyệt”;
- Lệnh được duyệt thành công sẽ có trạng thái duyệt là "Đã duyệt" tại Sổ lệnh chờ kiểm soát (Sổ lệnh trên E-BTS\Giao dịch SBL\Sổ lệnh chờ kiểm soát).
Bước 9: Kiểm tra lệnh đã gửi vào hệ thống BTS
- Lệnh ĐTH gửi vào Hệ thống BTS sẽ hiển thị tại Sổ sửa/hủy lệnh từ BTS, có trạng thái “Đã thực hiện” (Sổ lệnh trên E-BTS\Giao dịch SBL\Sổ sửa/hủy lệnh từ BTS)
Bước 10: SGDCK kiểm soát sửa lệnh (chỉ thực hiện khi hai bên đồng ý sửa lệnh)
- Trường hợp SGDCK chấp thuận việc sửa lệnh: Lệnh gốc chuyển sang trạng thái “Không hiệu lực” và lệnh sửa có trạng thái “Đã thực hiện”.
- Trường hợp SGDCK không chấp thuận việc sửa lệnh: Lệnh gốc trở về trạng thái “Đã thực hiện” và lệnh sửa chuyển sang trạng thái “Không cho phép sửa”.
Bước 11: Thành viên gây lỗi gửi bản gốc hồ sơ xin sửa lệnh đã thực hiện
- Chậm nhất vào 11h00 ngày làm việc kế tiếp, thành viên gây lỗi phải gửi bản gốc Đề nghị sửa lệnh SBL đã thực hiện và bản sao Phiếu lệnh gốc của khách hàng có đóng dấu treo hoặc các giấy tờ tương đương cho SGDCK.
2.1.3. Sửa/hủy lệnh ĐTH tương lai đã gửi vào hệ thống BTS
Trình tự sửa lệnh như sau:
Bước 1: Thống nhất nội dung sửa/hủy lệnh
Nội dung sửa lệnh: ngoại trừ thông tin Mua/bán, thông tin về thị trường và thông tin thành viên đối tác, ĐDGD/NĐT có thể sửa tất cả thông tin còn lại đã thỏa thuận trên lệnh.
Bước 2: Sửa/hủy lệnh
- Nơi tác nghiệp: Sổ lệnh kết quả SBL
+ Hệ thống BTS: Sổ lệnh trong ngày\Giao dịch SBL\Sổ lệnh kết quả;
+ Hệ thống EBTS:
● Sổ lệnh trên E-BTS\Giao dịch SBL\Sổ lệnh kết quả;
● Hoặc Sổ lệnh trên E-BTS\Giao dịch SBL\Sổ sửa/hủy lệnh từ BTS;
- Thực hiện sửa/hủy lệnh đối với lệnh có trạng thái “Đã thực hiện”;
Bước 3: Kiểm tra lệnh sửa/hủy
- Lệnh đã sửa/hủy thành công sẽ hiển thị tại Sổ lệnh kết quả SBL hoặc Sổ lệnh sửa/hủy giao dịch SBL từ BTS (chỉ áp dụng đối với trường hợp thành viên sửa lệnh trên E-BTS):
+ Trường hợp bên Mua và bên Bán cùng ĐDGD:
● Hệ thống BTS: Lệnh sửa có trạng thái “Đã thực hiện”; Lệnh hủy có trạng thái là “Chấp nhận hủy”.
● Hệ thống E-BTS: (Lệnh sửa có trạng thái “Chờ xác nhận sửa”; Lệnh hủy có trạng thái là “Chờ xác nhận hủy”.
+ Trường hợp bên Mua và bên Bán khác ĐDGD: Lệnh sửa có trạng thái “Chờ xác nhận sửa”; lệnh hủy có trạng thái là “Chờ xác nhận hủy”.
- Đối với lệnh sửa/hủy có trạng thái “Chờ xác nhận sửa” hoặc “Chờ xác nhận hủy”, thực hiện tiếp bước 4;
- Đối với lệnh hủy có trạng thái “Chấp nhận hủy”, việc hủy lệnh đã hoàn tất;
- Đối với lệnh sửa có trạng thái “Đã thực hiện”:
+ Nếu sửa lệnh trên hệ thống BTS: việc sửa lệnh đã hoàn tất;
+ Nếu sửa lệnh trên hệ thống E-BTS: thực hiện tiếp bước 6.
- Đối với lệnh hủy có trạng thái “Chấp nhận hủy”, việc hủy lệnh đã hoàn tất.
Bước 4: Xác nhận sửa/hủy lệnh
- Nơi tác nghiệp: Sổ lệnh kết quả SBL:
+ Hệ thống BTS: Sổ lệnh trong ngày\Giao dịch SBL\Sổ lệnh kết quả;
+ Hệ thống EBTS:
● Sổ lệnh trên E-BTS\Giao dịch SBL\Sổ lệnh kết quả;
● Hoặc Sổ lệnh trên E-BTS\Giao dịch SBL\Sổ sửa/hủy lệnh từ BTS;
- Đối tác thực hiện xác nhận sửa/hủy lệnh;
Bước 5: Kiểm tra lệnh sửa đã xác nhận
- Lệnh sửa đã xác nhận sẽ hiển thị tại Sổ lệnh kết quả SBL hoặc Sổ lệnh sửa/hủy giao dịch SBL từ BTS (chỉ áp dụng đối với trường hợp thành viên sửa lệnh trên E-BTS):
+ Nếu bên đối tác chấp nhận sửa/hủy: Lệnh sửa có trạng thái “Đã thực hiện”; Lệnh hủy có trạng thái là “Chấp nhận hủy”.
+ Nếu bên đối tác không chấp nhận sửa/hủy: Lệnh sửa có trạng thái “Không xác nhận sửa”; lệnh hủy có trạng thái “Không chấp nhận hủy”. Lệnh ĐTH gốc là lệnh duy nhất có hiệu lực.
- Nếu sửa/hủy lệnh trên hệ thống BTS và hủy lệnh trên hệ thống E-BTS, việc sửa/hủy lệnh đã hoàn tất.
- Nếu sửa lệnh trên hệ thống E-BTS, thực hiện tiếp bước 6.
Bước 6: Đẩy lệnh (áp dụng đối với lệnh do NĐT nhập)
- Nơi tác nghiệp: Sổ lệnh kết quả SBL (Sổ lệnh trên E-BTS\Giao dịch SBL\Sổ lệnh kết quả);
- Chọn lệnh ĐTH có trạng thái đẩy “Chờ đẩy" hoặc "Đã đẩy Mua" hoặc "Đã đẩy bán” và chọn chức năng “Đẩy lệnh” hoặc “Từ chối đẩy lệnh”.
Bước 7: Duyệt lệnh
- Nơi tác nghiệp: Sổ lệnh chờ kiểm soát (Sổ lệnh trên E-BTS\Giao dịch SBL\Sổ lệnh chờ kiểm soát);
- Thành viên mua và bán phải duyệt các lệnh ĐTH của chính thành viên và của NĐT đã đẩy cho thành viên;
- Chọn lệnh ĐTH có trạng thái “Chờ xử lý” hoặc “Chờ duyệt Front” hoặc “Chờ duyệt Back” và chọn chức năng “Duyệt lệnh” hoặc “Từ chối duyệt”;
- Lệnh được duyệt thành công sẽ có trạng thái duyệt là "Đã duyệt" tại Sổ lệnh chờ kiểm soát (Sổ lệnh trên E-BTS\Giao dịch SBL\Sổ lệnh chờ kiểm soát).
Bước 8: Kiểm tra lệnh đã gửi vào hệ thống BTS
- Lệnh ĐTH gửi vào Hệ thống BTS sẽ hiển thị tại Sổ sửa/hủy lệnh từ BTS, có trạng thái “Đã thực hiện” (Sổ lệnh trên E-BTS\Giao dịch SBL\Sổ sửa/hủy lệnh từ BTS)
2.2. Sửa lệnh lần 2
Trình tự sửa lệnh như sau:
Bước 1: Thống nhất nội dung lệnh sửa
- Hai bên đối tác Mua và Bán liên hệ thỏa thuận với nhau về việc sửa lệnh giao dịch. Nội dung sửa lệnh:
+ Lãi suất vay;
+ Kỳ hạn vay;
+ Lãi suất trên lãi coupon (nếu có);
+ Lãi suất tính trên TSĐB;
+ Trái phiếu tương đương: Hai bên thống nhất để chọn mới danh sách trái phiếu tương đương hoặc chọn thanh toán bằng trái phiếu tương đương.
Bước 2: Gửi hồ sơ sửa lệnh cho SGDCK
Hồ sơ sửa lệnh gồm: Đề nghị sửa lệnh Giao dịch hoàn trả trái phiếu đã thực hiện (theo Mẫu 07 tại Phụ lục 09 - Mẫu văn bản);
Bước 3: Sửa lệnh
- Nơi tác nghiệp:
+ Trên hệ thống BTS: Sổ lệnh giao dịch SBL lần 2 (Sổ lệnh trong ngày\Giao dịch SBL\Sổ lệnh giao dịch lần 2)
+ Trên hệ thống E-BTS: Sổ Sửa lệnh SBL lần 2 từ BTS (Sổ lệnh trên E-BTS\Giao dịch SBL\Sổ Sửa giao dịch lần 2 từ BTS);
- Thực hiện sửa lệnh đối với lệnh có trạng thái “Đã thực hiện”;
- Đối với chọn mới danh sách trái phiếu tương đương, cung cấp các thông tin chi tiết nêu tại Điểm 1 Mục B.I Phụ lục 08 - Hướng dẫn về trái phiếu tương đương trong giao dịch TPCP tại SGDCK;
- Đối với chọn thanh toán bằng trái phiếu, cung cấp các thông tin chi tiết nêu tại Điểm 1 Mục B.II Phụ lục 08 - Hướng dẫn về trái phiếu tương đương trong giao dịch TPCP tại SGDCK.
Bước 4: Kiểm tra lệnh sửa
- Lệnh đã sửa thành công sẽ hiển thị tại Sổ lệnh giao dịch lần 2 hoặc Sổ sửa lệnh SBL lần 2 từ BTS (chỉ áp dụng đối với trường hợp thành viên sửa lệnh trên hệ thống E-BTS):
+ Trường hợp bên Mua và bên Bán cùng ĐDGD:
● Trên BTS: Lệnh sửa có trạng thái “Chờ kiểm soát sửa”;
● Trên E-BTS: Lệnh sửa có trạng thái “Đã thực hiện”;
+ Trường hợp bên Mua và bên Bán khác ĐDGD: Lệnh sửa có trạng thái “Chờ xác nhận sửa”.
- Đối với lệnh sửa có trạng thái “Chờ xác nhận sửa”, thực hiện tiếp bước 5;
- Đối với lệnh sửa có trạng thái “Đã thực hiện”, thực hiện tiếp 7;
- Đối với lệnh sửa có trạng thái “Chờ kiểm soát sửa”, thực hiện tiếp bước 9.
Bước 5: Xác nhận lệnh sửa
- Nơi tác nghiệp:
+ Trên hệ thống BTS: Sổ lệnh giao dịch SBL lần 2 (Sổ lệnh trong ngày\Giao dịch SBL\Sổ lệnh giao dịch lần 2)
+ Trên hệ thống E-BTS: Sổ lệnh Sửa lệnh SBL lần 2 từ BTS (Sổ lệnh trên E-BTS\Giao dịch SBL\Sổ Sửa lệnh SBL lần 2 từ BTS);
- Đối tác thực hiện “Xác nhận sửa” hoặc “Từ chối xác nhận sửa”.
Bước 6: Kiểm tra lệnh sửa đã xác nhận
- Lệnh sửa đã xác nhận sẽ hiển thị tại Sổ lệnh giao dịch SBL lần 2 hoặc Sổ sửa lệnh SBL lần 2 từ BTS (chỉ áp dụng đối với trường hợp thành viên sửa lệnh trên hệ thống E-BTS):
+ Nếu bên đối tác chấp nhận sửa:
● Trên BTS: Lệnh sửa có trạng thái “Chờ kiểm soát sửa”;
● Trên E-BTS: Lệnh sửa có trạng thái “Đã thực hiện”;
+ Nếu bên đối tác không chấp nhận sửa: Lệnh sửa có trạng thái “Không xác nhận sửa”.
- Đối với lệnh sửa trên Hệ thống BTS, thực hiện tiếp bước 9.
- Đối với lệnh sửa trên Hệ thống E-BTS, thực hiện tiếp bước 7.
Bước 7: Duyệt lệnh (áp dụng đối với lệnh thực hiện trên E-BTS)
- Nơi tác nghiệp: Sổ lệnh Chờ kiểm soát (Sổ lệnh trên E-BTS\Giao dịch SBL\Sổ lệnh chờ kiểm soát);
- Thành viên mua và bán phải duyệt các lệnh ĐTH của chính thành viên và của NĐT đã đẩy cho thành viên;
- Chọn lệnh ĐTH có trạng thái “Chờ xử lý” hoặc “Chờ duyệt Front” hoặc “Chờ duyệt Back” và chọn chức năng “Duyệt lệnh” hoặc “Từ chối duyệt”;
- Lệnh được duyệt thành công sẽ có trạng thái duyệt là "Đã duyệt" tại Sổ lệnh chờ kiểm soát.
Bước 8: Kiểm tra lệnh đã gửi vào hệ thống BTS
- Lệnh gửi vào Hệ thống BTS thành công sẽ hiển thị tại Sổ sửa lệnh SBL lần 2 từ BTS, có trạng thái lệnh là “Đã thực hiện” (Sổ lệnh trên E-BTS\Giao dịch SBL\Sổ sửa lệnh SBL lần 2 từ BTS)
Bước 9: SGDCK kiểm soát sửa lệnh (chỉ thực hiện khi hai bên đồng ý sửa lệnh)
- Trường hợp SGDCK chấp thuận việc sửa lệnh: Lệnh gốc chuyển sang trạng thái “Không hiệu lực” và lệnh sửa có trạng thái “Đã thực hiện”.
- Trường hợp SGDCK không chấp thuận việc sửa lệnh: Lệnh gốc trở về trạng thái “Đã thực hiện” và lệnh sửa chuyển sang trạng thái “Không cho phép sửa”.
Bước 10: Thành viên gây lỗi gửi bản gốc hồ sơ xin sửa lệnh đã thực hiện
- Chậm nhất vào 11h00 ngày làm việc kế tiếp, thành viên gây lỗi phải gửi bản gốc Đề nghị sửa lệnh SBL lần 2 đã thực hiện cho SGDCK.
III. Tra cứu thông tin
1. Tra cứu thông tin về hoạt động giao dịch trên Hệ thống BTS:
- Đối với thông tin giao dịch trong ngày: tra cứu thông tin tại các sổ lệnh trong ngày, bảng điện tử bao gồm:
+ Bảng điện tử SBL toàn thị trường;
+ Sổ lệnh chờ thực hiện SBL gồm: Sổ lệnh In và Firm và Sổ lệnh Báo cáo giao dịch;
+ Sổ lệnh kết quả SBL: gồm các lệnh Vay/Cho vay trái phiếu đã thực hiện trong ngày và tương lai;
+ Sổ lệnh hoàn trả trái phiếu: gồm các lệnh hoàn trả trái phiếu.
- Đối với thông tin giao dịch nhiều ngày, tra cứu thông tin tại các sổ lệnh quá khứ bao gồm:
+ Sổ lệnh chờ thực hiện SBL quá khứ gồm: Sổ lệnh In và Firm quá khứ và Sổ lệnh Báo cáo giao dịch quá khứ;
+ Sổ lệnh kết quả SBL quá khứ;
+ Sổ lệnh hoàn trả trái phiếu quá khứ;
+ Sổ lệnh SBL tương lai hết hiệu lực;
- Đối với thông tin giao dịch thông qua Hệ thống của Vendor, thực hiện tra cứu thông tin tại các sổ lệnh trong ngày và nhiều ngày tại nhóm chức năng “Trao đổi dữ liệu với Vendor” bao gồm:
+ Sổ lệnh kết quả từ Vendor;
+ Danh sách lệnh chưa duyệt từ Vendor;
+ Sổ lệnh kết quả từ Vendor quá khứ.
2. Tra cứu thông tin về hoạt động giao dịch từ Hệ thống E-BTS:
- Đối với thông tin giao dịch trong ngày, thực hiện tra cứu thông tin tại các sổ lệnh trong ngày trên E-BTS, bao gồm:
+ Sổ lệnh chờ thực hiện SBL gồm: Sổ lệnh In và Firm và Sổ lệnh Báo cáo giao dịch;
+ Sổ lệnh kết quả SBL;
+ Sổ sửa/hủy lệnh SBL từ BTS;
+ Sổ sửa lệnh SBL lần 2 từ BTS;
+ Sổ lệnh Chờ kiểm soát SBL;
- Đối với thông tin giao dịch nhiều ngày, thực hiện tra cứu thông tin tại các sổ lệnh quá khứ trên E-BTS, bao gồm:
+ Sổ lệnh chờ thực hiện SBL quá khứ gồm: Sổ lệnh In và Firm quá khứ và Sổ lệnh Báo cáo giao dịch quá khứ;
+ Sổ lệnh kết quả SBL quá khứ;
+ Sổ sửa/hủy lệnh SBL từ BTS quá khứ;
+ Sổ sửa lệnh SBL lần 2 từ BTS quá khứ;
+ Sổ lệnh Chờ kiểm soát SBL quá khứ.
PHỤ LỤC 05
HƯỚNG DẪN VỀ GIAO DỊCH VAY ĐỂ BÁN TRÁI PHIẾU
(Ban hành kèm theo Quy trình Giao dịch trái phiếu Chính phủ, trái phiếu được Chính phủ bảo lãnh và trái phiếu chính quyền địa phương tại SGDCK)
I. Nhập lệnh
Lưu ý:
- Chỉ thành viên giao dịch đồng thời là thành viên đấu thầu được thực hiện giao dịch Vay để bán trái phiếu.
- Chỉ ĐDGD của bên Vay trái phiếu trong giao dịch Vay đồng thời là bên Bán trái phiếu trong giao dịch Bán được thực hiện “Kết giao” hoặc “Hủy kết giao” giao dịch Vay và Giao dịch bán trái phiếu trong giao dịch Vay để bán.
- Điều kiện để kết giao Giao dịch Vay và Giao dịch Bán là 02 giao dịch độc lập nhập trong ngày giao dịch hiện tại, có cùng mã trái phiếu và cùng khối lượng. Bên Vay trong giao dịch Vay đồng thời là bên Bán trong giao dịch Bán trái phiếu.
Có hai cách để hình thành lệnh Vay để bán trái phiếu là:
Cách 1: Nhập lệnh Vay và lệnh bán trái phiếu độc lập: ĐDGD thực hiện độc lập giao dịch Vay trái phiếu (giao dịch SBL) và giao dịch Bán trái phiếu (giao dịch Outright), sau đó ĐDGD thực hiện kết giao 02 giao dịch Vay và giao dịch Bán trái phiếu có trạng thái “Đã thực hiện” tại Sổ lệnh kết giao giao dịch Vay để bán.
Cách 2: Nhập lệnh Vay và lệnh bán trái phiếu đồng thời: ĐDGD nhập đồng thời lệnh Vay và lệnh Bán trên cùng 01 màn hình nhập lệnh. Sau khi gửi lệnh thành công, sẽ sinh ra 02 lệnh gồm 01 lệnh Vay và 01 lệnh bán tại Sổ lệnh chờ thực hiện Vay để bán và hai giao dịch này được tự động kết giao.
Trình tự nhập lệnh Vay để bán như sau:
1. Cách 1: Nhập lệnh Vay và lệnh bán trái phiếu độc lập
Bước 1: Thực hiện giao dịch Vay trái phiếu
- Nhập lệnh Vay trái phiếu (giao dịch SBL) theo hướng dẫn tại Phụ lục 04 - Hướng dẫn về giao dịch Vay trái phiếu (SBL)
Bước 2: Thực hiện giao dịch Bán trái phiếu
- Nhập lệnh Bán trái phiếu vừa vay theo loại hình giao dịch mua bán thông thường theo hướng dẫn tại Phụ lục 01 - Hướng dẫn về giao dịch Outright.
Bước 3: Kết giao giao dịch Vay và giao dịch Bán trái phiếu
- Nơi tác nghiệp: Sổ lệnh Kết giao giao dịch Vay để bán;
● Hệ thống BTS: Sổ lệnh trong ngày\Giao dịch Vay để bán\Sổ lệnh Kết giao giao dịch Vay để bán;
● Hệ thống EBTS: Sổ lệnh trên E-BTS\Giao dịch Vay để bán\Sổ lệnh Kết giao giao dịch Vay để bán;
- Chọn lệnh Vay trái phiếu và lệnh Bán trái phiếu đã nhập tại bước 1 và bước 2 có trạng thái ĐTH và đã gửi vào hệ thống BTS; và chọn chức năng “Kết giao”.
Bước 4: Kiểm tra tình trạng lệnh
- Lệnh Vay để bán được xem là hoàn tất sẽ có trạng thái lệnh “Đã thực hiện” và trạng thái kết giao “Đã kết giao” tại Sổ lệnh kết quả giao dịch Vay để bán.
+ Hệ thống BTS: Sổ lệnh trong ngày\Giao dịch Vay để bán\Sổ lệnh kết quả GD Vay để bán.
+ Hệ thống E-BTS: Sổ lệnh trên E-BTS\Giao dịch Vay để bán\Sổ lệnh kết quả GD Vay để bán.
2. Cách 2: Nhập lệnh Vay và lệnh bán trái phiếu đồng thời
Bước 1: Nhập lệnh Vay để bán trái phiếu
- Chọn nhập Lệnh báo cáo giao dịch của loại hình Giao dịch Vay để bán;
- Các thông tin cần nhập: chi tiết nêu tại Điểm 1,2 Mục A.V tại Phụ lục 11 - Thông tin nhập.
- Nơi tác nghiệp: Màn hình nhập lệnh - Giao dịch SBL:
+ Hệ thống BTS: Nhập lệnh\Giao dịch SBL\Nhập lệnh BCGD;
+ Hệ thống E-BTS: Giao dịch trên E-BTS\Nhập lệnh Giao dịch SBL\Nhập lệnh BCGD).
Bước 2: Kiểm tra lệnh
- Lệnh Vay để bán đã nhập thành công sẽ hiển thị tại Sổ lệnh Chờ thực hiện Vay để bán; có trạng thái lệnh là “Chờ thực hiện” và trạng thái kết giao là “Đã kết giao”.
- Các lệnh thành phần hiển thị tại các sổ lệnh sau:
+ Lệnh Vay trái phiếu có trạng thái “Chờ thực hiện” tại Sổ lệnh kết quả SBL;
+ Lệnh Bán trái phiếu có trạng thái “Chờ thực hiện” tại Sổ lệnh kết quả Outright.
Bước 3: Xác nhận lệnh
- Các bên đối ứng thực hiện xác nhận lệnh có trạng thái “Chờ thực hiện”, nhập TKLK của mình và kích hoạt “Thực hiện” để xác nhận lệnh;
- Nơi tác nghiệp:
+ Đối với lệnh Vay trái phiếu: Sổ lệnh chờ thực hiện SBL
● Hệ thống BTS: Sổ lệnh trong ngày\Giao dịch SBL\Sổ lệnh chờ thực hiện;
● Hệ thống E-BTS: Sổ lệnh trên E-BTS\Giao dịch SBL\Sổ lệnh chờ thực hiện.
+ Đối với lệnh Bán trái phiếu: Sổ lệnh chờ thực hiện Outright
● Hệ thống BTS: Sổ lệnh trong ngày\Giao dịch Outright\Sổ lệnh chờ thực hiện;
● Hệ thống E-BTS: Sổ lệnh trên E-BTS\Giao dịch Outright\Sổ lệnh chờ thực hiện.
Bước 4: Kiểm tra lệnh đã xác nhận
- Lệnh được xem là hoàn tất sẽ có trạng thái lệnh “Đã thực hiện” và trạng thái kết giao “Đã kết giao” tại Sổ lệnh kết quả giao dịch Vay để bán.
+ Hệ thống BTS: Sổ lệnh trong ngày\Giao dịch Vay để bán\Sổ lệnh kết quả Giao dịch Vay để bán;
+ Hệ thống E-BTS: Sổ lệnh trên E-BTS\Giao dịch Vay để bán\Sổ lệnh kết quả Giao dịch Vay để bán.
- Các lệnh thành phần hiển thị tại các sổ lệnh sau:
+ Lệnh Vay trái phiếu có trạng thái “Đã thực hiện” tại Sổ lệnh kết quả SBL;
+ Lệnh Bán trái phiếu có trạng thái “Đã thực hiện” tại Sổ lệnh kết quả Outright.
- Đối với lệnh thực hiện trên Hệ thống BTS, việc nhập lệnh đã hoàn tất.
- Đối với lệnh thực hiện trên Hệ thống E-BTS, chuyển sang bước 5.
Bước 5: Đẩy lệnh (áp dụng đối với trường hợp đối tác là NĐT)
- Nơi tác nghiệp: Sổ lệnh kết quả SBL hoặc/và Sổ lệnh kết quả Outright
+ Tác nghiệp tại Sổ lệnh kết quả SBL đối với lệnh Vay trái phiếu (Sổ lệnh trên E-BTS\Giao dịch SBL\Sổ lệnh kết quả);
+ Tác nghiệp tại Sổ lệnh kết quả Outright đối với lệnh Bán trái phiếu (Sổ lệnh trên E-BTS\Giao dịch Outright\Sổ lệnh kết quả);
- Chọn lệnh ĐTH có trạng thái đẩy “Chờ đẩy" hoặc "Đã đẩy Mua" hoặc "Đã đẩy bán” và chọn chức năng “Đẩy lệnh” hoặc “Từ chối đẩy lệnh”.
Bước 6: Duyệt lệnh
Đối với lệnh cần duyệt, đối tác trong giao dịch Vay và giao dịch Bán thực hiện duyệt lệnh:
- Nơi tác nghiệp: Sổ lệnh Chờ kiểm soát đối với lệnh có trạng thái “Chờ duyệt” hoặc “Chờ duyệt Front” hoặc “Chờ duyệt Back”
+ Tác nghiệp tại Sổ lệnh chờ kiểm soát SBL đối với lệnh Vay trái phiếu (Sổ lệnh trên E-BTS\Giao dịch SBL\Sổ lệnh chờ kiểm soát).
+ Tác nghiệp tại Sổ lệnh chờ kiểm soát Outright đối với lệnh Bán trái phiếu (Sổ lệnh trên E-BTS\Giao dịch Outright\Sổ lệnh chờ kiểm soát).
Bước 7: Kiểm tra lệnh Vay để bán đã gửi vào hệ thống BTS
- Lệnh Vay để bán đã thực hiện gửi vào hệ thống BTS thành công sẽ hiển thị tại Sổ lệnh kết quả giao dịch Vay để bán; có trạng thái lệnh là “Đã thực hiện” và trạng thái kết giao là “Đã kết giao”.
II. Hủy kết giao giao dịch Vay để bán TP
Để Hủy kết giao Giao dịch Vay để bán trái phiếu, ĐDGD của bên Vay trái phiếu thực hiện theo trình tự sau:
Bước 1: Thực hiện Hủy kết giao giao dịch Vay để bán trái phiếu
- Tác nghiệp tại Sổ lệnh Chờ thực hiện Vay để bán đối với lệnh Vay để bán có trạng thái “Chờ thực hiện”
+ Hệ thống BTS: Sổ lệnh trong ngày\Giao dịch Vay để bán\Sổ lệnh chờ thực hiện
+ Hệ thống E-BTS: Sổ lệnh trên E-BTS\Giao dịch Vay để bán\Sổ lệnh chờ thực hiện
- Tác nghiệp tại Sổ lệnh Kết quả giao dịch Vay để bán đối với lệnh Vay để bán có trạng thái “Đã thực hiện"
+ Hệ thống BTS: Sổ lệnh trong ngày\Giao dịch Vay để bán\Sổ lệnh kết quả
+ Hệ thống E-BTS: Sổ lệnh trên E-BTS\Giao dịch Vay để bán\Sổ lệnh kết quả
- Thực hiện Hủy kết giao giao dịch Vay và giao dịch Bán trái phiếu;
Bước 2: Kiểm tra giao dịch sau khi hủy kết giao
- Lệnh Vay để bán trái phiếu Chờ thực hiện được hủy kết giao thành công sẽ hiển thị tại Sổ lệnh Chờ thực hiện Vay để bán, có trạng thái “Hủy kết giao”; Các lệnh thành phần sẽ hiển thị tại các Sổ lệnh sau:
+ Lệnh Vay trái phiếu sẽ hiển thị tại Sổ lệnh chờ thực hiện SBL
● Hệ thống BTS: Sổ lệnh trong ngày\Giao dịch SBL\Sổ lệnh chờ thực hiện;
● Hệ thống E-BTS: Sổ lệnh trên E-BTS\Giao dịch SBL\Sổ lệnh chờ thực hiện.
+ Lệnh Bán trái phiếu sẽ hiển thị tại Sổ lệnh chờ thực hiện Outright
● Hệ thống BTS: Sổ lệnh trong ngày\Giao dịch Outright\Sổ lệnh chờ thực hiện;
● Hệ thống E-BTS: Sổ lệnh trên E-BTS\Giao dịch Outright\Sổ lệnh chờ thực hiện
- Lệnh Vay để bán trái phiếu Đã thực hiện được hủy kết giao thành công sẽ hiển thị tại Sổ lệnh kết quả giao dịch Vay để bán, có trạng thái “Hủy kết giao”. Các lệnh thành phần sẽ hiển thị tại các Sổ lệnh sau:
+ Lệnh Vay trái phiếu sẽ hiển thị tại Sổ lệnh kết quả SBL
● Hệ thống BTS: Sổ lệnh trong ngày\Giao dịch SBL\Sổ lệnh kết quả;
● Hệ thống E-BTS: Sổ lệnh trên E-BTS\Giao dịch SBL\Sổ lệnh kết quả.
+ Lệnh Bán trái phiếu sẽ hiển thị tại Sổ lệnh kết quả Outright
● Hệ thống BTS: Sổ lệnh trong ngày\Giao dịch Outright\Sổ lệnh kết quả;
● Hệ thống E-BTS: Sổ lệnh trên E-BTS\Giao dịch Outright\Sổ lệnh kết quả
III. Sửa lệnh Vay hoặc/và lệnh Bán trái phiếu trong giao dịch Vay để bán
1. TH1: Đối với lệnh Vay và lệnh Bán chưa thực hiện
* Trình tự tác nghiệp như sau:
Bước 1: Hủy kết giao giao dịch Vay để bán
- ĐDGD của Bên Vay trái phiếu trong giao dịch Vay đồng thời là bên Bán trái phiếu trong giao dịch Bán được thực hiện “Hủy kết giao” giao dịch Vay và Giao dịch bán sau đó sửa lệnh Vay hoặc/và lệnh Bán trái phiếu;
- Nơi tác nghiệp: Sổ lệnh Chờ thực hiện Vay để bán:
● Hệ thống BTS: Sổ lệnh trong ngày\Giao dịch Vay để bán\Sổ lệnh chờ thực hiện;
● Hệ thống EBTS: Sổ lệnh trên E-BTS\Giao dịch Vay để bán\Sổ lệnh chờ thực hiện;
Bước 2: Sửa lệnh
Thực hiện sửa lệnh Vay hoặc/và lệnh Bán trái phiếu:
- Sửa giao dịch Vay trái phiếu theo quy trình sửa Giao dịch SBL ĐTH được nêu tại Điểm 1 Mục II tại Phụ lục 04 - Hướng dẫn về giao dịch Vay trái phiếu (SBL).
- Sửa giao dịch Bán trái phiếu theo quy trình sửa Giao dịch Outright ĐTH được nêu tại Điểm 1 Mục II tại Phụ lục 01 - Hướng dẫn về giao dịch Outright.
2. TH2: Đối với lệnh Vay và lệnh Bán đã thực hiện
* Trình tự tác nghiệp như sau:
Bước 1: Hủy kết giao giao dịch Vay để bán
- ĐDGD của Bên Vay trái phiếu trong giao dịch Vay đồng thời là bên Bán trái phiếu trong giao dịch Bán được thực hiện “Hủy kết giao” giao dịch Vay và Giao dịch bán sau đó sửa lệnh Vay hoặc/và lệnh Bán trái phiếu;
- Nơi tác nghiệp:
+ Đối với lệnh Vay để bán chờ thực hiện: tác nghiệp tại Sổ lệnh Chờ thực hiện Vay để bán:
● Hệ thống BTS: Sổ lệnh trong ngày\Giao dịch Vay để bán\Sổ lệnh chờ thực hiện;
● Hệ thống EBTS: Sổ lệnh trên E-BTS\Giao dịch Vay để bán\Sổ lệnh chờ thực hiện;
+ Đối với lệnh Vay để bán đã thực hiện: tác nghiệp tại Sổ lệnh Kết quả giao dịch Vay để bán:
● Hệ thống BTS: Sổ lệnh trong ngày\Giao dịch Vay để bán\Sổ lệnh kết quả;
● Hệ thống EBTS: Sổ lệnh trên E-BTS\Giao dịch Vay để bán\Sổ lệnh kết quả;
- Chọn lệnh Vay và lệnh bán trái phiếu; và thực hiện “Hủy kết giao”.
Bước 2: Sửa lệnh
Thực hiện sửa lệnh Vay hoặc/và lệnh Bán trái phiếu:
- Sửa giao dịch Vay trái phiếu theo quy trình sửa Giao dịch SBL ĐTH được nêu tại Điểm 2 Mục II tại Phụ lục 04 - Hướng dẫn về giao dịch Vay trái phiếu (SBL).
- Sửa giao dịch Bán trái phiếu theo quy trình sửa Giao dịch Outright ĐTH được nêu tại Điểm 2 Mục II tại Phụ lục 01 - Hướng dẫn về giao dịch Outright.
- Lưu ý: Trường hợp muốn kết giao giao dịch Vay và giao dịch bán sau khi sửa, thực hiện kết giao lại theo hướng dẫn tại Bước 3, Điểm 1, phần I Phụ lục này.
IV. Tra cứu thông tin
1. Tra cứu thông tin về hoạt động giao dịch trên Hệ thống BTS:
- Đối với thông tin giao dịch trong ngày: tra cứu thông tin tại các sổ lệnh trong ngày, bao gồm:
+ Sổ lệnh chờ thực hiện Vay để bán: gồm các lệnh chờ thực hiện trong ngày và tương lai;
+ Sổ lệnh kết quả giao dịch Vay để bán: các lệnh đã thực hiện trong ngày và tương lai;
+ Sổ lệnh kết giao giao dịch Vay để bán;
- Đối với thông tin giao dịch nhiều ngày, tra cứu thông tin tại các sổ lệnh quá khứ, bao gồm:
+ Sổ lệnh chờ thực hiện Vay để bán quá khứ: gồm các lệnh chờ thực hiện quá khứ;
+ Sổ lệnh kết quả Vay để bán quá khứ: gồm các lệnh đã thực hiện quá khứ;
+ Sổ lệnh kết giao giao dịch Vay để bán quá khứ.
2. Tra cứu thông tin về hoạt động giao dịch từ Hệ thống E-BTS:
- Đối với thông tin giao dịch trong ngày, thực hiện tra cứu thông tin tại các sổ lệnh trên E-BTS, bao gồm:
+ Sổ lệnh Chờ thực hiện Vay để bán;
+ Sổ lệnh kết quả giao dịch Vay để bán;
+ Sổ lệnh kết giao giao dịch Vay để bán.
- Đối với thông tin giao dịch nhiều ngày, thực hiện tra cứu thông tin tại các sổ lệnh quá khứ trên E-BTS, bao gồm:
+ Sổ lệnh chờ thực hiện Vay để bán quá khứ;
+ Sổ lệnh kết quả giao dịch Vay để bán quá khứ;
+ Sổ lệnh kết giao giao dịch Vay để bán quá khứ.
PHỤ LỤC 06
QUẢN LÝ HỢP ĐỒNG GIAO DỊCH
(Ban hành kèm theo Quy trình Giao dịch trái phiếu Chính phủ, trái phiếu được Chính phủ bảo lãnh và trái phiếu chính quyền địa phương tại SGDCK)
THÊM MỚI THÔNG TIN HỢP ĐỒNG
|
Trường thông tin |
Nội dung |
|
Hợp đồng khung |
|
|
Thông tin hợp đồng |
|
|
Ngày tạo Hợp đồng |
Tự động hiển thị là ngày giao dịch trên hệ thống |
|
Thông tin chung |
|
|
Cấp hợp đồng |
Hợp đồng khung |
|
Mã hợp đồng |
Là Mã hợp đồng khung |
|
Loại hình giao dịch |
Mua/Bán/Vay/Cho vay |
|
Tên hợp đồng |
|
|
Công cụ |
Outright/Repo/SBB/SBL |
|
Chia sẻ mẫu |
Public/Group/Không chia sẻ |
|
Tình trạng hợp đồng |
Chưa hiệu lực/Đang hiệu lực |
|
Hợp đồng với đối tác |
|
|
Thông tin hợp đồng |
|
|
Bên A |
Thành viên/Nhà đầu tư |
|
TV/NĐT |
Tên thành viên/Tên Nhà đầu tư |
|
Bên B |
Thành viên/Nhà đầu tư |
|
TV/NĐT |
Tên thành viên/Tên Nhà đầu tư |
|
Ngày tạo Hợp đồng |
Là ngày giao dịch trên hệ thống |
|
Thông tin chung |
|
|
Cấp hợp đồng |
Hợp đồng với đối tác |
|
Mã hợp đồng |
Là Mã hợp đồng với đối tác |
|
Mã hợp đồng khung |
|
|
Phụ lục hợp đồng |
|
|
Tình trạng hợp đồng |
Chưa hiệu lực/Đang hiệu lực |
PHỤ LỤC 07
QUẢN LÝ PHÍ GIAO DỊCH
THÊM MỚI BIỂU PHÍ GIAO DỊCH - THÀNH VIÊN
(Ban hành kèm theo Quy trình Giao dịch trái phiếu Chính phủ, trái phiếu được Chính phủ bảo lãnh và trái phiếu chính quyền địa phương tại SGDCK)
|
STT |
Trường thông tin |
Nội dung |
|
1 |
Tên phí |
Để phân biệt tên biểu phí được khai báo, tên phí khi khai báo phải là duy nhất. |
|
2 |
Công cụ giao dịch |
Outright/Repo/SBB/SBL |
|
3 |
Tỷ lệ phí |
Cho phép nhập số dạng %. Đây là tỷ lệ để áp dụng tính phí cho NĐT |
|
4 |
Kỳ hạn từ |
Cho phép nhập số nguyên Lưu ý: không được nhỏ hơn kỳ hạn Repo/SBL tối thiểu |
|
5 |
Kỳ hạn đến |
Cho phép nhập số nguyên (Kỳ hạn Repo/SBL đến không được bé hơn Kỳ hạn Repos/SBL từ). Lưu ý: không được nhập lớn hơn kỳ hạn Repo/SBL tối đa |
|
6 |
GTGD/GTTT từ |
Cho phép nhập số. Áp dụng đối với Outright/Repo/SBB/SBL |
|
7 |
GTGD/GTTT đến |
Cho phép nhập số (GTTT đến không được bé hơn GTTT từ). Áp dụng đối với Outright/Repo/SBB/SBL |
|
8 |
Ngày bắt đầu |
Là ngày bắt đầu áp dụng mức phí. Lưu ý: Ngày bắt đầu lớn hơn ngày giao dịch hiện tại. |
|
9 |
Ngày kết thúc |
Là ngày kết thúc hiệu lực của mức phí này (nếu để trống được hiểu ngày kết thúc là vô hạn) |
|
10 |
Trạng thái |
Chưa hiệu lực/Hiệu lực/Hết hiệu lực: Lưu ý: Thêm mới biểu phí mặc định là trạng thái Chưa hiệu lực. |
PHỤ LỤC 08
HƯỚNG DẪN VỀ TRÁI PHIẾU TƯƠNG ĐƯƠNG TRONG GIAO DỊCH TPCP TẠI SGDCK
(Ban hành kèm theo Quy trình Giao dịch trái phiếu Chính phủ, trái phiếu được Chính phủ bảo lãnh và trái phiếu chính quyền địa phương tại SGDCK)
A. Các phương pháp xác định hệ số chuyển đổi
1. Sử dụng đường cong lợi suất
2. Sử dụng lợi suất kỳ vọng cho ngày thanh toán 2
3. Sử dụng lợi suất tại ngày giao dịch lần 1 cho ngày thanh toán 2
4. Sử dụng lợi suất tại ngày giao dịch lần 1 cho ngày thanh toán 1
5. Tùy chọn
B. Hướng dẫn nhập thông tin tính toán Trái phiếu tương đương (TPTĐ)
|
I. Chọn mới Trái phiếu tương đương |
|
|
1. Nội dung nhập |
|
|
a. Đối với Phương pháp Sử dụng đường cong lợi suất |
|
|
|
Lô trái phiếu làm tròn |
|
|
Mã Trái phiếu |
|
|
Lãi suất phạt (nếu có) |
|
b. Đối với Phương pháp Sử dụng lợi suất kỳ vọng cho ngày thanh toán 2 |
|
|
|
Lô trái phiếu làm tròn |
|
|
Mã Trái phiếu |
|
|
Lợi suất kỳ vọng trái phiếu gốc |
|
|
Lợi suất kỳ vọng TPTĐ |
|
|
Lãi suất phạt (nếu có) |
|
c. Đối với Phương pháp Sử dụng lợi suất tại ngày giao dịch lần 1 cho ngày thanh toán 2 |
|
|
|
Lô trái phiếu làm tròn |
|
|
Mã Trái phiếu |
|
|
Lãi suất phạt (nếu có) |
|
d. Đối với Phương pháp Sử dụng lợi suất tại ngày giao dịch lần 1 cho ngày thanh toán 1 |
|
|
|
Lô trái phiếu làm tròn |
|
|
Mã Trái phiếu |
|
|
Lợi suất TPTĐ |
|
|
Lãi suất phạt (nếu có) |
|
e. Đối với Phương pháp Tùy chọn |
|
|
|
Lô trái phiếu làm tròn |
|
|
Mã Trái phiếu |
|
|
Ngày thanh toán |
|
|
Lợi suất trái phiếu gốc |
|
|
Lợi suất TPTĐ |
|
2. Hệ thống tính toán |
|
|
|
Giá gộp lãi trái phiếu gốc |
|
|
Giá gộp lãi TPTĐ |
|
|
Hệ số chuyển đổi |
|
|
Khối lượng TPTĐ |
|
|
Khối lượng TPTĐ sau làm tròn |
|
|
Số tiền phát sinh sau làm tròn |
|
|
Số tiền bị tính lãi phạt |
|
|
Số tiền lãi phạt |
|
|
GTTT lần 2 khi sử dụng TPTĐ |
|
II. Chọn thanh toán thay thế trái phiếu gốc bằng TPTĐ tại ngày KTGD lần 2 |
|
|
1. Nội dung nhập |
|
|
Thông tin thanh toán bằng trái phiếu gốc |
|
|
|
Khối lượng thanh toán |
|
Thông tin thanh toán bằng TPTĐ |
|
|
|
Lô trái phiếu làm tròn |
|
2. Hệ thống tính toán |
|
|
Thông tin thanh toán bằng trái phiếu gốc |
|
|
|
Khối lượng giao dịch còn lại |
|
|
GTTT lần 2 thanh toán |
|
|
GTTT lần 2 còn lại |
|
Thông tin thanh toán bằng TPTĐ |
|
|
|
Khối lượng TPTĐ |
|
|
Khối lượng TPTĐ sau làm tròn |
|
|
Số tiền phát sinh sau làm tròn |
|
|
Số tiền bị tính lãi phạt |
|
|
Số tiền lãi phạt |
|
|
GTTT lần 2 khi sử dụng TPTĐ |
|
|
Tổng GTTT lần 2 khi sử dụng TPTĐ |
Bạn chưa Đăng nhập thành viên.
Đây là tiện ích dành cho tài khoản thành viên. Vui lòng Đăng nhập để xem chi tiết. Nếu chưa có tài khoản, vui lòng Đăng ký tại đây!
Bạn chưa Đăng nhập thành viên.
Đây là tiện ích dành cho tài khoản thành viên. Vui lòng Đăng nhập để xem chi tiết. Nếu chưa có tài khoản, vui lòng Đăng ký tại đây!