- Tổng quan
- Nội dung
- Tiêu chuẩn liên quan
- Lược đồ
- Tải về
Tiêu chuẩn TCVN 12028:2018 Xác định nồng độ, hoạt độ đồng vị urani trong mẫu nước
| Số hiệu: | TCVN 12028:2018 | Loại văn bản: | Tiêu chuẩn Việt Nam |
| Cơ quan ban hành: | Bộ Khoa học và Công nghệ | Lĩnh vực: | Tài nguyên-Môi trường |
|
Ngày ban hành:
Ngày ban hành là ngày, tháng, năm văn bản được thông qua hoặc ký ban hành.
|
2018 |
Hiệu lực:
|
Đã biết
|
| Người ký: | Đang cập nhật |
Tình trạng hiệu lực:
Cho biết trạng thái hiệu lực của văn bản đang tra cứu: Chưa áp dụng, Còn hiệu lực, Hết hiệu lực, Hết hiệu lực 1 phần; Đã sửa đổi, Đính chính hay Không còn phù hợp,...
|
Đã biết
|
TÓM TẮT TIÊU CHUẨN VIỆT NAM TCVN 12028:2018
Nội dung tóm tắt đang được cập nhật, Quý khách vui lòng quay lại sau!
Tải tiêu chuẩn Việt Nam TCVN 12028:2018
TIÊU CHUẨN QUỐC GIA
TCVN 12028:2018
ISO 13166:2014
CHẤT LƯỢNG NƯỚC - ĐỒNG VỊ URANI –
PHƯƠNG PHÁP THỬ SỬ DỤNG QUANG PHỔ ANPHA
Water quality - Uranium isotopes - Test method using alpha-spectrometry
Lời nói đầu
TCVN 12028:2018 hoàn toàn tương đương với ISO 13166:2014
TCVN 12028:2018 do Tổng cục Môi trường biên soạn, Bộ Tài nguyên và Môi trường đề nghị, Tổng cục Tiêu chuẩn Đo lường Chất lượng thẩm định, Bộ Khoa học và Công nghệ công bố.
Lời giới thiệu
Hoạt độ phóng xạ từ một số nguồn nhân tạo và tự nhiên có mặt khắp nơi trong môi trường. Do vậy, các vực nước (ví dụ nước mặt, nước ngầm, nước biển) có thể chứa nhân phóng xạ tự nhiên, nhân tạo hoặc cả hai nguồn:
- Nhân phóng xạ tự nhiên, kể cả kali 40 và các nhân phóng xạ bắt nguồn từ dãy phân rã thori và urani, đặc biệt radi 226, radi 228, urani 234, urani 238, chì 210 có thể tìm thấy trong nước cho các lý do tự nhiên (ví dụ giải hấp từ đất và rửa trôi do nước mưa) hoặc có thể thoát ra từ các quá trình công nghệ liên quan đến vật liệu phóng xạ xuất hiện trong tự nhiên .... (ví dụ khai khoáng và quá trình xử lý cát khoáng và sản xuất và sử dụng phân lân)
- Cũng có thể tìm thấy Nhân phóng xạ nhân tạo, như nguyên tố tran-urani (americi, plutoni, neptuni, curi), triti, cabon 14, stronti 90 và một số nhân phóng xạ phát gamma, cũng có thể được tìm thấy trong nước tự nhiên do kết quả của sự phát thải thường nhật được cấp phép vào môi trường với lượng nhỏ trong nước thải từ các cơ sở nhiên liệu hạt nhân. Chúng cũng có thể được thải vào môi trường ở dạng không được bao bọc sử dụng chúng cho các ứng dụng y tế và công nghiệp. Chúng cũng được tìm thấy trong nước do kết quả của sự nhiễm bẩn chảy tràn trong quá khứ từ vụ nổ trong khí quyển của các cơ sở hạt nhân và các sự cố như Chernobyl và Fukushima.
Nước uống có thể chứa nhân phóng xạ ở nồng độ hoạt độ có thể xuất hiện nguy cơ đối với sức khỏe con người. Để đánh giá chất lượng của nước uống (kể cả nước khoáng và nước suối) về hàm lượng nhân phóng xạ của chúng và để cung cấp hướng dẫn về việc giảm nguy cơ đối với sức khỏe bằng cách tiến hành phép đo để giảm nồng độ hoạt độ nhân phóng xạ, nguồn nước (nước ngầm, sông, hồ, biển,...) và nước uống được quan trắc đối với hàm lượng hoạt độ phóng xạ của chúng như là khuyến cáo do Tổ chức Y tế thế giới (WHO).
Tiêu chuẩn về phương pháp thử đối với nồng độ hoạt độ đồng vị urani trong mẫu nước được chứng minh là đúng cho phòng thử nghiệm tiến hành các phép thử này, đôi khi được yêu cầu bởi các cơ quan có thẩm quyền quốc gia, vì phòng thử nghiệm có thể phải đạt được giấy công nhận riêng về phép đo nhân phóng xạ trong mẫu nước uống.
Nồng độ hoạt độ urani có thể thay đổi theo đặc tính địa chất và khí hậu của địa phương (Phụ lục D). Mức khuyến cáo đối với urani-238 và urani-234 trong nước uống, như khuyến cáo của WHO là tương ứng bằng 10 và 1 Bq.L-1. Giá trị khuyến cáo quy định đối với nồng độ urani trong nước uống là 30 μg.L-1 dựa trên độc tính hóa học của chúng, được so sánh với độc tính phóng xạ học.
CHÚ THÍCH Mức khuyến cáo là nồng độ hoạt độ (được làm tròn) với một lượng dùng nước uống là 2 L.d-1 (lít trên ngày) trong 1 năm, dẫn đến một liều hiệu dụng là 0,1 mSv.năm-1 cho dân chúng, một liều hiệu dụng đại diện một mức nguy cơ rất thấp được dự kiến không làm tăng ảnh hưởng có hại cho sức khỏe có thể phát hiện được.
Tiêu chuẩn này là một trong bộ tiêu chuẩn về phương pháp thử đề cập đến phép đo nồng độ hoạt độ của nhân phóng xạ trong mẫu nước.
CHẤT LƯỢNG NƯỚC - ĐỒNG VỊ URANI -
PHƯƠNG PHÁP THỬ SỬ DỤNG QUANG PHỔ ANPHA
Water quality - Uranium isotopes - Test method using alpha-spectrometry
CẢNH BÁO Những người sử dụng tiêu chuẩn này phải được làm quen với công việc này trong phòng thí nghiệm. Tiêu chuẩn này không đề cập tới mọi vấn đề an toàn liên quan đến người sử dụng. Người áp dụng tiêu chuẩn phải xác lập thực hành về an toàn, sức khỏe phù hợp với các quy định của quốc gia.
QUAN TRỌNG Chỉ những nhân viên đã qua đào tạo thích hợp mới được phép tiến hành phép thử theo tiêu chuẩn này.
1 Phạm vi áp dụng
Tiêu chuẩn này quy định các điều kiện để xác định nồng độ, hoạt độ đồng vị urani trong mẫu nước môi trường (kể cả nước biển) sử dụng phổ anpha và 232U như là chất đánh dấu. Quá trình tách hóa học được yêu cầu để tách và tinh chế urani từ một phần của mẫu thử.
Nếu mẫu có đồng vị plutoni sẽ gây nhiễu với hoạt độ có thể phát hiện trong mẫu.
Giới hạn phát hiện của phép đo của phần thử khoảng 500 mL là xấp xỉ 5 mBq.L-1 với thời gian đếm khoảng 200000 s.
2 Tài liệu viện dẫn
Các tài liệu viện dẫn sau rất cần thiết cho việc áp dụng tiêu chuẩn này. Đối với các tài liệu viện dẫn ghi năm công bố thì áp dụng phiên bản được nêu. Đối với các tài liệu viện dẫn không ghi năm công bố thì áp dụng phiên bản mới nhất, bao gồm cả các sửa đổi, bổ sung (nếu có).
TCVN 6663-1 (ISO 5667-1), Chất lượng nước - Lấy mẫu - Phần 1: Hướng dẫn thiết kế và kỹ thuật lấy mẫu. (Water quality - Sampling - Part 1: Guidance on the design of sampling programmes and sampling techniques).
TCVN 6663-3 (ISO 5667-3), Chất lượng nước - Lấy mẫu. Phần 3: Hướng dẫn bảo quản và xử lý mẫu (Water quality - Sampling - Part 3: Preservation and handling of water samples)
ISO 11929, Xác định các giới hạn đặc tính (ngưỡng quyết định, giới hạn phát hiện và giới hạn của khoảng tin cậy) đối với phép đo bức xạ ion hóa - Cơ sở và ứng dụng (Determination of the characteristic limits (decision threshold, detection limit and limits of the confidence interval) for measurements of ionizing radiation - Fundamentals and application).
TCVN ISO/IEC 17025 (ISO/IEC 17025), Yêu cầu chung về năng lực phòng thử nghiệm và hiệu chuẩn (General requirements for the competence of testing and calibration laboratories).
TCVN 7870-10 (ISO 80000-10), Đại lượng và đơn vị - Phần 10: Nguyên tử và vật lý hạt nhân (Quantities and units - Part 10: Atomic and nuclear physics).
3 Thuật ngữ, định nghĩa và ký hiệu
Trong tiêu chuẩn này, áp dụng các thuật ngữ, định nghĩa và ký hiệu được nêu trong TCVN 7870-10 (ISO 80000-10) và ISO 11929 và các thuật ngữ, định nghĩa sau:
Bảng 1 - Ký hiệu và định nghĩa
| A | Hoạt độ của chất đánh dấu 232U được bổ sung, tại ngày đo |
| cA | Nồng độ hoạt độ của 238U hoặc 235U hoặc 234U, tính bằng becquerel trên lít |
|
| Ngưỡng quyết định, tính bằng becquerel trên lít |
|
| Giới hạn phát hiện, tính bằng becquerel trên lít |
|
| Giới hạn trên và dưới của khoảng tin cậy, tính bằng becquerel trên lít |
| R | Tổng hiệu suất đo |
| r0, r0T | Tốc độ đếm phông nền trên giây đối với phân tích urani và chất đánh dấu trong vùng quan tâm (ROI) của phổ mẫu trắng |
| RC | Hiệu suất hóa học |
| rg, rgT | Tốc độ đếm tổng trên giây đối với phân tích urani và chất đánh dấu trong vùng quan tâm (ROI) của phổ mẫu thử |
| t0 | Thời gian đếm phông nền, tính bằng giây |
| tg | Thời gian đếm mẫu, tính bằng giây |
| U | Độ không đảm bảo mở rộng được tính bằng U= ku(cA) với k = 1, 2,... tính bằng becquerel trên lít |
| u(cA) | Độ không đảm bảo tiêu chuẩn kèm theo kết quả phép đo, tính bằng becquerel trên lít |
| V | Thể tích phần mẫu thử, tính bằng lít |
| ε | Hiệu suất đếm |
4 Nguyên tắc
Mẫu thử được trộn với phần chất đánh dấu 232U, sau đó để cân bằng mẫu trước khi phân tích. Sau một chu kỳ để điều chỉnh trạng thái oxy hóa, việc tách hóa học của urani đạt được bằng bước làm giàu (ví dụ kết tủa) tiếp theo bước tách đặc trưng (ví dụ sử dụng sắc ký trao đổi ion).
Thori-230, 226Ra và 238Th có thể có trong nước và có thể gây nhiễu với việc đếm đồng vị urani nếu không tiến hành việc tách hóa học để loại bỏ các nhân phóng xạ này ra khỏi phần thử
Chuẩn bị nguồn mỏng để đo bằng cách lắng đọng điện hóa hoặc cùng kết tủa và được đo bằng phổ anpha sử dụng một buồng đo kẻ ô hoặc thiết bị loại bán dẫn. Phép đo nằm trong sự tương tác của hạt anpha với môi trường phát hiện. Sự tương tác này tạo ra một dòng điện, được khuếch đại và tạo ra một xung điện thế tỷ lệ với năng lượng lắng đọng của hạt anpha đi vào.
Xung điện tử từ detector được phân tích bằng hệ thống điện tử. Phần mềm phân tích số liệu cung cấp một phổ, trong đó số lượng xung (số đếm) được ghi trong từng khoảng năng lượng được hiển thị.
Phân tích tốc độ đếm trong cửa sổ năng lượng anpha đồng vị urani cho phép xác định nồng độ hoạt độ của mẫu thử đối với urani-238, urani-235 và urani-234, sau khi hiệu chính tốc độ đếm mẫu trắng, thể tích của mẫu thử và tổng hiệu suất đo (hiệu suất hóa học và hiệu suất phát hiện).
Không nhất thiết xác định hiệu suất hóa học và hiệu suất phát hiện riêng biệt, nhưng được xác định cùng nhau bằng cách đo tổng hiệu suất đo từ tốc độ đếm thực của 232U, được bổ sung vào như là chất đánh dấu để xác định hiệu suất hóa học.
Để định lượng các chất gây nhiễu tiềm tàng của thuốc thử, chuẩn bị mẫu trắng theo cách như đối với mẫu thử. Mẫu trắng này được chuẩn bị bằng dùng nước chuẩn.
Đối với kiểm soát chất lượng, để định lượng tạp chất tiềm tàng trong dung dịch đánh dấu, cần phải chuẩn bị một mẫu trắng khác có bổ sung chất đánh dấu.
Đặc trưng phóng xạ của các đồng vị urani được nêu trong Bảng 2 (Tài liệu tham khảo [7][8]).
Bảng 2
| Đồng vị urani | Chu kỳ bán rã năm | Năng lượng phát ra chính keV | Cường độ % |
| 232 | 70.6 (±1,1) | 5263,48 | 30,6 |
| 5320,24 | 69,1 | ||
| 233 | 159,1 (± 2) x 103 | 4783,5 | 13,2 |
| 4824,2 | 84,3 | ||
| 234 | 2,455 (± 0,006) x 105 | 4722,4 | 28,42 |
| 4774,6 | 71,37 | ||
| 235 | 704 (± 1) x 106 | 4366,1 | 18,8 |
| 4397,8 | 57,19 | ||
| 4414,9 | 3,01 | ||
| 236 | 23,43(± 0,06) x 106 | 4445 | 26,1 |
| 4494 | 73,8 | ||
| 238 | 4,468 (± 0,005) x 109 | 4151 | 22,33 |
| 4198 | 77,54 |
Với một phân giải phổ (Nửa chiều cao tối đa độ rộng đầy đủ FWHM) của khoảng 20 keV trong trường hợp tốt nhất, phổ anpha có thể không phân giải dễ dàng 233U và 234U, hoặc 235U và 236U, do năng lượng phát ra của chúng tương tự nhau; tuy nhiên, thường không gặp 233U và 236U trong các mẫu môi trường.
5 Thuốc thử và thiết bị
5.1 Khái quát
Các Phụ lục từ A đến C đưa ra các cách sử dụng thuốc thử và thiết bị khác nhau để xử lý hóa học và chuẩn bị nguồn. Khi có nhiều lựa chọn, nên ưu tiên chọn một trong những cách đã được trình bày ở đây.
Chỉ sử dụng thuốc thử cấp phân tích được công nhận.
5.2 Thuốc thử hóa học
5.2.1 Nước phòng thử nghiệm, sử dụng làm mẫu trắng, không có tạp chất phóng xạ hoặc hóa học (ví dụ đồng vị urani), phù hợp với (ISO 3696), loại 3.
Nước mưa mới là một ví dụ về nước có nồng độ hoạt độ urani rất thấp. Nồng độ hoạt độ urani của nước này có thể được đánh giá tại cùng thời điểm như chất gây nhiễu từ thuốc thử hoặc sử dụng loại phép đo chính xác khác, ví dụ ion hóa nhiệt hoặc phổ khối lượng plasma cặp đôi cảm ứng.
5.2.2 Dung dịch đánh dấu Urani 232, được dùng để xác định tổng hiệu suất. Nó có thể được dùng để tính hiệu suất hóa học. Dung dịch được chuẩn bị bằng cách pha loãng một chuẩn phù hợp mà tạo ra được sự trung nguyên theo chuẩn quốc gia hoặc quốc tế. Dung dịch chất đánh dấu cần phải đồng nhất và bền.
Cần phải tính nồng độ dung dịch chất đánh dấu để có thể thêm/bổ sung một lượng nhỏ dung dịch này để nồng độ trong khoảng hoạt độ chứa trong phần mẫu thử. Ví dụ nồng độ dung dịch đánh dấu nằm trong khoảng từ 0,05 Bq.g-1 đến 1 Bq.g-1.
Nên kiểm tra hoạt độ và độ tinh khiết của dung dịch pha loãng chất đánh dấu trước khi sử dụng và tại các khoảng thời gian như nhau sau khi chuẩn bị. Việc này có thể được thực hiện, ví dụ bằng cách đếm dung dịch nhấp nháy, nhưng đếm cần được thực hiện với kết quả của nhân phóng xạ bên trong.Tiến hành phân tích mẫu trắng với chất đánh dấu là một cách có thể để nhận dạng sự có mặt của bất kỳ chất phân tích đồng vị urani trong chất đánh dấu.
Thori-228 có thể xuất hiện trong dung dịch chất đánh dấu 232U và có năng lượng rất gần với mẹ 232U của chúng. Do vậy, việc tách Th với U là cần thiết (Tài liệu tham khảo [11],[12]) để giảm thiểu nhiễu của 228Th sao cho hiệu suất đếm của 232U không bị ước lượng quá (xem Điều 4).
5.3 Thiết bị
Sử dụng các thiết bị phòng thử nghiệm thông thường và các thiết bị sau:
5.3.1 Máy đo phổ anpha, có buồng ô lưới (với hiệu suất phát hiện cao, nhưng độ phân giải thấp hơn) hoặc loại bán dẫn (với hiệu suất phát hiện thấp, nhưng độ phân giải cao hơn). Vận hành tại nhiệt độ không đổi. Tuân theo hướng dẫn của nhà sản xuất.
Đối với thiết bị loại bán dẫn, phép đo sử dụng đo phổ anpha phụ thuộc vào tương tác của hạt anpha với ion silicon được cấp phép. Sự tương tác này làm thay đổi một cách cố định độ dẫn điện của Silicon, tỷ lệ với năng lượng của các hạt anpha đi vào. Để đạt được phổ phân giải tốt, hệ thống phát hiện cần được duy trì tại áp suất <1 Pa. Độ phân giải có thể được cải thiện thêm thông qua việc tăng khoảng cách giữa nguồn và detector.
5.3.2 Pipet, phù hợp để chuyển chính xác dung dịch đánh dấu urani-232 (ví dụ 100 μL) với độ chính xác tổng trong khoảng ± 1%.
5.3.3 Cân, ví dụ có thể đạt được độ chính xác đến ± 0,1 mg.
6 Lấy mẫu và bảo quản mẫu
6.1 Lấy mẫu
Điều kiện của lấy mẫu phải phù hợp với TCVN 6663-3 (ISO 5667-1).
Lọc mẫu để loại bỏ các hạt rắn và sau đó axit hóa đến < pH 2 bằng axit nitric hoặc axit clohyric càng sớm càng tốt ngay sau khi lấy mẫu trước khi phân tích, như được quy định tại TCVN 6663-3 (ISO 5667-3). Axit hóa trước khi lọc có thể dẫn đến việc chiết ra urani từ thành phần rắn của mẫu
Điều quan trọng là phòng thử nghiệm nhận mẫu đại diện, không bị thay đổi trong quá trình vận chuyển hoặc bảo quản và trong thùng chứa không bị hư hỏng.
6.2 Bảo quản mẫu
Nếu cần, mẫu cần phải được bảo quản theo TCVN 6663-3 (ISO 5667-3).
7 Tách và đo
7.1 Các bước hóa học
Việc tách và kế hoạch chuẩn bị mẫu được đề xuất nêu trong Phụ lục A, Phụ lục B và Phụ lục C.
7.2 Đo
7.2.1 Kiểm soát chất lượng
Cần phải đo các nguồn kiểm soát chất lượng thiết bị để xác nhận rằng thiết bị đo có tính năng làm việc này nằm trong giới hạn đã định.
Có thể áp dụng một nguồn mỏng 239/240Pu (nguồn phát anpha khác như 230Th, 239Pu, 244Cm và 241Am cũng có thể áp dụng) để kiểm tra hiệu chuẩn năng lượng và sự phân giải (phát anpha trong vùng năng lượng 5,10 MeV đến 5,20 MeV), và không có phân rã đáng kể trong khoảng thời gian làm việc của nguồn.
7.2.2 Hiệu suất hóa học
Hiệu suất hóa học có thể được xem như là thông số kiểm soát chất lượng. Nói chung, hiệu suất hóa học thu được khoảng 90%. Đối với hiệu suất hóa học rất thấp, phòng thử nghiệm có thể quyết định phân tích lại mẫu.
Hiệu suất hóa học Rc của quá trình có thể được tính theo Công thức (1):
|
| (1) |
Tổng hiệu suất R là tích số của hiệu suất hóa học và hiệu suất đếm ε.
Tổng hiệu suất, R, được tính từ phổ của mẫu theo Công thức (2):
|
| (2) |
7.2.3 Phông nền
Tốc độ đếm phông nền của từng detector được xác định với một hỗ trợ nguồn trống; Việc này kéo dài ít nhất bằng thời gian đếm của một mẫu.
Thời gian tối ưu để đo nguồn phông nền có thể bằng với đo nguồn có hoạt độ rất thấp.
Giá trị phân tích mẫu trắng (nghĩa là phân tích tiến hành với nước phòng thử nghiệm không chứa đồng vị urani không thêm chất đánh dấu) cần phải được so sánh với tổng giá trị phông nền thu được từ cùng detetor.
Giá trị này cần phải được so sánh với giá trị phông nền đo được từ hỗ trợ nguồn trống trong vùng năng lượng của đồng vị urani và của chất đánh dấu để đảm bảo rằng không có sự nhiễm bẩn thuốc thử hoặc thiết bị phòng thử nghiệm.
r0 là giá trị trắng hoặc có thể là giá trị phông nền của detector nếu tương tự nhau.
8 Biểu thị kết quả
8.1 Biểu diễn phổ
Nồng độ hoạt độ của đồng vị urani khác nhau được tính bằng cách tính tổng số đếm trong vùng quan tâm tương ứng (ROI) đối với từng chất phân tích đồng vị urani và trong ROI tương ứng với pic chất đánh dấu.
Kết quả của các tổng này được chia cho thời gian đếm và cho tốc độ đếm tổng.
Tốc độ đếm tổng được hiệu chính về phông nền hoặc nếu cần, sự đóng góp của mẫu trắng trong cùng ROI.
Đối với urani-235, cần tính đến hệ số hiệu chính trong phần trăm phát ra trong ROI của nó: vì đồng vị này có 21 hạt anpha phát ra, rất khó để bắt được tất cả chúng trong ROI kinh điển. Thường đạt được khoảng 80%.
8.2 Tính nồng độ hoạt độ
Ký hiệu được dùng được định nghĩa ở Điều 3.
Nồng độ hoạt độ, cA, của nhân phóng xạ có trong mẫu, tính bằng becquerel trên lít, được tính theo Công thức (3):
|
| (3) |
|
|
|
8.3 Độ không đảm bảo chuẩn
Trong trường hợp đo nồng độ hoạt độ nhân phóng xạ bằng phương pháp phổ anpha, những độ không đảm bảo cơ bản của các thông số sau đây là được duy trì.
a) Số đếm tổng từ đồng vị urani và chất đánh dấu đo được;
b) Số đếm phông nền trên giây từ đồng vị urani và chất đánh dấu;
c) Hoạt độ của chất đánh dấu;
d) Thể tích của mẫu thử.
Độ không đảm bảo khác có thể được bỏ qua theo lấy xấp xỉ trước (thời gian đếm,...).
Theo TCVN 9595-3 (ISO/IEC Guide 98-3)[1], độ không đảm bảo kết hợp CA có thể được tính theo Công thức:
|
| (4) |
Trong đó độ không đảm bảo của thời gian đếm có thể bỏ qua và độ không đảm bảo chuẩn của w, được tính theo Công thức (5):
|
| (5) |
Độ không đảm bảo chuẩn tương đối của R được tính theo Công thức (6):
|
| (6) |
Trong đó
bao gồm tất cả độ không đảm bảo đo có liên quan đến hoạt độ của chất đánh dấu: hoạt độ của dung dịch chuẩn, việc chuẩn bị dung dịch đánh dấu, và việc bổ sung dung dịch đánh dấu vào mẫu; hiệu chính về nhiễu, v.v...
Để tính giới hạn đặc tính, cần tính
(xem ISO 11929) nghĩa là độ không đảm bảo kết hợp của cA là hàm số của giá trị thực của nó, theo Công thức:
|
| (7) |
CHÚ THÍCH Nếu khối lượng của phần mẫu thử, m, được dùng, nó được biểu thị theo gam. Các phép tính trung gian được thực hiện với công thức tương tự. Nồng độ hoạt độ cũng có thể được chuyển thành hoạt độ riêng [m thay cho V trong Công thức (3) và (5)]. Nếu hoạt độ trên thể tích được chuyển bằng cách chia cho mật độ p tính bằng gam trên lít, độ không đảm bảo gắn với mật độ được cộng thêm trong Công thức (5).
8.4 Ngưỡng quyết định
Theo ISO 11929, ngưỡng quyết định, c*A tính bằng becquerel trên lít, thu được từ Công thức (7) với
:
|
| (8) |
Trong đó α = 0,05 với k1- α = 1,65, giá trị thường được chọn mặc định.
8.5 Giới hạn phát hiện
Giới hạn phát hiện
tính bằng becquerel trên lít, được tính bằng cách giải Công thức (9):
|
| (9) |
Giới hạn phát hiện có thể được tính bằng cách giải Công thức (9) với
hoặc đơn giản hơn bằng cách lặp lại phép tính xấp xỉ
với giá trị bắt đầu cho vế phải của Công thức (9)
Với k1-α = k1-β = k;
|
| (10) |
Giá trị α = β = 0,05 và do đó k1-α = k1-β = 1,65 thường được chọn mặc định.
9 Báo cáo thử nghiệm
Báo cáo thử nghiệm cần phù hợp với các yêu cầu của TCVN ISO/IEC 17025. Báo cáo thử phải bao gồm các thông tin sau:
a) Phương pháp thử đã áp dụng, viện dẫn tiêu chuẩn này;
b) Tất cả các thông tin cần thiết để nhận biết đầy đủ mẫu;
c) Các đơn vị để biểu thị kết quả;
d) Kết quả thử, cA ± u(cA) hoặc cA±U, với giá trị k được kèm theo.
Có thể đưa ra các thông tin bổ sung như:
e) Xác suất, α,β và (1-γ);
f) Ngưỡng quyết định và giới hạn phát hiện;
g) Tùy thuộc vào yêu cầu của khách hàng, có những cách khác nhau để thể hiện kết quả:
1) Nếu nồng độ hoạt độ, cA, được so sánh với ngưỡng quyết định (xem ISO 11929) thì kết quả của phép đo cần phải thể hiện là
nếu kết quả thấp hơn hoặc bằng ngưỡng quyết định;
2) Nếu nồng độ hoạt độ phóng xạ, cA, được so sánh với giới hạn phát hiện, kết quả của phép đo cần phải thể hiện
nếu kết quả thấp hơn hoặc bằng giới hạn phát hiện.
Nếu giới hạn phát hiện vượt quá giá trị khuyến cáo, cần phải lập thành tài liệu rằng phương pháp không phù hợp với mục đích của phép đo.
h) Đề cập đến thông tin liên quan có thể ảnh hưởng hoặc giải thích các kết quả.
Phụ lục A
(Tham khảo)
Tách hóa học urani
A.1 Chuẩn bị mẫu
Nếu cần thực hiện trên mẫu thô, việc loại bỏ chất rắn lơ lửng cần phải được thực hiện càng sớm càng tốt ngay sau khi lấy mẫu.
Lấy một phần mẫu thử V lít (ví dụ 0,5 L) hoặc xác định khối lượng m theo kilogam để phân tích.
Axit hóa phần mẫu thử đến pH < 2.
Có một số khả năng để tách hóa học urani. Các ví dụ được nêu trong A.2.
A.2 Các ví dụ tách và tinh chế urani
Quy trình này được dựa trên Tài liệu tham khảo [4], [11], [12],
A.2.1 Thuốc thử
Ngoại trừ có quy định khác, chỉ sử dụng thuốc thử cấp phân tích được công nhận và nước cất hoặc nước đã loại khoáng hoặc nước có độ tinh khiết tương đương.
A.2.1.1 Axit nitric đậm đặc, w(HNO3) = 65% (theo khối lượng).
A.2.1.2 Amoni đậm đặc, c(NH4OH) = 250 g L-1
A.2.1.3 Muối hoặc dung dịch mang. Canxi phosphat [Ca3(PO4)2] hoặc yttri clorua (YCI3), hoặc ion(lll) clorua (FeCI3).
A.2.1.4 Nhựa trao đổi ion hoặc nhựa chiết sắc ký.
A.2.1.5 Axit clohydric, c(HCI): 9 mol/L, 8 mol/L, 3 mol/L, 0,1 mol/L, 0,01 mol/L.
A.2.1.6 Axit nitric, c(HNO3): 7,2 mol/L, 7 mol/L, 6 mol/L, 3 mol/L.
A.2.1.7 Dung dịch axit clohydric trong axit oxalic. Hòa tan 5 mol HCI trong 1 L C2H2O4 0,05 mol/L.
A.2.1.8 Dung dịch nhôm nitrat trong axit nitric. Hòa tan 1 mol AI(NO3)3 trong 1 L HNO3 3 mol/L.
A.2.1.9 Nước phòng thử nghiệm, được dùng làm mẫu trắng, không có tạp chất phóng xạ hoặc tạp chất hóa học (ví dụ đồng vị urani), phù hợp với TCVN 4851 (ISO 3696), loại 3.
A.2.2 Thiết bị
Thiết bị phòng thử nghiệm thông thường và các thiết bị sau.
A.2.2.1 Cân phân tích
A.2.2.2 Bếp điện
A.2.2.3 Máy ly tâm và các ống ly tâm
A.2.3 Bổ sung chất đánh dấu
Thêm một hoạt độ A của chất đánh dấu 232U tương tự với hoạt độ của đồng vị urani được đo trong phần mẫu thử.
Để chất đánh dấu cân bằng với mẫu bằng cách làm ấm.
CHÚ THÍCH Thời gian bán rã của 232U là 70,6 ± 1,1 năm, xem Tài liệu tham khảo (8).
Nhân phóng xạ nguồn gốc con cháu ... (228Th, 224Ra,...) phát triển từ 232U, và có thể gây nhiễu với các chất phân tích khác
Thori-228 có thể nẩy bật trở lại vào detector từ phân rã 232U, và phông nền đối với từng detetor cần phải được giám sát đối với nguồn gây nhiễu tiềm tàng này.
A.2.4 Bước làm giàu
Để làm giàu urani trong mẫu, dung dịch có thể được làm bay hơi (A.2.2.2) hoặc cùng kết tủa.
Có thể cùng kết tủa urani với sắt (III) hoặc yttri hydroxyt hoặc canxi phosphat.
Thêm một lượng dư muối hoặc dung dịch mang tương ứng (A.2.1.3).
Khuấy và điều chỉnh pH đến 9 để kết tủa hydroxyt hoặc pH bằng 12 để kết tủa phosphat bằng dung dịch amoni đậm đặc (A.2.1.2).
Để cho kết tủa.
Ly tâm (A.2.2.3) và gạn bỏ dịch nổi phía trên.
Rửa với nước.
Ly tâm và gạn bỏ dịch nổi phía trên.
A.2.5 Tách và tinh chế
A.2.5.1 Lựa chọn trao đổi anion
Chuyển kết tủa từ A.2.4 vào bình sạch, đã được ghi nhãn và sau đó hòa tan kết tủa trong 50 mL axit nitric 7 mol/L (A.2.1.6). Làm bay hơi nhẹ dung dịch thu được đến khô kiệt và sau đó hòa tan lại trong thể tích tối thiểu axit clohydric 8 mol/L (A.2.1.5) (khoảng 20 mL).
Chuẩn bị một cột chứa 5 g nhựa trao đổi ion1) (A.2.1.4) với 8% liên kết ngang và cỡ hạt bằng 100 mesh đến 200 mesh (đường kính khoảng 1 cm và dài khoảng 7,5 cm), và ổn định hóa bằng 10 mL axit clohydric 8 mol/L.
Đưa mẫu vào cột, và để mẫu đi qua cột.
Rửa cột hai lần bằng 15 mL axit clohydric 8 mol/L; loại bỏ dung dịch rửa giải. Thori và radi được loại bỏ bằng bước xử lý này.
Rửa cột bằng 10 mL axit clohydric 3 mol/L (A.2.1.5), loại bỏ dung dịch rửa giải. Neptuni và plutoni được loại bỏ bằng bước xử lý này.
Rửa cột bằng không nhiều hơn 15 mL axit nitric 7,2 mol/L (A.2.1.6). Sắt được loại bỏ bằng bước xử lý này.
Chuyển urani từ cột bằng cách rửa với 10 mL axit clohydric 0,1 mol/L (A.2.1.5) và thu lấy dịch rửa giải trong bình thủy tinh sạch.
Dung dịch này đã sẵn sàng để sử dụng trong việc chuẩn bị nguồn đo phổ anpha.
A.2.5.2 Lựa chọn chiết sắc ký
Chuyển kết tủa (A.2.4) vào bình sạch có ghi nhãn, và sau đó hòa tan kết tủa trong axit nitric 6 mol/L (A.2.1.6).
Làm bay hơi nhẹ dung dịch thu được đến khô kiệt và sau đó hòa tan lại trong 10 mL dung dịch AI(NO3)3 trong HNO3 (A.2.1.8).
Nếu cần loại bỏ plutoni, neptuni và thori (Tài liệu tham khảo [11], trước tiên chuẩn bị một cột chiết sắc ký đã nhồi sẵn chứa 2 ml nhựa đặc trưng (A.2.1.4) và cỡ hạt từ 100 mesh đến 150 mesh, và ổn định hóa bằng 5 mL HNO3 3 mol/L (A.2.1.6):
- Đưa mẫu vào cột, và để mẫu đi qua cột;
- Rửa cột bằng 5 mL HNO3 3 mol/L; dịch rửa giải cột chửa urani - thori và radi được giữ lại bằng môi trường chiết sắc ký2) (như là plutoni và neptuni).
Chuẩn bị tiền cột môi trường sắc ký urani đặc trưng3) có chứa 2 mL nhựa và cỡ hạt từ 100 mesh đến 150 mesh, và điều kiện bằng 5 mL HNO3 3 mol/L (Tài liệu tham khảo [8]):
- Đưa mẫu vào cột, và để mẫu đi qua cột;
- Rửa cột bằng 6 mL HNO3 3 mol/L; gạn bỏ dịch rửa giải cột;
- Rửa cột bằng 5 mL axit clohydric 9 mol/L (A.2.1.5) - nhựa được chuyển thành dạng clorua;
- Rửa cột bằng 20 mL dung dịch axit clohydric trong axit oxalic (a.2.1.7) để loại bỏ thori, plutoni và neptuni có thể có;
- Chuyển urani tinh khiết ra khỏi cột bằng cách rửa chúng với 15 mL axit clohydric 0,01 mol/L (A.2.1.5) và thu lấy dịch rửa giải trong một bình thủy tinh sạch.
Dung dịch đã sẵn sàng để dùng trong chuẩn bị nguồn đo phổ anpha: xem Phụ lục B và C.
A.2.5.3 Thông tin về lựa chọn kỹ thuật chuẩn bị nguồn
Cả hai phương pháp lắng đọng điện phân và vi kết tủa đã được sử dụng phổ biến để chuẩn bị nguồn lớp mỏng để đếm đồng vị urani bằng phổ anpha. Lựa chọn phương pháp chuẩn bị nguồn tùy thuộc vào phòng thử nghiệm. Mỗi phương pháp có ưu điểm riêng của nó. Phương pháp lắng đọng điện phân thường thu được phân giải năng lượng tốt hơn, trong khi phương pháp vi kết tủa tiết kiệm thời gian để chuẩn bị nguồn và dễ thiết lập hơn cho các quá trình xử lý theo mẻ đối với năng suất phân tích mẫu cao. Cả hai phương pháp có thể bị ảnh hưởng bởi tự có mặt của tạp chất có trong nền mẫu. Ví dụ, dư lượng hữu cơ trong mẫu có thể cho hiệu suất đếm thấp hơn và dung dịch kém đối với nguồn anpha được chuẩn bị bằng lắng đọng điện phân; mặt khác, mức canxi miligam trong mẫu gây ra nguồn anpha dày hơn sử dụng phương pháp vi lắng đọng florua.
Phụ lục B
(Tham khảo)
Chuẩn bị nguồn bằng lắng điện phân
B.1 Nguyên lý
Sử dụng nguồn điện một chiều DC để áp dụng điện thế khác nhau giữa hai điện cực, dẫn đến khử các cation kim loại hòa tan trong chất điện giải. Quá trình khử xảy ra tại điện cực dẫn đến tạo ra lắng đọng các hydroxyt actinit.
B.2 Thuốc thử
Ngoại trừ có quy định khác, chỉ sử dụng thuốc thử cấp phân tích được công nhận và nước cất hoặc nước đã loại khoáng hoặc nước có độ tinh khiết tương đương.
B.2.1 Axit nitric, đậm đặc, w(HNO3) = 65% theo khối lượng.
B.2.2 Natri sunphat, c(Na2SO4) = 0,3 mol/L.
B.2.3 Axit sunphuric, đậm đặc, w(H2SO4) = 95% đến 97% theo khối lượng.
B.2.4 Thymol xanh, 0,4 g L-1.
B.2.5 Amoni, đậm đặc, ρ(NH4OH) = 250 g L-1.
B.2.6 Axit sunphuric, ρ(H2SO4) = 10 g L-1.
B.2.7 Amoni hydroxyt, ρ(NH4OH) = 1 g L-1.
B.2.8 Nước phòng thử nghiệm, được dùng làm mẫu trắng, không có tạp chất hóa học hoặc tạp chất phóng xạ (ví dụ đồng vị urani), phù hợp với TCVN 4851 (ISO 3696) loại 3.
B.3 Thiết bị, dụng cụ
Thiết bị lắng đọng điện phân thường bao gồm với các bộ phận sau
B.3.1 Ngăn điện phân làm bằng thủy tinh hoặc polyetylen
B.3.2 Dây platin (anot)
B.3.3 Khay hoặc dĩa làm bằng thép không gỉ (catot) có đường kính phù hợp với ngăn điện phân.
B.3.4 Nguồn điện một chiều
B.3.5 Bếp điện
B.3.6 Đĩa Petri
B.4 Quy trình
B.4.1 Khái quát
Quy trình này được dựa trên Tài liệu tham khảo [13] và ASTM C1284[2].
B.4.2 Lắp đặt ngăn điện phân
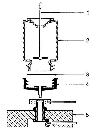
Quy trình này đề cập đến thiết bị lắng điện phân được thiết kế cho lắng đọng lên đĩa thép không gì có đường kính nhỏ (xem Hình B.1). Quy trình lắng điện phân đối với các loại thiết bị này được tiến hành như sau:
Đặt đĩa thép không gỉ sạch và được khử dầu (B.3.3) vào tổ hợp nắp đậy.
Bắt vít ngăn điện phân (E.3.1) với nắp đồng bộ.
Nạp đầy ngăn điện phân bằng nước để kiểm tra rò rỉ.
Đổ hết nước ở ngăn điện phân.
Cố định dây platin (E.3.2) theo hướng vuông góc với giá đỡ.
Kẹp đầu thấp của dây với mặt tiếp xúc của đĩa hỗ trợ; khoảng cách giữa dây và đĩa khoảng 3 mm.
B.4.3 Lắng đọng điện phân
Sử dụng dung dịch chuẩn bị thu được ở bước tách hóa học (Phụ lục A), ví dụ, tiến hành các thao tác sau:
Làm bay hơi đến gần khô kiệt, chú ý tránh làm bay hơi mẫu đến khô kiệt hoàn toàn.
Thêm 1 mL HNO3 đậm đặc (B.2.1) và làm bay hơi đến gần khô kiệt. Lặp lại bước này ba lần.
Thêm 1 mL dung dịch Na2SO4 (B.2.2) và làm bay hơi đến khô kiệt.
Thêm 500 µl H2SO4 đậm đặc (B.2.3).
Thêm 10 mL nước và 3 giọt thymol xanh (B.2.4) và khuấy.
Điều chỉnh pH đến khoảng từ 2,1 đến 2,3 bằng cách thêm dung dịch amoni đậm đặc (B.2.5) (thay đổi từ màu đỏ sang da cam).
Chuyển dung dịch này (thể tích cuối cùng từ 10 mL đến 15 mL) vào ngăn điện phân.
Tráng cốc bằng H2SO4 loãng (B.2.6) để pH được điều chỉnh trước đó đến 2,3 và thêm dung dịch tráng này vào ngăn điện phân.
Lắp đặt anot và tiến hành lắng điện phân (B.3.4) tại dòng điện không đổi (khoảng 0,1 A.cm2) trong khoảng 2 h.
Để nguội ngăn, nếu cần.
Khi còn 1 min trước khi bộ phát tắt, thêm 1 mL NH4OH đậm đặc (B.2.5).
Đợi 1 min, tháo bỏ anot trước khi bộ phát tắt và nhanh chóng đổ hết dung dịch trong ngăn điện phân.
Tháo dỡ thiết bị, tráng đĩa bằng nước, sau đó bằng NH4OH (B.2.7), và sấy khô (nếu cần) trên bếp điện (B.3.5)
Nhận dạng đĩa và đặt đĩa vào trong đĩa Petri làm bằng nhựa (B.3.6)
Nguồn đã sẵn sàng để đo phổ anpha.

CHÚ DẪN:
1 Anot
2 Lọ chất nhấp nháy
3 Khay
4 Tổ hợp nắp đậy
5 Giá đỡ
Hình B.1 - Sơ đồ ngăn lắng điện phân
Phụ lục C
(Tham khảo)
Chuẩn bị nguồn bằng cách cùng lắng đọng
C.1 Nguyên lý
Đồng vị urani được thu hồi bằng cách lắng đọng sử dụng ceri florua.
C.2 Thuốc thử
Ngoại trừ có quy định khác, chỉ sử dụng thuốc thử cấp phân tích được công nhận và nước cất hoặc nước đã loại khoáng hoặc nước có độ tinh khiết tương đương.
C.2.1 Axit clohydric, c(HCI) = 0,2 mol/L.
C.2.2 Amoni, đậm đặc, ρ(NH4OH) = 25 g.L-1
C.2.3 Dung dịch mang ceri, 155 mg ceri (III) nitrat ngậm sáu phân tử nước hòa tan trong 100 mL nước.
C.2.4 Axit flohydric, ρ(HF) = 400 g L-1 hoặc dung dịch amoni florua, ρ (NH4F) = 100 g.L-1.
C.2.5 Dung dịch titan triclorua, ρ(TiCI3) = 15 g.L-1.
C.2.6 Nước phòng thử nghiệm, được dùng làm mẫu trắng, không có tạp chất hóa học hoặc tạp chất phóng xạ (ví dụ đồng vị urani), phù hợp với TCVN 4851 (ISO 3696), loại 3.
C.3 Thiết bị, dụng cụ
Thiết bị phòng thử nghiệm thông thường và các thiết bị, dụng cụ sau:
C.3.1 Màng lọc xelulo este, đường kính lỗ 0,1 μm.
C.3.2 Đĩa thử nghiệm hoặc đĩa thép không gỉ, có đường kính phù hợp với máy đo phổ.
C.3.3 Hệ thống lọc
C.4 Quy trình
Quy trình này được dựa trên ASTM C1163[3].
Sử dụng dung dịch đã chuẩn bị quy trình tách hóa học urani (Phụ lục A), tiến hành ví dụ theo các thao tác sau trong dung dịch HCI (C.2.1).
Thêm 0,2 mL dung dịch mang ceri (C.2.3).
Thêm 0,5 mL dung dịch titani triclorua (C.2.5).
Thêm 1 mL dung dịch HF hoặc 1 mL dung dịch NH4F (C.2.4)
Điều chỉnh pH đến 1,9 bằng cách thêm NH4OH (C.2.2).
Khuấy, sau đó để lắng trong 15 min.
Thu hồi kết tủa bằng cách lọc qua màng lọc (C.3.1) dùng hệ thống lọc chân không nhẹ (C.3.3) và thu chất lắng đọng còn lại trên thành của cốc, bằng cách dùng nước tráng.
Để kết tủa khô ngoài không khí, sau đó gắn màng với đĩa thử hoặc đĩa thép không gỉ (C.3.2).
Nguồn đã sẵn sàng để đo phổ anpha.
Phụ lục D
(Tham khảo)
Sự xuất hiện của đồng vị urani
Urani phân bố rộng khắp trong tự nhiên, xuất hiện trong đá granit và các loại trầm tích khoáng khác. Urani được dùng chủ yếu làm nhiên liệu trong nhà máy điện hạt nhân. Urani có trong môi trường nước là do kết quả của sự ngấm từ trầm tích tự nhiên, giải phóng vào quặng đuôi của nhà máy nghiền, phát thải từ công nghiệp hạt nhân, đốt cháy than và các nhiên liệu khác và do sử dụng phân lân.
Nồng độ trong lớp vỏ trái đất thay đổi từ 0,3 μg.g-1 đến 12 μg.g-1 (Tài liệu tham khảo [5]). Trong nước mặt, nước ngầm và nước đại dương, mức thay đổi từ nhỏ hơn 1 μg.g-1 đến hơn 10 μg.g-1 (Tài liệu tham khảo [6]).
Urani là độc hại hóa học (Tài liệu tham khảo [6]). Tất cả đồng vị urani là phóng xạ. Có ba đồng vị xuất hiện trong tự nhiên (Tài liệu tham khảo [7] [8]). Xem Bảng D.1 và D.2.
Bảng D.1
| Đồng vị urani | Đa dạng khối lượng |
| 234U | 0,00005363 ± 0,00000016 |
| 235U | 0,007204 ± 0,000006 |
| 238U | 0,992742 ±0,000010 |
Bảng D.2
| Tỷ lệ đồng vị (hoạt độ) | |
| 238U/234U | 1 |
| 238U/235U | 21 |
Các tỷ lệ đồng vị khác nhau từ các tỷ lệ trong Bảng D.2 là thường quan sát được trong nước (xem Tài liệu tham khảo [9] [10]).
Đồng vị urani khác như urani-232, urani-233 và urani-236 cũng tồn tại. Urani-232 thường được dùng làm chất đánh dấu cho phép đo phổ anpha. Urani-233 và urani-236 thường ít gặp trong mẫu môi trường.
Số liệu hạt nhân có thể được dùng để chuyển nồng độ đồng vị urani, ví dụ tính theo gam trên lít, thành nồng độ hoạt độ đồng vị urani, tính theo becqueral trên lít, và ngược lại (xem Tài liệu tham khảo [7]), Xem Bảng D.3.
Bảng D.3
| Đồng vị urani | Chu kỳ bán rã năm | Hoạt độ riêng Bq.g-1 |
| 24U | 2,455 (± 0,006) x 105 | 2,312 x 108 |
| 235U | 704 (±1) x 106 | 7,997 x 104 |
| 238U | 4,468 (± 0,005) x 109 | 1,244 x 104 |
Thư mục tài liệu tham khảo
[1] ISO/IEC Guide 98-3, Uncertainty of measurement - Part 3: Guide to the expression of uncertainty in measurement (GUM: 1995)
[2] ASTM C1284, Standard practice for electrodeposition of the actinides for alpha spectrometry
[3] ASTM C1163, Standard practice for mounting actinides for alpha spectrometry using neodymium fluoride
[4] ASTM D3972, Standard test method for isotopic uranium in water by radiochemistry
[5] UNSCEAR Sources and effects of ionizing radiation. United Nations Scientific Committee to the Effects of Atomic Radiation, Vienna, 2008
[6] WHO Guidelines for drinking water quality. Geneva: World Health Organization, 2011. Available (viewed 2013-01-09) at: http://whalibdoc.who.int/publications/2011/9789241548151 ena.pdf
[7] BIPM Monographie BIPM-5. Sevres: Bureau International des Poids et Mesures. Available (viewed 2013-01-09) at: http://www.bipm.orq/fr/publications/monoaraphie-ri-5.html
[8] Laboratoire National Henri Becquerel Nuclear data base: Decay data evaluation project. Available (viewed 2013-01-08) at http://www.nucleide.org/DDEP WG/DDEPdata.htm
[9] L. Pourcelot, B. Boulet, C. Le Corre, J. Loyen, C. Fayolle, D. Tournieux Isotopic evidence of natural uranium and spent fuel uranium releases into the environment. J. Environ. Monit. 2011, 13 pp. 355-361
[10] M. Ivanovich, R.S. Harmon eds. Uranium series disequilibrium: Applications to earth, marine and environmental sciences. Clarendon Press, Oxford, Second Edition, 1992
[11] E. Technologies ACW01 - Uranium and thorium in water analytical procedure. Available (viewed 2013-05-28) at:http://www.eichrom.com and http://www.triskem-international.com (2001)
[12] E. Technologies ACW02 - Uranium in water analytical procedure. Available (viewed 2013-05-28) at http://www.eichrom.com and http://www.triskem-international.com
[13] N.A. Talvitie Electrodeposition of actinides for alpha spectrometric determination. Anal. Chem. 1972, 44 pp. 280-283
1) AG1 là một ví dụ về một sản phẩm phù hợp có sẵn trên thị trường. Thông tin này được cung cấp cho sự tiện lợi của người sử dụng của tài liệu này và không phải là sự chấm dứt của ISO của sản phẩm này
2) TEVS là một ví đụ về một sản phẩm phù hợp có sẵn trên thị trường. Thông tin này được cung cấp cho sự tiện lợi của người sử dụng của tài liệu này và không phải là sự chấm dứt của ISO của sản phẩm này
3) UTEVA là một ví dụ về một sản phẩm phù hợp có sẵn trên thị trường. Thông tin này được cung cấp cho sự tiện lợi của người sử dụng của tài liệu này và không phải là sự chấm dứt của ISO của sản phẩm này
Bạn chưa Đăng nhập thành viên.
Đây là tiện ích dành cho tài khoản thành viên. Vui lòng Đăng nhập để xem chi tiết. Nếu chưa có tài khoản, vui lòng Đăng ký tại đây!

