- Tổng quan
- Nội dung
- Tiêu chuẩn liên quan
- Lược đồ
- Tải về
Tiêu chuẩn Quốc gia TCVN 12547:2018 Khí thiên nhiên - xác định hàm lượng nước tại áp suất cao
| Số hiệu: | TCVN 12547:2018 | Loại văn bản: | Tiêu chuẩn Việt Nam |
| Cơ quan ban hành: | Bộ Khoa học và Công nghệ | Lĩnh vực: | Tài nguyên-Môi trường |
|
Ngày ban hành:
Ngày ban hành là ngày, tháng, năm văn bản được thông qua hoặc ký ban hành.
|
2018 |
Hiệu lực:
|
Đã biết
|
| Người ký: | Đang cập nhật |
Tình trạng hiệu lực:
Cho biết trạng thái hiệu lực của văn bản đang tra cứu: Chưa áp dụng, Còn hiệu lực, Hết hiệu lực, Hết hiệu lực 1 phần; Đã sửa đổi, Đính chính hay Không còn phù hợp,...
|
Đã biết
|
TÓM TẮT TIÊU CHUẨN VIỆT NAM TCVN 12547:2018
Nội dung tóm tắt đang được cập nhật, Quý khách vui lòng quay lại sau!
Tải tiêu chuẩn Việt Nam TCVN 12547:2018
TIÊU CHUẨN QUỐC GIA
TCVN 12547:2018
ISO 11541:1997
KHÍ THIÊN NHIÊN - XÁC ĐỊNH HÀM LƯỢNG NƯỚC TẠI ÁP SUẤT CAO
Natural gas - Determination of water content at high pressure
Lời nói đầu
TCVN 12547:2018 hoàn toàn tương đương với ISO 11541:1997.
TCVN 12547:2018 do Ban kỹ thuật Tiêu chuẩn quốc gia TCVN/TC193 Sản phẩm khí biên soạn, Tổng cục Tiêu chuẩn Đo lường Chất lượng đề nghị, Bộ Khoa học và Công nghệ công bố.
KHÍ THIÊN NHIÊN - XÁC ĐỊNH HÀM LƯỢNG NƯỚC TẠI ÁP SUẤT CAO
Natural gas - Determination of water content at high pressure
1 Phạm vi áp dụng
Hơi nước có thể tồn tại trong khí thiên nhiên do sự xuất hiện tự nhiên trong dòng giếng khai thác, lưu giữ khí ở bể ngầm, trong quá trình vận chuyển hoặc phân phối qua nguồn có chứa hơi ẩm hoặc do các lý do khác.
Tiêu chuẩn này quy định phương pháp xác định hàm lượng nước của khí thiên nhiên dưới áp suất lớn hơn 1 MPa, giới hạn áp suất trên được xác định bằng áp suất tối đa mà thiết bị có thể chịu được. Tiêu chuẩn này có thể áp dụng đối với khí thiên nhiên ngọt và khí thiên nhiên chua, có chứa hydro sulfua, có hàm lượng nước bằng hoặc lớn hơn 10 mg/m3.1)
CHÚ THÍCH: Số liệu thử nghiệm có thể bị ảnh hưởng bởi các ancol, mercaptan, hydro sulfua và glycol chứa trong khí mẫu do những hợp chất này phản ứng với phospho pentoxit (P2O5) được sử dụng để hấp thụ hơi nước trong khí.
2 Tài liệu viện dẫn
Các tài liệu viện dẫn sau là cần thiết cho việc áp dụng tiêu chuẩn này. Đối với các tài liệu viện dẫn ghi năm công bố thì áp dụng phiên bản được nêu. Đối với các tài liệu viện dẫn không ghi năm công bố thì áp dụng phiên bản mới nhất, bao gồm cả các sửa đổi, bổ sung (nếu có).
TCVN 12546 (ISO 10715), Khí thiên nhiên - Hướng dẫn lấy mẫu
3 Nguyên tắc
Thể tích khí được đo đi qua ống hấp thụ được đổ đầy phospho pentoxit. Nước có trong khí được hấp thụ bởi phospho pentoxit và tạo thành axit phosphoric. Sự gia tăng khối lượng ống được coi là khối lượng nước có trong khí. Hấp thụ hơi nước tại áp suất đường ống được ưa thích hơn so với hấp thụ tại áp suất môi trường vì các lý do sau:
a) Áp suất riêng phần của hơi nước cao;
b) Lượng khí cần thiết được vận chuyển trong thời gian ngắn hơn.
4 Thuốc thử và vật liệu
4.1 Phospho pentoxit dạng hạt, trên chất mang rắn với chỉ thị độ ẩm (có bán sẵn trên thị trường).
CẢNH BÁO: Quan sát tất cả các khuyến cáo về an toàn đối với phospho pentoxit. Tránh để chất hút ẩm tiếp xúc với da hoặc mắt và hít phải hơi chất hút ẩm. Cần mặc quần áo bảo hộ trong khi làm việc với phospho pentoxit.
4.2 Bông silica.
CẢNH BÁO: Nếu không xử lý đúng, bông silica có thể gây bệnh bụi phổi, cần đeo khẩu trang/mặt nạ phòng độc khi thao tác với bông silica.
5 Thiết bị, dụng cụ
5.1 Thiết bị, dụng cụ thử nghiệm bao gồm các thành phần sau (xem các Hình 1, 2 và 3):
5.1.1 Thân bình áp lực.
5.1.2 Bộ phận chặn đầu của bình áp lực
5.1.3 Ống lọc, được làm bằng thủy tinh, có đường kính ngoài 20 mm và chiều dài 32 mm, nhồi đầy bông silica.
5.1.4 Khớp nối giữa ống lọc và ống hấp thụ, được làm bằng thép không gỉ.
5.1.5 Ống hấp thụ, được làm bằng thủy tinh, có đường kính ngoài 20 mm và chiều dài 140 mm.
5.1.6 Bộ phận chặn đầu của ống hấp thụ, được làm bằng thép không gỉ.
5.1.7 Nắp ống hấp thụ, được làm bằng thép không gỉ hoặc chất dẻo acrylic.
5.1.8 Van kim, được thiết kế làm van ngắt dòng, tạo ra sự gia tăng áp suất chậm trong ống hấp thụ, có đường vận chuyển nối nó với đầu dò mẫu và khớp nối nối với đầu vào bình áp lực.
5.1.9 Bình áp lực, có khả năng chứa ống lọc và ống hấp thụ.
CẢNH BÁO: Bình áp lực phải được thiết kế và thử nghiệm áp suất mà bình sẽ sử dụng. Các quy định về an toàn đối với bình áp lực và thiết bị khác phải được tuân thủ.
5.1.10 Khớp nối, cho đầu ra bình áp lực
5.1.11 Áp kế, cho dải áp suất phù hợp.
5.1.12 Van kim đầu ra, dùng để xả khí, được làm bằng thép không gỉ.
5.1.13 Đồng hồ đo lưu lượng khí, có tốc độ dòng tối đa 10 m3/h.
5.1.14 Nhiệt kế, tích hợp trong đầu ra dụng cụ đo dòng.
5.1.15 Áp kế
5.1.16 Đường ống xả khí
5.1.17 Thiết bị gia nhiệt
5.1.18 Van dò mẫu
5.1.19 Bộ phân phối
5.2 Bình áp lực, van hai kim, áp kế và tất cả ống và phụ tùng phải được thiết kế dùng cho áp suất thử nghiệm tối đa. Nếu đo khí chua, vật liệu được sử dụng phải phù hợp với dịch vụ khí chua. Chiều dài trong của bình áp lực phải sao cho ống lọc, khớp nối và ống hấp thụ không bị chia tách bởi sự gia tăng áp lực đột ngột.
5.3 Các khớp nối tại đầu vào và đầu ra bình áp lực phải lắp vào và tháo ra dễ dàng.

CHÚ DẪN:
| 1 | thân bình áp lực | 5 | ống hấp thụ |
| 2 | bộ phận chặn đầu bình áp lực | 6 | bộ phận chặn đầu ống hấp thụ (thép không gỉ) |
| 3 | ống lọc | 7 | chốt ống hấp thụ (thép không gỉ hoặc chất dẻo acrylic) (được sử dụng trong lúc cân) |
| 4 | khớp nối giữa ống lọc và ống hấp thụ |
Hình 1 - Bình áp lực có ống lọc và hấp thụ

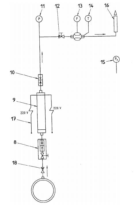
| CHÚ DẪN: | ||||
| 8 | van kim đầu vào, van kiểm tra và khớp nối | 15 | khí áp kế | |
| 9 | bình áp lực chứa ống lọc và ống hấp thụ | 16 | đường ống dẫn khí | |
| 10 | khớp nối đầu ra bình áp lực | 17 | thiết bị gia nhiệt | |
| 11 | áp kế | 18 | van dò mẫu | |
| 12 | van kim đầu ra |
|
|
|
| 13 | đồng hồ đo lưu lượng khí |
|
|
|
| 14 | nhiệt kế (tích hợp trong đầu ra đồng hồ đo lưu lượng) |
|
|
|
Hình 2 - Sơ đồ tổng quát dụng cụ thử nghiệm

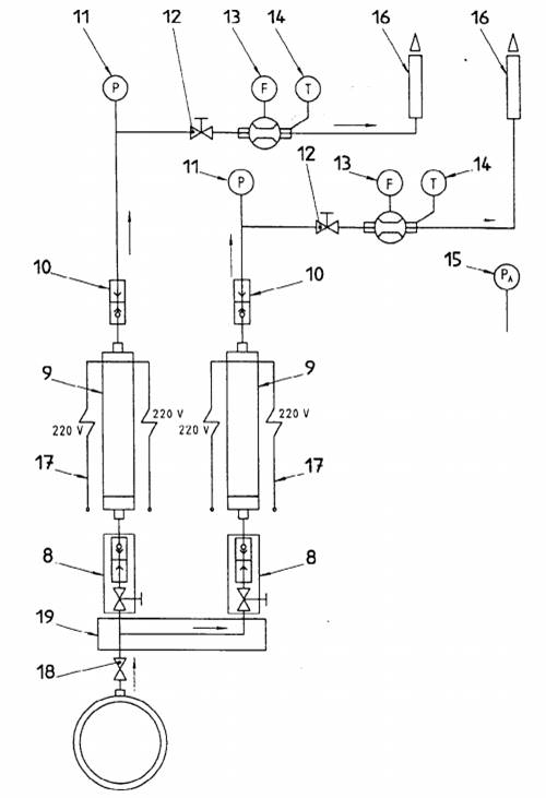
CHÚ DẪN:
| 8 | van kim đầu vào, van kiểm tra và khớp nối | 15 | khí áp kế |
| 9 | bình áp lực chứa ống lọc và ống hấp thụ | 16 | đường ống dẫn khí xả |
| 10 | khớp nối đầu ra bình áp lực | 17 | dụng cụ gia nhiệt |
| 11 | áp kế | 18 | van dò mẫu |
| 12 | van kim đầu ra | 19 | bộ phân phối (đường dòng không đối xứng) |
| 13 | dụng cụ đo dòng khí |
|
|
| 14 | nhiệt kế (tích hợp trong đầu ra đồng hồ đo lưu lượng) |
Hình 3 - Sơ đồ thiết bị thử nghiệm lấy mẫu song song
6 Cách tiến hành
6.1 Chuẩn bị ống hấp thụ
Làm đầy ống hấp thụ (5.1.15) bằng phospho pentoxit dạng hạt (4.1). Nhồi bông silica (khoảng 2 cm) vào hai đầu ống sao cho không còn khoảng trống. Đóng ống hấp thụ bằng chốt đã đánh dấu (5.1.7).
6.2 Chuẩn bị ống lọc
Làm đầy ống lọc (5.1.3) bằng bông silica.
6.3 Chuẩn bị thiết bị, dụng cụ thử nghiệm
6.3.1 Cân các ống lần đầu
Cân ống hấp thụ có chốt đã đánh dấu (= m1) và cân ống lọc cùng với khớp nối (5.1.4) ngay trước khi lắp ráp.
6.3.2 Lắp ráp bình áp lực
Lấy chốt đã đánh dấu ra khỏi ống hấp thụ và đặt sang một bên. Gắn bộ phận chặn đầu (5.1.6) trên một đầu ống hấp thụ. Nối đầu còn lại của ống hấp thụ với ống lọc bằng khớp nối.
Chèn bộ phận ống vào trong thân bình áp lực (5.1.1) có đầu mở của ống lọc ở phía đầu vào. Sau đó đóng bình áp lực.
Khi không sử dụng, để các chốt đã đánh dấu trong bình hút ẩm.
6.3.3 Chuẩn bị đầu dò mẫu
Đầu dò mẫu phải được làm sạch và để khô. Phải gắn van kim đầu vào có khớp nối dành cho đầu vào bình áp lực.
6.3.4 Lắp đồng hồ đo dòng khí
Nối khớp nối dùng cho đầu ra bình áp lực (5.1.10), áp kế (5.1.11) và van kim đầu vào (5.1.8) bằng ống áp suất cao. Nối đồng hồ đo dòng chảy (5.1.13) và nhiệt kế (5.1.14) với van kim đầu ra (5.1.12) và đường ống xả khí (5.1.16).
6.3.5 Lắp đặt thiết bị thử nghiệm
Nối bình áp lực (5.1.9) với van dò mẫu (5.1.18) và đồng hồ đo lưu lượng sử dụng các khớp nối (5.1.8, 5.1.10). Thổi sạch đầu dò mẫu phía trước bình áp lực bằng khí mẫu.
6.4 Lấy mẫu
Xem TCVN 12546 (ISO 10715) hướng dẫn chung về lấy mẫu.
Đảm bảo rằng van đầu vào và đầu ra (5.1.8, 5.1.12) đóng và van dò mẫu (5.1.18) mở. Mở van kim đầu vào (5.1.8) cẩn thận và điều áp thiết bị thử nghiệm. Kiểm tra rò rỉ của thiết bị thử nghiệm.
Mở van kim đầu ra (5.1.12) cẩn thận và điều chỉnh lưu lượng đến 2 m3/h đến 3 m3/h. Trong quá trình lấy mẫu, ghi lại áp suất khí quyển và nhiệt độ khí và kiểm soát lưu lượng khí. Sau khi một mẫu 1,5 m3 đến 3 m3 đã đi qua thiết bị, đóng van kim đầu vào (5.1.8) và hạ áp thiết bị thử nghiệm. Ghi lại lượng khí đi qua thiết bị (= V0), như được đo bằng đồng hồ đo lưu lượng (5.1.13). Không để thể tích khí vượt quá một nửa dung tích ống hấp thụ nếu không phép thử nghiệm có thể không hợp lệ.
Khi lấy mẫu trong môi trường ẩm ướt, cần cẩn trọng đặc biệt để tránh ngưng tụ trên ống.
Nồng độ nước tối đa sẽ phụ thuộc vào nhiệt độ và áp suất thực tế của khí. Nhiệt độ thiết bị lấy mẫu và thiết bị thử nghiệm cần cao hơn điểm sương của nước tại áp suất lấy mẫu. Nếu xảy ra ngưng tụ, hủy bỏ số liệu thử nghiệm, gia nhiệt thiết bị thử nghiệm đến nhiệt độ trên điểm sương của hydrocacbon trước khi thực hiện các phép đo bổ sung.
6.5 Cân ống lần hai
Lấy bình áp lực ra khỏi thiết bị thử nghiệm và mở bình. Bịt kín ống hấp thụ ngay sau khi mở bình áp lực, sử dụng hai chốt đã đánh dấu được sử dụng cho lần cân đầu tiên, và cân lại ống hấp thụ (= m2). Cân lại ống lọc cùng với khớp nối.
Nếu khối lượng của ống lọc tăng khoảng hơn 5mg/m3, xác định bằng mắt thường hoặc bằng phân tích hóa học liệu tạp chất đã xâm nhập vào ống hấp thụ hay không. Nếu có tạp chất, phép đo không hợp lệ.
Kiểm tra xác nhận rằng P2O5 xếp trong ống hấp thụ vẫn đầy đủ và chỉ thị hơi ẩm P2O5 biểu thị rằng nước chỉ vào nửa phần đầu của ống.
6.6 Lấy mẫu song song
Nên lấy mẫu song song đồng thời, đặc biệt nếu có tạp chất. Đối với lấy mẫu song song, gắn bộ phân phối không đối xứng (5.1.19) trên đầu dò mẫu và gắn hai thiết bị thử nghiệm như được mô tả ở Hình 3. Do condensat hoặc các tạp chất khác không được phân bố đồng đều cho hai thiết bị, sự thống nhất giữa hai kết quả sẽ xác định tính chính xác của thử nghiệm. Nếu sự khác biệt về nồng độ nước được tính cho hai thiết bị lớn hơn gấp hai lần độ không đảm bảo của phép đo (± 5 % giá trị được đo), cần lặp lại thử nghiệm.
7 Biểu thị kết quả
7.1 Tính toán
Tính hàm lượng nước, ρH2O được biểu thị bằng miligam trên mét khối, của khí như sau:
![]()
trong đó
m1 là khối lượng của ống hấp thụ trước khi lấy mẫu, tính bằng gam;
m2 là khối lượng của ống hấp thụ sau khi lấy mẫu, tính bằng gam;
V1 là thể tích của mẫu khí, tính bằng mét khối (được chuyển đổi sang điều kiện thông thường: 288,15 K, 101,325 kPa).
Chuyển đổi thể tích khí mẫu sang các điều kiện thông thường phải được thực hiện sử dụng phương trình sau
![]()
trong đó
V0 là thể tích mẫu khí, tính bằng mét khối, được đọc từ đồng hồ đo lưu lượng:
T là nhiệt độ trung bình của khí, tính bằng kelvin, tại đầu ra đồng hồ đo lưu lượng;
patm là áp suất khí quyển trong quá trình lấy mẫu, tính bằng kilopascal.
7.2 Độ không đảm bảo, giới hạn phát hiện
Theo các điều kiện của lưu lượng từ 2 m3/h đến 3 m3/h và tổng lượng khí được chuyển 1,5 m3 đến 3 m3, độ không đảm bảo được ước lượng là ± 5 % giá trị được đo (nhưng không quá 5 mg/ m3) và giới hạn phát hiện được ước lượng là 10 mg/ m3.
Độ không đảm bảo và giới hạn phát hiện có thể được cải thiện bằng cách tăng lượng khí được chuyển mà không tăng tốc độ.
Phương pháp này có thể được áp dụng thậm chí tại áp suất dưới 1 MPa nếu lưu lượng giảm.
8 Báo cáo thử nghiệm
Báo cáo thử nghiệm phải bao gồm thông tin sau:
a) Viện dẫn tiêu chuẩn này;
b) Địa điểm lấy mẫu trong hệ thống đường ống;
c) Phương pháp lấy mẫu đã sử dụng;
d) Hàm lượng nước của mẫu, báo cáo chính xác đến 1 mg/m3 tại 288,15 K và 101,325 kPa;
e) Áp suất khí thực tế và nhiệt độ thực tế tại đầu dò mẫu để tính điểm sương theo nước thực tế;
f) Bất kỳ sai số nào từ quy trình quy định.
1) Trong tiêu chuẩn này, tất cả các thể tích được biểu thị tại 288,15 K và 101,325 kPa.
Bạn chưa Đăng nhập thành viên.
Đây là tiện ích dành cho tài khoản thành viên. Vui lòng Đăng nhập để xem chi tiết. Nếu chưa có tài khoản, vui lòng Đăng ký tại đây!