- Tổng quan
- Nội dung
- VB gốc
- Tiếng Anh
- Hiệu lực
- VB liên quan
- Lược đồ
-
Nội dung hợp nhất
Tính năng này chỉ có tại LuatVietnam.vn. Nội dung hợp nhất tổng hợp lại tất cả các quy định còn hiệu lực của văn bản gốc và các văn bản sửa đổi, bổ sung, đính chính... trên một trang. Việc hợp nhất văn bản gốc và những văn bản, Thông tư, Nghị định hướng dẫn khác không làm thay đổi thứ tự điều khoản, nội dung.
Khách hàng chỉ cần xem Nội dung hợp nhất là có thể nắm bắt toàn bộ quy định hiện hành đang áp dụng, cho dù văn bản gốc đã qua nhiều lần chỉnh sửa, bổ sung.
- Tải về
Thông tư 15/2018/TT-BGTVT Quy chuẩn kỹ thuật về Phân cấp và đóng tàu thuyền, trang bị an toàn tàu biển
| Cơ quan ban hành: | Bộ Giao thông Vận tải |
Số công báo:
Số công báo là mã số ấn phẩm được đăng chính thức trên ấn phẩm thông tin của Nhà nước. Mã số này do Chính phủ thống nhất quản lý.
|
Đang cập nhật |
| Số hiệu: | 15/2018/TT-BGTVT | Ngày đăng công báo: | Đang cập nhật |
| Loại văn bản: | Thông tư | Người ký: | Nguyễn Văn Công |
|
Ngày ban hành:
Ngày ban hành là ngày, tháng, năm văn bản được thông qua hoặc ký ban hành.
|
04/04/2018 |
Ngày hết hiệu lực:
Ngày hết hiệu lực là ngày, tháng, năm văn bản chính thức không còn hiệu lực (áp dụng).
|
Đang cập nhật |
|
Áp dụng:
Ngày áp dụng là ngày, tháng, năm văn bản chính thức có hiệu lực (áp dụng).
|
Đã biết
|
Tình trạng hiệu lực:
Cho biết trạng thái hiệu lực của văn bản đang tra cứu: Chưa áp dụng, Còn hiệu lực, Hết hiệu lực, Hết hiệu lực 1 phần; Đã sửa đổi, Đính chính hay Không còn phù hợp,...
|
Đã biết
|
| Lĩnh vực: | Khoa học-Công nghệ, Giao thông |
TÓM TẮT THÔNG TƯ 15/2018/TT-BGTVT
Ngày 04/04/2018, Bộ Giao thông Vận tải ban hành Thông tư 15/2018/TT-BGTVT ban hành 01 quy chuẩn kỹ thuật quốc gia quốc gia về Kiểm soát và quản lý nước dằn và cặn nước dằn tàu biển...
Theo đó, ban hành kèm theo Thông tư này các quy chuẩn:
1. Quy chuẩn kỹ thuật quốc gia về Kiểm soát và quản lý nước dằn và cặn nước dằn tàu biển: QCVN 99:2017/BGTVT;
2. Quy chuẩn kỹ thuật quốc gia về Phân cấp và đóng tàu biển vỏ thép –Sửa đổi 2: 2017 QCVN 21:2015/BGTVT;
3. Quy chuẩn kỹ thuật quốc gia về Trang bị an toàn tàu biển – Sửa đổi 1: 2017 QCVN 42/2015/BGTVT;
4. Quy chuẩn kỹ thuật quốc gia về Phân cấp và đóng du thuyền – Sửa đổi 1: 2017 QCVN 81/2014/BGTVT;
5. Quy chuẩn kỹ thuật quốc gia về phân cấp và giám sát kỹ thuật giàn cố định trên biển – Sửa đổi 1: 2017 QCVN 49:2012/BGTVT.
Thông tư này có hiệu lực từ ngày 01/12/2018.
Xem chi tiết Thông tư 15/2018/TT-BGTVT có hiệu lực kể từ ngày 01/12/2018
|
BỘ GIAO THÔNG VẬN TẢI Số: 15/2018/TT-BGTVT |
CỘNG HÒA XÃ HỘI CHỦ NGHĨA VIỆT NAM Hà Nội, ngày 04 tháng 4 năm 2018 |
Căn cứ Luật Tiêu chuẩn và Quy chuẩn kỹ thuật ngày 29 tháng 6 năm 2006;
Căn cứ Nghị định số 127/2007/NĐ-CP ngày 01 tháng 8 năm 2007 của Chính phủ quy định chi Tiết thi hành một số Điều của Luật Tiêu chuẩn và Quy chuẩn kỹ thuật;
Căn cứ Nghị định số 12/2017/NĐ-CP ngày 10 tháng 02 năm 2017 của Chính phủ quy định chức năng, nhiệm vụ, quyền hạn và cơ cấu tổ chức của Bộ Giao thông vận tải;
Theo đề nghị của Vụ trưởng Vụ Khoa học - Công nghệ và Cục trưởng Cục Đăng kiểm Việt Nam.
Bộ trưởng Bộ Giao thông vận tải ban hành Thông tư ban hành Quy chuẩn kỹ thuật quốc gia về Kiểm soát và quản lý nước dằn và cặn nước dằn tàu biển, mã số đăng ký: QCVN 99:2017/BGTVT; Quy chuẩn kỹ thuật quốc gia về Phân cấp và đóng tàu biển vỏ thép - Sửa đổi 2: 2017, mã số đăng ký: Sửa đổi 2: 2017 QCVN 21:2015/BGTVT; Quy chuẩn kỹ thuật quốc gia về Trang bị an toàn tàu biển - Sửa đổi 1: 2017, mã số đăng ký: Sửa đổi 1: 2017 QCVN 42:2015/BGTVT; Quy chuẩn kỹ thuật quốc gia về Phân cấp và đóng du thuyền - Sửa đổi 1: 2017, mã số đăng ký: Sửa đổi 1: 2017 QCVN 81:2014/BGTVT; Quy chuẩn kỹ thuật quốc gia về phân cấp và giám sát kỹ thuật giàn cố định trên biển - Sửa đổi 1: 2017, mã số đăng ký: Sửa đổi 1: 2017 QCVN 49:2012/BGTVT.
Điều 1. Ban hành kèm theo Thông tư này:
1. Quy chuẩn kỹ thuật quốc gia về Kiểm soát và quản lý nước dằn và cặn nước dằn tàu biển
Mã số đăng ký: QCVN 99:2017/BGTVT.
2. Quy chuẩn kỹ thuật quốc gia về Phân cấp và đóng tàu biển vỏ thép - Sửa đổi 2: 2017
Mã số đăng ký: Sửa đổi 2: 2017 QCVN 21:2015/BGTVT.
3. Quy chuẩn kỹ thuật quốc gia về Trang bị an toàn tàu biển - Sửa đổi 1: 2017
Mã số đăng ký: Sửa đổi 1: 2017 QCVN 42:2015/BGTVT.
4. Quy chuẩn kỹ thuật quốc gia về Phân cấp và đóng du thuyền - Sửa đổi 1: 2017
Mã số đăng ký: Sửa đổi 1: 2017 QCVN 81:2014/BGTVT.
5. Quy chuẩn kỹ thuật quốc gia về phân cấp và giám sát kỹ thuật giàn cố định trên biển - Sửa đổi 1: 2017
Mã số đăng ký: Sửa đổi 1: 2017 QCVN 49:2012/BGTVT.
Điều 2. Thông tư này có hiệu lực thi hành kể từ ngày 01 tháng 12 năm 2018.
Điều 3. Chánh Văn phòng Bộ, Chánh Thanh tra Bộ, các Vụ trưởng, Cục trưởng Cục Đăng kiểm Việt Nam, Thủ trưởng các cơ quan, đơn vị thuộc Bộ Giao thông vận tải, các tổ chức và cá nhân có liên quan chịu trách nhiệm thi hành Thông tư này./.
|
|
KT. BỘ TRƯỞNG |
QCVN 99:2017/BGTVT
QUY CHUẨN KỸ THUẬT QUỐC GIA VỀ KIỂM SOÁT VÀ QUẢN LÝ NƯỚC DẰN VÀ CẶN NƯỚC DẰN TÀU BIỂN
National Technical Regulation On the Control and Management of Ships' Ballast Water and Sediments
Lời nói đầu
Quy chuẩn kỹ thuật quốc gia về kiểm soát và quản lý nước dằn và cặn nước dằn tàu biển (số hiệu: QCVN 99:2017/BGTVT) do Cục Đăng kiểm Việt Nam biên soạn, Bộ Khoa học và Công nghệ thẩm định, Bộ trưởng Bộ Giao thông vận tải ban hành theo Thông tư số 15/2018/TT-BGTVT ngày 04 tháng 4 năm 2018.
QUY CHUẨN KỸ THUẬT QUỐC GIA VỀ KIỂM SOÁT VÀ QUẢN LÝ NƯỚC DẰN VÀ CẶN NƯỚC DẰN TÀU BIỂN
National Technical Regulation On the Control and Management of Ships' Ballast Water and Sediments
MỤC LỤC
I QUY ĐỊNH CHUNG
1.1 Phạm vi điều chỉnh và đối tượng áp dụng
1.2 Tài liệu viện dẫn và giải thích từ ngữ
II QUY ĐỊNH KỸ THUẬT
Chương 1 Quy định chung
1.1 Quy định chung
Chương 2 Quy định chung về kiểm tra
2.1 Quy định chung
2.2 Chuẩn bị kiểm tra và các vấn đề khác
2.3 Kiểm tra xác nhận giấy chứng nhận
Chương 3 Kiểm tra lần đầu
3.1 Kiểm tra lần đầu trong quá trình đóng mới
3.2 Kiểm tra lần đầu không có sự giám sát của Đăng kiểm trong đóng mới
Chương 4 Kiểm tra chu kỳ
4.1 Kiểm tra hàng năm
4.2 Kiểm tra trung gian
4.3 Kiểm tra định kỳ
Chương 5 Kiểm tra bất thường
5.1 Quy định chung
Chương 6 Thiết bị quản lý nước dằn
6.1 Quy định chung
6.2 Nhật ký nước dằn
6.3 Kế hoạch áp dụng quản lý nước dằn
6.4 Quản lý cặn nước dằn
6.5 Phương tiện lấy mẫu
Chương 7 Trao đổi nước dằn
7.1 Quy định chung
7.2 Trao đổi nước dằn
7.3 Tiêu chuẩn trao đổi nước dằn
Chương 8 Quản lý nước dằn
8.1 Quy định chung
8.2 Tiêu chuẩn chất lượng nước dằn
8.3 Hệ thống quản lý nước dằn
8.4 Các công nghệ xử lý nước dằn được phát triển mẫu
Chương 9 Kế hoạch quản lý nước dằn
9.1 Quy định chung
9.2 Kế hoạch quản lý nước dằn
III QUY ĐỊNH VỀ QUẢN LÝ
Chương 1 Quy định về chứng nhận
1.1 Quy định chung
1.2 Giấy chứng nhận cấp cho tàu
1.3 Thời hạn hiệu lực của giấy chứng nhận
1.4 Lưu giữ, cấp lại và trả lại Giấy chứng nhận
Chương 2 Quản lý hồ sơ
2.1 Quy định chung
2.2 Cấp hồ sơ kiểm tra
2.3 Quản lý hồ sơ
IV TRÁCH NHIỆM CỦA CÁC TỔ CHỨC, CÁ NHÂN
1.1 Trách nhiệm của chủ tàu, các cơ sở thiết kế, đóng mới, hoán cải và sửa chữa tàu, các cơ sở chế tạo thiết bị quản lý nước dằn trên tàu biển
1.2 Trách nhiệm của Cục Đăng kiểm Việt Nam
V TỔ CHỨC THỰC HIỆN
QUY CHUẨN KỸ THUẬT QUỐC GIA VỀ KIỂM SOÁT VÀ QUẢN LÝ NƯỚC DẰN VÀ CẶN NƯỚC DẰN TÀU BIỂN
I QUY ĐỊNH CHUNG
1.1 Phạm vi điều chỉnh và đối tượng áp dụng
1.1.1 Phạm vi điều chỉnh
1 Quy chuẩn kỹ thuật quốc gia này (sau đây viết tắt là “Quy chuẩn”) áp dụng cho hệ thống kiểm soát và quản lý nước dằn và cặn nước dằn của các tàu biển hoạt động tuyến quốc tế, được Cục Đăng kiểm Việt Nam kiểm tra và phân cấp.
2 Mặc dù được quy định ở -1 trên, Quy chuẩn này không áp dụng cho các tàu sau đây:
(1) Tàu được thiết kế hoặc được đóng không sử dụng nước dằn;
(2) Các tàu không phải xả nước dằn hoặc luôn chứa nước dằn cố định;
(3) Các tàu chỉ xả nước dằn hoặc cặn nước dằn ở cùng với nơi mà toàn bộ nước dằn và cặn nước dằn được đưa vào tàu.
3 Các tàu biển không thuộc phạm vi nêu ở -1 và các tàu nêu ở -2 trên có thể áp dụng các yêu cầu của Quy chuẩn này nếu chủ tàu có yêu cầu.
1.1.2 Đối tượng áp dụng
Quy chuẩn này áp dụng đối với các tổ chức và cá nhân có hoạt động liên quan đến các hệ thống kiểm soát và quản lý nước dằn và cặn nước dằn thuộc phạm vi điều chỉnh nêu tại 1.1.1 là Cục Đăng kiểm Việt Nam (sau đây trong viết tắt là "Đăng kiểm"), các chủ tàu, các cơ sở thiết kế, đóng mới, hoán cải và sửa chữa tàu biển, các cơ sở chế tạo thiết bị kiểm soát và quản lý nước dằn và cặn nước dằn lắp đặt trên tàu biển.
1.1.3 Áp dụng Quy chuẩn
Quy chuẩn này không bắt buộc áp dụng đối với các tàu thuộc phạm vi nêu ở 1.1.1-1 nếu các tàu không đi đến cảng của quốc gia là thành viên của Công ước quốc tế về kiểm soát và quản lý nước dằn và cặn nước dằn của tàu, năm 2004. Quy chuẩn này sẽ trở thành bắt buộc áp dụng cho các tàu nêu trên khi Việt Nam trở thành thành viên của Công ước này.
1.2 Tài liệu viện dẫn và giải thích từ ngữ
1.2.1 Các tài liệu viện dẫn sử dụng trong quy chuẩn
1 Quy chuẩn kỹ thuật quốc gia về Phân cấp và đóng tàu biển vỏ thép.
2 Thông tư số 40/2016/TT-BGTVT, ban hành ngày 07 tháng 12 năm 2016: Quy định về đăng kiểm tàu biển Việt Nam.
3 Thông tư số 41/2016/TT-BGTVT, ban hành ngày 16 tháng 12 năm 2016: Quy định về danh mục giấy chứng nhận và tài liệu của tàu biển, tàu biển công vụ, tàu ngầm, tàu lặn, giàn di động Việt Nam.
4 Thông tư số 25/2017/TT-BGTVT, ban hành ngày 28 tháng 7 năm 2017: Quy định về các biểu mẫu giấy chứng nhận, sổ an toàn kỹ thuật và bảo vệ môi trường cấp cho tàu biển, phương tiện thủy nội địa và sản phẩm công nghiệp sử dụng cho phương tiện thủy nội địa.
5 Công ước quốc tế về kiểm soát và quản lý nước dằn và cặn nước dằn của tàu, năm 2004.
6 Các nghị quyết, hướng dẫn liên quan của Tổ chức Hàng hải quốc tế.
1.2.2 Giải thích từ ngữ
Trong Quy chuẩn này áp dụng các định nghĩa sau đây trừ khi được quy định khác đi trong từng Phần của Quy chuẩn:
(1) "Nước dằn" là nước cùng với các chất lơ lửng bên trong nó được hút vào bên trong tàu để điều khiển độ nghiêng, chúi, chiều chìm, tính ổn định và ứng suất của tàu.
(2) "Quản lý nước dằn" là các quá trình, hoặc là riêng biệt hoặc là kết hợp, cơ học, vật lý, hóa học và sinh học nhằm loại bỏ, vô hiệu hóa, hoặc để tránh việc thu nhận hoặc xả thải các sinh vật thủy sinh có hại và mầm bệnh có trong nước dằn và cặn nước dằn.
(3) "Các sinh vật thủy sinh có hại và mầm bệnh" là sinh vật hoặc mầm bệnh sống trong môi trường nước, nếu được thải ra biển, bao gồm cả các cửa sông, hoặc thải vào các nguồn nước ngọt thì có thể gây ra nguy hiểm cho môi trường, sức khỏe con người, tài sản hoặc tài nguyên, phá hại tính đa dạng sinh học hoặc ảnh hưởng đến quyền lợi sử dụng các khu vực đó.
(4) "Cặn nước dằn" là vật chất lắng đọng từ nước dằn tàu trong một con tàu.
(5) "Tàu" là bất kỳ phương tiện nổi nào hoạt động trong môi trường nước biển, bao gồm cả tàu lặn, giàn di động và kho chứa nổi.
(6) "Ngày ấn định kiểm tra hàng năm" là ngày và tháng của năm tương ứng với ngày hết hạn của Giấy chứng nhận Phân cấp tàu.
(7) "Công ty" là chủ tàu hoặc bất kỳ tổ chức, cá nhân nào khác như là các công ty quản lý tàu hoặc công ty thuê tàu trần, những pháp nhân được coi là nhận trách nhiệm khai thác tàu từ chủ tàu và theo đó những người này đã đồng ý nhận tất cả các trách nhiệm và nghĩa vụ yêu cầu bởi Bộ luật Quản lý An toàn Quốc tế (ISM Code).
(8) "Được đóng" là giai đoạn đóng tàu tương ứng với:
(a) Sống chính tàu được đặt; hoặc
(b) Kết cấu được hình thành đã có thể bắt đầu nhận dạng được con tàu; hoặc
(c) Việc lắp đặt con tàu đó đã bắt đầu được ít nhất 50 tấn hoặc 1% khối lượng dự tính của tất cả các vật liệu kết cấu, lấy giá trị nhỏ hơn; hoặc
(d) Tàu được hoán cải lớn.
(9) "Hoán cải lớn" là hoán cải tàu:
(a) Thay đổi dung tích chở nước dằn từ 15% trở lên; hoặc
(b) Thay đổi loại tàu; hoặc
(c) Hoán cải mà mục đích, theo quan điểm của Đăng kiểm, là để tăng tuổi thọ của tàu thêm mười năm hoặc nhiều hơn; hoặc
(d) Hoán cải dẫn đến việc sửa đổi hệ thống nước dằn của tàu, ngoại trừ việc thay thế các bộ phận cùng loại. Việc hoán cải con tàu để đáp ứng các quy định tại 7.3 Mục II của Quy chuẩn không được coi là hoán cải lớn.
(10) “Cách bờ gần nhất” nghĩa là cách đường cơ sở mà từ đó lãnh hải của quốc gia được thiết lập phù hợp với luật quốc tế.
(11) "Hoạt chất" là các chất hoặc sinh vật, kể cả vi rút hoặc nấm có hoạt tính chung hoặc riêng đối với hoặc chống lại các sinh vật thủy sinh và các mầm bệnh nguy hiểm.
(12) "Két dằn" nghĩa là bất kỳ két, không gian hoặc khoang nào trên tàu dùng để chở, chứa, hoặc xả nước dằn, kể cả các két đa dụng, các không gian hoặc khoang tàu được thiết kế cho phép vận chuyển nước dằn.
(13) "Hệ thống quản lý nước dằn" (BWMS) là bất kỳ hệ thống nào xử lý nước dằn đạt được hoặc vượt quá các tiêu chuẩn chất lượng nước dằn được nêu ở 8.2 Mục II của Quy chuẩn.
(14) "Thiết bị xử lý nước dằn" là các thiết bị xử lý, hoặc là riêng biệt hoặc là kết hợp theo kiểu cơ học, vật lý, hóa học, hoặc sinh học để loại bỏ, vô hiệu hóa hoặc ngăn chặn việc thu nhận hoặc xả thải các sinh vật thủy sinh có hại và các mầm bệnh có trong nước dằn và cặn nước dằn.
(15) "Thiết bị kiểm soát" là thiết bị yêu cầu được lắp đặt để vận hành và kiểm soát các thiết bị xử lý nước dằn.
(16) "Thiết bị giám sát" là thiết bị được lắp đặt để đánh giá hoạt động có hiệu quả của thiết bị xử lý nước dằn.
(17) "Phương tiện lấy mẫu" là phương tiện được sử dụng để lấy mẫu nước dằn trước và sau khi xử lý.
(18) "Chế phẩm" là bất kỳ công thức thương mại nào bao gồm một hoặc nhiều hoạt chất kể cả các chất phụ gia.
(19) "Khí nguy hiểm" là bất kỳ khí nào có thể tạo nên một hỗn hợp khí dễ nổ và/ hoặc độc hại gây nguy hiểm cho thuyền viên và/hoặc tàu, ví dụ: khí hydro (H2), khí hydrocarbon, khí ô-zôn (O3), khí clo (Cl2) và ô-xít clo (ClO2), v.v...
(20) "Khu vực nguy hiểm" là khu vực có thể có môi trường khí dễ nổ hoặc có thể xuất hiện hỗn hợp khí dễ nổ với một lượng đủ để phải áp dụng các biện pháp phòng ngừa đặc biệt đối với kết cấu, việc lắp đặt và sử dụng các thiết bị trong đó. Khi có môi trường khí ga, các nguy hiểm sau đây cũng có thể tồn tại: độc, ngạt, ăn mòn và phản ứng. Phân loại khu vực nguy hiểm phải tuân theo yêu cầu ở 4.2.3 Phần 4 của Quy chuẩn kỹ thuật quốc gia về Phân cấp và đóng tàu biển vỏ thép.
(21) "Chất lỏng nguy hiểm" là bất kỳ chất lỏng nào được coi là nguy hiểm trong Bảng thông tin vật liệu nguy hiểm (Material Safety Data Sheet- MSDS) hoặc các tài liệu khác liên quan đến chất lỏng đó.
1.2.3 Các chữ viết tắt
Trong Quy chuẩn này sử dụng các chữ viết tắt sau đây:
(1) Công ước BWM: Công ước quốc tế về kiểm soát và quản lý nước dằn và cặn nước dằn của tàu, năm 2004.
(2) BWMS: Hệ thống quản lý nước dằn.
(3) IMO: Tổ chức Hàng hải quốc tế.
II QUY ĐỊNH KỸ THUẬT
CHƯƠNG 1 QUY ĐỊNH CHUNG
1.1 Quy định chung
1.1.1 Quy định chung
1 Trong trường hợp vì những lý do đặc biệt mà không thể tuân thủ một yêu cầu bất kỳ của Quy chuẩn này thì phải tuân thủ các yêu cầu khác của Đăng kiểm dựa trên các yêu cầu của Quy chuẩn này.
2 Các yêu cầu có liên quan ở Quy chuẩn kỹ thuật quốc gia về phân cấp và đóng tàu biển vỏ thép và các bổ sung sửa đổi của nó được áp dụng cho vật liệu, thiết bị, việc lắp đặt và tay nghề công nhân thi công đối với các hệ thống nước dằn tàu biển nêu trong Quy chuẩn này, trừ khi Quy chuẩn này quy định khác đi.
1.1.2 Tương đương
Hệ thống quản lý nước dằn không phù hợp với các yêu cầu của Quy chuẩn này có thể được chấp nhận với điều kiện Đăng kiểm thấy rằng chúng tương đương với các quy định trong Quy chuẩn này.
CHƯƠNG 2 QUY ĐỊNH CHUNG VỀ KIỂM TRA
2.1 Quy định chung
2.1.1 Yêu cầu áp dụng
Các quy định ở Chương 2 đến Chương 5 áp dụng đối với các tàu có tổng dung tích từ 400 trở lên, trừ kho chứa nổi.
2.1.2 Các dạng kiểm tra
1 Các dạng kiểm tra bao gồm như sau đây:
(1) Kiểm tra lần đầu;
(a) Kiểm tra lần đầu trong quá trình đóng mới:
Kiểm tra lần đầu trong đóng mới được thực hiện khi có đề nghị kiểm tra được trình trước khi áp dụng bất kỳ hệ thống quản lý nước dằn nào đối với các tàu mà hệ thống quản lý nước dằn được trang bị trong quá trình kiểm tra Phân cấp trong đóng mới tàu.
(b) Kiểm tra lần đầu không có giám sát của Đăng kiểm trong đóng mới:
Là kiểm tra lần đầu khác với hình thức kiểm tra nêu ở (a) trên.
(2) Kiểm tra hàng năm;
(3) Kiểm tra trung gian;
(4) Kiểm tra định kỳ;
(5) Kiểm tra bất thường;
(6) Kiểm tra không theo kế hoạch.
Trong Quy chuẩn này, kiểm tra chu kỳ bao gồm các hình thức kiểm tra nêu từ (2) đến (4) ở trên.
2.1.3 Thời hạn kiểm tra
1 Kiểm tra lần đầu
(1) Kiểm tra lần đầu trong quá trình đóng mới
Các hệ thống quản lý nước dằn của các tàu dự định được đóng và được Đăng kiểm kiểm tra trong đóng mới, phù hợp với thiết kế đã được Đăng kiểm thẩm định, phải được kiểm tra lần đầu trong quá trình đóng mới. Đăng kiểm viên phải có mặt ở các giai đoạn công việc sau đây:
(a) Khi sử dụng vật liệu làm các bộ phận và khi các bộ phận này được lắp đặt vào hệ thống quản lý nước dằn;
(b) Khi kết thúc gia công các bộ phận chính và tại các thời điểm thích hợp trong quá trình gia công, nếu cần thiết;
(c) Khi lắp đặt các trang thiết bị quan trọng xuống tàu;
(d) Khi tiến hành thử tính năng hoạt động.
(2) Kiểm tra lần đầu không có sự giám sát của Đăng kiểm trong đóng mới
Các hệ thống quản lý nước dằn của tàu được lắp đặt xuống tàu theo cách khác với cách nêu ở (1) trên phải chịu sự kiểm tra lần đầu không có sự giám sát của Đăng kiểm trong đóng mới khi có đề nghị kiểm tra.
2 Kiểm tra hàng năm
Các đợt kiểm tra hàng năm phải được tiến hành vào các khoảng thời gian như nêu ở 1.1.3-1(1) Phần 1B Mục II của Quy chuẩn kỹ thuật quốc gia về Phân cấp và đóng tàu biển vỏ thép.
3 Kiểm tra trung gian
Kiểm tra trung gian phải được tiến hành vào các khoảng thời gian như nêu ở 1.1.3-1(2) Phần 1B Mục II của Quy chuẩn kỹ thuật quốc gia về Phân cấp và đóng tàu biển vỏ thép.
4 Kiểm tra định kỳ
Kiểm tra định kỳ phải được tiến hành vào các khoảng thời gian như nêu ở 1.1.3-1(3)(a) Phần 1B Mục II của Quy chuẩn kỹ thuật quốc gia về Phân cấp và đóng tàu biển vỏ thép.
5 Kiểm tra bất thường
Kiểm tra bất thường phải được tiến hành tại các thời điểm không phải kiểm tra lần đầu hoặc kiểm tra chu kỳ:
(1) Khi những bộ phận quan trọng của thiết bị thuộc phạm vi kiểm tra lần đầu được sửa chữa hoặc sửa đổi; khi tàu có sự thay đổi về công dụng, vùng hoạt động, hoặc các thay đổi lớn khác, v.v... mà đòi hỏi sự thay đổi tương ứng đối với các bộ phận quan trọng của thiết bị hoặc khi các thiết bị hư hỏng tới mức hiệu quả hoạt động của chúng bị ảnh hưởng.
(2) Khi kiểm tra để xác nhận sự phù hợp với yêu cầu của Quy chuẩn được áp dụng đối với một tàu đã đóng trước đó.
(3) Khi đợt kiểm tra bất thường khác với các trường hợp nêu trên được cho là cần thiết.
6 Kiểm tra không theo kế hoạch
Các tàu đã được phân cấp có thể phải được kiểm tra không theo kế hoạch khi mà cần phải kiểm tra để khẳng định trạng thái của thiết bị trong trường hợp mà Đăng kiểm có nghi ngờ thiết bị không tiếp tục tuân thủ các quy định của quy chuẩn và không được bảo dưỡng và vận hành đúng bởi chủ tàu.
2.1.4 Kiểm tra chu kỳ trước thời hạn
Các yêu cầu để kiểm tra chu kỳ trước thời hạn phải thỏa mãn những quy định nêu ở 1.1.4 Phần 1B Mục II của Quy chuẩn kỹ thuật quốc gia về Phân cấp và đóng tàu biển vỏ thép.
2.1.5 Hoãn kiểm tra định kỳ
Các yêu cầu để hoãn kiểm tra định kỳ phải phù hợp với các quy định nêu ở 1.1.5-1(1) hoặc 1.1.5-1(2) Phần 1B Mục II của Quy chuẩn kỹ thuật quốc gia về Phân cấp và đóng tàu biển vỏ thép.
2.1.6 Thay đổi các yêu cầu
1 Đối với đợt kiểm tra chu kỳ, trong các trường hợp Đăng kiểm thấy phù hợp, đăng kiểm viên có thể thay đổi các yêu cầu dựa trên kích cỡ, vùng hoạt động, kết cấu, tuổi tàu, mục đích sử dụng, kết quả của các đợt kiểm tra trước và trạng thái thực tế của tàu.
2 Vào đợt kiểm tra trung gian, nếu các nội dung kiểm tra đã được thực hiện trong khoảng thời gian giữa lần kiểm tra hàng năm lần thứ 2 và thứ 3 mà phù hợp với những yêu cầu của lần kiểm tra trung gian, thì các nội dung kiểm tra cần phải kiểm tra ở đợt kiểm tra trung gian này có thể được miễn nếu được Đăng kiểm chấp nhận.
3 Vào đợt kiểm tra trung gian, nếu Đăng kiểm xét thấy cần thiết hoặc theo yêu cầu của chủ tàu thì một số các nội dung kiểm tra có thể được thực hiện theo những yêu cầu của kiểm tra định kỳ.
4 Vào đợt kiểm tra định kỳ, nếu các nội dung kiểm tra đã được thực hiện trong thời gian giữa lần kiểm tra hàng năm lần thứ 4 và kiểm tra định kỳ quy định ở 2.1.3-4 phù hợp với yêu cầu của kiểm tra định kỳ, thì các nội dung kiểm tra cần phải kiểm tra ở đợt kiểm tra định kỳ này có thể được miễn nếu Đăng kiểm thấy phù hợp. Tuy nhiên, trong trường hợp kiểm tra hàng năm hoặc kiểm tra trung gian được thực hiện trước thời hạn phù hợp với 1.1.4-2 Phần 1B Mục II của Quy chuẩn kỹ thuật quốc gia về Phân cấp và đóng tàu biển vỏ thép, thì kiểm tra định kỳ phải được thực hiện thỏa mãn các yêu cầu khác của Đăng kiểm.
2.1.7 Tàu đã ngừng hoạt động
1 Tàu đã ngừng hoạt động không phải chịu kiểm tra chu kỳ. Tuy nhiên, kiểm tra bất thường có thể được thực hiện nếu chủ tàu đề nghị.
2 Khi tàu đã ngừng hoạt động muốn đưa vào hoạt động trở lại, thì phải tiến hành kiểm tra các nội dung cụ thể mà trước đây đã bị hoãn lại do tàu ngừng hoạt động, nếu có, và các nội dung kiểm tra sau đây:
(1) Nếu một dạng kiểm tra chu kỳ nào đó được dự kiến từ trước khi cho tàu ngừng hoạt động mà chưa đến hạn, thì phải thực hiện nội dung kiểm tra tương đương với một đợt kiểm tra chu kỳ kế tiếp.
(2) Nếu kiểm tra chu kỳ được dự kiến từ trước khi cho tàu ngừng hoạt động đã quá hạn, thì phải tiến hành đợt kiểm tra chu kỳ đó.
(3) Nếu có từ hai đợt kiểm tra chu kỳ trở lên đã quá hạn trước ngày tàu ngừng hoạt động, thì đợt kiểm tra chu kỳ ở mức cao nhất trong số các đợt kiểm tra đã quá hạn phải được thực hiện.
2.2 Chuẩn bị kiểm tra và các vấn đề khác
2.2.1 Thông báo kiểm tra
Khi tàu được kiểm tra theo yêu cầu Quy chuẩn này, chủ tàu phải có trách nhiệm thông báo cho đăng kiểm viên địa điểm mà chủ tàu muốn thực hiện kiểm tra. Ngoài ra, đăng kiểm viên phải được thông báo trước một khoảng thời gian đủ để có thể bố trí kiểm tra vào thời điểm phù hợp.
2.2.2 Chuẩn bị kiểm tra
1 Chủ tàu hoặc đại diện của chủ tàu phải chịu trách nhiệm thực hiện tất cả công việc chuẩn bị cho đợt kiểm tra lần đầu, kiểm tra chu kỳ, kiểm tra bất thường và các kiểm tra khác có thể được đăng kiểm viên yêu cầu phù hợp với các quy định ở từ Chương 2 đến Chương 5. Công việc chuẩn bị phải bao gồm việc bố trí lối tiếp cận thuận tiện và an toàn, phương tiện và các hồ sơ cần thiết phục vụ cho công việc kiểm tra. Thiết bị kiểm tra, đo và thử mà đăng kiểm viên dựa vào đó để ra các quyết định ảnh hưởng đến việc phân cấp phải được nhận dạng riêng biệt và hiệu chuẩn theo tiêu chuẩn được Đăng kiểm công nhận. Tuy nhiên, đăng kiểm viên có thể chấp nhận các dụng cụ đo đơn giản (ví dụ như thước lá, thước dây, dưỡng đo kích thước mối hàn, vi kế) mà không cần nhận dạng hoặc hiệu chuẩn với điều kiện chúng được thiết kế phù hợp với hàng thương mại tiêu chuẩn, bảo dưỡng tốt và định kỳ được so sánh với các mẫu thử hoặc dụng cụ tương tự. Đăng kiểm viên cũng có thể chấp nhận dụng cụ đo được lắp trên tàu và sử dụng chúng để kiểm tra các trang thiết bị trên tàu (ví dụ như áp kế, nhiệt kế hoặc đồng hồ đo vòng quay) dựa trên hồ sơ hiệu chuẩn hoặc so với các số đo của các dụng cụ đa năng.
2 Chủ tàu phải bố trí một đại diện của chủ tàu, người nắm vững các nội dung kiểm tra, để chuẩn bị tốt công việc phục vụ kiểm tra và giúp đỡ đăng kiểm viên khi có yêu cầu trong suốt quá trình kiểm tra.
2.2.3 Hoãn kiểm tra
Việc kiểm tra có thể hoãn lại nếu công tác chuẩn bị cần thiết không được thực hiện hoặc vắng mặt những người có trách nhiệm tham gia vào đợt kiểm tra hoặc khi đăng kiểm viên thấy rằng không đảm bảo an toàn để thực hiện kiểm tra.
2.2.4 Cách thực hiện khi có yêu cầu phải sửa chữa từ kết quả kiểm tra
Nếu từ kết quả kiểm tra thấy cần thiết phải sửa chữa, đăng kiểm viên phải thông báo các nội dung cần sửa chữa cho Chủ tàu hoặc đại diện của Chủ tàu. Sau khi nhận được các thông báo này, việc sửa chữa phải được thực hiện thỏa mãn và được đăng kiểm viên xác nhận.
2.2.5 Thay thế các phụ tùng, chi tiết và thiết bị
Trong các trường hợp cần phải thay thế các chi tiết, phụ tùng, thiết bị, v.v..., sử dụng trên tàu, việc thay thế này phải tuân theo các quy định phải áp dụng khi tàu đóng mới. Tuy nhiên, trong trường hợp có yêu cầu mới hoặc nếu Đăng kiểm thấy cần thiết, Đăng kiểm có thể yêu cầu việc thay thế đó tuân thủ theo mọi yêu cầu mới có hiệu lực vào thời điểm công việc thay thế liên quan được tiến hành. Ngoài ra, không được sử dụng vật liệu chứa a-mi-ăng khi thay thế.
2.3 Kiểm tra xác nhận giấy chứng nhận
Khi thực hiện kiểm tra hàng năm và kiểm tra trung gian, Giấy chứng nhận phù hợp quản lý nước dằn phải được trình cho đăng kiểm viên để khẳng định hiệu lực của giấy chứng nhận cũng như để xác nhận khi cần thiết.
CHƯƠNG 3 KIỂM TRA LẦN ĐẦU
3.1 Kiểm tra lần đầu trong quá trình đóng mới
3.1.1 Quy định chung
Khi kiểm tra lần đầu trong quá trình đóng mới, hệ thống quản lý nước dằn và tay nghề thợ thi công phải được kiểm tra chi tiết để xác định rằng chúng thỏa mãn các yêu cầu tương ứng trong từng Phần của Quy chuẩn này.
3.1.2 Các bản vẽ và tài liệu trình thẩm định
1 Khi tàu dự định kiểm tra lần đầu, phải trình Đăng kiểm các bản vẽ và tài liệu nêu ở (1) và (2) sau đây. Các tài liệu nêu ở (3) phải được trình cho Đăng kiểm trước khi bàn giao tàu:
(1) Đối với các tàu tiến hành trao đổi nước dằn theo quy định tại Chương 7, các bản vẽ và tài liệu được nêu từ (a) đến (e) sau đây:
(a) Bố trí các két nước dằn;
(b) Các bản vẽ và tài liệu liên quan đến ống thông hơi và ống đo cho các két nước dằn;
(c) Sản lượng của các bơm nước dằn;
(d) Bố trí đường ống nước dằn; và
(e) Các bản vẽ và tài liệu liên quan phương tiện lấy mẫu nước dằn.
(2) Đối với các tàu thực hiện việc quản lý nước dằn theo quy định tại Chương 8, các bản vẽ và tài liệu được nêu từ (a) đến (g) sau đây:
(a) Các bản vẽ thể hiện hệ thống quản lý nước dằn;
(b) Bố trí hệ thống quản lý nước dằn;
(c) Bố trí các két nước dằn;
(d) Năng lực của các bơm nước dằn;
(e) Bố trí đường ống nước dằn;
(f) Các bản vẽ và tài liệu quy định tại 1.1.6(1)(e), (1)(f), (2)(b), (2)(d) và (2)(e), Phần 4, Mục II của Quy chuẩn kỹ thuật quốc gia về phân cấp và đóng tàu biển vỏ thép, Quy chuẩn kỹ thuật quốc gia về Phân cấp và đóng tàu biển vỏ thép; và
(g) Các bản vẽ và tài liệu khác mà Đăng kiểm thấy cần thiết.
(3) Kế hoạch quản lý nước dằn.
2 Ngoài các bản vẽ và tài liệu được nêu ở -1 trên, các tài liệu sau đây phải được trình cho Đăng kiểm để tham khảo. Tài liệu nêu tại (2) phải được trình trước khi thực hiện thử trên tàu.
(1) Bản sao Giấy chứng nhận công nhận kiểu của hệ thống quản lý nước dằn được Đăng kiểm công nhận, phù hợp với nghị quyết MEPC.174 (58) của IMO "Hướng dẫn phê duyệt hệ thống quản lý nước dằn (G8)" và các bổ sung sửa đổi của nó.
(2) Quy trình thử trên tàu.
3 Bất kể các yêu cầu nêu ở -1 và -2 trên, với hệ thống quản lý nước dằn được lắp đặt theo các bản vẽ và tài liệu đã duyệt trước đó, có thể miễn việc trình một phần hoặc toàn bộ các bản vẽ và tài liệu nêu ở -1 và -2 trên dựa vào các hướng dẫn của Đăng kiểm trong từng trường hợp.
3.1.3 Kiểm tra thiết bị
1 Đối với các tàu thực hiện trao đổi nước dằn theo quy định tại Chương 7, phải xác nhận rằng các đường ống nước dằn, các bơm nước dằn và các ống thông hơi và đo cho các két nước dằn được lắp đặt tại các vị trí phù hợp dựa trên bản vẽ đã được thẩm định và các đợt kiểm tra khác mà Đăng kiểm thấy cần thiết phải tiến hành.
2 Đối với các tàu thực hiện quản lý nước dằn theo quy định tại Chương 8, phải thực hiện các nội dung kiểm tra sau đây:
(1) Xác nhận việc lắp đặt hệ thống xử lý nước dằn (hệ thống quản lý nước dằn, bơm nước dằn và đường ống nước dằn, v.v...) được bố trí đúng vị trí của chúng theo bản vẽ đã được thẩm định;
(2) Xác nhận rằng BWMS có thể hoạt động tốt (về nguyên tắc, bao gồm cả việc thử hoạt động kết hợp với các hoạt động dằn và xả dằn tại công suất định mức);
(3) Xác nhận rằng bất kỳ vật tư (tiêu hao) cần thiết nào như là hoạt chất và các chế phẩm cần thiết để tiến hành xử lý nước dằn được cung cấp lên tàu với sự kiểm soát thích hợp;
(4) Xác nhận rằng BWMS đúng là loại được nêu trong Giấy chứng nhận công nhận kiểu nêu ở 3.1.2-2 (1);
(5) Đối với BWMS sử dụng hoạt chất hoặc các chế phẩm, xác nhận rằng kiểu của BWMS nói trên phù hợp với 8.3-1(1)(b);
(6) Xác nhận rằng thiết bị ghi cho các thiết bị kiểm soát và thiết bị theo dõi có thể hoạt động được và các vật tư cần thiết cho các thiết bị ghi được cung cấp đầy đủ trên tàu;
(7) Đối với các BWMS có sinh ra sản phẩm thừa như là cặn nước dằn, phải trang bị các thiết bị chuyên dụng riêng biệt lưu giữ các sản phẩm phụ đó trên tàu; và
(8) Các nội dung kiểm tra khác mà Đăng kiểm cho là cần thiết.
3 Đối với nội dung thử nêu -2(2) trên, người đề nghị kiểm tra phải chuẩn bị các kế hoạch thử để Đăng kiểm xem xét trước khi thử nghiệm. Hồ sơ kiểm tra và kết quả đo lường phải được trình cho Đăng kiểm khi có yêu cầu.
3.1.4 Kiểm tra kế hoạch quản lý nước dằn
Kế hoạch quản lý nước dằn phải được xác nhận phù hợp với các yêu cầu nêu ở Chương 9.
3.1.5 Tài liệu phải được duy trì trên tàu
Sau khi hoàn thành kiểm tra lần đầu, Đăng kiểm viên xác nhận rằng các tài liệu sau đây được duy trì trên tàu:
(1) Kế hoạch quản lý nước dằn;
(2) Sổ nhật ký nước dằn;
(3) Đối với các tàu thực hiện quản lý nước dằn theo quy định tại Chương 8, các tài liệu sau đây:
(a) Bản sao Giấy chứng nhận công nhận kiểu quy định tại 3.1.2-2(1);
(b) Văn bản xác nhận rằng các linh kiện điện và điện tử của hệ thống quản lý nước dằn đã được thử nghiệm theo các yêu cầu kỹ thuật cho việc thử môi trường được nêu trong nghị quyết MEPC.174 (58) của IMO: "Hướng dẫn phê duyệt hệ thống quản lý nước dằn (G8)" và các sửa đổi;
(c) Hướng dẫn sử dụng đối với các bộ phận chính của hệ thống quản lý nước dằn;
(d) Sổ tay kỹ thuật và vận hành đối với hệ thống quản lý nước dằn, có chứa các mô tả kỹ thuật của hệ thống quản lý nước dằn, các quy trình vận hành và bảo dưỡng, và các quy trình dự phòng trong trường hợp thiết bị bị hỏng;
(e) Hướng dẫn kỹ thuật lắp đặt của hệ thống quản lý nước dằn;
(f) Quy trình lắp đặt và thử hoạt động hệ thống quản lý nước dằn;
(g) Quy trình hiệu chuẩn ban đầu của hệ thống quản lý nước dằn; và
(h) Liều lượng và cách lưu trữ của hoạt chất hoặc chế phẩm sử dụng cho hệ thống quản lý nước dằn.
3.2 Kiểm tra lần đầu không có sự giám sát của Đăng kiểm trong đóng mới
3.2.1 Quy định chung
Khi kiểm tra lần đầu không có sự giám sát của Đăng kiểm trong đóng mới, phải tiến hành kiểm tra hệ thống quản lý nước dằn và phải bảo đảm rằng chúng thỏa mãn các quy định được nêu trong Quy chuẩn này.
3.2.2 Các bản vẽ và tài liệu trình thẩm định
Bất kỳ tàu nào muốn được kiểm tra lần đầu không có sự giám sát của Đăng kiểm trong đóng mới phải trình cho Đăng kiểm các bản vẽ và tài liệu nêu ở 3.1.2.
3.2.3 Kiểm tra thiết bị
Khi kiểm tra lần đầu không có sự giám sát của Đăng kiểm trong đóng mới, thì phải tiến hành các nội dung kiểm tra thích hợp theo các yêu cầu nêu ở 3.1.3 đến mức độ có thể thực hiện được. Tuy nhiên, đối với tàu có Giấy chứng nhận quốc tế về quản lý nước dằn hoặc các Giấy chứng nhận tương đương với nó, thì phải tiến hành các nội dung kiểm tra tương ứng với nội dung nêu ở 4.3.
3.2.4 Kiểm tra kế hoạch quản lý nước dằn
Kế hoạch quản lý nước dằn phải được xác nhận phù hợp với các yêu cầu nêu ở Chương 9.
3.2.5 Tài liệu phải được duy trì trên tàu
Sau khi hoàn thành kiểm tra lần đầu, đăng kiểm viên xác nhận rằng các tài liệu, v.v… như được nêu ở 3.1.5 được duy trì trên tàu.
CHƯƠNG 4 KIỂM TRA CHU KỲ
4.1 Kiểm tra hàng năm
4.1.1 Quy định chung
Tại mỗi đợt kiểm tra hàng năm, phải tiến hành kiểm tra theo các nội dung tương ứng được quy định ở 4.1.2 và 4.1.3 dưới đây. Ngoài ra, tình trạng chung của các thiết bị liên quan cũng phải được kiểm tra.
4.1.2 Kiểm tra thiết bị
1 Đối với tàu tiến hành trao đổi nước dằn theo quy định tại Chương 7 của Quy chuẩn, phải xác nhận rằng các đường ống nước dằn, bơm nước dằn và ống thông hơi, ống đo cho các két nước dằn đang ở tình trạng tốt. Ngoài ra, phải tiến hành các nội dung kiểm tra khác mà Đăng kiểm cho là cần thiết.
2 Đối với các tàu thực hiện quản lý nước dằn theo quy định tại Chương 8, phải tiến hành các nội dung kiểm tra sau đây:
(1) Kiểm tra bằng mắt và thử chức năng của BWMS, đến mức có thể thực hiện được;
(2) Xác nhận rằng bất kỳ vật tư tiêu hao nào như là hoạt chất và các chế phẩm cần thiết để tiến hành xử lý nước dằn được cung cấp đầy đủ trên tàu với sự kiểm soát thích hợp; và
(3) Các nội dung kiểm tra khác mà Đăng kiểm cho là cần thiết.
4.1.3 Tài liệu phải được duy trì trên tàu
1 Phải xác nhận rằng các tài liệu, v.v… như nêu ở 3.1.5 được duy trì trên tàu.
2 Phải xác nhận rằng Sổ nhật ký nước dằn được ghi chép đầy đủ, phù hợp với 6.2.
3 Phải xác nhận các hồ sơ của thiết bị kiểm soát và thiết bị theo dõi.
4.2 Kiểm tra trung gian
4.2.1 Quy định chung
Tại mỗi đợt kiểm tra trung gian, phải tiến hành kiểm tra theo các nội dung tương ứng được quy định ở 4.2.2 và 4.2.3 này. Ngoài ra, tình trạng chung của các thiết bị liên quan cũng phải được kiểm tra.
4.2.2 Kiểm tra thiết bị
Đối với các tàu tiến hành quản lý nước dằn theo quy định tại Chương 8, ngoài các nội dung kiểm tra nêu ở 4.1.2, phải xác nhận rằng BWMS, bơm nước dằn và đường ống nước dằn không có các khuyết tật như là ăn mòn, hao mòn và hư hỏng.
4.2.3 Tài liệu phải được duy trì trên tàu
Phải thực hiện các nội dung kiểm tra nêu ở 4.1.3.
4.3 Kiểm tra định kỳ
4.3.1 Quy định chung
Tại mỗi đợt kiểm tra định kỳ, phải tiến hành kiểm tra theo các nội dung tương ứng được quy định ở 4.3.2 và 4.3.3 này. Ngoài ra, tình trạng chung của các thiết bị liên quan cũng phải được kiểm tra.
4.3.2 Kiểm tra các thiết bị
Ngoài các nội dung kiểm tra nêu ở 4.2.2, phải xác nhận rằng BWMS ở trạng thái làm việc tốt.
4.3.3 Tài liệu phải được duy trì trên tàu
Ngoài các nội dung kiểm tra nêu ở 4.1.3, đăng kiểm viên phải xác nhận giấy chứng nhận hiệu chuẩn, trong đó có chứng nhận ngày hiệu chuẩn gần nhất, đối với bất kỳ hệ thống đo lường nào là bộ phận của BWMS.
CHƯƠNG 5 KIỂM TRA BẤT THƯỜNG
5.1 Quy định chung
5.1.1 Yêu cầu áp dụng
Tại đợt kiểm tra bất thường, phải tiến hành các nội dung kiểm tra liên quan như yêu cầu ở 4.1.2 và 4.1.3. Ngoài ra, phải thực hiện kiểm tra lần đầu với sự thay đổi thích hợp, tùy theo mức độ sửa chữa hoặc thay đổi của hệ thống quản lý nước dằn và các thiết bị liên quan, đối với các hệ thống quản lý nước dằn.
CHƯƠNG 6 THIẾT BỊ QUẢN LÝ NƯỚC DẰN
6.1 Quy định chung
6.1.1 Phạm vi áp dụng
Những yêu cầu của Chương này áp dụng cho các hệ thống kiểm soát và quản lý nước dằn và cặn nước dằn trên tàu, cũng như cho các tàu thực hiện việc trao đổi nước dằn.
6.2 Nhật ký nước dằn
1 Nhật ký nước dằn phải bao gồm ít nhất các thông tin nêu ở Phụ chương II của Phụ lục của Công ước BWM và phải duy trì bản ghi của các hoạt động nêu dưới đây. Nhật ký nước dằn có thể là dạng hệ thống ghi chép điện tử hoặc có thể được tích hợp vào các nhật ký hoặc hệ thống khác.
(1) Hoạt động lấy nước dằn:
(a) Ngày, giờ và vị trí của cảng hoặc phương tiện nhận nước dằn (cảng hoặc kinh tuyến/vĩ tuyến), độ sâu, nếu (thực hiện) bên ngoài cảng;
(b) Lượng nước dằn tiếp nhận theo tính toán (m3);
(c) Chữ ký của sỹ quan phụ trách.
(2) Hoạt động luân chuyển và xử lý nước dằn:
(a) Ngày và giờ thực hiện hoạt động;
(b) Lượng nước dằn được luân chuyển hoặc xử lý theo tính toán (m3);
(c) Có được thực hiện theo Kế hoạch quản lý nước dằn hay không;
(d) Chữ ký của sỹ quan phụ trách.
(3) Hoạt động xả nước dằn ra biển:
(a) Ngày, giờ và vị trí của cảng hoặc phương tiện xả nước dằn (cảng hoặc kinh tuyến/vĩ tuyến);
(b) Lượng nước dằn xả ra theo tính toán cộng với lượng dằn còn lại (m3);
(c) Trước khi xả, có thực hiện theo Kế hoạch quản lý nước dằn được duyệt hay không;
(d) Chữ ký của sỹ quan phụ trách.
(4) Hoạt động xả nước dằn ra phương tiện tiếp nhận:
(a) Ngày, giờ và vị trí lấy nước dằn;
(b) Ngày, giờ và vị trí xả nước dằn;
(c) Cảng hoặc phương tiện;
(d) Lượng nước dằn được xả hoặc đưa lên tàu theo tính toán (m3);
(e) Trước khi xả, có thực hiện theo Kế hoạch quản lý nước dằn được duyệt hay không;
(f) Chữ ký của sỹ quan phụ trách.
(5) Hoạt động khi sự cố hoặc các hoạt động ngoại lệ khác đối với việc lấy và xả nước dằn:
(a) Ngày và giờ xảy ra;
(b) Cảng và vị trí của tàu tại thời điểm xảy ra;
(c) Lượng nước dằn xả ra theo tính toán (m3);
(d) Các tình huống nhận, xả, thoát hoặc tổn thất, nguyên nhân dẫn đến và các lưu ý chung;
(e) Trước khi xả, có thực hiện theo Kế hoạch quản lý nước dằn được duyệt hay không;
(f) Chữ ký của sỹ quan phụ trách.
(6) Quy trình vận hành bổ sung và các lưu ý chung.
2 Các ghi chép vào Nhật ký nước dằn phải được duy trì trên tàu trong khoảng thời gian tối thiểu là hai năm sau lần ghi chép cuối cùng và sau đó duy trì ở công ty trong thời gian tối thiểu là ba năm.
3 Nhật ký nước dằn phải luôn sẵn có cho việc kiểm tra tại mọi thời điểm phù hợp và trong trường hợp tàu được kéo không có người điều khiển, thì có thể được giữ trên tàu kéo.
4 Mỗi hoạt động liên quan đến nước dằn phải được ghi ngay lại đầy đủ trong Nhật ký nước dằn. Mỗi lần ghi chép phải được sỹ quan phụ trách hoạt động có liên quan ký và mỗi trang sau khi ghi hết phải được Thuyền trưởng ký.
5 Việc ghi chép Nhật ký nước dằn phải được thực hiện bằng ngôn ngữ làm việc trên tàu. Nếu ngôn ngữ làm việc không phải là tiếng Anh, Pháp hoặc Tây Ban Nha thì việc ghi chép này phải bao gồm việc dịch sang một trong các ngôn ngữ nêu trên.
6.3 Kế hoạch áp dụng quản lý nước dằn
1 Các tàu được đóng trước ngày 08 tháng 9 năm 2017 (ngày Công ước BWM có hiệu lực) (sau đây gọi là “Tàu hiện có”) phải thực hiện trao đổi nước dằn hoặc quản lý nước dằn như nêu ở Chương 7 hoặc Chương 8 cho tới ngày được nêu dưới đây, sau thời điểm đó thì tàu phải thực hiện quản lý nước dằn như nêu ở Chương 8.
(1) Các tàu phải có Giấy chứng nhận quốc tế về ngăn ngừa ô nhiễm do dầu gây ra (IOPP):
(a) Đối với các tàu đã hoàn thành kiểm tra cấp mới Giấy chứng nhận quốc tế về ngăn ngừa ô nhiễm do dầu gây ra vào hoặc sau ngày 08 tháng 9 năm 2014 nhưng trước ngày 08 tháng 9 năm 2017: ngày hoàn thành đợt kiểm tra cấp mới đầu tiên Giấy chứng nhận quốc tế về ngăn ngừa ô nhiễm do dầu gây ra vào hoặc sau ngày 08 tháng 9 năm 2017.
(b) Đối với các tàu mà không phải các tàu nêu ở (a) trên: ngày hoàn thành đợt kiểm tra cấp mới lần thứ hai của Giấy chứng nhận quốc tế về ngăn ngừa ô nhiễm do dầu gây ra vào hoặc sau ngày 08 tháng 9 năm 2017 hoặc ngày hoàn thành đợt kiểm tra cấp mới lần đầu tiên của Giấy chứng nhận quốc tế về ngăn ngừa ô nhiễm do dầu gây ra vào hoặc sau ngày 08 tháng 9 năm 2019, tùy thuộc vào ngày nào đến trước.
(2) Đối với các tàu không yêu cầu có Giấy chứng nhận quốc tế về ngăn ngừa ô nhiễm do dầu gây ra: ngày 08 tháng 9 năm 2024.
2 Các tàu được đóng vào hoặc sau ngày 08 tháng 9 năm 2017 (ngày Công ước BWM có hiệu lực) phải thực hiện quản lý nước dằn quy định ở Chương 8.
6.4 Quản lý cặn nước dằn
1 Tất cả các tàu phải chuyển ra và loại bỏ cặn nước dằn từ các không gian được sử dụng để chở nước dằn phù hợp với các quy định của bản Kế hoạch quản lý nước dằn trên tàu.
2 Các tàu được đóng vào hoặc sau ngày 01 tháng 01 năm 2009 phải được thiết kế và đóng theo hướng giảm thiểu việc tạo thành và tích tụ cặn nước dằn không mong muốn, tạo thuận lợi cho việc loại bỏ cặn nước dằn, và cung cấp các lối tiếp cận an toàn để loại bỏ cặn nước dằn và để lấy mẫu, mà không làm giảm tính an toàn hoặc hiệu quả khai thác tàu, trong đó lưu ý đến yêu cầu của Nghị quyết MEPC.209(63) của IMO: Hướng dẫn năm 2012 về thiết kế và đóng tàu để tạo thuận lợi cho việc kiểm soát cặn nước dằn, và các sửa đổi của nó. Các tàu được đóng trước ngày 01 tháng 01 năm 2009 phải thỏa mãn yêu cầu này đến mức có thể được.
6.5 Phương tiện lấy mẫu
1 Các tàu thực hiện trao đổi dằn theo quy định ở Chương 7 phải được trang bị các phương tiện để thu thập mẫu nước trong các két dằn. Trong các trường hợp đó, các mẫu ở trong két có thể được lấy thông qua ống đo hoặc ống thông hơi và lỗ người chui bằng cách sử dụng bơm, lọ lấy mẫu hoặc các phương tiện chứa nước khác.
2 Các tàu thực hiện việc quản lý nước dằn theo quy định ở Chương 8 phải được trang bị các phương tiện để thu thập nước dằn từ đường ống xả dằn, càng gần điểm xả càng tốt, trong quá trình xả nước dằn vào bất kỳ lúc nào có thể được. Tuy nhiên, trong trường hợp các két, ví dụ như các két đỉnh mạn, được tháo nước dằn trực tiếp qua van xả mạn thay cho việc đi qua bơm dằn thì các lỗ khoét v.v… của két đó có thể được sử dụng làm phương tiện lấy mẫu miễn là nước dằn có thể được lấy dễ dàng qua các phương tiện đó.
3 Phương tiện lấy mẫu phải thỏa mãn các yêu cầu ở Nghị quyết MEPC.173(58) của IMO.
CHƯƠNG 7 TRAO ĐỔI NƯỚC DẰN
7.1 Quy định chung
7.1.1 Phạm vi áp dụng
Các yêu cầu của Chương này áp dụng cho các tàu thực hiện trao đổi nước dằn.
7.2 Trao đổi nước dằn
1 Bất cứ khi nào có thể, việc trao đổi dằn phải được thực hiện cách bờ gần nhất một khoảng ít nhất bằng 200 hải lý và ở vùng nước có chiều sâu tối thiểu là 200 m, trong đó có lưu ý đến yêu cầu của Nghị quyết MEPC.124(53) (Hướng dẫn trao đổi nước dằn (G6)), của IMO và các sửa đổi.
2 Trong trường hợp tàu không thể thực hiện trao đổi nước dằn như quy định ở -1 thì việc trao đổi nước dằn phải được thực hiện theo các hướng dẫn của Nghị quyết MEPC.124(53) (Hướng dẫn trao đổi nước dằn (G6)), của IMO và các sửa đổi với khoảng cách xa bờ nhất có thể như ít nhất là cách bờ 50 hải lý và ở vùng nước có chiều sâu tối thiểu là 200 m.
3 Các tàu hiện có mà dự định hoạt động ở những vùng biển mà không được quy định ở -1 và -2 trên thì phải ghi lại các nguyên nhân xác đáng mà vì đó việc trao đổi dằn là không thể vào Nhật ký nước dằn quy định ở 6.2. Ngoài ra, các tàu đó phải thỏa mãn các yêu cầu đặc biệt của chính quyền cảng trong trường hợp các yêu cầu đặc biệt đó có hiệu lực.
7.3 Tiêu chuẩn trao đổi nước dằn
1 Các tàu thực hiện trao đổi nước dằn phải sao cho đảm bảo đạt được hiệu quả là 95% thể tích nước dằn được trao đổi.
2 Đối với những tàu thực hiện trao đổi nước dằn bằng phương pháp bơm tràn thì việc bơm tràn ba lần thể tích của mỗi két dằn được coi là thỏa mãn tiêu chuẩn nêu ở -1. Việc bơm qua ít hơn ba lần thể tích có thể được chấp nhận nếu có thể chứng minh được tàu thỏa mãn ít nhất 95% thể tích nước dằn được trao đổi.
CHƯƠNG 8 QUẢN LÝ NƯỚC DẰN
8.1 Quy định chung
8.1.1 Phạm vi áp dụng
Các yêu cầu của Chương này áp dụng cho các tàu thực hiện quản lý nước dằn.
8.2 Tiêu chuẩn chất lượng nước dằn
Nước dằn xả ra phải thỏa mãn các yêu cầu sau:
(1) Dưới 10 sinh vật sống trong một mét khối có kích thước tối thiểu lớn hơn hoặc bằng 50 μm;
(2) Dưới 10 sinh vật sống trong một mi-li-lít (ml) có kích thước tối thiểu nhỏ hơn 50 μm và lớn hơn hoặc bằng 10 μm;
(3) Vi khuẩn độc gây bệnh tả (toxicogenic vibrio cholerae) (O-1 và O-139) nhỏ hơn 1 đơn vị tạo thành đàn (colony forming unit (viết tắt là cfu)) trong 100 ml hoặc nhỏ hơn 1 cfu trong 1 g (khối lượng ướt) mẫu sinh vật phù du;
(4) Vi khuẩn đại tràng (escherichia coli) nhỏ hơn 250 cfu trong 100 ml; và
(5) Liên cầu đường ruột (Intestinal enterococci) nhỏ hơn 100 cfu trong 100 ml.
8.3 Hệ thống quản lý nước dằn
1 Hệ thống quản lý nước dằn (BWMS) được sử dụng để thỏa mãn các yêu cầu ở 8.2 phải thỏa mãn các yêu cầu sau:
(1) Các yêu cầu chung
(a) BWMS phải được Đăng kiểm công nhận kiểu phù hợp với Nghị quyết MEPC.174(58), MEPC.279(70): "Hướng dẫn phê duyệt hệ thống quản lý nước dằn (G8), và các sửa đổi.
(b) Bất kỳ BWMS có sử dụng hoạt chất hoặc chế phẩm phải được IMO phê duyệt phù hợp với Nghị quyết MEPC.169(57) "Quy trình phê duyệt hệ thống quản lý nước dằn sử dụng hoạt chất (G9), và các sửa đổi.
(c) BWMS phải an toàn với tàu, các thiết bị của tàu và thuyền viên.
(2) Các yêu cầu về kết cấu và tính năng
(a) BWMS không được chứa hoặc sử dụng bất kỳ chất nào có bản chất nguy hiểm, trừ khi có đủ phương tiện để chứa, sử dụng, giảm nhẹ và xử lý an toàn được chấp nhận bởi Đăng kiểm để làm giảm nhẹ các mối nguy hiểm do nó gây ra.
(b) Khi có bất kỳ hư hỏng nào gây ảnh hưởng đến hoạt động bình thường của BWMS thì phải có tín hiệu báo động bằng âm thanh và ánh sáng ở mọi vị trí mà từ đó kiểm soát hoạt động dằn.
(c) Mọi bộ phận làm việc của BWMS mà dễ bị mài mòn hoặc hư hỏng thì phải có thể dễ dàng tiếp cận để bảo dưỡng.
(d) Mọi tiếp cận vào BWMS mà không thuộc các yêu cầu thiết yếu ở (c) trên đều phải yêu cầu phá niêm phong.
(e) BWMS phải được cấu tạo sao cho báo động bằng ánh sáng luôn được kích hoạt bất cứ khi nào BWMS đang hoạt động để phục vụ việc vệ sinh, hiệu chuẩn hoặc sửa chữa, và các tình huống đó phải được thiết bị kiểm soát ghi lại.
(f) Trong tình huống khẩn cấp, phải có các bố trí nối tắt (by-pass) thích hợp hoặc vượt qua (override) để đảm bảo an toàn cho tàu và con người.
(g) Các bố trí nêu ở (f) trên phải kích hoạt báo động bằng âm thanh và ánh sáng, và các tình huống đó phải được thiết bị kiểm soát ghi lại.
(h) Thiết bị xử lý nước dằn phải vững chắc và phù hợp để làm việc ở môi trường trên tàu, phải được thiết kế và cấu tạo phù hợp với mục đích hoạt động và phải được lắp đặt và bảo vệ sao cho giảm tới mức tối thiểu các nguy hiểm cho người trên tàu, phải đặc biệt chú ý tới các bề mặt nóng và các nguy hiểm khác. Việc thiết kế phải chú ý tới các vật liệu sử dụng trong chế tạo, các mục đích dự định của thiết bị, điều kiện làm việc của thiết bị và điều kiện môi trường trên tàu.
(i) Thiết bị xử lý nước dằn phải có phương tiện vận hành và điều khiển một cách đơn giản và hiệu quả. Phải trang bị hệ thống điều khiển sao cho các hoạt động cần thiết cho việc vận hành đúng đắn thiết bị xử lý nước dằn được đảm bảo thông qua các hệ thống tự động cần thiết.
(j) Thiết bị xử lý nước dằn và các thiết bị điện liên quan phải là kiểu phòng nổ nếu chúng dự định lắp đặt ở các vị trí mà có thể có môi trường khí dễ cháy. Các bộ phận chuyển động lắp đặt ở các vị trí đó phải được bố trí sao cho không hình thành tĩnh điện.
(k) BWMS phải được tích hợp thiết bị điều khiển tự động theo dõi và điều chỉnh liều lượng hoặc mức độ xử lý cần thiết hoặc các thông số khác của BWMS trên tàu, thiết bị này nếu không ảnh hưởng trực tiếp đến việc xử lý thì cũng cần thiết để quản lý một cách đúng đắn các quá trình xử lý cần thiết.
(l) Thiết bị điều khiển phải được tích hợp chức năng tự theo dõi liên tục trong khoảng thời gian mà BWMS đang vận hành.
(m) Thiết bị theo dõi phải ghi lại được việc hoạt động thông thường hoặc hư hỏng của BWMS.
(o) Thiết bị điều khiển phải có thể lưu trữ dữ liệu trong ít nhất 24 tháng và phải có thể hiển thị hoặc in ra bản dữ liệu được ghi để phục vụ kiểm tra. Trong tình huống thiết bị điều khiển được thay thế thì phải có phương tiện để đảm bảo các dữ liệu được ghi trước khi thay thế vẫn còn được lưu trên tàu trong ít nhất 24 tháng.
(p) Thiết bị điều khiển phải có khả năng hiệu chỉnh và đặt lại giá trị không (re-zero) cho các đồng hồ đo của thiết bị điều khiển và phải có khả năng lặp lại các giá trị đã được đo.
(3) Các yêu cầu khác nếu Đăng kiểm thấy cần thiết.
2 Các yêu cầu nêu ở từ -3 đến -7 dưới đây áp dụng cho BWMS nêu ở (1) và (2) sau đây:
(1) Có đề nghị duyệt hồ sơ bản vẽ được thực hiện vào hoặc sau ngày 01 tháng 01 năm 2017; hoặc
(2) Được lắp đặt lên các tàu có hợp đồng đóng mới vào hoặc sau ngày 01 tháng 01 năm 2017.
3 Nếu hệ thống sử dụng các hóa chất gây ra tác động bất lợi không thể chấp nhận được đối với sức khỏe con người và các thiết bị trong BWMS sử dụng hoạt chất hoặc chế phẩm" nêu ở -1(1)(b) thì phải thỏa mãn các yêu cầu nêu ở từ (1) đến (9) sau đây. Các yêu cầu này có thể được giảm nhẹ một cách phù hợp tùy thuộc vào loại hóa chất.
(1) Đối với các không gian lắp đặt hệ thống, phải trang bị ít nhất hai bộ quần áo bảo vệ hoàn toàn, găng tay và kính bảo hộ hoặc mặt nạ kín khít. Các thiết bị này phải được đặt ở vị trí có thể tiếp cận dễ dàng.
(2) Ở bên dưới két chứa hóa chất phải có mối nối bích của ống được nối tới két và bơm, và phải có khay hứng rò rỉ.
(3) Vật liệu sử dụng để chế tạo két chứa hóa chất, đường ống và các phụ tùng của ống phải chịu được hóa chất đó.
(4) Két chứa hóa chất phải có đủ độ bền và phải được cấu tạo sao cho có thể thực hiện bảo dưỡng và kiểm tra một cách dễ dàng.
(5) Ống thông hơi của két chứa hóa chất phải được dẫn tới một khu vực an toàn trên boong hở.
(6) Phải có báo động mức nước cao trong két chứa hóa chất, phải có tín hiệu báo động bằng âm thanh và ánh sáng tại vị trí gần két chứa hóa chất cũng như là tại các không gian được nêu ở -1(2)(b).
(7) Trên tàu phải có Sổ tay vận hành với nội dung bao gồm các quy trình bơm hóa chất vào, hệ thống báo động, các biện pháp trong tình huống khẩn cấp v.v…
(8) Quy trình xử lý phải phù hợp với Bảng chỉ dẫn an toàn hóa chất và hướng dẫn BWM.2/Circ.20 của IMO.
(9) Các yêu cầu bổ sung nếu Đăng kiểm xét thấy cần thiết.
4 Hệ thống tạo ra các khí nguy hiểm trong "BWMS sử dụng hoạt chất hoặc chế phẩm" nêu ở -1(1)(b) phải thỏa mãn các yêu cầu nêu ở từ (1) đến (9) sau đây.
(1) Nói chung, hệ thống này không được bố trí ở các không gian mà bình thường có thuyền viên làm việc.
(2) Thiết bị phát hiện khí phải được trang bị ở các không gian mà có thể xuất hiện khí nguy hiểm. Thiết bị phát hiện khí đó phải được thiết kế và thử phù hợp với tiêu chuẩn IEC 60079-29-1 hoặc các tiêu chuẩn khác được Đăng kiểm công nhận. Trong trường hợp rò rỉ, báo động bằng âm thanh và ánh sáng phải được kích hoạt ở các không gian sau:
(a) Trạm điều khiển BWMS; và
(b) Vị trí điều khiển tại chỗ bằng tay của hệ thống.
(3) Các đường ống dẫn khí nguy hiểm phải được nối bằng phương pháp hàn, đến mức có thể thực hiện được.
(4) Các bố trí để thoát khí, ví dụ các thiết bị tẩy khí hoặc tương đương, phải có biện pháp theo dõi cùng với việc đóng độc lập. Đầu hở của thiết bị thoát khí phải được dẫn đến một khu vực an toàn trên boong hở.
(5) Ống dẫn khí nguy hiểm không được đi qua khu vực sinh hoạt và trạm điều khiển.
(6) Việc vận hành BWMS trong các không gian phải được khóa liên động với việc thông gió sao cho việc thông gió phải luôn được thực hiện.
(7) Đường ống thông gió của không gian mà có thể xuất hiện khí nguy hiểm phải được dẫn tới một khu vực an toàn trên boong hở.
(8) Phải có ít nhất 2 dụng cụ xách tay để đo nồng độ khí.
(9) Các yêu cầu bổ sung nếu Đăng kiểm xét thấy cần thiết.
5 Khi áp dụng các quy định ở -1(2), BWMS phải được vận hành ở lưu lượng dòng chảy nằm trong lưu lượng xử lý định mức (TRC) được quy định ở Giấy chứng nhận công nhận kiểu.
6 Khi áp dụng các quy định ở -1(2)(f), các van ở nhánh ống nối tắt (by-pass) mà tạo ra việc đi tắt phải có thể điều khiển được từ xa bằng thiết bị điều khiển hoặc có chỉ báo đóng/mở để tự động phát hiện việc nối tắt.
7 Khi áp dụng các quy định ở -1(3), việc thiết kế và lắp đặt BWMS phải thỏa mãn các yêu cầu sau, ngoài các yêu cầu có liên quan trong Quy chuẩn kỹ thuật quốc gia về Phân cấp và đóng tàu biển vỏ thép.
(1) Các đường ống có liên quan của BWMS phải thỏa mãn các yêu cầu sau:
(a) Đường ống phải được thiết kế theo các điều kiện đã phê duyệt đối với BWMS nêu ở -1(1)(a) và (b).
(b) BWMS và các đường ống và thiết bị liên quan phải được lắp đặt sao cho việc vệ sinh, kiểm tra, bảo dưỡng và vận hành có thể được thực hiện một cách dễ dàng.
(c) Khi nước ngọt được cấp vào hệ thống để xử lý hoặc bảo dưỡng v.v... thì phải có biện pháp để đảm bảo nước biển không làm bẩn hệ thống nước ngọt.
(d) Khi chân không có thể xuất hiện trong đường ống dằn do chênh lệch độ cao thì phải có phương tiện bảo vệ, ví dụ như van áp suất/chân không (van P/V) hoặc van thở, và đầu ra của chúng phải được dẫn tới một khu vực an toàn trên boong hở.
(e) Chiều dài của ống và số lượng mối nối phải được giảm tối thiểu trong hệ thống đường ống có chứa khí/chất lỏng nguy hiểm với nồng độ cao.
(f) Mối nối ống nêu ở (e) trên phải là kiểu hàn trừ các mối nối với các van ngắt, ống thành kép hoặc ống nằm trong kênh dẫn có trang bị thông gió cơ giới kiểu hút ra. Nếu không thì phải chứng minh được rằng các rủi ro do rò khí được giảm thiểu và sự hình thành môi trường khí độc hoặc dễ cháy được ngăn ngừa.
(g) Vị trí của hệ thống ống nêu ở (e) trên phải cách xa nguồn nhiệt và được bảo vệ chống lại các hư hỏng cơ khí.
(2) Đối với các tàu được trang bị két dằn nguy hiểm, nếu nước dằn đó đi qua hệ thống đo tổng lượng dư lượng chất ô-xy hóa (TRO) hoặc tổng dư lượng chlorine (TRC) trước khi xả thì các yêu cầu đối với hệ thống này trong các khu vực không nguy hiểm như là buồng máy được quy định như dưới đây:
(a) Phương tiện lấy mẫu (để theo dõi/điều khiển BWMS) phải được bố trí trong vỏ kín khí (sau đây được gọi là vỏ kín), và phải thỏa mãn các yêu cầu ở (i) tới (iii) dưới đây:
(i) Trong vỏ kín phải có van chặn ở mỗi đường ống lấy mẫu;
(ii) Trong vỏ kín phải có thiết bị phát hiện khí và các van nêu ở (i) trên phải tự động đóng lại khi được kích hoạt bởi thiết bị phát hiện khí;
(iii) Tín hiệu báo động bằng âm thanh và ánh sáng phải được kích hoạt ở các không gian nêu ở -4(2)(a) và (b) khi nồng độ của khí gây nổ đạt tới giá trị được thiết lập trước, giá trị này không nên lớn hơn 30% giới hạn cháy dưới của sản phẩm khí liên quan.
(b) Đường kính trong tiêu chuẩn của ống xuyên qua vách không được lớn hơn 12 mm.
(c) Đường ống xuyên qua vách phải được làm bằng vật liệu chống ăn mòn.
(d) Vị trí xuyên qua của ống giữa khu vực nguy hiểm và không nguy hiểm phải được hàn ở hai phía.
(e) Hệ thống đo phải được lắp đặt càng gần vách càng tốt, và chiều dài của ống đo phải càng ngắn càng tốt.
(f) Van chặn phải được bố trí ở khu vực không nguy hiểm, ở cả ống hút và ống hồi gần với vị trí xuyên qua vách. Ở gần các van này phải được treo biển cảnh báo với nội dung "Luôn đóng van khi không thực hiện đo" ("Keep valve closed when not performing measurements"). Ngoài ra, để ngăn dòng ngược trở lại, phải bố trí đệm kín nước hoặc bố trí tương đương trên đường ống hồi ở phía khu vực nguy hiểm.
(g) Phải lắp một van an toàn ở phía khu vực nguy hiểm của mỗi đường ống lấy mẫu.
(h) Nếu van an toàn được lắp đặt ở hệ thống lấy mẫu, phải tiến hành thử thủy tĩnh ở áp suất cao hơn so với áp suất yêu cầu để mở van, hoặc ở áp suất lớn hơn so với áp suất hoạt động của bơm hàng và bơm dằn nếu không được trang bị van.
(i) Không được có lỗ hở trên đường ống lấy mẫu trong khu vực không nguy hiểm.
(j) Nước dằn được lấy mẫu phải được quay trở lại đường ống mà trước đó được lấy mẫu hoặc quay trở lại két dằn.
(k) Đường kính trong tiêu chuẩn của đường ống lấy mẫu phải tối thiểu ở mức cần thiết để thỏa mãn các yêu cầu về chức năng đối với hệ thống lấy mẫu.
(3) Đối với các không gian, bao gồm khu vực nguy hiểm, mà có thể có tính độc, tính gây ngạt, tính ăn mòn hoặc tính gây phản ứng thì các mối nguy hiểm này phải được xem xét và cần phải có các biện pháp phòng ngừa bổ sung đối với thông gió của các không gian này và bảo vệ cho thuyền viên.
(4) Thiết bị điện của BWMS phải thỏa mãn các yêu cầu sau:
(a) Các thiết bị điện có liên quan của BWMS phải có mức độ bảo vệ phù hợp với vị trí lắp đặt theo các quy định liên quan ở Chương 2 Phần 4 Quy chuẩn kỹ thuật quốc gia về Phân cấp và đóng tàu biển vỏ thép.
(b) Khi thiết bị điện được lắp đặt ở khu vực nguy hiểm của tàu chở dầu, tàu chở xô hóa chất nguy hiểm hoặc tàu chở xô khí hóa lỏng thì các thiết bị điện đó phải thỏa mãn các yêu cầu ở Chương 4 Phần 4 Quy chuẩn kỹ thuật quốc gia về Phân cấp và đóng tàu biển vỏ thép.
(c) Tổng công suất của máy phát phải đảm bảo cho nhu cầu tiêu thụ điện lớn nhất khi vận hành BWMS, bao gồm việc dằn trong điều kiện đi biển bình thường, lấy hàng và trả hàng và đến/rời cảng v.v...
(5) Đối với các tàu hàng lỏng chở chất lỏng dễ cháy có điểm chớp cháy không quá 60°C, các sản phẩm được liệt kê trong Bộ luật IBC có điểm chớp cháy không quá 60°C hoặc các loại hàng được hâm nóng tới nhiệt độ cao hơn điểm chớp cháy của nó và các loại hàng được hâm nóng tới nhiệt độ nằm trong phạm vi 15°C của điểm chớp cháy, nói chung, có thể phải yêu cầu trang bị hai BWMS độc lập, ví dụ một dành cho két dằn ở khu vực nguy hiểm và một dành cho két dằn ở khu vực không nguy hiểm. Tuy nhiên, có thể yêu cầu trang bị một BWMS miễn là thỏa mãn các yêu cầu nêu ở (a) và (b) dưới đây:
(a) Việc kết nối các đường ống dằn giữa khu vực nguy hiểm và không nguy hiểm có thể được chấp nhận nếu áp dụng việc bố trí cách ly phù hợp. Phương tiện cách ly phù hợp phải như sau:
(i) Hai van chặn một chiều nối tiếp nhau với một đoạn nối ống (xem Hình 8.1(1)); hoặc
(ii) Hai van chặn một chiều nối tiếp nhau với một bẫy chất lỏng có chiều sâu ít nhất là 1,5 m (xem Hình 8.1(2)); hoặc
(iii) Van chặn kép và xả áp (double block and bleed valves) tự động và một van một chiều (xem Hình 8.1(3)).
(b) Nước dằn bắt nguồn từ khu vực nguy hiểm không được xả vào khu vực không nguy hiểm, trừ trường hợp nêu ở -7(2). Ví dụ về việc bố trí cách ly phù hợp được thể hiện trong Hình 8.2(1) và (2). Việc bố trí cách ly ở (a)(i) tới (iii) trên phải được thực hiện trên boong hở trong khu vực nguy hiểm.

Hình 8.1 Phương tiện cách ly phù hợp
(6) Các yêu cầu về thông gió ở (a) và (b) dưới đây phải được thỏa mãn:
(a) BWMS không ở khu vực nguy hiểm:
(i) BWMS mà không tạo ra các khí nguy hiểm phải được bố trí trong một khu vực được thông gió đủ;
(ii) BWMS mà tạo ra các khí nguy hiểm phải được bố trí trong một không gian được trang bị một hệ thống thông gió cơ khí tạo ra ít nhất 6 lần trao đổi khí một giờ hoặc được quy định bởi nhà sản xuất, lấy yêu cầu nào lớn hơn;
(iii) Các lỗ hở để thông gió phải được dẫn tới một khu vực an toàn trên boong hở.
(b) BWMS trong khu vực nguy hiểm:
(i) BWMS, bất kể việc có tạo ra khí nguy hiểm hay không, phải được bố trí trong một không gian có thông gió cơ giới thỏa mãn các yêu cầu liên quan, ví dụ Phần 4, 8D, 8E của Quy chuẩn kỹ thuật quốc gia về Phân cấp và đóng tàu biển vỏ thép;
(ii) Phải thỏa mãn (a)(iii) nêu trên.
(7) Nếu BWMS được lắp đặt trong một khoang độc lập thì khoang đó phải:
(a) Có tính nguyên vẹn chống cháy tương đương với "buồng máy khác"; và
(b) Được bố trí bên ngoài các khu vực dễ cháy, có tính ăn mòn, có tính độc hoặc nguy hiểm trừ trường hợp được phê duyệt riêng biệt.
(8) Có thể tiến hành đánh giá rủi ro để đảm bảo các rủi ro được xét đến, bao gồm nhưng không giới hạn đối với các rủi ro gây ra do sử dụng khí nguy hiểm làm ảnh hưởng đến người trên tàu, môi trường, độ bền kết cấu hoặc tính nguyên vẹn của tàu.
8.4 Các công nghệ xử lý nước dằn được phát triển mẫu
1 Mọi tàu, mà trước ngày tiêu chuẩn quy định ở 8.2 có hiệu lực với nó, tham gia vào một chương trình được Đăng kiểm phê duyệt để thử và đánh giá các công nghệ có triển vọng trong tương lai về xử lý nước dằn, thì tiêu chuẩn quy định ở 8.2 không cần áp dụng cho tàu đó trong thời hạn 5 năm kể từ ngày mà tàu phải thỏa mãn tiêu chuẩn đó.
2 Đối với các tàu, sau ngày tiêu chuẩn quy định ở 8.2 có hiệu lực, tham gia vào một chương trình được Đăng kiểm phê duyệt, trong đó có xét đến Hướng dẫn nêu ở 8.3-1(1) và (2), để thử và đánh giá các công nghệ có triển vọng trong tương lai về xử lý nước dằn với khả năng tạo ra được công nghệ xử lý có tiêu chuẩn cao hơn so với quy định ở 8.2 thì tiêu chuẩn ở 8.2 phải ngừng áp dụng cho tàu đó trong 5 năm tính từ ngày áp dụng công nghệ vừa nêu.

Hình 8.2(1) Hệ thống xử lý nước dằn mà không yêu cầu phải thực hiện sau xử lý

Ghi chú:
Phương tiện cách ly phù hợp nêu ở 8.3-7(5)(a)(i) tới(iii).
Hình 8.2(2) Hệ thống xử lý nước dằn mà cần phải thực hiện sau xử lý (kiểu phun)
CHƯƠNG 9 KẾ HOẠCH QUẢN LÝ NƯỚC DẰN
9.1 Quy định chung
9.1.1 Phạm vi áp dụng
1 Các yêu cầu của Chương này áp dụng cho bản Kế hoạch quản lý nước dằn yêu cầu phải có trên tàu.
2 Trên tàu phải có một bản Kế hoạch quản lý nước dằn.
9.2 Kế hoạch quản lý nước dằn
1 Kế hoạch quản lý nước dằn phải được Đăng kiểm phê duyệt. Nếu nội dung của bản Kế hoạch đó được sửa đổi thì bản Kế hoạch phải được phê duyệt lại.
2 Kế hoạch quản lý nước dằn phải có ít nhất các nội dung như dưới đây:
(1) Quy trình an toàn của tàu và thuyền viên liên quan tới việc quản lý nước dằn;
(2) Các hành động cần phải thực hiện để áp dụng các yêu cầu về quản lý nước dằn và thực hành quản lý nước dằn bổ sung như đã quy định ở Công ước BWM;
(3) Các quy trình loại bỏ cặn nước dằn như dưới đây:
(a) Trên biển; và
(b) Lên bờ.
(4) Các quy trình để phối hợp giữa hệ thống quản lý nước dằn trên tàu tham gia vào việc xả nước dằn ra biển ở vùng nước của một quốc gia và chính quyền hành chính của quốc gia đó.
(5) Sỹ quan được phân công chịu trách nhiệm đảm bảo bản Kế hoạch được thực hiện một cách đúng đắn; và
(6) Các yêu cầu về báo cáo đối với tàu được quy định trong Công ước BWM.
3 Kế hoạch quản lý nước dằn phải được viết bằng ngôn ngữ làm việc trên tàu. Nếu ngôn ngữ làm việc không phải là tiếng Anh, Pháp hoặc Tây Ban Nha thì bản Kế hoạch này phải bao gồm bản dịch sang một trong các ngôn ngữ đó.
III QUY ĐỊNH VỀ QUẢN LÝ
CHƯƠNG 1 QUY ĐỊNH VỀ CHỨNG NHẬN
1.1 Quy định chung
1 Tàu biển thuộc phạm vi điều chỉnh tại 1.1.1 Mục I của Quy chuẩn phải được Đăng kiểm kiểm tra và cấp Giấy chứng nhận phù hợp quản lý nước dằn tương ứng ở 1.2 và 1.3 dưới đây.
2 Biểu mẫu Giấy chứng nhận cấp cho tàu nêu ở 1.2 và các Giấy chứng nhận yêu cầu đối với các thiết bị của hệ thống quản lý nước dằn lắp đặt trên tàu được quy định tại Thông tư số 25/2017/TT-BGTVT.
1.2 Giấy chứng nhận cấp cho tàu
Tàu biển sẽ được cấp Giấy chứng nhận phù hợp quản lý nước dằn sau khi được Đăng kiểm kiểm tra thỏa mãn các yêu cầu nêu tại Chương 6 đến Chương 9 Mục II của Quy chuẩn này.
1.3 Thời hạn hiệu lực của giấy chứng nhận
1 Giấy chứng nhận phù hợp quản lý nước dằn có hiệu lực tối đa không quá 5 năm, tính từ ngày sau đây:
(1) Đối với kiểm tra lần đầu nêu tại Chương 3 Mục II của Quy chuẩn: ngày hoàn thành kiểm tra lần đầu.
(2) Đối với kiểm tra định kỳ nêu tại 4.3 Mục II của Quy chuẩn:
(a) Ngày hết hạn hiệu lực của giấy chứng nhận cũ nếu như đợt kiểm tra định kỳ được hoàn thành trong khoảng thời gian 3 tháng trước ngày hết hạn hiệu lực của giấy chứng nhận cũ;
(b) Ngày hoàn thành đợt kiểm tra định kỳ nếu đợt kiểm tra định kỳ được hoàn thành sớm hơn 3 tháng hoặc sau ngày hết hạn của giấy chứng nhận cũ.
2 Giấy chứng nhận nêu trên phải được xác nhận tại các đợt kiểm tra chu kỳ nêu ở Chương 4 Mục II Quy chuẩn này.
1.4 Lưu giữ, cấp lại và trả lại Giấy chứng nhận
1 Thuyền trưởng có trách nhiệm lưu giữ các giấy chứng nhận trên tàu và phải trình cho Đăng kiểm khi có yêu cầu.
2 Chủ tàu, cơ sở chế tạo động cơ hoặc thuyền trưởng phải có văn bản đề nghị Đăng kiểm cấp lại ngay các giấy chứng nhận liên quan khi:
(1) Các Giấy chứng nhận này bị mất hoặc bị rách nát;
(2) Nội dung ghi trong các Giấy chứng nhận này có thay đổi.
3 Chủ tàu hoặc thuyền trưởng phải trả lại ngay cho Đăng kiểm các giấy chứng nhận cũ bị rách nát sau khi đã được cấp lại theo -2 nêu trên, trừ trường hợp giấy chứng nhận đó bị mất.
CHƯƠNG 2 QUẢN LÝ HỒ SƠ
2.1 Quy định chung
Các hồ sơ do Đăng kiểm cấp bao gồm:
(1) Hồ sơ thiết kế được thẩm định, bao gồm các bản vẽ và các tài liệu như quy định ở Chương 3 Mục II và các Chương liên quan (nếu có yêu cầu), Giấy chứng nhận phù hợp quản lý nước dằn.
(2) Các tài liệu/Hướng dẫn kỹ thuật được duyệt;
(3) Hồ sơ kiểm tra, bao gồm các biên bản kiểm tra/thử (làm cơ sở cho việc cấp các giấy chứng nhận liên quan), các giấy chứng nhận, kể cả giấy chứng nhận về vật liệu và các sản phẩm công nghiệp/thiết bị quản lý nước dằn lắp đặt lên tàu.
2.2 Cấp hồ sơ kiểm tra
Đăng kiểm sẽ cấp hồ sơ kiểm tra cho tàu và thiết bị quản lý nước dằn lắp đặt trên tàu sau khi đã kết thúc các nội dung kiểm tra lần đầu hoặc kiểm tra chu kỳ nêu tại Chương 2 Mục II của Quy chuẩn.
2.3 Quản lý hồ sơ
1 Lưu giữ hồ sơ kiểm tra
Tất cả hồ sơ do Đăng kiểm cấp cho tàu phải được lưu giữ và bảo quản trên tàu. Các hồ sơ này phải được trình cho Đăng kiểm hoặc cơ quan có thẩm quyền xem xét khi có yêu cầu.
IV TRÁCH NHIỆM CỦA CÁC TỔ CHỨC, CÁ NHÂN
1.1 Trách nhiệm của chủ tàu, các cơ sở thiết kế, đóng mới, hoán cải và sửa chữa tàu, các cơ sở chế tạo thiết bị quản lý nước dằn trên tàu biển
1.1.1 Thực hiện đầy đủ các quy định liên quan nêu trong Quy chuẩn này.
1.1.2 Tuân thủ các quy định về kiểm tra của Đăng kiểm được quy định trong Quy chuẩn này.
1.2 Trách nhiệm của Cục Đăng kiểm Việt Nam
1.2.1 Thẩm định thiết kế, giám sát kỹ thuật
Thực hiện công tác thẩm định thiết kế, giám sát kỹ thuật phù hợp với các yêu cầu kỹ thuật nêu trong Quy chuẩn này.
1.2.2 Hướng dẫn áp dụng
Hướng dẫn thực hiện các quy định của Quy chuẩn này đối với các chủ tàu, cơ sở thiết kế, đóng mới, hoán cải và sửa chữa tàu, các cơ sở chế tạo thiết bị quản lý nước dằn lắp đặt trên tàu biển.
1.2.3 Rà soát và cập nhật Quy chuẩn
Căn cứ yêu cầu thực tế đề nghị Bộ Giao thông vận tải sửa đổi, bổ sung Quy chuẩn này khi cần thiết hoặc theo thời hạn quy định của Luật Tiêu chuẩn và Quy chuẩn kỹ thuật.
V TỔ CHỨC THỰC HIỆN
1.1 Cục Đăng kiểm Việt Nam tổ chức hệ thống kiểm tra, giám sát kỹ thuật phù hợp với các yêu cầu của Quy chuẩn này.
1.2 Trong trường hợp có sự khác nhau giữa quy định của Quy chuẩn này với quy định của quy phạm, tiêu chuẩn và quy chuẩn kỹ thuật khác liên quan đến các hệ thống kiểm soát và quản lý nước dằn và cặn nước dằn của tàu thì áp dụng quy định của Quy chuẩn này.
1.3 Trong trường hợp các tài liệu được viện dẫn trong Quy chuẩn này được sửa đổi, bổ sung hoặc thay thế thì thực hiện theo nội dung đã được sửa đổi, bổ sung hoặc thay thế có hiệu lực của tài liệu đó.
1.4 Trong trường hợp không thể thực hiện được quy định nào đó của Quy chuẩn, trong các trường hợp đặc biệt cần thiết, Bộ Giao thông vận tải sẽ quyết định việc áp dụng trong từng trường hợp cụ thể.
SỬA ĐỔI 2: 2017 QCVN 21:2015/BGTVT
QUY CHUẨN KỸ THUẬT QUỐC GIA VỀ PHÂN CẤP VÀ ĐÓNG TÀU BIỂN VỎ THÉP
Sửa đổi 2: 2017
National Technical Regulation on the Classification and Construction of Sea-going Steel Ships
Amendment No. 2: 2017
Lời nói đầu
QCVN 21:2015/BGTVT (Quy chuẩn kỹ thuật quốc gia về phân cấp và đóng tàu biển vỏ thép) đã được Bộ trưởng Bộ Giao thông vận tải ban hành theo Thông tư số 11/2016/TT-BGTVT ngày 02 tháng 6 năm 2016.
Sửa đổi 1: 2016 QCVN 21:2015/BGTVT do Cục Đăng kiểm Việt Nam biên soạn, Bộ Khoa học và Công nghệ thẩm định, Bộ trưởng Bộ Giao thông vận tải ban hành theo Thông tư số 08/2017/TT-BGTVT, ngày 14 tháng 3 năm 2017.
Sửa đổi 2: 2017 QCVN 21:2015/BGTVT do Cục Đăng kiểm Việt Nam biên soạn, Bộ Khoa học và Công nghệ thẩm định, Bộ trưởng Bộ Giao thông vận tải ban hành theo Thông tư số 15/2018/TT-BGTVT ngày 04 tháng 4 năm 2018.
Sửa đổi 2: 2017 QCVN 21:2015/BGTVT chỉ bao gồm các nội dung sửa đổi, bổ sung của QCVN 21:2015/BGTVT và Sửa đổi 1: 2016 QCVN 21:2015/BGTVT. Những nội dung không được nêu trong Sửa đổi 2: 2017 QCVN 21:2015/BGTVT thì áp dụng theo QCVN 21:2015/BGTVT và Sửa đổi 1: 2016 QCVN 21:2015/BGTVT.
QUY CHUẨN KỸ THUẬT QUỐC GIA VỀ PHÂN CẤP VÀ ĐÓNG TÀU BIỂN VỎ THÉP
National Technical Regulation on the Classification and Construction of Sea-going Steel Ships
SỬA ĐỔI 2: 2017
MỤC LỤC
I QUY ĐỊNH CHUNG
1.2 Tài liệu viện dẫn và giải thích từ ngữ
II QUY ĐỊNH KỸ THUẬT
PHẦN 1A QUY ĐỊNH CHUNG
Chương 1 Quy định chung
1.2 Giải thích từ ngữ
Chương 2 Quy định về phân cấp và duy trì cấp
2.1 Phân cấp
PHẦN 1B QUY ĐỊNH CHUNG VỀ KIỂM TRA
Chương 1 Quy định chung
1.1 Kiểm tra
1.3 Giải thích từ ngữ
1.4 Chuẩn bị kiểm tra và các vấn đề khác
Chương 2 Kiểm tra phân cấp
2.1 Kiểm tra phân cấp trong đóng mới
2.2 Kiểm tra phân cấp tàu không có giám sát của Đăng kiểm trong đóng mới
Chương 3 Kiểm tra hàng năm
3.3 Kiểm tra hàng năm hệ thống máy tàu
3.7 Các yêu cầu đặc biệt đối với các tàu sử dụng nhiên liệu có điểm chớp cháy thấp
3.8 Các yêu cầu đặc biệt đối với tàu hàng rời và tàu dầu
Chương 4 Kiểm tra trung gian
4.1 Quy định chung
4.3 Kiểm tra trung gian hệ thống máy tàu
4.6 Các yêu cầu đặc biệt đối với tàu sử dụng nhiên liệu có điểm chớp cháy thấp
Chương 5 Kiểm tra định kỳ
5.2 Kiểm tra định kỳ thân tàu, trang thiết bị, thiết bị chữa cháy và phụ tùng
5.3 Kiểm tra định kỳ hệ thống máy tàu
5.7 Các yêu cầu đặc biệt đối với tàu sử dụng nhiên liệu có điểm chớp cháy thấp
Chương 6 Kiểm tra trên đà
6.1 Kiểm tra trên đà
Chương 7 Kiểm tra nồi hơi
7.1 Kiểm tra nồi hơi
Chương 8 Kiểm tra trục chân vịt và trục trong ống bao trục
8.1 Kiểm tra trục chân vịt và trục trong ống bao trục
Chương 11 Kiểm tra tàu lặn
11.1 Quy định chung
PHẦN 2A KẾT CẤU THÂN TÀU VÀ TRANG THIẾT BỊ TÀU CÓ CHIỀU DÀI TỪ 90 MÉT TRỞ LÊN
Chương 1 Quy định chung
1.1 Quy định chung
Chương 4 Đáy đôi
4.1 Quy định chung
4.9 Kích thước của các cơ cấu đáy đôi chở cuộn thép
Chương 5 Sườn
5.3 Sườn khoang
Chương 13 Độ bền dọc
13.2 Độ bền uốn
13.3 Độ bền cắt
13.4 Độ ổn định
Chương 21 Mạn chắn sóng, lan can, cửa thoát nước, cửa hàng hóa và các cửa tương tự khác, cửa húp lô, cửa sổ chữ nhật, ống thông gió và cầu boong
21.6 Ống thông gió
PHẦN 2B KẾT CẤU THÂN TÀU VÀ TRANG THIẾT BỊ TÀU CÓ CHIỀU DÀI DƯỚI 90 MÉT
Chương 4 Đáy đôi
4.1 Quy định chung
4.10 Kích thước của các cơ cấu đáy đôi chở cuộn thép
Chương 5 Sườn
5.3 Hệ thống kết cấu ngang (ngang khoang)
PHẦN 3 HỆ THỐNG MÁY TÀU
Chương 1 Quy định chung
1.3 Những yêu cầu chung về hệ thống máy tàu
Chương 2 Động cơ điêzen
2.1 Quy định chung
2.6 Thử nghiệm
Chương 18 Điều khiển tự động và điều khiển từ xa
18.1 Quy định chung
18.2 Thiết kế hệ thống
PHẦN 4 TRANG BỊ ĐIỆN
Chương 1 Quy định chung
1.1 Quy định chung
Chương 2 Trang bị điện và thiết kế hệ thống
2.12 Bộ biến đổi bán dẫn dùng để cấp nguồn
Chương 3 Trang bị điện và thiết kế hệ thống
3.3 Nguồn điện sự cố
Chương 4 Yêu cầu bổ sung đối với tàu chở hàng đặc biệt
4.2 Tàu hàng lỏng, tàu chở xô khí hóa lỏng và tàu chở xô hóa chất nguy hiểm
Chương 5 Yêu cầu bổ sung đối với hệ thống điện chân vịt
5.2 Thiết bị điện chân vịt và cáp điện
PHẦN 5 PHÒNG, PHÁT HIỆN VÀ CHỮA CHÁY
Chương 4 Khả năng cháy
4.2 Bố trí thiết bị dầu đốt, dầu bôi trơn và các dầu dễ cháy khác
Chương 11 Tính nguyên vẹn kết cấu
11.6 Bảo vệ kết cấu két hàng tránh khỏi áp suất hoặc chân không
Chương 20 Phòng, chống cháy các khoang chở ô tô và khoang ro-ro
20.3 Lưu ý để tránh sự bắt lửa của các khí cháy trong các khoang chở ô tô kín và khoang ro-ro kín
PHẦN 6 HÀN
Chương 4 Quy trình hàn và các thông số kỹ thuật liên quan
4.2 Thử mối hàn giáp mép
Chương 6 Vật liệu hàn
6.1 Quy định chung
PHẦN 7A VẬT LIỆU
Chương 1 Quy định chung
1.1 Quy định chung
Chương 3 Thép cán
3.1 Thép cán dùng đóng thân tàu
3.2 Thép cán tấm dùng chế tạo nồi hơi
3.3 Thép cán tấm dùng chế tạo bình áp lực
3.4 Thép cán sử dụng ở nhiệt độ thấp
3.5 Thép cán không gỉ
3.6 Thép cán tròn dùng chế tạo xích
3.7 Thép cán tròn dùng cho các kết cấu máy
3.8 Thép cán tấm độ bền cao đã tôi và ram dùng cho kết cấu
3.9 Thép tấm có lớp phủ không gỉ
Chương 4 Ống thép
4.1 Ống thép dùng chế tạo nồi hơi và thiết bị trao đổi nhiệt
4.2 Ống thép dùng chế tạo đường ống chịu áp lực
4.3 Ống thép không gỉ
4.4 Ống góp nồi hơi
4.5 Ống thép dùng ở nhiệt độ thấp
Chương 5 Thép đúc
5.1 Thép đúc
5.2 Thép đúc dùng chế tạo xích
5.3 Thép đúc không gỉ
5.4 Thép đúc dùng ở nhiệt độ thấp
5.5 Gang xám đúc
5.6 Gang đúc graphit mặt sần hoặc mặt cầu
5.7 Thép không gỉ dùng để đúc chân vịt
Chương 6 Thép rèn
6.1 Thép rèn
6.2 Thép rèn không gỉ
6.3 Thép rèn dùng chế tạo xích
6.4 Thép rèn dùng ở nhiệt độ thấp
Chương 7 Đồng và hợp kim đồng
7.1 Ống đồng và hợp kim đồng
7.2 Hợp kim đồng đúc
Chương 8 Hợp kim nhôm
8.1 Hợp kim nhôm tấm và hình
PHẦN 7B TRANG THIẾT BỊ
Chương 3 Xích
3.1 Xích
3.2 Xích giàn khoan và các chi tiết khác
PHẦN 8D TÀU CHỞ XÔ KHÍ HÓA LỎNG
Chương 1 Quy định chung
1.1 Quy định chung
1.2 Điều kiện vận hành
Chương 2 Khả năng chống chìm của tàu và vị trí các két hàng
2.1 Quy định chung
2.2 Ổn định và mạn khô
2.3 Vết thủng giả định
2.4 Vị trí của các két hàng
2.5 Giả định ngập khoang
2.6 Tiêu chuẩn thủng
2.7 Yêu cầu về chống chìm
2.8 Yêu cầu vận hành
Chương 3 Bố trí trên tàu
3.1 Cách ly khu vực hàng
3.2 Các buồng sinh hoạt, buồng phục vụ, buồng máy và các trạm điều khiển
3.3 Buồng máy làm hàng và khoang tháp
3.4 Buồng điều khiển hàng
3.5 Lối tiếp cận vào các khoang trong khu vực hàng
3.6 Ngăn đệm kín khí
3.7 Bố trí hệ thống hút khô, dằn và dầu đốt
3.8 Các hệ thống nhận và trả hàng ở mũi và lái
3.9 Yêu cầu vận hành
Chương 4 Chứa hàng
4.1 Các định nghĩa
4.2 Phạm vi áp dụng
4.3 Các yêu cầu hoạt động
4.4 Nguyên tắc an toàn chứa hàng
4.5 Vách chắn thứ cấp liên quan đến kiểu két
4.6 Thiết kế vách chắn thứ cấp
4.7 Vách chắn thứ cấp từng phần và hệ thống bảo vệ rò rỉ nhỏ của vách chắn sơ cấp
4.8 Phát hiện rò rỉ của chất lỏng
4.9 Kết cấu và thiết bị liên quan
4.10 Vật liệu cách nhiệt
4.11 Quy định chung
4.12 Tải trọng cố định
4.13 Tải trọng hoạt động
4.14 Tải trọng do môi trường
4.15 Tải trọng do tai nạn
4.16 Quy định chung
4.17 Phân tích kết cấu
4.18 Điều kiện thiết kế
4.19 Vật liệu
4.20 Quá trình đóng tàu
4.21 Két rời kiểu A
4.22 Két rời kiểu B
4.23 Két rời kiểu C
4.24 Két kiểu màng
4.25 Két liền
4.26 Két kiểu nửa màng
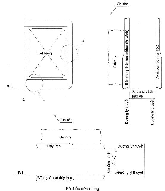
4.28 Các lưu ý hướng dẫn cho Chương 4
Chương 5 Các bình áp lực xử lý, hệ thống ống dẫn khí lỏng, hơi và hệ thống ống áp lực
5.1 Quy định chung
5.2 Các yêu cầu về hệ thống
5.3 Bố trí đường ống hàng ra bên ngoài khu vực hàng
5.4 Áp suất thiết kế
5.5 Yêu cầu về van của hệ thống hàng
5.6 Bố trí chuyển hàng
5.7 Các yêu cầu về lắp đặt
5.8 Chế tạo đường ống và các chi tiết nối
5.9 Hàn, xử lý nhiệt sau hàn và thử không phá hủy
5.10 Các yêu cầu về lắp đặt đối với đường ống hàng bên ngoài khu vực hàng
5.11 Yêu cầu về các bộ phận của hệ thống đường ống
5.12 Vật liệu
5.13 Các yêu cầu thử nghiệm
5.14 Các yêu cầu vận hành
Chương 6 Vật liệu chế tạo và kiểm soát chất lượng
6.1 Các định nghĩa
6.2 Các yêu cầu chung và phạm vi áp dụng
6.3 Các yêu cầu thử nghiệm chung và thông số kỹ thuật
6.4 Các yêu cầu đối với vật liệu kim loại
6.5 Hàn vật liệu kim loại và thử không phá hủy
6.6 Các yêu cầu khác đối với kết cấu bằng vật liệu kim loại
6.7 Vật liệu phi kim loại
Chương 7 Kiểm soát áp suất/nhiệt độ hàng
7.1 Phương pháp kiểm soát
7.2 Thiết kế hệ thống
7.3 Hóa lỏng lại hơi hàng
7.4 Ôxy hóa nhiệt hơi hàng
7.5 Hệ thống tích tụ áp suất
7.6 Làm lạnh hàng lỏng
7.7 Cách ly
7.8 Tính sẵn sàng
7.9 Các yêu cầu vận hành
Chương 8 Hệ thống thông hơi két hàng
8.1 Quy định chung
8.2 Các hệ thống điều áp
8.3 Hệ thống chống chân không
8.4 Định cỡ các hệ thống điều áp
8.5 Yêu cầu vận hành
Chương 9 Kiểm soát môi trường hệ thống chứa hàng
9.1 Kiểm soát môi trường trong phạm vi hệ thống chứa hàng
9.2 Kiểm soát môi trường trong phạm vi các khoang hàng (các hệ thống chứa hàng không phải là các két rời loại C)
9.3 Kiểm soát môi trường các khoang xung quanh các két rời loại C
9.4 Làm trơ
9.5 Sản xuất khí trơ trên tàu
Chương 10 Trang thiết bị điện
10.1 Quy định chung
10.2 Các yêu cầu chung
Chương 11 Phòng cháy và chữa cháy
11.1 Các yêu cầu về an toàn phòng cháy
11.2 Hệ thống chữa cháy chính và các họng chữa cháy
11.3 Hệ thống phun sương nước
11.4 Hệ thống chữa cháy bằng bột hóa chất khô
11.5 Các không gian kín chứa thiết bị làm hàng
11.6 Trang bị cho người chữa cháy
11.7 Các yêu cầu vận hành
Chương 12 Thông gió cưỡng bức trong khu vực hàng hóa
12.1 Các buồng phải vào được trong khi làm hàng bình thường
12.2 Các khoang bình thường không có người vào
Chương 13 Dụng cụ đo và các hệ thống tự động
13.1 Quy định chung
13.2 Các dụng cụ chỉ báo mức chất lỏng cho các két hàng
13.3 Kiểm soát tràn hàng
13.4 Giám sát áp suất
13.5 Thiết bị đo nhiệt độ
13.6 Yêu cầu về phát hiện khí
13.7 Các yêu cầu bổ sung cho hệ thống chứa hàng quy định một vách ngăn thứ cấp
13.8 Hệ thống tự động
13.9 Tích hợp hệ thống
13.10 Yêu cầu vận hành
13.11 Các yêu cầu bổ sung
Chương 14 Trang thiết bị bảo hộ cá nhân
14.1 Trang thiết bị bảo hộ cá nhân
14.2 Trang bị y tế sơ cứu
14.3 Thiết bị an toàn
14.4 Yêu cầu về bảo hộ cá nhân đối với mỗi sản phẩm riêng
14.5 Yêu cầu vận hành
Chương 15 Giới hạn điền đầy cho các két hàng
15.1 Các định nghĩa
15.2 Quy định chung
15.3 Giới hạn điền đầy mặc định
15.4 Xác định giới hạn điền đầy gia tăng
15.5 Giới hạn nạp hàng tối đa
15.6 Các thông tin trang bị cho thuyền trưởng
15.7 Điều kiện hoạt động
PHẦN 8H SÀ LAN CHUYÊN DÙNG
Chương 1 Quy định chung
1.2 Các định nghĩa
Chương 2 Vật liệu và hàn
2.2 Vật liệu
Chương 6 Kết cấu thân phương tiện
6.2 Vật liệu chế tạo cơ cấu
Chương 9 Trang thiết bị
9.6 Phương tiện tiếp cận
Chương 14 Phòng chống cháy và phương tiện thoát nạn
14.2 Tàu thực hiện các công việc có nguy cơ cháy và nổ
PHẦN 8I TÀU SỬ DỤNG NHIÊN LIỆU CÓ ĐIỂM CHỚP CHÁY THẤP
Chương 1 Quy định chung
1.1 Quy định chung
1.2 Thiết kế khác
Chương 2 Các định nghĩa
2.1 Quy định chung
2.2 Các định nghĩa
Chương 3 Mục tiêu và các yêu cầu chức năng
3.1 Mục tiêu
3.2 Các yêu cầu về chức năng
Chương 4 Các yêu cầu chung
4.1 Mục tiêu
4.2 Đánh giá rủi ro
4.3 Giới hạn hậu quả của vụ nổ
Chương 5 Thiết kế và bố trí tàu
5.1 Mục tiêu
5.2 Yêu cầu về chức năng
5.3 Các yêu cầu chung
5.4 Khái niệm buồng máy
5.5 Buồng máy an toàn khí
5.6 Buồng máy được bảo vệ bằng ESD
5.7 Vị trí và bảo vệ ống nhiên liệu
5.8 Thiết kế buồng chuẩn bị nhiên liệu
5.9 Hệ thống hút khô
5.10 Khay hứng
5.11 Bố trí lối vào và các lỗ khoét khác trong không gian kín
5.12 Khóa khí
Chương 6 Hệ thống chứa nhiên liệu
6.1 Mục tiêu
6.2 Yêu cầu về chức năng
6.3 Các yêu cầu chung
6.4 Chứa nhiên liệu khí hóa lỏng
6.5 Két nhiên liệu khí hóa lỏng di động
6.6 Hệ thống chứa nhiên liệu CNG
6.7 Hệ thống an toàn áp suất
6.8 Giới hạn chứa đối với két nhiên liệu khí hóa lỏng
6.9 Duy trì điều kiện chứa nhiên liệu
6.10 Kiểm soát môi trường khí bên trong hệ thống chứa nhiên liệu
6.11 Kiểm soát môi trường khí bên trong khoang hầm chứa nhiên liệu (hệ thống chứa nhiên liệu mà không phải két rời kiểu C)
6.12 Kiểm soát môi trường của không gian xung quanh két rời kiểu C
6.13 Làm trơ
6.14 Việc tạo và chứa khí trơ trên tàu
Chương 7 Vật liệu và thiết kế đường ống nói chung
7.1 Mục tiêu
7.2 Yêu cầu về chức năng
7.3 Thiết kế đường ống nói chung
7.4 Các quy định về vật liệu
Chương 8 Tiếp nhận nhiên liệu
8.1 Mục tiêu
8.2 Yêu cầu về chức năng
8.3 Trạm tiếp nhận nhiên liệu
8.4 Ống góp
8.5 Hệ thống tiếp nhận nhiên liệu
Chương 9 Cấp nhiên liệu cho thiết bị tiêu thụ
9.1 Mục tiêu
9.2 Yêu cầu về chức năng
9.3 Dự trữ của hệ thống cấp nhiên liệu
9.4 Chức năng an toàn của hệ thống cấp khí
9.5 Phân phối nhiên liệu bên ngoài buồng máy
9.6 Cấp nhiên liệu cho các thiết bị tiêu thụ trong buồng máy an toàn khí
9.7 Cấp nhiên liệu khí cho thiết bị tiêu thụ trong buồng máy được bảo vệ bằng ESD
9.8 Thiết kế kênh dẫn, ống bên ngoài được thông gió đối với rò rỉ khí của ống bên trong
9.9 Máy nén và bơm
Chương 10 Tạo năng lượng bao gồm hệ thống đẩy và các thiết bị tiêu thụ khí khác
10.1 Mục tiêu
10.2 Yêu cầu về chức năng
10.3 Động cơ đốt trong kiểu pít tông
10.4 Nồi hơi chính và phụ
10.5 Tua bin khí
Chương 11 An toàn chống cháy
11.1 Mục tiêu
11.2 Yêu cầu về chức năng
11.3 Bảo vệ chống cháy
11.4 Đường ống cứu hỏa chính
11.5 Hệ thống phun sương nước
11.6 Hệ thống chữa cháy bằng bột khô
11.7 Hệ thống phát hiện và báo động cháy
Chương 12 Phòng nổ
12.1 Mục tiêu
12.2 Yêu cầu về chức năng
12.3 Quy định chung
12.4 Khu vực nguy hiểm
12.5 Các vùng của khu vực nguy hiểm
Chương 13 Thông gió
13.1 Mục tiêu
13.2 Các yêu cầu về chức năng
13.3 Các yêu cầu chung
13.4 Buồng đầu nối két
13.5 Buồng máy
13.6 Buồng chuẩn bị nhiên liệu
13.7 Trạm tiếp nhận nhiên liệu
13.8 Kênh dẫn và ống dẫn kép
Chương 14 Trang bị điện
14.1 Mục đích
14.2 Các yêu cầu về chức năng
14.3 Các yêu cầu chung
Chương 15 Hệ thống điều khiển, giám sát và an toàn
15.1 Mục tiêu
15.2 Yêu cầu về chức năng
15.3 Quy định chung
15.4 Giám sát tiếp nhận nhiên liệu và két chứa nhiên liệu khí hóa lỏng
15.5 Kiểm soát tiếp nhận nhiên liệu
15.6 Giám sát máy nén khí
15.7 Giám sát động cơ chạy bằng khí
15.8 Phát hiện khí
15.9 Phát hiện cháy
15.10 Thông gió
15.11 Tính năng an toàn của hệ thống cấp nhiên liệu
Chương 16 Chế tạo, tay nghề công nhân và thử
16.1 Mục tiêu
16.2 Quy định chung về thử và các đặc tính
16.3 Hàn vật liệu kim loại và thử không phá hủy đối với hệ thống chứa nhiên liệu
16.4 Các quy định khác đối với kết cấu bằng vật liệu kim loại
16.5 Thử
16.6 Hàn, xử lý nhiệt sau hàn và thử không phá hủy
16.7 Thử
Chương 17 Yêu cầu về vận hành
17.1 Mục tiêu
17.2 Yêu cầu về chức năng
17.3 Sổ tay quản lý nhiên liệu và treo thông tin
17.4 Quy trình bảo dưỡng và sửa chữa
17.5 Các yêu cầu về vận hành
Phụ lục Tiêu chuẩn đối với việc sử dụng phương pháp trạng thái giới hạn trong thiết kế hệ thống chứa nhiên liệu có cấu tạo kiểu mới
1 Quy định chung
2 Định dạng thiết kế
3 Quy định về việc phân tích
4 Trạng thái giới hạn tới hạn
5 Trạng thái giới hạn mỏi
6 Trạng thái giới hạn sự cố
7 Thử
PHẦN 9 PHÂN KHOANG
Chương 3 Tư thế chúi và ổn định tai nạn
3.4 Các yêu cầu bổ sung về ổn định tai nạn
PHẦN 10 ỔN ĐỊNH NGUYÊN VẸN
Chương 1 Quy định chung
1.4 Các yêu cầu kỹ thuật chung
1.5 Thử nghiêng và đo khối lượng tàu không
Chương 2 Các yêu cầu chung về ổn định
2.2 Đồ thị ổn định
Chương 3 Các yêu cầu bổ sung về ổn định
3.3 Tàu chở gỗ
3.4 Tàu chở hàng lỏng dễ cháy
3.11 Tàu chữa cháy
Chương 4 Yêu cầu ổn định của cần cẩu nổi, tàu cẩu, phao chuyển tải, ụ nổi và bến nổi
4.1 Cần cẩu nổi và tàu cẩu
PHẦN 11 MẠN KHÔ
Chương 3 Điều kiện ấn định mạn khô đối với các tàu chạy tuyến quốc tế
3.2 Bố trí các phương tiện đóng kín của các lỗ trên thân tàu và thượng tầng
Chương 4 Ấn định mạn khô tối thiểu đối với các tàu chạy tuyến quốc tế
4.4 Hiệu chỉnh mạn khô
Chương 6 Dấu mạn khô của tàu có chiều dài bằng hoặc lớn hơn 24 m không chạy tuyến quốc tế
6.4 Định mạn khô tối thiểu
Chương 7 Mạn khô của các tàu có chiều dài nhỏ hơn 24 mét
7.4 Ấn định mạn khô tối thiểu
PHẦN 14 QUY ĐỊNH ĐỐI VỚI TÀU VƯỢT TUYẾN MỘT CHUYẾN
Chương 2 Các yêu cầu
2.3 Yêu cầu kỹ thuật
III CÁC QUY ĐỊNH VỀ QUẢN LÝ
3.2 Đề nghị kiểm tra và cấp giấy chứng nhận
3.3 Kiểm tra và cấp giấy chứng nhận theo công ước quốc tế và luật quốc gia
3.4 Rút cấp và mất hiệu lực của giấy chứng nhận phân cấp
IV TRÁCH NHIỆM CỦA CÁC TỔ CHỨC, CÁ NHÂN
4.2 Trách nhiệm của Cục Đăng kiểm Việt Nam
QUY CHUẨN KỸ THUẬT QUỐC GIA VỀ PHÂN CẤP VÀ ĐÓNG TÀU BIỂN VỎ THÉP
I QUY ĐỊNH CHUNG
1.2 Tài liệu viện dẫn và giải thích từ ngữ
1.2.1 được sửa đổi như sau:
1.2.1 Các tài liệu viện dẫn sử dụng trong Quy chuẩn
1 Các quy chuẩn phân cấp và đóng tàu liên quan (sau đây có thể viết tắt là quy chuẩn khác) bao gồm:
(1) QCVN 23:2016/BGTVT: Quy chuẩn kỹ thuật quốc gia về thiết bị nâng trên tàu biển;
(2) QCVN 26:2016/BGTVT: Quy chuẩn kỹ thuật quốc gia về các hệ thống ngăn ngừa ô nhiễm biển của tàu;
(3) QCVN 42:2015/BGTVT: Quy chuẩn kỹ thuật quốc gia về trang bị an toàn tàu biển;
(4) QCVN 54:2015/BGTVT: Quy chuẩn kỹ thuật quốc gia về phân cấp và đóng tàu biển cao tốc;
(5) QCVN 55:2013/BGTVT: Quy chuẩn kỹ thuật quốc gia về phân cấp và đóng ụ nổi;
(6) QCVN 56:2013/BGTVT: Quy chuẩn kỹ thuật quốc gia về phân cấp và đóng tàu làm bằng chất dẻo cốt sợi thủy tinh;
(7) QCVN 57:2015/BGTVT: Quy chuẩn kỹ thuật quốc gia về phân cấp và đóng sàn nâng tàu;
(8) QCVN 58:2013/BGTVT: Quy chuẩn kỹ thuật quốc gia về hệ thống chuông lặn;
(9) QCVN 59:2013/BGTVT: Quy chuẩn kỹ thuật quốc gia về hệ thống làm lạnh hàng;
(10) QCVN 60:2013/BGTVT: Quy chuẩn kỹ thuật quốc gia về hệ thống điều khiển tự động và từ xa;
(11) QCVN 61:2013/BGTVT: Quy chuẩn kỹ thuật quốc gia về hệ thống kiểm soát và duy trì trạng thái kỹ thuật máy tàu;
(12) QCVN 62:2013/BGTVT: Quy chuẩn kỹ thuật quốc gia về hệ thống lầu lái;
(13) QCVN 63:2013/BGTVT: Quy chuẩn kỹ thuật quốc gia về đo dung tích tàu biển;
(14) QCVN 64:2015/BGTVT: Quy chuẩn kỹ thuật quốc gia về kiểm tra sản phẩm công nghiệp dùng cho tàu biển;
(15) QCVN 65:2015/BGTVT: Quy chuẩn kỹ thuật quốc gia về đánh giá năng lực cơ sở chế tạo và cung cấp dịch vụ tàu biển;
(16) QCVN 71:2013/BGTVT: Quy chuẩn kỹ thuật quốc gia về quản lý an toàn và ngăn ngừa ô nhiễm trong khai thác tàu biển;
(17) QCVN 80:2014/BGTVT: Quy chuẩn kỹ thuật quốc gia về kiểm soát tiếng ồn trên tàu biển;
(18) QCVN 81:2014/BGTVT: Quy chuẩn kỹ thuật quốc gia về phân cấp và đóng du thuyền;
(19) QCVN 92:2015/BGTVT: Quy chuẩn kỹ thuật quốc gia về kiểm tra và đóng tàu biển vỏ gỗ;
(20) QCVN 74:2014/BGTVT: Quy chuẩn kỹ thuật quốc gia về hệ thống chống hà tàu biển;
(21) QCVN 03:2016/BGTVT: Quy chuẩn kỹ thuật quốc gia về giám sát và đóng tàu biển cỡ nhỏ.
2 Công ước quốc tế về an toàn sinh mạng con người trên biển (International Convention for the Safety of Life at Sea (SOLAS), 1974), được Tổ chức Hàng hải quốc tế (IMO) thông qua vào ngày 01 tháng 11 năm 1974, có hiệu lực từ ngày 25 tháng 5 năm 1980, đã bổ sung sửa đổi.
3 Công ước quốc tế về ngăn ngừa ô nhiễm do tàu gây ra, 1973, được bổ sung bằng Nghị định thư 1978 có liên quan (MARPOL 73/78), có hiệu lực từ ngày 02 tháng 10 năm 1983.
4 Bộ luật về an toàn đối với các tàu có công dụng đặc biệt của IMO (Code of Safety for Special Purpose Ships).
5 Bộ luật quốc tế về vận chuyển xô hàng rời rắn bằng đường biển của IMO (International Maritime Solid Bulk Cargoes Code).
6 Bộ luật quốc tế về kết cấu và thiết bị của tàu chở xô khí hóa lỏng của IMO (International Code for the Construction and Equipment of Ships Carrying Liquefied Gases in Bulk).
7 Bộ luật quốc tế về kết cấu và thiết bị của tàu chở xô hóa chất nguy hiểm của IMO (International Code for the Construction and Equipment of Ships Carrying Dangerous Chemicals in Bulk).
8 Bộ luật quốc tế về an toàn đối với tàu sử dụng nhiên liệu khí hoặc có điểm chớp cháy thấp (International Code of Safety for Ships Using Gases or Other Low-Flashpoint Fuels).
9 Bộ luật quốc tế về an toàn chở xô hàng hạt (International Code for the Safe Carriage of Grain in Bulk).
10 Bộ luật quốc tế về áp dụng các quy trình thử lửa International Code for Application of Fire Test Procedures.
11 Thông tư số 40/2016/TT-BGTVT: Thông tư Quy định về đăng kiểm tàu biển Việt Nam.
12 Thông tư số 15/2013/TT-BGTVT: Thông tư quy định về biểu mẫu giấy chứng nhận và sổ kiểm tra an toàn kỹ thuật và bảo vệ môi trường cấp cho tàu biển, phương tiện thủy nội địa và sản phẩm công nghiệp sử dụng cho phương tiện thủy nội địa.
II QUY ĐỊNH KỸ THUẬT
PHẦN 1A QUY ĐỊNH CHUNG
CHƯƠNG 1 QUY ĐỊNH CHUNG
1.2 Giải thích từ ngữ
1.2.8-1(9) được bổ sung như sau:
1.2.8 Tàu chở hàng khô tổng hợp và tàu chở gỗ
1 Tàu chở hàng khô tổng hợp là các tàu được đóng mới hoặc hoán cải để chở hàng rắn khác với các tàu sau:
(1) Tàu chở hàng rời;
(2) Tàu chở công-te-nơ (là tàu dùng để chở hàng hóa được chứa trong các công-te-nơ theo tiêu chuẩn quốc tế);
(3) Tàu ro-ro;
(4) Tàu chở ô tô;
(5) Tàu chở hàng đông lạnh;
(6) Tàu chỉ chở gỗ dăm;
(7) Tàu chỉ chở xi măng;
(8) Tàu có kết cấu 2 lớp vỏ, có 2 lớp vỏ kéo dài suốt chiều dài khu vực hàng và toàn bộ chiều cao của khoang hàng đến boong trên cùng;
(9) Tàu tự dỡ hàng.
1.2.37-1(1) được sửa đổi như sau:
1.2.37 Thượng tầng
1 Thượng tầng là cấu trúc có boong trên boong mạn khô, kéo dài từ mạn này sang mạn kia hoặc có vách bên nằm tại vị trí không lớn hơn 0,04 Bf kể từ mép mạn.
Thượng tầng được phân loại như sau:
(1) Thượng tầng giữa là một thượng tầng không kéo dài tới đường vuông góc mũi hoặc đường vuông góc lái;
(2) Thượng tầng đuôi là một thượng tầng kéo dài từ đường vuông góc lái về phía trước tới một điểm ở sau đường vuông góc mũi. Thượng tầng đuôi có thể bắt đầu từ một điểm nằm sau đường vuông góc đuôi;
(3) Thượng tầng mũi là một thượng tầng kéo dài từ đường vuông góc mũi về phía sau tới một điểm nằm trước đường vuông góc lái. Thượng tầng mũi có thể bắt đầu từ một điểm nằm trước đường vuông góc mũi;
(4) Thượng tầng toàn phần là một thượng tầng kéo dài ít nhất từ đường vuông góc mũi đến đường vuông góc lái.
1.2.46 được sửa đổi như sau:
1.2.46 Khối lượng tàu không
Khối lượng tàu không (LW) là lượng chiếm nước, tính bằng tấn, không kể hàng hóa, dầu đốt, dầu bôi trơn, nước dằn và nước ngọt chứa trong két, lương thực, thực phẩm, hành khách, thuyền viên và tư trang của họ. Khối lượng của các công chất ở trên tàu sử dụng cho các hệ thống chữa cháy cố định (ví dụ nước ngọt, CO2, bột hóa chất khô, chất tạo bọt...) phải được bao gồm vào khối lượng tàu không của tàu.
1.2.64 đến 1.2.66 được bổ sung như sau:
1.2.64 Tàu sử dụng nhiên liệu có điểm chớp cháy thấp
Tàu sử dụng nhiên liệu có điểm chớp cháy thấp là các tàu sử dụng nhiên liệu có điểm chớp cháy thấp được định nghĩa ở 2.2.1-28 Phần 8I.
1.2.65 Tàu tự dỡ hàng
Tàu tự dỡ hàng là tàu được đóng thông thường có boong đơn, đáy đôi, có các két hông và két đỉnh mạn trong khu vực dọc khoang hàng và được trang bị phương tiện để tự dỡ hàng khô được chở xô.
1.2.66 Khuyến nghị
Khuyến nghị, trừ trường hợp các khuyến nghị khác không phải là khuyến nghị của Đăng kiểm, là khuyết tật hoặc/và khiếm khuyết cần phải khắc phục để đảm bảo duy trì cấp tàu, trong một khoảng thời gian đã định. Khuyến nghị sẽ tồn tại cho đến khi nó được khắc phục xong, thông qua kiểm tra của Đăng kiểm hoặc dựa vào bằng chứng rằng các yêu cầu đã được thực hiện thỏa mãn Đăng kiểm. Khuyến nghị nếu không được khắc phục xong trong thời hạn đã định thì là khuyến nghị bị quá hạn. Khuyến nghị cũng có thể được đưa ra trong các trường hợp khác, mà theo Đăng kiểm là cần phải có sự lưu ý đặc biệt.
CHƯƠNG 2 QUY ĐỊNH VỀ PHÂN CẤP VÀ DUY TRÌ CẤP
2.1 Phân cấp
2.1.7 được sửa đổi như sau:
2.1.7 Kết cấu thân tàu và thiết bị
1 Đối với các tàu dự định chở hàng lỏng trong các két liền vỏ và thỏa mãn các yêu cầu thích hợp của Chương 27 Phần 2A hoặc Chương 22 Phần 2B, ký hiệu phân cấp được bổ sung dấu hiệu sau: Tàu chở hàng lỏng. Các tàu đó dự định chở hàng lỏng dễ cháy (trừ các hàng lỏng nêu ở -2 và -3 dưới đây) và thỏa mãn các yêu cầu thích hợp nêu ở Phần 3, Phần 4 và Phần 5 của Quy chuẩn thì ký hiệu phân cấp sẽ được bổ sung dấu hiệu tương ứng với điểm chớp cháy của hàng như sau:
(1) Đối với tàu dự định chở hàng lỏng không phải là dầu, có điểm chớp cháy nhỏ hơn hoặc bằng 60oC, ký hiệu phân cấp được bổ sung dấu hiệu sau: Tàu chở hàng lỏng có điểm chớp cháy nhỏ hơn hoặc bằng 60oC (viết tắt là TFLB).
(2) Đối với tàu dự định chở hàng lỏng không phải là dầu, có điểm chớp cháy trên 60oC, ký hiệu phân cấp được bổ sung dấu hiệu sau: Tàu chở hàng lỏng có điểm chớp cháy trên 60oC (viết tắt là TFLA).
(3) Đối với tàu dự định chở dầu có điểm chớp cháy nhỏ hơn hoặc bằng 60oC, ký hiệu phân cấp được bổ sung dấu hiệu sau: Tàu chở dầu có điểm chớp cháy nhỏ hơn hoặc bằng 60oC (viết tắt là TOB).
(4) Đối với tàu dự định chở dầu có điểm chớp cháy trên 60oC, ký hiệu phân cấp được bổ sung dấu hiệu sau: Tàu chở dầu có điểm chớp cháy trên 60oC (viết tắt là TOA).
2 Bất kể các quy định ở -1 trên, đối với các tàu chở xô hóa chất nguy hiểm, phù hợp với các yêu cầu ở Phần 8E của Quy chuẩn, ký hiệu phân cấp được bổ sung dấu hiệu sau:
(1) Đối với các tàu loại I: Tàu chở hóa chất loại I (viết tắt là CT I);
(2) Đối với các tàu loại II: Tàu chở hóa chất loại II (viết tắt là CT II);
(3) Đối với các tàu loại III: Tàu chở hóa chất loại III (viết tắt là CT III);
(4) Đối với các tàu phù hợp với cả tàu loại II và loại III, ký hiệu phân cấp được bổ sung dấu hiệu sau: Tàu chở hóa chất loại II và III (viết tắt là CT II & III).
3 Đối với các tàu chở xô khí hóa lỏng, phù hợp với các yêu cầu ở Phần 8D của Quy chuẩn, ký hiệu phân cấp được bổ sung dấu hiệu sau:
(1) Đối với tàu loại 1G: Tàu chở khí hóa lỏng loại 1G (viết tắt là LGC 1G);
(2) Đối với tàu loại 2G: Tàu chở khí hóa lỏng loại 2G (viết tắt là LGC 2G);
(3) Đối với tàu loại 2PG: Tàu chở khí hóa lỏng loại 2PG (viết tắt là LGC 2PG);
(4) Đối với tàu loại 3G: Tàu chở khí hóa lỏng loại 3G (viết tắt là LGC 3G).
4 Đối với tàu dự định chở hàng lỏng trong các két độc lập (khác với -2 hoặc -3 trên), ký hiệu phân cấp được bổ sung dấu hiệu sau: Tàu chở két (viết tắt là TC). Trong trường hợp này, có thể bổ sung dấu hiệu tương ứng với loại hàng được chở như đã nêu ở -1 trên.
5 Đối với các tàu dự định chở quặng hoặc hàng tương tự có khối lượng riêng cao tương đương, thông thường có hai vách dọc kín nước và đáy đôi kéo suốt vùng xếp hàng và phù hợp với các yêu cầu của Chương 28 Phần 2A, ký hiệu phân cấp được bổ sung dấu hiệu sau: Tàu chở quặng (viết tắt là OC).
6 Đối với các tàu dự định chở xô hàng khô (hàng khô ở dạng rời), thông thường có boong đơn, đáy đôi, có các két hông và két đỉnh mạn trong vùng xếp hàng và phù hợp với các yêu cầu của Chương 29 Phần 2A, ký hiệu phân cấp được bổ sung dấu hiệu sau: Tàu chở hàng rời (viết tắt là BC). Bất kể quy định trên, đối với các tàu được nêu ở 29.1.2-1 Phần 2A, ký hiệu phân cấp được bổ sung dấu hiệu thích hợp tương ứng với kiểu tàu như nêu ở 29.1.2-1 Phần 2A như dưới đây. Đối với các tàu không có quy định xếp/dỡ hàng tại nhiều cảng, ký hiệu phân cấp được bổ sung dấu hiệu “Không xếp/dỡ hàng tại nhiều cảng” (viết tắt là NO MP) kèm theo các dấu hiệu sau:
(1) Đối với các tàu chở hàng rời loại A: Tàu chở hàng rời loại A (viết tắt là BC-A);
(2) Đối với các tàu chở hàng rời loại B: Tàu chở hàng rời loại B (viết tắt là BC-B);
(3) Đối với các tàu chở hàng rời loại C: Tàu chở hàng rời loại C (viết tắt là BC-C).
7 Đối với các tàu chở hàng rời như định nghĩa ở 29.10.1-2(1) Phần 2A của Quy chuẩn và phù hợp với các yêu cầu ở 32.2 Phần 2A; 13.5.10 và 13.8.5 Phần 3 và 3.2.6 Phần 10 của Quy chuẩn, ký hiệu phân cấp được bổ sung dấu hiệu sau: BC-XII. Đối với các tàu có dấu hiệu BC-XII thỏa mãn các yêu cầu ở -6 trên thì bổ sung cả các dấu hiệu nêu ở -6, ví dụ: * VRH (BC-A, BC-XII).
8 Đối với các tàu dự định chở công-te-nơ, thông thường có đáy đôi trong vùng xếp hàng và phù hợp với Chương 30 Phần 2A, ký hiệu phân cấp được bổ sung dấu hiệu sau: Tàu chở công-te-nơ (viết tắt là CNC).
9 Đối với các tàu có khoang hàng không được phân chia bình thường và thường kéo dài đến phần lớn chiều dài tàu hoặc toàn bộ chiều dài tàu mà trong đó hàng hóa có thể được xếp/dỡ theo phương ngang và phù hợp với các yêu cầu liên quan của Quy chuẩn này, ký hiệu phân cấp được bổ sung dấu hiệu sau: RORO.
10 Đối với các tàu hoạt động chuyên dụng như nạo vét, nâng các hàng nặng, chữa cháy, cung cấp cho các công trình ngoài biển, kéo v.v... phù hợp với các yêu cầu của Phần 8B, ký hiệu phân cấp được bổ sung dấu hiệu thích hợp phù hợp với quy định ở Phần 8B.
11 Đối với những kết cấu được bố trí ở một khu vực biển trong một thời gian dài, hoặc nửa cố định, phù hợp với các yêu cầu của Phần 8H, ký hiệu phân cấp được bổ sung dấu hiệu thích hợp phù hợp với quy định ở Phần 8H.
12 Đối với các tàu có công dụng đặc biệt (như định nghĩa ở 1.2.10 Phần 1A), ký hiệu phân cấp được bổ sung dấu hiệu: SPS xxx (trong đó xxx biểu thị tổng số người trên tàu, bao gồm thuyền viên, người đặc biệt và hành khách (hành khách không được quá 12 người)).
13 Đối với các tàu có công dụng đặc biệt thỏa mãn các yêu cầu của Bộ luật về an toàn đối với các tàu có công dụng đặc biệt của IMO (Code of Safety for Special Purpose Ships), ký hiệu phân cấp được bổ sung dấu hiệu: SPSC xxx (trong đó xxx biểu thị tổng số người trên tàu, bao gồm thuyền viên, người đặc biệt và hành khách (hành khách không được quá 12 người).
14 Đối với các tàu cao tốc thỏa mãn các yêu cầu của Quy chuẩn kỹ thuật quốc gia về phân cấp và đóng tàu biển cao tốc (QCVN 54:2015/BGTVT), ký hiệu phân cấp được bổ sung dấu hiệu phù hợp với QCVN 54:2015/BGTVT.
15 Đối với các cấu trúc nổi, dự định chở hàng trong các khoang hàng, trên boong và/hoặc trong các két liền vỏ, không có thiết bị đẩy cơ khí và phù hợp với các yêu cầu của Phần 8A của Quy chuẩn, ký hiệu cấp được bổ sung dấu hiệu sau: Sà lan (viết tắt là B).
Tùy thuộc vào kết cấu thân vỏ và loại hàng hóa chuyên chở, ký hiệu phân cấp còn được bổ sung các dấu hiệu sau:
(1) Đối với sà lan kiểu pông tông dự định chỉ chở hàng trên boong: Sà lan pông tông (viết tắt là BP);
(2) Đối với sà lan dự định chở hàng lỏng trong các két liền vỏ: Sà lan chở hàng lỏng (viết tắt là BT);
(3) Đối với sà lan chở xô khí hóa lỏng, phù hợp với các quy định của Phần 8D: Sà lan chở khí hóa lỏng (viết tắt là BLGC).
16 Đối với các tàu lặn phù hợp với các yêu cầu của Phần 8C, ký hiệu phân cấp được bổ sung dấu hiệu sau: Tàu lặn (viết tắt là SBM). Trong trường hợp này, các điều kiện về thiết kế như chiều sâu lặn lớn nhất phải được bổ sung vào dấu hiệu phân cấp.
17 Đối với các tàu trang bị hệ thống hỗ trợ lặn (các tàu mẹ/tàu hỗ trợ) phù hợp với các yêu cầu của Phần 8C, ký hiệu phân cấp được bổ sung dấu hiệu sau: Được trang bị hệ thống hỗ trợ tàu lặn (viết tắt là EQ SS SMB).
18 Đối với các tàu được trang bị để chở hàng nguy hiểm và phù hợp với yêu cầu của Chương 19 Phần 5, 4.10 Phần 4 của Quy chuẩn, ký hiệu phân cấp được bổ sung dấu hiệu sau: Được trang bị để chở hàng nguy hiểm (viết tắt là EQ C DG).
19 Đối với các tàu được trang bị để chở xe có động cơ (ô tô) có nhiên liệu trong két để tự chạy phù hợp với yêu cầu của Chương 20 Phần 5, 4.8.1 Phần 4 của Quy chuẩn, ký hiệu phân cấp được bổ sung dấu hiệu sau: Được trang bị để chở ô tô (viết tắt là EQ C V).
20 Đối với các tàu được trang bị để chở than phù hợp với các yêu cầu 29.7.5 Phần 2A, 4.9 Phần 4 của Quy chuẩn, ký hiệu phân cấp được bổ sung dấu hiệu sau: Được trang bị để chở than (viết tắt là EQ C C).
21 Đối với các tàu được trang bị để chở gỗ súc phù hợp với các yêu cầu ở 1.1.3-2 Phần 2A, 3.3 Phần 10 của Quy chuẩn, ký hiệu phân cấp được bổ sung dấu hiệu sau: Được trang bị để chở gỗ súc (viết tắt là EQ C LB).
22 Đối với các tàu được gia cường để xếp/dỡ hàng bằng gầu ngoạm, được Đăng kiểm cho là thích hợp, phù hợp với yêu cầu ở 29.10.5-2(1)(a) Phần 2A của Quy chuẩn, ký hiệu phân cấp được bổ sung dấu hiệu sau: Gàu ngoạm.
23 Đối với các tàu tuân theo các yêu cầu ở -6 nhưng không thỏa mãn hoàn toàn là tàu chở hàng rời thông thường như nêu ở 29.1.1-3 Phần 2A của Quy chuẩn và dự định đăng ký như tàu chở hàng rời, ký hiệu phân cấp được bổ sung dấu hiệu sau: Tàu chở hàng rời sửa đổi (viết tắt là BCM). Trong trường hợp này, các đặc trưng kết cấu của tàu phải được đưa thêm vào dấu hiệu phân cấp.
24 Đối với các tàu thỏa mãn các yêu cầu ở 23.2.2 Phần 2A, 20.4.2 Phần 2B, ký hiệu phân cấp được bổ sung dấu hiệu: PSPC-WBT.
25 Đối với các tàu thỏa mãn các yêu cầu ở Phần 13, ký hiệu phân cấp được bổ sung dấu hiệu sau: ACCOM.
26 Đối với các tàu thỏa mãn các yêu cầu ở 23.2.3 Phần 2A, 20.4.3 Phần 2B, ký hiệu phân cấp được bổ sung dấu hiệu thích hợp tương ứng với cách bảo vệ chống ăn mòn như sau:
(1) Nếu việc sơn phủ phù hợp với Nghị quyết MSC. 288(87) của IMO: PSPC-COT;
(2) Nếu bảo vệ chống ăn mòn bằng thép không gỉ phù hợp với Nghị quyết MSC. 289(87) của IMO: PSCRS-COT;
(3) Nếu việc sơn phủ phù hợp với Nghị quyết MSC. 288(87) của IMO và bảo vệ chống ăn mòn bằng thép không gỉ phù hợp với Nghị quyết MSC. 289(87) của IMO: PSPC/PSCRS-COT.
27 Đối với các tàu dự định chở hàng có độ ẩm vượt quá giới hạn độ ẩm có thể vận chuyển, phù hợp với các yêu cầu ở 1.1.3-5 Phần 2A, 1.1.3-2 Phần 2B, ký hiệu phân cấp được bổ sung dấu hiệu: Tàu hàng có kết cấu đặc biệt (viết tắt là SCCS).
28 Đối với các tàu có hai thân hoặc ba thân thỏa mãn các yêu cầu thích hợp trong Quy chuẩn này và các yêu cầu liên quan đối với kết cấu tàu hai thân, ba thân trong Phần 2 Mục II của QCVN 54:2015/BGTVT, ký hiệu phân cấp được bổ sung dấu hiệu: Hai thân (viết tắt là CAT) (hoặc Ba thân, viết tắt là TRI) vào sau dấu hiệu vật liệu kết cấu chính thân tàu nêu ở 2.1.5.
29 Đối với các tàu thỏa mãn các quy định ở Phần 8F, ký hiệu phân cấp được bổ sung dấu hiệu: Tàu khách (viết tắt là PS). Đối với các tàu này mà có các khoang hàng để chở hàng tổng hợp, ký hiệu phân cấp được bổ sung dấu hiệu: Tàu khách/hàng tổng hợp (viết tắt là PS/GS). Đối với các tàu này mà thỏa mãn các quy định ở -9 trên, ký hiệu phân cấp được bổ sung dấu hiệu: Tàu khách/RORO (viết tắt là PS/RORO).
30 Đối với các tàu áp dụng các quy định của QCVN 80:2014/BGTVT, ký hiệu phân cấp được bổ sung dấu hiệu: NC.
31 Đối với các tàu chở ô tô như được định nghĩa ở 3.2.54 Phần 5 của Quy chuẩn, được trang bị để chở ô tô có động cơ sử dụng khí tự nhiên nén trong két của chúng để tự chạy, phù hợp với các quy định ở Chương 20A Phần 5 và 4.8.2 Phần 4 của Quy chuẩn, ký hiệu phân cấp được bổ sung dấu hiệu: Được trang bị để chở ô tô chạy bằng khí tự nhiên nén (viết tắt là EQ C CNGPMV).
32 Đối với các tàu chở ô tô như được định nghĩa ở 3.2.54 Phần 5 của Quy chuẩn, được trang bị để chở ô tô có động cơ sử dụng khí hydrô nén trong két của chúng để tự chạy, phù hợp với các quy định ở Chương 20A Phần 5 và 4.8.3 Phần 4 của Quy chuẩn, ký hiệu phân cấp được bổ sung dấu hiệu: Được trang bị để chở ô tô chạy bằng khí hydrô nén (viết tắt là EQ C CHPMV).
33 Đối với các tàu tự dỡ hàng (Self-unloading) được định nghĩa ở 1.2.65, ký hiệu phân cấp được bổ sung dấu hiệu: Tự dỡ hàng (viết tắt là SUL).
34 Đối với các tàu thỏa mãn các yêu cầu ở Phần 8I, ký hiệu phân cấp được bổ sung dấu hiệu: Được trang bị để sử dụng nhiên liệu có điểm chớp cháy thấp (viết tắt là EQ U LFF). Trong trường hợp này, chi tiết về nhiên liệu sử dụng phải được mô tả trong Giấy chứng nhận phân cấp của tàu.
35 Đối với các tàu có các đặc điểm riêng về công dụng, kết cấu và loại hàng chuyên chở, chưa được quy định như nêu trên, dấu hiệu bổ sung phù hợp sẽ được Đăng kiểm xem xét để bổ sung vào ký hiệu phân cấp.
2.1.9 được sửa đổi như sau:
2.1.9 Dấu hiệu kiểm tra đặc biệt
1 Đối với các tàu dầu định nghĩa ở 1.2.5-1, các tàu chở xô hóa chất nguy hiểm định nghĩa ở 1.2.7, các tàu chở hàng rời định nghĩa ở 1.2.9-1 và các tàu tự dỡ hàng như định nghĩa 1.2.65, phải áp dụng chương trình kiểm tra nâng cao trong các đợt kiểm tra duy trì cấp theo các quy định thích hợp trong Phần 1B của Quy chuẩn này, ký hiệu phân cấp được bổ sung dấu hiệu sau: ESP.
2 Đối với các tàu thỏa mãn để kiểm tra phần chìm thân tàu dưới nước phù hợp với các yêu cầu ở 6.1.2 Phần 1B, ký hiệu phân cấp được bổ sung dấu hiệu sau: IWS.
3 Dấu hiệu “Hệ thống giám sát trạng thái trục chân vịt” (viết tắt là PSCM) được bổ sung vào sau ký hiệu phân cấp đối với các tàu mà việc kiểm tra hệ trục chân vịt được thực hiện dựa vào hệ thống bảo dưỡng phòng ngừa được thực hiện phù hợp với các quy định ở 8.1.3-1(1) Phần 1B.
4 Dấu hiệu “Hệ thống giám sát trạng thái trục chân vịt - A” (viết tắt là PSCM-A) được bổ sung vào sau ký hiệu phân cấp đối với các tàu mà việc kiểm tra hệ trục chân vịt được thực hiện dựa vào hệ thống bảo dưỡng phòng ngừa được thực hiện phù hợp với các quy định ở 8.1.3-1(2) Phần 1B.
5 Dấu hiệu “Kiểm tra trục chân vịt lựa chọn - Dầu” (Alternative Propeller Shaft Survey - Oil) (viết tắt là APSS-O) được bổ sung vào sau ký hiệu phân cấp đối với các tàu có ổ đỡ trong ống bao trục bôi trơn bằng dầu (trừ các tàu có dấu hiệu “PSCM” hoặc “PSCM-A”) mà việc kiểm tra hệ trục chân vịt sử dụng phương pháp kiểm tra lựa chọn khác nêu ở 1.1.3-1(6)(h) Phần 1B của Quy chuẩn.
6 Dấu hiệu “Kiểm tra trục chân vịt lựa chọn - Nước” (Alternative Propeller Shaft Survey - Water) (viết tắt là APSS-W) được bổ sung vào sau ký hiệu phân cấp đối với các tàu có ổ đỡ trong ống bao trục bôi trơn bằng nước ngọt (trừ các tàu có dấu hiệu “PSCM” hoặc “PSCM-A”) mà việc kiểm tra hệ trục chân vịt sử dụng phương pháp kiểm tra lựa chọn khác nêu ở 1.1.3-1(6)(h) Phần 1B của Quy chuẩn.
7 Dấu hiệu "thời hạn lên đà kéo dài" (Extended Drydock) (viết tắt là EDD) được bổ sung vào sau ký hiệu phân cấp đối với các tàu mà kiểm tra dưới nước được thực hiện liên tiếp thay cho kiểm tra trên đà phù hợp với các yêu cầu ở 6.1.2-2 Phần 1B.
PHẦN 1B QUY ĐỊNH CHUNG VỀ KIỂM TRA
CHƯƠNG 1 QUY ĐỊNH CHUNG
1.1 Kiểm tra
1.1.3-1(6) được sửa đổi như sau:
1.1.3 Thời hạn kiểm tra duy trì cấp tàu
1 Kiểm tra chu kỳ phải được tiến hành phù hợp với các yêu cầu được đưa ra từ (1) đến (6) sau đây:
(6) Kiểm tra trục chân vịt và trục trong ống bao trục
Kiểm tra thông thường trục chân vịt và trục trong ống bao trục phải được tiến hành theo quy định từ (a) đến (k) sau đây:
(a) Kiểm tra thông thường trục chân vịt loại 1 hoặc trục trong ống bao trục loại 1 (sau đây trong Chương này gọi là trục loại 1) phải được tiến hành trong khoảng thời gian 5 năm tính từ ngày hoàn thành kiểm tra phân cấp hoặc kiểm tra thông thường trục chân vịt trước đó (ngày đến hạn kiểm tra).
(b) Bất kể quy định ở (a) trên, kiểm tra thông thường trục chân vịt có lắp ổ đỡ trong ống bao trục được bôi trơn bằng dầu phải tuân theo các quy định từ (i) đến (iv) sau:
(i) Kiểm tra thông thường trục chân vịt loại 1B có thể được hoãn không quá 3 năm tính từ ngày hoàn thành kiểm tra từng phần nếu kiểm tra từng phần nêu ở 8.1.2-1 được thực hiện vào thời gian nêu ở (a) trên. Ngoài ra, nếu kiểm tra xác nhận được thực hiện trong phạm vi 3 năm tính từ ngày hoàn thành kiểm tra từng phần nêu trên và đảm bảo được rằng, việc bảo dưỡng đã được thực hiện tốt kể từ khi kiểm tra từng phần đó, kiểm tra thông thường có thể được hoãn không quá 2 năm tính từ ngày kiểm tra xác nhận nêu trên.
(ii) Kiểm tra thông thường trục chân vịt loại 1C có thể được hoãn không quá 5 năm tính từ ngày hoàn thành kiểm tra từng phần nếu kiểm tra từng phần nêu ở 8.1.2-2 được thực hiện vào thời gian nêu ở (a) trên.
(iii) Kiểm tra xác nhận nêu ở (i) trên phải đảm bảo rằng ít nhất các nội dung nêu ở 1) đến 3) được giám sát và ghi lại, và các tình trạng về bôi trơn của hệ trục được duy trì tốt dựa trên các thông số được giám sát đó. Trong trường hợp này, việc giám sát và ghi phải được thực hiện cho đến đợt kiểm tra thông thường lần tiếp theo.
1) Lấy mẫu và phân tích dầu bôi trơn được thực hiện thường xuyên vào các khoảng thời gian không vượt quá 6 tháng (một đợt phân tích phải bao gồm hàm lượng nước, hàm lượng clorua, hàm lượng kim loại trục, hàm lượng hạt kim loại ổ đỡ và mức độ ô xy hóa dầu)
2) Tốc độ tiêu thụ dầu
3) Nhiệt độ ổ đỡ
(iv) Tiêu chuẩn đối với các thông số được giám sát nêu ở (iii) trên được quy định như sau:
1) Phân tích dầu: - Các hạng mục và phương pháp phân tích
Có thể áp dụng các giá trị ở Bảng 1B/1.1 sau. Tuy nhiên, có thể sử dụng các hạng mục và phương pháp phân tích khác nếu được Đăng kiểm thấy phù hợp.
2) Tốc độ tiêu thụ dầu bôi trơn
Nhỏ hơn hoặc bằng 2 lít/ngày
3) Nhiệt độ ở ổ đỡ phía sau trong ống bao
Nhỏ hơn hoặc bằng 55oC
4) Độ sụt đối với ổ đỡ bôi trơn bằng dầu
Nhỏ hơn hoặc bằng 0,3 mm
Bảng 1B/1.1 Giá trị tiêu chuẩn
|
Hạng mục phân tích |
Giá trị lớn nhất |
Phương pháp phân tích |
|
Fe (phần triệu) |
50 |
ICP (SOAP) |
|
Sn (phần triệu) |
20 |
ICP (SOAP) |
|
Pb (phần triệu) |
20 |
ICP (SOAP) |
|
Na (phần triệu |
80 |
ICP (SOAP) |
|
Ô xy hóa I-ri-đi (IR) @5,85 µm (đơn vị/cm) |
10 |
FT-IR |
|
Nước phân tách (%) |
1 |
Nhìn thấy (lắng 24 giờ) |
Chú thích:
- Giá trị tiêu chuẩn
Giá trị nằm trong các giá trị lớn nhất nêu ở Bảng 1B/1.1 tính từ các giá trị của dầu mới.
- Giá trị báo động
Giá trị nhỏ hơn 2 lần giá trị tiêu chuẩn (nếu thông số bất kỳ vượt quá giá trị báo động, dầu thử phải được lấy mẫu lại và phân tích lại đối với tất cả các hạng mục phải được thực hiện ngay).
(c) Bất kể quy định ở (a) trên, trục chân vịt loại 1 áp dụng hệ thống bảo dưỡng phòng ngừa phù hợp với các yêu cầu ở 8.1.3, không cần phải rút trục ra trong đợt kiểm tra thông thường. Các trục phải được rút ra để kiểm tra vào lúc được yêu cầu dựa trên cơ sở kết quả bảo dưỡng phòng ngừa.
(d) Kiểm tra thông thường trục chân vịt loại 2 và trục trong ống bao trục loại 2 (sau đây trong Chương này gọi là trục loại 2) phải được tiến hành như quy định ở (i) và (ii) dưới đây:
(i) Kiểm tra được tiến hành đồng thời với đợt kiểm tra định kỳ;
(ii) Kiểm tra được tiến hành trong vòng 36 tháng tính từ ngày hoàn thành kiểm tra phân cấp hoặc kiểm tra thông thường hệ trục trước đó (ngày đến hạn kiểm tra).
Tuy nhiên, nếu như phần kết cấu của trục ở trong ổ đỡ trong ống bao trục tương ứng với các trục loại 1 và kết cấu của trục giữa ống bao trục và giá đỡ trục tương ứng với trục loại 2, thì trục có thể được kiểm tra trong khoảng thời gian được đưa ra ở (a), với điều kiện là đã thực hiện việc kiểm tra từng phần tương ứng với trục loại 2 đúng theo thời gian được đưa ra ở (i) và (ii) nói trên.
(e) Khi áp dụng yêu cầu ở (a) và (d) trên, đối với kiểm tra thông thường được hoàn thành trong phạm vi 3 tháng trước ngày đến hạn kiểm tra, ngày đến hạn kiểm tra sẽ được coi là ngày hoàn thành kiểm tra này.
(f) Khi áp dụng áp dụng yêu cầu ở (b) trên, kiểm tra từng phần được hoàn thành trong phạm vi 1 tháng trước ngày đến hạn kiểm tra, ngày đến hạn kiểm tra sẽ được coi là ngày hoàn thành kiểm tra này.
(g) Đối với trục không then được bôi trơn ổ đỡ bằng nước, hai lần liên tiếp tháo trục và kiểm tra phần côn bằng kiểm tra không phá hủy không được vượt quá 15 năm. Kiểm tra không phá hủy ở đây thông thường là kiểm tra bằng bột từ tính.
(h) Bất kể yêu cầu ở (a) đến (g) trên, kiểm tra thông thường trục chân vịt và trục trong ống bao của các tàu có dấu hiệu phân cấp “APSS-O” hoặc “APSS-W” phải được thực hiện theo hướng dẫn của Đăng kiểm.
(i) Thời hạn kiểm tra (ngày đến hạn kiểm tra) của kiểm tra thông thường trục chân vịt loại 1 và trục trong ống bao loại 1 có thể được kéo dài nếu thực hiện kiểm tra bất thường phù hợp với (i) đến (iv) dưới đây:
(i) Đối với các ổ đỡ bôi trơn bằng dầu, phải thực hiện theo 1) đến 3) dưới đây:
1) Ngày đến hạn kiểm tra có thể kéo dài đến 1 năm trong trường hợp mà sau khi kiểm tra như nêu ở a) đến h) dưới đây, cho thấy các chi tiết được kiểm tra có tình trạng tốt. Trong trường hợp này, có thể chỉ được gia hạn thêm một “kéo dài thêm 1 năm”.
a) Kiểm tra xác nhận không có sửa chữa nào được báo cáo về mài hoặc hàn trục và/hoặc chân vịt;
b) Khẳng định từ máy trưởng là hệ trục có tình trạng hoạt động tốt.
c) Kiểm tra bằng mắt tất cả các phần của hệ trục có thể tiếp cận được;
d) Soát xét lại các báo cáo kiểm tra trước đây về độ sụt và/hoặc khe hở giữa trục và ổ đỡ;
e) Kiểm tra các báo cáo bảo dưỡng của thiết bị làm kín ống bao trục;
f) Kiểm tra đảm bảo rằng máy chính không bị vận hành trong vùng vòng quay cấm do dao động xoắn;
g) Kiểm tra khẳng định chân vịt không bị hư hỏng dẫn đến mất cân bằng;
h) Thực hiện các kiểm tra nêu ở hạng mục 12 và 13 trong Bảng 1B/8.1.
2) Ngày đến hạn kiểm tra có thể được kéo dài đến 3 tháng trong các trường hợp mà sau khi kiểm tra như nêu ở a) đến b) dưới đây, cho thấy các chi tiết được kiểm tra có tình trạng tốt:
a) Kiểm tra và kiểm tra lại như nêu ở (i)1)a) đến (i)1)d) và (i)1)f), (i)1)h);
b) Kiểm tra khẳng định hiệu quả của thiết bị làm kín bên trong.
3) Các nội dung kiểm tra như nêu ở 1) và 2) trên có thể được thực hiện liên tiếp, tuy nhiên, ngày đến hạn kiểm tra có thể chỉ được gia hạn tối đa đến 1 năm.
(ii) Đối với các ổ đỡ bôi trơn bằng nước ngọt, phải áp dụng các yêu cầu ở 1) đến 4) dưới đây:
1) Ngày đến hạn kiểm tra có thể được kéo dài đến 1 năm trong các trường hợp mà sau khi kiểm tra như nêu ở a) đến e) dưới đây, cho thấy các chi tiết được kiểm tra có tình trạng tốt. Trong trường hợp này, có thể chỉ được gia hạn thêm một “kéo dài thêm 1 năm”.
a) Soát xét lại như nêu ở (i)1)d) trên;
b) Soát xét lại các báo cáo khai thác, các số liệu được ghi lại thường xuyên về các điều kiện khai thác của trục, có thể bao gồm lưu lượng nước, nhiệt độ nước, độ muối, pH, nước pha chế và áp suất nước;
c) Soát xét lại các báo cáo thử của các đợt thử mẫu nước được thực hiện phù hợp với i) đến v) dưới đây để đảm bảo rằng các kết quả thử phù hợp với các tiêu chuẩn của thông số được xác định bởi việc quản lý tàu dựa trên các tiêu chuẩn tham khảo ở v) dưới đây và kinh nghiệm, kiến thức quản lý đó. Sau khi soát xét lại, phải thực hiện thử mẫu nước phù hợp với ii) đến v) với sự có mặt của đăng kiểm viên.
i) Thử mẫu nước ngọt phải được thực hiện vào các khoảng thời gian đều đặn, về nguyên tắc không được quá 6 tháng.
ii) Thử mẫu nước ngọt phải bao gồm các tham số, hàm lượng clorua, giá trị pH, các hạt vật liệu bạc hoặc thành phần khác (chỉ đối với các phân tích trong phòng thí nghiệm, không yêu cầu đối với các thử nghiệm yêu cầu có mặt đăng kiểm viên)
iii) Việc lấy mẫu thử phải được thực hiện phù hợp với các yêu cầu sau:
● Các mẫu thử phải được lấy trong điều kiện hoạt động (nghĩa là trục quay và hệ thống ở nhiệt độ khai thác) và phải là đặc trưng của nước tuần hoàn trong ống bao trục.
● Các mẫu phải được lấy từ cùng vị trí thích hợp đã định trước (trước bầu lọc, nếu có) trong hệ thống.
● Các mẫu phải được thu gom dưới sự giám sát trực tiếp của máy trưởng, trừ trường hợp lấy mẫu có sự có mặt của đăng kiểm viên.
iv) Các kết quả phân tích phải được lưu giữ trên tàu và sẵn có cho đăng kiểm viên.
v) Mức của nước bổ sung trong hệ thống phải được kiểm tra.
d) Các kiểm tra nêu ở (i)1)a) đến c) và g), h) nêu trên.
e) Kiểm tra xác định hiệu quả của thiết bị làm kín bên trong.
2) Ngày đến hạn kiểm tra có thể được kéo dài đến 3 tháng trong các trường hợp mà sau khi kiểm tra như nêu ở a) đến b) dưới đây, cho thấy các chi tiết được kiểm tra có tình trạng tốt:
a) Các kiểm tra như nêu ở 1)a) đến d) trên
b) Kiểm tra xác định hiệu quả của thiết bị làm kín bên trong.
3) Các kiểm tra nêu ở 1) và 2) trên có thể được thực hiện liên tiếp, tuy nhiên, ngày đến hạn kiểm tra có thể chỉ được gia hạn tối đa đến 1 năm.
4) Tiêu chuẩn tham khảo đối với các chỉ tiêu của tham số nêu ở 1)c) trên như đưa ra dưới đây:
a) Hàm lượng Clo-rua và Na-tri (giới hạn trên)
i) Hàm lượng Clo-rua: 60 ppm
ii) Hàm lượng Na-tri: 70 ppm
b) Giá trị PH
Các giới hạn dưới xác định dựa trên các đặc tính của chất chống ăn mòn được sử dụng, nhưng không được nhỏ hơn 11
c) Các hạt của ổ đỡ hoặc các hạt khác
i) Hàm lượng kim loại (các giới hạn trên)
Sắt (Fe): 25 ppm
Crôm (Cr): 5 ppm
Ni-ken (Ni): 5ppm
Đồng (Cu): 40 ppm
Silicon (Si): 30 ppm
ii) Các hạt ổ đỡ (hàm lượng các hạt phi kim loại)
Không có keo polimer tìm thấy bằng tinh lọc và hoặc soi hiển vi.
(iii) Đối với các ổ đỡ bôi trơn bằng nước, phải áp dụng các quy định ở 1) đến 3) dưới đây:
1) Ngày đến hạn kiểm tra có thể được kéo dài đến 1 năm trong các trường hợp mà sau khi kiểm tra như nêu ở a) đến h) dưới đây, cho thấy các chi tiết được kiểm tra có tình trạng tốt.
a) Soát xét lại các báo cáo trước đây về khe hở giữa trục và ổ đỡ;
b) Khẳng định từ máy trưởng rằng hệ trục có tình trạng làm việc tốt sau khi thực hiện kiểm tra bao gồm i) và ii) dưới đây:
i) Soát xét lại các báo cáo khai thác, các số liệu được ghi lại thường xuyên về các điều kiện khai thác của trục; và
ii) Kiểm tra xác nhận không có sửa chữa nào được báo cáo về mài hoặc hàn trục và/hoặc chân vịt.
c) Kiểm tra bằng mắt tất cả các phần của hệ trục có thể tiếp cận được;
d) Kiểm tra khẳng định chân vịt không bị hư hỏng dẫn đến mất cân bằng;
e) Kiểm tra và ghi lại khe hở giữa trục và ổ đỡ;
f) Kiểm tra khẳng định hiệu quả của thiết bị làm kín bên trong.
g) Kiểm tra đường ống nước bôi trơn trong các trường hợp trục có ổ đỡ trong ống bao trục bôi trơn bằng nước hoặc ổ đỡ trong ống bao trục sử dụng nước ngọt ngoài tàu; và
h) Kiểm tra đảm bảo rằng máy chính không bị vận hành trong vùng vòng quay cấm do dao động xoắn;
2) Ngày đến hạn kiểm tra có thể được kéo dài đến 3 tháng trong các trường hợp mà sau khi thực hiện các kiểm tra như nêu ở 1)a) đến d) và f) đến h) bên trên cho thấy các chi tiết được kiểm tra có tình trạng tốt.
3) Các kiểm tra nêu ở 1) và 2) trên có thể được thực hiện liên tiếp, tuy nhiên, ngày đến hạn kiểm tra có thể chỉ được gia hạn tối đa đến 1 năm.
(iv) Về nguyên tắc, kiểm tra bất thường phải được thực hiện trong phạm vi 1 tháng của ngày đến hạn kiểm tra. Nếu kiểm bất thường được thực hiện trước ngày đến hạn kiểm tra hơn 1 tháng thì thời gian kéo dài tính từ ngày hoàn thành kiểm tra bất thường.
(j) Hoãn kiểm tra thông thường trục chân vịt loại 1 và trục trong ống bao trục loại 1, được hỗ trợ bởi kiểm tra từng phần nêu ở 1.1.3-1(6)(b) trên hoặc kiểm tra bất thường nêu ở 1.1.3-1(6)(i) trên không được vượt quá các thời hạn dài nhất sau đây:
(i) 6 năm đối với các trục loại 1A;
(ii) 8 năm đối với các trục loại 1B (10 năm trong trường hợp tuân thủ các yêu cầu ở (b)(iii) trên);
(iii) 10 năm đối với các trục loại 1C;
(iv) 7 năm đối với các trục loại 1W.
(k) Đối với kiểm tra không phá hủy nêu ở 1.1.3-1(6)(g) trên, ngày đến hạn kiểm tra có thể được kéo dài đến 3 tháng trong các trường hợp mà sau khi kiểm tra bất thường bao gồm ở (i) đến (vii) dưới đây, cho thấy các chi tiết được kiểm tra có tình trạng tốt.
(i) Soát xét lại các báo cáo trước đây về khe hở giữa trục và ổ đỡ;
(ii) Khẳng định từ máy trưởng rằng hệ trục có tình trạng làm việc tốt sau khi thực hiện kiểm tra bao gồm 1) và 2) dưới đây:
1) Soát xét lại các báo cáo khai thác, các số liệu được ghi lại thường xuyên về các điều kiện khai thác của trục; và
2) Kiểm tra xác nhận không có sửa chữa nào được báo cáo về mài hoặc hàn trục và/hoặc chân vịt.
(iii) Kiểm tra bằng mắt tất cả các phần của hệ trục có thể tiếp cận được;
(iv) Kiểm tra khẳng định chân vịt không bị hư hỏng dẫn đến mất cân bằng;
(v) Kiểm tra khẳng định hiệu quả của thiết bị làm kín bên trong.
(vi) Kiểm tra đường ống nước bôi trơn trong các trường hợp trục có ổ đỡ trong ống bao trục bôi trơn bằng nước hoặc ổ đỡ trong ống bao trục sử dụng nước ngọt ngoài tàu; và
(vii) Kiểm tra đảm bảo rằng máy chính không bị vận hành trong vùng vòng quay cấm do dao động xoắn.
1.1.9 được sửa đổi như sau:
1.1.9 Thử xác nhận máy tàu
1 Khi kiểm tra định kỳ, phải thử tại đà có mặt của đăng kiểm viên để khẳng định hoạt động thỏa mãn của máy chính và máy phụ. Nếu có sửa chữa lớn đối với máy chính, máy phụ hoặc thiết bị lái thì đăng kiểm viên có thể yêu cầu thử đường dài nếu thấy cần.
2 Đối với tàu có thời hạn kiểm tra trên đà được kéo dài, khi tàu được kiểm tra trên đà, Đăng kiểm có thể yêu cầu thử tại đà (dock trial) để khẳng định hoạt động thỏa mãn của máy chính và máy phụ. Nếu có sửa chữa lớn đối với máy chính, máy phụ hoặc thiết bị lái, thì đăng kiểm viên hiện trường có thể yêu cầu thử đường dài nếu thấy cần.
1.1.10 được bổ sung như sau:
1.1.10 Tàu tự dỡ hàng
Kiểm tra đối với các tàu tự dỡ hàng phải được thực hiện phù hợp với các yêu cầu đối với tàu chở hàng rời, tùy thuộc vào cấu hình kết cấu của tàu, trừ trường hợp có quy định khác trong Phần này.
1.3 Giải thích từ ngữ
1.3.1-1(1)(a) được sửa đổi và 1.3.1-1(16) được bổ sung như sau:
1.3.1 Các thuật ngữ
1 Nếu không có các định nghĩa nào khác trong Quy chuẩn, các thuật ngữ trong Phần này được giải thích như dưới đây:
(1) “Két dằn” là két chỉ dùng để chứa nước dằn. Đối với két được dùng vừa để chở hàng vừa để chứa nước dằn, phải áp dụng các quy định (a) và (b) sau đây:
(a) Két được coi là két dằn khi phát hiện thấy có ăn mòn đáng kể trong két đó;
(b) Đối với các tàu dầu và tàu chở xô hóa chất nguy hiểm, các két được dùng để chở hàng hoặc chứa nước dằn như một phần của quy trình khai thác tàu thông thường được coi như két dằn. Các khoang hàng mà trong đó nước dằn chỉ có thể được chứa trong từng trường hợp ngoại lệ (như nêu ở 18.3 Phụ lục I của MARPOL) được coi như khoang hàng.
(2) đến (15) được giữ nguyên.
(16) Tàu sử dụng nhiên liệu có điểm chớp cháy thấp là các tàu được định nghĩa ở 1.2.64 Phần 1A.
1.4 Chuẩn bị kiểm tra và các vấn đề khác
1.4.4 được sửa đổi như sau:
1.4.4 Cách thực hiện khi có yêu cầu phải sửa chữa từ kết quả kiểm tra
1 Qua kết quả kiểm tra, nếu thấy cần thiết phải sửa chữa, đăng kiểm viên phải thông báo kết quả kiểm tra của mình cho chủ tàu (hoặc đại diện của chủ tàu). Sau khi nhận được thông báo này, chủ tàu phải tiến hành công việc sửa chữa cần thiết và kết quả sửa chữa phải được đăng kiểm viên kiểm tra xác nhận.
2 Mọi hư hỏng do mức độ hao mòn vượt quá các giá trị cho phép (bao gồm cả cong vênh, bị rãnh, tách rời hoặc gẫy) hoặc các diện tích hao mòn lớn vượt quá các giá trị cho phép gây ảnh hưởng hoặc sẽ ảnh hưởng đến tính nguyên vẹn thời tiết, kín nước và kết cấu của tàu thì phải được sửa chữa nhanh và kỹ lưỡng. Tuy nhiên, ở những địa điểm không có đủ phương tiện sửa chữa thì có thể cho phép tàu đến thẳng nơi sửa chữa nếu được Đăng kiểm chấp nhận. Trong trường hợp này, có thể yêu cầu dỡ hàng hoặc sửa chữa tạm thời để phục vụ chuyến đi đến nơi sửa chữa.
3 Nếu kết quả kiểm tra phát hiện thấy ăn mòn hoặc khuyết tật kết cấu mà ảnh hưởng đến sự phù hợp cho hoạt động liên tục của tàu thì phải thực hiện các biện pháp khắc phục trước khi đưa tàu vào khai thác tiếp.
4 Nếu hư hỏng tìm thấy trên kết cấu được cách ly ra và có bản chất cục bộ không ảnh hưởng đến tính nguyên vẹn kết cấu của tàu (ví dụ một lỗ nhỏ ở dải boong ngang), đăng kiểm viên có thể xem xét để cho phép sửa chữa tạm thời thích hợp để khôi phục tính nguyên vẹn kín thời tiết hoặc kín nước sau khi đánh giá kết cấu xung quanh và đưa ra khuyến nghị lớn có giới hạn về thời gian cụ thể để hoàn thành việc sửa chữa toàn bộ và khôi phục lại cấp tàu.
CHƯƠNG 2 KIỂM TRA PHÂN CẤP
2.1 Kiểm tra phân cấp trong đóng mới
2.1.2 được sửa đổi như sau:
2.1.2 Các bản vẽ và hồ sơ trình duyệt
1 Nếu tàu dự định được Đăng kiểm kiểm tra phân cấp trong đóng mới thì trước khi tiến hành thi công phải trình các bản vẽ và hồ sơ sau cho Đăng kiểm duyệt. Các bản vẽ và hồ sơ có thể được Đăng kiểm xem xét để duyệt trước khi nộp đơn đề nghị phân cấp tàu phù hợp với các quy định khác của Đăng kiểm.
(1) Thân tàu
(a) Bố trí chung;
(b) Mặt cắt ngang vùng giữa tàu (bao gồm các mặt cắt ngang tại vùng khoang hàng, buồng máy và cả ở khu vực các két mạn nếu có; ký hiệu cấp tàu dự kiến, chiều chìm chở hàng thiết kế lớn nhất, nếu áp dụng các yêu cầu ở 1.1.12-1 hoặc -2 Phần 2A của Quy chuẩn thì phải ghi rõ nhiệt độ thiết kế trong bản vẽ này);
(c) Sống mũi, sống đuôi, trụ chân vịt, bánh lái (ghi rõ vật liệu và tốc độ của tàu);
(d) Kết cấu cơ bản (ghi rõ bố trí các vách kín nước, đường nước chở hàng, kích thước các mã và mặt cắt ngang của tàu tại 0,1 L và 0,2 L về hai phía mũi tàu và đuôi tàu);
(e) Tuyến hình (kể cả bản trị số tuyến hình);
(f) Các boong (chỉ rõ bố trí và kết cấu của miệng khoang hàng, xà ngang đỡ miệng khoang hàng v.v...);
(g) Đáy đơn và đáy đôi;
(h) Các vách kín nước và kín dầu (ghi rõ vị trí cao nhất của két và vị trí đỉnh của các ống tràn), các cửa kín nước, cửa mũi, cửa mạn, cửa đuôi;
(i) Các vách mút thượng tầng (ghi rõ các chi tiết của phương tiện đóng lỗ khoét trên vách);
(j) Các cơ cấu chống va đập của sóng ở phần mũi, phần đuôi tàu và các vùng lân cận;
(k) Cột chống và sống boong;
(l) Khai triển tôn vỏ (ghi rõ kích thước các tấm tôn và bố trí các lỗ thoát nước, chiều chìm ở trạng thái dằn đối với các tàu áp dụng các quy định ở 1.1.12-1 Phần 2A của Quy chuẩn);
(m) Hầm trục;
(n) Bệ đỡ của nồi hơi, động cơ, ổ đỡ chặn và các ổ đỡ của trục trung gian, đi na mô và các máy phụ quan trọng khác (ghi rõ công suất, chiều cao, trọng lượng của máy chính và bố trí các bu lông cố định);
(o) Thành quây miệng buồng máy;
(p) Lầu boong dài, nếu có;
(q) Cột, giá đỡ cột, bệ đỡ tời;
(r) Bố trí bơm (chỉ rõ dung tích của từng két nước hoặc dầu);
(s) Đối với các tàu được trang bị để chở gỗ: bản vẽ ghi rõ chiều cao gỗ chở trên boong, thiết bị xếp/chằng buộc hàng và vị trí của chúng;
(t) Kết cấu phòng chống cháy và các bản vẽ chỉ rõ hệ thống thông gió (ghi rõ loại vật liệu được sử dụng trong kết cấu thượng tầng, vách, boong, lầu boong, hầm đi lại, cầu thang, lớp phủ mặt boong v.v..., và thiết bị đóng kín các lỗ khoét và phương tiện thoát nạn);
(u) Sơ đồ đường thoát nạn bao gồm các chi tiết của chúng;
(v) Sơ đồ bố trí các trang thiết bị chữa cháy (vị trí, số lượng và kiểu của các hệ thống chữa cháy, các bình dập cháy, bơm chữa cháy, họng chữa cháy, vòi rồng, trang bị cho người chữa cháy v.v... và bố trí của hệ thống phát hiện và báo cháy). Đối với các tàu được trang bị các hệ thống khí trơ, vị trí của các hệ thống này (bố trí chung, các sơ đồ đường ống có nêu rõ vật liệu, kích thước, áp suất thiết kế của các ống, van v.v... các chi tiết của từng bộ phận và sơ đồ các thiết bị điều khiển, kể cả các thiết bị báo động, an toàn và giám sát của các hệ thống đó). Đối với các tàu được trang bị hệ thống kiểm soát chất lượng không khí, phù hợp với yêu cầu ở 20.3.1-2(3) Phần 5, vị trí và chi tiết của các hệ thống này;
(w) Sơ đồ bố trí phương tiện tiếp cận hoặc bản hướng dẫn tiếp cận kết cấu tàu, nếu áp dụng, như quy định ở Chương 24 Phần 2B và Chương 33 Phần 2A của Quy chuẩn;
(x) Tầm nhìn lầu lái:
Sơ đồ và số liệu được quy định ở 1.1.4 Phần 12 của Quy chuẩn, nếu như chiều dài toàn bộ của tàu (Lmax) bằng hoặc lớn hơn 55 m;
(y) Các hệ thống thông hơi của tàu dầu:
(i) Bố trí chung của hệ thống hút khô và hệ thống thông gió của buồng bơm dầu hàng;
(ii) Bố trí chung của các hệ thống thông hơi đối với hơi dầu hàng v.v...;
(z) Bản vẽ chỉ rõ vị trí số nhận dạng của tàu như quy định ở 1.1.24 Phần 2A hoặc 1.3.10 Phần 2B của Quy chuẩn;
(zi) Bản vẽ bố trí thiết bị kéo và chằng buộc theo quy định ở 21.3 Phần 2B và 25.2.2 Phần 2A của Quy chuẩn;
(zii) Sơ đồ chỉ rõ vị trí, kích thước và các chi tiết của thiết bị tạo thành tính nguyên vẹn kín thời tiết và kín nước của tàu, kể cả đường ống;
(ziii) Bố trí phương tiện lên, xuống tàu như quy định ở 21.8 Phần 2A và 19.8 Phần 2B của Quy chuẩn;
(ziv) Đối với các tàu áp dụng các quy định của Quy chuẩn kỹ thuật quốc gia về kiểm soát tiếng ồn trên tàu biển (QCVN 80:2014/BGTVT), các bản vẽ và tài liệu nêu ở 1.1.1 Mục II của QCVN 80:2014/BGTVT.
(2) Hệ thống máy tàu và trang bị điện
(a) Bố trí chung buồng máy, sơ đồ hệ thống thông tin liên lạc trong tàu (kể cả sơ đồ hệ thống báo động cho sĩ quan máy);
(b) Máy chính và máy phụ (kể cả các trang bị đi kèm theo máy):
Bản vẽ và các số liệu có liên quan đến loại động cơ quy định ở 2.1.3, 3.1.2 và 4.1.2 Phần 3 của Quy chuẩn liên quan đến loại động cơ và các tài liệu về đặc tính của cửa lưới nghiêng (louver) thông gió buồng máy phát sự cố và thiết bị đóng của thiết bị thông gió lắp cho buồng (nếu chúng là loại vận hành cơ giới);
(c) Thiết bị truyền công suất, hệ trục và chân vịt:
Bản vẽ và số liệu quy định ở 5.1.2, 6.1.2, 7.1.2 và 8.1.2 Phần 3 của Quy chuẩn;
(d) Nồi hơi, thiết bị đốt chất thải và bình chịu áp lực:
Bản vẽ và số liệu quy định ở 9.1.3, 9.13.2 và 10.1.4 Phần 3 của Quy chuẩn;
(e) Máy phụ và đường ống:
Bản vẽ và số liệu quy định ở 13.1.2, 14.1.2 và 17.1.2 Phần 3 của Quy chuẩn;
(f) Thiết bị lái:
Bản vẽ và số liệu quy định ở 15.1.3 Phần 3 của Quy chuẩn;
(g) Điều khiển tự động và từ xa:
Bản vẽ và số liệu quy định ở 18.1.3 Phần 3 của Quy chuẩn;
(h) Phụ tùng dự trữ:
Bản kê phụ tùng dự trữ được quy định ở Chương 19 Phần 3 của Quy chuẩn;
(i) Trang bị điện:
Bản vẽ và số liệu được quy định ở 1.1.6 Phần 4 của Quy chuẩn.
(3) Các tàu chở xô khí hóa lỏng:
(a) Số liệu kỹ thuật chế tạo các khoang hàng, lớp cách nhiệt và vách chắn thứ cấp (bao gồm quy trình hàn, quy trình kiểm tra, thử nghiệm mối hàn và các khoang hàng, tính chất của vật liệu cách nhiệt, vách chắn thứ cấp, tài liệu hướng dẫn gia công và tiêu chuẩn làm việc của chúng);
(b) Các chi tiết của kết cấu khoang hàng;
(c) Bố trí phụ kiện của các khoang hàng (kể cả các chi tiết lắp đặt trong các khoang);
(d) Các chi tiết của giá đỡ khoang hàng, các lỗ khoét trên boong để khoang hàng nhô lên mặt boong và các thiết bị làm kín lỗ khoét đó;
(e) Chi tiết của vách ngăn ngoài;
(f) Số liệu kỹ thuật và tiêu chuẩn của vật liệu (kể cả cách nhiệt) được sử dụng cho hệ thống bơm hàng có liên quan đến áp suất thiết kế và/hoặc nhiệt độ;
(g) Số liệu kỹ thuật và tiêu chuẩn vật liệu dùng cho khoang hàng, cách nhiệt, vách chắn thứ cấp, và giá đỡ khoang hàng;
(h) Sơ đồ bố trí và các chi tiết cố định lớp cách nhiệt;
(i) Kết cấu bơm hàng, máy nén hàng và động cơ dẫn động chúng;
(j) Sơ đồ đường ống dẫn hàng và các dụng cụ đo;
(k) Kết cấu các phần chính của hệ thống làm lạnh;
(l) Sơ đồ đường ống dẫn công chất làm lạnh của hệ thống làm lạnh;
(m) Bố trí hút khô và hệ thống thông gió ở các khoang hoặc các khoang giữa vách chắn, buồng bơm hàng, buồng máy nén hàng và buồng kiểm soát hàng;
(n) Bố trí bộ cảm biến ở các thiết bị phát hiện khí, đồng hồ chỉ báo nhiệt độ, đồng hồ đo áp suất;
(o) Sơ đồ đường ống khí trơ, chi tiết của thiết bị điều chỉnh áp suất, nếu như khoang hàng hoặc khoang giữa vách chắn được nạp đầy khí trơ;
(p) Các chi tiết của thiết bị an toàn áp suất và hệ thống xả hàng lỏng bị rò rỉ ở khoang hàng hoặc ở trong khoang giữa vách chắn;
(q) Lắp ráp từng khối, các chi tiết của miệng phun, bố trí các thiết bị và các chi tiết của phụ tùng bình áp lực;
(r) Chi tiết của các van có công dụng đặc biệt, ống rồng dẫn hàng lỏng, các đoạn ống dãn nở, bầu lọc v.v... của hệ thống đường ống dẫn hàng;
(s) Sơ đồ đường ống, kết cấu và các số liệu của các cụm máy sử dụng hàng làm nhiên liệu;
(t) Sơ đồ đường dây dẫn điện và bảng trang thiết bị điện ở khu vực nguy hiểm;
(u) Sơ đồ bố trí dây nối đất cho khoang hàng, đường ống, máy và các trang thiết bị v.v...;
(v) Bản vẽ vùng nguy hiểm;
(w) Sơ đồ chỉ rõ trang bị bảo vệ con người (trang bị, số lượng và kiểu của thiết bị bảo vệ, trang bị an toàn, trang bị sơ cứu y tế và cáng cứu thương; nếu thấy cần thiết phải chỉ rõ bố trí, số lượng và loại của thiết bị bảo vệ hô hấp để dùng cho thoát nạn sự cố, dụng cụ xả nước khử độc, rửa mắt và chỗ trú, và kiểu phương tiện cho buồng kiểm soát hàng);
(x) Đối với các két độc lập kiểu B - Quy trình thử không phá hủy cho kiểm tra chu kỳ;
(y) Đối với các két màng, bán màng: chương trình kiểm tra và thử hệ thống chứa hàng cho kiểm tra chu kỳ;
(z) Kế hoạch kiểm tra đối với hệ thống chứa hàng;
(zi) Bản vẽ và hồ sơ khác với bản vẽ và hồ sơ nêu ở từ (a) đến (z) trên yêu cầu trình duyệt trong Phần 8D của Quy chuẩn.
(4) Các tàu chở xô hóa chất nguy hiểm:
(a) Số liệu kỹ thuật chế tạo khoang hàng độc lập (kể cả vật liệu được sử dụng, quy trình hàn, quy trình kiểm tra và thử mối hàn và các khoang hàng);
(b) Các chi tiết kết cấu khoang hàng;
(c) Bố trí các phụ tùng của khoang hàng (kể cả các chi tiết lắp đặt bên trong khoang/két);
(d) Các chi tiết của giá đỡ khoang/két rời chở hàng, lỗ khoét trên boong để khoang hàng nhô lên mặt boong và thiết bị làm kín lỗ khoét, nếu có;
(e) Quy trình sơn phủ hoặc bọc lót bề mặt trong của khoang hàng và kết quả thử ăn mòn của lớp sơn phủ hoặc bọc lót này, nếu có yêu cầu;
(f) Bản vẽ bố trí và phương pháp cố định lớp cách nhiệt cùng với quy trình thi công có liên quan;
(g) Nếu hàng hóa được yêu cầu làm mát thì phải trình duyệt các bản vẽ và số liệu phù hợp với (3)(a), (f), (g), (h) và (p) phụ thuộc vào sơ đồ chứa hàng và kiểu kết cấu của khoang hàng;
(h) Bản vẽ kết cấu bơm hàng (kể cả danh mục vật liệu được sử dụng và số liệu kỹ thuật của vật liệu);
(i) Bố trí ống ở khu vực khoang hàng;
(j) Bố trí thông gió khoang hàng;
(k) Sơ đồ thông gió của buồng bơm hàng, buồng cách ly, két đáy đôi và các không gian khác;
(l) Sơ đồ hệ thống kiểm soát và đo mức hàng lỏng, nhiệt độ và các chỉ số khác của hàng, kết cấu chi tiết thiết bị của chúng;
(m) Hệ thống kiểm tra nhiệt độ hàng lỏng;
(n) Các chi tiết của hệ thống kiểm soát môi trường, như hệ thống tạo khí trơ, tạo lớp đệm, sấy khô hoặc thông gió bao gồm sơ đồ đường ống và kết cấu thiết bị của chúng;
(o) Các dụng cụ để phát hiện hơi hàng lỏng;
(p) Sơ đồ bố trí dây dẫn điện và bảng trang thiết bị điện dùng trong không gian nguy hiểm;
(q) Bố trí nối đất cho khoang hàng, đường ống, máy móc và trang thiết bị (chỉ khi chở hàng lỏng dễ cháy);
(r) Sơ đồ các không gian nguy hiểm;
(s) Sơ đồ chỉ rõ trang bị bảo vệ con người (việc bố trí, số lượng và kiểu của thiết bị bảo vệ, trang bị an toàn, trang bị sơ cứu y tế và cáng cứu thương và trang bị khử độc và rửa mắt);
(t) Các hồ sơ và bản vẽ được đưa ra trong các chương tương ứng của Phần 8E của Quy chuẩn trừ các bản vẽ và hồ sơ đã quy định ở từ (a) đến (s) nói trên.
(5) Tàu sử dụng nhiên liệu có điểm chớp cháy thấp
(a) Các đặc tính kỹ thuật chế tạo két nhiên liệu, cách nhiệt và vách chắn thứ cấp (bao gồm cả quy trình hàn, quy trình thử và kiểm tra hàn các két nhiên liệu, quy trình lắp đặt vật liệu cách nhiệt và vách chắn thứ cấp, các tiêu chuẩn thi công);
(b) Bố trí và kết cấu các két nhiên liệu;
(c) Các bản vẽ hệ thống và bố trí thiết bị két nhiên liệu (bao gồm cả các chi tiết lắp đặt bên trong);
(d) Bố trí và kết cấu các giá đỡ két nhiên liệu;
(e) Kết cấu các bộ phận boong két nhiên liệu có điểm xuyên qua két nhiên liệu và thiết bị làm kín;
(f) Bố trí và kết cấu của vách chắn thứ cấp;
(g) Các đặc tính kỹ thuật hoặc tiêu chuẩn của vật liệu sử dụng cho các két nhiên liệu, cách nhiệt, vách chắn thứ cấp và giá đỡ két;
(h) Bố trí và lắp đặt chi tiết các cách nhiệt;
(i) Các đặc tính kỹ thuật chế tạo hệ thống ống nhiên liệu (bao gồm quy trình hàn, quy trình thử và kiểm tra ống nhiên liệu, quy trình lắp đặt ống vách kép, kênh dẫn và vật liệu cách nhiệt, vách chắn thứ cấp và các tiêu chuẩn thi công);
(j) Sơ đồ ống (bao gồm vật liệu, kích thước, loại, áp suất thiết kế, nhiệt độ thiết kế... của ống, van... sau đây được gọi tương tự trong (5) này) của ống nhiên liệu, hệ thống đo nhiên liệu và ống thông hơi nhiên liệu;
(k) Hệ thống hút khô trong các khoang giữa vách chắn hoặc khoang hầm chứa nhiên liệu, buồng chuẩn bị nhiên liệu, các buồng đầu nối két và các trạm tiếp nhận nhiên liệu;
(l) Các đặc tính kỹ thuật, sơ đồ ống và bố trí hệ thống phát hiện khí;
(m) Sơ đồ ống khí trơ và các chi tiết (bao gồm thông tin về các đặc tính kỹ thuật thiết kế, kết cấu, vật liệu... sau đây được gọi tương tự trong (5) này) của thiết bị điều chỉnh áp suất trong các trường hợp khoang hầm chứa nhiên liệu hoặc khoang giữa vách chắn có thể được nạp khí trơ;
(n) Các chi tiết hệ thống xả áp của khoang hầm chứa nhiên liệu, khoang giữa vách chắn và buồng đầu nối két và chi tiết bố trí tiêu thoát đối với nhiên liệu rò rỉ;
(o) Mặt cắt lắp ráp của các bình áp lực khác nhau, chi tiết các họng, bản vẽ hệ thống của thiết bị phụ và các chi tiết lắp đặt;
(p) Sơ đồ đi dây điện đối với các khu vực nguy hiểm và bản thiết bị điện trong các khu vực nguy hiểm;
(q) Bố trí nối điện cho các két nhiên liệu, hệ thống ống, máy, thiết bị...
(r) Sơ đồ các khu vực nguy hiểm;
(s) Bố trí các thiết bị lắp đặt trong các buồng chuẩn bị nhiên liệu, các buồng đầu nối két, trạm tiếp nhận nhiên liệu và trạm điều khiển tiếp nhận nhiên liệu;
(t) Kế hoạch kiểm tra đối với hệ thống chứa nhiên liệu khí hóa lỏng ở các đợt kiểm tra chu kỳ (đối với các két rời kiểu B, bao gồm chương trình thử không phá hủy ở các đợt kiểm tra chu kỳ;
(u) Bố trí các lối vào các khu vực nguy hiểm, buồng chuẩn bị nhiên liệu, buồng đầu nối két, buồng máy được bảo vệ ESD và các buồng được trơ hóa và các hướng dẫn để vào các không gian đó (bao gồm cả các khóa khí);
(v) Sơ đồ các hệ thống điều khiển (bao gồm các hệ thống giám sát, an toàn và báo động) của hệ thống nhận nhiên liệu, các két nhiên liệu, các hệ thống cấp nhiên liệu và các thiết bị tiêu thụ nhiên liệu và danh mục các giá trị cài đặt;
(w) Các bản vẽ và tài liệu về chi tiết lắp đặt và thiết bị nhiên liệu có điểm chớp cháy thấp;
(x) Các bản vẽ và tài liệu về nồi hơi sử dụng nhiên liệu khí;
(y) Các bản vẽ và tài liệu về động cơ sử dụng nhiên liệu khí;
(z) Bố trí và kết cấu của các hệ thống thông gió (bao gồm vật liệu và lưu lượng thông gió);
(za) Bố trí các cửa hút và xả thông gió;
(zb) Sơ đồ các kênh thông gió (bao gồm áp suất thiết kế, vật liệu, bố trí và kết cấu các chi tiết lắp đặt);
(zc) Chi tiết các cụm bích nối nhận nhiên liệu;
(zd) Bản vẽ thể hiện khoảng cách giữa các két nhiên liệu và tấm vỏ ở từng mặt cắt;
(ze) Bố trí, bản tính dung tích và chi tiết của các khay hứng rò rỉ (bao gồm vật liệu, cách nhiệt của kết cấu thân tàu và bố trí tiêu thoát);
(zf) Lối vào và phương tiện tiếp cận đến các khoang được bảo vệ trong các khoang hàng;
(zg) Bố trí các cửa khóa khí, bản tính lưu lượng thông gió khóa khí và chi tiết của hệ thống báo động khóa khí;
(zh) Các bản vẽ và tài liệu khác theo yêu cầu ở Phần 8I.
(6) Các bản vẽ và hồ sơ về kiểm tra dưới nước theo quy định ở 6.1.2-3;
(7) Các tàu áp dụng các quy định ở Phần 13:
Đối với các tàu áp dụng các quy định ở Phần 13, các bản vẽ và tài liệu như quy định ở 1.1.3 Phần 13 của Quy chuẩn;
(8) Các bản vẽ và hồ sơ không quy định ở từ (1) đến (7), nếu Đăng kiểm thấy cần thiết.
2 Trong các bản vẽ và hồ sơ quy định ở -1 nói trên, phải chỉ rõ chất lượng vật liệu được sử dụng, kích thước, bố trí và cố định các cơ cấu, khe hở giữa đáy nồi hơi với tôn sàn và các số liệu kỹ thuật cần thiết để kiểm tra các kết cấu đã dự kiến.
3 Ngoài các bản vẽ và hồ sơ quy định ở -1 trên, phải trình cho Đăng kiểm duyệt bản thông báo ổn định theo quy định ở 2.3.1.
4 Ngoài các bản vẽ và hồ sơ quy định ở -1 trên, đối với các tàu phải có sổ tay hướng dẫn xếp tải phù hợp với những yêu cầu ở 32.1.1 Phần 2A, và 23.1.1 Phần 2B của Quy chuẩn thì sổ tay hướng dẫn xếp tải kể cả điều kiện xếp hàng và các thông báo cần thiết khác phải trình cho Đăng kiểm duyệt.
5 Ngoài các bản vẽ và hồ sơ quy định ở -1 trên, đối với các tàu phải có máy tính kiểm soát tải trọng phù hợp với những yêu cầu ở 32.1.1 Phần 2A, thì tuyến hình (kể cả bảng trị số tuyến hình), đường cong thủy lực, bản vẽ dung tích khoang két (bản vẽ hoàn công) và kết quả thử nghiêng phải được trình Đăng kiểm xét duyệt. Tuy nhiên, hồ sơ này có thể được Đăng kiểm miễn giảm từng phần hoặc toàn bộ, được quyết định trong từng trường hợp cụ thể.
6 Mặc dù được quy định ở -1 và -2 trên, có thể miễn trình duyệt một phần các hồ sơ và bản vẽ quy định ở -1 và -2 phù hợp với các yêu cầu khác của Đăng kiểm, trong trường hợp tàu hoặc máy tàu dự định chế tạo tại cùng nhà máy dựa trên cơ sở các bản vẽ và hồ sơ đã được Đăng kiểm duyệt.
7 Đối với các tàu chở xô khí hóa lỏng, phải trình Đăng kiểm duyệt tài liệu hướng dẫn làm hàng như quy định ở 18.2.1 Phần 8D của Quy chuẩn. Đối với các tàu chở xô hóa chất nguy hiểm, phải trình Đăng kiểm duyệt tài liệu hướng dẫn làm hàng như quy định ở 16.1.1 Phần 8E của Quy chuẩn.
8 Đối với các tàu sử dụng nhiên liệu có điểm chớp cháy thấp, các quy trình vận hành và quy trình xử lý sự cố nêu ở -3 và -4 của 17.2.2 Phần 8I phải được trình để Đăng kiểm duyệt.
9 Ngoài các bản vẽ và hồ sơ quy định ở -1 trên, đối với tàu phải có sơ đồ kiểm soát tai nạn phù hợp với yêu cầu ở Chương 31 Phần 2A của Quy chuẩn, phải trình sơ đồ kiểm soát tai nạn để Đăng kiểm duyệt.
10 Đối với tàu phải lắp trang bị kéo sự cố theo yêu cầu ở 25.2.3 Phần 2A của Quy chuẩn, ngoài các bản vẽ và hồ sơ được quy định ở -1 trên, phải trình Đăng kiểm duyệt các bản vẽ bố trí trang bị kéo sự cố và phần gia cường của thân tàu tại khu vực lắp đặt trang bị kéo sự cố.
11 Nếu tàu phải trang bị sổ tay hướng dẫn thao tác và bảo dưỡng các cửa ở mũi tàu và cửa bên trong tàu theo yêu cầu 21.3.10-1, 21.4.9-1 Phần 2A hoặc 19.3.10-1, 19.4.9-1 Phần 2B của Quy chuẩn, thì sổ tay hướng dẫn này phải được trình để Đăng kiểm duyệt.
12 Đối với các tàu yêu cầu phải có hồ sơ kỹ thuật về sơn phủ đối với các két dằn bằng nước biển như quy định ở 23.2.2 Phần 2A, 20.4.2 Phần 2B của Quy chuẩn thì hồ sơ này phải được trình cho Đăng kiểm duyệt.
13 Đối với các tàu yêu cầu phải có hồ sơ kỹ thuật về sơn phủ và/hoặc hồ sơ kỹ thuật về thép không gỉ sử dụng cho các két dầu hàng như quy định ở 23.2.3 Phần 2A, 20.4.3 Phần 2B của Quy chuẩn thì các hồ sơ này phải được trình cho Đăng kiểm duyệt.
2.1.3 được sửa đổi như sau:
2.1.3 Trình hồ sơ và các bản vẽ khác
1 Ngoài những yêu cầu về hồ sơ và bản vẽ quy định ở 2.1.2, phải trình thêm cho Đăng kiểm hồ sơ và các bản vẽ sau đây:
(1) Các đặc tính kỹ thuật của thân tàu và máy tàu;
(2) Bản tính mô đun chống uốn nhỏ nhất của mặt cắt ngang ở phần giữa tàu;
(3) Kế hoạch ngăn ngừa ăn mòn (có thể bỏ qua các hạng mục đã nêu trong hồ sơ kỹ thuật về sơn phủ nêu ở 2.1.2-11 và 2.1.2-12);
(4) Các bản vẽ chỉ rõ đặc điểm của loại hàng định chở và việc phân bố chúng, nếu có yêu cầu về điều kiện xếp hàng đặc biệt;
(5) Các bản vẽ và hồ sơ sau đây, để áp dụng các yêu cầu của Phần 10 của Quy chuẩn:
(a) Mặt cắt dọc tâm của tàu (ghi rõ cách bố trí, kích thước của kết cấu thân tàu và hàng hóa chở trên boong để tính diện tích mặt hứng gió và/hoặc tính nổi của tàu);
(b) Bản tính ổn định (ghi rõ các yếu tố tính toán của diện tích mặt hứng gió, diện tích mặt thoáng và chiều cao trọng tâm cho phép tối đa);
(c) Bản vẽ bố trí, kích thước và diện tích hình chiếu cạnh của vây giảm lắc, nếu có.
(6) Các bản vẽ và hồ sơ sau đây, để áp dụng những yêu cầu của Phần 11 của Quy chuẩn:
(a) Đường cong thủy lực (ghi rõ lượng chiếm nước và thay đổi lượng chiếm nước trên 1 cm chiều chìm tính đến boong mạn khô);
(b) Bản vẽ chỉ rõ chiều cao gỗ chở trên boong và thiết bị chằng buộc và cố định, nếu tàu được kẻ đường nước chở gỗ theo quy định ở Chương 5 Phần 11 của Quy chuẩn.
(7) Đối với các tàu chở xô khí hóa lỏng, phải trình Đăng kiểm các bản vẽ và hồ sơ sau:
(a) Thiết kế cơ bản và hồ sơ kỹ thuật của các hệ thống chứa hàng;
(b) Số liệu, phương pháp thử và kết quả thử khi thực hiện theo phương pháp thử mô hình phải phù hợp với những quy định ở Chương 4 Phần 8D của Quy chuẩn;
(c) Số liệu về độ dai va đập, độ ăn mòn, tính chất vật lý, cơ học của vật liệu và các chi tiết hàn ở nhiệt độ thiết kế thấp nhất và ở nhiệt độ trong phòng, nếu dùng vật liệu mới hoặc phương pháp hàn mới để chế tạo khoang hàng, vách chắn thứ cấp, lớp cách nhiệt và các kết cấu khác;
(d) Số liệu về tải trọng thiết kế quy định ở 4.13 đến 4.18 Phần 8D của Quy chuẩn;
(e) Bản tính các khoang hàng và giá đỡ khoang hàng được quy định ở 4.8 và 4.21 đến 4.25 Phần 8D của Quy chuẩn;
(f) Số liệu phân tích thử nghiệm và kết quả thử nghiệm nếu đã tiến hành thử mô hình để chứng minh độ bền và sự làm việc của các khoang hàng, lớp cách nhiệt, vách chắn thứ cấp, giá đỡ khoang hàng;
(g) Bản tính về truyền nhiệt trên các phần chính của khoang hàng ở các trạng thái chở hàng khác nhau, nếu Đăng kiểm xét thấy cần thiết;
(h) Bản tính ứng suất nhiệt trên các phần chính của khoang hàng ở trạng thái phân bố nhiệt độ quy định ở (g), nếu Đăng kiểm xét thấy cần thiết;
(i) Bản tính về phân bố nhiệt độ trên kết cấu thân tàu, nếu Đăng kiểm xét thấy cần thiết;
(j) Các số liệu về hệ thống chuyển hàng;
(k) Thành phần và tính chất vật lý của hàng (kể cả giản đồ áp lực hơi bão hòa bên trong dải nhiệt độ cần thiết);
(l) Bản tính sản lượng xả của van giảm áp của khoang hàng (kể cả việc tính áp suất hơi trong hệ thống thông gió khoang hàng);
(m) Bản tính sản lượng của hệ thống làm lạnh;
(n) Bố trí đường ống dẫn hàng;
(o) Bản tính giới hạn lấy hàng vào các két;
(p) Bố trí lỗ người chui theo quy định ở 3.5 Phần 8D của Quy chuẩn ở khu vực khoang hàng và hướng dẫn cách chui qua các lỗ này;
(q) Tính toán khả năng chống chìm sau tai nạn của tàu theo quy định ở Chương 2 Phần 8D của Quy chuẩn;
(r) Trang thiết bị bảo vệ con người theo quy định ở Chương 14 Phần 8D của Quy chuẩn;
(s) Tài liệu liên quan đến trạng thái hư hỏng và phân tích tác động quy định ở 10.2.6 Phần 8D của Quy chuẩn.
(8) Đối với các tàu chở xô hóa chất nguy hiểm phải trình Đăng kiểm các bản vẽ và hồ sơ sau đây:
(a) Bản liệt kê các tính chất hóa lý và các đặc tính đặc biệt khác của hàng dự định chuyên chở;
(b) Sơ đồ chứa hóa chất nguy hiểm quy định ở Phần 8E của Quy chuẩn và các hóa chất khác được chở đồng thời với các hóa chất nguy hiểm này;
(c) Hướng dẫn về mối nguy hiểm khi xảy ra phản ứng với các hóa chất khác, với nước hoặc tự phản ứng với nhau, kể cả các phản ứng trùng hợp và nếu cần thiết thì cả phản ứng với các môi chất gia nhiệt hoặc làm lạnh. Các hóa chất không dự định chở đồng thời với các hóa chất nguy hiểm thuộc phạm vi áp dụng của Phần 8E của Quy chuẩn có thể không cần đưa vào hướng dẫn này;
(d) Số liệu về sự nguy hiểm khi xảy ra phản ứng giữa hàng dự định chở với sơn hoặc lớp phủ trong khoang hàng, đường ống dẫn và các thiết bị có thể tiếp xúc với hàng lỏng hoặc với hơi của chất lỏng này;
(e) Số liệu chứng minh khả năng chịu được ăn mòn của vật liệu đối với hàng hóa có đặc tính ăn mòn;
(f) Tính toán sản lượng của từng két chở hàng, khi cần thiết có thể tính toán cả ứng suất nhiệt;
(g) Tính toán dung tích của hệ thống hâm nóng khi có yêu cầu;
(h) Bản vẽ và hồ sơ phù hợp với (4)(a), (f), (g), (h) và (j) phụ thuộc vào sơ đồ chứa hàng, kiểu kết cấu két chở hàng khi hàng chuyên chở đòi hỏi phải được làm mát;
(i) Bố trí lỗ người chui theo quy định ở 3.4 Phần 8E của Quy chuẩn ở khu vực khoang hàng và bản hướng dẫn cách chui qua các lỗ này;
(j) Tính toán khả năng chống chìm của tàu sau tai nạn theo quy định ở Chương 2 Phần 8E của Quy chuẩn;
(k) Trang thiết bị bảo vệ con người theo quy định ở Chương 14 Phần 8E của Quy chuẩn.
(9) Đối với các tàu sử dụng nhiên liệu có điểm chớp cháy thấp, các bản vẽ và tài liệu sau:
(a) Các thông số thiết kế chính và báo cáo kỹ thuật đối với hệ thống chứa nhiên liệu;
(b) Số liệu về phương pháp thử và kết quả thử mẫu,... được thực hiện theo yêu cầu ở Chương 16 Phần 8I;
(c) Số liệu và các đặc tính cơ lý của vật liệu và các chi tiết được hàn ở nhiệt độ bình thường và thấp cùng với độ dai ở nhiệt độ thấp và khả năng chịu ăn mòn nếu vật liệu và phương pháp hàn mới được sử dụng để chế tạo các két nhiên liệu, các vách chắn thứ cấp, cách nhiệt...;
(d) Số liệu về tải thiết kế nêu ở 6.4.9 Phần 8I;
(e) Bản tính độ bền của các két nhiên liệu và giá đỡ nêu ở 6.4.6 và 6.4.15 Phần 8I;
(f) Bản tính truyền nhiệt của các kết cấu chính của két nhiên liệu trong các điều kiện tải trọng khác nhau, nếu Đăng kiểm thấy cần thiết;
(g) Bản tính ứng suất nhiệt của các kết cấu chính ở phân bố nhiệt độ nêu trong các bản tính theo yêu cầu ở (f) trong trường hợp Đăng kiểm thấy cần thiết;
(i) Đặc tính kỹ thuật của hệ thống nhiên liệu;
(j) Thành phần và lý tính của nhiên liệu (bao gồm biểu đồ áp suất hơi bão hòa trong phạm vi dải nhiệt độ cần thiết);
(k) Bản tính lưu lượng thoát của hệ thống xả áp an toàn của các két nhiên liệu (bao gồm các bản tính phản áp ở đường xả);
(l) Số liệu kỹ thuật liên quan đến khái niệm thiết kế buồng chuẩn bị nhiên liệu và các buồng đầu nối két;
(m) Bản tính công suất làm lạnh;
(n) Bản tính bền các ống (7.3.4-2 Phần 8I);
(o) Các báo cáo khảo sát về phân tích ứng suất hệ thống ống nhiên liệu áp suất cao (7.3.4-4 Phần 8I);
(p) Các báo cáo khảo sát về phân tích ứng suất hệ thống ống có nhiệt độ thiết kế từ -110oC trở xuống (7.3.4-5 Phần 8I);
(q) Các báo cáo khảo sát về áp suất thiết kế đường ống hoặc kênh bao ngoài đường ống nhiên liệu áp suất cao (9.8.2 Phần 8I);
(r) Chi tiết của các vị trí trục bơm xuyên vách (bao gồm thông tin về đặc tính thiết kế, kết cấu, vật liệu...);
(s) Tài liệu khảo sát về các giới hạn nạp cho két nhiên liệu;
(t) Bản tính xác suất trong các trường hợp sử dụng xác suất để quyết định việc bố trí két nhiên liệu;
(u) Danh mục các số liệu về đánh giá rủi ro;
(v) Các tài liệu liên quan đến dạng hư hỏng và phân tích tác động yêu cầu ở 14.3.4 Phần 8I.
(10) Bản tính sản lượng các van áp suất/chân không và các thiết bị bảo vệ tránh quá áp cho các khoang/két dầu hàng, nếu có;
(11) Sổ hướng dẫn và chỉ dẫn hoạt động của hệ thống khí trơ (kể cả các loại tài liệu khuyến cáo về sự an toàn của người vận hành);
(12) Bản tính toán độ bền, ghi rõ tải trọng thiết kế, liên quan đến các kết cấu đỡ thân tàu khác của các thiết bị kéo và chằng buộc, kể cả thiết bị kéo và chằng buộc được chọn không theo tiêu chuẩn được Đăng kiểm duyệt, đối với các tàu tuân theo các quy định ở 25.2.2 Phần 2A hoặc 21.3 Phần 2B của Quy chuẩn;
(13) Sổ tay hướng dẫn vận hành các thiết bị kéo sự cố, đối với tàu lắp đặt các thiết bị kéo sự cố phù hợp với các quy định ở 25.2.3 Phần 2A của Quy chuẩn.
2 Ngoài các hồ sơ và bản vẽ quy định ở -1 nói trên, Đăng kiểm có thể yêu cầu trình thêm các hồ sơ và bản vẽ khác nếu thấy cần thiết.
2.1.4-3 được sửa đổi như sau:
2.1.4 Sự có mặt của đăng kiểm viên
-1 đến -2 được giữ nguyên.
3 Đối với các tàu chở xô khí hóa lỏng, tàu chở xô hóa chất nguy hiểm và tàu sử dụng nhiên liệu có điểm chớp cháy thấp, ngoài quy định ở -1 và -2, đăng kiểm viên phải có mặt khi tiến hành thử theo quy định ở Phần 8D, Phần 8E và 8I của Quy chuẩn.
-4 đến -5 được giữ nguyên.
2.1.6 được sửa đổi như sau:
2.1.6 Các hồ sơ phải duy trì ở trên tàu
1 Khi kết thúc kiểm tra phân cấp, đăng kiểm viên phải xác nhận rằng phiên bản cuối cùng của các bản vẽ, hồ sơ, sổ tay, danh mục sau đây v.v... nếu áp dụng, có ở trên tàu.
(1) Các hồ sơ được Đăng kiểm duyệt hoặc các bản phô tô của chúng:
(a) Sổ tay bảo dưỡng và vận hành các cửa và cửa bên trong (theo 21.3.10, 21.4.9 Phần 2A và 19.3.10, 19.4.9 Phần 2B của Quy chuẩn);
(b) Sơ đồ kiểm soát tai nạn (theo 31.3.1 Phần 2A của Quy chuẩn);
(c) Hướng dẫn xếp tải (theo Chương 32 Phần 2A và Chương 23 Phần 2B);
(d) Hướng dẫn tiếp cận kết cấu thân tàu (theo 33.2.6 Phần 2A và 24.2.6 Phần 2B);
(e) Thông báo ổn định (theo 3.1.5 Phần 11, 2.2.2 Phần 8D và 2.2.3 Phần 8E của Quy chuẩn) và Bản thông báo về tư thế và ổn định tai nạn (theo 1.4.6 Phần 9 của Quy chuẩn);
(f) Hướng dẫn vận hành máy tính kiểm soát ổn định (theo 2.3.2-5 Phần 8D của Quy chuẩn) và/hoặc hướng dẫn làm hàng đối với tàu chở xô khí hóa lỏng (theo 18.2 Phần 8D của Quy chuẩn);
(g) Hướng dẫn làm hàng đối với các tàu chở xô hóa chất nguy hiểm (theo 16.1.1 Phần 8E của Quy chuẩn);
(h) Sơ đồ làm hàng (theo 17.18.13-2 và 17.23.12-10 Phần 8D và 15.3.2-15, 15.8.32 Phần 8E của Quy chuẩn);
(i) Sổ tay chằng buộc hàng hóa (theo 1.4.11-5 Phần 10 của Quy chuẩn);
(k) Sổ tay xếp dỡ hàng rời (theo 1.4.11-3 Phần 10 của Quy chuẩn);
(l) Thông báo ổn định chở hàng hạt (theo 1.4.11-4 Phần 10 của Quy chuẩn);
(m) Danh mục các hạn chế về xếp/dỡ hàng (theo 15.6.1 Phần 8D và 15.3.2-12, 15.8.33-3 và 15.14.7-3 Phần 8E của Quy chuẩn);
(n) Các quy trình thử không phá hủy đối với các khoang/két đại diện kiểu B (Bảng 1B/5.27);
(o) Các quy trình kiểm tra và thử đối với các két màng và két bán màng và các khoang có bọc cách nhiệt bên trong (chú thích 1 ở Bảng 1B/5.27);
(p) Các quy trình vận hành đối với tàu sử dụng nhiên liệu có điểm chớp cháy thấp (17.2.2-4 Phần 8I);
(q) Các quy trình xử lý sự cố đối với tàu sử dụng nhiên liệu có điểm chớp cháy thấp (17.2.2-3 Phần 8I);
(r) Hồ sơ kỹ thuật về sơn phủ đối với các két dằn bằng nước biển (theo 23.2.2 Phần 2A, 20.4.2 Phần 2B của Quy chuẩn);
(s) Hồ sơ kỹ thuật về sơn phủ và/hoặc Hồ sơ kỹ thuật về thép không gỉ sử dụng cho các két dầu hàng (theo 23.2.3 Phần 2A và 20.4.3 Phần 2B của Quy chuẩn);
(t) Sơ đồ kiểm soát cháy (theo 15.2.2 Phần 5 của Quy chuẩn);
(u) Sơ đồ và hồ sơ về kiểm tra dưới nước (theo 6.1.2-3 Phần này).
(2) Các tài liệu khác:
(a) Sơ đồ bố trí thiết bị kéo và chằng buộc (theo 25.2.2-4 Phần 2A và 21.3.4 Phần 2B của Quy chuẩn);
(b) Hướng dẫn vận hành đối với trang thiết bị kéo sự cố (theo 25.2.3 Phần 2A của Quy chuẩn);
(c) Sổ tay kiểm soát tai nạn (theo 31.3.2 Phần 2A của Quy chuẩn), Thông báo về khả năng ngập các khoang (theo 1.4.9 Phần 9 của Quy chuẩn);
(d) Hướng dẫn đối với máy tính kiểm soát tải trọng (theo 32.1.3-3 Phần 2A và Chương 23 Phần 2B của Quy chuẩn);
(e) Sơ đồ các phương tiện tiếp cận (theo 33.1.5 Phần 2A và 24.1.5 Phần 2B của Quy chuẩn);
(f) Hướng dẫn vận hành đối với máy tính kiểm soát ổn định (theo 3.2.6 Phần 10 của Quy chuẩn) hoặc/và máy tính kiểm soát ổn định (theo 2.3.1-5);
(g) Hướng dẫn bảo dưỡng và vận hành đối với hệ thống máy tàu, trang thiết bị (theo 1.3.9 Phần 3 của Quy chuẩn);
(h) Hướng dẫn đối với hệ thống phát hiện và báo động mức nước (theo 13.8.5-4 và 13.8.6-3 Phần 3 của Quy chuẩn);
(i) Biên bản bảo dưỡng ắc quy (theo 1.1.8 Phần 4 của Quy chuẩn);
(j) Sổ tay hướng dẫn đối với hệ thống thông hơi khoang hàng (theo 4.5.3 Phần 5 của Quy chuẩn);
(k) Sổ tay vận hành an toàn cháy nổ, sổ tay huấn luyện và kế hoạch bảo dưỡng (theo các Chương 14, 15 và 16 Phần 5 của Quy chuẩn);
(l) Hướng dẫn vận hành các thiết bị phục vụ máy bay lên thẳng (theo 18.8 Phần 5 của Quy chuẩn);
(m) Sổ tay hướng dẫn đối với hệ thống khí trơ (theo 35.2.2-5 Phần 5 của Quy chuẩn);
(n) Một bản phô tô bộ luật quốc tế về kết cấu và thiết bị của tàu chở xô khí hóa lỏng (IGC Code) hoặc các quy định quốc gia tương ứng với các quy định của bộ luật (theo 18.1.1 Phần 8D của Quy chuẩn);
(o) Một bản phô tô bộ luật quốc tế về kết cấu và thiết bị của tàu chở xô hóa chất nguy hiểm (IBC Code) hoặc các quy định quốc gia tương ứng với các quy định của bộ luật (theo 16.2.3-1 Phần 8E của Quy chuẩn);
(p) Bản sao Bộ luật quốc tế về an toàn đối với tàu sử dụng nhiên liệu khí hoặc có điểm chớp cháy thấp (IGF Code) hoặc các quy định quốc gia tương ứng với các quy định của bộ luật (theo 17.2.2-1 Phần 8I của Quy chuẩn)
(q) Quy trình kéo sự cố (theo 25.2.4 Phần 2A hoặc 21.4.1 Phần 2B của Quy chuẩn);
(r) Báo cáo kiểm tra tiếng ồn (theo 4.2 Mục II của QCVN 80:2014/BGTVT).;
(s) Báo cáo tính toán tổng méo sóng hài (THD) (1.1.6 Phần 4);
(u) Hướng dẫn vận hành bộ lọc sóng hài (1.1.6 Phần 4).
(3) Các bản vẽ hoàn công quy định ở 2.1.7.
2 Ngoài các yêu cầu ở -1 trên, đối với các tàu thực hiện chuyến đi quốc tế, đăng kiểm viên phải xác nhận rằng hồ sơ đóng tàu hiện có ở trên tàu và có chứa những tài liệu cần thiết từ các bản vẽ, sơ đồ, sổ tay và tài liệu sau đây. Không yêu cầu trang bị gấp đôi các bản vẽ, tài liệu nêu ở -1.
(1) Các bản vẽ hoàn công của kết cấu thân tàu quy định ở 2.1.7;
(2) Các hồ sơ và tài liệu sau đây:
(a) Sổ tay bảo dưỡng và vận hành các cửa và cửa bên trong (theo 21.3.10, 21.4.9 Phần 2A và 19.3.10, 19.4.9 Phần 2B của Quy chuẩn);
(b) Sơ đồ kiểm soát tai nạn (theo 31.3.1 Phần 2A của Quy chuẩn);
(c) Hướng dẫn xếp tải (theo Chương 32 Phần 2A và Chương 23 Phần 2B của Quy chuẩn);
(d) Thông báo ổn định (theo 3.1.5 Phần 11, 2.2.3 Phần 8D và 2.2.2 Phần 8E của Quy chuẩn).
(3) Hướng dẫn tiếp cận kết cấu thân tàu (theo 33.2.6 Phần 2A và 24.2.6 Phần 2B của Quy chuẩn);
(4) Bản phô tô chứng nhận các vật đúc và vật rèn được hàn vào kết cấu thân tàu;
(5) Sơ đồ chỉ rõ vị trí, kích thước và các chi tiết của thiết bị tạo thành tính nguyên vẹn kín thời tiết và kín nước của tàu, kể cả đường ống (theo 2.1.2-1(1)(zii));
(6) Kế hoạch ngăn ngừa ăn mòn (theo 2.1.3-1(3));
(7) Sơ đồ và hồ sơ về kiểm tra dưới nước (theo 6.1.2-3);
(8) Sơ đồ lên đà, bao gồm các vị trí và những thông tin cần thiết khác của tất cả các chi tiết xuyên qua tôn vỏ như nêu ở hạng mục 3 trong Bảng 1B/6.1;
(9) Hồ sơ kỹ thuật về sơn phủ đối với các két dằn bằng nước biển (theo 23.2.2 Phần 2A và 20.4.2 Phần 2B của Quy chuẩn);
(10) Hồ sơ kỹ thuật về sơn phủ và/hoặc Hồ sơ kỹ thuật về thép không gỉ sử dụng cho các két dầu hàng (theo 23.2.3 Phần 2A và 20.4.3 Phần 2B của Quy chuẩn);
(11) Các bản vẽ và hồ sơ về hệ thống chống hà (theo 2.2.2 Mục II của Quy chuẩn kỹ thuật quốc gia về hệ thống chống hà tàu biển (QCVN 74:2014/BGTVT));
(12) Các kế hoạch thử, các biên bản thử, các biên bản đo v.v…
3 Khi xem xét mục đích sử dụng, đặc điểm của tàu v.v… Đăng kiểm có thể yêu cầu trình bổ sung các hồ sơ khác, nếu thấy cần thiết.
4 Đối với các tàu có tổng dung tích (GT) bằng và lớn hơn 500 chạy tuyến quốc tế, tất cả các hồ sơ liệt kê ở -1 nói trên đều phải ghi số nhận dạng IMO của tàu.
5 Khi hoàn thành kiểm tra phân cấp, đăng kiểm viên phải xác nhận rằng các giấy chứng nhận thể hiện các thiết bị sau đã được thử nghiệm và kiểm tra thỏa mãn được duy trì trên tàu.
(1) Các bơm (bao gồm cả bơm chữa cháy sự cố);
(2) Các đầu phun và ống rồng chữa cháy;
(3) Các bình dập cháy (bao gồm cả nạp dự trữ);
(4) Trang bị cho người chữa cháy;
(5) Thiết bị thở cho thoát nạn sự cố;
(6) Các hệ thống dập cháy cố định;
(7) Các bướm chặn lửa và các cửa được đóng bằng cơ giới;
(8) Các hệ thống phát hiện và báo cháy cố định và các hệ thống phun nước chữa cháy tự động;
(9) Các vật liệu chống cháy;
(10) Thiết bị bổ sung yêu cầu đối với tàu chở hàng nguy hiểm (thiết bị điện loại phòng nổ, các hệ thống phát hiện, quần áo bảo vệ chống hóa chất, các bình cứu hỏa xách tay và các hệ thống phun sương nước);
(11) Hệ thống bọt chữa cháy mặt boong (các đầu phun và bọt);
(12) Hệ thống khí trơ (thiết bị đo hàm lượng ô xy xách tay);
(13) Các thiết bị bảo vệ buồng bơm hàng (thiết bị cảm biến nhiệt độ và thiết bị đo nồng độ khí hydro-các bon);
(14) Các cửa kín nước bên dưới boong mạn khô;
(15) Các cửa húp lô.
2.2 Kiểm tra phân cấp tàu không có giám sát của Đăng kiểm trong đóng mới
2.2.1 được sửa đổi như sau:
2.2.1 Quy định chung
1 Khi kiểm tra phân cấp các tàu được đóng không có giám sát của Đăng kiểm, phải tiến hành đo kích thước cơ cấu thực tế của các phần chính của tàu để bổ sung vào nội dung kiểm tra phân cấp thân tàu, trang thiết bị, hệ thống máy tàu, trang bị phòng cháy, phát hiện cháy và chữa cháy, phương tiện thoát nạn, trang bị điện, ổn định và mạn khô như yêu cầu đối với đợt kiểm tra định kỳ theo tuổi của tàu để xác nhận rằng chúng thỏa mãn những yêu cầu tương ứng quy định trong Quy chuẩn này.
2 Đối với các tàu được kiểm tra phân cấp không có giám sát của Đăng kiểm trong đóng mới thì hồ sơ và bản vẽ cần thiết để được Đăng kiểm đăng ký phải được trình theo các yêu cầu tương ứng nêu ở 2.1.2 và 2.1.3.
3 Đối với tàu được trang bị tài liệu hướng dẫn xếp tải theo yêu cầu ở 32.1.1 và 32.3.1 Phần 2A và 23.1.1 Phần 2B của Quy chuẩn, tài liệu hướng dẫn xếp tải bao gồm các điều kiện xếp hàng và các thông báo cần thiết khác phải được trình cho Đăng kiểm duyệt.
4 Đối với các tàu chở xô khí hóa lỏng, tài liệu hướng dẫn làm hàng quy định ở 18.2.1 Phần 8D của Quy chuẩn phải được trình cho Đăng kiểm duyệt. Đối với các tàu chở xô hóa chất nguy hiểm, tài liệu hướng dẫn làm hàng quy định ở 16.1.1 Phần 8E của Quy chuẩn phải được trình cho Đăng kiểm duyệt.
5 Đối với các tàu sử dụng nhiên liệu có độ chớp cháy thấp, các quy trình vận hành và quy trình xử lý sự cố nêu ở -3 và -4 của 17.2.2 Phần 8I phải được trình cho Đăng kiểm duyệt.
6 Đối với các tàu được trang bị sơ đồ kiểm soát tai nạn phù hợp với yêu cầu của Chương 31 Phần 2A của Quy chuẩn, sơ đồ kiểm soát tai nạn phải được trình cho Đăng kiểm duyệt.
7 Đối với tàu phải lắp trang bị kéo sự cố theo yêu cầu ở 25.2.3 Phần 2A, ngoài các bản vẽ và hồ sơ được quy định ở -1 trên, phải trình Đăng kiểm duyệt các bản vẽ bố trí trang bị kéo sự cố và phần gia cường của thân tàu tại khu vực lắp đặt trang bị kéo sự cố.
8 Nếu tàu phải trang bị sổ tay hướng dẫn thao tác và bảo dưỡng các cửa ở mũi tàu và cửa bên trong tàu theo yêu cầu 21.3.10-1, 21.4.9-1 Phần 2A hoặc 19.3.10-1, 19.4.9-1 Phần 2B của Quy chuẩn, thì sổ tay hướng dẫn này phải được trình để Đăng kiểm duyệt.
9 Thông báo ổn định phải được trình để Đăng kiểm duyệt (nếu không có thông báo ổn định thì phải tiến hành thử nghiêng ngang).
10 Mặc dù có quy định ở -2, đối với các tàu đã được phân cấp bởi các tổ chức phân cấp khác được Đăng kiểm công nhận hoặc các tổ chức phân cấp thuộc Hiệp hội các tổ chức phân cấp tàu quốc tế (IACS) thì các hồ sơ và bản vẽ phải trình cho Đăng kiểm kiểm tra có thể chỉ cần như sau:
(1) Thân tàu:
(a) Bố trí chung;
(b) Các mặt cắt ngang vùng giữa tàu;
(c) Kết cấu cơ bản;
(d) Khai triển tôn vỏ;
(e) Bố trí ống;
(f) Bánh lái;
(g) Sống đuôi;
(h) Bố trí các ống dầu hàng (đối với tàu dầu);
(i) Tuyến hình (đối với các trường hợp cần xác định lại mạn khô);
(k) Đường cong thủy lực;
(l) Sơ đồ chở gỗ súc (nếu có ấn định mạn khô chở gỗ súc);
(m) Nắp hầm hàng;
(n) Bản tính dung tích tàu hoặc bản số liệu dung tích tàu (nếu cần kiểm tra dung tích của tàu).
(2) Hệ thống máy tàu và trang bị điện:
(a) Các đặc tính kỹ thuật của hệ thống máy;
(b) Bố trí chung buồng máy;
(c) Nồi hơi và các thiết bị phụ của nồi hơi;
(d) Bố trí các ống trong buồng máy;
(e) Hệ trục chân vịt và trục trong ống bao trục;
(f) Thiết bị lái;
(g) Sơ đồ hệ thống điều khiển, hệ thống giám sát và báo động (đối với các tàu buồng máy không có người trực theo chu kỳ);
(h) Sơ đồ hệ thống điện.
(3) Các báo cáo, biên bản kiểm tra tàu hoặc bản sao của chúng;
(4) Bản sao giấy chứng nhận phân cấp, các giấy chứng nhận theo luật và giấy chứng nhận đăng ký tàu;
(5) Các hồ sơ, tài liệu khác về các đặc trưng và lịch sử của tàu (nếu có).
11 Thông báo kết quả kiểm tra hồ sơ bản vẽ, tài liệu
Sau khi Đăng kiểm kiểm tra các bản vẽ, tài liệu nêu ở -2, kết quả kiểm tra sẽ được thông báo cho chủ tàu (người đề nghị). Nếu không thể kiểm tra đầy đủ dựa trên các bản vẽ, tài liệu được trình do thiếu thông tin cần thiết thì Đăng kiểm có thể yêu cầu phải kiểm tra trên tàu.
12 Thay đổi các yêu cầu kiểm tra
(1) Nếu chủ tàu muốn hoãn một phần kiểm tra và Đăng kiểm thấy phù hợp thì có thể chấp nhận hoãn dựa trên việc kiểm tra tình trạng thực tế của tàu. Nội dung kiểm tra được hoãn này phải được hoàn thành trong vòng một năm.
(2) Tùy theo từng trường hợp, có thể xem xét đặc biệt đến các yêu cầu kiểm tra phân cấp các tàu không có giám sát của Đăng kiểm trong đóng mới với điều kiện trong vòng một năm tàu phải được hoàn thành kiểm tra định kỳ tiếp theo trùng với đợt kiểm tra đến hạn của kiểm tra định kỳ.
13 Nếu Đăng kiểm thấy cần thiết, do tình trạng và tuổi của tàu, thì trước khi bắt đầu kiểm tra phân cấp, Đăng kiểm có thể yêu cầu kiểm tra sơ bộ tàu.
14 Mặc dù có quy định ở -1, đối với các tàu đã được phân cấp bởi các tổ chức phân cấp khác được Đăng kiểm công nhận hoặc các tổ chức phân cấp thuộc Hiệp hội các tổ chức phân cấp tàu quốc tế (IACS) thì nội dung kiểm tra phân cấp các tàu được đóng không có giám sát của Đăng kiểm có thể được thực hiện với khối lượng tối thiểu như sau, dựa vào tuổi tàu và tình trạng kiểm tra phân cấp của tổ chức phân cấp trước đây của tàu:
(1) Kiểm tra thân tàu:
(a) Đối với các tàu dưới 5 tuổi, nội dung kiểm tra phải như nội dung của kiểm tra hàng năm;
(b) Đối với các tàu từ 5 đến dưới 10 tuổi, nội dung kiểm tra phải bao gồm nội dung của kiểm tra hàng năm và kiểm tra một số két dằn đại diện;
(c) Đối với các tàu từ 10 tuổi đến dưới 20 tuổi, nội dung kiểm tra phải bao gồm nội dung của kiểm tra hàng năm và kiểm tra một số két dằn và khoang hàng đại diện;
(d) Đối với các tàu có dấu hiệu bổ sung ESP từ 15 tuổi đến dưới 20 tuổi, nội dung kiểm tra phải như nội dung của kiểm tra định kỳ hoặc kiểm tra trung gian, lấy nội dung nào đến hạn gần nhất;
(e) Đối với tất cả các tàu từ 20 tuổi trở lên, nội dung kiểm tra phải như nội dung của kiểm tra định kỳ (bao gồm cả các tàu áp dụng kiểm tra liên tục thân tàu);
(f) Trong trường hợp áp dụng các yêu cầu ở (iv) đến (v) trên, nếu tàu chưa đến hạn lên đà vào thời điểm kiểm tra, Đăng kiểm có thể xem xét để chấp nhận kiểm tra dưới nước thay cho kiểm tra trên đà;
(g) Khi áp dụng các yêu cầu ở (a) đến (f) trên, có thể thực hiện như sau:
- Nếu kiểm tra phân cấp được coi như kiểm tra chu kỳ để duy trì cấp thì Đăng kiểm có thể xem xét chấp nhận các kết quả đo chiều dày của tổ chức phân cấp trước đây của tàu nếu chúng được thực hiện trong cửa sổ kiểm tra quy định của kiểm tra chu kỳ đó. - Nếu kiểm tra phân cấp không được coi như kiểm tra chu kỳ để duy trì cấp thì Đăng kiểm có thể xem xét chấp nhận các kết quả đo chiều dày của tổ chức phân cấp trước đây của tàu nếu chúng được thực hiện trong phạm vi 15 tháng trước khi hoàn thành kiểm tra phân cấp để vào cấp của Đăng kiểm nếu nó nằm trong phạm vi của kiểm tra định kỳ, trong phạm vi 18 tháng trước khi hoàn thành kiểm tra phân cấp để vào cấp của Đăng kiểm nếu nó nằm trong phạm vi của kiểm tra trung gian.
Trong cả hai trường hợp, các kết quả đo chiều dầy phải được Đăng kiểm soát xét sự phù hợp với các yêu cầu kiểm tra áp dụng và phải đo kiểm tra đến mức độ Đăng kiểm thấy phù hợp.
(h) Trong trường hợp áp dụng các yêu cầu ở (c) đến (e) trên, có thể không yêu cầu việc thử két đối với các tàu trên 15 tuổi như một phần của kiểm tra phân cấp để vào cấp của Đăng kiểm trừ khi kiểm tra vào cấp được coi như đợt kiểm tra chu kỳ để duy trì cấp. Nếu kiểm tra phân cấp để vào cấp của Đăng kiểm được coi như kiểm tra chu kỳ để duy trì cấp, Đăng kiểm có thể xem xét chấp nhận việc thử két được thực hiện bởi tổ chức đăng kiểm trước đây nếu chúng được thực hiện trong phạm vi cửa sổ kiểm tra áp dụng của kiểm tra chu kỳ đó.
(2) Hệ thống máy tàu và trang bị điện:
Phải kiểm tra chung tất cả các máy quan trọng, đặc biệt, phải bao gồm:
(a) Thiết bị đốt dầu của nồi hơi, bộ tiết kiệm và thiết bị sinh hơi phải được kiểm tra trong các điều kiện làm việc. Việc điều chỉnh các van an toàn của các thiết bị này phải được xác nhận lại bằng cách kiểm tra các biên bản kiểm tra của tàu;
(b) Tất cả các bình chịu áp lực;
(c) Điện trở cách điện, các bộ ngắt mạch máy phát điện, các rơ le ngắt ưu tiên và bộ điều tốc động cơ lai máy phát phải được thử; khả năng làm việc song song và phân chia tải của các máy phát phải được kiểm tra xác nhận;
(d) Trong mọi trường hợp, các đèn và thiết bị chỉ báo hàng hải, các nguồn điện làm việc và dự phòng của chúng phải được xác nhận lại;
(e) Các bơm hút khô, bơm chữa cháy sự cố và điều khiển từ xa các van dầu, bơm dầu đốt, bơm dầu bôi trơn và các quạt thông gió cưỡng bức phải được kiểm tra trong các điều kiện làm việc;
(f) Các thiết bị tái tuần hoàn và làm sạch băng (nếu có);
(g) Máy chính và tất cả các máy phụ cần thiết cho hoạt động của tàu trên biển cùng với các thiết bị điều khiển chính và máy lái phải được thử trong các điều kiện làm việc. Thiết bị lái phụ cũng phải được thử. Việc thử đi biển ngắn phải được thực hiện nếu Đăng kiểm thấy cần thiết khi tàu đã bị dừng hoạt động trong thời gian dài;
(h) Thiết bị khởi động ban đầu phải được xác nhận lại;
(i) Đối với các tàu dầu, hệ thống dầu hàng và thiết bị điện ở các vùng nguy hiểm phải được kiểm tra sự phù hợp với các yêu cầu của Quy chuẩn. Nếu có lắp các thiết bị an toàn về bản chất, đăng kiểm viên phải thỏa mãn rằng, chúng đã được chứng nhận bởi cơ quan được công nhận. Các thiết bị an toàn và báo động và các dụng cụ đo đạc chính của hệ thống khí trơ phải được xác nhận lại và hệ thống phải được kiểm tra chung để đảm bảo không tạo thành nguy cơ nguy hiểm cho tàu;
(k) Trong trường hợp kiểm tra phân cấp để vào cấp của Đăng kiểm đối với tàu tại thời điểm bàn giao tàu, các nội dung nêu ở (b) đến (i) trên, việc xác nhận lại có thể bằng cách xem xét biên bản của tàu.
2.3.2 được sửa đổi như sau:
2.3.2 Thử đường dài
1 Khi kiểm tra phân cấp tất cả các tàu, phải tiến hành thử đường dài theo quy định từ (1) đến (13) dưới đây trong điều kiện tàu toàn tải, thời tiết tốt và biển lặng, ở vùng biển không hạn chế độ sâu của nước đối với mớn nước của tàu. Tuy nhiên, nếu việc thử đường dài không thể thực hiện được trong điều kiện toàn tải thì có thể thử với điều kiện tải thích hợp. Việc đo tiếng ồn nêu ở (11) phải được thực hiện hoặc ở trạng thái toàn tải hoặc ở trạng thái dằn.
(1) Thử tốc độ;
(2) Thử lùi;
(3) Thử thiết bị lái, thử chuyển đổi từ lái chính sang lái phụ;
(4) Thử quay vòng. Trong từng trường hợp cụ thể, Đăng kiểm có thể xem xét miễn giảm thử quay vòng cho từng tàu riêng rẽ, với điều kiện phải có đầy đủ số liệu thử quay vòng của các tàu đóng cùng phiên bản;
(5) Thử để xác nhận không có trục trặc trong điều kiện hoạt động của máy cũng như đặc tính của tàu trong lúc thử đường dài;
(6) Thử chức năng của các tời neo;
(7) Thử chức năng hệ thống điều khiển tự động và điều khiển từ xa của máy chính hoặc chân vịt biến bước, nồi hơi và các tổ máy phát điện;
(8) Thử tích hơi của nồi hơi;
(9) Đo dao động xoắn của hệ trục (nếu yêu cầu ở Chương 8 Phần 3 của Quy chuẩn);
(10) Đo áp suất âm thanh của hệ thống phát hiện và báo cháy cố định;
(11) Đo tiếng ồn (nếu áp dụng các quy định của QCVN 80:2014/BGTVT);
(12) Kiểm tra xác nhận báo cáo tính toán tổng méo sóng hài và hướng dẫn vận hành bộ lọc sóng hài;
(13) Các nội dung thử khác, nếu Đăng kiểm thấy cần thiết.
2 Kết quả thử quy định ở -1 trên phải được trình cho Đăng kiểm để làm hồ sơ thử tàu đường dài.
3 Trong trường hợp kiểm tra phân cấp đối với các tàu được đóng không có giám sát của Đăng kiểm, Đăng kiểm có thể miễn giảm các yêu cầu thử nêu trên với điều kiện có đủ số liệu trong lần thử trước và kể từ lần thử đó tàu không có thay đổi làm ảnh hưởng đến kết quả thử quy định ở -1 nói trên.
4 Thử tốc độ nêu ở -1(1) trên phải được thực hiện như nêu ở (1) và (2) dưới đây:
(1) Đối với các tàu phải thực hiện việc thử tốc độ ở trạng thái toàn tải, phải thử xác nhận tốc độ tàu như định nghĩa ở 1.2.26 Phần 1A của Quy chuẩn. Đối với các tàu không thể thực hiện việc thử tốc độ ở trạng thái toàn tải thì tốc độ tàu ở vòng quay liên tục lớn nhất của máy chính phải được xác nhận (tốc độ này sau đây được gọi là “tốc độ lớn nhất của tàu”);
(2) Tốc độ tàu tương ứng với công suất máy chính nêu ở Bảng 1B/2.2 (không bao gồm 110% và vòng quay tối thiểu) cũng phải được xác nhận.
5 Thử lùi theo yêu cầu ở -1(2) trên phải được thực hiện phù hợp với (1) và (2) dưới đây:
(1) Thử lùi phải được thực hiện phù hợp với (a) và (b) dưới đây và các nội dung thử liên quan đến khả năng dừng tàu phải được đo. Tuy nhiên các nội dung thử liên quan đến khả năng dừng tàu có thể được bỏ qua nếu được Đăng kiểm chấp nhận, với điều kiện có đầy đủ số liệu từ lần thử lùi tàu của tàu tương tự.
(a) Trong khi tàu đang chạy tiến với tốc độ lớn nhất, lệnh lùi hết tốc và đảo chiều từ chạy tiến sang chạy lùi được thực hiện càng nhanh càng tốt;
(b) Đối với các tàu không thể thực hiện thử được ở tốc độ lớn nhất, tàu phải được chạy tiến ở tốc độ không nhỏ hơn tốc độ ở 90% tốc độ tàu tương ứng với không nhỏ hơn 95% vòng quay liên tục lớn nhất của máy chính. Trong khi tàu đang chạy tiến với tốc độ này, lệnh lùi hết tốc và đảo chiều từ chạy tiến sang chạy lùi được thực hiện càng nhanh càng tốt.
(2) Phải đảm bảo rằng máy hoạt động bình thường khi tàu chạy lùi. Máy chính phải được duy trì ở tốc độ không nhỏ hơn 70% vòng quay liên tục lớn nhất. Tàu phải được duy trì chạy lùi trong các khoảng thời gian nêu ở (a) và (b) dưới đây tùy thuộc vào loại máy và phải đảm bảo khả năng hoạt động như nêu ở 1.3.2 Phần 3 của Quy chuẩn:
(a) Đối với các tàu có máy chính là động cơ điêzen, khoảng thời gian 10 phút hoặc cho đến khi tốc độ lùi (vòng quay/phút) ổn định, lấy giá trị nào lớn hơn;
(b) Đối với các tàu có máy chính là tua bin hơi, tua bin khí hoặc hệ đẩy bằng điện, khoảng thời gian là 15 phút.
6 Việc thử thiết bị lái và thử chuyển đổi từ thiết bị lái chính sang lái phụ như yêu cầu ở -1(3) trên phải được thực hiện phù hợp với các yêu cầu ở từ (1) đến (11) sau đây. Tuy nhiên, các thử nghiệm yêu cầu ở (4), (7), (8), (9), (10) và (11) có thể được bỏ qua nếu các thử nghiệm này đã được thực hiện hoặc trên ụ khô hoặc tại mạn ụ.
(1) Thử khả năng lái như nêu ở 15.2.2 và 15.2.3 Phần 3 của Quy chuẩn. Nếu tàu không thể thử được ở trạng thái toàn tải và chạy tiến ở tốc độ tương ứng với vòng quay liên tục lớn nhất của máy chính và bước thiết kế lớn nhất của chân vịt, tàu có thể chứng minh sự phù hợp với các yêu cầu này bằng một trong các phương pháp dưới đây:
(a) Thử chạy tiến được thực hiện ở trạng thái bánh lái ngập hoàn toàn (tại đường nước khi tốc độ tàu bằng không) và tàu ở trạng thái cân bằng dọc với tốc độ của tàu tương ứng với vòng quay liên tục lớn nhất của máy chính và bước thiết kế lớn nhất của chân vịt (trong trường hợp máy lái phụ thì một nửa của tốc độ này hoặc 7 hải lý, lấy giá trị lớn hơn). Trong trường hợp bánh lái không thể ngập hoàn toàn ở trạng thái cân bằng dọc thì có thể chấp nhận chiều chìm mà bánh lái ở vị trí ngập hoàn toàn (tại đường nước khi tốc độ tàu bằng không) trong điều kiện chúi đuôi chấp nhận được;
(b) Nếu không thể thử được trong điều kiện bánh lái ngập hoàn toàn, phải tính toán tốc độ tiến thích hợp sử dụng phần diện tích bánh lái ngập trong nước trong điều kiện tải thử đường dài như đề nghị. Tốc độ tiến tính toán phải sao cho tạo ra lực và mô men tác dụng lên máy lái chính tối thiểu phải bằng như trường hợp thử khi tàu ở trạng thái toàn tải và chạy tiến với tốc độ của tàu tương ứng với vòng quay liên tục lớn nhất của máy chính và bước thiết kế lớn nhất của chân vịt (trong trường hợp máy lái phụ thì một nửa của tốc độ này hoặc 7 hải lý, lấy giá trị lớn hơn);
(c) Thử được thực hiện ở trạng thái mà lực và mô men xoắn tác dụng lên bánh lái ở trạng thái thử có thể dự tính và ngoại suy từ trạng thái toàn tải được một cách tin cậy. Tốc độ của tàu phải tương ứng với vòng quay liên tục lớn nhất của máy chính và bước thiết kế lớn nhất của chân vịt (trong trường hợp máy lái phụ thì một nửa của tốc độ này hoặc 7 hải lý, lấy giá trị lớn hơn).
(d) Trong trường hợp áp dụng (c) trên, phải thực hiện theo (i) và (ii) dưới đây hoặc các nghiên cứu tính toán, thử nghiệm thủy động học khác được Đăng kiểm chấp nhận.
(i) Mô men bánh lái ở trạng thái đầy tải và ở tốc độ tàu định nghĩa ở 1.2.26 Phần 1A phải được dự tính dựa trên công thức ngoại suy dưới đây. Tuy nhiên, không cần phải ngoại suy nếu AT lớn hơn 0,95AF.
QF = QT.α
Trong đó:
QF: Mô men trục lái (mô men ở trục lái) ở trạng thái đầy tải và tốc độ tàu định nghĩa ở 1.2.26 Phần 1A.
QT: Mô men trục lái (mô men ở trục lái) ở trạng thái thử
α: Hệ số ngoại suy được lấy theo công thức sau:
![]()
AF: Tổng diện tích nhô ra ngập nước của phần chuyển động được của bánh lái ở trạng thái toàn tải
AT: Tổng diện tích nhô ra ngập nước của phần chuyển động được của bánh lái ở trạng thái thử
VF: Tốc độ thiết kế dự định (theo hợp đồng) của tàu tương ứng với số vòng quay liên tục lớn nhất của máy chính ở trạng thái toàn tải
VT: Tốc độ đo được của tàu (có lưu ý đến dòng chảy) ở trạng thái thử.
(ii) Nếu áp suất của hệ thống dẫn động bánh lái cho thấy quan hệ tuyến tính với mô men trục lái thì phương trình trên có thể lấy phù hợp với công thức sau. Nếu sử dụng bơm thể tích có lưu lượng không đổi thì có thể coi là thỏa mãn 15.2.2-1(1) hoặc 15.2.3-1(1) nếu áp suất thủy lực của thiết bị dẫn động dự tính được ở trạng thái toàn tải nhỏ hơn áp suất làm việc lớn nhất đã định của thiết bị dẫn động bánh lái. Nếu sử dụng bơm cấp biến thiên, số liệu của bơm phải được cung cấp và có chú giải để dự tính được lưu lượng cấp tương ứng với trạng thái toàn tải để tính thời gian lái và để có thể so với thời gian yêu cầu.
PF = PT.α
(2) Thử hoạt động các máy lái, bao gồm cả chuyển đổi giữa các máy lái;
(3) Thử cách ly một hệ thống truyền động thủy lực bao gồm cả kiểm tra thời gian khôi phục khả năng lái;
(4) Thử hệ thống nạp lại chất lỏng thủy lực;
(5) Thử nguồn cấp điện sự cố theo yêu cầu ở 15.2.6 Phần 3 của Quy chuẩn;
(6) Thử hoạt động điều khiển, bao gồm cả chuyển đổi giữa 2 hệ thống điều khiển, chuyển đổi giữa hệ thống điều khiển và thiết bị điều khiển được trang bị trong buồng máy lái và chuyển đổi giữa lái tự động và lái tay;
(7) Thử phương tiện liên lạc giữa buồng lái và buồng máy và giữa buồng máy và buồng máy lái;
(8) Thử chức năng các thiết bị chỉ báo báo động, thiết bị chỉ báo góc lái và các máy lái theo yêu cầu ở Chương 15 Phần 3 của Quy chuẩn;
(9) Thử chức năng của thiết bị chỉ báo báo động mất nguồn và quá dòng, tình trạng hoạt động của các động cơ điện và van an toàn đề phòng quá áp;
(10) Thử chức năng thiết bị chặn bánh lái;
(11) Nếu thiết bị lái được thiết kế để tránh khóa thủy lực thì phải thử để đảm bảo thỏa mãn đặc tính này.
7 Thử quay trở theo yêu cầu ở -1(4) trên phải được thực hiện phù hợp với (1) và (2) dưới đây:
(1) Tàu phải được lái sang trái hoặc phải với góc bánh lái lớn nhất (thông thường là 35 độ, tuy nhiên, nếu là bánh lại loại đặc biệt thì Đăng kiểm có thể chấp nhận góc bẻ lái khác) trong khi đang hành trình tiến với tốc độ lớn nhất và góc bánh lái được giữ cho đến khi tàu quay vòng được 360 độ. Khả năng quay trở phải được đo và ổn định của tàu trong quá trình quay phải được xác nhận;
(2) Mặc dù được quy định ở (1), các tàu không thể thực hiện được việc thử ở tốc độ lớn nhất thì tàu phải được chạy tiến với tốc độ không nhỏ hơn tốc độ nêu ở -5(1)(b). Trong khi tàu đang ở chế độ này, tàu được lái sang trái hoặc phải với góc bánh lái lớn nhất (thông thường là 35 độ, tuy nhiên, nếu là bánh lại loại đặc biệt thì Đăng kiểm có thể chấp nhận góc bẻ lái khác) và góc bánh lái được giữ cho đến khi tàu quay vòng được 360 độ.
8 Thử hoạt động hệ thống máy nêu ở -1(5) trên phải bao gồm từ (1) đến (7) sau để xác định rằng hệ thống máy hoạt động bình thường và tin cậy và không có các rung động quá mức trong dải vòng quay khai thác. Tuy nhiên, có thể bỏ qua các thử nghiệm này nếu các thử nghiệm này đã được thực hiện khi tàu trên ụ khô hoặc tại mạn ụ.
(1) Đối với các động cơ điêzen, thử tải tiêu chuẩn như nêu ở Bảng 1B/2.2. Đối với các động cơ điêzen lai máy phát hoặc máy phụ (trừ máy phụ chuyên dụng), việc thử hoạt động có thể thực hiện vào các thời điểm thích hợp sau khi lắp đặt trên tàu;
(2) Đối với các tua bin khí và tua bin hơi sử dụng làm máy chính, việc thử tải có thể được thực hiện ở các mức độ 3 hoặc 4 của công suất được lựa chọn từ công suất khai thác liên tục thông thường và 4/4, 3/4, 2/4 và 1/4 của công suất liên tục lớn nhất của động cơ;
(3) Thử hoạt động các thiết bị khởi động:
Phải xác nhận rằng các động cơ điêzen khởi động liên tục với số lần như yêu cầu ở 2.5.3-2 Phần 3 của Quy chuẩn.
(4) Thử chức năng các thiết bị an toàn và báo động:
Phải thực hiện việc thử các chức năng thiết bị an toàn và báo động như yêu cầu ở 2.4, 3.3 và 4.3 Phần 3 của Quy chuẩn;
(5) Sự phù hợp của dầu đốt:
Sự phù hợp của dầu cặn và các loại dầu đặc biệt khác sử dụng cho động cơ phải được xác nhận. Tuy nhiên, việc thử này có thể được bỏ qua nếu đã khẳng định được khi thử tại xưởng;
(6) Thử chức năng các thiết bị an toàn và báo động của nồi hơi;
(7) Thử chức năng các thiết bị an toàn và báo động của bộ tiết kiệm khí thải.
9 Thử chức năng các tời neo như nêu ở -1(6) trên phải được thực hiện phù hợp với (1) và (2) dưới đây và phải xác nhận rằng kết cấu và các thiết bị kèm theo của chúng ở trạng thái tốt.
(1) Thử tải:
Với 82,5 m xích neo (3 tiết xích) ngập dưới nước và treo tự do khi bắt đầu kéo lên, việc thử phải được thực hiện phù hợp với quy trình nêu ở (a) đến (c) dưới đây. Đối với (a) và (b), tời neo phải hoạt động với tốc độ trung bình không nhỏ hơn 0,15m/giây. Nếu không thể có 3 tiết xích ngập dưới nước do vị trí của tàu thì có thể thử tương đương khác nếu được Đăng kiểm chấp nhận.
(a) Kéo 2 tiết xích một mạn;
(b) Kéo 2 tiết xích mạn kia;
(c) Kéo 1 tiết xích cả 2 mạn đồng thời;
(2) Thử phanh thiết bị kéo xích:
Khả năng thả và giữ của phanh thiết bị kéo xích phải được xác nhận bằng cách thả neo và phanh với mỗi 1/2 tiết xích.
Bảng 1B/2.2 Thử đường dài đối với các động cơ điêzen
|
Nội dung thử |
Mục đích sử dụng của động cơ |
||
|
Máy chính của tàu chạy bằng động cơ điêzen(1) |
Máy chính của tàu chạy bằng động cơ điện (2) |
Động cơ lai máy phát (trừ máy phụ chuyên dụng...) (2) |
|
|
Chạy 110% công suất (3) |
30 phút với tốc độ động cơ phù hợp với đường cong chân vịt danh nghĩa |
30 phút ở tốc độ n0 (n0 là tốc độ định mức của động cơ) |
Chứng minh khả năng cấp được 110% công suất |
|
Chạy 100% công suất (công suất định mức) (4) |
4 giờ với tốc độ động cơ phù hợp với đường cong chân vịt danh nghĩa |
4 giờ ở tốc độ n0 |
4 giờ ở tốc độ n0 (4)(5) (phải bao gồm chạy ở 100% công suất) |
|
Chạy với công suất khai thác liên tục thông thường (4) |
2 giờ với tốc độ động cơ phù hợp với đường cong chân vịt danh nghĩa |
2 giờ ở tốc độ n0 |
|
|
Chạy 75% công suất |
Thời gian đủ với tốc độ động cơ phù hợp với đường cong chân vịt danh nghĩa (một hoặc hai nội dung có thể bỏ qua) |
Thời gian đủ với tốc độ ở tốc độ n0 (một hoặc hai nội dung có thể bỏ qua) |
|
|
Chạy 50% công suất |
|||
|
Chạy 25% công suất |
|||
|
Thử vòng quay tối thiểu của động cơ |
x (6) |
- |
- |
Chú thích:
(1) Trong trường hợp chân vịt biến bước, phải thử với các bước khác nhau của chân vịt.
(2) Phải thử ở tốc độ định mức với chế độ đặt cho bộ điều tốc cố định và phải dựa vào công suất điện định mức của các máy phát được dẫn động.
(3) Có thể bỏ qua thử nếu Đăng kiểm thấy phù hợp khi xem xét các kết quả thử tại xưởng.
(4) Thời gian thử có thể rút ngắn (tuy nhiên, thử ở 100% công suất đối với máy chính phải được thực hiện trong thời gian không ít hơn 1 giờ) nếu Đăng kiểm thấy phù hợp khi xem xét các kết quả thử tại xưởng.
(5) Tải thử có thể được giảm đi nếu động cơ không thể thực hiện được các tải đã định.
(6) Phải thử để xác nhận vòng quay làm việc tối thiểu của máy chính khi tàu được lái ở góc bánh lái lớn nhất.
(7) Ký hiệu “x” là phải thực hiện, ký hiệu “-” là không phải thực hiện.
10 Thử chức năng hệ thống điều khiển tự động và điều khiển từ xa của máy chính hoặc chân vịt biến bước, nồi hơi và các tổ máy phát điện theo yêu cầu ở -1(7) phải được thực hiện phù hợp với (1) đến (4) dưới đây. Tuy nhiên, có thể bỏ qua các thử nghiệm này khi thử đường dài nếu các thử nghiệm này đã được thực hiện khi tàu neo đậu hoặc tại mạn ụ.
(1) Các hệ thống điều khiển máy chính và chân vịt biến bước phải được thử như (a) đến (d) dưới đây:
(a) Máy chính hoặc chân vịt biến bước phải được thử khởi động, thử tiến-lùi và thử chạy trong toàn bộ dải công suất bằng các thiết bị điều khiển từ xa ở trạm điều khiển chính hoặc trạm điều khiển chính trên buồng lái;
(b) Ngoài việc thử tăng giảm công suất, thử hoạt động máy chính hoặc chân vịt biến bước sử dụng thiết bị điều khiển trên buồng lái phải được thực hiện. Nếu thử hoạt động đã được thực hiện cho toàn bộ dải công suất bằng thiết bị điều khiển trên buồng lái, có thể xem xét giảm các nội dung thử, trừ thử khởi động;
(c) Nếu có từ 2 trạm điều khiển máy chính hoặc chân vịt biến bước, phải thử chuyển đổi điều khiển khi tàu đang chạy tiến và đang chạy lùi. Nếu thiết bị điều khiển từ xa máy chính hoặc chân vịt biến bước thỏa mãn 18.3.2-2(3)(b) Phần 3 của Quy chuẩn, có thể thực hiện việc thử nêu trên khi máy chính dừng hoạt động.
(2) Nồi hơi
Thử chức năng của các hệ thống điều khiển nồi hơi phải được thực hiện phù hợp với các yêu cầu từ (a) đến (c) sau:
(a) Phải xác nhận rằng các thiết bị như điều khiển nước cấp và đốt có thể hoạt động ổn định thỏa mãn các thay đổi tải của nồi hơi và nồi hơi chính có thể cấp hơi ổn định cho máy chính, các tổ máy phát điện và máy phụ cần thiết cho máy chính của tàu mà không vận hành bằng tay tại chỗ;
(b) Đối với các nồi hơi phụ quan trọng, phải xác nhận rằng chúng có thể cấp hơi ổn định cho máy phụ cần thiết cho máy chính của tàu mà không vận hành bằng tay;
(c) Nếu sử dụng bộ tiết kiệm khí xả để tạo nguồn hơi dẫn động máy phát và nồi hơi để tự động cấp thêm hơi trong khi mất nguồn, phải thử hoạt động của các thiết bị điều khiển tự động cho hệ thống này.
(3) Các tổ máy phát điện
Nếu các máy phát cấp nguồn điện cho các tải cần thiết để đẩy tàu, nguồn dẫn động chúng phụ thuộc vào hệ thống đẩy tàu, phải thử chức năng các hệ thống điều khiển tự động và điều khiển từ xa của các tổ máy phát;
(4) Đối với các tổ máy phát quy định ở 3.2.1-3 Phần 4, có lưu ý đến việc áp dụng 6.2.11-1 và 6.2.11-3 Phần 4 của Quy chuẩn áp dụng cho các tàu nêu ở 6.1.1 Phần 4 của Quy chuẩn, các nội dung sau phải được xác nhận khi máy chính hoạt động công suất khai thác liên tục thông thường. Tuy nhiên, trong trường hợp mà máy chính vận hành ở công suất khác công suất khai thác liên tục thông thường, việc thử có thể được thực hiện khi máy chính hoạt động ở công suất đó với điều kiện tất cả thiết bị ngoại vi chủ động hoạt động ở công suất giống như công suất khai thác liên tục thông thường của máy chính.
(a) Nếu thông thường chỉ sử dụng một máy phát, máy phát dự phòng, bộ ngắt mạch máy phát và máy phụ quan trọng khởi động tự động khi nguồn điện chính bị ngắt bằng kích hoạt bộ ngắt mạch;
(b) Nếu thông thường sử dụng hai tổ máy phát điện thì việc ngắt ưu tiên các tải không cần thiết phải được thực hiện và việc đẩy tàu, lái tàu vẫn được duy trì khi bộ ngắt mạch của một tổ máy bị kích hoạt.
11 Thử tích hơi của nồi hơi theo yêu cầu ở -1(8) phải được thực hiện phù hợp với (1) đến (3) dưới đây:
(1) Thử tích hơi phải được thực hiện như nêu ở (a) và (b) dưới đây trong khi nồi hơi đang ở trạng thái đốt lớn nhất. Tuy nhiên, nếu số liệu sản lượng hơi của nồi hơi trình cho Đăng kiểm đã được chấp nhận thì có thể miễn thử tích hơi nêu ở (a).
(a) Khi van an toàn của nồi hơi mở khi tất cả các van chặn được đóng lại trừ các van cấp hơi cho máy cần thiết cho hoạt động của nồi hơi, áp suất tích hơi trong trống nồi hơi không được vượt quá 110% áp suất làm việc được duyệt. Tuy nhiên, nước cấp cần thiết để duy trì mức nước an toàn có thể được cấp vào.
(b) Đối với nồi hơi có bộ quá nhiệt, nếu việc thử tích hơi có thể dẫn đến quá nhiệt của bộ quá nhiệt, thử hoạt động của thiết bị nêu ở 9.9.3-8 Phần 3 của Quy chuẩn có thể được thực hiện để thay thế sau khi đóng tất cả nguồn cấp hơi chính. Trong trường hợp này việc kéo mỗi van an toàn phải được kiểm tra trước.
(2) Thử tích hơi nêu ở (1) có thể được thực hiện vào thời điểm thích hợp khi tàu đang neo đậu hoặc cập mạn ụ;
(3) Đối với các nồi hơi có khả năng đốt lại khi sử dụng bộ tiết kiệm khí xả, về nguyên tắc, thử tích hơi phải được thực hiện phù hợp với phương pháp nêu ở (1)(a) và (b) trong trạng thái đốt lớn nhất và ở công suất liên tục lớn nhất của máy chính.
12 Các nội dung thử khác, nếu Đăng kiểm thấy cần thiết nêu ở -1(12) là các thử và kiểm tra nêu ở từ (1) đến (5) dưới đây:
(1) Đối với các tàu có nhiều chân vịt hoặc nhiều máy chính, thử đường dài phải được thực hiện với giả định rằng một chân vịt hoặc máy chính không hoạt động do bị hỏng để xác nhận rằng tàu có thể điều động được trong tình trạng như vậy;
(2) Nếu tàu có trang bị các thiết bị hỗ trợ quay trở tàu hoặc dừng tàu thì phải thử hoạt động của các thiết bị đó;
(3) Mở kiểm tra các xy lanh có thể được yêu cầu sau khi thử đường dài nếu Đăng kiểm thấy cần thiết;
(4) Thử đường dài các tàu có hệ đẩy tàu chạy điện phải được thực hiện với quy trình thử được Đăng kiểm chấp nhận;
(5) Đối với các tàu chở xô khí hóa lỏng, chở xô hóa chất nguy hiểm và các tàu khác có chiều dài không nhỏ hơn 100 m, thử đường dài để xác nhận khả năng quay ban đầu, độ chệch hướng và khả năng giữ hướng phải được thực hiện. Tuy nhiên, việc thử này không cần thực hiện đối với các tàu mà đặc tính quay trở được xác nhận bằng đầy đủ số liệu của tàu và loại thử cũng như các thông tin từ các nguồn như từ việc thử các tàu tương tự và thử mô hình.
CHƯƠNG 3 KIỂM TRA HÀNG NĂM
3.3 Kiểm tra hàng năm hệ thống máy tàu
3.3.1-1(4) được bổ sung như sau:
3.3.1 Kiểm tra chung
1 Vào các đợt kiểm tra hàng năm hệ thống máy, phải kiểm tra chung toàn bộ hệ thống máy trong buồng máy và phải kiểm tra như quy định ở từ (1) đến (4) sau đây:
(1) Phải xác nhận rằng máy chính, hệ thống truyền công suất, hệ trục, động cơ dẫn động không phải là máy chính, nồi hơi, thiết bị hâm bằng dầu nóng, lò đốt chất thải, bình áp lực, máy phụ, hệ thống đường ống, hệ thống điều khiển, trang bị điện và các bảng điện đều ở tình trạng tốt;
(2) Phải xác nhận rằng buồng máy, buồng nồi hơi và phương tiện thoát nạn đều ở tình trạng tốt xét về khía cạnh cháy và nổ;
(3) Đối với những tàu có hệ thống bảo dưỡng phòng ngừa theo các yêu cầu ở 8.1.3 Chương 8, phải kiểm tra chung hệ thống và xem xét lại từng bản ghi thông số kiểm soát của hệ thống để xác nhận rằng các hệ thống liên quan đã được bảo dưỡng tốt.
(4) Đối với các tàu có dấu hiệu phân cấp "APSS-O" hoặc "APSS-W" mà định kỳ thực hiện phân tích dầu hoặc thử mẫu nước, phải kiểm tra chung về hệ trục và xem xét tất cả các số liệu giám sát tình trạng có ở trên tàu để đảm bảo rằng hệ thống được duy trì tốt.
2 Ngoài các yêu cầu ở -1 trên đây, vào các đợt kiểm tra hàng năm hệ thống máy của tàu dầu, phải xác nhận rằng bệ đỡ bơm và hệ thống thông gió trong các buồng bơm hàng và trang bị điện trong các vùng nguy hiểm đều ở tình trạng tốt.
3.7 được bổ sung như sau:
3.7 Các yêu cầu đặc biệt đối với các tàu sử dụng nhiên liệu có điểm chớp cháy thấp
3.7.1 Quy định chung
Ngoài các yêu cầu áp dụng ở các mục trên, các yêu cầu ở 3.7 phải được áp dụng khi kiểm tra hàng năm các tàu sử dụng nhiên liệu có điểm chớp cháy thấp. Tuy nhiên, các nội dung kiểm tra các két nhiên liệu được nạp khí trơ hoặc các khoang được nạp khí trơ khác có thể được bỏ qua nếu đăng kiểm viên hiện trường thấy không cần thiết.
3.7.2 Nội dung kiểm tra
Vào các đợt kiểm tra hàng năm các tàu sử dụng nhiên liệu có điểm chớp cháy thấp, các nội dung kiểm tra khoang, kết cấu, thiết bị... như nêu ở Bảng 1B/3.11 phải được thực hiện để đảm bảo chúng ở trạng thái tốt. Phạm vi kiểm tra có thể được tăng lên để bao gồm cả thử tính năng bổ sung, thử hoạt động và mở kiểm tra trong trường hợp đăng kiểm viên hiện trường thấy cần thiết.
3.8 Các yêu cầu đặc biệt đối với tàu hàng rời và tàu dầu
3.8.1 Quy định chung
Ngoài các yêu cầu của 3.2 và 3.3, các yêu cầu ở 3.8 này áp dụng cho kiểm tra hàng năm các tàu hàng rời và tàu dầu thuộc phạm vi áp dụng Quy định 3-10 Chương II-1 SOLAS 74.
3.8.2 Kiểm tra
Trường hợp đăng kiểm viên thấy cần thiết, phải thực hiện các nội dung kiểm tra kết cấu thân tàu, có lưu ý đến các khu vực được nhận dạng là cần phải lưu ý đặc biệt trong hồ sơ kết cấu tàu.
Bảng 1B/3.3 được sửa đổi như sau:
Bảng 1B/3.3 Thử hoạt động
|
T.T |
Hạng mục |
Thử nghiệm |
|
1 |
Nắp miệng khoang kín thời tiết |
● Thử bằng vòi rồng, nếu đăng kiểm viên thấy cần thiết. ● Kiểm tra ngẫu nhiên hoạt động tương đối của các nắp đậy miệng khoang được dẫn động cơ giới bao gồm cả các bộ phận cơ giới và thủy lực, dây cáp, xích và các chi tiết nối truyền động. ● Đối với các nắp đậy miệng khoang được dẫn động cơ giới ở tàu chở hàng rời, các tấm nắp miệng khoang ở vùng phía trước 0,25 Lf và ít nhất một tấm bổ sung, bao gồm cả các bộ phận cơ giới và thủy lực, dây cáp, xích và các chi tiết nối truyền động phải được kiểm tra hoạt động đạt yêu cầu, sao cho tất cả các nắp miệng khoang trên tàu được kiểm tra ít nhất 5 năm một lần giữa các lần kiểm tra định kỳ. |
|
2 |
Thiết bị đóng các cửa kín nước trên vách kín nước và các lỗ khoét trên các vách mút của thượng tầng, lầu boong hoặc thành quây bảo vệ miệng hầm dẫn đến lối vào các khoang bên dưới boong mạn khô |
● Phải kiểm tra xác nhận các thiết bị hoạt động tốt, theo mức độ mà đăng kiểm viên thấy cần thiết. ● Phải thử bằng vòi rồng hoặc tương đương. Có thể bỏ qua việc thử này nếu đăng kiểm viên thấy phù hợp. |
|
3 |
Các thiết bị liên quan đến phòng chống cháy và thoát nạn |
● Phải kiểm tra xác nhận các thiết bị hoạt động tốt. |
|
4 |
Hệ thống phát hiện cháy và báo cháy kể cả các nút báo cháy bằng tay |
● Phải kiểm tra xác nhận các thiết bị hoạt động tốt kể cả thiết bị báo động sự cố của hệ thống. |
|
5 |
Bơm cứu hỏa kể cả bơm cứu hỏa sự cố, đường ống, họng cứu hỏa, vòi rồng cứu hỏa, đầu phun |
● Phải thử khả năng hoạt động của hệ thống chữa cháy bao gồm bơm chữa cháy, họng chữa cháy v.v… Đối với những tàu có hệ thống hoạt động cho buồng máy không có người trực canh, phải thử hoạt động hệ thống điều khiển từ xa hoặc hệ thống tự động hoạt động của một bơm. |
|
6 |
Hệ thống chữa cháy bằng bọt cố định trên boong |
● Phải kiểm tra xác nhận hệ thống làm việc tốt bằng cách thử cấp nước. |
|
7 |
Hệ thống thông gió |
● Phải kiểm tra xác nhận các quạt làm việc tốt. |
|
8 |
Máy tính kiểm soát ổn định |
● Phải tiến hành thử hoạt động đối với các máy tính để tính toán ổn định như là một phụ bản của bản thông báo ổn định, được lắp đặt lên các tàu có hợp đồng đóng vào hoặc sau ngày 01 tháng 7 năm 2005. |
|
9 |
Hệ thống phát hiện nước và hệ thống báo động |
● Kiểm tra ngẫu nhiên, xác nhận hệ thống làm việc tốt. |
|
10 |
Hệ thống xả nước |
● Phải kiểm tra xác nhận hệ thống làm việc tốt. |
|
11 |
Các cửa mũi, cửa trong, của mạn và cửa đuôi |
● Kiểm tra để đảm bảo các cửa mũi, cửa trong, của mạn và cửa đuôi ở trạng thái tốt. ● Thử bằng vòi rồng (nếu đăng kiểm viên thấy cần thiết). |
Bảng 1B/3.11 được bổ sung như sau:
Bảng 1B/3.11 Những yêu cầu đặc biệt đối với các tàu sử dụng nhiên liệu có điểm chớp cháy thấp
|
T.T |
Hạng mục kiểm tra |
Nội dung kiểm tra |
|
1 |
Hệ thống chứa nhiên liệu |
Phải kiểm tra đến mức có thể tiếp cận được được về tình trạng chung của các két nhiên liệu, vách chắn thứ cấp và cách nhiệt của chúng và tình trạng chung của các thiết bị làm kín của các két nhiên liệu hoặc các tấm đậy két xuyên qua boong. Vào đợt kiểm tra hàng năm sau khi bàn giao tàu, các nội dung kiểm tra nêu ở (a) và (b) của nội dung 1 và 2 của Bảng 1B/5.29, đồng thời, phải kiểm tra tình trạng chung bệ đỡ két nhiên liệu. |
|
2 |
Hệ thống giảm áp an toàn của các hệ thống chứa nhiên liệu và các khoang hầm chứa nhiên liệu |
Phải kiểm tra chung đến mức có thể tiếp cận được các van an toàn áp suất, hệ thống bảo vệ chân không và các hệ thống an toàn của két nhiên liệu, các khoang giữa vách chắn và các khoang hầm chứa nhiên liệu cùng với các chắn bảo vệ và ống thông hơi. Phải đảm bảo rằng các biên bản niêm phong van an toàn áp suất của các két nhiên liệu và áp suất đặt của chúng được duy trì trên tàu. |
|
3 |
Hệ thống tiếp nhận nhiên liệu và hệ thống cấp nhiên liệu đối với nhiên liệu có điểm chớp cháy thấp |
Phải kiểm tra tình trạng chung của hệ thống nêu ở (a) đến (c) dưới đây trong quá trình tiếp nhận nhiên liệu và cấp nhiên liệu đến mức có thể kiểm tra được. Phải kiểm tra tình trạng chung và thử khả năng hoạt động các thiết bị ngắt để dừng chuyển nhiên liệu. (a) Thiết bị của hệ thống tiếp nhận nhiên liệu bao gồm các bộ trao đổi nhiệt, hóa hơi, bơm, máy nén nhiên liệu (b) Ống và ống xử lý nhiên liệu và bọc cách nhiệt của chúng đến mức có thể thực hiện được (c) Các thiết bị dừng tự động và bằng tay của các máy nén và bơm nhiên liệu |
|
4 |
Các thiết bị, đo, phát hiện, an toàn và báo động |
Phải kiểm tra chung và thử khả năng hoạt động các thiết bị nêu ở (a) đến (e) dưới đây. Có thể sử dụng thử mô phỏng hoặc phương pháp khác nếu khó thực hiện được việc thử trong điều kiện khai thác thực tế: (a) Thiết bị đo mức chất lỏng, thiết bị báo động mức cao và các van liên quan của hệ thống đóng khẩn cấp (b) Thiết bị chỉ báo nhiệt độ và các báo động kèm theo (c) Thiết bị đo áp suất và các báo động kèm theo của các két nhiên liệu, khoang giữa vách chắn và các khoang hầm chứa nhiên liệu (d) Các thiết bị phát hiện khí xách tay và cố định cùng với các báo động kèm theo. |
|
5 |
Hệ thống kiểm soát môi trường |
Phải kiểm tra chung các thiết bị từ (a) đến (c) sau: (a) Các hệ thống đuổi khí và tẩy khí và các thiết bị lấy mẫu khí của các két nhiên liệu (b) Các máy tạo khí trơ và hệ thống chứa khí trơ (c) Hệ thống kiểm soát áp suất, phương tiện ngăn dòng ngược của khí và các hệ thống giám sát của các hệ thống phụ trợ khí trơ. |
|
6 |
Các hệ thống chữa cháy |
Phải kiểm tra tình trạng chung của các hệ thống chữa cháy cho các khu vực nguy hiểm khép kín và các thiết bị báo động của lối thoát sự cố |
|
7 |
Các hệ thống khác |
Phải kiểm tra tình trạng chung của các thiết bị nêu từ (a) đến (k) sau. Phải kiểm tra các nội dung của (j) và (k) và đảm bảo chúng được duy trì ở trên tàu. (a) Các thiết bị đóng lỗ khoét, ví dụ cửa sổ, cửa ra vào lầu lái, lầu boong và thượng tầng mà yêu cầu phải có khả năng đóng được; các thiết bị của khóa khí (b) Hệ thống thông gió các khu vực nguy hiểm, các khu vực không nguy hiểm có các lỗ khoét vào các khu vực nguy hiểm (bao gồm các khu vực nguy hiểm khép kín), các buồng đầu nối két, các buồng máy được bảo vệ đóng khẩn cấp, các buồng chuẩn bị nhiên liệu, trạm tiếp nhận nhiên liệu và ống nhiên liệu (c) Các khay hứng rò rỉ của các hệ thống ống nhiên liệu (d) Các bơm và máy nén nhiên liệu, thiết bị làm kín trục xuyên vách kín khí (e) Phương tiện ngăn ngừa quá lạnh các kết cấu thân tàu (f) Các ống mềm nhiên liệu được duyệt (g) Nối điện giữa kết cấu thân tàu và ống nhiên liệu (h) Thiết bị được yêu cầu đặc biệt phụ thuộc vào loại nhiên liệu (i) Trang bị điện trong các khu vực nguy hiểm (j) Các phiếu cấp nhiên liệu (Bunker delivery note) đối với nhiên liệu có điểm chớp cháy thấp cùng các quy trình vận hành (17.2.2-3 Phần 8I) và các quy trình xử lý sự cố (17.2.2-4 Phần 8I) đối với các tàu sử dụng nhiên liệu có điểm chớp cháy thấp (k) Bộ luật quốc tế về an toàn đối với tàu sử dụng nhiên liệu khí hoặc có điểm chớp cháy thấp của IMO |
CHƯƠNG 4 KIỂM TRA TRUNG GIAN
4.1 Quy định chung
4.1.1-2 được sửa đổi như sau:
4.1.1 Kiểm tra tương đương với kiểm tra định kỳ
1 Nếu thấy cần thiết, Đăng kiểm có thể yêu cầu kiểm tra tương đương với kiểm tra định kỳ, dựa vào quá trình khai thác và lịch sử tàu hoặc lịch sử tai nạn của các tàu kiểu tương tự, hoặc các tàu có các két và các không gian tương tự.
2 Vào các đợt kiểm tra trung gian đối với các tàu hàng rời, tàu dầu, tàu chở xô hóa chất nguy hiểm trên 10 tuổi và các tàu hàng khô tổng hợp trên 15 tuổi có tổng dung tích bằng và lớn hơn 500, nội dung kiểm tra phải được thực hiện bằng nội dung kiểm tra của đợt kiểm tra định kỳ trước đó. Theo đó, các nội dung kiểm tra nêu tại 4.2.2, 4.2.4, 4.2.5 và 4.2.6 được thay bằng nội dung kiểm tra nêu tại 5.2.2, 5.2.4, 5.2.5 và 5.2.6 (ngoại trừ 5.2.6-8) một cách tương ứng, bao gồm cả nội dung kiểm tra nêu tại 5.2.3-2(3), (5) và nội dung kiểm tra trên đà (ngoại trừ điểm 7 nêu ở Bảng 1B/6.1). Tuy nhiên, các nội dung ở từ (1) đến (3) dưới đây không cần thực hiện.
(1) Kiểm tra bên trong các két dầu đốt, két dầu nhờn và két nước ngọt;
(2) Kiểm tra (cả bên trong và bên ngoài) các đầu ống thông hơi tự động được lắp trên boong lộ thiên, các thiết bị thông gió và thiết bị đóng các khoang hàng và buồng máy;
(3) Đối với các tàu hàng khô tổng hợp trên 15 tuổi có tổng dung tích bằng và lớn hơn 500, đo chiều dày của từng tấm đáy trong phạm vi chiều dài khu vực hàng, kể cả mép dưới của tấm hông.
3 Trong trường hợp nếu kiểm tra trung gian được bắt đầu phù hợp với các quy định ở 1.1.3-1(2)(b), thì phải tiến hành đo chiều dày như quy định ở 5.2.6 vào thời điểm bắt đầu kiểm tra, nếu có thể, để dễ lập kế hoạch sửa chữa. Trong trường hợp nếu kiểm tra trung gian được bắt đầu vào đợt kiểm tra hàng năm, thì phải kiểm tra với khối lượng tối thiểu bằng khối lượng yêu cầu ở Chương 3.
4 Trong trường hợp nếu kiểm tra trung gian được bắt đầu vào bất kỳ thời điểm nào giữa đợt kiểm tra hàng năm lần thứ hai và thứ ba và được hoàn thành vào đợt kiểm tra hàng năm lần thứ ba phù hợp với quy định ở 1.1.3-1(2)(b), thì phải kiểm tra với khối lượng tối thiểu bằng khối lượng yêu cầu ở Chương 3 khi hoàn thành kiểm tra trung gian. Tuy nhiên, dựa trên kết quả kiểm tra nêu trên, nếu thấy cần thiết, Đăng kiểm có thể yêu cầu thực hiện kiểm tra lại cả các nội dung kiểm tra đã được thực hiện.
4.3 Kiểm tra trung gian hệ thống máy tàu
4.3.1 được sửa đổi như sau:
4.3.1 Kiểm tra chung
Vào các đợt kiểm tra trung gian hệ thống máy tàu, ngoài việc kiểm tra chung và kiểm tra như quy định ở 3.3.1, phải kiểm tra theo quy định ở Bảng 1B/4.5.
4.6 được bổ sung như sau:
4.6 Các yêu cầu đặc biệt đối với tàu sử dụng nhiên liệu có điểm chớp cháy thấp
4.6.1 Quy định chung
Ngoài các yêu cầu áp dụng ở các mục trước, các yêu cầu ở 4.6 này phải được áp dụng vào các đợt kiểm tra trung gian tàu sử dụng nhiên liệu có điểm chớp cháy thấp. Tuy nhiên, có thể bỏ qua việc kiểm tra các két nhiên liệu được nạp khí trơ hoặc các khoang được nạp khí trơ khác nếu được Đăng kiểm viên hiện trường xem xét chấp nhận.
4.6.2 Kiểm tra
Vào đợt kiểm tra trung gian các tàu sử dụng nhiên liệu có điểm chớp cháy thấp, ngoài các nội dung kiểm tra nêu ở 3.6.2, phải kiểm tra phải kiểm tra các kết cấu và thiết bị nêu ở Bảng 1B/4.8 để đảm bảo chúng thỏa mãn.
Bảng 1B/4.1 được sửa đổi như sau:
Bảng 1B/4.1 Thử khả năng hoạt động
|
TT |
Hạng mục kiểm tra |
Nội dung thử |
|
1 |
Trang thiết bị hoặc hệ thống các chi tiết ở Bảng 1B/3.3 (trừ chi tiết 2) |
● Phải tiến hành thử từng hạng mục nêu ở Bảng 1B/3.3. |
|
2 |
Các cửa ra vào trên các vách kín nước và các thiết bị đóng trên các vách mút của thượng tầng. Các chòi boong bảo vệ miệng hầm dẫn xuống các khoang bên dưới boong mạn khô. |
● Kiểm tra xác nhận các cửa ra vào và thiết bị đóng làm việc tốt. ● Thử bằng vòi rồng hoặc các nội dung thử tương tự khác. Các nội dung thử này có thể được bỏ qua nếu được đăng kiểm viên chấp nhận. |
|
3 |
Hệ thống thoát nước, thiết bị neo, chằng buộc và phụ tùng của chúng |
● Kiểm tra xác nhận các hệ thống làm việc tốt. Đăng kiểm có thể xem xét quyết định việc miễn kiểm tra. |
|
4 |
Hệ thống chữa cháy bằng bột hóa học khô cố định |
● Kiểm tra xác nhận hệ ống được duy trì ở trạng thái tốt bằng cách thử cấp khí. Kiểm tra xác nhận súng phun và vòi rồng làm việc tốt. Kiểm tra xác nhận hệ thống điều khiển từ xa và van tự động liên quan làm việc tốt. ● Kiểm tra lượng khí khởi động và/hoặc khí tạo áp lực. |
|
5 |
Hệ thống nước phun sương |
● Kiểm tra xác nhận hệ thống làm việc tốt bằng cách thử cấp nước. Có thể bỏ qua việc kiểm tra lượng nước cấp. |
|
6 |
Công chất chữa cháy bằng CO2, Halon và bột hóa chất khô |
● Phải kiểm tra chất lượng các công chất này. |
|
7 |
Hệ thống chữa cháy bằng CO2 cố định và hệ thống chữa cháy bằng Halon cố định |
● Kiểm tra xác nhận hệ thống ống được duy trì ở trạng thái tốt bằng cách thử cấp khí. ● Kiểm tra xác nhận thiết bị báo động của hệ thống làm việc tốt. |
|
8 |
Hệ thống chữa cháy bằng bọt cố định và hệ thống chữa cháy bằng bọt có độ nở cao cố định |
● Kiểm tra xác nhận hệ thống ống được duy trì ở trạng thái tốt bằng cách thử cấp nước. |
|
9 |
Hệ thống chữa cháy bằng nước phun sương áp lực cao cố định |
● Kiểm tra xác nhận hệ thống làm việc tốt bằng cách thử cấp nước. ● Kiểm tra xác nhận bơm của hệ thống làm việc tốt. |
|
10 |
Hệ thống phun nước tự động |
● Kiểm tra xác nhận chuông báo cấp nước và bơm làm việc tốt khi hệ thống phát hiện cháy đang hoạt động. |
|
11 |
Hệ thống chữa cháy cố định cục bộ |
● Kiểm tra xác nhận hệ ống bằng cách sử dụng khí nén qua các đường ống ● Kiểm tra xác nhận chuông báo động hệ thống hoạt động tốt ● Kiểm tra xác nhận rằng bơm cấp nước và van khởi động hoạt động tốt. |
|
12 |
Thiết bị đóng các lỗ khoét liên quan đến việc chữa cháy trong khoang hàng |
● Kiểm tra xác nhận các thiết bị đóng làm việc tốt. |
|
Các yêu cầu bổ sung đối với tàu chở hàng rời |
||
|
13 |
Các nắp miệng khoang vận hành cơ giới |
● Kiểm tra xác nhận các tấm nắp ở phía trước 0,25 Lf và thêm ít nhất một tấm nữa làm việc tốt. Phương pháp kiểm tra phải sao cho tất cả các tấm nắp trên tàu ít nhất được kiểm tra một lần trong 5 năm, giữa các lần kiểm tra định kỳ. ● Đối với các tàu trên 10 tuổi, phải kiểm tra xác nhận tất cả các nắp miệng khoang làm việc tốt. |
|
14 |
Các nắp miệng khoang kín thời tiết |
● Phải thử bằng vòi rồng hoặc tương đương cho tất cả các nắp miệng khoang đối với tàu trên 10 tuổi. |
|
15 |
Hệ thống phát hiện nước và hệ thống báo động |
● Đối với tàu trên 10 tuổi, phải kiểm tra xác nhận các đầu dò và hệ thống làm việc tốt. |
Bảng 1B/4.8 được bổ sung như sau:
Bảng 1B/4.8 Các yêu cầu đặc biệt đối với tàu sử dụng nhiên liệu có điểm chớp cháy thấp
|
T.T |
Hạng mục kiểm tra |
Nội dung kiểm tra |
|
1 |
Ống của hệ thống phát hiện khí |
Phải thực hiện kiểm tra chung |
|
2 |
Van an toàn áp suất màng phi kim loại của két nhiên liệu |
Trường hợp các van an toàn của két nhiên liệu sử dụng màng phi kim loại làm van chính hoặc van mồi, phải đảm bảo rằng các màng này được duy trì ở trạng thái tốt |
|
3 |
Trang bị điện trong các khu vực nguy hiểm |
Phải thực hiện các nội dung kiểm tra nêu ở hạng mục số 2 của các yêu cầu đối với tàu chở hàng lỏng trong Bảng 1B/4.5. |
|
4 |
Nối điện |
Phải kiểm tra tình trạng hiện tại của nối điện giữa kết cấu thân tàu và các két hoặc ống nhiên liệu |
|
5 |
Hệ thống hút khô các khoang giữa vách chắn, khoang hầm chứa nhiên liệu và buồng đầu nối két |
Phải thực hiện thử khả năng hoạt động hệ thống hút khô |
|
6 |
Hệ thống chữa cháy trong các khu vực nguy hiểm khép kín |
Phải thử hệ ống cố định bằng khí qua ống. |
CHƯƠNG 5 KIỂM TRA ĐỊNH KỲ
5.2 Kiểm tra định kỳ thân tàu, trang thiết bị, thiết bị chữa cháy và phụ tùng
5.2.3 được sửa đổi như sau:
5.2.3 Thử hoạt động
1 Vào các đợt kiểm tra định kỳ, phải tiến hành thử hoạt động như quy định ở 4.2.3, ngoài ra, phải thử hoạt động để đảm bảo rằng máy tính kiểm soát tải trọng yêu cầu ở 32.1.1 và 32.3.2 Phần 2A của Quy chuẩn làm việc tốt. Khi áp dụng các yêu cầu đối với việc thử hoạt động như quy định ở 4.2.3, không cho phép bỏ qua việc thử hoạt động thiết bị neo và chằng buộc như quy định ở mục 3 trong Bảng 1B/4.1.
2 Ngoài việc quy định ở -1 nói trên, phải tiến hành thử hoạt động và thử vận hành như quy định từ (1) đến (10) sau đây:
(1) Thử vận hành đối với tất cả các nắp miệng khoang dẫn động bằng cơ giới, bao gồm cả các bộ phận cơ giới và thủy lực, dây cáp, xích và các chi tiết nối truyền động;
(2) Thử bằng vòi rồng hoặc tương đương đối với tất cả các nắp đậy kín thời tiết;
(3) Thử hoạt động và thử vận hành đối với tất cả hệ thống bơm nước dằn và hút khô;
(4) Thử bằng vòi rồng hoặc tương đương cho tất cả các cửa mũi, cửa trong, cửa mạn và cửa đuôi;
(5) Thử bằng vòi rồng hoặc các nội dung thử tương tự đối với các cửa của vách kín nước và các thiết bị đóng của các vách mút thượng tầng, lầu boong hoặc chòi boong bảo vệ miệng hầm dẫn xuống các khoang bên dưới boong mạn khô;
(6) Đối với các tàu dầu và tàu chở xô hóa chất nguy hiểm, phải thử hoạt động và thử vận hành các hệ thống ống hàng và ống dằn trong phạm vi tất cả các khoang hàng, tất cả các két dằn và tất cả các két, các không gian tiếp giáp với các khoang hàng như các buồng bơm, hầm ống, khoang cách ly, khoang trống và trên boong thời tiết;
(7) Đối với các tàu chở xô khí hóa lỏng, phải thử hoạt động và thử vận hành các hệ thống bơm hàng và bơm nước dằn trong phạm vi tất cả các khoang hàng, tất cả các két dằn và tất cả các két, các không gian tiếp giáp với các khoang hàng như các buồng bơm, buồng máy nén hàng, hầm ống, khoang cách ly, khoang trống và các không gian trên boong thời tiết;
(8) Đối với các tàu chở hàng rời và chở hàng khô tổng hợp có tổng dung tích bằng và lớn hơn 500, phải thử hoạt động và thử vận hành các hệ thống ống trong phạm vi các khoang hàng, tất cả các két dằn và tất cả các két, các không gian tiếp giáp với các khoang hàng như hầm ống, khoang cách ly, khoang trống, các không gian tương tự khác và các hệ thống ống trên boong thời tiết;
(9) Thử hoạt động liệt kê ở mục 1 trong Bảng 1B/4.1, đối với tất cả các hệ thống báo động và phát hiện nước;
(10) Thử hoạt động các phương tiện lên, xuống tàu đối với các tàu có tổng dung tích từ 500 trở lên chạy tuyến quốc tế.
3 Nếu Đăng kiểm thấy cần thiết, có thể yêu cầu thử nghiêng và lập lại bản thông báo ổn định.
5.2.4 được sửa đổi như sau:
5.2.4 Kiểm tra bên trong các khoang và các két
1 Vào các đợt kiểm tra định kỳ, phải kiểm tra kỹ các kết cấu và các phụ tùng như đường ống v.v... trong các khoang và két, có lưu ý đặc biệt tới các hạng mục từ (1) đến (7) dưới đây:
(1) Các thành phần kết cấu, đường ống, nắp miệng khoang v.v... dễ bị ăn mòn trong các khoang chứa hàng có độ ăn mòn thép cao như gỗ súc, muối, than và quặng sun phua v.v...
(2) Những vị trí dễ bị mòn do nhiệt như tấm thép dưới nồi hơi;
(3) Các khu vực ngắt quãng về kết cấu như các góc của lỗ khoét miệng khoang hàng, các lỗ khoét bao gồm các cửa húp lô, các cửa làm hàng v.v... trên vỏ tàu;
(4) Tình trạng sơn phủ và hệ thống chống ăn mòn, nếu có;
(5) Tình trạng của các tấm lót dưới các ống đo;
(6) Tình trạng của xi măng hoặc lớp phủ mặt boong, nếu có;
(7) Các vị trí đã phát hiện ra các khuyết tật như nứt, cong vênh, ăn mòn v.v… ở các tàu tương tự hoặc các kết cấu tương tự.
2 Vào các đợt kiểm tra định kỳ, phải kiểm tra bên trong các két và khoang như quy định ở Bảng 1B/5.1 có lưu ý đến -1 ở trên.
3 Vào các đợt kiểm tra định kỳ các tàu dầu và tàu chở xô hóa chất nguy hiểm kiểu két liền vỏ, ngoài -1 và - 2 nói trên, phải kiểm tra bên trong các khoang và két như quy định ở Bảng 1B/5.2. Phải kiểm tra các két và không gian được coi là những Khu vực nghi ngờ ở lần kiểm tra trước. Đăng kiểm phải xác định rõ tình trạng lớp sơn phủ trong các két dằn đối với tàu dầu và tàu chở xô hóa chất nguy hiểm. Tuy nhiên, đối với các tàu chở xô hóa chất nguy hiểm, nếu được Đăng kiểm chấp thuận, có thể miễn kiểm tra bên trong các két bằng thép không gỉ.
5.3 Kiểm tra định kỳ hệ thống máy tàu
5.3.1 được sửa đổi như sau:
5.3.1 Kiểm tra chung
Vào các đợt kiểm tra định kỳ hệ thống máy tàu, ngoài việc kiểm tra chung và kiểm tra như quy định ở 3.3.1, thử xác nhận máy tàu quy định ở 1.1.9-1, phải kiểm tra theo quy định ở Bảng 1B/5.25.
5.7 được bổ sung như sau:
5.7 Các yêu cầu đặc biệt đối với tàu sử dụng nhiên liệu có điểm chớp cháy thấp
5.7.1 Quy định chung
Ngoài các yêu cầu áp dụng ở các mục trước, phải áp dụng các yêu cầu ở 5.7 này vào các đợt kiểm tra định kỳ tàu sử dụng nhiên liệu có điểm chớp cháy thấp.
5.7.2 Kiểm tra
Vào các đợt kiểm tra định kỳ tàu sử dụng nhiên liệu có điểm chớp cháy thấp, ngoài các nội dung nêu kiểm tra nêu ở 4.6.2, phải thực hiện các nội dung kiểm tra nêu ở Bảng 1B/5.29 một cách kỹ lưỡng để đảm bảo chúng thỏa mãn
Bảng 1B/5.1 được sửa đổi như sau:
Bảng 1B/5.1 Kiểm tra bên trong các két và khoang
|
Kiểm tra định kỳ |
Các khoang, két phải kiểm tra |
|
Kiểm tra định kỳ các tàu đến 5 tuổi (Kiểm tra định kỳ lần 1) |
● Tất cả khoang và két (không phải là các két hàng của tàu chở xô khí hóa lỏng), trừ các két dầu đốt, két dầu bôi trơn và két nước ngọt không phải là két mút mũi |
|
Kiểm tra định kỳ các tàu trên 5 tuổi đến 10 tuổi (Kiểm tra định kỳ lần 2) |
● Tất cả các khoang và két (không phải là các két hàng của tàu chở xô khí hóa lỏng và các két dầu đốt trong buồng máy, các két dầu bôi trơn không phải két mút) Tuy nhiên, nếu các két dầu đốt và két nước ngọt không phải là két mút đã được kiểm tra bên ngoài và đăng kiểm viên nhận thấy rằng chúng có tình trạng thỏa mãn thì phạm vi của các đợt kiểm tra bên trong có thể được giảm đi. Trong trường hợp này, kiểm tra bên trong phải được thực hiện đối với những két sau cho ít nhất số lượng két được chỉ định: (1) Két dầu đốt nằm trong khu vực dọc khoang hàng (trong khu vực hàng của tàu chở hàng lỏng): 1 két (2) Nếu không có két dầu đốt nằm trong khu vực dọc khoang hàng (trong khu vực hàng của tàu chở hàng lỏng), các két dầu đốt nằm ở bên ngoài buồng máy (nếu có): 1 két (3) Các két nước ngọt: 1 két |
|
Kiểm tra định kỳ các tàu trên 10 tuổi đến 15 tuổi (Kiểm tra định kỳ lần 3) |
● Tất cả các khoang và két (không phải là các két hàng của tàu chở xô khí hóa lỏng và các két dầu bôi trơn không phải két mút) Tuy nhiên, nếu các két dầu đốt và két nước ngọt không phải là két mút đã được kiểm tra bên ngoài và đăng kiểm viên nhận thấy rằng chúng có tình trạng thỏa mãn thì phạm vi của các đợt kiểm tra bên trong có thể được giảm đi. Trong trường hợp này, kiểm tra bên trong phải được thực hiện đối với những két sau cho ít nhất số lượng két được chỉ định: (1) Két dầu đốt nằm trong buồng máy: 1 két (2) Két dầu đốt nằm trong khu vực dọc khoang hàng (trong khu vực hàng của tàu chở hàng lỏng): 2 két (Trong trường hợp có két dầu đốt là két sâu thì phải bao gồm cả két dầu đốt sâu) (3) Nếu không có két dầu đốt nằm trong khu vực dọc khoang hàng (trong khu vực hàng của tàu chở hàng lỏng), các két dầu đốt nằm ở bên ngoài buồng máy (nếu có): 1 két |
|
Kiểm tra định kỳ các tàu trên 15 tuổi (Kiểm tra định kỳ lần 4 và các lần tiếp theo) |
● Tất cả các khoang và két (không phải là các két hàng của tàu chở xô khí hóa lỏng) Tuy nhiên, nếu các két dầu đốt và két dầu bôi trơn không phải là két mút đã được kiểm tra bên ngoài và đăng kiểm viên nhận thấy rằng chúng có tình trạng thỏa mãn thì phạm vi của các đợt kiểm tra bên trong có thể được giảm đi. Trong trường hợp này, kiểm tra bên trong phải được thực hiện đối với những két sau cho ít nhất số lượng két được chỉ định: (1) Két dầu đốt nằm trong buồng máy: 1 két (2) Két dầu đốt nằm trong khu vực dọc khoang hàng (trong khu vực hàng của tàu chở hàng lỏng): một nửa của tổng số két nhưng không ít hơn 2 két (Trong trường hợp có két dầu đốt là két sâu thì phải bao gồm tối thiểu một két dầu đốt sâu) (3) Nếu không có két dầu đốt nằm trong khu vực dọc khoang hàng (trong khu vực hàng của tàu chở hàng lỏng), các két dầu đốt nằm ở bên ngoài buồng máy (nếu có): 2 két (4) Két dầu bôi trơn: 1 két |
Chú thích:
● Các két dằn (trừ các két dằn đáy đôi), nếu phát hiện thấy lớp sơn phủ bảo vệ có trạng thái kém và chưa được thay thế hoặc nếu không có sơn phủ bảo vệ, phải thực hiện kiểm tra bên trong hàng năm.
● Đối với các két dằn đáy đôi, phải kiểm tra bên trong hàng năm nếu đăng kiểm viên thấy cần thiết.
● Đối với các khoang được bọc cách nhiệt để chở hàng đông lạnh, phải tháo các tấm lót mềm và các tẩm phủ để kiểm tra bên trong. Ngoài ra, phải kiểm tra phía sau các cách nhiệt ở những vị trí đại diện. Nội dung kiểm tra có thể được giới hạn ở xác nhận rằng lớp sơn phủ bảo vệ vẫn còn hiệu quả và không nhìn thấy khuyết tật kết cấu. Nếu phát hiện thấy lớn sơn phủ bảo vệ có tình trạng kém thì nội dung kiểm tra phải được mở rộng đến mức độ đăng kiểm viên thấy cần thiết.
● Các két dằn được chuyển đổi thành khoang trống phải được kiểm tra phù hợp với các yêu cầu đối với két dằn.
Bảng 1B/5.2 được sửa đổi như sau:
Bảng 1B/5.2 Những yêu cầu bổ sung kiểm tra bên trong đối với các tàu dầu và tàu chở xô hóa chất nguy hiểm
|
Kiểm tra định kỳ |
Các khoang, két phải kiểm tra |
Lưu ý trong kiểm tra |
|
Tất cả các đợt kiểm tra định kỳ |
1 Tất cả các két hàng |
● Đối với các tàu dầu, phải kiểm tra kỹ các két dằn/hàng hỗn hợp (nếu có), phải lưu ý đặc biệt đến lịch sử dằn và mức độ của hệ thống chống ăn mòn được trang bị. ● Đối với các tàu dầu, phải kiểm tra tình trạng của mặt trong tôn đáy két để đảm bảo chắc chắn rằng tôn đáy không bị rỗ mòn quá mức. ● Đối với các tàu dầu, nếu Đăng kiểm thấy cần thiết, phải tháo các miệng loe của ống hút hàng để có thể kiểm tra tôn đáy của két và các vách ở vùng lân cận. |
|
2 Tất cả các két dằn và buồng bơm
|
● Căn cứ vào kết quả kiểm tra bên trong, phải kiểm tra hàng năm bên trong các két dằn, nếu phát hiện thấy bất kỳ điểm nào trong các điểm nêu từ (a) đến (c) dưới đây: (a) Lớp sơn bảo vệ ở tình trạng kém hơn tình trạng tốt và không được sơn lại thỏa mãn yêu cầu của Đăng kiểm; (b) Lớp sơn bảo vệ không có từ khi đóng mới hoặc kém hiệu quả, phải kiểm tra mở rộng cho các két cùng loại khác; (c) Ăn mòn đáng kể được phát hiện bên trong các két. ● Phải kiểm tra kỹ bên trong buồng bơm và lưu ý đến hệ thống làm kín của tất cả các lỗ khoét để ống xuyên qua trên các vách, hệ thống thông gió, bệ và đệm làm kín của bơm. |
Các bảng 1B/5.3 và 1B/5.4 được xóa bỏ.
Bảng 1B/5.6-1 được sửa đổi như sau:
Bảng 1B/5.6-1 Những yêu cầu về kiểm tra tiếp cận đối với tàu hàng rời
(trừ tàu chở quặng, tiếp theo)
|
Loại kiểm tra |
Kết cấu được kiểm tra tiếp cận |
|
Kiểm tra định kỳ các tàu trên 15 tuổi (Kiểm tra định kỳ lần 4 và các lần tiếp theo) |
1. Tất cả các sườn trong mọi khoang hàng, kể cả các liên kết mút sườn và tôn vỏ liền kề (A). 2. Các thành phần kết cấu nêu ở 2. đến 4. của đợt kiểm tra định kỳ lần 3. |
|
Các yêu cầu đối với tàu hàng rời vỏ kép (trừ tàu chở quặng) |
|
|
Kiểm tra các tàu đến 5 tuổi (Kiểm tra định kỳ lần 1) |
1. Hai vách ngang của khoang hàng được chọn, kể cả các nẹp và sống (C). 2. Một sườn ngang khỏe cùng với tôn liên kết và các nẹp dọc trong hai két dằn đại diện của mỗi loại (gồm két đỉnh mạn phía mũi và két dằn mạn kép ở cả hai mạn) (B). 3. Các ống thông hơi và ống đo trong khoang hàng ở vùng đỉnh két. |
|
Các yêu cầu đối với tàu hàng rời vỏ kép (trừ tàu chở quặng) |
|
|
Kiểm tra định kỳ các tàu trên 5 đến 10 tuổi (Kiểm tra định kỳ lần 2) |
1. Một vách ngang trong mỗi khoang hàng, kể cả các nẹp và sống (C). 2. Một sườn ngang khỏe cùng với tôn liên kết và các nẹp dọc trong mỗi két dằn (B). 3. Các vách ngang trước và sau (kể cả các nẹp và sống) trong một tiết diện ngang, bao gồm két đỉnh mạn, két hông và két dằn mạn kép ở một mạn của tàu (B). 4. Một số lượng thích hợp, ít nhất là 1/4 tổng số nẹp (các sườn ngang thường đối với hệ thống sườn ngang hoặc các xà dọc đối với hệ thống sườn dọc) trên vỏ mạn và nẹp vách dọc tại vùng mũi/giữa/sau ở cả hai mạn trong két mạn kép phía mũi (A). 5. Tất cả tôn boong và kết cấu dưới boong bên trong đường lỗ khoét miệng khoang giữa các khoang hàng. 6. Tất cả hệ thống ống trong các khoang hàng. Nếu đăng kiểm viên thấy cần thiết thì phải tiến hành thử kín khí. 7. Tất cả tấm nắp miệng khoang, tấm thành quây miệng khoang và các nẹp gia cường. |
|
Kiểm tra định kỳ các tàu trên 10 đến 15 tuổi (Kiểm tra định kỳ lần 3) |
1. Tất cả các vách ngang trong mọi khoang hàng, kể cả các nẹp và sống (C). 2. Tất cả các sườn ngang khỏe cùng với tôn liên kết, các nẹp dọc và mọi vách ngang (kể các nẹp và sống) trong mỗi két dằn (B). 3. Một số lượng thích hợp, ít nhất là 1/4 tổng số nẹp (các sườn ngang thường đối với hệ thống sườn ngang hoặc các xà dọc đối với hệ thống sườn dọc) trên vỏ mạn và nẹp vách dọc tại vùng mũi/giữa/sau ở cả hai mạn trong két mạn kép phía mũi (A). 4. Các thành phần kết cấu như nêu ở 5. đến 7. của kiểm tra định kỳ lần 2 nói trên. |
|
Kiểm tra định kỳ các tàu trên 15 tuổi (Kiểm tra định kỳ lần 4 và các lần tiếp theo) |
1. Tất cả các nẹp (các sườn ngang thường đối với hệ thống sườn ngang hoặc các xà dọc đối với hệ thống sườn dọc) ở vỏ mạn và vách dọc trong các két mạn kép (A). 2. Các thành phần kết cấu như quy định ở 1., 2. và 4. của kiểm tra định kỳ lần 3 nói trên. |
Chú thích:
1 Két mạn kép của tàu hàng rời vỏ kép phải được coi là két riêng ngay cả khi nó thông với hoặc là két đỉnh mạn hoặc là két hông.
2 Các chữ viết tắt trong Bảng có nghĩa như sau:
A: Sườn ngang khoang hàng hoặc các nẹp (các sườn ngang thường đối với hệ thống sườn ngang hoặc các xà dọc đối với hệ thống sườn dọc) ở mạn hoặc các vách dọc ở các két mạn kép.
B: Khung sườn ngang khỏe hoặc vách ngang kín nước ở khoang mũi hoặc khoang đuôi, các két đỉnh mạn, hông tàu và các két dằn mạn kép, kể cả các thành phần kết cấu liền kề.
C: Bao gồm tấm và kết cấu bên trong của các bệ vách dưới và bệ đỉnh vách.
3 Kiểm tra tiếp cận vách ngang phải tiến hành tối thiểu ở 4 mức như quy định sau đây:
(1) Ngay trên đáy trong và ngay trên đường giao tấm ốp góc (nếu có) và tấm nghiêng chân vách đối với những tàu không có bệ vách dưới;
(2) Ngay trên và dưới tôn vỏ bệ vách dưới (đối với những tàu có bệ vách dưới) và ngay trên đường giao của tấm nghiêng chân vách;
(3) Khoảng giữa chiều cao của vách;
(4) Ngay dưới tấm tôn boong trên và ngay cạnh két mạn trên, ngay bên dưới tôn vỏ bệ đỉnh vách đối với những tàu có lắp bệ đỉnh vách (upper stool) hoặc ngay dưới các két đỉnh mạn.
(1) Đối với tàu chở hàng rời có các khoang hàng kết hợp, ví dụ có một số khoang hàng mạn đơn, một số khoang hàng khác có mạn kép, thì các quy định đối với tàu hàng rời mạn kép được áp dụng cho các khoang hàng mạn kép và các không gian mạn liên quan.
Bảng 1B/5.29 và 1B/5.30 được đánh số lại thành 1B/5.30 và 1B/5.31, bổ sung Bảng 1B/5.29 như sau:
Bảng 1B/5.29 Các yêu cầu đặc biệt đối với tàu sử dụng nhiên liệu có điểm chớp cháy thấp
|
T.T |
Hạng mục kiểm tra |
Nội dung kiểm tra |
|
1 |
Két nhiên liệu |
Phải thực hiện các nội dung thử và kiểm tra sau1: (a) Kiểm tra bên trong tất cả các két nhiên liệu. Tuy nhiên, đối với các két được bọc cách nhiệt chân không, nội dung kiểm tra phải sao cho Đăng kiểm thấy thích hợp (b) Kiểm tra bằng mắt các bề mặt cách nhiệt2 hoặc các két nhiên liệu không có cách nhiệt Phải đặc biệt lưu ý đến các căn, giá đỡ két, chốt... của bệ đỡ két, đăng kiểm viên có thể yêu cầu tháo các cách nhiệt nếu thấy cần thiết; (c) Nếu đăng kiểm viên thấy cần thiết thì có thể yêu cầu đo chiều dày các tấm két nhiên liệu; (d) Phải thực hiện thử không phá hủy các két rời loại B phù hợp với chương trình thử đã được duyệt. Chương trình phải được chuẩn bị phù hợp với thiết kế của két nhiên liệu, các két nhiên liệu không phải két rời loại B phải được thử không phá hủy ở các mối hàn của tấm két, các thành phần kết cấu chính và các chi tiết có khả năng chịu ứng suất cao3 nêu đăng kiểm viên thấy cần thiết. Tuy nhiên, đối với các két được bọc cách nhiệt chân không, nội dung kiểm tra phải sao cho Đăng kiểm thấy thích hợp (e) Thử rò rỉ tất cả các két nhiên liệu Nếu có nghi ngờ về tính nguyên vẹn của két nhiên liệu do kết quả kiểm tra ở (a) đến (c) trên, két đó phải được thử thủy lực hoặc thử khí nén với áp suất thử như nêu dưới đây: Két rời loại C: áp suất không nhỏ hơn 1,25 lần áp suất đặt van an toàn cho phép lớn nhất (sau đây viết tắt là "MARVS"); hoặc Các két rời loại A và B: áp suất thích hợp phù hợp với thiết kế của két nhiên liệu Đối với các két rời loại C, ngoài nội dung kiểm tra như nêu ở (a) đến (c) trên, vào mỗi lần kiểm tra định kỳ thứ 2, phải kiểm tra như nêu ở (i) hoặc (ii) sau. Tuy nhiên, đối với các két được bọc cách nhiệt chân không, nội dung kiểm tra phải sao cho Đăng kiểm thấy thích hợp. (i) Thử thủy lực hoặc thử khí nén với áp suất thử không nhỏ hơn 1,25 lần MARVS và thử không phá hủy nêu ở (d) (ii) Thử không phá hủy phù hợp với chương trình thử được lập dựa trên thiết kế của két nhiên liệu4 |
|
2 |
Các khoang hầm chứa nhiên liệu và vách chắn thứ cấp |
● Phải kiểm tra bằng mắt các giá đỡ két nhiên liệu, các thiết bị chống xoay ngang và xoay dọc và các kết cấu thân tàu ở xung quanh trong các khoang hầm chứa nhiên liệu và cách nhiệt của chúng ● Đối với các két màng, phải kiểm tra để đảm bảo rằng tính kín khí của vách chắn thứ cấp được duy trì ở mức độ kín theo yêu cầu đối với thiết kế hệ thống phù hợp với chương trình và tiêu chuẩn chấp nhận được duyệt từ trước. Tuy nhiên, không được sử dụng việc thử độ chênh áp suất thấp để thử độ kín của vách chắn thứ cấp. Đối với các vách chắn thứ cấp được dán bằng keo, nếu kết quả kiểm tra không thỏa mãn mức độ kín khí theo yêu cầu, phải điều tra để phân tích nguyên nhân hư hỏng và thử bổ sung như đo nhiệt độ hoặc thử phát âm thanh có lưu ý đến việc phân tích. ● Đối với các vách chắn thứ cấp, phải kiểm tra đảm bảo tính kín khí bằng thử áp suất hoặc chân không hoặc phương pháp thử thích hợp khác trong các trường hợp có nghi ngờ5. |
|
3 |
Hệ thống thông hơi cho các hệ thống chứa nhiên liệu |
Hệ thống an toàn áp suất của các két nhiên liệu phải được sửa chữa bảo dưỡng, thử khả năng hoạt động và niêm phong6. Hệ thống an toàn áp suất và hệ thống bảo vệ chân không của các khoang giữa vách chắn và hệ thống bảo vệ chân không các két nhiên liệu phải được sửa chữa bảo dưỡng và thử phù hợp với thiết kế6. |
|
4 |
Ống nhiên liệu và hệ thống ống xử lý nhiên liệu |
Phải thực hiện nội dung kiểm tra như nêu ở (a) và (b) sau. Đăng kiểm viên có thể yêu cầu tháo cách nhiệt nếu thấy cần thiết. (a) Nếu đăng kiểm viên thấy cần thiết, toàn bộ hoặc một phần các van và các chi tiết đi kèm phải được sửa chữa bảo dưỡng hoặc thử áp lực với áp suất thử bằng 1,25 lần MARVS. Sau khi lắp lại các ống được tháo bỏ để kiểm tra nêu trên, phải thực hiện thử rò rỉ các ống đó. (b) Toàn bộ hoặc một phần các van an toàn áp suất phải được sửa chữa bảo dưỡng và phải được thử khả năng hoạt động, niêm phong. |
|
5 |
Hệ thống tiếp nhận nhiên liệu, hệ thống chứa nhiên liệu và hệ thống cấp nhiên liệu đối với nhiên liệu có điểm chớp cháy thấp |
Phải thực hiện nội dung thử và kiểm tra nêu ở từ (a) đến (c) sau: (a) Các bơm và máy nén khí nhiên liệu cùng với thiết bị dẫn động chúng phải được sửa chữa bảo dưỡng và phải thử khả năng hoạt động các thiết bị an toàn. Tuy nhiên, có thể bỏ qua việc sửa chữa bảo dưỡng các động cơ điện dẫn động7. (b) Các bộ trao đổi nhiệt, bình áp lực và bầu bay hơi phải được sửa chữa bảo dưỡng. Phải thử khả năng hoạt động của hệ thống an toàn áp suất. Nếu không thể thử được bên trong các bình thì phải thử áp lực các bình và thử khả năng hoạt động hệ thống an toàn áp suất7. (c) Phải thực hiện các nội dung kiểm tra nêu ở (i) đến (iii) sau đối với thiết bị làm lạnh. (i) Sửa chữa bảo dưỡng các bơm và máy nén và thử khả năng hoạt động các bình áp lực như các bầu ngưng, bầu bay hơi, bầu làm mát trung gian, thiết bị phân tách dầu và các hệ thống an toàn7. (ii) Thử rò rỉ các bình áp lực và bầu trao đổi nhiệt với áp suất thử không nhỏ hơn 90% áp suất đặt của hệ thống an toàn của chúng. (iii) Thử rò rỉ hệ thống ống làm lạnh với áp suất thử không nhỏ hơn 90% áp suất đặt của hệ thống an toàn của chúng. |
|
6 |
Các hệ thống đóng ngắt |
Các van chặn phải được sửa chữa bảo dưỡng và thử rò rỉ các đế van6, 8. |
|
7 |
Trang bị điện trong các khu vực nguy hiểm |
Thực hiện theo mục số 2 của các yêu cầu đối với tàu chở hàng lỏng ở trong Bảng 1B/5.25 |
Chú thích:
(1) Đối với các két màng, nội dung thử và kiểm tra phải được thực hiện theo chương trình được chuẩn bị riêng phù hợp với các phương pháp được duyệt cho từng hệ thống két.
(2) Nếu không thể thực hiện được việc kiểm tra bằng mắt bọc cách nhiệt các két, phải kiểm tra các thành phần kết cấu xung quanh chúng để tìm các điểm lạnh khi két nhiên liệu được làm lạnh. Tuy nhiên, nếu tính nguyên vẹn của các két nhiên liệu và cách nhiệt của chúng được xác minh bằng cách kiểm tra phiếu cấp nhiên liệu của nhiên liệu có điểm chớp cháy thấp được cấp thì nội dung kiểm tra các điểm lạnh có thể được bỏ qua.
(3) Các bộ phận có khả năng có ứng suất cao
Các mối nối giữa két nhiên liệu và giá đỡ két nhiên liệu, các thiết bị chống xoay ngang và xoay dọc
- Các mối nối giữa tấm két và sườn khỏe hoặc vòng gia cường
- Các mối nối giữa tấm két và biên vách chống tóe
- Các mối nối giữa tấm két và chỏm két hoặc giếng hút
- Các mối nối giữa tấm két và bệ đỡ bơm nhiên liệu, tháp và thang...
- Các mối nối giữa tấm két và giá đỡ ống
(4) Nếu không có chương trình thử không phá hủy được duyệt, phải thực hiện thử không phá hủy tối thiểu 10% chiều dài mối hàn trong mỗi khu vực có ứng suất cao được nêu dưới đây. Việc thử phải được thực hiện cả bên trong và bên ngoài két một cách thích hợp với các cách nhiệt được tháo ra, nếu cần.
- Các mối nối giữa két và giá đỡ két, các thiết bị chống xoay ngang và xoay dọc
- Các mối nối giữa tấm két và vòng gia cường
- Mối nối chữ Y giữa tấm két và các vách dọc của két hai chỏm (bilobe tank)
- Các mối nối giữa tấm két và biên vách chống tóe
- Các mối nối giữa tấm két và chỏm két hoặc giếng hút
- Các mối nối giữa tấm két và bệ đỡ bơm nhiên liệu, tháp và thang...
- Các mối nối giữa tấm két và giá đỡ ống
(5) Phải thực hiện thử áp lực hoặc chân không thích hợp và kiểm tra các điểm lạnh. Tuy nhiên, nếu tính nguyên vẹn của các két nhiên liệu và cách nhiệt của chúng được xác minh bằng cách kiểm tra phiếu cấp nhiên liệu của nhiên liệu có điểm chớp cháy thấp được cấp thì nội dung kiểm tra các điểm lạnh có thể được bỏ qua.
(6) Đối với các hệ thống mà từ lần kiểm tra định kỳ trước, việc mở kiểm tra và thử khả năng hoạt động liên tục đã được thực hiện với sự chứng kiến của đăng kiểm viên và biên bản thử của chúng đã được xác nhận thì có thể kiểm tra bằng mắt đến mức độ có thể thực hiện được để thay cho kiểm tra theo yêu cầu
(7) Đối với thiết bị được sửa chữa bảo dưỡng vào đợt kiểm tra máy theo kế hoạch, việc sửa chữa bảo dưỡng vào đợt kiểm tra định kỳ có thể được thay thế bằng kiểm tra bằng mắt đến mức độ có thể thực hiện được.
(8) Trong các trường hợp mà tình trạng của thân van và đế van có thể kiểm tra được mà không cần tháo hộp van khỏi ống lắp đặt, kiểm tra bên trong để xác định tình trạng như vậy có thể được thực hiện thay cho việc sửa chữa bảo dưỡng. Ngoài ra, trường hợp nội dung kiểm tra như vậy để khẳng định các van có tình trạng tốt mà không cần phải sửa chữa, điều chỉnh thì có thể bỏ qua thử rò rỉ đế van.
CHƯƠNG 6 KIỂM TRA TRÊN ĐÀ
6.1 Kiểm tra trên đà
6.1.2 được sửa đổi như sau:
6.1.2 Kiểm tra dưới nước
1 Nếu được Đăng kiểm chấp nhận, có thể áp dụng việc kiểm tra dưới nước thay cho kiểm tra trên ụ khô hoặc trên triền. Trong mọi trường hợp, không được thay thế việc kiểm tra trên ụ khô hoặc trên triền vào thời gian như quy định ở (1) hoặc (2) sau đây bằng kiểm tra dưới nước:
(1) Kiểm tra trên đà được thực hiện vào thời gian quy định ở 1.1.3-1(4)(a) đối với tàu chở hàng khô tổng hợp như được định nghĩa ở 1.2.8-1 Phần 1A của Quy chuẩn và đối với tàu mang dấu hiệu phân cấp “Chương trình kiểm tra nâng cao” (viết tắt là ESP).
(2) Kiểm tra trên đà đối với các tàu mang dấu hiệu phân cấp “Chương trình kiểm tra nâng cao” (viết tắt là ESP) khi các tàu này từ 15 tuổi trở lên.
2 Khi áp dụng các yêu cầu ở -1 trên, kiểm tra dưới nước lần tiếp theo không được chấp nhận thay cho kiểm tra trên ụ khô hoặc trên triền. Tuy nhiên, kiểm tra dưới nước có thể được thực hiện liên tiếp thay cho kiểm tra trên ụ khô hoặc trên triền cho các tàu không phải là các tàu nêu ở từ (1) đến (4) dưới đây nếu được Đăng kiểm chấp nhận từ trước:
(1) Tàu có dấu hiệu phân cấp "Chương trình kiểm tra nâng cao" (ESP);
(2) Các tàu chở hàng khô tổng hợp;
(3) Các tàu có lắp thiết bị lái mũi;
(4) Các tàu có chân vịt nối với trục bằng côn có then.
3 Để được chấp nhận kiểm tra dưới nước, trước khi kiểm tra, các hồ sơ, bản vẽ sau đây phải được gửi cho Đăng kiểm duyệt:
(1) Bản vẽ tôn vỏ nằm dưới đường nước, chỉ rõ vị trí và kích thước các lỗ khoét ở vỏ tàu, vị trí của các nút xả đáy, vị trí các vây giảm lắc, vị trí các vách kín dầu và kín nước, vị trí của các mối hàn và vị trí của các tấm chống ăn mòn điện hóa (anod).
(2) Các thông tin chi tiết hoặc bản vẽ của các kết cấu và các trang bị nêu ở -3 dưới đây, cùng với các ảnh màu của chúng và các hướng dẫn chi tiết về việc kiểm tra các kết cấu và các trang bị đó.
(3) Các hồ sơ mô tả quy trình mà Đăng kiểm có thể xác nhận rõ ràng khe hở bánh lái hoặc tình trạng của khe hở ống bao đuôi dựa vào việc xem xét lịch sử khai thác, vào việc thử hoặc phân tích trên tàu đối với nước ngọt bôi trơn hoặc dầu bôi trơn trong ống bao được lấy mẫu. Nếu ổ đỡ được xác nhận là thỏa mãn, thì có thể xem xét miễn giảm đối với các yêu cầu ở -3(1) hoặc -3(4) dưới đây.
(4) Các tài liệu khác cần thiết cho việc kiểm tra.
4 Các tàu được phép thực hiện kiểm tra dưới nước phải thỏa mãn các quy định sau đây. Khi nhận được các hồ sơ quy định ở -2(3) nói trên, phải xem xét đặc biệt các nội dung nêu ở (1) hoặc (4) dưới đây:
(1) Phải trang bị phương tiện đo khe hở của bánh lái trong vùng chốt lái.
(2) Các tấm ốp chống quấn dây phải kết cấu sao cho kiểm tra được phần trục giữa củ chân vịt và củ sống đuôi.
(3) Đối với các ổ đỡ trong ống bao trục được bôi trơn bằng nước, phải trang bị phương tiện đo khe hở giữa trục chân vịt và các ổ đỡ của chúng.
(4) Đối với các ổ đỡ trong ống bao trục được bôi trơn bằng dầu hoặc nước ngọt, phải trang bị phương tiện xác nhận khả năng hoạt động của ổ đỡ trong ống bao trục, gồm cả thiết bị làm kín.
(5) Phải trang bị phương tiện xác định vị trí và nhận biết từng cánh chân vịt.
(6) Phải lắp các tấm lưới có bản lề ở tất cả các van thông biển, được kết cấu sao cho thợ lặn có thể mở ra và đóng lại được.
(7) Các dấu hiệu chỉ báo vị trí của các vách ngang và vách dọc, tên của các không gian bên trong ở phần thân nằm dưới đường nước chở hàng, sao cho thợ lặn có thể định hướng các vị trí tương đối của chúng với tàu.
5 Dựa vào kết quả kiểm tra dưới nước, Đăng kiểm có thể yêu cầu kiểm tra bên trong tàu hoặc kiểm tra trên đà, nếu thấy cần thiết.
6.1.3 được sửa đổi như sau:
6.1.3 Các kiểm tra khác
1 Đối với những tàu có hệ thống kiểm soát và duy trì trạng thái kỹ thuật cho hệ trục chân vịt theo các yêu cầu ở 8.1.3, phải kiểm tra chung hệ trục và xem xét toàn bộ số liệu kiểm soát trạng thái hệ thống sẵn có trên tàu, để đảm bảo chắc chắn rằng hệ thống được duy trì tốt.
2 Đối với các tàu có dấu hiệu phân cấp "APSS-O" hoặc "APSS-W" mà định kỳ thực hiện phân tích dầu hoặc thử mẫu nước, phải kiểm tra chung về hệ trục và xem xét tất cả các số liệu giám sát tình trạng có ở trên tàu để đảm bảo rằng hệ thống được duy trì tốt.
Bảng 1B/6.1 được sửa đổi như sau:
Bảng 1B/6.1 Các yêu cầu đối với kiểm tra trên đà
|
TT |
Hạng mục kiểm tra |
Nội dung kiểm tra |
|
1 |
Tôn vỏ, kể cả tôn ky, sống mũi và sống đuôi |
● Kết cấu trong khu vực không liên tục, những bộ phận kết cấu có khả năng bị ăn mòn nghiêm trọng và các lỗ khoét ở tôn vỏ phải được kiểm tra kỹ. ● Phải tháo các nắp đậy lưới, nếu đăng kiểm viên thấy cần thiết. |
|
2 |
Bánh lái |
● Bánh lái phải được nâng lên hoặc tháo ra và các bộ phận nhìn thấy được của bánh lái, chốt lái, gu giông, trục lái, khớp nối và sống đuôi phải được kiểm tra. Nếu đăng kiểm viên thấy cần thiết thì có thể yêu cầu thử áp lực bánh lái. Phải đo khe hở ổ đỡ bánh lái. Có thể bỏ qua việc nâng và tháo bánh lái nếu sau khi đo khe hở Đăng kiểm thấy tình trạng của bánh lái thỏa mãn. |
|
3 |
Các đầu lấy nước biển và các đầu xả mạn, kể cả các chi tiết nối ống nằm dưới boong mạn khô, các van trên tấm vỏ, van thông biển hoặc các chi tiết nối ống, các thiết bị đẩy mạn |
● Phải mở ra và kiểm tra các bộ phận chính của van. Các bu lông, các chi tiết cố định chúng vào thân tàu phải được kiểm tra. Đăng kiểm có thể xem xét quyết định không cần mở chúng, nếu chúng đã được mở và kiểm tra thỏa mãn ở lần kiểm tra trên đà trước đó. ● Trong trường hợp, được sự chấp nhận của Đăng kiểm, kiểm tra dưới nước tiếp theo được thay thế cho kiểm tra trên đà thực hiện trên ụ khô hoặc trên triền, việc mở kiểm tra các van theo yêu cầu có thể được miễn giảm nếu Đăng kiểm thấy phù hợp với điều kiện chúng đã được kiểm tra (bao gồm cả kiểm tra bằng mắt bởi thợ lặn) và thấy ở tình trạng tốt. ● Thiết bị đẩy mạn phải được kiểm tra bằng mắt để phát hiện hư hỏng có thể ảnh hưởng đến kết cấu thân tàu. |
|
4 |
Đầu sau của bạc ống bao |
● Phải đo khe hở giữa trục chân vịt hoặc trục ống bao và ổ đỡ sau của ống bao đuôi hoặc ổ đỡ trong giá đỡ trục hoặc độ sụt do mòn của ổ đỡ. |
|
5 |
Thiết bị làm kín ống bao và ổ đỡ trong giá đỡ trục |
● Trong trường hợp ở đỡ trong ống bao trục được bôi trơn bằng dầu hoặc nước ngọt, phải kiểm tra tính hiệu quả của vòng đệm kín dầu hoặc nước ngọt. |
|
6 |
Chân vịt |
● Phải kiểm tra chân vịt. Nếu lắp chân vịt biến bước thì phải kiểm tra thiết bị điều khiển bước, không cần tháo ra. |
|
7 |
Neo, xích neo, cáp, ống luồn neo, khoang chứa neo và phanh giữ cáp |
● Vào các đợt kiểm tra trên đà theo thời gian quy định ở 1.1.3-1(4)(a), neo và xích neo phải được trải ra và tất cả xích và thiết bị liên quan đến xích phải được kiểm tra bên ngoài đảm bảo. Trong trường hợp kiểm tra dưới nước thay kiểm tra trên đà thực hiện trên ụ khô hoặc trên triền được áp dụng vào thời gian nêu ở 1.1.3-1(4)(a), neo và xích neo có thể không cần phải trải ra và kiểm tra nếu Đăng kiểm thấy phù hợp với điều kiện chúng đã được kiểm tra (bao gồm cả kiểm tra bằng mắt bởi thợ lặn) và thấy ở tình trạng tốt. Trong các trường hợp đó, neo và xích neo nên được trải ra và tất cả xích và thiết bị liên quan đến xích phải phải được kiểm tra bên ngoài đảm bảo vào đợt kiểm tra trên đà lần tới trên ụ khô hoặc trên triền. Vào đợt kiểm tra định kỳ lần thứ 2 và các lần kiểm tra định kỳ tiếp theo, phải đo đường kính xích neo. Nếu đường kính trung bình của một mắt xích tại vị trí mòn nhất của nó giảm đi từ 12% trở lên so với đường kính danh nghĩa yêu cầu thì phải thay mới mắt xích đó. |
|
8 |
Các khoang và két |
Phải kiểm tra bên trong, kiểm tra tiếp cận và đo chiều dày (nếu áp dụng và chưa thực hiện), như quy định dưới đây: (i) Tối thiểu là các vùng phía dưới, vùng phải xem xét là các khu vực nằm dưới đường nước dằn nhẹ tải của các khoang hàng/các két hàng và các két nước dằn vào lần kiểm tra trên triền đà kết hợp với kiểm tra định kỳ theo thời gian quy định ở 4.1.1-2. (ii) Vào đợt kiểm tra trên đà thực hiện theo thời gian quy định ở 1.1.6-5 càng kỹ càng tốt. |
|
9 |
Trang thiết bị để kiểm tra dưới nước |
Đối với các tàu được áp dụng thực hiện kiểm tra dưới nước dựa theo các yêu cầu ở 6.1.2, đăng kiểm viên phải đảm bảo rằng các trang thiết bị nêu ở 6.1.2-4 ở trạng thái tốt. |
CHƯƠNG 7 KIỂM TRA NỒI HƠI
7.1 Kiểm tra nồi hơi
Bảng 1B/7.1 được sửa đổi như sau:
Bảng 1B/7.1 Các yêu cầu đối với kiểm tra nồi hơi
|
T.T |
Hạng mục kiểm tra |
Nội dung kiểm tra |
|
1 |
Các bộ phận chịu áp lực của nồi hơi |
Phải kiểm tra bên trong có tháo các lỗ người chui, lỗ làm vệ sinh, lỗ kiểm tra. Nếu đăng kiểm viên thấy cần thiết phải kiểm tra bên ngoài, thì lớp cách nhiệt xung quanh các chi tiết phải tháo ra để kiểm tra bên ngoài các chi tiết, đến mức độ đăng kiểm viên thấy thỏa mãn(2). |
|
2 |
Bộ quá nhiệt, bầu hâm nước tiết kiệm và bầu hâm nước tiết kiệm khí xả |
Phải kiểm tra bên trong và bên ngoài. Đối với bầu hâm nước tiết kiệm khí xả kiểu bọc, tất cả các mối hàn nối có thể tiếp cận được đều phải kiểm tra bằng mắt thường để phát hiện vết nứt và nếu thấy cần thiết, Đăng kiểm có thể yêu cầu thử không phá hủy(2). |
|
3 |
Các bộ phận đốt của nồi hơi và thiết bị hâm bằng dầu nóng(1) |
Phải kiểm tra bên trong buồng đốt và các buồng khí đốt v.v... khi các cửa được mở(2). |
|
4 |
Các van và vòi |
Các chi tiết lắp ráp chính và các bu lông hoặc các vít cấy cố định chúng phải được mở ra để kiểm tra. |
|
5 |
Chiều dày tôn, ống và kích thước các thanh giằng |
Phải đo, nếu Đăng kiểm thấy cần thiết. |
|
6 |
Các van an toàn v.v... của nồi hơi, bộ quá nhiệt và thiết bị hâm bằng dầu nóng(1) |
Các van an toàn phải được điều chỉnh trong điều kiện có hơi nước đến áp suất không lớn hơn 103% áp suất làm việc được duyệt sau khi mở kiểm tra. Áp kế sử dụng để điều chỉnh các van an toàn phải được hiệu chỉnh chính xác. Cơ cấu giảm áp của các van phải được kiểm tra và thử để xác nhận hoạt động thỏa mãn. Tuy nhiên, đối với bầu hâm nước tiết kiệm khí xả, nếu không thể tăng hơi nước lên tại cảng thì van giảm áp có thể do máy trưởng đặt ở biển và kết quả phải được ghi vào sổ nhật ký để đăng kiểm viên xem xét. Phải kiểm tra tình trạng chung của các đường ống xả áp đối với thiết bị hâm bằng dầu nóng. Áp suất nổ của các van an toàn lắp trên thiết bị hâm bằng dầu nóng phải được xác nhận. |
|
7 |
Thiết bị an toàn, thiết bị báo động và các thiết bị điều khiển đốt tự động |
Các thiết bị này phải được thử theo các yêu cầu ở Chương 9 Phần 3 của Quy chuẩn để đảm bảo rằng chúng ở trong trạng thái làm việc tốt sau khi được kiểm tra như trên. |
|
8 |
Xem xét các nội dung ghi chép sổ nhật ký |
Phải tiến hành xem xét các bản ghi sau đây, từ khi kiểm tra nồi hơi trước đó: (1) Sự hoạt động; (2) Sự bảo dưỡng; (3) Lịch sử sửa chữa; (4) Kiểm soát chất lượng của nước cấp hoặc dầu nóng. |
Chú thích:
(1) Chỉ áp dụng đối với thiết bị hâm bằng dầu nóng bằng lửa, khí đốt hoặc khí xả từ máy.
(2) Nếu kiểm tra bên trong trực tiếp bằng mắt là không thể thực hiện được do giới hạn về kích thước của khoang bên trong, ví dụ nồi hơi nhỏ và/hoặc các khoang bên trong hẹp, thì có thể thay bằng thử thủy lực hoặc phương pháp xác nhận khác nếu đăng kiểm viên thấy phù hợp.
CHƯƠNG 8 KIỂM TRA TRỤC CHÂN VỊT VÀ TRỤC TRONG ỐNG BAO TRỤC
8.1 Kiểm tra trục chân vịt và trục trong ống bao trục
8.1.2 được sửa đổi như sau:
8.1.2 Kiểm tra từng phần
1 Vào đợt kiểm tra từng phần trục chân vịt loại 1 với ổ đỡ trong ống bao bôi trơn bằng dầu, phải kiểm tra như quy định từ (1) đến (3) sau đây:
(1) Phải kiểm tra bằng mắt tất cả các phần có thể tiếp cận được của hệ trục;
(2) Kiểm tra xác nhận máy chính không bị hoạt động trong dải vòng quay cấm do dao động xoắn;
(3) Phải kiểm tra như quy định ở 2, 6, 9, 12 và 13 trong Bảng 1B/8.1 và (a) đến (c) dưới đây. Tuy nhiên, có thể bỏ qua các yêu cầu của 2 và 9 trong Bảng 1B/8.1 đối với những trục nối với chân vịt không then hoặc hoặc trục nối với chân vịt bằng bích nối ở đầu cuối của chúng, nếu sau khi kiểm tra chung thấy thỏa mãn.
(a) Kiểm tra và ghi lại kết quả đo độ sụt trong ổ đỡ của trục chân vịt hoặc trục trong ống bao trục ở ổ đỡ sau của ống bao trục.
(b) Lớp lót cho thiết bị làm kín ở tình trạng thỏa mãn.
(c) Kiểm tra xác nhận tình trạng thỏa mãn của thiết bị làm kín bên trong và bên ngoài.
2 Vào đợt kiểm tra từng phần trục chân vịt loại 1C, ngoài nội dung kiểm tra nêu ở -1 nói trên, phải kiểm tra "Bản ghi của hệ thống kiểm soát thiết bị làm kín dầu và ổ đỡ trong ống bao".
8.1.3 được sửa đổi như sau:
8.1.3 Hệ thống bảo dưỡng phòng ngừa
1 Bất kể các yêu cầu ở 8.1.1 trên đây, nếu tàu được trang bị các ổ đỡ trong ống bao trục được bôi trơn bằng dầu và các thiết bị làm kín dầu ống bao phù hợp, được Đăng kiểm duyệt, thì có thể thay các nội dung kiểm tra ở 1, 3, 4, 5, 7 và 8 trong Bảng 1B/8.1 bằng kiểm tra chung hệ trục, miễn là tất cả các thông số kiểm soát trạng thái được thực hiện theo hệ thống bảo dưỡng phòng ngừa đã được duyệt nằm trong các giới hạn cho phép. Đối với các yêu cầu không phải yêu cầu -1, -3, -4, -5, -7 và -8 trong Bảng 1B/8.1, có thể kiểm tra phù hợp với các yêu cầu của kiểm tra từng phần của trục chân vịt loại 1C. Nếu Đăng kiểm thấy thích hợp, có thể bỏ qua một phần nội dung kiểm tra yêu cầu ở 9 trong Bảng 1B/8.1.
(1) Dựa trên hệ thống bảo dưỡng phòng ngừa đã được Đăng kiểm duyệt, ít nhất các nội dung từ (a) đến (d) sau phải được giám sát và ghi lại một cách thích hợp để chuẩn đoán tình trạng bôi trơn của hệ trục và thực hiện bảo dưỡng hệ thống phòng ngừa. Ngoài ra, phải bổ sung dấu hiệu sau đây vào sau ký hiệu cấp tàu mà hệ thống bảo dưỡng phòng ngừa được Đăng kiểm duyệt: Hệ thống kiểm soát trạng thái trục chân vịt (viết tắt là PSCM).
(a) Phải lấy mẫu và phân tích dầu bôi trơn đều đặn vào các khoảng thời gian không vượt quá 6 tháng với ít nhất phải có các số liệu từ (i) đến (iv) sau đây được phân tích mỗi lần:
(i) Hàm lượng nước;
(ii) Độ mặn (Na-tri);
(iii) Hàm lượng kim loại trục và đặc tính kim loại ổ đỡ;
(iv) Độ ô xy hóa của dầu.
(b) Mức tiêu hao dầu bôi trơn;
(c) Nhiệt độ ổ đỡ;
(d) Độ sụt của trục chân vịt hoặc trục trong ống bao trục ở ổ đỡ sau của ống bao trục.
(2) Dựa trên hệ thống bảo dưỡng phòng ngừa đã được Đăng kiểm duyệt, ít nhất các nội dung từ (a) đến (e) sau phải được giám sát và ghi lại một cách thích hợp để chuẩn đoán tình trạng bôi trơn của hệ trục và thực hiện bảo dưỡng hệ thống phòng ngừa. Ngoài ra, phải bổ sung dấu hiệu sau đây vào sau ký hiệu cấp tàu mà hệ thống bảo dưỡng phòng ngừa đã được Đăng kiểm duyệt: Hệ thống kiểm soát trạng thái trục chân vịt - A (viết tắt là PSCM-A).
(a) Phải lấy mẫu và phân tích dầu bôi trơn đều đặn vào các khoảng thời gian không vượt quá 6 tháng với ít nhất phải có các số liệu từ (i) đến (iv) sau đây được phân tích mỗi lần:
(i) Hàm lượng nước;
(ii) Độ mặn (Na-tri);
(iii) Hàm lượng kim loại trục và đặc tính kim loại ổ đỡ;
(iv) Độ ô xy hóa của dầu.
(b) Kiểm tra hàng tháng trên tàu về hàm lượng nước dầu bôi trơn. Tuy nhiên, có thể bỏ qua việc kiểm tra này nếu việc lấy mẫu và phân tích dầu nêu ở (a) trên được thực hiện thường xuyên trong các khoảng thời gian không vượt quá 3 tháng.
(c) Mức tiêu hao dầu bôi trơn;
(d) Nhiệt độ ổ đỡ;
(e) Độ sụt của trục chân vịt hoặc trục trong ống bao trục ở ổ đỡ sau của ống bao trục.
CHƯƠNG 11 KIỂM TRA TÀU LẶN
11.1 Quy định chung
11.1.2-3(1) được sửa đổi như sau:
11.1.2 Các yêu cầu chung về kiểm tra
1 Kiểm tra duy trì cấp của các tàu lặn phải phù hợp với các yêu cầu quy định ở Chương 1 của Phần này, trừ các quy định từ -2 đến -4.
2 Kiểm tra duy trì cấp
Các tàu lặn đã được Đăng kiểm đăng ký, phân cấp phải được đăng kiểm viên kiểm tra duy trì cấp theo các yêu cầu của Chương này. Kiểm tra duy trì cấp bao gồm kiểm tra chu kỳ và kiểm tra bất thường, như nêu ở (1) và (2) sau đây. Vào mỗi đợt kiểm tra, phải kiểm tra như sau:
(1) Kiểm tra chu kỳ
(a) Kiểm tra trung gian;
(b) Kiểm tra định kỳ.
(2) Kiểm tra bất thường
Kiểm tra bất thường bao gồm việc kiểm tra tình trạng chung, trạng thái hư hỏng hoặc hoán cải thân, máy và trang thiết bị của tàu lặn. Kiểm tra bất thường được thực hiện riêng biệt với nội dung kiểm tra ở (1).
3 Ngày đến hạn kiểm tra chu kỳ
(1) Kiểm tra trung gian: kiểm tra trung gian phải được thực hiện trong phạm vi 3 tháng trước hoặc sau ngày ấn định kiểm tra hàng năm.
(2) Kiểm tra định kỳ: kiểm tra định kỳ phải được thực hiện vào ngày đến hạn kiểm tra quy định ở 1.1.3-1(3).
4 Kiểm tra chu kỳ trước thời hạn
(1) Kiểm tra định kỳ có thể được thực hiện trước thời hạn quy định, nếu chủ tàu yêu cầu.
(2) Kiểm tra trung gian có thể được thực hiện trước thời hạn kiểm tra trung gian, nếu chủ tàu yêu cầu. Trong trường hợp này phải thực hiện ít nhất một đợt kiểm tra trung gian theo các quy định khác của Đăng kiểm.
(3) Nếu kiểm tra định kỳ được thực hiện trước thời hạn và trùng vào thời điểm kiểm tra trung gian thì có thể bỏ qua kiểm tra trung gian.
5 Trừ khi có quy định khác, nếu bên thứ ba tham gia vào đo chiều dày, kiểm tra dưới nước bằng thợ lặn hoặc máy vận hành từ xa hoặc thử kín các thiết bị đóng kín như nắp hầm, cửa... sử dụng thiết bị siêu âm phải được Đăng kiểm công nhận cơ sở.
6 Trừ khi có quy định khác, bên thứ ba tham gia vào kiểm tra và bảo dưỡng các bình chữa cháy xách tay phải được Đăng kiểm công nhận cơ sở.
PHẦN 2A KẾT CẤU THÂN TÀU VÀ TRANG THIẾT BỊ TÀU CÓ CHIỀU DÀI TỪ 90 MÉT TRỞ LÊN
CHƯƠNG 1 QUY ĐỊNH CHUNG
1.1 Quy định chung
Ghi chú của Bảng 2A/1.1 được sửa đổi như sau:
Bảng 2A/1.1 Danh mục sử dụng thép thường cho các cơ cấu thân tàu
|
Tên cơ cấu |
Vùng sử dụng |
Chiều dày tôn t, mm |
||||||||
|
t £ 15 |
15 < t £ 20 |
20 < t £25 |
25 < t £30 |
30 < t £40 |
40 < t £50 |
|||||
|
Tôn mạn |
||||||||||
|
Tôn mép mạn kề boong tính toán |
Phạm vi 0,4 L giữa tàu |
L1 £ 250 |
A(1)(4) |
B |
D |
E |
||||
|
L1 > 250 |
|
E |
||||||||
|
Phạm vi 0,6 L giữa tàu ngoài vùng trên |
A(1)(4) |
B |
D |
E |
||||||
|
Ngoài vùng nêu trên |
A(1)(4) |
B |
D |
|||||||
|
Tôn mạn |
Phạm vi 0,4 L giữa tàu |
Phạm vi 0,1 D trở xuống tính từ mặt dưới của boong tính toán |
A(1)(4) |
B |
D |
E |
||||
|
Ngoài vùng nêu trên |
A(1)(4) |
B |
D |
|||||||
|
Dải tôn hông |
Phạm vi 0,4 L giữa tàu |
L1 > 250 |
D |
E |
||||||
|
Tàu có 150 £ L1 £ 250, có kết cấu đáy đôi hoặc đáy đơn |
A(1)(4) |
B |
D |
E |
||||||
|
Phạm vi 0,6 L giữa tàu ngoài vùng trên |
A(1)(4) |
B |
D |
E |
||||||
|
Ngoài các trường hợp trên |
A(1)(4) |
B |
D |
|||||||
|
Tôn đáy kể cả dải tôn giữa đáy |
Phạm vi 0,4 L giữa tàu |
A |
B |
D |
E |
|||||
|
(giữ nguyên) |
||||||||||
|
Các cơ cấu khác |
||||||||||
|
Các cơ cấu khác với các cơ cấu nêu trên (bao gồm các nẹp) |
A(1)(4) |
|||||||||
Chú thích:
(1) Với các tàu có chiều dài L1 lớn hơn 150 m có boong đơn, các dải tôn này đối với các tàu không có vách dọc liên tục bên trong đi từ đáy đến boong trong vùng hàng hóa phải ít nhất là cấp B theo quy định ở Phần 7A của Quy chuẩn.
(2) Với các tàu có chiều dài L1 lớn hơn 150 m có boong đơn, các cơ cấu dọc này của boong tính toán trong phạm vi 0,4 L giữa tàu phải ít nhất là cấp B theo quy định ở Phần 7A của Quy chuẩn.
(3) Với các tàu có chiều dài L1 lớn hơn 150 m có boong đơn, tôn các cơ cấu dọc liên tục này của boong tính toán trong phạm vi 0,4 L giữa tàu phải ít nhất là cấp B theo quy định ở Phần 7A của Quy chuẩn.
(4) Với các tàu gia cường đi băng như quy định ở Chương 8 ở Phần 8G của Quy chuẩn, các dải tôn mạn ở vùng gia cường chống băng phải tối thiểu là cấp B theo quy định ở Phần 7A của Quy chuẩn.
Các mục phía sau giữ nguyên
CHƯƠNG 4 ĐÁY ĐÔI
4.1 Quy định chung
4.1.1 Phạm vi áp dụng
4.1.1-7 được sửa đổi như sau:
1 Các tàu phải có đáy đôi kín nước liên tục từ vách chống va đến vách đuôi. Nói chung, đáy đôi phải có kết cấu hệ thống dọc. Đáy đôi phải liên tục ra đến mạn tàu sao cho bảo vệ được cung hông và không có phần nào nằm thấp hơn đường thẳng kẻ song song với đường tôn giữa đáy và ở độ cao không nhỏ hơn h (m) đo từ mặt trên của tôn giữa đáy theo quy định ở 1.2.58, Phần 1A của Quy chuẩn.
h = B’/20
B’: Quy định ở 1.1.2 Phần 9 của Quy chuẩn.
Tuy nhiên, trong mọi trường hợp h phải không nhỏ hơn 0,76 m, và không cần phải lấy lớn hơn 2 m.
2 Với những tàu có tổng dung tích nhỏ hơn 500 hoặc những tàu không chạy tuyến quốc tế có chiều dài nhỏ hơn 100 mét hoặc những tàu mà vì những lý do riêng biệt của hình thức kết cấu, hình dạng thân tàu và mục đích khai thác v.v... được Đăng kiểm thừa nhận rằng không phải dùng kết cấu đáy đôi thì đáy đôi có thể khuyết từng phần hoặc toàn bộ.
3 Đáy đôi có thể được khuyết ở trong các két kín nước, kể cả két khô cỡ trung bình sao cho an toàn của tàu không bị ảnh hưởng khi đáy tàu bị hỏng.
4 Đối với những vùng có kết cấu đặc biệt như có mạn nghiêng hoặc mạn kép hoặc vùng có vách dọc hoặc đối với những vùng ngoài đoạn giữa tàu, kích thước các cơ cấu của đáy đôi phải thỏa mãn yêu cầu của Đăng kiểm.
5 Kích thước của các cơ cấu của các két đáy đôi dùng làm két sâu phải thỏa mãn yêu cầu ở Chương 12. Tuy nhiên chiều dày của tôn đáy trên không cần phải tăng 1,0 mm như quy định ở 12.2.7 cho tôn nóc của két sâu.
6 Những yêu cầu ở Chương này được áp dụng cho trường hợp mà tỷ trọng biểu kiến γ của hàng hóa trong khoang chứa hàng không lớn hơn 0,9. Đối với trường hợp γ lớn hơn 0,9, hoặc đối với những khoang bị trống trong điều kiện tàu đủ tải, hoặc những tàu có két hông phải áp dụng các quy định ở Chương 29. Tỷ trọng biểu kiến của hàng hóa phải được tính theo công thức sau đây:
![]()
Trong đó:
W : Khối lượng của hàng hóa chứa trong khoang, t;
V : Thể tích của khoang không kể miệng khoang, m3.
7 Kết cấu đáy đôi của khoang phải được xem xét đặc biệt nếu khoang được dự kiến để chở hàng nặng, khi tỷ số của trọng lượng hàng trên đơn vị diện tích (kN/m2) của đáy đôi chia cho d nhỏ hơn 5,40 hoặc khi việc xếp hàng không thể được coi là phân bố đều. Nếu tỷ số của khối lượng hàng trên đơn vị diện tích được cho bằng t/m2, thì trị số lấy theo đơn vị kN/m2 có thể được xác định bằng cách nhân t/m2 với 9,81. Đối với tàu chở cuộn thép thì kích thước các cơ cấu đáy đôi phải phù hợp với các quy định ở 4.9.
4.9 được bổ sung như sau:
4.9 Kích thước của các cơ cấu đáy đôi chở cuộn thép
1 Tính toán được quy định như ở dưới đây dựa trên cơ sở các cuộn thép được xếp như theo Hình 2A/4.3 hướng lõi của chúng theo phương ngang tàu.

Hình 2A/4.3 Phương tiện chằng buộc cuộn thép
2 Chiều dày tôn đáy trên đối với tàu có hệ thống kết cấu dọc phải không nhỏ hơn trị số tính theo công thức sau đây.
(mm)
Trong đó:
k : Hệ số. Với thép thường k = 1,65;
Q : Khối lượng của các cuộn thép xếp lên mỗi tấm tôn đáy trên, được tính theo công thức sau đây:
(kg)
Nếu các cuộn thép được xếp có cuộn khóa thì Q được lấy bằng 1,4 lần trị số tính theo công thức trên.
W: Khối lượng của một cuộn thép (kg);
n1: Số tầng cuộn thép;
n2: Số điểm đặt tải trên một tấm tôn đáy trên, được cho trong Bảng 2A/4.7 phụ thuộc vào trị số của n3 và a/ls;
n3: Số lượng tấm ván lót một cuộn thép;
α: Tỷ số kích thước vành đế của tấm tôn đáy trên. Nếu α > 3,0 thì lấy α = 3,0;
β: Tính theo công thức sau: c/a
a: Khoảng cách đà ngang đáy (mm);
c: Khoảng cách giữa các điểm đặt tải lên một tấm tôn đáy trên theo hướng chiều dài tàu (mm) lấy theo Bảng 2A/4.8, phụ thuộc vào trị số n2 và n3.
ls : Chiều dài một cuộn thép.
3 Nếu tôn đáy trên là thép có độ bền cao thì công thức nêu ở -2 được áp dụng như sau:
Nếu là thép A32, D32, E32 hoặc F32: 0,78k được thay thế cho k
Nếu là thép A36, D36, E36 hoặc F36: 0,72k được thay thế cho k
Nếu là thép A40, D40, E40 hoặc F40: 0,68k được thay thế cho k
4 Quy cách của dầm dọc đáy trên được xác định theo lý thuyết dầm đơn giản với các điều kiện sau:
(1) Mô hình:
Dầm đơn giản cố định ở đà ngang đặc và/hoặc được đỡ bằng thanh chống thẳng đứng.
(2) Ứng suất cho phép:
8,2(24-12fB) (N/mm2), trong đó fB quy định ở 4.4.3.
(3) Điều kiện tải trọng:
Tải trọng tập trung tại vị trí tấm lót nơi mà cuộn thép tựa lên dầm dọc.
5 Đà ngang đặc và tấm sống đáy chịu tải trọng từ cuộn thép phải được kiểm tra độ ổn định nén.
Bảng 2A/4.7 Khoảng cách các điểm đặt tải theo phương chiều dài tàu trên một tấm đáy trên
|
n2 |
n3 |
|||
|
2 |
3 |
4 |
5 |
|
|
1 |
Chiều rộng thực của tấm lót |
|
||
|
2 |
0,5 ls |
0,33 ls |
0,25 ls |
0,2 ls |
|
3 |
1,2 ls |
0,67 ls |
0,50 ls |
0,4 ls |
|
4 |
1,7 ls |
1,20 ls |
0,75 ls |
0,6 ls |
|
5 |
2,4 ls |
1,53 ls |
1,20 ls |
0,8 ls |
|
6 |
2,9 ls |
1,87 ls |
1,45 ls |
1,2 ls |
|
7 |
3,6 ls |
2,40 ls |
1,70 ls |
1,4 ls |
|
8 |
4,1 ls |
2,73 ls |
1,95 ls |
1,6 ls |
|
9 |
4,8 ls |
3,07 ls |
2,40 ls |
1,8 ls |
|
10 |
5,3 ls |
3,60 ls |
2,65 ls |
2,0 ls |
Chú thích:
Nếu n2 ³ 11 và/hoặc n3 ³ 6 thì tải trọng lên tấm tôn đáy trên có thể được coi là phân bố đều
Bảng 2A/4.8 Số lượng điểm đặt tải trên một tấm
|
n2 |
n3 |
|||
|
2 |
3 |
4 |
5 |
|
|
1 |
0 < a/ls £ 0,5 |
0 < a/ls £ 0,33 |
0 < a/ls £ 0,25 |
0 < a/ls £ 0,20 |
|
2 |
0,5 < a/ls £ 1,2 |
0,33 < a/ls £ 0,67 |
0,25 < a/ls £ 0,50 |
0,20 < a/ls £ 0,40 |
|
3 |
1,2 < a/ls £ 1,7 |
0,67 < a/ls £ 1,20 |
0,50 < a/ls £ 0,75 |
0,40 < a/ls £ 0,60 |
|
4 |
1,7 < a/ls £ 2,4 |
1,20 < a/ls £ 1,53 |
0,75 < a/ls £ 1,20 |
0,60 < a/ls £ 0,80 |
|
5 |
2,4 < a/ls £ 2,9 |
1,53 < a/ls £ 1,87 |
1,20 < a/ls £ 1,45 |
0,80 < a/ls £ 1,20 |
|
6 |
2,9 < a/ls £ 3,6 |
1,87 < a/ls £ 2,40 |
1,45 < a/ls £ 1,70 |
1,20 < a/ls £ 1,40 |
|
7 |
3,6 < a/ls £ 4,1 |
2,40 < a/ls £ 2,73 |
1,70 < a/ls £ 1,95 |
1,40 < a/ls £ 1,60 |
|
8 |
4,1 < a/ls £ 4,8 |
2,73 < a/ls £ 3,07 |
1,95 < a/ls £ 2,40 |
1,60 < a/ls £ 1,80 |
|
9 |
4,8 < a/ls £ 5,3 |
3,07 < a/ls £ 3,60 |
2,40 < a/ls £ 2,65 |
1,80 < a/ls £ 2,00 |
|
10 |
5,3 < a/ls £ 6,0 |
3,60 < a/ls £ 3,93 |
2,65 < a/ls £ 2,90 |
2,00 < a/ls £ 2,40 |
Chú thích:
Nếu n2 ³ 11 và/hoặc n3 ³ 6 thì tải trọng lên tấm tôn đáy trên có thể được coi là phân bố đều.
CHƯƠNG 5 SƯỜN
5.3 Sườn khoang
5.3.2 Kích thước của sườn khoang
5.3.2-6 được bổ sung như sau:
6 Kích thước sườn khoang chịu tải trọng từ các cuộn thép khi tàu bị lắc không những phải thỏa mãn yêu cầu ở 5.3.2 mà còn phải thỏa mãn những quy định sau đây dựa trên lý thuyến dầm đơn giản.
(1) Mô hình: Dầm đơn giản tựa ở boong và cố định ở đáy trên.
(2) Ứng suất cho phép: 196 (N/mm2)
(3) Điều kiện tải trọng: Áp suất tĩnh từ mạn tàu và khối lượng của các cuộn thép được tính toán theo (a) hoặc (b) sau đây:
(a) Nếu các cuộn thép được xếp một tầng
(tấn)
W: Khối lượng của một cuộn thép (kg);
C1: Hệ số phụ thuộc cách bố trí cuộn thép chèn;
4,0: Nếu các cuộn thép chèn được bố trí giữa cuộn thứ nhất và cuộn thứ hai tính từ mạn tàu;
3,0: Nếu các cuộn thép chèn được bố trí gần đường tâm tàu hơn cuộn thứ hai tính từ mạn tàu;
q: Góc nghiêng lớn nhất của tàu (độ);
k: Hệ số tùy thuộc phương gia tốc do tàu bị lắc, thường được lấy bằng 1,0;
n: Số lượng sườn đỡ một cuộn thép.
(b) Nếu các cuộn thép được xếp hai tầng
(tấn)
C2 : Hệ số phụ thuộc cách bố trí các cuộn thép, thường được lấy bằng 0,7.
Tuy nhiên, nếu các cuộn thép ở tầng dưới được xếp gần nhau mà áp lực tiếp xúc với nhau đủ lớn, thì giá trị C2 có thể được giảm;
W, θ và n: Như quy định ở (a);
m : Tổng số lượng cuộn thép tại mặt cắt sườn liên quan.
CHƯƠNG 13 ĐỘ BỀN DỌC
13.2 Độ bền uốn
13.2.1 được sửa đổi như sau:
13.2.1 Độ bền uốn ở đoạn giữa tàu
1 Mô đun chống uốn của tiết diện ngang thân tàu ở đoạn giữa tàu phải không nhỏ hơn trị số Zs tính theo hai công thức sau đây tại tiết diện đang xét của chiều dài tàu trong mọi điều kiện tải và dằn:
Zσ = 5,72|Ms+Mw(+)| (cm3)
Zσ = 5,72|Ms+Mw(-)| (cm3)
Trong đó:
Ms: Mô men uốn dọc tàu trên nước tĩnh (kNm) tại tiết diện ngang đang xét theo chiều dài tàu, tính toán theo phương pháp được Đăng kiểm thừa nhận. Tuy nhiên, trị số dương của Ms được định nghĩa là trị số dương tính toán với quy ước là tải trọng tác dụng theo chiều đi xuống được coi là dương và phép tính tích phân được thực hiện từ đuôi tàu về mũi tàu (Hình 2A/13.1).

Hình 2A/13.1 Trị số dương của mô men uốn dọc
Mw(+) và Mw(-): Mô men uốn dọc tàu do sóng (kNm) tại tiết diện ngang đang xét theo chiều dài tàu, tính theo các công thức dưới đây:
(kNm)
(kNm)
C1: Được tính theo biểu thức sau đây:
nếu L1 £ 300 mét
C1 = 10,75 nếu 300 mét < L1 £ 350 mét
nếu L1 > 350 mét
L1: Chiều dài của tàu quy định ở 1.2.20 Phần 1A hoặc 0,97 lần chiều dài đo theo đường nước chở hàng thiết kế lớn nhất, lấy trị số nào nhỏ hơn (m). Mút trước của L1 là đường vuông góc với đường nước chở hàng thiết kế lớn nhất tại mép trước sống mũi, và mút sau của L1 là đường vuông góc với đường nước chở hàng thiết kế lớn nhất tại khoảng cách L1 về phía sau của mút trước L1.
: Thể tích chiếm nước ở đường nước chở hàng thiết kế lớn nhất chia cho L1Bd. Tuy nhiên, nếu tỷ số này nhỏ hơn 0,6 thì
được lấy bằng 0,6.
C2: Hệ số quy định theo vị trí tiết diện ngang thân tàu đang xét theo chiều dài tàu, được cho ở Hình 2A/13.2.
2 Mặc dù những yêu cầu ở -1, mô đun chống uốn của tiết diện ngang thân tàu tại giữa tàu phải không nhỏ hơn trị số Wmin tính theo công thức sau đây:
(cm3)
Trong đó:
C1, L1,
: Được lấy như quy định ở -1.
3 Mô men quán tính của tiết diện ngang thân tàu (I) tại giữa tàu phải không nhỏ hơn trị số tính theo công thức sau đây. Tuy nhiên, phương pháp tính mô men quán tính của tiết diện ngang thực của thân tàu phải theo các quy định tương ứng ở 13.2.3.
I = 3WminL1 (cm4)
Trong đó:
Wmin: Mô đun chống uốn của tiết diện ngang thân tàu tại giữa tàu như quy định ở -2;
L1 : Như quy định ở -1.

Khoảng cách tính từ mút sau của L1
Hình 2A/13.2 Trị số của hệ số C2
4 Kích thước của các cơ cấu dọc thân tàu ở đoạn giữa tàu phải không nhỏ hơn kích thước của các cơ cấu dọc đo tại giữa tàu xác định theo yêu cầu ở -2 và -3, không kể những thay đổi kích thước cơ cấu do sự thay đổi hình dạng của tiết diện ngang thân tàu.
13.3 Độ bền cắt
13.3.1 Chiều dày tôn bao của tàu không có vách dọc
Hình 2A/13.4 và Hình 2A/13.5 được sửa đổi như sau:

Hình 2A/13.4 Trị số của hệ số C3

Hình 2A/13.5 Trị số của hệ số C4
13.4 Độ ổn định
13.4.1 được sửa đổi như sau:
13.4.1 Quy định chung
1 Các quy định ở phần này được áp dụng cho tôn và cơ cấu dọc chịu uốn chung và ứng suất cắt và tham gia vào độ bền dọc.
2 Ngoài các yêu cầu được nêu ở -1 bên trên, trên suốt chiều dài của tàu, độ ổn định của các cơ cấu trong những khu vực có sự chuyển đổi về hệ thống kết cấu hoặc những vùng có những thay đổi đáng kể liên quan đến mặt cắt ngang thân tàu, phải phù hợp với các quy định ở Phần này.
3 Mặc dù các quy định nêu ở -1 và -2 bên trên, độ ổn định có thể được kiểm tra bằng biện pháp khác được Đăng kiểm chấp thuận phù hợp khác với những quy định ở phần này
4 Khi tính toán ứng suất mất ổn định ở 13.4.3 và 13.4.4, chiều dày khấu trừ tiêu chuẩn lấy bằng trị số cho ở Bảng 2A/13.2 phụ thuộc vào vị trí đặt các thành phần cơ cấu đang xét, có lưu ý đến tb, tw và tf.
5 Nếu Đăng kiểm cần thấy thì độ ổn định của các thành phần khác với nêu ở -1 và -2 bên trên phải được kiểm tra.
13.4.6 được sửa đổi như sau:
13.4.6 Tiêu chuẩn chung
Độ ổn định của tấm (bao gồm tấm thành của sống dọc và sống dọc mạn) và cơ cấu dọc phải thỏa mãn điều kiện sau:
(1) sC ³ βsa - Đối với cơ cấu chịu nén, chịu uốn và chịu xoắn
Trong đó:
β: Hệ số được lấy như sau:
β = 1,0 Đối với tấm và tấm thành của nẹp;
β = 1,1 Đối với nẹp.
(2) tC ³ ta Đối với các ô tấm bị mất ổn định do cắt.
CHƯƠNG 21 MẠN CHẮN SÓNG, LAN CAN, CỬA THOÁT NƯỚC, CỬA HÀNG HÓA VÀ CÁC CỬA TƯƠNG TỰ KHÁC, CỬA HÚP LÔ, CỬA SỔ CHỮ NHẬT, ỐNG THÔNG GIÓ VÀ CẦU BOONG
21.6 Ống thông gió
21.6.7 được sửa đổi như sau:
21.6.7 Thông gió cho buồng máy phát điện sự cố
Thành ống thông gió của buồng máy phát điện sự cố phải cao hơn 4,5 mét trên mặt boong ở vị trí I và cao hơn 2,3 mét trên mặt boong ở vị trí II như quy định ở 18.1.2. Các ống thông gió không được đặt thiết bị đóng kín thời tiết, trừ ống thông gió phù hợp với yêu cầu ở 1.3.5-2, Phần 3 của Quy chuẩn. Tuy nhiên, nếu do kích thước tàu mà việc bố trí theo quy định ở mục này là không thể thực hiện được, thì chiều cao của thành ống thông gió có thể được giảm đến mức phù hợp được Đăng kiểm chấp nhận.
PHẦN 2B KẾT CẤU THÂN TÀU VÀ TRANG THIẾT BỊ TÀU CÓ CHIỀU DÀI DƯỚI 90 MÉT
CHƯƠNG 4 ĐÁY ĐÔI
4.1 Quy định chung
4.1.1 Phạm vi áp dụng
4.1.1-6 được sửa đổi như sau:
6 Kết cấu đáy đôi của khoang phải được xem xét đặc biệt nếu khoang được dự kiến để chở hàng nặng, khi tỷ số của trọng lượng hàng trên đơn vị diện tích (kN/m2) của đáy đôi chia cho d nhỏ hơn 5,40 hoặc khi việc xếp hàng không thể được coi là phân bố đều. Nếu tỷ số của khối lượng hàng trên đơn vị diện tích được cho bằng t/m2, thì trị số lấy theo đơn vị kN/m2 có thể được xác định bằng cách nhân t/m2 với 9,81. Đối với tàu chở cuộn thép thì kích thước các cơ cấu đáy đôi phải phù hợp với các quy định ở 4.10.
4.10 được sửa đổi như sau:
4.10 Kích thước của các cơ cấu đáy đôi chở cuộn thép
1 Tính toán được quy định như ở dưới đây dựa trên cơ sở các cuộn thép được xếp như theo Hình 2B/4.3 hướng lõi của chúng theo phương ngang tàu.

Hình 2B/4.3 Phương tiện chằng buộc cuộn thép
2 Chiều dày tôn đáy trên đối với tàu có hệ thống kết cấu dọc phải không nhỏ hơn trị số tính theo công thức sau đây.
(mm)
Trong đó:
k: Hệ số. Với thép thường k = 1,65;
Q: Khối lượng của các cuộn thép xếp lên mỗi tấm tôn đáy trên, được tính theo công thức sau đây:
(kg)
Nếu các cuộn thép được xếp có cuộn khóa thì Q được lấy bằng 1,4 lần trị số tính theo công thức trên.
W: Khối lượng của một cuộn thép (kg);
n1: Số tầng cuộn thép;
n2: Số điểm đặt tải trên một tấm tôn đáy trên, được cho trong Bảng 2B/4.4 phụ thuộc vào trị số của n3 và a/ls;
n3: Số lượng tấm ván lót một cuộn thép;
α: Tỷ số kích thước vành đế của tấm tôn đáy trên. Nếu α > 3,0 thì lấy α = 3,0;
β: Tính theo công thức sau: c/a;
a: Khoảng cách đà ngang đáy (mm);
c: Khoảng cách giữa các điểm đặt tải lên một tấm tôn đáy trên theo hướng chiều dài tàu (mm) lấy theo Bảng 2A/4.5, phụ thuộc vào trị số n2 và n3;
ls: Chiều dài một cuộn thép.
3 Nếu tôn đáy trên là thép có độ bền cao thì công thức nêu ở -2 được áp dụng như sau:
Nếu là thép A32, D32, E32 hoặc F32: 0,78k được thay thế cho k;
Nếu là thép A36, D36, E36 hoặc F36: 0,72k được thay thế cho k;
Nếu là thép A40, D40, E40 hoặc F40: 0,68k được thay thế cho k.
4 Quy cách của dầm dọc đáy trên được xác định theo lý thuyết dầm đơn giản với các điều kiện sau:
(1) Mô hình:
Dầm đơn giản cố định ở đà ngang đặc và/hoặc được đỡ bằng thanh chống thẳng đứng.
(2) Ứng suất cho phép:
8,2(24-12fB) (N/mm2),
fB: Tỷ số giữa mô đun chống uốn của tiết diện ngang thân tàu yêu cầu ở Chương 13 và mô đun chống uốn thực của tiết diện ngang thân tàu lấy với đáy tàu.
(3) Điều kiện tải trọng:
Tải trọng tập trung tại vị trí tấm lót nơi mà cuộn thép tựa lên dầm dọc.
5 Đà ngang đặc và tấm sống đáy chịu tải trọng từ cuộn thép phải được kiểm tra độ ổn định nén.
Bảng 2A/4.4 Khoảng cách các điểm đặt tải theo phương chiều dài tàu trên một tấm đáy trên
|
n2 |
n3 |
|||
|
2 |
3 |
4 |
5 |
|
|
1 |
Chiều rộng thực của tấm lót |
|
||
|
2 |
0,5 ls |
0,33 ls |
0,25 ls |
0,2 ls |
|
3 |
1,2 ls |
0,67 ls |
0,50 ls |
0,4 ls |
|
4 |
1,7 ls |
1,20 ls |
0,75 ls |
0,6 ls |
|
5 |
2,4 ls |
1,53 ls |
1,20 ls |
0,8 ls |
|
6 |
2,9 ls |
1,87 ls |
1,45 ls |
1,2 ls |
|
7 |
3,6 ls |
2,40 ls |
1,70 ls |
1,4 ls |
|
8 |
4,1 ls |
2,73 ls |
1,95 ls |
1,6 ls |
|
9 |
4,8 ls |
3,07 ls |
2,40 ls |
1,8 ls |
|
10 |
5,3 ls |
3,60 ls |
2,65 ls |
2,0 ls |
Chú thích:
Nếu n2 ³ 11 và/hoặc n3 ³ 6 thì tải trọng lên tấm tôn đáy trên có thể được coi là phân bố đều.
Bảng 2A/4.5 Số lượng điểm đặt tải trên một tấm
|
n2 |
n3 |
|||
|
2 |
3 |
4 |
5 |
|
|
1 |
0 < a/ls £ 0,5 |
0 < a/ls £ 0,33 |
0 < a/ls £ 0,25 |
0 < a/ls £ 0,20 |
|
2 |
0,5 < a/ls £ 1,2 |
0,33 < a/ls £ 0,67 |
0,25 < a/ls £ 0,50 |
0,20 < a/ls £ 0,40 |
|
3 |
1,2 < a/ls £ 1,7 |
0,67 < a/ls £ 1,20 |
0,50 < a/ls £ 0,75 |
0,40 < a/ls £ 0,60 |
|
4 |
1,7 < a/ls £ 2,4 |
1,20 < a/ls £ 1,53 |
0,75 < a/ls £ 1,20 |
0,60 < a/ls £ 0,80 |
|
5 |
2,4 < a/ls £ 2,9 |
1,53 < a/ls £ 1,87 |
1,20 < a/ls £ 1,45 |
0,80 < a/ls £ 1,20 |
|
6 |
2,9 < a/ls £ 3,6 |
1,87 < a/ls £ 2,40 |
1,45 < a/ls £ 1,70 |
1,20 < a/ls £ 1,40 |
|
7 |
3,6 < a/ls £ 4,1 |
2,40 < a/ls £ 2,73 |
1,70 < a/ls £ 1,95 |
1,40 < a/ls £ 1,60 |
|
8 |
4,1 < a/ls £ 4,8 |
2,73 < a/ls £ 3,07 |
1,95 < a/ls £ 2,40 |
1,60 < a/ls £ 1,80 |
|
9 |
4,8 < a/ls £ 5,3 |
3,07 < a/ls £ 3,60 |
2,40 < a/ls £ 2,65 |
1,80 < a/ls £ 2,00 |
|
10 |
5,3 < a/ls £ 6,0 |
3,60 < a/ls £ 3,93 |
2,65 < a/ls £ 2,90 |
2,00 < a/ls £ 2,40 |
Chú thích:
Nếu n2 ³ 11 và/hoặc n3 ³ 6 thì tải trọng lên tấm tôn đáy trên có thể được coi là phân bố đều.
CHƯƠNG 5 SƯỜN
5.3 Hệ thống kết cấu ngang (ngang khoang)
5.3.2 Kích thước của sườn khoang
5.3.2-4 được bổ sung mới như sau:
4 Kích thước sườn khoang chịu tải trọng từ các cuộn thép khi tàu bị lắc không những phải thỏa mãn yêu cầu ở 5.3.2 mà còn phải thỏa mãn những quy định sau đây dựa trên lý thuyến dầm đơn giản.
(1) Mô hình: Dầm đơn giản tựa ở boong và cố định ở đáy trên.
(2) Ứng suất cho phép: 196 (N/mm2)
(3) Điều kiện tải trọng: Áp suất tĩnh từ mạn tàu và khối lượng của các cuộn thép được tính toán theo (a) hoặc (b) sau đây:
(a) Nếu các cuộn thép được xếp một tầng
(tấn)
W: Khối lượng của một cuộn thép (kg);
C1: Hệ số phụ thuộc cách bố trí cuộn thép chèn
4,0: Nếu các cuộn thép chèn được bố trí giữa cuộn thứ nhất và cuộn thứ hai tính từ mạn tàu;
3,0: Nếu các cuộn thép chèn được bố trí gần đường tâm tàu hơn cuộn thứ hai tính từ mạn tàu;
q: Góc nghiêng lớn nhất của tàu (độ);
K: Hệ số tùy thuộc phương gia tốc do tàu bị lắc, thường được lấy bằng 1,0;
N: Số lượng sườn đỡ một cuộn thép.
(b) Nếu các cuộn thép được xếp hai tầng
(tấn)
C2: Hệ số phụ thuộc cách bố trí các cuộn thép, thường được lấy bằng 0,7. Tuy nhiên, nếu các cuộn thép ở tầng dưới được xếp gần nhau mà áp lực tiếp xúc với nhau đủ lớn, thì giá trị C2 có thể được giảm;
W, θ và n: Như quy định ở (a);
m: Tổng số lượng cuộn thép tại mặt cắt sườn liên quan.
PHẦN 3 HỆ THỐNG MÁY TÀU
CHƯƠNG 1 QUY ĐỊNH CHUNG
1.3 Những yêu cầu chung về hệ thống máy tàu
1.3.5 được sửa đổi như sau:
1.3.5 Hệ thống thông gió cho buồng máy
1 Buồng máy loại A phải được thông gió tốt để đảm bảo máy móc hoặc nồi hơi bên trong hoạt động ở chế độ toàn tải trong mọi điều kiện thời tiết bao gồm cả thời tiết xấu nhất, phải duy trì chế độ cung cấp đủ không khí cho buồng máy nhằm đảm bảo an toàn và thuận lợi cho thợ máy và sự hoạt động của máy móc. Các buồng máy khác phải được thông gió tốt phù hợp với mục đích sử dụng của buồng máy.
2 Trường hợp bố trí các cửa chớp thông gió buồng máy phát sự cố hoặc thiết bị đóng lắp trên các quạt phục vụ buồng máy phát sự cố thì các thiết bị đó phải tuân theo các yêu cầu từ (1) đến (4) sau:
(1) Cửa chớp và thiết bị đóng có thể vận hành bằng tay hoặc cơ giới (thủy lực, khí nén hoặc điện) và phải hoạt động được khi có cháy;
(2) Cửa chớp và thiết bị đóng có thể vận hành bằng tay phải tuân theo các yêu cầu từ (a) đến (b) sau:
(a) Cửa chớp và thiết bị đóng phải được duy trì ở vị trí mở khi tàu hoạt động bình thường, và
(b) Các bảng hướng dẫn phù hợp phải được đặt tại vị trí vận hành bằng tay.
(3) Cửa chớp và thiết bị đóng vận hành bằng cơ giới phải tuân theo các yêu cầu từ (a) đến (c) sau:
(a) Cửa chớp và thiết bị đóng phải là loại mở khi có sự cố;
(b) Việc đóng cửa chớp và thiết bị đóng được chấp nhận khi tàu hoạt động bình thường;
(c) Cửa chớp và thiết bị đóng vận hành bằng cơ giới phải mở tự động khi máy phát sự cố khởi động hoặc hoạt động;
(4) Các lỗ thông gió, cửa chớp và thiết bị đóng phải tuân theo các yêu cầu từ (a) đến (c) sau:
(a) Các lỗ thông gió phải có khả năng đóng bằng tay từ vị trí an toàn được đánh dấu rõ ràng bên ngoài không gian, nơi việc đóng có thể dễ dàng xác nhận;
(b) Trạng thái của cửa chớp (mở hoặc đóng) phải được chỉ rõ tại vị trí vận hành bằng tay theo (a) trên; và
(c) Không được đóng các cửa chớp và các thiết bị đóng từ bất kỳ vị trí từ xa nào khác ngoài vị trí vận hành bằng tay nêu ở mục (a) ở trên.
CHƯƠNG 2 ĐỘNG CƠ ĐIÊZEN
2.1 Quy định chung
2.1.1 được sửa đổi như sau:
2.1.1 Quy định chung
1 Các yêu cầu của Chương này áp dụng cho các động cơ điêzen được dùng làm máy chính hoặc được dùng để lai máy phát điện và các máy phụ (không kể máy phụ chuyên dụng v.v...) nêu trong Chương này.
2 Đối với các động cơ điêzen lai máy phát điện sự cố thì ngoài các yêu cầu ở Phần này (trừ các yêu cầu ở 2.2.4, 2.3, 2.4.1-4 và yêu cầu đối với thiết bị dừng hoạt động của động cơ được quy định ở 2.5.5-1) còn phải áp dụng các yêu cầu ở 3.3 và 3.4 Phần 4 của Quy chuẩn và phải áp dụng các yêu cầu ở 18.5.2 nếu được điều khiển tự động hoặc từ xa cho mục đích không phải sự cố.
3 Đối với mỗi loại động cơ điêzen, nhà thiết kế động cơ sẽ nhận được sự chấp thuận sử dụng (sau đây trong Chương này gọi là người cấp phép) theo quy định riêng của Đăng kiểm.
4 Đối với các máy chính là động cơ điêzen được điều khiển bằng điện tử, ngoài các yêu cầu quy định trong Chương này còn phải thỏa mãn các yêu cầu riêng khác của Đăng kiểm.
2.1.2 được đánh số lại tương ứng thành 2.1.3; bổ sung mới 2.1.2 như sau:
2.1.2 Thuật ngữ
1 Trong chương này, theo công suất liên tục lớn nhất của động cơ (MCR) do nhóm các xi lanh được tua bin tăng áp thực tế cung cấp (ví dụ tua bin tăng áp chiếm khoảng 50% tổng công suất đối với động cơ chữ V có một tua bin tăng áp phục vụ cho mỗi hàng xy lanh), tua bin tăng áp khí thải được phân loại thành 3 nhóm sau:
(1) Tua bin tăng áp loại A
Công suất liên tục lớn nhất của động cơ MCR do nhóm xy lanh được tua bin tăng áp thực tế cung cấp không lớn hơn 1000 kW;
(2) Tua bin tăng áp loại B
Công suất liên tục lớn nhất của động cơ MCR do nhóm xy lanh được tua bin tăng áp thực tế cung cấp không nhỏ hơn 1000 kW nhưng không lớn hơn 2500 kW;
(3) Tua bin tăng áp loại C
Công suất liên tục lớn nhất của động cơ MCR do nhóm xy lanh được tua bin tăng áp thực tế cung cấp không nhỏ hơn 2500 kW.
2 Thuật ngữ dùng tại -1(3) và -2 của 2.1.3 cũng như tại 2.1.4 được xác định theo (1) đến (36) sau:
(1) "Tiêu chuẩn chấp nhận" là tập hợp các nguyên tắc hoặc tiêu chuẩn mà thiết kế, sản phẩm, dịch vụ hoặc quá trình phải tuân theo để được xem xét là phù hợp.
(2) "Đánh giá" là việc đánh giá được thực hiện bởi cơ quan có thẩm quyền.
(3) "Thẩm định" là việc cho phép thiết kế, sản phẩm, dịch vụ hoặc quá trình được sử dụng cho mục đích đã đưa ra theo các điều kiện cụ thể, căn cứ vào việc đánh giá đạt yêu cầu.
(4) "Cấu kiện" là thiết bị hoặc hệ thống được tạo thành từ các linh kiện hoặc các bộ phận.
(5) "Đánh giá" là xác định mức độ phù hợp của thiết kế, sản phẩm, dịch vụ, quá trình, hệ thống hoặc tổ chức theo các thông số kỹ thuật, các quy định, tiêu chuẩn cụ thể hoặc các văn bản quy phạm khác.
(6) "Giấy chứng nhận" là văn bản chính thức xác nhận sự phù hợp của thiết kế, sản phẩm, dịch vụ hoặc quá trình với tiêu chuẩn chấp nhận.
(7) "Chứng nhận" là thủ tục mà thiết kế, sản phẩm, dịch vụ hoặc quá trình được thẩm định phù hợp với tiêu chuẩn chấp nhận.
(8) "Cơ quan có thẩm quyền" là tổ chức được công nhận có kiến thức và chuyên môn phù hợp trong một lĩnh vực cụ thể.
(9) "Linh kiện" là một phần, một bộ phận của thiết bị hoặc hệ thống.
(10) "Sự phù hợp" có nghĩa là một thiết kế, sản phẩm, quá trình hoặc dịch vụ chứng minh được sự tuân thủ với các yêu cầu cụ thể của nó.
(11) "Hợp đồng" là sự thỏa thuận giữa hai hoặc nhiều bên liên quan đến phạm vi của dịch vụ.
(12) "Khách hàng" là bên thực hiện việc mua hoặc nhận hàng hóa hay dịch vụ từ bên khác.
(13) "Thiết kế" có nghĩa là tất cả các bản vẽ, tài liệu, bản tính có liên quan đến việc mô tả đặc tính hoạt động, lắp đặt và chế tạo một sản phẩm.
(14) "Thẩm định thiết kế" là việc đánh giá tất cả các bản vẽ, bản tính và các hồ sơ liên quan liên quan đến thiết kế.
(15) "Thiết bị" có nghĩa là một phần của hệ thống được lắp ráp từ các linh kiện.
(16) "Tương đương" nghĩa là không ít hữu hiệu hơn và có thể chấp nhận để thay thế cho tiêu chuẩn được quy định.
(17) "Đánh giá" là việc kiểm tra một cách có hệ thống trong phạm vi mà một thiết kế, sản phẩm, dịch vụ hoặc quá trình đáp ứng được các tiêu tiêu chuẩn quy định.
(18) "Kiểm tra" là việc đánh giá của người có thẩm quyền để xác định sự phù hợp với các yêu cầu.
(19) "Kiểm định" là việc kiểm tra thiết kế, sản phẩm, dịch vụ hoặc quá trình do đăng kiểm viên thực hiện.
(20) "Lắp đặt" là việc lắp ráp và bố trí cuối cùng của các linh kiện, thiết bị và các hệ thống phụ để cho phép hệ thống hoạt động;
(21) "Nhà sản xuất" là bên chịu trách nhiệm về sản xuất và chất lượng của sản phẩm;
(22) "Quá trình sản xuất" là chuỗi các hoạt động mang tính hệ thống để sản xuất một sản phẩm;
(23) "Vật liệu" là hàng hóa do nhà sản xuất này cung cấp cho nhà sản xuất khác mà cần phải tạo hình hoặc sản xuất thêm trước khi trở thành một sản phẩm mới;
(24) "Sửa đổi" là sự thay đổi có giới hạn mà không ảnh hưởng đến việc phê duyệt hiện hành;
(25) "Sản phẩm" là kết quả của quá trình sản xuất;
(26) "Đảm bảo chất lượng" là tất cả các hoạt động theo kế hoạch và có hệ thống được thực hiện theo hệ thống chất lượng, và được chứng minh là cần thiết để tạo ra đầy đủ sự tin cậy là một đối tượng sẽ đáp ứng đầy đủ các yêu cầu về chất lượng. Tham khảo ISO 9000;
(27) "Quy chuẩn" là quy định hoặc điều lệnh được ban hành bởi một cơ quan hành pháp hoặc cơ quan chức năng thuộc chính phủ và có hiệu lực như luật;
(28) "Sửa chữa" là khôi phục lại tình trạng ban đầu hoặc gần như tình trạng ban đầu từ tình trạng gây ra bởi các hao mòn hoặc hỏng hóc đối với một sản phẩm hoặc hệ thống trong quá trình phục vụ.
(29) "Yêu cầu" là các đặc điểm cụ thể được sử dụng cho mục đích đánh giá;
(30) "Thông tin" là dữ liệu kỹ thuật bổ sung hoặc các chi tiết phụ thêm vào các bản vẽ yêu cầu thẩm định;
(31) "Đặc điểm kỹ thuật" là dữ liệu hoặc thông số kỹ thuật được sử dụng để thiết lập sự phù hợp của vật liệu, sản phẩm, các chi tiết hoặc các hệ thống đối với mục đích sử dụng của chúng;
(32) "Sửa đổi lớn" là việc sửa đổi thiết kế, dẫn đến sự thay đổi về ứng suất, tính chất hoạt động, tuổi thọ mỏi hoặc ảnh hưởng đến các chi tiết hoặc đặc tính quan trọng khác như sự phát thải;
(33) "Nhà cung cấp phụ/nhà thầu phụ" là đơn vị ký hợp đồng cung cấp vật liệu cho nhà cung cấp khác;
(34) "Nhà cung cấp" là cơ sở ký hợp đồng để cung cấp vật liệu hoặc thiết kế, sản phẩm, dịch vụ hoặc các linh kiện cho khách hàng hoặc người sử dụng;
(35) "Thử nghiệm" là một hoạt động kỹ thuật bao gồm việc xác định một hay nhiều đặc tính hoặc tính năng của một sản phẩm, vật liệu, thiết bị, cơ cấu, hiện tượng vật lý, quá trình hoặc dịch vụ tuân theo một quy trình xác định. Là hoạt động kỹ thuật để xác định một hay nhiều đặc tính hoặc tính năng của sản phẩm, quá trình hoặc dịch vụ có thỏa mãn các yêu cầu cụ thể hay không;
(36) "Chứng kiến" là sự có mặt của một cá nhân tại cuộc thử nghiệm và có thể ghi chép lại và đưa ra bằng chứng về kết quả của thử nghiệm;
2.1.3 Bản vẽ và tài liệu
1 Nói chung, phải trình Đăng kiểm các bản vẽ và tài liệu sau:
(1) Các bản vẽ và tài liệu để duyệt
(a) Thanh truyền và các ổ đỡ (kể cả các bu lông và các chi tiết) của động cơ 4 kỳ;
(b) Chi tiết về quy trình hàn đối với các bộ phận chính;
(c) Đường ống dầu đốt cao áp cùng cơ cấu bảo vệ và cố định;
(d) Hệ thống đường ống lắp trên động cơ (gồm cả đường ống dầu đốt, dầu bôi trơn, dầu làm mát, nước làm mát, các hệ thống thủy lực và khí nén, có số ghi kích thước, vật liệu và áp suất làm việc của đường ống);
(e) Các bản vẽ và tài liệu được quy định tại (3)(d) đến (f);
(f) Các bản vẽ và tài liệu v.v... được yêu cầu theo các quy định 2.1.4 (trừ các các bản vẽ và tài liệu quy định tại 2.1.3-1(3));
(g) Các bản vẽ và tài liệu của tua bin khí thải:
i) Mặt cắt lắp ráp;
ii) Đặc điểm kỹ thuật (đối với tua bin tăng áp loại B hoặc C);
iii) Tài liệu hướng dẫn phòng ngừa trong trường hợp nứt bánh cánh;
iv) Bản vẽ thân và các bộ phận quay, bao gồm chi tiết cánh cố định (đối với tua bin tăng áp loại C);
v) Đặc điểm kỹ thuật của vật liệu nêu tại iv) (đối với tua bin tăng áp loại C phải có các tính chất cơ học và thành phần hóa học);
vi) Chi tiết và quy trình hàn đối với các bộ phận nêu tại iv) nếu được chế tạo bằng phương pháp hàn (đối với tua bin tăng áp loại C có đặc điểm thiết kế mới hoặc không có bằng chứng sử dụng).
(2) Các bản vẽ và tài liệu tham khảo
(a) Danh mục các bản vẽ và tài liệu phải trình (với số hiệu bản vẽ liên quan và tình trạng sửa đổi);
(b) Chốt pít tông;
(c) Thanh truyền và các ổ đỡ (kể cả chi tiết các bu lông) của động cơ 2 kỳ;
(d) Cơ cấu xu páp (cơ cấu van kiểu đòn);
(e) Các bu lông cố định nắp xi lanh và các bu lông cố định hộp van;
(f) Sơ đồ hệ thống điều khiển động cơ (kể cả các hệ thống kiểm soát, an toàn và tín hiệu báo động);
(g) Kết cấu và bố trí các bộ giảm chấn, bộ chống rung, thiết bị cân bằng hoặc cơ cấu bù chỉnh, các thanh giằng, các bản tính toán về cân bằng và ngăn ngừa dao động động cơ;
(h) Vị trí của thiết bị ngăn ngừa dầu phun tóe từ các mối nối của ống dầu dễ cháy (nếu được trang bị);
(i) Các bản vẽ và tài liệu của của tua bin khí thải:
i) Tài liệu của hệ truyền mô men xoắn an toàn nêu tại 2.5.1-5 khi bánh cánh được lắp với trục bằng lắp ép (đối với tua bin tăng áp loại C có đặc điểm thiết kế mới hoặc không có bằng chứng sử dụng);
ii) Thông tin về tuổi thọ dự kiến (đối với tua bin tăng áp loại C có đặc điểm thiết kế mới hoặc không có bằng chứng sử dụng);
iii) Tài liệu hướng dẫn sử dụng và bảo dưỡng (đối với tua bin tăng áp loại C có đặc điểm thiết kế mới hoặc không có bằng chứng sử dụng).
(j) Các bản vẽ và tài liệu khác nếu Đăng kiểm thấy cần thiết.
(3) Các bản vẽ và tài liệu dùng cho mục đích kiểm tra và thử nghiệm các động cơ diesel
(a) Danh mục các bản vẽ và tài liệu phải trình duyệt (với số hiệu bản vẽ liên quan và tình trạng sửa đổi);
(b) Bản thuyết minh về động cơ theo mẫu của Đăng kiểm;
(c) Đặc tính vật liệu của các bộ phận chính với các thông tin về thử nghiệm không phá hủy và áp suất thử áp dụng cho vật liệu;
(d) Thiết kế hàn đế máy và thùng trục cùng với chi tiết và hướng dẫn hàn để duyệt về vật liệu và quy trình hàn. Quy trình hàn phải bao gồm chi tiết xử lý nhiệt trước và sau khi hàn, vật liệu hàn và điều kiện lắp ghép;
(e) Thiết kế hàn đế ổ đỡ chặn cùng với chi tiết và hướng dẫn hàn để duyệt về vật liệu và quy trình hàn. Quy trình hàn phải bao gồm chi tiết xử lý nhiệt trước và sau khi hàn, vật liệu hàn và điều kiện lắp ghép;
(f) Thiết kế hàn thân động cơ/thân hộp số cùng với chi tiết và hướng dẫn hàn để duyệt về vật liệu và quy trình hàn. Quy trình hàn phải bao gồm chi tiết xử lý nhiệt trước và sau khi hàn, vật liệu hàn và điều kiện lắp ghép;
(g) Lắp ráp và chi tiết trục khuỷu;
(h) Trục chịu lực đẩy hoặc trục trung gian (nếu đồng bộ với máy);
(i) Bu lông nối trục;
(j) Bu lông và vít cấy của ổ trục khuỷu;
(k) Bu lông và vít cấy của nắp xi lanh và van xả (động cơ hai kỳ);
(l) Bu lông và vít cấy của thanh truyền;
(m) Gu dông liên kết;
(n) Sơ đồ bố trí hoặc bản vẽ tương đương khác và dữ liệu trên động cơ diesel (thông tin chi tiết của hệ thống đến mức có thể do người cấp phép cung cấp như: kích thước chính, phương tiện vận hành và áp suất làm việc tối đa) theo i) đến vii) sau:
i) Hệ thống khí nén khởi động;
ii) Hệ thống dầu nhiên liệu;
iii) Hệ thống dầu bôi trơn;
iv) Hệ thống nước làm mát;
v) Hệ thống thủy lực;
vi) Hệ thống thủy lực (để nâng van);
vii) Hệ thống điều khiển và an toàn của động cơ.
(o) Cơ cấu bảo vệ đường ống dầu đốt cao áp, lắp ráp (tất cả các động cơ);
(p) Kết cấu của bình tích áp dầu thủy lực và dầu nhiên liệu;
(q) Các bộ phận chịu áp suất cao của hệ thống phun nhiên liệu. Tài liệu phải nêu rõ áp suất, quy cách và vật liệu ống;
(r) Bố trí và chi tiết van an toàn phòng nổ thùng trục (chỉ yêu cầu đối với động cơ có đường kính xi lanh không dưới 200 mm hoặc thể tích thùng trục không dưới 0,6 m3);
(s) Thiết bị phát hiện sương dầu và hoặc thiết bị báo động thay thế;
(t) Nắp xi lanh;
(u) Thân xi lanh, thân động cơ;
(v) Ống lót xi lanh;
(w) Đối trọng (nếu không đồng bộ với trục khuỷu);
(x) Thanh truyền cùng với nắp;
(y) Đầu chữ thập;
(z) Cán pít tông;
(aa) Pít tông, lắp ráp, bao gồm nhận dạng (ví dụ số bản vẽ) của bộ phận;
(ab) Đầu pít tông;
(ac) Dẫn động trục cam, lắp ráp, bao gồm nhận dạng (ví dụ số bản vẽ) của bộ phận;
(ad) Bánh đà;
(ae) Bố trí bệ (chỉ yêu cầu đối với máy chính);
(af) Bơm phun dầu nhiên liệu;
(ag) Bảo vệ và cách nhiệt ống khí xả và các bộ phận khác có nhiệt độ cao có thể bị ảnh hưởng khi hệ thống nhiên liệu bị hỏng), lắp ráp;
(ah) Kết cấu và bố trí bộ giảm chấn;
(ai) Đối với động cơ điều khiển điện tử, phải có các bản vẽ bố trí hoặc lắp ráp sau:
i) Điều khiển van;
ii) Bơm cao áp;
iii) Dẫn động bơm cao áp;
iv) Than van (nếu áp dụng).
(aj) Hướng dẫn sử dụng và vận hành
Hướng dẫn sử dụng và vận hành phải có các yêu cầu bảo dưỡng (bảo trì và sửa chữa) bao gồm chi tiết của bất kỳ dụng cụ chuyên dùng và đồng hồ đo được sử dụng kèm theo phụ kiện/cài đặt và mọi yêu cầu kiểm tra đối với việc bảo trì hoàn chỉnh;
(ak) Kết quả của chương trình kiểm tra theo FMEA (đối với hệ thống điều khiển động cơ) khi động cơ được điều khiển bằng thủy lực, khí nén hoặc bơm và (hoặc) van nhiên liệu được điều khiển điện tử;
(al) Thông số kỹ thuật chế tạo sản phẩm bằng phương pháp đúc và hàn (trình tự);
(am) Chứng nhận chấp nhận sử dụng đối với các thiết bị thử và kiểm soát môi trường. Phải trình cho Đăng kiểm các bản vẽ và thông số thay đổi phù hợp với trường hợp cụ thể để thông tin hoặc chấp nhận;
(an) Yêu cầu chất lượng với sản xuất động cơ;
(ao) Các bản vẽ khác nếu Đăng kiểm thấy cần thiết.
2 Các nhà sản xuất động cơ phải trình các bản vẽ và tài liệu được chấp nhận sử dụng quy định trong -1(3) trên với các thành phần được quy định trong 2.1.1-3 (sau đây trong Chương này được gọi là "Người cấp phép") nhưng cũng có thể do người được cấp phép trình theo quy định 2.1.4-2.
2.1.4 Phê duyệt động cơ điêzen
1 Động cơ điêzen được phê duyệt theo các quy định từ (1) đến (6) sau:
(1) Tài liệu và dữ liệu thuyết minh đối với sản xuất động cơ
(a) Trước khi bắt đầu quá trình phê duyệt động cơ điêzen theo quy định (3) và các nội dung tiếp theo thì việc phê duyệt thiết kế phải tuân theo các yêu cầu riêng của Đăng kiểm;
(b) Mỗi loại động cơ điêzen sẽ được cung cấp giấy chứng nhận chấp nhận sử dụng của người cấp phép theo quy định 2.1.1-3. Đối với động cơ đầu tiên của một loại hoặc đối với loại không có bằng chứng sử dụng, quá trình phê duyệt và chấp nhận sử dụng đối với sản phẩm của người được cấp phép có thể được thực hiện đồng thời;
(c) Cấp phép là xem xét các bản vẽ và dữ liệu của động cơ điêzen đã được chấp nhận sử dụng cho ứng dụng và phát triển, nếu cần thiết, các bản vẽ và số liệu cụ thể áp dụng để sản xuất động cơ điêzen được người xin cấp phép dùng để triển khai các bản vẽ và dữ liệu sản xuất động cơ điêzen cụ thể được nêu tại quy định 2.1.3-1(3).
(d) Nếu có các sửa đổi cho các bản vẽ và dữ liệu của động cơ điêzen đã được phê duyệt sử dụng trong các bản vẽ và dữ liệu của động cơ điêzen để sản xuất, bản vẽ và dữ liệu bị ảnh hưởng phải được trình lại theo quy định riêng của Đăng kiểm.
(2) Bản vẽ và số liệu dùng để thử và kiểm tra động cơ điêzen
(a) Người được cấp phép phải triển khai các bản vẽ và dữ liệu được nêu tại 2.1.3-1(3) và danh mục so sánh các bản vẽ và dữ liệu bản vẽ và dữ liệu của động cơ diesel đã được duyệt và trình các bản vẽ đó cùng với danh mục so sánh cho Đăng kiểm;
(b) Khi áp dụng 2.1.3-1 (3), nếu có sự khác biệt trong nội dung kỹ thuật trên bản vẽ sản xuất và dữ liệu của động cơ điêzen được cấp phép so với các bản vẽ và dữ liệu của động cơ điêzen được chấp nhận sử dụng, người được cấp phép phải trình "Xác nhận của người cấp giấy phép chấp nhận các sửa đổi" được người cấp phép duyệt và được người cấp phép và người được cấp phép ký. Nếu việc chấp nhận cấp phép không được xác nhận, thì động cơ điêzen được sản xuất bởi người được cấp phép sẽ được coi như là một loại động cơ khác và quy định 2.1.1-3 cho các động cơ điêzen phải được áp dụng;
(c) Khi áp dụng (b) ở trên, các thay đổi được người được cấp phép sử dụng phải được cung cấp các yêu cầu chất lượng phù hợp;
(d) Đăng kiểm trả lại về các bản vẽ và tài liệu quy định tại (a) và (b) trên để người được cấp giấy phép với xác nhận thiết kế đã được phê duyệt;
(e) Người được cấp phép hoặc thầu phụ của người được cấp phép phải chuẩn bị để cung cấp các bản vẽ và các dữ liệu theo (a) và (b) nêu trên sao cho đăng kiểm viên có thể sử dụng thông tin đó để kiểm tra trong quá trình chế tạo và thử nghiệm động cơ điêzen và các linh kiện;
(3) Các bản vẽ và tài liệu bổ sung
Ngoài các bản vẽ và tài liệu bổ sung nêu tại 2.1.3-1(3), người được cấp phép phải cung cấp cho đăng kiểm viên nội dung thử nghiệm nêu tại 2.6.1 theo yêu cầu của các bản vẽ chi tiết liên quan, mô tả kiểm soát chất lượng và tiêu chuẩn được chấp nhận. Các bản vẽ và tài liệu này chỉ có mục đích bổ sung cho việc kiểm tra.
(4) Phê chuẩn của người cấp phép
(a) Đăng kiểm đánh giá sự phù hợp của sản phẩm đối với cơ sở sản xuất bao gồm cơ sở và quy trình chế tạo, công cụ gia công, bảo đảm chất lượng, cơ sở thử nghiệm, v.v... theo quy định riêng của Đăng kiểm.
(b) Thỏa mãn thỏa đáng với (a) những kết quả trên trong việc phát hành tài liệu chứng minh người được cấp phép đã được Đăng kiểm chấp thuận.
(5) Lắp ráp và thử nghiệm động cơ
Người được cấp phép lắp ráp và thử nghiệm động cơ điêzen theo các quy định kỹ thuật của Đăng kiểm áp dụng cho lắp ráp và quy trình thử nghiệm cho mỗi động cơ điêzen được lắp ráp phải có sự chứng kiến của đăng kiểm viên, trừ khi nhà sản xuất động cơ điêzen được phê duyệt phù hợp với các Quy định về chấp thuận nhà sản xuất và cung cấp dịch vụ và việc sử dụng hệ thống sản xuất hàng loạt được thỏa thuận giữa nhà sản xuất và Đăng kiểm.
(6) Cấp giấy chứng nhận động cơ điêzen và linh kiện
(a) Với sự có mặt của đăng kiểm viên cùng với người cấp phép/nhà thầu phụ, sẽ cấp giấy chứng nhận sản phẩm khi cần thiết cho các linh kiện được sản xuất khi kiểm tra và thử nghiệm thỏa mãn.
(b) Giấy chứng nhận động cơ được cấp bởi đăng kiểm viên khi hoàn thành thỏa đáng các yêu cầu lắp ráp và kiểm tra nêu trong tại (5) ở trên.
2 Khi áp dụng quy định -1 ở trên, đối với những trường hợp không có thỏa thuận của Người cấp phép và Người được cấp phép thì "người cấp phép" phải được hiểu theo (1) hoặc (2) sau:
(1) Tổ chức có quyền thiết kế đối với loại động cơ điêzen; hoặc
(2) Đối tượng được tổ chức có quyền thiết kế ủy thác để sửa đổi thiết kế.
3 Các thành phần thiết kế của người cấp phép được đưa ra trong giấy chứng nhận chấp thuận sử dụng loại động cơ liên quan được chấp thuận dù được chế tạo bởi nhà sản xuất động cơ điêzen hoặc nhà cung cấp phụ.
4 Đối với các thành phần thiết kế của nhà thầu phụ, cần phải có sự chấp thuận của các nhà cung cấp có liên quan (ví dụ như tua bin khí thải, bộ làm mát không khí,...).
2.6 Thử nghiệm
2.6.1 Thử tại xưởng
Bảng 3/2.6 sửa đổi như sau:
Bảng 3/2.6 Áp suất thử thủy lực
|
Chi tiết thử |
Đường kính xi lanh D (mm) |
Áp suất thử(1) (MPa) |
||
|
D ≤ 300 |
D > 300 |
|||
|
Thân xi lanh (gang xám đúc hoặc gang đúc graphic)(2)(3) |
x |
x |
1,5P |
|
|
Thân động cơ (gang xám đúc hoặc gang đúc graphic)(3)(4) |
x |
x |
1,5P |
|
|
Ống lót xi lanh(3) |
|
x |
1,5P |
|
|
Nắp xi lanh (gang xám đúc, gang đúc graphic, thép đúc hoặc thép rèn) |
|
x |
1,5P |
|
|
Hệ thống nhiên liệu cao áp |
Thân bơm phun nhiên liệu |
TR(6) |
x |
1,5P hoặc P + 30, lấy giá trị nào nhỏ hơn |
|
Van phun nhiên liệu(5) |
||||
|
Ống phun nhiên liệu (bao gồm common fuel rail)(5) |
TR(6) |
x |
||
|
Hệ thống dầu phụ cao áp chung |
TR(6) |
x |
1,5P |
|
|
Tua bin nạp: khoang làm mát(7) |
x |
x |
0,4 hoặc 1,5P lấy giá trị nào lớn hơn |
|
|
Bộ trao đổi nhiệt: cả hai phía |
|
x |
1,5P |
|
|
Van cửa xả(2) |
x |
x |
1,5P |
|
|
Bình tích áp của hệ thống dầu phụ cao áp hoặc nhiên liệu common rail(8) |
x |
x |
1,5P |
|
|
Ống, bơm, thiết bị dẫn động v.v... để điều khiển van bằng thủy lực(9) |
x |
x |
1,5P |
|
|
Động cơ dẫn động các bơm (dầu bôi trơn, nước, nhiên liệu, nước đáy tàu)(9) |
x |
x |
1,5P |
|
|
Hệ thống đường ống khác với các hệ thống trong bảng này |
x |
x |
Áp dụng các quy định trong 12.6 |
|
Chú thích:
(1) P là áp suất làm việc lớn nhất (MPa);
(2) Chỉ yêu cầu đối với động cơ điêzen có đầu chữ thập;
(3) Các chi tiết chứa nước làm mát mà nước này có thể tiếp xúc với xi lanh hoặc ống lót xi lanh cũng phải thử thủy lực;
(4) Chỉ yêu cầu đối với công suất động cơ lớn hơn 400 kW/xi lanh;
(5) Chỉ yêu cầu khi không có cánh tự động;
(6) Đối với hạng mục có ký hiệu TR, có thể chấp nhận báo cáo thử được nhà sản xuất ký xác nhận, báo cáo đó phải bao gồm các kết quả thử nghiệm theo quy ước được chấp nhận do nhà sản xuất đưa ra. Việc thử và kiểm tra có thể được thực hiện trên các mẫu lấy từ sản phẩm hiện hành;
(7) Trong trường hợp nhà sản xuất có hệ thống chất lượng được Đăng kiểm chấp nhận, thử thủy lực đối với tua bin tăng áp loại A và B có thể được thay thế bằng các việc thử của nhà sản xuất. Khi đó, Đăng kiểm có thể yêu cầu trình các biên bản thử;
(8) Chỉ yêu cầu khi thể tích lớn hơn 0,5 lít;
(9) Chỉ yêu cầu khi công suất động cơ lớn hơn 800 kW/xi lanh.
CHƯƠNG 18 ĐIỀU KHIỂN TỰ ĐỘNG VÀ ĐIỀU KHIỂN TỪ XA
18.1 Quy định chung
18.1.1 Phạm vi áp dụng
18.1.1-3 được bổ sung như sau:
3 Trường hợp máy móc, thiết bị mà Đăng kiểm thấy cần thiết phải sử dụng hệ thống máy tính để thực hiện đúng tính năng năng, thiết kế, kết cấu, nhiệm vụ và bảo dưỡng hệ thống máy tính phải tuân theo các yêu cầu cụ thể khác của Đăng kiểm ngoài các yêu cầu nêu tại -1 và -2 trên và trong các phần còn lại của Chương này.
18.1.3 Bản vẽ và tài liệu
18.1.3(6) được sửa đổi như sau:
(6) Các bản vẽ và tài liệu về máy tính và các hệ thống được máy tính hóa như nêu ở 18.1.1-3.
18.2 Thiết kế hệ thống
Xóa bỏ mục 18.2.7
PHẦN 4 TRANG BỊ ĐIỆN
CHƯƠNG 1 QUY ĐỊNH CHUNG
1.1 Quy định chung
1.1.6-1(2)(f) được bổ sung mới như sau:
1.1.6 Bản vẽ và các tài liệu kỹ thuật
(2) Tài liệu
(a) Thuyết minh hệ thống điện chân vịt;
(b) Bản tính nguồn điện;
(c) Danh mục chi tiết thiết bị điện áp cao (kể cả điện áp thử độ bền chất cách điện);
(d) Đối với tàu hàng lỏng, tàu chở xô khí hóa lỏng và tàu chở xô hóa chất nguy hiểm: Bản vẽ chỉ ra khu vực nguy hiểm và các thiết bị điện bố trí trong khu vực nguy hiểm đó;
(e) Đối với các tàu chở hàng nguy hiểm như được nêu ở 19.3.2 Phần 5: Danh mục thiết bị điện được lắp đặt ở khu vực rót hàng nguy hiểm;
(f) Tài liệu sau đây, trong trường hợp có trang bị bộ lọc sóng hài cho hệ thống phân phối điện của tàu, trừ khi thiết bị điện xoay chiều đơn lẻ, chẳng hạn như động cơ điện, được trang bị bộ lọc sóng hài
(i) Biên bản tính toán độ méo sóng hài;
(ii) Hướng dẫn vận hành bộ lọc sóng hài.
CHƯƠNG 2 TRANG BỊ ĐIỆN VÀ THIẾT KẾ HỆ THỐNG
Tiêu đề 2.12 được sửa đổi như sau:
2.12 Bộ biến đổi bán dẫn dùng để cấp nguồn
2.12.1-1 được sửa đổi như sau:
2.12.1 Quy định chung
1 Những yêu cầu ở 2.12 áp dụng cho các bộ biến đổi bán dẫn dùng để cấp nguồn (sau đây gọi chung là "bộ biến đổi") có công suất từ 5 kW trở lên. Tuy nhiên, những yêu cầu được đưa ra ở 2.12.4 cũng áp dụng cho bộ biến đổi có công suất dưới 5 kW.
2.12.4 được bổ sung mới và 2.12.4 đánh số thành 2.12.5 như sau:
2.12.4 Bộ lọc sóng hài
1 Khi hệ thống phân phối điện trên tàu có lắp đặt bộ lọc sóng hài, trừ khi các mạch động cơ điện đơn lẻ được lắp đặt bộ lọc sóng hài, thì phải trang bị thiết bị để giám sát liên tục trị số tổng độ méo sóng hài (THD) trên thanh dẫn chính và phải có báo động cho thuyền viên biết khi trị số trên vượt quá giới hạn được nêu ở 2.1.2-4. Trị số tổng độ méo sóng hài (THD) phải được ghi lại trong nhật ký máy, nhưng cũng có thể ghi lại dưới dạng điện trong trường hợp buồng máy có bố trí hệ thống tự động ghi các trị số này.
2 Thiết bị bảo vệ bộ lọc sóng hài được chỉ ra ở -1 trên phải thỏa mãn các yêu cầu sau:
(1) Thiết bị phải phát ra báo động khi có tác động bảo vệ mạch lọc sóng hài;
(2) Việc bảo vệ mạch bộ lọc sóng hài phải được bố trí phù hợp với các yêu cầu dưới đây:
(a) Bộ lọc sóng hài phải được bố trí như là bộ lọc 3 pha có bảo vệ riêng rẽ cho mỗi pha. Tác động của thiết bị bảo vệ cho mỗi pha đơn lẻ sẽ dẫn đến tự động ngắt toàn bộ mạch lọc.
(b) Phải trang bị hệ thống phát hiện mất cân bằng dòng điện độc lập với thiết bị bảo vệ quá dòng để báo động cho thuyền viên biết khi xảy ra mất cân bằng dòng điện.
(3) Phải xem xét đến việc bảo vệ bổ sung cho các phần tử điện dung riêng rẽ, chẳng hạn như các van giảm áp hoặc bộ ngắt quá áp suất, để bảo vệ tránh hư hỏng do rò rỉ. Việc xem xét này cần phải quan tâm đến kiểu của tụ điện được sử dụng.
2.12.5 Thử tại xưởng
1 Các bộ biến đổi và các phụ kiện đi kèm phải được thử phù hợp với các yêu cầu trong 2.12.5 này. Tuy nhiên, các yêu cầu ở mục -2 dưới dây có thể được Đăng kiểm cho phép miễn giảm đối với mỗi sản phẩm được chế tạo hàng loạt có kiểu giống như chiếc đầu tiên.
2 Việc thử gia tăng nhiệt độ của bộ biến đổi và các phụ kiện của chúng phải được tiến hành ở các điều kiện làm việc bình thường, và kết quả thử không được vượt quá các trị số nêu ở 2.8.3. Ngoài ra, phương pháp thử nhiệt độ đối với mối liên kết phần tử bán dẫn phải được Đăng kiểm xem xét chấp nhận.
3 Các dụng cụ, thiết bị đóng mạch và thiết bị bảo vệ được lắp đặt trong bộ biến đổi phải được kiểm tra khả năng hoạt động bình thường trong điều kiện đang hoạt động.
4 Các bộ biến đổi phải chịu được điện áp cao bằng cách sử dụng điện áp xoay chiều như nêu dưới đây đặt giữa phần tử biến đổi hoặc các phần mang điện của phụ kiện được nạp với điện thế mạch chính và đất trong thời gian 1 phút.
Điện áp thử (V) = 1,5 EPi + 1000 (tối thiểu là 2000 V).
Trong đó EPi: Giá trị điện áp ngược lớn nhất của nhánh mạch biến đổi.
Khi điện áp một chiều nhỏ hơn 100 V, thì điện áp thử tối thiểu có thể lấy bằng 1500 V. Phần tử biến đổi phải được ngắn mạch trước khi thử.
5 Thử điện áp cao giữa các phần mang điện và đất cho các phụ kiện được nạp với điện thế mạch phụ phải phù hợp với các yêu cầu ở 2.8.4-4.
6 Sau khi thử điện áp cao, điện trở cách điện giữa các phần mang điện của bộ biến đổi và các phụ kiện so với đất phải không được nhỏ hơn 1 MW khi đo bằng điện áp một chiều tối thiểu 500 V.
CHƯƠNG 3 THIẾT KẾ TRANG BỊ ĐIỆN
3.3 Nguồn điện sự cố
3.3.2-2(4)(f) được bổ sung như sau:
3.3.2 Công suất của nguồn điện sự cố
(4) 18 giờ đối với:
(f) Tất cả thiết bị hàng hải được yêu cầu bởi 9.3.2.2 Phần I-A của MSC.395(84) Bộ luật quốc tế về vận hành tàu biển ở vùng cực, bao gồm các bổ sung sửa đổi.
CHƯƠNG 4 NHỮNG YÊU CẦU BỔ SUNG ĐỐI VỚI CÁC TÀU CHỞ HÀNG ĐẶC BIỆT
4.2 Tàu hàng lỏng, tàu chở xô khí hóa lỏng và tàu chở xô hóa chất nguy hiểm
4.2.6-1 được sửa đổi như sau:
4.2.6 Thông gió trong khu vực nguy hiểm
1 Các quạt thông gió được lắp đặt trong buồng bơm hàng và buồng máy nén khí hàng phải được bố trí sao cho không xảy ra việc ngắt thông gió không mong muốn trong thời gian dài và không xảy ra hiện tượng tích tụ khí hoặc hơi.
CHƯƠNG 5 YÊU CẦU BỔ SUNG ĐỐI VỚI HỆ THỐNG ĐIỆN CHÂN VỊT
5.2 Thiết bị điện chân vịt và cáp điện
5.2.1-3 được sửa đổi như sau:
5.2.1 Quy định chung
3 Thiết bị điện chân vịt và cáp điện được nối với mạch bộ biến đổi bán dẫn động lực phải được thiết kế có quan tâm đến nhiệt phát sinh do sóng hài trong mạch.
5.2.2-1(4) và 5.2.2-6 được sửa đổi như sau:
5.2.2 Những yêu cầu chung đối với các động cơ điện quay chân vịt
1 Các động cơ quay chân vịt phải thỏa mãn yêu cầu từ (1) đến (5) dưới đây:
(4) Các động cơ quay chân vịt phải có khả năng chịu được ngắn mạch đột ngột tại đầu đấu dây trong các điều kiện mà không bị hư hỏng;
6 Phải bố trí các hệ thống phanh hoặc hãm hoặc hệ thống ly hợp mà có thể cố định trục động cơ quay chân vịt để khi có hư hỏng các động cơ quay chân vịt này. Trong trường hợp này, công suất đầu ra của trục còn lại có thể bị hạn chế lâu dài miễn là tính điều động được duy trì dưới mọi điều kiện thời tiết.
5.2.3-4 và -9 được sửa đổi như sau:
5.2.3 Kết cấu và bố trí các máy quay của hệ thống điện chân vịt
4 Các máy quay chân vịt phải được trang bị hệ thống thông gió cưỡng bức, trên các đường ống thông gió, tại các bộ lọc khí, bộ trao đổi nhiệt làm mát bằng nước, v.v... phải có thiết bị đo nhiệt để đo nhiệt độ khí làm mát và có hệ thống báo động bằng âm thanh và ánh sáng có thể phát hiện nhiệt độ ổ đỡ bị vượt quá. Ngoài ra, nếu bố trí bộ trao đổi nhiệt làm mát bằng nước thì phải trang bị thêm hệ thống kiểm soát rò nước.
9 Năng lượng tái sinh tạo ra khi thực hiện đảo chiều hoạt động của tàu từ tiến toàn tốc đến lùi toàn tốc hoặc ngược lại phải được giới hạn bởi hệ thống điều khiển để bảo vệ các máy phát khỏi quá tốc hoặc công suất ngược. Tuy nhiên, thiết bị này không áp dụng trong trường hợp khi có bố trí các phương tiện bên ngoài như điện trở phanh để hấp thụ năng lượng tái sinh dư thừa và để giảm tốc độ của động cơ lai chân vịt.
5.2.5-6 được sửa đổi như sau:
5.2.5 Bộ biến đổi bán dẫn cấp nguồn cho động cơ quay chân vịt
6 Hư hỏng các phần tử bán dẫn và bộ lọc sóng hài được bố trí trong bộ biến đổi phải được giám sát liên tục. Các mạch bộ lọc sóng hài phải có kiểu hư hỏng - an toàn.
5.2.6-6 được sửa đổi và bổ sung mới 5.2.6-7 như sau:
5.2.6 Biến áp dùng cho động cơ quay chân vịt
6 Các biến áp phải được bảo vệ ngắn mạch ở phía sơ cấp và thứ cấp. Tuy nhiên, cho phép chỉ bảo vệ ngắn mạch phía sơ cấp với điều kiện phía thứ cấp được bố trí thiết bị bảo vệ quá dòng.
7 Các biến áp dùng cho động cơ quay chân vịt phải được bố trí rơ le bảo vệ dạng vi phân để bảo vệ phía sơ cấp (phía thanh dẫn điện áp cao), trừ khi có thiết bị khác tương đương với rơ le này được thay thế.
PHẦN 5 PHÒNG, PHÁT HIỆN VÀ CHỮA CHÁY
CHƯƠNG 4 KHẢ NĂNG CHÁY
4.2 Bố trí thiết bị dầu đốt, dầu bôi trơn và các dầu dễ cháy khác
4.2.1-1(4), (5) và (6) được bổ sung sửa đổi như sau:
4.2.1 Các giới hạn sử dụng dầu đốt
1 Phải áp dụng các giới hạn sau khi sử dụng dầu đốt:
(1) Trừ khi được phép sử dụng trong mục này, không được sử dụng dầu đốt có điểm chớp cháy nhỏ hơn 60oC.
(2) Có thể sử dụng dầu đốt có điểm chớp cháy không thấp hơn 43oC cho các máy phát sự cố.
(3) Có thể sử dụng dầu đốt có điểm chớp cháy thấp hơn 60oC nhưng không thấp hơn 43oC (ví dụ để cấp cho động cơ lai bơm chữa cháy sự cố và các máy phụ ở ngoài buồng máy loại A) với điều kiện:
(a) Các két dầu đốt, trừ các két bố trí ở trong các khoang đáy đôi, phải được bố trí bên ngoài buồng máy loại A;
(b) Phải có phương tiện đo nhiệt độ dầu ở trên đường ống hút của bơm dầu đốt;
(c) Phải trang bị van chặn trên đầu vào và đầu ra của bầu lọc dầu đốt;
(d) Đến mức có thể được, phải sử dụng các mối nối ống kiểu hàn hoặc kiểu rắc-co côn, hoặc;
(e) Các yêu cầu khác nếu Đăng kiểm thấy cần thiết.
(4) Trên các tàu không áp dụng các quy định ở Phần 8 I, có thể sử dụng dầu đốt có điểm chớp cháy thấp hơn nhiệt độ quy định ở (1) trên, ví dụ dầu thô, nếu dầu đó không được chứa trong bất kỳ buồng máy nào và phải được Đăng kiểm duyệt toàn bộ hệ thống.
(5) Trên các tàu áp dụng các quy định ở Phần 8I thì được phép sử dụng dầu đốt có điểm chớp cháy thấp hơn nhiệt độ quy định ở (1) trên.
(6) Dầu đốt trong két không được hâm đến nhiệt độ trong phạm vi 10oC thấp hơn điểm chớp cháy của nó, trừ trường hợp đối với các két, bao gồm két dầu đốt trực nhật, két lắng dầu đốt hoặc các két khác trong hệ thống cung cấp dầu đốt, thỏa mãn các điều kiện sau đây:
(a) Các ống thông hơi từ các két đó và/hoặc từ các thiết bị làm mát có đủ chiều dài để làm nguội hơi dầu xuống dưới 60oC, hoặc đầu ra của các ống thông hơi được đặt cách nguồn gây cháy ít nhất 3 m;
(b) Đầu ra của các ống thông hơi phải có lưới chặn lửa;
(c) Không có lỗ mở nào từ không gian hơi (bên trên mặt thoáng) trong các két dầu đó thông vào không gian buồng máy (có thể chấp nhận các lỗ người chui có đệm kín và được bắt bu-lông);
(d) Các không gian kín không được bố trí ngay bên trên các két dầu đó, ngoại trừ các khoang cách ly được thông gió tốt.
4.2.2 Thiết bị dầu đốt
4.2.2-1(9) được bổ sung mới như sau:
(9) Đầu trên của ống đo cho két tràn nếu kết thúc trong buồng máy thì phải được lắp một đầu ống đo tự đóng kín và một vòi kiểm tra tự đóng có đường kính nhỏ ở bên dưới đầu ống đo tự đóng để có thể xác định chắc chắn rằng trước khi đầu ống đo mở ra thì không có dầu đốt ở trong đó. Phải có biện pháp để đảm bảo rằng bất kỳ lượng dầu đốt nào bị tràn ra ngoài thông qua vòi kiểm tra đều không gây nguy hiểm về cháy.
4.5.3 Thông hơi các két hàng
4.5.3-2(2) được bổ sung sửa đổi như sau:
2 Hệ thống thông hơi
(1) Hệ thống thông hơi trong mỗi két hàng có thể được bố trí độc lập hoặc kết hợp với các két hàng khác và có thể kết nối vào đường ống khí trơ.
(2) Nếu hệ thống thông hơi được kết hợp chung cho các két hàng khác nhau, phải trang bị van chặn hoặc các phương tiện được chấp nhận khác để cách ly các két hàng. Nếu lắp van chặn, chúng phải có thiết bị khóa do sĩ quan có trách nhiệm của tàu kiểm soát. Phải có sự hiển thị rõ ràng trạng thái hoạt động của các van hoặc phương tiện được chấp nhận khác. Nếu các két đã được cách ly với nhau, phải đảm bảo rằng các van cách ly được mở trước khi bắt đầu nhận/xả hàng và dằn cho két đó. Việc cách ly vẫn phải đảm bảo cho phép dòng hơi sinh ra do sự thay đổi nhiệt độ trong két hàng đi qua như nêu ở 11.6.1-1(1). Bất kỳ sự cách ly nào cũng phải tiếp tục cho phép một lượng lớn của hơi hàng, khí hoặc khí trơ đi qua trong quá trình xếp hàng, dằn, hoặc trong quá trình xả hàng phù hợp với yêu cầu ở 11.6.1(1).
CHƯƠNG 11 TÍNH NGUYÊN VẸN KẾT CẤU
11.6 Bảo vệ kết cấu két hàng tránh khỏi áp suất hoặc chân không
11.6.2 Lỗ thông cho dòng nhỏ đi qua do thay đổi nhiệt
11.6.2-1 được bổ sung sửa đổi như sau:
1 Các lỗ thông để xả áp suất theo yêu cầu ở 11.6.1-1(1) phải phù hợp với các quy định ở (1) và (2) sau đây và phải được bố trí phù hợp với quy định 4.5.3-4(1):
(1) Có chiều cao càng lớn càng tốt so với boong két hàng để có thể đạt được lượng xả hơi dễ cháy lớn nhất, nhưng trong mọi trường hợp không được nhỏ hơn 2 m so với boong két hàng.
(2) Được bố trí với khoảng cách xa nhất có thể, nhưng không nhỏ hơn 5 m tính từ các đầu lấy khí vào và các lỗ thông với các khoang kín có chứa nguồn gây cháy ở gần nhất và từ các máy và thiết bị trên boong có nguy cơ cháy. Các tời neo và các lỗ khoét của hầm xích neo là những nơi có nguy cơ gây cháy.
11.6.3 Các biện pháp an toàn trong các két hàng
11.6.3-2 được bổ sung sửa đổi như sau:
2 Phương tiện phụ để giảm áp suất/chân không
Phải trang bị phương tiện phụ cho phép thoát toàn bộ hơi, không khí hoặc hỗn hợp khí trơ để đề phòng việc quá áp hoặc thấp áp khi các thiết bị nêu ở 11.6.1-1(2) bị hỏng. Ngoài ra, phương tiện phụ này phải có khả năng tránh quá áp hoặc quá chân không trong trường phương tiện cách ly theo yêu cầu ở 4.5.3-2(2) bị hỏng, hoặc bị vô tình đóng lại. Thay cho yêu cầu này, có thể sử dụng các cảm biến áp suất lắp cho mỗi két được bảo vệ bởi các thiết bị được yêu cầu ở 11.6.1-1(2) cùng với một hệ thống theo dõi kiểm soát trong buồng.
CHƯƠNG 20 PHÒNG, CHỐNG CHÁY CÁC KHOANG CHỞ Ô TÔ VÀ KHOANG RO-RO
20.3 Lưu ý để tránh sự bắt lửa của các khí cháy trong các khoang chở ô tô kín và khoang ro-ro kín
20.3.1 Hệ thống thông gió
20.3.1-2 được bổ sung sửa đổi như sau:
2 Hoạt động của các hệ thống thông gió
(1) Các quạt gió thường phải hoạt động liên tục và tạo ra số lần thay đổi không khí như yêu cầu ở -1 trên khi có các xe ôtô được chở trên tàu, trừ khi trên tàu được trang bị một hệ thống kiểm soát chất lượng không khí phù hợp với (3) dưới đây. Nếu điều này không thể thực hiện được thì các quạt gió phải hoạt động trong những quãng thời gian nhất định trong ngày khi thời tiết cho phép và trong mọi trường hợp quạt gió phải hoạt động trong một khoảng thời gian đủ dài để xả khí sao cho sau khoảng thời gian đó các khoang ro-ro hoặc chở ô tô được xác nhận là không còn khí cháy. Một hoặc nhiều thiết bị phát hiện khí cháy xách tay, được Đăng kiểm cho là phù hợp phải được trang bị cho mục đích này. Hệ thống phải tách biệt hoàn toàn với các hệ thống thông gió khác. Các kênh thông gió phục vụ cho các khoang chở ô tô và ro-ro phải có khả năng đóng kín hữu hiệu cho mỗi khoang hàng. Hệ thống phải có thể điều khiển được từ vị trí bên ngoài các không gian ấy.
(2) Hệ thống thông gió phải sao cho ngăn được sự phân tầng và sự tạo thành các túi khí.
(3) Trên tất cả các tàu, khi được trang bị một hệ thống kiểm soát chất lượng không khí đáp ứng yêu cầu của Đăng kiểm, thì có thể chấp nhận hệ thống thông gió có đặc tính hoạt động với số lần thay đổi không khí giảm đi hoặc giảm lượng cung cấp không khí thông gió. Điều giảm nhẹ này không áp dụng cho các không gian mà số lần thay đổi không khí trong một giờ được yêu cầu ở 20.2.3-2 và các không gian phải áp dụng quy định 19.3.4-1 và Chương 20A.
Hệ thống kiểm soát chất lượng không khí đáp ứng yêu cầu của Đăng kiểm là hệ thống thỏa mãn các yêu cầu nêu ở Phụ chương 1, Hướng dẫn sửa đổi về thiết kế và các khuyến nghị về vận hành đối với các hệ thống thông gió cho các khoang ro-ro (Thông tư MSC.1/Circ. 1515) của IMO.
PHẦN 6 HÀN
CHƯƠNG 4 QUY TRÌNH HÀN VÀ CÁC THÔNG SỐ KỸ THUẬT LIÊN QUAN
4.2 Thử mối hàn giáp mép
4.2.7 Thử va đập
Ghi chú ở Bảng 6/4.8 được sửa đổi như sau:
Bảng 6/4.8 Những yêu cầu đối với thử va đập mối hàn giáp mép
(cho thép cán làm việc ở nhiệt độ thấp)
|
Cấp thép |
Nhiệt độ thử (°C) |
A(1) |
B, C, D, E(1) |
|
|
Giá trị trung bình tối thiểu của năng lượng hấp thụ(3) (J) |
Trị số trung bình tối thiểu của năng lượng hấp thụ(3) (J) |
|||
|
L(2) |
T(2) |
|||
|
L24A |
- 40 |
27 |
41 |
27 |
|
L24B |
- 50 |
|||
|
L27 |
- 60 |
|||
|
L33 |
- 60 |
|||
|
L37 |
- 60 |
|||
|
L2N30 |
- 70 |
|||
|
L3N32 |
- 95 |
|||
|
L5N43 |
- 110 |
|||
|
L9N53 |
-196 |
|||
|
L9N60 |
-196 |
|||
|
LPA |
-40 |
27 |
- |
|
|
LPB |
- 50 |
|||
|
LPC |
- 60 |
|||
|
LP2 |
- 70 |
|
34 |
|
|
LP3 |
- 95 |
|||
|
LP9 |
- 196 |
41 |
||
Chú thích:
(1) Vị trí các vết khắc cho ở Hình 6/4.4.
(2) L (hoặc T) biểu thị chiều của mối hàn là vuông góc (hoặc song song) với hướng cán của vật liệu thử.
(3) Bộ mẫu thử được coi như bị hỏng, nếu trị số của năng lượng hấp thụ trung bình của hai mẫu thử trở lên có giá trị nhỏ hơn giá trị trung bình tối thiểu của năng lượng hấp thụ theo quy định hoặc là trị số năng lượng hấp thụ trung bình của một mẫu thử bất kỳ trong số các mẫu thử nhỏ hơn 70% trị số trung bình tối thiểu của năng lượng hấp thụ theo quy định.
4.2.11 Thử lại
4.2.11-3 được sửa đổi như sau:
3 Khi thử va đập cho kết quả không thỏa mãn yêu cầu và trong những trường hợp khác với các trường hợp như đã đưa ra ở (1) và (2) dưới đây, việc thử lại có thể phải được thực hiện trên bộ mẫu thử mới được cắt từ cùng vật liệu thử với các mẫu thử đã cho kết quả không đạt yêu cầu. Trong trường hợp này, các mẫu thử được xem là đạt yêu cầu nếu thỏa mãn các điều kiện nếu trung bình cộng giá trị năng lượng hấp thụ của toàn bộ sáu mẫu thử, bao gồm cả các mẫu thử không đạt, lớn hơn giá trị năng lượng hấp thụ trung bình theo yêu cầu, và thêm vào đó, nếu số mẫu thử, trong số sáu mẫu thử nói trên có giá trị năng lượng hấp thụ nhỏ hơn giá trị năng lượng hấp thụ trung bình tối thiểu theo yêu cầu phải ít hơn hai, và số lượng mẫu thử có năng lượng hấp thụ nhỏ hơn 70% giá trị năng lượng hấp thụ trung bình nhỏ nhất theo yêu cầu phải ít hơn một.
(1) Khi kết quả thử cho thấy không mẫu thử nào đạt giá trị năng lượng hấp thụ trung bình nhỏ nhất theo yêu cầu;
(2) Khi kết quả thử cho thấy hai mẫu thử không đạt 70% giá trị năng lượng hấp thụ trung bình nhỏ nhất theo yêu cầu.
CHƯƠNG 6 VẬT LIỆU HÀN
6.1 Quy định chung
6.1.7 Thử lại
6.1.7-2 được sửa đổi như sau:
2 Khi các kết quả thử va đập không đạt yêu cầu và trường hợp khác với trường hợp đưa ra ở (1) và (2) dưới đây thì việc thử lại phải được tiến hành trên một bộ các mẫu thử lấy ra từ cùng một vật thử đã lấy các mẫu thử lần trước. Trong trường hợp đó, các mẫu thử được coi là đạt yêu cầu nếu như giá trị trung bình của năng lượng hấp thụ của tổng cộng 6 mẫu thử, kể cả giá trị của các mẫu thử bị hỏng, phải lớn hơn trị số nhỏ nhất theo quy định của giá trị năng lượng hấp thụ, thêm vào đó, trong số các mẫu thử của 6 mẫu nêu trên, số mẫu thử có năng lượng hấp thụ nhỏ hơn trị số năng lượng hấp thụ trung bình tối thiểu theo quy định phải nhỏ hơn 2, và số các mẫu thử chỉ đạt 70% giá trị của năng lượng hấp thụ trung bình tối thiểu phải nhỏ hơn 1.
(1) Khi tất cả các mẫu thử không đạt giá trị của năng lượng hấp thụ trung bình tối thiểu.
(2) Khi có 2 mẫu thử không đạt được 70% giá trị trung bình tối thiểu theo quy định của năng lượng hấp thụ.
PHẦN 7A VẬT LIỆU
CHƯƠNG 1 QUY ĐỊNH CHUNG
1.1 Quy định chung
1.1.1 được sửa đổi như sau:
1.1.1 Phạm vi áp dụng
1 Những quy định của Phần này được áp dụng cho vật liệu dùng để chế tạo các kết cấu hoặc các chi tiết quy định trong các phần kết cấu thân tàu, trang thiết bị và hệ thống máy tàu trừ khi được quy định rõ ở các Phần khác.
2 Các tàu chở xô khí hóa lỏng và các tàu sử dụng nhiên liệu có điểm chớp cháy thấp phải tuân theo các quy định ở Phần 8D và Phần 8I tương ứng thêm vào Phần này.
3 Vật liệu có đặc tính khác so với các quy định của Phần này có thể được phép sử dụng, nếu các số liệu thiết kế chi tiết, quy trình chế tạo và ứng dụng của các vật liệu đó được Đăng kiểm chấp thuận. Trong trường hợp này, các số liệu chi tiết về quy trình chế tạo, thành phần hóa học, tính chất cơ học v.v... của vật liệu phải được trình cho Đăng kiểm duyệt.
CHƯƠNG 3 THÉP CÁN
3.1 Thép cán dùng đóng thân tàu
3.1.1 Phạm vi áp dụng
3.1.1-4 được sửa đổi như sau:
4 Thép có những đặc tính khác so với quy định ở 3.1 phải phù hợp với các yêu cầu quy định ở 1.1.1-3.
3.2 Thép cán tấm dùng chế tạo nồi hơi
3.2.1 Phạm vi áp dụng
3.2.1-2 được sửa đổi như sau:
2 Thép tấm có những đặc tính khác so với những quy định ở 3.2, phải thỏa mãn những quy định ở 1.1.1-3.
3.3 Thép cán tấm dùng chế tạo bình áp lực
3.3.1 Phạm vi áp dụng
3.3.1-2 được sửa đổi như sau:
2 Thép tấm có những đặc tính khác với yêu cầu ở 3.3, phải phù hợp với quy định ở 1.1.1-3.
3.4 Thép cán sử dụng ở nhiệt độ thấp
3.4.1 Phạm vi áp dụng
3.4.1-1 và -3 được sửa đổi như sau:
1 Những quy định này được áp dụng cho thép cán có chiều dày 40 mm trở xuống, dùng chế tạo các két chứa hoặc kết cấu thân tàu tại khu vực tiếp giáp với các két chứa của tàu chở khí hóa lỏng hoặc tàu sử dụng nhiên liệu có điểm chớp cháy thấp và những chi tiết khác, như kết cấu thân tàu của tàu hàng đông lạnh thường xuyên làm việc ở nhiệt độ thấp (sau đây, trong 3.4 gọi là "thép ").
3 Thép có đặc tính khác so với yêu cầu quy định ở 3.4, phải thỏa mãn yêu cầu quy định ở 1.1.1-3.
3.4.11 được sửa đổi như sau:
3.4.11 Đóng dấu
Thép đã được thử đạt yêu cầu phải được đóng dấu kèm theo dấu hiệu phù hợp với quy định ở 1.5.1.
Chú thích của Bảng 7A/3.15 được sửa đổi như sau:
Chú thích:
(1) Nếu Đăng kiểm thấy cần thiết thì có thể phải tiến hành bước nhiệt luyện trung gian (nhiệt luyện trung gian là quá trình làm nguội từ một pha kép gồm ốstenít và ferit để tăng độ dai va đập được tiến hành trước khi ram).
(2) Có thể tiến hành nhiệt luyện theo kiểu TMCP, nếu được Đăng kiểm chấp thuận.
(3) Giá trị quy định cho mẫu thử U1, trừ mẫu thử có cỡ tỷ lệ, phải phù hợp với yêu cầu trong Bảng 7A/3.16.
(4) Chữ L (hoặc T) có nghĩa là đường tâm dọc của mẫu thử được bố trí song song (hoặc vuông góc) với hướng cán lần cuối cùng.
(5) Nếu năng lượng hấp thụ của hai mẫu thử trở lên nhỏ hơn năng lượng hấp thụ trung bình tối thiểu, hoặc nếu năng lượng hấp thụ của một mẫu thử nhỏ hơn 70% năng lượng hấp thụ trung bình tối thiểu, thì việc thử được coi là không đạt yêu cầu.
Bảng 7A/3.17 được xóa bỏ
3.5 Thép cán không gỉ
3.5.1 Phạm vi áp dụng
3.5.1-1 và -3 được sửa đổi như sau:
1 Những quy định này được áp dụng cho thép cán không gỉ dùng để chế tạo các két của tàu chở xô khí hóa lỏng hoặc tàu sử dụng nhiên liệu có điểm chớp cháy thấp, hoặc trong điều kiện chống ăn mòn (sau đây, trong 3.5 được gọi là “thép”).
3 Nếu thép có những đặc tính khác so với quy định ở 3.5 thì phải được áp dụng những quy định ở 1.1.1-3.
3.6 Thép cán tròn dùng chế tạo xích
3.6.1 Phạm vi áp dụng
3.6.1-2 được sửa đổi như sau:
2 Thép làm xích có đặc tính khác so với quy định ở 3.6, phải phù hợp với quy định ở 1.1.1-3.
3.7 Thép cán tròn dùng cho các kết cấu máy
3.7.1 Phạm vi áp dụng
3.7.1-2 được sửa đổi như sau:
2 Thép tròn có đặc tính khác với quy định ở 3.7, phải phù hợp với những quy định ở 1.1.1-3.
3.8 Thép cán tấm độ bền cao đã tôi và ram dùng cho kết cấu
3.8.1 Phạm vi áp dụng
3.8.1-1 và -4 được sửa đổi như sau:
1 Những yêu cầu quy định ở 3.8 được áp dụng cho thép cán độ bền cao đã tôi và ram dùng cho các kết cấu có chiều dày không quá 70 mm để chế tạo công trình biển di động, các két chứa của tàu khí hóa lỏng hoặc tàu sử dụng nhiên liệu có điểm chớp cháy thấp và các bình chịu áp lực (sau đây, trong 3.8 gọi là "thép").
4 Thép tấm có đặc tính khác với những yêu cầu quy định ở 3.8, phải phù hợp với những yêu cầu quy định ở 1.1.1-3.
3.8.11 được sửa đổi như sau:
3.8.11 Đóng dấu
Thép tấm thỏa mãn tất cả những yêu cầu thử, phải được đóng dấu để nhận biết theo quy định ở 1.5.1 và dấu hiệu bổ sung sau đây:
(1) Đối với thép đã áp dụng những yêu cầu trong 3.8.5-1, thì phải đóng vào phía sau cấp thép chữ "-M", (ví dụ: A620-M).
Chú thích của Bảng 7A/3.28 được sửa đổi như sau:
Chú thích:
(1) Có thể tiến hành nhiệt luyện theo phương pháp TMCP thay cho việc tôi và ram nếu được Đăng kiểm chấp thuận.
(2) Độ giãn dài đối với mẫu thử U1 phải phù hợp với các yêu cầu đưa ra ở Bảng 7A/3.29.
(3) L (hoặc T) có nghĩa là đường tâm dọc của mỗi mẫu thử song song (hoặc vuông góc) với hướng cán lần cuối cùng.
(4) Nếu năng lượng hấp thụ của hai mẫu thử trở lên thuộc một bộ mẫu thử thấp hơn năng lượng hấp thụ trung bình tối thiểu hoặc nếu năng lượng hấp thụ của một mẫu thử nhỏ hơn 70% giá trị yêu cầu, thì việc thử coi như không đạt yêu cầu.
3.9 Thép tấm có lớp phủ không gỉ
3.9.1 Phạm vi áp dụng
3.9.1-3 và -4 được sửa đổi như sau:
3 Những yêu cầu đối với thép có chiều dày lớn hơn 50 mm phải tuân theo các quy định ở 1.1.1-3.
4 Thép tấm có đặc tính khác so với quy định ở 3.9 phải phù hợp với quy định ở 1.1.1-3.
Bảng 7A/3.30 được xóa bỏ
CHƯƠNG 4 ỐNG THÉP
4.1 Ống thép dùng chế tạo nồi hơi và thiết bị trao đổi nhiệt
4.1.1 Phạm vi áp dụng
4.1.1 -2 được sửa đổi như sau:
2 Ống thép có đặc tính khác với quy định ở 4.1, phải phù hợp với những yêu cầu quy định ở 1.1.1-3.
4.2 Ống thép dùng chế tạo đường ống chịu áp lực
4.2.1 Phạm vi áp dụng
4.2.1-3 được sửa đổi như sau:
3 Ống thép có đặc tính khác với 4.2, phải phù hợp với những quy định ở 1.1.1-3.
4.3 Ống thép không gỉ
4.3.1 Phạm vi áp dụng
4.3.1-2 được sửa đổi như sau:
2 Ống thép không gỉ có đặc tính khác với yêu cầu quy định ở 4.3 thì phải phù hợp với yêu cầu quy định ở 1.1.1-3.
4.4 Ống góp nồi hơi
4.4.1 Phạm vi áp dụng
4.4.1-2 được sửa đổi như sau:
2 Ống góp nồi hơi có những đặc tính khác với yêu cầu quy định ở 4.4, phải thỏa mãn những yêu cầu quy định ở 1.1.1-3.
4.5 Ống thép dùng ở nhiệt độ thấp
4.5.1 Phạm vi áp dụng
4.5.1-1 và -3 được sửa đổi như sau:
1 Những quy định ở 4.5 được áp dụng cho ống thép liền và ống thép hàn điện trở có chiều dày không lớn hơn 25 mm làm việc ở nhiệt độ dưới 0°C trên tàu chở xô khí hóa lỏng hoặc tàu sử dụng nhiên liệu có điểm chớp cháy thấp (sau đây, trong mục 4.5 gọi là “ống thép”).
3 Ống thép có đặc tính khác với quy định ở 4.5 phải tuân theo quy định ở 1.1.1-3.
Bảng 7A/4.28 được sửa đổi như sau:
Bảng 7A/4.28 Nhiệt luyện và tính chất cơ học
|
Cấp ống |
Nhiệt luyện |
Thử kéo (1) (2) (3) |
Thử uốn |
Thử độ dai va đập |
|||||
|
Giới hạn chảy hoặc giới hạn chảy quy ước |
Giới hạn bền kéo |
Độ giãn dài |
Bán kính trong của chỗ uốn |
Góc uốn |
Nhiệt độ thử |
Năng lượng hấp thụ trung bình |
|||
|
L |
T |
(°C) |
(J)(4) |
||||||
|
LPA |
Thường hóa, thường hóa và ram hoặc tôi và ram |
³ 205 |
³ 380 |
³ 26 |
³ 19 |
6 lần đường kính ngoài của ống |
90° |
-40 |
³ 27 |
|
LPB |
-50 |
||||||||
|
LPC |
-60 |
||||||||
|
LP2 |
³ 2 45 |
³ 450 |
³ 20 |
³ 14 |
-70 |
³ 34 |
|||
|
LP3 |
-95 |
||||||||
|
LP9 |
Thường hóa kép và ram, hoặc tôi và ram |
³ 520 |
³ 690 |
³ 15 |
³ 11 |
-196 |
³ 41 |
||
Chú thích:
(1) L (hoặc T) biểu hiện đường tâm dọc của mẫu thử được bố trí song song (hoặc vuông góc) với hướng cán lần cuối.
(2) Nếu đường kính danh nghĩa của ống thép từ 200 mm trở lên thì mẫu thử kéo có thể được cắt theo hướng ngang.
(3) Nếu mẫu thử kéo phần không có dạng ống được cắt ra từ ống hàn điện trở thì phải cắt ở chỗ không có đường hàn.
(4) Nếu năng lượng hấp thụ của hai mẫu thử trở lên nhỏ hơn so với năng lượng hấp thụ trung bình tối thiểu hoặc năng lượng hấp thụ của một mẫu thử nhỏ hơn 70% giá trị yêu cầu, thì mẫu thử coi như không đạt.
(5) Trong các trường hợp, khi chiều rộng của các mẫu thử được yêu cầu ở bảng 7A/2.5 và 7A/2.7 không thể đưa ra, thì việc thử độ dai va đập có thể được bỏ qua nếu thỏa mãn mục (a) và (b) sau đây:
(a) Thành phần hóa học của a xít hòa tan trong nhôm không nhỏ hơn 0,010% hoặc không nhỏ hơn 0,015% thành phần nhôm.
(b) Trong các trường hợp biên bản thử độ dai va đập thực tế của vật liệu mà vật liệu đó được sản xuất dựa trên nguyên lý cơ bản như nhau về quy trình sản xuất và thành phần hóa học thì được cho là thỏa mãn.
4.5.10 được sửa đổi như sau:
4.5.10 Đóng dấu
Nói chung, việc đóng dấu vào ống thép phải được tiến hành theo quy định ở 4.2.9.
CHƯƠNG 5 THÉP ĐÚC
5.1 Thép đúc
5.1.1 Phạm vi áp dụng
5.1.1 -2 được sửa đổi như sau:
2 Thép đúc có đặc tính khác với quy định ở 5.1, phải phù hợp với các yêu cầu quy định ở 1.1.1-3.
5.2 Thép đúc dùng chế tạo xích
5.2.1 Phạm vi áp dụng
5.2.1-2 được sửa đổi như sau:
2 Thép đúc có đặc tính khác với yêu cầu quy định ở 5.2 phải phù hợp với yêu cầu quy định ở 1.1.1-3.
5.3 Thép đúc không gỉ
5.3.1 Phạm vi áp dụng
5.3.1-2 được sửa đổi như sau:
2 Thép đúc có đặc tính khác với yêu cầu quy định ở 5.3, phải phù hợp với những yêu cầu quy định ở 1.1.1-3.
5.4 Thép đúc dùng ở nhiệt độ thấp
5.4.1 Phạm vi áp dụng
5.4.1-2 được sửa đổi như sau:
2 Thép đúc không quy định ở 5.4 hoặc thép đúc sử dụng cho các chi tiết không quy định ở -1 trên, phải thỏa mãn các yêu cầu quy định ở 1.1.1-3.
5.4.8 được sửa đổi như sau:
5.4.8 Đóng dấu
Việc đóng dấu vào thép đúc phải phù hợp với những yêu cầu quy định ở 5.1.12.
Bảng 7A/5.8 được sửa đổi như sau:
Bảng 7A/5.8 Tính chất cơ học
|
Cấp thép |
Thử kéo |
Thử độ dai va đập(1) |
||||
|
Giới hạn chảy hoặc giới hạn chảy quy ước (N/mm2) |
Giới hạn bền kéo |
Độ giãn dài |
Độ co thắt |
Nhiệt độ thử |
Năng lượng hấp thụ trung bình |
|
|
LCA |
³ 245 |
³ 450 |
³ 21 |
³ 35 |
-45 |
³ 27 |
|
LCB |
-60 |
|||||
|
LC2 |
³ 275 |
-70 |
³ 34 |
|||
|
LC3 |
-95 |
|||||
Chú thích:
(1) Nếu năng lượng hấp thụ của hai mẫu thử trở lên trong một bộ mẫu thử nhỏ hơn năng lượng hấp thụ trung bình tối thiểu hoặc năng lượng hấp thụ của một mẫu thử nhỏ hơn 70% năng lượng hấp thụ trung bình tối thiểu thì cuộc thử coi như không đạt.
5.5 Gang xám đúc
5.5.1 Phạm vi áp dụng
5.5.1-2 được sửa đổi như sau:
2 Gang đúc không đưa ra trong 5.5 phải áp dụng những yêu cầu đưa ra ở 1.1.1-3.
5.6 Gang đúc graphit mặt sần hoặc mặt cầu
5.6.1 Phạm vi áp dụng
5.6.1-2 được sửa đổi như sau:
2 Gang đúc không đưa ra ở 5.6 phải phù hợp với các yêu cầu ở 1.1.1-3.
5.7 Thép không gỉ dùng để đúc chân vịt
5.7.1 Phạm vi áp dụng
5.7.1-2 được sửa đổi như sau:
2 Thép đúc chân vịt có đặc tính khác với quy định ở 5.7, phải phù hợp với những yêu cầu quy định ở 1.1.1-3.
CHƯƠNG 6 THÉP RÈN
6.1 Thép rèn
6.1.1 Phạm vi áp dụng
6.1.1-2 được sửa đổi như sau:
2 Thép rèn có những đặc tính khác so với quy định ở 6.1 phải thỏa mãn những quy định ở 1.1.1-3.
6.2 Thép rèn không gỉ
6.2.1 Phạm vi áp dụng
6.2.1-2 được sửa đổi như sau:
2 Thép rèn không gỉ có các đặc tính khác với quy định ở 6.2 phải tuân theo những yêu cầu quy định ở 1.1.1-3.
6.3 Thép rèn dùng chế tạo xích
6.3.1 Phạm vi áp dụng
6.3.1-2 được sửa đổi như sau:
2 Thép rèn có đặc tính khác với quy định ở 6.3 phải tuân theo các yêu cầu quy định ở 1.1.1-3.
6.4 Thép rèn dùng ở nhiệt độ thấp
6.4.1 Phạm vi áp dụng
6.4.1-2 được sửa đổi như sau:
2 Thép rèn khác với quy định ở 6.4 hoặc dùng vào mục đích khác với quy định ở -1 trên phải tuân theo quy định ở 1.1.1-3.
Bảng 7A/6.12 được sửa đổi như sau:
Bảng 7A/6.12 Tính chất cơ học
|
Cấp thép |
Thử kéo |
Thử độ dai va đập (1) |
||||
|
Giới hạn chảy hoặc giới hạn chảy quy ước (N/mm2) |
Giới hạn bền kéo |
Độ giãn dài |
Độ co thắt |
Nhiệt độ thử |
Năng lượng hấp thụ trung bình (J) |
|
|
LFA |
³ 205 |
³ 410 |
³ 23 |
³ 40 |
- 40 |
³ 27 |
|
LFB |
³ 275 |
³ 490 |
³ 20 |
- 50 |
||
|
LFC |
³ 205 |
³ 410 |
³ 23 |
- 60 |
||
|
LF3 |
³ 275 |
³ 490 |
³ 23 |
³ 50 |
- 95 |
³ 34 |
|
LF9 |
³ 520 |
³ 680 |
³ 19 |
³ 45 |
- 196 |
³ 41 |
Chú thích:
(1) Nếu năng lượng hấp thụ của hai mẫu thử trở lên trong một bộ mẫu thử nhỏ hơn giá trị năng lượng hấp thụ trung bình tối thiểu theo quy định hoặc nếu năng lượng hấp thụ của một mẫu thử nhỏ hơn 70% giá trị năng lượng hấp thụ trung bình tối thiểu theo quy định thì việc thử coi như không đạt.
6.4.8 được sửa đổi như sau:
6.4.8 Đóng dấu
Việc đóng dấu vào thép rèn phải phù hợp với quy định ở 6.1.12.
CHƯƠNG 7 ĐỒNG VÀ HỢP KIM ĐỒNG
7.1 Ống đồng và hợp kim đồng
7.1.1 Phạm vi áp dụng
7.1.1-3 được sửa đổi như sau:
3 Ống đồng và hợp kim đồng có đặc tính khác với quy định ở 7.1 phải tuân theo quy định ở 1.1.1-3.
7.2 Hợp kim đồng đúc
7.2.1 Phạm vi áp dụng
7.2.1-2 được sửa đổi như sau:
2 Đồng đúc chân vịt có những đặc tính khác với các quy định ở 7.2 phải tuân theo các quy định ở 1.1.1-3.
CHƯƠNG 8 HỢP KIM NHÔM
8.1 Hợp kim nhôm tấm và hình
8.1.1 được sửa đổi như sau:
8.1.1 Phạm vi áp dụng
1 Những yêu cầu quy định trong mục này được áp dụng cho hợp kim nhôm tấm và hợp kim nhôm hình (sau đây, trong mục này gọi là "hợp kim nhôm") được dự định để chế tạo các két chứa của tàu chở khí hóa lỏng hoặc tàu sử dụng nhiên liệu có điểm chớp cháy thấp và kết cấu thân tàu.
2 Các hợp kim nhôm có đặc tính khác với quy định ở 8.1 phải thỏa mãn các yêu cầu quy định ở 1.1.1-3.
PHẦN 7B TRANG THIẾT BỊ
CHƯƠNG 3 XÍCH
3.1 Xích
3.1.16 Chứng nhận thử
3.1.16-2 được bổ sung như sau:
2 Giấy chứng nhận thử đối với chi tiết đã thực hiện việc thử và kiểm tra phải có đầy đủ các nội dung chi tiết sau:
(1) Tên nhà chế tạo;
(2) Cấp;
(3) Chỉ số nhiệt;
(4) Thành phần hóa học (bao gồm tổng lượng nhôm);
(5) Đường kính danh nghĩa và khối lượng;
(6) Tải trọng thử kéo đứt và thử kéo giãn;
(7) Kiểu xử lý nhiệt;
(8) Dấu được áp dụng cho xích;
(9) Cơ tính, nếu có thể áp dụng.
Tiêu đề của 3.2 được sửa đổi như sau:
3.2 Xích giàn khoan và các chi tiết khác
3.2.1 Phạm vi áp dụng
3.2.1 được sửa đổi như sau:
Xích dùng cho giàn khoan (sau đây gọi là “Xích giàn khoan”), ma ní và mắt xoay v.v… dùng để nối xích giàn khoan (sau đây gọi là “Chi tiết của xích giàn khoan”) phải tuân theo các quy định ở 3.2 hoặc các Tiêu chuẩn tương đương khác.
Với xích giàn khoan sử dụng cho tàu công trình và các sà lan chuyên dụng xem tại Phần 8H.
3.2.5 được sửa đổi như sau:
3.2.5 Quy trình chế tạo
1 Trước khi chế tạo xích giàn khoan kể cả mắt nối thường, nhà chế tạo phải nhận được sự chấp thuận của Đăng kiểm về quy trình sản xuất mà họ đưa ra.
2 Vật liệu thép tròn để chế tạo mắt xích phải được nhiệt luyện bằng điện trở, cảm ứng hoặc trong lò.
3 Trong các trường hợp, khi các ngáng của các xích giàn khoan cấp R3 và xích giàn khoan cấp R3S mà được hàn thì phải thỏa mãn các quy định từ (1) đến (7) dưới đây:
(1) Cả hai đầu của ngáng phải được lắp khít vào mắt xích, cố gắng không được lắp ngáng đè lên mối hàn giáp mép nóng chảy và một đầu ngáng phải được hàn theo toàn bộ chu vi của ngáng. Không được phép hàn cả hai đầu ngáng, trừ những trường hợp đặc biệt phải được Đăng kiểm chấp nhận. Ngáng phải được cố định vững chắc vào mắt xích, và ngáng cố định không được gây ra các rãnh khía có hại hoặc sự tập trung ứng suất.
(2) Chân của các góc lượn phải chuyển tiếp trơn tru vào mắt xích.
(3) Kích cỡ của góc lượn không được nhỏ hơn các kích thước được chỉ ra ở API Specification 2F.
(4) Phải cố gắng tới mức có thể hàn ở vị trí hàn bằng.
(5) Tất cả các công việc hàn xích giàn khoan phải được thực hiện trước khi tiến hành nhiệt luyện lần cuối.
(6) Tất cả các mối hàn phải không có khuyết tật như nứt, không ngấu, rỗ nhiều và cắt chân quá 1 mm.
(7) Việc hàn phải được tiến hành theo một quy trình được duyệt, do một thợ hàn được Đăng kiểm đánh giá đủ điều kiện.
4 Không được hàn ngáng vào xích cấp R4, R4S và R5 trừ khi được Đăng kiểm xét duyệt riêng.
5 Các chi tiết dùng cho xích giàn khoan phải được chế tạo bằng phương pháp đúc hoặc rèn. Trước khi chế tạo các nhà sản xuất phải nhận được sự chấp thuận của Đăng kiểm về quy trình chế tạo mà họ đưa ra.
6 Khi gia công ma ní kiểu Ken-tơ, bán kính lượn tại phần uốn phải đạt được ít nhất bằng 3% đường kính danh nghĩa.
7 Các mắt nối thường phải được thay thế cho các mắt xích bị hỏng ở một tiết xích giàn khoan mà không cần phải nhiệt luyện lại cả tiết xích hoặc dùng phương pháp nhiệt luyện không làm ảnh hưởng đến đặc tính của các mắt xích lân cận và nhiệt độ dùng trong lò luyện không được vượt quá 250°C. Tuy nhiên, có thể áp dụng phương pháp khác thay thế cho phương pháp nêu trên, nếu được Đăng kiểm chấp nhận.
Tiêu đề của 3.2.7 được sửa đổi như sau:
3.2.7 Nhiệt luyện và kích thước hạt
3.2.7-4 được sửa đổi như sau:
4 Kích thước hạt austenic của xích giàn khoan phải là 6 hoặc nhỏ hơn phù hợp với ASTM E112 hoặc một phụ lục kích thước hạt tương đương phù hợp với ISO 643, hoặc được Đăng kiểm cho là phù hợp. Việc đo kích thước hạt phải được lấy ra từ bề mặt, ở độ sâu 1/3 bán kính và ở vùng tâm của vật liệu được hàn, các kim loại gốc và các vùng bị ảnh hưởng nhiệt từ khoảng cách lấy mẫu lớn nhất tương ứng với đường kính danh nghĩa của xích giàn khoan được chỉ ra ở Bảng 7B/3.11.
3.2.9 được sửa đổi như sau:
3.2.9 Dung sai kích thước
1 Kích thước của xích giàn khoan phải được đo ở ít nhất là 5% của tổng số mắt xích sau khi đã tiến hành thử kéo giãn.
2 Dung sai cho phép của các mắt xích được quy định từ (1) đến (5) dưới đây:
(1) Dung sai âm tại đầu xích của mỗi loại mắt nối phải tuân theo các yêu cầu phù hợp với đường kính danh nghĩa được đưa ra ở Bảng 7B/3.9. Dung sai dương tại đầu của mỗi loại mắt nối có thể lên tới 5% đường kính danh nghĩa. Trong trường hợp mà đường kính nhỏ hơn 20 mm, dung sai dương tại đầu của mỗi mắt nối phải được đồng ý của Đăng kiểm và khách hàng tại thời điểm thẩm định.
(2) Diện tích mặt cắt ngang tại đầu phải được tính toán theo giá trị trung bình của đường kính với dung sai âm và dung sai dương, Việc đo đạc phải được lấy từ ít nhất 2 vị trí lệch nhau xấp xỉ 90 độ.
(3) Không cho phép dung sai âm của các phần khác với đầu xích và mối hàn giáp mép của mỗi cấp xích và dung sai dương được đến +5% trong trường hợp được Đăng kiểm xem xét phù hợp. Trong trường hợp đường kính nhỏ hơn 20 mm dung sai dương phải được sự đồng ý của Đăng kiểm và khách hàng tại thời điểm thẩm định.
(4) Không phụ thuộc vào những quy định ở (1) và (3) trên, dung sai đường kính ở các mối hàn giáp mép phải không được âm. Dung sai dương phải do Đăng kiểm quy định.
(5) Dung sai tại vị trí đặt ngáng phải do Đăng kiểm quy định.
(6) Dung sai các kích thước còn lại phải nằm trong giới hạn ±2,5%.
3 Phải tiến hành đo chiều dài của năm mắt xích thường trong điều kiện xích chịu ít nhất từ 5 - 10% tải trọng thử kéo giãn tối thiểu theo trình tự sau đây:
(1) Đầu tiên đo chiều dài của năm mắt xích;
(2) Đo tiếp một bộ năm mắt xích khác, trong đó ít nhất có hai mắt xích được lấy từ 5 mắt xích đã đo trước đó;
(3) Tiếp tục đo theo tuần tự như quy định ở (2) trên toàn bộ chiều dài của một tiết xích;
(4) Có thể không cần đo đối với các mắt xích ở hai đầu của tiết xích.
4 Dung sai chế tạo đối với năm mắt xích được đo theo trình tự ở -3 trên, phải thỏa mãn các quy định ở Bảng 7B/3.10. Bất kỳ sự sai khác nào của các dung sai mắt xích phải được sự đồng ý của Đăng kiểm và khách hàng.
5 Nếu sai số chiều dài của năm mắt xích này nhỏ hơn giá trị cho phép, thì xích có thể được thử kéo với tải trọng thử không được vượt quá tải trọng được duyệt.
6 Khi mắt xích bị hư hỏng hoặc không đạt yêu cầu về dung sai quy định ở -1 trên, phải thay thế các mắt xích hỏng bằng mắt nối thường vào đúng vị trí của chúng và tiến hành thử kéo lại với tải trọng thử kéo bằng tải trọng thử quy định sau khi thử phải đo lại kích thước của mắt nối vừa thay thế.
7 Ít nhất phải có một chi tiết trong số không quá 25 chi tiết (có cùng kiểu, cùng kích thước và cùng độ bền danh nghĩa) phải được kiểm tra kích thước sau khi đã thử kéo giãn. Dung sai chế tạo phải đạt yêu cầu ở (1) và (2) dưới đây. Các dung sai này không áp dụng cho bề mặt gia công cơ khí.
(1) Dung sai đường kính các chi tiết của xích cho phép đến +5% đường kính danh nghĩa. Không được có dung sai âm;
(2) Tất cả các kích thước còn lại phải nằm trong giới hạn ±2,5%.
8 Nhà sản xuất các chi tiết của xích phải cung cấp một bản kê nêu rõ sự tuân thủ đúng theo các yêu cầu của khách hàng.
9 Nếu đường kính, chiều dài và độ lệch tâm ngáng của mắt xích không tuân theo các kích thước quy định thì các kích thước đó phải được so sánh cả hai mặt với trên 40 mắt xích. Nếu trên hai mắt xích mẫu có một trong các kích thước đã nói không đạt yêu cầu về dung sai thì tất cả các mắt xích phải được kiểm tra lại theo mục -6.
Bảng 7B/3.9 được sửa đổi như sau:
Bảng 7B/3.9 Dung sai âm của đường kính
|
Đường kính danh nghĩa (mm) |
Dung sai âm (mm) |
|
≤ 40 40 < d ≤ 84 84 < d ≤ 122 122 < d ≤ 152 152 < d ≤ 184 184 < d ≤ 222 |
1 2 3 4 6 7,5 |
3.2.11 Thử kéo đứt
3.2.11-1 được sửa đổi như sau:
1 Thử kéo đứt xích giàn khoan phải được tiến hành sau khi đã kết thúc nhiệt luyện theo các bước dưới đây:
(1) Một mẫu thử kéo đứt phải gồm ít nhất ba mắt xích được lấy hoặc từ xích giàn khoan hoặc từ xích được chế tạo trong cùng một lúc có cùng một quy trình như chế tạo xích giàn khoan;
(2) Số lượng mẫu thử kéo đứt phải được xác định theo chiều dài của đường xích. Số mẫu thử kéo đứt phải được lấy theo quy định ở Bảng 7B/3.11, phụ thuộc vào đường kính danh nghĩa của xích mà mỗi mẻ đúc đại diện;
(3) Mỗi mẫu thử phải có khả năng chịu được tải trọng thử kéo đứt quy định ở Bảng 7B/3.10 trong thời gian 30 giây mà không bị đứt;
(4) Nếu thử kéo đứt không đạt, phải tiến hành thử tỉ mỉ để xác định nguyên nhân dẫn đến kết quả đó. Khi cần thiết Đăng kiểm có thể yêu cầu việc thử để xác định nguyên nhân không đạt.
(5) Khi thử kéo đứt không đạt, phải tiến hành thử tiếp thêm hai mẫu thử khác được lấy trong tiết xích vừa lấy mẫu thử. Nếu kết quả thử lại của hai mẫu đạt yêu cầu thì tiết xích này có thể được chấp nhận, với điều kiện đã xem xét đến nguyên nhân ở (4);
(6) Nếu một trong hai hoặc cả hai mẫu thử lại đều không đạt yêu cầu, phải tiến hành xác định nguyên nhân như đưa ra ở (4) và (5) và tiết xích này phải bị loại bỏ. Nếu phát hiện trong tiết xích có các mắt xích bị hỏng thì phải thay các mắt bị hỏng này bằng mắt nối thường vào đúng vị trí thay thế, sau đó tiến hành thử kéo đứt lại. Nếu kết quả thử lại đạt yêu cầu, có thể chấp nhận tiết xích này;
(7) Với các xích có đường kính trên 100, phải đưa ra đề xuất phương pháp thử kéo đứt thay thế việc thử kéo đứt ở trên cho một mắt xích. Phương pháp thay thế đó phải được Đăng kiểm chấp nhận. Mỗi quá trình nhiệt luyện phải đưa ra trình duyệt, tần suất việc thử phải phù hợp với Bảng 7B/3.11, và nó phải được chứng minh thỏa mãn việc thử thay thế với một phạm vi tải trọng tương đương cho ba mắt xích.
3.2.11-2 được sửa đổi như sau:
2 Thử kéo đứt đối với các chi tiết và mắt nối thường của xích giàn khoan phải được tiến hành khi đã kết thúc nhiệt luyện theo trình tự dưới đây. Một lô được xác định là các chi tiết xích được sản xuất từ cùng một mẻ và được nhiệt luyện đồng thời trong cùng một lò.
(1) Đối với các chi tiết của xích giàn khoan, phải được thực hiện thử kéo đứt ít nhất theo hai mức độ quy định dưới đây. Tuy nhiên, đối với mắt nối thường và các chi tiết được chế tạo đơn chiếc, các chi tiết được nhiệt luyện đơn chiếc hoặc các chi tiết chế tạo với số lượng ít, mức độ yêu cầu thử kéo đứt, trong từng trường hợp cụ thể phải được Đăng kiểm xem xét và quyết định.
(a) Một chi tiết thử phải được lấy từ cùng một lô đúc có số lượng chi tiết cùng loại cùng kích cỡ không quá 25, và được nhiệt luyện trong cùng lò luyện;
(b) Một chi tiết phải được lấy từ cùng một lô đúc.
(2) Tùy thuộc vào loại xích và kích cỡ của xích, mẫu thử của các chi tiết xích giàn khoan và mắt nối thường phải có khả năng chịu được tải trọng thử kéo đứt quy định trong khoảng 30 giây mà không được đứt.
(3) Khi thử kéo đứt không đạt yêu cầu thì phải lấy hai mẫu thử khác ở cùng một lô vừa lấy mẫu thử để thử lại theo quy định ở (1). Khi thử lại vẫn không đạt yêu cầu thì phải hủy bỏ toàn bộ cuộc thử này.
(4) Chi tiết của xích và mắt nối thường đã qua thử kéo đứt nói chung không được phép đưa vào sử dụng tiếp. Tuy nhiên, nếu chi tiết được tăng kích thước hoặc sử dụng vật liệu có độ bền cao hơn thì chúng có thể được phép đưa vào sử dụng, tùy theo sự chỉ dẫn của Đăng kiểm.
(5) Trong trường hợp việc thử kéo đứt không thỏa mãn, toàn bộ lô sản phẩm phải loại bỏ, trừ khi chỉ ra được nguyên nhân không thành công của việc thử và chứng minh thỏa đáng cho Đăng kiểm việc thử kéo đứt cho các sản phẩm còn lại là thỏa mãn.
3.2.12 được sửa đổi như sau:
3.2.12 Thử kéo giãn
1 Phải tiến hành thử kéo giãn toàn bộ các tiết xích giàn khoan sau khi đã kết thúc nhiệt luyện, theo trình tự sau đây:
(1) Xích giàn khoan phải chịu được tải trọng thử kéo giãn quy định ở Bảng 7B/3.10 mà không bị nứt, đứt hoặc có khuyết tật nào khác. Tải trọng thử kéo giãn không được vượt quá 110% tải trọng thử kéo giãn nhỏ nhất được chỉ ra ở Bảng 7B/3.10.
(2) Không phụ thuộc vào những quy định ở (1) trên, khi sử dụng phương pháp kéo căng đàn hồi để đặt ngáng, tải trọng thử kéo giãn không được lớn hơn tải trọng thử quy định trong quy trình chế tạo xích.
(3) Nếu trong quá trình thử kéo giãn, một mắt xích bị hỏng, phải tiến hành kiểm tra hồ sơ chế tạo thật tỉ mỉ để xác định nguyên nhân hư hỏng. Khi cần thiết Đăng kiểm có thể yêu cầu việc thử để xác định nguyên nhân không đạt. Nếu tìm ra nguyên nhân hư hỏng, nhưng không tìm thấy có hư hỏng ở các tiết xích phải tiến hành thử lại phù hợp với a đến c sau đây và khi việc thử này đạt kết quả thỏa mãn, nó sẽ quyết định đoạn xích nào được xem xét chấp nhận dựa trên kết quả đó.
(a) Một mẫu thử kéo đứt phải được lấy ra từ mỗi phía của một mắt xích hỏng phù hợp với 3.2.11-1(1) và đưa ra thử kéo đứt.
(b) Các mắt xích hỏng phải được cắt ra, một mắt nối thường được thay thế và tiến hành thử kéo giãn lại.
(c) Bất kể (a) và (b) ở trên, trong trường hợp nhiều mắt xích có cùng đường kính và cùng cấp được sản xuất cùng một thời điểm được thử đồng thời, xích có một mắt bị hỏng có thể được xem như là một tiết xích hoặc đầu của tiết xích thay thế. Trong trường hợp như thế, khi được Đăng kiểm cho là cần thiết, các mẫu thử kéo đứt bao gồm mắt xích nối với mắt xích bị hỏng phải được lấy ra theo yêu cầu ở 3.2.11-1(1) và tiến hành thử kéo đứt.
(4) Trong trường hợp thử kéo giãn, có hai mắt xích trở lên trong cùng một tiết xích bị hỏng, thì phải loại bỏ phần tiết xích này phải tiến hành kiểm tra hư hỏng tỉ mỉ từ hồ sơ chế tạo để xác định nguyên nhân có thể gây ra hư hỏng. Khi được Đăng kiểm cho là cần thiết, việc thử để xác định nguyên nhân hư hỏng có thể được yêu cầu. Trong trường hợp khi mà nguyên nhân hư hỏng được xác định và các nhân tố hoặc các điều kiện có hiện diện trong các tiết xích khác thì coi đó như là nguyên nhân hư hỏng chưa được xác định trong việc kiểm tra. Việc thử lại phải được tiến hành theo yêu cầu từ (a) đến (c) dưới đây, nếu đạt yêu cầu, sẽ quyết định tiết xích nào của xích giàn khoan nào có thể được xem xét chấp nhận dựa trên kết quả kiểm tra.
(a) Một mẫu vào thử kéo đứt phải được lấy ở mỗi phía của mắt xích bị hỏng theo quy định ở 3.2.11-1(1) và tiến hành thử kéo đứt.
(b) Các phần xích bị hỏng có thể được cắt ra và thay bằng các mắt nối thường, sau đó phải được tiến hành thử kéo giãn lại.
(c) Bất kể (a) và (b) ở trên, trong trường hợp nhiều mắt xích có cùng đường kính và cùng cấp được sản xuất cùng một thời điểm được thử đồng thời, xích có một mắt bị hỏng có thể được xem như là một tiết xích hoặc đầu của tiết xích thay thế. Trong trường hợp như thế, khi được Đăng kiểm cho là cần thiết, các mẫu thử kéo đứt bao gồm mắt xích nối với mắt xích bị hỏng phải được lấy ra theo yêu cầu ở 3.2.11-1(1) và tiến hành thử kéo đứt.
(5) Nếu việc kiểm tra theo (3) và (4) ở trên phát hiện sự xuất hiện các khuyết tật ở mối hàn giáp mép hoặc mối hàn giáp mép kém bền, phải tiến hành kiểm tra không phá hủy các mắt xích khác để xác định sự ảnh hưởng nếu có. Một cuộc đánh giá tổng thể máy hàn mối hàn giáp mép phải được tiến hành cùng với việc đánh giá điều kiện hai đầu thép hàn trước khi hàn.
2 Tất cả các loại chi tiết và mắt nối thường phải được thử kéo giãn theo tải trọng quy định:
(1) Chúng phải được thử với tải trọng thử kéo giãn được chỉ ra ở Bảng 7B/3.10, ngoài ra chúng phải phù hợp với cấp và đường kính của xích nối mà không bị nứt, đứt hoặc có khuyết tật nào khác. Việc thử này có thể tiến hành đồng thời với thử kéo giãn xích hoặc thử cùng với xích giàn khoan bất kì có cùng đường kính mà chúng được nối.
(2) Trong trường hợp việc thử kéo giãn không thỏa mãn, toàn bộ lô sản phẩm phải loại bỏ, trừ khi chỉ ra được nguyên nhân không thành công của việc thử và chứng minh thỏa đáng cho Đăng kiểm việc thử kéo đứt cho các sản phẩm còn lại là thỏa mãn.
Bảng 7A/3.11 được sửa đổi như sau:
Bảng 7B/3.11 Số lượng mẫu thử kéo đứt
|
Đường kính danh nghĩa của xích giàn khoan d (mm) |
Chiều dài lớn nhất để lấy một mẫu thử (m) |
Đường kính danh nghĩa của xích giàn khoan d (mm) |
Chiều dài lớn nhất để lấy một mẫu thử (m) |
|
d £ 48 |
91 |
137 < d £ 149 |
274 |
|
48 < d £ 60 |
110 |
149 < d £ 162 |
297 |
|
60 < d £ 73 |
131 |
162 < d £ 175 |
322 |
|
73 < d £ 85 |
152 |
175 < d £ 186 |
364 |
|
85 < d £ 98 |
175 |
186 < d £ 198 |
370 |
|
98 < d £ 111 |
198 |
198 < d £ 210 |
395 |
|
111 < d £ 124 |
222 |
210 < d £ 222 |
420 |
|
124 < d £ 137 |
250 |
|
|
3.2.13 được sửa đổi như sau:
3.2.13 Thử cơ tính
1 Phải tiến hành thử cơ tính đối với xích giàn khoan, sau khi đã kết thúc nhiệt luyện theo trình tự dưới đây:
(1) Một mẫu thử kéo và ba bộ mẫu thử độ dai va đập (gồm chín mẫu) phải được lấy từ đoạn xích lấy mẫu lớn nhất theo đường kính danh nghĩa của xích quy định ở Bảng 7B/3.11. Vị trí lấy mẫu thử ở các phần mắt xích ghi trên Hình 7B/3.3 được quy định như sau:
(a) Mẫu thử kéo phải được lấy ở phần đối diện với mối hàn nóng chảy;
(b) Một bộ mẫu thử va đập (gồm ba mẫu) được lấy ngang qua mối hàn có rãnh khía ở giữa, một bộ mẫu được lấy theo chiều ngang ở phía không hàn và một bộ được lấy từ vùng uốn của xích.
(2) Quy trình thử và dạng mẫu thử phải phù hợp với yêu cầu quy định ở Chương 2 Phần 7A;
(3) Tính chất cơ học của xích phải thỏa mãn quy định ở Bảng 7B/3.12.
(4) Nếu kết quả thử cơ tính không đạt yêu cầu thì có thể tiến hành thử lại bằng chọn thêm hai mẫu thử khác được lấy trong cùng tiết xích đã lấy mẫu thử. Nếu cả hai mẫu thử này đạt yêu cầu được chỉ ra trong Bảng 7B/3.12 thì có thể chấp nhận tiết xích này.
(5) Khi kết quả thử độ dai va đập không đạt yêu cầu, có thể tiến hành thử lại ba bộ mẫu khác tiếp theo (mỗi bộ gồm ba mẫu) được lấy từ cùng một tiết xích thử. Kết quả thử lại này được cộng vào kết quả thử nhận được từ lần thử trước để tính giá trị trung bình mới. Nếu kết quả thử lại và kết quả trung bình mới tính của mẫu thử độ dai va đập đều thỏa mãn quy định ở Bảng 7B/3.12 thì có thể chấp nhận tiết xích giàn khoan này. Nếu kết quả thử lại không đạt yêu cầu, tiết xích thử của xích phải được cắt ra, một mắt nối thường được nối vào vị trí đấy và tiến hành thử kéo giãn lại.
(6) Việc thử độ cứng phải tiến hành theo trình tự sau đây:
(a) Một mẫu thử của mối hàn giám mép với kim loại gốc phải được lấy ra từ độ sâu bằng 1/3 bán kính, từ khoảng cách lớn nhất của mẫu thử tương ứng với đường kính danh nghĩa của xích được chỉ ra trong Bảng 7B/3.11.
(b) Kết quả thử độ cứng là một giá trị tham khảo. Tuy nhiên, độ cứng lớn nhất của kim loại gốc phải là 330 HBW với cấp xích R4S, và 340 HBW với cấp xích R5.
(c) Dựa trên kết quả thử độ cứng, phải xác minh lại quá trình xử lý nhiệt đã ổn định trong quá trình sản xuất xích
2 Thử cơ tính đối với các chi tiết của xích giàn khoan và mắt nối thường được tiến hành sau khi kết thúc nhiệt luyện và thử kéo giãn phải theo trình tự dưới đây:
(1) Một mẫu thử kéo và một bộ mẫu thử độ dai va đập (gồm ba mẫu) đối với chi tiết của xích giàn khoan và mắt nối thường lấy theo quy định ở 3.2.11-2(1) và vị trí lấy theo hình 7B/3.4 để thử cơ tính, phải thỏa mãn những quy định ở Bảng 7B/3.11. Vị trí thử cơ tính của các chi tiết khác có hình dạng phức tạp phải được Đăng kiểm đồng ý.
(a) Mẫu thử cơ tính của ma ní đúc và ma ní kiểu Ken tơ đúc phải được lấy từ đoạn thân thẳng hay ở thân cong các chi tiết.
(b) Mẫu thử cơ tính của ma ní rèn và ma ní kiểu Ken rèn tơ phải được lấy từ thân cong của ma ní. Trong các trường hợp, khi đường kính ma ní nhỏ hoặc hình dáng không cho phép lấy mẫu thử từ thân cong thì có thể lấy được từ phần thân thẳng.
(c) Mẫu thử cơ tính cho chốt ma ní được lấy phù hợp với Hình 7B/3.4 từ đoạn giữa của chốt ma ní cần thử mà có đường kính giống hệt với các chốt sau khi xuất xưởng. Đối với các chốt có tiết diện ô van, thì đường kính của mẫu phải đại diện cho chiều dài cạnh ngắn của ô van. Mẫu thử cơ tính có thể được lấy từ phần kéo dài của chốt mà có cùng đường kính với các chốt đã hoàn thiện, phần kéo dài đó bao gồm một đoạn dùng để thử và một đoạn coi như vùng đệm để xử lý nhiệt khi kéo dài, đoạn đó phải có các thông số tương đương với đoạn giữa như đã nói. Chiều dài của đoạn đệm phải ít nhất bằng một lần đường kính của chốt, đoạn này sẽ được cắt bỏ sau khi kết thúc quá trình xử lý nhiệt. Đoạn thử này cũng sẽ được cắt khỏi chốt. Đoạn đệm và đoạn thử phải được lấy từ cùng một đầu của chốt như trong Hình 7B/3.5.
(2) Cơ tính phải tuân theo yêu cầu chỉ ra ở Bảng 7B/3.12
(3) Khi kết quả các mẫu thử quy định ở (1) trên không đạt yêu cầu, có thể tiến hành thử thêm hai mẫu thử kéo và hai bộ mẫu thử độ dai va đập khác. Các mẫu này được lấy trong cùng một lô với các mẫu quy định ở (1) trên. Kết quả thử lại của các mẫu thử này được cộng vào kết quả đã nhận được trong lần thử trước để tính giá trị trung bình. Nếu kết quả thử lại của một mẫu thử kéo và giá trị năng lượng hấp thụ trung bình vừa tính của các mẫu thử đều không đạt yêu cầu quy định ở Bảng 7B/3.11 thì lô thử đại diện này phải bị loại bỏ.
(4) Với các phụ kiện sản xuất đơn chiếc hoặc sản xuất theo lô nhỏ (nhỏ hơn 5), việc thử thay thế có thể được chấp nhận nếu chúng thỏa mãn yêu cầu Đăng kiểm.
(5) Trong trường hợp kết quả thử cơ tính không đạt, toàn bộ lô sản phẩm phải loại bỏ, trừ khi chỉ ra được nguyên nhân của việc không đạt và chứng minh các yếu tố gây nên việc không đạt không xuất hiện ở bất cứ sản phẩm nào còn lại.
(6) Việc thử độ cứng phải tiến hành theo trình tự sau đây:
(a) Một mẫu thử phải được lấy ra từ độ sâu bằng 1/3 bán kính từ bề mặt và theo mức độ được chỉ ra ở 3.2.11-2(1).
(b) Kết quả thử độ cứng là một giá trị tham khảo. Tuy nhiên, độ cứng lớn nhất của kim loại gốc phải là 330 HBW với cấp xích R4S, và 340 HBW với cấp xích R5.
(c) Dựa trên kết quả thử độ cứng, phải xác minh lại quá trình xử lý nhiệt đã ổn định trong quá trình sản xuất xích.
3.2.14 được sửa đổi như sau:
3.2.14 Kiểm tra không phá hủy
1 Xích giàn khoan và các chi tiết của xích giàn khoan khi đưa vào sử dụng phải không được có khuyết tật như: các lỗ khí, vết nứt, vết khía, vết cắt, vẩy xỉ và hàn không ngấu.
2 Sau khi đã kết thúc cuộc thử kéo giãn, tất cả xích giàn khoan phải được kiểm tra không phá hủy theo quy định ở (1) và (2) dưới đây, trước khi kiểm tra, bề mặt xích phải được xử lý phù hợp bằng việc phun hạt mài làm sạch bề mặt phù hợp với tiêu chuẩn kiểm tra không phá hủy có thể áp dụng.
(1) Kiểm tra bằng mắt thường
Tất cả bề mặt của tất cả các mắt xích phải được kiểm tra bằng mắt thường. Phải bố trí các mắt xích sao cho thuận lợi với việc tiếp cận các bề mặt.
(2) Kiểm tra từ tính
(a) Khu vực mối hàn giáp mép, kể cả các khu vực nối ghép bằng khuôn kẹp, của mắt xích phải được kiểm tra từ tính phù hợp với các tiêu chuẩn được Đăng kiểm chấp nhận. Phải sử dụng một phương pháp kỹ thuật từ hóa huỳnh quang và các mắt xích phải không có các khuyết tật vượt quá các giá trị dưới đây. Tuy nhiên, Đăng kiểm chấp nhận một phương pháp kỹ thuật từ hóa không huỳnh quang, trong trường hợp đặc biệt khi mà các quy trình thử tiêu chuẩn là bất khả thi.
i) Khuyết tật tuyến tính theo chiều ngang của mắt xích: 1,6 mm
ii) Khuyết tật tuyến tính theo chiều dọc của mắt xích: 3,2 mm
iii) Khuyết tật không tuyến tính: 4,8 mm
(b) Phải tiến hành kiểm tra từ tính cho 10% các mắt xích trên các bề mặt có thể tiếp cận được.
(c) Nếu ngáng được liên kết với mắt xích bằng phương pháp hàn, ít nhất phải có 10% mối hàn ngáng trong một tiết xích giàn khoan được kiểm tra bằng một cuộc kiểm tra từ tính hoặc kiểm tra thẩm thấu màu phù hợp với các tiêu chuẩn được Đăng kiểm chấp nhận. Nếu phát hiện thấy bất kỳ khuyết tật nguy hại nào như là nứt hoặc không ngấu thì phải kiểm tra lại toàn bộ các mối hàn của ngáng này.
(3) Kiểm tra siêu âm
Tất cả các mối hàn giáp mép nóng chảy phải được kiểm tra độ ngấu bằng phương pháp kiểm tra siêu âm phù hợp với các tiêu chuẩn được Đăng kiểm chấp nhận.
3 Các chi tiết của xích giàn khoan và các mắt nối thường phải được kiểm tra không phá hủy theo quy định từ (1) đến (3) dưới đây sau khi thử kéo giãn. Trước khi kiểm tra, các chi tiết của xích và các mắt nối thường phải có bề mặt được xử lý phù hợp theo các tiêu chuẩn kiểm tra không phá hủy có thể áp dụng được. Tất cả các bề mặt không được gia công phải được phun hạt mài làm sạch bề mặt. Trong trường hợp kết quả thử nói trên không đạt, toàn bộ lô sản phẩm phải loại bỏ, trừ khi chỉ ra được nguyên nhân của việc không đạt và chứng minh các yếu tố gây nên việc không đạt không xuất hiện ở bất cứ sản phẩm nào còn lại.
(1) Kiểm tra mắt thường
Tất cả bề mặt của tất cả các chi tiết mắt xích và mắt nối thường phải được kiểm tra bằng mắt thường. Phải bố trí các mắt xích sao cho thuận lợi với việc tiếp cận các bề mặt. Các bề mặt được gia công và các bề mặt ứng suất cao phải được quan tâm đặc biệt.
(2) Kiểm tra từ tính hoặc thẩm thấu màu
Việc kiểm tra từ tính và thẩm thấu màu cho các chi tiết của xích giàn khoan và mắt nối thường phải áp dụng theo các tiêu chuẩn được Đăng kiểm chấp nhận. Trong trường hợp khi áp dụng việc kiểm tra từ tính, Phải sử dụng một phương pháp kỹ thuật từ hóa huỳnh quang và các mắt xích phải không có các khuyết tật vượt quá các giá trị dưới đây.
i) Khuyết tật tuyến tính theo chiều ngang của chi tiết: 1,6 mm;
ii) Khuyết tật tuyến tính theo chiều dọc của chi tiết: 3,2 mm;
iii) Khuyết tật không tuyến tính: 4,8 mm.
4 Quy trình kiểm tra không phá hủy cùng với tiêu chuẩn loại bỏ/chấp nhận phải trình Đăng kiểm duyệt.
5 Người thực thi công việc kiểm tra không phá hủy phải có trình độ thỏa đáng cho công việc kiểm tra này.
3.2.15 Sửa chữa khuyết tật
3.2.15-3 được bổ sung như sau:
3 Với xích, các chi tiết của xích và các mắt nối thường, việc sửa chữa bằng phương pháp hàn là không cho phép.
3.2.16 được sửa đổi như sau:
3.2.16 Đóng dấu
1 Khi xích và các chi tiết của xích giàn khoan đã qua thử và kiểm tra đạt yêu cầu theo quy định ở 3.2 thì sẽ được Đăng kiểm đóng dấu theo quy định dưới đây:
(1) Vị trí đóng dấu
(a) Trên ngáng về phía hai đầu của một tiết xích giàn khoan;
(b) Trên ngáng về phía hai đầu của một đường xích giàn khoan dài không quá 100 m;
(c) Trên mắt nối thường (xích có ngáng phải được đóng dấu ở ngáng, xích không ngáng đóng ở phía ngoài của phần thân thẳng không có mối hàn giáp mép nóng chảy);
(d) Trên ngáng các mắt xích thường liền với mắt nối thường hoặc ma ní nối;
(e) Trên các chi tiết của xích giàn khoan.
(2) Cách đóng dấu
(a) Đóng dấu của Đăng kiểm;
(b) Cấp xích và các chi tiết của xích giàn khoan (Thí dụ: VR-R3, VR-3S, VR-R4, VR-R4S và VR-R5);
(c) Đường kính danh nghĩa của xích và các chi tiết của xích giàn khoan;
(d) Số của nhà chế tạo (một ký tự viết tắt hoặc tương đương phải được chỉ ra trong giấy chứng nhận).
2 Thêm vào -1 ở trên, việc đóng dấu phải được thực hiện sao cho có thể xác định được mẻ đúc từng mắt xích trong xích giàn khoan. Tuy nhiên, việc đóng dấu như vậy chỉ cần thực hiện với mắt nối thường đầu tiên và cuối cùng của từng mẻ khi các mắt xích từ cùng một mẻ nối với nhau liên tục.
3.2.19 được sửa đổi như sau:
3.1.19 Chứng nhận thử
1 Giấy chứng nhận đối với xích giàn khoan đã thỏa mãn việc thử và kiểm tra phải bao gồm đầy đủ các nội dung dưới đây, tất cả các tài liệu, phụ lục và thông báo liên quan đều phải tham chiếu số chứng chỉ gốc.
(1) Tên nhà chế tạo;
(2) Cấp;
(3) Thành phần hóa học (bao gồm tổng lượng nhôm);
(4) Đường kính danh nghĩa và khối lượng;
(5) Tải trọng thử kéo đứt và thử kéo giãn;
(6) Kiểu xử lý nhiệt;
(7) Dấu được áp dụng cho xích và vị trí đóng dấu;
(8) Chiều dài;
(9) Cơ tính, nếu có thể áp dụng;
(10) Kết quả thử không phá hủy;
(11) Số và vị trí của bất kỳ mắt nối thường nào (một ký tự viết tắt hoặc tương tự phải được chỉ ra trên giấy chứng nhận).
2 Giấy chứng nhận đối với chi tiết xích giàn khoan đã thỏa mãn việc thử và kiểm tra phải bao gồm đầy đủ các nội dung dưới đây, tất cả các tài liệu, phụ lục và thông báo liên quan đều phải tham chiếu số chứng chỉ gốc.
(1) Tên nhà chế tạo;
(2) Cấp;
(3) Chỉ số nhiệt
(4) Thành phần hóa học (bao gồm tổng lượng nhôm);
(5) Đường kính danh nghĩa và khối lượng;
(6) Tải trọng thử kéo đứt và thử kéo giãn;
(7) Kiểu xử lý nhiệt;
(8) Dấu được áp dụng cho xích;
(9) Cơ tính, nếu có thể áp dụng.
(10) Kết quả thử không phá hủy.
Phần 8D được sửa đổi như sau:
Phần 8D TÀU CHỞ XÔ KHÍ HÓA LỎNG
CHƯƠNG 1 QUY ĐỊNH CHUNG
1.1 Quy định chung
1.1.1 Phạm vi áp dụng
1 Các yêu cầu trong Phần này áp dụng cho tàu chở xô khí hóa lỏng được đăng ký và mang cấp của Đăng kiểm (từ sau đây trong Phần này gọi tắt là “Tàu”). Thuật ngữ "Khí hóa lỏng" chỉ khí có áp suất hơi tuyệt đối vượt quá 0,28 MPa ở nhiệt độ 37,8°C và các sản phẩm dễ cháy tương tự khác được nêu trong Bảng 8D/19.1.
2 Đối với tàu có vùng hoạt động hạn chế và tàu không tự hành, các yêu cầu của Phần này có thể được thay đổi thích hợp.
3 Đối với thân tàu, máy móc, thiết bị quy định trong Phần này thì các yêu cầu trong Phần này phải được ưu tiên áp dụng so với các yêu cầu ở các Phần khác.
4 Nếu tàu dùng để chở hỗn hợp các sản phẩm được nêu trong Phần này và các sản phẩm được nêu trong Phần 8E hoặc tương đương thì tàu phải thỏa mãn các yêu cầu của cả hai Phần tùy theo loại sản phẩm chuyên chở, trừ các trường hợp nêu ở (1) và (2) sau đây:
(1) Nếu các yêu cầu của Phần này được ưu tiên khi tàu được thiết kế và đóng để chuyên chở các hàng nêu ở (a) và (b) dưới đây:
(a) Các hàng được liệt kê riêng trong Bảng 8D/19.1 của Phần này;
(b) Một hoặc nhiều sản phẩm được liệt kê trong cả ở Phần này và Phần 8E (các sản phẩm được đánh dấu sao (*) trong cột “a”, Bảng 8D/19.1).
(2) Nếu các yêu cầu của Phần 8E được áp dụng khi tàu dùng riêng để chở một hoặc nhiều sản phẩm nêu ở (1)(b) ở trên đây.
5 Khi tàu được dự định hoạt động trong một thời gian tại một vùng cố định ở chế độ xả khí và tái hóa khí hoặc cách thức tiếp nhận khí, chế biến, hóa lỏng và chứa khí, cần thiết phải bảo đảm tàu thỏa mãn các yêu cầu bổ sung được đưa ra bởi chính quyền và chính quyền cảng theo quy định 1.1.10 của IGC Code.
6 Các tàu chở xô khí hóa lỏng được đóng trước ngày 01 tháng 7 năm 2016 vẫn tuân thủ theo các quy định tại thời điểm đó.
1.1.2 Thay thế tương đương
Kết cấu, trang thiết bị v.v..., không áp dụng các quy định của Phần này nhưng được xem là tương đương với yêu cầu ở Phần này theo quy định 1.3 của IGC Code sẽ được Đăng kiểm xem xét chấp nhận.
1.1.3 Các luật Quốc gia
Đăng kiểm có thể đưa ra các quy định đặc biệt phù hợp với các chỉ dẫn của các chính phủ mà tàu treo cờ hoặc chính phủ của Quốc gia có chủ quyền mà tàu hoạt động.
1.1.4 Đánh giá rủi ro
Trường hợp đánh giá rủi ro hoặc nghiên cứu về mục đích tương tự được sử dụng trong phần này, kết quả bao gồm, nhưng không giới hạn, bằng chứng về tính hiệu quả sau:
(1) Mô tả các phương pháp và tiêu chuẩn áp dụng;
(2) Các biến thiên chính trong việc giải thích các tình huống hoặc nguồn gốc các sai sót trong nghiên cứu;
(3) Xác nhận của quá trình đánh giá rủi ro phù hợp bởi một bên thứ ba độc lập;
(4) Hệ thống chất lượng đánh giá rủi ro theo đó được phát triển;
(5) Nguồn gốc, phù hợp và hợp lệ của dữ liệu được sử dụng trong việc đánh giá;
(6) Các kiến thức cơ bản của người có liên quan trong việc giám định;
(7) Hệ thống phân phối các kết quả cho các bên có liên quan; và
(8) Xác nhận kết quả phù hợp bởi một bên thứ ba độc lập.
1.1.5 Các định nghĩa
Nếu không có quy định nào khác, trong Phần này áp dụng các định nghĩa sau:
(1) “Buồng sinh hoạt” là những không gian dùng vào mục đích công cộng, hành lang, khu vệ sinh, cabin, văn phòng, buồng y tế, phòng chiếu phim, các phòng vui chơi và giải trí, phòng cắt tóc, các phòng để thức ăn không có dụng cụ nấu nướng và các không gian tương tự.
(2) “Kết cấu cấp A” là kết cấu được quy định tương ứng theo mục 3.2.2 Chương 3 Phần 5 của Quy chuẩn này.
(3) “Chính quyền hành chính” là chính phủ của Quốc gia mà tàu mang cờ. Đối với chính quyền hành chính (cảng), xem định nghĩa Chính quyền cảng.
(4) “Nhiệt độ sôi” là nhiệt độ mà tại đó sản phẩm có áp suất hơi bằng áp suất khí quyển.
(5) “Chiều rộng (Bf)” là chiều rộng lớn nhất của tàu, đo ở sườn giữa, đối với tàu có vỏ là kim loại được đo phía trong, và đo ở phía ngoài đối với vỏ là vật liệu khác. Chiều rộng (Bf) được tính bằng mét (m).
(6) “Khu vực hàng” là khu vực có hệ thống chứa hàng, bơm hàng và buồng máy nén hàng của tàu kể cả các phần boong trên toàn bộ chiều dài và chiều rộng của khu vực nêu này. Nếu có các khoang cách ly, các khoang dằn hoặc khoang trống ở phía sau của khoang hàng tận cùng phía lái hoặc ở phía trước của khoang hàng tận cùng phía mũi thì các khoang này không thuộc khu vực hàng.
(7) “Hệ thống chứa hàng” là hệ thống dùng để chứa hàng bao gồm: Một vách chắn sơ cấp và thứ cấp, nếu có, được bọc cách nhiệt, các khoang bên trong và kết cấu kề cận, nếu cần để đỡ các bộ phận này. Nếu vách chắn thứ cấp là một phần của kết cấu thân tàu thì vách này có thể là vách biên của khoang chứa.
(8) “Buồng điều khiển hàng” là buồng dùng để điều khiển hàng.
(9) “Buồng máy làm hàng” là không gian đặt máy nén hoặc bơm hàng, bộ phận xử lý hàng, bao gồm cả những thiết bị cung cấp nhiên liệu cho buồng máy.
(10) “Bơm hàng” là bơm sử dụng cho việc vận chuyển hàng lỏng bao gồm các máy bơm chính, máy bơm tăng áp, máy bơm phun, v.v…
(11) “Hàng” là các sản phẩm liệt kê trong Bảng 8D/19.1 được chở xô bằng các tàu theo các yêu cầu của Phần này.
(12) “Khoang phục vụ hàng” là khoang nằm trong khu vực hàng dùng làm các xưởng, các buồng chứa và kho chứa có diện tích lớn hơn 2 m2.
(13) “Két hàng” là két kín chứa chất lỏng được thiết kế thành thùng chứa hàng sơ cấp và nó bao gồm tất cả các hệ thống thùng chứa được dù có hoặc không được bọc cách nhiệt hoặc/và có vách chắn thứ cấp.
(14) “Chu trình lấy mẫu kín” là hệ thống lấy mẫu hàng để giảm thiểu sự thoát hơi hàng vào khí quyển bằng cách trả lại sản phẩm vào két hàng trong quá trình vận chuyển lấy mẫu.
(15) “Khoang cách ly” là khoang nằm giữa hai vách ngăn hoặc boong thép kề cận. Khoang này có thể là khoang trống hoặc khoang dằn.
(16) “Trạm điều khiển” là các buồng mà trong đó có đặt tập trung các thiết bị vô tuyến, thiết bị hành hải chính hoặc nguồn điện sự cố của tàu, hoặc đặt tập trung thiết bị ghi hoặc kiểm soát cháy. Trạm này không bao gồm buồng đặt thiết bị điều khiển chữa cháy đặc biệt, thực tế thiết bị điều khiển chữa cháy có thể được đặt trong khu vực hàng.
(17) “Sản phẩm dễ cháy” là các sản phẩm ký hiệu bằng chữ “F” trong cột “f” ở Bảng 8D/19.1.
(18) “Giới hạn cháy” là điều kiện xác định trạng thái của hỗn hợp nhiên liệu -chất ô xy hóa khi mà một nguồn phát lửa trần đủ mạnh chỉ có khả năng gây cháy trong một thiết bị thử nghiệm.
(19) “FSS Code” là Bộ luật các hệ thống an toàn chống cháy có nghĩa là Bộ luật quốc tế về hệ thống an toàn chống cháy được Ủy ban An toàn hàng hải của Tổ chức sửa đổi thông qua Nghị quyết MSC.98(73).
(20) “Tàu chở khí” là tàu hàng được đóng hoặc hoán cải và sử dụng để chở xô khí hoặc các sản phẩm hóa lỏng khác có đặc tính dễ cháy như nêu ở Bảng 8D/19.1.
(21) “Bộ phận đốt khí (GCU)” là một phương tiện để xử lý hơi hóa dư thừa bằng cách oxy hóa nhiệt.
(22) “Thiết bị tiêu thụ khí đốt” là bất kỳ thiết bị nào trên tàu sử dụng hơi hàng làm nhiên liệu.
(23) “Vùng nguy hiểm” là vùng có sự xuất hiện của khí gây nổ hoặc nghi ngờ có khí gây nổ ở mức cần yêu cầu đặc biệt về kết cấu, lắp đặt và sử dụng trang thiết bị điện. Khi có khí gây nổ xuất hiện, có thể xuất hiện các nguy hiểm sau: độc hại, ngạt khí, ăn mòn, phản ứng và nhiệt độ thấp. Những nguy hiểm này cũng cần được xem xét, bổ sung thêm đối với việc thông gió các khoang và bảo vệ thuyền viên. Ví dụ về các vùng nguy hiểm bao gồm, nhưng không giới hạn, những điều sau đây:
(a) Bên trong của các hệ thống chứa hàng và bất kỳ hệ thống đường ống điều áp hoặc các hệ thống thông gió khác cho két hàng, các ống dẫn và thiết bị chứa hàng;
(b) Khoang có vách chắn;
(c) Khoang hàng nơi mà hệ thống chứa hàng cần một vách chắn thứ cấp;
(d) Khoang hàng nơi mà hệ thống chứa hàng không cần một vách thứ cấp;
(e) Một không gian ngăn cách với khoang hàng bởi vách biên bằng thép chỉ kín khí nơi mà hệ thống chứa hàng cần một vách thứ cấp;
(f) Khu vực hệ thống máy làm hàng;
(g) Các khu vực trên boong hở, hoặc các không gian nửa kín trên boong hở, trong phạm vi 3 m của các nguồn có thể thoát khí, như van hàng, bích nối ống hàng, đường ống thông gió ra khu vực hệ thống máy làm hàng.v.v…;
(h) Các khu vực trên boong hở, hoặc các không gian nửa kín trên boong hở trong phạm vi 1,5 m của lối ra vào khu vực hệ thống máy làm hàng, đường ống thông gió vào khu vực hệ thống máy làm hàng;
(i) Các khu vực trên boong hở bao trùm cả khu vực hàng lấy xa ra 3m về phía trước và phía sau của khu vực hàng trên boong hở lên đến độ cao 2,4 m trên boong thời tiết;
(j) Một khu vực trong phạm vi 2,4 m của bề mặt bên ngoài hệ thống chứa hàng nơi mà bề mặt được tiếp xúc với thời tiết;
(k) Các không gian kín hoặc nửa kín có lắp đặt đường ống chứa hàng, trừ những nơi lắp đặt các ống hàng dùng cho hệ thống đốt nhiên liệu khí bay hơi;
(l) Một không gian kín hoặc nửa kín được mở trực tiếp vào bất kỳ vùng nguy hiểm;
(m) Các khoang trống, các khoang cách ly, các giếng, các lối đi và các không gian kín hoặc nửa kín, kề nhau, hoặc ngay phía trên hoặc bên dưới, hệ thống chứa hàng;
(n) Các khu vực trên boong hở hoặc các không gian nửa kín trên boong hở và trong vùng lân cận của bất kỳ đường ống thông gió, trong phạm vi hình trụ thẳng đứng không giới hạn chiều cao và có bán kính là 6 m tính từ tâm lỗ thoát và trong phạm vi bán cầu bán kính là 6 m dưới lỗ thoát; và
(o) Các khu vực trên boong hở trong phạm vi chứa dầu tràn bao quanh van góp và lấy xa ra 3 m tới chiều cao 2,4 m về phía trên boong.
(24) “Vùng không nguy hiểm” là vùng không phải là vùng nguy hiểm.
(25) “Khoang hàng” là một khoang được bao bọc bởi kết cấu tàu mà trong đó có đặt hệ thống chứa hàng.
(26) “IBC code” là bộ luật quốc tế về kết cấu và trang thiết bị các tàu chở xô hóa chất nguy hiểm, được Ủy ban An toàn hàng hải của Tổ chức sửa đổi thông qua Nghị quyết MSC.4(48).
(27) “Độc lập” có nghĩa là hệ thống đường ống hoặc hệ thống ống thông hơi chẳng hạn, không nối với hệ thống khác và không có phương tiện để có thể nối với các hệ thống khác.
(28) “Khoang cách nhiệt” để chỉ khoang có hoặc không có vách chắn, được bọc cách nhiệt toàn bộ hoặc một phần.
(29) “Khoang có vách chắn” để chỉ khoang nằm bên trong vách chắn sơ cấp và vách chắn thứ cấp được bọc cách nhiệt hoặc bọc bằng vật liệu khác hoàn toàn hoặc một phần.
(30) Chiều dài (Lf) là chiều dài theo quy định tại 1.2.21 Phần 1A.
(31) “Buồng máy loại A” là các không gian, và các lối đi dẫn đến không gian, trong đó có chứa:
(a) Động cơ đốt trong dùng làm máy chính; hoặc
(b) Động cơ đốt trong không dùng làm máy chính nhưng có tổng công suất của tổ máy không nhỏ hơn 375 kW; hoặc
(c) Nồi hơi đốt dầu hoặc tổ máy đốt dầu hoặc thiết bị đốt dầu khác ngoài nồi hơi, chẳng hạn như các máy sinh khí trơ, thiết bị đốt chất thải.v.v…
(32) “Buồng máy” là các buồng máy loại A và các không gian khác có đặt máy chính, nồi hơi, thiết bị dầu đốt, động cơ đốt trong và máy hơi nước, các máy phát điện và động cơ điện, các trạm nạp dầu, các máy làm lạnh, máy điều chỉnh giảm lắc của tàu, thiết bị thông gió và điều hòa không khí, các không gian tương tự và các lối đi dẫn đến các không gian đó.
(33) “MARVS” Áp suất đặt lớn nhất của van điều áp cho phép của két hàng (thiết bị đo áp suất).
(34) “Thiết bị dầu đốt” là thiết bị sử dụng để chuẩn bị cấp dầu đốt cho nồi hơi đốt dầu, hoặc thiết bị được sử dụng để chuẩn bị cấp dầu đã hâm cho động cơ đốt trong, và bao gồm các bơm áp lực dầu, bầu lọc và các thiết bị hâm áp lực xử lý dầu ở áp lực lớn hơn 0,18 Mpa.
(35) “Hệ số ngập thể tích khoang” là tỷ số bằng thể tích ngập nước giả định trong khoang chia cho thể tích toàn bộ của khoang.
(36) “Chính quyền cảng” là chính quyền hợp pháp của quốc gia tại cảng mà tàu vào làm hàng.
(37) “Vách chắn sơ cấp” là bộ phận phía trong được thiết kế để ngăn hàng khi hệ thống ngăn hàng gồm hai vách chắn.
(38) “Sản phẩm” là thuật ngữ chung được chỉ ra ở danh mục các khí trong Chương 19.
(39) “Buồng công cộng” là những bộ phận của buồng sinh hoạt được sử dụng làm tiền sảnh, buồng ăn, phòng khách, và những không gian kín cố định tương tự.
(40) “Tiêu chuẩn được công nhận” là các tiêu chuẩn quốc tế hoặc quốc gia được chính quyền chấp nhận, hoặc các tiêu chuẩn được Đăng kiểm thiết lập và duy trì.
(41) “Tỷ trọng tương đối” là tỷ số khối lượng của một thể tích của sản phẩm chia cho khối lượng của một thể tích tương ứng của nước ngọt.
(42) “Vách chắn thứ cấp” là bộ phận chịu chất lỏng phía ngoài của hệ thống ngăn hàng được thiết kế để lưu giữ tạm thời hàng lỏng rò lọt qua vách chắn sơ cấp và để tránh hạ thấp nhiệt độ của kết cấu tàu tới nhiệt độ không an toàn. Các kiểu vách chắn thứ cấp được quy định chi tiết hơn ở Chương 4.
(43) “Hệ thống riêng biệt” là hệ thống đường ống hàng và thông hơi hàng không được liên kết cố định với nhau.
(44) “Buồng phục vụ” là những buồng sử dụng để làm bếp, buồng đựng thức ăn có các thiết bị nấu, các tủ, buồng thư tín, kho chứa, xưởng máy không nằm trong buồng máy.
(45) “Nắp két” là kết cấu để bảo vệ tránh hư hỏng của hệ thống ngăn hàng khi hệ thống ngăn hàng nhô lên trên boong thời tiết hoặc để bảo đảm tính liên tục và sự nguyên vẹn của kết cấu boong.
(46) “Vòm két” là sự mở rộng lên phía trên của một phần két hàng. Trong trường hợp các hệ thống chứa hàng ở boong dưới có vòm két nhô lên phía trên boong thời tiết hoặc qua nắp két.
(47) “Phương pháp oxi hóa nhiệt” là hệ thống sử dụng hơi quá nhiệt như nhiên liệu trên tàu hoặc hệ thống đốt rác theo quy định của Chương 16 hoặc hệ thống không sử dụng khí như nhiên liệu phù hợp với quy định ở phần này.
(48) “Sản phẩm độc hại”để chỉ các sản phẩm ký hiệu bằng chữ “T” trong cột “f”, Bảng 8D/19.1.
(49) “Khoang tháp neo” là không gian và lối đi lắp đặt thiết bị và máy móc để thu và nhả của hệ thống neo có tháp có thể tháo rời, các hệ thống điều khiển thủy lực áp suất cao, các trang bị chữa cháy và các van chuyển hàng.
(50) “Áp suất hơi” là áp suất cân bằng của hơi bão hòa trên mặt chất lỏng, biểu thị bằng Pascals (Pa) tuyệt đối ở nhiệt độ xác định.
(51) “Khoang trống” là khoang kín không phải là khoang hàng, khoang dằn, két dầu đốt, các buồng bơm hàng hoặc máy nén hoặc bất kỳ khoang nào thông thường thuyền viên sử dụng, nằm trong khu vực hàng phía ngoài hệ thống chứa hàng.
(52) “IGC Code” là “Luật quốc tế đối với kết cấu và trang thiết bị các tàu chở xô khí hóa lỏng, được Ủy ban An toàn hàng hải của Tổ chức sửa đổi thông qua Nghị quyết MSC.6(48).
1.2 Điều kiện vận hành
1.2.1 Phạm vi áp dụng
Các quy định ở 1.2 không liên quan đến việc kiểm tra duy trì cấp, nhưng chỉ ra những vấn đề đó sẽ được theo dõi nghiêm ngặt bởi chủ tàu, hoặc thuyền trưởng cũng như tất cả những người khác chịu trách nhiệm đến vận hành tàu.
1.2.2 Hạn chế nạp hàng dễ cháy
1 Nếu các két hàng chứa các sản phẩm trong Phần này yêu cầu phải là kiểu tàu 1G thì cả chất lỏng có nhiệt độ chớp cháy bằng hoặc nhỏ hơn 60 °C (thử cốc kín) và các sản phẩm dễ cháy nêu trong Chương 19 đều không được chở trong các két nằm trong vùng bảo vệ nêu ở 2.4.1(1).
2 Tương tự, nếu các két hàng chứa các sản phẩm trong Phần này yêu cầu phải là kiểu tàu 2G/2PG thì các chất lỏng dễ cháy phù hợp với các yêu cầu nêu ở 1.2.2-1 phải không được chở trong các két đặt trong vùng bảo vệ quy định ở 2.4.1(2).
3 Trong từng trường hợp sẽ có hạn chế sử dụng vùng bảo vệ nằm trong phạm vi theo chiều dài của các khoang hàng đối với các két hàng chứa các sản phẩm mà trong Phần này yêu cầu phải là tàu dạng 1G hoặc 2G/2PG.
4 Các chất lỏng và sản phẩm dễ cháy nêu trên có thể được chứa trong các vùng bảo vệ này khi lượng sản phẩm chứa trong các két hàng mà trong Chương này yêu cầu phải là kiểu tàu 1G hoặc 2G/PG chỉ dùng để làm mát, tuần hoàn hoặc nhiên liệu.
CHƯƠNG 2 KHẢ NĂNG CHỐNG CHÌM CỦA TÀU VÀ VỊ TRÍ CÁC KÉT HÀNG
2.1 Quy định chung
2.1.1 Quy định chung
Tàu phải không bị chìm do ngập nước khi thân tàu bị thủng giả định do tác dụng của ngoại lực. Ngoài ra, để đảm bảo an toàn cho tàu và môi trường, các két hàng phải được bảo vệ tránh rò lọt trong trường hợp tàu có lỗ thủng nhỏ, ví dụ, do chạm với cầu tàu hoặc tàu kéo và phải có biện pháp bảo vệ chống thủng trong trường hợp va chạm hoặc mắc cạn bằng cách đặt các két hàng cách tôn bao một khoảng cách tối thiểu theo quy định. Các lỗ thủng giả định và khoảng cách từ các két hàng tới tôn bao của tàu phải được lấy tùy theo mức độ nguy hiểm của sản phẩm được chuyên chở. Ngoài ra, khoảng cách của các két hàng tới vỏ tàu phải phụ thuộc vào thể tích của két hàng.
2.1.2 Kiểu tàu
Tàu phải được thiết kế theo một trong các tiêu chuẩn sau:
(1) Kiểu tàu 1G là tàu chở khí dùng để vận chuyển các sản phẩm nêu ở Chương 19, yêu cầu phải có các phương tiện bảo vệ tối đa để tránh hàng hóa thoát ra;
(2) Kiểu tàu 2G là tàu chở khí dùng để vận chuyển các sản phẩm nêu ở Chương 19, yêu cầu phải có các phương tiện bảo vệ hiệu quả để tránh hàng hóa thoát ra;
(3) Kiểu tàu 2PG là tàu chở khí có chiều dài từ 150 m trở xuống dùng để vận chuyển các sản phẩm nêu ở Chương 19 yêu cầu phải có các phương tiện bảo vệ hiệu quả để tránh hàng hóa thoát ra và nếu các sản phẩm được chuyên chở trong các két rời loại C được thiết kế (xem 4.23.1) có MARVS ở áp suất ít nhất là 0,7 MPa và nhiệt độ tính toán của hệ thống ngăn hàng từ -55°C trở lên. Một tàu theo quy định này dài trên 150 m phải được coi là kiểu tàu 2G;
(4) Kiểu tàu 3G là tàu chở khí dùng để vận chuyển các sản phẩm nêu ở Chương 19 yêu cầu phải có các phương tiện bảo vệ vừa phải để tránh hàng hóa thoát ra.
Như vậy, kiểu tàu 1G là tàu chở khí dùng để vận chuyển các sản phẩm được coi là mức độ nguy hiểm tổng cộng lớn nhất và các kiểu tàu 2G/2PG và loại 3G dùng để vận chuyển các sản phẩm có mức độ nguy hiểm thấp dần. Vì vậy kiểu tàu 1G phải được thiết kế để không bị chìm theo tiêu chuẩn thủng khắc nghiệt nhất và các két hàng của nó phải được đặt cách tôn bao một khoảng cách quy định lớn nhất vào phía trong tàu.
2.1.3 Kiểu tàu chở một loại sản phẩm
Kiểu tàu quy định để chở một loại sản phẩm nêu ở cột “c”, Bảng 8D/19.1.
2.1.4 Tàu chở nhiều loại sản phẩm
Nếu tàu được dùng để chở nhiều loại sản phẩm nêu trong Bảng 8D/19.1, thì tiêu chuẩn thủng phải lấy theo sản phẩm yêu cầu kiểu tàu cao nhất. Tuy nhiên các yêu cầu đối với việc bố trí các két hàng riêng lẻ là yêu cầu đối với kiểu tàu có liên quan đến sản phẩm chuyên chở tương ứng.
2.1.5 Đường lý thuyết cho hệ thống chứa hàng
Mục đích của phần này chỉ ra vị trí của đường lý thuyết cho hệ thống chứa khác nhau được thể hiện trong Hình 8D/2.5 tới Hình 8D/2.9.
2.2 Ổn định và mạn khô
2.2.1 Ổn định
Ổn định của tàu, trong mọi điều kiện biển và trong quá trình bốc xếp hàng, phải tuân thủ các yêu cầu ở phần 10 của Quy chuẩn này. Điều này bao gồm chở hàng không đầy và bốc xếp hàng trên biển khi áp dụng, ổn định trong quá trình dằn phải thỏa mãn các tiêu chuẩn ổn định.
2.2.2 Dằn cứng
Dằn cứng thông thường không được đặt ở các két đáy đôi trong khu vực hàng. Tuy nhiên, nếu vì lý do ổn định, việc bố trí dằn cứng trong két đó là bắt buộc thì vị trí của vật dằn cứng phải được cố định sao cho dễ dàng tiếp cận để kiểm tra và các tải trọng va đập phát sinh do thủng ở đáy tàu không truyền trực tiếp tới kết cấu két hàng.
2.2.3 Thông báo ổn định
Thông báo ổn định quy định tương ứng theo mục 1.4.6 Chương 1 Phần 9 của Quy chuẩn này, phải bao gồm bảng tóm tắt về khả năng chống chìm của tàu.
2.2.4 Máy tính ổn định
1 Tất cả các tàu thuộc phần này phải được trang bị một máy tính ổn định, có khả năng kiểm tra phù hợp với các yêu cầu về ổn định nguyên vẹn và tai nạn. Được Đăng kiểm thẩm định phù hợp với các yêu cầu liên quan đến các tiêu chuẩn.
2 Không phụ thuộc vào yêu cầu ở -1, một máy tính ổn định được đặt trên tàu ở giai đoạn đóng mới trước ngày 01 tháng 7 năm 2016 không cần phải thay thế miễn là nó có khả năng kiểm tra phù hợp với các yêu cầu về ổn định nguyên vẹn và tai nạn được Đăng kiểm công nhận.
3 Trong trường hợp máy tính ổn định được lắp đặt phù hợp với các yêu cầu nêu ở -1 hoặc -2, tài liệu thẩm định cho máy tính ổn định được cấp bởi Đăng kiểm phải được duy trì trên tàu.
4 Đăng kiểm có thể miễn giảm các yêu cầu từ -1 đến -3 cho các tàu sau, với điều kiện phải có quy trình đảm bảo tàu thỏa mãn yêu cầu về ổn định nguyên vẹn và tai nạn, như các trường hợp tải trọng được thẩm định:
(1) Các tàu chỉ xếp hàng với các trạng thái đã được tính toán sẵn trong Thông báo ổn định phù hợp với các yêu cầu ở 2.2.3;
(2) Tàu được đánh giá ổn định từ xa bằng phương tiện đã được Đăng kiểm thẩm định;
(3) Tàu chỉ xếp hàng trong phạm vi dải các tải trọng đã được thẩm định; hoặc
(4) Tàu đang đóng trước ngày 01 tháng 7 năm 2016 thỏa mãn chiều cao trọng tâm tối đa cho phép hoặc chiều cao tâm nghiêng ban đầu tối thiểu cho phép bao gồm tất cả các yêu cầu về ổn định nguyên vẹn và tai nạn đã được thẩm định.
2.2.5 Điều kiện tải trọng
Khả năng chống chìm do bị thủng phải được xem xét trên cơ sở thông tin của tải trọng gửi cho Đăng kiểm tất cả các điều kiện tải trọng dự kiến và các thay đổi về chiều chìm và độ chúi. Điều này bao gồm có dằn và, nếu có thể, góc nghiêng do hàng.
2.3 Vết thủng giả định
2.3.1 Chiều dài vết thủng
1 Phạm vi vết thủng tối đa ở mạn tàu phải phù hợp với quy định tương ứng theo Bảng 8D/2.1.
2 Vết thủng giả định tối đa ở đáy tàu phải phù hợp với các quy định tương ứng theo Bảng 8D/2.2.
2.3.2 Các vết thủng khác
(1) Bất kỳ vết thủng nào có phạm vi nhỏ hơn phạm vi thủng tối đa quy định ở 2.3.1 nhưng có thể dẫn tới tình trạng nghiêm trọng hơn đều phải được đưa vào tính toán;
(2) Vết thủng cục bộ tại bất cứ chỗ nào trong khu vực hàng bên trong tàu đi lên quá 760 mm đo theo hướng vuông góc với đường lý thuyết của vỏ ngoài tàu phải được xem xét và các vách phải được coi là bị thủng theo quy định ở 2.6.1. Nếu vết thủng có phạm vi nhỏ “d” nhưng có thể dẫn tới tình trạng nghiêm trọng hơn đều phải được đưa vào tính toán.
2.4 Vị trí của các két hàng
2.4.1 Vị trí của các két hàng
Các két hàng phải được đặt về phía trong tàu một khoảng như sau:
(1) Ở kiểu tàu 1G: từ đường lý thuyết của tôn bao, không được nhỏ hơn phạm vi thủng theo chiều ngang quy định tại Bảng 8D/2.1 và từ đường lý thuyết của tôn bao đáy tại đường tâm tàu không được nhỏ hơn phạm vi thủng thẳng đứng quy định ở Bảng 8D/2.2 và không có chỗ nào nhỏ hơn “d” trong đó “d” là:
(a) Với Vc nhỏ hơn hoặc bằng 1.000 m3, d = 0,8 m;
(b) Với 1.000 m3 ≤ Vc ≤ 5.000 m3, d = 0,75 + Vc x 0,2/4.000 m (Lưu ý là m hay m3);
(c) Với 5.000 m3 ≤ Vc ≤ 30.000 m3, d = 0,8 + Vc/25.000 m (Lưu ý là m hay m3);
(d) Với Vc ≥ 30.000 m3, d = 2 m.
Trong đó:
Vc: tương ứng với 100% tổng thể tích thiết kế của két hàng riêng biệt tại 20 oC, trong đó có các mái vòm và các phần phụ (xem Hình 8D/2.1 và Hình 8D/2.2). Nhằm mục đích để đạt được khoảng cách bảo vệ két hàng, thể tích két hàng là tổng thể tích của tất cả các bộ phận của két đó có một vách ngăn thông thường; và
“d”: được đo ở bất kỳ mặt cắt ngang theo phương vuông góc với đường lý thuyết của tôn bao. Giới hạn kích thước két có thể áp dụng cho kiểu tàu chở hàng 1G phù hợp với Chương 17.
(2) Ở kiểu tàu 2G/2PG: từ đường lý thuyết của tôn bao đáy tại đường tâm không được nhỏ hơn phạm vi thủng thẳng đứng quy định ở Bảng 8D/2.2 , tính từ đường lý thuyết của tôn đáy ở đường tâm tàu và không có chỗ nào nhỏ hơn “d” như quy định tại (1) ở trên. (xem Hình 8D/2.1 và Hình 8D/2.3)
(3) Ở kiểu tàu 3G: từ đường lý thuyết của tôn bao đáy tại đường tâm tàu không nhỏ hơn phạm vi thủng thẳng đứng quy định tại 2.3 và 2.5 và không chỗ nào nhỏ hơn “d”, trong đó “d” = 0,8 m tính từ đường lý thuyết của tôn bao (xem Hình 8D/2.1 và Hình 8D/2.4).
2.4.2 Phạm vi thủng ở đáy tàu theo chiều thẳng đứng
Để định vị két, phạm vi thủng ở đáy tàu theo chiều thẳng đứng phải được đo tới đáy trên khi dùng các két kiểu màng hoặc nửa màng, nếu không như vậy phải đo tới đáy của két hàng. Phạm vi thủng ở mạn theo chiều ngang phải được đo tới vách dọc khi dùng các két kiểu màng hoặc nửa màng, còn trường hợp khác phải đo tới vách của két hàng. Khoảng cách được chỉ ra ở 2.3 và 2.5 được áp dụng như trong Hình 8D/2.5 tới Hình 8D/2.9. Các khoảng cách này được đo từ tấm tới tấm, từ đường lý thuyết tới đường lý thuyết, không bao gồm vật liệu cách nhiệt.
2.4.3 Hố hút
Trừ kiểu tàu 1G, các hố hút đặt trong các két hàng có thể nhô vào phạm vi thủng ở đáy theo chiều thẳng đứng quy định ở Bảng 8D/2.2, với điều kiện các hố này phải nhỏ tới mức có thể đạt được và phần nhô ra dưới tôn đáy trên không vượt quá trị số nhỏ hơn trong các trị số sau: 25% chiều cao của đáy đôi hoặc 350 mm. Khi không có đáy đôi, phần nhô xuống dưới giới hạn trên của phạm vi thủng ở đáy phải không lớn hơn 350 mm. Có thể bỏ qua các hố hút quy định ở Phần này khi xác định các khoang bị ảnh hưởng do thủng.
2.4.4 Vị trí của các két hàng
Két hàng không được đặt ở phía trước vách chống va.
Bảng 8D/2.1 Phạm vi vết thủng mạn
|
Hướng thủng |
Phạm vi vết thủng |
|
Chiều dài vết thủng |
1/3Lf hoặc 14,5 m, lấy giá trị nào nhỏ hơn |
|
Chiều rộng vết thủng |
Bf/5 hoặc 11,5 m, lấy giá trị nào nhỏ hơn |
|
Chiều cao vết thủng |
Không giới hạn |
Bảng 8D/2.2 Phạm vi vết thủng đáy
|
Hướng thủng |
Phạm vi vết thủng |
|
|
Đối với 0,3L từ đường vuông góc mũi |
Các vùng khác |
|
|
Chiều dài vết thủng |
1/3Lf2/3 hoặc 14,5 m, lấy giá trị nào nhỏ hơn |
1/3Lf2/3 hoặc 14,5 m, lấy giá trị nào nhỏ hơn |
|
Chiều rộng vết thủng |
Bf/6 hoặc 10 m, lấy giá trị nào nhỏ hơn |
Bf/6 hoặc 5 m, lấy giá trị nào nhỏ hơn |
|
Chiều cao vết thủng |
Bf/15 hoặc 2 m, lấy giá trị nào nhỏ hơn |
Bf/15 hoặc 2 m, lấy giá trị nào nhỏ hơn |

Hình 8D/2.1 Các yêu cầu về vị trí két hàng

Hình 8D/2.2 Các yêu cầu về vị trí két hàng

Hình 8D/2.3 Các yêu cầu về vị trí két hàng

Hình 8D/2.4 Các yêu cầu về vị trí két hàng

Hình 8D/2.5 Khoảng cách bảo vệ

Hình 8D/2.6 Khoảng cách bảo vệ

Hình 8D/2.7 Khoảng cách bảo vệ

Hình 8D/2.8 Khoảng cách bảo vệ

Hình 8D/2.9 Khoảng cách bảo vệ
2.5 Giả định ngập khoang
2.5.1 Quy định chung
Các yêu cầu ở 2.7 phải được khẳng định bằng tính toán có xét đến các đặc điểm thiết kế của tàu; vị trí, hình dáng và thể tích các khoang bị thủng; sự phân bố, mật độ tương đối và ảnh hưởng của mặt thoáng hàng lỏng, chiều chìm và độ chúi ở tất cả các trạng thái tải trọng.
2.5.2 Hệ số ngập khoang
Hệ số ngập nước của các không gian giả định bị thủng phải phù hợp với bảng 8D/2.3.
Bảng 8D/2.3 Hệ số ngập nước của không gian
|
Các không gian |
Hệ số ngập nước |
|
Các kho dự trữ Các buồng ở Buồng máy Các khoang trống Các khoang hàng Chứa chất lỏng tiêu thụ Chứa các chất lỏng khác |
0,60 0,95 0,85 0,95 0,95(1) 0 tới 0,95*(2) 0 tới 0,95*(2) |
Chú thích:
(1) Các giá trị khác của hệ số ngập nước có thể được xem xét dựa trên các tính toán chi tiết.
(2) Hệ số ngập nước của các khoang được điền đầy một phần phù hợp với lượng chất lỏng chứa trong khoang.
2.5.3 Vết thủng ở các két chứa chất lỏng
Bất cứ vết thủng nào mà xuyên qua két chứa chất lỏng, cần phải giả định rằng chất lỏng chứa trong két đó được thay thế hoàn toàn bằng nước biển tới mức bằng với trạng thái cân bằng cuối cùng.
2.5.4 Vết thủng ở các vách ngang
Trong trường hợp vết thủng giữa các vách ngang kín nước được giả định như quy định ở 2.6.1(4), (5) và (6), các vách ngang được đặt cách nhau ít nhất một khoảng bằng với phạm vi chiều dài của vết thủng quy định tại Bảng 8D/2.1. Trong trường hợp các vách ngang đặt cách nhau một khoảng ít hơn, một hoặc nhiều hơn các vách ngang trong phạm vi vết thủng phải được giả định là không có với mục đích là để xác định khoang bị ngập. Ngoài ra, bất cứ phần nào của vách ngang bao quanh các khoang mạn hoặc các khoang ở đáy đôi được giả định bị thủng nếu vách biên kín nước nằm trong phạm vi xuyên qua theo chiều thẳng đứng hoặc ngang theo yêu cầu của 2.3. Ngoài ra, bất kỳ vách ngang được giả định bị hư hỏng nếu có chứa một bậc hoặc hõm có chiều dài lớn hơn 3 m nằm trong phạm vi của vết thủng giả định thì vách ngang đó được coi như bị thủng. Các bậc được hình thành bởi vách mút phía sau và nóc két phía sau không được coi là một bậc cho mục đích của mục này.
2.5.5 Ngập không đối xứng
Tàu phải được thiết kế sao cho duy trì được ở mức độ tối thiểu hiện tượng ngập không đối xứng phù hợp với trang thiết bị của tàu.
2.5.6 Thiết bị cân bằng
Các thiết bị cân bằng đòi hỏi phương tiện cơ giới như các van hoặc các ống dẫn điều chỉnh cân bằng, nếu được trang bị, không được xem là công cụ để giảm góc nghiêng ngang hoặc để đạt tới độ dự trữ ổn định tối thiểu thỏa mãn các yêu cầu của 2.7.1-2. Độ dự trữ ổn định hữu hiệu phải được duy trì ở tất cả các giai đoạn khi tiến hành cân bằng. Các khoang được nối bằng các ống dẫn có tiết diện ngang lớn có thể được xem là liền nhau.
2.5.7 Sự ngập tăng dần
Nếu các đường ống, kênh thông gió, các giếng hoặc các đường hầm được đặt trong phạm vi bị thủng giả định, như quy định ở 2.3 thì phải có biện pháp để sao cho sự ngập tăng dần không thể theo đó mà lan rộng ra các khoang khác ngoài các khoang giả định bị ngập đối với mỗi trường hợp thủng.
2.5.8 Tính nổi của thượng tầng
Tính nổi của bất cứ thượng tầng nào trực tiếp phía trên lỗ thủng ở mạn đều không phải tính đến. Tuy nhiên, các phần không bị ngập của thượng tầng bên ngoài phạm vi thủng có thể được tính đến với điều kiện là:
(1) Chúng được tách biệt với khoang bị hỏng bằng các khoang kín nước và các yêu cầu ở 2.7.1-2(1) đối với các khoang không chìm này được thỏa mãn; và
(2) Các lỗ khoét trong các khoang này phải có khả năng đóng được nhờ các cửa trượt kín nước điều khiển từ xa và các lỗ khoét không được bảo vệ thì không bị ngập ở mức độ dự trữ ổn định tối thiểu theo quy định ở 2.7.1-3(1). Tuy nhiên, có thể cho phép ngập một lỗ khoét bất kỳ có cửa đóng kín thời tiết khác.
2.6 Tiêu chuẩn thủng
2.6.1 Quy định chung
Tàu phải có khả năng chống chìm khi bị thủng được chỉ ra ở 2.3 với các giả định bị ngập ở 2.5 đến phạm vi xác định bởi kiểu tàu theo các tiêu chuẩn sau:
(1) Kiểu tàu 1G phải được giả định chịu được vết thủng tại mọi vị trí theo chiều dài tàu;
(2) Kiểu tàu 2G có chiều dài lớn hơn 150 m phải được giả định chịu được vết thủng tại mọi vị trí theo chiều dài tàu;
(3) Kiểu tàu 2G có chiều dài nhỏ hơn hoặc bằng 150 m phải được giả định chịu được vết thủng tại mọi vị trí theo chiều dài tàu trừ buồng máy đặt ở đuôi;
(4) Kiểu tàu 2PG phải được giả định chịu được vết thủng tại mọi vị trí theo chiều dài tàu ngoại trừ các vách ngang đặt cách nhau xa hơn phạm vi theo chiều dọc của vết thủng theo quy định ở Bảng 8D/2.1;
(5) Kiểu tàu 3G có chiều dài lớn hơn hoặc bằng 80 m phải được giả định chịu được vết thủng tại mọi vị trí theo chiều dài tàu ngoại trừ các vách ngang đặt cách nhau xa hơn phạm vi theo chiều dọc của vết thủng quy định ở Bảng 8D/2.1;
(6) Kiểu tàu 3G có chiều dài nhỏ hơn 80 m phải được giả định chịu được vết thủng tại mọi vị trí theo chiều dài tàu ngoại trừ các vách ngang đặt cách nhau xa hơn phạm vi theo chiều dọc của vết thủng quy định ở Bảng 8D/2.1 và trừ buồng máy đặt ở đuôi.
2.6.2 Tiêu chuẩn thủng cho tàu nhỏ
Trong trường hợp các tàu nhỏ loại 2G/2PG và 3G không thỏa mãn các yêu cầu tương ứng của 2.6.1(3), (4) và (6) về mọi phương diện thì Đăng kiểm có thể xem xét miễn giảm đặc biệt với điều kiện là các biện pháp thay thế phải giữ được mức giảm độ an toàn tương đương.
2.7 Yêu cầu về chống chìm
2.7.1 Yêu cầu về chống chìm
1 Tàu phải có khả năng chống chìm khi bị thủng được chỉ ra ở 2.3 với các tiêu chuẩn quy định ở 2.6 trong một điều kiện cân bằng ổn định và phải thoả mãn tiêu chuẩn sau đây.
2 Ở giai đoạn ngập bất kỳ.
(1) Xét đến ngập khoang, nghiêng và chúi, đường nước phải nằm dưới mép thấp hơn của bất kỳ lỗ khoét nào mà qua đó có thể làm tăng hoặc giảm ngập. Các lỗ khoét này phải gồm cả các ống thông hơi và lỗ khoét được đóng bằng các cửa kín nước hoặc các nắp miệng khoang kín nước. Các lỗ khoét này không bao gồm các lỗ khoét được đóng kín bằng các nắp lỗ người chui kín nước và các húp-lô kín nước, các nắp miệng khoang kín nước nhỏ mà duy trì được sự nguyên vẹn cao cho boong, các cửa trượt kín nước điều khiển từ xa, và các cửa húp-lô kiểu cố định;
(2) Góc nghiêng ngang lớn nhất do ngập không đối xứng phải không được quá 30°; và
(3) Dự trữ ổn định trong các giai đoạn ngập trung gian không được nhỏ hơn so với yêu cầu của -3(1).
3 Ở trạng thái cân bằng cuối cùng sau khi ngập
(1) Đường cong tay đòn ổn định tĩnh phải có giới hạn dương tối thiểu là 20°; trị số tối đa của cánh tay đòn ổn định tĩnh ít nhất phải bằng 0,1 m trong phạm vi 20°; diện tích chắn bởi đường cong trong phạm vi này không được nhỏ hơn 0,0175 m.rad. Phạm vi 20o có thể được đo từ bất kỳ góc bắt đầu giữa vị trí cân bằng và góc 25o. Các lỗ khoét không được bảo vệ phải không bị ngập nước trong phạm vi này trừ khi khoang giả định có liên quan bị ngập. Trong phạm vi này cho phép các lỗ khoét được liệt kê ở -2(1) và các lỗ khoét khác có khả năng đóng kín bằng cửa kín thời tiết bị ngập; và
(2) Nguồn năng lượng dự phòng phải có thể hoạt động được.
2.8 Yêu cầu vận hành
2.8.1 Phạm vi áp dụng
Những quy định ở 2.8 không phải là các điều kiện để kiểm tra duy trì cấp, nhưng là điều kiện mà chủ tàu hoặc thuyền trưởng cũng như tất cả những người có liên quan tới vận hành của tàu phải tuân theo.
2.8.2 Ổn định
Ổn định của tàu trong quá trình bốc xếp hàng trong mọi điều kiện trạng thái biển phải thỏa mãn các yêu cầu trong Phần 10 của Quy chuẩn này.
2.8.3 Thông báo ổn định
Việc làm hàng và khai thác tàu phải được thực hiện một cách an toàn và phù hợp với quá trình hành hải theo Bản thông báo ổn định của tàu.
2.8.4 Điều kiện tải trọng
Các điều kiện tải trọng phải thỏa mãn về khả năng chống chìm được xác định phù hợp với thông tin tải trọng trình cho Đăng kiểm.
CHƯƠNG 3 BỐ TRÍ TRÊN TÀU
3.1 Cách ly khu vực hàng
3.1.1 Cách ly khoang hàng
1 Khoang hàng phải được cách ly với buồng máy và buồng nồi hơi, buồng sinh hoạt, buồng phục vụ, trạm điều khiển, hầm xích, két nước sinh hoạt và các kho. Khoang hàng phải được đặt phía trước của vách trước buồng máy loại A. Thay đổi bố trí, bao gồm vị trí buồng máy loại A đặt phía trước khoang hàng, có thể được chấp nhận, dựa vào Chương 17 Phần 5, sau khi được xem xét các rủi ro liên quan, bao gồm cả việc hàng hóa thoát ra và các biện pháp làm giảm nhẹ.
3.1.2 Trường hợp hệ thống chứa hàng không đòi hỏi toàn bộ hoặc từng phần một vách chắn thứ cấp
Khi hàng được chở trong một hệ thống chứa hàng không đòi hỏi toàn bộ hoặc từng phần một vách chắn thứ cấp, sự cách ly các khoang hàng khỏi các khoang nêu ở 3.1.1 hoặc các khoang phía dưới hoặc phía ngoài của các khoang hàng có thể được thực hiện bởi các khoang cách ly, các két dầu đốt hoặc chỉ bởi một vách kín khí có kết cấu hàn tạo thành kết cấu cấp A-60. Kết cấu kín khí cấp A-0 có thể được chấp nhận nếu không có nguồn phát lửa hoặc nguy cơ cháy trong các khoang kề cận.
3.1.3 Trường hợp một hệ thống chứa hàng đòi hỏi toàn bộ hoặc từng phần một vách chắn thứ cấp
Khi hàng được chở trong hệ thống chứa hàng đòi hỏi một vách chắn thứ cấp, việc cách ly các khoang hàng khỏi các khoang nêu trong 3.1.1, hoặc các khoang phía dưới hoặc phía ngoài của các khoang hàng có nguồn phát lửa hoặc nguy cơ cháy phải được thực hiện bởi các khoang cách ly hoặc các két dầu đốt. Một vách ngăn kín khí cấp A-0 được chấp nhận nếu không có nguồn phát lửa hoặc nguy cơ cháy trong các khoang kề cận.
3.1.4 Cách ly khoang tháp
Cách ly khoang tháp từ các không gian nêu ở 3.1.1, hoặc các không gian bên dưới hoặc phía ngoài của khoang tháp có chứa một nguồn phát lửa hoặc nguy cơ cháy, phải có khoang cách ly hoặc một vách ngăn cấp A-60. Một vách ngăn kín khí cấp A-0 được chấp nhận nếu không có nguồn phát lửa hoặc nguy cơ cháy trong các khoang kề cận.
3.1.5 Phân tích rủi ro của khoang tháp
Ngoài các điều từ 3.1.1 đến 3.1.4, nguy cơ lan truyền lửa từ khoang tháp đến các không gian kề cận sẽ được đánh giá phân tích rủi ro (xem 1.1.4) và nếu thấy cần thiết phải có biện pháp ngăn ngừa thêm, chẳng hạn như bố trí khoang cách ly xung quanh khoang tháp.
3.1.6 Sự cách ly với nước biển
Khi hàng được chở trong hệ thống chứa hàng đòi hỏi toàn bộ hoặc từng phần một vách chắn thứ cấp:
(1) Ở nhiệt độ dưới -10°C, các khoang hàng phải được cách ly với nước biển bằng đáy đôi; và
(2) Ở nhiệt độ dưới -55°C, tàu còn phải có một vách dọc tạo thành các két mạn.
3.1.7 Các lỗ khoét của hệ thống chứa hàng
Phải có thiết bị để làm kín boong thời tiết cho các lỗ khoét của hệ thống chứa hàng. Các thiết bị này phải thỏa mãn các yêu cầu nêu tại 18.2.1; 18.2.2 và 18.2.5-4(3) Phần 2A.
3.2 Các buồng sinh hoạt, buồng phục vụ, buồng máy và các trạm điều khiển
3.2.1 Cách ly của khoang hàng đòi hỏi một vách chắn thứ cấp
Không được bố trí buồng sinh hoạt, buồng phục vụ hoặc trạm điều khiển trong khu vực hàng. Vách của các buồng sinh hoạt, buồng phục vụ hoặc trạm điều khiển đối diện với khu vực hàng phải được bố trí sao cho tránh được khí từ khoang hàng đi vào các khoang đó qua một hư hỏng đơn lẻ của boong hoặc vách trên tàu có hệ thống chứa yêu cầu phải có vách chắn thứ cấp.
3.2.2 Vị trí của lỗ hút không khí và lỗ khoét
Đề phòng nguy hiểm của hơi độc, cần xét đến vị trí của lỗ hút không khí/cửa xả và lỗ khoét đi vào các buồng sinh hoạt, buồng phục vụ, buồng máy và các trạm điều khiển liên quan đến đường ống hàng, hệ thống thông hơi hàng và các ống xả của buồng máy từ hệ thống đốt khí.
3.2.3 Lối tiếp cận từ một vùng không nguy hiểm sang vùng nguy hiểm
Lối tiếp cận đi qua các cửa kín khí hoặc cửa dạng khác không được phép dẫn từ một vùng không nguy hiểm sang vùng nguy hiểm, trừ lối vào các buồng phục vụ nằm phía trước của khu vực hàng đi qua ngăn đệm kín khí như quy định ở 3.6.1. Khi các buồng sinh hoạt đặt ở phía đuôi tàu.
3.2.4 Bố trí lối vào, lỗ hút không khí và lỗ khoét
1 Các lối vào, lỗ hút không khí và lỗ khoét dẫn vào các buồng sinh hoạt, buồng phục vụ, buồng máy và các trạm điều khiển phải không được đối diện với khu vực hàng. Chúng phải được bố trí trên vách cuối không đối diện với khu vực hàng, trên vách phía ngoài của thượng tầng hoặc lầu, hoặc trên cả hai, cách đầu thượng tầng hoặc lầu đối diện khu vực hàng một khoảng ít nhất bằng 4% của chiều dài (L) của tàu nhưng không được nhỏ hơn 3 m. Tuy nhiên, khoảng cách này không cần lớn hơn 5 m.
2 Các cửa sổ và các cửa mạn đối diện với khu vực hàng và nằm trên các vách bên của thượng tầng hoặc lầu trong phạm vi khoảng cách nêu trên phải là kiểu cố định (không mở). Các cửa sổ lầu lái có thể là loại không cố định và các cửa ra vào lầu lái có thể được bố trí trong vùng giới hạn nêu trên nếu chúng được thiết kế theo cách đóng nhanh và đảm bảo kín khí có hiệu quả.
3 Đối với các tàu dùng để chuyên chở hàng không có nguy cơ cháy hoặc độc, Đăng kiểm có thể và giảm nhẹ các yêu cầu nêu trên.
4 Các lối ra vào không gian thượng tầng mũi có chứa nguồn phát lửa có thể cho phép đi qua một cửa duy nhất hướng về phía khu vực hàng, miễn là các cửa đó đặt ở bên ngoài vùng nguy hiểm theo quy định trong Chương 10.
3.2.5 Các cửa sổ và cửa mạn
Các cửa sổ và cửa mạn hướng về phía khu vực hàng và ở hai bên của thượng tầng và lầu nằm trong giới hạn quy định ở 3.2.4, phải được bọc kết cấu cấp A-60. Ngoại trừ cửa sổ lầu lái được bọc kết cấu không nhỏ hơn cấp A-0. Các cửa mạn ở dưới boong liên tục cao nhất và ở tầng một của thượng tầng hoặc lầu phải là kiểu cố định (không mở).
3.2.6 Phương tiện đóng của các lỗ hút không khí, cửa xả và các lỗ khoét khác
Tất cả các lỗ hút không khí, cửa xả và các lỗ khoét khác dẫn vào các buồng sinh hoạt, buồng phục vụ và các trạm điều khiển phải được trang bị các phương tiện đóng kín. Khi chở các sản phẩm độc hại, các phương tiện đóng phải có khả năng thao tác được từ bên trong khoang. Các yêu cầu đối với các cửa nạp khí và các lỗ khoét với các thiết bị đóng phải được điều khiển từ bên trong không gian cho các sản phẩm độc hại, không cần phải áp dụng cho các không gian không có người trực, chẳng hạn như các kho boong, các kho thượng tầng mũi, các xưởng cơ khí. Ngoài ra, không yêu cầu áp dụng cho buồng kiểm soát hàng nằm trong khu vực hàng.
3.2.7 Lối tiếp cận từ không gian hệ thống tháp
Các buồng điều khiển và buồng máy của hệ thống tháp có thể nằm phía trước khu vực hàng hoặc phía sau của các két hàng ở các tàu có thiết bị như vậy. Lối đi từ không gian có chứa nguồn phát lửa có thể cho phép đi qua các cửa hướng ra khu vực hàng, miễn là các cửa đó nằm ngoài vùng nguy hiểm hoặc lối đi qua khoang đệm kín khí.
3.3 Buồng máy làm hàng và khoang tháp
3.3.1 Bố trí buồng máy làm hàng và khoang tháp
Buồng máy làm hàng phải được đặt phía trên boong thời tiết và được bố trí trong khu vực hàng. Để đảm bảo mục đích bảo vệ phòng cháy, buồng máy làm hàng và khoang tháp phải được coi như các buồng bơm hàng quy định ở 9.2.4 Phần 5. Đối với mục đích bảo vệ phòng cháy theo quy định 4.5.10 Phần 5.
3.3.2 Mở rộng giới hạn khu vực hàng
Khi buồng máy làm hàng được đặt ở đầu sau của khoang hàng xa nhất về phía lái hoặc ở đầu trước của khoang hàng xa nhất về phía mũi, giới hạn của khu vực hàng theo quy định ở 1.1.5(6) phải được mở rộng để bao gồm cả buồng máy làm hàng đối với toàn bộ chiều rộng và chiều cao của tàu và các khu vực boong trên các khoang này.
3.3.3 Các vách của buồng máy làm hàng
Khi giới hạn của khu vực hàng được mở rộng theo 3.3.2, vách phân cách buồng máy làm hàng với các buồng sinh hoạt, buồng phục vụ, trạm điều khiển và buồng máy loại A phải được bố trí sao cho tránh được sự rò lọt của khí vào các khoang này do một hư hỏng đơn lẻ của boong hoặc vách.
3.3.4 Máy nén hàng và bơm hàng
Các máy nén hàng và bơm hàng có thể được dẫn động bằng các mô tơ điện trong một không gian không nguy hiểm liền kề cách nhau bằng một vách ngăn hoặc boong, nếu tấm đệm làm kín xung quanh lỗ xuyên vách đảm bảo cách ly kín khí của hai không gian. Ngoài ra, thiết bị này có thể được điều khiển bằng động cơ điện được chứng nhận an toàn khi đặt cạnh nhau nếu thiết bị điện này phù hợp với các yêu cầu của Chương 10.
3.3.5 Lối tiếp cận của buồng máy làm hàng và khoang tháp
Phải bố trí các buồng máy làm hàng và khoang tháp sao cho bảo đảm không hạn chế sự đi lại an toàn của các thuyền viên có mặc quần áo bảo hộ và mang thiết bị thở, và trong trường hợp bị tai nạn, cho phép đưa được người bị nạn ra ngoài. Trong buồng máy làm hàng tối thiểu phải có hai lối thoát hiểm có cửa riêng biệt rộng rãi, có thể chấp nhận một lối thoát hiểm nếu khoảng cách đường thoát lớn nhất đến cửa là 5 m hoặc nhỏ hơn
3.3.6 Tiêu nước
Nhân viên mặc quần áo bảo hộ phải tiếp cận được dễ dàng tất cả các van cần thiết để làm hàng. Phải có biện pháp thích hợp để tiêu nước cho buồng bơm và buồng máy nén.
3.3.7 Tính nguyên vẹn kết cấu của khoang tháp
Khoang tháp được thiết kế để giữ nguyên vẹn kết cấu trong trường hợp nổ hoặc không kiểm soát được việc ngắt khí áp suất cao (áp suất dư và/hoặc gãy giòn), các đặc tính đó được chứng minh trên cơ sở phân tích rủi ro có xem xét đến giới hạn khả năng của thiết bị giảm áp suất.
3.4 Buồng điều khiển hàng
3.4.1 Bố trí buồng điều khiển hàng
Bất kỳ buồng điều khiển hàng nào cũng đều phải ở phía trên boong thời tiết và có thể được đặt trong khu vực hàng. Buồng điều khiển hàng có thể được đặt trong khu vực buồng sinh hoạt, buồng phục vụ hoặc trạm điều khiển với điều kiện phải thỏa mãn các yêu cầu sau:
(1) Buồng điều khiển hàng phải là một vùng không nguy hiểm
(2) Nếu cửa vào thỏa mãn 3.2.4-1, buồng điều khiển hàng có thể dẫn vào các khoang nêu trên; và
(3) Nếu cửa vào không thỏa mãn 3.2.4-1, buồng điều khiển hàng phải không được dẫn vào các khoang nêu trên và các vách biên của các khoang đó phải được bọc kết cấu cấp "A-60".
3.4.2 Thiết bị đo
Nếu buồng điều khiển hàng được thiết kế là một vùng không nguy hiểm thì các thiết bị đo cố gắng phải là hệ thống theo dõi gián tiếp và trong mọi trường hợp phải được thiết kế sao cho ngăn được bất kỳ sự rò lọt nào của hơi hàng vào khoang này. Việc đặt hệ thống phát hiện khí trong buồng điều khiển hàng sẽ không vi phạm yêu cầu đối với buồng được phân loại là vùng nguy hiểm nếu được lắp đặt phù hợp với các yêu cầu ở 13.6.11.
3.4.3 Nguồn phát lửa
Nếu buồng điều khiển hàng của tàu chở hàng dễ cháy được phân loại là một vùng nguy hiểm thì các nguồn phát lửa phải được loại trừ và bất kỳ thiết bị điện nào được lắp đặt phải thỏa mãn Chương 10.
3.5 Lối tiếp cận vào các khoang trong khu vực hàng
3.5.1 Lối tiếp cận để kiểm tra vỏ trong
Phải kiểm tra được bằng mắt ít nhất một phía của kết cấu vỏ trong mà không phải tháo bất kỳ kết cấu hoặc trang bị cố định nào. Nếu sự kiểm tra bằng mắt như vậy chỉ có thể thực hiện được ở mặt ngoài của vỏ trong thì dù có được kết hợp với các kiểm tra yêu cầu ở 3.5.2, 4.6.2(4) hoặc 4.20.3-7 hay không, vỏ trong này không được là vách biên của két dầu đốt.
3.5.2 Lối tiếp cận để kiểm tra cách nhiệt
Phải có thể kiểm tra được một phía của bất cứ phần cách nhiệt nào trong khoang hàng. Nếu toàn bộ hệ thống có thể được kiểm tra từ phía bên ngoài của vách biên khoang hàng khi các két ở nhiệt độ khai thác thì không yêu cầu phải kiểm tra được một phía của phần cách nhiệt từ phía trong khoang hàng.
3.5.3 Lối tiếp cận khoang hàng, v.v...
Việc bố trí các khoang hàng, các khoang trống, các két hàng và các khoang khác được phân loại là vùng nguy hiểm, phải đảm bảo sao cho một thuyền viên với đầy đủ quần áo phòng hộ và thiết bị thở ra vào và kiểm tra được, và để giúp cho việc sơ tán người bị tai nạn và/hoặc bị bất tỉnh. Việc bố trí như vậy phải thỏa mãn các yêu cầu sau:
(1) Lối tiếp cận được quy định như sau:
(a) Lối tiếp cận tới tất cả các két hàng. Lối tiếp cận phải trực tiếp từ boong thời tiết;
(b) Lối tiếp cận qua các lỗ ngang, các miệng khoang hoặc các lỗ chui. Kích thước phải đủ để cho phép một người có mang thiết bị thở lên xuống được bằng bất kỳ thang tay nào mà không bị trở ngại và có kích thước đủ rộng để để dễ dàng đưa một người bị nạn lên từ đáy của khoang. Kích thước tối thiểu phải không nhỏ hơn 600 x 600 mm;
(c) Lối tiếp cận qua các lỗ đứng hoặc lỗ chui tạo thành hành lang xuyên suốt chiều dài và chiều rộng của khoang. Kích thước tối thiểu phải không nhỏ hơn 600 x 800 mm ở độ cao cách tôn đáy không quá 600 mm trừ khi có lưới hoặc sàn để đứng khác; Và
(d) Các lỗ khoét tiếp cận hình tròn tới các két kiểu C phải có đường kính không nhỏ hơn 600 mm.
(2) Các kích thước quy định ở (1)(b) và (1)(c) có thể được giảm đi. Nếu yêu cầu của 3.5.3 có thể được Đăng kiểm chấp nhận;
(3) Khi hàng được chở trong hệ thống chứa hàng yêu cầu một vách ngăn thứ cấp, các yêu cầu ở (1)(b) và (1)(c) không áp dụng cho các khoang tách ra từ một khoang hàng bởi một vách biên bằng thép kín khí duy nhất. Các khoang này, trừ bất kỳ vùng không nguy hiểm xung quanh, phải có lối tiếp cận trực tiếp hoặc gián tiếp từ boong thời tiết.
(4) Lối tiếp cận cần thiết để kiểm tra là một lối tiếp cận được qua các kết cấu bên dưới và bên trên các két hàng, phải có ít nhất các mặt cắt ngang như yêu cầu ở (1)(c).
(5) Mục 3.5.1 hoặc 3.5.2 phải áp dụng như sau:
(a) Nếu yêu cầu phải đi qua giữa bề mặt để kiểm tra, độ phẳng hoặc cong và các cơ cấu như xà boong, nẹp gia cường, sườn, sống v.v… thì khoảng cách giữa bề mặt và cạnh tự do của các phần tử kết cấu cố định ít nhất phải là 380 mm. Khoảng cách giữa bề mặt phải kiểm tra và bề mặt mà các phần tử kết cấu cố định ở trên, ví dụ như boong, vách hoặc mạn tàu, ít nhất phải là 450 cho bề mặt két cong (ví dụ két kiểu C), hoặc 600 mm cho bề mặt két phẳng (ví dụ két kiểu A) (xem Hình 8D/3.1);
(b) Nếu không yêu cầu phải đi qua giữa bề mặt để kiểm tra và bất kỳ một phần của cơ cấu thì tầm nhìn khoảng cách giữa cạnh tự do của phần tử kết cấu và bề mặt kiểm tra ít nhất phải là 50 mm hoặc một nửa chiều rộng của tấm mặt cơ cấu, lấy giá trị nào lớn hơn (xem Hình 8D/3.2);
(c) Nếu kiểm tra bề mặt cong yêu cầu phải đi qua giữa bề mặt và bề mặt khác, bằng phẳng hoặc cong mà không có phần tử kết cấu cố định thì khoảng cách giữa hai bề mặt ít nhất là 380 mm (xem Hình 8D/3.3). Nếu không yêu cầu đi qua giữa bề mặt cong và bề mặt khác thì có thể chấp nhận khoảng cách nhỏ hơn 380 mm có tính đến hình dạng của bề mặt cong;
(d) Nếu kiểm tra bề mặt xấp xỉ bằng phẳng yêu cầu phải đi qua giữa hai bề mặt xấp xỉ bằng phẳng và song song mà không có phần tử kết cấu cố định thì khoảng cách giữa các bề mặt đó ít nhất là 600 mm. Trường hợp thang tiếp cận là cố định thì khe hở ít nhất là 450 mm để dễ dàng tiếp cận (xem Hình 8D/3.4);
(e) Khoảng cách nhỏ nhất giữa bộ phận gom két hàng và cơ cấu đáy đôi liền kề trong đường đi của giếng hút không nhỏ hơn khoảng cách cho trong Hình 8D/3.5 (Hình 8D/3.5 chỉ ra khoảng cách giữa các bề mặt phẳng của bộ phận gom và giếng hút nhỏ nhất là 150 mm, khe hở giữa cạnh giữa tấm đáy trên và chiều cao của giếng hút với điểm gãy khúc giữa các bề mặt hình cầu hoặc hình tròn và bộ phận gom của két nhỏ nhất là 380 mm). Nếu không có giếng hút thì khoảng cách giữa bộ phận gom két hàng và đáy trên không được nhỏ hơn 50 mm;
(f) Khoảng cách giữa vòm két hàng và các cơ cấu boong không được nhỏ hơn 150 mm (xem Hình 8D/3.6);
(g) Giàn giáo cố định hoặc di động được lắp đặt nếu thấy cần thiết để kiểm tra các két hàng, giá đỡ két hàng và các hạn chế (ví dụ như chống lắc dọc, lắc ngang và chống trôi dạt), cách nhiệt két hàng v.v… Giàn giáo này không nên làm ảnh hưởng đến khe hở theo quy định từ (a) đến (d); và
(h) Nếu kênh thông gió cố định hoặc di động thì phải được lắp đặt phù hợp với 12.1.2, những kênh thông gió này không nên làm giảm khoảng cách được yêu cầu từ (a) đến (d).
Hình 8D/3.1

Hình 8D/3.2

Hình 8D/3.3

Hình 8D/3.4

Hình 8D/3.5

Hình 8D/3.6

3.5.4 Lối tiếp cận vào vùng không nguy hiểm
Lối tiếp cận vào vùng không nguy hiểm từ boong thời tiết phải được bố trí bên ngoài vùng nguy hiểm thỏa mãn yêu cầu ở Chương 10, trừ khi lối tiếp cận được đi qua ngăn đệm kín khí phù hợp với 3.6.
3.5.5 Lối tiếp cận/thoát ra từ khoang tháp
Các khoang tháp phải được bố trí hai lối tiếp cận/lối thoát độc lập.
3.5.6 Lối tiếp cận từ vùng nguy hiểm đến vùng không nguy hiểm
Không được bố trí lối tiếp cận từ vùng nguy hiểm bên dưới boong thời tiết đến vùng không nguy hiểm.
3.6 Ngăn đệm kín khí
3.6.1 Bố trí các cửa kín khí
Lối tiếp cận giữa vùng nguy hiểm trên boong thời tiết hở và không gian không nguy hiểm phải bằng ngăn đệm kín khí. Bao gồm có hai cửa bằng thép tự đóng, kín khí, có khả năng duy trì được áp suất dư, đặt cách nhau ít nhất 1,5 m nhưng không quá 2,5 m. Không gian ngăn đệm kín khí phải được thông gió cưỡng bức từ vùng không nguy hiểm và duy trì ở áp suất lớn hơn vùng nguy hiểm trên boong thời tiết.
3.6.2 Thiết kế và bố trí thông gió
Nếu các không gian được bảo vệ bằng áp suất cao thì thông gió phải được thiết kế và lắp đặt theo các tiêu chuẩn được công nhận.
3.6.3 Báo động không đóng
Phải trang bị hệ thống báo động bằng âm thanh và nhìn thấy được cảnh báo ở hai phía của ngăn đệm kín khí. Báo động nhìn thấy được chỉ báo nếu một cánh cửa được mở ra. Báo động bằng âm thanh phát ra âm thanh nếu cửa ở hai phía của ngăn đệm kín khí không ở vị trí đóng.
3.6.4 Duy trì áp suất dư trong khoang được bảo vệ
Trên tàu chở các sản phẩm dễ cháy, thiết bị điện được đặt trong các khoang được bảo vệ bằng các ngăn đệm kín khí không phải là kiểu đã được công nhận, phải ngắt được khi bị mất áp suất dư trong khoang.
3.6.5 Thiết bị điện trong khoang được bảo vệ
Thiết bị điện dùng cho điều động, thiết bị neo và chằng buộc cũng như bơm chữa cháy sự cố được đặt trong khoang được bảo vệ bằng ngăn đệm kín khí phải là kiểu được chứng nhận an toàn phù hợp với 10.2.4.
3.6.6 Giám sát hơi hàng
Khoang ngăn đệm kín khí phải được trang bị để giám sát hơi hàng (xem 13.6.2).
3.6.7 Ngưỡng cửa
Theo các quy định tương ứng của Chương 18 tới 20 Phần 2A hoặc Chương 18 và 19 Phần 2B của Quy chuẩn này, chiều cao của ngưỡng cửa không được nhỏ hơn 300 mm.
3.7 Bố trí hệ thống hút khô, dằn và dầu đốt
3.7.1 Bố trí hệ thống tiêu nước không yêu cầu có vách chắn thứ cấp
Khi hàng được chở trong hệ thống chứa hàng không yêu cầu có vách chắn thứ cấp, các hệ thống tiêu nước thích hợp phải được trang bị cho khoang hàng không được nối với buồng máy. Phải có các phương tiện phát hiện bất kỳ sự rò rỉ nào.
3.7.2 Bố trí hệ thống tiêu nước yêu cầu có vách chắn thứ cấp
Khi có vách chắn thứ cấp, phải có các hệ thống tiêu nước thích hợp để tránh bất cứ sự rò rỉ nào vào các khoang hàng hoặc khoang cách ly qua các kết cấu kề cận. Ống hút không được dẫn tới các bơm nằm trong buồng máy. Phải có các phương tiện phát hiện sự rò rỉ đó.
3.7.3 Hệ thống tiêu nước của các khoang giữa các vách chắn
Khoang hàng hoặc khoang giữa các vách chắn của tàu có két rời loại A phải được trang bị hệ thống tiêu nước thích hợp để xử lý hàng lỏng nếu xảy ra rò hoặc nứt vỡ két hàng. Các hệ thống này phải có khả năng đưa hàng rò lọt trở về đường ống hàng lỏng.
3.7.4 Ống nối
Hệ thống được đề cập ở 3.7.3 phải gồm một đoạn ống nối có thể tháo rời được.
3.7.5 Liên kết với các bơm trong buồng máy
1 Các két dằn, bao gồm sống hộp ướt được dùng như đường ống dằn, các két dầu đốt và khoang không nguy hiểm, có thể được nối với các bơm trong buồng máy.
2 Các sống hộp khô có đường ống dằn đi qua, có thể được nối với bơm trong buồng máy với điều kiện là việc nối đó phải được dẫn trực tiếp tới bơm và việc xả từ bơm dẫn trực tiếp ra mạn không qua các van hoặc hộp van trên mỗi đường ống nối đường ống dẫn từ sống hộp đến các đường ống phục vụ cho các khoang không nguy hiểm.
3 Các ống thoát khí của bơm không được mở vào buồng máy.
3.8 Các hệ thống nhận và trả hàng ở mũi và lái
3.8.1 Quy định chung
Tùy theo các yêu cầu 3.8 và Chương 5 của Phần này, đường ống dẫn hàng có thể được bố trí để cho phép nhận và trả hàng ở mũi hoặc lái.
3.8.2 Các hệ thống nhận và trả hàng ở mũi và lái cho từng loại hàng
Các đường ống nhận và trả hàng ở mũi hoặc lái dẫn qua buồng sinh hoạt, buồng phục vụ hoặc trạm điều khiển không được sử dụng để dẫn các sản phẩm đòi hỏi phải là kiểu tàu 1G. Nếu áp suất thiết kế trên 2,5 Mpa thì các đường ống nhận và trả hàng ở mũi hoặc lái không được sử dụng để dẫn các sản phẩm độc hại như quy định ở 1.1.5(48).
3.8.3 Các hệ thống di động
Không cho phép sử dụng các hệ thống di động.
3.8.4 Bố trí lối vào, đường dẫn không khí vào và các lỗ khoét
1 Các lối vào, đường dẫn không khí vào và lỗ khoét dẫn vào các buồng sinh hoạt, buồng phục vụ, buồng máy và trạm điều khiển phải không được đối diện với vị trí nối với bờ của các thiết bị nhận và trả hàng ở mũi hoặc lái. Chúng phải được bố trí trên vách mạn ngoài của thượng tầng hoặc lầu và cách mút của thượng tầng hoặc lầu đối diện với chỗ đặt đầu nối bờ của các thiết bị nhận và trả hàng ở mũi hoặc lái một khoảng ít nhất bằng 4% của chiều dài của tàu nhưng không được nhỏ hơn 3 m. Khoảng cách này không cần phải vượt quá 5 m.
2 Các cửa sổ và cửa mạn nằm đối diện với đầu nối bờ và cửa nằm ở vách bên của thượng tầng hoặc lầu trong phạm vi nêu trên phải là kiểu cố định (không mở).
3 Ngoài ra, trong thời gian sử dụng các thiết bị nhận và trả hàng ở mũi hoặc lái, tất cả các cửa ra vào, cửa mạn và các lỗ khoét khác trên vách bên của thượng tầng hoặc lầu tương ứng phải ở trạng thái đóng kín.
4 Đối với các tàu nhỏ, nếu không thể thỏa mãn được yêu cầu từ 3.2.4-1 đến 3.2.4-4 và từ -1 đến -3 ở mục này, Đăng kiểm có thể xem xét và giảm nhẹ các yêu cầu nêu trên.
3.8.5 Đóng các lỗ khoét trên boong và đường dẫn không khí vào
Các lỗ khoét trên boong và đường dẫn không khí vào và ra các khoang nằm trong phạm vi 10 m từ vị trí đầu nối bờ nhận trả hàng phải ở trạng thái đóng kín trong thời gian sử dụng các thiết bị nhận hoặc trả hàng ở mũi hoặc lái.
3.8.6 Các thiết bị chữa cháy
Các thiết bị chữa cháy cho khu vực nhận và trả hàng ở mũi hoặc lái phải thỏa mãn yêu cầu ở 11.3.1-1(4) và 11.4.6.
3.8.7 Phương tiện liên lạc
Phải trang bị phương tiện liên lạc giữa trạm điều khiển hàng và vị trí nối bờ và phương tiện đó phải được chứng nhận sử dụng trong vùng nguy hiểm.
3.9 Yêu cầu vận hành
3.9.1 Phạm vi áp dụng
Những quy định ở 3.9 không liên quan đến việc kiểm tra duy trì cấp nhưng chỉ ra những vấn đề đó sẽ được theo dõi nghiêm ngặt bởi chủ tàu, hoặc thuyền trưởng cũng như tất cả những người khác chịu trách nhiệm đến vận hành tàu.
3.9.2 Thiết bị nhận và trả hàng ở mũi hoặc lái dùng cho từng loại hàng
Các đường ống nhận và trả hàng ở mũi hoặc lái dẫn qua các buồng sinh hoạt, buồng phục vụ hoặc trạm điều khiển không được dùng để dẫn các sản phẩm đòi hỏi phải là kiểu tàu 1G. Nếu áp suất thiết kế trên 2,5 Mpa thì các đường ống nhận và trả hàng ở mũi hoặc lái không được dùng để dẫn các sản phẩm độc hại như quy định ở 1.1.5(48).
3.9.3 Đóng các lỗ khoét
Trong thời gian sử dụng các thiết bị nhận và trả hàng ở mũi hoặc lái, tất cả các cửa ra vào, cửa mạn và các lỗ khoét khác trên vách bên của thượng tầng hoặc lầu tương ứng phải được đóng kín.
3.9.4 Đóng các lỗ khoét trên boong và đường dẫn không khí vào
Các lỗ khoét trên boong và đường dẫn không khí vào và ra nằm trong phạm vi 10 m từ vị trí đặt đầu nối bờ nhận trả hàng phải được đóng kín khi sử dụng các thiết bị nhận và trả hàng ở mũi hoặc lái.
CHƯƠNG 4 CHỨA HÀNG
4.1 Các định nghĩa
4.1.1 Ống nối
Ống nối là một phần của thân tàu hoặc bề mặt vật liệu cách nhiệt nơi mà nhiệt độ giảm cục bộ xảy ra liên quan đến nhiệt độ cho phép tối thiểu của thân tàu hoặc kết cấu thân tàu kề cận nó, hoặc được thiết kế có khả năng chịu được áp suất hàng/hệ thống kiểm soát nhiệt độ yêu cầu ở Chương 7.
4.1.2 Áp suất hơi thiết kế
Áp suất hơi thiết kế “P0” là áp suất đo lớn nhất ở đỉnh két, được dùng để thiết kế két.
4.1.3 Nhiệt độ thiết kế
Nhiệt độ thiết kế để chọn vật liệu là nhiệt độ nhỏ nhất mà hàng hóa có thể được chứa hoặc vận chuyển trong két hàng.
4.1.4 Két rời
Két rời là két tự mang, không tạo thành phần kết cấu thân tàu và không tham gia vào độ bền của thân tàu. Có ba loại két rời được quy định ở 4.21, 4.22 và 4.23.
4.1.5 Két kiểu màng
Két kiểu màng là két không tự mang có một lớp chất lỏng mỏng và kín khí (lớp màng) được đỡ thông qua sự cách ly bởi kết cấu kề cận của thân tàu. Két kiểu màng được đề cập ở 4.24.
4.1.6 Két liền
Két liền là két tạo thành một phần của kết cấu thân tàu và cùng chịu ảnh hưởng bởi cùng những tải trọng tác động vào cơ cấu kề cận thân tàu. Két liền được đề cập ở 4.25.
4.1.7 Két kiểu nửa màng
Két kiểu nửa màng là két không tự đỡ trong điều kiện chịu tải và có một lớp màng mà một phần được đỡ thông qua lớp cách nhiệt bởi kết cấu kề cận của thân tàu. Két kiểu nửa màng đề cập ở 4.26.
4.1.8 Các định nghĩa khác
Ngoài các định nghĩa ở 1.2, các định nghĩa nêu ở Chương này được áp dụng trong suốt phần này.
4.2 Phạm vi áp dụng
Ngoại trừ quy định từ 4.21 đến 4.26, các yêu cầu của 4.3 đến 4.20 áp dụng cho tất cả các kiểu két, bao gồm cả những két được đề cập ở 4.27.
4.3 Các yêu cầu hoạt động
4.3.1 Tuổi thọ thiết kế
Tuổi thọ thiết kế của hệ thống chứa hàng không được nhỏ hơn tuổi thọ thiết kế của tàu.
4.3.2 Điều kiện môi trường
Hệ thống chứa hàng được thiết kế cho điều kiện môi trường Bắc Đại Tây Dương và sơ đồ phân tán trạng thái biển dài hạn liên quan đến vùng hoạt động không hạn chế. Điều kiện môi trường thấp hơn, phù hợp với việc sử dụng dự kiến có thể được Đăng kiểm chấp nhận cho hệ thống chứa hàng chỉ sử dụng riêng cho vùng hoạt động hạn chế. Điều kiện môi trường lớn hơn có thể được yêu cầu hệ thống chứa hàng hoạt động trong điều kiện nghiêm ngặt hơn so với môi trường Bắc Đại Tây Dương.
4.3.3 Giới hạn an toàn
Hệ thống chứa hàng phải được thiết kế với giới hạn an toàn phù hợp:
(1) Chịu được trong điều kiện nguyên vẹn, các điều kiện môi trường tính toán cho tuổi thọ thiết kế của hệ thống chứa hàng và các điều kiện tải trọng thích hợp, bao gồm điều kiện tải trọng đồng nhất và một phần đầy đủ, làm đầy một phần trong giới hạn xác định và chuyến đi có tải trọng dằn; và
(2) Phù hợp với những tải trọng không chắc chắn, mô hình kết cấu, độ mỏi, ăn mòn, ảnh hưởng nhiệt, biến đổi vật liệu, lão hóa và các dung sai kết cấu.
4.3.4 Điều kiện thiết kế
Độ bền kết cấu của hệ thống chứa hàng phải được đánh giá dựa trên những hư hỏng, bao gồm nhưng không giới hạn biến dạng dẻo, mất độ bền ổn định và mỏi. Các điều kiện thiết kế cụ thể phải xem xét thiết kế cho từng hệ thống chứa hàng được đề cập ở 4.21 đến 4.26. Có ba loại chính của điều kiện thiết kế:
(1) Điều kiện thiết kế tới hạn - kết cấu hệ thống chứa hàng và các thành phần kết cấu phải chịu được các tải trọng xảy ra trong quá trình chế tạo, thử và dự kiến sử dụng để khai thác mà không mất đi tính nguyên vẹn kết cấu. Thiết kế với sự kết hợp thích đáng của các tải trọng sau đây:
(a) Áp suất trong;
(b) Áp suất ngoài;
(c) Tải trọng động do chuyển động của tàu;
(d) Tải trọng do nhiệt;
(e) Tải trọng do va đập của mặt thoáng;
(f) Tải trọng do biến dạng thân tàu;
(g) Khối lượng của két và hàng hóa với các phản lực tương ứng ở các đế tựa;
(h) Khối lượng của chất cách nhiệt;
(i) Tải ở các tháp và ở các liên kết khác; và
(j) Tải thử.
(2) Điều kiện thiết kế mỏi - kết cấu hệ thống chứa hàng và các thành phần kết cấu phải chịu được dưới tải trọng chu trình tích lũy.
(3) Hệ thống chứa hàng phải thỏa mãn các điều kiện sau:
(a) Va đập - hệ thống chứa hàng phải đặt ở vị trí được bảo vệ phù hợp với 2.4.1 và chịu được tải trọng va đập theo quy định ở 4.15.1 mà giá đỡ, hoặc kết cấu két tại vị trí giá đỡ không bị biến dạng, có thể gây nguy hiểm cho kết cấu két.
(b) Cháy - hệ thống chứa hàng phải chịu được mà không bị phá hủy với sự gia tăng áp suất bên trong theo quy định ở 8.4.1 được dự tính có cháy tại đó.
(c) Khoang bị ngập gây ra tính nổi trên két - Thiết bị chống nổi phải chịu được lực từ dưới lên theo quy định ở 4.15.2 và không bị biến dạng dẻo gây nguy hiểm tới thân tàu.
4.3.5 Dự trữ han gỉ
Các biện pháp này phải được áp dụng để đảm bảo kích thước tiết diện cơ cấu thân tàu thỏa mãn các quy định về độ bền kết cấu và được duy trì trong suốt tuổi thọ thiết kế. Các biện pháp có thể bao gồm, nhưng không giới hạn như, lựa chọn vật liệu, lớp lót, bổ sung lượng dự trữ han gỉ, chống ăn mòn và làm trơ. Không cần phải cộng thêm lượng dự trữ han gỉ vào chiều dày xác định từ kết quả phân tích kết cấu. Tuy nhiên, nếu không kiểm soát môi trường, chẳng hạn như làm trơ xung quanh két hàng hoặc trong trường hợp hàng hóa có tính gây han gỉ thì Đăng kiểm có thể yêu cầu dự trữ thích đáng cho han gỉ.
4.3.6 Kế hoạch giám sát/kiểm tra
Kế hoạch giám sát/kiểm tra hệ thống chứa hàng phải được triển khai và thẩm định bởi Đăng kiểm. Kế hoạch giám sát/ kiểm tra để xác định những vùng cần kiểm tra trong quá trình giám sát xuyên suốt tuổi thọ của hệ thống chứa hàng, nếu cần thiết để phục vụ giám sát và bảo dưỡng tất cả những giả định đó khi lựa chọn các thông số thiết kế hệ thống chứa hàng. Hệ thống chứa hàng phải được thiết kế, kết cấu và thiết bị để cung cấp đầy đủ các phương tiện tiếp cận vào vùng cần kiểm tra như quy định trong kế hoạch giám sát/kiểm tra. Hệ thống chứa hàng bao gồm tất cả các thiết bị bên trong đi kèm. Phải được thiết kế và lắp ráp đảm bảo an toàn trong hoạt động, kiểm tra và bảo dưỡng (xem 3.5).
4.4 Nguyên tắc an toàn chứa hàng
4.4.1 Quy định chung
Các hệ thống chứa phải được cung cấp một vách chắn thứ cấp kín chất lỏng đầy đủ có khả năng chứa an toàn tất cả các sự cố rò rỉ thông qua vách chắn sơ cấp và liên kết với hệ thống cách nhiệt, ngăn chặn làm giảm nhiệt độ của kết cấu tàu đến một mức độ không an toàn.
4.4.2 Vách chắn thứ cấp giảm
Kích thước và hình dạng hoặc bố trí vách chắn thứ cấp có thể được giảm đến mức độ an toàn tương đương khi được chứng minh phù hợp với yêu cầu của 4.4.3 tới 4.4.5.
4.4.3 Hệ thống bảo vệ rò rỉ nhỏ
Hệ thống chứa hàng mà xác suất phá hủy kết cấu để phát triển thành tình trạng nghiêm trọng được xác định xảy ra cực kỳ thấp nhưng khả năng rò rỉ qua vách chắn thứ cấp không thể được loại trừ, phải được trang bị vách chắn thứ cấp từng phần và hệ thống bảo vệ rò rỉ nhỏ có khả năng xử lý và giải quyết an toàn các sự cố rò rỉ. Bố trí phải thỏa mãn các yêu cầu sau:
(1) Việc phát triển hư hỏng có thể được phát hiện trước khi đạt đến tình trạng nghiêm trọng (ví dụ bằng phát hiện khí hoặc kiểm tra) và phải có đủ thời gian để khắc phục tình trạng đó.
(2) Việc phát triển hư hỏng mà không được phát hiện một cách an toàn trước khi đạt đến tình trạng nghiêm trọng phải có thời gian dự kiến dài hơn để khắc phục tuổi thọ của két.
4.4.4 Vách chắn thứ cấp khi xác suất rò rỉ không đáng kể
Vách chắn thứ cấp không cần yêu cầu cho hệ thống chứa hàng, ví dụ két rời kiểu C, nếu xác suất hư hỏng kết cấu và rò rỉ thông qua vách chắn sơ cấp là không đáng kể và có thể bỏ qua.
4.4.5 Vách chắn thứ cấp khi nhiệt độ hàng không lớn hơn -10oC
Vách chắn thứ cấp không cần yêu cầu khi nhiệt độ hàng ở áp suất khí quyển bằng hoặc trên -10oC.
4.5 Vách chắn thứ cấp liên quan đến kiểu két
Vách chắn thứ cấp liên quan đến kiểu két được quy định ở 4.21 đến 4.26 phải phù hợp với Bảng 8D/4.1.
Bảng 8D/4.1 Kiểu két và vách chắn thứ cấp
|
Nhiệt độ hàng hóa ở áp suất khí quyển |
Bằng và lớn hơn -10oC |
Thấp hơn -10oC xuống đến -55oC |
Thấp hơn -55oC |
|
Kiểu két cơ bản |
Không yêu cầu vách chắn thứ cấp |
Thân tàu đóng vai trò như vách chắn thứ cấp |
Vách chắn thứ cấp riêng biệt nếu yêu cầu |
|
Két liền Két kiểu màng Két kiểu nửa màng Két rời: - Loại A - Loại B - Loại C |
Két kiểu thường không được cho phép(1) Vách chắn thứ cấp toàn bộ Vách chắn thứ cấp toàn bộ(2)
Vách chắn thứ cấp toàn bộ Vách chắn thứ cấp từng phần Không yêu cầu vách chắn thứ cấp |
||
|
Chú thích: (1) Vách chắn thứ cấp toàn bộ thường được yêu cầu nếu hàng hóa ở nhiệt độ thấp hơn -10°C dưới áp suất khí quyển được cho phép theo 4.25.1; (2) Với các két kiểu nửa màng đã thỏa mãn yêu cầu đối với các két rời loại B, trừ kết cấu đỡ, sau khi xem xét đặc biệt, Đăng kiểm có thể chấp nhận vách chắn thứ cấp từng phần. |
|||
4.6 Thiết kế vách chắn thứ cấp
4.6.1 Kết cấu thân tàu đóng vai trò như vách chắn thứ cấp
Khi nhiệt độ hàng hóa tại áp suất khí quyển không thấp hơn -55oC thì kết cấu thân tàu có thể đóng vai trò như vách chắn thứ cấp dựa trên những điều sau đây:
(1) Vật liệu thân tàu phải phù hợp với nhiệt độ hàng hóa ở áp suất khí quyển như yêu cầu ở 4.19.1-4; và
(2) Thiết kế phải đảm bảo tại nhiệt độ này không gây ra ứng suất không thể chấp nhận được đối với thân tàu.
4.6.2 Tiêu chuẩn của vách chắn thứ cấp
Vách chắn thứ cấp phải được thiết kế sao cho:
(1) Có khả năng giữ được bất kỳ rò rỉ dự tính nào của hàng lỏng trong thời gian 15 ngày, trừ khi áp dụng các tiêu chuẩn khác nhau cho các chuyến đi cụ thể, có xét đến phổ tải nêu ở 4.18.2-6;
(2) Nếu do vật lý, cơ học hoặc vận hành của két hàng mà có thể gây ra hư hỏng vách chắn sơ cấp thì phải không được làm hư hại đến chức năng của vách chắn thứ cấp hoặc ngược lại;
(3) Việc hư hỏng giá đỡ hoặc phần gắn vào kết cấu thân tàu không làm mất độ kín nước của vách chắn sơ cấp và vách chắn thứ cấp;
(4) Có khả năng kiểm tra định kỳ hiệu quả bằng phương tiện được Đăng kiểm chấp nhận hoặc có thể bằng kiểm tra bằng mắt thường, thử áp suất, thử chân không hoặc bằng các phương tiện thích hợp khác thực hiện theo quy trình tài liệu được Đăng kiểm chấp nhận;
(5) Các phương pháp yêu cầu ở (4) phải được Đăng kiểm chấp nhận khi thực hiện các quy trình kiểm tra:
(a) Chi tiết về kích thước khuyết tật và vị trí vách chắn thứ cấp được chấp nhận, trước khi tính hiệu quả của kín chất lỏng bị hư hại;
(b) Độ chính xác và phạm vi các giá trị của phương pháp được dự kiến dùng để phát hiện các khuyết tật ở (a);
(c) Các hệ số xác định được sử dụng trong việc xác định các tiêu chuẩn công nhận nếu mô hình thử không được thực hiện; và
(d) Ảnh hưởng của nhiệt và tải theo chu trình cơ học về hiệu quả của các thử nghiệm được đưa ra; và
(6) Vách chắn thứ cấp phải làm được chức năng của chúng ở góc nghiêng tĩnh đến 30o.
4.7 Vách chắn thứ cấp từng phần và hệ thống bảo vệ rò rỉ nhỏ của vách chắn sơ cấp
4.7.1 Quy định chung
Vách chắn thứ cấp từng phần được đề cập ở 4.4.3 phải được sử dụng với hệ thống bảo vệ rò rỉ nhỏ và thỏa mãn tất cả các yêu cầu ở 4.6.2. Hệ thống bảo vệ rò rỉ nhỏ bao gồm các phương tiện phát hiện rò rỉ ở vách chắn thứ cấp được coi như một lá chắn phun để làm chệch hướng bất kỳ hàng lỏng đi xuống vách chắn thứ cấp từng phần và các phương tiện để xử lý chất lỏng, có thể là do bốc hơi tự nhiên.
4.7.2 Vách chắn thứ cấp từng phần
Khả năng của vách chắn thứ cấp từng phần phải được xác định dựa trên sự rò rỉ hàng tương ứng với mức độ hư hỏng do phổ tải được đề cập ở 4.18.2-6, sau khi phát hiện ra rò rỉ sơ cấp. Từ đó có thể tính toán được sự hóa hơi lỏng, tỷ lệ rò rỉ, công suất bơm và các yếu tố liên quan khác.
4.7.3 Phát hiện rò rỉ của chất lỏng
Các yêu cầu phát hiện rò rỉ của chất lỏng có thể bằng thiết bị cảm biến chất lỏng hoặc bằng cách sử dụng hệ thống đo áp suất, nhiệt độ hoặc phát hiện khí hoặc bất kỳ sự kết hợp nào.
4.8 Phát hiện rò rỉ của chất lỏng
4.8.1 Quy định chung
Các két hàng phải được đỡ bởi thân tàu để ngăn chặn chuyển động của két dưới tải trọng tĩnh và động quy định ở 4.12 đến 4.15, cho phép két co lại và mở rộng dưới sự thay đổi nhiệt độ và độ võng của thân tàu mà không tạo ra ứng suất của két và thân tàu.
4.8.2 Thiết bị chống nổi
Các két rời phải có thiết bị chống nổi và có khả năng chịu tải trọng quy định ở 4.15.2 mà không bị biến đạng dẻo gây nguy hiểm cho kết cấu thân tàu.
4.8.2 Kết hợp tải trọng
Giá đỡ và các các cơ cấu đỡ phải chịu được tải trọng quy định ở 4.13.9 và 4.15 nhưng các tải trọng không cần phải kết hợp với nhau hoặc kết hợp với tải trọng do sóng.
4.9 Kết cấu và thiết bị liên quan
4.9.1 Quy định chung
Hệ thống chứa hàng phải được thiết kế cho các tải trọng bắt buộc bởi kết cấu và thiết bị liên quan bao gồm tháp bơm, vòm hàng hóa, bơm hàng và đường ống, bơm vét và đường ống, đường ống nitơ, lối đi vào miệng khoang, cầu thang, kết cấu xuyên qua vách của đường ống, đồng hồ đo mức chất lỏng, đồng hồ báo mức độc lập, vòi phun và các hệ thống thiết bị đo (như áp suất, nhiệt độ và đo biến dạng).
4.10 Vật liệu cách nhiệt
4.10.1 Bảo vệ kết cấu thân tàu đối với sản phẩm có nhiệt độ thấp
Vật liệu cách nhiệt phải bảo vệ được thân tàu từ nhiệt độ thấp (xem 4.19.1) và hạn chế truyền nhiệt vào két đến mức có thể duy trì bằng hệ thống đo áp suất và hệ thống kiểm soát nhiệt độ áp dụng ở Chương 7.
4.10.2 Đặc tính cách nhiệt
Khi xác định đặc tính cách nhiệt cần phải quan tâm thích đáng đến lượng bay hơi có thể chấp nhận được cùng với thiết bị hóa lỏng lại ở trên tàu, máy chính hoặc hệ thống kiểm soát nhiệt độ khác.
4.11 Quy định chung
Tải trọng thiết kế ở Phần này liên quan đến các yêu cầu ở 4.16, 4.17 và 4.18 bao gồm:
(1) Các loại tải trọng (cố định, hoạt động, môi trường và tai nạn) và mô tả của các tải trọng;
(2) Phải xem xét mức độ các tải trọng dựa vào kiểu két và có đầy đủ chi tiết ở phần sau; và
(3) Các két cùng với kết cấu đỡ và các thiết bị khác khi thiết kế phải tính đến sự kết hợp liên quan của các tải trọng mô tả dưới đây.
4.12 Tải trọng cố định
4.12.1 Tải trọng lực
Khối lượng của két, vật liệu cách nhiệt, các tải trọng gây ra bởi các tháp và các liên kết khác phải được xem xét.
4.12.2 Tải trọng bên ngoài cố định
Tải trọng lực của kết cấu và thiết bị hoạt động bên ngoài vào két phải được xem xét.
4.13 Tải trọng hoạt động
4.13.1 Quy định chung
Tải trọng phát sinh từ hoạt động của hệ thống két phải được coi như tải trọng hoạt động. Trong tất cả các điều kiện thiết kế phải xem xét đến các tải hoạt động để đảm bảo tính nguyên vẹn của hệ thống két. Phải xem xét khi thiết lập tải trọng hoạt động ở mức tối thiểu từ các tiêu chuẩn sau đây nếu có:
(1) Áp suất trong;
(2) Áp suất ngoài;
(3) Tải trọng gây ra do biến dạng nhiệt;
(4) Dao động;
(5) Tải trọng tương tác;
(6) Tải trọng gắn liền với kết cấu và thiết bị;
(7) Tải trọng thử;
(8) Tải trọng ở góc nghiêng tĩnh; và
(9) Khối lượng của hàng hóa.
4.13.2 Áp suất trong
1 Trong mọi trường hợp, bao gồm cả 4.13.2-2, Po không được nhỏ hơn MARVS.
2 Đối với các két hàng nơi và không có kiểm soát nhiệt độ mà áp suất hàng được quyết định bởi nhiệt độ môi trường, Po không được nhỏ hơn áp suất đo được của hàng hóa ở nhiệt độ 45oC ngoại trừ:
(1) Giá trị thấp hơn nhiệt độ môi trường có thể được Đăng kiểm chấp nhận cho tàu hoạt động trong vùng hạn chế. Ngược lại, giá trị cao hơn nhiệt độ môi trường có thể được yêu cầu; và
(2) Đối với tàu có hạn chế thời gian chuyến đi, Po có thể được tính toán dựa trên sự gia tăng áp suất thực tế trong suốt chuyến đi và bất kỳ vật liệu cách nhiệt của két có thể được xét đến.
3 Đối tượng để Đăng kiểm xem xét và các hạn chế ở 4.21 đến 4.26 đối với các kiểu két khác nhau, áp suất hơi Ph cao hơn Po có thể được chấp nhận với điều kiện xác định nơi (cảng, địa điểm khác) tải trọng động được giảm.
4 Các kết quả áp suất trong Peq từ áp suất hơi Po hoặc Ph dư lớn nhất liên quan đến áp suất chất lỏng động Pgd nhưng không bao gồm các tác động của tải trọng do va đập chất lỏng. Cách thức hướng dẫn liên quan đến áp suất chất lỏng động Pgd được đưa ra ở 4.28.1
4.13.3 Áp suất ngoài
Thiết kế tải áp suất bên ngoài phải dựa trên sự chênh lệch giữa áp suất trong nhỏ nhất và áp suất ngoài lớn nhất mà bất kỳ phần nào của két có thể phải chịu cùng một thời điểm.
4.13.4 Tải trọng do biến dạng nhiệt
1 Các két dùng để chứa hàng có nhiệt độ thấp hơn -55oC phải xét đến các tải trọng do biến dạng nhiệt chuyển tiếp trong thời gian hóa lạnh.
2 Phải xét đến các tải trọng tĩnh do biến dạng nhiệt cho hệ thống chứa hàng trên các cơ cấu đỡ hoặc thiết bị theo thiết kế sẽ xuất hiện ứng xuất nhiệt lớn đáng kể ở nhiệt độ khái thác (xem 7.2).
4.13.5 Dao động
Phải xét đến các ảnh hưởng có hại của dao động lên hệ thống chứa hàng.
4.13.6 Tải trọng do tương tác
Phải xét đến các thành phần tĩnh của các tải trọng từ sự tương tác giữa hệ thống chứa hàng và kết cấu thân tàu cũng như tải trọng từ kết cấu và thiết bị liên quan.
4.13.7 Tải trọng gắn liền với kết cấu và thiết bị
Phải xét đến các tải trọng hoặc các điều kiện liên quan đến kết cấu và thiết bị.
4.13.8 Tải trọng thử
Phải xét đến các tải trọng tương ứng với việc thử nghiệm hệ thống chứa hàng được đề cập ở 4.21 đến 4.26.
4.13.9 Tải trọng ở góc nghiêng tĩnh
Phải xét đến các tải trọng ở góc nghiêng tĩnh nguy hiểm nhất trong phạm vi từ 0o đến 30o.
4.13.10 Tải trọng khác
Phải xét đến các tải trọng bất kỳ khác không được quy định cụ thể mà ảnh hưởng đến hệ thống chứa hàng.
4.14 Tải trọng do môi trường
Tải trọng do môi trường là những tải trọng trên hệ thống chứa hàng gây ra bởi môi trường xung quanh mà không được phân loại như tải trọng cố định, tải trọng do hoạt động hoặc tải trọng do tai nạn.
4.14.1 Tải trọng do chuyển động của tàu
1 Khi xác định tải trọng động phải xét đến sự phân bố chuyển động của tàu trong một thời gian dài ở vùng biển không thường xuyên mà tàu sẽ phải chịu trong đời hoạt động. Có thể xét đến sự giảm tải trọng động do giảm tốc độ và sự thay đổi hướng.
2 Chuyển động của tàu bao gồm sóng, chòng chành, lắc theo phương đứng, lắc ngang, lắc dọc và chuyển hướng. Gia tốc tác dụng trên két được giả thiết đặt vào trọng tâm của két bao gồm các thành phần sau đây:
(1) Gia tốc đứng: Gia tốc do dao động theo phương đứng, lắc dọc và có thể do cả lắc ngang của tàu (vuông góc với mặt phẳng cơ bản của tàu);
(2) Gia tốc ngang: Gia tốc do dao động của chòng chành, chuyển hướng, lắc ngang và các thành phần trọng lực của lắc ngang;
(3) Gia tốc dọc: Gia tốc do dao động của sóng, lắc dọc và các thành phần trọng lực của lắc dọc.
3 Các phương pháp giả thiết gia tốc do dao động phải được Đăng kiểm xem xét và chấp nhận.
4 Công thức hướng dẫn cho các thành phần gia tốc được đưa ra ở 4.28.2.
5 Các tàu hoạt động ở vùng biển hạn chế phải được Đăng kiểm xem xét và chấp nhận.
4.14.2 Tải trọng do tương tác động
Phải xét đến các thành phần động của tải trọng do sự tương tác giữa hệ thống chứa hàng và kết cấu thân tàu bao gồm cả các tải trọng từ kết cấu và thiết bị liên quan.
4.14.3 Tải trọng do va đập chất lỏng
1 Tải trọng do va đập chất lỏng trên hệ thống chứa hàng và các thành phần bên trong phải được đánh giá dựa trên mức độ đầy cho phép.
2 Nếu ảnh hưởng của tải trọng do va đập chất lỏng gây ra lớn thì phải tiến hành tính toán và thử kiểm tra đặc biệt.
4.14.4 Tải trọng do tuyết và băng tuyết
Tuyết và băng tuyết phải được xem xét nếu có.
4.14.5 Tải trọng do hoạt động trong băng tuyết
Tải trọng do hoạt động trong băng tuyết phải được xem xét cho tàu dự định khai thác ở đó.
4.15 Tải trọng do tai nạn
Tải trọng do tai nạn phải được xác định như tải trọng bắt buộc trên hệ thống chứa hàng và thiết bị đỡ theo các điều kiện bất thường mà không có kế hoạch.
4.15.1 Tải trọng do va chạm tàu
Tải trọng do va chạm phải được xác định dựa trên hệ thống chứa hàng trong điều kiện đầy tải với lực quán tính theo hướng về phía trước là 0,5g, theo hướng về phía sau là 0,25g trong đó “g” là gia tốc trọng trường.
4.15.2 Tải trọng do ngập nước trên tàu
Đối với các két rời, tải trọng gây ra bởi tính nổi của két trống trong khoang hàng bị ngập tới đường nước mùa hè trong thiết kế phải xét đến các giá chống trôi dạt và giá đỡ kết cấu thân tàu
4.16 Quy định chung
4.16.1 Giới hạn an toàn
Phải xét đến khả năng biến dạng dẻo, mất độ bền ổn định, mỏi, mất chất lỏng và độ kín khí khi thiết kế kết cấu phải đảm bảo các két có đủ thể tích để duy trì tất cả các tải trọng liên quan với giới hạn đủ an toàn.
4.16.2 Quy định chung
Đối với kiểu hệ thống chứa hàng, tính nguyên vẹn kết cấu của hệ thống chứa hàng phải theo quy định ở 4.21 đến 4.26.
4.16.3 Thiết kế mới
Thiết kế mới và khác biệt đáng kể so với tính nguyên vẹn kết cấu của các kiểu hệ thống chứa hàng theo quy định ở 4.21 đến 4.26 phải thỏa mãn 4.27 để đảm bảo rằng mức độ tổng thể về an toàn được duy trì trong suốt Chương này.
4.17 Phân tích kết cấu
4.17.1 Phân tích
1 Phân tích thiết kế phải được dựa trên các nguyên tắc cơ bản của tĩnh, động và sức bền vật liệu.
2 Phương pháp đơn giản hoặc phân tích đơn giản có thể được sử dụng để tính toán các thành phần tải trọng với điều kiện phải đảm bảo an toàn. Thử mô hình có thể được sử dụng kết hợp với, hoặc thay vì tính toán lý thuyết. Trong trường hợp các phương pháp lý thuyết là không đủ, thử mô hình hoặc thử thật có thể được yêu cầu.
3 Khi xác định kết quả từ tải trọng động, phải xét đến các thành phần động mà có thể ảnh hưởng đến tính nguyên vẹn kết cấu
4.17.2 Giả định tải trọng
1 Phải xét đến đối với mỗi vị trí hoặc một phần của hệ thống chứa hàng và mỗi trạng thái có thể hư hỏng phải được phân tích, tất cả các liên kết liên quan của tải trọng có thể tác động đồng thời phải được xem xét.
2 Các điều kiện phải được xét đến với các giả định nguy hiểm nhất cho tất cả các trạng thái liên quan đến trong quá trình chế tạo, làm hàng, kiểm tra và trong khai thác.
4.17.3 Ứng suất cho phép
Nếu ứng suất tĩnh và ứng suất động được tính toán riêng rẽ thì trừ khi có cơ sở chính đáng để áp dụng các phương pháp tính toán khác, ứng suất tổng được tính theo:
![]()
![]()
![]()
![]()
![]()
![]()
Trong đó:
σx.st, σy.st, σz.st, txy.st, txz.st và tyz.st: là ứng suất tĩnh và;
σx.dyn, σy.dyn, σz.dyn, txy.dyn, txz.dyn và tyz.dyn: là ứng suất động.
Phải xác định riêng rẽ từng các thành phần từ gia tốc và các thành phần biến dạng của thân tàu do uốn và xoắn.
4.18 Điều kiện thiết kế
Tất cả các dạng hư hỏng liên quan phải được xem xét trong thiết kế cho tất cả các giả định tải trọng liên quan và các điều kiện thiết kế. Các điều kiện thiết kế được đưa ra trong phần trước của Chương này và các giả định tải trọng đưa ra ở 4.17.2.
4.18.1 Điều kiện thiết kế tới hạn
Khả năng của kết cấu có thể được xác định bằng kiểm tra, hoặc bằng phân tích, có tính đến tính chất của vật liệu dẻo và đàn hồi bằng cách phân tích đàn hồi tuyến tính đơn giản hoặc bằng quy định ở Phần này.
(1) Phải xét đến biến dạng dẻo và mất độ bền ổn định.
(2) Phân tích phải dựa trên các giá trị tải trọng đặc trưng như sau:
Tải trọng cố định: Giá trị giả định
Tải trọng do hoạt động: Giá trị xác định
Tải trọng do môi trường: Đối với tải trọng sóng: Xác suất tải trọng lớn nhất gặp phải trong 108 chu kỳ sóng.
(3) Đối với mục đích của việc đánh giá độ bền tới hạn, áp dụng các hệ số vật liệu sau đây:
(a) Re: Ứng suất chảy nhỏ nhất ở nhiệt độ trong phòng (N/mm2). Nếu đường cong ứng suất biến dạng không thể hiện ứng suất chảy thì lấy theo giới hạn chảy quy ước 0,2%.
(b) Rm: Độ bền kéo nhỏ nhất ở nhiệt độ trong phòng (N/mm2).
Đối với mối nối hàn nơi mà mối hàn không tương thích, ví dụ nơi mà mối hàn kim loại có độ bền kéo thấp hơn so với kim loại cơ bản, chẳng hạn như trong một số hợp kim nhôm có ứng suất Re và Rm tương ứng của mối hàn, phải sử dụng bất kỳ biện pháp nào để xử lý nhiệt sau khi áp dụng. Trong trường hợp như vậy, mối hàn ngang có độ bền kéo không được nhỏ hơn độ bền chảy thực tế của kim loại cơ bản. Nếu không thể đạt được điều đó thì các kết cấu hàn được chế tạo từ các vật liệu như vậy phải không được kết hợp trong hệ thống chứa hàng.
(c) Các tính chất nói trên tương ứng với các cơ tính quy định tối thiểu của vật liệu theo quy định kể cả kim loại hàn ở điều kiện chế tạo. Theo yêu cầu riêng của Đăng kiểm có thể xét đến ứng suất chảy tăng cường và độ bền kéo ở nhiệt độ thấp.
(4) Ứng suất tương đương σc (Von Mises, Huber) được tính bằng:
![]()
Trong đó:
σc: Ứng suất pháp tổng cộng theo phương x;
σy: Ứng suất pháp tổng cộng theo phương y;
σz: Ứng suất pháp tổng cộng theo phương z;
txy: Ứng suất tiếp tổng cộng trong mặt phẳng x-y;
txz: Ứng suất tiếp tổng cộng trong mặt phẳng x-z; và
tyz: Ứng suất tiếp tổng cộng trong mặt phẳng y-z.
Các trị số trên phải được tính toán như nói đến ở 4.17.3.
(5) Ứng suất cho phép đối với các vật liệu không quy định ở Chương 6 phải được Đăng kiểm xét duyệt trong từng trường hợp cụ thể.
(6) Ứng suất còn bị giới hạn qua phân tích hiện tượng mỏi, phân tích sự lan truyền vết nứt và tiêu chuẩn mất độ bền ổn định.
4.18.2 Điều kiện thiết kế do mỏi
1 Điều kiện thiết kế do mỏi là điều kiện thiết kế liên quan đến tải trọng chu trình tích lũy.
2 Nếu phải phân tích mỏi thì hiệu ứng tích lũy của tải trọng do mỏi phải thỏa mãn:
![]()
Trong đó:
ni: Số chu kỳ ứng suất ở mỗi trị số ứng suất trong đời hoạt động của két;
Ni: Số chu kỳ phá hủy ở từng trị số ứng suất theo đường cong Wohler (S-N);
nLoading: Số chu kỳ nhận và trả hàng trong đời hoạt động của két không nhỏ hơn 1000 (1000 chu kỳ bình thường tương ứng với 20 năm hoạt động) chu kỳ nhận và trả hàng bao gồm áp suất toàn bộ và chu kỳ nhiệt;
NLoading: Số chu kỳ phá hủy đối với tải trọng do mỏi do nhận và trả hàng; và
Cw: Cho phép tỷ lệ phá hủy do mỏi tích lũy lớn nhất.
Phá hủy do mỏi phải dựa trên tuổi thọ thiết kế của két nhưng không nhỏ hơn 108 lần gặp sóng.
3 Trường hợp thấy cần thiết, hệ thống chứa hàng phải được phân tích mỏi có xét đến tất cả các tải trọng do mỏi và các tải trọng do mỏi tổng hợp phù hợp với tuổi thọ dự tính của hệ thống chứa hàng. Việc xem xét phải được dựa vào điều kiện làm đầy khác nhau.
4
(1) Đường cong thiết kế S-N sử dụng trong phân tích phải được áp dụng đối với các vật liệu, các kết cấu hàn, các chi tiết kết cấu, quy trình chế tạo và trạng thái áp dụng của ứng suất giả định.
(2) Đường cong S-N phải được dựa trên xác suất an toàn 97,6% tương ứng với đường cong độ lệch tiêu chuẩn trung bình về hai phía dữ liệu thực nghiệm có liên quan đến phá hủy cuối cùng. Kế thừa sử dụng các đường cong S-N theo cách khác nhau yêu cầu phải điều chỉnh trị số Cw đến mức chấp nhận được quy định ở 4.18.2-7 đến 4.18.2-9.
5 Phân tích phải được dựa trên các giá trị tải trọng đặc trưng như sau:
Tải trọng cố định: Giá trị giả định
Tải trọng hoạt động: Giá trị xác định
Tải trọng môi trường: Quá trình tải trọng giả định nhưng không nhỏ hơn 108 chu kỳ sóng.
Nếu dùng phổ tải trọng động đơn giản để xem xét hiện tượng mỏi thì phổ đó phải được Đăng kiểm xem xét đặc biệt.
6
(1) Nếu kích thước của vách chắn thứ cấp giảm như quy định ở 4.4.3 thì phải phân tích vết nứt cơ học về sự phát triển vết nứt do mỏi để xác định:
(a) Đường lan truyền vết nứt trong kết cấu;
(b) Tốc độ phát triển vết nứt;
(c) Thời gian cần thiết để vết nứt lan truyền gây ra rò rỉ từ két;
(d) Kích thước và hình dạng của các vết nứt dày xuyên qua; và
(e) Thời gian cần thiết để các vết nứt có thể phát hiện đạt tới một tình trạng tới hạn.
Các vết nứt cơ học nói chung phải được dựa trên dữ liệu phát triển vết nứt được lấy như một giá trị trung bình cộng với hai độ lệch tiêu chuẩn của dữ liệu thử.
(2) Trong phân tích sự lan truyền vết nứt, phải giả định vết nứt ban đầu lớn nhất không thể phát hiện bằng các phương pháp kiểm tra, có thể áp dụng cho phép việc thử nghiệm không phá hủy và tiêu chuẩn kiểm tra bằng mắt.
(3) Phân tích sự lan truyền vết nứt theo các điều kiện quy định ở 4.18.2-7: có thể sử dụng sự phân bố tải trọng đơn giản và trình tự trong khoảng thời gian 15 ngày. Sự phân bố có thể được lấy như ở Hình 8D/4.4. Phân bố tải trọng và trình tự thời gian như ở 4.18.2-8 và 4.18.2-9 phải được Đăng kiểm xem xét.
(4) Việc bố trí phải tuân theo 4.18.2-7 đến 4.18.2-9.
7 Đối với các phá hủy có thể phát hiện dễ dàng bằng phương tiện phát hiện rò rỉ:
Cw phải nhỏ hơn hoặc bằng 0,5.
Thời gian phát triển phá hủy dự kiến còn lại, từ thời điểm phát hiện rò rỉ cho đến khi đạt đến trạng thái tới hạn không được ít hơn 15 ngày trừ khi có các yêu cầu khác nhau áp dụng cho các tàu có chuyến đi đặc biệt.
8 Đối với các phá hủy không thể phát hiện rò rỉ nhưng có thể được phát hiện chắc chắn tại thời điểm kiểm tra trong khai thác:
Cw phải nhỏ hơn hoặc bằng 0,5.
Thời gian phát triển phá hủy dự kiến còn lại, từ vết nứt lớn nhất không thể phát hiện được bằng các phương pháp kiểm tra trong khai thác cho đến khi đạt đến trạng thái tới hạn phải không được nhỏ hơn ba lần so với khoảng thời gian kiểm tra.
9 Ở vị trí đặc biệt của két, nếu không đảm bảo việc phát hiện hữu hiệu sự phát triển của khuyết tật hoặc vết nứt thì tối thiểu phải áp dụng tiêu chuẩn công nhận mỏi nghiêm ngặt hơn dưới đây:
Cw phải nhỏ hơn hoặc bằng 0,1.
Thời gian phát triển phá hủy còn lại, từ khuyết tật ban đầu giả định cho đến khi đạt đến trạng thái tới hạn phải không nhỏ hơn ba lần tuổi thọ của két.
4.18.3 Điều kiện thiết kế do tai nạn
1 Điều kiện thiết kế do tai nạn là điều kiện thiết kế cho các tải trọng do tai nạn với xác suất xảy ra rất nhỏ.
2 Phân tích phải dựa trên các giá trị đặc trưng sau:
Tải trọng cố định: Giá trị giả định
Tải trọng do hoạt động: Giá trị xác định
Tải trọng do môi trường: Giá trị xác định
Tải trọng do tai nạn: Giá trị xác định hoặc giá trị giả định
3 Tải trọng được nói đến ở 4.13.9 và 4.15 không cần phải kết hợp với nhau hoặc với tải trong do sóng gây ra.
4.19 Vật liệu
4.19.1 Vật liệu tạo thành kết cấu tàu
1 Để xác định các loại thép sử dụng trong kết cấu thân tàu, tất cả các kiểu két phải được tính toán nhiệt độ khi nhiệt độ hàng dưới -10oC. Các giả định sau đây phải được đưa vào để tính toán:
(1) Vách chắn sơ cấp của tất cả các két phải giả định ở nhiệt độ hàng;
(2) Ngoài nêu ở -1 nếu yêu cầu phải có vách chắn thứ cấp toàn bộ hoặc từng phần thì phải giả định nhiệt độ hàng hóa ở áp suất khí quyển đối với một két bất kỳ;
(3) Nhiệt độ môi trường bằng 5oC đối với không khí và bằng 0oC đối với nước biển, áp dụng hoạt động trên toàn thế giới. Có thể chấp nhận những trị số cao hơn cho các tàu hoạt động ở vùng biển hạn chế và ngược lại Đăng kiểm có thể ấn định những trị số thấp hơn cho vùng có nhiệt độ thấp hơn dự kiến trong những tháng mùa đông;
(4) Điều kiện không khí tĩnh và nước biển tĩnh phải được giả định, tức là không điều chỉnh đối lưu cưỡng bức;
(5) Sự suy giảm các đặc tính cách nhiệt đối với tuổi thọ của tàu do các yếu tố như lão hóa do nhiệt và cơ học, sự nén chặt, chuyển động tàu và dao động két phải được giả định như quy định ở 4.19.3-6 và 4.19.3-7;
(6) Nếu áp dụng phải được xét đến ảnh hưởng của sự hạ nhiệt do hơi bốc từ hàng hóa rò rỉ;
(7) Phải xét đến hâm nóng thân tàu có thể phù hợp với 4.19.1-5, phương tiện hâm nóng phải thỏa mãn 4.19.1-6;
(8) Không xét đến bất kỳ các phương tiện hâm nóng, trừ khi được nêu ở 4.19.1-5; và
(9) Đối với các cơ cấu liên kết thân trong và thân ngoài của tàu có thể lấy nhiệt độ trung bình để xác định cấp thép.
2 Tôn bao, tôn boong của tàu và nẹp gia cường phải phù hợp với các tiêu chuẩn được công nhận. Nếu nhiệt độ tính toán của vật liệu trong điều kiện thiết kế dưới -5oC do ảnh hưởng của nhiệt độ hàng hóa thì vật liệu phải theo Bảng 8D/6.5.
3 Vật liệu của tất cả các kết cấu thân tàu khác mà nhiệt độ tính toán trong điều kiện thiết kế dưới 0oC, do ảnh hưởng của nhiệt độ hàng hóa mà không tạo thành vách chắn thứ cấp phải theo Bảng 8D/6.5. Bao gồm kết cấu thân tàu đỡ các két hàng, tôn đáy trên, tôn vách dọc, tôn vách ngang, đà ngang đáy, sườn khỏe, sống dọc mạn và các cơ cấu gia cường khác.
4 Vật liệu thân tàu tạo thành vách chắn thứ cấp phải theo Bảng 8D/6.2. Nếu vách chắn thứ cấp được tạo thành bởi tôn boong hoặc tôn bao thì cấp của vật liệu yêu cầu ở Bảng 8D/6.2 phải đi vào đến tấm tôn boong hoặc tôn bao kề cận với phạm vi thích hợp.
5 Có thể sử dụng phương tiện hâm nóng vật liệu kết cấu để đảm bảo nhiệt độ vật liệu không nằm dưới mức cho phép tối thiểu đối với cấp vật liệu được quy định ở Bảng 8D/6.5. Phương tiện hâm nóng trong yêu cầu tính toán ở 4.19.1-1 có thể thỏa mãn những điều sau:
(1) Với bất kỳ kết cấu ngang thân tàu;
(2) Với kết cấu dọc thân tàu quy định ở 4.19.1-2 và 4.19.1-3, nếu nhiệt độ môi trường lạnh hơn quy định, vật liệu này vẫn còn thích hợp với điều kiện nhiệt độ môi trường 5oC của không khí và 0oC của nước biển khi không xét đến trong tính toán cho hâm nóng; và
(3) Thay cho -2, với vách dọc giữa các két hàng, có thể xét đến hâm nóng nếu vật liệu này vẫn còn thích hợp với nhiệt độ thiết kế nhỏ nhất -30oC hoặc nhiệt độ thấp hơn 30oC được yêu cầu ở 4.19.1-1 với hâm nóng được xét đến lấy giá trị nào nhỏ hơn. Trong trường hợp độ bền dọc của tàu thỏa mãn các quy định ở Phần 2A của Quy chuẩn này cả khi các vách này được coi là có hiệu quả và không hiệu quả.
6 Phương tiện hâm nóng được nói đến ở 4.19.1-5 phải thỏa mãn các yêu cầu sau:
(1) Hệ thống sấy nóng phải được bố trí sao cho nếu một phần của nó bị hư hại thì phần dự phòng vẫn có thể duy trì được 100% yêu cầu nhiệt lý thuyết;
(2) Hệ thống sấy nóng phải được coi là hệ thống máy phụ quan trọng. Tất cả các thiết bị điện của ít nhất một trong các hệ thống được trang bị thỏa mãn 4.19.1-5(1) phải được cấp từ nguồn điện sự cố; và
(3) Việc thiết kế và chế tạo hệ thống hâm nóng phải được Đăng kiểm thẩm định.
4.19.2 Vật liệu của vách chắn thứ cấp và vách chắn sơ cấp
1 Vật liệu kim loại dùng trong kết cấu vách chắn thứ cấp và vách chắn sơ cấp không tạo thành thân tàu phải phù hợp với tải trọng thiết kế mà chúng có thể phải chịu và thỏa mãn Bảng 8D/6.1, Bảng 8D/6.2 hoặc Bảng 8D/6.3
2 Vật liệu, phi kim loại hoặc kim loại nhưng không thuộc phạm vi Bảng 8D/6.1, Bảng 8D/6.2 và Bảng 8D/6.3 được dùng làm vách chắn thứ cấp và vách chắn sơ cấp có thể được Đăng kiểm thẩm định. Phải xét đến các tải trọng thiết kế, đặc tính, dự kiến sử dụng mà chúng phải chịu.
3 Nếu vật liệu phi kim loại bao gồm cả vật liệu chất dẻo cốt sợi thủy tinh được dùng cho hoặc kết hợp trong vách chắn thứ cấp và vách chắn sơ cấp thì phải được thử nghiệm các đặc tính sau để đảm bảo chúng thỏa mãn mục đích khai thác dự kiến:
(1) Khả năng tương đồng với hàng hóa;
(2) Tính lão hóa;
(3) Cơ tính;
(4) Tính co dãn vì nhiệt;
(5) Tính mòn;
(6) Tính dính kết;
(7) Tính chống rung;
(8) Tính chịu lửa và chống lan truyền lửa; và
(9) Khả năng chịu phá hủy do mỏi và lan truyền vết nứt.
4 Các đặc tính trên nên được thử nghiệm trong phạm vi giữa nhiệt độ tối đa dự kiến trong khai thác và 5oC thấp hơn nhiệt độ thiết kế tối thiểu nhưng không cần thấp hơn -196oC.
5
(1) Nếu vật liệu phi kim loại bao gồm cả vật liệu chất dẻo cốt sợi thủy tinh được dùng cho vách chắn thứ cấp và vách chắn sơ cấp thì quy trình nối phải được thử nghiệm như nói đến ở trên.
(2) Hướng dẫn sử dụng vật liệu phi kim loại trong kết cấu vách chắn thứ cấp và vách chắn sơ cấp được quy định ở Phụ lục 6.
6 Có thể xem xét đến việc sử dụng vật liệu trong vách chắn thứ cấp và vách chắn sơ cấp mà không có khả năng chịu lửa và chống lan truyền lửa với điều kiện chúng được bảo vệ bằng hệ thống phù hợp như môi trường khí trơ cố định hoặc vách chắn có khả năng chịu lửa.
4.19.3 Vật liệu cách nhiệt và các vật liệu khác dùng trong hệ thống chứa hàng
1 Vật liệu cách nhiệt và các vật liệu khác chịu tải trọng dùng trong hệ thống chứa hàng phải phù hợp với tải trọng thiết kế.
2 Vật liệu cách nhiệt và các vật liệu khác chịu tải trọng dùng trong hệ thống chứa hàng phải có các đặc tính sau để đảm bảo chúng thỏa mãn mục đích khai thác dự kiến:
(1) Khả năng tương đồng với hàng hóa;
(2) Tính hòa tan trong hàng hóa;
(3) Tính hấp thụ của hàng hóa;
(4) Tính co ngót;
(5) Tính lão hóa;
(6) Tính đồng nhất;
(7) Tỷ trọng;
(8) Cơ tính, đến mức mà chúng phải chịu tải trọng hàng hóa và ảnh hưởng tải trọng khác, tính co dãn vì nhiệt.
(9) Tính mòn;
(10) Tính dính kết;
(11) Tính dẫn nhiệt;
(12) Khả năng chống rung;
(13) Tính chịu lửa và chống lan truyền lửa; và
(14) Khả năng chịu phá hủy do mỏi và lan truyền vết nứt.
3 Các đặc tính trên nên được thử nghiệm trong phạm vi giữa nhiệt độ tối đa dự kiến trong khai thác và 5oC thấp hơn nhiệt độ thiết kế tối thiểu nhưng không cần thấp hơn -196oC.
4 Do vị trí hoặc điều kiện môi trường, vật liệu cách nhiệt phải có đặc tính chiu lửa và chống lan truyền lửa và phải được bảo vệ chống sự thâm nhập của hơi nước và phá hủy cơ học. Nếu vật liệu cách nhiệt đặt trên hoặc phía trên boong hở và ở chỗ xuyên qua nắp két thì nó phải có đặc tính chịu lửa phù hợp theo các tiêu chuẩn được công nhận hoặc được bọc bằng vật liệu có đặc tính truyền lửa chậm và tạo thành đệm kín hơi hiệu quả được chấp nhận.
5 Vật liệu cách nhiệt không thỏa mãn các tiêu chuẩn được công nhận về khả năng chịu lửa có thể sử dụng trong khoang hàng không được thường xuyên làm trơ với điều kiện các bề mặt của nó được bọc bằng vật liệu có đặc tính truyền lửa chậm và tạo thành đệm kín hơi hiệu quả được chấp nhận.
6 Việc thử nghiệm tính dẫn nhiệt của vật liệu cách nhiệt được thực hiện trên các mẫu lão hóa phù hợp.
7 Nếu dùng chất cách nhiệt dạng bột hoặc hạt thì phải có biện pháp để giảm nén chặt trong khai thác và duy trì tính dẫn nhiệt cần thiết và ngăn ngừa sự gia tăng áp suất ở hệ thống chứa hàng.
4.20 Quá trình đóng tàu
4.20.1 Thiết kế mối hàn
1 Tất cả các mối hàn tôn bao két rời phải là mối hàn giáp mép dạng ngấu hoàn toàn trong mặt phẳng. Đối với mối hàn vòm với tôn bao, mối hàn góc ngấu hoàn toàn có thể chấp nhận các dạng vát mép khác tùy thuộc vào kết quả thử khi xét duyệt quy trình hàn. Trừ các kết cấu nhỏ xuyên qua vòm, các mối hàn của ống phải được thiết kế sao cho hàn ngấu được hoàn toàn.
2 Chi tiết mối hàn với két rời kiểu C và với vách chắn sơ cấp kín chất lỏng của két rời kiểu B có kết cấu chủ yếu bằng bề mặt cong phải như sau:
(1) Các đường hàn dọc và đường hàn vòng của két chịu áp suất phải là mối hàn giáp mép ngấu hoàn toàn, dạng chữ X hoặc chữ V. Mối hàn giáp mép ngấu hoàn toàn phải được thực hiện bằng hàn hai mặt hoặc hàn có tấm đệm. Nếu dùng tấm đệm thì tấm đệm phải được tháo ra, ngoại trừ bình chịu áp lực xử lý nhỏ. Có thể chấp nhận các dạng vát mép khác tùy thuộc vào kết quả thử khi xét duyệt quy trình hàn; và
(2) Biện pháp vát mép của mối hàn giữa thân két với vòm của bình chịu áp lực, giữa vòm với phụ tùng liên quan phải được thiết kế theo các tiêu chuẩn được Đăng kiểm chấp nhận. Các mối hàn nối với đầu phun, vòm hoặc các kết cấu xuyên qua khác của thân và tất cả các mối hàn nối mặt bích với thân hoặc đầu phun phải ngấu hoàn toàn.
3 Tất cả quá trình đóng tàu và thử nghiệm, nếu áp dụng, trừ quy định ở 4.20.3, phải thỏa mãn các quy định ở Chương 6.
4.20.2 Quá trình thiết kế cho mối nối dán và mối nối khác
Thiết kế cho mối nối dán (hoặc mối nối bằng một vài quá trình khác trừ hàn) phải xét đến đặc tính bền của quá trình nối.
4.20.3 Thử nghiệm
1 Tất cả các két hàng và các bình áp lực xử lý phải thử áp lực thủy lực hoặc thử áp lực thủy khí theo quy định ở 4.21 đến 4.26.
2 Tất cả các két phải kiểm tra độ kín có thể kết hợp với thử áp lực nêu ở 4.20.3-1.
3 Yêu cầu đối với kiểm tra vách chắn thứ cấp phải được Đăng kiểm quyết định trong từng trường hợp, có xét đến khả năng tiếp cận của vách chắn (xem 4.6.2).
4 Đăng kiểm có thể yêu cầu đối với tàu có đặt két rời kiểu B hoặc két được thiết kế thỏa mãn 4.27, ít nhất một két nguyên mẫu và cơ cấu đỡ của nó phải được đo với đồng hồ đo biến dạng hoặc thiết bị phù hợp khác để xác định trị số ứng suất. Thiết bị đo tương tự có thể yêu cầu cho két rời kiểu C, tùy thuộc vào hình dạng của két, bố trí và liên két của các cơ cấu đỡ.
5 Tổng thể hoàn chỉnh của hệ thống chứa hàng phải được kiểm tra phù hợp với các thông số thiết kế trong quá trình nhận đầy tải ban đầu và trả hàng, thỏa mãn các biện pháp kiểm tra và yêu cầu ở 1.4 cũng như các yêu cầu được Đăng kiểm coi là phù hợp. Biên bản ghi lại sự hoạt động của các bộ phận và thiết bị chủ yếu để kiểm nghiệm các thông số thiết kế phải được lưu trữ và trình cho Đăng kiểm.
6 Thiết bị hâm nóng, nếu được đặt thỏa mãn 4.19.1-5 và 4.19.1-6 phải được thử công suất nhiệt và sự phân bố nhiệt theo yêu cầu.
7 Hệ thống chứa hàng phải được kiểm tra đốm lạnh trong khi, hoặc ngay lập tức sau chuyến đi có tải lần thứ nhất. Kiểm tra tính toàn vẹn của bề mặt vật liệu cách nhiệt mà không thể kiểm tra bằng mắt phải thỏa mãn các tiêu chuẩn được công nhận.
4.21 Két rời kiểu A
4.21.1 Thiết kế cơ sở
1 Két rời kiểu A là két được thiết kế chủ yếu sử dụng phương pháp truyền thống để phân tích kết cấu tàu thỏa mãn các tiêu chuẩn được công nhận. Nếu két đó được tạo thành chủ yếu bởi các mặt phẳng thì áp suất hơi thiết kế Po phải nhỏ hơn 0,07 Mpa.
2 Nếu nhiệt độ hàng hóa ở áp suất khí quyển thấp hơn -10oC thì phải đặt vách chắn thứ cấp toàn bộ yêu cầu ở 4.5. Vách chắn thứ cấp phải được thiết kế thỏa mãn 4.6.
4.21.2 Phân tích kết cấu
1 Phân tích kết cấu phải được thực hiện có xét đến áp suất bên trong như nêu ở 4.13.2 và tải trọng tương tác với hệ thống đỡ và khóa cũng như một phần hợp lý của thân tàu.
2 Đối với các bộ phận, như kết cấu đỡ, chưa được nêu ở các yêu cầu của Phần này, ứng suất phải được xác định bằng tính toán trực tiếp, có xét đến các tải trọng quy định ở 4.12 đến 4.15 và biến dạng thân tàu của kết cấu đỡ.
3 Các két với giá đỡ phải được thiết kế với tải trọng do tai nạn quy định ở 4.15. Các tải trọng không cần phải kết hợp với nhau hoặc kết hợp với tải trọng môi trường.
4.21.3 Điều kiện thiết kế tới hạn
1 Đối với các két kết cấu chủ yếu bằng các mặt phẳng, ứng suất màng danh nghĩa ở các cơ cấu khỏe và cơ cấu thường (nẹp, sườn khỏe, sống) nếu được tính toán theo phương pháp phân tích truyền thống thì không lớn hơn trị số Rm/2,66 hoặc Re/1,33 đối với thép ni ken, thép cacbon mangan, thép austenit, và hợp kim nhôm, trong đó Rmvà Re được định nghĩa ở 4.18.1-3. Tuy nhiên, nếu các cơ cấu khỏe được tính toán một cách chi tiết thì ứng suất tương đương σc định nghĩa ở 4.18.1-4 có thể được tăng so với trị số nói trên lên đến trị số được Đăng kiểm chấp nhận. Trong tính toán phải xét đến ảnh hưởng của uốn, cắt, biến dạng chiều trục và biến dạng xoắn, cũng như lực tương tác giữa thân tàu và két hàng do biến dạng của đáy đôi và đáy két hàng.
2 Kích thước các cơ cấu biên của két ít nhất phải thỏa mãn các yêu cầu ở Chương 14 Phần 2A đối với các két sâu có xét đến áp suất bên trong như nêu ở 4.13.2 và xét đến dự trữ mòn gỉ cho phép quy định ở 4.3.5.
3 Kết cấu của két hàng phải được xem xét để chống lại sự mất độ bền ổn định tiềm năng.
4.21.4 Điều kiện thiết kế do tai nạn
1 Các két và giá đỡ két phải được thiết kế cho tải trọng do tai nạn và điều kiện thiết kế quy định ở 4.3.4(3) và 4.15.
2 Nếu chịu tải trọng do tai nạn quy định ở 4.15 thì ứng suất phải thỏa mãn tiêu chuẩn công nhận quy định ở 4.21.3, có xét đến xác suất thấp hơn của chúng xảy ra.
4.21.5 Thử nghiệm
Tất cả các két rời kiểu A phải thử thủy tĩnh và nén thủy lực cố gắng thử với ứng suất gần bằng ứng suất thiết kế và áp suất ở đỉnh két ít nhất phải tương ứng với MARVS. Nếu thử nén thủy lực thì các điều kiện mô phỏng tải trọng thiết kế của két và kết cấu giá đỡ của chúng bao gồm các thành phần động, tránh ứng suất có thể gây biến dạng vĩnh viễn.
4.22 Két rời kiểu B
4.22.1 Thiết kế cơ sở
1 Két rời loại B là két được thiết kế thông qua thử nghiệm mô hình sau đó xử lý bằng giải tích toán học và dùng phương pháp phân tích để xác định giới hạn ứng suất, độ bền mỏi và quy luật phát triển của vết nứt. Nếu két này được cấu tạo chủ yếu bởi các mặt phẳng (két lăng trụ) thì áp suất hơi thiết kế Po phải nhỏ hơn 0,07 MPa.
2 Nếu nhiệt độ hàng hóa ở áp suất khí quyển thấp hơn -10oC thì phải đặt vách chắn thứ cấp từng phần với hệ thống bảo vệ rò rỉ nhỏ phải thỏa mãn yêu cầu ở 4.5. Vách chắn thứ cấp phải được thiết kế thỏa mãn 4.6. Hệ thống bảo vệ rò rỉ nhỏ phải được thiết kế theo 4.7.
4.22.2 Phân tích kết cấu
1 Ảnh hưởng của tất cả các tải trọng động và tải trọng tĩnh phải được xét đến khi xác định sự phù hợp của kết cấu đối với:
(1) Biến dạng dẻo;
(2) Mất độ bền ổn định;
(3) Phá hủy do mỏi; và
(4) Lan truyền vết nứt.
Phân tích bằng phương pháp phần tử hữu hạn hoặc bằng các phương pháp phân tích tương tự khác, phân tích tính gãy hoặc phương pháp tương đương khác.
2 Phải thực hiện phép phân tích ba chiều để tính toán giá trị ứng suất bao gồm tác động của thân tàu. Mô hình để phân tích phải bao gồm cả két hàng, hệ thống đỡ và khóa cũng như một phần hợp lý của thân tàu.
3 Phải tiến hành việc phân tích toàn bộ các thành phần gia tốc và chuyển động của tàu trên sóng bất quy tắc và sức chịu đựng của tàu và của các két hàng đối với các lực và chuyển động đó trừ khi đã có những số liệu từ các tàu tương tự;
4.22.3 Điều kiện thiết kế tới hạn
1 Biến dạng dẻo
(1) Đối với két rời kiểu B có kết cấu cơ bản là dạng tròn xoay, ứng suất cho phép không được lớn hơn:
σm £ f
σL £ 1,5f
σb £ 1,5F
σL + σb £ 1,5F
σm + σb £ 1,5F
σm + σb + σg £ 3,0F
σL + σb + σg £ 3,0F
Trong đó:
σm: Ứng suất chung tương đương cơ bản của tấm;
σL: Ứng suất cục bộ tương đương cơ bản của tấm;
σb: Ứng suất uốn tương đương cơ bản;
σg: Ứng suất loại hai tương đương;
f = Rm/A hoặc Re/B lấy trị số nào nhỏ hơn;
F = Rm/C hoặc Re/D lấy trị số nào nhỏ hơn.
với Rm và Re được định nghĩa ở 4.18.1-3; σm, σL, σb và σg là các loại ứng suất định nghĩa ở 4.28.3. Đăng kiểm xem xét chấp nhận khi xét đến điều kiện thiết kế, các trị số trên có thể được thay đổi.
Bảng 8D/4.2 Các trị số của A, B, C và D (Két rời kiểu B)
|
|
Thép niken và thép cácbon-mangan |
Thép austenit |
Hợp kim nhôm |
|
A |
3 |
3.5 |
4 |
|
B |
2 |
1,6 |
1,5 |
|
C |
3 |
3 |
3 |
|
D |
1,5 |
1,5 |
1,5 |
(2) Đối với két rời kiểu B, kết cấu chủ yếu bằng các mặt phẳng, ứng suất tương đương màng cho phép dùng để phân tích phần tử hữu hạn nhưng không vượt quá:
(a) Đối với thép niken và thép cácbon-mangan, Rm/2 hoặc Re/1,2 lấy trị số nào nhỏ hơn;
(b) Đối với thép austenit, Rm/2,5 hoặc Re/1,2 lấy trị số nào nhỏ hơn; và
(c) Đối với Hợp kim nhôm, Rm/2,5 hoặc Re/1,2 lấy trị số nào nhỏ hơn.
Các trị số trên có thể được thay đổi, có xét đến ứng suất cục bộ, các phương pháp phân tích ứng suất và điều kiện thiết kế phải được Đăng kiểm xem xét chấp nhận.
(3) Chiều dày của tôn vỏ và kích thước của nẹp không được nhỏ hơn yêu cầu đối với két rời kiểu A.
2 Mất độ bền ổn định
Đăng kiểm coi là phù hợp nếu phân tích ứng suất mất độ bền ổn định của két hàng chịu được áp suất bên ngoài và các tải trọng khác gây ra ứng suất nén. Phương pháp này phải được xem xét đầy đủ sự khác biệt trong ứng suất mất độ bền ổn định lý thuyết và ứng suất mất độ bền ổn định thực tế do mép tấm bị lệch, không thẳng hoặc phẳng, do dạng oovan và không tròn trên chiều dài của cung và dây cung.
4.22.4 Điều kiện thiết kế do mỏi
1 Việc đánh giá tính mỏi và lan truyền vết nứt phải thỏa mãn 4.18.2. Tùy thuộc vào khả năng phát hiện khuyết tật, tiêu chuẩn công nhận phải thỏa mãn 4.18.2-7, 4.18.2-8 hoặc 4.18.2-9
2 Phân tích mỏi phải xét đến dung sai khi chế tạo.
3 Nếu Đăng kiểm thấy cần thiết thì việc thử mô hình có thể được yêu cầu để xác định các hệ số tập trung ứng suất và tuổi thọ do mỏi của các thành phần kết cấu.
4.22.5 Điều kiện thiết kế do tai nạn
1 Các két và giá đỡ két phải được thiết kế cho tải trọng do tai nạn và điều kiện thiết kế quy định ở 4.3.4(3) và 4.15.
2 Nếu chịu tải trọng do tai nạn quy định ở 4.15 thì ứng suất phải thỏa mãn tiêu chuẩn công nhận quy định ở 4.22.3, các thay đổi thích hợp cần xem xét thích đáng đến khả năng sự cố xảy ra thấp hơn.
4.22.6 Thử nghiệm
Két rời kiểu B phải được thử thủy tĩnh hoặc thử nén thủy lực như sau:
(1) Thử nghiệm phải thỏa mãn yêu cầu ở 4.21.5 đối với két rời kiểu A; và
(2) Ngoài ra, ứng suất cực đại của lớp màng cơ bản hoặc ứng suất uốn cực đại ở các cơ cấu cơ bản trong điều kiện thử nghiệm phải không lớn hơn 90% giới hạn chảy của vật liệu (khi chế tạo) ở nhiệt độ thử nghiệm. Để đảm bảo điều kiện này được thỏa mãn, khi tính toán nếu thấy rằng ứng suất này lớn hơn 75% giới hạn chảy thì khi thử nghiệm mẫu phải dùng thiết bị đo biến dạng hoặc thiết bị khác;
4.22.7 Đánh dấu
Bất kỳ việc đánh dấu bình chịu áp lực phải được làm theo phương pháp không gây ra sự tăng quá mức của ứng suất cục bộ.
4.23 Két rời kiểu C
4.23.1 Thiết kế cơ sở
1 Thiết kế cơ sở đối với két rời kiểu C dựa trên thay đổi tiêu chuẩn bình chịu áp lực bao gồm tiêu chuẩn về nứt cơ học và tiêu chuẩn về sự lan truyền vết nứt. Áp suất thiết kế tối thiểu quy định ở 4.23.1-2 phải đảm bảo ứng suất động là đủ nhỏ sao cho vết nứt trên bề mặt ban đầu không lan truyền lớn hơn một nửa chiều dày của vỏ trong suốt tuổi thọ của két.
2 Áp suất hơi thiết kế không được nhỏ hơn:
Po = 0,2 + AC (rr)1,5 (MPa)
Trong đó:
A = 0,00185 ![]()
σm: Ứng suất thiết kế ban đầu của màng sơ cấp;
DσA: Ứng suất động cho phép của màng (biên độ kép ở mức xác suất Q = 10-8) và bằng:
55 N/mm2 đối với thép ferit, thép mactensit, thép austensit;
25 N/mm2 đối với hợp kim nhôm (5083-O).
C: Kích thước đặc trưng của két được lấy bằng trị số lớn nhất trong các trị số sau: h, 0,75b hoặc 0,45l.
h: Chiều cao của két (kích thước theo phương thẳng đứng) (m);
b: Chiều rộng của két (kích thước theo chiều ngang tàu) (m);
l: Chiều dài của két (kích thước theo chiều dọc tàu) (m).
ρr: Tỷ trọng của hàng hóa (với nước ngọt rr = 1) ở nhiệt độ thiết kế.
Nếu tuổi thọ thiết kế quy định của két dài hơn 108 chu kỳ sóng thì DσA phải thay đổi để sự lan truyền vết nứt tương đương ứng với tuổi thọ thiết kế.
3 Đăng kiểm có thể phân định những két thỏa mãn tiêu chuẩn đối với áp suất thiết kế tối thiểu của két kiểu C như ở 4.23.1-2, với kiểu A hoặc kiểu B tùy theo hình dạng của két, thiết bị đỡ và liên kết của chúng.
4.23.2 Chiều dày của vỏ
1 Chiều dày của vỏ được lấy như sau:
(1) Đối với bình chịu áp lực, chiều dày tính toán theo 4.23.2-4 phải coi là chiều dày tối thiểu sau khi chế tạo không có dung sai âm.
(2) Đối với bình chịu áp lực, chiều dày tối thiểu của tôn bao và tôn nóc gồm cả dự trữ han gỉ sau khi chế tạo phải không nhỏ hơn 5 mm nếu là thép cácbon-mangan và thép niken, phải không nhỏ hơn 3 mm nếu là thép austenit, và không nhỏ hơn 7 mm nếu là hợp kim nhôm.
(3) Hệ số hiệu dụng của mối nối hàn được dùng khi tính toán theo 4.23.2-4 phải lấy bằng 0,95 nếu việc kiểm tra và thử không phá hủy được thực hiện theo 6.5.6-5. Hệ số này có thể được tăng đến bằng 1 nếu có kể đến các yếu tố khác như vật liệu sử dụng, kiểu mối nối, quy trình hàn và dạng tải trọng. Đối với bình chịu áp lực, Đăng kiểm có thể chấp nhận phương pháp kiểm tra không phá hủy từng phần nhưng không thấp hơn quy định ở 6.5.6-5 tùy thuộc vào các yếu tố như vật liệu sử dụng, nhiệt độ thiết kế, nhiệt độ hóa giòn của vật liệu, kiểu mối nối và quy trình hàn, nhưng trong trường hợp này hệ số hiệu dụng phải được lấy không lớn hơn 0,85. Với những vật liệu đặc biệt, hệ số hiệu dụng nêu trên phải được giảm tùy theo cơ tính riêng của mối nối hàn.
2 Áp suất của chất lỏng theo thiết kế quy định ở 4.13.2 phải được xét đến trong tính toán áp suất bên trong.
3 Áp suất bên ngoài theo thiết kế Pe dùng để kiểm tra mất độ bền ổn định của bình chịu áp lực phải không nhỏ hơn trị số:
Pe = P1 + P2 + P3 + P4 (MPa)
Trong đó:
P1: Áp suất lắp đặt của van an toàn chân không. Với các bình không có van an toàn chân không P1 sẽ được xem xét riêng biệt nhưng nói chung không được lấy nhỏ hơn 0,025 MPa;
P2: Áp suất đặt của van điều áp (PRVs) đối với các không gian hoàn toàn kín chứa bình chịu áp lực hoặc các phần của bình chịu áp lực. Trong các trường hợp khác P2 = 0;
P3: Ảnh hưởng của nén trong hoặc trên lên tôn bao do khối lượng và sự co lại của vật liệu cách nhiệt, do khối lượng của tôn bao bao gồm cả dự trữ han gỉ và các áp lực bên ngoài khác mà bình chịu áp lực có thể phải chịu. Các thành phần này bao gồm tất cả, nhưng không hạn chế, khối lượng vòm, khối lượng tháp và đường ống, ảnh hưởng của hàng do tình trạng chứa không đầy, gia tốc và biến dạng của thân tàu. Thêm vào đó, phải xét đến ảnh hưởng cục bộ của áp suất bên ngoài, áp suất bên trong hoặc cả hai; và
P4: Áp suất bên ngoài do cột nước đối với các bình chịu áp lực hoặc một phần của bình chịu áp lực trên boong hở. Trong các trường hợp khác P4 = 0.
4 Các kích thước dựa trên áp suất bên trong phải được tính toán như sau:
(1) Chiều dày và hình dạng của các phần chịu áp suất dưới tác dụng của áp suất bên trong theo quy định ở 4.13.2, kể cả mặt bích, phải được xác định thỏa mãn các quy định tương ứng theo Chương 10 Phần 3. Trong mọi trường hợp những tính toán này được dựa trên lý thuyết thiết kế bình chịu áp lực được công nhận. Các lỗ khoét ở các phần chịu áp suất của bình chịu áp lực phải được gia cường theo các quy định tương ứng ở Chương 10 Phần 3.
5 Việc phân tích ứng suất theo tải trọng tĩnh và tải trọng động phải được thực hiện như sau:
(1) Kích thước các cơ cấu của bình chịu áp lực phải thỏa mãn theo 4.23.2-1 đến 4.23.2-4 và 4.23.3.
(2) Tính toán tải trọng và ứng suất ở vùng đế tựa và liên kết của đế tựa với tôn bao. Phải dùng các tải trọng nêu ở 4.12 đến 4.15. Ứng suất ở vùng đế tựa phải không lớn hơn 90% ứng suất chảy hoặc 75% giới hạn bền kéo của vật liệu. Trong các trường hợp đặc biệt Đăng kiểm có thể yêu cầu phân tích độ bền mỏi;
(3) Nếu Đăng kiểm yêu cầu thì phải xem xét ứng suất thứ cấp và ứng suất do biến dạng nhiệt.
4.23.3 Điều kiện thiết kế tới hạn
1 Biến dạng dẻo
(1) Đối với két rời kiểu C, ứng suất cho phép không được lớn hơn:
σm £ f
σL £ 1,5f
σb £ 1,5F
σL + σb £ 1,5F
σm + σb £ 1,5F
σm + σb + σg £ 3,0F
σL + σb + σg £ 3,0F
Trong đó:
σm: Ứng suất chung tương đương cơ bản của tấm;
σL: Ứng suất cục bộ tương đương cơ bản của tấm;
σb: Ứng suất uốn tương đương cơ bản;
σg: Ứng suất loại hai tương đương;
f = Rm/A hoặc Re/B lấy trị số nào nhỏ hơn;
với Rm và Re được định nghĩa ở 4.18.1-3; σm, σL, σb và σg là các loại ứng suất định nghĩa ở 4.28.3.
Bảng 8D/4.3 Các trị số của A, B, C và D (Két rời kiểu C)
|
|
Thép niken và thép cácbon mangan |
Thép austenit |
Hợp kim nhôm |
|
A |
3 |
3,5 |
4 |
|
B |
2 |
1,5 |
1,5 |
2 Tiêu chuẩn về mất độ bền ổn định được lấy như sau: Chiều dày và hình dạng của bình chịu áp lực ngoài và các tải trọng khác gây ứng suất nén phải dựa trên tính toán sử dụng lý thuyết về mất độ bền ổn định của bình chịu áp lực được công nhận và phải xem xét thích hợp đến sự khác biệt giữa ứng suất mất ổn định lý thuyết và ứng suất mất ổn định thực tế do mép tấm không phẳng, do dạng ôvan và không tròn trên chiều dài của cung và dây cung.
4.23.4 Điều kiện thiết kế do mỏi
Đối với kết rời kiểu C lớn nếu nhiệt độ hàng hóa ở áp suất khí quyển dưới -55oC liên quan đến ứng suất tĩnh và ứng suất động thì Đăng kiểm có thể yêu cầu thêm việc xác minh kiểm tra thỏa mãn 4.23.1-1.
4.23.5 Điều kiện thiết kế do tai nạn
1 Các két và kết cấu của giá đỡ két phải được thiết kế cho tải trọng do tai nạn và điều kiện thiết kế quy định ở 4.3.4(3) và 4.15.
2 Nếu chịu tải trọng do tai nạn quy định ở 4.15 thì ứng suất phải thỏa mãn tiêu chuẩn công nhận quy định ở 4.23.3-1, các thay đổi thích hợp cần xem xét thích đáng đến khả năng sự cố xảy ra thấp hơn.
4.23.6 Thử nghiệm
1 Mỗi bình chịu áp lực phải được thử nghiệm thủy tĩnh với áp suất ở đỉnh két không nhỏ hơn 1,5 Po nhưng trong mọi trường hợp trong quá trình thử nghiệm áp suất, ứng suất tính toán của lớp màng cơ bản tại điểm bất kỳ phải không lớn hơn 90% giới hạn chảy của vật liệu. Để đảm bảo điều kiện này được thỏa mãn, khi tính toán nếu thấy rằng ứng suất này lớn hơn 0,75 giới hạn chảy thì phải dùng thiết bị đo biến dạng hoặc một thiết bị thích hợp khác nếu bình chịu áp lực không phải là hình trụ hoặc hình cầu.
2 Nhiệt độ của nước dùng để thử nghiệm ít nhất phải là 30°C lớn hơn nhiệt độ chuyển dẻo của vật liệu chế tạo;
3 Áp suất phải được giữ trong vòng 2 giờ cho mỗi 25 mm chiều dày nhưng trong mọi trường hợp phải không ít hơn 2 giờ;
4 Đối với két chứa hàng chịu áp suất, nếu cần thiết, việc thử nghiệm nén thủy lực có thể được tiến hành dưới những điều kiện nêu ở 4.23.6-1 đến 4.23.6-3.
5 Xem xét đặc biệt việc thử nghiệm các két ở ứng suất cho phép lớn hơn tùy theo nhiệt độ khai thác. Tuy nhiên, các yêu cầu ở 4.23.6-1 phải được tuân thủ hoàn toàn;
6 Sau khi hoàn chỉnh và lắp đặt, mỗi bình chịu áp lực và các phụ tùng liên quan phải được thử kín thích hợp có thể được thực hiện kết hợp với thử áp lực nêu ở 4.23.6-1.
7 Thử nghiệm bằng khí nén đối với các bình chịu áp lực không phải là két hàng phải được xem xét trong từng trường hợp cụ thể. Việc thử nghiệm này chỉ được dùng với những bình được thiết kế hoặc giá đỡ mà không an toàn khi chứa đầy nước hoặc những bình không thể làm khô được hoặc không cho phép có bất cứ chất thử nào còn sót lại trong bình khi sử dụng.
4.23.7 Đánh dấu
Việc yêu cầu đánh dấu bình chịu áp lực phải được làm theo phương pháp không gây ra sự tăng quá mức ứng suất cục bộ.
4.24 Két kiểu màng
4.24.1 Thiết kế cơ sở
1 Thiết kế cơ sở cho hệ thống chứa màng là sự giãn nở nhiệt và sự giãn nở khác hoặc co lại sẽ được bù trừ mà không gây rủi ro bất thường làm mất độ kín của màng.
2 Việc tiếp cận hệ thống dựa trên phân tích và thử nghiệm phải được sử dụng để chứng minh rằng hệ thống sẽ cung cấp chức năng dự định của chúng trong việc xem xét các trường hợp được xác định trong khai thác như quy định ở 4.24.2-1.
3 Nếu nhiệt độ hàng hóa ở áp suất khí quyển thấp hơn -10oC thì phải đặt vách chắn thứ cấp toàn bộ như yêu cầu ở 4.5. Vách chắn thứ cấp phải được thiết kế theo quy định ở 4.6.
4 Áp suất hơi thiết kế Po thường không vượt quá 0,025 Mpa. Nếu kích thước cơ cấu thân tàu tăng lên phù hợp và nếu quan tâm đến độ bền của kết cấu đỡ vật liệu cách nhiệt thì Po có thể được tăng đến một giá trị lớn hơn nhưng phải nhỏ hơn 0,07 Mpa.
5 Khái niệm két kiểu màng là bao gồm cả những két có sử dụng lớp màng phi kim loại hoặc những két mà lớp màng bao gồm hoặc kết hợp với vật liệu cách nhiệt.
6 Chiều dày của lớp màng phải không nhỏ hơn 10 mm.
7 Việc tuần hoàn của khí trơ khắp không gian cách nhiệt sơ cấp và không gian cách nhiệt thứ cấp phù hợp với 9.2.1 phải đủ để cho phép các phương tiện phát hiện khí hoạt động hiệu quả.
4.24.2 Xem xét thiết kế
1 Sự cố tiềm ẩn có thể làm mất độ kín chất lỏng trong suốt tuổi thọ của màng phải được đánh giá. Bao gồm, nhưng không giới hạn:
(1) Trường hợp thiết kế tới hạn:
(a) Sự hư hỏng do kéo của màng;
(b) Sự gẫy đổ do nén của vật liệu cách nhiệt;
(c) Sự lão hóa do nhiệt;
(d) Sự mất liên kết giữa vật liệu cách nhiệt và cơ cấu thân tàu;
(e) Sự mất liên kết của màng với hệ thống vật liệu cách nhiệt;
(f) Sự nguyên vẹn kết cấu của kết cấu bên trong và kết cấu đỡ của chúng; và
(g) Sự phá hủy của kết cấu đỡ thân tàu.
(2) Trường hợp thiết kế do mỏi:
(a) Mỏi của màng bao gồm mối nối và liên kết với kết cấu thân tàu;
(b) Nứt do mỏi của vật liệu cách nhiệt;
(c) Mỏi của kết cấu bên trong và kết cấu đỡ của chúng; và
(d) Nứt do mỏi của thân trong dẫn đến việc bị ngấm nước dằn.
(3) Trường hợp thiết kế do tai nạn:
(a) Phá hủy cơ học do tai nạn (như vật thể bị rơi trong két khi khai thác);
(b) Quá áp do tai nạn của không gian cách nhiệt;
(c) Giảm áp do tai nạn trong két; và
(d) Ngấm nước qua kết cấu bên trong thân.
Thiết kế không được chấp nhận nếu trường hợp bên trong đơn lẻ có thể gây ra phá hủy đồng thời hoặc phá hủy gia tăng của cả hai màng.
2 Các đặc tính vật lý cần thiết (cơ, nhiệt, hóa, v.v...) của vật liệu trong chế tạo hệ thống chứa hàng phải được xác định trong thiết kế kỹ thuật thỏa mãn 4.24.1.2.
4.24.3 Tải trọng và tải trọng kết hợp
Phải xem xét cụ thể những tổn thất có thể gây ra cho tính nguyên vẹn của két do quá áp trong khoang giữa các vách chắn, có thể giảm áp trong két hàng, ảnh hưởng do va đập, ảnh hưởng do dao động thân tàu hoặc bất kỳ sự kết hợp nào của các trường hợp này.
4.24.4 Phân tích kết cấu
1 Phân tích kết cấu và/hoặc thử nghiệm để đánh giá độ bền tới hạn và mỏi cho việc chứa hàng và các kết cấu liên quan, ví dụ: kết cấu theo quy định ở 4.9 phải được thực hiện. Phân tích kết cấu để cung cấp các số liệu cần thiết cho việc đánh giá mô hình hư hỏng được xác định là quan trọng đối với hệ thống chứa hàng.
2 Phân tích kết cấu của thân tàu phải xét đến áp suất bên trong như quy định ở 4.13.2. Phải quan tâm đặc biệt đến sự biến dạng của thân tàu và khả năng tương thích của chúng với màng và vật liệu cách nhiệt có liên quan.
3 Các phân tích nêu ở 4.24.4-1 và 4.24.4-2 phải dựa trên các thành phần chuyển động, gia tốc và khả năng chịu đựng của tàu và hệ thống chứa hàng.
4.24.5 Điều kiện thiết kế tới hạn
1 Độ bền kết cấu của các bộ phận nguy hiểm, hệ thống phụ hoặc lắp ráp sơ bộ phải thỏa mãn 4.24.1-2 với điều kiện trong khai thác.
2 Việc lựa chọn tiêu chuẩn công nhận độ bền đối với dạng phá hủy của hệ thống chứa hàng, các liên kết của chúng với kết cấu thân tàu và kết cấu két bên trong phải phản ánh được những hậu quả liên quan đến dạng đã được xem xét của phá hủy.
3 Kích thước bên trong thân tàu phải thỏa mãn các yêu cầu đối với két sâu, có xét đến áp suất bên trong như nêu ở 4.13.2 và các yêu cầu thích hợp cho tải trọng va đập được quy định ở 4.14.3.
4.24.6 Điều kiện thiết kế do mỏi
1 Nếu sự phát triển phá hủy không được phát hiện đáng tin cậy bằng theo dõi liên tục thì phân tích mỏi phải được thực hiện đối với kết cấu bên trong két, ví dụ tháp bơm và đối với các phần của màng, các liên kết tháp bơm.
2 Các tính toán mỏi phải thỏa mãn 4.18.2 với các yêu cầu liên quan tùy thuộc vào:
(1) Sự quan trọng của các thành phần kết cấu liên quan đến tính nguyên vẹn kết cấu; và
(2) Sẵn sàng để kiểm tra
3 Đối với các thành phần kết cấu mà chúng có thể được chứng minh bằng thử nghiệm và/hoặc phân tích rằng một vết nứt sẽ không phát triển gây ra phá hủy đồng thời hoặc phá hủy gia tăng của cả hai màng, Cw phải nhỏ hơn hoặc bằng 0,5.
4 Các thành phần kết cấu chịu sự kiểm tra định kỳ nếu vết nứt do mỏi không được giám sát có thể phát triển gây ra phá hủy đồng thời hoặc phá hủy gia tăng của cả hai màng thì phải thỏa mãn các yêu cầu về mỏi cơ học và nứt cơ học nêu ở 4.18.2-8.
5 Các thành phần kết cấu không tiếp cận được để kiểm tra trong khai thác và nếu vết nứt do mỏi có thể phát triển mà không có cảnh báo để gây ra phá hủy đồng thời hoặc phá hủy gia tăng của cả hai màng thì phải thỏa mãn các yêu cầu về mỏi cơ học và nứt cơ học nêu ở 4.18.2-9.
4.24.7 Điều kiện thiết kế do tai nạn
1 Hệ thống chứa và kết cấu đỡ thân tàu phải được thiết kế cho tải trọng do tai nạn quy định ở 4.15. Các tải trọng này không cần phải kết hợp với nhau hoặc với tải trọng môi trường.
2 Các giả định tai nạn bổ sung có liên quan phải được xác định dựa trên các phân tích rủi ro. Phải đặc biệt chú ý đến việc bảo vệ các thiết bị bên trong két.
4.24.8 Thử nghiệm phát triển thiết kế
1 Thử nghiệm phát triển thiết kế yêu cầu ở 4.24.1-2 bao gồm các mô hình phân tích và mô hình vật lý của cả vách chắn sơ cấp và vách chắn thứ cấp, bao gồm cả mối nối và góc, thử nghiệm để xác định chúng chịu được ứng suất tổng hợp dự kiến của tải trọng tĩnh, tải trọng động và tải trọng biến dạng do nhiệt. Điều này sẽ lên đến đỉnh cao trong việc xây dựng mô hình nguyên mẫu thu nhỏ của hệ thống chứa hàng toàn bộ. Điều kiện thử nghiệm được xem xét trong mô hình phân tích và mô hình vật lý phải đại diện cho các điều kiện khai thác khắc nghiệt nhất mà hệ thống chứa hàng có khả năng sẽ gặp trong quá trình khai thác. Tiêu chuẩn công nhận được đề nghị để kiểm tra định kỳ vách chắn thứ cấp yêu cầu ở 4.6.2 có thể dựa trên kết quả thử nghiệm được tiến hành trên mô hình nguyên mẫu thu nhỏ.
2 Đặc tính mỏi của vật liệu màng và mối nối hàn hoặc mối nối liên kết đại diện trong màng phải được xác định bằng thử nghiệm. Đặc tính độ bền tới hạn và mỏi tới hạn của các thiết bị đối với hệ thống cách nhiệt đến kết cấu thân tàu phải được đảm bảo xác định bằng phân tích hoặc thử nghiệm.
4.24.9 Thử nghiệm
1 Các tàu được trang bị hệ thống chứa hàng kiểu màng, tất cả các két và không gian khác có thể chứa chất lỏng và kề cận với kết cấu đỡ lớp màng phải được thử thủy tĩnh theo quy định của Đăng kiểm.
2 Tất cả các kết cấu đỡ lớp màng ở khoang hàng phải được thử độ kín trước khi lắp đặt hệ thống chứa hàng.
3 Các hầm đường ống và các khoang khác không thường xuyên chứa chất lỏng không cần phải thử thủy tĩnh
4.25 Két liền
4.25.1 Thiết kế cơ sở
Két liền là một phần kết cấu của thân tàu và cùng chịu ảnh hưởng bởi cùng những tải trọng tác động vào kết cấu kề cận của thân tàu phải thỏa mãn các điều sau:
1 Áp suất hơi thiết kế Po như định nghĩa ở 4.1.2 thường không vượt quá 0,025 MPa. Nếu kích thước cơ cấu thân tàu tăng thì Po có thể tăng đến một trị số lớn hơn nhưng phải nhỏ hơn 0,07 MPa.
2 Két liền được dùng cho những sản phẩm có điểm sôi không thấp hơn -10°C. Nhiệt độ thấp hơn có thể được Đăng kiểm chấp thuận nếu được xem xét đặc biệt. Nhưng trong mọi trường hợp phải có vách chắn thứ cấp toàn bộ; và
3 Các sản phẩm yêu cầu bởi Chương 19 phải được thực hiện ở kiểu tàu 1G không được thực hiện ở két liền.
4.25.2 Phân tích kết cấu
Việc phân tích kết cấu của két liền phải thỏa mãn tiêu chuẩn công nhận.
4.25.3 Điều kiện thiết kế tới hạn
1 Kích thước các cơ cấu biên của két phải thỏa mãn các quy định đối với két sâu, có xét đến áp suất bên trong như quy định ở 4.13.2.
2 Đối với két liền, ứng suất cho phép thường được lấy bằng giá trị của kết cấu thân tàu theo yêu cầu của Đăng kiểm.
4.25.4 Điều kiện thiết kế do tai nạn
1 Các két và giá đỡ két phải được thiết kế cho các tải trọng do tai nạn quy định ở 4.3.4(3) và 4.15
2 Nếu chịu tải trọng do tai nạn quy định ở 4.15, ứng suất phải thỏa mãn tiêu chuẩn công nhận quy định ở 4.25.3, có xét đến xác suất thấp hơn của chúng xảy ra.
4.25.5 Thử nghiệm
Tất cả các két liền phải được thử thủy tĩnh và thử nén thủy lực. Việc thử phải cố gắng được tiến hành ở ứng suất gần đúng với ứng suất thiết kế và áp suất ở đỉnh két ít nhất phải tương ứng với MARVS
4.26 Két kiểu nửa màng
4.26.1 Thiết kế cơ sở
1 Két kiểu nửa màng là két không tự đỡ nếu trong điều kiện chịu tải và có một lớp màng thì một phần được đỡ thông qua lớp cách nhiệt bởi kết cấu kề cận của thân tàu, còn một phần của lớp màng này liên kết với phần được đỡ nêu trên được thiết kế sao cho thích nghi với sự co dãn vì nhiệt hoặc vì những lý do khác.
2 Áp suất hơi thiết kế Po thường không vượt quá 0,025 MPa. Nếu kích thước cơ cấu thân tàu tăng và nếu quan tâm thích hợp đến độ bền của lớp cách ly thì Po có thể được tăng đến một trị số lớn hơn nhưng phải nhỏ hơn 0,07 Mpa.
3 Đối với các két kiểu nửa màng có liên quan đến các yêu cầu tương ứng ở mục này đối với các két rời hoặc két kiểu màng phải được áp dụng thích hợp.
4 Trường hợp két kiểu nửa màng tuân thủ theo mọi khía cạnh với các yêu cầu áp dụng cho két rời kiểu B, ngoại trừ đối với kiểu đỡ, Đăng kiểm có thể chấp nhận vách chắn thứ cấp từng phần sau khi xem xét đặc biệt.
4.27 Thiết kế trạng thái giới hạn đối với khái niệm mới
4.27.1 Quy định chung
Hệ thống chứa hàng có hình dạng mới mà thiết kế không sử dụng mục 4.21 đến 4.26 thì thiết kế phải sử dụng mục này và ở 4.1 đến 4.20 để áp dụng. Thiết kế hệ thống chứa hàng thỏa mãn mục này phải dựa trên các nguyên lý của thiết kế trạng thái giới hạn đó là một cách tiếp cận đến thiết kế kết cấu có thể được áp dụng cho các giải pháp thiết kế có sẵn cũng như thiết kế mới. Cách tiếp cận này duy trì một mức độ an toàn tương tự cho hệ thống chứa hàng được biết đến như thiết kế sử dụng mục 4.21 đến 4.26.
4.27.2 Thiết kế trạng thái giới hạn
1 Thiết kế trạng thái giới hạn là cách tiếp cận có hệ thống trong đó mỗi thành phần kết cấu được đánh giá đối với dạng hư hỏng có thể liên quan đến các điều kiện thiết kế được xác định ở 4.3.4. Trạng thái giới hạn có thể được định nghĩa như là điều kiện ngoài mà kết cấu hoặc một phần của kết cấu không đáp ứng được các yêu cầu.
2 Đối với mỗi dạng hư hỏng, một hoặc nhiều trạng thái giới hạn có thể liên quan. Bằng cách xem xét tất cả các trạng thái giới hạn có liên quan, tải trọng giới hạn đối với thành phần kết cấu được dựa trên kết quả tải trọng giới hạn tối thiểu từ tất cả các trạng thái giới hạn có liên quan. Các trạng thái giới hạn được chia thành ba loại sau:
(1) Trạng thái giới hạn cuối cùng (ULS) tương ứng với khả năng chịu tải lớn nhất hoặc trong một vài trường hợp, ứng suất hoặc biến dạng được áp dụng tối đa; điều kiện nguyên vẹn (không bị hư hỏng);
(2) Trạng thái giới hạn mỏi (FLS) tương ứng với sự suy giảm do ảnh hưởng của tải trọng với thời gian khác nhau (chu trình);
(3) Trạng thái giới hạn tai nạn (ALS) liên quan đến khả năng của kết cấu chống lại trạng thái tai nạn.
4.27.3 Tiêu chuẩn thiết kế
Quy trình và các thông số thiết kế phù hợp của thiết kế trạng thái giới hạn phải thỏa mãn các tiêu chuẩn đối với việc sử dụng các phương pháp trạng thái giới hạn trong thiết kế cho hệ thống chứa hàng của hình dạng mới (tiêu chuẩn LSD) nhue ss]ơcj nêu ở Phụ lục 7.
4.28 Các lưu ý hướng dẫn cho Chương 4
4.28.1 Hướng dẫn để tính toán chi tiết cho áp suất bên trong đối với mục đích thiết kế tĩnh
1 Mục này hướng dẫn cho việc tính toán áp suất của chất lỏng động kết hợp với mục đích tính toán thiết kế tĩnh. Áp suất này có thể được sử dụng để xác định áp suất bên trong nêu ở 4.13.2-4, trong đó:
(1) (Pgd) max là áp suất của chất lỏng kết hợp xác định bằng cách sử dụng gia tốc thiết kế tối đa.
(2) (Pgdsite) max là áp suất của chất lỏng kết hợp xác định bằng cách sử dụng gia tốc riêng biệt cụ thể.
(3) Peq lấy giá trị lớn hơn của Peq1 và Peq2 được tính toán như sau:
Peq1 = Po + (Pgd) max (MPa)
Peq2 = Ph + (Pgdsite) max (MPa)
2 Áp suất của chất lỏng bên trong là áp suất tạo bởi gia tốc phát sinh của trọng tâm hàng hóa do chuyển động của tàu nêu ở 4.14.1. Trị số áp suất của chất lỏng bên trong Pgd do ảnh hưởng kết hợp gia tốc trọng trường và gia tốc động được tính như sau:
(MPa)
Trong đó:
αβ: Gia tốc không thứ nguyên (nghĩa là gia tốc tương đối so với gia tốc trọng trường) do tải trọng lực và tải động theo phương tùy ý β (xem Hình 8D/4.1). Đối với các két lớn, ellipsoid gia tốc nên được sử dụng để tính đến gia tốc dọc và gia tốc thẳng đứng, gia tốc ngang.
Zβ: Chiều cao của chất lỏng lớn nhất (m) tính từ điểm mà ở đó áp suất được xác định từ vỏ két theo phương β (xem Hình 8D/4.2 và Hình 8D/4.3). Vòm két được coi là một phần của dung tích toàn bộ đã được xác nhận của két phải được xét đến khi xác định Zβ trừ khi tổng dung tích của vòm két Vd không lớn hơn trị số tính theo công thức sau:
![]()
Trong đó:
Vt: Thể tích của két chưa kể vòm;
FL: Giới hạn nạp đầy theo yêu cầu ở Chương 15.
ρ: Khối lượng riêng lớn nhất của hàng hóa (kg/m3) ở nhiệt độ thiết kế.
Phải xét đến hướng cho được trị số cực đại (Pgd)max hoặc (Pgdsite). Công thức trên chỉ áp dụng cho những két chứa đầy.
3 Có thể áp dụng phương pháp tính toán tương đương.
4.28.2 Công thức hướng dẫn các thành phần gia tốc
Các công thức sau đây được dùng để tính toán các thành phần gia tốc do chuyển động của tàu tương ứng với mức xác suất 10-8 ở Bắc Đại Tây Dương và được áp dụng cho tàu có chiều dài lớn hơn 50 m và ở hoặc gần tốc độ khai thác của chúng:
- Gia tốc thẳng đứng định nghĩa ở 4.14.1

- Gia tốc ngang định nghĩa ở 4.14.1
![]()
- Gia tốc dọc định nghĩa ở 4.14.1
![]()
Trong đó:
![]()

x: Khoảng cách dọc (m) từ giữa tàu đến trọng tâm của két có hàng, x lấy giá trị dương ở phía trước sườn giữa của tàu và lấy giá trị âm ở phía sau sườn giữa của tàu;
y: Khoảng cách ngang (m) từ đường tâm đến trọng tâm của két có hàng
z: Khoảng cách đứng (m) từ đường nước thực của tàu đến trọng tâm của két có hàng, z lấy giá trị dương ở phía trên đường nước và lấy giá trị âm ở phía dưới đường nước;
K: Nói chung là bằng 1. Đối với các điều kiện tải trọng và hình dạng thân tàu đặc biệt, K có thể cần phải được xác định theo công thức sau đây:
K = 13 GM/B nếu K không nhỏ hơn 1,0 và GM bằng chiều cao tâm nghiêng (m).
; và
V: vận tốc khai thác (hải lý/giờ);
ax, ay và az: Các gia tốc cực đại không thứ nguyên (nghĩa là trị số tương đối so với gia tốc trọng trường) theo các phương tương ứng. Trong tính toán các gia tốc được coi như tác động riêng rẽ, az không bao gồm thành phần do trọng lượng tĩnh, ay bao gồm cả thành phần do trọng lượng tĩnh theo phương ngang do lắc ngang và ax bao gồm cả thành phần do trọng lượng tĩnh theo phương dọc do lắc dọc. Các gia tốc có nguồn gốc từ các công thức trên chỉ áp dụng cho các tàu ở hoặc gần tốc độ khai thác của chúng, không áp dụng khi đang thả neo hoặc gần như tĩnh ở vị trí hở.
4.28.3 Các loại ứng suất
1 Để tính toán ứng suất, các loại ứng suất được định nghĩa như ở mục này.
2 Ứng suất pháp là thành phần ứng suất vuông góc với mặt phẳng đang xét;
3 Ứng suất tấm là thành phần của ứng suất pháp phân bố đều và bằng trị số trung bình của ứng suất trên chiều dày của tiết diện đang xét;
4 Ứng suất uốn là ứng suất thay đổi trên chiều dày của tiết diện đang xét, sau khi đã trừ đi ứng suất lớp màng;
5 Ứng suất cắt là thành phần của ứng suất tác dụng trong mặt phẳng đang xét;
6 Ứng suất cơ bản là ứng suất phát sinh do tác dụng của hàng và cần thiết để cân bằng với ngoại lực và mô men. Đặc điểm chủ yếu của ứng suất cơ bản là nó không tự giới hạn. Ứng suất cơ bản rất lớn so với giới hạn chảy sẽ dẫn đến phá hủy hoặc ít nhất là dẫn đến những biến dạng lớn;
7 Ứng suất chung cơ bản của tấm là ứng suất cơ bản của tấm được phân bố trong kết cấu sao cho không xảy ra sự phân bố lại tải vì biến dạng chảy;
8 Ứng suất cục bộ cơ bản của tấm phát sinh khi mà ứng suất của tấm tạo bởi áp suất hoặc tải trọng cơ học khác và kết hợp với tác dụng ban đầu hoặc tác dụng gián đoạn tạo nên biến dạng quá lớn khi truyền tải trọng đến các phần khác của kết cấu. Ứng suất như vậy được gọi là ứng suất cục bộ cơ bản của tấm mặc dù rằng nó có đặc trưng của ứng suất thứ yếu. Vùng ứng suất được coi là cục bộ nếu:
; và
![]()
Trong đó:
S1: Khoảng cách theo phương kinh tuyến, qua đó ứng suất tương đương lớn hơn 1,1f;
S2: Khoảng cách theo phương kinh tuyến đến một vùng khác mà ở đó giới hạn đối với ứng suất chung cơ bản ở lớp màng bị vượt quá;
R: Bán kính trung bình của bình;
t: Chiều dày của thành bình tại chỗ mà giới hạn của ứng suất chung cơ bản của tấm bị vượt quá;
f: Trị số cho phép của ứng suất chung cơ bản của tấm.
9 Ứng suất uốn tương đương là ứng suất uốn tạo bởi áp suất hoặc tải trọng cơ học khác trong vùng không toàn diện và gián đoạn kết cấu cục bộ.
10 Ứng suất thứ yếu là ứng suất pháp hoặc ứng suất cắt, phát sinh do sự chèn ép của các phần kề cận hoặc tự chèn ép của cơ cấu. Đặc tính cơ bản của ứng suất thứ yếu là nó tự giới hạn. Sự chảy cục bộ hoặc những biến dạng nhỏ có thể thỏa mãn các điều kiện phát sinh ứng suất.

aβ = Gia tốc phát sinh (tĩnh và động) theo phương β;
ax = Thành phần nằm dọc của gia tốc;
ay = Thành phần nằm ngang của gia tốc;
az = Thành phần thẳng đứng của gia tốc;
Hình 8D/4.1 Ellipsoid gia tốc

Hình 8 D/4.2 Xác định đỉnh áp suất trong

Hình 8 D/4.3 Xác định chiều cao ZB của chất lỏng đối với điểm 1, 2 và 3

σ0: Ứng suất cực đại có xác suất lớn nhất trong đời hoạt động của tàu. Chu kỳ lặp được lấy theo hàm logarit. Trị số 2 x 105 được cho làm ví dụ đánh giá
Hình 8 D/4.3 Phân bố tải trọng đơn giản
CHƯƠNG 5 CÁC BÌNH ÁP LỰC XỬ LÝ, HỆ THỐNG ỐNG DẪN KHÍ LỎNG, HƠI VÀ HỆ THỐNG ỐNG ÁP LỰC
5.1 Quy định chung
5.1.1 Quy định chung
1 Các yêu cầu của Chương này phải được áp dụng cho ống dẫn các sản phẩm và đường ống xử lý, bao gồm đường ống dẫn hơi, đường ống dẫn nhiên liệu khí và các đường ống thông hơi của các van an toàn hoặc đường ống tương tự. Hệ thống đường ống phụ không chứa hàng được miễn áp dụng các yêu cầu này của Chương này.
5.1.2 Các bình áp lực xử lý
Các yêu cầu đối với các két rời kiểu C được nói đến trong Chương 4 của Phần này cũng có thể áp dụng cho các bình áp lực xử lý nếu Đăng kiểm yêu cầu. Nếu được yêu cầu thì thuật ngữ "Bình áp lực" được dùng trong Chương 4 của Phần này bao gồm cả các két rời kiểu C và các bình áp lực xử lý.
5.1.3 Định nghĩa bình áp lực xử lý
Bình áp lực xử lý bao gồm các két tràn, thiết bị trao đổi nhiệt và bình tích năng dùng để chứa hoặc xử lý hàng lỏng hoặc hơi hàng.
5.2 Các yêu cầu về hệ thống
5.2.1 Hệ thống kiểm soát hàng và làm hàng
Hệ thống kiểm soát hàng và làm hàng phải được thiết kế có xét đến các mục từ (1) đến (5):
(1) Ngăn ngừa trạng thái bất thường dẫn đến việc thoát ra của hàng lỏng hoặc hơi hàng;
(2) Thu gom và xử lý an toàn việc thoát ra của hàng lỏng;
(3) Ngăn ngừa sự hình thành hỗn hợp dễ cháy;
(4) Ngăn ngừa việc bốc cháy do sự thoát ra của hơi và khí hoặc các chất lỏng dễ cháy; và
(5) Hạn chế tiếp xúc của con người với nguồn lửa và các mối nguy hiểm khác;
5.2.2 Bố trí: Quy định chung
1 Bất kỳ hệ thống ống nào có chứa hàng hoặc hơi hàng phải:
(1) Được cách ly với các hệ thống ống khác trừ khi có yêu cầu các đầu nối chung phục vụ các hoạt động liên quan đến làm hàng như vệ sinh, tẩy khí hoặc làm trơ khí. Các yêu cầu ở 9.4.4 phải được xét đến trong việc ngăn chặn hàng quay trở lại. Trong các trường hợp như vậy, phải có biện pháp để đảm bảo rằng hàng hoặc hơi hàng không thể đi vào các hệ thống đường ống khác qua các đầu nối chung;
(2) Trừ khi được đặt theo quy định ở Chương 16 của phần này, không được đi qua bất kỳ buồng sinh hoạt, buồng phục vụ hoặc trạm điều khiển hoặc qua buồng máy không phải là buồng máy làm hàng;
(3) Được nối trực tiếp vào hệ thống chứa hàng từ boong thời tiết trừ khi các ống này được đặt trong các kênh dẫn thẳng đứng hoặc tương đương thì được đi qua các khoang trống phía trên hệ thống chứa hàng và trừ khi các ống này dùng để tiêu nước, thông hơi hoặc tẩy khí đi qua các khoang cách ly;
(4) Được đặt trong khu vực hàng ở trên boong thời tiết trừ khi tàu được trang bị để nhận hoặc trả hàng ở phía mũi hoặc phía lái phù hợp với 3.8, có các hệ thống đường ống để xả hàng khẩn cấp xuống biển phù hợp với 5.3.1, hệ thống khoang tháp neo phù hợp với 5.3.5 và trừ khi thỏa mãn yêu cầu ở Chương 16 của phần này; và
(5) Được đặt phía trong vị trí của các yêu cầu bố trí két ngang quy định ở 2.4.1, trừ đường ống nối bờ theo phương ngang tàu không chịu áp suất bên trong khi trên biển hoặc hệ thống xả hàng khẩn cấp xuống biển.
2 Phải trang bị các phương tiện thích hợp để giảm áp suất và tháo hàng lỏng từ các bầu góp khi nạp và xả hàng; cũng như bất kỳ đường ống nào giữa các van ngoài cùng bầu góp và cần nạp hàng hoặc các ống mềm dẫn hàng về két hàng hoặc tới nơi thích hợp khác trước khi tháo các ống mềm dẫn hàng.
3 Các hệ thống đường ống dẫn chất lỏng để làm nóng hoặc làm lạnh trực tiếp hàng không được dẫn ra ngoài khu vực hàng trừ khi được trang bị phương tiện thích hợp để ngăn chặn hoặc phát hiện sự thoát ra của hơi hàng ra bên ngoài khu vực hàng (xem 13.6.2(6)).
4 Các van giảm áp xả hàng lỏng khỏi hệ thống đường ống phải dẫn vào các két hàng. Ngoài ra chúng có thể dẫn vào ống thông hơi hàng, nếu có phương tiện để phát hiện và ứng phó khi hàng lỏng tràn vào hệ thống thông hơi. Khi cần thiết để ngăn chặn sự quá áp trong đường ống xuôi dòng, các van an toàn trên các bơm hàng phải được dẫn về cửa hút của bơm.
5.3 Bố trí đường ống hàng ra bên ngoài khu vực hàng
5.3.1 Hệ thống ống xả hàng khẩn cấp xuống biển
Nếu được lắp đặt, hệ thống xả hàng khẩn cấp xuống biển nào cũng phải thỏa mãn yêu cầu ở 5.2.2 và có thể được dẫn về phía đuôi tàu ở bên ngoài các buồng sinh hoạt, buồng phục vụ, trạm điều khiển hoặc các buồng máy nhưng không được đi qua các buồng đó. Nếu hệ thống ống xả khẩn cấp hàng xuống biển được lắp cố định thì phải trang bị phương tiện thích hợp trong khu vực hàng để cách ly khỏi hệ thống ống hàng.
5.3.2 Bố trí nhận hàng ở mũi và lái
1 Tùy theo các yêu cầu của 3.8 và 5.10.1 ở Phần này, đường ống dẫn hàng có thể được bố trí để cho phép nhận và trả hàng ở mũi hoặc lái.
2 Phải có biện pháp để làm sạch đường ống và xả khí ngay sau khi sử dụng. Khi không sử dụng, các đoạn ống cuộn phải được tháo ra và đầu ống phải được lắp bích bịt kín. Các ống thông hơi liên quan tới việc làm sạch phải được đặt trong khu vực hàng.
5.3.3 Hệ thống dẫn hàng vào khoang tháp neo
Việc dẫn hàng lỏng hoặc hơi hàng đi qua bên trong khoang tháp neo ở vị trí ngoài khu vực hàng, đường ống phục vụ mục đích này phải thỏa mãn 5.2.2 và 5.10.2 cũng như từ (1) đến (3):
(1) Đường ống phải được đặt phía trên boong thời tiết, ngoại trừ được nối với tháp neo;
(2) Không cho phép sử dụng các hệ thống di động;
(3) Phải có biện pháp để làm sạch đường ống và xả khí ngay sau khi sử dụng. Khi không sử dụng, các đoạn ống nối rời (spool pieces) dùng để cách ly phải được tháo ra khỏi đường ống hàng và đầu ống phải được lắp bích bịt kín. Các ống thông hơi liên quan tới việc làm sạch phải được đặt trong khu vực hàng.
5.3.4 Hệ thống đường ống nhiên liệu khí
Ngoài các yêu cầu ở Chương 16 của Phần này. Đường ống nhiên liệu khí trong buồng máy phải thỏa mãn tất cả các Phần của Chương này.
5.4 Áp suất thiết kế
5.4.1 Quy định chung
1 Áp suất thiết kế P0 được sử dụng để xác định kích thước cơ cấu tối thiểu của đường ống và các chi tiết hệ thống đường ống nhưng không được nhỏ hơn áp suất lớn nhất trên đồng hồ mà hệ thống có thể phải chịu trong khai thác. Áp suất thiết kế tối thiểu được sử dụng không được nhỏ hơn 1 MPa trên đồng hồ, ngoại trừ đối với các đường ống hở đầu hoặc các đường ống xả van điều áp, không được nhỏ hơn dưới mức 0,5 MPa hoặc 10 lần áp suất đặt van an toàn.
5.4.2 Áp suất thiết kế
Phải sử dụng các điều kiện thiết kế lớn hơn từ (1) đến (5) sau đây đối với đường ống, hệ thống đường ống và các bộ phận, dựa trên hàng được dẫn:
(1) Đối với hệ thống đường ống dẫn hơi hoặc các bộ phận có thể tách biệt với các van an toàn và có chứa một lượng chất lỏng thì áp suất hơi bão hòa ở nhiệt độ thiết kế là 45°C. Có thể sử dụng các giá trị cao hơn hoặc thấp hơn (xem 4.13.2-2); hoặc
(2) Đối với các hệ thống hoặc bộ phận có thể tách biệt với các van an toàn và chỉ chứa hơi thì là áp suất hơi quá nhiệt ở 45°C. Có thể sử dụng các giá trị cao hơn hoặc thấp hơn (xem 4.13.2-2), với giả thiết là điều kiện ban đầu của hơi bão hòa trong hệ thống ở áp suất và nhiệt độ vận hành của hệ thống; hoặc
(3) Áp suất đặt van an toàn cho phép lớn nhất (MARVS) của các két hàng và các hệ thống xử lý hàng; hoặc
(4) Áp suất đặt của van an toàn kiểu xả của bơm hoặc máy nén có liên quan; hoặc
(5) Cột áp nạp hoặc xả hàng tổng cộng lớn nhất của hệ thống đường ống hàng có tính đến cả bố trí bơm có thể hoặc lắp đặt van an toàn trên hệ thống đường ống.
5.4.3 Hệ thống đường ống chất lỏng có thể chịu áp suất cao
Các bộ phận của hệ thống đường ống chất lỏng có thể chịu áp suất cao phải được thiết kế để chịu được áp suất này.
5.4.4 Áp suất thiết kế của đường ống bên ngoài hoặc ống dẫn hệ thống nhiên liệu khí
Áp suất thiết kế của đường ống bên ngoài hoặc ống dẫn hệ thống nhiên liệu khí không được nhỏ hơn áp suất làm việc tối đa của đường ống khí bên trong. Ngoài ra, đối với hệ thống đường ống nhiên liệu khí với áp suất làm việc lớn hơn 1 Mpa thì áp suất thiết kế của ống dẫn bên ngoài không được nhỏ hơn áp suất tích lũy tối đa phát sinh trong không gian hình vòng có tính đến áp suất đỉnh tức thời ở vị trí phá hủy bất kỳ và bố trí thông gió.
5.5 Yêu cầu về van của hệ thống hàng
5.5.1 Van chặn
1 Mỗi hệ thống đường ống hàng và két hàng phải được lắp van điều khiển bằng tay cho mục đích cách ly như quy định ở Phần này.
2 Ngoài ra, van điều khiển từ xa cũng phải được lắp một cách thích hợp như là một phần của hệ thống ngắt sự cố (ESD) nhằm mục đích ngăn hàng rò rỉ hoặc chảy ra trong trường hợp khẩn cấp khi vận chuyển hàng lỏng hoặc hơi hàng tăng dần. Hệ thống ngắt sự cố nhằm mục đích đưa hệ thống hàng đến trạng thái tĩnh an toàn để có thể sửa chữa. Phải chú ý đến việc thiết kế hệ thống ngắt sự cố để tránh gây áp lực bên trong đường ống dẫn hàng. Thiết bị ngắt khi khởi động hệ thống ngắt sự cố bao gồm van góp khi xả hoặc nạp, bất kỳ bơm hoặc máy nén v.v..., vận chuyển hàng phía trong hoặc phía ngoài (ví dụ đến bờ hoặc tàu/sà lan khác) và các van két hàng, nếu MARVS vượt quá 0,07 Mpa.
5.5.2 Đầu nối két hàng
1 Tất cả các ống dẫn chất lỏng và hơi trừ các van an toàn và thiết bị đo mức chất lỏng, phải có các van chặn được đặt càng gần với két càng tốt. Các van này được trang bị để đóng kín hoàn toàn và có khả năng điều khiển bằng tay tại chỗ. Chúng cũng có thể có khả năng điều khiển từ xa.
2 Đối với các két hàng có áp suất đặt van an toàn cho phép lớn nhất vượt quá 0,07 MPa, trên ống nối phải trang bị van ngắt sự cố điều khiển từ xa. Các van này phải cố gắng đặt gần két. Một van riêng biệt có thể thay thế hai van tách biệt với điều kiện là van này thỏa mãn các yêu cầu ở 18.3.1-2 và được trang bị để đóng kín hoàn toàn đường ống;
5.5.3 Đầu nối của ống dẫn hàng
1 Phải trang bị một van ngắt sự cố điều khiển từ xa ở mỗi đầu nối ống dẫn hàng được dùng để ngăn việc di chuyển hơi và chất lỏng đến hoặc từ tàu. Các đầu nối để vận chuyển không dùng khi chuyển hàng phải được cách ly với các bích kín phù hợp.
2 Nếu MARVS két hàng vượt quá 0,07 Mpa thì phải trang bị thêm van điều khiển bằng tay cho mỗi đầu nối vận chuyển hàng đang sử dụng và có thể ở trong hoặc ngoài van ngắt sự cố để phù hợp với thiết kế của tàu.
5.5.4 Van quá dòng
Van quá dòng có thể dùng thay cho van ngắt sự cố nếu đường kính ống bảo vệ không quá 50 mm. Các van quá dòng phải đóng tự động ở dòng đóng định mức của hơi hoặc chất lỏng như nhà sản xuất đã quy định. Đường ống bao gồm phụ tùng, van và thiết bị dự phòng phải được bảo vệ bởi một van quá dòng có lưu lượng lớn hơn dòng đóng định mức của van quá dòng. Các van quá dòng có thể được thiết kế với đường kính lưu thông không vượt quá diện tích lỗ tròn đường kính 1,0 mm để cho áp suất không thay đổi sau khi thao tác ngắt.
5.5.5 Đầu nối két hàng để đo hoặc các thiết bị đo
Các đầu nối của két hàng để đo hoặc cho các thiết bị đo không cần trang bị các van quá dòng hoặc ngắt sự cố với điều kiện các thiết bị này được kết cấu sao cho lượng tràn ra khỏi két không thể vượt quá dòng chảy qua một lỗ tròn đường kính 1,5 mm.
5.5.6 Van an toàn
Tất cả các đường ống hoặc các bộ phận có thể bị cách ly trong điều kiện đầy chất lỏng phải được bảo vệ bằng van an toàn cho sự bốc hơi và giãn nở vì nhiệt.
5.5.7 Van điều áp
Tất cả các đường ống hoặc các bộ phận có thể bị cách ly tự động do cháy với thể tích chất lỏng lớn hơn 0,05 m3 bị giữ lại phải được trang bị PRVs có kích thước cho tình trạng cháy.
5.6 Bố trí chuyển hàng
5.6.1 Phương tiện chuyển hàng
Nếu việc chuyển hàng được thực hiện nhờ các bơm hàng mà không thể tiếp cận được để sửa khi các két đang phục vụ thì phải trang bị ít nhất hai phương tiện độc lập để chuyển hàng ra khỏi mỗi két hàng và phải thiết kế sao cho khi bơm hàng hoặc phương tiện chuyển hàng bị hỏng sẽ không gây cản trở việc chuyển hàng bằng cách sử dụng các bơm khác hoặc phương tiện chuyển hàng khác.
5.6.2 Chuyển hàng bằng áp lực cao của khí
Quy trình để chuyển hàng bằng áp lực cao của khí phải không làm nâng van an toàn trong thời gian chuyển hàng. Việc duy trì áp lực cao của khí có thể chấp nhận là một biện pháp chuyển hàng cho các két khi hệ số an toàn thiết kế không bị giảm ở điều kiện phổ biến trong suốt thời gian thao tác chuyển hàng. Nếu van giảm áp hoặc áp suất đặt của két hàng thay đổi cho phép thỏa mãn quy định ở 8.2.7, 8.2.8, 8.5.3 và 8.5.4 thì áp suất đặt mới không được vượt quá Ph như định nghĩa ở 4.13.2.
5.6.3 Đầu nối hồi hơi
Phải trang bị các đầu nối cho hồi hơi về các thiết bị trên bờ.
5.6.4 Hệ thống đường ống thông hơi két hàng
Hệ thống điều áp phải nối với hệ thống đường ống thông hơi được thiết kế sao cho giảm đến mức tối thiểu khả năng hơi hàng tích tụ trên các boong hoặc đi vào các buồng sinh hoạt, buồng phục vụ, các trạm điều khiển và buồng máy, hoặc vào các buồng khác mà ở đó nó có thể gây ra tình trạng nguy hiểm.
5.6.5 Đầu nối lấy mẫu hàng
1 Đầu nối với hệ thống đường ống hàng để lấy mẫu hàng lỏng phải được đánh dấu rõ ràng và phải được thiết kế để giảm đến mức nhỏ nhất hơi hàng thoát ra. Đối với các tàu được chở các sản phẩm độc hại thì hệ thống lấy mẫu phải được thiết kế vòng kín để đảm bảo hơi hàng và hàng lỏng không bị thoát ra không khí.
2 Hệ thống lấy mẫu chất lỏng phải được trang bị hai van trên đầu vào lấy mẫu. Một trong các van này phải có kiểu xoay nhiều vòng để tránh việc mở bất ngờ và phải cách xa nhau để đảm bảo chúng có thể cách ly đường ống nếu bị tắc, ví dụ do băng hóa hoặc hydrat.
3 Trên hệ thống vòng khép kín, các van trên đường ống dẫn về phải thỏa mãn -2 ở trên.
4 Đầu nối với thùng chứa lấy mẫu phải thỏa mãn các tiêu chuẩn được công nhận và được đỡ để có khả năng chịu được trọng lượng của thùng chứa lấy mẫu. Các đầu nối ren phải được hàn đính hoặc khóa bằng cách khác nhau để tránh chúng không bị vặn trong quá trình ngắt và nối thường của thùng chứa lấy mẫu. Đầu nối lấy mẫu phải được gắn với một nút chắn kín hoặc mặt bích kín để tránh sự rò rỉ không sử dụng đầu nối.
5 Các đầu nối lấy mẫu chỉ được dùng đối với lấy mẫu hơi có thể được lắp một van đơn thỏa mãn 5.5, 5.8 và 5.13, và phải được lắp với một bích kín hoặc nút kín.
5.6.6 Thiết bị lọc hàng
Hệ thống hơi hàng và hàng lỏng phải có khả năng lắp được thiết bị lọc để bảo vệ chống lại sự hư hỏng do các vật từ ngoài gây ra. Thiết bị lọc có thể là cố định hoặc tạm thời và các tiêu chuẩn lọc phải thỏa mãn với nguy cơ vỡ v.v... vào hệ thống hàng. Phải trang bị phương tiện chỉ báo các thiết bị lọc đang bị tắc để cách ly, làm giảm áp suất và vệ sinh an toàn thiết bị lọc.
5.7 Các yêu cầu về lắp đặt
5.7.1 Thiết kế cho sự dãn nở
Phải được trang bị để bảo vệ đường ống, hệ thống ống, các bộ phận của hệ thống ống và các két hàng khỏi ứng suất quá mức do chuyển động vì nhiệt, chuyển động của két và kết cấu thân tàu. Phương pháp được ưu tiên là bên ngoài két hàng bằng phương tiện kiểu bù trừ, kiểu uốn cong hoặc kiểu vòng nhưng có thể sử dụng ống xếp nhiều lớp nếu không thực hiện được kiểu bù trừ, kiểu uốn cong hoặc kiểu vòng.
5.7.2 Đề phòng nhiệt độ thấp
Đường ống nhiệt độ thấp phải được cách nhiệt với kết cấu thân tàu kề cận, khi cần thiết, để tránh nhiệt độ của thân tàu bị hạ thấp xuống dưới nhiệt độ thiết kế của vật liệu thân tàu. Khi đường ống chất lỏng được tháo dỡ định kỳ hoặc khi sự rò lọt chất lỏng có thể được phát hiện sớm, như tại chỗ đầu nối bờ và tại cửa van của bơm phải có biện pháp bảo vệ thân tàu ở bên dưới.
5.7.3 Màng chắn nước
Khi nhiệt độ hàng thấp hơn -110oC thì hệ thống phân phối nước phải được lắp vào thân tàu bên dưới đầu nối bờ để tạo ra màng chắn nước áp suất thấp bảo vệ thêm cho thân tàu thép và kết cấu mạn của tàu. Hệ thống này ngoài các yêu cầu ở 11.3.1(4) sẽ được vận hành khi tiến hành vận chuyển hàng.
5.7.4 Tính liên kết
Khi các két hoặc đường ống hàng và thiết bị đường ống được cách biệt với kết cấu của tàu bằng cách nhiệt, phải tiếp đất về điện cho cả đường ống và các két. Tất cả các mối nối ống có đệm và khớp nối ống mềm phải được tiếp đất về điện. Trừ khi đai liên kết được sử dụng và chúng phải được chứng minh rằng điện trở của mối nối hoặc đầu nối nhỏ hơn 1MW.
5.8 Chế tạo đường ống và các chi tiết nối
5.8.1 Quy định chung
Các yêu cầu ở mục này áp dụng cho đường ống bên trong và bên ngoài két hàng. Miễn giảm những yêu cầu này có thể được chấp nhận nếu thỏa mãn với các tiêu chuẩn được công nhận cho đường ống bên trong két hàng và đường ống hở đầu.
5.8.2 Nối trực tiếp
Các kiểu nối trực tiếp các đoạn ống không có bích sau đây có thể được xem xét:
(1) Mối hàn giáp mép ngấu hoàn toàn có thể dùng trong mọi trường hợp. Nếu nhiệt độ thiết kế lạnh hơn -10°C thì mối hàn giáp mép phải được hàn hai phía hoặc tương đương với mối nối giáp mép được hàn hai phía. Điều này có thể được thực hiện bằng cách dùng tấm đệm ở mặt sau, chèn thêm vật liệu hàn hoặc dùng khí trơ hỗ trợ lên ở lớp hàn đầu tiên. Nếu áp suất thiết kế vượt quá 1 MPa và nhiệt độ thiết kế bằng hoặc nhỏ hơn -10°C thì các tấm đệm ở mặt sau phải được tẩy đi.
(2) Các mối nối hàn lồng vào với các ống lót và công việc hàn có liên quan theo các kích thước thỏa mãn các tiêu chuẩn được công nhận thì chỉ được dùng cho đường ống dẫn đến dụng cụ đo và đường ống hở đầu có đường kính ngoài bằng hoặc nhỏ hơn 50 mm và nhiệt độ thiết kế không lạnh hơn -55°C; và
(3) Các khớp nối ren thỏa mãn các tiêu chuẩn được công nhận thì chỉ được dùng cho các đường ống phụ và các đường ống dẫn đến dụng cụ đo có đường kính ngoài bằng hoặc nhỏ hơn 25 mm.
5.8.3 Nối bằng bích
1 Các mặt bích trong nối bích phải là dạng cổ hàn, ống lồng hoặc hàn lồng.
2 Các mặt bích phải thỏa mãn các tiêu chuẩn được công nhận về dạng, chế tạo và thử. Đặc biệt là đối với tất cả đường ống trừ ống hở đầu, được áp dụng các hạn chế sau:
(1) Với nhiệt độ thiết kế lạnh hơn -55°C, chỉ được dùng các bích cổ hàn; và
(2) Với nhiệt độ thiết kế lạnh hơn -10°C, không được dùng bích ống lồng khi ở kích thước danh nghĩa vượt quá 100 mm và không được dùng bích hàn hốc ở kích thước danh nghĩa quá 50 mm.
5.8.4 Mối nối dãn nở
Nếu các ống xếp và mối nối dãn nở được trang bị thỏa mãn 5.7.1 thì phải áp dụng các yêu cầu sau:
(1) Nếu cần thiết thì các ống xếp phải được bảo vệ chống băng hóa; và
(2) Mối nối ống lồng không được sử dụng, trừ ở trong các két hàng.
5.8.5 Các kiểu nối khác
Các đầu nối ống phải được nối thỏa mãn 5.8.2 đến 5.8.4 nhưng với các trường hợp ngoại lệ khác việc bố trí thay thế được phê duyệt bởi Chính quyền hành chính có thể được chấp nhận.
5.9 Hàn, xử lý nhiệt sau hàn và thử không phá hủy
5.9.1 Quy định chung
Công việc hàn phải được tiến hành theo 6.5.
5.9.2 Xử lý nhiệt sau hàn
Việc xử lý nhiệt sau hàn bắt buộc phải thực hiện đối với tất cả mối hàn giáp mép của tất cả các ống làm bằng thép các bon, thép cácbon-mangan và thép hợp kim thấp. Chính quyền hành chính hoặc Đăng kiểm có thể miễn giảm yêu cầu này đối với việc làm giảm ứng suất nhiệt của các ống có chiều dày nhỏ hơn 10 mm tương ứng với nhiệt độ và áp suất thiết kế của hệ đường ống liên quan.
5.9.3 Thử không phá hủy
Cùng với các kiểm tra thông thường trước và trong khi hàn, kiểm tra bằng mắt thường mối hàn đã hoàn thành, nếu cần chứng minh rằng công việc hàn đã được tiến hành chính xác và theo đúng các yêu cầu của mục này phải tiến hành các thử nghiệm sau đây:
(1) Kiểm tra bằng chụp tia phóng xạ 100% mối hàn giáp mép đối với các hệ thống ống có nhiệt độ thiết kế lạnh hơn -10°C và có đường kính trong lớn hơn 75 mm hoặc chiều dày ống lớn hơn 10 mm;
(2) Khi các mối nối hàn giáp mép của các đoạn ống như vậy được tiến hành bằng quy trình hàn tự động được phê duyệt bởi Chính quyền hành chính hoặc Đăng kiểm, mức độ kiểm tra bằng chụp tia phóng xạ có thể được giảm nhưng không nhỏ hơn 10% của mỗi mối nối. Nếu phát hiện thấy khuyết tật, thì mức độ kiểm tra phải tăng đến 100% và phải kiểm tra tất cả các mối hàn đã được chấp nhận trước đó. Việc phê duyệt này chỉ có thể được công nhận nếu thủ tục và hồ sơ đảm bảo chất lượng được chứng thực đầy đủ để đánh giá khả năng của nhà máy có thể thực hiện được mối hàn theo đúng tiêu chuẩn; và
(3) Với các mối hàn giáp mép khác của các đường ống ngoài trường hợp được nêu ở (1) và (2) trên đây, phải tiến hành kiểm tra bằng chụp tia phóng xạ hoặc siêu âm hoặc kiểm tra không phá hủy khác tùy thuộc vào dịch vụ, vị trí và vật liệu. Nói chung phải kiểm tra bằng tia phóng xạ hoặc siêu âm ít nhất 10% mối hàn giáp mép của các đường ống.
5.10 Các yêu cầu về lắp đặt đối với đường ống hàng bên ngoài khu vực hàng
5.10.1 Bố trí nhân hàng ở phía mũi và phía lái
Các yêu cầu sau đây phải được áp dụng cho đường ống hàng và các thiết bị đường ống có liên quan nằm ngoài khu vực hàng:
(1) Đường ống hàng và thiết bị đường ống có liên quan ở ngoài khu vực hàng phải được liên kết bằng phương pháp hàn. Đường ống phía ngoài khu vực hàng phải được đặt trên boong thời tiết và phải nằm vào phía trong so với mạn tàu ít nhất 800 mm, ngoại trừ đường ống nối tàu với bờ. Đường ống như vậy phải được phân biệt rõ ràng và phải được lắp một van chặn ở chỗ nối với hệ thống đường ống hàng trong khu vực hàng. Ở vị trí này nó phải có khả năng cách ly được nhờ một đoạn ống cuộn tháo được và các bích đặc khi không sử dụng; và
(2) Đường ống phải được hàn giáp mép ngấu hoàn toàn và phải được kiểm tra bằng chụp tia phóng xạ hoặc siêu âm trên toàn bộ đường kính ống và nhiệt độ thiết kế. Các mối nối bích trên đường ống chỉ cho phép nằm trong khu vực hàng và ở chỗ đầu nối với bờ.
5.10.2 Hệ thống dẫn vào khoang tháp neo
Các yêu cầu sau đây phải được áp dụng cho đường ống dẫn hàng lỏng và hơi hàng khi nó được đặt ở ngoài khu vực hàng:
(1) Đường ống hàng và thiết bị đường ống có liên quan ở ngoài khu vực hàng phải được liên kết bằng phương pháp hàn; và
(2) Đường ống phải được hàn giáp mép ngấu hoàn toàn và phải được kiểm tra bằng chụp tia phóng xạ hoặc siêu âm trên toàn bộ đường kính ống và nhiệt độ thiết kế. Các mối nối bích trên đường ống chỉ cho phép nằm trong khu vực hàng và ở chỗ đầu nối với ống mềm dẫn hàng và đầu nối tháp neo.
5.10.3 Đường ống nhiên liệu khí
Đường ống nhiên liệu khí phải cố gắng để được liên kết bằng mối nối hàn. Các bộ phận của đường ống nhiên liệu khí không kín được đặt trong đường ống hoặc kênh ống thông gió theo 16.4.3 và ở trên boong thời tiết bên ngoài khu vực hàng phải được liên kết bằng mối nối hàn giáp mép ngấu hoàn toàn và được kiểm tra toàn bộ bằng tia phóng xạ hoặc siêu âm.
5.11 Yêu cầu về các bộ phận của hệ thống đường ống
5.11.1 Quy cách đường ống
Hệ thống đường ống phải được thiết kế phù hợp với các tiêu chuẩn được công nhận.
5.11.2 Chiều dày thành ống
1 Các tiêu chuẩn quy định từ -2 đến -4 phải được sử dụng để xác định chiều dày thành ống.
2 Chiều dày của thành ống không được nhỏ hơn:
(mm)
Trong đó:
t0: Chiều dày lý thuyết, được xác định bằng công thức sau:
t0 = PD/(2Ke + P) (mm)
Trong đó:
P: Áp suất thiết kế (MPa) được cho ở 5.4;
D: Đường kính ngoài (mm);
K: Ứng suất cho phép (N/mm2) được cho ở 5.11.3;
e: Hệ số hiệu suất bằng 1,0 đối với các ống liền, và các ống hàn theo chiều dài hoặc xoắn ốc được sản xuất bởi nhà chế tạo ống hàn đã được chứng nhận. Các ống này được xem là tương đương với các ống liền nếu việc thử không phá hủy các mối hàn được tiến hành thỏa mãn các tiêu chuẩn được công nhận. Trong các trường hợp khác, hệ số hiệu suất nhỏ hơn 1,0 có thể yêu cầu thỏa mãn các tiêu chuẩn được công nhận phụ thuộc vào phương pháp chế tạo;
b: Độ uốn cho phép (mm). Giá trị của b phải được chọn sao cho ứng suất tính toán khi uốn chỉ do áp suất bên trong không vượt quá ứng suất cho phép. Nếu không xác định được theo cách như vậy thì b phải bằng:
(mm)
Trong đó:
r: Bán kính uốn trung bình (mm);
c: Độ ăn mòn cho phép (mm). Nếu có hiện tượng ăn mòn và mài mòn, chiều dày của thành ống phải được tăng thêm so với chiều dày quy định bởi các yêu cầu thiết kế khác. Trị số này phải phù hợp với thời gian sử dụng dự kiến của đường ống; và
a: Dung sai âm khi chế tạo của chiều dày (%).
3 Chiều dày của thành ống tối thiểu phải thỏa mãn các tiêu chuẩn được công nhận.
4 Khi cần có độ bền cơ học để tránh hư hỏng, gãy đổ, chùng quá mức hoặc mất ổn định cho ống do phải cộng thêm tải trọng, chiều dày của thành ống phải được tăng lên so với chiều dày yêu cầu ở 5.11.2-2 hoặc nếu điều này không thể thực hiện được hoặc sẽ gây ra ứng suất cục bộ quá mức thì các tải trọng này phải được giảm, được bảo vệ chống lại hoặc loại trừ bằng các phương pháp thiết kế khác.
5.11.3 Ứng suất cho phép
Đối với các ống, ứng suất cho phép K được đề cập trong công thức tính ở 5.11.2 là giá trị nhỏ hơn trong các giá trị sau:
hoặc ![]()
Trong đó:
Rm: Giới hạn bền kéo nhỏ nhất ở nhiệt độ phòng theo quy định (N/mm2); và
Re: Giới hạn chảy nhỏ nhất ở nhiệt độ phòng theo quy định (N/mm2);
Nếu trên đường cong ứng suất biến dạng không chỉ ra được một giới hạn chảy rõ ràng, thì dùng giới hạn chảy quy ước 0,2%.
Các giá trị của A và B phải ít nhất là: A = 2,7 và B = 1,8.
5.11.4 Đường ống bên ngoài của ống nhiên liệu khí áp suất cao hoặc quy cách ống dẫn
Trong hệ thống đường ống nhiên liệu khí áp suất thiết kế lớn hơn áp suất tiêu chuẩn, ứng suất màng tiếp tuyến của đoạn ống thẳng hoặc ống dẫn không được vượt quá độ bền kéo chia cho 1,5 (Rm/1,5) khi tính theo áp suất thiết kế quy định ở 5.4.
5.11.5 Phân tích ứng suất
Khi nhiệt độ thiết kế thấp hơn hoặc bằng -110°C, phải trình Đăng kiểm kết quả phân tích ứng suất toàn bộ có xét đến tất cả các thành phần ứng suất do trọng lượng ống, bao gồm cả tải trọng do có gia tốc nếu đáng kể, do áp suất bên trong, do biến dạng nhiệt và do các tải trọng phát sinh khi thân tàu bị uốn vồng lên và võng xuống cho mỗi nhánh của hệ thống đường ống. Đối với nhiệt độ trên -110°C, Đăng kiểm có thể yêu cầu phải phân tích ứng suất liên quan đến các vấn đề như kết cấu hoặc độ cứng của hệ thống đường ống và việc lựa chọn vật liệu. Trong mọi trường hợp, phải xét đến các ứng suất nhiệt dù không phải trình các tính toán. Đăng kiểm có thể chấp nhận sự phân tích được tiến hành theo quy tắc thông thường.
5.11.6 Mặt bích, van và phụ tùng
1 Các mặt bích, van và các phụ tùng khác phải thỏa mãn các tiêu chuẩn được công nhận, có xét đến vật liệu được chọn và áp suất thiết kế quy định ở 5.4. Đối với các mối nối dãn nở kiểu ống xếp dùng trong vận chuyển hơi, Đăng kiểm có thể chấp nhận giá trị thấp hơn của áp suất thiết kế.
2 Đối với các bích không thỏa mãn các tiêu chuẩn được công nhận, kích thước của các bích và các bu lông đi kèm phải thỏa mãn yêu cầu của Chính quyền hành chính hoặc Đăng kiểm.
3 Tất cả các van ngắt sự cố phải là kiểu ‘‘đóng khi cháy’’ (xem 5.13.1-1 và 18.3.1-2).
4 Việc thiết kế và lắp đặt ống xếp dãn nở phải thỏa mãn các tiêu chuẩn được công nhận và được lắp các phương tiện để tránh hư hỏng do quá dãn nở hoặc nén.
5.11.7 Ống mềm dẫn hàng của tàu
1 Các ống mềm dùng để chuyển chất lỏng và hơi phải phù hợp với hàng và nhiệt độ của hàng.
2 Các ống mềm chịu áp lực két hoặc áp suất đẩy của bơm hoặc máy nén hơi phải được tính toán với áp suất vỡ không nhỏ hơn 5 lần áp suất lớn nhất mà ống mềm sẽ phải chịu trong khi vận chuyển hàng.
3 Mỗi dạng ống mềm dẫn hàng mới đồng bộ với phụ tùng nối ở đầu phải được thử nghiệm mẫu tại nhiệt độ môi trường thông thường với chu kỳ áp suất 200 lần từ không đến ít nhất hai lần áp suất làm việc lớn nhất quy định. Sau khi thực hiện thử áp suất chu kỳ, mẫu thử này phải được thử áp suất vỡ tối thiểu bằng 5 lần áp suất làm việc lớn nhất theo quy định tại nhiệt độ làm việc khắc nghiệt cao hơn và thấp hơn. Các ống mềm dùng để thử nghiệm mẫu không được dùng cho khai thác hàng. Sau đó, trước khi được đưa vào sử dụng, mỗi đoạn mới của ống mềm dẫn hàng phải được thử thủy tĩnh ở nhiệt độ môi trường tới áp suất không nhỏ hơn 1,5 lần áp suất làm việc lớn nhất theo quy định nhưng không lớn hơn 2/5 áp suất vỡ của nó. Ống mềm phải được in bằng khuôn hoặc được đánh dấu bằng cách ghi ngày thử, áp suất làm việc lớn nhất theo quy định của ống và nếu được sử dụng ở điều kiện khác với nhiệt độ môi trường thì phải in bằng khuôn hoặc ghi nhiệt độ khai thác lớn nhất hoặc nhỏ nhất hoặc cả hai. Áp suất làm việc lớn nhất theo quy định không được nhỏ hơn 1 MPa.
5.12 Vật liệu
5.12.1 Vật liệu
Việc chọn và thử các vật liệu dùng trong các hệ thống đường ống phải thỏa mãn các yêu cầu của Chương 6 của Phần này, có xét đến nhiệt độ thiết kế nhỏ nhất. Tuy nhiên, Đăng kiểm có thể cho phép một số miễn giảm đối với chất lượng vật liệu của đường ống thông hơi hở đầu, với điều kiện nhiệt độ của hàng ở áp suất đặt van điều áp không nhỏ hơn -55°C và không xảy ra sự xả chất lỏng vào đường ống thông hơi. Có thể cho phép các miễn giảm tương tự ở cùng điều kiện nhiệt độ đối với đường ống hở đầu phía trong các két, không kể đường ống xả và tất cả đường ống bên trong các két kiểu màng và nửa màng.
5.12.2 Vật liệu có điểm nóng chảy thấp
Vật liệu có điểm nóng chảy dưới 925oC không được sử dụng cho đường ống bên ngoài két hàng ngoại trừ đối với các đoạn ống ngắn được gắn vào các két hàng trong trường hợp có cách nhiệt chống cháy.
5.12.3 Hệ thống cách ly đường ống hàng
1 Hệ thống đường ống hàng phải được trang bị hệ thống cách nhiệt theo yêu cầu để giảm thiểu việc rò rỉ nhiệt vào hàng trong quá trình vận chuyển và để bảo vệ con người không tiếp xúc trực tiếp với bề mặt lạnh.
2 Do vị trí hoặc điều kiện môi trường vật liệu cách nhiệt phải có tính chịu lửa, chống lan truyền lửa và phải được bảo vệ thích hợp chống sự thâm nhập của hơi nước và phá hủy cơ học.
5.12.4 Các biện pháp chống ăn mòn cho đường ống hàng
Nếu hệ thống đường ống hàng có vật liệu nhạy cảm với sự rạn nứt do ăn mòn ứng suất trong môi trường có chứa muối, cần phải có các biện pháp phù hợp để tránh xảy ra hiện tượng này bằng cách xem xét lựa chọn vật liệu, bảo vệ sự tiếp xúc với nước mặn và/hoặc sẵn sàng để kiểm tra.
5.13 Các yêu cầu thử nghiệm
5.13.1 Thử nghiệm mẫu các phụ tùng đường ống
1 Các van
Mỗi kiểu của van định dùng ở nhiệt độ làm việc thấp hơn -55°C phải tuân thủ theo các thử nghiệm mẫu sau:
(1) Mỗi cỡ và kiểu của van phải được thử kín đế van với toàn bộ áp suất làm việc trong khoảng thời gian đối với nhiệt độ và lưu lượng hai chiều lên đến áp suất thiết kế định mức của van. Tỷ lệ rò rỉ cho phép phải được Chính quyền hành chính hoặc Đăng kiểm yêu cầu. trong quá trình thử các van phải hoạt động an toàn và tin cậy.
(2) Lưu lượng hoặc dòng chảy phải được chứng nhận đạt tiêu chuẩn được công nhận cho từng cỡ và kiểu van;
(3) Các thành phần áp suất phải được thử áp suất ít nhất 1,5 lần áp suất định mức; và
(4) Đối với van ngắt sự cố nếu vật liệu có nhiệt độ nóng chảy thấp hơn 925oC thì việc thử mẫu phải bao gồm thử lửa theo tiêu chuẩn được Đăng kiểm chấp nhận.
2 Ống xếp dãn nở
Phải tiến hành thử các mẫu sau đây với mỗi kiểu ống xếp dãn nở dùng ở đường ống hàng phía ngoài két hàng và khi được yêu cầu bởi Chính quyền hành chính hoặc Đăng kiểm, phải thực hiện với các ống xếp dãn nở lắp trong phạm vi két hàng.
(1) Các thành phần của ống xếp không được nén trước, phải được thử ở áp suất không nhỏ hơn 5 lần áp suất tính toán mà không bị nổ. Thời gian thử không được ít hơn 5 phút;
(2) Thử áp suất phải được thực hiện trên một mối nối dãn nở mẫu với tất cả phụ tùng như bích, trụ chống và thanh nối ở nhiệt độ thiết kế nhỏ nhất và bằng hai lần áp suất thiết kế ở điều kiện dịch chuyển xa nhất do nhà chế tạo đề nghị mà không có biến dạng vĩnh cửu;
(3) Thử chu trình (chuyển động nhiệt) phải được thực hiện trên mối nối dãn nở hoàn toàn mà chịu đựng được ít nhất là nhiều chu kỳ dưới các điều kiện áp suất, nhiệt độ, chuyển động dọc, chuyển động quay và chuyển động ngang như sẽ gặp trong vận hành thực tế. Cho phép thử ở nhiệt độ môi trường khi việc thử này ít nhất có mức độ nguy hiểm như khi thử ở nhiệt độ làm việc; và
(4) Thử độ bền mỏi chu kỳ (biến dạng của tàu) phải được thực hiện trên mối nối dãn nở hoàn toàn không có áp lực bên trong, bằng sự mô phỏng chuyển động của ống xếp tương đương với chiều dài ống được bù trừ, với ít nhất 2.000.000 chu kỳ ở tần số không cao hơn 5 Hz. Chỉ yêu cầu thử nghiệm này nếu do bố trí đường ống thực tế sẽ phát sinh tải trọng biến dạng thân tàu.
5.13.2 Các yêu cầu thử hệ thống
1 Các yêu cầu của mục này được áp dụng cho đường ống bên trong và bên ngoài két hàng.
2 Sau khi lắp ráp, tất cả các đường ống hàng và đường ống xử lý phải được thử độ bền với chất lỏng thích hợp. Áp suất thử ít nhất bằng 1,5 lần áp suất thiết kế (1,25 lần áp suất thiết kế nếu chất lỏng để thử né được) đối với đường ống hàng lỏng và 1,5 lần áp suất làm việc hệ thống lớn nhất (1,25 lần áp suất làm việc hệ thống lớn nhất nếu chất lỏng để thử nén được) đối với đường ống hơi hàng. Nếu hệ thống đường ống hoặc các bộ phận của hệ thống được chế tạo đồng bộ và được trang bị tất cả các phụ tùng thì việc thử có thể được tiến hành trước khi lắp xuống tàu. Các mối nối được hàn trên tàu phải qua thử đến ít nhất bằng 1,5 lần áp suất thiết kế.
3 Sau khi lắp xuống tàu, mỗi hệ thống đường ống hàng và đường ống xử lý phải được thử rò bằng không khí, hoặc môi trường thích hợp khác tới áp suất tùy thuộc vào phương pháp phát hiện rò được áp dụng.
4 Trong hệ thống đường ống nhiên liệu khí hai lớp, ống bên ngoài hoặc ống dẫn cũng phải thử áp suất để chứng minh rằng nó có thể chịu được áp suất lớn nhất có thể xảy ra khi bị vỡ đường ống khí.
5 Tất cả các hệ thống đường ống gồm các van, phụ tùng và các thiết bị liên quan để làm hàng hoặc xử lý hơi phải được thử ở điều kiện hoạt động bình thường trước khi thao tác nạp hàng lần đầu phù hợp với các tiêu chuẩn được công nhận.
5.13.3 Van ngắt sự cố
Các đặc tính đóng của van ngắt sự cố sử dụng trong hệ thống đường ống hàng lỏng phải được thử để chứng minh thỏa mãn với 18.3.1-2(1)(c). Việc thử này có thể được tiến hành sau khi lắp xuống tàu.
5.14 Các yêu cầu vận hành
5.14.1 Phạm vi áp dụng
Các quy định ở 5.14 không liên quan đến việc kiểm tra duy trì cấp, nhưng chỉ ra những vấn đề đó sẽ được theo dõi nghiêm ngặt bởi chủ tàu, hoặc thuyền trưởng cũng như tất cả những người khác chịu trách nhiệm đến vận hành tàu.
5.14.2 Bố trí nhận hàng ở mũi và lái
Đường ống hàng sử dụng để nhận hàng ở mũi và lái phải được làm sạch và xả khí ngay sau khi sử dụng. Khi không sử dụng, các đoạn ống cuộn phải được tháo ra và đầu ống phải được lắp bích bịt kín.
5.14.3 Hệ thống dẫn hàng vào khoang tháp neo
Việc dẫn hàng lỏng hoặc hơi hàng đi qua bên trong khoang tháp neo ở vị trí ngoài khu vực hàng phải được làm sạch và xả khí ngay sau khi sử dụng. Khi không sử dụng, các đoạn ống cuộn phải được tháo ra và đầu ống phải được lắp bích bịt kín.
5.14.4 Các hoạt động lấy mẫu
Các hoạt động lấy mẫu hàng phải được thực hiện như quy định ở 18.4.8.
5.14.5 Màng chắn nước
Đối với nhiệt độ hàng dưới -110oC, màng chắn nước quy định ở 5.7.3 sẽ được vận hành khi tiến hành vận chuyển hàng.
CHƯƠNG 6 VẬT LIỆU CHẾ TẠO VÀ KIỂM SOÁT CHẤT LƯỢNG
6.1 Các định nghĩa
6.1.1 Thép dùng làm cơ cấu thân tàu
Trong Chương này, nếu dùng các thép kết cấu thân tàu có ký hiệu A, B, D, E, AH, DH, EH và FH thì cấp của các loại thép này là như sau:
A: A;
B: B;
D: D;
E: E;
AH: A32, A36 và A40
DH: D32, D36 và D40
EH: E32, E36 và E40
FH: F32, F36 và F40
6.1.2 Mẫu
Một mẫu là sản phẩm được cán từ một tấm đơn hoặc phôi hoặc từ một thỏi đơn nếu nó được cán trực tiếp vào các tấm, dải, miếng hoặc thanh.
6.1.3 Lô
Một lô là số lượng các chi tiết hoặc các mẫu được chấp nhận hoặc hoặc từ chối cùng nhau, trên cơ sở của thử được thực hiện dựa trên cơ sở lấy mẫu. Kích thước được đưa ra ở Phần 7A của Quy chuẩn.
6.1.4 Cán có kiểm soát
Cán có kiểm soát phải thỏa mãn Bảng 7A/3.3 chú thích (3), Chương 3, Phần 7A của Quy chuẩn.
6.1.5 Quy trình kiểm soát cơ - nhiệt
Quy trình kiểm soát cơ - nhiệt phải thỏa mãn Bảng 7A/3.3 chú thích (3), Chương 3, Phần 7A của Quy chuẩn.
6.1.6 Làm nguội nhanh
Làm nguội nhanh phải thỏa mãn Bảng 7A/3.3 chú thích (3), Chương 3, Phần 7A của Quy chuẩn.
6.2 Các yêu cầu chung và phạm vi áp dụng
6.2.1 Hàn và vật liệu
Chương này đưa ra các yêu cầu đối với vật liệu kim loại và phi kim loại sử dụng trong kết cấu của hệ thống hàng. Điều này bao gồm các yêu cầu đối với quy trình nối, quy trình chế tạo, chứng nhận con người, NDT, kiểm tra và thử bao gồm thử chế tạo. Các yêu cầu đối với vật liệu cán, vật liệu rèn và vật liệu đúc được đưa ra ở 6.4 và Bảng 8D/6.1 đến Bảng 8D/6.5. Các yêu cầu đối với vật liệu hàn được đưa ra ở 6.5 và hướng dẫn đối với vật liệu phi kim loại được đưa ra ở Phụ lục 6. Chương trình đảm bảo chất lượng/kiểm soát chất lượng phải được thực hiện để đảm bảo rằng các yêu cầu của 6.2 được tuân thủ.
6.2.2 Sản xuất, thử nghiệm và lập hồ sơ
Việc sản xuất, thử nghiệm, kiểm tra và lập hồ sơ phải phù hợp với những yêu cầu của các Phần có liên quan và các yêu cầu riêng quy định ở Phần này.
6.2.3 Tính chất sau khi xử lý nhiệt sau hàn
Nếu việc xử lý nhiệt sau hàn được định ra hoặc bắt buộc thì các tính chất của vật liệu cơ bản ở trạng thái sau xử lý nhiệt phải được xác định phù hợp với bảng có liên quan của Chương này và các tính chất mối hàn ở trạng thái sau xử lý nhiệt phải được xác định phù hợp với 6.5. Trường hợp áp dụng xử lý nhiệt sau hàn, các yêu cầu thử có thể được thay đổi theo thỏa thuận với Đăng kiểm.
6.3 Các yêu cầu thử nghiệm chung và thông số kỹ thuật
6.3.1 Thử kéo
1 Thử kéo phải được thực hiện thỏa mãn các yêu ở Chương 2 Phần 7A của Quy chuẩn đối với kim loại gốc và Chương 3 Phần 7A của Quy chuẩn đối với mối hàn.
2 Độ bền kéo, giới hạn chảy và độ giãn dài của vật liệu phải thỏa mãn yêu cầu của Đăng kiểm. Đối với thép các bon-mangan và các vật liệu có các giới hạn chảy xác định khác, phải xét đến giới hạn của tỷ số giới hạn chảy trên lực kéo.
6.3.2 Thử độ dai
1 Nếu không có quy định nào khác của Đăng kiểm, công việc thử nghiệm để công nhận vật liệu phải bao gồm thử độ dai có rãnh khía chữ V kiểu Charpy. Thông số để đánh giá việc thử độ dai va đập có rãnh khía chữ V kiểu Charpy là các trị số năng lượng trung bình tối thiểu đối với ba mẫu thử có đủ kích thước (10 mm x 10 mm) và trị số năng lượng tối thiểu đối với mỗi mẫu thử. Các kích thước và dung sai của các mẫu thử có rãnh khía chữ V kiểu Charpy phải theo các quy định tương ứng trong Chương 2 Phần 7A. Việc thử và các yêu cầu đối với các mẫu thử có kích thước nhỏ hơn 5,0 mm phải thỏa mãn các tiêu chuẩn đã được công nhận. Các giá trị năng lượng trung bình tối thiểu đối với các mẫu thử có kích thước nhỏ hơn phải phù hợp với Bảng 8D/6.6.
Bảng 8D/6.6
|
Kích thước mẫu thử có rãnh khía chữ V kiểu Charpy (mm) |
Năng lượng trung bình tối thiểu của ba mẫu thử |
|
10 ´ 10 |
KV |
|
10 ´ 7,5 |
5/6 KV |
|
10 ´ 5,0 |
2/3 KV |
Chú thích:
KV = Các trị số năng lượng trung bình tối thiểu (J) được xác định ở từ Bảng 8D/6.1 đến 8D/6.4.
Chỉ có giá trị riêng lẻ có thể thấp hơn giá trị trung bình đã được xác định miễn là nó không nhỏ hơn 70% giá trị đó.
2 Đối với kim loại gốc, các mẫu thử có rãnh khía chữ V kiểu Charpy có kích thước lớn nhất theo chiều dày vật liệu phải cố gắng được cắt sao cho mẫu thử nằm gần khoảng giữa mặt ngoài và tâm chiều dày của vật liệu và rãnh khía phải vuông góc với mặt ngoài của vật liệu như Hình 8D/6.1. Nếu chiều dày vật liệu không vượt quá 40 mm thì các mẫu thử phải được cắt với mép của chúng ở phía trong 2 mm từ bề mặt.

Hình 8D/6.1 Hướng của mẫu thử kim loại gốc
3 Đối với mẫu thử mối hàn, các mẫu thử có rãnh khía chữ V kiểu Charpy có kích thước lớn nhất theo chiều dày vật liệu phải cố gắng được cắt sao cho mẫu thử nằm gần khoảng giữa mặt ngoài và tâm chiều dày. Trong mọi trường hợp, khoảng cách từ mặt ngoài vật liệu tới mép của mẫu thử phải bằng 1 mm hoặc lớn hơn. Ngoài ra, đối với mối hàn giáp mép hai mặt dạng chữ X, các mẫu thử phải được chế tạo gần mặt ngoài của phần hàn thứ hai. Các mẫu phải được lấy ở các vị trí sau như Hình 8D/6.2, trên đường tâm của mối hàn, đường hỗn hợp nóng chảy và 1 mm, 3 mm và 5 mm từ đường kim loại nóng chảy.

Hình 8D/6.2 Hướng của mẫu thử mối hàn
Vị trí rãnh khía ở Hình 8D/6.2:
1 Tâm đường hàn.
2 Đường kim loại nóng chảy.
3 Trong vùng bị ảnh hưởng nhiệt (HAZ), cách đường kim loại nóng chảy 1 mm.
4 Trong HAZ, cách đường kim loại nóng chảy 3 mm.
5 Trong HAZ, cách đường kim loại nóng chảy 5 mm.
4 Nếu giá trị trung bình của ba mẫu thử có rãnh khía chữ V Charpy ban đầu không thỏa mãn các yêu cầu đã nêu, hoặc giá trị của nhiều mẫu nhỏ hơn giá trị trung bình theo yêu cầu hoặc giá trị của một mẫu thử nhỏ hơn trị số tối thiểu cho phép đối với một mẫu thử thì phải thử thêm ba mẫu lấy từ cùng vật liệu và kết hợp các kết quả có được với các kết quả trước để định ra giá trị trung bình mới. Nếu giá trị trung bình mới này thỏa mãn các yêu cầu và nếu không nhiều hơn hai kết quả thử đơn lẻ thấp hơn giá trị trung bình theo yêu cầu và không nhiều hơn một kết quả thử thấp hơn giá trị yêu cầu đối với mẫu thử đơn lẻ thì vật mẫu hoặc cả lô vật liệu có thể được chấp nhận.
6.3.3 Thử uốn
1 Thử uốn có thể được miễn khi thử để công nhận vật liệu, nhưng với mối hàn bắt buộc phải thử uốn. Nếu thử uốn được thực hiện thì phải thỏa mãn các yêu cầu ở Chương 3 Phần 6 của Quy chuẩn.
2 Thử uốn phải là thử uốn ngang, có thể là uốn mặt, chân hoặc cạnh theo yêu cầu của Đăng kiểm. Tuy vậy, thử uốn dọc có thể được yêu cầu thay cho thử uốn ngang trong trường hợp kim loại gốc và kim loại đắp có độ bền khác nhau.
6.3.4 Kiểm tra mặt cắt và thử khác
Đăng kiểm có thể yêu cầu thử độ cứng, cấu trúc vĩ mô và cấu trúc vi mô, nếu cần chúng phải được thực hiện thỏa mãn yêu cầu của Đăng kiểm.
6.4 Các yêu cầu đối với vật liệu kim loại
6.4.1 Các yêu cầu chung đối với vật liệu kim loại
Các yêu cầu đối với vật liệu của kết cấu được cho trong các bảng sau:
(1) Bảng 8D/6.1: Thép tấm, ống (ống liền và ống hàn), thép định hình và thép rèn dùng cho các két hàng và các bình áp lực xử lý có nhiệt độ thiết kế không dưới 0°C.
(2) Bảng 8D/6.2: Thép tấm, định hình và thép rèn dùng cho các két hàng, vách chắn thứ cấp và các bình áp lực xử lý có nhiệt độ thiết kế từ dưới 0oC xuống đến -55°C.
(3) Bảng 8D/6.3: Thép tấm, thép định hình và thép rèn dùng cho các két hàng, vách chắn thứ cấp và các bình áp lực xử lý có nhiệt độ thiết kế từ dưới -55°C xuống đến -165°C.
(4) Bảng 8D/6.4: Ống (ống liền và ống hàn), thép rèn và thép đúc dùng cho đường ống hàng và đường ống xử lý có nhiệt độ thiết kế từ dưới 0°C đến -165°C.
(5) Bảng 8D/6.5: Thép tấm và thép định hình dùng cho các kết cấu thân tàu theo yêu cầu của 4.19.1-2 và 4.19.1-3.
(6) Thép đúc dùng cho đường ống hàng và đường ống xử lý có nhiệt độ thiết kế không nhỏ hơn 0°C phải được Đăng kiểm xem xét.
Bảng 8D/6.1 Thép tấm, ống (ống liền và ống hàn)(1)(2), thép định hình và thép rèn dùng cho các két hàng và các bình áp lực xử lý có nhiệt độ thiết kế không dưới 0oC
|
Thành phần hóa học và nhiệt luyện: Thép Các bon - mangan (Thép lắng hoàn toàn hạt mịn) Bổ sung một lượng nhỏ các nguyên tố hợp kim theo thỏa thuận với Đăng kiểm Các giới hạn về thành phần phải được Đăng kiểm chấp thuận Được thường hóa, hoặc tôi và ram (4) |
|||
|
Các yêu cầu thử kéo và thử độ dai va đập: |
|||
|
Tần suất lấy mẫu: Thép tấm Phải thử riêng từng tấm |
|||
|
Thép hình và thép rèn Phải thử riêng từng lô Tính cơ học: |
|||
|
Tính kéo Ứng suất chảy tối thiểu quy định không quá 410 N/mm2(5) |
|||
|
Độ dai (thử rãnh khía chữ V Charpy): |
|||
|
Thép tấm |
Lấy mẫu thử theo chiều ngang. Giá trị năng lượng trung bình tối thiểu là (KV)27J |
||
|
Thép hình và thép rèn |
Lấy mẫu thử theo chiều dọc. Giá trị năng lượng trung bình tối thiểu là (KV)41J |
||
|
Nhiệt độ thử |
Chiều dày t (mm) t £ 20 20 < t £ 40(3) |
Nhiệt độ thử (°C) 0 -20 |
|
Chú thích:
(1) Áp dụng các yêu cầu tương ứng theo Phần 7A của Quy chuẩn đối với các ống liền và phụ tùng. Việc sử dụng các ống hàn theo chiều dọc và xoắn ốc phải được Đăng kiểm chấp nhận đặc biệt.
(2) Không yêu cầu thử va đập có rãnh khía chữ V kiểu Charpy đối với ống.
(3) Bảng này áp dụng chung cho chiều dày vật liệu lên đến 40 mm. Đối với chiều dày lớn hơn phải được Đăng kiểm xem xét.
(4) Quy trình cán có kiểm soát hoặc TMCP có thể được sử dụng để thay thế.
(5) Vật liệu có ứng suất chảy tối thiểu lớn hơn 410 N/mm2 có thể được Đăng kiểm chấp nhận đặc biệt. Đối với các vật liệu này, phải quan tâm đặc biệt đến độ cứng của mối hàn và vùng ảnh hưởng nhiệt.
Bảng 8D/6.2 Thép tấm, thép định hình và thép rèn(1) dùng cho các két hàng, vách chắn thứ cấp và các bình áp lực xử lý có nhiệt độ thiết kế từ dưới 0oC xuống đến -55°C (Chiều dày tối đa 25 mm(2))
|
Thành phần hóa học và nhiệt luyện: |
|||||||||||
|
Thép Các bon - mangan (thép lắng hoàn toàn xử lý bằng nhiệt nhôm) |
|||||||||||
|
Thành phần hóa học (phân tích theo mẻ) |
|||||||||||
|
C |
Mn |
Si |
S |
P |
|||||||
|
0,16 %max(3) |
0,7-1,60% |
0,10-0,50% |
0,025% max |
0,025% max |
|||||||
|
Bổ sung tùy chọn: Các nguyên tố hợp kim và nguyên tố làm mịn hạt nói chung có thể theo quy định sau: |
|||||||||||
|
Ni |
Cr |
Mo |
Cu |
Nb |
V |
||||||
|
0,80% max |
0,25% max |
0,08% max |
0,35% max |
0,05% max |
0,10% max |
||||||
|
Tổng hàm lượng Al nhỏ nhất 0,02% (hòa tan trong acid nhỏ nhất 0,015%) Được thường hóa hoặc, tôi và ram(4). |
|||||||||||
|
Các yêu cầu thử kéo và thử độ dai va đập: Tần suất lấy mẫu: |
|||||||||||
|
Thép hình và thép rèn |
Phải thử riêng từng tấm Phải thử riêng từng lô |
||||||||||
|
Tính cơ học: |
|||||||||||
|
Tính kéo |
Ứng suất chảy tối thiểu quy định không quá 410 N/mm2(5) |
||||||||||
|
Độ dai (thử rãnh khía chữ V Charpy): |
|||||||||||
|
Nhiệt độ thử thép tấm |
Nhiệt độ thử thấp hơn nhiệt độ thiết kế 5 °C hoặc - 20 °C, lấy trị số nhỏ hơn |
||||||||||
|
định hình và thép rèn |
Mẫu thử lấy theo chiều ngang. Năng lượng trung bình tối thiểu là (KV)27J Mẫu thử lấy theo chiều dọc. Năng lượng trung bình tối thiểu là (KV)41J |
||||||||||
Chú thích:
(1) Các yêu cầu đối với thử độ dai có rãnh khía chữ V kiểu Charpy và thành phần hóa học dùng cho các sản phẩm rèn có thể được Đăng kiểm xét riêng;
(2) Đối với chiều dày vật liệu lớn hơn 25 mm, việc thử có rãnh khía chữ V kiểu Charpy phải được thực hiện như sau:
|
Chiều dày vật liệu (mm) |
Nhiệt độ thử (oC) |
|---|---|
|
25 < t ≤ 30 |
Thấp hơn nhiệt độ thiết kế 10°C hoặc -20°C, lấy trị số nào nhỏ hơn |
|
30 < t ≤ 35 |
Thấp hơn nhiệt độ thiết kế 15°C hoặc -20°C, lấy trị số nào nhỏ hơn |
|
35 < t ≤ 40 |
Thấp hơn nhiệt độ thiết kế 20°C |
|
40 < t |
Nhiệt độ được Đăng kiểu chấp nhận |
Trị số năng lượng trung bình tối thiểu phải phù hợp với Bảng dùng cho kiểu mẫu thử tương ứng.
Vật liệu dùng cho két và các bộ phận của két được khử ứng suất nhiệt hoàn toàn sau khi hàn có thể được thử với nhiệt độ thấp hơn nhiệt độ thiết kế 5°C hoặc - 20°C, lấy giá trị nhỏ hơn.
Đối với các kết cấu gia cường đã được khử ứng suất nhiệt và các bộ phận khác, nhiệt độ thử phải lấy bằng nhiệt độ yêu cầu đối với chiều dày vỏ két.
(3) Theo thỏa thuận đặc biệt với Đăng kiểm, lượng các bon có thể được tăng lên tối đa là 0,18% với điều kiện nhiệt độ thiết kế không thấp hơn -40°C.
(4) Quy trình cán có kiểm soát hoặc TMCP có thể được sử dụng để thay thế.
(5) Vật liệu có ứng suất chảy tối thiểu lớn hơn 410 N/mm2 có thể được Đăng kiểm chấp nhận đặc biệt. Đối với các vật liệu này, phải quan tâm đặc biệt đến độ cứng của mối hàn và vùng ảnh hưởng nhiệt.
Hướng dẫn:
Đối với vật liệu có chiều dày lớn hơn 25 mm tương ứng với nhiệt độ thử là -60°C hoặc thấp hơn, cần sử dụng các thép đã được xử lý đặc biệt hoặc các thép phù hợp với Bảng 8D/6.3.
Bảng 8D/6.3 Thép tấm, thép định hình và thép rèn(1) dùng cho các két hàng, vách chắn thứ cấp và các bình áp lực xử lý có nhiệt độ thiết kế từ dưới -55°C xuống đến -165°C(2) (chiều dày tối đa 25 mm(3)(4))
|
Nhiệt độ thiết kế nhỏ nhất (°C) |
Thành phần hóa học (5) và nhiệt luyện |
Nhiệt độ thử va đập (°C) |
|
|
- 60 |
Thép niken 1,5% - thường hóa hoặc thường hóa và ram hoặc tôi và ram hoặc TMCP(6) |
- 65 |
|
|
- 65 |
Thép niken 2,25% - thường hóa hoặc thường hóa và ram hoặc tôi và ram hoặc TMCP(6)(7) |
- 70 |
|
|
- 90 |
Thép niken 3,5% - thường hóa hoặc thường hóa và ram hoặc tôi và ram hoặc TMCP(6)(7) |
- 95 |
|
|
- 105 |
Thép niken 5% - thường hóa hoặc thường hóa và ram hoặc tôi và ram(6)(7)(8) |
- 110 |
|
|
- 165 |
Thép niken 9% - thường hóa hai lần và ram, hoặc tôi và ram(6) |
- 196 |
|
|
- 165 |
Các thép ôstenit, như loại 304, 304L, 316, 316L, 321 và 347 được ủ khuếch tán(9) |
- 196 |
|
|
- 165 |
Các hợp kim nhôm(10) như loại 5083 đã được ủ |
Không yêu cầu |
|
|
- 165 |
Hợp kim Fe-Ni ôstenit (36% niken) Nhiệt luyện theo yêu cầu |
Không yêu cầu |
|
|
Các yêu cầu thử kéo và thử độ dai va đập: Tần suất lấy mẫu: |
|||
|
Thép hình và thép rèn |
Phải thử riêng từng tấm Phải thử riêng từng lô |
||
|
Độ dai (thử rãnh khía chữ V Charpy): |
|
||
|
Thép tấm định hình và thép rèn |
Lấy mẫu thử theo chiều ngang. Trị số năng lượng trung bình tối thiểu (KV)27J Lấy mẫu thử theo chiều dọc. Trị số năng lượng trung bình tối thiểu (KV)41J |
||
Chú thích:
(1) Thử độ dai va đập được yêu cầu đối với sản phẩm rèn áp dụng trong các trường hợp tới hạn phải được Đăng kiểm xem xét đặc biệt;
(2) Yêu cầu đối với nhiệt độ thiết kế dưới -165 °C phải được Đăng kiểm chấp nhận đặc biệt;
(3) Đối với các vật liệu 1,5% Ni, 2,25% Ni, 3,5% Ni và 5% Ni có chiều dày lớn hơn 25 mm, việc thử va đập phải được tiến hành như sau:
|
Chiều dày vật liệu (mm) |
Nhiệt độ thử (oC) |
|
25 < t ≤ 30 |
Thấp hơn nhiệt độ thiết kế 10°C |
|
30 < t ≤ 35 |
Thấp hơn nhiệt độ thiết kế 15°C |
|
35 < t ≤ 40 |
Thấp hơn nhiệt độ thiết kế 20°C |
Trị số năng lượng trung bình tối thiểu phải phù hợp với Bảng dùng cho kiểu mẫu thử tương ứng.
Đối với chiều dày vật liệu lớn hơn 40 mm, các trị số có rãnh khía chữ V kiểu Charpy phải được xét riêng.
(4) Đối với các thép 9% Ni, thép ôstenit không gỉ và các hợp kim nhôm chiều dày lớn hơn 25 mm các trị số trên có thể được Đăng kiểm xem xét riêng.
(5) Các giới hạn thành phần hóa học phải thỏa mãn các tiêu chuẩn được công nhận và được Đăng kiểm chấp nhận
(6) Thép niken TMCP phải được Đăng kiểm xem xét.
(7) Nhiệt độ thiết kế tối thiểu nhỏ hơn để thử các thép được tôi và ram có thể được Đăng kiểm chấp nhận đặc biệt.
(8) Thép 5% niken được nhiệt luyện đặc biệt ví dụ: thép 5% niken nhiệt luyện ba lần có thể được thử ở nhiệt độ xuống tới -165°C nếu được Đăng kiểm chấp nhận đặc biệt, với điều kiện việc thử độ dai va đập phải được thực hiện ở -196°C.
(9) Thử va đập có thể được miễn nếu được Đăng kiểm chấp nhận.
(10) Đối với các hợp kim nhôm khác với loại 5083. Có thể yêu cầu thử bổ sung để kiểm tra độ dai của vật liệu.
Bảng 8D/6.4 Ống (ống liền và ống hàn)(1), thép rèn(2) và thép đúc(2) dùng cho đường ống hàng và ống xử lý đối có nhiệt độ thiết kế từ dưới 0°C đến -165°C(3)(chiều dày tối đa 25 mm)
|
Nhiệt độ thiết kế nhỏ nhất (0°C) |
Thành phần hóa học(5) và nhiệt luyện |
Thử va đập |
|
|
Nhiệt độ thử (°C) |
Năng lượng trung bình tối thiểu (E) (J) |
||
|
- 55 |
Thép các bon - mangan (Lắng hoàn toàn hạt mịn) Thường hóa hoặc theo yêu cầu(6) |
(4) |
27 |
|
- 65 |
Thép niken 2,25%. Thường hóa hoặc thường hóa và ram hoặc tôi và ram(6) |
- 70 |
34 |
|
- 90 |
Thép niken 3,5%. Thường hóa hoặc thường hóa và ram hoặc tôi và ram(6) |
- 95 |
34 |
|
- 165 |
Thép niken 9%(7). Thường hóa hai lần và ram hoặc tôi và ram |
- 196 |
41 |
|
Các thép không gỉ ôsterit như loại 304, 304L, 316, 316L, 321 và 347. Ủ khuếch tán(8) |
- 196 |
41 |
|
|
Các hợp kim nhôm(9), như loại 5038 đã được ủ |
|
Không yêu cầu |
|
|
Các yêu cầu thử kéo và độ dai va đập Tần suất lấy mẫu: Phải thử riêng từng lô Độ dai (thử rãnh khía chữ V Charpy): Thử va đập - Lấy mẫu thử theo chiều dọc |
|||
Chú thích:
(1) Các trị số dùng cho các ống hàn dọc hoặc hàn theo đường xoắn ốc phải được Đăng kiểm chấp nhận riêng.
(2) Các yêu cầu đối với thép rèn và thép đúc có thể được Đăng kiểm xem xét riêng.
(3) Các yêu cầu đối với nhiệt độ thiết kế dưới -165 °C phải được Đăng kiểm chấp nhận riêng.
(4) Nhiệt độ thử phải lấy thấp hơn nhiệt độ thiết kế 5 °C hoặc bằng -20 °C, lấy trị số nào nhỏ hơn.
(5) Các giới hạn về thành phần phải thỏa mãn các tiêu chuẩn được công nhận và được Đăng kiểm chấp thuận.
(6) Nhiệt độ thiết kế thấp hơn có thể được Đăng kiểm chấp nhận đặc biệt đối với các vật liệu đã được tôi và ram.
(7) Thành phần hóa học này không thích hợp đối với các thép đúc.
(8) Việc thử va đập có thể được miễn nếu được Đăng kiểm chấp nhận.
(9) Đối với các hợp kim nhôm khác với loại 5083. Có thể yêu cầu thử bổ sung để kiểm tra độ dai của vật liệu.
Bảng 8D/6.5 Thép tấm và thép định hình dùng cho các kết cấu thân tàu theo yêu cầu của 4.19.1-2 và 4.19.1-4
|
Nhiệt độ thiết kế nhỏ nhất của kết cấu thân tàu (°C) |
Chiều dày tối đa (mm) đối với các cấp thép |
||||||
|
A |
B |
D |
E |
AH |
DH |
EH |
|
|
0 trở lên(1) - 5 trở lên(2) |
Theo Phần 2A của Quy chuẩn |
||||||
|
Xuống đến - 5 |
15 |
25 |
30 |
50 |
25 |
45 |
50 |
|
Xuống đến - 10 |
x |
20 |
25 |
50 |
20 |
40 |
50 |
|
Xuống đến - 20 |
x |
x |
20 |
50 |
x |
30 |
50 |
|
Xuống đến - 30 |
x |
x |
x |
40 |
x |
20 |
40 |
|
Dưới - 30 |
Theo Bảng 8D/6.2 trừ giới hạn chiều dày cho ở Bảng 8D/6.2 và ở ghi chú (2) của bảng đó không áp dụng |
||||||
Chú thích:
"x": Chỉ cấp thép không được dùng;
(1) Dùng cho 4.9.1-3
(2) Dùng cho 4.9.1-2
6.5 Hàn vật liệu kim loại và thử không phá hủy
6.5.1 Quy định chung
Phần này chỉ áp dụng cho các vách chắn thứ cấp và vách chắn sơ cấp, bao gồm lớp vỏ trong nơi mà tạo ra vách chắn thứ cấp. Việc thử nghiệm công nhận được xác định đối với thép cácbon, thép các bon mangan, thép hợp kim niken và thép không gỉ ôstennit, nhưng việc thử nghiệm này có thể được điều chỉnh cho các vật liệu khác. Theo sự thỏa thuận với Đăng kiểm, thử va đập các mối hàn của thép không gỉ ôstennit và hợp kim nhôm có thể được miễn và các thử nghiệm khác đối với vật liệu bất kỳ cũng có thể được yêu cầu.
6.5.2 Vật liệu hàn
Các vật liệu dự định để hàn các két hàng phải thỏa mãn các quy định ở Chương 6 Phần 6 của Quy chuẩn. Tất cả các vật liệu phải được yêu cầu thử nghiệm mối hàn giáp mép và thử nghiệm kim loại hàn đắp. Các kết quả thử kéo và thử va đập có rãnh khía chữ V kiểu Charpy phải thỏa mãn các quy định ở Chương 6 Phần 6 của Quy chuẩn. Thành phần hóa học của kim loại hàn đắp phải được ghi lại để thông báo.
6.5.3 Thử quy trình hàn đối với két hàng, các bình áp lực xử lý và vách chắn thứ cấp
1 Thử quy trình hàn đối với các két hàng và các bình áp lực xử lý được yêu cầu phải tuân theo -2 đến -5 cho tất cả các mối hàn giáp mép.
2 Các vật thử phải đại diện cho:
(1) Mỗi kim loại gốc;
(2) Mỗi loại vật liệu hàn và quy trình hàn; và
(3) Mỗi vị trí hàn.
3 Đối với hàn giáp mép các tấm, các vật thử phải được lấy sao cho hướng cán song song với hướng hàn. Giới hạn chiều dày được xác định bởi mỗi lần thử quy trình hàn phải theo các yêu cầu ở Chương 11 Phần 3 và Chương 4 Phần 6 của Quy chuẩn. Thử không phá hủy phải thỏa mãn các yêu cầu ở Chương 11 Phần 3 và Chương 4 Phần 6 của Quy chuẩn.
4 Thử quy trình hàn đối với các két hàng và các bình áp lực xử lý phải được thực hiện thỏa mãn 6.3, với các mẫu được làm từ mỗi bộ thử:
(1) Thử kéo ngang mối hàn;
(2) Thử tất cả mối hàn theo chiều dọc, nếu được yêu cầu theo các yêu cầu ở Chương 4 Phần 6 của Quy chuẩn;
(3) Thử uốn ngang có thể là uốn mặt, chân hoặc cạnh theo yêu cầu ở Chương 4 Phần 6 của Quy chuẩn. Tuy vậy, thử uốn dọc có thể được yêu cầu thay cho thử uốn ngang trong trường hợp kim loại gốc và kim loại đắp có độ bền khác nhau;
(4) Một bộ gồm ba mẫu thử độ dai va đập có rãnh khía chữ V kiểu Charpy theo quy định ở các vị trí sau, xem Hình 8D/6.2:
(a) Đường tâm của mối hàn;
(b) Đường hỗn hợp nóng chảy;
(c) Cách đường hỗn hợp nóng chảy 1 mm;
(d) Cách đường hỗn hợp nóng chảy 3 mm; và
(e) Cách đường hỗn hợp nóng chảy 5 mm; và
(5) Có thể yêu cầu kiểm tra cấu trúc vĩ mô, cấu trúc vi mô và độ cứng.
5 Mỗi thử nghiệm là để thỏa mãn các yêu cầu sau:
(1) Thử kéo: Độ bền kéo ngang mối hàn phải không nhỏ hơn độ bền kéo tối thiểu được xác định đối với kim loại gốc tương ứng. Đối với hợp kim nhôm, tham khảo các yêu cầu được đưa ra ở 4.18.1-3 đối với độ bền kim loại hàn của mối hàn không đồng bộ (kim loại hàn có độ bền kéo thấp hơn kim loại gốc). Trong mọi trường hợp, vị trí của vết nứt phải được thông báo;
(2) Thử uốn: Không có sự gẫy nào được chấp nhận sau khi uốn hết 180° qua một chày ép có đường kính bằng bốn lần chiều dày mẫu thử; và
(3) Thử va đập có rãnh khía chữ V kiểu Charpy: Thử có rãnh khía chữ V kiểu Charpy phải được tiến hành ở nhiệt độ được quy định đối với kim loại gốc được ghép. Kết quả của thử va đập kim loại hàn, năng lượng trung bình tối thiểu (KV), phải không được nhỏ hơn 27J. Các yêu cầu về kim loại hàn đối với các mẫu thử có kích thước nhỏ hơn và trị số năng lượng đơn phải thỏa mãn 6.3.2. Kết quả thử va đập ở vùng đường hỗn hợp nóng chảy và vùng bị ảnh hưởng nhiệt phải cho năng lượng trung bình tối thiểu (KV) thỏa mãn với các yêu cầu thử theo chiều ngang hoặc dọc của kim loại gốc, lấy giá trị thích hợp, còn đối với các mẫu thử có kích thước nhỏ hơn, năng lượng trung bình tối thiểu (KV) phải thỏa mãn với 6.3.2. Nếu chiều dày vật liệu không cho phép gia công mẫu thử đủ kích thước hoặc mẫu kích thước nhỏ hơn theo tiêu chuẩn thì quy trình thử và các tiêu chuẩn chấp nhận phải thỏa mãn yêu cầu của Đăng kiểm.
6 Thử quy trình đối với hàn góc của các két hàng và bình áp lực xử lý phải thỏa mãn các yêu cầu ở Chương 11 Phần 3 và Chương 4 Phần 6 của Quy chuẩn. Trong các trường hợp này, phải được lựa chọn vật liệu có đặc tính va đập thỏa mãn.
7 Thử quy trình đối với tất cả mối hàn của vách chắn thứ cấp phải thỏa mãn với các yêu cầu ở Chương 4 Phần 6 của Quy chuẩn.
6.5.4 Thử quy trình hàn đối với đường ống
Phải thực hiện thử quy trình hàn cho đường ống một cách chi tiết và tương tự như đối với các két hàng nêu ở 6.5.3.
6.5.5 Thử đường hàn trên sản phẩm
1 Đối với tất cả các két hàng và các bình xử lý áp lực, trừ các két liền và két kiểu màng, phải tiến hành thử đường hàn trên sản phẩm trên mỗi 50 m của mối hàn giáp mép và việc thử phải đại diện cho mỗi vị trí hàn. Đối với các vách chắn thứ cấp, cũng phải thử sản phẩm như yêu cầu đối với các vách chắn sơ cấp, khối lượng thử có thể được giảm theo sự thỏa thuận với Đăng kiểm. Cần phải thử, trừ những quy định ở -2 đến -5 có thể được yêu cầu đối với các két hàng hoặc vách chắn thứ cấp.
2 Việc thử trên sản phẩm đối với các két rời kiểu A, kiểu B và các két kiểu nửa màng phải bao gồm thử uốn và nếu yêu cầu thử quy trình thì phải thử có rãnh khía chữ V kiểu Charpy cho ba mẫu của một bộ. Việc thử phải được thực hiện cho mỗi 50 m đường hàn. Thử có rãnh khía chữ V kiểu Charpy phải được thực hiện với các mẫu có rãnh khía nằm kế tiếp ở tâm mối hàn và vùng bị ảnh hưởng nhiệt (vị trí nguy hiểm nhất được lấy dựa trên kết quả đánh giá quy trình). Đối với thép không gỉ oosstenit, tất cả các rãnh khía phải nằm ở tâm mối hàn.
3 Ngoài các yêu cầu thử nêu ở -2 đối với các két rời kiểu C và các bình áp lực xử lý, cần phải thử kéo ngang mối hàn. Thử kéo phải thỏa mãn các yêu cầu nêu ở 6.5.3.-5.
4 Chương trình đảm bảo chất lượng/kiểm soát chất lượng là đảm bảo sự tuân thủ liên tục của mối hàn trên sản phẩm như được định nghĩa trong tài liệu hướng dẫn chất lượng của nhà chế tạo vật liệu.
5 Các yêu cầu thử đối với các két liền và két kiểu màng được áp dụng như các yêu cầu thử được nêu ở 6.5.3.
6.5.6 Thử không phá hủy
1 Tất cả các quy trình thử và các tiêu chuẩn được công nhận phải thỏa mãn yêu cầu của Đăng kiểm, ngoại trừ người thiết kế đưa ra tiêu chuẩn cao hơn để đáp ứng các giả định thiết kế. Về nguyên tắc, để phát hiện các khuyết tật bên trong phải sử dụng phương pháp kiểm tra bằng chụp tia phóng xạ. Tuy nhiên, có thể chấp nhận quy trình kiểm tra bằng siêu âm thay cho kiểm tra bằng chụp tia phóng xạ, nhưng có thể yêu cầu kiểm tra bổ sung bằng tia phóng xạ ở các vị trí lựa chọn để xác minh kết quả. Phải lưu lại hồ sơ kiểm tra bằng tia phóng xạ và bằng siêu âm.
2 Đối với các két rời kiểu A và các két kiểu nửa màng, nếu nhiệt độ thiết kế dưới -20°C, và đối với các két rời kiểu B không kể nhiệt độ thiết kế, tất cả các mối hàn giáp mép ngấu hoàn toàn của tôn vỏ két hàng phải được thử không phá hủy để phát hiện các khuyết tật bên trong trên chiều dài toàn bộ của chúng. Có thể kiểm tra bằng siêu âm thay cho kiểm tra bằng chụp tia phóng xạ theo các điều kiện tương tự như nêu ở -1.
3 Nếu nhiệt độ thiết kế cao hơn -20°C thì tất cả các mối hàn giáp mép ngấu hoàn toàn gần chỗ giao nhau và ít nhất 10% phần còn lại của các mối hàn giáp mép ngấu hoàn toàn của kết cấu két phải được kiểm tra bằng chụp tia phóng xạ hoặc kiểm tra bằng siêu âm các điều kiện tương tự như nêu ở -1.
4 Trong mỗi trường hợp, kết cấu két còn lại bao gồm cả mối hàn của các nẹp, các phụ tùng và chi tiết lắp ghép khác phải được kiểm tra bằng bột từ tính hoặc kiểm tra thẩm thấu chỉ thị màu nếu thấy cần thiết.
5 Đối với các két rời kiểu C, phạm vi thử không phá hủy phải được tiến hành toàn phần hoặc từng phần theo các yêu cầu ở Chương 11 Phần 3 của Quy chuẩn, nhưng khối lượng thử phải không ít hơn so với quy định sau:
(1) Thử không phá hủy toàn phần được nêu ở 4.23.2-1(3):
Kiểm tra bằng chụp tia phóng xạ:
Tất cả các đường hàn giáp mép trên chiều dài toàn bộ của chúng;
Thử không phá hủy đối với việc phát hiện vết nứt bề mặt:
Tất cả các đường hàn trên 10% chiều dài của chúng;
Vành gia cường quanh lỗ khoét, ống nối v.v... trên chiều dài toàn bộ của chúng.
Tuy nhiên, việc kiểm tra bằng siêu âm như nêu ở -1 có thể thay thế một phần cho kiểm tra bằng chụp tia phóng xạ. Ngoài ra, Đăng kiểm có thể yêu cầu kiểm tra toàn phần đường hàn của vành gia cường quanh lỗ khoét, ống nối v.v... bằng siêu âm.
(2) Thử không phá hủy từng phần được nêu ở 4.23.2-1(3):
Kiểm tra bằng chụp tia phóng xạ:
Tất cả đường hàn giáp mép giao nhau và ít nhất là 10% tổng chiều dài tại các vị trí được lựa chọn phân bố đều;
Thử không phá hủy đối với việc phát hiện vết nứt bề mặt:
Vành gia cường quanh lỗ khoét, ống nối v.v... trên chiều dài toàn bộ của chúng;
Kiểm tra bằng siêu âm:
Theo yêu cầu của Đăng kiểm hoặc tổ chức được công nhận trong từng trường hợp cụ thể.
6 Chương trình đảm bảo chất lượng/kiểm soát chất lượng là đảm bảo sự tuân thủ liên tục của các mối hàn với việc thử không phá hủy như được định nghĩa trong tài liệu hướng dẫn chất lượng của nhà chế tạo vật liệu.
7 Phải thực hiện kiểm tra đường ống theo các yêu cầu của Chương 5.
8 Vách chắn thứ cấp phải được thử không phá hủy đối với các khuyết tật bên trong. Nếu vỏ ngoài của thân tàu là một phần của vách chắn thứ cấp thì tất cả các mối hàn của dải tôn mép mạn và các chỗ giao nhau của tất cả các mối hàn giáp mép và đường hàn dọc ở tôn mạn phải được kiểm tra bằng tia phóng xạ.
9 Đối với các két liền và các két kiểu màng, quy trình kiểm tra hàn và tiêu chuẩn công nhận riêng phải thỏa mãn yêu cầu của Đăng kiểm.
6.6 Các yêu cầu khác đối với kết cấu bằng vật liệu kim loại
6.6.1 Quy định chung
Việc kiểm tra và thử không phá hủy đường hàn phải thỏa mãn các yêu cầu của 6.5.5 và 6.5.6. Nếu tiêu chuẩn cao hơn hoặc dung sai được giả định trong thiết kế thì chúng cũng phải thỏa mãn.
6.6.2 Két rời
1 Đối với các két kiểu B và kiểu C có kết cấu cơ bản là dạng tròn xoay, dung sai trong chế tạo, độ lệch cục bộ so với hình dạng đúng, độ bằng phẳng của mép mối hàn và độ vát của các tấm tôn có chiều dày khác nhau phải theo các quy định tương ứng ở Chương 11 Phần 3 của Quy chuẩn. Dung sai trong phân tích mất độ bền ổn định phải theo 4.22.3-2 và 4.23.3-2.
2 Đối với các két kiểu C làm bằng thép cácbon và thép cácbon-mangan, phải xử lý nhiệt sau khi hàn nếu nhiệt độ thiết kế thấp hơn -10°C. Việc xử lý nhiệt sau khi hàn trong các trường hợp khác và đối với các vật liệu khác phải thỏa mãn yêu cầu của Đăng kiểm. Nhiệt độ và thời gian xử lý phải được Đăng kiểm chấp thuận.
3 Trường hợp các két kiểu C và bình chịu áp lực hàng lớn làm bằng thép các bon hoặc thép các bon-mangan khó xử lý nhiệt thì có thể cho phép dùng phương pháp xử lý cơ thay thế xử lý nhiệt để khử ứng suất dư với các điều kiện sau đây:
(1) Những phần hàn phức tạp của bình chịu áp lực như hố trũng hoặc vòm có ống nối với các tấm tôn kề cận phải được nung nóng trước khi hàn với các phần lớn hơn của bình chịu áp lực;
(2) Quá trình khử ứng suất dư bằng xử lý cơ lý tốt nhất là nên được tiến hành trong thời gian thử áp lực thủy tĩnh quy định ở 4.23.6, bằng cách dùng áp suất lớn hơn áp suất thử quy định ở 4.23.6-1. Công chất để tạo áp lực phải là nước;
(3) Đối với nhiệt độ của nước, phải áp dụng quy định ở 4.23.6-2;
(4) Việc khử ứng suất dư phải được thực hiện khi két được đỡ trên giá đỡ dạng yên ngựa hoặc kết cấu đỡ nhỏ, hoặc nếu việc khử ứng suất dư không thể thực hiện được ở trên tàu thì phải theo cách có thể tạo ra được ứng suất và phân bố ứng suất tương tự như khi được đỡ trên giá đỡ dạng yên ngựa hoặc kết cấu đỡ;
(5) Áp suất cực đại để khử ứng suất dư phải được duy trì trong khoảng thời gian là 2 giờ cho mỗi 25 mm chiều dày nhưng trong mọi trường hợp không được nhỏ hơn 2 giờ;
(6) Giới hạn trên của ứng suất tính toán dùng khi khử ứng suất dư phải được lấy như sau đây:
(a) Ứng suất màng chính chung tương đương: 0,9 Re;
(b) Ứng suất tương đương bao gồm ứng suất màng cộng với ứng suất uốn chính: 1,35 Re, trong đó Re là ứng suất chảy tối thiểu nhỏ hơn hoặc ứng suất thử quy ước 0,2% ở nhiệt độ thử của thép dùng cho két;
(7) Đo biến dạng thường là công việc bắt buộc để chứng minh rằng các giới hạn này đối với ít nhất là két đầu tiên của loạt két được chế tạo giống hệt nhau diễn biến theo trình tự lôgic. Vị trí đặt các đồng hồ đo biến dạng phải được nêu trong quy trình khử ứng suất dư bằng xử lý cơ được trình duyệt theo quy định ở 6.6.2-3;
(8) Quy trình khử phải chứng minh được rằng sẽ đạt được mối quan hệ tuyến tính giữa ứng suất và biến dạng ở cuối quá trình khử ứng suất dư khi áp suất lại tăng lên đến bằng áp suất thiết kế;
(9) Vùng ứng suất cao ở chỗ có sự gián đoạn hình học như chỗ ống nối và các lỗ khoét khác phải được kiểm tra vết nứt bằng phương pháp thẩm thấu chỉ thị màu hoặc kiểm tra bằng bột từ tính sau khi khử ứng suất dư bằng xử lý cơ. Cần quan tâm đến vấn đề này khi chiều dày tôn lớn hơn 30 mm;
(10) Các thép có tỷ số của ứng suất chảy chia cho giới hạn bền kéo cơ bản lớn hơn 0,8 không được khử ứng suất dư bằng xử lý cơ. Tuy nhiên, nếu ứng suất chảy được tăng lên bằng cách nâng cao tính dễ kéo sợi của thép thì tỷ lệ tăng nhỏ có thể được chấp nhận trên cơ sở xem xét cụ thể;
(11) Việc khử ứng suất dư bằng xử lý cơ có thể không thay thế được cho xử lý nhiệt các phần gia công lạnh của két nếu nhiệt độ gia công lạnh vượt quá giới hạn mà trên đó yêu cầu phải xử lý nhiệt;
(12) Chiều dày của vỏ bao và hai đầu của két phải không được lớn hơn 40 mm. Chiều dày lớn hơn có thể được chấp nhận đối với các phần đã được khử ứng suất dư bằng xử lý nhiệt;
(13) Ổn định cục bộ phải được xem xét riêng nếu dùng đầu dạng chỏm cho các két và chỏm cầu; và
(14) Quy trình khử ứng suất dư phải được trình trước để Đăng kiểm xét duyệt.
6.6.3 Vách chắn thứ cấp
Trong quá trình đóng tàu, các yêu cầu đối với việc kiểm tra và thử vách chắn thứ cấp phải được thẩm định hoặc được Đăng kiểm chấp nhận hoặc tổ chức được công nhận (xem 4.6.2(5) và 4.6.2(6)).
6.6.4 Két kiểu nửa màng
Đối với các két kiểu nửa màng, các yêu cầu liên quan ở mục 6.6 đối với các két rời hoặc các két màng phải được áp dụng phù hợp.
6.6.5 Két kiểu màng
Chương trình đảm bảo chất lượng/kiểm soát chất lượng là đảm bảo sự tuân thủ liên tục của quy trình hàn, các chi tiết thiết kế, vật liệu, chế tạo, kiểm tra và thử nghiệm các bộ phận. Các tiêu chuẩn và quy trình này phải được hoàn thiện dần trong quá trình thử nghiệm mẫu.
6.7 Vật liệu phi kim loại
6.7 .1 Quy định chung
Thông tin trong Phụ lục 6 được đưa ra để hướng dẫn việc lựa chọn và sử dụng các vật liệu.
CHƯƠNG 7 KIỂM SOÁT ÁP SUẤT/NHIỆT ĐỘ HÀNG
7.1 Phương pháp kiểm soát
7.1.1 Phương tiện kiểm soát
Trừ khi các két được thiết kế để chịu được áp suất toàn phần đo được của hơi hàng ở điều kiện cao hơn nhiệt độ môi trường thiết kế, nhiệt độ và áp suất các két hàng phải được duy trì liên tục trong phạm vi thiết kế của chúng bằng một trong hai hoặc kết hợp các phương pháp sau:
1 Hóa lỏng lại hơi hàng;
2 Ôxy hóa nhiệt hơi hàng;
3 Tích tụ áp suất; và
4 Làm lạnh hàng lỏng.
7.1.2 Yêu cầu thiết kế đối với các hàng nguy hiểm
Đối với một số hàng nhất định được quy định ở Chương 17 của Phần này, hệ thống chứa hàng phải có khả năng chịu được áp suất hơi toàn phần của hàng ở giới hạn trên của nhiệt độ môi trường thiết kế với hệ thống bất kỳ được trang bị để xử lý hơi thoát ra.
7.2 Thiết kế hệ thống
Đối với vùng hoạt động bình thường, giới hạn trên của nhiệt độ môi trường thiết kế phải là:
Biển 32°C;
Không khí 45°C.
Khi tàu hoạt động ở các vùng đặc biệt nóng hoặc lạnh, nhiệt độ thiết kế này phải được tăng hoặc giảm thỏa mãn yêu cầu của Đăng kiểm. Năng lực toàn hệ thống phải có khả năng kiểm soát được áp suất trong điều kiện thiết kế mà không cần thông gió ra ngoài khí quyển.
7.3 Hóa lỏng lại hơi hàng
7.3.1 Quy định chung
Có thể bố trí hệ thống hóa lỏng lại theo một trong các cách sau. Các yêu cầu ở Chương 17 và Chương 19 của Phần này có thể ngăn ngừa việc sử dụng một hoặc nhiều hệ thống này hoặc có thể chỉ rõ việc sử dụng một hệ thống cụ thể:
(1) Hệ thống trực tiếp nếu là hàng bị hóa hơi được nén, làm ngưng tụ và đưa trở lại các két hàng.
(2) Hệ thống gián tiếp nếu hàng hoặc hàng bị hóa hơi được làm mát hoặc ngưng tụ bằng công chất lạnh mà không cần phải nén;
(3) Hệ thống kết hợp nếu hàng bị bay hơi được nén và làm ngưng tụ trong thiết bị trao nhiệt hàng/công chất lạnh và được đưa trở về các két hàng.
(4) Nếu hệ thống hóa lỏng lại tạo ra một dòng khí thải có chứa khí metan trong quá trình hoạt động kiểm soát áp suất trong điều kiện thiết kế thì các khí thải này, nếu có thể thực hiện được hợp lý, sẽ được xử lý mà không cần thông gió ra ngoài khí quyển.
7.3.2 Tính tương thích
Các công chất lạnh được dùng để hóa lỏng lại phải tương thích với hàng mà chúng tiếp xúc. Ngoài ra, nếu công chất làm lạnh khác nhau được sử dụng và có thể tiếp xúc thì chúng phái tương thích với nhau.
7.4 Ôxy hóa nhiệt hơi hàng
7.4.1 Quy định chung
Việc duy trì nhiệt độ và áp suất két hàng bằng thiết bị ôxy hóa nhiệt hơi hàng như quy định ở 1.1.4(47) và 16.2 chỉ cho phép đối với các hàng LNG. Nói chung:
(1) Các hệ thống ôxy hóa nhiệt phải không tạo ra ngọn lửa có thể nhìn thấy được từ bên ngoài và phải được duy trì nhiệt độ xả ở ống khói thấp hơn 535oC;
(2) Việc bố trí không gian đặt hệ thống ôxy hóa phải thỏa mãn 16.3 và hệ thống cung cấp phải thỏa mãn 16.4; và
(3) Nếu khí thải đến từ bất kỳ hệ thống khác phải được đốt cháy, hệ thống ôxy hóa phải được thiết kế để chứa được tất cả các thành phần khí cung cấp dự kiến.
7.4.3 Hệ thống ôxy hóa nhiệt
Hệ thống ôxy hóa nhiệt phải thỏa mãn các quy định sau:
(1) Mỗi hệ thống ôxy hóa nhiệt phải có ống khói riêng biệt;
(2) Mỗi hệ thống ôxy hóa nhiệt phải có hệ thống hút gió cưỡng bức riêng; và
(3) Các buống đốt và các ống khói của hệ thống ôxy hóa nhiệt phải được thiết kế để ngăn sự tích tụ khí.
7.4.3 Mỏ đốt
Mỏ đốt phải được thiết kế để duy trì sự đốt cháy ổn định trong mọi điều kiện đốt cháy thiết kế.
7.4.4 An toàn
1 Các thiết bị thích hợp phải được lắp và bố trí để đảm bảo cắt được dòng khí đến mỏ đốt trừ khi sự cháy đạt yêu cầu được thiết lập và duy trì.
2 Mỗi hệ thống ôxy hóa phải có trang thiết bị để cách ly nguồn cấp nhiên liệu khí, vận hành bằng tay từ một vị trí tiếp cận an toàn.
3 Các trang thiết bị phải được trang bị để tự động làm sạch đường ống cung cấp khí đến mỏ đốt bằng khí trơ, sau khi dập tắt mỏ đốt.
4 Trong trường hợp tất cả các mỏ đốt khí hoặc dầu hoặc kết hợp đang làm việc mà bị tắt thì buồng đốt của hệ thống ôxy hóa phải được tự động làm sạch trước khi đốt lại.
5 Phải bố trí để buồng đốt có thể làm sạch được bằng tay.
7.5 Hệ thống tích tụ áp suất
Cách nhiệt hệ thống chứa, áp suất thiết kế hoặc cả hai phải phù hợp để đảm bảo một khoảng dự trữ thích hợp cho thời gian khai thác và các nhiệt độ liên quan. Không yêu cầu hệ thống kiểm soát nhiệt độ và áp suất. Các điều kiện chấp nhận được ghi trong Giấy chứng nhận quốc tế về sự phù hợp của việc chở xô khí hóa lỏng.
7.6 Làm lạnh hàng lỏng
Hàng lỏng trong khoang hàng có thể được làm lạnh bằng công chất làm lạnh tuần hoàn thông qua các ống cuộn được đặt bên trong két hàng hoặc trên bề mặt bên ngoài két hàng.
7.7 Cách ly
Khi có từ hai hoặc nhiều loại hàng trở lên mà có thể xảy ra phản ứng hóa học nguy hiểm với nhau được chở đồng thời thì phải trang bị cho mỗi loại hàng hệ thống riêng được định nghĩa ở 1.1.4(43) kèm theo các bộ phận thỏa mãn tiêu chuẩn như quy định ở 7.8. Để vận chuyển đồng thời hai hoặc nhiều loại hàng không phản ứng với nhau, do tính chất hơi của chúng cần có hệ thống riêng thì có thể tách riêng bằng các van cách ly.
7.8 Tính sẵn sàng
7.8.1 Các quy định chung
Tính sẵn sàng của hệ thống và dịch vụ hỗ trợ phụ phải như sau:
1 Trong trường hợp hư hỏng đơn lẻ bộ phận chuyển động cơ khí hoặc một bộ phận của hệ thống kiểm soát thì nhiệt độ và áp suất của két hàng có thể được duy trì trong phạm vi thiết kế mà không ảnh hưởng đến dịch vụ thiết yếu khác;
2 Không yêu cầu hệ thống đường ống dự phòng;
3 Các bộ trao đổi nhiệt cần thiết duy nhất để duy trì nhiệt độ và áp suất của két hàng trong phạm vi thiết kế phải có bộ trao đổi nhiệt dự phòng, trừ khi chúng có năng lực vượt quá 25% năng lực yêu cầu lớn nhất để kiểm soát áp suất và chúng có thể được sửa chữa trên tàu mà không cần sự hỗ trợ từ bên ngoài. Trường hợp áp dụng phương pháp bổ sung và riêng biệt để kiểm soát nhiệt độ và áp suất két hàng mà không dựa vào bộ trao đổi nhiệt duy nhất thì không yêu cầu bộ trao đổi nhiệt dự phòng; và
4 Đối với bất kỳ công chất làm lạnh hoặc làm nóng, phải có thiết bị để phát hiện sự rò rỉ hơi độc hoặc hơi dễ cháy vào vùng không nguy hiểm khác hoặc ngoài mạn tàu thỏa mãn 13.6. Bất kỳ đầu ra của ống thông hơi từ thiết bị phát hiện rò rỉ phải đặt ở vị trí an toàn và được lắp lưới chắn lửa.
7.9 Các yêu cầu vận hành
7.9.1 Phạm vi áp dụng
Các quy định ở 7.9 không liên quan đến việc kiểm tra duy trì cấp, nhưng chỉ ra những vấn đề đó sẽ được theo dõi nghiêm ngặt bởi chủ tàu, hoặc thuyền trưởng cũng như tất cả những người khác chịu trách nhiệm đến vận hành tàu.
7.9.2 Điều chỉnh áp suất
Không chấp nhận việc thông hơi hàng để duy trì nhiệt độ và áp suất két hàng ngoại trừ tình huống khẩn cấp, Đăng kiểm có thể cho phép kiểm soát một số hàng nhất định bằng thông hơi ra khí quyển ở trên biển. Điều này cũng có thể được phép ở trong cảng nếu được phép của chính quyền cảng.
CHƯƠNG 8 HỆ THỐNG THÔNG HƠI KÉT HÀNG
8.1 Quy định chung
8.1.1 Quy định chung
Tất cả các két hàng phải được trang bị hệ thống điều áp phù hợp với thiết kế của hệ thống chứa hàng và hàng được chở. Các khoang hàng và các khoang giữa các vách chắn có thể phải chịu áp suất vượt quá khả năng theo thiết kế của chúng cũng phải được trang bị một hệ thống điều áp. Các hệ thống kiểm soát áp suất được quy định ở Chương 7 của Phần này phải độc lập với các hệ thống điều áp.
8.2 Các hệ thống điều áp
8.2.1 Quy định chung
Phải lắp cho các két hàng, bao gồm các két trên boong tối thiểu hai van điều áp (PRVs), mỗi két có kích thước bằng nhau nằm trong dung sai của nhà chế tạo, được thiết kế và chế tạo phù hợp với công việc được quy định.
8.2.2 Các thiết bị điều áp cho các khoang giữa các vách chắn
Phải trang bị các thiết bị điều áp cho các khoang giữa các vách chắn. Đối với hệ thống màng, người thiết kế phải làm rõ được đầy đủ kích cỡ PRVs dùng trong khoang giữa các vách chắn.
8.2.3 Áp suất đặt của PRVs
Áp suất đặt của PRVs không được cao hơn áp suất hơi đã được dùng trong thiết kế két. Nếu đặt từ hai PRVs trở lên thì các van bao gồm này không lớn hơn 50% tổng khả năng xả có thể được đặt ở áp suất tới 5% cao hơn MARVS cho phép các van toàn mở theo thứ tự, giảm tối đa sự thoát ra không cần thiết của hơi.
8.2.4 Bố trí PRVs
Các yêu cầu về nhiệt độ sau đây áp dụng cho PRVs được lắp vào hệ thống điều áp:
1 PRVs trên các két hàng có nhiệt độ thiết kế dưới 0°C phải được thiết kế và bố trí sao cho hiện tượng băng hóa không gây cản trở hoạt động;
2 Việc ảnh hưởng của hiện tượng băng hóa do nhiệt độ môi trường phải xét đến kết cấu và bố trí PRVs;
3 PRVs phải được chế tạo bằng vật liệu chịu được nhiệt độ nóng chảy lớn hơn 925°C. Có thể chấp nhận vật liệu có điểm nóng chảy thấp cho các chi tiết và gioăng làm kín ở bên trong van.
4 Đường ống cảm biến và đường ống xả trên các van điều áp phải có kết cấu chắc chắn để chống lại sự hư hỏng.
8.2.5 Thử van
1 PRVs phải được thử kiểu và thỏa mãn các tiêu chuẩn công nhận. Thử kiểu bao gồm từ (1) đến (4) sau đây:
(1) Kiểm tra năng lực xả;
(2) Thử ở nhiệt độ thấp khi hoạt động ở nhiệt độ thiết kế lạnh hơn -55oC;
(3) Thử độ kín đế tựa; và
(4) Các bộ phận chịu áp suất được thử áp suất ít nhất 1,5 lần áp suất thiết kế.
2 Mỗi PRVs phải được thử để đảm bảo:
(1) Van mở ở áp suất đặt quy định với dung sai không quá:
(a) ± 10% đối với áp suất đặt từ 0 đến 0,15 Mpa;
(b) ± 6% đối với áp suất đặt từ 0,15 đến 0,3 Mpa;
(c) ± 3% đối với áp suất đặt từ 0,3 MPa trở lên;
(2) Độ kín đế tựa được chấp nhận; và
(3) Các bộ phận chịu áp suất phải chịu được ít nhất 1,5 lần áp suất thiết kế.
8.2.6 Kẹp chì PRVs
PRVs phải được đặt và kẹp chỉ bởi Chính quyền hành chính hoặc Đăng kiểm.
8.2.7 Thay đổi áp suất đặt của PRVs
Các két hàng có thể được phép có từ hai áp suất đặt van điều áp trở lên trong các trường hợp sau:
(1) Lắp từ hai van trở lên, các van được đặt thích hợp và PRVs được đóng niêm phong và trang bị các phương tiện cần thiết để cách ly các van không sử dụng với két hàng; hoặc
(2) Lắp các van điều áp mà các áp suất đặt của chúng có thể thay đổi được nhờ sử dụng thiết bị đã được chấp nhận trước đó mà không yêu cầu thử áp lực để xác định áp suất đặt mới. Tất cả sự điều chỉnh van khác phải có khả năng kẹp chì được.
8.2.8 Quy trình đối với việc thay đổi áp suất đặt
Quy trình đối với việc thay đổi áp suất đặt phù hợp với 8.2.7 và đối với việc đặt lại áp suất thiết bị báo động phù hợp với 13.4.2 phải được đưa vào Bản hướng dẫn vận hành tàu.
8.2.9 Các phương tiện cách ly khẩn cấp của PRVs
Trong trường hợp hư hỏng PRV lắp trên két hàng, cần phải có phương tiện an toàn để cách ly khẩn cấp:
(1) Các quy trình phải được trang bị và đưa vào hướng dẫn làm hàng (xem 18.2).
(2) Các quy trình chỉ cho phép một trong các két hàng lắp PRVs được cách ly.
8.2.10 Các hệ thống thông hơi
Mỗi PRV được lắp trên két hàng phải được nối với một hệ thống thông hơi
(1) Ống thông hơi này được kết cấu để khi xả không bị cản trở và hướng lên trên tại đầu ra;
(2) Bố trí sao cho khả năng nước hoặc tuyết lọt vào hệ thống thông hơi là ít nhất.
(3) Bố trí sao cho chiều cao đầu ra của ống thông hơi phải cao hơn boong thời tiết ít nhất bằng B/3 hoặc 6 m, lấy giá trị nào lớn hơn;
(4) Cao hơn khu vực làm việc và lối đi là 6 m.
8.2.11 Bố trí đầu ra ống thông hơi
1 Các đầu ra ống thông hơi của PRV của két hàng phải được bố trí cách cửa hút gió gần nhất, lối thoát hoặc cửa vào các buồng sinh hoạt, buồng phục vụ và các trạm điều khiển hoặc các vùng không an toàn khác ít nhất bằng B hoặc 25 m, lấy giá trị nào nhỏ hơn. Có thể cho phép một khoảng cách nhỏ hơn đối với các tàu có chiều dài (Lf) nhỏ hơn 90 m.
2 Tất cả các đầu ra ống thông hơi khác nối với hệ thống chứa hàng phải bố trí cách cửa hút gió gần nhất, lối thoát hoặc cửa vào các buồng sinh hoạt, buồng phục vụ và các trạm điều khiển hay các vùng không an toàn khác ít nhất là 10 m.
8.2.12 Bố trí của tất cả các đầu ra ống thông hơi hàng khác
Tất cả các đầu ra của ống thông hơi hàng khác không được quy định ở các Chương khác phải được bố trí phù hợp với 8.2.10 và 8.2.11. Phải trang bị các phương tiện để đề phòng tràn chất lỏng từ các đầu ra ống thông hơi, do áp suất tĩnh từ khu vực mà chúng được nối.
8.2.13 Hệ thống điều áp khi chở đồng thời các hàng có phản ứng nguy hiểm
Nếu các hàng hóa này gây nguy hiểm khi phản ứng với nhau được chở đồng thời thì phải lắp hệ thống điều áp riêng cho mỗi loại hàng.
8.2.14 Phương tiện tiêu nước
Trong hệ thống đường ống thông hơi phải có trang bị các phương tiện để tháo khô chất lỏng ở các chỗ có thể tích tụ. PRVs và đường ống phải được bố trí sao cho ở bất kỳ điều kiện nào chất lỏng cũng không tích tụ ở trong và gần PRVs.
8.2.15 Các tấm chắn bảo vệ trên đầu ra của ống thông hơi
Phải lắp các tấm chắn bảo vệ phù hợp có mắt lưới không lớn hơn 13 mm ở các đầu ra của ống thông hơi để ngăn chặn các vật lạ ở ngoài lọt vào gây ảnh hưởng đến dòng chảy. Các yêu cầu khác đối với tấm chắn bảo vệ áp dụng khi chở hàng cụ thể (xem 17.9 và 17.21).
8.2.16 Thiết kế đường ống thông hơi
Tất cả đường ống thông hơi phải được thiết kế và bố trí sao cho không bị hư hỏng do thay đổi nhiệt độ mà nó có thể phải chịu, tác động của dòng chảy hoặc do các chuyển động của tàu.
8.2.17 Vị trí của PRVs
PRVs phải được nối với phần cao nhất của két hàng ở phía trên boong. Phải đặt PRVs trên két hàng sao cho chúng vẫn duy trì ở pha hơi tại giới hạn nạp đầy như định nghĩa ở Chương 15 của Phần này, trong điều kiện nghiêng ngang 15° và độ chúi là 0,015 Lf.
8.2.18 Phù hợp của hệ thống thông hơi
Sự phù hợp của hệ thống thông hơi lắp đặt trên các két chứa phù hợp với 15.5.2 phải được Đăng kiểm chấp nhận, có xét đến nghị quyết của IMO A.829(19). Giấy chứng nhận liên quan sẽ được lưu giữ trên tàu. Ở mục này, hệ thống thông gió là:
(1) Đầu ra của két chứa hàng và đường ống dẫn tới PRV;
(2) PRV;
(3) Đường ống từ PRVs đến vị trí xả ra khí quyển bao gồm các ống nối và đường ống được nối với két hàng khác.
8.3 Hệ thống chống chân không
8.3.1 Lắp các hệ thống chống chân không
Các két hàng không được thiết kế chịu độ chênh lệch áp suất bên ngoài lớn nhất 0,025 MPa hoặc các két này không thể chịu được độ chênh lệch áp suất bên ngoài lớn nhất có thể xảy ra ở tốc độ xả hàng lớn nhất mà không có hơi quay về các két hàng, hoặc do sự hoạt động của hệ thống làm lạnh hàng, hoặc bằng ôxy nhiệt, phải lắp với:
(1) Hai công tắc áp suất độc lập để báo động liên tiếp và sau đó dừng mọi sự hút chất lỏng hàng hoặc hơi từ két hàng, và dừng thiết bị làm lạnh nếu được trang bị, bằng các phương tiện thích hợp khi áp suất đủ thấp so với độ chênh lệch áp suất thiết kế bên ngoài lớn nhất của két hàng; hoặc
(2) Các van xả chân không có lưu lượng dòng khí ít nhất bằng tốc độ xả hàng lớn nhất của mỗi két hàng, được đặt để mở ở áp suất đủ thấp so với độ chênh áp thiết kế với bên ngoài của két hàng.
8.3.2 Các yêu cầu của các van xả chân không
Theo quy định ở Chương 17 của Phần này, các van xả chân không phải nhận khí trơ, hơi hàng hoặc không khí đến két hàng và phải được bố trí để hạn chế đến mức thấp nhất khả năng nước hay tuyết vào khoang. Nếu hơi hàng được đưa vào, hơi phải được lấy từ một nguồn không phải ở các đường ống hơi hàng.
8.3.3 Thử các hệ thống chống chân không
Hệ thống chống chân không phải có khả năng thử được để bảo đảm nó làm việc ở áp suất quy định.
8.4 Định cỡ các hệ thống điều áp
8.4.1 Định cỡ PRVs
1 PRVs phải có lưu lượng xả kết hợp cho mỗi két hàng để xả sản lượng lớn nhất trong các sản lượng dưới đây mà không để áp suất két hàng tăng quá MARVS 20%.
(1) Sản lượng lớn nhất của hệ thống làm trơ két hàng nếu áp suất làm việc có thể đạt tới mức lớn nhất của hệ thống làm trơ các két hàng vượt quá MARVS của các két hàng; hoặc
(2) Hơi sinh ra cháy nổ được tính theo công thức sau:
Q = FGA0,82 (m3/s)
Trong đó:
Q: Tốc độ xả yêu cầu tối thiểu của không khí ở điều kiện chuẩn là 273,15 Kelvin (K) và 0,1013 MPa;
F: Hệ số bị ảnh hưởng cháy nổ cho các kiểu két hàng khác nhau như sau:
F = 1,0 Cho các két không có cách nhiệt đặt trên boong;
F = 0,5 Cho các két trên boong có cách nhiệt được Đăng kiểm cháp nhận (chấp nhận trên cơ sở dùng vật liệu chịu lửa, độ dẫn nhiệt của chất cách nhiệt, sự ổn định của nó dưới tác dụng của lửa);
F = 0,5 Cho các két rời không được cách nhiệt nằm trong các khoang;
F = 0,2 Cho các két rời được cách nhiệt nằm trong các khoang (hoặc các két rời không được cách nhiệt nằm trong các khoang được cách nhiệt);
F = 0,1 Cho các két rời được cách nhiệt nằm trong các khoang được làm trơ (hoặc các két rời không được cách nhiệt nằm trong các khoang được làm trơ và cách nhiệt);
F = 0,1 Cho các két kiểu màng và nửa màng.
Đối với các két rời một phần nhô qua các boong thời tiết, hệ số chịu ảnh hưởng bởi lửa phải được xác định dựa vào các diện tích bề mặt ở trên và dưới boong.
G: Hệ số khí theo công thức:
![]()
Trong đó:
T: Nhiệt độ ở mức Kelvin (K) ở trạng thái xả, tức là 120% áp suất đặt của van giảm áp;
Lh: Ẩn nhiệt của chất bị bốc hơi ở trạng thái xả, kJ/kg;
Dh: Hằng số phụ thuộc vào nhiệt dung riêng k và được tính như sau,(k = tỷ số nhiệt dung riêng ở trạng thái xả, và trị số trong khoảng từ 1 đến 2,2. Nếu không xác định được k, thì lấy Dh = 0,606.

Z: Hệ số chịu nén của khí ở điều kiện xả. Nếu không xác định được thì lấy Z = 1; và
M: Phân tử lượng của sản phẩm;
Hệ số khí của mỗi loại hàng được chở phải được xác định và trị số cao nhất phải được sử dụng để định cỡ PRV.
A: Diện tích bề mặt ngoài của két (m2), như định nghĩa ở 1.1.4(13) đối với các kiểu két khác nhau xem Hình 8D/8.1.
(3) Dòng khối lượng yêu cầu của không khí ở trạng thái xả theo công thức:
Mair = Qρair (kg/s)
Trong đó:
Tỷ trọng của không khí (ρair) = 1,293 kg/m3 (không khí ở 273,15 K; 0,1013 MPa)
8.4.2 Định cỡ hệ thống đường ống thông hơi
Các tổn thất áp suất phía trên và phía dưới của PRVs phải được xem xét khi xác định kích thước của chúng để đảm bảo lưu lượng dòng yêu cầu ở 8.4.1.
8.4.3 Các tổn thất áp suất phía trên
1 Việc giảm áp suất trong đường ống thông hơi từ két đến đầu vào PRV không được vượt quá 3% áp suất đặt van ở tốc độ dòng chảy tính toán thỏa mãn 8.4.1.
2 PRVs dẫn hướng phải không bị ảnh hưởng bởi các tổn thất áp suất ống nạp khi các cảm biến dẫn hướng trực tiếp từ vòm két.
3 Các tổn thất áp suất trong các đường ống dẫn hướng cảm biến từ xa phải được xem xét đối với các dẫn hướng kiểu dòng.
8.4.4 Các tổn thất áp suất phía trên
1 Nếu bầu góp ống thông hơi và cột ống thông hơi được đặt chung thì việc tính toán phải bao gồm dòng chảy từ tất cả các PRVs được gắn.
2 Áp suất dư trong đường ống thông hơi từ đầu ra PRV đến vị trí xả ra môi trường, và bao gồm bất kỳ đường ống thông hơi nào nối thông với các két khác, không được vượt quá giá trị sau. Có thể chấp nhận giá trị được cung cấp bởi nhà chế tạo PRV.
(1) Đối với PRVs không cân bằng, 10% của MARVS;
(2) Đối với PRVs cân bằng, 30% của MARVS; và
(3) Đối với PRVs được dẫn hướng, 50% của MARVS.
8.4.5 Lượng xả
Để đảm bảo hoạt động PRV ổn định thì lượng xả phải không nhỏ hơn tổng tổn thất áp suất đầu vào và 0,02 MARVS tại công suất định mức.

Hình 8D/8.1
8.5 Yêu cầu vận hành
8.5.1 Phạm vi áp dụng
Các quy định ở 8.5 không liên quan đến việc kiểm tra duy trì cấp, nhưng chỉ ra những vấn đề đó sẽ được theo dõi nghiêm ngặt bởi chủ tàu, hoặc thuyền trưởng cũng như tất cả những người khác chịu trách nhiệm đến vận hành tàu.
8.5.2 Các van điều áp
Phải giữ trên tàu tài liệu về số liệu quy định ở 8.2.6, bao gồm áp suất đặt của các van.
8.5.3 Thay đổi áp suất đặt của PRVs
Nếu áp dụng 8.2.7(2) thì tất cả sự điều chỉnh van, ngoại trừ sự điều chỉnh van đối với các van xả đã thay đổi phải được đánh dấu.
8.5.4 Quy trình thay đổi áp suất đặt
Sự thay đổi các áp suất đặt thỏa mãn 8.2.7, và việc đặt lại hệ thống báo động thỏa mãn 13.4.2 phải được thực hiện dưới sự giám sát của thuyền trưởng thỏa mãn quy trình đã được thẩm định và được chỉ rõ trong Bản hướng dẫn vận hành tàu. Các thay đổi áp suất đặt phải được ghi lại trong nhật ký của tàu và một biển báo phải được để ở trong buồng kiểm soát hàng, nếu có, và ở mỗi van xả, có ghi rõ áp suất đặt.
8.5.5 Phương tiện cách ly khẩn cấp của PRVs
Việc cách ly khẩn cấp của PRVs theo quy định của 8.2.9 phải được tiến hành dưới sự giám sát của thuyền trưởng. Hành động này phải được ghi lại trong nhật ký của tàu và một biển báo để ở trong buồng kiểm soát hàng, nếu có, và ở PRV. Két không được nạp trừ khi khả năng xả được hồi phục hoàn toàn.
CHƯƠNG 9 KIỂM SOÁT MÔI TRƯỜNG HỆ THỐNG CHỨA HÀNG
9.1 Kiểm soát môi trường trong phạm vi hệ thống chứa hàng
9.1.1 Hệ thống kiểm soát môi trường các két hàng
Phải bố trí hệ thống đường ống để mỗi két hàng đều có khả năng thoát khí và chứa được hơi hàng một cách an toàn từ điều kiện xả. Hệ thống phải được bố trí sao cho hạn chế tới mức tối thiểu khả năng còn các túi hơi hàng hoặc không khí sau khi thay đổi môi trường.
9.1.2 Làm trơ các két hàng
Đối với các hàng dễ cháy, hệ thống phải được thiết kế để loại bỏ khả năng tồn tại hỗn hợp dễ cháy trong két hàng ở bất kỳ giai đoạn hoạt động thay đổi môi trường bằng cách sử dụng môi chất làm trơ như một bước trung gian.
9.1.3 Hệ thống đường ống
Các hệ thống đường ống này có thể còn các hàng dễ cháy phải tuân thủ theo 9.1.1 và 9.1.2.
9.1.4 Giám sát sự thay đổi môi trường
Phải có đủ số lượng các điểm lấy mẫu khí cho mỗi két hàng và hệ thống đường ống hàng để giám sát toàn bộ quá trình thay đổi môi trường. Các mối nối lấy mẫu khí phải được lắp một van đơn trên boong chính, làm kín với nắp thích hợp hoặc bích tịt (xem 5.6.5-5).
9.1.5 Cung cấp khí trơ
Khí trơ được dùng trong các quá trình này có thể được cấp từ bờ hoặc từ tàu.
9.2 Kiểm soát môi trường trong phạm vi các khoang hàng (các hệ thống chứa hàng không phải là các két rời loại C)
9.2.1 Kiểm soát môi trường khi yêu cầu phải có vách chắn thứ cấp toàn phần hoặc vách chắn thứ cấp từng phần
Khoang giữa các vách chắn và khoang hàng liền với hệ thống chứa hàng dùng cho các khí dễ cháy yêu cầu các vách chắn thứ cấp toàn phần hoặc vách chắn thứ cấp từng phần phải được làm trơ bằng khí trơ khô thích hợp và duy trì trạng thái trơ nhờ khí trơ được cấp bởi hệ thống sinh khí trơ trên tàu hoặc từ kho trên tàu đủ dùng bình thường trong vòng ít nhất 30 ngày.
9.2.2 Kiểm soát môi trường bằng hệ thống thay thế khi yêu cầu phải có vách chắn thứ cấp từng phần
Theo các hạn chế quy định ở Chương 17 của Phần này, các khoang chỉ dẫn ở 9.2.1 chỉ yêu cầu một vách chắn thứ cấp từng phần có thể được nạp đầy bằng không khí khô với điều kiện là tàu có lượng dự trữ khí trơ hoặc có hệ thống sinh khí trơ đủ làm trơ khoang lớn nhất trong số các khoang này, và với điều kiện hình dáng của các khoang và hệ thống phát hiện hơi có liên quan cùng với năng lực của hệ thống làm trơ bảo đảm rằng mọi rò rỉ từ các két hàng sẽ nhanh chóng được phát hiện và làm trơ hữu hiệu trước khi nguy hiểm có thể phát triển. Phải có thiết bị để cấp đủ không khí khô có chất lượng thích hợp đáp ứng thỏa mãn yêu cầu đặt ra.
9.2.3 Kiểm soát môi trường có khí không cháy
Đối với các khí không cháy, các khoang quy định ở 9.2.1 và 9.2.2 có thể được duy trì bằng không khí khô thích hợp hoặc môi trường khí trơ.
9.3 Kiểm soát môi trường các khoang xung quanh các két rời loại C
9.3.1 Kiểm soát môi trường các khoang xung quanh két rời loại C
Các khoang xung quanh các két hàng mà không có vách chắn thứ cấp phải điền đầy thích hợp bằng khí trơ khô hoặc không khí khô và phải duy trì được ở điều kiện này nhờ khí trơ được cấp bởi hệ thống sinh khí trơ, kho khí trơ trên tàu hoặc nhờ không khí khô được cấp bởi thiết bị làm khô không khí thích hợp. Không áp dụng yêu cầu đối với không khí khô hoặc khí trơ nếu hàng được được vận chuyển ở nhiệt độ môi trường.
9.4 Làm trơ
9.4.1 Các tính chất của khí trơ và nguồn cấp
Làm trơ là quá trình bảo đảm môi trường không cháy. Các khí trơ phải có khả năng tương hợp về mặt hóa học và về mặt vận hành ở mọi nhiệt độ có thể xảy ra trong phạm vi các khoang. Phải xét đến điểm hóa sương của các khí.
9.4.2 Khí trơ để chữa cháy
Khi được dự trữ để chữa cháy thì khí trơ phải được chứa trong các bình chứa riêng và không được dùng cho các công việc phục vụ cho hàng.
9.4.3 Dự trữ khí trơ ở nhiệt độ thấp
Khi khí trơ được dự trữ ở nhiệt độ dưới 0°C ở trạng thái lỏng hoặc hơi, hệ thống dự trữ và cung cấp phải được thiết kế sao cho nhiệt độ của kết cấu tàu không giảm xuống quá các giá trị giới hạn quy định cho nó.
9.4.4 Ngăn ngừa dòng ngược của hơi hàng
Phải bố trí các hệ thống thích hợp đối với hàng được chở để ngăn ngừa dòng ngược của hơi hàng vào trong hệ thống khí trơ. Nếu các hệ thống đó được đặt trong các buồng máy hoặc các không gian khác ngoài khu vực hàng thì hai van một chiều hoặc các thiết bị tương đương, và ngoài ra, một đoạn ống cuộn tháo rời được phải được lắp ở đường ống khí trơ chính ở khu vực hàng. Khi không sử dụng, hệ thống khí trơ phải được tách khỏi hệ thống hàng trong khu vực hàng ngoại trừ các đầu nối với khoang hàng hoặc khoang giữa các vách chắn.
9.4.5 Cách ly các khoang đang được làm trơ
Các hệ thống phải được bố trí sao cho khoang đang được làm trơ có thể được cách ly và các phương tiện điều chỉnh cần thiết và các van an toàn, v.v..., phải được trang bị để điều chỉnh áp suất trong các khoang này.
9.4.6 Khoang cách ly
Nếu các khoang cách ly được cung cấp liên tục bằng khí trơ như một phần của hệ thống phát hiện rò rỉ thì phải trang bị các phương tiện để theo dõi lượng khí được cung cấp tới từng khoang riêng biệt.
9.5 Sản xuất khí trơ trên tàu
9.5.1 Thiết bị sản xuất khí trơ
Thiết bị phải có khả năng sản xuất khí trơ có hàm lượng ôxy không lúc nào vượt quá 5% thể tích và thỏa mãn yêu cầu riêng ở Chương 17 của Phần này. Đồng hồ đo hàm lượng ôxy hoạt động liên tục phải được lắp vào nguồn cấp khí trơ từ thiết bị tạo khí trơ với điểm báo động đặt ở hàm lượng ôxy tối đa là 5% thể tích và thỏa mãn yêu cầu ở Chương 17 của Phần này.
9.5.2 Kiểm soát áp suất
Một hệ thống khí trơ phải có thiết bị kiểm soát và chỉ báo áp suất thích hợp với hệ thống chứa hàng.
9.5.3 Buồng đặt hệ thống sinh khí trơ
Các buồng đặt hệ thống sinh khí trơ không được có lối đi dẫn trực tiếp đến các buồng sinh hoạt, buồng phục vụ hoặc trạm điều khiển, nhưng có thể nằm ở trong các buồng máy. Đường ống khí trơ không được đi qua các buồng sinh hoạt, buồng phục vụ hoặc các trạm điều khiển.
9.5.4 Thiết bị đốt dùng để sinh khí trơ
Thiết bị đốt dùng để sinh khí trơ không được đặt trong khu vực hàng. Phải quan tâm đặc biệt tới vị trí đặt thiết bị sinh khí trơ bằng quá trình cháy có xúc tác.
CHƯƠNG 10 TRANG THIẾT BỊ ĐIỆN
10.1 Quy định chung
10.1.1 Định nghĩa
Mục đích của Chương này, trừ khi có quy định rõ ràng khác, các định nghĩa dưới đây phải được áp dụng.
(1) “Khu vực nguy hiểm” là các khu vực hoặc không gian dưới đây, nơi có chứa các chất dễ cháy hoặc dễ nổ và nơi dễ dàng sinh ra khí hoặc hơi dễ cháy hoặc dễ nổ từ các chất này:
(a) Vùng 0: Khu vực hoặc không gian mà ở đó thường xuyên hoặc trong một thời gian dài tồn tại môi trường khí dễ nổ;
(b) Vùng 1: Khu vực hoặc không gian mà ở đó trong điều kiện bình thường dễ dàng tạo ra môi trường khí dễ nổ;
(c) Vùng 2: Khu vực hoặc không gian mà ở đó chỉ khi có điều kiện khác thường mới dễ có thể tạo ra môi trường khí dễ nổ.
(2) “Khu vực không nguy hiểm” là các khu vực hoặc không gian không thể tồn tại lượng khí dễ nổ đủ lớn đến mức phải có yêu cầu đề phòng đặc biệt đối với kết cấu, lắp đặt và sử dụng thiết bị điện.
10.2 Các yêu cầu chung
10.2.1 Nguy cơ cháy và nổ do các sản phẩm dễ cháy
Các trang bị điện phải sao cho hạn chế tối thiểu được nguy cơ cháy và nổ do các sản phẩm dễ cháy.
10.2.2 Trang bị điện
Trang bị điện phải thỏa mãn các yêu cầu liên quan ở Chương 4 Phần 4.
10.2.3 Hạn chế lắp đặt thiết bị điện trong các khu vực nguy hiểm về khí
Thiết bị điện và các dây dẫn không được lắp đặt trong vùng nguy hiểm, trừ khi chúng thỏa mãn các quy định tương ứng theo mục 4.2.4 Phần 4.
10.2.4 Thiết bị có kiểu an toàn đã được chứng nhận
Khi lắp đặt thiết bị điện ở vùng nguy hiểm như quy định ở 10.2.3, thì các thiết bị này phải thỏa mãn yêu cầu của Đăng kiểm và thiết bị phải có kiểu an toàn đã được chứng nhận. Việc cách ly tự động của thiết bị không được chứng nhận khi phát hiện khí dễ cháy không thay thế cho việc sử dụng thiết bị được chứng nhận.
10.2.5 Phân cấp vùng nguy hiểm
Để dễ dàng cho việc lựa chọn các thiết bị điện thích hợp và thiết kế lắp đặt điện phù hợp, các vùng nguy hiểm phải được phân loại thỏa mãn các yêu cầu ở 4.2.3-3, 4.2.3-4, 4.2.3-5 Phần 4.
10.2.6 Hệ thống phân phối và hệ thống phát điện
Hệ thống phân phối và hệ thống phát điện, và các hệ thống điều khiển liên quan phải được thiết kế sao cho khi một thiết bị nào đó bị hỏng sẽ không dẫn mất khả năng duy trì áp suất két hàng, như yêu cầu của 7.8.1, và nhiệt độ kết cấu thân tàu như yêu cầu ở 4.19.1-6, trong phạm vi giới hạn hoạt động bình thường. Các chế độ hư hỏng và các ảnh hưởng phải được phân tích và ghi lại theo tiêu chuẩn được Đăng kiểm công nhận.
10.2.7 Hệ thống chiếu sáng trong vùng nguy hiểm
Hệ thống chiếu sáng trong vùng nguy hiểm phải được phân thành ít nhất hai mạch nhánh. Tất cả các thiết bị đóng ngắt và bảo vệ phải là loại ngắt tất cả các cực hoặc các pha và phải được đặt ở khu vực không nguy hiểm.
10.2.8 Các phụ tùng gắn vào thân tàu trong vùng nguy hiểm
Các đầu phát dùng cho các thiết bị đo tốc độ hoặc đo sâu và các cực dương của hệ thống bảo vệ dòng ca tốt tích cực hoặc điện cực phải được đặt trong hộp kín khí.
10.2.9 Các động cơ điện lai bơm hàng kiểu chìm
Các động cơ điện lai bơm hàng kiểu chìm và các cáp điện cấp nguồn cho chúng có thể được lắp trong hệ thống chứa hàng. Phải có hệ thống tự động tắt động cơ điện trong trường hợp mức chất lỏng thấp. Việc này có thể được thực hiện bằng cảm biến áp suất xả bơm thấp, dòng động cơ điện thấp hoặc mức chất lỏng thấp. Việc ngắt phải được báo động ở trạm điều khiển hàng. Các động cơ điện lai bơm hàng phải được cách ly với nguồn điện trong khi thoát khí.
CHƯƠNG 11 PHÒNG CHÁY VÀ CHỮA CHÁY
11.1 Các yêu cầu về an toàn phòng cháy
11.1.1 Quy định chung
Các yêu cầu đối với tàu dầu ở Phần 5 của Quy chuẩn này cũng được áp dụng cho các tàu nêu ở Phần này, kể cả những tàu có tổng dung tích GT nhỏ hơn 500, trừ các yêu cầu nêu ở từ (1) đến (4) dưới đây. Nếu có các bố trí thay thế hoặc bổ sung để Đăng kiểm chấp nhận thì các quy định trong Phần 5 không phải áp dụng cho các tàu nêu ở Phần này. Nếu có trang bị hệ thống thay thế cho hệ thống khí trơ của các tàu nêu ở Phần này thì được miễn áp dụng các yêu cầu nêu ở mục 4.5.5-1 Chương 4 Phần 5 của Quy chuẩn này cho các tàu ấy, ngay cả khi chúng chở dầu thô và các sản phẩm dầu có nhiệt độ chớp cháy không quá 60°C cũng như các hàng lỏng khác có mức độ nguy hiểm về cháy tương tự.
(1) Không áp dụng quy định tại 1.1.1 (trừ 1.1.1-2 ), 4.5.1-6 4.5.10 và Chương 21 Phần 5 của Quy chuẩn này;
(2) Các quy định 10.4 và 10.5 (trừ 10.5.5) Phần 5 phải được áp dụng, khi quy định cho các tàu dầu có tổng dung tích (GT) bằng 2.000 và lớn hơn;
(3) Các yêu cầu của các Phần khác có liên quan đến tàu dầu được miễn áp dụng và thay bằng các Chương và mục của Phần này được chỉ ra ở Bảng 8D/11.1;
(4) Áp dụng các quy định ở 13.3.3 và 13.4.7 Phần 5 đối với các tàu có tổng dung tích (GT) bằng 500 hoặc lớn hơn;
Bảng 8D/11.1
|
Các yêu cầu |
Thay bằng |
|
10.10 của Phần 5 |
11.6 |
|
4.5.1-1 và 4.5.1-2 của Phần 5 |
Chương 3 |
|
4.5.5 của Phần 5 |
Các mục có liên quan ở Phần này |
|
10.8 của Phần 5 |
11.3 và 11.4 |
|
10.9 của Phần 5 |
11.5 |
|
10.2 của Phần 5 |
11.2.1 đến 11.2.4 |
11.1.2 Loại trừ nguồn gây lửa
Nếu không có quy định nào khác ở Chương 10 và Chương 16 của Phần này, tất cả nguồn phát sinh ra lửa phải được loại trừ khỏi các buồng có thể có hơi dễ cháy.
11.1.3 Phạm vi áp dụng
Các quy định của mục này được áp dụng kết hợp với các quy định Chương 3 của Phần này.
11.1.4 Yêu cầu đối với khu vực hàng
Để đảm bảo chống cháy, mọi khu vực boong thời tiết bên trên các khoang cách ly, khoang dằn hoặc khoang trống ở phía sau của khoang hàng tận cùng phía lái hoặc ở phía trước của khoang hàng tận cùng phía mũi phải bao gồm trong khu vực hàng.
11.2 Hệ thống chữa cháy chính và các họng chữa cháy
11.2.1 Bơm chữa cháy và đường ống chữa cháy chính
Bất kể kích thước, các tàu chở các sản phẩm quy định ở Phần này phải tuân theo các yêu cầu của 10.2 Phần 5, như áp dụng cho các tàu hàng, trừ khi lưu lượng theo yêu cầu của bơm chữa cháy, đường kính của đường ống chữa cháy chính và ống nước phục vụ không bị giới hạn bởi những quy định tương ứng theo mục 10.2.1-3 và 10.2.2-4(1) Phần 5 khi bơm chữa cháy được sử dụng để cung cấp cho hệ thống phun nước, như được cho phép ở 11.3.3 của Phần này. Sản lượng của bơm chữa cháy phải đảm bảo những khu vực này có thể được bảo vệ khi đồng thời cung cấp hai vòi nước từ hộp chữa cháy với lỗ phun 19 mm ở áp suất ít nhất bằng 0,5 MPa.
11.2.2 Bố trí đường ống các họng chữa cháy
Phải bố trí sao cho có ít nhất hai tia nước có thể tới bất kỳ phần nào của boong trong khu vực hàng, các phần của hệ thống hàng và các nắp của két hàng nằm trên mặt boong. Phải bố trí một số lượng cần thiết các họng chữa cháy thỏa mãn các quy định trên và tuân thủ các yêu cầu của 10.2.1-5 và 10.2.3-3 Phần 5 kèm theo các đoạn ống mềm có chiều dài được xác định theo quy định tương ứng của mục 10.2.3-1(1). Ngoài ra, các yêu cầu của 10.2.1-6(1) Phần 5 phải thỏa mãn với áp suất ít nhất bằng 0,5 MPa.
11.2.3 Van chặn
Phải lắp các van chặn ở mọi ống nối ngang được trang bị và ở đường ống chữa cháy hoặc các đường ống chữa cháy chính tại một vị trí được bảo vệ, trước khi đi vào khu vực hàng và đảm bảo khoảng cách cách ly của bất kỳ đường nhánh nào của đường ống chính bị phá hủy, sao cho 11.2.2 có thể được tuân theo việc không dùng quá hai đoạn vòi rồng từ họng chữa cháy gần nhất. Việc cấp nước cho đường ống chữa cháy khu vực hàng phải là một đường ống dạng vòng được cấp bởi các bơm chữa cháy chính hoặc một đường ống riêng biệt được cấp bởi các bơm chữa cháy đặt ở phía trước hoặc phía sau khu vực hàng, một trong các bơm phải được dẫn động độc lập.
11.2.4 Vòi phun
Các đầu phun phải là loại hai tác dụng (phun sương và phun tia) có cả thiết bị đóng và được chứng nhận bởi Đăng kiểm.
11.2.5 Thử sau khi lắp đặt
Sau khi lắp đặt, các ống, van, phụ tùng và hệ thống hoàn chỉnh phải được tiến hành một cuộc thử kín và thử chức năng.
11.3 Hệ thống phun sương nước
11.3.1 Khu vực phải được bảo vệ
1 Trên tàu chở các sản phẩm dễ cháy và/hoặc độc hại phải trang bị một hệ thống phun sương nước để làm mát, phòng cháy và bảo vệ thuyền viên phải được bố trí sao cho bao phủ được các hạng mục dưới đây. Các tàu có dự định hoạt động như được nêu ở 1.1.1-5 phải được xem xét đặc biệt (xem 11.3.3(2)):
(1) Các vòm lộ của két hàng, bất kỳ phần lộ nào của két hàng, và bất kỳ phần nào của nắp két hàng mà có thể bị lộ ra với nhiệt độ của các đám cháy của các thiết bị dầu hàng lân cận như là các bơm cao áp hở/các bầu hâm/hệ thống hóa khí hoặc hóa lỏng, sau đây được gọi là các cụm xử lý khí, được đặt trên boong thời tiết;
(2) Các bình chứa các sản phẩm dễ cháy hoặc độc lộ trên boong;
(3) Các cụm xử lý khí đặt trên boong;
(4) Các đầu nối nhận và trả hàng dạng lỏng và khí, bao gồm các bích nối hiện có và các khu vực đặt các van điều khiển của chúng, chúng phải có diện tích ít nhất phải bằng diện tích của các khay hứng được trang bị;
(5) Tất cả các van đóng sự cố lộ ra (ESD) trên các đường ống hơi và lỏng của hàng;
(6) Vách biên lộ ra đối diện với khu vực hàng, như là các vách của các thượng tầng và lầu thường xuyên có người, buồng máy làm hàng, buồng kho chứa các đồ vật có nguy cơ cháy cao và buồng điều khiển làm hàng. Các vách biên ngang lộ ra của các khu vực này không yêu cầu được bảo vệ ngoại trừ các đầu nối ống dầu hàng có thể tháo rời được bố trí phía trên hoặc phía dưới. Vách biên của thượng tầng mũi không thường xuyên có người và không có các đồ vật và thiết bị có nguy cơ cháy cao thì không cần phải bảo vệ bằng hệ thống phun nước.
(7) Các xuồng cứu sinh, phao bè cứu sinh để lộ và các trạm tập trung đối diện với khu vực hàng, bất kể khoảng cách tới khu vực hàng; và
(8) Tất cả buồng máy làm hàng nửa kín và buồng động cơ làm hàng nửa kín.
11.3.2 Bố trí và sản lượng
1 Hệ thống phải bao phủ được tất cả các khu vực nêu ở 11.3.1(1) đến (8) có lượng nước phân bố đều ít nhất là 10 l/m2/phút trên bề mặt nằm ngang được bảo vệ lớn nhất và 4 l/m2/phút trên bề mặt thẳng đứng. Đối với các cấu trúc không có bề mặt nằm ngang hoặc thẳng đứng được xác định rõ ràng, lưu lượng của hệ thống phun sương phải không nhỏ hơn bề mặt bề mặt nằm ngang được bảo vệ nhân với 10 l/m2/phút.
2 Trên các bề mặt thẳng đứng, việc định khoảng cách các vòi phun bảo vệ các khu vực phía dưới có thể xét đến lượng nước chảy xuống từ khu vực cao hơn. Các van chặn phải được lắp trên các đường ống cấp nước chính của hệ thống phun sương nước, với khoảng cách không vượt quá 40m, để cách ly các phần bị hỏng. Cũng có thể chia hệ thống thành hai hoặc nhiều hơn các phần có thể vận hành độc lập với điều kiện là thiết bị điều khiển cần thiết đặt ở cùng vị trí, ở vị trí dễ dàng tiếp cận bên ngoài khu vực hàng. Phần bảo vệ khu vực bất kỳ nào nêu ở 11.3.1-1(1) và (2) phải bao phủ được ít nhất toàn bộ nhóm két theo chiều ngang tàu thuộc khu vực đó. Bất kỳ (các) cụm xử lý khí nào trong 11.3.1 (3) có thể được bảo vệ bởi một phần độc lập.
11.3.3 Sản lượng của các bơm phun sương nước
Lưu lượng của các bơm phun sương nước phải có khả năng bảo vệ đồng thời như sau, lấy giá trị lớn hơn:
(1) Bất kỳ hai nhóm két nằm ngang hoàn chỉnh, bao gồm bất kỳ cụm xử lý khí nào nằm trong khu vực đó; hoặc
(2) Với các tàu có dự định hoạt động như nêu ở 1.1.1-5, việc bảo vệ cần thiết phải xem xét đặc biệt theo 11.3.1 với bất kỳ vùng nguy hiểm cháy nổ nào thêm vào và các két nằm ngang liền kề, ngoài các bề mặt được nêu ở 11.3.1(4) đến 11.3.1(8). Cũng có thể dùng các bơm chữa cháy chính cho công việc này, nếu tăng lưu lượng tổng cộng của chúng lên một lượng cần thiết cho hệ thống phun sương nước. Trong trường hợp sau, phải đặt một van chặn giữa đường ống cứu hỏa chính và đường ống phun sương chính ở bên ngoài khu vực hàng.
11.3.4 Việc phục vụ của các bơm chữa cháy
Các vách biên của thượng tầng và lầu thường xuyên có người, xuồng cứu sinh, phao bè cứu sinh và các khu vực tập trung đối diện với khu vực hàng, cũng phải có khả năng được bảo vệ bởi một trong các bơm chữa cháy hoặc bơm chữa cháy sự cố, nếu một đám cháy trong một khoang làm vô hiệu hóa cả hai bơm chữa cháy.
11.3.5 Sử dụng cho công việc khác
Các bơm nước bình thường dùng cho các công việc khác có thể được dùng để cấp nước cho hệ thống phun sương nước.
11.3.6 Ống, van, vòi phun và các phụ tùng khác
Tất cả các ống, van, vòi phun và các phụ tùng khác trong các hệ thống phun sương nước phải chống được sự ăn mòn của nước biển. Đường ống, các phụ tùng và các bộ phận liên quan nằm trong khu vực hàng (ngoại trừ các đệm kín) phải được thiết kế chịu được nhiệt độ 925oC. Hệ thống phun sương nước phải được bố trí bầu lọc trên đường ống để tránh việc tắc nghẽn ống và vòi phun. Ngoài ra phải trang bị phương tiện xả ngược cho hệ thống bằng nước ngọt.
11.3.7 Vị trí hệ thống điều khiển từ xa các bơm và van
Thiết bị khởi động từ xa các bơm cấp cho hệ thống phun nước thành sương và thiết bị điều khiển từ xa các van bình thường đóng trong hệ thống phải được bố trí ở các vị trí thích hợp bên ngoài khu vực hàng, kề với các buồng sinh hoạt, dễ tiếp cận và vận hành được trong trường hợp cháy ở các khu vực được bảo vệ.
11.3.8 Thử sau khi lắp đặt
Sau khi lắp đặt, các ống, van, phụ tùng và hệ thống hoàn chỉnh phải được thử kín và thử chức năng.
11.4 Hệ thống chữa cháy bằng bột hóa chất khô
11.4.1 Quy định chung
Trên tàu dự định chở các sản phẩm dễ cháy phải có hệ thống chữa cháy bằng bột hóa chất khô cố định, được duyệt bởi Đăng kiểm, để chữa cháy trên boong khu vực hàng, bao gồm tất cả các đầu nối nhận và xả hàng dạng lỏng và dạng hơi trên boong và các khu vực làm hàng phía mũi và đuôi, khi có thể áp dụng được.
11.4.2 Đặc tính của hệ thống
Hệ thống phải có khả năng cung cấp bột từ ít nhất từ hai đường ống mềm cầm tay hoặc kết hợp súng phun/vòi mềm cầm tay tới mọi phần của đường ống hàng dạng hơi và lỏng lộ ra, các đầu nối nhận và xả hàng và các cụm xử lý khí lộ ra,
11.4.3 Các súng phun và đường ống mềm cầm tay
Hệ thống chữa cháy bột hóa chất khô phải được thiết kế không ít hơn hai cụm độc lập. Bất kể phần nào được yêu cầu bảo vệ bởi 11.4.2 phải có khả năng tiếp cận được từ ít nhất hai cụm độc lập với phương tiện điều khiển liên quan, đường ống cố định của môi chất tạo áp suất cao, các súng phun và đường ống mềm cầm tay. Đối với các tàu có dung tích hàng nhỏ hơn 1.000 m3 chỉ cần lắp một bộ phận như vậy. Phải trang bị một súng phun và bố trí sao cho bảo vệ được các khu vực nối ống nhận và trả hàng và phải có khả năng khởi động và xả ở cả hai vị trí tại chỗ và từ xa. Súng phun không cần phải phun được xa nếu có thể cấp bột cần thiết tới tất cả các khu vực cần bảo vệ theo yêu cầu từ một vị trí. Một đường ống mềm phải được trang bị ở cả hai bên mạn trái và phải tại vị trí cuối của khu vực hàng đối diện với khu vực sinh hoạt và dễ dàng tiếp cận được từ khu vực sinh hoạt.
11.4.4 Lưu lượng của súng phun và đường ống mềm cầm tay
Lưu lượng của một súng phun không được nhỏ hơn 10 kg/s. Các ống mềm cầm tay phải không bị thắt nút và được lắp với một vòi phun có khả năng mở/đóng và xả với tốc độ không nhỏ hơn 3,5 kg/s. Tốc độ xả tối đa phải sao cho một người vận hành được. Chiều dài của ống mềm cầm tay không được quá 33 m. Khi có đường ống cố định lắp giữa bình chứa bột và một ống mềm cầm tay hoặc súng phun, chiều dài của đường ống không được quá chiều dài có thể duy trì được bột ở trạng thái lưu động trong thời gian sử dụng liên tục kéo dài hoặc gián đoạn, và có thể thổi được hết bột ra khi hệ thống ngừng làm việc. Các ống mềm cầm tay và vòi phun phải có cấu tạo chịu được thời tiết hoặc được bảo quản trong vỏ chịu thời tiết hoặc nắp che và dễ lấy.
11.4.5 Khoảng cách hiệu quả lớn nhất của ống mềm cầm tay
Các ống mềm phải được xem là có khoảng cách bao phủ hữu hiệu tối đa bằng chiều dài ống. Phải quan tâm đặc biệt đến các vùng được bảo vệ nằm cao hơn nhiều so với vị trí súng phun hoặc vị trí cuộn cất ống mềm cầm tay.
11.4.6 Tổ hợp chữa cháy bổ sung
Các tàu được trang bị để nhận và trả hàng ở mũi hoặc lái phải được trang bị một tổ hợp bột hóa chất khô độc lập để bảo vệ các đường ống hàng dạng hơi hoặc lỏng, phía trước hoặc sau khu vực hàng bởi các đường ống và một súng phun bao phủ phía mũi/phía đuôi nhận hàng/xả hàng thỏa mãn yêu cầu ở từ 11.4.1 đến 11.4.5.
11.4.7 Xem xét đặc biệt
Các tàu dự định hoạt động như được nêu ở 1.1.1-5 phải được xem xét đặc biệt.
11.4.8 Thử sau lắp đặt
Sau khi lắp đặt, các đường ống, van, phụ tùng và hệ thống hoàn thiện phải được thử kín và thử chức năng các trạm xả từ xa và tại chỗ. Việc kiểm tra ban đầu cũng bao gồm việc xả đủ lượng bột hóa chất khô để xác minh được hệ thống hoạt động thỏa mãn. Tất cả các đường ống phân phối sẽ được thổi qua với không khí khô để đảm bảo rằng đường ống không có vật cản.
11.5 Các không gian kín chứa thiết bị làm hàng
11.5.1 Hệ thống chữa cháy cố định
Các không gian kín thuộc tiêu chuẩn các không gian máy làm hàng tại 1.1.5(9), và các buồng động cơ làm hàng bên trong khu vực hàng của bất kỳ tàu nào, phải được trang bị một hệ thống chữa cháy cố định tuân theo các quy định của Chương 25 và các chương tiếp theo, Phần 5 và có sự tính toán đến nồng độ/tỷ lệ áp dụng cần thiết để dập cháy đám cháy khí.
11.5.2 Hệ thống chữa cháy cho các tàu được dành riêng cho việc chuyên chở một số hàng hạn chế
Các không gian kín thuộc tiêu chuẩn không gian máy làm hàng tại 3.3, trong khu vực hàng của tàu được dành riêng cho việc chuyên chở một số hàng hạn chế, phải được bảo vệ bởi một hệ thống chữa cháy thích hợp với loại hàng được chở.
11.5.3 Bảo vệ khoang tháp neo
Khoang tháp neo của bất kỳ tàu nào phải được bảo vệ bởi hệ thống phun sương nước bên trong với một lưu lượng không nhỏ hơn 10 l/m2/phút cho bề mặt nằm ngang lớn nhất. Nếu áp suất của dòng khí đi qua tháp vượt quá 4 Mpa, lưu lượng phải tăng lên 20 l/m2/phút. Hệ thống này phải được thiết kế để bảo vệ tất cả các bề mặt bên trong.
11.6 Trang bị cho người chữa cháy
11.6.1 Số lượng trang bị cho người chữa cháy
Mỗi tàu chở các sản phẩm dễ cháy phải trang bị cho người chữa cháy thỏa mãn các quy định tương ứng theo mục 10.10 Chương 10 Phần 5 của Quy chuẩn này như được quy định ở Bảng 8D/11.2
Bảng 8D/11.2
|
Tổng dung tích hàng |
Số bộ trang bị cho người chữa cháy |
|
5.000 m3 và nhỏ hơn |
4 |
|
trên 5.000 m3 |
5 |
11.6.2 Các yêu cầu bổ sung cho thiết bị an toàn
Các yêu cầu bổ sung cho thiết bị an toàn được đưa ra tại Chương 14 của Phần này.
11.6.3 Thiết bị thở
Bất kỳ thiết bị thở nào được yêu cầu là một phần của trang bị cho người chữa cháy phải là thiết bị thở độc lập có bình khí nén và có dung tích ít nhất là 1.200 lít không khí tự do.
11.7 Các yêu cầu vận hành
11.7.1 Trang bị an toàn bổ sung
Các yêu cầu đối với trang bị an toàn bổ sung được nêu ở Chương 14.
CHƯƠNG 12 THÔNG GIÓ CƯỠNG BỨC TRONG KHU VỰC HÀNG HÓA
12.1 Các buồng phải vào được trong khi làm hàng bình thường
12.1.1 Thông gió cưỡng bức các buồng máy nén và buồng bơm hàng
Trong các buồng động cơ điện, buồng máy nén và bơm hàng, các khoang chứa thiết bị làm hàng và các khoang kín khác mà trong đó hơi hàng có thể tích tụ phải có hệ thống thông gió cưỡng bức cố định điều khiển được từ bên ngoài khoang đó. Việc thông gió phải hoạt động liên tục để tránh sự tích tụ hơi độc và/hoặc hơi dễ cháy, phải trang bị một phương tiện giám sát được chấp nhận bởi Đăng kiểm. Phải có thông báo quy định việc sử dụng thông gió cưỡng bức trước khi vào đặt ở bên ngoài khoang.
12.1.2 Bố trí và lưu lượng của đường vào và ra của hệ thống thông gió cưỡng bức
Các đường vào và ra của hệ thống thông gió cưỡng bức phải được bố trí bảo đảm sự chuyển động thích hợp của không khí qua khoang để tránh tích tụ hơi dễ cháy,hơi độc hoặc hơi ngạt, và đảm bảo môi trường làm việc an toàn
12.1.3 Lưu lượng hệ thống thông gió
Hệ thống thông gió phải có một lưu lượng không nhỏ hơn 30 lần thay đổi không khí trong một giờ, dựa trên thể tích toàn bộ của khoang.
12.1.4 Lưu lượng hệ thống thông gió
Khi một không gian có một lối vào một không gian hay một khu vực nguy hiểm hơn, phải duy trì một áp suất cao hơn. Nó có thể được tạo thành một không gian ít nguy hiểm hơn hoặc không gian không độc bởi sự bảo vệ bằng áp suất cao hơn phù hợp với tiêu chuẩn được công nhận.
12.1.5 Bố trí ống thông gió, cửa gió vào và cửa gió ra
Các ống thông gió, cửa gió vào và cửa gió ra của các hệ thống thông gió cưỡng bức phải được bố trí phù hợp với các tiêu chuẩn được công nhận.
12.1.6 Đường ống thông gió phục vụ các khu vực nguy hiểm
Các đường thông gió phục vụ các khu vực nguy hiểm không được dẫn qua các buồng sinh hoạt, buồng phục vụ và buồng máy hay các trạm điều khiển trừ khi được phép ở Chương 16 trong Phần này.
12.1.7 Kết cấu các quạt thông gió
1 Các động cơ điện dẫn động các quạt phải nằm ngoài các ống thông gió mà có xuất hiện hơi dễ cháy. Các quạt thông gió không được tạo thành nguồn phát sinh tia lửa ở trong khoang được thông gió hoặc trong hệ thống thông gió nối với khoang. Với các khu vực nguy hiểm, các quạt thông gió và ống thông gió, kết cấu liền kề quạt, phải có kết cấu không sinh ra tia lửa được quy định như sau:
Bất kỳ sự kết hợp nào của bộ phận quay hoặc cố định có chứa hợp kim nhôm hoặc magiê và bộ phận quay hoặc cố định có chứa sắt, bất kể khe hở mút đầu, nó phải được coi là một mối nguy hiểm về phát sinh tia lửa và không được sử dụng cho các khu vực này.
(1) Bánh cánh hoặc vỏ bằng vật liệu phi kim loại, phải quan tâm thích đáng đến việc khử tĩnh điện;
(2) Bánh cánh và vỏ bằng vật liệu không có sắt;
(3) Bánh cánh và vỏ bằng vật liệu thép không gỉ austenitic; và
(4) Bánh cánh sắt và vỏ có khe hở thiết kế ở mút không nhỏ hơn 13 mm.
12.1.8 Các phụ tùng dự trữ
Với các quạt được yêu cầu ở chương này, các không gian phải có khả năng được thông gió đầy đủ theo quy định sau khi xảy ra lỗi của bất kỳ quạt đơn lẻ nào, hoặc các bộ phận dự trữ phải được trang bị bao gồm một mô tơ, bộ phận khởi động và các bộ phận quay hoàn chỉnh bao gồm các ổ đỡ cho từng loại.
12.1.9 Các tấm chắn bảo vệ đầu ống thông gió
Ở đầu ra của các đường ống thông gió phải lắp các tấm che bảo vệ có mắt lưới không quá 13 mm.
12.1.10 Thiết kế và bố trí hệ thống thông gió
Khi các không gian được bảo vệ bằng áp suất, hệ thống thông gió phải được thiết kế và lắp đặt phù hợp với các tiêu chuẩn được công nhận.
12.2 Các khoang bình thường không có người vào
12.2.1 Thông gió các không gian kín
Các không gian kín mà hơi hàng có thể tích tụ thì phải được thông gió để đảm bảo môi trường an toàn khi cần thiết phải vào. Điều này phải có thể đạt được trước khi vào bên trong.
12.2.2 Lưu lượng thông gió
Với các hệ thống thông gió cố định, lưu lượng thông gió phải tạo ra 8 lần lượng thay đổi không khí trong một giờ, và với hệ thống di động lưu lượng phải là 16 lần lượng thay đổi không khí.
12.2.3 Quạt và thiết bị thổi
Các lỗ tiếp cận của quạt hoặc thiết bị thổi phải sạch sẽ, và phải tuân theo 12.1.7.
CHƯƠNG 13 DỤNG CỤ ĐO VÀ CÁC HỆ THỐNG TỰ ĐỘNG
13.1 Quy định chung
13.1.1 Quy định chung
Mỗi két hàng phải được trang bị phương tiện để báo mực chất lỏng, áp suất và nhiệt độ của hàng. Các áp kế và nhiệt kế phải được đặt trong các hệ thống ống dẫn chất lỏng và hơi, trong các thiết bị làm lạnh hàng.
13.1.2 Sự tập trung thiết bị điều khiển và các dụng cụ chỉ báo
Nếu việc nạp và xả hàng của tàu được thực hiện nhờ các van và bơm được điều khiển từ xa thì tất cả các thiết bị điều khiển và dụng cụ đo liên quan với két hàng đã cho phải được tập trung ở một vị trí điều khiển.
13.1.3 Hiệu chuẩn và thử các dụng cụ đo
Các dụng cụ phải được thử và hiệu chỉnh để bảo đảm độ tin cậy trong các điều kiện làm việc và hiệu chuẩn lại được theo định kỳ. Các quy trình thử dụng cụ đo và việc hiệu chuẩn lại phải tuân theo các khuyến nghị của nhà sản xuất.
13.2 Các dụng cụ chỉ báo mức chất lỏng cho các két hàng
13.2.1 Quy định chung
Mỗi két hàng phải được lắp các thiết bị đo mực chất lỏng, được bố trí để luôn đảm bảo việc đọc được mức hàng bất cứ khi nào ở trang thái hoạt động của két hàng. Các thiết bị này phải được thiết kế để hoạt động được trong toàn bộ dải nhiệt độ hàng. Các dụng cụ đo mực chất lỏng phải có kiểu được Đăng kiểm chấp nhận.
13.2.2 Bố trí dụng cụ đo mức chất lỏng
Khi chỉ lắp đặt một dụng cụ đo chất lỏng, nó phải được bố trí sao cho có thể bảo dưỡng được mà không cần điều kiện hút trống chất lỏng hay khí trong két.
13.2.3 Kiểu dụng cụ đo mực chất lỏng
1 Các dụng cụ đo mực chất lỏng trong két hàng có thể thuộc một trong các kiểu sau và phải được lấy theo quy định riêng đối với các hàng cụ thể cho trong cột "g" ở bảng của Chương 19 trong Phần này:
(1) Các thiết bị đo gián tiếp xác định lượng hàng bằng cách như cân hoặc bằng các đồng hồ đo lưu lượng qua ống;
(2) Các thiết bị kiểu kín không xuyên vào két hàng như các thiết bị dùng các đồng vị phóng xạ hoặc các thiết bị siêu âm;
(3) Các thiết bị kiểu kín xuyên vào két hàng nhưng là một phần của hệ thống kín và giữ không cho hàng thoát ra, như các hệ thống kiểu phao, các đầu dò điện, các đầu dò từ và các dụng cụ chỉ báo kiểu ống bọt khí. Nếu một thiết bị đo kiểu kín không được lắp trực tiếp lên két, nó phải có một van chặn nằm càng gần két càng tốt;
(4) Các thiết bị kiểu hạn chế xuyên vào két và khi sử dụng cho phép một lượng nhỏ hơi hàng hoặc chất lỏng thoát ra khí quyển, chẳng hạn như các dụng cụ đo bằng ống cố định hoặc trượt. Khi không sử dụng, các thiết bị phải được đóng kín hoàn toàn. Việc thiết kế và lắp đặt phải bảo đảm không xảy ra nguy hiểm do thoát hàng ra khi mở thiết bị. Phải thiết kế các thiết bị đo đó sao cho đường kính của lỗ lớn nhất không vượt quá 1,5 mm hoặc diện tích tương đương nếu không được trang bị van quá dòng.
13.3 Kiểm soát tràn hàng
13.3.1 Quy định chung
Trừ khi được trang bị theo quy định ở 13.3.4, mỗi két hàng phải được lắp một thiết bị báo động mực chất lỏng cao, hoạt động độc lập với các dụng cụ chỉ báo mực chất lỏng khác và phát ra tín hiệu báo động bằng âm thanh hoặc ánh sáng khi thiết bị hoạt động. Một cảm biến khác hoạt động độc lập với thiết bị báo động mực chất lỏng cao, phải tự động dẫn động một van chặn theo cách vừa tránh được áp suất chất lỏng quá cao trong đường ống nạp và vừa bảo vệ két khỏi bị đầy quá. Van chặn sự cố quy định ở 5.6.1 và 5.6.3 có thể được dùng cho mục đích này. Nếu các van khác được sử dụng cho mục đích này thì những thông tin như quy định ở 5.6.4 cũng phải có sẵn trên tàu. Các thiết bị phát hiện mực chất lỏng dùng cho các thiết bị báo động mực chất lỏng cao và các hệ thống kiểm soát tràn hàng phải thuộc kiểu được Đăng kiểm chấp nhận.
13.3.2 Bảo vệ
Một đầu cảm biến khác hoạt động độc lập với thiết bị báo động mức cao của chất lỏng dùng để kích hoạt tự động một van đóng theo cách thức mà sao cho ngăn chặn được cả việc áp suất chất lỏng tăng quá mức trên đường ống làm hàng và ngăn chặn két đầy chất lỏng.
13.3.3 Van đóng sự cố
Van đóng sự cố được nhắc đến ở 5.5 và 18.3 có thể được sử dụng cho mục đích này. Nếu một van khác được sử dụng cho mục đích này, các thông tin tương tự như được nhắc đến ở 18.3.1-2(1)(c) phải có sẵn trên tàu. Các thiết bị cảm biến mức chất lỏng của hệ thống báo động mức cao của chất lỏng và hệ thống kiểm soát tràn hàng phải được Đăng kiểm duyệt kiểu.
13.3.4 Miễn trừ việc dừng tự động
1 Không yêu cầu phải có thiết bị báo động mực chất lỏng cao và tự động dừng nạp hàng khi két hàng:
(1) Là két áp lực có thể tích không quá 200 m3; hoặc
(2) Được thiết kế chịu được áp suất tối đa có thể xuất hiện trong lúc nhận hàng và áp suất này thấp hơn áp suất khởi động để xả của van an toàn của két hàng.
13.3.5 Lắp đặt và thử chức năng
Vị trí của các đầu cảm biến trong két phải có khả năng kiểm tra được trước khi vận hành. Vào lần đầu tiên nạp đầy hàng sau khi giao hàng và sau mỗi lần lên đà, việc thử hệ thống báo động mức cao phải được tiến hành bằng cách nâng cao mức hàng trong két hàng đến điểm báo động.
13.3.6 Các thiết bị báo động mức chất lỏng có mạch điện
Tất cả các bộ phận của hệ thống báo động mức, bao gồm mạch điện và các đầu cảm biến của hệ thống báo động mức cao và tràn hàng, phải có khả năng cho việc thử chức năng. Các hệ thống phải được thử trước khi chở hàng và phù hợp với 18.4.5-2.
13.3.7 Vượt cấp
Khi hệ thống được trang bị chức năng can thiệp vào hệ thống kiểm soát tràn hàng, việc vượt cấp đó phải ngăn chặn được những hoạt động vô ý. Khi việc vượt cấp này hoạt động, phải đưa ra các chỉ báo mắt thường liên tục tại các trạm điều khiển liên quan và trên buồng lái.
13.4 Giám sát áp suất
13.4.1 Áp kế và thiết bị báo động của két hàng
Ở không gian hơi của mỗi két hàng phải trang bị một đồng hồ đọc trực tiếp. Ngoài ra, một thiết bị chỉ báo trực tiếp phải được trang bị tại trạm điều khiển được quy định ở 13.1.2. Áp suất cho phép lớn nhất và nhỏ nhất phải được chỉ ra rõ ràng.
13.4.2 Hệ thống báo động áp suất két hàng
Một hệ thống báo động áp suất cao và, nếu việc bảo vệ chân không được yêu cầu, một hệ thống báo động áp suất thấp, phải được trang bị trên lầu lái và tại trạm điều khiển được quy định tại 13.1.2. Hệ thống báo động phải được kích hoạt trước khi đạt tới áp suất đặt.
13.4.3 Hệ thống báo động áp suất cao
Với các két hàng được lắp các van giảm áp, mà có thể đặt được trên một giá trị áp suất phù hợp với 8.2.7, hệ thống báo động áp suất cao phải được trang bị cho mỗi áp suất đặt.
13.4.4 Chỉ báo áp suất của đường ống đẩy và ống góp
Mỗi đường ống đẩy của bơm và mỗi ống góp chất lỏng hoặc hơi hàng phải được trang bị ít nhất một chỉ báo áp suất.
13.4.5 Chỉ báo áp suất giữa các van chặn và đầu nối ống mềm
Phải trang bị các thiết bị chỉ báo áp suất đọc tại chỗ để chỉ báo áp suất ở giữa các van chặn ống góp của tàu và các đầu nối ống mềm lên bờ.
13.4.6 Chỉ báo áp của các khoang hàng và các khoang có vách ngăn
Ở các khoang hàng và khoang có vách ngăn không có đầu nối mở thông với khí quyển phải trang bị thiết bị chỉ báo áp suất.
13.4.7 Chỉ báo áp suất
Tất cả các thiết bị chỉ báo áp suất được trang bị phải có khả năng chỉ báo toàn bộ dải áp suất làm việc.
13.5 Thiết bị đo nhiệt độ
13.5.1 Quy định chung
Mỗi két hàng phải trang bị ít nhất hai thiết bị đo nhiệt độ hàng, một dưới đáy két hàng và một ở gần nóc két bên dưới mực chất lỏng cao nhất cho phép. Nhiệt độ thấp nhất của các két hàng phải được thiết kế, như được thể hiện trên giấy chứng nhận quốc tế về khả năng chở xô khí hóa lỏng, phải rõ ràng, được chỉ ra bằng dấu hiệu ở trên hoặc gần thiết bị chỉ báo nhiệt độ.
13.5.2 Thiết kế thiết bị chỉ báo nhiệt độ
Các thiết bị chỉ báo nhiệt độ phải có khả năng chỉ báo toàn bộ dải nhiệt độ hoạt động của các két hàng.
15.5.3 Ống cảm biết nhiệt
Khi các ống cảm biến nhiệt được lắp đặt, chúng phải được thiết kế sao cho giảm thiểu nhỏ nhất hư hỏng do mỏi trong điều kiện bình thường.
13.6 Yêu cầu về phát hiện khí
13.6.1 Phạm vi áp dụng
Thiết bị cảm biến khí phải được bố trí để giám sát khoang chứa hàng, hệ thống làm hàng và hệ thống phụ trợ, phù hợp với mục 13.6 này.
13.6.2 Thiết bị phát hiện khí và báo động
1 Một hệ thống phát hiện khí và hệ thống báo động bằng âm thanh và ánh sáng được lắp đặt cố định phải được trang bị cho:
(1) Các không gian buồng máy là hàng và không gian hàng kín (bao gồm cả khoang tháp neo) chứa đường ống khí, thiết bị khí hoặc tiêu thụ khí.
(2) Các khoang kín hoặc nửa kín khác ở chỗ hơi có thể tích tụ, bao gồm các khoang chứa và các khoang có vách ngăn cho các két rời không phải loại C;
(3) Các ngăn đệm kín khí.
(4) Các không gian chứa động cơ đốt trong dùng khí hóa lỏng
(5) Các nắp chụp thông gió và đường ống dẫn khí thông gió ở những chỗ theo yêu cầu ở Chương 16 Phần này; và
(6) Hệ thống làm mát/hâm tuần hoàn, như được quy định ở 7.8.4
(7) Các đầu cấp tạo khí trơ, và
(8) Các buồng để động cơ dùng cho các máy làm hàng;
13.6.3 Thiết bị phát hiện khí
Thiết bị phát hiện khí phải được thiết kế, lắp đặt và thử nghiệm phù hợp với các tiêu chuẩn được công nhận được Đăng kiểm chấp nhận và thích hợp với các hàng được chở phải được trang bị theo cột "f" ở Bảng 8D/19.1.
13.6.4 Thiết bị phát hiện khí
Khi được chỉ ra ở cột “f” trong Bảng 8D/19.1 các tàu được chứng nhận chở sản phẩm không cháy, thiết bị giám sát việc thiếu ô xy phải được lắp đặt trong không gian buồng máy làm hàng và không gian chứa két hàng. Hơn nữa, thiết bị giám sát việc thiếu ô xy phải được bố trí trong các không gian kín hoặc nửa kín có chứa các thiết bị mà có thể tạo ra một môi trường thiếu ô xy như máy tạo ni tơ, máy tạo khí trơ hoặc hệ thống làm lạnh tuần hoàn ni tơ.
13.6.5 Thiết bị phát hiện khí đối với các sản phẩm độc
Trong trường hợp các sản phẩm độc hoặc vừa độc vừa dễ cháy, có thể cho phép sử dụng thiết bị xách tay để phát hiện các sản phẩm độc thay cho một hệ thống lắp cố định, trừ cột "i" ứng với mục 5.3 ở Bảng 8D/19.1.
13.6.6 Thiết bị phát hiện khí độc
Trường hợp khi chở khí độc, trong các khoang hàng và khoang giữa các vách chặn phải được đặt hệ thống ống cố định để lấy mẫu khí.
13.6.7 Khả năng phát hiện khí
Thiết bị phát hiện khí được lắp đặt cố định phải là loại phát hiện liên tục, có khả năng phản ứng ngay lập tức. Khi không được sử dụng để kích hoạt chức năng ngắt an toàn được quy định ở 13.6.9 và Chương 16 trong Phần này, thiết bị phát hiện kiểu lấy mẫu có thể được chấp nhận.
13.6.8 Thiết kế thiết bị phát hiện khí kiểu lấy mẫu
Khi thiết bị phát hiện khí kiểu lấy mẫu được sử dụng, phải tuân theo các quy định sau:
(1) Thiết bị phát hiện khí phải có khả năng lấy mẫu và phân tích cho mỗi vị trí lấy mẫu theo chu kỳ với khoảng thời gian không quá 30 phút.
(2) Phải lắp đặt các đường lấy mẫu khí riêng biệt từ các đầu lấy mẫu đến thiết bị cảm biến, và
(3) Ống đi từ đầu lấy mẫu không được dẫn qua các không gian không nguy hiểm, ngoại trừ khi được cho phép ở 13.6.9.
13.6.9 Vị thí thiết bị phát hiện khí
Thiết bị phát hiện khí có thể được đặt trong một không gian không nguy hiểm, miễn sao các thiết bị như là ống lấy mẫu, bơm lấy mẫu, van điện từ và cụm phân tích phải được đặt hoàn toàn trong ca bin kín bằng thép có cửa được đệm kín bằng gioăng. Môi trường kín bên trong phải được kiểm soát liên tục. Với nồng độ khí cao hơn 30% giới hạn cháy dưới (LFL), thiết bị phát hiện khí phải tự động ngắt.
13.6.10 Thiết kế ống lấy mẫu
Khi không kín không thể bố trí trực tiếp trên vách ngăn phía trước, ống lấy mẫu phải được làm bằng thép hoặc vật liệu tương đương và được bố trí theo đường ngắn nhất. Không cho phép dùng các đầu nối có thể tháo rời, ngoại trừ các điểm nối cho van cách ly được quy định ở 13.6.11 và cụm phân tích.
13.6.11 Vị trí của thiết bị phát hiện khí
Khi thiết bị lấy mẫu khí được đặt trong một không gian không nguy hiểm, một bộ chặn lửa và một van cách ly điều khiển bằng tay phải được lắp đặt trên mỗi đường lấy mẫu khí. Van cách ly phải được lắp bên phía không gian không nguy hiểm. Đầu nối qua vách của ống lấy mẫu giữa khu vực nguy hiểm và không nguy hiểm phải duy trì được sự nguyên vẹn kết cấu xuyên qua.
13.6.12 Vị trí các đầu lấy mẫu khí cố định
Khi lắp đặt, số lượng và vị trí của các đầu lấy mẫu khí phải được xác định cẩn thận theo kích cỡ và bố trí của khoang, các thành phần và mật độ của sản phẩm định chở và sự pha loãng do tẩy rửa hoặc thông hơi khoang và các khu vực bị ứ đọng.
13.6.13 Vị trí các thiết bị báo động cho thiết bị phát hiện khí
Bất kỳ trạng thái nào của thiết bị báo động bên trong của hệ thống phát hiện khí, được yêu cầu ở mục này phải bắt đầu bằng báo động âm thanh và ánh sáng:
(1) trên lầu lái
(2) tại các trạm điều khiển liên quan nơi mà việc giám sát mức độ khí được ghi lại; và
(3) tại vị trí đọc thiết bị phát hiện khí.
13.6.14 Phát hiện khí cho các không gian yêu cầu làm trơ
Trong trường hợp đối với các sản phẩm dễ cháy, i, phải trang bị các thiết bị phát hiện khí cho các khoang hàng và các khoang có vách ngăn mà có yêu cầu là trơ phải có khả năng đo nồng độ khí theo thể tích từ 0 đến 100%.
13.6.15 Thiết kế ống lấy mẫu
Hệ thống báo động phải được kích hoạt khi nồng độ hơi theo thể tích đạt tương đương 30% LFL trong không khí
13.6.16 Báo động cho hệ thống chứa kiểu màng
Với các hệ thống chứa kiểu màng, các không gian cách ly sơ cấp và thứ cấp phải có thể được làm trơ và lượng khí của chúng phải được phân tích độc lập. Việc báo động trong không gian cách ly thứ cấp phải được thiết lập phù hợp với 13.3.15, và với không gian sơ cấp phải được thiết lập tại một giá trị được Đăng kiểm chấp nhận.
13.6.17 Báo động cho các khoang nêu ở 13.6.2
Đối với các không gian khác với 13.6.2 nêu ra, các thiết bị báo động phải được kích hoạt khi nồng độ khí cháy đạt tới 30% LFL, và chức năng an toàn được quy định tại Chương 16 của Phần này phải được kích hoạt trước khi nồng độ khí cháy đạt 60% LFL. Các thùng trục của động cơ đốt trong mà có thể sử dụng khí cháy phải được bố trí báo động trước khi đạt 100% LFL.
13.6.18 Thử thiết bị phát hiện khí
Thiết bị phát hiện khí phải được thiết kế sao cho có thể thử dễ dàng. Việc thử và hiệu chỉnh phải được tiến hành ở những khoảng thời gian cách đều nhau. Thiết bị phù hợp cho mục đích này phải được mang trên tàu và được sử dụng theo các khuyến nghị của nhà sản xuất. Các đầu nối vào các thiết bị thử này phải được lắp cố định.
13.6.19 Thiết bị phát hiện khí xách tay
Phải trang bị cho mỗi tàu ít nhất hai bộ thiết bị phát hiện khí xách tay thỏa mãn quy định 13.6.3 hoặc một tiêu chuẩn quốc tế hay quốc gia được chấp nhận.
13.6.20 Đo nồng độ ôxy
Phải trang bị một dụng cụ thích hợp để đo nồng độ ôxy trong môi trường khí trơ.
13.7 Các yêu cầu bổ sung cho hệ thống chứa hàng quy định một vách ngăn thứ cấp
13.7.1 Tính nguyên vẹn của vách ngăn
Ở nơi cần có vách chắn thứ cấp, phải trang bị dụng cụ đo và kiểm tra lắp cố định để phát hiện khi vách chắn sơ cấp không kín chất lỏng ở bất kỳ vị trí nào hoặc khi có hàng lỏng tiếp xúc với vách chắn thứ cấp ở bất kỳ vị trí nào. Dụng cụ này phải gồm các thiết bị phát hiện khí phù hợp với 13.6. Tuy nhiên, dụng cụ này không cần phải có khả năng xác định khu vực mà chất lỏng rò qua vách chắn sơ cấp hoặc nơi hàng lỏng tiếp xúc với vách chắn thứ cấp.
13.7.2 Thiết bị chỉ báo nhiệt độ
1 Số lượng và vị trí của thiết bị chỉ báo nhiệt độ phải phù hợp với thiết kế của hệ thống chứa hàng và các yêu cầu của hoạt động chở hàng.
2 Khi chở hàng ở nhiệt độ thấp hơn -55°C trong hệ thống ngăn hàng có vách chắn thứ cấp, các thiết bị đo nhiệt độ phải được đặt trong phần cách nhiệt hoặc trên cơ cấu thân tàu kề với các hệ thống ngăn hàng. Các thiết bị phải báo trị số ở các vị trí cách đều nhau và, nếu có thể, báo động bằng đèn hiệu nhiệt độ tiến gần tới nhiệt độ thấp nhất phù hợp với thép làm cơ cấu thân tàu.
3 Nếu chở hàng ở nhiệt độ thấp hơn -55°C, các ranh giới của két hàng, nếu để phù hợp với thiết kế của hệ thống chứa hàng, phải lắp đủ số lượng các thiết bị chỉ báo nhiệt độ để xác minh gradien nhiệt độ không đạt yêu cầu không xuất hiện.
4 Với mục đích xác minh thiết kế và xác định hiệu quả của quy trình làm lạnh ban đầu cho một hay một loạt tàu tương tự, một két phải được trang bị các thiết bị nhiều hơn các thiết bị được quy định ở 13.7.2-1. Các thiết bị này có thể tạm thời hay cố định và chỉ cần trang bị cho tàu đầu tiên, khi một loạt tàu tưng tự nhau được đóng.
13.8 Hệ thống tự động
13.8.1 Phạm vi áp dụng
Các quy định trong mục này áp dụng cho các hệ thống tự động được sử dụng để trang bị các chức năng kiểm soát, giám sát/báo động hoặc an toàn được yêu cầu trong Quy chuẩn này.
13.8.2 Thiết kế hệ thống tự động
Các hệ thống tự động phải được thiết kế, lắp đặt và thử phù hợp với các tiêu chuẩn được Đăng kiểm chấp nhận.
13.8.3 Thiết kế phần cứng
Phần cứng phải được chứng minh có khả năng phù hợp cho việc hoạt động trong môi trường tàu thủy bằng việc thử phù hợp với 18.7, Phần 3 của Quy chuẩn.
13.8.4 Thiết kế phần mềm
Phần mềm phải được thiết kế và cung cấp tài liệu dễ dàng cho việc sử dụng, bao gồm việc thử, vận hành và bảo dưỡng.
13.8.5 Giao diện
Giao diện người sử dụng phải được thiết kế sao cho thiết bị được kiểm soát có thể được vận hành an toàn và hiệu quả ở mọi thời điểm.
13.8.6 Biện pháp bảo vệ
Các hệ thống tự động phải được trang bị sao cho một lỗi phần cứng hoặc vận hành không dẫn đến tình trạng không an toàn. Phải trang bị các biện pháp bảo vệ đầy đủ để đề phòng việc vận hành sai.
13.8.7 Dự phòng
Phải duy trì sự cách ly thích hợp giữa việc kiểm soát, giám sát/báo động và các chức năng an toàn để hạn chế ảnh hưởng của các lỗi đơn lẻ. Điều này được thực hiện bao gồm tất cả các phần của hệ thống tự động được yêu cầu cung cấp các chức năng được chỉ định.
13.8.8 Bảo vệ phần mềm
Các hệ thống tự động phải được trang bị sao cho cấu hình và các tham số phần mềm được bảo vệ chống lại sự thay đổi không cho phép hoặc không mong muốn.
13.8.9 Quản lý phần mềm
Việc quản lý quá trình thay đổi phải được áp dụng để bảo vệ chống lại hậu quả của việc sửa đổi. Hồ sơ của việc thay đổi cấu hình và phê duyệt phải được lưu giữ trên tàu.
13.8.10 Quản lý phần mềm
Các quy trình để phát triển và duy trì hệ thống tích hợp phải phù hợp với các tiêu chuẩn được Đăng kiểm công nhận thỏa mãn. Các quy trình này bao gồm việc xác định và quản lý rủi ro thích hợp.
13.9 Tích hợp hệ thống
13.9.1 Thiết kế
Các chức năng an toàn thiết yếu phải được thiết kế sao cho các rủi ro gây hại cho người hoặc làm hỏng hệ thống hay môi trường được giảm thiểu tới mức có thể cho phép được bởi chính quyền hành chính, cả trong trạng thái hoạt động bình thường và trạng thái lỗi. Các chức năng phải được thiết kế tin cậy. Vai trò và trách nhiệm cho việc tích hợp hệ thống phải được các bên liên quan xác định và thống nhất rõ ràng.
13.9.2 Thiết kế hệ thống con
Các yêu cầu về chức năng của từng hệ thống con thành phần phải được xác định rõ ràng để đảm bảo rằng hệ thống tích hợp đáp ứng các yêu cầu về chức năng và an toàn và có tính đến bất kỳ hạn chế nào của thiết bị được kiểm soát.
13.9.3 Đánh giá rủi ro
Các mối nguy hiểm chính của hệ thống tích hợp phải được xác định bằng kỹ thuật dựa trên rủi ro thích hợp.
13.9.4 Kiểm soát phục hồi
Hệ thống tích hợp phải có phương tiện thích hợp để kiểm soát phục hồi.
13.9.5 Bảo vệ chức năng của các phần khác
Lỗi một phần của hệ thống tích hợp không được ảnh hưởng đến chức năng của phần khác, ngoại trừ các chức năng phụ thuộc trực tiếp vào phần bị lỗi.
13.9.6 Hiệu quả hoạt động
Việc hoạt động một hệ thống tích hợp phải đạt hiệu quả ít nhất như với thiết bị hoặc hệ thống hoạt động độc lập.
13.9.7 Chứng minh
Việc tích hợp của các hệ thống hoặc máy móc thiết yếu, trong cả trạng thái hoạt động bình thường hoặc lỗi phải được chứng minh.
13.10 Yêu cầu vận hành
13.10.1 Phạm vi áp dụng
Các quy định ở 13.10 liên quan đến việc kiểm tra cần thiết cho việc duy trì cấp, nhưng chỉ ra những vấn đề mà chủ tàu hoặc thuyền trưởng cũng như những người liên quan đến vận hành tàu phải thực hiện nghiêm chỉnh.
13.10.2 Chia độ và thử các dụng cụ đo
Các dụng cụ phải được thử để đảm bảo độ tin cậy trong các điều kiện làm việc và được chia độ lại định kỳ. Quy trình thử dụng cụ đo và khoảng cách giữa các độ chia phải tuân theo khuyến nghị của nhà sản xuất.
13.10.3 Kiểm soát tràn hàng
Trong lúc nhận hàng, bất kỳ lúc nào khi việc sử dụng các van nêu ở 13.3.3 có khả năng gây dao động thế năng áp suất quá lớn thì các biện pháp khác chẳng hạn như giới hạn tốc độ nhận hàng phải được thay thế.
13.10.4 Thiết bị phát hiện khí đối với các sản phẩm độc
Nếu dùng thiết bị xách tay để phát hiện sản phẩm độc nêu ở 13.6.5 thì phải tiến hành trước khi có người vào các khoang được nêu ở 13.6.2 và cứ cách 30 phút một lần trong khi vẫn còn có người ở trong đó.
13.10.5 Phát hiện khí đối với các khí độc
Khí từ các khoang nêu ở 13.6.6 phải được lấy mẫu và phân tích từ mỗi vị trí đầu lấy mẫu.
13.10.6 Thử thiết bị phát hiện khí
Việc thử và chia độ phải được tiến hành bằng các thiết bị nêu ở 13.6.18.
13.11 Các yêu cầu bổ sung
13.11.1 Bố trí thiết bị phát hiện khí
Việc bố trí thiết bị phát hiện khí loại lấy mẫu được đặt ở ngoài không gian không nguy hiểm phải phù hợp với các quy định khác cùng với những quy định nêu trong Phần này.
CHƯƠNG 14 TRANG THIẾT BỊ BẢO HỘ CÁ NHÂN
14.1 Trang thiết bị bảo hộ cá nhân
1 Các trang bị bảo hộ thích hợp, bao gồm thiết bị bảo vệ mắt theo tiêu chuẩn quốc tế hoặc quốc gia được công nhận, phải được trang bị để bảo vệ thuyền viên tham gia trong hoạt động làm hàng bình thường, có tính đến các đặc tính của sản phẩm được chở.
2 Trang bị bảo hộ cá nhân và các trang bị an toàn được quy định trong Chương này phải được cất giữ trong các tủ được đánh dấu rõ ràng, phù hợp, đặt tại các vị trí dễ dàng tiếp cận.
14.2 Trang bị y tế sơ cứu
14.2.1 Cáng
Một cáng thích hợp cho việc nâng một người bị thương lên khỏi các khoang dưới boong phải được cất giữ ở nơi tiếp cận để lấy.
14.2.2 Trang bị y tế sơ cứu
Tàu phải có các trang bị y tế sơ cứu, bao gồm thiết bị hô hấp bằng ô xy, dựa trên các quy định của “Hướng dẫn y tế sơ cứu (MFAG)” theo danh mục hàng hóa được liệt kê trên giấy chứng nhận quốc tế về khả năng đi biển cho tàu chở xô khí hóa lỏng.
14.3 Thiết bị an toàn
14.3.1 Số lượng của thiết bị an toàn
Phải có đủ số lượng thiết bị an toàn, nhưng không ít hơn 3 bộ thiết bị an toàn phải được trang bị đi kèm với dụng cụ chữa cháy cá nhân theo quy định ở 11.6.1. Mỗi bộ thiết bị phải được trang bị bộ bảo vệ cá nhân đầy đủ để cho phép vào và làm việc trong một không gian đầy khí cháy. Thiết bị này phải tính đến bản chất của hàng hóa được liệt kê trên giấy chứng nhận quốc tế về khả năng đi biển cho tàu chở xô khí hóa lỏng.
14.3.2 Thành phần của thiết bị an toàn
1 Một bộ trang thiết bị an toàn phải bao gồm:
(1) Một bộ thiết bị thở có bình khí nén tích hợp với mặt nạ che kín mặt, không dùng ôxy dự trữ, và có dung tích tối thiểu 1.200 lít không khí tự do. Mỗi bộ phải tương thích với quy định ở 11.6.1;
(2) Quần áo bảo hộ, ủng, và găng tay theo tiêu chuẩn được công nhận;
(3) Dây cứu nạn lõi thép có đai; và
(4) Đèn chống nổ.
14.3.3 Nguồn không khí nén dự phòng
1 Phải có nguồn cung cấp đầy đủ không khí nén và phải bao gồm:
(1) Ít nhất một bộ gồm một bình không khí dự phòng được nạp đầy cho mỗi thiết bị thở theo quy định 14.3.1;
(2) Một máy nén khí có đủ công suất có khả năng hoạt động liên tục, thích hợp cấp không khí cao áp có đủ chất lượng cho việc thở; và
Hệ thống nạp có khả năng nạp cho các bình không khí dự phòng đủ cho thiết bị thở quy định ở mục 14.3.1.
14.4 Yêu cầu về bảo hộ cá nhân đối với mỗi sản phẩm riêng
14.4.1 Phạm vi áp dụng
Những quy định ở mục này áp dụng cho các tàu chở những sản phẩm được liệt kê ở cột "i" trong Bảng 8D/19.1.
14.4.2 Thiết bị thở được dùng mục đích thoát nạn khẩn cấp
1 Thiết bị thở và bảo vệ mắt thích hợp để thoát nạn khẩn cấp phải được trang bị cho mỗi người trên tàu và phải theo các yêu cầu (1) đến (3) như sau:
(1) Không chấp nhận thiết bị bảo vệ hô hấp kiểu phin lọc;
(2) Thiết bị thở độc lập phải có thời gian phục vụ ít nhất 15 phút; và
(3) Thiết bị thở thoát nạn khẩn cấp không được dùng để cứu hỏa hoặc làm hàng và phải được đánh dấu theo mục đích đó.
14.4.3 Trạm vòi hoa sen và dụng cụ rửa mắt để tẩy rửa nhiễm độc
Một hoặc nhiều hơn trạm vòi hoa sen và dụng cụ rửa mắt để tẩy rửa nhiễm độc được đánh dấu phù hợp phải sẵn sàng trên boong, phải có tính toán đến kích cỡ và bố trí của tàu. Vòi hoa sen và thiết bị rửa mắt phải hoạt động được ở mọi điều kiện môi trường xung quanh.
14.4.4 Quần áo bảo hộ
Quần áo bảo hộ được quy định 14.3.2(2) phải kín khí.
14.5 Yêu cầu vận hành
14.5.1 Phạm vi áp dụng
Các quy định ở mục 14.5 không liên quan đến việc kiểm tra cần thiết cho việc duy trì cấp, nhưng nó chỉ ra các vấn đề mà chủ tàu hoặc thuyền trưởng cũng như những người liên quan đến vận hành của tàu phải thực hiện nghiêm chỉnh.
14.5.2 Bảo dưỡng thiết bị không khí nén
Các thiết bị không khí nén quy định ở 14.3 phải được kiểm tra một tháng một lần do sĩ quan có trách nhiệm và việc kiểm tra này được ghi vào sổ nhật ký của tàu. Thiết bị này một năm một lần phải được người có đủ năng lực thử và kiểm tra.
CHƯƠNG 15 GIỚI HẠN ĐIỀN ĐẦY CHO CÁC KÉT HÀNG
15.1 Các định nghĩa
15.1.1 Giới hạn điền đầy hàng
Giới hạn điền đầy hàng (FL) có nghĩa là thể tích hàng tối đa trong một két hàng tương ứng với tổng tổng thể tích của két hàng khi hàng lỏng đạt đến nhiệt độ tham chiếu.
15.1.2 Giới hạn nạp hàng
Giới hạn nạp hàng (LL) có nghĩa là thể hàng cho phép tối đa tương ứng với lượng chứa của két có thể nạp.
15.1.3 Nhiệt độ tham chiếu
Nhiệt độ tham chiếu có nghĩa là (chỉ dành cho mục đích của Chương này):
(1) Khi không trang bị kiểm soát nhiệt độ/áp suất hơi hàng, như đề cập trong Chương 7 của Phần này, nhiệt độ tương ứng với áp suất hơi của hàng tại áp suất đặt của PRVs; và
(2) Khi trang bị kiểm soát nhiệt độ/áp suất hơi hàng, như đề cập trong Chương 7 của Phần này, nhiệt độ của hàng vào lúc chấm dứt nạp hàng, quá trình vận chuyển hoặc dỡ hàng, lấy giá lớn nhất.
15.1.4 Nhiệt độ thiết kế của môi trường
Nhiệt độ thiết kế của môi trường cho trường hợp không hạn chế có nghĩa là nhiệt độ nước biển là 32oC và nhiệt độ không khí là 45oC. Tuy nhiên, giá trị nhỏ hơn có thể được Đăng kiểm chấp nhận cho các tàu hoạt động trong vùng hạn chế hoặc hành hải trong thời gian hạn chế, và trong trường hợp như thế việc tính toán có thể được thực hiện cho bất kỳ lớp cách nhiệt nào của két. Ngược lại, giá trị nhiệt độ cao hơn có thể được yêu cầu cho những tàu hoạt động cố định trong những vùng nhiệt độ môi trường cao.
15.2 Quy định chung
Giới hạn điền đầy tối đa của các két hàng phải được chỉ ra là không gian hơi có thể tích nhỏ nhất tại nhiệt độ tham chiếu như sau:
(1) Dung sai của các dụng cụ đo như là dụng cụ đo mức và nhiệt độ;
(2) Sự giãn nở thể tích của hàng giữa áp suất đặt PRV và mức độ tăng tối đa cho phép được nêu ở 8.4; và
(3) Một lượng dư hoạt động để tính đến lượng chất lòng chảy ngược lại sau khi kết thúc làm hàng, thời gian phản ứng của người vận hành và thời gian đóng van, xem 5.5 và 18.3.1-2(1)(d).
15.3 Giới hạn điền đầy mặc định
15.3.1 Giới hạn điền đầy mặc định
Giá trị mặc định của giới hạn điền đầy (FL) của các két hàng là 98% tại nhiệt độ tham chiếu. Các ngoại lệ với giá trị này phải phù hợp với các yêu cầu của 15.4.
15.4 Xác định giới hạn điền đầy gia tăng
15.4.1 Một giới hạn điền đầy lớn hơi giới hạn 98%
1 Một giới hạn điền đầy lớn hơn giới hạn 98% được nêu ở 15.3 có thể được cho phép với các trạng thái độ chúi và nghiêng ngang được nêu ở 8.2.17, với điều kiện là:
(1) Trong két hàng không tạo ra các túi hơi cô lập;
(2) Bố trí đường vào PRV phải trong khu vực hơi; và
(3) Các bổ sung cần thiết
(a) lượng giãn nở thể tích của hàng lỏng vì áp suất tăng từ MARVS đến áp suất giảm áp theo 8.4.1.
(b) lượng dư hoạt động nhỏ nhất là 0,1% thể tích két; và
(c) dung sai của dụng cụ đo như là dụng cụ đo áp suất và nhiệt độ.
2 Không chấp nhận bất cứ trường hợp nào giới hạn điền đầy vượt quá 99,5% tại nhiệt độ tham chiếu.
15.5 Giới hạn nạp hàng tối đa
15.5.1 Giới hạn nạp hàng tối đa
Giới hạn nạp hàng lớn nhất (LL) mà két hàng có thể nạp được xác định bằng công thức sau đây:
LL = FL![]()
Trong đó:
LL: giới hạn nạp hàng được định nghĩa ở 15.1.2, tính bằng tỷ lệ phần trăm;
FL: giới hạn điền đầy được chỉ ra ở 15.2 hoặc 15.4, tính bằng tỷ lệ phần trăm;
ρR: tỷ trọng tương ứng của hàng tại nhiệt độ tham chiếu; và
ρL: tỷ trọng tương ứng của hàng tại nhiệt độ nạp hàng.
15.5.2 Giới hạn nạp hàng tối đa với két loại C
Đăng kiểm có thể chấp nhận két loại C được nạp hàng theo công thức 15.5.1 với tỷ trọng tương ứng ρR được xác định dưới đây, với điều kiện hệ thống thông hơi phải được duyệt phù hợp với 8.2.18:
ρR: tỷ trọng tương đối của hàng tại nhiệt độ cao nhất mà hàng có thể lên tới khi kết thúc quá trình nạp hàng, quá trình vận chuyển hoặc lúc xả hàng, với điều kiện nhiệt độ thiết kế của môi trường xung quanh được mô tả ở 15.1.4.
Mục này không áp dụng với các sản phẩm yêu cầu loại tàu 1G.
15.6 Các thông tin trang bị cho thuyền trưởng
15.6.1 Tài liệu chỉ dẫn giới hạn nạp hàng tối đa cho phép
1 Một bộ tài liệu phải được trang bị trên tàu, chỉ ra giới hạn nạp hàng tối đa cho phép với từng két và từng sản phẩm, tại mỗi nhiệt độ nạp hàng có thể áp dụng và nhiệt độ tham chiếu lớn nhất. Các thông tin trong tài liệu phải được Đăng kiểm duyệt.
2 Các áp suất mà PRVs được đặt cũng phải ghi trong tài liệu.
15.7 Điều kiện hoạt động
15.7.1 Phạm vi áp dụng
Các quy định ở 15.7 không liên quan đến việc kiểm tra cần thiết cho việc duy trì cấp, nhưng nó chỉ ra các vấn đề mà chủ tàu hoặc thuyền trưởng cũng như những người liên quan đến vận hành của tàu phải thực hiện nghiêm chỉnh.
15.7.2 Sao chép tài liệu chỉ dẫn giới hạn nạp hàng tối đa cho phép
Một bản sao tài liệu nêu ở 15.6.1 phải được thuyền trưởng giữ trên trên tàu liên tục.
PHẦN 8H SÀ LAN CHUYÊN DÙNG
CHƯƠNG 1 QUY ĐỊNH CHUNG
1.2 Các định nghĩa
1.2.10 được sửa đổi như sau:
1.2.10 Khối lượng tàu không
Khối lượng tàu không là khối lượng toàn bộ tàu tính bằng tấn, kể cả các máy, trang thiết bị lắp đặt cố định trên tàu, bao gồm cả khối lượng dằn cứng, phụ tùng dự trữ thường xuyên trên tàu, các chất lỏng nằm trong các máy và đường ống ở mức làm việc bình thường của chúng, trừ trọng lượng hàng hóa, các chất lỏng trong các kho chứa hoặc các két dự trữ, các trọng lượng thay đổi khi sử dụng, lương thực dự trữ, trọng lượng thuyền viên và hành lý.
Khối lượng tàu không cũng phải bao gồm khối lượng của các công chất trên tàu được sử dụng cho hệ thống chữa cháy cố định (ví dụ như nước ngọt, CO2, bột hóa chất khô, chất tạo bọt v.v…).
CHƯƠNG 2 VẬT LIỆU VÀ HÀN
2.2 Vật liệu
2.2.1 được sửa đổi như sau:
2.2.1 Quy định chung
1 Các loại thép cán được đưa ra tại Bảng 8H/2.1 hoặc thép cán có độ bền tương đương.
2 Khi dùng thép cán, hệ số vật liệu (k) cho từng loại thép tương ứng với sức bền kéo của chúng được đưa ra tại Bảng 8H/2.2.
3 Áp dụng các loại thép cho từng loại kết cấu vỏ tàu được đưa ra trong Hình 8H/6.1 và 8H/6.2. Khi nhiệt độ làm việc của vật liệu thấp hơn -50°C và chiều dày của tấm thép vượt quá 70 mm thì các tấm thép được dùng phải được Đăng kiểm xem xét riêng.
Bảng 8H/2.1 Phân loại thép cán
|
Loại thép |
Ký hiệu quy định tại Phần 7A |
Ký hiệu quy định tại Phần này |
|
Thép thường |
A |
A |
|
B |
B |
|
|
D |
D |
|
|
E |
E |
|
|
Thép có độ bền cao |
A 32, A 36, A 40 |
AH |
|
D 32, D 36, D 40 |
DH |
|
|
E 32, E 36, E 40 |
EH |
|
|
F 32, F 36, F 40 |
FH |
Bảng 8H/2.2 Hệ số vật liệu (k) tương ứng với giới hạn bền
|
Loại thép |
Ký hiệu vật liệu |
Hệ số (k) |
|
Thép thường |
A, B, D, E |
1,00 |
|
Thép có độ bền cao |
A 32, D 32, E 32, F 32 |
0,78 |
|
A 36, D 36, E 36, F 36 |
0,72 |
|
|
A 40, D 40, E 40, F 40 |
0,68 |
4 Vật liệu chế tạo neo, cáp thép, xích neo, cáp thực vật v.v..., để chằng buộc tàu trong thời gian dài phải thỏa mãn các yêu cầu của Đăng kiểm.
CHƯƠNG 6 KẾT CẤU THÂN PHƯƠNG TIỆN
6.2 Vật liệu chế tạo cơ cấu
6.2.2 được sửa đổi như sau:
6.2.2 Phạm vi áp dụng các loại thép để chế tạo kết cấu
1 Việc áp dụng các loại thép cán để chế tạo cơ cấu được lấy theo các Hình 8H/6.1 và 8H/6.2 phụ thuộc vào loại kết cấu nêu tại 6.2.1, chiều dày cơ cấu và nhiệt độ làm việc xác định tại mục 1.2.11. Việc dùng thép cán để chế tạo tàu dạng tàu và tàu dạng sà lan phải thỏa mãn yêu cầu của Bảng 2A/1.1 và 2A/1.2 Phần 2A khi nhiệt độ làm việc cao hơn -10°C.
2 Phạm vi áp dụng nhiệt độ làm việc thiết kế xác định theo -1 không được nhỏ hơn 0°C đối với các cơ cấu thỏa mãn các yêu cầu sau:
(1) Đối với các tàu trừ tàu tự nâng, các cơ cấu nằm dưới mớn nước thấp nhất;
(2) Đối với tàu tự nâng, tấm chống lún và chân.
3 Khi tải trọng chính tác dụng theo phương vuông góc với phương của chiều dày tấm thì phải dùng các tấm thép mà các đặc tính của chúng xét theo phương này được xem xét riêng biệt để chế tạo các cơ cấu của tàu.
Hình 8H/6.3 và Hình 8H/6.4 được xóa bỏ.
CHƯƠNG 9 TRANG THIẾT BỊ
9.6 được sửa đổi như sau:
9.6 Phương tiện tiếp cận
9.6.1 Quy định chung
1 Mỗi không gian bên trong tàu phải có ít nhất một phương tiện tiếp cận cố định để tiến hành kiểm tra tổng thể và kiểm tra tiếp cận và để tiến hành đo chiều dày các cơ cấu của tàu trong suốt thời gian phục vụ của tàu.
2 Nếu phương tiện tiếp cận cố định có thể dễ bị hư hỏng trong quá trình khai thác hoặc nếu không thể đặt được phương tiện tiếp cận cố định, thì Đăng kiểm có thể cho phép đặt phương tiện tiếp cận có khả năng di chuyển hoặc dịch chuyển được thay cho phương tiện tiếp cận cố định, với điều kiện cơ cấu liên kết, chằng buộc, treo hoặc đỡ phương tiện tiếp cận đó phải là bộ phận cố định của kết cấu thân tàu. Tất cả các thiết bị di động phải có cấu tạo sao cho thuyền viên có thể dễ dàng lắp ráp hoặc tháo dỡ.
3 Vật liệu và kết cấu của tất cả các phương tiện tiếp cận cũng như các chi tiết liên kết với kết cấu của tàu phải thỏa mãn yêu cầu của Đăng kiểm.
9.6.2 Phương tiện tiếp cận các không gian
1 Lối đi an toàn tới khoang hàng, khoang cách ly, két dằn và các không gian khác phải đi trực tiếp từ boong hở. Các lối đi đó phải thỏa mãn các yêu cầu sau:
(1) Các két có chiều dài bằng hoặc lớn hơn 35 m phải có tối thiểu hai miệng khoang cùng cầu thang cố gắng đặt xa nhau;
(2) Các két có chiều dài nhỏ hơn 35 m, phải đặt tối thiểu một miệng khoang cùng cầu thang;
(3) Mỗi khoang hàng phải đặt ít nhất hai phương tiện tiếp cận cố gắng xa nhau. Nói chung, các phương tiện tiếp cận này phải bố trí chéo nhau, ví dụ một phương tiện gần vách trước ở mạn trái, một phương tiện gần vách sau ở mạn phải;
(4) Nếu một két được ngăn bằng một hoặc nhiều vách chặn hoặc các kết cấu cản tương tự không tạo thành phương tiện tiếp cận sẵn có để tới được các phần khác của két, thì tối thiểu phải đặt hai miệng khoang và cầu thang.
2 Lối đi an toàn tới khoang hàng, khoang cách ly, két dằn và các không gian khác phải đi trực tiếp từ boong hở và phải đảm bảo sao cho kiểm tra được toàn bộ không gian. Các lối đi an toàn có thể xuất phát từ buồng máy, buồng bơm, khoang cách ly sâu, hầm đặt ống, khoang hàng, không gian mạn kép hoặc các khoang tương tự không dùng để chứa dầu hoặc hàng hóa nguy hiểm trong trường hợp không thể bố trí được lối đi như vậy từ boong hở.
3 Phần lối vào cao nhất của thang tiếp cận từ boong tới két dằn hoặc các không gian khác phải thẳng đứng có kích thước 2,5 m, nhưng không quá 3,0 m đo từ phía dưới của các vật cản trên đầu tại khu vực lối vào két, và phải được nối với một sàn liên kết với thang, sàn này phải được dịch sang một bên của thang đứng. Tuy nhiên, nếu có một phương tiện tiếp cận cố định phương dọc hoặc ngang nằm trong phạm vi 1,6 m đến 3,0 m bên dưới trần boong thì phần trên cùng của thang có thể được dừng ở phương tiện tiếp cận này.
4 Thang tiếp cận xuống két dằn và các không gian khác phải thỏa mãn các quy định sau:
(1) Nếu hai miệng hầm hoặc lỗ người chui và cầu thang để tiếp cận được yêu cầu ở -1(1) trên thì ít nhất một thang phải là kiểu thang nghiêng. Tuy nhiên, phần lối vào cao nhất của thang phải thẳng đứng theo các yêu cầu ở -3 trên.
(2) Trong trường hợp thang không cần phải là loại thang nghiêng như nêu ở (1) trên thì có thể là thang đứng. Nếu khoảng cách thẳng đứng lớn hơn 6 m thì thang đứng phải được nối với một hoặc nhiều sàn liên kết với thang, nói chung là không cách nhau quá 6 m theo chiều thẳng đứng và bố trí dịch sang một bên của thang. Phần lối vào cao nhất của thang phải thỏa mãn các yêu cầu ở -3 trên.
(3) Nếu một miệng hầm hoặc lỗ người chui và cầu thang để tiếp cận được yêu cầu ở -1(2) trên thì phải sử dụng một cầu thang nghiêng phù hợp với các yêu cầu ở (1) trên.
(4) Ở các không gian của mạn kép có chiều rộng nhỏ hơn 2,5 m, tiếp cận các không gian đó có thể bằng phương tiện thang đứng mà được nối tới một hoặc nhiều sàn liên kết với thang, nói chung là không cách nhau quá 6 m theo chiều thẳng đứng và bố trí dịch sang một bên của thang. Các phần kề nhau của thang phải lệnh sang một bên so với nhau một khoảng bằng ít nhất chiều rộng của thang. Phần lối vào cao nhất của thang phải thỏa mãn các quy định ở -3 trên.
(5) Việc tiếp cận từ boong đến không gian đáy đôi có thể được thực hiện bằng phương tiện thang đứng đi qua một kênh đứng. Khoảng cách thẳng đứng từ boong xuống sàn nghỉ chân, giữa các sàn nghỉ chân, hoặc giữa sàn nghỉ chân và đáy két thông thường không được lớn hơn 6 m trừ khi được Đăng kiểm duyệt.
5 Thang tiếp cận của các khoang lớn và các không gian tương tự khác phải thỏa mãn các yêu cầu sau:
(1) Có thể sử dụng thang đứng hoặc thang nghiêng khi khoảng cách thẳng đứng giữa mặt trên của các boong liền kề hoặc giữa boong và đáy của khoang không lớn hơn 6 m.
(2) Phải sử dụng một cầu thang nghiêng hoặc một chuỗi các cầu thang nghiêng tại một đầu của khoang nếu khoảng cách thẳng đứng giữa mặt trên của các boong liền kề hoặc giữa boong và đáy của khoang lớn hơn 6 m, ngoại trừ đoạn 2,5 m ở vị trí cao nhất của khoang đo từ mặt dưới của các vật cản dưới boong và đoạn 6 m ở vị trí thấp nhất có thể được bố trí thang đứng, miễn là phạm vi thẳng đứng của các thang nghiêng không được nhỏ hơn 2,5 m.
(3) Phương tiện tiếp cận ở một đầu của khoang mà không phải là phương tiện được quy định ở (2) trên có thể được tạo thành từ một chuỗi các thang đứng đặt so le nhau, các thang này phải được nối tới một hoặc nhiều sàn liên kết với thang cách nhau không quá 6 m theo chiều thẳng đứng và bố trí dịch sang một bên của thang. Các phần kề nhau của thang phải lệnh sang một bên so với nhau một khoảng bằng ít nhất chiều rộng của thang. Phần lối vào cao nhất của thang mà tiếp xúc trực tiếp với khoang phải thẳng đứng có kích thước 2,5 m, đo từ phía dưới của các vật cản trên đầu và phải được nối với một sàn liên kết với thang.
(4) Được phép sử dụng một thang đứng làm phương tiện tiếp cận từ boong xuống két hoặc không gian bên dưới nếu khoảng cách thẳng đứng từ boong đến phương tiện tiếp cận dọc trong két, sống dọc hoặc đáy của không gian ngay bên dưới lối vào không lớn hơn 6 m. Phần lối vào cao nhất của thang trong két phải thẳng đứng có kích thước 2,5 m, đo từ phía dưới của các vật cản trên đầu và phải được nối với một sàn liên kết với thang trừ khi vị trí đi xuống trên phương tiện tiếp cận dọc, sống dọc hoặc đáy nằm trong phạm vi 2,5 m và lệch sang một bên của thang đứng.
(5) Trừ khi được quy định ở (4) trên, phải sử dụng một thang nghiêng để tiếp cận một két hoặc không gian nếu khoảng cách thẳng đứng giữa boong và sống dọc ngay dưới lối vào, giữa các sống dọc hoặc giữa boong hoặc sống dọc và đáy của không gian ngay dưới lối vào là lớn hơn 6 m.
(6) Trong trường hợp nêu ở (5) trên, phần lối vào cao nhất của thang phải thẳng đứng có kích thước 2,5 m, đo từ phía dưới của các vật cản trên đầu và phải được nối với một sàn liên kết với thang. Một thang khác phải tiếp tục đi xuống từ sàn đó. Thang nghiêng phải có chiều dài thực không lớn hơn 9 m và chiều cao theo phương đứng thường phải không lớn hơn 6 m. Phần thấp nhất của thang có thể thẳng đứng trong một chiều cao bằng 2,5 m.
(7) Trong các không gian hẹp có chiều rộng nhỏ hơn 2,5 m, việc tiếp cận vào không gian đó có thể được thực hiện bằng phương tiện thang đứng nối tới một hoặc nhiều sàn liên kết với thang đặt cách nhau không quá 6 m theo chiều thẳng đứng và dịch sang một bên của thang. Các phần kề nhau của thang phải lệnh sang một bên so với nhau một khoảng bằng ít nhất chiều rộng của thang.
(8) Cầu thang xoắn có thể được xem xét chấp nhận thay thế cho thang nghiêng. Theo đó, đoạn 2,5 m cao nhất có thể được tiếp tục làm bằng thang xoắn và không cần chuyển đổi thành thang đứng.
9.6.3 Phương tiện tiếp cận trong các không gian
1 Các két dằn mà không phải các két nêu ở -2 và các két khác phải có phương tiện tiếp cận thỏa mãn các quy định ở từ (1) đến (6) dưới đây:
(1) Đối với các két có chiều cao không nhỏ hơn 6 m thì phải được trang bị phương tiện tiếp cận cố định theo các quy định ở (a) đến (f) dưới đây:
(a) Một phương tiện tiếp cận cố định theo phương ngang liên tục phải được bố trí ở mỗi vách ngang trên phía được gia cường, trong phạm vi từ mức tối thiểu là 1,6 m tới mức tối đa là 3 m bên dưới trần boong.
(b) Ít nhất một phương tiện tiếp cận cố định liên tục theo chiều dọc phải được bố trí tại mỗi bên mạn của két. Một trong các lối tiếp cận này phải được bố trí trong phạm vi từ mức tối thiểu là 1,6 m tới mức tối đa là 6 m bên dưới trần boong và phương tiện còn lại phải nằm trong phạm vi từ mức tối thiểu là 1,6 m tới mức tối đa là 3 m bên dưới trần boong.
(c) Lối tiếp cận giữa các lối nêu ở (a) và (b) và từ boong chính tới lối ở (a) hoặc (b) phải được bố trí.
(d) Một phương tiện tiếp cận cố định liên tục theo chiều dọc được tích hợp vào các cơ cấu trên mặt được gia cường của vách dọc, nếu có thể thì nằm trong cùng mặt phẳng với sống ngang của vách ngang phải được bố trí để tiếp cận các nẹp ngang khỏe từ boong chính và tiếp cận đáy két trừ khi các dụng cụ cố định được lắp ở sàn cao nhất để sử dụng làm phương tiện thay thế trong trường hợp Đăng kiểm cho phép, để kiểm tra tại các chiều cao trung gian.
(e) Một phương tiện tiếp cận cố định nằm ngang tại các thanh giằng tạo điều kiện để tiếp cận được tới các mã loe ở cả hai bên mạn của két mà đến được từ một trong các phương tiện tiếp cận cố định theo chiều dọc qui định ở (d) đối với tàu có thanh giằng phải nằm ở độ cao không nhỏ hơn 6 m phía trên đáy két.
(f) Phương tiện thay thế cho quy định ở (d), khi được Đăng kiểm thấy phù hợp, có thể được trang bị cho các két mà không phải là két dằn có chiều cao nhỏ hơn 17 m.
(2) Đối với các két có chiều cao nhỏ hơn 6 m, một phương tiện thay thế được Đăng kiểm xét thấy phù hợp hoặc phương tiện di động có thể được sử dụng thay cho các phương tiện tiếp cận cố định.
(3) Không phụ thuộc vào (1) và (2) trên, các két mà không có kết cấu bên trong thì không cần trang bị phương tiện tiếp cận cố định.
(4) Phải trang bị phương tiện tiếp cận được Đăng kiểm xét thấy phù hợp để tiếp cận tới kết cấu dưới boong, nẹp ngang khỏe và các thành giằng nằm ngoài tầm tiếp cận của phương tiện tiếp cận cố định và/hoặc di động nêu ở (1) và (2) trên.
(5) Đối với các két chịu tải trước, có chiều cao nhỏ hơn 17 m trên các tàu tự nâng, nếu thực tế không thể đặt các phương tiện tiếp cận nêu ở (1) và (2) trên do hình dáng của két thì Đăng kiểm có thể cho phép trang bị phương tiện thay thế.
2 Các két dằn có chiều rộng nhỏ hơn 5 m phải được bố trí phương tiện tiếp cận phù hợp với các yêu cầu ở (1) tới (5) sau đây:
(1) Đối với không gian mạn kép bên trên điểm gãy khúc phía trên của mặt cắt két hông của các tàu nổi (dạng tàu hoặc dạng sà lan) thì phương tiện tiếp cận cố định phải được trang bị theo (a) tới (c) dưới đây:
(a) Nếu khoảng cách thẳng đứng giữa sống cao nhất theo phương ngang và trần boong không nhỏ hơn 6 m thì một phương tiện tiếp cận cố định liên tục theo chiều dọc phải được trang bị đối với toàn bộ chiều dài của két cùng với một phương tiện để vượt qua nẹp ngang khỏe đặt ở vị trí tối thiểu 1,6 m và tối đa 3 m dưới trần boong cùng với một thang tiếp cận đứng tại mỗi đầu của két.
(b) Phải trang bị phương tiện tiếp cận cố định liên tục theo chiều dọc được tích hợp vào kết cấu ở các vị trí cách nhau không quá 6 m theo chiều thẳng đứng.
(c) Sống dọc dạng tấm phải được bố trí cùng mặt phẳng với sống ngang của vách ngang đến mức có thể.
(2) Đối với mặt cắt két hông mà khoảng cách thẳng đứng từ đáy két đến điểm gãy phía trên không nhỏ hơn 6 m thì phải trang bị một phương tiện tiếp cận cố định theo chiều dọc đối với toàn bộ chiều dài của két phù hợp với các quy định ở (a) và (b) dưới đây. Phương tiện tiếp cận này cũng phải đến được bằng một phương tiện tiếp cận cố định thẳng đứng ở mỗi đầu của két.
(a) Phương tiện tiếp cận cố định liên tục theo chiều dọc có thể được đặt trong khoảng tối thiểu là 1,6 m tới tối đa 3 m tính từ đỉnh của mặt cắt két hông. Một sàn được nối dài từ phương tiện tiếp cận cố định liên tục theo chiều dọc ở vùng của sườn khỏe có thể được sử dụng để tiếp cận các khu vực được xác định là kết cấu tới hạn.
(b) Thay cho quy định trên, phương tiện tiếp cận cố định liên tục theo chiều dọc có thể được bố trí ở vị trí tối thiểu là 1,2 m bên dưới đỉnh của lỗ khoét trên sườn khỏe để sử dụng các phương tiện tiếp cận di động tiếp cận các khu vực được xác định là kết cấu tới hạn.
(3) Nếu khoảng cách thẳng đứng nêu ở (2) nhỏ hơn 6 m thì có thể sử dụng phương tiện thay thế mà Đăng kiểm thấy phù hợp hoặc các phương tiện tiếp cận di động thay cho phương tiện tiếp cận cố định. Để thuận lợi cho việc sử dụng các phương tiện tiếp cận thay thế, phải bố trí các lỗ khoét trên cùng mặt phẳng với sống dọc mạn. Các lỗ khoét đó phải có đủ đường kính và phải có lan can bảo vệ phù hợp.
(4) Đối với các két chịu tải trước trên các tàu tự nâng, do hình dáng của két, nếu thực tế không thể trang bị phương tiện tiếp cận cố định nêu ở -1(1) và (2) trên thì Đăng kiểm có thể cho phép trang bị các phương tiện thay thế.
3 Đối với các khoang, phương tiện tiếp cận các kết cấu ở mặt dưới của boong phải được trang bị như ở (1) đến (4) sau đây:
(1) Phương tiện tiếp cận cố định phải được trang bị để tiếp cận các kết cấu mặt dưới ở cả 2 phía của boong ngang (boong giữa 2 miệng khoang) và trong vùng lân cận tâm tàu. Mỗi phương tiện tiếp cận phải có thể đến được từ lối tiếp cận khoang hoặc trực tiếp từ boong chính và phải được bố trí ở vị trí tối thiểu là 1,6 m đến tối đa 3 m phía dưới của boong.
(2) Một phương tiện tiếp cận cố định theo hướng ngang tàu được bố trí trên vách ngang ở vị trí tối thiểu là 1,6 m đến tối đa 3 m phía dưới của trần boong ngang phải tương đương với phương tiện tiếp cận nêu ở (1).
(3) Việc tiếp cận tới các phương tiện tiếp cận cố định nêu ở (1) và (2) trên có thể được thực hiện bằng sống mạn trên cùng.
(4) Mặt khác, thay cho các quy định ở (1) trên, phương tiện tiếp cận di chuyển được có thể được sử dụng để tiếp cận các kết cấu dưới boong của boong ngang nếu khoảng cách thẳng đứng tới đáy của khoang không lớn hơn 17 m.
4 Đối với mọi khoang, phương tiện tiếp cận cố định theo phương đứng phải được trang bị cho mọi khoang hàng và trong mọi trường hợp, số lượng phương tiện tiếp cận phải không nhỏ hơn 3 phương tiện tiếp cận cố định theo phương đứng được bố trí ở mỗi mạn (phía mút mũi và mút đuôi của khoang và ở giữa).
5 Đối với két mút mũi và mút đuôi có chiều cao không nhỏ hơn 6 m đo tại tâm của vách chống va và vách mút đuôi của các tàu nổi (dạng tàu và dạng sà lan), một phương tiện tiếp cận phù hợp phải được bố trí để tiếp cận tới các vùng tới hạn như là kết cấu dưới boong, sống dọc mạn, vách chống va và vách đuôi và kết cấu tấm mạn thỏa mãn các yêu cầu ở (1) và (2) dưới đây:
(1) Sống mạn ở vị trí nhỏ hơn 6 m theo chiều thẳng đứng dưới trần boong hoặc sống mạn ngay bên trên được coi là tạo ra lối tiếp cận phù hợp khi kết hợp với các phương tiện tiếp cận di động.
(2) Nếu khoảng cách thẳng đứng giữa trần boong và sống mạn, giữa các sống mạn và giữa sống mạn thấp nhất với đáy két không nhỏ hơn 6 m thì phải trang bị phương tiện tiếp cận thay thế mà Đăng kiểm thấy phù hợp.
6 Khi phương tiện tiếp cận cố định để tiếp cận các khu vực kết cấu tới hạn được bố trí ở độ cao lớn hơn hoặc bằng 6 m tính từ đáy của không gian không nằm trong các quy định ở từ -1 đến -5 trên thì phải trang bị phương tiện tiếp cận cố định liên tục được bố trí ở mặt được gia cường của vách tại vị trí bên dưới khu vực kết cấu tới hạn tối đa là 3 m nhưng không được cao hơn 1,6 m tính từ phía dưới boong trong toàn bộ phạm vi khu vực kết cấu tới hạn.
7 Đối với khu vực kết cấu tới hạn nằm ở độ cao nhỏ hơn 6 m tính từ đáy của không gian, phải bố trí phương tiện tiếp cận thay thế mà Đăng kiểm thấy phù hợp.
9.6.4 Thông số của phương tiện tiếp cận và cầu thang
1 Nói chung, phương tiện tiếp cận cố định phải được tích hợp vào kết cấu của tàu để đảm bảo sự vững chắc. Nếu Đăng kiểm thấy phù hợp để thuận tiện cho việc các phương tiện tiếp cận là một phần tích hợp của kết cấu thân tàu thì các yêu cầu về vị trí của phương tiện tiếp cận nêu ở 9.6.2 và 9.6.3 có thể được điều chỉnh cho hợp lý.
2 Các lối đi ở trên cao mà tạo thành một phần của phương tiện tiếp cận cố định, nếu được trang bị, phải có chiều rộng thực tối thiểu bằng 600 mm, ngoại trừ lối đi quanh nẹp đứng khỏe mà tại đó thì chiều rộng thực tối thiểu có thể được giảm xuống 450 mm, và có lan can ở phía hở trên toàn bộ chiều dài.
3 Phần dốc của lối tiếp cận phải có kết cấu chống trượt.
4 Lối đi trên cao tạo thành một phần của phương tiện tiếp cận cố định phải có lan can cao 1000 mm ở phía hở và bao gồm một thanh lan can bám và một thanh trung gian có chiều cao 500 mm và có kết cấu chắc chắn cùng với các thanh chống cách nhau không xa quá 3 m. Các thanh chống của lan can phải được liên kết với phương tiện tiếp cận cố định.
5 Với các phương tiện tiếp cận qua các lỗ khoét nằm ngang, miệng khoang hoặc lỗ người chui, các kích thước phải đủ để cho phép một người mang thiết bị thở tự cấp khí và thiết bị bảo vệ lên hoặc xuống bất kỳ thang nào mà không bị cản trở và cũng phải đủ để dễ dàng nâng một người bị thương từ đáy của khoang. Lỗ khoét phải có kích thước trong lòng tối thiểu là 600 mm x 600 mm. Khi phương tiện tiếp cận khoang hàng được bố trí đi qua lỗ chui bằng mặt boong hoặc qua miệng khoang hàng thì đầu trên cùng của thang phải cố gắng được bố trí càng gần boong hoặc thành miệng khoang càng tốt. Các thành miệng của lối tiếp cận có chiều cao lớn hơn 900 mm phải có bậc ở bên ngoài chung với thang.
6 Với phương tiện tiếp cận qua lỗ khoét thẳng đứng, hoặc lỗ người chui trên các vách ngăn, đà ngang, sống và sườn khỏe tạo thành lối đi theo chiều dài và chiều rộng của khoang, lỗ phải có kích thước tối thiểu không nhỏ hơn 600 mm x 800 mm ở độ cao không lớn hơn 600 mm tính từ tôn đáy trừ khi bố trí các sàn lưới hoặc các kết cấu để đặt chân khác.
7 Các lỗ khoét có kích thước nhỏ hơn quy định ở -5 và -6 có thể được Đăng kiểm chấp nhận trong các trường hợp đặc biệt nếu khả năng đi qua các lỗ khoét đó hoặc đưa một người bị thương ra ngoài có thể được chứng minh là thỏa mãn ở mức độ chấp nhận của Đăng kiểm.
8 Việc tiếp cận từ đáy tàu tới các phương tiện tiếp cận cố định và các lỗ khoét thẳng đứng phải được bố trí bằng các phương tiện là lối đi, cầu thang hoặc bậc thang mà có thể tiếp cận được một cách dễ dàng. Các bậc thang phải có cơ cấu đỡ mặt bên của bàn chân. Nếu các thanh ngang của cầu thang được gắn lên một mặt đứng thì khoảng cách từ tâm của thanh cầu thang tới mặt phẳng đó phải ít nhất bằng 150 mm. Nếu lỗ người chui thẳng đứng được bố trí cao hơn 600 mm so với chiều cao lối đi thì lối tiếp cận đó phải được tạo thuận lợi bằng các phương tiện là bậc thang và tay nắm và sàn để bước xuống ở cả hai phía của lỗ người chui.
9 Đối với các cầu thang hoặc phương tiện tương tự tạo thành một phần của phương tiện tiếp cận cố định thì các thông số của chúng phải thỏa mãn yêu cầu của Đăng kiểm.
9.6.5 Sổ tay tiếp cận kết cấu tàu
1 Sổ tay tiếp cận kết cấu tàu phải có trên tàu. Phương tiện tiếp cận để tiến hành kiểm tra tổng thể và kiểm tra tiếp cận cũng như đo chiều dày cơ cấu phải được mô tả trong cuốn Sổ tay tiếp cận kết cấu tàu hoặc cũng có thể gộp vào cuốn Hướng dẫn vận hành của tàu. Sổ tay này phải được cập nhật khi cần thiết và bản cập nhật mới nhất phải được lưu trên tàu. Sổ tay tiếp cận kết cấu tàu phải bao gồm các nội dung sau đối với mỗi không gian:
(1) Các sơ đồ chỉ rõ các phương tiện tiếp cận không gian kèm theo đặc tính kỹ thuật và các kích thước;
(2) Các sơ đồ chỉ rõ phương tiện tiếp cận của mỗi không gian cho phép tiến hành kiểm tra tổng thể với các thông số kỹ thuật và kích thước thích hợp. Các sơ đồ phải biểu thị được mọi vị trí trong không gian đó cũng có thể kiểm tra được;
(3) Các sơ đồ phải chỉ rõ các phương tiện tiếp cận trong không gian cho phép tiến hành kiểm tra tiếp cận với các thông số kỹ thuật và kích thước thích hợp. Sơ đồ phải biểu thị được vị trí của các khu vực quan trọng cho dù phương tiện tiếp cận cố định hay di động và từ mọi khu vực cũng có thể kiểm tra được;
(4) Các hướng dẫn kiểm tra và duy trì độ bền kết cấu của tất cả các phương tiện tiếp cận và các phương tiện liên quan, có xét đến môi trường gây mòn gỉ có thể có trong không gian đó;
(5) Hướng dẫn an toàn khi dùng bè để kiểm tra tiếp cận và đo chiều dày cơ cấu;
(6) Hướng dẫn đối với việc chằng buộc và sử dụng các phương tiện tiếp cận di động một cách an toàn;
(7) Liệt kê tất cả các phương tiện tiếp cận di động;
(8) Biên bản ghi lại việc kiểm tra chu kỳ và bảo dưỡng các phương tiện tiếp cận của tàu.
2 Khi các phương tiện tiếp cận thay thế thỏa mãn các yêu cầu ở 9.6.3, ngoài các yêu cầu ở -1 nêu trên, phương tiện để vận hành an toàn vừa đưa phương tiện thay thế đó vào và ra và hoạt động bên trong không gian được tiếp cận phải được nêu rõ ràng trong Sổ tay tiếp cận kết cấu tàu.
CHƯƠNG 14 PHÒNG CHỐNG CHÁY VÀ PHƯƠNG TIỆN THOÁT NẠN
14.2 Tàu thực hiện các công việc có nguy cơ cháy và nổ
14.2.2 được sửa đổi như sau:
14.2.2 Kết cấu chống cháy
Kết cấu chống cháy phải thỏa mãn một cách tương ứng các yêu cầu sau đây hoặc các yêu cầu ở 4.5.1 (trừ 4.5.1-8), 4.5.2 và Chương 9 Phần 5.
Phần 8I "Tàu sử dụng nhiên liệu có điểm chớp cháy thấp" được bổ sung như sau:
PHẦN 8I TÀU SỬ DỤNG NHIÊN LIỆU CÓ ĐIỂM CHỚP CHÁY THẤP
CHƯƠNG 1 QUY ĐỊNH CHUNG
1.1 Quy định chung
1.1.1 Phạm vi áp dụng
1 Phần này áp dụng cho các tàu sử dụng nhiên liệu có điểm chớp cháy thấp, tuy nhiên, không áp dụng cho các tàu nêu ở (1) và (2) dưới đây:
(1) Tàu chở khí sử dụng hàng được chở làm nhiên liệu và thỏa mãn các yêu cầu ở Phần 8D; hoặc
(2) Tàu chở khí sử dụng loại nhiên liệu khí có điểm chớp cháy thấp khác nếu thiết kế và bố trí hệ thống chứa và phân phối nhiên liệu của các nhiên liệu khí đó thỏa mãn các yêu cầu của Phần 8D.
2 Không phụ thuộc vào các yêu cầu ở -1 trên, đối với các tàu không áp dụng Chương II-1 của SOLAS thì một số quy định của Phần này có thể được thay đổi một cách phù hợp.
3 Trong trường hợp tàu sử dụng nhiên liệu có điểm chớp cháy thấp mà không phải là khí tự nhiên, không cần áp dụng các yêu cầu ở từ Chương 5 đến Chương 15 của Phần này. Tuy nhiên, cần phải chứng minh rằng thiết kế khác này thỏa mãn các yêu cầu chức năng của Phần này.
1.1.2 Thay thế tương đương
Kết cấu, thiết bị mà không thỏa mãn các quy định của Phần này có thể được chấp nhận với điều kiện chúng được chấp nhận là tương đương với các quy định của Phần này, phù hợp với quy định II-1/55 của SOLAS.
1.1.3 Thẩm định các hệ thống và thiết bị
1 Đối với các tàu sử dụng khí tự nhiên làm nhiên liệu, các hệ thống và thiết bị sử dụng nhiên liệu khí nêu tại từ (1) tới (20) dưới đây phải được Đăng kiểm thẩm định một cách riêng biệt.
(1) Máy nén hơi nhiên liệu;
(2) Bơm nhiên liệu;
(3) Thiết bị trao đổi nhiệt được sử dụng để làm nóng, hóa hơi hoặc làm mát nhiên liệu;
(4) Van của hệ thống chứa nhiên liệu, bình xử lý áp lực, đường ống nhiên liệu và đường ống xử lý;
(5) Van giảm áp (bao gồm van an toàn chân không) sử dụng cho hệ thống chứa nhiên liệu, bình xử lý áp lực, đường ống nhiên liệu và đường ống xử lý;
(6) Ống xếp và ống giãn nở sử dụng cho hệ thống đường ống nhiên liệu và đường ống xử lý (16.7.2);
(7) Hệ thống tạo khí trơ, bao gồm hệ thống tạo ni tơ, hệ thống chứa khí trơ và bình ni tơ lỏng;
(8) Hệ thống đo mức nhiên liệu lỏng trong hệ thống chứa nhiên liệu và bình xử lý áp lực, và mức chất lỏng trong bình chứa ni tơ;
(9) Hệ thống đo áp suất của nhiên liệu lỏng hoặc hơi hoặc áp suất không khí trong hệ thống chứa nhiên liệu và bình xử lý áp lực;
(10) Thiết bị đo và chỉ báo nhiệt độ của nhiên liệu lỏng hoặc hơi trong hệ thống chứa nhiên liệu và bình xử lý áp lực (6.9, 15.3 và 15.4);
(11) Vật liệu cách nhiệt sử dụng trong hệ thống xử lý nhiên liệu và cho đường ống nhiên liệu (6.4.8 và 7.3.1-4);
(12) Thiết bị đo nồng độ ô xy loại cố định và xách tay sử dụng trong môi trường khí trơ;
(13) Hệ thống đo độ ẩm của khí trơ khô (6.3.1-12, 6.11.1 và 6.12.1);
(14) Hệ thống phun sương nước (11.5);
(15) Thiết bị dập cháy bằng hóa chất khô (11.6);
(16) Hệ thống thông gió cơ giới phục vụ không gian chứa nguồn khí (13.3.3);
(17) Ống mềm dẫn nhiên liệu (6.5.5 và 8.3.2);
(18) Các bơm làm lỏng, thiết bị trao đổi nhiệt tháo được và các đường ống liên quan (sau đây gọi là "thiết bị tháo được" mà được bố trí hoặc lắp đặt tạm thời trên tàu sử dụng nhiên liệu có điểm chớp cháy thấp phục vụ cho một mục đích cụ thể;
(19) Nồi hơi đốt bằng khí;
(20) Động cơ sử dụng nhiên liệu khí.
2 Đối với những tàu sử dụng nhiên liệu có điểm chớp cháy thấp mà không phải là khí tự nhiên, các hệ thống và thiết bị nêu ở -1(1) đến (20) trên được trang bị cho mục đích sử dụng nhiên liệu có điểm chớp cháy thấp phải được Đăng kiểm xem xét một cách phù hợp.
3 Nồi hơi và động cơ đốt trong kiểu pít tông mà có thể sử dụng nhiều loại nhiên liệu và tua bin khí phải được Đăng kiểm xem xét một cách phù hợp.
1.2 Thiết kế khác
1.2.1 Quy định chung
1 Phần này bao gồm các yêu cầu chức năng đối với tất cả các thiết bị và hệ thống liên quan tới việc sử dụng nhiên liệu có điểm chớp cháy thấp.
2 Nhiên liệu, các thiết bị và hệ thống nhiên liệu có điểm chớp cháy thấp có thể:
(1) Khác với các quy định trong Phần này; hoặc
(2) Được thiết kế để sử dụng một loại nhiên liệu không được nêu cụ thể trong Phần này.
3 Sự tương đương của thiết kế khác phải được chứng minh như quy định ở 1.1.2 và phải được Đăng kiểm thẩm định. Tuy nhiên, không chấp nhận việc sử dụng các phương pháp và quy trình vận hành để thay thế cho các trang bị, vật liệu, thiết bị, dụng cụ, phần thiết bị cụ thể hoặc kiểu của chúng mà được quy định trong Phần này.
CHƯƠNG 2 CÁC ĐỊNH NGHĨA
2.1 Quy định chung
2.1.1 Áp dụng
Trừ khi được quy định khác, các thuật ngữ sử dụng trong Phần này được định nghĩa như ở Chương này.
2.2 Các định nghĩa
2.2.1 Các thuật ngữ
1 "Sự cố" là một sự việc không được kiểm soát mà có thể dẫn đến việc tổn thất sinh mạng, gây thương vong, phá hủy môi trường hoặc tổn thất tài sản hoặc quyền lợi tài chính.
2 "Chiều rộng tàu" (B') là chiều rộng lý thuyết lớn nhất của tàu ở tại hoặc dưới chiều chìm phân khoang lớn nhất (chiều chìm mùa hè).
3 "Tiếp nhận nhiên liệu" là việc chuyển nhiên liệu lỏng hoặc khí từ phương tiện nổi hoặc trên bờ vào các két cố định của tàu hoặc nối các bình chứa xách tay với hệ thống cung cấp nhiên liệu.
4 "Kiểu được chứng nhận an toàn" là thiết bị điện được Đăng kiểm chấp nhận phù hợp cho hoạt động trong môi trường khí dễ cháy.
5 "CNG" là khí tự nhiên được nén (xem thêm 2.2.1-26).
6 "Trạm điều khiển" là các buồng được định nghĩa ở 3.2.18 Phần 5 và ngoài ra trong Phần này, là buồng điều khiển máy.
7 "Nhiệt độ thiết kế" để lựa chọn vật liệu là nhiệt độ tối thiểu mà tại đó nhiên liệu khí hóa lỏng có thể được đưa vào hoặc chở trong các két nhiên liệu khí hóa lỏng.
8 "Áp suất hóa hơi thiết kế" (P0) là áp suất đo được lớn nhất, tại đỉnh của két, được sử dụng để thiết kế két.
9 "Van chặn kép và xả áp" (Double block and bleed valve) là một bộ gồm hai van chặn nối tiếp trên một ống và một van thứ ba để giảm áp trong đoạn ống giữa hai van chặn. Việc bố trí đó có thể bao gồm một van hai ngả và một van đóng thay cho việc bố trí 3 van riêng biệt.
10 "Động cơ sử dụng hai nhiên liệu " là động cơ sử dụng nhiên liệu quy định bởi Phần này (cùng với nhiên liệu khởi động) và dầu nhiên liệu. Dầu nhiên liệu có thể bao gồm nhiên liệu chưng cất và dầu nặng.
11 "Không gian kín" là các không gian mà trong đó, nếu không có thông gió nhân tạo, việc thông gió sẽ bị giới hạn và môi trường khí dễ nổ sẽ không được phân tán một cách tự nhiên.
12 "ESD" là ngắt khẩn cấp.
13 "Nổ" là hiện tượng bùng cháy không thể kiểm soát.
14 "Giảm áp suất nổ" là các biện pháp được thực hiện nhằm ngăn không cho áp suất nổ trong các bình chứa hoặc không gian kín vượt quá áp suất thiết kế lớn nhất của bình chứa hoặc không gian kín bằng cách giảm áp suất qua các lỗ thoát đã định.
15 "Hệ thống chứa nhiên liệu" là trang bị để chứa nhiên liệu bao gồm cả các đầu nối két. Nó bao gồm (nếu có) vách chắn sơ cấp và thứ cấp, cách nhiệt kèm theo, các không gian ở giữa, và các kết cấu liền kề trong trường hợp cần thiết phải đỡ các thành phần đó. Nếu vách chắn thứ cấp là một phần của kết cấu thân tàu thì vách chắn đó có thể là biên của khoang hầm chứa nhiên liệu. Các không gian xung quanh két chứa nhiên liệu được định nghĩa như ở (1) đến (3) dưới đây:
(1) "Khoang hầm chứa nhiên liệu" là không gian giới hạn bởi kết cấu thân tàu mà hệ thống chứa nhiên liệu được đặt trong đó. Nếu các đầu nối két được bố trí trong khoang hầm chứa nhiên liệu thì nó cũng có thể được gọi là khoang đầu nối két;
(2) "Khoang giữa vách chắn" là không gian giữa vách chắn sơ cấp và thứ cấp, có thể được nhồi hoàn toàn hoặc một phần hoặc không được nhồi bọc cách nhiệt hoặc vật liệu khác; và
(3) "Buồng đầu nối két" là không gian bao quanh tất cả các đầu nối két và các van két được yêu cầu cho các két có các đầu nối két trong không gian kín.
16 "Giới hạn nạp", viết tắt là FL, là thể tích lớn nhất của chất lỏng trong một két nhiên liệu tương ứng với tổng thể tích két khi nhiên liệu lỏng đã đạt đến nhiệt độ tham chiếu.
17 "Buồng chuẩn bị nhiên liệu" là không gian chứa các bơm, máy nén và/hoặc các bầu hóa hơi phục vụ cho mục đích chuẩn bị nhiên liệu.
18 "Khí" là chất lỏng có áp suất hóa hơi tuyệt đối lớn hơn 0,28 MPa ở nhiệt độ 37,8°C.
19 "Thiết bị tiêu thụ khí" là các thiết bị trên tàu sử dụng khí làm nhiên liệu.
20 "Động cơ nhiên liệu khí" là động cơ có khả năng hoạt động chỉ dựa trên nhiên liệu khí, và không thể chuyển sang sử dụng các loại nhiên liệu khác.
21 "Khu vực nguy hiểm" là khu vực mà trong đó dự kiến có hoặc có thể có môi trường khí gây nổ, với số lượng mà cần phải đặc biệt quan tâm đến kết cấu, việc lắp đặt và sử dụng các thiết bị.
22 "Áp suất cao" là áp suất làm việc lớn nhất lớn hơn 1,0 MPa.
23 "Két rời" là két tự đỡ, không tạo thành một phần của thân tàu và không tham gia vào sức bền chung thân tàu.
24 "LEL" là giới hạn nổ dưới.
25 "Chiều dài Lf" là chiều dài được định nghĩa ở 1.2.21 Phần 1A.
26 "LNG" là khí tự nhiên hóa lỏng.
27 "Giới hạn chứa", viết tắt là LL, là thể tích chất lỏng lớn nhất cho phép tương ứng với thể tích của két mà theo đó két có thể chứa được.
28 "Nhiên liệu có điểm chớp cháy thấp" là nhiên liệu khí hoặc lỏng có điểm chớp cháy thấp hơn giá trị quy định ở 4.2.1-1(1) Phần 5.
29 "MARVS" là giá trị đặt lớn nhất cho phép của van an toàn.
30 "MAWP" là áp suất làm việc lớn nhất cho phép của một thành phần trong hệ thống hoặc của két.
31 "Két màng" là két không tự đỡ, bao gồm một lớp (màng) mỏng kín chất lỏng và kín khí, được đỡ bởi các kết cấu thân tàu liền kề thông qua bọc cách nhiệt.
32 "Động cơ đa nhiên liệu" là động cơ có thể sử dụng hai hoặc nhiều hơn hai loại nhiên liệu khác nhau và tách biệt với nhau.
33 "Khu vực không nguy hiểm" là khu vực mà trong đó môi trường khí dễ nổ được dự kiến là không tồn tại với số lượng mà cần phải quan tâm đặc biệt đến kết cấu, việc lắp đặt và sử dụng các thiết bị.
34 "Boong hở" là boong có nguy cơ cháy không đáng kể, ít nhất hở ở cả hai đầu/mạn, hoặc hở ở một đầu và được thông gió tự nhiên đầy đủ một cách hiệu quả trên toàn bộ chiều dài của boong bởi các lỗ khoét cố định phân bố trên tôn mạn hoặc trần boong.
35 "Nguy cơ" là diễn tả chỉ sự kết hợp giữa khả năng có thể xảy ra và tính nghiêm trọng của hậu quả.
36 "Nhiệt độ tham chiếu" là nhiệt độ tương ứng với áp suất bay hơi của nhiên liệu trong két nhiên liệu tại áp suất đặt của van an toàn áp suất (PRV).
37 "Vách chắn thứ cấp" là bộ phận chặn chất lỏng phía bên ngoài của hệ thống chứa nhiên liệu, được thiết kế để có thể tạm thời ngăn chặn khả năng rò rỉ của nhiên liệu lỏng qua vách chắn sơ cấp và để ngăn sự giảm nhiệt độ của kết cấu thân tàu tới mức không an toàn.
38 "Không gian nửa kín" là không gian mà điều kiện về thông gió tự nhiên khác đáng kể so với boong hở do sự có mặt của các kết cấu như là mái, bộ phận chắn gió và các vách và cách bố trí chúng dẫn đến việc không thể phân tán được khí.
39 "Nguồn rò rỉ" là một điểm hoặc một vị trí mà từ đó khí, hơi, sương nước hoặc chất lỏng có thể thoát ra ngoài không khí dẫn đến khả năng hình thành một môi trường khí dễ nổ.
40 "Mất nguồn điện không chấp nhận được" là khi không thể duy trì hoặc phục hồi hoạt động bình thường của động cơ đẩy tàu trong trường hợp một trong các máy phụ quang trọng không thể hoạt động, phù hợp với 1.3.1-4 Phần 3.
41 "Áp suất hóa hơi" là áp suất cân bằng của hơi bão hòa trên bề mặt chất lỏng, được đo bằng MPa tuyệt đối ở một nhiệt độ đã định.
42 "Nhiên liệu" được định nghĩa như sau:
(1) Khi áp dụng từ Chương 5 tới 15 của Phần này, nhiên liệu là khí tự nhiên, ở thể hóa lỏng hoặc thể khí. Thành phần của khí tự nhiên được chấp nhận có thể thay đổi phụ thuộc vào nguồn khí tự nhiên và quy trình xử lý;
(2) Khi áp dụng Chương 16 và 17 của Phần này, nhiên liệu là khí tự nhiên, ở thể hóa lỏng hoặc thể khí.
43 "Bộ luật IGF" là Bộ luật quốc tế về an toàn đối với tàu sử dụng nhiên liệu khí hoặc có điểm chớp cháy thấp được Ủy ban an toàn Hàng hải của IMO thông qua bởi Nghị quyết MSC.391(95), có thể được sửa đổi bởi IMO, với điều kiện các sửa đổi đó được thông qua, có hiệu lực theo các quy định của Điều VIII của Công ước SOLAS hiện hành liên quan tới quy trình sửa đổi có thể áp dụng cho phụ lục mà không phải là phụ lục của Chương I.
CHƯƠNG 3 MỤC TIÊU VÀ CÁC YÊU CẦU CHỨC NĂNG
3.1 Mục tiêu
3.1.1 Quy định chung
Mục tiêu của Phần này là đưa ra các quy định đối với thiết kế an toàn và thân thiện môi trường, kết cấu và vận hành của tàu và cụ thể là quy định đối với việc lắp đặt các hệ thống máy đẩy, máy phụ phát điện và/hoặc các máy dùng cho mục đích khác có sử dụng nhiên liệu là khí hoặc nhiên liệu có điểm chớp cháy thấp khác.
3.2 Các yêu cầu về chức năng
3.2.1 Tính an toàn, tính tin cậy và tính chắc chắn của hệ thống
Tính an toàn, tin cậy và chắc chắn của hệ thống phải tương đương với mức độ đạt được khi sử dụng máy chính và máy phụ kiểu truyền thống
3.2.2 Các nguy hiểm liên quan đến nhiên liệu
Khả năng và hậu quả của các mối nguy hiểm liên quan đến nhiên liệu phải được giới hạn tới mức thấp nhất thông qua việc bố trí và thiết kế hệ thống, ví dụ như thông gió, phát hiện và các hành động an toàn. Trong trường hợp rò rỉ khí hoặc không thể áp dụng được các biện pháp giảm rủi ro thì phải tiến hành các hành động an toàn cần thiết.
3.2.3 Thiết kế hệ thống nhiên liệu khí
Quan điểm thiết kế là phải đảm bảo các biện pháp giảm rủi ro và hành động an toàn đối với hệ thống nhiên liệu khí không không dẫn tới việc mất nguồn điện không chấp nhận được.
3.2.4 Giảm thiểu các khu vực nguy hiểm
Các vùng nguy hiểm phải được hạn chế, đến mức có thể thực hiện được, để giảm thiểu các rủi ro tiềm ẩn mà có thể ảnh hưởng đến an toàn của tàu, người trên tàu và các thiết bị.
3.2.5 Thiết bị được lắp đặt trong khu vực nguy hiểm
Thiết bị lắp đặt trong khu vực nguy hiểm phải được giảm thiểu tới mức chỉ còn các thiết bị phục vụ việc vận hành và phải được chứng nhận một các phù hợp và thích đáng.
3.2.6 Sự tích tụ khí
3.2.7 Bảo vệ các thành phần của hệ thống
Các thành phần của hệ thống phải được bảo vệ không bị hư hại bên ngoài.
3.2.8 Nguồn gây cháy ở khu vực nguy hiểm
Nguồn gây cháy ở khu vực nguy hiểm phải được giảm thiểu để giảm khả năng gây nổ.
3.2.9 Hệ thống cung cấp, chứa nhiên liệu và tiếp nhận nhiên liệu
Hệ thống cung cấp, chứa nhiên liệu và tiếp nhận nhiên liệu phải được bố trí an toàn và phù hợp, có khả năng nhận và chứa nhiên liệu ở trạng thái theo đúng yêu cầu mà không bị rò rỉ. Hệ thống phải được thiết kế để ngăn ngừa thông hơi trong mọi điều kiện vận hành bình thường bao gồm cả giai đoạn nghỉ, trừ khi cần thiết vì lý do an toàn.
3.2.10 Trang bị cho mục đích áp dụng
Phải trang bị hệ thống ống, bố trí chứa và giảm quá áp có thiết kế, kết cấu và lắp đặt phù hợp cho mục đích áp dụng.
3.2.11 Máy, hệ thống và các thành phần
Máy, hệ thống và các thành phần phải được thiết kế, kết cấu, lắp đặt, vận hành, duy trì và bảo vệ để đảm bảo vận hành an toàn và tin cậy.
3.2.12 Bố trí và vị trí của buồng máy
Hệ thống chứa nhiên liệu và buồng máy có các nguồn có thể rò rỉ khí vào không gian đó phải được bố trí và đặt tại vị trí sao cho một ngọn lửa hoặc vụ nổ sẽ không gây ra mất nguồn điện không chấp nhận được hoặc làm cho thiết bị ở các khoang khác không vận hành được.
3.2.13 An toàn và tin cậy đối với vận hành
Phải trang bị hệ thống điều khiển, báo động, theo dõi và đóng một cách phù hợp để đảm bảo vận hành an toàn và tin cậy.
3.2.14 Bố trí thiết bị phát hiện khí cố định
Phải bố trí thiết bị phát hiện khí cố định phù hợp cho mọi không gian và khu vực có liên quan.
3.2.15 Các biện pháp phát hiện, bảo vệ và dập cháy
Phải có các biện pháp phát hiện, bảo vệ và dập cháy phù hợp với mối nguy hiểm có liên quan.
3.2.16 Xác nhận hệ thống nhiên liệu và các máy sử dụng khí
Việc chạy thử, thử nghiệm và duy trì hệ thống nhiên liệu và máy sử dụng khí phải thỏa mãn mục đích an toàn, tính sẵn sàng và tính tin cậy.
3.2.17 Đánh giá tính tương thích
Hồ sơ kỹ thuật phải cho phép đánh giá sự thỏa mãn của hệ thống và các thành phần của nó với các quy định, hướng dẫn, tiêu chuẩn thiết kế có thể áp dụng được sử dụng và các nguyên tắc liên quan tới an toàn, tính sẵn sàng, khả năng duy trì và tính tin cậy.
3.2.18 Tính tin cậy của hệ thống hoặc các thành phần
Một hư hỏng đơn lẻ trong hệ thống kỹ thuật hoặc thành phần phải không gây ra tình huống không an toàn hoặc không tin cậy.
CHƯƠNG 4 CÁC YÊU CẦU CHUNG
4.1 Mục tiêu
4.1.1 Quy định chung
Mục tiêu của Chương này là nhằm đảm bảo các đánh giá cần thiết đối với các rủi ro có liên quan được tiến hành để loại trừ hoặc giảm nhẹ các ảnh hưởng bất lợi tới người trên tàu, môi trường hoặc con tàu.
4.2 Đánh giá rủi ro
4.2.1 Các yêu cầu chung
Phải thực hiện đánh giá rủi ro để đảm bảo các rủi ro phát sinh do sử dụng nhiên liệu có điểm chớp cháy thấp gây ảnh hưởng đến người trên tàu, môi trường, độ bền kết cấu hoặc tính nguyên vẹn của con tàu được hướng đến. Phải xem xét các mối nguy hiểm liên quan tới bố trí về mặt vật lý, vận hành và duy trì, gây ra bởi các hư hỏng có thể dự đoán được một cách hợp lý.
4.2.2 Phạm vi của đánh giá rủi ro
Đối với các tàu áp dụng Chương 5 tới 15 của Phần này, việc đánh giá rủi ro quy định ở 4.2.1 chỉ cần được thực hiện nếu có yêu cầu cụ thể ở 5.10.5, 5.12.3, 6.4.1-1, 6.4.15-4(7)(b), 8.3.1-1, 13.4.1, 13.7 và 15.8.1(10) cũng như ở 4-4 và 6-8 của Phụ lục 6.4.16.
4.2.3 Phân tích và giảm rủi ro
Rủi ro phải được phân tích bằng các phương pháp phân tích rủi ro chấp nhận được và được công nhận, và việc mất chức năng, hư hỏng các thành phần, cháy, nổ và giật điện phải được xem xét là tối thiểu. Việc phân tích phải đảm bảo các rủi ro được loại trừ nếu có thể. Các rủi ro không được loại trừ thì cần phải được giảm nhẹ. Chi tiết của các rủi ro, và các biện phải để giảm nhẹ chúng phải được lập hồ sơ thỏa mãn yêu cầu của Đăng kiểm.
4.3 Giới hạn hậu quả của vụ nổ
4.3.1 Các yêu cầu chung
Một vụ nổ trong một không gian bất kỳ có chứa các nguồn rò rỉ và nguồn gây cháy tiềm ẩn phải không:
(1) Gây hư hại hoặc phá hỏng việc hoạt động đúng chức năng của các thiết bị/hệ thống trong các không gian mà không phải là không gian xảy ra sự cố;
(2) Gây hư hại tàu theo cách mà ngập các không gian dưới boong chính hoặc xảy ra ngập lan truyền;
(3) Gây hư hại khu vực làm việc hoặc sinh hoạt theo cách mà làm bị thương người ở trong các khu vực đó trong điều kiện vận hành bình thường;
(4) Phá hỏng việc hoạt động đúng chức năng của trạm điều khiển và buồng chứa bảng điện mà cần thiết cho việc phân phối điện;
(5) Gây hư hại thiết bị cứu sinh hoặc các thiết bị hạ có liên quan;
(6) Phá hỏng việc hoạt động đúng chức năng của thiết bị chữa cháy đặt bên ngoài không gian bị hư hại do nổ;
(7) Ảnh hưởng các khu vực khác của tàu theo cách mà có thể gây ra các phản ứng dây chuyền liên quan tới, nhưng không giới hạn, hàng hóa, khí và dầu nhiên liệu; hoặc
(8) Cản trở người tiếp cận thiết bị cứu sinh hoặc cản trở đường thoát nạn.
CHƯƠNG 5 THIẾT KẾ VÀ BỐ TRÍ TÀU
5.1 Mục tiêu
5.1.1 Quy định chung
Mục tiêu của Chương này là đưa ra các quy định đối với vị trí an toàn, bố trí không gian và bảo vệ cơ khí của thiết bị phát điện, hệ thống chứa nhiên liệu, thiết bị cấp nhiên liệu và hệ thống nạp nhiên liệu.
5.2 Yêu cầu về chức năng
5.2.1 Quy định chung
Chương này liên quan tới các yêu cầu về chức năng quy định ở 3.2.1 tới 3.2.3, 3.2.5, 3.2.6, 3.2.8, 3.2.12 tới 3.2.15 và 3.2.17. Ngoài ra, cần áp dụng 5.2.2.
5.2.2 Các yêu cầu bổ sung
1 Các két nhiên liệu phải được bố trí theo cách mà xác suất két đó bị hư hại do tàu va chạm hoặc mắc cạn được giảm tới mức tối thiểu, có tính đến cả sự vận hành an toàn tàu và các nguy hiểm khác mà có thể liên quan tới tàu.
2 Hệ thống chứa nhiên liệu, đường ống nhiên liệu và các nguồn rò rỉ nhiên liệu khác phải được đặt tại vị trí và bố trí sao cho khí bị rò rỉ được dẫn tới một vị trí an toàn ở môi trường khí hở.
3 Lối tiếp cận hoặc các lỗ khác dẫn tới các không gian chứa nguồn rò rỉ nhiên liệu phải được bố trí sao cho các khí dễ cháy, gây ngạt hoặc độc không thể thoát được đến các không gian mà không được thiết kế cho sự có mặt của các khí đó.
4 Ống nhiên liệu phải được bảo vệ chống lại các hư hại cơ khí.
5 Hệ thống đẩy tàu và cấp nhiên liệu phải được thiết kế sao cho hành động an toàn sau khi rò rỉ khí không dẫn đến việc mất nguồn điện không chấp nhận được.
6 Xác suất nổ do khí trong buồng máy có máy sử dụng nhiên liệu khí hoặc nhiên liệu có điểm chớp cháy thấp phải được giảm tối thiểu.
5.3 Các yêu cầu chung
5.3.1 Bảo vệ két nhiên liệu
Két nhiên liệu phải được bảo vệ chống lại các hư hại cơ khí.
5.3.2 Thông gió cho két nhiên liệu
Các két chứa nhiên liệu và thiết bị trên boong hở phải được đặt tại vị trí để đảm bảo đủ thông gió tự nhiên, sao cho hạn chế được việc tích tụ khí thoát ra.
5.3.3 Vị trí két nhiên liệu
Két nhiên liệu phải được bảo vệ không bị hư hại ở bên ngoài do tàu va chạm hoặc mắc cạn theo các cách dưới đây:
(1) Két nhiêu liệu phải được bố trí ở phía trong với khoảng cách tối thiểu bằng B'/5 hoặc 11,5 m, lấy giá trị nhỏ hơn, đo từ mạn tàu theo phương vuông góc với tâm tàu tại chiều cao của đường nước chở hàng mùa hè;
(2) Biên của két nhiên liệu phải được lấy là giới hạn ngoài cùng theo phương dọc, ngang và thẳng đứng của kết cấu két bao gồm cả các van của két;
(3) Đối với két rời, khoảng cách để bảo vệ phải được đo tới vỏ két (vách chắn sơ cấp của hệ thống chứa két). Đối với két màng, khoảng cách đó phải được đo tới các vách bao quanh lớp bọc của két;
(4) Trong mọi trường hợp, biên của két nhiên liệu phải không được đặt gần hơn tôn vỏ hoặc mút đuôi của tàu một khoảng cách bằng:
(i) Nếu Vc nhỏ hơn hoặc bằng 1.000 m3, 0,8 m;
(ii) Nếu 1.000 m3 < Vc < 5.000 m3, 0,75 + Vc x 0,2/4000 m;
(iii) Nếu 5.000 m3 ≤ Vc < 30.000 m3, 0,8 + Vc/25.000 m; và
(iv) Nếu Vc ≥ 30.000 m3, 2 m.
Trong đó, Vc ứng với 100% tổng thể tích thiết kế của từng két nhiên liệu ở 20°C, bao gồm cả phần vòm và phần nhô.
(5) Biên thấp nhất của két nhiên liệu phải được bố trí bên trên một khoảng cách tối thiểu bằng B'/15 hoặc 2,0 m, lấy giá trị nhỏ hơn, đo từ đường lý thuyết của tôn đáy tại dọc tâm;
(6) Đối với tàu nhiều thân, giá trị B' có thể phải được xem xét đặc biệt;
(7) Két nhiên liệu phải được bố trí phía sau vách chống va;
(8) Đối với các tàu có kết cấu tạo ra khả năng chống va và/hoặc mắc cạn cao hơn, quy định về vị trí của két nhiên liệu có thể được xem xét đặc biệt theo mục 1.2.
5.3.4 Vị trí khác của két nhiên liệu
Thay cho 5.3.3(1) trên, có thể sử dụng phương pháp tính toán dưới đây để xác định vị trí có thể chấp nhận được của két nhiên liệu:
(1) Giá trị fCN được tính toán như dưới đây phải nhỏ hơn 0,04. Giá trị fCN tính đến các hư hỏng do va chạm có thể xảy ra trong một vùng được giới hạn bởi các biên chỉ của két nhiên liệu chiếu lên phương dọc tàu, và không thể coi hoặc được sử dụng làm xác suất két nhiên liệu bị hư hỏng khi va chạm. Xác suất thực sẽ cao hơn khi tính đến hư hỏng lớn hơn mà bao gồm các vùng trước và sau két nhiên liệu.
(2) Giá trị fCN được tính theo công thức sau:
fCN = fl x ft x fv
Trong đó:
fl được tính toán bằng công thức cho hệ số p trong 2.4.1-1 Phần 9. Giá trị x1 phải tương ứng với khoảng cách từ mút sau của tàu tới biên sau cùng của két nhiên liệu và giá trị x2 phải tương ứng với khoảng cách từ mút sau của tàu tới biên phía trước của két nhiên liệu.
ft được tính toán bằng công thức cho hệ số r trong 2.4.1-2 Phần 9 và để đánh giá xác suất vết thủng xuyên qua biên ngoài của két nhiên liệu. Công thức được cho như dưới đây. Khi biên ngoài cùng của két nhiên liệu nằm ngoài giới hạn được cho bởi đường nước phân khoang sâu nhất, giá trị b phải được lấy bằng 0.
ft = 1-r(x1,x2,b)
fv được tính toán bằng công thức sau:
fv = 1,0 - 0,8x((H-d)/7,8) nếu (H-d) nhỏ hơn hoặc bằng 7,8 m. fv phải không được lấy lớn hơn 1.
fv = 0,2 - 0,2x((H-d)-7,8)/4,7. Trong mọi trường hợp khác, fv phải không được lấy nhỏ hơn 0.
Trong đó:
H là khoảng cách từ đường chuẩn, tính bằng m, tới biên thấp nhất của két nhiên liệu.
d là chiều chìm sâu nhất (chiều chìm tải trọng mùa hè).
(3) Biên của mỗi két nhiên liệu phải được lấy là giới hạn ngoài cùng nhất theo hướng dọc, ngang và thẳng đứng của kết cấu két, bao gồm cả các van của két.
(4) Đối với két rời, khoảng cách để bảo vệ phải được đo tới vỏ két (vách chắn sơ cấp của hệ thống chứa két). Đối với két màng, khoảng cách đó phải được đo tới các vách bao quanh lớp bọc của két
(5) Trong mọi trường hợp, biên của két nhiên liệu phải không được đặt gần hơn tôn vỏ hoặc mút đuôi của tàu một khoảng cách bằng:
(i) Nếu Vc nhỏ hơn hoặc bằng 1.000 m3, 0,8 m;
(ii) Nếu 1.000 m3 < Vc < 5.000 m3, 0,75 + Vc x 0,2/4000 m;
(iii) Nếu 5.000 m3 ≤ Vc < 30.000 m3, 0,8 + Vc/25.000 m; và
(iv) Nếu Vc ≥ 30.000 m3, 2 m.
Trong đó, Vc ứng với 100% tổng thể tích thiết kế của từng két nhiên liệu ở 20°C, bao gồm cả phần vòm và phần nhô.
(6) Trong trường hợp nhiều hơn 1 két không chồng lấn được bố trí theo phương dọc, fCN phải được tính toán như ở (2) đối với mỗi két riêng biệt. Giá trị sử dụng cho toàn bộ bố trí két nhiên liệu là tổng của tất cả các giá trị fCN tính cho mỗi két riêng biệt.
(7) Trong trường hợp két được bố trí không đối xứng theo mặt phẳng dọc tâm tàu, giá trị fCN phải được tính cho cả mạn trái và phải và phải sử dụng giá trị trung bình để đánh giá. Khoảng cách tối thiểu như đã nêu ở (5) phải được thỏa mãn ở cả hai mạn.
(8) Đối với các tàu có kết cấu tạo ra khả năng chống va và/hoặc mắc cạn cao hơn, quy định về vị trí của két nhiên liệu có thể được xem xét đặc biệt theo mục 1.2.
5.3.5 Bảo vệ khoang chứa nhiên liệu
Khi nhiên liệu được chở trong hệ thống chứa nhiên liệu đòi hỏi phải có vách chắn thứ cấp toàn bộ hoặc một phần thì:
(1) Khoang chứa nhiên liệu phải được cách ly với biển bằng đáy đôi; và
(2) Tàu cũng phải có vách dọc để tạo thành các két mạn.
5.4 Khái niệm buồng máy
5.4.1 Quy định chung
Để giảm tối đa xác suất nổ do khí trong buồng máy có chứa máy sử dụng nhiên liệu khí, phải áp dụng một trong hai khái niệm khác nhau như nêu ở (1) hoặc (2) dưới đây:
(1) Buồng máy an toàn khí: Việc bố trí trong buồng máy phải sao cho không gian đó được coi là an toàn khí trong mọi điều kiện, điều kiện bình thường cũng như là không bình thường, ví dụ trường hợp vốn dĩ đã an toàn khí. Trong buồng máy an toàn khí, một hư hỏng đơn lẻ không thể dẫn đến việc rò rỉ nhiên liệu khí vào buồng máy.
(2) Buồng máy được bảo vệ bằng ESD: Việc bố trí trong buồng máy phải sao cho không gian đó được coi là không nguy hiểm trong điều kiện bình thường, nhưng trong điều kiện không bình thường nào đó thì có thể tiềm ẩn nguy hiểm. Trong các điều kiện không bình thường liên quan đến các nguy hiểm về khí, ESD của thiết bị không an toàn (nguồn gây cháy) và máy phải được thực hiện tự động trong khi các thiết bị và máy đang sử dụng hoặc hoạt động trong toàn bộ điều kiện này phải được chứng nhận kiểu an toàn. Trong buồng máy được bảo vệ ESD, một hư hỏng đơn lẻ có thể gây rò rỉ khí vào không gian đó. Thông hơi phải được thiết kế để phù hợp với một kịch bản rò rỉ lớn nhất có thể xảy ra do hư hỏng kỹ thuật. Hư hỏng dẫn tới sự tích tụ khí nguy hiểm, ví dụ ống dẫn khí bị đứt hoặc bay mất gioăng, được đảm bảo bởi thiết bị giảm áp suất nổ và bố trí ESD.
5.5 Buồng máy an toàn khí
5.5.1 Ngăn ngừa rò rỉ khí
Một hư hỏng đơn lẻ trong hệ thống nhiên liệu phải không dẫn đến rò rỉ khí vào buồng máy.
5.5.2 Ống nhiên liệu
Tất cả các ống nhiên liệu trong phạm vi các biên của buồng máy phải được bọc kín trong một vỏ bọc kín khí phù hợp với các quy định ở 9.6.
5.6 Buồng máy được bảo vệ bằng ESD
5.6.1 Áp dụng
Bảo vệ bằng ESD phải được giới hạn trong buồng máy, trong đó hệ thống theo dõi và điều khiển cho buồng máy không có người trực định kỳ được trang bị phù hợp với QCVN 60/2013:BGTVT.
5.6.2 Biện pháp bảo vệ
Phải áp dụng các biện pháp để bảo vệ phòng nổ, hư hại các khu vực bên ngoài buồng máy và đảm bảo sự dự phòng của nguồn cấp điện. Phải có các bố trí nhưng không giới hạn ở từ (1) tới (4) dưới đây:
(1) Thiết bị phát hiện khí;
(2) Van đóng;
(3) Dự phòng; và
(4) Thông gió đủ.
5.6.3 Ống cấp khí
Ống cấp khí trong buồng máy có thể được chấp nhận mà không cần vỏ bọc kín khí bên ngoài với các điều kiện dưới đây:
(1) Động cơ tạo sức đẩy và phát điện phải được bố trí ở trong từ hai buồng máy trở lên mà không có đường biên chung trừ khi có tài liệu được đưa ra để chứng minh rằng một tổn thất đơn lẻ sẽ không ảnh hưởng tới cả hai buồng máy.
(2) Buồng máy chạy bằng khí chỉ được chứa một số lượng tối thiểu các thiết bị, thành phần và hệ thống thật sự cần thiết để đảm bảo máy chạy bằng khí duy trì được đúng chức năng của nó.
(3) Phải có hệ thống phát hiện khí cố định được bố trí để tự động ngắt nguồn cấp khí, và ngắt kết nối tất cả các thiết bị điện hoặc hệ thống không được chứng nhận kiểu an toàn.
5.6.4 Phân bố các động cơ
Việc phân bố động cơ giữa các buồng máy khác nhau phải sao cho khi đóng nguồn cấp nhiên liệu cho bất kỳ một buồng máy nào thì không dẫn tới mất nguồn điện không chấp nhận được.
5.6.5 Độ bền của buồng máy
Các buồng máy được bảo vệ bằng ESD phân cách với nhau bằng các vách đơn phải có đủ độ bền để chịu được ảnh hưởng của một vụ nổ khí cục bộ ở một trong các buồng máy mà không ảnh hưởng đến sự nguyên vẹn của buồng máy liền kề cùng với các thiết bị trong buồng máy đó.
5.6.6 Hình dạng của buồng máy
Các buồng máy được bảo vệ bằng ESD phải được thiết kế có dạng hình học sao cho giảm thiểu được sự tích tụ khí hoặc sự hình thành của các túi khí.
5.6.7 Hệ thống thông gió
Hệ thống thông gió của buồng máy được bảo vệ bằng ESD phải được bố trí phù hợp với 13.5.
5.7 Vị trí và bảo vệ ống nhiên liệu
5.7.1 Khoảng cách tới mạn tàu
Ống nhiên liệu phải không được đặt tại vị trí các mạn tàu nhỏ hơn 800 mm.
5.7.2 Đường ống
Đường ống nhiên liệu phải không được dẫn trực tiếp qua khu vực sinh hoạt, buồng phục vụ, buồng chứa thiết bị điện hoặc trạm điều khiển.
5.7.3 Các không gian cần phải bảo vệ ống nhiên liệu
Ống nhiên liệu đi qua không gian ro-ro, không gian loại đặc biệt và trên boong hở phải được bảo vệ chống hư hại cơ khí.
5.7.4 Vị trí của đường ống nhiên liệu khí trong buồng máy được bảo vệ bằng ESD
Đường ống nhiên liệu khí trong buồng máy được bảo vệ bằng ESD phải được bố trí cách xa các thiết bị điện và các két chứa chất lỏng dễ cháy đến mức có thể.
5.7.5 Bảo vệ đường ống nhiên liệu khí trong buồng máy được bảo vệ bằng ESD
Đường ống nhiên liệu khí trong buồng máy được bảo vệ bằng ESD phải được bảo vệ chống lại các hư hỏng cơ khí.
5.8 Thiết kế buồng chuẩn bị nhiên liệu
Buồng chuẩn bị nhiên liệu phải được bố trí trên boong hở, trừ khi các buồng đó được bố trí và trang bị phù hợp với các yêu cầu trong Phần này đối với buồng đầu nối két.
5.9 Hệ thống hút khô
5.9.1 Cách ly hệ thống hút khô
Hệ thống hút khô trong các khu vực mà có sự có mặt của các nhiên liệu được quy định trong Phần này phải được cách ly với hệ thống hút khô của các khoang mà không có các loại nhiên liệu đó.
5.9.2 Hệ thống tiêu thoát
Nếu nhiên liệu được chở trong hệ thống chứa nhiên liệu mà yêu cầu phải có vách chắn thứ cấp, cần phải bố trí các thiết bị tiêu thoát phù hợp để xử lý chất lỏng rò rỉ vào khoang hoặc không gian lớp bọc qua các kết cấu tàu liền kề.
5.9.3 Hệ thống tiêu thoát cho nhiên liệu lỏng
Khoang hoặc không gian giữa các lớp chắn của két rời loại A chứa khí hóa lỏng phải được bố trí hệ thống tiêu thoát phù hợp để xử lý các loại nhiên liệu lỏng trong tình huống két nhiên liệu bị rò hoặc vỡ.
5.10 Khay hứng
5.10.1 Yêu cầu về bố trí
Khay hứng phải được trang bị nếu có thể xảy ra rò rỉ dẫn đến hư hỏng cho kết cấu tàu hoặc nếu cần giới hạn khu vực bị ảnh hưởng bởi rò rỉ.
5.10.2 Vật liệu
Khay hứng phải được chế tạo bằng vật liệu phù hợp.
5.10.3 Bảo vệ nhiệt
Trong trường hợp nhiên liệu lỏng rò rỉ, khay hứng phải được bọc cách nhiệt so với kết cấu tàu sao cho các kết cấu của thân tàu hoặc boong xung quanh khay hứng không bị tiếp xúc với việc làm mát quá mức.
5.10.4 Van xả
Mỗi khay hứng phải có một van xả để xả nước mưa ra ngoài mạn tàu.
5.10.5 Đánh giá rủi ro
Mỗi khay hứng phải có đủ dung tích để đảm bảo có thể xử lý được lượng rò rỉ lớn nhất theo đánh giá rủi ro.
5.11 Bố trí lối vào và các lỗ khoét khác trong không gian kín
5.11.1 Tiếp cận khu vực nguy hiểm
Không được bố trí lối tiếp cận trực tiếp từ khu vực không nguy hiểm vào khu vực nguy hiểm. Nếu các lỗ khoét tiếp cận là cần thiết vì lý do vận hành thì phải bố trí khóa khí phù hợp với 5.12.
5.11.2 Tiếp cận buồng chuẩn bị nhiên liệu dưới boong
Nếu buồng chuẩn bị nhiên liệu được thẩm định cho phép nằm dưới boong, buồng đó phải có một lối tiếp cận độc lập đến mức có thể trực tiếp từ boong hở. Nếu không thể bố trí một lối tiếp cận riêng biệt từ boong hở thì phải bố trí khóa khí phù hợp với 5.12.
5.11.3 Tiếp cận buồng đầu nối két
Trừ khi lối tiếp cận buồng đầu nối két là độc lập và trực tiếp từ boong hở, lối tiếp cận đó phải được bố trí nắp hầm siết bằng bu lông. Không gian chứa nắp hầm siết bằng bu lông sẽ được coi là không gian nguy hiểm.
5.11.4 Tiếp cận buồng máy được bảo vệ bằng ESD
Nếu lối tiếp cận buồng máy được bảo vệ bằng ESD là từ một không gian kín khác trên tàu thì lối vào phải được bố trí khóa khí thỏa mãn 5.12.
5.11.5 Tiếp cận các khoang được làm trơ
Đối với các khoang được làm trơ, bố trí lối tiếp cận phải sao cho ngăn chặn không cho con người vô tình đi vào. Nếu lối tiếp cận các khoang đó không đi từ boong hở, các thiết bị làm kín phải đảm bảo ngăn không cho khí trơ rò rỉ vào khoang liền kề.
5.12 Khóa khí
5.12.1 Kết cấu
Khóa khí là một không gian bao quanh bởi các vách kín khí được bố trí hai cửa kín khí đáng kể cách nhau ít nhất 1,5 m và không quá 2,5 m. Trừ khi phải áp dụng các yêu cầu ở Chương 16 tới 18 Phần 2A, chiều cao ngưỡng cửa phải không nhỏ hơn 300 mm. Các cửa phải là loại tự đóng mà không có thiết bị giữ lại.
5.12.2 Thông gió cơ khí
Khóa khí phải được thông gió cơ khí với áp suất lớn hơn so với các khu vực hoặc không gian nguy hiểm liền kề.
5.12.3 Thiết kế
Khóa khí phải được thiết kế theo cách sao cho khí không thể bị rò rỉ vào không gian an toàn trong trường hợp xảy ra tình huống xấu nhất trong không gian có khí nguy hiểm được ngăn cách bằng khóa khí. Tình huống đó phải được đánh giá trong phân tích rủi ro nêu ở 4.2.
5.12.4 Hình dạng
Khóa khí phải có dạng hình học đơn giản. Chúng phải tạo thành lối đi thoải mái và dễ dàng, và phải có diện tích sàn không nhỏ hơn 1,5 m2. Khóa khí phải không được sử dụng cho các mục đích khác, ví dụ như làm kho.
5.12.5 Báo động bằng âm thanh và ánh sáng
Phải trang bị hệ thống báo động bằng âm thanh và ánh sáng để đưa ra cảnh báo ở cả hai phía của khóa khí nhằm chỉ báo trong trường hợp nhiều hơn một cửa dịch chuyển khỏi trạng thái đóng.
5.12.6 Hạn chế tiếp cận
Đối với không gian không nguy hiểm có lối vào từ không gian nguy hiểm dưới boong, trong đó lối vào được bảo vệ bằng khóa khí, nếu không gian nguy hiểm bị mất trạng thái áp suất thấp thì việc tiếp cận không gian đó phải được hạn chế cho tới khi thông gió đã được phục hồi. Phải có báo động bằng âm thanh và ánh sáng tại vị trí có người trực để chỉ báo việc bị mất áp suất và cửa của khóa khí mở khi áp suất bị mất.
5.12.7 Các thiết bị an toàn cần thiết
Thiết bị cần thiết cho an toàn phải không bị ngắt nguồn cấp và phải là kiểu được chứng nhận an toàn. Các thiết bị này có thể bao gồm ánh sáng, thiết bị phát hiện cháy, hệ thống truyền thông công cộng và báo động chung.
CHƯƠNG 6 HỆ THỐNG CHỨA NHIÊN LIỆU
6.1 Mục tiêu
6.1.1 Quy định chung
Mục tiêu của Chương này là đưa ra các quy định sao cho việc chứa khí là đủ để giảm thiểu rủi ro cho người, tàu và môi trường tới mức tương đương với tàu chạy bằng nhiên liệu dầu thông thường.
6.2 Yêu cầu về chức năng
6.2.1 Yêu cầu về chức năng
Chương này liên quan tới các yêu cầu về chức năng nêu ở 3.2.1, 3.2.2, 3.2.5 và 3.2.8 tới 3.2.17. Cụ thể, phải áp dụng cách yêu cầu sau:
6.2.2 Yêu cầu bổ sung
1 Hệ thống chứa nhiên liệu phải được thiết kế sao cho nhiên liệu rò rỉ từ két hoặc từ đường ống nối không gây nguy hiểm cho tàu, người trên tàu hoặc là môi trường. Các nguy hiểm tiềm ẩn cần phải tránh bao gồm:
(1) Vật liệu thân tàu tiếp xúc với nhiệt độ thấp hơn giới hạn cho phép;
(2) Nhiên liệu dễ cháy lan tới các vị trí có nguồn gây cháy;
(3) Các độc tố tiềm ẩn và nguy cơ thiếu hụt ô xy do nhiên liệu và khí trơ;
(4) Việc tiếp cận tới trạm tập trung, lối thoát và thiết bị cứu sinh bị hạn chế; và
(5) Giảm sự sẵn sàng của thiết bị cứu sinh.
2 Áp suất và nhiệt độ trong két nhiên liệu phải được giữ trong các giới hạn thiết kế của hệ thống chứa và các yêu cầu để có thể vận chuyển của nhiên liệu.
3 Hệ thống chứa nhiên liệu phải được thiết kế sao cho hành động an toàn sau khi rò rỉ khí không dẫn đến việc mất nguồn điện không chấp nhận được; và
4 Nếu các két xách tay được sử dụng để chứa nhiên liệu, thiết kế của hệ thống chứa nhiên liệu phải tương đương với két lắp cố định như quy định trong Chương này.
6.3 Các yêu cầu chung
6.3.1 Quy định chung
1 Khí tự nhiên ở trạng thái lỏng có thể được chứa với MARVS tới 1,0 MPa.
2 Áp suất làm việc lớn nhất cho phép của két chứa nhiên liệu khí phải không lớn hơn 90% MARVS.
3 Hệ thống chứa nhiên liệu ở dưới boong phải kín khí với các không gian liền kề.
4 Liên kết giữa các két, phụ tùng két, bích nối và van của két phải nằm kín bên trong không gian kín khí nối các két, trừ khi liên kết các két nằm trên boong hở. Không gian đó phải có thể chứa đựng an toàn nhiên liệu rò rỉ từ các két trong trường hợp có sự rò rỉ ở liên kết các két.
5 Liên kết bằng ống tới các két chứa nhiên liệu phải nằm trên mức chất lỏng cao nhất trong két, trừ két chứa nhiên liệu kiểu C. Tuy nhiên, liên kết nằm dưới mức nhiên liệu cao nhất có thể được chấp nhận cho các kiểu két khác sau khi được Đăng kiểm xem xét đặc biệt.
6 Đường ống giữa két và van thứ nhất mà để thoát chất lỏng trong trường hợp ống bị hỏng phải có tính an toàn tương đương với két kiểu C, với ứng suất động không vượt quá giá trị quy định ở 6.4.15-3(1)(b).
7 Vật liệu của các vách của buồng đầu nối két phải có nhiệt độ thiết kế tương ứng với nhiệt độ thấp nhất mà nó có thể phải chịu trong kịch bản rò rỉ lớn nhất có thể xảy ra. Buồng đầu nối két phải được thiết kế để chịu được áp suất lớn nhất xảy ra trong quá trình rò rỉ. Nếu không, có thể bố trí thông hơi giảm áp tới một vị trí an toàn (trên cột).
8 Rò rỉ lớn nhất có thể xảy ra vào không gian chứa két phải được xác định dựa trên thiết kế chi tiết, hệ thống phát hiện và ngắt.
9 Nếu đường ống được nối vào dưới mức chất lỏng trong két thì nó phải được bảo vệ bằng vách chắn thứ cấp lên tới van thứ nhất.
10 Nếu két chứa nhiên liệu khí hóa lỏng nằm trên boong hở thì thép thân tàu phải được bảo vệ chống lại các rò rỉ có thể xảy ra từ liên kết các két và từ các nguồn rò rỉ khác bằng cách sử dụng khay hứng. Vật liệu của khay hứng phải có nhiệt độ thiết kế tương ứng với nhiệt độ của nhiên liệu được chở tại áp suất khí quyển. Áp suất làm việc bình thường của két phải được xem xét để bảo vệ kết cấu thép của tàu.
11 Phải có phương tiện để khí hóa lỏng trong két chứa có thể được đưa hết ra một cách an toàn.
12 Phải có thể rút hết, lọc sạch và thông hơi cho két chứa nhiên liệu bằng hệ thống đường ống nhiên liệu. Trên tàu phải có hướng dẫn để thực hiện các quy trình này. Phải thực hiện làm trơ bằng khí trơ trước khi thông hơi bằng khí khô để tránh nguy hiểm do nổ không khí trong két và trong ống nhiên liệu. Xem thêm các yêu cầu chi tiết ở 6.10.
6.4 Chứa nhiên liệu khí hóa lỏng
6.4.1 Quy định chung
1 Việc đánh giá rủi ro quy định ở 4.2 phải bao gồm đánh giá hệ thống chứa nhiên liệu khí hóa lỏng của tàu, và có thể dẫn đến các biện pháp an toàn bổ sung để tích hợp vào thiết kế tổng thể của tàu.
2 Tuổi thọ thiết kế của hệ thống cố định chứa nhiên liệu khí hóa lỏng phải không nhỏ hơn tuổi thọ thiết kế của tàu hoặc 20 năm, lấy giá trị lớn hơn.
3 Tuổi thọ thiết kế của các két xách tay phải không nhỏ hơn 20 năm.
4 Hệ thống chứa nhiên liệu khí hóa lỏng phải được thiết kế phù hợp với điều kiện môi trường vùng biển Bắc Đại Tây Dương và biểu đồ điểm của tình trạng biển dài hạn có liên quan đối với cấp không hạn chế. Yêu cầu về điều kiện môi trường thấp hơn, phù hợp với khai thác dự kiến, có thể được Đăng kiểm chấp nhận đối với hệ thống chứa nhiên liệu khí hóa lỏng chỉ sử dụng cho cấp hạn chế. Yêu cầu về điều kiện môi trường cao hơn có thể phải được tính đến đối với hệ thống chứa nhiên liệu khí hóa lỏng hoạt động trong điều kiện khắc nghiệt hơn vùng biển Bắc Đại Tây Dương. (Tham khảo khuyến nghị No.34 của IACS Điều kiện môi trường của vùng biển Bắc Đại Tây Dương, đề cập đến các điều kiện sóng. Nhiệt độ giả định được sử dụng để xác định chất lượng vật liệu phù hợp liên quan đến nhiệt độ thiết kế và là vấn đề khác không được đề cập đến trong mục -4 này).
5 Hệ thống chứa nhiên liệu khí hóa lỏng phải được thiết kế với hệ số an toàn phù hợp:
(1) Để chịu được, ở trạng thái tĩnh, điều kiện môi trường dự kiến đối với tuổi thọ thiết kế của hệ thống chứa nhiên liệu khí hóa lỏng và các trạng thái tải trọng phù hợp với chúng, trong đó phải bao gồm trạng thái chứa đầy đồng nhất và chứa một phần và chứa một phần ở mức trung gian bất kỳ; và
(2) Phù hợp với sự không chắc chắn trong việc xác định tải trọng, mô phỏng kết cấu, mỏi, ăn mòn, ảnh hưởng nhiệt, tính thay đổi của vật liệu, lão hóa và dung sai của kết cấu.
6 Độ bền kết cấu của hệ thống chứa nhiên liệu khí hóa lỏng phải được đánh giá đối với chế độ phá hủy, bao gồm nhưng không giới hạn biến dạng dẻo, mất ổn định nén và mỏi. Điều kiện thiết kế cụ thể mà phải xét đến khi thiết kế hệ thống chứa nhiên liệu khí hóa lỏng được quy định ở mục 6.4.15. Điều kiện thiết kế được chia thành ba nhóm chính:
(1) Điều kiện thiết kế tới hạn - Kết cấu và các chi tiết kết cấu của hệ thống chứa nhiên liệu khí hóa lỏng phải chịu được các tải trọng có thể xảy ra trong quá trình chế tạo, thử và trong điều kiện khai thác dự kiến mà không bị mất tính nguyên vẹn kết cấu. Thiết kế đó phải tính đến sự kết hợp phù hợp của các tải trọng dưới đây:
(a) Áp suất bên trong;
(b) Áp suất bên ngoài;
(c) Tải trọng động do chuyển động của tàu trong mọi trạng thái tải trọng;
(d) Tải trọng nhiệt;
(e) Tải trọng va đập của chất lỏng;
(f) Tải trọng do võng tàu;
(g) Trọng lượng của két và nhiên liệu khí hóa lỏng cùng với phản lực tại vị trí đỡ;
(h) Trọng lượng của lớp bọc;
(i) Tải trọng ở khu vực các tháp và các liên kết các; và
(j) Tải trọng thử.
(2) Điều kiện thiết kế mỏi - Kết cấu và các chi tiết kết cấu của hệ thống chứa nhiên liệu khí hóa lỏng phải không bị phá hủy bởi tải trọng tích lũy theo chu kỳ.
(3) Điều kiện thiết kế bất thường - Hệ thống chứa nhiên liệu khí hóa lỏng phải thỏa mãn từng điều kiện thiết kế bất thường như dưới đây (trường hợp tai nạn hoặc không bình thường), được chỉ ra trong Phần này:
(a) Đâm va - Hệ thống chứa nhiên liệu khí hóa lỏng phải chịu được tải trọng do đâm va quy định ở 6.4.9-5(a) mà không dẫn đến biến dạng của kết cấu đỡ hoặc kết cấu két ở khu vực kết cấu đỡ mà có thể dẫn đến nguy hiểm cho két và kết cấu đỡ của két;
(b) Cháy - Hệ thống chứa nhiên liệu khí hóa lỏng phải được duy trì mà không bị vỡ do tăng áp suất bên trong được quy định ở 6.7.3-1 trong kịch bản cháy dự tính xảy ra;
(c) Khoang bị ngập tạo ra lực nổi tác dụng lên két - Các bố trí chống nổi phải chống lại được lực hướng lên được chỉ ra ở 6.4.9-5(b) và phải không có biến dạng dẻo gây nguy hiểm cho thân tàu. Biến dạng dẻo có thể xảy ra trong hệ thống chứa nhiên liệu miễn là nó không gây nguy hiểm cho việc sơ tán an toàn khỏi tàu.
7 Phải áp dụng các biện pháp để đảm bảo quy cách kết cấu thỏa mãn các yêu cầu về độ bền và được duy trì trong suốt tuổi thọ thiết kế. Các biện pháp này có thể bao gồm nhưng không giới hạn về việc lựa chọn vật liệu, sơn phủ, lượng dư ăn mòn, bảo vệ bằng ca tốt và làm trơ.
8 Phải xây dựng một kế hoạch kiểm tra được Đăng kiểm thẩm định đối với hệ thống chứa nhiên liệu khí hóa lỏng. Kế hoạch kiểm tra phải nêu ra các hạng mục kiểm tra và/hoặc đánh giá xác nhận ở các lần kiểm tra trong suốt tuổi thọ của hệ thống chứa nhiên liệu khí hóa lỏng và, cụ thể là, bất cứ công việc kiểm tra, bảo dưỡng và thử cần thiết mà đã được tính đến khi lựa chọn các thông số thiết kế của hệ thống chứa nhiên liệu khí hóa lỏng. Kế hoạch kiểm tra có thể bao gồm các vị trí tới hạn cụ thể như nêu ở 6.4.12(2)(h) hoặc 6.4.12(2)(i).
9 Hệ thống chứa nhiên liệu khí hóa lỏng phải được thiết kế, chế tạo và trang bị để có đủ phương tiện tiếp cận các khu vực cần kiểm tra như chỉ ra trong kế hoạch kiểm tra. Hệ thống chứa nhiên liệu khí hóa lỏng, bao gồm tất cả các thiết bị có liên quan ở bên trong, phải được thiết kế và chế tạo để đảm bảo an toàn trong quá trình vận hành, kiểm tra và bảo dưỡng.
6.4.2 Nguyên tắc an toàn của việc chứa nhiên liệu khí hóa lỏng
1 Hệ thống chứa phải có một vách chắn thứ cấp hoàn chỉnh kín chất lỏng có thể chứa một cách an toàn mọi sự rò rỉ có thể xảy ra qua vách chắn sơ cấp và, liên quan tới hệ thống bọc cách nhiệt, ngăn không cho nhiệt độ của kết cấu thân tàu giảm tới mức không an toàn.
2 Kích cỡ và cấu tạo hoặc việc bố trí của vách chắn thứ cấp có thể được giảm hoặc bỏ qua khi chứng minh được mức độ an toàn tương đương theo yêu cầu ở -3 và -5, nếu có thể áp dụng.
3 Hệ thống chứa nhiên liệu khí hóa lỏng mà đã xác định được xác suất hư hỏng kết cấu dẫn đến trạng thái tới hạn là cực kỳ thấp nhưng khi xác suất rò rỉ qua vách chắn sơ cấp không thể được loại trừ thì phải được trang bị vách chắn thứ cấp một phần và hệ thống phát hiện rò rỉ nhỏ với khả năng xử lý và loại bỏ rò rỉ một cách an toàn (trạng thái tới hạn là khi vết nứt phát triển thành tình trạng không ổn định).
Việc bố trí phải thỏa mãn các yêu cầu sau:
(1) Sự phát triển hư hỏng mà có thể phát hiện một cách tin cậy trước khi đạt tới trạng thái tới hạn (ví dụ bằng việc phát hiện khí hoặc kiểm tra khí) thì phải có thời gian phát triển đủ dài để thực hiện hành động khắc phục; và
(2) Sự phát triển hư hỏng mà không thể phát hiện một cách an toàn trước khi đạt tới trạng thái tới hạn thì phải có thời gian phát triển được dự tính lâu hơn nhiều so với tuổi thọ được mong đợi của két.
4 Không cần vách chắn thứ cấp đối với hệ thống chứa nhiên liệu khí hóa lỏng, ví dụ két rời kiểu C, nếu xác suất hư hỏng kết cấu và rò rỉ qua vách chắn sơ cấp là cực kỳ thấp và có thể bỏ qua.
5 Đối với két rời phải có vách chắn thứ cấp một phần hoặc toàn phần thì phải có phương tiện để loại bỏ rò rỉ một cách an toàn.
6.4.3 Vách chắn thứ cấp liên quan đến kiểu két
Vách chắn thứ cấp liên quan đến kiểu két được định nghĩa ở 6.4.15 phải được thực hiện theo Bảng sau:
Bảng 8I/6.1 Kiểu két và vách chắn thứ cấp
|
Kiểu két cơ bản |
Yêu cầu đối với vách chắn thứ cấp |
|
Màng |
Toàn phần |
|
Rời |
|
|
Kiểu A |
Toàn phần |
|
Kiểu B |
Một phần |
|
Kiểu C |
Không cần |
6.4.4 Thiết kế vách chắn thứ cấp
Thiết kế vách chắn thứ cấp, bao gồm sương nước bảo vệ nếu có, phải sao cho:
(1) Có khả năng chứa nhiên liệu khí hóa lỏng rò rỉ theo dự tính trong khoảng thời gian 15 ngày trừ khi áp dụng tiêu chuẩn khác cho các chuyến đi cụ thể, có tính đến phổ tải trọng nêu ở 6.4.12(2)(f);
(2) Sự cố mang tính chất vật lý, cơ học hoặc vận hành trong két nhiên liệu khí hóa lỏng mà có thể dẫn đến hư hỏng vách chắn sơ cấp thì phải không được ảnh hưởng đến chức năng thiết kế của vách chắn thứ cấp, hoặc ngược lại;
(3) Hư hỏng của cơ cấu đỡ hoặc liên kết với kết cấu thân tàu sẽ không làm mất tính kín chất lỏng của cả vách chắn sơ cấp và thứ cấp;
(4) Có thể kiểm tra sự hữu hiệu của nó theo chu kỳ bằng mắt thường hoặc các phương tiện phù hợp khác được Đăng kiểm chấp nhận;
(5) Các phương pháp nêu ở (4) phải được Đăng kiểm thẩm định và phải bao gồm, ở mức tối thiểu:
(a) Chi tiết về kích cỡ hư hỏng có thể được chấp nhận và vị trí của nó ở vách chắn thứ cấp, trước khi tính kín chất lỏng hữu bị ảnh hưởng;
(b) Độ chính xác và phạm vi các giá trị của phương pháp được đề ra nhằm phát hiện hư hỏng ở (a) nói trên;
(c) Phải sử dụng hệ số tỷ lệ trong việc xác định tiêu chuẩn chấp nhận nếu không thực hiện thử mô hình kích thước thật; và
(d) Ảnh hưởng của tải trọng do nhiệt và tải trọng cơ khí theo chu kỳ lên hiệu quả của việc thử được đề ra.
(6) Vách chắn thứ cấp phải đảm bảo các yêu cầu về chức năng ở góc nghiêng tĩnh bằng 30°.
6.4.5 Hệ thống phát hiện rò rỉ nhỏ của vách chắn thứ cấp một phần và vách chắn sơ cấp
1 Vách chắn thứ cấp một phần như quy định ở 6.4.2-3 phải được sử dụng cùng với hệ thống phát hiện rò rỉ nhỏ và thỏa mãn các quy định ở 6.4.4. Hệ thống phát hiện rò rỉ nhỏ phải bao gồm các phương tiện để phát hiện rò rỉ ở vách chắn sơ cấp, có các trang bị như sương nước bảo vệ để làm chệnh hướng nhiên liệu khí hóa lỏng đi xuống vào trong vách chắn thứ cấp một phần, và các phương tiện để loại bỏ chất lỏng mà có thể là bởi bốc hơi tự nhiên.
2 Dung tích của vách chắn thứ cấp một phần phải được xác định dựa trên sự rò rỉ nhiên liệu khí hóa lỏng tương ứng với phạm vi của hư hỏng gây ra bởi phổ tải trọng nêu ở 6.4.12(2)(f) sau khi ban đầu phát hiện được rò rỉ chính. Có thể phải quan tâm thích đáng đến bốc hơi của chất lỏng, tốc độ rò rỉ, công suất bơm và các yếu tố khác có liên quan.
3 Việc phát hiện rò rỉ của chất lỏng được quy định có thể bằng các phương tiện cảm biến chất lỏng, hoặc bằng cách sử dụng hữu hiệu hệ thống phát hiện áp suất, nhiệt độ hoặc khí, hoặc sự kết hợp của các phương tiện vừa nêu.
4 Đối với két rời mà hình dáng hình học của nó làm cho không xác định được rõ ràng vị trí rò rỉ để dồn lại thì vách chắn thứ cấp một phần cũng phải đảm bảo các yêu cầu về chức năng của nó ở góc chúi tĩnh không đáng kể.
6.4.6 Bố trí các cơ cấu đỡ
1 Két nhiên liệu khí hóa lỏng phải được đỡ bởi thân tàu theo cách mà ngăn chặn được chuyển động của thân két dưới tác dụng của tải trọng tĩnh và động nêu ở 6.4.9-2 tới -5, trong trường hợp có thể áp dụng, trong khi vẫn cho phép két có thể co vào hoặc giãn ra dưới tác dụng của biến đổi nhiệt độ và võng thân tàu mà không dẫn đến ứng suất quá lớn trong két và thân tàu.
2 Phải có phương tiện chống nổi cho két rời và có thể chịu được các tải trọng nêu ở 6.4.9-5(b) mà không bị biến dạng dẻo có thể gây nguy hiểm cho kết cấu thân tàu.
3 Các cơ cấu đỡ và bố trí đỡ phải chịu được các tải trọng nêu ở 6.4.9-3(3)(h) và 6.4.9-5, nhưng các tải trọng này không cần phải kết hợp với nhau hoặc kết hợp với tải trọng do sóng gây ra.
6.4.7 Kết cấu và thiết bị liên quan
Hệ thống chứa nhiên liệu khí hóa lỏng phải được thiết kế cho các tải trọng gây ra bởi kết cấu và thiết bị có liên quan. Chúng bao gồm tháp bơm, vòm nhiên liệu khí hóa lỏng, bơm nhiên liệu khí hóa lỏng và đường ống, bơm hút vét và đường ống, đường ống khí ni tơ, miệng lối tiếp cận, thang, phần xuyên vào của ống, thiết bị đo mức chất lỏng, thiết bị báo động mức chất lỏng độc lập, họng phun sương nước, và hệ thống thiết bị đo (như là thiết bị đo áp suất, nhiệt độ và sức căng).
6.4.8 Bọc cách nhiệt
Việc bọc cách nhiệt phải được thực hiện để bảo vệ thân tàu khỏi nhiệt độ thấp hơn nhiệt độ cho phép (xem 6.4.13-1(1)) và hạn chế lượng nhiệt vào két tới mức mà có thể được duy trì bằng hệ thống kiểm soát áp suất và nhiệt độ quy định ở 6.9.
6.4.9 Tải trọng thiết kế
1 Quy định chung
(1) Mục này đưa ra các tải trọng thiết kế mà phải được xem xét liên quan đến các quy định ở 6.4.10 và 6.4.12. Nó bao gồm các nhóm (cố định, chức năng, môi trường và sự cố) và mô tả của các tải trọng.
(2) Phạm vi xem xét của các tải trọng này phụ thuộc vào kiểu két, và được quy định chi tiết hơn ở các mục sau.
(3) Các két cùng với cơ cấu đỡ của chúng và các chi tiết cố định phải được thiết kế có tính đến sự kết hợp có liên quan của các tải trọng quy định dưới đây.
2 Tải cố định
(1) Trọng lực
Khối lượng của két, lớp bọc cách nhiệt, các tải trọng gây ra do các tháp và các liên kết khác phải được xét đến.
(2) Tải trọng cố định bên ngoài
Trọng lực của các kết cấu và thiết bị tác dụng ở bên ngoài két phải được xét đến.
3 Tải chức năng
(1) Các tải trọng phát sinh do vận hành của hệ thống két phải được đưa vào nhóm tải chức năng.
(2) Các tải chức năng mà cần thiết để đảm bảo tính nguyên vẹn của hệ thống két, trong các trạng thái thiết kế, phải được xét đến.
(3) Ở mức tối thiểu, nếu có thể áp dụng, ảnh hưởng từ các tiêu chí sau phải được xem xét khi xây dựng các tải chức năng:
● Áp suất bên trong;
● Áp suất bên ngoài;
● Tải trọng sinh ra do nhiệt;
● Rung động;
● Tải tương tác lẫn nhau;
● Tải liên quan đến kết cấu và lắp đặt;
● Tải thử;
● Tải do nghiêng tĩnh;
● Trọng lực của nhiên liệu khí hóa lỏng;
● Tải va đập của chất lỏng;
● Ảnh hưởng của gió, va đập sóng và nước tràn mặt boong đối với két được lắp trên boong hở.
(a) Tải bên trong
(i) Trong mọi trường hợp, bao gồm cả (ii), P0 phải không nhỏ hơn MARVS.
(ii) Đối với két chứa nhiên liệu khí hóa lỏng, nếu nhiệt độ không được kiểm soát và nếu áp suất của nhiên liệu khí hóa lỏng chỉ được biết thông qua nhiệt độ môi trường thì P0 phải không nhỏ hơn áp suất hóa hơi đo được của nhiên liệu khí hóa lỏng tại nhiệt độ 45°C ngoại trừ các trường hợp sau:
1) Giá trị thấp hơn của nhiệt độ môi trường có thể được Đăng kiểm chấp nhận đối với các tàu hoạt động ở vùng biển hạn chế. Ngược lại, có thể phải áp dụng các giá trị nhiệt độ môi trường cao hơn.
2) Đối với các tàu có thời gian chuyến đi được hạn chế, P0 có thể được tính toán dựa trên áp suất thực tế phát sinh trong chuyến đi và phải xem xét đến lớp bọc cách nhiệt của két.
(iii) Phụ thuộc vào việc xem xét đặc biệt của Đăng kiểm và các giới hạn nêu ở 6.4.15 đối với các kiểu két khác nhau, có thể chấp nhận giá trị áp suất hóa hơi Ph cao hơn P0đối với các điều kiện cụ thể ở khu vực hoạt động (trong cảng hoặc các vị trí khác) mà tại khu vực đó tải trọng động được giảm.
(iv) Áp suất được sử dụng để xác định áp suất bên trong phải:
1) (Pgd)max là áp suất chất lỏng liên quan được xác định thông qua gia tốc thiết kế lớn nhất.
2) (Pgdsite)max là áp suất chất lỏng liên quan được xác định thông qua gia tốc ở vùng hoạt động cụ thể.
3) Peq phải là giá trị lớn hơn của Peq1 và Peq2 như được tính toán ở dưới đây:
Peq1 = P0 + (Pgd)max (MPa)
Peq2 = Ph +(Pgdsite)max (MPa)
(v) Áp suất chất lỏng bên trong là áp suất do gia tốc của trọng tâm nhiên liệu khí hóa lỏng liên quan đến chuyển động của tàu được nêu ở 6.4.9-4(1)(a). Giá trị của áp suất chất lỏng bên trong Pgd sinh ra do ảnh hưởng kết hợp của gia tốc trọng trường và gia tốc động phải được tính toán như dưới đây:
(MPa)
Trong đó:
aβ là gia tốc không có thứ nguyên (ví dụ gia tốc tương đối so với gia tốc trọng trường), do trọng lượng và tải trọng động theo hướng bất kỳ β (xem Hình 8I/6.1). Đối với các két lớn thì phải sử dụng elipxoit gia tốc, có xét đến gia tốc theo chiều ngang, đứng và dọc.
zβ là chiều cao lớn nhất của chất lỏng (m) bên trên một điểm mà tại đó áp suất phải được xác định, đo từ vỏ của két theo hướng β (xem Hình 8I/6.2). Vòm của két mà được xét là một phần của tổng thể tích két được chấp nhận phải được đưa vào tính toán khi xác định zβ trừ khi tổng thể tích của vòm két Vd không lớn hơn giá trị dưới đây:
![]()
Trong đó:
Vt là thể tích của két chưa tính vòm; và
FL là giới hạn nạp theo 6.8.
ρ là tỷ trọng lớn nhất của nhiên liệu khí hóa lỏng (kg/m3) ở nhiệt độ thiết kế.
Hướng mà có giá trị (Pgd)max hoặc (Pgdsite)max là lớn nhất thì phải được xem xét. Nếu các thành phần của gia tốc theo ba hướng cần phải xét đến thì phải sử dụng hình elipxoit thay cho hình êlip như trong Hình 8I/6.1. Công thức trên chỉ áp dụng cho các két đầy.

αβ: Gia tốc được gây ra (tĩnh và động) theo hướng β bất kỳ;
αx: Thành phần gia tốc theo phương dọc;
αy: Thành phần gia tốc theo phương ngang;
αz: Thành phần gia tốc theo phương thẳng đứng (xem 6.4.9-4.(1)(a))
Hình 8I/6.1 Elipxoit gia tốc

Hình 8I/6.2 Xác định cột áp bên trong
(b) Áp suất bên ngoài
Tải trọng áp suất thiết kế bên ngoài phải dựa vào sự chênh lệch giữa áp suất bên trong nhỏ nhất và áp suất bên ngoài lớn nhất mà có thể đồng thời tác động lên bất kỳ phần nào của két.
(c) Tải trọng sinh ra do nhiệt
(i) Tải trọng sinh ra do nhiệt thay đổi nhanh trong quá trình làm lạnh phải được xem xét đối với các két dự định chứa nhiên liệu khí hóa lỏng ở nhiệt độ dưới -55°C.
(ii) Tải trọng sinh ra do nhiệt không thay đổi phải được xem xét đối với hệ thống chứa nhiên liệu khí hóa lỏng mà trong đó các bố trí hoặc liên kết đỡ theo thiết kế và nhiệt độ khi vận hành có thể làm tăng đáng kể ứng suất do nhiệt.
(d) Rung động
Cần phải xem xét tác động phá hủy tiềm ẩn của rung động đối với hệ thống chứa nhiên liệu khí hóa lỏng.
(e) Tải tương tác lẫn nhau
Cần phải xem xét các thành phần tải trọng tĩnh sinh ra do tương tác giữa hệ thống chứa nhiên liệu khí hóa lỏng và kết cấu thân tàu, cũng như là các tải trọng liên quan đến kết cấu và thiết bị.
(f) Tải liên quan đến kết cấu và lắp đặt
Cần phải xem xét các tải trọng hoặc trạng thái liên quan đến kết cấu và lắp đặt, ví dụ khi nâng lên.
(g) Tải thử
Cần phải xem xét các tải trọng tương ứng khi thử hệ thống chứa nhiên liệu khí hóa lỏng được nêu ở 16.5.
(h) Tải do nghiêng tĩnh
Cần phải xem xét các tải trọng tương ứng với góc nghiêng tĩnh bất lợi nhất trong phạm vi 0° tới 30°.
(i) Các tải trọng khác
Cần phải xem xét bất kỳ tải trọng nào khác mà không được nêu cụ thể nếu chúng có thể ảnh hưởng đến hệ thống chứa nhiên liệu khí hóa lỏng.
4 Tải trọng môi trường
(1) Tải trọng môi trường là các tải trọng tác dụng lên hệ thống chứa nhiên liệu khí hóa lỏng, chúng gây ra do môi trường xung quanh và chúng không phải là các tải trọng thuộc nhóm cố định, chức năng hoặc tải do sự cố.
(a) Tải trọng do chuyển động của tàu
Việc xác định các tải trọng động phải tính đến sự phân bố dài hạn của chuyển động tàu ở điều kiện biển bất quy tắc mà tàu gặp phải trong tuổi thọ hoạt động của tàu. Có thể xét đến việc giảm tải trọng động do việc giảm vận tốc cần thiết và sự biến đổi hướng đi của tàu. Chuyển động của tàu phải bao gồm dao động thẳng theo phương dọc, ngang, đứng, lắc theo phương dọc, ngang và đứng. Gia tốc tác dụng lên két phải được xác định ở trọng tâm và bao gồm các thành phần sau:
(i) Gia tốc đứng: gia tốc chuyển động của dao động thẳng theo phương đứng, lắc dọc, và có thể là lắc ngang (vuông góc với mặt phẳng chuẩn của tàu);
(ii) Gia tốc ngang: Gia tốc chuyển động của dao động thẳng theo phương ngang, lắc theo phương đứng và ngang và thành phần gia tốc trọng trường của lắc ngang; và
(iii) Gia tốc dọc: Gia tốc chuyển động của dao động thẳng theo phương dọc và lắc dọc và thành phần gia tốc trọng trường của lắc dọc.
Các phương pháp tính toán gia tốc do chuyển động tàu phải được đưa ra và thẩm định bởi Đăng kiểm. (Xem 4.28.2 Phần 8D đối với các công thức hướng dẫn để tính các thành phần gia tốc). Tàu hoạt động ở vùng biển hạn chế có thể được xem xét đặc biệt.
(b) Tải trọng tương tác động
Cần phải xem xét đến thành phần động của tải trọng gây ra do tương tác giữa hệ thống chứa nhiên liệu khí hóa lỏng và kết cấu thân tàu, bao gồm các tải trọng từ các kết cấu và thiết bị có liên quan.
(c) Tải trọng va đập chất lỏng
Tải trọng va đập của chất lỏng tác dụng lên hệ thống chứa nhiên liệu khí hóa lỏng và các thành phần bên trong phải được đánh giá đối với toàn bộ phạm vi mức chứa chất lỏng dự định.
(d) Tải trọng tuyết và băng
Phải xem xét tải trọng tuyết và băng, nếu liên quan.
(e) Tải trọng do tàu đi qua vùng băng
Tải trọng do tàu đi qua vùng băng phải được xem xét nếu tàu dự định hoạt động như vậy.
(f) Tải trọng nước tràn mặt boong
Phải xem xét đến tải trọng do nước trên boong gây ra.
(g) Tải trọng do gió
Phải xem xét đến tải trọng do sinh ra do gió nếu liên quan.
5 Tải trọng do sự cố
Tải trọng do sự cố là các tải trọng tác dụng lên hệ thống chứa nhiên liệu khí hóa lỏng và các cơ cấu đỡ của nó trong các điều kiện không bình thường và không có trong dự định.
(a) Tải trọng do đâm va
Tải trọng do đâm va phải được xác định dựa trên giả thiết hệ thống chứa nhiên liệu ở trạng thái chứa đầy với lực quán tính tương ứng với giá trị "a" trong Bảng 8I/6.2 hướng về phía mũi và "a/2" hướng về phía đuôi, trong đó "g" là gia tốc trọng trường.
Bảng 8I/6.2 Gia tốc thiết kế đối với tải trọng do đâm va
|
Chiều dài tàu, Lf |
Gia tốc thiết kế, a |
|
Lf > 100 m |
0,5g |
|
60 < Lf £ 100 m |
|
|
Lf £ 60 m |
2g |
(b) Tải trọng do ngập tàu
Đối với két rời, tải trọng do lực nổi khi két trống bị ngập hoàn toàn phải được xem xét khi thiết kế đế kê chống nổi và kết cấu đỡ ở cả thân tàu liền kề và kết cấu két.
6.4.10 Tính nguyên vẹn kết cấu
1 Quy định chung
(1) Thiết kế kết cấu phải đảm bảo két có đủ khả năng để chịu được các tải trọng liên quan cùng với lượng dư an toàn vừa đủ. Cần phải tính toán đến khả năng biến dạng dẻo, mất ổn định nén, mỏi và mất tính kín chất lỏng và kín khí.
(2) Tính nguyên vẹn kết cấu của hệ thống chứa nhiên liệu khí hóa lỏng có thể được chứng minh bằng sự phù hợp với quy định 6.4.15 phù hợp cho từng kiểu hệ thống chứa nhiên liệu khí hóa lỏng.
(3) Đối với các kiểu hệ thống chứa nhiên liệu khí hóa lỏng khác mà có thiết kế mới hoặc khác đáng kể so với kiểu nêu ở 6.4.15 thì tính nguyên vẹn kết cấu phải được chứng minh bằng sự phù hợp với các quy định ở 6.4.16.
6.4.11 Phân tích kết cấu
1 Phân tích
(1) Các phân tích thiết kế phải dựa trên các nguyên tắc được chấp nhận trong tĩnh học, động học và sức bền vật liệu.
(2) Các phương pháp hoặc việc phân tích được đơn giản hóa có thể được sử dụng để tính toán ảnh hưởng của tải trọng, miễn là chúng thiên về an toàn. Có thể thực hiện thử mô hình kết hợp với, hoặc thay cho các tính toán lý thuyết. Trong trường hợp tính toán lý thuyết không đủ thì có thể phải thử mô hình hoặc thử với kích thước thật.
(3) Khi xác định các phản ứng đối với tải trọng động, phải tính đến tác dụng động nếu nó có thể ảnh hưởng đến tính nguyên vẹn kết cấu.
2 Kịch bản tải trọng
(1) Đối với mỗi vị trí hoặc mỗi phần của hệ thống chứa nhiên liệu khí hóa lỏng được xem xét và đối với mỗi chế độ hư hỏng có thể xảy ra được phân tích, phải xem xét mọi sự kết hợp có liên quan của các tải trọng khi chúng có thể tác dụng đồng thời.
(2) Phải xem xét kịch bản xấu nhất đối với mọi giai đoạn liên quan trong chế tạo, vận chuyển, thử và ở các điều kiện khai thác.
(3) Khi ứng suất tĩnh và động được tính toán riêng rẽ và trừ khi các phương pháp tính toán khác được công nhận là đúng thì tổng ứng suất phải được tính toán như sau:
![]()
![]()
![]()
![]()
![]()
![]()
σx.st, σy.st, σz.st, txy.st, txz.st, tyz.st là các ứng suất tĩnh; và
σx.dyn, σy.dyn, σz.dyn, txy.dyn, txz.dyn, tyz.dyn là các ứng suất động, mỗi giá trị phải được xác định riêng biệt từ các thành phần gia tốc và các thành phần biến dạng thân tàu do võng và xoắn.
6.4.12 Điều kiện thiết kế
Mọi chế độ hư hỏng có liên quan phải được xem xét trong thiết kế đối với mọi kịch bản tải trọng và điều kiện thiết kế có liên quan. Các điều kiện thiết kế này được nêu ở phần trước của Chương này, và kịch bản tải trọng được quy định ở 6.4.11-2.
(1) Điều kiện thiết kế tới hạn
(a) Độ bền kết cấu có thể được xác định bằng thử, hoặc bằng phân tích, có xét đến cả đặc tính đàn hồi và dẻo của vật liệu, bằng việc phân tích đàn hồi tuyến tính đơn giản hoặc bằng các quy định trong Phần này:
(i) Phải xem xét biến dạng dẻo và mất ổn định do nén.
(ii) Việc phân tích phải dựa trên giá trị tải trọng đặc trưng như dưới đây:
Tải trọng cố định: Giá trị mong đợi;
Tải trọng chức năng: Giá trị được quy định;
Tải trọng môi trường: Đối với tải trọng sóng, tải trọng lớn nhất và dễ xảy ra nhất mà tàu phải chịu khi gặp sóng 108.
(iii) Nhằm mục đích đánh giá sức bền tới hạn, phải áp dụng các thông số vật liệu sau:
1) Re: Ứng suất chảy lý thuyết nhỏ nhất tại nhiệt độ phòng (N/mm2). Nếu đường cong ứng suất - biến dạng không thể hiện ứng suất chảy được xác định thì áp dụng ứng suất thử 0,2%.
2) Rm: Độ bền kéo lý thuyết nhỏ nhất tại nhiệt độ phòng (N/mm2).
Đối với các liên kết hàn, nếu không thể tránh khỏi các mối hàn không tương đồng (ví dụ khi kim loại hàn có độ bền kéo thấp hơn so với kim loại gốc), ví dụ như ở một số hợp kim nhôm, thì phải sử dụng giá trị tương ứng Rm và Re của mối hàn sau khi áp dụng bất kỳ việc xử lý nhiệt nào. Trong các trường hợp đó, độ bền kéo ngang mối hàn phải không nhỏ hơn độ bền chảy thực của kim loại gốc. Nếu không đạt được yêu cầu này thì các kết cấu hàn làm từ vật liệu đó phải không được tham gia vào hệ thống chứa nhiên liệu khí hóa lỏng.
Các thông số nói trên phải tương ứng với tính chất cơ khí lý thuyết nhỏ nhất của vật liệu, bao gồm kim loại hàn ở trạng thái sau khi chế tạo. Trên cơ sở xem xét đặc biệt của Đăng kiểm, có thể tính đến tăng ứng suất chảy và độ bền kéo ở nhiệt độ thấp.
(iv) Ứng suất tương đương σc (von Mises, Huber) phải được xác định như sau:
![]()
Trong đó:
σx là tổng ứng suất pháp theo phương x;
σy là tổng ứng suất pháp theo phương y;
σz là tổng ứng suất pháp theo phương z;
txy là tổng ứng suất cắt trong mặt phẳng xy;
txz là tổng ứng suất cắt trong mặt phẳng xz;
tyz là tổng ứng suất cắt trong mặt phẳng yz.
Các giá trị nêu trên phải được tính toán như quy định ở 6.4.11-2(3).
(v) Ứng suất cho phép đối với vật liệu mà không phải vật liệu quy định ở 7.4 phải được Đăng kiểm thẩm định trong từng trường hợp.
(vi) Các ứng suất có thể được giới hạn nhiều hơn bởi phân tích mỏi, phân tích phát triển vết nứt và tiêu chuẩn ổn định khi nén.
(2) Điều kiện thiết kế mỏi
(a) Điều kiện thiết kế mỏi là điều kiện thiết kế liên quan tới sự tích lũy tải trọng theo chu kỳ.
(b) Khi cần thực hiện phân tích mỏi, ảnh hưởng tích lũy của tải trọng mỏi phải thỏa mãn:
![]()
Trong đó:
ni là số lượng chu kỳ ứng suất ở từng mức ứng suất trong toàn bộ tuổi thọ của két;
Ni là số lượng chu kỳ dẫn đến gãy đối với mức ứng suất tương ứng theo đường cong Wohler S-N;
nLoading là số lượng chu kỳ nạp và tiêu hao trong suốt tuổi thọ của két, không nhỏ hơn 1000. Chu kỳ nạp và tiêu hao bao gồm một chu kỳ hoàn chỉnh của áp suất và nhiệt;
NLoading là số lượng chu kỳ dẫn đến gãy đối với tải trọng mỏi do nạp và tiêu hao; và
Cw là tỷ số hư hỏng mỏi tích lũy lớn nhất cho phép.
Hư hỏng mỏi phải dựa trên tuổi thọ thiết kế của két nhưng không nhỏ hơn 108 lần sóng đến.
(c) Nếu cần thiết, hệ thống chứa nhiên liệu khí hóa lỏng phải được phân tích mỏi, xem xét đến tất cả tải trọng mỏi và tổ hợp thích hợp của chúng trong tuổi thọ mong đợi của hệ thống chứa nhiên liệu khí hóa lỏng. Phải xem xét các trạng thái đầy khác nhau.
(d) Đường cong S-N thiết kế được sử dụng trong việc phân tích phải có thể áp dụng cho vật liệu và kết cấu hàn, các chi tiết kết cấu, quy trình chế tạo và trạng thái phù hợp của ứng suất được dự đoán. Đường cong S-N phải dựa trên xác suất tồn tại 97,6% tương ứng với đường cong độ lệch chuẩn trung bình trừ hai (mean-minus-two-standard-deviation) của số liệu thí nghiệm liên quan cho tới hư hỏng cuối cùng. Sử dụng đường cong S-N có được bằng các phương pháp khác nhau đòi hỏi phải điều chỉnh tới giá trị Cw có thể chấp nhận quy định ở từ 6.4.12(2)(g) đến 6.4.12(2)(i).
(e) Việc phân tích phải dựa trên giá trị tải trọng đặc trưng như sau:
Tải trọng cố định: Giá trị mong đợi;
Tải trọng chức năng: Giá trị được quy định hoặc lịch sử được quy định;
Tải trọng môi trường: Lịch sử của tải trọng mong đợi, nhưng không nhỏ hơn 108 chu kỳ.
Nếu sử dụng phổ tải trọng động đơn giản hóa để tính toán tuổi thọ mỏi thì chúng phải được Đăng kiểm xem xét đặc biệt.
(f) Nếu kích cỡ của vách chắn thứ cấp được giảm, như được quy định ở 6.4.2-3, phân tích cơ khí nứt gãy của phát triển vết nứt mỏi phải được thực hiện để xác định:
(i) Đường lan truyền của vết nứt ở kết cấu, nếu được quy định ở từ 6.4.12(2)(g) đến 6.4.12(2)(i), nếu thấy có thể áp dụng;
(ii) Tốc độ phát triển vết nứt;
(iii) Thời gian cần thiết để một vết nứt lan truyền dẫn đến rò rỉ từ két;
(iv) Kích cỡ và hình dáng của các vết nứt xuyên qua chiều dày; và
(v) Thời gian cần thiết để cho vết nứt có thể phát hiện được đạt tới trạng thái tới hạn sau khi xuyên qua chiều dày.
Nói chung, cơ học nứt gãy là dựa trên số liệu phát triển vết nứt được lấy là giá trị trung bình cộng với hai độ lệch chuẩn của số liệu thử. Phương pháp phân tích phát triển vết nứt và cơ học nứt gãy phải được Đăng kiểm duyệt.
Khi phân tích sự lan truyền vết nứt, phải giả định vết nứt ban đầu lớn nhất không thể được phát hiện bằng phương pháp kiểm tra được sử dụng, trong đó có xét đến tiêu chuẩn cho phép của thử không phá hủy và kiểm tra bằng mắt, nếu có thể áp dụng. Trong việc phân tích lan truyền vết nứt nếu ở 6.4.12(2)(g), có thể sử dụng sự phân bố tải trọng được đơn giản hóa và kết quả sau khoảng thời gian 15 ngày. Sự phân bố đó có thể được thực hiện như nêu ở Hình 8I/6.3. Phân bố tải trọng và kết quả trong khoảng thời gian lâu hơn, ví dụ như nêu ở 6.4.12(2)(h) và 6.4.12(2)(i), phải được Đăng kiểm duyệt.
Việc bố trí phải thỏa mãn các yêu cầu ở từ 6.4.12(2)(g) đến 6.4.12(2)(i), nếu có thể áp dụng.
(g) Đối với các hư hỏng mà có thể phát hiện một cách tin cậy bằng phương tiện phát hiện rò rỉ:
Cw phải nhỏ hơn hoặc bằng 0,5.
Thời gian dự tính còn lại để phát triển hư hỏng, từ thời điểm phát hiện rò rỉ tới khi đạt trạng thái tới hạn, phải không nhỏ hơn 15 ngày trừ khi áp dụng các quy định khác đối với tàu hành trình trên các chuyến đi cụ thể.
(h) Đối với các hư hỏng mà không thể phát hiện được bằng rò rỉ nhưng có thể phát hiện một cách tin cậy ở thời điểm kiểm tra trong khi hoạt động:
Cw phải nhỏ hơn hoặc bằng 0,5.
Thời gian dự tính còn lại để phát triển hư hỏng, từ thời điểm vết nứt lớn nhất mà không thể phát hiện được bằng phương pháp kiểm tra trong quá trình hoạt động đến khi đạt tới trạng thái tới hạn, phải không nhỏ hơn 3 lần khoảng thời gian giữa 2 lần kiểm tra.
(i) Ở các vị trí cụ thể của két mà không thể đảm bảo sự phát hiện hữu hiệu sự phát triển hư hỏng hoặc vết nứt, ít nhất tiêu chuẩn nghiêm ngặt hơn dưới đây để chấp nhận mỏi phải được áp dụng:
Cw phải nhỏ hơn hoặc bằng 0,1.
Thời gian phát triển hư hỏng được dự tính, từ lúc khuyết tật đầu tiên được giả định đến khi đạt trạng thái tới hạn, phải không nhỏ hơn ba lần tuổi thọ của két.

Chu kỳ đáp ứng
s0 là ứng suất lớn nhất mà dễ xảy ra nhất trong toàn bộ tuổi thọ của tàu.
Chu kỳ đáp ứng được chia theo thang lô ga rít; giá trị 2.105 được đưa ra làm ví dụ cho việc tính toán.
Hình 8I/6.3 Phân bố tải trọng được đơn giản hóa
(3) Điều kiện thiết kế sự cố
(a) Điều kiện thiết kế sự cố là điều kiện thiết kế đối với các tải trọng sự cố với xác suất xảy ra là cực kỳ thấp.
(b) Việc phân tích phải dựa trên các giá trị đặc trưng dưới đây:
Tải trọng cố định: Giá trị mong đợi;
Tải trọng chức năng: Giá trị được quy định;
Tải trọng môi trường: Giá trị được quy định;
Tải trọng sự cố: Giá trị được quy định hoặc giá trị mong đợi.
Các tải trọng nêu ở 6.4.9-3(3)(h) và 6.4.9-5 không cần phải kết hợp với nhau hoặc kết hợp với tải trọng do sóng gây ra.
6.4.13 Vật liệu và kết cấu
1 Vật liệu
(1) Vật liệu của kết cấu thân tàu
(a) Để xác định cấp vật liệu của tấm và thép hình sử dụng trong kết cấu thân tàu, phải thực hiện tính toán nhiệt độ cho tất cả các kiểu két. Tính toán phải dựa trên các giả thiết sau:
(i) Vách chắn sơ cấp của tất cả các két phải được giả thiết ở nhiệt độ của nhiên liệu khí hóa lỏng;
(ii) Ngoài (i) nêu trên, nếu cần thiết vách chắn thứ cấp toàn bộ hoặc một phần thì chúng phải được giả thiết ở nhiệt độ của nhiên liệu khí hóa lỏng tại áp suất không khí đối với chỉ bất kỳ một két nào;
(iii) Đối với tàu hoạt động ở vùng biển không hạn chế, nhiệt độ môi trường phải được lấy là 5°C đối với không khí và 0°C đối với nước biển. Có thể chấp nhận giá trị lớn hơn đối với các tàu hoạt động ở vùng biển hạn chế và ngược lại, Đăng kiểm có thể ấn định nhiệt độ thấp hơn đối với những tàu hoạt động ở các khu vực mà có thể có nhiệt độ thấp trong những tháng mùa đông;
(iv) Phải giả thiết không khí và nước biển ở trạng thái tĩnh, ví dụ không điều chỉnh đối lưu cưỡng bức;
(v) Phải giả thiết tính chất của lớp bọc cách nhiệt bị xuống cấp trong tuổi thọ của tàu do các yếu tố như lão hóa nhiệt và cơ khí, bị nén, chuyển động của tàu và rung động két như nêu ở 6.4.13-3(6) và 6.4.13-3(7);
(vi) Trong trường hợp có thể áp dụng thì phải tính toán đến ảnh hưởng làm mát của sự hóa hơi nhiên liệu khí hóa lỏng bị rò rỉ;
(vii) Việc làm nóng thân tàu có thể được tính toán đến phù hợp với quy định ở 6.4.13-1(1)(c) miễn là việc bố trí hâm nóng thỏa mãn quy định ở 6.4.13-1(1)(d);
(viii) Phải không xem xét đến bất kỳ phương tiện hâm nóng nào, ngoại trừ các quy định ở 6.4.13-1(1)(c);
(ix) Đối với các cơ cấu liên kết vỏ ngoài và vỏ trong, có thể sử dụng nhiệt độ trung bình để xác định cấp thép.
(b) Vật liệu của mọi kết cấu thân tàu mà có nhiệt độ tính toán ở điều kiện thiết kế nhỏ hơn 0°C, do ảnh hưởng của nhiệt độ nhiên liệu khí hóa lỏng, phải phù hợp với Bảng 8I/7.5. Các kết cấu này bao gồm kết cấu thân tàu đỡ két nhiên liệu khí hóa lỏng, tấm đáy trên, tấm vách dọc, tấm vách ngang, đà ngang, cơ cấu khỏe, sống và tất cả các cơ cấu gia cường.
(c) Có thể sử dụng các phương tiện hâm nóng vật liệu kết cấu để đảm bảo nhiệt độ của vật liệu không xuống dưới mức tối thiểu cho phép đối với cấp của vật liệu quy định ở Bảng 8I/7.5. Trong các tính toán nêu ở 6.4.13-1(1)(a), việc hâm nóng này có thể được đưa vào tính toán theo các nguyên tắc dưới đây:
(i) Cho mọi kết cấu ngang của thân tàu;
(ii) Cho kết cấu dọc của thân tàu nêu ở 6.4.13-1(1)(b) nếu sử dụng nhiệt độ môi trường thấp hơn, miễn là vật liệu vẫn còn phù hợp với điều kiện nhiệt độ môi trường là +5°C đối với không khí và 0°C đối với nước biển cùng với không tính toán đến việc hâm nóng; và
(iii) Thay cho việc áp dụng (ii), đối với vách dọc giữa các két nhiên liệu khí hóa lỏng, có thể đưa việc hâm nóng vào tính toán miễn là vật liệu vẫn còn phù hợp với nhiệt độ thiết kế tối thiểu là -30°C, hoặc ở nhiệt độ mà thấp hơn 30 °C so với giá trị được xác định ở 6.4.13-1(1)(c) cùng với việc hâm nóng được đưa vào xem xét, lấy giá trị nào nhỏ hơn. Trong trường hợp này, độ bền dọc của thân tàu phải thỏa mãn các quy định liên quan ở các Phần khác trong cả hai trường hợp các vách dọc đó được coi là hữu hiệu hoặc không.
(d) Các phương tiện hâm nóng nêu ở (c) phải thỏa mãn các quy định sau:
(i) Hệ thống hâm nóng phải được bố trí sao cho, trong trường hợp hư hỏng bất kỳ bộ phận nào của hệ thống thì việc hâm nóng dự phòng có thể được duy trì ở mức không nhỏ hơn 100% yêu cầu hâm nóng lý thuyết;
(ii) Hệ thống hâm nóng phải được coi là hệ thống phụ có công dụng quan trọng. Tất cả các bộ phận điện của ít nhất một trong các hệ thống được trang bị theo 6.4.13-1(1)(c)(i) phải được cấp điện từ nguồn điện sự cố; và
(iii) Việc thiết kế và chế tạo hệ thống hâm nóng phải được bao gồm trong việc thẩm định hệ thống chứa nhiên liệu của Đăng kiểm.
2 Vật liệu của vách chắn sơ cấp và thứ cấp
(1) Các vật liệu kim loại được sử dụng để chế tạo vách chắn sơ cấp và thứ cấp mà không thuộc thân tàu thì phải phù hợp với các tải trọng thiết kế mà chúng có thể phải chịu, và phải phù hợp với yêu cầu ở các bảng 8I/7.1, 8I/7.2 hoặc 8I/7.3.
(2) Vật liệu, có thể là kim loại hoặc không phải kim loại mà không được quy định ở các bảng 8I/7.1, 8I/7.2 và 8I/7.3, được sử dụng trong vách chắn sơ cấp và thứ cấp có thể được Đăng kiểm chấp nhận khi xem xét các tải trọng thiết kế mà chúng có thể phải chịu, tính chất của chúng và mục đích sử dụng của chúng.
(3) Nếu vật liệu không phải là kim loại, bao gồm cả composite, được sử dụng hoặc tham gia vào vách chắn sơ cấp hoặc phụ thì chúng phải được thử đối với các tính chất dưới đây, nếu có thể áp dụng, để đảm bảo chúng phù hợp với hoạt động dự định (xem 6.4.16):
(a) Tương thích với nhiên liệu khí hóa lỏng;
(b) Lão hóa;
(c) Tính chất cơ khí;
(d) Giãn nở và co ngót do nhiệt;
(e) Ăn mòn;
(f) Tính liên kết;
(g) Chịu rung động;
(h) Chịu được lửa và lan truyền lửa; và
(i) Chịu được các hư hỏng do mỏi và lan truyền vết nứt.
(4) Các tính chất nói trên, nếu có thể áp dụng, phải được thử trong phạm vi giữa nhiệt độ lớn nhất được mong đợi trong khai thác và nhiệt độ thấp hơn 5°C so với nhiệt độ thiết kế nhỏ nhất, nhưng không nhỏ hơn -196°C.
(5) Nếu vật liệu không phải là kim loại, bao gồm cả composite, được sử dụng cho vách chắn sơ cấp và thứ cấp thì quá trình nối ghép cũng phải được thử như đã nêu ở trên.
(6) Có thể phải xem xét việc sử dụng các vật liệu trong vách chắn sơ cấp và thứ cấp mà các vật liệu đó không chịu được lửa và lan truyền ngọn lửa miễn là chúng được bảo vệ bằng một hệ thống phù hợp, ví dụ như là môi trường khí trơ thường xuyên hoặc được trang bị lớp chắn chậm bắt lửa.
3 Vật liệu bọc cách nhiệt và các vật liệu khác sử dụng trong hệ thống chứa nhiên liệu khí hóa lỏng
(1) Lớp bọc cách nhiệt chịu lực và các vật liệu khác sử dụng trong hệ thống chứa nhiên liệu khí hóa lỏng phải phù hợp với các tải trọng thiết kế.
(2) Lớp bọc cách nhiệt và các vật liệu khác sử dụng trong hệ thống chứa nhiên liệu khí hóa lỏng phải có các tính chất sau, nếu có thể áp dụng, để đảm bảo chúng phù hợp với hoạt động dự định:
(a) Tương thích với nhiên liệu khí hóa lỏng;
(b) Tính hòa tan trong nhiên liệu khí hóa lỏng;
(c) Tính hấp thụ nhiên liệu khí hóa lỏng;
(d) Co ngót;
(e) Lão hóa;
(f) Cấu trúc ô kín;
(g) Tỷ trọng;
(h) Tính chất cơ khí, tới mức mà chúng chịu được ảnh hưởng tải trọng của nhiên liệu khí hóa lỏng và các ảnh hưởng tải trọng khác, giãn nở và co ngót do nhiệt;
(i) Ăn mòn;
(j) Tính liên kết;
(k) Tính dẫn nhiệt;
(l) Chịu được rung động;
(m) Chịu được lửa và lan truyền lửa; và
(n) Chịu được các hư hỏng do mỏi và lan truyền vết nứt.
(3) Các tính chất nói trên, nếu có thể áp dụng, phải được thử trong phạm vi giữa nhiệt độ lớn nhất được mong đợi trong khai thác và nhiệt độ thấp hơn 5°C so với nhiệt độ thiết kế nhỏ nhất, nhưng không nhỏ hơn -196°C.
(4) Do vị trí hoặc điều kiện môi trường, vật liệu bọc cách nhiệt phải có tính chất phù hợp để chịu lửa và lan truyền ngọn lửa và phải được bảo vệ thích đáng chống lại sự xâm nhập của hơi nước và hư hỏng cơ khí. Nếu lớp bọc cách nhiệt được bố trí trên hoặc bên trên boong hở, và trong khu vực xuyên qua của nắp bảo vệ két thì nó phải có tính chất chịu lửa phù hợp theo các tiêu chuẩn được công nhận hoặc được bao bọc bởi một vật liệu có đặc tính lan truyền lửa chậm và tạo nên một lớp bọc kín hơi hữu hiệu được duyệt.
(5) Lớp bọc cách nhiệt mà không thỏa mãn các tiêu chuẩn được công nhận đối với tính chịu lửa thì có thể được sử dụng ở khoang hầm chứa nhiên liệu mà không được làm trơ thường xuyên, miễn là bề mặt của nó được phủ vật liệu có đặc tính lan truyền lửa chậm và tạo thành một lớp bọc kín hơi hữu hiệu được duyệt.
(6) Phải thực hiện thử tính dẫn nhiệt của lớp bọc cách nhiệt đối với các mẫu thử đã bị lão hóa một cách phù hợp.
(7) Nếu sử dụng lớp bọc cách nhiệt dạng bột hoặc hạt thì phải có biện pháp để giảm nén lại khi hoạt động và để duy trì tính dẫn nhiệt theo yêu cầu và cũng ngăn việc tăng áp suất quá mức trong hệ thống chứa nhiên liệu khí hóa lỏng.
6.4.14 Phương pháp chế tạo
1 Thiết kế mối nối hàn
(1) Mọi mối nối hàn của vỏ két rời phải là kiểu mối hàn đối đầu trong cùng mặt phẳng kiểu ngấu hoàn toàn. Chỉ đối với liên kết giữa vòm và vỏ két, có thể sử dụng mối hàn góc kiểu ngấu hoàn toàn tùy thuộc vào kết quả thử được thực hiện khi thẩm định quy trình hàn. Trừ các vị trí nhỏ đi xuyên qua vòm, mối hàn ống phải được thiết kế kiểu ngấu hoàn toàn.
(2) Chi tiết mối hàn đối với két rời kiểu C và đối với vách chắn sơ cấp kín chất lỏng của két rời kiểu B mà chủ yếu được tạo thành bởi các mặt cong phải thỏa mãn các yêu cầu dưới đây:
(a) Mọi mối nối dọc và mối nối theo phương chu vi đều phải là hàn đối đầu, ngấu hoàn toàn, kiểu chữ X hoặc chữ V. Mối hàn đối đầu ngấu hoàn toàn phải được thực hiện bằng cách hàn hai phía hoặc sử dụng tấm đệm. Nếu được sử dụng thì tấm đệm phải được loại bỏ trừ các bình xử lý áp lực rất nhỏ. Các kiểu chuẩn bị mép hàn khác có thể được cho phép, tùy thuộc vào kết quả thử được tiến hành khi thẩm định quy trình hàn. Đối với liên kết của vỏ két với vách dọc của két trụ đôi kiểu C thì mối hàn góc kiểu ngấu hoàn toàn có thể được chấp nhận.
(b) Việc vát mép mối hàn giữa thân két với vòm và giữa vòm với các chi tiết liên quan phải được thực hiện theo các yêu cầu ở Chương 10 Phần 3 của Quy chuẩn. Các mối hàn liên kết ống, vòm hoặc các chi tiết xuyên qua khác của bình và các mối hàn liên kết các bích với bình hoặc ống phải là kiểu ngấu hoàn toàn.
Chú ý: Đối với các két được bọc chân không mà không có lỗ người chui, các mối nối theo hướng dọc và hướng đường kính cần thỏa mãn các yêu cầu vừa nêu, ngoại trừ các mối hàn lắp ghép của vỏ ngoài có thể là hàn một mặt có tấm đệm.
2 Thiết kế đối với phương pháp dán và các phương pháp liên kết khác
Việc thiết kế các mối nối dán (hoặc mối nối bằng một số phương pháp khác trừ hàn) phải tính toán đến đặc tính bền của phương pháp nối.
6.4.15 Kiểu két
1 Két rời kiểu A
(1) Cơ sở thiết kế
(a) Két rời kiểu A là các két chủ yếu được thiết kế sử dụng quy trình phân tích kết cấu tàu cổ điển theo các yêu cầu ở Chương 12 Phần 2A. Nếu các két đó chủ yếu được chế tạo bằng các mặt phẳng thì áp suất hóa hơi thiết kế P0 phải nhỏ hơn 0,07 MPa.
(b) Vách chắn thứ cấp toàn bộ được yêu cầu như ở 6.4.3. Vách chắn thứ cấp phải được thiết kế theo các yêu cầu ở 6.4.4.
(2) Phân tích kết cấu
(a) Phân tích kết cấu phải được thực hiện trong đó có tính đến áp suất bên trong như nêu ở 6.4.9-3(3)(a), và các tải trọng tương tác với cơ cấu đỡ và hệ thống chốt cũng như các bộ phận phù hợp của thân tàu.
(b) Đối với các vùng kết cấu, ví dụ kết cấu ở khu vực đỡ két, mà không được quy định khác trong Phần này thì các ứng suất phải được xác định bằng tính toán trực tiếp, trong đó có tính đến các tải trọng nêu ở từ 6.4.9-2 tới 6.4.9-5, áp dụng đến mức có thể, và độ võng của tàu trong khu vực đỡ.
(c) Các két cùng với cơ cấu đỡ phải được thiết kế đối với các tải trọng sự cố nêu ở 6.4.9-5. Các tải trọng này không cần phải kết hợp với nhau hoặc kết hợp với tải trọng môi trường.
(3) Điều kiện thiết kế tới hạn
(a) Đối với các két chủ yếu được tạo thành từ các bề mặt phẳng, ứng suất màng danh nghĩa đối với cơ cấu chính và phụ (nẹp, sườn khỏe, sàn, sống dọc), khi được tính toán bằng phương pháp phân tích cổ điển, phải lớn hơn giá trị nhỏ hơn của Rm/2,66 hoặc Re/1,33 đối với thép ni ken, thép các bon măng gan, thép ôstenit và hợp kim nhôm, trong đó Rm và Re được định nghĩa ở 6.4.12(1)(a)(iii). Tuy nhiên, nếu thực hiện tính toán chi tiết đối với cơ cấu chính, ứng suất tương đương sc, như định nghĩa ở 6.4.12(1)(a)(iv), có thể được tăng lớn hơn so với giá trị nêu trên tới giá trị ứng suất được Đăng kiểm chấp nhận. Việc tính toán phải xem xét đến ảnh hưởng của uốn, cắt, biến dạng dọc trục và xoắn cũng như các lực tương tác giữa thân tàu và két nhiên liệu khí hóa lỏng do độ võng của kết cấu tàu và đáy của két nhiên liệu khí hóa lỏng.
(b) Quy cách kết cấu biên của két phải ít nhất thỏa mãn các yêu cầu ở Chương 12 Phần 2A đối với két sâu, trong đó có tính đến áp suất bên trong như nêu ở 6.4.9-3(3)(a) và lượng dư ăn mòn nêu ở 6.4.1-7.
(c) Kết cấu két nhiên liệu khí hóa lỏng phải được soát xét đối với khả năng mất ổn định khi nén.
(4) Điều kiện thiết kế sự cố
(a) Các két và cơ cấu đỡ két phải được thiết kế đối với tải trọng sự cố và điều kiện thiết kế sự cố nêu ở 6.4.9-5 và 6.4.1-6(3), nếu liên quan.
(b) Khi chịu tải trọng sự cố nêu ở 6.4.9-5, ứng suất phải thỏa mãn các tiêu chuẩn chấp nhận nêu ở 6.4.15-1(3) mà có thể được sửa đổi cho phù hợp khi xem xét đến xác suất thấp về sự xuất hiện của chúng.
2 Két rời kiểu B
(1) Cơ sở thiết kế
(a) Két rời kiểu B là các két được thiết kế sử dụng thử mô hình, công cụ phân tích tinh và các phương pháp phân tích để xác định mức ứng suất, tuổi thọ mỏi và đặc tính lan truyền vết nứt. Nếu các két đó chủ yếu được tạo thành từ các mặt phẳng (két hình khối trụ) thì áp suất hóa hơi thiết kế P0 phải nhỏ hơn 0,07 MPa.
(b) Phải có một vách chắn thứ cấp với hệ thống bảo vệ nêu ở 6.4.3. Hệ thống bảo vệ rò rỉ nhỏ phải được thiết kế theo 6.4.5.
(2) Phân tích kết cấu
(a) Ảnh hưởng của mọi tải trọng động và tĩnh phải được sử dụng để xác định tính phù hợp của kết cấu liên quan tới:
(i) Biến dạng dẻo;
(ii) Mất ổn định khi nén;
(iii) Hư hỏng do mỏi; và
(iv) Lan truyền vết nứt.
Phải thực hiện phân tích phần tử hữu hạn hoặc phương pháp tương tự và phân tích cơ học nứt gãy hoặc phương pháp tương đương.
(b) Phải thực hiện phân tích ba chiều để đánh giá mức ứng suất, bao gồm tương tác với thân tàu. Mô hình để thực hiện phân tích này phải bao gồm két nhiên liệu khí hóa lỏng cùng với hệ thống đỡ và chốt chặt, cũng như phần kết cấu phù hợp của thân tàu.
(c) Phải tiến hành phân tích toàn bộ gia tốc cụ thể của tàu và chuyển động của tàu trên sóng bất quy tắc, và phản ứng của tàu và các két nhiên liệu khí hóa lỏng trên tàu đối với các lực và chuyển động này trừ khi các dữ liệu đó có được từ các tàu tương tự.
(3) Điều kiện thiết kế tới hạn
(a) Biến dạng dẻo
Đối với két rời kiểu B mà chủ yếu được tạo thành từ các phần hình dạng tròn xoay thì ứng suất cho phép phải không lớn hơn:
σm ≤ f
σL ≤ 1,5f
σb ≤ 1,5F
σL + σb ≤ 1,5F
σm + σb ≤ 1,5F
σm + σb + σg ≤ 3,0F
σL + σb + σg ≤ 3,0F
Trong đó:
σm là ứng suất màng chung chính tương đương;
σL là ứng suất màng cục bộ chính tương đương;
σb là ứng suất uốn chính tương đương;
σg là ứng suất phụ tương đương;
f là giá trị nhỏ hơn của Rm/A hoặc Re/B; và
F là giá trị nhỏ hơn của Rm/C hoặc Re/D
Rm và Re được định nghĩa ở 6.4.12(1)(a)(iii). Liên quan tới ứng suất σm, σL, σb và σg, xem thêm định nghĩa các nhóm ứng suất ở 6.4.15-2(3)(f).
Các giá trị A tới D phải có giá trị tối thiểu như Bảng 8I/6.3:
Bảng 8I/6.3 Các giá trị tối thiểu của A, B, C và D (két rời kiểu B)
|
|
Thép ni ken và thép các bon măng gan |
Thép ostenit |
Hợp kim nhôm |
|
A |
3 |
3,5 |
4 |
|
B |
2 |
1,6 |
1,5 |
|
C |
3 |
3 |
3 |
|
D |
1,5 |
1,5 |
1,5 |
Các giá trị ở Bảng 8I/6.3 có thể được thay đổi khi xem xét điều kiện thiết kế với sự chấp thuận của Đăng kiểm. Đối với két rời kiểu B mà chủ yếu được tạo thành từ các mặt phẳng thì ứng suất màng tương đương cho phép được sử dụng trong phân tích phần tử hữu hạn phải không lớn hơn:
(i) Đối với thép ni ken và thép các bon - măng gan, giá trị nhỏ hơn của Rm/2 hoặc Re/1,2;
(ii) Đối với thép ostenit, giá trị nhỏ hơn của Rm/2,5 hoặc Re/1,2; và
(iii) Đối với hợp kim nhôm, giá trị nhỏ hơn của Rm/2,5 hoặc Re/1,2.
Các giá trị trên có thể được sửa đổi khi xem xét đến tính cục bộ của ứng suất, phương pháp phân tích ứng suất và điều kiện thiết kế nếu được Đăng kiểm chấp thuận.
Chiều dày của tấm vỏ và kích thước nẹp phải không nhỏ hơn giá trị yêu cầu đối với két rời kiểu A.
(b) Mất ổn định nén
Việc phân tích sức bền ổn định của két nhiên liệu khí hóa lỏng chịu áp suất ngoài và các tải trọng khác gây ra ứng suất nén phải được thực hiện phù hợp với yêu cầu của Đăng kiểm. Phương pháp đó phải tính toán đủ đối với sự khác biệt của ứng suất mất ổn định lý thuyết và thực tế do các mép tấm không trùng nhau, không đủ độ thẳng và độ phẳng, bị méo và sai lệch so với hình tròn thực trên một cung hoặc chiều dài dây cung cụ thể, nếu có thể áp dụng.
(c) Điều kiện thiết kế mỏi
(i) Phải thực hiện đánh giá mỏi và lan truyền vết nứt theo các quy định ở 6.4.12(2). Tiêu chuẩn chấp nhận phải thỏa mãn 6.4.12(2)(g), 6.4.12(2)(h) hoặc 6.4.12(2)(i), tùy thuộc vào khả năng phát hiện khuyết tật.
(ii) Việc phân tích mỏi phải xem xét đến dung sai của kết cấu.
(iii) Nếu Đăng kiểm thấy cần thiết thì có thể phải thử mô hình để xác định hệ số tập trung ứng suất và tuổi thọ mỏi của phần tử kết cấu.
(d) Điều kiện thiết kế sự cố
(i) Két và cơ cấu đỡ két phải được thiết kế đối với tải trọng sự cố và điều kiện thiết kế sự cố nêu ở 6.4.9-5 và 6.4.1-6(3), nếu liên quan.
(ii) Khi chịu các tải trọng sự cố nêu ở 6.4.9-5, ứng suất phải thỏa mãn tiêu chuẩn chấp nhận nêu ở 6.4.1-15(2)(c), có thể được điều chỉnh phù hợp, có tính toán đến xác suất xuất hiện thấp của chúng.
(e) Đánh dấu
Bất kỳ việc đánh dấu nào trên bình áp lực phải được thực hiện bằng phương pháp mà không gây ra việc tăng ứng suất cục bộ đến mức không thể chấp nhận.
(f) Các nhóm ứng suất
Nhằm mục đích đánh giá ứng suất, trong mục này, các nhóm ứng suất được định nghĩa như sau:
(i) Ứng suất pháp là thành phần ứng suất vuông góc với mặt phẳng tham chiếu;
(ii) Ứng suất màng là thành phần ứng suất pháp phân bố đều và bằng giá trị trung bình của ứng suất trên chiều dày của mặt cắt đang xét;
(iii) Ứng suất uốn là ứng suất biến đổi trên chiều dày của mặt cắt đang xét, sau khi đã trừ đi ứng suất màng;
(iv) Ứng suất cắt là thành phần ứng suất nằm trên mặt phẳng tham chiếu;
(v) Ứng suất chính là ứng suất gây ra do tải trọng tác dụng, cần thiết để cân bằng với lực và mô men bên ngoài. Đặc tính cơ bản của ứng suất chính là nó không tự giới hạn. Ứng suất chính mà lớn hơn nhiều so với sức bền chảy sẽ gây nên phá hủy hoặc ít nhất là biến dạng lớn;
(vi) Ứng suất màng chung chính là ứng suất màng chính mà được phân bố ở kết cấu sao cho không xảy ra sự phân bố lại tải trọng do chảy;
(vii) Ứng suất màng cục bộ chính xảy ra khi ứng suất màng gây ra bởi áp suất hoặc tải trọng cơ học khác và liên quan tới ảnh hưởng chính hoặc ảnh hưởng không liên tục gây ra biến dạng lớn trong việc truyền tải trọng đối với các bộ phận khác của kết cấu. Ứng suất như vậy được phân nhóm là ứng suất màng cục bộ chính mặc dù nó có một số đặc tính của ứng suất phụ. Một vùng ứng suất có thể coi là cục bộ nếu:
; và
![]()
Trong đó:
S1 là khoảng cách theo hướng kinh tuyến qua đó ứng suất tương đương lớn hơn 1,1f;
S2 là khoảng cách theo hướng kinh tuyến tới một vùng khác mà ở đó giới hạn đối với ứng suất màng chung chính bị vượt quá;
R là bán kính trung bình của bình;
t là chiều dày thành bình tại vị trí mà ở đó giới hạn đối với ứng suất màng chung chính bị vượt quá; và
f là ứng suất màng chung chính cho phép.
(viii) Ứng suất phụ là ứng suất pháp hoặc ứng suất cắt phát sinh do sự hạn chế lẫn nhau của các phần kề nhau hoặc do sự tự hạn chế của kết cấu. Đặc tính cơ bản của ứng suất phụ là nó tự giới hạn. Chảy cục bộ hoặc biến dạng nhỏ có thể thỏa mãn điều kiện gây ra sự xuất hiện của ứng suất đó.
3 Két rời kiểu C
(1) Cơ sở thiết kế
(a) Cơ sở thiết kế két rời kiểu C là dựa trên tiêu chuẩn bình áp lực được sửa đổi để bao gồm cơ học nứt gãy và tiêu chuẩn lan truyền vết nứt. Áp suất thiết kế nhỏ nhất nêu ở 6.4.15-3(1)(b) là nhằm mục đích đảm bảo ứng suất động đủ nhỏ sao cho vết nứt bề mặt ban đầu sẽ không lan truyền lớn hơn một nửa chiều dày của tấm vỏ trong tuổi thọ của két.
(b) Ứng suất hóa hơi thiết kế phải không nhỏ hơn:
(MPa)
Trong đó:
![]()
Với:
σm là ứng suất màng chính thiết kế;
∆σA là ứng suất màng động cho phép (biên độ kép ở xác suất Q = 10-8) và bằng:
55 N/mm2 đối với thép ferit/mactensit/austensit;
25 N/mm2 đối với hợp kim nhôm (5083-0).
C là kích thước đặc trưng của két, phải lấy bằng giá trị lớn nhất trong các giá trị: h, 0,75b hoặc 0,45l,
Với:
h là chiều cao của két (kích thước theo hướng thẳng đứng của tàu), m;
b là chiều rộng của két (kích thước theo hướng ngang của tàu), m;
l là chiều dài của két (kích thước theo hướng dọc của tàu), m;
ρr là tỷ trọng tương đối của hàng (ρr = 1 đối với nước ngọt) ở nhiệt độ thiết kế.
Khi tuổi thọ thiết kế của của két được lấy lớn hơn 108 lần sóng tới, ∆σA phải được hiệu chỉnh để tạo sự lan truyền vết nứt tương đương, tương ứng với tuổi thọ thiết kế.
(c) Đăng kiểm có thể phân định một két thỏa mãn các tiêu chuẩn đối với áp suất thiết kế tối thiểu của két kiểu C thành loại A hoặc loại B, tùy thuộc vào cấu tạo của két và việc bố trí các cơ cấu đỡ và liên kết.
(2) Chiều dày vỏ
(a) Khi xem xét chiều dày vỏ thì phải áp dụng các quy định dưới đây:
(i) Đối với bình áp lực, chiều dày được tính toán theo 6.4.15-3(2)(d) phải được coi như là chiều dày tối thiểu sau khi định hình mà không có bất kỳ dung sai âm nào;
(ii) Đối với bình áp lực, chiều dày tối thiểu của vỏ và nóc bao gồm cả lượng dư ăn mòn, sau khi định hình, phải không nhỏ hơn 5 mm đối với thép các bon măng gan và thép ni ken, 3 mm đối với thép ostenít hoặc 7 mm đối với hợp kim nhôm; và
(iii) Hệ số hiệu quả của mối nối hàn được sử dụng để tính toán theo 6.4.15-3(2)(d) phải là 0,95 khi thực hiện việc kiểm tra và thử không phá hủy nêu ở 16.3.6-4. Giá trị này có thể được tăng lên thành 1,0 khi thực hiện các việc xem xét khác, ví dụ như vật liệu được sử dụng, kiểu mối nối, quy trình hàn và kiểu tải trọng. Đối với bình xử lý áp lực, Đăng kiểm có thể chấp nhận việc kiểm tra không phá hủy một phần, nhưng không nhỏ hơn quy định ở 16.3.6-4, tùy thuộc vào các yếu tố như vật liệu sử dụng, nhiệt độ thiết kế, nhiệt độ chuyển tiếp trạng thái giòn-dẻo của vật liệu như được chế tạo và kiểu của mối nối và quy trình hàn, nhưng trong trường hợp này hệ số hiệu quả phải được lấy không lớn hơn 0,85. Đối với các vật liệu đặc biệt, hệ số nói trên phải được giảm tùy thuộc vào đặc điểm cơ khí lý thuyết của mối hàn.
(b) Áp suất thiết kế của chất lỏng nêu ở 6.4.9-3(3)(a) phải được đưa vào tính toán áp suất bên trong.
(c) Áp suất thiết kế bên ngoài Pe, sử dụng để kiểm tra mất ổn định khi nén của bình áp lực, phải không nhỏ hơn giá trị tính như sau:
Pe = P1 + P2 + P3 +P4 (MPa)
Trong đó:
P1 là giá trị đặt của van xả chân không. Đối với bình không được trang bị van xả chân không thì P1 phải được xem xét đặc biệt, nhưng nói chung không được lấy nhỏ hơn 0,025 MPa.
P2 là áp suất đặt của van an toàn áp suất đối với không gian kín hoàn toàn có chứa bình áp lực hoặc các phần của bình áp lực; đối với các không gian khác thì P2 = 0.
P3 là áp suất nén ở trong hoặc ở trên vỏ do khối lượng và sự co ngót của lớp bọc cách nhiệt, khối lượng của vỏ bao gồm lượng dư ăn mòn và các tải trọng áp suất bên ngoài khác mà bình áp lực có thể phải chịu. Các thành phần này bao gồm, nhưng không giới hạn, khối lượng của vòm, khối lượng của tháp và đường ống, ảnh hưởng của chất lỏng do chứa không đầy, gia tốc và độ võng thân tàu. Ngoài ra, ảnh hưởng cục bộ của áp suất bên trong hoặc bên ngoài hoặc cả hai phải được đưa vào tính toán.
P4 là áp suất bên ngoài do cột áp nước đối với bình áp lực hoặc một phần của bình trên boong hở; đối với các vùng khác thì P4 = 0.
(d) Quy cách kết cấu dựa trên áp suất bên trong phải được tính như sau:
Chiều dày và hình dáng của các phần chịu áp lực của bình áp lực, dưới tác dụng của áp suất bên trong, như nêu ở 6.4.9-3(3)(a), bao gồm các bích, phải được xác định. Trong mọi trường hợp, các tính toán này phải dựa trên lý thuyết thiết kế bình áp lực được chấp nhận. Các lỗ khoét ở phần chịu áp lực của bình áp lực phải được gia cường theo các quy định ở Chương 10 Phần 3.
(e) Việc phân tích ứng suất liên quan đến tải trọng tĩnh và động phải được thực hiện như dưới đây:
(i) Quy cách kết cấu của bình áp lực phải được xác định theo từ 6.4.15-3(2)(a) đến 6.4.15-3(2)(d) và 6.4.15-3(3);
(ii) Việc tính toán các tải trọng và ứng suất ở khu vực đỡ và khu vực liên kết với vỏ của cơ cấu đỡ phải được thực hiện. Các tải trọng nêu ở 6.4.9-2 đến 6.4.9-5 phải được sử dụng, nếu có thể áp dụng. Ứng suất trong khu vực đỡ phải không lớn hơn 90% ứng suất chảy hoặc 75% sức bền kéo của vật liệu. Trong các trường hợp đặc biệt, Đăng kiểm có thể yêu cầu phải phân tích mỏi; và
(iii) Nếu được yêu cầu bởi Đăng kiểm, ứng suất phụ và ứng suất nhiệt phải được xem xét đặc biệt.
(3) Điều kiện thiết kế tới hạn
(a) Biến dạng dẻo
Đối với két rời kiểu C, ứng suất cho phép phải không lớn hơn:
σm ≤ f
σL ≤ 1,5f
σb ≤ 1,5F
σL + σb ≤ 1,5F
σm + σb ≤ 1,5F
σm + σb + σg ≤ 3,0F
σL + σb + σg ≤ 3,0F
Trong đó:
σm là ứng suất màng chung chính tương đương;
σL là ứng suất màng cục bộ chính tương đương;
σb là ứng suất uốn chính tương đương;
σg là ứng suất phụ tương đương; và
f là giá trị nhỏ hơn của Rm/A hoặc Re/B,
với Rm và Re được định nghĩa ở 6.4.12(1)(a)(iii). Liên quan tới các ứng suất σm, σL, σb và σg, xem thêm định nghĩa các nhóm ứng suất ở 6.4.15-2(3)(f).
Các giá trị A và B phải ít nhất có giá trị tối thiểu như nêu ở Bảng 8I/6.4.
Bảng 8I/6.4 Các giá trị tối thiểu của A và B (két rời kiểu C)
|
|
Thép ni ken và thép các bon măng gan |
Thép ostenit |
Hợp kim nhôm |
|
A |
3 |
3,5 |
4 |
|
B |
1,5 |
1,5 |
1,5 |
(b) Tiêu chuẩn ổn định nén phải được lấy như sau:
Chiều dày và hình dáng của bình áp lực chịu áp suất bên ngoài và các tải trọng khác gây ra ứng suất nén phải được dựa trên các tính toán sử dụng lý thuyết mất ổn định nén của bình áp lực được chấp nhận và phải tính toán đủ đối với sự khác biệt giữa ứng suất mất ổn định lý thuyết và thực tế do các mép tấm không trùng nhau, không đủ độ thẳng và độ phẳng, bị méo và sai lệch so với hình tròn thực trên một cung hoặc chiều dài dây cung cụ thể.
(c) Điều kiện thiết kế mỏi
(i) Đối với két rời kiểu C mà trong đó nhiệt độ của nhiên liệu khí hóa lỏng ở áp suất khí quyển là dưới -55°C thì Đăng kiểm có thể yêu cầu kiểm tra xác nhận bổ sung sự thỏa mãn của chúng với quy định ở 6.4.15-3(1)(a), liên quan tới ứng suất tĩnh và động phụ thuộc vào kích thước két, cấu tạo của két và việc bố trí các cơ cấu đỡ và liên kết của chúng.
(ii) Đối với két được bọc chân không, phải đặc biệt chú ý đến sức bền mỏi trong thiết kế cơ cấu đỡ và cũng phải xem xét đặc biệt đến khả năng kiểm tra bị giới hạn của không gian giữa vỏ trong và vỏ ngoài.
(d) Điều kiện thiết kế sự cố
(i) Két và cơ cấu đỡ két phải được thiết kế đối với tải trọng sự cố và điều kiện thiết kế sự cố nêu ở 6.4.9-5 và 6.4.1-6(3), nếu liên quan.
(ii) Khi chịu các tải trọng sự cố nêu ở 6.4.9-5, ứng suất phải thỏa mãn tiêu chuẩn chấp nhận nêu ở 6.4.15-3(3)(a), có thể được điều chỉnh phù hợp, có tính toán đến xác suất xuất hiện thấp của chúng.
(e) Đánh dấu
Việc đánh dấu theo yêu cầu trên bình áp lực phải được thực hiện bằng phương pháp mà không gây ra việc tăng ứng suất cục bộ đến mức không thể chấp nhận.
4 Két màng
(1) Cơ sở thiết kế
(a) Cơ sở thiết kế đối với hệ thống chứa kiểu màng là việc giãn nở hoặc co ngót do nhiệt hoặc do các nguyên nhân khác sẽ được bù trừ mà không dẫn đến nguy cơ quá lớn về việc mất tính kín của màng.
(b) Một phương pháp có hệ thống, dựa trên phân tích và thử, phải được sử dụng để chứng minh hệ thống sẽ đảm bảo được chức năng dự định khi xem xét đến các sự kiện được nhận dạng trong khai thác nêu ở 6.4.15-4(2)(a).
(c) Phải có vách chắn thứ cấp hoàn toàn như nêu ở 6.4.3. Vách chắn thứ cấp đó phải được thiết kế theo quy định ở 6.4.4.
(d) Áp suất hóa hơi thiết kế P0 thông thường không được lớn hơn 0,025 MPa. Nếu quy cách kết cấu thân tàu được tăng tương ứng và có xem xét, nếu thích hợp, đến độ bền của lớp bọc cách nhiệt đỡ, giá trị P0 có thể được tăng đến giá trị lớn hơn nhưng phải nhỏ hơn 0,07 MPa.
(e) Khái niệm két màng không ngoại trừ các thiết kế như là các két màng mà trong đó sử dụng màng không phải là kim loại hoặc trong đó mà màng được bao gồm hoặc tích hợp vào lớp bọc cách nhiệt.
(f) Thông thường chiều dày của màng phải không lớn hơn 10 mm.
(g) Sự lưu thông của khí trơ trong suốt không gian giữa lớp bọc chính và phụ theo các quy định ở 6.11.1 phải đủ để các phương tiện phát hiện khí một cách hữu hiệu.
(2) Xem xét thiết kế
(a) Các sự cố tiềm ẩn mà có thể dẫn tới tổn thất tính kín chất lỏng trong tuổi thọ của màng phải được đánh giá. Các sự cố này bao gồm, nhưng không giới hạn:
(i) Sự kiện thiết kế tới hạn
1) Màng phá hủy do kéo;
2) Phá hủy do nén của lớp bọc cách nhiệt;
3) Lão hóa do nhiệt;
4) Mất liên kết giữa lớp bọc cách nhiệt và kết cấu thân tàu;
5) Mất liên kết giữa màng và lớp bọc cách nhiệt;
6) Tính nguyên vẹn kết cấu của kết cấu bên trong và các kết cấu đỡ liên quan; và
7) Hư hỏng kết cấu thân tàu làm nhiệm vụ đỡ.
(ii) Sự kiện thiết kế mỏi
1) Mỏi của màng bao gồm cả các mối nối và liên kết với kết cấu thân tàu;
2) Nứt do mỏi của lớp bọc cách nhiệt;
3) Mỏi của kết cấu bên trong và các kết cấu đỡ có liên quan; và
4) Nứt do mỏi của vỏ bên trong dẫn đến sự xâm nhập của nước dằn.
(iii) Sự kiện thiết kế sự cố
1) Hư hỏng cơ khí do sự cố (ví dụ như vật bị rơi bên trong két khi đang hoạt động);
2) Quá áp do sự cố của không gian bọc cách nhiệt;
3) Chân không do sự cố ở trong két; và
4) Nước xâm nhập qua kết cấu vỏ trong.
Không chấp nhận các thiết kế mà khi một sự kiện đơn lẻ bên trong có thể gây ra sự phá hủy đồng thời hoặc kế tiếp nhau của cả hai lớp màng.
(b) Đặc tính vật lý cần thiết của vật liệu (cơ tính, nhiệt tính, hóa tính v.v…) được sử dụng trong kết cấu của hệ thống chứa nhiên liệu khí hóa lỏng phải được xây dựng trong quá trình phát triển thiết kế phù hợp với các quy định ở 6.4.15-4(1)(b).
(3) Các tải trọng và tổ hợp tải trọng
Phải xem xét cụ thể đối với khả năng mất tính nguyên vẹn của két hoặc là do quá áp ở không gian giữa các lớp chắn, khả năng bị chân không ở két nhiên liệu khí hóa lỏng, tác dụng của va đập chất lỏng, cho tới ảnh hưởng của rung động thân tàu, hoặc bất kỳ sự kết hợp nào của các sự kiện vừa nêu.
(4) Phân tích kết cấu
(a) Phải thực hiện phân tích và/hoặc thử kết cấu nhằm mục đích xác định sức bền tới hạn và đánh giá mỏi của hệ thống chứa nhiên liệu khí hóa lỏng và các kết cấu, thiết bị liên quan nêu ở 6.4.7. Việc phân tích kết cấu phải cung cấp các dữ liệu cần thiết để đánh giá mỗi chế độ hư hỏng mà đã được xác định là tới hạn đối với hệ thống chứa nhiên liệu khí hóa lỏng.
(b) Việc phân tích kết cấu của thân tàu phải đưa vào tính toán áp suất bên trong như chỉ ra ở 6.4.9-3(3)(a). Phải đặc biệt chú ý tới độ võng của thân tàu và tính tương thích của chúng đối với màng và lớp bọc cách nhiệt liên quan.
(c) Việc phân tích nêu ở 6.4.15-4(4)(a) và 6.4.15-4(4)(b) phải dựa trên các chuyển động, gia tốc và phản ứng cụ thể của tàu và của hệ thống chứa nhiên liệu khí hóa lỏng.
(5) Điều kiện thiết kế tới hạn
(a) Độ bền kết cấu của các thành phần kết cấu, hệ thống kết cấu nhỏ hoặc tổ hợp kết cấu tới hạn phải được xây dựng theo các quy định ở 6.4.15-4(1)(b), trong trạng thái đang hoạt động.
(b) Việc lựa chọn tiêu chuẩn chấp nhận bền đối với chế độ hư hỏng của hệ thống chứa nhiên liệu khí hóa lỏng, các liên kết của nó với kết cấu thân tàu và kết cấu bên trong két phải phản ánh được các hệ quả liên quan đến chế độ hư hỏng đang xét.
(c) Quy cách kết cấu của vỏ trong phải thỏa mãn các yêu cầu ở Chương 12 Phần 2A, trong đó có tính đến áp suất bên trong như chỉ ra ở 6.4.9-3(3)(a) và các quy định thích hợp được chỉ ra đối với tải trọng va đập chất lỏng nêu ở 6.4.9-4(1)(c).
(6) Điều kiện thiết kế mỏi
(a) Phải thực hiện phân tích mỏi đối với các kết cấu bên trong két, ví dụ tháp bơm, và đối với các phần của màng và liên kết của tháp bơm, mà ở đó sự phát triển của hư hỏng không thể được phát hiện hữu hiệu bằng việc theo dõi liên tục.
(b) Phải thực hiện tính toán mỏi theo các quy định ở 6.4.12(2), cùng với các quy định có liên quan tùy thuộc vào:
(i) Sự quan trọng của các thành phần kết cấu mà liên quan tới tính nguyên vẹn kết cấu; và
(ii) Tính sẵn sàng cho việc kiểm tra.
(c) Đối với các phần tử kết cấu mà có thể chứng minh được bằng thử và/hoặc phân tích rằng một vết nứt sẽ không phát triển dẫn tới hư hỏng đồng thời hoặc kế tiếp nhau của cả hai lớp màng thì Cw phải nhỏ hơn hoặc bằng 0,5.
(d) Các phần tử kết cấu được kiểm tra chu kỳ, mà trong đó một vết nứt do mỏi không được phát hiện có thể phát triển dẫn tới hư hỏng đồng thời hoặc kế tiếp nhau của cả hai lớp màng thì phải thỏa mãn các yêu cầu về mỏi và cơ tính nứt gãy nêu ở 6.4.12(2)(h).
(e) Các phần tử kết cấu mà không thể tiếp cận khi hoạt động, và tại đó một vết nứt do mỏi có thể phát triển mà không được cảnh báo là gây ra hư hỏng đồng thời hoặc kế tiếp nhau của cả hai lớp màng thì phải thỏa mãn các yêu cầu về mỏi và cơ tính nứt gãy nêu ở 6.4.12(2)(h).
(7) Điều kiện thiết kế sự cố
(a) Hệ thống chứa và kết cấu thân tàu làm nhiệm vụ đỡ phải được thiết kế đối với các tải trọng sự cố nêu ở 6.4.9-5. Các tải trọng này không cần phải được kết hợp với nhau hoặc với tải trọng môi trường.
(b) Các kịch bản sự cố liên quan phải được xác định bổ sung dựa trên phân tích rủi ro. Phải đặc biệt chú ý tới các thiết kế làm chặt bên trong két.
6.4.16 Thiết kế trạng thái giới hạn đối với hệ thống mới lạ
1 Hệ thống chứa nhiên liệu mà cấu tạo mới lạ nên không thể được thiết kế theo mục 6.4.15 thì phải được thiết kế theo mục này và các mục 6.4.1 tới 6.4.14, nếu có thể áp dụng. Thiết kế hệ thống chứa nhiên liệu theo mục này phải dựa trên các nguyên tắc của thiết kế trạng thái giới hạn, đó là một phương pháp thiết kế kết cấu mà có thể được áp dụng đối với các giải pháp thiết kế đã được đưa ra cũng như là các thiết kế mới lạ. Cách tiếp cận chung hơn này duy trì mức độ an toàn tương tự như các hệ thống chứa đã biết mà được thiết kế theo 6.4.15.
2
(1) Thiết kế trạng thái giới hạn là một cách tiếp cận có hệ thống, trong đó mỗi phần tử kết cấu được đánh giá đối với các chế độ hư hỏng có thể xảy ra liên quan tới điều kiện thiết kế được xác định ở 6.4.1-6. Một trạng thái giới hạn có thể được xác định là một trạng thái mà sau đó kết cấu, hoặc một phần của kết cấu sẽ không còn thỏa mãn các yêu cầu.
(2) Đối với mỗi chế độ hư hỏng, một hoặc nhiều trạng thái giới hạn có thể liên quan. Bằng việc xem xét mọi trạng thái giới hạn liên quan, tải trọng giới hạn đối với phần tử kết cấu được xác định bằng tải trọng giới hạn nhỏ nhất của mọi trạng thái giới hạn có liên quan.
Trạng thái giới hạn được chia thành 3 nhóm sau:
(a) Trạng thái giới hạn tới hạn tương ứng với khả năng chịu tải lớn nhất hoặc, trong một số trường hợp, tương ứng với sức căng hoặc biến dạng lớn nhất có thể; trong điều kiện nguyên vẹn (không bị hư hại);
(b) Trạng thái giới hạn mỏi tương ứng với sự suy giảm do ảnh hưởng của tải trọng biến đổi theo thời gian (chu kỳ); và
(c) Trạng thái giới hạn sự cố liên quan đến khả năng kết cấu có thể được duy trì trong tình huống sự cố.
(3) Quy trình và các thông số thiết kế liên quan của thiết kế trạng thái giới hạn phải thỏa mãn Phụ lục của Phần này.
6.5 Két nhiên liệu khí hóa lỏng di động
6.5.1 Thiết kế
Thiết kế của két phải thỏa mãn 6.4.15-3. Bố trí đỡ két (khung chứa hoặc khung gầm của xe) phải được thiết kế phù hợp với mục đích dự định.
6.5.2 Vị trí
Két nhiên liệu di động phải được bố trí ở các khu vực dành riêng mà có trang bị:
(1) Bảo vệ cơ khí của các két phụ thuộc vào vị trí và hoạt động làm hàng;
(2) Nếu được bố trí trên boong hở: Bảo vệ rò rỉ và hệ thống sương nước để làm mát; và
(3) Nếu được bố trí trong không gian kín: Không gian đó phải được coi là buồng đầu nối két.
6.5.3 Cố định
Két nhiên liệu di động phải được cố định với boong tàu khi được nối với hệ thống trên tàu. Bố trí đỡ và cố định két phải được thiết kế đối với góc nghiêng tĩnh và động dự tính lớn nhất, cũng như giá trị gia tốc dự tính lớn nhất, trong đó có tính đến đặc tính của tàu và vị trí của két.
6.5.4 Xem xét đối với sức bền và ảnh hưởng của ổn định tàu
Phải xem xét độ bền và ảnh hưởng của két nhiên liệu di động đối với ổn định tàu.
6.5.5 Phương tiện kết nối
Kết nối với hệ thống đường ống nhiên liệu trên tàu phải được thực hiện bằng các phương tiện có ống mềm linh động được duyệt hoặc các phương tiện thích hợp khác được thiết kế để đảm bảo đủ tính linh động.
6.5.6 Giới hạn lượng nhiên liệu bị rò rỉ
Phải thực hiện các bố trí để giới hạn lượng nhiên liệu bị rò rỉ trong trường hợp ngắt kết nối không chủ ý hoặc kết nối tạm thời bị hỏng.
6.5.7 Hệ thống an toàn áp suất
Hệ thống an toàn áp suất của các két di động phải được nối tới hệ thống thông hơi cố định.
6.5.8 Hệ thống điều khiển và giám sát
Hệ thống điều khiển và giám sát cho két nhiên liệu di động phải được tích hợp vào hệ thống điều khiển và giám sát của tàu. Hệ thống an toàn cho các két nhiên liệu di động phải được tích hợp vào hệ thống an toàn của tàu (ví dụ như hệ thống đóng các van của két, hệ thống phát hiện rò rỉ, phát hiện khí).
6.5.9 Tiếp cận
Phải đảm bảo lối tiếp cận an toàn tới vị trí nối két nhằm mục đích kiểm tra và bảo dưỡng.
6.5.10 Kết nối
Sau khi kết nối với hệ thống ống nhiên liệu của tàu,
(1) khi không tính đến hệ thống an toàn áp suất ở 6.5.6, mỗi két di động phải có thể được cô lập bất cứ lúc nào;
(2) việc cô lập một két phải không ảnh hưởng tới tính sẵn sàng của các két di động còn lại; và
(3) két phải không vượt quá giới hạn nạp của két nêu ở 6.8.
6.6 Hệ thống chứa nhiên liệu CNG
6.6.1 Thẩm định
Két sử dụng để chứa CNG phải được chứng nhận và duyệt bởi Đăng kiểm.
6.6.2 Van an toàn áp suất
Két CNG phải được lắp van an toàn áp suất với áp suất đặt dưới áp suất thiết kế của két và có đầu ra được bố trí theo yêu cầu ở 6.7.2-7 và 6.7.2-8.
6.6.3 Giảm áp cho két
Phải có đủ phương tiện để giảm áp suất cho két trong trường hợp cháy làm ảnh hưởng cho két.
6.6.4 Bố trí phương tiện chứa
Bình thường, việc chứa CNG trong các không gian kín là không được chấp nhận nhưng có thể được phép khi được Đăng kiểm xem xét đặc biệt và thẩm định miễn là thỏa mãn các yêu cầu ở (1) tới (3) dưới đây, ngoài các quy định ở 6.3.1-4 đến 6.3.1-6:
(1) Phải có đủ phương tiện để giảm áp và làm trơ két trong trường hợp đám cháy có thể ảnh hưởng đến két;
(2) Mọi bề mặt bên trong các không gian kín mà có thiết bị chứa CNG phải được bảo vệ nhiệt thích hợp đối với việc tổn thất khí có áp suất cao và dẫn đến ngưng tụ trừ khi các vách được thiết kế cho nhiệt độ thấp nhất mà có thể phát sinh khi rò rỉ khí; và
(3) Một hệ thống chữa cháy cố định phải được trang bị trong không gian kín mà có thiết bị chứa CNG. Phải xem xét đặc biệt đối với việc dập các tia lửa.
6.7 Hệ thống an toàn áp suất
6.7.1 Quy định chung
1 Mọi két chứa nhiên liệu phải có hệ thống an toàn áp suất phù hợp với thiết kế của hệ thống chứa nhiên liệu và loại nhiên liệu được chứa. Khoang hầm chứa nhiên liệu, không gian giữa các lớp chắn, buồng đầu nối két và cách ly két mà có thể chịu áp suất nằm ngoài khả năng của chúng theo thiết kế thì cũng phải được trang bị hệ thống an toàn áp suất phù hợp. Hệ thống kiểm soát áp suất quy định ở 6.9 phải độc lập với hệ thống an toàn áp suất.
2 Két chứa nhiên liệu mà có thể chịu áp suất bên ngoài lớn hơn áp suất thiết kế của nó thì phải có hệ thống bảo vệ chân không.
6.7.2 Hệ thống an toàn áp suất cho két chứa nhiên liệu khí hóa lỏng
1 Nếu không loại trừ được khả năng nhiên liệu rò rỉ vào khoang chân không của két được bọc chân không thì khoang chân không phải được bảo vệ bằng thiết bị xả áp và thiết bị này phải được kết nối với hệ thống thông hơi nếu két này được bố trí dưới boong. Trên boong hở, Đăng kiểm có thể chấp nhận việc xả trực tiếp vào không khí đối với các két có kích thước không lớn hơn một công te nơ 40 feet nếu khí được xả không thể đi vào khu vực an toàn.
2 Két chứa nhiên liệu khí hóa lỏng phải có ít nhất 2 van an toàn áp suất để tính đến trường hợp 1 van bị ngắt kết nối do hỏng hoặc rò rỉ.
3 Không gian giữa các lớp chắn phải có thiết bị xả áp. Đối với hệ thống màng, người thiết kế phải chứng minh kích cỡ của van an toàn áp suất cho không gian giữa các lớp chắn là đủ.
4 Giá trị đặt cho van an toàn áp suất phải không lớn hơn áp suất hóa hơi mà đã được sử dụng trong thiết kế của két. Các van bao gồm không lớn hơn 50% tổng lưu lượng xả thì có thể được đặt áp suất tới mức lớn hơn 5% so với MARVS để cho phép việc nâng tuần tự, giảm thiểu việc xả hơi không cần thiết.
5 Các yêu cầu về nhiệt độ dưới đây phải được áp dụng cho van an toàn áp suất của hệ thống an toàn áp suất:
(1) Van an toàn áp suất của két nhiên liệu có nhiệt độ thiết kế dưới 0°C phải được thiết kế và bố trí để ngăn không cho các van bị vô hiệu hóa do sự hình thành băng;
(2) Ảnh hưởng của việc hình thành băng do nhiệt độ môi trường phải được xem xét trong việc chế tạo và bố trí van an toàn áp suất;
(3) Van an toàn áp suất phải được chế tạo bằng vật liệu có điểm nóng chảy lớn hơn 925°C. Vật liệu có điểm nóng chảy thấp hơn cho các phần bên trong và cơ cấu làm kín có thể được chấp nhận miễn là van vẫn hoạt động đảm bảo an toàn; và
(4) Cảm biến và đường xả trên van xả hoạt động kiểu pilot phải được cấu tạo chắc chắn một cách hợp lý để tránh hư hỏng.
6 Trong trường hợp một van an toàn áp suất của két nhiên liệu bị hỏng thì phải có một phương tiện an toàn để cô lập khẩn cấp.
(1) Quy trình phải được lập và bao gồm trong Hướng dẫn vận hành (xem Chương 18);
(2) Quy trình phải cho phép chỉ một trong các van an toàn áp suất được trang bị cho két nhiên liệu khí hóa lỏng được cô lập; tác dụng này phải bao gồm cả việc khóa liên động vật lý; và
(3) Việc cô lập van an toàn áp suất phải được thực hiện dưới sự giám sát của Thuyền trưởng. Hành động này phải được ghi vào nhật ký tàu, và ghi vào ở vị trí của van an toàn áp suất.
7 Mỗi van an toàn áp suất được trang bị cho két nhiên liệu khí hóa lỏng phải được nối tới hệ thống thông hơi, mà phải được:
(1) Chế tạo sao cho việc xả không bị cản trở và bình thường sẽ được hướng thẳng đứng lên trên tại vị trí ra;
(2) Bố trí để giảm thiểu khả năng nước và tuyết đi vào hệ thống thông hơi; và
(3) Thông thường, bố trí sao cho chiều cao của đầu ra ống thông hơi phải không nhỏ hơn B'/3 hoặc 6 m, lấy giá trị nào lớn hơn, cao hơn boong thời tiết và cao hơn 6 m so với khu vực làm việc và lối đi. Tuy nhiên, chiều cao cột ống thông hơi có thể được giới hạn ở mức thấp hơn nếu được Đăng kiểm xem xét đặc biệt.
8 Đầu ra từ van an toàn áp suất thông thường phải được bố trí ít nhất là 10 m tính từ vị trí gần nhất trong số các vị trí sau:
(1) Miệng lấy khí vào và khí ra hoặc lỗ khoét dẫn tới khu vực sinh hoạt, phục vụ và buồng điều khiển, hoặc các khu vực không nguy hiểm khác; và
(2) Đầu xả ra từ hệ thống máy.
9 Mọi đầu ra thông hơi khác của khí nhiên liệu cũng phải được bố trí phù hợp với 6.7.2-7 và 6.7.2-8. Phải có phương tiện để ngăn chất lỏng tràn ra từ đầu ra của thông hơi do áp suất thủy tĩnh ở không gian mà ống thông hơi được nối vào.
10 Trong hệ thống ống thông hơi, phải có phương tiện để thoát chất lỏng từ các vị trí mà chất lỏng có thể bị tích tụ. Các van an toàn và đường ống phải được bố trí sao cho, trong mọi tình huống, chất lỏng không thể tích tụ ở vị trí hoặc gần vị trí van an toàn.
11 Tấm lưới bảo vệ với mắt lưới vuông có kích thước không quá 13 mm phải được lắp ở đầu ra của ống thông hơi để bảo vệ sự xâm nhập của các đối tượng bên ngoài mà không ảnh hưởng bất lợi đến luồng hơi.
12 Mọi đường ống thông hơi phải được thiết kế và bố trí để không bị hư hỏng do biến đổi nhiệt độ mà đường ống đó tiếp xúc, do các lực của dòng chảy hoặc do chuyển động của tàu.
13 Các van an toàn phải được nối vào phần cao nhất của két nhiên liệu. Các van an toàn phải được bố trí tại vị trí trên két nhiên liệu sao cho chúng vẫn còn ở thể hơi tại giới hạn nạp như nêu ở 6.8, trong điều kiện nghiêng 15° và chúi 0,015Lf.
6.7.3 Xác định kích cỡ hệ thống an toàn áp suất
1 Xác định kích cỡ van an toàn áp suất
(1) Các van an toàn áp suất phải có lưu lượng xả kết hợp đối với mỗi két nhiên liệu khí hóa lỏng để xả lượng lớn hơn trong các quy định dưới đây, với sự tăng hơn của áp suất trong két nhiên liệu khí hóa lỏng so với giá trị MARVS không quá 20%:
(a) Lưu lượng lớn nhất của hệ thống làm trơ két nhiên liệu khí hóa lỏng nếu áp suất làm việc lớn nhất đạt được của hệ thống làm trơ két nhiên liệu khí hóa lỏng vượt quá giá trị MARVS của két nhiên liệu khí hóa lỏng; hoặc
(b) Hơi được tạo ra do tiếp xúc với lửa, được tính toán như công thức dưới đây:
Q = FGA0,82 (m3/s)
Trong đó:
Q là lưu lượng xả tối thiểu theo yêu cầu của không khí ở điều kiện tiêu chuẩn, 273,15°K và 0,1013 MPa.
F là hệ số tiếp xúc lửa của các loại nhiên liệu khí hóa lỏng khác nhau:
F = 1,0 đối với két không được bọc bố trí trên boong;
F = 0,5 đối với các két ở trên boong khi lớp bọc được Đăng kiểm duyệt. (Việc duyệt sẽ căn cứ trên việc sử dụng vật liệu chịu lửa, tính dẫn nhiệt của lớp bọc và sự ổn định của lớp bọc khi tiếp xúc với lửa);
F = 0,5 đối với két rời không được bọc và bố trí trong khoang;
F = 0,2 đối với két rời được bọc và bố trí trong khoang (hoặc két rời không được bọc nhưng lại bố trí trong khoang được bọc);
F = 0,1 đối với két rời được bọc và bố trí trong khoang được làm trơ (hoặc két rời không được bọc nhưng lại bố trí trong khoang được làm trơ, bọc); và
F = 0,1 đối với két màng.
Đối với két rời có một phần được thò ra qua boong thời tiết, hệ số tiếp xúc lửa phải được xác định trên cơ sở diện tích bề mặt trên boong và dưới boong.
G là hệ số khí, được tính theo công thức sau:
![]()
Trong đó:
T là nhiệt độ (°K) tại điều kiện xả, ví dụ 120% của áp suất mà tại đó van an toàn áp suất được đặt;
Lh là ẩn nhiệt của vật liệu được bốc hơi ở điều kiện xả, kJ/kg;
Dh là hằng phụ thuộc vào nhiệt dung riêng k và được tính như sau:

Trong đó:
k là nhiệt dung riêng ở điều kiện xả và giá trị của nó nằm giữa 1,0 và 2,2. Nếu không xác định được k thì D phải được lấy bằng 0,606;
Z là hệ số nén của khí ở điều kiện xả; nếu không xác định được thì Z phải được lấy bằng 1,0;
M là khối lượng phân tử của sản phẩm;
A là diện tích bề mặt ngoài của két (m2), phụ thuộc vào với các kiểu két khác nhau như trong Hình 8I/6.4.
Hệ số khí của mỗi nhiên liệu khí hóa lỏng được chứa phải được xác định và giá trị lớn nhất phải được sử dụng để xác định kích cỡ van an toàn áp suất.
(2) Đối với két được bọc chân không trong khoang hầm chứa nhiên liệu và đối với các két trong khoang hầm chứa nhiên liệu mà tách biệt với các đối tượng có thể cháy được bằng khoang cách ly hoặc được bao quanh bằng các không gian của tàu mà không có các đối tượng có thể cháy được thì phải áp dụng (a) và (b) dưới đây:
(a) Nếu van an toàn áp suất phải được xác định kích cỡ đối với các nguồn có thể cháy được thì hệ số tiếp xúc lửa có thể được giảm tới các giá trị dưới đây:
(i) F = 0,5 giảm tới F = 0,25;
(ii) F = 0,2 giảm tới F = 0,1.
(b) Hệ số tiếp xúc lửa tối thiểu là F = 0,1.
(3) Lưu lượng yêu cầu của khí tại điều kiện xả được tính như sau:
Mair = Q. ρair (kg/s)
Trong đó, tỷ trọng của khí được lấy bằng ρair = 1,293 kg/m3 (khí tại 273,15°K; 0,1013 MPa).
2 Xác định kích cỡ hệ thống ống thông hơi
(1) Tổn thất áp suất ngược dòng và xuôi dòng qua van an toàn áp suất phải được đưa vào tính toán khi xác định kích cỡ của van để đảm bảo lưu lượng dòng khí như yêu cầu ở 6.7.3-1.
(2) Tổn thất áp suất xuôi dòng
(a) Sự tụt áp trong đường ống thông hơi từ két tới đầu vào van an toàn áp suất phải không quá 3% áp suất đặt của van tại lưu lượng tính toán, phù hợp với 6.7.3-1.
(b) Van an toàn áp suất hoạt động kiểu pilot phải không bị ảnh hưởng bởi tổn thất áp suất của đường ống đi vào khi đầu pilot cảm biến trực tiếp từ vòm két; và
(c) Tổn thất áp suất ở đường ống pilot cảm biến từ xa phải được xem xét đối với pilot kiểu dòng chảy.
(3) Tổn thất áp suất ngược dòng
(a) Khi sử dụng chung đầu thông hơi và cột thông hơi, việc tính toán phải bao gồm dòng khí từ mọi van an toàn áp suất được nối vào.
(b) Áp suất đấy lại tổng hợp trong đường ống thông hơi từ đầu ra của van an toàn áp suất đến vị trí xả đến khí quyển, và bao gồm cả các đường ống thông hơi liên thông để nối các két khác, phải không vượt quá các giá trị dưới đây:
(i) Đối với van an toàn áp suất không cân bằng: 10% giá trị MARVS;
(ii) Đối với van an toàn áp suất cân bằng: 30% giá trị MARVS; và
(iii) Đối với van an toàn áp suất hoạt động kiểu pilot: 50% giá trị MARVS.
Có thể chấp nhận các giá trị thay thế do nhà sản xuất van an toàn áp suất cung cấp.
(4) Để đảm bảo van an toàn áp suất hoạt động ổn định, áp lực đóng van phải không nhỏ hơn tổng của tổn thất áp suất đầu vào và 0,02 MARVS tại lưu lượng định mức.

Hình 8I/6.4 Cách xác định diện tích mặt ngoài của két
6.8 Giới hạn chứa đối với két nhiên liệu khí hóa lỏng
6.8.1 Giới hạn chứa
1 Két chứa khí hóa lỏng phải không được chứa tới mức thể tích tương đương 98% thể tích đầy tại nhiệt độ tham chiếu định nghĩa ở 2.2.1-36. Đường cong giới hạn chứa đối với nhiệt độ chứa nhiên liệu thực tế phải được xây dựng từ công thức dưới đây:
![]()
Trong đó:
LL là giới hạn chứa định nghĩa ở 2.2.1-27, tính bằng %;
FL là giới hạn nạp được định nghĩa ở 2.2.1-16, tính bằng %, trong trường hợp này là 98%;
ρR là tỷ trọng tương đối của nhiên liệu tại nhiệt độ tham chiếu;
ρL là tỷ trọng tương đối của nhiên liệu tại nhiệt độ chứa.
2 Trong trường hợp mà lớp bọc của két và vị trí của két làm cho xác suất chất chứa trong két được làm nóng lên do đám cháy bên ngoài là rất thấp thì có thể xem xét đặc biệt để cho phép một giới hạn chứa lớn hơn so với giá trị được tính toán khi sử dụng nhiệt độ tham chiếu, nhưng không bao giờ được quá 95%. Điều này cũng có thể được áp dụng trong trường hợp mà một hệ thống thứ hai được trang bị để duy trì áp suất (xem 6.9). Tuy nhiên, nếu áp suất chỉ có thể được duy trì/kiểm soát bằng thiết bị tiêu thụ nhiên liệu thì phải sử dụng giới hạn chứa như được tính toán ở 6.8.1-1.
6.9 Duy trì điều kiện chứa nhiên liệu
6.9.1 Kiểm soát áp suất và nhiệt độ két
1 Ngoại trừ két nhiên liệu khí hóa lỏng được thiết kế để chịu được áp suất hóa hơi đo được khi đầy của nhiên liệu trong điều kiện nhiệt độ thiết kế của môi trường ở mức trên thì áp suất và nhiệt độ của két nhiên liệu khí hóa lỏng phải được duy trì tại mọi thời điểm trong phạm vi thiết kế bằng các phương tiện được Đăng kiểm chấp nhận, ví dụ một trong các phương pháp sau:
(1) Tái hóa lỏng hơi nhiên liệu;
(2) Ô xy hóa nhiệt hơi nhiên liệu;
(3) Tập trung ứng suất; hoặc
(4) Làm mát nhiên liệu khí hóa lỏng.
Phương pháp được lựa chọn phải có khả năng duy trì áp suất két dưới áp suất đặt của van an toàn áp suất trong khoảng thời gian 15 ngày với giả thiết két đầy tại nhiệt độ làm việc bình thường và tàu ở trạng thái nghỉ, ví dụ chỉ phát điện cho các tải phục vụ sinh hoạt.
2 Không chấp nhận việc thông hơi nhiên liệu để kiểm soát áp suất két trừ tình huống khẩn cấp.
6.9.2 Thiết kế hệ thống
1 Đối với tàu hoạt động tuyến quốc tế, mức trên của nhiệt độ môi trường thiết kế phải là 32°C đối với nước biển và 45°C đối với không khí. Đối với tàu hoạt động ở các vùng đặc biệt nóng hoặc lạnh thì các nhiệt độ thiết kế này phải được tăng hoặc giảm thỏa mãn yêu cầu của Đăng kiểm.
2 Khả năng tổng thể của hệ thống phải sao cho nó có thể kiểm soát được áp suất trong phạm vi điều kiện thiết kế mà không cần thông hơi với môi trường khí bên ngoài.
6.9.3 Hệ thống tái hóa lỏng
1 Hệ thống tái hóa lỏng phải được thiết kế và tính toán theo 6.9.3-2. Hệ thống này cũng phải đủ lớn theo cách phù hợp trong trường hợp không tiêu thụ nhiên liệu và tiêu thụ ít.
2 Hệ thống tái hóa lỏng phải được bố trí theo một trong các cách nêu ở (1) đến (4) sau:
(1) Hệ thống trực tiếp trong đó nhiên liệu bay hơi được nén, ngưng tụ và quay trở lại két nhiên liệu;
(2) Hệ thống không trực tiếp trong đó nhiên liệu hoặc nhiên liệu đã bay hơi được làm lạnh hoặc ngưng tụ bằng môi chất làm lạnh mà không cần phải nén;
(3) Hệ thống kết hợp trong đó nhiên liệu đã bay hơi được nén và ngưng tụ trong bộ trao đổi nhiệt nhiên liệu/môi chất làm lạnh và quay trở lại két nhiên liệu; hoặc
(4) Nếu hệ thống tái hóa lỏng tạo ra khí dư thừa có chứa mê tan trong quá trình hoạt động kiểm soát áp suất ở các điều kiện thiết kế thì các khí dư thừa này phải được loại bỏ đến mức có thể mà không cần phải thông ra môi trường khí bên ngoài.
6.9.4 Hệ thống ô xy hóa nhiệt
Ô xy hóa nhiệt có thể được thực hiện hoặc là bằng việc tiêu thụ hơi nhiên liệu theo các yêu cầu đối với thiết bị tiêu thụ quy định trong Phần này hoặc trong thiết bị đốt khí dành riêng. Phải chứng minh được rằng năng lực của hệ thống ô xy hóa là đủ để tiêu thụ lượng hơi theo yêu cầu. Về vấn đề này, cần phải xem xét thời gian hóa hơi chậm và/hoặc thiết bị đẩy hoặc thiết bị khác không tiêu thụ.
6.9.5 Tính tương thích
Công chất làm lạnh hoặc phụ gia sử dụng để làm lạnh hoặc làm mát nhiên liệu phải tương thích với nhiên liệu mà chúng có thể tiếp xúc (không gây ra phản ứng nguy hiểm hoặc sản phẩm của phản ứng có khả năng ăn mòn lớn). Ngoài ra, khi sử dụng một số công chất hoặc phụ gia cùng nhau thì chúng cũng phải tương thích với nhau.
6.9.6 Tính sẵn sàng của hệ thống
1 Tính sẵn sàng của hệ thống và các hoạt động phụ trợ của nó phải sao cho trong trường hợp xảy ra hư hỏng đơn lẻ (của bộ phận cơ khí động hoặc bộ phận của hệ thống điều khiển) thì áp suất và nhiệt độ của két nhiên liệu có thể được duy trì bằng một hoạt động hoặc hệ thống khác.
2 Các bộ trao đổi nhiệt mà chỉ cần thiết để duy trì áp suất và nhiệt độ của két nhiên liệu trong phạm vi thiết kế thì phải có một bộ trao đổi nhiệt dự phòng trừ khi chúng có công suất lớn hơn 25% so với công suất yêu cầu lớn nhất đối với việc kiểm soát áp suất và chúng có thể sửa chữa được trên tàu mà không cần hỗ trợ bên ngoài.
6.10 Kiểm soát môi trường khí bên trong hệ thống chứa nhiên liệu
6.10.1 Kiểm soát môi trường khí bên trong hệ thống chứa nhiên liệu
1 Một hệ thống ống phải được bố trí để mỗi két nhiên liệu có thể được làm sạch khí một cách an toàn và có thể đưa nhiên liệu vào một cách an toàn từ trạng thái sạch khí. Hệ thống này phải được bố trí để giảm thiểu khả năng của các túi khí hoặc không khí còn lại sau khi trao đổi môi trường khí.
2 Hệ thống này phải được thiết kế để loại trừ khả năng hỗn hợp gây cháy tồn tại trong két nhiên liệu trong bất cứ giai đoạn nào của hoạt động trao đổi môi không khí bằng cách sử dụng môi chất làm trơ trong bước trung gian.
3 Mối két nhiên liệu phải có điểm lấy mẫu khí để theo dõi quá trình thay đổi môi trường khí.
4 Khí trơ được sử dụng để làm sạch khí trong két nhiên liệu có thể được cấp lên tàu từ bên ngoài.
6.11 Kiểm soát môi trường khí bên trong khoang hầm chứa nhiên liệu (hệ thống chứa nhiên liệu mà không phải két rời kiểu C)
6.11.1 Kiểm soát môi trường khí bên trong khoang hầm chứa nhiên liệu (hệ thống chứa nhiên liệu mà không phải két rời kiểu C)
1 Không gian giữa các lớp chắn và khoang hầm chứa nhiên liệu liên quan tới các hệ thống chứa nhiên liệu khí hóa lỏng mà yêu cầu phải có vách chắn thứ cấp một phần hoặc toàn phần thì phải được làm trơ bằng khí trơ khô phù hợp và duy trì trạng thái trơ bằng khí được tạo ra bởi hệ thống tạo khí trơ trên tàu hoặc bằng từ nguồn chứa trên tàu, mà phải đủ để tiêu thụ bình thường trong ít nhất 30 ngày. Đăng kiểm có thể chấp nhận khoảng thời gian ngắn hơn tùy thuộc vào hoạt động cụ thể của tàu.
2 Mặt khác, các không gian nêu ở -1 mà chỉ yêu cầu phải có vách chắn thứ cấp một phần thì có thể được chứa không khí khô miễn là
6.12 Kiểm soát môi trường của không gian xung quanh két rời kiểu C
6.12.1 Kiểm soát môi trường của không gian xung quanh két rời kiểu C
Các không gian xung quanh két nhiên liệu khí hóa lỏng phải được điền đầy không khí khô phù hợp và phải được duy trì trong trạng thái này với không khí khô được cấp bởi thiết bị làm khô không khí phù hợp. Quy định này chỉ có thể áp dụng đối với các két nhiên liệu khí hóa lỏng mà việc ngưng tụ và đóng băng do bề mặt lạnh trở thành một vấn đề.
6.13 Làm trơ
6.13.1 Làm trơ
Bố trí để ngăn dòng hơi nhiên liệu chảy ngược vào hệ thống khí trơ phải được thực hiện như sau:
(1) Để ngăn khí dễ cháy trở lại không gian không nguy hiểm, đường ống cấp khí trơ phải có 2 van đóng kế tiếp nhau cùng với một van thông hơi ở giữa (van chặn kép và xả áp). Ngoài ra, phải lắp một van một chiều có thể đóng được giữa bố trí chặn kép và xả áp và hệ thống nhiên liệu. Các van này phải được bố trí bên ngoài không gian không nguy hiểm.
(2) Nếu việc kết nối với hệ thống ống nhiên liệu là không cố định, 2 van một chiều có thể được thay thế cho các van yêu cầu ở (1) trên.
(3) Việc bố trí phải được thực hiện sao cho mỗi không gian được làm trơ có thể được cô lập và phải bố trí các cơ cấu điều khiển và van xả cần thiết nhằm kiểm soát áp suất trong các không gian này.
(4) Nếu không gian lớp bọc được cấp khí trơ liên tục như là một phần của hệ thống phát hiện rò rỉ thì phải có các phương tiện để theo dõi lượng khí được cấp vào từng không gian.
6.14 Việc tạo và chứa khí trơ trên tàu
6.14.1 Việc tạo và chứa khí trơ trên tàu
1 Thiết bị tạo khí trơ phải có khả năng tạo ra khí trơ có nồng độ ô xy luôn không lớn hơn 5% thể tích tại mọi thời điểm. Một thiết bị đo nồng độ ô xy đọc liên tục phải được bố trí ở nguồn cấp khí trơ từ thiết bị và phải được trang bị một thiết bị báo động ở mức nồng độ ô xy lớn nhất là 5% theo thể tích.
2 Hệ thống khí trơ phải được bố trí kiểm soát và theo dõi áp suất phù hợp với hệ thống chứa nhiên liệu.
3 Nếu máy tạo khí ni tơ hoặc phương tiện chứa khí ni tơ được lắp đặt trong một khoang riêng biệt ngoài buồng máy thì khoang riêng biệt đó phải được trang bị hệ thống thông gió cơ khí độc lập kiểu hút, với lượng trao đổi không khí tối thiểu là 6 lần một giờ. Phải trang bị một thiết bị báo động nồng độ ô xy thấp.
4 Đường ống dẫn khí ni tơ chỉ được đi qua không gian được thông gió tốt. Đường ống ni tơ trong các không gian kín phải được hàn hoàn toàn, chỉ được có số lượng tối thiểu các bích nối cần thiết cho việc lắp đặt van và phải càng ngắn càng tốt.
CHƯƠNG 7 VẬT LIỆU VÀ THIẾT KẾ ĐƯỜNG ỐNG NÓI CHUNG
7.1 Mục tiêu
7.1.1 Quy định chung
Mục tiêu của Chương này là để đảm bảo việc xử lý nhiên liệu an toàn, trong mọi điều kiện hoạt động, nhằm giảm thiểu rủi ro cho tàu, thuyền viên và môi trường, có tính đến bản chất của các khí sản phẩm (nhiên liệu) được dùng.
7.2 Yêu cầu về chức năng
7.2.1 Quy định chung
Chương này liên quan đến các yêu cầu chức năng nêu ở 3.2.1, 3.2.5, 3.2.6, 3.2.8, 3.2.9 và 3.2.10. Ngoài ra cần áp dụng 7.2.2.
7.2.2 Các yêu cầu bổ sung
1 Đường ống nhiên liệu phải có khả năng hấp thụ sự giãn nở nhiệt hoặc sự co rút nhiệt gây nên bởi nhiệt độ cực trị của nhiên liệu mà không gây ra các ứng suất đáng kể.
2 Phải có biện pháp để bảo vệ các ống, hệ thống đường ống và các bộ phận của nó và két nhiên liệu không bị ứng suất quá mức do các chuyển vị nhiệt và do sự chuyển dịch của két nhiên liệu và kết cấu thân tàu.
3 Nếu khí nhiên liệu chứa các thành phần nặng hơn có thể ngưng tụ trong hệ thống thì phải lắp các phương tiện để loại bỏ chất lỏng một cách an toàn.
4 Đường ống nhiệt độ thấp phải được cách nhiệt với các kết cấu thân tàu liền kề, nếu cần thiết, để tránh nhiệt độ của thân tàu giảm xuống thấp hơn nhiệt độ thiết kế của vật liệu thân tàu.
7.3 Thiết kế đường ống nói chung
7.3.1 Quy định chung
1 Đường ống nhiên liệu và tất cả các đường ống khác cần thiết cho hoạt động và bảo dưỡng an toàn và tin cậy phải được đánh dấu bằng màu phù hợp với tiêu chuẩn mà Đăng kiểm công nhận.
2 Trong trường hợp các két hoặc đường ống được ngăn cách với kết cấu thân tàu qua lớp cách nhiệt, phải có biện pháp duy trì liên kết về điện tới kết cấu thân tàu cho cả đường ống và các két. Tất cả các mối nối ống sử dụng đệm kín và các đầu nối ống mềm phải được liên kết liên tục về điện.
3 Tất cả các đường ống hoặc các bộ phận có thể bị cô lập trong điều kiện chứa đầy chất lỏng phải được trang bị van an toàn.
4 Các hệ thống đường ống mà có thể chứa nhiên liệu ở nhiệt độ thấp, phải được bọc cách nhiệt đến mức độ giảm tối đa sự ngưng tụ hơi ẩm.
5 Các đường ống mà không phải là ống cấp nhiên liệu và việc đi dây cáp điện có thể được bố trí bên trong đường ống kép hoặc bên trong kênh dẫn với điều kiện là không tạo ra nguồn gây cháy hoặc làm giảm tính nguyên vẹn của đường ống kép hoặc kênh dẫn. Đường ống kép hoặc kênh dẫn chỉ được chứa đường ống hoặc cáp điện cần thiết cho các mục đích hoạt động.
7.3.2 Chiều dày ống
1 Chiều dày tối thiểu của ống phải được tính toán như sau:
(mm)
Trong đó:
t0 là chiều dày lý thuyết;
t0 = PD/(2Ke + P) (mm)
Với:
P: Áp suất thiết kế (MPa) như nêu ở 7.3.3;
D: Đường kính ngoài (mm);
K: Ứng suất cho phép (N/mm2) như nêu ở 7.3.4; và
e: Hệ số hiệu quả, bằng 1,0 đối với các ống liền và đối với các ống được hàn dọc hoặc hàn xoắn ốc được cung cấp bởi các nhà sản xuất được duyệt về hàn ống, hệ số này được coi như tương đương với các ống liền khi việc thử không phá hủy các mối hàn được thực hiện phù hợp với các tiêu chuẩn được Đăng kiểm công nhận. Trong các trường hợp khác, tùy thuộc vào quá trình chế tạo, có thể yêu cầu hệ số hiệu quả nhỏ hơn 1,0 phụ thuộc vào quá trình chế tạo, phù hợp với các tiêu chuẩn được Đăng kiểm công nhận.
b là lượng bù do uốn ống (mm). Giá trị của b được chọn sao cho ứng suất tính toán tại vị trí bị uốn, gây ra do áp suất bên trong ống, không vượt quá ứng suất cho phép. Khi không thể tính đến các yếu tố nói trên, b được tính theo công thức sau:
(mm)
Với:
r: bán kính trung bình tại vị trí uốn (mm).
c là lượng dư ăn mòn (mm) được chọn giá trị mà Đăng kiểm thấy phù hợp. Lượng dư này phải nhất quán với tuổi thọ dự kiến của hệ thống đường ống; và
a là dung sai âm trong chế tạo đối với chiều dày (%).
2 Chiều dày ống nhỏ nhất tuyệt đối phải phù hợp với một tiêu chuẩn được Đăng kiểm công nhận.
7.3.3 Điều kiện thiết kế
1 Phải sử dụng giá trị lớn hơn trong số các điều kiện thiết kế nêu từ (1) đến (5) dưới đây cho đường ống, hệ thống đường ống và các bộ phận đường ống một cách thích hợp.
(1) Áp suất hơi ở 45°C đối với các hệ thống hoặc các bộ phận mà có thể bị ngăn cách ra khỏi các van an toàn của chúng và luôn chỉ có chứa hơi, với giả thiết điều kiện ban đầu có hơi bão hòa trong hệ thống ở áp suất và nhiệt độ hoạt động của hệ thống; hoặc
(2) Giá trị MARVS của két nhiên liệu và hệ thống xử lý nhiên liệu; hoặc
(3) Áp suất đặt của van an toàn của bơm hoặc của máy nén đi kèm hệ thống; hoặc
(4) Tổng cột áp đẩy lớn nhất hoặc cột áp tải lớn nhất của hệ thống đường ống nhiên liệu; hoặc
(5) Áp suất đặt của van an toàn trên hệ thống đường ống.
2 Đường ống, hệ thống đường ống và các bộ phận phải có áp suất thiết kế tối thiểu là 1,0 MPa trừ các đoạn ống hở có áp suất thiết kế không nhỏ hơn 0,5 MPa.
7.3.4 Ứng suất cho phép
1 Đối với các đường ống bằng thép, bao gồm cả thép không gỉ, ứng suất cho phép được xem xét trong công thức tính chiều dày nêu ở 7.3.2-1 phải là giá trị thấp hơn trong các giá trị sau:
Rm/2,7 hoặc Re/1,8
Trong đó:
Rm là độ bền kéo lý thuyết nhỏ nhất của vật liệu ống ở nhiệt độ phòng (N/mm2); và
Re là ứng suất chảy lý thuyết nhỏ nhất của vật liệu ống tại nhiệt độ phòng (N/mm2). Nếu đường cong ứng suất - biến dạng không cho thấy một ứng suất chảy xác định, thì sử dụng giá trị ứng suất thử 0,2%.
2 Khi cần thiết đối với sức bền cơ học để ngăn ngừa hư hỏng, phá hủy, võng quá mức hoặc mất ổn định do nén của đường ống do tải trọng bổ sung, chiều dày ống phải được tăng lên cao hơn chiều dày yêu cầu ở 7.3.2 hoặc, nếu điều này là không khả thi hoặc gây ra ứng suất cục bộ quá mức, các tải này phải được giảm xuống, được bảo vệ hoặc loại bỏ bằng các phương pháp thiết kế khác. Các tải trọng bổ sung như vậy có thể là do giá đỡ ống, độ võng của tàu, áp suất chất lỏng trong tăng đột ngột trong quá trình lưu chuyển, trọng lượng của van treo (không được đỡ), phản lực với các tay nối hoặc các lý do khác.
3 Đối với các ống làm bằng vật liệu không phải là thép, ứng suất cho phép phải được Đăng kiểm xem xét riêng.
4 Các hệ thống đường ống nhiên liệu áp suất cao phải có đủ sức bền kết cấu. Điều này phải được xác nhận bằng cách thực hiện phân tích ứng suất và được xem xét các vấn đề từ (1) tới (3) sau đây:
(1) Ứng suất do trọng lượng của hệ thống đường ống;
(2) Tải trọng do gia tốc khi đáng kể; và
(3) Áp suất bên trong và tải gây ra do tàu võng lên và xuống.
5 Khi nhiệt độ thiết kế là âm 110°C hoặc thấp hơn, một bản phân tích ứng suất toàn diện, có tính đến tất cả các ứng suất do trọng lượng của đường ống, bao gồm tải do gia tốc khi đáng kể, áp suất bên trong, sự co ngót do nhiệt và tải trọng gây ra do tàu võng lên và xuống, phải được thực hiện cho mỗi nhánh của hệ thống đường ống.
7.3.5 Tính linh hoạt của đường ống
Việc bố trí và lắp đặt đường ống nhiên liệu phải tạo ra đủ sự linh hoạt cần thiết để duy trì tính nguyên vẹn của hệ thống đường ống trong các tình huống khai thác thực tế, có tính đến các nguy cơ mỏi tiềm ẩn.
7.3.6 Chế tạo đường ống và các chi tiết nối ống
1 Mặt bích, van và các phụ tùng khác phải phù hợp với tiêu chuẩn được Đăng kiểm công nhận, có tính đến áp suất thiết kế được xác định ở 7.3.3-1. Đối với các ống xếp giãn nở và các khớp nối giãn nở được sử dụng để lưu chuyển hơi, có thể chấp nhận giá trị thấp hơn của áp suất thiết kế tối thiểu xác định ở 7.3.3-1.
2 Tất cả các van và các đoạn ống nối giãn nở được sử dụng trong hệ thống đường ống nhiên liệu áp suất cao phải được Đăng kiểm duyệt.
3 Hệ thống đường ống phải được nối bằng hàn với số lượng tối thiểu các mối nối bằng mặt bích. Các miếng đệm được bảo vệ để không bị thổi bật ra.
4 Việc chế tạo đường ống và các chi tiết nối ống phải phù hợp với các quy định ở từ (1) đến (4) sau đây:
(1) Mối nối trực tiếp
(a) Các mối nối hàn đối đầu ngấu hoàn toàn tại chân có thể được sử dụng trong tất cả các ứng dụng. Khi nhiệt độ thiết kế nhỏ hơn -10°C, mối hàn đối đầu phải là hàn hai mặt hoặc tương đương với mối hàn hai mặt. Điều này có thể được thực hiện bằng cách sử dụng một vòng lót, hàn đắp hoặc bảo vệ mối hàn bằng khí trơ khi hàn lớp đầu tiên. Khi áp suất thiết kế vượt quá 1,0 MPa và nhiệt độ thiết kế từ 10°C trở xuống, các vòng lót phải được tháo bỏ.
(b) Các mối nối hàn chồng mép với các ống lót bên ngoài và các mối hàn liên quan, có kích thước phù hợp tiêu chuẩn được Đăng kiểm công nhận, chỉ được sử dụng cho các đường ống nối tới thiết bị đo và đường ống hở một đầu có đường kính ngoài nhỏ hơn hoặc bằng 50 mm và nhiệt độ thiết kế không thấp hơn -55°C.
(c) Các mối nối ren tuân theo các tiêu chuẩn được Đăng kiểm công nhận chỉ được sử dụng cho các đường ống phụ trợ và ống nối tới thiết bị đo có đường kính ngoài nhỏ hơn hoặc bằng 25 mm.
(2) Mối nối dùng mặt bích
(a) Mặt bích trong mối nối mặt bích phải là loại có cổ bích được hàn, hàn chồng mép hoặc loại bích hàn có lắp ghép với ống; và
(b) Đối các đường ống ngoại trừ ống có đầu hở, phải áp dụng các hạn chế sau đây:
(i) Khi nhiệt độ thiết kế nhỏ hơn -55°C, chỉ sử dụng các mặt bích có cổ bích được hàn; và
(ii) Khi nhiệt độ thiết kế nhỏ hơn -10°C, các mặt bích kiểu hàn chồng mép không được sử dụng với (các ống có) kích thước danh định lớn hơn 100 mm và các mối nối mặt bích hàn lắp ghép không được sử dụng với ống có kích thước danh định lớn hơn 50 mm.
(3) Các khớp nối giãn nở
Khi các ống xếp giãn nở và khớp nối giãn nở được áp dụng phù hợp với 7.3.6-1 thì phải áp dụng các quy định từ (a) đến (c) như sau:
(a) Nếu cần thiết, các ống xếp giãn nở phải được bảo vệ không bị đóng băng;
(b) Không được sử dụng mối nối kiểu chống mép ngoại trừ ở bên trong két chứa nhiên liệu khí hóa lỏng; và
(c) Ống xếp giãn nở thường không bao giờ được bố trí trong không gian kín.
(4) Các mối nối khác
Các mối nối ống phải được thực hiện phù hợp với các yêu cầu ở 7.3.6-4(1) đến 7.3.6-4(3) nhưng đối với các trường hợp ngoại lệ khác, các kết cấu bố trí thay thế có thể được được Đăng kiểm xem xét chấp nhận.
7.4 Các quy định về vật liệu
7.4.1 Vật liệu kim loại
1 Vật liệu sử dụng cho hệ thống chứa nhiên liệu và hệ thống đường ống phải tuân thủ các quy định tối thiểu được đưa ra trong các bảng sau:
(1) Bảng 8I/7.1: Kim loại tấm, ống (liền và hàn), hình và rèn sử dụng cho két nhiên liệu và bình xử lý áp lực có nhiệt độ thiết kế không thấp hơn 0°C.
(2) Bảng 8I/7.2: Kim loại tấm, hình và rèn sử dụng cho két nhiên liệu, vách chắn thứ cấp và bình xử lý áp lực có nhiệt độ thiết kế dưới 0°C và xuống tới -55°C.
(3) Bảng 8I/7.3: Kim loại tấm, hình và rèn sử dụng cho két nhiên liệu, vách chắn thứ cấp và bình xử lý áp lực có nhiệt độ thiết kế dưới -55°C và xuống tới -165°C.
(4) Bảng 8I/7.4: Kim loại ống (liền và hàn), rèn và đúc sử dụng cho đường ống nhiên liệu và xử lý có nhiệt độ thiết kế dưới 0°C và xuống tới -165°C.
(5) Bảng 8I/7.5: Kim loại tấm và hình dùng cho kết cấu thân tàu theo yêu cầu ở 6.4.13-1(1)(b).
2 Vật liệu có nhiệt độ nóng chảy dưới 925°C không được sử dụng làm đường ống bên ngoài két chứa nhiên liệu.
3 Đối với két chứa CNG, việc sử dụng các vật liệu không được đề cập ở trên có thể được Đăng kiểm xem xét đặc biệt.
4 Khi được yêu cầu, các ống ở bên ngoài hoặc kênh dẫn có chứa khí áp suất cao ở trong ống bên trong phải đáp ứng các quy định về vật liệu cho đường ống trong Bảng 8I/7.4.
5 Ống ở phía ngoài hoặc kênh dẫn xung quanh ống nhiên liệu khí hóa lỏng phải đáp ứng các quy định vật liệu đối với vật liệu ống có nhiệt độ thiết kế xuống đến -165°C trong Bảng 8I/7.4.
7.4.2 Đánh dấu
Thép đã thỏa mãn với các thử nghiệm yêu cầu phải được đánh dấu bằng các dấu hiệu nhận dạng phù hợp với yêu cầu ở Phần 7A và trong trường hợp yêu cầu phải có thử dai va va đập, nhiệt độ thử va đập và "T" phải được điền vào sau các dấu hiệu. (Ví dụ: L33-50T. -0T là dấu hiệu bổ sung cho nhiệt độ 0°C).
Bảng 8I/7.1 Kim loại tấm, ống (liền và hàn)(1)(2), hình và rèn sử dụng cho két nhiên liệu và bình xử lý áp lực có nhiệt độ thiết kế không thấp hơn 0°C
|
THÀNH PHẦN HÓA HỌC VÀ NHIỆT LUYỆN Thép carbon-mangan Thép đã lắng hạt mịn Các phụ gia vi lượng của các nguyên tố hợp kim đã thống nhất với Đăng kiểm Các giới hạn thành phần hóa học đã được Đăng kiểm duyệt Thường hóa, hoặc tôi và ủ (4) |
||
|
QUY ĐỊNH VỀ THỬ KÉO VÀ THỬ ĐỘ DAI VA ĐẬP Tần suất lấy mẫu |
||
|
Kim loại tấm |
Mỗi "tấm" đều phải được thử |
|
|
Kim loại hình và rèn |
Mỗi "lô" đều phải thử |
|
|
Cơ tính |
||
|
Sức bền kéo |
Ứng suất chảy lý thuyết tối thiểu không vượt quá 410 N/mm2 (5) |
|
|
Độ dai (Thử va đập Charpy V-notch) |
||
|
Kim loại tấm: |
Các mẫu thử ngang. Giá trị năng lượng trung bình nhỏ nhất (KV) 27 J |
|
|
Kim loại hình và rèn: |
Các mẫu thử dọc. Giá trị năng lượng trung bình nhỏ nhất (KV) 41 J |
|
|
Nhiệt độ thử |
|
|
|
Độ dày (mm) t ≤ 20 20 < t ≤ 40 (3) |
Nhiệt độ thử (°C) 0 -20 |
|
Ghi chú
(1) Đối với ống liền và phụ tùng đường ống, áp dụng các yêu cầu của Phần 7A. Việc sử dụng các đường hàn ống theo chiều dọc và xoắn ốc phải được phê duyệt đặc biệt của Đăng kiểm.
(2) Không yêu cầu các thử va đập Charpy V-notch đối với ống.
(3) Bảng này nói chung áp dụng đối với ống có độ dày vật liệu đến 40 mm. Các đề xuất với độ dày lớn hơn phải được Đăng kiểm duyệt.
(4) Có thể sử dụng quá trình cán có kiểm soát hoặc quá trình xử lý cơ nhiệt có kiểm soát (TMCP) để thay thế.
(5) Vật liệu có ứng suất chảy lý thuyết tối thiểu vượt quá 410 N/mm2 có thể được Đăng kiểm phê duyệt. Đối với các vật liệu này, phải đặc biệt chú ý đến độ cứng của các khu vực mối hàn và vùng ảnh hưởng nhiệt của mối hàn.
Bảng 8I/7.2 Kim loại tấm, hình và rèn(1) sử dụng cho két nhiên liệu, vách chắn thứ cấp và bình xử lý áp lực có nhiệt độ thiết kế dưới 0°C và xuống tới -55°C
(Chiều dày tối đa 25 mm(2))
|
Thành phần hóa học và xử lý nhiệt Thép carbon-mangan (Thép mạ nhôm được xử lý hoàn toàn, nhôm) Thành phần hóa học (phân tích độ cứng) |
|||||
|
C 0,16%(3) |
Mn 0,7 ~ 1,60% |
Si 0,10 ~ 0,50% |
S 0,025% |
P 0,025% |
|
|
Các phụ gia khác: Các nguyên tố hợp kim và hạt mịn nói chung có thể phù hợp với các tiêu chí như sau đây: |
|||||
|
Ni 0,80% max |
Cg 0,25% max |
Mo 0,08% max |
Cu 0,35% max |
Nb 0,05% max |
|
|
V 0.10% max |
|
|
|
|
|
|
Tổng hàm lượng Al 0,02% tối thiểu (Dung dịch axít 0,015% tối thiểu) Thường hóa, hoặc tôi và ủ |
|||||
|
Các quy định về sức bền kéo và độ dai va đập Tần suất lấy mẫu |
|||||
|
Kim loại tấm |
Mỗi "tấm" đều phải thử |
||||
|
Kim loại hình và rèn |
Mỗi "lô" đều phải thử |
||||
|
Cơ tính |
|||||
|
Sức bền kéo |
Ứng suất chảy lý thuyết tối thiểu không vượt quá 410 N/mm2 (5) |
||||
|
Độ dai (Thử va đập Charpy V-notch) |
|||||
|
Kim loại tấm: |
Các mẫu thử ngang. Giá trị năng lượng trung bình nhỏ nhất (KV) 27 J |
||||
|
Kim loại hình và rèn: |
Các mẫu thử dọc. Giá trị năng lượng trung bình nhỏ nhất (KV) 41 J |
||||
|
Nhiệt độ thử |
Thấp hơn 5°C so với nhiệt độ thiết kế hoặc -20°C, lấy giá trị nào thấp hơn |
||||
Ghi chú
(1) Các quy định về thử va đập Charpy V-notch và thành phần hóa học đối với các vật liệu rèn phải được Đăng kiểm xem xét đặc biệt.
(2) Đối với vật liệu có độ dày lớn hơn 25 mm, việc thử va đập Charpy V-notch phải được tiến hành như sau:
|
Chiều dày vật liệu (mm) |
Nhiệt độ thử (°C) |
|
25 < t ≤ 30 |
10°C nhỏ hơn nhiệt độ thiết kế hoặc -20°C lấy giá trị nào nhỏ hơn |
|
30 < t ≤ 35 |
15°C nhỏ hơn nhiệt độ thiết kế hoặc -20°C lấy giá trị nào nhỏ hơn |
|
35 < t ≤ 40 |
20°C nhỏ hơn nhiệt độ thiết kế |
|
40 < t |
Nhiệt độ được Đăng kiểm duyệt |
Giá trị năng lượng va đập phải phù hợp với bảng các loại mẫu thử áp dụng.
Vật liệu cho két chứa và các bộ phận của két chứa mà đã khử ứng suất nhiệt hoàn toàn sau khi hàn có thể được thử ở nhiệt độ 5°C dưới nhiệt độ thiết kế hoặc -20°C tùy thuộc vào mức nào thấp hơn.
Đối với các gia cường để giảm ứng suất nhiệt và phụ tùng, nhiệt độ thử phải bằng với nhiệt độ yêu cầu đối với chiều dày của vỏ két ở lân cận.
(3) Trên cơ sở thống nhất với Đăng kiểm, hàm lượng cacbon có thể tăng lên tối đa 0,18% với điều kiện nhiệt độ thiết kế không thấp hơn -40°C
(4) Quy trình cán có kiểm soát hoặc xử lý cơ-nhiệt có kiểm soát (TMCP) có thể được sử dụng để thay thế.
(5) Vật liệu có ứng suất chảy lý thuyết tối thiểu vượt quá 410 N/mm2 có thể được Đăng kiểm chấp thuận. Đối với các vật liệu này, phải đặc biệt chú ý đến độ cứng của khu vực hàn và khu vực ảnh hưởng nhiệt của mối hàn.
Hướng dẫn:
Đối với vật liệu có chiều dày lớn hơn 25 mm có nhiệt độ thử là -60°C hoặc thấp hơn, có thể cần phải sử dụng thép được xử lý nhiệt đặc biệt hoặc thép phù hợp với theo Bảng 8I/7.3.
Bảng 8I/7.3 Kim loại tấm, hình và rèn(1) sử dụng cho két nhiên liệu, vách chắn thứ cấp và bình xử lý áp lực có nhiệt độ thiết kế dưới -55°C và xuống tới -165°C(2)
(Chiều dày tối đa 25 mm(3)(4))
|
Nhiệt độ thiết kế nhỏ nhất (°C) |
Thành phần hóa học (5) và xử lý nhiệt |
Nhiệt độ thử va đập (°C) |
|
-60 |
Thép 1,5% niken - được thường hóa và ủ hoặc tôi và ủ hoặc TMCP(6) |
-65 |
|
-65 |
Thép 2,25% niken - được thường hóa và ủ hoặc tôi và ủ hoặc TMCP(6) (7) |
-70 |
|
-90 |
Thép 3,5% niken - được thường hóa và ủ hoặc tôi và ủ hoặc TMCP(6) (7) |
-95 |
|
-105 |
Thép 5% niken - được thường hóa và ủ hoặc tôi và ủ hoặc TMCP(6) (7) (8) |
-110 |
|
-165 |
Thép 9% niken - được thường hóa và ủ hoặc tôi và ủ hoặc TMCP(6) |
-196 |
|
-165 |
Thép không gỉ Austenitic, như là các loại 304, 304L, 312, 316L, 321 và 347 được xử lý bằng dung dịch(9) |
-196 |
|
-165 |
Hợp kim nhôm(10), như là loại 5083 thấm |
Không yêu cầu |
|
-165 |
Hợp kim Fe-Ni lò Austenitic (36% Ni) Nhiệt luyện theo quy trình được thống nhất |
Không yêu cầu |
|
Các quy định về sức bền kéo và độ dai va đập: Tần suất lấy mẫu: Kim loại tấm: Mỗi "tấm" đều phải thử Kim loại hình và rèn: Mỗi "lô" đều phải thử Độ dai (Thử va đập Charpy V-notch): Kim loại tấm: Các mẫu thử ngang. Giá trị năng lượng trung bình nhỏ nhất (KV) 27 J Kim loại hình và rèn: Các mẫu thử dọc. Giá trị năng lượng trung bình nhỏ nhất (KV) 41 J |
||
Ghi chú
(1) Các quy định về thử va đập đối với các vật liệu rèn sử dụng trong các ứng dụng quan trọng phải được Đăng kiểm xem xét đặc biệt.
(2) Quy định về nhiệt độ thiết kế dưới -165°C phải dựa trên cơ sở thống nhất với Đăng kiểm.
(3) Đối với vật liệu 1,5% Ni, 2,25% Ni, 3,5% Ni và 5% Ni, có chiều dày lớn hơn 25 mm, việc thử va đập phải được tiến hành như sau:
|
Chiều dày vật liệu |
Nhiệt độ thử (°C) |
|
25 < t ≤ 30 |
10°C nhỏ hơn nhiệt độ thiết kế |
|
30 < t ≤ 35 |
15°C nhỏ hơn nhiệt độ thiết kế |
|
35 < t ≤ 40 |
20°C nhỏ hơn nhiệt độ thiết kế |
Trong mọi trường hợp nhiệt độ thử phải cao hơn nhiệt độ nêu trong Bảng 8I/7.3.
Giá trị năng lượng trung bình tối thiểu phải phù hợp với bảng loại mẫu thử áp dụng. Đối với vật liệu có chiều dày lớn hơn 40 mm, giá trị năng lượng trung bình tối thiểu sẽ được xem xét đặc biệt.
(4) Đối với thép 9% Ni, thép không gỉ austenit và hợp kim nhôm, có thể sử dụng vật liệu có chiều dày lớn hơn 25 mm.
(5) Giới hạn thành phần hóa học phải phù hợp với các tiêu chuẩn được công nhận bởi Đăng kiểm.
(6) Thép Ni được xử lý theo quá trình xử lý cơ - nhiệt có kiểm soát (TMCP) phải được Đăng kiểm chấp nhận.
(7) Giá trị nhiệt độ thiết kế tối thiểu thấp đối với thép tôi và ủ có thể được chấp nhận trên cơ sở thống nhất với Đăng kiểm.
(8) Thép Ni 5% được xử lý đặc biệt, ví dụ thép Ni 5% xử lý nhiệt ba lần, có thể được sử dụng ở nhiệt độ xuống đến -165°C, với điều kiện thử va đập được thực hiện ở -196°C.
(9) Thử va đập có thể được bỏ qua nếu có sự đồng ý của Đăng kiểm.
(10) Đối với các hợp kim nhôm khác với loại 5083, có thể yêu cầu thử bổ sung để xác định độ dai của vật liệu.
Bảng 8I/7.4 Kim loại ống (liền và hàn)(1), rèn(2) và đúc(2) sử dụng cho đường ống nhiên liệu và xử lý có nhiệt độ thiết kế dưới 0°C và xuống tới -165°C(3)
(Chiều dày tối đa 25 mm)
|
Nhiệt độ thiết kế nhỏ nhất (°C) |
Thành phần hóa học (5) và xử lý nhiệt |
Thử va đập (°C) |
|
|
Nhiệt độ thử (°C) |
Năng lượng trung bình tối thiểu (KV) (J) |
||
|
-55 |
Thép cacbon-mangan. Lắng hạt mịn hoàn toàn. Thường hóa hoặc ở tình trạng được chấp thuận (6) |
Xem ghi chú (4) |
27 |
|
-65 |
Thép 2,25% niken. Thường hóa và ram hoặc tôi và ram (6) |
-70 |
34 |
|
-90 |
Thép 3,5% niken. Thường hóa và ram hoặc tôi và ram (6) |
-95 |
34 |
|
-165 |
Thép 9% niken (7). Thường hóa hai lần và ủ hoặc tôi và ủ |
-196 |
41 |
|
-165 |
Thép không gỉ Austenitic, như là các loại 304, 304L, 312, 316L, 321 và 347 được xử lý bằng dung dịch (8) |
-196 |
41 |
|
|
Hợp kim nhôm (9); như là loại 5085 được ủ |
|
Không yêu cầu |
|
Các quy định về sức bền kéo và độ dai va đập Tần suất lấy mẫu Mỗi "lô" đều phải thử Độ dai (Thử va đập Charpy V-notch) Thử va đập: Các mẫu thử dọc. |
|||
Ghi chú
(1) Việc sử dụng các đường hàn ống theo chiều dọc và xoắn ốc phải được Đăng kiểm phê duyệt đặc biệt.
(2) Các quy định về thử va đập đối với các vật liệu rèn và đúc phải được Đăng kiểm xem xét đặc biệt.
(3) Các quy định về nhiệt độ thiết kế dưới -165oC phải được áp dụng trên cơ sở thống nhất với Đăng kiểm.
(4) Nhiệt độ thử nghiệm phải thấp hơn 5°C so với nhiệt độ thiết kế hoặc -20°C, lấy giá trị nào thấp hơn.
(5) Các giới hạn thành phần hóa học phải tuân theo các tiêu chuẩn được Đăng kiểm công nhận.
(6) Giá trị nhiệt độ thiết kế tối thiểu thấp đối với vật liệu được tôi và ram có thể được Đăng kiểm chấp nhận một cách đặc biệt.
(7) Thành phần hóa học này không thích hợp cho đúc.
(8) Thử va đập có thể được bỏ qua nếu được Đăng kiểm đồng ý.
(9) Đối với các hợp kim nhôm khác với loại 5083, có thể phải thử bổ sung để xác định độ dai của vật liệu.
Bảng 8I/7.5 Kim loại tấm và hình dùng cho kết cấu thân tàu theo yêu cầu ở 6.4.13-1(1)(b)
|
Nhiệt độ thiết kế trung bình của kết cấu thân tàu (°C) |
Chiều dày lớn nhất (mm) đối với cấp thép |
|||||||
|
A |
B |
D |
E |
AH |
DH |
EH |
FH |
|
|
0 và lớn hơn -5 và lớn hơn |
Phù hợp với các quy định liên quan ở các phần khác |
|||||||
|
Xuống tới -5 |
15 |
25 |
30 |
50 |
25 |
45 |
50 |
50 |
|
Xuống tới -10 |
x |
20 |
25 |
50 |
20 |
40 |
50 |
50 |
|
Xuống tới -20 |
x |
x |
20 |
50 |
x |
30 |
50 |
50 |
|
Xuống tới -30 |
x |
x |
x |
40 |
x |
20 |
40 |
50 |
|
Thấp hơn -30 |
Phù hợp với Bảng 8I/7/2 ngoại trừ giới hạn chiều dày cho ở Bảng 9I/7/2 và không áp dụng chú thích 2 của Bảng đó |
|||||||
Ghi chú:
x: có nghĩa không được sử dụng cấp thép đó.
CHƯƠNG 8 TIẾP NHẬN NHIÊN LIỆU
8.1 Mục tiêu
8.1.1 Quy định chung
Mục tiêu của Chương này là đưa ra các quy định đối với các hệ thống thích hợp trên tàu để đảm bảo rằng quá trình tiếp nhận nhiên liệu có thể được thực hiện mà không gây nguy hiểm cho người, môi trường hoặc con tàu.
8.2 Yêu cầu về chức năng
8.2.1 Quy định chung
Chương này liên quan đến các yêu cầu chức năng nêu ở 3.2.1 đến 3.2.11 và 3.2.13 đến 3.2.17. Ngoài ra, cần áp dụng 8.2.2.
8.2.2 Hệ thống đường ống
Hệ thống đường ống để chuyển nhiên liệu vào két chứa phải được thiết kế sao cho bất kỳ sự rò rỉ nào từ hệ thống đường ống cũng không gây nguy hiểm cho con người, môi trường hoặc con tàu.
8.3 Trạm tiếp nhận nhiên liệu
8.3.1 Quy định chung
1 Trạm tiếp nhận nhiên liệu phải nằm trên boong hở để có đủ thông gió tự nhiên. Các trạm tiếp nhận nhiên liệu kín hoặc nửa kín phải được xem xét đặc biệt thông qua đánh giá rủi ro.
2 Các mối nối và đường ống phải được bố trí và sắp xếp sao cho bất kỳ hư hỏng nào của đường ống nhiên liệu cũng không gây ra tổn hại cho hệ thống chứa nhiên liệu của tàu dẫn đến việc thoát khí không kiểm soát.
3 Phải bố trí để quản lý an toàn cho việc nhiên liệu bị tràn.
4 Phải trang bị các phương tiện phù hợp để giảm áp suất và tháo chất lỏng khỏi các ống hút và cấp nhiên liệu. Chất lỏng phải được xả vào két nhiên liệu khí hóa lỏng hoặc các vị trí thích hợp khác.
5 Không để phần thân tàu hoặc các cấu trúc boong ở lân cận bị làm lạnh quá mức trong trường hợp rò rỉ nhiên liệu.
6 Đối với các trạm tiếp nhận nhiên liệu CNG, các tấm che chắn nhiệt độ thấp bằng thép phải được xem xét để xác định là các tia lạnh thoát ra có thể có ảnh hưởng đến cấu trúc thân tàu ở xung quanh hay không.
8.3.2 Ống nhiên liệu mềm của tàu
1 Ống mềm dẫn chất lỏng và hơi dùng để vận chuyển nhiên liệu phải tương thích với nhiên liệu và phù hợp với nhiệt độ của nhiên liệu.
2 Ống mềm chịu áp suất của két hoặc áp suất đẩy của bơm hoặc máy nén hơi phải được thiết kế tương ứng với áp suất nổ ống không nhỏ hơn năm lần áp suất tối đa mà ống có thể phải chịu được trong quá trình tiếp nhận nhiên liệu.
8.4 Ống góp
8.4.1 Các loại ống góp
Các ống góp tiếp nhận nhiên liệu phải được thiết kế để chịu được các tải trọng bên ngoài trong quá trình tiếp nhận nhiên liệu. Các khớp nối tại trạm tiếp nhận nhiên liệu phải là kiểu ngắt kết nối an toàn (dry-disconnect) được trang bị thêm một thiết bị ngắt kết nối an toàn, nhả nhanh và tự đóng kín. Các khớp nối phải là loại tiêu chuẩn.
8.5 Hệ thống tiếp nhận nhiên liệu
8.5.1 Xả khí
Phải trang bị phương tiện để tẩy khí các đường ống tiếp nhiên liệu bằng khí trơ.
8.5.2 Ngăn ngừa sự thoát khí
Hệ thống tiếp nhận nhiên liệu phải được bố trí sao cho khí không được xả vào khí quyển trong quá trình nạp nhiên liệu vào két chứa.
8.5.3 Van chặn
Một van điều khiển bằng tay và một van đóng mở từ xa nối tiếp với nhau, hoặc một van kết hợp điều khiển bằng tay và điều khiển từ xa phải được lắp vào mỗi đường ống tiếp nhận nhiên liệu, ở gần khớp nối. Phải có thể vận hành van từ xa ở vị trí điều khiển việc tiếp nhận nhiên liệu và/hoặc từ một vị trí an toàn khác.
8.5.4 Xả đọng
Phải có phương tiện xả bất kỳ nhiên liệu nào còn lại trong các ống tiếp nhận nhiên liệu khi kết thúc hoạt động tiếp nhận nhiên liệu.
8.5.5 Làm trơ và tẩy sạch khí
Đường ống tiếp nhận nhiên liệu phải được bố trí để có thể làm trơ và tẩy sạch khí. Khi không sử dụng trong việc tiếp nhận nhiên liệu, ống tiếp nhận nhiên liệu phải không có khí, trừ khi hậu quả của việc không tẩy sạch khí được đánh giá và phê duyệt.
8.5.6 Cách ly đường ống tiếp nhận nhiên liệu
Trong trường hợp các đường ống tiếp nhận nhiên liệu được bố trí một ống nối thông, phải đảm bảo bằng một bố trí thích hợp sao cho nhiên liệu không bị vô ý chuyển ra phía mạn đang không được sử dụng để tiếp nhận nhiên liệu.
8.5.7 Liên kết tàu và bờ
Phải trang bị một liên kết giữa tàu và bờ hoặc một phương tiện tương đương để ngắt khẩn cấp tự động và bằng tay các liên hệ với nguồn tiếp nhận nhiên liệu.
8.5.8 Điều chỉnh thời gian đóng van
Nếu không chứng minh được giá trị lớn hơn là cần thiết khi xem xét đến việc tăng áp suất đột ngột thì cần phải điều chỉnh thời gian mặc định như được tính toán ở 16.7.3-7, tính từ lúc báo động được kích hoạt tới lúc van điều khiển từ xa được đóng hoàn toàn.
CHƯƠNG 9 CẤP NHIÊN LIỆU CHO THIẾT BỊ TIÊU THỤ
9.1 Mục tiêu
9.1.1 Quy định chung
Mục tiêu của Chương này là để đảm bảo việc phân phối nhiên liệu tới thiết bị tiêu thụ một cách an toàn và tin cậy.
9.2 Yêu cầu về chức năng
9.2.1 Quy định chung
Chương này liên quan tới các yêu cầu về chức năng quy định ở 3.2.1 đến 3.2.6, 3.2.8 đến 3.2.11 và 3.2.13 to 3.2.17. Ngoài ra, cần áp dụng 9.2.2.
9.2.2 Các yêu cầu bổ sung
1 Hệ thống cung cấp nhiên liệu phải được bố trí sao cho hậu quả khi nhiên liệu thoát ra sẽ được giảm thiểu, trong khi vẫn tạo được lối tiếp cận an toàn để vận hành và kiểm tra;
2 Hệ thống ống để đưa nhiên liệu tới thiết bị tiêu thụ phải được thiết kế theo cách mà nếu xảy ra sự cố ở một lớp chắn thì không thể dẫn tới rò rỉ từ hệ thống đường ống và khu vực xung quanh gây nguy hiểm cho người trên tàu, cho môi trường hoặc cho tàu; và
3 Ống nhiên liệu bên ngoài buồng máy phải được lắp đặt và bảo vệ sao cho giảm thiểu nguy cơ gây thương tích cho con người và gây hư hại cho tàu trong trường hợp bị rò rỉ.
9.3 Dự trữ của hệ thống cấp nhiên liệu
9.3.1 Dự trữ
Đối với các hệ thống nhiên liệu đơn lẻ, hệ thống cấp nhiên liệu phải được bố trí với dự trữ toàn bộ và cách ly hoàn toàn từ két nhiên liệu cho tới thiết bị tiêu thụ, sao cho khi xảy ra rò rỉ ở một hệ thống thì không dẫn đến việc mất nguồn điện không chấp nhận được.
9.3.2 Số lượng két
Đối với các hệ thống nhiên liệu đơn lẻ, việc chứa nhiên liệu phải được phân chia giữa hai hoặc nhiều hơn hai két. Các két này phải được bố trí trong các khoang tách biệt.
9.3.3 Miễn giảm cho két kiểu C
Chỉ đối với két kiểu C, có thể chấp nhận có một két nếu bố trí hai buồng đầu nối két tách biệt hoàn toàn cho một két đó.
9.4 Chức năng an toàn của hệ thống cấp khí
9.4.1 Vị trí các van
Đầu vào và đầu ra của két chứa nhiên liệu phải có van được bố trí càng gần két càng tốt. Van cần thiết phải vận hành trong quá trình hoạt động bình thường mà không thể tiếp cận được thì phải được điều khiển từ xa. Các van dù tiếp cận được hay không đều phải được vận hành tự động khi hệ thống an toàn quy định ở 15.2.2-2 được kích hoạt.
9.4.2 Van nhiên liệu khí chính
Đường ống cấp khí chính tới mỗi thiết bị tiêu thụ hoặc tới mỗi nhóm thiết bị tiêu thụ phải được trang bị một van đóng điều khiển bằng tay và một "van nhiên liệu khí chính" điều khiển tự động được ghép thành đôi kế tiếp nhau hoặc một van điều khiển kết hợp bằng tay và tự động. Các van này phải được bố trí trên phần ống nằm ngoài buồng máy có thiết bị tiêu thụ khí, và càng gần càng tốt so với hệ thống hâm khí, nếu có. Van nhiên liệu khí chính phải tự động ngắt cấp khí khi được kích hoạt bằng hệ thống an toàn quy định ở 15.2.2-2.
9.4.3 Vận hành van nhiên liệu khí chính
Van nhiên liệu khí chính tự động phải có thể vận hành được từ các vị trí an toàn trên đường thoát nạn trong buồng máy có chứa thiết bị tiêu thụ khí, trong buồng điều khiển máy, nếu áp dụng được; bên ngoài buồng máy và từ buồng lái.
9.4.4 Bố trí van chặn kép và xả áp
Mỗi thiết bị tiêu thụ khí phải được bố trí các van "chặn kép và xả áp". Các van này phải được bố trí như nêu ở (1) và (2) dưới đây sao cho khi hệ thống an toàn quy định ở 15.2.2-2 được kích hoạt thì sẽ làm cho các van đóng được bố trí nối tiếp đóng một cách tự động và van an toàn áp suất mở một cách tự động và:
(1) Hai van đóng phải được bố trí nối tiếp nhau trên đoạn ống nhiên liệu khí dẫn tới thiết bị tiêu thụ khí. Van xả phải nằm ở đoạn ống mà thông hơi tới một vị trí an toàn ở môi trường khí hở bên ngoài, đoạn ống nhiên liệu đó nằm giữa 2 van bố trí nối tiếp nhau; hoặc
(2) Chức năng của một trong các van đóng nối tiếp nhau và của van xả có thể được tích hợp vào một thân van, được bố trí sao cho dòng khí dẫn tới thiết bị sử dụng khí sẽ bị chặn lại và thông gió hoạt động.
9.4.5 Van đóng của van chặn kép và xả áp
Hai van quy định ở 9.4.4 phải là kiểu đóng khi sự cố trong khi van thông gió phải là kiểu mở khi sự cố.
9.4.6 Sử dụng van chặn kép và xả áp
Các van chặn kép và xả áp quy định ở 9.4.4 cũng phải được sử dụng để dừng bình thường động cơ.
9.4.7 Thông gió cho nhánh ống cấp khí xuôi từ van chặn kép và xả áp
Trong trường hợp van nhiên liệu khí chính tự động đóng, toàn bộ nhánh cấp khí xuôi từ van chặn kép và xả áp phải được thông gió tự động với giả thiết có dòng khí ngược từ động cơ vào ống.
9.4.8 Van đóng của đường ống cấp khí
Phải có một van đóng điều khiển bằng tay trên ống cấp khí tới mỗi động cơ nằm ở phía trước của van chặn kép và xả áp để đảm bảo cách ly an toàn trong quá trình bảo dưỡng động cơ.
9.4.9 Các chức năng của van
Đối với các hệ thống có một động cơ đơn lẻ và các hệ thống có nhiều động cơ, nếu một van chính tách biệt được trang bị cho mỗi động cơ thì chức năng của van nhiên liệu khí chính và van chặn kép và xả áp có thể được kết hợp.
9.4.10 Bảo vệ chống đứt gãy
Đối với mỗi ống cấp khí chính đi vào buồng máy bảo vệ bằng ESD, và mỗi ống cấp khí cho hệ thống áp suất cao, phải trang bị phương tiện để phát hiện nhanh chóng đứt gãy trên đường ống dẫn khí trong buồng máy. Khi phát hiện được đứt gãy, một van phải được tự động đóng lại. Van này phải được bố trí ở đường ống cấp khí trước khi nó đi vào buồng máy hoặc là càng gần càng tốt so với vị trí đi vào nằm trong buồng máy. Nó có thể là một van độc lập hoặc được kết hợp với các chức năng khác, ví dụ như van chính.
9.5 Phân phối nhiên liệu bên ngoài buồng máy
9.5.1 Ống dẫn nhiên liệu
Nếu ống nhiên liệu đi qua các không gian kín trên tàu, chúng phải được bảo vệ bằng một lớp vỏ thứ hai. Lớp vỏ này có thể là một kênh dẫn được thông gió hoặc là hệ thống ống kép. Kênh dẫn hoặc hệ thống ống kép đó phải được thông gió cơ khí để tạo áp suất thấp với năng suất 30 lần trao đổi khí một giờ, và phải có phương tiện phát hiện khí quy định ở 15.8. Đăng kiểm có thể chấp nhận các giải pháp khác mà tạo được mức độ an toàn tương đương.
9.5.2 Ống thông hơi
Không cần áp dụng các yêu cầu ở 9.5.1 đối với ống thông hơi khí nhiên liệu được hàn hoàn toàn đi qua các không gian được thông gió cơ khí.
9.6 Cấp nhiên liệu cho các thiết bị tiêu thụ trong buồng máy an toàn khí
9.6.1 Đường ống nhiên liệu
Đường ống nhiên liệu trong buồng máy an toàn khí phải được bọc kín hoàn toàn bằng ống kép hoặc kênh dẫn thỏa mãn một trong các điều kiện nêu ở (1) tới (3) dưới đây:
(1) Đường ống dẫn khí phải là hệ thống đường ống kép với khí nhiên liệu được dẫn trong ống bên trong. Không gian giữa các ống đồng tâm phải được tạo áp suất bằng khí trơ với áp suất lớn hơn áp suất nhiên liệu khí. Phải có báo động thích hợp để chỉ báo tổn thất áp suất khí trơ giữa các ống. Nếu ống bên trong có khí áp suất cao thì hệ thống này phải được bố trí sao cho đường ống giữa van khí chính và động cơ được làm sạch một cách tự động bằng khí trơ khi van khí chính đóng lại; hoặc
(2) Đường ống nhiên liệu khí phải được bố trí trong ống dẫn hoặc kênh dẫn được thông gió. Không gian khí giữa đường ống nhiên liệu khí và thành ống hoặc kênh dẫn bên ngoài phải được thông gió cơ khí tạo áp suất thấp có năng suất ít nhất là 30 lần trao đổi khí một giờ. Năng suất thông gió này có thể được giảm tới 10 lần trao đổi khí một giờ miễn là kênh dẫn đó được tự động điền đầy ni tơ khi phát hiện được khí. Động cơ của quạt phải thỏa mãn các yêu cầu về phòng nổ trong khu vực lắp đặt. Đầu ra của thông gió phải có tấm chắn bảo vệ và được bố trí ở nơi mà hỗn hợp dễ cháy của không khí - khí nhiên liệu không thể gây cháy; hoặc
(3) Các giải pháp khác được Đăng kiểm chấp nhận mà tạo ra được mức độ an toàn tương đương.
9.6.2 Kết nối
Kết nối của đường ống khí và kênh dẫn tới van phun khí phải được bọc hoàn toàn bằng kênh dẫn. Việc bố trí này phải thuận tiện cho việc thay thế và/hoặc đại tu van phun và nắp xy lanh. Kênh dẫn kép cũng phải được trang bị cho mọi đường ống khí trên bản thân động cơ, cho tới vị trí mà khí được phun vào trong buồng đốt.
9.7 Cấp nhiên liệu khí cho thiết bị tiêu thụ trong buồng máy được bảo vệ bằng ESD
9.7.1 Giới hạn của áp suất bên trong
Áp suất trong hệ thống cấp nhiên liệu khí phải không lớn hơn 1,0 MPa.
9.7.2 Áp suất thiết kế
Đường ống cấp nhiên liệu khí phải có áp suất thiết kế không nhỏ hơn 1,0 MPa.
9.8 Thiết kế kênh dẫn, ống bên ngoài được thông gió đối với rò rỉ khí của ống bên trong
9.8.1 Áp suất thiết kế của ống hoặc kênh dẫn bên ngoài
Áp suất thiết kế của ống hoặc kênh dẫn bên ngoài của hệ thống nhiên liệu phải không nhỏ hơn áp suất làm việc lớn nhất của ống bên trong. Mặt khác, đối với hệ thống ống nhiên liệu có áp suất làm việc lớn hơn 1,0 MPa, áp suất thiết kế của ống hoặc kênh dẫn bên ngoài phải không nhỏ hơn áp suất lớn nhất được tạo ra trong không gian vành khăn khi xem xét đến áp suất tức thời lớn nhất tại vị trí cục bộ trong khu vực đứt gãy và việc bố trí thông gió.
9.8.2 Áp suất thiết kế của đường ống nhiên liệu áp suất cao
1 Đối với đường ống nhiên liệu áp suất cao, áp suất thiết kế của kênh dẫn phải được lấy bằng giá trị lớn hơn trong các giá trị nêu ở (1) và (2) dưới đây:
(1) Áp suất được tạo ra lớn nhất: áp suất tĩnh;
(2) Áp suất tức thời cục bộ lớn nhất tại khu vực nứt gãy: áp suất này phải được lấy bằng áp suất tới hạn tính theo công thức sau:

Trong đó:
p0 là áp suất làm việc lớn nhất của ống bên trong;
k = Cp/Cv: nhiệt dung riêng ở áp suất không đổi chia cho nhiệt dung riêng ở thể tích không đổi;
k = 1,31 đối với khí CH4.
2 Ứng suất màng tiếp tuyến của đoạn ống thẳng phải không lớn hơn sức bền kéo chia cho 1,5 (Rm/1,5) khi đường ống chịu áp suất nói trên. Áp suất danh định của các đoạn ống khác phải đảm bảo mức độ bền giống như đoạn ống thẳng.
3 Thay cho việc sử dụng áp suất lớn nhất ở công thức nói trên, có thể sử dụng áp lớn nhất có được từ thử nghiệm mẫu. Khi đó báo cáo thử phải được trình Đăng kiểm.
9.8.3 Kiểm nghiệm sức bền
Việc kiểm nghiệm sức bền phải dựa trên các tính toán chứng minh tính nguyên vẹn của kênh dẫn hoặc ống dẫn. Thay cho việc tính toán, sức bền có thể được kiểm nghiệm bằng thử mẫu.
9.8.4 Thử nghiệm và kích thước của kênh dẫn
Đối với đường ống nhiên liệu áp suất thấp, kênh dẫn phải được tính toán kích thước đối với áp suất thiết kế không nhỏ hơn áp suất làm việc lớn nhất của ống nhiên liệu. Kênh dẫn này phải được thử áp suất để chứng minh rằng nó có thể chịu được áp suất lớn nhất như dự tính tại vị trí đứt gãy của ống nhiên liệu.
9.9 Máy nén và bơm
9.9.1 Xuyên qua vách
Nếu máy nén hoặc bơm được dẫn động bằng trục xuyên qua vách hoặc boong thì vị trí xuyên qua đó phải là kiểu kín khí.
9.9.2 Máy nén và bơm
Máy nén và bơm phải phù hợp với mục đích sử dụng. Tất cả các thiết bị và máy đều phải được, ví dụ như thử một cách thích đáng để đảm bảo tính phù hợp trong sử dụng ở môi trường biển. Các vấn đề cần phải xem xét bao gồm, nhưng không giới hạn, ở từ (1) tới (4) dưới đây:
(1) Môi trường;
(2) Rung động và gia tốc trên tàu;
(3) Ảnh hưởng của chuyển động lắc dọc, dao động lên xuống và lắc ngang v.v…; và
(4) Thành phần của khí.
9.9.3 Ngăn ngừa khi hóa lỏng đi vào
Phải có sự bố trí để đảm bảo trong mọi trường hợp khí hóa lỏng không thể đi vào bộ phận kiểm soát khí hoặc máy chạy bằng nhiên liệu khí trừ khi máy đó được thiết kế để hoạt động bằng khí ở trạng thái lỏng.
9.9.4 Phụ kiện và các thiết bị đo
Máy nén và bơm phải được lắp các phụ kiện và thiết bị đo cần thiết cho việc vận hành hiệu quả và tin cậy.
CHƯƠNG 10 TẠO NĂNG LƯỢNG BAO GỒM HỆ THỐNG ĐẨY VÀ CÁC THIẾT BỊ TIÊU THỤ KHÍ KHÁC
10.1 Mục tiêu
10.1.1 Quy định chung
Mục tiêu của Chương này là để đảm bảo việc truyền tải năng lượng cơ học, điện hoặc nhiệt một cách an toàn và tin cậy.
10.2 Yêu cầu về chức năng
10.2.1 Quy định chung
Chương này liên quan đến các yêu cầu chức năng nêu ở 3.2.1, 3.2.11, 3.2.13, 3.2.16 và 3.2.17. Ngoài ra, cũng phải áp dụng 10.2.2.
10.2.2 Các yêu cầu bổ sung
1 Hệ thống xả phải được cấu tạo sao cho ngăn ngừa được sự tích tụ các nhiên liệu khí chưa cháy.
2 Trừ khi được thiết kế đủ sức bền để chịu được tình huống xấu nhất do áp suất tạo bởi rò rỉ khí đã cháy, các bộ phận của động cơ hoặc hệ thống có chứa hoặc có thể chứa khí hoặc hỗn hợp khí cháy được phải được trang bị hệ thống an toàn áp suất thích hợp. Tùy thuộc vào thiết kế động cơ cụ thể mà hệ thống an toàn áp suất này có thể bao gồm ống góp lấy khí vào và buồng khí quét.
3 Thông hơi phòng nổ phải được dẫn ra cách xa vị trí mà bình thường có thể có người tại đó.
4 Mọi thiết bị tiêu thụ khí phải có một hệ thống xả riêng biệt.
10.3 Động cơ đốt trong kiểu pít tông
10.3.1 Quy định chung
1 Hệ thống xả phải được trang bị hệ thống thông gió phòng nổ với kích cỡ đủ lớn để ngăn áp suất gây nổ quá lớn khi một xy lanh không cháy nhiên liệu do khí chưa được đốt bị cháy trong hệ thống.
2 Đối với động cơ mà không gian bên dưới pít tông liên thông trực tiếp với hộp trục khuỷu thì phải thực hiện đánh giá chi tiết liên quan đến nguy hiểm tiềm tàng do nhiên liệu khí tích tụ trong hộp trục khuỷu và được phản ảnh trong khái niệm an toàn của động cơ.
3 Mỗi động cơ mà không phải động cơ đi-ê-zen hai kỳ đầu chữ thập thì phải có hệ thống thông hơi độc lập với các động cơ khác cho hộp trục khuỷu và két gom dầu.
4 Trong trường hợp khí có thể rò rỉ trực tiếp vào môi chất của hệ thống phụ (dầu bôi trơn, nước làm mát) thì phải lắp các phương tiện thích hợp sau đầu khí ra của động cơ để chiết xuất khí nhằm ngăn chặn sự phân tán khí. Khí được chiết xuất từ dung môi của hệ thống phụ phải được thông hơi tới một vị trí an toàn trong không khí bên ngoài.
5 Đối với các động cơ có hệ thống đánh lửa, trước khi nhận nhiên liệu khí, việc hoạt động đúng của hệ thống đánh lửa ở mỗi cụm phải được kiểm tra xác nhận.
6 Phải có một phương tiện để theo dõi và phát hiện việc cháy không hết hoặc không cháy. Trong trường hợp phát hiện được hiện tượng đó thì vẫn có thể cho phép các quá trình vận hành liên quan đến khí miễn là khí cấp cho xy lanh liên quan được đóng lại và miễn là việc vận hành động cơ với một xy lanh bị loại bỏ là có thể chấp nhận được về phương diện dao động xoắn.
7 Đối với các động cơ mà khởi động bằng nhiên liệu quy định trong Phần này, nếu hệ thống theo dõi động cơ không phát hiện được việc cháy trong một thời gian cụ thể của động cơ sau khi mở van cấp nhiên liệu thì van cấp nhiên liệu đó phải tự động đóng lại. Phải có phương tiện để đảm bảo hỗn hợp nhiên liệu chưa cháy được làm sạch khỏi hệ thống xả.
10.3.2 Động cơ nhiên liệu kép
1 Trong trường hợp ngắt nguồn cấp nhiên liệu khí thì động cơ phải có thể vận hành liên tục bằng nhiên liệu dầu mà không bị gián đoạn.
2 Phải có hệ thống tự động để chuyển đổi từ vận hành bằng nhiên liệu khí thành nhiên liệu dầu và ngược lại mà công suất của động cơ dao động ở mức tối thiểu. Tính tin cậy có thể chấp nhận phải được chứng minh bằng thử nghiệm. Trong trường hợp động cơ hoạt động không ổn định khi khí vẫn cháy thì động cơ phải tự động chuyển sang chế độ chạy bằng nhiên liệu dầu. Phải luôn có thể kích hoạt được bằng tay việc ngắt hệ thống khí.
3 Trong trường hợp dừng bình thường hoặc đóng khẩn cấp, việc cấp nhiên liệu khí phải được đóng lại không muộn hơn hệ thống đánh lửa. Phải không thể ngắt nguồn đánh lửa mà trước đó hoặc đồng thời không đóng nguồn cấp khí cho mỗi xy lanh hoặc cho toàn bộ động cơ.
10.3.3 Động cơ chỉ chạy bằng khí
Trong trường hợp dừng bình thường hoặc đóng khẩn cấp, việc cấp nhiên liệu khí phải được đóng lại không muộn hơn hệ thống đánh lửa. Phải không thể ngắt nguồn đánh lửa mà trước đó hoặc đồng thời không đóng nguồn cấp khí cho mỗi xy lanh hoặc cho toàn bộ động cơ.
10.3.4 Động cơ đa nhiên liệu
1 Trong trường hợp đóng nguồn cấp một nhiên liệu thì động cơ phải có thể hoạt động liên tục bằng nhiên liệu thay thế với sự dao động nhỏ nhất của công suất động cơ.
2 Phải có hệ thống tự động để chuyển đổi từ vận hành bằng nhiên liệu này thành nhiên liệu khác thay thế mà công suất của động cơ dao động ở mức tối thiểu. Tính tin cậy có thể chấp nhận phải được chứng minh bằng thử nghiệm. Trong trường hợp động cơ hoạt động không ổn định khi sử dụng một nhiên liệu cụ thể thì động cơ phải tự động chuyển sang chế độ chạy bằng khác thay thế. Phải luôn có thể kích hoạt được việc chuyển đổi này bằng tay.
Bảng 8I/10.1 Động cơ đốt bằng khí
|
|
Chỉ bằng khí |
Nhiên liệu kép |
Đa nhiên liệu |
|
|
Phương tiện đánh lửa |
Đánh lửa |
Nhiên liệu mồi |
Nhiên liệu mồi |
Không áp dụng |
|
Nhiên liệu chính |
Khí |
Khí |
Khí và/hoặc nhiên liệu dầu |
Khí và/hoặc chất lỏng |
10.4 Nồi hơi chính và phụ
10.4.1 Hệ thống thông gió cưỡng bức
Mỗi nồi hơi phải có một hệ thống thông gió cưỡng bức dành riêng. Bộ chuyển đổi giữa các hệ thống thông gió cưỡng bức của nồi hơi có thể được trang bị để sử dụng khi khẩn cấp miễn là duy trì được các chức năng an toàn có liên quan.
10.4.2 Buồng đốt
Buồng đốt và ống thông hơi của nồi hơi phải được thiết kế để ngăn sự tích tụ của nhiên liệu khí.
10.4.3 Mỏ đốt
Mỏ đốt phải được thiết kế để duy trì việc cháy ổn định trong mọi điều kiện cháy.
10.4.4 Chuyển đổi nhiên liệu tự động
Trên nồi hơi chính/nồi hơi thiết bị đẩy phải có một hệ thống tự động để chuyển từ vận hành bằng nhiên liệu khí thành nhiên liệu dầu mà không làm gián đoạn sự đốt của nồi hơi.
10.4.5 Đốt
Hệ thống điều khiển vòi phun khí và mỏ đốt phải được cấu tạo sao cho nhiên liệu khí chỉ có thể được đốt bằng ngọn lửa nhiên liệu dầu có sẵn, trừ khi nồi hơi và thiết bị đốt được thiết kế và được Đăng kiểm thẩm định để đốt bằng nhiên liệu khí.
10.4.6 Ngắt nhiên liệu
Phải có các bố trí để đảm bảo nhiên liệu khí đi vào mỏ đốt được ngắt tự động trừ khi việc đốt thỏa mãn yêu cầu đã được thiết lập và duy trì.
10.4.7 Các van
Trên đường ống nhiên liệu của mỗi mỏ đốt khí phải có một van đóng bằng tay.
10.4.8 Làm trơ
Phải có các biện pháp để tự động làm sạch đường ống cấp khí tới mỏ đốt, bằng khí trơ, sau khi tắt các mỏ đốt này.
10.4.9 Hệ thống theo dõi
Hệ thống tự động chuyển đổi nhiên liệu yêu cầu ở 10.4.4 phải được theo dõi có báo động để đảm bảo tính sẵn sàng liên tục.
10.4.10 Đốt trở lại
Phải có các hệ thống sao cho, trong trường hợp các mỏ đốt đang hoạt động không có lửa, các buồng đốt của nồi hơi được làm sạch tự động trước khi đốt trở lại.
10.4.11 Làm sạch bằng tay
Phải có sự bố trí để cho phép kích hoạt bằng tay các trình tự làm sạch nồi hơi.
10.5 Tua bin khí
10.5.1 Thiết bị xả áp
Trừ khi được thiết kế đủ sức bền để chịu được tình huống xấu nhất do áp suất tạo bởi rò rỉ khí đã cháy, hệ thống an toàn áp suất phải được thiết kế phù hợp và lắp vào hệ thống xả, trong đó có xem xét đến việc nổ do khí rò rỉ. Hệ thống an toàn áp suất trong ống xả phải được dẫn tới một vị trí an toàn, xa khu vực có người.
10.5.2 Vỏ kín khí
Tua bin khí có thể được lắp một vỏ kín khí theo nguyên tắc ESD được nêu ra ở 5.6 và 9.7, tuy nhiên, có thể chấp nhận áp suất lớn hơn 1,0 MPa trong đường ống cấp khí trong phạm vi lớp vỏ này.
10.5.3 Thiết bị phát hiện khí và chức năng đóng
Hệ thống phát hiện khí và chức năng đóng được quy định như đối với buồng máy được bảo vệ bằng ESD.
10.5.4 Thông gió
Quy định về thông gió cho lớp vỏ được nêu ở Chương 13 như đối với buồng máy được bảo vệ bằng ESD, nhưng ngoài ra phải có dự trữ toàn bộ (2 ´ 100% năng suất quạt cấp từ các mạch điện khác nhau).
10.5.5 Tự động chuyển đổi nhiên liệu
Đối với các tua bin mà không phải là tua bin chỉ sử dụng khí nhiên liệu, phải có một hệ thống tự động để chuyển đổi một cách dễ dàng và nhanh chóng từ hoạt động bằng nhiên liệu khí thành nhiên liệu dầu và ngược lại mà sự dao động công suất của động cơ là nhỏ nhất.
10.5.6 Sự cố khi đốt
Phải có phương tiện để theo dõi và phát hiện việc đốt không hết mà có thể dẫn đến khí nhiên liệu không được đốt ở hệ thống xả trong khi vận hành. Trong trường hợp phát hiện được hiện tượng này, nguồn cấp khí nhiên liệu phải được đóng lại.
10.5.7 Đóng tự động
Mỗi tua bin phải được trang bị một thiết bị đóng tự động đối với nhiệt độ xả cao.
CHƯƠNG 11 AN TOÀN CHỐNG CHÁY
11.1 Mục tiêu
11.1.1 Quy định chung
Mục tiêu của Chương này là đưa ra các quy định đối với bảo vệ chống cháy, phát hiện và chữa cháy cho tất cả các thành phần của hệ thống liên quan tới việc chứa, điều tiết, vận chuyển và sử dụng khí tự nhiên làm nhiên liệu của tàu.
11.2 Yêu cầu về chức năng
11.2.1 Quy định chung
Chương này liên quan đến các yêu cầu về chức năng nêu ở 3.2.2, 3.2.4, 3.2.5, 3.2.7, 3.2.12, 3.2.14, 3.2.15 và 3.2.17.
11.3 Bảo vệ chống cháy
11.3.1 Quy định chung
1 Các không gian có chứa thiết bị dùng để chuẩn bị nhiên liệu như là bơm, máy nén, bộ trao đổi nhiệt, bầu hóa hơi và bình chịu áp lực phải được coi là buồng máy loại A đối với mục đích bảo vệ chống cháy.
2 Các biên của khu vực sinh hoạt, khu vực phục vụ, trạm điều khiển, lối thoát và buồng máy, đối diện với két nhiên liệu trên boong hở phải được bọc kết cấu chống cháy cấp "A-60". Kết cấu "A-60" đó phải được bọc đến tận mặt dưới của boong buồng lái, và các vách biên bên trên đó, bao gồm cửa sổ buồng lái, phải là kết cấu cấp "A-60". Ngoài ra, két nhiên liệu phải được cách ly với hàng theo các yêu cầu của Bộ luật quốc tế về vận chuyển hàng nguy hiểm bằng đường biển (Bộ luật IMDG), trong đó, két nhiên liệu được coi như gói rời. Theo các yêu cầu về xếp hàng và cách ly của Bộ luật IMDG, két nhiên liệu trên boong hở phải được coi là gói cấp 2.1.
3 Không gian chứa hệ thống chứa nhiên nhiệu phải được tách biệt với buồng máy loại A hoặc các buồng có nguy cơ cháy cao khác. Sự tách biệt này phải được thực hiện bằng khoang cách ly ít nhất bằng 900 mm với lớp bọc cấp "A-60". Khi xác định bọc chống cháy của không gian chứa hệ thống chứa nhiên liệu với các không gian khác có nguy cơ cháy thấp hơn, hệ thống chứa nhiên liệu phải được coi là buồng máy loại A như quy định ở Chương 9 Phần 5. Biên giữa các không gian chứa hệ thống chứa nhiên liệu phải hoặc là khoang cách ly ít nhất bằng 900 mm hoặc kết cấu cấp "A-60". Đối với két kiểu C, khoang hầm chứa nhiên liệu có thể được coi là khoang cách ly.
4 Khoang hầm chứa nhiên liệu phải không được sử dụng cho máy hoặc thiết bị mà có thể có nguy cơ cháy.
5 Bảo vệ chống cháy của đường ống nhiên liệu đi qua khoang ro-ro phải được Đăng kiểm xem xét đặc biệt tùy thuộc vào việc sử dụng và áp suất dự kiến trong ống.
6 Trạm tiếp nhận nhiên liệu phải được tách biệt bằng kết cấu cấp "A-60" về phía buồng máy loại A, khu vực sinh hoạt, trạm điều khiển và không gian có nguy cơ cháy cao, trừ các không gian như là két, khoang trống, buồng máy phụ có nguy cơ cháy thấp hoặc không có nguy cơ cháy, khu vệ sinh và các không gian tương tự, khi đó tiêu chuẩn bọc có thể được giảm xuống cấp "A-0".
7 Nếu buồng máy được bảo vệ bằng ESD được bao quanh bằng vách đơn thì vách đó phải là kết cấu cấp "A-60".
11.4 Đường ống cứu hỏa chính
11.4.1 Quy định chung
1 Hệ thống phun sương nước quy định ở 11.5 dưới đây có thể là một phần của hệ thống ống chữa cháy với điều kiện sản lượng theo yêu cầu của bơm cứu hỏa và áp suất làm việc là đủ để vận hành đồng thời đủ số lượng họng chữa cháy và ống mềm theo yêu cầu và cả hệ thống phun sương nước.
2 Khi két chứa nhiên liệu nằm trên boong hở, van cách ly phải được bố trí trên đường ống chữa cháy để cách ly các phần bị hư hỏng của đường ống chữa cháy. Việc cách ly một phần của đường ống chữa cháy phải không được vô hiệu hóa việc cấp nước cho phần đường ống phía trước của phần được cách ly.
11.5 Hệ thống phun sương nước
11.5.1 Quy định chung
1 Phải trang bị một hệ thống phun sương nước để làm mát và ngăn ngừa cháy, bao phủ lên các phần lộ của két chứa nhiên liệu nằm trên boong hở.
2 Hệ thống phun sương nước cũng phải đảm bảo bao phủ các biên của thượng tầng, buồng máy nén, buồng bơm, buồng làm hàng, trạm điều khiển tiếp nhận nhiên liệu, trạm tiếp nhận nhiên liệu và các lầu thường có người khác mà đối diện với két chứa trên boong hở trừ khi két chứa đó nằm cách xa các biên vừa nói lớn hơn hoặc bằng 10 m.
3 Hệ thống phun sương nước phải được thiết kế để bao phủ tất cả mọi vùng được quy định ở trên với sản lượng bằng 10 lít/phút/m2 cho bề mặt có diện tích chiếu lên phương nằm ngang lớn nhất và 4 lít/phút/m2 cho bề mặt thẳng đứng.
4 Các van ngắt phải được bố trí trên đường ống cấp chính cho thiết bị phun sương nước, với khoảng cách không lớn hơn 40 m, để cách ly các phần bị hư hỏng. Nếu không, hệ thống có thể được chia thành hai phần hoặc nhiều hơn mà có thể vận hành độc lập, với điều kiện việc điều khiển cần thiết được bố trí cùng nhau ở một vị trí dễ tiếp cận và không phải là không tiếp cận được trong trường hợp cháy ở vùng được bảo vệ.
5 Sản lượng của bơm phun sương nước phải đủ để phân phối đủ lượng nước yêu cầu tới khu vực đòi hỏi nhiều nước nhất như nêu ở trên trong các khu vực được bảo vệ.
6 Nếu hệ thống phun sương nước không phải là một phần của hệ thống ống chữa cháy, phải có kết nối tới đường ống chữa cháy của tàu thông qua một van chặn.
7 Khởi động từ xa bơm cấp cho hệ thống phun sương nước và điều khiển từ xa các van thường đóng của hệ thống phải được bố trí ở một vị trí dễ dàng tiếp cận và không phải là không tiếp cận được trong trường hợp cháy ở vùng được bảo vệ.
8 Đầu phun phải là kiểu thông toàn bộ (full bore) được duyệt và chúng phải được bố trí để đảm bảo phân phối nước hiệu quả khắp không gian được bảo vệ.
11.6 Hệ thống chữa cháy bằng bột khô
11.6.1 Quy định chung
1 Một hệ thống chữa cháy bằng bột khô phải được lắp cố định ở khu vực trạm tiếp nhận nhiên liệu để xử lý các điểm rò rỉ có thể xảy ra. Sản lượng phải đạt ít nhất bằng 3,5 kg/giây trong tối thiểu 45 giây. Hệ thống này phải được bố trí sao cho dễ dàng xả bằng tay từ một vị trí an toàn bên ngoài khu vực được bảo vệ.
2 Ngoài các thiết bị chữa cháy xách tay khác được quy định trong Phần 5, một bình chữa cháy xách tay bằng bột khô có dung tích ít nhất là 5 kg phải được bố trí gần trạm tiếp nhận nhiên liệu.
11.7 Hệ thống phát hiện và báo động cháy
11.7.1 Quy định chung
1 Một hệ thống phát hiện và báo động cháy cố định thỏa mãn các yêu cầu ở Chương 29 Phần 5 phải được bố trí trong không gian của khoang chứa nhiên liệu và kênh thông gió dẫn tới buồng đầu nối két và trong buồng đầu nối két, và trong các buồng khác của hệ thống nhiên liệu khí mà ở đó lửa không thể bị loại trừ.
2 Nếu chỉ có cảm biến khói thì không thể coi là đủ để phát hiện cháy nhanh.
CHƯƠNG 12 PHÒNG NỔ
12.1 Mục tiêu
12.1.1 Quy định chung
Mục tiêu của Chương này là đưa ra các quy định để phòng nổ và để hạn chế ảnh hưởng khi nổ.
12.2 Yêu cầu về chức năng
12.2.1 Quy định chung
Chương này liên quan đến các yêu cầu về chức năng nêu ở 3.2.2 tới 3.2.5, 3.2.7, 3.2.8, 3.2.12 tới 3.2.14 và 3.2.17. Ngoài ra cũng phải áp dụng 12.2.2.
12.2.2 Các yêu cầu bổ sung
Xác suất xảy ra nổ phải được giảm tới mức thấp nhất bằng cách thực hiện (1) và (2) dưới đây:
(1) Giảm số lượng nguồn gây cháy; và
(2) Giảm xác suất hình thành hỗn hợp có thể cháy.
12.3 Quy định chung
12.3.1 Quy định chung
Các khu vực nguy hiểm trên boong hở và các không gian khác không nêu ra ở Chương này phải được quyết định dựa trên các yêu cầu có thể áp dụng ở Chương 4 Phần 4. Các thiết bị điện bố trí ở khu vực nguy hiểm phải thỏa mãn 4.2.4 Phần 4.
12.3.2 Thiết bị điện và cáp điện
Nói chung, thiết bị điện và cáp điện phải không được bố trí ở khu vực nguy hiểm trừ khi cần thiết cho mục đích vận hành theo các quy định ở 4.2.4 Phần 4.
12.3.3 Thiết bị điện trong buồng máy được bảo vệ bằng ESD
Thiết bị điện trong buồng máy được bảo vệ bằng ESD phải thỏa mãn (1) và (2) dưới đây:
(1) Ngoài cảm biến cháy và cảm biến khí hyđrô các bon và báo động cháy và báo động khí, thiết bị chiếu sáng và quạt thông gió phải được chứng nhận an toàn cho khu vực nguy hiểm vùng 1; và
(2) Tất cả thiết bị điện trong buồng máy có chứa động cơ chạy bằng nhiên liệu khí, và không được chứng nhận phù hợp với vùng 1 thì phải tự động ngắt kết nối nếu nồng độ khí lớn hơn 40% LEL được phát hiện bởi hai cảm biến trong không gian có chứa thiết bị sử dụng nhiên liệu khí.
12.4 Khu vực nguy hiểm
12.4.1 Quy định chung
Phân vùng khu vực là phương pháp phân tích và phân chia thành cấp của các khu vực mà ở đó có thể có môi trường khí dễ nổ. Mục tiêu của việc phân vùng là để cho phép việc lựa chọn các thiết bị điện có thể hoạt động an toàn trong các khu vực này.
12.4.2 Phân vùng nguy hiểm
Để thuận tiện cho việc lựa chọn thiết bị điện phù hợp và thiết kế hệ thống điện phù hợp, khu vực nguy hiểm được phân chia thành vùng 0, 1 và 2 theo các quy định ở 12.5.
12.4.3 Kênh thông gió
Kênh thông gió phải được phân vùng giống như không gian được thông gió.
12.5 Các vùng của khu vực nguy hiểm
12.5.1 Vùng 0
Vùng 0 bao gồm, nhưng không giới hạn, khu vực bên trong của két nhiên liệu, đường ống để giảm áp hoặc các hệ thống thông hơi khác của két nhiên liệu, đường ống và thiết bị có chứa nhiên liệu.
12.5.2 Vùng 1
Vùng 1 bao gồm, nhưng không giới hạn:
(1) Buồng đầu nối két, khoang hầm chứa nhiên liệu và không gian giữa các lớp chắn;
(2) Buồng chuẩn bị nhiên liệu được bố trí thông gió theo 13.6;
(3) Khu vực trên boong hở, hoặc không gian nửa kín trên boong, trong phạm vi 3 m tính từ đầu ra của két nhiên liệu, đầu ra của khí hoặc hơi, van của ống nạp nhiên liệu, các van nhiên liệu khác, bích của đường ống nhiên liệu, đầu thông gió ra của buồng chuẩn bị nhiên liệu và lỗ giảm áp của két nhiên liệu được sử dụng để một lượng nhỏ khí hoặc hỗn hợp hơi do biển đối nhiệt đi qua;
(4) Khu vực trên boong hở, hoặc không gian nửa kín trên boong, trong phạm vi 1,5 m tính từ lối vào của buồng chuẩn bị nhiên liệu, đầu gió vào của thông gió buồng chuẩn bị nhiên liệu và các lỗ khoét khác đi vào không gian của vùng 1;
(5) Khu vực trên boong hở trong phạm vi thành quây tràn xung quanh các van của ống góp nạp nhiên liệu khí và 3 m tính từ khu vực này, tới độ cao 2,4 m bên trên mặt boong;
(6) Không gian kín hoặc nửa kín trong đó có bố trí ống chứa nhiên liệu, ví dụ hầm đi ống nhiên liệu, trạm nạp nhiên liệu nửa kín;
(7) Buồng máy được bảo vệ bằng ESD được coi là khu vực không nguy hiểm khi hoạt động bình thường, nhưng sẽ yêu cầu thiết bị mà cần phải hoạt động sau khi phát hiện rò rỉ khí được chứng nhận phù hợp cho vùng 1;
(8) Không gian bảo vệ bằng khóa khí được coi là không nguy hiểm khi hoạt động bình thường, nhưng sẽ yêu cầu thiết bị mà cần phải hoạt động sau khi mất sự chênh áp giữa không gian được bảo vệ và khu vực nguy hiểm được chứng nhận phù hợp cho vùng 1; và
(9) Trừ két kiểu C, khu vực trong phạm vi 2,4 m tính từ mặt ngoài của hệ thống chứa nhiên liệu mà mặt đó tiếp xúc với thời tiết.
12.5.3 Vùng 2
Vùng 2 bao gồm, nhưng không giới hạn:
(1) Khu vực trong phạm vi 1,5 m xung quanh không gian hở hoặc nửa kín của vùng 1;
(2) Không gian có chứa nắp hầm bắt bu lông dẫn tới buồng đầu nối két.
CHƯƠNG 13 THÔNG GIÓ
13.1 Mục tiêu
13.1.1 Quy định chung
Mục tiêu của Chương này là đưa ra các quy định đối với việc thông gió cần thiết cho việc vận hành an toàn của thiết bị và máy sử dụng nhiên liệu khí.
13.2 Các yêu cầu về chức năng
13.2.1 Quy định chung
Chương này liên quan đến các yêu cầu chức năng nêu ở 3.2.2, 3.2.5, 3.2.8, 3.2.10, 3.2.12 đến 3.2.14 và 3.2.17.
13.3 Các yêu cầu chung
13.3.1 Thông gió của khu vực nguy hiểm
Các kênh dẫn sử dụng để thông gió cho không gian nguy hiểm phải được tách biệt với các kênh dẫn sử dụng để thông gió cho các không gian không nguy hiểm. Thông gió phải hoạt động trong mọi điều kiện nhiệt độ và môi trường của tàu khi vận hành.
13.3.2 Động cơ điện cho quạt thông gió
Động cơ điện cho quạt thông gió phải không được bố trí trong các kênh dẫn gió của khu vực nguy hiểm trừ khi động cơ đó được chứng nhận cho vùng nguy hiểm giống hệt với không gian được phục vụ.
13.3.3 Thiết kế quạt thông gió cho không gian có chứa nguồn khí
Thiết kế quạt thông gió cho các không gian có chứa nguồn khí phải thỏa mãn các yêu cầu ở (1) đến (3) dưới đây:
(1) Quạt thông gió phải không tạo ra nguồn gây cháy hơi ở không gian được thông gió hoặc ở hệ thống thông gió liên quan tới không gian đó. Quạt thông gió và đường ống đặt quạt, chỉ trong khu vực quạt, phải có kết cấu không tạo tia lửa như sau:
(a) Cánh quạt hoặc vỏ bằng vật liệu không phải kim loại, quan tâm thích đáng đến việc khử tĩnh điện;
(b) Cánh quạt và vỏ bằng kim loại màu;
(c) Cánh quạt và vỏ bằng thép không gỉ ostenít;
(d) Cánh quạt bằng hợp kim nhôm hoặc hợp kim magiê và vỏ bằng hợp kim sắt (bao gồm cả thép không gỉ ostenít) mà trên đó có một vòng đệm với chiều dày thích hợp bằng vật liệu không chứa sắt lắp ở khu vực của cánh, phải quan tâm thích đáng đến tĩnh điện và ăn mòn giữa vòng và vỏ; hoặc
(e) Kết hợp giữa cánh và vỏ bằng vật liệu chứa sắt (bao gồm cả thép không gỉ ostenít) với khe hở thiết kế của mút cánh không nhỏ hơn 13 mm.
(2) Trong mọi trường hợp, khe hở hướng bán kính giữa cánh và ống đặt cánh phải không nhỏ hơn 0,1 lần đường kính của trục cánh ở khu vực ổ đỡ nhưng phải không nhỏ hơn 2 mm. Khe hở này không cần lớn hơn 13 mm.
(3) Mọi sự kết hợp giữa bộ phận cố định hoặc quay làm bằng hợp kim nhôm hoặc magiê và bộ phận cố định hoặc quay làm bằng vật liệu chứa sắt, bất kể khe hở mút cánh, đều được coi là nguy hiểm trong việc tạo tia lửa và không được sử dụng trong các khu vực này.
13.3.4 Cách ly hệ thống thông gió
Hệ thống thông gió mà cần phải tránh sự tích tụ khí thì phải bao gồm các quạt độc lập, mỗi quạt có đủ năng suất, trừ khi có quy định khác trong Phần này.
13.3.5 Đầu gió vào không gian kín nguy hiểm
Đầu gió vào không gian kín nguy hiểm phải được lấy gió từ các khu vực mà, nếu không có đầu gió vào đang xét, thì là không gian không nguy hiểm. Đầu gió vào của không gian kín không nguy hiểm phải được lấy từ khu vực không nguy hiểm cách xa ít nhất 1,5 m so với biên của các vùng nguy hiểm. Nếu kênh dẫn gió vào đi qua một không gian nguy hiểm hơn thì kênh dẫn đó phải kín khí và có áp suất cao hơn so với không gian này.
13.3.6 Đầu gió ra từ không gian không nguy hiểm
Đầu gió ra từ không gian không nguy hiểm phải được bố trí bên ngoài khu vực nguy hiểm.
13.3.7 Đầu gió ra từ không gian kín nguy hiểm
Đầu gió ra từ không gian kín nguy hiểm phải được bố trí ở khu vực hở mà, nếu không có đầu gió ra đang xét, thì là không gian giống hoặc ít nguy hiểm hơn so với không gian được thông gió.
13.3.8 Yêu cầu năng suất của thiết bị thông gió
Năng suất yêu cầu của thiết bị thông gió thường được dựa trên tổng thể tích của không gian. Có thể cần thiết phải tăng năng suất thông gió đối với các không gian mà có hình dáng phức tạp.
13.3.9 Không gian không nguy hiểm với lối vào mở ra khu vực nguy hiểm
Không gian không nguy hiểm với lối vào mở ra khu vực nguy hiểm phải được bố trí khóa khí và được duy trì áp suất lớn hơn so với khu vực nguy hiểm bên ngoài. Việc thông gió tạo áp suất lớn hơn phải được bố trí như sau:
(1) Trong quá trình thiết lập ban đầu hoặc sau khi không còn thông gió tạo áp suất lớn hơn, trước khi kích hoạt các thiết bị điện không được chứng nhận an toàn cho không gian khi không có áp suất dư thì phải áp dụng các quy định như ở (a) và (b) dưới đây:
(a) Tiến hành làm sạch (trao đổi không khí ít nhất 5 lần) hoặc xác nhận không gian đó là không nguy hiểm bằng các phương tiện đo; và
(b) Tạo áp suất cho không gian đó.
(2) Hoạt động thông gió để tạo áp suất dư phải được theo dõi và trong trường hợp việc thông gió tạo áp suất dư bị sự cố thì phải thỏa mãn quy định ở (a) và (b) dưới đây:
(a) Phải có báo động bằng âm thanh và ánh sáng ở vị trí có người trực; và
(b) Nếu áp suất dư không thể phục hồi ngay sau đó thì cần phải ngắt các thiết bị điện một cách tự động hoặc như đã được lập trình theo các tiêu chuẩn được Đăng kiểm công nhận.
13.3.10 Khu vực không nguy hiểm có lối vào mở ra không gian kín nguy hiểm
Khu vực không nguy hiểm có lối vào mở ra không gian kín nguy hiểm phải được bố trí khóa khí và không gian nguy hiểm phải được duy trì áp suất thấp hơn so với không gian không nguy hiểm. Việc thông gió kiểu hút ở không gian nguy hiểm phải được theo dõi và khi việc thông gió đó gặp sự cố thì các yêu cầu ở (1) và (2) dưới đây phải được thỏa mãn:
(1) Phải có báo động bằng âm thanh và ánh sáng ở vị trí có người trực; và
(2) Nếu áp suất thấp hơn không thể phục hồi ngay sau đó thì cần phải ngắt các thiết bị điện ở không gian không nguy hiểm một cách tự động hoặc như đã được lập trình theo các tiêu chuẩn được Đăng kiểm công nhận.
13.4 Buồng đầu nối két
13.4.1 Hệ thống thông gió cưỡng bức kiểu cơ khí
Buồng đầu nối két phải được trang bị hệ thống thông gió cưỡng bức cơ khí hữu hiệu kiểu hút. Năng suất thông gió phải đạt được ít nhất 30 lần trao đổi khí một giờ. Tốc độ trao đổi khí có thể được giảm nếu được trang bị các phương tiện phòng nổ phù hợp khác. Sự tương đương của các hệ thống thay thế phải được chứng minh bằng đánh giá rủi ro.
13.4.2 Kênh thông gió
Kênh thông gió của buồng đầu nối két phải được lắp các bướm chặn lửa tự động kiểu an toàn sự cố đã được duyệt.
13.5 Buồng máy
13.5.1 Hệ thống thông gió cho buồng máy có chứa thiết bị tiêu thụ nhiên liệu khí
Hệ thống thông gió cho buồng máy có chứa thiết bị tiêu thụ nhiên liệu khí phải độc lập với tất cả các hệ thống thông gió khác.
13.5.2 Hệ thống thông gió cho buồng máy được bảo vệ bằng ESD
Buồng máy bảo vệ bằng ESD phải được thông gió với năng suất ít nhất bằng 30 lần trao đổi khí một giờ. Hệ thống thông gió đó phải đảm bảo tuần hoàn không khí tốt ở mọi không gian, và cụ thể là đảm bảo không thể phát hiện được sự hình thành của túi khí trong không gian đó. Thay cho yêu cầu vừa nêu, các hệ thống mà nhờ đó, trong điều kiện vận hành bình thường, buồng máy được thông gió ít nhất 15 lần trao đổi khí một giờ có thể được chấp nhận miễn là, trong trường hợp phát hiện được khí trong buồng máy, số lần trao đổi khí sẽ tự động nâng lên 30 lần một giờ.
13.5.3 Dự trữ cho hệ thống thông gió
Đối với buồng máy được bảo vệ bằng ESD, hệ thống thông gió phải có đủ năng suất dự trữ để đảm bảo sẵn sàng có mức độ thông gió cao như được nêu trong các tiêu chuẩn được Đăng kiểm công nhận.
13.5.4 Quạt thông gió
Số lượng và công suất của quạt thông gió cho buồng máy bảo vệ bằng ESD và cho hệ thống thông gió ống kép của các buồng máy an toàn khí phải sao cho năng suất không bị giảm hơn 50% so với tổng năng suất thông gió nếu một quạt có mạch điện riêng biệt từ bảng điện chính hoặc bảng điện sự cố hoặc nếu một nhóm quạt có chung mạch điện từ bảng điện chính hoặc bảng điện sự cố không thể hoạt động được.
13.6 Buồng chuẩn bị nhiên liệu
13.6.1 Hệ thống thông gió cho buồng chuẩn bị nhiên liệu
Buồng chuẩn bị nhiên liệu phải được trang bị hệ thống thông gió cơ khí hữu hiệu kiểu hút với năng suất bằng ít nhất 30 lần trao đổi khí một giờ.
13.6.2 Quạt thông gió
Số lượng và công suất của quạt thông gió phải sao cho năng suất không bị giảm hơn 50% so với tổng năng suất thông gió nếu một quạt có mạch điện riêng biệt từ bảng điện chính hoặc bảng điện sự cố hoặc nếu một nhóm quạt có chung mạch điện từ bảng điện chính hoặc bảng điện sự cố không thể hoạt động được.
13.6.3 Hoạt động của hệ thống thông gió
Hệ thống thông gió cho buồng chuẩn bị nhiên liệu phải hoạt động khi bơm hoặc máy nén hoạt động.
13.7 Trạm tiếp nhận nhiên liệu
Trạm tiếp nhận nhiên liệu nếu không được bố trí trên boong hở thì phải được thông gió phù hợp để đảm bảo mọi hơi bị rò rỉ trong quá trình tiếp nhận nhiên liệu sẽ được đưa ra ngoài. Nếu thông gió tự nhiên là không đủ thì phải có thông gió cơ khí phù hợp với việc đánh giá rủi ro nêu ở 8.3.1-1.
13.8 Kênh dẫn và ống dẫn kép
13.8.1 Kênh dẫn và ống dẫn kép có chứa đường ống nhiên liệu
Kênh dẫn và ống dẫn kép có chứa đường ống nhiên liệu phải được trang bị hệ thống thông gió cơ khí hữu hiệu kiểu hút, tạo ra năng suất thông gió là 30 lần trao đổi khí một giờ. Quy định này không áp dụng đối với ống dẫn kép trong buồng máy nếu thỏa mãn 9.6.1(1).
13.8.2 Hệ thống thông gió cho đường ống kép và cho không gian của bộ van khí trong buồng máy an toàn khí
Hệ thống thông gió cho đường ống kép và cho không gian của bộ van khí trong buồng máy an toàn khí phải độc lập với mọi hệ thống thông gió khác.
13.8.3 Đầu lấy gió vào
Đầu lấy gió vào cho đường ống hoặc kênh dẫn kép phải luôn được bố trí ở khu vực không nguy hiểm cách xa các nguồn gây cháy. Miệng lấy gió này phải được lắp lưới thép bảo vệ phù hợp và bảo vệ chống nước xâm nhập.
13.8.4 Năng suất thông gió
Năng suất thông gió cho kênh đi ống hoặc đường ống kép có thể thấp hơn 30 lần trao đổi khí một giờ nếu đảm bảo được tốc độ gió ít nhất bằng 3 m/s. Tốc độ gió phải được tính toán cho kênh dẫn khi đã được lắp ống nhiên liệu và các bộ phận khác.
CHƯƠNG 14 TRANG BỊ ĐIỆN
14.1 Mục đích
14.1.1 Quy định chung
Mục đích của Chương này là đưa ra các quy định cho các trang bị điện nhằm giảm đến mức tối đa nguy cơ cháy khi xuất hiện môi trường dễ cháy.
14.2 Các yêu cầu về chức năng
14.2.1 Quy định chung
Chương này liên quan tới các yêu cầu về chức năng quy định ở 3.2.1, 3.2.2, 3.2.4, 3.2.7, 3.2.8, 3.2.11, 3.2.13 và 3.2.16 đến 3.2.18. Ngoài ra, cần áp dụng 14.2.2.
14.2.2 Các yêu cầu bổ sung
Các hệ thống phát và phân phối điện và các hệ thống điều khiển liên quan phải được thiết kế sao cho một lỗi đơn lẻ sẽ không dẫn đến mất khả năng duy trì áp suất két nhiên liệu và nhiệt độ kết cấu thân tàu trong phạm vi giới hạn hoạt động bình thường.
14.3 Các yêu cầu chung
14.3.1 Trang bị điện
Trang bị điện phải tuân theo các yêu cầu có thể áp dụng được ở Phần 4.
14.3.2 Hạn chế trang bị điện trong khu vực nguy hiểm
Thiết bị điện hoặc dây dẫn điện không được phép lắp đặt ở các khu vực nguy hiểm trừ khi cần thiết cho mục đích vận hành hoặc để tăng cường an toàn.
14.3.3 Yêu cầu lắp đặt thiết bị điện trong khu vực nguy hiểm
Khi thiết bị điện được lắp đặt trong khu vực nguy hiểm như quy định ở 14.3.2, thì nó phải là thiết bị điện được bảo vệ phòng nổ có kiểu được chứng nhận an toàn phù hợp với 2.16 Phần 4.
14.3.4 Chế độ hư hỏng và phân tích tác động
Các chế độ hư hỏng và tác động của lỗi đơn lẻ đối với hệ thống phát và phân phối điện ở 14.2 phải được phân tích và lập hồ sơ theo tiêu chuẩn được Đăng kiểm công nhận.
14.3.5 Hệ thống chiếu sáng
Hệ thống chiếu sáng trong các khu vực nguy hiểm phải được phân chia tối thiểu thành hai mạch nhánh. Tất cả các công tắc và thiết bị bảo vệ phải ngắt được tất cả các cực hoặc các pha và phải được đặt ở khu vực không nguy hiểm.
14.3.6 Sự liên kết
Các bộ thiết bị điện được lắp đặt trên tàu phải đảm bảo liên kết an toàn của bản thân thiết bị với thân tàu.
14.3.7 Báo động mức chất lỏng thấp
Việc bố trí phải được thực hiện để báo động cho mức chất lỏng thấp và tự động tắt động cơ trong trường hợp mức chất lỏng thấp. Việc tắt máy tự động có thể được thực hiện bằng cảm biến áp suất xả thấp của bơm, dòng điện động cơ thấp hoặc mức chất lỏng thấp. Việc tắt máy này phải đưa ra báo động bằng âm thanh và ánh sáng trên buồng lái, trạm điều khiển trung tâm có trực ca liên tục hoặc trung tâm an toàn trên tàu.
14.3.8 Cách ly tự động các động cơ
Các động cơ lai bơm nhiên liệu kiểu chìm và các cáp điện cấp nguồn của nó có thể được lắp đặt trong hệ thống chứa nhiên liệu khí hóa lỏng. Các động cơ bơm nhiên liệu phải có khả năng cách ly ra khỏi nguồn cấp điện của chúng trong quá trình vận hành xả khí.
14.3.9 Trang bị điện trong các khu vực không nguy hiểm đặc trưng
Đối với các không gian không nguy hiểm có lối tiếp cận từ boong hở nguy hiểm khi việc tiếp cận được bảo vệ bằng khóa khí, thì các thiết bị điện không có kiểu an toàn được chứng nhận phải được ngắt năng lượng khi mất áp suất dư trong không gian này.
14.3.10 Thiết bị điện trong các không gian được bảo vệ bằng khóa khí
Thiết bị điện dùng cho việc đẩy tầu, phát điện, điều động, thả neo và chằng buộc, cũng như các bơm chữa cháy sự cố, mà được lắp đặt trong không gian được bảo vệ bằng khóa khí, phải là loại an toàn được chứng nhận.
CHƯƠNG 15 HỆ THỐNG ĐIỀU KHIỂN, GIÁM SÁT VÀ AN TOÀN
15.1 Mục tiêu
15.1.1 Quy định chung
Mục tiêu của Chương này là đưa ra các quy định đối với việc bố trí hệ thống điều khiển, giám sát và an toàn mà hỗ trợ cho việc hoạt động hiệu quả và an toàn của hệ thống nhiên liệu khí quy định trong các chương khác của Phần này.
15.2 Yêu cầu về chức năng
15.2.1 Quy định chung
Chương này liên quan tới các yêu cầu chức năng nêu ở 3.2.1, 3.2.2, 3.2.11, 3.2.13 tới 3.2.15, 3.2.17 và 3.2.18. Ngoài ra cũng phải áp dụng 15.2.2.
15.2.2 Các yêu cầu bổ sung
1 Hệ thống điều khiển, giám sát và an toàn của hệ thống nhiên liệu khí phải được bố trí sao cho nguồn điện còn lại cấp cho thiết bị đẩy và việc phát điện thỏa mãn các yêu cầu ở 9.3.1 trong trường hợp xảy ra hư hỏng đơn lẻ.
2 Phải bố trí một hệ thống an toàn khí để tự động ngắt hệ thống cấp khí khi xảy ra các sự cố trong hệ thống như nêu ở Bảng 8I/15.1 và khi xảy ra trạng thái lỗi mà có thể phát triển quá nhanh so với sự can thiệp bằng tay.
3 Đối với việc bố trí máy được bảo vệ bằng ESD, hệ thống an toàn phải ngắt nguồn cấp khí khi bị rò khí và ngoài ra, ngắt kết nối tất cả các thiết bị điện không có kiểu được chứng nhận an toàn trong buồng máy.
4 Tính năng an toàn phải có ở hệ thống an toàn khí dành riêng mà độc lập với hệ thống kiểm soát khí để tránh khả năng xảy ra hư hỏng có chung nguyên nhân.
5 Các hệ thống an toàn có thiết bị đo phải được bố trí để tránh việc bị ngắt không đúng, ví dụ như khi cảm biến khí bị lỗi hoặc cáp điện bị đứt ở mạch cảm biến.
6 Khi cần hai hệ thống cấp khí hoặc nhiều hơn để thỏa mãn các yêu cầu, mỗi hệ thống phải có một bộ kiểm soát khí độc lập và hệ thống an toàn khí riêng.
15.3 Quy định chung
15.3.1 Đọc các thông số
Phải trang bị dụng cụ đo phù hợp để có thể đọc tại chỗ và từ xa các thông số cần thiết để đảm bảo việc quản lý an toàn tất cả các thiết bị sử dụng nhiên liệu khí bao gồm cả việc tiếp nhận nhiên liệu.
15.3.2 Thiết bị chỉ báo mức và cảm biến nhiệt độ trong giếng hút khô
Giếng hút khô ở mỗi buồng đầu nối két của két chứa khí hóa lỏng độc lập phải có cả thiết bị chỉ báo mức và cảm biến nhiệt độ. Phải có báo động khi giếng hút khô đạt đến mức cao. Chỉ báo nhiệt độ thấp phải kích hoạt hệ thống an toàn.
15.3.3 Hệ thống giám sát các két không được lắp cố định trên tàu
Đối với các két không được lắp cố định trên tàu, một hệ thống giám sát phải được trang bị như đối với két được lắp cố định.
15.4 Giám sát tiếp nhận nhiên liệu và két chứa nhiên liệu khí hóa lỏng
15.4.1 Thiết bị chỉ báo mức cho két chứa nhiên liệu khí hóa lỏng
1 Mỗi két chứa nhiên liệu khí hóa lỏng phải có thiết bị đo mức chất lỏng, được bố trí để đảm bảo luôn luôn đọc được mức chất lỏng bất cứ khi nào két chứa nhiên liệu khí hóa lỏng hoạt động. Các thiết bị này phải được thiết kế để hoạt động trong suốt dải áp suất thiết kế của két chứa nhiên liệu khí hóa lỏng và ở các nhiệt độ trong dải nhiệt độ hoạt động của nhiên liệu.
2 Khi chỉ có một cảm biến chỉ báo mức chất lỏng được trang bị thì nó phải được bố trí sao cho có thể duy trì trong điều kiện vận hành mà không cần rút hết hoặc xả sạch khí của két.
3 Cảm biến chỉ báo mức chất lỏng của két chứa nhiên liệu khí hóa lỏng có thể là các kiểu sau:
(1) Thiết bị không trực tiếp, xác định lượng nhiên liệu bằng các phương tiện như đo khối lượng hoặc đo dòng chảy; hoặc
(2) Thiết bị khép kín, không đi qua két nhiên liệu khí hóa lỏng, ví dụ như thiết bị sử dụng phóng xạ hoặc siêu âm.
15.4.2 Kiểm soát tràn
1 Mỗi két chứa nhiên liệu khí hóa lỏng phải có thiết bị báo động mức chất lỏng cao hoạt động độc lập với các thiết bị chỉ báo mức chất lỏng khác và có cảnh báo bằng âm thanh và ánh sáng khi được kích hoạt.
2 Một cảm biến bổ sung hoạt động độc lập với thiết bị báo động mức chất lỏng cao phải tự động kích hoạt một van ngắt theo cách mà sẽ vừa tránh được áp suất chất lỏng quá cao trong đường ống tiếp nhận nhiên liệu và vừa ngăn không cho két nhiên liệu khí hóa lỏng bị đầy.
3 Vị trí của các cảm biến trong két nhiên liệu khí hóa lỏng phải có thể được kiểm chứng trước khi hoạt động. Ở lần nạp đầy đầu tiên sau khi bàn giao và sau mỗi lần lên ụ, phải tiến hành thử báo động mức cao bằng cách nâng mức nhiên liệu lỏng trong két nhiên liệu khí hóa lỏng tới mức báo động.
4 Mọi thành phần của báo động mức, bao gồm mạch điện và các cảm biến, của thiết bị báo động mức cao và đầy quá mức phải có thể thử chức năng. Hệ thống phải được thử trước khi hoạt động phù hợp với 17.5.4-2.
5 Nếu có bố trí khả năng chiếm quyền của hệ thống kiểm soát tràn, chúng phải sao cho tránh được sự vận hành không chủ ý. Khi sự chiếm quyền hoạt động, phải có chỉ báo ánh sáng liên tục ở buồng lái, trạm điều khiển trung tâm có người trực liên tục hoặc trung tâm an toàn trên tàu.
15.4.3 Cảm biến đọc áp suất cho không gian hóa hơi của két
Không gian hóa hơi của mỗi két nhiên liệu khí hóa lỏng phải có một cảm biến đọc trực tiếp. Ngoài ra, phải có chỉ báo không trực tiếp trên buồng lái, trạm điều khiển trung tâm có người trực liên tục hoặc trung tâm an toàn trên tàu.
15.4.4 Đánh dấu mức áp suất cho phép trong két
Thiết bị chỉ báo áp suất phải được đánh dấu rõ ràng mức áp suất lớn nhất và thấp nhất cho phép trong két chứa nhiên liệu khí hóa lỏng.
15.4.5 Báo động áp suất
Phải có một thiết bị báo động áp suất cao và, nếu yêu cầu phải bảo vệ chân không, phải có một thiết bị báo động áp suất thấp ở buồng lái, trạm điều khiển trung tâm có người trực liên tục hoặc trung tâm an toàn trên tàu. Báo động phải được kích hoạt trước khi áp suất đạt đến mức đã cài đặt của van an toàn.
15.4.6 Đường xả của bơm nhiên liệu và ống góp hơi nhiên liệu
Mỗi đường xả của bơm nhiên liệu và mỗi ống góp nhiên liệu lỏng hoặc hơi phải có ít nhất một chỉ báo áp suất tại chỗ.
15.4.7 Chỉ báo áp suất cho ống góp
Chỉ báo đọc tại chỗ áp suất của ống góp phải được trang bị để chỉ báo áp suất giữa van của ống góp trên tàu và đoạn nối ống mềm với bờ.
15.4.8 Chỉ báo áp suất cho khoang hầm chứa nhiên liệu và không gian giữa các lớp chắn
Khoang hầm chứa nhiên liệu và không gian giữa các lớp chắn mà không hở với không khí thì phải được trang bị chỉ báo áp suất.
15.4.9 Chỉ báo của thiết bị chỉ báo áp suất
Ít nhất một trong các thiết bị chỉ báo áp suất được trang bị phải có thể chỉ báo suốt dải áp suất hoạt động.
15.4.10 Thiết bị bảo vệ của động cơ bơm chìm
Đối với động cơ bơm chìm và cáp cấp điện cho chúng, phải bố trí để báo động khi mức chất lỏng thấp và tự động ngắt động cơ khi mức chất lỏng thấp. Việc ngắt tự động có thể được thực hiện bằng cảm biến áp suất xả thấp của bơm, dòng điện của động cơ thấp, hoặc mức chất lỏng thấp. Việc ngắt này phải có báo động âm thanh và ánh sáng trên buồng lái, trạm điều khiển trung tâm có người trực liên tục hoặc trung tâm an toàn trên tàu.
15.4.11 Các vị trí đo nhiệt độ của nhiên liệu
Ngoại trừ két rời kiểu C có hệ thống bọc chân không và bộ xả nhiên liệu khi áp suất tăng, mỗi két nhiên liệu phải được trang bị các thiết bị để đo và chỉ báo nhiệt độ của nhiên liệu ở ít nhất ba vị trí: ở đáy và ở giữa két cũng như trên đỉnh két dưới mức chất lỏng cao nhất cho phép.
15.5 Kiểm soát tiếp nhận nhiên liệu
15.5.1 Giám sát và điều khiển từ xa
Phải có thể kiểm soát việc tiếp nhận nhiên liệu từ một vị trí an toàn cách xa trạm tiếp nhận nhiên liệu. Tại vị trí này, phải có thể thực hiện việc giám sát, điều khiển và chỉ báo như quy định ở (1) đến (3) dưới đây:
(1) Giám sát áp suất và nhiệt độ của két nếu được quy định ở 15.4.11, và mức két;
(2) Điều khiển các van điều khiển từ xa được quy định ở 8.5.3 và 11.5.1-7;
(3) Chỉ báo của thiết bị báo động tràn và tự động ngắt.
15.5.2 Báo động khi thông gió ở trong kênh dẫn dừng
Nếu thông gió trong các kênh dẫn gió bao quanh đường ống tiếp nhận nhiên liệu dừng hoạt động thì phải có báo động âm thanh và ánh sáng ở vị trí kiểm soát tiếp nhận nhiên liệu, xem thêm 15.8.
15.5.3 Báo động phát hiện khí khi thông gió trong kênh dẫn
Nếu phát hiện được khí trong các kênh dẫn gió bao quanh đường ống tiếp nhận nhiên liệu thì phải có báo động âm thanh và ánh sáng và ngắt khẩn cấp ở vị trí kiểm soát tiếp nhận nhiên liệu.
15.6 Giám sát máy nén khí
15.6.1 Máy nén khí
Máy nén khí phải được trang bị báo động bằng âm thanh và ánh sáng ở cả buồng lái và buồng điều khiển máy. Báo động tối thiểu phải bao gồm áp suất khí đầu vào thấp, áp suất khí đầu ra thấp, áp suất khí đầu ra cao và vận hành của máy nén.
15.6.2 Đệm kín và ổ đỡ trục
Phải thực hiện giám sát nhiệt độ của đệm kín trục ở vách và ổ đỡ, tự động báo động bằng âm thanh và ánh sáng liên tục ở buồng lái hoặc ở trạm điều khiển trung tâm có người trực liên tục.
15.7 Giám sát động cơ chạy bằng khí
15.7.1 Thiết bị chỉ báo
Ngoài thiết bị đo được quy định ở Phần 3, thiết bị chỉ báo phải được bố trí trên buồng lái, buồng điều khiển máy và sàn điều động tàu cho:
(1) Vận hành của động cơ trong trường hợp động cơ chỉ chạy bằng khí; hoặc
(2) Vận hành và chế độ vận hành của động cơ trong trường hợp động cơ nhiên liệu kép.
15.8 Phát hiện khí
15.8.1 Bố trí cảm biến khí
Phải bố trí cảm biến khí được lắp cố định ở:
(1) Buồng đầu nối két;
(2) Mọi kênh dẫn gió xung quanh ống nhiên liệu;
(3) Buồng máy có chứa ống dẫn khí, thiết bị liên quan đến khí hoặc thiết bị tiêu thụ khí;
(4) Buồng máy nén và buồng chuẩn bị nhiên liệu;
(5) Các không gian kín khác có chứa ống nhiên liệu hoặc các thiết bị liên quan đến nhiên liệu mà không có kênh dẫn gió;
(6) Các không gian kín hoặc nửa kín khác mà ở đó hơi nhiên liệu có thể tích tụ, bao gồm không gian giữa các lớp chắn và khoang hầm chứa nhiên liệu của két rời mà không phải kiểu C;
(7) Khóa khí;
(8) Két giãn nở tuần hoàn làm nóng khí;
(9) Buồng động cơ liên quan đến hệ thống nhiên liệu; và
(10) Đầu vào của hệ thống thông gió tới khu vực sinh hoạt và buồng máy nếu cần thiết dựa trên việc đánh giá rủi ro nêu ở 4.2.
15.8.2 Hệ thống phát hiện khí dự phòng
Trong buồng máy được bảo vệ bằng ESD, phải bố trí hệ thống phát hiện khí dự phòng.
15.8.3 Số lượng cảm biến khí
Số lượng cảm biến khí trong mỗi không gian phải được xem xét dựa trên kích cỡ, bố trí và thông gió của không gian.
15.8.4 Bố trí cảm biến khí
Thiết bị phát hiện khí phải được bố trí ở vị trí mà khí có thể tích tụ và ở đầu ra của hệ thống thông gió. Phải thực hiện phân tích hiệu ứng phân tán khí hoặc thử khí vật lý để có được cách bố trí tốt nhất.
15.8.5 Thiết kế, lắp đặt và thử thiết bị phát hiện khí
Thiết bị phát hiện khí phải được thiết kế, lắp đặt và thử phù hợp với tiêu chuẩn được Đăng kiểm công nhận.
15.8.6 Các mức đặt của hệ thống báo động và an toàn
Báo động bằng âm thanh và ánh sáng phải được kích hoạt khi mật độ hơi khí bằng 20% của giới hạn nổ dưới. Hệ thống an toàn phải được kích hoạt tại 40% của giới hạn nổ dưới đo tại 2 cảm biến (xem Chú thích 1 ở Bảng 8I/15.1).
15.8.7 Các mức đặt của hệ thống báo động và an toàn trong kênh dẫn gió
Đối với kênh thông gió xung quanh đường ống khí trong buồng máy có chứa động cơ chạy bằng nhiên liệu khí, mức giới hạn báo động có thể được đặt tới 30% LEL. Hệ thống an toàn phải được kích hoạt tại 60% LEL đo tại 2 cảm biến (xem Chú thích 1 ở Bảng 8I/15.1).
15.8.8 Vị trí báo động
Báo động bằng âm thanh và ánh sáng từ thiết bị phát hiện khí phải được thực hiện trên buồng lái hoặc trạm điều khiển trung tâm có người trực liên tục.
15.8.9 Khả năng phát hiện khí
Thiết bị phát hiện khí quy định ở mục 15.8 này phải liên tục không bị trễ.
15.9 Phát hiện cháy
15.9.1 Phát hiện cháy
Hành động an toàn cần thiết khi phát hiện cháy ở buồng máy có động cơ chạy bằng nhiên liệu khí và buồng có chứa két rời đối với khoang hầm chứa nhiên liệu được cho trong Bảng 8I/15.1 dưới đây.
15.10 Thông gió
15.10.1 Báo động
Phải có báo động bằng âm thanh và ánh sáng trên buồng lái hoặc trong trạm điều khiển trung tâm có người trực liên tục hoặc ở trung tâm an toàn khi năng suất thông gió cần thiết bị tổn thất.
15.10.2 Hệ thống an toàn
Đối với buồng máy được bảo vệ bằng ESD, hệ thống an toàn phải được kích hoạt khi có tổn thất trong việc thông gió buồng máy.
15.11 Tính năng an toàn của hệ thống cấp nhiên liệu
15.11.1 Kích hoạt các van tự động
Nếu việc cấp nhiên liệu bị ngắt do van tự động được kích hoạt, việc cấp nhiên liệu phải không được mở trở lại cho tới khi biết chắc chắn nguyên nhân của việc ngắt kết nối và đã thực hiện hành động phòng ngừa cần thiết. Phải có thông báo có thể đọc được dễ dàng để hướng dẫn cho việc này ở trạm vận hành van ngắt của đường ống cấp nhiên liệu.
15.11.2 Rò rỉ nhiên liệu
Nếu việc rò rỉ nhiên liệu dẫn tới việc ngắt nguồn cấp nhiên liệu, việc cấp nhiên liệu phải không được thực hiện cho tới khi tìm thấy và xử lý rò rỉ. Phải có hướng dẫn cho việc này ở một vị trí dễ thấy trong buồng máy.
15.11.3 Nâng vật nặng
Biển báo hoặc áp phích để cảnh báo phải được treo cố định trong buồng máy có chứa động cơ chạy bằng nhiên liệu khí, nêu rằng không được thực hiện việc nâng vật nặng, gây nguy hiểm hoặc làm hư hỏng đường ống nhiên liệu, khi động cơ đang chạy bằng khí.
15.11.4 Dừng khẩn cấp
Máy nén, bơm và việc cấp nhiên liệu phải được bố trí sao cho có thể dừng khẩn cấp từ xa bằng tay ở các vị trí nêu ở (1) tới (6) dưới đây, nếu có thể áp dụng:
(1) Buồng lái;
(2) Buồng làm hàng;
(3) Trung tâm an toàn trên tàu;
(4) Buồng điều khiển máy;
(5) Trạm kiểm soát cháy; và
(6) Khu vực liền kề với lối ra của buồng chuẩn bị nhiên liệu.
Máy nén khí cũng phải được bố trí dừng khẩn cấp bằng tay tại chỗ.
Bảng 8I/15.1 Giám sát hệ thống cấp khí cho động cơ
|
Thông số |
Báo động |
Tự động đóng van của két (6) |
Tự động dừng việc cấp khí cho buồng máy có động cơ chạy bằng nhiên liệu khí |
Ghi chú |
|
Phát hiện khí ở buồng đầu nối két ở mức 20% LEL |
x |
|
|
|
|
Phát hiện khí ở 2 cảm biến(1) ở buồng đầu nối két ở mức 40% LEL |
x |
x |
|
|
|
Phát hiện cháy ở không gian khoang chứa nhiên liệu |
x |
|
|
|
|
Phát hiện cháy ở kênh thông gió cho hệ thống chứa nhiên liệu dưới boong |
x |
|
|
|
|
Giếng hút khô ở mức cao trong buồng đầu nối két |
x |
|
|
|
|
Giếng hút khô ở mức nhiệt độ thấp trong buồng đầu nối két |
x |
x |
|
|
|
Phát hiện khí trong kênh dẫn gió giữa két và buồng máy có chứa động cơ sử dụng nhiên liệu khí ở mức 20% LEL |
x |
|
|
|
|
Phát hiện khí ở 2 cảm biến(1) trong kênh dẫn gió giữa két và buồng máy có chứa động cơ sử dụng nhiên liệu khí ở mức 40% LEL |
x |
x(2) |
|
|
|
Phát hiện khí ở buồng chuẩn bị nhiên liệu ở mức 20% LEL |
x |
|
|
|
|
Phát hiện khí ở 2 cảm biến ở buồng chuẩn bị nhiên liệu ở mức 40% LEL |
x |
x(2) |
|
|
|
Phát hiện khí trong kênh dẫn gió bên trong buồng máy có chứa động cơ chạy bằng nhiên liệu khí ở mức 30% LEL |
x |
|
|
Nếu ống kép được bố trí ở buồng máy có chứa động cơ chạy bằng nhiên liệu khí |
|
Phát hiện khí ở 2 cảm biến(1) trong kênh dẫn gió bên trong buồng máy có chứa động cơ chạy bằng nhiên liệu khí ở mức 60% LEL |
x |
|
x(3) |
Nếu ống kép được bố trí ở buồng máy có chứa động cơ chạy bằng nhiên liệu khí |
|
Phát hiện khí trong buồng máy được bảo vệ bằng ESD có động cơ chạy bằng nhiên liệu khí ở mức 20% LEL |
x |
|
|
|
|
Phát hiện khí ở 2 cảm biến(1) trong buồng máy được bảo vệ bằng ESD có động cơ chạy bằng nhiên liệu khí ở mức 40% LEL |
x |
|
x |
Cũng phải ngắt điện của thiết bị điện không được chứng nhận an toàn trong buồng máy có động cơ chạy bằng nhiên liệu khí |
|
Tổn thất trong việc thông gió trong kênh dẫn giữa két và buồng máy có động cơ chạy bằng nhiên liệu khí |
x |
|
x(2) |
|
|
Tổn thất trong việc thông gió trong kênh dẫn bên trong buồng máy có động cơ chạy bằng nhiên liệu khí(5) |
x |
|
x(3) |
Nếu ống kép được bố trí ở buồng máy có chứa động cơ chạy bằng nhiên liệu khí |
|
Tổn thất trong việc thông gió trong buồng máy được bảo vệ bằng ESD có động cơ chạy bằng nhiên liệu khí |
x |
|
x |
|
|
Phát hiện cháy trong buồng máy có động cơ chạy bằng nhiên liệu khí |
x |
|
|
|
|
Áp suất khí không bình thường trong đường ống cấp khí |
x |
|
|
|
|
Môi chất truyền động điều khiển van bị sự cố |
x |
|
x(4) |
Thời gian trễ khi thấy cần thiết |
|
Tự động tắt động cơ (lỗi động cơ) |
x |
|
x(4) |
|
|
Dừng khẩn cấp động cơ được thực hiện bằng tay |
x |
|
x |
|
Chú thích:
(1) Cần phải bố trí 2 cảm biến khí độc lập gần nhau để dự phòng. Nếu cảm biến khí là loại tự theo dõi thì có thể cho phép lắp 1 cảm biến khí đơn lẻ.
(2) Nếu két đang cấp khí cho nhiều hơn 1 động cơ và các đường ống cấp khác nhau là hoàn toàn riêng biệt và được bố trí trong các hầm ống riêng biệt và với van chính lắp bên ngoài hầm ống thì chỉ phải đóng van chính trên đường ống cấp dẫn vào hầm ống mà trong đó phát hiện được khí và tổn thất thông gió.
(3) Nếu khí được cấp cho nhiều hơn 1 động cơ và các đường ống cấp khác nhau là hoàn toàn riêng biệt và được bố trí trong các hầm ống riêng biệt và với van chính lắp bên ngoài hầm ống và bên ngoài buồng máy có động cơ chạy bằng nhiên liệu khí thì chỉ phải đóng van chính trên đường ống cấp dẫn vào hầm ống mà trong đó phát hiện được khí và tổn thất thông gió.
(4) Chỉ phải đóng van chặn kép và xả áp.
(5) Nếu hầm ống được bảo vệ bằng khí trơ (xem 9.6.1(1)) thì khi tổn thất áp suất cao của khí trơ phải dẫn đến hành động giống hệt như quy định trong Bảng.
(6) Các van được quy định ở 9.4.1.
CHƯƠNG 16 CHẾ TẠO, TAY NGHỀ CÔNG NHÂN VÀ THỬ
16.1 Mục tiêu
16.1.1 Quy định chung
1 Việc chế tạo, thử, kiểm tra và lập hồ sơ phải phù hợp với các quy định ở các phần liên quan và Phần này.
2 Nếu việc xử lý nhiệt sau hàn được chỉ ra hoặc được yêu cầu thì tính chất của vật liệu cơ sở phải được xác định ở điều kiện đã được xử lý nhiệt, phù hợp với các bảng có thể áp dụng được ở Chương 7, và đặc tính mối hàn phải được xác định ở điều kiện đã xử lý nhiệt phù hợp với 16.3. Trong trường hợp áp dụng xử lý nhiệt sau hàn, các quy định về thử có thể được Đăng kiểm xem xét và sửa đổi.
16.2 Quy định chung về thử và các đặc tính
16.2.1 Thử kéo
1 Phải thực hiện thử kéo phù hợp với các yêu cầu ở Chương 2 Phần 7A đối với kim loại cơ sở và Chương 3 Phần 6 đối với hàn.
2 Độ bền kéo, ứng suất chảy và độ giãn dài phải thỏa mãn yêu cầu của Đăng kiểm. Đối với thép Các bon-Măng gan và các vật liệu khác với giới hạn chảy cuối thì phải xem xét giới hạn của tỷ số giới hạn chảy trên giới hạn kéo đứt.
16.2.2 Thử độ dai
1 Việc thử công nhận vật liệu kim loại phải bao gồm thử va đập Charpy V-notch trừ trường hợp được Đăng kiểm chỉ ra. Các yêu cầu về thử va đập Charpy V-notch là giá trị năng lượng trung bình tối thiểu cho ba mẫu có kích thước đủ (10 mm ´ 10 mm) và giá trị năng lượng đơn lẻ tối thiểu đối với mẫu thử đơn lẻ. Kích thước và dung sai của mẫu thử va đập Charpy V-notch phải phù hợp với các yêu cầu ở Chương 2 Phần 7A. Việc thử và các quy định đối với mẫu thử có kích thước nhỏ hơn 5,0 mm phải được Đăng kiểm xem xét phù hợp. Giá trị trung bình tối thiểu đối với mẫu thử có kích thước không đủ phải phù hợp với Bảng 8I/16.1.
Bảng 8I/16.1
|
Kích thước mẫu thử Charpy V-notch (mm) |
Năng lượng trung bình tối thiểu của 3 mẫu thử |
|
10 ´ 10 |
KV |
|
10 ´ 7,5 |
5/6KV |
|
10 ´ 5,0 |
2/3KV |
Trong đó: KV là giá trị năng lượng trung bình tối thiểu (J) quy định ở Bảng 8I/7.1 tới 8I/7.4.
Chỉ một mẫu thử đơn lẻ được phép dưới giá trị trung bình quy định, miễn là nó không nhỏ hơn 70% giá trị trung bình đó.
2 Đối với kim loại cơ sở, mẫu thử va đập Charpy V-notch kích thước lớn nhất có thể đối với chiều dày của vật liệu phải được gia công với mẫu thử được đặt gần đến mức có thể so với điểm nằm giữa bề mặt và tâm của chiều dày và chiều dài của vết khía vuông góc với bề mặt như chỉ ra trong Hình 8I/16.1.

Hình 8I/16.1 Hướng của mẫu thử kim loại cơ sở
3 Đối với mẫu thử hàn, mẫu thử va đập Charpy V-notch kích thước lớn nhất có thể đối với chiều dày của vật liệu phải được gia công với mẫu thử được đặt gần đến mức có thể so với điểm nằm giữa bề mặt và tâm của chiều dày. Trong mọi trường hợp, khoảng cách từ bề mặt của vật liệu tới mép của mẫu thử phải xấp xỉ 1 mm hoặc lớn hơn. Ngoài ra, đối với mối hàn đối đầu kiểu chữ X, mẫu thử phải được gia công gần hơn về phía bề mặt của mối hàn thứ 2. Nói chung, mẫu thử phải được lấy tại các vị trí sau, như chỉ ra trong Hình 8I/16.2, trên tâm của mối hàn, đường nóng chảy và cách đường nóng chảy 1 mm, 3 mm và 5 mm.

Vị trí của rãnh khía:
1. Tâm của mối hàn;
2. Trên đường nóng chảy;
3. Trong vùng ảnh hưởng nhiệt, 1 mm từ đường nóng chảy;
4. Trong vùng ảnh hưởng nhiệt, 3 mm từ đường nóng chảy; và
5. Trong vùng ảnh hưởng nhiệt, 5 mm từ đường nóng chảy.
Hình 8I/16.2 Hướng của mẫu thử mối hàn
4 Nếu giá trị trung bình của 3 mẫu thử va đập Charpy V-notch đầu tiên không thỏa mãn quy định được đề ra, hoặc giá trị đó đối với nhiều hơn 1 mẫu thử nằm dưới giá trị trung bình theo yêu cầu, hoặc khi giá trị đó đối với 1 mẫu thử nằm dưới giá trị tối thiểu cho phép đối với mẫu thử đơn thì được phép thử 3 mẫu bổ sung từ cùng một vật liệu và kết quả sẽ được kết hợp với các kết quả trước đó để cho một giá trị trung bình mới. Nếu giá trị trung bình mới có được từ 6 mẫu thử thỏa mãn các yêu cầu cũng như không có quá 2 kết quả riêng lẻ thấp hơn giá trị trung bình theo yêu cầu không quá 1 kết quả thấp hơn giá trị yêu cầu đối với mẫu thử đơn thì khi đó sản phẩm hoặc lô sản phẩm đó có thể được chấp nhận.
16.2.3 Thử uốn
1 Thử uốn có thể được bỏ qua nếu là thử công nhận vật liệu, nhưng buộc phải có đối với thử mối hàn. Khi thực hiện thử uốn thì phải phù hợp với các quy định ở Chương 3 Phần 6.
2 Thử uốn phải là thử uốn ngang, có thể là uốn mặt, uốn chân hoặc uốn cạnh tùy thuộc và sự xem xét của Đăng kiểm. Tuy nhiên, có thể phải thử uốn dọc thay cho thử uốn ngang trong trường hợp mà vật liệu cơ sở và kim loại hàn có mức độ bền khác nhau.
16.2.4 Quan sát cấu trúc và các thử khác
Quan sát cấu trúc vĩ mô và vi mô và thử độ cứng có thể được Đăng kiểm yêu cầu, và chúng phải được tiến hành phù hợp với các yêu cầu của Đăng kiểm trong trường hợp phải thực hiện.
16.3 Hàn vật liệu kim loại và thử không phá hủy đối với hệ thống chứa nhiên liệu
16.3.1 Quy định chung
Mục này chỉ phải áp dụng cho vách chắn sơ cấp và thứ cấp, bao gồm vỏ kép tạo thành vách chắn thứ cấp. Thử công nhận được yêu cầu đối với thép không rỉ các bon, các bon - măng gan, hợp kim ni ken và ôstenit nhưng việc thử này có thể áp dụng cho các vật liệu khác. Dựa trên sự xem xét của Đăng kiểm, thử va đập thép không rỉ ôstenit và kết cấu hàn hợp kim nhôm có thể được bỏ qua và các cuộc thử khác có thể được yêu cầu đặc biệt cho bất kỳ vật liệu nào.
16.3.2 Vật liệu hàn
Vật liệu hàn dự định sử dụng để hàn két nhiên liệu phải phù hợp với các yêu cầu ở Chương 6 Phần 6. Phải thực hiện thử kim loại hàn đắp và thử mối hàn đối đầu đối với mọi vật liệu hàn. Kết quả thử kéo và thử va đập Charpy V-notch phải thỏa mãn các yêu cầu ở Chương 6 Phần 6. Thành phần hóa học của kim loại hàn đắp phải được ghi lại để tham khảo.
16.3.3 Thử quy trình hàn đối với két nhiên liệu và bình xử lý áp lực
1 Thử quy trình hàn đối với két nhiên liệu và bình xử lý áp lực phải được thực hiện phụ thuộc vào -2 đến -5 dưới đây đối với tất các các mối hàn đối đầu.
2 Vật thử quy trình hàn phải đại diện cho:
(1) Mỗi vật liệu cơ sở;
(2) Mỗi kiểu vật liệu hàn và quy trình hàn; và
(3) Mỗi vị trí hàn.
3 Đối với mối hàn đối đầu ở các tấm, vật thử phải được chuẩn bị sao cho hướng lăn phải song song với hướng của mối hàn. Phạm vi chiều dày đủ cho mỗi cuộc thử quy trình hàn phải phù hợp với các yêu cầu ở Chương 11 Phần 3 và Chương 4 Phần 6. Thử không phá hủy phải phù hợp với các yêu cầu ở Chương 11 Phần 3 và Chương 4 Phần 6.
4 Phải thực hiện các cuộc thử quy trình hàn dưới đây đối với két nhiên liệu và bình xử lý áp lực phù hợp với quy định tại 16.2 với mẫu thử được làm từ mỗi vật thử:
(1) Thử kéo ngang mối hàn;
(2) Thử mối hàn dọc nếu được yêu cầu bởi Chương 4 Phần 6;
(3) Thử uốn ngang, có thể là uốn mặt, chân hoặc cạnh. Tuy nhiên, thử uốn dọc có thể được yêu cầu thực hiện thay cho thử uốn ngang trong trường hợp vật liệu cơ sở và kim loại hàn có mức độ bền khác nhau;
(4) Một bộ gồm 3 mẫu thử va đập Charpy V-notch, thông thường tại mỗi vị trí sau, như chỉ ra trong Hình 8I/16.2:
(a) Đường tâm của mối hàn;
(b) Đường nóng chảy;
(c) 1 mm từ đường nóng chảy;
(d) 3 mm từ đường nóng chảy; và
(e) 5 mm từ đường nóng chảy.
(5) Có thể cũng phải yêu cầu kiểm tra cấu trúc vĩ mô, vi mô và độ cứng.
5 Mỗi cuộc thử phải thỏa mãn điều kiện sau:
(1) Thử kéo: Độ bền kéo ngang mối hàn phải không nhỏ hơn độ bền kéo tối thiểu quy định đối với vật liệu gốc phù hợp. Đối với hợp kim nhôm thì phải tham khảo 6.4.12(1)(a)iii) liên quan đến các quy định đối với độ bền kim loại hàn của mối hàn không tương đồng (khi kim loại hàn có độ bền kéo thấp hơn so với kim loại gốc). Trong mọi trường hợp, vị trí của vết nứt phải được ghi lại để tham khảo;
(2) Thử uốn: Không chấp nhận vết nứt sau khi uốn 180° quanh dưỡng có đường kính gấp 4 lần chiều dày của mẫu thử; và
(3) Thử va đập Charpy V-notch: Thử va đập Charpy V-notch phải được tiến hành tại nhiệt độ được quy định cho vật liệu cơ sở khi được nối với nhau. Kết quả thử va đập kim loại hàn, giá trị năng lượng trung bình tối thiểu (KV), phải không nhỏ hơn 27 J. Quy định về kim loại hàn đối với mẫu thử có kích thước nhỏ và giá trị năng lượng đơn phải phù hợp với 16.2.2. Kết quả thử va đập đường nóng chảy và vùng ảnh hưởng nhiệt phải chỉ ra giá trị năng lượng trung bình tối thiểu (KV) theo các quy tắc ngang và dọc của vật liệu cơ sở, một cách phù hợp, và đối với mẫu thử nhỏ, giá trị năng lượng trung bình tối thiểu (KV) phải phù hợp với 16.2.2. Nếu chiều dày vật liệu không cho phép gia công mẫu thử kích thước thật hoặc mẫu thử nhỏ tiêu chuẩn thì quy trình thử và tiêu chuẩn chấp nhận phải do Đăng kiểm quy định.
6 Quy trình thử đối với mối hàn góc phải phù hợp với các quy định ở Chương 11 Phần 3 và Chương 4 Phần 6. Khi đó, que hàn phải được lựa chọn sao cho tạo ra tính chất va đập thỏa mãn.
7 Quy trình thử đối với mọi mối hàn của vách chắn thứ cấp phải phù hợp với các yêu cầu ở Chương 4 Phần 6.
16.3.4 Thử quy trình hàn đường ống
Thử quy trình hàn đối với đường ống phải được thực hiện và phải tương tự với việc thử két nhiên liệu nêu ở 16.3.3.
16.3.5 Thử hàn sản phẩm
1 Đối với mọi két nhiên liệu và bình xử lý áp lực, trừ két màng, nói chung, thử hàn sản phẩm phải được thực hiện đối với mỗi khoảng 50 m mối hàn đối đầu và phải đại diện cho mỗi vị trí hàn. Đối với vách chắn thứ cấp, phải thực hiện thử sản phẩm có kiểu giống như yêu cầu đối với két chính, ngoại trừ việc số lượng cuộc thử có thể được giảm nếu được Đăng kiểm chấp thuận. Các cuộc thử, mà không phải thử nêu ở -2 tới -5, có thể phải thực hiện đối với két nhiên liệu hoặc vách chắn thứ cấp.
2 Thử sản phẩm đối với két rời kiểu A và B phải bao gồm thử uốn và nếu yêu cầu phải thử quy trình thì phải bao gồm thử va đập Charpy V-notch một bộ gồm ba mẫu. Việc thử này phải được thực hiện cho mỗi 50 m đường hàn. Thử va đập Charpy V-notch phải được tiến hành với mẫu thử có rãnh khía bố trí xen kẽ ở tâm của mối hàn và ở vùng ảnh hưởng nhiệt (vị trí nguy hiểm nhất dựa trên kết quả đánh giá quy trình). Đối với thép không rỉ ôstenit, tất cả các rãnh khía phải nằm ở tâm của mối hàn.
3 Đối với két rời kiểu C và bình xử lý áp lực, phải thực hiện thử kéo ngang mối hàn ngoài việc thử được nêu ở -2. Thử kéo phải thỏa mãn quy định ở 16.3.3-5.
4 Chương trình đảm bảo chất lượng/kiểm soát chất lượng phải đảm bảo sự thỏa mãn liên tục của mối hàn sản phẩm như nêu ở Sổ tay chất lượng của nhà sản xuất vật liệu.
5 Quy định thử đối với két màng là giống hệt như các quy định thử được áp dụng nêu ở 16.3.3.
16.3.6 Thử không phá hủy
1 Mọi quy trình thử và tiêu chuẩn chấp nhận phải thỏa mãn yêu cầu của Đăng kiểm, trừ khi người thiết kế đưa ra một tiêu chuẩn cao hơn để thỏa mãn các giả thiết trong thiết kế. Về mặt nguyên tắc, phải thực hiện thử bằng chụp tia phóng xạ để phát hiện các khuyết tật bên trong. Tuy nhiên, có thể thực hiện thử siêu âm với quy trình được duyệt thay cho thử tia phóng xạ, nhưng ngoài ra phải thực hiện thử tia phóng xạ bổ sung ở các vị trí được lựa chọn để kiểm tra lại kết quả. Bản ghi kết quả thử tia phóng xạ và siêu âm phải được lưu lại.
2 Đối với két rời kiểu A mà nhiệt độ thiết kế dưới -20°C, và đối với két rời kiểu B, không quan tâm đến nhiệt độ, mọi mối hàn đối đầu ngấu hoàn toàn của tấm vỏ két nhiên liệu phải được thử không phá hủy một cách phù hợp để phát hiện các khuyết tật bên trong trên toàn chiều dài mối hàn. Có thể thực hiện thử siêu âm thay cho thử tia phóng xạ với điều kiện giống như nêu ở -1 trên.
3 Trong mỗi trường hợp, các kết cấu két còn lại, bao gồm mối hàn của các nẹp và các phụ tùng, liên kết khác, phải được kiểm tra bằng từ tính hoặc phương pháp thấm màu khi thấy cần thiết.
4 Đối với két rời kiểu C, phạm vi thử không phá hủy phải là toàn bộ hoặc một phần theo các quy định ở Chương 11 Phần 3, nhưng việc kiểm soát được thực hiện phải không thấp hơn sau đây:
(1) Thử không phá hủy toàn bộ nêu ở 6.4.15-3(2)(a)(iii)
Thử tia phóng xạ: Mọi đường hàn đối đầu trên toàn bộ chiều dài.
Thử không phá hủy để phát hiện nứt bề mặt: Mọi mối hàn trên 10% chiều dài mối hàn; nẹp gia cường xung quanh lỗ khoét, đầu phun v.v… trên toàn bộ chiều dài.
Theo một cách khác, thử siêu âm như nêu ở -1 có thể được chấp nhận thay thế một phần cho thử tia phóng xạ. Ngoài ra, Đăng kiểm có thể yêu cầu thử toàn bộ bằng siêu âm hoặc không phá hủy để tìm sự không hoàn thiện bên trong mối hàn của nẹp gia cường xung quanh lỗ khoét, đầu phun v.v…
(2) Thử không phá hủy một phần nêu ở 6.4.15-3(2)(a)(iii):
Thử tia phóng xạ: Mọi đường hàn đối đầu nằm ngang và ít nhất 10% toàn bộ chiều dài đường hàn đối đầu ở các vị trí được lựa chọn phân bố đều.
Thử không phá hủy để phát hiện nứt bề mặt: Nẹp gia cường xung quanh lỗ khoét, đầu phun v.v… trên toàn bộ chiều dài.
Thử siêu âm: có thể được Đăng kiểm yêu cầu trong từng trường hợp.
5 Chương trình đảm bảo chất lượng/kiểm soát chất lượng phải đảm bảo sự thỏa mãn liên tục của thử không phá hủy mối hàn như nêu ở Sổ tay chất lượng của nhà sản xuất vật liệu.
6 Kiểm tra đường ống phải được thực hiện theo các quy định ở Chương 7.
7 Vách chắn thứ cấp phải được thử không phá hủy để phát hiện khuyết tật bên trong nếu thấy cần thiết. Nếu vỏ ngoài của thân tàu là một phần của vách chắn thứ cấp thì mọi đường hàn đối đầu ở tôn mép mạn và giao điểm của đường hàn dọc và ngang trên tôn vỏ phải được thử tia phóng xạ.
8 Đối với két màng, quy trình đặc biệt để kiểm tra mối hàn và tiêu chuẩn chấp nhận phải thỏa mãn yêu cầu của Đăng kiểm.
16.4 Các quy định khác đối với kết cấu bằng vật liệu kim loại
16.4.1 Quy định chung
Kiểm tra và thử không phá hủy các mối hàn phải phù hợp với các quy định ở 16.3.5 và 16.3.6. Nếu thiết kế áp dụng tiêu chuẩn cao hơn hoặc dung sai lớn hơn, các quy định vừa nêu cũng phải được thỏa mãn.
16.4.2 Két rời
Đối với két kiểu C và kiểu B chủ yếu được tạo thành từ các phần tròn xoay, dung sai liên quan đến chế tạo, ví dụ như không được tròn đều, sai lệch cục bộ của hình dáng thật, thắng các mối hàn và vát mép các tấm có chiều dày khác nhau, phải thỏa mãn Chương 11 Phần 3. Dung sai cũng phải liên quan tới việc phân tích mất ổn định khi nén nêu ở 6.4.15-2(3)(a) và 6.4.15-3(3)(b).
16.4.3 Vách chắn thứ cấp
Trong quá trình chế tạo, các quy định đối với thử và kiểm tra vách chắn thứ cấp phải được Đăng kiểm thẩm định và chấp nhận (xem 6.4.4-5 và 6.4.4-6).
16.4.4 Két màng
Chương trình đảm bảo chất lượng/kiểm soát chất lượng phải đảm bảo sự thỏa mãn liên tục của việc đánh giá quy trình hàn, chi tiết của thiết kế, vật liệu, kết cấu, kiểm tra và thử sản phẩm của các bộ phận. Các tiêu chuẩn và quy trình này phải được phát triển trong quá trình thực hiện chương trình thử nguyên mẫu.
16.5 Thử
16.5.1 Thử và kiểm tra trong chế tạo
1 Mọi két nhiên liệu khí hóa lỏng và bình xử lý áp lực phải được thử áp suất thủy tĩnh hoặc thủy khí theo các quy định ở 16.5.2 tới 16.5.5 phù hợp với kiểu két.
2 Mọi két phải được thử kín mà có thể được thực hiện kết hợp với thử áp suất nêu ở -1.
3 Tính kín khí của hệ thống chứa nhiên liệu liên quan đến yêu cầu ở 6.3.1-3 phải được thử.
4 Các quy định liên quan đến kiểm tra vách chắn thứ cấp phải do Đăng kiểm quyết định trong từng trường hợp, có xét đến khả năng tiếp cận của lớp chắn (xem thêm ở 6.4.4).
5 Đối với các tàu được lắp két rời kiểu B có thiết kế mới hoàn toàn hoặc các két được thiết kế theo 6.4.16 thì Đăng kiểm có thể yêu cầu ít nhất một két nguyên mẫu và các cơ cấu đỡ phải được lắp thiết bị đo với cảm biến sức căng hoặc các thiết bị phù hợp khác để xác nhận mức ứng suất trong quá trình thử nêu ở 16.5.1-1. Có thể yêu cầu thực hiện việc đo tương tự đối với két rời kiểu C, tùy thuộc vào cấu tạo và việc bố trí các kết cấu đỡ và liên kết của chúng.
6 Đặc tính hoạt động tổng thể của hệ thống chứa nhiên liệu phải được kiểm tra xác nhận sự phù hợp với các thông số thiết kế trong lần tiếp nhận nhiên liệu LNG đầu tiên, khi đạt được trạng thái nhiệt ổn định của nhiên liệu khí hóa lỏng, theo các yêu cầu của Đăng kiểm. Bản ghi về đặc tính hoạt động của các bộ phận và thiết bị mà cần thiết để kiểm tra xác nhận các thông số thiết kế phải được lưu trên tàu và phải trình Đăng kiểm.
7 Hệ thống chứa nhiên liệu phải được kiểm tra đối với các điểm lạnh trong khi hoặc ngay sau khi thực hiện tiếp nhận nhiên liệu LNG lần đầu, khi mà đạt được trạng thái nhiệt ổn định. Phải thực hiện kiểm tra tính nguyên vẹn của các bề mặt lớp bọc cách nhiệt mà không thể kiểm tra bằng mắt khi Đăng kiểm thấy phù hợp.
8 Nếu được trang bị theo các quy định ở 6.4.13-1(1)(c) và (d), hệ thống hâm phải được thử đối với năng suất hâm và phân bố nhiệt.
16.5.2 Két rời kiểu A
Mọi két rời kiểu A phải được thử áp suất thủy tĩnh hoặc thủy khí. Việc thử phải được thực hiện sao cho các ứng suất càng xấp xỉ ứng suất thiết kế càng tốt, và sao cho áp suất ở đỉnh két ít nhất là tương ứng với MARVS. Khi thực hiện thử thủy khí, các trạng thái phải mô phỏng giống việc nạp nhiên liệu vào két theo thiết kế và các kết cấu đỡ của nó bao gồm các thành phần động đến mức có thể, trong khi tránh được mức ứng suất mà có thể gây ra các biến dạng dư.
16.5.3 Két rời kiểu B
Két rời kiểu B phải được thử áp suất thủy tĩnh hoặc thủy khí như sau:
(1) Phải thực hiện thử theo yêu cầu như ở 16.5.2 đối với két rời kiểu A;
(2) Ngoài ra, ứng suất màng chính lớn nhất hoặc ứng suất uốn lớn nhất ở cơ cấu chính trong điều kiện thử phải không vượt quá 90% sức bền chảy của vật liệu (như được chế tạo) ở nhiệt độ thử. Để đảm bảo thỏa mãn điều kiện này, khi tính toán chỉ ra rằng ứng suất này vượt quá 75% sức bền chảy thì việc thử chiếc đầu tiên trong loạt giống nhau phải được theo dõi bằng việc sử dụng các cảm biến đo sức căng hoặc thiết bị phù hợp khác.
16.5.4 Két rời kiểu C và các bình áp lực khác
1 Mỗi bình áp lực phải được thử thủy tĩnh ở áp suất đo tại đỉnh, có giá trị không nhỏ hơn 1,5P0. Khi thử áp suất, trong mọi trường hợp, ứng suất màng chính được tính toán tại mọi điểm phải không lớn hơn 90% sức bền chảy của vật liệu tại nhiệt độ thử. Để đảm bảo thỏa mãn điều kiện này, khi tính toán chỉ ra rằng ứng suất này sẽ vượt quá 0,75 lần sức bền chảy thì việc thử chiếc đầu tiên trong loạt giống nhau phải được theo dõi bằng việc sử dụng các cảm biến đo sức căng hoặc thiết bị phù hợp khác trong bình áp lực mà không phải là bình áp lực kiểu hình trụ hoặc hình cầu đơn giản.
2 Nhiệt độ của nước sử dụng để thử phải lớn hơn ít nhất 30°C so với nhiệt độ chuyển tiếp trạng thái giòn - dẻo của vật liệu được sử dụng trong chế tạo.
3 Áp suất phải được duy trì trong 2 giờ với mỗi 25 mm chiều dày, nhưng trong mọi trường hợp không được nhỏ hơn 2 giờ.
4 Nếu cần thiết đối với bình áp lực chứa nhiên liệu khí hóa lỏng thì có thể thực hiện thử áp suất thủy khí trong các điều kiện quy định ở từ -1 đến -3.
5 Có thể phải xem xét đặc biệt việc thử các két mà áp dụng ứng suất cho phép lớn hơn, tùy thuộc vào nhiệt độ làm việc. Tuy nhiên, phải hoàn toàn thỏa mãn các quy định ở -1.
6 Sau khi hoàn thành chế tạo và lắp đặt, mỗi bình áp lực và các phụ tùng liên quan phải được thử đủ độ kín, có thể được thực hiện kết hợp với thử áp suất nêu ở -1 hoặc -4 một cách phù hợp.
7 Thử áp suất khí đối với bình áp lực mà không phải bình chứa nhiên liệu khí hóa lỏng phải được xem xét trên cơ sở từng trường hợp cụ thể. Việc thử đó chỉ được cho phép đối với các bình mà do thiết kế hoặc đỡ nên chúng không thể chứa nước một cách an toàn, hoặc đối với những bình mà không thể làm khô được và khi sử dụng thì không cho phép còn sót môi chất thử.
16.5.5 Két màng
1 Thử phát triển thiết kế
(1) Việc thử phát triển thiết kế quy định ở 6.4.15-4(1)(b) phải bao gồm một loạt các mô hình phân tích hoặc vật lý của cả vách chắn sơ cấp và thứ cấp, bao gồm cả các góc và các mối nối, việc thử để kiểm tra xác nhận rằng chúng sẽ chịu được tổ hợp các sức căng dự tính do tải trọng tĩnh, động và nhiệt tại mức đầy. Việc thử này sẽ đạt đến mức cao nhất trong việc chế tạo mô hình nguyên mẫu của hệ thống chứa nhiên liệu khí hóa lỏng hoàn thiện. Điều kiện thử được xem xét ở mô hình phân tích và vật lý phải đại diện cho điều kiện hoạt động nặng nề nhất mà hệ thống chứa nhiên liệu khí hóa lỏng sẽ có thể gặp phải trong thời gian tuổi thọ. Tiêu chuẩn chấp nhận được đưa ra đối với việc thử định kỳ vách chắn thứ cấp yêu cầu ở 6.4.4 có thể dựa trên kết quả thử được thực hiện trên mô hình nguyên mẫu.
(2) Phải thử để xác định đặc tính mỏi của vật liệu màng và các mối nối hàn hoặc dán của màng. Phải thực hiện phân tích hoặc thử để xác định sức bền tới hạn và đặc tính mỏi của thiết bị cố định hệ thống bọc cách nhiệt với kết cấu thân tàu.
2 Thử
(1) Đối với tàu được trang bị hệ thống chứa nhiên liệu khí hóa lỏng kiểu màng, mọi két và các không gian khác mà bình thường có chứa chất lỏng và liền kề với kết cấu thân tàu đỡ màng thì phải được thử thủy tĩnh.
(2) Mọi kết cấu trong khoang dùng để đỡ màng phải được thử kín trước khi lắp đặt hệ thống chứa nhiên liệu khí hóa lỏng.
(3) Hầm ống và các khoang khác mà bình thường không có chứa chất lỏng thì không cần phải thử thủy tĩnh.
16.6 Hàn, xử lý nhiệt sau hàn và thử không phá hủy
16.6.1 Quy định chung
Hàn phải được thực hiện theo các quy định ở 16.3.
16.6.2 Xử lý nhiệt sau hàn
Cần phải xử lý nhiệt sau hàn đối với tất cả các mối hàn đối đầu của ống làm bằng thép các bon, các bon-măng gan và hợp kim thấp. Đăng kiểm có thể miễn giảm quy định đối với việc khử ứng suất nhiệt của ống có chiều dày thành nhỏ hơn 10 mm liên quan đến nhiệt độ thiết kế và áp suất của hệ thống ống có liên quan.
16.6.3 Thử không phá hủy
Ngoài việc kiểm soát bình thường trước và trong khi hàn, và ngoài việc kiểm tra bằng mắt của mối hàn đã hoàn thiện, vì cần thiết để chứng minh rằng việc hàn đã được thực hiện đúng và phù hợp với các yêu cầu ở Chương này, phải thực hiện thử như nêu ở (1) đến (4) dưới đây:
(1) Kiểm tra bằng tia phóng xạ hoặc siêu âm với 100% mối hàn đối đầu của hệ thống ống có đặc tính như nêu ở (a) tới (e) dưới đây:
(a) Nhiệt độ thiết kế thấp hơn -10°C; hoặc
(b) Áp suất thiết kế lớn hơn 1,0 MPa; hoặc
(c) Ống cấp khí trong buồng máy được bảo vệ bằng ESD; hoặc
(d) Đường kính trong lớn hơn 75 mm; hoặc
(e) Chiều dày thành ống lớn hơn 10 mm.
(2) Khi mối hàn đối đầu của các mặt cắt ống được thực hiện bằng hàn tự động có quy trình được Đăng kiểm thẩm định thì có thể chấp nhận việc giảm lũy tiến phạm vi kiểm tra bằng tia phóng xạ hoặc siêu âm, nhưng trong mọi trường hợp không nhỏ hơn 10% mỗi mối nối. Nếu phát hiện khuyết tật thì phạm vi kiểm tra phải được tăng lên tới 100% và phải bao gồm việc kiểm tra các mối hàn đã được chấp nhận trước đó. Việc thẩm định này chỉ có thể được thực hiện nếu có đủ các quy trình đảm bảo chất lượng được lập thành hồ sơ đầy đủ cùng với các bản ghi để đánh giá khả năng của nhà sản xuất trong việc tạo ra các mối hàn luôn luôn thỏa mãn.
(3) Yêu cầu về việc kiểm tra bằng tia phóng xạ hoặc siêu âm có thể được giảm tới 10% đối với mối hàn đối đầu trên đường ống bên ngoài của đường ống nhiên liệu hai lớp.
(4) Đối với các mối hàn đối đầu khác của ống mà không thuộc phạm vi áp dụng của 16.6.3.1 và 16.6.3.3, kiểm tra điểm bằng tia phóng xạ hoặc siêu âm hoặc thực hiện các việc thử không phá hủy khác phải được thực hiện tùy thuộc vào công dụng, vị trí và vật liệu thỏa mãn các yêu cầu của Đăng kiểm. Nói chung, ít nhất 10% mối hàn đối đầu của ống phải được kiểm tra bằng tia phóng xạ hoặc siêu âm.
16.7 Thử
16.7.1 Thử kiểu các chi tiết ống
Mỗi kiểu chi tiết ống dự định sử dụng để làm việc ở nhiệt độ dưới -55°C phải được thử kiểu phù hợp với các quy định ở (1) đến (4) dưới đây:
(1) Mỗi cỡ và kiểu van phải được thử kín mặt tỳ (seat tightness) trong toàn bộ phạm vi áp suất và nhiệt độ vận hành, ở các mức, lên tới áp suất thiết kế định mức của van. Tốc độ rò rỉ cho phép phải thỏa mãn các yêu cầu của Đăng kiểm. Trong quá trình thử, phải kiểm tra xác nhận sự hoạt động thỏa mãn của van.
(2) Dòng chảy hoặc khả năng của van phải được chứng nhận theo một tiêu chuẩn được Đăng kiểm công nhận đối với mỗi cỡ và kiểu van.
(3) Các chi tiết chịu áp suất phải được thử áp lực tới ít nhất 1,5 lần áp suất thiết kế.
(4) Đối với van đóng khẩn cấp, với vật liệu có nhiệt độ nóng chảy nhỏ hơn 925°C, việc thử kiểu phải bao gồm thử lửa theo các tiêu chuẩn được Đăng kiểm công nhận.
16.7.2 Ống xếp giãn nở
Phải thực hiện thử kiểu theo (1) đến (4) dưới đây đối với mỗi kiểu ống xếp giãn nở dự định sử dụng trên đường ống nhiên liệu bên ngoài két nhiên liệu nếu thấy có thể được chấp nhận ở 7.3.6-4(3) và khi Đăng kiểm yêu cầu, trên các đường ống nhiên liệu bên trong két nhiên liệu.
(1) Các bộ phận của ống xếp, không được nén trước nhưng được giữ theo hướng trục, phải được thử áp suất không nhỏ hơn năm lần áp suất thiết kế mà không bị bung ra. Khoảng thời gian thử phải không nhỏ hơn năm phút.
(2) Phải thực hiện thử áp suất đối với một mối nối giãn nở mẫu, được lắp hoàn chỉnh với tất cả các phụ kiện như là bích, thanh chống và các khớp, ở nhiệt độ thiết kế nhỏ nhất và hai lần áp suất thiết kế ở trạng thái dịch chuyển lớn nhất được nhà sản xuất khuyến nghị mà không bị biến dạng dư.
(3) Phải thực hiện thử chu trình (chuyển động nhiệt) đối với mối nối giãn nở hoàn chỉnh, phải chịu được ít nhất số lượng chu trình giống như thực tế hoạt động trong các trạng thái áp suất, nhiệt độ, chuyển động dọc trục, chuyển động quay và chuyển động ngang. Cho phép thử ở nhiệt độ môi trường nếu việc thử này ít nhất cũng khắt khe như là ở nhiệt độ làm việc.
(4) Phải thực hiện thử mỏi chu kỳ (biến dạng của tàu, gia tốc của tàu và rung động ống) đối với một mối nối giãn nở hoàn chỉnh mà không có áp suất bên trong, bằng cách mô phỏng chuyển động của ống xếp tương ứng với đoạn chiều dài ống được bù trừ, trong ít nhất 2.000.000 chu kỳ ở tần số không lớn hơn 5 Hz. Việc thử này chỉ được yêu cầu khi, do bố trí đường ống, tải trọng do biến dạng tàu thực sự gây tác động.
16.7.3 Thử hệ thống
1 Các yêu cầu đối với thử nghiệm ở mục này áp dụng cho đường ống nhiên liệu bên trong và bên ngoài két nhiên liệu. Tuy nhiên, Đăng kiểm có thể chấp nhận việc giảm nhẹ các yêu cầu này đối với đường ống bên trong két nhiên liệu và đường ống hở ở đầu.
2 Sau khi lắp đặt, tất cả các đường ống nhiên liệu phải được thử bền với một chất lỏng phù hợp. Áp suất thử phải bằng ít nhất 1,5 lần áp suất thiết kế cho đường ống chất lỏng và 1,5 lần áp suất làm việc lớn nhất của hệ thống đối với đường ống hơi. Khi hệ thống ống hoặc các bộ phận của hệ thống được chế tạo hoàn thiện và được lắp đủ các chi tiết, việc thử này có thể được tiến hành trước khi lắp lên tàu. Các mối nối được hàn trên tàu phải được thử tới 1,5 lần áp suất thiết kế.
3 Sau khi lắp lên tàu, hệ thống ống nhiên liệu phải được thử rò rỉ bằng không khí hoặc môi chất phù hợp khác tới một áp suất phụ thuộc vào phương pháp phát hiện rò rỉ được áp dụng.
4 Ở hệ thống ống nhiên liệu kép, ống hoặc kênh ống phía ngoài phải được thử áp suất để chứng minh rằng nó có thể chịu được áp suất lớn nhất theo dự tính khi ống bị gãy.
5 Mọi hệ thống ống, bao gồm các van, các chi tiết và thiết bị liên quan, để vận chuyển nhiên liệu hoặc hơi thì phải được thử ở điều kiện hoạt động bình thường không muộn hơn lần tiếp nhận nhiên liệu đầu tiên phù hợp với các yêu cầu của Đăng kiểm.
6 Van đóng khẩn cấp ở hệ thống ống khí hóa lỏng phải đóng một cách hoàn toàn và nhẹ nhàng trong 30 giây sau khi tác động. Các thông tin về thời gian đóng và đặc tính hoạt động của chúng phải có trên tàu, và thời gian đóng phải có thể kiểm chứng được lặp lại được.
7 Thời gian đóng của van nêu ở 8.5.8 và 15.4.2.2 (ví dụ thời gian tính từ lúc phát tín hiệu đóng tới khi van đóng hoàn toàn) phải không lâu hơn thời gian tính toán dưới đây hoặc 5 giây, lấy giá trị nào nhỏ hơn:
(giây)
Trong đó:
U là thể tích vơi ở mức tín hiệu hoạt động, m3;
BR là tốc độ tiếp nhận nhiên liệu lớn nhất như đã thống nhất giữa tàu và phương tiện trên bờ (m3/h).
Tốc độ tiếp nhận nhiên liệu phải được điều chỉnh đến mức có thể chấp nhận để hạn chế áp suất tăng lên khi đóng van, trong đó có xét đến ống mềm tiếp nhận nhiên liệu và thanh dẫn ống, hệ thống ống trên tàu và bờ, nếu có liên quan.
CHƯƠNG 17 YÊU CẦU VỀ VẬN HÀNH
17.1 Mục tiêu
17.1.1 Yêu cầu chung
Mục tiêu của Chương này là đảm bảo các quy trình vận hành đối với việc tiếp nhận, chứa, vận hành, bảo dưỡng và kiểm tra các hệ thống sử dụng cho nhiên liệu khí hoặc có điểm chớp cháy thấp, giảm thiểu các nguy cơ cho con người, tàu và môi trường và đảm bảo các quy trình đó là phù hợp với các thói quen như đối với tàu sử dụng nhiên liệu dầu thông thường trong khi có tính đến bản chất của nhiên liệu lỏng hoặc khí.
17.2 Yêu cầu về chức năng
17.2.1 Quy định chung
Chương này liên quan đến các yêu cầu về chức năng ở 3.2.1 tới 3.2.3, 3.2.9, 3.2.11, 3.2.15, 3.2.16 và 3.2.17. Ngoài ra cũng phải áp dụng 17.2.2.
17.2.2 Các yêu cầu bổ sung
1 Trên các tàu áp dụng Phần này của Quy chuẩn phải có một bản sao của Bộ luật IGF hoặc bản sao của Phần 8D.
2 Quy trình bảo dưỡng và thông tin của các hệ thống liên quan đến khí phải có trên tàu.
3 Tàu phải có quy trình vận hành bao gồm Sổ tay quản lý nhiên liệu được viết chi tiết ở mức độ phù hợp, sao cho người đã được huấn luyện có thể vận hành một cách an toàn hệ thống tiếp nhận nhiên liệu, chứa và vận chuyển nhiên liệu.
4 Tàu phải có quy trình khẩn cấp phù hợp.
17.3 Sổ tay quản lý nhiên liệu và treo thông tin
17.3.1 Sổ tay quản lý nhiên liệu
Sổ tay quản lý nhiên liệu quy định ở 17.2.2-3 phải bao gồm, nhưng không giới hạn, các nội dung ở từ (1) đến (9) dưới đây:
(1) Vận hành tổng thể của con tàu từ lần lên đà trước đến lần lên đà sau, bao gồm các quy trình khi hệ thống được làm mát xuống và làm ấm lên, tiếp nhận nhiên liệu và, nếu phù hợp, xả, lấy mẫu, làm trơ và xả sạch khí;
(2) Nhiệt độ nhiên liệu và kiểm soát áp suất, hệ thống báo động và an toàn;
(3) Các giới hạn của hệ thống, tốc độ làm mát và nhiệt độ lớn nhất của két chứa nhiên liệu trước khi tiếp nhận nhiên liệu, bao gồm nhiệt độ tối thiểu của nhiên liệu, áp suất lớn nhất của két, tốc độ vận chuyển, giới hạn nạp và giới hạn va đập chất lỏng;
(4) Vận hành hệ thống khí trơ;
(5) Quy trình chữa cháy và khẩn cấp: vận hành và bảo dưỡng hệ thống chữa cháy và sử dụng các chất dập cháy;
(6) Đặc điểm riêng của nhiên liệu và thiết bị đặc biệt cần thiết cho việc xử lý loại nhiên liệu cụ thể;
(7) Vận hành thiết bị phát hiện khí cố định và xách tay và bảo dưỡng các thiết bị;
(8) Hệ thống ngắt khẩn cấp và xả khẩn cấp, nếu được trang bị; và
(9) Mô tả các hành động của quy trình để xử lý một tình huống khẩn cấp, ví dụ như rò rỉ, cháy hoặc sự phân lớp nhiên liệu tiềm ẩn gây ra lắc ngang.
17.3.2 Treo thông tin
Sơ đồ/bố trí đường ống hệ thống nhiên liệu và sơ đồ thiết bị đo phải được sao chép thành nhiều bản và treo cố định ở trạm kiểm soát tiếp nhận nhiên liệu và ở trạm tiếp nhận nhiên liệu.
17.4 Quy trình bảo dưỡng và sửa chữa
17.4.1 Quy định chung
1 Quy trình bảo dưỡng và sửa chữa phải bao gồm các việc xem xét liên quan đến vị trí két và các không gian liền kề (xem Chương 5).
2 Quy trình và thông tin quy định ở 17.2.2-2 phải bao gồm việc bảo dưỡng thiết bị điện được lắp đặt ở không gian và khu vực nguy hiểm do nổ.
17.5 Các yêu cầu về vận hành
17.5.1 Áp dụng
Các quy định ở 17.5 không liên quan đến việc kiểm tra cần thiết cho duy trì cấp, nhưng lại chỉ ra các vấn đề cần được giám sát nghiêm ngặt bởi chủ tàu hoặc thuyền trưởng cũng như những người khác chịu trách nhiệm vận hành tàu.
17.5.2 Kiểm tra, bảo dưỡng và thử
Kiểm tra trong quá trình vận hành, bảo dưỡng và thử hệ thống chứa nhiên liệu phải được thực hiện theo kế hoạch kiểm tra quy định ở 6.4.1-8.
17.5.3 Kiểm tra và bảo dưỡng hệ thống điện
Kiểm tra và bảo dưỡng hệ thống điện trong không gian nguy hiểm do nổ phải được thực hiện phù hợp với các tiêu chuẩn được Đăng kiểm công nhận.
17.5.4 Thực hiện tiếp nhận nhiên liệu
1 Trách nhiệm
(1) Trước khi bắt đầu việc tiếp nhận nhiên liệu, thuyền trưởng của tàu nhận hoặc người đại diện và người đại diện của nguồn cấp nhiên liệu (sau đây gọi là Người có trách nhiệm) phải làm các công việc từ (a) tới (c) dưới đây:
(a) Thống nhất bằng văn bản quy trình chuyển nhiên liệu, bao gồm việc làm mát và nếu cần thiết, làm sạch khí trong két chứa; tốc độ chuyển lớn nhất ở mọi bước và thể tích cần được chuyển;
(b) Thống nhất bằng văn bản về hành động cần thực hiện trong tình huống khẩn cấp; và
(c) Hoàn thiện và ký danh mục kiểm tra an toàn tiếp nhận nhiên liệu.
(2) Khi kết thúc hoạt động tiếp nhận nhiên liệu, Người có trách nhiệm trên tàu phải nhận và ký một Phiếu cấp nhiên liệu ứng với nhiên liệu được cấp, phiếu này ít nhất có các thông tin nêu trong Phần C-1 Phụ lục của Bộ luật IGF, sau đó được hoàn thành và ký bởi Người có trách nhiệm của nguồn cấp nhiên liệu.
2 Kiểm tra xác nhận trước khi tiếp nhận nhiên liệu
(1) Trước khi thực hiện tiếp nhận nhiên liệu, việc kiểm tra xác nhận bao gồm nhưng không giới hạn các thông tin dưới đây phải được thực hiện và ghi lại trong danh mục kiểm tra an toàn tiếp nhận nhiên liệu:
(a) Mọi phương pháp liên lạc, bao gồm liên kết tàu và bờ, nếu có;
(b) Vận hành thiết bị cố định phát hiện khí và cháy;
(c) Vận hành thiết bị phát hiện khí xách tay;
(d) Vận hành các van điều khiển từ xa; và
(e) Kiểm tra các ống mềm và bích nối.
(2) Việc lập biên bản các mục kiểm tra xác nhận phải được chỉ ra trong danh mục an toàn tiếp nhận nhiên liệu đã được thống nhất và thực hiện bởi hai bên đã được hai người có trách nhiệm ký.
3 Liên lạc giữa tàu và nguồn cấp nhiên liệu
(1) Liên lạc phải được duy trì giữa người có trách nhiệm của tàu và người có trách nhiệm cấp nhiên liệu tại mọi thời điểm trong quá trình tiếp nhận nhiên liệu. Trong trường hợp không thể duy trì được liên lạc, việc tiếp nhận nhiên liệu phải dừng lại và không được tiếp tục cho đến khi liên lạc được phục hồi.
(2) Thiết bị liên lạc sử dụng trong quá trình tiếp nhận nhiên liệu phải thỏa mãn các tiêu chuẩn dành cho thiết bị đó và được Đăng kiểm công nhận.
(3) Người có trách nhiệm phải có sự liên lạc trực tiếp và tức thời với mọi người tham gia việc tiếp nhận nhiên liệu.
(4) Liên kết tàu và bờ hoặc phương tiện tương đương kết nối với nguồn cấp nhiên liệu, được trang bị để ngắt khẩn cấp tự động, phải tương thích với tàu nhận và tạo thành hệ thống phục vụ ngắt khẩn cấp.
4 Tiếp đất điện
Ống mềm, giá đỡ để vận chuyển, đường ống và các thiết bị được cung cấp bởi phương tiện cấp nhiên liệu phải có tính dẫn điện liên tục, được bọc phù hợp và phải có mức độ an toàn thỏa mãn các tiêu chuẩn được Đăng kiểm công nhận.
5 Điều kiện để chuyển nhiên liệu
(1) Biển cảnh báo phải được treo ở các điểm tiếp cận đến khu vực tiếp nhận nhiên liệu, trong đó có nêu ra các chú ý an toàn trong quá trình chuyển nhiên liệu.
(2) Trong suốt quá trình chuyển nhiên liệu, người ở khu vực ống góp tiếp nhận nhiên liệu phải được giới hạn ở mức chỉ có những người cần thiết. Mọi người làm nhiệm vụ hoặc làm việc ở lân cận khu vực tiếp nhận nhiên liệu phải mặc đồ bảo vệ cá nhân phù hợp. Khi các điều kiện để chuyển nhiên liệu không còn được duy trì thì phải dừng hoạt động tiếp nhận nhiên liệu và việc chuyển nhiên liệu phải không được tiếp tục cho đến khi mọi điều kiện đều thỏa mãn.
(3) Nếu việc tiếp nhận nhiên liệu phải thực hiện thông qua việc lắp đặt các bình xách tay thì quy trình tiếp nhận nhiên liệu phải có mức độ an toàn tương đương như với két nhiên liệu và hệ thống nhiên liệu cố định trên tàu. Bình xách tay phải đầy trước khi đưa lên tàu và phải được cố định đúng phương pháp trước khi kết nối với hệ thống nhiên liệu.
(4) Đối với các két không được lắp cố định trên tàu, việc kết nối của mọi hệ thống két cần thiết (đường ống, điều khiển, hệ thống an toàn, hệ thống an toàn áp suất v.v…) với hệ thống nhiên liệu của tàu là một phần của quá trình "tiếp nhận nhiên liệu" và phải được hoàn thành trước khi tàu rời khỏi trạm cấp nhiên liệu. Kết nối và ngắt kết nối của bình xách tay trong khi đi biển hoặc khi điều động tàu là không được phép.
17.5.5 Vào không gian kín
1 Trong các tình huống vận hành bình thường, mọi người không được vào két nhiên liệu, khoang hầm chứa nhiên liệu, khoang trống, buồng đầu nối két hoặc các không gian kín khác mà ở đó khí hoặc hơi dễ cháy có thể tích tụ, trừ khi nồng độ khí trong môi trường của các không gian đó được xác định bằng các phương tiện cố định hoặc di động để đảm bảo đủ ô xy và không có môi trường khí gây nổ.
2 Người vào không gian được xác định là nguy hiểm thì không được mang theo nguồn có thể gây cháy vào không gian đó trừ khi nó được chứng nhận không chứa khí và được duy trì trong điều kiện đó.
17.5.6 Làm trơ và làm sạch hệ thống nhiên liệu
1 Mục tiêu cơ bản trong việc làm trơ và làm sạch hệ thống nhiên liệu là để ngăn ngừa sự hình thành môi trường khí dễ cháy ở trong, gần hoặc xung quanh đường ống, két, thiết bị của hệ thống nhiên liệu và các không gian liền kề.
2 Quy trình làm trơ và làm sạch hệ thống nhiên liệu phải đảm bảo không khí không đi vào đường ống hoặc két chứa môi trường khí, và khí đó không được đi vào không khí trong các không gian kín hoặc không gian liền kề với hệ thống nhiên liệu.
17.5.7 Công việc gây nhiệt ở trên hoặc gần hệ thống nhiên liệu
Công việc gây nhiệt ở lân cận két nhiên liệu, đường ống nhiên liệu và hệ thống bọc mà có thể bị cháy, nhiễm các khí hydro các bon, hoặc có thể sinh ra khói độc do cháy thì chỉ được thực hiện sau khi khu vực đó đã được đảm bảo và xác định là an toàn cho công việc gây nhiệt và đã được chấp thuận hoàn toàn.
PHỤ LỤC TIÊU CHUẨN ĐỐI VỚI VIỆC SỬ DỤNG PHƯƠNG PHÁP TRẠNG THÁI GIỚI HẠN TRONG THIẾT KẾ HỆ THỐNG CHỨA NHIÊN LIỆU CÓ CẤU TẠO KIỂU MỚI
1 Quy định chung
1 Mục đích của Phụ lục này là quy định các quy trình và các thông số thiết kế liên quan trong thiết kế trạng thái giới hạn của hệ thống chứa nhiên liệu có cấu tạo kiểu mới phù hợp với các quy định ở mục 6.4.16.
2 Thiết kế trạng thái giới hạn là phương pháp mang tính hệ thống mà trong đó mỗi phần tử kết cấu được đánh giá tương ứng với chế độ hư hỏng có thể xảy ra liên quan đến các điều kiện thiết kế nêu ở 6.4.1-6. Trạng thái giới hạn là trạng thái mà sau đó kết cấu hoặc một phần kết cấu không còn thỏa mãn các yêu cầu.
3 Trạng thái giới hạn được chia thành 3 nhóm sau:
(1) Trạng thái giới hạn tới hạn tương ứng với khả năng chịu tải lớn nhất hoặc, trong một số trường hợp, tương ứng với sức căng, biến dạng hoặc mất ổn định kết cấu do mất ổn định khi nén và phá hủy dẻo là lớn nhất có thể; trong điều kiện nguyên vẹn (không bị hư hại);
(2) Trạng thái giới hạn mỏi tương ứng với sự suy giảm do ảnh hưởng của tải trọng chu kỳ; và
(3) Trạng thái giới hạn sự cố liên quan đến khả năng kết cấu có thể được duy trì trong tình huống sự cố.
4 Cần phải thỏa mãn các quy định ở từ 6.4.1 tới 6.4.14, nếu có thể áp dụng, phụ thuộc vào khái niệm hệ thống chứa nhiên liệu.
2 Định dạng thiết kế
1 Trong Phụ lục này, định dạng thiết kế là dựa trên định dạng thiết kế hệ số Tải trọng và Sức bền. Nguyên tắc cơ sở của định dạng thiết kế hệ số Tải trọng và Sức bền là phải kiểm tra xác nhận rằng ảnh hưởng của tải trọng thiết kế, Ld, không lớn hơn sức bền thiết kế, Rd, đối với bất kỳ chế độ hư hỏng được xét đến trong bất kỳ kịch bản nào:
Ld ≤ Rd
Tải trọng thiết kế Fdk được xác định bằng cách nhân tải trọng đặc trưng với một hệ số tải trọng liên quan tới nhóm tải trọng đang xét:
Fdk =γfFk
Trong đó:
γf là hệ số tải trọng; và
Fk là tải trọng đặc trưng quy định ở mục 6.4.9 tới 6.4.12.
Ảnh hưởng của tải trọng thiết kế Ld (ví dụ như ứng suất, sức căng, chuyển vị và rung động) là ảnh hưởng bất lợi nhất của tải trọng kết hợp xuất phát từ các tải trọng thiết kế, và có thể được xác định bằng công thức sau:
Ld=q(Fd1,Fd2,…,FdN)
Trong đó, q biểu thị cho mối quan hệ chức năng giữa tải trọng và ảnh hưởng của tải trọng được xác định thông qua phân tích kết cấu.
Sức bền thiết kế Rd được xác định như sau:
![]()
Trong đó:
Rk là độ bền đặc trưng. Trong trường hợp của các vật liệu quy định ở Chương 7, nó có thể là, nhưng không giới hạn, giới hạn chảy danh nghĩa nhỏ nhất, giới hạn bền kéo danh nghĩa nhỏ nhất, độ bền dẻo của mặt cắt ngang và độ bền ổn định tới hạn;
γR là hệ số sức bền, được tính như sau:
![]()
γm là hệ số sức bền một phần để tính đến phân bố xác suất của tính chất vật liệu (hệ số vật liệu);
γs là hệ số sức bền một phần để tính đến sự không chắc chắn về khả năng của kết cấu, ví dụ như chất lượng của kết cấu, phương pháp được sử dụng để xác định sức bền bao gồm sự chính xác của quá trình phân tích; và
γc là hệ số phân loại hậu quả để xem xét đến các kết quả tiềm ẩn do hư hỏng mà liên quan đến rò rỉ nhiên liệu và khả năng gây thương tích cho người.
2 Thiết kế chứa nhiên liệu phải tính toán đến hậu quả tiềm ẩn do hư hỏng. Việc phân loại hậu quả được cho trong Bảng 1, để chỉ ra hậu quả của hư hỏng khi chế độ hư hỏng liên quan đến trạng thái giới hạn tới hạn, trạng thái giới hạn mỏi hoặc trạng thái giới hạn sự cố.
Bảng 1 Phân loại hậu quả
|
Phân loại hậu quả |
Định nghĩa |
|
Thấp |
Hư hỏng dẫn đến rò rỉ nhiên liệu không đáng kể |
|
Trung bình |
Hư hỏng dẫn đến rò rỉ nhiên liệu và có khả năng gây thương tích |
|
Cao |
Hư hỏng dẫn đến rò rỉ đáng kể nhiên liệu và có nhiều khả năng gây thương tích hoặc tổn thất sinh mạng con người |
3 Quy định về việc phân tích
1 Phải tiến hành phân tích phần tử hữu hạn 3 chiều với mô hình tích hợp của két và thân tàu, bao gồm cả các cơ cấu đỡ và hệ thống nêm, nếu có thể áp dụng. Tất cả các chế độ hư hỏng phải được nhận dạng để tránh các hư hỏng không mong muốn. Phải thực hiện phân tích thủy động học để xác định các gia tốc cụ thể của tàu và chuyển động của tàu trên sóng bất quy tắc, và phản ứng của tàu và hệ thống chứa nhiên liệu trên tàu đối với các lực và chuyển động đó.
2 Phải tiến hành phân tích độ bền ổn định của két nhiên liệu dưới tác dụng của áp suất bên ngoài và các tải trọng khác gây ra ứng suất nén theo các tiêu chuẩn được công nhận. Phương pháp này phải tính toán đầy đủ cho sự khác nhau giữa ứng suất lý thuyết và ứng suất mất ổn định nén thực tế do tấm không phẳng, mép tấm bị lệch, độ thẳng, độ ô van và sai lệch so với đường tròn thực tạo thành từ một cung tròn hoặc chiều dài cung đã xác định, nếu có liên quan.
3 Phải thực hiện phân tích mỏi và phát triển của vết nứt theo các yêu cầu ở 5-1.
4 Trạng thái giới hạn tới hạn
1 Độ bền kết cấu có thể được xác định bằng thử hoặc phân tích toàn bộ trong đó có tính đến đặc tính đàn hồi và dẻo của vật liệu. Lượng dư an toàn cho sức bền tới hạn phải được đưa vào tính toán bằng hệ số an toàn một phần để tính đến sự tham gia của tính chất ngẫu nhiên của tải trọng và sức bền (tải trọng động, tải trọng do áp suất, tải do trọng lực, sức bền vật liệu và khả năng chống mất ổn định).
2 Việc phân tích phải xem xét sự kết hợp phù hợp của các tải trọng cố định, tải trọng chức năng và tải trọng môi trường, bao gồm tải do va đập chất lỏng. Ít nhất phải sử dụng hai tổ hợp tải trọng với hệ số tải trọng một phần được cho trong Bảng 2 để đánh giá trạng thái giới hạn tới hạn.
Bảng 2 Hệ số tải trọng một phần
|
Tổ hợp tải trọng |
Tải trọng cố định |
Tải trọng chức năng |
Tải trọng môi trường |
|
'a' |
1,1 |
1,1 |
0,7 |
|
'b' |
1,0 |
1,0 |
1,3 |
Hệ số tải trọng đối với tải trọng cố định và chức năng trong tổ hợp 'a' là phù hợp đối với các tải trọng bình thường được kiểm soát tốt và/hoặc tải trọng danh nghĩa có thể áp dụng cho hệ thống chứa nhiên liệu như là áp suất hóa hơi, khối lượng nhiên liệu, tự trọng của hệ thống v.v… Hệ số tải trọng lớn hơn có thể phù hợp cho tải trọng cố định và chức năng khi tính biến đổi vốn có và/hoặc sự không chắc chắn của mô hình tính toán là lớn hơn.
3 Đối với tải trọng va đập của chất lỏng, tùy thuộc vào độ tin cậy của phương pháp tính toán, Đăng kiểm có thể yêu cầu hệ số tải trọng lớn hơn.
4 Trong trường hợp hư hỏng kết cấu của hệ thống chứa nhiên liệu được coi là dẫn đến nguy cơ gây thương tích cao cho con người và rò rỉ đáng kể nhiên liệu thì hệ số phân loại hậu quả phải được lấy bằng γc = 1,2. Giá trị này có thể được giảm nếu nó được chứng minh thông qua việc phân tích rủi ro và được Đăng kiểm công nhận. Việc phân tích rủi ro này phải tính đến các yếu tố bao gồm, nhưng không giới hạn, việc trang bị vách chắn thứ cấp toàn phần hoặc một phần để bảo vệ kết cấu thân tàu khỏi sự rò rỉ và ít nguy hiểm hơn liên quan đến nhiên liệu dự định. Ngược lại, Đăng kiểm có thể ấn định giá trị lớn hơn, ví dụ như đối với tàu chở nhiên liệu nguy hiểm hơn hoặc có áp suất cao hơn. Trong mọi trường hợp, hệ số phân loại hậu quả phải không nhỏ hơn 1,0.
5 Hệ số tải trọng và hệ số sức bền được sử dụng phải sao cho mức độ an toàn là tương đương với hệ thống chứa nhiên liệu được quy định ở mục 6.4.2-1 đến -5. Điều này có thể được thực hiện bằng cách điều chỉnh các hệ số đó so với thiết kế đã thành công trước đây.
6 Nói chung, hệ số vật liệu phải phản ánh sự phân bố thống kê của cơ tính vật liệu, và cần phải được xác định kết hợp với cơ tính đặc trưng lý thuyết. Đối với các vật liệu nêu ở Chương 6, hệ số vật liệu có thể được lấy bằng:
1,1 nếu cơ tính đặc trưng được Đăng kiểm quy định đại diện tiêu biểu cho nhóm thấp hơn phân vị 2,5% trong phân bố thống kê của cơ tính vật liệu; hoặc
1,1 nếu cơ tính đặc trưng được Đăng kiểm quy định đại diện cho một giá trị phân vị đủ nhỏ sao cho xác suất của cơ tính nhỏ hơn so với quy định là cực kỳ thấp và có thể bỏ qua.
7 Nói chung, hệ số sức bền một phần γsi phải được tính toán dựa trên sự không chắc chắn về khả năng của kết cấu, xem xét đến dung sai của kết cấu, chất lượng thi công, độ chính xác của phương pháp phân tích được sử dụng v.v…
(1) Đối với thiết kế để chịu biến dạng dẻo lớn sử dụng tiêu chuẩn trạng thái giới hạn nêu ở -8, hệ số sức bền một phần phải được lấy như sau:
![]()
![]()
![]()
![]()
Các hệ số A, B, C và D được định nghĩa ở 6.4.15-2(3)(a). Rm và Re được định nghĩa ở 6.4.12(1)(a)(iii).
Hệ số sức bền một phần nêu trên là kết quả của việc điều chỉnh két rời truyền thống kiểu B.
8 Thiết kế chống lại biến dạng dẻo quá mức
(1) Tiêu chuẩn chấp nhận ứng suất nêu dưới đây tham chiếu đến việc phân tích ứng suất đàn hồi.
(2) Các bộ phận của hệ thống chứa nhiên liệu mà tại đó các tải trọng được đỡ chủ yếu bởi phản ứng màng trong kết cấu thì phải thỏa mãn các tiêu chuẩn trạng thái giới hạn sau đây:
σm ≤ f
σL ≤ 1,5f
σb ≤ 1,5F
σL + σb ≤ 1,5F
σm + σb ≤ 1,5F
σm + σb + σg ≤ 3,0F
σL + σb + σg ≤ 3,0F
Trong đó:
σm là ứng suất màng chung chính tương đương;
σL là ứng suất màng cục bộ chính tương đương;
σb là ứng suất uốn chính tương đương;
σg là ứng suất phụ tương đương;
![]()
![]()
Các tổng ứng suất nêu trên phải được thực hiện bằng cách tính tổng từng thành phần ứng suất (σx, σy, σxy), và sau đó ứng suất tương đương phải được tính toán dựa trên các thành phần ứng suất cuối cùng như chỉ ra trong ví dụ dưới đây:
![]()
(3) Các bộ phận của hệ thống chứa nhiên liệu mà tại đó các tải trọng được đỡ chủ yếu bởi uốn dầm, nẹp và tấm thì phải thỏa mãn các tiêu chuẩn trạng thái giới hạn sau đây:
σms + σbp ≤ 1,25F
σms + σbp + σbs ≤ 1,25F
σms + σbp + σbs + σbt + σg ≤ 3,0F
Chú ý 1: Tổng các ứng suất màng mặt cắt tương đương và ứng suất màng tương đương ở kết cấu chính (σms+σbp) thường lấy trực tiếp từ phân tích phần tử hữu hạn 3 chiều.
Chú ý 2: Hệ số, 1,25, có thể bị điều chỉnh bởi Đăng kiểm khi xét đến khái niệm thiết kế, bố trí kết cấu và phương pháp sử dụng để tính ứng suất.
Trong đó:
σms là ứng suất màng mặt cắt tương đương ở kết cấu chính;
σbp là ứng suất màng tương đương ở kết cấu chính và ứng suất ở kết cấu phụ và kết cấu cấp ba gây ra do uốn kết cấu chính;
σbs là ứng suất uốn trên mặt cắt của kết cấu phụ và ứng suất ở kết cấu cấp ba gây ra do uốn kết cấu phụ;
σbt là ứng suất uốn trên mặt cắt của kết cấu cấp ba;
σg là ứng suất phụ tương đương.
Các ứng suất σms, σbp, σbs và σbt được định nghĩa ở (4).
Các tổng ứng suất nêu trên phải được thực hiện bằng cách tính tổng từng thành phần ứng suất (σx, σy, σxy), và sau đó ứng suất tương đương phải được tính toán dựa trên các thành phần ứng suất cuối cùng.
Tấm vỏ phải được thiết kế theo các yêu cầu của Đăng kiểm. Khi ứng suất màng là đáng kể thì ảnh hưởng của ứng suất màng lên khả năng uốn của tấm phải được xem xét bổ sung một cách phù hợp.
(4) Các nhóm ứng suất mặt cắt
Ứng suất pháp là thành phần ứng suất vuông góc với mặt phẳng tham chiếu.
Ứng suất màng mặt cắt tương là thành phần của ứng suất pháp mà phân bố đều và bằng giá trị trung bình của ứng suất trên mặt cắt ngang của kết cấu đang xét. Nếu đây là mặt cắt vỏ đơn giản, ứng suất màng mặt cắt bằng với ứng suất màng được định nghĩa ở (2). Ứng suất uốn mặt cắt là thành phần của ứng suất pháp mà phân bố bậc nhất trên một mặt cắt kết cấu chịu uốn, như được chỉ ra trong Hình 1.

σbp là ứng suất màng tương đương ở kết cấu chính
σbs là ứng suất uốn mặt cắt ở kết cấu phụ
σbt là ứng suất uốn mặt cắt ở kết cấu cấp ba
(Ứng suất σbp và σbs vuông góc với mặt cắt ngang)
Hình 1 Định nghĩa của ba nhóm ứng suất mặt cắt
9 Các hệ số giống nhau γC, γm, γsi phải được sử dụng trong thiết kế chống mất ổn định nén trừ khi có quy định khác trong tiêu chuẩn sử dụng để tính ổn định nén đã được công nhận. Trong mọi trường hợp, mức độ an toàn tổng thể phải không nhỏ hơn mức độ an toàn được quy định bởi các hệ số này.
5 Trạng thái giới hạn mỏi
1 Điều kiện thiết kế mỏi quy định ở 6.4.12(2) phải được thỏa mãn một cách phù hợp tùy thuộc vào khái niệm của hệ thống chứa nhiên liệu. Cần tiến hành phân tích mỏi đối với hệ thống chứa nhiên liệu được thiết kế theo mục 6.4.16 và Phụ lục này.
2 Các hệ số tải trọng đối với trạng thái giới hạn mỏi phải được lấy bằng 1,0 cho tất cả các nhóm tải trọng.
3 Hệ số nhóm hậu quả γC và hệ số sức bền γR phải được lấy bằng 1,0.
4 Phá hủy do mỏi phải được tính toán như ở 6.4.12(2)(b) tới 6.4.12(2)(e). Hệ số phá hủy do mỏi được tính toán tích lũy đối với hệ thống chứa nhiên liệu phải nhỏ hơn hoặc bằng các giá trị cho trong Bảng 3.
Bảng 3 Hệ số phá hủy do mỏi tích lũy lớn nhất cho phép
|
Nhóm hậu quả |
|||
|
Cw |
Thấp |
Trung bình |
Cao |
|
1,0 |
0,5 |
0,5* |
|
Chú ý: * Phải sử dụng giá trị thấp hơn phù hợp với các quy định ở 6.4.12(2)(g) tới 6.4.12(2)(i), tùy thuộc vào khả năng phát hiện các khuyết tật hoặc vết nứt v.v…
5 Giá trị thấp hơn có thể được Đăng kiểm ấn định.
6 Cần tiến hành phân tích phát triển vết nứt phù hợp với các quy định ở 6.4.12(2)(f) tới 6.4.12(2)(i). Việc phân tích này phải được thực hiện theo các phương pháp trong các tiêu chuẩn được Đăng kiểm công nhận.
6 Trạng thái giới hạn sự cố
1 Điều kiện thiết kế sự cố nêu ở 6.4.12(3) phải được thỏa mãn một cách phù hợp, tùy thuộc vào khái niệm hệ thống chứa nhiên liệu.
2 Hệ số tải trọng và sức bền có thể được giảm nhẹ so với trạng thái giới hạn tới hạn khi xem xét thấy rằng phá hủy và biến dạng có thể được chấp nhận miễn là nó không dẫn đến kịch bản tai nạn.
3 Hệ số tải trọng đối với trạng thái giới hạn sự cố phải được lấy bằng 1,0 đối với tải trọng cố định, tải trọng chức năng và tải trọng môi trường.
4 Các tải trọng nêu ở 6.4.9-3(3)(h) và 6.4.9-5 không cần phải được kết hợp với nhau hoặc kết hợp với tải trọng môi trường như chỉ ra trong 6.4.9-4.
5 Nói chung, hệ số sức bền γR phải được lấy bằng 1,0
6 Nói chung, hệ số nhóm hậu quả γC phải được lấy bằng giá trị quy định ở 4-4, nhưng có thể được giảm nhẹ khi xem xét bản chất của kịch bản tai nạn.
7 Nói chung, sức bền đặc trưng Rk phải được lấy như đối với trạng thái giới hạn tới hạn, nhưng có thể được giảm nhẹ khi xem xét bản chất của kịch bản tai nạn.
8 Kịch bản tai nạn bổ sung có liên quan phải được xác định dựa trên phân tích rủi ro.
7 Thử
Hệ thống chứa nhiên liệu được thiết kế theo Phụ lục này phải được thử một cách phù hợp với nội dung thử giống như quy định ở 16.2, tùy thuộc vào khái niệm hệ thống chứa nhiên liệu.
PHẦN 9 PHÂN KHOANG
CHƯƠNG 3 TƯ THẾ CHÚI VÀ ỔN ĐỊNH TAI NẠN
3.4 Các yêu cầu bổ sung về ổn định tai nạn
3.4.5 Các tàu dầu và tàu chở xô hóa chất nguy hiểm
3.4.5-4 được sửa đổi như sau:
4 Các yêu cầu về tư thế chúi và ổn định tai nạn phải thỏa mãn khi phạm vi vết thủng giả định ở mạn và ở đáy như sau:
(1) Các tàu dầu
- Khi L1 > 225 m: Tại mọi vị trí dọc theo chiều dài tàu;
- Khi 150 < L1 ≤ 225 m: Tại mọi vị trí dọc theo chiều dài tàu, trừ buồng máy đặt ở đuôi. Trong trường hợp đó buồng máy được coi là một khoang bị ngập riêng rẽ;
- Khi L1 ≤ 150 m: Tại mọi vị trí dọc theo chiều dài tàu giữa các vách ngang kề nhau trừ buồng máy.
Khi tàu chở hàng thuộc nhóm Y theo Phụ lục II Marpol thì áp dụng như tàu chở hóa chất loại 3.
PHẦN 10 ỔN ĐỊNH NGUYÊN VẸN
CHƯƠNG 1 QUY ĐỊNH CHUNG
1.4 Các yêu cầu kỹ thuật chung
1.4.11 Các yêu cầu đối với Bản thông báo ổn định
1.4.11-4 và -5 được bổ sung như sau:
4 Nếu tàu chở hàng hạt, trên tàu phải có Thông báo ổn định chở hàng hạt được Đăng kiểm thẩm định.
5 Đối với các tàu chở hàng không phải chở xô hàng lỏng và hàng rời, trên tàu phải có Sổ tay chằng buộc hàng hóa được Đăng kiểm thẩm định.
1.5 Thử nghiêng và đo khối lượng tàu không
1.5.7 được sửa đổi như sau
1.5.7 Ngoại trừ các tàu dự định hành trình tuyến quốc tế, thì thử nghiêng có thể được thay thế bằng đo khối lượng tàu không cho chiếc tàu vừa đóng xong, nếu cao độ trọng tâm của tàu lớn hơn 25% so với thiết kế nhưng vẫn không vi phạm các yêu cầu của Phần này.
Nếu kết quả đo khối lượng tàu không chỉ ra rằng sự sai khác về lượng chiếm nước tàu không vượt quá 2% giá trị thiết kế hoặc sai khác về hoành độ trọng tâm tàu không quá 1% chiều dài phân khoang thì tính toán giải thích về sự khác nhau đó phải được đính kèm với biên bản đo khối lượng tàu không.
CHƯƠNG 2 CÁC YÊU CẦU CHUNG VỀ ỔN ĐỊNH
2.2 Đồ thị ổn định
2.2.6 được sửa đổi như sau:
2.2.6 Thay cho yêu cầu ở 2.2.3, Đối với các tàu có tỉ số B/D > 2,0 có thể áp dụng tiêu chuẩn sau:
1 Cánh tay đòn ổn định đạt giá trị lớn nhất tại góc nghiêng không nhỏ hơn 15 độ; và
2 Diện tích đường cong ổn định tĩnh (đường cong GZ) đến góc θ = 15o và khi cánh tay đòn lớn nhất của đường cong ổn định tĩnh (GZmax) tại góc θ = 15o, không được nhỏ hơn 0,07 m.rad;
Diện tích này không được nhỏ hơn 0,055 m.rad đến góc θ = 30o khi GZmax tại góc θ = 30o hoặc lớn hơn. Nếu GZmax xảy ra tại góc nằm giữa θ = 15o và θ = 30o thì diện tích tương ứng của đường cong ổn định tĩnh không được nhỏ hơn trị số xác định theo công thức sau:
A = 0,055 + 0,001(30o - θmax) (m.rad)
Trong đó: θmax là góc nghiêng đo bằng độ tại góc mà cánh tay đòn đường cong ổn định tĩnh đạt giá trị lớn nhất;
CHƯƠNG 3 CÁC YÊU CẦU BỔ SUNG VỀ ỔN ĐỊNH
3.3 Tàu chở gỗ
3.3.7 được sửa đổi như sau:
3.3.7 Lượng băng phủ cho phép
1 Đối với tàu chở gỗ trên boong, dự định hoạt động ở các khu vực mà lượng băng phủ yêu cầu phải được xét đến cũng như tàu hoạt động vào mùa đông ở vùng mùa đông thì tính toán ổn định phải được thực hiện đối với các khả năng băng phủ.
2 Khối lượng băng tích tụ w tính bằng kg/m2 có thể được lấy theo công thức sau:
![]()
Trong đó:
IFB: Chiều cao mạn khô, tính bằng mm;
ftl: Hệ số chằng buộc gỗ =1,2;
Ibow: Chiều dài của phần loe phía mũi tàu, được lấy bằng khoảng cách theo phương dọc từ vị trí mà chiều rộng tàu lớn nhất tính tại đường nước cách boong mạn khô 0,5 mét đến điểm xa nhất của mũi tàu trên đường nước đó, tính bằng m.
3 Khối lượng tích tụ trên bề mặt ngang của hàng hóa phải được sử dụng trong tính toán ổn định cho các trạng thái tải chỉ ra ở Hình 10/3.3.7-3.
Trạng thái tải 1 - Băng tích tụ trên toàn bộ diện tích hàng gỗ

Trạng thái 2 - Băng tích tụ trên 1/2 diện tích boong hàng gỗ về một mạn

Trạng thái 3 - Băng tích tụ trên 1/3 diện tích hàng gỗ về phía trước

Hình 10/3.3.7-3 Các trạng thái tải đối với hàng gỗ trên boong
3.4 Tàu chở hàng lỏng dễ cháy
3.4.6 được sửa đổi như sau:
3.4.6 Máy tính kiểm soát ổn định
1 Đối với các tàu tàu chở hàng lỏng (tàu chở xô hóa chất nguy hiểm, tàu chở xô khí hóa lỏng) phải được trang bị máy tính kiểm soát ổn định có khả năng đánh giá được ổn định nguyên vẹn và tai nạn như sau:
(1) Tàu chở xô hóa chất nguy hiểm:
- Tàu đóng vào hoặc sau ngày 01 tháng 01 năm 2016: trang bị khi tàu đưa vào hoạt động.
- Tàu đóng trước ngày 01 tháng 01 năm 2016: trang bị tại đợt kiểm tra cấp mới đầu tiên của tàu vào hoặc sau ngày 01 tháng 01 năm 2016, nhưng không được muộn hơn ngày 01 tháng 01 năm 2021.
(2) Tàu chở xô khí hóa lỏng:
- Tàu đóng vào hoặc sau ngày 01 tháng 01 năm 2016: trang bị khi tàu đưa vào hoạt động.
- Tàu đóng trước ngày 01 tháng 7 năm 1986: trang bị tại đợt kiểm tra cấp mới đầu tiên của tàu vào hoặc sau ngày 01 tháng 01 năm 2016, nhưng không được muộn hơn ngày 01 tháng 01 năm 2021.
- Tàu đóng vào hoặc sau ngày 01 tháng 7 năm 1986 đến trước ngày 01 tháng 01 năm 2016: trang bị tại đợt kiểm tra cấp mới đầu tiên của tàu vào hoặc sau ngày 01 tháng 07 năm 2016, nhưng không được muộn hơn ngày 01 tháng 07 năm 2021.
2 Trong trường hợp máy tính kiểm soát ổn định được lắp đặt phù hợp với các yêu cầu nêu ở -1, tài liệu thẩm định cho máy tính kiểm soát ổn định được cấp bởi Đăng kiểm phải được duy trì trên tàu.
3 Đăng kiểm có thể miễn giảm các yêu cầu ở -1 và -2 cho các tàu thỏa mãn các yêu cầu sau:
- Tàu chỉ xếp hàng với các trạng thái đã được tính toán sẵn trong Thông báo ổn định và Thông báo ổn định tai nạn;
- Tàu được đánh giá ổn định và ổn định tai nạn từ xa bằng phương tiện đã được Cục Đăng kiểm Việt Nam thẩm định;
- Tàu chỉ xếp hàng trong phạm vi dải các tải trọng đã được tính toán sẵn trong Thông báo ổn định và Thông báo ổn định tai nạn;
- Tàu chỉ xếp hàng thỏa mãn chiều cao trọng tâm tối đa cho phép hoặc chiều cao tâm nghiêng ban đầu tối thiểu cho phép.
4 Bất kể yêu cầu ở 1, máy tính kiểm soát ổn định đã lắp đặt trên các tàu được đóng trước ngày phải trang bị theo yêu cầu ở 1 không cần phải thay thế với điều kiện chúng phải có khả năng đánh giá được ổn định nguyên vẹn và tai nạn được Đăng kiểm chấp nhận.
3.9 được sửa đổi như sau:
3.9 Tàu công-te-nơ
3.9.4 Ổn định của tàu công-te-nơ ở mọi trạng thái tải trọng có chở công-te-nơ phải sao cho góc nghiêng tĩnh khi tàu đang quay vòng xác định theo đồ thị ổn định không được lớn hơn một nửa góc nghiêng mà boong mạn khô bắt đầu nhúng nước. Trong mọi trường hợp góc đó không được lớn hơn.
Trong trường hợp, nếu được Đăng kiểm chấp thuận, khi chỉ xếp các công-te-nơ (hàng boong) trên những nắp miệng hầm hàng thì có thể lấy góc nhỏ nhất trong các góc vào nước của mép trên miệng hầm hàng hoặc góc vào nước của công-te-nơ (khi các công-te-nơ nhô ra quá mép miệng hầm hàng) thay cho góc mép boong cao nhất nhúng nước.
3.11 được sửa đổi như sau:
3.11 Tàu chữa cháy
3.11.1 Ổn định của tàu chữa cháy phải thỏa mãn các yêu cầu -1 và -2 dưới đây:
1 Mỗi tàu phải có đủ ổn định ở tất cả các trạng thái khi họng cứu hỏa hoạt động với công suất lớn nhất nhân với hệ số 1,1 theo hướng bất lợi nhất về ổn định. Đối với thiết bị đẩy được xem như hoạt động cân bằng với lực của họng cứu hỏa. Khi tính toán thì điểm đặt lực cho tổng lực đẩy của thiết bị đẩy được lấy tại vị trí thiết bị đẩy thấp nhất.
2 Diện tích giữa đường cong cánh tay đòn hồi phục và cánh tay đòn gây nghiêng gây ra bởi súng phun dùng để chữa cháy và các thiết bị đẩy trên tàu (ví dụ như các thiết bị đẩy dùng để định vị tàu), xác định giữa giao điểm thứ nhất của hai đường cong và góc nghiêng 40° tính từ giao điểm thứ nhất hoặc góc vào nước, lấy góc nào nhỏ hơn, phải không nhỏ hơn 0,09 m.rad và giao điểm thứ nhất phải nhỏ hơn một nửa góc mép boong nhúng nước.
CHƯƠNG 4 YÊU CẦU ỔN ĐỊNH CỦA CẦN CẨU NỔI, TÀU CẨU, PHAO CHUYỂN TẢI, Ụ NỔI VÀ BẾN NỔI
4.1 Cần cẩu nổi và tàu cẩu
4.1.3 Các trạng thái tải trọng
4.1.3-1 được sửa đổi như sau:
1 Trong trạng thái làm việc, phải kiểm tra ổn định của cần cẩu nổi ở các trạng thái tải sau đây (không tính đến lượng băng phủ) và nước dằn:
(1) tải lớn nhất trên móc với bán kính cần lớn nhất đối với tải tại góc quay cụ thể của kết cấu cần cẩu φ so với mặt phẳng dọc tâm của cần cẩu nổi/tàu cẩu.
- Với toàn bộ hàng, toàn bộ dự trữ;
- Với toàn bộ hàng, 10% dự trữ;
- Không hàng, toàn bộ dự trữ;
- Không hàng, 10% dự trữ.
(2) không hàng trên móc, cần ở vị trí cao nhất ở góc quay cụ thể của cần cẩu.
- Với toàn bộ hàng, toàn bộ dự trữ;
- Với toàn bộ hàng, 10% dự trữ;
- Không hàng, toàn bộ dự trữ;
- Không hàng, 10% dự trữ.
(3) hàng rơi, ví dụ như nhả nhanh hàng trên móc của kết cấu cần cẩu. Trong trường hợp hàng rơi, phải xác định trạng thái tải xấu nhất trên phương diện ổn định, khi xét đến khả năng hàng được chằng buộc không đối xứng trên boong và trong khoang.
PHẦN 11 MẠN KHÔ
CHƯƠNG 3 ĐIỀU KIỆN ẤN ĐỊNH MẠN KHÔ ĐỐI VỚI CÁC TÀU CHẠY TUYẾN QUỐC TẾ
3.2 Bố trí các phương tiện đóng kín của các lỗ trên thân tàu và thượng tầng
3.2.12 Cửa húp lô, cửa sổ và cửa lấy ánh sáng.
3.2.12-2 được sửa đổi như sau:
2 Cửa húp lô phải có bản lề và nắp thép bảo vệ bên trong nếu chúng được lắp tại các vị trí sau:
Bên dưới boong mạn khô;
Trong phạm vi thượng tầng đóng kín thứ nhất;
Trong phạm vi lầu boong và chòi boong trên boong mạn khô mà nó bảo vệ các lỗ dẫn xuống các không gian dưới boong mạn khô hoặc chúng tham gia vào dự trữ tính nổi trong tính toán ổn định của tàu.
CHƯƠNG 4 ẤN ĐỊNH MẠN KHÔ TỐI THIỂU ĐỐI VỚI CÁC TÀU CHẠY TUYẾN QUỐC TẾ
4.4 Hiệu chỉnh mạn khô
4.4.8 Chiều cao tối thiểu của mũi tàu
4.4.8 được sửa đổi như sau:
1 Chiều cao mũi tàu được định nghĩa là khoảng cách thẳng đứng đo tại đường vuông góc mũi từ đường nước ứng tới mạn khô mùa hè ấn định và độ chúi thiết kế lớn nhất tại mũi tàu đến đỉnh của boong hở tại mạn tàu, khoảng cách này không được nhỏ hơn.
Fb = (6075(L/100) - 1875(L/100)2 + 200(L/100)3) x (2.08 + 0,609Cb - 1,603Cwf - 0,0129L/d1)
Trong đó:
Fb là chiều cao tính toán tối thiểu của mũi tàu, tính bằng mm;
L là chiều dài, như định nghĩa tại quy định 1.2, tính bằng m;
B là chiều rộng lý thuyết, như định nghĩa tại quy định 1.2, tính bằng m;
d1 là chiều chìm đo tại 85% chiều cao mạn lý thuyết, tính bằng m;
Cb là hệ số béo thể tích, như định nghĩa tại 1.2;
Cwf là hệ số béo đường nước phía trước L/2: Cwf = 2Awf / (BLf);
Awf là diện tích đường nước phía trước L/2 tại chiều chìm d1, tính bằng m2.
4.4.8-3 được sửa đổi như sau:
3 Nếu chiều cao mũi quy định ở 4.4.8-1 lấy theo thượng tầng thì thượng tầng này phải được kéo dài từ sống mũi về phía đuôi đến một điểm cách đường vuông góc mũi ít nhất
và phải là thượng tầng kín.
4.4.8-6 được sửa đổi như sau:
6 Mạn khô của tàu mới để phù hợp với các yêu cầu về vận hành đặc biệt không thỏa mãn những quy định ở từ 4.4.8-1 đến 4.4.8-3, và cũng như đối với tàu hiện có không phù hợp với các quy định này phải được Đăng kiểm xem xét riêng trong từng trường hợp cụ thể.
CHƯƠNG 6 DẤU MẠN KHÔ CỦA TÀU CÓ CHIỀU DÀI BẰNG HOẶC LỚN HƠN 24 M KHÔNG CHẠY TUYẾN QUỐC TẾ
6.4 Định mạn khô tối thiểu
6.4.2 Tàu hoạt động ở vùng biển hạn chế II
6.4.2-1 được sửa đổi như sau:
1 Mạn khô nhỏ nhất của các tàu hoạt động ở vùng biển hạn chế II trừ các quy định ở 6.1.1-1 phải phù hợp với các quy định ở Chương 4 của Phần này, trừ các quy định ở 4.5.3, 4.5.4, 4.4.8-1 và cũng phải thỏa mãn các quy định ở 6.4.2-2 và 6.4.2-3 dưới đây.
CHƯƠNG 7 MẠN KHÔ CỦA CÁC TÀU CÓ CHIỀU DÀI NHỎ HƠN 24 MÉT
7.4 Ấn định mạn khô tối thiểu
7.4.3 được sửa đổi như sau:
7.4.3 Hiệu chỉnh mạn khô
1 Xác định mạn khô
Mạn khô của tàu phù hợp với những quy định ở Bảng 11/7.4.1 cộng với các hiệu chỉnh như dưới đây:
2 Hiệu chỉnh đối với chiều cao mạn
Nếu chiều cao mạn D để xác định mạn khô vượt quá L/15, thì trị số mạn khô sẽ phải tăng lên, lượng tăng này được xác định theo công thức sau:
(D - L / 15)L / 0,48
Nếu D nhỏ hơn L / 15, thì không được khấu trừ.
3 Hiệu chỉnh do thượng tầng
Nếu tàu có thượng tầng kín thì mạn khô của nó xác định theo 7.4.3-1 và 7.4.3-2 có thể được khấu trừ như sau:
- 5% nếu tổng chiều dài hiệu dụng của thượng tầng có chiều dài bằng 0,2L;
- 20% nếu tổng chiều dài hiệu dụng của thượng tầng có chiều dài bằng và lớn hơn 0,5L;
Đối với các tàu có chiều dài thượng tầng nằm giữa 0,2L đến 0,5L, trị số khấu trừ được xác định bằng nội suy tuyến tính.
4 Hiệu chỉnh theo chiều cao thành miệng hầm
Mạn khô của tàu phải được tăng lên, nếu chiều cao của dù chỉ một miệng hầm của lỗ khoét trên boong dẫn tới các không gian được coi là độc lập khi kiểm tra phân khoang tàu không đáp ứng các quy định của Phần này. Lượng tăng này được xác định theo công thức sau:
∆f = hr - ha
Trong đó:
hr - ha là độ chênh lệch lớn nhất giữa chiều cao quy định và chiều cao thực tế của thành miệng hầm.
5 Chiều cao mạn khô mũi tối thiểu
(1) Chiều cao mạn khô mũi tối thiểu được quy định ở 4.4.8-1 phải không nhỏ hơn trị số tính theo công thức sau đây:
56L(1-L/500)
(2) Phạm vi của độ cong dọc boong hoặc thượng tầng tương ứng với chiều cao mạn khô mũi tàu được quy định ở 7.4.3-5(1) phải được xác định phù hợp với 4.4.8-2 và 4.4.8-3.
(3) Không kể các yêu cầu ở 7.4.3-5(1) chiều cao mũi tàu tối thiểu của mạn khô "bảo vệ" được đo tương tự như mạn khô mũi tàu theo 4.4.8-1 nhưng đến đỉnh của be chắn sóng không được nhỏ hơn 0,1L.
(4) Nếu chiều cao mạn khô “bảo vệ” mũi tối thiểu được xác định bằng be chắn sóng, thì be chắn sóng phải kéo dài từ mũi đến điểm nằm cách đường vuông góc mũi một khoảng tối thiểu bằng 0,1L.
6 Chiều cao mạn khô đuôi
(1) Chiều cao mạn khô đuôi tối thiểu được xác định như quy định ở 4.4.8-1 nhưng tại đường vuông góc đuôi ứng với độ chúi lớn nhất, nếu có, không được nhỏ hơn nửa chiều cao mạn khô mũi tối thiểu được xác định ở 7.4.3-5(1).
(2) Nếu chiều cao mạn khô đuôi tối thiểu được xác định có xét đến độ cong dọc boong hoặc thượng tầng, thì phạm vi của chúng phải không nhỏ hơn một nửa trị số quy định tương ứng tại 4.4.8-2 và 4.4.8-3.
7 Đối với các tàu chỉ hoạt động trong cảng hoặc vùng nước được bảo vệ, chiều cao mạn khô tối thiểu của mũi và đuôi có thể được giảm xuống, nhưng trong mọi trường hợp chiều cao mạn khô mũi tối thiểu không được nhỏ hơn 0,5 m và chiều cao mạn khô đuôi tối thiểu phải bằng mạn khô ở giữa tàu.
8 Đối với các tàu có độ cong dọc tiêu chuẩn hoặc có thượng tầng mà các quy định ở 7.4.3-5 và -6 hoàn toàn thỏa mãn, thì đăng kiểm có thể cho phép khấu trừ mạn khô như đã quy định ở phần này, khi tàu có các lỗ khoét hở ở boong và thượng tầng kín được bố trí thích hợp.
9 Đối với các tàu có hốc trên boong, thì mạn khô được tính theo 7.4.3-1 đến 7.4.3-3 phải được tăng lên bởi hiệu chỉnh theo 4.4.9.
PHẦN 14 QUY ĐỊNH ĐỐI VỚI TÀU VƯỢT TUYẾN MỘT CHUYẾN
CHƯƠNG 2 CÁC YÊU CẦU
2.3 Yêu cầu kỹ thuật
2.3.5 và 2.3.6 được sửa đổi như sau:
2.3.5 Yêu cầu về trang bị cứu sinh, trang bị hàng hải và vô tuyến điện
1 Tàu phải được trang bị phù hợp các yêu cầu liên quan về trang bị cứu sinh đối với tàu thông thường được quy định ở Quy chuẩn kỹ thuật quốc gia về Trang bị an toàn tàu biển.
2 Tàu phải được trang bị phù hợp các yêu cầu liên quan về trang bị hàng hải và vô tuyến điện quy định ở 6.2 của Quy chuẩn kỹ thuật quốc gia về Trang bị an toàn tàu biển.
2.3.6 Cấp điện cho các trang bị hàng hải và vô tuyến điện
Các trang bị hàng hải và vô tuyến điện phải được cấp điện từ nguồn điện chính và sự cố của tàu. Với các tàu có nguồn điện chính là ắc quy mà không đảm bảo khả năng nạp lại được thì phải tăng số lượng các bình ắc quy lên để đảm bảo 150% khả năng cấp điện cho toàn bộ hành trình, ngoài ra phải bổ sung một nguồn ắc quy dự phòng đủ cấp cho các thiết bị vô tuyến điện trong thời gian tối thiểu 3 giờ, tổ ắc quy dự phòng này phải được bố trí trên boong gần với buồng đặt thiết bị vô tuyến điện. Đối với hộp chứa ắc quy đặt trên boong hở, cấp bảo vệ hộp chứa ắc quy phải không thấp hơn IP56 và hộp phải cách mặt boong tối thiểu 100 mm.
III CÁC QUY ĐỊNH VỀ QUẢN LÝ
Tiêu đề 3.2 được sửa đổi như sau:
3.2 ĐỀ NGHỊ KIỂM TRA VÀ CẤP GIẤY CHỨNG NHẬN
3.2.3-3 và -4 được bổ sung như sau:
3.2.3 Giấy chứng nhận duy trì cấp tàu và các giấy chứng nhận khác
1 Nếu có yêu cầu, Đăng kiểm sẽ cấp cho chủ tàu hoặc người đại diện chủ tàu Giấy chứng nhận duy trì cấp tàu để chứng nhận về việc cấp tàu được duy trì.
2 Nếu có yêu cầu, Đăng kiểm sẽ cấp cho chủ tàu hoặc người đại diện chủ tàu Giấy chứng nhận về các hạng mục được đăng ký trong Sổ đăng ký kỹ thuật tàu biển.
3 Nếu có yêu cầu, Đăng kiểm sẽ cấp cho chủ tàu hoặc người đại diện chủ tàu Giấy chứng nhận hoãn bảo dưỡng, sửa chữa, kiểm tra.
4 Nếu có yêu cầu, Đăng kiểm sẽ cấp cho chủ tàu hoặc người đại diện chủ tàu Giấy chứng nhận thay đổi thông số.
3.3 KIỂM TRA VÀ CẤP GIẤY CHỨNG NHẬN THEO CÔNG ƯỚC QUỐC TẾ VÀ LUẬT QUỐC GIA
3.3.1 Quy định chung
3.3.1-1 được sửa đổi như sau:
1 Đối với các tàu mang cờ quốc tịch Việt Nam, theo ủy quyền của Chính phủ nước Cộng hòa xã hội Chủ nghĩa Việt Nam, Đăng kiểm tiến hành kiểm tra và cấp các giấy chứng nhận phù hợp với các công ước quốc tế và luật hiện hành của Việt Nam, và thông báo cho Tổ chức Hàng hải quốc tế (IMO) các trường hợp áp dụng các quy định thay thế tương đương hoặc các miễn giảm đối với các yêu cầu của công ước quốc tế.
3.4 RÚT CẤP VÀ MẤT HIỆU LỰC CỦA GIẤY CHỨNG NHẬN PHÂN CẤP
3.4.1 và 3.4.2 được sửa đổi như sau:
3.4.1 Mất hiệu lực cấp tàu
1 Đăng kiểm sẽ rút cấp (xóa cấp) và thông báo việc rút cấp tàu cho chủ tàu khi:
(1) Chủ tàu yêu cầu;
(2) Tàu không còn sử dụng được nữa (tàu đã bị thải loại để phá dỡ, bị tuyên bố tổn thất toàn bộ về kết cấu hoặc bị chìm v.v...);
(3) Theo báo cáo của đăng kiểm viên, tàu không thỏa mãn các yêu cầu kiểm tra như quy định ở 2.2 Phần 1A Mục II của Quy chuẩn và được Đăng kiểm chấp nhận;
2 Cấp tàu sẽ bị ngừng hiệu lực (treo cấp) trong trường hợp cấp tàu tự mất hiệu lực như quy định (1) dưới đây hoặc khi Đăng kiểm xác định rằng tàu không thỏa mãn các yêu cầu về duy trì cấp như quy định ở (2) dưới đây.
(1) Cấp tàu sẽ bị tự mất hiệu lực trong các trường hợp sau:
(a) Sau khi tàu bị tai nạn có ảnh hưởng đến cấp tàu mà Đăng kiểm không được thông báo để tiến hành kiểm tra bất thường tại cảng xảy ra tai nạn hoặc tại cảng đầu tiên mà tàu tới (trong trường hợp tàu bị tai nạn trên biển);
(b) Tàu được hoán cải, thay đổi về kết cấu hoặc máy móc, thiết bị có ảnh hưởng đến cấp tàu nhưng không được Đăng kiểm đồng ý hoặc không thông báo cho Đăng kiểm;
(c) Tàu được sửa chữa các hạng mục nằm trong các hạng mục thuộc sự giám sát của Đăng kiểm nhưng không được Đăng kiểm chấp nhận hoặc không có Đăng kiểm giám sát;
(d) Tàu hành hải với chiều chìm vượt quá chiều chìm do Đăng kiểm ấn định cho từng điều kiện hành hải hoặc tàu hoạt động với các điều kiện không tuân theo các yêu cầu đối với cấp được trao hoặc các điều kiện hạn chế đã quy định;
(e) Khi phát hiện thấy hư hỏng, khuyết tật có ảnh hưởng đến phân cấp tàu nhưng chủ tàu không thông báo cho Đăng kiểm để đưa tàu đến kiểm tra;
(f) Nội dung kiểm tra như quy định ở 2.2 Phần 1A Mục II của Quy chuẩn không được thực hiện.
(2) Đăng kiểm sẽ quyết định treo cấp tàu trong các trường hợp sau:
(a) Các khuyến nghị phải được thực hiện trong thời hạn đã định nhưng không được thực hiện đúng hạn, trừ trường hợp khuyến nghị này đã được hoãn vào trước thời hạn đã định và được Đăng kiểm chấp nhận;
(b) Trong các trường hợp khác mà chủ tàu không hoàn thành các nghĩa vụ và trách nhiệm theo quy định (ví dụ không thanh toán đầy đủ giá, phí và lệ phí đăng kiểm).
(3) Trường hợp tàu bị treo cấp như nêu ở (2) trên, hoặc trong trường hợp mà Đăng kiểm nhận được thông báo khẳng định về các nội dung như nêu ở (1) trên, Đăng kiểm sẽ thông báo treo cấp tàu cho chủ tàu. Thời hạn treo cấp tàu là 6 tháng tính từ ngày phát hành thông báo. Trong khoảng thời gian này, nếu chủ tàu không khắc phục thỏa mãn các nguyên nhân dẫn đến việc tàu bị treo cấp, thì tàu sẽ bị rút cấp.
3 Trường hợp tàu bị treo cấp như nêu ở -2 trên, việc treo cấp sẽ có hiệu lực và được duy trì cho đến khi nguyên nhân dẫn đến việc bị treo cấp đã được khắc phục. Ngoài ra, Đăng kiểm có thể yêu cầu kiểm tra bổ sung nếu thấy cần thiết, có xem xét đến nguyên nhân của việc treo cấp và tình trạng của tàu.
4 Trường hợp tàu bị rút cấp hoặc treo cấp như nêu ở -1 và -2 trên thì giấy chứng nhận phân cấp của tàu sẽ bị mất hiệu lực.
5 Đối với trường hợp mà tàu có các dấu hiệu phân cấp bổ sung đặc biệt, không bắt buộc áp dụng mà chỉ là lựa chọn bổ sung của chủ tàu hoặc tàu có dấu hiệu bổ sung phân cấp cho từ hai công dụng trở lên, nếu các yêu cầu về kiểm tra để duy trì dấu hiệu phân cấp đặc biệt này không được thực hiện theo yêu cầu thì việc treo cấp chỉ giới hạn đối với dấu hiệu phân cấp đặc biệt này. Trong trường hợp này thì không dẫn đến việc treo cấp và rút cấp nói chung của tàu như nêu ở -1, -2 và -4 trên.
3.4.2 Phân cấp lại
Chủ tàu có thể yêu cầu phân cấp lại cho tàu đã bị rút cấp như nêu ở 3.4.1-1 trên. Cấp của tàu sẽ được Đăng kiểm quyết định sau khi xem xét tình trạng hiện tại của tàu và ký hiệu phân cấp của tàu vào lúc tàu bị rút cấp.
IV TRÁCH NHIỆM CỦA CÁC TỔ CHỨC, CÁ NHÂN
4.2 được sửa đổi như sau:
4.2 Trách nhiệm của Cục Đăng kiểm Việt Nam
4.2.1 Thẩm định thiết kế tàu biển và duyệt tài liệu hướng dẫn
1 Thẩm định thiết kế tàu biển, các hệ thống, máy, thiết bị lắp đặt trên tàu biển phù hợp với các quy định của Quy chuẩn.
2 Duyệt các tài liệu, hướng dẫn kỹ thuật tàu biển theo các quy định của Quy chuẩn.
4.2.2 Kiểm tra và cấp các giấy chứng nhận an toàn kỹ thuật cho tàu biển và trang thiết bị lắp đặt trên tàu biển
Thực hiện việc kiểm tra, phân cấp và cấp giấy chứng nhận cho tàu và trang thiết bị lắp đặt trên tàu phù hợp với các quy định của Quy chuẩn này.
Biểu mẫu các giấy chứng nhận do Bộ trưởng Bộ Giao thông vận tải ban hành trên cơ sở đề nghị của Cục Đăng kiểm Việt Nam.
4.2.3 Đăng ký vào “Sổ đăng ký kỹ thuật tàu biển”
Đăng ký vào Sổ đăng ký kỹ thuật tàu biển các tàu đã được kiểm tra, giám sát kỹ thuật và phân cấp.
4.2.4 Hướng dẫn thực hiện/áp dụng
Hướng dẫn thực hiện/áp dụng các quy định của Quy chuẩn này đối với các cơ sở thiết kế, chủ tàu, cơ sở đóng mới, hoán cải, phục hồi và sửa chữa tàu biển; các đơn vị Đăng kiểm trong phạm vi cả nước và các cá nhân có liên quan đến quản lý khai thác tàu.
4.2.5 Rà soát và cập nhật Quy chuẩn
Báo cáo và kiến nghị Bộ Giao thông vận tải về việc rà soát, thay thế hoặc hủy bỏ Quy chuẩn này theo định kỳ năm năm một lần hoặc sớm hơn khi cần thiết, kể từ ngày ban hành. Thực hiện bổ sung, cập nhật hàng năm liên quan đến Mục II - Quy định kỹ thuật của Quy chuẩn này.
SỬA ĐỔI 1: 2017 QCVN 42:2015/BGTVT
QUY CHUẨN KỸ THUẬT QUỐC GIA VỀ TRANG BỊ AN TOÀN TÀU BIỂN
Sửa đổi 1: 2017
National Technical Regulation on Safety Equipment of Ships
Amendment No.1: 2017
Lời nói đầu
Sửa đổi 1: 2017 QCVN 42:2015/BGTVT Quy chuẩn kỹ thuật quốc gia về Trang bị an toàn tàu biển, do Cục Đăng kiểm Việt Nam biên soạn, Bộ Khoa học và Công nghệ thẩm định, Bộ Giao thông vận tải ban hành theo Thông tư số 15/2018/TT-BGTVT ngày 04 tháng 4 năm 2018.
Sửa đổi 1: 2017 QCVN 42:2015/BGTVT chỉ bao gồm các nội dung sửa đổi, bổ sung của QCVN 42:2015/BGTVT đã được ban hành kèm theo Thông tư số 15/2018/TT-BGTVT ngày 04 tháng 4 năm 2018.
Các nội dung không được nêu trong Sửa đổi 1: 2017 QCVN 42:2015/BGTVT thì áp dụng theo QCVN 42:2015/BGTVT.
QUY CHUẨN KỸ THUẬT QUỐC GIA VỀ TRANG BỊ AN TOÀN TÀU BIỂN
Mục lục
II QUY ĐỊNH KỸ THUẬT
CHƯƠNG 2 THIẾT BỊ CỨU SINH
2.5 Yêu cầu đối với các loại tàu khác
2.6 Yêu cầu đối với thiết bị cứu sinh
2.7 Yêu cầu về thiết bị cứu sinh đối với tàu hoạt động tuyến nội địa và các tàu nằm ngoài phạm vi áp dụng của SOLAS
CHƯƠNG 3 THIẾT BỊ TÍN HIỆU
3.1 Quy định chung
3.4 Bố trí các thiết bị tín hiệu
CHƯƠNG 5 THIẾT BỊ HÀNG HẢI
5.2 Thiết bị hàng hải của tàu biển tự chạy
5.7 Hệ thống di chuyển cho hoa tiêu
CHƯƠNG 6 YÊU CẦU VỀ TRANG BỊ AN TOÀN CHO CÁC TÀU CHẠY VƯỢT TUYẾN MỘT CHUYẾN
6.1 Quy định chung
6.2 Các yêu cầu cụ thể
III QUY ĐỊNH VỀ QUẢN LÝ
1.2 Hồ sơ đăng kiểm
V TỔ CHỨC THỰC HIỆN
1 Áp dụng Quy chuẩn
QUY CHUẨN KỸ THUẬT QUỐC GIA VỀ TRANG BỊ AN TOÀN TÀU BIỂN
II QUY ĐỊNH KỸ THUẬT
CHƯƠNG 2 THIẾT BỊ CỨU SINH
2.5 Yêu cầu đối với các loại tàu khác
2.5.2 Tàu công trình
2.5.2-2 và -4 được sửa đổi như sau:
1 Tàu cứu hộ, tàu chữa cháy, tàu hoa tiêu, tàu kéo, tàu nạo vét và các tàu khác phải được trang bị thiết bị cứu sinh giống như yêu cầu đối với tàu hàng, và tàu phá băng được ấn định dấu hiệu tàu có công dụng đặc biệt trong dấu hiệu phân cấp tàu phải được trang bị thiết bị cứu sinh giống như yêu cầu đối với tàu có công dụng đặc biệt.
2 Tàu cứu hộ phải được trang bị bổ sung các thiết bị cứu sinh bao gồm xuồng cấp cứu nhanh, thiết bị thu hồi nhanh lên tàu những người sống sót, những thiết bị để chuyển người lên tàu từ phương tiện cứu sinh. Số lượng và thành phần của các phương tiện trên phải được lựa chọn bởi chủ tàu và thẩm định bởi Đăng kiểm.
3 Các tàu thu gom dầu phải được trang bị số lượng các thiết bị cứu sinh như yêu cầu đối với tàu dầu có điểm chớp cháy nhỏ hơn hoặc bằng 60oC (thử cốc kín). Đặc tính của các thiết bị cứu sinh cho tàu không thường xuyên thu gom dầu hoặc sản phẩm dầu từ mặt nước sẽ được Đăng kiểm xem xét riêng.
4 Sà lan nhà ở
Sà lan nhà ở có số người nhỏ hơn 36 được trang bị cứu sinh như đối với tàu hàng không phải tàu chở dầu, hóa chất, khí hóa lỏng có nhiệt độ chớp cháy không quá 60oC (thử cốc kín). Đối với sà lan nhà ở có số người từ 36 trở lên phải thỏa mãn các yêu cầu sau:
(1) Sà lan phải trang bị một hoặc nhiều xuồng cứu sinh thỏa mãn 2.6.15, 2.6.16, 2.6.17 và 2.6.18 có tổng sức chở mỗi mạn 50% số người trên tàu.
(2) Thêm vào đó là phao bè cứu sinh hoặc phao bè cứu sinh cứng thỏa mãn 2.6.9 và 2.6.10 có sức chở mỗi mạn 100% số người trên tàu.
(3) Thay cho các yêu cầu ở (1) và (2) thì các sà lan có chiều dài nhỏ hơn 85 m hoặc sà lan thỏa mãn tiêu chuẩn ổn định tai nạn như đã quy định trong Phần 9 Mục II của QCVN 21:2015/BGTVT đối với tàu có công dụng đặc biệt có thể trang bị một hoặc nhiều phao bè thỏa mãn 2.6.9 hoặc 2.6.10 có sức chở mỗi mạn 100% số người trên tàu.
(4) Sà lan phải trang bị tối thiểu 01 xuồng cấp cứu thỏa mãn 2.6.19.
(5) Phương tiện cứu sinh cá nhân được trang bị như yêu cầu đối với tàu hàng.
(6) Bố trí các hệ thống đưa người lên và hạ phương tiện cứu sinh phải thỏa mãn yêu cầu 2.4.3.
2.6 Yêu cầu đối với thiết bị cứu sinh
2.6.3 Phao áo
2.6.3-3(2) được sửa đổi như sau:
3 Đèn của phao áo
(1) Mỗi đèn của phao áo phải:
(a) Có cường độ sáng không nhỏ hơn 0,75 cd theo mọi hướng bán cầu trên;
(b) Có một nguồn năng lượng cung cấp có khả năng đảm bảo cường độ phát sáng 0,75 cd trong ít nhất 8 giờ;
(c) Nhìn thấy được trên một phần càng lớn càng tốt ở bán cầu trên khi nó được gắn vào phao áo; và
(d) Phải là ánh sáng trắng.
(2) Nếu đèn nêu ở 2.6.3-3(1) là đèn chớp thì phải yêu cầu:
(a) Trang bị một công tắc hoạt động bằng tay;
(b) Chớp với tốc độ không nhỏ hơn 50 lần chớp và không lớn hơn 70 lần/phút với cường độ sáng hiệu dụng tối thiểu 0,75 cd.
2.6.8 Phao bè cứu sinh
2.6.8-5(3) được sửa đổi như sau:
(3) Đối với các tàu khách chạy tuyến quốc tế ngắn, không phải trang bị như yêu cầu tất cả các hạng mục đưa ra ở 2.6.8-5(1), nhưng phải trang bị như yêu cầu ở: 2.6.8-5(1)(a) đến 2.6.8-5(1)(f), 2.6.8-5(1)(h); 2.6.8-5(1)(i); 2.6.8-5(1)(m) đến 2.6.8-5(1)(p), 2.6.8-5(1)(u) đến 2.6.8-5(1)(x) và một nửa thiết bị nêu trong các điều 2.6.8-5(1)(j) đến 2.6.8-5(1)(l). Trên vỏ chứa các phao bè cứu sinh này cũng được ghi dòng chữ “SOLAS B PACK” bằng chữ La Tinh in hoa và ghi chú thích theo nội dung quy định ở 2.6.9-6(3)(e) và 2.6.10-6(7) tương ứng đối với từng loại bè;
2.6.8-5(4) được xóa bỏ và 2.6.8-5(5) được đánh số lại thành -(4) như sau:
(4) Nếu có trang bị, các thiết bị này phải đặt trong vỏ chứa nếu nó không phải là phần liền hoặc được cố định thường xuyên vào phao bè cứu sinh thì nó phải được cất giữ và được cố định bên trong bè và phải có khả năng nổi trong nước ít nhất 30 phút mà không làm hỏng những đồ chứa bên trong.
2.6.9 Phao bè cứu sinh tự bơm hơi
2.6.9-6 được sửa đổi như sau:
6 Các vỏ chứa phao bè cứu sinh tự bơm hơi
(1) Phao bè cứu sinh bơm hơi phải được đóng gói trong một vỏ chứa, vỏ này phải thỏa mãn các yêu cầu:
(a) Được kết cấu sao cho chịu được sự ăn mòn mạnh trong điều kiện bất kỳ có thể gặp ở trên biển;
(b) Có đủ tính nổi bản thân, khi chứa bè và thiết bị bên trong, để kéo dây giữ từ phía trong và tác động lên cơ cấu bơm bè nếu tàu bị chìm;
(c) Càng kín nước càng tốt, trừ đối với các lỗ thoát nước ở đáy vỏ.
(2) Phao bè phải có khả năng bơm hơi cho phao đứng thẳng lên khi phao bung ra một cách tự nhiên ở trong nước.
(3) Vỏ chứa phải được ghi:
(a) Tên nhà chế tạo hoặc nhãn hiệu thương mại;
(b) Số sê ri;
(c) Tên của cơ quan thẩm định và số người mà bè được phép chở;
(d) SOLAS (trừ những vỏ chứa những bè được trang bị phù hợp với 2.7.2-4);
(e) Kiểu đóng gói sự cố bên trong;
(f) Ngày bảo dưỡng gần nhất;
(g) Chiều dài của dây giữ;
(h) Khối lượng của phao bè sau khi đóng gói, nếu khối lượng đó lớn hơn 185 kg;
(i) Độ cao cất giữ lớn nhất cho phép từ đường nước (phụ thuộc vào độ cao thử rơi và chiều dài của dây giữ);
(j) Các chỉ dẫn hạ bè;
(k) Chủng loại hệ thống mắt xích yếu (nếu có) trong phao bè cứu sinh hoặc chỉ báo là không có bộ phận này.
2.6.10 Các phao bè cứu sinh cứng
2.6.10-6 được sửa đổi như sau:
6 Ghi ký hiệu trên phao bè cứu sinh cứng
Phao bè cứu sinh phải được ghi:
(1) Tên và cảng đăng ký của tàu chủ;
(2) Tên nhà chế tạo hoặc nhãn hiệu thương mại;
(3) Số sê ri;
(4) Tên của cơ quan thẩm định;
(5) Số người được phép trên bè ở mỗi lối ra vào bằng chữ số có chiều cao không nhỏ hơn 100 mm và các màu tương phản với màu của bè;
(6) SOLAS (trừ các bè trang bị thỏa mãn 2.7.2-4);
(7) Kiểu đóng gói sự cố bên trong;
(8) Chiều dài của dây giữ;
(9) Chiều cao cất giữ lớn nhất cho phép từ đường nước phụ thuộc vào độ cao thử rơi;
(10) Các chỉ dẫn hạ bè.
Tiêu đề 2.7 được sửa đổi như sau:
2.7 Yêu cầu về thiết bị cứu sinh đối với tàu hoạt động tuyến nội địa và các tàu nằm ngoài phạm vi áp dụng của SOLAS
2.7.1 được sửa đổi như sau:
2.7.1 Quy định chung
1 Các yêu cầu ở mục 2.7 này được áp dụng cho thiết bị cứu sinh của các tàu hoạt động tuyến nội địa và các tàu nằm ngoài phạm vi áp dụng của SOLAS.
2 Tàu phải áp dụng các yêu cầu liên quan từ 2.1 đến 2.6, 2.8 và 2.9 trừ các yêu cầu được chỉ ra ở mục 2.7 này.
3 Dụng cụ nổi cứu sinh được sử dụng ở mục 2.7 này là phương tiện cứu sinh nhưng chỉ phải thỏa mãn các yêu cầu ở 2.7.6 này
2.7.2 được sửa đổi như sau:
2.7.2 Yêu cầu đối với tất cả các tàu
1 Thay cho yêu cầu về hệ thống thông tin liên lạc ở 2.2.1, tàu có thể được trang bị như sau:
(1) Vô tuyến điện cứu sinh có thể được trang bị như yêu cầu ở Chương 4 của Quy chuẩn này áp dụng cho tàu hoạt động tuyến nội địa;
(2) Pháo hiệu cấp cứu có thể trang bị không ít hơn 06 pháo hiệu dù;
(3) Các hệ thống thông tin liên lạc và báo động trên tàu phải áp dụng theo yêu cầu 2.2.1-3, tuy nhiên đối với tàu hàng có tổng dung tích nhỏ hơn 200 và tàu khách nhỏ hơn 24 mét chỉ cần tín hiệu báo động được phát bởi còi tàu hoặc còi hú;
(4) Hệ thống truyền thanh công cộng trên các tàu khách phải áp dụng theo yêu cầu của Chương 4 áp dụng cho tàu hoạt động tuyến nội địa.
2 Phương tiện cứu sinh cá nhân phải được trang bị theo yêu cầu 2.2.2, tuy nhiên không cần phải trang bị bộ quần áo bơi, bộ quần áo chống mất nhiệt, phao áo cho em bé và trang bị phao hoặc thiết bị bổ sung đối với người có khối lượng tới 140 kg và với vòng ngực tới 1,75 m.
3 Đối với thiết bị trên phao bè các tàu hoạt động trong vùng hạn chế II và hạn chế III không phải trang bị thỏa mãn đầy đủ các yêu cầu ở 2.6.8-5(1), nhưng phải trang bị thỏa mãn các yêu cầu sau: 2.6.8-5(1)(a) đến 2.6.8-5(1)(f), 2.6.8-5(1)(h); 2.6.8-5(1)(i); 2.6.8-5(1)(m) đến 2.6.8-5(1)(p), 2.6.8-5(1)(u) đến 2.6.8-5(1)(x) và một nửa thiết bị nêu trong các điều 2.6.8-5(1)(j) đến 2.6.8-5(1)(l). Trên vỏ chứa các phao bè cứu sinh này cũng được ghi dòng chữ “SOLAS B PACK” bằng chữ La Tinh in hoa và ghi chú thích theo nội dung quy định ở 2.6.9-6(3)(e) và 2.6.10-6(7) tương ứng đối với từng loại bè.
4 Các phao bè cứu sinh của tàu hạn chế III không chạy tuyến quốc tế (trừ trường hợp được trang bị dụng cụ nổi thay cho phao bè) ít nhất phải trang bị các thiết bị sau đây:
(1) Các hạng mục thiết bị nêu trong 2.6.8-5(1)(a), 2.6.8-5(1)(d), 2.6.8-5(1)(f), 2.6.8-5(1)(h), 2.6.8-5(1)(i), 2.6.8-5(1)(k), 2.6.8-5(1)(m), và 2.6.8-5(1)(v);
(2) Một gầu múc nước nổi và một neo nổi; ghi chú theo yêu cầu ở 2.6.9-6(3)(e) và 2.6.10-6(7) trên các phao bè cứu sinh này sẽ phải là "C PACK" bằng chữ La Tinh in hoa.
5 Bố trí hệ thống hạ và thu hồi phương tiện cứu sinh phải theo yêu cầu ở 2.2.7, tuy nhiên quy định 2.2.7-1 không cần phải áp dụng.
6 Thay cho yêu cầu về thiết bị phóng dây ở 2.2.9, tàu có thể được trang bị như sau:
(1) Những tàu có chiều dài trên 25 m phải trang bị thiết bị phóng dây không ít hơn 2 đầu phóng, mỗi đầu phóng mang được 1 dây;
(2) Tàu có chiều dài nhỏ hơn 25 m cũng như hoạt động trong vùng cảng và trên các luồng lạch ven bờ, có thể không cần trang bị thiết bị phóng dây, khi đó Đăng kiểm sẽ ấn định vùng hoạt động cho tàu.
2.7.3 Yêu cầu đối với tàu khách
2.7.3-1 được sửa đổi như sau:
1 Thay cho các yêu cầu về trang bị phương tiện cứu sinh và xuồng cấp cứu ở 2.3.1, tàu có thể được trang bị như sau:
(1) Phương tiện cứu sinh
(a) Tàu phải trang bị phương tiện cứu sinh thỏa mãn các yêu cầu ở Bảng 2.7.3-1(1)(a).
(b) Dụng cụ nổi cứu sinh phải thỏa mãn yêu cầu ở 2.7.6.
(c) Đối với tàu hoạt động ở vùng biển hạn chế III có thể được trang bị phao bè hở có thể lật được thỏa mãn yêu cầu đã chỉ ra ở Phần 8 Mục II QCVN 54: 2015/BGTVT. Đối với tàu hoạt động ở vùng biển hạn chế II, có thể được trang bị phao bè hở có thể lật được thỏa mãn yêu cầu đã chỉ ra ở Phần 8 Mục II QCVN 54: 2015/BGTVT với điều kiện tuyến hoạt động cho tàu được Đăng kiểm chấp nhận phù hợp với trang bị loại phao bè hở.
Bảng 2.7.3-1(1)(a) - Trang bị phương tiện cứu sinh của tàu khách
|
Vùng hoạt động |
Phạm vi |
Yêu cầu trang bị |
|
Tàu hạn chế III
|
GT < 300 |
Phao bè cứu sinh hoặc dụng cụ nổi cứu sinh có sức chứa mỗi mạn 55% tổng số người |
|
300 ≤ GT < 500 |
Phao bè cứu sinh có sức chứa mỗi mạn 75% tổng số người |
|
|
GT ≥ 500 |
Phao bè cứu sinh có sức chứa mỗi mạn 100% tổng số người |
|
|
Tàu hạn chế II |
GT < 500 n ≤ 300 người |
Phao bè cứu sinh có sức chứa mỗi mạn 75% tổng số người
|
|
GT < 500 n > 300 người |
Phao bè cứu sinh có sức chứa mỗi mạn 100% tổng số người |
|
|
GT ≥ 500 |
Phao bè cứu sinh phải được trang bị như yêu cầu ở 2.3.1-1(4)(a) đến (d) |
|
|
Tàu không hạn chế |
GT < 300 |
Phao bè cứu sinh có sức chứa mỗi mạn 100% tổng số người |
|
300 ≤ GT < 500 |
Phao bè cứu sinh phải được trang bị như yêu cầu ở 2.3.1-1(4)(a) đến (d) |
|
|
GT ≥ 500 |
Trang bị như tàu khách hoạt động tuyến quốc tế ngắn ở 2.3.1-1(2)(a) đến (d) |
2 Những yêu cầu bổ sung đối với tàu khách ro-ro
Trang bị cứu sinh cho tàu khách ro-ro các cấp hạn chế được áp dụng tương tự như đối với tàu khách hạn chế II; tàu khách ro-ro hoạt động không hạn chế được áp dụng như tàu khách hoạt động tuyến quốc tế.
2.7.4 Yêu cầu đối với tàu hàng
2.7.4-1 được sửa đổi như sau:
1 Thay cho các yêu cầu về trang bị phương tiện cứu sinh và xuồng cấp cứu ở 2.4.1, tàu có thể được trang bị như sau:
(1) Phương tiện cứu sinh
(a) Tàu phải trang bị phương tiện cứu sinh thỏa mãn các yêu cầu ở Bảng 2.7.4-1(1)(a);
(b) Dụng cụ nổi, nếu trang bị, phải thỏa mãn yêu cầu ở 2.7.6;
(c) Đối với tàu chở dầu, hóa chất, khí hóa lỏng có nhiệt độ chớp cháy nhỏ hơn hoặc bằng 60oC (thử cốc kín) có tổng dung tích từ 3000 trở lên phải được trang bị như tàu dầu hoạt động tuyến quốc tế.
Bảng 2.7.4-1(1)(a) - Trang bị phương tiện cứu sinh của tàu hàng
|
Vùng |
Kích thước |
Trang bị |
Ghi chú |
|
Tàu hạn chế III
|
GT < 300 |
Phao bè cứu sinh hoặc dụng cụ nổi cứu sinh có sức chứa 100% tổng số người |
Đối với tàu có GT<150 có thể thay thế phao bè cứu sinh hoặc dụng cụ nổi cứu sinh bằng phao tròn với mức cứ hai người có một phao tròn. |
|
300 ≤ GT < 1600 |
Phao bè cứu sinh hoặc dụng cụ nổi cứu sinh có sức chứa 100% tổng số người |
|
|
|
1600 ≤ GT < 3000 |
Phao bè cứu sinh có sức chứa mỗi mạn 100% tổng số người |
|
|
|
GT ≥ 3000 |
Phao bè cứu sinh phải được trang bị theo yêu cầu 2.4.1-1(3)(a) đến (d) |
|
|
|
Tàu hạn chế II |
GT < 1600 |
Phao bè cứu sinh có sức chứa mỗi mạn 100% tổng số người |
|
|
GT ≥ 1600 |
Phao bè cứu sinh phải được trang bị như yêu cầu 2.4.1-1(3)(a) đến (d) |
|
|
|
Tàu không hạn chế |
GT < 500 |
Phao bè cứu sinh có sức chứa mỗi mạn 100% tổng số người |
|
|
GT ≥ 500 |
Phao bè cứu sinh phải được trang bị theo yêu cầu 2.4.1-1(3)(a) đến (d) |
|
2 Trang bị cứu sinh cá nhân phải áp dụng theo yêu cầu ở 2.4.2, tuy nhiên đối với tàu có chiều dài nhỏ hơn 24 m chỉ cần trang bị tối thiểu hai phao tròn, trong đó một phao có đèn và một phao có dây.
2.7.5 Yêu cầu đối với các loại tàu khác
2.7.5-2(2) được sửa đổi như sau:
1 Tàu có công dụng đặc biệt
(1) Tàu chở bằng hoặc ít hơn 60 người thì trang bị cứu sinh của chúng phải trang bị giống như đối với tàu hàng hoạt động tuyến nội địa không phải tàu chở dầu, hóa chất, khí hóa lỏng có nhiệt độ chớp cháy nhỏ hơn hoặc bằng 60oC (thử cốc kín).
(2) Tàu chở nhiều hơn 60 người thì trang bị cứu sinh của chúng phải được trang bị giống như đối với tàu khách hoạt động tuyến nội địa.
(3) Các yêu cầu của 2.3.1-1(2), 2.3.1-1(3), 2.4.1-1(6), 2.4.1-1(7) không cần áp dụng cho các tàu có công dụng đặc biệt.
2 Tàu công trình
(1) Tàu cứu hộ, tàu chữa cháy, tàu hoa tiêu, tàu kéo, tàu nạo vét và các tàu khác phải được trang bị cứu sinh giống như đối với tàu hàng hoạt động tuyến nội địa.
(2) Tàu cứu hộ phải được trang bị bổ sung các thiết bị cứu sinh bao gồm xuồng cấp cứu nhanh, thiết bị thu hồi nhanh lên tàu những người sống sót, những thiết bị để chuyển người lên tàu từ phương tiện cứu sinh. Đối với tàu cứu hộ phải trang bị số phao áo cho 25% số người mà tàu dự định sẽ cứu nạn.
Đối với tàu cứu hộ có chiều dài nhỏ hơn 24 m chỉ cần trang bị thiết bị cứu sinh như đối với tàu hàng hoạt động tuyến nội địa và phao áo cho 25% số người dự định cứu nạn.
(3) Các tàu thu gom dầu phải được trang bị số lượng các thiết bị cứu sinh như đối với tàu dầu có điểm chớp cháy nhỏ hơn hoặc bằng 60oC (thử cốc kín) hoạt động tuyến nội địa. Đặc tính của các thiết bị cứu sinh cho tàu không thường xuyên thu gom dầu hoặc sản phẩm dầu từ mặt nước sẽ được Đăng kiểm xem xét riêng.
2.7.6 được bổ sung như sau:
2.7.6 Dụng cụ nổi cứu sinh
1 Quy định chung
(1) Dụng cụ nổi cứu sinh phải thỏa mãn các yêu cầu thích hợp ở 2.6.1-1, trừ 2.6.1-1(2), (3) được sửa đổi thành như sau:
(a) Không bị hư hại trong quá trình cất giữ ở nhiệt độ khoảng từ 0oC đến +65oC;
(b) Hoạt động được trong khoảng nhiệt độ nước biển từ 0oC đến +30oC, nếu chúng thường xuyên bị nhúng trong nước biển trong quá trình sử dụng.
(2) Dụng cụ nổi cứu sinh phải kết cấu sao cho có khả năng chịu được mọi điều kiện bên ngoài 10 ngày nổi trong mọi điều kiện sóng gió trên biển;
(3) Dụng cụ nổi cứu sinh phải kết cấu sao cho khi thả rơi xuống nước từ độ cao 10 m, nó và trang bị của nó vẫn hoạt động tốt;
(4) Dụng cụ nổi cứu sinh đang nổi phải có khả năng chịu được các cú nhảy liên tục lên dụng cụ nổi từ độ cao ít nhất là 4 m phía trên sàn dụng cụ nổi;
(5) Dụng cụ nổi cứu sinh không yêu cầu trang bị mái che và không cần áp dụng các quy định liên quan đến mái che;
(6) Trong trường hợp tham chiếu đến các quy định có liên quan của phao bè cứu sinh thì từ phao bè hoặc bè được thay bằng dụng cụ nổi.
2 Sức chở tối thiểu và khối lượng của dụng cụ nổi cứu sinh
(1) Dụng cụ nổi cứu sinh phải có sức chở không nhỏ hơn 6 người được tính toán theo các yêu cầu của 2.6.9-3 hoặc 2.6.10-3, tùy theo mục nào phù hợp;
(2) Khối lượng tổng cộng của dụng cụ nổi cứu sinh, vỏ chứa và trang thiết bị của nó không được lớn hơn 185 kg.
3 Trang thiết bị dụng cụ nổi cứu sinh
(1) Xung quanh phía trong và phía ngoài dụng cụ nổi cứu sinh phải có dây cứu sinh gắn chắc chắn vào nó;
(2) Dụng cụ nổi cứu sinh phải được trang bị một dây giữ có chiều dài không nhỏ hơn 7 m cộng với khoảng cách từ vị trí cất giữ dụng cụ nổi cứu sinh tới đường nước trong điều kiện đi biển nhẹ nhất hoặc 10 m, lấy giá trị nào lớn hơn. Sức bền kéo đứt của dây giữ bao gồm các phụ kiện đi kèm chính với dụng cụ nổi cứu sinh, trừ những dây yếu được yêu cầu bởi 2.6.8-6, không được nhỏ hơn 15,0 kN đối với dụng cụ nổi cứu sinh được phép chở hơn 25 người và không nhỏ hơn 10 kN đối với những dụng cụ nổi cứu sinh cho phép chở được từ 9 đến 25 người và không được nhỏ hơn 7,5 kN đối với bất kỳ loại dụng cụ nổi cứu sinh nào khác.
4 Thiết bị cứu sinh trên dụng cụ nổi cứu sinh
(1) Thiết bị thông thường của một dụng cụ nổi cứu sinh phải bao gồm:
(a) Một con dao kiểu không gập được có cán nổi và có dây buộc và đặt trong một túi ở phía ngoài ở mui che gần vị trí buộc dây giữ dụng cụ nổi cứu sinh;
(b) Một bộ dụng cụ sơ cứu đựng trong hộp kín nước có khả năng đóng kín lại sau khi sử dụng;
(c) Một còi hoặc tín hiệu phát âm thanh tương đương với cường độ tín hiệu khoảng 100 dB trong phạm vi 1 m;
(d) Sáu đuốc cầm tay thỏa mãn các yêu cầu của 2.6.7-2;
(e) Một đèn pin kín nước thích hợp cho việc đánh tín hiệu Morse có kèm một bộ pin và một bóng điện dự trữ đựng trong hộp kín nước.
(2) Nếu có trang bị, các thiết bị này phải đặt trong vỏ chứa nếu nó không phải là phần liền hoặc được cố định thường xuyên vào dụng cụ nổi cứu sinh thì nó phải được cất giữ và được cố định bên trong bè và phải có khả năng nổi trong nước ít nhất 30 phút mà không làm hỏng những đồ chứa bên trong.
5 Bố trí các cơ cấu nổi tự do của dụng cụ nổi cứu sinh
Áp dụng các yêu cầu tương ứng của 2.6.8-6.
6 Dụng cụ nổi cứu sinh loại tự bơm hơi
(1) Áp dụng các yêu cầu tương ứng ở 2.6.9-2, trừ 2.6.9-2(3) không phải áp dụng và yêu cầu ở 2.6.9-2(4) được thay bằng mỗi ngăn tự bơm hơi phải có khả năng chịu được áp lực bằng ít nhất 2 lần áp lực làm việc và phải được ngăn ngừa khỏi bị vượt quá áp lực lớn hơn 1,5 lần áp lực làm việc hoặc bằng van an toàn hoặc bằng việc cấp khí hạn chế.
(2) Áp dụng các yêu cầu tương ứng ở 2.6.9-3;
(3) Áp dụng các yêu cầu tương ứng ở 2.6.9-5, trừ 2.6.9-5(4) không phải áp dụng;
(4) Áp dụng các yêu cầu tương ứng của 2.6.9-6 trừ 2.6.9-6(3)(d) và (h) không phải áp dụng;
(5) Áp dụng các yêu cầu tương ứng của 2.6.9-7, trừ 2.6.9-7(f) được thay đổi thành số người được phép chở ở hai phía đối diện của dụng cụ nổi bằng chữ số có chiều cao không nhỏ hơn 100 mm và có màu tương phản với màu của dụng cụ nổi cứu sinh.
7 Dụng cụ nổi cứu sinh cứng
(1) Áp dụng các yêu cầu tương ứng ở 2.6.10-2;
(2) Áp dụng các yêu cầu tương ứng ở 2.6.10-3;
(3) Áp dụng các yêu cầu tương ứng ở 2.6.10-5;
(3) Áp dụng các yêu cầu tương ứng ở 2.6.10-6 trừ 2.6.10-6(6) không phải áp dụng.
8 Bảo dưỡng dụng cụ nổi cứu sinh tự bơm hơi
Dụng cụ nổi cứu sinh tự bơm hơi phải được bảo dưỡng như sau:
(1) Khoảng thời gian bảo dưỡng không quá 12 tháng, trong điều kiện không thể thực hiện được Đăng kiểm có thể chấp nhận kéo dài khoảng thời gian đến 17 tháng;
(2) Để hài hòa thời hạn bảo dưỡng và kiểm tra chu kỳ thì Đăng kiểm có thể chấp nhận kéo dài khoảng thời gian đến tối đa 18 tháng. Trong trường hợp này các thiết bị phải được bảo dưỡng tại các đợt kiểm tra chu kỳ; và
(3) Cơ sở bảo dưỡng phải được Đăng kiểm công nhận đủ năng lực bao gồm có đủ nhân lực thực hiện công việc, duy trì đầy đủ các thiết bị bảo dưỡng và nhân viên bảo dưỡng.
CHƯƠNG 3 THIẾT BỊ TÍN HIỆU
3.1 Quy định chung
3.1.1 Phạm vi áp dụng
3.1.1-2 được sửa đổi như sau:
1 Chương này của Quy chuẩn áp dụng cho các tàu mà thiết bị tín hiệu của tàu chịu sự giám sát kỹ thuật của Đăng kiểm.
2 Các yêu cầu của Chương này áp dụng cho các tàu đóng mới và các tàu đang khai thác. Đối với các tàu đang khai thác, các yêu cầu nêu trong cột 9 của Bảng 3.2.2-1 và các yêu cầu nêu trong điều 3.4.1-4 và 3.4.6-2(3) được áp dụng ở mức độ hợp lý và có thể thực hiện được cụ thể:
Các tàu được đóng trước ngày Công ước COLREG 72 có hiệu lực có thể được miễn giảm các yêu cầu quy định dưới đây:
(1) Việc bố trí vị trí các đèn do chuyển đổi hệ thống đơn vị đo hệ Anh sang hệ mét và các số liệu được làm tròn số;
(2) Việc thay đổi cách bố trí các đèn cột trên những tàu có chiều dài nhỏ hơn 150 m theo phương nằm ngang như quy định ở 3.4.2-1(2);
(3) Việc bố trí lại vị trí các đèn tín hiệu nhìn từ bốn phía như quy định ở 3.4.1-7;
(4) Việc lắp đặt các đèn dự trữ ở các vị trí thông thường hoặc sử dụng các đèn điện kép thỏa mãn 3.2.2-2.
3 Chương này của Quy chuẩn đưa ra những yêu cầu kỹ thuật mà các thiết bị tín hiệu phải thỏa mãn, đồng thời cũng quy định số lượng và cách bố trí các thiết bị tín hiệu đó ở trên tàu.
3.4 Bố trí các thiết bị tín hiệu
3.4.2 Các đèn tín hiệu hành trình chính trên tàu nhóm I
3.4.2-1(2) được sửa đổi như sau:
1 Đèn tín hiệu cột
(1) Đèn tín hiệu cột ở phía trước phải đặt trên cột mũi hoặc trước nó, nếu tàu không có cột này thì bố trí ở phía mũi tàu trong mặt phẳng đối xứng ở chiều cao phía trên thân tàu không thấp hơn 6 m;
Nếu chiều rộng của tàu lớn hơn 6 m thì đèn này phải đặt cao hơn thân tàu ở độ cao không nhỏ hơn chiều rộng tàu, song không cần thiết đặt cao quá 12 m phía trên thân tàu;
(2) Đèn tín hiệu cột ở phía sau phải bố trí trong mặt phẳng đối xứng của tàu;
Khoảng cách thẳng đứng giữa hai đèn tín hiệu cột phía trước và phía sau không được nhỏ hơn 4,5 m. Ngoài ra ở tất cả trạng thái nghiêng dọc có thể xảy ra trong điều kiện khai thác bình thường, cách mũi tàu 1000 m tại mực nước biển đèn cột ở phía sau vẫn nhìn cao hơn đèn cột ở phía trước;
Khoảng cách theo chiều dọc tàu, giữa các đèn tín hiệu cột trước và sau không được nhỏ hơn 1/2 chiều dài tàu nhưng khoảng cách từ đèn cột ở phía mũi đến đèn cột sau không cần lớn hơn 100 m. Đèn cột ở phía mũi không được bố trí ở khoảng cách lớn hơn 1/4 chiều dài tàu kể từ sống mũi. Đối với tàu dịch vụ ngoài khơi và các tàu tương tự hoạt động tuyến nội địa, khoảng cách hai đèn cột có thể gần nhau hơn, tuy nhiên nếu khoảng cách hai cột đèn theo chiều dọc không thể bố trí được ở vị trí mà khoảng cách hai đèn lớn hơn 1/4 chiều dài tàu thì tàu có thể chỉ cần bố trí một đèn cột nếu được Đăng kiểm chấp nhận.
Nếu trên các tàu có chiều dài nhỏ hơn 50 m chỉ cần bố trí một đèn cột, đèn cột này phải bố trí ở chiều cao như chỉ dẫn ở 3.4.2-1(1);
(3) Đèn cột phải bố trí cao hơn tất cả các đèn tín hiệu khác, trừ các đèn quy định ở 3.4.2-5 và 3.4.5-2, đèn màu trắng nhìn bốn phía quy định trong 3.4.2-4(1) và trong trường hợp ngoại lệ quy định ở 3.4.4-3(1) và 3.4.4-6, kể cả thượng tầng để nhìn thấy từng đèn riêng biệt qua mặt phẳng nằm ngang và phân biệt rõ ràng từng đèn một theo vị trí đặt chúng;
(4) Đèn cột dùng điện phải được bố trí cố định;
Đèn cột dùng dầu phải có thiết bị thích hợp để nâng đèn lên đúng vị trí quy định và hạ đèn xuống mặt boong. Kết cấu của thiết bị này phải đảm bảo đưa đèn vào vị trí đã quy định;
Dưới các đèn cột phải có tấm che bảo vệ nằm ngang có kích thước đủ để đèn không chiếu tia sáng xuống boong lầu lái và các boong khác;
Nếu trên tàu tự hành chỉ có một đèn cột thì đèn này phải được bố trí trong khoảng hướng về phía mũi tàu từ mặt phẳng sườn giữa.
CHƯƠNG 5 THIẾT BỊ HÀNG HẢI
5.2 Thiết bị hàng hải của tàu biển tự chạy
5.2.2 Thiết bị hàng hải cho tàu hoạt động tuyến nội địa
Bảng 5.2.2-1 được sửa đổi như sau:
1 Tùy theo vào tổng dung tích, vùng hoạt động của tàu hay mục đích sử dụng tàu mà các trang thiết bị, nghi khí hàng hải lắp đặt trên tàu phải theo Bảng 5.2.2-1 sau:
Bảng 5.2.2-1 - Định mức thiết bị hàng hải tàu hoạt động tuyến nội địa
|
TT |
Thiết bị hàng hải |
Số thiết bị đối với tàu có tổng dung tích |
Ghi chú |
||||||
|
< 150 |
≥ 150 |
≥ 300 |
≥ 500 |
≥ 3000 |
≥ 10000 |
≥ 50000 |
|||
|
1 |
La bàn từ chuẩn |
- |
- |
1 |
1 |
1 |
1 |
1 |
Không yêu cầu với tàu có GT dưới 3000 đã có la bàn từ lái |
|
2 |
La bàn từ lái(1) |
1 |
1 |
1 |
1 |
1 |
1 |
1 |
Không yêu cầu nếu đã có la bàn từ chuẩn |
|
3 |
Máy thu hệ thống vô tuyến hàng hải |
- |
1 |
1 |
1 |
1 |
1 |
1 |
Vị trí của tàu phải được xác lập một cách tự động |
|
4 |
Ra đa với: |
- |
- |
1 |
1 |
1 |
2 |
2 |
Một ra đa phải là ra đa 9 GHz (sóng dài 3 cm)
|
|
1. Thiết bị đồ giải điện tử (EPA) |
- |
- |
1 |
1 |
1 |
- |
- |
||
|
2. Thiết bị tự động đồ giải khoảng cách và vị trí các mục tiêu (ATA) |
-
|
-
|
-
|
-
|
-
|
1
|
1
|
||
|
5 |
La bàn con quay |
- |
- |
- |
- |
- |
1 |
1 |
La bàn con quay phải có bộ lặp lấy phương vị được cung 360o |
|
6 |
Máy đo sâu hồi âm |
- |
- |
1 |
1 |
1 |
1 |
1 |
GT ≥ 300 chỉ áp dụng cho tàu khách |
|
7 |
Thiết bị đo tốc độ và hành trình so với nước (log) |
- |
- |
- |
- |
- |
1 |
1 |
Phải đo được tốc độ và khoảng cách so với nước |
|
8 |
Hệ thống tự động nhận dạng (AIS)(2) |
- |
- |
1 |
1 |
1 |
1 |
1 |
|
|
9 |
Thiết bị chỉ báo góc lái |
- |
- |
- |
1 |
1 |
1 |
1 |
Phải có thể đọc được từ vị trí chỉ huy |
|
10 |
Phản xạ ra đa |
1 |
- |
- |
- |
- |
- |
- |
Nếu có thể |
|
11 |
Đo sâu bằng tay, bộ |
1 |
1 |
1 |
1 |
1 |
1 |
1 |
|
|
12 |
Đồng hồ bấm giây |
- |
1 |
1 |
1 |
2 |
2 |
2 |
|
|
13 |
Ống nhòm |
1 |
1 |
1 |
1 |
2 |
2 |
2 |
|
|
14 |
Thiết bị đo độ nghiêng |
1 |
1 |
1 |
1 |
2 |
2 |
2 |
|
|
15 |
Hải đồ và ấn phẩm hàng hải |
1 |
1 |
1 |
1 |
1 |
1 |
1 |
Bộ đầy đủ cho chuyến đi |
|
Chú thích: 1 Với các tàu có GT dưới 50 và hoạt động ở vùng nước cảng, thì chỉ cần trang bị loại la bàn từ dùng cho xuồng cứu sinh (tham khảo 5.5.2-22) đặt tại vị trí lái tàu; 2 Áp dụng đối với các tàu như sau: - Mọi tàu khách bất kể kích thước và tàu hàng có GT ≥ 3000 phải được trang bị không muộn hơn ngày 31/12/2017. - Các tàu hàng có 300 ≤ GT < 3000 phải: + Được trang bị nếu tàu được bàn giao vào hoặc sau ngày 01/7/2018. + Được trang bị không muộn hơn đợt kiểm tra hàng năm đầu tiên sau ngày 01/7/2018 nếu tàu được bàn giao trước ngày 01/7/2018. |
|||||||||
2 Thiết bị hàng hải không hoàn toàn thỏa mãn các yêu cầu trong Chương này có thể được lắp đặt trên tàu hoạt động tuyến nội địa, với điều kiện việc bố trí và vận hành chúng không ảnh hưởng đến các hoạt động bình thường theo yêu cầu của thiết bị, dụng cụ hàng hải và ảnh hưởng đến sự an toàn của tàu. Đồng thời chúng phải là kiểu được Đăng kiểm chấp nhận.
5.5.7 Ra đa
5.5.7-59(3) được sửa đổi như sau:
(3) Màn hình hiển thị phải có đường kính tối thiểu:
(a) 180 mm với các tàu có GT từ 300 đến dưới 1600;
(b) 250 mm với các tàu có GT từ 1600 trở lên.
Khối hiển thị của ra đa phải có 6 thang đo tầm xa từ 400 m đến 5000 m. Trong trường hợp này, phải có chỉ báo tối thiểu 4 vòng cự ly cố định điện tử và tầm xa dấu mốc điện tử khác có số đọc tính bằng m (hoặc km) trên mỗi thang đo tầm xa.
Tầm xa dấu mốc dạng điện tử biến đổi phải đảm bảo đo được tầm xa vật thể với sai số không lớn hơn 10 m trên thang đo 0,4 đến 2,0 km và 0,8% tầm xa của thang đo tiếp theo được thiết lập.
5.5.18 Hệ thống tự động nhận dạng tàu (AIS)
Bảng 5.5.18-7 được sửa đổi như sau:
Bảng 5.5.18-7 - Yêu cầu khoảng thời gian phát thông tin hàng hải
|
Trình trạng hàng hải của tàu |
Khoảng thời gian |
|
Tàu neo đậu |
3 phút |
|
Tàu chạy với tốc độ từ 0 đến 14 hải lý/giờ |
12 giây |
|
Tàu chạy với tốc độ từ 0 đến 14 hải lý/giờ và có thay đổi đường đi |
4 giây |
|
Tàu chạy với tốc độ từ 14 đến 23 hải lý/giờ |
6 giây |
|
Tàu chạy với tốc độ từ 14 đến 23 hải lý/giờ và có thay đổi đường đi |
2 giây |
|
Tàu chạy với tốc độ lớn hơn 23 hải lý/giờ |
3 giây |
|
Tàu chạy với tốc độ lớn hơn 23 hải lý/giờ và có thay đổi đường đi |
2 giây |
5.7 được bổ sung mới như sau:
5.7 Hệ thống di chuyển cho hoa tiêu
1 Phạm vi áp dụng
Các tàu có tổng dung tích từ 500 trở lên hoạt động tuyến quốc tế và các tàu chở khách, tàu chở dầu, tàu chở xô khí hóa lỏng, tàu chở xô hóa chất nguy hiểm có tổng dung tích từ 1000 trở lên, các loại tàu khác có tổng dung tích từ 2000 trở lên hoạt động tuyến nội địa phải trang bị hệ thống di chuyển cho hoa tiêu để hoa tiêu lên và rời tàu một cách an toàn.
2 Quy định chung
(1) Tất cả các hệ thống sử dụng cho việc di chuyển cho hoa tiêu phải thực hiện hiệu quả chức năng của chúng, cho phép hoa tiêu có thể lên và rời tàu một cách an toàn. Thiết bị phải được vệ sinh sạch sẽ, bảo dưỡng và cất giữ đúng cách và phải được kiểm tra thường xuyên để đảm bảo an toàn trong sử dụng cho mục đích lên và rời tàu.
(2) Sàn nâng của hệ thống di chuyển cho hoa tiêu và việc lên và rời tàu của hoa tiêu phải giám sát được bởi một sỹ quan có trách nhiệm có phương tiện liên lạc với buồng lái, sỹ quan này cũng phải hướng dẫn hoa tiêu về lối đi an toàn đến và từ buồng lái. Người được phân công chuẩn bị và vận hành bất kỳ thiết bị cơ khí nào phải được hướng dẫn các quy trình an toàn đã được thông qua và thiết bị phải được thử trước khi sử dụng.
(3) Thang hoa tiêu phải thỏa mãn các tiêu chuẩn sau đây:
(a) ISO 799:2004 Kỹ thuật tàu và hàng hải - Thang hoa tiêu;
(b) Tiêu chuẩn công nghiệp thích hợp khác được Đăng kiểm chấp nhận.
(4) Tất cả các thang hoa tiêu sử dụng cho việc di chuyển của hoa tiêu phải được nhận biết rõ ràng bằng các thẻ hoặc ghi nhãn cố định để có thể xác định được từng trang bị cho mục đích kiểm tra, xem xét và lưu trữ hồ sơ. Trên tàu phải lưu biên bản ghi ngày đưa thang vào sử dụng và bất kỳ sửa chữa nào đã được thực hiện.
(5) Trong quy định này, cầu thang mạn được nêu đến là phần thang nghiêng được sử dụng như một phần của trang bị di chuyển cho hoa tiêu.
3 Trang bị di chuyển
(1) Phải trang bị hệ thống để hoa tiêu có thể lên và rời tàu an toàn ở mạn bất kỳ của tàu.
(2) Trên tất cả các tàu, nếu khoảng cách từ mặt biển tới lối đi hoặc cửa vào tàu lớn hơn 9 mét, và khi dự định sử dụng cho việc lên và rời tàu của hoa tiêu bằng cầu thang mạn của tàu, hoặc bằng phương tiện an toàn tương đương khác kết hợp với thang dây hoa tiêu, tàu phải được trang bị thiết bị như vậy ở mỗi mạn tàu, trừ khi thiết bị đó có khả năng di chuyển để sử dụng được cả ở hai mạn tàu.
(3) Để có thể lên và rời tàu an toàn và thuận tiện, tàu phải trang bị, hoặc:
(a) Một thang dây hoa tiêu, đoạn yêu cầu phải trèo không nhỏ hơn 1,5 mét và không lớn hơn 9 mét phải trên mặt nước, được bố trí cố định sao cho:
(i) Cách xa bất kỳ những lỗ xả nào có thể từ tàu;
(ii) Nằm ở phần mạn phẳng của tàu và đến mức có thể thực hiện được, trong vùng nửa giữa theo chiều dài tàu;
(iii) Mỗi bậc thang phải được dựa chắc chắn vào mạn tàu; nếu những đặc điểm về kết cấu, chẳng hạn như những dải cao su mà ngăn ngừa tính khả thi của yêu cầu này, phải có sự bố trí đặc biệt thỏa mãn yêu cầu của Đăng kiểm, để đảm bảo rằng việc lên và rời tàu một cách an toàn;
(iv) Chiều dài của thang hoa tiêu phải có thể chạm tới mặt nước từ lối đi hoặc cửa vào tàu, điều này phải xét đến độ hiệu chỉnh thích hợp cho mọi điều kiện tải trọng và chúi của tàu và cho trường hợp tàu nghiêng 15o về phía mạn đối diện. Các cơ cấu khỏe, ma ní và các dây cố định phải có sức bền tương đương với các dây hai bên thang; hoặc
(b) Một thang mạn nối với thang hoa tiêu (nghĩa là trang bị kết hợp), hoặc phương tiện an toàn và thuận tiện tương đương, khi khoảng cách từ mặt nước tới lối đi vào tàu lớn hơn 9 mét. Cầu thang mạn phải được bố trí xuôi về phía đuôi tàu. Trong quá trình sử dụng, phải có phương tiện để cố định chắc chắn vào đầu thấp của cầu thang mạn vào mạn tàu ở phần mạn phẳng của tàu và đến mức có thể thực hiện được, nằm trong phần giữa chiều dài tàu, cách xa tất cả những lỗ xả từ tàu.
(i) Khi sử dụng trang bị kết hợp để làm phương tiện tiếp cận cho hoa tiêu, phải có phương tiện cố định chắc chắn thang hoa tiêu và dây thang với mạn tàu tại điểm 1,5 mét trên sàn dưới của cầu thang mạn. Trường hợp sử dụng trang bị kết hợp cầu thang mạn và cửa sập ở sàn dưới (ví dụ như sàn tập kết lên tàu), thang hoa tiêu và dây các dây thang phải được bố trí qua cửa sập kéo dài phía trên sàn tới chiều cao tay vịn.
4 Lối đi tới boong tàu
Phải có biện pháp đảm bảo cho việc lên và xuống tàu an toàn, thuận lợi và không bị cản trở đối với những người lên và rời tàu từ đầu cuối của thang dây hoa tiêu hoặc bất kỳ cầu thang mạn nào, hoặc thiết bị khác, tới boong tàu. Việc lên xuống đó phải được bố trí bằng cách:
(1) Phải trang bị một cửa qua lại trên lan can hoặc mạn chắn sóng, có đủ các tay bám;
(2) Phải có một thang qua mạn chắn sóng, hai tay bám được gắn cố định chắc chắn vào kết cấu tàu ở trên hoặc gần chân và đỉnh của chúng. Thang qua mạn chắn sóng phải được cố định chắc chắn vào tàu để tránh bị đổ.
5 Các cửa mạn
Các cửa mạn sử dụng cho việc di chuyển của hoa tiêu không được mở ra phía ngoài.
6 Phương tiện cơ khí nâng hoa tiêu
Không được sử dụng phương tiện cơ khí nâng hoa tiêu.
7 Thiết bị kết hợp
(1) Các thiết bị kết hợp sau đây phải được cất giữ ở gần để sử dụng được ngay khi di chuyển người:
(a) Hai dây thừng manila có đường kính không nhỏ hơn 28 mm và không lớn hơn 32 mm cố định chắc chắn vào tàu nếu hoa tiêu yêu cầu, các dây thừng này phải được cố định một đầu với boong tàu bằng các vòng nối và phải sẵn sàng sử dụng được khi hoa tiêu rời tàu, hoặc theo yêu cầu của hoa tiêu khi lên tàu (các dây thừng phải đạt tới chiều cao của các cột đỡ hoặc mạn chắn sóng tại điểm tiếp cận tới boong trước khi kết thúc ở vòng nối trên boong);
(b) Một phao tròn có đèn tự sáng;
(c) Một dây giữ.
(2) Khi yêu cầu ở -4 phải trang bị thang qua mạn chắn sóng và các cột đỡ.
8 Chiếu sáng
Phải bố trí chiếu sáng đủ để đảm bảo ánh sáng cho hệ thống di chuyển ngoài mạn và vị trí trên boong có người lên và rời tàu.
Chương 6 được bổ sung mới như sau:
CHƯƠNG 6 YÊU CẦU VỀ TRANG BỊ AN TOÀN CHO CÁC TÀU CHẠY VƯỢT TUYẾN MỘT CHUYẾN
6.1 Quy định chung
Các quy định của chương này được áp dụng cho các tàu dự định thực hiện hành trình vượt tuyến một chuyến được nêu ở 1.1.1 Chương 1 Phần 14 Mục II của QCVN 21:2015/BGTVT.
6.2 Các yêu cầu cụ thể
6.2.1 Yêu cầu về trang bị cứu sinh
Tàu phải được trang bị thỏa mãn các yêu cầu liên quan được nêu ở Chương 2 của Quy chuẩn về phao bè cứu sinh, phao áo, phao tròn, bộ quần áo bơi hoặc dụng cụ chống mất nhiệt phù hợp với tàu thông thường.
6.2.2 Yêu cầu về thiết bị tín hiệu
Thiết bị tín hiệu của tàu phải được trang bị phù hợp với Chương 3 của Quy chuẩn, tương ứng với tàu thông thường, trừ trường hợp các trang bị dự trữ có thể được miễn giảm.
6.2.3 Yêu cầu về trang bị vô tuyến điện
1 Các tàu biển vượt tuyến phải được trang bị phù hợp với vùng biển dự định hành trình như được nêu ở Chương 4 của Quy chuẩn.
2 Các phương tiện thủy nội địa vượt tuyến phải được trang bị các trang bị vô tuyến điện như sau:
(1) Hành trình ở vùng biển hạn chế III:
(a) 01 thiết bị VHF DSC;
(b) 02 thiết bị VHF hai chiều;
(c) 01 thiết bị chỉ báo vị trí tìm kiếm và cứu nạn (SART hoặc AIS-SART).
(2) Hành trình ở vùng biển hạn chế II:
(a) 01 thiết bị MF/HF;
(b) 01 thiết bị VHF DSC;
(c) 02 thiết bị VHF hai chiều;
(d) 02 thiết bị chỉ báo vị trí tìm kiếm và cứu nạn (SART hoặc AIS-SART);
(e) 01 S.EPIRB (với tàu chạy tuyến quốc tế).
6.2.4 Yêu cầu về trang bị hàng hải
Bất kể các yêu cầu được nêu ở Chương 5 của Quy chuẩn, trang bị hàng hải của các tàu vượt tuyến phải thỏa mãn như sau:
(1) Đối với tàu biển vượt tuyến: ngoài các thiết bị như tàu thông thường, phải bổ sung hải đồ vùng biển tàu dự kiến hành trình;
(2) Đối với phương tiện thủy nội địa vượt tuyến:
(a) Hành trình ở vùng biển hạn chế III:
(i) 01 la bàn từ đặt trong buồng lái dùng để lái tàu;
(ii) 01 bộ đo sâu bằng tay;
(iii) 01 ống nhòm;
(iv) 01 thiết bị đo độ nghiêng;
(v) 01 máy thu hệ thống vô tuyến hàng hải;
(vi) 01 séc tăng hàng hải;
(vii) 01 ra đa (9 GHz) (chỉ đối với tàu có GT ≥ 1600);
(viii) Hải đồ phù hợp vùng biển tàu dự kiến vượt tuyến.
(b) Hành trình ở vùng biển hạn chế II
(i) 01 la bàn chuẩn (có thiết bị truyền chỉ số vành chia độ đến buồng lái);
(ii) 01 ra đa (9 GHz);
(iii) 01 bộ đo sâu bằng tay;
(iv) 01 ống nhòm;
(v) 01 đồng hồ bấm giây;
(vi) 01 thiết bị đo độ nghiêng;
(vii) 01 séc tăng hàng hải;
(viii) 01 máy thu hệ thống vô tuyến hàng hải;
(ix) Hải đồ phù hợp vùng biển tàu dự kiến vượt tuyến.
6.2.5 Yêu cầu về nguồn cấp năng lượng
Các thiết bị nêu trên phải được cấp điện từ nguồn điện chính và sự cố của tàu. Với các tàu có nguồn điện chính là ắc quy mà không đảm bảo khả năng nạp lại được thì phải tăng số lượng các bình ắc quy lên để đảm bảo 150% khả năng cấp điện cho toàn bộ hành trình, ngoài ra phải bổ sung một nguồn ắc quy dự phòng đủ cấp cho các thiết bị vô tuyến điện trong thời gian tối thiểu 3 giờ, tổ ắc quy dự phòng này phải được bố trí trên boong gần với buồng đặt thiết bị vô tuyến điện. Đối với hộp chứa ắc quy đặt trên boong hở, cấp bảo vệ hộp chứa ắc quy phải không thấp hơn IP56 và hộp phải cách mặt boong tối thiểu 100 mm.
III QUY ĐỊNH VỀ QUẢN LÝ
1.2 Hồ sơ đăng kiểm
1.2.2 được sửa đổi như sau:
1.2.2 Giấy chứng nhận cấp cho tàu
1 Các tàu khách chạy tuyến quốc tế không kể kích thước khi thỏa mãn yêu cầu của QCVN 21:2015/BGTVT và các yêu cầu của Quy chuẩn này sẽ được cấp Giấy chứng nhận tương ứng nêu ở 3.3.2-1(6) Mục III QCVN 21:2015/BGTVT.
2 Các tàu hàng có tổng dung tích bằng và lớn hơn 500 chạy tuyến quốc tế khi thỏa mãn yêu cầu của QCVN 21:2015/BGTVT và các yêu cầu của Quy chuẩn này sẽ được cấp Giấy chứng nhận tương ứng nêu ở 3.3.2-1(3) Mục III QCVN 21:2015/BGTVT.
3 Tất cả các tàu hàng có tổng dung tích bằng và lớn hơn 300 chạy tuyến quốc tế khi thỏa mãn yêu cầu của QCVN 21:2015/BGTVT và các yêu cầu của Quy chuẩn này sẽ được cấp Giấy chứng nhận tương ứng nêu ở 3.3.2-1(4) Chương 3 Phần 1A của QCVN 21:2015/BGTVT.
4 Tất cả các tàu khách không chạy tuyến quốc tế khi thỏa mãn yêu cầu của QCVN 21:2015/BGTVT và các yêu cầu của Quy chuẩn này sẽ được cấp Giấy chứng nhận an toàn tàu khách.
5 Các tàu không thuộc phạm vi áp dụng của -2 và -3 ở trên và các tàu không tự hành có người ở khi thỏa mãn yêu cầu của QCVN 21:2015/BGTVT và các yêu cầu của Quy chuẩn này sẽ được cấp Giấy chứng nhận an toàn trang thiết bị.
6 Giấy chứng nhận hoãn bảo dưỡng, sửa chữa, kiểm tra.
7 Giấy chứng nhận miễn giảm cho các tàu thuộc phạm vi áp dụng từ -1 đến -3 ở trên.
1.2.3 Thời hạn hiệu lực của các giấy chứng nhận
1.2.3 được sửa đổi như sau:
1 Giấy chứng nhận nêu tại 1.2.2-1 đến -3 và -7 có hiệu lực, được gia hạn và được xác nhận như nêu trong mục 3.3.3 Mục III của QCVN 21:2015/BGTVT với điều kiện thiết bị an toàn phải được kiểm tra phù hợp với 1.3.3 Mục I của Quy chuẩn này.
2 Các Giấy chứng nhận nêu tại 1.2.2-4 và 1.2.2-5 có hiệu lực tối đa 5 năm với điều kiện thiết bị an toàn phải được kiểm tra phù hợp với 1.3.3 Mục I của Quy chuẩn này.
V TỔ CHỨC THỰC HIỆN
1 Áp dụng Quy chuẩn
1.4 được bổ sung mới như sau:
1.1 Trong trường hợp có sự khác nhau giữa quy định của Quy chuẩn này với quy định của quy phạm, tiêu chuẩn và quy chuẩn kỹ thuật khác liên quan đến trang bị an toàn của tàu thì áp dụng quy định của Quy chuẩn này.
1.2 Trường hợp có điều khoản Công ước quốc tế mà Việt Nam là thành viên có quy định khác với quy định của Quy chuẩn này, thì các tàu biển chạy tuyến Quốc tế phải áp dụng quy định của điều khoản Công ước quốc tế đó.
1.3 Khi có các văn bản tài liệu được viện dẫn trong Quy chuẩn này có sự thay đổi, bổ sung hoặc thay thế thì thực hiện theo quy định trong văn bản mới.
1.4 Đối với tàu hoạt động tuyến quốc tế, Đăng kiểm Việt Nam thông báo cho Tổ chức Hàng hải quốc tế (IMO) các trường hợp áp dụng các quy định thay thế tương đương hoặc các miễn giảm đối với các yêu cầu của công ước quốc tế.
SỬA ĐỔI 1: 2017 QCVN 81:2014/BGTVT
QUY CHUẨN KỸ THUẬT QUỐC GIA VỀ PHÂN CẤP VÀ ĐÓNG DU THUYỀN
SỬA ĐỔI 1: 2017
National Technical Regulation on Classification and Construction of Pleasure Yacht
Amendment No.1: 2017
Lời nói đầu
Sửa đổi 1: 2017 QCVN 81:2014/BGTVT Quy chuẩn kỹ thuật quốc gia về phân cấp và đóng du thuyền, do Cục Đăng kiểm Việt Nam biên soạn, Bộ Khoa học và Công nghệ thẩm định, Bộ Giao thông vận tải ban hành theo Thông tư số 15/2018/TT-BGTVT ngày 04 tháng 4 năm 2018.
Sửa đổi 1: 2017 QCVN 81:2014/BGTVT chỉ bao gồm các nội dung sửa đổi, bổ sung của QCVN 81:2014/BGTVT đã được ban hành kèm theo Thông tư số 15/2018/TT-BGTVT ngày 04 tháng 4 năm 2018.
Các nội dung không được nêu trong Sửa đổi 1: 2017 QCVN 81:2014/BGTVT thì áp dụng theo QCVN 81:2014/BGTVT.
QUY CHUẨN KỸ THUẬT QUỐC GIA VỀ PHÂN CẤP VÀ ĐÓNG DU THUYỀN
MỤC LỤC
II QUY ĐỊNH KỸ THUẬT
PHẦN 1 CÁC YÊU CẦU CHUNG VỀ KIỂM TRA
CHƯƠNG 1 QUY ĐỊNH CHUNG
1.1 Quy định chung
CHƯƠNG 2 KIỂM TRA PHÂN CẤP
2.1 Kiểm tra phân cấp trong đóng mới
2.2 Kiểm tra phân cấp các tàu được đóng không có sự giám sát của Đăng kiểm
CHƯƠNG 3 KIỂM TRA CHU KỲ VÀ KIỂM TRA BẤT THƯỜNG
3.2 Kiểm tra chu kỳ
PHẦN 7 TRANG BỊ ĐIỆN
CHƯƠNG 1 QUY ĐỊNH CHUNG
1.1 Quy định chung
1.2 Thử nghiệm
CHƯƠNG 2 TRANG BỊ ĐIỆN VÀ THIẾT KẾ HỆ THỐNG
2.1 Quy định chung
2.2 Bảo vệ chống sét
2.3 Thiết kế hệ thống - Quy định chung
2.4 Thiết kế hệ thống bảo vệ
2.5 Thiết bị điện và cáp điện - Quy định chung
2.6 Bảng điện, bảng phân nhóm và bảng phân phối
2.7 Cơ cấu điều khiển động cơ điện
2.8 Cáp điện
2.9 Thiết bị điện phòng nổ
2.10 Thử sau khi lắp đặt trên tàu
CHƯƠNG 3 THIẾT KẾ TRANG BỊ ĐIỆN
3.1 Quy định chung
3.2 Nguồn điện chính
3.3 Tổ ắc quy
3.4 Trang bị điện sự cố
3.5 Nguồn điện bên ngoài
3.6 Nguồn điện thay thế
3.7 Chiếu sáng
3.8 Các đèn hàng hải
3.9 Hệ thống thông tin liên lạc nội bộ và tín hiệu
CHƯƠNG 5 CÁC YÊU CẦU BỔ SUNG CHO THIẾT BỊ ĐIỆN CHÂN VỊT
5.1 Quy định chung
III QUY ĐỊNH VỀ QUẢN LÝ
1.1 Quy định chung
1.3 Đề nghị kiểm tra
1.4 Giấy chứng nhận
1.5 Quản lý hồ sơ
Phụ lục E Giấy chứng nhận an toàn kỹ thuật và bảo vệ môi trường
QUY CHUẨN KỸ THUẬT QUỐC GIA VỀ PHÂN CẤP VÀ ĐÓNG DU THUYỀN
II QUY ĐỊNH KỸ THUẬT
PHẦN 1 CÁC YÊU CẦU CHUNG VỀ KIỂM TRA
CHƯƠNG 1 QUY ĐỊNH CHUNG
1.1 Quy định chung
1.1.1 được sửa đổi như sau:
1.1.1 Nguyên tắc kiểm tra
1 Đăng kiểm thực hiện việc kiểm tra theo những trình tự được quy định trong các Hướng dẫn kiểm tra của Đăng kiểm, đồng thời Đăng kiểm cũng có thể tiến hành kiểm tra đột xuất bất cứ hạng mục nào phù hợp với Quy chuẩn này trong trường hợp Đăng kiểm thấy cần thiết.
2 Để thực hiện công tác kiểm tra, chủ tàu, các cơ sở đóng tàu phải tạo mọi điều kiện thuận lợi cho đăng kiểm viên tiến hành kiểm tra tàu, thử nghiệm vật liệu và các sản phẩm chịu sự giám sát của Đăng kiểm, kể cả việc đăng kiểm viên được tự do trong mọi thời điểm đến tàu, các cơ sở đóng tàu, cơ sở chế tạo, thử nghiệm vật liệu để tiến hành kiểm tra theo nội dung kiểm tra phân cấp và duy trì cấp tàu hoặc công việc kiểm tra khác theo quy định của Quy chuẩn này.
3 Các cơ sở thiết kế, chủ tàu, cơ sở đóng tàu và các cơ sở chế tạo các máy, sản phẩm, thiết bị lắp đặt lên tàu biển phải thực hiện các yêu cầu của Đăng kiểm trong quá trình Đăng kiểm thực hiện công tác kiểm tra.
4 Nếu dự định có những sửa đổi trong quá trình chế tạo liên quan đến vật liệu, kết cấu, máy, thiết bị lắp đặt lên tàu biển khác với các bản vẽ và tài liệu đã được thẩm định thì các bản vẽ hoặc tài liệu sửa đổi phải được trình cho Đăng kiểm xem xét và thẩm định thiết kế sửa đổi trước khi thi công.
5 Đăng kiểm có thể từ chối không thực hiện công tác kiểm tra, nếu nhà máy đóng tàu hoặc xưởng chế tạo vi phạm có hệ thống những yêu cầu của Quy chuẩn này hoặc vi phạm hợp đồng về giám sát với Đăng kiểm.
6 Trong trường hợp phát hiện thấy vật liệu hoặc sản phẩm có khuyết tật, tuy đã được cấp giấy chứng nhận hợp lệ, Đăng kiểm vẫn có quyền yêu cầu tiến hành thử nghiệm lại hoặc khắc phục những khuyết tật đó. Trong trường hợp không thể khắc phục được những khuyết tật đó, Đăng kiểm có thể thu hồi và hủy bỏ Giấy chứng nhận đã cấp.
7 Hoạt động kiểm tra của Đăng kiểm không làm thay đổi công việc cũng như không thay cho trách nhiệm của các tổ chức kiểm tra kỹ thuật/chất lượng của chủ tàu, nhà máy/cơ sở đóng, sửa chữa tàu, chế tạo vật liệu, máy và trang thiết bị lắp đặt lên tàu.
1.1.3 được sửa đổi như sau:
1.1.3 Thay thế tương đương
1 Các trang thiết bị của tàu mà khác so với những quy định ở Quy chuẩn này có thể được Đăng kiểm chấp nhận với điều kiện chứng minh được rằng chúng tương đương với những yêu cầu ở Quy chuẩn này.
2 Các yêu cầu tương ứng, phù hợp về loại tàu, kích cỡ tàu, việc kiểm tra giám sát về vật liệu, trang thiết bị được quy định trong Quy chuẩn kỹ thuật quốc gia về phân cấp và đóng tàu biển vỏ thép và Quy chuẩn kỹ thuật quốc gia về phân cấp và đóng tàu biển cao tốc được coi là thỏa mãn các yêu cầu trong Quy chuẩn này.
CHƯƠNG 2 KIỂM TRA PHÂN CẤP
2.1 Kiểm tra phân cấp trong đóng mới
2.1.3 đến 2.1.5 được bổ sung như sau:
2.1.3 Hạng mục kiểm tra
1 Đăng kiểm viên phải kiểm tra tại các giai đoạn công nghệ sau đây liên quan đến thân tàu và trang thiết bị:
(1) Khi kiểm tra vật liệu và trang thiết bị theo quy định ở Phần 11;
(2) Khi vật liệu hoặc các chi tiết được chế tạo ở nhà máy khác sẽ được đưa xuống sử dụng trên tàu liên quan;
(3) Khi tiến hành thử mối hàn theo quy định ở Phần 6 Mục II QCVN 21:2015/BGTVT;
(4) Khi được Đăng kiểm chỉ định kiểm tra trong xưởng hoặc kiểm tra lắp ráp từng phân đoạn;
(5) Khi lắp ráp từng phân đoạn/tổng đoạn;
(6) Khi tiến hành thử thủy lực hoặc thử kín nước và thử theo phương pháp không phá hủy;
(7) Khi hoàn thiện phần thân tàu;
(8) Khi tiến hành thử khả năng hoạt động của thiết bị đóng lỗ khoét, thiết bị điều khiển từ xa, thiết bị lái, thiết bị neo, thiết bị chằng buộc, các hệ thống dập cháy và đường ống v.v...;
(9) Khi lắp đặt bánh lái, tạo hình đường ky, đo các kích thước chính, đo độ biến dạng của thân tàu v.v…;
(10) Khi kẻ dấu mạn khô;
(11) Khi tiến hành thử nghiêng;
(12) Khi tiến hành thử tàu đường dài;
(13) Khi lắp đặt hệ thống phòng, phát hiện và chữa cháy và khi tiến hành thử khả năng hoạt động của hệ thống;
(14) Khi Đăng kiểm thấy cần thiết.
2 Đăng kiểm viên phải kiểm tra tại các giai đoạn công nghệ sau đây liên quan đến hệ thống máy tàu và trang bị điện:
(1) Khi tiến hành thử vật liệu chế tạo các chi tiết chính của hệ thống máy tàu theo quy định ở Phần 11;
(2) Đối với các chi tiết chính của hệ thống máy tàu và trang bị điện:
(a) Khi tiến hành thử theo quy định hoặc ở Phần 3 hoặc ở Phần 4 của Quy chuẩn cho loại thiết bị tương ứng;
(b) Khi sử dụng vật liệu chế tạo các chi tiết thuộc hệ thống máy tàu và các chi tiết được lắp đặt lên tàu;
(c) Khi kết thúc giai đoạn gia công các chi tiết chính, nếu cần thiết có thể kiểm tra vào thời gian thích hợp lúc đang gia công;
(d) Nếu là kết cấu hàn, trước khi bắt đầu hàn và khi kết thúc công việc hàn;
(e) Khi tiến hành thử máy ở phân xưởng.
(3) Khi lắp đặt các thiết bị động lực quan trọng lên tàu (máy chính, máy phụ, hệ trục, chân vịt v.v...);
(4) Khi tiến hành thử hoạt động các thiết bị điều khiển từ xa của các thiết bị đóng cửa kín nước, thiết bị điều khiển từ xa đối với hệ thống máy tàu và hệ truyền động, thiết bị điều khiển tự động, thiết bị lái, thiết bị chằng buộc, đường ống v.v;
(5) Khi tiến hành thử tàu đường dài;
(6) Khi Đăng kiểm thấy cần thiết.
3 Đăng kiểm viên phải kiểm tra lắp đặt liên quan đến trang thiết bị an toàn và phương tiện tín hiệu.
4 Đăng kiểm có thể thay đổi những yêu cầu quy định từ -1 đến -3 nói trên, có lưu ý đến điều kiện thực tế, khả năng kỹ thuật và quản lý chất lượng của Nhà máy, trừ trường hợp thử đường dài.
5 Đối với các cuộc thử quy định từ -1 đến -3, người đề nghị phải chuẩn bị kế hoạch thử để Đăng kiểm xem xét trước khi thử. Các biên bản thử và/hoặc biên bản đo phải trình cho Đăng kiểm xem xét, khi có yêu cầu.
2.1.4 Thử nghiêng
1 Khi kiểm tra phân cấp, phải tiến hành thử nghiêng sau khi hoàn thiện tàu. Trên tàu phải có bản thông báo ổn định được lập dựa trên kết quả thử nghiêng tàu và được Đăng kiểm thẩm định.
2 Khi kiểm tra phân cấp các tàu được đóng không có giám sát của Đăng kiểm, Đăng kiểm có thể miễn thử nghiêng nếu như có đầy đủ thông tin dựa vào kết quả thử nghiêng lần trước và tàu không bị hoán cải hoặc sửa chữa làm thay đổi tính ổn định của tàu.
3 Đăng kiểm có thể miễn giảm việc thử nghiêng cho từng tàu riêng lẻ, nếu có đầy đủ số liệu từ cuộc thử nghiêng của các tàu đóng cùng phiên bản hoặc có biện pháp tương ứng khác được Đăng kiểm chấp nhận.
2.1.5 Thử đường dài
1 Khi kiểm tra phân cấp tất cả các tàu, phải tiến hành thử đường dài theo quy định từ (1) đến (12) dưới đây trong điều kiện tàu toàn tải, thời tiết tốt và biển lặng, ở vùng biển không hạn chế độ sâu của nước đối với mớn nước của tàu. Tuy nhiên, nếu việc thử đường dài không thể thực hiện được trong điều kiện toàn tải thì có thể thử với điều kiện tải thích hợp. Việc đo tiếng ồn nêu ở (11) phải được thực hiện hoặc ở trạng thái toàn tải hoặc ở trạng thái dằn.
(1) Thử tốc độ;
(2) Thử lùi;
(3) Thử thiết bị lái, thử chuyển đổi từ lái chính sang lái phụ (nếu có);
(4) Thử quay vòng. Trong từng trường hợp cụ thể, Đăng kiểm có thể xem xét miễn giảm thử quay vòng cho từng tàu riêng rẽ, với điều kiện phải có đầy đủ số liệu thử quay vòng của các tàu đóng cùng phiên bản;
(5) Thử để xác nhận không có trục trặc trong điều kiện hoạt động của máy cũng như đặc tính của tàu trong lúc thử đường dài;
(6) Thử chức năng của các tời neo;
(7) Thử chức năng hệ thống điều khiển tự động và điều khiển từ xa của máy chính hoặc chân vịt biến bước và các tổ máy phát điện;
(8) Các nội dung thử khác, nếu Đăng kiểm thấy cần thiết.
2 Kết quả thử quy định ở -1 trên phải được trình cho Đăng kiểm để làm hồ sơ thử tàu đường dài.
3 Trong trường hợp kiểm tra phân cấp đối với các tàu được đóng không có giám sát của Đăng kiểm, Đăng kiểm có thể miễn giảm các yêu cầu thử nêu trên với điều kiện có đủ số liệu trong lần thử trước và kể từ lần thử đó tàu không có thay đổi làm ảnh hưởng đến kết quả thử quy định ở -1 nói trên.
2.2 Kiểm tra phân cấp các tàu được đóng không có sự giám sát của Đăng kiểm
2.2.1 Quy định chung
2.2.1-2 đến 5 được bổ sung, sửa đổi như sau:
2 Đối với tàu được kiểm tra phân cấp không có giám sát của Đăng kiểm trong đóng mới thì hồ sơ và bản vẽ cần thiết để được Đăng kiểm đăng ký phải được trình theo các yêu cầu tương ứng ở 2.1.2-1.
3 Mặc dù có quy định ở -2, đối với các tàu đã được phân cấp hoặc chứng nhận phù hợp với chỉ thị về tàu vui chơi giải trí của liên minh Châu Âu EC94/25/EC bởi các tổ chức phân cấp khác được Đăng kiểm công nhận hoặc các tổ chức phân cấp thuộc Hiệp hội các tổ chức phân cấp tàu quốc tế (IACS) thì các hồ sơ và bản vẽ phải trình cho Đăng kiểm kiểm tra có thể chỉ cần như sau:
(1) Thân tàu:
(a) Bố trí chung;
(b) Các mặt cắt ngang vùng giữa tàu;
(c) Kết cấu cơ bản;
(d) Khai triển tôn vỏ;
(e) Bánh lái;
(f) Sống đuôi;
(g) Đường cong thủy lực;
(h) Bản tính hoặc thông báo ổn định;
(i) Bản tính dung tích tàu hoặc bản số liệu dung tích tàu (nếu cần kiểm tra dung tích của tàu).
(2) Hệ thống máy tàu và trang bị điện:
(a) Các đặc tính kỹ thuật của hệ thống máy;
(b) Bố trí chung buồng máy;
(c) Nồi hơi và các thiết bị phụ của nồi hơi;
(d) Bố trí các ống trong buồng máy;
(e) Hệ trục chân vịt và trục trong ống bao trục;
(f) Thiết bị lái;
(g) Sơ đồ hệ thống điều khiển, hệ thống giám sát và báo động (đối với các tàu buồng máy không có người trực theo chu kỳ);
(h) Sơ đồ hệ thống điện.
(3) Các báo cáo, biên bản kiểm tra tàu hoặc bản sao của chúng;
(4) Bản sao giấy chứng nhận phân cấp, các giấy chứng nhận theo luật và giấy chứng nhận đăng ký tàu;
(5) Các hồ sơ, tài liệu khác về các đặc trưng và lịch sử của tàu (nếu có).
4 Thông báo kết quả kiểm tra hồ sơ bản vẽ, tài liệu
Sau khi Đăng kiểm kiểm tra các bản vẽ, tài liệu nêu ở -2, kết quả kiểm tra sẽ được thông báo cho chủ tàu (người đề nghị). Nếu không thể kiểm tra đầy đủ dựa trên các bản vẽ, tài liệu được trình do thiếu thông tin cần thiết thì Đăng kiểm có thể yêu cầu phải kiểm tra trên tàu.
5 Mặc dù có quy định ở -1, đối với các tàu đã được phân cấp hoặc chứng nhận phù hợp với chỉ thị về tàu vui chơi giải trí của liên minh Châu Âu EC94/25/EC bởi các tổ chức chứng nhận khác được Đăng kiểm công nhận hoặc các tổ chức phân cấp thuộc Hiệp hội các tổ chức phân cấp tàu quốc tế (IACS) thì nội dung kiểm tra có thể được thực hiện với nội dung tối thiểu sau:
(1) Đối với tàu dưới 5 tuổi, nội dung kiểm tra phải như nội dung kiểm tra hàng năm.
(2) Đối với tàu từ 5 đến 15 tuổi, nội dung kiểm tra phải như kiểm tra hàng năm cộng với việc kiểm tra bên trong các khoang đại diện, thùng xích, mở các lớp lót nội thất đủ để xem tình trạng kỹ thuật của các kết cấu thân tàu.
(3) Đối với tàu từ 15 tuổi trở lên, nội dung kiểm ra phải như kiểm tra định kỳ cộng với kiểm tra trên đà.
CHƯƠNG 3 KIỂM TRA CHU KỲ VÀ KIỂM TRA BẤT THƯỜNG
3.2 Kiểm tra chu kỳ
3.2.1 đến 3.2.3 được sửa đổi như sau:
3.2.1 Kiểm tra định kỳ
1 Kiểm tra định kỳ được tiến hành 5 năm 1 lần và phải được hoàn thành trong phạm vi 3 tháng trước khi hết hạn giấy chứng nhận. Khi kiểm tra định kỳ, phải tiến hành kiểm tra và thử hoạt động để đánh giá trạng thái kỹ thuật của thân tàu, thiết bị động lực, thiết bị điện và các trang thiết bị của tàu xem còn thỏa mãn các yêu cầu của Quy chuẩn này hay không. Kiểm tra định kỳ bắt buộc bao gồm cả kiểm tra trên đà.
2 Khối lượng kiểm tra định kỳ nêu ở Bảng 1/3.4.1.
3.2.2 Kiểm tra hàng năm
1 Sau đợt kiểm tra lần đầu và các đợt kiểm tra hàng năm phải được tiến hành trong phạm vi 3 tháng trước khi hết hạn giấy chứng nhận. Nếu đợt kiểm tra được tiến hành trong thời gian này thì hạn giấy chứng nhận mới sẽ được tính từ ngày hết hạn của giấy chứng nhận cũ.
2 Trong đợt kiểm tra hàng năm, phải tiến hành kiểm tra bên ngoài và thử hoạt động để đánh giá trạng thái kỹ thuật của thân tàu, thiết bị động lực, thiết bị điện, các trang thiết bị khác của tàu và đặc biệt lưu ý đến sự thay đổi thành phần thiết bị, việc bố trí và lắp đặt chúng.
3 Khối lượng kiểm tra hàng năm nêu ở Bảng 1/3.4.1.
4 Nếu cả hai đợt kiểm tra hàng năm và định kỳ trùng vào một lần thì chỉ cần tiến hành đợt kiểm tra định kỳ.
3.2.3 Kiểm tra trên đà
1 Kiểm tra trên đà phải được thực hiện hai lần trong vòng 5 năm, trong đó có một lần trùng với đợt kiểm tra định kỳ. Trong mọi trường hợp, thời gian giữa 2 lần kiểm tra trên đà không được vượt quá 36 tháng.
2 Khi kiểm tra trên đà, phải tiến hành kiểm tra phần chìm của vỏ tàu, bánh lái, chân vịt, đệm làm kín của trục chân vịt và van thông biển, lỗ hút, lỗ xả và phụ tùng khác, cũng như các chi tiết liên kết chúng với thân tàu nằm ở phần chìm của tàu.
3 Nên bố trí kiểm tra trên đà trùng vào đợt kiểm tra hàng năm. Khi đó ngoài những yêu cầu nêu trên, tàu phải tuân thủ nội dung thực hiện vào đợt kiểm tra hàng năm nêu ở Bảng 1/3.4.1.
Bảng 1/3.4.1 được sửa đổi như sau:
Bảng 1/3.4.1 Khối lượng kiểm tra
|
Đối tượng kiểm tra |
Dạng kiểm tra |
|
|
Lần đầu/ |
Hàng năm |
|
|
1. Vỏ tàu và trang thiết bị |
||
|
Kết cấu thân tàu |
K, Đ |
N |
|
Thượng tầng và/hoặc lầu lái |
K, Đ |
N |
|
Thành miệng hầm hàng, nắp hầm hàng, cửa ra vào, cửa húp lô |
K, Đ |
N |
|
Mạn chắn sóng, lan can bảo vệ |
K, Đ |
N |
|
Các buồng ở |
K, Đ |
N |
|
Bệ máy và các trang thiết bị |
K, Đ |
N |
|
Két nước, két dầu |
K, Đ, A |
N |
|
Hệ thống lái (bánh lái, trục lái, bản lề, ổ đỡ, hệ truyền động) |
K,Đ,T, A |
N,T |
|
Thiết bị neo (neo, lỗ neo, xích neo, tời neo) |
K,Đ,T |
N,T |
|
Cột bít chằng buộc, cột bít lai, hệ cột buồm, dây buồm |
K |
N |
|
Trang bị phòng và chống cháy |
K, T, H |
N, H |
|
Phương tiện tín hiệu |
K,T |
N,T |
|
Phương tiện cứu sinh |
K,H |
N |
|
Trang bị vô tuyến điện và thông tin liên lạc |
K,Đ,T |
N,T |
|
Trang bị hàng hải |
H,K,Đ,T |
N,T |
|
Trang bị ngăn ngừa ô nhiễm |
K,T |
N,T |
|
2. Thiết bị động lực |
||
|
Động cơ chính, phụ |
H,K,Đ,T |
N,T |
|
Hộp số |
H,K,Đ,T |
N,T |
|
Hệ trục, ổ đỡ, ống bao trục* |
K,Đ,T |
N,T |
|
Chân vịt |
K,Đ |
N,T |
|
Các khớp nối |
K,Đ,T |
N,T |
|
Phụ tùng đáy và mạn tàu |
K,Đ,A |
N,T |
|
Các hệ thống đường ống và bơm |
K,Đ,A |
N,T |
|
3. Thiết bị điện |
||
|
Các nguồn điện (ắc quy, máy phát) |
K,Đ,T |
N,Đ,T |
|
Các bảng điện |
K,Đ,T |
N,T |
|
Lưới cáp điện |
K,Đ,T |
N,Đ,T |
|
Các phụ tải tiêu thụ điện quan trọng |
K,Đ,T |
N,T |
|
Hệ thống đèn tín hiệu, chiếu sáng |
K,Đ,T |
N,T |
|
Các dụng cụ kiểm tra, khởi động, điều chỉnh |
N,Đ |
N |
|
Thiết bị thu lôi và nối mát bảo vệ |
N,Đ |
N,Đ |
|
Các dụng cụ đo lường, kiểm tra bằng điện |
H,N,T |
N,T |
Chú thích:
K: Kiểm tra, khi cần đến gần, mở hoặc tháo rời để kiểm tra;
N: Xem xét bên ngoài;
Đ: Đo và xác định độ hao mòn, khe hở, điện trở v.v...;
A: Thử áp lực (thủy lực, không khí nén); thử kín nước;
T: Thử hoạt động;
H: Kiểm tra hồ sơ (tính hiệu lực, dấu v.v...).
* Trục chân vịt và trục trong ống bao đối với tàu có công suất máy lớn hơn 37 kW phải được kiểm tra với thời hạn và khối lượng tương tự như trục chân vịt và trục trong ống bao được quy định tại Phần 1B Mục II QCVN 21:2015/BGTVT.
PHẦN 7 TRANG BỊ ĐIỆN
Phần 7 được sửa đổi như sau:
CHƯƠNG 1 QUY ĐỊNH CHUNG
1.1 Quy định chung
1.1.1 Phạm vi áp dụng
Những yêu cầu ở Phần này áp dụng cho thiết bị điện và dây dẫn dùng trên du thuyền (sau đây gọi là “trang bị điện”)
1.1.2 Thay thế tương đương
Trang bị điện mà không hoàn toàn thỏa mãn những yêu cầu của Phần này cũng có thể được chấp nhận, với điều kiện các trang bị điện đó tương đương với trang bị điện được nêu ra ở Phần này.
1.1.3 Thuật ngữ
Trong Phần này sử dụng những thuật ngữ được định nghĩa ở Chương 1 và ở 1.1.5 Phần 4 Mục II của QCVN 21: 2015/BGTVT, ngoài bổ sung các từ ngữ sau:
(1) Máy phát điện bằng năng lượng gió là máy phát điện được truyền động bằng các máy không đảo chiều quay sử dụng năng lượng gió và cấp điện cho một hoặc nhiều tổ ắc quy trên tàu.
(2) Pin năng lượng mặt trời là khối bán dẫn đặc biệt dùng để chuyển đổi quang năng thành điện năng và cấp điện cho một hoặc nhiều tổ ắc quy trên tàu.
(3) Vùng bảo vệ chống sét là khu vực trong phạm vi không gian giới hạn của tàu mà chắc chắn chịu được sét đánh trực tiếp.
1.1.4 Hồ sơ kỹ thuật
Hồ sơ kỹ thuật như nêu ở 2.1.2-1(6) Chương 2, Phần 1 Mục II phải được trình thẩm định.
1.1.5 Điều kiện môi trường
Điều kiện môi trường phải phù hợp với 1.1.7 Phần 4 Mục II của QCVN 21: 2015/BGTVT.
1.2 Thử nghiệm
1.2.1 Thử tại xưởng
1 Thiết bị điện như nêu dưới đây, phải được thử phù hợp với những yêu cầu tương ứng trong Phần này tại xưởng chế tạo hoặc tại xưởng khác có đầy đủ thiết bị cho việc thử và kiểm tra.
(1) Máy điện quay dùng cho thiết bị điện chân vịt, và thiết bị điều khiển chúng;
(2) Các máy phát điện phục vụ cho tàu có công suất lớn hơn hoặc bằng 50 kVA;
(3) Các bảng điện có công suất vào lớn hơn hoặc bằng 50 kVA;
(4) Các động cơ điện có công suất lớn hơn hoặc bằng 5 kW dùng cho máy phụ thiết yếu cho hoạt động của hệ thống động lực đẩy tàu và cho hoạt động an toàn của tàu, bao gồm cả cơ cấu điều khiển chúng;
(5) Các biến áp một pha có công suất lớn hơn hoặc bằng 30 kVA và biến áp ba pha có công suất lớn hơn hoặc bằng 50 kVA;
(6) Các bộ chỉnh biến đổi dẫn động lực có công suất lớn hơn hoặc bằng 50 kW và phụ kiện của chúng được dùng để cấp nguồn cho thiết bị điện như nêu ở (1) đến (4);
(7) Thiết bị điện khác mà Đăng kiểm thấy cần thiết.
2 Đối với thiết bị điện được chế tạo hàng loạt, nếu được Đăng kiểm chấp nhận thì có thể áp dụng quy trình thử thích hợp với phương pháp sản xuất để thay cho những yêu cầu ở -1.
3 Cáp điện dùng cho mạch động lực, chiếu sáng và thông tin nội bộ phải chịu thử theo kiểu cho mỗi kiểu sản phẩm.
4 Thiết bị điện và cáp điện có Giấy chứng nhận được Đăng kiểm chấp nhận thì cho phép miễn giảm từng phần hoặc toàn bộ việc thử và kiểm tra.
1.2.2 Thử sau khi lắp đặt trên tàu
Sau khi thiết bị điện và cáp điện được lắp đặt hoàn chỉnh trên tàu, chúng phải được thử và kiểm tra phù hợp với những yêu cầu ở 2.10.
1.2.3 Thử và kiểm tra bổ sung
Khi thấy cần thiết, Đăng kiểm có thể yêu cầu tiến hành các công việc thử và kiểm tra khác như đã nêu ở Phần này.
CHƯƠNG 2 TRANG BỊ ĐIỆN VÀ THIẾT KẾ HỆ THỐNG
2.1 Quy định chung
2.1.1 Phạm vi áp dụng
Chương này đưa ra những yêu cầu đối với thiết bị điện và cáp điện cũng như việc thiết kế hệ thống liên quan đến điện.
2.1.2 Điện áp và tần số
1 Điện áp hệ thống không được vượt quá:
(1) 1000 V đối với máy phát, thiết bị động lực, thiết bị sưởi và nấu ăn được nối dây cố định;
(2) 250 V đối với chiếu sáng, lò sưởi ở cabin và buồng công cộng, thiết bị khác như nêu ở (1);
(3) Nếu có sử dụng điện áp cao hơn, thì phải thỏa mãn những yêu cầu ở 2.17 Phần 4 Mục II của QCVN 21:2015/BGTVT.
2 Tần số 60 Hz hoặc 50 Hz được chấp nhận dùng cho các hệ thống điện xoay chiều.
3 Thiết bị điện phải được thiết kế và chế tạo sao cho có thể hoạt động tốt khi có dao động điện áp và tần số. Trừ khi có quy định thêm, thiết bị điện phải hoạt động tốt khi có dao động điện áp và tần số như đưa ra ở Bảng 7/2.1. Bất kỳ hệ thống đặc biệt nào, ví dụ các mạch điện tử mà hoạt động của chúng không thể đảm bảo tốt trong phạm vi dao động được đưa ra ở bảng thì chúng phải được cấp điện bằng biện pháp thích hợp, chẳng hạn cấp qua bộ ổn áp. Bảng 7/2.1 không áp dụng cho thiết bị điện của hệ thống điện dùng ắc quy.
4 Trong các trường hợp khi các máy phát điện được truyền động ở tốc độ định mức, có điện áp định mức và tải đối xứng, thì tổng độ méo sóng hài (THD) của hệ thống phân phối được nối với máy phát này không được vượt quá 5%. Tuy nhiên, trong trường hợp như nêu ở (1) và (2) dưới đây, thì THD có thể cho phép vượt quá 5%.
(1) Trong các hệ thống cung cấp điện được kết nối với các bộ chỉnh lưu, tại đó hoạt động an toàn của các thiết bị đó phải được bảo vệ bằng những phương pháp phù hợp để giảm các ảnh hưởng của thành phần sóng hài và trị số tổng độ méo sóng hài (THD) không được vượt quá 8%;
(2) Trên các tàu có hệ thống chân vịt điện, mà có hệ thống cung cấp điện được kết nối với bộ chỉnh lưu là mạch kín độc lập tách biệt với hệ thống cung cấp điện nội bộ khác, và trị số tổng độ méo sóng hài (THD) không được vượt quá 10%.
Bảng 7/2.1 Dao động điện áp và tần số
|
Kiểu dao động |
Dao động |
|
|
Lâu dài |
Tức thời |
|
|
Điện áp |
+6%; -10% |
±20% (1,5 giây) |
|
Tần số |
±5% |
±10% (5 giây) |
Chú thích: Trị số (trừ thời gian) ở trong bảng nghĩa là tỉ lệ phần trăm so với giá trị định mức.
2.1.3 Kết cấu, vật liệu, lắp đặt, v.v…
1 Các bộ phận máy điện chịu độ bền cơ khí phải được làm bằng vật liệu không có khuyết tật. Việc lắp ráp ăn khớp và khe hở của các bộ phận này phải phù hợp với môi trường biển.
2 Tất cả các thiết bị điện phải được kết cấu và được lắp đặt sao cho không gây tổn thương cho người vận hành khi đụng chạm vào thiết bị.
3 Vật liệu cách điện và các cuộn dây được cách điện phải chịu được hơi ẩm, không khí biển và hơi dầu.
4 Các bu lông, ê cu, chốt, vít, cọc đấu dây, vít cấy, lò xo và các chi tiết nhỏ khác phải được làm bằng vật liệu chịu ăn mòn hoặc phải được bảo vệ chống ăn mòn thích hợp.
5 Tất cả các ê cu và các vít dùng để nối các phần mang điện và các bộ phận làm việc phải được hãm chắc chắn.
6 Thiết bị điện phải được đặt ở chỗ dễ tới gần, ở khu vực được thông gió tốt và được chiếu sáng đủ, và ở đó không thể có nguy cơ bị hư hỏng do cơ khí hoặc nước, hơi nước hoặc dầu. Cấp bảo vệ vỏ của thiết bị điện phải phù hợp với vị trí lắp đặt như được chỉ ra ở Bảng 7/2.2 dưới đây.
7 Không được phép đặt trang bị điện ở những nơi có tích tụ khí dễ nổ hoặc trong buồng chứa ắc quy, kho chứa sơn, kho chứa axetilen hoặc các không gian tương tự, trừ khi chúng thỏa mãn những yêu cầu từ (1) tới (4) dưới đây:
(1) Thiết bị điện dùng cho mục đích thiết yếu;
(2) Thiết bị điện có kiểu không đánh lửa làm cháy hỗn hợp liên quan;
(3) Thiết bị điện phù hợp với các không gian liên quan;
(4) Thiết bị điện được chứng nhận phù hợp cho việc sử dụng an toàn trong bụi bẩn, hơi dầu hoặc khí mà nó thường xuyên phải tiếp xúc.
8 Thiết bị điện và cáp điện phải được đặt sao cho có khoảng cách an toàn so với la bàn từ hoặc phải được bảo vệ sao cho ảnh hưởng của từ trường bên ngoài được hạn chế đến mức không đáng kể ngay cả khi đóng mạch hay hở mạch.
9 Các thiết bị điện không được phép gắn trực tiếp vào vách két nhiên liệu, khoảng cách này tối thiểu là 75 mm.
Bảng 7/2.2 Cấp bảo vệ vỏ của thiết bị điện
|
TT |
Vị trí lắp đặt thiết bị điện |
Đặc điểm của khu vực |
Cấp bảo vệ |
|
1 |
Các vùng và khu vực nguy hiểm |
Có khả năng xuất hiện hỗn hợp khí, hơi dễ nổ và bụi không khí |
Ex |
|
2 |
Khu vực sinh hoạt và công cộng, cũng như hành lang có cửa không mở trực tiếp ra boong hở |
Khô ráo |
IP20 |
|
3 |
Các khu vực có cửa mở trực tiếp ra khu vực máy, boong hở |
Với độ ẩm tăng cường |
IP23 |
|
4 |
Nhà bếp, vòi tắm, bồn rửa mặt, nhà vệ sinh, các kho và buồng ắc quy, ống thông gió dẫn đến boong hở v.v… |
Tóe nước |
IP44 |
|
5 |
Boong hở |
Ngập nước |
IP56 |
|
Ghi chú: Khi vỏ của các thiết bị không đảm bảo việc bảo vệ cần thiết, thì phương pháp thay thế vỏ bảo vệ hoặc bố trí thay thế thiết bị phải được thực hiện để chắc chắn cấp bảo vệ phù hợp theo quy định của Bảng. |
|||
2.1.4 Nối mát
1 Các phần kim loại để trần không mang điện của thiết bị điện, mà bình thường không có điện, nhưng do hư hỏng có thể trở thành có điện, thì phải được nối mát tin cậy, trừ các trường hợp sau:
(1) Chúng được cấp điện với điện áp không quá 55 V dòng một chiều hoặc 55 V điện áp dây hiệu dụng dòng xoay chiều. Tuy nhiên, không cho phép dùng biến áp tự ngẫu để tạo ra điện áp này;
(2) Chúng được cấp điện với điện áp không quá 250 V qua biến áp cách điện an toàn dành riêng cho chúng;
(3) Chúng được kết cấu phù hợp với nguyên tắc cách điện kép.
2 Cần phải có biện pháp an toàn bổ sung cho thiết bị điện xách tay dùng trong buồng kín hoặc buồng ẩm ướt, nơi mà có thể có các rủi ro đặc biệt do điện.
3 Khi cần thiết phải nối mát, thì các dây nối mát phải là dây đồng hoặc vật liệu khác được chấp nhận, và nó phải được bảo vệ chống hư hỏng, nếu cần phải được sơn chống rỉ. Kích thước của các dây dẫn nối mát phải phù hợp với Bảng 7/2.3 dưới đây.
Bảng 7/2.3 Tiết diện dây tiếp mát
|
Tiết diện lõi cáp nối đến phụ tải, (mm2) |
Tiết diện của dây tiếp mát kéo dài, (mm2) |
|
|
Dây cứng |
Dây mềm |
|
|
0,5 đến 4 |
4 |
2,5 |
|
4 đến 16 |
1/2 tiết diện lõi cáp nối đến thiết bị, (mm2) |
|
|
16 đến 35 |
16 |
16 |
|
35 đến 120 |
1/2 tiết diện lõi cáp nối đến thiết bị, (mm2) |
|
|
> 120 |
70 |
|
4 Trong trường hợp khi kết cấu thượng tầng bằng nhôm được cố định với vỏ thép của tàu có kèm lớp cách ly để ngăn ngừa ăn mòn điện hóa giữa hai vật liệu này, thì phải bố trí mối liên kết riêng giữa kết cấu thượng tầng và vỏ tàu. Mối liên kết riêng phải được thực hiện sao cho tránh được ăn mòn điện hóa và điểm nối có thể kiểm tra được dễ dàng.
5 Đối với các tàu mà kết cấu chính của chúng được làm bằng vật liệu phi kim loại, thì phải thỏa mãn những yêu cầu từ (1) đến (5) dưới đây:
(1) Tất cả các phần kim loại của tàu phải được nối mát với nước biển, cố gắng hạn chế ăn mòn điện hóa giữa các kim loại khác nhau. Nói chung, không cần nối mát các bộ phận cách ly bên trong kết cấu, trừ két dầu đốt;
(2) Phải có biện pháp nối mát thiết bị nhận dầu với tàu ở mỗi điểm giao nhận dầu có áp lực;
(3) Các đường ống kim loại có thể phát ra tĩnh điện do dòng chảy của chất lỏng hoặc khí phải được liên kết sao cho đảm bảo tính liên tục về điện suốt chiều dài của chúng và phải được nối mát thích hợp;
(4) Dây dẫn thứ cấp được trang bị để cân bằng sự phóng tĩnh điện, dây liên kết thiết bị, v.v... nhưng không dùng để dẫn phóng điện sét phải là dây đồng có tiết diện tối thiểu 5 mm2 hoặc là dây nhôm có tiết diện đảm bảo khả năng dẫn điện tăng đột ngột tương đương;
(5) Điện trở giữa các vật liên kết và kết cấu chính không vượt quá 0,05W. Đường dây liên kết phải có đủ tiết diện để chịu dòng lớn nhất thường xuyên chạy qua đó mà không làm sụt áp quá mức.
2.2 Bảo vệ chống sét
2.2.1 Quy định chung
1 Tàu thuộc nhóm thiết kế A, A1, A2, B, C hoặc C1 phải được bố trí hệ thống chống sét ở vùng được bảo vệ cho tất cả các thiết bị yêu cầu được bảo vệ chống sét.
Khuyến cáo rằng hệ thống chống sét cũng phải được trang bị cho các tàu thuộc nhóm thiết kế C2 và C3.
Khi tàu bị ảnh hưởng do sét đánh có thể gây ra cháy hoặc nổ, thì phải bố trí thiết bị tiếp mát chống sét để ngăn ngừa hồ quang một cách thích hợp.
2 Hệ thống chống sét phải bao gồm đầu thu lôi, dây dẫn tiếp mát và bộ phận tiếp mát. Nếu việc liên kết về điện tin cậy giữa cột thép với phần kim loại của thân tàu hoặc với điểm tiếp mát thì không cần lắp đặt các thiết bị chống sét riêng trên các cột bằng kim loại này.
2.2.2 Hệ thống đầu thu lôi
1 Với tàu bằng kim loại, có các kết cấu thẳng đứng như: cột, cột cẩu dây chằng, kết cấu thượng tầng v.v... có thể được coi như là các đầu thu lôi nếu việc kết nối về điện đáng tin cậy giữa các kết cấu này với thân tàu.
Các đầu thu lôi bổ sung chỉ được sử dụng khi các bộ phận kết cấu của tàu không được bố trí bảo vệ chống sét đáng tin cậy.
2 Nếu thiết bị điện được lắp đặt trên đỉnh của cột bằng kim loại thì đầu thu lôi phải được tiếp mát hiệu quả.
3 Trên mỗi cột hoặc đỉnh cột làm bằng vật liệu không dẫn điện, thì phải bố trí một thiết bị chống sét được tiếp mát hiệu quả.
4 Đầu thu lôi phải là một thanh tròn có tiết diện tối thiểu 12 mm2. Thanh này có thể là đồng, hợp kim đồng hoặc thép được bảo vệ chống ăn mòn. Đầu thu lôi bằng nhôm được sử dụng cho cột bằng nhôm.
5 Đầu thu lôi phải được lắp đặt cho các cột theo cách sao cho chúng nhô lên tối thiểu là 300 mm ở trên đỉnh của cột hoặc trên bất kỳ thiết bị nào lắp đặt trên đỉnh của cột.
6 Chiều cao quy định của cột bảo vệ chống sét cho các khu vực yêu cầu bảo vệ phải phù hợp với 2.2.2-6(1), 2.2.2-6(2), 2.2.2-6(3) tương ứng.
(1) Đối với cột có chiều cao không vượt quá 15 m phía trên mặt nước, thì bán kính cơ bản phải xấp xỉ bằng chiều cao cột h (xem hình 7/2.1 (1) và 7/2.1(2)).
(2) Đối với cột cao hơn 15 m, thì khu vực bảo vệ phải căn cứ vào khoảng cách đánh xuống của tia sét.
Khi phóng điện tia sét có thể đánh trúng bất kỳ đối tượng được tiếp mát trong phạm vi khoảng cách đánh xuống của điểm tính từ điểm bị phá hủy cuối cùng đến đất, khu vực bảo vệ được xác định bằng cung tròn (xem hình 7/2.2).
(3) Vùng bảo vệ được quy định bởi hình dạng của các cột hoặc vật thể dẫn điện được nối mát và nhô cao khác có thể xác định được bằng biểu đồ. Việc tăng chiều cao của cột phía trên khoảng cách đánh xuống sẽ không làm tăng vùng bảo vệ.
Bán kính cung tròn có bán kính là khoảng cách phóng sét (30 m). Cung tròn đi qua đỉnh cột và tiếp tuyến với mặt nước. Nếu có nhiều hơn một cột được sử dụng thì vùng bảo vệ được xác định bằng các cung tròn liên quan đến tất cả các cột này.

Hình 7/2.1(1) Tàu buồm có chiều cao cột không quá 15 m phía trên mặt nước

Hình 7/2.1(2) Tàu không chạy bằng buồm có chiều cao cột không quá 15 m phía trên mặt nước

Hình 7/2.2 Tàu với cột có chiều cao vượt quá 15 m phía trên mặt nước
2.2.3 Dây dẫn tiếp mát
1 Dây dẫn tiếp mát phải là các thanh tròn, dây thép hoặc cáp nhiều lõi có tiết diện tối thiểu là 100 mm2.
2 Dây dẫn tiếp mát phải chạy ở phía bên ngoài của cột và kết cấu thượng tầng có số lần uốn cong tối thiểu, với độ cong dần dần và có bán kính uốn cong lớn nhất có thể.
3 Dây dẫn tiếp mát phải không chạy qua vùng và khu vực nguy hiểm.
4 Khi tàu có vỏ phi kim loại, thì dây dẫn tiếp mát của hệ thống chống sét phải được đặt tách biệt trên suốt chiều dài của chúng (kể cả kết nối vào mạng lưới đầu tiếp mát), mà không cần nối với thanh dẫn của các mạch tiếp mát bảo vệ và điều hành.
2.2.4 Mạng lưới đầu tiếp mát
1 Khi tàu có vỏ composite, thì sống mũi kim loại hay các kết cấu kim loại khác bị ngâm trong nước ở bất kỳ chế độ hàng hải nào có thể được sử dụng để tiếp mát cho tàu.
2 Trên tàu phải bố trí phương tiện cho phép kết nối hệ thống bảo vệ chống sét hoặc vỏ thép của tàu với mạng tiếp mát bờ - tàu trong khi tàu ở trong ụ hoặc trên đà.
3 Ở tàu vỏ phi kim loại, thì phải bố trí phương tiện cho phép kết nối hệ thống bảo vệ chống sét với mạng tiếp mát bờ-tàu trong khi tàu ở trong ụ hoặc trên đà.
4 Tàu nhiều thân phải được bố trí tiếp mát chống sét cho mỗi thân.
2.2.5 Kết nối trong hệ thống bảo vệ chống sét
1 Kết nối giữa đầu thu lôi, dây tiếp mát và mạng lưới đầu tiếp mát phải được hàn hoặc bắt vít kèm với các kẹp.
2 Khi sử dụng kết nối bằng bu lông, thì diện tích mặt tiếp xúc giữa dây tiếp mát và đầu tiếp mát phải không nhỏ hơn 300 mm2 đối với đồng và hợp kim đồng và không nhỏ hơn 1.000 mm2 đối với vật liệu khác.
Kẹp và bu lông kết nối phải được làm bằng đồng, hợp kim đồng hoặc thép được bảo vệ chống ăn mòn.
2.2.6 Thiết bị tiếp mát bảo vệ chống sét
1 Tiếp mát bảo vệ chống sét phải được trang bị cho các kết cấu kim loại tách biệt, kết nối di động, đường ống, màn chắn của đường dây thông tin và động lực, đường ống đi vào khu vực nguy hiểm.
2 Các phần kim loại nằm gần dây tiếp mát phải được tiếp mát nếu chúng không được bắt chặt vào các kết cấu tiếp mát hoặc không có kết nối kim loại khác với thân tàu. Các thiết bị hoặc phần kim loại lắp đặt ở khoảng cách lên đến 200 mm từ dây tiếp mát phải được nối thêm vào để ngăn ngừa khả năng do hậu quả phóng hồ quang điện.
3 Tất cả mối ghép của các phần tử tiếp mát phải tiếp cận được để kiểm tra và được bảo vệ chống lại hư hỏng cơ khí.
2.3 Thiết kế hệ thống - Quy định chung
2.3.1 Hệ thống phân phối
1 Chỉ cho phép sử dụng các hệ thống phân phối sau:
(1) Hệ thống điện một chiều hai dây;
(2) Hệ thống điện một chiều ba dây (hệ thống ba dây cách ly hoặc hệ thống ba dây có trung tính nối mát);
(3) Hệ thống điện xoay chiều một pha hai dây;
(4) Hệ thống điện xoay chiều ba pha ba dây;
(5) Hệ thống điện xoay chiều ba pha bốn dây.
2 Bất kể các yêu cầu quy định ở -1 trên đây chỉ cho phép sử dụng thân tàu làm dây dẫn trong các trường hợp sau:
(1) Các hệ thống bảo vệ dòng ca tốt dùng để bảo vệ phía ngoài vỏ tàu;
(2) Các hệ thống nối mát giới hạn và cục bộ, với điều kiện bất kỳ dòng điện có thể xuất hiện không được chạy trực tiếp qua vùng nguy hiểm;
(3) Hệ thống kiểm tra cách điện, với điều kiện dòng điện khép kín không được vượt quá 30 mA trong bất kỳ trường hợp nào.
2.3.2 Hệ thống kiểm tra cách điện
Khi dùng hệ thống phân phối sơ cấp hoặc thứ cấp để cấp điện cho mạng động lực, sưởi hoặc chiếu sáng mà không được nối mát, thì phải dùng thiết bị có thể kiểm tra liên tục độ cách điện so với đất, thiết bị kiểm tra này phải phát ra tín hiệu bằng âm thanh hoặc ánh sáng khi trị số cách điện thấp hơn quy định. Với các tàu có tổng dung tích nhỏ, thì có thể dùng các đèn chỉ báo chạm đất thay cho hệ thống kiểm tra cách điện.
2.3.3 Chênh lệch dòng tải
1 Sự chênh lệch dòng tải giữa dây dẫn phía ngoài và dây dẫn giữa ở các bảng điện, bảng phân nhóm và bảng phân phối không được vượt quá 15% dòng toàn tải.
2 Sự chênh lệch dòng tải trên mỗi pha ở mỗi bảng điện, bảng phân nhóm và các bảng phân phối không được vượt quá 15% dòng toàn tải.
2.3.4 Hệ số đồng thời
1 Các mạch cấp cho hai hoặc nhiều hơn mạch nhánh cuối phải được tính phù hợp với tất cả phụ tải được nối vào, ở đây có thể dùng hệ số đồng thời.
2 Hệ số đồng thời như nêu ở -1 có thể được dùng để tính tiết diện dây dẫn và công suất của các cơ cấu ngắt (bao gồm bộ ngắt mạch và công tắc) và các cầu chì.
2.3.5 Mạch cấp điện
1 Các động cơ điện có công dụng thiết yếu yêu cầu bố trí kép, phải được cấp điện bằng các mạch riêng biệt, không dùng mạch cấp chung, các thiết bị bảo vệ và các cơ cấu điều khiển.
2 Các máy phụ trong buồng máy, các máy làm hàng và các quạt thông gió phải được cấp điện độc lập từ bảng điện hoặc bảng phân phối.
3 Các quạt thông gió hầm hàng và quạt thông gió sinh hoạt không được phép nhận điện từ mạch cung cấp chung.
4 Các mạch chiếu sáng và các mạch động cơ điện phải được cấp điện độc lập từ các bảng điện.
5 Mạch nhánh cuối có dòng lớn hơn 15 A chỉ được phép cấp điện cho tối đa một thiết bị.
2.3.6 Mạch động cơ
Mỗi động cơ có công dụng thiết yếu và động cơ có công suất lớn hơn hoặc bằng 1 kW phải được cấp điện bằng mạch nhánh cuối riêng biệt.
2.3.7 Mạch chiếu sáng
1 Các mạch chiếu sáng phải được cấp điện bằng các mạch nhánh cuối tách biệt khỏi mạch thiết bị sưởi và thiết bị động lực, trừ quạt gió ca bin và các thiết bị dùng nội bộ.
2 Số điểm chiếu sáng được cấp điện bằng mạch nhánh cuối có dòng nhỏ hơn hoặc bằng 15 A không vượt quá:
- 10 đối với mạch có điện áp tới 50 V;
- 14 đối với mạch có điện áp từ 51 V đến 130 V;
- 24 đối với mạch có điện áp từ 131 V đến 250 V;
- Trường hợp khi số điểm chiếu sáng và dòng toàn tải là không đổi, thì có thể cho phép nối nhiều hơn số điểm nêu trên vào mạch nhánh cuối, với điều kiện dòng tải tổng cộng không vượt quá 80% dòng của thiết bị bảo vệ trong mạch.
3 Trong mạch nhánh cuối có dòng nhỏ hơn hoặc bằng 10 A cấp điện cho bảng chiếu sáng và tín hiệu điện mà ở đó các đui đèn được nhóm tập trung, thì số điểm được cấp điện là không hạn chế.
4 Trong các không gian như buồng đặt máy chính hoặc nồi hơi, các đèn chiếu sáng phải được cấp ít nhất từ hai mạch và phải bố trí sao cho khi một mạch bị hư hỏng thì các không gian này vẫn được chiếu sáng. Một trong hai mạch này có thể là mạch chiếu sáng sự cố.
5 Khi xác định tiết diện của cáp điện, thì mỗi ổ cắm có cấp điện áp bằng và lớn hơn 110 V phải được tính bằng công suất định mức là 100 W. Trường hợp cho đèn xách tay, thì ổ cắm có cấp điện áp 12 V phải được tính bằng công suất định mức là 15 W và cấp điện áp 24 V - công suất định mức là 25 W.
2.3.8 Mạch dùng cho hệ thống thông tin nội bộ và hàng hải
1 Các hệ thống tín hiệu và thông tin nội bộ quan trọng và các thiết bị phục vụ hàng hải phải có mạch tự giữ hoàn toàn để đảm bảo duy trì tốt chức năng của chúng.
2 Cáp điện dùng cho hệ thống thông tin phải được bố trí sao cho không bị ảnh hưởng của nhiễu.
3 Không cho phép bố trí công tắc trên các mạch cấp điện của các thiết bị báo động chung, trừ công tắc nguồn. Ở chỗ mà có sử dụng bộ ngắt mạch thì phải có các biện pháp thích hợp để tránh bộ ngắt mạch nằm ở vị trí “ngắt”.
2.3.9 Mạch dùng cho trang bị vô tuyến điện
Các mạch cấp điện cho trang bị vô tuyến điện và chiếu sáng ở trạm điều khiển trang bị vô tuyến điện phải được bố trí phù hợp với các yêu cầu tương ứng được nêu ở Chương 4 Phần 8 “Trang bị an toàn”.
2.3.10 Mạch cấp cho thiết bị sưởi và nấu ăn dùng điện
1 Mỗi một thiết bị sưởi và nấu ăn dùng điện phải được nối với một mạch nhánh cuối, trừ khi có tối đa 10 bộ sưởi điện loại nhỏ có dòng tổng cộng nhỏ hơn hoặc bằng 15 A thì có thể được nối với cùng một mạch nhánh cuối.
2 Thiết bị sưởi và nấu ăn dùng điện phải được khống chế bằng công tắc nhiều cực đặt ở gần thiết bị. Tuy nhiên, các bộ phận sưởi điện loại nhỏ được nối với mạch nhánh cuối có dòng nhỏ hơn hoặc bằng 15 A thì có thể cho phép được khống chế bằng công tắc một cực.
2.3.11 Công tắc ngắt mạch
1 Các mạch động lực và chiếu sáng đi trong các hầm hàng hoặc các kho chứa than phải có công tắc nhiều cực đặt ở ngoài các không gian này. Phải có biện pháp để cách ly hoàn toàn các mạch này và khóa chặt vị trí “ngắt” của các công tắc hoặc hộp công tắc.
2 Các mạch cấp điện dùng cho thiết bị ở các vùng nguy hiểm phải có công tắc cách ly nhiều cực đặt ở ngoài vùng này. Đồng thời các công tắc cách ly phải ghi nhãn rõ ràng để nhận biết thiết bị điện được nối với chúng.
2.4 Thiết kế hệ thống bảo vệ
2.4.1 Quy định chung
Trang bị điện của tàu phải được bảo vệ quá tải, kể cả ngắn mạch. Các thiết bị bảo vệ phải có khả năng phục vụ liên tục các mạch khác tới chừng thực hiện được bằng cách ngắt mạch hư hỏng ra và loại bỏ các hỏng hóc cho hệ thống và nguy hiểm do cháy.
2.4.2 Bảo vệ quá tải
1 Các đặc tính ngắt quá dòng của các bộ ngắt mạch và các đặc tính chảy của cầu chì phải được lựa chọn phù hợp, có xem xét đến khả năng chịu nhiệt của thiết bị điện và cáp điện mà chúng bảo vệ. Không cho phép dùng cầu chì có dòng lớn hơn 200 A để bảo vệ quá tải.
2 Công suất hoặc trị số đặt thích hợp của thiết bị bảo vệ cho mỗi mạch phải được chỉ ra thường xuyên tại vị trí của thiết bị bảo vệ, và cũng phải chỉ ra được giá trị dòng điện chạy trong mỗi mạch.
3 Các rơle quá tải của các bộ ngắt mạch dùng cho các máy phát và các thiết bị bảo vệ quá tải, trừ các bộ ngắt mạch dạng khối kín, phải có khả năng chỉnh được trị số dòng đặt và các đặc tính trễ thời gian.
2.4.3 Bảo vệ ngắn mạch
1 Trị số cắt của bất kỳ thiết bị bảo vệ nào cũng không được nhỏ hơn trị số lớn nhất của dòng ngắn mạch có thể chạy qua điểm đặt trang bị ngay lúc xảy ra ngắt mạch.
2 Trị số chế tạo của mọi bộ ngắt mạch hoặc công tắc được dự kiến để có khả năng đóng kín mạch, nếu cần thiết chịu dòng ngắn mạch phải không nhỏ hơn giá trị lớn nhất của dòng ngắn mạch tại điểm đặt trang bị. Với dòng xoay chiều thì giá trị lớn nhất này tương ứng với giá trị dòng xung kích cho phép khi mất đối xứng cực đại.
3 Trong trường hợp khi trị số cắt định mức hoặc cả trị số chế tạo định mức của thiết bị bảo vệ ngắn mạch không phù hợp với những yêu cầu nêu ở -1 và -2, các cầu chì và các bộ ngắt mạch có trị số cắt không nhỏ hơn dòng ngắn mạch sẽ xảy ra phải được bố trí ở phía nguồn cấp của trang bị được bảo vệ ngắn mạch nói trên. Các bộ ngắt mạch dùng cho máy phát không được phép dùng vào mục đích này. Các bộ ngắt mạch được nối với phía tải phải không bị hư hỏng quá mức và phải có khả năng làm việc lâu dài trong các trường hợp sau:
(1) Khi dòng ngắn mạch bị ngắt nhờ bộ ngắt hoặc cầu chì hỗ trợ;
(2) Khi bộ ngắt mạch được nối với phía tải được khép kín bằng dòng ngắn mạch trong lúc bộ ngắt hoặc cầu chì hỗ trợ phía sau cắt dòng.
2.4.4 Bảo vệ các mạch điện
1 Phải bố trí thiết bị bảo vệ ngắn mạch cho mỗi cực hoặc mỗi pha của tất cả các mạch riêng biệt trừ mạch trung tính và dây cân bằng.
2 Tất cả các mạch có khả năng bị quá tải phải được bố trí thiết bị bảo vệ quá tải như chỉ ra dưới đây:
(1) Hệ thống một chiều hai dây hoặc xoay chiều một pha hai dây: ở ít nhất một dây hoặc một pha;
(2) Hệ thống một chiều ba dây: ở cả hai dây phía ngoài;
(3) Hệ thống ba pha ba dây: ở ít nhất hai pha;
(4) Hệ thống ba pha bốn dây: ở cả ba pha.
3 Không cho phép đặt cầu chì, công tắc không tiếp điểm, hoặc một bộ ngắt mạch không tiếp điểm ở dây dẫn nối mát và dây trung tính.
2.4.5 Bảo vệ các máy phát điện
1 Các máy phát điện phải được bảo vệ ngắn mạch và quá tải bằng bộ ngắt mạch nhiều cực và ngắt được đồng thời tất cả các cực cách ly, hoặc trong trường hợp với máy phát nhỏ hơn 20 kW không làm việc song song thì có thể được bảo vệ bằng công tắc nhiều cực có cầu chì hoặc bộ ngắt mạch đặt ở mỗi cực cách ly. Thiết bị bảo vệ quá tải phải phù hợp với khả năng chịu nhiệt của máy phát.
2 Đối với các máy phát điện một chiều làm việc song song, ngoài yêu cầu nêu ở -1 trên, phải có thiết bị bảo vệ dòng điện ngược, tác động nhanh khi dòng điện ngược nằm trong giới hạn từ 2 đến 15% dòng định mức của máy phát. Tuy nhiên, yêu cầu này không áp dụng cho dòng điện ngược được phát ra từ phía tải, ví dụ: các động cơ tời.
3 Đối với các máy phát xoay chiều làm việc song song, ngoài yêu cầu nên ở -1 trên, phải có thiết bị công suất ngược có trễ thời gian, tác động khi trị số công suất ngược nằm trong giới hạn từ 2 đến 15% công suất toàn tải, việc lựa chọn và đặt trị số trong giới hạn trên tùy thuộc vào các đặc tính của động cơ lái.
2.4.6 Bảo vệ các thiết bị có công dụng thiết yếu
Khi các máy phát làm việc song song và các máy phụ thiết yếu được truyền động bằng điện thì phải bố trí thiết bị để ngắt tự động các tải không quan trọng khi các máy phát bị quá tải. Nếu có yêu cầu thì việc ngắt ưu tiên này có thể được tiến hành ở một hoặc nhiều giai đoạn.
2.4.7 Bảo vệ các mạch cấp điện
1 Các mạch cấp điện cho các bảng phân nhóm, các bảng phân phối, các bộ khởi động được nhóm chung và tương tự phải được bảo vệ quá tải và ngắn mạch bằng các bộ ngắt mạch nhiều cực và cầu chì. Trường hợp khi sử dụng cầu chì, phải có các công tắc cách ly ở phía nguồn của cầu chì.
2 Mỗi cực cách ly của các mạch nhánh cuối phải được bảo vệ ngắn mạch và quá tải bằng các bộ ngắt hoặc cầu chì. Trường hợp khi sử dụng cầu chì, phải có các công tắc cách ly đặt ở phía nguồn của cầu chì. Việc bảo vệ các mạch cấp điện cho các thiết bị lái thì áp dụng các yêu cầu nêu ở 15.2.7 Phần 3 Mục II của QCVN 21:2010/BGTVT.
3 Các mạch cấp điện cho các động cơ có thiết bị bảo vệ quá tải thì chỉ cần thiết bị bảo vệ ngắn mạch.
4 Trường hợp khi dùng các cầu chì để bảo vệ các động cơ xoay chiều ba pha thì phải quan tâm đến việc bảo vệ chống mất một pha.
5 Trường hợp khi dùng tụ điện để kích pha thì yêu cầu phải có các thiết bị bảo vệ quá áp.
2.4.8 Bảo vệ các biến áp động lực và chiếu sáng
1 Các mạch sơ cấp của các biến áp động lực và chiếu sáng phải được bảo vệ ngắn mạch và quá tải bằng bộ ngắt mạch hoặc cầu chì.
2 Khi các biến áp làm việc song song, thì phải có các thiết bị cách ly đặt ở phía thứ cấp.
2.4.9 Bảo vệ các động cơ điện
1 Các động cơ điện có công suất lớn hơn 0,5 kW và tất cả các động cơ dùng cho các máy có công dụng thiết yếu, trừ động cơ máy lái, phải được bảo vệ quá tải riêng biệt. Việc bảo vệ quá tải các động cơ máy lái phải phù hợp với các yêu cầu cần nêu ở 15.2.7 Phần 3 Mục II của QCVN 21: 2015/BGTVT.
2 Thiết bị bảo vệ phải có các đặc tính trễ để có thể khởi động được động cơ.
3 Đối với động cơ làm việc ngắn hạn lặp lại thì phải chọn trị số dòng đặt và độ trễ theo hệ số tải của động cơ.
2.4.10 Bảo vệ mạch chiếu sáng
Các mạch chiếu sáng phải được bảo vệ ngắn mạch và quá tải.
2.4.11 Bảo vệ các dụng cụ đo, đèn hiệu và các mạch điều khiển
1 Các vôn kế, cuộn dây điện áp của các dụng cụ đo, các thiết bị chỉ báo chạm đất và các đèn hiệu cùng với các dây dẫn chính nối với chúng phải được bảo vệ bằng các cầu chì đặt ở mỗi cực riêng biệt. Đèn hiệu được lắp chung trong thiết bị thì không cần có bảo vệ riêng, với điều kiện bất kỳ sự hư hỏng nào của mạch đèn hiệu cũng không gây ra mất nguồn cấp cho các thiết bị yếu.
2 Các dây dẫn được bọc cách điện của các mạch điều khiển và dụng cụ được cấp điện trực tiếp từ thanh dẫn và phần chính của máy phát phải được bảo vệ bằng cầu chì tại vị trí gần nhất với điểm nối. Các dây dẫn giữa cầu chì và điểm nối không được bó lại cùng với dây của các mạch khác.
3 Cầu chì của các mạch của các bộ tự động điều chỉnh điện áp mà khi mất điện áp có thể gây ra hậu quả nghiêm trọng thì có thể được miễn trừ. Nếu có miễn trừ thì phải có các biện pháp hữu hiệu để tránh rủi ro do cháy ở phần không được bảo vệ của thiết bị.
2.4.12 Bảo vệ ắc quy
Các tổ ắc quy không phải là ắc quy khởi động động cơ đi-e-den phải được bảo vệ quá tải và ngắn mạch bằng các thiết bị đặt càng gần ắc quy càng tốt. Các ắc quy sự cố cấp điện cho các thiết bị có công dụng thiết yếu thì có thể chỉ cần bảo vệ ngắn mạch.
2.5 Thiết bị điện và cáp điện - Quy định chung
2.5.1 Máy điện quay
Máy điện quay phải thỏa mãn những yêu cầu ở 2.4 Phần 4 Mục II của QCVN 21:2015/BGTVT.
2.5.2 Biến áp động lực và chiếu sáng
Biến áp động lực và chiếu sáng phải thỏa mãn những yêu cầu ở 2.10 Phần 4 Mục II QCVN 21:2015/BGTVT.
2.5.3 Bộ ngắt mạch
Bộ ngắt mạch phải thỏa mãn những yêu cầu ở 2.6.1 Phần 4 Mục II của QCVN 21:2015/BGTVT.
2.5.4 Cầu chì
Cầu chì phải thỏa mãn các yêu cầu ở 2.6.2 Phần 4 Mục II của QCVN 21:2015/BGTVT.
2.5.5 Công tắc điện từ
Công tắc tơ điện từ phải thỏa mãn những yêu cầu ở 2.6.3 Phần 4 Mục II của QCVN 21:2015/BGTVT.
2.5.6 Bộ chỉnh lưu bán dẫn dùng làm nguồn cấp
Bộ chỉnh lưu bán dẫn dùng làm nguồn cấp phải thỏa mãn những yêu cầu ở 2.12 Phần 4 Mục II của QCVN 21:2015/BGTVT.
2.5.7 Thiết bị chiếu sáng và phụ kiện đường dây
Thiết bị chiếu sáng và phụ kiện đường dây phải thỏa mãn tương ứng với những yêu cầu ở 2.13 và 2.14 Phần 4 Mục II của QCVN 21:2015/BGTVT.
2.5.8 Thiết bị sưởi và nấu ăn
Thiết bị sưởi và nấu ăn phải thỏa mãn những yêu cầu ở 4.4.1 Phần 5 Mục II của QCVN 21:2015/BGTVT.
2.6 Bảng điện, bảng phân nhóm và bảng phân phối
2.6.1 Vị trí lắp đặt
Bảng điện phải được đặt ở nơi khô ráo cách xa vùng có hơi nước, nước và ống dẫn dầu.
2.6.2 Biện pháp an toàn cho người vận hành
1 Bảng điện phải được bố trí sao cho để dễ dàng tiếp cận với từng phần tử mà không gây nguy hiểm cho người.
2 Phía hai bên và khoảng phía sau, khi cần thiết kể cả phía trước bảng điện, phải được bảo vệ thích hợp.
3 Khi điện áp giữa các cực với nhau hoặc với đất lớn hơn 55 V một chiều hoặc 55 V hiệu dụng xoay chiều, thì bảng điện phải là kiểu không có điện thế phía trước.
4 Phải bố trí tay vịn cách điện phía trước và phía sau bảng điện, và khi cần thiết phải đặt thảm hoặc tấm gỗ cách điện trên sàn lối đi.
5 Phía trước bảng điện phải có không gian đủ cho việc thao tác. Khi cần thiết, phải có không gian phía sau bảng điện để cho phép thao tác và bảo dưỡng cầu dao, công tắc, cầu chì và các bộ phận khác, lối đi phải có chiều rộng tối thiểu là 0,5 m.
6 Bảng phân nhóm và bảng phân phối phải có vỏ bảo vệ thích hợp tùy theo vị trí lắp đặt của chúng. Nếu chúng được lắp ở vị trí mà người không có trách nhiệm dễ dàng đến gần, thì phải bố trí biện pháp bảo vệ hữu hiệu để sao cho đảm bảo sự an toàn trong điều kiện làm việc bình thường.
2.6.3 Kết cấu và vật liệu
1 Thanh dẫn, bộ ngắt mạch và khí cụ điện khác của bảng điện chính phải được bố trí sao cho thiết bị điện có công dụng thiết yếu yêu cầu lắp đặt kép không đồng thời mất khả năng hoạt động do sự cố đơn lẻ.
2 Khi nguồn điện chính cần thiết cho hệ động lực của tàu thì bảng điện chính phải thỏa mãn những yêu cầu dưới đây hoặc có đặc tính tương đương như thế:
(1) Mỗi máy phát phải được trang bị một bảng điện và các bảng điện kề sát nhau phải được ngăn bằng vách làm bằng thép hoặc vật liệu khó cháy;
(2) Thanh cái phải được chia thành ít nhất hai phần, các phần này được nối bình thường nhờ mối liên kết dễ tháo. Nếu có thể thực hiện được, việc nối các tổ máy phát và thiết bị được lắp đặt kép phải được chia đều giữa các phần.
3 Cáp đi vào bảng điện phải được kết cấu sao cho không để nước chảy dọc theo cáp vào bảng điện.
4 Trường hợp các mạch cấp điện có các điện áp khác nhau được lắp đặt trong cùng một không gian của bảng điện, bảng phân nhóm hoặc bảng phân phối, thì tất cả các khí cụ phải được bố trí sao cho các cáp điện có điện áp khác nhau không thể tiếp xúc với nhau trong bảng.
5 Vỏ bảo vệ phải có kết cấu cứng vững và các vật liệu sử dụng cho chúng là loại không cháy và không hút ẩm.
6 Vật liệu cách điện phải là loại bền chắc, khó cháy và không hút ẩm.
7 Vật liệu làm dây dẫn phải phù hợp với các yêu cầu sau:
(1) Các dây dẫn được bọc cách điện dùng cho bảng điện phải là loại khó cháy và không hút ẩm có nhiệt độ dây dẫn cho phép tối đa không nhỏ hơn 75oC;
(2) Các ống và vòng kẹp dùng để đi cáp phải là vật liệu khó cháy;
(3) Các dây dẫn được bọc cách điện dùng cho các mạch điều khiển và các mạch dụng cụ đo không được bó chung với các dây dẫn dùng cho mạch chính và không được đặt chung vào cùng một ống. Tuy nhiên, nếu điện áp định mức và nhiệt độ cho phép tối đa của dây dẫn là như nhau và không có xuất hiện ảnh hưởng xấu cho các mạch chính thì không phải áp dụng theo yêu cầu này.
8 Trừ khi có trang bị các công tắc cách ly, các bộ ngắt mạch phải sao cho có thể sửa chữa được mà không cần phải ngắt chúng ra khỏi liên kết với thanh dẫn và ngắt nguồn cấp.
2.6.4 Thanh dẫn
1 Thanh dẫn phải được làm bằng đồng hoặc hợp kim nhôm phủ đồng.
2 Việc nối thanh dẫn phải được tiến hành sao cho hạn chế được sự ăn mòn và oxi hóa.
3 Thanh dẫn và mối nối thanh dẫn phải được giữ sao cho chịu được lực điện từ gây ra do dòng ngắn mạch.
4 Sự tăng nhiệt độ của thanh dẫn, các dây dẫn liên kết và mối nối của chúng không được vượt quá 45oC khi đang mang dòng điện toàn tải ở nhiệt độ môi trường là 45oC.
5 Khe hở (giữa pha với pha, cực với cực và pha với mát) của thanh dẫn để trần không được nhỏ hơn trị số nêu ở Bảng 4/2.2.
Bảng 4/2.2 Khe hở tối thiểu đối với các thanh dẫn
|
Điện áp định mức (V) |
Khe hở (mm) |
|
Đến 250 |
15 |
|
Lớn hơn 250 đến 690 |
20 |
|
Lớn hơn 690 đến 1000 |
35 |
2.6.5 Dây cân bằng
1 Giá trị dòng của các dây nối cân bằng và công tắc nối cân bằng không được nhỏ hơn một nửa dòng toàn tải định mức của máy phát.
2 Giá trị dòng của các thanh nối cân bằng không được nhỏ hơn ½ dòng toàn tải định mức của máy phát có công suất lớn nhất trong nhóm.
2.6.6 Dụng cụ đo dùng cho máy phát một chiều
Các bảng điện máy phát một chiều phục vụ trên tàu, ít nhất phải được trang bị các dụng cụ đo như nêu ở Bảng 7/2.3.
Bảng 7/2.3 Các dụng cụ đo cho bảng điện máy phát một chiều
|
Chế độ làm việc |
Dụng cụ |
Số lượng yêu cầu |
|
|
Hệ thống hai dây |
Hệ thống ba dây |
||
|
Độc lập |
Ampe kế |
Một chiếc cho mỗi máy (đặt ở cực dương) |
* Hai chiếc cho mỗi máy (đặt ở cực dương và cực âm) |
|
Vôn kế |
Một chiếc cho mỗi máy |
Một chiếc cho mỗi máy (đo điện áp giữa cực dương và cực âm hoặc giữa cực âm với cực trung tính) |
|
|
Song song |
Vôn kế |
Hai chiếc (thanh dẫn và mỗi máy phát) |
Hai chiếc (đo điện áp giữa thanh dẫn với các cực dương và cực âm của mỗi máy phát hoặc giữa các cực dương với cực trung tính) |
|
Ampe kế |
Một chiếc cho mỗi máy (đặt ở cực dương) |
* Hai chiếc cho mỗi máy (nếu là máy kích từ hỗn hợp thì đặt ở dây cân bằng và phần ứng. Nếu là máy kích từ song song thì đặt ở cực dương và cực âm) |
|
Chú thích:
(1) Khi dùng hệ thống nối mát dây trung tính, thì phải thêm một Ampe kế có điểm “0” ở giữa vào số lượng được đánh dấu “*” ở Bảng trên.
(2) Một trong số các Vôn kế phải có thể đo được điện áp nguồn điện bờ.
(3) Khi trang bị bảng điều khiển để điều khiển tự động các máy phát, thì các dụng cụ đo nêu ở trên phải được lắp đặt trên bảng điều khiển, trừ khi bảng điều khiển được lắp ngoài buồng máy, số lượng tối thiểu các dụng cụ đo cần thiết cho sự làm việc độc lập và song song của các máy phát phải được lắp trên bảng điện.
(4) Trường hợp có hai máy phát trở lên mà không làm việc song song, thì cho phép chỉ trang bị một Ampe kế và một Vôn kế, với điều kiện phải có một Ampe kế và một Vôn kế xách tay ở trên tàu.
2.6.7 Các dụng cụ đo dùng cho máy phát xoay chiều
Các bảng điện máy phát xoay chiều phục vụ trên tàu, ít nhất phải được trang bị các dụng cụ đo như nêu ở Bảng 7/2.4.
2.6.8 Thang đo dụng cụ đo lường
1 Giá trị cực đại của thang đo Vôn kế phải xấp xỉ bằng 120% điện áp bình thường của mạch.
2 Giá trị cực đại của thang đo Ampe kế phải xấp xỉ bằng 130% dòng điện bình thường của mạch.
3 Các Ampe kế dùng cho các máy phát một chiều và Oát kế dùng cho các máy phát xoay chiều làm việc song song phải có các thang đo dòng điện ngược hoặc công suất ngược tương ứng tới 15%.
Bảng 7/2.4 Các dụng cụ đo cho bảng điện máy phát xoay chiều
|
Chế độ |
Dụng cụ |
Số lượng yêu cầu (chiếc) |
|
Độc lập |
Ampe kế |
Một cho mỗi máy phát (đo được dòng mỗi pha) |
|
Vôn kế |
Một cho mỗi máy phát (đo được điện áp mỗi dây) |
|
|
Oát kế |
Một cho mỗi máy phát (có thể miễn cho máy có công suất nhỏ hơn 50 kW) |
|
|
Héc kế |
Một (đo được tần số của mỗi máy phát) |
|
|
* Ampe kế |
Một cho mạch kích từ của mỗi máy phát |
|
|
Song song |
Ampe kế |
Một cho mỗi máy phát (đo được dòng mỗi pha) |
|
Vôn kế |
Hai (đo được điện áp của thanh dẫn và điện áp mỗi dây máy phát) |
|
|
Oát kế |
Một cho mỗi máy phát |
|
|
Héc kế |
Hai (đo được tần số của mỗi máy phát và thanh dẫn) |
|
|
Đồng bộ kế hoặc các đèn hòa đồng bộ |
Một bộ cho mỗi máy phát. Trường hợp khi trang bị đồng bộ kế thì có thể cho phép miễn giảm một bộ |
|
|
* Ampe kế |
Một cho mạch kích từ của mỗi máy phát |
Chú thích:
(1) Ở bảng trên, Ampe kế được đánh dấu “*” chỉ được trang bị khi cần thiết.
(2) Một trong các Vôn kế phải có thể đo được điện áp cấp từ bờ.
(3) Khi trang bị bảng điện điều khiển để điều khiển tự động các máy phát thì các dụng cụ nêu ở bảng trên phải được lắp đặt trên bảng điều khiển, trừ bảng điều khiển được lắp ngoài buồng máy, số lượng tối thiểu các dụng cụ yêu cầu cho sự làm việc độc lập và song song của các máy phát phải lắp trên các bảng điện.
(4) Trường hợp có từ hai máy phát trở lên mà không làm việc song song, thì cho phép chỉ trang bị một Ampe kế và một Vôn kế, với điều kiện phải có một Ampe kế và một Vôn kế xách tay ở trên tàu.
2.6.9 Biến áp đo lường
Các cuộn dây thứ cấp của biến áp đo lường phải được nối mát.
2.7 Cơ cấu điều khiển động cơ điện
2.7.1 Cơ cấu điều khiển động cơ điện
1 Các cơ cấu điều khiển động cơ điện phải có kết cấu chắc chắn và được trang bị đầy đủ các thiết bị khởi động, dừng, đảo chiều quay và điều khiển tốc độ quay các động cơ điện cùng với các thiết bị an toàn cần thiết.
2 Các cơ cấu điều khiển động cơ điện phải có vỏ bảo vệ phù hợp với vị trí lắp đặt của chúng và đảm bảo an toàn cho người khi vận hành.
3 Tất cả các bộ phận chịu mòn phải có thể thay thế được dễ dàng và dễ tiếp cận để kiểm tra và bảo dưỡng.
4 Các động cơ điện có công suất lớn hơn 0,5 kW phải được trang bị các cơ cấu điều khiển phù hợp với các yêu cầu nêu ở -1, -2 và -3 cũng như các yêu cầu dưới đây:
(1) Cần phải có biện pháp để tránh khởi động lại không theo ý muốn sau khi chúng bị dừng do điện áp thấp hoặc mất điện áp hoàn toàn. Yêu cầu này không áp dụng cho các động cơ điện mà chúng cần phải làm việc liên tục để đảm bảo an toàn cho tàu và các động cơ điện có hoạt động tự động;
(2) Cần phải có thiết bị cách ly chính để sao cho cắt được hoàn toàn điện áp khỏi động cơ điện, trừ khi có thiết bị cách ly (bố trí ở bảng điện, bảng phân nhóm, bảng phân phối…) gần với động cơ;
(3) Cần phải có biện pháp tự động ngắt nguồn cấp khi động cơ điện bị quá tải do cơ khí. Yêu cầu này không áp dụng cho các động cơ điện máy lái.
5 Trường hợp thiết bị cách ly chính đặt xa động cơ điện thì phải trang bị các thiết bị sau hoặc tương đương:
(1) Trang bị thêm thiết bị ngắt đặt ở gần động cơ;
(2) Phải có biện pháp để khóa thiết bị cách ly chính ở vị trí “ngắt”.
6 Khi dùng cầu chì để bảo vệ mạch động cơ điện xoay chiều ba pha thì phải quan tâm đến bảo vệ chống mất một pha.
7 Các tín hiệu chỉ báo làm việc hoặc báo động quá tải của các động cơ điện máy lái phải phù hợp với các yêu cầu nêu ở 15.2.7 Phần 3 Mục II của QCVN 21:2015/BGTVT.
2.7.2 Yêu cầu bổ sung cho cơ cấu điều khiển bơm và quạt
1 Động cơ điện lai các bơm vận chuyển dầu nhiên liệu, bôi trơn và thiết bị phân ly cũng như các bơm tuần hoàn nước làm mát hệ thống phải được bố trí công tắc ngắt mạch từ xa lắp đặt bên ngoài không gian lắp đặt các bơm và bên ngoài buồng máy, nhưng gần vùng lân cận của lối thoát hiểm từ các không gian này.
2 Công tắc ngắt mạch của các thiết bị truyền động điện quy định ở -1 trên được bố trí tại các vị trí dễ thấy được phủ thủy tinh và được bố trí chữ viết giải thích.
3 Động cơ điện lai các bơm chữa cháy sự cố phải được bố trí thiết bị khởi động từ xa nằm phía trên boong vách.
Thiết bị khởi động từ xa phải được bố trí kèm báo động ánh sáng để chỉ báo vị trí “BẬT” của thiết bị truyền động điện.
4 Bơm chữa cháy sự cố được điều khiển từ xa cũng phải có khả năng được điều khiển tại chỗ.
5 Động cơ điện lai các bơm vận chuyển dầu và xả nước thải phải được trang bị điều khiển ngắt từ xa bố trí nằm trong vùng lân cận của cụm van xả, với điều kiện là không có sẵn thông tin liên lạc bằng điện thoại giữa vị trí quan sát xả và vị trí kiểm soát xả.
6 Việc khởi động tại chỗ các bơm chữa cháy và bơm nước đáy tàu phải có thể thực hiện được ngay cả khi mạch điều khiển từ xa của chúng bị lỗi, bao gồm cả thiết bị bảo vệ.
7 Động cơ điện của quạt thông gió trong buồng máy phải được bố trí tối thiểu hai công tắc ngắt mạch, một trong số đó phải được đặt bên ngoài buồng máy và vách quây của chúng, nhưng trong vùng lân cận gần các lối thoát từ các không gian này.
Khuyến cáo rằng các công tắc ngắt mạch này phải được bố trí tương tự như các công tắc được đề cập ở -1 trên.
8 Động cơ điện của các quạt thổi gió từ nhà bếp phải được bố trí thiết bị ngắt ở vị trí tiếp cận dễ dàng từ boong chính, nhưng bên ngoài vách quây buồng máy.
Động cơ điện của các quạt thổi gió từ phạm vi nhà bếp phải bố trí thiết bị ngắt mạch bên trong nhà bếp, bất kể số lượng công tắc ngắt mạch.
9 Động cơ điện của các quạt thông gió chung của tàu phải được bố trí công tắc ngắt mạch từ xa được lắp đặt trong buồng lái.
10 Các động cơ điện của các quạt thông gió trong không gian được bảo vệ bởi hệ thống chữa cháy bằng khí phải được bố trí thiết bị ngắt mạch hoạt động tự động khi chất dập cháy được xả vào trong không gian liên quan.
2.8 Cáp điện
2.8.1 Quy định chung
Cáp điện phải phù hợp với IEC 60092 hoặc tương đương như thế. Việc lắp đặt cáp điện phải thỏa mãn những yêu cầu ở 2.8 này.
2.8.2 Lắp đặt cáp điện
1 Cáp điện phải có kết cấu thỏa mãn các điều kiện ở vị trí lắp đặt. Cáp điện được đặt trong không gian mà dễ bị hư hỏng do cơ khí thì phải được bảo vệ thích hợp bằng các biện pháp như dùng vỏ bọc kim loại hữu hiệu.
2 Các tuyến đi cáp phải càng thẳng và dễ tiếp cận càng tốt.
3 Phải cố gắng tránh lắp đặt cáp điện qua các mối nối co dãn ở kết cấu thân tàu. Nếu như việc lắp đặt này không thể tránh khỏi, thì phải dùng đoạn cáp bù có chiều dài tỉ lệ với sự co dãn của mối nối đó. Bán kính trong của đoạn bù phải ít nhất bằng 12 lần đường kính ngoài của cáp điện.
4 Khi có yêu cầu cấp điện kép, thì hai đường dây cấp điện này phải được đi theo hai tuyến khác nhau và càng xa nhau càng tốt.
5 Cáp điện có vật liệu cách điện với nhiệt độ dây dẫn định mức lớn nhất khác nhau không được phép bó chung lại với nhau, hoặc khi bắt buộc phải bó chung chúng lại với nhau thì cáp điện phải có chế độ làm việc sao cho không cáp nào có thể đạt tới nhiệt độ cao hơn nhiệt độ cho phép của cáp có nhiệt độ định mức thấp nhất ở trong nhóm.
6 Cáp điện có vỏ bảo vệ dễ làm hư hỏng vỏ bảo vệ của cáp điện khác không được bó chung với cáp điện khác đó.
7 Khi lắp đặt cáp điện, bán kính trong tối thiểu chỗ uốn cong phải thỏa mãn như sau:
(1) Cáp được cách điện bằng cao su và PVC có bọc lưới thép: 6d;
(2) Cáp điện được bọc cách điện bằng cao su và PVC không bọc lưới thép:
- 4d (d ≤ 25 mm);
- 6d (d > 25 mm).
(3) Cáp điện được cách điện bằng chất vô cơ: 6d.
Chú thích: d là đường kính toàn bộ của cáp điện hoàn chỉnh.
8 Các mạch an toàn về bản chất phải được lắp đặt thỏa mãn như sau:
(1) Cáp điện dùng cho mạch an toàn về bản chất đi kèm với thiết bị điện có kiểu an toàn về bản chất phải dùng riêng rẽ và phải được lắp đặt cách biệt khỏi cáp của mạch chung;
(2) Các mạch an toàn về bản chất đi kèm với thiết bị điện không có kiểu an toàn về bản chất, nói chung phải được đi dây riêng biệt bằng cách dùng cáp điện khác. Nếu cần thiết phải dùng cáp nhiều lõi chung cho các mạch thì phải dùng cáp có vỏ bọc từng lõi hoặc từng cặp lõi và vỏ bọc này phải được nối mát tin cậy. Tuy nhiên, các mạch an toàn về bản chất đi kèm thiết bị điện có kiểu an toàn về bản chất cấp “ia” không được đi chung cáp với thiết bị điện có kiểu an toàn về bản chất cấp “ib”.
9 Vỏ bọc kim loại của cáp phải được nối mát tin cậy ở cả hai đầu, trừ mạch nhánh cuối có thể chỉ cần nối mát ở đầu nguồn cấp. Điều này không cần thiết áp dụng cho cáp điện ở mạch dụng cụ đo lường, có thể nối mát về một điểm vì lý do kỹ thuật.
10 Phải đưa ra các biện pháp hữu hiệu để đảm bảo rằng tất cả vỏ bọc kim loại của cáp điện là liên tục về điện suốt cả chiều dài của chúng.
11 Cáp điện và dây điện phải được đỡ và cố định sao cho chúng không thể bị xây xước do chà xát hoặc hư hỏng do cơ khí.
12 Việc xuyên cáp qua vách và boong có yêu cầu đảm bảo độ bền và độ kín phải được thực hiện bằng cách dùng các đệm lót hoặc hộp đi cáp để đảm bảo không làm hư hại đến độ bền và độ kín của boong và vách.
13 Khi đi cáp qua các vách hoặc kết cấu không kín nước thì phải có ống luồn cáp hoặc dùng biện pháp thích hợp khác để tránh hư hỏng cáp điện. Nếu chiều dày của vách đủ lớn (lớn hơn hoặc bằng 6 mm) và không có nguy cơ làm hư hỏng cáp, thì có thể chấp nhận thay đặt ống luồn cáp bằng cách vê tròn miệng lỗ.
14 Việc lựa chọn vật liệu dùng cho đệm lót và lỗ luồn cáp phải sao cho không có nguy cơ bị ăn mòn.
15 Đi cáp qua các vách và boong phải đảm bảo tính nguyên vẹn chống cháy, thì phải thực hiện sao cho đảm bảo không làm mất đi tính nguyên vẹn của boong và vách đó.
2.8.3 Đầu nối, mối nối và phân nhánh cáp
1 Cáp điện phải được nối bằng đầu nối. Không được phép dùng phương pháp hàn nóng chảy có chứa các chất ăn mòn.
2 Các đầu nối phải có đủ bề mặt tiếp xúc và chịu được lực.
3 Chiều dài các phần được hàn của các đầu nối dạng ống đồng và đầu nối dạng khác không được nhỏ hơn 1,5 lần đường kính dây dẫn.
4 Cáp điện không có chất cách điện chịu ẩm (ví dụ như chất cách điện vô cơ), thì các đầu cuối của chúng phải được bịt kín tốt để chống sự xâm nhập của hơi ẩm.
5 Các đầu nối và mối nối (kể cả ổ phân nhánh) của cáp điện phải được chế tạo sao cho giữ được tính dẫn điện, cơ khí và ngay cả tính chịu cháy của cáp điện.
6 Các đầu nối và dây dẫn phải có đủ kích thước phù hợp với dòng điện quy định của cáp điện.
2.8.4 Phòng chống cháy
Tất cả các cáp điện dùng cho thiết bị có công dụng thiết yếu phải được đi càng xa buồng máy loại “A” và vách bọc chúng, nhà bếp, buồng giặt và các vùng có nguy cơ cháy cao càng tốt.
2.8.5 Cáp điện trong các vùng nguy hiểm
Khi cáp điện được lắp đặt trong vùng nguy hiểm dễ có nguy cơ cháy hoặc nổ do hư hỏng điện ở vùng này gây ra, thì phải có biện pháp thích hợp chống lại nguy cơ đó.
2.9 Thiết bị điện phòng nổ
2.9.1 Quy định chung
1 Thiết bị điện phòng nổ phải thỏa mãn những yêu cầu ở 2.16 Phần 4 Mục II của QCVN 21:2015/BGTVT.
2 Thiết bị điện phòng nổ phải có giấy chứng nhận được Đăng kiểm chấp nhận.
2.10 Thử sau khi lắp đặt trên tàu
2.10.1 Thử điện trở cách điện
1 Mỗi mạch động lực và chiếu sáng phải có điện trở cách điện không nhỏ hơn trị số nêu ở bảng 7/2.5, khi đo giữa các dây dẫn với nhau và giữa dây dẫn với đất.
Bảng 7/2.5 Điện trở cách điện tối thiểu
|
Điện áp định mức Un (V) |
Điện áp thử tối thiểu (V) |
Điện trở cách điện tối thiểu (MΩ) |
|
Un ≤ 250 250 < Un ≤ 1.000 1.000 < Un ≤ 7.200 7.200 < Un |
2 x Un 500 1.000 5.000 |
1 1 Un/1.000 +1 Un/1.000 +1 |
Chú thích: Trong khi tiến hành việc thử trên, có thể ngắt ra khỏi mạch một vài hoặc toàn bộ lò sưởi, khí cụ nhỏ và thiết bị tương tự như thế được nối với nó.
2 Điện trở cách điện của mạch thông tin nội bộ phải thỏa mãn những yêu cầu từ (1) đến (3) sau:
(1) Mỗi mạch có điện áp lớn hơn hoặc bằng 100 V phải có điện trở cách điện không nhỏ hơn 1 MΩ, khi đo giữa các dây dẫn với nhau và giữa các dây dẫn với đất;
(2) Mỗi mạch có điện áp nhỏ hơn 100 V, điện trở cách điện tối thiểu là 1/3 MΩ;
(3) Trong khi tiến hành thử như (1) và (2), có thể ngắt ra khỏi mạch một vài hoặc toàn bộ khí cụ được nối với nó.
2.10.2 Thử tính năng
1 Mỗi thiết bị điện phải được kiểm tra ở điều kiện bình thường để chứng minh sự hoạt động thỏa mãn của chúng, không có hiện tượng rung động hoặc tăng nhiệt độ có hại.
2 Trong số các việc kiểm tra được nêu ở -1 trên, phải bao gồm các việc thử liên quan đến máy phát điện và bảng điện như dưới đây:
(1) Thử hoạt động các thiết bị nhả quá tốc và các thiết bị an toàn khác của máy phát;
(2) Thử điều chỉnh điện áp và thử hoạt động song song của các máy phát.
CHƯƠNG 3 THIẾT KẾ TRANG BỊ ĐIỆN
3.1 Quy định chung
3.1.1 Quy định chung
Chương này đưa ra những yêu cầu về thiết kế nguồn điện chính, nguồn điện sự cố và các trang thiết bị điện khác lắp đặt trên tàu.
3.1.2 Thiết kế và chế tạo
1 Trang bị điện trên tàu phải thỏa mãn những yêu cầu sau:
(1) Tất cả các thiết bị điện phụ cần thiết để duy trì tàu ở trạng thái hoạt động, sinh hoạt bình thường và các hệ thống điện khác mà Đăng kiểm thấy cần thiết phải đảm bảo hoạt động bình thường mà không cần thiết đến nguồn điện dự phòng hay sự cố;
(2) Những thiết bị điện có công dụng thiết yếu để đảm bảo an toàn cho con người và tàu phải hoạt động tốt trong mọi tình huống sự cố;
(3) Chúng phải đảm bảo cho hành khách, thuyền viên và tàu tránh khỏi các nguy hiểm do điện.
3.2 Nguồn điện chính
3.2.1 Các thiết bị điện được lắp đặt trên tàu phải được trang bị nguồn điện chính có công suất đủ để cấp nguồn cho tất cả các thiết bị điện trên tàu ở các chế độ nêu ở 3.2.5.
3.2.2 Tối thiểu một trong những trang bị sau đây có thể được sử dụng làm nguồn điện chính:
1 Máy phát được dẫn động bằng máy chính và máy phát điện được dẫn động bằng động cơ đốt trong riêng.
2 Máy phát điện được dẫn động bằng động cơ đốt trong riêng và một hoặc một số tổ ắc quy mà các tổ ắc quy này được nạp nổi nhờ máy phát điện.
3 Máy phát được dẫn động bằng máy chính và một hoặc một số tổ ắc mà các tổ ắc quy này được nạp nổi nhờ máy phát điện.
4 Máy phát được dẫn động bằng hệ thống động lực và một hoặc một số tổ ắc mà các tổ ắc quy này được nạp nổi nhờ máy phát điện.
5 Một hoặc một số tổ ắc quy
Đối với các tàu thuộc nhóm thiết kế A, A1, A2 và B, thì nguồn điện quy định ở 3.1.2-1 đến 3.1.2-4 có thể được sử dụng làm nguồn điện chính. Trong trường hợp này, công suất của tổ máy phát điện phải đủ để cấp nguồn cho các thiết bị thiết yếu trong chế độ hành trình và đồng thời tổ máy phát điện phải có khả năng nạp điện cho các tổ ắc quy.
3.2.3 Tàu có tổ ắc quy bao gồm cả ắc quy được nạp nổi nhờ máy phát điện chính, thì nó phải có dung lượng đủ để cấp nguồn cho các thiết bị điện yêu cầu trong khoảng thời gian:
24 giờ - đối với tàu thuộc nhóm thiết kế A, A1, A2 hoặc B;
16 giờ - đối với tàu thuộc nhóm thiết kế C hoặc C1;
8 giờ - đối với tàu thuộc nhóm thiết kế C2 hoặc C3.
mà không cần nạp thêm từ các thiết bị nạp của tàu.
3.2.4 Khi tổ ắc quy được đồng thời sử dụng để khởi động máy chính, thì dung lượng của chúng phải đủ để tuân theo những yêu cầu ở 3.2.5 và 3.3.8.
3.2.5 Số lượng và công suất của nguồn điện của tàu được xác định theo các chế độ hoạt động sau:
(1) Chế độ hành trình;
(2) Chế độ điều động;
(3) Trường hợp có cháy, thủng thân tàu hoặc các điều kiện khác ảnh hưởng đến an toàn hàng hải, với nguồn điện chính đang hoạt động;
(4) Các chế độ hoạt động khác theo mục đích của tàu.
3.3 Tổ ắc quy
3.3.1 Các tổ ắc quy phải được lắp đặt phía trên mức nước đáy tàu ở nơi khô ráo, tiếp cận dễ dàng, được thông gió và không được đặt ở nơi bị tác động môi trường, chẳng hạn như nhiệt độ cao hay thấp, tóe nước và các hư hỏng về cơ học.
3.3.2 Tổ ắc quy không được phép lắp đặt trong vùng liền kề với két nhiên liệu hoặc thiết bị lọc nhiên liệu.
Bất cứ bộ phận kim loại của hệ thống nhiên liệu trong phạm vi 300 mm phía trên phần cao nhất của ắc quy, khi lắp đặt, phải được cách ly về điện.
3.3.3 Tổ ắc quy có công suất lớn hơn 0,2 kW (66 Ah ở 24 V và 135 Ah ở 12 V) phải được đặt trong buồng riêng hoặc trong hộp. Yêu cầu này không áp dụng cho tổ ắc quy không được bảo trì.
3.3.4 Ắc quy kiềm và axít không được phép đặt trong cùng một buồng hoặc hộp.
Các thùng chứa và phụ kiện dùng cho ắc quy có dung dịch điện phân khác nhau phải được đặt tách biệt nhau.
3.3.5 Buồng hoặc hộp chứa ắc quy phải được thông khí tốt để ngăn ngừa sự hình thành và tích tụ hỗn hợp khí dễ nổ.
3.3.6 Các tổ ắc quy phải được bố trí để sao cho góc nghiêng của tàu lên đến 45° thì dung dịch điện phân trong các ngăn không bị trào ra ngoài.
3.3.7 Các tổ ắc quy khởi động dùng để khởi động động cơ có công suất không quá 75 kW có thể được sử dụng để cấp nguồn cho hệ thống chiếu sáng của tàu.
3.3.8 Dung lượng của ắc quy khởi động phải đảm bảo 6 lần khởi động động cơ, xét đến thời gian của mỗi lần khởi động tối thiểu là 5 s, và phải đáp ứng các khuyến nghị của nhà chế tạo động cơ. Nếu không sẵn có các yêu cầu của nhà chế tạo động cơ thì dung lượng của ắc quy khởi động Q, bằng Ah, có thể được xác định theo công thức:
Q = kPst
Trong đó:
k = hệ số dung lượng ắc quy;
k = 70 đối với điện áp 12 V;
k = 35 đối với điện áp 24 V;
Pst = công suất định mức của động cơ khởi động, kW.
3.3.9 Quá trình nạp cho các tổ ắc quy từ nguồn điện chính phải đảm bảo thời gian nạp không quá 8 giờ.
3.3.10 Khi lựa chọn dung lượng tổ ắc quy axít dùng để phục vụ trừ việc phục vụ khởi động, thì việc phóng điện của chúng không quá 50% dung lượng định mức được quy định. Đối với ắc quy kiềm, thì giá trị phóng điện cao hơn có thể được xác định phù hợp với khuyến nghị của nhà sản xuất ắc quy.
3.3.11 Thiết bị khởi động của máy chính phải được cấp nguồn từ ắc quy khởi động và trong trường hợp sự cố phải được cấp từ tổ ắc quy khác có dung lượng phù hợp.
Máy chính của tàu có công suất không lớn hơn 40 kW, thì một tổ ắc quy khởi động cũng có thể sử dụng cấp nguồn cho chiếu sáng.
3.3.12 Ắc quy khởi động phải được bố trí càng gần với động cơ càng tốt.
3.3.13 Mạch điện của ắc quy khởi động không được kết hợp bảo vệ chống quá dòng.
3.3.14 Các tổ ắc quy không được phép dùng để cấp nguồn cho các thiết bị có điện áp thấp hơn điện áp tổng của tất cả các ngăn của ắc quy.
3.3.15 Phải có khuyến nghị sử dụng ắc quy đối với các ắc quy không yêu cầu bảo dưỡng.
3.4 Trang bị điện sự cố
3.4.1 Mỗi tàu thuộc nhóm thiết kế A, A1, A2, B, C và C1 phải bố trí một nguồn điện sự cố độc lập.
Nguồn điện sự cố độc lập phải được bố trí phía trên đường nước nguy hiểm, theo yêu cầu của điều kiện để đảm bảo dự trữ lực nổi phù hợp với Phần 4. Đối với tàu thuộc nhóm thiết kế C và C1, thì được phép lắp đặt nguồn điện sự cố độc lập trong buồng máy.
Một hoặc một vài tổ ắc quy được nạp nổi nhờ máy phát điện bằng năng lượng gió hoặc pin năng lượng mặt trời có thể được sử dụng làm nguồn điện sự cố độc lập.
3.4.2 Khi tổ ắc quy được sử dụng làm nguồn điện sự cố, thì dung lượng của chúng phải đủ để cấp nguồn cho các thiết bị sau đây trong khoảng thời gian không nhỏ hơn 25% theo quy định ở 3.2.3:
1 Chiếu sáng sự cố cho:
Khu vực bố trí các thiết bị cứu sinh, vật tư dùng cho sự cố, dụng cụ chữa cháy;
Cầu thang, hành lang, lối thoát hiểm từ buồng máy;
Khu vực hành khách;
Buồng máy;
Buồng lái;
Khu vực bố trí và hạ phương tiện cứu sinh;
Khu vực tập trung và trạm lên xuống trên boong, ở trên mạn và đường chuẩn;
Khu vực tập trung của thuyền viên khi có sự cố;
Tất cả các trạm điều khiển (bàn điều khiển) cũng như trạm điều khiển chính và sự cố;
Bảng điện chính;
Không gian lắp đặt nguồn điện sự cố;
Khoang máy lái;
Không gian lân cận bơm chữa cháy, bơm hút khô sự cố và các vị trí khởi động động cơ của chúng.
2 Các đèn hàng hải.
3 Phương tiện thông tin vô tuyến nếu ắc quy sự cố của tàu là không sẵn sàng để sử dụng.
4 Phương tiện tín hiệu âm thanh.
5 Thiết bị thông tin nội bộ, báo động chung, báo động và phát hiện cháy.
3.4.3 Tàu có nguồn điện quy định ở 3.2.2-2 đến 3.2.2-4, mà trên đó các tổ ắc quy nạp nổi là nguồn điện chính, thì ắc quy này có thể được coi là nguồn điện sự cố.
3.4.4 Tàu có tổ ắc quy được sử dụng làm nguồn điện sự cố, thì không yêu cầu trang bị nguồn điện sự cố, miễn là dung lượng ắc quy phải đủ phù hợp theo yêu cầu ở 3.4.2.
3.4.5 Khi tổ ắc quy là nguồn điện sự cố, thì tổ ắc quy này và bảng điện sự cố phải được lắp đặt trong các không gian riêng.
3.4.6 Tàu có nguồn điện quy định ở 3.2.2-1 là nguồn điên chính, thì máy phát được dẫn động riêng lắp đặt trên tàu phù hợp với 3.4.1 có thể được coi là nguồn điện sự cố. Trong trường hợp này, phải bố trí thực hiện kiểm tra việc lắp đặt hoàn thành được đề cập ở 3.2.2-1, cùng với việc bố trí khởi động tự động của động cơ lai máy phát điện riêng.
3.4.7 Thiết bị chỉ báo phải được bố trí trong trạm điều khiển trung tâm để chỉ báo khi tổ ắc quy bất kỳ, thỏa mãn làm nguồn điện sự cố, đang phóng điện.
3.4.8 Nguồn điện sự cố chỉ phải trang bị bảo vệ ngắn mạch. Khi máy phát sự cố được dẫn động bởi động cơ đốt trong riêng, thì báo động âm thanh và ánh sáng phải được bố trí trong trạm điều khiển trung tâm hoặc vị trí trực ca để cảnh báo máy phát quá dòng.
3.4.9 Bảng điện sự cố phải được đặt gần nguồn điện sự cố tới mức có thể.
3.4.10 Khi máy phát sự cố được dẫn động bởi động cơ đốt trong riêng, thì bảng điện sự cố phải được lắp đặt trong cùng không gian với máy phát, trừ khi việc bố trí này sẽ ảnh hưởng không tốt đến hoạt động của bảng điện. Tất cả việc bố trí khởi động và các thiết bị nạp và tổ ắc quy khởi động của thiết bị sự cố cũng phải được bố trí trong không gian này.
3.4.11 Máy phát điện sự cố phải:
1 Được dẫn động bằng động cơ đốt trong;
2 Tự động khởi động khi có sự cố cấp điện từ nguồn điện chính và tự động kết nối với bảng điện sự cố. Tổng thời gian khởi động và nhận tải của máy phát không được vượt quá 45 s;
3 Trường hợp khởi động tự động của thiết bị sự cố theo quy định ở 3.4.11-2 mà không diễn ra trong vòng 45 s, thì phải bố trí một nguồn điện sự cố tạm thời, mà nguồn này phải khởi động ngay lập tức khi có sự gián đoạn năng lượng.
3.4.12 Khi tổ ắc quy được sử dụng làm nguồn điện sự cố thì chúng phải:
1 Hoạt động không cần nạp lại mà vẫn duy trì sự dao động điện áp trên các đầu cực trong phạm vi 12% điện áp định mức trong suốt thời gian phóng điện;
2 Được tự động kết nối với thanh dẫn của bảng điện sự cố khi xảy ra sự cố nguồn điện chính.
3.4.13 Dung lượng của ắc quy dự phòng làm một nguồn điện sự cố tạm thời phải đủ để cấp nguồn trong thời gian 30 phút cho các phụ tải sau:
1 Chiếu sáng và các đèn hàng hải thiết yếu.
2 Tất cả thông tin liên lạc nội bộ và phương tiện thông báo khi xảy ra sự cố.
3 Hệ thống báo động chung, hệ thống phát hiện và báo động cháy.
4 Đèn tín hiệu ban ngày, các phương tiện tín hiệu âm thanh (còi hơi, chuông v.v…).
Các thiết bị được liệt kê ở 3.4.13-2, 3.4.13-3 và 3.4.13-4, có thể không cần cấp nguồn từ nguồn tạm thời nếu chúng có tổ ắc quy riêng mà tổ ắc quy này cấp nguồn cho chúng trong khoảng thời gian theo quy định.
3.4.14 Ở chế độ hoạt động bình thường, bảng điện sự cố phải được cấp điện từ bảng điện chính bởi một đường dây mà đường dây này phải được bảo vệ quá dòng và ngắn mạch phù hợp tại bảng điện chính.
Bảng điện sự cố phải được trang bị bộ ngắt mạch tự động mà bộ ngắt mạch này phải tự động mở ra khi nguồn điện chính gặp sự cố.
Khi bảng điện chính được cấp điện từ bảng điện sự cố thì bộ ngắt mạch tự động trên bảng điện sự cố thì phải được trang bị, tối thiểu, có bảo vệ ngắn mạch.
3.4.15 Các cáp cấp nguồn cho các phụ tải sự cố phải được lắp đặt sao cho việc ngập nước của các thiết bị tiêu thụ sự cố nằm dưới boong vách không làm ngắt nguồn cấp các thiết bị tiêu thụ khác lắp đặt ở phía trên boong đó.
3.4.16 Thiết bị chuyển mạch của các phụ tải sự cố phải được lắp đặt phía trên boong vách.
3.5 Nguồn điện bên ngoài
3.5.1 Khi bố trí cấp điện cho tàu từ nguồn điện bên ngoài, thì bảng cấp điện bên ngoài phải được lắp đặt trên tàu.
3.5.2 Ở bảng cấp điện bên ngoài phải trang bị các thiết bị sau:
1 Đầu nối cho việc kết nối cáp mềm.
2 Thiết bị chuyển mạch và bảo vệ dùng cho việc kết nối và bảo vệ cáp điện lắp đặt cố định của bảng điện chính; khi chiều dài cáp giữa bảng cấp điện bên ngoài và bảng điện chính nhỏ hơn 10 m, thì có thể không cần lắp đặt thiết bị bảo vệ.
3 Vôn kế hoặc đèn báo để chỉ báo điện áp từ nguồn điện bên ngoài đang có ở đầu nối.
4 Phải trang bị hoặc phải có thiết bị kiểm tra cực tính hoặc thứ tự pha cho việc kết nối. Khuyến cáo rằng phải trang bị công tắc ngắt pha.
5 Đầu nối để nối dây trung tính từ nguồn điện bên ngoài thì phải được đánh dấu riêng đầu nối dùng cho việc kết nối với dây tiếp mát bảo vệ từ bờ.
6 Tấm ghi tên để chỉ dẫn hệ thống phân phối, điện áp, loại tần số và dòng điện.
7 Bố trí các kẹp cơ khí cho các đầu cáp mềm nối đến bảng điện và các giá treo cho cáp mà các cáp này được đặt ở bảng cấp điện bên ngoài hoặc trong vùng phụ cận của chúng.
3.5.3 Bảng cấp điện bên ngoài phải được nối với bảng điện chính bằng đường cáp được lắp đặt cố định.
3.5.4 Khi tàu có trang bị điện thấp áp, thì cho phép lắp đặt các ổ cắm thấp áp dùng để cấp điện từ bảng điện bên ngoài. Ổ cắm có dòng định mức vượt quá 16 A thì phải kèm công tắc có khóa liên động sao cho không thể cắm vào hoặc rút phích ra khi công tắc ở vị trí “BẬT”. Ổ cắm phải được bảo vệ chống lại các hư hỏng cơ khí và ngập nước. Ổ cắm phải được thiết kế để sao cho ngăn ngừa việc chạm vào các bộ phận mang điện trong mọi điều kiện có khả năng gặp phải trong khi dùng và việc ngắt tự phát.
3.5.5 Hướng dẫn sử dụng cho người vận hành phải có các thông tin về biện pháp phòng ngừa được thực hiện khi kết nối/ngắt kết nối việc cấp điện từ bờ. Nếu tàu được cấp năng lượng từ nguồn điện bờ thì hướng dẫn sử dụng phải bao gồm thông tin về các nguy hiểm xảy ra khi tàu chạy trong vùng lân cận của cáp cấp điện bờ và sự cần thiết của việc sử dụng thông báo liên quan “BIỆN PHÁP AN TOÀN” trong trường hợp này.
3.6 Nguồn điện thay thế
3.6.1 Một trong hai dạng nguồn năng lượng thay thế chỉ ra dưới đây có thể được dùng để cấp nguồn cho các thiết bị của tàu:
1 Máy phát điện bằng năng lượng gió và một hoặc một số tổ ắc quy được nạp nổi nhờ máy phát điện;
2 Pin năng lượng mặt trời và một hoặc một số tổ ắc quy được nạp nổi nhờ pin năng lượng mặt trời.
3.6.2 Khi nguồn điện thay thế được lắp đặt trên tàu ngoài các yêu cầu 3.1 và/hoặc 3.3 để sử dụng kết hợp chúng, thì các hệ thống phân phối điện năng bao gồm các máy phát điện bằng năng lượng gió và/hoặc pin năng lượng mặt trời phải được Đăng kiểm chấp thuận.
3.7 Chiếu sáng
3.7.1 Ở tất cả các không gian của tàu, các vị trí và các vùng mà ánh sáng cần thiết đối với sự an toàn hàng hải, điều khiển máy móc và thiết bị, các điều kiện sống và việc sơ tán của hành khách và thuyền viên, thì phải trang bị các thiết bị chiếu sáng chính được lắp đặt cố định, các thiết bị này phải được cấp điện từ nguồn điện chính.
Danh mục các không gian, các vị trí và các vùng mà các thiết bị chiếu sáng sự cố phải được trang bị bổ sung theo những mục chính đưa ra ở 3.4.2-1.
3.7.2 Thiết bị chiếu sáng phải được lắp đặt theo cách sao cho ngăn ngừa nhiệt độ của cáp và vật liệu liền kề gia tăng nhiệt độ vượt quá nhiệt cho phép và lượng nhiệt phát ra từ chúng không thể gây cháy cho các vật dễ cháy và các bộ phận của chúng nằm gần các thiết bị chiếu sáng.
3.7.3 Thiết bị chiếu sáng bên ngoài cũng phải được lắp đặt để mà tránh gây trở ngại cho việc hành hải và nhận biết các đèn hàng hải.
3.7.4 Các dây bên trong của các thiết bị chiếu sáng phải là các dây dẫn chịu nhiệt.
Bu lông tiếp mát phải được bố trí trên thân của các thiết bị chiếu sáng. Độ tin cậy tiếp xúc về điện phải được bảo đảm giữa tất cả các bộ phận kim loại của thiết bị chiếu sáng.
3.8 Các đèn hàng hải
3.8.1 Bảng đèn hàng hải phải được cấp nguồn bởi hai đường dây:
(1) Một đường dây từ bảng điện chính thông qua bảng điện sự cố (nếu có);
(2) Đường dây thứ hai từ bảng điện nhóm gần nhất mà bảng điện này không được cấp nguồn từ bảng điện sự cố.
3.8.2 Ở tàu, có nguồn điện chính là tổ ắc quy và bảng điện chính được lắp đặt trong buồng lái, thì các đèn hàng hải có thể được điều khiển trực tiếp từ bảng điện chính.
3.8.3 Ở tàu, mà các đèn hàng hải được cấp nguồn từ tổ ắc quy nạp nổi nhờ thiết bị nạp ở chế độ hành trình của tàu, thì đường dây thứ hai cấp điện cho bảng đèn hàng hải có thể được miễn trừ.
3.8.4 Mạch cấp nguồn cho các đèn hàng hải phải là loại hai dây với công tắc hai cực cho mỗi mạch được lắp đặt bên trong bảng đèn hàng hải.
3.8.5 Mỗi mạch cấp nguồn cho các đèn hàng hải phải được bố trí bảo vệ ở cả hai dây dẫn và phải kèm thiết bị chỉ báo chỉ rõ rằng đèn hàng hải nào được bật.
Thiết bị chỉ báo việc bật đèn hàng hải phải được thiết kế để sao cho sự cố của chúng không gây nguy hại cho đèn hàng hải mà chịu sự kiểm soát của chúng.
Sự sụt áp tại bảng cấp nguồn cho các đèn hàng hải bao gồm cả hệ thống báo động hoạt động của các đèn không được vượt quá 5% ở điện áp định mức đến 30 V và 3% - ở điện áp định mức trên 30 V.
3.8.6 Bất kể chỉ báo việc bật công tắc đèn hàng hải nêu ở 3.8.5, thì phải bố trí phù hợp báo động âm thanh và ánh sáng hoạt động tự động khi có bất kỳ sự cố ở đèn hàng hải với công tắc ở vị trí “BẬT”.
Báo động âm thanh phải được cấp nguồn từ nguồn điện hoặc thanh dẫn khác với các nguồn và thanh dẫn dùng để cấp điện cho bảng đèn hàng hải, hoặc từ tổ ắc quy.
Ở tàu mà khả năng có sự kiểm soát hoạt động của các đèn hàng hải trực tiếp từ buồng lái, thì báo động ánh sáng có thể được miễn trừ.
3.8.7 Các bộ đèn hàng hải trừ các đèn hành trình phải được cấp nguồn từ các hộp phân phối riêng hoặc từ bảng điện chiếu sáng gần nhất.
Các bộ đèn kéo tạm thời phải được cấp nguồn từ các ổ cắm của mạch chiếu sáng.
3.9 Hệ thống thông tin liên lạc nội bộ và tín hiệu
1 Tàu có tín hiệu báo động chung bằng giọng nói không thể nghe được ở tất cả các vị trí có người trong suốt chuyến đi thì phải bố trí một hệ thống báo động chung bằng điện để đảm bảo nghe rõ được tín hiệu báo động ở tất cả các khu vực trên tàu.
Thông tin liên lạc nội bộ, tối thiểu, phải đảm bảo thỏa mãn các yêu cầu ở 2.4.17, Phần 5. Các không gian còn lại phải được trang bị thông tin liên lạc nội bộ phù hợp theo quy định của Đăng kiểm.
2 Thiết bị báo động chung bằng âm thanh phải được lắp đặt ở các vị trí sau:
(1) Trong buồng máy;
(2) Trong các khu vực công cộng, nếu diện tích sàn của chúng lớn hơn 150 m2;
(3) Trong các hành lang của khu vực sinh hoạt, khu vực phục vụ và công cộng;
(4) Trên boong hở;
(5) Trong các không gian làm việc.
3 Hệ thống báo động chung phải được cấp điện từ nguồn điện chính và sự cố.
Hệ thống báo động chung có thể lấy nguồn từ nguồn điện chính của tàu và từ tổ ắc quy riêng được kích hoạt tự động khi nguồn điện chính của tàu bị mất.
4 Mạch cấp nguồn cho hệ thống báo động chung chỉ cần bố trí bảo vệ ngắn mạch. Thiết bị bảo vệ phải được bố trí trên cả hai dây dẫn của đường dây cấp nguồn và trên cả mạch điện của từng thiết bị âm thanh. Được phép bảo vệ một số thiết bị âm thanh bằng thiết bị bảo vệ chung, nếu đảm bảo được trong không gian mà chúng được lắp đặt nghe rõ được các thiết bị âm thanh khác cùng với bảo vệ độc lập phải được đảm bảo.
5 Hệ thống báo động chung phải được kích hoạt bằng công tắc hoàn nguyên hai cực được lắp đặt trong buồng lái và trong khu vực, nếu có, được dự định để trực ca trong thời gian tàu ở trong cảng.
6 Thiết bị âm thanh, các công tắc và thiết bị phân phối của hệ thống báo động chung phải được đánh dấu phân biệt để nhìn được rõ ràng.
CHƯƠNG 5 CÁC YÊU CẦU BỔ SUNG CHO THIẾT BỊ ĐIỆN CHÂN VỊT
5.1 Quy định chung
5.1.1 Quy định chung
Trang bị điện dùng cho tàu có thiết bị điện chân vịt phải thỏa mãn những yêu cầu ở Chương 5 Phần 4 Mục II của QCVN 21:2015/BGTVT cũng như những yêu cầu tương tự ở Phần này.
III QUY ĐỊNH VỀ QUẢN LÝ
1.1 Quy định chung
1.1.2 được sửa đổi như sau:
1.1.2 Thời hạn hiệu lực của giấy chứng nhận là 12 tháng nhưng không quá thời hạn kiểm tra định kỳ.
1.3 được sửa đổi, bổ sung như sau:
1.3 Đề nghị kiểm tra
1.3.1 Giấy đề nghị kiểm tra
1 Kiểm tra lần đầu
Việc kiểm tra phân cấp sẽ được Đăng kiểm thực hiện sau khi nhận được Giấy đề nghị của chủ tàu hoặc nhà máy đóng tàu.
2 Kiểm tra duy trì tình trạng kỹ thuật
Việc kiểm tra chu kỳ để duy trì tình trạng kỹ thuật của tàu sẽ được Đăng kiểm thực hiện sau khi nhận được Giấy đề nghị kiểm tra của chủ tàu, thuyền trưởng hoặc đại diện của chủ tàu.
1.4 Giấy chứng nhận
1.4.1 Thu hồi giấy chứng nhận
1 Đăng kiểm sẽ thu hồi giấy chứng nhận và thông báo cho chủ tàu khi:
(1) Chủ tàu yêu cầu;
(2) Tàu không còn sử dụng được nữa do tàu đã bị thải loại hoặc bị chìm v.v...;
(3) Theo báo cáo của đăng kiểm viên, tàu không thỏa mãn các yêu cầu kiểm tra như quy định ở Phần 1 Mục II của Quy chuẩn và được Đăng kiểm chấp nhận;
(4) Tàu không được đưa vào kiểm tra như quy định ở Phần 1 Mục II của Quy chuẩn;
(5) Lệ phí kiểm tra không được trả theo quy định.
2 Trong trường hợp -1(4) hoặc -1(5) ở trên, Đăng kiểm sẽ thông báo giấy chứng nhận bị mất hiệu lực.
1.4.2 Cấp lại giấy chứng nhận đã bị thu hồi
Chủ tàu có thể yêu cầu cấp lại giấy chứng nhận cho tàu đã bị thu hồi giấy chứng nhận, theo trình tự thủ tục như kiểm tra định kỳ.
1.4.3 Mất hiệu lực của giấy chứng nhận
1 Giấy chứng nhận sẽ tự mất hiệu lực khi:
(1) Tàu bị thu hồi giấy chứng nhận như nêu ở 1.4.1-1 trên;
(2) Sau khi tàu bị tai nạn mà Đăng kiểm không được thông báo để tiến hành kiểm tra bất thường tại cảng xảy ra tai nạn hoặc tại cảng đầu tiên mà tàu tới (trong trường hợp tàu bị tai nạn trên biển);
(3) Tàu được hoán cải về kết cấu hoặc có thay đổi về máy, thiết bị nhưng không được Đăng kiểm đồng ý hoặc không thông báo cho Đăng kiểm;
(4) Sửa chữa các hạng mục nằm trong các hạng mục thuộc sự giám sát của Đăng kiểm nhưng không được Đăng kiểm chấp nhận hoặc không có Đăng kiểm giám sát;
(5) Tàu hành hải với chiều chìm vượt quá chiều chìm do Đăng kiểm ấn định cho từng điều kiện hành hải hoặc tàu hoạt động với các điều kiện không tuân theo các yêu cầu đối với các điều kiện hạn chế đã quy định;
(6) Các yêu cầu riêng trong đợt kiểm tra tàu lần trước, mà yêu cầu đó là điều kiện để cấp giấy chứng nhận hoặc duy trì giấy chứng nhận không được thực hiện trong thời gian quy định;
(7) Chủ tàu không thực hiện các quy định về kiểm tra duy trì trạng thái kỹ thuật.
1.5 Quản lý hồ sơ
1.5.1 Lưu giữ, cấp lại và trả lại giấy chứng nhận
1 Thuyền trưởng có trách nhiệm lưu giữ giấy chứng nhận do Đăng kiểm cấp cho tàu ở trên tàu và phải trình cho Đăng kiểm khi có yêu cầu.
2 Chủ tàu hoặc thuyền trưởng phải yêu cầu Đăng kiểm cấp lại ngay giấy chứng nhận khi:
(1) Giấy chứng nhận này bị mất hoặc bị rách nát;
(2) Các thông số ghi trong giấy chứng nhận này có thay đổi.
3 Chủ tàu hoặc thuyền trưởng phải trả lại ngay cho Đăng kiểm giấy chứng nhận cũ nếu giấy chứng nhận đã cấp lại sau khi tàu hoàn thành kiểm tra định kỳ hoặc được, làm lại theo -2 nêu trên, trừ trường hợp giấy chứng nhận đó bị mất.
4 Chủ tàu hoặc thuyền trưởng phải trả lại ngay cho Đăng kiểm giấy chứng nhận khi tàu đã bị thu hồi cấp theo quy định ở 1.4.1-1 trên.
5 Chủ tàu hoặc thuyền trưởng phải trả lại ngay cho Đăng kiểm giấy chứng nhận khi đã bị mất mà tìm lại được, sau khi nhận giấy chứng nhận được cấp lại theo -2 ở trên.
1.5.2 Lưu giữ hồ sơ kiểm tra
Tất cả hồ sơ kiểm tra do Đăng kiểm cấp cho tàu, bao gồm cả các báo cáo kiểm tra/thử (làm cơ sở cho việc cấp các giấy chứng nhận liên quan), các giấy chứng nhận, kể cả giấy chứng nhận vật liệu và các sản phẩm công nghiệp/thiết bị lắp đặt lên tàu, phải được lưu giữ và bảo quản trên tàu. Các hồ sơ này phải được trình cho Đăng kiểm xem xét khi có yêu cầu.
PHỤ LỤC E
GIẮY CHỨNG NHẬN AN TOÀN KỸ THUẬT VÀ BẢO VỆ MỒI TRƯỜNG
(Cấp theo các quy định của Quy chuẩn kỹ thuật quốc gia: Sửa đổi 1 - 2017 QCVN 81:2014/BGTVT)
GIẤY CHỨNG NHẬN AN TOÀN KỸ THUẬT VÀ BẢO VỆ MÔI TRƯỜNG Tên tàu:...................................................................... Số ĐKHC: ………………………………….. Số đăng kiểm:……………………………………………… Nơi đăng kiểm: ………………………….. Chủ tàu: …………………………………………………………………………………………………… Địa chỉ: ……………………………………………………………………………………………………. Năm đóng/hoán cải: ……………………………………………………………………………………... Kích thước cơ bản: Lwl x Bwl x Dwl x d ……………………………………………………………m; Lmax x Bmax:…………………… m; Tổng dung tích: ……………………………………………………; Lượng chở khách………… (người) Số lượng thuyền viên ………………………………(người) Căn cứ kết quả kiểm tra đã tiến hành, chứng nhận rằng tàu này và các trang thiết bị của tàu thỏa mãn các yêu cầu của Quy chuẩn kỹ thuật quốc gia về phân cấp và đóng du thuyền QCVN 81: 2014/BGTVT với các hạn chế thường xuyên và các đặc tính khác như sau: Dấu hiệu cấp thân tàu …………………………………………………………………………………… Dấu hiệu cấp máy tàu …………………………………………………………………………………… Các đặc tính khác: ……………………………………………………………………………………….. Giấy chứng nhận này có hiệu lực đến ngày………… tháng …………năm ………………
DT-01 THÂN TÀU VÀ THIẾT BỊ Vật liệu thân tàu: …………………………………… Vật liệu thượng tầng/lầu:............................... Chiều dày vỏ tàu: Đáy…………………………mm ………………………………………………Mạn Số vách kín nước:................................................................................................................ Khối lượng neo: Neo số 1 …………………………(kg) ……………………………………Neo số 2 Chiều dài xích neo: ……………………………………Neo số 1…………………………………(m) Lái chính kiểu:....................................................................................................................... Lái phụ kiểu:......................................................................................................................... Thiết bị chằng buộc:............................................................................................................. Dây buộc:…………………… Loại……………… Số lượng....................................................... Cột buộc: Kiểu………… Số lượng ……………… Vật liệu......................................................... Chiều cao cột buồm chính.....................................................................................................
MÁY CHÍNH Số lượng, kiểu máy:.............................................................................................................. Năm và nơi sản xuất:............................................................................................................ Tổng công suất:………………………………………………………………………………………(kW) Vòng quay:……………………………………………………………………………………(vòng/phút) Hộp số kiểu:.........................................................................................................................
MÁY PHỤ Số lượng, loại máy............................................................................................................... Năm và nơi sản xuất............................................................................................................. Công suất………………………………(/kW) Vòng quay…………………………………(vòng/phút) Công dụng
TRỤC CHÂN VỊT VÀ CHÂN VỊT Đường kính trục…………………………mm Số lượng và vật liệu.............................................. Đường kính chân vịt ……………………mm Số lượng và vật liệu.............................................. Số cánh chân vịt……………………………..
BÌNH KHÔNG KHÍ NÉN Số lượng và dung tích bình................................................................................................... Năm và nơi sản xuất............................................................................................................. Áp suất làm việc………………………………………………………………………………(kg/cm2)
THIẾT BỊ ĐIỆN Số lượng máy phát ……………………………… Tổng công suất …………………(kVA/kW) Số lượng và tổng dung lượng ắc qui ………………………………………………………(Ah)
TRANG BỊ CHỮA CHÁY Bơm nước: Số lượng………………………………… Lưu lượng …………………m3/h Bình bọt:………………………………………………… bình, Bình CO2 …………………..bình □ Rồng vải □ Xô múc nước □ Cát □ Xẻng □ Bạt □ Rìu □ Các thiết bị khác …………………………………………………………………………………
TRANG BỊ CỨU SINH Phao bè: Số lượng và sức chở …………………………………………………………người Dụng cụ nổi: Số lượng và sức chở ……………………………………………………..người Phao tròn ……………………chiếc Phao áo ………………chiếc
TÍN HIỆU VÀ VẬT HIỆU Còi hơi ………………………………………… Còi điện …………………………………… Đèn hành hải □ Trắng □ Xanh □ Đỏ □ Đèn pha □ Đèn lai dắt □ Đèn neo Vật hiệu □ Hình cầu □ Hình nón □ Giỏ Số lượng pháo hiệu các loại………………………………………………………………………… ………………………………………………………………………………………………………….. THIẾT BỊ HÀNH HẢI □ La bàn từ □ GPS □ Bộ tác nghiệp hải đồ □ Đồng hồ bấm giây □ Ống nhòm □ Đo sâu bằng tay □ Thước đo độ nghiêng □ Hải đồ vùng tàu chạy □ Các thiết bị khác ………………………………………………………………………
THIẾT BỊ VÔ TUYẾN ĐIỆN □ Thiết bị MF/HF □ Bộ thu phát vô tuyến điện thoại VHF với bộ giải mã DSC □ Vô tuyến điện thoại hai chiều VHF |
SỬA ĐỔI 1:2017 QCVN 49:2012/BGTVT
QUY CHUẨN KỸ THUẬT QUỐC GIA VỀ PHÂN CẤP VÀ GIÁM SÁT KỸ THUẬT GIÀN CỐ ĐỊNH TRÊN BIỂN
SỬA ĐỔI 1:2017
National Technical Regulation for Classification and Technical Supervision of Fixed Offshore Plafforms Amendment No. 1:2017
Lời nói đầu
Quy chuẩn kỹ thuật quốc gia về phân cấp và giám sát kỹ thuật giàn cố định trên biển - QCVN 49: 2012/BGTVT đã được Bộ trưởng Bộ Giao thông vận tải ban hành theo Thông tư số 55/2012/TT-BGTVT ngày 26 tháng 12 năm 2012.
Sửa đổi 1:2017 QCVN 49:2012/BGTVT thay thế cho QCVN 49: 2012/BGTVT, do Cục Đăng kiểm Việt Nam biên soạn, Bộ Khoa học và Công nghệ thẩm định, Bộ trưởng Bộ Giao thông vận tải ban hành theo Thông tư số 15/2018/TT-BGTVT ngày 04 tháng 4 năm 2018.
Mục lục
PHẦN I. QUY ĐỊNH CHUNG
1. Phạm vi điều chỉnh
2. Đối tượng áp dụng
3. Tài liệu viện dẫn và giải thích từ ngữ
PHẦN II. QUY ĐỊNH VỀ KỸ THUẬT
1. Phân cấp và giám sát kỹ thuật
1.1. Phân cấp
1.1.1. Trao cấp
1.1.2. Duy trì cấp
1.1.3. Ký hiệu phân cấp
1.2. Giám sát kỹ thuật
1.2.1. Quy định chung
1.2.2. Giám sát việc chế tạo vật liệu và các sản phẩm
1.2.3. Giám sát chế tạo mới, hoán cải
1.2.4. Kiểm tra giàn đang khai thác
1.2.5. Hồ sơ kỹ thuật
1.3. Kiểm tra phân cấp
1.3.1. Quy định chung
1.3.2. Hồ sơ thiết kế trình thẩm định
1.3.3. Kiểm tra chế tạo mới
1.3.4. Kiểm tra hàng năm
1.3.5. Kiểm tra trung gian
1.3.6. Kiểm tra định kỳ
1.3.7. Kiểm tra liên tục
1.3.8. Kiểm tra bất thường
1.4. Phân cấp giàn không được Đăng kiểm giám sát trong quá trình chế tạo mới
2. Kết cấu
3. Máy và hệ thống công nghệ
4. Trang bị điện
5. Phòng, phát hiện và chữa cháy
6. Phương tiện cứu sinh
7. Vật liệu
8. Hàn
9. Sân bay trực thăng
10. Thiết bị nâng
11. Bình chịu áp lực và nồi hơi
12. Hệ thống đo lường, điều khiển
13. Thông tin liên lạc vô tuyến điện
14. Phân cấp theo tiêu chuẩn tính năng được xác định từ phương pháp đánh giá rủi ro
15. Kéo dài thời gian sử dụng giàn
PHẦN III. QUY ĐỊNH VỀ QUẢN LÝ
1. Quy định về cấp giấy chứng nhận và đăng ký kỹ thuật giàn
2. Rút cấp, phân cấp lại và sự mất hiệu lực của giấy chứng nhận
3. Quản lý hồ sơ
PHẦN IV. TRÁCH NHIỆM CỦA CÁC TỔ CHỨC, CÁ NHÂN
1. Trách nhiệm của chủ giàn, cơ sở thiết kế, chế tạo, hoán cải và sửa chữa giàn
2. Trách nhiệm của Cục Đăng kiểm Việt Nam
3. Trách nhiệm của Bộ Giao thông vận tải
PHẦN V. TỔ CHỨC THỰC HIỆN
PHỤ LỤC A - Hệ thống đo lường, điều khiển
PHỤ LỤC B - Thông tin liên lạc vô tuyến điện
PHỤ LỤC C - Phân cấp theo tiêu chuẩn tính năng được xác định từ phương pháp đánh giá rủi ro
PHỤ LỤC D - Kéo dài thời gian sử dụng giàn
QUY CHUẨN KỸ THUẬT QUỐC GIA VỀ PHÂN CẤP VÀ GIÁM SÁT KỸ THUẬT GIÀN CỐ ĐỊNH TRÊN BIỂN
National Technical Regulation for Classification and Technical Supervision of Fixed Offshore Platforms
PHẦN I. QUY ĐỊNH CHUNG
1. Phạm vi điều chỉnh
Quy chuẩn này quy định các yêu cầu về chất lượng an toàn kỹ thuật và bảo vệ môi trường, an toàn lao động, các yêu cầu về quản lý, kiểm tra, kiểm định, chứng nhận an toàn kỹ thuật, an toàn lao động đối với các giàn cố định trên biển (sau đây gọi tắt là “giàn") sử dụng cho mục đích thăm dò, khai thác dầu khí trên biển hoạt động ở vùng biển Việt Nam.
2. Đối tượng áp dụng
Quy chuẩn này áp dụng đối với các tổ chức, cá nhân liên quan đến công tác quản lý, kiểm tra chất lượng an toàn kỹ thuật và bảo vệ môi trường (sau đây gọi tắt là kiểm tra), thiết kế, chế tạo mới, hoán cải, sửa chữa và khai thác giàn.
3. Tài liệu viện dẫn và giải thích từ ngữ
3.1. Các tài liệu viện dẫn được sử dụng trong Quy chuẩn
3.1.1. QCVN 65:2015/BGTVT - Quy chuẩn kỹ thuật quốc gia về đánh giá năng lực cơ sở chế tạo và cung cấp dịch vụ tàu biển.
3.1.2. QCVN 35:2010/BTNMT và QCVN 36:2010/BTNMT.
3.1.3. QCVN 97:2016/BGTVT - Quy chuẩn kỹ thuật quốc gia về thiết bị nâng trên công trình biển.
3.1.4. QCVN 67:2017/BGTVT - Quy chuẩn kỹ thuật quốc gia về chế tạo, kiểm tra chứng nhận thiết bị chịu áp lực trên phương tiện giao thông vận tải và phương tiện, thiết bị thăm dò, khai thác trên biển;
3.1.5. TCVN 7704 - Nồi hơi - Yêu cầu kỹ thuật về thiết kế, kết cấu, chế tạo, lắp đặt, sử dụng và sửa chữa
3.1.6. TCVN 6170-1 - Giàn cố định trên biển - Phần 1: Quy định chung.
3.1.7. TCVN 6170-2 - Giàn cố định trên biển - Phần 2: Điều kiện môi trường.
3.1.8. TCVN 6170-3 - Giàn cố định trên biển - Phần 3: Tải trọng thiết kế.
3.1.9. TCVN 6170-4 - Giàn cố định trên biển - Phần 4: Thiết kế kết cấu thép.
3.1.10. TCVN 6170-5 - Công trình biển cố định - Kết cấu - Phần 5: Thiết kế kết cấu hợp kim nhôm.
3.1.11. TCVN 6170-6 - Công trình biển cố định - Kết cấu - Phần 6: Thiết kế kết cấu bê tông cốt thép.
3.1.12. TCVN 6170-7 - Công trình biển di động - Kết cấu - Phần 7: Thiết kế móng.
3.1.13. TCVN 6170-8 - Công trình biển cố định - Kết cấu - Phần 8: Hệ thống chống ăn mòn.
3.1.14. TCVN 6170-9 - Công trình biển cố định - Phần 9: Kết cấu - Giàn thép kiểu jacket.
3.1.15. TCVN 6170-10 - Công trình biển cố định - Phần 10: Kết cấu - Giàn trọng lực bê tông.
3.1.16. TCVN 6170-11 - Công trình biển cố định - Kết cấu - Phần 11: Chế tạo.
3.1.17. TCVN 6170-12 - Công trình biển cố định - Kết cấu - Phần 12: Vận chuyển và lắp dựng.
3.1.18. TCVN 6767-3 - Giàn cố định trên biển - Phần 3: Máy và các hệ thống công nghệ.
3.1.19. TCVN 6767-4 - Giàn cố định trên biển - Phần 4: Trang bị điện.
3.1.20. TCVN 6767-2 - Giàn cố định trên biển - Phần 2: Phòng, phát hiện và chữa cháy
3.1.21. TCVN 6767-1 - Giàn cố định trên biển - Phần 1: Phương tiện cứu sinh.
3.1.22. TCVN 7230 - Công trình biển cố định - Quy phạm phân cấp và chế tạo - Vật liệu.
3.1.23. TCVN 7229 - Công trình biển cố định - Quy phạm phân cấp và chế tạo - Hàn.
3.1.24. CAP 437 - Các tiêu chuẩn về vị trí cất và hạ cánh của máy bay trực thăng.
3.1.25. MARPOL 73/78 - Công ước quốc tế về ngăn ngừa ô nhiễm do tàu gây ra.
3.1.26. Thông tư số 39/2016/TT-BGTVT về Danh mục sản phẩm, hàng hóa có khả năng gây mất an toàn dùng trong lĩnh vực phương tiện, thiết bị thăm dò khai thác dầu khí trên biển.
3.1.27. Thông tư số 33/2011/TT-BGTVT quy định về thủ tục cấp giấy chứng nhận chất lượng an toàn kỹ thuật và bảo vệ môi trường phương tiện, thiết bị thăm dò, khai thác và vận chuyển dầu khí trên biển.
3.2. Giải thích từ ngữ
3.2.1. Chủ giàn (owner) là chủ sở hữu, người quản lý, người khai thác hoặc người thuê giàn.
3.2.2. Các tổ chức, cá nhân liên quan (relevant organizations, persons) bao gồm cơ quan quản lý, tổ chức đăng kiểm (sau đây viết tắt là Đăng kiểm), chủ giàn, cơ sở thiết kế, tư vấn thiết kế, chế tạo, hoán cải và sửa chữa giàn.
3.2.3. Hồ sơ đăng kiểm (register documents) bao gồm các giấy chứng nhận, các phụ lục đính kèm giấy chứng nhận, các báo cáo kiểm tra hoặc thử và các tài liệu liên quan theo quy định.
3.2.4. Giàn cố định trên biển (fixed offshore platform) là công trình được xây dựng, lắp đặt cố định trên biển và sử dụng để phục vụ hoạt động dầu khí. Giàn gồm các kiểu sau đây:
3.2.4.1. Giàn được cố định bằng cọc (jacket platform) là giàn có kết cấu khung không gian được cố định với đáy biển bằng cọc. Kết cấu khung không gian có thể được thiết kế để truyền trực tiếp các tải trọng chức năng xuống đáy biển hoặc làm vỏ bọc cho các cọc đỡ các tải trọng chức năng này.
3.2.4.2. Giàn trọng lực (gravity based platform) là giàn tựa lên đáy biển và duy trì tính ổn định tại một vị trí cố định chủ yếu bởi trọng lực của nó.
3.2.4.3. Giàn tháp mềm (compliant tower) là một tháp được cố định với đáy biển, có độ đàn hồi đủ để chống lại các tải trọng sóng chủ yếu bởi lực quán tính.
3.2.5. Gọi chọn số (DSC) là kỹ thuật sử dụng các mã số cho phép một trạm vô tuyến điện có khả năng thiết lập để liên lạc và truyền thông tin với một trạm hoặc nhóm các trạm khác.
3.2.6. Vùng biển A1 là vùng nằm trong phạm vi phủ sóng vô tuyến điện thoại của ít nhất một trạm VHF ven biển, trong đó có hoạt động thông tin cấp cứu liên tục DSC.
3.2.7. Vùng biển A2 là vùng, trừ vùng biển A1, nằm trong phạm vi phủ sóng vô tuyến điện thoại của ít nhất một trạm MF ven biển, trong đó có hoạt động thông tin cấp cứu liên tục DSC.
3.2.8. Vùng biển A3 là vùng, trừ vùng biển A1 và A2, nằm trong phạm vi phủ sóng vô tuyến điện thoại của một vệ tinh địa tĩnh INMARSAT, trong đó có hoạt động thông tin cấp cứu liên tục.
3.2.9. Vùng biển A4 là vùng nằm ngoài các vùng biển A1, A2, và A3.
3.2.10. Hậu quả (consequences) là những kết quả dự kiến của một sự kiện xảy ra.
3.2.11. Tần suất (frequency) là số lần xuất hiện của một sự kiện theo đơn vị thời gian. Trong đánh giá rủi ro, nó thường được thể hiện là các tần suất theo năm.
3.2.12. Nguy cơ (hazard) là một khả năng tiềm ẩn hoặc một tình huống có thể gây hại cho người, tài sản, môi trường hoặc một tổ hợp của ba trường hợp đó.
3.2.13. Kế hoạch kiểm tra và bảo dưỡng (inspection and maintenance plan) là kế hoạch các hoạt động bảo trì và kiểm tra theo lịch trình để đảm bảo các bộ phận quan trọng về an toàn vẫn đáp ứng được các tiêu chuẩn thực hiện để duy trì sự an toàn và toàn vẹn của giàn.
3.2.14. Nguy cơ lớn (major hazard) là mối nguy hiểm ẩn chứa khả năng gây ra tai nạn lớn, ví dụ liên quan đến tử vong do cháy, nổ, tai họa nghiêm trọng, hay hư hỏng nghiêm trọng cho giàn, ô nhiễm lớn cũng được tính đến như đã quy định tại 14.
3.2.15. Tiêu chuẩn tính năng (a performance standard) là một tuyên bố, có thể được diễn giải một cách phù hợp theo định lượng hoặc định tính về tính năng được yêu cầu đối với một bộ phận quan trọng về an toàn để đảm bảo tính toàn vẹn và an toàn của giàn.
3.2.16. Rủi ro (risk) là biểu diễn của xác suất và hậu quả của một hay một số nguy cơ đang được nhận biết, ví dụ sự thay đổi của một sự kiện cụ thể xảy ra trong một khoảng thời gian cụ thể.
3.2.17. Phân tích rủi ro (risk analysis) là định lượng các rủi ro mà không quan tâm đến sự quan trọng của chúng. Nó bao gồm việc nhận biết các nguy cơ để xác định tần suất và hậu quả của chúng, do đó các kết quả này đặc trưng cho rủi ro đó. Phân tích rủi ro đôi khi được hiểu là định lượng rủi ro hoặc ước định rủi ro.
3.2.18. Đánh giá rủi ro (risk assessment) là một phân tích có hệ thống các rủi ro từ các hoạt động nguy hiểm và thực hiện tính toán hợp lý về sự quan trọng của chúng bằng cách so sánh với các tiêu chuẩn được định trước về mức độ rủi ro mong muốn hoặc tiêu chuẩn chấp nhận rủi ro khác. Đánh giá rủi ro được sử dụng để xác định các ưu tiên trong quản lý rủi ro.
3.2.19. Tiêu chuẩn chấp nhận rủi ro (risk acceptance criteria) là tiêu chuẩn mà theo đó các kết quả của đánh giá rủi ro có thể đo được. Các tiêu chuẩn chấp nhận đại diện cho mức độ chấp nhận về sự an toàn và toàn vẹn của giàn. Chúng liên quan đến tính toán định lượng rủi ro với đánh giá giá trị chất lượng về sự quan trọng của những rủi ro.
3.2.20. Các bộ phận quan trọng về an toàn (safety-critical elements) là một phần của giàn, hoặc thiết bị, những phần rất quan trọng để duy trì sự an toàn và toàn vẹn của giàn. Bộ phận này bao gồm bất kỳ hạng mục nào mà:
3.2.20.1. Nếu hư hỏng, có thể gây ra hoặc góp phần đáng kể gây ra nguy cơ lớn ảnh hưởng đến an toàn và toàn vẹn của giàn, hoặc
3.2.20.2. Được dự định để ngăn chặn hoặc hạn chế ảnh hưởng của một nguy cơ lớn.
Các bộ phận quan trọng về an toàn được xác định để phòng ngừa, phát hiện, kiểm soát, giảm thiểu (bao gồm cả bảo vệ con người) các nguy cơ.
PHẦN II. QUY ĐỊNH VỀ KỸ THUẬT
1. Phân cấp và giám sát kỹ thuật
1.1. Phân cấp
1.1.1. Trao cấp
1.1.1.1. Tất cả các giàn sau khi được kiểm tra hoàn toàn phù hợp với Quy chuẩn này sẽ được Đăng kiểm trao cấp tương ứng với các ký hiệu cấp giàn như quy định ở 1.1.3.
1.1.1.2. Theo yêu cầu của chủ giàn, giàn có thể được phân cấp theo phương pháp đánh giá rủi ro như nêu tại quy định 14 của Phần này.
1.1.2. Duy trì cấp
1.1.2.1. Tất cả các giàn đã được Đăng kiểm trao cấp thì cấp của giàn sẽ tiếp tục được duy trì, nếu kết quả kiểm tra hoàn toàn phù hợp với các yêu cầu quy định trong 1.3.4 đến 1.3.8.2 hoặc theo chương trình kiểm tra đánh giá rủi ro như nêu ở quy định 14 của Phần này.
1.1.2.2. Chủ giàn hay người đại diện của họ có trách nhiệm báo cáo và đề nghị Đăng kiểm thực hiện kiểm tra ngay mọi hư hỏng hay khuyết tật có ảnh hưởng tới cấp đã trao cho giàn.
1.1.3. Ký hiệu phân cấp
1.1.3.1. Giàn được Đăng kiểm phân cấp khi đã thỏa mãn Quy chuẩn này sẽ được trao cấp với các ký hiệu sau:
* VR hoặc * VR hoặc (*) VR
Trong đó:
* VR: Ký hiệu giàn được thẩm định thiết kế và giám sát trong chế tạo mới dưới sự giám sát của Đăng kiểm;
* VR: Ký hiệu giàn đã được chế tạo mới dưới sự giám sát của Tổ chức phân cấp khác được Đăng kiểm công nhận và sau đó được Đăng kiểm kiểm tra phân cấp;
(*)VR: Ký hiệu giàn đã được chế tạo mới không có giám sát hoặc dưới sự giám sát của tổ chức phân cấp khác chưa được Đăng kiểm công nhận và sau đó được Đăng kiểm kiểm tra phân cấp.
VR: Ký hiệu giàn thỏa mãn các yêu cầu của Quy chuẩn này;
Ký hiệu này cũng được dùng khi Đăng kiểm thực hiện phân cấp cho từng bộ phận của giàn theo đề nghị của chủ giàn.
1.1.3.2. Dấu hiệu phân cấp
1.1.3.2.1. Căn cứ vào từng giàn cụ thể do Đăng kiểm phân cấp, ký hiệu phân cấp được bổ sung thêm các dấu hiệu thích hợp như dưới đây:
a) Về kiểu giàn:
+ Giàn được cố định bằng cọc - ký hiệu là JP (jacket platform):
+ Giàn trọng lực - ký hiệu là GBP (gravity based platform);
+ Giàn tháp mềm - ký hiệu là CT (compliant tower).
b) Về công dụng của giàn:
+ Giàn khoan - ký hiệu là DP (drilling platform);
+ Giàn công nghệ - ký hiệu là PP (production platform);
+ Giàn có hoặc không có người ở thường xuyên - ký hiệu là M hoặc UM (man/unmanned);
+ Giàn đầu giếng - ký hiệu là WHP (wellhead platform);
+ Giàn khí - ký hiệu là GP (gas platform);
+ Giàn nhà ở - ký hiệu là LQ (living quarter).
1.1.3.2.2. Phân cấp từng phần
Nếu chủ giàn muốn giới hạn việc phân cấp ở một phần, một bộ phận hoặc một hạng mục nào đó của giàn thì trong ký hiệu cấp sẽ được bổ sung dấu hiệu thích hợp về giới hạn này.
- Chân đế - ký hiệu là J (jacket): Chỉ ra rằng việc phân cấp chỉ thực hiện đối với phần chân đế của giàn;
- Thượng tầng - ký hiệu là T (topside): Chỉ ra rằng việc phân cấp chỉ thực hiện đối với phần thượng tầng của giàn;
- Hệ thống sản xuất - ký hiệu là PS (production system): Chỉ ra rằng việc phân cấp chỉ thực hiện đối với hệ thống, thiết bị sản xuất.
1.1.3.2.3. Dấu hiệu phân cấp theo đánh giá rủi ro
Giàn được phân cấp theo tiêu chuẩn tính năng được xác định từ phương pháp đánh giá rủi ro thì sẽ được trao ký hiệu RA.
Ví dụ: Một giàn được cố định bằng cọc, có người ở thường xuyên, được Đăng kiểm thẩm định thiết kế và giám sát chế tạo mới theo phương pháp đánh giá rủi ro thì ký hiệu cấp là: * VR JP, M, RA
1.2. Giám sát kỹ thuật
1.2.1. Quy định chung
1.2.1.1. Khối lượng giám sát kỹ thuật và phân cấp giàn
1.2.1.1.1. Hoạt động giám sát kỹ thuật dựa trên cơ sở các quy định của Quy chuẩn này. Khi tiến hành giám sát kỹ thuật và phân cấp giàn phải thực hiện những công việc sau đây:
a) Thẩm định thiết kế với khối lượng hồ sơ thiết kế được quy định trong các điều tương ứng của Quy chuẩn này;
b) Giám sát việc chế tạo vật liệu và các sản phẩm, trang thiết bị được sử dụng để chế tạo mới/ sửa chữa và lắp đặt trên giàn hoặc các đối tượng chịu sự giám sát/ kiểm tra chứng nhận;
c) Giám sát việc chế tạo mới, hoán cải;
d) Kiểm tra các giàn đang khai thác;
e) Trao cấp, phục hồi cấp và cấp các chứng chỉ liên quan.
1.2.1.1.2. Đối tượng giám sát kỹ thuật bao gồm:
a) Tất cả các loại giàn quy định tại 1 - Phần I ở trên;
b) Vật liệu chế tạo/ sửa chữa giàn, chế tạo các sản phẩm/thiết bị lắp đặt trên giàn.
1.2.1.2. Nguyên tắc giám sát kỹ thuật
1.2.1.2.1. Phương pháp giám sát chính: Đăng kiểm thực hiện việc giám sát theo những trình tự được quy định trong Quy chuẩn này và các hướng dẫn liên quan đồng thời cũng có thể tiến hành kiểm tra đột xuất bất cứ hạng mục nào phù hợp với Quy chuẩn này trong trường hợp cần thiết.
1.2.1.2.2. Để thực hiện công tác giám sát, chủ giàn, các cơ sở chế tạo và dựng lắp giàn phải tạo mọi điều kiện thuận lợi cho đăng kiểm viên tiến hành kiểm tra, thử nghiệm vật liệu và các sản phẩm chịu sự giám sát của Đăng kiểm kể cả việc đăng kiểm viên được đi đến tất cả những nơi sản xuất, thử nghiệm vật liệu và chế tạo các sản phẩm đó.
1.2.1.2.3. Các cơ quan thiết kế, chủ giàn, cơ sở chế tạo và dựng lắp giàn và các cơ sở chế tạo sản phẩm công nghiệp phải thực hiện các yêu cầu của Quy chuẩn này khi Đăng kiểm thực hiện công tác giám sát kỹ thuật.
1.2.1.2.4. Nếu dự định có những sửa đổi trong quá trình chế tạo liên quan đến vật liệu, kết cấu, máy móc, trang thiết bị và sản phẩm công nghiệp khác với hồ sơ thiết kế đã được thẩm định thì các bản vẽ hoặc tài liệu sửa đổi phải được trình cho Đăng kiểm xem xét và thẩm định thiết kế sửa đổi trước khi thi công.
1.2.1.2.5. Nếu có những bất đồng xảy ra trong quá trình giám sát giữa đăng kiểm viên và các cơ quan/xí nghiệp (chủ giàn, nhà máy chế tạo giàn, nhà chế tạo vật liệu và sản phẩm) thì các cơ quan/xí nghiệp này có quyền đề xuất ý kiến của mình trực tiếp với Lãnh đạo Đăng kiểm để giải quyết.
1.2.1.2.6. Đăng kiểm có thể từ chối không thực hiện công tác giám sát, nếu nhà máy chế tạo và dựng lắp giàn hoặc xưởng chế tạo vi phạm có hệ thống những yêu cầu của Quy chuẩn này.
1.2.1.2.7. Trong trường hợp phát hiện thấy vật liệu hoặc sản phẩm có khuyết tật, nhưng đã được cấp giấy chứng nhận hợp lệ, thì có thể yêu cầu tiến hành thử nghiệm lại hoặc khắc phục những khuyết tật đó. Trong trường hợp không thể khắc phục được những khuyết tật đó, thì thu hồi hoặc hủy bỏ giấy chứng nhận đã cấp.
1.2.1.2.8. Hoạt động giám sát kỹ thuật của Đăng kiểm không làm thay đổi công việc cũng như không thay cho trách nhiệm của các tổ chức kiểm tra kỹ thuật/chất lượng của chủ giàn, nhà máy/cơ sở chế tạo và dựng lắp, sửa chữa giàn, chế tạo vật liệu, máy móc và trang thiết bị lắp đặt trên giàn.
1.2.1.3. Các loại hình giám sát
1.2.1.3.1. Giám sát trực tiếp
1.2.1.3.1.1. Giám sát trực tiếp là hình thức giám sát do đăng kiểm viên trực tiếp tiến hành, dựa trên các hồ sơ thiết kế đã được thẩm định cũng như dựa vào yêu cầu của Quy chuẩn này và các hướng dẫn liên quan. Khối lượng kiểm tra, đo đạc và thử nghiệm trong quá trình giám sát được xác định dựa vào Quy chuẩn này, hướng dẫn liên quan và tùy thuộc vào điều kiện cụ thể.
1.2.1.3.1.2. Sau khi thực hiện giám sát và nhận được những kết quả thỏa đáng về thử nghiệm vật liệu và sản phẩm, Đăng kiểm sẽ cấp hoặc xác nhận các giấy chứng nhận theo quy định tại 1.2 - Phần III của Quy chuẩn này.
1.2.1.3.1.3. Khi sản xuất hàng loạt các sản phẩm hoặc trong những trường hợp thích hợp khác, việc giám sát trực tiếp có thể được thay bằng giám sát gián tiếp, nếu như nhà máy sản xuất có trình độ cao và ổn định, có hệ thống quản lý chất lượng hiệu quả. Hình thức và khối lượng giám sát gián tiếp sẽ được quy định trong từng trường hợp cụ thể theo yêu cầu của Quy chuẩn này.
1.2.1.3.2. Giám sát gián tiếp
1.2.1.3.2.1. Giám sát gián tiếp là giám sát do những người của các Tổ chức kiểm tra kỹ thuật hoặc cán bộ kỹ thuật của nhà máy được Đăng kiểm ủy quyền thực hiện dựa theo hồ sơ kỹ thuật đã được thẩm định.
1.2.1.3.2.2. Giám sát gián tiếp được thực hiện theo những hình thức sau:
a) Cán bộ được Đăng kiểm ủy quyền;
b) Xí nghiệp được Đăng kiểm ủy quyền;
c) Hồ sơ được Đăng kiểm công nhận.
1.2.1.3.2.3. Khối lượng kiểm tra, đo đạc và thử nghiệm phải tiến hành trong quá trình giám sát gián tiếp sẽ được xác định dựa vào Quy chuẩn này, các hướng dẫn liên quan và điều kiện cụ thể.
1.2.1.3.2.4. Tùy thuộc vào hình thức giám sát gián tiếp và kết quả giám sát, Đăng kiểm hoặc xưởng chế tạo sẽ cấp các chứng chỉ cho đối tượng được giám sát.
1.2.1.3.2.5. Đăng kiểm viên sẽ kiểm tra lựa chọn bất kỳ sản phẩm nào trong số các sản phẩm chịu sự giám sát gián tiếp tại các nhà máy chế tạo.
1.2.1.3.2.6. Nếu nhận thấy có vi phạm trong giám sát gián tiếp hoặc chất lượng giám sát gián tiếp không đạt yêu cầu, Đăng kiểm sẽ hủy ủy quyền giám sát gián tiếp và trực tiếp tiến hành giám sát.
1.2.2. Giám sát việc chế tạo vật liệu và các sản phẩm
1.2.2.1. Quy định chung
1.2.2.1.1. Các sản phẩm thuộc Danh mục sản phẩm, hàng hóa có khả năng gây mất an toàn dùng trong lĩnh vực phương tiện, thiết bị thăm dò khai thác dầu khí trên biển nêu tại Thông tư số 39/2016/TT-BGTVT ngày 06 tháng 12 năm 2016 của Bộ trưởng Bộ GTVT phải được chứng nhận và công bố hợp quy theo quy định của Thông tư này. Trong trường hợp cần thiết có thể yêu cầu giám sát bổ sung việc chế tạo những vật liệu và sản phẩm khác chưa được nêu ở trên.
1.2.2.1.2. Việc chế tạo vật liệu và các sản phẩm chịu sự giám sát của Đăng kiểm phải phù hợp với hồ sơ thiết kế đã được thẩm định. Thiết bị và hệ thống phải được kiểm tra và thử phù hợp với các quy chuẩn, tiêu chuẩn kỹ thuật quốc gia hoặc các tiêu chuẩn khác theo thông lệ quốc tế như QCVN 67:2017/BGTVT, QCVN 97:2016/BGTVT, API 610, API RP 505, API 14E, API std 618…
1.2.2.1.3. Trong quá trình thực hiện giám sát, Đăng kiểm có thể tiến hành kiểm tra sự phù hợp của kết cấu, công nghệ với tiêu chuẩn và quy trình không được quy định trong Quy chuẩn này nhưng nhằm mục đích thực hiện các yêu cầu của Quy chuẩn này.
1.2.2.1.4. Việc sử dụng vật liệu, kết cấu, hoặc quy trình công nghệ mới trong sửa chữa và chế tạo mới giàn, trong chế tạo vật liệu và sản phẩm chịu sự giám sát của Đăng kiểm phải được Đăng kiểm chấp nhận.
Các vật liệu, sản phẩm, hoặc quy trình công nghệ mới phải được tiến hành thử nghiệm phù hợp với Quy chuẩn này.
1.2.2.1.5. Đăng kiểm trực tiếp thực hiện việc kiểm tra chế tạo vật liệu và sản phẩm hoặc tổ chức được uỷ quyền hoặc chấp nhận thực hiện việc kiểm tra này.
1.2.2.1.6. Nếu mẫu sản phẩm, kể cả mẫu đầu tiên được chế tạo dựa vào hồ sơ thiết kế đã được thẩm định, thì xưởng chế tạo phải tiến hành thử nghiệm mẫu mới này dưới sự giám sát của đăng kiểm viên. Khi đó, việc thử nghiệm phải được tiến hành ở những trạm thử hoặc phòng thí nghiệm đã được công nhận. Trong những trường hợp đặc biệt quan trọng có thể yêu cầu tiến hành thử trong quá trình khai thác với khối lượng và thời gian thích hợp.
1.2.2.1.7. Sau khi thử mẫu đầu tiên nếu cần phải thay đổi kết cấu của sản phẩm hoặc thay đổi quy trình sản xuất khác với những quy định ghi trong hồ sơ thiết kế đã được thẩm định cho mẫu này để chế tạo hàng loạt, thì cơ sở chế tạo phải trình hồ sơ thiết kế trong đó có đề cập đến những thay đổi đó để thẩm định lại hoặc có thể chỉ cần trình bản danh mục liệt kê những thay đổi. Nếu không có thay đổi nào khác thì nhất thiết hồ sơ thiết kế phải có sự xác nhận của Đăng kiểm là mẫu đầu tiên đã được thẩm định phù hợp để sản xuất hàng loạt theo mẫu này.
1.2.2.1.8. Trong những trường hợp đặc biệt có thể quy định những điều kiện sử dụng cho từng sản phẩm riêng biệt.
1.2.2.1.9. Vật liệu và sản phẩm được chế tạo ở nước ngoài dùng trên các giàn chịu sự giám sát của Đăng kiểm phải có giấy chứng nhận được cấp bởi một tổ chức chứng nhận được Đăng kiểm ủy quyền hoặc chấp nhận. Trong trường hợp không có giấy chứng nhận như trên, vật liệu và sản phẩm phải chịu sự giám sát đặc biệt trong từng trường hợp cụ thể.
1.2.2.2. Công nhận cơ sở cung cấp dịch vụ và phòng thí nghiệm
1.2.2.2.1. Trong công tác giám sát và phân cấp, Đăng kiểm có thể công nhận hoặc ủy quyền cho các cơ sở cung cấp dịch vụ và phòng thí nghiệm của nhà máy chế tạo và dựng lắp giàn hoặc các cơ quan khác thực hiện công việc kiểm tra, bảo dưỡng và thử nghiệm.
1.2.2.2.2. Cơ sở bảo dưỡng hoặc phòng thí nghiệm muốn được công nhận hoặc uỷ quyền phải thỏa mãn các điều kiện sau đây:
a) Các dụng cụ và máy móc phải chịu sự kiểm tra định kỳ của cơ quan Nhà nước có thẩm quyền và được cơ quan có thẩm quyền cấp giấy chứng nhận phù hợp.
b) Tất cả các dụng cụ và máy móc khác được dùng vào việc thử nghiệm phải có giấy chứng nhận kiểm tra còn hiệu lực.
1.2.2.2.3. Việc đánh giá công nhận các cơ sở cung cấp dịch vụ được thực hiện theo QCVN 65:2015/BGTVT - Quy chuẩn kỹ thuật quốc gia về đánh giá năng lực cơ sở chế tạo và cung cấp dịch vụ tàu biển.
1.2.2.2.4. Đăng kiểm có thể kiểm tra sự hoạt động của các trạm thử hoặc phòng thí nghiệm đã được Đăng kiểm công nhận hoặc ủy quyền. Trong trường hợp các đơn vị được công nhận hoặc uỷ quyền không tuân thủ theo yêu cầu của Quy chuẩn này thì Đăng kiểm có thể hủy bỏ việc ủy quyền hoặc công nhận đó.
1.2.3. Giám sát chế tạo mới, hoán cải
Dựa vào hồ sơ thiết kế đã được thẩm định, đăng kiểm viên thực hiện việc giám sát chế tạo các sản phẩm lắp đặt trên giàn, chế tạo mới và hoán cải giàn. Khối lượng kiểm tra, đo đạc và thử nghiệm trong quá trình giám sát được quy định trong Quy chuẩn này và các hướng dẫn liên quan.
1.2.4. Kiểm tra giàn đang khai thác
1.2.4.1. Trong quá trình khai thác giàn phải thực hiện kiểm tra chu kỳ và các loại kiểm tra khác theo quy định bao gồm kiểm tra hàng năm, kiểm tra trung gian, kiểm tra định kỳ, kiểm tra liên tục, kiểm tra dưới nước, kiểm tra bất thường, hoặc kiểm tra theo đánh giá rủi ro để xác nhận giàn và các trang thiết bị lắp đặt trên giàn được bảo dưỡng và duy trì ở trạng thái thỏa mãn theo quy định của Quy chuẩn này.
1.2.4.2. Chủ giàn phải thực hiện đúng thời hạn kiểm tra chu kỳ và các loại hình kiểm tra khác theo quy định và phải chuẩn bị đầy đủ các điều kiện để tiến hành kiểm tra giàn. Chủ giàn phải báo cho đăng kiểm viên biết mọi sự cố, vị trí hư hỏng, việc sửa chữa trên giàn và sản phẩm xảy ra giữa hai lần kiểm tra.
Trong trường hợp cần xin hoãn kiểm tra chu kỳ, chủ giàn phải tuân thủ các quy định của Quy chuẩn này.
1.2.4.3. Lắp đặt sản phẩm mới
Trường hợp lắp đặt lên giàn đang khai thác các sản phẩm mới thuộc phạm vi áp dụng của Quy chuẩn này, phải tuân thủ đúng các quy định tại 1.2.2 và 1.2.3.
1.2.4.4. Quy định khi thay thế các chi tiết hỏng
Khi thay thế những chi tiết bị hư hỏng hoặc những chi tiết bị mòn quá giới hạn cho phép theo các yêu cầu của Quy chuẩn này, thì các chi tiết mới cần phải được chế tạo phù hợp với các yêu cầu của Quy chuẩn này và phải được đăng kiểm viên kiểm tra xác nhận.
1.2.5. Hồ sơ kỹ thuật
1.2.5.1. Trình thẩm định hồ sơ thiết kế
1.2.5.1.1. Trước khi bắt đầu chế tạo mới, hoán cải hoặc chế tạo vật liệu và các sản phẩm chịu sự giám sát của Đăng kiểm, người thiết kế và nhà chế tạo phải trình Đăng kiểm thẩm định hồ sơ thiết kế với khối lượng được quy định trong Quy chuẩn này.
1.2.5.1.2. Khối lượng hồ sơ trình Đăng kiểm thẩm định đối với những giàn và sản phẩm có kiểu và/hoặc kết cấu đặc biệt trong từng trường hợp cụ thể sẽ được Đăng kiểm xem xét và chấp thuận riêng.
1.2.5.2. Sửa đổi thiết kế đã thẩm định
Sau khi thiết kế đã được Đăng kiểm thẩm định, nếu người thiết kế muốn thay đổi thiết kế thì phải trình Đăng kiểm hồ sơ thiết kế sửa đổi kèm theo ý kiến chấp thuận của chủ giàn để Đăng kiểm thẩm định trước khi tiến hành thi công.
1.3. Kiểm tra phân cấp
1.3.1. Quy định chung
1.3.1.1. Kiểm tra phân cấp giàn
1.3.1.1.1. Tất cả các giàn phải tuân thủ các quy định sau đây:
a) Được kiểm tra phù hợp các quy định về kết cấu theo quy định 2 của Phần này;
b) Được kiểm tra phù hợp các quy định về máy và hệ thống công nghệ theo quy định 3 của Phần này;
c) Được kiểm tra phù hợp các quy định về trang bị điện theo quy định 4 của Phần này;
d) Được kiểm tra phù hợp các quy định về phòng, phát hiện và chữa cháy theo quy định 5 của Phần này;
e) Được kiểm tra phù hợp các quy định về phương tiện cứu sinh theo quy định 6 của Phần này;
f) Được kiểm tra phù hợp các quy định về vật liệu theo quy định 7 của Phần này;
g) Được kiểm tra phù hợp các quy định về hàn theo quy định 8 của Phần này;
h) Được kiểm tra phù hợp các quy định về sân bay trực thăng theo quy định 9 của Phần này;
i) Được kiểm tra phù hợp các quy định về thiết bị nâng theo quy định 10 của Phần này;
j) Được kiểm tra phù hợp các quy định về thiết bị chịu áp lực và nồi hơi theo Quy định 11 của Phần này;
k) Được kiểm tra phù hợp các quy định về thiết bị và hệ thống điều khiển theo quy định 12 của Phần này;
l) Được kiểm tra phù hợp các quy định về vô tuyến điện theo quy định ở 13 của Phần này;
m) Theo yêu cầu của chủ giàn, giàn được phân cấp theo tiêu chuẩn tính năng được xác định từ phương pháp đánh giá rủi ro theo quy định ở 14 của Phần này;
n) Theo yêu cầu của chủ giàn, giàn được đánh giá để kéo dài thời gian sử dụng theo quy định 15 của Phần này.
1.3.1.1.2. Kiểm tra phân cấp bao gồm:
a) Kiểm tra phân cấp giàn trong quá trình chế tạo mới;
b) Kiểm tra phân cấp giàn chế tạo mới không có giám sát của Đăng kiểm.
1.3.1.2. Kiểm tra duy trì cấp giàn
1.3.1.2.1. Các giàn đã được Đăng kiểm trao cấp phải được kiểm tra duy trì cấp phù hợp với các quy định từ 1.3.4 đến 1.3.8 của Phần này.
1.3.1.2.2. Kiểm tra duy trì cấp giàn bao gồm kiểm tra chu kỳ, kiểm tra liên tục, kiểm tra bất thường được quy định từ 1.3.1.2.2.1 đến 1.3.1.2.2.3 dưới đây hoặc kiểm tra theo đánh giá rủi ro được quy định tại quy định 14 của Phần này:
1.3.1.2.2.1. Kiểm tra chu kỳ
a) Kiểm tra hàng năm
Kiểm tra hàng năm bao gồm việc kiểm tra chung phần kết cấu trên đường nước, máy, trang thiết bị, thiết bị chữa cháy... như quy định tại 1.3.4 của Phần này.
b) Kiểm tra trung gian
Kiểm tra trung gian bao gồm việc kiểm tra chung phần kết cấu trên và dưới đường nước, máy, trang thiết bị, thiết bị chữa cháy... như quy định tại 1.3.5 của Phần này.
c) Kiểm tra định kỳ
Kiểm tra định kỳ bao gồm việc kiểm tra chi tiết phần kết cấu bên trên và dưới đường nước, máy, trang thiết bị, thiết bị chữa cháy... như quy định tại 1.3.6 của Phần này.
1.3.1.2.2.2. Kiểm tra liên tục
Khi chủ giàn đề nghị, kiểm tra liên tục có thể được thực hiện để thay thế cho kiểm tra định kỳ như quy định tại 1.3.7 của Phần này. Chủ giàn phải lập kế hoạch kiểm tra để trình thẩm định. Việc kiểm tra phải được thực hiện một cách hệ thống, liên tục và theo trình tự sao cho khoảng cách kiểm tra của tất cả các hạng mục trong kế hoạch kiểm tra không được vượt quá 5 năm.
1.3.1.2.2.3. Kiểm tra bất thường
Kiểm tra bất thường bao gồm việc kiểm tra kết cấu, máy và trang thiết bị trong đó bao gồm kiểm tra bộ phận bị hư hỏng và kiểm tra các hạng mục sửa chữa, thay đổi và hoán cải. Kiểm tra bất thường được thực hiện độc lập với kiểm tra chu kỳ và kiểm tra liên tục.
1.3.1.3. Thời hạn kiểm tra duy trì cấp giàn
1.3.1.3.1. Kiểm tra chu kỳ phải được tiến hành phù hợp với các yêu cầu được đưa ra từ 1.3.1.3.1.1 đến 1.3.1.3.1.3 sau đây:
1.3.1.3.1.1. Kiểm tra hàng năm
Các đợt kiểm tra hàng năm phải được thực hiện trong khoảng thời gian ba tháng trước hoặc ba tháng sau ngày ấn định kiểm tra hàng năm của lần kiểm tra phân cấp hoặc kiểm tra định kỳ trước đó.
1.3.1.3.1.2. Kiểm tra trung gian
a) Kiểm tra trung gian được thực hiện vào đợt kiểm tra hàng năm lần thứ 2 hoặc thứ 3 sau khi kiểm tra phân cấp hoặc kiểm tra định kỳ.
b) Thay cho a) nói trên, kiểm tra trung gian có thể được bắt đầu vào đợt kiểm tra hàng năm lần thứ 2 hoặc sau đó và được kết thúc vào đợt kiểm tra hàng năm lần thứ 2 hoặc lần thứ 3.
1.3.1.3.1.3. Kiểm tra định kỳ
a) Kiểm tra định kỳ phải được tiến hành trong khoảng thời gian 3 tháng trước ngày hết hạn của Giấy chứng nhận phân cấp.
b) Kiểm tra định kỳ có thể được bắt đầu vào hoặc sau đợt kiểm tra hàng năm lần thứ 4 và phải được kết thúc trong thời hạn 3 tháng trước ngày hết hạn của Giấy chứng nhận phân cấp.
c) Mặc dù có quy định ở b), kiểm tra định kỳ có thể được tiến hành trước đợt kiểm tra hàng năm lần thứ 4. Trong trường hợp này, phải kết thúc kiểm tra định kỳ trong vòng 15 tháng tính từ ngày bắt đầu kiểm tra định kỳ.
1.3.1.3.2. Kiểm tra liên tục
Trong hệ thống kiểm tra liên tục, mỗi hạng mục kiểm tra hoặc từng bộ phận phải được tiến hành kiểm tra trong thời hạn không vượt quá 5 năm.
1.3.1.3.3. Kiểm tra bất thường
Giàn phải được kiểm tra bất thường khi chúng rơi vào một trong các trường hợp từ a) đến f) dưới đây. Kiểm tra chu kỳ có thể thay thế cho kiểm tra bất thường nếu các hạng mục kiểm tra của kiểm tra bất thường được thực hiện như một phần của kiểm tra chu kỳ.
a) Khi các phần chính của thân giàn, máy giàn hoặc các trang thiết bị quan trọng bị hư hỏng, hoặc phải sửa chữa hay hoán cải;
b) Khi thực hiện hoán cải ảnh hưởng đến tính năng, kích thước... của giàn;
c) Khi giàn được thay tên, đổi chủ;
d) Khi tăng người làm việc trên giàn trong khoảng thời gian ngắn;
e) Khi chủ giàn đề nghị kiểm tra;
f) Khi Đăng kiểm thấy cần thiết phải kiểm tra.
1.3.1.4. Hoãn kiểm tra chu kỳ
1.3.1.4.1. Trong trường hợp bất khả kháng, kiểm tra định kỳ vào thời điểm quy định ở 1.3.1.3.1.3 có thể được hoãn tối đa 3 tháng nếu được Đăng kiểm chấp nhận trước.
1.3.1.4.2. Bất kể quy định 1.3.1.3.2, kiểm tra liên tục có thể được hoãn như quy định ở 1.3.1.4.1 với điều kiện việc kiểm tra như vậy được thực hiện vào thời gian kiểm tra định kỳ.
1.3.1.5. Thay đổi các yêu cầu
1.3.1.5.1. Khi kiểm tra chu kỳ và kiểm tra liên tục, đăng kiểm viên có thể thay đổi các yêu cầu của đợt kiểm tra chu kỳ được quy định trong 1.3.4 đến 1.3.6 của Phần này có xét tới kích thước, vùng hoạt động, tuổi giàn, lịch sử khai thác, kết cấu, kết quả các đợt kiểm tra trước đây và trạng thái kỹ thuật thực tế của giàn.
1.3.1.5.2. Nếu kiểm tra trung gian được thực hiện vào thời điểm kiểm tra hàng năm lần thứ 3 mà nội dung kiểm tra đã được thực hiện vào thời điểm giữa kiểm tra hàng năm lần thứ 2 và 3 như là một phần của đợt kiểm tra khác, thì đăng kiểm có thể xem xét chấp nhận kết quả kiểm tra nếu thấy phù hợp. Tuy nhiên, phải thực hiện nội dung tối thiểu theo yêu cầu của kiểm tra hàng năm vào đợt kiểm tra trung giàn này.
1.3.1.6. Giàn tạm ngừng hoạt động
1.3.1.6.1. Khi giàn được tạm ngừng hoạt động, chủ giàn cần thông báo bằng văn bản cho Đăng kiểm.
1.3.1.6.2. Giàn tạm ngừng hoạt động không phải chịu sự kiểm tra duy trì cấp giàn. Tuy nhiên, theo yêu cầu của chủ giàn, Đăng kiểm có thể tiến hành các đợt kiểm tra bất thường để xác nhận tình trạng giàn.
1.3.1.6.3. Khi giàn đã ngừng hoạt động được chuẩn bị đưa vào hoạt động trở lại thì phải tiến hành các nội dung kiểm tra sau đây và kiểm tra các hạng mục riêng lẻ đã bị hoãn kiểm tra do tàu ngừng hoạt động:
a) Khi bất kỳ đợt kiểm tra chu kỳ hoặc kiểm tra theo kế hoạch được dự kiến từ trước khi giàn ngừng hoạt động mà chưa đến hạn, thì phải tiến hành đợt kiểm tra chu kỳ hoặc kiểm tra theo kế hoạch gần nhất đã được dự kiến trước khi cho giàn ngừng hoạt động.
b) Khi bất kỳ đợt kiểm tra chu kỳ hoặc kiểm tra theo kế hoạch nào được dự kiến từ trước khi giàn ngừng hoạt động mà đã đến hạn, thì về nguyên tắc phải tiến hành đợt kiểm tra chu kỳ hoặc kiểm tra theo kế hoạch này. Tuy nhiên, trong trường hợp hai đợt kiểm tra chu kỳ hoặc kiểm tra theo kế hoạch trở lên đã đến hạn thì phải tiến hành đợt kiểm tra nào có nội dung quan trọng hơn.
1.3.1.6.4. Nếu đợt kiểm tra theo yêu cầu ở 1.3.1.6.3 là đợt kiểm tra định kỳ thì phải tiến hành kiểm tra định kỳ.
1.3.2. Hồ sơ thiết kế trình thẩm định
13.2.1 Để phân cấp giàn, các nội dung sau đây, nếu có yêu cầu, cần được xem xét, đánh giá và thẩm định:
a) Các giả thiết thiết kế;
b) Các phân tích về an toàn;
c) Mô tả điều kiện môi trường;
d) Các máy, thiết bị, phương pháp công nghệ và bố trí chúng, bao gồm:
- An toàn chung;
- An toàn của phương pháp công nghệ;
- Khí cụ và tự động hóa;
- Thiết bị điện, thiết bị cơ khí và đường ống;
- Vật liệu và chống ăn mòn.
e) Thiết kế kết cấu, bao gồm:
- Tải trọng;
- Vật liệu;
- Chống ăn mòn;
- Nền móng;
- Độ bền và độ ổn định;
- Các vấn đề có liên quan đến việc chế tạo, lắp đặt và vận chuyển.
f) Phân tích độc lập kết cấu;
g) Các bản vẽ kết cấu, hệ thống sản xuất và hệ thống phụ trợ;
h) Các tài liệu và quy trình có liên quan trong các giai đoạn vận chuyển và lắp đặt;
i) Các quy định kỹ thuật, bảo dưỡng và sổ hướng dẫn công việc;
j) Những quy định kỹ thuật có liên quan đến kiểm tra trong khai thác.
1.3.2.2. Để thực hiện việc đánh giá nói trên, trước khi chế tạo mới, chủ giàn hoặc đại diện của họ phải trình cho Đăng kiểm thẩm định hồ sơ thiết kế theo 1.3.2.3.
Trong quá trình thẩm định, nếu cần thiết có thể yêu cầu chủ giàn hoặc đại diện của họ bổ sung hồ sơ thiết kế.
1.3.2.3. Nội dung của hồ sơ thiết kế:
1.3.2.3.1. Hồ sơ thiết kế kết cấu chung:
a) Cơ sở thiết kế;
b) Báo cáo khảo sát môi trường tại vị trí lắp đặt giàn bao gồm: Vị trí xây dựng, độ sâu nước, sóng, gió, dòng chảy, thủy triều, sinh vật biển...);
c) Báo cáo khảo sát địa chất (bao gồm thông tin khảo sát về: địa chất công trình, địa hình, địa vật lý, dòng chảy sát đáy biển, tính chất cơ lý của đất).
d) Tải trọng thường xuyên, hoạt tải, tổ hợp tải trọng thiết kế;
e) Các điều kiện thiết kế;
f) Bố trí chung (bao gồm bệ đỡ, các máy, thiết bị điện, các thiết bị khác với các phần không gian bố trí được chỉ dẫn rõ ràng);
g) Phân tích bền kết cấu trong giai đoạn hạ thủy;
h) Phân tích bền kết cấu trong giai đoạn vận chuyển;
i) Phân tích bền kết cấu trong giai đoạn lắp đặt;
j) Phân tích đóng cọc, đóng conductor;
k) Phân tích bền kết cấu trong giai đoạn vận hành;
l) Phân tích hoặc thiết kế kết cấu về mỏi;
m) Phân tích kết cấu khi chịu tải trọng động đất (nếu có);
n) Phân tích kết cấu khi chịu tải trọng va chạm (nếu có);
o) Phân tích đóng cọc, đóng conductor;
p) Phân tích các kết cấu phụ trợ: cầu dẫn (nếu có), giá cập tàu (nếu có), cần đuốc (flare/ vent boom, nếu có), mudmat, riser guard, riser support,...
q) Bản vẽ các kết cấu chính của thượng tầng;
r) Bản vẽ các kết cấu phụ của thượng tầng;
s) Bản vẽ các chi tiết nút;
t) Bản vẽ các kết cấu phụ trợ như lan can, cầu thang...;
u) Bản vẽ các kết cấu chính của chân đế;
v) Bản vẽ các kết cấu phụ của chân đế;
w) Bản vẽ các chi tiết nút;
x) Bản vẽ các kết cấu phụ trợ như: giá cập tàu, mudmat, lifting pedeyed, riser guard, ...
y) Bệ của các máy và nồi hơi chính (kẻ cả bệ của cần cẩu và tính toán độ bền);
z) Bố trí kết cấu chống cháy và cách nhiệt;
aa) Bố trí các cửa chống cháy, chống nổ, các cửa sổ và các phương tiện đóng kín - các lỗ khoét;
bb) Các bảng đo mức trong các két;
cc) Hệ thống chống ăn mòn;
dd) Thiết kế thi công, chi tiết hàn và các quy trình, bao gồm gá lắp, hàn, kiểm soát chất lượng, vận chuyển giàn (kể cả phần tính toán ổn định), dựng giàn (kể cả việc đóng cọc), kiểm tra v.v..;
ee) Bố trí các khu vực nguy hiểm;
ff) Sơ đồ phòng và chống cháy;
gg) Bố trí các trang bị chằng buộc;
hh) Sàn dùng cho máy bay trực thăng (cả phần tính toán độ bền);
ii) Bố trí các phương tiện dập cháy;
jj) Bố trí phương tiện cứu sinh;
kk) Sổ tay vận hành (chủ yếu những vùng liên quan đến an toàn).
1.3.2.3.2. Hồ sơ thiết kế phần máy và thiết bị công nghệ:
a) Các đặc điểm kỹ thuật của các máy;
b) Các đặc điểm kỹ thuật của bơm và hệ thống đường ống;
c) Bố trí chung các không gian đặt máy, bơm, nồi hơi, máy phát điện...;
d) Sơ đồ nguyên lý bố trí hệ thống đường ống:
- Đường ống dẫn hơi;
- Đường ống dẫn nước tới bầu ngưng, nước cấp nồi hơi và ống xả;
- Đường ống dẫn khí khởi động;
- Đường ống dẫn nhiên liệu;
- Đường ống dẫn dầu bôi trơn;
- Đường ống nước làm mát;
- Đường ống hâm nhiên liệu;
- Đường ống khí xả;
- Đường ống dập cháy, thông gió, thông hơi, ống đo, thoát nước, hút khô, ống tràn;
- Hệ thống đường ống xử lý và sản xuất hydrocarbon;
- Hệ thống xử lý nước khai thác, dung dịch khoan và mùn khoan.
e) Bố trí và tính toán thiết bị phát hiện cháy và thiết bị dập cháy;
f) Sơ đồ nguyên lý và bố trí hệ thống khí trơ;
g) Bố trí hệ thống mỡ bôi trơn;
h) Bố trí hệ thống xử lý dầu/khí;
i) Bố trí hệ thống nhiên liệu cấp cho máy bay trực thăng và các biện pháp chi tiết về an toàn;
j) Sơ đồ các máy dùng khí đồng hành, dầu thô tinh chế và các biện pháp chi tiết về an toàn;
k) Bố trí đường ống của các nồi hơi dùng khí đồng hành và dầu thô tinh chế và các biện pháp chi tiết về an toàn;
l) Danh mục các phụ tùng dự trữ;
m) Bố trí nồi hơi và bình chịu áp lực;
n) Cấu tạo nồi hơi;
o) Bố trí hệ thống dung dịch khoan;
p) Hệ thống ngắt sự cố (ESD) liên quan đến tất cả các thiết bị cảm biến, van ngắt, thiết bị ngắt và hệ thống trợ giúp khi sự cố theo các chức năng của chúng và chỉ ra logic ESD cho toàn bộ quá trình công nghệ và hệ thống van ngầm dưới biển;
q) Chi tiết đầy đủ cần đốt gồm thiết bị đốt mồi, thiết bị đốt, đệm kín nước, tính toán thiết kế bao gồm phân tích ổn định và bức xạ nhiệt;
r) Bản vẽ sơ đồ hệ thống trợ giúp công nghệ gồm kích cỡ, chiều dày thành ống, nhiệt độ và áp suất làm việc thiết kế lớn nhất, vật liệu ống, loại, kích cỡ và vật liệu của van và phụ kiện.
1.3.2.3.3. Hồ sơ thiết kế, thiết bị điện:
a) Thuyết minh chung thiết bị điện;
b) Danh mục các thiết bị điện;
c) Bản tính về tải điện;
d) Tính toán dòng đoản mạch tại các thanh dẫn bảng điện chính, thanh dẫn bảng điện phụ và phía thứ cấp của các biến thế;
e) Sơ đồ nguyên lý và bố trí bảng điện chính và bảng điện sự cố (kể cả bảng nạp và phóng điện ắc quy);
f) Sơ đồ phân phối nguồn điện (bao gồm các loại cáp, diện tích mặt cắt ngang và chiều dài cáp, trị số bảo vệ mạch khi quá tải);
g) Bố trí các thiết bị điện nguồn;
h) Sơ đồ nguyên lý và bố trí hệ thống chiếu sáng chính, chiếu sáng sự cố, chiếu sáng sự cố tạm thời;
i) Hệ thống báo động và thông tin liên lạc nội bộ;
j) Bố trí thiết bị điện trong các khu vực nguy hiểm (có chỉ rõ hãng chế tạo, kiểu, cấu tạo và giấy chứng nhận được cấp bởi tổ chức được Đăng kiểm chấp nhận);
k) Sơ đồ mạch điện của hệ thống điều khiển tự động;
l) Danh mục các phụ tùng dự trữ.
1.3.2.3.4. Hồ sơ phương tiện cứu sinh
a) Các quy trình thử phương tiện cứu sinh lắp đặt trên giàn;
b) Bản vẽ bố trí xuồng cứu sinh, xuồng cấp cứu, phao bè cứu sinh, hệ thống sơ tán hàng hải và thiết bị hạ;
c) Các bản vẽ và bản tính thiết bị hạ xuồng cứu sinh và phao bè cứu sinh;
d) Bản vẽ và bản tính bố trí người lên phao bè ở trạng thái nổi;
e) Bản vẽ chằng giữ thiết bị hạ cho xuồng cứu sinh và phao bè cứu sinh;
f) Bản vẽ chằng giữ thiết bị đưa người lên phao bè ở trạng thái nổi;
g) Bản vẽ cố định xuồng cứu sinh và phao bè cứu sinh ở vị trí cất giữ;
h) Bản vẽ cố định thiết bị cứu sinh cá nhân;
i) Bản vẽ chằng giữ cơ cấu nhả thủy tĩnh.
1.3.2.3.5. Hệ thống đo lường, điều khiển
a) Bản vẽ bố trí chung;
b) Bản dữ liệu;
c) Sơ đồ hệ thống điện;
d) Sơ đồ hệ thống thuỷ lực và khí nén;
e) Hệ thống điện tử lập trình.
1.3.2.3.6. Bất kỳ một sự thay đổi nào so với hồ sơ thiết kế đã thẩm định đều phải trình cho Đăng kiểm xem xét và thẩm định lại.
1.3.3. Kiểm tra chế tạo mới
1.3.3.1. Trong quá trình chế tạo mới, Đăng kiểm phải thực hiện các nội dung sau:
a) Xem xét các quy trình về chế tạo, lắp dựng, kiểm tra, thử và chạy thử;
b) Đánh giá trình độ tay nghề và các quy trình;
c) Xem xét và đánh giá hệ thống đảm bảo chất lượng, nếu có yêu cầu;
d) Kiểm tra để xác nhận sự phù hợp giữa các đặc tính kỹ thuật/ bản vẽ đã thẩm định và trạng thái thực của giàn;
e) Kiểm tra việc thử kết thúc và các hoạt động chạy thử toàn bộ hệ thống;
f) Đánh giá những sự không phù hợp và ảnh hưởng của chúng so với các bản chỉ dẫn kỹ thuật và giả thiết thiết kế.
1.3.3.2. Thép, vật liệu hàn, tuabin hơi, máy diesel, nồi hơi, bình chịu áp lực và các loại thiết bị và các vật liệu khác được sử dụng hoặc lắp đặt trên giàn đều phải được Đăng kiểm giám sát khi chế tạo theo quy định về kiểm tra chất lượng các sản phẩm và thiết bị hoặc phải có chứng chỉ về chất lượng được Đăng kiểm chấp nhận. Chỉ những sản phẩm và thiết bị đã được cấp chứng chỉ về chất lượng mới được sử dụng trong chế tạo, hoán cải cũng như sửa chữa các giàn.
1.3.3.3. Giàn phải được chế tạo phù hợp với các hồ sơ thiết kế đã được thẩm định. Trong quá trình chế tạo mọi vật liệu, tay nghề và trang bị công nghệ phải phù hợp với các hồ sơ thiết kế đã được thẩm định và các quy định của Quy chuẩn này và hướng dẫn liên quan.
1.3.3.4. Trong quá trình chế tạo, kết cấu, thiết bị, máy, bình chịu áp lực, hệ thống đường ống và thiết bị điện của giàn phải được kiểm tra và thử phù hợp với các quy định của Quy chuẩn này và hồ sơ thiết kế đã được thẩm định. Các quy trình thử phải được thẩm định; các biên bản thử khác do nhà chế tạo cung cấp phải được Đăng kiểm kiểm tra lại và xác nhận.
1.3.3.5. Các yêu cầu kiểm tra và thử cho các bộ phận thiết bị và cụm thiết bị tại xưởng của nhà cung cấp thiết bị được tóm tắt trong Bảng 1 và Bảng 2. Mỗi nhà cung cấp thiết bị phải có một hệ thống quản lí có hiệu quả, hệ thống này sẽ được đơn vị kiểm tra xác nhận trước khi tiến hành chế tạo.
Bảng 1 - Kiểm tra trong chế tạo thiết bị, hệ thống
|
NỘI DUNG KIỂM TRA |
A |
B |
C |
D |
E |
|
CÁC HỆ THỐNG XỬ LÍ SẢN XUẤT HYĐRÔ CÁCBON |
|
|
|
|
|
|
Các bình sản xuất |
A |
B |
C |
|
|
|
Các két chứa |
|
|
|
|
|
|
Bộ trao đổi nhiệt |
A |
B |
C |
|
|
|
Các bình đốt cháy |
A |
B |
C |
|
|
|
Thiết bị đo, thiết bị lọc và các thiết bị xử lý dung |
|
|
|
|
|
|
< 254 mm và 1,033 MPa |
|
|
|
|
E |
|
> 254 mm hoặc 1,033 MPa |
A |
B |
C |
|
|
|
Bơm |
|
|
|
|
|
|
< 686 kPa và 757 lít/phút |
|
|
|
|
E |
|
> 686 kPa hoặc 757 lít/phút |
|
|
C |
D |
|
|
Máy nén |
|
|
|
|
|
|
< 686 kPa và 28,3 m3 |
|
|
E |
|
|
|
> 686 kPa và 28,3 m3 |
|
|
C |
D |
|
|
Các đường ống dẫn và ống góp |
A |
B |
C |
|
|
|
Thiết bị thu/phát thiết bị làm sạch ống |
A |
B |
C |
|
|
|
Các cụm thiết bị xử lý |
A |
B |
C |
D |
|
|
Hệ thống xả và đốt khí |
A |
B |
|
|
|
|
Các hệ thống dưới biển |
A |
B |
C |
D |
|
|
CÁC HỆ THỐNG TRỢ GIÚP XỬ LÍ |
|
|
|
|
|
|
Các bình chịu áp lực |
|
|
|
|
|
|
< 686 kPa và 93,3°C |
|
|
|
D |
|
|
< 686 kPa và 93,3°C |
A |
B |
C |
D |
|
|
Bộ trao đổi nhiệt |
|
|
|
|
|
|
< 686 kPa và 93,3°C |
|
|
|
D |
|
|
< 686 kPa và 93,3°C |
A |
B |
C |
D |
|
|
Bơm |
|
|
|
D |
|
|
|
|
|
|
|
|
|
Máy nén khí |
|
|
|
D |
|
|
Động cơ và tuabin |
|
|
|
|
|
|
< 100 kW |
|
|
|
|
E |
|
> 100 kW |
|
|
C |
D |
|
|
Các cụm hệ thống trợ giúp |
|
|
|
|
|
|
< 686 kPa và 93,3°C |
|
|
|
|
E |
|
< 686 kPa và 93,3°C |
A |
B |
C |
D |
|
|
CÁC HỆ THỐNG ĐIỆN |
|
|
|
|
|
|
Máy phát điện |
|
|
|
|
|
|
< 100 kW |
|
|
|
|
E |
|
> 100 kW |
|
|
|
D |
|
|
Mô tơ |
|
|
|
|
|
|
< 100kW |
|
|
|
|
E |
|
> 100kW |
|
|
C |
D |
|
|
Bảng điện |
|
|
|
|
E |
|
HỆ THỐNG KHÍ CỤ VÀ ĐIỀU KHIỂN |
|
|
|
|
|
|
Panen điều khiển |
|
|
|
|
E |
|
THIẾT BỊ AN TOÀN/PHÒNG CHÁY |
|
|
|
|
|
|
Bơm chữa cháy |
|
|
|
D |
|
|
Bệ đỡ bơm chữa cháy |
|
|
|
D |
|
|
Các panen hiển thị báo động |
|
|
|
D |
|
|
Hệ thống chữa cháy (bộ phận) |
|
|
C |
|
|
Ghi chú:
A. Đơn vị kiểm tra có mặt tại nhà cung cấp thiết bị để kiểm tra các vật liệu tuân theo các bản vẽ/chi tiết kĩ thuật và hồ sơ truy cập và để xét duyệt các chi tiết kĩ thuật và quy trình hàn và kiểm tra NDT, các chứng chỉ của thợ hàn và kĩ thuật viên kiểm tra NDT.
B. Đơn vị kiểm tra có mặt tại nhà cung cấp thiết bị trong các giai đoạn quan trọng trong chế tạo như lắp ghép, căn chỉnh và kiểm tra NDT.
C. Đăng kiểm viên có mặt tại nhà cung cấp thiết bị để chứng kiến và lập báo cáo kiểm tra áp lực.
D. Đơn vị kiểm tra có mặt tại nhà cung cấp thiết bị để chứng kiến và lập báo cáo về thử chức năng và để đảm bảo chức năng hoạt động chính xác của các thiết bị.
E. Đơn vị kiểm tra không cần phải có mặt tại nhà máy hoặc nhà cung cấp thiết bị miễn là họ cung cấp các tài liệu chứng minh rằng các bộ phận được thiết kế, chế tạo, và thử thoả mãn tiêu chuẩn thích hợp
Lưu ý: Trước khi tiến hành kiểm tra trong chế tạo như trên, nhà thiết kế/chế tạo phải trình các tài liệu để thẩm định.
Bảng 2 - Các yêu cầu thử cụ thể trong chế tạo
|
Đối tượng kiểm tra |
Yêu cầu kiểm tra |
|
Bình chịu áp lực |
1. Mỗi bình phải được thử thuỷ lực đảm bảo áp suất thử tại mỗi điểm trong bình tối thiểu bằng 1,5 lần áp suất làm việc lớn nhất cho phép. |
|
2. Đối với bình không thể đổ đầy nước một cách an toàn thì phải tiến hành thử bằng khí với áp suất bằng 1,25 lần áp suất làm việc lớn nhất cho phép. |
|
|
Bơm |
1. Mỗi hộp áp suất hay bộ phận chịu áp suất phải được thử thuỷ lực với nước ở nhiệt độ không khí và áp suất thử tối thiểu là 1,5 lần áp suất lớn nhất cho phép trong hộp. |
|
2. Bơm phải được thử hoạt động để thấy được bơm chạy tốt và các chức năng cơ học thoả mãn |
|
|
Máy nén |
1. Phải thực hiện thử chức năng và áp lực giống như hạng mục 1 và 2 cho Bơm |
|
2. Mỗi máy nén dùng khí độc hay dễ cháy phải được nén bằng khí trơ đến áp suất xả định mức. Áp suất này phải được giữ trong hộp nén tối thiểu là 30 phút để kiểm tra sự rò rỉ khí bằng phương pháp phun dung dịch xà phòng hoặc phương pháp thử rò rỉ khác được chấp nhận |
|
|
Tuabin khí |
1. Phải thực hiện các thử chức năng và áp lực giống như hạng mục 1 và 2 cho Bơm. |
|
2. Xem tiêu chuẩn API 616 về chi tiết thử chạy cơ học |
|
|
Các két chứa áp suất thấp (1,078 kPa đến 103 kPa) |
1. Dựa trên thiết kế của két, mỗi két sẽ được thử cả thuỷ lực và khí nén hoặc hoàn toàn chỉ thử thuỷ lực. |
|
2. Nếu các két không được thiết kế để chứa đầy chất lỏng đến đỉnh két thì két sẽ được đổ nước đến mực nước nước thiết kế lớn nhất và khoảng không còn lại sẽ được thử với áp suất bằng 1,25 lần áp suất thiết kế của khoảng không đó. |
|
|
3. Nếu các két được thiết kế để chứa đầy chất lỏng đến đỉnh két thì két sẽ được thử thuỷ lực đến dưới điểm cao nhất của két với áp suất bằng 1,25 lần áp suất thiết kế của khoảng không. |
|
|
4. Với các két được thiết kế để chịu một phần chân không thì phải tiến hành thử một phần chân không |
|
|
Các két chứa không có áp lực |
Các két chứa không có áp lực phải được thử thuỷ lực với cột nước tối đa mà két sẽ chứa. |
|
Hệ thống đường ống |
1. Tất cả hệ thống đường ống phải được thử thuỷ lực kiểm tra sự rò rỉ trước khi đưa vào khai thác, áp suất thử phải lớn hơn áp suất thiết kế 1,5 lần hoặc 343 kPa, lấy giá trị lớn hơn. |
|
2. Khi cần thiết phải thử rò rỉ bằng khí, áp suất thử phải bằng 1,1 lần áp suất thiết kế. |
|
|
3. Tất cả các mối nối gồm cả đường hàn khi thử phải được để trần và không bọc cách nhiệt khi thử rò rỉ. |
|
|
Các hệ thống điện (máy phát điện và motơ) |
1. Kiểm tra độ khô ráo của các cuộn dây. Đăng kiểm khuyến nghị các cuộn dây này nên được hâm nóng trong một thời gian đủ lâu trước khi khởi động để đảm bảo độ khô ráo. |
|
2. Phải đo điện trở cách điện của stato đối với môtơ hoặc vỏ máy phát điện, điện thế được tạo ra bằng cách dùng một thiết bị tạo ra điện thế 600v qua lớp cách điện. Điện trở đề xuất tối thiểu là 2.0 MΩ; đối với các máy mới hoặc làm lại thì số đọc điện trở cách điện tối thiểu phải là 10 MΩ |
|
|
3. Nếu các máy phát điện chạy song song, kiểm tra chiều quay pha và các mạch đồng bộ xem có hoạt động chính xác không. |
|
|
4. Kiểm tra kích thước của phần tử đốt nóng trong rơ le quá tải của bộ khởi động bằng động cơ. |
|
|
5. Kiểm tra sự cài đặt ngắt mạch của actomát và kích thước cầu chì |
|
|
6. Quay nhẹ các motơ để kiểm tra chiều quay đúng sau khi ngắt tải lần đầu do môtơ có thể bị hư hỏng khi bị quay ngược chiều. |
|
|
7. Kiểm tra độ căn chỉnh giữa môtơ và tải và giữa máy phát và động cơ lai máy. |
|
|
8. Kiểm tra độ cách điện của tất cả các mạch điện để đảm bảo các dây cáp điện không bị hư hỏng trong quá trình lắp ráp. |
|
|
9. Kiểm tra các tiếp đất có làm chính xác không. |
|
|
10. Sau khi máy phát và môtơ được khởi động, kiểm tra xem có dòng khác thường, độ rung và nhiệt độ cao trong ổ trục. |
|
|
11. Chứng kiến chạy toàn tải và thử đường bão hoà cho cụm (unit) đầu tiên của một thiết kế cụ thể. |
|
|
Các hệ thống điện (bảng điện) |
1. Kiểm tra kích thước và cỡ của tất cả các thanh góp |
|
2. Kiểm tra hiệu điện thế và dòng định mức của tất cả các bộ phận |
|
|
3. Kiểm tra các tiếp đất có làm chính xác không. |
|
|
4. Các mạch điện khác nhau của bảng điện và các cụm panen phải được thử bằng cách tiến hành thử cường độ điện môi và đo điện trở cách điện. |
|
|
5. Sự ngắt và hoạt động của tất cả các rơle, các bộ đóng ngắt và các thiết bị an toàn khác phải được chứng minh. |
|
|
Hệ thống điều khiển và khí cụ |
1. Chứng kiến việc căn chỉnh của tất cả các nút điều khiển áp suất, mức độ, và nhiệt độ cần cho việc điều khiển tuân theo các Biểu đồ SAFE. |
|
2. Xem xét hồ sơ căn chỉnh của tất cả các khí cụ khác. |
|
|
3. Đảm bảo tất cả các khí cụ chịu áp suất có các định mức áp suất chính xác. |
|
|
4. Đảm bảo tất cả các khí cụ điện/điện tử phù hợp cho vùng nguy hiểm mà chúng được cài đặt. |
|
|
5. Đảm bảo tất cả các khí cụ điện/điện tử được tiếp đất đúng. |
|
|
6. Đảm bảo tất cả các mạch điện được đặt ở trạng thái an toàn, ví dụ như: tất cả các mạch điện khi ở trạng thái làm việc bình thường thì phải luôn có điện và khi ở trạng thái bất thường thì không có điện. |
|
|
7. Kiểm tra các chức năng logic bằng dùng các điện thế bình thường vào các mạch điện, tốt nhất là các mạch nguồn không bị kích hoạt. |
|
|
8. Kiểm tra hoạt động các thiết bị cảm biến và thiết bị đầu nối riêng biệt trước khi đấu vào hệ thống. |
1.3.4. Kiểm tra hàng năm
Kiểm tra hàng năm với khối lượng tương ứng được nêu tại 1.3.4.1 đến 1.3.4.7 dưới đây, khối lượng này có thể được điều chỉnh tùy thuộc tuổi, trạng thái kỹ thuật thực tế của giàn.
1.3.4.1. Kết cấu
1.3.4.1.1. Kết cấu thép và hợp kim nhôm
a) Giàn phải được kiểm tra tới mức cần thiết có thể để đánh giá được trạng thái chung của giàn. Nội dung kiểm tra thường bao gồm việc xem xét trực tiếp kết cấu từ trên cùng xuống tới vùng đường nước thay đổi, kể cả vùng đường nước đó. Nếu không có thang hoặc lối đi cố định thì có thể dựng giàn giáo. Các hạng mục cần thực hiện gồm có:
- Kiểm tra bằng mắt để xác định trạng thái tổng thể của kết cấu, chú ý:
+ Mức độ phát triển và độ dày của sinh vật biển;
+ Sự ăn mòn;
+ Những hư hỏng do va chạm hoặc các hư hỏng khác;
+ Trạng thái của hệ thống đệm chống va.
- Kiểm tra và thử, nếu thấy cần thiết, để xác định trạng thái của hệ thống chống ăn mòn;
- Kiểm tra các báo cáo về trạng thái kết cấu, nền móng bao gồm cả hệ thống chống xói.
b) Trong quá trình kiểm tra nếu có nghi ngờ có thể yêu cầu kiểm tra bổ sung những khu vực cụ thể, ví dụ: đo chiều dày của các khu vực bị mòn nhiều, kiểm tra mối hàn bằng từ tính, đo mức độ phát triển của sinh vật biển và các ghi chép trong sổ nhật ký sử dụng giàn.
c) Kiểm tra hàng năm cũng bao gồm việc kiểm tra bằng mắt đối với tất cả các kết cấu thượng tầng tại những khu vực tập trung ứng suất, những vùng chịu tải trọng lớn, những kết cấu chịu tải trọng chu kỳ đáng kể, những vị trí có thay đổi lớn về tiết diện, đặc biệt lưu ý đến những phần sau:
- Sàn máy bay lên thẳng gồm lưới an toàn, các dấu hiệu phân biệt và hệ thống kết cấu đỡ;
- Lối đi và lan can;
- Bến cập tầu và các thiết bị chống va;
- Các hệ thống phục vụ nhà ở: thông gió, làm mát, sưởi ấm và điều áp;
- Các mặt chống trượt ở lối đi;
- Hệ thống hoặc thiết bị chống ô nhiễm;
- Tháp, thiết bị khoan và các bể chứa;
- Tháp vô tuyến;
- Tháp / cần đốt khí;
- Bệ cần cẩu;
- Hệ thống thông gió và thoát nước;
- Mọi sự thay đổi về khối lượng ở các sàn;
- Các cầu nối;
- Các gối đỡ các mô đun.
d) Qua kiểm tra, nếu phát hiện ra bất kỳ một loại hư hỏng, khuyết tật nào có thể yêu cầu tiến hành kiểm tra thêm các hạng mục khác liên quan và yêu cầu phải thực hiện các công việc sửa chữa cần thiết.
e) Nếu giếng khoan gần cọc chân đế của giàn và có biểu hiện ảnh hưởng đến kết cấu chân đế của giàn, thì các ghi nhận về công tác khoan và hệ thống giếng khoan phải được kiểm tra để xác minh sự cần thiết phải đánh giá lại tính nguyên vẹn của chân đế giàn.
1.3.4.1.2. Kết cấu bê tông cốt thép
Cần xem xét tới mức tối đa các hạng mục sau đây khi kiểm tra hàng năm kết cấu bê tông cốt thép:
- Kiểm tra tổng thể như đã nêu trên đối với kết cấu thép, đặc biệt lưu ý tới các khu vực có vết nứt hoặc bị vỡ;
- Kiểm tra bằng mắt các vị trí giao nhau của kết cấu bê tông cốt thép và kết cấu thép;
- Kiểm tra bằng mắt tới mức tối đa những bộ phận kết cấu thép gắn vào. Đặc biệt quan tâm tới sự ăn mòn những bộ phận thép lộ ra ngoài tại vùng đường nước thay đổi;
- Kiểm tra bằng mắt tới mức tối đa để phát hiện sự ăn mòn các cốt thép.
1.3.4.2. Máy, hệ thống công nghệ và các hệ thống an toàn
1.3.4.2.1. Phải tiến hành kiểm tra tổng thể các không gian máy và hệ thống công nghệ, bao gồm cả hệ thống phụ trợ. Đặc biệt quan tâm đến những hệ thống cơ bản, máy phụ và nguy cơ cháy hoặc nổ. Phải kiểm tra các lối thoát sự cố để đảm bảo rằng chúng luôn ở trạng thái sẵn sàng.
1.3.4.2.2. Phạm vi kiểm tra phải bao gồm những mục sau đây, nhưng không nhất thiết phải hạn chế ở những mục này:
a) Phải kiểm tra các máy kiểu trục quay và kiểu pit tông và các hồ sơ bảo dưỡng chúng;
b) Kiểm tra biên bản hiệu chỉnh và biên bản thử cho các thiết bị an toàn, các van an toàn và các thiết bị chống quá áp khác;
c) Kiểm tra tổng thể và xem xét kết luận của báo cáo hiệu chỉnh và báo cáo thử các đường ống công nghệ và đường ống khai thác;
d) Kiểm tra và thử hoạt động máy phát điện sự cố và bơm cứu hỏa;
e) Kiểm tra tổng thể và xem xét việc chứng nhận thiết bị nâng;
f) Kiểm tra các bình chịu áp lực và xem xét hồ sơ kiểm tra chu kỳ;
g) Kiểm tra tổng thể thiết bị khai thác và xem xét hồ sơ kiểm tra;
h) Kiểm tra tổng thể hệ thống xử lý hydrocarbon;
i) Kiểm tra tổng thể thiết bị khoan và xem xét hồ sơ kiểm tra;
j) Kiểm tra chọn lọc các hệ thống và/hoặc xem xét hồ sơ bao gồm:
- Nhận dạng những hạng mục chính trong hệ thống;
- Kiểm tra phát hiện bằng mắt những chỗ bị mòn, xước, gỉ, rỗ và độ kín;
- Thử các chức năng khởi động, hoạt động và ngắt của hệ thống;
- Các thiết bị bảo vệ, các van an toàn và van một chiều;
- Các thiết bị điều khiển:
+ Khí cụ điện và thiết bị theo dõi;
+ Báo động;
+ Các khoá liên động và các hệ thống an toàn;
+ Hoạt động điều khiển tự động và điều khiển từ xa;
+ Các hệ thống liên lạc và thông báo trên màn hình.
k) Nước khai thác, dung dịch khoan và mùn khoan thải từ giàn phải thỏa mãn QCVN 35:2010/BTNMT và QCVN 36:2010/BTNMT.
1.3.4.3. Thiết bị điện
1.3.4.3.1. Các máy điện, bảng điều khiển điện, cáp điện và các thiết bị điện khác phải được kiểm tra tổng thể ở trạng thái hoạt động tới mức tối đa có thể.
1.3.4.3.2. Kiểm tra trạng thái thực tế của cáp điện và thử độ cách điện của mạch điện. Trong trường hợp hồ sơ thử được duy trì đầy đủ và chính xác thì có thể xem xét chấp nhận các số đo gần đây nhất.
1.3.4.3.3. Kiểm tra kết cấu đỡ cáp và thiết bị bảo vệ chống hư hỏng cơ học như được trang bị ban đầu.
1.3.4.3.4. Phải kiểm tra nguồn điện sự cố, các thiết bị liên quan của nó và các nguồn điện trung gian của nguồn chính, nếu có.
1.3.4.3.5. Thử vận hành các đèn tín hiệu, còi sương mù và đèn hàng hải nếu có.
1.3.4.3.6. Phải kiểm tra tổng thể thiết bị điện trong những khu vực nguy hiểm để bảo đảm nó phù hợp với mục đích sử dụng và tính nguyên vẹn không bị ảnh hưởng do ăn mòn, mất bu lông, đai ốc v.v... Phải kiểm tra các thiết bị báo động và các khoá liên động có liên quan tới thiết bị hoặc không gian điều áp.
1.3.4.4. Hệ thống phòng, phát hiện và dập cháy
1.3.4.4.1. Phải kiểm tra việc bố trí hệ thống phòng, phát hiện và dập cháy. Việc kiểm tra này bao gồm:
a) Xác định rõ mọi sửa đổi hoặc bổ sung đã được thực hiện đối với hệ thống kể từ lần kiểm tra trước. Các sửa đổi hoặc bổ sung nêu trên phải thỏa mãn thiết kế đã thẩm định, trong đó các thiết bị được dùng phải có chứng chỉ chất lượng được chấp nhận;
b) Xác nhận toàn bộ hệ thống đang ở trạng thái thỏa mãn và sẵn sàng hoạt động thông qua việc kiểm tra và thử hoạt động các hệ thống báo động cháy, hệ thống chữa cháy, bướm chặn lửa…
1.3.4.4.2. Các kết quả kiểm tra về phần này của các cơ quan khác (cơ quan phòng cháy chữa cháy các cấp v.v...) có thể được chấp nhận nếu xét thấy phù hợp các yêu cầu tại 1.3.4.4.1.
1.3.4.5. Phương tiện cứu sinh và thiết bị vô tuyến điện
Đăng kiểm sẽ tiến hành kiểm tra và thử phương tiện cứu sinh và thiết bị vô tuyến điện để đảm bảo chúng phù hợp cho mục đích sử dụng. Khối lượng kiểm tra được nêu tại Bảng 3 - Danh mục kiểm tra chu kỳ phương tiện cứu sinh và vô tuyến điện.
Bảng 3 - Danh mục kiểm tra chu kỳ phương tiện cứu sinh và vô tuyến điện
|
TT |
Tên thiết bị |
Kiểm tra giàn |
|
|
Kiểm tra hàng năm |
Kiểm tra định kỳ |
||
|
(1) |
(2) |
(3) |
(4) |
|
1 |
Thiết bị cứu sinh |
|
|
|
1.1 |
Thiết bị hạ |
P1 |
P1 |
|
1.2 |
Xuồng cứu sinh và xuồng cấp cứu |
OP1,2 |
OP1,2 |
|
1.3 |
Phao bè cứu sinh cứng và dụng cụ nổi |
O1 |
O1 |
|
1.4 |
Phao bè cứu sinh bơm hơi, hệ thống sơ tán hàng hải, xuồng cấp cứu bơm hơi, cơ cấu nhả thuỷ tĩnh. Phao áo bơm hơi, quần áo bơi, quần áo bảo vệ kín và dụng cụ chống mất nhiệt |
CE3 |
CE3 |
|
1.5 |
Phao tròn và phao áo |
C |
C |
|
1.6 |
Các biểu tượng |
C |
C |
|
2 |
Thiết bị vô tuyến điện |
|
|
|
2.1 |
Khu vực lắp đặt thiết bị vô tuyến điện |
C |
C |
|
2.2 |
Khu vực để thiết bị vô tuyến điện dùng cho phương tiện cứu sinh |
C |
C |
|
2.3 |
Thiết bị VHF |
|
|
|
|
Bộ giải mã DSC |
P |
OMP |
|
|
Máy thu trực canh DSC |
P |
OMP |
|
|
Bộ thu phát vô tuyến điện thoại |
P |
OMP |
|
2.4 |
Thiết bị MF |
|
|
|
|
Bộ giải mã DSC |
P |
OMP |
|
|
Máy thu trực canh DSC |
P |
OMP |
|
|
Bộ thu phát vô tuyến điện thoại |
MP |
OMP |
|
2.5 |
Thiết bị MF/HF |
|
|
|
|
Bộ giải mã DSC |
P |
OMP |
|
|
Máy thu trực canh DSC |
P |
OMP |
|
2.6 |
Thiết bị tự động phát tín hiệu báo động vô tuyến điện thoại |
MP |
OMP |
|
2.7 |
Máy thu vô tuyến điện thoại in trực tiếp dùng sóng HF để thu nhận thông tin an toàn hàng hải |
P |
OMP |
|
2.8 |
COSPAS-SARSAT S.EPIRB |
EP |
EP |
|
2.9 |
INMARSAT S.EPIRB |
EP |
EP |
|
2.10 |
VHF EPIRB |
EP |
EP |
|
2.11 |
Máy thu trực canh tần số cấp cứu vô tuyến điện thoại 2182 kHz |
P |
OMP |
|
2.12 |
Máy thu tín hiệu báo động vô tuyến điện thoại tự động, 2182 kHz |
P |
OMP |
|
2.13 |
Thiết bị VHF hai chiều cầm tay4 |
CP |
CP |
|
2.14 |
Thiết bị VHF hai chiều cố định4 |
CP |
CP |
|
2.15 |
Nguồn điện |
|
|
|
|
Biến áp |
P |
OMP |
|
|
Ắc quy |
P |
OMP |
|
|
Thiết bị nạp (bao gồm thiết bị tự động) |
P |
OMP |
|
|
Lắp đặt cáp điện |
C |
OM |
|
|
Bảng điện và phụ kiện |
P |
OP |
|
|
Thiết bị bảo vệ chống nhiễu vô tuyến điện |
C |
0 |
|
2.16 |
Ăng ten |
MP |
OMP |
|
2.17 |
Dây dẫn vào và nối trong của ăng ten |
C |
0 |
|
2.18 |
Nối đất |
C |
OM |
|
2.19 |
Phụ tùng dự trữ, dụng cụ đo xách tay |
C |
CP |
|
Ghi chú: O: Kiểm tra kết hợp đo đạc, nếu cần thiết, thiết bị phải được mở hoặc tháo ra; C: Kiểm tra bên ngoài; M: Đo độ mài mòn, khe hờ, điện trở cách điện; P: Thử hoạt động của động cơ và thiết bị, bao gồm cả kiểm tra bên ngoài; E: Kiểm tra hồ sơ và/hoặc nhãn mác do người có thẩm quyền xác nhận khi tiến hành kiểm tra chu kỳ bắt buộc. 1 Khi xác định trạng thái kỹ thuật của thiết bị cứu sinh liên quan đến độ bền và hoặc độ kín, thì việc thử tải của thiết bị hạ, thiết bị nhả móc của xuồng, xuồng cứu sinh và xuồng cấp cứu hoặc kiểm tra độ kín của xuồng và hộp khí của chúng hoặc khoang của bè cứu sinh cứng và dụng cụ nổi có thẻ do Đăng kiểm viên đưa ra trên cơ sở Hướng dẫn hiện hành của Đăng kiểm. Việc thử và kiểm tra như vậy là bắt buộc trong kiểm tra định kỳ tàu đối với xuồng cứu sinh, xuồng cấp cứu có kết cấu cứng và kết cấu kết hợp cứng với bơm hơi, bè cứu sinh cứng và dụng cụ nổi có tuổi thọ 10 năm trở nên; đối với xuồng cấp cứu bơm hơi có tuổi thọ 5 năm trở nên; còn với thiết bị hạ và cơ cấu nhả móc thì không ít hơn 5 năm một lần. Đăng kiểm viên sẽ quy định việc đo chiều dày kết cấu kim loại của thiết bị cứu sinh trên cơ sở Hướng dẫn hiện hành của Đăng kiểm. 2 Kiểm tra hoạt động của các xuồng cứu sinh và xuồng cấp cứu có động cơ (trong lúc kiểm tra định kỳ), cơ cấu đẩy, thiết bị nâng hạ, bố trí hút khô cũng như hệ thống phun nước và nén khí của xuồng cứu sinh dùng cho tàu dầu. 3 Kiểm tra hồ sơ để xác nhận thực hiện kiểm tra và thử chu kỳ tại trạm bảo dưỡng phương tiện cứu sinh cũng như tại cơ sở chuyên phục vụ việc kiểm tra, thử và sửa chữa dụng cụ cứu sinh cá nhân. 4 Thiết bị VHF hai chiều cầm tay phải được cấp nguồn bằng pin chính không dùng cho mục đích cấp cứu. |
|||
1.3.4.6. Các ống đứng (dẫn dầu, khí)
Kiểm tra hàng năm bao gồm việc kiểm tra bằng mắt đoạn ống từ vùng đường nước thay đổi trở lên, đặc biệt quan tâm những điểm sau:
1.3.4.6.1. Kiểm tra chung dựa theo những điều kiện khai thác của giàn, ví dụ như tác dụng nhiệt, áp suất bên trong hoặc các tải trọng của môi trường:
1.3.4.6.2. Kiểm tra sự thích hợp của các khe hở giữa các đường ống đứng và giàn;
1.3.4.6.3. Kiểm tra trạng thái của các thiết bị cố định, các kẹp, bulông, bích nối v.v.. của đường ống đứng;
1.3.4.6.4. Kiểm tra bằng mắt để phát hiện sự hư hỏng, ăn mòn, lỏng lẻo của đệm chống va ở vùng đường nước thay đổi;
1.3.4.6.5. Thử áp lực lớp bảo vệ bên ngoài ở vùng đường nước thay đổi, nếu có;
1.3.4.6.6. Kiểm tra trạng thái sơn hoặc lớp chống ăn mòn khác.
1.3.4.7. Hệ thống chống ăn mòn
Phải kiểm tra hệ thống chống ăn mòn trong khi kiểm tra hàng năm lần thứ nhất để khẳng định chức năng của hệ thống vẫn còn phù hợp với thiết kế đã được thẩm định. Sau lần kiểm tra này, những yêu cầu kiểm tra được thực hiện theo 1.3.5.3.7.
1.3.4.8. Sổ tay vận hành
Trên giàn phải luôn có sổ tay vận hành được thẩm định, tối thiểu phải có các nội dung sau:
a) Mô tả về giàn và các thiết bị, hệ thống của nó;
b) Các bản vẽ bố trí chung, chứa các thông tin quan trọng để đảm bảo an toàn cho người và tính toàn vẹn, an toàn của giàn;
c) Giới thiệu ngắn gọn, dễ hiểu, cung cấp các chú dẫn tổng thể về các thông tin sẵn có trên giàn;
d) Cung cấp hướng dẫn và chỉ dẫn các hoạt động cần thiết liên quan tới các khía cạnh tổng thể về an toàn của giàn.
1.3.5. Kiểm tra trung gian
1.3.5.1. Khối lượng kiểm tra trung gian bao gồm khối lượng kiểm tra hàng năm và khối lượng kiểm tra nêu dưới đây.
1.3.5.2. Đo độ nghiêng của giàn.
1.3.5.3. Kiểm tra phần dưới nước
1.3.5.3.1. Công tác lặn và các hoạt động kiểm tra dưới nước phải do các công ty được công nhận thực hiện.
1.3.5.3.2. Việc kiểm tra có sự tham gia của thợ lặn phải được giám sát để tránh bỏ sót những khuyết tật, hư hỏng vượt quá giới hạn.
1.3.5.3.3. Nhà thầu lặn phải lập báo cáo về kết quả kiểm tra. Việc kiểm tra tiếp cận phải được ghi lại bằng băng video hoặc ảnh.
1.3.5.3.4. Trong mỗi trường hợp, nội dung kiểm tra chi tiết phải được xác định và gửi Đăng kiểm để xem xét trước khi tiến hành.
1.3.5.3.5. Nếu việc kiểm tra phát hiện các hư hỏng, khuyết tật hoặc có những thay đổi đối với giàn trong thời gian giữa hai lần kiểm tra chu kỳ thì có thể yêu cầu thợ lặn kiểm tra thêm một số hạng mục không nằm trong danh mục kiểm tra đã thỏa thuận. Nếu cần thiết, có thể phải làm sạch trước khi kiểm tra.
1.3.5.3.6. Nhà thầu lặn phải có tất cả các thiết bị cần thiết, ví dụ: thiết bị lặn bằng khí, thiết bị lặn bão hòa, dụng cụ làm sạch, máy quay video, máy ảnh, thiết bị phát hiện vết nứt bằng từ tính, máy đo chiều dày bằng siêu âm, điện cực chuẩn và vôn kế trở kháng cao dùng cho công việc đo điện thế anốt chống ăn mòn và những thợ lặn đã được công nhận cho tiến hành kiểm tra không phá huỷ dưới nước.
1.3.5.37. Việc kiểm tra bao gồm kiểm tra tổng thể bằng mắt đối với những phần kết cấu dưới nước, các ống đứng v.v... (không làm sạch). Đặc biệt chú ý đến hạng mục sau:
a) Đối với kết cấu thép
- Đánh giá mức độ phát triển của sinh vật biển, gỉ, rỗ, mài mòn và chiều dày kim loại;
- Kiểm tra phát hiện những hư hỏng lớn;
- Kiểm tra kỹ lại những chỗ sửa chữa hoặc hoán cải được thực hiện trong hoặc sau đợt kiểm tra trước;
- Xác định vị trí và mức độ của các vật lạ, kể cả những vật rơi, mô đất đá do hoạt động khoan hoặc đổ xi măng;
- Kiểm tra tổng thể bằng mắt xem có bị mất anốt không, sự lỏng lẻo hoặc trạng thái của các anốt chống ăn mòn;
- Đo điện thế tại những khu vực có ứng suất cao đã được xác định trước và những vị trí khác. Đặc biệt phải chú ý đến những khu vực có lớp sơn bảo vệ đã bị hỏng. Đối với những hệ thống chống ăn mòn bằng dòng điện cảm ứng chỉ quy định kiểm tra điện thế tại những lần kiểm tra trung gian, trừ khi có vấn đề phát sinh khi theo dõi;
- Kiểm tra xói đáy biển và kiểm tra các thiết bị chống xói nếu có;
- Kiểm tra trạng thái của các lớp ma tít/si hoặc sơn;
- Kiểm tra sự nguyên vẹn của mọi phần mạ (ví dụ: hợp kim đồng-niken v.v..);
- Kiểm tra các khe hở ngang và dọc trục giữa ống đứng và giàn;
- Kiểm tra trạng thái các kẹp, bu lông, bích nối ống đứng v.v..;
- Phát hiện và đánh dấu vị trí hư hỏng của ống đứng và các bộ phận đi kèm hoặc hư hỏng của lớp bảo vệ do các vật rơi, xích, dây cáp, v.v.. gây ra;
- Đối với các giàn khoan, kiểm tra các thiết bị phía trên đầu ống chống (casing), bao gồm các ống đứng và thiết bị chống phun;
- Đối với hệ thống kiểm soát giếng đặt ở đáy biển, kiểm tra đường ống dẫn đến thiết bị cây thông, hệ thống điều khiển và các cơ cấu chấp hành của nó, các cụm van ngầm và các thiết bị chống hư hỏng do va chạm.
b) Đối với các kết cấu bê tông cốt thép:
- Kiểm tra để phát hiện những hư hỏng lớn;
- Kiểm tra tổng thể bằng thiết bị điều khiển từ xa (ROV) đối với các phần bề mặt bê tông đã được xác định, kể cả các tấm gắn vào;
- Kiểm tra bằng mắt mọi sửa chữa hoặc hoán cải được tiến hành trong hoặc sau lần kiểm tra trước;
- Đánh giá mức độ phát triển của sinh vật biển;
- Xác định vị trí và mức độ của các vật lạ, kể cả những vật rơi, mô đất đá do hoạt động khoan hoặc đổ xi măng;
- Kiểm tra trạng thái các kẹp, bulông, bích nối ống đứng v.v..;
- Kiểm tra xói đáy biển và các thiết bị chống xói, nếu có;
- Kiểm tra tổng thể bằng mắt thường xem có bị mất anốt không, sự lỏng lẻo và trạng thái của anốt chống ăn mòn;
- Phát hiện và đánh dấu vị trí những hư hỏng đối với ống đứng, các bộ phận đi kèm hoặc hư hỏng của lớp bảo vệ do vật rơi, xích, cáp v.v.. gây ra;
- Đối với các giàn khoan, kiểm tra thiết bị phía trên đầu ống chống, bao gồm các ống đứng và thiết bị chống phun;
- Đối với hệ thống kiểm soát giếng đặt ở đáy biển, kiểm tra đường ống dẫn đến thiết bị cây thông, hệ thống điều khiển và các cơ cấu chấp hành của nó, các cụm van ngầm và các thiết bị chống hư hỏng do va chạm.
1.3.6. Kiểm tra định kỳ
1.3.6.1. Quy định chung
1.3.6.1.1. Khối lượng kiểm tra định kỳ bao gồm khối lượng kiểm tra trung gian như quy định tại 1.3.5 và khối lượng kiểm tra quy định tại 1.3.6.
1.3.6.1.2. Giàn phải được chuẩn bị sẵn sàng những điều kiện cần thiết để phục vụ cho việc kiểm tra, trong trường hợp cần thiết phải bố trí giàn giáo. Các khoang kín, các két cần phải được làm vệ sinh, làm sạch khí độc và thông gió để có thể thực hiện được một cách an toàn các kiểm tra cần thiết. Sơn, lớp bọc, lớp cách nhiệt v.v.. phải được bóc một phần để kiểm tra nếu cần.
1.3.6.1.3. Chủ giàn có thể đề nghị đợt kiểm tra định kỳ được thực hiện theo nguyên tắc kiểm tra liên tục như được quy định tại 1.3.7. Sau khi chương trình kiểm tra liên tục được xem xét và chấp thuận, tất cả các bộ phận kết cấu, máy và các thiết bị công nghệ lắp đặt trên giàn phải được kiểm tra theo luân phiên để đảm bảo rằng khoảng thời gian giữa hai lần kiểm tra kế tiếp không vượt quá năm năm. Khoảng 20% khối lượng kiểm tra các bộ phận kết cấu, máy và thiết bị công nghệ trên phải được thực hiện mỗi năm.
1.3.6.2. Kết cấu
1.3.6.2.1. Yêu cầu phải kiểm tra tổng thể các kết cấu dưới nước, làm sạch và kiểm tra tiếp cận bằng mắt cùng với kiểm tra không phá huỷ một số mối hàn được chọn (ví dụ: mối hàn yên ngựa giữa các ống) v.v... Phạm vi của lần kiểm tra này phải được xác định trước khi tiến hành kiểm tra. Những mối hàn này có thể được kiểm tra ở lần kiểm tra định kỳ hoặc theo tỷ lệ trên cơ sở kiểm tra liên tục.
1.3.6.2.2. Đối với những kết cấu bê tông cốt thép, phải thực hiện kiểm tra tổng thể bề mặt kết cấu bằng thiết bị điều khiển từ xa (ROV). Việc kiểm tra này bao gồm cả các tấm hay bộ phận bất kỳ được gắn vào kết cấu. Việc kiểm tra bằng thợ lặn chỉ yêu cầu đối với những vị trí được xác định có vấn đề cụ thể được phát hiện khi kiểm tra bằng thiết bị điều khiển từ xa (ROV).
1.3.6.2.3. Đánh giá độ lún không đều và xác định khoảng tĩnh không so với mực nước biển trung bình.
1.3.6.2.4. Phải kiểm tra chi tiết những bộ phận kết cấu thường bị ăn mòn, bị hư hỏng hoặc trạng thái kỹ thuật suy giảm do những nguyên nhân như tàu dịch vụ va quệt hoặc thao tác các ống khoan v.v... và do đọng nước ở góc của các vách ngăn và trên sàn hở v.v...
1.3.6.2.5. Phải xác định chiều dày tại những phần kết cấu có hao mòn rõ rệt. Trừ trường hợp kết cấu vẫn phù hợp với mục đích sử dụng của nó, bất kỳ bộ phận nào phát hiện có hư hỏng hoặc bị giảm kích thước do hao mòn quá giới hạn cho phép đều phải được sửa chữa bằng vật liệu có kích thước và chất lượng đã được thẩm định. Phải lưu ý đặc biệt đến những vùng kết cấu gián đoạn. Nếu cần thiết, các bề mặt phải được bảo vệ thích hợp bằng phương pháp chống ăn mòn điện hóa hoặc sơn bảo vệ.
Chú thích: không cho phép khoan để đo chiều dày kết cấu đối với các thanh giằng chính, xà, xà khoẻ v.v...
1.3.6.3. Máy, hệ thống công nghệ và các hệ thống an toàn
Phải thực hiện đầy đủ các quy định nêu trong 1.3.4.2. Ngoài ra, có thể bổ sung các hạng mục tùy thuộc kết quả kiểm tra lần trước và trạng thái thực tế của máy và các hệ thống, trong đó chú ý tới các nội dung sau:
a) Thử chức năng báo động và điều khiển từ xa của các thiết bị và các hệ thống;
b) Mở, kiểm tra các động cơ dẫn động chính, các bơm có lưu lượng và áp lực cao, các máy nén khí. Thử áp lực các bộ phận, phụ tùng có liên quan;
c) Kiểm tra và thử hệ thống điều khiển từ xa các van quan trọng và các hệ thống nguy hiểm;
d) Kiểm tra và thử hệ thống chỉ báo mức từ xa cho các két;
e) Kiểm tra và thử hệ thống ngừng khẩn cấp bao gồm cả các bộ phận cảm biến và chức năng điều khiển.
1.3.6.4. Các thiết bị điện
1.3.6.4.1. Tiến hành đo điện trở cách điện ở các đường cáp điện, bảng điều khiển điện, máy phát điện, mô tơ, các dụng cụ nhiệt điện (heater), thiết bị thắp sáng v.v.., nếu thực tế cho phép. Điện trở cách điện phải không được nhỏ hơn 100 000 Ω giữa tất cả các mạch được cách điện và đất. Hệ thống điện có thể được phân nhỏ tuỳ ý bằng cách mở cầu dao, tháo cầu chì hoặc ngắt thiết bị để phục vụ cho việc thử cách điện này. Trong những khu vực nguy hiểm, việc thử cách điện phải được tiến hành khi các khu vực đó được thông khí bảo đảm an toàn.
1.3.6.4.2. Các thiết bị trên bảng điện chính, bảng điện sự cố, các bảng điện mạch nhánh, bảng cầu chì phân nhánh, các thiết bị chống quá dòng và các cầu chì phải được kiểm tra để xác nhận rằng chúng đảm bảo được việc bảo vệ các mạch điện liên quan.
1.3.6.4.3. Phải thử các cầu dao ngắt dòng máy phát tới mức có thể thực hiện được để xác nhận rằng những thiết bị bảo vệ kể cả rơle nhả, nếu có, hoạt động tốt và duy trì được khả năng quá tải của động cơ chính.
1.3.6.4.4. Phải kiểm tra đề phát hiện khuyết tật của vỏ bọc, độ cách điện của cáp điện và sự hư hỏng của các phụ tùng đỡ cáp. Việc kiểm tra phải đảm bảo ít gây ảnh hưởng nhất tới sự cố định và bảo vệ cáp, trừ khi việc đó là cần thiết, ví dụ: do giảm nhanh trị số điện trở cách điện ...
1.3.6.4.5. Phải kiểm tra các mô tơ có chức năng quan trọng cùng các bảng điều khiển điện và thiết bị điều khiển chúng; kiểm tra ở trạng thái hoạt động, nếu cần.
1.3.6.4.6. Nếu các máy biến thế hoặc thiết bị điện được ngâm trong dầu thì chủ giàn phải lấy các mẫu dầu và thử điện thế phóng điện, độ axít, độ ẩm và báo cáo kết quả cho Đăng kiểm.
1.3.6.4.7. Thay cho kiểm tra toàn bộ, có thể áp dụng những yêu cầu nêu trong 1.3.6.4.8 và 1.3.6.4.9, nếu chủ giàn có chương trình bảo dưỡng được lập trước theo thỏa thuận, nghĩa là chương trình kiểm tra và bảo dưỡng bao hàm được toàn bộ hệ thống thiết bị điện trong vòng tối đa 60 tháng, trên cơ sở quay vòng kiểm tra đối với từng hạng mục.
1.3.6.4.8. Các hồ sơ bảo dưỡng phải được kiểm tra tại lần kiểm tra hàng năm. Các bộ phận của thiết bị điện đã quá hạn bảo dưỡng phải được kiểm tra kỹ lưỡng và thử.
1.3.6.4.9. Việc thử, bảo dưỡng theo kế hoạch chọn lọc phải được đăng kiểm viên chứng kiến và những hạng mục chính được mở ra bảo dưỡng phải được kiểm tra và thỏa mãn yêu cầu của Quy chuẩn này.
1.3.6.5. Hệ thống điều khiển
1.3.6.5.1. Các thiết bị điều khiển tự động và/hoặc từ xa, các thiết bị báo động và các thiết bị bảo vệ được lắp đặt cùng thiết bị phụ trợ, thiết bị công nghệ và thiết bị khoan phải được thử để khẳng định chúng ở trạng thái làm việc tốt.
1.3.6.5.2. Phải thử hệ thống ngắt sự cố, kể cả thiết bị trung gian ghép nối nó với hệ thống phát hiện khí và lửa và những thiết bị tự động khác, nếu có.
1.3.6.5.3. Phải thử hệ thống thông báo công cộng và những thiết bị chỉ báo tình trạng giàn để xác nhận chúng ở trạng thái làm việc tốt.
1.3.6.6. Hệ thống phòng, phát hiện và dập cháy
Khối lượng kiểm tra định kỳ giống như khối lượng kiểm tra hàng năm (xem 1.3.4.4); cần quan tâm các hạng mục sau đây:
a) Kiểm tra và thử chức năng của hệ thống chữa cháy;
b) Thử chức năng van chặn lửa bên trong của các ống thông gió;
c) Thử các vách ngăn gió trong khu nhà ở và các trạm điều khiển.
1.3.6.7. Phương tiện cứu sinh và thiết bị vô tuyến điện
Đăng kiểm sẽ tiến hành kiểm tra và thử phương tiện cứu sinh và thiết bị vô tuyến để đảm bảo chúng phù hợp cho mục đích sử dụng. Khối lượng kiểm tra được nêu tại Bảng 3 - Danh mục kiểm tra chu kỳ phương tiện cứu sinh và vô tuyến điện.
1.3.7. Kiểm tra liên tục
1.3.7.1. Khi có thỏa thuận về kiểm tra liên tục giàn, phải lập kế hoạch làm cơ sở cho việc tiến hành kiểm tra. Tất cả các bộ phận kết cấu, máy công nghệ, máy, điện, thiết bị điều khiển và an toàn chống cháy phải được kiểm tra và thử theo chu kỳ với thời hạn tối đa 60 tháng giữa hai lần kiểm tra liên tiếp của mỗi bộ phận.
1.3.7.2. Việc kiểm tra và thử mỗi hạng mục, mỗi bộ phận, mỗi phần hoặc thành phần phải được thực hiện như yêu cầu đối với kiểm tra định kỳ.
1.3.7.3. Kế hoạch kiểm tra liên tục, phải xét đến các kiểm tra cần thực hiện hàng năm và trung gian. Phải đặc biệt chú ý tới mọi kế hoạch chi tiết về kiểm tra không phá hủy những hạng mục kết cấu do chủ giàn đề ra.
1.3.7.4. Nếu trong quá trình kiểm tra liên tục phát hiện thấy khuyết tật, có thể phải mở những bộ phận khác có liên quan để kiểm tra.
1.3.7.5. Nếu phương pháp kiểm tra này được chấp nhận, chu kỳ kiểm tra lần đầu thường được bắt đầu từ ngày chế tạo mới. Những kiểm tra đầu tiên thường được tiến hành đồng thời với kiểm tra hàng năm lần thứ nhất và tiến độ, nội dung kiểm tra đã được thỏa thuận trước khi thực hiện. Tuy nhiên, có thể điều chỉnh lại tiến độ kiểm tra, trên cơ sở kinh nghiệm thực tế.
1.3.7.6. Tất cả các biên bản, giấy tờ, số liệu kiểm tra, ảnh, phim, băng video được thực hiện khi bảo dưỡng và kiểm tra đều phải được người khai thác giàn lưu giữ trong thời gian hoạt động của giàn và phải xuất trình cho Đăng kiểm khi có yêu cầu.
1.3.8. Kiểm tra bất thường
1.3.8.1. Giàn được kiểm tra bất thường khi:
- Đổi tên và chuyển chủ;
- Khi có sự cố về kết cấu, máy và thiết bị ảnh hưởng đến cấp của giàn;
- Khi tăng người làm việc trên giàn;
Các dạng kiểm tra bất thường khác do chủ giàn đề xuất. Khối lượng kiểm tra sẽ được xác định cho từng trường hợp cụ thể.
1.3.8.2. Kiểm tra sửa chữa hư hỏng
1.3.8.2.1. Khi xuất hiện các khuyết tật của kết cấu cũng như máy, thiết bị có ảnh hưởng đến phân cấp giàn, chủ giàn có trách nhiệm thông báo ngay cho Đăng kiểm. Giấy chứng nhận phân cấp của giàn khi đó bị mất hiệu lực. Vị trí, bản chất và mức độ của khuyết tật cần được nêu đầy đủ nhất trong thông báo đó.
1.3.8.2.2. Các bước tiến hành, các công việc sửa chữa từ khảo sát, lên phương án đến hoàn thành công việc cần có sự giám sát của Đăng kiểm.
Vật liệu, máy, thiết bị được dùng phải có chứng chỉ chất lượng được công nhận và phải phù hợp với hồ sơ thiết kế của giàn đã được thẩm định.
1.3.8.2.3. Chỉ khi việc sửa chữa những phần có khuyết tật nói trên được Đăng kiểm giám sát đạt yêu cầu thì giấy chứng nhận của giàn mới được phục hồi hiệu lực.
1.3.8.3. Kiểm tra tăng người làm việc trên giàn
1.3.8.3.1. Trong quá trình vận hành, khi chủ giàn đề nghị tăng người làm việc trên giàn trong khoảng thời gian ngắn nhằm phục vụ công việc bảo dưỡng, sửa chữa, lắp đặt thiết bị mới thì phải thỏa mãn các yêu cầu sau:
1.3.8.3.2. Đảm bảo tính toàn vẹn, an toàn của giàn và người làm việc trên giàn.
1.3.8.3.3. Các bè cứu sinh phải được hạ bằng thiết bị hạ hoặc giàn được trang bị hệ thống sơ tán hàng hải.
1.3.8.3.4. Nếu không thỏa mãn yêu cầu 1.3.8.3.3 thì chủ giàn phải trình nộp các bản phân tích, đánh giá rủi ro về hoạt động của giàn trong khoảng thời gian tăng người.
1.4. Phân cấp giàn không được Đăng kiểm giám sát trong quá trình chế tạo mới
1.4.1. Hồ sơ thiết kế
1.4.1.1. Những giàn trước đây trong quá trình chế tạo mới do một cơ quan đăng kiểm khác giám sát, hoặc không có giám hoặc có giám sát bởi tổ chức phân cấp không được Đăng kiểm công nhận, nay muốn chuyển cấp theo Quy chuẩn này, thì chủ giàn hoặc người đại diện phải trình cho Đăng kiểm bộ hồ sơ thiết kế theo 1.3.2 của Quy chuẩn này.
1.4.1.2. Ngoài ra, chủ giàn hoặc người đại diện của họ cũng phải trình cho Đăng kiểm các hồ sơ và thông tin kỹ thuật có liên quan đến chế tạo mới, hay sửa chữa giàn, cũng như các giấy chứng nhận, các biên bản kiểm tra của bất kỳ một cơ quan đăng kiểm nào đã cấp trước khi chuyển tới nhận cấp theo quy định của Quy chuẩn này.
1.4.2. Khối lượng kiểm tra
1.4.2.1. Để trao cấp cho giàn, thì các giàn này phải được Đăng kiểm kiểm tra lần đầu. Khối lượng kiểm tra lần đầu tương ứng với khối lượng kiểm tra định kỳ, tùy thuộc vào tuổi của giàn.
1.4.2.2. Nếu giàn đã được một tổ chức phân cấp được Đăng kiểm công nhận trao cấp, thì theo đề nghị của chủ giàn, Đăng kiểm sẽ chấp nhận kết quả và hồ sơ kiểm tra của tổ chức đó. Khối lượng kiểm tra bằng khối lượng của loại hình kiểm tra gần nhất mà tổ chức đăng kiểm đó yêu cầu, không bao gồm kiểm tra bất thường.
1.4.2.3. Căn cứ vào trạng thái kỹ thuật cụ thể của giàn, có thể tăng hoặc giảm khối lượng kiểm tra so với những điều đã quy định trong Quy chuẩn này.
2. Kết cấu
Tất cả các giàn phải thỏa mãn các yêu cầu sau:
2.1. Các yêu cầu chung về việc thiết kế giàn phải tuân thủ theo TCVN 6170-1 - Giàn cố định trên biển - Phần 1: Quy định chung.
2.2. Các yêu cầu về điều kiện môi trường của giàn phải tuân thủ theo TCVN 6170-2 - Giàn cố định trên biển - Phần 2: Điều kiện môi trường.
2.3. Các yêu cầu về tải trọng thiết kế giàn phải tuân thủ theo TCVN 6170-3 - Giàn cố định trên biển - Phần 3: Tải trọng thiết kế.
2.4. Các yêu cầu về thiết kế kết cấu thép của giàn phải tuân thủ theo TCVN 6170-4 - Giàn cố định trên biển - Phần 4: Thiết kế kết cấu thép.
2.5. Các yêu cầu về thiết kế kết cấu hợp kim nhôm của giàn phải tuân thủ theo TCVN 6170- 5 - Công trình biển cố định - Kết cấu - Phần 5: Thiết kế kết cấu hợp kim nhôm.
2.6. Các yêu cầu về thiết kế kết cấu bê tông cốt thép của giàn phải tuân thủ theo TCVN 6170-6 - Công trình biển cố định - Kết cấu - Phần 6: Thiết kế kết cấu bê tông cốt thép.
2.7. Các yêu cầu về thiết kế móng giàn phải tuân thủ theo TCVN 6170-7 - Công trình biển cố định - Kết cấu - Phần 7: Thiết kế móng.
2.8. Các yêu cầu về hệ thống chống ăn mòn của giàn phải tuân thủ theo TCVN 6170-8 - Công trình biển cố định - Kết cấu - Phần 8: Hệ thống chống ăn mòn.
2.9. Các yêu cầu về giàn thép kiểu jacket phải tuân thủ theo TCVN 6170-9 - Công trình biển cố định - Phần 9: Kết cấu - Giàn thép kiểu jacket.
2.10. Các yêu cầu về giàn trọng lực bê tông phải tuân thủ theo TCVN 6170-10 - Công trình biển cố định - Phần 10: Kết cấu - Giàn trọng lực bê tông.
2.11. Các yêu cầu về chế tạo giàn phải tuân thủ theo TCVN 6170-11 - Công trình biển cố định - Kết cấu - Phần 11: Chế tạo.
2.12. Các yêu cầu về vận chuyển và lắp dựng giàn phải tuân thủ theo TCVN 6170-12 - Công trình biển cố định - Kết cấu - Phần 12: Vận chuyển và lắp dựng.
3. Máy và hệ thống công nghệ
Các yêu cầu về máy và các hệ thống công nghệ của giàn phải tuân thủ theo TCVN 6767- 3 - Giàn cố định trên biển - Phần 3: Máy và các hệ thống công nghệ.
4. Trang bị điện
Các yêu cầu về trang bị điện của giàn phải tuân thủ theo TCVN 6767-4 - Giàn cố định trên biển - Phần 4: Trang bị điện.
5. Phòng, phát hiện và chữa cháy
Các yêu cầu về phòng, phát hiện và chữa cháy của giàn phải tuân thủ theo TCVN 6767-2 - Giàn cố định trên biển - Phần 2: Phòng, phát hiện và chữa cháy.
6. Phương tiện cứu sinh
Các yêu cầu về phương tiện cứu sinh của giàn phải tuân thủ theo TCVN 6767-1 - Giàn cố định trên biển - Phần 1: Phương tiện cứu sinh.
7. Vật liệu
Các yêu cầu về vật liệu giàn phải tuân thủ theo TCVN 7230 - Công trình biển cố định - Quy phạm phân cấp và chế tạo - Vật liệu.
8. Hàn
Các yêu cầu về hàn giàn phải tuân thủ theo TCVN 7229 - Công trình biển cố định - Quy phạm phân cấp và chế tạo - Hàn.
9. Sân bay trực thăng
Các yêu cầu về sân bay trực thăng của giàn phải tuân thủ theo CAP 437 - Các tiêu chuẩn về vị trí cất và hạ cánh của máy bay trực thăng.
10. Thiết bị nâng
Các yêu cầu về thiết bị nâng trên giàn phải tuân thủ theo QCVN 97:2016/BGTVT - Quy chuẩn kỹ thuật quốc gia về thiết bị nâng trên công trình biển.
11. Bình chịu áp lực và nồi hơi
Các yêu cầu về bình chịu áp lực và nồi hơi trên giàn phải tuân thủ theo các tiêu chuẩn sau đây:
11.1. QCVN 67:2016/BGTVT - Quy chuẩn kỹ thuật quốc gia về chế tạo, kiểm tra chứng nhận thiết bị chịu áp lực trên phương tiện giao thông vận tải và phương tiện, thiết bị thăm dò, khai thác trên biển;
11.2. TCVN 7704 - Nồi hơi - Yêu cầu kỹ thuật về thiết kế, kết cấu, chế tạo, lắp đặt, sử dụng và sửa chữa.
12. Hệ thống đo lường, điều khiển
Hệ thống đo lường, điều khiển phải thỏa mãn Phụ lục A của Quy chuẩn này.
13. Thông tin liên lạc vô tuyến điện
Thông tin liên lạc vô tuyến điện phải thỏa mãn Phụ lục B của Quy chuẩn này.
14. Phân cấp theo tiêu chuẩn tính năng được xác định từ phương pháp đánh giá rủi ro
Phân cấp giàn theo tiêu chuẩn tính năng được xác định từ phương pháp đánh giá rủi ro phải tuân theo Phụ lục C của Quy chuẩn này.
15. Kéo dài thời gian sử dụng giàn
Theo đề nghị của chủ giàn, giàn có thể được kéo dài thời gian sử dụng. Trong trường hợp này phải tuân theo các quy định tại Phụ lục D của Quy chuẩn này.
PHẦN III. QUY ĐỊNH VỀ QUẢN LÝ
1. Quy định về cấp giấy chứng nhận và đăng ký kỹ thuật giàn
1.1. Quy định chung
Tất cả các giàn thuộc phạm vi điều chỉnh của Quy chuẩn này phải được kiểm tra, chứng nhận và đăng ký kỹ thuật theo các quy định tương ứng tại 1.2 và 1.2.4 dưới đây.
1.2. Cấp các giấy chứng nhận cho giàn
1.2.1. Giàn được cấp Giấy chứng nhận thẩm định thiết kế như quy định tại Điều 5, Thông tư số 33/2011/TT-BGTVT ngày 19 tháng 4 năm 2011 của Bộ trưởng Bộ Giao thông vận tải quy định về thủ tục cấp giấy chứng nhận chất lượng an toàn kỹ thuật và bảo vệ môi trường phương tiện, thiết bị thăm dò, khai thác và vận chuyển dầu khí trên biển, nếu thiết kế giàn hoàn toàn thỏa mãn các yêu cầu của Quy chuẩn này.
1.2.2. Giàn được cấp các giấy chứng nhận chất lượng an toàn kỹ thuật và bảo vệ môi trường như quy định tại Điều 6, Thông tư số 33/2011/TT-BGTVT ngày 19 tháng 4 năm 2011 của Bộ trưởng Bộ Giao thông vận tải quy định về thủ tục cấp giấy chứng nhận chất lượng an toàn kỹ thuật và bảo vệ môi trường phương tiện, thiết bị thăm dò, khai thác và vận chuyển dầu khí trên biển, nếu kết quả kiểm tra trong quá trình chế tạo mới hoặc hoán cải giàn hoàn toàn thỏa mãn các yêu cầu của Quy chuẩn này.
1.2.3. Các giấy chứng nhận cấp cho giàn được xác nhận duy trì hiệu lực hoặc cấp lại vào các đợt kiểm tra chu kỳ, nếu kết quả các đợt kiểm tra cho thấy giàn và các trang thiết bị lắp đặt trên giàn được bảo dưỡng và duy trì ở trạng thái thỏa mãn các quy định của Quy chuẩn này.
1.2.4. Giấy chứng nhận quốc tế về ngăn ngừa ô nhiễm do dầu gây ra
1.2.4.1. Giấy chứng nhận quốc tế về ngăn ngừa ô nhiễm do dầu gây ra được cấp khi kết quả kiểm tra cho thấy giàn thỏa mãn các yêu cầu của Phụ lục I, MARPOL 73/78 và được lưu giữ trên giàn.
1.2.4.2. Hiệu lực của Giấy chứng nhận quốc tế về ngăn ngừa ô nhiễm do dầu gây ra không quá 5 năm.
1.2.4.3. Để duy trì hiệu lực của Giấy chứng nhận quốc tế về ngăn ngừa ô nhiễm do dầu gây ra, giàn phải được Đăng kiểm kiểm tra và xác nhận theo quy định của Phụ lục I, MARPOL 73/78.
1.2.4.4. Cấp Giấy chứng nhận quốc tế về ngăn ngừa ô nhiễm do dầu gây ra tạm thời
a) Trong khi chờ cấp Giấy chứng nhận quốc tế về ngăn ngừa ô nhiễm do dầu gây ra, nếu kết quả kiểm tra cho thấy giàn phù hợp với các yêu cầu của Phụ lục I, MARPOL 73/78, Đăng kiểm sẽ cấp giấy chứng nhận quốc tế về ngăn ngừa ô nhiễm do dầu gây ra tạm thời cho giàn đó.
b) Thời hạn hiệu lực của Giấy chứng nhận quốc tế về ngăn ngừa ô nhiễm do dầu gây ra tạm thời không được vượt quá 5 tháng kể từ ngày hoàn thành kiểm tra.
1.2.5. Giấy chứng nhận quốc tế về ngăn ngừa ô nhiễm không khí
1.2.5.1. Giấy chứng nhận quốc tế về ngăn ngừa ô nhiễm không khí được cấp khi kết quả kiểm tra cho thấy giàn thỏa mãn các yêu cầu của Phụ lục VI, MARPOL 73/78 và được lưu giữ trên giàn.
1.2.5.2. Hiệu lực của Giấy chứng nhận quốc tế về ngăn ngừa ô nhiễm không khí không quá 5 năm.
1.2.5.3. Để duy trì hiệu lực của Giấy chứng nhận này, giàn phải được Đăng kiểm kiểm tra và xác nhận theo quy định của Phụ lục VI, MARPOL 73/78.
1.2.5.4. Cấp giấy chứng nhận quốc tế về ngăn ngừa ô nhiễm không khí tạm thời
Trong khi chờ cấp Giấy chứng nhận quốc tế về ngăn ngừa ô nhiễm không khí, nếu kết quả kiểm tra cho thấy giàn phù hợp với các yêu cầu của Phụ lục VI, MARPOL 73/78, Đăng kiểm sẽ cấp Giấy chứng nhận quốc tế về ngăn ngừa ô nhiễm không khí tạm thời cho giàn đó. Thời hạn hiệu lực của Giấy chứng nhận quốc tế về ngăn ngừa ô nhiễm không khí tạm thời không được vượt quá 5 tháng kể từ ngày hoàn thành kiểm tra.
1.2.6. Giấy chứng nhận phân cấp
1.2.6.1. Cấp Giấy chứng nhận phân cấp
Sau khi hoàn thành kiểm tra phân cấp trong chế tạo mới, kiểm tra lần đầu để phân cấp, kiểm tra định kỳ hoặc phân cấp lại nếu giàn phù hợp với các yêu cầu của Quy chuẩn này thì Đăng kiểm sẽ cấp cho giàn Giấy chứng nhận phân cấp và được lưu giữ trên giàn. Giấy chứng nhận phân cấp giàn có thời hạn hiệu lực không quá 5 năm, tính từ ngày hoàn thành kiểm tra phân cấp hoặc kiểm tra định kỳ.
1.2.6.2. Xác nhận hàng năm, trung gian Giấy chứng nhận phân cấp
Thời hạn hiệu lực của giấy chứng nhận phân cấp sẽ được duy trì nếu hàng năm giàn được tiến hành kiểm tra như quy định tại 1.3.4, 1.3.5, Phần II và kết quả kiểm tra hàng năm và/ hoặc trung gian chứng tỏ giàn phù hợp với các yêu cầu của Quy chuẩn này.
1.2.6.3. Cấp Giấy chứng nhận phân cấp tạm thời
a) Trong khi chờ cấp Giấy chứng nhận phân cấp, nếu kết quả kiểm tra cho thấy giàn phù hợp với các yêu cầu của Quy chuẩn này, Đăng kiểm sẽ cấp giấy chứng nhận phân cấp tạm thời cho giàn đó.
b) Thời hạn hiệu lực của Giấy chứng nhận phân cấp tạm thời không được vượt quá 5 tháng kể từ ngày hoàn thành kiểm tra.
1.2.7. Giấy chứng nhận an toàn trang thiết bị
1.2.7.1. Cấp giấy chứng nhận an toàn trang thiết bị
Sau khi hoàn thành kiểm tra lần đầu hoặc kiểm tra định kỳ nếu giàn phù hợp với các yêu cầu của Quy chuẩn này thi Đăng kiểm sẽ cấp cho giàn Giấy chứng nhận an toàn trang thiết bị và được lưu giữ trên giàn. Giấy chứng nhận an toàn trang thiết bị có hiệu lực không quá 5 năm, tính từ ngày hoàn thành kiểm tra.
1.2.7.2. Để duy trì hiệu lực của Giấy chứng nhận an toàn trang thiết bị, giàn phải được Đăng kiểm kiểm tra và xác nhận theo quy định của TCVN 6767-1 - Giàn cố định trên biển - Phần 1: Phương tiện cứu sinh, TCVN 6767-2 - Giàn cố định trên biển - Phần 2: Phòng, phát hiện và chữa cháy.
1.2.7.3. Cấp giấy chứng nhận an toàn trang thiết bị tạm thời
a) Trong khi chờ cấp Giấy chứng nhận an toàn trang thiết bị, nếu theo kết quả kiểm tra cho thấy giàn phù hợp với các yêu cầu của Quy chuẩn này, Đăng kiểm sẽ cấp Giấy chứng nhận an toàn trang thiết bị tạm thời cho giàn đó.
b) Thời hạn hiệu lực của Giấy chứng nhận an toàn trang thiết bị tạm thời không được vượt quá 5 tháng kể từ ngày hoàn thành kiểm tra.
1.2.8. Giấy chứng nhận cho bình áp lực, nồi hơi và thiết bị nâng
Sau khi hoàn thành kiểm tra lần đầu, kiểm tra chu kỳ các bình áp lực, nồi hơi và thiết bị nâng, nếu theo kết quả kiểm tra phù hợp với các yêu cầu của Quy chuẩn này thì Đăng kiểm sẽ cấp cho sản phẩm này giấy chứng nhận và được lưu giữ trên giàn. Thời hạn hiệu của giấy chứng nhận cho các thiết bị này được quy định cụ thể trong các quy chuẩn nêu tại 10 và 11, Phần II của Quy chuẩn này.
1.3. Đăng ký kỹ thuật giàn
1.3.1. Giàn được đăng ký vào sổ đăng ký kỹ thuật công trình biển sau khi được Đăng kiểm kiểm tra và cấp các giấy chứng nhận theo quy định.
1.3.2. Sổ đăng ký kỹ thuật công trình biển bao gồm các thông tin chính như sau: tên giàn, chủ giàn, công dụng, số phân cấp, kích thước chính, năm, nơi chế tạo, vật liệu giàn và các thông tin cần thiết khác.
1.3.3. Sau khi bị rút cấp, giàn bị xóa tên khỏi Sổ đăng ký kỹ thuật công trình biển. Nếu được kiểm tra phân cấp lại thì giàn được tái đăng ký vào Sổ đăng ký kỹ thuật công trình biển.
2. Rút cấp, phân cấp lại và sự mất hiệu lực của giấy chứng nhận
2.1. Rút cấp
Giàn đã được trao cấp sẽ bị Đăng kiểm rút cấp và xóa tên khỏi sổ đăng ký kỹ thuật công trình biển trong các trường hợp sau:
2.1.1. Giàn không còn sử dụng được nữa;
2.1.2. Giàn không được kiểm tra để duy trì cấp theo quy định của Quy chuẩn này theo đúng thời gian đã ghi trong Giấy chứng nhận phân cấp;
2.1.3. Khi chủ giàn không sửa chữa những hư hỏng hay khuyết tật có ảnh hưởng đến cấp đang sử dụng của giàn theo yêu cầu của Đăng kiểm;
2.1.4. Khi có yêu cầu của chủ giàn;
2.2. Thay đổi ký hiệu cấp giàn
2.2.1. Đăng kiểm có thể thay đổi hoặc hủy bỏ các ký hiệu cấp đã ấn định cho giàn nếu có sự thay đổi hoặc vi phạm các điều kiện làm cơ sở để trao cấp trước đây cho giàn.
2.2.2. Việc thay đổi hoặc hủy bỏ các ký hiệu cấp này phải được cập nhật vào sổ đăng ký kỹ thuật công trình biển.
2.3. Phân cấp lại
2.3.1. Giàn đã bị rút cấp nếu muốn phục hồi cấp hoặc trao cấp khác thì phải tiến hành kiểm tra định kỳ với khối lượng kiểm tra tùy thuộc vào tuổi và trạng thái kỹ thuật của giàn.
2.3.2. Nếu kết quả kiểm tra cho thấy trạng thái kỹ thuật của giàn phù hợp với các yêu cầu đã nêu trong Quy chuẩn này thì Đăng kiểm có thể phục hồi cấp mà trước đây giàn đã được trao hoặc trao cấp khác nếu xét thấy phù hợp.
2.4. Sự mất hiệu lực của các giấy chứng nhận
2.4.1. Giấy chứng nhận phân cấp của giàn sẽ tự mất hiệu lực khi:
a) Giàn bị rút cấp như quy định trong 2.1 của Phần này;
b) Sau khi giàn bị hư hỏng mà Đăng kiểm không được thông báo để tiến hành kiểm tra bất thường ngay sau khi hư hỏng;
c) Giàn được hoán cải về kết cấu hoặc có thay đổi về thiết bị nhưng không được Đăng kiểm đồng ý hoặc không thông báo cho Đăng kiểm;
d) Sửa chữa các hạng mục nằm trong các hạng mục thuộc sự giám sát của Đăng kiểm nhưng không được Đăng kiểm chấp nhận hoặc không có Đăng kiểm giám sát;
e) Giàn hoạt động với các điều kiện không tuân theo các yêu cầu đối với cấp được trao hoặc các điều kiện hạn chế đã quy định;
f) Các yêu cầu trong đợt kiểm tra lần trước, mà yêu cầu đó là điều kiện để trao cấp hoặc duy trì cấp không được thực hiện trong thời gian quy định;
g) Chủ giàn không thực hiện các quy định về kiểm tra duy trì cấp giàn;
h) Giàn dừng hoạt động trong thời gian quá ba tháng, trừ trường hợp dừng giàn để sửa chữa theo yêu cầu của Đăng kiểm.
2.4.2. Các giấy chứng nhận khác của giàn sẽ tự mất hiệu lực khi:
a) Nếu đợt kiểm tra không được thực hiện trong khoảng thời gian mà tiêu chuẩn, quy chuẩn và công ước quốc tế yêu cầu;
b) Nếu các giấy chứng nhận không được xác nhận phù hợp với quy định tiêu chuẩn, quy chuẩn và công ước quốc tế áp dụng.
3. Quản lý hồ sơ
3.1. Các hồ sơ do Đăng kiểm cấp
Giàn sau khi được Đăng kiểm kiểm tra thỏa mãn yêu cầu của Quy chuẩn này thì giàn sẽ được cấp các hồ sơ sau đây:
3.1.1. Hồ sơ thiết kế đã được thẩm định bao gồm tài liệu thiết kế đã thẩm định và Giấy chứng nhận thẩm định thiết kế;
3.1.2. Hồ sơ kiểm tra bao gồm các giấy chứng nhận, các phụ lục đính kèm giấy chứng nhận, báo cáo kiểm tra hoặc thử, các chứng chỉ vật liệu, sản phẩm, thiết bị lắp đặt trên giàn và các tài liệu liên quan.
3.2. Quản lý hồ sơ
3.2.1. Tất cả các hồ sơ kiểm tra do Đăng kiểm cấp cho giàn phải được lưu giữ và bảo quản trên giàn. Các hồ sơ này phải được xuất trình cho Đăng kiểm xem xét khi có yêu cầu.
3.2.2. Tất cả các hồ sơ kiểm tra do Đăng kiềm cấp cho giàn (bộ lưu giữ tại Đăng kiểm) được Đăng kiểm bảo mật và không cung cấp bất kỳ bản tính, bản vẽ, thuyết minh, nội dung chi tiết nào dưới bất kỳ hình thức nào cho tổ chức, cá nhân khi chưa có sự đồng ý trước của chủ giàn, trừ trường hợp đặc biệt do yêu cầu của cơ quan nhà nước có thẩm quyền.
PHẦN IV. TRÁCH NHIỆM CỦA CÁC TỔ CHỨC, CÁ NHÂN
1. Trách nhiệm của chủ giàn, cơ sở thiết kế, chế tạo, hoán cải và sửa chữa giàn
1.1. Tuân thủ các quy định về chất lượng an toàn kỹ thuật và bảo vệ môi trường nêu trong Quy chuẩn này khi chế tạo, hoán cải, sửa chữa, nhập khẩu và trong quá trình khai thác giàn.
1.2. Thiết kế giàn phải thỏa mãn các quy định của Quy chuẩn này.
1.3. Tuân thủ các quy định về hồ sơ thiết kế và thẩm định thiết kế.
1.4. Chịu trách nhiệm duy trì trạng thái kỹ thuật giàn đang khai thác giữa hai kỳ kiểm tra thỏa mãn các quy định của Quy chuẩn này.
1.5. Chịu sự kiểm tra, giám sát của Cục Đăng kiểm Việt Nam về chất lượng an toàn kỹ thuật và bảo vệ môi trường trong quá trình thiết kế, chế tạo mới, hoàn cải, sửa chữa, nhập khẩu và khai thác giàn.
1.6. Bảo quản, giữ gìn, không được sửa chữa, tẩy xóa hồ sơ đăng kiểm đã được cấp và xuất trình khi có yêu cầu.
2. Trách nhiệm của Cục Đăng kiểm Việt Nam
2.1. Thẩm định thiết kế giàn theo đúng Quy chuẩn này và Thủ tục cấp Giấy chứng nhận thẩm định thiết kế công trình biển như quy định tại Thông tư số 33/2011/TT-BGTVT ngày 19 tháng 4 năm 2011 của Bộ trưởng Bộ Giao thông vận tải quy định về thủ tục cấp giấy chứng nhận chất lượng an toàn kỹ thuật và bảo vệ môi trường phương tiện, thiết bị thăm dò, khai thác và vận chuyển dầu khí trên biển.
2.2. Kiểm tra trong quá trình chế tạo mới, hoán cải theo hồ sơ thiết kế đã được thẩm định phù hợp quy định của Quy chuẩn này.
2.3. Kiểm tra trong quá trình khai thác bao gồm kiểm tra lần đầu, kiểm tra hàng năm, kiểm tra trung gian, kiểm tra dưới nước, kiểm tra định kỳ, kiểm tra bất thường theo yêu cầu của Quy chuẩn này.
2.4. Cấp các giấy chứng nhận cho giàn theo đúng Quy chuẩn này và Thủ tục cấp giấy chứng nhận an toàn kỹ thuật và bảo vệ môi trường cho công trình biển như quy định tại Thông tư số 33/2011/TT-BGTVT ngày 19 tháng 4 năm 2011 của Bộ trưởng Bộ Giao thông vận tải quy định về thủ tục cấp giấy chứng nhận chất lượng an toàn kỹ thuật và bảo vệ môi trường phương tiện, thiết bị thăm dò, khai thác và vận chuyển dầu khí trên biển.
2.5. Đăng ký vào Sổ kỹ thuật công trình biển cho các giàn đã được kiểm tra, giám sát kỹ thuật và phân cấp.
2.6. Tổ chức, hướng dẫn hệ thống đăng kiểm thống nhất trong phạm vi cả nước để thực hiện kiểm tra, giám sát kỹ thuật, phân cấp và đăng ký kỹ thuật các giàn thuộc phạm vi điều chỉnh của Quy chuẩn này.
2.7. Cục Đăng kiểm có trách nhiệm tiếp nhận và giải đáp các câu hỏi cần làm rõ (nếu có) liên quan đến Quy chuẩn này từ chủ giàn, cơ sở thiết kế chế tạo, hoán cải và sửa chữa để hướng dẫn thực hiện, tuân thủ các yêu cầu trong quy chuẩn.
2.8. Báo cáo và kiến nghị Bộ Giao thông vận tải về việc rà soát, thay thế hoặc hủy bỏ Quy chuẩn này theo định kỳ năm năm một lần hoặc sớm hơn khi cần thiết, kể từ ngày ban hành.
3. Trách nhiệm của Bộ Giao thông vận tải
3.1. Định kỳ hoặc đột xuất kiểm tra việc thực hiện Quy chuẩn này của các tổ chức, cá nhân có hoạt động liên quan.
3.2. Tổ chức tuyên truyền, phổ biến và hướng dẫn áp dụng Quy chuẩn này cho các tổ chức, cá nhân liên quan thuộc đối tượng áp dụng của Quy chuẩn này.
PHẦN V. TỔ CHỨC THỰC HIỆN
1. Trong trường hợp có sự khác nhau giữa quy định của Quy chuẩn này với quy định khác liên quan đến giàn thì áp dụng quy định của Quy chuẩn này.
2. Trong trường hợp các tiêu chuẩn, quy chuẩn, văn bản được viện dẫn trong Quy chuẩn này có sự thay đổi, bổ sung hoặc thay thế thì thực hiện theo quy định trong văn bản mới.
3. Trường hợp công ước quốc tế mà Việt Nam là thành viên có quy định khác với quy định của Quy chuẩn này thì thực hiện theo quy định tại công ước quốc tế đó.
PHỤC LỤC A - Hệ thống đo lường, điều khiển
1. Quy định chung
1.1. Thiết kế hệ thống đo lường, điều khiển phải phù hợp với API RP14C hoặc các tiêu chuẩn được chấp nhận khác và những tiêu chuẩn bổ sung nêu ra trong điều này. Phải nộp thẩm định những tài liệu liên quan đến hệ thống đo lường, điều khiển được nêu ở 1.3.2.3 1.3.2.3.4.
1.2. Hệ thống đo lường, điều khiển phải cung cấp các biện pháp hiệu quả để kiểm soát và điều chỉnh áp suất, nhiệt độ, lưu lượng, mực chất lỏng và các thông số công nghệ khác để vận hành các thiết bị trên giàn một cách liên tục và an toàn.
1.3. Trường hợp cần phải kiểm soát hệ thống phát điện và tủ phân phối cho vận hành thiết bị thì hệ thống điều khiển cũng phải được bố trí sao cho đảm bảo yêu cầu này.
1.4. Các hệ thống đo lường, điều khiển cho các hệ thống xử lý, phụ trợ, các thiết bị phục vụ và hệ thống điện phải phù hợp với mục đích sử dụng.
1.5. Toàn bộ hệ thống điều khiển và dừng an toàn phải được thiết kế làm việc an toàn cho thiết bị trong các trạng thái khởi động, dừng và vận hành bình thường.
2. Các hệ thống
2.1. Các hệ thống điện cho các hệ thống đo lường, điều khiển phải phù hợp với TCVN 6767-4.
2.2. Hệ thống điều khiển thủy lực và khí phải phù hợp với TCVN 6767-3.
3. Các bộ phận hợp thành
3.1. Môi trường làm việc
Tất cả các bộ phận của hệ thống an toàn và thiết bị điều khiển, bao gồm các thiết bị cảnh báo và chỉ báo phải được thiết kế để sử dụng trong môi trường biển, chống ăn mòn, và có khả năng vận hành trong mọi điều kiện môi trường thông thường. Mỗi bộ phận phải được thiết kế và thử với nhiệt độ, áp suất khắc nghiệt nhất mà chúng có thể gặp trong khi hoạt động.
3.2. Sự tương thích của thiết bị hoạt động trên cơ sở máy tính
Nếu các chức năng liên quan đến an toàn được thực hiện bằng các thiết bị hoạt động trên cơ sở máy tính thì các thiết bị phải được thử sai số nguồn cấp và thử dao động.
3.3. Sai số về điện
Các bộ phận điện và điện tử trong hệ thống điện xoay chiều phải có khả năng vận hành thỏa mãn khi có những sự biến đổi thường gặp của tần số và điện áp. Các thiết bị hệ thống điện một chiều phải có khả năng hoạt động bình thường khi điện áp giảm 15%. Trừ khi có quy định khác, sai số về trị số dòng điện được đưa ra ở bảng sau:
Bảng 4- Sai số về điện
|
Thông số vận hành |
Sai số dài hạn |
Sai số tức thời |
|
Tần số |
± 5% |
± 10% (5 s) |
|
Điện áp |
+ 6%, -10% |
± 20% (1,5 s) |
3.4. Mất nguồn
Mất nguồn điều khiển (khí nén, thủy lực hay điện) với bất cứ thiết bị nào không được là nguyên nhân dẫn đến việc mất an toàn. Ma trận đánh giá các nguyên nhân và hệ quả của hệ thống (cause & effect matrices) phải giải thích rõ những hậu quả việc mất nguồn điều khiển.
4. Thiết bị đo báo
4.1. Nhiệt độ
Tất cả các phần tử hoặc thiết bị cảm biến nhiệt phải được lắp đặt trong các ống đo nhiệt độ kiểu ổ cắm loại có thể tách rời sao cho chúng có thể tháo ra mà không gây nguy hiểm do áp suất hoặc rò rỉ chất lỏng.
4.2. Áp suất
Các công tắc áp suất, được sử dụng như những thiết bị an toàn, phải được trang bị các đầu kết nối thử để cho phép chịu được nguồn áp suất bên ngoài mà không làm ảnh hưởng đến lắp đặt công tắc. Các đồng hồ và các cảm biến áp suất phải được trang bị các van cách ly để cho phép tháo rời an toàn các đồng hồ mà không cần giảm áp trong hệ thống. Trạng thái đóng hay mở van phải dễ dàng nhận thấy được dựa vào vị trí của tay cầm hoặc ti van.
4.3. Báo mức
a) Phải lắp đặt các đồng hồ báo mức chất lỏng hoặc bề mặt phân tách chất lỏng để bao trùm phạm vi làm việc và các giá trị cài đặt của các công tắc báo mức hoặc điều khiển mức.
b) Các đồng hồ đo mức xem trực tiếp trong hệ thống công nghệ hoặc chất lỏng dễ cháy phải làm bằng loại kính công nghiệp đồng thời phải trang bị van tự đóng ở các đầu mút của chúng. Các loại tương đương của báo mức cũng có thể được chấp nhận.
5. Các hệ thống báo động
5.1. Các đặc tính
Các hệ thống báo động phải là loại tự giám sát và phải được thiết kế sao cho những hư hỏng trong hệ thống cảnh báo sẽ được tự phát hiện hoặc nó sẽ làm cho hệ thống rơi vào điều kiện cảnh báo. Ngoài ra, hệ thống cảnh báo phải không bị tác động bởi các tình huống tức thời bình thường hay các tín hiệu sai lạc.
5.2. Tính độc lập
Hệ thống báo động phải độc lập với các hệ thống điều khiển và an toàn, ngoại trừ trường hợp dùng các cảm biến chung cho các hệ thống không liên quan đến hoạt động dừng.
5.3. Cảnh báo bằng ánh sáng và âm thanh
a) Cảnh báo phải bằng cả hai tín hiệu ánh sáng và âm thanh, và chúng phải được truyền đến những trạm điều khiển. Các tín hiệu cảnh báo phải báo rõ ràng các hệ thống hay chức năng của hệ thống hoặc các bộ phận bị hỏng hóc. Tín hiệu cảnh báo ánh sáng phải chiếu theo các thông lệ riêng như là các cảnh báo cho các cụm xử lý hoặc hệ thống mà chúng cùng một nhóm, và màu sắc đặc trưng, tính năng riêng hoặc điều kiện phải được thống nhất.
b) Tín hiệu cảnh báo nhìn thấy được phải phát sáng ngay từ những tác động đầu tiên. Tín hiệu cảnh báo âm thanh có liên quan đến khu vực sản xuất phải là các loại âm phân biệt với các âm thanh khác như báo cháy, cảnh báo chung, báo khí ga... và chúng phải đủ to để gây chú ý cho những người có trách nhiệm.
c) Đối với những không gian mà không thường xuyên có mức tiếng ồn cao, đèn tín hiệu hoặc các biện pháp tương tự, được lắp đặt ở những nơi dễ nhận thấy phải được bổ sung vào những nơi có tín hiệu cảnh báo âm thanh; tuy nhiên, đèn tín hiệu ánh sáng mầu đỏ chỉ được sử dụng cho báo cháy.
d) Hư hỏng trong mạch cảnh báo bằng ánh sáng phải không ảnh hưởng đến các mạch vận hành hay cảnh báo âm thanh khác.
5.4. Báo nhận biết cảnh báo
a) Các tín hiệu cảnh báo phải được báo nhận biết bằng thao tác thay đổi hiển thị ánh sáng của tín hiệu cảnh báo sang tín hiệu liên tục và tắt âm với các tín hiệu âm; tín hiệu ánh sáng liên tục phải được duy trì đến khi mà điều kiện hư hỏng được khắc phục.
b) Cảnh báo của các hư hỏng khác có thể gặp phải trong quá trình báo nhận biết thì không bị xóa đi bởi tác động đó, và nó phải được cảnh báo và hiển thị phù hợp.
c) Nếu trạm kiểm soát và điều khiển trung tâm được trang bị, việc tắt tín hiệu cảnh báo âm thanh từ trạm điều khiển từ xa không được tự động dẫn đến làm tắt tín hiệu cảnh báo nguồn tại trạm kiểm soát và điều khiển trung tâm.
5.5. Ngắt và phục hồi lại chức năng cảnh báo
Các mạch cảnh báo có thể được tạm thời bị vô hiệu hóa cho mục đích bảo dưỡng hoặc trong giai đoạn bắt đầu khởi động hệ thống với điều kiện hoạt động vô hiệu hóa đó phải được hiển thị rõ ràng ở các trạm điều khiển liên quan. Tuy nhiên, những cảnh báo đó phải được tự động phục hồi sau một thời gian đã đặt trước.
5.6. Cảnh báo giản lược
Khi những tín hiệu độc lập được hiển thị và cảnh báo tại trạm điều khiển và giám sát trung tâm thì các tín hiệu cảnh báo ánh sáng có thể được hiển thị và cảnh báo tại các trạm điều khiển từ xa liên quan dưới dạng tín hiệu cảnh báo giản lược.
5.7. Thử nguội
Các hệ thống cảnh báo phải có những biện pháp hiệu quả để thử tất cả tín hiệu âm thanh, ánh sáng và các đèn tín hiệu mà không làm ngắt hoạt động bình thường của máy hoặc hệ thống. Những biện pháp đó phải được bố trí tại các trạm điều khiển từ xa liên quan.
5.8. Ngưỡng điều chỉnh
Khi trang bị các phương pháp điều chỉnh bằng tay hoặc từ xa giá trị cài đặt thì giá trị này phải được thể hiện rõ ràng tại vị trí điều khiển.
6. Điều khiển và kiểm soát
6.1. Quy định chung
Các hệ thống hiển thị phải phù hợp với các yêu cầu tại mục 5 ở trên.
6.2. Mất tín hiệu
Việc mất tín hiệu điều khiển từ các thiết bị cảm biến phải tạo ra các cảnh báo hoặc dẫn đến dừng nếu các thiết bị cảm biến này được yêu cầu thỏa mãn Quy chuẩn này.
6.3. Hiển thị các thông số
Các hiển thị thông số vận hành phải rõ ràng, súc tích, nhất quán và được nhóm lại một cách logic. Thông số vận hành cũng phải được hiển thị tại các trạm điều khiển.
6.4. Đặc trưng của các mạch logic
a) Khi các mạch Lô-gic được sử dụng cho việc khởi động theo một trình tự hoặc dùng cho việc vận hành các bộ phận xử lý riêng rẽ, các tín hiệu phải được cung cấp tại các bảng điều khiển chỉ ra một cách trọn vẹn đầy đủ trình tự vận hành theo mạch logic, quá trình khởi động và vận hành của bộ phận xử lý.
b) Nếu có một số bước không được thực hiện thỉ quá trình này phải được dừng lại tại đó, và tình trạng như vậy phải được cảnh báo ở bàn điều khiển hoặc tại các vị trí điều khiển và giám sát trung tâm nếu có.
c) Các thiết bị phản hồi phải được sử dụng để nhận ra các bước thực hiện trong suốt quá trình khởi động. Trình tự vận hành phải bị dừng khi không có tín hiệu phản hồi.
d) Trong trường hợp van được sử dụng vào bất cứ một trình tự khởi động nào, thì trạng thái van phải được xác định bằng cảm biến như vị trí chiều của van chứ không phải là chức năng điều khiển hay tín hiệu điện tới van.
6.5. Vô hiệu hóa thiết bị điều khiển và giám sát
6.5.1. Trong mọi điều kiện vận hành bình thường không được phép vô hiệu hóa các thiết bị hoặc chức năng bảo vệ. Nếu các chức năng dừng hoạt động được phép bỏ qua trong chế độ vận hành đặc biệt được mô tả dưới đây, các thiết bị cảm biến phải được trang bị để liên tục chỉ thị trạng thái của từng thay đổi của quá trình công nghệ.
6.5.2. Ngoài ra, một chỉ báo cho mỗi một chức năng phải cảnh báo người vận hành rằng chức năng dừng hoạt động đã được ngắt ra khỏi hệ thống. Các yêu cầu để vô hiệu hóa hệ thống dừng hoạt động có thể bao gồm:
a) Hiệu chỉnh - để thử định kỳ hoặc hiệu chỉnh các thiết bị cảm biến;
b) Ngừng phục vụ - để dừng hoạt động bình chịu áp lực hoặc các bộ phận công nghệ khác;
c) Khởi động - Để cho phép các trạng thái công nghệ ổn định, có thể cài đặt tự động bỏ qua chức năng dừng khi khởi động với điều kiện các biến số của quá trình xử lý được hiển thị và thiết bị tự động được lắp đặt, thiết bị này sẽ đưa về chức năng dừng khi đạt được điều kiện xử lý bình thường. Việc sử dụng bộ tạo thời gian trễ (timer) cùng với chức năng tự động bắt buộc này cần được cân nhắc.
7. Các hệ thống an toàn
7.1. Quy định chung
7.1.1. Các hệ thống an toàn phải được thiết kế theo kiểu an toàn khi hư hỏng (fail-safe) và phải tự động phản ứng lại các tình trạng hư hỏng khi những hư hỏng đó có thể gây nguy hiểm cho thiết bị hay mất an toàn cho người vận hành.
7.1.2. Nếu không có yêu cầu khác trong mục này hoặc được thẩm định một cách đặc biệt, tác động tự động này sẽ phải làm cho hệ thống thực hiện một hành động quyết liệt nhất đầu tiên bằng cách giảm công suất vận hành thông thường hoặc chuyển sang các bộ phận dự phòng và cuối cùng là dừng cả hệ thống.
7.1.3. Tác động phải tạo ra tín hiệu cảnh báo âm thanh và ánh sáng.
7.2. Tính độc lập
Các hệ thống an toàn phải hoàn toàn độc lập với hệ thống điều khiển và cảnh báo để những hư hỏng trong các hệ thống đó sẽ không làm ảnh hưởng tới việc vận hành của hệ thống an toàn.
7.3. Kích hoạt
7.3.1. Mỗi một tác động của hệ thống an toàn phải được cảnh báo tại các vị trí điều khiển từ xa liên quan.
7.3.2. Nếu lắp đặt trạm điều khiển trung tâm và kiểm soát thì các tín hiệu cảnh báo độc lập phải được trang bị cho những vị trí đó; trong trường hợp này, tín hiệu cảnh báo chung cho hệ thống an toàn riêng biệt sẽ được chấp nhận cho các vị trí điều khiển từ xa khác.
7.3.3. Khi yêu cầu cả tín hiệu cảnh báo và tác động an toàn được yêu cầu cho trạng thái hư hỏng riêng biệt thì thời điểm tác động phải được bố trí sao cho tín hiệu cảnh báo được kích hoạt sớm hơn.
7.4. Khôi phục quá trình vận hành
Các bộ phận công nghệ đã bị dừng lại do kết quả của một tác động của hệ thống an toàn sẽ phải được cài đặt lại bằng tay trước khi chúng được vận hành trở lại.
7.5. Vô hiệu hóa các thiết bị an toàn
7.5.1. Không được trang bị chuyển trạng thái điều khiển sang bằng tay từ xa cho các tác động an toàn đưa ra trong Điều này. Đối với những tác động an toàn trong 6.5.2 ở trên, bất kỳ việc vô hiệu hóa các quy định về an toàn nào cũng phải được sắp xếp sao cho chúng không thể không gây chú ý, và tình trạng cũng như việc kích hoạt của chúng sẽ phải được báo động và chỉ thị tại trạm điều khiển từ xa có liên quan.
7.5.2. Việc vô hiệu hóa phải được bố trí sao cho chống lại được sự vận hành vô tình nhầm lẫn và nó không bị vô hiệu hóa các tín hiệu cảnh báo có liên quan đến các thiết bị an toàn. Cơ cấu vô hiệu hóa để ngắt kết nối các thiết bị an toàn sẽ phải được lắp tại trạm điều khiển từ xa liên quan, trừ khi có trạm kiểm soát và giám sát trung tâm thì cơ cấu vô hiệu hóa có thể được lắp ở trạm trung tâm.
7.6. Thông số cài đặt có thể điều chỉnh
Nếu có các thông số cài đặt có thể điều chỉnh, tại chỗ hay từ xa, thì phải hiển thị chính xác giá trị cài đặt tại vị trí điều khiển.
8. Các hệ thống dừng hoạt động
8.1. Quy định chung
Các hệ thống dừng phải thỏa mãn với các yêu cầu của các hệ thống an toàn được chỉ ra trong 7 ở trên, trừ khi các hệ thống phù hợp với yêu cầu trạm điều khiển dừng khẩn cấp, phải không tác động tự động và không cần phải là loại an toàn khi hỏng.
8.2. Phân tích an toàn
Nếu yêu cầu các chức năng dừng và cảnh báo, thì phải cung cấp Biểu đồ đánh giá chức năng phân tích an toàn (SAFE) cho các thiết bị kết hợp cùng với các bảng điều khiển hoặc dừng chúng, cũng như cho thiết bị công nghệ cụ thể được bảo vệ bằng hệ thống dừng an toàn.
8.3. Hệ thống dừng khẩn cấp
8.3.1. Quy định chung
a) Việc dừng hoạt động của thiết bị phải diễn ra trong vòng 45 giây hoặc ít hơn khi được coi là biện pháp cần thiết đảm bảo an toàn cho công trình sau khi kích hoạt hệ thống dừng khẩn cấp (ESD) tại một trạm dừng khẩn cấp bằng tay, hoặc sau khi thiết bị dừng hoạt động tự động phát hiện tình trạng hư hỏng.
b) Những mạch điện thiết yếu cho hệ thống dừng khẩn cấp mà cần cáp hoạt động liên tục để hệ thống vận hành chính xác thì cáp phải là loại chống cháy.
8.3.2. Dừng khẩn cấp - Tự động
Hệ thống dừng sự cố phải được kích hoạt tự động khi:
a) Phát hiện một trạng thái hoạt động bất thường bằng các cảm biến áp suất trong ống và các cảm biến trên tất cả các bộ phận phía sau mà dung chất đường ống chảy qua đó;
b) Phát hiện cháy trong khu vực xử lý và đầu giếng;
c) Phát hiện khí dễ cháy tại mức 60% của giới hạn nổ thấp;
d) Phát hiện khí H2S ở mức 50 ppm.
8.3.3. Dừng khẩn cấp - bằng tay
a) Các trạm dừng khẩn cấp phải được trang bị tác động điều khiển bằng tay cho hệ thống dừng sự cố để dừng tất cả các giếng và các hệ thống xử lý. Các trạm tác động bằng tay phải được bảo vệ chống lại tác động không lường trước, bố trí thuận tiện tại các vị trí sơ tán chính (Ví dụ như bến cập tàu, sân bay...) và các trạm điều khiển sự cố.
b) Tất cả các mạch điện sử dụng trong hệ thống dừng khẩn cấp điều khiển bằng tay phải được dành riêng cho mục đích này và là mạch điện tử đi dây cố định.
9. Các hệ thống điện tử cho các hệ thống an toàn, điều khiển và cảnh báo
9.1. Quy định chung
Các hệ thống điện tử phải được thiết kế sao cho hư hỏng tại bất kỳ bộ phận công nghệ nào cũng không gây ra hoạt động không an toàn của hệ thống. Phần mềm và cứng phục vụ các hệ thống quan trọng hoặc không quan trọng phải được bố trí sao cho tạo ưu tiên cho các hệ thống quan trọng.
9.2. Tính độc lập
Các chức năng của hệ thống dừng an toàn, cảnh báo và điều khiển phải được bố trí sao cho một tín hiệu hư hỏng đơn hoặc giảm chức năng của thiết bị điện tử sẽ không ảnh hưởng tới nhiều hơn một chức năng của hệ thống đó. Điều này có thể đạt được bởi thiết bị chuyên dụng cho mỗi chức năng của hệ thống đơn, hoặc cung cấp thiết bị dự phòng, hoặc bằng phương pháp phù hợp khác được xem là tương đương hoặc hữu hiệu hơn.
9.3. Phân tích đặc tính quan trọng, hậu quả và dạng hư hỏng (FMEA/FMECA)
Trường hợp các hệ thống dùng máy tính bao gồm các chức năng an toàn (nghĩa là các chức năng an toàn không được dự phòng bởi các hệ thống an toàn chạy dây cố định) thì phải thực hiện FMEA hoặc FMECA và nộp thẩm định.
9.4. Hiển thị cảnh báo
9.4.1.1. Các tín hiệu đến
a) Ngoài việc thỏa mãn các quy định nêu ở 5 của Phụ lục này, các báo động sẽ được trình bày theo cách có thể nhận biết khi được hiển thị bằng màn hình máy tính (bộ hiển thị video), và xuất hiện theo chuỗi các tín hiệu đến được nhận.
b) Cảnh báo các tín hiệu đến bị lỗi phải được tự động xuất hiện trên màn hình để cảnh báo cho nhân viên trực ca, dù cho máy tính và màn hình (thiết bị hiển thị video) đang ở chế độ nào khác ngoài chế độ giám sát (ví dụ đang tính toán hoặc hiển thị các sơ đồ mạch hay giả lập của các hệ thống khác).
9.4.1.2. Các cảnh báo chưa được khắc phục
Các cảnh báo liên quan tới các hư hỏng chưa được khắc phục có thể hiển thị ở dạng tóm lược cho đến khi tất cả các hư hỏng được xử lý hoàn toàn.
9.4.1.3. Màn hình máy tính (thiết bị hiển thị video)
a) Các hiển thị trên màn hình máy tính (thiết bị hiển thị video) phải nhìn được rõ ràng dưới ánh sáng môi trường xung quanh.
b) Dữ liệu hiển thị trên màn hình máy tính phải đảm bảo để người vận hành có thể đọc được từ vị trí vận hành bình thường.
9.5. Dung lượng bộ nhớ và thời gian phản hồi
a) Bộ nhớ của hệ thống máy tính có dung lượng đủ để chạy các chương trình (phần mềm) được cấu hình trong hệ thống máy tính.
b) Thời gian đáp ứng để xử lý và truyền dữ liệu phải sao cho không thể phát sinh một chuỗi sự kiện không mong muốn do sự chậm trễ dữ liệu không được chấp nhận hoặc thời gian phản hồi trong điều kiện hoạt động quá tải dữ liệu tồi tệ nhất của hệ thống máy tính (chế độ đa tác vụ).
9.6. Hư hỏng và mất dữ liệu
Để ngăn ngừa việc mất mát hoặc hư hỏng dữ liệu có thể xảy ra do gián đoạn nguồn điện, các chương trình và dữ liệu được coi là cần thiết cho hoạt động của một hệ thống cụ thể phải được lưu trữ trong ổ đĩa dự phòng, hoặc trong ổ đĩa chính với bộ cấp nguồn điện dự phòng không gián đoạn (UPS).
9.7. Mạng nội bộ (LAN)
Đối với các hệ thống an toàn mà hệ thống kiểm soát và điều khiển từ xa hoặc tự động cho các bộ phận công nghệ cụ thể được bố trí vận hành trong mạng nội bộ, phải tuân thủ các yêu cầu sau:
a) Cấu trúc mạng phải được cấu hình để trong trường hợp có sự hư hỏng giữa các nút hoặc tại một nút, hệ thống trên mạng vẫn duy trì hoạt động.
b) Trong trường hợp bộ điều khiển mạng bị hỏng, mạng sẽ phải được sắp xếp để tự động chuyển sang bộ điều khiển dự phòng. Hư hỏng của bộ điều khiển mạng phải được báo động tại trạm điều khiển từ xa có liên quan.
c) Phải có các thiết bị bảo vệ để ngăn ngừa việc trì hoãn truyền tải dữ liệu không chấp nhận (mạng quá tải). Cảnh báo phải được kích hoạt ở trạm điều khiển từ xa có liên quan trước khi có trạng thái quá tải dữ liệu mạng quan trọng, (xem quy định 9.5)
d) Đường truyền tốc độ cao dữ liệu thông tin liên lạc phải được trang bị đúp và phải được bố trí sao cho khi có hư hỏng trên đường truyền tốc độ cao trực tuyến thì đường truyền dữ liệu tốc độ cao dự phòng sẽ tự động kết nối với hệ thống. Đường truyền dữ liệu tốc độ cao dự phòng không sử dụng để làm giảm dung lượng truyền trên đường truyền tốc độ cao trực tuyến.
9.8. Gián đoạn nguồn cấp điện
Phần mềm và phần cứng của hệ thống phải được thiết kế sao cho khi phục hồi nguồn điện sau khi mất điện, các chức năng điều khiển tự động hoặc điều khiển từ xa và giám sát có thể sẵn sàng ngay lập tức sau khi hoàn thành quá trình đăng nhập kiểm soát máy tính đã được thiết lập trước.
9.9. Các thay đổi chương trình và các thông số
Thay đổi các thông số có thể ảnh hưởng đến hiệu suất của hệ thống, nên phải giới hạn thẩm quyền người điều khiển bằng các phương tiện như công tắc khóa, thẻ khóa, mật khẩu hoặc các biện pháp được thẩm định khác.
9.10. Điều khiển tại nhiều điểm
Các hệ thống có nhiều trạm điều khiển phải được cung cấp chỉ dẫn rõ ràng ở mỗi vị trí để xác định trạm đang điều khiển, và phải được cung cấp các quy trình để đảm bảo chuyển giao quyền điều khiển một cách hợp lý.
10. Các van an toàn (relief valves)
10.1. Quy định chung
a) Nếu có trang bị các van an toàn dự phòng thì van chặn đầu nguồn phải được đóng và van chặn cuối nguồn phải được mở để phòng van an toàn bị quá áp do rò rỉ ở van chặn đầu nguồn.
b) Không cho phép sử dụng các van một chiều thay cho van chặn cuối nguồn.
c) Tiết diện của van chặn đầu nguồn phải bằng hoặc lớn hơn tiết diện đầu vào của van an toàn. Tương tự, tiết diện van chặn cuối nguồn phải bằng hoặc lớn hơn tiết diện đầu ra của van an toàn.
10.2. Các quy định về thử
Phải có biện pháp để cho phép thử định kỳ cho mỗi van an toàn mà không phải tháo nó ra khỏi đường ống hoặc bình chịu áp lực. Nếu cần thiết, các van an toàn phải được trang bị độc lập van chặn đầu vào hoặc van một chiều và các đầu nối thử để có thể đưa nguồn áp suất bên ngoài vào thử van.
10.3. Các thiết bị khóa các van chặn
Tất cả các van chặn đầu nguồn và cuối nguồn của các van an toàn hoặc đĩa nổ (rupture disk) phải được trang bị các dây kẹp hay thiết bị khóa để ngăn ngừa van an toàn bị tách khỏi hệ thống khi đang hoạt động.
11. Các van đóng khẩn cấp, van xả khí và các van chuyển hướng (shutdown valves, blowdown valves, diverter valves)
Các van đóng khẩn cấp, van xả khí hay van chuyển hướng loại kích hoạt tự động phải được trang bị bộ chỉ báo vị trí tại các trạm vận hành van, hoặc là loại van mà vị trí (đóng hay mở) của van có thể nhìn thấy được rõ ràng từ bên ngoài.
PHỤ LỤC B - Thông tin liên lạc vô tuyến điện
1. Quy định chung
1.1. Phần này đưa ra các quy định tối thiểu về thông tin liên lạc vô tuyến điện giữa giàn và tàu dịch vụ và tàu biển đi qua khu vực giàn được lắp đặt.
1.2. Có thể xem xét miễn giảm thiết bị, khi mà tàu trực đã được trang bị và thông tin liên lạc giữa tàu trực và giàn được đảm bảo.
2. Quy định về trang bị
2.1. Mỗi giàn có người ở thường xuyên phải được trang bị:
2.1.1. Một máy vô tuyến VHF có khả năng phát và thu:
2.1.1.1. DSC (gọi chọn số) trên tần số 156,525 MHz (kênh 70). Nó phải có thể phát các thông tin cấp cứu trên kênh 70; và
2.1.1.2. Vô tuyến điện thoại trên các tần số 156,300 MHz (kênh 6), 156,650 MHz (kênh 13) và 156,800 MHz (kênh 16).
2.1.2. Một thiết bị định vị tìm kiếm và cứu nạn có khả năng hoạt động trên dải tần 9 GHz hoặc trên các tần số ấn định cho AIS, thiết bị này:
2.1.2.1. Phải được đặt ở vị trí có thể dễ dàng sử dụng: và
2.1.2.2. Có thể là một trong những thiết bị được yêu cầu cho phương tiện cứu sinh.
2.1.3. Một phao vô tuyến chỉ báo vị trí sự cố qua vệ tinh (S.EPIRB) phải:
2.1.3.1. Có khả năng phát tín hiệu cấp cứu thông qua dịch vụ vệ tinh địa cực hoạt động ở tần số 406 MHz;
2.1.3.2. Được đặt ở vị trí dễ dàng tiếp cận được;
2.1.3.3. Có thể sẵn sàng tháo rời bằng tay và một người có thể mang được vào phương tiện cứu sinh;
2.1.3.4. Có khả năng tự nổi nếu giàn chìm và tự động hoạt động khi nổi; và
2.1.3.5. Có khả năng hoạt động bằng tay.
2.2. Ngoài việc thỏa mãn quy định tại 2.1, tất cả các giàn có người ở thường xuyên được lắp đặt trong vùng biển A1 phải:
2.2.1. Được trang bị một thiết bị vô tuyến có khả năng phát các thông tin cấp cứu từ giàn vào bờ;
2.2.2. Có thể thay việc trang bị S.EPIRB theo yêu cầu ở 2.1.3 bằng một VHF.EPIRB. VHF.EPIRB này phải:
2.2.2.1. Có khả năng phát tín hiệu cấp cứu dùng DSC trên kênh 70 VHF và cho khả năng
định vị như thiết bị phát báo ra đa hoạt động trên dải tần 9 GHz;
2.2.2.2. Phải được lắp đặt ở vị trí dễ tiếp cận;
2.2.2.3. Sẵn sàng được tháo ra bằng tay và một người có thể mang được vào phương tiện cứu sinh;
2.2.2.4. Có khả năng tự nổi nếu tàu chìm và tự động hoạt động khi nổi; và
2.2.2.5. Có khả năng hoạt động bằng tay.
2.3. Ngoài việc thỏa mãn quy định tại 2.1, tất cả các giàn có người ở thường xuyên được lắp đặt trong vùng biển A2 phải trang bị:
2.3.1. Một thiết bị vô tuyến MF có khả năng phát và thu các tín hiệu an toàn và cấp cứu trên các tần số:
2.3.1.1. 2187,5 kHz sử dụng DSC; và
2.3.1.2. 2182 kHz sử dụng vô tuyến điện thoại.
2.3.2. Một thiết bị vô tuyến có khả năng duy trì trực canh DSC liên tục trên tần số 2187,5 kHz, thiết bị này có thể tách riêng hoặc kết hợp với thiết bị ở tiểu mục 2.3.1.1; và
2.3.3. Phương tiện phát những thông tin cấp cứu từ giàn vào bờ bằng một nghiệp vụ vô tuyến không phải là MF, hoạt động:
2.3.3.1. Hoặc thông qua nghiệp vụ thông tin vệ tinh quỹ đạo cực trên tần số 406 MHz; có thể đáp ứng được điều này bằng cách lắp đặt S.EPIRB; hoặc
2.3.3.2. Trên tần số HF sử dụng DSC; hoặc
2.3.3.3. Thông qua dịch vụ vệ tinh địa tĩnh Inmarsat bằng trạm thông tin của giàn.
2.3.4. Giàn phải có khả năng phát và thu những thông tin chung sử dụng vô tuyến điện thoại hoặc vô tuyến điện báo in trực tiếp.
2.4. Ngoài việc thỏa mãn quy định tại 2.1, tất cả các giàn có người ở thường xuyên được lắp đặt trong vùng biển A3, nếu không được trang bị phù hợp với những yêu cầu ở 2.5, đều phải được trang bị:
2.4.1. Một trạm INMARSAT trên tàu có khả năng:
2.4.1.1. Phát và thu những thông tin an toàn và cấp cứu sử dụng vô tuyến điện báo in trực tiếp;
2.4.1.2. Phát và thu những cuộc đàm thoại cấp cứu ưu tiên;
2.4.1.3. Duy trì việc trực canh các thông tin cấp cứu từ bờ tới tàu; kể cả những thông tin được phát tới những khu vực địa lý được quy định đặc biệt;
2.4.1.4. Phát và thu những thông tin vô tuyến chung sử dụng hoặc vô tuyến điện thoại hoặc vô tuyến điện báo in trực tiếp; và
2.4.2. Một thiết bị vô tuyến MF có khả năng phát và thu những thông tin an toàn và cấp cứu trên các tần số:
2.4.2.1. 2.187,5 kHz sử dụng DSC; và
2.4.2.2. 2.182 kHz sử dụng vô tuyến điện thoại; và
2.4.3. Một thiết bị vô tuyến có khả năng duy trì trực canh DSC liên tục trên tần số 2187,5 kHz, có thể tách riêng hoặc kết hợp với thiết bị nêu ở 2.4.2.1; và
2.4.4. Các phương tiện phát những thông tin cấp cứu từ tàu tới bờ bằng một nghiệp vụ thông tin vô tuyến hoạt động:
2.4.4.1. Hoặc qua nghiệp vụ thông tin vệ tinh quỹ đạo cực trên tần số 406 MHz; yêu cầu này có thể được thỏa mãn bằng thiết bị S.EPIRB, bằng cách lắp đặt S.EPIRB; hoặc
2.4.4.2. Trên tần số HF sử dụng DSC; hoặc
2.4.4.3. Thông qua dịch vụ vệ tinh địa tĩnh Inmarsat.
2.5. Ngoài việc thỏa mãn quy định tại 2.1, tất cả các giàn có người ở thường xuyên được lắp đặt trong vùng biển A3, nếu không được trang bị phù hợp với những yêu cầu ở 2.4, đều phải được trang bị:
2.5.1. Một thiết bị vô tuyến MF/HF có khả năng phát và thu các thông tin an toàn và cấp cứu trên tất cả các tần số cấp cứu và an toàn ở dải tần từ 1.605 kHz đến 4.000 kHz và từ 4.000 kHz đến 27.500 kHz:
2.5.1.1. Sử dụng DSC;
2.5.1.2. Sử dụng vô tuyến điện thoại; và
2.5.1.3. Sử dụng điện báo in trực tiếp.
2.5.2. Thiết bị có khả năng duy trì trực canh DSC trên các tần số 2.187,5kHz, 8.414,5 kHz và trên ít nhất một trong những tần số cấp cứu và an toàn DSC sau: 4.207,5 kHz, 6.312 kHz, 12.577 kHz hoặc 16.804,5 kHz; tại bất kỳ thời điểm nào nó cũng phải có khả năng lựa chọn được bất kỳ một trong số các tần số an toàn và cấp cứu DSC này. Thiết bị này có thể tách riêng hoặc kết hợp với thiết bị yêu cầu được nêu ở 2.5.1; và
2.5.3. Phương tiện phát những thông tin cấp cứu từ giàn đến bờ bằng một nghiệp vụ thông tin vô tuyến không phải là HF hoạt động:
2.5.3.1. Hoặc qua nghiệp vụ thông tin vệ tinh quỹ đạo cực trên tần số 406 MHz; yêu cầu có thể được thỏa mãn bằng S.EPIRB, bằng cách hoặc là lắp đặt EPIRB; hoặc
2.5.3.2. Thông qua dịch vụ vệ tinh địa tĩnh Inmarsat.
2.5.4. Ngoài ra, các giàn phải có khả năng phát và thu những thông tin chung sử dụng vô tuyến điện thoại hoặc điện báo in trực tiếp bằng thiết bị vô tuyến MF/HF hoạt động trên các dải tần làm việc từ 1.605 kHz đến 4.000 kHz và từ 4.000 kHz 27.500 kHz. Yêu cầu này có thể được đáp ứng bằng cách bổ sung khả năng này cho thiết bị yêu cầu trong 2.5.1.
2.6. Ngoài việc thỏa mãn quy định tại 2.1, tất cả các giàn có người ở thường xuyên được lắp đặt trong vùng biển A4 phải được trang bị các máy vô tuyến và thiết bị vô tuyến được nêu ở 2.5. Tuy nhiên, thiết bị yêu cầu bởi 2.5.3.2 không được chấp nhận như là thiết bị thay thế tương đương cho thiết bị yêu cầu phải trang bị thường xuyên bởi quy định 2.5.3.1.
2.7. Nếu mức độ tiếng ồn trong buồng trang bị điều khiển các thiết bị vô tuyến điện là ở mức độ cao hoặc có thể ở mức độ cao, trong các điều kiện hoạt động cụ thể, nó có thể làm ảnh hưởng hoặc cản trở việc sử dụng hợp lý các thiết bị vô tuyến điện, phải có đủ sự bảo vệ khỏi tiếng ồn bằng các thiết bị cơ khí hoặc các thiết bị khác, kết hợp với các điều khiển vận hành các thiết bị vô tuyến điện.
2.8. Nếu giàn có lắp đặt sân bay trực thăng, để đảm bảo thông tin liên lạc, các giàn phải có trạm vô tuyến điện thoại hàng không VHF thỏa mãn các yêu cầu của ICAO và phù hợp với thông tin liên lạc với máy bay trực thăng trong vùng hoạt động.
2.9. Giàn phải có hệ thống thông tin liên lạc nội bộ hoạt động hiệu quả giữa buồng điều khiển và các vị trí lắp đặt thiết bị vô tuyến.
PHỤ LỤC C - Phân cấp theo tiêu chuẩn tính năng được xác định từ phương pháp đánh giá rủi ro
1. Quy định chung
1.1. Quy định chung
1.1.1. Chương này đưa ra cách thức thực hiện của Đăng kiểm về các hoạt động Phân cấp giàn dựa trên các kỹ thuật đánh giá rủi ro. Điều này có nghĩa là sự chấp nhận của thiết kế và mức độ thẩm tra dựa trên đánh giá rủi ro thay vì dựa vào các quy phạm thông lệ.
1.1.2. Mục tiêu của phương pháp này là cung cấp một cách thay thế trong phân cấp riêng phần và thiết kế giàn kiểu mới trong khi duy trì một mức độ được chấp nhận với một mức độ an toàn và toàn vẹn vẫn thực hiện theo các quy phạm phân cấp truyền thống. Mặc dù không đề cập cụ thể trong quy định kỹ thuật cách thức thực hiện, việc tránh hậu quả xấu về môi trường phải được đưa vào tính toán càng đầy đủ càng tốt bằng các quy phạm phân cấp truyền thống.
1.2. Áp dụng
1.2.1. Việc phân cấp dựa trên đánh giá rủi ro được áp dụng thay thế hoặc bổ sung về phân cấp cho giàn theo phương pháp đã nêu tại 1, Phần II. Khi phân cấp dựa trên đánh giá rủi ro chỉ áp dụng cho một phần của giàn, thì phần còn lại của giàn vẫn phải đảm bảo các yêu cầu của quy định áp dụng khác của Quy chuẩn này.
1.2.2. Trong trường hợp như vậy, điều quan trọng để đảm bảo một an toàn chung giữa hai phương pháp phân cấp, nghĩa là thiết kế dựa trên đánh giá rủi ro không có một ảnh hưởng tiêu cực nào về sự an toàn hoặc tính toàn vẹn theo các quy phạm phân cấp và ngược lại.
1.3. Phạm vi
1.3.1. Theo quy định kỹ thuật về cách thức thực hiện, đánh giá rủi ro được hiểu là việc xác định hệ thống và định lượng các nguy cơ cho con người và thiết bị (xem 1.1.2).
1.3.2. Đánh giá rủi ro là quá trình tổng thể bao gồm việc nhận biết rủi ro (nguy cơ), phân tích rủi ro và định lượng rủi ro. Việc đánh giá sẽ xác định khu vực rủi ro đáng kể nhất và các biện pháp giảm rủi ro có thể nhằm vào nơi bị ảnh hưởng nhất.
Việc sử dụng đánh giá rủi ro trong phân cấp phải gồm:
a) Nhận biết và định lượng nguy cơ và những rủi ro mà chúng gây ra cho sự an toàn và tính nguyên vẹn của giàn.
b) Chứng minh rằng những rủi ro có thể chấp nhận được, đáp ứng các tiêu chuẩn chấp nhận về rủi ro đã xác định và hoặc hướng tới giảm thiểu rủi ro.
c) Xác định các bộ phận quan trọng về an toàn và tiêu chuẩn tính năng được yêu cầu của chúng để đáp ứng các tiêu chuẩn chấp nhận.
1.3.3. Để được trao cấp, Đăng kiểm sẽ xem xét và thẩm định việc lựa chọn các bộ phận quan trọng về an toàn và các tiêu chuẩn tính năng, và thẩm định thiết kế, giám sát trong chế tạo, lắp dựng và vận hành thử chúng.
1.3.4. Đăng kiểm sẽ thiết lập kế hoạch giám sát kỹ thuật giàn cụ thể cho việc vào cấp lần đầu cũng như duy trì cấp. Phạm vi để thẩm định và giám sát kỹ thuật được nêu chi tiết tại 2 đến 4 của Phụ lục này.
1.3.5. Việc duy trì cấp phải được thực hiện thông qua việc giám sát kỹ thuật liên tục để đảm bảo các bộ phận an toàn vẫn ở trong trạng thái phù hợp và được sửa chữa để thỏa mãn tiêu chuẩn tính năng của chúng.
1.3.6. Khi duy trì cấp, Đăng kiểm tiếp tục duy trì kế hoạch giám sát kỹ thuật dựa trên việc xem xét căn cứ vào kết quả của các hoạt động giám sát kỹ thuật. Đăng kiểm sẽ cấp phát báo cáo tình trạng giám sát kỹ thuật hàng năm, các tài liệu này có thể được sử dụng như tài liệu cùng với các yêu cầu xem xét quy định khác.
1.3.7. Chủ giàn có trách nhiệm bảo đảm giàn thỏa mãn các yêu cầu của Quy chuẩn này hoặc Công ước, và các tiêu chuẩn khác nếu bất cứ yêu cầu nào đó không được thỏa mãn.
1.3.8. Đăng kiểm sẽ theo dõi và lập văn bản về các hoạt động thẩm định và giám sát kỹ thuật để đưa vào cấp và duy trì cấp. Đăng kiểm cũng sẽ thảo luận và hướng dẫn các hoạt động đánh giá rủi ro như là sự cần thiết để bảo đảm sự chấp nhận để phân cấp. Các chủ giàn sẽ hợp tác với các Đăng kiểm như là sự cần thiết để thiết lập và thực hiện quá trình thẩm định và giám sát kỹ thuật.
2. Nguyên tắc thiết kế và phương pháp đánh giá rủi ro
2.1. Quy định chung
2.1.1. Rủi ro phải được đánh giá theo phương pháp được chấp nhận và phải được thực hiện bởi người đủ chuyên môn và được công nhận với sự hiểu biết cần thiết về rủi ro và quá trình đánh giá rủi ro.
2.1.2. Các công cụ và các phương pháp đánh giá rủi ro, giả định, và giới hạn đường biên hệ thống phải được lập thành tài liệu rõ ràng. Phân tích độ nhạy để kiểm tra các kết quả có thể biến đổi do các giả định riêng lẻ quan trọng bị thay đổi phải được sử dụng để lập thành tài liệu về sự không chắc chắn các rủi ro được nhận biết. Tài liệu này phải được Đăng kiểm thẩm định.
2.2. Nguyên tắc thiết kế
Các nguyên tắc sau đây phải được áp dụng bổ sung thêm cho các yêu cầu đã được nhận biết từ đánh giá rủi ro:
2.2.1. Giàn phải được thiết kế và chế tạo với sự toàn vẹn đầy đủ để chịu được tải trọng môi trường và hoạt động trong suốt tuổi thọ giàn.
2.2.2. Các hệ thống và kết cấu phải được thiết kế với chức năng và khả năng duy trì hoạt động phù hợp cho việc phòng chống, phát hiện, kiểm soát, và giảm thiểu sự cố thấy trước ảnh hưởng tới giàn.
2.2.3. Phải tránh sự leo thang tới các thiết bị và khu vực mà những bộ phận đó không bị ảnh hưởng bởi các sự kiện khởi đầu.
2.2.4. Tính hiệu quả của lối thoát, nơi trú ẩn và thiết bị sơ tán phải được cung cấp để bảo vệ tất cả nhân viên, sẵn sàng hoạt động, tại mọi thời điểm khi giàn có người.
2.3. Đánh giá rủi ro
2.3.1. Nhận biết nguy cơ
2.3.1.1. Các nguy cơ tiềm ẩn khả năng đe dọa an toàn tới con người hoặc sự toàn vẹn của giàn phải được nhận biết. Việc nhận biết nguy cơ sẽ bao gồm tất cả trạng thái được dự tính thông thường của giàn, như là hoạt động, bảo trì, và ngừng hoạt động.
2.3.1.2. về cơ bản, nhưng không nhất thiết phải đầy đủ, danh sách các nguy cơ bao gồm:
a) Mất chặn giếng (phun trào v.v...);
b) Rò rỉ hydrocarbon có thể gây cháy, nổ, hoặc ô nhiễm (như là độc hại);
c) Rỏ rỉ các chất độc hại hoặc nguy hiểm khác;
d) Va chạm;
e) Sự cố máy bay trực thăng;
f) Sự phá hủy nền móng và/hoặc kết cấu;
g) Vật rơi.
2.3.1.3. Kết quả của việc nhận biết nguy cơ và bất kỳ giả định liên quan phải được chứng minh bằng tài liệu.
2.3.2. Phân tích rủi ro
2.3.2.1. Các nguy cơ đã được nhận biết có thể được xếp hạng dựa trên sự tổ hợp của tần suất có thể xuất hiện và hậu quả. Rủi ro không đáng kể có thể được loại trừ từ sự đánh giá thêm với điều kiện là các giả thiết liên quan được chứng minh bằng tài liệu.
a) Rủi ro không được chia nhỏ thành các mối nguy cơ xuất hiện riêng lẻ không quan trọng, trong khi chúng vẫn còn đại diện cho một nguy cơ đáng kể.
b) Việc xem xét tần suất bao gồm cả việc nhận biết các sự kiện khởi đầu, và sự tổ hợp các sự kiện, mà có thể dẫn đến một nguy cơ. Khả năng xảy ra sự kiện như vậy có thể được xác định từ dữ liệu lịch sử hoặc các dữ liệu thích hợp khác.
c) Các hậu quả từ các nguy cơ phải bao gồm phân tích về tác động từ các tai nạn hoặc sự kiện bất ngờ về sự an toàn của con người và sự toàn vẹn của giàn.
2.3.2.2. Phải đánh giá tính sẵn sàng và nhạy của các hệ thống ngăn ngừa và bảo vệ chủ chốt theo các tính năng được yêu cầu cho mỗi mối nguy cơ đã được nhận biết. Bất kỳ sự phát hiện đáng kể nào phải phù hợp với các giả thiết được lập ra trong các phần khác nhau của phân tích và đánh giá rủi ro.
2.3.2.3. Các nguy cơ còn lại sau khi thực hiện sàng lọc được gọi là mối nguy cơ lớn đáng kể. Việc lựa chọn các nguy cơ lớn đáng kể, bao gồm cả các giả định lập ra là một phần của quá trình xếp hạng, phải được dẫn chứng bằng tài liệu.
2.3.2.4. Các cơ sở sử dụng cho việc xếp hạng rủi ro, bao gồm cả những giả định liên quan đến tính năng của hệ thống an toàn và loại trừ các rủi ro ít quan trọng, phải được thẩm định bởi Đăng kiểm.
2.3.3. Đánh giá rủi ro
2.3.3.1. Những rủi ro từ các nguy cơ lớn đáng kể phải được đánh giá và xem xét cùng nhau để chỉ ra:
a) Rủi ro về an toàn hàng năm cho các nhóm nhân viên điển hình trên giàn (rủi ro riêng lẻ);
b) Rủi ro về mất tính toàn vẹn hàng năm của giàn;
c) Sự góp phần liên quan của các nguy cơ khác nhau đối với các rủi ro được tính toán trong một tổng thể.
2.3.3.2. Những rủi ro hàng năm phải được đánh giá với tiêu chuẩn chấp nhận rủi ro được định trước (xem 2.3.3.3). Nếu cần thiết, các biện pháp giảm rủi ro phải được áp dụng để đáp ứng các tiêu chuẩn chấp nhận.
2.3.3.3. Kết quả phân tích và định lượng rủi ro phải được chứng minh bằng tài liệu và được Đăng kiểm thẩm định.
2.3.4. Tiêu chuẩn chấp nhận
2.3.4.1. Quy chuẩn này đưa ra một mức chấp nhận được về sự an toàn và tính toàn vẹn cho giàn trong việc thiết kế, chế tạo và trong quá trình khai thác. Phân cấp dựa trên các kỹ thuật đánh giá rủi ro với mong muốn sẽ đạt được mức tối thiểu tương đương về an toàn như phân cấp dựa trên các quy định thông lệ như quy định tại 1, Phần II của Quy chuẩn này.
2.3.4.2. Trong trường hợp sự sai lệch so với các quy định được chứng minh trên cơ sở đánh giá rủi ro, điều này phải được thể hiện như là kết quả trong một mức được chấp nhận về an toàn cho giàn. Các sai lệch này phải được chứng minh thỏa mãn tiêu chuẩn chấp nhận đã xác định.
2.3.4.3. Chủ giàn phải chỉ rõ các tiêu chuẩn chấp nhận trước khi thực hiện phân tích rủi ro. Các tiêu chuẩn sẽ đưa vào tính toán cho cả xác suất và hậu quả của sự kiện tai nạn lớn đáng kể. Việc đảm bảo tiêu chuẩn chấp nhận sẽ thiết lập dữ liệu cho việc nhận biết các bộ phận quan trọng về an toàn và sự lựa chọn tiêu chuẩn tính năng.
2.3.4.4. Tiêu chuẩn chấp nhận phải được thẩm định bởi Đăng kiểm.
2.3.5. Các bộ phận quan trọng về an toàn
2.3.5.1. Khi các tiêu chuẩn chấp nhận đã được thỏa mãn, những bộ phận quan trọng về an toàn và tiêu chuẩn tính năng phải được ghi lại để làm cơ sở để vào cấp.
2.3.5.2. Các bộ phận quan trọng về an toàn được quy định tại 3.2.20 - PHẦN I của Quy chuẩn này, và bao gồm tất cả các thành phần hay hệ thống mà sự an toàn của giàn phụ thuộc vào. Điều này bao gồm tất cả các thiết bị cho việc phòng ngừa, phát hiện, kiểm soát và giảm thiểu rủi ro từ các nguy cơ lớn.
2.3.5.3. Các bộ phận quan trọng về an toàn nên được nhận biết từ, và phải phù hợp đầy đủ, các kịch bản nguy cơ lớn mà được xem xét trong đánh giá. Nhận biết các bộ phận cũng bao gồm dữ liệu đầu vào từ đánh giá kỹ thuật tốt.
Việc lựa chọn các hạng mục là quan trọng về an toàn, phải được căn cứ vào hậu quả của hư hỏng.
2.3.5.4. Các bộ phận quan trọng về an toàn phải được ghi lại và phải được Đăng kiểm thẩm định.
2.3.6. Tiêu chuẩn tính năng
2.3.6.1. Tiêu chuẩn tính năng phải được lập cho các bộ phận quan trọng về an toàn. Các tiêu chuẩn tính năng phải đảm bảo các bộ phận quan trọng an toàn là phù hợp với yêu cầu của các tiêu chuẩn chấp nhận như đã chứng minh trong đánh giá.
2.3.6.2. Các tiêu chuẩn tính năng phải được mô tả phù hợp, thông thường là về mặt định lượng, để có thể giám sát kỹ thuật các bộ phận quan trọng về an toàn.
2.3.6.3. Các tiêu chuẩn tính năng phải phản ánh bất kỳ yêu cầu vòng đời liên quan của bộ phận quan trọng.
2.3.6.4. Các tiêu chuẩn tính năng phải phản ánh bất kỳ sự tương tác hay sự phụ thuộc giữa các bộ phận quan trọng về an toàn cho một kịch bản tai nạn lớn cụ thể.
2.3.6.5. Tiêu chuẩn tính năng phải được lập thành tài liệu và được thẩm định bởi Đăng kiểm.
2.3.7. Giảm thiểu rủi ro
2.3.7.1. Các kết quả về định lượng và nhận biết nguy cơ đưa ra một cơ hội tốt cho việc giảm thiểu rủi ro. Trong việc trao cấp, giảm thiểu rủi ro sẽ được thực hiện tại bất kỳ thời điểm nào mà cơ hội thực tế được nhận biết.
2.3.7.2. Nhận biết và định lượng nguy cơ được khởi đầu hiệu quả nhất ở giai đoạn thiết kế cơ sở ban đầu, khi rủi ro có thể tránh được hoặc giảm thiểu.
Đối với giàn đang khai thác khi mà điều này có thể thực hiện, nhận biết và định lượng nguy cơ sẽ được sử dụng để chỉ ra nguy cơ và tối ưu hóa các biện pháp bảo vệ để quản lý chúng. Theo mức độ quan trọng, điều này có nghĩa là các biện pháp để ngăn chặn, phát hiện, kiểm soát và giảm thiểu nguy cơ.
3. Giám sát kỹ thuật
3.1. Quy định chung
3.1.1. Để trao cấp, Đăng kiểm sẽ giám sát kỹ thuật giàn đã được thiết kế và chế tạo đạt một mức độ được chấp nhận về an toàn.
3.1.2. Điều này bao gồm giám sát kỹ thuật có lựa chọn tất cả các bộ phận quan trọng về an toàn và chúng được chỉ rõ, cung cấp và lắp đặt phù hợp với mục đích dự định. Trong trường hợp này, các cách thức phù hợp thích hợp cho sử dụng dự định và có thể thực hiện như dự kiến.
3.2. Giàn mới
3.2.1. Kế hoạch thẩm định thiết kế, giám sát kỹ thuật trong chế tạo và vận hành thử
3.2.1.1. Việc xác minh ban đầu sẽ bao gồm xem xét và thẩm định cho:
a) Lựa chọn các bộ phận quan trọng về an toàn
Các bộ phận quan trọng về an toàn phải có khả năng truy tìm trở lại các nguy cơ lớn đe dọa sự an toàn hoặc toàn vẹn. Việc lựa chọn cần được xác định thông qua đánh giá rủi ro, nhưng vẫn có thể phản ánh đánh giá kỹ thuật tốt.
b) Các tiêu chuẩn tính năng được chỉ định
Các tiêu chuẩn tính năng phải định ra một cách tương xứng về sự sẵn sàng và tính năng cần thiết. Các cấp độ tính năng được quy định cần được chứng minh dựa trên tính năng giả định hoặc được yêu cầu trong đánh giá rủi ro, có cả yêu cầu trước đó, trong khi và ngay sau tai nạn nghiêm trọng.
c) Thiết kế và quy định kỹ thuật của các bộ phận quan trọng về an toàn
Các bộ phận quan trọng về an toàn phải được thiết kế phù hợp để đáp ứng các tiêu chuẩn tính năng đã được thẩm định.
3.2.1.2. Để thẩm định các bộ phận quan trọng về an toàn đã được cung cấp đáp ứng yêu cầu tính năng đã được xác định, chúng phải có sự thẩm định cuối cùng cho:
a) Sản xuất hoặc chế tạo hoặc lắp ráp cho các bộ phận quan trọng về an toàn
Các bộ phận quan trọng về an toàn phải được cung cấp theo tiêu chuẩn kỹ thuật thiết kế được thẩm định.
b) Lắp đặt hoặc hoạt động của các bộ phận quan trọng về an toàn
Các bộ phận quan trọng về an toàn phải được lắp đặt và vận hành thử để có tính năng theo yêu cầu trong trường hợp sự cố.
Những công việc này có thể là một sự kết hợp có chọn lọc giữa kiểm tra, thử, kiểm tra giấy chứng nhận và các biên bản, v.v...
3.2.1.3. Nội dung kế hoạch giám sát kỹ thuật của Đăng kiểm phụ thuộc vào việc lựa chọn các bộ phận quan trọng về an toàn và các tiêu chuẩn tính năng tương ứng.
Một khi thông tin này được xác định, Đăng kiểm sẽ thiết lập một kế hoạch giám sát kỹ thuật kết cấu để đáp ứng cho việc xem xét, thẩm định và yêu cầu kiểm tra các bộ phận quan trọng về an toàn. Kế hoạch bao gồm:
a) Ghi chép các bộ phận quan trọng về an toàn đã nhận biết, và tính năng yêu cầu của các bộ phận này:
b) Sắp đặt kế hoạch giám sát kỹ thuật ở từng giai đoạn của dự án;
c) Lập tài liệu về kết quả giám sát kỹ thuật.
Kế hoạch sẽ cung cấp một đường dẫn trực tiếp từ các hoạt động giám sát kỹ thuật trở lại việc đánh giá rủi ro, và sau đó là có một dữ liệu lập thành tài liệu về an toàn và nguyên vẹn của giàn.
3.2.1.4. Đối với các giàn chế tạo mới, Đăng kiểm tham gia ngay từ đầu là yêu cầu nhất thiết để tạo điều kiện thực hiện kịp thời cho quá trình giám sát kỹ thuật.
3.3. Giàn đang khai thác
3.3.1. Giàn đang được khai thác chưa được phân cấp hoặc đã được phân cấp với một tổ chức khác có thể áp dụng phân cấp dựa trên rủi ro.
3.3.2. Các yêu cầu giám sát kỹ thuật ban đầu sẽ được xác định từng trường hợp cơ sở dữ liệu phụ thuộc vào thiết kế, sự khác lạ, phân cấp trước đó (nếu có), tuổi, lịch sử của giàn v.v... Như một nguyên tắc chung, các yêu cầu sẽ được tương tự như các giàn chế tạo mới và ngoại trừ các điều sau đây:
a) Giám sát kỹ thuật trong chế tạo và thẩm định thiết kế được giới hạn phụ thuộc vào nội dung của tài liệu gốc và chứng nhận sẵn có;
b) Việc kiểm tra các hồ sơ liên quan đến hoạt động trước đó của giàn;
c) Kiểm tra tình trạng toàn diện, bao gồm kiểm tra và thử, để chỉ ra các thực trạng của giàn và những phần được chấp nhận để phân cấp.
4. Duy trì cấp
4.1. Quy định chung
Để duy trì cấp trong khai thác, Đăng kiểm sẽ giám sát kỹ thuật sự phù hợp của các bộ phận quan trọng về an toàn. Mục này bao gồm giám sát kỹ thuật bằng cách kiểm tra, thử, đánh giá và xem xét, là cần thiết để cung cấp sự bảo đảm rằng tất cả các bộ phận quan trọng về an toàn được lựa chọn và chúng sẽ vẫn trong tình trạng và được sửa chữa tốt phù hợp với mục đích dự định.
4.2. Kế hoạch giám sát kỹ thuật trong khai thác để duy trì cấp
4.2.1. Đăng kiểm sẽ lập một chương trình giám sát kỹ thuật cho việc xem xét, thẩm định và kiểm tra các bộ phận quan trọng về an toàn đối với một giàn đang khai thác, kế hoạch bao gồm:
4.2.1.1. Xem xét các bộ phận quan trọng về an toàn được lựa chọn và các tiêu chuẩn tính năng, cụ thể:
a) Thay đổi trong các yêu cầu hoạt động;
b) Các thay đổi về sơ đồ bố trí hoặc tính năng;
c) Kinh nghiệm tích lũy trong quá trình hoạt động của kế hoạch.
4.2.1.2. Kế hoạch làm việc đang diễn ra và được cập nhật cho công tác giám sát kỹ thuật.
4.2.1.3. Kết quả được lập thành tài liệu về công tác thẩm định bao gồm bất kỳ hành động khắc phục hậu quả được nhận biết hoặc sự cần thiết khác cho sự thay đổi.
4.2.2. Xem xét các bộ phận quan trọng về an toàn
Việc xem xét các bộ phận quan trọng về an toàn sẽ được thực hiện liên tục từ giám sát kỹ thuật ban đầu trong quá trình thiết kế và chế tạo, và sẽ thực hiện tính toán:
a) Thay đổi trong các yêu cầu hoạt động
b) Các thay đổi về sơ đồ bố trí hoặc tính năng
c) Kinh nghiệm tích lũy trong quá trình hoạt động của kế hoạch.
4.3. Kế hoạch giám sát kỹ thuật
4.3.1. Kế hoạch giám sát kỹ thuật sẽ chỉ ra mọi hoạt động được thực hiện cho từng bộ phận quan trọng về an toàn. Kế hoạch sẽ tạo ra sự tin tưởng cho các hoạt động thực hiện theo kế hoạch kiểm tra và bảo dưỡng của người vận hành.
4.3.1.1. Phạm vi công việc giám sát kỹ thuật sẽ được xác định dựa trên sự xem xét việc sắp xếp bảo dưỡng của người vận hành, việc xem xét bao gồm:
a) Quản lý và mục đích của kiểm tra và bảo dưỡng;
b) Năng lực của nhân viên;
c) Lập kế hoạch, lập lịch trình và báo cáo nhiệm vụ;
d) Khoảng thời gian kiểm tra;
e) Phương pháp kiểm tra và bảo dưỡng;
f) Loại, độ chính xác và tình trạng của thiết bị được sử dụng;
g) Các hệ thống đối với việc lập kế hoạch và ghi chép.
4.3.1.2. Khi mức độ bảo dưỡng và thử đã được xem xét, nội dung của kế hoạch giám sát kỹ thuật sẽ được điều chỉnh khi cần thiết để cung cấp sự đảm bảo rằng các bộ phận quan trọng về an toàn đáp ứng các tiêu chuẩn tính năng. Các hoạt động theo kế hoạch sẽ là một tổng hợp thích hợp:
a) Kiểm tra tài sản/vật chất;
b) Thử các hệ thống và linh kiện/bộ phận;
c) Đánh giá các hoạt động và các quy trình;
d) Xem xét các biên bản kiểm tra.
4.3.2. Nội dung của kế hoạch kiểm tra và bảo dưỡng của người vận hành là một yếu tố quan trọng trong kế hoạch giám sát kỹ thuật. Vì vậy, bất kỳ sửa đổi kế hoạch bảo dưỡng và kiểm tra phải được thông báo cho Đăng kiểm để xem xét và thẩm định. Đăng kiểm sẽ cập nhật hoặc sửa đổi các kế hoạch giám sát kỹ thuật khi cần thiết để phản ánh những thay đổi đó đối với kế hoạch kiểm tra và bảo dưỡng.
4.3.3. Các hoạt động giám sát kỹ thuật phải được tiến hành như và phù hợp với kế hoạch giám sát kỹ thuật. Mục này có thể căn cứ vào dữ liệu liên tục phụ thuộc vào các bộ phận quan trọng về an toàn thực tế, và kế hoạch kiểm tra và bảo dưỡng của nhà vận hành.
4.3.4. Căn cứ vào các chỉ dẫn và các kết quả, kế hoạch giám sát kỹ thuật có thể được sửa đổi với mức lớn hơn hoặc thấp hơn cho các hoạt động khi cần thiết để bảo đảm tính năng của các bộ phận quan trọng về an toàn vẫn duy trì.
4.3.5. Kết quả và trạng thái của các nhiệm vụ giám sát kỹ thuật sẽ được lập thành tài liệu trong phạm vi kế hoạch của chúng và thể hiện trong các báo cáo giám sát kỹ thuật hàng năm. Các báo cáo có thể lần lượt được sử dụng như tài liệu cho các yêu cầu quy định hoặc bắt buộc khác.
4.3.6. Chủ giàn cần kết hợp với các ứng dụng của chương trình giám sát kỹ thuật, thể hiện qua sự cung cấp về thời gian các thông tin đầy đủ và tiếp cận tất cả các thiết bị khi cần thiết để thỏa mãn nhiệm vụ giám sát kỹ thuật.
4.3.7. Các biện pháp khắc phục cần thiết với điều kiện kèm theo của phân cấp và thang thời gian sẽ được thông báo tới các nhà vận hành hoặc chủ giàn và được ghi vào trong phạm vi kế hoạch giám sát kỹ thuật.
Nếu không có biện pháp khắc phục hậu quả theo các thang thời gian đã đưa ra hoặc cản trở sự thực hiện kế hoạch giám sát kỹ thuật có thể dẫn đến treo hoặc thu hồi cấp.
PHỤ LỤC D - Kéo dài thời gian sử dụng giàn
1. Để xác định xem giàn cố định hiện tại có phù hợp với việc kéo dài thời gian sử dụng hay không, các nội dung sau đây phải được xem xét:
1.1. Xem xét tài liệu thiết kế ban đầu, các bản vẽ, các báo cáo hoán cải kết cấu và các báo cáo kiểm tra;
1.2. Kiểm tra kết cấu để xác định tình trạng của giàn;
1.3. Xem xét kết quả của bản phân tích kết cấu có sử dụng các kết quả kiểm tra, các bản vẽ gốc, các báo cáo địa chất và hải dương học và các hoán cải gây ảnh hưởng đến tải trọng tĩnh, tải trọng động, tải trọng môi trường và tải trọng động đất, nếu có, tác dụng lên giàn;
1.4. Kiểm tra lại giàn có sử dụng các kết quả của bản phân tích kết cấu. Thực hiện các thay đổi cần thiết để kéo dài thời gian hoạt động của giàn;
1.5. Xem xét chương trình kiểm tra tiếp theo để đảm bảo rằng tính phù hợp của giàn được duy trì.
2. Phải đánh giá các hạng mục 1.1 và 1.2 để xác định khả năng tiếp tục sử dụng giàn. Nếu kết luận thuận lợi thì phải thực hiện các phân tích kết cấu.
3. Không cần phải phân tích mỏi, nếu các điều kiện sau đây được thỏa mãn:
3.1. Phân tích mỏi ban đầu chỉ ra rằng tuổi thọ mỏi của tất cả các mối nối đủ lớn để bao trùm cả thời gian kéo dài sử dụng;
3.2. Các số liệu môi trường về mỏi được sử dụng trong phân tích mỏi ban đầu vẫn còn hiệu lực hoặc là các số liệu đó còn khắc nghiệt hơn so với điều kiện môi trường hiện tại;
3.3. Không phát hiện ra các vết nứt trong quá trình khảo sát lại hoặc tất cả các mối nối, phần tử hư hỏng đang được sửa chữa;
3.4. Sinh vật biển bám và ăn mòn vẫn nằm trong các giới hạn thiết kế cho phép.
4. Xem xét các tài liệu thiết kế
Các tài liệu thiết kế giàn phải được thu thập để cho phép tiến hành đánh giá kỹ thuật về tính toàn vẹn kết cấu tổng thể của giàn. Các tài liệu này phải bao gồm các báo cáo, tài liệu thiết kế gốc, các bản vẽ và bản quy định kỹ thuật hoàn công, các báo cáo kiểm tra trong quá trình chế tạo, lắp đặt và khai thác trước đó. Chủ giàn phải đảm bảo rằng mọi giả thuyết đưa ra là hợp lý và các thông tin thu thập được là chính xác và thể hiện tình trạng thực tế của giàn tại thời điểm đánh giá. Nếu không thể thu thập được các thông tin nói trên, phải áp dụng giả thuyết về tiêu chuẩn thiết kế thấp hơn và tiến hành các phép đo đạc hoặc thử nghiệm thực tế để thiết lập một giả thuyết hợp lý và an toàn.
5. Kiểm tra
5.1. Cần phải tiến hành kiểm tra giàn hiện có dưới sự chứng kiến và giám sát của đăng kiểm viên để xác định tình trạng của giàn mà dựa vào đó có thể đưa ra các lý giải về việc kéo dài thời gian sử dụng giàn. Phải tiến hành xem xét các báo cáo kiểm tra và bảo dưỡng trước đây, phải xây dựng quy trình kiểm tra và phải tiến hành kiểm tra dưới nước đầy đủ để đảm bảo rằng kết quả đánh giá tình trạng giàn là chính xác.
5.2. Hệ thống bảo vệ chống ăn mòn phải được đánh giá lại để đảm bảo rằng các anốt hiện có vẫn phù hợp với tuổi thọ thiết kế kéo dài của giàn. Nếu thấy cần thiết, phải tiến hành thay thế các anốt hiện có hoặc lắp đặt bổ sung các anốt mới. Nếu các tải trọng thủy động tăng đáng kể do lắp đặt thêm các anốt mới, tải trọng bổ sung này phải được đưa vào phân tích độ bền. Tình trạng của các lớp bọc bảo vệ tại vùng dao động sóng phải được sửa chữa để thỏa mãn các yêu cầu.
6. Phân tích độ bền
6.1. Phải kết hợp chặt chẽ các phân tích độ bền giàn hiện có với các kết quả kiểm tra giàn. Đặc biệt, các tải trọng boong, hao mòn, sinh vật biển, dòng chảy và bất kỳ hư hỏng, hoán cải giàn phải được kết hợp vào mô hình phân tích. Các vật liệu chế tạo ban đầu và các chi tiết lắp ráp phải được xác định sao cho các đặc tính chính xác của vật liệu được sử dụng trong phân tích độ bền và để xác định các điểm tập trung ứng suất. Phải sẵn có các báo cáo dẫn hướng cọc để có thể làm mô hình nền móng một cách chính xác. Đối với những khu vực được thiết kế theo các điều kiện động đất hoặc đóng băng, thì cũng phải tiến hành các phân tích cho các điều kiện đó.
6.2. Các kết quả của phân tích phải được xem xét để xác định các khu vực cần kiểm tra. Các hoán cải có thể của giàn để cho phép tiếp tục sử dụng phải được phát triển bởi việc thay đổi mô hình phân tích để đánh giá ảnh hưởng của việc hoán cải. Các bộ phận hoặc mối nối bị vượt quá ứng suất hoặc có tuổi thọ mỏi thấp thì có thể được cải thiện bằng cách giảm tải trọng boong và loại bỏ các kết cấu không sử dụng như ống định hướng, khung dẫn ống định hướng và giá cập tàu. Kết quả của việc giảm tải trọng này lên kết cấu cần được đánh giá để xác định xem có cần thiết phải sửa chữa hoặc hoán cải hay không.
6.3. Có thể chấp nhận phân tích dựa vào phương pháp độ bền căn bản nếu phương pháp và hệ số an toàn sử dụng đã được chứng minh là thỏa mãn.
7. Tiến hành sửa chữa/kiểm tra lại
7.1. Cuộc khảo sát tình trạng ban đầu kết hợp với phân tích kết cấu sẽ là cơ sở để xác định phạm vi, mức độ sửa chữa/thay đổi cần phải tiến hành để duy trì cấp của giàn được kéo dài sử dụng.
7.2. Có thể cần thiết phải tiến hành một cuộc khảo sát thứ hai để kiểm tra các khu vực mà kết quả phân tích chỉ ra là các vùng phải chịu ứng suất cao của kết cấu. Các vùng và mối nối được xác định là chịu ứng suất vượt quá mức cho phép phải được gia cường. Các mối hàn có tuổi thọ mỏi thấp phải được sửa chữa cải thiện bằng cách gia cường hoặc bằng phương pháp mài. Nếu sử dụng phương pháp mài, các chi tiết về việc mài phải được nộp Đăng kiểm thẩm định và chấp nhận. Khoảng thời gian giữa các đợt kiểm tra chu kỳ các mối hàn này trong tương lai phải được xác định trên cơ sở tuổi thọ mỏi còn lại của các mối hàn này.
Bạn chưa Đăng nhập thành viên.
Đây là tiện ích dành cho tài khoản thành viên. Vui lòng Đăng nhập để xem chi tiết. Nếu chưa có tài khoản, vui lòng Đăng ký tại đây!
Bạn chưa Đăng nhập thành viên.
Đây là tiện ích dành cho tài khoản thành viên. Vui lòng Đăng nhập để xem chi tiết. Nếu chưa có tài khoản, vui lòng Đăng ký tại đây!