- Tổng quan
- Nội dung
- VB gốc
- Tiếng Anh
- Hiệu lực
- VB liên quan
- Lược đồ
-
Nội dung hợp nhất
Tính năng này chỉ có tại LuatVietnam.vn. Nội dung hợp nhất tổng hợp lại tất cả các quy định còn hiệu lực của văn bản gốc và các văn bản sửa đổi, bổ sung, đính chính... trên một trang. Việc hợp nhất văn bản gốc và những văn bản, Thông tư, Nghị định hướng dẫn khác không làm thay đổi thứ tự điều khoản, nội dung.
Khách hàng chỉ cần xem Nội dung hợp nhất là có thể nắm bắt toàn bộ quy định hiện hành đang áp dụng, cho dù văn bản gốc đã qua nhiều lần chỉnh sửa, bổ sung.
- Tải về
Quyết định 2414/QĐ-CHK 2023 Hướng dẫn thực hiện khuyến cáo thực hành của ICAO về di chuyển tại sân bay
| Cơ quan ban hành: | Cục Hàng không Việt Nam |
Số công báo:
Số công báo là mã số ấn phẩm được đăng chính thức trên ấn phẩm thông tin của Nhà nước. Mã số này do Chính phủ thống nhất quản lý.
|
Đang cập nhật |
| Số hiệu: | 2414/QĐ-CHK | Ngày đăng công báo: | Đang cập nhật |
| Loại văn bản: | Quyết định | Người ký: | Phạm Văn Hảo |
|
Ngày ban hành:
Ngày ban hành là ngày, tháng, năm văn bản được thông qua hoặc ký ban hành.
|
06/11/2023 |
Ngày hết hiệu lực:
Ngày hết hiệu lực là ngày, tháng, năm văn bản chính thức không còn hiệu lực (áp dụng).
|
Đang cập nhật |
|
Áp dụng:
Ngày áp dụng là ngày, tháng, năm văn bản chính thức có hiệu lực (áp dụng).
|
Đã biết
|
Tình trạng hiệu lực:
Cho biết trạng thái hiệu lực của văn bản đang tra cứu: Chưa áp dụng, Còn hiệu lực, Hết hiệu lực, Hết hiệu lực 1 phần; Đã sửa đổi, Đính chính hay Không còn phù hợp,...
|
Đã biết
|
| Lĩnh vực: | Giao thông, Hàng không |
TÓM TẮT QUYẾT ĐỊNH 2414/QĐ-CHK
Ngày 06/11/2023, Cục Hàng không Việt Nam đã ban hành Quyết định 2414/QĐ-CHK về việc ban hành Hướng dẫn việc thực hiện quy định, khuyến cáo thực hành của ICAO (Doc 9476) về hệ thống kiểm soát và hướng dẫn di chuyển tại sân bay.
1. Hệ thống kiểm soát và hướng dẫn di chuyển tại sân – SMGCS được thiết kế để ngăn chặn sự xâm nhập của tàu bay và phương tiện vào đường cất hạ cánh hoặc đường lăn đang hoạt động theo các quy trình khai thác tại sân bay.
2. Chức năng chính của SMGCS là chống lại sự xâm nhập dù trái phép hay vô ý vào đường cất hạ cánh đang khai thác. Đồng thời, hệ thống SMGCS sẽ hỗ trợ cho phương tiện cứu nạn và chữa cháy định vị và di chuyển đến hiện trường tai nạn trong khu vực hoạt động của sân bay.
3. Hệ thống SMGC được cung cấp cho một sân bay phụ thuộc chủ yếu vào 02 điều kiện khai thác, gồm có:
- Điều kiện tầm nhìn mà người khai thác cảng hàng không, sân bay lên kế hoạch bảo đảm khai thác;
- Mật độ/lưu lượng hoạt động.
Quyết định này có hiệu lực kể từ ngày ký.
Xem chi tiết Quyết định 2414/QĐ-CHK có hiệu lực kể từ ngày 06/11/2023
Tải Quyết định 2414/QĐ-CHK
|
BỘ GIAO THÔNG VẬN TẢI Số: 2414/QĐ-CHK |
CỘNG HÒA XÃ HỘI CHỦ NGHĨA VIỆT NAM Hà Nội, ngày 06 tháng 11 năm 2023 |
QUYẾT ĐỊNH
Về việc ban hành Hướng dẫn việc thực hiện quy định, khuyến cáo thực hành của ICAO (Doc 9476) về hệ thống kiểm soát và hướng dẫn di chuyển tại sân bay
___________
CỤC TRƯỞNG CỤC HÀNG KHÔNG VIỆT NAM
Căn cứ Luật Hàng không dân dụng Việt Nam số 66/2006/QH11 ngày 29/6/2006 và Luật sửa đổi, bổ sung một số điều của Luật Hàng không dân dụng Việt Nam số 61/2014/QH13 ngày 21/11/2014;
Căn cứ Nghị định số 66/2015/NĐ-CP ngày 12/8/2015 của Chính phủ quy định về Nhà chức trách hàng không;
Căn cứ Nghị định số 05/2021/NĐ-CP ngày 25/01/2021 của Chính phủ về quản lý, khai thác cảng hàng không, sân bay;
Căn cứ Thông tư số 29/2021/TT-BGTVT ngày 30/11/2021 của Bộ trưởng Bộ Giao thông vận tải quy định chi tiết về quản lý, khai thác cảng hàng không, sân bay;
Căn cứ Thông tư số 19/2017/TT-BGTVT ngày 06/6/2017 của Bộ trưởng Bộ Giao thông vận tải về quản lý, bảo đảm hoạt động bay, Thông tư số 32/2021/TT-BGTVT ngày 14/12/2021 của Bộ trưởng Bộ Giao thông vận tải sửa đổi Thông tư số 19/2017/TT-BGTVT;
Căn cứ Quyết định số 651/QĐ-BGTVT ngày 29/5/2023 của Bộ trưởng Bộ Giao thông vận tải quy định chức năng, nhiệm vụ, quyền hạn và cơ cấu tổ chức của Cục Hàng không Việt Nam;
Xét đề nghị của Trưởng phòng Quản lý cảng hàng không, sân bay.
QUYẾT ĐỊNH:
Điều 1. Ban hành kèm theo Quyết định này Hướng dẫn việc thực hiện quy định, khuyến cáo thực hành của ICAO (Doc 9476) về hệ thống kiểm soát và hướng dẫn di chuyển tại sân bay (Manual of Surface Movement Guidance and Control Systems (SMGCS)) (Số tham chiếu: GM 3.0).
Điều 2. Quyết định này có hiệu lực kể từ ngày ký.
Điều 3. Các ông/bà Tổng giám đốc Tổng công ty Cảng hàng không Việt Nam - CTCP, Tổng giám đốc Tổng công ty Quản lý bay Việt Nam, Tổng giám đốc Cảng hàng không quốc tế Vân Đồn, Giám đốc các Cảng vụ hàng không miền Bắc, miền Trung, miền Nam, Trưởng phòng Quản lý cảng hàng không, sân bay và Thủ trưởng các cơ quan, đơn vị liên quan chịu trách nhiệm thi hành Quyết định này./.
|
Nơi nhận: |
KT. CỤC TRƯỞNG |
|
BỘ GIAO THÔNG VẬN TẢI CỤC HÀNG KHÔNG VIỆT NAM
HƯỚNG DẪN VIỆC THỰC HIỆN QUY ĐỊNH, KHUYẾN CÁO THỰC HÀNH CỦA ICAO (DOC 9476) VỀ HỆ THỐNG KIỂM SOÁT VÀ HƯỚNG DẪN DI CHUYỂN TẠI SÂN BAY (SMGCS)
Manual of Surface Movement Guidance and Control Systems (SMGCS) (GM 3.0)
Ban hành kèm theo Quyết định số 2414/QĐ-CHK ngày 06/11/2023 của Cục trưởng Cục Hàng không Việt Nam
Ban hành lần 1
|
TRANG GHI NHẬN CÁC TU CHỈNH CỦA CỤC HÀNG KHÔNG VIỆT NAM
|
Ngày cập nhật |
Tên các hạng mục và trang thay đổi |
Ngày thay đổi |
Ghi chú |
|
|
|
|
|
|
|
|
|
|
|
|
|
|
|
|
|
|
|
|
|
|
|
|
|
|
|
|
|
|
|
|
|
|
|
|
|
|
|
|
|
|
|
|
|
|
|
|
|
|
|
|
|
|
|
|
|
|
|
|
|
|
|
|
|
|
|
|
|
|
|
|
|
|
|
|
|
|
|
|
|
|
|
|
|
|
|
|
|
|
|
|
|
|
|
|
|
|
|
|
|
|
|
|
|
|
|
|
|
|
|
|
|
|
|
|
|
|
|
|
|
|
|
|
|
MỤC LỤC
QUY ĐỊNH CHUNG
Mục đích
Đối tượng áp dụng
Phạm vi áp dụng
Căn cứ pháp lý
Tài liệu viện dẫn
CHƯƠNG 1. GIỚI THIỆU
1.1. Khái niệm SMGCS
1.2 Một hệ thống SMGC bao gồm những gì?
1.3 Hệ thống SMGC có liên quan đến những đơn vị nào?
1.4 Điều kiện khai thác
1.5 Yêu cầu khai thác
1.6 Lí do sử dụng hệ thống SMGC
CHƯƠNG 2. THIẾT KẾ HỆ THỐNG SMGC
2.1 Điều kiện tầm nhìn và mật độ khai thác
2.2 Các yêu cầu thiết bị cơ bản
2.3 Quy trình cơ bản/yêu cầu quản trị
2.4 Thiết bị phụ trợ phù hợp với điều kiện từng sân bay
2.5 Phối hợp các quy trình và các điều kiện sân bay
2.6 Đánh giá hệ thống và cải tiến
CHƯƠNG 3. CHỨC NĂNG VÀ TRÁCH NHIỆM
3.1 Tổng quan
3.2 Phân công trách nhiệm và chuyển giao Dịch vụ không lưu - ATS
3.3 Tránh việc kiểm soát chồng chéo
3.4 Liên lạc khi di chuyển trên mặt đường sân bay
3.5 Thiết lập đường lăn tiêu chuẩn cho tàu bay
3.6 Kiểm soát phương tiện mặt đất
3.7 Giám sát
3.8 Kiểm tra bề mặt sân bay
3.9 Bảo trì
3.10 Đào tạo
CHƯƠNG 4. QUY TRÌNH
4.1 Giới thiệu
4.2 Luồng tuyến di chuyển (phương án vận hành lăn)
4.3 Ảnh hưởng của tầm nhìn đối với quy trình của SMGC
4.4 Phương pháp hoạt động
4.5 Phân cách tại nút giao và phân cách dọc
4.6 Vai trò của Radar giám sát mặt đất (SMR)
4.7. Quy trình khẩn nguy
4.8 Quy trình và phương thức giao tiếp RTF
4.9 Hiệp đồng
4.10 Quy trình tầm nhìn hạn chế
CHƯƠNG 5. KHAI THÁC TRONG ĐIỀU KIỆN TẦM NHÌN HẠN CHẾ
5.1 Giới thiệu
5.2 Chuẩn bị cho hoạt động khai thác trong điều kiện tầm nhìn hạn chế
5.3 Quy trình khai thác trong điều kiện tầm nhìn hạn chế
5.4 Quy trình khẩn nguy
5.5 Kết luận
CHƯƠNG 6. KHAI THÁC KHI MẬT ĐỘ TĂNG CAO
6.1 Tổng quan
6.2 Lập kế hoạch và mô phỏng
6.3 Bảo vệ đường cất hạ cánh
6.4 Sơ đồ và tuyến đường lăn tiêu chuẩn
6.5 Kiểm soát mặt đất và tần số RTF
6.6 Phân bổ và giữ vị trí đỗ tàu bay
6.7 Thiết bị đặc biệt
CHƯƠNG 7. CÁC BIỆN PHÁP BẢO VỆ ĐƯỜNG CẤT HẠ CÁNH
7.1 Giới thiệu
7.2 Các vấn đề trong khai thác
7.3 Các biện pháp bảo vệ
7.4 Các biện pháp và thiết bị bảo vệ đường CHC
7.5 Kết luận
CHƯƠNG 8. DỊCH VỤ QUẢN LÝ SÂN ĐỖ
8.1 Tổng quan
8.2 Khi nào nên thiết lập dịch vụ quản lý sân đỗ?
8.3 Ai điều hành dịch vụ quản lý sân đỗ tàu bay?
8.4 Trách nhiệm và chức năng
8.5 Quy trình đặc biệt trong điều kiện tầm nhìn hạn chế
8.6 Đào tạo
PHỤ LỤC A. THÔNG TIN BỔ SUNG VỀ HỖ TRỢ DẪN ĐƯỜNG BẰNG MẮT
1. Sơn tín hiệu
2. Đèn hỗ trợ dẫn đường
3. Biển báo
PHỤ LỤC B. MỘT SỐ VÍ DỤ VỀ PHƯƠNG THỨC VẬN HÀNH VỚI TẦM NHÌN HẠN CHẾ
1. SÂN BAY QUỐC TẾ NỘI BÀI, HÀ NỘI, VIỆT NAM (Phương thức vận hành được Cục HKVN ban hành tại Quyết định số 17/QĐ-CHK ngày 05/01/2023)
1.1 Các quy định chung
1.2 Phương thức điều hành bay trong điều kiện tầm nhìn hạn chế
1.3 Quy trình thực hiện chuẩn bị áp dụng LVP
1.4. Quy trình thực hiện áp dụng LVP
1.5 Quy trình thông báo kết thúc LVP
1.6 Trách nhiệm của các đơn vị, bộ phận liên quan
2. SÂN BAY HEATHROW, LONDON, VƯƠNG QUỐC ANH
2.1 Giới thiệu
2.2 Quy tắc chung
2.3 Trách nhiệm
2.4 Phương thức kiểm soát tiếp cận (Approach control - APC)
2.5 Quy trình kiểm soát sân bay (Aerodrome control - ADC)
2.6 Đơn vị an toàn khu vực di chuyển (MASU) - Các điều kiện thời tiết bất lợi
3. SÂN BAY FRANKFURT, THÀNH PHỐ FRANKFURT, CHLB ĐỨC
3.1 Giới thiệu (các phương thức dưới đây được phát triển từ năm 1982)
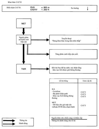
3.2 Tiếp cận chính xác CAT II
3.3 Tiếp cận chính xác CAT III
3.4 Các biện pháp do Cơ quan dẫn đường hàng không liên bang thực hiện (xem Hình B-4 đến B-6)
3.5 Hướng dẫn tàu bay trong điều kiện CAT II/III
3.6 Các biện pháp do cơ quan kiểm soát sân đỗ quân sự Rhein-Main thực hiện
3.7 Các biện pháp do Cơ quan Khí tượng Đức thực hiện
3.8 Các biện pháp do nhà điều hành sân bay thực hiện (Flughafen Frank-Main AG - FAG)
3.9 Các biện pháp được thực hiện bởi các hãng hàng không, nhà thầu cung cấp nhiên liệu, các cơ quan và các công ty khác
3.10 Quy tắc điều khiển và các quy định điều hành giao thông trong khu vực di chuyển và trên sân đỗ
4. SÂN BAY CHARLES DE GAULLE, PARIS, PHÁP
4.1 Giới thiệu
4.2 Quy định chung
4.3 Thiết bị được vận hành khi RVR giảm xuống dưới 800 m
4.4 Phương thức kiểm soát
4.5 Hành động đặc biệt
PHỤ LỤC C. VÍ DỤ VỀ DỊCH VỤ QUẢN LÝ SÂN ĐỖ
1. SÂN BAY HEATHROW, LONDON, VƯƠNG QUỐC ANH
1.1 Lưu lượng giao thông 1983/1984
1.2 Tổng quát
1.3 Bố cục
1.4 Hướng dẫn đỗ
1.5 Bảo dưỡng sân đỗ
1.6 Thiết bị phụ trợ trực quan
1.7 Kiểm soát không lưu
1.8 Kiểm soát sân đỗ
1.9 Quy trình khai thác trong điều kiện tầm nhìn hạn chế
2. SÂN BAY ZURICH, ZURICH, THỤY SĨ
2.1 Lưu lượng giao thông 1985
2.2 Tổng quát
2.3 Bố cục
2.4 Hướng dẫn đỗ
2.5 Bảo dưỡng sân đỗ
2.6 Thiết bị phụ trợ trực quan
2.7 Kiểm soát không lưu
2.8 Kiểm soát sân đỗ
2.9 Quy trình khai thác trong điều kiện tầm nhìn hạn chế
3. SÂN BAY QUỐC TẾ MELBOURNE, MELBOURNE, ÚC
3.1 Lưu lượng giao thông 1983/1984
3.2 Tổng quát
3.3 Bố cục
3.4 Hướng dẫn đỗ tàu bay
3.5 Bảo dưỡng sân đỗ
3.6 Thiết bị phụ trợ trực quan
3.7 Kiểm soát không lưu
3.8 Kiểm soát sân đỗ
3.9 Quy trình khai thác trong điều kiện tầm nhìn hạn chế
4. SÂN BAY FRANKFURT-MAIN, FRANKFURT, CỘNG HÒA LIÊN BANG ĐỨC
4.1 Lưu lượng giao thông 1984
4.2 Tổng quát
4.3 Bố cục
4.4 Hướng dẫn đỗ
4.5 Bảo dưỡng sân đỗ
4.6 Thiết bị phụ trợ trực quan
4.7 Kiểm soát không lưu
4.8 Kiểm soát sân đỗ
4.9 Quy trình khai thác trong điều kiện tầm nhìn hạn chế
5. SÂN BAY PARIS/CHARLES-DE-GAULLE, PARIS, PHÁP
5.1 Lưu lượng giao thông 1984
5.2 Tổng quát
5.3 Bố cục
5.4 Hướng dẫn đỗ
5.5 Bảo dưỡng sân đỗ
5.6 Thiết bị phụ trợ trực quan
5.7 Kiểm soát không lưu
5.8 Quản lý sân đỗ
5.9 Quy trình khai thác trong điều kiện tầm nhìn hạn chế
PHỤ LỤC D. MÔ HÌNH ĐƯỜNG LĂN MÔ PHỎNG SÂN BAY LONDON HEATHROW
1. Giới thiệu
2. Mô hình đường lăn
PHỤ LỤC E. QUY TẮC VÀ QUY ĐỊNH GIAO THÔNG CHO PHƯƠNG TIỆN MẶT ĐẤT
PHỤ LỤC F. RADAR GIÁM SÁT MẶT SÂN (SMR)
1. Giới thiệu
2. Sử dụng SMR
3. Mục đích của mục tiêu hoạt động
4. Mục tiêu hoạt động chung của hệ thống
4.1 Tầm phủ
4.2 Phát hiện mục tiêu
4.3 Độ phân giải
4.4 Lập bản đồ chuyển động
4.5 Tốc độ cập nhật
4.6 Loại bỏ
4.7 Độ chính xác
5. Các mục tiêu hoạt động liên quan
5.1 Hiển thị
5.2 Đánh dấu (dán nhãn) mục tiêu
CÁC TỪ VIẾT TẮT
|
SMGCS |
Surface Movement Guidance and Control System: Hệ thống kiểm soát và hướng dẫn di chuyển tại sân |
|
RVR |
Runway Visual Range: Tầm nhìn đường CHC |
|
ATS |
Air Trafic Service: Dịch vụ không lưu |
|
ATC |
Air Traffic Control: Kiểm soát không lưu |
|
KSVKL |
Kiểm soát viên không lưu |
|
RTF |
Radiotelephony: Điện thoại vô tuyến |
|
VDGS |
Visual Docking Guidance System: Hệ thống dẫn đỗ bằng mắt |
|
LVP |
Phương thức khai thác trong điều kiện tầm nhìn hạn chế |
|
OFZ |
Obstacle Free Zone: Khu vực không chướng ngại vật |
|
ILS |
Instrument Landing System: Hệ thống hạ cánh bằng thiết bị |
|
SMR |
Surface Movement Radar: Radar giám sát mặt sân |
|
RFF |
Rescue and Fire Fighting service: Dịch vụ cứu nạn và chữa cháy |
|
IRVR |
Instrumented Runway Visual Range: Tầm nhìn đường CHC có thiết bị |
|
LSA |
Localizer Sensitive Area: Khu vực nhạy cảm với localizer |
|
MET |
Aeronautical Meteorological Services: Dịch vụ khí tượng hàng không |
|
ATIS |
Automatic Terminal Information Service: Dịch vụ thông báo tự động tại khu vực sân bay |
|
CIG |
Ceiling: Trần mây |
|
TORA |
Take-off Run Available: Cự ly chạy đà cất cánh |
|
TODA |
Take-off distance available: Cự ly có thể cất cánh |
|
ASDA |
Accelerate stop distance available: Cự ly có thể dừng khẩn cấp |
|
LDA |
Landing Distance Available: Cự ly có thể hạ cánh |
QUY ĐỊNH CHUNG
Mục đích
Hướng dẫn các nội dung liên quan đến thiết kế, khai thác sân bay (Hệ thống kiểm soát và hướng dẫn di chuyển tại sân - SMGCS) theo Tiêu chuẩn và khuyến cáo thực hành của của ICAO theo quy định tại Điều 11 Nghị định 66/2015/NĐ-CP, Nghị định 05/2021/NĐ-CP và Thông tư 29/2021/TT-BGTVT.
Mục tiêu của tài liệu này là thiết lập ra quy trình nhằm đảm bảo:
- Người khai thác cảng hàng không, sân bay tích hợp tổng thể hệ thống đèn hiệu, biển báo, sơn kẻ tín hiệu thành 01 hệ thống với mục tiêu ngăn ngừa việc xâm nhập vào đường cất hạ cánh và tránh va trạm với tàu bay, có tính đến mật độ bay khác nhau và điều kiện tầm nhìn cụ thể.
- SMGCS được thiết kế để ngăn chặn sự xâm nhập của tàu bay và phương tiện vào đường cất hạ cánh hoặc đường lăn đang hoạt động theo các quy trình khai thác tại sân bay.
Đối tượng áp dụng
Hướng dẫn này áp dụng đối với hoạt động thiết kế, khai thác, cung cấp dịch vụ tại sân bay; người, phương tiện hoạt động tại cảng hàng không.
Phạm vi áp dụng
Tại các cảng hàng không của Việt Nam có hoạt động bay dân dụng.
Căn cứ pháp lý
- Luật Hàng không dân dụng Việt Nam năm 2006 và Luật sửa đổi bổ sung một số điều của Luật Hàng không dân dụng Việt Nam năm 2014.
- Luật Phòng cháy và chữa cháy năm 2001 và Luật sửa đổi, bổ sung một số điều của Luật phòng cháy và chữa cháy năm 2013.
- Luật Phòng, chống thiên tai năm 2013.
- Luật Bảo vệ môi trường năm 2020.
- Nghị định số 75/2007/NĐ-CP ngày 09/5/2007 của Chính phủ về điều tra tai nạn, sự cố tàu bay.
- Nghị định số 136/2020/NĐ-CP ngày 24/11/2020 của Chính phủ quy định chi tiết một số điều và biện pháp thi hành Luật phòng cháy và chữa cháy và Luật sửa đổi, bổ sung một số điều của Luật phòng cháy và chữa cháy.
- Nghị định số 92/2015/NĐ-CP ngày 13/10/2015 của Chính phủ về an ninh hàng không.
- Nghị định số 83/2017/NĐ-CP ngày 18/07/2017 của Chính phủ quy định về công tác cứu nạn, cứu hộ của lực lượng phòng cháy và chữa cháy.
- Nghị định số 66/2015/NĐ-CP ngày 12/8/2015 của Chính phủ quy định về Nhà chức trách hàng không.
- Nghị định số 05/2021/NĐ-CP ngày 25/01/2021 của Chính phủ về quản lý, khai thác cảng hàng không, sân bay.
- Nghị định số 64/2022/NĐ-CP ngày 15/9/2022 của Chính phủ sửa đổi, bổ sung một số Điều của các Nghị định quy định liên quan đến hoạt động kinh doanh trong lĩnh vực hàng không dân dụng.
- Nghị định số 06/2021/NĐ-CP ngày 26/01/2021 của Chính phủ về quản lý chất lượng, thi công xây dựng và bảo trì công trình xây dựng.
- Nghị định số 125/2015/NĐ-CP ngày 04/12/2015 của Chính phủ quy định chi tiết về quản lý hoạt động bay.
- Nghị định số 32/2016/NĐ-CP ngày 06/5/2016 của Chính phủ quy định về quản lý độ cao chướng ngại vật hàng không và các trận địa quản lý, bảo vệ vùng trời tại Việt Nam.
- Nghị định số 96/2021/NĐ-CP ngày 02/11/2021 của Chính phủ quy định về công tác bảo đảm chuyến bay chuyên cơ, chuyên khoang.
- Nghị định số 08/2022/NĐ-CP ngày 10/01/2022 của Chính phủ quy định chi tiết một số điều của Luật Bảo vệ môi trường.
- Quyết định số 33/2012/QĐ-TTg ngày 06/8/2012 của Thủ tướng Chính phủ về việc ban hành quy chế phối hợp tìm kiếm cứu nạn hàng không dân dụng.
- Quyết định số 16/2017/QĐ-TTg ngày 16/5/2017 của Thủ tướng Chính phủ về việc ban hành Phương án khẩn nguy tổng thể đối phó với hành vi can thiệp bất hợp pháp vào hoạt động hàng không dân dụng; Quyết định số 01/2019/QĐ-TTg ngày 05/9/2019 của Thủ tướng Chính phủ về việc sửa đổi bổ sung một số điều của Quyết định số 16/2017/QĐ-TTg ngày 16/5/2017 của Thủ tướng Chính phủ về việc ban hành Phương án khẩn nguy tổng thể đối phó với hành vi can thiệp bất hợp pháp vào hoạt động hàng không dân dụng.
- Thông tư số 19/2017/TT-BGTVT ngày 06/6/2017 của Bộ Giao thông vận tải quy định về bảo đảm hoạt động bay; Thông tư số 32/2021/TT-BGTVT ngày 14/12/2021 của Bộ Giao thông vận tải sửa đổi bổ sung một số điều của Thông tư số 19/2017/TT-BGTVT ngày 06/6/2017 của Bộ Giao thông vận tải quy định về bảo đảm hoạt động bay.
- Thông tư số 34/2014/TT-BGTVT ngày 11/8/2014 của Bộ Giao thông vận tải về việc ban hành Quy chuẩn kỹ thuật quốc gia về sơn tín hiệu trên đường cất hạ cánh, đường lăn, sân đỗ tàu bay.
- Thông tư số 36/2014/TT-BGTVT ngày 29/8/2014 của Bộ Giao thông vận tải ban hành quy định chất lượng dịch vụ hành khách tại cảng hàng không; Thông tư số 27/2017/TT-BGTVT ngày 25/8/2017 của Bộ Giao thông vận tải sửa đổi, bổ sung một số điều của Thông tư số 36/2014/TT-BGTVT ngày 29/8/2014 của Bộ Giao thông vận tải quy định chất lượng dịch vụ hành khách tại cảng hàng không và Thông tư số 14/2015/TT-BGTVT ngày 27/4/2015 của Bộ trưởng Bộ Giao thông vận tải quy định về việc bồi thường ứng trước không hoàn lại trong vận chuyển hành khách bằng đường hàng không.
- Thông tư số 04/2018/TT-BGTVT ngày 23/01/2018 của Bộ Giao thông vận tải quy định về việc bảo đảm kỹ thuật nhiên liệu hàng không.
- Thông tư số 13/2019/TT-BGTVT ngày 29/3/2019 của Bộ Giao thông vận tải quy định chi tiết Chương trình an ninh hàng không và kiểm soát chất lượng an ninh hàng không Việt Nam; Thông tư số 41/2020/TT-BGTVT ngày 31/12/2020 của Bộ Giao thông vận tải sửa đổi, bổ sung một số điều của Thông tư số 13/2019/TT- BGTVT ngày 29/3/2019 của Bộ Giao thông vận tải quy định chi tiết Chương trình an ninh hàng không và kiểm soát chất lượng an ninh hàng không Việt Nam.
- Thông tư số 29/2021/TT-BGTVT ngày 30/11/2021 của Bộ Giao thông vận tải quy định chi tiết về quản lý, khai thác cảng hàng không, sân bay.
- Thông tư số 24/2021/TT-BGTVT ngày 22/11/2021 của Bộ Giao thông vận tải quy định về quản lý, bảo trì công trình hàng không.
- Thông tư số 25/2022/TT-BGTVT ngày 20/10/2022 của Bộ GTVT quy định chi tiết về công tác bảo đảm chuyến bay chuyên cơ, chuyên khoang.
- Thông tư số 52/2022/TT-BGTVT ngày 30/12/2022 của Bộ Giao thông vận tải quy định về bảo vệ môi trường trong hoạt động hàng không dân dụng.
- Thông tư số 149/2020/TT-BCA ngày 31/12/2020 của Bộ Công an quy định chi tiết một số điều và biện pháp thi hành Luật Phòng cháy và chữa cháy và Luật sửa đổi, bổ sung một số điều của Luật Phòng cháy và chữa cháy và Nghị định số 136/2020/NĐ-CP ngày 24/11/2020 của Chính phủ quy định chi tiết một số điều và biện pháp thi hành Luật Phòng cháy và chữa cháy và Luật sửa đổi, bổ sung một số điều của Luật Phòng cháy và chữa cháy.
- Thông tư số 02/2022/TT-BTNMT ngày 10/01/2022 của Bộ Tài nguyên và môi trường quy định chi tiết thi hành một số điều của Luật Bảo vệ môi trường.
- Quyết định số 349/QĐ-CHK ngày 05/02/2013 của Bộ Giao thông vận tải về việc phê duyệt Chương trình An toàn đường cất hạ cánh.
- Quyết định số 399/QĐ-CHK ngày 25/02/2015 của Cục Hàng không Việt Nam về việc ban hành quy chế báo cáo an toàn hàng không.
- Quyết định số 68/QĐ-CHK ngày 12/01/2022 của Cục Hàng không Việt Nam về việc ban hành Hướng dẫn đánh giá và báo cáo tình trạng mặt đường cất hạ cánh tại các cảng hàng không, sân bay của Việt Nam.
- Quyết định số 539/QĐ-CHK ngày 22/3/2022 của Cục Hàng không Việt Nam về việc ban hành Sổ tay hướng dẫn kiểm soát chim, động vật hoang dã, vật nuôi tại cảng hàng không, sân bay.
- Quyết định số 2177/QĐ-CHK ngày 07/10/2022 của Cục Hàng không Việt Nam về việc ban hành Hướng dẫn lập Tài liệu và thiết lập hệ thống SMS cho các cơ sở cung cấp dịch vụ hàng không tại cảng hàng không, sân bay.
- Quyết định số 2511/QĐ-CHK ngày 11/11/2022 của Cục Hàng không Việt Nam về việc ban hành Sổ tay hướng dẫn giám sát an toàn khai thác cảng hàng không, sân bay.
- Văn bản số 4290/CHK-QLC ngày 16/9/2022 của Cục Hàng không Việt Nam về việc Hướng dẫn bổ sung về sơn kẻ tín hiệu, biển báo giới hạn tốc độ, biển báo giới hạn chiều cao trên đường công vụ trong khu bay.
- Quyết định số 1006/QĐ-CHK ngày 12/5/2023 của Cục Hàng không Việt Nam về việc ban hành Tài liệu hướng dẫn nội dung liên quan đến thiết kế, khai thác, đảm bảo an toàn khai thác tại sân bay.
Ghi chú: Khi có thay đổi về các căn cứ pháp lý thì cập nhật theo các văn bản pháp lý thay đổi đó.
Tài liệu viện dẫn
Các tài liệu của Tổ chức hàng không dân dụng quốc tế (ICAO):
- Phụ ước 2 về Quy tắc bay;
- Phụ ước 4 về Bản đồ, sơ đồ hàng không;
- Phụ ước 5 về Đơn vị đo lường hàng không;
- Phụ ước 10 về Thông tin liên lạc hàng không;
- Phụ ước 11 về Dịch vụ điều hành bay;
- Phụ ước 12 về Tìm kiếm cứu nạn hàng không;
- Phụ ước 13 về Điều tra sự cố và tai nạn tàu bay;
- Phụ ước 14 về Tiêu chuẩn và khuyến nghị thực hành (SARPs) về thiết kế và khai thác sân bay;
- Phụ ước 15 về Dịch vụ thông báo tin tức hàng không;
- Phụ ước 17 về An ninh hàng không;
- Phụ ước 19 về Hệ thống quản lý an toàn;
- Sổ tay hướng dẫn cấp chứng chỉ sân bay (Doc 9774 ICAO);
- Tài liệu hướng dẫn dịch vụ Thông báo tin tức hàng không (Doc 8126 ICAO);
- Sổ tay hướng dẫn an ninh bảo vệ hàng không dân dụng ngăn chặn các hành vi can thiệp bất hợp pháp (Doc 8973 ICAO);
- Sổ tay hướng dẫn quản lý an toàn (Doc 9859 ICAO);
- Sổ tay hướng dẫn về các dịch vụ sân bay (Doc 9137 ICAO);
- Sổ tay hướng dẫn thiết kế sân bay (Doc 9157 ICAO);
- Sổ tay hướng dẫn ngăn ngừa xâm nhập đường cất hạ cánh (Doc 9870 ICAO);
- Quy trình đối với các dịch vụ dẫn đường hàng không sân bay (Doc 9981 ICAO);
- Sổ tay hướng dẫn quản lý tin tức hàng không PANS-AIM (Doc 10066);
- Sổ tay hướng dẫn về thoại liên lạc vô tuyến (Doc 9432);
- Sổ tay hướng dẫn về lập kế hoạch dịch vụ không lưu (Doc 9426).
CHƯƠNG 1. GIỚI THIỆU
1.1. Khái niệm SMGCS
1.1.1 Theo nghĩa rộng nhất, một hệ thống SMGC bao gồm các hướng dẫn, kiểm soát hoặc quy định cho tất cả các tàu bay, phương tiện mặt đất và nhân viên trên khu vực hoạt động của sân bay. “Hướng dẫn” liên quan đến cơ sở vật chất, thông tin và tư vấn cần thiết để tổ lái hoặc nhân viên điều khiển các phương tiện mặt đất di chuyển trong sân bay, đồng thời giữ cho tàu bay và các phương tiện mặt đất hoạt động trong khu vực xác định. “Kiểm soát hoặc quy định” là các biện pháp cần thiết để ngăn ngừa va chạm và đảm bảo giao thông được thông suốt và thông thoáng.
1.1.2 SMGCS cung cấp hướng dẫn, kiểm soát hoặc quy định cho một tàu bay từ hạ cánh trên đường cất hạ cánh đến vị trí đỗ trên sân đỗ tàu bay sau đó quay trở lại đường cất hạ cánh cất cánh, cũng như các chuyển động khác trên mặt sân như đi từ khu vực bảo dưỡng đến sân đỗ, từ sân đỗ đến sân đỗ… Nói cách khác, hệ thống SMGC bao trùm cả hai khu vực “di chuyển” và “sân đỗ”. Hai khu vực này được gọi chung là “khu vực hoạt động”. Thông thường, việc kiểm soát sự chuyển động của tàu bay và phương tiện trên khu vực đường cất hạ cánh, đường lăn thuộc về dịch vụ kiểm soát không lưu. Đối với sân đỗ, trách nhiệm đó thuộc về người khai thác cảng hàng không, sân bay (được đề cập trong Chương 8 của tài liệu này). Hệ thống cũng cung cấp các hướng dẫn, kiểm soát hoặc quy định cho các phương tiện mặt đất và các nhân viên được phép hoạt động trên khu vực hoạt động của sân bay và từ đó giúp cho việc ngăn chặn sự xâm nhập dù trái phép hay vô ý vào đường cất hạ cánh đang khai thác.
1.1.3 Người khai thác cảng hàng không, sân bay có thể tham khảo tài liệu này để áp dụng việc thiết lập SMGCS.
1.2 Một hệ thống SMGC bao gồm những gì?
1.2.1 Trong tài liệu này, thuật ngữ “SMGCS” dùng để chỉ hệ thống các thiết bị phụ trợ, cơ sở vật chất, quy trình và quy định được thiết kế để đáp ứng các yêu cầu cụ thể, nhằm hướng dẫn, kiểm soát hoặc quy định việc di chuyển trên bề mặt sân đường, phù hợp với quy trình vận hành khai thác cụ thể của sân bay.
1.2.2 SMGCS bao gồm một sự kết hợp phù hợp các thiết bị phụ trợ bằng mắt, thiết bị phụ trợ không nhìn bằng mắt, quy trình, kiểm soát, quy định, quản lý và thông tin về cơ sở hạ tầng. Hệ thống bao gồm từ hệ thống rất đơn giản ở sân bay nhỏ với lưu lượng ít và hoạt động trong điều kiện tầm nhìn tốt, đến các hệ thống phức tạp cần thiết tại sân bay lớn với lưu lượng nhiều và hoạt động ở điều kiện tầm nhìn hạn chế. Hệ thống được chọn cho một sân bay sẽ phù hợp với môi trường hoạt động của sân bay đó.
1.3 Hệ thống SMGC có liên quan đến những đơn vị nào?
1.3.1 SMGCS liên quan đến tất cả các đơn vị khai thác, cung cấp dịch vụ tại khu vực hoạt động trong sân bay, từ người khai thác cảng hàng không, sân bay, cơ sở cung cấp dịch vụ bảo đảm hoạt động bay, đơn vị cung cấp dịch vụ hàng không, các hãng hàng không... Tại các cảng hàng không có hoạt động dùng chung dân dụng - quân sự thì còn liên quan và cần phải có sự phối hợp với đơn vị quân sự.
1.3.2 Việc thiết lập SMGCS cần có sự tham gia của các cơ quan, đơn vị có liên quan để xác định đầy đủ các yêu cầu của hệ thống và đảm bảo tính hiệu quả của hệ thống trong quá trình khai thác.
1.4 Điều kiện khai thác
1.4.1 Hệ thống SMGC được cung cấp cho một sân bay phụ thuộc chủ yếu vào 02 điều kiện khai thác:
a) Điều kiện tầm nhìn mà người khai thác cảng hàng không, sân bay lên kế hoạch bảo đảm khai thác
b) Mật độ/lưu lượng hoạt động
Lưu ý: Mỗi điều kiện đều được mô tả chi tiết trong Chương 2, Bảng 2-1 nhằm lựa chọn sự kết hợp phù hợp của các thiết bị phụ trợ và quy trình từ Bảng 2-2 và 2-3.
1.4.2 Mặc dù tầm nhìn dưới 400 m là một trong những tiêu chuẩn được sử dụng, tuy nhiên các yêu cầu đối với tàu bay lăn trong điều kiện tầm nhìn gần bằng 0 sẽ không được đề cập trong tài liệu này. Kinh nghiệm khai thác cho thấy những điều kiện này không thường xảy ra và chi phí của các thiết bị cần thiết để hoạt động trong điều kiện như vậy là quá cao, không hiệu quả.
1.5 Yêu cầu khai thác
1.5.1 Các tiêu chuẩn khai thác cần thiết của SMGCS được thể hiện trong Bảng 1-1, áp dụng cho khu vực hoạt động. Việc khai thác đối với các phương tiện ở bên ngoài khu vực hoạt động sẽ áp dụng các quy định khác và nằm ngoài phạm vi của hệ thống SMGC trong tài liệu này.
1.6 Lí do sử dụng hệ thống SMGC
1.6.1 Lí do chính là để cho phép một sân bay hoạt động an toàn trong những điều kiện xác định. Hệ thống được thiết kế để ngăn chặn va chạm giữa tàu bay với tàu bay/phương tiện mặt đất/vật thể, giữa phương tiện với vật thể/phương tiện. Trong trường hợp đơn giản nhất (ví dụ tầm nhìn tốt và tần suất hoạt động thấp), mục tiêu này có thể đạt được nhờ một hệ thống các sơn kẻ tín hiệu và các quy trình vận hành lăn/di chuyển để tổ lái và nhân viên điều khiển phương tiện tuân thủ và áp dụng. Trong điều kiện mật độ khai thác lớn, phức tạp, cần một hệ thống phức tạp hơn.
1.6.2 Một chức năng chính của SMGCS là chống lại sự xâm nhập dù trái phép hay vô ý vào đường cất hạ cánh đang khai thác. Tất cả các thành phần khác nhau của hệ thống đều hỗ trợ trong việc thực hiện mục tiêu này. Tuy nhiên, trong điều kiện tầm nhìn kém, có thể cần một phương tiện giám sát điện tử để đảm bảo cho kiểm soát viên không lưu có thể theo dõi và xác định đường cất hạ cánh đang đủ điều kiện an toàn khai thác.
1.6.3 Một chức năng quan trọng khác của SMGCS là hỗ trợ cho phương tiện cứu nạn và chữa cháy định vị và di chuyển đến hiện trường tai nạn trong khu vực hoạt động của sân bay.
1.6.4 SMGCS cần được thiết kế để duy trì việc di chuyển ổn định trong các điều kiện khai thác khác nhau. Sự ổn định này bị ảnh hưởng khi lưu lượng/mật độ khai thác tăng cao và khi tầm nhìn bị giảm. Mục tiêu là xây dựng một hệ thống tương thích với khai thác của đường cất hạ cánh và điều kiện khai thác của sân bay. Bởi vậy, các yêu cầu đối với hoạt động cất-hạ cánh cần được tính đến khi thiết kế một hệ thống SMGC. Tại một số sân bay, có thể hoạt động cất cánh diễn ra trong tầm nhìn hạn chế hơn so với hạ cánh.
Bảng 1-1 Tiêu chuẩn hoạt động của SMGCS
Hệ thống cần phù hợp với tầm nhìn và lưu lượng/mật độ khai thác, đồng thời cung cấp:
|
1. Yêu cầu chung |
a) Khả năng liên lạc giữa các đơn vị kiểm soát (đài kiểm soát không lưu, đài kiểm soát tiếp cận tại sân...), giữa đơn vị kiểm soát và tàu bay/phương tiện mặt đất; b) Việc sử dụng hệ thống tạo ra một khối lượng công việc phù hợp, chấp nhận được đối với người khai thác sử dụng hệ thống SMGC; c) Sử dụng tối ưu các thiết bị phụ trợ và quy trình đã được quy định trong các tài liệu của ICAO và quy định/ tài liệu khai thác theo quy định của Việt Nam; d) Khả năng tương thích giữa các thành phần trong hệ thống SMGC; e) Điều kiện khí tượng (tại thời điểm khai thác và dự báo). |
|
2. Yêu cầu liên quan đến tổ lái |
a) Xác định hướng và kiểm soát việc di chuyển bắt đầu từ lúc kết thúc hạ cánh đến vị trí đỗ, và từ vị trí đỗ cho đến vị trí đủ điều kiện để cất cánh trên đường cất hạ cánh; b) Xác định thông tin về tuyến lăn phải áp dụng; c) Xác định thông tin về vị trí dừng chờ theo tuyến lăn; d) Các yêu cầu/hướng kèm theo khi lăn trên tuyến đường lăn được chỉ định và và hướng dẫn dừng đỗ; e) Các cảnh báo về: 1) Thay đổi hướng lăn/di chuyển; 2) Các điểm dừng và các yêu cầu về kiểm soát/điều chỉnh tốc độ. f) Nhận dạng các khu vực cần tránh; g) Thông tin để tránh va chạm với tàu bay khác/phương tiện mặt đất/vật thể; h) Thông tin về lỗi hệ thống ảnh hưởng đến an toàn. |
|
3. Yêu cầu liên quan đến đơn vị kiểm soát |
a) Thông tin về nhận dạng, vị trí và lộ trình của tàu bay bao gồm cả tàu bay đang được kéo/đẩy; b) Thông tin về nhận dạng, vị trí và lộ trình của các phương tiện mặt đất mà việc di chuyển của chúng có thể xung đột với việc di chuyển của tàu bay; c) Thông tin về các chướng ngại vật tạm thời hoặc các mối nguy hiểm khác; d) Thông tin về tình trạng hoạt động của các thành phần trong hệ thống; e) Phương tiện/công cụ phù hợp để có thể thực hiện việc kiểm soát theo nhiệm vụ. |
|
4. Yêu cầu liên quan đến phương tiện mặt đất hoạt động trên khu vực hoạt động |
a) Phương tiện khẩn nguy 1) Thông tin về tuyến đường cần di chuyển; 2) Hướng dẫn về tuyến đường di chuyển; 3) Vị trí cần tiếp cận khi xảy ra trường hợp khẩn cấp; 4) Thông tin cần thiết để tránh va chạm với tàu bay/phương tiện mặt đất; b) Phương tiện mặt đất khác 1) Thông tin về tuyến đường cần di chuyển; 2) Hướng dẫn về tuyến đường di chuyển; 3) Thông tin cần thiết để tránh va chạm với tàu bay/phương tiện mặt đất. |
1.7 Cân nhắc trong tương lai
1.7.1 Tất cả các sân bay đều cần có hệ thống SMGC. Tuy nhiên, mỗi hệ thống phải phù hợp với các điều kiện hoạt động từng sân bay, nếu không sẽ hạn chế khả năng khai thác. Đối với sân bay có tầm nhìn tốt và mật độ khai thác không cao, một hệ thống phức tạp là lãng phí và không cần thiết. Hệ thống SMGC cần được thiết kế sao cho các thành phần có thể được thêm vào khi nhu cầu khai thác tăng. Tài chính đóng một vai trò quan trọng khi lựa chọn một hệ thống: tuy nhiên cần lưu ý rằng việc lựa chọn các thành phần trong hệ thống và vị trí của chúng, nếu được quy hoạch trước cho tương lai thì dù chi phí đầu tư ban đầu có thể cao nhưng lâu dài sẽ tiết kiệm và hiệu quả.
Một ví dụ là cần nghiên cứu khả năng lắp đặt đèn tim đường lăn ngay trong quá trình thi công đường lăn, nếu có quy hoạch và xác định đường cất hạ cánh sẽ được nâng cấp lên khai thác theo tiêu chuẩn CAT II hoặc III. Cần lưu ý rằng nghiên cứu kỹ thuật sẽ tiếp tục được tiến hành và các thành phần mới sẽ được bổ sung hoặc thay thế các thành phần trong hệ thống SMGC hiện có.
CHƯƠNG 2. THIẾT KẾ HỆ THỐNG SMGC
2.1 Điều kiện tầm nhìn và mật độ khai thác
2.1.1 Điều kiện tầm nhìn và mật độ khai thác của sân bay là hai yếu tố quan trọng nhất khi lựa chọn các thành phần cho một hệ thống SMGC. Nhằm mục đích xác định chi tiết cho hệ thống SMGC, điều kiện tầm nhìn và mật độ khai thác được phân chia và định nghĩa theo Bảng 2-1.
Bảng 2-1 Điều kiện tầm nhìn và mật độ khai thác liên quan đến hệ thống SMGC - Giải thích
|
Các điều kiện tầm nhìn |
|
|
1 |
Tầm nhìn đủ để tổ lái điều khiển tàu bay lăn và tránh va chạm với các phương tiện khác trên đường lăn và tại các nút giao bằng việc quan sát bằng mắt, và để nhân viên/kiểm soát viên của các đơn vị kiểm soát thực hiện kiểm soát trên cơ sở giám sát trực quan bằng mắt. |
|
2 |
Tầm nhìn đủ để tổ lái điều khiển tàu bay lăn và tránh va chạm với các phương tiện khác trên đường lăn và tại các nút giao bằng quan sát bằng mắt, nhưng không đủ để nhân viên/kiểm soát viên của các đơn vị kiểm soát thực hiện kiểm soát trên cơ sở giám sát trực quan bằng mắt. |
|
3 |
Tầm nhìn kém hơn 400m RVR (điều hành trong tầm nhìn hạn chế). |
|
Mật độ khai thác (trong giờ cao điểm được xác định tại từng sân bay) |
|
|
Thấp |
Không lớn hơn 15 lượt cất/hạ cánh trên một đường cất hạ cánh hoặc tổng không lớn hơn 20 lượt cất/hạ cánh trên toàn bộ sân bay (có từ 02 đường cất hạ cánh trở lên) |
|
Trung bình |
Từ 16 đến 25 lượt cất/hạ cánh trên một đường cất hạ cánh hoặc tổng lượt cất/hạ cánh từ 20 đến 35 trên toàn bộ sân bay. |
|
Cao |
Trên 26 lượt cất/hạ cánh trên một đường cất hạ cánh hoặc tổng lượt cất/hạ cánh lớn hơn 35 trên toàn bộ sân bay. |
2.2 Các yêu cầu thiết bị cơ bản
2.2.1 Các thiết bị cần thiết cho hệ thống SMGC sẽ phụ thuộc cả vào mật độ khai thác và điều kiện tầm nhìn (xem phần 2.4 để được hướng dẫn chi tiết). Tuy nhiên, những thiết bị sau đây là nền tảng cho bất kỳ hệ thống SMGC nào và cần được thiết lập tại mỗi sân bay:
Sơn tín hiệu:
- Tim đường cất hạ cánh;
- Tim đường lăn;
- Vị trí dừng chờ tàu bay;
- Nút giao giữa các đường lăn;
- Sân đỗ tàu bay;
- Khu vực hạn chế/không khai thác.
Đèn:
- Lề đường cất hạ cánh;
- Lề đường lăn;
- Đèn cảnh báo chướng ngại vật;
- Khu vực hạn chế/không khai thác.
Biển báo:
- Biển báo bắt buộc, ví dụ: vị trí dừng chờ trên đường lăn, biển báo cấm;
- Biển báo thông tin, ví dụ: biển báo cung cấp thông tin về vị trí và điểm đến.
Khác:
- Sơ đồ sân bay;
- Dịch vụ kiểm soát không lưu;
- Đèn tín hiệu;
- Thiết bị thoại vô tuyến.
2.3 Quy trình cơ bản/yêu cầu quản trị
2.3.1 Các quy trình là một phần quan trọng và không thể thiếu của hệ thống SMGC, chúng được thực hiện một phần bởi người khai thác cảng hàng không, sân bay, một phần bởi đơn vị kiểm soát tại sân và một phần bởi tổ lái. Đối với SMGC, các quy trình được áp dụng tại một sân bay cụ thể sẽ được quyết định bởi 02 yếu tố là mật độ khai thác và điều kiện tầm nhìn. Xem phần 2.5 để được hướng dẫn chi tiết. Các quy trình dưới đây là cơ bản cho bất cứ hệ thống SMGC nào và cần được áp dụng ở tất cả các sân bay:
Người khai thác cảng hàng không, sân bay
- Xây dựng phương án lăn;
- Kiểm tra khu vực hoạt động;
- Quy định về hành vi của nhân viên mặt đất trên khu vực hoạt động (theo thẩm quyền được quy định trong văn bản QPPL);
- Quy định về điện thoại vô tuyến của nhân viên mặt đất;
- Giám sát định kỳ thiết bị phụ trợ SMGC;
- Sửa đổi sơ đồ sân bay khi cần thiết;
- Quản lý sân đỗ.
Đơn vị cung cấp dịch vụ kiểm soát tại sân:
- Cung cấp dịch vụ kiểm soát tại sân;
- Các quy trình và phương thức giao tiếp khi sử dụng điện thoại vô tuyến;
- Sử dụng đèn tín hiệu;
- Giám sát thiết bị phụ trợ SMGC.
Tổ lái:
- Tuân thủ các quy tắc và quy định di chuyển trên bề mặt;
- Tuân thủ các quy trình và phương thức giao tiếp khi sử dụng điện thoại vô tuyến;
2.4 Thiết bị phụ trợ phù hợp với điều kiện từng sân bay
2.4.1 Bảng 2-2 liệt kê các thiết bị phụ trợ phù hợp cho chín điều kiện sân bay (tầm nhìn và lưu lượng). Bảng này không chỉ bao gồm các thiết bị phụ trợ cơ bản mô tả trong 2.2.1 mà còn có các thiết bị phụ trợ bổ sung cần thiết để đảm bảo việc di chuyển an toàn, nhanh chóng, hiệu quả của tàu bay dưới các điều kiện khác nhau.
Bảng 2-2 Hướng dẫn lựa chọn thiết bị phụ trợ của hệ thống SMGC
|
Thiết bị phụ trợ |
Mật độ khai thác |
Thấp |
Trung bình |
Cao |
Tài liệu ICAO tham khảo |
||||||
|
Điều kiện tầm nhìn |
1 |
2 |
3 |
1 |
2 |
3 |
1 |
2 |
3 |
||
|
Sơn tín hiệu sân đỗ |
|
x |
x |
x |
x |
x |
x |
x |
x |
x |
Phụ ước 14, Chương 5; Tài liệu thiết kế sân bay, Phần 4, Chương 2 |
|
Sơn tín hiệu tim đường cất hạ cánh |
|
x |
x |
x |
x |
x |
x |
x |
x |
x |
Phụ ước 14, Chương 5 |
|
Sơn tín hiệu tim đường lăn |
|
x |
x |
x |
x |
x |
x |
x |
x |
x |
Phụ ước 14, Chương 5 |
|
Sơn tín hiệu vị trí chờ trên đường lăn |
|
x |
x |
x |
x |
x |
x |
x |
x |
x |
Phụ ước 14, Chương 5 |
|
Thiết bị phụ trợ bằng mắt cho khu vực hạn chế sử dụng |
|
x |
x |
x |
x |
x |
x |
x |
x |
x |
Phụ ước 14, Chương 7 |
|
Đèn lề đường cất hạ cánh |
|
x |
x |
x |
x |
x |
x |
x |
x |
x |
Phụ ước 14, Chương 5; Tài liệu thiết kế sân bay, Phần 5, Chương 3 |
|
Đèn lề đường lăn |
|
x |
x |
x |
x |
x |
x |
x |
x |
x |
Phụ ước 14, Chương 5; Tài liệu thiết kế sân bay, Phần 5, Chương 3 |
|
Đèn cảnh báo chướng ngại vật |
|
x |
x |
x |
x |
x |
x |
x |
x |
x |
Phụ ước 14, Chương 5; Tài liệu thiết kế sân bay, Phần 4, Chương 14 |
|
Biển báo |
|
x |
x |
x |
x |
x |
x |
x |
x |
x |
Phụ ước 14, Chương 5; Tài liệu thiết kế sân bay, Phần 4, Chương 11 |
|
Sơn tín hiệu nút giao đường lăn |
|
x |
x |
x |
x |
x |
x |
x |
x |
x |
Phụ ước 14, Chương 5 |
|
Sơ đồ (sân bay, di chuyển, sân đỗ) |
|
x |
x |
x |
x |
x |
x |
x |
x |
x |
Phụ ước 14, Chương 13, 14, 15 |
|
Dịch vụ kiểm soát tại sân |
|
x |
x |
x |
x |
x |
x |
x |
x |
x |
Phụ ước 11, PANS-RAC |
|
Đèn tín hiệu |
|
x |
x |
x |
x |
x |
x |
x |
x |
x |
Phụ ước 14, Chương 5 |
|
Thiết bị điện thoại vô tuyến |
|
x |
x |
x |
x |
x |
x |
x |
x |
x |
Phụ ước 11, Chương 6 |
|
Đèn vị trí chờ trên đường lăn |
|
|
|
x |
|
x |
x |
x |
x |
x |
Phụ ước 14, Chương 5 |
|
Thanh chắn báo giới hạn cho phép (clearance bars) |
|
|
|
x |
|
x |
x |
|
x |
x |
Phụ ước 14, Chương 5 |
|
Hệ thống giám sát điện tử cho đèn |
|
|
x |
x |
|
x |
x |
x |
x |
x |
Phụ ước 14, Chương 8; Tài liệu thiết kế sân bay, Phần 5, Chương 3 |
|
Đèn tim đường lăn |
|
|
|
x |
|
|
x |
|
|
x |
Phụ ước 14, Chương 5; Tài liệu thiết kế sân bay, Phần 5, Chương 3 |
|
Đèn dừng chờ Stop Bars |
|
|
|
x |
|
x |
x |
|
x |
x |
Phụ ước 14, Chương 5; Tài liệu thiết kế sân bay, Phần 5, Chương 3 |
|
Khả năng tắt bật chủ động của hệ thống đèn tim đường lăn |
|
|
|
|
|
|
x |
|
|
x |
Tài liệu thiết kế sân bay, Phần 4, Chương 10 và Phần 5, Chương 3 |
|
Khả năng tắt bật chủ động của hệ thống đèn tim đường lăn trên sân đỗ |
|
|
|
|
|
|
x |
|
|
x |
Tài liệu thiết kế sân bay, Phần 4, Chương 10 và Phần 5, Chương 3 |
|
Radar giám sát mặt sân (SMR) |
|
|
|
|
|
|
x |
|
x |
x |
Tài liệu hoạch định dịch vụ không lưu |
|
Đèn hướng dẫn tàu bay di chuyển vào vị trí đỗ |
|
|
|
x |
|
|
x |
|
|
x |
Phụ ước 14, Chương 5 |
|
Thiết bị phụ trợ cho đường cất hạ cánh |
|
|
|
x |
|
|
x |
|
x |
x |
Phụ ước 14, Chương 5 |
|
Nguồn năng lượng dự phòng |
|
|
|
x |
|
x |
x |
|
x |
x |
Phụ ước 14, Chương 8; Tài liệu thiết kế sân bay, Phần 5, Chương 2 |
|
Hệ thống dẫn đỗ tàu bay |
|
|
|
|
|
|
x |
|
x |
x |
Phụ ước 14, Chương 5; Tài liệu thiết kế sân bay, Phần 4, Chương 12 |
Bảng 2-3 Hướng dẫn lựa chọn quy trình hệ thống SMGC
|
Quy trình |
Mật độ khai thác |
Thấp |
Trung bình |
Cao |
Tài liệu ICAO tham khảo |
||||||
|
Điều kiện tầm nhìn |
1 |
2 |
3 |
1 |
2 |
3 |
1 |
2 |
3 |
||
|
Người khai thác cảng hàng không, sân bay |
|
|
|||||||||
|
Giám sát điện định kỳ các thiết bị phụ trợ SMGC |
|
x |
x |
x |
x |
x |
x |
x |
x |
x |
Phụ ước 14, Chương 8; Chương 3 của Tài liệu này |
|
Xây dựng phương án lăn |
|
x |
x |
x |
x |
x |
x |
x |
x |
x |
Chương 3 của Tài liệu này |
|
Kiểm tra và báo cáo khu vực hoạt động |
|
x |
x |
x |
x |
x |
x |
x |
x |
x |
Phụ ước 14, Chương 2; Chương 3 của Tài liệu này |
|
Kiểm tra việc tuân thủ nhân viên mặt đất trên khu vực hoạt động tại khu bay theo quy định của pháp luật |
|
x |
x |
x |
x |
x |
x |
x |
x |
x |
Chương 3 của Tài liệu này |
|
Sửa đổi sơ đồ sân bay khi cần thiết |
|
x |
x |
x |
x |
x |
x |
x |
x |
x |
Chương 6 của Tài liệu này |
|
Quy định về quy trình điện thoại vô tuyến của nhân viên mặt đất |
|
x |
x |
x |
x |
x |
x |
x |
x |
x |
Phụ ước 10; PANS-RAC |
|
Thiết lập các tuyến lăn tiêu chuẩn |
|
|
|
x |
|
x |
x |
x |
x |
x |
Chương 3 và Chương 6 của Tài liệu này |
|
Các biện pháp bảo vệ trong khu vực hoạt động tầm nhìn hạn chế |
|
|
|
x |
|
|
x |
|
|
x |
Chương 5 của Tài liệu này |
|
Giám sát tình trạng hoạt động các thiết bị phụ trợ SMGC |
|
|
|
x |
|
|
x |
|
|
x |
Phụ ước 14, Chương 8; Chương 3 của Tài liệu này |
|
ATS |
|
|
|||||||||
|
Giám sát trực quan các thiết bị phụ trợ SMGC |
|
x |
x |
x |
x |
x |
x |
x |
x |
x |
Phụ ước 11, Chương 7; Chương 3 của Tài liệu này |
|
Thực hiện quy trình và phương thức giao tiếp khi sử dụng điện thoại vô tuyến |
|
x |
x |
x |
x |
x |
x |
x |
x |
x |
Phụ ước 10; PANS-RAC, Phần 9 và Tài liệu điện thoại vô tuyến |
|
Sử dụng đèn tín hiệu |
|
x |
x |
x |
x |
x |
x |
x |
x |
x |
Phụ ước 2, Phụ lục A |
|
Kiểm soát hoạt động của tàu bay và các phương tiện khác trên khu vực di chuyển |
|
x |
x |
x |
x |
x |
x |
x |
x |
x |
PANS-RAC, Phần 5 |
|
Vận hành hệ thống đèn |
|
x |
x |
x |
x |
x |
x |
x |
x |
x |
PANS-RAC, Phần 5 |
|
Xác định tuyến đường lăn cần thiết để tàu bay lăn |
|
|
|
x |
|
x |
x |
x |
x |
x |
PANS-RAC, Phần 5; Chương 3 của Tài liệu này |
|
Thực hiện quy trình sắp xếp, bố trí thứ tự để tàu bay di chuyển |
|
|
|
x |
x |
x |
x |
x |
x |
x |
Chương 4 của Tài liệu này |
|
Thông báo áp dụng và thông báo kết thúc áp dụng quy trình khai thác trong điều kiện tầm nhìn hạn chế. |
|
|
|
x |
|
|
x |
|
|
x |
PANS-RAC, Phần 5; Chương 5 của Tài liệu này |
|
Áp dụng tiêu chuẩn phân cách trong khai thác |
|
|
|
x |
|
|
x |
|
|
x |
PANS-RAC, Phần 5; Chương 4 của Tài liệu này |
|
Giám sát tình trạng hoạt động các thiết bị phụ trợ SMGC |
|
|
|
x |
|
|
x |
|
|
x |
Phụ ước 11, Chương 7; Chương 3 của Tài liệu này |
|
Giám sát di chuyển trên mặt sân bằng SMR |
|
|
|
|
|
|
x |
|
x |
x |
Chương 4 của Tài liệu này |
|
Tắt bật đèn tâm đường lăn có chọn lọc |
|
|
|
|
|
|
x |
|
|
x |
Tài liệu thiết kế sân bay, Phần 4; PANS-RAC, Phần 5 |
|
Tắt bật đèn dừng chờ- stop bars |
|
|
|
x |
|
x |
x |
|
x |
x |
Tài liệu thiết kế sân bay, Phần 4; PANS-RAC, Phần 5 |
|
Tuân thủ các quy tắc và quy định liên quan đến di chuyển trên sân đường khu bay. |
|
x |
x |
x |
x |
x |
x |
x |
x |
x |
Phụ ước 2, Doc 4444 Chương 7 |
|
Tuân thủ các quy trình sử dụng điện thoại vô tuyến và ngôn từ |
|
x |
x |
x |
x |
x |
x |
x |
x |
x |
Phụ ước 10, Doc 4444 và tài liệu hướng dẫn về hệ thống điện thoại vô tuyến |
|
Đơn vị quản lý sân đỗ tàu bay |
|
|
|||||||||
|
Quy định và quy trình liên quan sân đỗ tàu bay |
|
x |
x |
x |
x |
x |
x |
x |
x |
x |
Phụ ước 14, Chương 8,9 của Tài liệu này |
|
Quy trình khẩn nguy |
|
x |
x |
x |
x |
x |
x |
x |
x |
x |
Chương 5, 8 của Tài liệu này |
|
Quy trình liên lạc với ATS |
|
x |
x |
x |
x |
x |
x |
x |
x |
x |
Chương 4, 8 của Tài liệu này |
|
Cung cấp thông tin và phân bổ vị trí đỗ tàu bay |
|
x |
x |
x |
x |
x |
x |
x |
x |
x |
Chương 8 của Tài liệu này |
|
Quy trình đảm bảo an ninh cho sân đỗ tàu bay |
|
x |
x |
x |
x |
x |
x |
x |
x |
x |
Chương 8 của Tài liệu này |
|
Vận hành hệ thống chiếu sáng và neo đậu tàu bay |
|
|
|
x |
|
|
x |
|
|
x |
Chương 8 của Tài liệu này |
|
Cung cấp kênh RTF riêng |
|
|
|
|
|
|
x |
x |
x |
x |
Chương 8 của Tài liệu này |
|
Quy trình khai thác trong điều kiện tầm nhìn hạn chế |
|
|
|
x |
|
|
x |
|
|
x |
Chương 5 của Tài liệu này |
2.4.2 Hệ thống dẫn đỗ trực quan là cần thiết cho một số điều kiện sân bay, dựa trên những yếu tố sau:
- Số lượng tàu bay sử dụng giá đỡ tàu bay;
- Điều kiện thời tiết;
- Không gian khả dụng trên sân đỗ;
- Độ chính xác cần thiết áp dụng vị trí đỗ;
- Tính phổ biến và chi phí của các phương tiện thay thế.
2.4.3 Biển báo là một thiết bị phụ trợ cơ bản. Biển báo đóng vai trò quan trọng trong việc thông báo cho tổ lái và giảm bớt liên lạc RTF (liên lạc điện thoại vô tuyến). Tuỳ vào cấu hình mỗi sân bay thì số lượng biển báo là khác nhau. Khi tần suất khai thác tăng hoặc tầm nhìn bị giảm, cần cải tiến các biển báo việc bổ sung đèn và thiết bị hỗ trợ khác.
2.4.4 Sơ đồ cũng là một thiết bị phụ trợ không thể định rõ. Cho đến gần đây, sơ đồ sân bay được xác định trong Phụ ước 4. Điều này là không hiệu quả, bởi vì thông tin trên sơ đồ sân bay thường không đủ so với yêu cầu. Ví dụ, một sơ đồ di chuyển trên bề mặt được đưa ra, và khi nó không thể hiển thị tất cả thông tin, một sơ đồ đỗ/dẫn đỗ là cần thiết. Bởi vì việc cung cấp các sơ đồ này có liên quan đến sự phức tạp của sân bay và có nhiều điều kiện về tầm nhìn và mật độ khai thác khác nhau, cụm từ "Các sơ đồ", được sử dụng trong Bảng 2-2. Người khai thác cảng hàng không, sân bay cần đánh giá số lượng sơ đồ cần thiết phù hợp với lượng thông tin cần thể hiện.
2.5 Phối hợp các quy trình và các điều kiện sân bay
2.5.1 Bảng 2-3 liệt kê các quy trình thích hợp cho 09 điều kiện sân bay. Bảng không chỉ bao gồm các quy trình cơ bản được nêu trong 2.3.1 mà còn có các quy trình bổ sung cần thiết để đảm bảo sự di chuyển an toàn, nhanh chóng và hiệu quả của tàu bay trong điều kiện tầm nhìn và giao thông khác nhau.
2.5.2 Cần lưu ý rằng một phần riêng biệt của Bảng 2-3 được dành cho các quy trình quản lý sân đỗ. Điều này là để chuẩn bị cho trường hợp thành lập đơn vị quản lý sân đỗ riêng biệt. Nếu không có đơn vị quản lý sân đỗ riêng, có thể một phần các quy trình này sẽ thuộc về đơn vị ATS và một phần thuộc về Người khai thác cảng hàng không, sân bay.
2.6 Đánh giá hệ thống và cải tiến
2.6.1 Các đánh giá thường xuyên về hệ thống SMGC là cần thiết để đảm bảo rằng hệ thống đang đáp ứng theo yêu cầu, và để hỗ trợ người khai thác cảng hàng không, sân bay trong việc xây dựng một hệ thống tiên tiến hơn và các phương tiện hỗ trợ khi cần thiết. Tốt nhất là cần có kế hoạch tổng thể cho sân bay ngay trong giai đoạn đầu của sự phát triển, khi đó, việc thường xuyên đánh giá hệ thống sẽ giúp theo dõi sự phát triển của sân bay trong từng thời kỳ theo quy hoạch/kế hoạch tổng thể.
2.6.2 Hệ thống SMGC cần được đánh giá khi xảy ra một hoặc nhiều tình huống dưới đây:
a) Mật độ khai thác tăng đáng kể;
b) Tổ chức khai thác trong điều kiện tầm nhìn hạn chế;
c) Thay đổi cấu hình sân bay, ví dụ như đường cất hạ cánh, đường lăn, sân đỗ mới được đưa vào khai thác.
Ngoài ra, việc tái cấu trúc vùng trời xung quanh sân bay, hoặc các tình huống khác, có thể ảnh hưởng đến luồng tàu bay đi và đến sân bay, dẫn đến thay đổi phương án vận hành tàu bay, do đó ảnh hưởng đến yêu cầu của hệ thống SMGC.
2.6.3 Ngoài số lượng cất hạ cánh của tàu bay, việc tăng lưu lượng khai thác dẫn đến suy giảm hiệu quả của hệ thống SMGC có thể được xác định bởi các nguyên nhân sau:
a) Nhu cầu tăng cường giám sát trực quan các hoạt động trên bề mặt sân đường được tạo ra bởi toàn bộ các hoạt động khai thác tại sân bay;
b) Sự gia tăng đáng kể trên các kênh liên lạc vô tuyến dùng cho SMGC;
c) Sự gia tăng số lượng vấn đề xảy ra tại các điểm giao cắt giữa đường hệ thống cất hạ cánh và đường lăn, yêu cầu cần có sự can thiệp của kiểm soát viên, dẫn đến gia tăng liên lạc vô tuyến;
d) Sự xuất hiện của các điểm tắc nghẽn do các hoạt động trên bề mặt sân đường trong sân bay.
CHƯƠNG 3. CHỨC NĂNG VÀ TRÁCH NHIỆM
3.1 Tổng quan
3.1.1 Trong hệ thống SMGC, cũng như trong bất kỳ hệ thống nào khác, cần xác định rõ đơn vị chịu trách nhiệm cụ thể nội dung nào và khi nào, tại sao, như thế nào. Theo đó, chương này thảo luận một số chức năng và nhiệm vụ quan trọng của những thành phần liên quan nhiều nhất với SMGC, cụ thể là:
- Dịch vụ không lưu - ATS;
- Dịch vụ quản lý sân đỗ;
- Tổ lái;
- Người khai thác cảng hàng không, sân bay;
- Nhân viên điều khiển, vận hành phương tiện mặt đất.
Chương này trình bày về việc phân chia trách nhiệm, chức năng và nhấn mạnh sự cần thiết của việc tránh kiểm soát chồng chéo. Ngoài ra, một số chức năng như kiểm soát việc sử dụng phương tiện mặt đất, giám sát và bảo dưỡng các thiết bị phụ trợ bằng mắt cũng được đề cập.
3.1.2 Huấn luyện là phần thường bị bỏ qua nhất trong nhiều hệ thống. Để một hệ thống SMGC hoạt động chính xác, tất cả nhân viên chịu trách nhiệm về triển khai một phần hoặc toàn bộ hệ thống phải được đào tạo, theo dõi và thực hành để hoàn thành các nhiệm vụ được giao. Huấn luyện liên quan đến các hệ thống SMGC được đề cập trong chương này.
3.2 Phân công trách nhiệm và chuyển giao Dịch vụ không lưu – ATS
3.2.1 Các quy trình và phương thức giao tiếp khi sử dụng điện thoại vô tuyến. Điện thoại vô tuyến sẽ là phương thức liên lạc chính giữa ATS và tàu bay, phương tiện mặt đất và phương tiện cứu nạn, chữa cháy hoạt động trên khu vực di chuyển. Điều quan trọng là liên lạc điện thoại vô tuyến (RTF) được tiến hành theo tiêu chuẩn, liên quan đến phương thức giao tiếp, quy trình và ngôn ngữ. Tại các sân bay bận rộn, tải công việc của kiểm soát viên có thể rất cao và các hệ thống SMGC nên được thiết kế nhằm giảm thiểu nhu cầu liên lạc RTF.
3.2.2 Khi tàu bay và các phương tiện hoạt động ngoài khu vực di chuyển nhưng dưới sự hướng dẫn của đơn vị ATS, cần cụ thể hoá các quy trình bằng văn bản chi tiết.
3.2.3 Cấp huấn lệnh lăn để tạo thuận lợi cho SMGC
Đơn vị cung cấp dịch vụ không lưu sẽ chịu trách nhiệm cấp huấn lệnh cho tàu bay khởi hành theo thứ tự, nhằm đẩy nhanh lưu lượng tàu bay di chuyển và định tuyến nhanh chóng cho tàu bay đến. Trong tầm nhìn tốt, xếp thứ tự có thể được thực hiện bằng quan sát trực quan và điện thoại vô tuyến. Trong tầm nhìn hạn chế hoặc mật độ khai thác cao, cần sử dụng các phương tiện hiện đại hơn.
3.2.4 Xác định tuyến đường lăn cần theo
ATS xác định các tuyến lăn cho tàu bay và tuyến di chuyển cho phương tiện trên cơ sở phương án vận hành tàu bay toàn sân bay do người khai thác cảng hàng không, sân bay xác định. Mục đích là tối ưu mật độ khai thác và trật tự nhất có thể. Kiểm soát viên không lưu sẽ cấp huấn lệnh cho tổ lái hoặc nhân viên điều khiển phương tiện về tuyến đường cụ thể cần theo và giải quyết xung đột tại giao lộ khi cần.
3.2.5 Giám sát hoạt động của thiết bị phụ trợ thuộc hệ thống SMGC
Như các cơ quan chịu trách nhiệm vận hành hệ thống SMGC, các đơn vị ATS và người khai thác cảng hàng không, sân bay cần giám sát hệ thống và phối hợp thông báo, tổ chức khắc phục ngay các sai sót khi có thể theo trách nhiệm cụ thể của từng đơn vị. Việc giám sát này có thể ở dạng giám sát trực quan các đèn, xem xét các báo cáo của tổ lái và giám sát bằng màn hình đối với các thiết bị điện và điện tử trong hệ thống.
3.2.6 Kiểm soát hoạt động của các phương tiện khác tàu bay trên khu vực di chuyển
Mặc dù nhiệm vụ chính của một kiểm soát viên không lưu là kiểm soát tàu bay, họ cũng chịu trách nhiệm kiểm soát phương tiện mặt đất. Khi tầm nhìn giảm, kiểm soát viên không lưu sẽ hạn chế chuyển động của phương tiện mặt đất khi cần thiết. Tầm nhìn càng giảm thì mức độ kiểm soát phương tiện mặt đất càng tăng (xem 5.2 và 5.3). Trừ phương tiện cứu hộ và chữa cháy, kiểm soát viên không lưu cần đảm bảo tàu bay được ưu tiên và không bị cản trở bởi các phương tiện mặt đất. Người khai thác cảng hàng không, sân bay và và đơn vị kiểm soát không lưu thực hiện quyền này theo quy định của pháp luật để thực hiện nhiệm vụ này có hiệu quả.
3.2.7 Vận hành các thiết bị phụ trợ dẫn đường bằng mắt
ATS chịu trách nhiệm vận hành các thiết bị này, bao gồm đèn stop bar, đèn tim đường lăn và routing designators, đồng thời đảm bảo rằng đèn được chiếu sáng vào thời điểm thích hợp. Đối với hệ thống chiếu sáng lắp đặt trên sân đỗ (như là đèn tim đường lăn trên sân đỗ, đèn dẫn hướng tàu bay ra vào vị trí đỗ, đèn hệ thống VDGS), người khai thác cảng hàng không, sân bay là đơn vị chịu trách nhiệm vận hành.
3.2.8 Phân định trách nhiệm giữa kiểm soát viên không lưu và tổ lái
Ngăn ngừa va chạm là trách nhiệm chung của tổ lái và KSVKL. KSVKL luôn là người chịu trách nhiệm về việc giải quyết xung đột các giao điểm trên sân bay. Khi tầm nhìn suy giảm, trách nhiệm của ATS trong việc đảm bảo tránh va chạm với tàu bay sẽ tăng lên.
3.2.9 Thông báo áp dụng và thông báo kết thúc áp dụng quy trình khai thác trong điều kiện tầm nhìn hạn chế.
ATS thông báo áp dụng các quy trình này. Cơ quan khí tượng sẽ đưa ra nhận định, dự báo để chuẩn bị trước cho các quy trình khai thác trong điều kiện tầm nhìn hạn chế. Việc chuẩn bị có thể cần khoảng thời gian nhất định, nên cần được bắt đầu sớm để hoàn thành chúng trước khi áp dụng các hành động như tăng phân cách tàu bay. Khi tầm nhìn cải thiện, việc hủy bỏ các quy trình này sẽ diễn ra theo quyết định của ATS. (Xem 5.3 liên quan đến việc áp dụng và kết thúc khai thác trong điều kiện tầm nhìn hạn chế.)
Dịch vụ quản lý sân đỗ
3.2.10, Tại một số sân bay, công tác quản lý giao thông trên sân đỗ không thuộc trách nhiệm của đơn vị kiểm soát không lưu (tại Việt Nam hiện đang thực hiện theo quy trình phối hợp giữa người khai thác cảng hàng không, sân bay và đơn vị cung cấp dịch vụ bảo đảm hoạt động bay). Tại các sân bay này có một dịch vụ quản lý sân đỗ chịu trách nhiệm đảm bảo di chuyển an toàn của tàu bay trên sân đỗ. Tất cả các quy tắc và quy định áp dụng cho các chuyển động của tàu bay trên sân đỗ phải phù hợp với các quy tắc và quy định áp dụng cho khu vực di chuyển và có sự phối hợp chặt chẽ giữa dịch vụ quản lý sân đỗ và đơn vị ATS.
Tổ lái
3.2.11 Tổ lái sẽ tuân theo các hướng dẫn của ATS và đơn vị quản lý sân đỗ và điều khiển tàu bay lăn theo hướng được chỉ định. Trách nhiệm của tổ lái đối với tránh va chạm được nêu trong phần 4.3.
Người khai thác cảng hàng không, sân bay
3.2.12 Kiểm tra khu vực hoạt động
Người khai thác cảng hàng không, sân bay sẽ chịu trách nhiệm tiến hành kiểm tra thường xuyên khu vực hoạt động để đảm bảo rằng các khu vực này trong tình trạng khai thác tốt. Việc kiểm tra cần được hoàn thành trước khi bắt đầu các quy trình khai thác trong điều kiện tầm nhìn hạn chế vì bản thân các quy trình này sẽ ngăn cản việc kiểm tra (Xem 3.7 về giám sát hệ thống SMGC)
3.2.13 Nhân viên mặt đất
Người khai thác cảng hàng không, sân bay và ATS sẽ chịu trách nhiệm về kiểm soát đối với nhân viên mặt đất trên khu vực hoạt động. Người khai thác cảng hàng không, sân bay sẽ chịu trách nhiệm đảm bảo nhân viên mặt đất được ra vào và hoạt động tại khu vực hạn chế khi có chứng chỉ, giấy phép điều khiển phương tiện phù hợp, đặc biệt là được đào tạo và biết sử dụng RTF; và người khai thác cảng hàng không, sân bay tổ chức giám sát trong việc sử dụng nó. Khi khai thác trong điều kiện tầm nhìn hạn chế, điều đặc biệt quan trọng là phải hạn chế sự di chuyển của nhân viên mặt đất trên khu vực hoạt động đến mức tối thiểu. (Xem 5.3 để biết chi tiết)
3.2.14 Bảo dưỡng thiết bị hệ thống SMGC
Người khai thác cảng hàng không, sân bay chịu trách nhiệm đảm bảo hệ thống SMGC hoạt động ổn định. Theo đó người khai thác cảng hàng không, sân bay phải tiến hành kiểm tra thường xuyên các thành phần của hệ thống.
3.2.15 Xây dựng phương án lăn và tuyến đường lăn tiêu chuẩn
Người khai thác cảng hàng không, sân bay sẽ chịu trách nhiệm xây dựng phương án lăn và thiết lập tuyến đường lăn tiêu chuẩn cho tàu bay trong các điều kiện cụ thể. Việc ban hành quy trình vận hành, có xác định cụ thể đường lăn, tuyến đang lăn trở nên đặc biệt quan trọng đối với hoạt động của sân bay lớn trong điều kiện tầm nhìn hạn chế.
3.2.16 Bảo vệ khu vực hoạt động khi tầm nhìn hạn chế
Người khai thác cảng hàng không, sân bay có trách nhiệm đảm bảo rằng số lượng người và phương tiện được phép hoạt động trên khu vực hoạt động trong thời gian tầm nhìn hạn chế được giữ ở mức tối thiểu.
Nhân viên điều khiển phương tiện mặt đất
3.2.17 Nhân viên điều khiển, vận hành phương tiện mặt đất phải tuân thủ các quy định của sân bay và hướng dẫn của ATC. Mặc dù vậy, nhân viên phải chịu trách nhiệm trong quá trình điều khiển phương tiện và chú ý để tránh va chạm giữa phương tiện với tàu bay/phương tiện khác.
3.3 Tránh việc kiểm soát chồng chéo
3.3.1 Hệ thống SMGC cần được kiểm soát để phù hợp với các nhu cầu của tổ lái và kiểm soát viên không lưu.
3.3.2 Cần đảm bảo rằng tính hiệu quả của toàn bộ hệ thống không bị suy yếu do các quy định hạn chế không cần thiết đối với tổ lái và kiểm soát viên không lưu. Tổ lái và kiểm soát viên không lưu nên được phép thực hiện các trách nhiệm cụ thể của mình khi điều kiện cho phép. Khi điều kiện không cho phép, các hạn chế bổ sung dần dần được yêu cầu để đảm bảo an toàn cho việc di chuyển trên mặt đường sân bay. Những hạn chế này cần được loại bỏ ngay khi điều kiện khai thác được cải thiện.
3.3.3 Với các hệ thống SMGC hiện đại, có thể giảm công suất điều hành khi cần thiết, chẳng hạn như trong điều hành tầm nhìn hạn chế để thực hiện kiểm soát ở mức độ cao hơn. Những tiến bộ tương lai trong hệ thống tự động có thể cho phép kiểm soát mức độ cao mà không ảnh hưởng xấu đến năng lực.
3.3.4 Các nội dung chính cần cân nhắc khi kiểm soát việc di chuyển trên mặt đường sân bay trong điều hành tầm nhìn hạn chế:
a) Tránh xung đột giữa tàu bay đang lăn, giữa tàu bay và phương tiện mặt đất;
b) Bảo đảm rằng tàu bay hoặc phương tiện mặt đất không đi vào các khu vực nhạy cảm/hạn chế của hệ thống ILS (Instrument Landing System) khi không được phép;
c) Đảm bảo rằng đường cất hạ cánh thông thoáng khi có tàu bay đang hạ cánh hoặc cất cánh;
d) Tạo điều kiện thuận lợi cho tàu bay lăn để cất cánh và sau khi hạ cánh;
e) Duy trì khả năng an toàn tối đa của sân bay.
3.3.5 Tất cả tàu bay và các phương tiện khác hoạt động trên khu vực di chuyển của sân bay phải chịu sự kiểm soát bởi hệ thống liên lạc vô tuyến, hoặc theo cách khác được quy định cụ thể. Việc kiểm soát có thể bao gồm sự đi kèm của một nhân viên cụ thể được giao nhiệm vụ, người liên lạc trực tiếp với bộ phận kiểm soát của sân bay.
3.3.6 Kiểm soát sự di chuyển của tàu bay và các phương tiện trên mặt đường sân bay trong điều kiện tầm nhìn hạn chế phải dựa trên việc sử dụng tối đa các phương thức và phương tiện hỗ trợ phổ biến cho các hoạt động trong tầm nhìn tốt. Ở một mức độ nhất định, các quy trình và thiết bị phụ trợ trên một sân bay có tần suất bay cao cũng sẽ đảm bảo khai thác khi hoạt động trong điều kiện tầm nhìn hạn chế và ngược lại.
3.3.7 Để tàu bay và phương tiện di chuyển trên mặt đường sân bay hiệu quả và an toàn trong tầm nhìn hạn chế, phải cung cấp các thiết bị phụ trợ để thay thế các thông tin hình ảnh thông thường cho tổ lái và kiểm soát viên không lưu.
3.3.8 Các phương tiện kiểm soát chính cho việc di chuyển trên mặt đường sân bay trong điều kiện tầm nhìn hạn chế có thể là quy trình cụ thể, sử dụng liên lạc radio bằng giọng nói giữa kiểm soát viên không lưu và tổ lái/nhân viên điều khiển phương tiện, được bổ sung bằng thông tin hình ảnh dưới dạng ánh sáng, sơn tín hiệu bề mặt và biển báo. Mặc dù các phương tiện và quy trình trực quan có thể đủ để di chuyển trên mặt đường sân bay trong điều kiện tầm nhìn hạn chế, các hoạt động phải được tiến hành hết sức thận trọng. Khi nhu cầu khai thác tăng, khối lượng công việc của ATC có thể được giảm thiểu bằng cách cung cấp các thiết bị phụ trợ bổ sung.
3.4 Liên lạc khi di chuyển trên mặt đường sân bay
3.4.1 Thông tin liên lạc được chia thành ba loại chính:
a) Kiểm soát luồng và trong các giai đoạn tiếp cận, hạ cánh và cất cánh của chuyến bay;
b) Điều khiển tàu bay lăn và các phương tiện trên khu vực di chuyển;
c) Thu thập và cấp huấn lệnh, thông tin thời tiết và các dữ liệu chuyến bay khác. Tại sân bay có mật độ khai thác thấp, một kiểm soát viên không lưu có thể chịu trách nhiệm cho tất cả các nhiệm vụ này, sử dụng một kênh RTF cho tất cả các mục đích. Tại một sân bay lớn với mật độ khai thác cao, dịch vụ này có thể được chia sẻ giữa các kiểm soát viên không lưu và người được giao nhiệm vụ hỗ trợ. Sự gia tăng mật độ khai thác cũng có thể làm tăng tải trên RTF, đòi hỏi phải sử dụng các kênh riêng biệt.
3.4.2 Trong tình huống sân bay đang phát triển hoặc mật độ khai thác đang tăng, việc bổ sung các vị trí cho kiểm soát viên không lưu có thể dựa vào tải trên kênh RTF hoặc các yếu tố khác như khối lượng công việc của kiểm soát viên không lưu được tạo bởi sự kết hợp giữa lưu lượng bay, sự phức tạp của sân bay hoặc khi cần bổ sung một vị trí kiểm soát có thể cung cấp một cái nhìn tốt hơn về khu vực di chuyển. Mỗi vị trí kiểm soát viên không lưu nên có tần số riêng, nhưng cũng cần phụ thuộc vào tải RTF.
3.4.3 Một ví dụ về việc sử dụng hệ thống có hai kênh RTF là:
- Các dịch vụ được mô tả trong phần 3.4.1 a) trên một tần số;
- Các dịch vụ được mô tả trong phần 3.4.1 b) c) trên tần số còn lại;
Dịch vụ trong b) và c) sau đó được chia tách khi khối lượng công việc tăng đến mức cần thêm một kênh nữa. Trong một số trường hợp, cần phải mở một hoặc nhiều tần số bổ sung, trong những giờ bận rộn trong ngày và sau đó quay lại sử dụng ít kênh khi khối lượng công việc ít bận rộn hơn.
3.4.4 Theo thông lệ, các tần số riêng sẽ được sử dụng để liên lạc giữa phương tiện mặt đất và các cơ quan sân bay khác nhau như nhà thầu, hải quan, hãng hàng không, v.v., nhưng phải đảm bảo khi khai thác trong khu vực hoạt động, việc sử dụng tần số này không làm ảnh hưởng đến hoạt động của tần số phục vụ kiểm soát hoạt động di chuyển trên bề mặt sân đường của sân bay.
3.4.5 Một tần số dự phòng cho trường hợp tần số thông thường bị kẹt/quá tải là cần thiết và được khuyến khích, đôi khi, nó có thể giảm rất nhiều sự tắc nghẽn và các rắc rối phát sinh.
3.4.6 Tại nhiều sân bay, có kênh dự phòng RTF riêng giữa phương tiện cứu nạn và tàu bay khi tàu bay đã hạ cánh sau khi công bố tình trạng khẩn cấp, hoặc trong bất kỳ trường hợp khẩn cấp nào khi tàu bay trên mặt đất và có khả năng di chuyển được. Điều này có ý nghĩa đặc biệt với tàu bay lớn, nhân viên điều khiển phương tiện cần biết được ý định của tổ lái để giảm tối đa rủi ro cho hành khách và nhân viên điều khiển phương tiện. Để sử dụng một tần số riêng như vậy, người liên lạc cần có khả năng giao tiếp bằng một ngôn ngữ chung. Nếu không, liên lạc giữa tổ lái và dịch vụ cứu hộ sẽ phải được chuyển tiếp bởi ATC.
3.5 Thiết lập đường lăn tiêu chuẩn cho tàu bay
3.5.1 Trên sân bay, việc di chuyển của tàu bay khi lăn thường theo phương án vận hành nhất định, trong đó các luồng giao thông chính nằm giữa:
- Đường cất hạ cánh và sân đỗ;
- Sân đỗ và khu vực bảo dưỡng;
- Khu vực bảo dưỡng và đường cất hạ cánh.
Nếu có thể, các tuyến đường lăn tiêu chuẩn trực tiếp, đơn giản, có thể được áp dụng trong cả tầm nhìn tốt và tầm nhìn hạn chế (xem Chương 5 để biết các hoạt động tầm nhìn hạn chế) và cần đảm bảo sự xung đột tối thiểu với tuyến đường của tàu bay hoặc phương tiện khác. Tuyến đường một chiều nên được sử dụng nếu chiều dài khoảng cách lăn phù hợp, vì khoảng cách lăn dài dẫn đến nhiệt độ cao hơn cho phanh và lốp xe.
3.5.2 Cần đảm bảo rằng các tuyến đường đủ lớn cho tàu bay sử dụng, và sẽ không gây ra các vấn đề về:
a) Cản trở các thiết bị phụ trợ dẫn đường;
b) Xâm phạm vào khu vực không chướng ngại vật (OFZ) và xâm phạm vào khu vực giới hạn khác;
c) Cản trở tín hiệu của radar;
d) Cản trở vật lý (ví dụ: khoảng trống không đủ để tàu bay cất cánh từ điểm trung gian);
e) Luồng phản lực của động cơ (jet blast).
3.5.3 Các tuyến đường sẽ thay đổi tùy theo đường cất hạ cánh sử dụng để hạ cánh và cất cánh. Kế hoạch sử dụng tuyến đường phải cho phép chuyển đổi có trật tự từ một chế độ hoạt động sang chế độ khác, ví dụ: khi có sự thay đổi đường cất hạ cánh hoặc tàu bay cần phải trở lại sân đỗ.
3.5.4 Đối với sân bay có nhiều tuyến đường lăn tiêu chuẩn được cung cấp, chi tiết của các tuyến đường như vậy cần được công bố trong ấn phẩm thông tin hàng không và thể hiện trên sơ đồ sân bay. Tuyến đường nên được xác định bởi ký hiệu cụ thể (tên tuyến đường). Tên của tuyến đường lăn cần khác biệt với tên của đường cất hạ cánh, đường lăn và thiết bị hàng không phục vụ cất cánh. Trường hợp một tuyến đường bao gồm cả khu vực thuộc quyền kiểm soát của ATS và đơn vị quản lý sân đỗ, các điểm chuyển tiếp phải được chỉ định trên sơ đồ sân bay hoặc sơ đồ di chuyển mặt đất.
3.5.5 Hệ thống tuyến đường lăn tiêu chuẩn có nhiều lợi thế hơn so với một hệ thống thông thường, tăng tính an toàn, nhanh chóng và hiệu quả, giúp điều hành tốt hơn khi tầm nhìn hạn chế và giảm tải cho RTF
3.6 Kiểm soát phương tiện mặt đất
3.6.1 Để phục vụ tàu bay và bảo dưỡng tàu bay, cần có các phương tiện mặt đất chuyên dụng và chúng hoạt động trên khu vực hoạt động. Phụ ước 11, Phụ ước 14 (được cụ thể hoá tại Quyết định 1006/QĐ-CHK của Cục Hàng không Việt Nam) và PANS-RAC yêu cầu hoạt động của người và phương tiện trên khu vực hoạt động cần được kiểm soát hoặc quy định cụ thể để tránh các mối nguy cho họ hoặc cho tàu bay. Tài liệu thiết kế sân bay (Doc 9157), Phần 2, Chương 4 nhấn mạnh tầm quan trọng của việc quy hoạch các hạ tầng trên sân bay, nhằm phân tách tối đa hoạt động di chuyển của tàu bay và của phương tiện, với hệ thống đường công vụ được thiết kế sao cho các khu vực quan trọng của khu vực hoạt động sẽ không bị tắc nghẽn.
3.6.2 Tài liệu thiết kế sân bay, Phần 2, cũng chỉ ra chức năng của đường công vụ trong việc loại bỏ hoặc giảm bớt việc sử dụng đường cất hạ cánh và đường lăn của phương tiện mặt đất. Ví dụ, đường công vụ vành đai sân bay cho phép tiếp cận các thiết bị phụ trợ dẫn đường, hoặc từ một khu vực này sang khu vực khác. Một đường công vụ có thể kết nối một nhà ga với nhà ga khác cho phương tiện, xe chở hành lý,... Cần nghiên cứu và cố gắng tránh đường công vụ cắt qua đường cất hạ cánh và đường lăn, hoặc ảnh hưởng đến chức năng của thiết bị phụ trợ dẫn đường. Nếu một con đường công vụ bắt buộc phải cắt qua cuối đường cất hạ cánh, đoạn dừng hoặc khoảng trống, nó phải có vị trí sao cho phương tiện di chuyển trên đó không trở thành chướng ngại vật đối với hoạt động của tàu bay.
3.6.3 Trên sân đỗ, tương tác giữa các tàu bay và phương tiện là không thể tránh khỏi, hướng dẫn cho nhân viên điều khiển phương tiện là cần thiết nếu muốn hoạt động an toàn và hiệu quả trong khu vực được phép. Vạch an toàn sân đỗ cần được bố trí trên sân đỗ để xác định giới hạn của các khu vực dùng cho phương tiện mặt đất và các thiết bị phục vụ tàu bay khác. Những vạch này phải có màu dễ thấy và phải tương phản với sơn tín hiệu sân đỗ cho tàu bay (ví dụ như sơn tín hiệu vị trí đỗ tàu bay). Các phương tiện đi từ khu vực nhà ga hoặc đường công vụ đến một vị trí đỗ tàu bay, và từ vị trí đỗ tàu bay này đến vị trí đỗ tàu bay khác, nên được đánh dấu bằng vạch sơn dễ thấy.
3.6.4 Hệ thống đường công vụ cho phương tiện mặt đất chia làm 05 loại:
a) Các tuyến đường tách biệt hoàn toàn với sự di chuyển của tàu bay;
b) Các tuyến đường cắt qua đường lăn trong khu vực bảo dưỡng nhưng được tách biệt khỏi tàu bay đang hoạt động;
c) Các tuyến đường cắt qua đường cất hạ cánh, đoạn dừng, khoảng trống hoặc đường lăn đang hoạt động;
d) Sân đỗ tàu bay;
e) Phương tiện di chuyển dọc theo đường lăn và đường cất hạ cánh đang hoạt động.
Khu vực di chuyển phải được bảo vệ khỏi xâm nhập trái phép của người và phương tiện từ đường công vụ, ví dụ bằng biển báo hoặc đèn cảnh báo trên đường công vụ. Người đi bộ không được phép di chuyển trên đường cất hạ cánh hoặc đường lăn trừ trường hợp thật cần thiết và cho phép của đơn vị quản lý theo quy định.
3.6.5 Trường hợp xây dựng hoặc hoạt động khác dẫn đến nhu cầu di chuyển tự do cục bộ, ranh giới của một khu vực đóng tạm thời nên được đánh dấu như mô tả trong Phụ ước 14 (cụ thể hoá bởi Thông tư 34/2014/TT-BGTVT), và bất kỳ chuyển động nào bên ngoài khu vực sẽ tuân thủ các quy định sân bay bình thường. (Phụ ước 14, Chương 2, được cụ thể hoá bằng chương 2 Tài liệu hướng dẫn thiết kế, khai thác, bảo đảm an toàn khai thác tại sân bay theo Quyết định 1006/QĐ- CHK của Cục Hàng không Việt Nam quy định các thông tin cần công bố liên quan tình trạng của khu vực hoạt động tại sân bay).
3.6.6 Các quy trình chi tiết đối với các hoạt động trên sân đỗ dựa trên nhiều phương pháp khác nhau ngoài RTF cần được thiết lập bởi đơn vị có thẩm quyền để khai thác trong điều kiện tầm nhìn hạn chế để đảm bảo an toàn trong khi vẫn duy trì năng lực.
3.7 Giám sát
3.7.1 Đèn chiếu sáng
3.7.1.1 SMGC phụ thuộc rất nhiều vào đèn để điều hành an toàn trong điều kiện tầm nhìn giảm và vào ban đêm, điều quan trọng sống còn là ATC hiểu được bất kỳ sự khác biệt nào giữa đèn được chọn trên bảng điều khiển chiếu sáng Đài kiểm soát không lưu và đèn thực sự hiển thị trên bề mặt sân bay. Thông thường trong điều kiện tốt ở ban đêm, không khó để xem liệu các công tắc đã bật có tương ứng với đèn trên bề mặt sân hay không; các vấn đề sẽ phát sinh trong tầm nhìn suy giảm, khi kiểm soát viên không lưu không thể nhìn thấy đèn.
3.7.1.2 Trường hợp lí tưởng nhất là tất cả các đèn đều hoạt động nhưng khi cần bảo dưỡng, không được có quá 20% đèn tim đường lăn không hoạt động, và không có 02 đèn liên tiếp của tim đường lăn bị lỗi. Vì độ tin cậy cao của hệ thống chiếu sáng sân bay, một hệ thống màn hình giám sát có thể không cần thiết, nhưng kiểm tra trực quan cần được thực hiện với đủ tần suất để đảm bảo hệ thống chiếu sáng đường lăn đầy đủ.
3.7.1.3 Trong điều kiện khi việc kiểm tra trực quan đèn chiếu sáng bề mặt sân bay không thể thực hiện được, việc giám sát thường được thực hiện bởi:
a) Quan sát các đèn "mô phỏng" hoặc "báo hiệu" trên bảng điều khiển chiếu sáng;
b) Kiểm tra nguồn điện và chỉ báo về trạng thái mạch.
Điều quan trọng là bảng hiển thị chiếu sáng được thiết kế để chúng có thể giám sát hiệu quả hệ thống chiếu sáng bề mặt. Nhiều bảng điều khiển chiếu sáng cung cấp báo hiệu về đèn được chọn nhưng không cho biết đèn có thực sự sáng hay không. Đèn mô phỏng có thể cho biết liệu một nhóm đèn có bật hay không, nhưng không thể chỉ ra lỗi đèn đơn lẻ, điều đó có thể ảnh hưởng đáng kể cho hoạt động trong tầm nhìn hạn chế. Nguồn điện và chỉ báo về trạng thái mạch có thể cung cấp thông tin về tỷ lệ đèn lỗi nhưng không hiển thị cụ thể nguyên nhân lỗi. Các vấn đề có thể phát sinh từ lỗi không tắt được đèn, cũng như lỗi không bật được đèn. Để tàu bay di chuyển an toàn và hiệu quả trong điều kiện tầm nhìn hạn chế đòi hỏi một hệ thống giám sát được thiết kế để kiểm soát viên không lưu nhận biết nhanh chóng và liên tục được nhắc nhở về bất kỳ sự cố chiếu sáng nào có thể ảnh hưởng đến an toàn hoặc gây khó khăn cho việc tàu bay lăn trong khu vực kiểm soát viên không lưu phụ trách.
3.7.1.4 Thông tin trong Tài liệu Hướng dẫn về Tiêu chuẩn - Hệ thống điện (được cụ thể hoá tại tài liệu hướng dẫn của Cục Hàng không Việt Nam được ban hành tại Quyết định số .....) liên quan đến hệ thống giám sát điện cần được cài đặt để xác minh ngay lập tức rằng tất cả các thiết bị chiếu sáng đang trong tình trạng hoạt động tốt. Ví dụ về tín hiệu giám sát để biết tình trạng hoạt động của một thiết bị là:
a) Thiết bị không dùng: đèn báo hiệu tắt;
b) Thiết bị đang dùng: đèn báo hiệu sáng và ổn định;
c) Thiết bị lỗi khi bật: đèn báo hiệu nhấp nháy.
Tần số nhấp nháy khác nhau có thể biểu thị mức độ của lỗi khác nhau và có thể kèm theo cảnh báo âm thanh.
3.7.1.5 Mức độ và chi tiết của việc giám sát từ Đài kiểm soát không lưu sẽ phụ thuộc vào kích thước và độ phức tạp của hệ thống chiếu sáng. Với một hệ thống đèn đơn giản, có thể giám sát toàn bộ hệ thống từ Đài. Tại một sân bay lớn, được trang bị đầy đủ cho hoạt động trong điều kiện tầm nhìn hạn chế, việc điều khiển đèn và hệ thống giám sát có thể cần tập trung vào một phòng điều khiển kỹ thuật riêng. Bảng điều khiển trong Đài kiểm soát không lưu sẽ báo hiệu lỗi, bảng điều khiển phức tạp hơn trong phòng điều khiển sẽ chỉ ra bản chất chính xác của lỗi và thông tin này sẽ ngay lập tức chuyển tiếp đến ATS.
3.7.1.6 Để đảm bảo tính toàn vẹn của hệ thống giám sát, cần có hệ thống điện dự phòng riêng biệt. (Xem thêm Phụ ước 14, Chương 8 - Cụ thể hoá tại Quyết định 1006/QĐ-CHK về thông số kỹ thuật của nguồn điện dự phòng/thứ cấp.)
3.7.2 Thiết bị phụ trợ dẫn đường bằng thiết bị
3.7.2.1 Với sự xuất hiện các thiết bị phụ trợ dẫn đường bằng thiết bị trong SMGC, ATC sẽ phụ thuộc nhiều vào độ chính xác của chúng, nên cần có hệ thống giám sát để chỉ ra bất kỳ sự cố nào.
3.8 Kiểm tra bề mặt sân bay
3.8.1 Tần suất kiểm tra
3.8.1.1 Kiểm tra khu vực hoạt động nên được thực hiện đều đặn và thường xuyên. Hướng dẫn kiểm tra nằm trong Tài liệu Dịch vụ Sân bay (Doc 9137), Phần 8, khuyến nghị tần suất là:
a) Đường CHC - Bốn lần kiểm tra hàng ngày như mô tả bên dưới:
+ Kiểm tra lúc bình minh - Kiểm tra chi tiết bề mặt sân bay bao gồm toàn bộ chiều rộng của tất cả các đường cất hạ cánh. Điều này sẽ mất khoảng 15 phút cho mỗi đường cất hạ cánh (hai lần chạy).
+ Kiểm tra buổi sáng - Tất cả các đường cất hạ cánh, trong thời gian giãn cách giữa các chuyến bay, tập trung vào khu vực giữa các đèn lề đường cất hạ cánh.
+ Kiểm tra buổi chiều - Như kiểm tra buổi sáng
+ Kiểm tra lúc hoàng hôn - Bao gồm toàn bộ bề mặt của tất cả đường cất hạ cánh. Nó được thiết lập để giảm khoảng thời gian giữa các lần kiểm tra đường cất hạ cánh khi việc kiểm tra đèn không được thực hiện cho đến khi tối muộn và sẽ bao gồm toàn bộ bề mặt của đường cất hạ cánh
b) Đường lăn - Hàng ngày đối với đường lăn sử dụng bình thường.
c) Sân đỗ - Hàng ngày.
d) Khu vực cỏ - Những khu vực có thể bố trí tàu bay nên được kiểm tra thường xuyên như các khu vực có kết cấu bề mặt bằng vật liệu. Các khu vực cỏ khác nên được kiểm tra tại các khoảng thời gian phù hợp để quan sát bất kỳ sự xuống cấp của bề mặt.
3.9 Bảo trì
3.9.1 Bảo dưỡng chung
3.9.1.1 Các thiết bị phụ trợ khác nhau của hệ thống SMGC bao gồm hướng dẫn tuyến đường được liệt kê trong bảng 2-2. Những thành phần này yêu cầu kiểm tra, làm sạch, sắp xếp và bảo dưỡng định kỳ như các bộ phận khác của hệ thống chiếu sáng hàng không. Hướng dẫn về bảo dưỡng hệ thống chiếu sáng có trong Phụ ước 14, Chương 9 và trong Tài liệu Dịch vụ Sân bay, Phần 9.
3.9.1.2 Tính toàn vẹn và độ tin cậy của hệ thống SMGC phải phù hợp với các thiết bị phụ trợ dẫn đường bằng mắt và bằng thiết bị khác. Định kỳ sơn kẻ lại phải đảm bảo rằng các thành phần như sơn tín hiệu đường CHC và đường lăn, sơn tín hiệu vị trí chờ và biển báo là đủ cho điều kiện tầm nhìn hạn chế. Tính toàn vẹn của các hệ thống đèn trong SMGC sẽ phụ thuộc vào thiết kế của các mạch bên trong sân bay và nguồn điện bên ngoài. Độ tin cậy của hệ thống sẽ phụ thuộc vào mức độ kiểm tra và chương trình bảo dưỡng được triển khai. Mặc dù đèn không sử dụng được là điều không mong muốn, nhưng sự hiện diện của chúng còn phụ thuộc vào khoảng cách giữa chúng và giới hạn tầm nhìn mà hệ thống cho phép.
3.9.1.3 Kiểm tra đặc biệt. Kiểm tra đặc biệt nên được thực hiện bất cứ khi nào có thể trước khi cho phép khai thác trong điều kiện tầm nhìn hạn chế. Các cuộc kiểm tra này phải đảm bảo rằng chúng đủ tiêu chuẩn khai thác và không có hai đèn tim đường lăn liên tiếp bị lỗi hoặc nhiều hơn một đèn stop bar ở mỗi bên của tim đường lăn bị lỗi.
3.9.1.4 Trường hợp đường lăn có mật độ khai thác cao cần hoạt động trong tầm nhìn hạn chế, cần đặc biệt chú ý đến độ sáng của đèn tim đường lăn, đèn stop bar, và khả năng quan sát của sơn tín hiệu tim đường lăn và sân đỗ.
3.9.1.5 Cần tiến hành kiểm tra đặc biệt trước khi một đoạn đường lăn được sử dụng sau thời gian đóng cửa để bảo dưỡng, dọn tuyết hoặc lý do khác.
3.9.1.6 Bảo dưỡng định kỳ
Việc kết hợp bảo dưỡng định kỳ với kiểm tra định kỳ tùy thuộc vào sân bay. Khi nhân viên thực hiện kiểm tra định kỳ và vệ sinh đèn là thợ điện lành nghề, việc bảo dưỡng nên được đưa vào kiểm tra hàng ngày. Nếu việc kiểm tra được thực hiện bởi nhân viên điều hành không có chuyên môn về bảo dưỡng, cần có sự liên lạc chặt chẽ với nhân viên bảo dưỡng sân bay để đảm bảo việc bảo dưỡng được thực hiện khi cần thiết.
3.9.1.7 Việc bảo dưỡng hàng ngày tại các sân bay có mật độ khai thác lớn là rất khó sắp xếp việc bảo dưỡng trong khu vực hoạt động, chúng có thể phải được thực hiện vào ban đêm, khi mật độ khai thác thấp. Kế hoạch cần được chuẩn bị cho việc thay thế các đèn hỏng hoặc sửa mạch điện lỗi, sau khi được phát hiện nhờ kiểm tra hàng ngày. Tại sân bay với hệ thống đường lăn lớn và phức tạp, cần thiết phải có nhiều hơn một đội bảo dưỡng làm việc trong khu vực hoạt động khi tần suất khai thác thấp.
3.9.2 Sửa lỗi đặc biệt
3.9.2.1 Ngoài việc bảo dưỡng định kỳ, tại các sân bay có tần suất khai thác cao và phức tạp cần có sẵn nhân viên để khắc phục lỗi đặc biệt khi có sự cố xảy ra làm ảnh hưởng đến khả năng đáp ứng của hệ thống. Điều này rất cần thiết khi một hệ thống kiểm soát tập trung đã được cung cấp và các hoạt động khai thác được thực hiện trong điều kiện tầm nhìn hạn chế.
3.9.2.2 Cần phải sửa lỗi đặc biệt khi xảy ra hỏng đèn liên tiếp trong các đèn tim đường lăn hoặc đèn dưng chờ - stop bar, khi đèn báo vị trí dừng chờ bị hỏng hoặc khi đèn hỏng làm ảnh hưởng đến biển chỉ dẫn quan trọng, như biển DỪNG LẠI, CAT II, v.v.
3.9.2.3 Nếu lỗi xảy ra khi sân bay đang khai thác trong điều kiện tầm nhìn hạn chế, cần phải xem xét liệu các hệ thống có đảm bảo theo tiêu chuẩn khai thác và kiểm soát an toàn mà không cần sửa lỗi ngay lập tức hoặc các hoạt động khai thác phải bị hạn chế trong khi sửa lỗi. Nếu lỗi cần phải khắc phục ngay, một hoặc nhiều phương tiện mặt đất phải được phép ra vào khu vực di chuyển và phải có sự tách biệt/bảo vệ cần thiết khỏi các phương tiện khác.
3.10 Đào tạo
3.10.1 Yêu cầu đào tạo của nhân sự được cấp giấy phép, như kiểm soát viên không lưu và tổ lái, là trách nhiệm của Nhà nước nhưng việc đào tạo của các nhân sự khác làm việc trên khu vực hoạt động hoặc tham gia vào việc cung cấp hệ thống SMGC, là trách nhiệm của cơ quan có thẩm quyền. Đào tạo gồm hai loại chính: ban đầu hoặc định kỳ.
3.10.2 Đào tạo ban đầu được cung cấp bởi cơ quan có thẩm quyền cho tất cả nhân viên mới và người mới đến một đơn vị cụ thể. Nó thường bao gồm nhưng không giới hạn ở:
- Quy trình RTF;
- Mặt bằng bố trí sân bay;
- Quy trình khai thác sân bay;
- Quy trình khẩn nguy sân bay;
- Quy trình khai thác sân bay trong điều kiện tầm nhìn hạn chế;
- Quy trình khai thác trong trường hợp đặc biệt;
- Nhận dạng tàu bay;
- Quy trình vận hành phương tiện.
3.10.3 Cần duy trì việc đào tạo định kỳ hoặc đào tạo chuyên sâu vì nhân viên ít khi phải làm việc với điều kiện tầm nhìn hạn chế do một hoặc cả hai điều sau đây:
a) Điều kiện tầm nhìn hạn chế ít khi xảy ra và trong thời gian ngắn;
b) Thay ca hoặc vắng mặt kéo dài vì bất cứ lý do gì.
3.10.4 Việc đào tạo định kỳ nên lặp lại ít nhất sáu tháng một lần. Việc đào tạo này có thể bằng các hình thức khác nhau tùy thuộc vào mức độ tham gia của nhân viên, tập trung vào sự an toàn của tàu bay và hậu quả của việc áp dụng sai quy trình sân bay.
CHƯƠNG 4. QUY TRÌNH
4.1 Giới thiệu
4.1.1 Cơ sở cho tất cả các hoạt động trên khu vực di chuyển của sân bay được nêu trong Phụ ước 2, 11, 14 và ICAO DOC 4444. Các văn bản này quy định các nguyên tắc, yêu cầu đối với việc khai thác tàu bay, phương tiện trên khu vực di chuyển, nếu được nghiên cứu tỉ mỉ, sẽ đảm bảo an toàn cho hoạt động khai thác trên khu vực di chuyển.
4.1.2 Tuy nhiên, khi nhu cầu khai thác tăng, tốc độ lăn của tàu bay theo quy trình vận hành hiện tại có thể bị ảnh hưởng do các quy định hiện hành. Với sự gia tăng mật độ khai thác, việc nâng cấp hệ thống SMGC là điều cần thiết để duy trì năng lực khai thác của sân bay.
4.1.3 Kiểm soát chuyển động trên bề mặt sân đường yêu cầu tàu bay và phương tiện phải tuân theo huấn lệnh của kiểm soát viên không lưu và Người khai thác cảng hàng không, sân bay, đây là điều kiện tiên quyết để hoạt động trên khu vực di chuyển (ICAO DOC 4444), và điều này cho phép kiểm soát viên không lưu có thẩm quyền phân bổ, ví dụ như các tuyến đường lăn và thứ tự ưu tiên để đảm bảo luồng giao thông thông suốt. Kết quả là tạo ra một hệ thống kiểm soát chuyển động mặt sân rất thực tế, phụ thuộc nhiều vào sự chia sẻ trách nhiệm giữa tổ lái, nhân viên điều khiển phương tiện và nhân viên kiểm soát không lưu để tránh va chạm.
4.2 Luồng tuyến di chuyển (phương án vận hành lăn)
Tổng quan
4.2.1 Ngoại trừ việc giải quyết các xung đột trên đường lăn, phần lớn các yêu cầu nhằm thay đổi luồng tuyến trên khu vực di chuyển xuất phát từ các nguồn khác, ví dụ như các hạn chế về khởi hành hoặc tắc nghẽn trên mặt sân. Hệ thống kiểm soát chuyển động bề mặt phải đóng vai trò là vùng đệm giữa đường cất hạ cánh và sân đỗ để xử lí sự chậm trễ hoặc ưu tiên. Nhiệm vụ này có thể được thực hiện trong hai cách: thứ nhất, trong trường hợp tàu bay khởi hành, kiểm soát viên không lưu có thể tạm thời không cho phép khởi động động cơ, kéo đẩy hoặc lăn như một giải pháp chiến lược; và thứ hai, kiểm soát viên không lưu yêu cầu tàu bay đã được cấp huấn lệnh quay trở lại đường lăn.
Giữ huấn lệnh cất cánh - Clearance Withholding (Phương thức giữ tàu bay trong sân đỗ - Gate Holding Procedure)
4.2.2 Khi việc khởi hành theo kế hoạch bị chậm trễ đáng kể do các yếu tố như:
a) Các hạn chế về luồng tuyến hoặc nhà ga;
b) Điều kiện thời tiết không đảm bảo khai thác.
Có những ưu điểm trong việc tạm hoãn khởi động động cơ và chờ trên sân đỗ. Kỹ thuật này giúp tiết kiệm nhiên liệu và thời gian chạy động cơ, đồng thời giảm khả năng tàu bay ảnh hưởng đến luồng tuyến lăn của các tàu bay đang được ưu tiên khác.
4.2.3 Một phương pháp để xử lí tình huống trong 4.2.2 a) là để ATS thực hiện quy trình "yêu cầu khởi động động cơ" với tàu bay sắp khởi hành và duy trì liên lạc chặt chẽ với Đài kiểm soát không lưu về khoảng thời gian trì hoãn. Khi nhận được "yêu cầu khởi động động cơ", kiểm soát viên không lưu sẽ xem xét thời gian khởi hành cần thiết liên quan đến thời gian lăn và độ trễ có thể xảy ra tại vị trí chờ, đồng thời sẽ đưa ra thời gian khởi động động cơ được tính toán để loại bỏ thời gian dư thừa.
Ví dụ:
Yêu cầu khởi động động cơ …............................................................ 10.10
Thời gian cất cánh được chỉ định ...................................................... 10.42
Thời gian lăn trung bình tới điểm chờ bao gồm cả các trường hợp dự phòng 10 phút
Thời gian từ lúc "khởi động động cơ" đến lúc "sẵn sàng chạy” 4 phút
=> Đưa ra huấn lệnh: "Khởi động động cơ lúc 10.28"
4.2.4 Với 4.2.2 b), do ATS thường không biết giới hạn khai thác trong điều kiện thời tiết không cho phép, nên trách nhiệm của tổ lái là trì hoãn yêu cầu khởi động động cơ cho đến khi các điều kiện nằm trong giới hạn khai thác của tàu bay. Bằng cách này, tàu bay có nhiều khả năng đến điểm chờ khi đến lượt cất cánh.
Quy trình sắp xếp thứ tự tàu bay lăn
4.2.5 Sắp xếp là việc sắp xếp cho các tàu bay lăn theo thứ tự khai thác hiệu quả nhất. Đối với tàu bay đi, điều này có nghĩa là tỷ lệ khởi hành tốt nhất và ít chậm trễ nhất. Đối với các chuyến đến, việc này đòi hỏi phải sắp xếp một trình tự thuận tiện cho việc vào sân đỗ, đồng thời gây ra sự gián đoạn tối thiểu cho các chuyến khởi hành.
4.2.6 Tại nhiều sân bay, trong khi chiến lược chung về thứ tự khởi hành được kiểm soát bằng “Phương thức giữ tàu bay trong sân đỗ” (xem 4.2.2), thì trình tự khởi hành của tàu bay đang lăn là một giải pháp để điều chỉnh những thay đổi muộn trong thứ tự sắp xếp đã định. Các phương pháp sắp xếp thứ tự sẽ thay đổi tùy theo bố cục sân bay, loại hình và lưu lượng khai thác cũng như điều kiện thời tiết, đặc biệt là tầm nhìn. Các phương pháp sắp xếp thứ tự bao gồm:
a) Phân bổ các tuyến đường lăn có độ dài khác nhau;
b) Phân bổ mức độ ưu tiên tại các nút giao;
c) Lăn vòng tại điểm chờ;
d) Tạm dừng trong quá trình lăn;
e) Trì hoãn việc rời khỏi sân đỗ.
4.2.7 Tại hầu hết các sân bay, khoảng thời gian cần thiết giữa các lần hạ cánh sẽ đảm bảo khoảng cách thích hợp giữa các lần đi vào sân đỗ. Khi có yêu cầu kiểm soát thời gian hoặc thứ tự lăn đến sân đỗ, các phương pháp được sử dụng sẽ như trong 4.2.6 a), b) hoặc e). Việc áp dụng a) có thể là theo hướng dẫn của ATC sau khi rời khỏi đường băng hoặc gợi ý tàu bay rẽ vào đường cất hạ cánh cụ thể sau khi hoàn thành vai trò hạ cánh.
4.3 Ảnh hưởng của tầm nhìn đối với quy trình của SMGC
Tầm nhìn tốt
4.3.1 Trong điều kiện tầm nhìn mức 1 (là khi KSVKL có thể quan sát được toàn bộ khu vực di chuyển mà mình chịu trách nhiệm), trách nhiệm chung của tổ lái và nhân viên điều khiển phương tiện để tránh va chạm (theo các quy tắc quy định tại Phụ ước 2, 11 và 14) và chỉ dẫn của KSVKL (được giao để hỗ trợ thông suốt) phối hợp tốt với nhau. Điều này là do tầm nhìn tốt cho phép KSVKL nhìn thấy luồng tuyến di chuyển trên bề mặt sân bay và từ đó dự đoán các xung đột có thể xảy ra và thực hiện các biện pháp kiểm soát sớm để tránh xung đột.
Tầm nhìn suy giảm
4.3.2 Khi tầm nhìn ngày càng suy giảm, mức độ hỗ trợ từ việc giám sát bằng mắt có thể mang lại cho KSVKL cũng sẽ giảm đi và khi KSVKL ngày càng mất tầm nhìn về bề mặt sân bay thì các phương pháp kiểm soát phải được điều chỉnh để duy trì an toàn khai thác. Khi tầm nhìn giảm xuống dưới mức 1, có thể coi rằng tầm nhìn là đủ để tổ lái lăn và tránh va chạm với các phương tiện khác trên đường lăn và tại các nút giao bằng quan sát trực quan, nhưng không đủ để KSVKL thực hiện kiểm soát tất cả hoạt động di chuyển của tàu bay và phương tiện bằng phương pháp quan sát trực quan. Sân bay càng lớn thì khả năng xảy ra tình trạng này càng cao. Trong điều kiện tầm nhìn như vậy, hoạt động hàng không bình thường có thể được diễn ra nhưng có thể cần phải hạn chế lưu lượng phương tiện trong khu vực di chuyển. Một số hạn chế về năng lực và sự gia tăng khối lượng công việc của tổ lái và KSVKL sẽ xảy ra do KSVKL không thể nhìn thấy tất cả khu vực di chuyển, và do nhu cầu thu thập thông tin bằng RTF.
4.3.3 Ở mức tầm nhìn hạn chế hơn - mức 2, việc giám sát trực quan từ ATC chỉ có thể đóng góp một phần nhỏ vào việc di chuyển an toàn trên khu vực di chuyển, đóng góp chính cho việc tránh va chạm là khả năng của tổ lái trong việc giữ khoảng cách với một tàu bay trước đó trên cùng đường lăn. Vì khả năng quan sát của tổ lái trong điều kiện này không đủ để vượt qua các nút giao nên mỗi sự giao cắt cần phải được bảo vệ. Khối lượng công việc ATC và công suất của hệ thống SMGC sẽ phụ thuộc vào số lượng các nút giao cắt hiện hữu của sân bay.
4.3.4 Trong điều kiện tầm nhìn mức 3, cả ATC và tổ lái đều không thể ngăn chặn va chạm chỉ dựa trên quan sát trực quan. Do đó, để di chuyển trong những điều kiện này, ATC phải đảm nhận trách nhiệm cung cấp cả khoảng cách ngang và khoảng cách dọc an toàn. Các kỹ thuật được sử dụng để giãn cách theo chiều dọc và tăng công suất hệ thống SMGC sẽ phụ thuộc vào các thành phần SMGC (xem Bảng 2-2) và đặc biệt là vào việc phân chia một tuyến đường nhất định thành bao nhiêu phân đoạn.
Ví dụ: Nếu tuyến đường đi thẳng từ sân đỗ đến đường cất hạ cánh có thời gian lăn là 20 phút và không có sự phân chia thì năng lực khởi hành là ba lượt chuyến/một giờ. Nếu tuyến đường có thể được chia thành các đoạn và xác nhận được sự chiếm chỗ của tổ lái trong từng đoạn thì năng lực của tuyến đường có thể tăng lên đáng kể.
4.4 Phương pháp hoạt động
4.4.1 Như đã nêu ở trên, việc tránh va chạm bằng quan sát trực quan có thể tiếp tục sau khi KSVKL không nhìn thấy khu vực di chuyển, và có thể tiếp tục đối với các phương tiện đi theo dòng ở tầm nhìn hạn chế hơn so với phương tiện đi trên các tuyến đường giao cắt. Không có một chế độ kiểm soát chuyển động trên bề mặt sân bay nào có thể áp dụng cho mọi điều kiện thời tiết và yếu tố quyết định phải là tầm nhìn của đường lăn. Do đường lăn không được thiết kế có thiết bị đo tầm nhìn, RVR (Tầm nhìn đường CHC) thường được sử dụng làm hướng dẫn về những gì có thể xảy ra trên đường cất hạ cánh. Tuy nhiên, trên bề mặt sân bay, có thể có sự khác biệt đáng kể về điều kiện tầm nhìn, do đó các báo cáo từ tổ lái và nhân viên về các đặc điểm thời tiết là có giá trị.
4.4.2 Vấn đề mà KSVKL phải đối mặt là duy trì luồng giao thông hiệu quả trong điều kiện tầm nhìn bị hạn chế. Mặc dù các quy trình sắp xếp thứ tự giao thông (xem 4.2.5) được áp dụng, nhưng KSVKL sẽ có xu hướng hạn chế số lượng tuyến đường lăn khả dụng để tránh xung đột tại các nút giao đường lăn. Điều này có thể đạt được bằng cách yêu cầu tàu bay lăn theo lộ trình được công bố trên sơ đồ sân bay hoặc bằng cách sử dụng đèn chiếu sáng tim đường lăn có chọn lọc. Khi điều kiện tầm nhìn bị suy giảm, có thể giảm bớt nhu cầu sắp xếp thứ tự trên đường bằng cách sử dụng “Phương thức giữ tàu bay trong sân đỗ” (xem 4.2.4).
4.4.3 Mặc dù đã đơn giản hóa việc định tuyến hết mức có thể, các xung đột tại nút giao đường lăn là khó có thể tránh được hoàn toàn trừ khi bố trí sân bay cực kỳ đơn giản. Theo đó, bốn phương thức kiểm soát chính, tùy vào các điều kiện về tầm nhìn, được định ra:
a) Tổ lái tránh va chạm bằng quan sát trực quan dọc theo đường lăn và tại các điểm giao cắt. ATC can thiệp tại các nút giao bằng cách thiết lập mức độ ưu tiên khi cần thiết để duy trì luồng tuyến di chuyển;
b) Tổ lái tránh va chạm bằng quan sát trực quan dọc theo đường lăn và tại các điểm giao cắt. ATC can thiệp bằng cách chỉ định các tuyến đường lăn cụ thể và bằng cách thiết lập mức độ ưu tiên tại các nút giao khi cần thiết để duy trì luồng tuyến di chuyển;
c) Tổ lái tránh va chạm bằng quan sát trực quan dọc theo đường lăn. ATC chịu trách nhiệm chỉ định các tuyến đường lăn cụ thể và thiết lập mức độ ưu tiên cũng như cung cấp phân cách ngang tại các nút giao;
d) ATC chịu trách nhiệm chỉ định lộ trình cụ thể, đảm bảo khoảng cách dọc an toàn trên đường lăn và thiết lập mức độ ưu tiên cũng như phân cách ngang tại các nút giao.
4.4.4 Các phương thức hoạt động này và mối quan hệ của chúng với điều kiện tầm nhìn cho thấy trách nhiệm ATC ngày càng tăng lên khi tầm nhìn giảm đi và tổ lái ít có khả năng tự tránh va chạm, trước tiên là tại các nút giao đường lăn và thứ hai là dọc theo đường lăn.
4.5 Phân cách tại nút giao và phân cách dọc
Tổng quan
4.5.1 Không có kỹ thuật nào của ATC áp dụng phân cách giữa các tàu bay đang lăn đủ tốt để tổ lái có thể áp dụng theo trong điều kiện tầm nhìn tốt. Theo đó, cho phép ATC hành động theo mức độ ưu tiên cũng như các hỗ trợ và kiểm soát khác tùy theo tình huống, sẽ tốt nhất cho cả ATC và tổ lái bằng cách giao trách nhiệm tránh va chạm cho tổ lái khi họ có thể thực hiện an toàn chức năng này. Tại hầu hết các sân bay, điều này diễn ra trong hơn 95% thời gian.
Phân cách tại nút giao (phân cách ngang)
4.5.2 Kiểm soát nút giao "nhường đường" và "ATC chỉ định ưu tiên bằng mắt" là các phương pháp được sử dụng phổ biến và không nhất thiết phải có sơn tín hiệu hoặc đèn tại các nút giao. Tuy nhiên, việc kiểm soát giao thông tại các nút giao trong điều kiện tầm nhìn mà tổ lái không thể tự phân cách ngang, yêu cầu rằng:
a) Các phương tiện có thể nhận ra nút giao và dừng lại khi được ra hiệu hoặc hướng dẫn, cho phép đủ khoảng trống để cắt ngang qua;
b) ATC có thể duy trì việc di chuyển theo trình tự sắp xếp hoặc giữ lại tàu bay, phương tiện để duy trì tốc độ luồng di chuyển tối đa.
Sơn tín hiệu, đèn tại các nút giao
4.5.3 Sơn tín hiệu và/hoặc đèn phải bảo vệ từng lối vào nút giao được sử dụng trong những điều kiện này, và:
a) Tổ lái và nhân viên điều khiển phương tiện phải nhận được huấn lệnh để có thể cắt ngang qua tại mỗi nút giao;
b) Hệ thống, dưới sự kiểm soát của ATC, cần chỉ rõ ai phải dừng lại và ai được cắt ngang qua.
Hạn chế và việc ATC phải cấp lệnh cho mỗi hoạt động khiến phương pháp này chỉ phù hợp ở các sân bay có mật độ khai thác thấp và/hoặc ít nút giao. Nếu nhu cầu khai thác trung bình hoặc cao tại các sân bay có cấu hình phức tạp, cần phải có hệ thống điều khiển hiện đại hơn như đèn tim đường lăn liên kết với đèn stop bar. Khi các tuyến đường lăn được thiết lập trên hệ thống như vậy, việc kích hoạt tự động đèn stop bar trên các tuyến đường cắt ngang là cần thiết.
Phân cách dọc theo đường lăn (phân cách dọc)
4.5.4 Trong trường hợp không có thiết bị quan sát chuyên dụng (non-visual), tầm nhìn mà ở dưới mức cho phép thì tổ lái không thể điều khiển tàu bay lăn bằng cách quan sát trực quan, đây chính là “giới hạn dưới” của tàu bay hoạt động trên bề mặt sân đường. Rõ ràng, điều này sẽ phụ thuộc vào một số yếu tố như sơn tín hiệu, loại và khoảng cách của đèn tim đường lăn, công nghệ đèn và hiệu suất nói chung. Một số buồng lái (flight decks) có tầm nhìn tốt hơn cho việc lăn, hiệu quả lăn của các tàu bay khác nhau, khối lượng công việc của tổ lái khác nhau, không quen với cách bố trí sân bay đòi hỏi tổ lái phải tập trung cao hơn trong điều kiện tầm nhìn hạn chế và bố trí đường lăn phức tạp/khó hiểu đòi hỏi mức độ tập trung cao hơn của tổ lái để tránh sai lầm. Vì vậy có thể thấy rằng sự kết hợp các yếu tố này có thể dẫn đến kết quả là một tổ lái có thể đạt được việc di chuyển an toàn tương đối dễ dàng, trong khi một tổ lái khác có thể gặp khó khăn lớn.
4.5.5 Như đã chỉ ra ở 4.5.1, không có kỹ thuật phân cách dọc nào được ATC áp dụng đủ tốt để tổ lái có thể áp dụng theo trong điều kiện tầm nhìn tốt; tuy nhiên, khi tầm nhìn giảm, tổ lái gặp phải nhiều vấn đề hơn trong việc duy trì khoảng cách an toàn với tàu bay đến trước. Thứ nhất, tổ lái phải nhận biết được tàu bay phía trước là vật cản và thứ hai, phải hành động để duy trì khoảng cách an toàn với tàu bay này. Biết về loại tàu bay đến trước là cần thiết đối với tổ lái và tổ lái phải có khả năng đánh giá tốc độ tiếp cận cũng như nhu cầu giảm tốc độ tàu bay, thậm chí dừng lại để duy trì khoảng cách an toàn.
4.5.6 Trong điều kiện tầm nhìn hạn chế, tổ lái sẽ tập trung chủ yếu vào các tín hiệu trực quan cần thiết cho việc hướng dẫn lăn cho tàu bay do tổ lái điều khiển (xem 4.5.1) và việc quan sát của tổ lái thường sẽ tập trung gần tim đường lăn. Do đó, việc nhận biết tàu bay đến trước, sớm (để có hành động phù hợp) khó đạt được. Khi tầm nhìn giảm đến “giới hạn dưới”, khi đó tổ lái không thể vừa điều khiển tàu bay và vừa duy trì phân cách dọc. Ở giai đoạn này, ATC phải chịu trách nhiệm cung cấp phân cách dọc.
4.5.7 Giới hạn tầm nhìn phân cách dọc cần cung cấp cho ATC có thể được giảm bớt bằng cách cung cấp nội dung cảnh báo và tư vấn hướng luồng, tuyến chính xác, bao gồm loại, khoảng cách và vị trí tương đối của tàu bay đến trước và khuyến cáo về tốc độ di chuyển. Để hỗ trợ ATC cung cấp dịch vụ như vậy, Bảng 2-2 đề xuất lắp đặt SMR khi dự định tiến hành các hoạt động của tàu bay trong điều kiện tầm nhìn hạn chế tại các sân bay khi nhu cầu giao thông ở mức trung bình hoặc cao.
4.5.8 Rõ ràng là với tất cả các biến số, không thể quy định tầm nhìn cố định mà tại đó ATC sẽ đảm nhận trách nhiệm phân cách theo chiều dọc. Đơn vị có trách nhiệm xác định tầm nhìn tại sân bay để dự định khai thác trong điều kiện tầm nhìn hạn chế sẽ phải đánh giá tất cả các yếu tố liên quan đến sân bay và điều kiện khai thác để xác định tầm nhìn mà ATC sẽ đảm nhận trách nhiệm phân cách dọc.
4.5.9 Tuy nhiên, sau khi xác định được điều kiện tầm nhìn này, cần phải xem xét thêm ba yếu tố nữa.
Thứ nhất, phải đảm bảo rằng hạ tầng và thiết bị của sân bay, ATC và các phương thức được thiết lập phù hợp với các yêu cầu khai thác trong điều kiện tầm nhìn hạn chế và phân cách do ATC áp dụng (xem Bảng 2-1, 2-2 và 2-3).
Thứ hai, do cần khoảng thời gian nhất định trong việc thay đổi trách nhiệm khi tầm nhìn bị suy giảm (đối với hoàn cảnh cục bộ), cần phải thiết lập các quy trình phân cách dọc để ATC thực hiện trước khi tầm nhìn thực sự bị hạn chế.
Thứ ba, mặc dù số liệu RVR (Tầm nhìn đường đường CHC) là dấu hiệu tốt nhất về điều kiện đường cất hạ cánh, tầm nhìn trên phần còn lại của khu vực hoạt động có thể thay đổi đáng kể, và điều kiện khí tượng bất thường có thể dẫn đến sự thay đổi về tầm nhìn cơ bản. Những yếu tố này có thể dẫn đến tầm nhìn thực tế mà ATC nên bắt đầu áp dụng phân cách dọc cao hơn một chút so với giá trị được xác định ban đầu. Trong bối cảnh này, việc đưa ra quyết định không thể chỉ là đặc quyền của cơ quan có thẩm quyền vận hành sân bay. Việc tham vấn đầy đủ với các bên liên quan khác như đơn vị khai thác tại sân bay phải được thực hiện để đảm bảo thành công khi áp dụng thực tế các quy trình phân cách dọc trong tầm nhìn hạn chế.
4.5.10 Khi cân nhắc đến phân cách dọc, cần lưu ý rằng chuyển động của tàu bay trên đường lăn là không liên tục, nghĩa là có thể đi và dừng. Một cách an toàn để ATC thực hiện phân cách dọc là chia đường lăn thành các khối hoặc đoạn, và khi điều hành tàu bay, phải đảm bảo rằng vùng đệm được duy trì giữa các khối hoặc đoạn do tàu bay kế tiếp chiếm giữ. Để sử dụng hệ thống “khối”, có thể dùng cách đơn giản như đưa ra huấn lệnh qua RTF để dừng lại hoặc tiến tới các khoảng trống được chỉ định trên một tuyến đường cụ thể, cho đến các giải pháp phức tạp như cung cấp hệ thống đèn tim đường lăn tự chuyển và đèn stop bar với tính năng tự động nhận dạng tàu bay bằng cách sử dụng cảm biến làm cơ sở.
4.5.11 Rõ ràng phương pháp đơn giản ở trên tạo ra mức tải công việc cao cho KSVKL và tắc nghẽn tần số đến mức nó chỉ có thể được sử dụng với lưu lượng giao thông rất thấp. Ở một thái cực khác, việc cung cấp một hệ thống “vi tính hóa” hoàn chỉnh cho toàn bộ sân bay là không thực tế do quá phức tạp và tốn kém. Một hệ thống hướng dẫn và điều khiển trực quan có tính thực tế, được cung cấp bởi công nghệ hiện tại, là hệ thống đèn tim đường lăn có thể chuyển đổi chọn lọc với các đèn stop bar tích hợp.
4.5.12 Khi sân bay được trang bị các đèn tim đường lăn có thể chuyển đổi chọn lọc và các đèn stop bar tích hợp, phân cách an toàn có thể đạt được bằng cách cung cấp cho tàu bay lăn một dải đèn tim đường lăn đến giới hạn của “khối” được xác định bằng đèn stop bar màu đỏ. Trong mọi trường hợp, giới hạn của “khối” sẽ dựa trên vị trí đã biết của tàu bay đã đến trước đó và sẽ tuân thủ các yêu cầu của 4.5.14 a), b) và c). "Vị trí đã biết" có thể là vị trí do tổ lái báo, vị trí thu được từ radar hoặc tốt hơn là tàu bay báo cáo vị trí sau đó được xác nhận bởi radar. Huấn lệnh tiếp theo phải tuần tự và bao gồm huấn lệnh RTF đến điểm tiếp theo, được xác nhận bằng việc tắt đèn stop bar, và đèn tim đường lăn sáng đến stop bar tiếp theo.
Hệ thống yêu cầu phân cách tối thiểu một “khối” giữa các tàu bay hoặc phương tiện được kiểm soát.
4.5.13 Như đã thảo luận trong 4.3.4, công suất của hệ thống kiểm soát theo “khối” có liên quan đến việc một tuyến đường có thể được chia thành bao nhiêu “khối”, nhưng khối lượng công việc ATC liên quan đến tắt bật đèn, liên lạc RTF và các vấn đề về nhận dạng tàu bay cũng sẽ gây ảnh hưởng. Khả năng của tổ lái trong việc xác định vị trí của mình bằng cách tham khảo các bảng vị trí được chiếu sáng là một sự trợ giúp, nhưng trừ khi nhận dạng được duy trì liên tục và kiểm soát “khối” được tự động hóa, nếu không công suất hệ thống kiểm soát “khối” không thể bằng được công suất khi điều hành trong tầm nhìn tốt. Mặt khác, tại một số sân bay, việc giảm lưu lượng khai thác có thể xảy ra do các yêu cầu khai thác nghiêm ngặt hơn liên quan đến tầm nhìn hạn chế.
4.5.14 Phân cách dọc thực tế mà ATC có thể cung cấp sẽ liên quan trực tiếp đến các cơ sở kiểm soát thực tế được lắp đặt tại mỗi sân bay. Quy mô cơ sở vật chất và quy trình sử dụng là yếu tố cân nhắc cuối cùng trong việc xác định phân cách dọc sẽ được ATC áp dụng để đảm bảo rằng:
a) Tàu bay sau không va chạm với tàu bay trước;
b) Tàu bay sau không ảnh hưởng đến yêu cầu điều động của tàu bay trước
c) Tàu bay sau không bị ảnh hưởng bởi vụ nổ phản lực của tàu bay trước.
4.5.15 Chiều dài “khối” tối thiểu không bao giờ được nhỏ hơn phân cách dọc tối thiểu mà ATC áp dụng. Điều này không có nghĩa là mỗi khối cần có cùng độ dài. Chiều dài thực tế của mỗi khối sẽ phụ thuộc vào cách bố trí sân bay, các cơ sở của hệ thống SMGC có thể được cung cấp và nhu cầu cũng như khối lượng công việc ATC liên quan.
Ví dụ, nếu cách bố trí sân bay đã có sẵn các tuyến đường đa dạng, đáp ứng được phân cách ngang của tàu bay lăn, thì yêu cầu ATC áp dụng phân cách dọc có thể giảm đi nhiều, chỉ nên phân chia các “khối” chủ yếu tại nút giao đường lăn. Bằng cách này, các điểm xác định “khối” sẽ phục vụ cho cả phân cách ngang và phân cách dọc, sau đó chỉ cần chia các đoạn đường lăn dài thành các “khối”. Do đó, chiều dài “khối” sẽ khác nhau đối với từng sân bay và đối với từng đường lăn tại sân bay đó. Trong trường hợp này, cần nghiên cứu kỹ lưỡng về chuyển động của tàu bay, nhu cầu và khối lượng công việc ATC để xác định những thành phần SMGC thực tế nào có thể phải thực hiện trước khi bắt đầu công việc thiết kế và lắp đặt chi tiết.
4.5.16 Mặc dù khoảng đệm tối thiểu là một “khối” giữa các phương tiện giao thông di chuyển dọc theo đường lăn, tổ lái có thể được phép (trong điều kiện tầm nhìn được tổ lái đánh giá là đủ), khi đến gần điểm dừng chờ lên đường cất hạ cánh, để tiếp cận một tàu bay chờ ở đằng trước. Quy trình này giúp sử dụng đường cất hạ cánh tối ưu. Nó chỉ có thể được thực hiện nếu có thông tin giao thông chính xác và kịp thời thu được từ SMR (radar giám sát mặt sân) hiển thị trực tiếp cho KSVKL.
4.5.17 Nghiên cứu và kinh nghiệm về hoạt động ở “giới hạn dưới” cho đến nay vẫn chưa được phổ biến rộng rãi. Tuy nhiên, dữ liệu được cung cấp bởi một số người khai thác cảng hàng không, sân bay có nhiều kinh nghiệm trong hoạt động trên mặt sân có tầm nhìn hạn chế được trình bày tại Phụ lục B, như là một hướng dẫn về các vấn đề và yêu cầu phải được xem xét nếu áp dụng phân cách dọc ATC trên đường lăn.
4.5.18 Do các quy trình yêu cầu ATC áp dụng phân cách dọc được sử dụng trong các điều kiện tầm nhìn rất hạn chế, trường hợp dự định áp dụng lần đầu những quy trình này cần tham khảo kinh nghiệm của các quốc gia khác (quốc gia có kinh nghiệm thực tế trong lĩnh vực hoạt động này) trước khi bắt đầu lập kế hoạch, tư vấn và thiết kế cơ sở liên quan.
4.6 Vai trò của Radar giám sát mặt đất (SMR)
4.6.1 Hiện tại không có phương tiện hoặc tổ hợp phương tiện nào có thể bù đắp hoàn toàn cho việc mất quan sát trực quan của KSVKL với bề mặt sân bay và hoạt động khai thác trên đó. Thông tin thu được bằng các phương pháp khác như từ hệ thống RTF hoặc SMR hiếm khi toàn diện và đầy đủ, kém kinh tế hơn nhiều nếu xét về khối lượng công việc phải bỏ ra để thu thập thông tin. Trong hệ thống thủ công, khối lượng công việc ATC trên mỗi lượt tàu bay lăn tăng lên khi tầm nhìn giảm và khả năng xử lý không lưu của dịch vụ kiểm soát sân bay giảm. Trên sân bay có cấu hình phức tạp, năng lực có thể giảm mạnh trong điều kiện tầm nhìn mức 2 khi việc phân cách tại các nút giao trở thành trách nhiệm của KSVKL. Nó thậm chí còn giảm mạnh hơn khi tổ lái không thể tự phân cách theo chiều dọc.
4.6.2 Tuy nhiên, do sân bay được trang bị đầy đủ các thiết bị phụ trợ trực quan nên việc trang bị SMR có thể góp phần đáng kể vào an toàn và hiệu quả của việc kiểm soát chuyển động trên mặt đất trong điều kiện tầm nhìn bị hạn chế và vào ban đêm; công suất tối ưu trong những điều kiện này khó có thể đạt được nếu không có nó. SRM cho phép kiểm tra liên tục tình hình sử dụng đường cất hạ cánh và đường lăn, cho phép đánh giá nhanh các yêu cầu kiểm soát đèn chiếu sáng và tạo điều kiện thuận lợi cho việc cấp huấn lệnh tàu bay và phương tiện. Trong trường hợp khẩn cấp, nó có thể góp phần vào việc di chuyển nhanh chóng của các phương tiện cứu nạn và bố trí an toàn cho các phương tiện giao thông khác, nhưng nó cũng có những hạn chế riêng.
4.6.3 Độ chính xác khi di chuyển trên đường lăn, có thể đạt được bằng cách tuân theo đèn và sơn tín hiệu, chính xác hơn nhiều so với hướng dẫn của ATC sử dụng SMR. Mặc dù SMR có thể cung cấp thông tin vị trí cho KSVKL nhưng việc định vị chính xác tàu bay bằng radar như vậy là một nhiệm vụ rất khó khăn. Tổ lái cần có khả năng tuân thủ các hướng dẫn do KSVKL đưa ra mà không cần sử dụng radar để cung cấp hướng dẫn, hoặc đủ khả năng thực hiện bất kỳ sự phân tách theo quy định nào. Tuy nhiên, thông tin chính xác về vị trí và giao thông mà KSVKL có thể cung cấp bằng cách sử dụng radar sẽ hỗ trợ rất nhiều cho tổ lái trong việc tránh va chạm.
4.6.4 Tại sân bay lớn, phần lớn khu vực di chuyển có thể bị che khuất khỏi Đài kiểm soát không lưu trong khi tầm nhìn vẫn nằm trong giới hạn cho phép. Trong những điều kiện này, mặc dù tính hữu ích của SMR không nhiều, nhưng vẫn không thể giám sát chi tiết tất cả giao thông hiện có trên khu vực di chuyển. Có hai vấn đề chính:
a) Khối lượng công việc và sự tập trung trong việc giám sát rất cao, hạn chế năng lực của ATC;
b) Có giới hạn về lượng thông tin mà KSVKL, sử dụng màn hình SMR, có thể xác định và lưu giữ trong thời gian dài.
4.6.5 Tóm lại, SMR có thể đóng góp đáng kể vào sự an toàn và hiệu quả của việc kiểm soát chuyển động trên bề mặt sân bay trong điều kiện tầm nhìn hạn chế và vào ban đêm, nhưng nó chỉ là một công cụ bổ trợ chứ không phải là giải pháp thay thế cho việc cung cấp các phương tiện hướng dẫn và kiểm soát trực quan, cũng như các biện pháp bảo vệ khu vực di chuyển. Khi tính đến các hạn chế của SMR và năng lực kiểm soát, ATC không thể chịu trách nhiệm hoàn toàn về an toàn sân bay, mặc dù ATC có thể thực hiện các biện pháp thích hợp để kiểm soát nếu phát hiện các hành vi xâm nhập bằng SMR. Ngoài ra, nếu các phương tiện khác không được cung cấp, ví dụ như sơn tín hiệu và đèn vị trí chờ, thì ATC không thể xác nhận việc tổ lái tuân thủ các hướng dẫn trừ khi biết được dung sai vị trí SMR. Một tập hợp các yêu cầu hiệu năng cho SMR được thể hiện trong Phụ lục F.
4.7. Quy trình khẩn nguy
4.7.1 Phụ ước 14, Chương 9 yêu cầu lập kế hoạch khẩn nguy tại sân bay trong đó ATC là một trong các cơ quan có liên quan. Kế hoạch khẩn nguy sân bay nhằm đảm bảo sự phối hợp ngay lập tức và phù hợp của các dịch vụ tại sân bay với các cơ quan thích hợp khác nhằm ứng phó với các tình huống khẩn cấp xảy ra trong hoặc lân cận sân bay. Các tình huống khẩn cấp bao gồm:
a) Trường hợp khẩn cấp của tàu bay;
b) Hành vi can thiệp bất hợp pháp vào hoạt động hàng không dân dụng;
c) Các sự cố liên quan đến hàng hóa nguy hiểm;
d) Cháy kết cấu tòa nhà.
ATC cần thiết phải tham gia vào các kế hoạch này, thông qua chức năng liên lạc và kiểm soát, cùng với nhiều cơ quan, đơn vị khác.
4.7.2 Trong trường hợp tình huống khẩn nguy trên khu vực hoạt động xảy ra trong điều kiện tầm nhìn tốt, có thể giả định rằng KSVKL quan sát thấy sự cố hoặc là một trong những người đầu tiên biết về sự cố đó, KSVKL sẽ bắt đầu hành động khẩn cấp. Nếu có liên quan đến tàu bay, dịch vụ ATC sẽ cung cấp vị trí và loại tàu bay cho dịch vụ cứu nạn và chữa cháy, thực hiện hành động để bảo vệ các phương tiện khác trên khu vực hoạt động, hạn chế việc đi vào khu vực và duy trì liên lạc với sở chỉ huy khẩn nguy khi nó được thành lập.
4.7.3 Nếu trường hợp khẩn nguy xảy ra trên khu vực hoạt động với tầm nhìn kém và tầm nhìn dưới giới hạn quan sát trực quan của ATC, thì mô hình sự kiện và hành động của ATC có thể là:
a) Nhận ra một sự cố đã xảy ra từ:
1) Thông báo RTF từ tàu bay gặp sự cố;
2) Thông báo RTF từ tàu bay khác;
3) Thông tin từ phương tiện mặt đất, nhân viên an ninh hoặc những nhân viên khác;
4) Dấu hiệu trực quan (ví dụ: ánh sáng xuyên qua sương mù);
5) Chỉ báo SMR;
6) Chỉ báo âm thanh;
7) Tàu bay không trả lời liên lạc RTF;
b) Bắt đầu hành động khẩn cấp;
c) Phát hiện ra địa điểm xảy ra sự cố hoặc tai nạn từ thông tin thu được ở a);
d) Hỗ trợ phương tiện cứu nạn và chữa cháy, có thể bao gồm:
1) Thông báo địa điểm xảy ra vụ việc qua RTF;
2) Chuyển đổi đèn đường lăn để hướng dẫn xe cấp cứu;
3) Sử dụng SMR để hỗ trợ các phương tiện khẩn cấp;
e) Bảo đảm sự di chuyển trong khu vực hoạt động, bao gồm:
1) Dừng mọi hoạt động di chuyển trên mặt đất;
2) Xem xét tạm thời không tiếp nhận hoạt động bay;
3) Hạn chế các phương tiện khác vào khu vực hoạt động;
f) Liên lạc với sở chỉ huy khẩn nguy;
g) Việc nối lại hoạt động khai thác khi đã nắm rõ tình hình:
1) Bằng cách định tuyến lại lưu lượng các phương tiện khác khỏi khu vực xảy ra sự cố;
2) Bằng cách sắp xếp lại hệ thống hướng tuyến vận hành tàu bay để cho phép tiếp tục khai thác sân bay;
h) Đánh giá và thông báo cho những đơn vị có liên quan về khả năng di chuyển trên mặt sân trong điều kiện mới;
i) Tạo thuận lợi cho các hoạt động liên quan đến di dời tàu bay hoặc phương tiện bị hư hỏng;
j) Sắp xếp việc kiểm tra sự cố và đánh giá thiệt hại bề mặt, đèn chiếu sáng và các cơ sở khác của sân bay.
4.8 Quy trình và phương thức giao tiếp RTF
4.8.1 Tầm quan trọng của việc sử dụng đúng ngôn ngữ và phương thức giao tiếp cũng như việc tuân thủ các quy trình liên quan là rất cao. Sự an toàn và hiệu quả của hoạt động trên mặt sân phụ thuộc vào sự hiểu rõ giữa KSVKL và các tổ lái, nhân viên điều khiển phương tiện. Sự hợp tác này đòi hỏi hiểu biết về tình hình tổng thể có được bằng cách duy trì liên lạc RTF.
4.8.2 Phụ ước 10, PANS-RAC và Tài liệu điện thoại vô tuyến (Doc 9432) mô tả Quy trình và phương thức giao tiếp RTF được công nhận.
4.9 Hiệp đồng
4.9.1 Người khai thác cảng hàng không, sân bay phải hiệp đồng với cơ quan ATS liên quan để thiết lập các cơ sở pháp lý và quy trình cần thiết để cho phép phối hợp thực hiện toàn bộ các công việc liên quan đến kiểm soát hoạt động di chuyển trên mặt sân. Điều này không chỉ liên quan đến việc thiết lập các kênh thoại trực tiếp giữa KSVKL và đơn vị có trách nhiệm liên quan đến hoạt động di chuyển của tàu bay (ví dụ: đài kiểm soát, dịch vụ quản lý sân đỗ và nhân viên an toàn sân bay) mà còn liên quan đến các quy định hành chính để áp dụng hiệu quả các quy trình như quy trình khai thác trong điều kiện tầm nhìn hạn chế và các quy trình khẩn nguy.
4.9.2 Việc thành lập tổ/uỷ ban và họp thường kỳ, trong đó các thành viên là đại diện cho các bên liên quan khai thác tại sân bay, là cách tốt để giải quyết mọi vấn đề trong hiệp đồng có thể xảy ra.
4.9.3 Một khía cạnh đặc biệt quan trọng của sự hiệp đồng đó là nhu cầu thiết lập các quy trình hợp lý để khắc phục nhanh chóng các lỗi của phương tiện khi những lỗi này ảnh hưởng xấu đến việc vận hành an toàn và hiệu quả của hệ thống SMGC
4.10 Quy trình tầm nhìn hạn chế
4.10.1 Các quy trình đặc biệt liên quan đến khai thác trong điều kiện tầm nhìn hạn chế được đề cập trong Chương 5.
CHƯƠNG 5. KHAI THÁC TRONG ĐIỀU KIỆN TẦM NHÌN HẠN CHẾ
5.1 Giới thiệu
5.1.1 Nhu cầu hoạt động ngày càng tăng ở tầm nhìn dưới 400 m RVR (tầm nhìn mức 3) đã dẫn đến ngày càng có nhiều sân bay phải thực hiện các hoạt động khai thác trong điều kiện tầm nhìn hạn chế. Vì vậy, cần phát triển một hệ thống hướng dẫn và kiểm soát di chuyển mặt sân (SMGC) hiệu quả để giải quyết các vấn đề cố hữu liên quan đến các hoạt động này và cung cấp môi trường an toàn cho tàu bay và phương tiện hoạt động trong điều kiện tầm nhìn hạn chế trên khu vực hoạt động.
5.1.2 Mục đích của chương này là phác thảo ngắn gọn sự chuẩn bị cần thiết của các cơ quan điều hành sân bay cho các hoạt động khai thác trong điều kiện tầm nhìn hạn chế. Hướng dẫn về việc lựa chọn các thành phần hệ thống SMGC cụ thể cho điều kiện tầm nhìn mức 3 được nêu trong Chương 2, Bảng 2-3 với sự tham khảo thích hợp đến tài liệu Phụ ước ICAO cụ thể. Thông tin và lời khuyên chi tiết hơn cũng được cung cấp trong Tài liệu thiết kế sân bay, Phần 4 và Tài liệu hướng dẫn vận hành trong mọi thời tiết (Doc 9365).
5.1.3 Mặc dù chương này liên quan nhiều hơn đến hoạt động khai thác trong điều kiện tầm nhìn Loại III, cần lưu ý là nhiều sân bay không được trang bị để hạ cánh trong điều kiện tầm nhìn hạn chế nhưng vẫn tiến hành các hoạt động cất cánh trong tầm nhìn hạn chế, do đó nhiều điểm được thảo luận đều phù hợp đối với vấn đề hình thức hoạt động này.
5.2 Chuẩn bị cho hoạt động khai thác trong điều kiện tầm nhìn hạn chế
5.2.1 Việc áp dụng các hoạt động khai thác trong điều kiện tầm nhìn hạn chế phức tạp hơn nhiều so với việc điều chỉnh một cách đơn giản các quy trình và hạn chế hiện có. Hoạt động khai thác dưới 400m RVR tạo ra nhiều vấn đề, đồng thời khả năng kiểm soát và điều hành của KSVKL, tổ lái, lái xe và các nhân viên liên quan khác bị giảm. Do đó, không cơ quan nào được phép hoạt động độc lập với các cơ quan khác, và trước khi thực hiện các hoạt động khai thác trong điều kiện tầm nhìn hạn chế, người khai thác cảng hàng không, sân bay hoặc cơ quan có thẩm quyền phải quản lý và kiểm soát các tổ chức khác nhau cũng như đưa ra các quy trình và quy định cụ thể về tầm nhìn hạn chế.
Tổ công tác
5.2.2 Không có hai sân bay nào giống hệt nhau và do đó trong giai đoạn chuẩn bị, cần kiểm tra tất cả các khía cạnh của hoạt động tại sân bay có thể ảnh hưởng đến việc áp dụng quy trình khai thác trong điều kiện tầm nhìn hạn chế. Quá trình sẽ khác nhau tùy theo từng sân bay nhưng phương pháp hiệu quả nhất là thành lập một tổ công tác bao gồm đại diện của tất cả các bên tham gia vào hoạt động. Tổ công tác sẽ cần xác định nhiều yếu tố chung liên quan đến hoạt động ở dưới 400 m RVR, bao gồm:
a) Nhu cầu bổ sung tàu bay hiện đại hơn và hệ thống thiết bị mặt đất đáng tin cậy hơn;
b) Các yêu cầu đặc biệt về đào tạo và trình độ của tổ bay, nhân viên mặt đất;
c) Các tiêu chí nghiêm ngặt cần thiết cho việc giải tỏa chướng ngại vật;
d) Cấu hình sân bay và điều kiện tự nhiên của địa hình xung quanh;
e) Các tiêu chí nghiêm ngặt cần thiết để bảo vệ tín hiệu ILS;
f) Sự phù hợp của đường cất hạ cánh và đường lăn; đèn tiếp cận, đèn đường cất hạ cánh, đèn đường lăn và hệ thống sơn tín hiệu;
g) Nhu cầu kiểm soát toàn diện hơn lưu lượng di chuyển trên mặt đất;
h) Việc triển khai các dịch vụ cứu nạn và chữa cháy.
Tổ công tác cần phải thiết lập một chương trình làm việc dựa trên lịch trình thời gian để kiểm tra các nội dung này và nhiều chủ đề khác.
Đánh giá nhu cầu
5.2.3 Hoạt động khai thác trong điều kiện tầm nhìn hạn chế đòi hỏi các tiêu chuẩn cao hơn dưới dạng thiết bị và đào tạo nhân sự, dẫn đến tốn kém hơn. Nghiên cứu là cần thiết trong giai đoạn lập kế hoạch ban đầu để quyết định xem các hoạt động đó có hợp lý hay không. Nghiên cứu này cần phải xem xét các yếu tố như tỉ lệ tầm nhìn hạn chế, mật độ và lưu lượng khai thác hiện tại và tương lai, khoảng cách với các sân bay chuyển hướng phù hợp và khả năng cải thiện các quy định và tiêu chuẩn an toàn.
5.2.4 Ngoài việc thiết lập và sửa đổi các quy trình khai thác trong điều kiện tầm nhìn hạn chế, tổ công tác cũng sẽ quyết định các thành phần thiết bị hỗ trợ quan sát trực quan và phi trực quan của hệ thống SMGC cũng như các phương pháp kiểm soát sẽ được sử dụng. Chương 2 cung cấp hướng dẫn chi tiết về việc lựa chọn thiết bị và phương tiện phụ trợ trực quan thích hợp. Chương 4 thảo luận về tác động của việc suy giảm tầm nhìn đối với năng lực hệ thống SMGC cũng như các phương pháp và quy trình kiểm soát có thể được áp dụng.
Quy trình và đánh giá an toàn
5.2.5 Tổ công tác cũng cần thực hiện đánh giá toàn diện về an toàn sân bay. Hướng dẫn về đánh giá này được đưa ra trong Tài liệu hướng dẫn vận hành trong mọi thời tiết của ICAO, Chương 5. Đánh giá này cần tính đến RVR thấp nhất mà sân bay dự định duy trì hoạt động và mật độ, lưu lượng khai thác dự kiến của sân bay.
5.2.6 Đặc biệt, việc đánh giá cần tính đến rủi ro gia tăng do thiếu kiểm soát trực quan từ ATC khi tầm nhìn giảm. Một phương pháp là sử dụng con số thường được trích dẫn khi xây dựng các mức khai thác tàu bay tối thiểu: “rủi ro không vượt quá tỉ lệ 01 tai nạn chết người/107 lượt cất hoặc hạ cánh”. Mặc dù con số này được sử dụng khi tàu bay di chuyển là cao hơn hơn so với khi hoạt động trong điều kiện tầm nhìn hạn chế, nhưng nó bao gồm cả xác suất xâm nhập đường cất hạ cánh tại thời điểm tàu bay hạ cánh hoặc cất cánh, do đó nó phù hợp với kịch bản tổng quan. Vì một tàu bay ở trạng thái dễ bị tổn thương nhất khi hạ cánh hoặc cất cánh và hầu như không có khả năng thực hiện bất kỳ hành động tránh nào, tổ công tác cần đặc biệt chú ý đến khả năng tàu bay và/hoặc phương tiện di chuyển có thể xâm nhập đường cất hạ cánh. Về mặt này, cần thực hiện các hành động sau:
a) Kiểm tra thiết kế khu vực hoạt động với sự chú ý đặc biệt đến phương án vận hành lăn của tàu bay giữa sân đỗ và đường cất hạ cánh, các điểm kiểm soát cần thiết và vị trí tiếp cận vào khu vực hoạt động;
b) Kiểm tra các hướng dẫn hiện hành của ATS về quy định, quy trình khai thác liên quan đến kịch bản tổng thể về hoạt động khai thác tại sân bay;
c) Kiểm tra hồ sơ khí tượng, thống kê hoạt động của tàu bay và các phương tiện khác;
d) Kiểm tra mọi hồ sơ trước đây về đường cất hạ cánh bị xâm nhập. Nếu không có hồ sơ, cần xác định tỷ lệ sự cố bằng cách thảo luận với KSVKL, cơ quan kiểm tra, v.v. hoặc tham khảo kinh nghiệm quốc tế chung;
e) Kiểm tra các quy trình an ninh sân bay hiện hành (xem thêm Chương 7 - Các biện pháp bảo vệ đường cất hạ cánh). Khả năng xâm nhập đường cất hạ cánh như một hành động cố ý là không lớn so với khả năng xâm nhập vô ý nhưng việc áp dụng các quy trình an ninh chung có thể có tác động đáng kể đến xác suất xâm nhập;
f) Một cuộc kiểm tra toàn diện khu vực hoạt động với sự đồng hành của các chuyên gia liên quan và cơ quan có trách nhiệm, trong đó các điểm từ a) đến e) cần được thực hiện.
5.2.7 Tổ công tác nên xem xét đánh giá an toàn này như một phần của hệ thống SMGC hoàn chỉnh và phải được hoàn thành trong giai đoạn đầu của quá trình chuẩn bị. Những khu vực hoạt động có mức độ rủi ro cao sẽ yêu cầu các biện pháp bảo vệ bổ sung và các quy trình liên quan.
5.3 Quy trình khai thác trong điều kiện tầm nhìn hạn chế
5.3.1 Các quy trình cần thiết khi khai thác trong điều kiện tầm nhìn hạn chế sẽ khác nhau tùy theo từng sân bay. Các quy trình được xây dựng cho sân bay phải tính đến các điều kiện địa lý của sân bay; tuy nhiên, các yếu tố cơ bản sau đây cần được xem xét:
a) Tất cả nhân viên điều khiển phương tiện và nhân viên khác được vận hành phương tiện trên khu vực hoạt động đều phải được đào tạo đầy đủ về các quy trình này và nhận thức được các trách nhiệm bổ sung của họ khi tầm nhìn suy giảm. Vì vậy thời điểm bắt đầu các quy trình khai thác trong điều kiện tầm nhìn hạn chế đi phải được xác định rõ ràng.
b) ATS cần lưu giữ hồ sơ về người và phương tiện trên khu vực hoạt động (tham khảo PANS-RAC, Phần V, ICAO Doc 4444, Chapter 7).
c) Tất cả các phương tiện và nhân sự không cần thiết, ví dụ: công nhân nhà thầu và đội bảo trì phải rút khỏi khu vực di chuyển.
d) Các phương tiện thiết yếu được phép vào khu vực di chuyển được giữ ở mức tối thiểu và phải giữ liên lạc RTF với ATC.
e) Trường hợp xâm nhập vô ý vào khu vực di chuyển và khoảng cách an toàn không đảm bảo, ví dụ: giữa khu vực bảo trì tàu bay và khu vực di chuyển, các điểm vào phải có người quản lý. Nếu khoảng cách quá rộng để có thể giám sát bằng mắt thì nên gắn thiết bị phát hiện xâm nhập, những khu vực có nhiều phương tiện hoạt động gần khu vực di chuyển và không có nhân viên kiểm soát nên được tuần tra thường xuyên.
f) Tất cả các lối vào khu vực di chuyển không có người kiểm soát đều được khóa và kiểm tra định kỳ.
g) Có đủ thiết bị để cảnh báo các hãng hàng không và các tổ chức khác có quyền tiếp cận khu vực hoạt động về việc áp dụng các quy trình khai thác trong điều kiện tầm nhìn hạn chế. Điều này đặc biệt quan trọng khi có đơn vị kiểm soát khu vực sân đỗ của riêng mình (ví dụ sân đỗ trước hangar...) và khi các cơ sở bảo dưỡng nằm gần khu vực di chuyển.
h) Tất cả nhân viên có mặt tại khu vực hoạt động nhưng không cần thiết cho việc điều hành nên được rút đi.
i) Phải xây dựng các quy trình khẩn nguy phù hợp (xem 5.4).
5.3.2 Cần cân nhắc việc đóng các đường lăn không cần thiết cho việc vào hoặc thoát lý từ đường CHC. Điều này có thể đạt được bằng đèn dừng chờ trên đường lăn, đèn điều khiển (traffic control lights), đèn stop bar màu đỏ hoặc đóng cửa bằng cách sử dụng các biển “không thể sử dụng” được quy định tại Phụ ước 14, Chương 7. Ngoài ra, nếu có thể, nên hạn chế số lượng tuyến đường cho việc lăn đến và đi từ đường cất hạ cánh trong điều kiện tầm nhìn hạn chế và những thông tin này phải được nhận biết, đánh dấu và công bố để hãng hàng không sử dụng.
5.3.3 Tài liệu này xác định điều kiện tầm nhìn mức 3 là "tầm nhìn nhỏ hơn 400 m RVR"; tuy nhiên, cơ quan có thẩm quyền cần cung cấp các quy trình cụ thể ở giá trị RVR cao tùy thuộc vào loại hoạt động của sân bay. Con số 400 m RVR có ưu điểm là dễ dàng xác định được giới hạn trên cùng của Loại III, nhưng lại có nhược điểm là gây ra niềm tin thiếu cơ sở khi cho rằng các quy trình và thiết bị cho tầm nhìn hạn chế chỉ cần thiết tại các sân bay có khả năng duy trì việc hạ cánh Loại III. Tại các sân bay không được trang bị cho việc hạ cánh trong điều kiện như vậy, tàu bay vẫn có thể cất cánh ở tầm nhìn dưới 400m RVR. Như đã chỉ ra ở mục 5.1.3, cần phải đưa ra các biện pháp bảo vệ và quy trình cụ thể tại các sân bay đó.
5.3.4 Điều kiện bắt đầu thực hiện các quy trình khai thác trong điều kiện tầm nhìn hạn chế sẽ khác nhau giữa các sân bay tùy thuộc vào điều kiện địa phương. Điều kiện này có thể liên quan đến chỉ số RVR/độ cao trần mây cụ thể (ví dụ: 800 m/200 ft) trong tình huống thời tiết xấu và sẽ phụ thuộc vào tốc độ suy giảm thời tiết và lượng thời gian cần thiết để thực hiện các biện pháp bổ sung.
5.3.5 Khi triển khai các quy trình khai thác trong điều kiện tầm nhìn hạn chế, cơ quan có thẩm quyền cần liên tục xem xét tính hiệu quả của các quy trình và khi cần thiết thì sửa đổi hoặc cập nhật các quy trình này.
5.3.6 Các nội dung trên nhằm mục đích cung cấp hướng dẫn trong việc thiết lập các quy trình khai thác trong điều kiện tầm nhìn hạn chế. Các quy trình thực tế xây dựng cho một sân bay cụ thể sẽ cần phải tính đến các điều kiện địa phương. Ví dụ về các quy trình tầm nhìn hạn chế được sử dụng tại một số sân bay có kinh nghiệm thực tế được trình bày trong Phụ lục B.
5.4 Quy trình khẩn nguy
5.4.1 Một yếu tố quan trọng phải được giải quyết trước khi triển khai các hoạt động khai thác trong điều kiện tầm nhìn hạn chế là khả năng phản ứng nhanh của dịch vụ cứu nạn và chữa cháy (RFF) với tình huống khẩn nguy. Phụ ước 14, Chương 9 đưa ra các tiêu chuẩn về việc cung cấp trang thiết bị RFF và yêu cầu thiếp lập kế hoạch khẩn nguy có liên quan đến ATC. Trong tầm nhìn tốt, có thể giả định rằng ATC sẽ quan sát thấy sự cố hoặc là một trong những người đầu tiên biết về sự cố đó, và họ sẽ bắt đầu hành động khẩn cấp, cung cấp cho bộ phận RFF vị trí tai nạn và loại tàu bay, thực hiện hành động để bảo vệ các hoạt động di chuyển khác và duy trì liên lạc với sở chỉ huy khẩn cấp.
5.4.2 Phần 4.7 - Các quy trình khẩn nguy, trong Chương 4 của tài liệu này, trình bày chung về hành động được ATC thực hiện, nhưng trong điều kiện tầm nhìn hạn chế và tầm nhìn dưới giới hạn giám sát trực quan của ATC, ATC có thể không nhận thức được ngay rằng một sự cố/tai nạn đã xảy ra. Ví dụ như khi cháy phanh, trừ khi được phát hiện trên tàu bay, ATC sẽ khó nhận thấy và báo cáo về sự cố này thường sẽ đến từ một số nguồn khác. Do đó, điều quan trọng là những nhân viên được cấp phép trên khu vực hoạt động phải nhận thức được trách nhiệm của mình trong việc báo cáo sự cố một cách nhanh chóng, chính xác và thành thạo phương pháp thông báo cho ATC và/hoặc bộ phận RFF.
5.4.3 Đôi khi thông tin nhận được có thể không đầy đủ hoặc nhầm lẫn và ATC cần xác minh rằng sự cố có xảy ra hay không cũng như vị trí của nó. Không có quy trình vận hành đơn giản rõ ràng nào phù hợp với mọi tình huống. Sẽ là sai lầm nếu cảnh báo được kích hoạt mỗi khi có nghi ngờ, nhưng mặt khác, việc cảnh báo sớm trong trường hợp thực tế là rất quan trọng. Trách nhiệm về quyết định cuối cùng phải thuộc về KSVKL và không được có áp lực điều hành/thương mại nào có thể khiến KSVKL “chờ xem”, và cũng không được chỉ trích nếu trong phân tích cuối cùng, KSVKL có một chút “phản ứng thái quá". Không nên miễn cưỡng khi kêu gọi hỗ trợ RFF.
5.4.4 Khi hành động khẩn cấp được bắt đầu, các vấn đề khác cũng phát sinh do tầm nhìn bị giảm. Mục tiêu chính là đưa các dịch vụ RFF đến hiện trường xảy ra sự cố/tai nạn càng nhanh càng tốt mà không tạo thêm những mối nguy hiểm về an toàn. Những yếu tố ảnh hưởng đến thời gian phản ứng là:
a) Vị trí của các phương tiện RFF;
b) Cấu hình sân bay;
c) Tính chất của địa hình tiếp giáp với khu vực trải nhựa và ở vùng lân cận sân bay;
d) Khả năng của phương tiện RFF;
e) Tốc độ phương tiện RFF.
5.4.5 Tất cả những điều trên đều phù hợp với hoạt động RFF bình thường nhưng trong điều kiện tầm nhìn kém, tốc độ và tuyến đường để dẫn đến vị trí xảy ra sự cố/tai nạn có thể trở nên quan trọng. Tốc độ xe sẽ giảm đáng kể khi tầm nhìn giảm xuống dưới 200m do cần giảm tốc độ để tránh va chạm có thể ảnh hưởng đến thời gian phản ứng của RFF. Do vị trí xảy ra sự cố/tai nạn là ngẫu nhiên và nhiều sân bay chỉ có một trạm RFF nên thời gian phản ứng trong điều kiện tầm nhìn kém có thể quá lâu. Một phương pháp khắc phục điều này là bố trí lại các phương tiện RFF tại hai hoặc nhiều điểm phân tán trên sân bay để đảm bảo rằng không có sự cố nào xảy ra quá xa so với hỗ trợ của RFF. Việc giảm khoảng cách sẽ bù đắp cho bất kỳ sự giảm tốc độ nào và đặc biệt quan trọng trong trường hợp hỏa hoạn khi sự can thiệp nhanh chóng có thể ngăn chặn một sự cố nhỏ leo thang thành sự cố nghiêm trọng hơn. Trong trường hợp xảy ra tai nạn lớn, khuyết điểm do phân tán các phương tiện RFF có thể được bù đắp trong giai đoạn đầu bằng sự can thiệp nhanh hơn của nhiều lực lượng RFF nhỏ.
5.4.6 Việc lựa chọn tuyến đường ngắn nhất sẽ phụ thuộc vào địa hình sân bay và việc triển khai các phương tiện RFF. Nhân viên RFF phải rất quen thuộc với cách bố trí sân bay, các biển báo, sơn tín hiệu và các mốc dễ nhận biết cùng với địa hình liên quan. Điều quan trọng nữa là họ phải được thông báo đầy đủ về những trở ngại tạm thời như công trình và bảo trì có thể ảnh hưởng đến việc lựa chọn tuyến đường dẫn đến sự cố. ATC có thể hỗ trợ bằng cách chuyển đổi đèn đường lăn để cung cấp tuyến đường rõ ràng hoặc bằng cách định tuyến lại các phương tiện giao thông khác ra khỏi khu vực xảy ra sự cố.
5.4.7 Việc sử dụng SMR giúp đơn giản hóa các vấn đề liên quan đến vị trí xảy ra sự cố cũng như hướng dẫn và kiểm soát tiếp theo đối với các phương tiện RFF và các phương tiện giao thông khác. Sự phân tán các mảnh vỡ trong một vụ tai nạn lớn thể hiện rõ nhất trên các radar hiện đại có độ phân giải cao và khả năng hiển thị mọi hoạt động trên bề mặt sân bay cho phép các cơ quan kiểm soát không lưu xác định vị trí chính xác của giao thông mặt sân và cung cấp tuyến đường tốt nhất cho các dịch vụ RFF. Ở những nơi được trang bị SMR, các dịch vụ RFF và ATC phải thực hiện các bài tập huấn luyện thường xuyên để cả hai đều thành thạo trong việc sử dụng thiết bị này.
5.4.8 Khi SMR và/hoặc hệ thống chiếu sáng phức tạp không khả dụng để hướng dẫn phương tiện, có thể cần xem xét việc cung cấp thêm thiết bị dẫn đường trên các phương tiện RFF. Thiết bị này có thể là một thiết bị định vị đèn hiệu tương đối đơn giản, cho đến các bộ tăng cường hình ảnh nhiệt phức tạp hơn hoặc các hệ thống dẫn đường khu vực được phát triển gần đây cho các phương tiện giao thông. Nhưng bất kể thiết bị là gì, nhân viên RFF cần được đào tạo đầy đủ về tất cả các vấn đề liên quan đến hoạt động trong điều kiện tầm nhìn hạn chế và có cơ hội thực hành các bài tập khi những điều kiện này xảy ra.
5.5 Kết luận
5.5.1 Trước khi tổ chức khai thác trong điều kiện tầm nhìn hạn chế, người khai thác cảng hàng không, sân bay cùng với đơn vị khai thác có liên quan cần phải xác định rõ:
a) Tỷ lệ xảy ra điều kiện tầm nhìn hạn chế;
b) Lưu lượng di chuyển dự kiến trong các điều kiện đó;
c) Đánh giá nhu cầu hiện tại và thiết bị;
d) Lý do biện minh cho các hoạt động đó.
5.5.2 Nếu quyết định tiến hành được đưa ra thì cơ quan có thẩm quyền sẽ phải:
a) Thiết lập mức RVR thấp nhất mà sân bay dự định điều hành;
b) Hoàn thành đánh giá toàn diện về an toàn và an ninh trên toàn bộ khu vực hoạt động và các hoạt động của sân bay;
c) Cung cấp bổ sung các thiết bị và công cụ phụ trợ mặt đất đáng tin cậy
e) Cung cấp khả năng kiểm soát di chuyển trên bề mặt toàn diện hơn;
f) Cung cấp các quy trình và quy định cụ thể về tầm nhìn hạn chế với thời điểm thực hiện thích hợp;
g) Đánh giá thời gian triển khai và phản ứng RFF;
h) Cung cấp đào tạo và chứng chỉ thích hợp cho nhân sự có liên quan.
CHƯƠNG 6. KHAI THÁC KHI MẬT ĐỘ TĂNG CAO
6.1 Tổng quan
6.1.1 Điều hành khai thác với mật độ khai thác cao là thực tế ở nhiều sân bay và dự kiến sẽ xảy ra ở nhiều sân bay khác. Điều đó đặt ra những yêu cầu đáng kể đối với hệ thống SMGC, đồng thời yêu cầu cơ sở vật chất và quy trình để đáp ứng các mục tiêu chính sau:
a) Bảo vệ các đường cất hạ cánh đang hoạt động khỏi sự xâm nhập của tàu bay, phương tiện mặt đất và con người.
b) Duy trì các luồng tuyến di chuyển hiệu quả, chủ yếu là giữa các nhà ga và đường cất hạ cánh, cũng như giữa các khu vực khác, ví dụ như sân đỗ và cơ sở bảo trì;
c) Giảm xung đột giữa tàu bay, phương tiện mặt đất và con người.
6.1.2 Mặc dù cơ sở vật chất và quy trình cần thiết cho sân bay có thể hoạt động khi mật độ khai thác tăng cao đòi hỏi mức vốn đầu tư đáng kể, nhưng phần lớn chúng cũng cần thiết cho hệ thống SMGC thiết kế cho điều hành khai thác trong điều kiện tầm nhìn hạn chế. Thông tin chi tiết về các hạng mục có mục đích chung được cung cấp ở phần khác trong tài liệu này, trong chương hiện tại chúng chỉ được ghi chú, kèm theo các tham chiếu khi thích hợp. Thông tin đầy đủ hơn về cơ sở vật chất và quy trình dành riêng cho khai thác sân bay khi lưu lượng tăng cao được nhắc đến ở Chương 2, Bảng 2-2, hướng dẫn về việc lựa chọn thiết bị phụ trợ hệ thống SMGC cho các hoạt động trong điều kiện mật độ khai thác cao.
6.2 Lập kế hoạch và mô phỏng
6.2.1 Chương 2 của tài liệu này, Phần 2.6, đưa ra hướng dẫn về đánh giá và cải tiến hệ thống SMGC hiện có, cũng như thiết kế một hệ thống mới. Điều hành khi lưu lượng di chuyển tăng cao nhấn mạnh tầm quan trọng của quá trình lập kế hoạch, thường liên quan đến phân tích chuyên sâu về tình hình khai thác theo thời gian thực. Danh sách các hạng mục cần xem xét có thể bao gồm:
a) Cấu hình đường cất hạ cánh thay thế;
b) Thiết kế và/hoặc cải tiến hệ thống đường lăn;
c) Các phương thức ấn định đường cất hạ cánh thay thế;
d) Quy trình và yêu cầu phân cách của ATC;
e) Hỗ trợ tự động cho các thành phần khác nhau của hệ thống SMGC;
f) Bố trí nhà ga và phân bổ cửa ra tàu bay/vị trí đỗ;
g) Các quy định và quy trình về cổng/vị trí đỗ;
h) Các quy định và quy trình dự phòng (tai nạn, bảo trì sân bay, dọn tuyết, v.v.).
6.2.2 Tài liệu hướng dẫn về mô hình mô phỏng và các kỹ thuật phân tích được đưa ra trong Chương 3 và Phụ lục D. Khi lập kế hoạch xây dựng hệ thống SMGC cho điều hành lưu lượng giao thông cao, mô phỏng có thể đóng góp đáng kể và được khuyến nghị. Mục tiêu của nó phải bao gồm việc thiết kế tối ưu bố trí sân bay, cơ sở vật chất và quy trình để giảm bớt hoặc ngăn chặn những trở ngại về luồng giao thông.
6.2.3 Lập kế hoạch cho hoạt động khai thác khi mật độ/lưu lượng tăng cao nên bao gồm các mục tiêu:
a) Cung cấp các tuyến lăn với số lượng nút giao tối thiểu (tức là các điểm giao nhau giữa các tàu bay, giữa tàu bay với phương tiện mặt đất và người đi bộ) phù hợp với nhu cầu khai thác dự kiến;
b) Sử dụng tối đa đường lăn một chiều và đường vòng, các tuyến đường lăn tiêu chuẩn được thảo luận trong Phần 6.4;
c) Cung cấp hết khả năng có thể, các đường công vụ riêng biệt cho phương tiện không cần sử dụng khu vực di chuyển (bao gồm một số tuyến giao thông đến/đi từ các khu vực bảo trì, hàng hóa riêng....);
d) Cung cấp các thiết bị RTF đầy đủ.
6.3 Bảo vệ đường cất hạ cánh
6.3.1 Tài liệu hướng dẫn về các biện pháp bảo vệ đường cất hạ cánh được nêu trong Chương 7 của Tài liệu này và nhấn mạnh là biện pháp bảo vệ rất phụ thuộc vào:
a) Cung cấp đầy đủ thông tin trực quan (biển báo, sơn tín hiệu bề mặt và đèn) cho tổ lái và nhân viên điều khiển phương tiện, tất cả những cá nhân này phải nắm rõ thông tin và các quy trình liên quan;
b) Đặc biệt chú ý đến việc đánh dấu rõ ràng các đường cất hạ cánh khai thác tại tất cả các điểm vào (xem Chương 7, Phần 7.4).
6.3.2 Điều hành khai thác khi mật độ khai thác tăng cao không bổ sung thêm các yêu cầu cụ thể nào đối với những điều được liệt kê trong Chương 7. Tuy nhiên, chúng làm tăng khả năng xâm nhập đường cất hạ cánh do vô ý, nhầm đường và không hiểu rõ huấn lệnh, do đó nhấn mạnh thêm các khuyến nghị trong Chương 7 và các yêu cầu về sơn tín hiệu, biển báo, hệ thống chiếu sáng và các quy trình trong phần sau của chương này.
6.4 Sơ đồ và tuyến đường lăn tiêu chuẩn
6.4.1 Mục tiêu tổng thể của việc thiết lập và ban hành các tuyến đường lăn tiêu chuẩn là cho phép giao thông có thể tự điều tiết, do đó giảm thiểu số lượng can thiệp và khối lượng liên lạc RTF.
6.4.2 Thông tin về việc thiết lập tuyến đường lăn tiêu chuẩn cho tàu bay được nêu trong Chương 2 của Phụ ước 11 và Chương 3 của Tài liệu này. Các vấn đề có tầm quan trọng đặc biệt đối với hệ thống SMGC khi điều hành lưu lượng giao thông cao có thể được tóm tắt như sau:
a) Yêu cầu tích cực đối với các tuyến đường lăn tiêu chuẩn khi lưu lượng khai thác trên mặt đường sân bay tăng lên, như được chỉ ra trong Chương 2, Bảng 2-3;
b) Các tuyến đường đó phải được xác định rõ ràng và chiếu sáng theo các tiêu chuẩn của Phụ ước 14, Chương 5 về sơn tín hiệu và chiếu sáng đường lăn;
c) Biển báo theo như quy định tại Phụ ước 14, Chương 5, và các tài liệu bổ sung được đưa ra trong Phụ lục A của tài liệu này, cụ thể:
1) Thống nhất trên toàn sân bay;
2) Rõ ràng và đơn giản, xác định rõ tuyến đường lăn tiêu chuẩn cần theo, cho phép tổ lái nhận được huấn lệnh lăn dưới dạng tên tuyến đường và tiến tới vị trí đó mà không cần thêm liên lạc RTF;
3) Được bố trí phù hợp với tốc độ lăn của tàu bay, độ cao của buồng lái so với mặt đất, cung cấp thông tin cho tổ lái trong thời gian đủ để đối chiếu với thông tin trên sơ đồ sân bay;
4) Có biện pháp bảo vệ đủ khả năng chống lại tàu bay đi nhầm hướng vào đường một chiều.
6.4.3 Các Tiêu chuẩn và Khuyến nghị Thực hành của ICAO bao gồm việc cung cấp sơ đồ sân bay và sơ đồ hoạt động mặt đất được nêu trong Phụ ước 4, Chương
13 và Phụ ước 14. Sơ đồ sân bay - ICAO cần được cung cấp cho tất cả các sân bay sử dụng cho vận tải hàng không thương mại quốc tế. Trong trường hợp sự phức tạp của khu vực hoạt động, các thiết bị phụ trợ và nhà ga khiến cho sơ đồ sân bay không đầy đủ thì cần phải có sơ đồ hoạt động mặt đất. Trong điều hành lưu lượng khai thác tăng cao và các tuyến đường lăn tiêu chuẩn, các sơ đồ này cần đáp ứng yêu cầu của Phụ ước 4. Như đã nêu trong Chương 2, Bảng 2-3, người khai thác cảng hàng không, sân bay nên tiến hành sửa đổi sơ đồ nếu cần thiết để công bố theo quy định.
6.5 Kiểm soát mặt đất và tần số RTF
6.5.1 Điều hành khai thác khi lưu lượng khai thác tăng cao được đề cập trong chương này rất có thể sẽ yêu cầu sử dụng nhiều hơn một tần số RTF. Nên xem xét việc áp dụng các tần số như vậy theo từng “khu vực", thay vì giữa các tàu bay đến và đi. Việc áp dụng tần số theo từng khu vực thường sẽ đảm bảo các tàu bay có khả năng xung đột đang dùng một tần số chung, do đó vừa tăng hệ số an toàn vừa giảm thiểu nhu cầu can thiệp của KSVKL.
6.5.2 Kinh nghiệm thu được trong việc hiệp đồng không lưu đã chứng minh rằng sự an toàn được tăng cường khi KSVKL thực hiện quy trình hiệp đồng. Khi có nhiều KSVKL tham gia vào các hoạt động kiểm soát di chuyển trên bề mặt sân bay, nên tính đến khoảng cách vật lí giữa các KSVKL, đặc biệt là trong điều hành khai thác khi lưu lượng tăng cao, nơi mà sự an toàn phụ thuộc vào quy trình hiệp đồng nhanh chóng.
6.6 Phân bổ và giữ vị trí đỗ tàu bay
6.6.1 Trong điều hành khai thác khi lưu lượng khai thác tăng cao, hai biện pháp được đặc biệt khuyến nghị để hỗ trợ luồng di chuyển giữa khu di chuyển và khu vực sân đỗ:
a) Cung cấp thông tin cho tổ lái sớm nhất có thể về vị trí đỗ tàu bay đã được chỉ định cho họ;
b) Cung cấp các vị trí chờ phù hợp như quy định tại Phụ ước 14, Chương 3. Các khu vực chờ này có thể giúp tránh hoặc giảm bớt ùn tắc khi xảy ra sự chậm trễ trong việc đi/đến của tàu bay.
6.7 Thiết bị đặc biệt
6.7.1 Tài liệu hướng dẫn về SMR được nêu trong Chương 4. Vai trò của nó trong điều hành khi lưu lượng khai thác tăng cao được xác nhận ở đây, như đã chỉ ra trong Chương 2, Bảng 2-2. SMR có thể đặc biệt hữu ích khi trời tối, điều kiện khí quyển, các tòa nhà hoặc quy mô của khu vực liên quan khiến KSVKL không thể giám sát các phần phức tạp của đường lăn bằng phương tiện trực quan.
CHƯƠNG 7. CÁC BIỆN PHÁP BẢO VỆ ĐƯỜNG CẤT HẠ CÁNH
7.1 Giới thiệu
7.1.1 Việc bảo vệ đường CHC khỏi sự xâm nhập trái phép của người, phương tiện hoặc tàu bay là một phần cơ bản của hệ thống SMGC, cũng như rất cần thiết cho điều hành an toàn và hiệu quả của sân bay. Mặc dù thực tế này được nhắc đến trong Phụ ước 11, Phụ ước 14, PANS-RAC và Tài liệu thiết kế sân bay, Phần 4, Thiết bị phụ trợ trực quan, nó không được đề cập đầy đủ trong bất kỳ tài liệu nào nói trên. Bảo vệ đường cất hạ cánh liên quan đến nhiều nguyên tắc và tầm quan trọng của nó dẫn đến chủ đề này sẽ được đưa ra trong tài liệu này.
7.1.2 Chương này phác thảo các vấn đề trong điều hành và đưa ra một số phương pháp, thiết bị bảo vệ mà các cơ quan kiểm soát không lưu (ATC) và sân bay có thể sử dụng để kiểm tra cũng như tăng cường các quy trình điều hành của họ. Cần lưu ý là đối với các hoạt động trong điều kiện tầm nhìn hạn chế, hướng dẫn và quy định của ICAO chủ yếu dành cho giai đoạn hạ cánh của chuyến bay và ít tính đến cất cánh. Một số sự cố nhất định đã nhấn mạnh sự cần thiết của các cơ quan hàng không trong việc xem xét các quy trình bảo vệ đường cất hạ cánh của họ, bất kể những hạn chế về tầm nhìn.
7.2 Các vấn đề trong khai thác
7.2.1 Chức năng của đường cất hạ cánh là tạo điều kiện cho tàu bay chuyển từ trạng thái bay sang di chuyển trên mặt đất và từ di chuyển trên mặt đất sang trạng thái bay. Điều này đòi hỏi phải di chuyển ở tốc độ cao trên bề mặt đường cất hạ cánh và yêu cầu đường cất hạ cánh không có bất kỳ chướng ngại vật nào trong quá trình cất hạ cánh. Chính trong những giai đoạn bay này, tàu bay dễ bị tổn thương nhất và hầu như không có khả năng thực hiện bất kỳ hành động tránh né nào và chắc chắn sẽ bị phá hủy nếu va chạm tốc độ cao xảy ra với bất kỳ chướng ngại vật có kích thước đáng kể nào.
7.2.2 Thời gian sử dụng đường CHC trung bình là yếu tố quyết định năng lực của sân bay. Do đó sẽ có áp lực khi phải duy trì tốc độ lưu lượng giao thông cao trong những thời điểm đông đúc. Điều này và nhu cầu về an toàn đòi hỏi tuân thủ triết lý hoạt động:
a) Đường cất hạ cánh phải được dành riêng cho việc cất hạ cánh của tàu bay tối đa có thể;
b) Tàu bay cất cánh và hạ cánh chỉ được chiếm giữ đường cất hạ cánh trong khoảng thời gian tối thiểu.
7.2.3 Trong thực tế, không thể dành riêng đường CHC cho các hoạt động của tàu bay. Các phương tiện bảo dưỡng và dịch vụ cũng cần tiếp cận đường cất hạ cánh và tại hầu hết các sân bay, một số phương tiện mặt đất và tàu bay đang kéo/lăn cũng cần phải cắt ngang qua. Việc tiếp cận đường cất hạ cánh và khu vực lân cận phải nằm dưới sự kiểm soát của ATC và phải tuân theo thời gian cũng như các cân nhắc khác, điều này rất quan trọng khi lưu lượng khai thác tăng cao. Nhưng không thể có rào cản vật lý nào đối với đường cất hạ cánh hoặc khu vực di chuyển, và sự an toàn phụ thuộc vào việc mỗi tổ lái và nhân viên điều khiển phương tiện trên khu vực đó quen thuộc với cách bố trí sân bay và tuân thủ các quy trình sân bay, biển báo, tín hiệu và hướng dẫn của ATC. Theo đó, cơ sở của việc bảo vệ đường cất hạ cánh là loại trừ tất cả các phương tiện không có quyền hoặc không cần thiết phải có mặt ra khỏi khu vực di chuyển, và yêu cầu phải có đủ kiến thức, năng lực, kỷ luật đối với những người được ủy quyền hoạt động trên khu vực.
7.3 Các biện pháp bảo vệ
7.3.1 Trừ trường hợp cố ý xâm nhập vào đường CHC vì mục đích trái pháp luật, điều nằm ngoài phạm vi của tài liệu này, có ba dạng xâm phạm:
a) Vô ý xâm nhập vào đường cất hạ cánh do nhân viên điều khiển phương tiện lạc đường và đi vào khu vực di chuyển;
b) Nhầm lẫn lỗi vào dẫn đến tàu bay, phương tiện được phép hoạt động trong khu vực di chuyển nhưng lại đi vào đường cất hạ cánh trái phép;
c) Hiểu nhầm huấn lệnh dẫn đến việc tàu bay hoặc phương tiện đi nhầm đường cất hạ cánh, do nhân viên điều khiển nhầm tưởng rằng đã nhận được huấn lệnh cần thiết.
Lưu ý: Mỗi trường hợp trên sẽ được xem xét riêng biệt.
Vô ý xâm nhập
7.3.2 Khu vực di chuyển phải được rào lại hoặc được bảo vệ chống lại sự xâm nhập trái phép, cũng như phải có các điểm vào được kiểm soát. Mặc dù hàng rào như vậy bảo vệ khu vực rộng hơn đường cất hạ cánh, nó là phương pháp bảo vệ đầu tiên và quan trọng nhất, vì nó sẽ giúp những người lái xe không hiểu về biển báo và tín hiệu tránh xa đường cất hạ cánh. Việc bảo vệ hoàn toàn có thể tốn kém và đôi khi khó đạt được, nhất là khi việc mở rộng đường lăn đến khu vực bảo trì lại cắt qua các luồng di chuyển dành cho nhân viên sân bay, thương nhân, nhà thầu sân bay, v.v. nhưng chi phí phải được tính toán dựa trên giả định: nếu một phương tiện bên ngoài vào được khu vực hoạt động thì sớm muộn một phương tiện khác cũng sẽ xuất hiện trên đường cất hạ cánh.
7.3.3 Một khía cạnh khác của vấn đề là khi một phương tiện được phép đi vào khu vực hoạt động, ví dụ như sân đỗ, nhưng lại đi nhầm vào khu vực di chuyển mà nó không được phép. Để ngăn chặn việc vô tình xâm nhập, cần phải thông báo kỹ lưỡng cho tất cả nhân viên điều khiển phương tiện được phép đi vào khu vực hoạt động và họ phải quen thuộc với tất cả các sơn tín hiệu, biển báo và đèn trên khu bay. Sai sót có thể xảy ra nhưng việc cung cấp các quy tắc và quy định về di chuyển trên bề mặt sân đường sẽ làm giảm khả năng xảy ra sai sót đến mức tối thiểu. Tham khảo hướng dẫn áp dụng các quy định này được nêu tại Phụ lục E.
Đi nhầm đường
7.3.4 Sân bay có thể là một nơi rất khó hiểu, ngay cả với những người quen thuộc hoạt động và địa hình của sân bay. Những thay đổi về tầm nhìn hoặc cường độ ánh sáng, sự biến mất của các mốc quen thuộc, sử dụng đường lăn hoặc đường cất hạ cánh hiếm khi được khai thác, ngay cả việc thay đổi loại tàu bay hoặc phương tiện, tức là góc nhìn khác từ buồng lái hoặc ghế lái, đều có thể góp phần gây ra sai sót trong việc xác định vị trí và hướng di chuyển. Rõ ràng, hệ thống đường lăn được đánh dấu càng rõ ràng thì càng ít có khả năng xảy ra sai sót, nhưng tại nhiều sân bay lớn, những sai sót kiểu này vẫn có thể và đã xảy ra.
7.3.5 Việc định tuyến sai đường lăn có thể gây gián đoạn, chậm trễ và ức chế nhưng hiếm khi gây ra sự cố lớn; mối nguy chủ yếu đến từ việc di chuyển trái phép trên đường cất hạ cánh đang hoạt động. Trong điều kiện tầm nhìn hạn chế hoặc vào ban đêm, điều này có thể xảy ra khi KSVKL không thể lập tức phát hiện. Ngay cả với radar giám sát mặt sân (SMR), việc giám sát liên tục mọi chuyển động trên một sân bay đông đúc là không khả thi. Việc bảo vệ khỏi việc xâm nhập này phải dựa vào việc đường cất hạ cánh đang hoạt động được đánh dấu rõ ràng và không thể nhầm lẫn từ bất kỳ điểm tiếp cận nào. Việc đánh dấu vĩnh viễn đường cất hạ cánh có thể không hiệu quả vì đường cất hạ cánh không hoạt động có thể được sử dụng làm đường lăn và phương tiện có thể đi vào mà không cần huấn lệnh đặc biệt. Do đó, phải có một số phương pháp tích cực khác để chỉ ra rằng đường cất hạ cánh đang hoạt động và đèn vị trí dừng chờ trên đường lăn sẽ thực hiện chức năng này. Các đèn stop bar cũng bảo vệ đường cất hạ cánh, và chúng là một tiêu chuẩn để thực hiện. Đường CHC tiếp cận chính xác CAT III, và hiện đang xem xét mở rộng tiêu chuẩn này cho đường CHC tiếp cận chính xác CAT II. Tại các sân bay không có thiết bị phụ trợ tiếp cận CAT II hoặc III, tàu bay vẫn có thể cất cánh trong điều kiện tầm nhìn bị giảm và do đó Người khai thác cảng hàng không, sân bay sân bay phải đặc biệt chú ý đến các biển báo, đèn và sơn tín hiệu để đảm bảo rằng đường cất hạ cánh đang hoạt động được đánh dấu đầy đủ.
Hiểu nhầm huấn lệnh
7.3.6 Đây có lẽ là nguyên nhân phổ biến nhất dẫn đến việc xâm nhập trái phép đường CHC đang khai thác và cũng là nguyên nhân khó ngăn chặn nhất. Nếu tổ lái hoặc nhân viên điều khiển phương tiện tin rằng họ có quyền đi vào đường cất hạ cánh, thì trừ khi có mối nguy hiểm rõ ràng nào đó, họ sẽ tiếp tục. Vấn đề trở nên phức tạp hơn bởi hệ thống RTF, nơi tất cả những người trên cùng tần số đều có thể nghe thấy các hướng dẫn được truyền đi. Việc KSVKL, nhân viên điều khiển phương tiện và tổ lái có thể sử dụng ngôn ngữ không phải tiếng địa phương cùng với những áp lực liên quan đến môi trường khai thác đông đúc, đều là những yếu tố dẫn đến việc hiểu sai lời nói.
7.3.7 Cho đến khi phát triển khả năng truyền dữ liệu riêng biệt giữa KSVKL và từng tàu bay/phương tiện trên mặt sân, khả năng hiểu nhầm hoặc giải thích sai sẽ vẫn còn. Do đó, để bảo vệ đường cất hạ cánh, các phương pháp liên lạc phải được thiết kế sao cho giảm thiểu khả năng hiểu lầm và các quy trình được sử dụng không nên dẫn đến việc tàu bay hoặc phương tiện đi vào đường cất hạ cánh đang hoạt động mà không được phép.
7.3.8 Trong nhiều năm, giá trị của phương thức giao tiếp RTF tiêu chuẩn đã được công nhận, vì vậy cần đặc biệt chú ý đến Hướng dẫn sử dụng RTF để đảm bảo rằng các phương thức giao tiếp và thuật ngữ được sử dụng phù hợp với những phương thức đã được thống nhất toàn cầu. Các lỗi khác trong liên lạc RTF có thể dẫn đến việc xâm nhập trái phép đường cất hạ cánh là:
a) Sử dụng bất cẩn huấn lệnh, ví dụ: lệnh "vượt sau chiếc B727" cho nhân viên điều khiển phương tiện có khả năng nhận dạng tàu bay kém hơn so với giả định của KSVKL;
b) Nói quá nhanh;
c) Những nhận xét thừa, đặc biệt là phản đối hoặc chỉ trích, không đóng góp tích cực cho tình huống;
d) Sử dụng các chữ viết tắt, đặc biệt là các số hiệu tàu bay, thứ có thể áp dụng cho nhiều tàu bay hoặc phương tiện.
Độ an toàn sẽ tăng cường đáng kể nếu không có nhân viên điều khiển phương tiện hoặc tổ lái nào di chuyển theo huấn lệnh mà không hoàn toàn chắc chắn rằng huấn lệnh đó áp dụng cho mình, trong trường hợp có bất kỳ sự không chắc chắn nào, hãy kiểm tra với ATC bất kể tình hình bận rộn đến mức nào.
7.3.9 Cách hiệu quả nhất để giảm khả năng hiểu sai huấn lệnh dẫn đến việc xâm nhập đường CHC đang khai thác là sử dụng hướng dẫn bằng lời đi kèm với tín hiệu trực quan như tắt đèn stop bar và bật, tắt đèn tim đường lăn.
7.4 Các biện pháp và thiết bị bảo vệ đường CHC
7.4.1 Triết lý cơ bản của việc bảo vệ đường cất hạ cánh phải là sử dụng các quy trình an toàn và đã được chứng minh, đồng thời tất cả hoạt động giao thông tuân thủ theo những quy định này. Tất cả nhân viên phải hoàn toàn thông thạo các quy tắc này và các cơ quan có thẩm quyền cần thiết lập một hệ thống giám sát để duy trì tiêu chuẩn cao nhất có thể. Không có thiết bị nào có thể thay thế được triết lý cơ bản này.
7.4.2 Phương pháp bảo vệ chính phải là cung cấp đầy đủ thông tin trực quan cho tổ lái và nhân viên điều khiển phương tiện rằng họ đang tiếp cận đường cất hạ cánh đang hoạt động, để họ có thể tuân thủ các quy trình đã được công nhận. Thông tin trực quan này dưới dạng biển báo, sơn tín hiệu mặt sân và thiết bị chiếu sáng có thể được hỗ trợ bởi thiết bị phát hiện điện tử, nơi mật độ khai thác và độ phức tạp của sân bay làm tăng nguy cơ xâm nhập đường cất hạ cánh.
Sơn tín hiệu, biển báo và đèn
7.4.3 Chương 2 xác định các thiết bị phụ trợ trực quan khả dụng cho hệ thống SMGC. Các thiết bị sau đây được sử dụng làm thiết bị hỗ trợ bảo vệ đường cất hạ cánh:
- Sơn tín hiệu vị trí dừng chờ trên đường lăn;
- Đèn stop bar;
- Đèn vị trí dừng chờ trên đường lăn;
- Biển báo vị trí chờ;
- Biển báo nút giao đường lăn/đường cất hạ cánh;
- Biển báo DỪNG - STOP;
- Biển báo KHÔNG ĐƯỢC VÀO - No ENTRY
Chi tiết về đặc tính và cách lắp đặt các thiết bị hỗ trợ này được nêu trong Phụ ước 14, Chương 5. Phải thừa nhận rằng các yêu cầu nêu trong Phụ ước 14 là tối thiểu và một số thiết bị dùng trong đường cất hạ cánh tiếp cận chính xác CAT II hoặc III cũng hữu dụng trong các điều kiện khác.
7.4.4 Phụ ước 14 khuyến nghị sử dụng đèn vị trí chờ-lăn (đôi khi được gọi là đèn bảo vệ đường cất hạ cánh) bao gồm hai đèn vàng nhấp nháy luân phiên. Hiện tại, các đèn này chỉ được khuyến nghị sử dụng cho đường cất hạ cánh tiếp cận chính xác CAT III, nhưng đang xem xét sử dụng đèn này cho đường cất hạ cánh tiếp cận chính xác CAT II. Tuy nhiên, việc lắp đặt các đèn này ở tất cả các vị trí chờ trên đường lăn bất kể đường cất hạ cánh loại nào cần được xem xét nghiêm túc vì chúng là phương pháp rất hiệu quả và hợp lý, không tốn kém để phân định đường cất hạ cánh đang hoạt động trong mọi điều kiện tầm nhìn. Một phương pháp nữa để bảo vệ đường cất hạ cánh là lắp đặt các đèn stop bar có thể tắt bật như mô tả trong Phụ ước 14, Chương 5, cũng là một yêu cầu tiêu chuẩn đối với đường cất hạ cánh tiếp cận chính xác CAT III.
Thiết bị bảo vệ điện tử phi trực quan
7.4.5 Vấn đề điều hành liên tục sân bay ở mức độ an toàn và năng lực chấp nhận được trong điều kiện tầm nhìn bị giảm đã dẫn đến sự phát triển của nhiều kỹ thuật giám sát phi trực quan. Nhiều hệ thống trong số này được thiết kế để giám sát toàn bộ khu vực hoạt động, nhưng có thể được thu nhỏ lại để chỉ bao phủ đường cất hạ cánh và các khu vực lân cận nơi không thể sử dụng hệ thống SMGC phức tạp hơn. Những kỹ thuật này cung cấp ba hình thức giám sát phi trực quan:
a) Việc sử dụng các cảm biến radar tạo ra hiển thị mô phỏng của đường cất hạ cánh và đường lăn liền kề, cùng với các hoạt động di chuyển;
b) Việc sử dụng các cảm biến tuyến tính để giám sát việc ra vào của các phương tiện giao thông trên các khu vực hoặc khối xác định gần đường cất hạ cánh, điều này được hiển thị trên một thiết bị phù hợp;
c) Việc sử dụng các cảm biến diện tích nhỏ để chỉ ra sự chiếm chỗ ở các khu vực gần đường cất hạ cánh.
7.4.6 Cảm biến radar
Cho đến nay, phương pháp giám sát phi trực quan được sử dụng rộng rãi nhất và thành công nhất là radar giám sát mặt sân (SMR), đã hoạt động từ đầu những năm 1960. Thiết bị này cung cấp cho KSVKL một sơ đồ bề mặt sân bay thu được từ radar, với các đường cất hạ cánh và đường lăn có thể nhận biết rõ ràng, cùng với các phương tiện giao thông, dù đang di chuyển hay đứng yên, được hiển thị dưới dạng các đốm sáng. Điều này cho phép KSVKL, bằng cách giám sát màn hình tương ứng, xác định tình trạng chiếm chỗ trên đường cất hạ cánh , chuyển động trên đường lăn, tiến độ giao thông của phương tiện, v.v.
7.4.7 Những phát triển mới nhất của thiết bị này đã khắc phục được các vấn đề về thời tiết và suy hao làm hạn chế tính hiệu quả của các phiên bản trước đó, nhờ những tiến bộ trong công nghệ điện tử và hiển thị, chúng rẻ hơn đáng kể so với các phiên bản trước đó. Ngoài ra, những tiến bộ trong công nghệ máy tính có khả năng tăng cường đáng kể thông tin radar, cho phép thiết kế các chương trình bảo vệ đường cất hạ cánh tạo ra âm thanh báo động khi khu vực được bảo vệ của đường cất hạ cánh bị xâm nhập.
7.4.8 Những phát triển gần đây về radar millimet wave FM CW (điều chế tần số sóng liên tục) có thể cung cấp giải pháp thay thế rẻ hơn cho SMR, đặc biệt khi hệ thống chỉ được yêu cầu để bảo vệ đường cất hạ cánh. Các radar dải L FM CW di động đã được dùng để phát hiện xâm nhập và chúng có thể được phát triển cho mục tiêu cụ thể trên sân bay, nhưng nhiều hệ thống trong số này chỉ có thể phát hiện các mục tiêu đang di chuyển, do đó sẽ cần một lượng máy tính hỗ trợ để hiển thị dữ liệu liên tục đến KSVKL.
7.4.9 Cảm biến tuyến tính
a) Thiết bị phát hiện vòng lặp từ tính (Cảm ứng) - Thiết bị phát hiện vòng lặp cảm ứng đã được sử dụng để phát hiện và kiểm soát giao thông đường bộ trong nhiều năm và hệ thống như vậy có thể được điều chỉnh để sử dụng làm thiết bị hỗ trợ bảo vệ đường cất hạ cánh. Các vòng cảm ứng được bố trí một cách hệ thống dọc theo đường lăn dẫn tới đường cất hạ cánh sẽ phát hiện chuyển động của phương tiện giao thông và thông tin này có thể được hiển thị cho KSVKL. Yếu tố hạn chế của hệ thống như vậy là chi phí, đặc biệt khi được trang bị cho một sân bay lớn, nơi hệ thống truyền và hiển thị dữ liệu có thể phức tạp. Một hệ thống chiếu sáng sân bay kết hợp các vòng cảm ứng, được sử dụng để bảo vệ đường cất hạ cánh và tự động chuyển đổi đèn stop bar và đèn đường lăn, đã được lắp đặt tại Sân bay Frankfurt và là một phần không thể thiếu của hệ thống SMGC.
b) Chùm tia điện từ - Hàng rào điện tử sử dụng kỹ thuật vi sóng có thể dùng như một thiết bị hỗ trợ bảo vệ đường cất hạ cánh nhưng để bao phủ một khu vực có kích thước bằng đường cất hạ cánh có thể tốn kém ở thiết bị phân phối dữ liệu cơ bản.
7.4.10 Cảm biến diện tích nhỏ và truyền hình vô tuyến. Chúng có thể được sử dụng để khảo sát một khu vực cụ thể như điểm chờ đường cất hạ cánh. Các phương pháp bao gồm camera vô tuyến nhỏ, radar chuyên dụng, từ kế, siêu âm, hồng ngoại, laser và cảm biến địa chấn. Việc kết hợp các phương pháp trên có thể mang lại sự trợ giúp bảo vệ đường cất hạ cánh hiệu quả nhưng có thể tỏ ra phức tạp và tốn kém.
7.5 Kết luận
7.5.1 Để đạt được mức độ an toàn cao trên đường cất hạ cánh, người điều hành sân bay và cơ quan có trách nhiệm phải đảm bảo rằng:
a) Khu vực hoạt động được rào lại hoặc được bảo vệ bằng cách khác để chống lại xâm nhập trái phép;
b) Tất cả các điểm vào khu vực hoạt động đều được kiểm soát;
c) Những người chịu trách nhiệm cho giao thông trên khu vực hoạt động có đủ kiến thức, năng lực và kỷ luật;
d) Tất cả các đường lăn và hệ thống đường công vụ đều có biển chỉ dẫn, đánh dấu và chiếu sáng đầy đủ, phù hợp;
e) Đường cất hạ cánh đang hoạt động được đánh dấu rõ ràng và không thể nhầm lẫn đối với người điều hành giao thông mặt sân;
f) Tất cả giao thông trong khu vực di chuyển đều tuân thủ các quy trình RTF đã được công nhận;
g) Nếu có thể, huấn lệnh vào đường CHC bằng lời nói được xác nhận bằng tín hiệu trực quan, ví dụ như tắt đèn stop bar và bật đèn tim đường lăn;
h) Khi tầm nhìn, độ phức tạp của sân bay và mật độ khai thác yêu cầu, cung cấp cho các thiết bị bảo vệ điện tử phi trực quan như radar giám sát mặt sân (SMR).
CHƯƠNG 8. DỊCH VỤ QUẢN LÝ SÂN ĐỖ
8.1 Tổng quan
8.1.1 Dịch vụ kiểm soát tại sân trải rộng khắp khu vực di chuyển, nhưng không có hướng dẫn cụ thể nào liên quan đến dịch vụ này quản lý cả sân đỗ. Do đó, việc quản lý sân đỗ là cần thiết để kiểm soát các hoạt động di chuyển của tàu bay, phương tiện và nhân viên trên sân đỗ (Phụ ước 14, Chương 9).
8.1.2 Có nhiều cách tiếp cận khác nhau về quản lý sân đỗ đã được phát triển và tùy theo điều kiện cụ thể, có thể đáp ứng các yêu cầu khai thác của sân bay.
8.1.3 Quản lý sân đỗ là nhiệm vụ thiết yếu tại bất kỳ sân bay nào. Tuy nhiên, nhu cầu thiết lập dịch vụ quản lý sân đỗ chuyên dụng phụ thuộc vào ba yếu tố chính. Gồm:
a) Mật độ khai thác;
b) Sự phức tạp của cách bố trí sân đỗ;
c) Các điều kiện về tầm nhìn mà người khai thác cảng hàng không, sân bay dự định áp dụng cho hoạt động khai thác của sân bay.
8.1.4 Nói chung, việc kiểm soát hoàn toàn hoạt động di chuyển trên khu vực hoạt động là không thực tế. Tuy nhiên, để đảm bảo an toàn trong điều kiện tầm nhìn rất thấp, cần phải thực hiện việc kiểm soát như vậy và tác động không mong muốn là năng lực khai thác suy giảm. Trong phạm vi thay đổi hợp lý tùy theo điều kiện, độ an toàn và hiệu quả sẽ phụ thuộc vào tàu bay và phương tiện tuân theo các quy tắc và quy định tiêu chuẩn khai thác khi di chuyển trên bề mặt sân đường. Đơn vị quản lý sân đỗ tàu bay phải thiết lập các quy định liên quan đến hoạt động của tàu bay và phương tiện mặt đất trên sân đỗ. Các quy định này phải phù hợp với quy định của khu vực di chuyển.
8.2 Khi nào nên thiết lập dịch vụ quản lý sân đỗ?
8.2.1 Phụ ước 14, Chương 9, khuyến nghị nên cung cấp dịch vụ quản lý sân đỗ khi được yêu cầu bởi lưu lượng, mật độ khai thác và điều kiện hoạt động. Hướng dẫn về quản lý và an toàn sân đỗ được nêu trong Tài liệu Dịch vụ Sân bay, Phần 8, Chương 10.
8.2.2 Không thể định trước tại mức độ lưu lượng giao thông và điều kiện hoạt động nào thì cần phải thiết lập dịch vụ quản lý sân đỗ. Nói chung, bố trí sân đỗ càng phức tạp thì dịch vụ quản lý sân đỗ càng cần thiết, đặc biệt khi đường lăn nằm trong khu vực sân đỗ.
8.2.3 Quyết định cung cấp dịch vụ quản lý sân đỗ tại một sân bay cụ thể phải thuộc về Người khai thác cảng hàng không, sân bay. Nếu các hướng dẫn chắc chắn được đưa ra về các điều kiện cần cung cấp dịch vụ quản lý sân đỗ thì nó sẽ làm mất đi tính linh hoạt cần thiết của từng Quốc gia trong việc thiết lập một dịch vụ quản lý sân đỗ phù hợp hơn với nhu cầu cụ thể của mình.
8.2.4 Hầu hết sân bay đều đã có quản lý sân đỗ dưới hình thức nào đó. Sân đỗ có thể đơn giản là một khu vực dành riêng cho việc đỗ tàu bay, có vạch sơn để hướng dẫn tổ lái tự di chuyển đến vị trí đỗ tàu bay. Ngược lại, khu vực sân đỗ có thể là một phần rộng lớn trong khu vực hoạt động với nhiều điểm đỗ vuông góc, nhiều nhà ga và đường lăn phức tạp tạo thành một phần của bố cục. Một khu vực sân đỗ phức tạp như vậy sẽ cần một dịch vụ quản lý sân đỗ toàn diện bao gồm các phương tiện liên lạc vô tuyến.
8.2.5 Do đó, Người khai thác cảng hàng không, sân bay sân bay phải xem xét phạm vi quản lý cần thiết đối với hoạt động trên khu vực sân đỗ của họ để đảm bảo hoạt động an toàn và hiệu quả của tàu bay và phương tiện ở gần. Điều này đặc biệt quan trọng khi dự tính thực hiện điều hành tầm nhìn hạn chế.
8.2.6 Khi xem xét phạm vi quản lý cần thiết đối với khu vực sân đỗ, cần xem xét các điểm sau:
a) Khu vực sân đỗ có đủ rộng, phức tạp hoặc đông đúc để cần có nhân viên riêng quản lý không?
b) Nhân viên cần những thiết bị RTF nào để thực hiện việc kiểm soát đối với phương tiện của chính họ, phương tiện của các hãng hàng không và nếu cần, đối với tàu bay đang sử dụng đường lăn sân đỗ?
c) Nếu nhân viên quản lý sân đỗ được yêu cầu kiểm soát tàu bay và phương tiện trên khu vực sân đỗ để đảm bảo phân cách an toàn thì nhân viên đó phải được đào tạo, cấp phép phù hợp và có thẩm quyền pháp lý rõ ràng.
d) Đơn vị quản lý sân đỗ sẽ có các hướng dẫn riêng của mình như huấn lệnh khởi động, kéo đẩy, lăn và phân bổ vị trí đỗ, hay sẽ nhận lệnh từ đơn vị ATS như một phần của dịch vụ quản lý sân đỗ?
e) Các phương tiện phục vụ cho dây chuyền hàng không khác nhau sẽ được quy định như thế nào trên sân đỗ cũng như trên các đường công vụ phục vụ tàu bay? Có cần đường công vụ, kiểm soát hoặc không kiểm soát, cắt ngang qua đường lăn sân đỗ không?
f) Ai sẽ chịu trách nhiệm kiểm tra, bảo trì và làm sạch sân đỗ?
g) Cần có dịch vụ đánh tín hiệu tàu bay quy mô nào, bao gồm cả dịch vụ xe dẫn (follow me vehicles), để đáp ứng nhu cầu đỗ tàu bay?
h) Hoạt động trong điều kiện tầm nhìn hạn chế có được dự tính thực hiện tại sân bay không? Nếu có, cần xây dựng những quy trình nào để đảm bảo an toàn trên khu vực sân đỗ?
i) Có quy trình nào để ứng phó với các tình huống dự phòng như tai nạn, trường hợp khẩn cấp, dọn tuyết, chuyển hướng tàu bay, kiểm soát luồng di chuyển khi sân đỗ gần như đã kín chỗ, đang bảo trì, vệ sinh và an ninh sân đỗ?
8.3 Ai điều hành dịch vụ quản lý sân đỗ tàu bay?
8.3.1 Dịch vụ quản lý sân đỗ có thể được cung cấp bởi đơn vị ATS, đơn vị do Người khai thác cảng hàng không, sân bay thành lập, bởi hãng hàng không trong trường hợp là sân đỗ tàu bay gắn liền với nhà ga của riêng hãng hàng không, hoặc bởi sự phối hợp giữa ATS, người khai thác cảng hàng không, sân bay và hãng hàng không.
8.3.2 Một số Quốc gia nhận thấy rằng một hệ thống điều hành sân đỗ tốt cần phải thiết lập quy trình kiểm soát quản lý hoạt động di chuyển trên sân đỗ, trong đó một đơn vị duy nhất sẽ quản lý tàu bay và phương tiện tại điểm chuyển giao được xác định trước giữa sân đỗ và khu vực di chuyển. Nói chung, cạnh của vùng di chuyển tượng trưng cho điểm chuyển giao. Trong mọi trường hợp, điểm chuyển giao phải được chỉ định rõ ràng trên mặt đất và trên các sơ đồ phù hợp, ví dụ như sơ đồ sân bay, vì lợi ích của người điều hành tàu bay/phương tiện. Sau đó, đơn vị quản lý sân đỗ sẽ chịu trách nhiệm quản lý và điều phối tất cả hoạt động di chuyển của tàu bay trên sân đỗ, đưa ra chỉ dẫn bằng lời nói trên tần số vô tuyến đã được thống nhất và quản lý tất cả các phương tiện di chuyển trên sân đỗ và các hoạt động khác để thông báo cho tàu bay về các mối nguy hiểm tiềm ẩn trong phạm vi sân đỗ. Bằng cách thỏa thuận với đơn vị ATS tại sân bay, huấn lệnh khởi động và lăn bánh đến điểm chuyển giao sẽ được truyền cho các tàu bay khởi hành, sau đó cơ quan ATS sẽ đảm nhận trách nhiệm.
8.3.3 Một hình thức của dịch vụ phối hợp quản lý sân đỗ là việc liên lạc vô tuyến với tàu bay để cấp huấn lệnh khởi động hoặc kéo đẩy trên sân đỗ được giao cho đơn vị ATS, và việc kiểm soát các phương tiện là trách nhiệm của Người khai thác cảng hàng không, sân bay hoặc hãng hàng không. Tại các sân bay này, ATS đưa ra hướng dẫn cho tàu bay, trong đó việc phân cách an toàn giữa tàu bay và các phương tiện sẽ không nằm trong hướng dẫn nếu chúng không thuộc phạm vi kiểm soát vô tuyến.
8.3.4 Bộ phận quản lý sân đỗ duy trì liên lạc chặt chẽ với người khai thác cảng hàng không, sân bay và chịu trách nhiệm phân bổ vị trí đỗ tàu bay, phổ biến thông tin di chuyển cho hãng hàng không bằng cách giám sát tần số ATC, và cập nhật thông tin cơ bản liên tục về thời gian tàu bay đến, hạ cánh và cất cánh. Bộ phận quản lý sân đỗ phải đảm bảo rằng khu vực sân đỗ được giữ sạch sẽ bằng cách bảo trì theo quy định và thiết lập khoảng cách an toàn cho tàu bay tại vị trí đỗ. Dịch vụ đánh tín hiệu và dịch vụ xe dẫn đường cũng có thể được cung cấp.
8.4 Trách nhiệm và chức năng
8.4.1 Cho dù dùng phương pháp nào để cung cấp dịch vụ quản lý sân đỗ thì nhu cầu liên lạc chặt chẽ giữa Người khai thác cảng hàng không, sân bay, hãng hàng không và ATS là tối quan trọng. Việc vận hành hiệu quả và an toàn của hệ thống phụ thuộc rất lớn vào sự hợp tác chặt chẽ này. Các mục sau đây có tầm quan trọng đối với cả ATS và Người khai thác cảng hàng không, sân bay:
a) Phân bổ vị trí đỗ tàu bay
Trách nhiệm chung về việc phân bổ vị trí đỗ tàu bay thường thuộc về người khai thác cảng hàng không, sân bay, mặc dù để thuận tiện và hiệu quả trong khai thác, một hệ thống các vị trí đỗ ưu tiên có thể được thiết lập. Hướng dẫn cần nêu rõ vị trí đỗ nào được sử dụng bởi tàu bay hoặc nhóm tàu bay nào. Khi cần, nên đặt ra thứ tự ưu tiên sử dụng vị trí đỗ. Nhân viên quản lý sân đỗ phải được hướng dẫn rõ ràng về thời gian chiếm dụng chỗ đỗ được phép và các bước cần thực hiện để tuân thủ quy định. Trách nhiệm phân bổ vị trí đỗ có thể được giao cho hãng hàng không nếu hãng đó có nhà ga hoặc khu vực sân đỗ tàu bay của riêng hãng hàng không.
b) Thời gian tàu bay đến/đi
ATS, quản lý sân đỗ, quản lý nhà ga và người khai thác cảng hàng không, sân bay cần phải biết trước về thời gian đến và đi theo lịch trình, dự tính và thực tế. Cần thiết lập một hệ thống để đảm bảo rằng thông tin này được chuyển giữa tất cả các bên liên quan một cách nhanh chóng và hiệu quả nhất có thể.
c) Huấn lệnh khởi hành
Thông thường huấn lệnh này được đưa ra bởi đơn vị ATC. Khi bộ phận quản lý sân đỗ sử dụng liên lạc vô tuyến riêng trên khu vực sân đỗ, các quy trình cần được thiết lập giữa bộ phận quản lý sân đỗ và cơ quan ATC để đảm bảo hiệp đồng và chuyển giao các huấn lệnh đó một cách hiệu quả.
d) Phổ biến thông tin cho hãng hàng không
Cần thiết lập một hệ thống để đảm bảo phân phối hiệu quả các thông tin liên quan giữa bộ phận quản lý sân đỗ, ATS và hãng hàng không. Những thông tin như vậy có thể bao gồm thông báo về công việc đang tiến hành, cơ sở vật chất không khả dụng, kế hoạch dọn tuyết và các quy trình về tầm nhìn hạn chế.
e) Bố trí an ninh
Ngoài các thỏa thuận an ninh thông thường, còn có các yêu cầu an ninh được nhiều bên hoạt động trên sân đỗ quan tâm. Chúng sẽ bao gồm các kế hoạch dự phòng cho những tình huống có thể xảy ra như nhận dạng hành lý trên quầy, cảnh báo bom và đe dọa cướp.
f) Khả năng đáp ứng các vấn đề về an toàn
Các dịch vụ cứu nạn và chữa cháy (RFF) thường được cảnh báo về sự cố trên khu vực hoạt động bởi đơn vị ATS. Tuy nhiên, tại các sân bay nơi tàu bay trên khu vực sân đỗ được kiểm soát bởi dịch vụ quản lý sân đỗ, cần thiết lập hệ thống thông tin liên lạc để cảnh báo cho RFF khi xảy ra sự cố trong khu vực sân đỗ phụ trách.
g) Kỷ luật sân đỗ
Bộ phận quản lý sân đỗ sẽ chịu trách nhiệm đảm bảo các bên tuân thủ các quy định liên quan đến an toàn khai thác trên sân đỗ.
8.4.2 Hệ thống dẫn đỗ tàu bay
8.4.2.1 Hệ thống dẫn đỗ tàu bay được cung cấp sẽ phụ thuộc vào yêu cầu về mức độ chính xác của việc đỗ và loại tàu bay hoạt động trên sân đỗ. Hình thức hướng dẫn đỗ đơn giản nhất, không yêu cầu độ chính xác quá cao, sẽ bao gồm mốc nhận dạng vị trí đỗ và sơn tín hiệu vệt lăn. Hướng dẫn về sơn tín hiệu trên sân đỗ được nêu trong Quy chuẩn 79 (cụ thể hoá Tài liệu thiết kế sân bay, Phần 4). Bộ phận quản lý sân đỗ phải theo dõi tình trạng tất cả sơn tín hiệu trên sân đỗ để đảm bảo chúng được bảo trì nhằm duy trì khả năng hiển thị tối đa. Khi cần đỗ chính xác hơn thì phải lắp đặt một trong các hệ thống hướng dẫn tuân theo thông số kỹ thuật trong Phụ ước 14, Chương 5 . Chi tiết về các hệ thống này được nêu trong Tài liệu thiết kế sân bay, Phần 4, Chương 12. Bộ phận quản lý sân đỗ phải theo dõi, giám sát hoạt động các hệ thống này và các đèn dẫn đường liên quan để đảm bảo rằng chúng được kiểm tra ít nhất hàng tuần nhằm duy trì các tiêu chuẩn khai thác theo quy định.
8.4.3 Dịch vụ đánh tín hiệu
8.4.3.1 Phải cung cấp dịch vụ đánh tín hiệu cho tàu bay ở những nơi không có hệ thống hướng dẫn đỗ tàu bay hoặc khi cần có hướng dẫn đỗ tàu bay để tránh mối nguy và tận dụng hiệu quả nhất không gian đỗ sẵn có. Phải có sự đào tạo phù hợp cho nhân viên đánh tín hiệu và chỉ những nhân viên đủ năng lực thỏa đáng mới được phép đánh tín hiệu cho tàu bay. Khi cung cấp dịch vụ này, phải có tài liệu hướng dẫn toàn diện cho nhân viên đánh tín hiệu, bao gồm:
a) Chỉ sử dụng các tín hiệu được cấp phép (bản sao của các tín hiệu này phải được để ở những điểm thích hợp);
b) Trước khi sử dụng các tín hiệu, nhân viên đánh tín hiệu phải chắc chắn rằng khu vực tàu bay được dẫn đến không có các vật thể mà tàu bay có thể va chạm khi tuân theo tín hiệu của mình;
c) Các trường hợp một nhân viên đánh tín hiệu là đủ và các trường hợp cần thiết có người hỗ trợ;
d) Hành động cần thiết trong trường hợp khẩn cấp hoặc tai nạn liên quan đến tàu bay và/hoặc phương tiện xảy ra trong quá trình đánh tín hiệu cho tàu bay, ví dụ như va chạm, cháy, tràn nhiên liệu;
e) Luôn mặc áo phản quang;
f) Hành động cần thực hiện khi tàu bay được kéo đẩy bằng xe kéo đẩy và cần phải có tín hiệu để tắt động cơ.
8.5 Quy trình đặc biệt trong điều kiện tầm nhìn hạn chế
8.5.1 Các quy trình đặc biệt liên quan đến tầm nhìn hạn chế được mô tả trong Chương 5.
8.6 Đào tạo
8.6.1 Bộ phận quản lý sân đỗ yêu cầu nhân viên của mình phải được đào tạo và cấp phép phù hợp để thực hiện các trách nhiệm tương ứng của họ. Điều này áp dụng đối với những người chịu trách nhiệm vận hành Đài kiểm soát mặt đất, những nhân viên đánh tín hiệu và những nhân viên điều khiển xe dẫn đường.
8.6.2 Nhân viên Đài kiểm soát mặt đất có trách nhiệm quản lý và kiểm soát di chuyển của tàu bay trong khu vực trách nhiệm của họ. Ở một mức độ nào đó, chức năng của họ tương tự như chức năng kiểm soát ATC trên khu vực di chuyển và cũng cần phải đào tạo cho nhân viên. Chương trình đào tạo sẽ giải quyết các vấn đề:
a) Phối hợp giữa đơn vị ATS và quản lý sân đỗ;
b) Quy trình khởi động;
c) Quy trình kéo đẩy;
d) Phương thức giữ tàu bay trong sân đỗ;
e) Huấn lệnh lăn;
f) Huấn lệnh liên quan trong quá trình tàu bay lăn.
8.6.3 Để đáp ứng các yêu cầu đào tạo cho nhân viên điều hành quản lý sân đỗ, một số Quốc gia sử dụng các chương trình được phát triển cho nhân viên ATS. Thậm chí, một số Quốc gia yêu cầu nhân viên quản lý sân đỗ phải có giấy phép ATC hoặc các giấy phép khác hoặc phải có kinh nghiệm về khai thác sân bay trong quá trình đào tạo.
8.6.4 Nhân viên đánh tín hiệu cho tàu bay cần được đào tạo để đảm bảo họ có đủ trình độ chuyên môn phù hợp để hướng dẫn cho tàu bay di chuyển. Việc đào tạo của họ nên tập trung vào:
a) Tín hiệu;
b) Các đặc tính của tàu bay, cả về vật lý và hoạt động, liên quan đến việc di chuyển của tàu bay trong phạm vi sân đỗ;
c) An toàn cho người hoạt động xung quanh tàu bay và đặc biệt là động cơ.
8.6.5 Tại các sân bay sử dụng xe dẫn đường, phải đảm bảo rằng nhân viên điều khiển phương tiện có trình độ phù hợp về các phương thức RTF, biết các tín hiệu trực quan và có kiến thức phù hợp về tốc độ lăn cũng như phân cách giữa tàu bay/phương tiện. Kiến thức đầy đủ về mặt bằng bố trí sân bay cùng khả năng tìm đường trong điều kiện tầm nhìn hạn chế là rất quan trọng.
PHỤ LỤC A. THÔNG TIN BỔ SUNG VỀ HỖ TRỢ DẪN ĐƯỜNG BẰNG MẮT
1. Sơn tín hiệu
1.1 Sơn tín hiệu tim của đường lăn - Vạch sơn tín hiệu này bao gồm một đường màu vàng liên tục kéo dài từ đường cất hạ cánh tới vị trí đỗ của tàu bay. Mặc dù được gọi là đường tim, vạch sơn tín hiệu này thể hiện đoạn đường mà tổ lái phải đi theo bánh càng chính trên bề mặt sân đường.
1.2 Sơn tín hiệu vị trí chờ trên đường lăn - Vạch sơn tín hiệu này nhằm mục đích xác định điểm mà tàu bay phải chờ ở trên khu vực giao giữa đường lăn và đường cất hạ cánh để không trở thành chướng ngại vật ảnh hưởng đến hoạt động của tàu bay trên đường cất hạ cánh hoặc ảnh hưởng đến hoạt động của hệ thống ILS. Khi đường cất hạ cánh được hoạt động dưới các điều kiện tầm nhìn khác nhau, có thể yêu cầu có hơn một vạch sơn tín hiệu chờ ở mỗi khu vực giao giữa đường lăn với đường cất hạ cánh.
1.3 Sơn tín hiệu giao giữa các đường lăn - Vạch sơn tín hiệu này nhằm mục đích xác định điểm mà tàu bay phải chờ ở trên khu vực giao giữa hai đường lăn để không làm chắn đường tàu bay còn lại đang di chuyển qua khu vực giao trên.
1.4 Sơn tín hiệu vị trí đỗ của tàu bay - Thuật ngữ này dùng để chỉ một số các vạch sơn trên sân đỗ tàu bay khác nhau để hướng dẫn tổ lái điều khiển tàu bay trên khu vực dừng đỗ. Các vạch sơn hướng dẫn căn chỉnh tàu bay tới vị trí dừng đỗ, xác định vị trí dừng và hướng dẫn căn chỉnh đúng với vị trí dừng đỗ.
1.5 Sơn giới hạn an toàn vị trí đỗ tàu bay - Thuật ngữ này dùng để chỉ các vạch sơn trên sân đỗ tàu bay nhằm hướng dẫn cho phương tiện mặt đất hơn là tàu bay; ví dụ vạch kẻ giới hạn an toàn mũi cánh tàu bay, đường di chuyển và vị trí đỗ cho phương tiện mặt đất. Tác dụng của sơn giới hạn an toàn vị trí đỗ tàu bay là để các thiết bị và phương tiện mặt đất di chuyển sao cho không tạo thành chướng ngại vật với tàu bay.
2. Đèn hỗ trợ dẫn đường
2.1 Đèn tim đường lăn - Đây là những đèn màu xanh lục lắp đặt dọc theo sơn tín hiệu tim đường lăn. Để báo hiệu cho tổ lái biết khi đã ra khỏi đường cất hạ cánh, cần phải xem xét định mã màu của các đèn tim trên đường lăn ra. Các đèn này được thiết kế có màu xanh lục và màu vàng từ đèn ở đầu đường lăn ra ở gần tim đường cất hạ cánh đến biên của khu vực tới hạn nhạy cảm của ILS hoặc cạnh thấp hơn của bề mặt chuyển tiếp trong. Đèn tim đường lăn là yêu cầu đặc biệt cần có đối với các hoạt động có tầm nhìn hạn chế khi đèn lề đường lăn cung cấp không đầy đủ các chỉ dẫn vì không thể dễ dàng nhìn thấy được từ buồng lái. Những đèn này có nhiều cường độ sáng khác nhau để sử dụng trong các điều kiện tầm nhìn khác nhau. Đèn tim đường lăn có thể được bật hoặc tắt có chọn lọc để xác định lộ tuyến mà tổ lái nên đi theo trên bề mặt đường lăn.
2.2 Đèn lề đường lăn - Đây là loại đèn được lắp đặt dọc theo lề đường lăn và khu vực sân đỗ. Các đèn này có mục đích xác định giới hạn của khu vực mặt đường và nhờ đó ngăn ngừa tình huống tàu bay trượt khỏi mặt đường lăn.
2.3 Đèn vị trí chờ đường lăn - Gồm một cặp đèn nhấp nháy màu vàng. Mỗi cặp đèn được bố trí ở mỗi bên của vị trí chờ đường lăn. Các đèn sẽ hoạt động khi đường cất hạ cánh được sử dụng cho hoạt động hạ cánh hoặc cất cánh của tàu bay và để cảnh báo đặc biệt cho tàu bay và các phương tiện đang di chuyển tới vị trí chờ trên đường lăn rằng sắp xâm phạm tới khu vực đường cất hạ cánh đang hoạt động.
2.4 Đèn vạch dừng - Một vạch dừng sẽ bao gồm một dãy các đèn màu đỏ được đặt vuông góc với tim đường lăn ở vị trí tàu bay sẽ dừng lại. Nhìn chung thì vị trí của đèn vạch dừng sẽ trùng với vạch sơn tín hiệu vị trí chờ trên đường lăn. Các đèn này được điều khiển bởi Đài kiểm soát tại sân để yêu cầu tàu bay dừng hoặc cho phép tàu bay đi qua. Việc sử dụng kết hợp giữa các đèn vạch dừng cùng với các đèn tim đường lăn có điều khiển có hiệu quả tốt trong hoạt động bay.
2.5 Clearance bar - Tương tự như đèn vạch dừng nhưng có màu vàng và không có chức năng điều khiển để báo hiệu cho các phương tiện dừng hoặc đi qua. Các đèn này được đặt chủ yếu tại khu vực giao giữa hai đường lăn kết hợp với sơn tín hiệu giao giữa các đường lăn.
2.6 Hệ thống dẫn đỗ tàu bay - Hệ thống này được sử dụng để hướng dẫn cho tàu bay căn chỉnh chính xác và cung cấp thông tin về vị trí dừng đỗ khi tiến vào vị trí đỗ.
2.7 Thiết bị hỗ trợ báo hiệu đường cất hạ cánh trống - Hiện tại các thiết bị hỗ trợ báo hiệu được sử dụng để cung cấp thông tin về đường cất hạ cánh đang trống là các đèn tim đường lăn có màu nhất định; xem mục đèn tim đường lăn như đã trình bày ở trên.
3. Biển báo
3.1 Biển báo có hai loại gồm biển báo chỉ dẫn bắt buộc và biển báo thông tin.
3.1.1 Biển báo chỉ dẫn bắt buộc - Biển báo có nền đỏ, kí tự trắng, được dùng để thể hiện các chỉ dẫn phải tuân theo ngoại trừ các yêu cầu khác từ đài kiểm soát không lưu. Ví dụ về một số loại biển báo chỉ dẫn bắt buộc như: Biển báo dừng, Biển báo cấm vào, Biển báo chỉ dẫn vị trí chờ lên đường cất hạ cánh phương thức tiếp cận CAT I, II và III.
3.1.2 Biển báo thông tin - Biển báo có nền đen kí tự vàng hoặc nền vàng kí tự đen, được dùng để cung cấp thông tin về vị trí, địa điểm cụ thể hoặc các thông tin khác.
3.1.3 Nhìn chung, biển báo phải đáp ứng các yêu cầu đã được quy định tại Tài liệu 1006/2023 và Tài liệu thiết kế thiết bị hỗ trợ dẫn đường bằng mắt (Doc 9157 part 4). Quan trọng hơn, hệ thống biển báo phải thống nhất trong sân bay, rõ ràng và đơn giản, có vị trí phù hợp với tốc độ và đặc điểm của tàu bay đang lăn (Ví dụ: chiều cao của buồng lái, vị trí và chiều cao của động cơ phản lực) và với nhu cầu cung cấp thông tin cho tổ lái trong thời gian đủ để có mối nhận thức tương quan trên sơ đồ sân bay khi cần thiết. Một số ví dụ về biển báo đáp ứng các yêu cầu này được minh họa trên các hình từ A-1 đến A-8.

Hình A-1. Biển báo dừng
Lưu ý rằng bên dưới biển báo dừng là biển báo thông tin được lắp đặt để báo hiệu rằng ở vị trí dừng ở đầu 27 của đường cất hạ cánh, độ dài đường cất hạ cánh là 3250m. Cả hai biển báo đều là loại chiếu sáng từ bên trong.

Hình A-2. Biển báo vị trí chờ lên đường cất hạ cánh phương thức tiếp cận CAT I đặt cạnh biển báo thông tin
Lưu ý rằng kí tự tiêu chuẩn trên biển báo chờ lên đường cất hạ cánh phương thức tiếp cận loại I là CAT I và kí tự HOLD là tùy chọn. Kí tự 28R để chỉ dẫn vị trí chờ ở đầu 28 bên phải của đường cất hạ cánh. Biển báo thông tin ở bên phải gồm hai mặt thông tin khu vực 40 ở bên trái và khu vực 27 ở bên phải. Hai biển báo là loại chiếu sáng từ bên ngoài.

Hình A-3. Biển báo vị trí chờ lên đường cất hạ cánh phương thức tiếp cận CAT II/III
Lưu ý rằng kí tự tiêu chuẩn trên biển báo chờ lên đường cất hạ cánh phương thức tiếp cận loại II là CAT II và loại III là CAT III. Nếu vị trí chờ được dùng chung cho loại II và III thì kí tự được ghi là CAT II/III. Kí tự HOLD là tùy chọn. Kí tự 28R để chỉ dẫn vị trí chờ ở đầu 28 bên phải của đường cất hạ cánh. Biển báo được chiếu sáng bên ngoài.

Hình A-4. Biển báo vị trí chờ đường lăn phương thức CAT III được lắp bên cạnh biển báo dừng
Lưu ý rằng tương tự như ở hình A-1, bên dưới biển báo dừng được lắp biển báo thông tin để báo hiệu vị trí dừng của đầu 27 của đường cất hạ cánh, chiều dài của đường cất hạ cánh là 3600m. Tất cả các biển báo đều được chiếu sáng trong.

Hình A-5. Biển báo thông tin
Kí tự trên biển báo thể hiện thông tin đầu 19 của đường cất hạ cánh ở bên phải và độ dài đường cất hạ cánh là 2500m. Biển báo được chiếu sáng bên trong, biển có nền đen và kí tự vàng.

Hình A-6. Biển báo chỉ hướng
Biển báo được chiếu sáng ngoài, chỉ dẫn hướng đến đường lăn 1, 2 và 9.

Hình A-7. Biển báo thông tin
Biển báo được chiếu sáng ngoài, được sử dụng như là biển báo chỉ hướng và biển báo vị trí. Biển báo thể hiện thông tin đầu 10 của đường cất hạ cánh và khu vực hàng hóa ở hướng phía trước, lối vào đường lăn bị cấm. Kí tự K3 ở phía góc dưới của biển báo thể hiện đây là khu vực (block) được định danh K3.

Hình A-8. Biển báo chỉ hướng
Biển báo được chiếu sáng trong, chỉ hướng đến đầu 10 của đường cất hạ cánh và khu vực hàng hóa.
PHỤ LỤC B. MỘT SỐ VÍ DỤ VỀ PHƯƠNG THỨC VẬN HÀNH VỚI TẦM NHÌN HẠN CHẾ
1. SÂN BAY QUỐC TẾ NỘI BÀI, HÀ NỘI, VIỆT NAM (Phương thức vận hành được Cục HKVN ban hành tại Quyết định số 17/QĐ-CHK ngày 05/01/2023)
1.1 Các quy định chung
1.1.1 Chuẩn bị áp dụng LVP
Khi điều kiện thời tiết tại Cảng HKQT Nội Bài đạt ít nhất một trong các tiêu chuẩn sau:
- RVR tại vùng chạm bánh (trạm 11R) hoặc khu vực giữa đường CHC (trạm MID) thấp hơn hoặc bằng 1200 m và có xu hướng giảm thấp;
- Độ cao trần mây (với vân lượng BKN hoặc lớn hơn) trên thiết bị đo khu đầu đường CHC 11R (trạm 11R) bằng hoặc thấp hơn 300ft (90 m).
1.1.2 Bắt đầu áp dụng LVP
Khi điều kiện thời tiết tại Cảng HKQT Nội Bài đạt ít nhất một trong các tiêu chuẩn sau:
- RVR tại vùng chạm bánh (trạm 11R) hoặc khu vực giữa đường CHC (trạm MID) bằng hoặc nhỏ hơn 900 m;
- Độ cao trần mây (với vân lượng BKN hoặc lớn hơn) trên thiết bị đo khu vực đầu đường CHC 11R (trạm 11R) thấp hơn 250ft (75 m).
1.1.3 Kết thúc LVP
Phương thức này được kết thúc khi điều kiện thời tiết tại Cảng HKQT Nội Bài đã ổn định cao hơn điều kiện thời tiết quy định tại Mục 3.2 của Phương thức này được 15 phút và có xu hướng tốt lên.
1.1.4 Phương thức tiếp cận hạ cánh
Trong điều kiện tầm nhìn hạn chế, áp dụng các phương thức tiếp cận hạ cánh theo tiêu chuẩn thời tiết tối thiểu hiện hành.
1.1.5 Điều kiện áp dụng LVP
Việc áp dụng LVP được thực hiện khi có yêu cầu phục vụ hoạt động bay, với điều kiện thời tiết đạt tiêu chuẩn tại Mục 3.3 của Phương thức này và các yếu tố đảm bảo khai thác trong điều kiện tầm nhìn hạn chế tại Cảng HKQT Nội Bài được xác định đạt tiêu chuẩn tối thiểu như sau:
1.1.5.1 Đối với hệ thống ILS/DME đường CHC 11R
- Máy phát chính và dự phòng của thiết bị Localizer (LLZ), Glidepath (GP), DME đều hoạt động bình thường;
- Tất cả các thiết bị giám sát (monitor) của thiết bị LLZ, GP và DME đều hoạt động;
- Không có sai lệch nào giữa hai trong số các Monitor của ba thiết bị LLZ, GP và DME dẫn đến cảnh báo của thiết bị;
- Hệ thống điều khiển xa của hệ thống ILS/DME hoạt động tốt.
1.1.5.2 Đối với hệ thống đèn hiệu đường CHC 11R
- Hệ thống đèn tiếp cận (Approach Lighting):
+ Trong phạm vi 450m (tính từ đầu đường CHC 11R) có hơn 95% số đèn hoạt động, và không có bất kỳ 2 đèn gần nhau nào cùng bị hỏng;
+ Ngoài phạm vi 450m (tính từ đầu đường CHC 11R) có hơn 85% số đèn hoạt động và không có bất kỳ 2 đèn nào gần nhau bị hỏng;
- Hệ thống đèn tim (Centre-Line), đèn lề (Edge), đèn thềm (Threshold) đường CHC: Có hơn 95% số đèn hoạt động và không có bất kỳ 2 đèn gần nhau nào cùng bị hỏng;
- Hệ thống đèn vùng chạm bánh (Touchdown Zone): Có hơn 90% số đèn hoạt động và không có bất kỳ 2 đèn gần nhau nào cùng bị hỏng;
- Hệ thống đèn cuối đường CHC (Runway End): Có hơn 70% số đèn hoạt động và không có bất kỳ 2 đèn gần nhau nào cùng bị hỏng;
- Hệ thống đèn vạch dừng (Stop bar): Có hơn 95% số đèn hoạt động và không có bất kỳ 2 đèn gần nhau nào cùng bị hỏng.
1.1.5.3 Đối với hệ thống RVR, máy đo trần mây
Hệ thống RVR, máy đo trần mây hoạt động bình thường, giá trị RVR tại trạm 11R, trạm MID và độ cao trần mây phải được thể hiện trực tiếp trên màn hình hiển thị tại vị trí làm việc của cơ sở APP/TWR Nội Bài.
1.1.5.4 Đối với hệ thống nguồn điện
Nguồn cung cấp cho hệ thống đèn hiệu được cấp từ nguồn liên tục (UPS) và nguồn điện lưới là nguồn chính, nguồn điện máy phát là nguồn là dự phòng.
1.1.5.5 Đối với khu vực hạn chế và khu vực nhạy cảm ILS
Khu vực hạn chế và khu vực nhạy cảm ILS CAT II 11R không được có người và phương tiện hoạt động (xem sơ đồ tại Phụ lục II của Phương thức này).
1.1.5.6 Đối với lực lượng khẩn nguy sân bay
Lực lượng, phương tiện và trang thiết bị khẩn nguy sân bay đảm bảo đúng tiêu chu ẩn cấp 9 và sẵn sàng ứng phó khi có tình huống khẩn nguy xảy ra theo phương án khẩn nguy hiện hành.
Ghi chú: Trong trường hợp đang áp dụng LVP và điều kiện thời tiết tốt lên đủ tiêu chuẩn khai thác ILS CAT I mà hệ thống ILS CAT II không đả m bảo tiêu chuẩn (do trục trặc kỹ thuật hoặc thiết bị có lỗi và bộ phận sửa chữa báo có thể khắc phục ngay) thì vẫn tiếp tục áp dụng LVP.

Hình B-1 Sân bay Nội Bài, Hà Nội
1.2 Phương thức điều hành bay trong điều kiện tầm nhìn hạn chế
1.2.1 Phương thức kiểm soát tiếp cận
1.2.1.1 Trong suốt thời gian áp dụng LVP, cơ sở APP/TWR Nội Bài cần liên tục cập nhật những thông tin sau:
- Tình trạng hoạt động của hệ thống ILS;
- Khả năng đáp ứng của hệ thống phù trợ bằng mắt;
- Thông tin về RVR tại trạm 11R và trạm MID;
- Thông tin về độ cao trần mây tại khu vực đầu đường CHC 11R (trạm 11R).
1.2.1.2 Ngoài những tin tức thường lệ, trong lần liên lạc đầu tiên hoặc ngay sau đó, APP Nội Bài phải chuyển cho tàu bay đến những tin tức sau:
- Số liệu RVR hiện thời tại trạm 11R;
- Số liệu RVR tại trạm MID nếu giá trị RVR 11R nhỏ hơn 550 m;
- Số liệu về độ cao trần mây tại khu vực đầu đường CHC 11R (trạm 11R) thấp hơn 200ft (60 m);
- Tình trạng không hoạt động của bất kỳ thành phần nào của hệ thống thiết bị phục vụ khai thác CAT II mà những thông tin này chưa được thông báo trên bản tin ATIS trước đó.
1.2.1.3 Cho tàu bay thực hiện ti ếp cận theo phương thức tiêu chuẩn để thiết lập ILS hoặc APP Nội Bài dẫn dắt tàu bay tiến nhập LLZ tại cự ly không nhỏ hơn 9NM từ điểm chạm bánh.
1.2.1.4 Phải áp dụng giãn cách thích hợp giữa các tàu bay hạ cánh để đảm bảo huấn lệnh hạ cánh có thể được cấp cho tàu bay đến trước khi tàu bay đó đạt đến cự ly 2NM so với điểm chạm bánh, nếu có tàu bay khởi hành xen giữa hai tàu bay hạ cánh này thì phải gia tăng giãn cách cần thiết này một cách thích hợp.
1.2.1.5 Cơ sở APP/TWR Nộ i Bài sẽ không áp dụng hạn chế tốc độ đối với tàu bay đang thực hiện tiếp cận giữa và tiếp cận chót ILS CAT II đường CHC 11R.
1.2.1.6 Áp dụng giãn cách tối thiểu 8NM giữa tàu bay cất cánh và tàu bay hạ cánh sau đó, cụ thể là tàu bay khởi hành bắt đầu chạy đà cất cánh trước khi tàu bay đến đạt vị trí 8NM cách điểm chạm bánh.
1.2.1.7 Chỉ áp dụng tiêu chuẩn tiếp cận hạ cánh ILS CAT II đường CHC 11R khi các các yếu tố đảm bảo khai thác CAT II tại Phụ lục VI của Phương thức này được đáp ứng và đối với những chuyến bay của các hãng hàng không được Cục HKVN cấp phép, công nhận đủ tiêu chuẩn khai thác CAT II.
1.2.2 Phương thức kiểm soát tại sân
1.2.2.1 Cấp huấn lệnh hạ cánh cho tàu bay đến trước khi tàu bay đó đến cự ly 2NM so với điểm chạm bánh, trường hợp tàu bay không thể hạ cánh thì cấp huấn lệnh cho tàu bay thực hiện bay lại.
1.2.2.2 Sử dụng những mạch đường lăn thoát ly thuận lợi cho các tàu bay hạ cánh nhằm nhanh chóng giải phóng khu vực nhạy cảm của đài LLZ 11R.
Không được cấp huấn lệnh hạ cánh cho đến khi:
- Tàu bay hạ cánh trước đó đã thoát ly khỏi khu vực nhạy cảm của đài LLZ;
- Tàu bay khởi hành trước đó đã rời đất và vượt qua đỉnh anten của đài LLZ.
1.2.2.3 Người, tàu bay và phương tiện kỹ thuật không được vi phạm khu vực nhạy cảm của đài LLZ 11R phía trước tàu bay bay đến kể từ thời điểm tàu bay ở vị trí 2NM so với điểm chạm bánh cho đến khi tàu bay này hoàn tất việc xả đà hạ cánh.
1.2.2.4 Đối với cất cánh trong điều kiện áp dụng tiêu chuẩn CAT II, người, tàu bay và phương tiện kỹ thuật không được vi phạm khu vực nhạy cảm của đài LLZ 11R phía trước tàu bay khởi hành từ thời điểm cấp huấn lệnh cất cánh cho đến khi tàu bay khởi hành đã rời đất và vượt qua đỉnh anten của đài LLZ.
1.2.2.5 Không cho phép các tàu bay khởi hành và hạ cánh dừng chờ, di chuyển vào phạm vi khu v ực hạn chế, nhạy cảm của hệ thống ILS 11R khi có tàu bay đang thực hiện tiếp cận hạ cánh.
1.2.2.6 Các mạch lăn được sử dụng trong điều kiện tầm nhìn hạn chế với mục đích trợ giúp tổ lái trong việc xác định vị trí của tàu bay trên sân bay trong suốt quá trình áp dụng LVP.
1.2.2.7 Phải triển khai ngay phương thức khẩn nguy khi không liên lạc được với tàu bay hoặc không quan sát thấy tàu bay trên màn hình thiết bị giám sát mặt sân như dự kiến.
1.2.3 Phương thức kiểm soát di chuyển trên sân bay
1.2.3.1 Chỉ dẫn lăn và các thông tin v ề hoạt động bay liên quan phải được cung cấp cho tổ lái ngắn gọn, đầy đủ và rõ ràng; tổ lái phải đọc lại huấn lệnh lăn, tránh việc nghe không rõ hoặc hiểu nhầm huấn lệnh. Tăng cường quan sát quá trình di chuyển của tàu bay và các phương tiện nhằm tránh việc không tuân thủ huấn lệnh.
1.2.3.2 Giám sát quá trình tàu bay tiếp cận hạ cánh và nhanh chóng giải phóng đường CHC sau khi hạ cánh và đảm bảo rằng tàu bay không dừng lại trong khu vực nhạy cảm của đài LLZ 11R dẫn đến làm giảm cấp khai thác (CAT) của ILS đối với tàu bay hạ cánh tiếp theo.
1.2.3.3 Khi áp dụng LVP, dịch vụ xe dẫn “follow- me” phải được cung cấp cho các tàu bay đến, đối với tàu bay khởi hành được cung cấp theo yêu cầu.
1.2.3.4 Phương thức kiểm soát di chuyển trên sân bay
1) Đối với tàu bay cất cánh
a) Đường CHC 11R
- Đối với vị trí đỗ từ 8 ÷ 58, 1H, 2H, 3H, 9H: Tàu bay từ vị trí đỗ → Đường lăn V → Đường lăn V2/V3/V4/V5/V6/V7 → Đường lăn S → Đường lăn S1 → Đường CHC 11R để khởi hành.
- Đối với vị trí đỗ từ 71 ÷ 86:
+ Tàu bay từ vị trí đỗ → Đường lăn V → Đường lăn V8/V9 → Đường lăn S → Đường lăn S1 → Đường CHC 11R để khởi hành.
+ Tàu bay từ vị trí đỗ → Đường lăn V → Đường lăn V8/V9 → Đường lăn S → Đường lăn V3/V4/V5/V6/V7 → Đường lăn V → Đường lăn V2/V3/V4/V5/V6 → Đường lăn S → Đường lăn S1 → Đường CHC 11R để khởi hành.
b) Đường CHC 11L
- Đối với vị trí đỗ từ 8 ÷ 58, 1H, 2H, 3H, 9H:
+ Tàu bay từ vị trí đỗ → Đường lăn V → Đường lăn V2/V3/V4/V5/V6/V7 → Đường lăn S → Đường lăn S3 → Cắt qua đường CHC 11R/29L → Đường lăn P3 → Đường CHC 11L để khởi hành.
+ Tàu bay từ vị trí đỗ → Đường lăn V → Đường lăn V2/V3/V4/V5/V6/V7 → Đường lăn S → Đường lăn S6/S8 → Đường CHC 11R/29L → Đường lăn P5/P6/P7/P8 → Đường CHC 11L/29R → Quay đầu 180° trên đầu 11L → Đường CHC 11L để khởi hành (áp dụng đối với tàu bay Code C và tương đương trở xuống).
- Đối với vị trí đỗ từ 71 ÷ 86:
+ Tàu bay từ vị trí đỗ → Đường lăn V → Đường lăn V8/V9 → Đường lăn S → Đường lăn S3 → Cắt qua đường CHC 11R/29L → Đường lăn P3 → Đường CHC 11L để khởi hành.
+ Tàu bay từ vị trí đỗ → Đường lăn V → Đường lăn V8/V9 → Đường lăn S
→ Đường lăn V3/V4/V5/V6/V7 → Đường lăn V → Đường lăn V2/V3/V4/V5/V6 → Đường lăn S → Đường lăn S3 → Cắt qua đường CHC 11R/29L → Đường lăn P3 → Đường CHC 11L để khởi hành.
+ Tàu bay từ vị trí đỗ → Đường lăn V → Đường lăn V8/V9 → Đường lăn S → Đường lăn S6/S8 → Đường CHC 11R/29L → Đường lăn P5/P6/P7/P8 → Đường CHC 11L/29R → Quay đầu 180° trên đầu 11L → Đường CHC 11L để khởi hành (áp dụng đối với tàu bay Code C và tương đương trở xuống).
c) Đường CHC 29L
- Đối với vị trí đỗ từ 08 ÷ 58, 1H, 2H, 3H, 9H: Tàu bay từ vị trí đỗ → Đường lăn V → Đường lăn V2/V3/V4/V5/V6/V7 → Đường lăn S → Đường lăn S9/S10 → Đường CHC 29L để khởi hành.
- Đối với vị trí đỗ từ 71 ÷ 86: Tàu bay từ vị trí đỗ → Đường lăn V → Đường lăn V8/V9 → Đường lăn S → Đường lăn S9/S10 → Đường CHC 29L để khởi hành.
d) Đường CHC 29R
- Đối với vị trí đỗ từ 08 ÷ 58, 1H, 2H, 3H, 9H:
+ Tàu bay từ vị trí đỗ → Đường lăn V → Đường lăn V2/V3/V4/V5/V6/V7 → Đường lăn S → Đường lăn S9/S10 → Cắt qua đường CHC 11R/29L → Đường lăn P9 → Đường CHC 29R để khởi hành.
+ Tàu bay từ vị trí đỗ → Đường lăn V → Đường lăn V2/V3/V4/V5/V6/V7 → Đường lăn S → Đường lăn S6/S8 → Đường CHC 11R/29L → Đường lăn P5/P6/P8 → Đường CHC 11L/29R → Quay đầu 180° trên đầu 29R → Đường CHC 29R để khởi hành (áp dụng đối với tàu bay Code C và tương đương trở xuống).
- Đối với vị trí đỗ từ 71 ÷ 86:
+ Tàu bay từ vị trí đỗ → Đường lăn V → Đường lăn V8/V9 → Đường lăn S → Đường lăn S9/S10 → Cắt qua đường CHC 11R/29L → Đường lăn P9 → Đường CHC 29R để khởi hành.
+ Tàu bay từ vị trí đỗ → Đường lăn V → Đường lăn V8/V9 → Đường lăn S → Đường lăn S6/S8 → Đường CHC 11R/29L → Đường lăn P5/P6/P8 → Đường CHC 11L/29R → Quay đầu 180° trên đầu 29R → Đường CHC 29R để khởi hành (áp dụng đối với tàu bay Code C và tương đương trở xuống).
e) Từ giao điểm của đường CHC 11R và đường lăn S3
- Đối với vị trí đỗ từ 08 ÷ 58, 1H, 2H, 3H, 9H: Tàu bay từ vị trí đỗ → Đường lăn V → Đường lăn V2/V3/V4/V5/V6/V7 → Đường lăn S → Đường lăn S3 → Giao điểm đường CHC 11R và đường lăn S3 để khởi hành.
- Đối với vị trí đỗ từ 71 ÷ 86:
+ Tàu bay từ vị trí đỗ → Đường lăn V → Đường lăn V8/V9 → Đường lăn S → Đường lăn S3 → Giao điểm đường CHC 11R/ và đường lăn S3 để khởi hành.
+ Tàu bay từ vị trí đỗ → Đường lăn V → Đường lăn V8/V9 → Đường lăn S → Đường lăn V4/V5/V6/V7 → Đường lăn V → Đường lăn V2/V3/V4/V5/V6 → Đường lăn S → Đường lăn S3 → Giao điểm đường CHC 11R và đường lăn S3 để khởi hành.
g) Từ giao điểm của đường CHC 29L và đường lăn S8
- Đối với vị trí đỗ từ 08 ÷ 58, 1H, 2H, 3H, 9H: Tàu bay từ vị trí đỗ → Đường lăn V → Đường lăn V2/V3/V4/V5/V6/V7 → Đường lăn S → Đường lăn S8 → Giao điểm đường CHC 29L và đường lăn S8 để khởi hành.
- Đối với vị trí đỗ từ 71 ÷ 86: Tàu bay từ vị trí đỗ → Đường lăn V → Đường lăn V8/V9 → Đường lăn S → Đường lăn S8 → Giao điểm đường CHC 29L và đường lăn S8 để khởi hành.
h) Từ giao điểm của đường CHC 29R và đường lăn P8
- Đối với vị trí đỗ từ 08 ÷ 61, 1H, 2H, 3H, 9H: Tàu bay từ vị trí đỗ → Đường lăn V → Đường lăn V2/V3/V4/V5/V6/V7 → Đường lăn S → Đường lăn S8 → Cắt qua đường CHC 11R/29L → Đường lăn P8 → Giao điểm đường CHC 29R và đường lăn P8 để khởi hành.
- Đối với vị trí đỗ từ 71 ÷ 86: Tàu bay từ vị trí đỗ → Đường lăn V → Đường lăn V8/V9 → Đường lăn S → Đường lăn S8 → Cắt qua đường CHC 11R/29L → Đường lăn P8 → Giao điểm đường CHC 29R và đường lăn P8 để khởi hành.
2) Đối với tàu bay hạ cánh
a) Đường CHC 11R
- Đối với vị trí đỗ từ 08 ÷ 10:
+ Tàu bay sau khi hạ cánh → Đường lăn S5/S6/S7/S8/S9/S10 → Đường lăn S → Vị trí đỗ 9, 10 hoặc lăn tiếp theo Đường lăn V1 → Vị trí đỗ 8.
+ Tàu bay sau khi hạ cánh → Đường lăn S5/S6/S7/S8/S9/S10 → Đường lăn S → Đường lăn V3/V4/V5/V6/V7 → Đường lăn V → Đường lăn V2/V3/V4/V5/V6 → Đường lăn S → Vị trí đỗ 9, 10 hoặc lăn tiếp theo Đường lăn V1 → Vị trí đỗ 8.
- Đối với vị trí đỗ từ 11 ÷ 58, 1H, 2H, 3H, 9H: Tàu bay sau khi hạ cánh → Đường lăn S5/S6/S7/S8/S9/S10 → Đường lăn S → Đường lăn V2/V3/V4/V5/V6/V7 → Đường lăn V → Vị trí đỗ.
- Đối với vị trí đỗ từ 71 ÷ 86:
+ Tàu bay sau khi hạ cánh → Đường lăn S5/S6/S7/S8/S9/S10 → Đường lăn S → Đường lăn V8/V9 → Đường lăn V → Vị trí đỗ.
+ Tàu bay sau khi hạ cánh → Đường lăn S5/S6 → Đường lăn S → Đường lăn V5/V6 → Đường lăn V → Đường lăn V6/V7 → Đường lăn S → Đường lăn V8/V9 → Đường lăn V → Vị trí đỗ.
b) Đường CHC 11L
- Đối với vị trí đỗ từ 08 ÷ 10:
+ Tàu bay sau khi hạ cánh → Đường lăn P5/P6/P7/P8/P9 → Cắt qua đường CHC 11R/29L → Đường lăn S6/S7/S8/S9/S10 → Đường lăn S → Vị trí đỗ 9, 10 hoặc lăn tiếp theo Đường lăn V1 → Vị trí đỗ 8.
+ Tàu bay sau khi hạ cánh → Đường lăn P5/P6/P7/P8/P9→ Cắt qua đường CHC 11R/29L → Đường lăn S6/S7/S8/S9/S10 → Đường lăn S → Đường lăn V3/V4/V5/V6/V7 → Đường lăn V → Đường lăn V2/V3/V4/V5/V6 → Đường lăn S → Vị trí đỗ 9, 10 hoặc lăn tiếp theo Đường lăn V1 → Vị trí đỗ 8.
- Đối với vị trí đỗ từ 11 ÷ 58, 1H, 2H, 3H, 9H: Tàu bay sau khi hạ cánh → Đường lăn P5/P6/P7/P8/P9 → Cắt qua đường CHC 11R/29L → Đường lăn S6/S7/S8/S9/S10 → Đường lăn S → Đường lăn V2/V3/V4/V5/V6/V7 → Đường lăn V → Vị trí đỗ.
- Đối với vị trí đỗ từ 71 ÷ 86:
+ Tàu bay sau khi hạ cánh → Đường lăn P5/P6/P7/P8/P9 → Cắt qua đường CHC 11R/29L → Đường lăn S6/S7/S8/S9/S10 → Đường lăn S → Đường lăn V8/V9 → Đường lăn V → Vị trí đỗ.
+ Tàu bay sau khi hạ cánh → Đường lăn P5/P6 → Cắt qua đường CHC 11R/29L → Đường lăn S6 → Đường lăn V6 → Đường lăn V → Đường lăn V7 → Đường lăn S → Đường lăn V8/V9 → Đường lăn V → Vị trí đỗ.
c) Đường CHC 29L
- Đối với vị trí đỗ từ 08 ÷ 10:
+ Tàu bay sau khi hạ cánh → Đường lăn S1/S3/S4/S5/S6→ Đường lăn S → Vị trí đỗ 9, 10 hoặc theo Đường lăn V1 → Vị trí đỗ 8.
+ Tàu bay sau khi hạ cánh → Đường lăn S3/S4/S5/S6 → Đường lăn S → Đường lăn V3/V4/V5/V6/V7 → Đường lăn V → Đường lăn V2/V3/V4/V5/V6 → Đường lăn S → Vị trí đỗ 9, 10 hoặc theo Đường lăn V1 → Vị trí đỗ 8.
- Đối với vị trí đỗ từ 11 ÷ 58, 1H, 2H, 3H, 9H: Tàu bay sau khi hạ cánh → Đường lăn S1/S3/S4/S5/S6 → Đường lăn S → Đường lăn V2/V3/V4/V5/V6/V7 → Đường lăn V → Vị trí đỗ.
- Đối với vị trí đỗ từ 71 ÷ 86:
Tàu bay sau khi hạ cánh → Đường lăn S1/S3/S4/S5/S6 → Đường lăn S → Đường lăn V8/V9 → Đường lăn V → Vị trí đỗ.
+ Tàu bay sau khi hạ cánh → Đường lăn S1/S3/S4/S5/S6 → Đường lăn S → Đường lăn V2/V3/V4/V5/V6 → Đường lăn V → Đường lăn V3/V4/V5/V6/V7 → Đường lăn S → Đường lăn V8/V9 → Đường lăn V → Vị trí đỗ.
d) Đường CHC 29R
- Đối với vị trí đỗ từ 08 ÷ 10:
+ Tàu bay sau khi hạ cánh → Đường lăn P3/P4/P5/P6 → Cắt qua đường CHC 11R/29L → Đường lăn S3/S4/S5/S6/S7 → Đường lăn S → Vị trí đỗ 9, 10 hoặc theo Đường lăn V1 → Vị trí đỗ 8.
+ Tàu bay sau khi hạ cánh → Đường lăn P3/P4/P5/P6 → Cắt qua đường CHC 11R/29L → Đường lăn S3/S4/S5/S6/S7 → Đường lăn S → Đường lăn V3/V4/V5/V6/V7 → Đường lăn V → Đường lăn V2/V3/V4/V5/V6 → Đường lăn S → Vị trí đỗ 9, 10 hoặc theo Đường lăn V1 → Vị trí đỗ 8.
- Đối với vị trí đỗ từ 11 ÷ 58, 1H, 2H, 3H, 9H: Tàu bay sau khi hạ cánh → Đường lăn P3/P4/P5/P6 → Cắt qua đường CHC 11R/29L → Đường lăn S3/S4/S5/S6/S7 → Đường lăn S → Đường lăn V2/V3/V4/V5/V6/V7 → Đường lăn V → Vị trí đỗ.
- Đối với vị trí đỗ từ 71 ÷ 86:
+) Tàu bay sau khi hạ cánh → Đường lăn P3/P4/P5/P6 → Cắt qua đường CHC 11R/29L → Đường lăn S3/S4/S5/S6/S7 → Đường lăn S → Đường lăn V8/V9 → Đường lăn V → Vị trí đỗ.
+ Tàu bay sau khi hạ cánh → Đường lăn P3/P4/P5/P6 → Cắt qua đường CHC 11R/29L → Đường lăn S3/S4/S5/S6/S7 → Đường lăn S → Đường lăn V2/V3/V4/V5/V6→ Đường lăn V → Đường lăn V3/V4/V5/V6/V7 → Đường lăn S → Đường lăn V8/V9 → Đường lăn V → Vị trí đỗ.
Ghi chú:
- Đường lăn V1: Tạm thời đóng cửa một phần để bố trí vị trí đỗ 8, 9, 10.
- Đường lăn V2, V8 và S10: Khai thác hai chiều đối với tàu bay code C (sải cánh đến dưới 36m) và tương đương trở xuống; không được phép khai thác đối với tàu bay code D, E và tương đương trở lên.
- Đường lăn S4, S5, S7: Chỉ khai thác một chiều theo hướng thoát ly đường cất hạ cánh.
- Tàu bay Code F (sải cánh từ 68,5 m) và tương đương trở lên chỉ được lăn/kéo đẩy theo các đường lăn V3/V4/V5 để vào vị trí đỗ hoặc khởi hành đối với vị trí đỗ 14, 28 và lăn theo đường lăn V9 để vào vị trí đỗ hoặc khởi hành đối với vị trí đỗ 75A và 79A.
- Phương án này được áp dụng trong trường hợp điều kiện khai thác bình thường. Trong trường hợp có thi công sửa chữa đường CHC, đường lăn, sân đỗ: sẽ áp dụng phương án vận hành tàu bay áp dụng trong thời gian thi công.
1.2.3.5 Kiểm soát việc di chuyển của các phương tiện
- Các phương tiện không được xâm phạm đường CHC khi tàu bay đến đã đến vị trí 8NM so với điểm chạm bánh;
- Trên khu vực di chuyển cấm các phương tiện hoạt động trừ khi được phép của TWR Nội Bài;
- Các phương tiện không được phép dừng chờ tại những vị trí gần đường CHC hơn so với vị trí dừng chờ trước đường CHC (hàng đèn chỉ vạch dừng).
1.3 Quy trình thực hiện chuẩn bị áp dụng LVP
Việc thông báo giữa các bộ phận được thực hiện bằng điện thoại hoặc bộ đàm (theo Phụ lục VII của Phương thức này).
1.3.1. Bộ phận Dự báo khí tượng
Kíp trưởng khí tượng thông báo ngay cho TWR Nội Bài khi điều kiện thời tiết đạt tiêu chuẩn, thực hiện chu ẩn bị áp dụng LVP (15 phút trước thời điểm dự báo điều kiện thời tiết giảm tới điều kiện tầm nhìn hạn chế tại Mục 3.2, hoặc ngay sau khi xuất hiện điều kiện thời tiết tại Mục 3.2 của Phương thức này).
1.3.2. TWR Nội Bài
Ngay sau khi nhận được thông báo về điều kiện khí tượng đạt tiêu chuẩn, thực hiện chuẩn bị áp dụng LVP, TWR Nội Bài thông báo cho APP Nội Bài. Yêu cầu SCHKN triển khai thực hiện chuẩn bị áp dụng LVP và Tổ ĐTHBB bật hệ thống đèn theo quy định (TWR Nội Bài và Tổ ĐTHBB phối hợp chặt chẽ trong việc sử dụng hệ thống đèn).
1.3.3. Tổ KTDĐ và Tổ ĐTHBB
Kiểm tra hệ thống đèn tín hiệu và hệ thống ILS/DME. Thông báo về khả năng đáp ứng hay không đáp ứng theo tiêu chuẩn CAT II cho SCHKN.
1.3.4. Trạm điện SS5 và SS6
Nhân viên trực Trạm điện SS5 và SS6 kiểm tra nguồn điện lưới và hệ thống máy phát điện dự phòng, thông báo về khả năng đáp ứng hoặc không đáp ứng hiện tại cho SCHKN.
1.3.5. Đội An ninh kiểm soát cổng khu bay
- Kiểm tra các khu vực hạn chế và khu vực nhạy cảm của thiết bị ILS đường CHC 11R/11L và đảm bảo trong các khu vực này không có người và phương tiện không được phép của TWR Nội Bài cho đến khi nhận được thông báo kết thúc LVP;
- Thông báo kết quả kiểm tra cho SCHKN.
1.3.6. SCHKN
- Thông báo yêu cầu thực hiện chuẩn bị áp dụng LVP và thời gian dự kiến áp dụng LVP cho các bộ phận liên quan (Tổ KTDĐ, Tổ ĐHBB, Tổ trạm điện SS5- SS6; Đội an ninh kiểm soát cổng khu bay và Đội kiểm soát sân đỗ);
- Nhận các thông báo từ các bộ phận liên quan, đánh giá, kết luận khả năng đáp ứng hay không đáp ứng tiêu chuẩn CAT II theo Phụ lục VI của Phương thức này và thông báo ngay kết luận này cho TWR Nội Bài;
- Thông báo ngay thời gian dự kiến áp dụng LVP cho các lực lượng cứu nạn khẩn nguy và yêu cầu các lực lượng cứu nạn khẩn nguy (nhân viên và phương tiện) chuẩn bị sẵn sàng tại vị trí trực cho tới khi nhận được thông báo kết thúc LVP;
- Báo cáo lãnh đạo trực điều hành Cảng HKQT Nội Bài thông qua Bộ phận Trực ban trưởng.
1.4. Quy trình thực hiện áp dụng LVP
1.4.1. Khi điều kiện thời tiết giảm tới tiêu chuẩn áp dụng LVP
1.4.1.1. TWR Nội Bài
- Tuyên bố áp dụng LVP tại Cảng HKQT Nội Bài;
- Thông báo cho APP Nội Bài, SCHKN và Bộ phận Dự báo khí tượng thời điểm áp dụng LVP;
- Phát điện văn ATIS, đảm bảo phát cụm từ ″LOW VISIBILITY PROCEDURES IN OPERATION″ trên bản tin ATIS.
- Thực hiện phương thức điều hành bay theo quy định.
1.4.1.2. APP Nội Bài
- Thực hiện điều hành bay theo phương thức được quy định dựa trên cơ sở các thông tin về tình trạng đảm bảo tiêu chuẩn khai thác của các hệ thống thiết bị và các yếu tố đảm bảo do TWR Nội Bài và các cơ quan khác cung cấp;
- Kịp thời thông báo cho tổ lái việc đình chỉ hay không áp dụng phương thức tiếp cận hạ cánh ILS CAT II;
1.4.1.3. SCHKN
- SCHKN sau khi nhận được thông báo từ TWR Nội Bài thời điểm bắt đầu áp dụng LVP thông báo ngay cho các bộ phận liên quan (Tổ KTDĐ, Tổ ĐHBB, Tổ trạm điện SS5- SS6; Đội an ninh kiểm soát cổng khu bay và Đội kiểm soát sân đỗ và Trực ban trưởng);
- Tiếp tục nhận các thông báo từ các bộ phận liên quan, đánh giá, kết luận khả năng đáp ứng hay không đáp ứng tiêu chuẩn LVP (nếu chưa thực hiện xong trong lúc chuẩn bị áp dụng LVP) và thông báo ngay kết luận này cho TWR Nội Bài.
1.4.1.4. Các bộ phận liên quan
- Bộ phận dự báo, quan trắc khí tượng: Đảm bảo tính chính xác số liệu RVR, độ cao trần mây trên thiết bị đo;
- Các bộ phận (Tổ KTDĐ, Tổ ĐTHBB, Trạm điện SS5, Trạm điện SS6, Đội An ninh kiểm soát cổng khu bay): Theo dõi liên tục tình trạng thiết bị, phương tiện và lực lượng cần thiết cho khai thác trong điều kiện tầm nhìn hạn chế và ILS CAT II đường CHC 11R. Kịp thời thông báo cho TWR Nội Bài khi xuất hiện yếu tố suy giảm, sau đó thông báo cho SCHKN;
- Đội Kiểm soát sân đỗ triển khai dịch vụ xe dẫn “follow me” cho các tàu bay đến; đối với tàu bay khởi hành được cung cấp theo yêu cầu.
1.4.2 Khi xuất hiện yếu tố “suy giảm” đối với các yếu tố đảm bảo tiêu chuẩn khai thác ILS CAT II
- Bộ phận có yếu tố suy giảm thông báo ngay cho TWR Nội Bài, sau đó thông báo cho SCHKN và khẩn trương khôi phục lại thiết bị, phương tiện, lực lượng cần thiết cho khai thác ILS CAT II;
- Khi không thể áp dụng tiêu chuẩn ILS CAT II, TWR Nội Bài tổ chức thông báo ngay cho các tàu bay liên quan, APP Nội Bài và áp dụng phương thức điều hành bay thích hợp theo quy định;
- Cơ sở APP/TWR Nội Bài thông báo cho các tàu bay liên quan và áp dụng phương thức điều hành bay thích hợp theo quy định;
- SCHKN nhận thông báo về tình trạng thiết bị, phương tiện, lực lượng từ các bộ phận liên quan sau khi đã khắc phục được các yếu tố suy giảm; đánh giá, kết luận lại khả năng đáp ứng hay không đáp ứng tiêu chuẩn CAT II; thông báo kết luận này cho TWR Nội Bài.
1.4.3 Khi điều kiện thời tiết tốt lên ổn định cao hơn điều kiện tầm nhìn hạn chế
TWR Nội Bài trên cơ sở xác nhận với Bộ phận Dự báo khí tượng thời điểm thời tiết ổn định cao hơn điều kiện áp dụng LVP, thống nhất thời điểm dừng áp dụng LVP cho APP Nội Bài và SCHKN.
1.5 Quy trình thông báo kết thúc LVP
Khi điều kiện khí tượng đạt các giá trị: RVR tại vùng chạm bánh và khu vực giữa đường CHC bằng hoặc cao hơn điều kiện thời tiết tại Mục 3.2 của Phương thức này được 15 phút và có xu hướng tốt lên, việc thông báo kết thúc LVP được thực hiện như sau:
1.5.1. Bộ phận dự báo khí tượng
Kíp trưởng khí tượng thông báo cho TWR Nội Bài thời điểm điều kiện thời tiết đạt tiêu chuẩn kết thúc LVP.
1.5.2. TWR Nội Bài
- Xác nhận với Kíp trưởng khí tượng về điều kiện khí tượng tốt lên;
- Thống nhất với APP Nội Bài thời điểm kết thúc LVP;
- Tuyên bố kết thúc áp dụng LVP, thông báo thời điểm kết thúc LVP cho APP Nội Bài, Kíp trưởng khí tượng và SCHKN để SCHKN thông báo cho các Bộ phận liên quan.
1.5.3. Các bộ phận liên quan (Tổ KTDĐ, Tổ ĐTHBB, Tổ trạm điện SS5-SS6, Đội An ninh kiểm soát cổng khu bay, Đội Kiểm soát sân đỗ và SCHKN).
- Cho thiết bị, phương tiện trở về chế độ hoạt động bình thường sau khi nhận được thông báo kết thúc LVP từ SCHKN;
- Đảm bảo tình trạng hoạt động của các lực lượng, hệ thống thiết bị kỹ thuật liên quan phục vụ cho việc khai thác, sử dụng hai đường CHC, đường lăn đúng theo các tài liệu đã được công bố;
- Kịp thời thông báo cho cơ sở APP/TWR Nội Bài về tình trạng hỏng hóc hoặc hoạt động không bình thường của các hệ thống thiết bị do mình quản lý và tiến hành các biện pháp để khẩn trương khắc phục tình trạng này;
- Triển khai các hệ thống thiết bị liên quan phù hợp với điều kiện thời tiết và các quy định hiện hành hoặc theo yêu cầu trực tiếp từ cơ sở APP/TWR Nội Bài.
1.6 Trách nhiệm của các đơn vị, bộ phận liên quan
1.6.1. Bộ phận dự báo khí tượng
- Kíp trưởng khí tượng thông báo cho TWR Nội Bài tối thiểu 15 phút trước thời điểm điều kiện thời tiết dự kiến giảm tới điều kiện tầm nhìn hạn chế theo Mục 3.2 hoặc ngay sau khi phát hiện hoặc nhận được thông tin về tình hình thời tiết theo Mục 3.2 của Phương thức này;
- Đảm bảo độ chính xác của các giá trị RVR/VIS và trần mây; thông báo ngay cho TWR Nội Bài trong trường hợp các giá trị hiển thị đầu cuối khí tượng tại TWR Nội Bài không chính xác. Trong trường hợp này, thông tin cung cấp từ nhân viên khí tượng về các giá trị RVR/VIS và trần mây là cơ sở để KSVKL TWR triển khai/hủy bỏ/ không triển khai LVP.
- Thông báo ngay cho TWR Nội Bài khi hệ thống RVR, máy đo trần mây của đường CHC 11R không đáp ứng tiêu chuẩn CAT II.
1.6.2. TWR Nội Bài
- Khởi phát, kết thúc việc chuẩn bị và áp dụng LVP và thông báo cho APP Nội Bài, SCHKN, Kíp trưởng khí tượng.
- Nhận thông tin từ SCHKN về việc đảm bảo các điều kiện để triển khai việc chuẩn bị và áp dụng LVP;
- Thực hiện điều hành bay theo phương thức theo quy định dựa trên cơ sở các thông tin về tình trạng đảm bảo tiêu chuẩn khai thác của các hệ thống thiết bị và các yếu tố đảm bảo do SCHKN và các cơ quan khác cung cấp;
- Thông báo cho Kíp trưởng khí tượng phát thời điểm áp dụng, kết thúc LVP.
- Đảm bảo cụm từ ″LOW VISIBILITY PROCEDURES IN OPERATION″ được phát hay không được phát trên bản tin ATIS ngay khi thực hiện, kết thúc LVP.
1.6.3. APP Nội Bài
- Thực hiện điều hành bay theo phương thức theo quy định dựa trên cơ sở các thông tin về tình trạng đảm bảo tiêu chuẩn khai thác của các hệ thống thiết bị và các yếu tố đảm bảo do TWR Nội Bài và các cơ quan khác cung cấp;
- Kịp thời thông báo cho tổ lái việc áp dụng hay không áp dụng tiêu chuẩn tiếp cận hạ cánh ILS CAT II.
1.6.4. Tổ KTDĐ
- Giám sát chặt chẽ hệ thống ILS/DME đường CHC 11R/11L/29L/29R;
- Đảm bảo hệ thống ILS/DME đường CHC 11R hoạt động đáp ứng tiêu chuẩn khai thác ILS CAT II trong suốt thời gian áp dụng LVP tại Cảng HKQT Nội Bài;
- Thông báo ngay cho TWR Nội Bài để đình chỉ hay không áp dụng phương thức ILS CAT II khi hệ thống ILS/DME của đường CHC 11R không đáp ứng tiêu chuẩn CAT II, sau đó thông báo cho SCHKN;
- Khẩn trương khắc phục các yếu tố suy giảm đối với hệ thống ILS/DME đường CHC 11R khi phát hiện có yếu tố suy giảm.
1.6.5. Tổ ĐTHBB
- Giám sát chặt chẽ hệ thống đèn tín hiệu đường CHC 11R/11L/29L/29R;
- Đảm bảo hệ thống đèn tín hiệu đường CHC 11R hoạt động đáp ứng tiêu chuẩn khai thác ILS CAT II trong suốt thời gian áp dụng LVP tại Cảng HKQT Nội Bài;
- Thông báo ngay cho TWR Nội Bài để đình chỉ hay không áp dụng phương thức ILS CAT II khi hệ thống đèn tín hiệu đường CHC 11R không đáp ứng tiêu chuẩn CAT II, sau đó thông báo cho SCHKN;
- Khẩn trương khắc phục các yếu tố suy giảm đối với hệ thống đèn tín hiệu đường CHC 11R khi phát hiện có yếu tố suy giảm.
1.6.6. Trạm điện SS5 và Trạm điện SS6
- Giám sát chặt chẽ và đảm bảo nguồn điện đáp ứng yêu cầu tiêu chuẩn khai thác ILS CAT II trong suốt thời gian áp dụng LVP;
- Trong thời gian áp dụng LVP, thông báo ngay cho TWR Nội Bài để không áp dụng tiêu chuẩn ILS CAT II khi hệ thống nguồn điện (điện lưới và máy phát điện dự phòng) không đảm bảo hoạt động theo tiêu chuẩn sau đó thông báo cho SCHKN;
- Phối hợp với TWR Nội Bài chuyển sang sử dụng nguồn điện máy phát dự phòng trong trường hợp nguồn điện lưới hoạt động không bình thường.
1.6.7. Đội An ninh kiểm soát cổng khu bay
Đảm bảo không có các phương tiện hoạt động trong các khu vực hạn chế và khu vực nhạy cảm của thiết bị ILS đường CHC 11R/11L trong suốt thời gian áp dụng LVP khi không được phép của TWR Nội Bài và chủ động thông báo ngay cho TWR Nội Bài khi khu vực hạn chế bị xâm phạm, sau đó thông báo cho SCHKN.
1.6.8. SCHKN
- Là đầu mối thông báo, điều hành, phối hợp thực hiện chuẩn bị, áp dụng và kết thúc LVP với các đơn vị liên quan (theo quyết định bắt đầu/kết thúc của TWR);
- Nhận thông tin về tình trạng hệ thống thiết bị, phương tiện, lực lượng cần thiết cho việc khai thác trong điều kiện tầm nhìn hạn chế và thông báo cho TWR Nội Bài;
- Đánh giá, kết luận khả năng đáp ứng tiêu chuẩn khai thác LVP theo mẫu tại Phụ lục VI của Phương thức này và thông báo ngay cho TWR Nội Bài;
- Ngay sau khi xác nhận việc đảm bảo khai thác LVP, SCHKN triển khai tới các lực lượng cứu hoả, cứu thương đảm bảo đầy đủ phương tiện ở trạng thái hoạt động tốt, nhân viên và phương tiện chuẩn bị sẵn sàng tại vị trí trực trong suốt thời gian áp dụng LVP. Sau đó thông báo cho trực Giám đốc Trung tâm Điều hành sân bay Nội Bài;
- Lực lượng, phương tiện và trang thiết bị khẩn nguy sân bay đảm bảo đúng tiêu chuẩn cấp 9 và sẵn sàng ứng phó khi có tình huống khẩn nguy xảy ra theo phương án khẩn nguy hiện hành;
- Trong thời gian áp dụng LVP, thông báo ngay cho TWR Nội Bài để không áp dụng tiêu chuẩn ILS CAT II nếu lực lượng hoặc phương tiện khẩn nguy sân bay không đáp ứng được tiêu chuẩn cấp 9.
1.6.9. Trách nhiệm của nhà khai thác tàu bay, tổ lái
- Nhà khai thác tàu bay phải đảm bảo việc cung cấp đầy đủ các tài liệu được cập nhật mới nhất liên quan đến phương thức bay, phương thức khai thác và các hệ thống thiết bị kỹ thuật phục vụ hai đường cất hạ cánh tại Cảng HKQT Nội Bài cho các tổ lái liên quan biết. Các tổ lái trong quá trình điều khiển tàu bay tại sân bay Nội Bài phải nắm vững các sơ đồ phương thức bay, tuyệt đối tuân thủ các chỉ dẫn, huấn lệnh của các cơ sở điều hành bay liên quan.
- Khi hoạt động trong điều kiện tầm nhìn hạn chế:
+ Tổ lái phải tuân thủ chặt chẽ huấn lệnh của cơ sở APP/TWR Nội Bài;
+ Tàu bay không được phép dừng chờ tại những vị trí gần với đường CHC hơn các vị trí dừng chờ trước đường CHC 11R (các hàng đèn chỉ vạch dừng) trừ khi có chỉ thị khác của TWR Nội Bài;
+ Đảm bảo việc sử dụng đúng đường CHC theo như chỉ dẫn, huấn lệnh của TWR Nội Bài;
+ Bật đèn chống va chạm, đèn vị trí để người quan sát biết được vị trí tương đối của tàu bay;
+ Tăng cường canh nghe và quan sát các tàu bay liên quan;
+ Kịp thời thông báo cho cơ sở APP/TWR Nội Bài trong trường hợp tàu bay, tổ lái không đủ chứng chỉ hay không đáp ứng các tiêu chuẩn khai thác của phương thức tiếp cận, khởi hành đang được áp dụng;
+ Tổ lái cần đọc lại huấn lệnh lăn bánh một cách rõ ràng, tránh việc nghe không rõ hoặc hiểu nhầm huấn lệnh.
1.6.10. Các cơ sở cung cấp dịch vụ bảo đảm hoạt động bay bao gồm: Bộ phận Dự báo khí tượng, cơ sở APP/TWR Nội Bài, Tổ KTDĐ, Tổ ĐTHBB có trách nhiệm bổ sung, cập nhật các quy định trong hướng dẫn này vào Tài liệu Hướng dẫn khai thác của đơn vị mình.
2. SÂN BAY HEATHROW, LONDON, VƯƠNG QUỐC ANH
2.1 Giới thiệu
2.1.1 Các phương thức đã được đưa ra để đơn giản hóa các yêu cầu khác nhau của CAT II và CAT III. Để đạt được điều này, trong các điều kiện thời tiết liên quan (xem phần 1.2 bên dưới), khu vực nhạy cảm với localizer (LSA) phải được bảo vệ. Điều này đảm bảo tín hiệu localizer được bảo vệ, đồng thời đáp ứng đúng các yêu cầu của vùng phi chướng ngại vật (OFZ).
2.2 Quy tắc chung
2.2.1 Đường cất hạ cánh 28L/10R và 28R/10L (Xem hình B-2) được trang bị cho phương thức CAT II/III (điều kiện tầm nhìn hạn chế)
2.2.2 Phương thức vận hành trong tầm nhìn hạn chế của kiểm soát không lưu (ATC) hiệu quả khi:
a) Tầm nhìn đường cất hạ cánh có thiết bị (Instrumented runway visual range- IRVR) (hoặc tầm nhìn từ thiết bị khí tượng nếu hệ thống IRVR không hoạt động) nhỏ hơn 600m. IRVR được sử dụng để xác định thời điểm bắt đầu của các phương thức từ khi ghi nhận chạm bánh (touchdown reading) nhưng nếu vị trí này không hoạt động thì phải ghi nhận ở điểm giữa (midpoint reading).
b) Trần mây có độ cao từ 200ft trở xuống bất kể trạng thái của hệ thống ILS, hệ thống đèn, nguồn điện dự phòng,…
2.2.3 Tổ lái được phép chờ các tín hiệu từ ILS localizer và glide path được bảo vệ hoàn toàn khỏi nhiễu trong giai đoạn cuối của quá trình tiếp cận kể từ thời điểm các phương thức được thông báo là đang hoạt động cho đến thời điểm được thông báo là đã hủy. Nhân viên kiểm soát không lưu có trách nhiệm thông báo cho tổ lái về việc hủy bỏ các phương thức tầm nhìn hạn chế, nếu cần thiết, và phải xem xét về localizer và glide path khi thực hiện các phương thức bay trong tầm nhìn hạn chế khi trần mây cao 200 ft kết hợp với tầm nhìn hơn 600 m. Khoảng cách giữa các tàu bay hạ cánh liên tiếp là rất quan trọng; kinh nghiệm chỉ ra rằng cần có khoảng cách tối thiểu 6 NM.
2.2.4 Khu vực nhạy cảm với localizer (LSA) (xem Hình B-3). Về mặt thực tế, đối với mục đích kiểm soát không lưu, LSA là một khu vực hình chữ nhật giới hạn bởi hai đường song song cách 137 m tính từ đường tim đường cất hạ cánh và giữa ăng ten localizer và điểm đầu của đường cất hạ cánh đang sử dụng. Trong trường hợp tàu bay khởi hành, LSA chỉ tồn tại giữa tàu bay và ăng ten localizer.
2.2.5 Bảo vệ khu vực LSA
1) Tàu bay đang bay tới. Không cho phép bất cứ phương tiện hoặc tàu bay nào khác xâm phạm vào khu vực LSA ở phía trước tàu bay đang bay tới trong khoảng thời gian tàu bay đó đang bay cách điểm chạm bánh 1 NM cho đến khi hoàn thành quá trình chạy hạ cánh. Nếu LSA bị xâm phạm, không được cấp huấn lệnh cho phép tàu bay hạ cánh.
2) Tàu bay khởi hành. Không cho phép bất cứ phương tiện hoặc tàu bay nào khác xâm phạm vào khu vực LSA ở phía trước tàu bay đang khởi hành trong khoảng thời gian tàu bay đó đang bắt đầu chạy đà cất cánh cho đến khi tàu bay đã ở trên không. Nếu LSA bị xâm phạm, không được cấp huấn lệnh cho phép tàu bay thực hiện cất cánh.
2.3 Trách nhiệm
2.3.1 Các bên liên quan có trách nhiệm như sau:
ATC - phải thông báo tới các nhân viên thông tin hàng không (TELS) và người khai thác cảng hàng không, sân bay khi bắt đầu sử dụng phương thức khai thác trong điều kiện tầm nhìn hạn chế.
TELS - lập tức thông báo tới ATC bất cứ khi nào loại hình tiếp cận (CAT) của hệ thống ILS khác với loại đã công bố. TELS sẽ thực hiện các quy trình để phát NOTAM phù hợp.
Người khai thác cảng hàng không, sân bay - lập tức thông báo cho ATC bất cứ dấu hiệu quan trọng nào cho thấy hệ thống đèn phụ trợ dẫn đường và/hoặc hệ thống điện dự phòng không hoạt động được, và phải đảm bảo thực hiện tất cả các hành động bảo vệ bề mặt sân bay và thông báo tương ứng tới ATC. Người khai thác cảng hàng không, sân bay sẽ thực hiện các quy trình để phát NOTAM thích hợp.
Tất cả các thông tin liên quan như trên đều phải được ghi nhận vào nhật ký theo dõi.

Hình B-2 Sân bay Heathrow, London
2.4 Phương thức kiểm soát tiếp cận (Approach control - APC)
2.4.1 Hành động của người phụ trách APC. Để sự sắp xếp cần thiết được thực hiện trong khoảng thời gian đủ lâu, những hành động sau cần được thực hiện khi IRVR ở vùng chạm bánh hoặc trần mây đang giảm, có xu hướng xuống dưới ngưỡng 600m/200ft:
a) Thông báo tới TELS và xác nhận tình trạng của ILS;
b) Thông báo tới người phụ trách của trung tâm kiểm soát không lưu London (LATCC).
2.4.2 Người phụ trách APC chịu trách nhiệm đối với việc thông báo các tác động trên khi sân bay hoạt động trong điều kiện tầm nhìn hạn chế.
2.4.3 Người phụ trách APC (Aerodrome control - kiểm soát sân bay) còn phải đảm bảo:
a) Nội dung có dạng “ATC hoạt động trong điều kiện tầm nhìn bị hạn chế” được phát thông qua Dịch vụ thông báo tự động tại sân bay (ATIS) hoặc được chuyển tới tàu bay đang tới thông qua RTF (Radio Telephone).
b) Tất cả thông tin liên quan liên quan đến trạng thái của ILS, tình trạng không hoạt động của hệ thống đèn, v.v. được chuyển đến bộ điều khiển thích hợp (bao gồm cả người phụ trách ADC) để truyền tới tàu bay; thông báo này cho tổ lái là để chỉ ra bất kỳ trạng thái hoạt động dưới mức của các hệ thống trên cho dù đã được phát NOTAM hay chưa;
c) Chi tiết về tình trạng không hoạt động của các thiết bị có liên quan đến hệ thống tiếp cận chính xác CAT II/III phải được bao gồm trong thông báo của ATIS.
2.4.4 Thông tin tới tổ lái. Ngoài các thông tin thông thường được chuyển tới tổ lái thông qua kiểm soát tiếp cận, những thông tin sau cũng phải được chuyển tới tổ lái của tất các các tàu bay đang bay tới:
a) Các ghi nhận IRVR hiện tại của đường cất hạ cánh (hoặc báo cáo về tầm nhìn khí tượng khi IRVR không hoạt động).
b) Tình trạng không hoạt động của bất cứ thành phần nào của hệ thống tiếp cận chính xác CAT II/III mà chưa được thông báo qua ATIS.
2.4.5 Sự phân tách trong giai đoạn tiếp cận chót. Radar tiếp cận chót (Final Approach Radar Director) thứ hai sẽ quyết định khoảng cách tiếp cận cuối cùng phù hợp với sự phối hợp của kiểm soát viên trên đài kiểm soát, và có tính đến các điều kiện thời tiết hiện tại. Mục đích là để đảm bảo rằng có thể gửi huấn lệnh hạ cánh cho tàu bay đang đến ở khoảng cách 2 NM tính từ điểm chạm bánh. Kiểm soát viên không lưu cần lưu ý rằng trong quá trình hoạt động với tầm nhìn hạn chế, tàu bay có thể cần thời gian đáng kể để thấy rõ đường cất hạ cánh. Trong điều kiện tầm nhìn hạn chế, tàu bay phải thiết lập trên localizer ở giai đoạn đầu. Do đó, bất cứ khi nào các phương thức trong điều kiện tầm nhìn hạn chế của ATC đang được thực hiện, tàu bay phải được định hướng để cắt localizer ở khoảng cách không dưới 10 NM tính từ điểm chạm bánh.
2.4.6 Tiếp cận giảm độ cao liên tục (Continuous descent approach - CDA). Khi hoạt động trong điều kiện tầm nhìn hạn chế, thông tin về cự ly và tốc độ tiếp cận giữa liên quan đến CDA phải được cung cấp bất cứ khi nào có thể thực hiện được. Tuy nhiên, kiểm soát viên không lưu cần lưu ý rằng tổ lái có thể muốn sử dụng tốc độ tiếp cận chót và tốc độ này không đúng với tốc độ đã được yêu cầu trong CDA.
2.5 Quy trình kiểm soát sân bay (Aerodrome control - ADC)
2.5.1 Hành động của người phụ trách khai thác sân bay. Khi được thông báo bởi người phụ trách kiểm soát tiếp cận rằng phương thức hoạt động trong điều kiện tầm nhìn hạn chế đang được thực hiện, người phụ trách khai thác sân bay phải thông báo tới các bên như sau:
- Kỹ sư điều khiển thuộc Cơ quan quản lý sân bay Anh;
- Cứu hỏa sân bay (AFS);
- Đơn vị an toàn khu bay (MASU), để tiến hành các quy trình bảo vệ bề mặt di chuyển và nhận được xác nhận rằng đường cất hạ cánh đã được bảo vệ.
Người phụ trách khai thác sân bay còn phải chịu trách nhiệm đối với việc thông báo các tác động trên khi sân bay hoạt động trong điều kiện tầm nhìn hạn chế.
Ghi chú: Cần nhanh chóng thông báo cho MASU trong thời gian đủ để hoàn tất các phương thức bảo vệ mặt đất trước khi bắt đầu các hoạt động bay với tầm nhìn hạn chế. Tuy nhiên, việc bắt đầu các hoạt động bay với tầm nhìn hạn chế sẽ không bị trì hoãn trong khi chờ xác nhận từ MASU.
2.5.2 Nếu IRVR giảm xuống 350m hoặc thấp hơn, hoặc trần mây xuống 100ft hoặc thấp hơn trước khi nhận được xác nhận đường cất hạ cánh đã được bảo vệ từ MASU, người phụ trách khai thác sân bay phải đảm bảo tất cả tổ lái chuẩn bị thực hiện tiếp cận, hoặc cất cánh, đều được thông báo rằng các phương thức bảo vệ mặt đất chưa được hoàn thành.
2.5.3 Hành động của kiểm soát viên trên Đài kiểm soát tại sân
a) Phải gửi huấn lệnh cho phép hạ cánh không được muộn hơn thời điểm tàu bay cách điểm chạm bánh 2 NM. Nếu không thể thực hiện được điều này, tổ lái phải được cảnh báo có thể được gửi huấn lệnh muộn. Huấn lệnh hạ cánh hoặc chỉ dẫn hạ cánh hạ cánh vượt điểm chạm bánh phải được thực hiện khi tàu bay cách điểm chạm bánh 1 NM. Tàu bay đã hạ cánh hoặc các phương tiện khi cắt ngang qua đường cất hạ cánh phải được cung cấp một lộ trình không bị cản trở để cho phép thoát khỏi LSA ở phía trước, hoặc vào đường lăn phía ngoài. Radar giám sát mặt sân (Surface movement radar) phải được sử dụng để giám sát quá trình di chuyển của tàu bay hoặc phương tiện và không được phép có các hướng dẫn từ ATC làm ảnh hưởng đến việc cung cấp lộ tuyến trên.
Ghi chú 1: Nếu radar giám sát mặt sân không hoạt động thì tàu bay hạ cánh và các phương tiện giao thông cắt ngang qua phải ra khỏi đường cất hạ cánh tại các lối thoát có đèn chớp màu trắng. Trong trường hợp tàu bay hạ cánh hoặc phương tiện giao thông rời khỏi đường cất hạ cánh ở lối thoát không có đèn chớp màu trắng thì tổ lái/lái xe phải báo cáo để chắc chắn rằng đã thoát khỏi LSA và điều này có thể đòi hỏi phải sử dụng các đèn vạch dừng thích hợp nếu không có các báo cáo về khu vực hiện hữu.
Ghi chú 2: Nếu độ chính xác của khoảng cách từ thiết bị định vị điểm chạm bánh (Distance from touchdown indicator - DFTI) không đúng với vị trí ở khoảng cách 1 NM, tàu bay phải nhận được huấn lệnh cho phép hạ cánh hoặc chỉ dẫn hạ cánh vượt điểm chạm bánh từ khoảng cách 2 NM so với điểm chạm bánh.
2.5.4 Đèn chớp màu trắng. Các đèn này được bố trí ở các lối thoát đường cất hạ cánh nhất định và đánh dấu giới hạn của LSA. Tổ lái sau khi vượt qua các đèn chớp trên các lối thoát này thì phải báo cáo đã ra khỏi đường cất hạ cánh.
Ghi chú: Các đèn chớp trắng trên dự kiến có thể được thay bằng các đèn tim đường lăn có màu vàng/lục tới giới hạn của LSA.
2.5.5 Hành động của đơn vị vận hành hệ thống đèn. Nhân viên hỗ trợ hệ thống đèn kiểm soát chuyển động mặt đất (Ground movement control - GMC), phối hợp cùng với kỹ sư trực của Sân bay BAA, giám sát các đèn bị báo lỗi đối, đánh giá loại lỗi và thời gian xử lý dự kiến của bất kỳ lỗi nào và thông báo ngay cho người phụ trách kiểm soát sân bay bất kỳ dấu hiệu hư hỏng nào xuất hiện.
2.5.6 Thông tin tới tàu bay khởi hành. Khi các phương thức tầm nhìn hạn chế được áp dụng, những điều sau đây phải được bổ sung vào ATIS khởi hành hoặc chuyển cho tàu bay qua RTF nếu thích hợp: “Các phương thức kiểm soát không lưu trong điều kiện tầm nhìn hạn chế đang hoạt động: sử dụng các vị trí chờ CAT III”.
2.5.7 Vị trí chờ. Để tuân thủ các yêu cầu bảo vệ an toàn, tàu bay chờ cất cánh phải đỗ ở vị trí chờ CAT III được xác định rõ bằng các biển báo có chiếu sáng và vạch sơn kẻ đường lăn. Các vị trí chờ CAT III được thông báo như sau:
28L - Block 75, Block 94 và 95
28R - Block 92
10L - Block 115
10R - Block 98
Liên quan cụ thể đến đường cất hạ cánh 28L/10R, do không có vị trí chờ theo CAT III được thông báo ở phía Bắc khu vực số 79, tàu bay muốn khởi hành từ khu vực số 79 trên đầu 10R phải dừng ở dải đèn vạch dừng 65-89. Hạn chế này được áp dụng như nhau đối với các phương tiện cắt ngang qua.
2.5.8 Cắt ngang qua đường cất hạ cánh. Cần hiểu rõ rằng trong các hoạt động ở điều kiện tầm nhìn hạn chế, các vị trí chờ thích hợp đã được thông báo không chỉ được sử dụng cho tàu bay khởi hành mà còn cho tàu bay, phương tiện, v.v. muốn cắt ngang qua đường cất hạ cánh hoặc đi vào với các mục đích khác ngoài mục đích khởi hành.
2.5.9 Nếu các phương tiện, tàu bay, v.v. muốn cắt ngang qua hoặc đi vào vị trí không có vị trí chờ thì phải chờ ở dải đèn vạch dừng nằm ngoài LSA như trong Hình B-3.
2.5.10 Hạn chế về tuyến đường lăn. Các hạn chế sau đây sẽ được áp dụng trong các hoạt động có tầm nhìn hạn chế:
a) Hạ cánh trên đầu 10R của đường cất hạ cánh. Không có tàu bay kể cả lăn hoặc được kéo, đi qua Block 85-72(O)-77(O).
Lưu ý: Hạn chế này được áp dụng theo hướng đã nêu và áp dụng tương tự cho tàu bay đang hạ cánh.
b) Hạ cánh trên đầu 28R của đường cất hạ cánh. Không có tàu bay kể cả lăn hoặc được kéo, đi qua Block 101-27-40. Được phép dừng tại dải đèn vạch dừng 40/27 theo hướng Đông Bắc chờ huấn lệnh được vào đường đầu 28R của đường cất hạ cánh.
c) 10L - Không có tàu bay B747SP nào được phép tiến về phía Tây vượt quá dải đèn vạch dừng 35/36 trong khi tiếp cận đang thực hiện ở đầu 10L.
d) IOR - Không có tàu bay B747SP nào được phép tiến về phía Tây vượt quá dải đèn vạch dừng 107/106 trong khi tiếp cận đang thực hiện ở đầu 10R.
e) Không tàu bay nào được phép đi qua Block 94-87-75 hoặc ngược lại khi glide path ở đầu 28L đang được sử dụng cho tàu bay đang đến.
f) Các lộ tuyến. Hầu hết các lộ tuyến trên sân bay đều được trang bị đèn tim đường lăn cường độ cao. Các vạch sơn tín hiệu đặc biệt đã được kẻ ở một số vị trí trên đường lăn để cảnh báo về khoảng cách và hướng của các đoạn cong.

Hình B-3. Khu vực nhạy cảm với localizer và glide path
2.5.11 Khi quá trình khai thác trong điều kiện tầm nhìn hạn chế, GMC/kiểm soát viên việc khởi hành phải gửi cho tàu bay đang tiếp cận thông tin cần thiết về vị trí chờ của tàu bay đang chờ.
2.5.12 Tàu bay của British Airways, một số được trang bị thiết bị giám sát lăn (Ground roll monitor - GRM) có thể yêu cầu các lộ tuyến ưu tiên cụ thể tới các vị trí chờ. Những lộ tuyến ưu tiên này được thể hiện trong Hình B-2. Trong giai đoạn lăn bánh từ sân đỗ, ATC có thể được yêu cầu bật đèn vạch dừng ở lối ra khỏi đường cụt hoặc ở số 24(I)-24(0) nếu thích hợp, trước khi đưa ra lộ tuyến đến vị trí chờ lên đường cất hạ cánh. Điều này cung cấp điểm 0 tham chiếu cho GRM.
2.6 Đơn vị an toàn khu vực di chuyển (MASU) - Các điều kiện thời tiết bất lợi
2.6.1 Phân loại đường cất hạ cánh
2.6.1.1 Đầu 10L, 10R, 28L và 28R của đường cất hạ cánh được trang bị để tiếp nhận hoạt động của tàu bay theo giới hạn ICAO CAT III.
2.6.1.2 Các phương thức đặc biệt đã được phát triển cho hoạt động của tàu bay trong điều kiện tầm nhìn hạn chế và được ban hành trong mục AGA của tài liệu United Kingdom Air Pilot.
2.6.2 Các đèn báo khu vực nhạy cảm với localizer (LSA) và các vị trí chờ
2.6.2.1 Các trang thiết bị đặc biệt sau đây được sử dụng trong điều kiện tầm nhìn hạn chế:
a) Các đèn báo LSA. Các đèn được lắp đặt ở hai bên đường lăn ở các lối rẽ chỉ định CAT III, cách tim đường cất hạ cánh 137m. Các đèn này là loại đa hướng, chớp màu trắng, cường độ cao. Các đèn được bật chỉ khi có điều kiện tầm nhìn hạn chế và chỉ dẫn cho cho tổ lái của tàu bay đang đến đang đi tắt qua đường cất hạ cánh rằng tàu bay đã ở ngoài khu vực nhạy cảm của ILS localizer (xem Ghi chú bên dưới)
b) Vị trí chờ CAT III. Các vị trí này đặt ở đường lăn tại Block 75, 92, 98, 94, 95 và 115 để tàu bay chờ cất cánh ở ngoài khu vực nhạy cảm của ILS. Các vị trí này được sơn kẻ tín hiệu trên đường lăn theo tiêu chuẩn ICAO CAT II/III, bố trí kèm đèn bảo vệ đường cất hạ cánh được bật chỉ khi ở trong điều kiện tầm nhìn hạn chế và các biển báo CAT II/III được chiếu sáng.
Ghi chú: Các đèn báo LSA sẽ được thay thế bằng các đèn tim đường lăn màu vàng/lục để chỉ dẫn giới hạn của LSA.
2.6.2.2 Các trang thiết bị trên được MASU kiểm tra mỗi tuần một lần và thực hiện hành động khắc phục hư hỏng ngay lập tức bất cứ khi nào cần thiết.
2.6.3 Các biện pháp phòng ngừa an toàn bổ sung - biên bản kiểm tra (checklist) tầm nhìn hạn chế.
2.6.3.1 Các biện pháp phòng ngừa bổ sung sau đây được thực hiện để bảo vệ hoạt động bay trong điều kiện tầm nhìn hạn chế.
2.6.3.2 Checklist tầm nhìn hạn chế I. Thực hiện khi IRVR là 1000 m và dự báo cho thấy tầm nhìn sẽ giảm xuống dưới 600 m hoặc khi được yêu cầu từ ATC hoặc người quản lý hoạt động khai thác hoặc ADC.
a) Phòng điều khiển MASU sẽ gọi điện và thông báo nội dung: "Cảnh báo sơ bộ - phương thức hoạt động trong điều kiện tầm nhìn hạn chế dự kiến sẽ sớm có hiệu lực" cho các bên liên quan như sau:
1) Phòng trực cứu hỏa sân bay;
2) Nhân viên kiểm soát các lối ra vào (đóng các lối đi được kiểm soát);
3) Chốt kiểm soát số 12;
4) Người quản lý hoạt động khai thác (Operation duty manager - ODM);
5) Đơn vị phụ trách an toàn sân đỗ;
6) Cảnh sát.
b) Kiểm tra tất cả các hàng rào bên ngoài và cổng ra vào bao gồm đường Wessex và đường Viscount.
c) Cảnh báo và yêu cầu các nhà thầu đang bảo trì, thi công di rời khi cần thiết.
d) Kiểm tra xem hệ thống đèn tiếp cận chính xác CAT III cho các đường cất hạ cánh sẵn được bật và có thể sử dụng được hay không.
e) Kiểm tra xem các đèn báo lối tắt màu lục/vàng có hoạt động hay không.
f) Đảm bảo rằng các biển báo cảnh báo và sơn kẻ tín hiệu còn tác dụng cho Block 27/101 và khu vực bảo trì số 2.
2.6.3.3 Checklist tầm nhìn hạn chế II. Triển khai khi được ADC thông báo rằng các phương thức hoạt động trong điều kiện tầm nhìn hạn chế đang được bắt đầu (IRVR chạm xuống 600 m - trần mây cao 200 ft trở xuống) hoặc khi được ODM yêu cầu.
a) Phòng điều khiển MASU sẽ sẽ gọi điện và thông báo nội dung: “Các phương thức hoạt động trong điều kiện tầm nhìn hạn chế hiện đang có hiệu lực” cho các bên liên quan như sau:
1) Phòng trực cứu hỏa sân bay;
2) Nhân viên kiểm soát các lối ra vào (đóng các lối đi được kiểm soát);
3) Chốt kiểm soát số 12;
4) Người quản lý hoạt động khai thác;
5) Đơn vị phụ trách an toàn sân đỗ;
6) Cảnh sát.
b) Bật tất cả các đèn báo LSA tại Block 89, 36, 17 và 75.
c) Bật tất cả các đèn bảo vệ đường cất hạ cánh trong điều kiện tầm nhìn hạn chế (đèn vị trí chờ đường lăn) và đèn biển báo CAT II/III tại các Block 98, 115, 92, 75, 94 và 95.
d) Kiểm tra đèn vạch dừng ở Block 101/27 và dựng biển báo “No entry”. (Thông báo cho ADC rằng ngừng cung cấp lộ tuyến 101-27)
e) Kiểm tra xem tất cả các lối đi qua có kiểm soát đã được đóng chưa.
f) Treo biển “No entry” tại các lối vào Pan Am, sân đỗ GA và sân đỗ.
g) Thông báo cho ADC rằng việc bảo vệ trong điều kiện tầm nhìn hạn chế đã được hoàn thành.
2.6.3.4 Checklist tầm nhìn hạn chế III. Thực hiện khi được ADC thông báo rằng các phương thức hoạt động trong điều kiện tầm nhìn hạn chế được hủy bỏ hoặc theo yêu cầu của ODM.
a) Phòng điều khiển MASU sẽ sẽ sẽ gọi điện và thông báo nội dung: "Các phương thức hoạt động trong điều kiện tầm nhìn hạn chế bị hủy bỏ" cho các bên liên quan như sau:
1) Phòng trực cứu hỏa sân bay;
2) Nhân viên kiểm soát các lối ra vào (đóng các lối đi được kiểm soát);
3) Chốt kiểm soát số 12;
4) Người quản lý hoạt động khai thác;
5) Đơn vị phụ trách an toàn sân đỗ;
6) Cảnh sát.
b) Gỡ bỏ biển báo “No entry” ở Pan Am, sân đỗ GA, Block 101 và thông báo cho ADC lộ tuyến 101-27 đã phục hồi.
c) Tắt tất cả các đèn báo LSA.
d) Tắt tất cả các đèn biển báo CAT II/III.
e) Thông báo cho các nhà thầu bảo trì và thi công rằng họ có thể tiếp tục hoạt động.
3. SÂN BAY FRANKFURT, THÀNH PHỐ FRANKFURT, CHLB ĐỨC
3.1 Giới thiệu (các phương thức dưới đây được phát triển từ năm 1982)
3.1.1 Năm 1982 Sân bay Frankfurt đã đưa ra các hoạt động trong mọi điều kiện thời tiết ở giới hạn CAT III đối với RVR là 125 m. Theo yêu cầu của Bộ Giao thông Vận tải Liên bang, các phương thức và biện pháp dành cho hoạt động tiếp cận chính xác CAT II/III có tầm nhìn hạn chế đã được giới thiệu và vì lợi ích an toàn, tất cả các sở, cơ quan và công ty phải hướng dẫn nhân viên của mình tuân thủ các phương thức trong Phần 11, Chương 1.1 của Quy định sân bay.
3.2 Tiếp cận chính xác CAT II
3.2.1 Định nghĩa
3.2.1.1 Là hoạt động có khả năng cao tiếp cận và hạ cánh thành công từ độ cao quyết định 200 ft (60 m) và RVR là 800 m xuống độ cao quyết định 100 ft (30 m) và RVR là 400 m.
3.2.2 Yêu cầu đối với CAT II
3.2.2.1 Hoạt động CAT II chỉ có thể diễn ra nếu Cơ quan Kiểm soát Không lưu (ATC) đã thực hiện các biện pháp được nêu trong mục 2.4 và các hệ thống và công trình lắp đặt sau đang ở trạng thái hoạt động tin cậy, an toàn:
a) Hệ thống hạ cánh bằng thiết bị (ILS)
- Localizer
- Glide path
Lưu ý: Trong trường hợp đài điểm xa (Outer marker) và/hoặc đài điểm giữa (Middle marker) bị lỗi thì không được hạ cấp xuống loại tiếp cận thấp hơn. Sự cố này phải được báo cáo ngay cho tổ lái và tổ lái sẽ tự chịu trách nhiệm xác định khả năng vận hành tàu bay tối thiểu của mình.
b) Thiết bị hỗ trợ dẫn đường bằng mắt khi hạ cánh
- Hệ thống đèn tiếp cận
- Đèn ngưỡng đường cất hạ cánh - Đèn khu vực chạm bánh
- Đèn tim đường cất hạ cánh
Lưu ý: Việc các thiết bị thiết bị hỗ trợ dẫn đường bằng mắt khi hạ cánh bị hỏng (2 pha hoặc toàn bộ) và hỏng nguồn điện dự phòng phải được báo cáo ngay cho tổ lái.
c) Hệ thống thiết bị khí tượng
- Thiết bị đo tốc độ và hướng gió ở mặt đất
- Thiết bị đo tầm nhìn đường cất hạ cánh (RVR)
Lưu ý: Các hệ thống trên sẽ liên tục cung cấp dữ liệu khí tượng.
d) Nguồn điện dự phòng cho hệ thống đèn đường cất hạ cánh.
3.2.2.2 Tình trạng hoạt động của từng thiết bị và hệ thống phải được theo dõi và có chỉ báo trạng thái khi kiểm soát tiếp cận và kiểm soát tại sân.
3.3 Tiếp cận chính xác CAT III
3.3.1 Định nghĩa
a) CAT III (a): Khai thác xuống đến tận bề mặt đường cất hạ cánh, dựa trên các thiết bị tham chiếu bằng mắt trong giai đoạn chót của quá trình hạ cánh cuối cùng và RVR xuống khoảng 200 m.
b) CAT III (b): Khai thác xuống đến tận bề mặt đường cất hạ cánh và có đủ tầm nhìn để di chuyển bằng đường lăn.
Lưu ý: 150 m được xác định là tầm nhìn tối thiểu để có thể di chuyển bằng đường lăn mà không cần dựa vào các thiết bị tham chiếu bằng mắt (ví dụ: đèn tim đường lăn và đèn vạch dừng) và tránh va chạm với các phương tiện khác đang tiến gần đến nút giao tại Sân bay Frankfurt.
3.3.2 Yêu cầu đối với CAT III
3.3.2.1 Hoạt động CAT III chỉ có thể diễn ra nếu Cơ quan dẫn đường hàng không Liên bang đã thực hiện các biện pháp nêu trong 2.4 và các hệ thống, công trình lắp đặt sau đang ở trạng thái tin cậy, an toàn:
a) Hệ thống hạ cánh bằng thiết bị ILS
- Localizer
- Glide path
Lưu ý: Xem mục 2.2.2.1 a)
b) Thiết bị hỗ trợ dẫn đường bằng mắt khi hạ cánh
- Đèn ngưỡng đường cất hạ cánh
- Đèn khu vực chạm bánh
- Đèn tim đường cất hạ cánh
c) Thiết bị hỗ trợ dẫn đường bằng mắt khi di chuyển trên đường lăn
- Đèn vạch dừng
- Đèn tim đường lăn
Lưu ý: Việc các thiết bị thiết bị hỗ trợ dẫn đường bằng mắt khi hạ cánh và tại đường lăn bị hỏng (2 pha hoặc toàn bộ) và hỏng nguồn điện dự phòng phải được báo cáo ngay cho tổ lái ngay lập tức.
d) Hệ thống thiết bị khí tượng
- Thiết bị đo tốc độ và hướng gió ở mặt đất
- Thiết bị đo tầm nhìn đường cất hạ cánh (RVR)
Lưu ý: Các hệ thống trên sẽ liên tục cung cấp dữ liệu khí tượng
e) Nguồn điện dự phòng cho hệ thống đèn đường cất hạ cánh
3.4 Các biện pháp do Cơ quan dẫn đường hàng không liên bang thực hiện (xem Hình B-4 đến B-6)
3.4.1 Thông báo
a) CAT II
- Nếu một trong hai máy đo tầm nhìn được lắp đặt theo hướng hạ cánh có giá trị RVR từ 1 000 m trở xuống;
- Và/hoặc nếu trần mây hoặc tầm nhìn thẳng đứng được báo cáo là dưới 300 ft;
- Và nếu dự báo thời tiết khi hạ cánh cho thấy tầm nhìn đường cất hạ cánh sẽ bị suy giảm hơn nữa và/hoặc trần mây tiếp tục bị hạ thấp, tức là tầm nhìn theo chiều thẳng đứng sẽ bị suy giảm thêm;
Cơ quan dẫn đường hàng không Liên bang sẽ thông báo cho các cơ quan sau về việc bắt đầu khai thác CAT II sắp tới:
1) Khí tượng
2) Kiểm soát sân đỗ Flughafen Frank-Main AG (FAG)
3) Kiểm soát sân đỗ quân sự Rhein-Main (Không quân Hoa Kỳ).
b) CAT III
- Nếu một trong hai máy đo tầm nhìn được lắp đặt theo hướng hạ cánh có giá trị RVR từ 400 m trở xuống;
- Và/hoặc nếu trần mây hoặc tầm nhìn thẳng đứng được báo cáo là dưới 100 ft;
- Và nếu dự báo thời tiết khi hạ cánh cho thấy tầm nhìn đường cất hạ cánh bị suy giảm và/hoặc trần mây hoặc tầm nhìn thẳng đứng bị hạ thấp;
Cơ quan dẫn đường hàng không liên bang sẽ thông báo cho các cơ quan sau đây về việc bắt đầu khai thác CAT III sắp tới:
1) Kiểm soát sân đỗ Flughafen Frank-Main AG (FAG)
2) Kiểm soát sân đỗ quân sự Rhein-Main (Không quân Hoa Kỳ).
3.4.2 Phương thức
3.4.2.1 Cơ quan dẫn đường hàng không liên bang phải kiểm tra có hay không việc các hệ thống thiết bị được đề cập ở mục 2.2.2 và 2.3.2 đang ở trạng thái phải an toàn, tin cậy và sẵn sàng hoạt động, các cơ sở dịch vụ khí tượng đang cung cấp dữ liệu hiện tại và cơ quan kiểm soát sân đỗ FAG và cơ quan kiểm soát sân đỗ quân sự Rhein-Main có đưa ra báo cáo cần thiết về việc vượt chướng ngại vật hay không. Nếu tất cả các yêu cầu trên được đáp ứng và RVR từ 800 m trở xuống và/hoặc trần mây dưới 200 ft, Cơ quan dẫn đường hàng không liên bang sẽ cấp phép cho các phương thức ILS CAT II/III cùng với cú pháp "Các phương thức hoạt động trong điều kiện tầm nhìn hạn chế đang được vận hành".
3.4.2.2 Cơ quan dẫn đường hàng không Liên bang sẽ ban hành hướng dẫn khai thác cho CAT II/III trong đó đưa ra hướng dẫn chi tiết về việc kiểm soát tiếp cận và kiểm soát tại sân đối với hoạt động của hệ thống đèn và việc tuân thủ các vị trí chờ đường lăn. Cơ quan dẫn đường hàng không liên bang chịu trách nhiệm hướng dẫn tàu bay sử dụng các vị trí chờ CAT II/III đã được công bố và nếu đạt điều kiện RVR từ 400 m trở xuống và/hoặc trần mây dưới 100 ft để vận hành các đèn vạch dừng và đèn tim đường lăn có liên quan.
3.4.2.3 Cơ quan dẫn đường hàng không Liên bang cũng sẽ đóng các làn đường công vụ đến khu vực di chuyển bằng cách chuyển đèn tín hiệu giao thông sang màu đỏ.
3.4.2.3.1 Không được phép kéo tàu bay loại C 5A vào khu vực bảo vệ ILS trên sân đỗ quân sự mà không có sự cho phép trước của Cơ quan dẫn đường hàng không Liên bang.
3.4.2.4 Cơ quan dẫn đường hàng không Liên bang sẽ chấm dứt các yêu cầu về phương thức CAT II/III nếu, trong khoảng thời gian ít nhất 20 phút, giá trị RVR vượt quá 1000 m đối với CAT II, 400 m đối với CAT III và/hoặc trần mây hoặc tầm nhìn thẳng đứng lớn hơn 200 ft đối với CAT II, 100 ft đối với CAT III và có xu hướng cải thiện hơn nữa được xác nhận bởi đơn vị khí tượng.

Hình B-4. Quy trình hoạt động trong mọi điều kiện thời tiết tại sân bay Frankfurt-Main (CAT II/III)

Hình B-5. Quy trình hoạt động trong mọi điều kiện thời tiết tại sân bay Frankfurt-Main (CAT II)

Hình B-6. Quy trình hoạt động trong mọi điều kiện thời tiết tại sân bay Frankfurt-Main (CAT III)
3.5 Hướng dẫn tàu bay trong điều kiện CAT II/III
3.5.1 Sau khi hạ cánh trên đường cất hạ cánh phía Nam (25L/07R), tàu bay phải lăn bánh đến khu vực sân đỗ theo đèn tim màu lục mà không cần có sự hỗ trợ của xe dẫn tàu bay “follow me”. Nên sử dụng đường lăn C(R), W, N sau khi hạ cánh tại đầu 25L của đường cất hạ cánh và đường lăn C(D), B, A sau khi hạ cánh tại đầu 07R của đường cất hạ cánh (xem Hình B-7).
3.5.2 Việc cho phép tàu bay lăn lên đường cất hạ cánh để cất cánh sẽ được thông qua bởi RTF và ngoài ra, bằng cách tắt đèn vạch dừng màu đỏ thích hợp. Đèn vạch dừng sẽ tự động bật lại sau khi tàu bay đi qua và người điều khiển có thể kiểm tra xem đèn vạch dừng có hoạt động hay không bằng cách sử dụng hệ thống giám sát đèn hiệu.
3.6 Các biện pháp do cơ quan kiểm soát sân đỗ quân sự Rhein-Main thực hiện
3.6.1 Cơ quan kiểm soát sân đỗ quân sự Rhein-Main chịu trách nhiệm về tất cả các yêu cầu của CAT II/III trong khu vực của họ và sẽ ngăn chặn các luồng giao thông từ phía nam băng qua lằn ranh đỏ phía bắc của sân đỗ quân sự.
1) Khoảng cách an toàn trên dải 300 m của tất cả các chướng ngại vật cao hơn 15 m (CAT III).
2) Đình chỉ tất cả các hoạt động giao thông, lai dắt và các hoạt động khác trên đường lăn S.
3) Tuân thủ vị trí chờ đường CAT II/III được công bố ở ranh giới phía bắc của sân đỗ quân sự.
4) Chấp hành các quy định đặc biệt về bố trí tàu bay loại C5A ở phía Đông sân đỗ quân sự.
Trong trường hợp khẩn cấp, đội cứu hỏa của Không quân Hoa Kỳ sẽ tập trung tại vị trí chờ đường lăn CAT II/III.
3.7 Các biện pháp do Cơ quan Khí tượng Đức thực hiện
3.7.1 Cơ quan Khí tượng Đức phải lập báo cáo định kỳ cho văn phòng Cơ quan Hàng không Liên bang có thẩm quyền về sự cố của các thiết bị khí tượng phục vụ hoạt động CAT II/III hoặc về xác suất xảy ra sự cố của chúng.
3.8 Các biện pháp do nhà điều hành sân bay thực hiện (Flughafen Frank-Main AG - FAG)
3.8.1 Kiểm soát sân đỗ
a) CAT II
Khi Cơ quan dẫn đường hàng không liên bang yêu cầu sẵn sàng sử dụng CAT II, cơ quan kiểm soát sân đỗ phải kiểm tra và đảm bảo rằng các khu vực nhạy cảm của ILS không có chướng ngại vật (ví dụ: máy móc xây dựng, phương tiện, v.v.). Hơn nữa, phải dừng bất kỳ việc di chuyển nào không được kiểm soát nào trên và xung quanh làn đường dịch vụ trong khu vực di chuyển. Tất cả hoạt động di chuyển nào trong khu vực di chuyển phải được cơ quan kiểm soát sân bay cho phép, và tất cả người khai thác phương tiện phải giám sát vận hành thông qua bộ đàm có tần số sóng vô tuyến được sử dụng cùng với đài chỉ huy.
Việc kiểm soát sân đỗ sẽ tăng cường an toàn cho khu vực hoạt động bay bằng cách đóng lối vào từ Đường Ellis (tức là đóng lối vào ở đó). Thông qua trung tâm điều phối dịch vụ an ninh, cơ quan kiểm soát sân đỗ sẽ thông báo về việc bắt đầu các hoạt động CAT II/III cho các cơ quan cứu hỏa và cứu hộ, cảnh sát và cảnh sát biên giới Liên bang.
b) CAT III
Ngoài các biện pháp cần thiết cho hoạt động CAT II, trong điều kiện CAT III, cơ quan kiểm soát sân đỗ phải hướng dẫn trung tâm điều phối dịch vụ an ninh kiểm tra và đảm bảo rằng tất cả các lối vào khu vực hoạt động bay mà không có người giám sát đều phải được đóng. Sau đó, trung tâm điều phối dịch vụ an ninh sẽ báo cáo cho Cơ quan dẫn đường hàng không liên bang thông qua cơ quan kiểm soát sân đỗ rằng các biện pháp trên đã được hoàn thành.
Việc bắt đầu khai thác CAT III sẽ được báo cáo cho các hãng hàng không, các phòng ban, cơ quan có thẩm quyền và các công ty cũng như các cơ quan kiểm soát hoạt động khác thông qua hệ thống "FAG TV Info".
Hướng dẫn tàu bay trong điều kiện CAT II/III
- Tàu bay đến phải được dẫn đường vào khu vực sân đỗ bằng xe “follow me” trong điều kiện CAT III trước khi đến đèn tim đường lăn cuối cùng hiện có.
- Xe “follow me” hướng dẫn tàu bay lăn xuất phát đến điểm chuyển giao quyền kiểm soát đã thống nhất.
- Trong điều kiện CAT III, tốc độ tối đa của xe dẫn tàu bay là 20 km/h.
3.8.2 Cơ quan giám sát hàng không - nhà ga hàng không nói chung
3.8.2.1 Cơ quan giám sát hàng không có trách nhiệm cung cấp thông tin phù hợp về điều kiện khí tượng CAT III tại lối vào nhà ga hàng không nói chung tới sân đỗ.
3.8.3 Cơ quan chữa cháy, cứu hộ và cơ quan dọn băng tuyết
3.8.3.1 Trong trường hợp khẩn cấp, xe của lực lượng cứu hỏa, cứu hộ và dọn tuyết/băng phải tập trung tại vị trí chờ đường lăn CAT II/III đã được công bố.

Hình B-7. Sơ đồ sân bay Frankfurt-Main
3.8.4 Cơ quan an ninh
3.8.4.1 Cơ quan an ninh phải đảm bảo rằng tất cả các lối vào khu vực hoạt động bay mà không có người giám sát đều được đóng và phải báo cáo cho cơ quan kiểm soát sân đỗ rằng hành động này đã hoàn tất. Họ cũng sẽ giám sát các lối vào còn lại vào khu vực di chuyển và thông báo cho những cá nhân phù hợp. Kiểm soát sân đỗ sẽ thông báo cho đơn vị khai thác về các hoạt động CAT III trên hệ thống "FAG TV Info".
3.8.4.2 Cơ quan quản lý sân đỗ phải thông báo cho trung tâm điều phối dịch vụ an ninh về các hoạt động CAT III. Trung tâm này sẽ thông báo cho tất cả các lối vào sân đỗ (có nhân viên hỗ trợ) và các cơ quan khác của sân bay về việc bắt đầu các hoạt động CAT III. Nhân viên hỗ trợ lối vào sân đỗ phải thông báo cho tất cả các phương tiện đi vào khu vực sân đỗ về các điều kiện CAT III có liên quan đến phương thức vận hành CAT II/III và Mục 7 của Quy tắc điều khiển và các quy định khác quản lý giao thông trong khu vực di chuyển và trên sân đỗ.
3.8.5 Bộ phận điều khiển tàu bay bằng tay và các bộ phận kiểm soát hoạt động khác
3.8.5.1 Từng đơn vị kiểm soát hoạt động phải thông báo cho nhân viên làm việc tại sân đỗ của mình về việc bắt đầu và chấm dứt các điều kiện CAT III và lưu ý họ đến các phương thức hoạt động CAT II/III, đặc biệt là Mục 7 của Quy tắc ứng xử trên.
3.9 Các biện pháp được thực hiện bởi các hãng hàng không, nhà thầu cung cấp nhiên liệu, các cơ quan và các công ty khác
3.9.1 Hãng hàng không, nhà thầu cung cấp nhiên liệu, các cơ quan và các công ty khác phải đảm bảo tuân thủ các quy định nêu tại Mục 5.4, khoản 1 của Hướng dẫn Sân bay. Họ phải đảm bảo rằng người lái xe và nhân viên liên quan của họ đã được thông báo trước về các điều kiện CAT III hiện có và hiểu rõ các Luật Giao thông và Quy định cấp phép cũng như các yêu cầu cụ thể đối với hoạt động CAT III.
3.10 Quy tắc điều khiển và các quy định điều hành giao thông trong khu vực di chuyển và trên sân đỗ
3.10.1 Quy định chung
3.10.1.1 Các quy định tại Mục A của Luật Giao thông và Quy định cấp phép phải được áp dụng đối với tất cả các hoạt động giao thông trên khu vực di chuyển và trên sân đỗ trong mọi điều kiện thời tiết:
1) Tất cả người điều khiển phương tiện hoặc những người khác trên khu vực hoạt động ngoài công cộng phải nắm rõ các quy định an toàn, Luật giao thông và Quy định cấp phép và được phép sử dụng các khu vực hoạt động ngoài công cộng;
2) Có hệ thống đường bộ khép kín chạy qua toàn bộ khu bay của Sân bay Frankfurt. Tất cả những người lái xe trên khu vực hoạt động phải bám sát các tuyến đường, làn đường công vụ và lối đi hành khách. Thông tin liên quan đến việc di chuyển có trong Bảng thông tin 10 của Luật giao thông và Quy định cấp phép.
3.10.2 Trong điều kiện khí tượng CAT II/III
3.10.2.1 Trong điều kiện thời tiết bất lợi, các quy định an toàn và quy tắc giao thông nghiêm ngặt hơn sẽ được áp dụng như sau:
1) Không phương tiện nào được phép băng qua đường lăn trừ khi không thể tránh được việc đó. Cần sử dụng đường hầm, đường tránh xung quanh nút giao đường lăn;
2) Trong điều kiện CAT II/III, không được phép lưu thông phương tiện trên khu vực di chuyển. Khi bắt đầu điều kiện CAT II, tất cả đèn tín hiệu giao thông trên làn đường công vụ song song với đường lăn C sẽ chuyển sang màu đỏ. Tất cả hoạt động giao thông phải dừng ngay lập tức và người điều khiển phương tiện phải liên hệ với cơ quan kiểm soát sân bay của Cơ quan Hàng không Liên bang qua điện thoại được lắp đặt ở mỗi đèn giao thông và yêu cầu hướng dẫn thêm.
Các phương tiện được cơ quan kiểm soát sân bay cho phép hoạt động trên khu vực di chuyển trong điều kiện CAT II/III phải được giám sát thường xuyên với tần số kiểm soát mặt đất.
3.10.3 Trong điều kiện khí tượng CAT III
1) Không phương tiện nào được hoạt động trên sân đỗ trong điều kiện CAT III trừ khi cần thiết cho mục đích điều khiển, tiếp nhiên liệu, phục vụ và bảo trì. Việc quyết định có cần sử dụng phương tiện hay không sẽ do các đơn vị kiểm soát hoạt động tương ứng thực hiện. Các phương tiện giao thông khác phải có sự cho phép trước của cơ quan kiểm soát sân đỗ.
2) Trong điều kiện CAT II/III, tàu bay trong khu vực sân đỗ phải được dẫn đường bằng xe “follow me”.
3) Việc thông báo tình trạng CAT III phải được thực hiện trên hệ thống “FAG TV Info” và bằng các biển báo đặc biệt tại các lối vào và đường trên sân đỗ.
4. SÂN BAY CHARLES DE GAULLE, PARIS, PHÁP
4.1 Giới thiệu
(Các phương thức khai thác dưới dây đã được cập nhật năm 1984 so với nội dung đã được xây dựng từ năm 1974)
4.1.1 Từ khi mở khai thác năm 1974, sân bay Charles de Gaulle đã được trang bị thiết bị cho hoạt động CAT III. Các kinh nghiệm thu được ở sân bay Paris-Orly từ năm 1968 đã hữu dụng trong quá trình xây dựng các phương thức được trình bày dưới đây.
4.2 Quy định chung
4.2.1 Có bốn đường cất hạ cánh được sử dụng cho hoạt động CAT III (Xem hình B-8). Đường cất hạ cánh có thiết bị 09, 10, 27 được sử dụng cho tất cả các hoạt động CAT III, đường cất hạ cánh có thiết bị 28 sử dụng cho CAT III với chiều cao quyết định không dưới 15m (50ft)
4.2.2 Do có chồng chéo theo các loại tàu bay khác nhau nên chỉ xét hai trường hợp:
CAT II: RVR dưới 800 m nhưng không dưới 400 m;
CAT III: RVR dưới 400 m.
4.3 Thiết bị được vận hành khi RVR giảm xuống dưới 800 m
4.3.1 Hệ thống đèn hiệu. Các loại đèn sau được bật ở cường độ sáng tối đa:
- Đèn ngưỡng và đèn cuối đường cất hạ cánh;
- Đèn lề đường cất hạ cánh;
- Đèn tim đường cất hạ cánh;
- Đèn khu vực chạm bánh;
- Đèn tiếp cận;
- Đèn tim đường nhánh tốc độ cao;
- Đèn tim đường lăn.
Không được phép điều chỉnh hệ thống điều khiển đèn hiệu trong khi tàu bay tiếp cận chót. Hệ thống điều khiển đèn hiệu phải được khóa.
4.3.2 ILS. Tất cả các thành phần của ILS phải được hoạt động, bao gồm:
- Localizer;
- Glide path;
- Đài điểm xa;
- Đài điểm giữa.

Hình B-8. Sơ đồ sân bay Charles de Gaulle
Bất kỳ hành động bảo trì nào trên ILS đều bị nghiêm cấm trong quá trình tiếp cận. Theo đó, việc bảo trì thiết bị hỗ trợ dẫn đường vô tuyến sẽ được khuyến cáo khi RVR giảm xuống dưới 800 m.
4.3.3 Máy đo tầm nhìn. Các máy đo tầm nhìn ở khu vực chạm bánh và giữa đường cất hạ cánh phải hoạt động và các vị trí kiểm soát không lưu phải có khả năng đọc trực tiếp.
4.3.4 Tổ chức các vị trí kiểm soát không lưu. Ngay khi RVR giảm xuống dưới 800 m, đài chỉ huy sẽ hoạt động ở tần số thứ hai:
- Đường cất hạ cánh 27/09: TWR 1 119,250 MHz;
- Đường cất hạ cánh 28/10: TWR 2 120,650 MHz.
4.3.5 Đơn vị cứu hộ, chữa cháy. Lực lượng cứu hộ và chữa cháy phải ở trong tình trạng sẵn sàng cho đến khi điều kiện thời tiết được cải thiện.
4.3.6 Hệ thống động cơ phản lực lắp chìm dọc theo đường cất hạ cánh để sưởi nóng không khí xung quanh và ngăn chặn sương mù - Turboclair. Ngay khi RVR ở dưới 400 m, hệ thống phân tán sương mù (FDS) Turboclair được lắp đặt trên đường cất hạ cánh 09 sẽ hoạt động nếu gió và nhiệt độ nằm trong giới hạn quy định.
4.4 Phương thức kiểm soát
4.4.1 RVR. Các giá trị RVR tại khu vực chạm bánh và giữa đường cất hạ cánh phải được cung cấp cho tất cả các tàu bay ở tần số tiếp cận và tần số đài chỉ huy. Tất cả những thay đổi quan trọng phải được đưa ra. RVR khu vực dừng chót được đưa ra nếu giá trị RVR trên thấp hơn nhiều so với các giá trị khác. Ngoại trừ trường hợp điều kiện xấu đi, không có báo cáo RVR nào được đưa ra cho tàu bay tiếp cận sau khi qua đài điểm xa. Khi Turboclair hoạt động, đối với tàu bay sử dụng, bộ điều khiển trên đài chỉ huy sẽ thay thế giá trị RVR khu vực chạm bánh bằng "FDS".
4.4.2 ATIS
4.4.2.1 RVR. RVR không được đưa lên ATIS. Bản tin chỉ được phát như sau: “Dữ liệu RVR có sẵn trên tần số điều khiển. Kiểm tra lại giới hạn tối thiểu của bạn”.
4.4.2.2 Turboclair. Phát thông báo tính sẵn sàng của turboclair.
4.4.2.3 Hạ cấp chính xác của đường cất hạ cánh. Thông tin khuyến cáo sau cần được phát: “Đường cất hạ cánh (ghi số) không đáp ứng phương thức CAT III (hoặc II).
4.4.3 Cụm từ và cảnh báo
4.4.3.1 Cụm từ. Tất cả các phương thức tiếp cận CAT II hoặc III đều phải được tổ lái thông báo. Kiểm soát viên không lưu sẽ yêu cầu tổ lái báo cáo:
- Vượt đài điểm xa;
- Trên đường cất hạ cánh hoặc đang đi vòng.
4.4.3.2 Cảnh báo. Khi đài chỉ huy không nhìn được tiếp cận chót và hạ cánh, báo động đỏ (tai nạn có thật) sẽ được bắt đầu đối với tất cả các lỗi liên lạc vô tuyến sau khi mất liên lạc với radar (radar giám sát tàu bay, radar giám sát mặt sân) hoặc di chuyển bất thường trên các thiết bị này.
4.4.4 Bộ phát đáp tín hiệu. Việc chuyển sang trạng thái stand-by chỉ được yêu cầu sau khi hạ cánh.
4.4.5 Vùng nhạy cảm với localizer. Tín hiệu ILS được bảo vệ nếu tàu bay dừng ở vị trí chờ đường lăn CAT III.
4.5 Hành động đặc biệt
4.5.1 Hành động của người phụ trách giám sát
4.5.1.1 Khi RVR dưới 800 m:
- Mở tần số thứ hai của đài chỉ huy
- Kiểm tra hệ thống đèn hiệu được lựa chọn và vận hành đúng
- Kiểm tra và khóa hệ thống điều khiển đèn hiệu
- Kiểm tra trạng thái ILS
- Kiểm tra máy đo tầm nhìn
- Kiểm tra bảng tin ATIS
- Khuyến cáo tới: Người giám sát trạm nguồn điện
+ Người giám sát bảo trì hệ thống thiết bị hỗ trợ vô tuyến
+ Lực lượng cứu hộ, cứu hỏa
+ Người giám sát khu bay
- Kiểm tra điều kiện của Turboclair và sẵn sàng sử dụng nếu RVR dưới 600m.
4.5.1.2 Khi RVR dưới 400m, nếu FDS hoạt động thì:
- Mở các đường cất hạ cánh sang hướng đông (ngoại trừ trường hợp bất khả kháng do gió, sự cố thiết bị, …)
- Chạy chờ không tải Turboclair
4.5.2 Hành động của kiểm soát viên tiếp cận
- Thông báo RVR tại khu vực chạm bánh và giữa đường cất hạ cánh
- Giữ khoảng cách quy định;
- Liên lạc tới đài chỉ huy tất cả các yêu cầu cho CAT II, CAT III hoặc Turboclair;
- Hướng dẫn ở tốc độ vừa phải (180 kt ở 15 NM tính từ điểm chạm bánh);
- Chặn localizer ở khoảng cách 15 NM so với điểm chạm bánh và bàn giao lại cho đài chỉ huy ở khoảng cách trên.
4.5.3 Hành động của kiểm soát viên trên đài chỉ huy
- Thông báo RVR;
- Giữa khoảng cách quy định;
- Kiểm tra tình trạng ILS;
- Bật Turboclair cho tàu bay hạ cánh và tắt đi khi đã hoàn thành hạ cánh;
- Chỉ sử dụng cụm từ liên lạc đã được quy định;
- Không cho phép tàu bay khác vào khu vực nhạy cảm của localizer trong quá trình tiếp cận;
- Bắt đầu báo động theo mục 3.4.3.2;
- Thông báo cho các tổ lái về sự cố của ILS, đèn hiệu hoặc turboclair;
- Đặt chế độ thổi gió chéo cho turboclair;
- Sử dụng radar giám sát mặt sân để giám sát đường cất hạ cánh.
4.5.4 Hành động của kiểm soát viên trên sân
- Mỗi lần chỉ giao cho đài chỉ huy một tàu bay khi ở vị trí chờ đường lăn và khi không có bất kỳ phương tiện giao thông nào ở trước đó;
- Sử dụng radar giám sát mặt sân để giám sát cẩn thận tất cả các tàu bay đang lăn;
- Sử dụng radar giám sát mặt sân để giám sát các phương tiện được phép di chuyển trên khu vực di chuyển vì lý do an toàn (phương tiện ATS, bảo trì khẩn cấp, cứu hộ và chữa cháy).
PHỤ LỤC C. VÍ DỤ VỀ DỊCH VỤ QUẢN LÝ SÂN ĐỖ
1. SÂN BAY HEATHROW, LONDON, VƯƠNG QUỐC ANH
1.1 Lưu lượng giao thông 1983/1984
Hành khách 26 749 200 (84% khách quốc tế)
Vận tải hàng không (chuyến) 260 100
Hàng hóa (tấn) 469 700
1.2 Tổng quát
Sân bay này được sở hữu và vận hành bởi Cơ quan quản lý sân bay Anh và dịch vụ kiểm soát không lưu được cung cấp bởi Dịch vụ kiểm soát không lưu quốc gia của Cơ quan hàng không dân dụng.
1.3 Bố cục
Ba nhà ga hành khách nằm ở trung tâm sân bay và được phục vụ bởi tổng cộng 8 khu vực với 116 chỗ đỗ tàu bay. Ở phía nam của sân bay là một nhà ga hàng hóa lớn với 25 vị trí đỗ. Nhà ga hành khách thứ tư đang được xây dựng sẽ có thêm 22 vị trí đỗ.
1.4 Hướng dẫn đỗ
Phần lớn các vị trí đỗ đều được trang bị hướng dẫn góc phương vị cho các điểm đỗ vuông góc (AGNIS), được bổ sung bằng thiết bị phụ trợ đỗ thị sai (PAPA) hoặc Side Marker Board. Cơ quan quản lý sân bay cung cấp dịch vụ điều phối cho các vị trí đỗ còn lại.
1.5 Bảo dưỡng sân đỗ
Các khu vực sân đỗ có bộ phận quản lý riêng chịu trách nhiệm trước người đứng đầu về an toàn và khai thác. Nhân viên của đơn vị an toàn sân đỗ cũng như các thành viên quản lý vận hành thường xuyên kiểm tra tất cả các sân đỗ, khiếm khuyết sẽ được báo cáo cho kỹ sư sân bay để bảo trì hoặc sửa chữa. Vị trí đỗ được dọn vệ sinh bằng phương tiện khi có yêu cầu, ngoài ra có chương trình lau ướt định kỳ. Sự cố tràn nhiên liệu được báo cáo cho đơn vị an toàn sân đỗ để sắp xếp việc dọn dẹp.
1.6 Thiết bị phụ trợ trực quan
Tất cả các điểm đỗ tàu bay đều có sơn tín hiệu tiêu chuẩn và tất cả các đường lăn trên sân đỗ đều có đèn tim đường lăn màu xanh lá và đèn stop bar có thể tắt bật. Hầu hết các vị trí đỗ tàu bay đều có đèn màu vàng hướng dẫn tàu bay di chuyển đến vị trí đỗ. Sân đỗ được đánh dấu bằng sơn trắng để phân định các khu vực thiết bị, khoảng trống vị trí đỗ giữa các tàu bay và đường công vụ. Ranh giới giữa vị trí đỗ tàu bay và đường lăn được biểu thị bằng vạch đôi màu trắng liên tục. Đường này cũng là ranh giới giữa khu vực di chuyển và khu vực sân đỗ.
1.7 Kiểm soát không lưu
Tất cả các hoạt động di chuyển trên sân bay ngoại trừ các phương tiện trên sân đỗ đều được kiểm soát bởi cơ quan kiểm soát không lưu. Ngay sau khi tàu bay được đẩy lùi đến đường lăn, chúng sẽ ở trong khu vực di chuyển và được điều khiển bởi KSVKL mặt đất. Việc có ranh giới khu vực di chuyển giữa vị trí đỗ và đường lăn sân đỗ rất có hiệu quả, không chỉ ở Heathrow mà còn ở các sân bay lớn khác của Anh. Cơ quan kiểm soát không lưu thực hiện kiểm soát R/T tích cực đối với tất cả các chuyển động trên đường lăn sân đỗ. Điều này đưa ra các tiêu chuẩn cao về kỷ luật trên đường lăn sân đỗ và cũng có nghĩa là dịch vụ quản lý sân đỗ không cần sử dụng nhân viên kiểm soát được cấp phép để thực hiện kiểm soát chuyển động của tàu bay trong khu vực sân đỗ.
1.8 Kiểm soát sân đỗ
Phòng kiểm soát sân đỗ được điều hành bởi nhân viên của cơ quan quản lý sân bay. Kiểm soát sân đỗ là nơi tập trung thông tin về tàu bay đến và đi, chịu trách nhiệm phân bổ phần lớn các điểm đỗ tàu bay tại sân bay. Việc phân bổ các điểm đỗ tàu bay phục vụ một trong các nhà ga khu vực trung tâm được giao cho British Airways. Nhân viên kiểm soát sân đỗ không có liên lạc trực tiếp với tàu bay và tất cả thông tin được chuyển qua KSVKL của Đài kiểm soát mặt đất.
1.9 Quy trình khai thác trong điều kiện tầm nhìn hạn chế
Vì khu vực sân đỗ chỉ bao gồm các điểm đỗ tàu bay nên rất ít liên quan đến các quy trình khai thác trong điều kiện tầm nhìn hạn chế. Việc bảo vệ các hoạt động khai thác trong điều kiện tầm nhìn hạn chế được thực hiện trên khu vực di chuyển bởi một đơn vị hoạt động khác. Nhân viên sân đỗ đóng một số vị trí của đường dành cho phương tiện mặt đất cắt qua đường lăn và cung cấp dịch vụ "dẫn tàu bay - follow me" theo yêu cầu.
2. SÂN BAY ZURICH, ZURICH, THỤY SĨ
2.1 Lưu lượng giao thông 1985
Hành khách 9 546 600 (95% khách quốc tế)
Vận tải hàng không (chuyến) 128 230
Hàng hóa (tấn) 210 750
2.2 Tổng quát
Sân bay này thuộc sở hữu của Bang Zurich và được điều hành bởi Cơ quan quản lý sân bay Zurich. Dịch vụ kiểm soát không lưu được cung cấp bởi một công ty tư nhân theo hợp đồng với Chính phủ Liên bang, ngoại trừ bộ phận sân đỗ do cơ quan quản lý sân bay kiểm soát.
2.3 Bố cục
Khu vực sân đỗ có hình tam giác nhỏ gọn và nằm ở đoạn phía Đông Nam của nút giao giữa đường cất hạ cánh 28 và 34. Khu vực này được phục vụ bởi hai nhà ga hành khách liền kề và một tòa nhà vận chuyển hàng hóa lớn. Một nhà ga hành khách có một khu vực với chín vị trí đỗ tàu bay. Khu vực thứ hai đang được xây dựng ở nhà ga hành khách còn lại. Sân đỗ bao gồm 51 vị trí đỗ cộng với 5 khu vực dành cho giao thông hàng không chung.
2.4 Hướng dẫn đỗ
Các vị trí đỗ của nhà ga (A) được trang bị Hệ thống Safe Gate System của Thụy Điển, còn nhà ga (B) được trang bị hệ thống PAPA/AGNIS. Các vị trí đỗ ở xa có sơn tín hiệu để tàu bay có thể tự định vị và dừng lại mà không cần sự trợ giúp. Nhân viên đánh tín hiệu chỉ được dùng trong những trường hợp đặc biệt hoặc điều kiện hoạt động đặc biệt.
2.5 Bảo dưỡng sân đỗ
Nhân viên điều hành sân bay kiểm tra mặt sân của khu vực hoạt động ba lần mỗi ngày để đảm bảo khả năng phục vụ và độ sạch sẽ. Mọi vấn đề đều được báo cáo cho nhân viên bảo trì sân bay. Nhân viên bảo trì tự mình tiến hành kiểm tra chi tiết mặt sân hai lần mỗi ngày. Nhân viên bảo trì chịu trách nhiệm về sự sạch sẽ của các vị trí đỗ. Xe vệ sinh được sử dụng thường xuyên và các vị trí đỗ thường xuyên được hút bụi.
2.6 Thiết bị phụ trợ trực quan
Sơn tín hiệu đường lăn màu vàng tiêu chuẩn được sử dụng với đèn lề màu xanh lam. Một hệ thống đèn tim đường lăn màu xanh lá có thể chuyển đổi và các đèn stop bar sẽ sớm được lắp đặt.
2.7 Kiểm soát không lưu
Việc kiểm soát không lưu trên khu vực di chuyển được thực hiện bởi cơ quan kiểm soát không lưu. Việc kiểm soát không lưu trên khu vực sân đỗ được thực hiện bởi một đơn vị riêng biệt gọi là kiểm soát sân đỗ (thuộc cơ quan quản lý sân bay). Ranh giới khu vực di chuyển với khu vực trách nhiệm của kiểm soát sân đỗ được phân định bằng nhiều khu vực cỏ khác nhau và các sơn tín hiệu vị trí chờ-lăn tiêu chuẩn trên các đường lăn nối khu vực sân đỗ với hai đường CHC liền kề.
2.8 Kiểm soát sân đỗ
Trong phạm vi trách nhiệm của mình, việc kiểm soát sân đỗ nhằm mục đích ngăn ngừa va chạm giữa các tàu bay và giữa tàu bay với chướng ngại vật. Cơ quan này cũng chịu trách nhiệm đảm bảo luồng giao thông có trật tự và nhanh chóng trên các đường lăn sân đỗ và vị trí đỗ tàu bay, cùng với việc phân bổ các vị trí đỗ. Nhân viên kiểm soát sân đỗ là nhân viên của cơ quan quản lý sân bay. Việc đào tạo của họ tuân theo chương trình do cơ quan kiểm soát không lưu và cơ quan quản lý sân bay thực hiện dưới sự giám sát của Văn phòng Hàng không Dân dụng Liên bang, sau đó họ phải đạt được và duy trì giấy phép kiểm soát viên sân đỗ do Văn phòng Hàng không Dân dụng Liên bang cấp. Tàu bay yêu cầu huấn lệnh khởi động từ cơ quan kiểm soát không lưu (cung cấp huấn lệnh) và sau đó thay đổi sang tần số của kiểm soát sân đỗ cho các huấn lệnh lùi/kéo/lăn. Tiếp đó, tàu bay được chuyển lại sang tần số kiểm soát không lưu tại ranh giới khu vực di chuyển. Tương tự, tàu bay đến được chuyển từ kiểm soát không lưu sang kiểm soát sân đỗ tại ranh giới khu vực di chuyển.
2.9 Quy trình khai thác trong điều kiện tầm nhìn hạn chế
Tàu bay được dẫn đường với sự hỗ trợ của nhân viên đánh tín hiệu và các phương tiện dẫn đường. Nhu cầu về dịch vụ này sẽ chấm dứt khi hệ thống chiếu sáng đường lăn điều khiển chuyển động mặt sân được lắp đặt cùng với radar giám sát mặt sân. Công việc bảo trì thường xuyên trên khu vực di chuyển sẽ dừng lại khi tầm nhìn giảm xuống còn 2.500 m trừ khi nhân viên điều hành sân bay được ủy quyền can thiệp vào.
3. SÂN BAY QUỐC TẾ MELBOURNE, MELBOURNE, ÚC
3.1 Lưu lượng giao thông 1983/1984
Hành khách 5 405 600 (17% khách quốc tế)
Vận tải hàng không (chuyến) 68 900
Hàng hóa (tấn) 107 200
3.2 Tổng quát
Sân bay này được sở hữu và vận hành bởi Cục Hàng không Australia. Quản lý sân bay và quản lý sân đỗ là trách nhiệm của Giám đốc sân bay. Dịch vụ kiểm soát không lưu cũng do Cục Hàng không cung cấp nhưng không thuộc thẩm quyền của Giám đốc sân bay.
3.3 Bố cục
Sân bay có một nhà ga lớn, trong đó phần trung tâm và khu vực tương ứng xử lý giao thông quốc tế. Hai phần cánh và các khu vực liên quan được phân bổ cho một hãng hàng không nội địa lớn, xử lý tất cả các chuyến bay nội địa. Có khoảng 25 vị trí đỗ xung quanh ba khu vực phục vụ nhà ga. Có hai sân đỗ vận chuyển hàng hóa riêng biệt được phân bổ chủ yếu cho các hãng hàng không nội địa.
3.4 Hướng dẫn đỗ tàu bay
Hầu hết các sân đỗ tàu bay đều được trang bị hệ thống hướng dẫn đỗ vuông góc với bảng side marker và đèn side marker. Phòng hàng không cung cấp nhân viên đánh tín hiệu chủ yếu thực hiện nhiệm vụ của họ trên các khu vực sân đỗ của họ. Nhiều hãng hàng không lớn khác nhau cung cấp nhân viên đánh tín hiệu của riêng họ.
3.5 Bảo dưỡng sân đỗ
Nhân viên điều hành, dưới sự chỉ đạo của giám đốc sân bay, chịu trách nhiệm kiểm tra thường xuyên khu vực hoạt động và mọi việc sửa chữa đều do nhân viên bảo trì sân bay thực hiện. Việc giữ sạch sẽ các vị trí đỗ tàu bay là trách nhiệm chung của Ủy ban khai thác hãng hàng không và nhân viên sân bay. Cục Hàng không vận hành một máy quét cơ học di động trên khu vực sân đỗ và tình trạng vệ sinh được giám sát bởi cả nhân viên hãng hàng không và sân bay. Việc tràn nhiên liệu là trách nhiệm của hãng hàng không liên quan; tuy nhiên, họ có thể yêu cầu hỗ trợ thông qua KSVKL chuyển động mặt sân (sân đỗ) và cơ quan cứu hộ, chữa cháy.
3.6 Thiết bị phụ trợ trực quan
Các vạch sơn tín hiệu bề mặt sân đỗ cung cấp cho tổ lái hướng dẫn từ đường lăn đến vị trí đỗ tàu bay và các đường giới hạn vị trí đỗ để đảm bảo đường lăn không bị tàu bay đỗ xâm phạm. Khu vực đỗ thiết bị, giới hạn thiết bị và đường công vụ cũng được khoanh vùng trên sân đỗ.
3.7 Kiểm soát không lưu
Hoạt động trên khu vực sân đỗ được điều khiển bởi KSVKLchuyển động bề mặt (sân đỗ) từ một đài kiểm soát nhỏ nhìn ra sân đỗ. Kiểm soát viên này có giấy phép kiểm soát không lưu hiện hành và do đó cũng có thể thực hiện kiểm soát một phần khu vực di chuyển. Anh ta chịu trách nhiệm điều phối các chuyển động trên khu vực sân đỗ. Có ranh giới địa lý giữa khu vực trách nhiệm của KSVKL chuyển động bề mặt sân đỗ và KSVKL chuyển động bề mặt sân bay. Tuy nhiên, ranh giới này không được đánh dấu bằng các vạch sơn hay biển báo mà được báo hiệu bằng việc thay đổi tần số của KSVKL.
3.8 Kiểm soát sân đỗ
Nhân viên đánh tín hiệu sân đỗ làm việc chặt chẽ với KSVKL chuyển động bề mặt (sân đỗ) và chịu trách nhiệm phân bổ các bãi đỗ tàu bay quốc tế, băng chuyền hành lý và kiểm soát việc sử dụng các bãi đỗ. Mỗi hãng hàng không nội địa có một trung tâm điều hành để quản lý khu vực sân đỗ của mình, bao gồm cả việc phân bổ các bãi đỗ. Nhân viên đánh tín hiệu sân đỗ không liên lạc trực tiếp với tàu bay và truyền thông tin qua KSVKL chuyển động bề mặt (tàu sân bay).
3.9 Quy trình khai thác trong điều kiện tầm nhìn hạn chế
Không có quy trình khai thác trong điều kiện tầm nhìn hạn chế đặc biệt nào cho khu vực sân đỗ. Các nhân viên an toàn sân bay thường xuyên kiểm soát sự di chuyển của các phương tiện trên khu vực sân đỗ và sẽ cung cấp dịch vụ dẫn đường nếu cần thiết.
4. SÂN BAY FRANKFURT-MAIN, FRANKFURT, CỘNG HÒA LIÊN BANG ĐỨC
4.1 Lưu lượng giao thông 1984
Hành khách 19 031 764 (74% khách quốc tế)
Vận tải hàng không (chuyến) 214 954
Hàng hóa (tấn) 772 787
4.2 Tổng quát
Sân bay được sở hữu và vận hành bởi Flughafen Frankfurt-Main AG. Dịch vụ kiểm soát không lưu được cung cấp bởi Cục Quản lý Liên bang Dịch vụ Dẫn đường Hàng không Cộng hòa Liên bang Đức.
4.3 Bố cục
Sân bay có một nhà ga hành khách trung tâm với bốn khu vực được bao quanh bởi 36 vị trí đỗ tàu bay. Một khu vực (C-Finger) sẽ được mở rộng vào năm 1987 với năm vị trí đỗ tàu bay bổ sung. Sân đỗ bao gồm tối đa 82 vị trí đỗ tàu bay cộng với sân đỗ hàng không chung ở phía Đông của sân bay. Ở phía Tây có một nhà ga hàng hóa lớn với 16 vị trí đỗ tàu bay.
4.4 Hướng dẫn đỗ
Phần lớn các vị trí đỗ tàu bay đều được trang bị AGNIS, được bổ sung bởi PAPA, để tàu bay có thể tự định vị và dừng mà không cần hỗ trợ. Nhà điều hành sân bay cung cấp dịch vụ đánh tín hiệu cho các vị trí đỗ tàu bay còn lại.
4.5 Bảo dưỡng sân đỗ
Khu vực sân đỗ có bộ phận quản lý riêng chịu trách nhiệm trước người đứng đầu hoạt động sân bay. Nhân viên của các đơn vị vận hành sân đỗ thường xuyên kiểm tra tất cả các khu vực của sân đỗ. Các khiếm khuyết được báo cáo cho kỹ sư sân bay để bảo trì hoặc sửa chữa. Các vị trí đỗ tàu bay được quét bằng xe vệ sinh khi có yêu cầu, ngoài ra có chương trình lau ướt các sân đỗ định kỳ. Nhiên liệu tràn ra được báo cáo cho đơn vị vận hành sân đỗ để sắp xếp dọn dẹp.
4.6 Thiết bị phụ trợ trực quan
Các vạch kẻ đường lăn màu vàng tiêu chuẩn được sử dụng và đèn lề đường lăn khi cần thiết. Tương tự như vậy, tất cả các vị trí đỗ tàu bay đều có sơn tín hiệu tiêu chuẩn. Hệ thống đèn tim đường xanh, đèn stop bar và đèn clearance bar trên sân đỗ và khu vực di chuyển đã được lắp đặt một phần và sẽ được phát triển trong vài năm tới.
4.7 Kiểm soát không lưu
Các hoạt động của tàu bay trên khu vực di chuyển được kiểm soát bởi Cục quản lý liên bang về Dịch vụ dẫn đường hàng không. Các chuyển động của tàu bay trên khu vực sân đỗ bao gồm cả đường lăn sân đỗ được kiểm soát bởi nhà điều hành sân bay (kiểm soát sân đỗ FAG), "đơn vị quản lý sân đỗ".
4.8 Kiểm soát sân đỗ
Trong khu vực trách nhiệm của mình, việc kiểm soát sân đỗ nhằm mục đích ngăn ngừa va chạm giữa các tàu bay và giữa tàu bay với chướng ngại vật. Nó cũng chịu trách nhiệm đảm bảo luồng giao thông trật tự và nhanh chóng trên sân đỗ, bao gồm cả việc phân bổ các vị trí đỗ. Nhân viên kiểm soát sân đỗ là nhân viên của nhà điều hành sân bay. Việc đào tạo của họ tuân theo chương trình do cơ quan kiểm soát không lưu và nhà điều hành sân bay xây dựng. Nhân viên kiểm soát sân đỗ phải có chứng chỉ của liên bang về điều hành bay bằng điện thoại vô tuyến. Tàu bay yêu cầu cơ quan kiểm soát không lưu cho phép khởi động và sau đó chuyển sang tần số của kiểm soát sân đỗ để nhận hướng dẫn đẩy lùi/lăn. Sau đó, tàu bay được chuyển sang đơn vị kiểm soát không lưu tại ranh giới khu vực di chuyển. Tương tự, tàu bay đến được chuyển từ kiểm soát không lưu sang kiểm soát sân đỗ tại ranh giới khu vực di chuyển.
4.9 Quy trình khai thác trong điều kiện tầm nhìn hạn chế
Hướng dẫn tàu bay trong các hoạt động tầm nhìn thấp được hỗ trợ bởi các tuyến đường lăn xác định trước. Hầu hết các đường lăn tiêu chuẩn này đều được trang bị đèn tim đường lăn màu xanh lá cây. Trên đường lăn không có đèn tim, tàu bay được hướng dẫn bởi sự hỗ trợ của nhân viên đánh tín hiệu và các phương tiện dẫn đường. Nhu cầu về dịch vụ này sẽ chấm dứt khi đèn đường lăn kiểm soát chuyển động mặt đất được lắp đặt cùng với radar giám sát mặt sân. Phương tiện giao thông không được kiểm soát trên khu vực hoạt động bị cấm khi tầm nhìn giảm xuống dưới 1 000 m.
5. SÂN BAY PARIS/CHARLES-DE-GAULLE, PARIS, PHÁP
5.1 Lưu lượng giao thông 1984
Hành khách 13 966 543 (89% khách quốc tế)
Vận tải hàng không (chuyến) 133 503
Hàng hóa (tấn) 506 440
5.2 Tổng quát
Sân bay này được sở hữu và vận hành bởi Aeroports de Paris. Kiểm soát không lưu được cung cấp bởi Bộ hàng không dân dụng của Pháp.
5.3 Bố cục
Sân bay có hai nhà ga hành khách nằm ở trung tâm. Nhà ga số 2 hiện đang được mở rộng. Một nhà ga hàng hóa lớn nằm ở phía Tây Nam của sân bay. Có 153 vị trí đỗ tàu bay trên sân bay, trong đó có 118 vị trí có thể được sử dụng đồng thời.
5.4 Hướng dẫn đỗ
Tất cả vị trí đỗ được sơn tín hiệu bề mặt. Các vị trí đỗ của Nhà ga số 2 có hệ thống dẫn đỗ trực quan. Dịch vụ điều phối đến từ nhà điều hành sân bay và các hãng hàng không lớn. Dịch vụ này được cung cấp cho tất cả các tàu bay sử dụng Nhà ga số 1. Tại Nhà ga số 2, dịch vụ này chỉ được cung cấp theo yêu cầu.
5.5 Bảo dưỡng sân đỗ
Nhà điều hành sân bay có trách nhiệm kiểm tra và sửa chữa sân đỗ thường xuyên. Các vị trí đỗ được lau ướt định kỳ. Sự cố tràn nhiên liệu là trách nhiệm của các hãng hàng không và công ty cung cấp nhiên liệu. Họ có thể yêu cầu sự hỗ trợ của nhà điều hành sân bay và cơ quan cứu hộ, chữa cháy trong trường hợp bị đổ tràn lớn.
5.6 Thiết bị phụ trợ trực quan
Sơn tín hiệu đường lăn màu vàng tiêu chuẩn được sử dụng để hướng dẫn tổ lái đến vị trí đỗ. Các đường sơn màu trắng phân định khu vực đỗ thiết bị, đường công vụ cho phương tiện và ranh giới giữa sân đỗ và khu vực di chuyển.
5.7 Kiểm soát không lưu
Mọi chuyển động trên khu vực di chuyển đều được kiểm soát bởi đơn vị kiểm soát không lưu. Nếu việc đẩy lùi sẽ đi vào đường lăn thì cần phải có phê duyệt của KSVKL chuyển động mặt đất và chỉ được đưa ra theo chuyển động của tàu bay.
5.8 Quản lý sân đỗ
Cơ quan quản lý sân bay Paris (PCO) chịu trách nhiệm về quản lý sân đỗ. Nhân viên PCO không liên lạc trực tiếp với tàu bay. Việc phân bổ vị trí đỗ được thực hiện thông qua truyền hình vô tuyến và máy in strip tới KSVKL mặt đất để truyền lại cho tàu bay. Các thao tác bên trong khu vực sân đỗ thuộc trách nhiệm của người điều hành theo các quy tắc đã thiết lập trước.
5.9 Quy trình khai thác trong điều kiện tầm nhìn hạn chế
Không có quy trình đặc biệt nào về tầm nhìn thấp đối với các hoạt động trên khu vực sân đỗ. Tuy nhiên, đèn bên ngoài của tàu bay và phương tiện phải luôn sáng và tổ lái/người điều khiển phương tiện phải làm việc cẩn thận và chú ý.
PHỤ LỤC D. MÔ HÌNH ĐƯỜNG LĂN MÔ PHỎNG SÂN BAY LONDON HEATHROW
1. Giới thiệu
1.1 Dưới đây là mô tả ngắn gọn về mô hình đường lăn mô phỏng được phát triển năm 1971 để đánh giá tác động của những thay đổi lớn trong hệ thống đường lăn và/hoặc điều hành đối với việc kiểm soát chuyển động mặt đất tại Sân bay Heathrow ở London. Nó đã được sử dụng thành công để thể hiện tác động của các tính năng mới của sân bay như nhà ga, xây dựng đường lăn mới và những thay đổi về loại tàu bay. Mặc dù chỉ có một sân bay, Heathrow, được lập mô hình, chương trình có thể được điều chỉnh để mô phỏng bất kỳ sân bay nào và được kết nối với mô hình đường cất hạ cánh để hoàn thành mô phỏng tổng thể các hoạt động trên mặt sân.
1.2 Mô hình này cần được sửa đổi nhiều vào năm 1988, nhưng vì tính phức tạp của nó nên có thể sẽ không thực hiện bất kỳ thay đổi nào, do đó mô hình sẽ trở nên dư thừa.
2. Mô hình đường lăn
2.1 Mô hình bao gồm năm chương trình. Mối liên kết giữa các chương trình này được thể hiện trong Hình D-1 và các chức năng của chúng được nêu dưới đây dựa trên hệ thống kiểm soát khối đang được sử dụng tại Heathrow (xem Phụ lục B. Hình B-2, bản đồ của Heathrow).

Hình D-1 Liên kết giữa các chương trình của mô hình
2.1.1 Chương trình tạo lịch trình di chuyển. Chương trình này tạo ra một lịch trình di chuyển dựa trên tổng số lượng tàu bay dự kiến đến và đi trong từng thời kỳ cùng với tỷ lệ phần trăm của từng loại tàu bay dự kiến khai thác. Lịch trình được tạo ngẫu nhiên có tính đến tỷ lệ phần trăm tối đa của từng loại tàu bay và tàu bay được chỉ định cho một hãng hàng không cụ thể dựa trên tỷ lệ kết hợp đội bay của mỗi hãng. Những chuyến hạ cánh được gán một thời gian đến dự kiến ngẫu nhiên mà không tính đến khoảng cách giữa các lần đến. Các chuyến khởi hành được cung cấp thời gian khởi hành theo lịch trình dựa trên tỷ lệ phần trăm các chuyến khởi hành dự kiến vào thời gian quy định trong mỗi giờ.
2.1.2 Chương trình lưu trữ tuyến đường và vị trí đỗ. Chương trình này lưu trữ thông tin về các điểm đỗ tàu bay trên sân bay và các tuyến đường đến và đi từ các vị trí đỗ này dành cho cả tàu bay đến và đi. Bất kỳ sự kết hợp nào giữa loại tàu bay và hãng hàng không đều có thể được phân bổ vào một nhóm vị trí đỗ, tàu bay được phân bổ ngẫu nhiên cho các nhóm này trên cơ sở tỷ lệ phần trăm nhất định. Các tuyến đường lăn được lưu trữ giữa các chỗ rẽ ra của đường cất hạ cánh và một/nhiều vị trí đỗ tàu bay, và tương tự giữa các vị trí đỗ và điểm bắt đầu đường cất hạ cánh. Các tuyến đường được đưa ra dưới dạng tuyến đường tiêu chuẩn và nếu có thể, các tuyến đường ngắn nhất sẽ được ưu tiên sử dụng.
2.1.3 Chương trình tạo tuyến đường và thời gian. Chương trình này kết hợp lịch trình di chuyển, được lấy từ chương trình tạo lịch trình di chuyển hoặc từ dữ liệu đầu vào cụ thể từ chương trình lưu trữ tuyến đường và vị trí đỗ. Tàu bay đến được phân bổ vào khu vực nút giao đường cất hạ cánh dựa trên phân bổ tỷ lệ phần trăm cho từng loại tàu bay và yêu cầu của hãng hàng không. Vị trí đỗ hoặc nhóm vị trí đỗ cũng được phân bổ ở giai đoạn này, do đó tuyến đường cơ bản của tàu bay quanh đường lăn được xác định. Thời gian hạ cánh của tàu bay tại thời điểm rời đường cất hạ cánh và bắt đầu vào đường lăn được so le để đảm bảo khoảng cách tối thiểu giữa các lần đến của bất kể loại tàu bay nào. Thời gian cất cánh của tàu bay cũng được sắp xếp so với lịch trình, có tính đến bất kỳ sự chậm trễ nào của hãng hàng không hoặc ATC đã được giải quyết ở vị trí đỗ trước giai đoạn đẩy lùi. Đầu ra của chương trình là danh sách các tàu bay cùng với lộ trình và thời gian đến đường lăn của chúng.
2.1.4 Chương trình mô phỏng. Đây là chương trình mô phỏng "các điểm quan trọng", chuyển từ “điểm quan trọng” này sang “điểm quan trọng” tiếp theo thay vì lấy theo sự việc ở những khoảng thời gian cố định. Nó không thể xác định dài hạn cho tương lai phát triển của sân bay nhưng có thể xem xét cho trường hợp mỗi khi xảy ra “điểm quan trọng” và bất kỳ điều chỉnh tuyến đường tương ứng nào. "Điểm quan trọng" được định nghĩa là khi một tàu bay đi vào hoặc rời khỏi hệ thống đường lăn hoặc khi xảy ra xung đột giữa hai tàu bay trên một đường lăn cụ thể. Giữa những "điểm quan trọng" này, tàu bay di chuyển liên tục qua hệ thống đường lăn với tốc độ ngẫu nhiên tùy theo loại tàu bay. Thời gian lăn được tính toán trên cơ sở thông tin độ dài của khối được nhập vào mô hình.
2.1.5 Hệ thống đường lăn được tính toán bao gồm tất cả các khối trên tuyến đường của tàu bay đi, từ lúc kết thúc việc đẩy lùi để đợi cất cánh. Tất cả việc chờ (holding) được coi là diễn ra ở khối cuối cùng của tuyến đường và điều này không được tính vào thời gian hành trình của tàu bay. Đối với tàu bay đến, hệ thống đường lăn bao gồm tất cả các khối từ khối đầu tiên khi tiếp xúc đường cất hạ cánh cho đến khối trước khi vào sân đỗ.
2.1.6 Chương trình mô phỏng di chuyển tàu bay trên đường lăn dựa theo các sự kiện quan trọng này, lưu ý đến thời gian vào và ra khỏi hệ thống. Đối với tàu bay đi, thời gian vào đường cất hạ cánh cũng được tính toán đến. Xung đột trên đường đi là một trong năm loại: cắt qua/theo sau; theo sau; cắt qua; đối đầu và đối đầu/cắt qua. Phương thức giải quyết bằng cách dừng, giảm tốc độ hoặc định tuyến lại cũng được ghi chú trong khối mà nó xảy ra cùng với sự chậm trễ của tàu bay. Thông tin từ RT và thời lượng của những thông tin này được tính theo khoảng thời gian đã đặt trước. Các tin nhắn này bao gồm các tin nhắn tiêu chuẩn khi tàu bay vào hoặc ra khỏi đường lăn, cùng với các tin nhắn cụ thể liên quan đến giải quyết xung đột hoặc cắt qua đường cất hạ cánh cùng với một số tin nhắn khác. Thông tin này được đưa ra dưới dạng tàu bay và khối trên đường lăn để chương trình phân tích có thể đọc được.
2.1.7 Chương trình phân tích. Chương trình này trình bày kết quả mô phỏng dưới dạng một loạt các bảng tóm tắt. Bản tóm tắt hành trình cho từng tàu bay cũng có thể được trích xuất. Các bảng cung cấp thông tin về thời gian hành trình của tàu bay và độ trễ khi lăn, độ phức tạp vị trí đỗ và độ trễ do chờ trên đường cất hạ cánh, số lượng tàu bay trên đường lăn và trong hàng đợi lên đường cất hạ cánh, tốc độ di chuyển qua các khối trên đường lăn và số lượng xung đột cần giải quyết, số lượng và độ dài của tin nhắn RT và tổng số xung đột theo từng loại.
PHỤ LỤC E. QUY TẮC VÀ QUY ĐỊNH GIAO THÔNG CHO PHƯƠNG TIỆN MẶT ĐẤT
1. Các quy tắc quản lý hoạt động di chuyển của tàu bay trên mặt đất được nêu trong Phụ ước 2 của ICAO và PANS-RAC, nhưng các quy tắc tương đương cho phương tiện mặt đất cũng cần phải được cung cấp và thực hiện. Tại các sân bay không có dịch vụ kiểm soát không lưu, các quy tắc và nhu cầu tuân thủ nghiêm ngặt các quy tắc này càng trở nên quan trọng hơn.
2. Ngoại trừ trong điều kiện tầm nhìn rất kém, cần áp dụng các quy trình đặc biệt về khai thác trong điều kiện tầm nhìn hạn chế (xem Chương 5), không phải lúc nào cũng có thể kiểm soát toàn bộ hoạt động di chuyển trên các phần của khu vực hoạt động như sân đỗ. Trong phạm vi ràng buộc hợp lý, tương ứng các điều kiện được phép trong những phần khác của tài liệu này, sự an toàn và hiệu quả phụ thuộc vào việc tàu bay và phương tiện mặt đất tuân thủ các quy tắc và quy định tiêu chuẩn về di chuyển trên mặt sân. Các cơ quan có liên quan cần tuân thủ các quy định của pháp luật và tuân thủ quy định an toàn do người khai thác cảng hàng không, sân bay ban hành theo thẩm quyền được quy định cụ thể trong văn bản quy phạm pháp luật.
3. Các quy định đối với phương tiện, nhân viên điều khiển phương tiện tại khu vực hạn chế
Tham khảo các quy định gồm:
- Thông tư số 10/2018/TT-BGTVT ngày 14/3/2018 của Bộ trưởng Bộ Giao thông vận tải ban hành quy định về nhân viên hàng không; đào tạo, huấn luyện và sát hạch nhân viên hàng không; Thông tư số 35/2021/TT-BGTVT ngày 17/12/2021 của Bộ trưởng Bộ Giao thông vận tải ban hành sửa đổi, bổ sung một số điều của Thông tư 10/2018/TT-BGTVT.
- Nghị định số 05/2021/NĐ-CP ngày 25/01/2021 của Chính phủ về quản lý khai thác cảng hàng không, sân bay.
- Thông tư số 29/2021/TT-BGTVT ngày 30/11/2021 của Bộ trưởng Bộ Giao thông vận tải quy định chi tiết về quản lý, khai thác cảng hàng không, sân bay.
Ghi chú: Trường hợp các văn bản QPPL thay đổi thì áp dụng theo các văn bản QPPL mới nhất.
PHỤ LỤC F. RADAR GIÁM SÁT MẶT SÂN (SMR)
1. Giới thiệu
1.1 Mục đích của việc cung cấp SMR là hỗ trợ các dịch vụ không lưu đạt được các mục tiêu như được xác định trong Phụ ước 11. Các mục tiêu này là:
a) Ngăn ngừa va chạm giữa các tàu bay;
b) Ngăn ngừa va chạm giữa các tàu bay và các chướng ngại vật trong khu vực di chuyển;
c) Đẩy nhanh và duy trì luồng di chuyển có trật tự;
d) Cung cấp thông tin hữu ích cho việc thực hiện chuyến bay hiệu quả và an toàn;
e) Thông báo cho các tổ chức thích hợp về tàu bay cần tìm kiếm cứu nạn và hỗ trợ các tổ chức đó khi được yêu cầu.
1.2 Tại một sân bay được trang bị đầy đủ các thiết bị phụ trợ trực quan, việc trang bị SMR có thể góp phần đáng kể vào sự an toàn và hiệu quả của việc kiểm soát chuyển động trên bề mặt sân bay trong điều kiện tầm nhìn hạn chế và vào ban đêm. SMR cho phép kiểm tra liên tục tình hình sử dụng đường cất hạ cánh và đường lăn, cho phép xác định nhanh chóng các yêu cầu kiểm soát đèn và tạo điều kiện thuận lợi trong việc cấp huấn lệnh cho tàu bay và phương tiện. Trong trường hợp khẩn cấp, nó có thể góp phần vào việc di chuyển nhanh chóng của các phương tiện cứu hộ và bố trí an toàn cho các phương tiện giao thông khác.
2. Sử dụng SMR
2.1 Như được mô tả trong Doc 9426, Phần II, Mục 5, 4.3.2, SMR có thể được sử dụng để thực hiện các chức năng liên quan cụ thể đến việc cung cấp dịch vụ kiểm soát sân bay:
a) Cung cấp radar giám sát hoạt động di chuyển trên khu vực di chuyển;
b) Cung cấp hướng dẫn định tuyến cho di chuyển mặt đất, sử dụng thông tin được hiển thị bằng radar, để tránh các điểm tắc nghẽn và lựa chọn tuyến đường cho tàu bay để duy trì luồng di chuyển thuận lợi;
c) Cho phép ra lệnh tạm dừng tại nơi giao nhau để tránh ùn tắc;
d) Cung cấp thông tin về việc đường cất hạ cánh không có phương tiện, đặc biệt trong thời điểm tầm nhìn hạn chế;
e) Cung cấp hỗ trợ về thời gian khai thác đường cất hạ cánh để cải thiện việc sử dụng đường cất hạ cánh, đồng thời tránh xung đột với tàu bay đi và đến;
f) Cung cấp thông tin hướng dẫn theo yêu cầu cho tàu bay không chắc chắn về vị trí của nó;
g) Cung cấp thông tin hướng dẫn cho các phương tiện khẩn cấp.
2.2 Khi đưa ra các mục tiêu hoạt động dưới đây, SMR được coi là một thành phần giám sát của SMGCS; tuy nhiên, nó có thể được sử dụng với vai trò tích cực hơn.
3. Mục đích của mục tiêu hoạt động
3.1 Mục đích của các mục tiêu nêu trên là xác định rộng rãi các yếu tố cần được xem xét khi xây dựng các tiêu chuẩn kỹ thuật để trang bị SMR cho sân bay. Khi sử dụng các mục tiêu hoạt động này cần lưu ý rằng một số yếu tố, bao gồm cách bố trí, độ phức tạp của sân bay và các điều kiện vận hành, sẽ ảnh hưởng đến thiết kế của một hệ thống SMR cụ thể. Theo đó, các mục tiêu này cần được xem xét và điều chỉnh khi cần thiết, có tính đến các yêu cầu cụ thể của sân bay liên quan.
4. Mục tiêu hoạt động chung của hệ thống
4.1 Tầm phủ
a) Phương vị - 360 độ.
b) Độ cao - lên tới 60 m trên sân bay.
c) Phạm vi - 150m đến tối đa 6.000 m (có khả năng sửa đổi theo nhu cầu của sân bay ở mức độ hợp lý và ít nhất đủ để bao phủ khu vực hoạt động).
4.2 Phát hiện mục tiêu
4.2.1 Trong điều kiện thời tiết từ không mưa đến lượng mưa 16 mm/h và trong giới hạn tầm phủ sóng, các mục tiêu di chuyển phải được phát hiện và hiển thị trong các điều kiện sau:
a) Diện tích phản xạ hiệu dụng của mục tiêu tương đương 1m2;
b) Xác suất phát hiện - ít nhất 90%;
c) Tỷ lệ cảnh báo sai - 10-6
4.3 Độ phân giải
4.3.1 Việc xác định mục tiêu chuyển động hoặc mục tiêu tĩnh trên màn hình vận hành (được điều chỉnh cho phù hợp điều kiện hoạt động) phải đủ để:
a) Phân biệt giữa các mục tiêu cách nhau 15 m;
b) Phân biệt theo kích thước/hình dạng và tốc độ chuyển động của mục tiêu, giữa loại tàu bay thân rộng (ví dụ B747) và tàu bay thân lớn (ví dụ DC8), giữa loại tàu bay trung bình (ví dụ B727) và tàu bay nhỏ (ví dụ Cessna, v.v.), cũng như giữa tàu bay và phương tiện mặt đất
4.4 Lập bản đồ chuyển động
4.4.1 Lập bản đồ chuyển động theo mặt bằng sân bay.
4.5 Tốc độ cập nhật
4.5.1 Thông tin phải được cập nhật ít nhất một lần mỗi giây.
4.6 Loại bỏ
4.6.1 Có thể giảm thiểu hoặc loại bỏ sóng phản xạ từ các khu vực trong tầm phủ nhưng không có ý nghĩa hoạt động.
4.7 Độ chính xác
4.7.1 Tỉ lệ lỗi hệ thống không được vượt quá 1% tầm hiển thị
5. Các mục tiêu hoạt động liên quan
5.1 Hiển thị
a) Màn hình hiển thị hoạt động phải phù hợp để xem ở trong khoảng cách một tay cầm mà không cần che và tốt nhất là không cần che trong điều kiện ánh sáng ban ngày. Màn hình hiển thị không được phản chiếu ánh sáng.
b) Không có hiện tượng "nhấp nháy".
c) Hiện tượng giật màn hình phải nhỏ hơn 0,05 % hiển thị
d) Các phạm vi hiển thị có thể thay đổi trong khoảng từ 1 km đến 6 km cần có khả năng di chuyển từ tâm đến rìa của màn hình và khả năng mở rộng thích hợp.
e) Có thể giảm hoặc triệt tiêu độ chói của các khu vực không hoạt động.
f) Có thể cung cấp sơ đồ tổng mặt bằng về hình dáng của đường cất hạ cánh, đường lăn, sân đỗ và các khu vực điều hành khác, có điều khiển độ sáng độc lập với dữ liệu hiển thị khác và tự động duy trì đồng bộ với phạm vi radar.
g) Khả năng bảo vệ đường cất hạ cánh và hệ thống báo động phù hợp nên là một lựa chọn.
h) Lập bản đồ video và các tính năng hiển thị khác đồng bộ khi thay đổi phạm vi hoặc sử dụng lệch tâm.
i) Ít nhất hai kênh hiển thị độc lập có thể điều khiển được trong phạm vi và lệch tâm, nên có tùy chọn tăng số lượng kênh. Kích thước tối thiểu của màn hình phải là 43 cm.
j) Có thể vận hành nhiều màn hình song song trên mỗi kênh.
k) Cần có khả năng sử dụng hiển thị do máy tính tạo ra.
l) Cần có khả năng ghi lại dữ liệu radar tự động.
m) Cần có khả năng thu phóng thay đổi.
5.2 Đánh dấu (dán nhãn) mục tiêu
5.2.1 Khi dán nhãn mục tiêu cần tuân thủ các điều kiện sau:
a) Phương thức dán nhãn: do cơ quan có thẩm quyền quyết định
b) Vùng dán nhãn: trên toàn vùng phủ sóng.
c) Hủy dán nhãn: tự động và thủ công với ghi đè thủ công.
d) Độ sáng nhãn : thay đổi riêng cho từng nhãn.
e) Định dạng nhãn: theo quyết định của cơ quan cấp phép. Thuật toán ghi nhãn sẽ ngăn chặn một nhãn ghi đè lên nhãn khác, nếu không thực hiện được điều này thì phải đảm bảo sự chồng chéo nhãn ở mức tối thiểu. KSVKL cần điều chỉnh được hướng của nhãn so với mục tiêu radar. Thông tin trong nhãn phải bao gồm thông tin nhận dạng và có thể bao gồm các thông tin khác như loại tàu bay hoặc điểm đến trong sân bay. Nhãn phải đồng bộ khi thay đổi phạm vi hoặc độ lệch. Hệ thống phải phát hiện được tàu bay đỗ gần.
f) Kích thước ký tự: bất kể phạm vi hiển thị, các ký tự phải dễ đọc đối với KSVKL ngồi ở vị trí làm việc bình thường cách màn hình một cánh tay.
Bạn chưa Đăng nhập thành viên.
Đây là tiện ích dành cho tài khoản thành viên. Vui lòng Đăng nhập để xem chi tiết. Nếu chưa có tài khoản, vui lòng Đăng ký tại đây!
Bạn chưa Đăng nhập thành viên.
Đây là tiện ích dành cho tài khoản thành viên. Vui lòng Đăng nhập để xem chi tiết. Nếu chưa có tài khoản, vui lòng Đăng ký tại đây!
