- Tổng quan
- Nội dung
- Tiêu chuẩn liên quan
- Lược đồ
- Tải về
Tiêu chuẩn TCVN 14499-3-200:2025 Hệ thống lưu trữ điện năng - Nguyên tắc thiết kế hệ thống EES điện hóa
| Số hiệu: | TCVN 14499-3-200:2025 | Loại văn bản: | Tiêu chuẩn Việt Nam |
| Cơ quan ban hành: | Bộ Khoa học và Công nghệ | Lĩnh vực: | Điện lực |
| Trích yếu: | IEC/TR 62933-3-200:2025 Hệ thống lưu trữ điện năng - Phần 3-200: Hoạch định và đánh giá tính năng của hệ thống lưu trữ điện năng - Nguyên tắc thiết kế hệ thống EES điện hóa | ||
|
Ngày ban hành:
Ngày ban hành là ngày, tháng, năm văn bản được thông qua hoặc ký ban hành.
|
27/09/2025 |
Hiệu lực:
|
Đã biết
|
| Người ký: | Đang cập nhật |
Tình trạng hiệu lực:
Cho biết trạng thái hiệu lực của văn bản đang tra cứu: Chưa áp dụng, Còn hiệu lực, Hết hiệu lực, Hết hiệu lực 1 phần; Đã sửa đổi, Đính chính hay Không còn phù hợp,...
|
Đã biết
|
TÓM TẮT TIÊU CHUẨN VIỆT NAM TCVN 14499-3-200:2025
Tiêu chuẩn TCVN 14499-3-200:2025: Quy định quan trọng về hệ thống lưu trữ điện năng
Tiêu chuẩn quốc gia TCVN 14499-3-200:2025, do Ban kỹ thuật tiêu chuẩn Quốc gia TCVN/TC/E18 biên soạn và Bộ Khoa học và Công nghệ công bố, có hiệu lực từ ngày ban hành. Tiêu chuẩn này hướng dẫn việc hoạch định và đánh giá tính năng của hệ thống lưu trữ điện năng (EES), tập trung vào các thiết kế hệ thống EES điện hóa cho nhiều ứng dụng khác nhau, ảnh hưởng đến các chủ thể như nhà đầu tư, nhà sản xuất điện và đơn vị quản lý lưới điện.
Tiêu chuẩn quy định rõ phạm vi áp dụng liên quan đến các trường hợp thiết kế EES ở ba vị trí chính: phía phát điện, phía truyền tải và phân phối, và phía khách hàng. Điều này giúp các bên liên quan hiểu rõ hơn về chức năng và mục tiêu của hệ thống, từ đó tạo điều kiện cho việc tích hợp hệ thống và nâng cao hiệu suất hoạt động.
Một điểm nổi bật trong tiêu chuẩn là các trường hợp thiết kế cụ thể cho hệ thống EES điện hóa, như:
- Hệ thống EES sử dụng pin lithium sắt phosphate (LFP) với công suất 30 MW/15 MWh trong nhà máy nhiệt điện, hỗ trợ điều chỉnh tần số.
- Hệ thống EES natri lưu huỳnh (NAS) với công suất 50 MW/300 MWh, tương ứng cho nhu cầu lưu trữ lớn trong lưới điện.
- Hệ thống hybrid đảm bảo khả năng hoạt động ổn định trong truyền tải và phân phối năng lượng điện.
Tiêu chuẩn cũng đưa ra các nguyên tắc thiết kế như việc lựa chọn công nghệ pin, quy mô và cấu trúc tích hợp, giúp giảm thiểu thời gian xử lý và nâng cao hiệu quả. Hệ thống tích trữ, hệ thống chuyển đổi công suất, và hệ thống điều khiển đều cần phải được thiết kế đảm bảo tiêu chuẩn an toàn và đáng tin cậy, từ đó thực hiện được chức năng ứng dụng đa dạng như điều chỉnh tần số, cung cấp điện dự phòng và hỗ trợ điện áp.
Bên cạnh đó, các biện pháp an toàn cũng được nhấn mạnh trong tiêu chuẩn như việc quản lý môi trường, kiểm soát nhiệt độ, và các hệ thống chữa cháy dự phòng, nhằm bảo vệ cơ sở hạ tầng và con người khi hệ thống EES hoạt động.
Tiêu chuẩn này không chỉ giúp cho các doanh nghiệp nhà máy, đơn vị vận hành và các tổ chức trong ngành điện nhận thức rõ hơn về quy trình thiết kế và vận hành hệ thống lưu trữ điện năng mà còn góp phần nâng cao khả năng tích hợp năng lượng tái tạo vào lưới điện quốc gia.
TCVN 14499-3-200:2025 được ban hành vào năm 2025, là tài liệu quan trọng cho hoạt động đầu tư và phát triển bền vững trong lĩnh vực năng lượng tại Việt Nam, từ đó tạo nền tảng cho việc hiện thực hóa các mục tiêu phát triển năng lượng xanh.
Tải tiêu chuẩn Việt Nam TCVN 14499-3-200:2025
TIÊU CHUẨN QUỐC GIA
TCVN 14499-3-200:2025
IEC TR 62933-3-200:2025
HỆ THỐNG LƯU TRỮ ĐIỆN NĂNG - PHẦN 3-200: HOẠCH ĐỊNH VÀ ĐÁNH GIÁ TÍNH NĂNG CỦA HỆ THỐNG LƯU TRỮ ĐIỆN NĂNG - NGUYÊN TẮC THIẾT KẾ HỆ THỐNG EES ĐIỆN HÓA
Electrical Energy storage (EES) Systems - Part 3-200: Planning and performance assessment of electrical energy storage systems - Design principles of electrochemical based EES systems
Mục lục
Lời nói đầu
1 Phạm vi áp dụng
2 Tài liệu viện dẫn
3 Thuật ngữ, định nghĩa và thuật ngữ viết tắt
3.1 Thuật ngữ và định nghĩa
3.2 Thuật ngữ viết tắt
4 Tổng quan về hệ thống EES điện hóa
4.1 Quy định chung
4.2 Chức năng ứng dụng
4.3 Kiến trúc hệ thống
4.4 Chức năng của các hệ thống con
5 Trường hợp thiết kế hệ thống EES điện hóa ở phía phát điện
5.1 Trường hợp 1: Hệ thống EES LFP 30 MW/15MWh
5.2 Trường hợp 2 : Hệ thống EESS FB 15 MW/60 MWh
5.3 Trường hợp 3 : Hệ thống EES NAS 50 MW/300 MWh
5.4 Trường hợp 4: BESS FB 100 MW/400 MWh
6 Các trường hợp thiết kế hệ thống EES điện hóa trong truyền tải và phân phối
6.1 Trường hợp 5: BESS LFP/NCM BESS 99,8 MW/99,8 MWh
6.2 Trường hợp 6 : EESS hybrid 7,2 MW / 8,6 MWh
6.3 Trường hợp 7 : BESS LFP 100 MW / 200 MWh
6.4 Trường hợp 8: BESS LFP 70 MW /140 MWh
6.5 Trường hợp 9 : EESS NCM 12 MW / 37 MWh
7 Trường hợp thiết kế hệ thống EES điện hóa ở phía khách hàng
7.1 Trường hợp 10 : EESS Li-ion 1 MW /1 MWh với PV trong dự án đã được kiểm tra xác nhận tính năng
7.2 Trường hợp 11: EESS LC 1 MW / 3 MWh trong tòa nhà lưu trữ-sạc PV
7.3 Trường hợp 12 : EESS NAS 1 MW X 7 h / 3 MW X 13,5 s trong hệ thống điện dự phòng
8 Cân nhắc thiết kế cho hệ thống EES điện hóa
8.1 Chức năng ứng dụng
8.2 Kích thước và lựa chọn pin
8.3 Sơ đồ tích hợp
8.4 Vị trí và bố trí
8.5 Sơ đồ hệ thống con
8.6 Các biện pháp an toàn hệ thống
Phụ lục A (tham khảo) Thông tin cơ bản về các trường hợp EESS điện hóa
Phụ lục B (tham khảo) POC sơ cấp của EESS điện hóa nối lưới điện
Phụ lục C (tham khảo) Mô hình thông tin EESS điện hóa điển hình
Thư mục tài liệu tham khảo
Lời nói đầu
TCVN 14499-3-200:2025 hoàn toàn tương đương với IEC TR 62933-3-200:2025;
TCVN 14499-3-200:2025 do Ban kỹ thuật tiêu chuẩn Quốc gia TCVN/TC/E18 Pin và acquy biên soạn, Viện Tiêu chuẩn Chất lượng Việt Nam đề nghị, Ủy ban Tiêu chuẩn Đo lường Chất lượng Quốc gia thẩm định, Bộ Khoa học và Công nghệ công bố.
HỆ THỐNG LƯU TRỮ ĐIỆN NĂNG - PHẦN 3-200: HOẠCH ĐỊNH VÀ ĐÁNH GIÁ TÍNH NĂNG CỦA HỆ THỐNG LƯU TRỮ ĐIỆN NĂNG - NGUYÊN TẮC THIẾT KẾ HỆ THỐNG EES ĐIỆN HÓA
Electrical Energy storage (EES) Systems - Part 3-200: Planning and performance assessment of electrical energy storage systems - Design principles of electrochemical based EES systems
1 Phạm vi áp dụng
Tiêu chuẩn này trình bày tổng quan và các trường hợp thiết kế các hệ thống lưu trữ điện năng (EES) điện hóa ở phía phát điện, phía truyền tải và phân phối, và phía khách hàng. Ngoài ra, tiêu chuẩn này cũng đưa ra các nguyên tắc thiết kế cho các hệ thống EES điện hóa như xác định kích cỡ và lựa chọn hệ thống con, sơ đồ tích hợp, vị trí và bố trí, và các biện pháp an toàn hệ thống.
2 Tài liệu viện dẫn
Các tài liệu viện dẫn sau đây là cần thiết cho việc áp dụng tiêu chuẩn. Đối với các tài liệu viện dẫn ghi năm công bố thì áp dụng bản được nêu. Đối với các tài liệu viện dẫn không ghi năm công bố thì áp dụng phiên bản mới nhất, bao gồm cả các sửa đổi.
TCVN 14499-1:2025 (IEC 62933-1:2024), Hệ thống lưu trữ điện năng (EES) - Phần 1: Từ vựng
TCVN 14499-3-2:2025 (IEC TS 62933-3-2:2023), Hệ thống lưu trữ điện năng (EES) - Phần 3-2: Thiết kế và đánh giá tính năng hệ thống lưu trữ điện năng - Yêu cầu bổ sung đối với các ứng dụng liên quan đến nguồn công suất biến động lớn và tích hợp nguồn năng lượng tái tạo
TCVN 14499-3-3 (IEC TS 62933-3-3), Hệ thống lưu trữ điện năng (EES) - Phần 3-3: Thiết kế và đánh giá tính năng hệ thống lưu trữ điện năng - Yêu cầu bổ sung đối với các ứng dụng tiêu thụ nhiều năng lượng và nguồn điện dự phòng
3 Thuật ngữ, định nghĩa và thuật ngữ viết tắt
3.1 Thuật ngữ và định nghĩa
Tiêu chuẩn này áp dụng các thuật ngữ và định nghĩa trong TCVN 14499-1 (IEC 62933-1), TCVN 14499-3-2 (IEC TS 62933-3-2), TCVN 14499-3-3 (IEC TS 62933-3-3) và các thuật ngữ và định nghĩa sau đây.
3.1.1
PCS xếp tầng (cascaded PCS)
Hệ thống chuyển đổi công suất bao gồm các môđun con giống nhau trong kết nối xếp tầng để thực hiện tích lũy điện năng và chuyển đổi AC/DC.
Chú thích 1: PCS thường bao gồm các nhánh ba pha đấu nối sao hoặc tam giác. Mỗi nhánh pha bao gồm một cuộn cảm và một số lượng nhất định các môđun con nối nối tiếp.
Chú thích 2: cấu trúc bán cầu hoặc toàn cầu thường được áp dụng trong một môđun con duy nhất.
3.1.2
Dịch chuyển đỉnh (peak shifting)
Giảm tiêu thụ điện từ lưới điện bằng cách cấp điện vượt quá giá trị giới hạn từ các nguồn điện chủ động khác.
3.2 Thuật ngữ viết tắt
| AGC | điều khiển phát điện tự động | automatic generation control |
| AVC | điều khiển điện áp tự động | automatic voltage control |
| BAMS | hệ thống quản lý dàn pin | battery array management system |
| BCMU | bộ quản lý cụm pin | battery cluster management unit |
| BESS | hệ thống lưu trữ năng lượng sử dụng pin | battery energy storage system |
| BMS | hệ thống quản lý pin | battery management system |
| BMU | bộ quản lý pin | battery management unit |
| CGI | giao diện lưới điều khiển được | controllable grid interface |
| DCS | hệ thống điều khiển phân tán | distributed control system |
| DER | nguồn năng lượng phân tán | distributed energy resource |
| EES | lưu trữ điện năng | electrical energy storage |
| EESS | hệ thống lưu trữ điện năng | electrical energy storage system |
| EMS | hệ thống quản lý năng lượng | energy management system |
| FB | pin dòng chảy | flow battery |
| FFR | đáp ứng tần số nhanh | fast frequency response |
| FSS | hệ thống chữa cháy | fire suppression system |
| HV | điện áp cao | high voltage |
| LA | chì axit | lead acid |
| LC | chì cacbon | lead carbon |
| LFP | lithium sắt photphat | lithium iron phosphate |
| LTO | titan lithium oxit | lithium titanium oxide |
| NAS | natri lưu huỳnh | sodium sulfur |
| NCA | niken coban nhôm | nickel cobalt aluminum |
| NCM | niken coban mangan | nickel cobalt manganese |
| PCS | hệ thống chuyển đổi công suất | power conversion subsystem / power conversion system |
| PH | tiềm năng của hydro | potential of hydrogen |
| POC | điểm đấu nối | point of connection |
| POD | giảm dao động công suất | power oscillation damping |
| PV | quang điện | photovoltaic |
| RTU | thiết bị đầu cuối từ xa | remote terminal unit |
| SCADA | điều khiển giám sát và thu thập dữ liệu | supervisory control and data acquisition |
| SOC | trạng thái sạc | state of charge |
| SOE | trạng thái năng lượng | state of energy |
| SPS | hệ thống điện dự phòng | standby power system |
| TSO | nhà vận hành hệ thống truyền tải | transmission system operator |
| UPS | nguồn cấp điện liên tục | uninterrupted power supply |
| V2G | xe đến lưới | vehicle to grid |
| VCB | máy cắt chân không | vacuum circuit-breaker |
| VOC | hợp chất hữu cơ dễ bay hơi | volatile organic compounds |
4 Tổng quan về hệ thống EES điện hóa
4.1 Quy định chung
Hệ thống EES điện hóa được thiết kế để cung cấp các chức năng khác nhau trong nhiều kịch bản ứng dụng khác nhau. Do đó, điều quan trọng là phải quy định cấu trúc của hệ thống EES điện hóa và chức năng của từng hệ thống con.
Mười hai trường hợp thiết kế hệ thống EES điện hóa ở phía phát điện, phía truyền tải và phân phối và phía khách hàng được trình bày trong Điều 5 đến Điều 7 như là các ví dụ minh họa cấu trúc và chức năng của hệ thống EES điện hóa. Thông tin tóm tắt về 12 trường hợp được cho trong Phụ lục A.
4.2 Chức năng ứng dụng
Các chức năng ứng dụng của hệ thống EES điện hóa khác nhau tùy theo mục đích và vị trí của chúng, tạo thành các kịch bản điển hình. Các chức năng ứng dụng của hệ thống EES điện hóa trong các kịch bản điển hình được thể hiện trong Bảng 1. về phía phát điện có các đơn vị nhiệt điện truyền thống, EESS có thể cung cấp điều chỉnh tần số, cắt đỉnh, khởi động đen, v.v. EESS có thể cung cấp chức năng làm mịn công suất đầu ra, ổn định công suất đầu ra và dịch chuyển đỉnh trong kịch bản điển hình của việc tích hợp các nguồn năng lượng tái tạo như phát điện gió hoặc mặt trời, về phía truyền tải và phân phối, EESS có thể thực hiện các chức năng điều chỉnh tần số, cắt đỉnh, hỗ trợ điện áp phản kháng và cung cấp điện dự phòng, v.v. về phía khách hàng, EESS có thể cung cấp các chức năng ứng dụng khác nhau như giảm thiểu sụt điện áp, dịch chuyển đỉnh, cung cấp điện dự phòng, v.v. Trong lưới điện siêu nhỏ có DER, EESS có thể cung cấp các chức năng bổ sung như làm mịn công suất đầu ra, ổn định công suất đầu ra, giảm dao động công suất và khởi động đen so với phía khách hàng.
Bảng 1 - Các chức năng ứng dụng của EESS điện hóa trong các kịch bản điển hình
| Chức năng ứng dụng | Các kịch bản điển hình | ||||
| Tích hợp các nguồn năng lượng tái tạo | Phía phát điện | Phía truyền tải và phân phối | Phía khách hàng | Lưới điện siêu nhỏ có DER | |
| Điều chỉnh tần số |
|
|
|
|
|
| Hỗ trợ điện áp phản kháng |
|
|
|
|
|
| Giảm nhẹ sụt điện áp |
|
|
|
|
|
| Làm mịn công suất ra |
|
|
|
|
|
| Ổn định công suất ra |
|
|
|
|
|
| Giảm dao động công suất |
|
|
|
|
|
| Cắt đỉnh |
|
|
|
|
|
| Dịch chuyển đỉnh |
|
|
|
|
|
| Khởi động đen |
|
|
|
|
|
| Nguồn dự phòng |
|
|
|
|
|
CHÚ THÍCH 1: Bảng 1 dựa trên IEC TS 62933-3-2:2023.
CHÚ THÍCH 2: Nội dung điều chỉnh tần số, làm mịn hoặc ổn định công suất ra, giảm nhẹ sụt điện áp, giảm dao động công suất và hỗ trợ điện áp phản kháng được quy định trong IEC TS 62933-3-2:2023.
CHÚ THÍCH 3: Nội dung của việc cắt đỉnh hoặc dịch chuyển đỉnh và nguồn cấp điện dự phòng được quy định trong IEC 62933-2-1.
CHÚ THÍCH 4: Nội dung của khởi động đen được quy định trong IEEE std 2030.2.1.
Thông thường, một hệ thống EES điện hóa có thể thực hiện nhiều hơn một chức năng ứng dụng trong các dự án thực tế. Ví dụ, các chức năng ứng dụng của cả điều chỉnh tần số và khởi động đen đều có thể được cung cấp bởi một hệ thống EES điện hóa.
4.3 Kiến trúc hệ thống
Kiến trúc điển hình của hệ thống EES điện hóa được thể hiện trên Hình 1.

CHÚ THÍCH 1: Hình 6 của 62933-1: 2024 được sử dụng có sửa đổi trên hệ thống tích trữ.
CHÚ THÍCH 2: Kết nối hệ thống phụ trợ được hiển thị ở đây thể hiện kết nối thông thường, nhưng có những cách khác để cấp nguồn cho hệ thống phụ trợ như đã thảo luận trong 8.3.2.
Hình 1 - Kiến trúc điển hình của hệ thống EES điện hóa
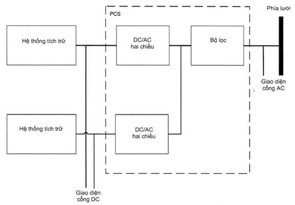
Hệ thống EES điện hóa bao gồm hệ thống tích trữ, hệ thống chuyển đổi công suất, hệ thống phụ trợ và hệ thống điều khiển. Ranh giới giữa hệ thống EES điện hóa và hệ thống điện được xác định là POC và tất cả các thông số được đo tại POC.
4.4 Chức năng của các hệ thống con
4.4.1 Quy định chung
Hệ thống EES điện hóa có cấu trúc phức tạp bao gồm bốn hệ thống con. Các hệ thống con thực hiện các chức năng riêng của mình và hoạt động phối hợp để đảm bảo tính ổn định và độ tin cậy của hệ thống EES điện hóa.
4.4.2 Hệ thống tích trữ
Hệ thống tích trữ có thể lưu trữ và giải phóng năng lượng theo chế độ hoạt động của hệ thống chuyển đổi công suất. Hệ thống tích trữ thường được thiết kế để đáp ứng các thông số kỹ thuật về tính năng trong suốt vòng đời sử dụng của chúng. Điều này bao gồm vòng đời sử dụng của chúng trong các điều kiện sử dụng như mô hình hoạt động, điều kiện môi trường, chu kỳ bảo dưỡng, v.v. Các loại pin được sử dụng trong hệ thống tích trữ có thể có các loại hóa chất khác nhau, ví dụ như Li-ion, FB, NAS, LC và LA, v.v. Các loại pin khác nhau thể hiện các đặc tính khác nhau, có thể ảnh hưởng đến tính năng của các hệ thống EES điện hóa. Khi thiết kế và sử dụng hệ thống EES điện hóa, điều quan trọng là phải xem xét các đặc tính của pin và các đặc trưng tính năng tương ứng của chúng.
4.4.3 Hệ thống chuyển đổi công suất (PCS)
Hệ thống chuyển đổi công suất chuyển đổi năng lượng DC của hệ thống tích trữ thành năng lượng đầu ra AC đến lưới điện tại POC trong quá trình xả của hệ thống tích trữ và có thể chuyển đổi công suất vào AC của lưới điện thành công suất DC phù hợp để sạc hệ thống tích trữ. Hệ thống chuyển đổi công suất có tác động đến đặc tính công suất biểu kiến của hệ thống EES điện hóa, nó cũng có thể ảnh hưởng đến chất lượng điện năng tại POC.
Nhìn chung, hệ thống chuyển đổi công suất được kết nối với hệ thống tích trữ và với đầu nối chính. Nó cũng bao gồm tất cả các thiết bị truyền công suất giữa đầu nối và hệ thống tích trữ, ví dụ như bất kỳ loại máy biến áp, bộ chuyển đổi AC/DC, bộ biến tần, bộ điều khiển, bộ lọc AC hoặc các thành phần chuyển mạch.
4.4.4 Hệ thống phụ trợ
Hệ thống phụ trợ bao gồm các thiết bị cần thiết nhằm thực hiện các chức năng phụ trợ của hệ thống EES điện hóa bao gồm, ví dụ như hệ thống cấp điện phụ trợ, hệ thống sưởi, thông gió và điều hòa không khí, hệ thống phát hiện và chữa cháy.
Hệ thống phụ trợ được sử dụng để cấp điện cho chiếu sáng, thiết bị có khí và hệ thống thông gió của hệ thống EES điện hoá.
Hệ thống sưởi, thông gió và điều hòa không khí có thể làm cho hệ thống EES điện hóa hoạt động trong môi trường phù hợp, điều này sẽ cải thiện hiệu quả hoạt động và tính an toàn của hệ thống EES điện hóa. Ví dụ, hệ thống sưởi, thông gió và điều hòa không khí được lắp đặt để duy trì nhiệt độ và độ ẩm của phòng chứa thiết bị trong phạm vi bình thường và thiết bị làm mát bằng chất lỏng hoặc bằng không khí cưỡng bức có cấu hình để làm giảm nhiệt độ làm việc của hệ thống tích luỹ và hệ thống chuyển đổi công suất nhằm đảm bảo hệ thống EES điện hóa có thể hoạt động ở điều kiện tối ưu theo khuyến nghị của nhà chế tạo.
Hệ thống phát hiện và chữa cháy được thiết kế để thực hiện các biện pháp phòng cháy chữa cháy tương ứng theo kích thước và đặc điểm khác nhau của pin. Hệ thống phát hiện cháy thường được thiết lập trong phòng điều khiển chính, phòng phân phối điện, phòng pin và phòng PCS, v.v. Do đó, khi xảy ra hỏa hoạn, hệ thống chữa cháy có thể tự động tham gia dập lửa hoặc cảnh báo người vận hành tại hiện trường thực hiện các biện pháp theo quy định. Hệ thống chữa cháy được sử dụng phải thích hợp để chữa được các loại cháy khác nhau liên quan đến điện.
4.4.5 Hệ thống điều khiển
Hệ thống điều khiển chịu trách nhiệm quản lý năng lượng, chiến lược điều khiển của hệ thống EES điện hoá, tương tác dữ liệu với các hệ thống khác và truy cập của tất cả các thiết bị truyền thông. Hệ thống điều khiển có nhiệm vụ quản lý việc sạc và xả BESS theo các chức năng ứng dụng, chiến lược quản lý năng lượng đã thiết lập và lệnh của lưới điện. Hệ thống điều khiển cũng xác định chế độ hiệu chỉnh và lượng hiệu chỉnh của đầu ra hệ thống lưu trữ năng lượng và điều khiển hệ thống lưu trữ năng lượng hoạt động một cách tin cậy trong phạm vi hoạt động.
Hệ thống điều khiển trong hệ thống EES điện hóa có thể bao gồm hệ thống truyền thông, hệ thống bảo vệ và hệ thống quản lý. Một số chức năng chung của chúng được mô tả dưới đây.
Hệ thống truyền thông có thể trao đổi thông tin giữa hệ thống EES điện hóa và nhà vận hành lưới điện hoặc nhà vận hành hệ thống. Hệ thống EES điện hóa được thiết kế để nhận các hướng dẫn điều khiển và điều chỉnh do nhà vận hành lưới điện hoặc nhà vận hành hệ thống gửi để đảm bảo hoạt động an toàn của hệ thống EES điện hóa và lưới điện.
Hệ thống bảo vệ có thể đánh giá và phân loại lỗi và trạng thái hoạt động bất thường bằng cách đo các thông số hoạt động của hệ thống tích trữ, hệ thống chuyển đổi công suất và hệ thống phụ trợ. Sau đó, một số biện pháp thiết yếu sẽ được thực hiện để xử lý lỗi hoặc trạng thái hoạt động bất thường, do đó đảm bảo hoạt động bình thường và an toàn của hệ thống EES điện hóa.
Hệ thống quản lý bao gồm các chức năng quản lý cho hệ thống tích trữ, hệ thống chuyển đổi công suất và hệ thống phụ trợ. Hệ thống quản lý có một số chức năng cần thiết, ví dụ như đo lường, ghi lại, giám sát, hiển thị và điều khiển, v.v. Hệ thống quản lý sẽ cung cấp các tín hiệu để chỉ đạo hoạt động của hệ thống EES như tốc độ sạc và xả của hệ thống tích trữ và hệ số công suất của điện năng được cấp hoặc nhận tại POC.
5 Trường hợp thiết kế hệ thống EES điện hóa ở phía phát điện
5.1 Trường hợp 1: Hệ thống EES LFP 30 MW/15MWh
5.1.1 Thông tin chung
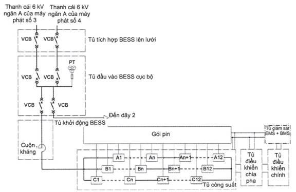
Hệ thống EES LFP 30 MW/15 MWh được lắp đặt trong nhà máy nhiệt điện có 4 máy phát ((2 × 600) + (2 × 1 000) MVA). BESS được kết nối với thanh cái phụ 6 kV của máy phát số 3 và máy phát số 4. BESS có thể hỗ trợ máy phát số 3 hoặc máy phát số 4 thực hiện điều chỉnh tần số.
Dự án này sử dụng pin LFP 40 Ah với tốc độ sạc-xả danh định là 2C và mỗi khối EESS có PCS xếp tầng cao áp 15 MW. Hình ảnh trên không của dự án này được hiển thị trên Hình 2.

Hình 2 - Ảnh chụp từ trên không của Trường hợp 1
5.1.2 Sơ đồ tích hợp
5.1.2.1 Sơ đồ tích hợp lưới điện
Hệ thống EES LFP được chia thành sáu dãy pin, mỗi dãy có công suất danh định là 5 MW/2,5 MWh. Mỗi hai dãy pin được kết nối riêng với các ngăn A, B và c của thanh cái 6 kV, như thể hiện trên Hình 3. Các máy biến áp phụ được cấp điện bởi thanh cái 6 kV của đoạn B của máy phát số 3 và máy phát số 4, với nguồn điện dự phòng kép để đảm bảo độ tin cậy và được biến đổi thành 380 V thông qua máy biến áp hạ áp cục bộ của trạm EES.

Hình 3 - Sơ đồ tích hợp của Trường hợp 1
5.1.2.2 Sơ đồ tích hợp các khối
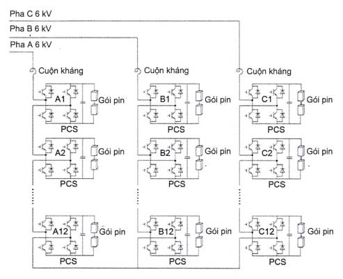
Dự án này bao gồm hai khối EESS xếp tầng cao áp 15 MW/7,5 MWh. Mỗi khối EESS bao gồm ba dãy pin 5 MW/2,5 MWh, như thể hiện trên Hình 4, và mỗi pha tích hợp hệ thống pin LFP 835,584 kWh và một PCS. Ba pha được kết nối với một thiết bị đóng cắt cục bộ 6 kV như thể hiện trên Hình 5.

Hình 4 - Sơ đồ một luồng của contenơ pha A, B và C

Hình 5 - Sơ đồ một luồng của hệ thống EES
5.1.3 Vị trí và bố trí
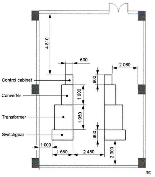
Hệ thống EES điện hóa được bố trí ngoài trời và chiếm diện tích 2 533 m2. Bố trí của hệ thống EES điện hóa được thể hiện trên Hình 6.
Kích thước tính bằng milimét

Hình 6 - Bố trí Trường hợp 1
Hệ thống EES có 18 contenơ một pha, một contenơ điều khiển trung tâm, một contenơ cao thế, một contenơ cấp điện trạm, một contenơ điều khiển tập trung lưu trữ năng lượng và 36 máy điều hòa không khí độc lập ngoài trời. Tất cả các contenơ được bố trí ngoài trời. Khoảng cách giữa các contenơ lân cận là 3 m.
5.1.4 Thiết kế các hệ thống con
5.1.4.1 Hệ thống tích trữ
Pin LFP sử dụng cell vỏ nhôm vuông LFP 40 Ah. Có hai loại gói pin: Gói 1 và Gói 2. Gói 1 có hai nhánh cell LFP được nối song song và mỗi nhánh gồm 18 cell LFP được kt nối nối tiếp. Gói 2 có hai nhánh cell được nối song song và mỗi nhánh gồm 2 cell được nối nối tiếp. Một cụm pin bao gồm 15 môđun Gói 1 và một môđun Gói 2. Các thông số pin được cho trong Bảng 2, Bảng 3 và Bảng 4.
Bảng 2 - Các thông số của cell pin LFP
| Hạng mục | Đơn vị | Quy định kỹ thuật | |
|
| Hình dạng | - | Hình vuông |
| Kiểu pin | - | LFP | |
| Kích thước cell pin (W × D × H] | mm | 148 × 27 × 132 | |
| Điện áp danh định | V | 3,20 | |
| Dải điện áp làm việc | V | 2,5 ~ 3,65 | |
| Dải nhiệt độ làm việc | °C | Sạc: 0 ~ 45 Xả: -20 ~ 60 | |
| Nhiệt độ bảo quản | °C | -40 ~ 45 | |
| Khối lượng cell | g | 1 035 ± 20 | |
Bảng 3 - Các thông số của gói pin
| Hạng mục | Quy định kỹ thuật của Gói 1 | Quy định kỹ thuật của Gói 2 |
| Điện áp danh định | 57,6 V | 6,4 V |
| Năng lượng danh định | 4,608 kWh | 0,512 kWh |
| Chế độ chuỗi của cell | 2P18S | 2P2S |
| Số lượng cell | 36 | 4 |
Bảng 4 - Các thông số của cụm pin
| Hạng mục | Quy định kỹ thuật |
| Chế độ chuỗi của cell | 15 gói 1 + 1 gói 2 |
| Điện áp danh định | 870,4 V |
| Năng lượng danh định | 69,632 kWh |
| Công suất danh định | 138,2 kW |
| Dòng điện danh định | 160 A |
| Số lượng cell | 544 |
5.1.4.2 Hệ thống chuyển đổi công suất
Mỗi dãy pin 5 MW / 2,5 MWh được kết nối với thanh cái 6 kV thông qua PCS xếp tầng cao áp có công suất danh định 5 000 kW.
Các thông số tính năng kỹ thuật chính của PCS 5 MW trong dự án được thể hiện ở Bảng 5.
Bảng 5 - Thông số của PCS 5 MW
| Hạng mục | Quy định kỹ thuật |
| Công suất danh định | 5 MW |
| Dải điện áp một chiều | 675 V - 985 V |
| Điện áp xoay chiều danh định | 6 kV |
| Tần số nối lưới danh định | 50 Hz |
Cấu trúc PCS được thể hiện trên Hình 7.

Hình 7 - Cấu trúc PCS
5.1.4.3 Hệ thống phụ trợ
5.1.4.3.1 Hệ thống sưởi, thông gió và điều hòa không khí
Hệ thống kiểm soát nhiệt độ pin thiết kế hợp lý ống dẫn khí làm lạnh trong hộp pin để đảm bảo chênh lệch nhiệt độ pin trong cùng một cụm pin của mỗi contenơ pha không cao hơn 8 °C. Đồng thời, thiết kế hệ thống kiểm soát nhiệt độ cũng xem xét các đặc điểm của hơi muối nhiệt độ cao và độ ẩm cao trong môi trường ven biển của dự án. Chức năng hút ẩm có thể kiểm soát độ ẩm tương đối tối đa không lớn hơn 75 %. Mỗi máy điều hòa không khí và cảm biến của hệ thống kiểm soát nhiệt độ được kết nối với hệ thống BMS tương ứng với contenơ một pha và được liên kết với thông tin điểm đo nhiệt độ và độ ẩm trong môđun pin. Hệ thống kiểm soát nhiệt độ tải lên thông tin môi trường và trạng thái hoạt động của hệ thống kiểm soát nhiệt độ theo thời gian thực và có thể được theo dõi và kiểm soát bởi hệ thống kiểm soát lưu trữ năng lượng.
5.1.4.3.2 Hệ thống chữa cháy tự động
Contenơ được trang bị FSS bao gồm đầu báo cháy hỗn hợp, bảng điều khiển, thiết bị báo động, ống xả và đầu thông hơi. Đầu báo cháy có thể phát hiện hydro, carbon monoxide, VOC, nhiệt độ và khói. Chất chữa cháy được sử dụng trong dự án là HFC-227ea.
5.1.4.3.3 Hệ thống cấp điện phụ trợ
Hệ thống EES bao gồm một contenơ được trang bị hai máy biến áp phụ. Công suất thiết kế của mỗi máy biến áp là 1 000 kVA. Phía cao áp của hai máy biến áp được kết nối với Đoạn B của thanh cái điện phụ của máy phát số 3 và máy phát số 4 tương ứng của nhà máy điện, và các nguồn điện phụ kép được trang bị để đảm bảo độ tin cậy của hệ thống EES. Hệ thống điện phụ chủ yếu được sử dụng cho điều hòa không khí contenơ, chiếu sáng, tải điện, hệ thống phân phối điện và các tải khác.
5.1.4.4 Hệ thống điều khiển
5.1.4.4.1 Hệ thống truyền thông
Một cáp quang phi kim loại được lắp đặt để đảm bảo truyền thông giữa từng nhóm các bộ EESS của pin và phòng điều khiển tập trung trong trạm. Hệ thống truyền thông sử dụng giao thức Modbus/IEC104.
Dự án được trang bị hệ thống giám sát máy tính. Hệ thống giám sát có thể thực hiện giám sát, đo lường và điều khiển tin cậy của trạm lưu trữ năng lượng, và có tất cả các chức năng điều khiển từ xa và chức năng đồng bộ hóa đồng hồ như đo từ xa, báo hiệu từ xa, điều chỉnh từ xa và điều khiển từ xa, và có khả năng trao đổi thông tin với trung tâm điều độ từ xa và trung tâm giám sát. Các chức năng cụ thể chủ yếu bao gồm thu thập và xử lý dữ liệu, thiết lập và bảo trì cơ sở dữ liệu, vận hành điều khiển, khóa phòng ngừa lỗi, xử lý báo động, ghi lại chuỗi sự kiện và xem lại sự cố, tạo và hiển thị hình ảnh, tính toán và lập bảng trực tuyến, xử lý năng lượng điện, chức năng điều khiển từ xa, đồng bộ hóa đồng hồ, tiếp xúc giữa người và máy, tự chẩn đoán và tự phục hồi hệ thống, giao diện với các thiết bị khác, quản lý vận hành, v.v.
5.1.4.4.2 Hệ thống quản lý
EMS bao gồm lớp điều khiển trạm và lớp cục bộ. Lớp cục bộ cung cấp quyền truy cập vào tất cả các thiết bị truyền thông như quản lý và điều khiển cục bộ. Lớp điều khiển trạm chịu trách nhiệm quản lý năng lượng và lập lịch điều khiển của toàn bộ hệ thống, cũng như tương tác dữ liệu với các hệ thống khác và các lớp khác.
Lớp cục bộ là địa điểm vận hành của contenơ EES, bao gồm mạng lưới vòng truyền thông cáp quang tại chỗ và bộ điều khiển cục bộ, chủ yếu chịu trách nhiệm truy cập thiết bị tại chỗ và kiểm soát cục bộ.
Lớp điều khiển trạm là hệ thống điều khiển cục bộ của mỗi trạm EES, bao gồm tủ giám sát thời gian thực, tủ quản lý năng lượng và tủ thông tin từ xa, chủ yếu chịu trách nhiệm về chiến lược giám sát và điều khiển vận hành của trạm biến áp EES.
Hệ thống EMS được triển khai trong máy chủ như thể hiện trên Hình 8. Máy chủ, trình quản lý truyền thông, bộ điều khiển và công tắc được đặt trong phòng điều khiển của contenơ điều khiển tập trung. Lớp dưới của trình quản lý truyền thông được kết nối với thiết bị bảo vệ toàn diện của tủ chuyển mạch. Máy chủ, trình quản lý truyền thông và bộ điều khiển sử dụng giao thức Modbus TCP để tương tác dữ liệu. Máy chủ được kết nối với thiết bị đóng cắt thông qua vách chống cháy, sau đó truyền thông với môđun I/O, trình quản lý truyền thông RTU và thiết bị đầu cuối hoạt động bằng giao thức Modbus TCP.

Hình 8 - Kiến trúc của mạng EMS
EMS chủ yếu được sử dụng để kiểm soát chiến lược phản hồi AGC của hệ thống EES mà độc lập với hệ thống DCS của máy phát, về nguyên tắc, hệ thống EES không thể ảnh hưởng đến điều khiển máy phát ban đầu. Hệ thống EES được thiết kế để trao đổi dữ liệu với hệ thống DCS của máy phát bằng mạch nối cứng.
a) Chiến lược điều khiển lưu trữ năng lượng thông thường
Hệ thống EES được sạc hoặc xả nhanh chóng theo thời gian thực bằng cách phản hồi lệnh AGC và việc điều chỉnh tần số kết hợp AGC được hoàn thành cùng với máy phát. Hệ thống điều khiển EES được thiết kế để trước tiên xác định trạng thái AGC của máy phát, sau đó thực hiện các chiến lược sau:
1) Khi lưới điện yêu cầu máy phát tăng công suất ra, hệ thống EES và máy phát phản ứng đồng thời. Hệ thống EES ngay lập tức chuyển sang chế độ xả và công suất ra của hệ thống EES giảm dần về 0 khi công suất ra của máy phát tăng lên;
2) Chiến lược điều khiển đưa việc điều khiển tỷ lệ tải biến đổi của máy phát vào xem xét, nghĩa là, tỷ lệ tải biến đổi tối ưu của máy phát được tính toán thông qua EMS và truyền đến trung tâm điều khiển tải của DCS để thao tác giá trị tỷ lệ tải biến đổi của máy phát, để thay đổi tốc độ của lệnh AGC tương ứng của máy phát;
3) Nếu có thể thực hiện được, lệnh AGC nhỏ sẽ do hệ thống lưu trữ năng lượng đảm nhận trước tiên. Hệ thống điều khiển phối hợp của máy phát điều khiển đầu vào nhiên liệu của máy phát theo chế độ tuyến tính để tránh biến động động của nhiệt độ hơi nước;
4) Khi AGC thoát, hệ thống EES không tham gia vào phản ứng điều chỉnh tần số;
5) Nhìn chung, trong giai đoạn không điều chỉnh tần số hoặc giai đoạn mà yêu cầu đầu ra của máy phát vẫn không thay đổi, SOC của hệ thống EES được giữ ở mức khoảng 50 %;
6) Sự cân bằng SOC của mỗi dãy pin được xem xét toàn diện để điều khiển công suất của PCS.
b) Chiến lược điều khiển lưu trữ năng lượng bất thường
Các chiến lược điều khiển lưu trữ năng lượng bất thường điển hình được liệt kê như sau:
1) Khi nhiệt độ vượt quá giới hạn, công suất ra của pin và công suất có thể sạc và xả bị hạn chế và pin chuyển sang chế độ hoạt động công suất hạn chế;
2) Trong quá trình kiểm soát công suất ra của hệ thống EES, dòng điện tải ở phía cao áp của máy biến áp tăng áp được theo dõi theo thời gian thực để tránh quá tải hoặc dòng điện ngược của máy biến áp cao áp. Trong trường hợp vượt quá giới hạn, đầu ra của hệ thống EES bị hạn chế;
3) Khi sự khác biệt về SOC của pin giữa các dãy pin là lớn, EMS sẽ khởi động lệnh cân bằng SOC để điều chỉnh đúng công suất sạc và xả;
4) Khi xảy ra tình trạng bất thường của hệ thống phân phối 6 kV, ví dụ như hệ thống phân phối 6 kV bị ngắt, hệ thống EES sẽ được tháo ra và cô lập. Việc liên động ngắt của công tắc được thiết lập thông qua mạch nối cứng;
5) Nếu khối EES gặp lỗi nghiêm trọng và không thể tiếp tục hoạt động bình thường, bộ bảo vệ sẽ ngắt công tắc phân đoạn làm việc 6 kV của khối EES và sau đó công tắc đầu vào 6 kV trong hộp điều khiển của khối EES sẽ bị ngắt và hệ thống EES sẽ bị tắt để thực hiện cách ly điện hoàn toàn giữa hệ thống EES và hệ thống nhà máy điện; Sau khi khối EES trở lại bình thường, người vận hành xác nhận lại tình trạng hoạt động, vận hành thủ công công tắc tương ứng để đưa hệ thống EES trở lại hoạt động;
6) Trong trường hợp hệ thống EES hoạt động bất thường, tín hiệu báo động của hệ thống EES sẽ ngắt công tắc đầu vào 6 kV trong hộp điều khiển EES, sau đó ngắt công tắc cấp trên để thực hiện cách ly điện hoàn toàn giữa hệ thống EES và hệ thống nhà máy điện. Khi hệ thống EES trở lại bình thường, người vận hành xác nhận lại tình trạng hoạt động, vận hành công tắc thủ công để đưa hệ thống EES trở lại hoạt động.
Phản ứng điều chỉnh tần số chung được ghi lại bởi EMS của hệ thống EES được thể hiện trên Hình 9. Mức tải của máy phát số 3 nằm trong khoảng từ 398 MW đến 957 MW. Khi máy phát số 3 và AGC lưu trữ năng lượng được đưa vào vận hành, hệ thống EES 30 MW/15 MWh kết hợp với máy phát số 3 phản ứng với lệnh AGC cùng lúc. Trong toàn bộ quá trình vận hành, hệ thống EES phản ứng chính xác theo chiến lược điều khiển điều chỉnh tần số chung được cài đặt trước.

Hình 9 - Đường cong hoạt động thực tế được ghi lại bởi hệ thống EMS
5.1.4.4.3 Hệ thống bảo vệ
Hệ thống EES áp dụng BMS đa cấp tiên tiến để giám sát hệ thống. Lớp dưới cùng là BMS môđun, được sử dụng để đo điện áp và nhiệt độ và thực hiện chức năng cân bằng pin của tối đa 22 cell. Tủ BMS có thể quản lý tất cả 12 khối BMS môđun, đo tổng điện áp và dòng điện và thực hiện chức năng bảo vệ bằng cách chuyển mạch của Bộ tiếp điểm DC. Cuối cùng, BMS chính quản lý khối BMS của tủ và truyền thông với hệ thống giám sát.
Mỗi hệ thống bao gồm mạch giám sát pin, BMU phụ, BMU chính, bộ điều khiển đường dây cao áp, đường dây sạc trước (song song) của tủ lưu trữ năng lượng, bộ phát hiện điện áp cao, bộ quản lý nhiệt, bộ phát hiện dòng điện, hệ thống dừng khẩn cấp, v.v. BMS này được sử dụng để phát hiện điện áp và nhiệt độ của từng khối pin trong tủ và dòng điện của một tủ riêng lẻ, tính toán SOC của khối pin trong giá pin và lưu trữ thông tin sản xuất có liên quan, thông tin phiên bản và dữ liệu vận hành lịch sử cần thiết của giá pin. Các khối BMS truyền thông theo thời gian thực thông qua thanh cái CAN. Mỗi lớp truyền trạng thái hoạt động của pin và thông tin báo động đến hệ thống quản lý cấp trên và nhận hướng dẫn vận hành do hệ thống quản lý cấp trên ban hành. Hệ thống quản lý có thể tự động quản lý điện áp và nhiệt độ cao, thiết kế tổng thể cho chức năng cân bằng pin tự động của toàn bộ giá pin và tự động hiệu chỉnh SOC theo kết quả tính toán khi cần thiết.
5.2 Trường hợp 2 : Hệ thống EESS FB 15 MW/60 MWh
5.2.1 Thông tin chung
Hệ thống EES điện hóa sử dụng pin dòng chảy vanadi nằm ở phía nguồn năng lượng tái tạo với dung lượng năng lượng là 60 MWh. Hình ảnh minh hoạ được thể hiện trên Hình 10.

Hình 10 - Ảnh chụp Trường hợp 2
Hệ thống bắt đầu hoạt động thương mại vào năm 2019 sau ba năm chạy thử công nghệ điều khiển từ năm 2016. Trong thời gian chạy thử, hệ thống EES có công suất danh định là 15 MW, thời gian sạc/xả danh định là 4 h và dung lượng danh định là 60 MWh. Đối với các ứng dụng liên quan đến công suất, hệ thống EES có khả năng hoạt động ở mức 30 MW.
5.2.2 Sơ đồ tích hợp
5.2.2.1 Sơ đồ tích hợp lưới
Sơ đồ tích hợp được thể hiện trên Hình 11. Hệ thống EES được kết nối với thiết bị đóng cắt 66 kV của trạm biến áp thông qua một đường dây.

| CHÚ DẪN | |||
| LBS | Đóng cắt có tải | MCCB | Máy cắt vỏ đúc |
| GCB | Máy cắt lưới điện | VMC | Khởi động từ chân không |
| ACB | Máy cắt không khí |
|
|
Hình 11 - Sơ đồ tích hợp của Trường hợp 2
5.2.2.2 Sơ đồ tích hợp khối
Hệ thống gồm 13 dãy, sau khi được hạ xuống 6,6 kV bằng máy biến áp. Sau đó, điện áp được hạ xuống mức điện áp thấp hơn là 270 V trong mỗi dãy và được kết nối với hệ thống chuyển đổi công suất. Mỗi dãy có dung lượng 5 MWh (1,25 MW × 4 h, công suất ra tối đa 2,5 MW). Hệ thống EES có thể được tắt để bảo trì theo từng dãy và có một dãy để dự phòng.
5.2.3 Vị trí và bố trí
Hệ thống EES được lắp đặt trong tòa nhà hai tầng với tổng diện tích sàn khoảng 9 600 m2 được xây dựng trong khu vực trạm biến áp. Bố trí hệ thống EES điện hóa được thể hiện trên Hình 12.

Hình 12 - Bố trí của Trường hợp 2
Tổng cộng có 130 thùng chứa và tủ chứa pin dòng chảy, 13 PCS và BMS, máy biến áp 66 kV/6 kV và thiết bị đóng cắt cách điện bằng khí được lắp đặt tại địa điểm này.
5.2.4 Thiết kế các hệ thống con
5.2.4.1 Hệ thống tích trữ
Sự kết hợp của năm môđun pin và PCS được gọi là một dãy. Trong một dãy, năm môđun pin được kết nối điện nối tiếp và được nối với một PCS. Công suất ra tối đa của PCS là 2,5 MW và dung lượng pin lưu trữ của một dãy là 5 MWh. Toàn bộ hệ thống bao gồm 13 dãy, với tổng dung lượng là 60 MWh. Một dãy là dãy dự phòng khi bảo trì.
Các thông số của hệ thống pin dòng chảy dòng chảy được thể hiện trong Bảng 6.
Bảng 6 - Các thông số của hệ thống EES FB
| Thiết bị | Lưu ý | Số lượng | ||
| Môđun | Dãy | Tổng | ||
| Ngăn xếp cell | 38 kW | 8 | 40 | 520 |
| Tủ pin | 125 kW | 2 | 10 | 130 |
| Bộ trao đổi nhiệt | Không khí cưỡng bức | 2 | 10 | 130 |
| Thùng chứa (chất điện phân) | 40 m3 | 2 | 10 | 130 |
| Bơm |
| 2 | 10 | 130 |
| BMS |
| - | 1 | 13 |
| PCS | 2,5 MVA | - | 1 | 13 |
| Bộ điều khiển dãy pin |
| - | - | 1 |
| Chất điện phân | Dung dịch chất điện phân vanadi | |||
| Công suất (MW) | Danh nghĩa | - | 1,25 | 15 |
| Lớn nhất | - | 2,5 | 30 | |
| Dung lượng năng lượng (MWh) |
| - | 5 | 60 |
5.2.4.2 Hệ thống chuyển đổi công suất
PCS của một dãy được kết nối với phía hạ áp của máy biến áp tăng áp cục bộ thông qua PCS 2,5 MVA. Các thông số chính về tính năng kỹ thuật của PCS được thể hiện trong Bảng 7.
Bảng 7 - Các thông số chính của PCS
| Hạng mục | Quy định kỹ thuật | |
| Kiểu | Mạch điện chính | PWM kiểu tự kích từ |
| Mạch làm mát | Không khí cưỡng bức | |
| Đầu vào/đầu ra một chiều | Chuỗi | 8 |
| Dải điện áp | 480-750 V DC | |
| Dòng điện một chiều lớn nhất | 6 400 A (800 A × 8 chuỗi) | |
| Đầu vào/đầu ra xoay chiều | Chế độ đấu nối | Ba pha - ba dây |
| Điện áp xoay chiều đầu ra | 270 V +/-10 % | |
| Tần số | 50 Hz +/-1 Hz | |
| Công suất danh nghĩa | 2 500 kVA | |
| Hệ số công suất | > 0,95 | |
| Thời gian đáp tuyến | < 100 ms (-100 % đến +100 % công suất ra) | |
| Mức tạp | < 70 dB | |
5.2.4.3 Hệ thống phụ trợ
Thiết bị phụ trợ chính cho hệ thống pin dòng chảy là máy bơm và quạt trao đổi nhiệt. Hệ thống EES pin dòng chảy được thiết kế để tính đến công suất tiêu thụ của các thiết bị phụ trợ này và công suất ra của thiết bị phụ trợ bằng cách thêm vào giá trị lệnh đầu ra từ trung tâm điều khiển.
5.2.4.4 Hệ thống điều khiển
5.2.4.4.1 Hệ thống truyền thông
Hệ thống được vận hành bởi trung tâm điều độ tải của công ty điện lực. Các giá trị lệnh đầu ra từ trung tâm điều độ tải được phân bổ cho các PCS trong mỗi dãy bởi bộ điều khiển dãy. Hệ thống đưa ra tổng giá trị lệnh đầu ra từ trung tâm điều độ tải và giá trị đầu ra cần thiết để điều khiển tương đương không cần bộ điều tốc do hệ thống xác định dựa trên tần số do hệ thống đo được.
5.2.4.4.2 Hệ thống quản lý
Hệ thống quản lý pin (BMS) được lắp đặt để giám sát các ngăn xếp cell và kiểm soát và giám sát hệ thống chất lỏng trong mỗi dãy. BMS có chức năng bảo vệ để tắt hệ thống trong trường hợp bất thường, phối hợp với PCS.
Các công nghệ điều khiển khác nhau được xác minh cho hệ thống quản lý được liệt kê trong Bảng 8.
Bảng 8 - Các chế độ điều khiển đã được kiểm tra xác nhận
| Chế độ điều khiển | Mô tả |
| Điều chỉnh tần số | 1) Phát hiện tần số và điều khiển pin tùy thuộc vào độ lệch tần số. 2) Xác định lượng điều chỉnh cho tổng công suất ra tùy thuộc vào độ lệch tần số, sau đó phân phối cho từng nhà máy thủy điện và hệ thống EES. |
| Ổn định công suất ra | 1) Bù đắp cho sự biến động ngắn hạn của tổng công suất ra, dựa trên dữ liệu thu thập được từ nhiều nguồn điện gió và PV. 2) Thiết kế vận hành tránh phát sinh nguồn điện dư thừa dựa trên dự báo công suất điện gió, PV và kế hoạch cung cầu. 3) Giảm thiểu biến động dài hạn dựa trên dự báo công suất điện gió và PV đầu ra |
Tính năng của công suất ra tác dụng của hệ thống EES điện hóa được thể hiện trên Hình 13.

Hình 13 - Tính năng của công suất ra tác dụng
Độ dốc của hệ thống được xác định là tốc độ biến đổi công suất tác dụng trung bình trên một đơn vị thời gian giữa T2 và T1 như thể hiện trên Hình 13. Theo định nghĩa này, độ dốc được tính là 200 MW/s.
Kết quả thử nghiệm này cho thấy hệ thống có tốc độ phản hồi đủ cao để thực hiện hoạt động kiểm soát biến động ngắn hạn. Thời gian phản hồi của hệ thống bị giới hạn bởi PCS và độ trễ của truyền thông, Trong các thử nghiệm trước đây, phản ứng hóa học của pin dòng chảy vanadi được xác nhận là dưới 1 ms.
5.2.4.4.3 Hệ thống bảo vệ
Hệ thống bảo vệ được cung cấp bởi rơ le bảo vệ kết nối lưới điện, PCS và BMS.
5.3 Trường hợp 3 : Hệ thống EES NAS 50 MW/300 MWh
5.3.1 Thông tin chung
Hệ thống EES điện hóa được lắp đặt tại nhà máy điện, được trang bị NAS EESS 50 MW/300 MWh. Hệ thống EES NAS cải thiện sự cân bằng cung cầu của phát điện năng lượng mặt trời bằng cách sử dụng khả năng lưu trữ của nó và để kiểm soát điện áp lưới. Ảnh chụp từ trên không được hiển thị trên Hình 14.

Hình 14 - Ảnh chụp từ trên không của Trường hợp 3
5.3.2 Sơ đồ tích hợp
5.3.2.1 Sơ đồ tích hợp lưới
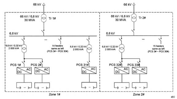
Hệ thống EES NAS được chia thành hai vùng. Vùng 1 gồm 124 contenơ pin NAS với 31 PCS công suất 800 kW, trong khi Vùng 2 bao gồm 128 contenơ pin NAS với 32 PCS công suất 800 kW. Sơ đồ tích hợp được thể hiện trên Hình 15. Hệ thống EES được kết nối với lưới điện 66 kV. Hai vùng được kết nối riêng biệt với thanh cái 6,6 kV của hai máy biến áp 66 kV/ 6,6 kV có công suất 30 MVA mỗi máy.

Hình 15 - Sơ đồ tích hợp của Trường hợp 3
5.3.2.2 Sơ đồ tích hợp các khối
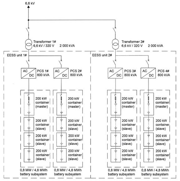
Hệ thống EES bao gồm ba mươi mốt khối EESS 1,6 MW/9,6 MWh và một khối EESS 0,8 MW/4,8 MWh, với tổng công suất là 50 MW/300 MWh. Mỗi khối 0,8 MW/4,8 MWh được kết nối với một PCS chuyển đổi điện áp một chiều thành xoay chiều 320 V. Hai PCS được kết nối với một máy biến áp 320 V/6,6 kV và đường thanh cái 6,6 kV. Sơ đồ một luồng của khối EESS được thể hiện trên Hình 16.

Hình 16 - Sơ đồ một luồng của khối EESS
5.3.3 Vị trí và bố trí
Hệ thống EES được bố trí trong không gian mở, với tổng diện tích khoảng 14 000 m2 (100 m × 140 m). Bố trí hệ thống EES điện hóa được thể hiện trên Hình 17.

CHÚ DẪN
1 Contenơ pin
2 Contenơ PCS
3 Máy biến áp 66 kV/6 kV
4 Thiết bị đóng cắt 6 kV
Hình 17 - Bố trí của Trường hợp 3
Tổng cộng có 252 contenơ pin NAS, 63 contenơ PCS, hai contenơ thiết bị trạm biến áp 6 kV và hai máy biến áp 66 kV/6 kV được lắp đặt tại hiện trường. Các contenơ pin 20 feet được xếp chồng đôi.
5.3.4 Thiết kế các hệ thống con
5.3.4.1 Hệ thống tích trữ
Một môđun pin NAS bao gồm 192 cell, cụ thể là 2 kết nối nối tiếp của 8 kết nối nối tiếp của 12 cell được nối song song. Môđun có kích thước 2,0 m (chiều rộng), 1,5 m (chiều dài) và 0,8 m (chiều cao). Công suất ra danh định là 33 kW, với dung lượng 200 kWh. Sáu môđun như vậy, với tổng công suất danh định là 200 kW, được lắp ráp để tạo thành một khối hộp giống như một contenơ vận chuyển hàng hóa tiêu chuẩn 20 ft.
Các thông số của cell pin NAS, môđun pin và ngắn chứa pin được thể hiện trong Bảng 9, Bảng 10 và Bảng 11.
Bảng 9 - Các thông số của cell pin NAS
| Hạng mục | Đơn vị | Quy định kỹ thuật | |
|
| Hình dạng | - | Hình trụ |
| Kiểu pin | - | NAS | |
| Điện áp danh định | V | 2,0 | |
| Dải điện áp làm việc | V | 1,78 ~ 2,08 | |
| Dải nhiệt độ tối ưu | °C | 300 ~ 340 | |
| Dải nhiệt độ làm việc | °C | 290 ~ 360 | |
Bảng 10 - Các thông số của môđun pin
| Hạng mục | Gói pin |
| Công suất danh định | 33 kW |
| Năng lượng danh định | 200 kWh |
| Chế độ chuỗi cell | 12P8S2S |
| Số lượng cell | 192 |
| Kích thước môđun (W × D × H) | 2 m × 1,5 m × 0,8m |
Bảng 11 - Các thông số của contenơ chứa pin
| Hạng mục | Thông số kỹ thuật |
| Năng lượng danh định | 1 200 kWh |
| Công suất danh định | 200 kW |
| Số lượng cell | 1 152 |
| Khối lượng | 21 t |
5.3.4.2 Hệ thống chuyển đổi công suất
Hệ thống tích trữ 0,8 MW/4,8 MWh được nối với phía hạ áp của máy biến áp tăng áp cục bộ thông qua PCS 800 kVA.
Các thông số chính về tính năng kỹ thuật của PCS được thể hiện trong Bảng 12.
Bảng 12 - Các thông số kỹ thuật chính của PCS
| Hạng mục | Đặc điểm kỹ thuật |
| Dung lượng danh định | 800 kVA |
| Điện áp một chiều danh định | 732 V |
| Điện áp xoay chiều danh định | 320 V |
| Hiệu suất (chế độ cắt đỉnh) | 97,5 % |
5.3.4.3 Hệ thống phụ trợ
5.3.4.3.1 Hệ thống chữa cháy tự động
Đối với các biện pháp phòng cháy chữa cháy cho pin NAS, mỗi cell đều được phủ một lớp chống cháy, ngăn không cho đám cháy lan sang cell liền kề. Hơn nữa, các khoảng trống bên trong của contenơ cách điện pin môđun được lấp đầy bằng cát khô, và các chất hoạt tính rò rỉ từ một pin đơn lẻ có thể được cát hấp thụ khi có rò rỉ. Do chức năng của lớp chắn chống cháy và cát chữa cháy loại trừ nguy cơ thoát nhiệt nên bỏ qua thiết bị chữa cháy cho các chất nguy hiểm.
5.3.4.3.2 Hệ thống cấp điện phụ trợ
Pin NAS cần tự làm nóng. Nhiệt độ tối ưu là khoảng 300 °C bên trong pin. Do đó, hệ thống cấp nguồn phụ trợ được thiết kế để cấp điện làm nóng các pin NAS.
5.3.4.4 Hệ thống điều khiển
5.3.4.4.1 Hệ thống quản lý
Hệ thống quản lý đạt được khả năng kiểm soát tổng thể hiệu quả và cải thiện hiệu quả hoạt động bằng cách sử dụng hệ thống SCADA để giám sát và điều khiển các môđun.
Có hai chế độ vận hành chính cho hệ thống EES, như thể hiện trên Hình 18. Mẫu 1 là sạc không đổi, trong đó hệ thống EES sạc ở công suất không đổi 50 MW trong quá trình phát điện PV (từ 9:00 đến 15:00) và xả theo nhu cầu vào ban đêm từ 17:00 đến 23:30. Mẫu 2 là sạc từng bước cho PV, trong đó trong thời gian phát điện PV (7:30 đến 16:30), hệ thống EES sạc từng bước theo đường cong phát điện PV và xả theo nhu cầu vào ban đêm từ 17:00 đến 23:30.

Hình 18 - Các chế độ hoạt động của hệ thống EES
5.3.4.4.2 Hệ thống bảo vệ
Hệ thống chuyển đổi nguồn có chức năng bảo vệ quá dòng, quá nhiệt, sự cố nối đất, quá áp, giám sát lưới điện và bảo vệ đầu ra xoay chiều của PCS.
Máy cắt ở phía xoay chiều của PCS sẽ bị ngắt khi phát hiện trạng thái sự cố sau:
• quá dòng / sự cố chạm đất
• quá điện áp / dưới điện áp
• quá nhiệt / nhiệt độ thấp
• không kích hoạt khi dừng xả hoặc dừng sạc
• lỗi truyền thông hệ thống
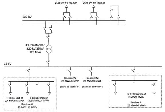
5.4 Trường hợp 4: BESS FB 100 MW/400 MWh
5.4.1 Thông tin chung
Hệ thống EES điện hóa sử dụng pin dòng chảy vanadi ở phía phát điện với quy mô 100 MW/400 MWh. Ảnh chụp từ trên không của trường hợp này được thể hiện trên Hình 19.

Hình 19 - Ảnh chụp từ trên không của Trường hợp 4
5.4.2 Sơ đồ tích hợp
5.4.2.1 Sơ đồ tích hợp lưới
BESS 100 MW/400 MWh được chia thành bốn khối EESS, bao gồm ba ngăn 24 MW/96 MWh và một ngăn 28 MW/112 MWh. Mỗi ngăn được nối với thanh cái 35 kV của trạm biến áp tăng áp thông qua đường dây 35 kV. Trạm biến áp tăng áp được nối với lưới điện cục bộ 220 kV với máy biến áp có công suất 120 MVA. Sơ đồ tích hợp lưới điện được thể hiện trên Hình 20.

Hình 20 - Sơ đồ tích hợp của Trường hợp 4
5.4.2.2 Sơ đồ tích hợp các khối
Công suất của các môđun pin cơ bản tạo thành mỗi ngăn 24 MW/96 MWh là 250 kW/1 000 kWh. Hai môđun pin 250 kW/1 000 kWh được nối với PCS 500 kW; bốn PCS được kết nối với máy biến áp 35 kV 2 500 kVA với cuộn dây chia đôi ở phía hạ áp để tạo thành khối EESS 2 MW/8 MWh. Mười hai khối EESS tạo thành ngăn lưu trữ năng lượng 24 MW.
Công suất của các môđun pin cơ bản tạo thành mỗi ngăn 28 MW/112 MWh là 400 kW/1 600 kWh. Hai môđun pin 400 kW/1 600 kWh được nối với PCS 800 kW; bốn PCS được kết nối với máy biến áp 35 kV 4 400 kVA với bốn cuộn dây chia ở phía hạ áp để tạo thành khối EESS 3,2 MW/12,8 MWh. Tám khối EESS 3,2 MW/12,8 MWh và một khối 2,4 MW/9,6 MWh tạo thành ngăn lưu trữ năng lượng 28 MW.
Sơ đồ tích hợp EESS 3,2 MW/12,8 MWh được thể hiện trên Hình 21.

Hình 21 - Sơ đồ một sợi của khối EESS
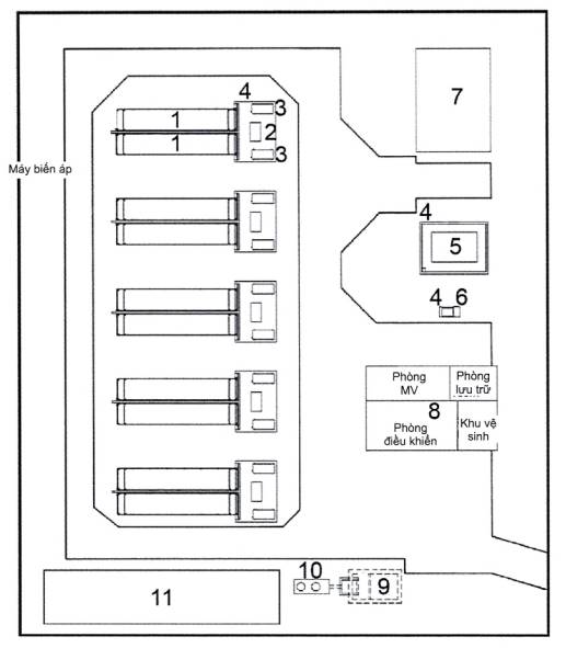
5.4.3 Vị trí và bố trí
Có hai tầng trong tòa nhà của trạm 100 MW/400 MWh. Các bồn chứa chất điện phân 220 kV GIS và các máy biến áp 220/35 kV nằm ở tầng một, các contenơ có ngăn xếp bên trong và hệ thống phân phối điện hạ áp nằm ở tầng hai, các máy biến áp 35 kV và tủ PCS nằm trên mái.
5.4.4 Thiết kế các hệ thống con
5.4.4.1 Hệ thống tích trữ
EESS pin dòng chảy bao gồm các ngăn xếp pin tiêu chuẩn 33 kW và 35 kW, và các tham số như được thể hiện trong Bảng 13.
Bảng 13 - Các thông số của pin dòng chảy
| Số thứ tự | Hạng mục | Quy định kỹ thuật của ngăn xếp pin 33 kw | Quy định kỹ thuật của ngăn xếp pin 35 kW |
| 1 | Công suất danh định | 250 kW | 400 kW |
| 2 | Dung lượng danh định | 1 000 kWh | 1 600 kWh |
| 3 | Hiệu suất phía DC (không bao gồm tự tiêu thụ) | 80 % (công suất danh định) | 80 % (công suất danh định) |
| 4 | Dải điện áp DC | 208 V ~ 332,4 V | 208 V ~ 332,4 V |
| 5 | Dòng điện DC tối đa ở công suất danh định | 1 200 A | 1 925 A |
| 6 | Công suất danh định của ngăn xếp pin | 33 kW | 35 kW |
| 7 | Chế độ chuỗi của ngăn xếp | 4S2P | 4S3P |
| 8 | Chiều dài × Chiều rộng × Chiều cao | 6 m × 2,4 m × 2,6 m | 6 m × 2,5 m × 3,1 m |
| 9 | Kích thước thùng chứa | Φ: 3 m; H 4,8 m | Φ: 3,5 m; H 5,1 m |
| 10 | Tổng trọng lượng | ~ 100 t | ~ 160 t |
| 11 | Độ ẩm môi trường vận hành | 5 % ~ 95 % | 5 % ~ 95 % |
| 12 | Nhiệt độ môi trường vận hành | 0 °C ~ 35 °C | 0 °C ~ 35 °C |
5.4.4.2 Hệ thống phụ trợ
5.4.4.2.1 Hệ thống làm mát pin
Pin sử dụng công nghệ làm lạnh bơm nhiệt, có thể cải thiện tỷ lệ sử dụng năng lượng và giảm mức tiêu thụ năng lượng trong quá trình làm lạnh. Mỗi máy điều hòa không khí và cảm biến của hệ thống kiểm soát nhiệt độ được kết nối với hệ thống BMS tương ứng với contenơ một pha và được liên kết với thông tin điểm đo nhiệt độ trong môđun pin. Hệ thống kiểm soát nhiệt độ tải thông tin môi trường và trạng thái hoạt động của hệ thống kiểm soát nhiệt độ theo thời gian thực và có thể được theo dõi và kiểm soát trong hệ thống kiểm soát lưu trữ năng lượng.
5.4.4.2.2 Hệ thống điện phụ trợ
Nguồn điện phụ trợ được cấp từ lưới điện khi trạm điện đang sạc; được cấp từ pin khi trạm điện đang xả.
5.4.4.2.3 Hệ thống phát hiện rò hydro và báo động
Do một lượng nhỏ khí hydro được tạo ra khi pin đang sạc, nên lắp đặt hệ thống phát hiện và cảnh báo rò rỉ khí hydro, bao gồm máy tính khu vực công nghiệp, phần mềm cấu hình và bộ phát hiện khí hydro tại hiện trường. Hệ thống con này được liên kết với hệ thống thông gió.
5.4.4.3 Hệ thống điều khiển
5.4.4.3.1 Hệ thống truyền thông
Trong trường hợp đưa ba môđun pin thông thường nối tiếp, kiến trúc truyền thông BMS được thể hiện như trên Hình 22.

Hình 22 - Kiến trúc truyền thông BMS
Hộp thu thập cấp độ đầu tiên nằm bên trong contenơ nguồn pin, hoàn thành việc thu thập thông tin pin bên trong như điện áp ngăn xếp đơn, điện áp tổng của môđun A, điện áp tổng của môđun B, dòng điện nhánh trên và dòng điện nhánh dưới. Môđun thu thập tải dữ liệu lên hộp điều khiển thông qua CAN THANH CÁI.
Các hộp điều khiển cấp độ thứ hai A và B chịu trách nhiệm thu thập và quản lý dữ liệu của các môđun A và B của môđun pin đầu tiên. Chúng thu thập dữ liệu từ contenơ và đường ống, ví dụ như nhiệt độ của bể chứa điện cực dương và âm, áp suất của đường ống điện cực dương và âm và thông tin thông số của bơm tuần hoàn điện cực dương và âm. Chúng cũng nhận dữ liệu được tải lên bởi môđun thu thập, điều khiển việc khởi động và dừng của một gói pin duy nhất và tải dữ liệu có liên quan lên hệ thống BMS thông qua Ethernet.
BMS cấp độ thứ ba được lắp đặt bên trong hộp điều khiển trạm biến áp chính A. BMS chịu trách nhiệm vận hành và quản lý toàn bộ gói pin, tiếp nhận dữ liệu được tải lên bởi hộp điều khiển A và hộp điều khiển B để phân tích và xử lý. Nó có thể tính toán SOC của pin và cung cấp khả năng kiểm soát và bảo vệ tổng thể cho toàn bộ cụm pin. BMS có thể tương tác với các thiết bị bên ngoài thông qua các tiếp điểm khô và BMS có thể truyền thông với các hệ thống bên ngoài thông qua Ethernet và chuyển tiếp toàn bộ dữ liệu hệ thống pin đến hệ thống quản lý năng lượng để hiển thị và lưu trữ, đồng thời truyền thông với hệ thống cân bằng pin để đạt được sự điều chỉnh cân bằng pin trong hệ thống.
5.4.4.3.2 Hệ thống quản lý
a) BMS
Hệ thống quản lý pin là quản lý theo hệ thống phân cấp, với cấu hình chủ-tớ và kiến trúc ba cấp. Toàn bộ hệ thống pin được chia thành một trạm chủ và hai trạm tớ, và phía DC có cấu trúc nối tiếp. Trong số đó, BMS nằm trong hộp điều khiển trạm biến áp chính A và mỗi bộ môđun pin chứa hộp điều khiển A, hộp điều khiển B, hộp chuyển đổi tần số và hộp thu thập. Mỗi môđun pin được tích hợp với một hệ thống quản lý pin. Hệ thống quản lý pin của hệ thống lưu trữ năng lượng 2,28 MW/2,22 MW áp dụng kiến trúc chủ-tớ, với phần mềm BMS và các thiết bị phần cứng trong môđun pin đầu tiên là trạm chủ, và phần mềm BMS và các thiết bị phần cứng trong hai môđun pin khác là trạm tớ. Hệ thống điều khiển cấp trên chỉ truyền thông với trạm chủ, và trạm chủ BMS điều phối hoạt động của ba môđun pin. Đây là kiến trúc của một hệ thống quản lý pin hoàn chỉnh.
b) EMS
Hệ thống quản lý năng lượng có các chức năng đo từ xa, điều khiển từ xa, truyền thông từ xa, giám sát toàn diện hệ thống pin và các thiết bị phụ trợ hỗ trợ khác, thu thập thời gian thực trạng thái hoạt động của thiết bị có liên quan và các thông số làm việc và tải lên hệ thống quản lý năng lượng lưu trữ năng lượng để đảm bảo thông tin trạng thái hoạt động của hệ thống có thể được làm mới sau mỗi 10 s.
Hệ thống quản lý năng lượng có thể xem các thông số vận hành của hệ thống các khối lưu trữ năng lượng pin, chủ yếu bao gồm: điện áp cọc đầu cực, điện áp DC của hệ thống pin, dòng điện DC, trạng thái sạc và xả, công suất vào hàng ngày, công suất ra hàng ngày, v.v.
Hệ thống quản lý năng lượng có thể xem các thông số vận hành của từng PCS lưu trữ năng lượng, chủ yếu bao gồm: điện áp DC, dòng điện DC, công suất DC, điện áp AC, dòng điện AC, nhiệt độ PCS, v.v.
Hệ thống quản lý năng lượng có thể giám sát trạng thái hoạt động của hệ thống pin và từng PCS lưu trữ năng lượng, sử dụng báo động âm thanh và ánh sáng để nhắc nhở lỗi thiết bị, kiểm tra nguyên nhân và thời gian lỗi. Thông tin lỗi được giám sát chủ yếu bao gồm: quá điện áp, quá nhiệt, quá dòng, điện áp AC quá cao, quá thấp, tần số AC quá cao, quá thấp, điện áp DC quá cao, quá thấp, quá tải PCS, quá nhiệt, ngắn mạch, quá nhiệt tản nhiệt, đảo PCS, lỗi DSP, lỗi truyền thông.
5.4.4.3.3 Hệ thống bảo vệ
BMS có các chức năng bảo vệ điện như bảo vệ quá áp, bảo vệ thấp áp, bảo vệ quá dòng, bảo vệ ngắn mạch, bảo vệ quá nhiệt, bảo vệ rò rỉ, v.v. Nó cũng có thể phát hiện rò rỉ và phát tín hiệu báo động. Contenơ có các ngăn xếp có máng thu chất lỏng rò rỉ và có cảm biến rò rỉ chất lỏng. Khi hệ thống có rò rỉ, cảm biến rò rỉ chất lỏng sẽ tiếp xúc với chất điện phân và phát tín hiệu cảnh báo rò rỉ. Hệ thống cũng phát tín hiệu cảnh báo hoặc lệnh ngắt, thực hiện cô lập lỗi tại chỗ và đảm bảo hệ thống hoạt động an toàn và tin cậy.
5.4.4.3.4 Chế độ hoạt động
a) Tham gia chuyển dịch phụ tải đỉnh lưới điện
Vì nguồn cung cấp khả thi cho các công ty điện lực là không nhiều, nên trạm biến áp lưu trữ năng lượng pin có tác động kép đến việc chuyển dịch tải đỉnh, việc xây dựng quy mô lớn là giải pháp hiệu quả để giải quyết tình trạng thiếu hụt trong việc chuyển dịch tải đỉnh của năng lượng lưới điện. Việc thiết lập nhà máy điện dịch chuyển tải đỉnh pin quy mô lớn đóng vai trò quan trọng trong việc nâng cao năng lực chuyển dịch tải đỉnh, tối ưu hóa cơ cấu nguồn điện và thúc đẩy tiết kiệm năng lượng, cắt giảm chi phí và giảm phát thải.
b) Hoạt động như nguồn cấp điện dự phòng cho phụ tải quan trọng
Trong trường hợp đường dây truyền tải lắp trên cùng một tháp bị hỏng do thời tiết khắc nghiệt hoặc các trường hợp đặc biệt, nhà máy điện sẽ hoạt động như UPS để cung cấp điện cho phụ tải quan trọng.
c) Khởi động đen
Hoạt động như nguồn cung cấp điện phụ trợ cho khởi động đen, nhà máy điện lưu trữ năng lượng bằng pin có thể khởi động các tổ máy nhiệt điện khu vực để phát điện nhằm cải thiện độ tin cậy cung cấp điện của lưới điện nhờ khả năng tự khởi động.
d) Điều chỉnh tần số
Độ lệch tần số cho phép của lưới điện là ±0,2 Hz, và nếu độ lệch quá lớn thì rất dễ gây hư hại cho các loại thiết bị điện. Trong quá trình vận hành thực tế của lưới điện, khi công suất tác dụng phát ra nhỏ hơn nhu cầu tải tiêu thụ, tần số hệ thống sẽ giảm; ngược lại, nếu công suất phát lớn hơn nhu cầu, tần số sẽ tăng. Hệ thống lưu trữ năng lượng mới có độ chính xác cao hơn trong điều chỉnh tần số, và việc tham gia điều chỉnh tần số lưới điện đang trở thành xu hướng chung trong tương lai.
6 Các trường hợp thiết kế hệ thống EES điện hóa trong truyền tải và phân phối
6.1 Trường hợp 5: BESS LFP/NCM BESS 99,8 MW/99,8 MWh
6.1.1 Thông tin chung
Dự án lưu trữ năng lượng nằm ở phía truyền tải với công suất lắp đặt là 99,8 MW/99,8 MWh. Dự án được chia thành hai khu vực liền kề: khu lưu trữ năng lượng A và B, mỗi khu vực có công suất là 49,9 MW/49,9 MWh. Pin LFP được sử dụng ở khu vực A, trong khi pin NCM được sử dụng ở khu vực B.
Hình 23 thể hiện ảnh chụp từ trên không của hệ thống EES điện hóa.

Hình 23 - Ảnh chụp từ trên không của trường hợp 5
Các dịch vụ vận hành lưới điện liên quan đến dự án bao gồm cắt đỉnh, FFR, thị trường công suất, công suất phản kháng và cơ chế cân bằng. Hai chế độ dịch vụ cắt đỉnh và điều chỉnh tần số chủ yếu được xem xét. Dự án đã đi vào hoạt động.
6.1.2 Sơ đồ tích hợp
Dự án là một BESS lithium-ion mới được kết nối với một trạm biến áp tăng áp 132 kV mới, sử dụng cấu trúc tăng áp hai cấp 132 kV/33 kV, như thể hiện trên Hình 23. BESS được kết nối với thanh cái đơn 33 kV của trạm biến áp tăng áp 132 kV/33 kV thông qua bốn đường dây 33 kV và mỗi đường dây 33 kV tương ứng với một hệ thống lưu trữ năng lượng 25 MW.
Mỗi khối EESS 5 MW bao gồm hai hệ thống tích luỹ 2,5 MW/2,5 MWh và một hệ thống chuyển đổi công suất 5 MVA. Mỗi khối EESS 5 MW được chuyển đổi thành 33 kV thông qua một bộ hệ thống chuyển đổi công suất 5 MVA. BESS gồm 4 phần đoạn thanh cái 33 kV, với mỗi năm khối EESS được kết nối với một đoạn thanh cái 33 kV. Mỗi đoạn thanh cái được kết nối với trạm biến áp tăng áp 132 kV thông qua một đường cáp.

Hình 24 - Sơ đồ tích hợp của Trường hợp 5
6.1.3 Vị trí và bố trí
Vị trí của BESS nằm cạnh trạm biến áp tăng áp 132 kV, được thể hiện trên Hình 25.

Hình 25 - Bố trí của Trường hợp 5
Phía bắc của khu vực là khu vực lưu trữ năng lượng A với pin LFP và phía nam là khu vực lưu trữ năng lượng B với pin NCM. Mỗi khu vực lưu trữ năng lượng được trang bị hai mươi contenơ pin lưu trữ năng lượng 2,5 MWh, mười hệ thống chuyển đổi công suất, một khung đỡ thiết bị đóng cắt 33 kV, một contenơ thiết bị điện và một phòng điều khiển khách hàng.
Mỗi thùng pin LFP được đặt cách nhau 3,5 m. Mỗi thùng chưa pin NCM được đặt cách nhau 3 m. Mỗi PCS và máy biến áp nằm giữa hai contenơ pin. PCS cách các thùng pin của cùng một khối là 4 m.
PCS và máy biến áp được bố trí trên bệ lắp đặt 40 feet với bố cục nhỏ gọn. Mặt trước của máy biến áp và PCS được thể hiện trên Hình 26.
Kích thước tính bằng milimét

Hình 26 - Mặt trước của máy biến áp và PCS
6.1.4 Thiết kế các hệ thống con
6.1.4.1 Hệ thống tích trữ
BESS sử dụng pin LFP và NCM với dung lượng là 49,9 MW/49,9 MWh.
a) Pin NCM
Pin NCM của dự án áp dụng công nghệ hóa học NCM và cell hình lăng trụ 100 Ah. Trong hệ thống, cứ 22 cell được nối nối tiếp để tạo thành một môđun pin và 13 môđun pin được nối nối tiếp để tạo thành một cụm pin. Các thông số pin như trong Bảng 14.
Bảng 14 - Các thông số của cell pin NCM
| Hạng mục | Đơn vị | Quy định kỹ thuật | |
|
| Kiểu pin | - | NCM |
| Kích thước (L × W × H) | mm | 173 × 45 × 125 | |
| Khối lượng | kg | 2,15 | |
| Dung lượng danh định | Ah | 100 | |
| Điện áp danh định | V | 3,68 | |
| Năng lượng danh định | Wh | 368 | |
| Dải điện áp | V DC | 2,70 - 4,15 | |
b) Pin LFP
Pin LFP của dự án sử dụng cell vỏ nhôm vuông 280 Ah. Mỗi 20 cell được nối nối tiếp để tạo thành một môđun pin và 17 môđun pin được nối nối tiếp để tạo thành một cụm pin. Các thông số pin được thể hiện trong Bảng 15.
Bảng 15 - Các thông số của cell pin LFP
| Hạng mục | Đơn vị | Quy định kỹ thuật | |
|
| Kiểu pin | _ | LFP |
| Kích thước (L × W × H) | mm | 173,9 × 71,5 × 207,3 | |
| Khối lượng | kg | 5,15 | |
| Dung lượng danh định | Ah | 280 | |
| Điện áp danh định | V | 3,20 | |
| Năng lượng danh định | Wh | 896 | |
| Dải điện áp | V | 2,5-3,65 | |
6.1.4.2 Hệ thống chuyển đổi công suất
Contenơ pin 2,5 MW/2,5 MWh được nối với phía hạ áp của máy biến áp tăng áp cục bộ thông qua một PCS, và hai PCS được nối tương ứng với các cuộn dây hạ áp của máy biến áp tăng áp chia đôi.
Các thông số kỹ thuật chính của PCS và máy biến áp được thể hiện trong Bảng 16.
Bảng 16 - Các thông số của PCS và máy biến áp
| Thông số | Đặc điểm kỹ thuật |
| 1 .PCS | |
| Công suất DC danh định | 2 500 kW |
| Dải điện áp DC | 800 V ~ 1 300 V |
| Công suất AC danh định | 2 500 kW |
| Điện áp danh định (phía AC) | 550 V |
| Tần số danh định (phía AC) | 50 Hz |
| 2. Máy biến áp | |
| Công suất danh định | 5 000 kVA |
| Tỷ lệ chuyển đổi điện áp danh định | 33/0,55 kV đến 0,55 kV |
| Nhóm đấu nối | D, y11-y11 |
| Trở kháng ngắn mạch | 8,0 % |
| Kiểu cách điện | Ngâm dầu |
| Chế độ làm mát | Làm mát không khí tự nhiên |
6.1.4.3 Hệ thống phụ trợ
6.1.4.3.1 Hệ thống sưởi, thông gió và điều hòa không khí
Máy điều hòa không khí có bộ trao đổi nhiệt là sản phẩm làm mát được phát triển cho tủ. Nó được áp dụng cho các trường hợp mà thiết bị bên trong tủ tỏa ra một lượng nhiệt lớn.
Contenơ pin được tích hợp với bộ trao đổi ống dẫn nhiệt và máy điều hòa không khí. Khi nhiệt độ môi trường bên ngoài thấp hơn nhiệt độ bên trong tủ, bộ trao đổi ống dẫn nhiệt sẽ được ưu tiên hoạt động và thực hiện giảm mức tiêu thụ tản nhiệt.
6.1.4.3.2 Hệ thống chữa cháy tự động
Để bảo vệ hệ thống EES, contenơ pin được trang bị hệ thống chữa cháy bằng chất chữa cháy sạch. Hệ thống bao gồm đầu báo khói, bảng điều khiển, thiết bị báo động, ống xả và đầu thông hơi. Chất chữa cháy được sử dụng trong dự án là perfluorohexanone.
6.1.4.3.3 Hệ thống cấp điện phụ trợ
Mỗi khu vực hệ thống lưu trữ năng lượng 49,9 MW/49.9 MWh được trang bị một máy biến áp phụ trợ 2 000 kVA, chủ yếu cung cấp điện cho các tải như điều hòa không khí trong contenơ pin, phụ tải cho chiếu sáng và hệ thống điện và hệ thống phân phối.
Hệ thống cấp điện phụ trợ trong contenơ pin sử dụng nguồn điện kép (hệ thống nguồn phụ trợ + pin trong contenơ) và được trang bị UPS để cấp điện cho các thiết bị quan trọng như thiết bị bảo vệ rơ le và truyền thông.
Trong điều kiện thời tiết khắc nghiệt, máy phát diesel có thể được sử dụng làm nguồn cấp điện dự phòng.
6.1.4.4 Hệ thống điều khiển
6.1.4.4.1 Hệ thống truyền thông
Để đáp ứng yêu cầu truyền thông của BESS, một cáp quang phi kim loại được đặt dọc theo cùng một đường với cáp để truyền thông giữa mỗi nhóm khối lưu trữ năng lượng pin và thiết bị đo lường và điều khiển trong phòng bảo vệ rơle. Giao thức truyền thông của BESS sử dụng Modbus TCP / Modbus RTU / IEC104 và các cổng truyền thông là RS485 và Ethernet, được hiển thị trên Hình 27.

Hình 27 - Kiến trúc của hệ thống truyền thông
6.1.4.4.2 Hệ thống quản lý
Hệ thống quản lý năng lượng (EMS) của dự án bao gồm lớp điều khiển trạm biến áp và lớp cục bộ. Trong đó, lớp điều khiển trạm biến áp chịu trách nhiệm kiểm soát và điều phối quản lý năng lượng của toàn bộ hệ thống, tương tác dữ liệu với các hệ thống khác và các lớp khác và truy cập tất cả các thiết bị truyền thông tại chỗ, tức là quản lý và điều khiển cục bộ.
EMS chịu trách nhiệm thực hiện chiến lược điều khiển và chiến lược quản lý năng lượng của BESS. Theo dữ liệu giám sát thời gian thực và dữ liệu vận hành lịch sử, EMS có thể kiểm soát việc sạc và xả BESS theo thời gian thực theo chiến lược quản lý năng lượng đã thiết lập và cũng có thể chấp nhận lệnh của AGC lưới điện.
Chiến lược vận hành cơ bản của dự án là điều chỉnh tần số từ 23:00 đến 6:00 vào ban đêm và chênh lệch giá đỉnh đáy từ 6:00 đến 23:00 vào ban ngày. Chiến lược điều khiển cắt đỉnh và lấp đầy đáy là thiết lập giá trị công suất tác dụng PCS theo lệnh điều độ hoặc chiến lược giá điện đỉnh đáy cục bộ. Chiến lược trước đây là thiết lập giá trị công suất theo chu kỳ lập lịch. Chiến lược sau được thiết lập theo giá điện đỉnh và đáy. BESS thực hiện điều chỉnh tần số của lưới điện thông qua khả năng điều chỉnh công suất tác dụng nhanh và điều chỉnh trong một phạm vi nhất định về biến động của tần số danh định của hệ thống. Trong phạm vi điều chỉnh, BESS phản ứng nhanh trong thời gian ngắn theo hàm tỷ lệ của độ lệch tần số.
Đường hoạt động thực tế được ghi lại của một khối điển hình được thể hiện trên Hình 28. Đường phía trên trục hoành biểu thị quá trình xả, trong khi đường phía dưới biểu thị quá trình sạc.

Hình 28 - Đường hoạt động thực tế được ghi lại của một khối điển hình
6.1.4.4.3 Hệ thống bảo vệ
a) Bảo vệ phần tử của pin NCM
Hệ thống EES sử dụng hệ thống quản lý pin (BMS) đa cấp tỉnh vi để giám sát và điều khiển hệ thống, ở cấp độ thấp hơn là BMS môđun, được thiết kế để phát hiện điện áp, nhiệt độ và thực hiện các chức năng cân bằng cell cho 22 cell. BMS giá đỡ có thể quản lý tất cả 12 khối BMS môđun và phát hiện điện áp tổng, dòng điện tổng và thực hiện các chức năng bảo vệ bằng cách chuyển mạch côngtắctơ DC của riêng nó. Cuối cùng, một BMS cấp hệ thống hoặc BMS chủ quản lý các khối BMS giá đỡ và truyền thông với PCS.
b) Bảo vệ phần tử của pin LFP
BMS này được sử dụng để phát hiện điện áp và nhiệt độ của từng cell pin trong tủ và dòng điện của từng tủ, tính toán SOC của cell trong giá đỡ pin và lưu trữ thông tin sản xuất có liên quan, thông tin phiên bản và dữ liệu vận hành lịch sử cần thiết của giá đỡ pin. Mỗi khối của BMS thực hiện truyền thông thời gian thực thông qua thanh cái CAN và mỗi cấp truyền trạng thái vận hành pin và thông tin báo động đến hệ thống quản lý cấp trên và nhận hướng dẫn vận hành do hệ thống quản lý cấp trên ban hành. Hệ thống quản lý có thể tự động thực hiện quản lý nhiệt và điện áp cao, thiết kế tổng thể cho chức năng cân bằng tự động pin của toàn bộ giá đỡ pin và nếu cần, tự động hiệu chỉnh SOC dựa trên tính toán.
c) PCS
Hệ thống chuyển đổi nguồn có chức năng bảo vệ quá dòng, bảo vệ quá nhiệt, bảo vệ nối đất, bảo vệ quá áp, bảo vệ giám sát lưới điện và bảo vệ đầu ra PCS AC.
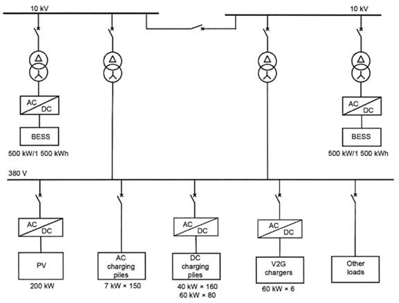
6.2 Trường hợp 6 : EESS hybrid 7,2 MW / 8,6 MWh
6.2.1 Thông tin chung
Hệ thống EES hybrid nằm ở phía truyền tải với công suất lắp đặt là 7,2 MW / 8,6 MWh. Hệ thống bao gồm một số nhà máy lưu trữ, mỗi nhà máy có công suất danh định xấp xỉ 1 MW /1 MWh. Trong số các công nghệ được lắp đặt có pin lithium-ion (NCM, LFP, NCA, LTO), pin zebra (pin natri nickel-clorua), pin dòng chảy và siêu tụ. Hình 29 cho thấy ảnh chụp từ trên không của hệ thống EES.

Hình 29 - Ảnh chụp từ trên không của Trường hợp 6
Hệ thống EES được phép cung cấp nhiều dịch vụ cùng một lúc. Một số dịch vụ khả dụng là điều chỉnh tần số sơ cấp và thứ cấp, cân bằng, điều khiển điện áp. Hệ thống EES là một cơ sở thí điểm sáng tạo do một TSO của Italia sở hữu, do đó nhà máy không tham gia vào thị trường năng lượng và dịch vụ phụ trợ.
Trường hợp này tập trung vào hệ thống pin LTO. LTO BESS có công suất danh nghĩa 1 MW /1 MWh, với khả năng quá tải 130 % trong 60 s.
6.2.2 Sơ đồ tích hợp
Mỗi hệ thống lưu trữ được nối với mạng MV (15 kV). Sau đó, hệ thống MV được nối với thanh cái HV (150 kV) thông qua máy biến áp HV/MV 40 MVA. Sơ đồ kết nối được thể hiện trên Hình 30.

Hình 30 - Sơ đồ tích hợp của Trường hợp 6
LTO BESS được kết nối với mạng lưới MV thông qua một máy biến áp MV/LV 1 150 kVA (15 kV/290 V). Sơ đồ tích hợp của LTO BESS bao gồm 4 hệ thống chuyển đổi một tầng, mỗi hệ thống 250 kVA.
6.2.3 Vị trí và bố trí
LTO BESS được lắp đặt trên các sàn 20 m × 18 m.
Giá đỡ pin, PCS và máy biến áp MV/LV được lắp đặt trong hai contenơ tiêu chuẩn dài 12,2 m. Bố trí bên trong của contenơ được thể hiện trên Hình 31.

Hình 31 - Bố trí bên trong của contenơ
6.2.4 Thiết kế các hệ thống con
6.2.4.1 Hệ thống tích trữ
BESS sử dụng các môđun LTO, mỗi môđun có dung lượng 40 Ah. Tổng số môđun được lắp đặt là 924, được sắp xếp thành 22 môđun được kết nối nối tiếp để tạo thành 42 cụm pin. Các thông số môđun được hiển thị trong Bảng 17.
Bảng 17 - Các thông số của môđun LTO
| Hạng mục | Đơn vị | Quy định kỹ thuật | |
|
| Kiểu pin | - | LTO |
| Kích thước (L × W × H) | mm | 187 × 359 × 123 | |
| Khối lượng | kg | 14 | |
| Dung lượng danh định | Ah | 40 | |
| Điện áp danh định | V DC | 27,6 | |
| Dòng điện lớn nhất | A | 120 | |
6.2.4.2 Hệ thống chuyển đổi công suất
EESS LTO 1 MW/1 MWh được kết nối với phía hạ áp của máy biến áp LV/MV tăng áp thông qua hệ thống chuyển đổi một tầng. EESS bao gồm bốn PCS AC/DC (290 V AC/648 V DC). Các thông số tính năng kỹ thuật chính của máy biến áp LV/MV và PCS được thể hiện trong Bảng 18.
Bảng 18 - Các thông số của máy biến áp và PCS
| Thông số | Thông số kỹ thuật |
| PCS (AC/DC) | |
| Công suất danh định | 250 kVA |
| Điện áp DC danh định | 648 V |
| Điện áp danh định (phía AC) | 290 V |
| Tần số danh định (phía AC) | 50 Hz |
| Máy biến áp | |
| Công suất danh định | 1 150 kVA |
| Tỷ lệ chuyển đổi điện áp danh định | 15 kV / 290 V / 290 V / 290 V / 290 V |
| Nhóm đấu nối | D,yn11, yn11,yn11, yn11 |
| Trở kháng ngắn mạch | 6,0 % |
| Kiểu cách điện | Nhựa đúc |
| Chế độ làm mát | Làm mát tự nhiên |
6.2.4.3 Hệ thống phụ trợ
6.2.4.3.1 Hệ thống sưởi, thông gió và điều hòa không khí
Máy điều hòa không khí có bộ trao đổi nhiệt là sản phẩm làm mát được phát triển cho tủ. Sản phẩm này được áp dụng cho các trường hợp thiết bị bên trong tủ tỏa ra lượng nhiệt lớn và được thiết kế để cách ly hoàn toàn với môi trường bên ngoài.
6.2.4.3.2 Hệ thống chữa cháy tự động
Để bảo vệ hệ thống lưu trữ, contenơ được trang bị hệ thống chữa cháy. Hệ thống bao gồm đầu báo khói, bảng điều khiển, thiết bị báo động, ống xả và đầu thông hơi.
6.2.4.3.3 Hệ thống cấp điện phụ trợ
Hệ thống cấp điện phụ trợ sử dụng nguồn điện kép, một từ phân phối điện áp thấp của Phòng lưu trữ bên ngoài và nguồn còn lại từ cuộn dây thứ ba (400 V) của máy biến áp LV/MV. Ngoài ra, hệ thống được trang bị UPS, cấp điện cho các thiết bị quan trọng.
6.2.4.4 Hệ thống điều khiển
6.2.4.4.1 Hệ thống truyền thông
Giao thức truyền thông của LTO EESS được thể hiện trên Hình 32.

Hình 32 - Kiến trúc truyền thông của EESS LTO
Hệ thống truyền thông BMS sử dụng kiến trúc nhiều tầng để giám sát và điều khiển. Có 12 cổng giao tiếp với hệ thống chính tên là SCI, đây là hệ thống BMS chính chịu trách nhiệm quản lý các khối BMU trong tủ pin và giao tiếp với PCS. Mỗi BMU có thể phát hiện điện áp, dòng điện và thực hiện các chức năng bảo vệ cho một tủ pin.
6.2.4.4.2 Hệ thống quản lý
Hệ thống quản lý bao gồm lớp điều khiển trạm biến áp và lớp điều khiển cục bộ dành riêng cho từng hệ thống lưu trữ. Lớp điều kiện trạm biến áp chịu trách nhiệm quản lý năng lượng và điều phối điều khiển của một số hệ thống lưu trữ năng lượng, giám sát, tương tác dữ liệu với các hệ thống khác và các lớp khác, truy cập tất cả các thiết bị truyền thông và kết nối với hệ thống điều khiển từ xa.
Hệ thống EES chủ yếu được TSO điều hành từ xa. Theo dữ liệu giám sát, chiến lược điều phối và các dịch vụ phụ trợ đang hoạt động, TSO có thể kiểm soát trạng thái sạc và xả của hệ thống EES theo thời gian thực.
Hệ thống lưu trữ năng lượng thực hiện điều chỉnh tần số của lưới điện thông qua khả năng điều chỉnh công suất tác dụng nhanh và điều chỉnh trong một phạm vi nhất định của biến động tần số danh định. Trong phạm vi điều chỉnh, hệ thống lưu trữ năng lượng phản ứng nhanh trong thời gian ngắn theo hàm tỷ lệ của độ lệch tần số.
Ngoài ra, xét đến các tính năng chính của BESS, một tính năng điều khiển sáng tạo đã được thiết kế để quản lý tối ưu SOC và tránh tình trạng ngắt kết nối do tự xả. Cái gọi là "mục tiêu SOC" là chức năng luôn bật cho phép hệ thống đạt đến mức SOC tối ưu, được gọi là "mục tiêu SOC" khi không hoạt động.
6.3 Trường hợp 7 : BESS LFP 100 MW / 200 MWh
6.3.1 Thông tin chung
EESS LFP 100 MW / 200 MWh được lắp đặt tại một nhà máy nhiệt điện. Có 37 bộ EESS 2,8 MW / 5,734 MWh, mỗi bộ bao gồm một contenơ pin đúc sẵn và một bộ PCS và máy biến áp. Hình ảnh chụp từ trên không được hiển thị trên Hình 33.

Hình 33 - Ảnh chụp từ trên không của Trường hợp 7
6.3.2 Sơ đồ tích hợp
Một trạm biến áp tăng áp 220 kV được xây dựng, bao gồm một máy biến áp 120 MVA (220 kV / 35 kV) và một đường dây 220 kV mới. Khối EESS được kết nối với thiết bị đóng cắt 35 kV của trạm biến áp 220 kV thông qua các đường dây cấp điện 35 kV. Trạm biến áp 220 kV được kết nối với một trạm biến áp nhà máy nhiệt điện 220 kV thông qua một đường dây 220 kV. BESS được kết nối với thanh cái 35 kV thông qua bốn đường dây 35 kV và mỗi đường dây 35 kV tương ứng với một khối EESS 25 MW. Sơ đồ tích hợp lưới điện được thể hiện trên Hình 34.

Hình 34 - Sơ đồ tích hợp của Trường hợp 7
6.3.3 Vị trí và bố trí
BESS nằm ở phía tây của nhà máy điện, có tổng diện tích khoảng 13 760 m2.
Vị trí lắp đặt BESS gồm 3 khu vực: 4 contenơ chứa pin, 4 contenơ chứa PCS, một máy biến áp tăng áp 220 kV và 1 contenơ điện tích hợp chế tạo sẵn để kết nối các đường dây cáp 35 kV được đặt ở khu vực 1; 10 contenơ pin và 10 contenơ PCS được đặt ở khu vực 2; 23 contenơ pin và 23 contenơ PCS được đặt ở khu vực 3. Bố trí được thể hiện trên Hình 35.

CHÚ DẪN
| 1 Contenơ pin | 4 Cabin chế tạo sẵn | 7 Thanh chống sét |
| 2 Contenơ PCS | 5 Máy biến áp | 8 Máy biến áp nối đất |
| 3 Sandbox | 6 Pit thu hồi dầu gắn kin |
|
Hình 35 - Bố trí của Trường hợp 7
6.3.4 Thiết kế các hệ thống con
6.3.4.1 Hệ thống tích trữ
BESS sử dụng pin LFP 280 Ah. Chế độ cấu hình hộp pin là 1P20S, bao gồm hai môđun pin 1P10S. Hai mươi hộp pin và một hộp điện áp cao được nhóm lại theo chuỗi. Do đó, cấu hình của một cụm pin là 1P400S và dải điện áp của cụm pin là 1 120 V ~ 1 460 V. Mỗi hộp pin chứa 16 cụm pin với tổng dung lượng là 5 734 kWh. Các thông số pin được thể hiện trong Bảng 19, Bảng 20 và Bảng 21.
Bảng 19 - Các thông số kỹ thuật chính của cell pin LFP
| Hạng mục | Đơn vị | Đặc điểm kỹ thuật |
| Hình dạng | - | Hình vuông |
| Kiểu pin | - | LFP |
| Kích thước cell (W × D × H) | mm | 71,7 × 173,9 × 207,2 |
| Điện áp danh định | V | 3,2 |
| Dải điện áp hoạt động | V | 2,5 ~ 3,65 |
| Dải nhiệt độ hoạt động | °C | -20 ~ 55 |
| Nhiệt độ bảo quản | °C | -30 ~ 60 |
| Khối lượng cell | g | 5 500 |
Bảng 20 - Các thông số kỹ thuật chính của môđun pin
| Hạng mục | Đơn vị | Thông số kỹ thuật |
| Điện áp danh định DC | V | 64 |
| Năng lượng pin | kWh | 17,92 |
| Chế độ chuỗi của cell | - | 1P20S |
| Khối lượng cell | kg | 100 |
Bảng 21 - Các thông số kỹ thuật chính của contenơ pin
| Hạng mục | Thông số kỹ thuật |
| Chế độ chuỗi của cell | 1P400S |
| Hệ thống quản lý nhiệt | Làm lạnh công nghiệp trọn gói: 20 kW × 4 |
| Kích thước (L × W × H) | 14 630 mm × 2 438 mm × 2 896 mm |
6.3.4.2 Hệ thống chuyển đổi công suất
Mỗi cụm pin được kết nối với một môđun PCS 200 kW. Mỗi contenơ PCS chứa 16 PCS, máy biến áp, tủ mạng vòng hỗ trợ, hộp phân phối, tủ bảo vệ, hệ thống phòng cháy chữa cháy và sưởi ấm, thông gió và điều hòa không khí. Các thông số tính năng kỹ thuật chính của PCS được thể hiện trong Bảng 22.
Bảng 22 - Các thông số kỹ thuật chính của PCS
| Thông số | Thông số kỹ thuật |
| Công suất danh định | 200 kW |
| Dải điện áp DC | 900 V - 1 500 V |
| Điện áp AC danh định | 690 V |
| Tần số đấu nối lưới danh định | 50 Hz |
Nhánh PCS được kết nối với cụm pin thông qua nhóm thiết kế môđun và áp dụng điều khiển logic phân tán. Mỗi môđun PCS có thể hoạt động độc lập và việc phân bổ hoặc chèn bất kỳ môđun nào sẽ không ảnh hưởng đến hoạt động bình thường của các môđun khác, tăng độ tin cậy của toàn bộ hệ thống và đồng thời tạo điều kiện thuận lợi cho việc mở rộng hệ thống và bảo trì hàng ngày.
6.3.4.3 Hệ thống phụ trợ
6.3.4.3.1 Hệ thống sưởi, thông gió và điều hòa không khí
Hệ thống quản lý nhiệt áp dụng thiết kế ba cấp của cụm pin, cụm pin và hệ thống contenơ, bao gồm hệ thống làm mát không khí tập trung bằng điều hòa không khí, ống dẫn khí tích hợp, ống dẫn khí tủ, quạt làm mát tích hợp và cảm biến nhiệt độ và độ ẩm. Toàn bộ hệ thống quản lý nhiệt áp dụng chế độ làm mát không khí chủ động để kiểm soát nhiệt độ của EES. Hệ thống phân tích tính năng nhiệt theo các điều kiện hoạt động của pin, có thể phân tích các yêu cầu làm mát và sưởi ấm của toàn bộ hệ thống và thực hiện kiểm soát nhiệt độ và độ ẩm của các ô bên trong và các thành phần chính, để môi trường làm việc của EES phù hợp và kéo dài tuổi thọ của toàn bộ hệ thống, để cải thiện tính an toàn và độ tin cậy của hoạt động.
6.3.4.3.2 Hệ thống chữa cháy tự động
Một bộ hệ thống báo cháy tự động và kiểm soát cháy được thiết lập, bao gồm bảng điều khiển báo cháy khu vực, thiết bị kích hoạt báo động và phần tử phát hiện cục bộ. Các phần tử phát hiện cục bộ bao gồm cảm biến nhiệt độ, đầu dò khói, đầu dò khí dễ cháy, cáp cảm biến nhiệt độ, v.v. Contenơ pin được trang bị hệ thống chữa cháy bằng khí perfluorohexanone.
6.3.4.3.3 Hệ thống cấp điện phụ trợ
Hệ thống điện phụ 400V của EES áp dụng phương pháp kết nối phân đoạn thanh cái đơn, với hai đoạn thanh cái đến từ máy biến áp phụ và nguồn điện dự phòng. Một máy biến áp cung cấp điện 35 kV có công suất 315 kVA được lắp đặt trong nhà máy điện, ở chế độ vận hành bình thường, máy biến áp này có thể cung cấp điện tải cho toàn bộ trạm. Khi máy biến áp mất điện, máy biến áp dự phòng 6kV của nhà máy điện sẽ cung cấp điện sản xuất chính cho toàn bộ trạm. Tải điều hòa không khí trong BESS áp dụng chế độ tự cung cấp. Máy biến áp khô nguồn phụ được thêm vào giữa phía AC của PCS và máy biến áp tăng áp trong contenơ. Tải hệ thống chữa cháy và tải UPS (bao gồm tải điều khiển DC) của tải công cộng EES áp dụng nguồn điện kép. Một hộp chuyển mạch nguồn kép được đặt trong contenơ. Hai nguồn điện là nguồn điện độc lập, một nguồn được cung cấp bởi máy biến áp phụ trong contenơ PCS và nguồn còn lại được cung cấp bởi máy biến áp cung cấp điện 35 kV trong trạm tăng áp.
6.3.4.4 Hệ thống điều khiển
6.3.4.4.1 Hệ thống truyền thông
Hệ thống truyền thông cung cấp kênh điện thoại cho các cơ quan có thẩm quyền cấp trên để điều độ và quản lý trạm, đồng thời cung cấp kênh truyền thông tin cho các hệ thống thứ cấp như bảo vệ rơ le.
Trạm được trang bị một bộ hệ thống giám sát năng lượng tập trung, có thể thu thập dữ liệu của một số hệ thống giám sát lưu trữ năng lượng độc lập như BMS và PCS, giám sát và phân tích toàn diện hoạt động của hệ thống và các thông tin khác, đồng thời tải dữ liệu có liên quan lên trung tâm điều khiển và nhận hướng dẫn từ trung tâm điều khiển. Trong dự án này, hai cáp quang đường ống 24 lõi được đặt cùng với đường dây truyền tải 220 kV được xây dựng đến nhà máy điện và 2 bộ trạm điện từ xa của hệ thống giám sát năng lượng tập trung được sử dụng để truyền thông tin đến trạm điện điều độ chính thông qua cáp quang.
6.3.4.4.2 Hệ thống quản lý
Hệ thống quản lý pin thu thập điện áp, nhiệt độ, dòng điện, dung lượng và các thông tin khác của pin, đồng thời truyền thông với PCS và EMS thông qua Ethernet để thực hiện kiểm soát sạc và xả pin. Mỗi cụm pin được trang bị một bộ hệ thống quản lý pin để đảm bảo rằng mỗi cụm được sử dụng hiệu quả và triển khai hợp lý. Chế độ truyền thông chuỗi được áp dụng giữa pin bộ điều khiển môđun, bộ điều khiển cụm pin và bộ điều khiển tập trung của hệ thống quản lý pin, tốc độ truyền thông có thể đạt tới 1 Mbps.
Trung tâm điều độ trực tiếp nhận thông tin vận hành từ xa của hệ thống giám sát của trạm, và thực hiện AGC và AVC cho dự án. Lấy AGC làm ví dụ, thiết bị từ xa của trạm nhận lệnh AGC từ trung tâm điều độ, sau đó chuyển lệnh đến EMS. EMS tự động điều khiển PCS để phản hồi lệnh AGC để thực hiện chuyển đổi hai chiều năng lượng DC và AC, để kiểm soát việc sạc hoặc xả pin.
6.3.4.4.3 Hệ thống bảo vệ
Bảo vệ pin chủ yếu được thực hiện bởi BMS. BMS giám sát toàn diện trạng thái hoạt động của pin, bao gồm điện áp, dòng điện, nhiệt độ và mức sạc pin của thiết bị, môđun và toàn bộ hệ thống pin, đồng thời gửi thông tin báo động trong trường hợp xảy ra tai nạn. BMS có thể bảo vệ gói pin một cách đáng tin cậy và có chức năng bảo vệ quá áp, bảo vệ dưới áp, bảo vệ quá dòng, bảo vệ quá nhiệt và giám sát cách điện DC. BMS hỗ trợ truyền thông IEC104 và IEC 61850 và hợp tác với hệ thống giám sát máy tính trạm và PCS để hoàn thành việc giám sát và bảo vệ khối EESS.
6.4 Trường hợp 8: BESS LFP 70 MW /140 MWh
6.4.1 Thông tin chung
BESS LFP nằm ở phía truyền tải với công suất lắp đặt là 70 MW /140 MWh. BESS được chia thành hai tuyến kỹ thuật khác nhau. Một là kỹ thuật pin làm mát bằng không khí với 110 MWh, và một là kỹ thuật pin làm mát bằng chất lỏng chìm tiên tiến với 30 MWh.
BESS tham gia vào việc điều chỉnh đỉnh và điều chỉnh tần số của thị trường điện. Theo trung bình 1,75 lần sạc và xả mỗi ngày, BESS cung cấp gần 81 triệu kWh điện mỗi năm.
Hình 36 cho thấy ảnh chụp từ trên không của BESS.

Hình 36 - Ảnh chụp từ trên không của Trường hợp 8
6.4.2 Sơ đồ tích hợp
BESS có 28 khối EESS 2,5 MW / 5 MWh, gồm 22 khối được làm mát bằng không khí và 6 khối lưu trữ năng lượng làm mát bằng chất lỏng. Điện DC hạ áp của cụm pin được PCS chuyển đổi thành điện AC, sau đó được tăng áp lên 10 kV bằng máy biến áp. Hệ thống EES được kết nối với thanh cái 10 kV của ngăn phân phối thông qua cáp 10 kV. Thanh cái 10 kV sử dụng thanh cái đơn với cấu trúc phân đoạn và hai đường dây ra được kết nối với máy biến áp 80 MVA để tăng điện áp lên 110 kV.
6.4.3 Vị trí và bố trí
Khu vực BESS và trạm biến áp 110 kV có hình đa giác không đều, chiều dài từ bắc xuống nam là 126,17 m, chiều rộng từ đông sang tây là 89,3 m. Tổng diện tích là 12 373 m2. Khu vực BESS và trạm biến áp 110 kV được ngăn cách bằng đường đi.
Bố cục được thể hiện trên Hình 37.

CHÚ DẪN
| 1 Contenơ pin | 5 Máy biến áp 110 kV/10 kV |
| 2 PCS và máy biến áp | 6 Thiết bị đóng cắt 110 kV |
| 3 Toà nhà điều khiển | 7 Thiết bị đóng cắt 10 kV |
| 4 Contenơ SVG | 8 Chống cháy |
Hình 37 - Bố trí của Trường hợp 8
6.4.4 Thiết kế các hệ thống con
6.4.4.1 Hệ thống tích trữ
Hệ thống EES sử dụng cell pin vỏ nhôm vuông LFP có dung lượng 280 Ah mỗi cell. Khối EESS chứa 14 cụm pin. Cứ mỗi 7 cụm pin được cấu hình với 1 khối quản lý hệ thống pin, mỗi cụm pin được trang bị một khối quản lý cụm pin và 16 hoặc 26 môđun pin. Mỗi môđun pin được cấu hình với một khối thu thập để thu thập và tải lên thông tin điện áp và nhiệt độ. Các thông số hệ thống tích trữ làm mát bằng không khí và làm mát bằng chất lỏng được hiển thị trong Bảng 23 và Bảng 24.
Bảng 23 - Các thông số của hệ thống tích trữ làm mát bằng không khí
| Hạng Mục | Dung lượng / Ah | Điện áp tối thiểu / V | Điện áp danh định / V | Điện áp tối đa/v | Công suất danh định / kWh | Chế độ chuỗi |
| Cell | 280 | 2,8 | 3,2 | 3,6 | 0,896 | / |
| Môđun pin | 280 | 44,8 | 51,2 | 57,6 | 14,336 | 1P16S |
| Cụm pin | 280 | 1 164,8 | 1 331,2 | 1 497,6 | 372,736 | 1P416S |
| Hệ thống pin | 14x280 | 1 164,8 | 1 331,2 | 1 497,6 | 52 18,30 | 14X1P416S |
Bảng 24 - Các thông số của hệ thống tích tụ làm mát bằng chất lỏng
| Thông số | Dung lượng Ah | Điện áp tối thiểu/v | Điện áp danh định/v | Điện áp tối đa/v | Công suất danh định/kWh | Chế độ chuỗi |
| Cell | 280 | 2,8 | 3,2 | 3,6 | 0,896 | / |
| Môđun pin | 280 | 72,8 | 83,2 | 93,6 | 23,296 | 1P26S |
| Cụm pin | 280 | 1164,8 | 1331,2 | 1497,6 | 372,736 | 1P416S |
| Hệ thống pin | 14x280 | 1164,8 | 1331,2 | 1497,6 | 5218,30 | 14X1P416S |
6.4.4.2 Hệ thống chuyển đổi công suất
Mỗi khối được làm mát bằng không khí gồm hai PCS 1 250 kW, một máy biến áp 3 150 kVA, một tủ âm tường, tủ phân phối điện và thiết bị liên quan. Mỗi khối được làm mát bằng chất lỏng gồm mười bốn PCS 200 kW, một máy biến áp 3 150 kVA, tủ âm tường, tủ phân phối điện, và thiết bị liên quan. Các thông số kỹ thuật của PCS làm mát bằng không khí và làm mát bằng chất lỏng được thể hiện trong Bảng 25 và Bảng 26.
Bảng 25 - Thông số kỹ thuật PCS làm mát bằng không khí
| Hạng Mục | Thông số kỹ thuật | PCS |
| Phía DC | Phạm vi hoạt động điện áp | 1 050 V ~ 1 500 V |
| Điện áp đầu vào tối đa | 1 500 V | |
| Dòng điện đầu vào tối đa | 1 833 A | |
| Phía AC | Điện áp xoay chiều danh định | 690 V |
| Tần số danh định | 50 Hz | |
| Dòng điện xoay chiều danh định | 1 045 A | |
| Điện AC danh định | 1 250 kW | |
| Dòng điện đầu ra tối đa | 1 150 A | |
| Hệ thống | Mức độ bảo vệ | IP54 |
| Dải nhiệt độ hoạt động | -25 ~ 50°C | |
| Chế độ làm mát | Làm mát bằng không khí |
Bảng 26 - Thông số kỹ thuật PCS làm mát bằng chất lỏng
| Hạng mục | Thông số kỹ thuật | PCS |
| Phía DC | Phạm vi hoạt động điện áp | 1 050 V ~ 1 500 V |
| Điện áp đầu vào tối đa | 1 500 V | |
| Dòng điện đầu vào tối đa | 224 A | |
| Phía AC | Điện áp xoay chiều danh định | 690 V |
| Tần số danh định | 50 Hz | |
| Dòng điện xoay chiều danh định | 167,4 A | |
| Điện AC danh định | 200 kW | |
| Dòng điện đầu ra tối đa | 184 A | |
| Hệ thống | Mức độ bảo vệ | IP66 |
| Dải nhiệt độ hoạt động | -40 °C ~ 60 °C | |
| Chế độ làm mát | Làm mát bằng chất lỏng |
6.4.4.3 Hệ thống phụ trợ
Hệ thống cấp điện phụ trợ 380 V sử dụng hệ thống đi dây một đoạn thanh cái với ATS tự đúc và hoạt động bình thường. Chiếu sáng và năng lượng đều được cấp bởi nguồn điện phụ trợ 380 V / 220 V.
6.4.4.4 Hệ thống điều khiển
6.4.4.4.1 Hệ thống truyền thông
Hệ thống giám sát máy tính sử dụng cấu trúc hai lớp, bao gồm lớp điều khiển trạm và lớp tủ điện. Lớp tủ điện và lớp điều khiển trạm được kết nối mạng theo chế độ Ethernet với cấu hình dự phòng. Thiết bị lớp điều khiển trạm bao gồm máy trạm chủ/người vận hành, máy chủ, thiết bị truyền thông mạng, thiết bị in, thiết bị báo động âm thanh và các thiết bị giao diện khác. Khối đo lường và điều khiển lớp tủ điện được cấu hình theo khoảng thời gian để thực hiện chức năng giám sát cục bộ và kết nối các thiết bị I/O thông minh.
Truyền thông giữa hệ thống giám sát và BMS: Để giám sát đầy đủ trạng thái hoạt động của pin và chuẩn bị nguồn dữ liệu cho các ứng dụng nâng cao, BMS truyền thông tin cần thiết như thông tin về gói pin (điện áp cell, điện áp đầu cuối, dòng điện sạc và xả, SOC, nhiệt độ hộp môđun và các thông số kiểm soát sạc và xả pin, v.v.) và cảnh báo đến hệ thống giám sát và nhận thông tin cần thiết như cài đặt bảo vệ thông số hoạt động của pin và cài đặt cảnh báo do hệ thống giám sát đưa ra. Máy chủ quản lý BMS áp dụng giao thức truyền thông MODBUS và giao diện mạng RJ45.
6.4.4.4.2 Hệ thống quản lý
a) BMS
BMS được chia thành ba cấp quản lý, bao gồm BMU, BCMU và BAMS, có thể thực hiện các chức năng sau.
BMU (cấp môđun, tích hợp trong môđun pin): BMU theo dõi điện áp và nhiệt độ của từng cell, truyền thông tin trên đến BMS cấp trên theo thời gian thực và có thể kiểm soát sự cân bằng điện áp của từng cell.
BCMU (cấp giá đỡ, tích hợp trong hộp điện áp cao): BCMU giám sát điện áp và dòng điện tổng của toàn bộ cụm pin và truyền thông tin trên đến BAMS cấp trên theo thời gian thực. BCMU có thể tính toán dung lượng còn lại, tình trạng sức khỏe, điện trở cách điện, v.v. của cụm pin. Dựa trên trạng thái thời gian thực, cảnh báo và thông tin bảo vệ của pin, BCMU có thể điều khiển công tắc rơle để bảo vệ cụm pin.
BAMS (cấp hệ thống, tích hợp vào bộ điều khiển lưu trữ năng lượng): BAMS thu thập thông tin từ BCMU cấp thấp hơn để tính toán và đánh giá dung lượng còn lại, công suất sạc và xả tối đa và trạng thái hoạt động của nhiều ngăn xếp pin song song, thiết lập liên lạc với bộ điều khiển lưu trữ năng lượng và PCS, chấp nhận lịch trình từ các hệ thống quản lý cấp cao hơn và đạt được hoạt động chung với PCS.
BMS cung cấp chức năng bảo vệ hệ thống pin. Khi hệ thống pin đang hoạt động và các giá trị tương tự của pin, ví dụ như điện áp, dòng điện và nhiệt độ vượt quá ngưỡng bảo vệ an toàn, hệ thống quản lý pin có thể cô lập lỗi cục bộ, loại bỏ các cụm pin bị lỗi khỏi hoạt động và báo cáo thông tin bảo vệ.
b) EMS
Chiến lược điều khiển AGC: EMS nhận lệnh AGC, theo dõi đầu ra của hệ thống lưu trữ năng lượng và trạng thái hoạt động của hệ thống lưu trữ năng lượng cùng lúc, đánh giá trạng thái chung của hệ thống theo dữ liệu hoạt động thời gian thực, xác định chế độ hiệu chỉnh và lượng hiệu chỉnh đầu ra của hệ thống lưu trữ năng lượng, và điều khiển hệ thống lưu trữ năng lượng hoạt động đáng tin cậy trong phạm vi hoạt động bình thường.
Chiến lược điều khiển trực tiếp: Được chia thành chiến lược hoạt động đỉnh và tần số độc lập chiến lược hoạt động điều chế. Khi chính sách hoạt động cân bằng tải đỉnh được áp dụng, bộ điều phối sẽ gửi trước các gói đường cong đầu ra của ngày hôm sau. EMS phân tích các gói để tạo thành đường cong chạy ngày hôm sau và điều khiển PCS tương ứng chạy theo đường cong vào ngày hôm sau. Theo chính sách hoạt động điều chế tần số độc lập, EMS trực tiếp nhận các tin nhắn lệnh AGC do bộ điều phối gửi và điều khiển các lệnh phản hồi PCS tương ứng. Các gói đường cong đầu ra của ngày hôm sau và các gói lệnh AGC được gửi qua giao thức 104.
6.4.4.4.3 Hệ thống bảo vệ
Khoang chứa pin sử dụng hai tuyến đường kỹ thuật, được chia thành làm mát bằng chất lỏng và làm mát bằng không khí. Pin làm mát bằng chất lỏng được ngâm trong chất lỏng ngập, và không có khả năng đánh lửa lại pin ngay cả khi có hỏa hoạn và hệ thống chữa cháy HFC-227ea đáp ứng các yêu cầu kỹ thuật. Pin làm mát bằng không khí có cấu trúc hở hơn so với pin làm mát bằng chất lỏng, và việc sử dụng perfluorohexanone đáp ứng các yêu cầu kỹ thuật. Theo các tình huống khác nhau, sự kết hợp của cả hai là kinh tế và đáp ứng các yêu cầu kỹ thuật.
Hệ thống chữa cháy FK-5-1-12 đúc sẵn được đặt trong khoang pin làm mát bằng không khí, với nồng độ thiết kế của hệ thống chữa cháy là 4,5 % (tỷ lệ thể tích), thời gian phun là 10 s và thời gian tẩm là 10 min. Thể tích thực của khu vực bảo vệ của mỗi khoang pin là 144 m3, liều lượng thiết kế của chất chữa cháy cho mỗi cabin pin là 94,4 kg và tổng liều lượng thiết kế là 97 kg. Tổng cộng có 22 khoang pin làm mát bằng không khí. Hệ thống chữa cháy pertluorohexanone được trang bị điều khiển tự động và điều khiển thủ công. Trong điều khiển tự động, hệ thống điều khiển hỏa hoạn trong khu vực được bảo vệ phát hiện đám cháy, gửi tín hiệu đến trung tâm điều khiển hỏa hoạn và khởi động bình khởi động của hệ thống, sau đó mở contenơ chất chữa cháy và khởi động hệ thống chữa cháy bằng khí. Trong điều khiển thủ công, bình khởi động trong khu vực bảo vệ có thể được khởi động từ xa tại trung tâm điều khiển hỏa hoạn, do đó mở contenơ chất chữa cháy và khởi động hệ thống chữa cháy bằng khí; Ngoài ra, các công tắc chuyển đổi tự động và thủ công được thiết lập tại cửa của mỗi khu vực bảo vệ.
Hệ thống chữa cháy HFC-227ea được lắp đặt trong khoang chứa pin làm mát bằng chất lỏng. Nồng độ thiết kế của hệ thống chữa cháy là 9 % (tỷ lệ thể tích), thời gian phun là 10 s và thời gian tẩm là 10 min.
Liều lượng thiết kế của chất chữa cháy cho mỗi khoang chứa pin là 104 kg và tổng liều lượng thiết kế là 105 kg. Tổng cộng có 6 khoang chứa pin làm mát bằng chất lỏng. Nhiệt độ của pin được kiểm soát bằng dòng chất làm mát liên tục. Một đầu báo cháy được lắp đặt trên trần của tủ chứa pin. Sau khi phát hiện khí dễ cháy, hệ thống chữa cháy được khởi động để giải phóng khí cháy vào bình dầu để xả khí dễ cháy từ van thở trên đỉnh bình dầu. Loại đầu báo cháy của hệ thống phát hiện và báo cháy được thể hiện trong Bảng 27.
Bảng 27 - Loại đầu báo cháy của hệ thống phát hiện và báo cháy
| Tòa nhà và thiết bị | Loại đầu báo cháy | Nhận xét |
| Tòa nhà phức hợp bảo trì | Đầu báo khói |
|
| Lớp cáp và rãnh cáp | Sợi cảm biến nhiệt độ |
|
| Ngăn phân phối 10 kV | Đầu báo khói, đầu báo nhiệt độ |
|
| Ngăn PCS | Đầu báo khói |
|
| Contenơ pin | Đầu báo khói, đầu báo nhiệt độ, đầu báo khí dễ cháy | Loại chống nổ |
6.5 Trường hợp 9 : EESS NCM 12 MW/37 MWh
6.5.1 Thông tin chung
BESS được trang bị pin lithium NCM nằm trong lưới truyền tải với công suất lắp đặt là 12 MW/37 MWh. Hình 38 thể hiện ảnh chụp từ trên không của vị trí lắp đặt BESS, bao gồm một ngăn kết nối HV (một thiết bị đóng cắt 63 kV và các thiết bị HV khác), một máy biến áp 63 kV / 21 kV, một tòa nhà công nghiệp chứa một ngăn kết nối MV (thiết bị đóng cắt 20 kV) và 5 khối chuyển đổi và EESS 7,4 MWh.

Hình 38 - Ảnh chụp từ trên không của Trường hợp 9
BESS được lắp đặt tại một khu vực có sự phát triển nhanh chóng của năng lượng tái tạo, đặc biệt là năng lượng gió, gây ra một số tràn sản xuất cho lưới điện địa phương. Chế độ sáng tạo của quản lý tắc nghẽn tự động cũng như chế độ khởi động đen và chế độ công suất phản kháng chủ yếu được thử nghiệm và sử dụng trong quá trình thử nghiệm do một nhà vận hành lưới điện tiến hành. Ngoài ra, các chế độ FFR và trọng tài năng lượng có thể được sử dụng khi địa điểm được một bên tham gia thị trường vận hành ở giai đoạn sau.
6.5.2 Sơ đồ tích hợp
BESS được kết nối với trạm biến áp 63 kV bên cạnh thông qua cáp ngầm dài 400 m, sơ đồ đơn giản được thể hiện trên Hình 39.

Hình 39 - Sơ đồ tích hợp của Trường hợp 9
Mỗi nhóm 7,4 MWh bao gồm:
• hai contenơ 45 feet, mỗi contenơ có một phòng chuyển đổi điện và một phòng chứa pin;
• hai khối pin 3 699 kWh mỗi contenơ;
• hai nhóm làm mát;
• một máy biến áp có 2 cuộn dây thứ cấp, mỗi cuộn dây thứ cấp cung cấp PCS 1,3 MVA đặt tại phòng chuyển đổi điện của contenơ;
• hệ thống phát hiện cháy trong phòng chuyển đổi năng lượng, hệ thống phát hiện và chữa cháy trong phòng pin.
Sơ đồ kết nối BESS được thể hiện trên Hình 40.

CHÚ DẪN
PCS Contenơ bộ lưu trữ
CG Nhóm làm mát
Hình 40 - Sơ đồ kết nối BESS
Phòng chuyển đổi năng lượng được trang bị một cánh cửa lắp ở phía dài của contenơ. Phòng chuyển đổi bao gồm:
• PCS
• cuộn cảm
• thiết bị kiểm tra dung lượng
• tấm trượt tiếp nhận hơi lạnh do nhóm làm mát được lắp đặt bên ngoài contenơ tạo ra
• khối điều khiển tự động
• giao diện bảo trì
• hệ thống phát hiện cháy
• hai cảm biến nhiệt độ và độ ẩm
Phòng chứa pin nằm ở phía bên kia của contenơ, được trang bị cửa bên ngoài ở phía hẹp của contenơ. Phòng chứa pin bao gồm:
- hai dãy pin;
- hai cảm biến nhiệt độ và độ ẩm;
- hệ thống phát hiện cháy;
- thiết bị của hệ thống chữa cháy, kể cả chai chứa khí.
Hình ảnh bên trong contenơ được thể hiện trên Hình 41.

Hình 41 - Hình ảnh bên trong contenơ, phòng chuyển đổi năng lượng (bên trái) và phòng chứa pin (bên phải)
6.5.3 Vị trí và bố trí
Địa điểm của BESS nằm cạnh trạm biến áp 63 kV, được thể hiện trên Hình 42. Trạm này có diện tích hơn 3 000 m2 và được tổ chức thành ba không gian chính: khu vực lưu trữ năng lượng, khu vực biến áp và khu vực phụ trợ.

CHÚ DẪN
| 1 | Contenơ pin và PCS | 7 | Sân trạm biến áp 63 kV |
| 2 | Máy biến áp 20 kV / 0,4 kV | 8 | Tòa nhà chung |
| 3 | Nhóm làm mát | 9 | Pit dầu thải chung |
| 4 | Nhóm thu hồi dầu gắn kín | 10 | Thùng phân cách dầu-nước |
| 5 | Máy biến áp 63 kV / 20 kV | 11 | Bể thấm |
| 6 | Máy biến áp phụ trợ |
|
|
Hình 42 - Bố trí của Trường hợp 9
Không gian lưu trữ năng lượng bao gồm 5 khối EESS, mỗi khối EESS bao gồm:
- hai contenơ 45 feet, ngăn cách nhau bằng vách chống cháy;
- máy biến áp 20 kV/400 V có bể chứa dầu sự cố, máy biến áp được ngăn cách với hai contenơ gắn liền bằng vách chống cháy;
- hai nhóm làm mát.
Khoảng cách giữa hai contenơ cạnh nhau không có vách chống cháy là 3 m. Khoảng cách tối thiểu giữa contenơ và hàng rào khu vực lắp đặt là 6 m.
Không gian máy biến áp bao gồm:
• ngăn kết nối HV;
• máy biến áp 63 kV/20 kV;
• máy biến áp phụ trợ;
• hố thu hồi dầu kín của mỗi máy biến áp, được kết nối với hố thu hồi dầu tổng từ xa;
• máy phát đồng cực được lắp đặt trong phòng MV;
• tòa nhà chung gồm 5 phòng:
- phòng điều khiển;
- phòng bảo quản phụ tùng thay thế;
- phòng MV được trang bị hành lang kỹ thuật chống thấm nước cho phép kết nối và tiếp cận cáp MV;
- thiết bị vệ sinh;
- phòng họp.
Không gian phụ trợ bao gồm:
• đường ray;
• đường cáp;
• xe cứu hỏa;
• bể điều hoà;
• mạng cấp nước;
• chiếu sáng;
• mạch tiếp đất.
6.5.4 Thiết kế các hệ thống con
6.5.4.1 Hệ thống tích trữ/hệ thống lưu trữ
BESS sử dụng pin lithium NCM, được chứa trong mười contenơ 45 ft và được nhóm thành 330 giá đỡ như thể hiện trong Bảng 28.
Bảng 28 - Các thông số của BESS
| Thành phần | Hình ảnh | Mô tả |
| Cell |
| Dung lượng danh nghĩa: ở tốc độ 0,5 C, 3,0 V ~ 4,2 V 64,0 Ah ± 2,5 % Dải điện áp: 3,0 V ~ 4,2 V |
| Môđun |
| Gồm 28 cell Điện áp danh nghĩa: 51,5 V Điện áp lớn nhất: 58,8 V Dung lượng: 128 Ah Năng lượng 6,6 kWh |
| Giá đỡ |
| Gồm 17 cell nối tiếp Điện áp danh nghĩa: 875 V Điện áp lớn nhất: 999,6 V Dung lượng: 128 Ah Năng lượng 112,1 kWh |
Contenơ 45 ft chứa 33 giá đỡ chia thành hai dãy gồm 16 và 17 giá đỡ với tổng năng lượng là 3,7 MWh.
Mỗi môđun của giá đỡ được trang bị hệ thống quản lý môđun pin riêng, giám sát tất cả 28 cell và truyền thông với hệ thống quản lý giá đỡ pin.
Mỗi giá đỡ pin được trang bị hệ thống quản lý giá đỡ pin riêng và khối bảo vệ pin có chức năng được mô tả dưới đây:
- Khối bảo vệ pin bao gồm các mạch điện và các thành phần theo dõi trạng thái của các môđun pin và truyền thông với hệ thống quản lý dãy pin.
- Các thành phần chính là hệ thống quản lý giá đỡ pin, máy cắt và cầu chảy, rơle, thiết bị đo điện áp (tổng điện áp của các cell trong giá đỡ) và cảm biến dòng điện.
Cuối cùng, mỗi cụm pin được giám sát bởi hai hệ thống quản lý dãy pin trao đổi trạng thái dữ liệu và điều khiển với hệ thống điều khiển contenơ thông qua thanh cái CAN.
6.5.4.2 Hệ thống chuyển đổi công suất
Mỗi cụm pin 3,7 MWh được kết nối với phía hạ áp của máy biến áp tăng áp cục bộ thông qua một PCS, sau đó hai PCS được kết nối tương ứng với hai chốt phân chia ở phía hạ áp của máy biến áp tăng áp cục bộ chia đôi. PCS sử dụng cấu trúc ba cấp.
Các thông số tính năng kỹ thuật chính của PCS và máy biến áp được thể hiện ở Bảng 30.
Bảng 29 - Các thông số của hệ thống chuyển đổi công suất
| Thông số | Thông số kỹ thuật |
| 1. PCS | |
| Điện áp hoạt động DC | 720 V - 999 V |
| Điện áp hệ thống DC tối đa | 1 100 V |
| Dòng điện danh định | 2 000 A |
| Dòng điện ngắn mạch trong 1 s | 2 200 A |
| Điện áp AC danh định | 450 VAC +-10% |
| Tần số danh định (phía AC) | 50 Hz |
| Chế độ làm mát | Nước (nước đầu vào tối đa 45 °C) |
| 2. Máy biến áp MV/LV |
|
| Công suất sơ cấp danh định | 2 800 kVA |
| Công suất thứ cấp danh định | 1 400 kVA |
| Tỷ lệ chuyển đổi điện áp danh định | 21/0,39 kV-0,39 kV |
| Nhóm đấu nối | D, d0, d0 |
| Chế độ làm mát | Làm mát bằng không khí tự nhiên |
Máy phát thứ tự không được sử dụng để tham chiếu dây trung tính đến đất và để hạn chế dòng điện sự cố chạm đất cũng như quá điện áp khi có sự cố.
Máy biến áp phụ trợ cho phép cấp nguồn điện phụ trợ cho tòa nhà công nghiệp cũng như cho mười khối lưu trữ trong khuôn khổ hoạt động danh nghĩa (tức là điện áp khả dụng là 21 kV).
Ngăn MV bao gồm các thiết bị chuyển mạch MV. Ngăn MV được sử dụng để:
• bảo vệ máy biến áp và các kết nối khỏi tình trạng quá dòng:
• bảo vệ máy biến áp và các kết nối khỏi hiện tượng đoản mạch;
• tích hợp các khối đo lường trên mỗi ổ cắm lưu trữ;
• cho phép nối đất thanh cái MV.
6.5.4.3 Thiết bị HV
Cell kết nối được tạo thành từ các thành phần sau:
• bộ ngắt kết nối hoạt động bằng động cơ;
• thiết bị đo cầm tay;
• máy cắt hoạt động bằng động cơ.
Máy biến áp HV/MV có thông số kỹ thuật như thể hiện trong Bảng 30.
Bảng 30 - Các thông số của máy biến áp HV/MV
| Thông số | Thông số kỹ thuật |
| Công suất sơ cấp danh định | 17 000 kVA |
| Công suất thứ cấp danh định | 17 000 kVA |
| Tỷ lệ chuyển đổi điện áp danh định | 63/21 kV |
| Nhóm đấu nối | YN, d11 |
| Điều chỉnh điện áp thứ cấp | Bộ chuyển nấc dưới tải: 23 nấc |
| Không mất tải | 9,2 kW |
| Tổn hao khi có tải ở vòi chính | 58 kW |
| Chế độ làm mát | Làm mát bằng không khí tự nhiên |
6.5.4.4 Hệ thống phụ trợ
6.5.4.4.1 Hệ thống HVAC
Nhiệt độ bên trong phòng chứa pin của contenơ lưu trữ được duy trì trong phạm vi đúng bằng cách điều khiển, thông qua van động cơ và tốc độ quạt, lượng lạnh được đưa vào phòng. Bốn cuộn dây quạt tiếp nhận năng lượng làm mát do nhóm làm mát tạo ra.
6.5.4.4.2 Hệ thống chữa cháy tự động
Việc bảo vệ chống lại nguy cơ cháy nổ được đảm bảo nhờ lắp đặt hệ thống phát hiện và chữa cháy được tổ chức như sau:
Một khối trung tâm được lắp đặt bên trong tòa nhà công nghiệp: Nó tập trung thông tin của các cảm biến khác nhau của tòa nhà công nghiệp. Bộ điều khiển này chứa một pin để đảm bảo tính liên tục của hoạt động trong 12 h trong trường hợp mất nguồn điện phụ trợ.
Trong mỗi contenơ, một khối phát hiện và chữa cháy nhận thông tin từ các cảm biến và điều khiển bình chữa cháy. Khối điều khiển này chứa một pin để đảm bảo tính liên tục của hoạt động trong 12 h trong trường hợp mất nguồn điện phụ trợ.
Contenơ được chia thành hai phòng, phòng chuyển đổi chứa thiết bị điện tử công suất và phòng làm mát và phòng pin. Phòng pin được trang bị hệ thống chữa cháy.
6.5.4.5 Hệ thống điều khiển
Các contenơ lưu trữ được điều khiển bởi hệ thống điều khiển được gọi là PLC contenơ. Màn hình cảm ứng (giao diện bảo trì) hiển thị trạng thái của contenơ cho người vận hành trong quá trình bảo trì.
Các chức năng chính của bộ điều khiển là:
• logic điều khiển/ đấu dây thiết bị điện;
• sơ đồ chức năng tuần tự để đảm bảo chức năng bật nguồn của PCS;
• kiểm tra an ninh;
• kiểm soát nhiệt độ của phòng chuyển đổi và phòng pin.
6.5.4.6 Chiến lược điều khiển hoạt động
6.5.4.6.1 Quy định chung
Hệ thống quản lý năng lượng (EMS) bao gồm hai phần, một phần nằm trong phạm vi của nhà vận hành lưới điện và phần còn lại do nhà vận hành BESS phát triển. EMS của nhà vận hành lưới điện điều khiển chế độ quản lý tắc nghẽn thông qua hệ thống thông tin. EMS của nhà vận hành BESS tự động điều khiển các dịch vụ của FRR và điều chỉnh điện áp. BESS cũng có thể được điều khiển ở chế độ khởi động đen.
6.5.4.6.2 Quản lý tắc nghẽn tự động bằng EMS
Nhà vận hành triển khai tự động hóa để điều chỉnh cấu trúc mạng, phân phối tốt hơn các luồng điện hoặc cuối cùng là hạn chế việc cắt điện tái tạo dư thừa được sản xuất. Tại các khu vực lắp đặt BESS, một đòn bẩy hành động bổ sung được thêm vào tự động hóa bằng cách lưu trữ năng lượng dư thừa được sản xuất gần như ngay lập tức vào pin và do đó điều chỉnh các luồng năng lượng phù hợp với khả năng sơ tán mạng của khu vực.
Để phản ứng nhanh trong những tình huống này (trong khoảng một giây), BESS được điều khiển bằng một thiết bị cải tiến bao gồm hai cấp độ tự động hóa như thể hiện trên Hình 43:
- tự động cấp địa phương có thể được khái quát hóa cho bất kỳ vùng nào của mạng lưới truyền tải;
- tự động cấp quốc gia, dành riêng cho dự án này.
Tự động cắp địa phương dựa vào dữ liệu trạng thái mạng thời gian thực (điện áp, dòng điện, v.v.) để tự động kích hoạt các hành động phù hợp nhất do thuật toán tiên tiến của nó lựa chọn. Các đòn bẩy hành động của máy tự động cấp địa phương trong khu vực có BESS được ưu tiên tương ứng như sau: lưu trữ/loại bỏ điện vào BESS, thay đổi cấu trúc mạng (hành động trên máy cắt mạch) nếu có thể và như một giải pháp cuối cùng là cắt giảm sản xuất năng lượng tái tạo.
Ngoài việc quản lý bởi tự động cấp địa phương theo dữ liệu thời gian thực, BESS cũng nhận được các chương trình vận hành do tự động cấp quốc gia gửi đến. Các chương trình vận hành này ra lệnh cho BESS để thực hiện các giai đoạn tiếp theo trong tương lai từ phút tiếp theo đến 48 giờ tiếp theo. Quá trình này bao gồm việc định vị trước các pin để quản lý các tình huống tắc nghẽn dự kiến cho các giai đoạn sắp tới. Ví dụ, nếu có thông báo hạn chế sơ tán sản xuất trong giờ tiếp theo, tự động cấp quốc gia sẽ yêu cầu BESS xả năng lượng được lưu trữ trong pin để 'tạo chỗ' lưu trữ công suất ra dư thừa dự kiến.

Hình 43 - Quản lý tắc nghẽn bằng hai cấp độ tự động hóa thông minh sử dụng BESS
6.5.4.6.3 Chế độ đa dịch vụ
Để tận dụng tối đa lợi thế của BESS và khiến hệ thống có lợi nhuận, nhìn chung cần phải cung cấp nhiều dịch vụ.
Hệ thống điều khiển được thiết kế với khả năng ưu tiên khác nhau giữa các chế độ.
Trong trường hợp đã thử nghiệm được thể hiện trên Hình 44, chế độ quản lý tắc nghẽn được ưu tiên hơn chế độ điều chỉnh tần số. Khi đường dây bị tắc nghẽn, pin sẽ sạc để giảm tắc nghẽn. Đường cong công suất màu xanh lam đậm có giá trị âm, nghĩa là theo hướng hấp thụ điện từ mạng. Chia sẻ công suất góp phần điều chỉnh tần số có màu xanh lá cây đậm. Khi tần số mạng cao hơn 50 Hz, cần phải sạc pin để hạ tần số, dịch vụ được ủy quyền, tương thích với việc quản lý tắc nghẽn hiện tại. Khi tần số dưới 50 Hz, pin sẽ bị xả. Điều này không được ủy quyền với các ràng buộc hiện tại, chia sẻ công suất để điều chỉnh tần số bằng 0.

Hình 44 - Kiểm tra đa dịch vụ, quản lý tắc nghẽn theo thứ tự ưu tiên theo điều chỉnh tần số
6.5.4.6.4 Khởi động đen
BESS đã được sử dụng để thử nghiệm khởi động đen. Như thể hiện trên Hình 45, Hình 46 và Hình 47, BESS đã được khởi động ở chế độ hình thành lưới để cấp điện nhẹ nhàng (tăng điện áp) cho một đảo lưới bao gồm hai máy biến áp, một cáp 63 kV dài 200 m và một cáp 20 kV dài 14 km (thử nghiệm 1A và 1B). Sau đó, các thiết bị phụ trợ của một trang trại gió đã được kết nối để được cấp điện từ pin. Bước tiếp theo bao gồm khởi động năm tuabin gió (từng cái một để đảm bảo không xảy ra tình trạng mất ổn định) và nhân tiện đảo ngược chức năng của pin từ cấp điện cho các thiết bị phụ trợ sang lưu trữ năng lượng do các tuabin gió tạo ra (thử nghiệm 2). Cuối cùng, sau khi vận hành khoảng 2 h ở chế độ cô lập, toàn bộ hệ thống đã được kết nối lại với lưới điện chính mà không có bất kỳ tuabin gió nào bị ngắt và BESS đã chuyển lại sang chế độ bám lưới (thử nghiệm 3).

Hình 45 - Sơ đồ mạch của thử nghiệm khởi động đen BESS

Hình 46 - Thử nghiệm 1: cấp điện khởi động mềm BESS

Hình 47 - Thử nghiệm 2: kết nối với trang trại gió và thử nghiệm 3: Ghép nối lưới điện và chuyển sang chế độ bám lưới
7 Trường hợp thiết kế hệ thống EES điện hóa ở phía khách hàng
7.1 Trường hợp 10 : EESS Li-ion 1 MW /1 MWh với PV trong dự án đã được kiểm tra xác nhận tính năng
7.1.1 Thông tin chung
Dự án này bao gồm dàn quang điện (PV) 430 kW và BESS 1 MW/1 MWh. BESS sử dụng một gói pin lithium-ion được kết nối với bộ biến tần 2,2 MVA, có thể hoạt động ở cả chế độ bám lưới và chế độ tạo lưới. Là một dự án để thử nghiệm và đánh giá tính năng, các thiết bị thử nghiệm và mô phỏng có liên quan cũng được sử dụng.
Mục đích của dự án là cung cấp dữ liệu thử nghiệm hợp lệ và đánh giá tính năng toàn diện để xác minh tác động của việc kết hợp PV và BESS cho các chức năng ứng dụng biến đổi. Kết quả thử nghiệm của dự án nghiên cứu này có thể được sử dụng trong các thị trường dịch vụ phụ trợ và có thể thúc đẩy các nhà máy PV và BESS cung cấp các dịch vụ phụ trợ biến đổi để tăng cường tính ổn định và độ tin cậy của lưới điện.
7.1.2 Sơ đồ tích hợp
Sơ đồ tích hợp của hệ thống PV-BESS này được thể hiện trên Hình 48.

Hình 48 - Sơ đồ tích hợp của Trường hợp 10
Trong dự án này, BESS được kết nối với thanh cái lưới điện mô phỏng thông qua máy biến áp 1,2 MVA (400 V/13,2 kV). Dàn PV được chia thành sáu dàn con, và bốn trong số chúng được kết nối song song với POC thông qua các bộ biến tần 50 kVA (45 kW) tương ứng của chúng trong khi các mảng còn lại được kết nối với POC thông qua các bộ biến tần 125 kW tương ứng của chúng. Dàn PV được kết nối với thanh cái lưới điện mô phỏng thông qua một máy biến áp chung 500 kVA (600 V/13,2 kV).
Dàn PV và BESS có POC chung tại trạm biến áp của nhà máy. Chúng không chia sẻ bất kỳ thành phần vật lý nào (như bộ nghịch lưu, máy biến áp, thiết bị bảo vệ hoặc đo năng lượng), nhưng chúng có một bộ điều khiển chung có thể vận hành cả PV và BESS như một nhà máy đơn lẻ hoặc như hai hệ thống độc lập. Hệ thống này có tính linh hoạt để được cấu hình theo cách như vậy, do đó cả PV và BESS đều có thể hoạt động ở chế độ kết nối lưới điện thông thường hoặc có thể được chuyển sang hoạt động trong điều kiện lưới điện được kiểm soát được kết nối với giao diện lưới điện có thể kiểm soát 7 MVA.
7.1.3 Vị trí và bố trí
Sơ đồ bố trí của dàn PV và BESS được thể hiện trên Hình 49.

Hình 49 - Sơ đồ bố trí của Trường hợp 10
Hệ thống EES bao gồm vỏ pin, PCS, máy biến áp tăng áp và thiết bị đóng cắt điện áp trung bình. Dàn PV sử dụng các môđun PV nghiêng cố định với góc 25° hướng về phía nam và được gắn vào các bàn lắp ráp trên một số trụ đỡ thẳng đứng kết hợp thành 14 hàng song song. Các bộ biến tần, thiết bị truyền thông nhà máy và giao diện điều khiển đều được gắn trên một bảng điều khiển nằm ở góc tây bắc của nhà máy.
7.1.4 Thiết kế các hệ thống con
7.1.4.1 Hệ thống tích trữ
Dung lượng năng lượng danh định của BESS là 1 MWh và sử dụng gói pin lithium-ion 1 MW được kết nối với PCS 2,2 MVA.
7.1.4.2 Hệ thống chuyển đổi công suất
Trong dự án này, PCS 2,2 MVA được sử dụng để bù đắp các biến động trong sản xuất năng lượng mặt trời và cung cấp các dịch vụ quản lý lưới điện toàn diện. Các thông số kỹ thuật chính của PCS được thể hiện trong Bảng 31.
Bảng 31 - Các thông số kỹ thuật chính của PCS
| Thông số kỹ thuật | Quy định kỹ thuật |
| Phía pin (phía DC) | |
| Dải điện áp một chiều DC (ở 25 °C / ở 50 °C) | 570 V đến 950 V / 950 V |
| Điện áp DC tối thiểu/tối đa | 545 V / 1 000 V |
| Dòng điện DC tối đa (ở 25 °C / ở 50 °C) | 3 960 A / 3 600 A |
| Dòng điện ngắt tối đa | 6 044 A |
| Phía truyền tải và phân phối (phía AC) | |
| Công suất AC lớn nhất (ở 25 °C / ở 50 °C) | 2 200 kVA / 2 000 kVA |
| Dòng điện AC lớn nhất (ở 25 °C / ở 50 °C) | 3 300 A / 3 000 A |
| Méo hài tổng lớn nhất | < 3 % ở công suất danh nghĩa |
| Điện áp AC danh nghĩa / Dải điện áp AC danh nghĩa | 385 V / 308 V ~ 462 V |
| Tần số / Dải tần số công nghiệp AC | 50 Hz / 47 Hz ~ 53 Hz 60 Hz / 57 Hz ~ 63 Hz |
PCS có thể thu thập dữ liệu tương tự như điện áp và dòng điện ở phía DC và AC, cả hoạt động bình thường của thiết bị và cảnh báo lỗi, nó có thể nhận thông tin cảnh báo lỗi và thông tin hành động bảo vệ từ hệ thống điều khiển, cấu hình bảo vệ của PCS được thể hiện trong Bảng 32.
Bảng 32 - Cấu hình bảo vệ của PCS
| Chức năng bảo vệ | Thiết bị |
| Điểm ngắt kết nối đầu vào | Công tắc ngắt tải DC |
| Điểm ngắt kết nối phía đầu ra | Bộ ngắt mạch AC |
| Bảo vệ quá áp DC | Thiết bị chống sét loại I |
| Bảo vệ chống sét | Chống sét cấp III |
| Giám sát cách điện | Thiết bị thử nghiệm cách điện online |
7.1.4.3 Hệ thống phụ trợ
Pin lithium-ion được lắp đặt trong 6 hộp pin, mỗi hộp được trang bị thiết bị chữa cháy và thiết bị sưởi ấm, thông gió và điều hòa không khí để đảm bảo an toàn và ổn định cho pin. Để ngăn ngừa pin quá nhiệt, các thiết bị sưởi ấm, thông gió và điều hòa không khí có thể thải nhiệt ra khỏi hộp. Hơn nữa, khi xảy ra hỏa hoạn, thiết bị chữa cháy sẽ nhanh chóng phun chất chữa cháy để ngăn chặn đám cháy lan sang các hộp bên cạnh.
7.1.4.4 Hệ thống điều khiển
a) Quy định chung
Các chế độ điều khiển được phát triển và trình bày trong dự án này chủ yếu bao gồm:
• điều chỉnh tần số
• hỗ trợ điện áp phản kháng
• khởi động đen của nhà máy điện mặt trời với BESS

Hình 50 - Kiến trúc của hệ thống điều khiển và truyền thông
Cả bộ điều khiển PV và BESS đều dựa trên bộ điều khiển công nghiệp thời gian thực, giúp tích hợp các bộ điều khiển như vậy vào hệ thống hiện trường dễ dàng hơn. Kiến trúc điều khiển và truyền thông cho dự án liên quan đến bộ điều khiển tự động hóa thời gian thực, giao diện mạng và bộ biến tần được thể hiện trên Hình 50.
b) Điều chỉnh tần số
BESS của nhà máy điện mặt trời với BESS được lập trình để triển khai nguồn điện khả dụng để bù đắp cho việc mất điện. Có thể hình dung rằng một số điều kiện khắc nghiệt không được hình dung có thể dẫn đến tính năng không đạt yêu cầu. Về vấn đề này, BESS có thể phản hồi tín hiệu AGC để giúp cải thiện khả năng điều chỉnh tần số và độ tin cậy của hệ thống điện.
Khả năng của BESS trong việc theo dõi các tín hiệu lập lịch được thể hiện trên Hình 51. BESS có thể cung cấp loại phản hồi này với độ chính xác rất cao do phản hồi nhanh, độ chính xác điều khiển cao và hiệu quả hoạt động cao.

Hình 51 - Công suất và SOC của BESS sau tín hiệu AGC
c) Hỗ trợ điện áp phản kháng
Đặc tính P-Q bốn góc phần tư và trạng thái ổn định đầy đủ của PCS được thử nghiệm ở chế độ kết nối CGI. PCS được lệnh sử dụng nhiều kết hợp khác nhau của các điểm đặt công suất tác dụng và phản kháng để bao phủ toàn bộ phạm vi hoạt động của P-Q.
Công suất phản kháng lý tưởng kết hợp tổng thể được đo cho nhà máy PV 430 kw và BESS 1 MW /1 MWh được thể hiện trên Hình 52. Như mong đợi, công suất phản kháng tổng hợp của nhà máy PV với BESS lớn hơn công suất phản kháng của từng thành phần riêng lẻ.

Hình 52 - Khả năng P-Q đo được của nhà máy PV-BESS
d) Khởi động đen nhà máy điện mặt trời với BESS
Một thí nghiệm được tiến hành bằng cách sử dụng BESS làm nguồn khởi động đen cho nhà máy PV. Thí nghiệm được tiến hành với tất cả các tài sản được kết nối với thanh cái CGI (CGI đã được ngắt điện và ngắt kết nối), do đó hệ thống được cô lập hoàn toàn khỏi lưới điện thực. Máy biến áp của nhà máy PV không được kết nối cho đến khi PCS đạt điện áp đầy đủ, sau đó đóng công tắc để cấp điện cho máy biến áp với dòng điện khởi động đầy đủ.

Hình 53 - Điện áp thanh cái và công suất tác dụng của nhà máy PV khi khởi động đen nhà máy PV bằng BESS
Kết quả của thử nghiệm khởi động đen được thể hiện trên Hình 53. BESS PCS đóng tại t = 0 và điện áp thanh cái được phục hồi từ 0 đến điện áp danh nghĩa trong thời gian ngắn. Bộ ngắt mạch của máy biến áp nhà máy PV đóng tại t = 70 s, dẫn đến dòng điện khởi động và điện áp quá độ cao hơn nhiều. Sau khi máy biến áp được cấp điện, bộ hẹn giờ khởi tạo sẽ kích hoạt các bộ biến tần PV. Các bộ biến tần PV sẽ trực tuyến hai lần và công suất tác dụng của nhà máy PV đạt đến công suất danh nghĩa tại khoảng t = 390 s.
7.2 Trường hợp 11: EESS LC 1 MW / 3 MWh trong tòa nhà lưu trữ-sạc PV
7.2.1 Thông tin chung
Một trường hợp thiết kế hệ thống EES điện hóa về mặt tiêu thụ điện được trình bày ở đây, đó là một dự án lưu trữ-sạc PV. Dự án có 430 chỗ đậu xe và 396 cọc sạc, cũng như hệ thống EES điện hóa 1 MW / 3 MWh và các Dàn PV 200 kW được lắp đặt trong tòa nhà lưu trữ-sạc PV với hai tầng ngầm và tám tầng trên mặt đất.
Bằng cách tích hợp các cơ sở sạc, hệ thống EES điện hóa và quang điện, các chiến lược vận hành phối hợp giữa lưới điện và hệ thống lưu trữ-sạc quang điện có thể được thực hiện. Tòa nhà lưu trữ-sạc quang điện có thể tận dụng tối đa nguồn tài nguyên tái tạo dựa trên việc đáp ứng nhu cầu sạc của xe điện, có ý nghĩa đối với việc quản lý tiết kiệm năng lượng và giảm phát thải carbon.
7.2.2 Sơ đồ tích hợp
Sơ đồ tích hợp của dự án này được thể hiện trên Hình 54. Hệ thống EES điện hóa được tách thành hai phần có cùng công suất và dung lượng năng lượng được danh định là 500 kW/1500 kWh, mỗi phần được kết nối với thanh cái 10 kV thông qua máy biến áp tăng áp 0,38 kV/10 kV tương ứng. Công suất danh định của PV là 200 kW, được kết nối với thanh cái AC 400V. Đối với tải sạc EV, có 150 cọc sạc AC, 6 cọc sạc V2G và 240 cọc sạc DC. Công suất danh định của mỗi cọc sạc AC là 7 kW, trong khi công suất của mỗi cọc sạc V2G là 60 kW. Công suất danh định của các cọc sạc DC được chia thành hai mức, ví dụ như 40 kW và 60 kW. Tất cả các cọc sạc đều được kết nối với thanh cái AC 400 V.

Hình 54 - Sơ đồ tích hợp của Trường hợp 11
7.2.3 Vị trí và bố trí
Các thành phần của hệ thống EES điện hóa được bố trí trên các tầng khác nhau. Cụ thể, hệ thống tích trữ được bố trí ở tầng thứ tám, trong khi hệ thống PCS được bố trí ở tầng thứ bảy. Sơ đồ bố trí của hệ thống tích trữ và hệ thống chuyển đổi công suất được thể hiện lần lượt trên Hình 55 và Hình 56.

Hình 55 - Sơ đồ bố trí hệ thống tích trữ của Trường hợp 11
Kích thước tính bằng milimét

Hình 56 - Sơ đồ bố trí PCS của Trường hợp 11
Hệ thống tích trữ được chia thành 6 khối pin, được sắp xếp trên 38 giá đỡ pin. Kích thước của mỗi giá đỡ pin là 2,34 × 1,92 × 0,368 m3 (W × H × D), mỗi lớp giá đỡ pin đều được lắp ống cách điện ABS, do đó sẽ không xảy ra lỗi đoản mạch khi xảy ra sự cố rò rỉ pin.
PCS được bố trí tại phòng phía đông trên tầng bảy, có diện tích khoảng 93,2 m2. Nó được chia thành hai phần, mỗi phần bao gồm một PCS, một thiết bị đóng cắt, một máy biến áp và các thiết bị điều khiển liên quan. Chúng được sắp xếp thành một hàng chặt chẽ, máy biến áp tăng áp được lắp đặt giữa thiết bị đóng cắt và PCS.
7.2.4 Thiết kế các hệ thống con
7.2.4.1 Hệ thống tích trữ
Hệ thống tích trữ được chia thành 6 khối pin, mỗi khối gồm 313 pin được kết nối nối tiếp và dung lượng năng lượng là 626 V/800 Ah. Ba khối pin được kết nối song song, sau đó chúng được kết nối với thanh cái 10 kV thông qua PCS 500kW và máy biến áp tăng áp. Pin được sử dụng trong dự án này là pin chì - cacbon và các thông số kỹ thuật chính của pin chì-cacbon được thể hiện trong Bảng 33.
Bảng 33 - Các thông số kỹ thuật chính của pin chì cacbon
| Thông số kỹ thuật | Giá trị |
| |
| Điện áp danh nghĩa | 2 V | ||
| Dung lượng năng lượng danh nghĩa | 800 Ah | ||
| Kích cỡ | Chiều dài | 299 mm | |
|
| Chiều rộng | 211 mm | |
|
| Chiều cao | 358 mm | |
| Cân nặng | 59 kg | ||
| Trở kháng bên trong | 0,24 mΩ | ||
| Dòng điện ngắn mạch | 8 800 A | ||
7.2.4.2 Hệ thống chuyển đổi công suất
Dự án được trang bị hai PCS 500 kW, được kết nối với thanh cái 10 kV thông qua các máy biến áp tăng áp tương ứng. Mỗi PCS được kết hợp với ba khối pin. Các thông số kỹ thuật chính của PCS được thể hiện trong Bảng 34.
Bảng 34 - Các thông số kỹ thuật chính của PCS
| Tham số kỹ thuật | Quy định kỹ thuật | |
| Dải điện áp DC | 550 V đến 800 V | |
| Hệ số công suất | Hoạt động bình thường | > 0,99 |
| Hoạt động bốn góc phần tư | -1 đến 1 | |
| Điện áp xoay chiều AC | 380 V | |
| Dải điện áp AC | 306 V đến 354 V | |
| Tần số nguồn AC | 50 Hz | |
| Dải tần số nguồn AC | 47 Hz đến 51,5 Hz | |
| Truyền thông | RJ 45/Ethemet/RS 485 | |
| Chế độ làm mát | Làm mát không khí cưỡng bức | |
| Khả năng quá tải | 10 min, 110 % công suất danh định | |
| 1 min, 120 % công suất danh định | ||
| Tổn hao công suất chờ | < 2 % | |
| Thời gian trung bình giữa các lần hỏng hóc | 20 000 h | |
7.2.4.3 Hệ thống phụ trợ
Hệ thống phụ trợ bao gồm hệ thống chữa cháy, hệ thống sưởi, thông gió và điều hòa không khí và hệ thống cấp thoát nước, được sử dụng để đảm bảo an toàn cho hệ thống EES điện hóa và giúp hệ thống hoạt động trong điều kiện làm việc phù hợp. Các chức năng của hệ thống phụ trợ như sau.
a) Chữa cháy
- phòng chứa pin được trang bị bình chữa cháy HFC-227ea và bể chứa cát có thể tích hơn 1 m3;
- đèn phòng nổ, đèn chiếu sáng khẩn cấp, cảm biến khói, cảm biến nhiệt độ và các thiết bị an ninh khác được lắp đặt trong phòng chứa pin.
b) Sưởi ấm, thông gió và điều hòa không khí
- nhiệt độ trong nhà được duy trì ở mức 15 °C ~ 30 °C;
- hàm lượng hydro trong không khí nhỏ hơn 0,7 %;
- hệ thống điều hòa phòng nổ được sử dụng để thông gió.
c) Cấp thoát nước
- ống nước chịu áp suất, ống hơi hoặc ống nước của máy điều hòa không khí thường được tránh sử dụng trong phòng chứa pin.
7.2.4.4 Hệ thống điều khiển
Hệ thống điều khiển chủ yếu được sử dụng để giám sát trạng thái hoạt động và điều khiển hệ thống EES điện hỏa. Các chức năng của hệ thống điều khiển như sau.
a) Hệ thống giám sát
- Thu thập và xử lý dữ liệu: Hệ thống giám sát có khả năng thu thập dữ liệu tương tự và trạng thái của pin và PCS, đồng thời có chức năng lưu trữ và xử lý dữ liệu đã thu thập được;
- Phân tích thống kê dữ liệu: Hệ thống giám sát có thể tiến hành phân tích thống kê dữ liệu trạng thái hoạt động của hệ thống EES điện hóa, ví dụ như công suất tác dụng, công suất phản kháng, SOC. Ngoài ra, nó có thể ghi lại giá trị lớn nhất và nhỏ nhất của công suất điện trong một ngày, tháng và năm;
- Báo động: Theo yêu cầu của hệ thống EES điện hóa, thiết kế chức năng báo động có thể được sử dụng để báo động lỗi pin, bật và tắt, nhiệt độ bất thường, v.v. Nó có thể đưa ra báo động dưới dạng văn bản, giọng nói, nhấp nháy, v.v.
- Hiển thị hình ảnh: Hệ thống giám sát có thể hiển thị nhiều thông tin vận hành khác nhau của hệ thống EES điện hóa, chủ yếu bao gồm trạng thái vận hành của hệ thống tích trữ, PCS, trạng thái chuyển mạch, thông tin pin, thông số nhiệt độ thiết bị và môi trường và nhiều thông tin cảnh báo khác;
b) Chiến lược điều khiển hoạt động
1) Cắt đỉnh
Do giá điện tăng, chiến lược điều khiển sạc và xả của hệ thống EES điện hóa được tối ưu hóa để giảm nhu cầu điện năng đỉnh và chi phí điện.
2) Hỗ trợ điện áp phản kháng
Khi xảy ra các vấn đề về chất lượng điện năng như sụt điện áp, quá áp và dao động tần số, công suất tác dụng và công suất phản kháng của hệ thống EES điện hóa được kiểm soát theo thời gian thực, để hỗ trợ điện áp phản kháng và đảm bảo độ tin cậy của nguồn cung cấp điện.
3) Nguồn điện dự phòng
Trong một số điều kiện kiểm soát khẩn cấp và cụ thể, hệ thống EES điện hóa có thể được sử dụng làm nguồn điện dự phòng. Nó có thể cung cấp điện cho các tải quan trọng và một phần của các cơ sở sạc trong tòa nhà sạc trong 4 giờ, để cải thiện độ tin cậy của nguồn cung cấp điện.
7.3 Trường hợp 12 : EESS NAS 1 MW × 7 h / 3 MW × 13,5 s trong hệ thống điện dự phòng
7.3.1 Thông tin chung
Hệ thống EES điện hóa sử dụng pin natri lưu huỳnh ở phía tiêu thụ điện năng với dung lượng năng lượng là 1 MW × 7 h và 3 MW × 13,5 s. Ảnh chụp mặt trước của hệ thống EES được thể hiện trên Hình 57.

Hình 57 - Ảnh chụp của Trường hợp 12
Hệ thống bắt đầu hoạt động thương mại vào năm 2002 sau khi phát triển SPS từ năm 2000. Thông số kỹ thuật của hệ thống EES được thể hiện trong Bảng 35.
Bảng 35 - Thông số kỹ thuật hệ thống EES
| Hạng mục | Quy định kỹ thuật | |
| Sơ đồ đấu nối lưới điện | 50 Hz, ba pha, 6,6 kV | |
| Dung lượng điển hình | Chế độ bình thường | 1 MW × 7 h |
| Chế độ bù sụt điện áp | 3 MW × 13,5 s Hệ số công suất: 0,8-1,0 | |
| Thời gian chuyển mạch | ≤ 20 ms | |
| Mức tạp | 65 dB(A) | |
| Thiết bị đóng cắt tốc độ cao | Điện áp danh định | 7,2 kV |
| Dòng điện danh định | 600 A | |
| Máy biến áp nối lưới | Công suất điển hình | 3 000 kVA |
| Điện áp danh nghĩa | 6,6/0,48 kV | |
| Bộ nghịch lưu AC/DC | Điện áp ra | 0,48 V AC |
| Bộ chuyển đổi DC/DC | Điện áp ra | 900 V DC |
| Pin NAS | Khả năng lưu trữ danh nghĩa | 375 kWh |
| Điện áp danh định | 598 V DC | |
| Dòng điện danh định | 90 A DC | |
UPS thông thường là hệ thống cấp điện chuyển đổi kép, có nguồn điện được cung cấp qua hai PCS có tổn thất điện năng. Để tận dụng lợi thế của việc cân bằng tải, hệ thống này áp dụng hệ thống cấp điện nối lưới trực tiếp với tổn thất nhỏ trong chế độ bình thường. Máy cắt mạch kiểu thyristor tốc độ cao được chọn để đạt được thời gian chuyển mạch từ chế độ bình thường sang chế độ khẩn cấp trong vòng 20 ms.
Một tính năng khác của hệ thống này là nó phản ứng với sự sụt điện áp tạm thời bằng cách đưa ra công suất cân bằng tải gấp ba lần trong thời gian sụt điện áp tạm thời. Tuy nhiên, công suất ra gấp ba lần làm tăng phạm vi biến thiên của điện áp và dòng điện DC của pin NAS. Cụ thể, một môđun pin NAS 50 kW và một máy cắt được sử dụng và 20 khối được kết nối để đạt được 1 MW (công suất cân bằng tải). Với cấu hình này, ngay cả khi xảy ra lỗi một cell, chỉ cần dừng một khối là đủ và có thể cung cấp ranh giới giữa hoạt động cân bằng tải và hoạt động bù sụt giảm điện áp mà không gặp trở ngại.
7.3.2 Sơ đồ tích hợp
Sơ đồ tích hợp được thể hiện trên Hình 58.
Trong sản phẩm này, BESS được kết nối với lưới điện 6,6 kV sử dụng máy cắt tốc độ cao.

Hình 58 - Sơ đồ tích hợp của Case 12
7.3.3 Vị trí và bố trí
Sơ đồ bố trí của BESS (SPS + pin NAS) được thể hiện trên Hình 59. Khu vực BESS có kích thước 30 m × 12 m, bao gồm cả không gian theo điều tiết an toàn. Pin NAS và bộ chuyển đổi DC/DC được kết hợp thành một khối. PCS được lắp đặt tại trung tâm khu vực, và bộ chuyển mạch tốc độ cao được lắp trong contenơ của hệ thống UPS

Hình 59 - Bố trí của Trường hợp 12
7.3.4 Thiết kế các hệ thống con
7.3.4.1 Hệ thống tích trữ
Dung lượng năng lượng của BESS trong sản phẩm này được đánh giá là 7 MVVh và sử dụng pin natri lưu huỳnh 1 MW. Hệ thống tích trữ này bao gồm pin và bộ chuyển đổi DC/DC.
7.3.4.2 Hệ thống chuyển đổi công suất
Trong sản phẩm này, bộ biến tần pin 1 MVA được sử dụng để cắt đỉnh cho phụ tải của khách hàng, và bộ biến tần pin 3 MW được sử dụng để bù sụt điện áp. Các thông số chính của PCS được cho trong Bảng 36.
Bảng 36 - Các thông số chính của PCS
| Hạng mục | Quy định kỹ thuật |
| Điện áp phía DC | 900 V |
| Điện áp phía AC | 480 V |
| Dòng điện phía AC | 3 608 A (thời gian ngắn) 1 203 A (danh nghĩa) |
| Hiệu quả (trong chế độ cắt đỉnh) | 93 % |
7.3.4.3 Hệ thống phụ trợ
Pin NAS được thiết kế để tự làm nóng. Nhiệt độ tối ưu là khoảng 300 °C bên trong pin. Do đó, hệ thống nguồn phụ được thiết kế để cấp điện cho làm nóng pin NAS.
7.3.4.4 Hệ thống điều khiển
7.3.4.4.1 Chức năng bảo vệ và điều khiển
a) Phát hiện mất điện
Phát hiện mất điện tốc độ cao rất quan trọng để rút ngắn thời gian chuyển mạch giảm điện áp. Vì hệ thống này bù cho cả ba pha cùng một lúc, nên phát hiện giảm điện áp được thực hiện bằng cách chuyển đổi điện áp hệ thống thành ba pha thành hai pha và tĩnh thành tọa độ quay, tách thành các thành phần cùng pha và vuông pha, và thu được biên độ từ tổng bình phương của từng thành phần, được phát hiện bằng cách giảm biên độ của nó.
b) Hỗ trợ cắt thyristor
Điều quan trọng là phải ngắt thiết bị khỏi hệ thống ở tốc độ cao khi xảy ra sụt điện áp tạm thời. Do đó, một công tắc bán dẫn có thyristor đã được áp dụng. Tuy nhiên, thyristor không thể tắt trừ khi dòng điện chạy qua giảm xuống bằng không. Do đó, chúng tôi đã áp dụng điều khiển hỗ trợ tắt để nhanh chóng tạo điểm không của dòng điện chạy qua thyristor. Điều khiển hỗ trợ tắt được thực hiện đồng thời với việc phát hiện sụt điện áp và đưa ra lệnh tắt cho thyristor. Điều khiển này phát hiện cực tính của dòng điện chạy qua mỗi pha thyristor tại thời điểm sụt điện áp và khiến bộ biến tần đưa ra điện áp với cực tính làm giảm dòng điện.
c) Điều khiển khoá cổng tức thời
Dòng quá tải tạm thời có thể xảy ra tùy thuộc vào đặc tính của tải, chẳng hạn như hiện tượng từ dư của máy biến áp phía tải khi chuyển mạch trong tình huống sụt áp tức thời. Một chức năng điều khiển khoá cổng tức thời dựa trên phát hiện quá dòng được cung cấp để tiếp tục hoạt động trong trường hợp xảy ra sự kiện thoáng qua.
Khi phát hiện quá dòng, biến tần sẽ chuyển sang trạng thái khoá cổng một lần, nhưng sẽ tiếp tục hoạt động trong vòng 1ms. Bộ điều khiển này tránh được tình trạng tắt hệ thống do quá dòng thoáng qua và loại bỏ các tác động lên nguồn điện tải. Ngoài ra, khi phát hiện quá dòng được lặp lại và khi quá dòng tiếp tục sau khi khoá cổng, thì được coi là sự cố hỏng hóc lớn.
d) Hoạt động kết nối lại sau khi khôi phục nguồn điện
Khi phát hiện sự cố mất điện đã kết thúc và điện lưới đã được khôi phục, pha điện áp đầu ra của biến tần và biên độ sẽ dần thay đổi theo điện áp lưới. Khi phát hiện độ lệch pha giữa điện áp đầu ra của biến tần và điện áp hệ thống và biên độ thấp hơn một giá trị nhất định, công tắc thyristor sẽ được bật và điều khiển sẽ được chuyển đổi trong quá trình cân bằng tải.
7.3.4.4.2 Chế độ hoạt động
a) Chế độ dịch chuyển đỉnh
Trong chế độ dịch chuyển đỉnh, hệ thống điều khiển đang ở chế độ cân bằng tải. Công suất tác dụng đầu ra của thiết bị được điều khiển để không đổi theo tiêu chuẩn công suất được xác định bởi mẫu sạc/xả được cài đặt trước. Chức năng điều khiển công suất chia giá trị lệnh từ bộ điều khiển công suất cho điện áp pin. Và chuyển đổi nó thành dòng điện DC, và điều khiển dòng điện đầu ra pin bằng bộ cắt. Bộ biến tần điều khiển dòng điện đầu ra AC để điện áp DC, dao động theo đầu vào và đầu ra công suất từ bộ cắt, trở nên không đổi và truyền công suất đến và đi từ hệ thống.
b) Chế độ giảm thiểu sụt điện áp
Trong trường hợp điện áp giảm, công tắc có thyristor sẽ nhanh chóng ngắt hệ thống điện. Sau khi phát hiện trạng thái tắt của thyristor, bộ biến tần chuyển từ điều khiển dòng điện đầu ra AC sang điều khiển điện áp AC để giữ điện áp tải không đổi và cung cấp điện cho tải. Bộ ngắt điều khiển dòng điện đầu ra của pin để điện áp DC đầu vào của bộ biến tần không đổi.
8 Cân nhắc thiết kế cho hệ thống EES điện hóa
8.1 Chức năng ứng dụng
8.1.1 Chức năng ứng dụng trong các kịch bản điển hình
Các chức năng ứng dụng của hệ thống EES điện hóa được phân loại và giới thiệu trong 4.2. Chúng thay đổi tùy từng trường hợp, tùy thuộc vào mục đích và kịch bản. Một số chức năng ứng dụng phổ biến được sử dụng trong các kịch bản khác nhau từ Điều 5 đến Điều 7 được tóm tắt trong Phụ lục A.
8.1.2 Ưu tiên các chức năng ứng dụng trong các kịch bản điển hình
Hệ thống EES điện hóa có thể thay đổi chức năng ứng dụng của nó từ chức năng này sang chức năng khác theo điều kiện vận hành. Thứ tự ưu tiên của các chức năng ứng dụng có thể được xác định theo mức độ khẩn cấp của điều kiện vận hành hoặc kinh tế.
Ví dụ, hệ thống EES được giới thiệu trong Trường hợp 3 xác định các chiến lược vận hành của nỏ bằng cách so sánh tính kinh tế của các chức năng ứng dụng khác nhau. Hệ thống EES cung cấp điều chỉnh tần số từ 23:00 đến 6:00 vào ban đêm và chuyển sang cắt giảm đỉnh từ 6:00 đến 23:00 vào ban ngày để tối đa hóa doanh thu trên thị trường điện.
Mặt khác, trong khi các hệ thống EES được giới thiệu trong Trường hợp 6 xác định các chiến lược vận hành của nó theo mức độ khẩn cấp của điều kiện vận hành. Trong điều kiện vận hành bình thường, hệ thống EES được sử dụng để cắt tải đỉnh nhằm giảm nhu cầu điện năng đỉnh và chi phí điện. Trong trường hợp khẩn cấp và một số điều kiện kiểm soát cụ thể, hệ thống EES chuyển sang chức năng cung cấp điện dự phòng để đảm bảo cấp điện liên tục cho các tải quan trọng.
8.2 Kích thước và lựa chọn pin
8.2.1 Kích thước pin
8.2.1.1 Xác định kích thước hệ thống EES
Khi xác định quy mô hệ thống EES điện hóa, kịch bản ứng dụng, chức năng ứng dụng, điều kiện tích hợp, điều kiện địa điểm, đặc điểm pin, hiệu quả kinh tế, chính sách địa phương và an toàn là những yếu tố chính cần xem xét.
Kịch bản ứng dụng xác định các yêu cầu và chức năng cơ bản của hệ thống EES điện hóa như thể hiện trong Bảng 1. Nhìn chung, kịch bản ứng dụng có tác động lớn đến thời gian sạc/xả danh nghĩa của hệ thống EES.
Quy mô của hệ thống EES thường được xác định để đáp ứng nhu cầu của từng chức năng ứng dụng. Chiến lược phối hợp và chuyển đổi của các chức năng ứng dụng khác nhau cũng được xem xét để xác định quy mô của hệ thống EES.
Các điều kiện tích hợp bao gồm mức điện áp và khả năng tích hợp cho phép của lưới điện địa phương, điều này hạn chế quy mô của hệ thống EES.
Điều kiện địa điểm bao gồm điều kiện môi trường, điều kiện đường sá và diện tích địa điểm có sẵn, những yếu tố này giới hạn quy mô của hệ thống EES.
Các đặc tính của pin như tuổi thọ và tốc độ sạc/xả có tác động nhất định đến quy mô của hệ thống EES.
Hiệu quả kinh tế cũng là một chỉ số quan trọng để xác định quy mô hệ thống EES, đặc biệt đối với những khối tham gia thị trường điện hoặc thị trường dịch vụ phụ trợ.
Các chính sách địa phương của chính quyền như yêu cầu về tỷ lệ tối thiểu của EES với năng lượng tái tạo trong sản xuất điện cũng có tác động lớn đến quy mô hệ thống EES.
Vì pin lithium-ion có nguy cơ cháy nổ nên vấn đề an toàn cũng được cân nhắc khi xác định kích thước hệ thống EES.
8.2.1.2 Kích thước của các khối EESS
Kích thước của các khối EESS bị ảnh hưởng bởi cấp điện áp phía DC, khả năng ngắt mạch của máy cắt phía DC, thông số đặc trưng danh nghĩa của PCS và các yêu cầu về bảo vệ cháy nổ, và điều quan trọng là phải xem xét tính hợp lý về mặt kỹ thuật và tính hợp lý về mặt kinh tế.
Sự cân bằng song song và cộng hưởng đầu ra là những yếu tố quan trọng cần được xem xét khi thiết kế các khối EES. Điện áp phía DC được xác định theo đặc tính của pin, mức điện áp chịu đựng của PCS lưu trữ năng lượng và tính năng cách điện của PCS.
8.2.2 Lựa chọn pin
8.2.2.1 Tính năng và thông số của pin
Tính năng và thông số của hệ thống EES khác nhau tùy theo loại pin. Việc lựa chọn pin thay đổi tùy theo tính năng chính mà hệ thống EES cơ sở điện hóa yêu cầu, như thể hiện trong Bảng 37.
Bảng 37 - Tính năng và thông số của pin lưu trữ năng lượng
| Hạng mục | Kiểu pin | |||
| Lithium-ion | NAS | Chì axit và chì cacbon | Pin dòng chảy | |
| Mật độ năng lượng | 200 Wh/L đến 500 Wh/L | 150 Wh/L đến 350 Wh/L | 50 Wh/L đến 100 Wh/L | 30 Wh/L đến 70 Wh/L |
| Khoảng thời gian của công suất ra tác dụng danh định | 0,25 h đến 10 h | 1 h đến 8 h | Vài giây đến 5 h | Vài giây đến 10 h |
| Hiệu quả năng lượng | 85 % đến 95 % | 75 % đến 90 % | 63 % đến 90 % | 60 % đến 75 % |
| Các giá trị tuổi thọ dịch vụ (chu kỳ làm việc) trên mỗi cell | 2 000 đến 10 000 | 4 500 | 400 | > 10 000 |
| Nhiệt độ làm việc | Nhiệt độ môi trường | > 300 °C | Nhiệt độ môi trường | Nhiệt độ môi trường |
| Thuận lợi | Mật độ công suất và năng lượng cao Độ tự xả thấp | Mật độ năng lượng cao Bền vững Tuổi thọ chu kỳ cao | Mật độ công suất và năng lượng hợp lý An toàn cao Số lượng lớn | Tuổi thọ chu kỳ cao Độ tự xả thấp An toàn cao |
| Khó khăn | Liên guan đến an toàn Độ không đảm bảo trong nguồn cung vật liệu | Mật độ công suất thấp Cần nhiệt độ cao | Tuổi thọ chu kỳ giới hạn | Mật độ năng lượng thấp |
| NGUỒN: Dữ liệu của bảng dựa trên tải liệu [1]. | ||||
8.2.2.2 Lựa chọn pin trong các chức năng ứng dụng khác nhau
Pin có thể được chia thành pin công suất và pin năng lượng theo tính năng khác nhau của chúng như sau:
- pin lithium-ion có thể được xác định là pin công suất do khả năng cung cấp công suất ra cao cho các kịch bản cần giải phóng nhanh một lượng lớn năng lượng;
- pin dòng chảy, pin NAS, pin chì-cacbon và pin chì axit có thể được xác định là pin năng lượng do mật độ năng lượng cao và đầu ra ổn định trong thời gian dài, khiến chúng phù hợp với các kịch bản đòi hỏi nguồn điện liên tục trong thời gian dài;
Khi thiết kế hệ thống EES, việc lựa chọn loại pin năng lượng và loại pin điện có thể được xác định dựa trên các tình huống ứng dụng khác nhau. Lựa chọn loại pin được liệt kê theo ứng dụng:
- pin công suất dành cho các kịch bản ứng dụng như cắt đỉnh, ổn định công suất ra, giảm thiểu sụt điện áp hoặc giảm dao động công suất, đòi hỏi pin có khả năng công suất ra cao;
- pin năng lượng dùng cho kịch bản khởi động đen hoặc hỗ trợ điện áp phản kháng, yêu cầu hỗ trợ công suất trong thời gian dài hơn;
- cả pin công suất và pin năng lượng đều dùng cho các kịch bản điều chỉnh tần số hoặc cung cấp điện dự phòng. Pin có thể được lựa chọn dựa trên các yêu cầu tính năng khác nhau.
8.3 Sơ đồ tích hợp
8.3.1 Sơ đồ POC chính
Cân bằng năng lượng, cân bằng công suất, mức điện áp, thông số danh nghĩa và mức dòng điện ngắn mạch của hệ thống lưới điện thường được xem xét khi thiết kế sơ đồ POC chính.
Mức điện áp tích hợp của hệ thống EES có thể được xác định khi xem xét các nguyên tắc về tính linh hoạt và kinh tế, khả năng của hệ thống EES, khả năng của đường dây truyền tải và cấu trúc lưới điện. Bảng 38 cho thấy mức điện áp POC chính điển hình cho hệ thống EES, được phân loại theo công suất danh định của hệ thống EES.
Bảng 38 - Mức điện áp POC chính điển hình cho EESS điện hóa
| Công suất danh định của hệ thống EES điện hóa | Mức điện áp lưới điển hình |
| ≤ 1 MW | ≤ 15 kV |
| 1 MW < PN ≤ 30 MW | 6 kV < PN ≤ 66 kV |
| 30 MW < PN ≤ 100 MW | 66 kV < PN ≤ 220 kV |
| PN > 100 MW | ≥ 110 kV |
Hệ thống EES được kết nối với lưới điện bằng một công tắc dễ vận hành, có thể khóa và có chỉ báo ngắt kết nối rõ ràng.
Hệ thống EES được kết nối với lưới điện công cộng thường có khả năng kiểm soát công suất nhất định, khả năng truyền tải điện áp cao và điện áp thấp để hỗ trợ điện áp hoặc tần số cho lưới điện trong điều kiện khẩn cấp.
Chất lượng điện năng tại POC chính được giám sát và các thiết bị kiểm soát chất lượng điện năng được lắp đặt nếu chất lượng điện năng không đáp ứng được nhu cầu của lưới điện.
POC chính điển hình được giám sát và thiết bị điều khiển chất lượng điện năng được lắp đặt nếu chất lượng điện năng không đáp ứng các yêu cầu của lưới điện.
8.3.2 Sơ đồ POC phụ trợ
Nguồn điện phụ trợ của hệ thống EES bắt nguồn từ nguồn điện bên trong và/hoặc bên ngoài hoặc cả hai. POC phụ trợ là giao diện giữa đầu cuối kết nối phụ trợ của hệ thống EES và hệ thống nguồn điện bên ngoài. Khi hệ thống EES cấp điện nội bộ cho hệ thống phụ trợ, mức tiêu thụ điện phụ trợ được tính đến khi xác định công suất của hệ thống EES.
Khi POC phụ trợ kết nối với mức điện áp trung bình, máy biến áp phụ trợ thường được cấu hình để biến đổi điện áp trung bình thành điện áp hạ áp cho hệ thống điện phụ trợ.
- Thiết kế sơ đồ POC phụ trợ thường xem xét tần số danh định, hệ số công suất, điện áp, công suất biểu kiến, mức tiêu thụ năng lượng, mức tiêu thụ năng lượng dự phòng của hệ thống phụ trợ. Các kịch bản điển hình của hệ thống phụ trợ được thể hiện trong Bảng 39.
Bảng 39 - Sơ đồ POC phụ trợ điển hình cho EESS điện hóa
| Kịch bản điển hình | POC phụ trợ điển hình |
| Phía phát điện | Hệ thống điện phụ trợ của nhà máy điện hoặc trạm biến áp |
| Đường dây cung cấp điện trung áp hoặc hạ áp gần đó | |
| Phía truyền tải và phân phối | Hệ thống điện phụ của trạm biến áp |
| Đường dây cung cấp điện trung áp hoặc hạ áp gần đó | |
| Động cơ diesel | |
| Phía tiêu thụ điện năng | Đường dây cung cấp điện trung áp hoặc hạ áp gần đó |
8.4 Vị trí và bố trí
8.4.1 Vị trí
8.4.1.1 Lựa chọn địa điểm
Việc lựa chọn địa điểm cho hệ thống EES điện hóa thường dựa trên các yếu tố bao gồm cấu trúc lưới điện, phân bổ tải, quy hoạch hệ thống điện, mục tiêu ứng dụng, vị trí ứng dụng và quy hoạch đất đai.
Việc lựa chọn địa điểm có xu hướng tuân thủ các yêu cầu của luật pháp và quy định có liên quan về bảo vệ môi trường, bảo tồn đất, nước và bảo vệ môi trường sinh thái.
8.4.1.2 Quy hoạch mặt bằng
Địa điểm thường được quy hoạch theo quy mô giai đoạn cuối dựa trên sự phát triển của công nghệ thiết bị, yêu cầu vận hành hệ thống EES, kế hoạch đầu tư, nhu cầu xây dựng và mở rộng, kết hợp với nhu cầu sinh hoạt và điều kiện tự nhiên của địa điểm.
Việc quy hoạch mặt bằng rất quan trọng để đáp ứng các yêu cầu về phòng cháy chữa cháy, chống nổ, đồng thời cân nhắc đến tác động đến các tòa nhà và môi trường xung quanh.
8.4.2 Bố trí
8.4.2.1 Bố trí tổng thể
Các yêu cầu chính về đường sá, hàng rào, rãnh cáp và khoảng cách từ các tòa nhà xung quanh được xem xét trong sơ đồ bố trí tổng thể.
8.4.2.2 Bố trí thiết bị điện
Bố trí thiết bị điện thường xem xét các yếu tố toàn diện về phương pháp đi dây điện, loại thiết bị và bố trí tổng thể của hệ thống EES điện hóa.
8.4.2.3 Yêu cầu về môi trường của thiết bị
Thiết kế môi trường hoạt động của thiết bị trong hệ thống EES xem xét các yếu tố như nhiệt độ hoạt động của pin, độ ẩm, mức độ bảo vệ của vỏ máy, khả năng chống bụi và điều kiện khí tượng bên ngoài.
Đối với các môi trường hoạt động đặc biệt như nhiệt độ cao, cực lạnh, sương muối nhiều và các khu vực khác, cần phải thiết kế đặc biệt theo yêu cầu của pin.
8.4.2.4 Phân cách thiết bị
Thiết bị của hệ thống tích trữ và hệ thống chuyển đổi công suất năng thường được bố trí trong các phòng hoặc tủ riêng biệt.
Thiết kế phân cách của các khối EES thường xem xét các yếu tố như sự lan truyền nhiệt, phân chia theo khối vận hành và bảo trì tối thiểu, lựa chọn thiết bị điện được kết nối và ngăn cách cháy.
8.5 Sơ đồ hệ thống con
8.5.1 Hệ thống tích trữ
Cấu trúc hệ thống tích trữ được xác định bởi cấu trúc PCS. Khi thiết kế hệ thống tích trữ, các khía cạnh sau đây thường được xem xét:
- yêu cầu ứng dụng;
- công suất danh định của hệ thống EES;
- dung lượng danh định của hệ thống EES;
- tính năng của hệ thống chuyển đổi công suất;
- khả năng lưu trữ năng lượng có thể sử dụng;
- đặc tính suy giảm pin;
- sự không đồng nhất của pin.
Tính dự phòng của các khối EES cần được xem xét theo đặc tính suy giảm, đặc tính sạc và xả, tính kinh tế và các kịch bản ứng dụng.
8.5.2 Hệ thống chuyển đổi công suất
8.5.2.1 Quy định chung
Khi lựa chọn hệ thống chuyển đổi công suất năng, điều quan trọng là phải cân nhắc những khía cạnh sau:
- điện áp phía DC của hệ thống tích trữ;
- điện áp AC của hệ thống chuyển đổi công suất năng;
- công suất danh định của hệ thống EES;
- điện áp và tần số tại POC;
- công suất tối đa;
- yêu cầu về tính năng sạc và xả của hệ thống EES.
Cấu trúc cấu trúc chung của PCS bao gồm cấu trúc chuyển đổi một giai đoạn, cấu trúc chuyển đổi hai giai đoạn và cấu trúc xếp tầng.
8.5.2.2 Cấu trúc chuyển đổi một giai đoạn
Cấu trúc chuyển đổi một giai đoạn chỉ có mạch DC/AC hai chiều, như thể hiện trên Hình 60. Ưu điểm của cấu trúc này là hiệu suất hoạt động cao, nhưng chỉ phù hợp với trường hợp điện áp pin thay đổi trong phạm vi nhỏ. cấu trúc chuyển đổi một giai đoạn có thể được áp dụng trong hệ thống EES cơ sở điện hóa, nơi điện áp đầu cực pin không giảm rõ ràng trong phạm vi 15 % ~ 85 % SOC.

Hình 60 - Cấu trúc của chuyển đổi một giai đoạn
Để mở rộng công suất, cấu trúc chuyển đổi một cấp có chứa chuyển đổi AC/DC có thể được mở rộng thành chuyển đổi một cấp có cấu trúc mở rộng, như thể hiện trên Hình 61. Khi một số bộ phận của hệ thống tích trữ bị hỏng, các bộ phận còn lại vẫn có thể hoạt động, đồng thời, thiết kế hệ thống điều khiển sẽ phức tạp hơn.

Hình 61 - Cấu trúc chuyển đổi một giai đoạn có mở rộng
8.5.2.3 Cấu trúc chuyển đổi hai giai đoạn
Cấu trúc chuyển đổi hai giai đoạn được tạo thành từ mạch chuyển đổi DC/DC và mạch biến tần nối tiếp, như thể hiện trên Hình 62. Do có mạch tăng áp một giai đoạn chuyên dụng, cấu trúc chuyển đổi hai giai đoạn cho phép kết nối hệ thống tích trữ với điện áp thấp hơn, giúp cấu hình dung lượng của hệ thống tích trữ linh hoạt hơn. cấu trúc chuyển đổi hai giai đoạn phù hợp với phạm vi sụt điện áp pin rộng. Ngược lại, hiệu suất hoạt động của nó tương đối thấp và chi phí cao hơn.

Hình 62 - Cấu trúc chuyển đổi hai giai đoạn
Để mở rộng dung lượng, cấu trúc chuyển đổi hai giai đoạn bao gồm chuyển đổi AC/DC và DC/DC có thể được mở rộng thành chuyển đổi hai giai đoạn với cấu trúc chung DC và chuyển đổi hai giai đoạn với cấu trúc chung AC, như thể hiện trên Hình 63 và Hình 64.

Hình 63 - Cấu trúc chuyển đổi hai giai đoạn có đấu nối DC-chung

Hình 64 - Cấu trúc chuyển đổi hai giai đoạn có đấu nối AC-chung
8.5.2.4 Cấu trúc xếp tầng
Mức điện áp của hệ thống cấu trúc nối tiếp được cải thiện bằng cách kết nối các môđun con nối tiếp, giúp tránh hiệu quả việc kết nối chuỗi của các pin lưu trữ năng lượng quy mô lớn, như thể hiện trên Hình 65. Do mỗi môđun trong hệ thống hoạt động độc lập mà không ảnh hưởng đến nhau nên rất thuận tiện cho việc kiểm soát công suất của bộ lưu trữ năng lượng DC và kiểm soát khả năng chịu lỗi của hệ thống con tích lũy.

Hình 65 - Cấu trúc xếp tầng
8.5.2.5 So sánh cấu trúc chuyển đổi
Cấu trúc của PCS bao gồm cấu trúc chuyển đổi một giai đoạn, cấu trúc chuyển đổi hai giai đoạn và cấu trúc xếp tầng. So sánh cấu trúc PCS được thể hiện trong Bảng 40.
Bảng 40 - So sánh cấu trúc PCS
| Cấu trúc liên kết | Điểm mạnh | Điểm yếu |
| Cấu trúc chuyển đổi một giai đoạn | 1. công nghệ trưởng thành 2. hiệu suất chuyển đổi cao | 1. nhiều loại pin hơn, phức tạp cho việc quản lý pin. 2. cần có máy biến áp tăng áp |
| Cấu trúc chuyển đổi hai giai đoạn | 1. công nghệ trưởng thành 2. năng lực linh hoạt hơn 3. Cấu hình pin linh hoạt 4. dao động điện áp thấp | 1. hiệu suất DC/DC cần được xem xét 2. cần có máy biến áp tăng áp 3. Tần số chuyển mạch, dung lượng và mối quan hệ phối hợp giữa các liên kết DC/DC và DC/AC rất phức tạp. |
| Cấu trúc xếp tầng | 1. thiết kế và đóng gói theo môđun 2. cân bằng điện áp ở phía DC dễ đạt được hơn 3. lưu máy biến áp | 1. bị hạn chế bởi trình độ phát triển của điện tử công suất, chi phí đầu tư và công nghệ điều khiển 2. độ tin cậy kém hơn |
8.5.3 Hệ thống phụ trợ
8.5.3.1 Nguồn điện phụ trợ
Hệ thống phụ trợ thường được thiết kế để được cấp nguồn bằng nguồn điện kép. Khi điều kiện cung cấp điện bị hạn chế, hệ thống EES có thể được cấp nguồn bằng một nguồn duy nhất.
Mỗi thành phần của hệ thống con đều quan trọng khi lựa chọn nguồn điện đơn hoặc nguồn điện kép tùy thuộc vào nhu cầu về độ tin cậy và tính khả dụng.
Công suất của mỗi máy biến áp phụ có thể đáp ứng mọi nhu cầu điện năng của hệ thống EES.
Nguồn điện cung cấp cho máy biến áp phụ thường bắt nguồn từ hệ thống con chính của hệ thống EES, bao gồm hệ thống con tích lũy và hệ thống con chuyển đổi điện năng, hoặc nguồn điện bên ngoài, ví dụ như đường dây cung cấp điện gần đó.
Hệ thống phân phối điện phụ trợ có thể được phân phối tại hiện trường hệ thống EES theo sơ đồ bố trí hệ thống EES.
Nguồn điện DC và UPS thường được lắp đặt trong hệ thống EES điện hóa.
Nguồn điện cấp cho các tải quan trọng như hệ thống giám sát máy tính, EMS, BMS và phòng cháy chữa cháy thường được thiết kế để cung cấp bởi UPS. Nguồn điện DC của UPS có thể được cấp điện từ hệ thống phụ trợ DC.
Sơ đồ cấp điện phụ trợ điển hình được thể hiện ở Bảng 41.
Bảng 41 - Sơ đồ cấp điện phụ trợ điển hình
| Kịch bản điển hình | Nguồn điện phụ trợ điển hình |
| Phía phát điện | Hệ thống điện phụ trợ của nhà máy điện (1 hoặc 2 POC) + Hệ thống điện chính (1 bên trong) |
| Phía truyền tải và phân phối | Đường dây cung cấp điện trung áp/hạ áp gần đó/ Động cơ Diesel (1 POC) + Hệ thống con chính (1 bên trong) Hệ thống con chính (1 hoặc 2 bên trong) |
| Phía tiêu thụ điện năng | Hệ thống điện phụ của trạm biến áp (1 POC) + Hệ thống con chính (1 bên trong) |
8.5.3.2 Cấu hình hệ thống phụ trợ
Tất cả các thiết bị cần thiết nhằm thực hiện các chức năng phụ trợ của hệ thống EES đều được thiết kế, ví dụ như hệ thống sưởi, thông gió, điều hòa không khí và hệ thống chữa cháy.
Mỗi loại pin cần nhiệt độ môi trường hoạt động khác nhau, được thiết kế theo đặc điểm của từng loại pin.
Khi áp dụng hệ thống EES loại contenơ ngoài trời, hệ thống làm mát bằng nước có thể được lắp đặt bên trong contenơ.
Cấu hình của hệ thống giám sát an ninh bằng video được xác định theo quy mô, mức độ quan trọng và yêu cầu quản lý an toàn.
Hệ thống chữa cháy rất quan trọng vì phải được cấu hình theo các quy định và luật lệ của địa phương để có thể thực hiện các biện pháp phòng cháy chữa cháy tương ứng khi xảy ra hỏa hoạn.
Thiết bị chữa cháy thông thường được cài đặt chế độ tự động hoạt động để chữa cháy hoặc cảnh báo người vận hành để có biện pháp xử lý tương ứng.
8.5.3.3 Đặc tính cụ thể
Đối với ESS sử dụng hệ thống pin dòng chảy, contenơ chất điện phân có khả năng chịu đựng lâu dài và tính chất cơ học của dung dịch chất điện phân trong môi trường axit và oxy hóa khử mạnh. Các thông số vật lý của chất điện phân, yêu cầu về tốc độ tái tạo của các chất hoạt động và độ giảm áp suất chất lỏng của các dòng chất điện phân khác nhau là ảnh hưởng chính đến việc lựa chọn bơm tuần hoàn chất điện phân
Đối với ESS sử dụng hệ thống pin NAS, contenơ cách nhiệt có độ bền nhiệt và độ kín chân không để đạt được khả năng cách nhiệt cao và độ dẫn nhiệt thấp. Phần tiếp cận được của bề mặt contenơ cách nhiệt thường nhỏ hơn 60 °C.
8.5.4 Hệ thống bảo vệ
8.5.4.1 Quy định chung
Hệ thống bảo vệ được cung cấp bởi rơ le bảo vệ bộ phân phối điện và hệ thống chuyển đổi công suất và hệ thống quản lý pin.
8.5.4.2 Bảo vệ hệ thống tích trữ
Các chức năng bảo vệ sau đây thường được trang bị cho hệ thống tích trữ:
a) Thiết bị bảo vệ và cô lập ngắn mạch cho hệ thống tích trữ.
b) BMS của pin Li-ion và pin LA/LC cung cấp chức năng bảo vệ khi phát hiện các điều kiện bất thường trong hệ thống tích trữ, ví dụ như quá áp, dưới áp, chênh lệch điện áp vượt quá giới hạn, quá dòng, quá nhiệt, dưới nhiệt, chênh lệch nhiệt độ vượt quá giới hạn, lỗi cách điện, lỗi truyền thông, v.v.
c) BMS của pin lưu lượng cung cấp chức năng bảo vệ khi phát hiện các điều kiện bất thường trong hệ thống tích trữ, ví dụ như điện áp, lượng lưu lượng, áp suất, nhiệt độ, mức chất lỏng và giá trị PH vượt quá giới hạn, lỗi truyền thông và rò rỉ chất lỏng, v.v.
8.5.4.3 Bảo vệ hệ thống chuyển đổi công suất năng
Hệ thống chuyển đổi công suất năng là liên kết giữa hệ thống tích trữ và POC chính, chức năng của các thiết bị bảo vệ cho PCS như sau:
a) Hệ thống chuyển đổi công suất có thể chuyển sang trạng thái tự bảo vệ khi liên lạc giữa PCS và hệ thống tích trữ bị lỗi.
b) Đối với trường hợp lưới điện bị cô lập, chức năng bảo vệ liên động thường được trang bị để ngăn lưới điện tiện ích và lưới điện bị cô lập ở trạng thái hoạt động song song.
8.5.4.4 Kiểm soát liên kết
Hệ thống quản lý pin được cấu hình với cảnh báo phân loại và chiến lược bảo vệ để thực hiện kiểm soát liên kết với PCS, thiết bị ngắt kết nối hệ thống tích trữ và cảnh báo của hệ thống giám sát máy tính.
8.5.5 Hệ thống truyền thông
Trong trường hợp của Điều 5 đến Điều 7, mạng lưới truyền thông có cấu hình mạng kép hoặc mạng đơn. Một số yếu tố như quy mô xây dựng của hệ thống EES, yêu cầu của lưới điện, tầm quan trọng của nhà máy điện và yêu cầu về độ tin cậy của chủ sở hữu hệ thống EES được xem xét để lựa chọn.
Hệ thống quản lý pin và PCS thường truyền thông qua mạng. Một mạch có dây cứng được sử dụng làm giao diện ngắt chéo để đảm bảo ngắt mạch chính một cách đáng tin cậy khi truyền thông bị gián đoạn.
Mô hình thông tin cho EESS là một phần của hệ thống truyền thông, cung cấp các tên gọi và cấu trúc tiêu chuẩn hóa cho dữ liệu được trao đổi giữa các thiết bị và hệ thống khác nhau. Tổng quan về các thiết bị logic dựa trên hệ thống phân cấp mô hình thông tin của IEC 61850 được trình bày trong Phụ lục C.
8.5.6 Hệ thống quản lý
8.5.6.1 Hệ thống quản lý cho hệ thống tích trữ
Cấu hình cấu trúc của hệ thống quản lý pin được khớp và phối hợp với cấu trúc của hệ thống con tích lũy. Hệ thống quản lý có thể thực hiện kiểm soát tối ưu và quản lý toàn diện trạng thái hoạt động của pin.
Hệ thống quản lý cho hệ thống tích trữ có các chức năng như đo thông số trạng thái pin (điện áp, dòng điện, nhiệt độ, SOC, SOE, V.V.), tính toán trạng thái năng lượng, tương tác thông tin, chần đoán lỗi, bảo vệ pin, đồng bộ hóa thời gian, ghi thời gian, lưu trữ dữ liệu, ghi lỗi và hiển thị.
8.5.6.2 Hệ thống quản lý cho PCS
Quản lý hệ thống con chuyển đổi điện năng bao gồm cả chức năng giám sát và điều khiển. Vì lượng dữ liệu giám sát của hệ thống con chuyển đổi điện năng nhỏ hơn nhiều so với hệ thống con tích lũy, nên hệ thống quản lý cho PCS thường được cấu hình cùng với hệ thống con tích lũy. Nếu hệ thống EES cần hoạt động ở chế độ điều khiển nhanh như điều chỉnh tần số và hỗ trợ điện áp, v.v., có thể cấu hình bộ điều khiển phối hợp độc lập để cải thiện tốc độ phản hồi của hệ thống EES.
8.6 Các biện pháp an toàn hệ thống
8.6.1 Phát hiện và chữa cháy
8.6.1.1 Phát hiện khói và lửa
Đối với một contenơ EES ngoài trời, có thể tích hợp chức năng phát hiện khói và cháy trong tủ hệ thống tích trữ. Ví dụ về cảm biến phát hiện cháy cho từng loại pin như thể hiện trong Bảng 42.
Bảng 42 - Ví dụ về cảm biến phát hiện cháy cho từng loại pin
| Loại pin | Axit chì | Lithium-ion | NAS | Pin dòng chảy |
| Cảm biến phát hiện cháy | Đầu báo khói / nhiệt / H2 | Đầu báo khói / nhiệt / H2 / CO / VOC / kết hợp | Đầu báo khói / nhiệt / H2S / SO2 | Đầu báo khói / nhiệt / H2 |
8.6.1.2 Chữa cháy
Hệ thống chữa cháy tự động được cung cấp khi có nhu cầu kiểm soát cháy. Ví dụ về các chất chữa cháy cho từng loại pin như thể hiện trong Bảng 43.
Bảng 43 - Ví dụ về chất chữa cháy cho từng loại pin
| Loại pin | Axit chì | Lithium-ion | NAS | Pin dòng chảy |
| Chất chữa cháy | CO2 / bột khô | Khí dung / HFC- 227ea / FK-5-1-12 / Nước | Cát | CO2/Nước |
Chất chữa cháy thích hợp cho từng loại pin. Thời gian xả phụ thuộc vào nguy cơ cháy, đặc tính cháy và nhiệt độ tăng cao mất kiểm soát.
Khi hệ thống chữa cháy được kích hoạt, hệ thống thông gió xả cơ học thường được cấu hình theo cách liên kết với hệ thống chữa cháy.
8.6.2 Chống sét
Nếu độ dày của khung kim loại đáp ứng các yêu cầu của thông số kỹ thuật chống sét cục bộ, khung kim loại của các tòa nhà di động đúc sẵn hoặc contenơ cho hệ thống EES có thể được sử dụng làm dây dẫn chính của hệ thống chống sét. Thép mạ kẽm nhúng nóng thường được sử dụng làm vật liệu cho bề mặt ngoài của khung kim loại và khung kim loại được dẫn điện bằng cách nối đất đáng tin cậy.
Nếu độ dày của khung kim loại không đáp ứng được yêu cầu, các cột thu lôi hoặc dây thu lôi được thiết kế để chống sét.
8.6.3 Nối đất của hệ thống tích trữ
Các hệ thống tích trữ được kết nối với PCS không có sự tách biệt giữa mạch đầu vào và mạch đầu ra thì không thể được nối đất cho dù đầu ra của PCS có được kết nối với hệ thống nối đất tham chiếu hay không.
Các hệ thống tích trữ được kết nối với PCS có sự tách biệt giữa mạch đầu vào và mạch đầu ra có thể được nối đất trực tiếp, nối đất điện trở hoặc không nối đất.
Đối với hệ thống điện bao gồm các hệ thống tích trữ có mạch điện áp nguy hiểm (trên điện áp cực thấp (ELV)), tất cả các vỏ thiết bị bằng kim loại liên quan đến hệ thống tích trữ thường được liên kết với nhau và kết nối với hệ thống tiếp địa của hệ thống điện.
Phụ lục A
(tham khảo)
Thông tin cơ bản về các trường hợp EESS điện hóa
Thông tin cơ bản về các trường hợp hệ thống EES điện hóa được liệt kê trong Bảng A.1, bao gồm kịch bản, công suất, mức điện áp tích hợp, loại pin, chức năng và bố cục của từng trường hợp.
Bảng A.1 - Thông tin cơ bản về các trường hợp EESS điện hóa
| Trường hợp | Vị trí | Dung lượng | Mức điện áp tích hợp | Kiểu pin | Chức năng | Bố trí |
| Trường hợp 1 | Phát điện | 30 MW/ 15 MWh | 6 kV | LFP | Điều chỉnh tần số | Contenơ ngoài trời có diện tích tổng 2 533 m2 |
| Trường hợp 2 | Phát điện | 15 MW / 60 MWh | 6,6 kV | FB | Ổn định công suất ra, cắt đỉnh, điều chỉnh tần số | Trong nhà |
| Trường hợp 2 | Phát điện | 50 MW / 300 MWh | 66 kV | NAS | Cắt đỉnh, dịch chuyển đỉnh | Contenơ ngoài trời có diện tích tổng 14 000 m2 |
| Trường hợp 4 | Phát điện | 100 MW/ 400 MWh | 220 kV | FB | Điều chỉnh tần số, cắt đỉnh | Trong nhà |
| Trường hợp 5 | Truyền tải và phân phối | 99.8 MW / 99.8 MWh | 33 kV | LFP / NCM | Điều chỉnh tần số, cắt đỉnh, khởi động đen | Contenơ ngoài trời có diện tích tổng 9 230 m2 |
| Trường hợp 6 | Truyền tải và phân phối | 7,2 MW / 8,6 MWh | 15 kV | NCM / NCA / LFP / LTO / Zebra / FB | Điều chỉnh tần số, hỗ trợ điện áp phản kháng | Contenơ ngoài trời có diện tích tổng 360 m2 |
| Trường hợp 7 | Truyền tải và phân phối | 100 MW/ 200 MWh | 220 kV | LFP | Cắt đỉnh | Contenơ ngoài trời có diện tích tổng 13 760 m2 |
| Trường hợp 8 | Truyền tải và phân phối | 70 MW / 140 MWh | 110 kV | LFP | Cắt đỉnh | Contenơ ngoài trời có diện tích tổng 12 373 m2 |
| Trường hợp 9 | Truyền tải và phân phối | 12 MW / 37 MWh | 66 kV | NCM | Cắt đỉnh, khởi động đen, hỗ trợ điện áp phản kháng | Contenơ ngoài trời |
| Trường hợp 10 | Khách hàng | 1 MW / 1 MWh | 13,2 kV | NCM | Điều chỉnh tần số, hỗ trợ điện áp phản kháng, khởi động đen | Contenơ ngoài trời |
| Trường hợp 11 | Khách hàng | 1 MW / 3 MWh | 10 kV | LC | Dịch chuyển đỉnh, giảm thiểu hạ điện áp, nguồn điện dự phòng | Trong nhà |
| Trường hợp 12 | Khách hàng | 1 MW × 7 h / 3 MW × 13,5 s | 6,6 kV | NAS | Nguồn điện dự phòng, giảm thiểu hạ điện áp | Contenơ ngoài trời |
Phụ lục B
(tham khảo)
POC sơ cấp của EESS điện hóa nối lưới điện
B.1 Quy định chung
Các hệ thống EES điện hóa nhìn chung được chia thành phía phát điện, phía truyền tải và phân phối, và phía khách hàng bằng POC sơ cấp của chúng đến lưới điện.
B.2 POC sơ cấp của EESS điện hóa trên phía phát điện
POC sơ cấp của các hệ thống EES điện hóa trong phía phát điện được đặt trong phạm vi trạm điện, như thể hiện trên Hình B.1. Nhìn chung, hệ thống EES hoạt động phối hợp với trạm điện.

| a) Hệ thống EES tích hợp với thanh cái điện phụ trợ của trạm điện | b) Hệ thống EES tích hợp với thanh cái điện áp cao của trạm điện | c) Hệ thống EES tích hợp với thanh cái điện áp cao của trạm điện năng lượng mặt trời |
Hình B.1 - POC sơ cấp điển hình của EESS điện hóa trên phía phát điện
B.3 POC sơ cấp của EESS điện hóa trên phía truyền tải và phân phối
POC sơ cấp của các hệ thống EES điện hóa trong phía truyền tải và phân phối được nối trực tiếp với lưới điện, như thể hiện trên Hình B.2. Nhìn chung, hệ thống EES hoạt động độc lập để đáp ứng các yêu cầu của lưới điện.

Hình B.2 - POC sơ cấp điển hình của EESS điện hóa trên phía truyền tải và phân phối điện
B.4 POC sơ cấp của hệ thống EES điện hóa trên phía khách hàng
POC sơ cấp của các hệ thống EES điện hóa trong phía khách hàng được nối với mạng phân phối của khách hàng, như thể hiện trên Hình B.3. Nhìn chung, hệ thống EES hoạt động để đáp ứng các yêu cầu khác nhau của khách hàng.

Hình B.3 - POC sơ cấp của hệ thống EES điện hóa trên phía khách hàng
Phụ lục C
(tham khảo)
Mô hình thông tin EESS điện hóa điển hình
C.1 Thiết bị logic (LD) và Nút logic (LN) dùng cho EESS điện hóa
Như thể hiện trên Hình C.1, các thiết bị logic dựa trên hệ thống phân cấp mô hình thông tin của IEC 61850-7-420 và IEC TR 61850-90-9 bao gồm hệ thống tích trữ, hệ thống chuyển đổi công suất, máy cắt EES, hệ thống quản lý, v.v.

Hình C.1 - Tổng quan: Thiết bị logic (LD) và Nút logic (LN) dùng cho EESS điện hóa
C.2 Đối tượng dữ liệu dùng cho EESS điện hóa
Đối tượng dữ liệu được trao đổi trong các nút logic của hệ thống ESS điện hóa được xác định trong IEC 61850-7-420 và IEC 61850-90-9. Một ví dụ thông tin đối với các nút logic được liệt kê trong Bảng C.1 và Bảng C.2.
Hệ thống quản lý được chia thành hệ thống quản lý cho hệ thống tích trữ và hệ thống quản lý cho hệ thống chuyển đổi công suất. Trong các hệ thống EES điện hóa, hệ thống quản lý cho hệ thống tích trữ cũng được gọi là BMS. Bảng C.1 liệt kê một số ví dụ về thông tin cho BMS và Bảng C.2 liệt kê một số ví dụ về thông tin cho hệ thống quản lý cho hệ thống chuyển đổi công suất. Các đối tượng dữ liệu đầy đủ cho các hệ thống được định nghĩa trong IEC 61850-7-420 và IEC TR 61850-90-9.
Bảng C.1 - Ví dụ về thông tin của các hệ thống quản lý dùng cho hệ thống tích trữ
| Loại thông tin | Thông tin được trao đổi |
| Thông tin giới hạn hoạt động của pin | - Cảnh báo/giới hạn bảo vệ dòng sạc - Cảnh báo/giới hạn bảo vệ dòng xả - Giới hạn nhiệt độ - Cảnh báo/giới hạn bảo vệ điện trở cách điện - Điện áp cắt sạc - Xả điện áp cắt |
| Thông tin đo pin | - Điện áp - Dòng điện - SOE - Tích lũy năng lượng sạc - Tích lũy năng lượng sạc - Năng lượng có thể sạc lại - Năng lượng phóng điện - Nguồn điện có thể sạc lại - Nguồn điện có thể phóng điện - Chênh lệch điện áp cell pin Max-Min - Nhiệt độ cell pin Chênh lệch tối đa-tối thiểu |
| Thông tin trạng thái pin | - Thông tin trạng thái pin - Bật/tắt - Trạng thái kiểm soát cân bằng - Trạng thái hoạt động - Trạng thái sạc/xả - Trạng thái liên lạc - Trạng thái cảnh báo - Trạng thái bảo vệ |
Bảng C.2 - Ví dụ về thông tin của hệ thống quản lý dùng cho hệ thống chuyển đổi công suất
| Loại thông tin | Thông tin được trao đổi |
| Thông tin đo PCS | điện áp một chiều dòng điện một chiều điện áp xoay chiều dòng điện xoay chiều Tần số lưới Nhiệt độ nguồn điện một chiều Công suất tác dụng Công suất phản kháng Tích lũy năng lượng sạc Năng lượng tích lũy xả |
| Thông tin trạng thái PCS | Trạng thái đã kết nối Bảo vệ ngắn mạch Bảo vệ đảo cực Bảo vệ quá áp phía DC Bảo vệ dưới điện áp phía DC Bảo vệ quá dòng Bảo vệ quá nhiệt Tình trạng lỗi phần cứng Bảo vệ chống đảo Bảo vệ lỗi truyền thông |
| Thông tin kiểm soát PCS | Chế độ hoạt động Kiểm soát khởi động-dừng Kiểm soát chế độ hoạt động Điều chỉnh tần số lưới Kiểm soát tách đảo Điều khiển công suất tác dụng bằng tay Mẫu điều khiển công suất tác dụng Điều khiển công suất tác dụng bằng tay Tự động điều khiển bám tải |
Thư mục tài liệu tham khảo
[1] Proceedings of the CSEE, “A review on the utilization of energy storage system for the flexible and safe operation of renewable energy microgrids", 2020
[2] IEC 60870-5-104, Telecontrol equipment and systems - Part 5-104: Transmission protocols - Network access for IEC 60870-5-101 using standard transport profiles
[3] IEC 61850 (all parts), Communication networks and systems for power utility automation
[4] IEC 62477-1, Safety requirements for power electronic converter systems and equipment - Part 1: General
[5] IEC 62485-1, Safety requirements for secondary batteries and battery installations - Part 1: General safety information
[6] IEC 62485-2, Safety requirements for secondary batteries and battery installations - Part 2: Stationary batteries
[7] IEC 62933-1, Electrical energy storage (EES) systems - Parts 1: Vocabulary
[8] IEC 62933-2-1, Electrical energy storage (EES) systems - Part 2-1: Unit parameters and testing methods-General specification
[9] IEC TS 62933-3-1, Electrical energy storage (EES) systems - Part 3-1: Planning and performance assessment of electrical energy storage systems-General specification
[10] IEC TS 62933-3-2, Planning and performance assessment of electrical energy storage systems - Part 3-2: Additional requirements for power intensive and renewable energy sources integration related applications
[11] IEC TS 62933-3-3, Planning and performance assessment of electrical energy storage systems - Part 3-3: Additional requirements for energy intensive and backup power applications
[12] IEC TS 62933-5-1, Electrical energy storage (EES) systems - Part 5-1: Safety considerations for grid-integrated EES systems - General specification
[13] IEC 62933-5-2, Safety requirements for grid-integrated EES systems - Part 5-2: Electrochemical -based systems
[14] IEC 62933-5-3, Safety requirements for electrochemical based EES systems considering initially non-anticipated modifications (120/301/CDV)
[15] IEEE 1547TM, IEEE standard for Interconnecting Distributed Resources with Electric Power Systems
[16] IEEE std 2030.2.1TM, IEEE Guide for Design, Operation, and Maintenance of Battery Energy Storage Systems, both stationary and Mobile, and Applications Integrated with Electric Power Systems
[17] IEEE C2, National Electrical Safety Code
[18] NFPA 68, Standard on Explosion Protection by Deflagration Venting
[19] NFPA 69, Standard on Explosion Prevention Systems
[20] NFPA 70, National Electrical Code
[21] NFPA 780, Standard for the installation of Lightning Protection Systems
[22] NFPA 855, Standard for the Installation of stationary Energy storage Systems
[23] NREL/TP-5D00-81104, Photovoltaic Plant and Battery Energy storage System Integration at NREL’s Flatirons Campus
Bạn chưa Đăng nhập thành viên.
Đây là tiện ích dành cho tài khoản thành viên. Vui lòng Đăng nhập để xem chi tiết. Nếu chưa có tài khoản, vui lòng Đăng ký tại đây!








