- Tổng quan
- Nội dung
- Tiêu chuẩn liên quan
- Lược đồ
- Tải về
Tiêu chuẩn Quốc gia TCVN 12238-7:2018 IEC 60127-7:2015 Cầu chảy cỡ nhỏ - Phần 7: Dây chảy cỡ nhỏ dùng cho các ứng dụng đặc biệt
| Số hiệu: | TCVN 12238-7:2018 | Loại văn bản: | Tiêu chuẩn Việt Nam |
| Cơ quan ban hành: | Bộ Khoa học và Công nghệ | Lĩnh vực: | Công nghiệp |
|
Ngày ban hành:
Ngày ban hành là ngày, tháng, năm văn bản được thông qua hoặc ký ban hành.
|
28/12/2018 |
Hiệu lực:
|
Đã biết
|
| Người ký: | Đang cập nhật |
Tình trạng hiệu lực:
Cho biết trạng thái hiệu lực của văn bản đang tra cứu: Chưa áp dụng, Còn hiệu lực, Hết hiệu lực, Hết hiệu lực 1 phần; Đã sửa đổi, Đính chính hay Không còn phù hợp,...
|
Đã biết
|
TÓM TẮT TIÊU CHUẨN VIỆT NAM TCVN 12238-7:2018
Tiêu chuẩn Quốc gia TCVN 12238-7:2018 về Dây chảy cỡ nhỏ cho các ứng dụng đặc biệt
Ngày 28/12/2018, Bộ Khoa học và Công nghệ đã công bố Tiêu chuẩn Quốc gia TCVN 12238-7:2018 IEC 60127-7:2015 liên quan đến cầu chảy cỡ nhỏ, phần 7: dây chảy cỡ nhỏ dùng cho các ứng dụng đặc biệt. Tiêu chuẩn này có hiệu lực ngay từ ngày ban hành.
Tiêu chuẩn này quy định các yêu cầu kỹ thuật cho dây chảy cỡ nhỏ được sử dụng trong các ứng dụng đặc biệt với điện áp không quá 1.000 V và dòng điện danh định lên tới 20 A. Nó không áp dụng cho những dây chảy dùng cho các loại thiết bị đặc biệt trong môi trường ăn mòn hoặc khí nổ.
Phạm vi áp dụng
Tiêu chuẩn TCVN 12238-7:2018 áp dụng cho các dây chảy với khả năng cắt không quá 50 kA và yêu cầu các phương pháp thử nghiệm đồng nhất để xác nhận giá trị kỹ thuật do nhà sản xuất đưa ra.
Mục tiêu của tiêu chuẩn
Mục đích của tiêu chuẩn là thiết lập các quy định, hướng dẫn về phương pháp thử nghiệm của dây chảy cỡ nhỏ cho các ứng dụng đặc biệt, nhằm đảm bảo độ an toàn và chất lượng của sản phẩm.
Yêu cầu chung và thông số tiêu chuẩn
Theo tiêu chuẩn này, dây chảy cỡ nhỏ cần phải đáp ứng các thông số cụ thể thông qua các thỏa thuận giữa tổ chức thử nghiệm và nhà chế tạo, bao gồm điện áp danh định và khả năng cắt danh định. Các dây chảy này cũng không được thiết kế để người sử dụng cuối có thể thay thế.
Thủ tục thử nghiệm
Tiêu chuẩn đã thiết lập chi tiết các phương pháp thử nghiệm vật lý và điện, bao gồm các yêu cầu về điện áp rơi, khả năng cắt và đặc tính thời gian/dòng điện. Được yêu cầu kiểm tra phải đạt được trong các điều kiện cụ thể, ví dụ như các thử nghiệm độ bền và đo lường điện áp cực đại trong các môi trường thử nghiệm khác nhau.
Ghi nhãn và tài liệu tham khảo
Dây chảy cần được ghi nhãn rõ ràng, bao gồm ký hiệu đặc tính thời gian/dòng điện và khả năng cắt danh định. Đặc biệt chú ý đến việc không được sử dụng mã màu theo tiêu chuẩn thông thường mà phải sử dụng các phương pháp ghi nhãn phù hợp khác.
Nhìn chung, tiêu chuẩn TCVN 12238-7:2018 cung cấp một cái nhìn tổng quan về yêu cầu và phương pháp thử nghiệm đối với dây chảy cỡ nhỏ trong các ứng dụng đặc biệt nhằm đảm bảo tính an toàn và hiệu suất cho các sản phẩm điện/điện tử sử dụng trong lĩnh vực này.
Tải tiêu chuẩn Việt Nam TCVN 12238-7:2018
TIÊU CHUẨN QUỐC GIA
TCVN 12238-7:2018
IEC 60127-7:2015
CẦU CHẢY CỠ NHỎ - PHẦN 7: DÂY CHẢY CỠ NHỎ DÙNG CHO CÁC ỨNG DỤNG ĐẶC BIỆT
Miniature fuses - Part 7: Miniature fuse-links for special applications
Lời nói đầu
TCVN 12238-7:2018 hoàn toàn tương đương với IEC 60127-7:2015;
TCVN 12238-7:2018 do Ban kỹ thuật tiêu chuẩn quốc gia TCVN/TC/E1 Máy điện và khí cụ điện biên soạn, Tổng cục Tiêu chuẩn Đo lường Chất lượng đề nghị, Bộ Khoa học và Công nghệ công bố.
Bộ TCVN 12238 (IEC 60127), Cầu chảy cỡ nhỏ đã có các phần sau:
- TCVN 12238-1:2018 (IEC 60127-1:2015), Phần 1 - Yêu cầu chung đối với dây chảy cỡ nhỏ;
- TCVN 12238-5:2018 (IEC 60127-5:2016), Phần 5: Hướng dẫn đánh giá chất lượng dây chảy cỡ nhỏ;
- TCVN 12238-7:2018 (IEC 60127-7:2015), Phần 7: Dây chảy cỡ nhỏ dùng cho các ứng dụng đặc biệt.
Bộ tiêu chuẩn IEC 60127 còn các tiêu chuẩn sau:
- IEC 60127-2:2014, Miniature fuses - Part 2: Cartridge fuse-links
- IEC 60127-3:2015, Miniature fuses - Part 3: Sub-miniature fuse- links
- IEC 60127-4:2005, amd 1:2008 and amd 2:2012, Miniature fuses - Part 4: Universal modular fuse-links (UMF) -Through- hole and surface mount types
- IEC 60127-6:2014, Miniature fuses - Part 6: Fuse-holders for miniature fuse-links
- IEC 60127-8:2018, Miniature fuses - Part 8: Fuse resistors with particular overcurrent protection
- IEC 60127-10:2001, Miniature fuses - Part 10: User guide for miniature fuses
CẦU CHẢY CỠ NHỎ - PHẦN 7: DÂY CHẢY CỠ NHỎ DÙNG CHO CÁC ỨNG DỤNG ĐẶC BIỆT
Miniature fuses - Part 7: Miniature fuse-links for special applications
1 Phạm vi áp dụng
Tiêu chuẩn này đưa ra các yêu cầu đối với dây chảy cỡ nhỏ dùng cho các ứng dụng đặc biệt.
Tiêu chuẩn này áp dụng cho các dây chảy có điện áp danh định không quá 1 000 V, dòng điện danh định không quá 20 A và khả năng cắt danh định không quá 50 kA.
Tiêu chuẩn này không áp dụng cho các cầu chảy thuộc phạm vi áp dụng của IEC 60269-1.
Tiêu chuẩn này không áp dụng cho các dây chảy cỡ nhỏ dùng cho các thiết bị được thiết kế để sử dụng trong các điều kiện đặc biệt, ví dụ như trong khí quyển ăn mòn hoặc khí quyển nổ.
Tiêu chuẩn này áp dụng bổ sung cho các yêu cầu của TCVN 12238-1 (IEC 60127-1).
Dây chảy cỡ nhỏ dùng cho các ứng dụng đặc biệt không được thiết kế để thay thế bởi người sử dụng cuối của thiết bị điện/điện tử.
Mục đích của tiêu chuẩn này nhằm thiết lập các phương pháp thử nghiệm đồng nhất cho dây chảy cỡ nhỏ dùng cho các ứng dụng đặc biệt, để cho phép kiểm tra xác nhận các giá trị (ví dụ thời gian nóng chảy và khả năng cắt) do nhà chế tạo quy định.
2 Tài liệu viện dẫn
Các tài liệu viện dẫn dưới đây là cần thiết để áp dụng tiêu chuẩn này. Đối với các tài liệu viện dẫn có ghi năm công bố thì áp dụng các bản được nêu. Đối với các tài liệu viện dẫn không ghi năm công bố thì áp dụng phiên bản mới nhất (kể cả các sửa đổi).
TCVN 7699-2-21:2014 (IEC 60068-2-21:2006), Thử nghiệm môi trường - Phần 2-21: Các thử nghiệm - Thử nghiệm U: Độ bền chắc của các đầu dây và các linh kiện lắp tích hợp
TCVN 9900-2-12:2013 (IEC 60695-2-12:2010), Thử nghiệm nguy cơ cháy - Phần 2-12: Phương pháp thử bằng sợi dây nóng đỏ - Phương pháp thử chỉ số cháy bằng sợi dây nóng đỏ (GWFI) đối với vật liệu
TCVN 9900-2-13:2013 (IEC 60695-2-13:2010), Thử nghiệm nguy cơ cháy-Phần 2-13: Phương pháp thử bằng sợi dây nóng đỏ - Phương pháp thử nhiệt độ bắt cháy bằng sợi dây nóng đỏ (GWIT) đối với vật liệu
TCVN 10884-1:2015 (IEC 60664-1:2007), Phối hợp cách điện dùng cho thiết bị trong hệ thống điện hạ áp - Phần 1: Nguyên tắc, yêu cầu và thử nghiệm
TCVN 12238-1:2018 (IEC 60127-1:2006 with amendment 1:2011 and amendment 2:2015), Cầu chảy cỡ nhỏ - Phần 1: Định nghĩa cầu chảy cỡ nhỏ và yêu cầu chung đối với dây chảy cỡ nhỏ
IEC 60127-4:2005 with amendment 1:2008 and amendment 2:2012, Miniature fuses - Part 4: Universal modular fuse-links (UMF) - Through-hole and surfaces mount types (Cầu chảy cỡ nhỏ - Phần 4: Dây chảy dạng mô đun đa năng (UMF) - Kiểu xuyên lỗ và kiểu lắp trên bề mặt)
IEC 60127-6:2014, Miniature fuses - Part 6: Fuse-holders for miniature fuse-links (Cầu chảy cỡ nhỏ - Phần 6: Đế cầu chảy dùng cho dây chảy cỡ nhỏ)
IEC 60695-4:2012, Fire hazard testing - Part 4: Terminology concerning fire tests for electrotechnical products (Thử nghiệm nguy cơ cháy - Phần 4: Thuật ngữ liên quan đến các thử nghiệm cháy của sản phẩm kỹ thuật điện)
IEC 61249-2-7:2002, Materials for printed boards and other interconnecting structures - Part 2-7: Reinforced base materials clad and unclad - Epoxide woven E-glass laminated sheet of defined flammability (vertical burning test), copper-clad (Dịch tiếng Việt)
ISO 3:1973 1, Preferred numbers - Series of preferred numbers (Số ưu tiên - Dãy số ưu tiên)
3 Thuật ngữ và định nghĩa
Tiêu chuẩn này áp dụng các thuật ngữ và định nghĩa trong Điều 3 của TCVN 12238-1 (IEC 60127-1), ngoại trừ thuật ngữ và định nghĩa 3.5, cùng với các thuật ngữ và định nghĩa dưới đây.
3.1
Dây chảy cỡ nhỏ dùng cho các ứng dụng đặc biệt (miniature fuse-links for special applications)
Dây chảy bọc kín không thuộc phạm vi áp dụng của IEC 60127-2, IEC 60127-3 hoặc IEC 60127-4 và có khả năng cắt danh định không vượt quá 50 kA, với chiều rộng và chiều cao không vượt quá 12 mm và chiều dài không vượt quá 50 mm.
CHÚ THÍCH 1: Có thể cần các biện pháp phòng ngừa đặc biệt để đảm bảo dây chảy sẽ được thay bởi dây chảy có cùng thông số kỹ thuật.
CHÚ THÍCH 2: Đối với dây chảy có bọc kim loại ở mỗi đầu, các thành phần bất kỳ của đầu nối hoặc đầu cốt không phải là đầu bọc kim loại ví dụ như đầu cốt của sợi dây, chân và các tiếp điểm lắp bu long cho phép không tính vào chiều dài tổng 50 mm và chiều rộng và chiều cao 12 mm.
3.2
t1 đến t8
Các giá trị giới hạn đối với đặc tính thời gian/dòng điện.
3.3
I70
Dòng điện thử nghiệm để thử nghiệm ở nhiệt độ tăng cao 70 °C.
CHÚ THÍCH: Các giá trị ưu tiên là 0,8 IN hoặc 1,0 IN hoặc 1,1 IN.
3.4
Itest (A)
Dòng điện thử nghiệm để thử nghiệm độ bền theo phương pháp A.
CHÚ THÍCH: Các giá trị ưu tiên là 1,0 IN hoặc 1,05 IN hoặc 1,2 IN.
3.5
Itest (B)
Dòng điện thử nghiệm để thử nghiệm độ bền theo phương pháp B.
CHÚ THÍCH: Các giá trị ưu tiên là 0,8 IN hoặc 1,0 IN.
3.6
IOVL (A)
Dòng điện thử nghiệm để do công suất tiêu tán duy trì lớn nhất theo phương pháp A.
CHÚ THÍCH: Các giá trị ưu tiên là 1,25 IN hoặc 1,35 IN hoặc 1,5 IN.
3.7
IOVL (B)
Dòng điện thử nghiệm để đo công suất tiêu tán duy trì lớn nhất theo phương pháp B.
CHÚ THÍCH: Các giá trị ưu tiên là 1,0 IN hoặc 1,25 IN.
4 Yêu cầu chung
Áp dụng Điều 4 của TCVN 12238-1 (IEC 60127-1).
5 Thông số đặc trưng tiêu chuẩn
Không áp dụng Điều 5 của TCVN 12238-1 (IEC 60127-1).
Thay thế:
Thông số đặc trưng sau đây phải được thỏa thuận giữa tổ chức thử nghiệm và nhà chế tạo:
- điện áp danh định;
- dòng điện danh định (xem tờ rời tiêu chuẩn 1 đối với các thông số ưu tiên);
- khả năng cắt danh định (xoay chiều và/hoặc một chiều);
- đặc tính thời gian/dòng điện (tối thiểu ở 2,0 IN hoặc 2,1 IN và 10 IN).
Các thông số dưới đây có thể được thỏa thuận:
- thử nghiệm ở nhiệt độ nâng cao;
- đặc tính thời gian/dòng điện (ở 2,75 IN và 4 IN).
Các giá trị quy định bổ sung bất kỳ được cho trong tờ rời tiêu chuẩn 1.
6 Ghi nhãn
Áp dụng Điều 6 của IEC 60127-7, ngoài ra:
6.1
Thay thế:
d) không áp dụng.
CHÚ THÍCH: Ký hiệu đặc tính thời gian/dòng điện có thể không được công bố, vì tiêu chuẩn này không quy định các giá trị bất kỳ cho tham số này.
Bổ sung:
e) Ký hiệu kiểu.
f) Khả năng cắt danh định, tính bằng ampe (A) hoặc kilo ampe (kA).
6.2
Xóa chú thích 2.
6.3
Bổ sung sau đoạn thứ nhất:
Ngoài ra, khả năng cắt danh định tính bằng ampe (A) hoặc kilo ampe (kA) phải được ghi trên nhãn của bao gói.
6.4
Bổ sung tiêu đề và thay thế đoạn nội dung:
6.4 Mã màu của các dây chảy cỡ nhỏ dùng cho các ứng dụng đặc biệt
Không cho phép ghi nhãn dây chảy bằng các dải màu theo TCVN 12238-1 (IEC 60127-1), Phụ lục A. Tuy nhiên, có thể sử dụng các ghi nhãn màu khác với hệ thống dải màu này. Trong trường hợp này, nhà chế tạo phải cung cấp thông tin liên quan, ví dụ giải mã màu.
Bổ sung:
6.101 Trong trường hợp ghi nhãn là không khả thi do không gian bị giới hạn, thông tin liên quan cần xuất hiện trên bao gói nhỏ nhất và trong tài liệu kỹ thuật của nhà chế tạo.
7 Lưu ý chung về thử nghiệm
Áp dụng Điều 7 của TCVN 12238-1 (IEC 60127-1), ngoài ra:
7.2 Thử nghiệm điển hình
7.2.1
Thay thế:
Để thử nghiệm các thông số đặc trưng dòng điện riêng rẽ của các cầu chảy có khả năng cắt xoay chiều hoặc một chiều, số lượng dây chảy cần thiết là 51 trong đó có 12 dây chảy dùng để dự phòng. Đối với các dây chảy có các đầu cốt sợi dây thì phải lấy thêm 6 mẫu (E1 đến E6) một cách ngẫu nhiên và không được sắp xếp theo điện áp rơi. Nếu cần, ba mẫu có thể được sử dụng làm dự phòng thêm sau khi thực hiện các thử nghiệm theo 8.3.
Lịch trình thử nghiệm được thể hiện trong Bảng 2.
Để thử nghiệm các thông số đặc trưng dòng điện riêng rẽ của các cầu chảy có khả năng cắt xoay chiều và một chiều, số lượng dây chảy cần thiết là 63 trong đó có 9 dây chảy dùng để dự phòng. Đối với các dây chảy có các đầu cốt sợi dây thì phải lấy thêm 6 mẫu (E1 đến E6) một cách ngẫu nhiên và không được sắp xếp theo điện áp rơi. Nếu cần, ba mẫu có thể được sử dụng làm dự phòng thêm sau khi thực hiện các thử nghiệm theo 8.3. Lịch trình thử nghiệm được thể hiện trong Bảng 3.
Để thử nghiệm các thông số dòng điện lớn nhất của loạt cầu chảy đồng nhất có khả năng cắt xoay chiều hoặc một chiều, số lượng dây chảy cần thiết là 51 trong đó có 22 dây chảy dùng để dự phòng. Đối với các dây chảy có các đầu cốt sợi dây thì phải lấy thêm 6 mẫu (E1 đến E6) một cách ngẫu nhiên và không được sắp xếp theo điện áp rơi. Nếu cần, ba mẫu có thể được sử dụng làm dự phòng thêm sau khi thực hiện các thử nghiệm theo 8.3.
Lịch trình thử nghiệm được thể hiện trong Bảng 4.
Để thử nghiệm các thông số dòng điện lớn nhất của loạt cầu chảy đồng nhất có khả năng cắt xoay chiều và một chiều, số lượng dây chảy cần thiết là 66 trong đó có 32 dây chảy dùng để dự phòng. Đối với các dây chảy có các đầu cốt sợi dây thì phải lấy thêm 6 mẫu (E1 đến E6) một cách ngẫu nhiên và không được sắp xếp theo điện áp rơi. Nếu cần, ba mẫu có thể được sử dụng làm dự phòng thêm sau khi thực hiện các thử nghiệm theo 8.3.
Lịch trình thử nghiệm được thể hiện trong Bảng 5.
Để thử nghiệm các thông số dòng điện nhỏ nhất của loạt cầu chảy đồng nhất có khả năng cắt xoay chiều và/hoặc một chiều, số lượng dây chảy cần thiết là 38 trong đó 16 dây chảy dùng để dự phòng.
Lịch trình thử nghiệm được thể hiện trong Bảng 6.
Để thử nghiệm các thông số dòng điện trung gian của loạt cầu chảy đồng nhất có khả năng cắt xoay chiều và/hoặc một chiều, số lượng dây chảy cần thiết là 38 trong đó 16 dây chảy dùng để dự phòng.
Lịch trình thử nghiệm được thể hiện trong Bảng 7.
7.3 Đế cầu chảy dùng cho thử nghiệm
Bổ sung sau đoạn thứ nhất:
Đối với dây chảy được thiết kế để sử dụng trong kiểu đặc biệt của ống cầu chảy, thử nghiệm phải được thực hiện trong các ống cầu chảy đó.
Đối với các thử nghiệm đòi hỏi bảng mạch in dùng để lắp đặt và đấu nối dây chảy, phải sử dụng bảng mạch thử nghiệm theo Hình 1 hoặc Hình 2.
Phải sử dụng bảng mạch thử nghiệm theo Hình 1 đối với các dây chảy có đầu cốt sợi dây được thiết kế để cắm vào lỗ hoặc ổ cắm được thiết kế thích hợp.
Phải sử dụng bảng mạch thử nghiệm theo Hình 2 đối với các dây chảy lắp trên bề mặt.
Khi hai hoặc nhiều dây chảy được thử nghiệm nối tiếp, các đế cầu chảy phải được đặt sao cho sẽ có khoảng cách không nhỏ hơn 50 mm giữa hai dây chảy cần thử nghiệm. Ruột dẫn nối các đế cầu chảy với nhau, và nối đế cầu chảy với ampe mét và các nguồn cung cấp phải bằng dây đồng có cách điện. Chiều dài của từng ruột dẫn phải là 500 mm và tiết diện của sợi dây phải xấp xỉ 1 mm2 đối với các dây chảy có dòng điện danh định đến và bằng 6,3 A và 6 mm2 đối với các dòng điện danh định lớn hơn 6,3 A.
Kích thước tính bằng milimét

CHÚ DẪN
O lớp đồng; chiều dày 0,035 mm hoặc 0,070 mm
U mối nối dùng cho phép đo điện áp rơi
D đường kính 1 mm đối với dòng điện danh định đến và bằng 6,3 A;
đường kính 1,5 mm đối với dòng điện danh định lớn hơn 6,3 A.
e 2,5 mm
n1 1, 2, 3, 4
n 1,2, 3... (cần điều chỉnh tùy thuộc vào chiều dài của dây chảy)
Hình 1 - Bảng mạch thử nghiệm tiêu chuẩn dùng cho các dây chảy có đầu cốt sợi dây
Bảng mạch thử nghiệm này phải được lắp trên đế cầu chảy theo Hình 3a.
Kích thước tính bằng milimét

CHÚ DẪN
O lớp đồng; chiều dày 0,035 mm hoặc 0,070 mm
U mối nối dùng cho phép đo điện áp rơi
W độ rộng vết bằng n1 x e liên quan đến Hình 1. Đối với các thiết bị nhỏ, có thể cần sử dụng độ rộng vết giảm nhỏ, thể hiện sử dụng bình thường của các thiết bị này. Điều này được ghi lại trong báo cáo thử nghiệm và trong tài liệu của nhà chế tạo
P khoảng cách đầu nối
R xem tờ rời tiêu chuẩn 1, trang 1
T xem tờ rời tiêu chuẩn 1, trang 1
CHÚ THÍCH 1: Lớp cản chất hàn cần được đặt trong vùng gạch chéo.
Hình 2 - Bảng mạch thử nghiệm dùng cho các dây chảy lắp trên bề mặt
Bảng mạch thử nghiệm phải được lắp trên đế cầu chảy theo Hình 3b.
Vùng hàn cần được chuẩn bị thích hợp để hàn.
Cho phép sử dụng cơ cấu cơ khi với điều kiện nó được chứng tỏ là các kết quả là như nhau (không áp dụng cho 9.7).

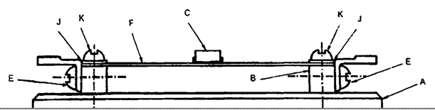
Hình 3a - Dây chảy có các đầu cốt sợi dây (rãnh mạch in nằm bên dưới)

Hình 3b - Dây chảy lắp bề mặt (rãnh mạch in nằm bên trên)
Kích thước tính bằng milimét

| A | Đế bằng vật liệu dẫn nhiệt thấp, chiều dày 10 mm | F | Bảng mạch in (xem Hình 1 và Hình 2) |
| B | Các điện cực bằng đồng 10 mm x 10 mm | G | Khoảng cách giữa thân cầu chảy và bảng mạch bằng (0,5 ± 0,25) mm |
| C | Dây chảy được hàn đúng vị trí | H | Chiếu bằng của đế có các điện cực bằng đồng thau |
| D | Vít cố định | J | Miếng đệm bằng đồng thau phủ bạc (hai miếng) |
| E | Vít tiếp điểm giữ đầu nối hàn | K | Vít đồng phủ bạc để tạo tiếp xúc với bề mặt dẫn phía trên tấm mạch in (hai vít) |
Hình 3 - Đế cầu chảy thử nghiệm
Bảng mạch thử nghiệm phải được làm bằng các tấm ghép mạ đồng sợi thủy tinh dệt epoxy, như định nghĩa trong IEC 61249-2-7.
Chiều dày danh nghĩa của tấm này phải bằng 1,6 mm.
Chiều dày danh nghĩa của lớp đồng có thể là 0,035 mm hoặc 0,070 mm.
Chiều rộng danh nghĩa của lớp đồng có thể là 2,5 mm, 5 mm, 7,5 mm hoặc 10 mm.
Chiều dày danh nghĩa và chiều rộng danh nghĩa của lớp đồng phải được nêu trong báo cáo thử nghiệm.
Các phần kim loại của đế cầu chảy phải được làm bằng đồng thau với thành phần đồng nằm trong khoảng từ 58 % đến 70 %. Các phần tiếp xúc phải được mạ bạc.
7.4 Bản chất của nguồn cung cấp
Bổ sung sau đoạn thứ hai:
Lịch trình để thử nghiệm dây chảy có khả năng cắt xoay chiều hoặc một chiều theo tờ rời tiêu chuẩn 1, xem Bảng 2.
Lịch trình để thử nghiệm dây chảy có khả năng cắt xoay chiều và một chiều theo tờ rời tiêu chuẩn 1, xem Bảng 3.
8 Kích thước và kết cấu
Áp dụng Điều 8 của TCVN 12238-1 (IEC 60127-1), ngoài ra:
8.2 Kết cấu
Thay thế:
Phần tử cầu chảy phải được bao kín hoàn toàn.
Các dây chảy phải chịu nhiệt theo 9.7 và cháy theo IEC 60695-2-12 và IEC 60695-2-13.
Điều này không áp dụng cho các dây chảy là các bộ phận nhỏ theo IEC 60695-4:2012, 3.78.
Đối với các thân cầu chảy được làm bằng vật liệu nhựa hoặc vật liệu có chứa chất hữu cơ, áp dụng các yêu cầu tối thiểu sau:
- Nhiệt độ mồi cháy bằng sợi dây nóng đỏ (GWIT) = 775 °C
- Chỉ số cháy bằng sợi dây nóng đỏ (GWFI) = 850 °C
CHÚ THÍCH 1: Các kích thước đối với các tấm vật liệu dùng cho các thử nghiệm sợi dây nóng đỏ được cho trong IEC 60695-2-12:2010.4.2 hoặc IEC 60695-2-13:2010, 4.2.
CHÚ THÍCH 2: Đối với các vật liệu như thủy tinh và gốm có GWIT và GWFI được cho là lớn hơn 775 °C và 850 °C tương ứng thì không cần áp dụng các thử nghiệm sợi dây nóng đỏ.
8.3 Đầu cốt dây chảy
Thay thế:
Chỉ áp dụng 8.3 cho các dây chảy có đầu cốt nối dây.
Các tiếp điểm của dây chảy phải bằng vật liệu không ăn mòn hoặc vật liệu được bảo vệ thích hợp chống ăn mòn, và không được có chất gây chảy hoặc các chất không dẫn khác trên các bề mặt bên ngoài của chúng.
Mạ niken hoặc bạc được coi là bảo vệ đủ đối với các đầu bịt bằng đồng.
Đầu cốt dây chảy phải được gắn chắc chắn.
Các mẫu phải được ngâm nước trong 24 h ở nhiệt độ trong khoảng từ 15 °C đến 35 °C.
Các đầu cốt phải chịu được các lực về cơ có nhiều khả năng xảy ra trong sử dụng bình thường. Với dây chảy được giữ ở vị trí cố định, từng đầu nối lần lượt được cho chịu các cho trong tiêu chuẩn này ở nhiệt độ môi trường. Các mẫu thử nghiệm phải được chia đều trong các thử nghiệm đầu cốt cụ thể.
Các phương pháp thử nghiệm phải được thực hiện theo IEC 60068-2-21.
- Đối với thử nghiệm kéo (Ua1), lực đặt vào phải là 10 N.
- Đối với thử nghiệm nén (Ua2), lực đặt vào phải là 2 N.
- Đối với thử nghiệm uốn (Ub), nếu áp dụng, lực đặt vào phải là 5 N và số lần uốn phải là 1.
Sau khi kết thúc thử nghiệm, các đều cốt dây chảy vẫn phải được gắn chắc chắn và điện áp rơi không được vượt quá giá trị lớn nhất cho phép trong tờ rời tiêu chuẩn 1.
9 Yêu cầu về điện
Áp dụng Điều 9 của TCVN 12238-1 (IEC 60127-1), ngoài ra:
9.1 Điện áp rơi
Bổ sung sau chú thích 2:
Sử dụng vôn mét trở kháng cao được khuyến cáo để đo điện áp rơi. Điện áp rơi phải được đo trực tiếp ở các đầu cốt dây chảy hoặc, trong trường hợp không thể, đo ở gần thân cầu chảy.
Nếu sử dụng bảng mạch thử nghiệm theo Hình 1 và Hình 2, điện áp rơi có thể được đo ở các điểm có ghi nhãn U.
9.2 Đặc tính thời gian/dòng điện
9.2.1 Đặc tính thời gian dòng điện ở nhiệt độ môi trường bình thường
Bổ sung sau đoạn thứ tư:
Các giá trị giới hạn t1 đến t8 cho trong tờ rời tiêu chuẩn 1 phải được nhà chế tạo định nghĩa.
Các giá trị giới hạn t2 (giá trị lớn nhất ở 2,1 IN hoặc 2,0 IN) và t8 (giá trị lớn nhất ở 10 IN) cần được quy định. Các giá trị giới hạn t1, t3, t4, t5, t6, t7 là tùy chọn.
Giá trị t2 không được lớn hơn 1 h.
Giá trị t8 không được lớn hơn 1 s.
9.2.2 Thử nghiệm ở nhiệt độ nâng cao
Thay thế:
Nếu nhà chế tạo công bố, thử nghiệm này phải được thực hiện theo TCVN 12238-1 (IEC 60127-1), 9.2.2, sử dụng dòng điện thử nghiệm (I70) do nhà chế tạo quy định.
9.3 Khả năng cắt
9.3.1 Điều kiện tác động
Bổ sung:
Trong trường hợp các dây chảy có thành phần bất kỳ cũng thuộc kết cấu (ví dụ có thân được đúc), điện áp phục hồi phải được duy trì trong 5 min sau khi cầu chảy tác động.
Mạch thử nghiệm điển hình đối với điện xoay chiều và điện một chiều được cho trên Hình 4.


Hình 4a - Mạch thử nghiệm điển hình dùng cho thử nghiệm khả năng cắt đối với các dây chảy có khả năng cắt lớn hơn 100 A

Hình 4b - Mạch thử nghiệm điển hình dùng cho thử nghiệm khả năng cắt đối với các dây chảy có khả năng cắt nhỏ hơn hoặc bằng 100 A
CHÚ DẪN
| A | Dây chảy tháo ra được dùng để hiệu chuẩn | S | Nguồn cung cấp, trở kháng nhỏ hơn 10 % trở kháng tổng của mạch điện |
| C | Côngtắctơ đóng mạch điện | L | Điện cảm lõi không khí |
| D | Công tắc ngắt nguồn cung cấp | R | Điện trở nối tiếp, được điều chỉnh để có dòng điện kỳ vọng đúng |
| F | Dây chảy cần thử nghiệm |
|
|
Hình 4 - Mạch thử nghiệm điển hình dùng cho thử nghiệm khả năng cắt
Về nguyên tắc, khả năng cắt danh định (xoay chiều và/hoặc một chiều) và hệ số công suất hoặc hằng số thời gian liên quan một cách tương ứng phải được nhà chế tạo quy định. Các giá trị cho trong bảng dưới đây chỉ là giá trị tham khảo.
Khả năng cắt danh định quy định không được nhỏ hơn 35 A hoặc 10 lần dòng điện danh định, chọn giá trị lớn hơn.
Nếu nhà chế tạo không quy định khác, hệ số công suất và hằng số thời gian của mạch thử nghiệm phải được chọn từ Bảng 1.
Bảng 1 - Hệ số công suất và hằng số thời gian
| Dòng điện thử nghiệm | Hệ số công suất | Hằng số thời gian |
| Đến 100 A | > 0,95 | < 1 ms |
| Lớn hơn 100 A đến và bằng 500 A | 0,8 đến 0,9 | 1 ms đến 1,7 ms |
| Lớn hơn 500 A đến và bằng 1 500 A | 0,7 đến 0,8 | 2 ms đến 2,5 ms |
| Lớn hơn 1 500 A đến và bằng 10 000 A | 0,5 đến 0,6 | 4,5 ms đến 5 ms |
| Lớn hơn 10 000 A đến và bằng 25 000 A | 0,3 đến 0,4 | 9 ms đến 10 ms |
| Lớn hơn 25 000 A đến và bằng 50 000 A | 0,2 đến 0,3 | 12,5 ms đến 15 ms |
Đối với các thử nghiệm ở dòng điện kỳ vọng thấp hơn (5 IN, 10 IN, 50 IN, 250 IN), điện cảm của mạch điện phải được giữ không đổi và dòng điện phải được điều chỉnh bằng cách chỉ thay đổi điện trở.
9.3.2 Tiêu chí tính năng thỏa đáng
Bổ sung sau đoạn thứ ba:
Ngoài tiêu chí hỏng nêu trong IEC 60127-1, dây chảy phải tác động thỏa đáng trong tất cả các thử nghiệm mà không xuất hiện các hiện tượng sau:
- các tiếp điểm nóng chảy đồng thời;
- ghi nhãn không còn rõ ràng sau thử nghiệm:
- chọc thủng đầu bịt (nếu thuộc đối tượng áp dụng), có thể nhìn thấy bằng mắt thường;
- chọc thủng các bề mặt bên ngoài, có thể nhìn thấy bằng mắt thường;
- cháy xém hoặc nóng chảy các chất hữu cơ trên bề mặt bên ngoài.
Các hiện tượng sau được bỏ qua:
- điểm đen hoặc dấu hiệu khác trên đầu cốt dây chảy:
- biến dạng nhỏ của dây chảy;
- nứt dây chảy, trừ khi làm cho dây chảy rơi ra trong quá trình thay thế.
9.3.4 Thử nghiệm điển hình đối với các dây chảy trong loạt đồng nhất
Bổ sung sau đoạn thứ 2:
Dây chảy có dòng điện danh định trung gian phải được thử nghiệm theo lịch trình thử nghiệm liên quan đối với các thông số đặc trưng dòng điện trung gian của loạt đồng nhất cho trong Bảng 7.
9.4 Thử nghiệm độ bền
a) Thay câu đầu tiên như sau:
Dòng điện thử nghiệm Itest (A) cho chạy qua dây chảy trong thời gian 1 h. Giá trị nhỏ nhất của Itest (A) là 1,0 N.
b) Thay câu đầu tiên như sau:
Dòng điện thử nghiệm IOVL (A) sau đó cho chạy qua dây chảy trong thời gian 1 h.
c) Bổ sung:
Điện áp rơi không được vượt quá giá trị lớn nhất quy định trong tờ rời tiêu chuẩn 1.
Bổ sung:
9.4.101 Thử nghiệm độ bền ở nhiệt độ môi trường bình thường
Kiểm tra sự phù hợp bằng cách cho dây chảy chịu thử nghiệm phương pháp A hoặc phương pháp B.
Việc chọn phương pháp A hay phương pháp B là theo thỏa thuận với nhà chế tạo. Điều này cũng áp dụng cho các dòng điện thử nghiệm cần được chọn trong số các dòng điện Itest (A), /test (B), IOVL (A) và IOVL (B).
9.4.102 Phương pháp thử nghiệm A
Như quy định trong TCVN 12238-1 (IEC 60127-1), 9.4 a) đến d), với dòng điện Itest (A) đối với 9.4 a) và IOVL (A) đối với 9.4 b).
9.4.103 Phương pháp thử nghiệm B
Trình tự thử nghiệm phải như sau:
a) Dòng điện một chiều Itest (B) được cho chạy qua dây chảy trong 100 h. Giá trị nhỏ nhất đối với Itest (B) là 0,8 IN.
Độ ổn định của dòng điện trong thử nghiệm phải được duy trì trong phạm vi ±1 % giá trị điều chỉnh. Dòng điện một chiều IOVL (B) sau đó được cho chạy qua dây chảy trong 1 h.
b) Khi kết thúc thử nghiệm này, điện áp rơi trên dây chảy được đo và được sử dụng để tính công suất tiêu tán duy trì lớn nhất.
c) Cuối cùng, điện áp rơi trên dây chảy được đo lại theo 9.1. Điện áp rơi không được tăng quá 10 % giá trị đo được trước khi thử nghiệm và không được tăng quá giá trị lớn nhất quy định trong tờ rời tiêu chuẩn 1.
d) Sau thử nghiệm, ghi nhãn vẫn phải rõ ràng và mối hàn trên các đầu cốt dây chảy không được cho thấy có sự thay đổi đáng kể.
CHÚ THÍCH: Sự thay đổi về màu không được coi là bị hỏng.
9.5 Công suất tiêu tán duy trì lớn nhất
Áp dụng 9.5 trong TCVN 12238-1 (IEC 60127-1).
9.6 Thử nghiệm xung
Thay thế:
Không quy định.
9.7 Nhiệt độ dây chảy
Bổ sung:
9.7.101 Dây chảy dùng trên các bảng mạch in
Đối với các dây chảy được thiết kế để lắp trên bảng mạch in, kiểm tra sự phù hợp bằng cách cho các dây chảy chịu thử nghiệm phương pháp I hoặc phương pháp II theo yêu cầu của nhà chế tạo.
Phương pháp thử nghiệm I
Như quy định trong TCVN 12238-1 (IEC 60127-1), 9.7, với độ tăng nhiệt lớn nhất là 150 K thay vì 135 K đối với các đầu nối và 135 K đối với các vật liệu của thân bằng nhựa. Dòng điện ban đầu phải là IOVL (A) hoặc IOVL (B) tùy thuộc vào việc chọn phương pháp thử nghiệm nào trong 9.4.
Nhiệt độ trong 30 s cuối trước khi cắt phải được bỏ qua.
Phương pháp thử nghiệm II
Độ tăng nhiệt cao hơn nhiệt độ môi trường phải được đo trên các đầu nối của dây chảy được hàn vào bảng thử nghiệm liên quan, sử dụng nhiệt ngẫu dây mảnh không lớn hơn 0,21 mm2.
Phép đo phải được thực hiện trong 5 min cuối cùng của thử nghiệm độ bền ở IOVL (A) hoặc IOVL (B) tùy thuộc vào việc chọn phương pháp thử nghiệm nào trong 9.4. Độ tăng nhiệt không được lớn hơn 95 K.
Các dây chảy số 1, 2, 3, 4, 5 và 6 phải được sử dụng cho thử nghiệm này và dây chảy số 43, 44 và 45 trong Bảng 2, hoặc 58, 59 và 60 trong Bảng 3 phải được giữ làm dây chảy dự phòng.
9.7.102 Dây chảy dùng trong đế cầu chảy
Đối với dây chảy được thiết kế để lắp vào đế cầu chảy được thiết kế riêng, thử nghiệm theo IEC 60127-6:1994, Điều 14, phải được thực hiện sử dụng các dây chảy cần thử nghiệm thay cho các dây chảy giả.
Sau thử nghiệm trong 14.1 của IEC 60127-6:1994, không thực hiện việc kiểm tra theo 12.2 của IEC 60127-6:1994.
Bảng 2 - Lịch trình thử nghiệm đối với các thông số dòng điện của dây chảy có khả năng
| Điều | Mô tả | Số dây chảy | ||||||||||||||||||||
| 1 | 4 | 7 | 10 | 13 | 16 | 19 | 22 | 25 | 28 | 31 | 34 | 37 | 40 | 43 | 46 | 49 | E1b | E4b | ||||
| 2 | 5 | 8 | 11 | 14 | 17 | 20 | 23 | 26 | 29 | 32 | 35 | 38 | 41 | 44 | 47 | 50 | E2b | E5b | ||||
| 3 | 6 | 9 | 12 | 15 | 18 | 21 | 24 | 27 | 30 | 33 | 36 | 39 | 42 | 45 | 48 | 51 | E3b | E6b | ||||
| 9.7 | Nhiệt độ dây chảy |
|
|
|
|
|
|
|
|
|
|
|
|
|
| x |
|
|
|
| ||
| 9.4 | Thử nghiệm độ bền | x | x |
|
|
|
|
|
|
|
|
|
|
|
|
|
|
|
|
| ||
| 9.2.2 | Thử nghiệm ở nhiệt độ nâng cao |
|
|
| x |
|
|
|
|
|
|
|
|
|
|
|
|
|
|
| ||
| 9.2.1 | Đặc tính thời gian/dòng điện 10 IN ở nhiệt độ môi trường bình thường | 10 IN |
|
|
|
|
|
| x |
|
|
|
|
|
|
|
|
|
|
|
| |
| 4,0 IN |
|
|
|
|
|
|
|
| x |
|
|
|
|
|
|
|
|
|
| |||
| 2,75 IN |
|
|
|
|
|
|
|
|
|
|
|
|
| x |
|
|
|
|
| |||
| 2,0 IN hoặc 2,1 IN |
|
|
|
|
|
|
|
|
|
|
|
|
|
|
|
| x |
|
| |||
| 9.3 | Khả năng cắt Khả năng cắt danh định |
|
|
|
| x |
|
|
|
|
|
|
|
|
|
|
|
|
|
| ||
| 5 lần dòng điện danh định | 5 IN |
|
|
|
|
| x |
|
|
|
|
|
|
|
|
|
|
|
|
| ||
| 10 lần dòng điện danh định | 10 IN |
|
|
|
|
|
|
|
|
| x |
|
|
|
|
|
|
|
|
| ||
| 50 lần dòng điện danh định a | 50 IN |
|
|
|
|
|
|
|
|
|
| x |
|
|
|
|
|
|
|
| ||
| 250 lần dòng điện danh định a | 250 IN |
|
|
|
|
|
|
|
|
|
|
|
| x |
|
|
|
|
|
| ||
| 9.3.3 | Điện trở cách điện |
|
|
|
| x | x |
|
|
| x | x |
| x |
|
|
|
|
|
| ||
| 8.3 | Đầu cốt dây chảy |
|
|
|
|
|
|
|
|
|
|
|
|
|
|
|
|
| x | x | ||
| 8.5 | Mối hàn | x | x |
|
|
|
| x |
| x |
|
|
|
| x | x |
| x |
|
| ||
| 6.2 | Khả năng dễ đọc và không thể xóa của nhãn |
|
|
|
|
|
| x |
| x |
|
|
|
| x | x |
| x |
|
| ||
| a Chỉ ứng dụng khi khả năng cắt danh định không bị vượt quá. b Các mẫu bổ sung cho thử nghiệm đầu cốt (E1 đến E6) phải được chọn ngẫu nhiên và không được sắp xếp theo điện áp rơi. | ||||||||||||||||||||||
Bảng 3 - Lịch trình thử nghiệm đối với các thông số dòng điện của dây chảy có khả năng cắt điện một chiều hoặc điện xoay chiều
| Điều | Mô tả | Số dây chảy | ||||||||||||||||||||||||
| 1 | 4 | 7 | 10 | 13 | 16 | 19 | 22 | 25 | 28 | 31 | 34 | 37 | 40 | 43 | 46 | 49 | 52 | 55 | 58 | 61 | E1b | E4b | ||||
| 2 | 5 | 8 | 11 | 14 | 17 | 20 | 23 | 26 | 29 | 32 | 35 | 38 | 41 | 44 | 47 | 50 | 53 | 56 | 59 | 62 | E2b | E5b | ||||
| 3 | 6 | 9 | 12 | 15 | 18 | 21 | 24 | 27 | 30 | 33 | 36 | 39 | 42 | 45 | 48 | 51 | 54 | 57 | 60 | 63 | E3b | E6b | ||||
| 9.7 | Nhiệt độ dây chảy |
|
|
|
|
|
|
|
|
|
|
|
|
|
|
|
|
|
|
| x |
|
|
| ||
| 9.4 | Thử nghiệm độ bền | x | x |
|
|
|
|
|
|
|
|
|
|
|
|
|
|
|
|
|
|
|
|
| ||
| 9.2.2 | Thử nghiệm ở nhiệt độ nâng cao |
|
|
| x |
|
|
|
|
|
|
|
|
|
|
|
|
|
|
|
|
|
|
| ||
| 9.2.1 | Đặc tính thời gian/dòng điện ở nhiệt độ môi trường bình thường | 10 IN |
|
|
|
|
|
|
|
| x |
|
|
|
|
|
|
|
|
|
|
|
|
|
| |
| 4,0 IN |
|
|
|
|
|
|
|
|
|
| x |
|
|
|
|
|
|
|
|
|
|
|
| |||
| 2,75 IN |
|
|
|
|
|
|
|
|
|
|
|
|
|
|
|
|
|
| x |
|
|
|
| |||
| 2,0 IN hoặc 2,1 IN |
|
|
|
|
|
|
|
|
|
|
|
|
|
|
|
|
|
|
|
| x |
|
| |||
| 9.3 | Khả năng cắt |
|
|
|
|
|
|
|
|
|
|
|
|
|
|
|
|
|
|
|
|
|
|
| ||
| Khả năng cắt danh định | xoay chiều |
|
|
|
| x |
|
|
|
|
|
|
|
|
|
|
|
|
|
|
|
|
|
| ||
| Khả năng cách danh định | một chiều |
|
|
|
|
| x |
|
|
|
|
|
|
|
|
|
|
|
|
|
|
|
|
| ||
| 5 lần dòng điện danh định | 5 IN xay chiều |
|
|
|
|
|
| x |
|
|
|
|
|
|
|
|
|
|
|
|
|
|
|
| ||
| 5 lần dòng điện danh định | 5 IN một chiều |
|
|
|
|
|
|
| x |
|
|
|
|
|
|
|
|
|
|
|
|
|
|
| ||
| 10 lần dòng điện danh định | 10 IN xoay chiều |
|
|
|
|
|
|
|
|
|
|
| x |
|
|
|
|
|
|
|
|
|
|
| ||
| 10 lần dòng điện danh định | 10 IN một chiều |
|
|
|
|
|
|
|
|
|
|
|
| x |
|
|
|
|
|
|
|
|
|
| ||
| 50 lần dòng điện danh định | 50 IN xoay chiều |
|
|
|
|
|
|
|
|
|
|
|
|
| x |
|
|
|
|
|
|
|
|
| ||
| 50 lần dòng điện danh định | 50 IN một chiều |
|
|
|
|
|
|
|
|
|
|
|
|
|
| x |
|
|
|
|
|
|
|
| ||
| 250 lần dòng điện danh định | 250 IN xoay chiều |
|
|
|
|
|
|
|
|
|
|
|
|
|
|
|
| x |
|
|
|
|
|
| ||
| 250 lần dòng điện danh định | 250 IN một chiều |
|
|
|
|
|
|
|
|
|
|
|
|
|
|
|
|
| x |
|
|
|
|
| ||
| 9.3.3 | Điện trở cách điện |
|
|
|
| x | x | x | x |
|
|
| x | x | x | x |
| x | x |
|
|
|
|
| ||
| 8.3 | Đầu cốt dây chảy |
|
|
|
|
|
|
|
|
|
|
|
|
|
|
|
|
|
|
|
|
| x | x | ||
| 8.5 | Mối hàn | x | x |
|
|
|
|
|
| x |
| x |
|
|
|
|
|
|
| x | x | x |
|
| ||
| 6.2 | Khả năng dễ đọc và không thể xóa của nhãn |
|
|
|
|
|
|
|
| x |
| x |
|
|
|
|
|
|
| x | x | x |
|
| ||
| a Chỉ ứng dụng khi khả năng cắt danh định không bị vượt quá. b Các mẫu bổ sung cho thử nghiệm đầu cốt (E1 đến E6) phải được chọn ngẫu nhiên và không được sắp xếp theo điện áp rơi. | ||||||||||||||||||||||||||
Bảng 4 - Lịch trình thử nghiệm đối với các thông số dòng điện lớn nhất của loạt đồng nhất (dây chảy có khả năng cắt điện một chiều hoặc điện xoay chiều)
| Điều | Mô tả | Số dây chảy theo giá trị giảm dần của điện áp rơi | |||||||||||||||
| 1-6 | 7 8 9 | 10 11 12 | 13-17 | 18-27 | 28 29 30 | 31 32 33 | 34 35 36 | 37 38 39 | 40 41 42 | 43 44 45 | 46 47 48 | 49 50 51 | E1a E2a E3a | E4a E5a E6a | |||
| 9.7 | Nhiệt độ dây chảy |
|
|
|
|
|
|
|
|
|
|
|
|
|
|
| |
| 9.4 | Thử nghiệm độ bền | x |
|
|
|
|
|
|
|
|
|
|
|
|
|
| |
| 9.2.2 | Thử nghiệm ở nhiệt độ nâng cao |
|
| x |
|
|
|
|
|
|
|
|
|
|
|
| |
| 9.2.1 | Đặc tính thời gian/dòng điện | 10 IN |
|
|
|
|
| x |
|
|
|
|
|
|
|
|
|
| 4,0 IN |
|
|
|
|
|
|
| x |
|
|
|
|
|
|
| ||
| 2,75 IN |
|
|
|
|
|
|
|
|
| x |
|
|
|
|
| ||
| 2,1 IN |
|
|
|
|
|
|
|
|
|
|
|
| x |
|
| ||
| 9.3 | Khả năng cắt danh định |
|
|
| x |
|
|
|
|
|
|
|
|
|
|
| |
| 9.3.3 | Điện trở cách điện |
|
|
| x |
|
|
|
|
|
|
|
|
|
|
| |
| 8.3 | Đầu cốt dây chảy |
|
|
|
|
|
|
|
|
|
|
|
|
| x | x | |
| 8.5 | Mối hàn | x |
|
|
|
| x |
| x |
| x | x |
| x |
|
| |
| 6.2 | Khả năng dễ đọc và không thể xóa của nhãn |
|
|
|
|
| x |
| x |
| x | x |
| x |
|
| |
| a Các mẫu bổ sung cho thử nghiệm đầu cốt (E1 đến E6) phải được chọn ngẫu nhiên và không được sắp xếp theo điện áp rơi. | |||||||||||||||||
Bảng 5 - Lịch trình thử nghiệm đối với các thông số dòng điện lớn nhất của loạt đồng nhất (dây chảy có khả năng cắt điện một chiều hoặc điện xoay chiều)
| Điều | Mô tả | Số dây chảy | |||||||||||||||||
| 1-6 | 7 8 9 | 10 11 12 | 13-17 | 18-27 | 28-32 | 33-42 | 43 44 45 | 46 47 48 | 49 50 51 | 52 53 54 | 55 56 57 | 58 59 60 | 61 62 63 | 64 65 66 | E1a E2a E3a | E4a E5a E6a | |||
| 9.7 | Nhiệt độ dây chảy |
|
|
|
|
|
|
|
|
|
|
|
| x |
|
|
|
| |
| 9.4 | Thử nghiệm độ bền | x |
|
|
|
|
|
|
|
|
|
|
|
|
|
|
|
| |
| 9.2.2 | Thử nghiệm ở nhiệt độ nâng cao |
|
| x |
|
|
|
|
|
|
|
|
|
|
|
|
|
| |
| 9.2.1 | Đặc tính thời gian/dòng điện ở nhiệt độ môi trường bình thường | 10 IN |
|
|
|
|
|
|
| x |
|
|
|
|
|
|
|
|
|
| 4,0 IN |
|
|
|
|
|
|
|
|
| x |
|
|
|
|
|
|
| ||
| 2,75 IN |
|
|
|
|
|
|
|
|
|
|
| x |
|
|
|
|
| ||
| 2,1 IN |
|
|
|
|
|
|
|
|
|
|
|
|
|
| x |
|
| ||
| 9.3 | Khả năng cắt danh định | xoay chiều |
|
|
| x |
|
|
|
|
|
|
|
|
|
|
|
|
|
| 9.3 | Khả năng cách danh định | một chiều |
|
|
|
|
| x |
|
|
|
|
|
|
|
|
|
|
|
| 9.3.3 | Điện trở cách điện |
|
|
| x |
| x |
|
|
|
|
|
|
|
|
|
|
| |
| 8.3 | Đầu cốt dây chảy |
|
|
|
|
|
|
|
|
|
|
|
|
|
|
| x | x | |
| 8.5 | Mối hàn | x |
|
|
|
|
|
| x |
| x |
| x | x |
| x |
|
| |
| 6.2 | Khả năng dễ đọc và không thể xóa của nhãn |
|
|
|
|
|
|
| x |
| x |
| x | x |
| x |
|
| |
| a Các mẫu bổ sung cho thử nghiệm đầu cốt (E1 đến E6) phải được chọn ngẫu nhiên và không được sắp xếp theo điện áp rơi. | |||||||||||||||||||
Bảng 6 - Lịch trình thử nghiệm thông số đặc trưng dòng điện nhỏ nhất của loạt đồng nhất
| Điều | Mô tả | Số dây chảy theo giá trị giảm dần của điện áp rơi | ||||||||
| 1-6 | 7 8 9 | 10 11 12 | 13- 17 | 18- 22 | 23- 32 | 33 34 35 | 36 37 38 | |||
| 9.4 | Thử nghiệm độ bền | x |
|
|
|
|
|
|
| |
| 9.2.1 | Đặc tính thời gian/dòng điện | 10 IN |
| x |
|
|
|
|
|
|
| 2,0 IN hoặc 2,1 IN |
|
|
|
|
|
| x |
| ||
| 9.3 | Khả năng cắt danh định | Xoay chiều |
|
|
| x |
|
|
|
|
| Một chiều (nếu áp dụng được) |
|
|
|
| x |
|
|
| ||
|
| ||||||||||
Bảng 7 - Lịch trình thử nghiệm tất cả các thông số đặc trưng dòng điện trung gian của loạt đồng nhất
| Điều | Mô tả | Số dây chảy theo giá trị giảm dần của điện áp rơi | ||||||||
| 1-6 | 7 8 9 | 10 11 12 | 13- 17 | 18- 22 | 23- 32 | 33 34 35 | 36 37 38 | |||
| 9.4b/ 9.5 | Công suất tiêu tán duy trì lớn nhất a | x |
|
|
|
|
|
|
| |
| 9.2.1 | Đặc tính thời gian/dòng điện | 10 IN |
| x |
|
|
|
|
|
|
| 2,0 IN hoặc 2,1 IN |
|
|
|
|
|
| x |
| ||
| 9.3 | Khả năng cắt danh định | xoay chiều |
|
|
| x |
|
|
|
|
| Một chiều (nếu áp dụng được) |
|
|
|
| x |
|
|
| ||
| a Các thử nghiệm phải được thực hiện với các mẫu mới; 100 chu kỳ thử nghiệm của 9.4.102 và thử nghiệm 100 h của 9.4.103 a) không cần thực hiện. | ||||||||||
10 Tờ rời tiêu chuẩn
10.1 Tờ rời tiêu chuẩn 1 - Dây chảy dùng cho các ứng dụng đặc biệt
|
| Dây chảy dùng cho các ứng dụng đặc biệt | Tờ rời tiêu chuẩn 1 Trang 1 | ||||||||||||||||||||||||||||||||||||||||||||||||||||||||||||
|
|
|
| ||||||||||||||||||||||||||||||||||||||||||||||||||||||||||||
Cho phép hình dạng bất kỳ; điểm mà đầu cốt dây chảy nhô ra khỏi thân là tùy chọn và đầu cốt có thể thay đổi. CHÚ THÍCH: Hình vẽ dưới đây chủ yếu thích hợp cho các dây chảy lắp trên bề mặt. Đối với các loại dây chảy khác, các bộ phận bổ sung của đầu cốt hoặc đầu nối ví dụ đầu cốt sợi dây, cá chân, đầu nối lắp bulông, v.v. có thể không được tính vào chiều dài tổng 50 mm, chiều rộng và chiều cao 12 mm. Một số Hình dạng thay thế được thể hiện dưới đây:
Lưu ý: Khoảng cách đầu nối P được chọn theo IEC 60664-1 có tính đến nhiễm bẩn độ 2 và cấp quá điện áp II (ứng suất nhỏ hơn 1 500 h) Kích thước T và R không được quy định nhưng được yêu cầu để tính vùng hàn cho bảng mạch thử nghiệm các dây chảy lắp trên bề mặt. | ||||||||||||||||||||||||||||||||||||||||||||||||||||||||||||||
|
| Dây chảy dùng cho các ứng dụng đặc biệt | Tờ rời tiêu chuẩn 1 Trang 2 | |||||||||||||||||||||||||||||||||||||||||||||||||||||||||||||||||||||||||||||||||||||||||||||||||||||||||||||||||||||
| Giá trị lớn nhất của điện áp rơi và công suất tiêu tán duy trì
Ghi nhãn Dây chảy phải được ghi nhãn theo các yêu cầu của Điều 6. Đặc tính thời gian/dòng điện trước hồ quang Thời gian trước hồ quang phải nằm trong các giới hạn dưới đây:
| |||||||||||||||||||||||||||||||||||||||||||||||||||||||||||||||||||||||||||||||||||||||||||||||||||||||||||||||||||||||
|
| Dây chảy dùng cho các ứng dụng đặc biệt | Tờ rời tiêu chuẩn 1 Trang 3 |
| Thử nghiệm ở nhiệt độ (70 ± 2) °C (nếu nhà chế tạo yêu cầu) Dòng điện thử nghiệm I70 phải cho chạy qua dây chảy trong 1 h và dây chảy không được tác động. CHÚ THÍCH: Nhà chế tạo có thể quy định thêm nhiệt độ thử nghiệm cao hơn 70 °C hoặc thời gian lâu hơn 1 h. Khả năng cắt Dây chảy phải được thử nghiệm khi thích hợp theo thông số đặc trưng xoay chiều, một chiều hoặc xoay chiều/một chiều như quy định trong 9.3. Thử nghiệm độ bền Dây chảy phải được thử nghiệm theo phương pháp A hoặc phương pháp B như quy định trong 9.4. Công suất tiêu tán duy trì lớn nhất Công suất tiêu tán duy trì lớn nhất phải được đo ở dòng điện thử nghiệm IOVL (A) hoặc IOVL (B) trong 10 min cuối của thử nghiệm độ bền và không được vượt quá các giá trị quy định trong tờ rời tiêu chuẩn này. Thử nghiệm độ tăng nhiệt Dây chảy phải được thử nghiệm theo phương pháp I hoặc phương pháp II của 9.7.101, như quy định của nhà chế tạo, hoặc theo 9.7.102. 9.7.101 Phương pháp I Độ tăng nhiệt không được vượt quá 150 K (ngoại trừ 135 K đối với vật liệu thân bằng nhựa) (Nhiệt độ trong 30 s cuối trước khi ngắt phải được bỏ qua) 9.7.101 Phương pháp II Độ tảng nhiệt không được vượt quá 95 K. 9.7.102 Nếu sử dụng đế cầu chảy, độ tăng nhiệt của vật liệu nhựa không được vượt quá giá trị RTI tương ứng. | ||
Phụ lục A
(tham khảo)
Hướng dẫn về các thông số đặc trưng mà nhà chế tạo cần quy định hoặc cần có thỏa thuận với tổ chức thử nghiệm
A.1
Bảng A.1 đưa ra hướng dẫn về các thông số đặc trưng mà nhà chế tạo cần quy định hoặc cần có thỏa thuận với tổ chức thử nghiệm.
Bảng A.1 - Hướng dẫn về các thông số đặc trưng mà nhà chế tạo cần quy định hoặc cần có thỏa thuận với tổ chức thử nghiệm
| Điều | Thông số đặc trưng | Ghi chú |
| 9.2 | t1 đến t8 | t2 và t8 là bắt buộc các giá trị t2 và t8 không được lớn hơn 1 h (t2max = 1h) và 1 s (t8max = 1,00 s) tương ứng t1, t3, t4, t5, t6 và t7 là tùy chọn Cần chọn 2,0 IN hoặc 2,1 IN cho t1 và t2 |
| 9.2.2 | I70 | Dòng điện thử nghiệm đối với thử nghiệm tùy chọn là 70 °C Giá trị ưu tiên: 0,8 IN hoặc 1,0 IN hoặc 1,1 IN CHÚ THÍCH: Nhà chế tạo có thể quy định thêm nhiệt độ thử nghiệm cao hơn 70 °C hoặc thời gian thử nghiệm dài hơn 1 h. |
| 9.3 | Khả năng cắt | Có thể được quy định cho điện xoay chiều hoặc một chiều hoặc xoay chiều/một chiều Khả năng cắt danh định quy định khống được nhỏ hơn 35 A hoặc 10 lần dòng điện danh định, chọn giá trị lớn hơn |
| 9.4 và 9.5 | Itest (A) hoặc Itest (B) | Quy định kỹ thuật của dòng điện thử nghiệm chu kỳ theo phương pháp thử nghiệm A: Giá trị nhỏ nhất đối với Itest (A) là 1,0 IN (Itest (A) min = 1,0 IN) Hoặc của dòng điện liên tục theo phương pháp B: Giá trị nhỏ nhất đối với Itest (B) là 0,8 IN (Itest (B) min = 0,8 IN) |
|
| IOVL (A) hoặc IOVL (B) | Quy định kỹ thuật của dòng điện quá tải đối với thử nghiệm độ bền |
| 9.7.101 | Phương pháp I: dòng điện ban đầu là IOVL (A) hoặc IOVL (B) Phương pháp II: dòng điện thử nghiệm là IOVL (A) hoặc IOVL (B) | Đối với dây chảy sử dụng trên tấm mạch in: Phương pháp thử nghiệm I (thử nghiệm bước) hoặc phương pháp thử nghiệm II (quá tải 1 h) như được xác định bởi nhà chế tạo |
| 9.7.102 | dòng điện thử nghiệm là IN | Đối với dây chảy sử dụng trong đế cầu chảy. |
Thư mục tài liệu tham khảo
[1] IEC 60269-1:2006 and amd 1:2009 and amd 2:2014, Low-voltage fuses - Part 1: General requirements
MỤC LỤC
Lời nói đầu
1 Phạm vi áp dụng
2 Tài liệu viện dẫn
3 Thuật ngữ và định nghĩa
4 Yêu cầu chung
5 Thông số đặc trưng tiêu chuẩn
6 Ghi nhãn
7 Lưu ý chung về các thử nghiệm
8 Kích thước và kết cấu
9 Yêu cầu về điện
10 Tờ rời tiêu chuẩn
Phụ lục A (tham khảo) - Hướng dẫn về các thông số đặc trưng mà nhà chế tạo cần quy định hoặc cần có thỏa thuận với tổ chức thử nghiệm
Thư mục tài liệu tham khảo
1 Đã có TCVN 142:2009 được xây dựng trên cơ sở tiêu chuẩn ISO 3:
Bạn chưa Đăng nhập thành viên.
Đây là tiện ích dành cho tài khoản thành viên. Vui lòng Đăng nhập để xem chi tiết. Nếu chưa có tài khoản, vui lòng Đăng ký tại đây!


