- Tổng quan
- Nội dung
- VB gốc
- Tiếng Anh
- Hiệu lực
- VB liên quan
- Lược đồ
-
Nội dung hợp nhất
Tính năng này chỉ có tại LuatVietnam.vn. Nội dung hợp nhất tổng hợp lại tất cả các quy định còn hiệu lực của văn bản gốc và các văn bản sửa đổi, bổ sung, đính chính... trên một trang. Việc hợp nhất văn bản gốc và những văn bản, Thông tư, Nghị định hướng dẫn khác không làm thay đổi thứ tự điều khoản, nội dung.
Khách hàng chỉ cần xem Nội dung hợp nhất là có thể nắm bắt toàn bộ quy định hiện hành đang áp dụng, cho dù văn bản gốc đã qua nhiều lần chỉnh sửa, bổ sung.
- Tải về
Thông tư 28/2022/TT-BCT Quy chuẩn về an toàn đối với tủ phân phối điện áp 6 kV phòng nổ sử dụng trong mỏ hầm lò
| Cơ quan ban hành: | Bộ Công Thương |
Số công báo:
Số công báo là mã số ấn phẩm được đăng chính thức trên ấn phẩm thông tin của Nhà nước. Mã số này do Chính phủ thống nhất quản lý.
|
Đã biết
|
| Số hiệu: | 28/2022/TT-BCT | Ngày đăng công báo: |
Đã biết
|
| Loại văn bản: | Thông tư | Người ký: | Nguyễn Sinh Nhật Tân |
|
Ngày ban hành:
Ngày ban hành là ngày, tháng, năm văn bản được thông qua hoặc ký ban hành.
|
31/10/2022 |
Ngày hết hiệu lực:
Ngày hết hiệu lực là ngày, tháng, năm văn bản chính thức không còn hiệu lực (áp dụng).
|
Đang cập nhật |
|
Áp dụng:
Ngày áp dụng là ngày, tháng, năm văn bản chính thức có hiệu lực (áp dụng).
|
Đã biết
|
Tình trạng hiệu lực:
Cho biết trạng thái hiệu lực của văn bản đang tra cứu: Chưa áp dụng, Còn hiệu lực, Hết hiệu lực, Hết hiệu lực 1 phần; Đã sửa đổi, Đính chính hay Không còn phù hợp,...
|
Đã biết
|
| Lĩnh vực: | Công nghiệp, Điện lực, Than |
TÓM TẮT THÔNG TƯ 28/2022/TT-BCT
Ngày 31/10/2022, Bộ Công Thương đã ra Thông tư 28/2022/TT-BCT ban hành Quy chuẩn kỹ thuật quốc gia về an toàn đối với tủ phân phối điện áp 6 kV phòng nổ sử dụng trong mỏ hầm lò.
Theo đó, Quy chuẩn kỹ thuật này áp dụng đối với các tổ chức, cá nhân sản xuất, nhập khẩu, thử nghiệm, kiểm định, chứng nhận, giám định, sử dụng và các cá nhân khác có liên quan đến tủ phân phối 6 kV phòng nổ trong mỏ hầm lò trên lãnh thổ Việt Nam. Ngoài ra, tủ phân phối 6 kV phòng nổ được phân loại như sau: phân loại theo cơ cấu đóng – cắt gồm tủ đóng cắt bằng cơ cấu lò xo, tủ đóng cắt bằng cơ cấu nam châm điện; phân loại theo chức năng gồm tủ đầu vào, tủ phân đoạn, tủ đầu ra, tủ cách ly.
Bên cạnh đó, yêu cầu về kết cấu của tủ phân phối 6 kV phòng nổ bao gồm: tất cả các nắp mở chậm phải được bắt chặt bằng các vít hoặc bulông và có dấu hiệu cảnh báo nguy hiểm “Cấm mở khi có điện; các vị trí nút bấm, cơ cấu điều khiển, thao tác của tủ phân phối 6 kV phòng nổ phải có kí hiệu theo tác tương ứng rõ ràng, không thể tẩy xóa được; tủ phân phối 6 kV phòng nổ phải được trang bị cửa xuyên sáng để quan sát các thông số vận hành; chỉ báo cơ học vị trí đóng, cắt của tay đóng – cắt; vị trí đóng và mở của bộ tiếp điểm cách ly mạch chính;…
Thông tư có hiệu lực từ ngày 01/7/2023.
Xem chi tiết Thông tư 28/2022/TT-BCT có hiệu lực kể từ ngày 01/07/2023
Tải Thông tư 28/2022/TT-BCT
|
BỘ CÔNG THƯƠNG |
CỘNG HÒA XÃ HỘI CHỦ NGHĨA VIỆT NAM |
|
Số: 28/2022/TT-BCT |
Hà Nội, ngày 31 tháng 10 năm 2022 |
THÔNG TƯ
BAN HÀNH QUY CHUẨN KỸ THUẬT QUỐC GIA VỀ AN TOÀN ĐỐI VỚI TỦ PHÂN PHỐI ĐIỆN ÁP 6 KV PHÒNG NỔ SỬ DỤNG TRONG MỎ HẦM LÒ
____________
BỘ TRƯỞNG BỘ CÔNG THƯƠNG
Căn cứ Luật Tiêu chuẩn và Quy chuẩn kỹ thuật ngày 29 tháng 6 năm 2006;
Căn cứ Luật Chất lượng sản phẩm, hàng hoá ngày 21 tháng 11 năm 2007;
Căn cứ Nghị định số 98/2017/NĐ-CP ngày 18 tháng 8 năm 2017 của Chính phủ quy định chức năng, nhiệm vụ, quyền hạn và cơ cấu tổ chức của Bộ Công Thương;
Căn cứ Nghị định số 127/2007/NĐ-CP ngày 01 tháng 8 năm 2007 của Chính phủ quy định chi tiết thi hành một số điều Luật Tiêu chuẩn và Quy chuẩn kỹ thuật; Nghị định số 78/2018/NĐ-CP ngày 16 tháng 5 năm 2018 của Chính phủ sửa đổi, bổ sung một số điều Nghị định số 127/2007/NĐ-CP ngày 01 tháng 8 năm 2007 của Chính phủ quy định chi tiết thi hành một số điều Luật Tiêu chuẩn và Quy chuẩn kỹ thuật;
Căn cứ Nghị định số 132/2008/NĐ-CP ngày 31 tháng 12 năm 2008 của Chính phủ quy định chi tiết thi hành một số điều Luật Chất lượng sản phẩm, hàng hóa; Nghị định số 74/2018/NĐ-CP ngày 15 tháng 5 năm 2018 của Chính phủ sửa đổi, bổ sung một số điều Nghị định số 132/2008/NĐ-CP ngày 31 tháng 12 năm 2008 của Chính phủ quy định chi tiết thi hành một số điều Luật Chất lượng sản phẩm, hàng hóa;
Theo đề nghị của Cục trưởng Cục Kỹ thuật an toàn và Môi trường công nghiệp;
Bộ trưởng Bộ Công Thương ban hành Quy chuẩn kỹ thuật quốc gia về an toàn đối với tủ phân phối điện áp 6 kV phòng nổ sử dụng trong mỏ hầm lò.
Điều 1. Ban hành kèm theo Thông tư này Quy chuẩn kỹ thuật quốc gia về an toàn đối với tủ phân phối điện áp 6 kV phòng nổ sử dụng trong mỏ hầm lò.
Ký hiệu: QCVN 17: 2022/BCT.
Điều 2. Hiệu lực thi hành
Thông tư này có hiệu lực từ ngày 01 tháng 7 năm 2023.
Điều 3. Tổ chức thực hiện
Chánh Văn phòng Bộ, Cục trưởng Cục Kỹ thuật an toàn và Môi trường công nghiệp; Thủ trưởng các cơ quan, tổ chức và cá nhân có liên quan chịu trách nhiệm thi hành Thông tư này./.
|
Nơi nhận: |
KT. BỘ TRƯỞNG |
QCVN 17:2022/BCT
QUY CHUẨN KỸ THUẬT QUỐC GIA VỀ AN TOÀN ĐỐI VỚI TỦ PHÂN PHỐI ĐIỆN ÁP 6 KV PHÒNG NỔ SỬ DỤNG TRONG MỎ HẦM LÒ
National technical regulation on safety for high voltage 6kV distribution equipment explosion-proof used in underground mine
LỜI NÓI ĐẦU
QCVN 17:2022/BCT do Tổ soạn thảo Quy chuẩn kỹ thuật Quốc gia về an toàn đối với tủ phân phối điện áp 6 kV phòng nổ sử dụng trong mỏ hầm lò biên soạn, Cục Kỹ thuật an toàn và Môi trường công nghiệp - Bộ Công Thương trình duyệt, Bộ Khoa học và Công nghệ thẩm định, Bộ trưởng Bộ Công Thương ban hành theo Thông tư số 28/2022/TT-BCT ngày 31 tháng 10 năm 2022.
QUY CHUẨN KỸ THUẬT QUỐC GIA VỀ AN TOÀN ĐỐI VỚI TỦ PHÂN PHỐI ĐIỆN ÁP 6 KV PHÒNG NỔ SỬ DỤNG TRONG MỎ HẦM LÒ
National technical regulation on safety for high voltage 6kV distribution equipment explosion-proof used in underground mine
I. QUY ĐỊNH CHUNG
1. Phạm vi điều chỉnh
Quy chuẩn kỹ thuật này quy định các yêu cầu kỹ thuật an toàn và quản lý đối với tủ phân phối điện áp 6 kV phòng nổ trong mạng điện cao áp xoay chiều ba pha trung tính cách ly sử dụng trong mỏ hầm lò có khí cháy và bụi nổ (sau đây gọi là tủ phân phối 6 kV phòng nổ), có mã HS 8537.20.90.
2. Đối tượng áp dụng
Quy chuẩn kỹ thuật này áp dụng đối với các tổ chức, cá nhân sản xuất, nhập khẩu, thử nghiệm, kiểm định, chứng nhận, giám định, sử dụng và các cá nhân khác có liên quan đến tủ phân phối 6 kV phòng nổ trong mỏ hầm lò trên lãnh thổ Việt Nam.
3. Giải thích từ ngữ
3.1. Khí quyển nổ là hỗn hợp của các chất dễ cháy ở dạng khí, hơi, bụi, sợi hoặc vật bay với không khí, trong điều kiện khí quyển mà sau khi bắt cháy, cho phép ngọn lửa lan truyền tự duy trì.
3.2. Tủ phân phối 6 kV là thiết bị đóng cắt có khả năng đóng và cắt mạng điện trong điều kiện bình thường, cũng như tự động cắt điện trong điều kiện không bình thường và sự cố sử dụng trong lưới điện cao áp.
3.3. Mạch chính của tủ phân phối 6 kV phòng nổ là toàn bộ phần mang điện trong mạch được dùng để truyền năng lượng điện cho phụ tải.
3.4. Mạch phụ của tủ phân phối 6 kV phòng nổ là toàn bộ phần mang điện (không phải mạch chính) có trong các mạch điều khiển, bảo vệ, đo lường, tín hiệu.
3.5. Tủ phân phối 6 kV phòng nổ là tủ phân phối 6 kV được chế tạo để sử dụng trong môi trường có khí cháy và bụi nổ.
3.6. Cổ cáp vào, ra là bộ phận dùng để nhận và bảo vệ các đầu cáp, làm kín các ruột dẫn và vật liệu cách điện của cáp bằng một hợp chất làm đầy hoặc vòng bịt kín được gắn vào vỏ thiết bị bằng ren hoặc bu lông.
3.7. Vỏ không xuyên nổ dạng "d” là kết cấu trong đó chứa các bộ phận có thể làm bốc cháy hỗn hợp khí nổ và có thể chịu được áp lực xuất hiện trong vụ nổ bên trong của hỗn hợp khí nổ đó và ngàn ngừa sự lan truyền vụ nổ ra khí quyển nổ xung quanh vỏ.
3.8. Dạng bảo vệ an toàn tia lửa “i" là dạng bảo vệ mà năng lượng điện của thiết bị và các thành phần đầu nối khi đặt trong khí quyển nổ được hạn chế thấp hơn mức có thể gây cháy hỗn hợp nổ bằng các hiệu ứng tia lửa hoặc hiệu ứng nhiệt.
II. QUY ĐỊNH VỀ KỸ THUẬT AN TOÀN
4. Tài liệu viện dẫn
4.1. QCVN QTĐ-5:2009/BCT Quy chuẩn kỹ thuật quốc gia về kỹ thuật điện - Tập 5 Kiểm định trang thiết bị hệ thống điện.
4.2. QCVN 01:2011/BCT Quy chuẩn kỹ thuật quốc gia về an toàn trong khai thác than hầm lò.
4.3. QCVN 04:2017/BCT Quy chuẩn kỹ thuật quốc gia về an toàn trong khai thác quặng hầm lò.
4.4. TCVN 4255:2008 (IEC 60529:2001 ) cấp bảo vệ bằng vỏ ngoài (mã IP).
4.5. TCVN 6099-1-2007 (IEC 60060-1:1989) Kỹ thuật thử nghiệm điện áp cao - Phần 1 : Định nghĩa chung và yêu cầu thử nghiệm.
4.6. TCVN 6592-1:2009 (IEC 60947-1:2007) Thiết bị đóng cắt và điều khiển hạ áp - Phần 1 : Quy tắc chung.
4.7. TCVN 8096-200-2010 (IEC 62271-200:2003) Tủ đóng cắt và điều khiển cao áp - Phần 200: Tủ điện đóng cắt và điều khiển xoay chiều có vỏ bọc bằng kim loại dùng cho điện áp danh định lớn hơn 1 kV đến và bằng 52 kV.
4.8. TCVN 10888-0:2015 (IEC 60079-0:2011) Khí quyển nổ - Phần 0: Thiết bị - Yêu cầu chung.
4.9. TCVN 10888-1:2015 (IEC 60079-1:2014) Khí quyển nổ - Phần 1: Bảo vệ thiết bị bằng vỏ không xuyên nổ “d”.
4.10. TCVN 7079-7:2002 Thiết bị dùng trong mỏ hầm lò - Phần 7: An toàn tăng cao - dạng bảo vệ “e".
4.11. TCVN 7079-11:2002 Thiết bị điện dùng trong mỏ hầm lò - Phần 11 : An toàn tia lửa - dạng bảo vệ "i".
4.12. TCVN 7079-17:2003 Thiết bị điện dùng trong mỏ hầm lò - Phần 17: Kiểm tra và bảo dưỡng thiết bị.
4.13. IEC 60079-7:2015 Explosive atmospheres - Part 7: Equipment protection by increased safety "e" (Khí quyển nổ - Phần 7: Bảo vệ thiết bị bằng an toàn tăng cao “e").
4.14. IEC 60079-11:2011 Explosive atmospheres - Part 11: Equipment protection by intrinsic safety "i" (Khí quyển nổ - Phần 11: Bảo vệ thiết bị bằng an toàn tia lửa “i”).
4.15. IEC 60079-17:2013 Explosive atmospheres - Part 17: Electrical installations inspection and maintenance (Khí quyển nổ - Phần 17: Kiểm tra và bảo dưỡng lắp đặt điện).
4.16. IEC 62271-1:2017 và Sửa đổi 1:2021 High-voltage switchgear and controlgear - Part 1: Common specifications (Thiết bị đóng cắt và điều khiển cao áp - Phần 1: Đặc tính kỹ thuật chung)
5. Yêu cầu chung
5.1. Tủ phân phối 6 kV phòng nổ dùng trong mỏ hầm lò phải đảm bảo các yêu cầu kỹ thuật an toàn đối với tủ phân phối 6 kV thông thường sử dụng trong môi trường không có khí cháy và bụi nổ.
5.2. Tủ phân phối 6 kV phòng nổ sử dụng trong mỏ hầm lò phải có một trong các dạng bảo vệ nổ sau: Ex d I Mb, Ex d [ia] I Mb, Ex d [ib] I Mb theo ký hiệu tại 29.4 TCVN 10888-0:2015.
5.3. Phân loại tủ phân phối 6 kV phòng nổ
5.3.1. Phân loại theo cơ cấu đóng - cắt:
5.3.1.1. Tủ đóng cắt bằng cơ cấu lò xo;
5.3.1.2. Tủ đóng cắt bằng cơ cấu nam châm điện.
5.3.2. Phân loại theo chức năng:
5.3.2.1. Tủ đầu vào;
5.3.2.2. Tủ phân đoạn;
5.3.2.3. Tủ đầu ra;
5.3.2.4. Tủ cách ly
5.4. Yêu cầu về điều kiện vận hành
5.4.1. Tần số danh định: 50 Hz.
5.4.2. Chế độ làm việc: Liên tục, hoạt động ổn định trong phạm vi (từ 85 đến 115) % điện áp danh định.
5.4.3. Nhiệt độ môi trường:
5.4.3.1. Nhiệt độ môi trường từ -20 °C đến +40 °C; giá trị của độ ẩm tương đối đến (98 ± 2) % ở nhiệt độ 35 °C;
5.4.3.2. Môi trường nguy hiểm có khí cháy và bụi nổ, hàm lượng bụi không vượt quá 1200 mg/m3.
5.5. Yêu cầu về vị trí lắp đặt
5.5.1. Độ nghiêng không quá ±15 ° về mọi phía so với trục thẳng đứng và ở những khám, trạm và đường lò có kết cấu chống giữ đảm bảo an toàn.
5.5.2. Khô ráo và được thông gió đảm bảo theo quy định tại Điều 42 QCVN 01:2011/BCT đối với mỏ than, Điều 43 QCVN 04:2017/BCT đối với mỏ quặng.
5.5.3. Không có tác động của hơi hoặc các chất khí ăn mòn và làm hỏng cách điện.
5.5.4 Độ cao không quá 1000 m so với mực nước biển;
5.6. Yêu cầu về kết cấu
5.6.1. Yêu cầu về bộ phận nối đất
5.6.1.1. Các yêu cầu về nối đất phải tuân thủ theo các yêu cầu tại Điều 5.3 TCVN 8096-200:2010 (IEC 62271-200:2003), khoản 20 Điều 102 QCVN 01:2011/BCT và các Điều 5.1, Điều 5.2, Điều 5.4 và Điều 5.5 TCVN 10888- 0:2015 (IEC 60079-0:2011).
5.6.1.2. Trong các khoang đầu cáp phải có cơ cấu để bắt chặt dây tiếp đất và được hàn vào vỏ; các cổ cáp phải có cơ cấu để bắt chặt dây tiếp đất.
5.6.2. Tủ phân phối 6 kV phòng nổ sử dụng trong mỏ hầm lò phải có giá đỡ lắp ở phần dưới của vỏ và các móc phía trên để thuận tiện trong quá trình lắp đặt, di chuyển và vận hành.
5.6.3. Cơ cấu liên động của tủ phải tuân thủ theo quy định tại Điều 5.11 TCVN 8096-200:2010 (IEC 62271-200:2003), Điều 10 TCVN 10888-0:2015 (IEC 60079-0:2011).
5.6.4. Tất cả các nắp mở chậm phải được bắt chặt bằng các vít hoặc bulông và có dấu hiệu cảnh báo nguy hiểm "Cấm mở khi có điện”.
5.6.5. Các vị trí nút bấm, cơ cấu điều khiển, thao tác của tủ phân phối 6 kV phòng nổ phải có kí hiệu thao tác tương ứng rõ ràng, không thể tẩy xóa được.
5.6.6. Các bộ phận điện thường xuyên điều chỉnh trong quá trình vận hành phải được đặt trong khoang có nắp mở nhanh; các đầu nối cáp và thanh cái kết nối của các đầu vào, ra được đặt trong các khoang có nắp mở chậm.
5.6.7. Cơ cấu liên động cơ khí phải tuân thủ theo quy định tại Điều 5.6.3 Quy chuẩn kỹ thuật này và phải đáp ứng các yêu cầu sau:
5.6.7.1. Nắp mở nhanh chỉ có thể mở được khi:
5.6.7.1.1. Tay đóng - cắt đã ở trạng thái cắt;
5.6.7.1.2. Bộ tiếp điểm cách ly mạch chính đã mở;
5.6.7.1.3. Cơ cấu khóa liên động được giải phóng;
5.6.7.1.4. Thiết bị phóng điện dung được nối đất tin cậy.
5.6.7.2. Khi nắp mở nhanh ở vị trí mở, bộ tiếp điểm cách ly mạch chính không thể đóng được.
5.6.7.3. Khi máy cắt ở vị trí đóng thì không thể thao tác được bộ tiếp điểm cách ly mạch chính.
5.6.7.4. Khi máy cắt ở vị trí đóng cơ cấu tích trữ năng lượng lò xo không thể tích trữ năng lượng đề thực hiện thao tác đóng
5.6.8. Tủ phân phối 6 kV phòng nổ phải được trang bị cửa xuyên sáng để quan sát các thông số vận hành; chỉ báo cơ học vị trí đóng, cắt của tay đóng - cắt; vị trí đóng và mở của bộ tiếp điểm cách ly mạch chính.
5.6.9. Sơ đồ nguyên lý, sơ đồ đấu nối mạch điện phải được bắt chặt vào thành tủ và ở vị trí dễ quan sát.
5.6.10. Các mạch điện để điều khiển từ xa của tủ phân phối 6 kV phòng nổ phải là mạch an toàn tia lửa dạng “i” với mức độ an toàn ia hoặc ib theo các Điều 3.7 và Điều 3.8 TCVN 7079-11:2002.
5.6.11. Các khối chức năng điều khiển và bảo vệ phải có chế độ loại trừ việc lắp đặt sai.
5.6.12. Các kết nối hạ áp bên trong và các kết nối cao áp đầu vào, ra mạch chính của tủ phân phối 6 kV phòng nổ phải tuân thủ theo quy định tại Điếu 5.4.5.2 IEC 62271-1:2017 và Sửa đổi 1:2021.
5.6.12.1. Các đầu nối dây phải duy trì áp lực tiếp xúc cần thiết và có chi tiết chống tự nới lỏng, tương ứng với thông số dòng điện và dòng điện ngắn mạch của mạch điện.
5.6.13. Cấp bảo vệ vỏ ngoài của các khối thiết bị điều khiển từ xa, khóa liên động điện, bảo vệ được tích hợp trong tủ phân phối 6 kV phòng nổ phải được chế tạo với mức độ bảo vệ không thấp hơn IP54 theo hướng dẫn tại Điều 5.2 TCVN 4255:2008.
5.6.14. Vỏ của tủ phân phối 6 kV phòng nổ phải có kết cấu lắp các đầu vào, ra cao áp để tủ có thể vận hành độc lập hoặc ghép nối với nhau tạo thành trạm phân phối cao áp đảm bảo các tính năng kỹ thuật và phòng nổ.
6. Yêu cầu đối với các cấu trúc phòng nổ của tử phân phối 6 kV phòng nổ
Tủ phân phối 6 kV phòng nổ sử dụng trong mỏ hầm lò có khí cháy và bụi nổ phải được thiết kế, chế tạo, thử nghiệm tuân thủ theo các tiêu chuẩn TCVN 10888-0:2015 (IEC 60079-0:2011 ), TCVN 10888-1:2015 (IEC 60079- 1:2014); tiêu chuẩn TCVN 7079-7 (IEC 60079-7), TCVN 7079-11 (IEC 60079- 11) tương ứng với các dạng bảo vệ nổ và các quy định tại Quy chuẩn kỹ thuật này.
6.1. Các bộ phận chính của bảo vệ vỏ không xuyên nổ dạng "d” gồm:
6.1.1. Khoang đấu cáp
6.1.2. Cổ cáp đầu vào và cổ cáp đầu ra, các phễu cáp.
6.1.3. Sứ xuyên qua thành và vách của vỏ phòng nổ.
6.1.4. Phần tử xuyên sáng.
6.1.5. Nút bấm điều khiển, khóa chuyển mạch.
6.1.6. Cơ cấu điều khiển truyền chuyển động quay hoặc tịnh tiến.
6.1.7. Chốt, lỗ liên quan và các phần tử trống.
6.1.8. Cơ cấu bắt chặt đặc biệt.
6.1.9. Cơ cấu liên động.
6.1.10. Nắp mở nhanh.
6.1.11. Các khoang chứa các thiết bị điện.
6.2. Yêu cầu đối với vỏ không xuyên nổ dạng “d”
6.2.1. Các dạng mối ghép phòng nổ
Các mối ghép phòng nổ phải tuân theo Điều 5, Điều 6, Điều 7 và Điều 8 TCVN 10888-1:2015 (IEC 60079-1:2014) và theo các quy định tại Quy chuẩn kỹ thuật chuẩn này.
6.2.1.1. Mối ghép phòng nổ dạng ống, hình trụ không có lỗ bắt bu lông như Hình 1.

Chú dẫn:
c - Bề rộng mối ghép phòng nổ phần mặt phẳng, mm.
d - Bề rộng mối ghép phòng nổ phần hình trụ, mm.
F - Khoảng hở của mép vát, mm.
L - Bề rộng nhỏ nhất của mối ghép phòng nổ, mm; L = c + d với điều kiện: c ≥ 3,0 mm, f ≤ 1,0 mm.
T - Phía bên trong của vỏ thiết bị.
Hình 1. Mối ghép phòng nổ dạng ống, hình trụ không có lỗ bắt bu lông
6.2.1.2. Mối ghép phòng nổ dạng ống, hình trụ có lỗ bắt bu lông như Hình 2.

Chú dẫn:
a - Bề rộng mối ghép phần hình trụ, mm.
b - Bề rộng mối ghép phần mặt phẳng đến lỗ bu lông, mm.
i - Khe hở của mối ghép hình trụ, mm.
l – Khoảng cách nhỏ nhất từ bên trong thiết bị đến lỗ bu lông, mm; I = a + b nếu i ≤ 0,2 mm.
L - Bề rộng nhỏ nhất của mối ghép phòng nổ, mm.
T - Phía bên trong của vỏ thiết bị.
Hình 2. Mối ghép phòng nổ dạng ống, hình trụ có lỗ bắt bu lông
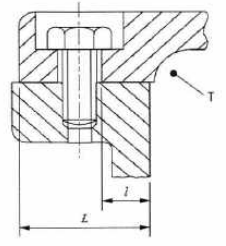
6.2.1.3. Mối ghép phòng nổ dạng mặt bích phẳng như Hình 3.

Chú dẫn:
l - Khoảng cách nhỏ nhất từ bên trong thiết bị đến lỗ bu lông, mm.
L - Bề rộng nhỏ nhất của mối ghép phòng nổ, mm.
T - Phía bên trong của vỏ thiết bị.
Hình 3. Mối ghép phòng nổ dạng mặt bích phẳng
6.2.1.4. Khoảng cách nhỏ nhất từ bên trong thiết bị đến lỗ bu lông phải đảm bảo theo quy định tại Bảng 1 Quy chuẩn kỹ thuật này.
Bảng 1. Khoảng cách nhỏ nhất từ bên trong thiết bị đến lỗ bu lông.
|
I (mm) |
L (mm) |
|
6 |
< 12,5 |
|
8 |
12,5 ≤ L <25 |
|
9 |
≥ 25 |
6.2.1.5. Mối ghép phòng nổ dạng mặt bích có gioăng đệm như Hình 4.
Chú dẫn:
G - Gioăng đệm.
L - Bề rộng nhỏ nhất của mặt bích phòng nổ, mm.
T - Phía bên trong của vỏ thiết bị.
Hình 4. Mối ghép phòng nổ mặt bích có gioăng đệm
6.2.1.6. Mối ghép phòng nổ dạng trục xoay hoặc tịnh tiến như Hình 5.

Chú dẫn:
L - Bề rộng nhỏ nhất của mối ghép phòng nổ, mm.
Trường hợp cần thao tác đi qua thành của vỏ không xuyên nổ, chiều rộng của mối ghép phải tuân thủ theo Điều 7 TCVN 10888-1:2015 (IEC 60079-1:2014).
Hình 5. Mối ghép phòng nổ dạng trục xoay
6.2.1.7. Mối ghép phòng nổ dạng trục xoay có bạc lót như Hình 6.

Chú dẫn:
L - Bề rộng nhỏ nhất của mối ghép phòng nổ, mm.
Hình 6. Mối ghép phòng nổ dạng trục xoay có bạc lót
6.2.1.8. Mối ghép phòng nổ dạng ren vít tuân thủ theo các Điều 5.2.8 và Điều 5.3 TCVN 10888-1:2015 (IEC 60079-1), như Hình 7.

Chú dẫn:
T - Bước ren.
Y - Chiều dài ăn khớp của ren, mm.
α- Góc đỉnh ren, độ,
Hình 7. Mối ghép phòng nổ dạng ren, vít
6.2.2. Chiều rộng và khe hở nhỏ nhất của mối ghép phòng nổ:
6.2.2.1. Đối với các mối ghép dạng: Ống, hình trụ, mặt bích, trục xoay, theo quy định tại Bảng 2 Quy chuẩn kỹ thuật này, độ nhấp nhô của bề mặt (độ nhám) Ra không được lớn hơn 63 µm.
Bảng 2. Chiều rộng và khe hở nhỏ nhất của mối ghép phòng nổ
|
Dạng mối ghép |
Chiều rộng nhỏ nhất của mối ghép L (mm) |
Khe hở nhỏ nhất (mm) |
||||||||||||||
|
Thể tích (cm3) V ≤ 100 |
Thể tích (cm3) 100 < V ≤ 500 |
Thể tích (cm3) 500 < V ≤ 2000 |
Thể tích (cm3) 2000 < V ≤ 5 750 |
Thể tích (cm3) V > 5 750 |
||||||||||||
|
I |
IIA |
IIB |
I |
IIA |
IIB |
I |
IIA |
IIB |
I |
IIA |
IIB |
I |
IIA |
IIB |
||
|
Ống, hình trụ, mặt bích, trục xoay |
≤ 6 |
0,30 |
0,30 |
0,20 |
- |
- |
- |
- |
- |
- |
- |
- |
- |
- |
- |
- |
|
≤ 9,5 |
0,35 |
0,3 |
0,2 |
0,35 |
0,30 |
0,20 |
0,08 |
0,08 |
0,08 |
- |
0,08 |
0,08 |
- |
0,08 |
- |
|
|
≤ 12,5 |
0,40 |
0,30 |
0,20 |
0,40 |
0,30 |
0,20 |
0,40 |
0,30 |
0,20 |
0,40 |
0,20 |
0,15 |
0,40 |
0,20 |
0,15 |
|
|
≤ 25 |
0,50 |
0,40 |
0,20 |
0,50 |
0,40 |
0,20 |
0,50 |
0,40 |
0,20 |
0,50 |
0,40 |
0,20 |
0,50 |
0,40 |
0,20 |
|
|
Chú dẫn: Kí hiệu: I là nhóm thiết bị dùng cho các mỏ có khi mê tan; IIA và IIB là nhóm thiết bị dùng cho các mỏ có khí cháy khác mêtan được quy định tại Điều 4.2 TCVN 10888-0:2015 (IEC 60079-0:2011). |
||||||||||||||||
6.2.2.2. Đối với mối ghép dạng ren, vít tuân thủ theo các yêu cầu sau:
6.2.2.2.1. Ít nhất năm ren được ăn khớp với nhau.
6.2.2.2 2. Bước ren ≥ 0,7 mm.
6.2.2.2 3. Góc đỉnh răng bằng 60 ° (± 5 °).
6.2.2.2.4. Chiều dài ăn khớp của ren ≥ 5 mm với V ≤ 100 cm3.
6.2.2.2.5. Chiều dài ăn khớp của ren ≥ 8 mm với V > 100 cm3.
6.2.3. Cơ cấu bắt chặt đặc biệt
6.2.3.1. Cơ cấu bắt chặt phải tuân thủ theo Điều 9 TCVN 10888-0:2015 (IEC 60079-0:2011).
6 2.3.2. Đối với cơ cấu bắt chặt dạng bảo vệ không xuyên nổ “d” phải tuân thủ quy định tại khoản 2.3.1 Điều này và Điều 11 TCVN 10888-1:2015 (IEC 60079-1:2014).
6.2.3.3. Tất cả các mốt ghép phòng nổ sử dụng bu lông bắt chặt phải có các vòng đệm vềnh chống trôi và chỉ mở được khi sử dụng các dụng cụ.
6.2.4. Nắp mở nhanh phải có cơ cấu khóa liên động: chỉ mở được sau khi đã cắt điện và cơ cấu khóa liên động đã được giải phóng.
6.2.5. Cổ cáp vào thiết bị
Các đầu vào dẫn cáp đến khoang đấu cáp của tủ phân phối 6 kV phòng nổ phải tuân thủ theo Điều 16 và Phụ lục A TCVN 10888-0:2015 (IEC 60079- 0:2011), Điều 13 TCVN 10888-1:2015 (IEC 60079-1:2014) và các yêu cầu sau:
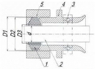
6.2.5.1. Được bắt chặt vào vỏ thiết bị và có đầy đủ các chi tiết để làm kín và kẹp chặt cáp, một trong các loại cổ cáp như Hình 8.

Chú dẫn:
1- Vòng cao su bịt kín cáp.
2- Cáp điện cao su.
3- Chi tiết kẹp cáp.
4- Chi tiết vào cáp để ép chặt gioăng đệm cao su
5- Vỏ thiết bị.
d- Đường kính ngoài của cáp điện cao su, mm.
D1 - Đường kính trong của cổ cáp, mm.
D2, D3 - Đường kính ngoài, trong của gioăng đệm cao su, mm.
Hình 8. Cổ cáp khi được đấu nối
6.2.5.2. Khoảng cách giữa cổ cáp, gioăng đệm và cáp điện cao su theo quy định tại Bảng 3 Quy chuẩn kỹ thuật này.
Bảng 3. Khoảng cách giữa cổ cáp, gioăng đệm và cáp điện cao su
|
D2 (mm) |
Khoảng cách từ D1 -:- D2 (mm) |
Khoảng cách từ D3 -:- d (mm) |
|
< 20 |
≤ 1 |
≤ 2 |
|
20 -:- 60 |
≤ 2 |
|
|
> 60 |
≤ 3 |
6.2.5.3. Các chi tiết của cổ cáp phải được vặn chặt đề đảm bảo tính năng làm kín.
6.2.5.4. Vòng bịt kín cao su phải đảm bảo không bị nứt, đàn hồi tốt, cáp điện không bị kéo căng hoặc bẻ gập trong quá trình lắp ráp và vận hành.
6.2.5.5. Ở cổ cáp cao áp có sử dụng vật liệu điền đầy cách điện, khối điền đầy khi đông cứng phải đảm bảo không có vết nứt.
6.2.6. Cổ cáp chưa được đấu nối phải được bịt kín như Hình 9 hoặc cách khác với sự làm kín tương tự.

Chú dẫn:
1 - Nút bịt kín.
2 - Vòng cao su bịt kín.
3 - Chi tiết cổ cáp vào, ra để ép kín.
4 - Chi tiết kẹp cáp.
Hình 9. Cổ cáp chưa được đấu nối
6.3. Phần tử xuyên sáng
Phần tử xuyên sáng phải tuân thủ theo Điều 9 TCVN 10888-1:2015 (IEC 60079-1:2014} và Điều 26 TCVN 10888-0:2015 (IEC 60079-0:2011).
6.4. Vật liệu chế tạo vỏ
6.4.1. Vật liệu chế tạo phi kim loại
Vật liệu phi kim loại được dùng để chế tạo các chi tiết, thành phần và các bộ phận của vỏ tủ phân phối 6 kV phòng nổ phải tuân thủ theo quy định tại Điều 7 TCVN 10888-0:2015 (IEC 60079-0:2011).
6.4.2. Vật liệu chế tạo kim loại
Vật liệu kim loại được dùng để chế tạo các chi tiết và các bộ phận của vỏ tủ phân phối 6 kV phòng nố phải tuân thủ theo quy định tại Điều 8 TCVN 10888-0:2015 (IEC 60079-0).
6.5. Các ống lót (sứ xuyên), cọc đấu dây dẫn điện qua các thành và vách của vỏ tủ phải tuân thủ theo quy định tại Điều 11 TCVN 10888-0:2015 (IEC 60079-0:2011 ) và đảm bảo không bị hư hỏng trong quá trình đấu nối các dây dẫn điện.
6.6. Các phương tiện đấu nối và các khoang đấu cáp phải tuân thủ theo quy định tại Điều 14 và Điều 15 TCVN 10888-0:2015 (IEC 60079-0:2011).
6.7. Chỉ số phóng điện tương đối của vật liệu cách điện rắn sử dụng trong tủ phân phối 6 kV phòng nổ phải tuân thủ theo quy định tại Điều 4.1 IEC 60079-7:2015, chỉ số phòng điện tương đối của vật liệu cách điện rắn (CTl) theo quy định tại Bảng 4 Quy chuẩn kỹ thuật này.
Bảng 4. Chỉ số phóng điện tương đối của vật liệu cách điện rắn
|
Nhóm vật liệu |
Chỉ số phóng điện tương đối (CTI) |
|
I |
600 ≤ CTI |
|
II |
400 ≤ CTI ≤ 600 |
|
IIIa |
175 ≤ CTI ≤ 400 |
Vật liệu cách điện rắn được sử dụng trong các mạch điện làm việc ở điện áp vượt quá 250 V hoặc mang dòng điện lớn hơn 16 A phải có chỉ số CTI không nhỏ hơn 400.
6.8. Các yêu cầu khe hở và chiều dài đường rò
Các yêu cầu về khe hở trong không khí giữa hai phần mang điện và chiều dài đường rò dọc theo bề mặt của vật liệu cách điện giữa hai phần dẫn điện tuân thủ theo quy định tại Điều 4.3 và Điều 4.4 IEC 60079-7:2015 và theo quy định tại Bảng 5 Quy chuẩn kỹ thuật này.
Bảng 5. Khe hở và chiều dài đường rò
|
Điện áp làm việc danh định Ue (V) |
Chiều dài đường rò nhỏ nhất (mm) |
Khe hở nhỏ nhất (mm) |
||
|
Nhóm vật liệu |
||||
|
I |
II |
IIIa |
||
|
≤ 10 (xem chú dẫn) |
1,6 |
1,6 |
1,6 |
1,6 |
|
≤ 12,5 |
16 |
1,6 |
1,6 |
1,6 |
|
≤ 16 |
1,6 |
1,6 |
1,6 |
1,6 |
|
≤ 20 |
1,6 |
1,6 |
1,6 |
1,6 |
|
≤ 25 |
1,7 |
1,7 |
1,7 |
1,7 |
|
≤ 32 |
1,8 |
1,8 |
1,8 |
1,8 |
|
≤ 40 |
1,9 |
2,4 |
3,0 |
1,9 |
|
≤ 50 |
2,1 |
2,6 |
3,4 |
2,1 |
|
≤ 63 |
2,1 |
2,6 |
3,4 |
2,1 |
|
≤ 80 |
2,2 |
2,8 |
3,6 |
2,2 |
|
≤ 100 |
2,4 |
3,0 |
3,8 |
2,4 |
|
≤ 125 |
2,5 |
3,2 |
4 |
2,5 |
|
≤ 160 |
3,2 |
4 |
5 |
3,2 |
|
≤ 200 |
4,0 |
5,0 |
6,3 |
4,0 |
|
≤ 250 |
5,0 |
6,3 |
8 |
5 |
|
≤ 320 |
6,3 |
8,0 |
10,0 |
6,0 |
|
≤ 400 |
8 |
10 |
12,5 |
6 |
|
≤ 500 |
10,0 |
12,5 |
16,0 |
8,0 |
|
≤ 630 |
12,0 |
16,0 |
20,0 |
10 |
|
≤ 800 |
16,0 |
20,0 |
25,0 |
12 |
|
≤ 1 000 |
20 |
25 |
32 |
14 |
|
≤ 1 250 |
22 |
26 |
32 |
18 |
|
≤ 1 600 |
23 |
27 |
32 |
20 |
|
≤ 2 000 |
25 |
28 |
32 |
23 |
|
≤ 2 500 |
32 |
36 |
40 |
29 |
|
≤ 3 200 |
40 |
45 |
50 |
36 |
|
≤ 4 000 |
50 |
56 |
63 |
44 |
|
≤ 5 000 |
63 |
71 |
80 |
50 |
|
≤ 6 300 |
80 |
90 |
100 |
60 |
|
≤ 8 000 |
100 |
110 |
125 |
80 |
|
≤ 10 000 |
125 |
140 |
160 |
100 |
|
Chú dẫn: - Điện áp làm việc có thể quá 10 % mức điện áp ghi trong bảng trên. - Giá trị khoảng cách rò và khe hở trên dựa vào sức chịu đựng điện áp nguồn lớn nhất dao động trong mức ±10 %. - Với các điện áp dưới 10 V, giá trị của CTI không thích hợp. Khi đó các vật liệu không theo yêu cầu vật liệu nhóm IIIa được chấp nhận. |
||||
6.9. Yêu cầu đối với bộ phận có dạng bảo vệ an toàn tia lửa “i” của tủ phân phối 6 kV phòng nổ phải tuân thủ theo TCVN 7079-11:2002 và đảm bảo các yêu cầu sau:
6.9.1. Cấp bảo vệ vỏ ngoài của bộ phận an toàn tia lửa (mã IP) phải lớn hơn hoặc bằng mức IP54 được quy định tại TCVN 4255:2008 (IEC 60529:2001).
6.9.2. Các thông số R, L & C của mạch điện phải đảm bảo khi mạch được thử nghiệm, đánh giá không làm bốc cháy hỗn hợp khí thử nghiệm bởi tia lửa.
6.9.3. Các hiệu ứng về nhiệt độ sinh ra trong các mạch an toàn tia lửa ở bất cứ trường hợp nào phải đảm bảo không làm bốc cháy hỗn hợp khí do nóng bề mặt gây ra.
6.9.4. Các mạch điện an toàn tia lửa phải được cách ly với nhau và cách ly với các mạch không an toàn tia lửa.
7. Các yêu cầu kỹ thuật đối với tủ phân phối 6 kV phòng nổ sử dụng trong mỏ hầm lò
7.1. Các thông số cơ bản
7.1.1. Điện áp danh định (Ur): 6 kV.
7.1.2. Dòng điện danh định (Ir) là một giá trị trong dãy sau: 50 A, 100 A, , 200 A, 315 A, 400 A, 500 A, 630 A, 800 A, 1 000 A, 1 250 A.
7.1.3. Dòng điện cắt ngắn mạch danh định (/k) là một giá trị trong dãy sau: 6,3 kA, 8 kA, 12,5 kA, 16 kA, 20 kA, 25 kA, 31,5 kA.
7.1.4. Dòng điện đóng ngắn mạch danh định (Ip) lớn nhất bằng 2,5 lần giá trị hiệu dụng của thánh phần xoay chiều của dòng điện cắt ngắn mạch danh định.
7.1.5. Thời gian ngắn mạch danh định (tk): 2 s.
7.1.6. Phạm vi điện áp làm việc của thiết bị phụ (điều khiển, bảo vệ, giám sát, tín hiệu và truyền thông điện tử) là 75 % đến 120 %. Điện áp nguồn danh định của cơ cấu đóng - cắt và mạch phụ (Ua).
7.1.6.1. Đối với điện áp một chiều: 24 Vdc, 48 Vdc, 60 Vdc, 110 Vdc, 220 V và không lớn hơn 250 Vdc;
7.1.6.2. Đối với điện áp xoay chiều: 120 Vac, 230 Vac.
7.2. Yêu cầu với kết cấu và sơ đồ điện
7.2.1. Yêu cầu về chức năng hoạt động và bảo vệ:
7.2.1.1. Hoạt động bình thường khi điện áp lưới dao động trong phạm vi (từ 85 đến 115) % điện áp danh định;
7.2.1.2. Bảo vệ quá dòng điện;
7.2.1.3. Bảo vệ quá dòng có thời gian tác động trễ xác định;
7.2.1.4. Bảo vệ quá dòng có thời gian tác động trễ nghịch đảo (bảo vệ quá tải);
7.2.1.5. Bảo vệ dòng ngắn mạch;
7.2.1.6. Bảo vệ chạm đất (rò điện);
7.2.1.7. Bảo vệ điện áp thấp;
7.2.1.8. Bảo vệ quá điện áp.
7.2.2. Hiển thị các thông số trong quá trình vận hành, tín hiệu trạng thái làm việc của tủ: đóng - cắt; tác động của các loại bảo vệ và liên động.
7.2.3. Có chế độ kiểm tra hoạt động và báo lỗi sự cố của các bộ bảo vệ.
7.3. Yêu cầu cách điện
7.3.1. Giá trị điện trở cách điện
7.3.1.1. Mạch chính 6 kV phải được kiểm tra theo tài liệu của nhà chế tạo hoặc theo quy định tại Bảng 2-24-1 Điều 28 QTĐ 05:2009/BCT, không được nhỏ hơn 200 MΩ ở nhiệt độ 30 °C.
7.3.1.2. Các mạch phụ (điều khiển, bảo vệ, đo lường và tín hiệu) phải được kiểm tra, không thấp hơn 2 MΩ theo quy định tại Điều 32 QTĐ- 05:2009/BCT.
7.3.2. Mức chịu cách điện
Cách điện của tủ phân phối 6 kV phòng nổ phải chịu được điện áp thử nghiệm xoay chiều tần số 50 Hz với thời gian 1 phút mà không có sự phóng điện bề mặt hoặc đánh thủng cách điện theo quy định tại Điều 4.2 IEC 62271- 1:2017 và Sửa đổi 1:2021.
7.3.2.1. Đối với mạch điện chính 6 kV
Giá trị điện áp thử nghiệm độ bền cách điện của mạch chính theo quy định tại Bảng 6 Quy chuẩn kỹ thuật này.
Bảng 6. Điện áp thử nghiệm độ bền cách điện của mạch chính
|
Điện áp danh định (điện áp lớn nhất) kV |
Điện áp thử nghiệm (giá trị hiệu dụng) kV |
Điện áp xung (giá trị đỉnh) kV |
||
|
Giá trị |
Khe hở tiếp điểm mở |
Giá trị |
Khe hở tiếp điểm mở |
|
|
6 |
23 |
26 |
40 |
60 |
|
Chú dẫn: Khi thử nghiệm điện áp xung sử dụng điện áp xung tiêu chuẩn 1,2/50µs. |
||||
7.3.2.2. Đối với mạch mạch phụ
7.3.2.2.1. Mức chịu cách điện của mạch phụ tuân thủ theo quy định tại Điều 7.2.3 TCVN 6592-1:2009 (IEC 60947-1:2007). Giá trị điện áp thử nghiệm độ bền cách điện của mạch phụ theo quy định tại Bảng 7 Quy chuẩn kỹ thuật này.
Bảng 7. Điện áp thử nghiệm độ bền cách điện của mạch phụ
|
Điện áp danh định V |
Điện áp thử nghiệm (giá trị hiệu dụng) V |
|
Ui ≤ 60 |
1 000 |
|
60 < Ui ≤ 300 |
1 500 |
7.3.2.2.2. Đối với mạch an toàn tia lửa phải đáp ứng các quy định tại Điều 7.3.2.2.1 Quy chuẩn kỹ thuật này và Điều 6.3.13 IEC 60079-11:2015.
7.4. Yêu cầu về đặc tính bảo vệ
7.4.1. Điện áp nguồn danh định cho hệ thống bảo vệ
Điện áp nguồn danh định của bảo vệ rơle nằm trong các dải sau: 24 Vdc, 48 Vdc, 60 Vdc, 110 Vdc, 120 Vdc. Tần số 50 Hz, mức tiêu thụ công suất không quá 30 VA và hoạt động đáng tin cậy trong phạm vi từ 75 % đến 120 % điện áp danh định.
7.4.2. Bảo vệ quá dòng có thời gian tác động trễ nghịch đảo được đặt giá trị theo thang với 20 %. 30 %, 40 %, 50 %, 60 %. 70 %, 80 %, 90 %, 100 % của giá trị dòng điện danh định thứ cấp (le = 5 A) của máy biến dòng. Các đặc tính của bảo vệ quá dòng có thời gian nghịch được quy định tại Bảng 8 Quy chuẩn kỹ thuật này.
Bảng 8. Đặc tính bảo vệ quá dòng có thời gian tác động trễ nghịch đảo
|
Tỷ số dòng điện quá tải/dòng đặt bảo vệ |
1,05 |
1,2 |
1,5 |
2 |
6 |
|
Thời gian trễ tác động |
2h không tác động |
< 120 (s) |
<60 (s) |
<20 (s) |
Thời gian có tác động > 8 (s) |
|
Trạng thái bắt đầu |
Trạng thái lạnh |
Trạng thái nóng |
Trạng thái lạnh |
||
|
Chú dẫn: - Trạng thái lạnh là trạng thái mà nhiệt độ của từng bộ phận tủ phân phối 6 kV không làm việc; đối với bộ bảo vệ điện tử, tức là phía mạch lực bị khóa. Dòng điện làm cho tất cả các liên kết mạch điện tử của bộ bảo vệ điện tử đạt trạng thái ổn định. - Trạng thái nóng là trạng thái sau khi tăng nhiệt độ của từng bộ phận tủ phân phối 6 kV làm việc dưới tải định mức trong một thời gian dài đã ổn định; với bộ bảo vệ điện tử, tức là phía sơ cấp mạch điện tử của bộ bảo vệ điện tử đạt đến trạng thái ổn định thông qua một dòng điện đặt hoặc một dòng điện xác định. - Sai số của giá trị dòng cài đặt không vượt quá ±10 %. |
|||||
7.4.3. Bảo vệ ngắn mạch
7.4.3.1. Dòng điện tác động của bảo vệ ngắn mạch được thiết lập theo thang đặt từ 1 đến 9 lần giá trị dòng điện danh định thứ cấp của máy biến dòng (le) và sai số của giá trị cài đặt không vượt quá ±10 %. Khi giá trị dòng ngắn mạch bằng 1,2 lần giá trị dòng cài đặt, bảo vệ ngắn mạch được kích hoạt với thời gian tác động phải nhỏ hơn 0,1 s.
7.4.3.2. Khi ngắn mạch tại cuối nguồn trong hệ thống phân phối cao áp với dòng điện vượt quá 4 lần dòng điện danh định (lr) của máy biến dòng, nguồn dòng điện cung cấp để bảo vệ ngắn mạch phải đáp ứng các yêu cầu sau:
7.4.3.3. Cuộn dây nguồn dòng thứ cấp của biến dòng (CT) phải tạo ra công suất 25 VA với điện trở tải 25 D và cắt máy cắt một cách đáng tin cậy.
7.4.3.4. Thiết bị bảo vệ phải duy trì thời gian làm việc bình thường ít nhất là 5 s để máy cắt - đóng mở tin cậy và đảm bảo việc lưu trữ, truyền tải thông tin hoạt động của tủ phân phối 6 kV phòng nổ.
7.4.4. Bảo vệ điện áp
7.4.4.1. Bảo vệ điện áp thấp
Bộ nhả thấp điện áp phải hoạt động để mở thiết bị đóng - cắt khi điện áp ở các đầu cực của bộ nhả giảm xuống dưới 35 % điện áp danh định. Thời gian tác động trễ trong khoảng (từ 0 đến 5) s.
7.4.4.2. Bảo vệ quá áp
Khi lưới điện có điện áp tăng cao hơn giá trị định mức 115 % thì bộ bảo vệ phải tác động. Thời gian tác động trễ trong khoảng (từ 0 đến 5) s.
7.4.5. Bảo vệ giám sát cách điện
Các tủ phân phối 6 kV phòng nổ phải có bảo vệ giám sát cách điện của cáp ra phụ tải, thông số hoạt động theo quy định tại Bảng 9 Quy chuẩn kỹ thuật này.
Bảng 9. Thông số hoạt động của bộ bảo vệ giám sát cách điện
|
Trạng thái làm việc của bảo vệ |
Tác động tin cậy |
Cho phép tác động |
Không cho phép tác động |
|
Điện trở của mạch vòng dây giám sát, kΩ |
> 1,5 |
Từ 0,8 đến 1,5 |
< 0,8 |
|
Điện trở cách điện giữa dây giám sát và dây đất Rd. kΩ |
< 3,0 |
Từ 3,0 đến 5,0 |
> 5,5 |
|
Thời gian tác động, s |
- |
< 0,1 |
- |
7.4.6. Bảo vệ chạm đất
7.4.6.1. Bảo vệ chạm đất có hướng (nguồn điện thứ tự không tác động theo dòng 3U0 và áp 3l0) theo quy định tại Bảng 10 Quy chuẩn kỹ thuật này.
Bảng 10. Thông số hoạt động của bảo vệ chạm đất có hướng
|
Thang đặt dòng điện thứ tư không sơ cấp 3l0 (A) |
Thang đặt điện áp thứ tự không thứ cấp 3U0 (V) |
Thang đặt thời gian tác động (s) |
Sai số |
Khu vực tác động |
|
0,5; 1,0; 2,0; 4,0; 6,0 |
3,0; 5,0; 10; 20; 25 |
<0,1; 0,5; 1,0; 1,5 |
Không vượt quá 10% |
< 180° |
7.4.6.2. Bảo vệ chạm đất không có hướng (tác động theo dòng 3l0), dòng điện thứ tự không sơ cấp được chia thành các thang đặt 0,5 A, 1,0 A, 2,0 A, 4,0 A, 6,0 A, thời gian tác động là 0,1 s và giá trị sai số không lớn hơn 10%.
7.4.7. Bảo vệ quá điện áp trong quá trình vận hành
Đầu ra của tủ phân phối 6 kV phòng nổ phải có bảo vệ chống quá xung điện áp trong quá trình vận hành bằng các phần tử Varistor có điện áp phù hợp với lưới điện cao áp vận hành.
7.5. Đối với các tủ lộ ra có bảo vệ khóa rò điện thì giá trị điện trở tác động của bộ bảo vệ khóa rò điện không được nhỏ hơn 360 kΩ.
7.6. Mạch tự kiểm tra
Các bộ bảo vệ sử dụng kỹ thuật số phải có mạch tự kiểm tra của thiết bị bảo vệ rơle và có chức năng hiển thị trạng thái làm việc của thiết bị.
7.7. Điện trở tiếp xúc mạch chính
Điện trở tiếp xúc của mạch chính bao gồm: Điện trở tiếp xúc của tiếp điểm mạch chính của máy cắt, điện trở tiếp xúc của bộ tiếp điểm cách ly cao áp. Các điện trở tiếp xúc do nhà sản xuất quy định trong tài liệu kỹ thuật.
7.8. Đặc tính phóng điện của tụ điện
Đối với tủ phân phối 6 kV phòng nổ có tụ điện tích hợp trong các mạch phụ thì thời gian phóng của tụ điện phải đáp ứng các quy định tại Điều 6.3 TCVN 10888-0:2015 (IEC 60079-0:2011).
7.9. Độ tăng nhiệt độ
Khi nhiệt độ không khí xung quanh không vượt quá 40 °C, Độ tăng nhiệt của bất kỳ bộ phận nào của tủ phân phối 6 kV phòng nổ không được vượt quá giới hạn độ tăng nhiệt được quy định trong Bảng 11 Quy chuẩn kỹ thuật này.
Bảng 11. Độ tăng nhiệt độ cho phép của các bộ phận
|
Loại của các thành phần, vật liệu và phương tiện cách điện |
Giá trị lớn nhất |
|
|
Nhiệt độ °C |
Độ tăng nhiệt độ khi nhiệt độ môi trường không vượt quá 40 °C K |
|
|
1. Vật liệu cách điện và các bộ phận kim loại tiếp xúc với vật liệu cách điện sau đây |
||
|
90 (Y) |
90 |
50 |
|
105 (A) |
105 |
65 |
|
120 (E) |
120 |
80 |
|
130 (B) |
130 |
90 |
|
155 (F) |
155 |
115 |
|
180(H) |
180 |
140 |
|
2. Vật liệu cực đấu nối |
||
|
Đồng trần |
90 |
50 |
|
Đồng thau |
105 |
65 |
|
Đồng thiếc |
105 |
65 |
|
Đồng mạ bạc hoặc niken |
115 |
70 |
|
Kim loại khác |
105 |
65 |
|
3. Vật liệu chế tạo các bộ phận vỏ |
||
|
Có thể tiếp cận trong hoạt động bình thường |
70 |
30 |
|
Không cho phép chạm trong hoạt động bình thường |
80 |
40 |
7.10. Nhiệt độ tối đa trên bề mặt của tủ phân phối 6 kV phòng nổ tuân thủ theo các Điều 5.3, Điều 26.5 TCVN 10888-0:2015 và không vượt quá quy định dưới đây:
7.10.1. Đối với bề mặt có bụi nổ bám: 150 °C;
7.10.2. Đối với bề mặt không có bụi nổ bám: 450 °C.
8. Các yêu cầu và phương pháp kiểm tra thử nghiệm
8.1. Yêu cầu về môi trường:
8.1.1. Nhiệt độ môi trường từ -20 °C đến +40 °C;
8.1.2. Giá trị độ ẩm tương đối đến (98 ± 2) % ở nhiệt độ 35 °C;
8.1.3. Hàm lượng ôxy là 21 % về thể tích;
8.1.4. Không có khí chảy, khí độc hại và hơi ăn mòn.
8.2. Thiết bị dụng cụ thử nghiệm phải có cấp chính xác phù hợp để đo các giá trị của thông số cần thử nghiệm.
8.3. Kiểm tra, thử nghiệm các kết cấu phòng nổ
8.3.1. Vỏ tủ phân phối 6 kV phòng nổ phải có dạng bảo vệ không xuyên nổ "d”
8.3.1.1. Kiểm tra các kết cấu phòng nổ của vỏ gồm:
8.3.1.1.1. Tất cả các bộ phận lắp ráp trên vỏ phòng nổ phải được kiểm tra phải thỏa mãn các quy định về phòng nổ của TCVN 10888-0:2015 (IEC 60079-0:2011), TCVN 10888-1:2015 (IEC 60079-1:2014) và Điều 6 Quy chuẩn kỹ thuật này.
8.3.1.1.2. Cấu tạo của bề mặt mối ghép chống cháy và độ nhám của bề mặt phải được kiểm tra lần lượt bằng thước đo căn lá, thước cặp, panme, thước đo độ nhám bề mặt hoặc dụng cụ thử nghiệm khác các thông số phải đảm bảo theo quy định tại Điều 6.2.2 Quy chuẩn kỹ thuật này.
8.3.1.1.3. Kiểm tra khe hở cách ly và chiều dài đường rò giữa các vật dẫn phải được kiểm tra bằng các loại thước đo phù hợp kết quả phải tuân thủ theo quy định tại Điều 6.8 Quy chuẩn kỹ thuật này.
8.3.1.1.4. Các cơ cấu khóa liên động phải đảm bảo nguyên vẹn, tin cậy và không thể mở nắp mở nhanh khi tủ phân phối đang đóng điện.
8.3.1.1.5. Kiểm tra các chỉ thị cơ khí về vị trí công tác, vị trí đóng - cắt của máy cát, bộ tiếp điểm cách ly thông qua các cửa sổ quan sát, các chỉ thị phải chính xác và rõ ràng.
8.3.1.1.6. Kiểm tra chức năng hiển thị
Khi thiết bị phân phối điện có điện, phải hiển thị điện áp và dòng điện làm việc tương ứng, đồng thời hiển thị trạng thái đóng, cắt và phải phù hợp với trạng thái thực tế của thiết bị phân phối điện. Khi phát hiện tín hiệu lỗi thì màn hình phải hiển thị.
8.3.1.2. Thử nghiệm các kết cấu phòng nổ của vỏ gồm:
8.3.1.2.1. Thử nghiệm xác định nhiệt độ bề mặt lớn nhất
Thử nghiệm xác định nhiệt độ làm việc và nhiệt độ bề mặt lớn nhất phải tuân thủ theo quy định tại các Điều 26.5.1.2 và Điều 26.5.1.3 TCVN 10888-0:2015 (IEC 60079-0:2011), nhiệt độ lớn nhất phải nhỏ hơn 150 °C.
8.3.1.2.2. Thử nghiệm xác định chỉ số phòng điện tương đối (CTI)
Chỉ số CTI của vật liệu cách điện rắn sử dụng trong tủ phân phối 6 kV phòng nổ được thử nghiệm theo tiêu chuẩn IEC 60112:2009, kết quả phải đảm bảo theo quy định tại Điều 6.7 Quy chuẩn kỹ thuật này.
8.3.1.2. Thử nghiệm các kết cấu phòng nổ của vỏ gồm:
8.3.1.2.1. Thử nghiệm xác định nhiệt độ bề mặt lớn nhất
Thử nghiệm xác định nhiệt độ làm việc và nhiệt độ bề mặt lớn nhất phải tuân thủ theo quy định tại các Điều 26.5.1.2 và Điều 26.5.1.3 TCVN 10888-0:2015 (IEC 60079-0:2011), nhiệt độ lớn nhất phải nhỏ hơn 150 °C.
8.3.1.2.2. Thử nghiệm xác định chỉ số phòng điện tương đối (CTI)
Chỉ số CTI của vật liệu cách điện rắn sử dụng trong tủ phân phối 6 kV phòng nổ được thử nghiệm theo tiêu chuẩn IEC 60112:2009, kết quả phải đảm bảo theo quy định tại Điều 6.7 Quy chuẩn kỹ thuật này.
8.3.1.2.3. Thử nghiệm chịu áp suất của vỏ phòng nổ
8.3.1.2.3.1. Thử nghiệm xác định áp suất chuẩn lớn nhất của vụ nổ bên trong vỏ được thực hiện theo quy định tại Điều 15.2.2 TCVN 10888-1:2015 (IEC 60079-1:2014);
8.3.1.2.3.2. Thử nghiệm xác định quá áp suất (độ bền của vỏ) được thực hiện theo quy định tại Điều 15.2.3 TCVN 10888-1:2015 (IEC 60079-1:2014).
8.3.1.2.4. Thử nghiệm không lan truyền sự cháy từ bên trong
Thử nghiệm xác định sự không lan truyền cháy của vụ nổ bên trong vỏ phòng nổ ra môi trường khí nổ xung quanh vỏ được thực hiện theo quy định tại Điều 15.3 TCVN 10888-1:2015 (IEC 60079-1:2014).
8.3.1.2.5. Thử nghiệm xác định tính năng của các cổ cáp bao gồm:
8.3.1.2.5.1. Xác định độ kẹp chặt, thử nghiệm kẻo, khả năng chịu va đập của các cổ cáp thực hiện theo quy định tại Điều A3 phụ lục A TCVN 10888-0:2015 (IEC 60079-0:2011).
8.3.1.2.5.2. Độ kín của vòng đệm làm kín cáp, độ bền cơ của các cổ cáp thực hiện theo quy định tại Điều C3 phụ lục C TCVN 10888-1:2015 (IEC 60079-1:2014).
8.3.1.2.5.3. Độ bền nhiệt của các gioăng, vòng đệm kín bằng cao su thực hiện theo quy định tại các Điều 26.8, Điều 26.9, Điều 26.16 TCVN 10888- 0:2015 (IEC 60079-0:2011).
8.3.1.2.6. Thử nghiệm các phần tử xuyên sáng được lắp đặt trên vỏ phòng nổ bao gồm:
8.3.1.2.6.1. Va đập của phần tử xuyên sáng được thực hiện theo quy định tại Điều 26.4.3 TCVN 10888-0:2015 (IEC 60079-0:2011) kết quả mẫu thư phải không bị hư hỏng, nứt và vỡ.
8.3.1.2.6.2. Chịu sốc nhiệt thực hiện theo quy định tại Điều 26.5.2 TCVN 10888-0:2015 (IEC 60079-0:2011) kết quả mẫu thử phải không bị nứt, vỡ hư hỏng.
8.3.1.2.7. Thử nghiệm mô men xoắn của các ống luồn cáp và các cực đấu dây được thực hiện theo quy định tại Điều 26.6 TCVN 10888-0:2015 (IEC 60079-0:2011).
8.3.2. Kiểm tra các bộ phận có dạng bảo vệ an toàn tia lửa bao gồm:
8.3.2.1. Tiết diện của các dây dẫn bên trong và bảng mạch in của mạch an toàn tia lửa kết quả phải tuân thủ theo quy định tại Điều 5.6.4 IEC 60079- 11:2011.
8.3.2.2. Sự cách ly của mạch an toàn tia lửa thực hiện theo quy định tại Điều 6.3 IEC 60079-11:2011, khoảng cách giữa các đầu nối dây của mạch an toàn tia lửa và không an toàn tia lửa phải tuân thủ theo quy định tại Điều 6.2.1 IEC 60079-11:2011 và phải lớn hơn 50 mm.
8.3.2.3. Các mạch an toàn tia lửa phải được thử nghiệm đánh lửa bởi tia lửa theo quy định tại Điều 10.1 IEC 60079-11:2015, kết quả không gây cháy hỗn hợp khí nổ thử nghiệm.
8.4. Kiểm tra, thử nghiệm các tính năng kỹ thuật
8.4.1. Kiểm tra, thử nghiệm cách điện.
8.4.1.1. Kiểm tra điện trở cách điện
Điện trở cách điện được kiểm tra giữa các pha và đất đối với mạch chính và các mạch phụ, kết quả đảm bảo theo quy định tại Điều 7.3.1 Quy chuẩn kỹ thuật này.
8.4.1.2. Thử nghiệm chịu điện áp tăng cao tần số công nghiệp
Thử nghiệm độ bền cách điện bằng điện áp tăng cao tần số công nghiệp thực hiện theo TCVN 6099-1-2007 (IEC 60060-1-1989) giá trị thử nghiệm theo quy định tại Bảng 6 đối với mạch chính và Bảng 7 đối với mạch phụ, kết quả đảm bảo theo quy định tại Điều 7.3.2 Quy chuẩn kỹ thuật này.
8.4.2. Kiểm tra thao tác đóng, cắt
8.4.2.1. Kiểm tra thao tác đóng, cắt bằng tay
Thực hiện đóng, cắt ba lần bằng tay thao tác hoặc nút bấm tại hiện trường, đảm bảo không có sự bất thường nào xảy ra trong tủ phân phối 6 kV phòng nổ.
8.4.2.2. Kiểm tra thao tác đóng, cắt bằng điện
Thực hiện đóng, cắt ba lần tại điện áp định mức bằng điều khiển từ xa đảm bảo không có sự bất thường nào xảy ra trong tủ phân phối 6 kV phòng nổ.
8.4.2.3. Kiểm tra cơ cấu cắt tự động
Thực hiện lệnh cắt đối với máy cắt đảm bảo tủ phân phối 6 kV phòng nổ được cắt ngay lập tức và không bị đóng lại.
8.4.3. Thử nghiệm xác định các thông số đóng, cắt
8.4.3.1. Xác định điện trở tiếp xúc của tiếp điểm mạch chính
Điện trở tiếp xúc của tiếp điểm mạch chính được đo bằng phương pháp Vôn-Ampe sử dụng dòng điện dc hoặc sử dụng các cầu đo điện trở tiếp xúc có giá trị thang đo đến µΩ, kết quả đo phải đáp ứng theo yêu cầu thông số kỹ thuật của nhà sản xuất.
8.4.3.2. Xác định thời gian đóng mở tiếp điểm
Phải đo, kiểm tra thời gian đóng mở tiếp điểm, đảm bảo các thông số kỹ thuật của nhà chế tạo.
8.4.3.3. Kiểm tra sự tiếp xúc đồng thời 3 pha
Phải đo, kiểm tra thời gian đóng mở không đồng thời ba pha để đảm bảo theo thiết kế của nhà sản xuất hoặc không lớn hơn 0,006 s.
8.4.4. Kiểm tra điện áp vận hành tối thiểu của cơ cấu đóng mở
Không đặt điện áp vào mạch chính của tủ, loại bỏ bộ biến đổi điện áp (PT) khỏi mạch thử nghiệm, cấp nguồn điện tương ứng với sơ đồ của tủ cho các mạch phụ (điều khiển, bảo vệ, tín hiệu) và xác định điện áp đóng cắt nhỏ nhất khi tủ phân phối 6 kV phòng nổ hoàn thành quá trình đóng, cắt. Giá trị nhỏ nhất của điện áp cho phép theo quy định tại Bảng 12 Quy chuẩn kỹ thuật này.
Bảng 12. Giá trị điện áp vận hành nhỏ nhất của máy cắt
|
Hạng mục |
Giá trị cho phép |
|
Điện áp đóng tối thiểu |
75 % điện áp danh định |
|
Điện áp cắt tối thiểu |
70 % điện áp danh định |
8.4.5. Thử nghiệm máy biến điện áp và dòng điện
8.4.5.1. Thử nghiệm máy biến điện áp (PT)
Kiểm tra, thử nghiệm máy biến điện áp thực hiện theo quy định tại Điều 28 QCVN QTĐ-05:2009/BCT.
8.4.5.2. Thử nghiệm máy biến dòng điện (CT)
Kiểm tra, thử nghiệm máy biến dòng điện thực hiện theo quy định tại Điều 29 QCVN QTĐ-05:2009/BCT
8.4.6. Thử nghiệm bảo vệ điện áp thấp
Kiểm tra, thử nghiệm bảo vệ điện áp thấp đảm bảo quy định tại Điều 7.4.4.1 Quy chuẩn kỹ thuật này.
8.4.7. Thử nghiệm bảo vệ quá dòng điện
Kiểm tra, thử nghiệm bảo vệ quá dòng điện đảm bảo quy định tại Điều 7.4.2 Quy chuẩn kỹ thuật này.
8.4.8. Thử nghiệm bảo vệ ngắn mạch
Kiểm tra, thử nghiệm bảo vệ ngắn mạch đảm bảo quy định tại Điều 7.4.3 Quy chuẩn kỹ thuật này.
8.4.9. Thử nghiệm mạch bảo vệ giám sát cách điện
Kiểm tra, thử nghiệm mạch bảo vệ giám sát cách điện đảm bảo quy định tại Điều 7.4.5 Quy chuẩn kỹ thuật này.
8.4.10. Thử nghiệm mạch khóa rò điện phía phụ tải
Kiểm tra, thử nghiệm mạch khóa rò điện phía phụ tải đảm bảo quy định tại Điều 7.5 Quy chuẩn kỹ thuật này.
III. QUY ĐỊNH VỀ QUẢN LÝ
9. Quy định về nhãn
9.1. Nội dung ghi trên nhãn
Thông tin ghi trên nhãn của tủ phân phối 6 kV phòng nổ sử dụng trong mỏ hầm lò phải tuân thủ theo quy định tại Nghị định số 43/2017/NĐ-CP ngày 14 tháng 4 năm 2017 của Chính phủ quy định về nhãn hàng hóa đã được sửa đổi, bổ sung bởi Nghị định số 111/2021/NĐ-CP ngày 09 tháng 12 năm 2021 của Chính phủ sửa đổi, bổ sung một số điều Nghị định số 43/2017/NĐ-CP ngày 14 tháng 4 năm 2017 của Chính phủ về nhãn hàng hoá và các bộ phận của tủ phân phối 6 kV phòng nổ phải thể hiện các nội dung sau:
9.1.1. Kiểu, loại;
9.1.2. Điện áp danh định, V;
9.1.3. Dòng điện danh định, A;
9.1.4. Giới hạn dòng điện cắt, kA;
9.1.5. Tần số danh định, Hz;
9.1.6. Dạng bảo vệ nổ;
9.1.7. Cấp bảo vệ bằng vỏ ngoài (mã IP);
9.1.8. Số chứng chỉ phòng nổ;
9.1.9. Số chế tạo của nhà máy;
9.1.10. Thông số của mạch an toàn tia lửa (nếu có);
9.1.11. Năm sản xuất;
9.1.12. Khối lượng, kg.
9.2. Chất liệu và vị trí của nhãn
Nhãn được làm bằng thép trắng hoặc đồng dày 1,5 mm, các thông tin thể hiện trong bảng được khắc có chiều sâu không nhỏ hơn 0,5 mm, phải được bố trí ở nơi dễ nhìn và dễ thấy được bắt chặt vào vỏ bằng phương pháp đinh tán hoặc vít.
9.3. Tấm sơ đồ nguyên lý điện
Sơ đồ nguyên lý điện mô tả nguyên lý hoạt động và cách đấu nối của tủ phân phối 6 kV phòng nổ phải được gắn bên trong thành của vỏ.
10. Quy định về hợp quy
10.1. Tủ phân phối 6 kV phòng nổ thuộc phạm vi điều chỉnh của Quy chuẩn này phải công bố hợp quy phù hợp với các quy định về kỹ thuật an toàn tại Phần II của Quy chuẩn kỹ thuật này, gắn dấu hợp quy (dấu CR) trước khi lưu thông trên thị trường.
10.2. Tủ phân phối 6 kV phòng nổ nhập khẩu phải thực hiện đăng ký kiểm tra nhà nước về chất lượng hàng hóa nhập khẩu theo quy định tại Thông tư số 36/2019/TT-BCT ngày 29 tháng 11 năm 2019 của Bộ Công Thương quy định quản lý chất lượng sản phẩm, hàng hóa nhóm 2 thuộc trách nhiệm quản lý của Bộ Công Thương.
10.3. Công bố hợp quy
10.3.1. Việc công bố hợp quy tủ phân phối 6 kV phòng nổ phải dựa trên kết quả chứng nhận của tổ chức chứng nhận đã đăng ký lĩnh vực hoạt động theo quy định tại Nghị định 107/2016/NĐ-CP ngày 01 tháng 7 năm 2016 của Chính phủ quy định kinh doanh dịch vụ đánh giá sự phù hợp đã được sửa đổi, bổ sung bởi Nghị định số 154/2018/NĐ-CP ngày 09 tháng 11 năm 2018 của Chính phủ sửa đổi, bổ sung, bãi bỏ một số quy định về điều kiện đầu tư, kinh doanh trong lĩnh vực quản lý nhà nước của Bộ Khoa học và Công nghệ và một số quy định về kiểm tra chuyên ngành (sau đây viết tắt là Nghị định số 107/2016/NĐ-CP) hoặc được thừa nhận theo quy định của Thông tư số 27/2007/TT-BKHCN ngày 31 tháng 10 năm 2007 của Bộ trưởng Bộ Khoa học và Công nghệ hướng dẫn việc ký kết và thực hiện các Hiệp định và thỏa thuận thừa nhận lẫn nhau kết quả đánh giá sự phù hợp (sau đây viết tắt là Thông tư số 27/2007/TT-BKHCN).
10.3.2. Chứng nhận hợp quy
Chứng nhận hợp quy đối với tủ phân phối 6 kV phòng nổ sản xuất trong nước và nhập khẩu thực hiện theo phương thức 5 “Thử nghiệm mẫu điển hình và đánh giá quá trình sản xuất; giám sát thông qua thử nghiệm mẫu lấy tại nơi sản xuất hoặc trên thị trường hoặc lô hàng nhập khẩu kết hợp với đánh giá quá trình sản xuất" hoặc phương thức 7 “Thử nghiệm, đánh giá lô sản phẩm, hàng hoá’' tại cơ sở sản xuất theo quy định tại khoản 1 Điều 5 Thông tư số 28/2012/TT-BKHCN.
10.3.3. Thử nghiệm phục vụ việc chứng nhận phải được thực hiện bởi một trong các tổ chức sau:
10.3.3.1. Thử nghiệm đối với tủ phân phối 6 kV phòng nổ sản xuất trong nước: Tổ chức thử nghiệm theo quy định tại Nghị định số 107/2016/NĐ-CP hoặc tổ chức thử nghiệm được Bộ Công Thương chỉ định theo quy định tại Thông tư số 36/2019/TT-BCT hoặc tổ chức được thừa nhận theo quy định của Thông tư số 27/2007/TT-BKHCN.
10.3.3.2. Thử nghiệm đối với tủ phân phối 6 kV phòng nổ nhập khẩu: Tổ chức thử nghiệm được Bộ Công Thương chỉ định theo quy định tại Thông tư số 36/2019/TT-BCT và Nghị định số 154/2018/NĐ-CP ngày 11 tháng 9 năm 2018 của Chính phủ hoặc tổ chức được thừa nhận theo quy định của Thông tư số 27/2007/TT-BKHCN.
10.3.4. Dấu hợp quy phải tuân thủ theo quy định tại khoản 2 Điều 4 quy định về chứng nhận hợp chuẩn, chứng nhận hợp quy và công bố hợp chuẩn, công bố hợp quy ban hành kèm theo Thông tư số 28/2012/TT-BKHCN.
10.3.5. Trình tự, thủ tục và hồ sơ công bố hợp quy
Trình tự, thủ tục và hồ sơ công bố hợp quy đối với tủ phân phối 6 kV phòng nổ sản xuất trong nước và nhập khẩu thực hiện theo Thông tư số 36/2019/TT-BCT ngày 29 tháng 11 năm 2019 của Bộ trưởng Bộ Công Thương quy định quản lý chất lượng sản phẩm, hàng hóa thuộc trách nhiệm quản lý của Bộ Công Thương.
11. Yêu cầu về hồ sơ quản lý tủ phân phối 6 kV phòng nổ sử dụng trong mỏ hầm lò
11.1. Phải có đầy đủ các tài liệu kỹ thuật của nhà chế tạo, gồm; Hướng dẫn vận chuyển, sử dụng, bảo dưỡng và bảo quản. Trường hợp tài liệu kỹ thuật tiếng nước ngoài phải có bản dịch sang tiếng việt
11.2. Tổ chức, cá nhân sử dụng tủ phân phối 6 kV phòng nổ phải lập hồ sơ quản lý từ khi bắt đầu đưa vào sử dụng bao gồm:
11.2.1. Thiết kế hoặc biện pháp thi công, lắp đặt của tủ phân phối 6 kV phòng nổ được phê duyệt.
11.2.2. Hồ sơ nghiệm thu sau lắp đặt.
11.2.3. Hồ sơ hoàn công lắp đặt.
11.2.4. Hồ sơ kiểm định, thử nghiệm hiệu chỉnh.
11.2.5. Quy trình vận hành.
11.2.6. Sổ ghi kết quả kiểm tra kỹ thuật an toàn và theo dõi tình trạng hoạt động của tủ phân phối 6 kV phòng nổ sử dụng trong mỏ hầm lò.
11.2.7. Nội quy an toàn, quy trình trong vận chuyển, lắp đặt, kiểm tra, vận hành, bảo dưỡng, sửa chữa và bảo quản tủ phân phối 6 kV phòng nổ sử dụng trong mỏ hầm lò.
12. Yêu cầu về kiểm tra trong quá trình vận hành
12.1. Tủ phân phối 6 kV phòng nổ sử dụng trong mỏ hầm lò phải được kiểm tra trong quá trình vận hành theo quy định tại Quy chuẩn kỹ thuật này.
12.2. Kiểm tra bằng trực quan: Kiểm tra xác định, mà không cần sử dụng tiếp cận bằng thiết bị hoặc các dụng cụ.
12.3. Kiểm tra trực tiếp: Kiểm tra những bộ phận ở bên ngoài bằng trực quan và xác định các khuyết tật bằng cách sử dụng dụng cụ, thiết bị. Kiểm tra trực tiếp không được mở vỏ hoặc cắt điện thiết bị.
12.4. Kiểm tra chi tiết: Kiểm tra trọng đó bao gồm những nội dung của kiểm tra trực tiếp và xác định các khuyết tật bằng sử dụng dụng cụ, thiết bị. Kiểm tra chi tiết phải cắt điện và mở vỏ thiết bị.
13. Thời hạn và nội dung kiểm tra
13.1. Trách nhiệm và tần suất kiểm tra:
13.1.1. Người vận hành hoặc thợ điện thường trực kiểm tra hàng ca vào đầu các ca làm việc.
13.1.2. Phó Quản đốc cơ điện phân xưởng hoặc người được ủy quyền kiểm tra hàng tuần.
13.1.3. Trưởng phòng cơ điện hoặc người được ủy quyền kiểm tra hàng quý.
13.1.4. Phó Giám đốc cơ điện hoặc những người được chỉ định kiểm tra hàng năm.
13.2. Nội dung kiểm tra thực hiện theo quy định tại Phụ lục A Quy chuẩn kỹ thuật này.
13.3. Kết quả kiểm tra phải được:
13.3.1. Ghi vào sổ kiểm tra theo quy định tại Phụ lục C Quy chuẩn kỹ thuật này.
13.3.2. Kết luận về tình trạng kỹ thuật an toàn tủ phân phối 6 kV phòng nổ sử dụng trong mỏ hầm lò và chỉ cho phép đưa vào sử dụng hoặc tiếp tục vận hành khi đảm bảo kỹ thuật an toàn.
13.4. Khi phát hiện thiết bị không đảm bảo an toàn, người theo dõi, vận hành phải dừng hoạt động và báo cáo người có trách nhiệm để xử lý.
14. Yêu cầu về thử nghiệm và kiểm định
14.1. Theo các loại hình kiểm định, các phép thử nghiệm, kiểm định phải được thực hiện theo hướng dẫn kỹ thuật, phương pháp thử, quy trình thử nghiệm và các thiết bị thử nghiệm trong các Tiêu chuẩn TCVN 4255:2008 (IEC 60529:2001), TCVN 6592-1:2009 (IEC 60947-1:2007), TCVN 8096-200:2010 (IEC 62271-200:2003), TCVN 10888-0:2015 (IEC 60079-0:2011), TCVN 10888-1:2015 (IEC 60079-1:2014), TCVN 7079-7:2002, TCVN 7079-11:2002, TCVN 7079-17:2003, IEC 60079-7:2015, (IEC 60079-11:2011, IEC 60079-17:2013, IEC 62271-1-2011 và các yêu cầu trong quy chuẩn này.
14.1.1. Các hạng mục và thông số cụ thể của các bước kiểm định, thử nghiệm được thực hiện theo hướng dẫn của các tiêu chuẩn kỹ thuật được áp dụng và theo tài liệu hướng dẫn của nhà chế tạo.
14.1.2. Các phương tiện đo (đồng hồ đo U, l, f phương tiện đo điện trở cách điện, nhiệt độ, độ ẩm, khí mêtan) dùng trong phép kiểm tra, thử nghiệm, kiểm định tại Quy chuẩn kỹ thuật này phải được kiểm định, hiệu chuẩn, thử nghiệm t quy định pháp luật về đo lường.
14.2. Báo cáo, đánh giá kết quả thử nghiệm, kiểm định
Báo cáo, đánh giá kết quả thử nghiệm, kiểm định phải chỉ ra cụ thể kết quả kiểm tra, thử nghiệm đạt hoặc không đạt các yêu cầu kỹ thuật trong các tiêu chuẩn, Quy chuẩn kỹ thuật áp dụng.
14.2.1. Thử nghiệm, kiểm định đạt yêu cầu khi: Đáp ứng các yêu cầu kỹ thuật của các Tiêu chuẩn, Quy chuẩn kỹ thuật được áp dụng tại Bảng B Phụ lục B Quy chuẩn kỹ thuật này.
14.2.2. Thử nghiệm, kiểm định không đạt yêu cầu khi: Không đáp ứng một trong các yêu cầu kỹ thuật của các Tiêu chuẩn, Quy chuẩn kỹ thuật được áp dụng tại Bảng B Phụ lục B Quy chuẩn kỹ thuật này.
IV. TRÁCH NHIỆM CỦA TỔ CHỨC, CÁ NHÂN
15. Trách nhiệm của tổ chức, cá nhân
15.1. Các tổ chức, cá nhân có liên quan đến sản xuất, nhập khẩu, thử nghiệm, kiểm định, chứng nhận, giám định, sử dụng và các cá nhân khác có liên quan đến tủ phân phối 6 kV phòng nổ trong mỏ hầm lò phải tuân thủ theo các quy định của Quy chuẩn kỹ thuật này.
15.2. Tổ chức, cá nhân sử dụng tủ phân phối 6 kV phòng nổ sử dụng trong mỏ hầm lò phải:
15.2.1. Thường xuyên kiểm tra tủ phân phối 6 kV phòng nổ theo quy định, kịp thời báo cáo, xử lý khi phát hiện sự cố, biểu hiện mất an toàn trong quá trình vận hành.
15.2.2. Sửa chữa, bảo dưỡng, thử nghiệm, kiểm định tủ phân phối 6 kV phòng nổ theo quy định tại Quy chuẩn kỹ thuật này và các yêu cầu của văn bản pháp luật khác có liên quan.
15.2.3. Lập hồ sơ theo dõi, quản lý và sử dụng an toàn tủ phân phối 6 kV phòng nổ sử dụng trong mỏ hầm lò theo quy định tại Điều 11 Quy chuẩn kỹ thuật này.
15.3. Các tổ chức thử nghiệm, kiểm định
Tổ chức thử nghiệm, kiểm định phải thực hiện các nội dung quy định tại Quy chuẩn kỹ thuật này và phải chịu trách nhiệm về các kết quả thử nghiệm, kiểm định theo quy định hiện hành.
V. TỔ CHỨC THỰC HIỆN
16. Tổ chức thực hiện
16.1. Cục Kỹ thuật an toàn và Môi trường công nghiệp, Bộ Công Thương có trách nhiệm:
16.1.1. Hướng dẫn, tổ chức triển khai thực hiện các quy định tại Quy chuẩn kỹ thuật này.
16.1.2. Thanh tra, kiểm tra việc thực hiện các nội dung được quy định tại Quy chuẩn kỹ thuật này đối với các tổ chức có liên quan tới tủ phân phối 6 kV phòng nổ sử dụng trong hầm lò.
16.2. Sở Công Thương các tỉnh, thành phố theo chức năng, quyền hạn tổ chức thanh tra, kiểm tra việc thực hiện các nội dung được quy định tại Quy chuẩn kỹ thuật này.
17. Hiệu lực thi hành
17.1. Quy chuẩn kỹ thuật này có hiệu lực thi hành kể từ ngày 01 tháng 07 năm 2023.
17.2. Trong trường hợp các văn bản quy phạm pháp luật, quy chuẩn, tiêu chuẩn được dẫn chiếu tại Quy chuẩn kỹ thuật này được sửa đổi, bổ sung, thay thế thì áp dụng theo các quy định của văn bản mới đó.
17.3. Tổ chức, cá nhân trong quá trình thực hiện Quy chuẩn kỹ thuật này, trường hợp có phát sinh khó khăn, vướng mắc trong quá trình thực hiện đề nghị phản ánh về Bộ Công Thương để xem xét, giải quyết./.
Phụ lục A
NỘI DUNG KIỂM TRA
I. Kiểm tra hàng ca:
Nội dung kiểm tra hàng ca theo quy định tại Bảng A1.
Bảng A1. Quy định nội dung kiểm tra hàng ca
|
STT |
Nội dung kiểm tra |
Phương pháp kiểm tra |
Kết quả kiểm tra cho phép vận hành |
|
1 |
Vị trí tủ phân phối 6 kV phòng nổ |
Bằng trực quan, trực tiếp |
- Đảm bảo theo quy định tại Điều 5.5 Quy chuẩn kỹ thuật này. - Không có nguy cơ đá rơi và nước nhỏ giọt. |
|
2 |
Lắp đặt |
Bằng trực quan, trực tiếp |
Lắp đặt chắc chắn trên móng hoặc giá đỡ tin cậy, vẹt gỗ hoặc bê tông, không bị xô lệch rung động trong vận hành. Các đường cáp vào ra đúng kỹ thuật không bị kéo căng, gập gẫy. |
|
3 |
Tình trạng bên ngoài của vỏ |
Bằng trực quan, trực tiếp |
Nguyên vẹn không có các hư hỏng biến dạng vĩnh cửu. |
|
4 |
Tiếp đất |
Bằng trực quan, trực tiếp |
Các bộ phận tiếp đất của tủ phân phối 6 kV phòng nổ gồm: - Thanh tiếp đất chính của cụm thiết bị lắp đặt tủ phân phối 6 kV phòng nổ. - Các dây tiếp đất của các bộ phận, các cổ cáp vào, ra - Dây tiếp đất của của tủ với thanh tiếp đất chính của cụm. Phải có đầy đủ, được bắt chắc chắn và tin cậy. |
|
5 |
Kiểm tra các thông số vận hành của tủ phân phối 6 kV phòng nổ thông qua bảng hiển thị hoặc các đồng hồ chỉ thị. Tiếng kêu của tủ phân phối 6 kV phòng nổ Mùi Khói, hơi |
Bằng trực quan, trực tiếp |
Các thông số vận hành gồm: Điện áp, dòng điện, các tín hiệu và các thông tin khác trong khi vận hành tiếp tục. Xem xét các thông báo về sự cố đã xảy ra trong ca trước (nếu có). Bình thường không có tiếng kêu, rung động hoặc va đập lạ. Không có mùi lạ. mùi khét của chất cách điện do quá nhiệt. Không có khói hoặc hơi bay ra từ thiết bị. |
|
6 |
Xác nhận các thông tin sự cố (nếu có) của các ca vận hành trước đó |
Bằng trực quan, trực tiếp |
- Tác động của bảo vệ dòng điện, - Tác động của bảo vệ điện áp. - Tác động của bảo vệ chạm đất. - Ghi kết quả kiểm tra vào sổ theo dõi vận hành tủ phân phối 6 kV phòng nổ. |
|
7 |
Kiểm tra sơ đồ nguyên lý cung cấp điện, nội quy an toàn và quy trình vận hành của tủ phân phối 6 kV phòng nổ |
Bằng trực quan, trực tiếp |
- Phải có sơ đồ nguyên lý cung cấp điện chính xác rõ ràng được cập nhật theo hiện trạng, đặt ở vị trí dễ quan sát và có các thông số bảo vệ của tủ phân phối 6 kV phòng nổ trong sơ đồ cung cấp điện. - Phải có nội quy, quy trình vận hành rõ ràng dễ đọc, dễ quan sát. |
|
8 |
Kiểm tra thiết bị an toàn |
Bằng trực quan, trực tiếp |
Phải có đầy đủ trong trạng thái sẵn sàng làm việc tốt: găng, ủng, ghế cách điện, thùng cát chống cháy, các bình bọt chống cháy, xẻng và phương tiện chữa cháy khác, hàng rào ngăn cách an toàn, các biển báo nguy hiểm và biển thông báo. |
|
9 |
Kiểm tra cơ cấu liên động |
Bằng trực quan, trực tiếp |
Các cơ cấu liên động để thao tác nắp mở nhanh của tủ phân phối 6 kV phòng nổ phải còn tác dụng, nguyên bản không bị cong vênh, hư hỏng làm mất tính năng liên động. |
|
10 |
Kiểm tra các mối ghép phòng nổ |
Bằng trực quan, trực tiếp |
- Tất cả các mối ghép phòng nổ (nắp mở nhanh, nắp mở chậm, các mặt bích, trục xoay) phải còn nguyên vẹn không bị biến dạng cong vềnh vĩnh cửu, phải có đầy đủ các bu lông đúng chủng loại, có vòng đệm vênh và được vặn chặt chắc chắn. - Không được sử dụng các bu lông không đúng chủng loại. - Không cho vận hành tủ phân phối 6 kV phòng nổ khi có, các mối ghép phòng nổ thiếu bất kỳ các bu lông bị hoặc lỏng. |
|
11 |
Kiểm tra các cổ cáp vào, ra |
Bằng trực quan, trực tiếp |
- Các cổ dẫn cáp vào ra phải đủ chi tiết bộ phận được vặn chặt, loại cáp sử dụng phải phù hợp với vòng đệm cáp bằng cao su và phải được ép chặt. - Các cổ cáp không sử dụng phải được bịt kín đúng yêu cầu kỹ thuật phòng nổ. - Dây tiếp địa của cổ cáp phải được lắp đặt đúng kỹ thuật. - Cáp lắp đặt phải không được chịu lực dọc hoặc lực uốn theo cáp. |
|
12 |
Kiểm tra các phần tử xuyên sáng cho màn hiển thị hoặc tín hiệu |
Bằng trực quan, trực tiếp |
Các phần tử xuyên sáng để quan sát thông số vận hành hoặc thông báo tín hiệu phải còn nguyên vẹn, sạch sẽ, không được sứt, nứt, vỡ, biến dạng vĩnh cửu và được kẹp chặt đúng vị trí đảm bảo chức năng quan sát. |
|
13 |
Vệ sinh, kiểm tra các tấm nhãn của tủ phân phối 6 kV |
Bằng trực quan, trực tiếp |
- Vệ sinh sạch sẽ bụi bẩn bám bên ngoài phía trên của thành vỏ. - Các tấm ghi nhãn phải đầy đủ nguyên vẹn, sạch sẽ dễ đọc và không bị hư hỏng, mở các thông số, không nhìn được rõ ràng. |
II. Kiểm tra hàng tuần:
Ngoài nội dung các công việc kiểm tra hàng ca phải kiểm tra thêm các nội dung theo quy định tại Bảng A2.
Bảng A2. Quy định nội dung kiểm tra hàng tuần
|
STT |
Nội dung kiểm tra |
Phương pháp kiểm tra |
Kết quả kiểm tra cho phép vận hành |
|
1 |
Mối ghép phòng nổ các nắp mở của tủ phân phối 6 kV phòng nổ |
Trực tiếp |
- Kiểm tra khe hở mối ghép phòng nổ theo chu vi của mối ghép, khe hở phải đảm bảo yêu cầu kỹ thuật theo Bảng 2. - Vặn chặt các bu lông bị lỏng. |
|
2 |
Mối ghép phòng nổ các khoang đấu cáp của tủ phân phối 6 kV phòng nổ |
Trực tiếp |
- Kiểm tra khe hở mối ghép phòng nổ theo chu vi của mối ghép, khe hở phải đảm bảo yêu cầu kỹ thuật theo Bảng 2. - Vặn chặt các bu lông bị lỏng. |
|
3 |
Các cổ cáp vào, ra mạch lực và mạch điều khiển |
Trực tiếp
|
Vặn chặt tất cả các cổ cáp và bu lông của cổ cáp và các cơ cấu chống trôi. |
III. Kiểm tra hàng quý:
Ngoài nội dung các công việc kiểm tra hàng tuần phải kiểm tra thêm các nội dung theo quy định tại Bảng A3.
Bảng A3. Quy định nội dung kiểm tra hàng quý
|
STT |
Nội dung kiểm tra |
Phương pháp kiểm tra |
Kết quả kiểm tra cho phép vận hành |
|
1 |
Mối ghép phòng nổ các nắp mở của tủ phân phối 6 kV phòng nổ |
Trực tiếp |
Vặn chặt tất cả các bu lông hoặc cơ cấu bắt chặt phòng nổ, kiểm tra khe hở mối ghép phòng nổ theo chu vi của mối ghép, khe hở phải đảm bảo yêu cầu kỹ thuật theo Bảng 2. |
|
2 |
Mối ghép phòng nổ các khoang đấu cáp của tủ phân phối 6 kV phòng nổ |
Trực tiếp |
|
|
3 |
Các cổ cáp vào, ra mạch lực và mạch điều khiển |
Trực tiếp |
Vặn chặt tất cả các cổ cáp và bu lông của cổ cáp và các cơ cấu chống trôi. |
|
4 |
Hệ thống tiếp đất |
Trực tiếp |
- Kiểm tra củng cố hệ thống tiếp đất và đo điện trở tiếp đất. - Giá trị điện trở tiếp đất đảm bảo Rtđ ≤ 2 Ω, đo tại bất kỳ vị trí nào. |
|
5 |
Hệ thống bảo vệ |
Trực tiếp |
Kiểm tra hoạt động của các hệ thống bảo vệ. |
IV. Kiểm tra hàng năm:
Ngoài nội dung các công việc kiểm tra hàng quý phải kiểm tra thêm các nội dung theo quy định tại Bảng A4.
Bảng A4. Quy định nội dung kiểm tra hàng năm
|
STT |
Nội dung kiểm tra |
Phương pháp kiểm tra |
Kết quả kiểm tra cho phép vận hành |
|
1 |
Các mối ghép dạng trục xoay (cơ cấu liên động, nút bấm, trục tay quay) |
Trực tiếp |
Vặn chặt tất cả các bu lông hoặc cơ cấu bắt chặt phòng nổ, kiểm tra khe hở mối ghép phòng nổ theo chu vi của mối ghép, khe hở phải đảm bảo yêu cầu kỹ thuật theo Bảng 2. |
|
2 |
Các mối ghép của phần tử xuyên sáng, tín hiệu. |
Trực tiếp |
Kiểm tra khe hở mối ghép phòng nổ theo chu vi của mối ghép, khe hở phải đảm bảo yêu cầu kỹ thuật theo Bảng 2. |
14.3. Kết quả kiểm tra phải được ghi vào sổ kiểm tra theo mẫu đã được phê duyệt.
14.4. Kết quả kiểm tra phải được xử lý và đưa ra các quyết định cần thiết đảm bảo máy hoạt động an toàn.
14.5. Khi phát hiện tủ phân phối 6 kV phòng nổ không đảm bảo an toàn người theo dõi, vận hành phải dừng hoạt động và báo cáo người có trách nhiệm để xử lý.
14.6. Kết quả kiểm tra
Sau khi kiểm tra phải đưa ra kết luận về tình trạng kỹ thuật an toàn của tủ phân phối 6 kV phòng nổ sử dụng trong mỏ hầm lò và chỉ cho phép đưa vào sử dụng hoặc tiếp tục vận hành những thiết bị đảm bảo kỹ thuật an toàn.
Phụ lục B
NỘI DUNG THỬ NGHIỆM, KIỂM ĐỊNH
I. Nội dung thử nghiệm, kiểm định theo quy định tại Bảng B
Bảng B. Quy định nội dung thử nghiệm, kiểm định
|
STT |
Nội dung thử nghiệm, kiểm định |
Kiểm định lần đầu |
Kiểm định định kỳ |
Kiểm định bất thường |
|
I |
Kiểm tra, thử nghiệm tính năng phòng nổ của tủ phân phối 6 kV phòng nổ đối với dang bảo vệ “d” và “i” |
|
|
|
|
1 |
Kiểm tra các loại mối ghép phòng nổ: - Độ nhấp nhô của bề mặt, vết rò rỉ, xước, rãnh. - Chiều dài mối ghép. - Khe hở mối ghép. - Khe hở từ bên trong đến lỗ bắt bu tông. - Mối ghép ren. - Mối ghép phần tử xuyên sáng. - Bảo vệ môi trường của mối ghép, |
√ |
√ |
√ |
|
2 |
Kiểm tra gioăng, đệm mối ghép |
√ |
√ |
√ |
|
3 |
Vật liệu chế tạo vỏ phòng nổ |
- |
- |
x |
|
4 |
Kiểm tra độ bền chịu nhiệt của các vật liệu chế tạo vỏ bằng Plastic |
- |
- |
x |
|
5 |
Kiểm tra điện trở bề mặt của vật liệu Plastic |
- |
- |
x |
|
6 |
Kiểm tra nạp tĩnh điện của vật liệu Plastic |
- |
- |
x |
|
7 |
Kiểm tra các cơ cấu liên động |
√ |
√ |
√ |
|
8 |
Kiểm tra sự nguyên vẹn và lắp đặt đúng của các phễu cáp, cổ cáp vào, ra mạch lực và mạch điều khiển |
√ |
√ |
√ |
|
9 |
Kiểm tra sự kẹp chặt và độ kín của các cổ cáp, phễu cáp mạch lực và mạch điều khiển |
- |
- |
x |
|
10 |
Kiểm tra sự nguyên vẹn của hệ thống các cực tiếp đất |
√ |
√ |
√ |
|
11 |
Kiểm tra sự nguyên vẹn của các phần tử lấp chỗ trong (phần tử Ex) |
√ |
√ |
x |
|
12 |
Kiểm tra khe hở và khoảng cách rò giữa các phần dẫn điện trực tiếp |
√ |
- |
x |
|
13 |
Kiểm tra sự, nguyên vẹn của mạch điều khiển an toàn tia lửa |
√ |
√ |
x |
|
14 |
Kiểm tra tình trạng bên ngoài của vỏ thiết bị |
√ |
√ |
√ |
|
15 |
Thử nghiệm chịu va đập của phần tử xuyên sáng, vật liệu Plastic |
√ |
- |
x |
|
16 |
Thử nghiệm sốc nhiệt cho phần tử xuyên sáng |
- |
- |
x |
|
17 |
Thử nghiệm xác định áp suất nổ chuẩn |
- |
- |
x |
|
18 |
Thử nghiệm quá áp suất bên trong (độ bền cơ học) của vỏ |
- |
- |
x |
|
19 |
Thử nghiệm không lan truyền sự cháy của vụ nổ từ bên trong ra bên ngoài |
- |
- |
x |
|
20 |
Thử nghiệm mômen xoắn cho các cọc đấu dây và ống dẫn cáp |
√ |
- |
x |
|
21 |
Thử nghiệm các mạch điều khiển an toàn tia lửa |
- |
- |
x |
|
II |
Kiểm tra, thử nghiệm các tính năng kỹ thuật điện của tủ phân phối 6 kV phòng nổ |
|
|
|
|
1 |
Đo điện trở cách điện các bộ phận của tủ phân phối 6 kV phòng nổ |
√ |
√ |
√ |
|
2 |
Kiểm tra các thiết bị đo lường, tín hiệu |
√ |
√ |
√ |
|
3 |
Kiểm tra hoạt động của hệ thống tự kiểm tra; thử tác động của bảo vệ và tín hiệu |
√ |
√ |
√ |
|
4 |
Kiểm tra điện trở tiếp xúc của các tiếp điểm mạch lực |
√ |
√ |
√ |
|
5 |
Kiểm tra các máy biến áp điều khiển và đo lường (PT) |
√ |
√ |
√ |
|
6 |
Kiểm tra các máy biến dòng điện điều khiển và đo lường (CT) |
√ |
√ |
√ |
|
7 |
Kiểm tra thiết bị bảo vệ quá điện áp do đóng cắt (varistor) của tủ phân phối 6 kV phòng nổ |
√ |
√ |
√ |
|
8 |
Kiểm tra, thử nghiệm sự hoạt động tin cậy của các phần cơ học, liên động của tủ phân phối 6 kV phòng nổ |
√ |
√ |
√ |
|
9 |
Kiểm tra, thử nghiệm các đặc tính bảo vệ của hệ thống (quá tải, ngắn mạch, thấp áp,...khác) |
√ |
√ |
√ |
|
10 |
Kiểm tra, thử nghiệm xác định thời gian cắt bảo vệ của tủ phân phối 6 kV phòng nổ. |
√ |
- |
√ |
|
11 |
Thử độ bền cách điện của các bộ phận của tủ phân phối 6 kV phòng nổ |
√ |
- |
√ |
|
Chú dẫn: - Kí hiệu “√” chỉ hạng mục kiểm tra, thử nghiệm bắt buộc. - Kí hiệu “x” chỉ hạng mục kiểm tra, thử nghiệm khi công tác sửa chữa, đại tu có sự thay đổi của các cấu trúc và thông số của mạch điện ảnh hưởng tới các đặc tính kỹ thuật và mức độ của dạng bảo vệ nổ hoặc được thực hiện theo yêu cầu. - Kí hiệu “-“ chỉ hạng mục không cần kiểm tra, thử nghiệm. |
||||
Phụ lục C
SỔ GHI KẾT QUẢ KIỂM TRA KỸ THUẬT AN TOÀN VÀ THEO DÕI TÌNH TRẠNG HOẠT ĐỘNG CỦA TỦ PHÂN PHỐI 6 KV PHÒNG NỔ SỬ DỤNG TRONG MỎ HẦM LÒ
Bộ phận, Công trường, Phân xưởng: ………………………………………………………..
Đơn vị: ……………………………………………..
Thời gian kiểm tra: ……………………………….
Người kiểm tra: …………………………………...
Phần I
|
STT |
Các nội dung kiểm tra |
Kết quả |
|
|
Đạt |
Không đạt |
||
|
1 |
2 |
3 |
4 |
|
… |
…. |
… |
.... |
|
|
|
|
|
|
Chữ ký của người kiểm tra |
|||
Phần II
|
Ngày, tháng |
Ghi các hỏng hóc của các cơ cấu hoặc các thiết bị |
Phương pháp khắc phục các bộ phận hư hỏng, thời gian thực hiện. Họ, tên người thực hiện |
Đánh giá về thực hiện khắc phục hư hỏng. Chữ ký của người thực hiện và người quản lý |
|
1 |
2 |
3 |
4 |
|
... |
……………… |
…………………………….. |
………………………………… |
|
|
|
|
|
Hướng dẫn ghi sổ
Phần I:
Cột 1: Số thứ tự các nội dung kiểm tra.
Cột 2: Tên các nội dung kiểm tra theo quy định tại phụ lục A Quy chuẩn kỹ thuật này.
Cột 3: Các nội dung kiểm tra đạt yêu cầu: đánh dấu “V”.
Cột 4: Các nội dung kiểm tra không đạt yêu cầu: đánh dấu “V”.
Phần II: Ghi các hỏng hóc (chi tiết hỏng, mức độ hỏng hóc và phương pháp khắc phục chúng).
Người được giao nhiệm vụ tiến hành kiểm tra ghi vào cột 2 tính chất và mức độ hỏng của các bộ phận.
Trong cột 3, Người quản lý ghi phương án khắc phục chi tiết, bộ phận hỏng và người chịu trách nhiệm thực hiện các phương án khắc phục.
Ghi chú:
a) Người chịu trách nhiệm về các sổ này là người có chuyên môn về cơ điện mỏ.
b) Sổ phải được đánh số trang và đóng dấu giáp lai của mỏ.
c) Kết quả kiểm tra hàng quý và hàng năm không ghi vào sổ mà được lập thành biên bản và ghi đầy đủ các thông số kỹ thuật an toàn kiểm tra được. Phó giám đốc phụ trách cơ điện phải nhận xét và ký đóng dấu./.
Bạn chưa Đăng nhập thành viên.
Đây là tiện ích dành cho tài khoản thành viên. Vui lòng Đăng nhập để xem chi tiết. Nếu chưa có tài khoản, vui lòng Đăng ký tại đây!
Bạn chưa Đăng nhập thành viên.
Đây là tiện ích dành cho tài khoản thành viên. Vui lòng Đăng nhập để xem chi tiết. Nếu chưa có tài khoản, vui lòng Đăng ký tại đây!