- Tổng quan
- Nội dung
- VB gốc
- Tiếng Anh
- Hiệu lực
- VB liên quan
- Lược đồ
-
Nội dung hợp nhất
Tính năng này chỉ có tại LuatVietnam.vn. Nội dung hợp nhất tổng hợp lại tất cả các quy định còn hiệu lực của văn bản gốc và các văn bản sửa đổi, bổ sung, đính chính... trên một trang. Việc hợp nhất văn bản gốc và những văn bản, Thông tư, Nghị định hướng dẫn khác không làm thay đổi thứ tự điều khoản, nội dung.
Khách hàng chỉ cần xem Nội dung hợp nhất là có thể nắm bắt toàn bộ quy định hiện hành đang áp dụng, cho dù văn bản gốc đã qua nhiều lần chỉnh sửa, bổ sung.
- Tải về
Thông tư 15/2021/TT-BCT Quy chuẩn kỹ thuật quốc gia về an toàn đối với áptômát phòng nổ sử dụng trong mỏ hầm lò
| Cơ quan ban hành: | Bộ Công Thương |
Số công báo:
Số công báo là mã số ấn phẩm được đăng chính thức trên ấn phẩm thông tin của Nhà nước. Mã số này do Chính phủ thống nhất quản lý.
|
Đã biết
|
| Số hiệu: | 15/2021/TT-BCT | Ngày đăng công báo: |
Đã biết
|
| Loại văn bản: | Thông tư | Người ký: | Nguyễn Sinh Nhật Tân |
|
Ngày ban hành:
Ngày ban hành là ngày, tháng, năm văn bản được thông qua hoặc ký ban hành.
|
29/10/2021 |
Ngày hết hiệu lực:
Ngày hết hiệu lực là ngày, tháng, năm văn bản chính thức không còn hiệu lực (áp dụng).
|
Đang cập nhật |
|
Áp dụng:
Ngày áp dụng là ngày, tháng, năm văn bản chính thức có hiệu lực (áp dụng).
|
Đã biết
|
Tình trạng hiệu lực:
Cho biết trạng thái hiệu lực của văn bản đang tra cứu: Chưa áp dụng, Còn hiệu lực, Hết hiệu lực, Hết hiệu lực 1 phần; Đã sửa đổi, Đính chính hay Không còn phù hợp,...
|
Đã biết
|
| Lĩnh vực: | Công nghiệp, Khoa học-Công nghệ, Than |
TÓM TẮT THÔNG TƯ 15/2021/TT-BCT
Cụ thể, Quy chuẩn kỹ thuật QCVN 14:2021/BCT quy định các yêu cầu kỹ thuật an toàn và quản lý đối với áptômát phòng nổ dùng trong mạng điện xoay chiều ba pha trung tính cách ly trong mỏ hầm lò có khí cháy và bụi nổ. Theo đó, Bộ quy định trong môi trường nguy hiểm có khí cháy và bụi nổ, hàm lượng bụi không vượt quá 1200 mg/m3. Đồng thời, trong các khoang đấu cáp phải có cơ cấu để bắt chặt dây tiếp đất và được hàn vào vỏ; các cổ cáp phải có cơ cấu để bắt chặt dây tiếp đất.
Đồng thời, áptômát phòng nổ sử dụng trong mỏ hầm lò phải có giá đỡ lắp ở phần dưới của vỏ và các móc phía trên để thuận tiện trong quá trình lắp đặt, di chuyển và vận hành. Nắp mở nhanh của áptômát phòng nổ phải được khóa liên động cơ khí đảm bảo chỉ mở được khi cơ cấu tay đóng cắt; công tắc nguồn điều khiển; dao cách ly đã ở vị trí cắt.
Ngoài ra, các nút bấm, vị trí tay cầm của áptômát phòng nổ phải có ký hiệu thao tác tương ứng không thể tẩy xóa được; nút dừng và vị trí đấu nối dây tiếp đất phải có màu đỏ; áptômát phòng nổ phải được cng cấp đồng bộ với cổ cáp đầu vào, ra phòng nổ hoặc phích cắm phòng nổ…
Thông tư này có hiệu lực từ ngày 01/7/2022.
Xem chi tiết Thông tư 15/2021/TT-BCT có hiệu lực kể từ ngày 01/07/2022
Tải Thông tư 15/2021/TT-BCT
|
BỘ CÔNG THƯƠNG ____________ Số: 15/2021/TT-BCT
|
CỘNG HOÀ XÃ HỘI CHỦ NGHĨA VIỆT NAM _______________________ Hà Nội, ngày 29 tháng 10 năm 2021 |
THÔNG TƯ
Ban hành Quy chuẩn kỹ thuật quốc gia về an toàn đối với áptômát phòng nổ sử dụng trong mỏ hầm lò
________________
BỘ TRƯỞNG BỘ CÔNG THƯƠNG
Căn cứ Luật Tiêu chuẩn và Quy chuẩn kỹ thuật số 68/2006/QH11 ngày 29 tháng 6 năm 2006;
Căn cứ Luật Chất lượng sản phẩm, hàng hóa số 05/2007/QH12 ngày 21 tháng 11 năm 2007;
Căn cứ Nghị định số 127/2007/NĐ-CP ngày 01 tháng 8 năm 2007 của Chính phủ quy định chi tiết thi hành một số điều Luật Tiêu chuẩn và Quy chuẩn kỹ thuật; Nghị định số 78/2018/NĐ-CP ngày 16 tháng 5 năm 2018 của Chính phủ sửa đổi, bổ sung một số điều Nghị định số 127/2007/NĐ-CP ngày 01 tháng 8 năm 2007 của Chính phủ quy định chi tiết thi hành một số điều Luật Tiêu chuẩn và Quy chuẩn kỹ thuật;
Căn cứ Nghị định số 132/2008/NĐ-CP ngày 31 tháng 12 năm 2008 của Chính phủ quy định chi tiết thi hành một số điều Luật Chất lượng sản phẩm, hàng hóa; Nghị định số 74/2018/NĐ-CP ngày 15 tháng 5 năm 2018 của Chính phủ sửa đổi, bổ sung một số điều Nghị định số 132/2008/NĐ-CP ngày 31 tháng 12 năm 2008 của Chính phủ quy định chi tiết thi hành một số điều Luật Chất lượng sản phẩm, hàng hóa;
Căn cứ Nghị định số 98/2017/NĐ-CP ngày 18 tháng 8 năm 2017 của Chính phủ quy định chức năng, nhiệm vụ, quyền hạn và cơ cấu tổ chức của Bộ Công Thương;
Theo đề nghị của Cục trưởng Cục Kỹ thuật an toàn và Môi trường công nghiệp;
Bộ trưởng Bộ Công Thương ban hành Quy chuẩn kỹ thuật quốc gia về an toàn đối với áptômát phòng nổ sử dụng trong mỏ hầm lò.
Điều 1. Ban hành kèm theo Thông tư này Quy chuẩn kỹ thuật quốc gia về an toàn đối với áptômát phòng nổ sử dụng trong mỏ hầm lò.
Ký hiệu: QCVN 14:2021/BCT.
Điều 2. Hiệu lực thi hành
Thông tư này có hiệu lực từ ngày 01 tháng 7 năm 2022.
Điều 3. Tổ chức thực hiện
Chánh Văn phòng Bộ, Cục trưởng Cục Kỹ thuật an toàn và Môi trường công nghiệp; Thủ trưởng các cơ quan, tổ chức và cá nhân có liên quan chịu trách nhiệm thi hành Thông tư này./.
|
Nơi nhận: - Văn phòng Quốc Hội; |
KT. BỘ TRƯỞNG
Nguyễn Sinh Nhật Tân
|

CỘNG HÒA XÃ HỘI CHỦ NGHĨA VIỆT NAM
QCVN 14:2021/BCT
QUY CHUẨN KỸ THUẬT QUỐC GIA VỀ AN TOÀN ĐỐI VỚI ÁPTÔMÁT PHÒNG NỔ SỬ DỤNG TRONG MỎ HẦM LÒ
National technical regulation on safety
for explosion-proof circuit breaker used in underground mine
HÀ NỘI - 2021
LỜI NÓI ĐẦU
QCVN 14:2021/BCT do Ban soạn thảo Quy chuẩn kỹ thuật Quốc gia về an toàn đối với áptômát phòng nổ sử dụng trong mỏ hầm lò biên soạn, Cục Kỹ thuật an toàn và Môi trường công nghiệp - Bộ Công Thương trình duyệt, Bộ Khoa học và Công nghệ thẩm định, Bộ trưởng Bộ Công Thương ban hành theo Thông tư số 15/2021/TT-BCT ngày 29 tháng 10 năm 2021.
QUY CHUẨN KỸ THUẬT QUỐC GIA VỀ AN TOÀN ĐỐI VỚI ÁPTÔMÁT PHÒNG NỔ
SỬ DỤNG TRONG MỎ HẦM LÒ
National technical regulation on safety for explosion-proof circuit breaker used in underground mine
I. QUY ĐỊNH CHUNG
1. Phạm vi điều chỉnh
Quy chuẩn kỹ thuật này quy định các yêu cầu kỹ thuật an toàn và quản lý đối với áptômát phòng nổ dùng trong mạng điện xoay chiều ba pha trung tính cách ly trong mỏ hầm lò có khí cháy và bụi nổ, có mã HS được quy định tại Phụ lục A của Quy chuẩn kỹ thuật này (sau đây gọi là áptômát phòng nổ sử dụng trong mỏ hầm lò).
2. Đối tượng áp dụng
Quy chuẩn kỹ thuật này áp dụng đối với các tổ chức, cá nhân sản xuất, nhập khẩu, thử nghiệm, kiểm định, sử dụng và các cá nhân khác có liên quan đến áptômát phòng nổ trong mỏ hầm lò trên lãnh thổ Việt Nam.
3. Giải thích từ ngữ
3.1. Khí quyển nổ là hỗn hợp của các chất dễ cháy ở dạng khí, hơi, bụi, sợi hoặc vật bay với không khí, trong điều kiện khí quyển mà sau khi bắt cháy, cho phép ngọn lửa lan truyền tự duy trì.
3.2. Áptômát là thiết bị đóng cắt cơ khí, có khả năng đóng và cắt mạng điện trong điều kiện bình thường, cũng như tự động cắt điện trong điều kiện không bình thường.
3.3. Mạch lực của áptômát là toàn bộ phần mang điện trong mạch được dùng để truyền năng lượng điện cho phụ tải.
3.4. Mạch phụ của áptômát là toàn bộ phần mang điện có trong các mạch điều khiển, đo lường, tín hiệu.
3.5. Áptômát phòng nổ là áptômát được chế tạo để sử dụng trong môi trường có khí cháy và bụi nổ.
3.6. Dao cách ly là cơ cấu cơ khí có khả năng đóng hoặc cắt mạch trong điều kiện không tải hoặc dòng điện không đáng kể.
3.7. Cổ cáp vào, ra là bộ phận dùng để nhận và bảo vệ các đầu cáp, làm kín các ruột dẫn và vật liệu cách điện của cáp bằng một hợp chất làm đầy hoặc vòng bịt kín được gắn vào vỏ thiết bị bằng ren hoặc bu lông.
3.8. Vỏ không xuyên nổ dạng “d” là kết cấu trong đó chứa các bộ phận có thể mồi cháy hỗn hợp khí nổ và có thể chịu được áp lực xuất hiện trong vụ nổ bên trong của hỗn hợp khí nổ đó và ngăn ngừa sự lan truyền vụ nổ ra khí quyển nổ xung quanh vỏ.
3.9. Dạng bảo vệ an toàn tia lửa “i” là dạng bảo vệ mà năng lượng điện của thiết bị và các thành phần đấu nối khi đặt trong khí quyển nổ được hạn chế thấp hơn mức có thể gây cháy hỗn hợp nổ bằng các hiệu ứng tia lửa hoặc hiệu ứng nhiệt.
II. QUY ĐỊNH VỀ KỸ THUẬT AN TOÀN
4. Tài liệu viện dẫn
4.1. QCVN QTĐ-5:2009/BCT Quy chuẩn kỹ thuật quốc gia về kỹ thuật điện - Tập 5 Kiểm định trang thiết bị hệ thống điện.
4.2. QCVN 01:2011/BCT Quy chuẩn kỹ thuật quốc gia về an toàn trong khai thác than hầm lò.
4.3. QCVN 04:2017/BCT Quy chuẩn kỹ thuật quốc gia về an toàn trong khai thác quặng hầm lò.
4.4. TCVN 4255:2008 (IEC 60529:2001) cấp bảo vệ bằng vỏ ngoài (mã IP).
4.5. TCVN 6592-1:2009 (IEC 60947-1:2007) Thiết bị đóng cắt và điều khiển hạ áp - Phần 1: Quy tắc chung.
4.6. TCVN 6592-2:2009 (IEC 60947-2:2007) Thiết bị đóng cắt và điều khiển hạ áp - Phần 2: Áptômát.
4.7. TCVN 6627-1:2014 (IEC 60034-1:2010) Máy điện quay - Phần 1: Thông số đặc trưng và tính năng.
4.8. TCVN 7699-1:2007 (IEC 60068-1:1988), Thử nghiệm môi trường - Phần 1: Quy định chung và hướng dẫn.
4.9. TCVN 10888-0:2015 (IEC 60079-0:2011) Khí quyển nổ - Phần 0: Thiết bị - Yêu cầu chung.
4.10. TCVN 10888-1:2015 (IEC 60079-1:2014) Khí quyển nổ - Phần 1: Bảo vệ thiết bị bằng vỏ không xuyên nổ “d”.
4.11. TCVN 7079-7:2002 Thiết bị dùng trong mỏ hầm lò - Phần 7: Tăng cường độ tin cậy-dạng bảo vệ “e”.
4.12. TCVN 7079-11:2002 Thiết bị điện dùng trong mỏ hầm lò - Phần 11: An toàn tia lửa-dạng bảo vệ “i”.
4.13. TCVN 7079-17:2003 Thiết bị điện dùng trong mỏ hầm lò - Phần 17: Kiểm tra và bảo dưỡng thiết bị.
4.14. IEC 60079-7:2015 Explosive atmospheres - Part 7: Equipment protection by increased safety "e" (Khí quyển nổ - Phần 7: Bảo vệ thiết bị bởi an toàn được tăng cường “e”).
4.15. IEC 60079-11:2011 Explosive atmospheres - Part 11: Equipment protection by intrinsic safety "i" (Khí quyển nổ - Phần 11: Bảo vệ thiết bị bởi an toàn tia lửa “i”).
4.16. IEC 60079-17:2013 Explosive.atmospheres - Part 17: Electrical installations inspection and maintenance (Khí quyển nổ - Phần 17: Kiểm tra và bảo dưỡng lắp đặt điện).
5. Các yêu cầu chung
5.1. Áptômát phòng nổ dùng trong mỏ hầm lò phải đảm bảo các yêu cầu kỹ thuật an toàn đối với áptômát thông thường sử dụng trong môi trường không có khí cháy và bụi nổ.
5.2. Yêu cầu về thông số kỹ thuật cơ bản
5.2.1. Điện áp làm việc danh định xoay chiều (Ue) của mạch lực áptômát phòng nổ: 380 V, 660 V, 1 140 V.
5.2.2. Dòng điện làm việc danh định (le) của mạch lực áptômát phòng nổ: 100 A, 160 A, 200 A, 250 A, 400 A, 500 A, 630 A, 800 A, 1 000 A, 1 200 A.
5.2.3. Tần số danh định của dòng điện xoay chiều: 50 Hz.
5.2.4. Điện áp danh định xoay chiều của mạch phụ (Uc): 18 V, 24 V, 36V, 42 V.
5.2.5. Chế độ làm việc của áptômát phòng nổ: Liên tục.
5.3. Yêu cầu về vị trí lắp đặt đối với áptômát phòng nổ
5.3.1. Độ dốc không quá ±15° so với vị trí cân bằng và ở những khám, trạm và đường lò có kết cấu chống giữ đảm bảo an toàn.
5.3.2. Khô ráo và được thông gió đảm bảo theo quy định tại Điều 42 của QCVN 01:2011/BCT đối với mỏ than, Điều 43 của QCVN 04:2017/BCT đối với mỏ quặng.
5.4. Yêu cầu về điều kiện vận hành
5.4.1. Nhiệt độ môi trường từ -20 °C đến +40 °C; giá trị của độ ẩm tương đối đến (98 ± 2) % ở nhiệt độ 35 °C;
5.4.2. Độ cao không quá 1000 m so với mực nước biển và ở độ sâu không quá 1500 m dưới mực nước biển;
5.4.3. Điện áp nguồn dao động từ 0,85 đến 1,1 lần giá trị danh định;
5.4.4. Trong môi trường nguy hiểm có khí cháy và bụi nổ, hàm lượng bụi không vượt quá 1200 mg/m3.
5.5. Yêu cầu về bộ phận nối đất
5.5.1. Các yêu cầu về nối đất phải tuân thủ theo các yêu cầu của khoản 7.1.10 của TCVN 6592-1:2009 (IEC 60947-1:2007), khoản 20 Điều 102 của QCVN 01:2011/BCT và Điều 15 của TCVN 10888-0:2015 (IEC 60079-0:2011).
5.5.2. Trong các khoang đấu cáp phải có cơ cấu để bắt chặt dây tiếp đất và được hàn vào vỏ; các cổ cáp phải có cơ cấu để bắt chặt dây tiếp đất.
5.6. Áptômát phòng nổ sử dụng trong mỏ hầm lò phải có giá đỡ lắp ở phần dưới của vỏ và các móc phía trên để thuận tiện trong quá trình lắp đặt, di chuyển và vận hành.
5.7. Nắp mở nhanh của áptômát phòng nổ phải được khóa liên động cơ khí đảm bảo:
5.7.1. Chỉ mở được khi các cơ cấu: Tay đóng-cắt; công tắc nguồn điều khiển; dao cách ly đã ở vị trí cắt.
5.7.2. Các cơ cấu nêu tại Điểm 5.7.1 không thể đóng được khi nắp mở nhanh đã mở.
5.8. Đối với áptômát phòng nổ điều khiển từ xa, dao cách ly phải có liên động cơ điện với mạch đóng cắt của áptômát.
5.9. Lực cần thiết để đóng, cắt áptômát và dao cách ly không được vượt quá 350 N.
5.10. Áptômát phòng nổ phải được cung cấp đồng bộ với cổ cáp đầu vào, ra phòng nổ hoặc phích cắm phòng nổ.
5.11. Các nút bấm, vị trí tay cầm của áptômát phòng nổ phải có kí hiệu thao tác tương ứng không thể tẩy xóa được.
5.12. Nút dừng và vị trí đấu nối dây tiếp đất phải có màu đỏ.
6. Yêu cầu đối với các cấu trúc phòng nổ của áptômát
Áptômát phòng nổ sử dụng trong mỏ hầm lò có khí cháy và bụi nổ phải được thiết kế, chế tạo, thử nghiệm tuân thủ theo các tiêu chuẩn TCVN 10888-0:2015 (IEC 60079-0:2011), TCVN 10888-1:2015 (IEC 60079-1:2014); bộ tiêu chuẩn TCVN 7079-7:2002, TCVN 7079-11:2002 và các quy định tại Quy chuẩn kỹ thuật này.
6.1. Các bộ phận chính của bảo vệ vỏ không xuyên nổ dạng “d” gồm:
6.1.1. Khoang đấu cáp.
6.1.2. Cổ cáp đầu vào và cổ cáp đầu ra, các phễu cáp.
6.1.3. Sứ xuyên qua thành và vách phòng nổ.
6.1.4. Phần tử xuyên sáng.
6.1.5. Nút bấm điều khiển, khóa chuyển mạch.
6.1.6. Cơ cấu điều khiển truyền chuyển động quay hoặc tịnh tiến.
6.1.7. Chốt, lỗ liên quan và các phần tử trống.
6.1.8. Cơ cấu bắt chặt đặc biệt.
6.1.9. Cơ cấu liên động.
6.1.10. Nắp mở nhanh.
6.2. Yêu cầu đối với vỏ không xuyên nổ dạng “d”
6.2.1. Các dạng mối ghép phòng nổ
Các mối ghép phòng nổ phải tuân theo Điều 5, Điều 6, Điều 7 và Điều 8 của TCVN 10888-1:2015 (IEC 60079-1:2014) và theo các quy định tại Quy chuẩn kỹ thuật chuẩn này.

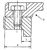
Chú dẫn:
c - Bề rộng mối ghép phòng nổ phần mặt phẳng, mm.
d - Bề rộng mối ghép phòng nổ phần hình trụ, mm.
f- Khoảng hở của mép vát, mm.
L - Bề rộng nhỏ nhất của mối ghép phòng nổ, mm; L = c + d với điều kiện: c ≥ 3,0 mm, f ≤ 1,0 mm.
T - Phía bên trong của vỏ thiết bị.
Hình 1. Mối ghép phòng nổ dạng nút ống, hình trụ không có lỗ bắt bu lông
6.2.1.2. Mối ghép phòng nổ dạng nút ống, hình trụ có lỗ bắt bu lông như Hình 2.

Chú dẫn:
a - Bề rộng mối ghép phần hình trụ, mm.
b - Bề rộng mối ghép phần mặt phẳng đến lỗ bu lông, mm.
i - Khe hở của mối ghép hình trụ, mm.
I - Khoảng cách nhỏ nhất từ bên trong thiết bị đến lỗ bu lông, mm; I = a + b nếu i ≤ 0,2 mm.
L - Bề rộng nhỏ nhất của mối ghép phòng nổ, mm.
T - Phía bên trong của vỏ thiết bị.
Hình 2. Mối ghép phòng nổ dạng nút ống, hình trụ có lỗ bắt bu lông
6.2.1.3. Mối ghép phòng nổ dạng mặt bích phẳng như Hình 3.

Chú dẫn:
I - Khoảng cách nhỏ nhất từ bên trong thiết bị đến lỗ bu lông, mm.
L - Bề rộng nhỏ nhất của mối ghép phòng nổ, mm.
T - Phía bên trong của vỏ thiết bị.
Hình 3. Mối ghép phòng nổ dạng mặt bích phẳng
Bảng 1. Khoảng cách nhỏ nhất từ bên trong thiết bị đến lỗ bu lông.
|
I (mm) |
L (mm) |
|
6 |
< 12,5 |
|
8 |
12,5 ≤ L< 25 |
|
9 |
≥25 |
6.2.1.5. Mối ghép phòng nổ mặt bích có gioăng đệm như Hình 4.

Chú dẫn:
G - Gioăng đệm.
L - Bề rộng nhỏ nhất của mối ghép phòng nổ, mm.
T - Phía bên trong của vỏ thiết bị.
Hình 4. Mối ghép phòng nổ mặt bích có gioăng đệm

Chú dẫn:
L - Bề rộng nhỏ nhất của mối ghép phòng nổ, mm.
Trường hợp cần thao tác đi qua thành của vỏ không xuyên nổ, chiều rộng của mối ghép phải tuân theo Điều 7 của TCVN 10888-1:2015 (IEC 60079-1).
Hình 5. Mối ghép phòng nổ dạng trục xoay

Chú dẫn:
L - Bề rộng nhỏ nhất của mối ghép phòng nổ, mm.
Hình 6. Mối ghép phòng nổ dạng trục xoay có bạc lót

Chú dẫn:
T - Bước ren.
Y - Chiều dài ăn khớp của ren, mm.
α - Góc đỉnh ren, độ.
Hình 7. Mối ghép phòng nổ dạng ren, vít
6.2.2. Chiều rộng và khe hở nhỏ nhất của mối ghép phòng nổ:
6.2.2.1. Đối với các mối ghép dạng: Nút ống, hình trụ, mặt bích, trục xoay: Theo quy định tại Bảng 2.
Bảng 2. Chiều rộng và khe hở nhỏ nhất của mối ghép phòng nổ
|
Dạng mối ghép |
Chiều rộng nhỏ nhất của mối ghép L (mm) |
Khe hở nhỏ nhất (mm) |
||||||||||||||
|
Thể tích (cm3) V≤ 100 |
Thể tích (cm3) 100 < V≤ 500 |
Thể tích (cm3) 500< V≤ 2000 |
Thể tích (cm3) 2 000 < V≤ 5 750 |
Thể tích (cm3) V >5 750 |
||||||||||||
|
I |
IIA |
IIB |
I |
IIA |
IIB |
I |
IIA |
IIB |
I |
IIA |
IIB |
I |
IIA |
IIB |
||
|
Nút ống, |
6 |
0,30 |
0,30 |
0,20 |
- |
- |
- |
- |
- |
- |
- |
- |
- |
- |
- |
- |
|
hình trụ, |
9.5 |
0,35 |
0,30 |
0,20 |
0,35 |
0,30 |
0,20 |
0,08 |
0,08 |
0,08 |
- |
0,08 |
0,08 |
- |
0,08 |
- |
|
mặt bích, |
12.5 |
0,40 |
0,30 |
0,20 |
0,40 |
0,30 |
0,20 |
0,40 |
0,30 |
0,20 |
0,40 |
0,20 |
0,15 |
0,40 |
0,20 |
0,15 |
|
trục xoay |
25 |
0,50 |
0,40 |
0,20 |
0,50 |
0,40 |
0,20 |
0,50 |
0,40 |
0,20 |
0,50 |
0,40 |
0,20 |
0,50 |
0,40 |
0,20 |
|
Chú dẫn: Kí hiệu: I là nhóm thiết bị dùng cho các mỏ có khí mê tan; IIA và IIB là nhóm thiết bị dùng cho các mỏ có khí cháy khác mêtan được quy định tại Điều 4.2 TCVN 10888-0:2015 (IEC 60079-0:2011). |
||||||||||||||||
6.2.2.2. Đối với mối ghép dạng ren, vít tuân thủ theo các yêu cầu sau:
6.2.2.2.1. Ít nhất năm ren được ăn khớp với nhau.
6.2.2.2.2. Bước ren ≥ 0,7 mm.
6.2.2.2.3. Góc đỉnh răng bằng 60° (± 5°).
6.2.2.2.4. Chiều dài ăn khớp của ren ≥ 5 mm với V ≤ 100 cm3.
6.2.2.2.5. Chiều dài ăn khớp của ren ≥ 8 mm với V> 100 cm3.
6.2.3. Cơ cấu bắt chặt đặc biệt
Cơ cấu bắt chặt phải tuân theo Điều 9 của TCVN 10888-0:2015 (IEC 60079-0:2011) và Điều 11 của TCVN 10888-1:2015 (IEC 60079-1:2014). Tất cả các mối ghép phòng nổ sử dụng bu lông bắt chặt phải có các vòng đệm vênh chống trôi và chỉ mở được khi sử dụng các dụng cụ.
6.2.4. Cơ cấu liên động phải tuân theo Điều 10 của TCVN 10888-0:2015 (IEC 60079-0:2011) và đảm bảo hoạt động đúng chức năng.
6.2.5. Nắp mở nhanh phải có cơ cấu liên động; chỉ mở được sau khi đã cắt điện và cơ cấu liên động đã được mở.
6.2.6. Cổ cáp vào thiết bị
Các đầu vào dẫn cáp đến khoang đấu cáp của áptômát phòng nổ phải tuân theo Điều 16 và Phụ lục A của TCVN 10888-0:2015 (IEC 60079-0:2011), Điều 13 của TCVN 10888-1:2015 (IEC 60079-1:2014) và các yêu cầu sau:
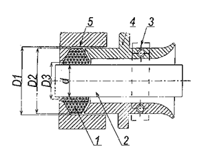
6.2.6.1. Được bắt chặt vào vỏ thiết bị và có đầy đủ các chi tiết để làm kín và kẹp chặt cáp, một trong các loại cổ cáp như Hình 11.

Chú dẫn:
1- Vòng cao su bịt kín cáp.
2- Cáp điện cao su.
3- Chi tiết kẹp cáp.
4- Chi tiết vào cáp để ép chặt gioăng đệm cao su.
5- Vỏ thiết bị.
d - Đường kính ngoài của cáp điện cao su, mm.
D1 - Đường kính trong của cổ cáp, mm.
D2, D3 - Đường kính ngoài, trong của gioăng đệm cao su, mm.
Hình 11. Cổ cáp khi được đấu nối
6.2.6.2. Khoảng cách giữa cổ cáp, gioăng đệm và cáp điện cao su theo quy định tại Bảng 3.
Bảng 3. Khoảng cách giữa cổ cáp, gioăng đệm và cáp điện cao su
|
D2 (mm) |
Khoảng cách từ D1 -:- D2 (mm) |
Khoảng cách từ D3 -:- d (mm) |
|
<20 |
≤1 |
≤2 |
|
20 -:- 60 |
≤2 |
|
|
>60 |
≤3 |
6.2.6.3. Các chi tiết của cổ cáp phải được vặn chặt để đảm bảo tính năng làm kín.
6.2.6.4. Gioăng cao su phải đảm bảo không bị nứt, đàn hồi tốt, cáp điện không bị kéo căng hoặc bẻ gập trong quá trình lắp ráp và vận hành.
6.2.6.5. Ở cổ cáp cao áp có sử dụng vật liệu điền đầy cách điện, khối điền đầy khi đông cứng phải đảm bảo không có vết nứt.
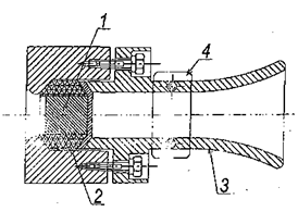
6.2.7. Cổ cáp chưa được đấu nối phải được bịt kín như Hình 12 hoặc cách khác với sự làm kín tương tự.

1- Nút bịt kín.
2- Vòng cao su bịt kín.
3- Chi tiết cổ cáp vào, ra để ép kín.
4- Chi tiết kẹp cáp.
Hình 12. Cổ cáp chưa được đấu nối
6.3. Phần tử xuyên sáng
Phần tử xuyên sáng phải tuân theo Điều 9 của TCVN 10888-1:2015 (IEC 60079-1:2014) và Điều 26 của TCVN 10888-0:2015 (IEC 60079-0:2011).
6.4. Vật liệu chế tạo vỏ
6.4.1. Vật liệu chế tạo phi kim loại
Vật liệu phi kim loại được dùng để chế tạo các chi tiết, thành phần và các bộ phận của vỏ áptômát phòng nổ phải tuân thủ theo quy định tại Điều 7 của TCVN 10888-0:2015 (IEC 60079-0:2011).
6.4.2. Vật liệu chế tạo kim loại
Vật liệu kim loại được dùng để chế tạo các chi tiết và các bộ phận của vỏ áptômát phòng nổ phải tuân thủ theo quy định tại Điều 8 của TCVN 10888- 0:2015 (IEC 60079-0).
6.5. Các ống lót (sứ xuyên), cọc đấu dây dẫn điện qua các thành và vách của vỏ phải tuân thủ theo quy định tại Điều 11 của TCVN 10888-0:2015 (IEC 60079-0:2011) và đảm bảo không bị hư hỏng trong quá trình đấu nối các dây dẫn điện.
6.6. Các phương tiện đấu nối và các khoang đấu cáp phải tuân thủ theo quy định tại Điều 14 và Điều 15 của TCVN 10888-0:2015 (IEC 60079-0:2011).
6.7. Chỉ số phóng điện tương đối của vật liệu cách điện sử dụng trong áptômát phòng nổ phải tuân thủ theo quy định tại Điều 4.4.1 của IEC 60079-7:2015, chỉ số phóng điện tương đối của vật liệu cách điện rắn (CTI) theo quy định tại Bảng 4.
Bảng 4. Chỉ số phóng điện tương đối của vật liệu cách điện rắn
|
Nhóm vật liệu |
Chỉ số phóng điện tương đối (CTI) |
|
I |
600 ≤ CTI |
|
II |
400≤CTI≤600 |
|
Illa |
175≤CTI≤400 |
|
lllb |
100≤CTI≤175 |
Vật liệu cách điện được sử dụng trong các mạch điện làm việc ở điện áp vượt quá 250 V hoặc mang dòng điện lớn hơn 16 A phải có chỉ số CTI không nhỏ hơn 400.
6.8. Các yêu cầu khe hở và khoảng cách rò
Các yêu cầu về khe hở giữa các phần mang điện và khoảng cách rò trên bề mặt cách điện tuân thủ theo quy định tại các Điều 4.3, 4.4 của IEC 60079-7:2015 và theo quy định tại Bảng 5.
Bảng 5. Khe hở và khoảng cách rò
|
Điện áp danh định Ue (V) |
Khoảng cách rò nhỏ nhất (mm) |
Khe hở nhỏ nhất (mm) |
||
|
Nhóm vật liệu |
||||
|
I |
II |
llla |
|
|
|
10 |
1,6 |
1,6 |
1,6 |
1,6 |
|
12,5 |
1,6 |
1,6 |
1,6 |
1,6 |
|
16 |
1,6 |
1,6 |
1,6 |
1,6 |
|
20 |
1,6 |
1,6 |
1,6 |
1,6 |
|
25 |
1,7 |
1,7 |
1,7 |
1,7 |
|
32 |
1,8 |
1,8 |
1,8 |
1,8 |
|
40 |
1,9 |
2,4 |
3,0 |
1,9 |
|
50 |
2,1 |
2,6 |
3,4 |
2,1 |
|
63 |
2,1 |
2,6 |
3,4 |
2,1 |
|
80 |
2,2 |
2,8 |
3,6 |
2,2 |
|
100 |
2,4 |
3,0 |
3,8 |
2,4 |
|
125 |
2,5 |
3,2 |
4 |
2,5 |
|
160 |
3,2 |
4 |
5 |
3,2 |
|
200 |
4,0 |
5,0 |
6,3 |
4,0 |
|
250 |
5,0 |
6,3 |
8 |
5 |
|
320 |
6,3 |
8,0 |
10,0 |
6,0 |
|
400 |
8 |
10 |
12,5 |
6 |
|
500 |
10,0 |
12,5 |
16,0 |
8,0 |
|
630 |
12,0 |
16,0 |
20,0 |
10 |
|
800 |
16,0 |
20,0 |
25,0 |
12 |
|
1 000 |
20 |
25 |
32 |
14 |
|
1 250 |
22 |
26 |
32 |
18 |
|
Chú dẫn; - Điện áp làm việc có thể quá 10% mức điện áp ghi trong bảng trên. - Giá trị khoảng cách rò và khe hở trên dựa vào sức chịu đựng điện áp nguồn lớn nhất dao động trong mức ±10%. |
||||
6.9. Yêu cầu đối với bộ phận của áptômát phòng nổ có dạng bảo vệ an toàn tia lửa “i” phải đảm bảo các yêu cầu sau:
6.9.1. Cấp bảo vệ vỏ ngoài của áptômát phòng nổ (mã IP) phải lớn hơn hoặc bằng mức IP54 được quy định tại TCVN 4255:2008 (IEC 60529:2001).
6.9.2. Các bộ phận sử dụng trong các mạch phụ và các thiết bị khác phải tuân thủ theo quy định tại TCVN 7079-11:2002 hoặc IEC 60079-11.2015.
6.9.3. Các thông số R, L & C của mạch điện phải đảm bảo khi mạch được thử nghiệm, đánh giá theo các yêu cầu của tiêu chuẩn TCVN 7079-11:2002 hoặc IEC 60079-11:2015 không đốt cháy hỗn hợp khí thử nghiệm bởi tia lửa.
6.9.4. Các hiệu ứng về nhiệt độ sinh ra trong các mạch an toàn tia lửa ở bất cứ trường hợp nào phải đảm bảo không đốt cháy hỗn hợp khí do nóng bề mặt gây ra.
6.9.5. Các mạch điện phải được cách ly với nhau và cách ly với thiết bị.
7. Các yêu cầu kỹ thuật đối với áptômát phòng nổ sử dụng trong mỏ hầm lò
7.1. Kiểu đóng cắt, điều khiển: áptômát phòng nổ sử dụng trong mỏ hầm lò có khí cháy và bụi nổ phải là một trong các dạng sau:
7.1.1. Đóng, cắt trực tiếp bằng tay;
7.1.2. Có mạch cắt từ xa;
7.1.3. Có điều khiển từ xa;
7.1.4. Kết hợp các dạng trên.
7.2. Yêu cầu với sơ đồ điện và kết cấu
7.2.1. Mạch điện của áptômát phòng nổ phải có:
7.2.1.1. Bảo vệ dòng ngắn mạch;
7.2.1.2. Bảo vệ quá tải;
7.2.1.3. Bảo vệ mạch điều khiển khi hở mạch hoặc ngắn mạch của các dây dẫn điều khiển từ xa;
7.2.1.4. Bộ nhả điện áp giảm thấp (cuộn Umin);
7.2.1.5. Bộ nhả song song cắt áptômát bằng điện áp (cuộn OK);
7.2.1.6. Bảo vệ không cho đóng áptômát khi:
7.2.1.6.1. Điện trở cách điện của mạng ra phụ tải giảm xuống thấp hơn giá trị cho phép;
7.2.1.6.2. Sau khi bảo vệ quá dòng hoạt động.
7.2.1.7. Báo tín hiệu về việc đóng áptômát; tác động của các loại bảo vệ ngắn mạch, bảo vệ quá tải và bảo vệ khóa liên động rò điện.
7.2.1.8. Chế độ kiểm tra hoạt động của các bộ bảo vệ quá dòng và bảo vệ khóa liên động rò điện.
7.2.2. Yêu cầu về kết cấu của áptômát phòng nổ
7.2.2.1. Các bộ phận của mạch điện phải được đặt trong ngăn có nắp mở nhanh và được kiểm tra, điều chỉnh trong quá trình vận hành.
7.2.2.2. Nắp mở nhanh phải có bộ phận khóa liên động.
7.2.2.3. Phải có sơ đồ nguyên lý, sơ đồ đấu nối mạch điện.
7.2.2.4. Các khoang của áptômát phòng nổ:
7.2.2.4.1. Có chứa các phần tử thường phát tia lửa điện trong vận hành phải được đặt trong vỏ không xuyên nổ dạng “d” phù hợp với TCVN 10888- 1:2015 (IEC 60079-1:2011);
7.2.2.4.2. Không chứa các phần tử thường phát ra tia lửa điện phải được bảo vệ nổ loại tăng cường an toàn dạng “e” phù hợp với TCVN 7079- 7:2002 hoặc IEC 60079-7:2015.
7.2.2.5. Các mạch điện để điều khiển từ xa và mạch phụ của áptômát phòng nổ phải là mạch an toàn tia lửa dạng “i” với mức độ an toàn ia hoặc ib theo TCVN 7079-11:2002 hoặc IEC 60079-11:2011.
7.2.2.6. Áptômát phòng nổ có điều khiển từ xa phải có chế độ điều khiển tại chỗ, đảm bảo đóng từ một bảng điều khiển và cắt từ tất cả các bảng điều khiển khác.
7.2.2.7. Các khối điều khiển và bảo vệ phải có chế độ loại trừ việc lắp đặt sai.
7.2.2.8. Cấp bảo vệ của vỏ ngoài khối có các phần tử tích hợp của thiết bị điều khiển từ xa, khóa liên động điện, bảo vệ phải được chế tạo với mức độ bảo vệ không thấp hơn IP40 được quy định tại TCVN 4255: 2008 (IEC 60529: 2001).
7.3. Yêu cầu đối với các thông số và đặc tính điện
7.3.1. Khả năng đóng cắt giới hạn của áptômát phòng nổ trong chế độ điện áp danh định với hệ số công suất 0,30 ± 0,05 không được nhỏ hơn các giá trị quy định tại Bảng 6.
Bảng 6. Giá trị giới hạn khả năng đóng cắt của áptômát
|
Thông số dòng điện danh định le (A) |
Khả năng đóng và cắt ngắn mạch danh định (kA) |
||
|
1.140 V |
660 V |
380 V |
|
|
63 < le ≤ 125 |
3 |
4,5 |
7,5 |
|
125 < le ≤200 |
4,5 |
7,5 |
9 |
|
200 < le ≤ 400 |
7,5 |
9 |
12,5 |
|
400 < le ≤ 500 |
9 |
12,5 |
15 |
|
500 < le ≤ 630 |
12,5 |
15 |
20 |
|
630 < le ≤ 1 000 |
15 |
20 |
30 |
|
1 000 < le ≤ 1 600 |
20 |
30 |
40 |
7.3.2. Tổng số chu kỳ đóng - cắt trong quá trình vận hành, số chu kỳ đóng - cắt dưới tải không được nhỏ hơn giá trị quy định tại Bảng 7.
Bảng 7. Tổng số chu kỳ đóng - cắt
|
Dòng điện danh định (A) |
Chu kỳ hoạt động mỗi giờ (Lần) |
Số chu kỳ hoạt động (Lần) |
||
|
Không có điện |
Có điện |
Tổng số chu kỳ |
||
|
le ≤ 100 |
120 |
8 500 |
1 500 |
10 000 |
|
100 < le ≤315 |
120 |
7 000 |
1 000 |
8 000 |
|
315 < le ≤630 |
60 |
4 000 |
1 000 |
5 000 |
|
630 < le ≤ 2 500 |
20 |
2 500 |
500 |
3 000 |
|
2 500 < le |
10 |
1 500 |
500 |
2 000 |
7.3.3. Độ bền cơ học của dao cách ly liên động phải đảm bảo hoạt động ít nhất 2.500 chu kỳ đóng - cắt.
7.3.4. Áptômát phòng nổ phải có bảo vệ quá dòng điện đặt trên ít nhất hai pha với các cài đặt có thể điều chỉnh.
7.3.4.1. Phạm vi điều chỉnh đặt bảo vệ quá dòng điện phải nằm trong giới hạn từ 3 đến 10 lần dòng điện danh định của bộ phận nhả.
7.3.4.2. Sai số hoạt động của bảo vệ quá dòng ở mỗi điểm cài đặt trong môi trường không khí:
7.3.4.2.1. Phải trong mức ± 10% tại nhiệt độ (25 ± 10) °C.
7.3.4.2.2. Bỗ sung ± 5% giá trị quy định tại 7.3.4.2.1 ở nhiệt độ từ - 10 °C đến + 15 °C và từ+ 35 °C đến + 60 °C.
7.3.4.3. Tổng thời gian cắt của áptômát phòng nổ không được vượt quá 0,05 s khi bội số của dòng ngắn mạch với dòng đặt của bảo vệ quá dòng bằng 1,5 lần dòng chỉnh định cũng như khi bộ nhả độc lập tác động.
7.3.5. Áptômát phòng nổ có bảo vệ quá tải đối với động cơ điện phải đảm bảo theo quy định tại Bảng 8.
Bảng 8. Thời gian bảo vệ quá tải
|
Dòng điện quá tải/dòng điện cài đặt |
Thời gian tác động |
Trạng thái của bộ nhả |
|
1,05 |
2 h không nhả |
Trạng thái nguội |
|
1,2 |
Từ 0,2 h đến 1,0 h |
Trạng thái nung nóng |
|
1,5 |
Từ 90 s đến 180 s |
Trạng thái nung nóng |
|
2,0 |
Từ 45 s đến 90 s |
Trạng thái nung nóng |
|
4,0 |
Từ 14 s đến 45 s |
Trạng thái nung nóng |
|
6,0 |
Từ 8 s đến 14 s |
Trạng thái nguội |
7.3.6. Bảo vệ điện áp giảm thấp tuân thủ theo quy định tại khoản 7.2.1.3 của TCVN 6592-1 (IEC 60974-1:2007) và các yêu cầu sau:
7.3.6.1. Áptômát phải cắt khi điện áp giảm < 70 % điện áp danh định.
7.3.6.2. Đóng áptômát tin cậy ở điện áp nguồn ≥ 85 % điện áp danh định.
7.3.6.3. Thời gian gian trễ tác động của bảo vệ thấp áp không vượt quá 5 s.
7.3.7. Bộ nhả song song phải tuân thủ theo quy định tại khoản 7.2.1.4 của TCVN 6592-1:2009 (IEC 60947-1:2007) và cắt áptômát tin cậy trong phạm vi từ 70 % đến 110 % điện áp danh định.
7.3.8. Độ tăng nhiệt độ cho phép của các tiếp điểm khi dòng điện làm việc ở chế độ danh định và điện áp bằng giới hạn cho phép trong điều kiện nhiệt độ môi trường 35 °C không được lớn hơn nhiệt độ quy định tại Bảng 9.
Bảng 9. Độ tăng nhiệt độ cho phép của các tiếp điểm trong áptômát
|
Bộ phận của áptômát |
Độ tăng nhiệt cho phép (chế độ làm việc lâu dài) |
|
Tiếp điểm chuyển mạch của mạch chính có lớp lót làm bằng kim loại - gốm dựa trên bạc |
Theo mức nhiệt tối đa của các bộ phận liền kề |
|
Các tiếp điểm của mạch phụ với các lớp lót làm bằng chế phẩm, thiêu kết dựa trên bạc |
85 °C |
|
Tiếp điểm kết nối đầu ra của áptômát với dây dẫn bên ngoài |
75 °C |
7.3.9. Độ tăng nhiệt của cuộn dây trong áptômát theo quy định tại Điều 8 của TCVN 6627-1:2014 (IEC 60034-1:2010) và không vượt quá giới hạn quy định tại Bảng 10.
Bảng 10. Giới hạn độ tăng nhiệt của cuộn dây
|
Cấp độ bền nhiệt |
Giới hạn tăng nhiệt độ được đo bằng phương pháp điện trở (K) |
|
120 (E) |
80 |
|
130(B) |
90 |
|
155(F) |
115 |
|
180 (H) |
140 |
|
Lưu ý: Giới hạn tăng nhiệt độ trong bảng dựa trên nhiệt độ môi trường xung quanh là 40 °C. |
|
7.4. Yêu cầu cách điện
7.4.1. Điện trở cách điện mạch lực của áptômát phòng nổ:
7.4.1.1. Khi ở trạng thái mới chưa sử dụng: không nhỏ hơn 10 MΩ.
7.4.1.2. Khi ở trạng thái nung nóng (tương ứng với tải có dòng điện danh định); Tuân thủ theo quy định tại khoản 16 Điều 106 QCVN 01:2011/BCT
7.4.1.3. Không nhỏ hơn 0,3 MΩ, sau khi thử nghiệm chống ẩm.
7.4.2. Cách điện của áptômát phòng nổ và các thành phần phải chịu được điện áp thử nghiệm xoay chiều ba pha, tần số 50 Hz với thời gian 1 phút được quy định tại Bảng 11.
Bảng 11. Điện áp thử nghiệm độ bền cách điện của áptômát phòng nổ
|
Điện áp danh định (V) |
Điện áp thử nghiệm (V) |
|
|
Trước khi thử nghiệm khả năng chống ẩm |
Sau khi thử nghiệm khả năng chống ẩm |
|
|
Ue≤24 |
500 |
250 |
|
24 < Ue ≤ 60 |
1 000 |
500 |
|
60 < Ue ≤ 250 |
2 000 |
1 000 |
|
250 < Ue ≤ 660 |
2 500 |
1 300 |
|
660 < Ue ≤ 1 000 |
3 500 |
2 000 |
|
Ue >1 00 |
4 000 |
2 000 |
7.5. Yêu cầu của hệ thống bảo vệ rò điện và khóa liên động cách điện trước khi đóng điện.
Thông số bảo vệ rò điện của lưới điện đang vận hành và khóa liên động cách điện không cho đóng điện khi lưới bị rò điện của áptômát phòng nổ theo quy định tại Bảng 12.
Bảng 12. Thông số bảo vệ rò điện của bộ bảo vệ rò và khóa liên động cách điện
|
Điện áp danh định (V) |
Trị số chỉnh định điện trở tác động rò một pha (kΩ) |
Trị số chỉnh định điện trở khóa liên động rò điện (kΩ) |
Thời gian tác động với điện trở rò 1 (kΩ) (ms) |
|
380 |
3,5 |
7 |
≤200 |
|
660 |
11 |
22 |
|
|
1 140 |
20 |
40 |
|
|
Chú dẫn: Thời gian tác động bảo vệ rò là thời gian cắt của áptômát kể từ khi có rò điện; sai số giữa giá trị điện trở tác động rò và giá trị được quy định tại Bảng 12 không quá 20%. |
|||
7.6. Đầu ra của áptômát phòng nổ phải có bảo vệ chống quá điện áp trong quá trình đóng, cắt bằng bộ bảo vệ RC.
8. Các yêu cầu và phương pháp kiểm tra thử nghiệm
8.1. Yêu cầu chung
Các thử nghiệm phải được thực hiện trong điều kiện:
8.1.1. Nhiệt độ môi trường từ -20 °C đến +40 °C;
8.1.2. Giá trị độ ẩm tương đối đến (98 ± 2) % ở nhiệt độ 35 °C;
8.1.3. Hàm lượng ôxy là 21 % về thể tích;
8.1.4. Không có khí cháy, khí độc hại và hơi ăn mòn.
8.2. Thử nghiệm các thông số tác động.
8.2.1. Nội dung thử nghiệm thực hiện theo Phụ lục C của Quy chuẩn kỹ thuật này, giá trị thử nghiệm theo TCVN 6592-1:2009 (IEC 60947-1:2007).
8.2.2. Các thông số tác động phải được theo dõi ở vị trí vận hành và khi các áptômát nghiêng 15 ° "về phía trước" và "phía sau", "trái" và "phải", ở mỗi vị trí, phải thực hiện:
8.2.2.1. Đóng - cắt ở trạng thái nguội ở điện áp 0,85 và 1,1 lần điện áp danh định;
8.2.2.2. Kiểm tra hoạt động của hệ thống khi mất điện áp bằng cách loại bỏ điện áp.
8.2.2.3. Kiểm tra tín hiệu khi áptômát đã đóng.
8.3. Kiểm tra khóa liên động cơ khí
8.3.1. Nắp mở nhanh với các cơ cấu:
8.3.1.1. Tay đóng cắt;
8.3.1.2. Công tắc nguồn điều khiển;
8.3.2. Liên động điện giữa tay dao và mạch đóng cắt áptômát phải được kiểm tra bằng cách nhấn nút "Dừng" và cắt tay dao.
8.3.3. Các cơ cấu liên động đạt yêu cầu khi các thử nghiệm không có trường hợp cơ cấu khóa liên động bị hư hỏng.
8.3.4. Lực tay cầm khi đóng cắt áptômát và cầu dao cách ly không vượt quá 350 N.
8.4. Thử nghiệm cách điện: Cách điện của áptômát phòng nổ được thử nghiệm theo quy định tại khoản 7.4 của Quy chuẩn kỹ thuật này.
8.5. Thử nghiệm mạch điều khiển từ xa
Khi mạch điều khiển từ xa bị đứt dây hoặc ngắn mạch áptômát phải:
8.5.1. Không đóng được ở vị trí cắt;
8.5.2. Cắt khi ở Vị trí đóng.
8.6. Thử nghiệm bảo vệ quá dòng
8.6.1. Thử nghiệm hoạt động của bảo vệ quá dòng phải:
8.6.1.1. Sử dụng dòng điện xoay chiều hình sin tần số 50,Hz;
8.6.1.2. Đặt dòng điện tác động cao hơn dòng chỉnh định từ 10 % đến 15 % dòng định mức;
8.6.1.3. Bảo vệ quá dòng phải hoạt động và cắt áptômát, đồng thời tín hiệu đèn phải sáng.
8.6.2. Kết quả thử bảo vệ quá dòng
8.6.2.1. Giá trị trung bình cộng của ba phép thử là dòng điện tác động bảo vệ thực tế.
8.6.2.2. Sai số của bảo vệ quá dòng ở mỗi điểm cài đặt không được vượt quá ± 10% tại nhiệt độ môi trường (25 ± 10) °C.
8.6.2.3. Sai số bổ sung theo yêu cầu của 7.3.4.2.2 không được vượt quá ± 5%.
8.6.2.4. Thử nghiệm được thực hiện tại ba điểm của phạm vi cài đặt: dưới, giữa và trên.
8.6.3. Xác định thời gian cắt ngắn mạch
8.6.3.1. Thử nghiệm với bội số của dòng tác động và dòng Chỉnh định bằng 1,5.
8.6.3.2. Thực hiện tại 3 điểm trong thang đo bảo vệ: “dưới cùng”, “giữa” và “trên cùng”.
8.6.3.3. Thời gian tác động là giá trị lớn nhất của 10 phép thử nghiệm tại điểm chỉnh định, không được vượt quá 0,05 s.
8.7. Thử nghiệm bảo vệ quá tải
8.7.1. Sử dụng dòng điện xoay chiều hình sin, tần số 50 Hz để thử nghiệm.
8.7.2. Kết quả thử nghiệm phù hợp các thông số quy định tại Bảng 8;
8.7.3. Phải có tín hiệu đèn sáng khi bảo vệ quá tải tác động.
8.7.4. Phải có thiết bị ghi lại thời gian cắt của bảo vệ.
8.8. Thử nghiệm bảo vệ điện áp giảm thấp
8.8.1. Sử dụng điện áp xoay chiều hình sin, tần số 50 Hz;
8.8.2. Đóng áptômát ở điện áp danh định;
8.8.3. Làm mát điện áp, giảm điện áp xuống thấp hơn 70% giá trị danh định, cả hai trường hợp áptômát phải cắt điện;
8.9. Thử nghiệm bộ bảo vệ song song (cuộn OK)
8.9.1. Sử dụng điện áp xoay chiều hình sin, tần số 50 Hz;
8.9.2. Đóng áptômát ở điện áp danh định;
8.9.3. Cấp điện cho cuộn OK với điện áp bằng 70% giá trị danh định, áptômát phải cắt điện.
8.10. Thử nghiệm liên động rò điện
8.10.1. Thử nghiệm tại điện áp danh định;
8.10.2. Sử dụng bộ điện trở điều chỉnh để kết nối giữa dây pha và đất để xác định điện trở tác động (3 pha và 1 pha);
8.10.3. Thử thời gian tác động khi rò điện một pha với điện trở 1 kΩ;
8.10.4. Kết quả thử nghiệm phải phù hợp theo quy định tại Bảng 12 khoản 7 của Quy chuẩn này.
8.11. Thử nghiệm bảo vệ nổ
Phương pháp thử nghiệm được thực hiện theo quy định tại TCVN 10888-0:2015 (IEC 60079-0:2011), TCVN 10888-1:2015 (IEC 60079-1:2014).
8.12. Thử nghiệm an toàn tia lửa
Phương pháp thử nghiệm được thực hiện theo quy định tại TCVN 7079- 11:2002 (IEC 60079-11:2011).
9. Quy định về nhãn
9.1. Nội dung ghi trên nhãn
Thông tin ghi trên nhãn của áptômát phòng nổ sử dụng trong mỏ hầm lò phải bao gồm thông tin tối thiểu theo khoản 1 Điều 10 của Nghị định số 43/2017/NĐ-CP ngày 14 tháng 4 năm 2017 của Chính phủ quy định về nhãn hàng hóa và các bộ phận của áptômát phải thể hiện các nội dung sau:
9.1.1. Kiểu, loại;
9.1.2. Điện áp danh định, V;
9.1.3. Dòng điện danh định, A;
9.1.4. Giới hạn dòng điện cắt, KA;
9.1.5. Tần số danh định, Hz;
9.1.6. Dạng bảo vệ nổ;
9.1.7. Cấp bảo vệ kín;
9.1.8. Số chứng chỉ phòng nổ;
9.1.9. Số chế tạo của nhà máy;
9.1.10. Thông số của mạch an toàn tia lửa (nếu có);
9.1.11. Năm sản xuất;
9.1.12. Trọng lượng, kg;
9.2. Chất liệu và vị trí của nhãn
Nhãn được làm bằng thép trắng hoặc đồng dày 1,5 mm, các thông tin thể hiện trong bảng được khắc có chiều sâu không nhỏ hơn 0,5 mm, phải được bố trí ở nơi dễ nhìn và dễ thấy được bắt chặt vào vỏ bằng phương pháp đinh tán hoặc vít.
9.3. Tấm sơ đồ nguyên lý điện
Sơ đồ nguyên lý điện mô tả nguyên lý hoạt động và cách đấu nối của áptômát phải được gắn bên trong thành của vỏ.
III. QUY ĐỊNH VỀ QUẢN LÝ
10. Quy định về hợp quy
10.1. Áptômát phòng nổ thuộc phạm vi điều chỉnh của Quy chuẩn này phải công bố hợp quy phù hợp với các quy định về kỹ thuật an toàn tại Phần II của Quy chuẩn kỹ thuật này, gắn dấu hợp quy (dấu CR) trước khi lưu thông trên thị trường; phải được kiểm tra, kiểm định trong quá trình vận hành theo quy định tại Phần III và Phần IV của Quy chuẩn kỹ thuật này.
10.2. Áptômát phòng nổ sản xuất trong nước phải thực hiện việc công bố hợp quy theo quy định tại Thông tư số 28/2012/TT-BKHCN ngày 12 tháng 12 năm 2012 của Bộ trưởng Bộ Khoa học và Công nghệ quy định về công bố hợp chuẩn, công bố hợp quy và các phương thức đánh giá sự phù hợp với tiêu chuẩn, Quy chuẩn kỹ thuật và Thông tư số 02/2017/TT-BKHCN ngày 31 tháng 3 năm 2017 của Bộ trưởng Bộ Khoa học và Công nghệ về việc sửa đổi, bổ sung một số điều của Thông tư số 28/2012/TT-BKHCN (sau đây viết tắt là Thông tư số 28/2012/TT-BKHCN và Thông tư số 02/2017/TT-BKHCN).
10.3. Áptômát phòng nổ nhập khẩu phải thực hiện đăng ký kiểm tra nhà nước về chất lượng hàng hóa nhập khẩu theo quy định tại Thông tư số 36/2019/TT-BCT ngày 29 tháng 11 năm 2019 của Bộ Công Thương quy định quản lý chất lượng sản phẩm, hàng hóa nhóm 2 thuộc trách nhiệm quản lý của Bộ Công Thương.
10.4. Công bố hợp quy
10.4.1. Việc công bố hợp quy áptômát phòng nổ phải dựa trên kết quả chứng nhận của tổ chức chứng nhận đã đăng ký lĩnh vực hoạt động theo quy định tại Nghị định 107/2016/NĐ-CP ngày 01 tháng 7 năm 2016 của Chính phủ quy định kinh doanh dịch vụ đánh giá sự phù hợp (sau đây viết tắt là Nghị định số 107/2016/NĐ-CP); Nghị định số 154/2018/NĐ-CP ngay 09 tháng 11 năm 2018 của Chính phủ sửa đổi, bổ sung, bãi bỏ một số quy định về điều kiện đầu tư, kinh doanh trong lĩnh vực quản lý nhà nước của Bộ Khoa học và Công nghệ (sau đây viết tắt là Nghị định số 154/2018/NĐ-CP) và một số quy định về kiểm tra chuyên ngành hoặc được thừa nhận theo quy định của Thông tư số 27/2007/TT-BKHCN ngày 31 tháng 10 năm 2007 của Bộ trưởng Bộ Khoa học và Công nghệ hướng dẫn việc ký kết và thực hiện các Hiệp định và thỏa thuận thừa nhận lẫn nhau kết quả đánh giá sự phù hợp (sau đây viết tắt là Thông tư số 27/2007/TT-BKHCN).
10.4.2. Chứng nhận hợp quy
10.4.2.1. Đối với áptômát phòng nổ sản xuất trong nước:
Chứng nhận hợp quy theo phương thức 5 “Thử nghiệm mẫu điền hình và đánh giá quá trình sản xuất; giám sát thông qua thử nghiệm mẫu lấy tại nơi sản xuất hoặc trên thị trường kết hợp với đánh giá quá trình sản xuất” tại cơ sở sản xuất áptômát phòng nổ theo quy định tại khoản 1 Điều 5 Thông tư số 28/2012/TT-BKHCN.
10.4.2.2. Đối với áptômát phòng nổ nhập khẩu:
Chứng nhận hợp quy theo phương thức 7 “Thử nghiệm, đánh giá lô sản phẩm, hàng hóa” hoặc phương thức 5 “Thử nghiệm mẫu điển hình và đánh giá quá trình sản xuất; giám sát thông qua thử nghiệm mẫu lấy tại nơi sản xuất hoặc trên thị trường kết hợp với đánh giá quá trình sản xuất” khi có yêu cầu từ phía cơ sở sản xuất nước ngoài theo quy định tại khoản 1 Điều 5 Thông tư số 28/2012/TT-BKHCN.
10.4.3. Thử nghiệm phục vụ việc chứng nhận phải được thực hiện bởi một trong các tổ chức sau:
10.4.3.1. Tổ chức thử nghiệm theo quy định tại Nghị định số 107/2016/NĐ-CP, Nghị định số 154/2018/NĐ-CP.
10.4.3.2. Tổ chức thử nghiệm được Bộ Công Thương chỉ định theo quy định tại Nghị định số 74/2018/NĐ-CP, Nghị định số 154/2018/NĐ-CP.
10.4.3.3. Tổ chức được thừa nhận theo quy định của Thông tư số 27/2007/TT-BKHCN.
10.4.4. Dấu hợp quy phải tuân thủ theo quy định tại khoản 2 Điều 4 của quy định về chứng nhận hợp chuẩn, chứng nhận hợp quy và công bố hợp chuẩn, công bố hợp quy ban hành kèm theo Thông tư số 28/2012/TT-BKHCN.
10.4.5. Trình tự, thủ tục và hồ sơ công bố hợp quy
Trình tự, thủ tục và hồ sơ công bố hợp quy đối với áptômát phòng nổ sản xuất trong nước và nhập khẩu thực hiện theo Thông tư số 36/2019/TT-BCT ngày 29 tháng 11 năm 2019 của Bộ trưởng Bộ Công Thương quy định quản lý chất lượng sản phẩm, hàng hóa thuộc trách nhiệm quản lý của Bộ Công Thương.
11. Yêu cầu về hồ sơ quản lý áptômát phòng nổ sử dụng trong mỏ hầm lò
11.1. Phải có đầy đủ các tài liệu kỹ thuật của nhà chế tạo, gồm: Hướng dẫn vận chuyển, sử dụng, bảo dưỡng và bảo quản. Trường hợp tài liệu kỹ thuật tiếng nước ngoài phải có bản dịch sang tiếng Việt được công chứng.
11.2. Tổ chức, cá nhân sử dụng áptômát phòng nổ phải lập hồ sơ quản lý từ khi bắt đầu đưa vào sử dụng bao gồm:
11.2.1. Thiết kế lựa chọn áptômát phòng nổ được phê duyệt.
11.2.2. Thiết kế thi công, vị trí lắp của áptômát phòng nổ.
11.2.3. Hồ sơ nghiệm thu sau lắp đặt.
11.2.4. Hồ sơ hoàn công lắp đặt.
11.2.5. Hồ sơ kiểm định, thí nghiệm hiệu chỉnh.
11.2.6. Quy trình vận hành.
11.2.7. Sổ ghi kết quả kiểm tra kỹ thuật an toàn và theo dõi tình trạng hoạt động của áptômát phòng nổ sử dụng trong mỏ hầm lò.
11.2.8. Nội quy an toàn, quy trình trong vận chuyển, lắp đặt, kiểm tra, vận hành, bảo dưỡng, sửa chữa và bảo quản áptômát phòng nổ sử dụng trong mỏ hầm lò.
12. Yêu cầu về kiểm tra trong quá trình vận hành
12.1. Kiểm tra, đánh giá các tính năng kỹ thuật được thực hiện theo QCVN QTĐ-5:2009/BCT, QCVN 01:2011/BCT, TCVN 4255:2008 (IEC 60529:2001), TCVN 6592-1:2009 (IEC 60947-1:2007), TCVN 6592-2:2009 (IEC 60947-2:2007), TCVN 10888-0:2015 (IEC 60079-0:2011), TCVN 10888- 1:2015 (IEC 60079-1:2014), TCVN 7079-7:2002, TCVN 7079-11:2002, TCVN 7079-17:2003, IEC 60079-7:2015, (IEC 60079-11:2011, IEC 60079-17:2013.
12.2. Các phương pháp kiểm tra:
12.2.1. Kiểm tra bằng trực quan: Kiểm tra xác định, mà không cần sử dụng tiếp cận bằng thiết bị hoặc các dụng cụ.
12.2.2. Kiểm tra trực tiếp: Kiểm tra những bộ phận ở bên ngoài bằng trực quan và xác định các khuyết tật bằng cách sử dụng dụng cụ, thiết bị. Kiểm tra trực tiếp không được mở vỏ hoặc cắt điện thiết bị.
12.2.3. Kiểm tra chi tiết: Kiểm tra trong đó bao gồm những nội dung của kiểm tra trực tiếp và xác định các khuyết tật bằng sử dụng dụng cụ, thiết bị. Kiểm tra chi tiết phải cắt điện và mở vỏ thiết bị.
13. Thời hạn và nội dung kiểm tra
13.1. Trách nhiệm và tần suất kiểm tra:
13.1.1. Người vận hành hoặc thợ điện thường trực kiểm tra hàng ca.
13.1.2. Phó Quản đốc cơ điện phân xưởng hoặc người được ủy quyền kiểm tra hàng tuần.
13.1.3. Trưởng phòng cơ điện hoặc người được ủy quyền kiểm tra hàng quý.
13.1.4.. Phó Giám đốc cơ điện hoặc những người được chỉ định kiểm tra hàng năm.
13.2. Nội dung kiểm tra thực hiện theo quy định tại Phụ lục B Quy chuẩn kỹ thuật này.
13.3. Kết quả kiểm tra phải được:
13.3.1. Ghi vào sổ kiểm tra theo quy định tại Phụ lục D của Quy chuẩn kỹ thuật này.
13.3.2. Kết luận về tình trạng kỹ thuật an toàn áptômát phòng nổ sử dụng trong mỏ hầm lò và chỉ cho phép đưa vào sử dụng hoặc tiếp tục vận hành khi đảm bảo kỹ thuật an toàn.
13.4. Khi phát hiện thiết bị không đảm bảo an toàn, người theo dõi, vận hành phải dừng hoạt động và báo cáo người có trách nhiệm để xử lý.
14. Yêu cầu về thử nghiệm và kiểm định
14.1. Theo các loại hình kiểm định, các phép thử nghiệm, kiểm định phải được thực hiện theo hướng dẫn kỹ thuật, phương pháp thử, quy trình thử nghiệm và các thiết bị thử nghiệm cho trong các Quy chuẩn và Tiêu chuẩn QCVN QTĐ-5:2009/BCT, QCVN 01:2011/BCT, TCVN 4255:2008 (IEC 60529:2001), TCVN 6592-1:2009 (IEC 60947-1:2007), TCVN 6592-2:2009 (IEC 60947-2:2007), TCVN 10888-0:2015 (IEC 60079-0:2011), TCVN 10888-1:2015 (IEC 60079-1:2014), TCVN 7079-7:2002, TCVN 7079-11:2002, TCVN 7079-17:2003, IEC 60079-7:2015, (IEC 60079-11:2011, IEC 60079-17:2013.
14.1.1. Các hạng mục và thông số cụ thể của các phép kiểm tra, thử nghiệm được thực hiện theo hướng dẫn của các tiêu chuẩn kỹ thuật được áp dụng và theo tài liệu hướng dẫn của nhà chế tạo.
14.1.2. Các phương tiện đo (đồng hồ đo U, I, f, nhiệt độ, độ ẩm; phương tiện đo điện trở cách điện, nồng độ khí thải, khí mêtan, hydro) dùng trong các phép kiểm tra, thử nghiệm tại Quy chuẩn kỹ thuật này phải được kiểm định, hiệu chuẩn theo pháp luật đo lường.
14.2. Báo cáo, đánh giá kết quả thử nghiệm, kiểm định
Báo cáo, đánh giá kết quả thử nghiệm, kiểm định phải chỉ ra cụ thể kết quả kiểm tra, thử nghiệm đạt hoặc không đạt các yêu cầu kỹ thuật trong các tiêu chuẩn, Quy chuẩn kỹ thuật áp dụng.
14.2.1. Thử nghiệm, kiểm định đạt yêu cầu khi: Đáp ứng các yêu cầu kỹ thuật của các tiêu chuẩn, Quy chuẩn kỹ thuật được áp dụng tại Bảng C Phụ lục C Quy chuẩn kỹ thuật này.
14.2.2. Thử nghiệm, kiểm định không đạt yêu cầu khi: Không đáp ứng một trong các yêu cầu kỹ thuật của các tiêu chuẩn, Quy chuẩn kỹ thuật được áp dụng tại Bảng C Phụ lục C Quy chuẩn kỹ thuật này.
IV. TỔ CHỨC THỰC HIỆN
15. Trách nhiệm của tổ chức, cá nhân
15.1. Các tổ chức, cá nhân có liên quan đến sản xuất, nhập khẩu, thử nghiệm, kiểm định và sử dụng áptômát phòng nổ trong mỏ hầm lò phải tuân thủ theo các quy định của Quy chuẩn kỹ thuật này.
15.2. Tổ chức, cá nhân sử dụng áptômát phòng nổ sử dụng trong mỏ hầm lò phải:
15.2.1. Thường xuyên kiểm tra áptômát phòng nổ theo quy định, kịp thời báo cáo cáp có thẩm quyền khi phát hiện sự cố, biểu hiện mất an toàn trong quá trình vận hành.
15.2.2. Sửa chữa, bảo dưỡng, thử nghiệm, kiểm định áptômát phòng nổ theo quy định tại Quy chuẩn kỹ thuật này và các yêu cầu của văn bản pháp luật khác có liên quan.
15.2.3. Lập hồ sơ theo dõi, quản lý và sử dụng an toàn áptômát phòng nổ sử dụng trong mỏ hầm lò theo quy định tại Quy chuẩn kỹ thuật này.
15.3. Các tổ chức thử nghiệm, kiểm định
Tổ chức thử nghiệm, kiểm định phải thực hiện các nội dung quy định tại Quy chuẩn kỹ thuật này và phải chịu trách nhiệm về các kết quả thử nghiệm, kiểm định theo quy định hiện hành.
16. Tổ chức thực hiện
16.1. Cục Kỹ thuật an toàn và Môi trường công nghiệp, Bộ Công Thương có trách nhiệm:
16.1.1. Hướng dẫn, tổ chức triển khai thực hiện các quy định tại Quy chuẩn kỹ thuật này.
16.1.2. Thanh tra, kiểm tra việc thực hiện các nội dung được quy định tại Quy chuẩn kỹ thuật này đối với các tổ chức có liên quan tới áptômát phòng nổ sử dụng trong hầm lò.
16.2. Sở Công Thương các tỉnh, thành phố theo chức năng, quyền hạn tổ chức thanh tra, kiểm tra việc thực hiện các nội dung được quy định tại Quy chuẩn kỹ thuật này.
17. Hiệu lực thi hành
17.1. Quy chuẩn kỹ thuật này có hiệu lực thi hành kể từ ngày 01 tháng 7 năm 2022.
17.2. Trong trường hợp các văn bản quy phạm pháp luật, quy chuẩn, tiêu chuẩn được dẫn chiếu tại Quy chuẩn kỹ thuật này được sửa đổi, bổ sung, thay thế thì áp dụng theo các quy định của văn bản mới đó.
17.3. Tổ chức, cá nhân trong quá trình thực hiện Quy chuẩn kỹ thuật này, trường hợp có phát sinh khó khăn, vướng mắc trong quá trình thực hiện đề nghị phản ánh về Bộ Công Thương để xem xét, giải quyết./.
Phụ lục A
MÃ HS CỦA DANH MỤC SẢN PHẨM HÀNG HÓA THUỘC PHẠM VI ĐIỀU CHỈNH CỦA QUY CHUẨN
Quy định tại Thông tư số 33/2017/TT-BCT ngày 28 tháng 12 năm 2017 của Bộ trưởng Bộ Công Thương sửa đổi, bổ sung mã số HS trong Danh mục ban hành kèm theo Thông tư số 29/2016/TT-BCT ngày 13 tháng 12 năm 2016 của Bộ trưởng Bộ Công Thương quy định Danh mục sản phẩm, hàng hóa có khả năng gây mất an toàn thuộc trách nhiệm quản lý của Bộ Công Thương.
|
Tên sản phẩm, hàng hóa |
Mã HS |
|
Áptômát phòng nổ |
8535.21.10 |
|
8535.21.90 |
|
|
8535.29.00 |
Phụ lục B
NỘI DUNG KIỂM TRA
I. Kiểm tra hàng ca:
Nội dung kiểm tra hàng ca theo quy định tại Bảng B1.
Bảng B1. Quy định nội dung kiểm tra hàng ca
|
STT |
Nội dung kiểm tra |
Phương pháp kiểm tra |
Kết quả kiểm tra cho phép vận hành |
|
1 |
Vị trí áptômát |
Bằng trực quan, trực tiếp |
- Đảm bảo theo quy định tại Điều 5.2 của quy chuẩn kỹ thuật này. - Không có nguy cơ đá rơi và nước nhỏ giọt. |
|
2 |
Lắp đặt |
Bằng trực quan, trực tiếp |
Lắp đặt chắc chắn trên móng hoặc giá đỡ tin cậy, vẹt gỗ hoặc bê tông, không bị xô lệch rung động trong vận hành. Các đường cáp vào ra đúng kỹ thuật không bị kéo căng, gập gẫy. |
|
3 |
Tình trạng bên ngoài của vỏ |
Bằng trực quan, trực tiếp |
Nguyên vẹn không có các hư hỏng biến dạng vĩnh cửu |
|
4 |
Tiếp đất |
Bằng trực quan, trực tiếp |
Các bộ phận tiếp đất của áptômát gồm: - Thanh tiếp đất chính của cụm thiết bị lắp đặt áptômát. - Các dây tiếp đất của các bộ phận, các cổ cáp vào, ra - Dây tiếp đất của rơ le bảo vệ rò điện cách tiếp đất chính ≥ 5m. Phải có đầy đủ, được bắt chắc chắn và tin cậy. |
|
5 |
Kiểm tra các thông số vận hành của áptômát thông qua bảng hiển thị hoặc các đồng hồ chỉ thị. Tiếng kêu của áptômát |
Bằng trực quan, trực tiếp |
Các thông số vận hành gồm: Điện áp, dòng điện, điện trở rò của mạng và các thông số khác trước khi vận hành tiếp tục. Xem xét các thông báo về sự cố đã xảy ra trong ca trước (nếu có). Tiếng kêu êm bình thường không có tiếng kêu, rung động hoặc va đập lạ. |
|
6 |
Kiểm tra tác động của rơ le bảo vệ rò điện, khóa liên động rò điện |
Bằng trực quan, trực tiếp |
- Thử tác động của nút bảo vệ rò. - Thử kiểm tra hoạt động của khóa liên động rò điện. - Ghi kết quả kiểm tra vào bảng kết quả thử tác động rơ le rò. |
|
7 |
Kiểm tra sơ đồ nguyên lý cung cấp điện, nội quy an toàn và quy trình vận hành của áptômát phòng nổ |
Bằng trực quan, trực tiếp |
- Phải có sơ đồ nguyên lý cung cấp điện chính xác rõ ràng được cập nhật theo hiện trạng ở vị trí dễ quan sát và có các thông số bảo vệ của áptômát trong sơ đồ cung cấp điện. - Phải có nội quy, quy trình vận hành rõ ràng dễ đọc, dễ quan sát. |
|
8 |
Kiểm tra thiết bị an toàn |
Bằng trực quan, trực tiếp |
Phải có đầy đủ trong trạng thái sẵn sàng làm việc tốt: thùng cát chống cháy, các bình bọt chống cháy, xẻng và phương tiện chữa cháy khác, hàng rào ngăn cách an toàn. |
|
9 |
Kiểm tra cơ cấu liên động |
Bằng trực quan, trực tiếp |
Các cơ cấu liên động để thao tác của nắp mở nhanh của áptômát phải còn nguyên bản không bị cong vênh, hư hỏng làm mất tính năng liên động. |
|
10 |
Kiểm tra các mối ghép phòng nổ |
Bằng trực quan, trực tiếp |
- Tất cả các mối ghép phòng nổ (nắp mở nhanh, nắp mở chậm, các mặt bích, trục xoay) phải còn nguyên vẹn không bị biến dạng, cong vênh vĩnh cửu, phải có đầy đủ các bu lông đúng chủng loại, có vòng đệm vênh và được vặn chặt chắc chắn. Không được sử dụng các bu lông không đúng chủng loại. - Không cho vận hành áptômát khi có các mối ghép phòng nổ thiếu bất kỳ các bu lông bị hoặc lỏng. |
|
11 |
Kiểm tra các cổ cáp vào, ra |
Bằng trực quan, trực tiếp |
- Các cổ dẫn cáp vào ra phải đủ chi tiết bộ phận được vặn chặt, loại cáp sử dụng phải phù hợp với vòng đệm cáp bằng cao su và phải được ép chặt. - Dây tiếp địa của cổ cáp phải được bắt đúng kỹ thuật. - Cáp lắp đặt phải không được chịu lực dọc hoặc lực uốn theo cáp. |
|
12 |
Kiểm tra các phần tử xuyên sáng cho màn hiển thị hoặc tín hiệu |
Bằng trực quan, trực tiếp |
Các phần tử xuyên sáng để quan sát thông số vận hành hoặc thông báo tín hiệu phải còn nguyên vẹn không được sứt, nứt, vỡ, biến dạng vĩnh cửu và được kẹp chặt đúng vị trí đảm bảo chức năng quan sát. |
|
13 |
Vệ sinh, kiểm tra các tấm nhãn của máy biến áp |
Bằng trực quan, trực tiếp |
- Vệ sinh sạch sẽ bụi bẩn bám bên ngoài phía trên của thành vỏ. - Các tấm ghi nhãn phải đầy đủ nguyên vẹn, sạch sẽ dễ đọc và không bị hư hỏng, mờ các thông số, không nhìn được rõ ràng? |
II. Kiểm tra hàng tuần:
Ngoài nội dung các công việc kiểm tra hàng ca phải kiểm tra thêm các nội dung theo quy định tại Bảng B2.
Bảng B2. Quy định nội dung kiểm tra hàng tuần
|
STT |
Nội dung kiểm tra |
Phương pháp kiểm tra |
Kết quả kiểm tra cho phép vận hành |
|
1 |
Mối ghép phòng nổ các nắp mở của áptômát |
Trực tiếp |
- Kiểm tra khe hở mối ghép phòng nổ theo chu vi của mối ghép, khe hở phải đảm bảo yêu cầu kỹ thuật. - Vặn chặt các bu lông bị lỏng. |
|
2 |
Mối ghép phòng nổ các khoang đấu cáp của áptôrhát |
Trực tiếp |
- Kiểm tra khe hở mối ghép phòng nổ theo chu vi của mối ghép, khe hở phải đảm bảo yêu cầu kỹ thuật. - Vặn chặt các bu lông bị lỏng. |
|
3 |
Các cổ cáp vào, ra mạch lực và mạch điều khiển |
Trực tiếp |
Vặn chặt tất cả các bu lông của cổ cáp và các cơ cấu chống trôi. |
III. Kiểm tra hàng quý:
Ngoài nội dung các công việc kiểm tra hàng tuần phải kiểm tra thêm các nội dung theo quy định tại Bảng B3.
Bảng B3. Quy định nội dung kiểm tra hàng quý
|
STT |
Nội dung kiểm tra |
Phương pháp kiểm tra |
Kết quả kiểm tra cho phép vận hành |
|
1 |
Mối ghép phòng nổ các nắp mở của áptômát |
Trực tiếp |
Vặn chặt tất cả các bu lông hoặc cơ cấu bắt chặt phòng nổ, kiểm tra khe hở mối ghép phòng nổ theo chu vi của mối ghép, khe hở phải đảm bảo yêu cầu kỹ thuật. |
|
2 |
Mối ghép phòng nổ các khoang đấu cáp của áptômát |
Trực tiếp |
|
|
3 |
Các cổ cáp vào, ra mạch lực và mạch điều khiển |
Trực tiếp |
Vặn chặt tất cả các bu lông của cổ cáp và các cơ cấu chống trôi. |
|
4 |
Hệ thống tiếp đất |
Trực tiếp |
- Kiểm tra củng cố hệ thống tiếp đất và đo điện trở tiếp đất. - Giá trị điện trở tiếp đất đảm bảo Rtđ ≤ 2 Ω, đo tại bất kỳ vị trí nào. |
|
5 |
Hệ thống bảo vệ |
Trực tiếp |
Kiểm tra hoạt động bảo vệ của các hệ thống bảo vệ của áptômát. |
IV. Kiểm tra hàng năm:
Ngoài nội dung các công việc kiểm tra hàng quý phải kiểm tra thêm các nội dung theo quy định tại Bảng B4.
Bảng B4. Quy định nội dung kiểm tra hàng năm
|
STT |
Nội dung kiểm tra |
Phương pháp kiểm tra |
Kết quả kiểm tra cho phép vận hành |
|
1 |
Các mối ghép dạng trục xoay (cơ cấu liên động, nút bấm, trục tay quay) |
Trực tiếp |
Vặn chặt tất cả các bu lông hoặc cơ cấu bắt chặt phòng nổ, kiểm tra khe hở - mối ghép phòng nổ theo chu vi của mối ghép, khe hở phải đảm bảo yêu cầu kỹ thuật. |
|
2 |
Các mối ghép của phần tử xuyên sáng, tín hiệu. |
Trực tiếp |
Kiểm tra khe hở mối ghép phòng nổ theo chu vi của mối ghép, khe hở phải đảm bảo yêu cầu kỹ thuật. |
14.3. Kết quả kiểm tra phải được ghi vào sổ kiểm tra theo mẫu đã được phê duyệt.
14.4. Kết quả kiểm tra phải được xử lý và đưa ra các quyết định cần thiết đảm bảo máy hoạt động an toàn.
14.5. Khi phát hiện áptômát không đảm bảo an toàn người theo dõi, vận hành phải dừng hoạt động và báo cáo người có trách nhiệm để xử lý.
14.6. Kết quả kiểm tra
Sau khi kiểm tra phải đưa ra kết luận về tình trạng kỹ thuật an toàn của áptômát phòng nổ sử dụng trong mỏ hầm lò và chỉ cho phép đưa vào sử dụng hoặc tiếp tục vận hành những thiết bị đảm bảo kỹ thuật an toàn.
Phụ lục C
NỘI DUNG THỬ NGHIỆM, KIỂM ĐỊNH
I. Nội dung thử nghiệm, kiểm định theo quy định tại Bảng C
Bảng C. Quy định nội dung thử nghiệm, kiểm định
|
STT |
Nội dung thử nghiệm, kiểm định |
Kiểm định lần đầu |
Kiểm đinh định kỳ |
Kiểm định bất thường |
|
I |
Kiểm tra, thử nghiệm tính năng phòng nổ của áptốmát đối với dạng bảo vệ “d’ và “i” |
|
|
|
|
1 |
Kiểm tra các loại mối ghép phòng nổ: - Độ nhấp nhô của bề mặt, vết rò rỉ, xước, rãnh,… vv. - Chiều dài mối ghép. - Khe hở mối ghép. - Khe hở từ bên trong đến lỗ bắt bu lông. - Mối ghép ren. - Mối ghép phần tử xuyên sáng. - Bảo vệ môi trường của mối ghép. |
√ |
√ |
√ |
|
2 |
Kiểm tra gioăng, đệm mối ghép |
√ |
√ |
√ |
|
3 |
Vật liệu chế tạo vỏ phòng nổ |
- |
- |
X |
|
4 |
Kiểm tra độ bền chịu nhiệt của các vật liệu chế tạo vỏ bằng Plastic |
- |
- |
X |
|
5 |
Kiểm tra điện trở bề mặt của vật liệu Plastic |
- |
- |
X |
|
6 |
Kiểm tra nạp tĩnh điện của vật liệu Plastic |
- |
- |
X |
|
7 |
Kiểm tra các cơ cấu liên động |
√ |
√ |
√ |
|
8 |
Kiểm tra sự nguyên vẹn và lắp đặt đúng của các phễu cáp, cổ cáp vào, ra mạch lực và mạch điều khiến |
√ |
√ |
√ |
|
9 |
Kiểm tra sự kẹp chặt và độ kín của các cổ cáp, phễu cáp mạch lực và mạch điều khiển |
- |
- |
X |
|
10 |
Kiểm tra chịu va đập của phần tử xuyên sáng, vật liệu Plastic |
√ |
- |
X |
|
11 |
Thử nghiệm sốc nhiệt cho phần tử xuyên sáng |
- |
- |
X |
|
12 |
Kiểm tra sự nguyên vẹn của hệ thống các cực tiếp đất |
√ |
√ |
√ |
|
13 |
Kiểm tra sự nguyên vẹn của các phần tử lấp chỗ trống (phần tử Ex) |
√ |
√ |
x |
|
14 |
Thử nghiệm xác định áp suất nố chuẩn |
- |
- |
X |
|
15 |
Thử nghiệm quá áp suất bên trong (độ bền Cơ học) của vỏ |
- |
- |
X |
|
16 |
Thử nghiệm không lan truyền sự cháy của vụ nổ từ bên trong ra bên ngoài |
- |
- |
X |
|
17 |
Thử nghiệm mômen xoắn cho các cọc đấu dây và ống dẫn cáp |
√ |
- |
X |
|
18 |
Kiểm tra khe hở và khoảng cách rò giữa các phần dẫn điện trực tiếp |
√ |
- |
X |
|
19 |
Thử nghiệm các mạch điều khiển an toàn tia lửa |
- |
- |
X |
|
20 |
Kiểm tra sự, nguyên vẹn của mạch điều khiển an toàn tia íửa |
√ |
√ |
X |
|
21 |
Kiểm tra tình trạng bên ngoài của vỏ thiết bị |
√ |
√ |
√ |
|
II |
Kiểm tra, thử nghiệm các tính năng kỹ thuật điện của áptômát |
|
|
|
|
1 |
Đo điện trở cách điện các bộ phận của áptômát |
√ |
√ |
√ |
|
2 |
Thử độ bền cách điện của các bộ phận của áptômát |
√ |
- |
√ |
|
3 |
Kiểm tra, thử nghiệm sự hoạt động tin cậy của các phần cơ học, liên động của áptômát |
√ |
√ |
√ |
|
4 |
Kiểm tra hoạt động của hệ thống thử bảo vệ tác động và hệ thống tín hiệu của áptômát |
√ |
√ |
√ |
|
5 |
Kiểm tra điện trở tiếp xúc của các tiếp điểm mạch lực |
√ |
√ |
√ |
|
6 |
Kiểm tra các máy biến áp điều khiển và đo lường (Tu) |
√ |
√ |
√ |
|
7 |
Kiểm tra các máy biến dòng điện điều khiển và đo lường (Ti) |
√ |
√ |
√ |
|
8 |
Kiểm tra, thử nghiệm các đặc tính bảo vệ của hệ thống (quá tải, ngắn mạch, thấp áp, mất pha) |
√ |
√ |
√ |
|
9 |
Kiểm tra, thử nghiệm các đặc tính tác động của hệ thống bảo vệ rò điện và hệ thống khóa liên động rò điện |
√ |
√ |
√ |
|
10 |
Kiểm tra, thử nghiệm xác định thời gian cắt bảo vệ của áptômát |
√ |
- |
√ |
|
11 |
Kiểm tra thiết bị bảo vệ quá áp chuyển mạch của áptômát |
√ |
√ |
√ |
|
12 |
Kiểm tra các thiết bị đo lường |
√ |
√ |
√ |
|
Chú dẫn: - Kí hiệu “√’ chỉ hạng mục kiểm tra, thử nghiệm bắt buộc. - Kí hiệu “x chỉ hạng mục kiểm tra, thử nghiệm khi công tác sửa chữa, đại tu có sự thay đổi của các cấu trúc và thông số của mạch điện ảnh hưởng tới các đặc tính kỹ thuật và mức độ của dạng bảo vệ nổ hoặc được thực hiện theo yêu cầu. - Kí hiệu “-“ chỉ hạng mục không cần kiểm tra, thử nghiệm. |
||||
Phụ lục D
SỔ GHI KẾT QUẢ KIỂM TRA KỸ THUẬT AN TOÀN VÀ THEO DÕI TÌNH TRẠNG HOẠT ĐỘNG CỦA ÁPTÔMÁT PHÒNG NỔ SỬ DỤNG TRONG MỎ HẦM LÒ
Bộ phận, Công trường, Phân xưởng:.................................. ....................................................................................................
Đơn vị: .......................................................... ....
Bắt đầu ghi sổ từ ngày ........................ tháng.............. năm...
Kết thúc ghi sổ vào ngày......................... tháng ............... ..năm...
Phần I
|
STT |
Các hạng mục kiểm tra |
Ngày, tháng, năm |
|||
|
1 |
2 |
n |
31 |
||
|
1 |
Vị trí áptômát |
|
|
|
|
|
2 |
Kiểm tra công tác lắp đặt |
|
|
|
|
|
3 |
Kiểm tra tình trạng bên ngoài của vỏ |
|
|
|
|
|
4 |
Kiểm tra tiếp đất |
|
|
|
|
|
5 |
Kiểm tra các thông số vận hành của áptômát thông qua bảng hiển thị hoặc các đồng hồ chỉ thị và kiểm tra tiếng kêu của áptômát |
|
|
|
|
|
6 |
Kiểm tra tác động của rơ le bảo vệ rò điện, khóa liên động rò điện |
|
|
|
|
|
7 |
Kiểm tra sơ đồ cung cấp điện, nội quy an toàn và quy trình vận hành thiết bị |
|
|
|
|
|
8 |
Kiểm tra thiết bị an toàn |
|
|
|
|
|
9 |
Kiểm tra cơ cấu liên động |
|
|
|
|
|
10 |
Kiểm tra các mối ghép phòng nổ |
|
|
|
|
|
11 |
Kiểm tra các cổ cáp vào, ra mạch lực và mạch điều khiển |
|
|
|
|
|
12 |
Kiểm tra các mối ghép của phần tử xuyên sáng, tín hiệu |
|
|
|
|
|
13 |
Vệ sinh, kiểm tra các tấm nhãn của áptômát |
|
|
|
|
|
14 |
Kiểm tra mối ghép phòng nổ các nắp mở của áptômát |
|
|
|
|
|
15 |
Kiểm tra mối ghép phòng nổ các khoang đấu cáp của áptômát |
|
|
|
|
|
16 |
Kiểm tra hệ thống bảo vệ |
|
|
|
|
|
17 |
Kiểm tra mối ghép dạng trục xoay (cơ cấu liên động, nút bấm, trục tay quay) |
|
|
|
|
|
18 |
Chữ ký của người kiểm tra |
|
|
|
|
|
19 |
Chữ ký của người giám sát |
|
|
|
|
Phần II
|
Ngày, tháng |
Ghi các hỏng hóc của các cơ cấu hoặc các thiết bị |
Phương pháp khắc phục các bộ phận hư hỏng, thời gian thực hiện. Họ, tên người thực hiện |
Đánh giá về thực hiện khắc phục hư hỏng. Chữ ký của người thực hiện và người quản lý |
|
1 |
2 |
3 |
4 |
|
|
|
|
|
|
|
|
|
|
|
|
|
|
|
Hướng dẫn ghi sổ
Phần I: Ghi chép tình trạng của các chi tiết, thiết bị, cơ cấu của áptômát sau khi kiểm tra.
- Cột 3 ghi theo thứ tự từng ngày, tháng. Trong cột ghi kí hiệu:
“T” - Chỉ chi tiết, cụm chi tiết còn tốt;
“H” - Chỉ chi tiết, cụm chi tiết hỏng;
“CKT” - Chỉ chi tiết, cụm chi tiết chưa được kiểm tra.
- Nhận xét ................................................... (của người được giao nhiệm vụ kiểm tra ghi).
Phần II: Ghi các hỏng hóc (chi tiết hỏng, mức độ hỏng hóc và phương pháp khắc phục chúng).
Người được giao nhiệm vụ tiến hành kiểm tra ghi vào cột 2 tính chất và mức độ hỏng của các bộ phận và đánh dấu kí hiệu “H” vào Phần I.
Trong cột 3, Người quản lý ghi phương án khắc phục chi tiết, bộ phận hỏng và người chịu trách nhiệm thực hiện các phương án khắc phục.
Ghi chú:
a) Người chịu trách nhiệm về các sổ này là cán bộ kỹ thuật có chuyên môn về cơ điện mỏ.
b) Sổ phải được đánh số trang và đóng dấu giáp lai của mỏ.
c) Kết quả kiểm tra hàng quý và hàng năm không ghi vào sổ mà được lập thành biên bản và ghi đầy đủ các thông số kỹ thuật an toàn kiểm tra được. Phó giám đốc phụ trách cơ điện phải nhận xét và ký đóng dấu./.
Bạn chưa Đăng nhập thành viên.
Đây là tiện ích dành cho tài khoản thành viên. Vui lòng Đăng nhập để xem chi tiết. Nếu chưa có tài khoản, vui lòng Đăng ký tại đây!
Bạn chưa Đăng nhập thành viên.
Đây là tiện ích dành cho tài khoản thành viên. Vui lòng Đăng nhập để xem chi tiết. Nếu chưa có tài khoản, vui lòng Đăng ký tại đây!