- Tổng quan
- Nội dung
- Tiêu chuẩn liên quan
- Lược đồ
- Tải về
Tiêu chuẩn Việt Nam TCVN 6946:2001 Các phụ liệu dùng làm giấy cuốn điếu thuốc lá
| Số hiệu: | TCVN 6946:2001 | Loại văn bản: | Tiêu chuẩn Việt Nam |
| Cơ quan ban hành: | Bộ Khoa học, Công nghệ và Môi trường | Lĩnh vực: | Công nghiệp |
|
Ngày ban hành:
Ngày ban hành là ngày, tháng, năm văn bản được thông qua hoặc ký ban hành.
|
28/12/2001 |
Hiệu lực:
|
Đã biết
|
| Người ký: | Đang cập nhật |
Tình trạng hiệu lực:
Cho biết trạng thái hiệu lực của văn bản đang tra cứu: Chưa áp dụng, Còn hiệu lực, Hết hiệu lực, Hết hiệu lực 1 phần; Đã sửa đổi, Đính chính hay Không còn phù hợp,...
|
Đã biết
|
TÓM TẮT TIÊU CHUẨN VIỆT NAM TCVN 6946:2001
Nội dung tóm tắt đang được cập nhật, Quý khách vui lòng quay lại sau!
Tải tiêu chuẩn Việt Nam TCVN 6946:2001
TIÊU CHUẨN VIỆT NAM
TCVN 6946 : 2001
CÁC PHỤ LIỆU DÙNG LÀM GIẤY CUỐN ĐIẾU THUỐC LÁ, GIẤY CUỐN ĐẦU LỌC VÀ GIẤY GHÉP ĐẦU LỌC GỒM CẢ VẬT LIỆU CÓ VÙNG THẤU KHÍ ĐỊNH HƯỚNG - XÁC ĐỊNH ĐỘ THẤU KHÍ
Materials used as cigarette paper, filter plug wrap and filter joining paper including materials having an oriented permeable zone - Determination of air permeability
1. Phạm vi áp dụng
Tiêu chuẩn này quy định phương pháp xác định độ thấu khí (AP).
Tiêu chuẩn này áp dụng cho các phụ liệu sử dụng trong sản xuất thuốc lá điếu như giấy cuốn điếu, giấy cuốn đầu lọc, giấy ghép đầu lọc, gồm cả các vật liệu có vùng thấu khí định hướng, mà độ thấu khí đo được vượt quá 10 cm3/min.cm2 ở áp suất là 1 kPa.
Chú thích - Để đánh giá độ thấu khí của các vật liệu nằm ngoài phạm vi áp dụng của tiêu chuẩn này, xem chú thích trong phần 5.1 và chú thích 3 trong 7.5.1.
2. Tiêu chuẩn viện dẫn
TCVN 5078 : 2001 (ISO 3402 : 1999) Thuốc lá và sản phẩm thuốc lá - Môi trường bảo ôn và thử nghiệm.
ISO 187 Paper, board and pulps - Standard atmosphere for conditioning and testing and procedure for monitoring the test atmosphere and conditioning of samples (Giấy, cactông và bột giấy - Môi trường chuẩn để điều hòa và thử ngiệm).
3. Định nghĩa
Trong tiêu chuẩn này áp dụng các định nghĩa sau:
3.1 Độ thấu khí [ari permeability (AP)]: Dòng khí (cm3/min) đi qua 1 cm2 bề mặt của mẫu thử ở áp suất 1,00 kPa.
Chú thích - Đơn vị đo độ thấu khí là cm3/min.cm2 ở áp suất 1 kPa.
3.2 Áp suất đo (measuring pressure): Chênh lệch áp suất giữa hai bề mặt của mẫu thử trong quá trình đo.
3.3 Độ hở khí (leakage): Dòng khí không định trước được hút từ môi trường xung quanh hoặc lẫn vào từ bề mặt hàn kín của bộ kẹp mẫu thử và từ một nơi nào khác.
4. Nguyên tắc
Mẫu thử được giữ trong một dụng cụ thích hợp. Áp suất chênh lệch được đặt đi qua mẫu thử. Đo dòng khí đi qua mẫu thử.
Nguyên lý của phép đo được minh họa trong hình 1.

| 1 Luồng không khí | 5 Diện tích bề mặt thử 2 cm2 |
| 2 Vùng đục lỗ (nếu có) | 6 Mặt trong |
| 3 Mẫu thử | 7 Mặt ngoài |
| 4 Hướng của dòng khí | 8 Luồng không khí |
Hình 1 – Nguyên lý của phép đo
Dòng khí đi qua mẫu thử có thể được tạo ra bằng cách đặt áp suất dương hoặc âm lên một mặt của mẫu thử. Hướng của dòng khí đi qua mẫu thử phải là hướng sẽ xuất hiện khi mẫu đó được dùng trong sản phẩm cuối cùng, nghĩa là, hướng từ mặt ngoài vào mặt trong.
Chú thích
1) Nếu dòng khí được tạo ra bằng áp suất dương, thì thiết bị sử dụng phải có một bộ lọc để bảo vệ mẫu thử khỏi bị nhiễm bẩn bởi dầu, nước và bụi.
2) Đối với một số loại vật liệu, dòng khí đi qua mẫu thử có thể có tương quan không tuyến tính với sự giảm của áp suất đặt lên mẫu. Do đó, phải đo dòng khí đi qua mẫu thử ở 2 áp suất khác nhau nhằm xác định xem mối tương quan giữa dòng khí và áp suất đặt lên giấy có tuyến tính hay không. Nếu như tương quan đó không tuyến tính, thì phép đo dòng khí lần hai được ghi ở áp suất 0,25 kPa nhằm đánh giá một cách đầy đủ hơn về vật liệu.
3) Tùy thuộc vào tốc độ dòng thể tích được đo ở mặt trước hoặc mặt sau mẫu thử mà có sự chênh lệch ở cả hai mặt khoảng 1% tốc độ dòng khí theo giá trị lý thuyết ở tại tâm mẫu thử.
5. Thiết bị, dụng cụ
5.1 Bộ giữ ẩm để kẹp mẫu thử, không bị hở khí, bề mặt mẫu được đo có hình chữ nhật diện tích 2,00 cm2 ± 0,02 cm2 với các bán kính góc không lớn hơn 0,1 cm. Chiều dài (L) phải đạt 2,000 ± 0,005 cm (xem hình 2).
Chú thích - Trong trường hợp cần đo độ thấu khí của các loại giấy đặc biệt không nằm trong phạm vi áp dụng của tiêu chuẩn này, thì cần phải có các bộ giữ ẩm đặc biệt với các diện tích bề mặt khác.

1 Mẫu thử
2 Đường tâm của mẫu thử
3 Diện tích bề mặt đo của bộ giữ mẫu thử
W là chiều rộng của bề mặt mẫu thử
L là chiều dài của bề mặt mẫu thử (xem 5.1)
Hình 2 – Cách đặt mẫu thử đối với vật liệu có độ thấu khí phân bố đồng đều
5.2 Bộ điều chỉnh khí nén, để tạo ra dòng khí có thể điều chỉnh được áp suất giữa hai mặt của bộ giữ mẫu.
5.3 Đồng hồ đo áp, thích hợp để đo chênh lệch áp suất tới tối thiểu 0,001 kPa, có sai số tương đối không quá 2% giá trị đo được trong phạm vi đo.
5.4 Đồng hồ đo dòng khí, thích hợp để đo dòng khí với sai số tương đối không quá 5% giá trị đo được trong phạm vi đo.
5.5 Buồng bảo ôn, có khả năng duy trì các điều kiện quy định trong ISO 187. Xem thêm 7.2.
6. Lấy mẫu
Trên cơ sở thống kê, lấy mẫu đại diện cho mật độ mẫu cần đánh giá.
Các mẫu không được có các khuyết tật nhìn thấy được và không tạo nên khuyết tật mà có thể ảnh hưởng đến phép đo.
7. Cách tiến hành
7.1 Kiểm tra độ hở của bộ giữ mẫu thử
Quy trình cần thực hiện nêu trong phụ lục A. Hàng ngày, tiến hành kiểm tra độ hở trước khi đo mẫu. Độ hở khí giữa hai mặt đối tiếp của bộ giữ mẫu thử không được lớn hơn 2,0 cm3/min
Chú thích - Một số người sử dụng yêu cầu xác định ảnh hưởng độ hở khí của bề mặt tham gia vào dòng khí đo được qua các mẫu giấy đặc biệt. Trong trường hợp đó, nếu cần đo độ hở khí của mẫu thử đã được đặt vào vị trí thử, thì áp dụng quy trình nêu trong phụ lục C. Giá trị độ hở khí của mẫu thử nên được xác định và phải nêu trong báo cáo thử nghiệm.
7.2 Chuẩn bị mẫu thử
Từ mẫu đã lấy phù hợp với điều 6, chọn ngẫu nhiên đủ số lượng mẫu thử yêu cầu và chọn thêm 3 mẫu thử để sử dụng như mô tả trong 7.5.1 chú thích 3.
Nếu cần, sửa các mẫu thử để thuận tiện cho việc thử (cắt theo kích thước cần thiết, loại bỏ các nếp gấp, chỗ nối v.v.).
Trước khi đo, bảo ôn các mẫu thử ở nhiệt độ 23oC ± 1oC và độ ẩm tương đối 50% ± 2% theo ISO 187 : 1990. Các mẫu cần được đặt sao cho luồng khí điều hòa dễ dàng thổi qua toàn bộ bề mặt các mẫu.
CHÚ Ý - Ở những phòng thử nghiệm không có khả năng áp dụng các điều kiện nêu trong ISO 187 : 1990, thì có thể áp dụng các điều kiện nhiệt độ 22oC ± 1oC và độ ẩm tương đối của không khí 60% ± 2% nêu trong TCVN 5078 : 2001 (ISO 3402). Khi đó phải có chú thích trong báo cáo thử nghiệm.
Chú thích - Với mẫu ở dạng cuộn hoàn toàn, khi luồng không khí điều hòa không thể tiếp xúc được tất cả bề mặt mẫu, thì phải kéo dài thời gian điều hòa. Thời gia kéo dài bao nhiêu cần được xác định bằng thực tiễn và kinh nghiệm.
Thời gian bảo ôn không nêu trong tiêu chuẩn này nhưng phải được nêu trong báo cáo thử nghiệm.
7.3 Hiệu chuẩn
Hiệu chuẩn thiết bị áp dụng các chuẩn hiệu chuẩn và quy trình nêu trong phụ lục B.
7.4 Lồng kẹp mẫu thử
Đặt tất cả các mẫu giấy vào bộ giữ mẫu sao cho dòng khí đo sẽ truyền từ mặt ngoài vào mặt trong giấy như khi giấy đó được dùng trong kết cấu của sản phẩm cuối cùng.
Cách đặt mẫu thử trong bộ giữ mẫu được minh họa ở hình 1.
7.4.1 Vật liệu có độ thấu khí phân bố đồng đều
Nếu có thể, đặt mẫu sao cho tâm của bề mặt hẹp nhất (W) của mặt mẫu thử nằm tại thời điểm giữa của dụng cụ thử mẫu (xem hình 2).
7.4.2 Vật liệu có vùng thấu khí hẹp và định hướng
Vùng thấu khí phải được hướng theo chiều dọc, và song song với hướng của chiều dài 20 mm của bề mặt thử (xem hình 3).
Các mép của vùng thấu khí phải nằm cách các mép của mặt thử không dưới 1 mm. Tốt nhất là mẫu thử phải có mép trải rộng ra ngoài cách mỗi mép mặt thử ít nhất 3 mm. Nếu vì lý do kỹ thuật mà không thể thực hiện được điều này, nghĩa là mẫu thử cần kiểm tra có tổng bề rộng nhỏ hơn 16 mm hoặc có vùng thấu khí nhỏ hơn 4 mm tính từ một mép của mẫu, thì phải được nêu trong báo cáo thử nghiệm.
7.5 Đo
7.5.1 Khái quát
Đặt mẫu thử vào bộ giữ mẫu. Tạo một chênh lệch áp suất xấp xỉ trong khoảng (1,0 ± 0,05) kPa qua hai mặt của mẫu thử. Ghi chính xác áp suất này và tốc độ dòng khí tương ứng.
Chú thích 1 - Độ thấu của mẫu thử có thể khác nhau ở suốt dọc chiều dài mẫu. Đối với tiêu chuẩn này, giá trị trung bình của 10 lần đo riêng rẽ được xác định giá trị độ thấu khí của mẫu thử. Trong thực tiễn, các phòng thử nghiệm thường lấy các số lần đo khác nhau tùy thuộc vào sự ứng dụng đo.

1 Mẫu thử
2 Đường tâm của mẫu thử
3 Vùng thấu khí định hướng
4 Diện tích bề mặt đo của bộ giữ mẫu thử
*) Xem 7.4.2
Hình 3 – Cách đặt mẫu thử có vùng thấu khí hẹp và định hướng
Tiến hành tương tự đối với tất cả các mẫu thử. Các kết quả đo được tiêu chuẩn hóa như trong điều 8.
Chú thích 2 - Nếu cần đánh giá thêm đặc tính của vật liệu do việc không tuyến tính giữa áp suất và dòng khí thì thực hiện phép thử sau đây về mối quan hệ giữa áp suất và tốc độ dòng khí trên ba mẫu thử bổ sung.
Đặt các áp suất chênh lệch lần lượt là 0,25 kPa và 1,00 kPa trên mẫu thử mà không dịch chuyển mẫu thử. Ghi tốc độ dòng khí Q1 và Q2 (cm3/min) đi qua mẫu thử. Tính tỷ lệ Y theo công thức:
Lặp lại quy trình trên đối với 2 mẫu thử còn lại và tính trung bình cộng của 3 giá trị Y thu được. Nếu như giá trị trung bình cộng Y không lệch quá 2% so với giá trị 1,00 (trong thực tiễn nếu giá trị đó không lớn hơn 1,02) thì tỷ lệ giữa dòng khí và xác suất khí là tuyến tính. Nếu không thì tỷ lệ đó không tuyến tính.
Nếu các vật liệu thử có tỷ lệ dòng khí và áp suất khí không tuyến tính thì việc đo tốc độ dòng khí ở mức chênh lệch áp suất sẽ không đánh giá đầy đủ về vật liệu thử. Khi đó cần tốc độ dòng khí ở áp suất chênh lệch thứ hai 0,25 kPa.
Các thông tin bổ sung được nêu trong phụ lục D.
Chú thích 3 - Các vật liệu có đặc tính tuyến tính và có độ thấu khí thấp hơn 10 cm3/min.cm2 tại 1 kPa có thể phải đo lại để thu được độ thấu khí tương đối bằng cách sử dụng:
- Bộ giữ mẫu có diện tích bề mặt thử đơn rộng hơn;
- Bộ giữ mẫu có nhiều diện tích để thực hiện các phép đo đồng thời có diện tích bề mặt thử hình chữ nhật đơn tiêu chuẩn 2,00 cm2, mỗi một bộ có kích thước như mô tả trong 5.1;
- Sự giảm áp suất 2,0 kPa;
Trong trường hợp này, phương pháp chỉ cho ước tính về độ thấu khí.
7.5.2 Đo các dải mẫu dài
Tiến hành mười phép đo liên tiếp với khoảng cách giữa các vị trị đo tối thiểu là 20 mm.
7.5.3 Đo các mảnh giấy cuốn tay (các giấy được tận dụng từ các sản phẩm sản xuất).
Tiến hành mười phép đo độc lập trên 10 mảnh giấy. Đảm bảo rằng các phần ghép chồng lên nhau ở chỗ nối không nằm trong bề mặt thử.
8. Biểu thị kết quả
Giá trị độ thấu khí phải lấy từ giá trị trung bình của các lần đo riêng rẽ: xem 7.5.2 và 7.5.3
Chú thích - Nếu sử dụng đầu đo với nhiều bề mặt thử như mô tả trong 7.5.1 chú thích 3, thì cần hiểu là kết quả đo được là trung bình cộng của số lượng bề mặt thử đã sử dụng trong đầu đo. Ngoài ra, cần chú ý trong việc giải thích r và R khi dùng đầu đo này.
Độ thấu khí, AP, được biểu thị bằng xentimet khối trên phút trên xentimet vuông đo được ở 1 kPa. Dùng bề mặt thử diện tích 2 cm2, tính theo công thức:
trong đó
AP là giá trị độ thấu khí, tính bằng xentimet khối trên phút trên xentimet vuông ở 1 kPa;
Q là dòng khí đã đi qua mẫu thử, tính bằng xentimet khối trên phút.
Trong thực tế, Q không đo được chính xác ở áp suất 1 kPa và cần quy trình chuẩn hóa để hiệu chỉnh về 1 kPa. Ngoài ra, có thể phải sử dụng các đầu đo khác nhau với diện tích đo không phải là 2 cm2 (xem 7.5.1 chú thích 3) và khi đó cần phải hiệu chỉnh.
Công thức tổng quát như sau:
trong đó
P là áp suất (1 kPa);
A là diện tích bề mặt của mẫu cần thử, tính bằng xentimet vuông.
là chênh lệch áp suất đo thực tế qua hai bề mặt mẫu thử, tính bằng kilopascal.
9. Độ chum
9.1 Độ lặp lại
Chênh lệch giữa hai kết quả độc lập thu được từ các mẫu thử phù hợp do một người thực hiện, sử dụng một loại dụng cụ trong khoảng thời gian ngắn, vượt quá giá trị lặp lại (r) trung bình không quá một lần trong 20 lần xác định đúng phương pháp.
9.2 Độ tái lập
Các kết quả độc lập ghi lại trên các mẫu thử nghiệm đã được đánh dấu do hai phòng thí nghiệm thực hiện chênh lệch quá giá trị độ tái lập (R) trung bình không quá một lần trong 20 lần xác định đúng phương pháp.
Chú thích - Trong thực tế, có thể thu được các giá trị về độ tái lập tốt hơn khi sử dụng các điều kiện thực hành giống hệt nhau giữa khách hàng và người cung cấp (đặc biệt khi sử dụng các chuẩn thông thường).
9.3 Các kết quả nghiên cứu cộng tác quốc tế
Một nghiên cứu cộng tác quốc tế, gồm 24 phòng thử nghiệm tham gia và tiến hành trên 6 mẫu, thực hiện năm 1994 cho thấy khi giấy cuốn thuốc lá, giấy cuốn đầu lọc và giấy ghép đầu lọc, gồm cả các vật liệu có vùng thấu khí định hướng được xác định theo phương pháp này, đã thu được các giá trị về độ lặp lại (r) và độ tái lập (R) như sau:
Bảng 1
| Giá trị trung bình độ thấu khí (cm3/min.cm2 ) tại 1 kPa | Giới hạn lặp lại (r) | Giới hạn tái lập (R) |
| 26,9 | 2,37 | 6,01 |
| 49,2 | 4,15 | 8,37 |
| 221 | 17,4 | 26,3 |
| 1334 | 96,6 | 133 |
| 2376 | 281*) | 326 |
| 21449 | 1182 | 2077 |
Để tính r và R một kết quả thử được tính là giá trị trung bình thu được từ 10 phép đo trên một dải giấy đơn lẻ hoặc giá trị trung bình thu được từ 10 mảnh giấy riêng lẻ lấy từ sản phẩm sản xuất.
Các giá trị r và R nêu trong bảng 1 chỉ có thể đúng đối với các loại giấy cụ thể được sử dụng. Trong phạm vi cộng tác nghiên cứu, không thể tiến hành các phép thử lặp lại trên cùng mẫu thử. Do đó, tính không đồng đều trong các mẫu thử gây nên sự khác nhau trong các phòng thử nghiệm. Tình huống này đã được nhắc đến trong TCVN 6910 : 2001 (ISO 5725 : 1994) như đoạn trích dưới đây:
"Khi các phép thử cần phải thực hiện trên các vật liệu rắn, mà chúng không thể đồng nhất (như kim loại, cao su, hoặc vải) và khi phép thử không thể làm lại trên mẫu đó, tính không đồng đều trong vật liệu thử sẽ tạo ra thành phần thiết yếu của độ chụm của phép đo và quan niệm về vật liệu đồng nhất sẽ không còn được coi là đúng nữa. Các thực nghiệm về độ chụm vẫn có thể được tiến hành, nhưng các giá trị r và R có thể chỉ đúng đối với vật liệu cụ thể và phải được trích dẫn. Việc sử dụng r và R phổ biến hơn chỉ được chấp nhận khi chúng chứng tỏ được là các giá trị đó rất giống với vật liệu được sản xuất ở các thời điểm khác nhau hoặc bởi các nhà sản xuất khác nhau. Điều đó đòi hỏi phải có thí nghiệm tinh vi hơn so với thí nghiệm đã đưa ra ở tiêu chuẩn này".
Từ các số liệu thu được trong các thực nghiệm cộng tác có thể đánh giá yếu tố gây ra sự sai lệch trong phạm vi một phòng thử nghiệm từ ngày này đến ngày khác và các thành phần gây ra sai lệch từ mảnh này sang mảnh khác đã được loại bỏ. Yếu tố gây ra sự sai lệch trong một phòng thử nghiệm có thể được dùng để tìm các giá trị độ lặp lại thay thế. Giá trị và các giá trị tương ứng của độ tái lập được nêu trong bảng 2.
Bảng 2
| Giá trị trung bình độ thấu khí (cm3/min.cm2 ) tại 1 kPa | Giới hạn lặp lại (r) | Giới hạn tái lập (R) |
| 26,9 | 1,57 | 5,72 |
| 49,2 | 3,12 | 7,89 |
| 221 | 11,7 | 22,9 |
| 1334 | 45,2 | 95,1 |
| 2376 | 249*) | 297 |
| 21449 | 519 | 1773 |
Các giá trị này đã được điều chỉnh tương ứng đến các giá trị mà có thể thu được từ phép phân tích tương tự của trung bình mười số đọc lặp lại trong cùng một dải đơn.
9.4 Bàn luận về thống kê
Nhìn chung, từ các kết quả phân tích cho trong bảng 1 và bảng 2 có thể thấy rằng, cả hai giá trị r và R khi so sánh theo phần trăm giá trị trung bình của chúng thì giá trị cao nhất ứng với các loại giấy có độ thấu khí thấp hơn, khi biểu thị theo phần trăm giá trị trung bình r và R có xu hướng giảm dần khi độ thấu khí trung bình tăng.
Tuy nhiên, với loại giấy có đánh dấu hoa thị trong bảng 1 và bảng 2 cho thấy các kết quả không tuân theo xu hướng này. Một thí dụ trong bảng 1 cho thấy rằng giá trị R% cao đối với loại giấy này (khi so sánh với loại giấy khác) là hoàn toàn do giá trị về độ biến động đối với loại giấy này trong một phòng thí nghiệm cao. Ở đây không có bằng chứng để thừa nhận rằng độ biến động giữa các phòng thử nghiệm là cao hơn đối với loại giấy này (đơn vị tính là phần trăm giá trị trung bình) so với bất kỳ loại giấy nào khác cần thử nghiệm.
Điều nầy đã được khẳng định trong phép phân tích độ lệch chuẩn nội phòng thử nghiệm và giữa các phòng thử nghiệm. Các giá trị phần trăm độ lệch chuẩn trung bình nội phòng thử nghiệm cho thấy dạng giống hệt như các giá trị r% (theo mong muốn) nhưng các giá trị phần trăm độ lệch chuẩn trung bình giữa các phòng thử nghiệm không cho thấy giá trị cao không mong muốn đối với loại giấy này.
Các kết quả của loại giấy này cho thấy rằng các giá trị r và R thu được từ nghiên cứu này chỉ có thể áp dụng được cho các loại giấy cần thử nghiệm trong nghiên cứu này.
10. Báo cáo thử nghiệm
Báo cáo thử nghiệm phải nêu rõ phương pháp sử dụng và các kết quả thu được. Báo cáo thử nghiệm cũng phải đề cập đến tất cả các chi tiết thao tác không quy định trong tiêu chuẩn này, hoặc tùy ý lựa chọn cùng với các chi tiết bất thường nào khác có thể ảnh hưởng tới kết quả.
Báo cáo thử nghiệm cũng phải gồm mọi thông tin cần thiết để nhận biết đầy đủ về mẫu thử. Đặc biệt, báo cáo phải nêu rõ:
a) ngày lấy mẫu và phương pháp lấy mẫu;
b) nhận biết mẫu và mô tả đầy đủ về vật liệu thử, tính chất trạng thái (thí dụ: bản chất, chiều rộng) của mẫu có vùng thấu khí định hướng;
c) ngày thử nghiệm;
d) độ chính xác và các điều kiện đo đầy đủ (đặc biệt nếu sử dụng thiết bị thổi hoặc hút) và các sai lệch so với các điều kiện của tiêu chuẩn này hoặc các chi tiết có thể ảnh hưởng tới kết quả;
e) môi trường bảo ôn mẫu và thời gian bảo ôn;
f) áp suất khí quyển tại thời điểm đo;
g) kết quả tính bằng đơn vị thấu khí (AP), tính bằng cm3/min.cm2 tại 1 kPa;
h) các thống kê cơ bản liên quan đến kết quả;
- số lần đo;
- giá trị trung bình và độ lệch chuẩn.
Phụ lục A
(qui định)
Kiểm tra độ hở của bộ giữ mẫu
A.1 Khái quát
Việc thực hiện kiểm tra thiết bị để xác định độ thấu khí của vật liệu như: giấy cuốn thuốc lá, giấy cuốn đầu lọc và giấy ghép đầu lọc (bao gồm cả các vật liệu có vùng thấu khí định hướng) phải tiến hành theo các hướng dẫn sử dụng của nhà sản xuất.
Tuy nhiên, những điều dưới đây mô tả phép thử chung để đánh giá sự hở khí giữa các bề mặt lót của bộ đầu đo.
A.2 Khái quát
Gắn kín đường dòng khí từ bộ đầu đo đi ra môi trường bên ngoài.
Vận hành thiết bị bình thường để xác định độ thấu khí nhưng không có mẫu nào nằm giữa các bề mặt lót ở phần kẹp của bộ giữ mẫu.
Ghi tốc độ hở của thiết bị. Các mặt ghép của bộ đầu đo phải được gắn kín sao cho đạt được dòng đo không lớn hơn 2 cm3/min.
Lặp lại quy trình này 5 lần. Nếu có lần nào số đo lớn hơn 2 cm3/min thì bộ kẹp có khuyết tật.
Các số đo phải được ghi lại và nêu trong bản kết quả thử.
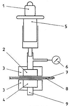
Nguyên lý đo độ hở của bộ giữa mẫu được minh họa trong hình A.1.

1 Bộ giữ mẫu thử
2 Đường dẫn dòng khí đã gắn kín đi ra môi trường
3 Các mặt gắn kín
4 Dụng cụ đo dòng khí
Hình A.1 – Bộ giữ mẫu thử để đo độ hở
Phụ lục B
(qui định)
Hiệu chuẩn các chuẩn thấu khí và các thiết bị đo độ thấu khí
B.1 Các đặc trưng cơ bản của các chuẩn hiệu chuẩn
Các chuẩn hiệu chuẩn độ thấu khí được sử dụng để hiệu chuẩn thiết bị đo độ thấu khí của vật liệu dùng làm giấy cuốn điếu, giấy cuốn đầu lọc và giấy ghép đầu lọc (gồm cả vật liệu có vùng thấu khí định hướng).
Chuẩn hiệu chuẩn phải có giá trị dòng thể tích đã biết và có giá trị lặp lại như được đo ở áp suất tĩnh đã định (1 kPa) tại đầu ra của chuẩn. Đặc trung dòng/áp suất của chuẩn phải giữ ổn định và không bị ảnh hưởng bởi các điều kiện xung quanh.
Chuẩn hiệu chuẩn phải tạo được giá trị dòng thể tích tại 1 kPa được hiệu chỉnh đến các điều kiện chuẩn về nhiệt độ 22oC và áp suất 1013 hPa, với độ chính xác tối thiểu 0,5%.
Việc xây dựng chính xác các chuẩn này phụ thuộc vào việc thiết kế đồng hồ đo độ thấu khí để dùng cho các chuẩn hiệu chuẩn.
Các chuẩn hiệu chuẩn phải được cung cấp cùng với số seri và chứng chỉ hiệu chuẩn gốc.
B.2 Quy trình hiệu chuẩn các chuẩn
Môi trường thử ở phòng thử nghiệm phải được duy trì theo ISO 187. Đối với các phòng thử nghiệm không có điều kiện áp dụng ISO 187 thì có thể áp dụng các điều kiện nhiệt độ 22oC và độ ẩm tương đối 60% ± 2% theo TCVN 5078 : 2001 (ISO 3402). Các điều kiện đã sử dụng này phải nêu rõ trong giấy chứng nhận hiệu chuẩn.
Chuẩn phải được giữ trong bộ giữ thử hiệu chuẩn, sự sắp xếp cơ học không được làm thay đổi các đặc tính của chuẩn.
Dòng khí đi qua chuẩn hiệu chuẩn có thể được tạo ra bằng cách sử dụng áp suất âm hoặc dương thổi về một phía của bộ giữ chuẩn. Hướng của dòng khí đi qua chuẩn hiệu chuẩn phải cùng hướng với dòng khí dùng để hiệu chuẩn thiết bị đo độ thấu khí.
Phải đo được nhiệt độ và áp suất của dòng thể tích tại đầu ra của bộ hiệu chuẩn có lắp chuẩn. Tùy thuộc vào loại và nguyên lý hoạt động của bộ hiệu chuẩn khí được dùng và các tính chất của chuẩn hiệu chuẩn mà có thể sử dụng các phương pháp hiệu chuẩn toán học thích hợp để hiệu chuẩn dòng khí về các điều kiện chuẩn với nhiệt độ 22oC và áp suất 1013 hPa.
Sơ đồ của bộ hiệu chuẩn điển hình được minh họa trong hình B.1.
1 Bộ chuẩn hiệu chuẩn

Hình B.1 – Thiết bị hiệu chuẩn các chuẩn (sơ đồ)
B.2.1 Phương pháp 1
Dòng khí phải được điều chỉnh sao cho áp suất ổn định ở 1,000 kPa ± 0,005 kPa được đặt qua chuẩn hiệu chuẩn. Dùng thiết bị hiệu chuẩn khí mà không gây ảnh hưởng mang tính hệ thống đến phép đo dòng, phép đo dòng thể tích ở đầu ra của chuẩn, nhiệt độ và áp suất của khí trong thiết bị hiệu chuẩn.
Lặp lại quy trình này năm lần đối với mỗi chuẩn hiệu chuẩn cần phải hiệu chuẩn. Giá trị được dùng làm chuẩn hiệu chuẩn là trung bình của năm lần đo tốc độ dòng thể tích tại các điều kiện chuẩn.
B.2.2 Phương pháp 2
Điều chỉnh dòng sao cho duy trì được áp suất không đổi ở 5% đến 10% mức trên 1 kPa và ở 5% mức dưới 1 kPa. Tại mỗi điểm dọc theo sự giảm áp tương ứng, giá trị chuẩn hiệu chuẩn phải được ghi chính xác đến 0,005 kPa. Sử dụng thiết bị hiệu chuẩn khí mà không gây ảnh hưởng mang tính hệ thống đến phép đo dòng, phép đo dòng thể tích ở đầu ra của chuẩn, nhiệt độ và áp suất của khí trong thiết bị hiệu chuẩn.
Thực hiện tối thiểu hai phép đo đối với mỗi lần đo dòng. Giá trị được quy cho chuẩn hiệu chuẩn là giá trị ngoại suy từ dòng thể tích ở các điều kiện chuẩn khi giảm áp đi qua chuẩn tại 1,000 kPa.
B.3 Hiệu chuẩn các thiết bị
Việc hiệu chuẩn và việc tiến hành thử nghiệm của các thiết bị đo độ thấu khí của các vật liệu dùng làm giấy cuốn điếu, giấy cuốn đầu lọc, giấy ghép đầu lọc, gồm cả giấy có vùng thấu khí định hướng cần được thực hiện theo chỉ dẫn của nhà sản xuất.
B.4 Nguyên lý
Để thu được độ chính xác cao nhất, thiết bị phải được hiện chuẩn trên toàn bộ dải đo đã định. Việc hiệu chuẩn phải được tiến hành tại các giá trị đo tương ứng với các phần tử biến đổi riêng rẽ để đạt được dải đo của thiết bị.
B.5 Cách tiến hành
Tiến hành theo quy định trong bảng chỉ dẫn của nhà sản xuất thiết bị. Quy trình điển hình như sau:
Lắp chuẩn hiệu chuẩn và để cho nó cân bằng với nhiệt độ của không khí đo.
Nối đồng hồ đo áp chuẩn vào mạch đo để kiểm tra sự giảm áp qua chuẩn hiệu chuẩn. Sai số tương đối tối đa của đồng hồ đo áp chuẩn phải nhỏ hơn 0,05% giá trị đo được.
Tạo chênh lệch áp suất trong khoảng 1,0 kPa ± 0,1 kPa qua mặt chuẩn hiệu chuẩn.
Điều chỉnh hệ thống đo của thiết bị hiển thị giá trị đo chính xác trên đồng hồ đo áp chuẩn.
Tháo đồng hồ đo áp chuẩn và làm kín vị trí kết nối.
Điều chỉnh độ giảm áp qua chuẩn hiệu đến 1,000 kPa ± 0,005 kPa và điều chỉnh hệ thống đo của thiết bị hiển thị giá trị chuẩn của hiệu chuẩn.
Lặp lại quy trình trên cho mỗi chuẩn hiệu chuẩn.
Chỉnh thiết bị trở lại chế độ đo và tiến hành đo độ thấu khí của từng chuẩn hiệu chuẩn để kiểm tra xem phép đo đã nằm trong giới hạn chuẩn cho phép của các chuẩn hiệu chuẩn và thông số kỹ thuật của thiết bị hay chưa.
Phụ lục C
(tham khảo)
Xác định độ hở bề mặt của mẫu thử đặt trong bộ giữ mẫu
C.1 Giới thiệu chung
Hở bề mặt là sự hút từ môi trường xung quanh hoặc sự thoát khí ra môi trường xung quanh qua bề mặt kín của bộ giữ mẫu.
Nguyên lý của việc đo độ hở bề mặt được mô tả trong hình C.1.

| 1 Trọng lượng đặt vào | 5 Xylanh |
| 2 Cổng vào | 6 Dụng cụ đo áp suất |
| 3 Bộ giữ mẫu thử | 7 Vật liệu thử |
| 4 Cổng ra | 8 Màn không thấu khí |
|
| 9 Lối thoát |
Hình C.1 – Phép đo độ hở bề mặt (nguyên lý)
C.2 Cách tiến hành
Việc xác định độ hở bề mặt có thể thực hiện như sau:
Nối ống xylanh đã được hiệu chuẩn vào cổng vào của bộ giữ mẫu.
Nối đồng hồ đo áp vào đoạn ống nối giữ xylanh và cổng vào của bộ giữ mẫu, đảm bảo cho các điểm nối được kín khí.
Lắp mẫu thử vào bộ giữ mẫu và phủ một màng không thấu khí lên toàn bộ diện tích thử, trùm lên bề mặt chỗ ghép kín. Đảm bảo cho mặt vật liệu thử hướng về phía cổng vào của bộ giữ mẫu. Màng không thấu khí đảm bảo được rằng chỉ có một phần của tổng khí hở liên quan đến việc xác định độ thấu khí là được xem xét.
Đậy bộ giữ mẫu và tạo cho xylanh với áp suất khoảng 1 kPa lên cổng trên của bộ giữ mẫu.
Đo dòng khí hở bằng cách đo thời gian thay đổi vị trí của piston trong xylanh. Chọn thời gian phù hợp để có thể đánh giá xác độ hở bề mặt.
Áp suất cổng vào của bộ giữ mẫu phải được quan trắc trong suốt thời gian này và phải được duy trì ở gần 1 kPa.
Nếu có sự thay đổi áp suất thì chứng tỏ mức độ chịu áp suất của xylanh kém, khi đó phải thực hiện lại phép thử.
Chú thích - Có thể thực hiện phép thử này bằng cách bỏ qua màng không thấu khí và gắn kín cổng ra của bộ giữ mẫu.
Phụ lục D
(tham khảo
Dòng khí qua các vật liệu xốp
D.1 Xem xét về lý thuyết
Dòng khí đi qua các vật liệu xốp phụ thuộc vào cả lực trượt và lực quán tính trong khí thổi. Tổng dòng khí đi qua vật liệu có thể được tính bằng công thức sau:
Q = ZADp + Z'ADpn (D.1)
Trong đó
Q là tổng dòng khí, cm3/min;
A là diện tích vật liệu có luồng khí đi qua, cm2;
AD là chênh lệch áp suất đi qua vật liệu, kPa;
Z là thành phần độ thấu khí của vật liệu xốp bởi lực gây ra, cm3/min.cm2.kPa;
Z' là thành phần độ thấu khí của vật liệu xốp do lực quán tính gây ra, cm3/min.cm2.kPa1/n;
n là hằng số các giá trị nằm trong khoảng từ 0,5 đến 1,0 và phụ thuộc vào cỡ phân bố của khoảng trống/lỗ rỗng trong vật liệu có dòng đi qua.
Dạng tổng quát của công thức (D.1) nêu trên có sự tương quan không tuyến tính giữa dòng khí (Q) và chênh lệch áp suất (Dp). Vì độ thấu khí của vật liệu được xác định bằng dòng khí đi qua 1cm2 vật liệu khi áp suất chênh lệch đi qua nó là 1 kPa, khi đó từ công thức (D.1) "độ thấu khí toàn phần" của vật liệu sẽ bằng (Z + Z' ).
Hai dạng cuối cùng của công thức (D.1) có thể cần được xem xét.
a) Đối với giấy cuốn điếu loại xốp, thí dụ: có các khoảng rỗng nhỏ trong giấy (thường rộng 1mm) so với độ dày của giấy (20 mm đến 40 mm). Lực quán tính trong dòng khí là không đáng kể, Z' = 0, và công thức (D.1) trở thành:
Q = ZADp (D.2)
Trong trường hợp này, sự tương quan giữa dòng khí (Q) và chênh lệch áp suất Dp là tuyến tính.
b) Đối với giấy ghép đầu lọc đục lỗ, thí dụ: đường kính lỗ có thể lớn hơn (trên 100 mm) so với độ dày của giấy (40 mm). Trong trường hợp này, n = 0,5 và công thức (D.1) có dạng bậc 2:
(D.3)
Nếu không có các khoảng rỗng trong giấy ghép đầu lọc ngoài các lỗ đã có thì Z = 0 và công thức (D.3) trở thành:
(D.4)
D.2 Đặc trưng của các vật liệu có tương quan không tuyến tính giữa dòng khí/áp suất
Nếu các vật liệu có tương quan không tuyến tính giữa dòng khí/áp suất thì giá trị Z,Z' và nước có thể tính được bằng công thức nêu trên từ phép hồi qui các giá trị Q đã xác định được ở các loạt giá trị Dp.
Tối thiểu, vật liệu phải đặc trưng bởi hai giá trị tốc độ dòng khí, được xác định ở chênh lệch áp là 0,25 kPa và 1,00 kPa.
Dạng tổng quát hơn của công thức (D.1) trở thành:
Q = ZTADpk (D.5)
Trong đó
ZT là tổng độ thấu khí của giấy;
k là hằng số có giá trị nằm trong 0,5 và 1,0 phụ thuộc vào sự phân bố kích thước của khoảng trống/lỗ hổng trong vật liệu mà dòng khí đi qua;
Q, A,Dp có ý nghĩa tương tự như trong công thức D.1
Hằng số k được xác định theo công thức (D.5) nếu dòng khí đo được đối với các áp suất đo khác nhau:
(D.6)
trong đó
Q1 là dòng khí đo được ở áp suất p1, tính bằng xentimet khối trên phút;
Q2 là dòng khí đo được ở áp suất p2, tính bằng xentimet khối trên phút;
Đối với sự chênh lệch nhỏ giữa áp suất đo thực tế và áp suất đo danh nghĩa thì dòng khí có thể được tính bằng công thức sau mà không làm tăng sai số:
(D.7)
Phụ lục E
(tham khảo)
Tài liệu tham khảo
[1] CORESTA Recommended Method No. 3 : 1976, Determination of the air permeability of cigarette paper.
[2] CORESTA Recommended Method No. 18 : 1991, Material used as cigarette tipping paper having a perforated zone – Determination of unit air-flow and permeability.
[3] CORESTA Recommended Method No. 40 : 1994, Determination of air permeability of materials used as cigarette paper, filter plug wrap and filter joining paper including materials having an oriented permeable zone.
Bạn chưa Đăng nhập thành viên.
Đây là tiện ích dành cho tài khoản thành viên. Vui lòng Đăng nhập để xem chi tiết. Nếu chưa có tài khoản, vui lòng Đăng ký tại đây!