- Tổng quan
- Nội dung
- Tiêu chuẩn liên quan
- Lược đồ
- Tải về
Tiêu chuẩn Quốc gia TCVN 10972-4:2015 Phương pháp chế tạo tấm thử - Đúc prepreg
| Số hiệu: | TCVN 10972-4:2015 | Loại văn bản: | Tiêu chuẩn Việt Nam |
| Cơ quan ban hành: | Bộ Khoa học và Công nghệ | Lĩnh vực: | Công nghiệp |
|
Ngày ban hành:
Ngày ban hành là ngày, tháng, năm văn bản được thông qua hoặc ký ban hành.
|
2015 |
Hiệu lực:
|
Đã biết
|
| Người ký: | Đang cập nhật |
Tình trạng hiệu lực:
Cho biết trạng thái hiệu lực của văn bản đang tra cứu: Chưa áp dụng, Còn hiệu lực, Hết hiệu lực, Hết hiệu lực 1 phần; Đã sửa đổi, Đính chính hay Không còn phù hợp,...
|
Đã biết
|
TÓM TẮT TIÊU CHUẨN VIỆT NAM TCVN 10972-4:2015
Nội dung tóm tắt đang được cập nhật, Quý khách vui lòng quay lại sau!
Tải tiêu chuẩn Việt Nam TCVN 10972-4:2015
TIÊU CHUẨN QUỐC GIA
TCVN 10972-4:2015
ISO 1268-4:2005 WITH AMENDMENT 1:2010
CHẤT DẺO GIA CƯỜNG SỢI - PHƯƠNG PHÁP CHẾ TẠO TẤM THỬ - PHẦN 4: ĐÚC PREPREG
Fibre-reinforced plastics - Methods of producing test plates - Part 4: Moulding of prepregs
Lời nói đầu
TCVN 10972-4:2015 hoàn toàn tương đương với ISO 1268-4:2005 và Bản sửa đổi 1:2010. ISO 1268-4:2005 đã được rà soát và phê duyệt lại vào năm 2013 với bố cục và nội dung không thay đổi.
TCVN 10972-4:2015 do Tiểu Ban kỹ thuật Tiêu chuẩn quốc gia TCVN/TC61/SC13 Composite và sợi gia cường biên soạn, Tổng cục Tiêu chuẩn Đo lường Chất lượng đề nghị, Bộ Khoa học và Công nghệ công bố.
Bộ TCVN 10972 (ISO 1268), Chất dẻo gia cường sợi - Phương pháp chế tạo tấm thử, gồm các phần sau:
- TCVN 10972-1:2015 (ISO 1268-1:2001), Phần 1: Điều kiện chung;
- TCVN 10972-2:2015 (ISO 1268-2:2001), Phần 2: Đúc lăn ép và đúc phun sợi ngắn;
- TCVN 10972-3:2015 (ISO 1268-3:2000), Phần 3: Đúc nén ướt;
- TCVN 10972-4:2015 (ISO 1268-4:2005 và ISO 1268-4/Amd.1:2010), Phần 4: Đúc prepreg;
- TCVN 10972-5:2015 (ISO 1268-5:2001), Phần 5: Quấn sợi;
- TCVN 10972-6:2015 (ISO 1268-6:2002), Phần 6: Đúc kéo;
- TCVN 10972-7:2015 (ISO 1268-7:2001), Phần 7: Đúc chuyển nhựa;
- TCVN 10972-8:2015 (ISO 1268-8:2004), Phần 8: Đúc nén SMC và BMC;
- TCVN 10972-9:2015 (ISO 1268-9:2003), Phần 9: Đúc GMT/STC;
- TCVN 10972-10:2015 (ISO 1268-10:2005), Phần 10: Đúc phun BMC và các tổ hợp đúc sợi dài khác - Nguyên tắc chung và đúc mẫu thử đa mục đích;
- TCVN 10972-11:2015 (ISO 1268-11:2005), Phần 11: Đúc phun BMC và các tổ hợp đúc sợi dài khác - Tấm nhỏ.
CHẤT DẺO GIA CƯỜNG SỢI - PHƯƠNG PHÁP CHẾ TẠO TẤM THỬ - PHẦN 4: ĐÚC PREPREG
Fibre-reinforced plastics - Methods of producing test plates - Part 4: Moulding of prepregs
1 Phạm vi áp dụng
Tiêu chuẩn này quy định phương pháp chế tạo tấm thử từ các lớp sợi hoặc vải đơn hướng được tẩm trước (prepreg) dưới áp lực và nhiệt độ trong các loại thiết bị khác nhau (ví dụ, autoclave, máy ép bằng túi khí, máy ép thủy lực hoặc thiết bị túi chân không). Tiêu chuẩn này áp dụng cho tất cả các loại vật liệu gia cường và nhựa.
Phương pháp này áp dụng cho các loại vật liệu gia cường đã tẩm trước với nhựa nhiệt rắn đã được đóng rắn một phần hoặc nhựa nhiệt dẻo. Tấm thử được tạo thành bằng cách xếp các lớp vật liệu tẩm trước theo thứ tự và hướng yêu cầu, sau đó được nén ép và gắn kết dưới áp suất/chân không tại nhiệt độ cao hơn nhiệt độ môi trường. Sau đó tấm thử được chế tạo sẽ được gia công bằng máy thành các mẫu thử theo yêu cầu.
Các tấm chuẩn chế tạo theo cách này có thể được sử dụng để đánh giá các thành phần, nghĩa là vật liệu gia cường, chất hoàn thiện, nhựa, v.v.... hoặc được sử dụng để đánh giá chất lượng của sản phẩm cuối.
2 Tài liệu viện dẫn
Các tài liệu viện dẫn sau rất cần thiết cho việc áp dụng tiêu chuẩn này. Đối với các tài liệu viện dẫn ghi năm công bố thì áp dụng bản được nêu. Đối với các tài liệu viện dẫn không ghi năm công bố thì áp dụng phiên bản mới nhất, bao gồm cả các sửa đổi.
TCVN 6039 (ISO 1183) (tất cả các phần), Chất dẻo - Xác định khối lượng riêng của chất dẻo không xốp
TCVN 10586 (ISO 1172), Chất dẻo gia cường sợi thủy tinh dệt - Prepreg, hợp chất đúc và tấm nhiều lớp (laminate) - Xác định hàm lượng sợi thủy tinh dệt và chất độn - Phương pháp nung.
TCVN 10594 (ISO 14127), Composite gia cường sợi cacbon - Xác định hàm lượng nhựa, sợi và độ rỗng.
TCVN 10972-1 (ISO 1268-1), Chất dẻo gia cường sợi - Phương pháp chế tạo tấm thử - Phần 1: Điều kiện chung.
ISO 291, Plastics - Standard atmospheres for conditioning and testing (Chất dẻo - Môi trường chuẩn để điều hòa và thử).
ISO 2818, Plastics - Preparation of test specimens by machining (Chất dẻo - Chuẩn bị mẫu thử bằng máy).
ISO 7822, Textile glass reinforced plastics - Determination of void content - Loss on ignition, mechanical disintegration and statistical counting methods (Chất dẻo gia cường sợi thủy tinh dệt - Xác định hàm lượng rỗng - Tổn thất khi nung, phương pháp phân hủy cơ học và tính toán thống kê).
3 Sức khỏe và an toàn
Xem TCVN 10972-1 (ISO 1268-1).
4. Nguyên tắc
Các tấm chuẩn, dùng để chế tạo mẫu thử, được chế tạo từ prepreg gia cường sợi bằng cách cắt số lượng lớp yêu cầu đến kích thước cần thiết và xếp chúng theo thứ tự và hướng yêu cầu. Ban đầu chồng prepreg được làm cho gắn kết và loại bỏ bọt khí bằng cách nén cơ học và/hoặc áp dụng chân không. Chồng này thường được gói kín trong một túi hút chân không, sao đó được gắn kết lại bằng cách sử dụng một trong các phương án kết hợp giữa nhiệt và áp suất, tùy thuộc vào thiết bị sử dụng và hướng dẫn chế tạo của nhà cung cấp vật liệu. Quy trình phù hợp là sử dụng autoclave, pressclave, và tác dụng chân không hoặc nén thủy lực.
Chế tạo các tấm có bề mặt phẳng trừ khi phải nghiên cứu ảnh hưởng của hoàn thiện bề mặt. Chúng phải có kích thước phù hợp để bao trùm kích thước mẫu thử tối đa được yêu cầu trong phép thử tiếp theo.
5 Thiết bị, dụng cụ
5.1 Thiết bị gia công
5.1.1 Máy ép, loại bất k có các bộ phận quy định trong 5.1.1.1 đến 5.1.1.4
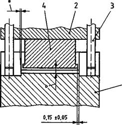
5.1.1.1 Máy ép (xem Hình 1), gồm một khung, pittong (đầu nén) và đế. Chiều cao của khung phải đủ lớn để tạo thành một khoang đúc mà trong đó khuôn chứa chồng prepreg có thể được đặt vào cho mỗi lần tác động. Phải đảm bảo có một khe hở giữa pittong và khung ít nhất bằng 0,20 mm bằng cách sử dụng thanh dẫn hướng có kết cấu phù hợp.
Kích thước tính bằng milimet

CHÚ DẪN
1 Đế
2 Khung trên
3 Các cột
4 Pittong
a Góc côn 1° xung quanh
b Rãnh bao quanh
Hình 1 - Máy ép
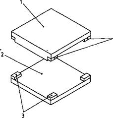
5.1.1.2 Khuôn hở một mặt (xem Hình 1), gồm hai tấm kim loại phẳng (một tấm đế và một tấm đậy) với các tấm cữ ở bốn góc để điều chỉnh độ dày của tấm đúc. Kích thước của tấm phải đảm bảo sao cho có thể cắt từ tấm các mẫu thử có kích thước yêu cầu. Bề mặt của tấm khuôn đối diện với ổ khuôn phải phẳng trong khoảng 0,05 mm và phải được đánh bóng hoặc mạ crom cứng. Độ dày tấm khuôn phù hợp là 5 mm đối với thép và 6 mm đối với hợp kim nhôm.
CHÚ THÍCH 1 Tấm thử có độ dày nhất định có thể tạo được bằng cách đặt các tấm cữ có kích thước phù hợp giữa các tấm khuôn tại các góc của khuôn.
CHÚ THÍCH 2 Để giúp cho việc nhận biết hướng rezo của tấm thử, có thể đánh dấu một “mũi tên” trên bề mặt của tấm đế. Tuy nhiên, cần phải cẩn thận để “mũi tên" được đúc trên mỗi tấm không ảnh hưởng đến các tính chất của mẫu thử chuẩn bị từ tấm. Một cách khác, tấm thử không phải hình vuông (ví dụ dài 350 mm x rộng 300 mm) cũng có thể được đúc với hướng zero song song với cạnh dài hơn của tấm

CHÚ DẪN
1 Tấm đậy
2 Tấm đế
3 Thanh dẫn hướng
4 Tấm cữ có độ dầy thích hợp
Hình 2- Khuôn
5.1.1.3 Thiết bị tác động áp lực đúc yêu cầu, hoặc thực hiện theo biểu đồ lực-thời gian yêu cầu với độ chính xác 5%, trong khoảng thời gian yêu cầu.
5.1.1.4 Thiết bị điều chỉnh và đo nhiệt độ, có khả năng đảm bảo tốc độ tăng nhiệt ít nhất là 3 °C/min và duy trì nhiệt độ đóng rắn yêu cầu giữa các giới hạn quy định hoặc thực hiện theo biểu đồ nhiệt độ- thời gian yêu cầu.
5.1.2 Autoclave, loại nhiệt khô, đáp ứng các yêu cầu của 5.1.1.3 và 5.1.1.4
5.1.3 Tủ sấy, đáp ứng yêu cầu của 5.1.1.4.
5.1.4 Thước, để đo chiều dài và chiều rộng của tấm thử chính xác đến 0,5 mm.
5.1.5 Thước đo micromet, để đo độ dày của tấm thử, chính xác đến 0,01 mm.
5.1.6 Cân, để cân mẫu với độ chính xác 0,01 g.
5.1.7 Dụng cụ cắt, như dao cắt có lưỡi sắc.
5.1.8 Bơm chân không, có khả năng tạo chân không đến 0,008 MPa hoặc hơn.
5.1.9 Nguồn cung cấp không khí nén, có khả năng tạo áp suất bằng 0,7 MPa ± 2%.
5.2 Thiết bị và vật liệu phụ trợ, khi có yêu cầu
5.2.1 Gioăng cao su, có hình dạng và kích thước sao cho có thể đặt được quanh tấm thử trong khuôn, và bền với nhiệt độ cao hơn ít nhất 20 °C so với nhiệt độ đóng rắn.
5.2.2 Màng chống dính, chịu được nhiệt, độ cao hơn ít nhất 20 °C so với nhiệt độ đóng rắn và được làm bằng vật liệu như poly(vinyl fluoride) (PVF), PTFE hoặc vải phủ PTFE.
5.2.3 Màng chống dính có lỗ, chịu được nhiệt độ cao hơn ít nhất 20 °C so với nhiệt độ đóng rắn, được làm bằng vật liệu như PVF, PTFE hoặc vải phủ PTFE.
5.2.4 Màng chịu áp mềm dẻo, bền với sản phẩm polyme hóa và chịu được nhiệt độ cao ít nhất 20 °C so với nhiệt độ đóng rắn, được làm bằng vật liệu như PVF, PTFE hoặc vải phủ PTFE.
5.2.5 Vật liệu thoát khí, như lưới nhôm hoặc vải sợi thủy tinh.
5.2.6 Vật liệu hấp thụ, để hấp thụ nhựa dư, ví dụ như vải sợi thủy tinh dệt.
CHÚ THÍCH Vải sợi thủy tinh dệt có khối lượng trên đơn vị diện tích 100 g/m2 và 300 g/m2 có thể hấp thụ tương ứng khoảng 60 g và 115 g nhựa trên một mét vuông. Vải sợi polyamit có khối lượng trên đơn vị diện tích 60 g/m2 có thể hấp thụ khoảng 40 g nhựa trên một mét vuông.
5.2.7 Thanh dưỡng kim loại, có chiều dài phù hợp và chiều rộng 15 mm để đặt quanh tấm thử trong khuôn. Độ dày của thanh phụ thuộc vào độ dày của tấm thử sẽ được chế tạo.
5.2.8 Băng dính, chịu được nhiệt độ cao hơn ít nhất 20 °C so với nhiệt độ đóng rắn.
6 Cách tiến hành
6.1 Điều hòa vật liệu sử dụng để chế tạo tấm thử, bao gồm vật liệu prepreg phù hợp, trong ít nhất 2 h ở (23 ± 2) °C và độ ẩm tương đối (50 ± 5)%. Tiến hành chuẩn bị đúng thứ tự của chồng tấm (xem 6.4) trong cùng môi trường.
6.2 Nếu vật liệu được lưu giữ ở nhiệt độ thấp hơn nhiệt độ điều hòa, giữ chúng trong túi kín khí để ngăn hấp thụ hơi ẩm cho đến khi nó đạt đến nhiệt độ điều hòa.
6.3 Sau khi điều hòa, đóng rắn vật liệu trên cơ sở nhựa nhiệt rắn trong 6h, trừ khi có quy định khác.
6.4 Từ vật liệu prepreg đã được điều hòa, cắt số lớp cần thiết để tạo thành tấm thử đóng rắn có chiều dài, chiều rộng và độ dày theo yêu cầu, cắt từng lớp theo hướng yêu cầu theo thứ tự xếp lớp được đưa ra trong yêu cầu kỹ thuật hoặc phương pháp thử (xem Phụ lục A). Xếp các lớp prepreg này trên tấm đế của khuôn theo thứ tự yêu cầu.
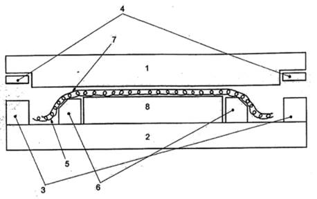
Cài một cặp nhiệt độ vào trong mép của chồng để kiểm soát nhiệt độ quá trình đúc. Trình tự sắp xếp của chồng tấm nhiều lớp và vật liệu phụ trợ hay dùng đối với quá trình sử dụng autoclave được thể hiện trong Hình 3 đối với tấm thử có mặt phẳng. Nếu nghiên cứu ảnh hưởng của việc hoàn thiện bề mặt, thay lớp bên trên của màng chống dính có lỗ bằng vật liệu tương ứng liên quan tới ảnh hưởng cần nghiên cứu. Hình 4 chỉ ra cách sắp xếp của chồng tấm nhiều lớp và vật liệu phụ trợ sử dụng trong các loại máy ép có túi khí khác nhau.
Hình 5 chỉ ra tổ hợp tấm đặc trưng cho một khuôn ép.
CHÚ THÍCH 1 Số lớp vật liệu hấp thụ (5.2.6) sử dụng để hấp thụ nhựa dư phụ thuộc vào hàm lượng nhựa yêu cầu đối với tấm đóng rắn. Độ dày tấm và hàm lượng nhựa cũng một hàm của áp suất, nhiệt độ và các yếu tố khác tùy thuộc vào tính chất của hệ nhựa/sợi được sử dụng (xem chú thích 2).
CHÚ THÍCH 2 Có thể cần phải tiến hành các thực nghiệm sơ bộ để xác định số lớp vật liệu prepreg và số lớp vật liệu hấp thụ yêu cầu tại áp lực cho trước để thu được tấm đóng rắn có độ dày và hàm lượng sợi yêu cầu. Đối với hệ thống có độ chảy thấp, độ dày lớp danh nghĩa có thể được sử dụng để xác định số lớp vật liệu prepreg cần thiết.

CHÚ DẪN
1 Băng dính (5.2.8)
2 Màng chịu áp (5.2.4)
3 Vật liệu thoát khí (5.2.5)
4 Thanh dưỡng kim loại (5.2.7)
5 Tấm đậy khuôn
6 Vật liệu hấp thụ (5.2.6).
7 Màng chống dính có lỗ (5.2.3)
8 Xếp các lớp
9 Màng chống dính (5.2.2)
10 Lỗ thông với môi trường bên ngoài autoclave
11 Cổng để nối với cảm biến nhiệt độ và/hoặc cảm biến áp lực
Hình 3 - Cách xếp tấm thử đặc trưng để đúc trong autoclave

a) Phương pháp quá áp/chân không

b) Phương pháp quá áp (áp suất)

c) Phương pháp chân không
CHÚ DẪN
| 1 Thanh dưỡng kim loại (5.2.7) 2 Màng chịu áp (5.2.4) 3 Vật liệu thoát khí (5.2.5) 4 Tấm đế khuôn 5 Màng chống dính (5.2.2) 6 Gioăng cao su (5.2.1) | 7 Tấm đậy khuôn 8 Xếp lớp như trong Hình 3 9 Tấm dưới của máy ép 10 Cung cấp khí nén 11 Nối đến chân không |
Hình 4 - Ví dụ về đúc trong máy ép có túi khí

CHÚ DẪN
1 Tấm đậy
2 Tấm đế
3 Thanh dẫn hướng
4 Tấm cữ có độ dày thích hợp
5 Vật liệu hấp thụ (5.2.6)
6 Thanh dưỡng kim loại (5.2.7)
7 Màng chịu áp (5.2.4)
8 Xếp lớp
Hình 5 - Cách lắp ráp tấm thử đặc trưng cho đúc trong máy ép
6.5 Nhiệt độ, áp lực và thời gian đóng rắn phải theo quy định trong bảng dữ liệu của vật liệu hoặc được xác định theo thỏa thuận giữa các bên liên quan và sẽ phụ thuộc vào loại nhựa và chất đóng rắn. Nhiệt độ quy định phải được duy trì trong suốt quá trình đóng rắn, nghĩa là nhiệt độ được chỉ ra bởi thiết bị đo nhiệt độ phải được duy trì trong khoảng yêu cầu đối với hệ nhựa sử dụng (xem Hình 6). Nhiệt độ tại điểm bất kỳ trên bề mặt của tấm thử trong quá trình đúc không được chênh lệch nhiều hơn ± 2 °C so với giá trị nhiệt độ được chỉ ra bởi thiết bị đo nhiệt độ trong suốt quá trình đúc.

CHÚ DẪN
X Nhiệt độ đóng rắn, °C
Y Biến thiên cho phép của nhiệt độ, °C
Hình 6 - Ví dụ về biến thiên cho phép của nhiệt độ đóng rắn
6.6 Sau khi hoàn thành quá trình đóng rắn, lấy tấm thử ra khỏi máy ép hoặc autoclave và làm mát, nếu cần, theo cách sao cho tránh được sự biến dạng, phá hủy, v.v...
6.7 Các hướng sợi liên quan với chiều dài của tấm phải được chỉ ra trên mảnh giấy nhạy áp được dùng cho tấm hoặc phương thức khác phù hợp theo thỏa thuận giữa các bên liên quan (xem Chú thích 2 của 5.1.1.2).
6.8 Cắt bỏ ít nhất 10 mm từ các mép của tấm thử.
6.9 Nếu không quy định cách xử lý khác, tấm có thể được dùng để chế tạo mẫu thử trong điều kiện này. Một số hướng dẫn về cách gia công có thể xem trong ISO 2818, tiêu chuẩn chung về việc gia công chất dẻo.
Nếu không quy định trong tiêu chuẩn phương pháp thử tương ứng, kiểu mẫu thử được cắt từ tấm, kích thước của mẫu thử và hướng của mẫu thử tương ứng với hướng của vật liệu gia cường trong tấm phải tuân theo thỏa thuận riêng
7 Xác định chất lượng của tấm thử
7.1 Cân tấm đã được cắt gọt chính xác đến 0,1 g.
7.2 Sử dụng thước (5.1.4) đo chiều dài và rộng của tấm đã được cắt gọt dọc theo từng cạnh, chính xác đến 0,5 mm. Tính giá trị trung bình của từng cặp giá trị đo và làm tròn đến milimét.
7.3 Sử dụng thước đo micromet (5.1.5), đo độ dày tại từng góc (nhưng không gần hơn 25 mm so với mép) và ở tâm, chính xác đến 0,05 mm. Tính giá trị trung bình của năm giá trị đo và làm tròn chính xác đến 0,1 mm.
7.4 Xác định sự đồng đều của lỗ xốp và các khuyết tật khác trong tấm bằng phương pháp không phá hủy (ví dụ kiểm tra bằng siêu âm C-scan), sử dụng quy trình được thỏa thuận giữa các bên liên quan (nếu có yêu cầu).
7.5 Chỉ cắt mẫu thử ở các diện tích đồng đều và diện tích chấp nhận được khác.
7.6 Nếu có yêu cầu xác định hàm lượng sợi, độ rỗng và khối lượng riêng, lấy một mẫu thử kích thước (20 x 10) mm và độ dày bằng độ dày tấm từ một trong hai góc đối diện của tấm.
a). Xác định khối lượng riêng của các mẫu thử theo một trong các phương pháp quy định trong các phần khác nhau của TCVN 6039 (ISO 1183).
b) Đối với cả hai mẫu thử, xác định hàm lượng sợi theo thể tích hoặc khối lượng theo TCVN 10586 (ISO 1172) đối với nhựa gia cường thủy tinh hoặc sợi trơ khác hoặc xác định theo TCVN 10594 (ISO 14127) đối với nhựa gia cường sợi cácbon.
c) Xác định độ rỗng theo ISO 7822 hoặc TCVN 10594 (ISO 14127).
8 Độ chụm
Xem Phụ lục B.
9 Báo cáo chế tạo tấm thử
a) Viện dẫn tiêu chuẩn này;
b) Thời gian và địa điểm chế tạo tấm thử;
c) Chi tiết số lớp, thứ tự xếp lớp và hướng của các lớp;
d) Mô tả vật liệu sử dụng, bao gồm số lô và số cuộn của vật liệu gia cường, bản chất và loại nhựa, bản chất và loại sợi và bản chất của chất hoàn thiện;
e) Mô tả thiết bị sử dụng (loại máy ép, loại autoclave, loại khuôn, phương pháp kiểm tra nhiệt độ và áp lực .v…);
f) Chi tiết quy trình làm việc (áp lực đúc hoặc biểu đồ thời gian-lực, biểu đồ nhiệt độ-thời gian, thời gian và nhiệt độ đóng rắn sau v.v...);
g) Khối lượng của tấm, tính bằng gam;
h) Chiều dài, chiều rộng và độ dày của tấm thử (các giá trị riêng lẻ và giá trị trung bình), tính bằng milimét;
i) Hàm lượng sợi của tấm (khi được xác định) (các giá trị riêng lẻ và giá trị trung bình tính bằng phần trăm khối lượng và phần trăm thể tích);
j) Độ rỗng của tấm (khi được xác định) (các giá trị riêng lẻ và giá trị trung bình tính bằng phần trăm thể tích);
k) Sự đồng đều của tấm (khi được xác định) xác định bằng một phương pháp không phá hủy, ghi lại phương pháp sử dụng;
l) Bất kỳ sai khác nào so với tiêu chuẩn này.
Bạn chưa Đăng nhập thành viên.
Đây là tiện ích dành cho tài khoản thành viên. Vui lòng Đăng nhập để xem chi tiết. Nếu chưa có tài khoản, vui lòng Đăng ký tại đây!