- Tổng quan
- Nội dung
- Tiêu chuẩn liên quan
- Lược đồ
- Tải về
Tiêu chuẩn TCVN 10899-2-3:2017 Bộ nối nguồn có cấp bảo vệ cao hơn IPX0
| Số hiệu: | TCVN 10899-2-3:2017 | Loại văn bản: | Tiêu chuẩn Việt Nam |
| Cơ quan ban hành: | Bộ Khoa học và Công nghệ | Lĩnh vực: | Công nghiệp |
|
Ngày ban hành:
Ngày ban hành là ngày, tháng, năm văn bản được thông qua hoặc ký ban hành.
|
2017 |
Hiệu lực:
|
Đã biết
|
| Người ký: | Đang cập nhật |
Tình trạng hiệu lực:
Cho biết trạng thái hiệu lực của văn bản đang tra cứu: Chưa áp dụng, Còn hiệu lực, Hết hiệu lực, Hết hiệu lực 1 phần; Đã sửa đổi, Đính chính hay Không còn phù hợp,...
|
Đã biết
|
TÓM TẮT TIÊU CHUẨN VIỆT NAM TCVN 10899-2-3:2017
Nội dung tóm tắt đang được cập nhật, Quý khách vui lòng quay lại sau!
Tải tiêu chuẩn Việt Nam TCVN 10899-2-3:2017
TIÊU CHUẨN QUỐC GIA
TCVN 10899-2-3:2017
IEC 60320-2-3:2005
BỘ NỐI NGUỒN DÙNG CHO THIẾT BỊ GIA DỤNG VÀ CÁC MỤC ĐÍCH SỬ DỤNG CHUNG TƯƠNG TỰ - PHẦN 2-3: BỘ NỐI NGUỒN CÓ CẤP BẢO VỆ CAO HƠN IPX0
Appliance coupler for household and similar general purposes - Part 2-3: Appliance coupler with a degree of protection higher than IPX0
Lời nói đầu
TCVN 10899-2-3:2017 hoàn toàn tương đương với IEC 60320-2-3:2005;
TCVN 10899-2-3:2017 do Ban kỹ thuật tiêu chuẩn quốc gia TCVN/TC/E2 Thiết bị điện dân dụng biên soạn, Tổng cục Tiêu chuẩn Đo lường Chất lượng đề nghị, Bộ Khoa học và Công nghệ công bố.
Bộ TCVN 10899 (IEC 60320), Bộ nối nguồn dùng cho thiết bị gia dụng và các mục đích sử dụng chung tương tự, gồm các tiêu chuẩn sau:
1) TCVN 10899-1:2015 (IEC 60320-1:2015), Bộ nối nguồn dùng cho thiết bị gia dụng và các mục đích sử dụng chung tương tự - Phần 1: Yêu cầu chung;
2) TCVN 10899-2-1:2017 (IEC 60320-2-1:2000), Bộ nối nguồn dùng cho thiết bị gia dụng và các mục đích sử dụng chung tương tự - Phần 2-1: Bộ nối nguồn của máy khâu
3) TCVN 10899-2-2:2015 (IEC 60320-2-2:1998), Bộ nối nguồn dùng cho thiết bị gia dụng và các mục đích sử dụng chung tương tự - Phần 2-2 Bộ nối liên kết dùng cho thiết bị gia dụng và thiết bị tương tự
4) TCVN 10899-2-3:2017 (IEC 60320-2-3:2005), Bộ nối nguồn dùng cho thiết bị gia dụng và các mục đích sử dụng chung tương tự - Phần 2-3: Bộ nối nguồn có cấp bảo vệ cao hơn IPX0
5) TCVN 10899-2-4:2017 (IEC 60320-2-4:2009), Bộ nối nguồn dùng cho thiết bị gia dụng và các mục đích sử dụng chung tương tự - Phần 2-4: Bộ nối nguồn phụ thuộc vào khối lượng thiết bị để cắm
6) TCVN 10899-3:2017 (IEC 60320-3:2014), Bộ nối nguồn dùng cho thiết bị gia dụng và các mục đích sử dụng chung tương tự - Phần 3: Tờ rời tiêu chuẩn và dưỡng
BỘ NỐI NGUỒN DÙNG CHO THIẾT BỊ GIA DỤNG VÀ CÁC MỤC ĐÍCH SỬ DỤNG CHUNG TƯƠNG TỰ - PHẦN 2-3: BỘ NỐI NGUỒN CÓ CẤP BẢO VỆ CAO HƠN IPX0
Appliance coupler for household and similar general purposes - Part 2-3: Appliance coupler with a degree of protection higher than IPX0
1 Phạm vi áp dụng
Áp dụng điều này của IEC 60320-1, ngoài ra:
Tiêu chuẩn này áp dụng cho bộ nối nguồn thiết bị có hai cực không đảo chiều được, dùng trong điều kiện lạnh, chỉ dùng nguồn điện xoay chiều, có cấp bảo vệ chống sự xâm nhập của nước cao hơn IPX0, với điện áp danh định không lớn hơn 250 V và dòng điện danh định không vượt quá 10 A, ở tần số nguồn 50 Hz hoặc 60 Hz.
Bộ nối nguồn này được thiết kế để nối dây nguồn có tiết diện tròn với các thiết bị điện cấp II dùng cho mục đích gia dụng, thương mại và công nghiệp nhẹ.
CHÚ THÍCH 1: Áp dụng chú thích này của IEC 60320-1.
CHÚ THÍCH 2: Áp dụng chú thích này của IEC 60320-1.
CHÚ THÍCH 3: Áp dụng chú thích này của IEC 60320-1.
CHÚ THÍCH 4: Không áp dụng chú thích này của IEC 60320-1.
CHÚ THÍCH 5: Áp dụng chú thích này của IEC 60320-1.
Bổ sung:
CHÚ THÍCH 6: IEC 60529 quy định cấp bảo vệ bằng vỏ ngoài chống sự xâm nhập của nước (mã IP).
CHÚ THÍCH 7: IEC 605361 quy định cấp thiết bị.
2 Tài liệu viện dẫn
Áp dụng điều này của IEC 60320-1, ngoài ra:
IEC 60320-1:19942, Appliance couplers for household and similar general purposes - Part 1: General requirements (Bộ nối nguồn dùng cho thiết bị gia dụng và các mục đích sử dụng chung tương tự - Phần 1: Yêu cầu chung)
Amendment 1:1995
Amendment 2:1996
IEC 60529:19893, Degrees of protection provided by enclosure (IP code) (Cấp bảo vệ bằng vỏ ngoài (mã IP))
3 Thuật ngữ và định nghĩa
Áp dụng điều này của IEC 60320-1, ngoài ra:
3.101
Phích nối liên kết (plug connector)
Ổ nối nguồn được thiết kế để gắn bởi dây nguồn vào thiết bị.
3.102
Bề mặt chạm tới được của phụ kiện (accessible surface of an accessory)
Bề mặt của phụ kiện có thể được chạm vào bằng ngón tay thử nghiệm được thể hiện trên Hình 10 của IEC 60320-1, khi phụ kiện được lắp ráp như trong sử dụng bình thường và theo các điều kiện sau:
a) đối với phích nối: không có phụ kiện bổ sung để cắm vào nhưng có nắp ở vị trí mở;
b) đối với phích nối liên kết và ổ nối nguồn: có phụ kiện bổ sung ở mức cắm bất lợi nhất nhưng sao cho có tiếp xúc về điện giữa các tiếp điểm (các chân cắm và các lỗ cắm).
3.103
Nắp (cover)
Bộ phận có khả năng chạm tới được khi phụ kiện ở vị trí sử dụng bình thường và chỉ tháo ra được bằng dụng cụ nhưng không yêu cầu sử dụng dụng cụ để mở nắp.
3.104
Mẫu thử nghiệm điển hình (type test sample)
Mẫu gồm một hoặc nhiều mẫu thử được giao nộp đối với mục đích của thử nghiệm điển hình.
4 Yêu cầu chung
Áp dụng điều này của IEC 60320-1.
5 Lưu ý chung đối với các thử nghiệm
Áp dụng điều này của IEC 60320-1, ngoài ra:
5.1 Áp dụng điều này của IEC 60320-1.
5.2 Thay thế:
Nếu không có quy định nào khác, mẫu được thử nghiệm như được giao và ở điều kiện sử dụng bình thường, tại nhiệt độ môi trường là 20 °C ± 5 °C; mẫu được thử nghiệm với điện xoay chiều có tần số 50 Hz hoặc 60 Hz.
Mẫu được sử dụng cho các thử nghiệm phải cơ bản là đồng nhất với các bộ nối nguồn chế tạo thông thường về tất cả các chi tiết có thể ảnh hưởng kết quả thử nghiệm.
Các phụ kiện không thay dây được phải được giao nộp cùng với dây nguồn có chiều dài tối thiểu là 1 m. Dây nguồn được sử dụng cho thử nghiệm phụ kiện thay dây được phải là dây nguồn mềm tiết diện tròn có vỏ bọc phù hợp với 6610 TCVN 53 hoặc 60227 IEC 53 trừ khi có quy định khác trong một điều cụ thể.
5.3 Không áp dụng điều này của IEC 60320-1.
5.4 Không áp dụng điều này của IEC 60320-1.
5.5 Thay thế:
Tổng số gồm 18 mẫu, của một loại bất kỳ, phải được xem xét và thử nghiệm như quy định trong bảng dưới đây:
| Thử nghiệm | Số lượng mẫu | Trình tự thử nghiệm |
| 1 Kiểm tra bằng mắt và kiểm tra bằng tay | 3 | 7, 8, 9, 10, 12, 13, 24.1, 25, 26, 28 |
| 2 Thử nghiệm chung | 3 | 14 (ngoại trừ 14.101), 15 |
| 3 Thử nghiệm chung | 3 | 22 (ngoại trừ 22.4), 16, 17, 19, 20, 21 |
| 4 Thử nghiệm uốn | 3 | 22.4 |
| 5 Thử nghiệm vật liệu | 3 | 23, 24.2, 14.101, 15.3 |
| 6 Thử nghiệm vật liệu | 3 | 24.2, 27 |
CHÚ THÍCH 1: Nếu bất kỳ một thử nghiệm cụ thể nào được lặp lại, như một phần của trình tự thử nghiệm bình thường thì yêu cầu này được quy định trong các điều thích hợp.
CHÚ THÍCH 2: Khi có sự thỏa thuận với nhà chế tạo, có thể sử dụng cùng một mẫu cho nhiều hơn một trình tự thử nghiệm.
5.6 Áp dụng điều này của IEC 60320-1.
5.7 Thay thế:
Nếu không có phụ kiện không đạt trong chuỗi thử nghiệm hoàn chỉnh được quy định trong 5.5 thì các phụ kiện của loại đó được coi là phù hợp với tiêu chuẩn này.
Nếu một phụ kiện trong nhóm bất kỳ không đạt trong chuỗi thử nghiệm hoàn chỉnh được quy định trong 5.5 thì phụ kiện của loại đó được coi là không phù hợp với tiêu chuẩn này, trừ khi có thể chứng minh được phụ kiện không được chế tạo hoặc thiết kế bình thường, trong trường hợp này bộ phụ kiện khác phải chịu thử nghiệm hoặc các thử nghiệm trong chuỗi này. Nếu đạt khi thử nghiệm lại thì phụ kiện của loại đó được coi là phù hợp với tiêu chuẩn này.
Nếu có nhiều hơn một phụ kiện không đạt trong chuỗi thử nghiệm hoàn chỉnh được quy định trong 5.5 thì phụ kiện của loại đó phải được cho là không phù hợp với tiêu chuẩn này.
6 Thông số đặc trưng tiêu chuẩn
Áp dụng điều này của IEC 60320-1, ngoài ra:
6.1 Áp dụng điều này của IEC 60320-1.
6.2 Thay thế:
Dòng điện danh định là 6 A hoặc 10 A.
7 Phân loại
Áp dụng điều này của IEC 60320-1, ngoài ra:
7.1.1 Sửa đổi:
Chỉ áp dụng trong điều kiện lạnh.
7.1.2 Sửa đổi:
Chỉ áp dụng cho thiết bị cấp II
7.2 Thay thế:
Phụ kiện được phân loại theo phương pháp nối dây nguồn:
- phụ kiện thay dây được;
- phụ kiện không thay dây được.
Bổ sung:
7.101 Bổ sung phân loại mới:
Phụ kiện được phân loại theo nhiệt độ môi trường đối với mục đích sử dụng của phụ kiện:
- bộ nối nguồn thiết bị sử dụng ở nhiệt độ bình thường;
- bộ nối nguồn thiết bị sử dụng ở nhiệt độ thấp (-15 °C).
CHÚ THÍCH: Đang xem xét thử nghiệm bổ sung đối với bộ nối nguồn thiết bị sử dụng ở nhiệt độ thấp.
8 Ghi nhãn
Áp dụng điều này của IEC 60320-1, ngoài ra:
8.1 Thay thế:
Bộ nối nguồn, ngoại trừ ổ nối nguồn được cung cấp kèm theo thiết bị, phải được ghi nhãn:
a) tên, thương hiệu hoặc nhãn nhận biết của nhà chế tạo hoặc đại lý được ủy quyền;
b) số hiệu tiêu chuẩn này;
c) dòng điện danh định;
d) điện áp danh định;
e) ký hiệu về nguồn điện;
f) mã IP;
g) mã tham chiếu, có thể là số hiệu catalog, mã số, v.v....
8.2 Thay thế:
Ổ nối nguồn phải được ghi nhãn các thông tin cho trong 8.1 a) và 8.1 g), thông tin này không cần thiết phải nhìn thấy được khi đã lắp đặt để sử dụng ngoài trời.
CHÚ THÍCH: Ghi nhãn trên các phích nối và ổ nối nguồn không cần thiết phải nhìn thấy được khi chúng đã được nối với nhau.
8.3 Áp dụng điều này của IEC 60320-1.
8.4 Áp dụng điều này của IEC 60320-1 cùng các ký hiệu bổ sung dưới đây:
| Pha | L |
| Trung tính | N |
| Bảo vệ chống nước bắn tóe | IPX4 |
CHÚ THÍCH: Theo mã IP, chữ cái X có liên quan đến bảo vệ chống sự xâm nhập của các vật rắn, được thay bằng con số liên quan.
8.5 Không áp dụng điều này của IEC 60320-1.
8.6 Sửa đổi:
Áp dụng điều này của IEC 60320-1, ngoại trừ các nội dung về tiếp điểm nối đất và đầu nối đất.
8.7 Áp dụng điều này của IEC 60320-1.
8.8 Áp dụng điều này của IEC 60320-1.
Bổ sung:
8.101 Dây nguồn của phụ kiện không thay dây được không nên có màu đen, xanh lục, trắng hoặc nâu.
8.102 Đối với bộ nối nguồn được thiết kế để bán lẻ, nhà cung cấp phải có tờ hướng dẫn, trên hoặc trong bao bì của từng bộ nối nguồn hoặc phụ kiện, mô tả rõ ràng phạm vi thích hợp của nó để sử dụng ngoài trời. Thông tin liên quan đến khả năng chịu thời tiết phải nhìn thấy rõ ràng cho người mua và phải có khuyến cáo rằng dây nguồn cần được lắp với phụ kiện không nên có màu đen, xanh lục, trắng và nâu. Tờ rời hướng dẫn phải có thông tin nêu rõ phích nối liên kết phải được nối với thiết bị và phích nối với phía nguồn điện lưới.
Nếu bộ nối nguồn hoặc phụ kiện là loại không thay dây được có dây nguồn gắn kèm, thì từng đầu tự do phải được đánh dấu để nối với thiết bị hoặc nguồn điện lưới nếu thích hợp, có hướng dẫn về sự nguy hiểm nếu nối sai hoặc nối với thiết bị có bảo vệ của ruột dẫn nối đất liên tục.
Ngoại trừ trường hợp phích nối liên kết hoặc ổ nối nguồn có lắp dây nguồn được cung cấp trực tiếp cho nhà chế tạo để lắp vào thiết bị khác thì đầu tự do của cụm lắp ráp này phải có nhãn được gắn kèm có nêu:
“Dây nguồn của phụ kiện này phải được nối thích hợp với thiết bị trước khi thiết bị được cấp điện.”
Nếu bộ nối nguồn hoặc phụ kiện có thể thay dây được thì hướng dẫn phải nêu nội dung sau:
a) chiều dài vỏ bọc và cách điện;
b) dấu nhận biết các phụ kiện cần nối đến thiết bị hoặc dây nguồn, nếu thích hợp;
c) nối dây màu nâu với đầu nối được ghi nhãn L và dây màu xanh lam với đầu nối ghi nhãn N;
d) sự quan trọng của lắp ráp đúng cơ cấu chặn dây kể cả nếu cần tối thiểu 3 mm vỏ ngoài để nhô ra khỏi cơ cấu kẹp;
e) chỉ phù hợp sử dụng dây nguồn dạng tròn.
Kiểm tra sự phù hợp với các yêu cầu của 8.101 và 8.102 bằng cách xem xét.
9 Kích thước và tính tương thích
Áp dụng điều này của IEC 60320-1, ngoài ra:
9.1 Thay thế:
Ngoại trừ các thiết bị được phép theo 9.6, bộ nối nguồn phải phù hợp với các kích thước trong tờ rời tiêu chuẩn thích hợp cho trong bảng dưới đây.
| Thông số đặc trưng | Phích nối | Ổ nối nguồn |
| 6 A | C | D |
| 10 A | A | B |
Kiểm tra sự phù hợp bằng phép đo và nếu có liên quan thì bằng cách sử dụng dưỡng đo thích hợp.
Nếu sử dụng dưỡng thích hợp trên Hình 1 hoặc Hình 1A thì phải có khả năng ấn được hoàn toàn vào phích nối với một lực không lớn hơn 60 N. Để kiểm tra việc ấn đúng và ấn hoàn toàn thì dưỡng phải có lỗ hở.
Khi sử dụng các dưỡng chính và dưỡng bổ sung thích hợp trên Hình 2 và Hình 2A thì phải có khả năng ấn hoàn toàn dưỡng chính vào ổ nối nguồn với một lực không lớn hơn 60 N. Dưỡng bổ sung phải được ấn lên tay cầm.
Phải có tấm phẳng cùng với dưỡng chính để kiểm tra chân cắm và chiều dài vỏ che, việc cắm thành công dưỡng bổ sung sẽ kiểm tra việc lắp chìm trong bề mặt vỏ ngoài của thiết bị.
9.2 Thay thế:
Chi tiết để giữ phích nối trong phích nối liên kết hoặc ổ nối nguồn phải phù hợp với tờ rời tiêu chuẩn A và B.
Kiểm tra sự phù hợp bằng các thử nghiệm của Điều 16.
9.3 Áp dụng điều này của IEC 60320-1.
9.4 Thay thế:
Không được có khả năng cắm:
- phích nối dùng cho thiết bị cấp II vào ổ nối nguồn dùng cho thiết bị khác;
- phích nối 6 A vào ổ nối nguồn 10 A.
Kiểm tra sự phù hợp bằng cách xem xét, bằng thử nghiệm bằng tay và bằng dưỡng thích hợp.
Tiến hành thử nghiệm ở nhiệt độ môi trường 35 °C ± 2 °C, cả phụ kiện và dưỡng cũng phải ở nhiệt độ này.
9.5 Áp dụng điều này của IEC 60320-1.
9.6 Áp dụng điều này của IEC 60320-1.
10 Bảo vệ chống điện giật
Áp dụng điều này của IEC 60320-1, ngoài ra:
10.1 Thay thế:
Bộ nối nguồn phải được thiết kế sao cho không thể chạm tới được các bộ phận mang điện của ổ nối thiết bị khi phích nối được cắm một phần hoặc cắm hoàn toàn.
Phích nối phải được thiết kế sao cho không thể chạm tới bộ phận mang điện khi phích nối được lắp ráp và đi dây đúng như trong sử dụng bình thường, nhưng có nắp để mở.
Kiểm tra sự phù hợp bằng cách xem xét và, nếu cần, bằng thử nghiệm bằng ngón tay thử nghiệm tiêu chuẩn được thể hiện trên Hình 10 của IEC 60320-1. Ngón tay thử nghiệm này được đặt vào mọi vị trí có thể, sử dụng đèn báo chỉ thị sự tiếp xúc với các bộ phận liên quan. Đối với phích nối có vỏ che, vỏ ngoài hoặc thân làm bằng vật liệu nhựa đàn hồi hoặc nhựa nhiệt dẻo, ngón tay thử nghiệm tiêu chuẩn được đặt một lực 20 N ± 3 N trong 30 s ± 5 s vào tất cả các điểm mà vật liệu cách điện bị lún xuống có thể ảnh hưởng xấu đến an toàn của phích nối; thử nghiệm này được thực hiện ở nhiệt độ môi trường là 35 °C ± 2 °C.
CHÚ THÍCH 1: Đèn báo có điện áp nằm trong khoảng từ 40 V đến 50 V được sử dụng để chỉ thị sự tiếp xúc với bộ phận liên quan.
CHÚ THÍCH 2: Việc tuân thủ theo tờ rời tiêu chuẩn đảm bảo sự phù hợp với các yêu cầu trong chừng mực có liên quan đến khả năng không tiếp cận được của cơ cấu tiếp xúc trong quá trình ấn phích nối vào ổ nối nguồn.
10.2 Áp dụng điều này của IEC 60320-1.
10.3 Áp dụng điều này của IEC 60320-1.
10.4 Áp dụng điều này của IEC 60320-1.
11 Quy định cho nối đất
Không áp dụng điều này của IEC 60320-1.
12 Đầu nối và đầu cốt
Áp dụng điều này của IEC 60320-1, ngoài ra:
12.1 Quy định chung
Các yêu cầu của điều này chỉ áp dụng cho phích nối và phích nối liên kết.
Đối với ổ nối nguồn được giao nộp dưới dạng các phụ kiện riêng rẽ không được tích hợp hoặc lắp trong thiết bị, có thể cần có các yêu cầu cụ thể,
Đối với ổ nối nguồn được tích hợp hoặc lắp trong thiết bị, phải áp dụng các yêu cầu trong tiêu chuẩn tương ứng dành cho thiết bị đó.
12.1.1 Thay thế đoạn đầu tiên:
Phụ kiện thay dây được phải có các đầu nối có vít kẹp.
Thay thế đoạn thứ 3:
Phụ kiện không thay dây được phải có các mối nối cố định bằng cách hàn thiếc, hàn điện, kẹp hoặc mối nối không bắt ren có hiệu quả tương đương, để không thể tháo ruột dẫn ra được. Không được sử dụng các mối nối bắt ren.
12.1.2 Áp dụng điều này của IEC 60320-1.
12.1.3 Thay thế:
Phích nối thay dây được phải có các đầu nối có thể chấp nhận ruột dẫn có tiết diện danh nghĩa 0,75 mm2 và 1 mm2.
Kiểm tra sự phù hợp bằng cách xem xét, bằng phép đo và bằng cách lắp ruột dẫn có tiết diện 0,75 mm2 và 1 mm2.
12.2 Đầu nối kiểu bắt ren
12.2.1 Áp dụng điều này của IEC 60320-1.
12.2.2 Áp dụng điều này của IEC 60320-1.
12.2.3 Áp dụng điều này của IEC 60320-1.
12.2.4 Thay thế đoạn thứ tư:
Áp dụng điều này của IEC 60320-1.
12.2.5 Áp dụng điều này của IEC 60320-1.
12.2.6 Thay thế đoạn thứ ba:
Các đầu nối được lắp với ruột dẫn 1 mm2.
12.2.7 Áp dụng điều này của IEC 60320-1.
12.2.8 Thay thế đoạn thứ ba:
Ruột dẫn bằng đồng một sợi có tiết diện danh nghĩa 1 mm2 được đặt vào đầu nối.
12.2.9 Không áp dụng điều này của IEC 60320-1.
12.2.10 Không áp dụng điều này của IEC 60320-1.
12.2.11 Không áp dụng điều này của IEC 60320-1.
12.2.12 Áp dụng điều này của IEC 60320-1.
Ruột dẫn thử nghiệm phải có tiết diện danh nghĩa là 1 mm2.
13 Kết cấu
Áp dụng điều này của IEC 60320-1, ngoài ra:
13.1 Không áp dụng điều này của IEC 60320-1.
13.2 Áp dụng điều này của IEC 60320-1.
13.3 Áp dụng điều này của IEC 60320-1.
13.4 Áp dụng điều này của IEC 60320-1.
13.5 Thay thế:
Tiếp điểm của phích nối phải là loại tự điều chỉnh để tạo ra đủ lực tiếp xúc.
Việc tự điều chỉnh của tiếp điểm không phụ thuộc vào tính đàn hồi của vật liệu cách điện.
Kiểm tra sự phù hợp bằng cách xem xét và bằng cách sử dụng dưỡng kéo rút như thể hiện trên Hình 4 để kiểm tra riêng rẽ từng tiếp điểm pha và trung tính, đảm bảo rằng nắp có bản lề của vỏ ngoài không được ảnh hưởng đến kết quả thử nghiệm. Trong quá trình thử nghiệm, tiếp điểm của phích nối phải giữ dưỡng đo trong thời gian không ít hơn 30 s khi phích nối được giữ thẳng đứng và dưỡng được treo hướng xuống dưới.
13.6 Áp dụng điều này của IEC 60320-1 cho tất cả các phụ kiện thay dây được.
Vỏ ngoài của phụ kiện thay dây được phải có nhiều hơn một bộ phận và phải bọc hoàn toàn đầu nối và đầu của dây nguồn.
CHÚ THÍCH: Các bộ phận của vỏ ngoài được liên kết với nhau bằng phương tiện dễ uốn được coi là bộ phận tách rời.
Kết cấu phải sao cho, từ điểm tách rời của các lõi, ruột dẫn có thể nối thích hợp và sao cho khi phụ kiện được lắp ráp và đi dây như trong sử dụng bình thường, không có rủi ro:
- lõi ép vào nhau;
- lõi trở nên tiếp xúc với các bộ phận kim loại chạm tới được;
- lõi trở nên tiếp xúc với các bộ phận mang điện khác.
13.7 Áp dụng điều này của IEC 60320-1.
13.8 Áp dụng điều này của IEC 60320-1 cho phích nối và phích nối liên kết.
13.9 Không áp dụng điều này của IEC 60320-1.
13.10 Áp dụng điều này của IEC 60320-1 cho phích nối và phích nối liên kết.
13.11 Không áp dụng điều này của IEC 60320-1.
13.12 Áp dụng điều này của IEC 60320-1.
Bổ sung:
13.101 Bộ nối nguồn phải có phương tiện để đảm bảo cấp bảo vệ yêu cầu chống sự xâm nhập của nước khi ổ nối nguồn, phích nối liên kết và phích nối được cắm hoàn toàn vào phụ kiện bổ sung.
Kiểm tra sự phù hợp bằng cách xem xét và bằng thử nghiệm của 14.101.
13.102 Phích nối hoặc phích nối liên kết, khi được lắp với dây nguồn dùng cho sử dụng bình thường và khi không được cắm vào phụ kiện bổ sung, phải phù hợp với Điều 10 và 14.101.
13.103 Phích nối phải có nắp để đạt được cấp bảo vệ yêu cầu chống ẩm khi phụ kiện bổ sung không ở đúng vị trí. Nắp phải tự đóng được và phải được cố định chắc chắn vào phích nối.
Kiểm tra sự phù hợp với các yêu cầu của 13.102 và 13.103 bằng các thử nghiệm của Điều 10, Điều 20, Điều 23, Điều 28 và 14.101.
13.104 Ổ nối nguồn được tích hợp hoặc lắp vào thiết bị điện phải có phương tiện đảm bảo cấp bảo vệ yêu cầu chống sự xâm nhập của nước từ phần hở đến đầu nối hoặc đầu cốt.
Phích nối liên kết không thay dây được dùng để lắp vào thiết bị phải được lắp với dây nguồn 500 mm hoặc ngắn hơn (được đo từ điểm dây nguồn đi vào phích nối liên kết đến điểm dây nguồn đi vào thiết bị).
Kiểm tra sự phù hợp bằng cách xem xét và bằng thử nghiệm của 14.101.
13.105 Các lò xo của nắp, nếu có, của phích nối khi được lắp với dây mềm như trong sử dụng bình thường, phải đủ mạnh để đóng nắp nhanh khi không cắm phụ kiện bổ sung và để chịu được việc mở ra và đóng vào trong quá trình hoạt động bình thường với một góc không nhỏ hơn 90° và không lớn hơn 100°. Nắp và (các) lò xo kết hợp, nếu có, không được hỏng khi được mở đến quá mức và phải bằng vật liệu chống ăn mòn.
Kiểm tra sự phù hợp bằng cách xem xét và bằng thử nghiệm của 13.105.1. Kết thúc thử nghiệm, nắp phải đóng lại như yêu cầu của tiêu chuẩn.
Kiểm tra sự phù hợp với các yêu cầu đối với vật liệu chống ăn mòn bằng thử nghiệm của 28.1.
13.105.1 Nắp phải được mở đến quá mức và để nắp tự đóng bởi ảnh hưởng của (các) lò xo kết hợp, liên tục, 4 000 lần ở tốc độ 15 ± 2 lần mỗi phút.
14 Khả năng chống ẩm
Áp dụng điều này của IEC 60320-1, ngoài ra:
Thay thế đoạn thứ sáu:
Mẫu được giữ trong tủ trong 168 h (7 ngày).
Bổ sung:
14.101 Phụ kiện phải có cấp bảo vệ cao hơn IPX0 theo IEC 60529.
Kiểm tra sự phù hợp bằng thử nghiệm thích hợp của IEC 60529 và theo phương pháp được quy định dưới đây, ngay sau đó lau khô nước trên bề mặt phụ kiện và tiến hành thử nghiệm độ bền điện của Điều 15.
Phụ kiện phải chịu được thử nghiệm độ bền điện và kiểm tra phải cho thấy nước không lọt vào mẫu đến mức độ đáng kể và không được chạm vào bộ phận mang điện.
Phụ kiện được thiết kế cho việc gắn dây nguồn được thử nghiệm:
a) với dây nguồn được cung cấp, đối với các phụ kiện không thay dây được;
b) với dây nguồn 0,75 mm2 đối với phụ kiện 6 A thay dây được:
c) với dây nguồn 0,75 mm2 và 1 mm2 đối với phụ kiện 10 A thay dây được.
Ổ nối nguồn được thử nghiệm khi được lắp vào hoặc lắp lên vỏ ngoài kín nước thích hợp, theo hướng dẫn của nhà chế tạo về việc lắp đặt.
Vít cố định của vỏ ngoài và nắp được xiết chặt với mômen bằng hai phần ba mômen thích hợp cho trong Điều 25. Các phụ kiện được đặt ở vị trí bất lợi nhất.
Phích nối được thử nghiệm có và không có phụ kiện bổ sung cắm vào, phương tiện để đảm bảo cấp bảo vệ yêu cầu chống ẩm (như quy định trong 13.102) được đặt như trong sử dụng bình thường.
15 Điện trở cách điện và độ bền điện
Điều này của IEC 60320-1 được sửa đổi như sau:
15.1 Áp dụng điều này của IEC 60320-1.
15.2 Thay thế:
Điện trở cách điện của mẫu được đo sử dụng điện áp một chiều xấp xỉ 500 V, phép đo được thực hiện sau khi đặt điện áp trong 60 s ± 5 s.
Điện trở cách điện được:
a) đối với ổ nối nguồn đã được cắm phích nối, đo giữa các chân cắm mang dòng nối với nhau và thân;
b) đối với ổ nối nguồn đã được cắm phích nối, đo lần lượt giữa từng chân cắm và các chân cắm còn lại được nối với nhau, sau đó được nối với thân;
c) đo giữa các chân cắm mang dòng nối với nhau và thân, đối với phích nối và phích nối liên kết;
d) đối với phích nối và phích nối liên kết, đo lần lượt giữa từng chân cắm hoặc tiếp điểm mang dòng và các chân cắm hoặc tiếp điểm còn lại được nối với thân;
e) đối với phích nối và phích nối liên kết thay dây được, đo giữa phần kim loại bất kỳ của cơ cấu chặn dây, ngoại trừ vít kẹp, và dây kim loại có đường kính bằng đường kính lớn nhất của dây nguồn quy định trong Bảng 2, được lắp vào vị trí của dây;
CHÚ THÍCH: Đường kính lớn nhất của dây nguồn như sau:
| Kiểu dây nguồn | Số lượng lõi và tiết diện danh nghĩa | Đường kính lớn nhất |
| 6610 TCVN 53 hoặc 60227 IEC 53 | 2 x 0,75 | 7,2 |
| 2 x 1,0 | 7,5 | |
| 9615 TCVN 53 hoặc 60245 IEC 53 | 2 x 0,75 | 7,4 |
| 2 x 1,0 | 8,0 |
Điện trở cách điện không được nhỏ hơn 5 MΩ.
Thuật ngữ “thân” được sử dụng trong mục a), b), c) và d) ở trên bao gồm tất cả các bộ phận kim loại chạm tới được, vít dùng để cố định, vít dùng để lắp ráp bên ngoài và chi tiết tương tự và lá kim loại tiếp xúc với bề mặt ngoài của các bộ phận bên ngoài làm bằng vật liệu cách điện, gồm cả bề mặt tiếp giáp của phích nối (mục c) và d)).
Lá kim loại được quấn xung quanh bề mặt ngoài của bộ phận bên ngoài làm bằng vật liệu cách điện; tuy nhiên, không được ấn vào lỗ.
15.3 Thay thế:
Một điện áp về cơ bản có dạng sóng hình sin, có tần số danh nghĩa 50 Hz hoặc 60 Hz được đặt vào trong thời gian không nhỏ hơn 1min giữa các bộ phận được chỉ ra theo 15.2.
Giá trị điện áp thử nghiệm là:
a) 4 000 V ± 60 V giữa bộ phận mang dòng và thân;
b) 2 000 V ± 60 V giữa tất cả các bộ phận khác.
Ban đầu, đặt không quá một nửa điện áp quy định sau đó tăng nhanh đến giá trị đầy đủ.
Không được xảy ra phóng điện bề mặt hoặc phóng điện đánh thủng trong suốt thử nghiệm.
CHÚ THÍCH 1: Máy biến áp cao áp dùng cho thử nghiệm phải được thiết kế sao cho khi nối tắt các đầu nối ra sau khi đã điều chỉnh điện áp đầu ra đến điện áp thử nghiệm, dòng điện ra ít nhất là 200 mA. Rơ le quá dòng không buộc phải tác động khi dòng điện ra nhỏ hơn 100 mA.
CHÚ THÍCH 2: Cần thận trọng để giá trị hiệu dụng của điện áp thử nghiệm được đo trong phạm vi ±3 %.
CHÚ THÍCH 3: Phóng tia lửa điện nhưng không gây sụt áp thì được bỏ qua.
16 Lực cần thiết để cắm và rút phích nối
Áp dụng điều này của IEC 60320-1, ngoài ra:
16.1 Áp dụng điều này của IEC 60320-1.
16.2 Áp dụng điều này của IEC 60320-1.
Bổ sung:
16.101 Phải có vấu kẹp để ngăn ngừa việc tuột ra ngẫu nhiên của phụ kiện khi đã được cắm vào. Vấu kẹp phải làm việc đúng. Phải có khả năng cắm hoặc rút phích nối và tác động vấu kẹp dễ dàng bằng một trong hai tay.
Kiểm tra sự phù hợp bằng thao tác bằng tay và bằng thử nghiệm sau. Trong quá trình thử nghiệm này, việc nối giữa các phụ kiện phải được duy trì trong quá trình đặt vật nặng chính và phải bị tuột ra khi đặt vật nặng bổ sung.
Lực lớn nhất và nhỏ nhất cần thiết để tách bộ nối nguồn được xác định bằng thiết bị như thể hiện trên Hình 3. Thiết bị gồm một tấm lắp đặt (A) và bộ nối nguồn đã đi dây như trong sử dụng bình thường (B), được lắp sao cho bộ nối nguồn treo thẳng đứng với phích nối liên kết hoặc ổ nối nguồn hướng xuống dưới.
Đối với bộ nối nguồn thay dây được sử dụng cơ cấu chặn dây có vít kẹp, các vít này được xiết chặt với mômen như đã cho trong 25.1.
Lực tách lớn nhất và nhỏ nhất được cung cấp bởi cơ cấu kẹp được đo bằng cách cắm hoàn toàn phích nối vào phích nối liên kết hoặc ổ nối nguồn. Đĩa dỡ (C), có vật nặng chính (D) và vật nặng bổ sung (E), được gắn vào dây nguồn (F). Lực đặt vào bởi các thành phần này được cho trong bảng dưới đây. Vật nặng chính được treo lên phích nối nhưng không giật và cho phép vật nặng bổ sung rơi xuống từ độ cao 50 mm ± 25 mm lên vật nặng chính.
| Thành phần | Lực N |
| Đĩa đỡ (C) và vật nặng chính (D) | 60 ± 1 |
| Vật nặng bổ sung (E) | 30 ± 1 |
17 Hoạt động của tiếp điểm
Áp dụng điều này của IEC 60320-1.
18 Khả năng chịu nhiệt của bộ nối nguồn thiết bị trong điều kiện nóng hoặc điều kiện rất nóng
Không áp dụng điều này của IEC 60320-1.
19 Khả năng cắt
Áp dụng điều này của IEC 60320-1, ngoài ra:
Thay thế đoạn thứ tư:
Ổ nối nguồn hoặc phích nối liên kết được đặt sao cho mặt phẳng qua trục của thân cắm nằm ngang và nắp được tháo ra hoặc để mở.
20 Hoạt động bình thường
Áp dụng điều này của IEC 60320-1, ngoài ra:
Bổ sung:
Phích nối được thử nghiệm với nắp được tháo ra hoặc để mở.
21 Độ tăng nhiệt
Điều này của IEC 60320-1 được thay thế như sau:
Tiếp điểm và các bộ phận mang dòng khác phải được thiết kế sao cho ngăn ngừa độ tăng nhiệt quá mức do dòng điện đi qua.
Kiểm tra sự phù hợp bằng thử nghiệm sau.
Phích nối và phích nối liên kết thay dây được được lắp với dây nguồn cách điện bằng nhựa nhiệt dẻo có chiều dài tối thiểu là 500 mm và tiết diện danh nghĩa như sau:
- 0,75 mm2 đối với phụ kiện 6 A,
- 1 mm2 đối với phụ kiện 10 A.
Vít đầu nối được xiết chặt với mômen bằng hai phần ba mômen quy định trong cột tương ứng của bảng trong 25.1. Phích nối và phích nối liên kết không thay dây được được thử nghiệm với dây nguồn như được giao có chiều dài tối thiểu là 500 mm.
Phích nối được cắm vào phích nối liên kết phù hợp với tờ rời tiêu chuẩn B, ngoài ra chân cắm phải có kích thước tối thiểu với dung sai là
mm, khoảng cách giữa các đường tâm chân cắm có giá trị được quy định trong tờ rời tiêu chuẩn.
CHÚ THÍCH: Kích thước tối thiểu là kích thước cho trong tờ rời tiêu chuẩn B với dung sai âm đã nêu.
Phích nối liên kết được thử nghiệm với phích nối phù hợp với tiêu chuẩn này.
Dòng điện xoay chiều bằng 1,25 lần dòng điện danh định,
A chạy qua tiếp điểm mang dòng trong 1 h, hoặc cho tới khi thu được các điều kiện ổn định, chọn thời gian nào lâu hơn.
Nhiệt độ được xác định bằng các nhiệt ngẫu, nhiệt ngẫu được lựa chọn và đặt sao cho chúng có ảnh hưởng không đáng kể đến nhiệt độ cần xác định.
Độ tăng nhiệt của các đầu nối và đầu cốt không được lớn hơn 45 °C.
22 Dây nguồn và nối dây
Áp dụng điều này của IEC 60320-1, ngoài ra:
22.1 Thay thế:
Phụ kiện không thay dây được phải có dây nguồn phù hợp với kiểu 6610 TCVN 53 hoặc 60227 IEC 53 hoặc 9615 TCVN 53 hoặc 60245 IEC 53 theo bảng dưới đây.
| Kiểu phích nối | Tiết diện danh nghĩa mm2 |
| Phích nối liên kết | 0,75 - 1, như hướng dẫn của nhà chế tạo thiết bị |
| Phích nối 6 A | 0,75 |
| Phích nối 10 A với dây nguồn dài 2 m hoặc ngắn hơn | 0,75 hoặc 1 |
| Phích nối 10 A với dây nguồn dài hơn 2 m | 1 |
Kiểm tra sự phù hợp bằng cách xem xét.
22.2 Sửa đổi:
Áp dụng điều này của IEC 60320-1 cho phích nối và phích nối liên kết.
22.3 Thay thế:
Đối với phụ kiện thay dây được:
- phải có biện pháp rõ ràng về việc giảm sức căng và ngăn ngừa ảnh hưởng của xoắn dây dự kiến;
- cơ cấu chặn dây, hoặc tối thiểu là một phần của cơ cấu chặn dây loại lắp liền hoặc cố định vào một trong các bộ phận cấu thành của phụ kiện;
- không sử dụng phương pháp thay thế tạm thời, ví dụ như buộc dây nguồn thành nút hoặc buộc các đầu thành chùm;
- cơ cấu chặn dây phải phù hợp với các kiểu dây nguồn khác nhau có thể được nối, và hiệu quả của chúng không được phụ thuộc vào việc lắp ráp các phần của thân;
- cơ cấu chặn dây phải làm bằng vật liệu cách điện hoặc có lớp lót cách điện được cố định vào phần kim loại;
- dây nguồn không thể chạm tới vít kẹp của cơ cấu chặn dây nếu các vít này có thể chạm tới được bằng ngón tay thử nghiệm tiêu chuẩn được thể hiện trên Hình 10 của IEC 60320-1 hoặc được nối điện với bộ phận kim loại chạm tới được.
Kiểm tra sự phù hợp với các yêu cầu của 22.2 và 22.3 bằng cách xem xét và bằng thử nghiệm kéo trong thiết bị tương tự như được thể hiện trên Hình 16, ngay sau thử nghiệm mômen xoắn.
Phụ kiện không thay dây được được thử nghiệm với dây nguồn như được giao. Phụ kiện thay dây được được thử nghiệm với dây nguồn kiểu 6610 TCVN 53 hoặc 60227 IEC 53 hoặc kiểu 9615 TCVN 53 hoặc 60245 IEC 53 có tiết diện danh nghĩa là 0,75 mm2 và 1 mm2.
Ruột dẫn của dây nguồn của phụ kiện thay dây được được đưa vào đầu nối, vít đầu nối được xiết chặt vừa đủ để ngăn ngừa sự dịch chuyển dễ dàng của ruột dẫn.
Cơ cấu chặn dây được sử dụng theo cách bình thường, vít kẹp được xiết với mô men xoắn bằng hai phần ba mô men xoắn quy định trong cột tương ứng của bảng trong 25.1. Sau khi lắp ráp lại mẫu, bộ phận cấu thành phải khít nhau và không thể ấn thêm bất cứ một đoạn dây nguồn đáng kể nào vào phụ kiện.
Mẫu thử được cố định vào thiết bị thử nghiệm sao cho trục của dây nguồn thẳng đứng ở điểm đi vào phụ kiện
Sau đó dây nguồn phải chịu 25 lần kéo với lực 150 N ± 3 N. Lực kéo được đặt từ từ không giật, mỗi lần tối thiểu trong 1 s.
Ngay sau đó, dây nguồn phải chịu thử trong 60 s ± 5 s với mô men xoắn tối thiểu là 0,15 Nm được đặt vào liền kề với lối vào của dây nguồn mềm.
Trong quá trình thử nghiệm, dây nguồn không được hư hại.
Sau thử nghiệm, dây nguồn không được xê dịch quá 2 mm. Đối với phụ kiện thay dây được, đầu của ruột dẫn không được dịch chuyển trong đầu nối đến mức nhìn thấy được; đối với phụ kiện không thay dây được, các mối nối điện không được đứt.
Đối với phép đo độ xê dịch theo chiều dọc, đánh dấu trên dây nguồn trước khi bắt đầu thử nghiệm kéo dây ở giá trị quy định; đánh dấu ở cách phần cuối của phụ kiện hoặc ống bảo vệ dây một đoạn khoảng 20 mm. Đối với phụ kiện không thay dây được, nếu không xác định được rõ ràng phần cuối của phụ kiện hoặc ống bảo vệ dây thì đánh dấu thêm trên phần thân của mẫu và từ đó đo khoảng cách đến dấu còn lại.
Sau thử nghiệm, đo độ xê dịch của dấu trên dây nguồn liên quan đến phụ kiện hoặc ống bảo vệ dây trong khi dây nguồn chịu kéo với giá trị quy định.
22.4 Thay thế:
Phụ kiện phải được thiết kế sao cho dây nguồn không thể bị uốn quá mức tại nơi đi vào phụ kiện.
Kiểm tra sự phù hợp bằng cách xem xét và bằng thử nghiệm dưới đây.
Phụ kiện phải chịu thử nghiệm uốn trong thiết bị có cơ cầu dao động tương tự với thiết bị được thể hiện trên Hình 17 của IEC 60320-1.
Phích nối và phích nối liên kết thay dây được được lắp dây nguồn có tiết diện 1 mm2, có chiều dài tương ứng. Ống bảo vệ dây, nếu có, được đặt đúng vị trí.
Phích nối không thay dây được được thử nghiệm với dây nguồn như được giao.
Mẫu thử được cố định vào cơ cấu dao động của thiết bị sao cho khi nó ở vào điểm giữa của khoảng dao động thì trục của dây nguồn ở điểm đi vào phụ kiện có phương thẳng đứng và đi qua trục dao động.
Bằng cách điều chỉnh khoảng cách d như thể hiện trên Hình 17 của IEC 60320-1, cơ cấu dao động được bố trí sao cho dây nguồn dịch chuyển ngang ít nhất khi cơ cấu dao động của thiết bị thử nghiệm di chuyển hết một hành trình.
Dây nguồn được đặt sao cho lực được tạo ra là
N.
Dòng điện 10 A ± 0,1 A chạy qua ruột dẫn, điện áp giữa các ruột dẫn phải bằng với điện áp danh định.
Cơ cấu dao động chuyển động về phía sau và về phía trước qua một góc 90° (45° ± 3° về mỗi phía so với trục thẳng đứng). Số lần uốn là 20 000 lần đối với phụ kiện thay dây được và không thay dây được và tốc độ uốn là 60 ± 1 lần trong một phút.
CHÚ THÍCH 1: Một lần uốn là một lần chuyển động, hoặc về phía sau hoặc về phía trước.
Phụ kiện được uốn tròn quanh trục của dây nguồn, xoay 90° trên cơ cấu dao động sau một nửa số lần uốn yêu cầu.
Trong quá trình thử nghiệm không được ngắt dòng điện và không xảy ra ngắn mạch giữa các ruột dẫn. Ngắn mạch giữa các ruột dẫn của dây nguồn được coi là xảy ra nếu dòng điện đạt tới giá trị bằng hai lần dòng điện danh định của phụ kiện.
Sau thử nghiệm, mẫu phải cho thấy không có hư hại theo nghĩa của tiêu chuẩn này, ống bảo vệ, nếu có, không được tách khỏi thân và cách điện của dây nguồn, không được có dấu hiệu bị mài mòn hoặc cọ xát, hơn nữa, đối với phụ kiện không thay dây được, các sợi bị đứt của ruột dẫn không được xuyên thủng cách điện đến mức trở nên chạm tới được.
23 Độ bền cơ
Áp dụng điều này của IEC 60320-1, ngoài ra:
23.1 Thay thế:
Phụ kiện phải có đủ độ bền cơ.
Kiểm tra sự phù hợp bằng:
- thử nghiệm của 23.2, 23.3 và 23.7, đối với phích nối;
- thử nghiệm của 23.2, đối với phích nối liên kết;
- thử nghiệm của 23.5, đối với ổ nối nguồn.
CHÚ THÍCH: Vỏ che của ổ nối nguồn được thiết kế để lắp trực tiếp vào thiết bị hoặc thiết bị khác, không phải chịu thử nghiệm của 23.5.
23.2 Áp dụng điều này của IEC 60320-1, ngoài ra:
Số lần rơi phải là 500 lần với phích nối và phích nối liên kết được nối với nhau. Phụ kiện thay dây được phải lắp vào dây nguồn kiểu 6610 TCVN 53 hoặc 60227 IEC 53 có tiết diện danh nghĩa như sau:
- 0,75 mm2 đối với phụ kiện 6 A;
- 1 mm2 đối với phụ kiện 10 A.
23.3 Áp dụng điều này của IEC 60320-1.
23.4 Không áp dụng điều này của IEC 60320-1.
23.5 Thay thế đoạn đầu tiên:
Ổ nối nguồn được thiết kế để lắp bề mặt và có vỏ che làm bằng vật liệu cách điện, không phải vật liệu nhựa đàn hồi, vật liệu nhựa nhiệt dẻo hoặc vật liệu đàn hồi khác, được thử nghiệm bằng thiết bị thử va đập được vận hành bằng lò xo như thể hiện trên Hình 21 của IEC 60320-1. Trước khi bắt đầu thử nghiệm, ổ nối nguồn có vỏ ngoài bằng vật liệu nhựa đàn hồi hoặc vật liệu nhựa nhiệt dẻo, có đế hoặc dây nguồn, được đặt vào tủ lạnh ở nhiệt độ -5 °C ± 2 °C trong thời gian tối thiểu là 16 h. Ngay sau khi lấy khỏi tủ lạnh, ổ nối nguồn phải chịu thử nghiệm tiếp theo. Va đập được đặt vào mẫu bằng thiết bị thử nghiệm va đập được vận hành bằng lò xo như thể hiện trên Hình 21 của IEC 60320-1.
Thay thế đoạn thứ năm:
Đầu búa có đầu hình bán cầu làm bằng polyamit bán kính
mm, có độ cứng Rockwell là HR 100.
Đầu búa được cố định vào cán búa theo cách sao cho khoảng cách từ điểm đầu đến mặt phẳng trước của cơ cấu hình côn là 28 mm khi phần tử va đập nằm trên điểm nhả ra.
Thay thế đoạn thứ bảy:
Lò xo của búa được điều chỉnh để tạo ra độ nén xấp xỉ 28 mm, và lực được đặt vào bằng 2 000 N. Với điều chỉnh này, năng lượng va đập là 1 J ± 0,05 J.
Thay thế đoạn thứ mười hai:
Mẫu thử được đỡ cứng vững và đặt ba va đập lên mọi điểm có nhiều khả năng là yếu.
Thay thế đoạn thứ mười ba:
Sau thử nghiệm, mẫu phải cho thấy không có hư hại theo nghĩa của tiêu chuẩn này. Đặc biệt, bộ phận mang điện không được trở nên chạm tới được và vỏ ngoài không cho thấy có vết rách nhìn thấy được bằng mắt thường, ổ nối nguồn phải phù hợp với 14.101.
23.6 Không áp dụng điều này của IEC 60320-1.
23.7 Áp dụng điều này của IEC 60320-1.
24 Khả năng chịu nhiệt và lão hóa
Áp dụng điều này của IEC 60320-1, ngoài ra:
24.1.1 Áp dụng điều này của IEC 60320-1.
24.1.2 Áp dụng điều này của IEC 60320-1.
24.1.3 Sửa đổi:
Áp dụng điều này của IEC 60320-1 cho phích nối và phích nối liên kết.
24.2 Áp dụng điều này của IEC 60320-1.
25 Vít, bộ phận mang dòng và mối nối
Áp dụng điều này của IEC 60320-1, ngoài ra:
25.1 Áp dụng điều này của IEC 60320-1.
25.2 Áp dụng điều này của IEC 60320-1.
25.3 Áp dụng điều này của IEC 60320-1.
25.4 Áp dụng điều này của IEC 60320-1.
25.5 Áp dụng điều này của IEC 60320-1.
25.6 Áp dụng điều này của IEC 60320-1.
25.7 Áp dụng điều này của IEC 60320-1.
25.8 Không áp dụng điều này của IEC 60320-1.
26 Chiều dài đường rò, khe hở không khí và khoảng cách qua cách điện
Áp dụng điều này của IEC 60320-1, ngoài ra:
Bổ sung:
Phụ kiện phải được thử nghiệm với ruột dẫn mềm có tiết diện danh nghĩa như sau:
- 0,75 mm2 - phụ kiện 6 A;
- 1 mm2 - phụ kiện 10 A.
27 Khả năng chịu nhiệt, cháy và phóng điện bề mặt của vật liệu cách điện
Áp dụng điều này của IEC 60320-1, ngoài ra:
27.1 Áp dụng điều này của IEC 60320-1.
27.2 Thay thế:
Bộ phận cách điện đỡ hoặc tiếp xúc với bộ phận mang điện của bộ nối nguồn phải bằng vật liệu chịu phóng điện.
Kiểm tra sự phù hợp, đối với liệu không phải là gốm, bằng thử nghiệm được mô tả ở IEC 60112. Không cần thực hiện thử nghiệm nếu chiều dài đường rò có giá trị tối thiểu là gấp đôi giá trị được quy định trong Điều 26.
27.2.1 Thay thế:
Áp dụng Điều 3 của IEC 60112.
CHÚ THÍCH: Nếu không thể tiến hành thử nghiệm trên mẫu có chiều dày 3 mm, cho phép xếp chồng các mẫu thử để đạt được giá trị chiều dày là 3 mm hoặc sử dụng tấm vật liệu giống như vậy có chiều dày 3 mm.
27.2.2 Áp dụng điều này của IEC 60320-1.
27.2.3 Áp dụng điều này của IEC 60320-1.
27.2.4 Áp dụng điều này của IEC 60320-1.
28 Khả năng chống gỉ
Áp dụng điều này của IEC 60320-1.
29 Yêu cầu về tương thích điện từ (EMC)
Áp dụng điều này của IEC 60320-1.
Phụ lục A
(quy định)
Thử nghiệm thường xuyên liên quan đến an toàn đối với các bộ nối nguồn thiết bị được đấu dây tại phân xưởng (bảo vệ chống điện giật và cực tính đúng)
Áp dụng điều này của IEC 60320-1.
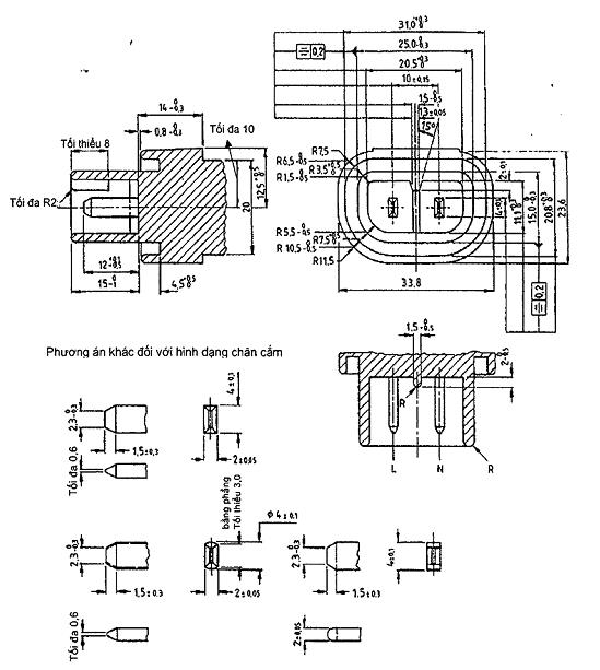
TỜ RỜI TIÊU CHUẨN A
PHÍCH NỐI 10 A250V
TRONG ĐIỀU KIỆN LẠNH
DÙNG CHO THIẾT BỊ CẤP II CÓ CẤP BẢO VỆ IPX4
Kích thước tính bằng milimét

Ngoại trừ các kích thước đã cho, thiết kế không buộc phải tuân thủ theo các bản vẽ. Chỉ khuyến cáo các kích thước không có dung sai.
Góc α được điều chỉnh để phù hợp với yêu cầu của 13.105.
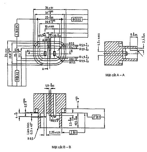
TỜ RỜI TIÊU CHUẨN B
PHÍCH NỐI 10 A 250 V
TRONG ĐIỀU KIỆN LẠNH
DÙNG CHO THIẾT BỊ CẤP II CÓ CẤP BẢO VỆ IPX4
Kích thước tính bằng milimét

Ngoại trừ các kích thước đã cho, thiết kế không buộc phải tuân thủ theo các bản vẽ. Chỉ khuyến cáo các kích thước không có dung sai.
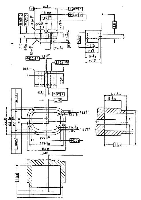
Kích thước tính bằng milimét

Dưỡng và chân cắm: Thép tôi
Hình 1 - Dưỡng “LỌT” dùng cho phích nối theo tờ rời tiêu chuẩn A (xem 9.1)
Kích thước tính bằng milimét

Dưỡng và tay cầm: Thép tôi.
Giá trị danh nghĩa S và T của tay cầm và lỗ được để tự do nhưng cần lưu ý các dung sai
Hình 2 - Dưỡng “LỌT” chính và phụ dùng cho ổ nối nguồn theo tờ rời tiêu chuẩn B (xem 9.1)
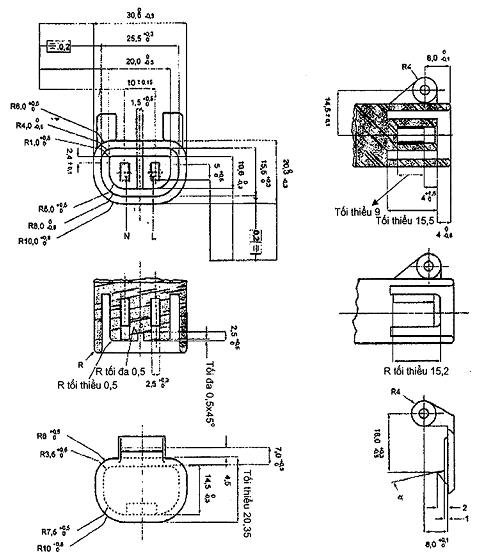
TỜ RỜI TIÊU CHUẨN C
PHÍCH NỐI 6 A 250 V
TRONG ĐIỀU KIỆN LẠNH
DÙNG CHO THIẾT BỊ CẤP II CÓ CẤP BẢO VỆ IPX4
Kích thước tính bằng milimét

Ngoại trừ các kích thước đã cho, thiết kế không buộc phải tuân thủ theo các bản vẽ. Chỉ khuyến cáo các kích thước không có dung sai.
Góc α được điều chỉnh để phù hợp với yêu cầu của 13.105.
TỜ RỜI TIÊU CHUẨN D
Ổ NỐI NGUỒN 6 A 250 V
TRONG ĐIỀU KIỆN LẠNH
DÙNG CHO THIẾT BỊ CẤP II CÓ CẤP BẢO VỆ IPX4
Kích thước tính bằng milimét

Ngoại trừ các kích thước đã cho, thiết kế không buộc phải tuân thủ theo các bản vẽ. Chỉ khuyến cáo các kích thước không có dung sai.
Kích thước tính bằng milimét

Dưỡng và chân cắm: Thép tôi
Hình 1A - Dưỡng “LỌT” dùng cho phích nối theo tờ rời tiêu chuẩn C (xem 9.1)
Kích thước tính bằng milimét

Dưỡng và tay cầm: Thép tôi
Giá trị danh nghĩa S và T của tay cầm và lỗ được để tự do nhưng cần lưu ý các dung sai.
Hình 2A - Dưỡng “LỌT” chính và phụ dùng cho ổ nối nguồn theo tờ rời tiêu chuẩn D (xem 9.1)
Kích thước tính bằng milimét

Hình 3 - Ví dụ về thiết bị thử nghiệm kiểm tra việc rút phích nối không chủ ý (16.101)
Kích thước tính bằng milimét

Hình 4 - Dưỡng kéo rút (xem 13.5)
MỤC LỤC
Lời nói đầu
1 Phạm vi áp dụng
2 Tài liệu viện dẫn
3 Thuật ngữ và định nghĩa
4 Yêu cầu chung
5 Lưu ý chung đối với các thử nghiệm
6 Thông số đặc trưng tiêu chuẩn
7 Phân loại
8 Ghi nhãn
9 Kích thước và tính tương thích
10 Bảo vệ chống điện giật
11 Quy định cho nối đất
12 Đầu nối và đầu cốt
13 Kết cấu
14 Khả năng chống ẩm
15 Điện trở cách điện và độ bền điện
16 Lực cần thiết để cắm và rút phích nối
17 Hoạt động của tiếp điểm
18 Khả năng chịu nhiệt của bộ nối nguồn thiết bị trong điều kiện nóng hoặc điều kiện rất nóng
19 Khả năng cắt
20 Hoạt động bình thường
21 Độ tăng nhiệt
22 Dây nguồn và nối dây
23 Độ bền cơ
24 Khả năng chịu nhiệt và lão hóa
25 Vít, bộ phận mang dòng và mối nối
26 Chiều dài đường rò, khe hở không khí và khoảng cách qua cách điện
27 Khả năng chịu nhiệt, cháy và phóng điện bề mặt của vật liệu cách điện
28 Khả năng chống gỉ
29 Yêu cầu về tương thích điện từ (EMC)
Phụ lục A (quy định) - Thử nghiệm thường xuyên liên quan đến an toàn đối với các bộ nối nguồn thiết bị được đấu dây tại phân xưởng (bảo vệ chống điện giật và cực tính đúng)
1 Hiện nay, IEC 60536 đã bị hủy và được thay thế bằng IEC 61140.
2 Hệ thống TCVN đã có TCVN 10899-1:2015 hoàn toàn tương đương với IEC 60320-1:2015.
3 Hệ thống TCVN đã có TCVN 4255:2008 hoàn toàn tương đương với IEC 60529:2001.
Bạn chưa Đăng nhập thành viên.
Đây là tiện ích dành cho tài khoản thành viên. Vui lòng Đăng nhập để xem chi tiết. Nếu chưa có tài khoản, vui lòng Đăng ký tại đây!