- Tổng quan
- Nội dung
- Tiêu chuẩn liên quan
- Lược đồ
- Tải về
Tiêu chuẩn Quốc gia TCVN 7683-2:2007 ISO 1701-2:2004 Điều kiện kiểm máy phay có chiều cao bàn máy thay đổi
| Số hiệu: | TCVN 7683-2:2007 | Loại văn bản: | Tiêu chuẩn Việt Nam |
| Cơ quan ban hành: | Bộ Khoa học và Công nghệ | Lĩnh vực: | Công nghiệp |
|
Ngày ban hành:
Ngày ban hành là ngày, tháng, năm văn bản được thông qua hoặc ký ban hành.
|
2007 |
Hiệu lực:
|
Đã biết
|
| Người ký: | Đang cập nhật |
Tình trạng hiệu lực:
Cho biết trạng thái hiệu lực của văn bản đang tra cứu: Chưa áp dụng, Còn hiệu lực, Hết hiệu lực, Hết hiệu lực 1 phần; Đã sửa đổi, Đính chính hay Không còn phù hợp,...
|
Đã biết
|
TÓM TẮT TIÊU CHUẨN VIỆT NAM TCVN 7683-2:2007
Nội dung tóm tắt đang được cập nhật, Quý khách vui lòng quay lại sau!
Tải tiêu chuẩn Việt Nam TCVN 7683-2:2007
TIÊU CHUẨN QUỐC GIA
TCVN 7683-2 : 2007
ĐIỀU KIỆN KIỂM MÁY PHAY CÓ CHIỀU CAO BÀN MÁY THAY ĐỔI – KIỂM ĐỘ CHÍNH XÁC – PHẦN 2: MÁY CÓ TRỤC CHÍNH THẲNG ĐỨNG
Test conditions for milling machine with table of variable height – Testing of the accuracy – Part 2: Machines with vertical spindle
1. Phạm vi áp dụng
Tiêu chuẩn này qui định các phép kiểm hình học và gia công trên máy phay thông dụng, độ chính xác thông thường, trục chính thẳng đứng có chiều cao bàn máy thay đổi, có tham chiếu các tiêu chuẩn TCVN 7011-1:2007. Tiêu chuẩn này cũng qui định các dung sai có thể áp dụng tương ứng với các phép kiểm trên.
CHÚ THÍCH: Máy phay có chiều cao bàn cố định được qui định trong TCVN 7685.
Tiêu chuẩn này chỉ áp dụng để kiểm độ chính xác của máy, không áp dụng để kiểm vận hành máy (độ rung, độ ồn, chuyển động trượt của các bộ phận, v.v…) hoặc các đặc tính của máy (tốc độ trục chính, tốc độ tiến, v.v…) các phép kiểm này thường được tiến hành trước khi kiểm độ chính xác.
2. Tài liệu viện dẫn
Trong tiêu chuẩn có viện dẫn các tài liệu sau. Đối với các tài liệu viện dẫn ghi năm ban hành thì áp dụng bản dưới đây. Đối với các tài liệu viện dẫn không ghi năm công bố thì áp dụng phiên bản mới nhất, bao gồm cả các sửa đổi.
TCVN 7011-1:2007 (ISO 230-1:1996) Qui tắc kiểm máy công cụ. Độ chính xác hình học của máy khi vận hành trong điều kiện không tải hoặc gia công tinh.
ISO 3855 Milling cuters – Nomenclature (Dao phay – Thuật ngữ).
3. Thuật ngữ, tên gọi của trục và Nguyên công phay
3.1. Thuật ngữ và tên gọi của trục
Xem Hình 1, Bảng 1 và Hình 2, Bảng 2.

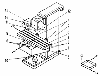
Hình 1 – Máy phay có chiều cao bàn máy thay đổi với trục chính thẳng đứng và giá đỡ trục chính trượt thẳng đứng
Bảng 1 – Thuật ngữ
| Số tham chiếu | Tên gọi | |
| Tiếng Việt | Tiếng Anh | |
| 1 | Bệ máy | Base-plate with tray |
| 2 | Trụ máy | Column |
| 3 | Giá đỡ bàn | Knee |
| 4 | Đường hướng của giá đỡ bàn | Knee slideways |
| 5 | Bàn trượt | Saddle |
| 6 | Đường hướng của bàn trượt | Saddle slideways |
| 7 | Bàn máy | Table |
| 8 | Đường hướng của bàn máy | Table slideways |
| 9 | Bề mặt của bàn máy | Table surface |
| 10 | Vít chuyển động thẳng đứng | Vertical feed-screw |
| 11 | Đầu mút trục chính | Spindle nose |
| 12 | Giá đỡ trục chính | Spindle head |
| 13 | Đường hướng của ụ trục chính | Spindle head slideways |
CHÚ THÍCH:
Ngoài các thuật ngữ được sử dụng trong ba ngôn ngữ chính thức của ISO (Anh, Pháp, Nga). Các thuật ngữ tương đương theo tiếng Đức, Italia, Hà Lan, Tây Ban Nha, Thụy Điển tương ứng với Hình 1 xem Phụ lục A.

Hình 2 – Máy phay có chiều cao bàn máy thay đổi, có đầu máy di chuyển được, có trục chính nằm ngang hoặc thẳng đứng
Bảng 2 – Thuật ngữ
| Số tham chiếu | Tên gọi | |
| Tiếng Việt | Tiếng Anh | |
| 1 | Bệ máy | Base-plate with tray |
| 2 | Trụ máy | Column |
| 3 | Giá đỡ bàn | Knee |
| 4 | Đường hướng của giá đỡ bàn | Knee slideways |
| 5 | Bàn trượt | Saddle |
| 6 | Đường hướng của bàn trượt | Saddle slideways |
| 7 | Bàn máy | Table |
| 8 | Đường hướng của bàn máy | Table slideways |
| 9 | Bề mặt của bàn máy | Table surface |
| 10 | Vít chuyển động thẳng đứng | Vertical feed-screw |
| 11 | Đầu trục chính thẳng đứng | Vertical spindle nose |
| 12 | Đầu trục chính nằm ngang | Horizontal spindle nose |
| 13 | Đồ gá phay nằm ngang | Horizontal milling attachment |
| 14 | Đầu máy di chuyển được | Movable head |
CHÚ THÍCH:
Ngoài các thuật ngữ được sử dụng trong ba ngôn ngữ chính thức của ISO (Anh, Pháp, Nga). Các thuật ngữ tương đương theo tiếng Đức, Italia, Hà Lan, Tây Ban Nha, Thụy Điển tương ứng với Hình 2 xem Phụ lục B.
3.2. Nguyên công phay
Phay là một quá trình gia công trong đó gồm vật liệu được cắt bỏ bằng một dụng cụ cắt quay được gọi là “dao phay”, dao này có nhiều dạng khác nhau.
Nguyên công thông thường của phay được chia làm ba loại:
- Nguyên công phay mặt phẳng (Hình 3);
- Nguyên công phay mặt đầu (Hình 4);
- Nguyên công phay rãnh (Hình 5).

3.3. Mô tả máy
Trong các máy phay có chiều cao bàn máy thay đổi, trục chính thẳng đứng, đế máy được cố định cứng với trụ máy (Hình 1 và Hình 2).
Trong kiểu máy này, chuyển động của dao phay được thực hiện bởi trục chính, trục chính thẳng đứng. Chuyển động tiến như sau:
a) Máy phay có trục chính thẳng đứng (xem Hình 1)
- Chuyển động theo trục X tạo thành chuyển động dọc của bàn máy;
- Chuyển động theo trục Y tạo thành chuyển động thẳng đứng của bàn;
- Chuyển động theo trục Z song song với đường tâm trục chính và tạo thành chuyển động thẳng đứng của trục chính.
b) Máy phay có đầu di chuyển được trục chính nằm ngang hoặc thẳng đứng (xem Hình 2)
- Chuyển động theo trục X tạo thành chuyển động dọc của bàn máy
- Chuyển động theo trục Y tạo thành chuyển động ngang của bàn máy
- Chuyển động theo trục Z tạo thành chuyển động thẳng đứng của bàn máy
CHÚ THÍCH: Toàn bộ chuyển động tiến này có thể được tiến hành bởi dịch chuyển ngang nhanh của bàn.
4. Qui định chung
4.1. Đơn vị đo
Trong tiêu chuẩn này toàn bộ kích thước dài, sai lệch và các dung sai tương ứng được biểu thị bằng milimét, kích thước góc được biểu thị bằng độ, sai lệch góc và dung sai tương ứng được biểu thị chủ yếu theo các tỷ số nhưng trong một vài trường hợp, có thể sử dụng micrô-radian hoặc cung giây. Phải tuân theo các biểu thức tương đương đối với các đơn vị sau:
0,010/1000 = 10 x 10-6 = 10 μrad ≈ 2’’
4.2. Tham chiếu tiêu chuẩn TCVN 7011-1
Để áp dụng tiêu chuẩn này, phải tham khảo tiêu chuẩn TCVN 7011-1 đặc biệt là phần lắp đặt máy trước khi kiểm, làm nóng trục chính và các bộ phận chuyển động khác, mô tả các phương pháp đo và độ chính xác của thiết bị kiểm.
Các ô “quan sát” của phép kiểm được mô tả trong các Điều 5 và 6, các hướng dẫn kèm theo các điều kiện tham chiếu tương ứng trong TCVN 7011-1 trong trường hợp các phép kiểm có liên quan theo đúng các quy định của TCVN 7011.
4.3. Trình tự kiểm
Trình tự các phép kiểm trong tiêu chuẩn này không qui định cho kiểm thực tế. Để lắp đặt dụng cụ đo hoặc đầu đo dễ dàng, có thể tiến hành các phép kiểm theo bất kỳ thứ tự nào.
4.4. Thực hiện các phép kiểm
Khi kiểm máy, không thể và không cần thiết phải kiểm toàn bộ các mục kiểm cho trong tiêu chuẩn này. Khi các phép kiểm được yêu cầu dùng cho kiểm nghiệm thu, người sử dụng lựa chọn các phép kiểm có liên quan đến các bộ phận hoặc các tính chất của máy cần quan tâm theo thỏa thuận với nhà chế tạo hoặc nhà cung cấp. Các phép kiểm này phải được qui định rõ ràng trong hợp đồng mua máy. Sự tham chiếu tiêu chuẩn này cho kiểm nghiệm thu mà không qui định các phép kiểm được tiến hành, không có sự thỏa thuận về chi phí liên quan, không thể được xem là ràng buộc đối với bất kỳ bên tham gia hợp đồng nào.
4.5. Dụng cụ đo
Dụng cụ đo chỉ dẫn trong các phép kiểm được mô tả trong các Điều 5 và Điều 6 chỉ là ví dụ. Có thể sử dụng Dụng cụ đo khác có cùng đại lượng và cùng độ chính xác. Đồng hồ đo phải có độ phân giải 0,001 mm hoặc nhỏ hơn.
4.6. Kiểm gia công
Kiểm gia công phải được tiến hành chỉ với gia công tinh, không kiểm tra công thô vì có khả năng tạo ra lực cắt đáng kể.
4.7. Dung sai nhỏ nhất
Khi thiết lập dung sai cho một chiều dài đo khác so với giá trị cho trong tiêu chuẩn này (xem 2.3.1.1 của TCVN 7011-1) thì phải xem xét đến giá trị nhỏ nhất của dung sai là 0,005 mm.
5. Kiểm hình học
5.1. Các trục của chuyển động
| Đối tượng | G1 | |
| Kiểm độ thẳng chuyển động thẳng đứng của giá đỡ bàn (trục W): a) Trong mặt phẳng thẳng đứng đối xứng của máy (mặt phẳng YZ); Trong mặt phẳng vuông góc với mặt phẳng thẳng đứng đối xứng của máy (mặt phẳng ZX). | ||
| Sơ đồ
| ||
| Dung sai Đối với a) và b) 0,02 trên chiều dài đo 300 | Sai lệch đo được a) b) | |
| Dụng cụ đo Đồng hồ so và ke vuông. | ||
| Quan sát và tham chiếu 5.2.3.2.1.1 của TCVN 7011-1 Thay thế thước thẳng bằng sử dụng cạnh thẳng đứng của ke vuông. Điều chỉnh ke vuông để đạt được các số chỉ đồng hồ so giống nhau tại hai đầu mút của chiều dài đo, khi đó hiệu lớn nhất của các số chỉ của đồng hồ đo là sai lệch của độ thẳng. Đưa bàn máy vào vị trí giữa: a) Bàn trượt phải được khóa lại; b) Bàn máy (trục X) phải được khóa lại. Nếu trục chính được khóa, đồng hồ so có thể lắp trên trục chính. Nếu trục chính không được khóa, đồng hồ so phải được đặt trên bộ phận cố định của máy. | ||
| Đối tượng | G2 | |
| Kiểm độ vuông góc giữa chuyển động ngang của bàn trượt (trục Y) và chuyển động dọc của bàn máy (trục X) | ||
| Sơ đồ
| ||
| Dung sai 0,02 trên chiều dài đo 300 | Sai lệch đo được | |
| Dụng cụ đo Thước thẳng, đồng hồ so và ke vuông. | ||
| Quan sát và tham chiếu 5.5.2.2.4 của TCVN 7011-1 Giá đỡ bàn (trục W) phải được khóa lại. a) Thước thẳng phải được đặt song song đối với chuyển động dọc của bàn máy (trục X), rồi đặt ke vuông áp vào thước thẳng. Bàn máy phải được khóa ở vị trí giữa. Phép kiểm này cũng có thể được kiểm không có thước thẳng. Chỉnh cạnh dài của ke vuông song song với trục X; b) Phải kiểm chuyển động ngang của bàn trượt (trục Y). Nếu trục chính được khóa, đồng hồ so có thể được lắp trên trục chính. Nếu trục chính không được khóa, đồng hồ so phải đặt trên một bộ phận cố định của máy. | ||
| Đối tượng | G3 | |
| Kiểm sai lệch góc của bàn trong chuyển động dọc của nó (trục X) a) Trong mặt phẳng thẳng đứng YZ vuông góc với chuyển động của bàn (lắc ngang EAX); b) Trong mặt phẳng thẳng đứng ZX song song với chuyển động của bàn máy (lắc dọc EBX). | ||
| Sơ đồ
a) Nivô chuẩn | ||
| Dung sai a) 0,04/1000 (hoặc 40 μrad hoặc 8”) b) X ≤ 1000 0,08/1000 (hoặc 80 μrad hoặc 16”) X > 1000 0,12/1000 (hoặc 120 μrad hoặc 24”) | Sai lệch đo được a) b) | |
| Dụng cụ đo Nivô chính xác | ||
| Quan sát và tham chiếu 5.2.3.2.2 của TCVN 7011-1 Phép kiểm này chỉ được tiến hành khi giá đỡ bàn (trục W) được kẹp chặt trên trụ máy. Nivô phải được đặt ở giữa bàn máy a) Theo chiều ngang; b) Theo chiều dọc. Nivô chuẩn phải được đặt trên đầu trục chính, và đầu trục chính phải đặt ở giữa phạm vi hành trình. Khi chuyển động của trục X gây ra hành trình góc của cả đầu trục chính và bàn kẹp phôi, phải đo sự khác nhau của hai chuyển động góc và trình bày kết quả này. Phép đo được tiến hành ở nhiều vị trí, di chuyển bàn theo các bước 200 hoặc 250. Hiệu giữa các số chỉ lớn nhất và nhỏ nhất (trừ dịch chuyển góc trên) theo cả hai hướng chuyển động không được lớn hơn dung sai đã cho. | ||
5.2. Bàn máy
| Đối tượng | G4 | |
| Kiểm độ phẳng của bề mặt bàn máy. | ||
| Sơ đồ
| ||
| Dung sai 0,04 đối với chiều dài đo 1000, (chỉ cho phép lõm) Đối với mỗi chiều dài của bàn tăng thêm đến 1000 cộng thêm 0,005 Dung sai lớn nhất: 0,05 Dung sai cục bộ: 0,02 đối với chiều dài đo 300 | Sai lệch đo được | |
| Dụng cụ đo Nivô chính xác hoặc thước thẳng và căn mẫu | ||
| Quan sát và tham chiếu 5.3.2.2 và 5.3.2.3 của TCVN 7011-1 Bàn máy (trục X) và bàn trượt (trục Y) phải được đặt ở vị trí giữa, không được khóa bàn máy nhưng phải khóa bàn trượt và giá đỡ bàn. CHÚ THÍCH: Các chữ cái chuẩn trên sơ đồ phù hợp với các chữ cái sử dụng trên Hình 41 của TCVN 7011-1. | ||
| Đối tượng | G5 | |
| Kiểm độ song song giữa bề mặt bàn máy và: a) Chuyển động của bàn trượt (trục Y) trong mặt phẳng YZ thẳng đứng. b) Chuyển động dọc của bàn trượt (trục X) trong mặt phẳng ZX thẳng đứng. | ||
| Sơ đồ
| ||
| Dung sai Đối với a) và b) 0,025 đối với chiều dài đo đến 300 Dung sai lớn nhất 0,05 | Sai lệch đo được a) b) | |
| Dụng cụ đo Thước thẳng và đồng hồ so. | ||
| Quan sát và tham chiếu 5.4.2.2.2.1 của TCVN 7011-1 Kim của đồng hồ so phải được đặt gần đúng với vị trí làm việc của dụng cụ cắt. Phép đo được tiến hành trên thước thẳng được đặt song song với bề mặt của bàn. Nếu chiều dài bàn lớn hơn 1600, tiến hành kiểm bằng cách dịch chuyển liên tiếp của thước thẳng. Giá đỡ bàn (trục W) phải được khóa lại: a) Bàn máy (trục X) phải được khóa; b) Bàn trượt (trục Y) phải được khóa. Nếu trục chính được khóa, đồng hồ so có thể được lắp trên trục chính. Nếu trục chính không được khóa, đồng hồ so phải được lắp trên bộ phận cố định của máy. | ||
| Đối tượng | G6 | |
| Kiểm độ vuông góc giữa bề mặt bàn máy và chuyển động thẳng đứng của giá đỡ bàn (trục W) (trong ba vị trí: vị trí giữa và hai vị trí gần mép biên của hành trình): a) Trong mặt phẳng thẳng đứng đối xứng của máy (mặt phẳng YZ); b) Trong mặt phẳng vuông góc với mặt phẳng thẳng đứng đối xứng của máy (mặt phẳng ZX). | ||
| Sơ đồ
| ||
| Dung sai a) 0,025 trên chiều dài đo 300 với α ≤ 90o b) 0,025 trên chiều dài đo 300 | Sai lệch đo được a) b) | |
| Dụng cụ đo Đồng hồ so và ke vuông. | ||
| Quan sát và tham chiếu 5.5.2.2.2 của TCVN 7011-1 Đưa bàn máy vào vị trí giữa, giá đỡ bàn (trục W) được khóa khi tiến hành đo: a) Bàn trượt (trục Y) phải được khóa lại; b) Bàn máy (trục X) phải được khóa lại. Nếu trục chính được khóa, đồng hồ so có thể được lắp trên trục chính. Nếu trục chính không được khóa, đồng hồ so phải được lắp trên bộ phận cố định của máy. | ||
| Đối tượng | G7 | |
| Kiểm độ vuông góc giữa bề mặt bàn máy và chuyển động thẳng đứng của giá đỡ đầu trục chính (trục Z): a) Trong mặt phẳng thẳng đứng đối xứng của máy (mặt phẳng YZ); b) Trong mặt phẳng vuông góc với mặt phẳng đứng đối xứng của máy (mặt phẳng ZX). | ||
| Sơ đồ
| ||
| Dung sai a) 0,025 trên chiều dài đo 300 với α ≤ 90o b) 0,025 trên chiều dài đo 300 | Sai lệch đo được a) b) | |
| Dụng cụ đo Đồng hồ so và ke vuông. | ||
| Quan sát và tham chiếu 5.5.2.2.2 của TCVN 7011-1 Đưa bàn máy vào vị trí giữa, giá đỡ bàn máy (trục W) được khóa. Giá đỡ đầu trục chính (trục Z) được khóa lại khi đo: a) Bàn trượt (trục Y) phải được khóa lại; b) Bàn máy (trục X) phải được khóa lại. Nếu trục chính được khóa, đồng hồ so có thể được lắp trên trục chính. Nếu trục chính không được khóa, đồng hồ so phải được lắp trên bộ phận cố định của máy. | ||
| Đối tượng | G8 | |
| Kiểm độ thẳng của rãnh chữ T giữa hoặc rãnh chữ T chuẩn của bàn máy. | ||
| Sơ đồ
| ||
| Dung sai 0,01 đối với chiều dài đo 500 Dung sai lớn nhất: 0,03 | Sai lệch đo được | |
| Dụng cụ đo Thước thẳng và đồng hồ so hoặc căn mẫu, hoặc dây căng và pan me, hoặc ống tự chuẩn trực. | ||
| Quan sát và tham chiếu 5.2.1.2, 5.2.1.2.1 và 5.2.1.2.2.3 của TCVN 7011-1 Đặt thước thẳng trực tiếp trên bàn máy. | ||
| Đối tượng | G9 | |
| Kiểm độ song song giữa rãnh chữ T giữa hoặc rãnh chữ T chuẩn và chuyển động dọc của bàn máy (trục X). | ||
| Sơ đồ
| ||
| Dung sai 0,015 trên chiều dài đo 300 Dung sai lớn nhất 0,04 | Sai lệch đo được | |
| Dụng cụ đo Đồng hồ so | ||
| Quan sát và tham chiếu 5.4.2.2.1 và 5.4.2.2.2.1 của TCVN 7011-1 Bàn trượt (trục Y) và giá đỡ bàn (trục W) phải được khóa lại. Nếu đầu trục chính được khóa, đồng hồ so có thể được lắp trên trục chính. Nếu trục chính không được khóa, đồng hồ so phải lắp trên bộ phận cố định của máy. | ||
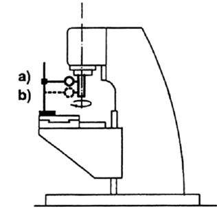
5.3. Trục chính
| Đối tượng | G10 | |
| a) Kiểm độ đảo hướng kính của bề mặt định tâm ngoài trên đầu mút trục chính (đối với máy có kết cấu này). b) Kiểm độ trượt chiều trục có chu kỳ. c) Kiểm độ đảo mặt đất của mặt mút trục chính (bao gồm cả trượt chiều trục có chu kỳ). | ||
| Sơ đồ
| ||
| Dung sai a) 0,01 b) 0,01 c) 0,02 | Sai lệch đo được a) b) c) | |
| Dụng cụ đo Đồng hồ so | ||
| Quan sát và tham chiếu của TCVN 7011-1 a) 5.6.1.2.2 b) 5.6.2.2.1 và 5.6.2.2.2 Một lực F do nhà cung cấp/nhà chế tạo qui định được ép vào thân máy đối với phép kiểm b) và phép kiểm c). c) 5.6.3.2 Khoảng cách A của đồng hồ so c) tính từ đường tâm đầu trục chính phải càng lớn càng tốt. | ||
| Đối tượng | G11 | |
| Kiểm độ đảo của côn trong trục chính: a) Tại mút trục chính; b) Tại khoảng cách 300 mm so với đầu mút trục chính. | ||
| Sơ đồ
| ||
| Dung sai a) 0,01 b) 0,02 | Sai lệch đo được a) b) | |
| Dụng cụ đo Đồng hồ so và trục kiểm | ||
| Quan sát và tham chiếu 5.6.1.2.3 của TCVN 7011-1
| ||
| Đối tượng | G12 | |
| Kiểm độ vuông góc giữa đường tâm trục chính và mặt bàn máy a) Trong mặt phẳng thẳng đứng đối xứng của máy (mặt phẳng YZ); b) Trong mặt phẳng vuông góc với mặt phẳng thẳng đứng đối xứng của máy (mặt phẳng ZX) | ||
| Sơ đồ
| ||
| Dung sai a) 0,025/300 với α ≤ 90o b) 0,025/300 | Sai lệch đo được a) b) | |
| Dụng cụ đo Đồng hồ so và trục kiểm | ||
| Quan sát và tham chiếu 5.5.1.2.1 và 5.5.1.2.4.2 của TCVN 7011-1 Bàn máy (trục X), bàn trượt (trục Y) và đường hướng của ụ trục chính (trục Z) và giá đỡ bàn (trục W) phải được khóa. | ||
6. Kiểm gia công
| Đối tượng |
| M1 | |
| a) Phay bề mặt A bằng chuyển động dọc tự động bàn máy và chuyển động ngang bằng tay bàn trượt trong hai lát cắt phủ lên nhau 5 mm đến 10 mm. | b) Phay bề mặt B, C và D bằng chuyển động dọc tự động bàn máy, chuyển động ngang tự động của bàn trượt chuyển động thẳng đứng bằng tay của giá đỡ bàn. |
| |
| Sơ đồ Kích thước tính bằng milimét
| L là chiều dài của mẫu kiểm hoặc khoảng cách giữa các bề mặt đối diện của hai mẫu kiểm và bằng 1/2 hành trình dọc l bằng h1 và tương ứng với 1/8 hành trình dọc. lmax là 100 đối với L ≤ 500 là 150 đối với 500 < L ≤ 1000 là 200 đối với L > 1000 lmin là 50 CHÚ THÍCH 1: Các hành trình dọc ≥ 400, có thể sử dụng một hoặc hai mẫu thử được gia công theo hướng dọc trên chiều dài l tại mỗi một đầu. CHÚ THÍCH 2: Các hành trình dọc < 400 có thể sử dụng một mẫu kiểm gia công trên toàn bộ chiều dài của mẫu kiểm. | ||
| Dung sai a1) Bề mặt A của mỗi một mẫu kiểm phải có độ phẳng 0,02 a2) Chiều cao H của mẫu phải có dung sai 0,03 b) các mặt phẳng chứa bề mặt B, C và D phải vuông góc với nhau và mỗi một bề mặt phải vuông góc với bề mặt A với sai lệch 0,02/100 | Sai lệch đo được a1) a2) b) | ||
| Dụng cụ đo a1) Thước thẳng và căn mẫu hoặc thước phóng đại a2) calíp b) ke vuông và căn mẫu | |||
| Quan sát và tham chiếu 4.1 và 4.2 của TCVN 7011-1 Điều kiện cắt a) Phay ngón; b) Phay mặt đầu với cùng dao cắt. Trước khi kiểm bề mặt B phải được làm sạch. Phôi kiểm phải được đặt dọc theo đường tâm bàn sao cho chiều dài L được phân bố đều trên mỗi bên của tâm bàn. CHÚ THÍCH: Tùy thuộc vào sự thỏa thuận giữa người sử dụng và nhà chế tạo/cung cấp, hình dạng của mẫu thử trên sơ đồ có thể được đặt lại đơn giản hơn với các cạnh toàn bộ chiều rộng, Dao cắt phải sắc và phải được lắp trên trục gá và phải có dung sai sau: a) Độ đảo hướng kính: ≤ 0,02 b) Độ đảo mặt đầu: ≤ 0,03 Toàn bộ các cạnh không gia công phải được kẹp chặt | |||
Phụ lục A
(tham khảo)
Các thuật ngữ tương đương theo tiếng Đức, Italia, Hà Lan, Tây ban nha, Thụy Điển tương ứng với Hình 2

Phụ lục B
(tham khảo)
Các thuật ngữ tương đương theo tiếng Đức, Italia, Hà Lan, Tây ban nha, Thụy điển tương ứng với Hình 2

THƯ MỤC TÀI LIỆU THAM KHẢO
[1] ISO 841:2001 Industrial automation systems – Numerical control of machines – Coordinate system and motion nomenclature. (Hệ thống tự động công nghiệp – Máy điều khiển số - Hệ thống tọa độ và danh mục các chuyển động).
[2] TCVN 7683-1:2007 (ISO 1701-1). Điều kiện kiểm máy phay có chiều cao bàn máy thay đổi – Kiểm độ chính xác – Phần 1: Máy có trục chính nằm ngang.
[3] TCVN 7685-1:2007 (ISO 1984-1). Điều kiện kiểm máy phay điều khiển bằng tay có chiều cao bàn máy cố định – Kiểm độ chính xác – Phần 1: Máy có trục chính nằm ngang.
[4] TCVN 7685-2:2007 (ISO 1984-2). Điều kiện kiểm máy phay điều khiển bằng tay có chiều cao bàn máy cố định – Kiểm độ chính xác – Phần 2: Máy có trục chính thẳng đứng.
Bạn chưa Đăng nhập thành viên.
Đây là tiện ích dành cho tài khoản thành viên. Vui lòng Đăng nhập để xem chi tiết. Nếu chưa có tài khoản, vui lòng Đăng ký tại đây!












