- Tổng quan
- Nội dung
- Tiêu chuẩn liên quan
- Lược đồ
- Tải về
Tiêu chuẩn Quốc gia TCVN 9316-2:2013 ISO 11363-2:2010 Chai chứa khí - Ren côn 17E và 25E để nối van
| Số hiệu: | TCVN 9316-2:2013 | Loại văn bản: | Tiêu chuẩn Việt Nam |
| Cơ quan ban hành: | Bộ Khoa học và Công nghệ | Lĩnh vực: | Công nghiệp |
|
Ngày ban hành:
Ngày ban hành là ngày, tháng, năm văn bản được thông qua hoặc ký ban hành.
|
2013 |
Hiệu lực:
|
Đã biết
|
| Người ký: | Đang cập nhật |
Tình trạng hiệu lực:
Cho biết trạng thái hiệu lực của văn bản đang tra cứu: Chưa áp dụng, Còn hiệu lực, Hết hiệu lực, Hết hiệu lực 1 phần; Đã sửa đổi, Đính chính hay Không còn phù hợp,...
|
Đã biết
|
TÓM TẮT TIÊU CHUẨN VIỆT NAM TCVN 9316-2:2013
Nội dung tóm tắt đang được cập nhật, Quý khách vui lòng quay lại sau!
Tải tiêu chuẩn Việt Nam TCVN 9316-2:2013
TIÊU CHUẨN QUỐC GIA
TCVN 9316-2 : 2013
ISO 11363-2 : 2010
CHAI CHỨA KHÍ - REN CÔN 17E VÀ 25E ĐỂ NỐI VAN VÀO CHAI CHỨA KHÍ - PHẦN 2: CALIP NGHIỆM THU
Gas cylinders - 17E and 25E taper threads for connection of valves to gas cylinders - Part 2: Inspection gauges
Lời nói đầu
TCVN 9316-2:2013 thay thế TCVN 7166:2002 (ISO 10921:1997) và TCVN 7481-2:2005 (ISO 11116-2:1999)
TCVN 9316-2:2013 hoàn toàn tương đương ISO 11363-2:2010.
TCVN 9316-2:2013 do Ban kỹ thuật tiêu chuẩn quốc gia TCVN/TC 58 Chai chứa khí biên soạn, Tổng cục Tiêu chuẩn Đo lường Chất lượng đề nghị, Bộ Khoa học và Công nghệ công bố.
TCVN 9316:2013 (ISO 11363: 2010) Chai chứa khí - Ren côn 17E và 25E để nối van vào chai chứa khí bao gồm 2 phần
Phần 1: Đặc tính kỹ thuật.
Phần 2: Calip nghiệm thu.
CHAI CHỨA KHÍ - REN CÔN 17E VÀ 25E ĐỂ NỐI VAN VÀO CHAI CHỨA KHÍ - PHẦN 2: CALIP NGHIỆM THU
Gas cylinders - 17E and 25E taper threads for connection of valves to gas cylinders - Part 2: Inspection gauges
1. Phạm vi áp dụng
Tiêu chuẩn này quy định kiểu, kích thước và nguyên tắc sử dụng calip sử dụng chung với ren côn qui định trong TCVN 9316-1 (ISO 11363-1), (tức là ren 17E và 25E).
Phụ lục A đưa ra các ví dụ tính toán kích thước calip ren ở đường kính đầu mút lớn.
Phụ lục B đưa ra các lưu ý tới giới hạn của hệ thống calip đã được qui định.
2. Tài liệu viện dẫn
Các tài liệu viện dẫn dưới đây là rất cần thiết đối với việc áp dụng tiêu chuẩn này. Đối với tài liệu ghi năm công bố, áp dụng phiên bản được nêu. Đối với tài liệu không có năm công bố, áp dụng phiên bản mới nhất kể cả các sửa đổi, nếu có.
TCVN 9316-1 (ISO 11363-1) Chai chứa khí - Ren côn 17E và 25E để nối van vào chai chứa khí - Phần 1: Đặc tính kỹ thuật.
3. Thuật ngữ và định nghĩa
Trong tiêu chuẩn này sử dụng các thuật ngữ và định nghĩa sau:
3.1. Calip kiểm tra (check gauge)
Calip để kiểm tra sự phù hợp kích thước của calip vòng nghiệm thu.
CHÚ THÍCH: Calip này không dùng để kiểm tra ren cổ chai hoặc ren chân van.
3.2. Calip nghiệm thu (inspection gauge)
Calip dùng để kiểm tra hàng ngày ren cổ chai và ren chân van.
CHÚ THÍCH: Calip này không dùng để kiểm tra các calip khác
3.3. Calip đơn (single - part gauge)
Calip có đủ chiều dài để tiếp xúc với toàn bộ chiều dài của ren côn.
CHÚ THÍCH: Calip này hoặc là calip nút hoặc vòng, trơn hoặc calip được tạo ren.
3.4. Calip kép (two - part gauge)
Calip gồm hai calip nghiệm thu riêng rẽ được sử dụng kết hợp, trong đó một calip được sử dụng để tiếp xúc với đầu lớn và calip kia với đầu nhỏ của hình nón côn.
CHÚ THÍCH: Bộ calip này hoặc là calip nút hoặc vòng, trơn hoặc calip được tạo ren.
4. Yêu cầu
4.1. Vật liệu
Tất cả các calip phải được chế tạo bằng vật liệu có độ bền, độ ổn định và độ cứng thích hợp.
4.2. Profin ren
Profin ren của calip nghiệm thu ren và calip kiểm tra ren phải theo Hình 1.
Profin ren là ren Anh (dạng whitworth), với góc 55o (xem Hình 1).
4.3. Chiều ren
Ren là ren phải, khi quay theo chiều kim đồng hồ thì di chuyển ra xa người quan sát.
4.4. Độ côn
Các giá trị danh nghĩa của độ côn như sau:
- Độ côn: 3/25;
- Góc côn: 6o52’;
- Độ nghiêng côn: 12%;
4.5. Bước ren, P
Bước ren danh nghĩa là 1,814 mm (nhận được từ mm) (xem Hình 1).
5. Kích thước calip
Các yêu cầu về kích thước sau đây áp dụng cho các calip được dùng nêu trong Hình 2 đến Hình 15.
Tất cả các kích thước tính bằng milimét.
Dung sai đối với các kích thước qui định trên tất cả các calip:
- Tất cả các chiều dài: ± 0,01 mm;
- Các đường kính của calip nghiệm thu: ± 0,01 mm;
- Các đường kính của calip kiểm: ;
Đối với calip ren, chỉ qui định đường kính trung bình. Đối với đường kính đáy và đường kính đỉnh xem Hình 1.
Cơ sở chế tạo calip phải lựa chọn các kích thước không được qui định.
Kích thước tính bằng milimét

Chú dẫn
| P Bước ren 1 Profin ren calip nút 2 Profin ren calip vòng a Mặt phẳng đo b Đường trục côn c Đường kính đỉnh | d Đường kính trung bình e Đường kính đáy, max f Đường kính đáy, min | g Đường kính đáy i Đường kính đỉnh, max h Đường kính đỉnh, min |
Hình 1- Profin ren
6. Calip nghiệm thu
6.1. Calip cho ren cổ chai
6.2. Calip nút đơn
Kích thước tính bằng milimet

Chú dẫn
Hình 2- Calip nút trơn dùng cho đường kính đáy “I-1” |
Hình 3- Calip nút ren dùng cho đường kính trung bình “I-2” |
6.1.2. Calip nút kép - Đường kính đầu mút nhỏ
Kích thước tính bằng milimét

Chú dẫn
Hình 4- Calip nút trơn dùng cho đường kính đáy “I-3” |
Hình 5- Calip nút ren dùng cho đường kính trung bình “I-4” |
6.1.3. Calip nút kép- đường kính đầu mút lớn
Kích thước tính bằng milimét

Chú dẫn
Hình 6- Calip nút trơn dùng cho đường kính đáy “I-5” |
Hình 7- Calip nút ren dùng cho đường kính trung bình “I-6” |
6.2. Calip dùng cho ren chân van
6.2.1. Calip vòng đơn
Kích thước tính bằng milimet

Chú dẫn
Hình 8- Calip vòng trơn dùng cho đường kính đỉnh “I-7” |
Hình 9- Calip vòng ren dùng cho đường kính trung bình “I-8” |
6.2.2. Calip vòng kép, đường kính mặt mút nhỏ
Kích thước tính bằng milimét

Chú dẫn
Hình 10- Calip vòng trơn dùng cho đường kính đỉnh “I-9” |
Hình 11- Calip vòng ren dùng cho đường kính trung bình “I-10” |
6.2.3. Calip vòng kép, đường kính mặt mút lớn
Kích thước tính bằng milimét

Chú dẫn
Hình 12- Calip vòng trơn dùng cho đường kính đỉnh “I-11” |
Hình 13- Calip vòng ren dùng cho đường kính trung bình “I-12” |
7. Calip kiểm
Kích thước tính bằng milimét

Chú dẫn
Hình 14- Calip kiểm trơn “M-1” |
Hình 15- Calip kiểm ren “M-2” |
8. Cách sử dụng calip nghiệm thu
8.1. Calip trơn
Phải ấn nhẹ calip trơn vào vị trí hoặc phía trên ren được đo. Phải chú ý không sử dụng lực quá mức.
8.2. Calip ren
Phải vặn calip ren vào ren hoặc phía trên ren được đo. Phải chú ý không sử dụng lực quá mức.
8.3. Các chuẩn cứ chấp nhận và loại bỏ khi sử dụng calip nút
Khả năng chấp nhận ren vào calip được xác định bởi vị trí của mặt phẳng tại miệng cổ chai so với các bề mặt thử của calip.
Ren được coi là chấp nhận vào calip nếu bề mặt này ngang bằng với hoặc nằm giữa các bề mặt thử của calip khi calip được vặn khít vào ren (xem Hình 16 và Hình 17).
8.4. Các chuẩn cứ chấp nhận và loại bỏ khi sử dụng calip vòng
Khả năng chấp nhận ren vào calip được xác định bởi vị trí của mặt phẳng tại đầu mút nhỏ của côn chân van so với các bề mặt thử của calip.
Ren được coi là chấp nhận vào calip nếu bề mặt này ngang bằng với hoặc nằm giữa các bề mặt thử của calip khi calip được vặn khít vào ren (xem Hình 18 và Hình 19).

a Bề mặt thử
Hình 16 - Sử dụng calip nút đơn

a Bề mặt thử
Hình 17 - Sử dụng calip nút kép

a Bề mặt thử
Hình 18- Sử dụng calip vòng đơn

a Bề mặt thử
Hình 19 - Sử dụng calip vòng kép
9. Kiểm tra xác nhận calip nghiệm thu
9.1. Qui định chung
Trong quá trình sử dụng calip nghiệm thu sẽ bị mòn và có thể bị hư hỏng. Người sử dụng phải đảm bảo calip được kiểm tra xác nhận thường xuyên để đảm bảo chúng vẫn nằm trong kích thước qui định. Tần suất kiểm tra được qui định phụ thuộc vào mức sử dụng và là trách nhiệm của người sử dụng.
9.2. Calip nút
Phải tiến hành việc kiểm định trực tiếp calip nút nghiệm thu bằng cách sử dụng thiết bị quang học hoặc thiết bị thích hợp khác.
9.3. Calip vòng
Không tiến hành việc kiểm tra xác nhận trực tiếp calip vòng nghiệm thu, phải sử dụng các calip kiểm như qui định trong 9.4
9.4. Sử dụng calip kiểm
Đặt calip nút trơn kiểm vào calip vòng trơn nghiệm thu và vặn calip nút ren kiềm vào calip vòng ren nghiệm thu. Bề mặt trong có bậc của bề mặt thử của calip vòng nghiệm thu phải ngang bằng hoặc nằm giữa hai bề mặt thử của calip kiềm (xem Hình 20). Không được sử dụng lực quá mức.

Chú dẫn
a Bề mặt thử
b Calip kiểm
c Calip vòng nghiệm thu
Hình 20- Cách sử dụng calip kiểm
10. Ký hiệu nhận biết
10.1. Calip nghiệm thu
Calip nghiệm thu phù hợp với tiêu chuẩn này phải có ký hiệu nhận biết bằng các thông tin sau:
- TCVN 9316 (ISO 11363);
- 17E hoặc 25E khi thích hợp;
- “I-n” (trong đó n là chữa số tương ứng của calip, như đã nêu trong Hình 2 và Hình 3, ví dụ “I-3”).
10.2. Calip kiểm
Calip kiểm phải được ký hiệu bằng các thông tin sau:
- TCVN 9316 (ISO 11363);
- 17E hoặc 25E khi thích hợp;
- “M-n” (trong đó n là chữ số tương ứng của calip, như được nêu trong Hình 14 và Hình 15, ví dụ “M-2”).
Phụ lục A
(tham khảo)
Ví dụ tính toán kích thước calip ren trên đường kính đầu lớn
A.1. Yêu cầu chung
Trong các ví dụ sau, sử dụng giá trị trung bình cho phép của đường kính trung bình. Trong thực tế đường kính trung bình thực được xác định và sử dụng cho việc tính toán.
Tất cả các kích thước tính bằng milimét.
A.2. Calip nút ren “I-2” theo Hình 3
A.2.1. Calip nút ren 25E “I-2” theo Hình 3
Profin ren theo Hình 1:
Đường kính trung bình: 26,638 dung sai ± 0,01
Đường kính đỉnh ren: 26,638 + 1,742 - (2 x 0,455) = 27,47; dung sai ± 0,01
Đường kính chân ren, lý thuyết, đỉnh (đường kính chân ren - kích thước nhỏ nhất):
26,638 – 1,742 = 24,896
Đường kính chân ren - kích thước lớn nhất: 26,638 – 1,742 + (2 x 0,265) = 25,426
A.2.2. Calip nút ren 17E “I-2” theo Hình 3
Profin ren theo Hình 1:
Đường kính trung bình: 18,038; dung sai ± 0,01
Đường kính đỉnh ren: 18,038 + 1,742 - (2 x 0,455)= 18,87; dung sai ± 0,01
Đường kính chân ren, lý thuyết, đỉnh (đường kính chân ren - kích thước nhỏ nhất):
18,038 - 1,742 = 16,296
Đường kính chân ren - kích thước lớn nhất: 18,038 - 1,742 + (2 x 0,265) = 16,296
A.3. Calip vòng ren “I-8” theo Hình 9
A.3.1. Calip vòng ren 25E “I-8” theo Hình 9
Profin ren theo Hình 1
Đường kính trung bình: 27,638; dung sai: ± 0,01
Đường kính chân ren: 27,368 - 1,742 + (2 x 0,455) = 26,806; dung sai: ± 0,01
Đường kính đỉnh ren, lý thuyết, đỉnh (đường kính đỉnh ren - kích thước lớn nhất):
27,638 + 1,742 = 29,38
Đường kính đỉnh ren - kích thước nhỏ nhất: 27,638 + 1,742 - (2 x 0,265) = 28,85
A.3.2. Calip vòng ren 17E “I-8” theo Hình 9
Profin ren theo Hình 1
Đường kính trung bình: 18,638; dung sai: ± 0,01
Đường kính chân ren: 18,638 - 1,742 + (2 x 0,455) = 17,806; dung sai: ± 0,01
Đường kính đỉnh ren, lý thuyết, đỉnh (đường kính đỉnh ren - kích thước lớn nhất): 18,638 + 1,742 = 20,38
Đường kính đỉnh ren - kích thước nhỏ nhất: 18,638 + 1,742 - (2 x 0,265) = 19,85
A.4. Calip ren kiểm “M-2” theo Hình 15
A.4.1. Calip ren kiểm 25E “M-2” theo Hình 15
Profin ren theo Hình 1
Đường kính trung bình: 27,638; dung sai
Đường kính đỉnh ren: 27,638 + 1,742 + (2 x 0,455) = 28,47; dung sai
Đường kính chân ren, lý thuyết, đỉnh (đường kính chân ren - kích thước nhỏ nhất): 27,638 - 1,742 = 25,896
Đường kính chân ren - kích thước lớn nhất: 27,638 - 1,742 + (2 x 0,265) = 26,426.
A.4.2. Calip ren kiểm 17E “M-2” theo Hình 15
Profin ren theo Hình 1
Đường kính trung bình: 18,638; dung sai:
Đường kính đỉnh ren: 18,638 + 1,742 - (2 x 0,455) = 19,47; dung sai:
Đường kính chân ren, lý thuyết, đỉnh (đường kính chân ren – kích thước nhỏ nhất): 18,638 - 1,742 = 16,896
Đường kính chân ren - kích thước lớn nhất: 18,638 - 1,742 + (2 x 0,265) = 17,426.
Phụ lục B
(tham khảo)
Sự hạn chế của hệ thống calip
Phụ lục này lưu ý tới những hạn chế của hệ thống calip được qui định trong tiêu chuẩn này.
Ren côn khó đo hơn ren trụ nhiều. Việc cung cấp hệ thống calip có thể đo được tất cả các tính chất ren côn là không thực tế.
Hệ thống calip qui định trong phần chính của tiêu chuẩn này được coi là các calip thực tế nhỏ nhất, cho kiểm tra kích thước ren côn.
Trong tiêu chuẩn này qui định hai kiểu calip. Calip kép thường cho độ chính xác tốt hơn nhưng sử dụng lại quá phức tạp. Ren mới gia công, chưa dùng phải phù hợp với các yêu cầu của hệ calip kép (xem 3.4). Tuy nhiên, nhà sản xuất ren van hoặc ren chai vì lí do đơn giản hóa quá trình kiểm tra có thể sử dụng calip đơn (xem 3.3) với điều kiện cho thấy được mức độ tin cậy của quá trình sản xuất hoàn toàn theo đúng các yêu cầu về kích thước của calip kép. Sự phù hợp này phải phê chuẩn thường xuyên như một phần của hệ thống đảm bảo chất lượng.
Các calip được qui định trong tiêu chuẩn này không kiểm tra các tính chất sau của ren côn:
- Sự vượt ra ngoài dung sai của đường kính đáy ren chân van;
- Sự vượt ra ngoài dung sai của đường kính đỉnh ren cổ chai;
- Độ không tròn của ren;
- Đường thoát ren;
- Chất lượng bề mặt;
- “Chỗ thắt” của hình dạng côn (xem Hình B.1)
Bất kỳ điểm nào được liệt kê ở trên đều có thể gây khó khăn cho việc đảm bảo độ kín khí trong khi sử dụng.
Nếu có khó khăn trong sử dụng, nên sử dụng việc kiểm tra bổ sung và/hoặc sử dụng kỹ thuật kiểm tra để đánh giá các tính chất liệt kê ở trên. Thường sử dụng kỹ thuật quan sát quang học.
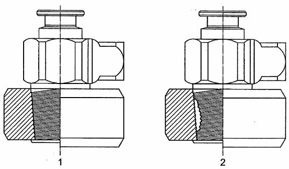
Kỹ thuật kiểm tra hữu ích khác, có thể áp dụng cho ren thân van là sửa đổi một cặp calip vòng đơn (xem 6.2.1), bằng cách cắt bỏ đi một phần 90o. Điều này cho phép kiểm tra bằng mắt chỗ thắt của ren đối tiếp với calip và hiệu quả làm nổi bật “chỗ thắt” hoặc các sai sót của hình dạng côn. Ví dụ loại calip này cho trong Hình B.1.

Chú dẫn
1 Hình dạng chuẩn
2 “Chỗ thắt” của ren
Hình B.1- Ren côn
THƯ MỤC TÀI LIỆU THAM KHẢO
[1] TCVN 2246-1 (ISO 68-1), Ren ISO thông dụng - Profin gốc - Phần 1: Ren hệ mét
[2] TCVN 7481-2:2005 (ISO 11116-2:1999), Chai chứa khí ren côn 17 E để nối van vào chai chứa khí. Phần 2: Calip nghiệm thu
[3] TCVN 7166:2002 (ISO 11191:1997), Chai chứa khí. Ren côn 25 E để nối van vào chai chứa khí. Calip nghiệm thu.
Bạn chưa Đăng nhập thành viên.
Đây là tiện ích dành cho tài khoản thành viên. Vui lòng Đăng nhập để xem chi tiết. Nếu chưa có tài khoản, vui lòng Đăng ký tại đây!