- Tổng quan
- Nội dung
- Tiêu chuẩn liên quan
- Lược đồ
- Tải về
Tiêu chuẩn Quốc gia TCVN 7173:2002 ISO 9271:1992 Thử nghiệm các tác nhân tẩy xạ cho vải
| Số hiệu: | TCVN 7173:2002 | Loại văn bản: | Tiêu chuẩn Việt Nam |
| Cơ quan ban hành: | Bộ Khoa học và Công nghệ | Lĩnh vực: | Công nghiệp |
|
Ngày ban hành:
Ngày ban hành là ngày, tháng, năm văn bản được thông qua hoặc ký ban hành.
|
31/12/2002 |
Hiệu lực:
|
Đã biết
|
| Người ký: | Đang cập nhật |
Tình trạng hiệu lực:
Cho biết trạng thái hiệu lực của văn bản đang tra cứu: Chưa áp dụng, Còn hiệu lực, Hết hiệu lực, Hết hiệu lực 1 phần; Đã sửa đổi, Đính chính hay Không còn phù hợp,...
|
Đã biết
|
TÓM TẮT TIÊU CHUẨN VIỆT NAM TCVN 7173:2002
Tiêu chuẩn Quốc gia TCVN 7173:2002 về Tẩy xạ các Bề mặt Bị Nhiễm Xạ
Ngày 31/12/2002, Bộ Khoa học và Công nghệ đã ban hành Tiêu chuẩn Quốc gia TCVN 7173:2002 ISO 9271:1992, quy định phương pháp thử nghiệm các tác nhân tẩy xạ cho vải, với hiệu lực từ ngày ban hành. Tiêu chuẩn này do Ban kỹ thuật Tiêu chuẩn TCVN/TC 85 "Năng lượng hạt nhân" biên soạn và được Tổng cục Tiêu chuẩn Đo lường Chất lượng đề nghị.
Tiêu chuẩn này áp dụng cho việc đánh giá hiệu quả của các chất tẩy rửa được sử dụng để loại bỏ các vật liệu phóng xạ có trên vải. Nội dung không áp dụng cho việc thử nghiệm khả năng gỡ bỏ các chất bẩn không phóng xạ, tập trung vào mục tiêu làm sạch vải bị nhiễm xạ.
Định nghĩa và Nguyên tắc
Tiêu chuẩn đưa ra các định nghĩa quan trọng như nhiễm xạ, tẩy xạ, và tốc độ đếm xung liên quan đến phóng xạ. Nguyên tắc cơ bản của thử nghiệm là làm nhiễm xạ vải bằng dung dịch chứa hạt nhân phóng xạ, sau đó sử dụng tác nhân tẩy xạ để đo lường hiệu quả loại bỏ phóng xạ.
Thiết bị và Dụng cụ Cần Thiết
Cần sử dụng các thiết bị thí nghiệm cơ bản như cốc thủy tinh, buồng sấy và máy khuấy, cùng với các dụng cụ chuyên dụng để đo lường hoạt động phóng xạ. Sự chính xác trong việc sử dụng các thiết bị là rất quan trọng để đảm bảo kết quả thử nghiệm đúng đắn.
Phương Pháp Thử Nghiệm
Tiêu chuẩn đưa ra quy trình chi tiết để thực hiện thử nghiệm, bao gồm việc gây nhiễm xạ cho mẫu vải, tẩy xá, và sau đó đo lượng phóng xạ còn lại. Mỗi thử nghiệm cần tuân thủ quy trình chặt chẽ để đảm bảo mỗi bước được thực hiện đúng cách.
Tính Kết Quả và Đánh Giá Hiệu Quả Tẩy Xạ
Các kết quả thử nghiệm sẽ được tính toán và đưa ra đánh giá cụ thể theo bảng đánh giá quy định, xác định mức độ hiệu quả của từng tác nhân tẩy xạ. Tiêu chuẩn cũng nhấn mạnh việc ghi chú lại các thông số trong báo cáo thử nghiệm để đảm bảo minh bạch và có thể so sánh.
Phụ Lục và Tham Chiếu Kiểu Hình
Tiêu chuẩn bao gồm các phụ lục với hình ảnh minh họa các thiết bị cũng như công thức để chế tạo dung dịch gây nhiễm xạ, giúp người áp dụng dễ dàng thực hiện theo. Các tham chiếu tới tiêu chuẩn ISO khác cũng được liệt kê nhằm hỗ trợ quy trình thử nghiệm.
Tiêu chuẩn này là tài liệu quan trọng cho việc quản lý an toàn bức xạ và tẩy xạ trong các lĩnh vực liên quan đến năng lượng hạt nhân, giúp bảo vệ sức khỏe con người và môi trường.
Tải tiêu chuẩn Việt Nam TCVN 7173:2002
TIÊU CHUẨN QUỐC GIA
TCVN 7173:2002
ISO 9271:1992
AN TOÀN BỨC XẠ - TẨY XẠ CÁC BỀ MẶT BỊ NHIỄM XẠ - THỬ NGHIỆM CÁC TÁC NHÂN TẨY XẠ CHO VẢI
Radiation protection - Decontamination of radioactively contaminated surfaces - Testing of decontamination agents for textiles
Lời nói đầu
TCVN 7173 : 2002 hoàn toàn tương đương với ISO 9271 : 1992.
TCVN 7173 : 2002 do Ban kỹ thuật Tiêu chuẩn TCVN / TC 85 “Năng lượng hạt nhân" biên soạn, Tổng cục Tiêu chuẩn Đo lường Chất lượng đề nghị, Bộ Khoa học và Công nghệ ban hành.
Tiêu chuẩn này được chuyển đổi năm 2008 từ Tiêu chuẩn Việt Nam cùng số hiệu thành Tiêu chuẩn Quốc gia theo quy định tại khoản 1 Điều 69 của Luật Tiêu chuẩn và Quy chuẩn kỹ thuật và điểm a khoản 1 Điều 6 Nghị định số 127/2007/NĐ-CP ngày 1/8/2007 của Chính phủ quy định chi tiết thi hành một số điều của Luật Tiêu chuẩn và Quy chuẩn kỹ thuật.
AN TOÀN BỨC XẠ - TẨY XẠ CÁC BỀ MẶT BỊ NHIỄM XẠ - THỬ NGHIỆM CÁC TÁC NHÂN TẨY XẠ CHO VẢI
Radiation protection - Decontamination of radioactively contaminated surfaces - Testing of decontamination agents for textiles
1. Phạm vi áp dụng
Tiêu chuẩn này quy định phương pháp thử để xác định hiệu quả của các tác nhân tẩy xạ trong việc loại bỏ các hạt nhân phóng xạ ra khỏi vải.
Tiêu chuẩn này áp dụng cho việc thử nghiệm các chất tẩy rửa có thể được sử dụng trong các dung dịch nước nhằm mục đích làm sạch vải bị nhiễm xạ. Tiêu chuẩn này không áp dụng cho việc thử nghiệm khả năng của các chất tẩy rửa trong việc loại bỏ bẩn không phóng xạ; điều này được coi là đã đạt yêu cầu.
2. Tiêu chuẩn viện dẫn
ISO 15 : 1981, Rolling bearings - Radial bearings - Boundary dimensions - General plan (Ổ lăn - Ổ đỡ - Kích thước biên - Sơ đồ chung).
ISO 273 : 1979, Fasteners - Clearance holes for bolts and screws (Chi tiết lắp xiết - Lỗ thoát bu lông và đinh vít).
ISO 1302 : 1978, Technical drawings - Method of indicating surface texture on drawings (Bản vẽ kỹ thuật - Phương pháp chỉ thị kết cấu bề mặt trên bản vẽ).
ISO 2009 : 1983, Slotted countersunk head srews (common head style) - Product grade A (Vít mũ chìm có xẻ rãnh (kiểu mũ thông dụng) - Sản phẩm hạng A).
ISO 2010 : 1983, Slotted raised countersunk head srews (common head style) - Product grade A (Vít mũ chìm có rãnh rập nổi (kiểu thông dụng) - Sản phẩm hạng A).
ISO 2174 : 1990, Surface active agents - Preparation of water with known calcium hardness (Tác nhân hoạt động bề mặt - Chuẩn bị nước có độ cứng canxi đã biết).
ISO 2267 : 1986, Surface active agents - Evaluation of certain effects of laundering - Method of preparation and use of unsolted cotton control cloth (Tác nhân hoạt động bề mặt - Đánh giá một số ảnh hưởng của giặt là - Các phương pháp chuẩn bị và sử dụng khăn bằng bông sạch để kiểm tra).
TCVN 7154 : 2002 (ISO 3819 : 1985), Dụng cụ thí nghiệm bằng thủy tinh - Cốc thí nghiệm.
ISO 4762 : 1989, Hexagon socket head cap srews - Product grade A (Vít có lỗ đặt chìa vặn sáu cạnh - Sản phẩm hạng A).
ISO 6330 : 1984, Textiles - Domestic washing and drying procedure for textile testing (Vải - Quy trình làm sạch và làm khô đối với thử nghiệm vải).
3. Định nghĩa
Các thuật ngữ sau đây được sử dụng trong tiêu chuẩn này.
3.1. Nhiễm xạ (contamination): Sự nhiễm chất phóng xạ của vải.
3.2. Mẫu vải nhiễm xạ (contaminated textile specimen): Các miếng vải đối chứng đã được gây nhiễm xạ theo cách định trước và được sử dụng để xác định hiệu suất của tác nhân tẩy xạ.
3.3. Tẩy xạ (decontamination): Việc loại bỏ hoàn toàn hoặc một phần sự nhiễm xạ.
3.4. Tốc độ đếm xung riêng (specific pulse rate): Tốc độ đếm xung tạo ra trong thiết bị đo bằng 1 ml dung dịch gây nhiễm xạ trong điều kiện hình học đã cho. Tốc độ này có thể tính được bằng cách đo 50 ml dung dịch gây nhiễm xạ bốc hơi lên một vật mang bằng vải và được tính bằng xung trên phút (xung/min).
3.5. Tốc độ đếm xung tồn dư (residual pulse rate): Tốc độ đếm xung tạo ra trong thiết bị đo trong điều kiện hình học đã cho bởi các hạt nhân phóng xạ tồn dư trên vật mang nhiễm xạ sau khi đã được tẩy xạ. Tốc độ này được tính bằng xung trên phút (xung/min).
3.6. Tốc độ đếm xung tồn dư trung bình (mean residual pulse rate): Trung bình số học của giá trị tốc độ đếm xung tồn dư nhận được từ năm mẫu thử bị nhiễm xạ bởi cùng loại hạt nhân phóng xạ. Tốc độ này được tính bằng xung trên phút (xung/min).
3.7. Tốc độ đếm xung tồn dư trung bình tiêu chuẩn hóa (standartdized mean residual pulse rate): Giá trị tốc độ đếm xung tồn dư trung bình hiệu chỉnh, biểu thị bằng xung trên phút (xung/min). Hệ số hiệu chỉnh thu được bằng cách chia giá trị tốc độ đếm xung riêng (3 x 106min-1 .ml-1) cho tốc độ đếm xung riêng của dung dịch gây nhiễm xạ đang được sử dụng trong thử nghiệm. Mục đích của hệ số hiệu chỉnh là nhằm khắc phục sự khác biệt về tốc độ đếm xung riêng của các dung dịch gây nhiễm xạ được sử dụng trong các phòng thử nghiệm khác nhau.
3.8. Tốc độ đếm xung tồn dư cuối cùng, FRP (final residual pulse rate): Trung bình số học của giá trị tốc độ đếm xung tồn dư trung bình tiêu chuẩn hóa đối với 60Co và 137Cs, được tính bằng xung trên phút (xung/min).
4. Nguyên tắc
Chuẩn bị các dung dịch gây nhiễm xạ chứa 60Co và 137Cs riêng biệt. Đo từng mẫu, mỗi mẫu 50 ml dung dịch này, bằng một đầu dò phóng xạ bản rộng và sử dụng kết quả đo này để tính tốc độ đếm xung riêng của các dung dịch gây nhiễm xạ.
Tẩm các dung dịch gây nhiễm xạ này vào các mẫu vải và sau đó tẩy xạ ở 60°C bằng cách sử dụng một dung dịch chứa tác nhân tẩy xạ theo quy trình thử nghiệm. Xác định tốc độ đếm xung tồn dư bằng cách đo hoạt độ phóng xạ còn lại trên các mẫu vải.
Tính tốc độ đếm xung tồn dư tiêu chuẩn hóa đối với mỗi loại hạt nhân phóng xạ. Sử dụng trung bình số học của các giá trị tương ứng với 60Co và 137Cs (tốc độ đếm xung tồn dư cuối cùng) để đánh giá hiệu suất tẩy xạ bằng cách phân loại đã được xây dựng theo thực nghiệm.
5. Thiết bị, dụng cụ
Cần sử dụng các thiết bị thí nghiệm thông thường và các thiết bị sau:
5.1. Hai cốc thí nghiệm bằng thủy tinh, dung tích 2000 ml, theo TCVN 7154 : 2002.
5.2. Bộ ổn nhiệt, để đặt và duy trì nhiệt độ thử nghiệm ở 60°C.
5.3. Buồng sấy.
5.4. Hai cốc thí nghiệm bằng polytetrafluoroethylene (PTFE), để chuẩn bị dung dịch gây nhiễm xạ.
5.5. Hai bình bằng polytetrafluoroethylene (PTFE), để đựng các dung dịch gây nhiễm xạ.
5.6. Máy khuấy dạng buồng (xem Phụ lục A).
5.7. Sáu giá đỡ của mẫu kẹp (xem Phụ lục B).
5.8. Bộ giá đỡ bằng chất dẻo, kích thước 38 mm x 38 mm x 5 mm.
5.9. Hai pipet, dung tích 50 ml với các đầu hút chỉ dùng một lần.
5.10. Đầu dò phóng xạ và thiết bị điện tử kết nối, để xác định tốc độ đếm xung.
Các yêu cầu hình học đối với một đầu dò phóng xạ được minh họa ở hình 1.

Hình 1 - Các yêu cầu hình học đối với một đầu dò phóng xạ (mặt cắt ngang)
Tỷ lệ (Ds - 1,5)/h không được nhỏ hơn 3 trong đó Ds là khoảng cách nhỏ nhất (tính bằng centimét) từ tâm điểm của vùng bị nhiễm xạ vuông góc với tiết diện ngang của đầu dò, đến mép vùng nhạy của tiết diện ngang đầu dò; và h là khoảng cách (tính bằng cm), giữa bề mặt mẫu vải nhiễm xạ và bề mặt đầu dò.
Chú thích
1. Kích thước tối thiểu của vùng nhạy của đầu dò nên là một vòng tròn có đường kính 3 cm, nhưng trên thực tế, yêu cầu hình học đối với h thường buộc phải sử dụng một vùng nhạy rộng hơn. Các kiểu đầu dò thích hợp gồm: ống đếm khí tỷ lệ, đầu dò nhấp nháy và bán dẫn. Cần sử dụng cùng loại thiết bị và đặt cùng chế độ trong suốt quá trình thử nghiệm.
2. Nếu không thể thỏa mãn được yêu cầu (Ds - 1,5)/h không nhỏ hơn 3 thì có thể sử dụng một đầu dò có vùng nhạy hình tròn với đường kính không nhỏ hơn 3 cm, với yêu cầu là tốc độ đếm xung tịnh của 50 ml dung dịch gây nhiễm xạ trên một mẫu vải đo được trong các điều kiện hình học này không nhỏ hơn 100 000 xung/min (xem 7.1.3).
6. Mẫu vải nhiễm xạ
6.1. Vật liệu chuẩn
Vải bông tiêu chuẩn phù hợp với các quy định trong ISO 2267 sẽ được sử dụng làm vật liệu chuẩn. Loại vải này phải được xử lý trước trong một máy giặt kiếu trống quay bằng cách sau đây:
Chương trình: Giặt nóng ba lần ở nhiệt độ 60°C (giặt mầu) không qua giặt trước; tiếp theo bằng chương trình giũ hoàn toàn.
Tải lượng giặt: 1 m2 vải bông tiêu chuẩn (không tải bổ sung).
Chất tẩy: 80g chất tẩy chuẩn ECE 1) mô tả trong ISO 6330, không có chất tăng trắng quang học.
Độ cứng của nước: 2,5 mmol/l theo ISO 2174.
Là ép: là giữa các miếng vải đệm không có các chất tăng trắng quang học (được thử nghiệm bằng cách sử dụng đèn cực tím).
Chú thích 3 - Thông tin về nơi có thể mua chất tẩy rửa chuẩn và vải xử lý trước, có thể nhận được từ ban thư ký của ISO/TC 85 (DIN) hoặc từ Ban Thư ký ISO.
Nếu có yêu cầu, có thể được phép sử dụng các loại vật liệu vải mẫu khác theo thỏa thuận. Các loại vải khác này bao gồm các loại vải đã bị nhiễm một lượng chất bẩn định trước và các loại vải đã được xử lý trước nhưng không theo các quy định của tiêu chuẩn này. Trong trường hợp này, không thể dùng bảng 1 để đánh giá, mà phải lập các bảng đánh giá khác.
Bảng 1 - Đánh giá hiệu quả tẩy xạ
| Tốc độ đếm xung tồn dư cuối cùng (FRP) xung/min | Đánh giá |
| FRP < 1.000 | Rất tốt |
| 1.000 ≤ FRP < 3.000 | Tốt |
| 3.000 ≤ FRP < 10.000 | Đạt |
| FRP ≥ 10.000 | Kém |
| Chú thích - Trong các thử nghiệm liên phòng thí nghiệm, phải sử dụng nước tinh khiết (nước đã khử ion có độ dẫn điện nhỏ hơn 3 mS/cm) làm chất lỏng tẩy xạ, giá trị FRP trung bình đo được vào khoảng 30.000. | |
6.2. Số lượng và kích thước các mẫu vải nhiễm xạ.
Sử dụng mười hai miếng vải hình vuông vật liệu chuẩn đã xử lý trước.
Các mẫu vải nhiễm xạ này có kích thước (50 ± 2) mm x (50 ± 2) mm.
7. Tác nhân thử nghiệm
7.1. Các tác nhân gây nhiễm xạ
7.1.1. Thành phần
Chỉ sử dụng dung dịch 60Co và dung dịch 137Cs riêng rẽ để gây nhiễm xạ các mẫu vải.
Nồng độ phóng xạ của các dung dịch gây nhiễm xạ 0,2 MBq/ml là đủ đối với phần lớn các hệ đầu dò. Tuy nhiên, nồng độ này phải đủ lớn để đảm bảo khi bay hơi thì thể tích 50 ml dung dịch mẫu tạo ra được tốc độ đếm xung không nhỏ hơn 100.000 xung/min trong các điều kiện hình học đo được sử dụng trong suốt quá trình thử nghiệm. Giá trị này tương đương với giá trị tối thiểu 2 x 106 xung/(min.ml) như giả định trong các phép tính cho ở phụ lục C.
Các hạt nhân phóng xạ phải được sử dụng với nồng độ chất mang 10-5 mol/l trong dung dịch axit nitric có pH 4,0 ± 0,2.
Có thể được phép sử dụng các loại hạt nhân phóng xạ khác, thích hợp hơn đối với mục đích yêu cầu xét theo kiểu và tác động hóa học, dưới hình thức thử nghiệm bổ sung và theo hướng dẫn của phòng thử nghiệm. Trong trường hợp này, không thể dùng bảng 1 để đánh giá mà phải lập các bảng đánh giá khác.
Nếu sử dụng các hạt nhân phóng xạ ngoài 137Cs và 60Co, các dung dịch gây nhiễm xạ phải bền hóa học và không được ăn mòn mẫu vải nhiễm xạ. Vật mang đã tẩy xạ phải bền để đo nhiễm xạ tồn dư. Phải sử dụng các kỹ thuật đo đặc biệt khi có hiện tượng hấp thụ bức xạ từ các hạt nhân phóng xạ.
7.1.2. Chuẩn bị
Ngoài các ion Co 2+ và Cs+ và các ion NO3- tương ứng, dung dịch chứa hạt nhân phóng xạ không được chứa những thành phần có khả năng đọng lại khi dung dịch bay hơi.
Tính thể tích dung dịch cần sử dụng để chuẩn bị thể tích dung dịch gây nhiễm xạ mong muốn bằng cách sử dụng các số liệu phù hợp về nồng độ hoạt động của các dung dịch gốc 137Cs và 60Co.
Từ lượng đầu vào này, tính lượng chất mang được truyền giao của chuẩn cùng các hạt nhân phóng xạ, và từ đó tính lượng dung dịch Co(NO3)2 hoặc CsNO3 đã được tiêu chuẩn hóa mà những dung dịch này phải được bổ sung để tạo ra sản phẩm cuối cùng có nồng độ chất mang là 10-5 mol/l. Lượng dung dịch chất mang này phải được đựng trong các bình PTFE đủ lớn để có thể pha loãng các dung dịch tới thể tích cuối cùng. Để tăng cường việc loại trừ các ion clo có thể có trong các dung dịch chứa hạt nhân phóng xạ gốc, thêm 5 ml axit nitric 1 mol/l (độ tinh khiết cao) vào mỗi thể tích cuối cùng chứa 90 ml dung dịch gây nhiễm xạ. Cuối cùng, tính lượng đầu vào tương ứng của các dung dịch gốc 137Cs và 60Co cần bổ sung (các công thức để chuẩn bị các dung dịch gây nhiễm xạ được cho ở phụ lục C).
Các hỗn hợp phải được làm bay hơi từ từ để làm khô hoàn toàn trong các bình PTFE bằng cách sử dụng các đèn hồng ngoại cho tới khi không còn hơi bốc lên. Sau đó sấy bình thêm 2 giờ nữa bằng đèn hồng ngoại đặt ở khoảng cách xa gấp đôi khoảng cách ban đầu. Để nguội, thêm HNO3 có giá trị pH là 4 đến thể tích cuối cùng. Dung dịch này được pha chế bằng cách pha loãng 7 ml HNO3 (r 1,4 g/cm3) thành 1 lít bằng nước cất hai lần.
Tốc độ đếm xung riêng của các dung dịch hoàn toàn đồng nhất phải được kiểm tra bằng cách làm bay hơi 50 ml mỗi dung dịch trên một mẫu vải và đo bằng các thiết bị đo hoạt độ (Xem thêm 7.1.1, đoạn thứ 2 và 7.1.3).
Chỉ được đo giá trị pH của các dung dịch trước ít nhất 12 giờ sau khi hòa tan các cặn khô.
Để tránh hiệu ứng thành bình làm thay đổi nồng độ, các dung dịch riêng biệt phải được đựng trong các bình bằng PTFE nút kín và được đặt trong các bình thủy tinh với kích thước nhỏ nhất, để tránh bay hơi.
Các dung dịch được điều chế bằng cách này có thể được sử dụng tới khi giá trị pH của dung dịch nằm trong khoảng quy định và nồng độ hoạt độ không thay đổi quá 5% so với giá trị ban đầu (có tính đến hiệu chỉnh phân rã).
7.1.3. Xác định tốc độ đếm xung riêng của từng dung dịch gây nhiễm xạ
Nhỏ 50 ml dung dịch gây nhiễm xạ vào từng mẫu vải trong ba mẫu vải đã được chuẩn bị theo 8.3.1, vào điểm sẽ trùng với tâm của vết gây nhiễm xạ khi gây nhiễm xạ theo 8.3.2. Sau khi sấy khô các mẫu vải nhiễm xạ ở nhiệt độ tối đa 45°C, lấy các mẫu vải ra và đo tốc độ đếm xung bằng đầu dò bức xạ (5.10). Phải bảo đảm hình học đo (đặc biệt đối với khoảng cách của mẫu vải nhiễm xạ và đầu dò) là giống hệt hình học đã được lập trước trong việc đo các mẫu vải được tẩy xạ.
Thời gian đo phải đảm bảo để có ít nhất 10.000 xung cho mỗi mẫu vải. Cần hiệu chỉnh phông và thời gian chết cho tốc độ đếm để tính ra tốc độ đếm xung.
Trung bình số học của ba kết quả này phải được nhân với 20 để có kết quả tính bằng xung/min/ml.
Việc xác định phải được tiến hành riêng cho cả hai loại dung dịch gây nhiễm xạ.
7.2. Các tác nhân tẩy xạ
Để thử nghiệm, các tác nhân tẩy xạ phải được sử dụng trong các dung dịch với nồng độ 7,5 g/l. Nếu người sản xuất khuyến cáo một nồng độ thấp hơn để đạt kết quả tối ưu, việc thử nghiệm ở nồng độ thấp hơn đó có thể được tiến hành, hoặc
a) như một thử nghiệm bổ sung; hoặc
b) thay thế cho thử nghiệm trong điều kiện nồng độ tiêu chuẩn.
Trong trường hợp b), có thể tiến hành đánh giá theo bảng 1 nhưng phải nêu trong báo cáo thử nghiệm như sau:
“không thể so sánh đầy đủ với kết quả thử nghiệm tiêu chuẩn, do sự khác biệt về nồng độ tác nhân tẩy xạ dùng thử nghiệm, ví dụ, 3 g/l thay vì 7,5 g/l".
Nếu người sản xuất khuyến cáo một nồng độ cao hơn để đạt kết quả tối ưu, một thử nghiệm bổ sung với nồng độ khuyến cáo có thể được tiến hành.
Nước đã khử ion có độ dẫn điện cực đại là 3 mS/cm phải được sử dụng làm dung môi. Các dung dịch này phải được điều chế trước mỗi lần sử dụng không quá 1 h.
8. Quy trình thử nghiệm hiệu quả tẩy xạ
8.1. Quy định chung
Mỗi thử nghiệm phải bao gồm: gây nhiễm xạ, sấy khô, đo và tẩy xạ các mẫu vải theo trình tự nối tiếp.
8.2. Chuẩn bị các mẫu vải
Các mẫu vải phải được cắt song song với khổ dọc hoặc khổ ngang tấm vải, cẩn thận không làm vải bị giãn.
Cẩn thận để vải khỏi bị bẩn, ví dụ bằng cách đeo găng tay polyetylen hoặc dùng kẹp.
8.3. Gây nhiễm xạ
8.3.1. Chuẩn bị
Đối với từng dung dịch hạt nhân phóng xạ, sáu mẫu vải phải được kẹp chặt vào các giá bằng thép tương ứng. Để tránh sự võng của tấm vải, phải đưa một tấm đỡ bằng chất dẻo (5.8) đệm vào phần dưới của giá (xem hình 2). Cẩn thận để tránh làm vải nhăn khi vít chặt vào giá.

Hình 2 - Sử dụng giá kẹp mẫu
8.3.2. Quy trình
Dùng pipet nhỏ từng giọt lấy từ 50 ml dung dịch gây nhiễm xạ (như quy định ở điều 5) vào giữa mẫu vải (hình 3 cho thấy mặt cắt xiên của giá kẹp).

Hình 3 - Vị trí của giá kẹp mẫu trong khi gây nhiễm xạ
Các mẫu vải đang được giữ trong các giá kẹp tương ứng, phải được sấy khô trong buồng sấy ở nhiệt độ 40°C ± 5°C trong 2 giờ. Bằng cách này, năm mẫu vải phải được gây nhiễm xạ với từng dung dịch gây nhiễm xạ.
8.4. Tẩy xạ
8.4.1. Chuẩn bị
Nhằm mục đích tẩy xạ, cần có sáu mẫu vải, năm mẫu trong số đó được gây nhiễm xạ và một mẫu không nhiễm xạ.
Các giá kẹp mẫu mang các mẫu vải phải được cố định chắc vào cửa sổ của máy khuấy dạng buồng. Có thể dùng dây thép không gỉ hoặc dây cao su dùng một lần để buộc giá kẹp vào buồng khuấy. Cẩn thận để bảo đảm mặt tấm vải được nhỏ dung dịch gây nhiễm xạ quay vào trong buồng khuấy.
8.4.2. Quy trình
Phải tiến hành tẩy xạ với tốc độ 100 vòng/min trong 900 ml tác nhân tẩy xạ (xem hình 7.2) được giữ ở nhiệt độ 60°C ± 2°C. Nếu nhà sản xuất khuyến cáo một nhiệt độ thấp hơn để đạt kết quả tối ưu thử nghiệm ở nhiệt độ thấp hơn này có thể được tiến hành, hoặc
a) như một thử nghiệm bổ sung; hoặc
b) thay thế cho thử nghiệm dưới điều kiện nhiệt độ chuẩn.
Trong trường hợp b), có thể tiến hành một đánh giá theo bảng 1 nhưng phải nêu trong báo cáo thử nghiệm như sau:
“không thể so sánh đầy đủ với kết quả thử nghiệm chuẩn, do sự khác biệt về nhiệt độ thử nghiệm (ví dụ 30°C thay vì 60°C").
Cẩn thận để buồng khuấy được đặt thẳng đứng ở chính giữa, và chạm vào đáy của cốc thủy tinh thí nghiệm. Trước tiên phải khuấy theo một hướng trong 10 phút, rồi theo hướng khác trong 10 phút nữa.
Tiếp đó, các mẫu phải được xả giũ với cùng tần số quay trong 900 ml nước đã khử ion trong 5 phút ở nhiệt độ phòng và cho máy sấy chạy theo một hướng. Nước đã khử ion phải được thay thế và việc xả giũ phải lặp lại và khuấy ở hướng ngược lại. Các mẫu vải nhiễm xạ phải được lấy ra khỏi thiết bị khuấy và sấy khô trong giá cặp riêng rẽ ở nhiệt độ 100°C ± 5°C trong 30 phút.
8.4.3. Tốc độ đếm xung tồn dư
Sau khi làm nguội đến nhiệt độ phòng, lấy các vật đã gây nhiễm xạ khỏi giá kẹp rồi xác định tốc độ đếm xung tồn dư. Cần đo tới ít nhất 5.000 xung, sau khi đã trừ phông. Hình học đo phải đúng như khi xác định tốc độ đếm xung riêng (xem 7.1.3). Cần thận trọng để bảo đảm rằng mặt vải được nhỏ chất gây nhiễm xạ của mẫu vải nhiễm xạ quay về phía đầu dò.
9. Tính kết quả
Sau khi tẩy xạ, phải tính giá trị trung bình số học của tốc độ đếm xung tồn dư của năm mẫu thử ban đầu trong mỗi nhóm, riêng cho 60Co và 137Cs. Kết quả được tính bằng xung/min và được sử dụng để tính tốc độ đếm xung tồn dư trung bình tiêu chuẩn hóa, đại lượng này là tích của tốc độ đếm xung tồn dư trung bình và đại lượng sau đây.
Chú thích 4 - Giá trị 3 x 106 xung/(min.ml) là giá trị tốc độ xung riêng của các dung dịch gây nhiễm xạ. Bảng đánh giá dựa trên giá trị tham chiếu của tốc độ đếm xung riêng.
Tốc độ đếm xung tồn dư cuối cùng được tính như là giá trị trung bình số học của tốc độ đếm xung tồn dư trung bình tiêu chuẩn hóa đối với 60Co và 137Cs.
Tốc độ đếm xung đo được trên mẫu vải không nhiễm xạ có thể được sử dụng để đánh giá sự tái nhiễm xạ từ dung dịch.
10. Đánh giá hiệu quả tẩy xạ
Hiệu quả của tác nhân tẩy xạ trong thử nghiệm phải được đánh giá trên cơ sở tốc độ đếm xung tồn dư cuối cùng theo bảng A.1.
11. Báo cáo thử nghiệm
Báo cáo thử nghiệm phải gồm những thông tin sau:
a) tốc độ đếm xung tồn dư trung bình tiêu chuẩn hóa cho 60Co và 137Cs.
b) tốc độ đếm xung tồn dư cuối cùng.
c) đánh giá hiệu quả tẩy xạ.
d) các thông số của các thử nghiệm bổ sung.
12. Xem xét các đặc tính khác
Khi đánh giá khả năng thích hợp của một tác nhân tẩy xạ, ngoài hiệu quả tẩy xạ ra, phải tính đến các đặc tính khác, tùy thuộc vào các điều kiện kỹ thuật chủ yếu tại nhà máy xử lý chất thải và nhà máy hóa rắn chất thải.
Các đặc tính chính được xem xét là:
a) khả năng tạo bọt;
b) độ chịu nhiệt;
c) độ hòa tan và khả năng trộn lẫn trong nước;
d) giá trị pH;
e) độ bền với axit/kiềm;
f) sự có mặt của các thành phần dễ bay hơi;
g) hàm lượng halogen;
h) hàm lượng các chất tạo phức;
i) lượng các chất độn làm tăng thể tích chất thải;
i) phản ứng với các ion kim loại nặng và canxi;
k) khả năng khử;
I) khả năng tẩy nhờn;
m) điểm bốc cháy;
n) các rủi ro thông thường khi xử lý vật liệu, như:
- các yêu cầu về trang bị phòng hộ như: mặt nạ, găng tay,... trong khi xử lý các phần cô đặc,
- hậu quả của sự rò thoát lượng lớn chất tẩy.
Phụ lục A
(quy định)
Máy khuấy dạng buồng để tẩy xạ
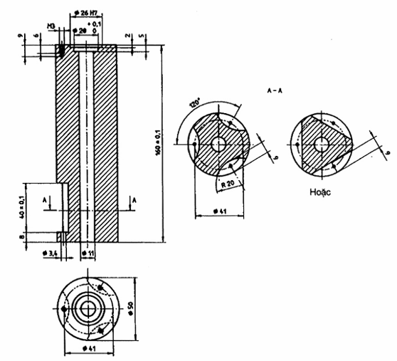
Hình A.1 mô tả chung máy khuấy dạng buồng. Các hình từ A.2 đến A.9 minh họa các thành phần của máy khuấy. Bảng A.1 liệt kê các bộ phận được đánh số trong hình A.1.

Hình A.1 - Máy khuấy dạng buồng
Bảng A.1 - Các chi tiết của máy khuấy dạng buồng
| Số chỉ dẫn theo hình A.1 | Số lượng | Mô tả | Vật liệu | Hình |
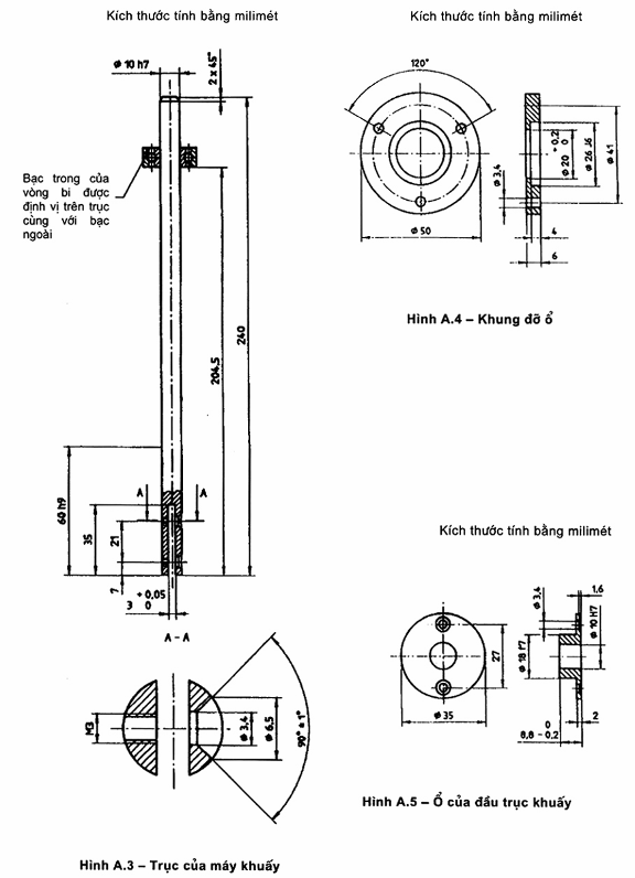
| 1 | 1 | Trục của máy khuấy | Thủy tinh acrilic | A.2 |
| 2 | 6 | Vít có lỗ đặt chìa vặn sáu cạnh M3 x 12 theo ISO 4762 | Thép không gỉ chịu axit | - |
| 3 | 1 | Trục khuấy | Thép không gỉ chịu axit | A.3 |
| 4 | 1 | Ổ lăn đồng trục rãnh sâu với vòng đệm theo ISO 15 (Kích thước: d = 10, D = 26, B = 8) |
| - |
| 5 | 1 | Khung đỡ ổ | Thủy tinh acrilic | A.4 |
| 6 | 1 | Ổ của đầu trục khuấy Cỡ: Ø 3,4 Độ hở theo ISO 273 Vít theo ISO 2009 |
Polytetrafluoroethylene (PTFE) | A.5 |
| 7 | 2 | Vít mũ chìm có xẻ rãnh, M3 x 5, theo ISO 2009 | Thép không gỉ chịu axit | - |
| 8 | 12 | Vít mũ chìm có xẻ rãnh, M4 x 10, theo ISO 2009 | Thép không gỉ chịu axit | - |
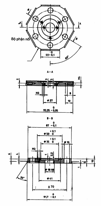
| 9 | 1 | Đĩa sáu cạnh ở trên | Thủy tinh acrilic | A.6 |
| 10 | 6 | Bộ phận nối Cỡ: Ø 4,5 Độ hở theo ISO 273 Vít theo ISO 2009 | Thép không gỉ chịu axit | A.7 |
| 11 | 2 | Vít mũ chìm có rãnh rập nổi, M3 x 10, theo ISO 2010 | Thép không gỉ chịu axit | - |
| 12 | 1 | Cánh khuấy | Thép không gỉ chịu axit | A.8 |
| 13 | 1 | Đĩa sáu cạnh ở dưới | Thủy tinh acrilic | A.9 |
| Chú thích - Có thể sử dụng các đơn vị không thuộc hệ mét đối với các loại vít. |
| |||
Kích thước tính bằng milimét

Hình A.2 - Giá đỡ máy khuấy

Kích thước tính bằng milimét

Hình A.6 - Đĩa sáu cạnh ở trên
Kích thước tính bằng milimét

Hình A.7 - Bộ phận nối
Kích thước tính bằng milimét

Hình A.8 - Cánh khuấy
Kích thước tính bằng milimét

Hình A.9 - Đĩa sáu cạnh ở dưới
Phụ lục B
(quy định)
Giá đỡ của mẫu kẹp
Các hình B.1 và B.2 mô tả giá đỡ của mẫu kẹp.
Các phần đỉnh và đáy được vít chặt bằng bốn vít khía rãnh M3 x 8 theo ISO 2009.
Các kích thước nhám theo ISO 1302.
Vật liệu: Thép không gỉ bền với axit.
Kích thước tính bằng milimét

Hình B.1 - Giá đỡ của mẫu kẹp - Phần đáy
Kích thước tính bằng milimét

Hình B.2 - Giá đỡ của mẫu kẹp - Phần đỉnh
Phụ lục C
(quy định)
Công thức điều chế dung dịch gây nhiễm xạ 137Cs và 60Co
Các công thức sau cung cấp hướng dẫn để tính lượng dung dịch gốc hạt nhân phóng xạ và chất mang cần thiết để điều chế các dung dịch gây nhiễm xạ như quy định ở 7.1.
C.1 Thể tích cuối cùng
Thể tích cuối cùng cần thiết của các dung dịch gây nhiễm xạ, r, được tính bằng mililit.
C.2 Hoạt độ tổng của dung dịch gây nhiễm xạ
C.2.1 Biểu thị đặc trưng hoạt độ bằng cách tính tốc độ phân rã
Nếu có thể có các số liệu tin cậy về nồng độ hoạt độ của dung dịch gốc và nếu độ nhạy của thiết bị đo được sử dụng ít nhất là 0,17 xung/ phân rã, thì có thể sử dụng giá trị 0,2 MBq/ml như giá trị chỉ định cho nồng độ phóng xạ của dung dịch gây nhiễm xạ.
Hoạt độ tổng của thể tích cuối cùng r là 0,2 r, tính bằng mega beccơren.
C.2.2 Biểu thị đặc trưng hoạt độ bằng tốc độ đếm xung
Nếu các điều kiện quy định tại C.2.1, không được đáp ứng và nếu việc áp dụng hoạt độ dự định bị hạn chế, thì phải sử dụng giá trị 2 x 106 xung/(min/ml) làm nồng độ hoạt độ tối thiểu của dung dịch gây nhiễm xạ.
Giá trị tối thiểu của tốc độ đếm xung tổng cộng của thể tích cuối cùng r là 2 x 106 r, tính bằng xung trên phút trên mililit.
C.3 Thể tích dung dịch gốc chứa hạt nhân phóng xạ
Thể tích dung dịch gốc cần thiết, V, tính bằng mililít.
C.3.1 Biểu thị đặc trưng bằng tổng hoạt độ quy định trong C.2.1
Nồng độ hoạt độ của dung dịch gốc (từ số liệu của nhà sản xuất), s, tính bằng megabeccơren trên mililit.
Như vậy, thể tích V nhận được như sau:
C.3.2 Biểu thị đặc trưng bằng tổng tốc độ đếm xung quy định trong C.2.2
Tốc độ đếm xung riêng của thể tích dung dịch gốc (phụ thuộc vào thiết bị đo được sử dụng), p, được tính bằng xung trên phút trên mililit.
Như vậy, thể tích V nhận được như sau:
C.4 Thể tích dung dịch chất mang
Nồng độ chất mang cần thiết trong sản phẩm cuối cùng là 10-5 mol/l.
Lượng cuối cùng cần thiết của chất mang, n, đối với thể tích cuối cùng r, tính bằng mol, là
n = 10-8 r
Nồng độ chất mang (ví dụ từ số liệu của nhà sản xuất), tính bằng mol trên lít dung dịch chứa phóng xạ, là t.
Chú thích - Thông thường, giá trị này được tính từ các số liệu của nhà sản xuất về hoạt độ riêng (mega beccơren hoặc curie trên gam nguyên tố mang) và nồng độ phóng xạ (mega beccơren hoặc curie trên mililit dung dịch).
Lượng chất mang, w, do dung dịch chất mang đóng góp, tính bằng mol, là
w = 10 3 t x V.
Sự đóng góp của chất mang cần thiết, y, bằng cách thêm dung dịch chất mang, tính bằng mol, là
y = n - w
Nồng độ dung dịch chất mang được sử dụng, u, tính bằng mol trên lít.
Thể tích cuối cùng, z, của dung dịch chất mang cần thiết để sản xuất một dung dịch gây nhiễm xạ.
10-5 mol trên lít, tính bằng mililit dung dịch chất mang, là
Hai biểu thức sau đây được suy ra đối với hai trường hợp đã mô tả ở C.3.1 và C.3.2.
1) ECE: Tổ chức độ bắt màu Châu Âu (European Colourfastness Establishment).
Bạn chưa Đăng nhập thành viên.
Đây là tiện ích dành cho tài khoản thành viên. Vui lòng Đăng nhập để xem chi tiết. Nếu chưa có tài khoản, vui lòng Đăng ký tại đây!