- Tổng quan
- Nội dung
- Tiêu chuẩn liên quan
- Lược đồ
- Tải về
Tiêu chuẩn Quốc gia TCVN 7015-2:2002 ISO 11680-2:2000 Thiết bị sử dụng với nguồn động lực đeo vai
| Số hiệu: | TCVN 7015-2:2002 | Loại văn bản: | Tiêu chuẩn Việt Nam |
| Cơ quan ban hành: | Bộ Khoa học và Công nghệ | Lĩnh vực: | Công nghiệp , Nông nghiệp-Lâm nghiệp |
|
Ngày ban hành:
Ngày ban hành là ngày, tháng, năm văn bản được thông qua hoặc ký ban hành.
|
19/08/2002 |
Hiệu lực:
|
Đã biết
|
| Người ký: | Đang cập nhật |
Tình trạng hiệu lực:
Cho biết trạng thái hiệu lực của văn bản đang tra cứu: Chưa áp dụng, Còn hiệu lực, Hết hiệu lực, Hết hiệu lực 1 phần; Đã sửa đổi, Đính chính hay Không còn phù hợp,...
|
Đã biết
|
TÓM TẮT TIÊU CHUẨN VIỆT NAM TCVN 7015-2:2002
Tiêu chuẩn Quốc gia TCVN 7015-2:2002: Quy định an toàn cho máy cắt cành trong lâm nghiệp
Tiêu chuẩn Quốc gia TCVN 7015-2:2002, được ban hành để quy định các yêu cầu an toàn và phương pháp thử nghiệm đối với máy cắt cành có động cơ lắp trên cần nối (được gọi là "máy cắt cành"). Tiêu chuẩn này được ban hành ngày 1/8/2008, và áp dụng cho các máy được sản xuất sau ngày ban hành và thay thế một số quy định trước đó liên quan đến đảm bảo an toàn trong thiết kế và vận hành máy cắt cành.
Phạm vi áp dụng của tiêu chuẩn quy định rõ rằng nó áp dụng cho các máy cắt cành có thể xách tay, sử dụng động cơ đeo vai, và có trục để truyền động tới công cụ cắt. Tiêu chuẩn hướng đến việc giảm thiểu các mối nguy hiểm có thể phát sinh trong quá trình sử dụng máy thông qua thiết kế phù hợp và cung cấp thông tin an toàn cho người sử dụng.
Các yêu cầu cụ thể trong tiêu chuẩn bao gồm:
- Tiếng ồn và rung động: Máy phải thiết kế để giảm tiếng ồn và rung động đến mức thấp nhất. Người sử dụng cũng được khuyến nghị sử dụng thiết bị bảo vệ tai trong môi trường có tiếng ồn cao.
- Cấu trúc tay cầm: Tay cầm của máy cắt cần thiết kế để đảm bảo an toàn và dễ cầm nắm. Mỗi tay người sử dụng phải có tay cầm riêng, chiều dài tối thiểu phải là 100mm, và đường kính tối thiểu từ 25mm đến 50mm.
- Dây đeo: Tất cả máy cắt cành cần trang bị dây đeo có thể tháo rời nhanh chóng, giúp đảm bảo an toàn cho người vận hành.
- Bảo vệ công cụ cắt: Các bộ phận công cụ cắt phải được bảo vệ an toàn để ngăn ngừa tiếp xúc với người khi máy hoạt động cũng như khi vận chuyển.
Ngoài ra, tiêu chuẩn này cũng quy định về kiểm tra các yêu cầu an toàn, bao gồm các phương pháp thử nghiệm theo bảng yêu cầu cụ thể, giúp đảm bảo rằng mỗi máy được sản xuất đều đáp ứng các tiêu chuẩn an toàn đặt ra.
Thông tin cho người vận hành cũng là một phần thiết yếu trong tiêu chuẩn này. Mỗi máy cắt cành phải có sách hướng dẫn sử dụng rõ ràng, cung cấp thông tin về cách sử dụng an toàn, các đặc điểm kỹ thuật chính, cảnh báo rủi ro, và các biện pháp bảo vệ sức khỏe trong quá trình làm việc.
Tiêu chuẩn này khẳng định tầm quan trọng của việc thông báo và giáo dục người vận hành về các nguy cơ trong sử dụng máy cắt cành, từ đó góp phần tạo ra một môi trường làm việc an toàn hơn cho mọi người tham gia. TCVN 7015-2:2002 hướng tới việc bảo vệ người làm lâm nghiệp không chỉ thông qua thiết kế máy móc mà còn nhấn mạnh đến trách nhiệm tự giác và ý thức sử dụng máy của người vận hành.
Tải tiêu chuẩn Việt Nam TCVN 7015-2:2002
TCVN 7015-2:2002
ISO 11680-2:2000
MÁY DÙNG TRONG LÂM NGHIỆP - YÊU CẦU AN TOÀN VÀ PHƯƠNG PHÁP THỬ ĐỐI VỚI MÁY CẮT CÀNH CÓ ĐỘNG CƠ LẮP TRÊN CẦN NỐI PHẦN 2: CỤM THIẾT BỊ SỬ DỤNG VỚI NGUỒN ĐỘNG LỰC ĐEO VAI
Machinery for forestry - Safety requirements and testing for pole-mounted powered pruners Part 2: Units for use with a back-pack power souce
Lời nói đầu
TCVN 7015-2:2002 hoàn toàn tương đương với ISO 11680-2:2000
TCVN 7015-2:2002 do Ban kỹ thuật tiêu chuẩn TCVN/TC 23 Máy kéo và máy dùng trong nông lâm nghiệp biên soạn,Tổng cục Tiêu chuẩn Đo lường Chất lượng và Vụ Khoa học công nghệ và chất lượng sản phẩm thuộc Bộ Nông nghiệp và phát triển nông thôn đề nghị, Bộ Khoa học và Công nghệ ban hành.
Tiêu chuẩn này được chuyển đổi năm 2008 từ Tiêu chuẩn Việt Nam cùng số hiệu thành Tiêu chuẩn Quốc gia theo quy định tại Khoản 1 Điều 69 của Luật Tiêu chuẩn và Quy chuẩn kỹ thuật và điểm a khoản 1 Điều 6 Nghị định số 127/2007/NĐ-CP ngày 1/8/2007 của Chính phủ quy định chi tiết thi hành một số điều của Luật Tiêu chuẩn và Quy chuẩn kỹ thuật
MÁY DÙNG TRONG LÂM NGHIỆP - YÊU CẦU AN TOÀN VÀ PHƯƠNG PHÁP THỬ ĐỐI VỚI MÁY CẮT CÀNH CÓ ĐỘNG CƠ LẮP TRÊN CẦN NỐI - PHẦN 2: CỤM THIẾT BỊ SỬ DỤNG VỚI NGUỒN ĐỘNG LỰC ĐEO VAI
Machinery for forestry - Safety requirements and testing for pole-mounted powered pruners Part 2: Units for use with a back-pack power souce
1. Phạm vi áp dụng
Tiêu chuẩn này quy định các yêu cầu an toàn và cách kiểm tra, trong việc thiết kế, chế tạo và sử dụng máy cắt cành có động cơ lắp trên cần nối, có thể xách tay và giữ bằng tay, với cụm động cơ đeo vai, dùng một trục để truyền động tới công cụ cắt. Công cụ cắt là xích cưa và các lưỡi cưa chuyển động tịnh tiến qua lại và quay vòng.
Tiêu chuẩn này mô tả các phương pháp khắc phục hoặc làm giảm những mối nguy hiểm phát sinh trong quá trình sử dụng. Tiêu chuẩn cũng quy định cách thức thông tin về thực hành công việc an toàn do cơ sở chế tạo cung cấp. Tiêu chuẩn này không bao gồm những rủi ro điện giật do đường điện cao áp ở trên đầu trong khi sử dụng máy cắt cành, không đề cập đến những cảnh báo và lời khuyên đã có trong sách hướng dẫn sử dụng. Phương pháp thử và những yêu cầu an toàn đối với rủi ro này hiện chưa được xây dựng.
Trong phụ lục A, là một bản danh mục những mối nguy hiểm quan trọng yêu cầu phải tác động để giảm rủi ro.
Không xem xét đến ảnh hưởng môi trường.
Tiêu chuẩn này trước tiên áp dụng cho những máy cắt cành được chế tạo sau ngày tiêu chuẩn được ban hành.
2. Tiêu chuẩn trích dẫn
ISO 3767- 5:1992 Máy kéo, máy dùng trong nông lâm nghiệp, thiết bị làm vườn và cắt cỏ có động cơ - Biểu tượng các cơ cấu điều khiển và các biểu thị khác - Phần 5: Biểu tượng đối với máy lâm nghiệp xách tay điều khiển bằng tay (Tractors, machinery for agriculture, and forestry, powered lawn and garden equipment - Symbols for operator controls and other displays - Part 5: Symbols for manual portable forestry machinery).
ISO 6531:1999 Máy dùng trong lâm nghiệp - Cưa xích xách tay, giữ bằng tay - Từ vựng (Machinery for forestry - Portable handheld chain saw - Vocabulary).
ISO 7112:1999 Máy dùng trong lâm nghiệp - Máy cắt cỏ và máy cắt bụi cây xách tay, giữ bằng tay - Từ vựng (Machinery for forestry - Portable handheld brush-cutters and grass-trimmers -Vocabulary).
ISO 7113:1999 Máy dùng trong lâm nghiệp xách tay, giữ bằng tay - thiết bị cắt của máy cắt bụi cây - Các lưỡi kim loại một lưỡi (Portable handheld forestry machine - Cutting attachments for brush cutters - Single-piece metal blades).
ISO 8893:1997 Máy dùng trong lâm nghiệp - Máy cắt cỏ và máy cắt bụi cây xách tay - Công suất động cơ và chi phí nhiên liệu (Forestry machinery - Potable brush- cutters and grass-trimmers - Engine performance and fuel consumption).
TCVN 7015-1:2002 (ISO 11680-1:2000) Máy dùng trong lâm nghiệp - Yêu cầu an toàn và phương pháp thử đối với máy cắt cành có động cơ lắp trên cần nối - Phần 1: Cụm thiết bị lắp với động cơ đốt trong (Machinery for forestry - Safety requiremets and testing for pole-mounted powered pruners - Part 1: Units fitted with an integral combustion engine).
TCVN 7020:2002 (ISO 11684:1995) Máy kéo và máy dùng trong nông lâm nghiệp, thiết bị làm vườn và làm cỏ có động cơ - Ký hiệu an toàn và những hình vẽ mô tả nguy hiểm - Nguyên tắc chung (Tractors, machinery for agriculture forestry, powered lawn and garden equipment - Safety signs and hazard pictorials - General principles).
ISO/TR 12100-1:1991 An toàn máy - Những khái niệm cơ bản, nguyên tắc chung cho thiết kế - Phần 1: Thuật ngữ, phương pháp cơ bản(1) (Safety of machinery - Basic concepts, general principles for designs - Part 1: Basic terminology, methodology).
ISO/TR 12100:2:1992 An toàn máy - Những khái niệm cơ bản, nguyên tắc chung cho thiết kế - Phần 2: Nguyên tắc và đặc tính kỹ thuật(2) (Safety of machinery - Basic concepts, general principles for design - Part 2: Technical principles and specifications).
ISO 13852:1996 An toàn máy - Khoảng cách an toàn để ngăn ngừa cánh tay chạm tới vùng nguy hiểm (3) (Safety of machinery - Safety distance to prevent danger zones being reached by the upper limbs).
ISO 14740:1998 Máy lâm nghiệp - Cụm động cơ đeo vai dùng cho máy cắt bụi cây, máy cắt cỏ, máy cắt cọc và các thiết bị tương tự... Yêu cầu kỹ thuật an toàn và phương pháp thử (Forest machinery - Backpack power units for brush-cutters, grass-trimmers, pole- cutters and similar appliances – Safety requirements and testing).
3. Thuật ngữ và định nghĩa
Trong tiêu chuẩn này sử dụng những thuật ngữ và định nghĩa sau:
3.1. Máy cắt cành có động cơ lắp trên cần nối (Pole-mounted powered pruner)
Máy cắt cành (pruner)
Máy xách tay, giữ bằng tay, có lắp công cụ cắt trên một cần nối để người vận hành có thể cắt các cành của cây đứng.
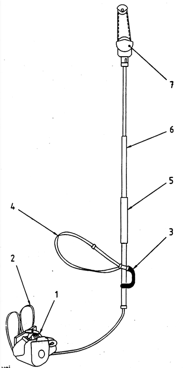
Chú thích - Xem ví dụ hình 1
3.2. Cụm thiết bị (Unit)
Một cụm máy gồm động cơ, trục truyền động, công cụ cắt và tấm chắn, không kể dây đeo.
3.3. Công cụ cắt (Cutting attachment)
Bộ phận cắt dưới dạng một lưỡi cưa chuyển động tịnh tiến qua lại, lưỡi cưa chuyển động quay vòng với chi tiết hãm, hoặc xích cưa với thanh dẫn hướng.
3.4. Tay cầm (Handgrip)
Phần của máy được thiết kế để người vận hành cầm nắm giữ, giúp cho cụm thiết bị dễ cơ động.
3.5. Động cơ đeo vai (Back-pack power souce)
Động cơ đốt trong được thiết kế để mang được trên lưng người vận hành nhờ một giá đỡ.

Chỉ dẫn
1. Động cơ đốt trong đeo vai
2. Dây đeo cho động cơ đốt trong
3. Tay cầm phía sau
4. Dây đeo cho giá đỡ dụng cụ
5. Tay cầm phía trước
6. ống trục ngoài
7. Công cụ cắt
Hình 1 - Máy cắt cành có động cơ đeo vai lắp trên cần nối với công cụ cắt kiểu cưa - xích
4. Yêu cầu an toàn
4.1. Những vấn đề chung
Sự làm việc an toàn của máy cắt cành có động cơ lắp trên cần nối(sau đây gọi là máy cắt cành) phụ thuộc không những vào các yêu cầu an toàn sau đây mà còn phụ thuộc vào môi trường an toàn liên quan tới việc sử dụng trang bị bảo vệ con người (TBBVCN) như găng tay, giầy chống trượt, trang bị bảo vệ mắt, tai và đầu.
Phụ lục C cung cấp một số yếu tố thuộc lao động học (ergonomic) cần xem xét đến.
4.2. Tiếng ồn
4.2.1. Giảm tiếng ồn bằng biện pháp thiết kế và bảo vệ
Máy cắt cành phải thiết kế sao cho mức tiếng ồn phát ra thấp nhất. Nguồn chính phát sinh tiếng ồn của máy cắt cành được truyền động từ động cơ đốt trong là:
- hệ thống hút không khí;
- hệ thống làm mát động cơ;
- hệ thống xả của động cơ;
- hệ thống cắt;
- các bề mặt rung động.
Tiêu chuẩn ISO 11688-1[1] cung cấp những thông tin kỹ thuật chung về các quy tắc và biện pháp kỹ thuật phổ biến cần tuân theo trong việc thiết kế máy có tiếng ồn thấp. Trong trường hợp máy được truyền động từ động cơ đốt trong, cần đặc biệt chú ý đến việc thiết kế hệ thống xả và việc lựa chọn bộ phận giảm thanh.
Chú thích - Có thể áp dụng tiêu chuẩn ISO 11691(2) và ISO 11820(3) cho việc thử bộ phận giảm thanh.
4.2.2. Giảm tiếng ồn bằng thông tin
Nhằm bổ sung cho các biện pháp kỹ thuật để giảm tiếng ồn, trong sách hướng dẫn sử dụng kèm theo máy cắt cành cần phải nêu:
- những khuyến nghị nhằm hạn chế thời gian làm việc;
- cảnh báo mức tiếng ồn với khuyến nghị về cách sử dụng bộ phận bảo vệ tai.
4.2.3. Đo tiếng ồn
Để đo công suất âm và áp suất âm phát ra tại vị trí của người vận hành, cần sử dụng các phương pháp nêu trong phụ lục B của TCVN 7015-1:2002 (ISO 11680-1). Cần đo các mức âm thanh đối với từng cách liên hợp cụm động cơ đeo vai và máy cắt cành như cơ sở chế tạo đã chỉ dẫn.
4.3. Rung động
4.3.1. Giảm rung động bằng các biện pháp thiết kế và bảo vệ
Máy cắt cành phải được thiết kế sao cho chỉ phát sinh mức rung động thấp nhất. Nguồn rung động chính là:
- lực dao động từ động cơ;
- các chi tiết cắt;
- các chi tiết chuyển động không cân bằng;
- sự va đập trong các bánh răng, gối đỡ và các cơ cấu khác;
- sự tương tác giữa người vận hành, máy và vật liệu làm việc;
- thêm vào các biện pháp để giảm rung động tại nguồn, cần sử dụng các biện pháp kỹ thuật như các bộ phận ngăn cách và các khối cộng hưởng ngăn cách nguồn rung động từ tay cầm.
Chú thích - Những thông tin kỹ thuật về các quy tắc và phương tiện kỹ thuật phổ biến cần tuân theo trong việc thiết kế máy đưa ra những giải pháp nhằm giảm rung động ở cánh tay tới mức thấp đã được nêu trong các xuất bản phẩm khác nhau như CEN CR 1030-1:1995(4).
4.3.2. Giảm rung động bằng thông tin
Nhằm bổ sung vào mọi biện pháp kỹ thuật có thể, để giảm rung động, trong sách hướng dẫn sử dụng cần có khuyến nghị:
- hạn chế thời gian làm việc, nếu phù hợp;
- dùng trang bị bảo vệ con người (TBBVCN) như găng tay.
4.3.3. Đo độ rung động
Để xác định độ rung động tay- cánh tay, cần sử dụng phương pháp nêu trong phụ lục C của TCVN 7015-1:2002 (ISO 11680-1).
Chú thích - Có thể có những rung động được truyền đến cơ thể người vận hành từ nguồn động cơ qua dây đeo của cụm động cơ đeo vai. Tiêu chuẩn này không đề cập đến vấn đề này. Hiện nay chưa có phương pháp đo.
4.4. Tay cầm
Máy cắt cành phải có tay cầm riêng cho mỗi tay người vận hành. Hình dạng và bề mặt của các tay nắm phải được thiết kế nhằm bảo đảm sự nắm chắc chắn cần thiết,kể cả khi người vận hành đeo găng tay. Nếu tay cầm gần công cụ cắt là một bộ phận của ống trục, thì chu vi của nó có đường kính phải trong giới hạn nhỏ nhất 25mm và lớn nhất 50mm. Chiều dài tay cầm ít nhất phải bằng 100mm.
Chiều dài phần nắm giữ của tay xách hoặc tay cầm gần bao gồm một đoạn dài, đoạn này thẳng hoặc cong với bán kính lớn hơn 100mm cùng với bán kính lượn không lớn hơn 10mm ở một hoặc cả hai đầu của phần nắm giữ.
Chú thích - Nếu trục ống được dùng làm tay cầm, thì toàn bộ chiều dài trục ống được coi là phần nắm giữ. Cần quan tâm đến độ bền của tay cầm khi soát xét lại tiêu chuẩn này.
4.5. Dây đeo
Tất cả các máy cắt cành phải trang bị dây đeo để đỡ các dụng cụ. Dây đeo phải được thiết kế sao cho người vận hành có thể cởi bỏ ra nhanh.
Nếu kết hợp với dây đeo cho cụm động cơ đeo vai, thì phải đáp ứng những yêu cầu của ISO 14740.
4.6. Các bộ phận thủy lực
Các bộ phận chịu áp suất vượt quá 500 kPa phải thiết kế hoặc bảo vệ nhằm tránh cho người vận hành khỏi bị tổn thương do tổn thất chất lỏng khi có sự cố dò áp suất.
Để bảo vệ, các bộ phận có thể đặt bên trong ống trục.
4.7. Các bộ phận truyền động từ động cơ.
Tất cả các bộ phận truyền động từ động cơ, trừ công cụ cắt, phải được che chắn nhằm bảo vệ người vận hành khỏi tiếp xúc với các chi tiết này.
Đối với các lỗ, phải đáp ứng các yêu cầu trong mục 4.5.2 và 4.5.3 của ISO 13852:1996.
4.8. Công cụ cắt
4.8.1. Dụng cụ đồ nghề
Nếu cần thiết có dụng cụ đồ nghề chuyên dùng để thay thế các công cụ cắt, thì phải được cung cấp cùng với máy cắt cành.
4.8.2. Công cụ cắt kiểu cưa xích
Công cụ cắt loại cưa xích phải có phương tiện điều chỉnh độ căng xích theo chỉ dẫn của cơ sở chế tạo.
Phải có một tấm chắn cố định che các phía lộ ra ngoài của bánh sao truyền động.
Phải có phương tiện để bôi trơn xích cưa, hoặc tự động hoặc bằng tay. Nếu cung cấp một bơm tra dầu điều khiển bằng tay thì phải đặt sao cho nó có thể vận hành được,khi giữ máy cắt cành bằng cả hai tay cầm.
4.8.3. Công cụ cắt kiểu lưỡi cưa vòng
4.8.3.1. Lưỡi cưa vòng phải là lưỡi cưa một lưỡi phù hợp với những đặc tính về chất lượng bề mặt lưỡi cưa và vật liệu lưỡi cưa ghi trong ISO 7113.
4.8.3.2. Lắp đặt công cụ cắt sao cho không được có bất kỳ một chuyển động tương đối nào giữa công cụ cắt và giá giữ hoặc với trục lắp công cụ, khi đo thử như sau:
a) đặt công cụ cắt theo chỉ dẫn của cơ sở chế tạo;
b) khóa trục truyền lực;
c) đặt một mô men quay, M, vào công cụ cắt, trị số của nó bằng
M = 0,4 x V x k
Trong đó:
M là mô men, tính bằng Niutơn - met;
V là thể tích làm việc của động cơ, tính bằng xăng ti mét khối;
k là tỷ số truyền, hoặc vận tốc quay của động cơ chia cho vận tốc quay của công cụ cắt.
Việc thử phải tiến hành 5 lần theo chiều quay bình thường, sau đó 5 lần theo chiều quay ngược lại.
4.8.3.3. Phải có một tấm chắn cho công cụ cắt gắn lưỡi cưa vòng. Tấm chắn này bảo vệ người vận hành khỏi bị các phần tử nhỏ bắn vào.
Chú thích - Cần xây dựng phương pháp thử độ bền tấm chắn.
4.9. Tấm chắn cho công cụ cắt khi vận chuyển
Cần trang bị cho công cụ cắt một tấm chắn khi vận chuyển. Nó phải được thiết kế để che được bộ phận cắt trong khi vận chuyển hoặc khi bảo quản máy cắt cành. Tấm chắn phải nằm ở vị trí bảo vệ bất kể máy cắt cành được giữ theo hướng nào.
4.10. Khoảng cách đến công cụ cắt
Khoảng cách từ van tiết lưu đến điểm gần nhất không được che chắn của công cụ cắt tối thiểu phải bằng 1250 mm khi công cụ cắt được điều chỉnh đến vị trí gần người vận hành nhất.
Nếu vị trí của van tiết lưu có thể điều chỉnh được, thì bất cứ điều chỉnh nào < 1250mm, sẽ được ngăn ngừa bằng cách thiết kế.
Cần có một vật cản cố định, ví dụ một vòng khuyên trên ống trục, gần công cụ cắt nhằm cảnh báo cho người vận hành biết rằng tay người đó đang tiến gần đến bộ phận cắt.
4.11. Cụm động cơ đeo vai
Cụm động cơ đeo vai bao gồm các bộ phận điều khiển và dây đeo phải tuân theo yêu cầu của ISO 14740
Nếu máy cắt cành được nối đến nguồn động cơ bằng một hệ thống liên kết-nhanh:
- bộ phận nối phải thiết kế để ngăn ngừa hiện tượng ngắt xảy ra bất ngờ;
- trục động cơ đã phân khai, không được gây ra mối nguy hiểm cơ học, tức là chỉ được phép không bảo vệ trục truyền động ở phía cần nối.
5. Kiểm tra các yêu cầu an toàn
Kiểm tra việc chấp hành các yêu cầu an toàn, theo bảng 1
Bảng 1 - Yêu cầu an toàn và phương pháp thử
| Đề mục | Yêu cầu an toàn | Phương pháp thử | Trích dẫn | ||
| Kiểm tra, quan sát a | Kiểm tra chức năng b | Đo | |||
| 4.2 | Tiếng ồn |
|
| x | Phụ lục B TCVN 7015-1:2002 |
| 4.3 | Rung động |
|
| x | Phụ lục C TCVN 7015-1:2002 |
| 4.4 | Tay cầm | x |
| x |
|
| 4.5 | Dây đeo | x | x |
|
|
| 4.6 | Các bộ phận thủy lực | x | x |
|
|
| 4.7 | Các bộ phận được truyền động từ động cơ | x |
| x |
|
| 4.8 | Công cụ cắt - Những vấn đề chung | x |
|
|
|
| 4.8.2 | Công cụ cắt kiểu xích cưa (trường hợp có thể áp dụng) | x |
|
|
|
| 4.8.3 | Công cụ cắt kiểu lưỡi cưa (trường hợp có thể áp dụng) | x | x |
| ISO 7113 |
| 4.9 | Các tấm chắn cho công cụ cắt | x |
|
|
|
| 4.10 | Khoảng cách đến công cụ cắt | x |
| x |
|
| 4.11 | Cụm động cơ đeo vai | x | x | x | ISO 14740 |
| a Bao gồm việc kiểm tra xem máy có đủ các chi tiết liên quan không. b Bao gồm việc kiểm tra xem máy hoặc bộ phận có làm việc bình thường không. c Bao gồm việc đo xác định trị số máy hoặc dụng cụ đo. | |||||
6. Thông tin cho người vận hành
6.1. Những vấn đề chung
Mỗi máy cắt cành phải được cung cấp những thông tin về cách sử dụng đối với máy được thiết kế hoặc được thử, cũng như thông tin về điều kiện cần thiết bảo đảm rằng máy làm việc an toàn và không có rủi ro về sức khỏe ở mọi lúc, đặc biệt khi máy đang được điều chỉnh, sử dụng, làm sạch hoặc bảo dưỡng.
6.2. Số liệu kỹ thuật
Trừ các trường hợp khác đã quy định, trong sách hướng dẫn phải cung cấp những thông tin sau đây đối với mỗi kiểu máy, có phát sinh những khác biệt lớn:
a) Khối lượng không có công cụ cắt vào với các thùng chứa rỗng... kg
b) Thể tích
- thùng nhiên liệu. cm3
- thùng dầu(nếu có).... cm3
c) Loại và kích thước công cụ cắt
d) Kích thước động cơ
- thể tích làm việc của động cơ..... cm3
e) Công suất động cơ lớn nhất( theo ISO 8893)..... kW
f) Vận tốc quay lớn nhất của trục chính đối với lưỡi cưa vòng(nếu có) min-1
g) Vận tốc quay động cơ (tần số quay)
- ở vận tốc quay trục chính lớn nhất.... min-1
- chạy không tải..... min-1
h) Chi phí nhiên liệu(theo ISO 8893)
- chi phí nhiên liệu ở công suất động cơ lớn nhất (theo yêu cầu)... kg/h
- suất tiêu hao nhiên liệu (theo yêu cầu).... g/kWh
i) Mức áp suất âm phát ra (theo phụ lục B của TCVN 7015-1:2002) dB(A)
j) Phân tích giải ôcta (theo yêu cầu)
k) Mức công suất âm (theo phụ lục B)..... dB(A)
Chú thích - Khi biểu thị mức phát tiếng ồn, phải theo ISO 4871(5). Nên biểu thị bằng một số có hai chữ số
l) Độ rung động (theo phụ lục C của TCVN 7015-1:2002) m/s2
6.3. Sách hướng dẫn sử dụng
Sách hướng dẫn sử dụng phải cung cấp những chỉ dẫn và thông tin dễ hiểu về tất cả các công việc bảo dưỡng, quần áo và yêu cầu trang bị bảo hộ, sự cần thiết huấn luyện đối với mọi công việc, theo mục 5.5 của ISO/TR 12100-2:1992
Phải nhấn mạnh trên trang bìa hoặc trang trước của sách về tầm quan trọng của việc đọc cẩn thận sách hướng dẫn sử dụng.
Chú thích - Nên dùng rộng rãi các biểu tượng bằng hình vẽ hoặc biểu đồ hoặc cả hai.
Thuật ngữ dùng trong tất cả các tài liệu phải theo ISO 6531 và ISO 7112.
Bổ sung vào những thông tin đối với cụm động cơ đeo vai nêu trong ISO 14740,sách hướng dẫn sử dụng tối thiểu phải có những thông tin về:
a) Vận chuyển, bảo dưỡng và bảo quản máy, gồm:
1) sử dụng tấm chắn khi vận chuyển và bảo quản;
2) làm sạch và bảo dưỡng trước khi bảo quản;
3) bảo đảm an toàn máy trong khi vận chuyển nhằm ngăn ngừa hiện tượng tổn hao nhiên liệu, hư hại hoặc gây tổn thương;
b) Chuẩn bị đưa máy vào sử dụng gồm:
1) thực hiện làm sạch và bảo dưỡng;
2) hướng dẫn lắp, kiểm tra và điều chỉnh ban đầu;
3) cảnh báo yêu cầu chỉ được sử dụng dầu thủy lực do cơ sở chế tạo quy định và những thông tin về rủi ro điện giật gia tăng, do dùng dầu có các tính chất điện môi có hại;
4) giải thích các biểu tượng và ký hiệu an toàn;
5) cho lời khuyên về cụm động cơ đeo vai phải tuân theo ISO 4710;
c) Bản thân máy gồm:
1) mô tả, nhận dạng và tên gọi các chi tiết chính, bao gồm cơ cấu an toàn và dây đeo, giải thích về chức năng của chúng;
2) những công việc bảo dưỡng thường xuyên, các biện pháp kiểm tra trước khi cho máy hoạt động và bảo dưỡng hàng ngày bao gồm việc kiểm tra các chỗ liên kết bị lỏng, các chỗ rò rỉ nhiên liệu và các chi tiết bị hư hỏng ( ví dụ vết gẫy trong lưỡi cưa hoặc xích cưa bị lỏng);
3) kỹ thuật khởi động và dừng máy, đặc biệt chú ý đến vấn đề an toàn;
4) cách điều chỉnh thanh hướng dẫn và xích, khi động cơ dừng (trường hợp có thể áp dụng);
5) kỹ thuật căng và mài sắc xích (trường hợp có thể áp dụng);
6) số liệu về các mức công suất và áp suất âm và rung động, bao gồm việc cảnh báo về những rủi ro và khuyến nghị về các biện pháp thực hiện nhằm giảm tối thiểu những rủi ro này (cung cấp sự phân tích dải ốc ta để từ đó có thể chọn lựa cách bảo vệ tai nghe đúng đắn);
7) mô tả bằng hình vẽ kỹ thuật an toàn do cơ sở chế tạo đưa ra;
d) Sử dụng máy gồm:
1) lưu ý báo cho người sử dụng biết rằng có những quy chế của nhà nước có thể hạn chế việc sử dụng máy cắt cành;
2) cảnh báo yêu cầu không được sử dụng máy, ở vị trí cách đường điện cao thế trên đầu trong khoảng 10 m;
3) chỉ dẫn về công việc chung và công việc cắt, cách sử dụng trang bị bảo hộ và sự cần thiết phải huấn luyện, với những chỉ dẫn về trang bị bảo hộ bao gồm hướng dẫn về loại bảo vệ tai nghe, bảo vệ mắt ( tấm che nắng hoặc kính) bảo vệ đầu và hướng dẫn về quần áo, giầy kể cả những thông tin về cách sử dụng giầy chống trượt bảo vệ chân, quần áo mặc;
4) cảnh báo không được sử dụng máy khi người vận hành mệt mỏi, ốm đau hoặc say rượu hay các chất có men khác;
5) thông tin về tư thế làm việc đúng, sự cần thiết có thời gian nghỉ ngơi và thay đổi vị trí làm việc;
6) những mối nguy hiểm có thể đến bất chợt khi sử dụng máy cắt cành và cách phòng tránh khi thực hiện một số công việc điển hình, bao gồm lời cảnh báo về rủi ro đối với những người đứng ngoài và cần thiết yêu cầu họ rời xa nơi máy cắt cành làm việc;
7) khuyến nghị khi cắt cành cây thành từng đoạn và cảnh báo về các vị trí làm việc nguy hiểm, cũng như rủi ro do các cành cây rơi xuống đập vào hoặc các cành cây nẩy lên đập lại sau khi rơi xuống đất;
8) khuyến nghị đứng chân chắc chắn và cân bằng trong khi làm việc, kể cả cách sử dụng các dây đeo vai;
e) Hướng dẫn bảo dưỡng gồm:
1) mô tả các công việc chăm sóc và thay thế đối với người sử dụng, kể cả sự cần thiết giữ các bộ phận an toàn đúng chỗ;
2) các hình vẽ hoặc biểu đồ cho phép người sử dụng tiến hành bảo dưỡng và phát hiện sai hỏng;
3) danh mục các phụ kiện kèm theo và các che chắn thích hợp, vị trí của chúng, bao gồm lời cảnh báo về những hậu quả có thể xảy ra khi sử dụng các chi tiết không đúng theo quy định của cơ sở chế tạo máy cắt cành;
4) những hậu quả do việc bảo dưỡng không đúng và do tháo các bộ phận an toàn.
6.4. Ghi nhãn
Tất cả các máy cắt cành phải được ghi sao cho dễ đọc, không thể tẩy xóa, với những thông tin tối thiểu sau đây:
a) tên và địa chỉ của cơ sở chế tạo;
b) năm sản xuất;
c) định rõ loạt sản xuất hoặc kiểu loại;
d) số loạt sản xuất, nếu có;
Ngoài ra, máy cắt cành còn phải có những thông tin sau:
a) yêu cầu phải đọc sách hướng dẫn sử dụng và theo dõi tất cả những điều cảnh báo và chỉ dẫn an toàn;
b) biểu tượng chỉ rõ sự cần thiết bảo vệ đầu, tai, mắt và đi giầy chống trượt;
c) cảnh báo rằng máy không được thiết kế để bảo vệ khỏi bị điện giật trong trường hợp tiếp xúc với đường điện cao thế trên đầu, gồm một biểu tượng như trong phụ lục B.
Nhãn mác phải đặt ở vị trí dễ nhìn trên máy và chống lại những điều kiện ảnh hưởng bên ngoài, ví dụ ảnh hưởng của nhiệt độ, độ ẩm, nhiên liệu, dầu mỡ, ma sát và thời tiết.
Chú thích - Cần chú ý xây dựng phương pháp thử.
Nội dung có thể thể hiện bằng hình vẽ.
Khi dùng các biểu tượng, chúng phải tương phản rõ rệt với nền hình vẽ. Những nét hình nổi phải có độ cao ít nhất 0,5 mm. Các thông tin hoặc chỉ dẫn bằng biểu tượng, phải dễ nhìn khi nhìn bằng mắt thường từ một khoảng cách không dưới 500 mm.
Tất cả các cơ cấu điều khiển phải được ghi nhãn bằng những biểu tượng thích hợp đặt gần chúng. Biểu tượng phải phù hợp với ISO 3767-5. Các biểu tượng liên quan đến an toàn có hình dạng và mầu sắc yêu cầu theo ISO 11684. ý nghĩa của các biểu tượng phải được giải thích trong sách hướng dẫn sử dụng.
Phụ lục A
(quy định)
Bảng danh mục các mối nguy hiểm
Bảng A nêu danh mục các mối nguy hiểm dựa trên ISO/TR 12100-1 và phụ lục A của ISO/TR 12100-2:1992.
Ý nghĩa của những chỉ dẫn khác nhau ghi trong cột cuối cùng của bảng này (các giải pháp ghi trong phần này của ISO 11680) như sau:
- “Không thích hợp”: mối nguy hiểm không đáng kể đối với máy
- “Cần xử lý”: mối nguy hiểm là đáng kể. Các biện pháp ghi trong các mục tham khảo đưa ra những hướng dẫn nhằm xử lý với mối nguy hiểm phù hợp với những nguyên tắc của hệ thống an toàn ISO/TR 12100-2, đó là:
+ Khắc phục hoặc giảm rủi ro bằng cách thiết kế, nhằm giảm đến mức tối thiểu
+ Các biện pháp bảo vệ
+ Thông tin về những rủi ro tiềm ẩn
- “Không cần xử lý”: mối nguy hiểm là đáng kể nhưng không đề cập đến trong việc biên soạn tiêu chuẩn này.
Bảng A.1 - Danh mục các mối nguy hiểm
| Mối nguy hiểm | Giải pháp ghi trong TCVN 7015-2:2002 |
| A.1 Nguy hiểm cơ học gây ra, ví dụ, bởi hình dạng, vị trí tương quan, khối lượng và tính ổn định (thế năng của các phần tử), khối lượng và vận tốc (động năng của các phần tử), sự không tương thích về độ bền cơ học, sự dự trữ thế năng bởi các phần tử đàn hồi (lò xo), chất lỏng hoặc khí dưới áp suất, hoặc độ chân không của các chi tiết máy hoặc chi tiết gia công. |
|
| A.1.1 Nguy hiểm nghiền nát | Không thích hợp |
| A.1.2 Nguy hiểm cắt xén | Không thích hợp |
| A.1.3 Nguy hiểm cắt hoặc cắt đứt | Xử lý theo 4.4, 4.8, 4.10 |
| A.1.4 Nguy hiểm vướng, mắc kẹt | Xử lý theo 4.8 |
| A.1.5 Nguy hiểm do bị kéo vào hoặc kẹt | Xử lý theo 4.8 |
| A.1.6 Nguy hiểm nêm chặt | Không thích hợp |
| A.1.7 Nguy hiểm đâm, chọc thủng | Không thích hợp |
| A.1.8 Nguy hiểm ma sát hoặc chà xước | Không thích hợp |
| A.1.9 Nguy hiểm do chất lỏng phun ra với áp suất cao | Xử lý theo 4.6 |
| A.1.10 Các chi tiết văng ra (của máy và vật liệu/ các chi tiết gia công) | Xử lý theo 4.8, 6.3 |
| A.1.11 Mất ổn định (máy và chi tiết máy) | Xử lý theo 4.4, 4.8 |
| A.1.12 Nguy hiểm trượt, ngã, liên quan đến máy do tính chất cơ học của nó | Xử lý theo 4.4, 6.3 |
| A.2 Mối nguy hiểm điện | |
| A.2.1 Tiếp xúc điện (trực tiếp hoặc gián tiếp) | (ISO 14740) |
| A.2.2 Hiện tượng tĩnh điện | Không thích hợp |
| A.2.3 Bức xạ nhiệt hoặc các hiện tượng khác như hiện tượng phun ra của các phần tử tan chẩy và các tác dụng hóa học do đoản mạch, quá tải... | Không thích hợp |
| A.2.4 Các ảnh hưởng bên ngoài đến thiết bị điện | Không thích hợp |
| A.3 Mối nguy hiểm nhiệt | |
| A.3.1 Cháy và bỏng do người tiếp xúc với ngọn lửa hoặc chất nổ và cũng có thể do bức xạ của các nguồn nhiệt | (ISO 14740) |
| A.3.2 ảnh hưởng có hại đến sức khỏe do môi trường làm việc nóng hoặc lạnh | Không thích hợp |
| A.4 Mối nguy hiểm phát sinh do tiếng ồn | |
| A.4.1 Mất thính giác (điếc), các rối loạn sinh lý khác (ví dụ mất thăng bằng, mất ý thức) | Xử lý theo 4.2, 6.2 (từng phần), 6.3 |
| A.4.2 Sự nhiễu thông tin tiếng nói, các tín hiệu âm thanh... | Không xử lý |
| A.5 Mối nguy hiểm phát sinh do rung động | |
| A.5.1 Rối loạn thần kinh và mạch máu | Xử lý theo 4.3, 6.2, 6.3 |
| A.6 Mối nguy hiểm phát sinh do phát xạ | |
| A.6.1 Hồ quang điện | Không thích hợp |
| A.6.2 Lade | Không thích hợp |
| A.6.3 Nguồn phát xạ i ông | Không thích hợp |
| A.6.4 Máy sử dụng các điện từ trường tần số cao | Không thích hợp |
| A.7 Mối nguy hiểm phát sinh do vật liệu và các chất gia công, chế biến do máy đã sử dụng hoặc xả ra | |
| A.7.1 Nguy hiểm do tiếp xúc hoặc hít phải những chất lỏng, khí, hơi, khói, sương mù và bụi có hại | (ISO 14740) |
| A.7.2 Nguy hiểm cháy hoặc nổ | (ISO 14740) |
| A.7.3 Nguy hiểm sinh học và vi sinh (vi rut hoặc vi khuẩn) | Không thích hợp |
| A.8 Nguy hiểm phát sinh do không chú ý đến các nguyên tắc gành lao học (ergonimic) trong thiết kế máy (sự không tương xứng giữa máy với đặc tính và khả năng con người) | |
| A.8.1 Trạng thái không khỏe mạnh hoặc quá sức | Xử lý theo 4.4, 4.10, 6.3, phụ lục C |
| A.8.2 Xem xét không đầy đủ kết cấu tay - cánh tay hoặc bàn chân- cẳng chân con người | Xử lý theo 4.4, 4.10, 6.3, phụ lục C |
| A.8.3 Coi thường việc sử dụng trang bị bảo vệ con người | Xử lý theo 4., 6.3, 6.4 |
| A.8.4 ánh sáng nơi lâm việc không thích ứng | Không thích hợp |
| A.8.5 Thần kinh (quá tải (overload) hoặc trầm cảm (underload) căng thẳng... | Không thích hợp |
| A.8.6 Sai sót bản thân con người | Xử lý theo 4.5, 4.6, 4.7, 4.8, 4.9 |
| A.9 Những nguy hiểm kết hợp |
|
| A.9.1 | Không thích hợp |
| A.10 Nguy hiểm gây ra do hỏng mạch cung cấp năng lượng, hư hỏng các chi tiết máy và các rối loạn hoạt động khác | |
| A.10.1 Hỏng mạch cung cấp năng lượng (năng lượng và/ hoặc các mạch điều khiển) | Không thích hợp |
| A.10.2 Các chi tiết máy hoặc chất lỏng phun ra bất ngờ | Xử lý theo 4.6, 4.8, (ISO 14740) |
| A.10.3 Hệ thống điều khiển bị hỏng hoặc làm việc kém ( khởi động bất ngờ, chạy vượt tốc bất ngờ) | ( ISO 14740) |
| A.10.4 Sai sót trong lắp đặt | Xử lý theo 6.3 |
| A.11 Nguy hiểm gây ra do (tạm thời) thiếu các phương tiện, biện pháp liên quan đến an toàn và/ hoặc đặt ở vị trí không đúng | |
| A.11.1 Tất cả các loại che chắn | Không thích hợp |
| A.11.2 Tất cả các bộ phận (bảo vệ) liên quan đến an toàn | Xử lý theo 6.3 |
| A.11.3 Bộ phận khởi động và dừng máy | Không thích hợp |
| A.11.4 Các ký hiệu và tín hiệu an toàn | Xử lý theo 6.3 |
| A.11.5 Tất cả các loại bộ phận cảnh báo hoặc thông tin | Xử lý theo 6.3 |
| A.11.6 Bộ phận ngắt cung cấp năng lượng | Không thích hợp |
| A.11.7 Bộ phận báo khẩn cấp | Xử lý theo 6.3 |
| A.11.8 Các phương tiện cung cấp/ tháo các chi tiết gia công | Không thích hợp |
| A.11.9 Trang bị và phụ kiện để điều chỉnh và/ hoặc bảo đảm an toàn | Xử lý theo 6.3 |
| A.11.10 Trang bị để xả khí... | Không thích hợp |
Phụ lục B
(quy định)
Biểu tượng cảnh báo về đường điện cao áp trên đầu

Hình B.1 - Ví dụ về biểu tượng cảnh báo nguy hiểm từ đường điện cao thế trên đầu.
Phụ lục C
(tham khảo)
Thiết kế lao động học (ergonomic design)
Các tư thế mà người vận hành máy cắt cành buộc phải thực hiện có thể gây mệt mỏi nhanh chóng. Vị trí làm việc, liên quan đến việc nâng cánh tay lên trên mức độ cao của vai người là đặc biệt không thuận tiện và tư thế bất tiện nhất là khi tay chân duỗi ra hoàn toàn. Một số yếu tố lao động học cần xem xét được giới thiệu ở đây.
Các cơ sở chế tạo máy cắt cành cần xem xét các yếu tố thiết kế theo ngành lao động học sau đây:
a) chiều dài lớn nhất của máy xén cành;
b) mômen giữ và tính ổn định khi vận hành;
c) tải trọng khi có và không sử dụng;
d) vị trí của tay cầm và hình dáng;
e) thiết kế dây đeo;
f) lực tiếp xúc và tải trọng tĩnh;
g) áp suất van tiết lưu;
h) độ rung và tiếng ồn;
i) trọng lượng lớn nhất và sự phân bố trọng lượng của máy cắt cành và các phụ kiện.
Chú thích - Các tiêu chuẩn Quốc tế đề cập đến thiết kế theo lao động học đang được xây dựng, bao gồm những chủ đề như sự tương quan giữa thiết kế máy và các loại công việc (ISO 11226(6)).
Thư mục
[1] ISO/TR 11688-1 Âm học - Thực hành thiết kế máy và trang bị có tiếng ồn thấp - Phần 1: Lập kế hoạch (Acoustics - Recommended practice for the design of low-noise machinery and equipment - Part 1: Planning).
[2] ISO 11691:1995 Âm học - Đo độ tổn thất liên kết của ống giảm thanh không có lưu lượng (Acoustics - measurement of insertion loss of ducted silencers without flow).
[3] ISO 11820:1996 Âm học - Đo các ống giảm thanh ở chỗ lắp đặt (Acoustics - Measurement of silencers in situ).
[4] CEN CR 1030-1:1995 Độ rung động ở tay-cánh tay - Chỉ dẫn để giảm nguy hiểm do rung động- Phần 1: Các phương pháp kỹ thuật thiết kế máy (Hand-arm vibration - Guidelines for vibration hazards reduction - Part 1: Engineering methods by design of machinery).
[5] ISO 4871 Âm học - Thông báo và kiểm tra trị số phát tiếng ồn của máy và trang bị (Acoustics - Declaration and verification of noise emission values of machinery and equipment).
ISO 11226(4) Lao động học - Đánh giá các tư thế làm việc (Ergonomics - Evaluation of working postures).
Bạn chưa Đăng nhập thành viên.
Đây là tiện ích dành cho tài khoản thành viên. Vui lòng Đăng nhập để xem chi tiết. Nếu chưa có tài khoản, vui lòng Đăng ký tại đây!