• Tổng quan
  • Nội dung
  • Tiêu chuẩn liên quan
  • Lược đồ
  • Tải về
Lưu
Đây là tiện ích dành cho tài khoản Tiêu chuẩn hoặc Nâng cao . Vui lòng Đăng nhập tài khoản để xem chi tiết.
Theo dõi VB
Đây là tiện ích dành cho tài khoản Tiêu chuẩn hoặc Nâng cao . Vui lòng Đăng nhập tài khoản để xem chi tiết.
Ghi chú
Báo lỗi
In

Tiêu chuẩn TCVN 14445:2025 Tay máy rô bốt công nghiệp - Cầm nắm đối tượng bằng bàn tay kẹp

Ngày cập nhật: Thứ Tư, 27/08/2025 16:32 (GMT+7)
Số hiệu: TCVN 14445:2025 Loại văn bản: Tiêu chuẩn Việt Nam
Cơ quan ban hành: Bộ Khoa học và Công nghệ Lĩnh vực: Công nghiệp
Trích yếu: Tay máy rô bốt công nghiệp - Cầm nắm đối tượng bằng bàn tay kẹp - Từ vựng và trình bày các đặc tính
Ngày ban hành:
Ngày ban hành là ngày, tháng, năm văn bản được thông qua hoặc ký ban hành.
17/06/2025
Hiệu lực:
Đã biết
Tiện ích dành cho tài khoản Tiêu chuẩn hoặc Nâng cao. Vui lòng Đăng nhập tài khoản để xem chi tiết.
Người ký: Đang cập nhật
Tình trạng hiệu lực:
Cho biết trạng thái hiệu lực của văn bản đang tra cứu: Chưa áp dụng, Còn hiệu lực, Hết hiệu lực, Hết hiệu lực 1 phần; Đã sửa đổi, Đính chính hay Không còn phù hợp,...
Đã biết
Tiện ích dành cho tài khoản Tiêu chuẩn hoặc Nâng cao. Vui lòng Đăng nhập tài khoản để xem chi tiết.

TÓM TẮT TIÊU CHUẨN VIỆT NAM TCVN 14445:2025

Tiêu chuẩn quốc gia về Tay máy rô bốt công nghiệp - Cầm nắm đối tượng bằng bàn tay kẹp

Ngày 17/05/2025, Bộ Khoa học và Công nghệ đã công bố Tiêu chuẩn quốc gia TCVN 14445:2025 về tay máy rô bốt công nghiệp, quy định từ vựng và trình bày các đặc tính liên quan đến việc cầm nắm đối tượng bằng bàn tay kẹp. Văn bản này có hiệu lực ngay sau khi công bố.

Tiêu chuẩn này áp dụng cho các cơ cấu nắm giữ kiểu bàn tay kẹp trong các ứng dụng rô bốt công nghiệp, đồng thời định nghĩa các thuật ngữ liên quan đến tính năng, cấu trúc cũng như các đặc tính cần thiết cho quá trình cầm nắm đối tượng.

Phạm vi áp dụng
Tiêu chuẩn này quy định các chức năng của khâu tác động cuối và tập trung vào các cơ cấu nắm giữ theo kiểu bàn tay kẹp. Nó đề cập đến thuật ngữ để mô tả quá trình cầm nắm và chuyển động của đối tượng, cũng như các chức năng mà người dùng hoặc nhà sản xuất có thể quy định.

Biểu mẫu trình bày đặc tính
Phụ lục A của tiêu chuẩn cung cấp các biểu mẫu giúp nhà sản xuất giới thiệu đặc tính sản phẩm, đồng thời cho phép người sử dụng xác định yêu cầu và mô tả đặc tính của các đối tượng sẽ được cầm nắm.

Các thuật ngữ và định nghĩa

  1. Cầm nắm đối tượng: Tác động vào đối tượng bằng khâu tác động cuối hoặc giữ vững đối tượng.
  2. Nắm giữ: Giữ đối tượng bằng các ngón tay kẹp của khâu tác động cuối.
  3. Trạng thái nắm giữ: Các trạng thái khác nhau mà đối tượng có thể ở trong quá trình cầm nắm, bao gồm nắm giữ, bán nắm giữ, đặt, và tự do.

Cảm biến trong điều khiển
Tiêu chuẩn nhấn mạnh tầm quan trọng của các cảm biến trong việc đạt được độ tin cậy của quá trình cầm nắm. Các cảm biến được sử dụng để phát hiện sự có mặt của đối tượng, đo vị trí của các ngón kẹp, và xác định lực nắm giữ, giúp đảm bảo quá trình điều khiển chính xác và an toàn.

Kiểu và cấu kiện của bàn tay kẹp
Tiêu chuẩn phân loại các kiểu nắm giữ và cơ cấu kẹp, bao gồm nắm giữ bên ngoài, nắm giữ bên trong và các loại ngón kẹp với chuyển động độc lập hoặc liên động. Nó cũng xác định các thành phần và cơ cấu của bàn tay kẹp nhằm tối ưu hóa hiệu suất trong việc cầm nắm các đối tượng khác nhau.

Tóm lại, TCVN 14445:2025 là một tài liệu quan trọng giúp chuẩn hóa các quy trình và yêu cầu kỹ thuật khi sử dụng tay máy rô bốt trong công nghiệp, đặc biệt trong việc cầm nắm và xử lý đối tượng một cách hiệu quả và an toàn.

Tải tiêu chuẩn Việt Nam TCVN 14445:2025

Tải văn bản tiếng Việt (.pdf) Tiêu chuẩn Việt Nam TCVN 14445:2025 PDF (Bản có dấu đỏ)

Đây là tiện ích dành cho tài khoản thành viên. Vui lòng Đăng nhập để xem chi tiết. Nếu chưa có tài khoản, Đăng ký tại đây!

Tải văn bản tiếng Việt (.doc) Tiêu chuẩn Việt Nam TCVN 14445:2025 DOC (Bản Word)

Đây là tiện ích dành cho tài khoản thành viên. Vui lòng Đăng nhập để xem chi tiết. Nếu chưa có tài khoản, Đăng ký tại đây!

Tình trạng hiệu lực: Đã biết
Hiệu lực: Đã biết
Tình trạng hiệu lực: Đã biết

TIÊU CHUẨN QUỐC GIA

TCVN 14445:2025

TAY MÁY RÔ BỐT CÔNG NGHIỆP - CẦM NẮM ĐỐI TƯỢNG BẰNG BÀN TAY KẸP - TỪ VỰNG VÀ TRÌNH BÀY CÁC ĐẶC TÍNH

MANIPULATING INDUSTRIAL ROBOTS - OBJECT HANDLING WITH GRASP - TYPE GRIPPERS VOCABULARY AND PRESENTATION OF CHARACTERISTICS

 

Lời nói đầu

TCVN 14445:2025, được xây dựng trên cơ sở tham khảo ISO 14539:2000, Manipulating industrial robots - Object handling with grasp - type grippers - Vocabulary and presentation of characteristics và ISO 31101-2023, Robotics - Application services provided by service robots - Safety management systems requirements.

TCVN 14445:2025 do Ban kỹ thuật tiêu chuẩn quốc gia TCVN/TC 299 Robot biên soạn, Viện Tiêu chuẩn Chất lượng Việt Nam đề nghị, Ủy ban Tiêu chuẩn Đo lường Chất lượng Quốc gia thẩm định, Bộ Khoa học và Công nghệ công bố.

 

TAY MÁY RÔ BỐT CÔNG NGHIỆP - CẦM NẮM ĐỐI TƯỢNG BẰNG BÀN TAY KẸP - TỪ VỰNG VÀ TRÌNH BÀY CÁC ĐẶC TÍNH

MANIPULATING INDUSTRIAL ROBOTS - OBJECT HANDLING WITH GRASP - TYPE GRIPPERS VOCABULARY AND PRESENTATION OF CHARACTERISTICS

1 Phạm vi áp dụng

Tiêu chuẩn này quy định các chức năng của các khâu tác động cuối và tập trung vào các cơ cấu nắm giữ kiểu bàn tay kẹp như đã định nghĩa trong 4.1.2.1.

Tiêu chuẩn này đưa ra các thuật ngữ để mô tả sự cầm nắm đối tượng bằng tay và các thuật ngữ về chức năng, kết cấu và các chi tiết của cơ cấu nắm giữ kiểu bàn tay kẹp.

Phụ lục A đưa ra các biểu mẫu trình bày các đặc tính của cơ cấu nắm giữ kiểu bàn tay kẹp. Phần này cũng có thể được sử dụng theo các cách sau:

a) Các nhà sản xuất khẩu tác động cuối có thể giới thiệu các đặc tính sản phẩm của họ cho người sử dụng rô bốt.

b) Người sử dụng rô bốt có thể quy định các yêu cầu của khâu tác động cuối.

c) Người sử dụng rô bốt có thể mô tả các đặc tính của các đối tượng sẽ được cầm nắm và các đặc tính cầm nắm đối tượng trong các ứng dụng riêng của rô bốt của họ.

Tiêu chuẩn này cũng có thể áp dụng được cho các hệ thống cầm nắm đơn giản không thuộc phạm vi định nghĩa của các rô bốt tay máy công nghiệp như các thiết bị bốc - dỡ hoặc các thiết bị dẫn động - bị dẫn động.

2 Tài liệu viện dẫn

Các tài liệu viện dẫn sau rất cần thiết cho áp dụng tiêu chuẩn này. Đối với các tài liệu viện dẫn ghi năm công bố thì chỉ áp dụng phiên bản đã nêu. Đối với các tài liệu viện dẫn không ghi năm công bố thì áp dụng phiên bản mới nhất, bao gồm cả các sửa đổi, nếu có.

TCVN 13228:2025, Rô bốt- Từ vựng.

TCVN 13234-1:2020, Tay máy rô bốt công nghiệp - Mặt lắp ghép cơ khí - Phần 1: Dạng Tấm.

TCVN 13234-2:2020, Tay máy rô bốt công nghiệp - Mặt lắp ghép cơ khí - Phần 2: Dạng Trục.

TCVN 13697:2023, Rô bốt và các bộ phận cấu thành rô bốt - Các hệ tọa độ và thuật ngữ về chuyển động.

ISO 31101:2023, Rô bốt - Dịch vụ ứng dụng do rô bốt dịch vụ cung cấp - Yêu cầu về hệ thống quản lý an toàn.

3 Từ vựng về cầm nắm đối tượng

Tiêu chuẩn này áp dụng các thuật ngữ và định nghĩa cho trong TCVN 13228 và các thuật ngữ định nghĩa sau.

3.1 Kiểu cầm nắm bằng tay

3.1.1

Đối tượng

Đối tượng (không chứa chất lỏng) được nắm giữ, điều khiển bởi một khâu tác động cuối trong ứng dụng của rô bốt.

Chú thích: Một đối tượng có thể có các hình dạng và kích thước khác nhau và có thể bị biến dạng trong quá trình cầm nắm.

3.1.2

Cầm nắm đối tượng

Tác động vào đối tượng bằng một khâu tác động cuối hoặc giữ vững đối tượng ở một trạng thái bằng một khâu tác động cuối.

3.1.3

Cầm nắm

Giữ đối tượng bằng một khâu tác động cuối.

3.1.4

Nắm giữ

Giữ một đối tượng bởi các ngón tay kẹp của khâu tác động cuối.

3.1.5

Sự nắm giữ

Chuyển động của cơ cấu nắm giữ để nắm giữ chặt một đối tượng bằng các ngón tay kẹp của cơ cấu này.

3.1.6

Sự nhả kẹp

Chuyển động của cơ cấu nhả kẹp để loại bỏ sự nắm giữ đối với một đối tượng.

3.1.7

Trạng thái

Tình trạng nắm giữ đối với một đối tượng và tạo ra một vị trí của đối tượng này.

Xem Hình 1.

3.1.8

Tác động

Sự thay đổi trạng thái của một đối tượng.

Xem Hình 1.

Chú thích: Một số tác động thực hiện việc chuyển đổi giữa các kiểu trạng thái khác nhau trong khi các tác động khác bao gồm sự chuyển đổi trong phạm vi cùng một kiểu trạng thái.

3.1.9 Kiểu trạng thái

3.1.9.1

Nắm giữ (trạng thái 1)

Trạng thái trong đó đối tượng được nắm giữ bởi khâu tác động cuối nhưng không phải do môi trường.

3.1.9.2

Bán nắm giữ (trạng thái 2)

Trạng thái trong đó đối tượng được nắm giữ bởi khâu tác động cuối và do môi trường.

3.1.9.3

Đặt (trạng thái 3)

Trạng thái trong đó đối tượng được nắm giữ bởi môi trường và không phải do khâu tác động cuối.

3.1.9.4

Tự do (trạng thái 4)

Trạng thái trong đó đối tượng không bị nắm giữ bởi khâu tác động cuối hoặc do môi trường.

Chú thích: Nắm giữ bằng các lực bảo toàn như các lực do trọng lực không được xem là một phần của nắm giữ do môi trường. Nắm giữ bằng các lực bảo toàn, nếu có, không có liên quan đến các định nghĩa cho các kiểu trạng thái.

Chú thích: Tên gọi của các tác động chỉ dùng để tham khảo NOTE The names of actions are for information only.

Hình 1 - Các trạng thái và tác động trong điều khiển đối tượng

3.2 Nắm giữ

3.2.1 Kiểu nắm giữ

3.2.1.1

Bậc tự do của đối tượng được nắm giữ

Bậc tự do chuyển động của đối tượng trong không gian khi được nắm giữ bởi các ngón tay kẹp có hoặc không có các lực ma sát tại các điểm tiếp xúc.

Chú thích: Định nghĩa này thừa nhận rằng không có chuyển động của cơ cấu nắm giữ. Đối với các trường hợp cơ cấu nắm giữ có chuyển động, xem, 4.3.3.

3.2.1.2

Nắm giữ dạng khép kín

Nắm giữ đối tượng để bậc tự do của đối tượng bằng 0 hoặc nhỏ hơn khi không quan tâm đến các lực ma sát tại các điểm tiếp xúc.

Chú thích: Nắm giữ dạng khép kín, là nắm giữ trong đó vị trí của đối tượng chỉ được xác định bởi kết cấu của cơ cấu nắm giữ.

3.2.1.3

Nắm giữ khép kín bằng lực

Nắm giữ đối tượng để bậc tự do của đối tượng bằng 1 hoặc lớn hơn khi không quan tâm đến các lực ma sát tại các điểm tiếp xúc nhưng nó sẽ bằng 0 hoặc nhỏ hơn khi xét đến các lực này.

Chú thích: Nắm giữ khép kín bằng lực là nắm giữ trong đó không chỉ có sự tham gia của kết cấu nắm giữ mà còn có sự tham gia của các lực dùng để duy trì vị trí của đối tượng. Các lực thường là các lực ma sát.

3.2.1.4

Nắm giữ bên ngoài

Nắm giữ được thực hiện trên bề mặt ngoài của đối tượng.

Xem Hình 2 a) đến d), f), g).

3.2.1.5

Nắm giữ nội bộ

Nắm giữ bên trong

Nắm giữ được thực hiện trên bề mặt bên trong của đối tượng.

Xem Hình 2 e).

a), b): cơ cấu nắm giữ kiểu một ngón.

 

c), d), e), f): cơ cấu nắm giữ kiểu hai ngón

 

g): cơ cấu nắm giữ kiểu nhiều ngón

 

Hình 2 - Các kiểu nắm giữ điển hình bằng các cơ cấu nắm giữ bàn tay kẹp

3.2.2 Lực nắm giữ

Chú thích: Các lực nắm giữ được xem xét là các lực động trong đó bao gồm cả các thành phần lực tĩnh. Các lực này có thể tăng lên hoặc giảm đi do các lực và/ hoặc gia tốc bên ngoài.

3.2.2.1

Lực tiếp xúc

Lực gây ra bởi một ngón trên một đối tượng thông qua một điểm tiếp xúc, một đường tiếp xúc hoặc một mặt phẳng tiếp xúc.

Chú thích 1: Xem hoặc trên Hình 3.

Chú thích 2: Các lực tiếp xúc bao gồm các lực ma sát cũng như các lực pháp tuyến.

3.2.2.2

Lực thao tác tay máy

Tổng vectơ của tất cả các lực tiếp xúc gây ra bởi nhiều ngón trên một đối tượng.

Chú thích Xem + (= - ) trên Hình 3 a).

Hình 3 - Lực nắm giữ

3.2.2.3

Lực nắm giữ

Giá trị của lực tiếp xúc được xác định chỉ cho nắm giữ với hai điểm tiếp xúc trong điều kiện các lực và mô men gây ra đặt lên đối tượng bằng không.

Chú thích 1: Giá trị của (= - ) trên Hình 3 b) là lực nắm giữ.

Chú thích 2: “Các lực và mô men gây ra trên đối tượng khác với các lực tiếp xúc” bao gồm các ngoại lực, các trọng lực và lực quán tính cũng như các mô men gây ra thông qua các điểm tiếp xúc. Trong trường hợp này giá trị của bằng giá trị của .

3.2.3 Nắm giữ ổn định

3.2.3.1

Ổn định của nắm giữ (1)

Trạng thái trong đó một đối tượng phục hồi được vị trí ban đầu của nó trong cơ cấu nắm giữ sau khi vị trí của nó có sự thay đổi nhỏ do chịu tác động của các lực gây ra.

3.2.3.2

Ổn định của nắm giữ (2)

Trạng thái trong đó các ngón tay kẹp của cơ cấu nắm giữ luôn tiếp xúc với đối tượng đang được nắm giữ mà không có hiện tượng trượt khi đối tượng chịu tác động của các lực gây ra.

3.3 Các hệ tọa độ trong điều khiển đối tượng bằng tay máy

Xem Hình 4

Chú thích: cần chú ý tới việc lập trình tác vụ của rô bốt để mô tả vị trí và hưởng của đối tượng sẽ được điều khiển bằng tay trong một chuỗi các hệ tọa độ.

3.3.1

Hệ tọa độ gốc

Hệ tọa độ gắn liền với phân xưởng, hệ tọa độ tĩnh tại có liên quan tới trái đất và độc lập đối với chuyển động của rô bốt, được ký hiệu bằng O 0 - X 0 - Y 0 - Z 0 (như đã định nghĩa trong TCVN 13228 và TCVN 13697).

3.3.2

Hệ tọa độ đế

Hệ tọa độ có liên quan đến bề mặt lắp ráp của đế, được ký hiệu bằng O 1 - X 1 - Y 1 - Z 1 (như đã định nghĩa trong TCVN 13228 và TCVN 13697).

3.3.3

Hệ tọa độ mặt lắp ghép cơ khí

Hệ tọa độ có liên quan đến mặt lắp ghép cơ khí, được ký hiệu bằng O m - X m - Y m - Z m (như đã định nghĩa trong TCVN 13228 và TCVN 13697).

3.3.4

Hệ tọa độ dụng cụ

Hệ tọa độ có liên quan đến dụng cụ hoặc khâu tác động cuối được liên kết với mặt lắp ghép cơ khí, được ký hiệu bằng O t - X t - Y t - Z t (như đã định nghĩa trong TCVN 13228 và TCVN 13697).

Chú thích: Hệ tọa độ dụng cụ có liên quan đến hệ tọa độ mặt phân cách cơ khí.

3.3.5

Hệ tọa độ tác vụ

Hệ tọa độ có liên quan đến địa điểm của tác vụ, được ký hiệu bằng O k - X k - Y k - Z k .

3.3.6

Hệ tọa độ đối tượng

Hệ tọa độ có liên quan đến đối tượng, được ký hiệu bằng O j - X j - Y j - Z j .

3.3.7

Hệ tọa độ camera

Hệ tọa độ có liên quan đến bộ cảm biến giám sát địa điểm của tác vụ, được ký hiệu bằng O c - X c - Y c - Z c .

Chú thích: Có thể lắp đặt một hệ thống nhìn để phát hiện vị trí và hướng của các đối tượng được đặt tùy ý.

CHÚ DẪN:

1 Hệ tọa độ gốc

2 Hệ tọa độ đế

3 Hệ tọa độ mặt lắp ghép cơ khí

4 Hệ tọa độ dụng cụ

5 Hệ tọa độ tác vụ

6 Hệ tọa độ đối tượng

7 Hệ tọa độ camera

8 TCP

9 Cơ cấu nắm giữ

Hình 4 - Các hệ tọa độ trong điều khiển đối tượng

3.3.8

TCP

Điểm tâm dụng cụ

Điểm được xác định cho một ứng dụng đã cho với hệ tọa độ mặt lắp ghép cơ khí (như đã định nghĩa trong TCVN 13228).

Chú thích 1: TCP là góc của hệ tọa độ dụng cụ (như đã định nghĩa trong TCVN 13697).

Chú thích 2: TCP có thể được xem như một điểm thỏa thuận quan trọng giữa các nhà sản xuất và người sử dụng cho điều khiển bằng tay các đối tượng và cho mỗi khâu tác động cuối.

3.4 Cảm biến trong điều khiển đối tượng bằng tay

Sử dụng các tín hiệu cảm biến khác nhau để đạt được các tác vụ điều khiển có độ tin cậy hoặc tinh xảo. Cơ cấu nắm giữ có thể có các cảm biến có khả năng phản hồi đối với quá trình điều khiển bằng tay.

Chú thích: Có các cảm biến về chức năng tinh xảo khác cho điều khiển đối tượng bên cạnh các chức năng đã được đề cập trong điều này như cảm biến vị trí/ hướng của đối tượng, cảm biến điểm tiếp xúc, cảm biến đường viền của đối tượng và cảm biến vận tốc của ngón. Các chức năng này nên được quy định riêng.

3.4.1

Phát hiện sự có mặt của đối tượng

Phát hiện sự có mặt của đối tượng được sử dụng trong các tình huống sau:

a) để bảo đảm chắc chắn rằng đối tượng được nắm giữ ở vị trí đúng:

b) để bảo đảm chắc chắn rằng đối tượng được nắm giữ có hiệu quả;

c) để bảo đảm chắc chắn rằng đối tượng được nhả ra hoàn toàn.

3.4.2

Cảm biến vị trí của ngón kẹp

Cảm biến vị trí của ngón kẹp được sử dụng trong các tình huống sau:

a) điều khiển ngón kẹp (như điều khiển servo) cần thiết phải có thông tin về vị trí của ngón kẹp:

b) cỡ kích thước hoặc hình dạng của đối tượng được đo bằng nắm giữ.

3.4.3

Cảm biến lực nắm giữ

Cảm biến lực nắm giữ được sử dụng cho đối tượng trong các tình huống sau:

a) lực nắm giữ được xác định, ví dụ, trong điều khiển đối tượng dễ vỡ;

b) các khớp ngón tay được điều khiển ổn định.

Chú thích: Lực nắm giữ có thể được cảm nhận bằng một bộ phận cảm biến lực hoặc dòng điện dẫn động ngón.

3.4.4

Cảm biến ngoại lực

Cảm biến các ngoại lực và mô men lực được sử dụng trong các tình huống sau:

a) để đo trọng lượng của đối tượng;

b) để kiểm tra cơ cấu nắm giữ đối tượng tiếp xúc hoặc mất tiếp xúc với vật thể; hoặc có vật cản trong môi trường;

c) điều khiển đối tượng bằng tay cần phải có thông tin về tiếp xúc trong tác vụ lắp ghép.

Chú thích: Các ngoại lực và mô men lực có thể được cảm nhận bằng một bộ cảm biến lực/ mô men lực hoặc dòng điện dẫn động ngón kẹp.

3.4.5

Phát hiện sự trượt

Cảm biến sự trượt giữa các ngón kẹp và các đối tượng được điều khiển trong các tình huống sau;

a) để tránh sự nắm giữ và nâng các đối tượng quá nặng;

b) để tránh sự kẹp giữ lỏng lẻo và không ổn định đối với các đối tượng;

c) để kẹp giữ các đối tượng với lực nhỏ nhất cần thiết để tránh trượt.

4 Từ vựng cho bàn tay kẹp

Tiêu chuẩn này áp dụng các thuật ngữ và định nghĩa được cho trong TCVN 13228.

4.1 Kiểu khâu tác động cuối

4.1.1

Khâu tác động cuối kiểu dụng cụ

Khâu tác động cuối tự vận hành có hiệu quả trong khi di chuyển hoặc định vị bởi một cánh tay rô bốt.

Chú thích: Mỏ hàn hồ quang, mỏ hàn điểm, máy phun cát, máy mài, thiết bị loại bỏ gờ, cái bào xoi, máy khoan, súng phun, súng gắn keo, tua vít tự động, súng cắt laser và súng cắt bằng tia nước.

4.1.2

Cơ cấu kẹp

Khâu tác động cuối được thiết kế để nắm bắt và giữ (như đã định nghĩa trong TCVN 13228).

Chú thích: Cơ cấu nắm giữ hoặc khâu tác động cuối kiểu cơ cấu nắm giữ khi so sánh với khâu tác động cuối kiểu dụng cụ là một khâu tác động cuối dùng để kẹp vật thể và di chuyển hoặc định vị vật thể.

4.1.2.1

Cơ cấu nắm giữ bàn tay kẹp

Cơ cấu nắm giữ bàn tay kẹp đối với đối tượng bằng các ngón kẹp.

4.1.2.2

Cơ cấu nắm giữ kiểu không bàn tay kẹp

Cơ cấu nắm giữ bàn tay kẹp đối với đối tượng mà không dùng các ngón kẹp.

Chú thích: Các cơ cấu nắm giữ kiểu không nắm giữ bàn tay kẹp đối với đối tượng bằng múc (xúc) vào, móc bằng móc, đâm thủng hoặc cắm chặt vào hoặc làm nổi (nâng) lên bằng chân không/ nam châm/ tĩnh điện.

4.2 Các thành phần và cơ cấu của bàn tay kẹp

4.2.1

Các chi tiết cơ khí cơ bản

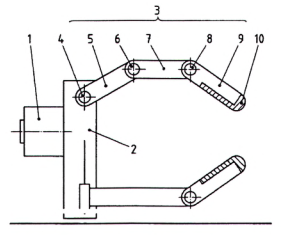
Xem Hình 5.

4.2.1.1

Mặt lắp ghép của rô bốt

Mặt lắp ghép của một cơ cấu nắm giữ với các mặt lắp ghép của các rô bốt.

4.2.1.2

Thân cơ cấu nắm giữ

Chi tiết đặc, cứng chắc trong kết cấu cơ khí cơ bản của một cơ cấu nắm giữ trên đó lắp cố định các khâu đầu tiên của các ngón kẹp.

Chú thích: Chi tiết thân cơ cấu nắm giữ có thể tiếp xúc trực tiếp với các đối tượng.

4.2.1.3 Ngón kẹp

Kết cấu xích động có khớp nối đầu tiên được lắp cố định trên thân cơ cấu nắm giữ.

Chú thích: Một ngón có thể tiếp xúc trực tiếp với các đối tượng. Một ngón di chuyển chủ yếu về thân cơ cấu nắm giữ.

4.2.1.4

Cơ cấu dẫn động

Cơ cấu có khả năng thực hiện chuyển động của các ngón tay kẹp trong cơ cấu nắm giữ.

VÍ DỤ Mô tơ điện, cơ cấu dẫn động điện từ, cơ cấu dẫn động tĩnh điện, cơ cấu dẫn động khí nén, cơ cầu dẫn động thủy lực, mô tơ siêu âm, cơ cấu dẫn động cao su, vật liệu nhớ hình, cơ cấu dẫn động áp điện.

4.2.1.5

Cơ cấu truyền động

Cơ cấu để truyền lực dẫn động từ các cơ cấu dẫn động đến các ngón của cơ cấu nắm giữ.

VÍ DỤ Các cơ cấu truyền động công suất: truyền động khớp nối, truyền động cáp, truyền động bánh răng, truyền động vít, truyền động cam, truyền động lò xo, truyền động trực tiếp.

CHÚ DẪN:

1 Mặt phân cách của rô bốt

2 Thân cơ cấu bàn tay kẹp

3 Ngón

4 Khớp nối đầu tiên

5 Khâu đầu tiên

6 Khớp nối thứ hai

7 Khâu thứ hai

8 Khớp nối thứ ba

9 Khâu thứ ba

10 Chi tiết kẹp chặt.

Hình 5 - Các chi tiết cơ khí của cơ cấu bàn tay kẹp

4.2.1.6

Chi tiết kẹp chặt

Một phần của ngón tay kẹp hoặc khâu của nó được thiết kế đặc biệt để tiếp xúc trực tiếp với các đối tượng.

4.2.1.7

Bộ cảm biến

Cơ cấu để thu được các tín hiệu từ cơ cấu kẹp và/ hoặc các đối tượng dùng cho điều khiển cơ cấu kẹp trong quá trình điều khiển đối tượng bằng tay.

4.3 Kiểu nắm giữ bàn tay kẹp

4.3.1

Độ di động của cơ cấu nắm giữ

Số trục tịnh tiến và quay trong không gian di động của toàn bộ các ngón tay kẹp của một cơ cấu kẹp đối với thân của bàn tay kẹp.

Xem Hình 6

Chú thích 1: Chuyển động của cơ cấu kẹp có thể được phân thành ba loại: chuyển động đường, chuyển động mặt phẳng và chuyển động không gian tùy thuộc vào độ di động của các cơ cấu kẹp. Chẳng hạn, độ di động của các cơ cấu kẹp được chỉ ra trên các Hình 6 a), b), c) lần lượt là 1,3, 6.

Chú thích 2: Bước đầu tiên trong lập kế hoạch cho các tác vụ nắm giữ là lựa chọn độ di động khi quan tâm đến đặc tính của đối tượng.

4.3.2

Bậc tự do của cơ cấu kẹp

Số lượng tối thiểu các đầu vào để xác định kết cấu của cơ cấu kẹp.

4.3.3

Bậc tự do của cơ cấu kẹp có đối tượng

Bậc tự do của một cơ cấu kẹp có đối tượng tương tự như bậc tự do của một cơ cấu kẹp khi xem đối tượng như một khâu và thay thế các điểm, các đường hoặc mặt tiếp xúc, bằng khớp nối tương đương.

4.3.4

Cơ cấu kẹp kiểu góc

Cơ cấu kẹp có các ngón tay kẹp có chuyển động quay.

4.3.5

Cơ cấu kẹp kiểu song song

Cơ cấu kẹp có các ngón tay kẹp có chuyển động tịnh tiến song song với nhau.

4.3.6 Kiểu nắm giữ

4.3.6.1

Nắm giữ ở tâm

Nắm giữ trong đó cơ cấu kẹp điều chỉnh sao cho đối tượng nằm ở tâm của cơ cấu.

4.3.6.2

Nắm giữ không ở tâm

Nắm giữ không có chức năng như chức năng của nắm giữ ở tâm.

c) Cơ cấu nắm giữ chuyển động đường thẳng (độ di động 1)

b) Cơ cấu nắm giữ chuyển động mặt phẳng (độ di động 3)

a) Cơ cấu nắm giữ chuyển động không gian (độ di động 6)

Hình 6 - Độ di động của cơ cấu kẹp

4.3.6.3

Nắm giữ thích nghi

Nắm giữ trong đó cơ cấu nắm giữ điều chỉnh kết cấu của nó để phù hợp với hình dạng của đối tượng.

4.3.6.4

Nắm giữ đối xứng

Nắm giữ trong đó các ngón tay kẹp có các chuyển động đối xứng.

4.3.6.5

Nắm giữ không đối xứng

Nắm giữ trong đó các ngón tay kẹp không có các chuyển động đối xứng.

4.3.6.6

Nắm giữ dạng khép kín

Nắm giữ trong đó không chỉ các ngón kẹp mà cả thân hoặc cánh tay của cơ cấu nắm giữ được sử dụng để tạo ra sự nắm giữ dạng khép kín.

4.4 Kiểu ngón kẹp

4.4.1

Độ di động của ngón tay kẹp

Các kích thước của không gian di chuyển của một ngón tay kẹp.

4.4.2

Bậc tự do của ngón tay kẹp

Số lượng tối thiểu đầu vào để có thể xác định được kết cấu của một ngón tay kẹp.

4.4.3 Kiểu chuyển động của ngón tay kẹp

4.4.3.1

Ngón tay kẹp chuyển động quay

Ngón được dẫn động chuyển động quay.

Xem Hình 7 a).

4.4.3.2

Ngón tay kẹp chuyển động tịnh tiến

Ngón được dẫn động chuyển động tịnh tiến.

Xem Hình 7 b).

4.4.3.3

Ngón tay kẹp đa khớp

Ngón có nhiều khớp nối.

Xem Hình 7 c).

4.4.3.4

Ngón tay kẹp giãn nở được

Ngón có thể bơm phồng lên được bằng khí nén.

Xem Hình 7 d).

4.4.3.5

Ngón tay kẹp có liên động về cơ khí

Ngón mà chuyển động của nó có mối liên hệ tương hỗ về cơ khí với chuyển động của các ngón khác.

Xem Hình 8 a)

4.4.3.6

Ngón tay kẹp có chuyển động độc lập

Ngón có chuyển động độc lập với chuyển động của ngón khác.

Xem Hình 8 b)

4.5 Điều khiển ngón tay kẹp

4.5.1

Điều khiển hai giá trị

Sơ đồ điều khiển trong đó trong đó lệnh điều khiển là “mở” hoặc “đóng”.

4.5.2

Điều khiển vị trí

Sơ đồ điều khiển trong đó chỉ điều khiển vị trí.

4.5.3

Điều khiển vận tốc

Sơ đồ điều khiển trong đó vận tốc được điều khiển.

CHÚ DẪN:

1 Chuyển động

Hình 7 - Các chuyển động của ngón

a) Ngón có mối liên hệ tương hỗ về cơ khí

b) Ngón có chuyển động độc lập

CHÚ DẪN:

 

1 Hộp số

 

2 Cơ cấu dẫn động

 

Hình 8 - Mối liên hệ tương hỗ của ngón

4.5.4

Điều khiển lực

Sơ đồ điều khiển trong đó chỉ điều khiển lực.

4.5.5

Điều khiển phối hợp

Điều khiển tương tác

Sơ đồ điều khiển trong đó các lệnh điều khiển vị trí và các lệnh điều khiển lực được phối hợp thông qua các phương trình chuyển động thực hoặc ảo sao cho thực hiện được nhiệm vụ điều khiển servo tọa độ được thực hiện.

4.5.6

Điều khiển hybrid

Sơ đồ điều khiển trong đó các lệnh điều khiển vị trí và các lệnh điều khiển lực trên hệ thống tọa độ tác vụ được biến đổi thành các lệnh điều khiển trên hệ thống tọa độ khớp và được tích hợp thông qua một công thức chuyển đổi sao cho thực hiện được điều khiển servo tọa độ cho khớp.

4.6 Phần tử kẹp chặt

Chú thích: Nên thiết kế các chi tiết kẹp chặt để phù hợp với đặc tính của đối tượng.

4.6.1

Đặc điểm hình học

Xem Hình 9

4.6.1.1 Sự phù hợp

Phần tử kẹp chặt có hình dạng được thiết kế phù hợp với hình dạng của đối tượng được nắm giữ.

4.6.2

Tính thay thế được

Phần tử kẹp chặt có thể thay thế được nếu nó có thể được thay thế bằng cùng một kiểu phần tử kẹp chặt dùng để nắm giữ cùng một kiểu đối tượng.

Chú thích: Các phần tử kẹp chặt nên được thiết kế để có thể thay thế được nếu chúng thường bị hư hỏng do thao tác bằng tay lặp lại đối với đối tượng.

4.6.3

Tính lắp lẫn

Phần tử kẹp chặt có thể đổi lẫn được nếu nó có thể được thay bằng một kiểu phần tử kẹp chặt khác dùng để nắm giữ các kiểu đối tượng khác.

Chú thích: Các phần tử kẹp chặt có thể được thiết kế để đổi lẫn được khiến cho cơ cấu nắm giữ thích ứng với sự khác nhau về đặc tính hình học hoặc đặc tính vật lý của một số đối tượng.

Hình 9 - Đặc điểm hình học của các chi tiết kẹp chặt

4.7 Mặt lắp ghép của rô bốt

Các mặt lắp ghép nên phù hợp với các mặt lắp ghép cơ khí như:

4.7.1

Mặt lắp ghép cơ khí (tấm)

[Xem TCVN 13234-1:2020]

4.7.2

Mặt lắp ghép cơ khí (trục)

[Xem TCVN 13234-2:2020]

4.8 An toàn trong nắm giữ và chuyển động nắm giữ

4.8.1 An toàn

Chức năng được thiết kế để duy trì an toàn trong trường hợp có hư hỏng thấy trước được của bất cứ chi tiết đơn giản nào.

4.8.2

Tự thăng bằng

Chức năng của một cơ cấu trong đó các phần tử bị động giữ không cho cơ cấu nắm giữ nhả đối tượng được nắm giữ trong trường hợp nguồn cung cấp năng lượng bị hư hỏng.

4.8.3

Tự khóa

Chức năng cơ khí để ngăn ngừa các ngoại lực không làm cho cơ cấu nắm giữ nhả đối tượng được nắm giữ trong trường hợp nguồn cung cấp năng lượng bị hư hỏng.

4.8.4

Khóa liên động

Cho phép hoặc ngăn cản có điều kiện một số chuyển động nắm giữ hoặc nhả.

4.8.5

An toàn cho nắm giữ

Chức năng phòng tránh nắm giữ không chắc chắn.

Chú thích: Các ví dụ về an toàn cho nắm giữ như tự động tránh nắm giữ các đối tượng quá nặng và tự động điều khiển lực để tránh sự trượt của đối tượng.

4.8.5.1

Rủi ro

Tác động của độ không đảm bảo.

Chú thích 1: Hiệu ứng là sự sai lệch so với dự kiến - tích cực hoặc tiêu cực.

Chú thích 2: Sự không chắc chắn là trạng thái, thậm chí là một phần, thiếu thông tin liên quan đến, sự hiểu biết hoặc kiến thức về một sự kiện, hậu quả hoặc khả năng xảy ra của nó.

Chú thích 3: Rủi ro thường được đặc trưng bằng cách tham chiếu đến các sự kiện tiềm ẩn và hậu quả (như được định nghĩa trong ISO Guide 73) hoặc sự kết hợp của những điều này.

Chú thích 4: Rủi ro thường được diễn đạt dưới dạng kết hợp giữa hậu quả của một sự kiện (bao gồm những thay đổi về hoàn cảnh) và khả năng xảy ra liên quan (như được định nghĩa trong ISO Guide 73).

Chú thích 5: Trong tiêu chuẩn này, khi thuật ngữ “rủi ro và cơ hội” được sử dụng thì điều này có nghĩa là rủi ro an toàn (3.39), cơ hội an toàn (3.40) và các rủi ro khác và cơ hội khác cho hệ thống quản lý.

Chú thích 6: Đây là một trong những thuật ngữ và định nghĩa cốt lõi của các tiêu chuẩn hệ thống quản lý được nêu trong Phụ lục SL của Phụ lục ISO hợp nhất của hướng dẫn ISO/IEC, Phần 1. Chú thích 5 đã được thêm vào để làm rõ thuật ngữ “rủi ro và cơ hội” khi sử dụng trong tiêu chuẩn này.

4.8.5.2

Hiệu suất

Kết quả có thể đo lường được.

Chú thích 1: Hiệu suất có thể liên quan đến những phát hiện định lượng hoặc định tính.

Chú thích 2: Hiệu suất có thể liên quan đến việc quản lý các hoạt động, quy trình, sản phẩm, dịch vụ, hệ thống hoặc tổ chức.

4.8.5.3

Hiệu quả

Mức độ các hoạt động đã lên kế hoạch được thực hiện và các kết quả đã lên kế hoạch đạt được.

4.8.5.4

Yêu cầu

Nhu cầu hoặc kỳ vọng được nêu ra, ngụ ý chung hoặc bắt buộc.

Chú thích 1: “Ngụ ý chung” có nghĩa là theo thông lệ hoặc thông lệ chung đối với tổ chức và các bên quan tâm thì nhu cầu hoặc kỳ vọng đang được xem xét là ngụ ý.

Chú thích 2: Yêu cầu được quy định là yêu cầu được nêu, ví dụ trong thông tin được ghi chép.

4.8.5.5

Đo lường

Quá trình để xác định giá trị.

4.8.5.6

Giám sát

Xác định trạng thái của một hệ thống, một quy trình hoặc một hoạt động.

Chú thích 1: Để xác định trạng thái, có thể cần phải kiểm tra, giám sát hoặc quan sát nghiêm ngặt.

4.8.5.7

Hiệu suất an toàn dịch vụ ứng dụng

Kết quả có thể đo lường được liên quan đến tính an toàn của dịch vụ ứng dụng.

Chú thích 1: Các ví dụ về số liệu để đo lường hiệu suất liên quan đến tính an toàn của dịch vụ ứng dụng là:

- thời gian hoạt động liên tục không có tai nạn;

- số lần suýt va chạm (thường được gọi là sự cố là sự kiện nguy hiểm nhưng không gây ra tác hại);

- số lượng đề xuất cải tiến;

- số lượng người có trình độ chuyên môn về an toàn;

- số lượng xét nghiệm khẩn cấp.

4.8.5.8

Nhà cung cấp hệ thống rô bốt

Tổ chức cung cấp các thành phần, hệ thống con hoặc hệ thống rô bốt cho nhà cung cấp dịch vụ ứng dụng. Chúng bao gồm phần cứng cho hệ thống vật lý của rô bốt và phần mềm để vận hành phần cứng và giao diện điều khiển

Chú thích 1: Nhà sản xuất có thể được coi là nhà cung cấp hệ thống rô bốt.

Chú thích 2: Nhà tích hợp hệ thống có thể được coi là nhà cung cấp hệ thống rô bốt.

Chú thích 3: Người bán có thể được coi là nhà cung cấp hệ thống rô bốt.

4.8.5.9

Hạn chế sử dụng rô bốt

Điều kiện sử dụng mà nhà cung cấp hệ thống rô bốt dự định trong quá trình thiết kế bao gồm môi trường hoạt động của rô bốt, giới hạn người dùng, giới hạn hành vi của người dùng, năng lực cần thiết để sử dụng, nội dung giáo dục và đào tạo để đạt được năng lực, thời gian duy trì hiệu suất liên quan đến an toàn và bảo trì và kiểm tra cần thiết.

Chú thích 1: Hạn chế sử dụng rô bốt tương đương với “giới hạn của máy móc” được quy định trong 5.3 của ISO 12100:2010 .

Chú thích 2: “Máy móc” có thể thay đổi thành “rô bốt” trong tiêu chuẩn này.

4.8.5.10

Vòng đời của dịch vụ ứng dụng

Các giai đoạn liên tiếp và liên kết của một hệ thống quản lý liên quan đến dịch vụ ứng dụng, từ vận chuyển và lắp đặt rô bốt dịch vụ đến xử lý cuối cùng.

Chú thích 1: Vòng đời của các giai đoạn dịch vụ ứng dụng bao gồm vận chuyển rô bốt dịch vụ, lắp đặt, sử dụng, thay đổi nội dung của dịch vụ, kiểm tra, bảo trì, xử lý cuối vòng đời và thải bỏ cuối cùng.

Chú thích 2: Chuyển thể từ TCVN ISO 14001:2015 , 3.3.3.

4.8.5.11

Bên thứ ba có kiến thức đặc biệt

Cá nhân hoặc tổ chức có thể được coi là có kiến thức về an toàn máy móc.

Chú thích 1: Ví dụ, người chứng nhận hoặc người có kiến thức về an toàn máy móc [ví dụ kỹ sư an toàn hệ thống, người đánh giá an toàn (một phần), cố vấn an toàn công nghiệp (một phần)].

Chú thích 2: Thành viên của nhà cung cấp dịch vụ ứng dụng có thể là bên thứ ba có kiến thức chuyên môn.

4.8.5.12

Rủi ro an toàn

Sự kết hợp giữa khả năng xảy ra tác hại và mức độ nghiêm trọng của tác hại đó.

4.8.5.13

Gây hại

Thương tích hoặc thiệt hại cho sức khỏe của con người, hoặc thiệt hại cho tài sản hoặc môi trường.

[NGUỒN: ISO/IEC Guide 51:2014, 3.1]

4.8.5.14

Sự kiện nguy hiểm

Sự kiện có thể gây hại.

[NGUỒN: ISO 12100:2010, 3.9]

4.8.5.15

Tai nạn

Sự kiện nguy hiểm gây ra thiệt hại thực tế.

4.8.5.16

Thiết kế an toàn vốn có

Các biện pháp được thực hiện để loại bỏ các mối nguy hiểm và/ hoặc giảm thiểu rủi ro an toàn bằng cách thay đổi thiết kế hoặc đặc điểm vận hành của sản phẩm hoặc hệ thống.

[NGUỒN: ISO/IEC Guide 51:2014, 3.5]

4.8.5.17

Nguy hiểm

Nguồn gây hại tiềm tàng

[NGUỒN: ISO/IEC Guide 51:2014, 3.2]

 

PHỤ LỤC A

(Tham khảo)

Biểu mẫu trình bày các đặc tính của cơ cấu nắm giữ

Phụ lục này đưa ra các ví dụ về biểu mẫu để trình bày các đặc tính của cơ cấu kẹp dùng để điều khiển đối tượng bằng tay.

Biểu mẫu A1 dùng để trình bày các đặc tính của các cơ cấu kẹp hiện có hoặc theo kế hoạch được xác lập. Nhà sản xuất cơ cấu kẹp có thể mô tả các đặc tính cho các sản phẩm của mình theo biểu mẫu A1.

Biểu mẫu A2 dùng để chỉ ra các yêu cầu của cơ cấu kẹp cho các ứng dụng theo dự định của rô bốt. Người sử dụng rô bốt có thể quy định các yêu cầu của cơ cấu kẹp mà họ cần dùng theo biểu mẫu A2.

Chú thích: Các số ghi trong các ngoặc đơn tương đương với các số của thuật ngữ được nêu trong tiêu chuẩn này.

A.1 Biểu mẫu A1

[Biểu mẫu này dùng để mô tả các đặc tính của các cơ cấu kẹp hiện có hoặc theo kế hoạch]

Ngày phát hành

.................................................

Nhà sản xuất cơ cấu kẹp (tên) ......................................................................................................

Nhà sản xuất cơ cấu kẹp (địa chỉ) ................................................................................................

Mẫu (model) của cơ sở kẹp ..........................................................................................................

Kiểu cơ cấu kẹp ............................................................................................................................

Ứng dụng chính của cơ cấu kẹp ..................................................................................................

Kết cấu cơ khí

Bản vẽ [các kích thước chính, bố trí ngón, chuyển động của ngón (4.4.3), bố trí cơ cấu dẫn động (4.2.1.4), cơ cấu truyền động (4.2.1.5), bố trí cảm biến (3.4)........]

 

 

 

 

 

Đặc tính của cơ cấu kẹp:

Khối lượng của cơ cấu kẹp (kg) ...................................................................................................

Khoảng cách lớn nhất giữa các ngón (mm) .................................................................................

Khoảng cách nhỏ nhất giữa các ngón (mm) ................................................................................

Lực kẹp lớn nhất (N) ....................................................................................................................

Lực thao tác bằng tay lớn nhất (N) ..............................................................................................

Mô men lớn nhất cho phép của ngón (N.m) .................................................................................

Diện tích bề mặt kẹp (mm 2 ) ..........................................................................................................

Thời gian làm việc (thời gian kẹp, thời gian buông lỏng) (s) ........................................................

Kiểu cơ cấu kẹp:

Số ngón ......................................................................................................................................

Bố trí ngón ..................................................................................................................................

Độ di động của cơ cấu kẹp (4.3.1) .............................................................................................

Bậc tự do của cơ cấu kẹp (4.3.2) ...............................................................................................

Kiểu kẹp (4.3.6) ..........................................................................................................................

Ngón

Độ di động của ngón (4.4.1) .........................................................................................................

Bậc tự do của ngón (4.4.2) ..........................................................................................................

Chuyển động của ngón (4.4.3) .....................................................................................................

Cơ cấu dẫn động (4.2.1.4)

Kiểu cơ cấu dẫn động ...................................................................................................................

Số lượng cơ cấu dẫn động ............................................................................................................

Công suất danh định của cơ cấu dẫn động (W) ............................................................................

Cơ cấu truyền động (4.2.1.5) ........................................................................................................

Chi tiết về chuyển động của ngón (có liên quan đến hệ tọa độ của mặt phân cách cơ khi như đã định nghĩa trong TCVN 13697)

Định nghĩa TCP (3.3.8): độ dịch chuyển so với mặt phẳng X m - Y m .............................................

Định nghĩa TCP (3.3.8): độ dịch chuyển số với trục Z m ...............................................................

Điều khiển ngón

Sơ đồ điều khiển ngón (4.5) ..........................................................................................................

Các tín hiệu điều khiển ..................................................................................................................

Các tín hiệu bồi tiếp .......................................................................................................................

Sơ đồ khối của điều khiển ngón

 

 

 

Các chức năng cảm biến (3.4) ......................................................................................................

Chi tiết kẹp chặt (4.6)

Vật liệu 1) ....................................................................................................................................

Tính thay thế được/ tính đổi lẫn được .........................................................................................

Môi trường làm việc .....................................................................................................................

Đặc tính của đối tượng:

Hình học (hình dạng, kích thước) (mm) ......................................................................................

Khối lượng của đối tượng (kg) ....................................................................................................

Nhiệt độ lớn nhất nhỏ nhất của đối tượng (°C) ...........................................................................

Đặc tính bề mặt ...........................................................................................................................

Đặc tính nam châm ......................................................................................................................

Mặt phân cách của rô bốt (4.7) và cơ cấu và cơ cấu chốt tay quay

Mặt phân cách cơ khí: phù hợp tiêu chuẩn ................................... ký hiệu ..................................

Bản vẽ (được đưa ra nếu mặt phân cách là thiết kế được cấp chứng chỉ của công ty)

 

 

 

Khả năng sử dụng (truyền năng lượng và tín hiệu) ........................................................................

An toàn (4.8) ................................................................................................................................

Cảnh báo (Nếu có bất cứ sự phòng ngừa nào cần thiết cho vận hành cơ cấu nắm giữ thì chúng phải được quy định): ..................................................................................................................

Các đặc tính khác: ......................................................................................................................

A.2 Biểu mẫu A2

[Biểu mẫu này dùng để mô tả các đặc tính của các cơ cấu kẹp]

Ngày phát hành

.................................................

Người sử dụng rô bốt (tên) ......................................................................................................

Người sử dụng rô bốt (địa chỉ) ................................................................................................

Lĩnh vực áp dụng .....................................................................................................................

Mô tả tác vụ ...............................................................................................................................

Đặc tính của các đối tượng được điều khiển bằng tay:

Tên đối tượng ............................................................................................................................

Hình học (hình dạng, kích thước) (mm) .....................................................................................

Khối lượng của đối tượng (kg) ...................................................................................................

Trọng tâm (mm) ..........................................................................................................................

Nhiệt độ lớn nhất/ nhỏ nhất của đối tượng (°C) ..........................................................................

Đặc tính bề mặt ...........................................................................................................................

Đặc tính nam châm .....................................................................................................................

Tính chất của vật liệu (vật liệu, tính biến dạng v.v...) ...................................................................

Thay đổi kích thước trong quá trình gia công (mm) .....................................................................

Các bề mặt điều khiển bằng tay được khuyến nghị .....................................................................

Các bề mặt không cho phép tiếp xúc ...........................................................................................

Bản vẽ của đối tượng [kích thước, thay đổi kích thước trong quá trình gia công, trọng tâm, các bề mặt điều khiển bằng tay được khuyến nghị v.v...)

 

 

 

Các yêu cầu cho điều khiển bằng tay:

Tư thế của đối tượng trước khi điều khiển bằng tay .....................................................................

Tư thế của đối tượng sau khi điều khiển bằng tay ........................................................................

Thao tác bằng tay trong cơ cấu kẹp ..............................................................................................

Các lực lớn nhất cho phép đối với đối tượng (N) ..........................................................................

Thời gian làm việc (thời gian nắm giữ, thời gian buông lỏng, chu kỳ thời gian, v.v... ) (s)

........................................................................................................................................................

Sự nhầm lẫn có thẻ có đối với đối tượng .......................................................................................

Bản vẽ cho các yêu cầu điều khiển bằng tay (các hệ thống tọa độ, các tư thế của đối tượng v.v...)

 

 

 

 

Các yêu cầu của cơ cấu kẹp:

Số lượng các ngón .......................................................................................................................

Bố trí ngón ....................................................................................................................................

Độ di động của cơ cấu kẹp (4.3.1) ...............................................................................................

Bậc tự do của cơ cấu kẹp (4.3.2) .................................................................................................

Kiểu kẹp (4.3.6) ............................................................................................................................

Các yêu cầu của ngón:

Độ di động của ngón (4.4.1) ..........................................................................................................

Bậc tự do của ngón (4.4.2) ............................................................................................................

Chuyển động của ngón (4.4.3) ......................................................................................................

Cơ cấu dẫn động được đề nghị (4.2.1.4) ......................................................................................

Điều khiển ngón được kiến nghị:

Sơ đồ điều khiển ngón (4.5) .........................................................................................................

Các tín hiệu điều khiển .................................................................................................................

Các tín hiệu hồi tiếp ......................................................................................................................

Các yêu cầu về chức năng cảm biến (3.4) ...................................................................................

Mặt lắp ghép của rô bốt (4.7) ........................................................................................................

Mặt lắp ghép cơ khí: phù hợp với tiêu chuẩn ............................... ký hiệu ....................................

Khả năng sử dụng (truyền năng lượng và tín hiệu) ......................................................................

An toàn (4.8)

Các đặc tính của rô bốt cần cho tác vụ:

Không gian làm việc (mm) ............................................................................................................

Trọng tải lớn nhất (N) ...................................................................................................................

Tính lặp lại của tư thế (mm) .........................................................................................................

Thời gian ổn định hóa tư thế (s) ..................................................................................................

Số lượng trục ...............................................................................................................................

Bố trí khớp nối ..............................................................................................................................

Số lượng cánh tay ........................................................................................................................

Các yêu cầu khác .........................................................................................................................

 

 

 

Bạn chưa Đăng nhập thành viên.

Đây là tiện ích dành cho tài khoản thành viên. Vui lòng Đăng nhập để xem chi tiết. Nếu chưa có tài khoản, vui lòng Đăng ký tại đây!

* Lưu ý: Để đọc được văn bản tải trên Luatvietnam.vn, bạn cần cài phần mềm đọc file DOC, DOCX và phần mềm đọc file PDF.

văn bản cùng lĩnh vực

văn bản mới nhất

CHÍNH SÁCH BẢO VỆ DỮ LIỆU CÁ NHÂN
Yêu cầu hỗ trợYêu cầu hỗ trợ
Chú thích màu chỉ dẫn
Chú thích màu chỉ dẫn:
Các nội dung của VB này được VB khác thay đổi, hướng dẫn sẽ được làm nổi bật bằng các màu sắc:
Sửa đổi, bổ sung, đính chính
Thay thế
Hướng dẫn
Bãi bỏ
Bãi bỏ cụm từ
Bình luận
Click vào nội dung được bôi màu để xem chi tiết.
×