- Tổng quan
- Nội dung
- VB gốc
- Tiếng Anh
- Hiệu lực
- VB liên quan
- Lược đồ
-
Nội dung hợp nhất
Tính năng này chỉ có tại LuatVietnam.vn. Nội dung hợp nhất tổng hợp lại tất cả các quy định còn hiệu lực của văn bản gốc và các văn bản sửa đổi, bổ sung, đính chính... trên một trang. Việc hợp nhất văn bản gốc và những văn bản, Thông tư, Nghị định hướng dẫn khác không làm thay đổi thứ tự điều khoản, nội dung.
Khách hàng chỉ cần xem Nội dung hợp nhất là có thể nắm bắt toàn bộ quy định hiện hành đang áp dụng, cho dù văn bản gốc đã qua nhiều lần chỉnh sửa, bổ sung.
- Tải về
Thông tư 35/2023/TT-BCT ban hành QCVN 21:2023/BCT về an toàn đối với cáp điện phòng nổ trong mỏ hầm lò
| Cơ quan ban hành: | Bộ Công Thương |
Số công báo:
Số công báo là mã số ấn phẩm được đăng chính thức trên ấn phẩm thông tin của Nhà nước. Mã số này do Chính phủ thống nhất quản lý.
|
Đang cập nhật |
| Số hiệu: | 35/2023/TT-BCT | Ngày đăng công báo: | Đang cập nhật |
| Loại văn bản: | Thông tư | Người ký: | Nguyễn Sinh Nhật Tân |
| Trích yếu: | Ban hành Quy chuẩn kỹ thuật quốc gia về an toàn đối với cáp điện phòng nổ sử dụng trong mỏ hầm lò | ||
|
Ngày ban hành:
Ngày ban hành là ngày, tháng, năm văn bản được thông qua hoặc ký ban hành.
|
21/12/2023 |
Ngày hết hiệu lực:
Ngày hết hiệu lực là ngày, tháng, năm văn bản chính thức không còn hiệu lực (áp dụng).
|
Đang cập nhật |
|
Áp dụng:
Ngày áp dụng là ngày, tháng, năm văn bản chính thức có hiệu lực (áp dụng).
|
Đã biết
|
Tình trạng hiệu lực:
Cho biết trạng thái hiệu lực của văn bản đang tra cứu: Chưa áp dụng, Còn hiệu lực, Hết hiệu lực, Hết hiệu lực 1 phần; Đã sửa đổi, Đính chính hay Không còn phù hợp,...
|
Đã biết
|
| Lĩnh vực: | Công nghiệp Than | ||
TÓM TẮT THÔNG TƯ 35/2023/TT-BCT
Ngày 21/12/2023, Bộ Công Thương đã ra Thông tư 35/2023/TT-BCT ban hành Quy chuẩn kỹ thuật quốc gia về an toàn đối với cáp điện phòng nổ sử dụng trong mỏ hầm lò. Cụ thể:
1. Yêu cầu chung phương pháp kiểm tra thử nghiệm bao gồm:
- Nhiệt độ môi trường quanh bằng (20±15) oC;
- Giá trị độ ẩm tương đối đến 95% ở nhiệt độ 25oC;
- Hàm lượng ôxy là 21% về thể tích;
- Không có khí cháy, khí độc hại và hơi ăn mòn;
- Phương tiện dụng cụ để kiểm tra, thử nghiệm phải đảm bảo hoạt động chính xác, tin cậy và được hiệu chuẩn theo quy định.
2. Nội dung thử nghiệm uốn như sau: Cáp được lắp vào hệ thống để có thể uốn theo hình chữ “S” theo hai chiều, mẫu cáp thử được bắt chặt vào cơ cấu tạo uốn cong, các ruột dẫn của mạch lực và điều khiển được kết nối đến thiết bị phát hiện đứt, chập cáp của các ruột cáp và bộ nguồn tín hiệu, thực hiện quá trình lặp lại làm cho phần thử nghiệm của cáp tạo thành quá trình uốn từ trạng thái thẳng sang trạng thái hình chữ “S”.
Thông tư có hiệu lực từ ngày 01/7/2024.
Xem chi tiết Thông tư 35/2023/TT-BCT có hiệu lực kể từ ngày 01/07/2024
Tải Thông tư 35/2023/TT-BCT
|
BỘ CÔNG THƯƠNG |
CỘNG HÒA XÃ HỘI CHỦ NGHĨA VIỆT NAM |
THÔNG TƯ
Ban hành Quy chuẩn kỹ thuật quốc gia về an toàn đối với
cáp điện phòng nổ sử dụng trong mỏ hầm lò
______________
BỘ TRƯỞNG BỘ CÔNG THƯƠNG
Căn cứ Luật Tiêu chuẩn và Quy chuẩn kỹ thuật ngày 29 tháng 6 năm 2006;
Căn cứ Luật Chất lượng sản phẩm, hàng hóa ngày 21 tháng 11 năm 2007;
Căn cứ Nghị định số 96/2022/NĐ-CP ngày 29 tháng 11 năm 2022 của Chính phủ quy định chức năng, nhiệm vụ, quyền hạn và cơ cấu tổ chức của Bộ Công Thương;
Căn cứ Nghị định số 127/2007/NĐ-CP ngày 01 tháng 8 năm 2007 của Chính phủ quy định chi tiết thi hành một số điều Luật Tiêu chuẩn và Quy chuẩn kỹ thuật; Nghị định số 78/2018/NĐ-CP ngày 16 tháng 5 năm 2018 của Chính phủ sửa đổi, bổ sung một số điều Nghị định số 127/2007/NĐ-CP ngày 01 tháng 8 năm 2007 của Chính phủ quy định chi tiết thi hành một số điều Luật Tiêu chuẩn và Quy chuẩn kỹ thuật;
Căn cứ Nghị định số 132/2008/NĐ-CP ngày 31 tháng 12 năm 2008 của Chính phủ quy định chi tiết thi hành một số điều Luật Chất lượng sản phẩm, hàng hóa; Nghị định số 74/2018/NĐ-CP ngày 15 tháng 5 năm 2018 của Chính phủ sửa đổi, bổ sung một số điều Nghị định số 132/2008/NĐ-CP ngày 31 tháng 12 năm 2008 của Chính phủ quy định chi tiết thi hành một số điều Luật Chất lượng sản phẩm, hàng hóa; Nghị định số 154/2018/NĐ-CP ngày 09 tháng 11 năm 2018 của Chính phủ sửa đổi, bổ sung, bãi bỏ một số quy định về điều kiện đầu tư, kinh doanh trong lĩnh vực quản lý nhà nước của Bộ Khoa học và Công nghệ và một số quy định về kiểm tra chuyên ngành;
Theo đề nghị của Cục trưởng Cục Kỹ thuật an toàn và Môi trường công nghiệp;
Bộ trưởng Bộ Công Thương ban hành Thông tư ban hành Quy chuẩn kỹ thuật quốc gia về an toàn đối với cáp điện phòng nổ sử dụng trong mỏ hầm lò.
Điều 1. Ban hành Quy chuẩn kỹ thuật quốc gia
Ban hành kèm theo Thông tư này Quy chuẩn kỹ thuật quốc gia về an toàn đối với cáp điện phòng nổ sử dụng trong mỏ hầm lò.
Ký hiệu: QCVN 21:2023/BCT.
Điều 2. Hiệu lực thi hành
1. Thông tư này có hiệu lực kể từ ngày 01 tháng 7 năm 2024.
2. Quy chuẩn kỹ thuật quốc gia về an toàn đối với cáp điện phòng nổ sử dụng trong mỏ hầm lò có hiệu lực từ ngày 01 tháng 7 năm 2024.
3. Trong trường hợp các văn bản quy phạm pháp luật, quy chuẩn, tiêu chuẩn được dẫn chiếu tại Quy chuẩn kỹ thuật này được sửa đổi, bổ sung, thay thế thì áp dụng theo các quy định của văn bản mới đó.
Điều 3. Tổ chức thực hiện
Chánh Văn phòng Bộ, Cục trưởng Cục Kỹ thuật an toàn và Môi trường công nghiệp; Thủ trưởng các cơ quan, tổ chức và cá nhân có liên quan chịu trách nhiệm thi hành Thông tư này./.
|
Nơi nhận: |
KT. BỘ TRƯỞNG |
QUY CHUẨN KỸ THUẬT QUỐC GIA
VỀ AN TOÀN ĐỐI VỚI CÁP ĐIỆN PHÒNG NỔ SỬ DỤNG
TRONG MỎ HẦM LÒ
National technical regulation on safety
for explosion-proof electrical cables used in underground mine
HÀ NỘI - 2023
LỜI NÓI ĐẦU
QCVN 21:2023/BCT do Tổ soạn thảo Quy chuẩn kỹ thuật Quốc gia về an toàn đối với cáp điện phòng nổ sử dụng trong mỏ hầm lò biên soạn, Cục Kỹ thuật an toàn và Môi trường công nghiệp - Bộ Công Thương trình duyệt, Bộ Khoa học và Công nghệ thẩm định, Bộ trưởng Bộ Công Thương ban hành theo Thông tư số 35/2023/TT-BCT ngày 21 tháng 12 năm 2023.
QUY CHUẨN KỸ THUẬT QUỐC GIA
VỀ AN TOÀN ĐỐI VỚI CÁP ĐIỆN PHÒNG NỔ
SỬ DỤNG TRONG MỎ HẦM LÒ
National technical regulation on safety
for explosion-proof electrical cables used in underground mine
I. QUY ĐỊNH CHUNG
1. Phạm vi điều chỉnh
Quy chuẩn kỹ thuật này quy định các yêu cầu kỹ thuật an toàn và quản lý đối với cáp điện sử dụng trong mỏ hầm lò có khí cháy, nổ và bụi nổ (sau đây gọi là cáp điện phòng nổ), có mã HS quy định tại phụ lục A.
2. Đối tượng áp dụng
Quy chuẩn kỹ thuật này áp dụng đối với các tổ chức, cá nhân sản xuất, nhập khẩu, thử nghiệm, kiểm định, sử dụng và các tổ chức, cá nhân khác có liên quan đến cáp điện phòng nổ sử dụng trong mỏ hầm lò trên lãnh thổ Việt Nam.
3. Giải thích từ ngữ
3.1. Cáp điện phòng nổ là cáp điện, có ruột dẫn làm bằng đồng ủ có hoặc không có phủ thiếc, có cách điện, màn chắn, vỏ bọc kháng cháy để sử dụng trong các mỏ hầm lò có khí cháy, nổ và bụi nổ.
3.2. Vỏ bọc kháng cháy là vỏ bọc ngoài của cáp phòng nổ đảm bảo tính năng không lan truyền sự cháy khi ngọn lửa đốt cháy đã tắt.
3.3. Màn chắn bảo vệ là lớp bao bọc bên ngoài cách điện của lõi đơn hoặc các lõi và có tính dẫn điện, bằng cao su bán dẫn điện, băng vải bán dẫn điện, băng plastic phủ nhôm, lưới đồng hoặc băng đồng.
3.4. Vỏ bọc kim là lớp bảo vệ cơ học cho cáp được làm từ kim loại.
3.5. Vỏ bọc là vỏ bọc bên ngoài của cáp điện phòng nổ.
3.6. Cáp cứng là cáp điện có ruột dẫn cấp 1 và cấp 2 được làm từ các sợi đồng theo yêu cầu kỹ thuật trong Điều 5 của TCVN 6612:2007 (IEC 60228:2004).
3.7. Cáp mềm là cáp điện có ruột được làm từ các sợi đồng mềm cấp 5 và cấp 6 theo yêu cầu kỹ thuật trong Điều 6 của TCVN 6612:2007 (IEC 60228:2004).
II. QUY ĐỊNH VỀ KỸ THUẬT AN TOÀN
4. Tài liệu viện dẫn
4.1. QCVN QTĐ-5:2009/BCT Quy chuẩn kỹ thuật quốc gia về kỹ thuật điện - Tập 5 Kiểm định trang thiết bị hệ thống điện.
4.2. QCVN 01:2011/BCT Quy chuẩn kỹ thuật quốc gia về an toàn trong khai thác than hầm lò.
4.3. TCVN 5935-1-2013 (IEC 60502-1:2009) Cáp điện có cách điện dạng đùn và phụ kiện dùng cho điện áp danh định từ 1 kV (Um = 1,2 kV) đến 30 kV (Um = 36 kV) - Phần 1: Cáp dùng cho điện áp danh định bằng 1 kV (Um = 1,2 kV) đến 30 kV (Um = 3,6 kV).
4.4. TCVN 6099-1-2007 (IEC 60060-1:1989) Kỹ thuật thử nghiệm điện áp cao - Phần 1: Định nghĩa chung và yêu cầu thử nghiệm.
4.5. TCVN 6612:2007 (IEC 60228:2004) Ruột dẫn của cáp cách điện
4.6. TCVN 6613-1-2:2010 (IEC 60332-1-2:2004), Thử nghiệm cáp điện và cáp quang trong điều kiện cháy - Phần 1-2: Thử nghiệm cháy lan theo chiều thẳng đứng đối với một dây có cách điện hoặc một cáp - Quy trình ứng với nguồn cháy bằng khí trộn trước có công suất 1 kW
4.7. TCVN 6613-3-10:2010 (IEC 60332-3-10:2009), Thử nghiệm cáp điện và cáp quang trong điều kiện cháy - Phần 3-10: Thử nghiệm cháy lan theo chiều thẳng đứng đối với cụm dây hoặc cụm cáp lắp đặt thẳng đứng - Trang thiết bị thử nghiệm.
4.8. TCVN 9618-21:2013 (IEC 60331-21:1999), Thử nghiệm cáp điện trong điều kiện cháy - tính toàn vẹn của mạch điện - Phần 21: Quy trình và yêu cầu - cáp có điện áp danh định đến và bằng 0,6/1,0 kV
4.9. TCVN 9615-1:2013 (IEC 60245-1:2008) Cáp cách điện bằng cao su - Điện áp danh định đến và bằng 450/750 V - Phần 1: Yêu cầu chung.
4.10. TCVN 10888-0:2015 (IEC 60079-0:2011) Khí quyển nổ - Phần 0: : Thiết bị - Yêu cầu chung.
4.11. TCVN 7079-17:2003 Thiết bị điện dùng trong mỏ hầm lò - Phần 17: Kiểm tra và bảo dưỡng thiết bị.
5. Phân loại cáp điện phòng nổ sử dụng trong mỏ hầm lò
5.1. Phân loại theo dạng lắp đặt
- Cáp cứng để lắp đặt cố định;
- Cáp mềm để lắp đặt cho các thiết bị di động hoặc cố định.
5.2. Phân loại theo chức năng sử dụng
- Cáp thông tin để truyền dẫn các loại tín hiệu, dữ liệu và đo lường;
- Cáp điều khiển để truyền dẫn các tín hiệu điều khiển và tự động hóa;
- Cáp cho đèn ắc quy cài mũ thợ mỏ;
- Cáp chiếu sáng cấp điện cho hệ thống chiếu sáng cố định;
- Cáp động lực cấp điện cho các phụ tải.
5.3. Phân loại theo số lõi
- Cáp một lõi;
- Cáp nhiều lõi.
5.4. Phân loại theo vật liệu cách điện
- Cáp có cách điện bằng cao su hợp chất EPR hoặc HEPR;
- Cáp có cách điện bằng nhựa PVC;
- Cáp có cách điện bằng Poyethylen liên kết ngang XLPE.
6. Yêu cầu chung của cáp điện phòng nổ
6.1. Cáp điện phòng nổ dùng trong mỏ hầm lò có khí cháy, nổ và bụi nổ phải thỏa mãn các yêu cầu của các tiêu chuẩn về cáp điện sử dụng trong công nghiệp, dân dụng như: TCVN 5935-1-2013 (IEC-60502-1-2009), TCVN 6612-2007 (IEC 60228-2004), TCVN 6610 (IEC 60227), TCVN 9615 (IEC 60245), TCVN 6613-2010 (IEC 60332-2004) và các yêu cầu tại Quy chuẩn kỹ thuật này.
6.2. Điện áp danh định của cáp điện phòng nổ được biểu thị bằng Uo/U và đơn vị là kV. Uo là điện áp danh định tần số công nghiệp giữa ruột dẫn và đất hoặc màn chắn bảo vệ mà cáp điện phòng nổ được thiết kế, U là điện áp danh định tần số công nghiệp giữa các ruột dẫn mà cáp điện phòng nổ được thiết kế.
6.3. Giá trị điện áp danh định của cáp điện phòng nổ sử dụng trong mỏ hầm lò gồm:
6.3.1. Cáp để truyền dẫn các loại tín hiệu, dữ liệu, đo lường, điều khiển, tự động hóa: 12 V, 36 V, 48V, 127 V.
6.3.2. Cáp cho đèn ắc quy: 12 Vdc.
6.3.3. Cáp chiếu sáng và cáp mạch lực: 0,3/0,5 kV, 0,38/0,66 kV, 0,66/1,14 kV, 1,9/3,3 kV, 3,6/6 kV, 6/10 kV, 8,7/10 kV.
6.4. Tên và ký hiệu của cáp điện phòng nổ
6.4.1. Trên vỏ của cáp điện phòng nổ phải ghi các ký hiệu cáp và chỉ số chiều dài của cáp, có màu tương phản với màu của vỏ cáp và khoảng cách in cách nhau là 1 mét.
6.4.2. Ký hiệu của cáp điện phòng nổ phải có các ký tự bằng chữ và số thể hiện được các thông số sau:
6.4.2.1. Ký tự chữ thể hiện: Loại cáp, chức năng sử dụng, kết cấu, điện áp danh định của điện áp pha của cáp.
6.4.2.2. Ký tự số thể hiện: Chỉ số lõi mạch lực và tiết diện, chỉ số lõi nối đất và tiết diện, chỉ số lõi điều khiển và tiết diện. Đơn vị tính là mm2, kết nối các ký tự số là dấu “x”.
6.5. Ruột dẫn điện
6.5.1. Ruột dẫn điện của cáp điện phòng nổ phải được làm bằng đồng ủ.
6.5.2. Ruột dẫn điện của cáp cứng
6.5.2.1. Ruột dẫn điện của cáp cứng sử dụng dây đồng đặc một sợi dạng tròn có điện trở tuân thủ theo quy định tại Bảng 1.
Bảng 1. Ruột dẫn một sợi dạng tròn dùng cho cáp một lõi và nhiều lõi
|
Tiết diện danh định (dạng tròn) mm2 |
Điện trở lớn nhất của ruột dẫn bằng đồng ủ ở 20 °C |
|
|
Không phủ kim loại Ω/km |
Phủ kim loại Ω/km |
|
|
0,5 |
36,0 |
36,7 |
|
0,75 |
24,5 |
24,8 |
|
1,0 |
18,1 |
18,2 |
|
1,5 |
12,1 |
12,2 |
|
2,5 |
7,41 |
7,56 |
|
4 |
4,61 |
4,70 |
|
6 |
3,08 |
3,11 |
|
10 |
1,83 |
1,84 |
|
16 |
1,15 |
1,16 |
|
25 |
0,727 |
- |
|
35 |
0,524 |
- |
|
50 |
0,387 |
- |
|
70 |
0,268 |
- |
|
95 |
0,193 |
- |
|
120 |
0,153 |
- |
|
150 |
0,124 |
- |
|
185 |
0,101 |
- |
|
240 |
0,0775 |
- |
|
300 |
0,0620 |
- |
|
400 |
0,0465 |
- |
6.5.2.2. Ruột dẫn bện của cáp cứng
6.5.2.2.1. Các sợi trong từng ruột dẫn phải có cùng đường kính danh định.
6.5.2.2.2. Số lượng sợi trong từng ruột dẫn không được nhỏ hơn số lượng tối thiểu tương ứng có kết cấu và điện trở theo quy định tại Bảng 2.
Bảng 2. Ruột dẫn bện của cáp cứng dùng cho cáp một lõi và nhiều lõi
|
Tiết diện danh định mm2 |
Số lượng sợi tối thiểu trong ruột dẫn bện |
Điện trở lớn nhất của ruột dẫn bằng đồng ủ ở 20 °C |
|||
|
Tròn |
Tròn bện chặt |
Định hình |
Sợi không phủ kim loại Ω/km |
Sợi phủ kim loại Ω/km |
|
|
0,5 |
7 |
- |
- |
36,0 |
36,7 |
|
0,75 |
7 |
- |
- |
24,5 |
24,8 |
|
1,0 |
7 |
- |
- |
18,1 |
18,2 |
|
1,5 |
7 |
6 |
- |
12,1 |
12,2 |
|
2,5 |
7 |
6 |
- |
7,41 |
7,56 |
|
4 |
7 |
6 |
- |
4,61 |
4,70 |
|
6 |
7 |
6 |
- |
3,08 |
3,11 |
|
10 |
7 |
6 |
- |
1,83 |
1,84 |
|
16 |
7 |
6 |
- |
1,15 |
1,16 |
|
25 |
7 |
6 |
6 |
0,727 |
0,734 |
|
35 |
7 |
6 |
6 |
0,524 |
0,529 |
|
50 |
19 |
6 |
6 |
0,387 |
0,391 |
|
70 |
19 |
12 |
12 |
0,268 |
0,270 |
|
95 |
19 |
15 |
15 |
0,193 |
0,195 |
|
120 |
37 |
18 |
18 |
0,153 |
0,154 |
|
150 |
37 |
18 |
18 |
0,124 |
0,126 |
|
185 |
37 |
30 |
30 |
0,0991 |
0,100 |
|
240 |
37 |
34 |
34 |
0,0754 |
0,0762 |
|
300 |
61 |
34 |
34 |
0,0601 |
0,0607 |
|
400 |
61 |
53 |
53 |
0,0470 |
0,0475 |
|
500 |
61 |
53 |
53 |
0,0366 |
0,0369 |
|
630 |
91 |
53 |
53 |
0,0283 |
0,0286 |
6.5.3. Ruột dẫn bện của cáp mềm
6.5.3.1. Ruột dẫn điện của cáp mềm
6.5.3.1.1. Các sợi trong từng ruột dẫn phải có cùng đường kính danh định.
6.5.3.1.2. Đường kính của các sợi trong từng ruột dẫn không được vượt quá giá trị lớn nhất tương ứng có kết cấu và điện trở theo quy định tại Bảng 3.
Bảng 3. Ruột dẫn điện của cáp mềm dùng cho cáp một lõi và cáp nhiều lõi
|
Tiết diện danh định mm2 |
Đường kính lớn nhất của các sợi trong ruột dẫn bện mm |
Điện trở lớn nhất của ruột dẫn ở 20 °C |
||
|
Cáp mềm |
Cáp đặc biệt mềm |
Sợi không phủ kim loại Ω/km |
Sợi phủ kim loại Ω/km |
|
|
0,5 |
0,21 |
0,16 |
39,0 |
40,1 |
|
0,75 |
0,21 |
0,16 |
26,0 |
26,7 |
|
1,0 |
0,21 |
0,16 |
19,5 |
20,0 |
|
1,5 |
0,26 |
0,16 |
13,3 |
13,7 |
|
2,5 |
0,26 |
0,16 |
7,98 |
8,21 |
|
4 |
0,31 |
0,16 |
4,95 |
5,09 |
|
6 |
0,31 |
0,21 |
3,30 |
3,39 |
|
10 |
0,41 |
0,21 |
1,91 |
1,95 |
|
16 |
0,41 |
0,21 |
1,21 |
1,24 |
|
25 |
0,41 |
0,21 |
0,780 |
0,795 |
|
35 |
0,41 |
0,21 |
0,554 |
0,565 |
|
50 |
0,41 |
0,31 |
0,386 |
0,393 |
|
70 |
0,51 |
0,31 |
0,272 |
0,277 |
|
95 |
0,51 |
0,31 |
0,206 |
0,210 |
|
120 |
0,51 |
0,31 |
0,161 |
0,164 |
|
150 |
0,51 |
0,31 |
0,129 |
0,132 |
|
185 |
0,51 |
0,41 |
0,106 |
0,108 |
|
240 |
0,51 |
0,41 |
0,0801 |
0,0817 |
|
300 |
0,51 |
0,41 |
0,0641 |
0,0654 |
|
400 |
0,51 |
|
0,0486 |
0,0495 |
|
500 |
0,61 |
|
0,0384 |
0,0391 |
|
630 |
0,61 |
|
0,0287 |
0,0292 |
6.5.4. Dòng điện cho phép của cáp điện phòng nổ ở nhiệt độ môi trường xung quanh là 25°C theo quy định tại Bảng 4.
Bảng 4. Dòng điện cho phép liên tục của ruột dẫn đồng ủ ở 25°C
|
Tiết diện danh định của ruột dẫn bằng đồng ủ mm2 |
Dòng điện cho phép liên tục A |
|
2,5 |
28 |
|
4 |
37 |
|
6 |
46 |
|
10 |
63 |
|
16 |
85 |
|
25 |
110 |
|
35 |
135 |
|
50 |
170 |
|
70 |
205 |
|
95 |
250 |
|
120 |
295 |
|
150 |
320 |
|
Lưu ý: nNhiệt độ tối đa của ruột dẫn 75 °C. |
|
6.5.5. Hệ số chuyển đổi của dòng điện cho phép của cáp điện phòng nổ ở các nhiệt độ môi trường khác nhau quy định tại Bảng 5.
Bảng 5 - Hệ số chuyển đổi
|
Nhiệt độ môi trường xung quanh °C |
Hệ số chuyển đổi |
|
30 |
0,93 |
|
35 |
0,87 |
|
40 |
0,80 |
|
45 |
0,73 |
|
50 |
0,66 |
6.6. Cách điện của lõi cáp
6.6.1. Vật liệu cách điện phải là chất điện môi dạng đùn thuộc một trong các loại vật liệu được quy định tại Bảng 6.
Bảng 6. Hợp chất cách điện
|
Hợp chất cách điện |
Ký hiệu |
|
a) Nhựa nhiệt dẻo |
|
|
Polyvinyl clorua được sử dụng cho cáp có điện áp danh định Uo/U ≤ 1,8/3 kV |
PVC/A |
|
Polyvinyl clorua được sử dụng cho cáp có điện áp danh định Uo/U ≤ 3,6/6 kV |
PVC/B |
|
b) Liên kết ngang |
|
|
Cao su etylen propylen hoặc tương tự (EPM hoặc EPDM) |
EPR |
|
Cao su cao phân tử hoặc cao su etylen propylen có độ cứng cao |
HEPR |
|
Polyetylen liên kết ngang |
XLPE |
6.6.2. Nhiệt độ cao nhất của lõi cáp đối với các loại hợp chất cách điện được quy định tại Bảng 7.
Bảng 7. Nhiệt độ cao nhất của lõi cáp đối với các loại khác nhau của hợp chất cách điện
|
Hợp chất cách điện |
Nhiệt độ cao nhất của ruột dẫn °C |
||
|
Làm việc bình thường |
Ngắn mạch (thời gian dài nhất là 5 s) |
||
|
Polyvinyl clorua PVC/A |
Tiết diện của ruột dẫn ≤ 300 mm2 |
70 |
160 |
|
Tiết diện của ruột dẫn > 300 mm2 |
70 |
140 |
|
|
Polyetylen liên kết ngang |
XLPE |
90 |
250 |
|
Cao su etylen propylen |
EPR và HEPR |
90 |
250 |
6.6.3. Độ dày của lớp cách điện tại điểm mỏng nhất không được nhỏ hơn 90 % giá trị danh định trừ đi 0,1 mm.
6.6.4. Cách điện của lõi cáp phải chịu thử nghiệm điện áp tần số công nghiệp với lõi cáp được ngâm trong nước có giá trị điện áp được quy định tại Bảng 8, kết quả không có sự phóng điện đánh thủng cách điện của ruột dẫn.
Bảng 8. Thử nghiệm điện áp tần số công nghiệp với lõi cáp được ngâm trong nước
|
Loại lõi được cách điện |
Điện áp định mức kV |
Điện áp thử nghiệm (giá trị hiệu dụng) kV |
Thời gian áp dụng điện áp, Phút |
|
Lõi nguồn |
8,7/10 |
30,5 |
5 |
|
6/10 |
21 |
||
|
3,6/6 |
12,5 |
||
|
1,9/3,3 |
6,8 |
||
|
0,66/1,14 |
3,7 |
||
|
0,38/0,66 |
3,0 |
||
|
0,3/0,5 |
2,0 |
||
|
Lõi điều khiển |
- |
1,5 |
5 |
6.6.5. Không được có sự liên kết bám dính giữa lớp cách điện với:
6.6.5.1. Ruột dẫn.
6.6.5.2. Lớp màn chắn bảo vệ bằng cao su bán dẫn.
6.6.5.3. Vỏ bọc.
6.7. Màn chắn bảo vệ kim loại phải tuân thủ theo quy định tại Điều 9 của TCVN 5935-1:2013 (IEC 60502-1:2009).
6.8. Cáp điện sử dụng cho các mỏ hầm lò phải có lớp màn chắn bảo vệ bọc quanh các cách điện của ruột dẫn điện.
6.9. Lớp màn chắn bảo vệ bán dẫn được ép đùn hoặc quấn quanh cách điện của lõi cáp phải có thể bóc ra khỏi lớp cách điện và bề mặt cách điện của phần bị tước không được có hư hỏng hoặc tàn dư của lớp màn chắn bảo vệ bán dẫn.
6.10. Lõi cáp
6.10.1. Các lõi cáp gồm lõi mạch lực và các lõi điều khiển phải được xoắn lại với nhau, bước xoắn của lõi cáp và cách bố trí của các ruột cáp phụ thuộc vào loại cáp cụ thể và được cho trong các tài liệu kỹ thuật của nhà sản xuất cáp.
6.10.2. Các lõi cáp phải được phân biệt bằng màu đảm bảo không có các lõi cáp có màu giống nhau, dễ ràng phân biệt các lõi mạch lực, lõi điều khiển và lõi tiếp đất được bố trí có vỏ bán dẫn màu đen hoặc để ruột đồng trần.
6.11. Vỏ bọc kim bảo vệ cáp
Vỏ bọc kim để bảo vệ cơ học cho cáp cứng lắp cố định, được làm từ các sợi thép mạ kẽm hoặc bằng thép mạ kẽm, các thông số cho trong tài liệu kỹ thuật của cáp cụ thể do nhà sản xuất cung cấp.
6.12. Vỏ bọc
6.12.1. Vỏ bọc của cáp tuân thủ theo quy định tại Điều 13 của TCVN 5935-1:2013 (IEC 60502-1:2009).
6.12.2. Vỏ bọc của cáp phòng nổ sử dụng cho mỏ hầm lò phải có tính chống cháy và được thử nghiệm thỏa mãn tiêu chuẩn TCVN 6613-1-2:2010 (IEC 60332-1-2:2004) và TCVN 6613-3-10:2010 (IEC 60332-3-10:2009).
6.12.3. Đối với cáp được gia cường để tăng độ bền cơ học của cáp vỏ bọc bảo vệ phải có hai lớp gồm vỏ bên trong và vỏ bên ngoài, giữa hai lớp vỏ bọc là lớp gia cố có thể được làm từ các sợi bện hoặc lớp dây thép bện.
6.13. Cáp điện phòng nổ hoàn thiện
6.13.1. Đường kính ngoài của cáp đã hoàn thiện phải nằm trong phạm vi thông số kỹ thuật do nhà sản xuất cung cấp được chỉ định trong tài liệu của từng loại cáp.
6.13.2. Khả năng chống va đập cơ học, cáp có tiết diện danh định từ 16mm2 trở lên phải đáp ứng yêu cầu về va đập cơ học, số lần tác động được quy định như sau:
6.13.2.1. Tiết diện danh định của lõi nguồn (16 đến 35) mm2: 2 lần.
6.13.2.2. Tiết diện danh định của lõi nguồn (50 đến 150) mm2: 3 lần.
6.13.2.3. Kết quả thử nghiệm va đập của cáp, rơle phát hiện rò điện không được tác động.
6.13.3. Phải có khả năng chống uốn với thử nghiệm 9000 lần mà không bị ngắn mạch hoặc hở mạch.
6.13.4. Bán kính cong nhỏ nhất cho phép đối với:
6.13.4.1. Cáp mềm bằng 6 lần đường kính ngoài.
6.13.4.2. Cáp cứng bằng 15 lần đường kính ngoài.
6.13.5. Vỏ cáp điện phòng nổ có mức điện áp khác nhau phải sử dụng các màu khác nhau để nhận dạng như sau:
6.13.5.1. Vỏ màu đỏ cho cáp có điện áp 3,6/6 kV, 6/10 kV và 8,7/10 kV;
6.13.5.2. Vỏ màu đen cho cáp có điện áp 0,66/1,14 kV, 0,38/0,66 kV và thấp hơn.
6.13.6. Tính chống cháy của cáp điện phòng nổ phải tuân thủ các yêu cầu và phép thử nghiệm của các tiêu chuẩn TCVN 6613-1-2:2010 (IEC 60332-1-2:2004), TCVN 6613-3-10:2010 (IEC 60332-3-10:2009) và TCVN 9618-21:2013 (IEC 60331-21:1999).
7. Kết cấu của cáp điện phòng nổ sử dụng trong mỏ hầm lò
7.1. Dạng kết cấu của cáp mềm di động phòng nổ có điện áp đến 1,14 kV

Chú dẫn:
1 - Lõi dẫn điện;
2 - Dây làm đầy;
3 - Lớp cách điện;
4 - Lớp màn chắn bán dẫn;
5 - Lõi tiếp đất;
6 - Vỏ bọc.
Hình 1 - Kết cấu của cáp mềm di động phòng nổ có điện áp đến 1,14 kV
7.1.1. Thông số kỹ thuật của cáp mềm theo quy định tại Bảng 9, Bảng 10 và Bảng 11.
Bảng 9. Thông số kích thước cáp mềm có điện áp định mức 0,38/0,66kV
|
Số lõi x tiết diện danh định dây dẫn mm2 |
Độ dày mm |
Đường kính ngoài của cáp mm |
||
|
Lõi mạch lực |
Lõi tiếp đất |
Cách điện lõi |
Vỏ bọc |
|
|
3x4 |
1x4 |
1,4 |
3,5 |
Từ 22,0 đến 26,5 |
|
3x6 |
1x6 |
1,4 |
3,5 |
Từ 24,0 đến 29,0 |
|
3x10 |
1x10 |
1,6 |
4,0 |
Từ 28,0 đến 32,5 |
|
3x16 |
1x10 |
1,6 |
4,0 |
Từ 30,5 đến 35,5 |
|
3x25 |
1x16 |
1,8 |
4,5 |
Từ 35,5 đến 41,0 |
|
3x35 |
1x16 |
1,8 |
4,5 |
Từ 38,5 đến 44,5 |
|
3x50 |
1x15 |
2,0 |
5,0 |
Từ 44,5 đến 51,0 |
|
3x70 |
1x25 |
2,0 |
5,0 |
Từ 49,0 đến 56,0 |
|
3x95 |
1x25 |
2,2 |
5,5 |
Từ 55,5 đến 63,0 |
|
3x120 |
1x35 |
2,2 |
5,5 |
Từ 59,0 đến 67,0 |
|
3x150 |
1x50 |
2,4 |
6,0 |
Từ 65,5 đến 74,0 |
Bảng 10. Thông số kích thước cáp mềm điện áp định mức 0,66/1,14kV
|
Số lõi x tiết diện danh định dây dẫn mm2 |
Độ dày mm |
Đường kính ngoài của cáp mm |
||
|
Số lõi mạch lực |
Lõi phụ |
Cách điện lõi |
Vỏ bọc |
|
|
3x10 |
1x10 |
1,8 |
4,5 |
Từ 30,0 đến 35,0 |
|
3x16 |
1x10 |
1,8 |
4,5 |
Từ 32,5 đến 37,5 |
|
3x25 |
1x16 |
2,0 |
5,0 |
Từ 37,5 đến 43,0 |
|
3x35 |
1x16 |
2,0 |
5,0 |
Từ 40,5 đến 46,5 |
|
3x50 |
1x15 |
2,2 |
5,5 |
Từ 46,5 đến 53,0 |
|
3x70 |
1x25 |
2,2 |
5,5 |
Từ 51,0 đến 58,0 |
|
3x95 |
1x25 |
2,4 |
6,0 |
Từ 57,5 đến 65,0 |
|
3x120 |
1x35 |
2,4 |
6,0 |
Từ 61,0 đến 69,0 |
|
3150 |
1x50 |
2,6 |
6,0 |
Từ 66,5 đến 75,0 |
|
Lưu ý: Tiết diện của lõi nối đất là giá trị tối thiểu. |
||||
Bảng 11. Điện trở cách điện
|
Tiết diện danh định của lõi dẫn mm2 |
Điện trở cách điện tối thiểu ở 20°C MΩ/km |
Tiết diện danh định của lõi dẫn mm2 |
Điện trở cách điện tối thiểu ở 20°C MΩ/km |
|
4 |
600 |
90 |
200 |
|
6 |
450 |
120 |
200 |
|
10 |
400 |
150 |
180 |
|
16 |
350 |
185 |
180 |
|
25 |
300 |
240 |
160 |
|
35 |
250 |
300 |
140 |
|
50 |
250 |
400 |
140 |
|
70 |
200 |
|
|
7.2. Loại cáp mềm có gia cố có điện áp đến 1,14 kV
7.2.1. Loại cáp mềm di động có gia cố sử dụng phổ biến theo quy định tại Bảng 12.
Bảng 12. Loại cáp mềm di động có gia cố, cách điện cao su, có vỏ bọc cao su điện áp 0,66/1,14 kV
|
Kiểu |
Tên |
Áp dụng |
|
1 |
Cáp mềm vỏ bọc cao su có gia cố bện, có lõi giám sát, có màn chắn |
Kết nối nguồn cho điện áp định mức 0,66/1,14kV cho máy và các thiết bị tương tự. Cáp có thể được kéo và sử dụng trực tiếp. |
|
2 |
Cáp mềm vỏ bọc cao su có bọc gia cố, có lõi giám sát, có màn chắn |
Kết nối nguồn cho điện áp định mức 0,66/1,14kV cho máy và các thiết bị tương tự. Nhưng cáp phải được sử dụng bên trong tấm bảo vệ. |
7.2.2. Kết cấu của cáp mềm di động phòng nổ có gia cố điện áp đến 0,66/1,14 kV

Chú dẫn:
1 - Lõi dẫn nguồn;
2 - Lõi dẫn điều khiển;
3 - Cách điện;
4 - Lớp màn chắn bảo vệ;
5 - Vỏ bọc bên trong;
6 - Ruột dẫn lõi dây giám sát;
7 - = Lớp bọc gia cố, ≠ lớp gia cố bện;
8 - Vỏ bọc bên ngoài.
Hình 2 - Kết cấu của cáp mềm di động phòng nổ có gia cố điện áp 0,66/1,14 kV
7.2.3. Thông số kỹ thuật của cáp mềm có lõi gia cố đến 1,14 kV theo quy định tại Bảng 13, Bảng 14.
Bảng 13. Thông số kích thước cáp mềm có lõi gia cố đến 1,14 kV
|
Số lõi x tiết diện danh định |
Độ dày cách điện mm |
Độ dày của vỏ bọc mm |
Đường kính ngoài của cáp mm |
|||||
|
Lõi nguồn |
Lõi nối đất |
Lõi điều khiển |
Lõi giám sát |
Lõi nguồn |
Vỏ bọc bên trong |
Vỏ bọc bên ngoài |
Kiểu 1 |
Kiểu 2 |
|
3x35 |
16 |
3x1,5 |
3x1,5 |
1,8 |
1,8 |
3,0 |
Từ 40,5 đến 46,0 |
Từ 43,5 đến 49,0 |
|
3x50 |
25 |
3x1,5 |
3x1,5 |
1,8 |
2,0 |
3,5 |
Từ 46,5 đến 52,5 |
Từ 49,5 đến 55,7 |
|
3x70 |
35 |
3x1,5 |
3x1,5 |
1,8 |
2,0 |
3,5 |
Từ 51,0 đến 57,5 |
Từ 54,0 đến 61,0 |
|
3x95 |
50 |
3x1,5 |
3x1,5 |
2,0 |
2,4 |
4,0 |
Từ 57,5 đến 64,5 |
Từ 60,5 đến 68 |
Bảng 14. Điện trở cách điện
|
Loại lõi |
Tiết diện danh định mm |
Giá trị nhỏ nhất của điện trở cách điện ở 20°C MΩ.km |
|
Điện áp định mức 0,66/1,14 kV |
||
|
Lõi mạch lực |
35 |
250 |
|
50 |
250 |
|
|
70 |
200 |
|
|
95 |
200 |
|
|
Lõi điều khiển |
- |
≥ 100 |
7.3. Loại cáp mềm có điện áp 6/10 kV
7.3.1. Loại cáp mềm có vỏ bọc cao su chống cháy điện áp 6/10 kV theo quy định tại Bảng 15.
Bảng 15. Loại cáp mềm có vỏ bọc cao su điện áp đến 6/10 kV
|
Kiểu loại |
Tên |
Áp dụng |
|
Cáp mềm có màn chắn bán dẫn - 3,6/6 |
Cáp mềm di động, có màn chắn bán dẫn, có vỏ bọc cao su |
Điện áp định mức 3,6/6kV kết nối nguồn máy khai thác di động |
|
Cáp mềm có màn chắn kim loại - 3,6/6 |
Cáp mềm di động, có màn chắn kim loại, có vỏ bọc cao su |
|
|
Cáp mềm có màn chắn kim loại - 6/10 |
Cáp mềm di động, có màn chắn kim loại, có vỏ bọc cao su |
Điện áp định mức 6/10kV kết nối nguồn máy khai thác di động |
7.3.2. Kết cấu của cáp mềm di động di động điện áp 6/10 kV

Chú dẫn:
1 - Lõi dẫn nguồn;
2 - Cách điện;
3 - Lớp bọc kim loại (lõi nối đất);
4 - Lõi điền đầy;
5 - Lớp bọc bán dẫn;
6 - Lõi nối đất;
7 - Lớp bán dẫn;
8 - Vỏ bọc ngoài.
Hình 3 - Kết cấu của cáp mềm di động phòng nổ có điện áp 6/10 kV
7.3.3. Thông số kỹ thuật của cáp mềm điện áp 3,6/6kV theo quy định tại Bảng 16, Bảng 17, Bảng 18 và Bảng 19
Bảng 16. Thông số kích thước cáp mềm, điện áp 3,6/6kV
|
Số lõi x Tiết diện danh định của dây dẫn mm2 |
Độ dày mm |
Đường kính ngoài của cáp mm |
||
|
Dây nguồn |
Dây nối đất |
Cách điện dây |
Vỏ bọc |
Có màn chắn |
|
3x16 |
1x16 |
4,0 |
5,5 |
Từ 48,0 đến 55,0 |
|
3x25 |
1x16 |
4,0 |
5,5 |
Từ 51,0 đến 58,0 |
|
3x35 |
1x16 |
4,0 |
5,5 |
Từ 54,0 đến 61,5 |
|
3x50 |
1x16 |
4,0 |
5,5 |
Từ 58,0 đến 66,0 |
|
3x70 |
1x25 |
4,0 |
6,0 |
Từ 64,0 đến 72,0 |
|
3x95 |
1x35 |
4,0 |
6,0 |
Từ 68,5 đến 77,0 |
|
3x120 |
1x35 |
4,0 |
6,0 |
Từ 71,5 đến 80,0 |
|
3x150 |
1x50 |
4,0 |
6,0 |
Từ 76,0 đến 85,0 |
|
Ghi chú: Tiết diện của lõi nối đất là giá trị tối thiểu |
|
|||
Bảng 17. Thông số kích thước cáp mềm, điện áp 3,6/6kV
|
Số lõi x Tiết diện danh định của dây dẫn mm2 |
Độ dày mm |
Đường kính ngoài của cáp mm |
|||
|
Dây nguồn |
Dây nối đất |
Cách điện dây |
Vỏ bọc |
Có màn chắn kim loại |
|
|
3x16 |
3x16/3 |
4,0 |
5,5 |
Từ 49,0 đến 56,0 |
|
|
3x25 |
3x16/3 |
4,0 |
5,5 |
Từ 51,5 đến 58,5 |
|
|
3x35 |
3x16/3 |
4,0 |
5,5 |
Từ 54,5 đến 62,0 |
|
|
3x50 |
3x16/3 |
4,0 |
5,5 |
Từ 58,5 đến 66,0 |
|
|
3x70 |
3x25/3 |
4,0 |
6,0 |
Từ 64,0 đến 72,0 |
|
|
3x95 |
3x35/3 |
4,0 |
6,0 |
Từ 68,0 đến 77,0 |
|
|
3x120 |
3x35/3 |
4,0 |
6,0 |
Từ 71,5 đến 79,5 |
|
|
3x150 |
3x50/3 |
4,0 |
6,0 |
Từ 75,5 đến 84,5 |
|
|
Ghi chú: Tiết diện của lõi đất là giá trị tối thiểu |
|||||
Bảng 18. Thông số kích thước cáp mềm, điện áp định mức 6/10kV
|
Số lõi x Tiết diện danh định của dây dẫn mm2 |
Độ dày mm |
Đường kính ngoài của cáp mm |
||
|
Dây nguồn |
Dây nối đất |
Cách điện dây |
Vỏ bọc |
Có màn chắn kim loại |
|
3x16 |
3x16/3 |
5,0 |
6,0 |
Từ 54,0 đến 61,0 |
|
3x25 |
3x16/3 |
5,0 |
6,0 |
Từ 57,0 đến 64,5 |
|
3x35 |
3x16/3 |
5,0 |
6,0 |
Từ 59,5 đến 67,5 |
|
3x50 |
3x16/3 |
5,0 |
6,0 |
Từ 63,5 đến 72,0 |
|
3x70 |
3x25/3 |
5,0 |
6,0 |
Từ 68,0 đến 76,5 |
|
3x95 |
3x35/3 |
5,0 |
6,0 |
Từ 72,5 đến 81,0 |
|
3x120 |
3x35/3 |
5,0 |
6,0 |
Từ 75,5 đến 84,5 |
|
3x150 |
3x50/3 |
5,0 |
6,0 |
Từ 79,5 đến 89,5 |
|
Ghi chú: Tiết diện của lõi đất là giá trị tối thiểu |
||||
Bảng 19. Điện trở cách điện
|
Tiết diện danh định dây dẫn mm2 |
Giá trị điện trở cách điện tối thiểu của cách điện lõi nguồn ở 20°C Ω/km |
|
|
Điện áp định mức 3,3/6 kV |
Điện áp định mức 6/10 kV |
|
|
15 |
750 |
850 |
|
25 |
650 |
750 |
|
35 |
550 |
700 |
|
50 |
500 |
600 |
|
70 |
450 |
550 |
|
95 |
400 |
450 |
|
120 |
350 |
450 |
|
150 |
350 |
400 |
7.4. Cáp cứng cách điện XLPE vỏ bọc PVC
Cáp điện phòng nổ cứng ruột đồng có cách điện XLPE, vỏ bọc PVC dùng cho mỏ chỉ sử dụng cho các tuyến cáp cố định trên các đường lò của mỏ, loại cáp phổ biến và thông số theo quy định tại Bảng 20, Bảng 21 và Bảng 22.
Bảng 20. Loại cáp có cách điện XLPE phổ biến
|
Kiểu loại |
Tên |
|
Cáp cứng có bọc thép |
Cáp điện có vỏ bọc PVC, có bọc dây thép dày, cách điện XLPE |
|
Cáp điện có vỏ bọc PVC, có bọc dây thép mỏng, cách điện XLPE |
|
|
Cáp cứng có bọc băng thép |
Cáp điện có vỏ bọc PVC, có bọc băng thép, cách điện XLPE |
|
Cáp cứng không có bọc thép |
Cáp điện vỏ bọc PVC điện XLPE |
Bảng 21. Thông số của cáp cứng có bọc thép điện áp 0,6/1 kV
|
Số lõi + tiết diện |
Chiều dày cách điện mm |
Chiều dày vỏ bọc mm |
Đường kính ngoài mm |
Khối lượng riêng kg/km |
R dc max của ruột dẫn ở 20 °C Ω/km |
Dòng điện danh định cho phép ở 20 °C A |
|
|
min |
max |
||||||
|
3x4 |
0,7 |
1,8 |
15,5 |
19,5 |
406 |
4,61 |
35 |
|
3x6 |
0,7 |
1,8 |
16,6 |
20,6 |
492 |
3,08 |
45 |
|
3x10 |
0,7 |
1,8 |
19,5 |
23,5 |
685 |
1,83 |
63 |
|
3x16 |
0,7 |
1,8 |
21,6 |
25,6 |
912 |
1,15 |
84 |
|
3x25 |
0,9 |
1,8 |
24,7 |
28,7 |
1 301 |
0,727 |
113 |
|
3x35 |
0,9 |
1,8 |
26,8 |
30,8 |
1 641 |
0,524 |
139 |
|
3x50 |
1,0 |
1,9 |
26,1 |
30,1 |
1 867 |
0,387 |
161 |
|
3x70 |
1,1 |
2,0 |
31 |
35 |
2 834 |
0,268 |
204 |
|
3x95 |
1,1 |
2,2 |
34,4 |
38,4 |
3 681 |
0,193 |
252 |
|
3x120 |
1,2 |
2,3 |
37,5 |
41,5 |
4 486 |
0,153 |
291 |
|
3x150 |
1,4 |
2,5 |
41,6 |
45,6 |
5 477 |
0,124 |
333 |
|
3x185 |
1,6 |
2,6 |
45,4 |
49,4 |
6 669 |
0,0991 |
385 |
|
3x240 |
1,7 |
2,8 |
50,7 |
54,7 |
8 570 |
0,0754 |
457 |
|
3x300 |
1,8 |
3,0 |
55,7 |
59,7 |
10 532 |
0,0601 |
527 |
Bảng 22. Thông số của cáp cứng có bọc thép điện áp 8,7/10 kV
|
Số lõi + tiết diện |
Chiều dày cách điện mm |
Chiều dày vỏ bọc mm |
Đường kính ngoài mm |
Khối lượng riêng kg/km |
R dc max của ruột dẫn ở 20 °C Ω/km |
Dòng điện danh định cho phép ở 20 °C A |
|
|
min |
max |
||||||
|
3x25 |
4,5 |
2,6 |
46,2 |
50,2 |
3 728 |
0,727 |
120 |
|
3x35 |
4,5 |
2,7 |
48,5 |
52,5 |
4 226 |
0,524 |
140 |
|
3x50 |
4,5 |
2,8 |
51,3 |
55,3 |
4 833 |
0,387 |
165 |
|
3x70 |
4,5 |
2,9 |
55,2 |
59,2 |
5 709 |
0,268 |
210 |
|
3x95 |
4,5 |
3,0 |
58,9 |
62,9 |
6 877 |
0,193 |
255 |
|
3x120 |
4,5 |
3,1 |
61,9 |
65,9 |
7 843 |
0,153 |
290 |
|
3x150 |
4,5 |
3,2 |
65,6 |
69,6 |
9 018 |
0,124 |
330 |
|
3x185 |
4,5 |
3,3 |
69,2 |
73,2 |
10 401 |
0,0991 |
375 |
|
3x240 |
4,5 |
3,5 |
74,2 |
78,2 |
12 601 |
0,0754 |
435 |
|
3x300 |
4,5 |
3,7 |
80,3 |
84,3 |
15 788 |
0,0601 |
493 |
7.5. Cáp cứng có cách điện PVC, có vỏ bọc PVC
Cáp điện phòng nổ ruột đồng cứng có cách điện PVC, có vỏ bọc ngoài bằng PVC, có hoặc không có băng thép bảo vệ dùng cho mỏ có điện áp đến 1 kV, chỉ sử dụng cho các tuyến cáp cố định trên các đường lò của mỏ, loại cáp phổ biến và thông số theo quy định tại Bảng 23, Bảng 24 và Bảng 25.
Bảng 23. Loại cáp có cách điện PVC phổ biến
|
Loại cáp (0,6/1 kV) |
Số lõi |
Tiết diện lõi (mm2) |
|
Cáp cứng cách điện PVC không có vỏ bọc |
3 |
Từ 1,5 đến 300 |
|
Cáp cứng cách điện PVC không có vỏ bọc bằng băng thép |
3 |
Từ 2,5 đến 300 |
|
Cáp cứng cách điện PVC không có vỏ bọc |
3+1 |
Từ 4 đến 300 |
|
Cáp cứng cách điện PVC không có vỏ bọc bằng băng thép |
3+1 |
Từ 4 đến 300 |
Bảng 24. Thông số của cáp số lõi 3 không có băng thép, điện áp đến 1 kV
|
Số lõi + tiết diện |
Chiều dày cách điện mm |
Chiều dày vỏ bọc mm |
Đường kính ngoài mm |
Khối lượng riêng kg/km |
R dc max của ruột dẫn ở 20 °C Ω/km |
Dòng điện danh định cho phép ở 20 °C A |
|
|
min |
max |
||||||
|
3x1,5 |
0,8 |
1,8 |
10,9 |
14,9 |
165 |
12,1 |
13 |
|
3x2,5 |
0,8 |
1,8 |
11,7 |
15,7 |
206 |
7,41 |
20 |
|
3x4 |
1,0 |
1,8 |
13,6 |
17,6 |
290 |
4,61 |
30 |
|
3x6 |
1,0 |
1,8 |
14,7 |
18,7 |
367 |
3,08 |
37 |
|
3x10 |
1,0 |
1,8 |
17,6 |
21,6 |
536 |
1,83 |
53 |
|
3x16 |
1,0 |
1,8 |
19,7 |
23,7 |
745 |
1,15 |
69 |
|
3x25 |
1,2 |
1,8 |
22,8 |
26,8 |
1 077 |
0.727 |
89 |
|
3x35 |
1,2 |
1,8 |
24,9 |
28,9 |
1 390 |
0,524 |
109 |
|
3x50 |
1,4 |
1,8 |
24,6 |
28,6 |
1 710 |
0,387 |
132 |
|
3x70 |
1,4 |
1,9 |
27,8 |
31,8 |
2 342 |
0,268 |
167 |
|
3x95 |
1,6 |
2,1 |
32,1 |
36,1 |
3 197 |
0,193 |
213 |
|
3x120 |
1,6 |
2,2 |
34,6 |
38,6 |
3 916 |
0,153 |
242 |
|
3x150 |
1,8 |
2,3 |
38,5 |
42,5 |
4 840 |
0,124 |
282 |
|
3x185 |
2,0 |
2,5 |
42,3 |
46,3 |
5 991 |
0,0991 |
322 |
|
3x240 |
2,2 |
2,7 |
47,9 |
51,9 |
7 851 |
0,0754 |
385 |
|
3x300 |
2,4 |
2,9 |
53,0 |
57,0 |
9 770 |
0,0601 |
431 |
Bảng 25. Thông số của cáp cứng cách điện PVC số lõi 3+1, có băng thép, điện áp đến 1 kV
|
Số lõi + tiết diện |
Chiều dày cách điện của ruột dẫn mm |
Chiều dày vỏ bọc mm |
Đường kính ngoài mm |
Khối lượng riêng kg/km |
R dc max của ruột dẫn ở 20 °C Ω/km |
Dòng điện danh định cho phép ở 20 °C A |
|||
|
|
Lớn |
Nhỏ |
min |
max |
Lớn |
Nhỏ |
|
||
|
3x4+1x2,5 |
1,0 |
0,8 |
1,8 |
17,0 |
21,0 |
462 |
4,61 |
7,41 |
30 |
|
3x6+1x4 |
1,0 |
1,0 |
1,8 |
18,2 |
22,2 |
567 |
3,08 |
4,61 |
37 |
|
3x10+1x6 |
1,0 |
1,0 |
1,8 |
21,3 |
25,3 |
792 |
1,83 |
3,08 |
53 |
|
3x16+1x10 |
1,0 |
1,0 |
1,8 |
23,7 |
27,7 |
1 067 |
1,15 |
1,83 |
69 |
|
3x25+1x16 |
1,2 |
1,0 |
1,8 |
26,8 |
30,8 |
1 480 |
0,727 |
1,15 |
89 |
|
3x35+1x16 |
1,2 |
1,0 |
1,8 |
29,4 |
33,4 |
1 842 |
0,524 |
1,15 |
109 |
|
3x50+1x25 |
1,4 |
1,2 |
1,0 |
33,4 |
37,4 |
2 460 |
0,387 |
0,727 |
132 |
|
3x70+1x35 |
1,4 |
1,2 |
1,0 |
37,7 |
41,7 |
3 295 |
0,268 |
0,524 |
167 |
|
3x95+1x50 |
1,6 |
1,4 |
1,0 |
44,4 |
48,4 |
4 873 |
0,193 |
0,387 |
213 |
|
3x120+1x70 |
1,6 |
1,4 |
1,0 |
47,5 |
51,5 |
5 890 |
0,153 |
0,268 |
242 |
|
3x150+1x70 |
1,8 |
1,4 |
1,0 |
52,7 |
56,7 |
7 048 |
0,124 |
0,268 |
282 |
|
3x185+1x95 |
2,0 |
1,6 |
1,1 |
57,4 |
61,4 |
8 629 |
0,0991 |
0,193 |
322 |
|
3x240+1x120 |
2,2 |
1,6 |
1,1 |
64,5 |
68,5 |
11 025 |
0,0754 |
0,153 |
385 |
|
3x300+1x150 |
2,4 |
1,8 |
1,1 |
71,3 |
75,3 |
13 569 |
0,0601 |
0,124 |
431 |
8. Yêu cầu về lắp đặt vận hành cáp điện phòng nổ trong mỏ hầm lò
8.1. Yêu cầu chung
8.1.1. Trong các mỏ hầm lò phải sử dụng cáp điện phòng nổ, việc lắp đặt và vận hành cáp phải tuân thủ theo quy định tại Điều 95, Điều 99, Điều 102, Điều 106 và Phụ lục IV của QCVN 01:2011/BCT và các yêu cầu của Quy chuẩn kỹ thuật này.
8.1.2. Cáp vào các thiết bị điện
Cáp điện phòng nổ dẫn đến các đầu vào của thiết bị điện phòng nổ phải tuân thủ theo các yêu cầu kỹ thuật và phép thử nghiệm của Điều 16 và Phụ lục A TCVN 10888-0:2015 (IEC 60079-0:2011) và các yêu cầu sau:
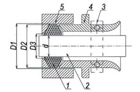
8.1.2.1. Được bắt chặt hoặc vặn ren vào vỏ thiết bị và có đầy đủ các chi tiết để làm kín và kẹp chặt cáp, một trong các loại cổ cáp như Hình 4.

Chú dẫn:
1 - Vòng cao su bịt kín cáp.
2 - Cáp điện cao su.
3 - Chi tiết kẹp cáp.
4 - Chi tiết vào cáp để ép chặt gioăng đệm cao su.
5 - Vỏ thiết bị.
d - Đường kính ngoài của cáp điện cao su, mm.
D1 - Đường kính trong của cổ cáp, mm.
D2, D3 - Đường kính ngoài, trong của gioăng đệm cao su, mm.
Hình 4 - Mô hình cổ cáp khi được đấu nối
8.1.2.2. Các chi tiết của cổ cáp phải được vặn chặt để đảm bảo tính năng làm kín cáp.
8.1.2.3. Vòng bịt kín cao su phải đảm bảo không bị nứt, đàn hồi tốt, cáp điện không bị kéo căng hoặc bẻ gập trong quá trình lắp ráp và vận hành.
8.1.2.4. Ở cổ cáp cao áp có sử dụng vật liệu điền đầy cách điện, khối điền đầy khi đông cứng phải đảm bảo không có vết nứt.
8.1.2.5. Tại các vị trí đầu vào thiết bị điện cáp không được để bị kéo căng truyền lực đến các cơ cấu đấu nối làm hư hỏng các kết nối.
8.1.2.6. Lõi dây tiếp đất, màn chắn bảo vệ, vỏ giáp (băng thép hoặc dây thép mạ kẽm) của cáp phải được nối vào cọc tiếp đất của thiết bị điện.
8.2. Lắp đặt cáp trên các đường lò mỏ
8.2.1. Cáp lắp đặt phải thực hiện đúng với sơ đồ nguyên lý cung cấp điện đã được giám đốc mỏ phê duyệt và cập nhật kịp thời khi có sự thay đổi của thực tế hiện trường sản xuất.
8.2.2. Trên dọc sợi cáp tại điểm đầu, điểm cuối, các điểm rẽ nhánh và sau khoảng cách phù hợp với đường lò cụ thể phải có các tấm nhãn mác để chỉ rõ các thông tin sau: Tên của sợi cáp theo sơ đồ nguyên lý, điện áp cung cấp, loại cáp, điểm đầu nguồn cung cấp, điểm đến của phụ tải để nhận biết rõ ràng thuận lợi cho công tác vận hành, kiểm tra và sửa chữa cáp điện.
8.2.3 Cáp được treo trong các đường lò trên các móc hoặc dây treo cáp. Khi đi chung trên cùng một tuyến phải thực hiện lần lượt từ trên xuống theo cấp điện áp của mạng cáp được cung cấp, các cáp của mạng tín hiệu, mạch điều khiển tự động, mạch đo lường giám sát, mạch thông tin liên lạc và cáp quang phải cách các mạch điện lực ít nhất 200 mm.
8.2.4. Các cáp của mạch an toàn tia lửa đi riêng biệt sử dụng loại cáp có vỏ bọc kim, không cho phép các mạch an toàn tia lửa và các mạch không an toàn tia lửa đi chung trong một cáp, trừ trường hợp các sợi cáp của mạch an toàn tia lửa đi trong màn chắn bảo vệ.
8.2.5. Để cung cấp điện cho các phụ tải điện di động phải sử dụng cáp phòng nổ loại mềm, với thiết bị cầm tay phải là cáp đặc biệt mềm.
8.2.6. Để cung cấp điện cho các máy công tác hoặc phụ tải điện được điều khiển tại vị trí của máy phải sử dụng cáp phòng nổ có lõi điều khiển có màn chắn.
8.2.7. Đối với trục chính của tuyến cáp cung cấp điện ít di chuyển trong vận hành cho phép sử dụng cáp phòng nổ cứng có cách điện XLPE, cách điện PVC hoặc cáp phòng nổ mềm có cách điện cao su.
8.2.8. Đối với các tuyến cáp trong vận hành thường xuyên phải thay đổi theo thực tế công nghệ khai thác phải sử dụng các cáp phòng nổ mềm có cách điện cao su.
8.2.9. Để chống nhiễu cho các hệ thống điều khiển, tự động hóa, đo lường giám sát, hệ thống thông tin liên lạc và các mạch an toàn tia lửa các loại cáp sử dụng cho các hệ thống này phải là cáp có vỏ bọc kim bằng băng đồng hoặc lưới đồng.
8.3. Độ tăng nhiệt độ của cáp điện phòng nổ cho mỏ
Trong quá trình vận hành nhiệt độ của các đầu vào cáp tuân thủ Điều 16 của TCVN 10888-0:2015 (IEC 60079-0:2011) và không được vượt quá 70 °C ở vị trí đầu vào cáp và 80 °C ở các điểm phân nhánh của lõi sợi cáp.
9. Yêu cầu và phương pháp kiểm tra thử nghiệm
9.1. Yêu cầu chung
Các phép kiểm tra, thử nghiệm phải được thực hiện theo Điều 14 của TCVN 5935-1:2013 và các yêu cầu trong điều này:
9.1.1. Nhiệt độ môi trường quanh bằng (20±15) °C;
9.1.2. Giá trị độ ẩm tương đối đến 95 % ở nhiệt độ 25 °C;
9.1.3. Hàm lượng ôxy là 21 % về thể tích;
9.1.4. Không có khí cháy, khí độc hại và hơi ăn mòn;
9.1.5. Phương tiện dụng cụ để kiểm tra, thử nghiệm phải đảm bảo hoạt động chính xác, tin cậy và được hiệu chuẩn theo quy định.
9.2. Kiểm tra kích thước kết cấu cáp
9.2.1. Kiểm tra đường kính của sợi dây đơn, đường kính của sợi dây đơn tuân thủ theo Điều 7 của TCVN 6612:2007 (IEC 60228:2004) và thông số kỹ thuật của loại cáp cụ thể do nhà sản xuất cung cấp.
9.2.2. Đo độ dày của cách điện: Độ dày của cách điện là giá trị nhỏ nhất đo được tại điểm có cách điện mỏng nhất, giá trị này phải thỏa mãn khoản 6.6.3 của Quy chuẩn kỹ thuật này.
9.2.3. Đo độ dày của vỏ bọc của cáp, độ dày của cách điện là giá trị nhỏ nhất đo được tại điểm có vỏ bọc mỏng nhất, giá trị đo được phải thỏa mãn khoản tuân thủ theo Điều 13 của TCVN 5935-1:2013 (IEC 60502-1:2009) và thông số kỹ thuật của loại cáp cụ thể do nhà sản xuất cung cấp.
9.2.4. Kiểm tra lớp màn chắn bảo vệ: Các lớp màn chắn phải tuân thủ theo khoản 6.6.5 của Quy chuẩn kỹ thuật này và các thông số kỹ thuật của loại cáp cụ thể trong tài liệu do nhà sản xuất cung cấp.
9.2.5. Kiểm tra đường kính ngoài của cáp: Đường kính ngoài của cáp phải phù hợp với thông số kỹ thuật của loại cáp cụ thể do nhà sản xuất cung cấp.
9.2.6. Kiểm tra nhãn mác trên vỏ cáp và độ mài mòn của nhãn mác: Các ký tự của nhãn mác của cáp phải được nhìn rõ, lau nhẹ các vết ghi nhãn mác trên bề mặt bằng 1 miếng bông thấm nước hoặc 1 miếng vải cotton thấm nước. Lau tổng cộng 10 lần kết quả không làm thay đổi hoặc mở các ký tự của nhãn mác.
9.3. Đo điện trở của ruột dẫn
Đo điện trở một chiều DC của ruột dẫn điện phải thực hiện theo khoản 15.2 của TCVN 5935-1:2013 giá trị của điện trở DC đo được quy về 20 °C của ruột dẫn điện tuân thủ Điều 5 của TCVN 6612:2007 (IEC 60228:2004) khoản 3 Điều 6 của Quy chuẩn kỹ thuật này hoặc theo các thông số kỹ thuật cho trong tài liệu của các loại cáp cụ thể do nhà sản xuất cung cấp.
9.4. Kiểm tra điện trở cách điện của cáp
9.4.1. Kiểm tra đối với cáp mới được sản xuất: Giá trị cách điện phải thỏa mãn các yêu cầu cho trong các tài liệu kỹ thuật do nhà sản xuất cáp cung cấp tham khảo Điều 7 của Quy chuẩn kỹ thuật này.
9.4.2. Đối với kiểm tra các loại cáp điện đang sử dụng: Kiểm tra điện trở cách điện thực hiện trong quá trình kiểm tra bảo trì hoặc sửa chữa cáp theo quy định tại khoản 16 Điều 106 QCVN 01:2011/BCT.
9.5. Thử nghiệm điện áp tần số công nghiệp
Thử nghiệm chịu điện áp tần số công nghiệp của từng lõi cáp thực hiện theo khoản 15.3 của TCVN 5935-1:2013 (IEC60502-1:2009) và điểm 5 khoản 4 Điều 6 của Quy chuẩn kỹ thuật này, giá trị điện áp thử nghiệm được tham khảo trong Bảng 9, kết quả thử nghiệm không có sự phóng điện đánh thủng cách điện của ruột dẫn.
9.6. Thử nghiệm va đập
9.6.1. Thử nghiệm được thực hiện trên máy thử va đập bằng búa rơi tự do.
9.6.2. Khối lượng và hành trình của búa theo quy định tại Bảng 26.
Bảng 26. Khối lượng và hành trình búa
|
Tiết diện ruột dẫn mạch lực mm2 |
Khối lượng búa kg |
Chiều cao rơi m |
|
16 |
20 |
0,75 |
|
Từ 25 đến 35 |
20 |
1,1 |
|
Từ 50 đến 150 |
20 |
1,5 |
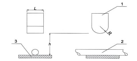
9.6.3. Nội dung thử nghiệm: Cắt một mẫu dài khoảng 2 m từ sợi cáp đã hoàn thành và lắp vào máy thử nghiệm, như trong Hình 5.
Đặt điện áp định mức xoay chiều ba pha giữa mỗi lõi nguồn của mẫu (điện áp 0,66/1,14 kV được áp dụng cho cáp trên điện áp định mức 0,66/1,14 kV) và kết nối rơle phát hiện rò điện, búa rơi tự do từ độ cao quy định va đập với mẫu cáp. Cùng một mẫu nên được thử nghiệm ở 5 vị trí tương ứng và khoảng cách giữa hai vị trí liền kề là khoảng 100 mm.

Chú dẫn:
1 - Búa (R=25, L>1,5d);
2 - Mẫu cáp thử nghiệm;
3 - Tấm sắt;
R - Bán kính cong của đầu búa 25 mm;
h - Hành trình rơi.
Hình 5. Mô hình thử tính chịu va đập của cáp điện
Kết quả thử nghiệm phải thỏa mãn yêu cầu tại khoản 6.13.2 và cáp không bị hư hỏng làm rơ le rò tác động.
9.7. Thử nghiệm uốn
9.7.1. Mô hình thử nghiệm chung như Hình 6.

Hình 6 - Mô hình chung để thử độ uốn cong của cáp điện
9.7.2. Nội dung thử nghiệm uốn: Cáp được lắp vào hệ thống để có thể uốn theo hình chữ “S” theo hai chiều, mẫu cáp thử được bắt chặt vào cơ cấu tạo uốn cong, các ruột dẫn của mạch lực và điều khiển được kết nối đến thiết bị phát hiện đứt, chập cáp của các ruột cáp và bộ nguồn tín hiệu, thực hiện quá trình lặp lại làm cho phần thử nghiệm của cáp tạo thành quá trình uốn từ trạng thái thẳng sang trạng thái hình chữ “S”, bán kính uốn được chọn theo quy định tại Bảng 27.
Bảng 27 - Bán kính cong của cáp khi thử nghiệm
|
Tiết diện danh định của ruột dẫn điện mm2 |
Bán kính uốn cong R mm |
|
Từ 16 đến 50 |
150 ± 10 |
|
Từ 70 đến 95 |
200 ± 10 |
|
Từ 120 đến 150 |
250 ± 10 |
Kết quả thử nghiệm thỏa mãn theo yêu cầu của khoản 6.13.3, bộ phận tín hiệu kiểm tra không phát hiện được hiện tượng đứt hoặc chập cáp.
9.8. Thử nghiệm tính chống cháy của cáp đơn lắp thẳng đứng
Thử nghiệm tính chống cháy của cáp đơn thẳng đứng thực hiện theo yêu cầu kỹ thuật của TCVN 6613-1-2:2010 (IEC 60332-1-2:2004).
9.8.1. Mô hình thử như Hình 7

Chú dẫn:
1 - Tủ thử bằng kim loại.
2 - Thanh đỡ và dây đồng dùng để cố định.
3 - Đoạn cáp thử nghiệm.
Khoảng cách A: Chiều dài tính từ đáy tủ thử đến chỗ thấp nhất của đoạn thử nghiệm = 50 mm (xấp xỉ).
Hình 7 - Bố trí đoạn cáp thử nghiệm trên giá thử nghiệm
9.8.2. Sơ đồ bố trí ngọn lửa theo Hình 8

Chú dẫn:
1 - Mép dưới của thanh đỡ trên.
2 - Đoạn cáp thử nghiệm.
Hình 8 - Đặt ngọn lửa vào đoạn cáp thử nghiệm
9.8.3. Thời gian thử nghiệm đốt cháy: Ngọn lửa phải được đặt liên tục trong thời gian tương ứng với đường kính quy định trong Bảng 28.
Bảng 28 - Thời gian đặt ngọn lửa
|
Đường kính ngoài của cáp thử nghiệm 1) mm |
Thời gian đặt ngọn lửa s |
|
D ≤ 25 |
60 ± 2 |
|
25 < D ≤ 50 |
120 ± 2 |
|
50 < D ≤ 75 |
240 ± 2 |
|
D > 75 |
480 ± 2 |
|
Chú dẫn: 1) Trong trường hợp thử nghiệm cáp không tròn (ví dụ, kết cấu dạng dẹt) thì đo chu vi và từ đó tính đường kính tương đương như với cáp tròn. |
|
Kết thúc thời gian thử nghiệm quy định, phải rút mỏ đốt ra rồi dập tắt ngọn lửa của mỏ đốt.
Kết quả thử nghiệm phải thỏa mãn yêu cầu của TCVN 6613-1-2:2010 (IEC 60332-1-2:2004) như sau đây:
Mẫu cáp thử là đạt yêu cầu nếu khoảng cách giữa mép dưới của thanh đỡ trên và phần bắt đầu cháy thành than lớn hơn 50 mm.
Ngoài ra, nếu phần cháy thành than kéo dài xuống phía dưới vượt quá điểm cách mép dưới của thanh đỡ trên là 540 mm thì được coi là không đạt yêu cầu của thử nghiệm này.
9.9. Thử nghiệm đốt cháy dưới tải
Thử nghiệm tính chống cháy của cáp đơn đặt thẳng đứng thực hiện theo yêu cầu và phương pháp thử của TCVN 9618-21:2013 (IEC 60331-21:1999).
9.9.1. Mô hình thử nghiệm tính toàn vẹn của cáp khi đốt cháy như Hình 9

Chú dẫn:
|
1 - Máy biến áp 2 - Cầu chảy (2 A) hoặc áptômát (1.6A). 3 - Nối đến pha L3 (hoặc L1 hoặc L2) 4 - Vòng đỡ 5 - Ruột dẫn hoặc nhóm thử nghiệm 6 - Tải và cơ cấu chỉ thị (ví dụ, bóng đèn) 7 - Mẫu cáp thử nghiệm 8 - Màn chắn kim loại (nếu có) |
Dây nối và nguồn cung cấp L1, L2, L3 ruột dẫn pha (nếu có) N ruột dẫn trung tính (nếu có) PE ruột dẫn bảo vệ (nếu có) |
Hình 9. Sơ đồ mạch điện cơ bản thử nghiệm tính toàn vẹn của cáp khi đốt cháy
9.9.2. Thời gian đặt ngọn lửa tối thiểu là 90 phút.
Kết quả theo yêu cầu của TCVN 9618-21:2013 (IEC 60331-21:1999) cáp có các đặc tính để cung cấp tính toàn vẹn của mạch điện trong quá trình thử nghiệm nếu:
Điện áp được duy trì, tức là cầu chảy không chảy hoặc áptômát không tác động.
Ruột dẫn không đứt, tức là bóng đèn không bị tắt.
10. Quy định về nhãn
10.1. Nội dung ghi trên nhãn
Thông tin ghi trên nhân của cáp điện phòng nổ sử dụng trong mỏ hầm lò tuân thủ theo quy định tại khoản 1 Điều 10 Nghị định số 43/2017/NĐ-CP ngày 14 tháng 4 năm 2017 của Chính phủ về nhãn hàng hóa đã được sửa đổi, bổ sung bởi Nghị định số 111/2021/NĐ-CP ngày 09 tháng 11 năm 2021 của Chính phủ sửa đổi, bổ sung một số điều Nghị định 43/2017/NĐ-CP quy định về nhãn hàng hóa và vỏ của cáp điện phòng nổ phải thể hiện các nội dung sau:
10.1.1. Tên của nhà sản xuất;
10.1.2. Mã hiệu;
10.1.3. Điện áp, V;
10.1.4. Số lõi, tiết diện;
10.1.3. Chiều dài, m;
10.1.4. Tiêu chuẩn cáp được áp dụng;
10.1.5. Năm sản xuất.
10.2. Nhận dạng các ruột dẫn của cáp
10.2.1. Màu sắc và trình tự màu của lõi dây cách điện là:
a) Màu sắc ưu tiên đối với lõi cách điện của cáp 1 lõi và cáp 2 lõi là màu đỏ và màu trắng;
b) Màu sắc ưu tiên đối với lõi dây cách điện của cáp 3 lõi là đỏ, trắng và xanh nhạt;
c) Lõi tiếp đất phải có màu đen;
d) Lõi dây điều khiển phải dễ nhận biết.
10.2.2. Nhận biết lõi dây cách điện theo các cách sau:
a) Màu cao su cách điện khác nhau;
b) Các sọc màu khác màu in trên bề mặt cách điện;
c) Nhúng sợi màu vào sợi con của lớp dệt;
d) Chữ số Ả Rập được in trên bề mặt của lớp cách điện hoặc lớp màn chắn.
III. QUY ĐỊNH VỀ QUẢN LÝ
11. Quy định về quản lý
11.1. Cáp điện phòng nổ thuộc phạm vi điều chỉnh của Quy chuẩn này phải công bố hợp quy phù hợp với các quy định về kỹ thuật an toàn tại Phần II của Quy chuẩn kỹ thuật này, gắn dấu hợp quy (dấu CR) trước khi lưu thông trên thị trường.
11.2. Cáp điện phòng nổ sản xuất trong nước, nhập khẩu phải thực hiện kiểm tra nhà nước về chất lượng hàng hóa theo quy định tại Nghị định số 132/2008/NĐ-CP ngày 31 tháng 12 năm 2008 của Chính phủ quy định chi tiết thi hành một số điều của Luật Chất lượng sản phẩm, hàng hóa; Nghị định số 74/2018/NĐ-CP ngày 15 tháng 5 năm 2018 của Chính phủ sửa đổi, bổ sung một số điều của Nghị định số 132/2008/NĐ-CP ngày 31 tháng 12 năm 2008 của Chính phủ quy định chi tiết thi hành một số điều Luật Chất lượng sản phẩm, hàng hóa Nghị định số 154/2018/NĐ-CP ngày 09 tháng 11 năm 2018 của Chính phủ sửa đổi, bổ sung, bãi bỏ một số quy định về điều kiện đầu tư, kinh doanh trong lĩnh vực quản lý nhà nước của Bộ Khoa học và Công nghệ và một số quy định về kiểm tra chuyên ngành.
11.3. Công bố hợp quy
11.3.1. Việc công bố hợp quy cáp điện phòng nổ sản xuất trong nước, nhập khẩu phải dựa trên kết quả chứng nhận của tổ chức chứng nhận được Bộ Công Thương chỉ định theo quy định tại Thông tư số 36/2019/TT-BCT ngày 29 tháng 11 năm 2019 của Bộ trưởng Bộ Công Thương quy định quản lý chất lượng sản phẩm, hàng hóa thuộc trách nhiệm quản lý của Bộ Công Thương (sau đây viết tắt là Thông tư số 36/2019/TT-BCT) hoặc được thừa nhận theo quy định của Thông tư số 27/2007/TT-BKHCN ngày 31 tháng 10 năm 2007 của Bộ trưởng Bộ Khoa học và Công nghệ hướng dẫn việc ký kết và thực hiện các Hiệp định và thỏa thuận thừa nhận lẫn nhau kết quả đánh giá sự phù hợp (sau đây viết tắt là Thông tư số 27/2007/TT-BKHCN).
11.3.2. Chứng nhận hợp quy
Chứng nhận hợp quy đối với cáp điện phòng nổ sản xuất trong nước và nhập khẩu thực hiện theo phương thức 5 “Thử nghiệm mẫu điển hình và đánh giá quá trình sản xuất; giám sát thông qua thử nghiệm mẫu lấy tại nơi sản xuất hoặc trên thị trường hoặc lô hàng nhập khẩu kết hợp với đánh giá quá trình sản xuất” hoặc phương thức 7 “Thử nghiệm, đánh giá lô sản phẩm, hàng hóa” tại cơ sở sản xuất theo quy định tại khoản 1 Điều 5 Thông tư số 28/2012/TT-BKHCN ngày 12 tháng 12 năm 2012 của Bộ trưởng Bộ Khoa học và Công nghệ quy định về công bố hợp chuẩn, công bố hợp quy và phương thức đánh giá sự phù hợp với tiêu chuẩn, quy chuẩn kỹ thuật (sau đây viết tắt là Thông tư số 28/2012/TT-BKHCN).
11.3.3. Thử nghiệm phục vụ việc chứng nhận hợp quy phải được thực hiện bởi tổ chức thử nghiệm được Bộ Công Thương chỉ định theo quy định tại Thông tư số 36/2019/TT-BCT hoặc tổ chức được thừa nhận theo quy định của Thông tư số 27/2007/TT-BKHCN.
11.3.4. Trình tự, thủ tục và hồ sơ công bố hợp quy
Trình tự, thủ tục và hồ sơ công bố hợp quy đối với cáp điện phòng nổ sản xuất trong nước và nhập khẩu thực hiện theo Thông tư số 36/2019/TT-BCT.
11.4. Dấu hợp quy phải tuân thủ theo quy định tại khoản 2 Điều 4 quy định về chứng nhận hợp chuẩn, chứng nhận hợp quy và công bố hợp chuẩn, công bố hợp quy ban hành kèm theo Thông tư số 28/2012/TT-BKHCN.
12. Yêu cầu về hồ sơ quản lý cáp điện phòng nổ sử dụng trong mỏ hầm lò
12.1. Phải có đầy đủ các tài liệu kỹ thuật của nhà chế tạo, gồm: Hướng dẫn vận chuyển, sử dụng, bảo dưỡng và bảo quản. Trường hợp tài liệu kỹ thuật tiếng nước ngoài phải có bản dịch sang tiếng Việt được công chứng.
12.2. Cáp điện phòng nổ nhập khẩu phải thực hiện đăng ký kiểm tra nhà nước về chất lượng hàng hóa nhập khẩu theo quy định tại Thông tư số 36/2019/TT-BCT ngày 29 tháng 11 năm 2019 của Bộ Công Thương quy định quản lý chất lượng sản phẩm, hàng hóa nhóm 2 thuộc trách nhiệm quản lý của Bộ Công Thương.
12.3. Tổ chức, cá nhân sử dụng cáp điện phòng nổ phải lập hồ sơ quản lý từ khi bắt đầu đưa vào sử dụng bao gồm:
12.3.1. Tính toán, lựa chọn cáp điện phòng nổ được phê duyệt.
12.3.2. Biện pháp thi công, sơ đồ vị trí lắp của cáp điện phòng nổ.
12.3.3. Hồ sơ nghiệm thu sau lắp đặt.
12.3.4. Hồ sơ kiểm định, thí nghiệm hiệu chỉnh.
12.3.5. Quy định vận hành và sử dụng cáp điện.
12.3.6. Nội quy an toàn, quy trình trong vận chuyển, lắp đặt, kiểm tra, vận hành và bảo quản cáp điện phòng nổ sử dụng trong mỏ hầm lò.
13. Yêu cầu về kiểm tra trong quá trình vận hành
13.1. Kiểm tra, đánh giá các tính năng kỹ thuật được thực hiện theo QCVN QTĐ-5:2009/BCT, QCVN 01:2011/BCT, loạt tiêu chuẩn TCVN 5935-1:2013 (IEC 60502-1:2009), TCVN 6612:2007 (IEC 60228:2004), TCVN 6613-1-2:2010 (IEC 60332-1-2:2004), TCVN 6613-3-10:2010 (IEC 60332-3-10:2009), TCVN 9618-21:2013 (IEC 60331-21:1999), loạt tiêu chuẩn TCVN 9615-1:2013 (IEC 60245-1:2008), loạt tiêu chuẩn MT 818 -1~13, TCVN 10888-0:2015 (IEC 60079-0:2011), TCVN 7079-17:2003, IEC 60079-17:2013.
13.2. Các phương pháp kiểm tra:
Các phương pháp kiểm tra thực hiện theo yêu cầu khoản 3 của IEC 60079-17:2013 gồm:
13.2.1. Kiểm tra bằng trực quan: Kiểm tra xác định, mà không cần sử dụng tiếp cận bằng thiết bị hoặc các dụng cụ.
13.2.2. Kiểm tra trực tiếp: Kiểm tra những bộ phận ở bên ngoài bằng trực quan và xác định các khuyết tật bằng cách sử dụng dụng cụ, thiết bị. Kiểm tra trực tiếp không được mở vỏ hoặc cắt điện thiết bị.
13.2.3. Kiểm tra chi tiết: Kiểm tra trong đó bao gồm những nội dung của kiểm tra trực tiếp và xác định các khuyết tật bằng sử dụng dụng cụ, thiết bị. Kiểm tra chi tiết phải cắt điện và mở vỏ thiết bị.
14. Thời hạn và nội dung kiểm tra
14.1. Trách nhiệm và tần suất kiểm tra:
14.1.1. Người vận hành hoặc thợ điện thường trực kiểm tra hàng ca.
14.1.2. Phó Quản đốc cơ điện phân xưởng hoặc người được ủy quyền kiểm tra hàng tuần.
14.1.3. Trưởng phòng cơ điện hoặc người được ủy quyền kiểm tra hàng quý.
14.1.4. Phó Giám đốc cơ điện hoặc những người được chỉ định kiểm tra hàng năm.
14.2. Nội dung kiểm tra thực hiện theo quy định tại Phụ lục B Quy chuẩn kỹ thuật này.
14.3. Kết luận về tình trạng kỹ thuật an toàn cáp điện phòng nổ sử dụng trong mỏ hầm lò và chỉ cho phép đưa vào sử dụng hoặc tiếp tục vận hành khi đảm bảo kỹ thuật an toàn.
14.4. Khi phát hiện thiết bị không đảm bảo an toàn, người theo dõi, vận hành phải dừng sử dụng và báo cáo người có trách nhiệm để xử lý.
15. Yêu cầu về thử nghiệm và kiểm định
15.1. Theo các loại hình kiểm định, các phép thử nghiệm, kiểm định phải được thực hiện theo hướng dẫn kỹ thuật, phương pháp thử, quy trình thử nghiệm và các thiết bị thử nghiệm cho trong các Quy chuẩn và Tiêu chuẩn QCVN QTĐ-5:2009/BCT, QCVN 01:2011/BCT, loạt tiêu chuẩn TCVN 5935-1 (IEC 60502-1), TCVN 6612:2007 (IEC 60228:2004), TCVN 6613-1-2:2010 (IEC 60332-1-2:2004), TCVN 6613-3-10:2010 (IEC 60332-3-10:2000), TCVN 9618-21:2013 (IEC 60331-21:1999), loạt tiêu chuẩn TCVN 9615-1:2013 (IEC 60245-1:2008), loạt tiêu chuẩn MT 818-(1~13), TCVN 10888-0:2015 (IEC 60079-0:2011), TCVN 7079-17:2003, IEC 60079-17:2013.
15.1.1. Các hạng mục và thông số cụ thể của các phép kiểm tra, thử nghiệm thực hiện theo hướng dẫn của các tiêu chuẩn kỹ thuật được áp dụng và theo tài liệu hướng dẫn của nhà chế tạo.
15.1.2. Các phương tiện đo (đồng hồ đo U, I, f phương tiện đo điện trở cách điện, nhiệt độ, độ ẩm, khí mêtan) dùng trong các phép kiểm tra, thử nghiệm tại Quy chuẩn kỹ thuật này phải được kiểm định, hiệu chuẩn theo pháp luật đo lường.
15.2. Báo cáo, đánh giá kết quả thử nghiệm, kiểm định
Báo cáo, đánh giá kết quả thử nghiệm, kiểm định phải chỉ ra cụ thể kết quả kiểm tra, thử nghiệm đạt hoặc không đạt các yêu cầu kỹ thuật trong các tiêu chuẩn, Quy chuẩn kỹ thuật áp dụng.
15.2.1. Thử nghiệm, kiểm định đạt yêu cầu khi: Đáp ứng các yêu cầu kỹ thuật của các Tiêu chuẩn, Quy chuẩn kỹ thuật được áp dụng tại Bảng C Phụ lục C Quy chuẩn kỹ thuật này.
15.2.2. Thử nghiệm, kiểm định không đạt yêu cầu khi: Không đáp ứng một trong các yêu cầu kỹ thuật của các Tiêu chuẩn, Quy chuẩn kỹ thuật được áp dụng tại Bảng C Phụ lục C Quy chuẩn kỹ thuật này.
IV. TỔ CHỨC THỰC HIỆN
16. Trách nhiệm của tổ chức, cá nhân
16.1. Các tổ chức, cá nhân có liên quan đến sản xuất, nhập khẩu, thử nghiệm, kiểm định và sử dụng cáp điện phòng nổ trong mỏ hầm lò phải tuân thủ theo các quy định của Quy chuẩn kỹ thuật này.
16.2. Tổ chức, cá nhân sử dụng cáp điện phòng nổ sử dụng trong mỏ hầm lò phải:
16.2.1. Thường xuyên kiểm tra cáp điện phòng nổ theo quy định, kịp thời báo cáo cấp có thẩm quyền khi phát hiện sự cố, biểu hiện mất an toàn trong quá trình vận hành.
16.2.2. Sửa chữa, bảo dưỡng, thử nghiệm, kiểm định cáp điện phòng nổ theo quy định tại Quy chuẩn kỹ thuật này và các yêu cầu của văn bản pháp luật khác có liên quan.
16.2.3. Lập hồ sơ theo dõi, quản lý và sử dụng an toàn cáp điện phòng nổ sử dụng trong mỏ hầm lò theo quy định tại Quy chuẩn kỹ thuật này.
16.3. Các tổ chức thử nghiệm, kiểm định
Tổ chức thử nghiệm, kiểm định phải thực hiện các nội dung quy định tại Quy chuẩn kỹ thuật này và phải chịu trách nhiệm về các kết quả thử nghiệm, kiểm định theo quy định hiện hành.
17. Tổ chức thực hiện
17.1. Cục Kỹ thuật an toàn và Môi trường công nghiệp, Bộ Công Thương có trách nhiệm:
17.1.1. Hướng dẫn, tổ chức triển khai thực hiện các quy định tại Quy chuẩn kỹ thuật này.
17.1.2. Thanh tra, kiểm tra việc thực hiện các nội dung được quy định tại Quy chuẩn kỹ thuật này đối với các tổ chức có liên quan tới cáp điện phòng nổ sử dụng trong hầm lò.
17.2. Sở Công Thương các tỉnh, thành phố theo chức năng, quyền hạn tổ chức thanh tra, kiểm tra việc thực hiện các nội dung được quy định tại Quy chuẩn kỹ thuật này.
17.3. Tổ chức, cá nhân trong quá trình thực hiện Quy chuẩn kỹ thuật này, trường hợp có phát sinh khó khăn, vướng mắc trong quá trình thực hiện đề nghị phản ánh về Bộ Công Thương để xem xét, giải quyết./.
Phụ lục A
MÃ HS CỦA DANH MỤC SẢN PHẨM HÀNG HÓA THUỘC PHẠM VI ĐIỀU CHỈNH CỦA QUY CHUẨN
|
Tên sản phẩm, hàng hóa |
Mã HS |
|
Cáp điện phòng nổ |
8544.20.11 |
|
8544.20.19 |
|
|
8544.20.21 |
|
|
8544.20.29 |
|
|
8544.42.94 |
|
|
8544.42.95 |
|
|
8544.42.96 |
|
|
8544.42.97 |
|
|
8544.42.99 |
|
|
8544.49.22 |
|
|
8544.49.23 |
|
|
8544.49.29 |
|
|
8544.49.41 |
|
|
8544.49.49 |
|
|
8544.60.11 |
|
|
8544.60.19 |
|
|
8544.60.21 |
|
|
8544.60.29 |
Phụ lục B
NỘI DUNG KIỂM TRA
I. Kiểm tra hàng ca:
Nội dung kiểm tra hàng ca theo quy định tại Bảng B1.
Bảng B1. Quy định nội dung kiểm tra hàng ca
|
STT |
Nội dung kiểm tra |
Phương pháp kiểm tra |
Kết quả kiểm tra cho phép vận hành |
|
1 |
Vị trí lắp đặt cáp điện phòng nổ |
Bằng trực quan, trực tiếp |
- Đảm bảo theo quy định tại Điều 8 của Quy chuẩn kỹ thuật này. - Không có nguy cơ bị va đập và nước nhỏ giọt. |
|
2 |
Lắp đặt |
Bằng trực quan, trực tiếp |
Lắp đặt chắc chắn trên các móc treo, giá đỡ và máy công tác, không bị xô lệch rung động trong vận hành. Các đường cáp vào ra đúng kỹ thuật không bị kéo căng, gập gẫy. |
|
3 |
Tình trạng bên ngoài của vỏ |
Bằng trực quan, trực tiếp |
Nguyên vẹn không có các vết va đập, rạn nứt, hư hỏng, biến dạng vĩnh cửu |
|
4 |
Tiếp đất |
Bằng trực quan, trực tiếp |
Các bộ phận tiếp đất của cáp điện phòng nổ gồm: - Các vỏ giáp bảo vệ cáp; - Các dây tiếp đất, màn chắn của các ruột cáp; Phải có đầy đủ, được bắt chắc chắn và tin cậy vào thiết bị điện phòng nổ. |
|
5 |
Kiểm tra các thông số vận hành của cáp điện phòng nổ thông qua bảng hiển thị hoặc các đồng hồ chỉ thị của thiết bị điều khiển. |
Bằng trực quan, trực tiếp |
Các thông số vận hành gồm: Điện áp, dòng điện, các tín hiệu và các thông tin khác trong khi vận hành tiếp tục. Xem xét các thông báo về sự cố đã xảy ra trong ca trước (nếu có). |
|
6 |
Kiểm tra các tình trạng khác (nếu có): nhiệt độ, mùi vị, khói hơi, muội than |
Bằng trực quan, trực tiếp |
Nhiệt độ bên ngoài cáp bình thường, không có sự phát nóng quá mức; Không có mùi lạ, mùi khét của chất cách điện do quá nhiệt. Không có khói hoặc hơi bay ra từ thiết bị. Không có muội than bám trên cáp. |
|
7 |
Xác nhận các thông tin sự cố (nếu có) của các ca vận hành trước đó |
Bằng trực quan, trực tiếp |
- Tác động của bảo vệ dòng điện. - Tác động của bảo vệ điện áp. - Tác động của bảo vệ chạm đất. |
|
8 |
Kiểm tra sơ đồ nguyên lý cung cấp điện, nội quy an toàn và quy trình vận hành của hệ thống thiết bị điện |
Bằng trực quan, trực tiếp |
- Phải có sơ đồ nguyên lý cung cấp điện chính xác rõ ràng được cập nhật theo hiện trạng ở vị trí dễ quan sát và có các thông số tải vận hành của cáp điện phòng nổ trong sơ đồ cung cấp điện. - Phải có nội quy, quy trình vận hành rõ ràng dễ đọc, dễ quan sát. |
|
9 |
Kiểm tra thiết bị an toàn |
Bằng trực quan, trực tiếp |
Phải có đầy đủ trong trạng thái sẵn sàng làm việc tốt: Găng, ủng, ghế cách điện, thùng cát chống cháy, các bình bọt chống cháy, xẻng và phương tiện chữa cháy khác, hàng rào ngăn cách an toàn, các biển báo nguy hiểm và biển thông báo. |
|
10 |
Kiểm tra các cổ cáp vào, ra |
Bằng trực quan, trực tiếp |
- Tất cả các đầu vào của cáp phòng nổ phải còn nguyên vẹn, chắc chắn, kín khít, không bị biến dạng, cong vênh, phải có đầy đủ các bu lông đúng chủng loại, có vòng đệm vênh và được vặn chặt chắc chắn. - Không cho vận hành cáp điện phòng nổ khi có các đầu vào cáp phòng nổ thiếu bất kỳ các bu lông hoặc bị lỏng. - Cáp lắp đặt phải không được chịu lực dọc hoặc lực uốn theo cáp. |
|
11 |
Vệ sinh, kiểm tra các tấm nhãn của cáp điện phòng nổ |
Bằng trực quan, trực tiếp |
- Vệ sinh sạch sẽ bụi bẩn bám bên ngoài phía của vỏ cáp. - Các tấm ghi nhãn phải đầy đủ nguyên vẹn, sạch sẽ dễ đọc và không bị hư hỏng, mờ các thông số, không nhìn được rõ ràng. |
II. Kiểm tra hàng tuần:
Ngoài nội dung các công việc kiểm tra hàng ca phải kiểm tra thêm các nội dung theo quy định tại Bảng B2.
Bảng B2. Quy định nội dung kiểm tra hàng tuần
|
STT |
Nội dung kiểm tra |
Phương pháp kiểm tra |
Kết quả kiểm tra cho phép vận hành |
|
1 |
Mối ghép phòng nổ các đầu vào của cáp điện phòng nổ |
Trực tiếp |
- Kiểm tra khe hở mối ghép phòng nổ theo chu vi của mối ghép, khe hở phải đảm bảo yêu cầu kỹ thuật. - Vặn chặt các bu lông bị lỏng. |
|
2 |
Các cơ cấu đấu nối cáp vào cổ cáp |
Trực tiếp |
Vặn chặt tất cả các cổ cáp và bu lông của cổ cáp và các cơ cấu chống trôi. |
|
3 |
Các vị trí kết nối của cáp |
Trực tiếp |
Không bị lỏng, không bị biến mầu do tác động của điện, chắc chắn tin cậy. |
III. Kiểm tra hàng quý:
Ngoài nội dung các công việc kiểm tra hàng tuần phải kiểm tra thêm các nội dung theo quy định tại Bảng B3.
Bảng B3. Quy định nội dung kiểm tra hàng quý
|
STT |
Nội dung kiểm tra |
Phương pháp kiểm tra |
Kết quả kiểm tra cho phép vận hành |
|
1 |
Các kết nối điện của các đầu vào cáp đến thiết bị điện phòng nổ |
Trực tiếp |
Vặn chặt tất cả các kết nối điện của các ruột dẫn của cáp. |
|
2 |
Các cổ cáp vào, ra mạch lực và mạch điều khiển |
Trực tiếp |
Vặn chặt tất cả các cổ cáp và bu lông của cổ cáp và các cơ cấu chống trôi. |
|
3 |
Hệ thống tiếp đất |
Trực tiếp |
- Kiểm tra củng cố hệ thống tiếp đất và đo điện trở tiếp đất. - Giá trị điện trở tiếp đất đảm bảo Rtđ ≤ 2 Ω, đo tại bất kỳ vị trí nào. |
|
4 |
Hệ thống bảo vệ |
Trực tiếp |
Kiểm tra hoạt động bảo vệ của các hệ thống bảo vệ của thiết bị điều khiển mà cáp điện đấu đến. |
IV. Kiểm tra hàng năm:
Ngoài nội dung các công việc kiểm tra hàng quý phải kiểm tra thêm các nội dung theo quy định tại Bảng B4.
Bảng B4. Quy định nội dung kiểm tra hàng năm
|
STT |
Nội dung kiểm tra |
Phương pháp kiểm tra |
Kết quả kiểm tra cho phép vận hành |
|
1 |
Kiểm tra các các đầu vào cáp, các kết nối của cáp. |
Trực tiếp |
Vặn chặt tất cả các bu lông hoặc cơ cấu bắt chặt phòng nổ, kiểm tra khe hở mối ghép phòng nổ theo chu vi của mối ghép, vặn chặt tất cả các kết nối điện. |
|
2 |
Kiểm tra điện trở cách điện |
Trực tiếp |
Kiểm tra điện trở cách điện của cáp. Giá trị của điện trở cách điện phải thỏa mãn khoản 16 Điều 106 QCVN 01:2011/BCT |
Phụ lục C
NỘI DUNG THỬ NGHIỆM, KIỂM ĐỊNH
I. Nội dung thử nghiệm, kiểm định theo quy định tại Bảng C
Bảng C. Quy định nội dung thử nghiệm, kiểm định
|
STT |
Nội dung thử nghiệm, kiểm định |
Kiểm định lần đầu |
Kiểm định định kỳ |
Kiểm định bất thường |
|
I |
Kiểm tra, thử nghiệm các tính năng kỹ thuật điện |
|
|
|
|
1 |
Kiểm tra điện trở cách điện của cáp |
√ |
√ |
√ |
|
2 |
Thử nghiệm chịu điện áp tần số công nghiệp |
√ |
- |
x |
|
3 |
Kiểm tra cấu trúc của cáp điện |
|
|
|
|
- |
Ghi nhãn trên bề mặt cáp |
√ |
- |
x |
|
- |
Đường kính ngoài của cáp |
√ |
- |
x |
|
- |
Đường kính của sợi dây đơn của ruột dẫn |
√ |
- |
|
|
- |
Độ dày cách điện |
√ |
- |
|
|
- |
Độ dày của vỏ bọc |
√ |
- |
|
|
4 |
Thử nghiệm tính chống va đập cơ học |
- |
- |
√ |
|
5 |
Thử nghiệm tính chống uốn |
- |
- |
√ |
|
6 |
Thử nghiệm tính chống cháy của cáp |
|
|
|
|
- |
Thử nghiệm đốt cháy cáp khi đặt thẳng đứng |
√ |
- |
√ |
|
- |
Thử nghiệm tính toàn vẹn của mạch điện khi đốt cáp |
√ |
- |
√ |
|
II |
Kiểm tra, lắp đặt của cáp điện phòng nổ |
|
|
|
|
7 |
Kiểm tra sự nguyên vẹn và lắp đặt đúng của các phễu cáp, cổ cáp vào, ra mạch lực và mạch điều khiển |
√ |
√ |
√ |
|
8 |
Kiểm tra sự kẹp chặt và độ kín của các cổ cáp, phễu cáp mạch lực và mạch điều khiển |
- |
- |
x |
|
9 |
Kiểm tra sự nguyên vẹn và sự kẹp chặt của các cọc đấu dây |
√ |
√ |
√ |
|
10 |
Kiểm tra sự nguyên vẹn của các cực đấu của dây tiếp đất. |
√ |
√ |
√ |
|
11 |
Kiểm tra tuyến cáp theo sơ đồ nguyên lý cung cấp điện Kiểm tra tình trạng bên ngoài của vỏ cáp |
√ |
√ |
√ |
|
Chú dẫn: - Kí hiệu “√” chỉ hạng mục bắt buộc thực hiện. - Kí hiệu “x” chỉ hạng mục khi công tác sửa chữa, đại tu có sự thay đổi của các cấu trúc và thông số ảnh hưởng tới các đặc tính kỹ thuật và mức độ của dạng bảo vệ nổ hoặc được thực hiện theo yêu cầu. - Kí hiệu “-” chỉ hạng mục không cần thực hiện. |
||||
Phụ lục D
TÀI LIỆU THAM KHẢO
|
STT |
TÀI LIỆU THAM KHẢO |
MỤC ĐÍCH, NỘI DUNG ÁP DỤNG |
|
1 |
MT 818 (1~13)-2009 (Cáp cho mỏ than - Phần 1~13). |
Quy định về cáp điện cho mỏ than |
|
2 |
IEC 60079-14:2013 Explosive atmospheres - Part 14: Electrical installations design, selection and erection (Khí quyển nổ - Phần 14: Thiết kế lắp đặt điện, lựa chọn và lắp ráp) |
Quy định về kỹ thuật và thiết kế lắp đặt điện |
|
3 |
IEC 60079-17:2013 Explosive atmospheres - Part 17: Electrical installations inspection and maintenance (Khí quyển nổ - Phần 17: Kiểm tra và bảo dưỡng lắp đặt điện). |
Quy định về kiểm tra và bảo dưỡng |
Bạn chưa Đăng nhập thành viên.
Đây là tiện ích dành cho tài khoản thành viên. Vui lòng Đăng nhập để xem chi tiết. Nếu chưa có tài khoản, vui lòng Đăng ký tại đây!
Bạn chưa Đăng nhập thành viên.
Đây là tiện ích dành cho tài khoản thành viên. Vui lòng Đăng nhập để xem chi tiết. Nếu chưa có tài khoản, vui lòng Đăng ký tại đây!
