- Tổng quan
- Nội dung
- Tiêu chuẩn liên quan
- Lược đồ
- Tải về
Tiêu chuẩn TCVN 7722-2-3:2007 Yêu cầu với đèn điện chiếu sáng đường phố
| Số hiệu: | TCVN 7722-2-3:2007 | Loại văn bản: | Tiêu chuẩn Việt Nam |
| Cơ quan ban hành: | Đang cập nhật | Lĩnh vực: | Công nghiệp |
|
Ngày ban hành:
Ngày ban hành là ngày, tháng, năm văn bản được thông qua hoặc ký ban hành.
|
2007 |
Hiệu lực:
|
Đã biết
|
| Người ký: | Đang cập nhật |
Tình trạng hiệu lực:
Cho biết trạng thái hiệu lực của văn bản đang tra cứu: Chưa áp dụng, Còn hiệu lực, Hết hiệu lực, Hết hiệu lực 1 phần; Đã sửa đổi, Đính chính hay Không còn phù hợp,...
|
Đã biết
|
TÓM TẮT TIÊU CHUẨN VIỆT NAM TCVN 7722-2-3:2007
Nội dung tóm tắt đang được cập nhật, Quý khách vui lòng quay lại sau!
Tải tiêu chuẩn Việt Nam TCVN 7722-2-3:2007
TIÊU CHUẨN QUỐC GIA
TCVN 7722-2-3 : 2007
ĐÈN ĐIỆN –
PHẦN 2: YÊU CẦU CỤ THỂ -
MỤC 3: ĐÈN ĐIỆN DÙNG CHO CHIẾU SÁNG ĐƯỜNG PHỐ
Luminaires –
Part 2: Particular requirements –
Sections 3: Luminaires for road and street lighting
Lời nói đầu
TCVN 7722-2-3 : 2007 thay thế TCVN 5828:1994, TCVN 5829:1994;
TCVN 7722-2-3 : 2007 hoàn toàn tương đương với IEC 60598-2-3: 2002
TCVN 7722-2-3 : 2007 do Ban kỹ thuật tiêu chuẩn TCVN/TC/E2 Thiết bị điện dân dụng biên soạn, Tổng cục Tiêu chuẩn Đo lường chất lượng đề nghị, Bộ Khoa học và Công nghệ công bố.
Lời giới thiệu
TCVN 7722-2-3 : 2007 là một phần của bộ tiêu chuẩn Việt Nam TCVN 7722 (IEC 60598)
Bộ tiêu chuẩn IEC 60598 gồm IEC 60598-1, Đèn điện – Yêu cầu chung và thử nghiệm, và các phần 2 mang số hiệu từ 60598-2-1 đến 60598-2-40 qui định về các yêu cầu cụ thể đối với các loại đèn điện khác nhau.
Bộ tiêu chuẩn Việt Nam TCVN 7722 (IEC 60598) có các tiêu chuẩn dưới đây:
1) TCVN 7722-2-2 : 2007, Đèn điện – Phần 2: Yêu cầu cụ thể - Mục 2: Đèn điện lắp chìm
2) TCVN 7722-2-3 : 2007, Đèn điện – Phần 2: Yêu cầu cụ thể - Mục 3: Đèn điện dùng cho chiếu sáng đường phố
3) TCVN 7722-2-5 : 2007, Đèn điện – Phần 2: Yêu cầu cụ thể - Mục 5: Đèn pha
ĐÈN ĐIỆN –
PHẦN 2: YÊU CẦU CỤ THỂ -
MỤC 3: ĐÈN ĐIỆN DÙNG CHO CHIẾU SÁNG ĐƯỜNG PHỐ
Luminaires –
Part 2: Particular requirements –
Sections 3: Luminaires for road and street lighting
3.1. Phạm vi áp dụng
Tiêu chuẩn này qui định các yêu cầu đối với:
- đèn điện chiếu sáng đường phố và các ứng dụng chiếu sáng ngoài trời tại các điểm công cộng khác;
- chiếu sáng đường hầm;
- đèn điện liền cột có chiều cao tổng tối thiểu bên trên mặt đất làm chuẩn là 2,5m;
và để sử dụng với các nguồn sáng sử dụng điện có điện áp không vượt quá 1000V.
CHÚ THÍCH: Đèn điện liền cột có chiều cao tổng thấp hơn 2,5m đang được xem xét.
3.1.1. Tài liệu viện dẫn
Ngoài các tài liệu được liệt kê trong mục 0 của IEC 60598-1, tiêu chuẩn này còn có các tài liệu viện dẫn dưới đây:
IEC 60364-7-714 : 1996, Electrical installations of buildings – Part 7: Requirements for special installations or locations – Section 714: External lighting installations (Hệ thống lắp đặt điện cho các tòa nhà – Phần 7: Yêu cầu đối với hệ thống lắp đặt đặc biệt hoặc khu vực đặc biệt – Mục 714: Hệ thống chiếu sáng bên ngoài tòa nhà).
IEC 60068-2-75 : 1997, Enironmential testing – Part 2-75: Tests – Test Eh: Hammer tests (Thử nghiệm môi trường – Phần 2-75: Các thử nghiệm – Thử nghiệm Eh: Thử nghiệm búa)
3.2. Yêu cầu thử nghiệm chung
Áp dụng các điều của mục 0 trong IEC 60598-1.
Các thử nghiệm được mô tả trong từng mục thích hợp của phần 1 phải được tiến hành theo thứ tự liệt kê trong mục đó của phần 2.
Để thuận tiện thử nghiệm và do kích thước của mẫu, cho phép chỉ sử dụng các phần thích hợp của đèn điện (chủ yếu áp dụng cho đèn điện liền cột)
3.3. Định nghĩa
Tiêu chuẩn này áp dụng các định nghĩa trong mục 1 của IEC 60598-1 và các định nghĩa sau.
3.3.1. Dây khẩu độ (span wire)
Dây giữa các cơ cấu đỡ chính mang trọng lượng của toàn bộ khối lắp đặt.
CHÚ THÍCH: Dây khẩu độ có thể bao gồm một số đèn điện, cáp nguồn và dây néo.
3.3.2. Dây treo (suspension wire)
Dây được gắn vào dây khẩu độ và mang trọng lượng của đèn điện.
3.3.3. Dây néo (stay wire)
Dây được căng giữa hai cơ cấu đỡ chính để giới hạn chuyển động sang các bên và chuyển động quay của đèn điện loại treo.
3.3.4. Đèn điện liền cột (column-integrated luminaires)
Hệ thống chiếu sáng có đèn điện lắp liền với cột chiếu sáng được cố định vào đất.
3.3.5. Bộ phận bên ngoài dùng để phản xạ hoặc trang trí của đèn điện liền cột (reflective or decorative external part of a column-integrated luminaire)
Cơ cấu để phản xạ ánh sáng theo một hướng nhất định hoặc để trang trí, được lắp bên ngoài khoang bóng đèn, thường ở đỉnh của đèn điện liền cột.
CHÚ THÍCH: Trong tiêu chuẩn này, bộ phận này được gọi là “bộ phận bên ngoài”
3.3.6. Cột chiếu sáng (lighting column)
Cơ cấu đỡ được thiết kế để đỡ một hoặc nhiều đèn điện, bao gồm một hoặc nhiều bộ phận: cột, có thể có chi tiết để vươn rộng ra, và một công xon, nếu cần. Cột chiếu sáng không bao gồm các cột dùng để chăng dây đèn.
3.3.7. Chiều cao danh nghĩa của đèn điện liền cột (nominal height of a column-integrated luminaire)
Khoảng cách giữa đường tâm của điểm gá lắp đèn hoặc bộ phận bên ngoài và mức mặt đất dự kiến, đối với đèn điện liền cột chôn xuống đất, hoặc đáy của mặt bích đối với đèn điện liền cột có mặt bích.
3.3.8. Phương tiện mở của đèn điện liền cột (door opening of a column-integrated luminaire)
Lỗ ở cột đèn điện liền cột để tiếp cận với thiết bị điện.
3.3.9. Lối vào cáp của đèn điện liền cột (cable entry slot of a column integrated luminaire)
Lỗ ở phần đèn điện liền cột nằm thấp hơn mặt đất để cáp đi vào.
3.3.10. Hộp nối của đèn điện liền cột (connection box of a column integrated luminaire)
Hộp chứa các khối đầu nối: cơ cấu bảo vệ và cho phép đấu nối đèn điện liền cột với lưới điện chính và đường cáp nhánh của nguồn.
3.3.11. Đèn điện trong hầm (tunnel luminaires)
Đèn điện dùng để chiếu sáng trong các đường hầm được lắp đặt trực tiếp hoặc trên khung gắn trên vách hầm hoặc nóc hầm.
3.4. Phân loại đèn điện
Đèn điện phải được phân loại phù hợp với các điều trong mục 2 của IEC 60598-1
CHÚ THÍCH: Đèn điện chiếu sáng đường phố thường phù hợp với một hoặc nhiều phương thức lắp đặt sau đây:
a) trên một ống (công xon) hoặc cơ cấu tương tự;
b) trên một xà (cột) đỡ;
c) trên đỉnh cột;
d) trên dây khẩu độ hoặc dây treo;
e) trên tường.
3.5. Ghi nhãn
Áp dụng các điều trong mục 3 của IEC 60598-1. Ngoài ra, phải cung cấp các thông tin dưới đây trong tờ hướng dẫn đi kèm đèn điện:
a) tư thế đặt theo thiết kế (tư thế làm việc bình thường);
b) khối lượng kể cả cơ cấu điều khiển nếu có;
c) kích thước tổng thể
d) nếu được thiết kế để lắp đặt cao hơn mặt đất 8m, diện tích hình chiếu lớn nhất chịu tải trọng gió (xem 3.6.3.1);
e) dải diện tích mặt cắt của dây treo thích hợp với đèn điện, nếu thuộc đối tượng áp dụng;
f) sự phù hợp để sử dụng trong nhà với điều kiện là không giảm đi 10 oC từ giá trị nhiệt độ đo được để tính đến các ảnh hưởng của lưu thông không khí tự nhiên (xem 3.12.1);
g) kích thước của ngăn đặt hộp nối;
h) giá trị mô men xoắn, tính bằng Nm, cần xiết bu lông hoặc vít bất kỳ dùng để cố định đèn điện vào cơ cấu đỡ.
3.6. Kết cấu
Áp dụng các điều của mục 4 trong IEC 60598-1 cùng với các yêu cầu từ điều 3.6.1 đến 3.6.5.
3.6.1. Tất cả đèn điện phải có bảo vệ tối thiểu là IPX3 chống sự xâm nhập có hại của hơi ẩm, ngoài ra đối với đèn điện chiếu sáng trong đường hầm và đèn điện liền cột có lắp kính cho bộ phận bên ngoài có cửa bên thì yêu cầu cấp bảo vệ IPX5.
Đối với đèn điện liền cột có phương tiện mở, phải có cấp IP như sau:
1) các bộ phận thấp hơn 2,5 m: IP3X (xem 60364-7-714)
2) các bộ phận cao hơn 2,5 m: IP2X (khi các bộ phận bên ngoài có cửa bên, cấp IP của chỗ lắp kính phải là 5X)
3.6.2. Đèn điện dùng để treo trên dây khẩu độ phải có lắp các cơ cấu kẹp và trong tờ hướng dẫn đi kèm đèn điện phải nêu dãy kích thước dây khẩu độ thích hợp với cơ cấu kẹp. Cơ cấu này phải kẹp chặt dây khẩu độ để ngăn ngừa dịch chuyển của đèn điện so với dây khẩu độ.
Cơ cấu treo không được làm hỏng dây khẩu độ trong quá trình lắp đặt và sử dụng bình thường của đèn điện.
Kiểm tra sự phù hợp bằng cách xem xét sau khi lắp đèn điện lên dây khẩu độ lớn nhất và nhỏ nhất nằm trong dải công bố của nhà chế tạo đèn điện.
CHÚ THÍCH: Phải chú ý để tránh ăn mòn điện hóa giữa cơ cấu kẹp và dây khẩu độ.
3.6.3. Phương tiện để gắn đèn điện hoặc bộ phận bên ngoài lên cơ cấu đỡ của nó phải phù hợp với khối lượng của đèn điện hoặc bộ phận bên ngoài đó. Mối nối phải được thiết kế để chịu được vận tốc gió là 150km/h trên bề mặt chiếu của cụm lắp ráp mà không bị lệch đi quá mức.
Cơ cấu ổn định để mang trọng lượng của đèn điện hoặc bộ phận bên ngoài và các phụ kiện bên trong phải có phương tiện để ngăn ngừa sự bật ra của bất kỳ bộ phận nào của đèn điện hoặc bộ phận bên ngoài do rung, cả trong vận hành và bảo trì.
Các bộ phận của đèn điện hoặc các bộ phận bên ngoài nếu chỉ được cố định bằng ít nhất bằng hai cơ cấu cố định, ví dụ, vít hoặc phương tiện tương tự có đủ độ bền thì phải có bảo vệ bổ sung nhằm ngăn ngừa các bộ phận này rơi xuống và gây nguy hiểm cho người, động vật và các vật xung quanh do cơ cấu cố định bị hỏng trong điều kiện bình thường.
Kiểm tra sự phù hợp bằng cách xem xét và, đối với đèn điện hoặc bộ phận bên ngoài được lắp trên đỉnh cột hoặc xà đỡ, bằng thử nghiệm 3.6.3.1.
Không yêu cầu thử nghiệm về sức gió đối với các đèn điện trong đường hầm.
CHÚ THÍCH: Khi xem xét ảnh hưởng có thể có của rung, đèn điện phải được xem xét cùng với bóng đèn và cột, mà chúng sẽ sử dụng với nhau.
3.6.3.1. Thử nghiệm tải tĩnh đối với đèn điện hoặc các bộ phận bên ngoài được lắp trên nhánh cột hoặc đỉnh cột.
Đèn điện hoặc các bộ phận bên ngoài được lắp đặt sao cho bề mặt đáng lo ngại nhất phải mang tải.
Bề mặt đáng lo ngại nhất được xác định bằng cách tính giá trị lớn nhất của Cd x S
trong đó:
Cd là hệ số cản gió;
S là diện tích bề mặt mang tải (m2)
Hệ số cản gió phụ thuộc vào hình dạng bề mặt. Đối với đèn điện hoặc bộ phận bên ngoài mà Cd không đo được thì phải lấy giá trị là 1,2.
CHÚ THÍCH 1: Xem phụ lục A về cách đo Cd.
Các phương tiện giá lắp phải được xiết chặt theo hướng dẫn của nhà chế tạo.
Đặt một tải không đổi, phân bố đều lên bề mặt đáng lo ngại nhất trong 10 min.
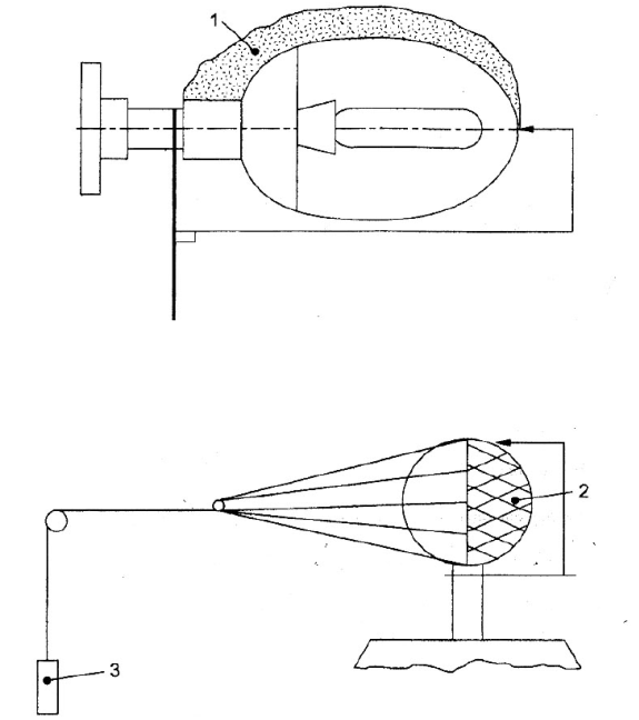
CHÚ THÍCH 2: Xem hình 1 về phương pháp phân bố đều của tải. Trong trường hợp sử dụng các túi thì các túi này có thể đổ đầy cát, viên chì hoặc các viên bi nhỏ.
Tải phải bằng
F= 1/2 Rh x S x Cd x V2 (N)
trong đó:
Rh bằng 1,225kg/m3 (khối lượng theo thể tích của không khí);
V là vận tốc gió (m/s)
Vận tốc gió ứng với chiều cao lắp đặt của đèn điện hoặc các bộ phận bên ngoài phải là:
V = 45/m/s (163 km/h) đối với chiều cao đến 8m;
V = 52m/s (188 km/h) đối với chiều cao trong khoảng từ 8 m đến 15 m;
V = 57m/s (205 km/h) đối với chiều cao trên 15m;
CHÚ THÍCH 3: Ở một số nước, vận tốc gió được xác định theo qui tắc của quốc gia (ví dụ, Nhật Bản)
Hệ số cản gió là 1,2 (hoặc giá trị chính xác đo theo phụ lục A).
Sau khi thử nghiệm, không được có hỏng hóc nhìn thấy được làm mất an toàn, cơ cấu gá lắp không được biến dạng vĩnh viễn với độ võng quá 2cm/m, và không bị xoay quanh điểm gá lắp.
3.6.4. Nếu sử dụng đui đèn mà không đảm bảo vị trí đúng của bóng đèn thì phải có cơ cấu đỡ thích hợp.
Đối với đui đèn hoặc các bộ phận quang điều chỉnh được, phải có các nhãn tham chiếu thích hợp.
Kiểm tra sự phù hợp bằng cách xem xét.
3.6.5. Nắp đậy bằng kính phải là loại khi vỡ thì vỡ thành các mảnh nhỏ, hoặc phải có lưới chắn có mắt lưới đủ nhỏ hoặc sử dụng kính lớp có phủ mỏng để giữ lại các mảnh vỡ.
Đối với nắp đậy bằng kính phẳng, kiểm tra sự phù hợp bằng cách xem xét, và nếu kính này không có lưới chắc bảo vệ thì kiểm tra bằng thử nghiệm sau.
Phần kính được đỡ trên toàn bộ diện tích để đảm bảo rằng các mảnh vỡ không bị phát tán khi vỡ và không cho các mảnh vỡ di chuyển. Đập vỡ kính bằng một đầu tu tại điểm trên cạnh dài hơn và lùi vào 30mm về giữa tấm kính. Trong vòng 5 min sau khi vỡ, đếm các mảnh vỡ nằm trong một hình vuông có cạnh 50 mm, ở tâm của vùng có các mảnh vỡ to nhưng vẫn nằm trong giới hạn tấm kính này.
CHÚ THÍCH: Trong trường hợp có thể, vùng đo không nên nằm trong phạm vi 30 mm tính từ mép kính, những chỗ có khoan lỗ hoặc gia công cơ khí.
Tấm kính được coi là đáp ứng thử nghiệm này, nếu trong hình vuông có cạnh 50 mm, số mảnh vỡ nhiều hơn 60 mảnh; không đếm các mảnh kính vụn và các mảnh vỡ nhỏ hơn chiều dày toàn phần của tấm kính. Đối với tấm kính có kích thước nhỏ hơn mà ở đó vùng 50 mm x 50 mm là không thực hiện được thì số mảnh vỡ yêu cầu khi đếm có thể giảm tương ứng.
Khi đếm tổng số các mảnh vỡ trong hình vuông có cạnh 50 mm, đếm các mảnh vỡ tại trung tâm của hình vuông cộng với các mảnh vỡ ở mép. Để đếm các mảnh vỡ tại mép của hình vuông, nên đếm tất cả các mảnh nằm trên hai cạnh liền kề còn bỏ qua các mảnh nằm trên hai cạnh còn lại (xem hình 2).
Phương pháp phù hợp để đếm các mảnh vỡ là đặt một hình vuông có cạnh 50 mm bằng vật liệu trong suốt lên tấm kính và dùng mực đánh dấu một chấm cho mỗi mảnh vỡ trong hình vuông đếm được.
CHÚ THÍCH 1: Khi mẫu thử nghiệm vẫn giữ được ở dạng tấm thì các đường nứt thường được sử dụng để thể hiện đã vỡ và do đó ước tính được kích thước và số lượng mảnh vỡ, trừ khi sử dụng cốt gia cường hoặc màng mỏng.
CHÚ THÍCH 2: Đối với nắp đậy bằng kính dạng tấm phẳng, thử nghiệm đang được xem xét.
3.6.6. Khoang nối của đèn điện liền cột phải có đủ không gian trong phạm vi phương tiện mở để chứa:
- các đầu nối của đèn điện;
- các cơ cấu bảo vệ;
- đầu nối và mạch cáp cung cấp điện;
- hộp nối (nếu có)
Khoang nối phải có đủ phương tiện để gắn các thiết bị trên dây. Khi các phương tiện là kim loại thì khoang nối phải bằng vật liệu chống ăn mòn hoặc phải có bảo vệ phù hợp chống ăn mòn.
3.6.7. Liên quan đến việc tính tải và kiểm tra thiết kế về cấu trúc bằng thử nghiệm, các đèn điện liền cột, không kể các bộ phận bên ngoài của chúng, phải phù hợp với tiêu chuẩn ISO trong trường hợp có sẵn hoặc có thể áp dụng các tiêu chuẩn vùng hoặc tiêu chuẩn quốc gia, trong trường hợp áp dụng.
CHÚ THÍCH: Ở châu Âu áp dụng EN 40, ở Nhật Bản áp dụng JIL 1003 và ở Bắc Mỹ áp dụng ANSI C136.
3.6.8. Cánh cửa của đèn điện liền cột phải được xử lý chống ăn mòn phù hợp với cách xử lý áp dụng cho đèn điện liền cột.
Kiểm tra sự phù hợp bằng cách xem xét và bằng các thử nghiệm qui định trong 4.18 của phần 1.
Phương tiện mở phải được thiết kế sao cho chỉ người được ủy quyền mới mở được nó.
Thử nghiệm điển hình được thực hiện trên mẫu cửa. Thiết bị thử nghiệm phải là thiết bị búa dạng con lắc, thử nghiệm rơi thẳng đứng, thử nghiệm va đập theo nguyên lý làm việc kiểu lò xo qui định trong IEC 60068-2-75 hoặc bằng các phương tiện phù hợp khác để cho kết quả tương đương. Năng lượng va đập là 5 N phải được đặt ba lần.
Va đập phải được đặt ở tâm của cánh cửa trên mặt rộng nhất khi cửa có nhiều mặt.
Sau thử nghiệm, mẫu thử không bị hỏng, cụ thể là:
- cơ cấu khóa vẫn phải hoạt động;
- không có vết nứt nhìn thấy được trên mẫu thử;
- mức bảo vệ IP phải không bị giảm (xem 3.6.1)
3.6.9. Đối với đèn điện liền cột:
- lối vào cáp không được nhỏ hơn 50 mm x 150 mm;
- tuyến cáp từ lối vào cáp tới khoang nối không được nhỏ hơn 50mm và không có vật cản trở, gờ sắc, gờ ráp, ba via, v.v… mà có thể mài mòn cáp.
Kiểm tra sự phù hợp bằng cách xem xét và bằng phép đo.
CHÚ THÍCH: Ở Mỹ, kích thước lối vào cáp phải phù hợp với ANSI C136.
3.7. Chiều dài đường rò và khe hở không khí
Áp dụng các điều trong mục 11 của IEC 60598-1.
3.8. Qui định nối đất
Áp dụng các điều trong mục 7 của IEC 60598-1 cùng với các yêu cầu của 3.8.1.
3.8.1. Đồ gá của bộ phận cố định đầu nối phải được thiết kế và thực hiện sao cho khi tháo bộ phận kẹp chặt thì đầu nối không bị xoay.
Kiểm tra sự phù hợp bằng cách xem xét và bằng thử nghiệm về cơ qui định trong các mục 14 và 15 của phần 1.
3.9. Đầu nối
Áp dụng các điều trong mục 14 và 15 của IEC 60598-1.
Các đầu nối để nối tới nguồn cung cấp phải cho phép nối dây dẫn có mặt cắt danh nghĩa theo bảng 14.1 trong mục 14 của IEC 60598-1, không kể cáp nguồn có mặt cắt nhỏ hơn 1 mm2.
Kiểm tra sự phù hợp bằng cách lắp dây dẫn có mặt cắt nhỏ nhất và lớn nhất qui định.
3.10. Dây dẫn bên trong và dây dẫn bên ngoài
Áp dụng các điều trong mục 14 và 15 của IEC 60598-1 cùng với các yêu cầu của điều 3.10.1.
3.10.1. Đèn điện chiếu sáng đường phố phải có cơ cấu chặn dây sao cho ruột dẫn của cáp nguồn không chịu ứng lực tại nơi đấu nối chúng với các đầu nối, nếu như không có cơ cấu chặn dây thì trọng lượng của cáp nguồn tác dụng ứng lực lên các mối nối.
Kiểm tra sự phù hợp bằng thử nghiệm liên quan ở mục 5 của IEC 60598-1, nhưng với lực kéo là 60 N và mômen xoắn là 0,25 Nm.
Các giá trị lực kéo và mômen xoắn phụ thuộc vào khối lượng của cáp nguồn. Nhìn chung, các giá trị qui định này là phù hợp, nhưng đối với đèn điện được thiết kế lắp đặt cao hơn 20 m và khi khối lượng của cáp nguồn tác dụng lên cơ cấu chặn dây vượt quá 4kg thì áp dụng giá trị lực kéo là 100 N và mômen xoắn là 0,35 Nm.
3.11. Bảo vệ chống điện giật
Áp dụng các điều trong mục 8 của IEC 60598-1.
3.12. Thử nghiệm độ bền và thử nghiệm về nhiệt
Áp dụng các điều trong mục 12 của IEC 60598-1 cùng với các yêu cầu sau:
3.12.1. Khi áp dụng các giới hạn cho trong các bảng trong mục 12 của IEC 60598-1, nhiệt độ đo được trên đèn điện trong vỏ thử nghiệm được phép giảm đi 10 oC để tính đến các ảnh hưởng của sự dịch chuyển không khí tự nhiên xảy ra trong môi trường làm việc của đèn điện.
Các sản phẩm được thiết kế chỉ để sử dụng ngoài trời phải được thử nghiệm tại nhiệt độ công bố ta ± 5 oC. Khi đó có thể giảm nhiệt độ đo được sau thử nghiệm xuống 10 oC.
3.12.2. Đèn điện có IP lớn hơn IP20 phải chịu các thử nghiệm liên quan quy định ở 12.4, 12.5 và 12.6 trong mục 12 của IEC 60598-1 được thực hiện sau (các) thử nghiệm theo 9.2 nhưng trước (các) thử nghiệm theo 9.3 trong mục 9 của IEC 60598-1 được quy định trong 3.13 theo mục 9 của IEC 60598-2.
3.13. Khả năng chống bụi và ẩm
Áp dụng các điều trong mục 9 của IEC 60598-1 cùng với yêu cầu sau.
3.13.1. Đối với đèn điện có IP lớn hơn IP20 trình tự thử nghiệm qui định trong mục 9 của IEC 60598-1 cũng phải như qui định trong 3.12 của mục 9 trong IEC 60598-2.
3.14. Khả năng cách điện và độ bền điện
Áp dụng các điều trong mục 10 của IEC 60598-1.
3.15. Khả năng chịu nhiệt, chịu cháy và chịu phóng điện
Áp dụng các điều trong mục 13 của IEC 60598-1.

Chú giải
1. Túi cát
2. Lưới
3. Vật nặng
Hình 1 - Các quy trình khác nhau để thử nghiệm sức gió tĩnh

Hình 2 - Đếm các mảnh vỡ tại cạnh hình vuông
Phụ lục A
(tham khảo)
Phép đo hệ số cản gió
A.1. Phương pháp đo
Phép đo hệ số cản gió được thực hiện bằng phương pháp giống như phương pháp xác định hệ số cản gió trong ISO 4354.
Phép đo trên đèn điện dễ dàng hơn phép đo trên cấu trúc phức tạp (đèn điện thử nghiệm tĩnh tại đại diện cho kích thước thực tế của đèn điện).
Thông thường đặt đèn điện như nêu trong qui tắc lắp đặt của nhà chế tạo trong đường hầm có gió.
Đường hầm có gió cần sao cho bề mặt S của đèn điện chiếm không quá 5% diện tích mặt cắt ngang lớn nhất của đường hầm có gió.
Vận tốc gió dùng trong phép đo phải càng gần thực tế càng tốt, theo 3.6.3.1. Vận tốc 25m/s được xem là tối thiểu.
Sau phép đo này, không được có hỏng hóc nhìn thấy được làm mất an toàn của đèn điện.
A.2. Tài liệu tham khảo
ISO 4354 : 1997, Wind action on structures (Tác động của gió lên kết cấu).
MỤC LỤC
Lời nói đầu
Lời giới thiệu
3.1 Phạm vi áp dụng
3.2 Yêu cầu thử nghiệm chung
3.3 Định nghĩa
3.4 Phân loại đèn điện
3.5 Ghi nhãn
3.6 Kết cấu
3.7 Chiều dài đường rò và khe hở không khí
3.8 Qui định nối đất
3.9 Đầu nối
3.10 Dây dẫn bên ngoài và dây dẫn bên trong
3.11 Bảo vệ chống điện giật
3.12 Thử nghiệm độ bền và thử nghiệm về nhiệt
3.13 Khả năng chống bụi và ẩm
3.14 Điện trở cách điện và độ bền điện
3.15 Khả năng chịu nhiệt, chịu cháy và chịu phóng điện
Phụ lục A (tham khảo) – Phép đo hệ số cản gió
Bạn chưa Đăng nhập thành viên.
Đây là tiện ích dành cho tài khoản thành viên. Vui lòng Đăng nhập để xem chi tiết. Nếu chưa có tài khoản, vui lòng Đăng ký tại đây!