- Tổng quan
- Nội dung
- Tiêu chuẩn liên quan
- Lược đồ
- Tải về
Tiêu chuẩn Quốc gia TCVN 6422:1998 Vật liệu nổ công nghiệp - Xác định tốc độ nổ
| Số hiệu: | TCVN 6422:1998 | Loại văn bản: | Tiêu chuẩn Việt Nam |
| Cơ quan ban hành: | Bộ Khoa học, Công nghệ và Môi trường | Lĩnh vực: | Công nghiệp |
|
Ngày ban hành:
Ngày ban hành là ngày, tháng, năm văn bản được thông qua hoặc ký ban hành.
|
1998 |
Hiệu lực:
|
Đã biết
|
| Người ký: | Đang cập nhật |
Tình trạng hiệu lực:
Cho biết trạng thái hiệu lực của văn bản đang tra cứu: Chưa áp dụng, Còn hiệu lực, Hết hiệu lực, Hết hiệu lực 1 phần; Đã sửa đổi, Đính chính hay Không còn phù hợp,...
|
Đã biết
|
TÓM TẮT TIÊU CHUẨN VIỆT NAM TCVN 6422:1998
Nội dung tóm tắt đang được cập nhật, Quý khách vui lòng quay lại sau!
Tải tiêu chuẩn Việt Nam TCVN 6422:1998
TCVN 6422:1998
VẬT LIỆU NỔ CÔNG NGHIỆP- XÁC ĐỊNH TỐC ĐỘ NỔ
Industrial explosive matter - Determination of explosive velocity
Lời nói đầu
TCVN 6422:1998 do Tiểu ban Kỹ thuật Tiêu chuẩn TCVN/TC 27/SC Vật liệu nổ Công nghiệp biên soạn, Tổng cục Tiêu chuẩn Đo lường Chất lượng đề nghị, Bộ Khoa học Công nghệ và Môi trường (nay là Bộ Khoa học và Công nghệ) ban hành.
Tiêu chuẩn này được chuyển đổi năm 2008 từ Tiêu chuẩn Việt Nam cùng số hiệu thành Tiêu chuẩn Quốc gia theo quy định tại khoản 1 Điều 69 của Luật Tiêu chuẩn và Quy chuẩn kỹ thuật và điểm a khoản 1 Điều 6 Nghị định số 127/2007/NĐ-CP ngày 1/8/2007 của Chính phủ quy định chi tiết thi hành một số điều của Luật Tiêu chuẩn và Quy chuẩn kỹ thuật.
VẬT LIỆU NỔ CÔNG NGHIỆP - XÁC ĐỊNH TỐC ĐỘ NỔ
Industrial explosive matter - Determination of explosive velocity
1. Phạm vi áp dụng
Tiêu chuẩn này quy định phương pháp xác định tốc độ nổ trong phòng thí nghiệm của vật liệu nổ công nghiệp.
2. Tiêu chuẩn trích dẫn
TCVN 4586:1997 Vật liệu nổ công nghiệp - Yêu cầu an toàn về bảo quản, vận chuyển và sử dụng.
TCVN 6174:1997 Vật liệu nổ công nghiệp - Yêu cầu an toàn về sản xuất, thử nổ và nghiệm thu.
3. Nguyên tắc
Dùng máy đo thời gian xác định thời gian sóng nổ truyền qua một chiều dài nhất định trên thỏi thuốc, từ đó xác định tốc độ nổ của nó
4. Dụng cụ hóa chất
4.1. Ống giấy chuyên dụng có đường kính trong 24 mm ± 0,2 mm, dài 320 mm được cuộn từ giấy có độ dày từ 0,5 mm đến 1,5 mm, được dán cẩn thận và bao kín một đầu bảo đảm giữ tốt mẫu trong quá trình thí nghiệm.
4.2. Nắp đậy có đường kính 24 mm ± 0,2 mm được cắt từ giấy có độ dày 0,5 mm đến 1,5 mm. Dùng dụng cụ chuyên dụng tạo lỗ tròn ở tâm có đường kính 7,5 mm để tra kíp nổ. Nắp đậy giữ cho thuốc không bị rơi trong quá trình thí nghiệm.
4.3. Hai đoạn dây đồng tẩm cách điện, mỗi đoạn dài 300 mm, có đường kính Ф = 0,2 mm.
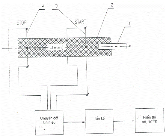
4.4. Cát đen khô, hàm lượng ẩm nhỏ hơn 0,05 %
4.5. Thiết bị xác định tốc độ nổ WOD-01-04 (xem Hình 1) gồm:
- Máy đo thời gian có độ chính xác 10-8S;
- Máy chuyển đổi tín hiệu;
- Dây dẫn tín hiệu 1 (Stat) và 2 (Stop).

1- Kíp nổ số 8; 3 - Dây tín hiệu khởi động;
2 - Khối thuốc nổ cần đo; 4 - Dây tín hiệu dừng;
Hình 1- Sơ đồ nguyên lý thiết bị xác định tốc độ nổ
4.6. Bộ chày cối bằng đồng hoặc sứ.
4.7. Chày gỗ chuyên dụng, có đường kính Ф = 23,5 mm ± 0,2 mm.
4.8. Cát thường khô, hàm lượng ẩm nhỏ hơn 0,05 %.
4.9. Tủ sấy chân không, khoảng điều chỉnh nhiệt độ 0oC ÷ 300oC.
4.10. Kíp nổ số 8 (kíp nổ điện hoặc kíp nổ thường).
4.11. Cân kỹ thuật, độ chính xác 0,01 g.
4.12. Thuốc kẹp.
4.13. Máy điểm hỏa.
5. Cách tiến hành
Mọi thao tác trong quá trình thử nghiệm phải bảo đảm an toàn theo TCVN 4586:1997 và TCVN 6174:1997.
5.1. Chuẩn bị mẫu
Nghiền mẫu thuốc trong cối đồng (hoặc sứ) qua rây 20 lỗ/cm2. Cân 135,65 g ± 0,01 g mẫu đã được nghiền. Cho mẫu thuốc vào ống giấy, dùng chày gỗ chuyên dụng nén nhẹ để thuốc mẫu đạt tỷ trọng 1 g/cm3 trong toàn bộ chiều dài 300 mm và tạo lỗ tra kíp ở đầu bằng. Chuẩn bị từ 3 mẫu đến 5 mẫu để tiến hành thí nghiệm.
Với loại thuốc có mật độ lớn hơn 1 g/cm2 thì tiến hành thử ở mật độ rắc.
Với loại thuốc nổ dạng Watergel, nhũ tương thì bỏ công đoạn nghiền mẫu.
5.2. Tiến hành
5.2.1. Xuyên hai đoạn dây đồng tẩm cách điện vuông góc với đường sinh thỏi mẫu, qua tâm, đoạn dây thứ nhất cách đầu lối tra kíp 40 mm, đoạn dây thứ hai cách đầu còn lại 10 mm. Cạo sạch lớp cách điện tại các đầu dây đồng để tiếp xúc với dây dẫn tín hiệu vào máy đo. Khi thao tác xong, đo lại khoảng cách giữa hai dây với độ chính xác ± 0,01 mm.
5.2.2. Rải cát khô để tạo mặt phẳng và chắc, đặt mẫu thuốc đã chuẩn bị lên trên lớp cát cho êm.
5.2.3. Nối hai đầu đoạn dây thứ nhất với tín hiệu 1 vào máy (dây start), hai đầu đoạn dây thứ hai được nối với dây tín hiệu thứ 2 vào máy (dây stop).
5.2.4. Tra kíp vào lỗ đã tạo trên mẫu thuốc.
5.2.5. Toàn bộ nhân viên (trừ kỹ thuật viên nối kíp nổ) sơ tán đến nơi an toàn quy định, kỹ thuật viên nối kíp nổ với dây nguồn điểm hỏa.
5.2.6. Đặt máy ở chế độ làm việc với đầu cảm trên máy đo cắt dây, tín hiệu trên thang đo đặt chế độ 10-8S.
5.2.7. Điểm hỏa và ghi lại thời gian trên máy đo.
5.2.8. Mỗi mẫu tiến hành thử ít nhất ba lần.
6. Cách tính kết quả
Tốc độ của thuốc nổ (D), tính bằng m/s, xác định theo công thức sau:
trong đó
L là khoảng cách giữa hai đoạn dây 1 và 2, tính bằng milimét;
t là thời gian đọc trên máy sau khi nổ, tính bằng giây.
Tốc độ nổ thuốc nổ thí nghiệm là trung bình của 3 lần thử.
7. Độ chính xác của phép đo
| Tốc độ nổ | Sai số lớn nhất có thể chấp nhận giữa các kết quả, m/s | |
| Độ lặp lại | Độ tái lập | |
| ± 50 | ± 70 | |
7.1. Độ lặp lại
Những kết quả của phép thử hai lần tiến hành ở những thời điểm khác nhau do cùng một người làm trên cùng một thiết bị đo với những mẫu thử lấy cùng một mẫu không được sai lệch quá trị số nói trên.
7.2. Độ tái lập
Kết quả thử trên cùng mẫu đại diện của lô tiến hành trong hai phòng thí nghiệm khác nhau không được sai lệch vượt quá trị số nói trên.
8. Báo cáo kết quả
Biên bản thử gồm những mục sau đây:
a) Phương pháp sử dụng;
b) Các kết quả và cách tính kết quả;
c) Mọi hiện tượng bất thường ghi nhận được trong khi thử;
d) Mọi thao tác không nêu trong tiêu chuẩn này hoặc được coi là tùy ý.
Bạn chưa Đăng nhập thành viên.
Đây là tiện ích dành cho tài khoản thành viên. Vui lòng Đăng nhập để xem chi tiết. Nếu chưa có tài khoản, vui lòng Đăng ký tại đây!