- Tổng quan
- Nội dung
- Tiêu chuẩn liên quan
- Lược đồ
- Tải về
Tiêu chuẩn Quốc gia TCVN 10367:2014 ISO 13769:2007 Chai chứa khí-Ghi nhãn
| Số hiệu: | TCVN 10367:2014 | Loại văn bản: | Tiêu chuẩn Việt Nam |
| Cơ quan ban hành: | Bộ Khoa học và Công nghệ | Lĩnh vực: | Công nghiệp |
|
Ngày ban hành:
Ngày ban hành là ngày, tháng, năm văn bản được thông qua hoặc ký ban hành.
|
2014 |
Hiệu lực:
|
Đã biết
|
| Người ký: | Đang cập nhật |
Tình trạng hiệu lực:
Cho biết trạng thái hiệu lực của văn bản đang tra cứu: Chưa áp dụng, Còn hiệu lực, Hết hiệu lực, Hết hiệu lực 1 phần; Đã sửa đổi, Đính chính hay Không còn phù hợp,...
|
Đã biết
|
TÓM TẮT TIÊU CHUẨN VIỆT NAM TCVN 10367:2014
Nội dung tóm tắt đang được cập nhật, Quý khách vui lòng quay lại sau!
Tải tiêu chuẩn Việt Nam TCVN 10367:2014
TIÊU CHUẨN QUỐC GIA
TCVN 10367:2014
ISO 13769:2007
CHAI CHỨA KHÍ – GHI NHÃN
Gas cylinders − Stamp marking
Lời nói đầu
TCVN 10367:2014 hoàn toàn tương đương với ISO 13769:2007.
TCVN 10367:2014 do Ban kỹ thuật tiêu chuẩn quốc gia TCVN/TC 58 Chai chứa khí biên soạn, Tổng cục Tiêu chuẩn Đo lường Chất lượng đề nghị, Bộ Khoa học và Công nghệ công bố.
CHAI CHỨA KHÍ – GHI NHÃN
Gas cylinders − Stamp marking
1. Phạm vi áp dụng
Tiêu chuẩn này quy định việc ghi nhãn cho các chai và ống chứa khí di động, nạp lại được có dung tích lớn hơn 0,5 L và nhỏ hơn hoặc bằng 3 000 L, bao gồm:
– Các chai chứa khí bằng thép và bằng nhôm;
– Các chai chứa khí bằng composit;
– Các chai chứa axetylen;
– Các chai chứa khí dầu mỏ hóa lỏng (LPG) (xem Phụ lục B); Sau đây, các chai chứa khí này được gọi là “chai”.
2. Tài liệu viện dẫn
Các tài liệu viện dẫn sau rất cần thiết cho việc áp dụng tiêu chuẩn này. Đối với các tài liệu viện dẫn ghi năm công bố thì áp dụng phiên bản đã nêu. Đối với các tài liệu viện dẫn không ghi năm công bố thì áp dụng phiên bản mới nhất, bao gồm cả các sửa đổi, bổ sung (nếu có).
TCVN 6874-1:2013 (ISO 11114-1:2010), Chai chứa khí di động – Tính tương thích của vật liệu làm chai chứa và làm van với khí chứa – Phần 1: Vật liệu kim loại.
3. Thuật ngữ và định nghĩa
Tiêu chuẩn này áp dụng các thuật ngữ và định nghĩa sau:
3.1
Ghi nhãn (permanent marking, stamp marking)
Ghi nhãn được áp dụng cho các chai bằng các phương pháp dập, khắc, đúc trên kim loại cứng hoặc các phương pháp tương tự khác.
CHÚ THÍCH 1: Việc ghi nhãn này phải dễ đọc trong toàn bộ tuổi thọ của chai.
CHÚ THÍCH 2: Đối với các chai bằng vật liệu composit, việc ghi nhãn có thể đạt được bằng cách sử dụng một nhãn in được bao bọc kín hoặc được đặt dưới lớp nhựa hoặc được phủ bằng một lớp phủ bền vững trong suốt trên vai hoặc thành bên của chai (xem 4.3).
3.2
Ghi nhãn bền lâu (durable marking)
Ghi nhãn bằng các phương pháp như in bằng khuôn thủng (ghi nhãn cho sản phẩm bằng mực và/hoặc sơn), dán nhãn [phù hợp với, ví dụ TCVN 6296 (ISO 7225)] hoặc các phương pháp thích hợp khác.
CHÚ THÍCH: Việc ghi nhãn này có thể được cải tiến nhưng phải dễ đọc trong một khoảng thời gian giới hạn.
4. Ứng dụng của ghi nhãn
4.1. Quy định chung
Ghi nhãn được liệt kê trong Bảng 1 gồm có nhãn chế tạo, nhãn vận hành và nhãn chứng nhận. Việc bố trí các nhãn, xem 4.3. Có thể áp dụng việc ghi nhãn bổ sung theo thỏa thuận của các bên có liên quan, với điều kiện là sự bố trí nhãn bổ sung không gây ra bất cứ nhầm lẫn nào cho việc giải thích về nhãn và không ảnh hưởng đến sự rõ ràng của các ghi nhãn bắt buộc khác.
4.2. Yêu cầu về ghi nhãn
Việc ghi nhãn được giới thiệu trong Bảng 1 phải được gắn cố định và dễ đọc sao cho không ảnh hưởng đến tính toàn vẹn của chai, ví dụ như trên chi tiết gia cường của chai hoặc trên một thiết bị phụ gắn cố định vào chai, Đối với các chai hàn, một số nhãn cố định sẽ xuất hiện trên một tấm nhận biết được hàn hoặc trên một chi tiết khác được kẹp chặt cố định vào chai và không chịu tác dụng của áp suất khí.
Đối với các chai bằng composit, việc ghi nhãn có thể đạt được bằng cách sử dụng một nhãn in được bao bọc kín hoặc được đặt dưới lớp nhựa hoặc được phủ bằng một lớp phủ bền vững, trong suốt trên vai hoặc thành bên của chai (xem 4.3). Ngoại trừ dấu hiệu “UN”, các ký tự trong ghi nhãn phải có chiều cao tối thiểu là 5 mm. Trên các chai có đường kính ngoài nhỏ hơn 140 mm, chiều cao này có thể được giảm đi nhưng trong bất cứ trường hợp nào, chiều cao của các ký tự cũng không được nhỏ hơn 2,5 mm. Cỡ nhỏ nhất của dấu hiệu “UN” phải là 10 mm cho các chai có đường kính lớn hơn hoặc bằng 140 mm và 5 mm cho các chai có đường kính nhỏ hơn 140 mm.
Độ sâu của các ký tự trong ghi nhãn được thực hiện bằng bất cứ phương pháp nào cũng phải bảo đảm sao cho dễ đọc và bền lâu trong tất cả các điều kiện làm việc.
Các dụng cụ được sử dụng cho ghi nhãn phải có các bán kính cần thiết để ngăn ngừa sự hình thành các rãnh có cạnh sắc. Bán kính của dụng cụ ghi nhãn không nên nhỏ hơn 0,2 mm. Có thể sử dụng các giá trị khác nhưng phải chứng minh được rằng bằng thử bền mỏi và thử nổ phù hợp với tiêu chuẩn thiết kế hoặc các tiêu chuẩn tương đương rằng sự phá hủy không phải do việc ghi nhãn gây ra.
4.3 Bố trí và vị trí ghi nhãn
Tất cả các ghi nhãn được mô tả trong Bảng 1 phải xuất hiện liên tiếp theo trình tự đã cho trên các hình trong Phụ lục A chỉ ra sự bố trí của ghi nhãn. Các quy định mẫu của Liên hiệp quốc phân biệt giữa các nhóm nhãn cố định khác nhau và cho chúng một vị trí rõ ràng trong bố trí của một số phương pháp ghi nhãn. Trên Hình A.1 và Hình A.2, nhóm trên cùng của một nhãn cố định bao gồm các nhãn chế tạo (12, 2, 3, 4, 6). Nhóm các nhãn cố định ở giữa bao gồm các nhãn cho vận hành (13, 10, 11,17, 7). Nhóm dưới cùng của các nhãn cố định bao gồm các nhãn chứng nhận (27, 1, 28, 8, 9). Trên Hình A.3, dòng trên cùng bao gồm các nhãn chế tạo. Các dòng thứ hai và thứ ba bao gồm các nhãn cho vận hành và dòng dưới cùng bao gồm các nhãn cố định về chứng nhận.
Phụ lục B bao gồm các ví dụ về vị trí của ghi nhãn cho các chai chứa LPG bằng kim loại.
Khi sử dụng tấm hoặc nhãn Nhận biết (dùng cho các chai bằng composit), toàn bộ việc ghi nhãn có thể được thực hiện trên một tấm hoặc một nhãn với điều kiện là sự bố trí không gây ra bất cứ nhầm lẫn nào trong việc giải thích về nhãn và tuân theo các yêu cầu của Bảng 1.
Đối với các chai bằng composit được quấn thành vành, khi sử dụng nhãn được đặt dưới lớp nhựa, để dễ truy tìm nguồn gốc của chai thì ít nhất là Nhận biết của nhà sản xuất và số loạt chế tạo phải được tăng gấp đôi bằng cách dập chúng trên vai chai phù hợp với Phụ lục A.
Bảng 1 – Ghi nhãn
| Thứ tự ghi nhãn | Mô tả ghi nhãn | Yêu cầu Bắt buộc (M)a Tiêu chuẩn (N)b Tùy chọn (O) | Các hình vẽ trong Phụ lục A (với ví dụ) | ||
| Hình A.1 Vị trí ghi nhãn cho khí nén | Hình A.2 Vị trí ghi nhãn cho khí hóa lỏng | Hình A.3 Vị trí ghi nhãn cho khí axetylen | |||
| 1 | Tiêu chuẩn: Nhận biết tiêu chuẩn kết cấu có liên quan dùng cho thiết kế, chế tạo và thử nghiệm chai. | M | TCVN / ISO xxx | TCVN/ ISO xxx | TCVN/ ISO xxx |
| 2 | Quốc gia sản xuất chai: Chữ cái hoa Nhận biết quốc gia sản xuất vỏ chai khi sử dụng các ký tự của các ký hiệu phân biệt các phương tiện cơ giới trong giao thông, quốc tế được quy định trong “khuyến nghị của Liên hiệp quốc về vận chuyển các hàng hóa nguy hiểm – Các quy định mẫu”. | M khi khác với quốc gia phê duyệt (ghi nhãn Số 28) | CH | CH | CH |
| 3 | Nhận biết của nhà sản xuất: Tên và/hoặc nhãn hiệu nhà sản xuất | M | MF | MF | MF |
| 4 | Số chế tạo: Số Nhận biết gồm chữ và số do nhà sản xuất cho hoặc quy định để Nhận biết chai một cách rõ ràng. Trong trường hợp các chai nhỏ hơn hoặc bằng 1 L, số lô sản xuất có thể thay thế cho số loạt sản xuất. | M | 7654321 | 7654322 | 7654323 |
| 5 | Nhãn cho kiểm tra không phá hủy (NDE): Khi chai được thử bằng và đáp ứng tất cả các yêu cầu của NDE phù hợp với một tiêu chuẩn ISO cho các chai chứa khí (ví dụ: siêu âm, hạt từ, chất thẩm thấu nhuộm màu, phát âm thanh) phải sử dụng các ký hiệu sau: UT: cho siêu âm; MT: cho hạt từ; PT: cho chất thẩm thấu nhuộm mầu; AT: cho phát âm | N nếu áp dụng được | UT | MT | PT |
| 6 | Nhận biết tính tương hợp của thép: Các chai bằng thép và các chai bằng composit có lớp lót bằng thép tương thích với hyđro và các khí khác của nhóm 2 và nhóm 11 của TCVN 6874-1(ISO 1114-1) phải được ghi nhãn với chữ “H”. Các chai bằng thép không gỉ được chế tạo bằng thép không gỉ mác cao và các chai bằng vật liệu composit có lớp lót bằng thép không gỉ mác cao phải được ghi nhãn với các chữ “HG” VÍ DỤ:Thép X2CrNiMo17-12-2 theo ISO/TS 15510 | M nếu áp dụng được | H |
|
|
| 7 | Áp suất thử: Các tiếp đầu ngữ “PH” theo sau là giá trị áp suất tính bằng bar và các chữ cái “BAR” | M | PH 300 BAR | PH 250 BAR | PH 60 BAR |
| 8 | Nhãn kiểm tra: Dấu hoặc Nhận biết của cơ quan kiểm tra có thẩm quyền | M | # | # | # |
| 9 | Ngày thử đầu tiên: Năm (bốn chữ số) theo sau là tháng (hai chữ số) thử nghiệm đầu tiên, được ngăn cách bằng dấu gạch chéo | M | 2007/10 | 2007/10 | 2007/10 |
| 10 | Khối lượng rỗngc: Khối lượng chai tính bằng kilôgam, bao gồm tất cả các chi tiết gắn liền (ví dụ: vành cổ, vành chân v.v…) theo sau là các chữ cái “kg”. Khối lượng này không bao gồm khối lượng của van, nắp van hoặc bộ phận bảo vệ van, bất cứ lớp phủ nào hoặc bất cứ vật liệu xốp nào cho axetylen. Khối lượng rỗng phải được biểu thị bằng ba chữ số có nghĩa được làm tròn tới chữ số cuối cùng. Đối với các chai nhỏ hơn 1 kg, khối lượng rỗng phải được biểu thị bằng hai chữ số có nghĩa được làm tròn tới chữ số cuối cùng. Đối với các chai chứa axetylen phải được biểu thị tới ít nhất là một chữ số sau dấu phảy thập phân. VÍ DỤ: Khối lượng 0,964 kg 1,064 kg đo được: 10,64 kg 106,41 kg Được 0,97 kg 1,07 kg biểu thị: 10,7 kg 107 kg | M | 62,1 KG | 43,3 KG | 45,3 KG |
| 11 | Dung tích chứa nước: Dung tích chứa nước tối thiểu của nước tính bằng lít, do nhà sản xuất chai bảo đảm, theo sau là chữ “L”. Theo yêu cầu của khách hàng hoặc chủ sở hữu chai dùng cho khí nén, dung tích này có thể được biểu thị là dung tích trung bình danh nghĩa của nước với dung sai ±1,5 %. Trong trường hợp này ký hiệu “≈” phải được ghi nhãn trước giá trị dung tích nước. Trong trường hợp khí hóa lỏng, dung tích nước tính bằng lít được biểu thị bằng ba chữ số, có nghĩa được làm tròn xuống chữ số cuối cùng. Nếu giá trị của dung tích nước nhỏ nhất hoặc danh nghĩa là một số nguyên thì các chữ số sau dấu chấm thập phân có thể bỏ đi. Cũng có thể chỉ ra dung tích thực được xác định theo yêu cầu của khách hàng hoặc chủ sở hữu chai trong các trường hợp đặc biệt. Đối với các chai dùng để chứa axetyeln dung tích nước được ghi nhãn phải là dung tích thực được xác định, được làm tròn tới ba chữ số có nghĩa. | M đối với các khí hóa lỏng N đối với axetylen O đối với các khí nén | ≈ 50 L | 40,6 L | 50,8 L |
| 12 | Nhận biết ren chai: Ví dụ 25E: ren phù hợp với TCVN 9316-1(ISO 11361-1); hoặc 17E: ren phù hợp với TCVN 9316-1(ISO 11361-1) | M | 25E | 25E | 25E |
| 13 | Chiều dày thành nhỏ nhất được bảo đảm: Chiều dày nhỏ nhất được bảo đảm của thành, tính bằng milimét (mm) (cho mỗi chai thử nghiệm phê duyệt kiểu) của vỏ hình trụ, theo sau là các chứ “MM” | M Ngoại trừ : không bắt buộc đối với chai bằng vật liệu composit hoặc chai ≤ 1 L | 5,8 MM | 15,5 MM | 4,2 MM |
| 14 | Nhận biết hợp kim nhôm: Số hiệu của hợp kim nhôm theo Hiệp hội nhôm (xem chú thích) với tiếp đầu ngữ “AA” cho tất cả các chai bằng hợp kim nhôm và các chai bằng vật liệu composit có lớp lót nhôm CHÚ THÍCH: Địa chỉ của Hiệp hội nhôm: Inc. 900 19th Street NW, Washington DC 20006-2168 USA | N cho các chai bằng nhôm | – | AA 7060 | – |
| 15 | Nhận biết vật liệu xốp: Đối với các chai chứa axetylen có vật liệu xốp, tên hoặc nhãn hiệu của vật liệu xốp. Phải truy tìm được quốc gia và nhà máy gốc thông qua nhãn. Ghi nhãn Số 15 không cần phải được thực hiện lúc thử vỏ chai rỗng. | N cho axetylen | – | – | ZZZ |
| 16 | Nhận biết dung lượng: Đối với các chai chứa axetylen, có thể ghi nhãn công thức “C2H2” | O cho axetylen | – | – | C2H2 |
| 17 | Áp suất làm việc: Áp suất đặt, tính bằng bar, ở nhiệt độ đồng đều 288 K (15 0C) cho một chai chứa đầy khí, có các chữ “PW” được đặt trước | M cho khí nén và axetylen | PW 200 | – | PW 18 |
| 18 | Khối lượng nạp lớn nhất cho phép: Tích số giữa dung tích nước của chai và mật độ nạp của khí. Khối lượng nạp lớn nhất cho phép phải được ghi nhãn bằng ghi nhãn, khuôn in thủng hoặc dán nhãn. Nếu khối lượng nạp lớn nhất cho phép được ghi nhãn thì phải có các chữ “KG” và tên và/hoặc công thức hóa học của khí theo sau. Không áp dụng khối lượng nạp lớn nhất cho phép cho axetylen | O cho khí hóa lỏng và khí nén được nạp theo khối lượng | – | 30 KG CO2 | – |
| 19 | Tổng khối lượng (khối lượng thô); Đối với các chai chứa axetylen tổng khối lượng bao gồm khối lượng bì A hoặc khối lượng bì F (xem ghi nhãn cố định Số 20) cộng với dung lượng lớn nhất cho phép của axetylen, có các chữ “TOTAL” đặt trước, theo sau là các chữ “kg”. Khi sử dụng khối lượng bì S, tổng khối lượng có thể được thay bằng lượng nạp lớn nhất của axetylen (xem Chú thích), ngoại trừ khí bão hòa có các chữ “MAX” đặt trước, theo sau là các chữ “kg”. CHÚ THÍCH: Giá trị được ghi nhãn có thể nhỏ hơn giá trị được phê duyệt | N cho axtylen | – | – | Tổng/ TOTAL 85,1 KG |
| 20 | Khối lượng bì: Dùng cho các chai chứa khí hóa lỏng, chứa axetylen và khi quy định yêu cầu nạp theo khối lượng cho khí nén. Khối lượng bì là tổng của khối lượng rỗng (ghi nhãn số 10), khối lượng của van bao gồm cả ống nhúng, nếu được lắp, khối lượng của bất cứ bộ phận bảo vệ van cố định và khối lượng của tất cả các chi tiết khác được gắn cố định (ví dụ: bằng đồ kẹp chặt hoặc bu lông) với chai khí được đưa vào nạp. Khối lượng bì phải được ghi nhãn như sau: các chữ “TARE” theo sau là giá trị khối lượng bì và các chữ “kg”. Khối lượng bì phải được biểu thị bằng ba chữ số có nghĩa được làm tròn xuống chữ số cuối cùng. Đối với các chai nhỏ hơn 1 kg (đối với LPG nhỏ hơn 10 kg) khối lượng bì phải được biểu thị bằng hai chữ số có nghĩa được làm tròn xuống chữ số cuối cùng. Đối với các chai chứa axetylen khối lượng bì phải được biểu thị ít nhất là một chữ số sau dấu chấm thập phân. VÍ DỤ: Khối lượng 0,964 kg; 1,064 kg đo được: 10,64 kg Được 0,96 kg ; 1,06 kg biểu thị: 10,6 kg Đối với các khí hóa lỏng theo cách khác, yêu cầu về chỉ thị khối lượng bì được xem là đáp ứng yêu cầu nếu ghi nhãn khối lượng thô của chai được nạp, tên sản phẩm và khối lượng nạp (ghi nhãn Số 18) của chai. VÍ DỤ: “23,6 (KG)” (ghi nhãn bền lâu) “BUTAN-13 KG” (ghi nhãn). Đối với các chai chứa axetylen hòa tan, phải ghi nhãn khối lượng bì S như mô tả dưới đây. Ghi nhãn bổ sung khối lượng bì A, như mô tả dưới đây, là tùy chọn. Ghi lại trình tự ghi nhãn: Khối lượng bì A theo sau là khối lượng bì S. Khối lượng bì S là | N cho khí hóa lỏng và khí quy định yêu cầu nạp theo khối lượng cho khí nén . Ghi nhãn có thể được thay thế bằng ghi nhãn bền lâu | – | TARE 55,4 KG |
|
|
| khối lượng rỗng + khối lượng của van và tất cả các chi tiết được kẹp chặt cố định khác khi được đưa vào nạp + khối lượng của vật liệu xốp + khối lượng của dung môi + khối lượng của khí bão hòa ở áp suất khí quyển và 15 oC . Phải sử dụng các chữ “TARE S” thay cho “TARE” khi chỉ ghi nhãn một khối lượng bì. Khối lượng bì A tương tự như khối lượng bì S ngoại trừ việc không bao gồm khối lượng của khí bão hòa. Đối với các chai chứa axetylen không có dung môi, phải ghi nhãn chỉ cho một khối lượng (được mô tả dưới đây là “TARE F”) Khối lượng bì F là khối lượng rỗng + khối lượng của van và tất cả các chi tiết khác được kẹp chặt cố định khi được đưa vào nạp + khối lượng của vật liệu xốp. Nếu khối lượng bì cho các chai chứa axetylen bao gồm cả các chi tiết khác với van, được kẹp chặt cố cố định thì tổng khối lượng của các chi tiết này có thể được ghi nhãn trước các chữ “TARE”. Khối lượng này phải được biểu thị tới cùng một số của hàng số thập phân như khối lượng bì VÍ DỤ: 2,3 TARE 77,4/77,9 KG) | TARE S hoặc TARE F bắt buộc (M) đối với axetylen (C2H2) O |
|
| TARE S 75,6 KG hoặc TARE 75,1/75,6 KG |
| 21 | Nhận biết dung môi cho chai chứa axetylen: Phải nhận biết dung môi nếu dung môi không phải là axeton. Phải thực hiện nhận biết của đimetyl foemamit là DMF, theo sau là khối lượng của dung môi và các chữ “KG”. | N nếu dung môi không phải là axton | – | – | DMF 18,5 KG |
| 21 | Nếu là axeton có thể ghi nhãn với chữ “A”, theo sau là khối lượng của dung môi và các chữ “KG”. Các chai chứa axetylen không có dung môi phải được ghi nhãn “SF” (không dung môi) ở vị trí ghi nhãn này | N nếu dung môi không phải là axton | – | – | DMF 18,5 KG |
| 22 | Dấu và ngày kiểm tra của kiểm tra định kỳ: Dấu hoặc nhận biết của cơ quan kiểm tra có thẩm quyền và năm (hai hoặc tất cả bốn chữ số cuối cùng) và tiếp sau là tháng (hai chữ số) thử lại phải được ghi nhãn tại lúc thực hiện kiểm tra định kỳ. Năm và tháng phải được tách biệt bằng dấu gạch chéo (nghĩa là “/”). Đối với các chai UN, ghi nhãn của cơ quan kiểm tra phải được đặt bằng ký tự nhận biết quốc gia ủy quyền cho cơ quan kiểm tra, nếu quốc gia này khác với quốc gia phê duyệt sản xuất (xem ghi nhãn Số 28). Phải có đủ không gian trên chai cho nhiều kiểm tra lại. Đối với các chai chứa axetylen phải ghi các nhãn cố định này trên chai hoặc trên một vòng chỉ có thể được kẹp chặt bằng tháo van. | M | # 14/11 | # 14/11 | # 14/11 |
| 23 | Không gian cho ghi nhãn bổ sung tùy chọn hoặc cho dán nhãn, ví dụ: tên của chủ sở hữu chai. | – | – | – | – |
| 24 | Nhãn kiểm tra chứng nhận khối lượng đúng: Nhãn này phải được ghi ở lân cận ghi nhãn “Nhận biết vật liệu xốp” như đã quy định trong ghi nhãn Số 15. Không yêu cầu phải ghi nhãn khi cùng một người kiểm tra tiến hành kiểm tra cả sản xuất và khối lượng của vỏ chai. | N cho axetylen (C2H2) | – | – | # |
| 25 | Tuổi thọ của chai bằng vật liệu composit: Đối với các chai có tuổi thọ không bị hạn chế thì không cần phải có nhãn. Đói với các chai có tuổi thọ bị hạn chế phải có ghi nhãn với các chữ “FINAL” theo sau là ngày hết hạn sử dụng gồm năm (bốn chữ số) và tháng (hai chữ số). | N cho các chai bằng vật liệu composit |
| FINAL 2019/08 | – |
| 26 | Sử dụng chai bằng vật liệu composit ở dưới nước: Các chai bằng coposit đáp ứng các yêu cầu thử riêng cho sử dụng ở dưới nước phải được ghi nhãn với các chữ “UW”. | N cho các chai bằng vật liệu composit | UW | – | – |
| 27 | Dấu hiệu quốc tế: Các dấu hiệu này (UN, π, v.v…) chỉ được áp dụng cho các chia tuân theo các quy định quốc tế như khuyến nghị của Liên hiệp quốc về vận chuyển các hàng hóa nguy hiểm – Quy định mẫu. | M (nếu áp dụng) |
|
|
|
| 28 | Quốc gia phê duyệt: Chữ cái hoa nhận biết quốc gia phê duyệt nhãn cố định Số 27, khi sử dụng các ký tự phân biệt các ký hiệu của phương tiện cơ giới trong giao thông quốc tế được quy định trong khuyến nghị của Liên hiệp quốc về vận chuyển các hàng hóa nguy hiểm – Quy định mẫu. | M | F | F | F |
| a Bắt buộc theo khuyến nghị của Liên hiệp quốc về vận chuyển các hàng hóa nguy hiểm – Quy định mẫu. b Không bắt buộc theo Liên hiệp quốc (UN) nhưng là chuẩn đối với tiêu chuẩn này. c Trong tiêu chuẩn , trọng lượng tương đương với lực, được biểu thị bằng Newton. Tuy nhiên, trong cách nói thông thường (như được sử dụng tại các điều khoản trong tiêu chuẩn này), từ “trọng lượng” tiếp tục được sử dụng với nghĩa khối lượng, mặc dù bị phản đối (xem ISO 80000-4) | |||||
Phụ lục A
(Quy định)
Vị trí ghi nhãn
Phụ lục này là quy định vì có liên quan đến sự bố trí vị trí để ghi nhãn (xem 4.3). Các nhãn này phải được tập hợp thành nhóm, càng gần nhau càng tốt. Các nhãn được cho trên các hình vẽ chỉ là các ví dụ và không biểu thị các giá trị thực tế.

CHÚ DẤN:
| 1 Tiêu chuẩn | 16 – |
| 2 Quốc gia sản xuất | 17 Áp suất làm việc |
| 3 Nhận biết của nhà sản xuất | 18 Khối lượng lớn nhất cho phép (nếu được nạp khối lượng) |
| 4 Số loạt sản xuất |
|
| 5 Nhãn cho kiểm tra không phá hủy (nếu áp dụng) | 19 – |
| 6 Nhận biết tính tương hợp của thép (nếu áp dụng) | 20 Khối lượng bì |
| 7 Áp suất thử | 21 – |
| 8 Nhãn kiểm tra | 22 Nhãn kiểm tra và ngày kiểm tra định kỳ (năm/tháng) |
| 9 Ngày thử đầu tiên (năm/tháng) | 23 Không gian cho các ghi nhãn bổ sung tùy chọn hoặc cho dán nhãn |
| 10 Khối lượng rỗng |
|
| 11 Dung tích nước | 24 – |
| 12 Nhận biết ren của chai | 25 Tuổi thọ cho các chai bằng vật liệu composit |
| 13 Chiều dày thành nhỏ nhất được bảo hành | 26 Sử dụng các chai bằng vật liệu composit ở dưới nước |
| 14 Nhận biết hợp kim nhôm (nếu áp dụng) | 27 Dấu hiệu quốc tế |
| 15 – | 28 Quốc gia phê duyệt cho nhãn cố định Số.27 |
Hình A.1 – Các vị trí ghi nhãn đối với khí nén

CHÚ DẤN:
| 1 Tiêu chuẩn | 16 – |
| 2 Quốc gia sản xuất | 17 Không gian áp suất làm việc trong trường hợp thay đổi dịch vụ cho khí nén a |
| 3 Nhận biết của nhà sản xuất | |
| 4 Số loạt sản xuất | 18 Khối lượng nạp lớn nhất cho phép |
| 5 Nhãn cho kiểm tra không phá hủy (nếu áp dụng) | 19 – |
| 6 Nhận biết tính tương hợp của thép (nếu áp dụng) | 20 Khối lượng bì |
| 7 Áp suất thử | 21 – |
| 8 Nhãn kiểm tra | 22 Nhãn kiểm tra và ngày kiểm tra định kỳ (năm/tháng) |
| 9 Ngày thử đầu tiên (năm/tháng) | 23 Không gian cho các ghi nhãn bổ sung tùy chọn hoặc cho dán nhãn |
| 10 Khối lượng rỗng | |
| 11 Dung tích nước | 24 – |
| 12 Nhận biết ren của chai | 25 Tuổi thọ cho các chai bằng composit |
| 13 Chiều dày thành nhỏ nhất được bảo hành | 26 Sử dụng các chai bằng composit ở dưới nước |
| 14 Nhận biết hợp kim nhôm (nếu áp dụng) | 27 Dấu hiệu quốc tế |
| 15 – | 28 Quốc gia phê duyệt cho nhãn cố định Số.27 |
a Cũng có thể được ghi nhãn PW
Hình A.2 – Các vị trí ghi nhãn đối với khí hóa lỏng

CHÚ DẤN:
| 1 Tiêu chuẩn | 16 Nhận biết dung lượng |
| 2 Quốc gia sản xuất | 17 Áp suất làm việc |
| 3 Nhận biết của nhà sản xuất | 18 – |
| 4 Số loạt sản xuất | 19 Tổng khối lượng |
| 5 Nhãn cho kiểm tra không phá hủy (nếu áp dụng) | 20 Khối lượng bì, Tare S hoặc Tare A/S hoặc Tare F |
| 6 – | 21 Nhận biết dung môi cho chai chứa axetylen |
| 7 Áp suất thử (PH 60 BAR hoặc PH 52 BAR) a | 22 Nhãn kiểm tra và ngày kiểm tra định kỳ (năm/tháng) |
| 8 Nhãn kiểm tra | 23 Không gian cho các ghi nhãn bổ sung tùy chọn hoặc cho dán nhãn |
| 9 Ngày thử đầu tiên (năm/tháng) | |
| 10 Khối lượng rỗng | 24 Nhãn kiểm tra xác nhận nạp đúng vật liệu xốp |
| 11 Dung tích nước | 25 – |
| 12 Nhận biết ren của chai | 26 – |
| 13 Chiều dày thành nhỏ nhất được bảo hành | 27 Dấu hiệu quốc tế |
| 14 Nhận biết hợp kim nhôm (nếu áp dụng) | 28 Quốc gia phê duyệt nhãn cố định Số.27 |
| 15 Nhận biết vật liệu xốp |
|
a Áp suất thử có thể là 60 bar hoặc 52 bar phù hợp với TCVN 7052-1(ISO 3807-1) hoặc TCVN 7052-2(ISO 3807-2) (khi áp dụng)
Hình A.3 – Các vị trí cho ghi nhãn đối với axetylen
Phụ lục B
(Tham khảo)
Chai chứa LPG bằng kim loại – Ví dụ về các vị trí ghi nhãn
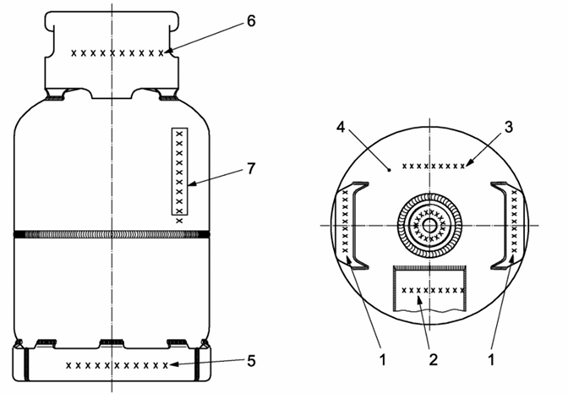
Ghi nhãn cho chai chứa LPG bằng kim loại gồm có ba nhóm tuân theo các quy định (xem 4.30) và được trình bày tại một hoặc nhiều vị trí trên Hình B.1 tùy thuộc vào thiết kế và cỡ kích thước của chai và khoảng trống dành cho ghi nhãn.

CHÚ DẪN:
1 Các tay cầm
2 Tấm nhãn được gắn cố định
3 Ghi nhãn trên thân chai
4 Gờ cổ chai
5 Vành chân chai
6 Đai bảo vệ
7 Chỉ đối với các chai bằng composit, nhãn được đặt dưới lớp nhựa hoặc được phủ bằng lớp phủ trong suốt.
Hình B.1 – Các vị trí ghi nhãn cho các chai chứa LPG bằng kim loại
THƯ MỤC TÀI LIỆU THAM KHẢO
[1] TCVN 7052-1 (ISO 3807-1), Chai chứa khí axetylen – Yêu cầu cơ bản – Phần 1: Chai không dùng đinh chảy .
[2] TCVN 7052-2 (ISO 3807-2), Chai chứa khí axetylen – Yêu cầu cơ bản– - Phần 2: Chai dùng đinh chảy
[3] TCVN 6296 (ISO 7225), Chai chứa khí – Dấu hiệu phòng ngừa.
[4] ISO 8601, Data elements and interchange formats – Information interchange – Representation of dates and times, (Các thành phần của dữ liệu và khuôn khổ trao đổi – Trao đổi thông tin – Biểu thị ngày và thời gian).
[5] TCVN 7388-1 (ISO 9809-1), Chai chứa khí – Chai chứa khí bằng thép không hàn nạp lại được – Thiết kế, kết cấu và thử nghiệm – Phần 1: Chai bằng thép tôi và ram có giới hạn bền kéo nhỏ hơn 1100 MPa.
[6] TCVN 7165 (ISO 10920), Chai chứa khí – Ren côn 25E để nối van vào chai chứa khí – Đặc tính kỹ thuật.
[7] TCVN 7481-1 (ISO 11116-1), Chai chứa khí – Ren côn 17E để nối van vào chai chứa khí – Phần 1: Đặc tính kỹ thuật.
[8] ISO/TS 15510, Stainless steels – Chemical composition, (Thép không gỉ – Thành phần hóa học).
[9] TCVN 7078-4 (ISO 80000-4), Đại lượng và đơn vị – Phần 4: Cơ học.
[10] Recommendations on the Transport of Dangerous Goods – Model Regulations, (Khuyến nghị của Liên Hiệp quốc tế về vận chuyển các hàng hóa nguy hiểm – Quy định mẫu).
[11] TCVN 9316-1:2012 (ISO 11361-1:2010), Chai chứa khí – Ren côn 17E và 25E để nối van vào chai chứa khí – Đặc tính kỹ thuật
Bạn chưa Đăng nhập thành viên.
Đây là tiện ích dành cho tài khoản thành viên. Vui lòng Đăng nhập để xem chi tiết. Nếu chưa có tài khoản, vui lòng Đăng ký tại đây!