- Tổng quan
- Nội dung
- Tiêu chuẩn liên quan
- Lược đồ
- Tải về
Tiêu chuẩn TCVN 10117-1:2013 Điều kiện kỹ thuật đối với ren trụ nối van vào chai chứa khí
| Số hiệu: | TCVN 10117-1:2013 | Loại văn bản: | Tiêu chuẩn Việt Nam |
| Cơ quan ban hành: | Bộ Khoa học và Công nghệ | Lĩnh vực: | Công nghiệp |
|
Ngày ban hành:
Ngày ban hành là ngày, tháng, năm văn bản được thông qua hoặc ký ban hành.
|
2013 |
Hiệu lực:
|
Đã biết
|
| Người ký: | Đang cập nhật |
Tình trạng hiệu lực:
Cho biết trạng thái hiệu lực của văn bản đang tra cứu: Chưa áp dụng, Còn hiệu lực, Hết hiệu lực, Hết hiệu lực 1 phần; Đã sửa đổi, Đính chính hay Không còn phù hợp,...
|
Đã biết
|
TÓM TẮT TIÊU CHUẨN VIỆT NAM TCVN 10117-1:2013
Nội dung tóm tắt đang được cập nhật, Quý khách vui lòng quay lại sau!
Tải tiêu chuẩn Việt Nam TCVN 10117-1:2013
TIÊU CHUẨN QUỐC GIA
TCVN 10117-1:2013
ISO 15245-1:2001
WITH AMENDMENT 1:2013
CHAI CHỨA KHÍ - REN TRỤ ĐỂ NỐI VAN VỚI CHAI CHỨA KHÍ - PHẦN 1: ĐIỀU KIỆN KỸ THUẬT
Gas cylinders - Parallel threads for connection of valves to gas cylinders - Part 1: Specification
Lời nói đầu
TCVN 10117-1:2013 hoàn toàn tương đương với ISO 15245-1:2001 và sửa đổi 1:2013.
TCVN 10117-1:2013 do Ban kỹ thuật Tiêu chuẩn Quốc gia TCVN/TC58 Chai chứa khí biên soạn, Tổng cục Tiêu chuẩn Đo lường Chất lượng đề nghị, Bộ Khoa học và Công nghệ công bố.
Bộ Tiêu chuẩn TCVN 10117:2013 (ISO 15245:2011), Chai chứa khí - Ren trụ để nối van với chai chứa khí bao gồm hai phần:
- Phần 1: Điều kiện kỹ thuật;
- Phần 2: Calip kiểm tra.
CHAI CHỨA KHÍ - REN TRỤ ĐỂ NỐI VAN VỚI CHAI CHỨA KHÍ - PHẦN 1: ĐIỀU KIỆN KỸ THUẬT
Gas cylinders - Parallel threads for connection of valves to gas cylinders - Part 1: Specification
1. Phạm vi áp dụng
Tiêu chuẩn này qui định các định nghĩa, kích thước và dung sai của các ren vít hình trụ có đường kính danh nghĩa 30 mm (được ký hiệu 30P), 25 mm (được ký hiệu 25 P) và 18 mm (được ký hiệu 18P) dùng để nối các van với các chai chứa khí dùng trong công nghiệp và y tế.
Tiêu chuẩn này không bao gồm các yêu cầu của mối nối đối với:
- Độ bền cơ học;
- Độ kín khí;
- Khả năng lắp ráp lại và thao tác tháo1).
2. Tài liệu viện dẫn
Các tài liệu viện dẫn sau rất cần thiết cho việc áp dụng tiêu chuẩn này. Đối với các tài liệu viện dẫn có ghi năm công bố thì áp dụng phiên bản được nêu. Đối với các tài liệu viện dẫn không ghi năm công bố thì áp dụng phiên bản mới nhất bao gồm cả các sửa đổi, bổ sung (nếu có).
TCVN 2246-1 (ISO 68-1), Rent ISO thông dụng - Profin gốc - Phần 1: Ren hệ mét.
TCVN 6874-2 (ISO 11114-2), Chai chứa khí di động - Xác định tính tương thích của các vật liệu làm chai chứa và làm van với khí chứa - Phần 2: Vật liệu phi kim loại.
TCVN 7292 (ISO 261), Ren vít hệ mét thông dụng ISO - Vấn đề chung.
ISO 724, ISO general-purpose metric screw threads - Basic dimensions (Ren vít hệ mét ISO thông dụng - Kích thước cơ bản).
ISO 965-1, ISO general-purpose metric screw threads - Tolerances - Part 1: Principles and basic data (Ren vít hệ mét ISO thông dụng - Dung sai - Phần 1: Nguyên lý và dữ liệu cơ bản).
ISO 965-2, ISO general purpose metric screw threads - Tolerances - Part 2: Limits of sizes for general purpose external and internal screw threads - Medium quality (Ren vít hệ mét ISO thông dụng - Phần 2: Các giới hạn và cỡ ren ngoài và ren trong thông dụng - Chất lượng trung bình).
3. Thuật ngữ và định nghĩa
Các thuật ngữ và định nghĩa chung về ren trụ được cho trong ISO 5408.
Tiêu chuẩn này áp dụng các thuật ngữ và định nghĩa sau.
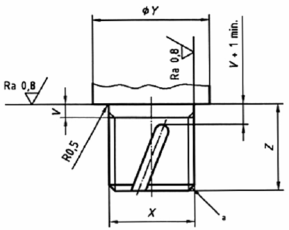
3.1. Chân van (valve stem)
Đầu mút hình trụ của thân van gồm có một đoạn được gia công ren trên bề mặt ngoài và một đoạn hình trụ trên liền kề với mặt gờ (vai) thân van được dùng làm mặt tựa của gioăng tròn.
Xem Hình 1, ren X.
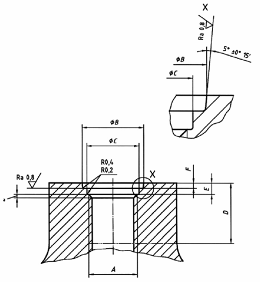
3.2. Ren cổ chai (cylinder neck thread)
A
Lỗ ren hình trụ trong cổ chai.
Xem Hình 2.
CHÚ THÍCH: Ren cổ chai bao gồm một đoạn được gia công ren trên bề mặt trong của cổ chai, một đoạn rãnh bít kín dùng để lắp gioăng tròn và một đoạn thoát dao cắt ren.
3.3. Đường kính rãnh bít kín (sealing recess diameter)
B
Đường kính của rãnh được gia công có độ côn trên mặt đỉnh của cổ chai, đồng trục với ren cổ chai để tạo ra bề mặt được bít kín bằng gioăng tròn.
Xem Hình 2.
3.4. Chiều sâu rãnh bít kín (sealing recess depth)
F
Chiều sâu của rãnh được gia công có độ côn trên mặt đỉnh của cổ chai, đồng trục với ren cổ chai để tạo ra bề mặt được bít kín bằng gioăng tròn.
Xem hình 2.
3.5. Đoạn thoát dao ren (thread relief)
C
Đường kính của đoạn hình trụ trên được gia công đồng trục với ren cổ chai, ở giữa ren cổ chai và rãnh bít kín.
Xem Hình 2.
3.6. Khoảng cách tới điểm bắt đầu của ren (distance to start of thread)
E
Khoảng cách từ bề mặt đỉnh của cổ chai tới điểm bắt đầu của ren, bao gồm cả chiều sâu của rãnh bít kín và của đoạn thoát dao ren.
Xem Hình 2.
3.7. Đoạn thoát dao ren (thread relidf)
V
Chiều dài nhỏ nhất của đoạn hình trụ trơn trên chân van, ở giữa ren chân van và mặt gờ (vai) trên thân van được dùng làm mặt tựa của gioăng tròn.
3.8. Chiều dài nhỏ nhất của toàn bộ phần ren (minimum full thread length)
D
Khoảng cách nhỏ nhất từ mặt đỉnh của cổ chai tới đáy của ren cổ chai.
Xem Hình 2.
3.9. Đường kính gioăng tròn (“O” ring diameter)
R
Đường kính trong của vòng bít kín để ngăn ngừa sự thoát khí không cố ý ra khỏi chai chứa khí.
Xem Hình 3.
3.10. Chiều dày gioăng tròn (“O” ring thickness)
W
Chiều rộng mặt cắt ngang của vòng bít kín dùng để ngăn ngừa sự thoát khí không cố ý ra khỏi chai chứa khí.
Xem Hình 3.
3.11. Gờ (vai) (flange)
Y
Đường kính nhỏ nhất của mặt bích trên thân van để bít kín gioăng tròn trên mặt đỉnh của cổ chai.
Xem Hình 1.
3.12. Chiều dài của chân van (length of valve stem)
Z
Khoảng cách từ mặt gờ (vai) trên thân van tới đáy của ren chân van.
Xem Hình 1.
3.13. Rãnh thông hơi (tùy chọn) [rent groove (optional)]
G
Rãnh hoặc các rãnh được gia công cơ trên ren chân van sao cho bất cứ áp suất nào của khí còn sót lại trong chai cũng sẽ được thoát ra khi tháo van.
Xem Hình 4.
CHÚ THÍCH: Các rãnh này cần có các mép (cạnh) nhẵn để bảo đảm không làm cho ren của chai bị hư hỏng trong quá trình lắp hoặc tháo van.
4. Yêu cầu
4.1. Chiều quay của ren
Ren của chai là ren phải, khi quay theo chiều kim đồng hồ thì di chuyển ra xa người quan sát.
4.2. Rrofin ren
Profin ren là profin tiêu chuẩn ISO [xem TCVN 2246-1 (ISO 68-1)] có góc 60 o. Dạng ren và các kích thước chiều cao ren vuông góc với đường trục của ren.
4.3. Bước ren
Các bước ren dùng cho ren chai chứa khí như sau:
- M18: 1,5 mm (xem ISO 724);
- M25: 2 mm (xem ISO 724);
- M30: 2 mm (xem ISO 724).
Kích thước được tính bằng milimét
Giá trị độ nhám bề mặt tính bằng micromet

a Vát cạnh 45 o x đường kính chân ren.
Hình 1 - Trụ thân van
Kích thước tính bằng milimét
Giá trị độ nhám bề mặt tính bằng micromet

a Vát cạnh 45 o x đường kính chân ren.
Hình 2 - Cổ chai

Trong đó:
R là đường kính trong của gioăng tròn;
W là chiều dày của gioăng tròn.
Hình 3 - Gioăng tròn

a Chiều sâu lớn nhất của rãnh G, dưới đường kính chân ren 1 mm.
Hình 4 - Chi tiết về rãnh thông hơi tùy chọn (tối đa là 2)
4.4. Các kích thước của ren
Các kích thước của ren chân van, ren cổ chai và của gioăng tròn được giới thiệu trên các Hình 1, 2 và 3.
Gioăng tròn phải có độ cứng 90 shore A (danh nghĩa) và phải được chế tạo bằng vật liệu tương thích với tính chất của khí chứa trong chai [xem TCVN 6874-2 (ISO 11114-2)].
5. Gia công tinh đầu mút ren
Ren trên chân van phải có mặt vát 45o tại mặt mút đáy ren (xem Hình 1).
Ren trên cổ chai phải có mặt vát 45 o tại lỗ cổ chai (xem Hình 2).
6. Ký hiệu
Các van và chai chứa khí có ren phù hợp với tiêu chuẩn này phải được nhận biết bằng ký hiệu “18P” đối với ren M18 x 1,5, “25P” đối với ren M25 x 2 và “30P” đối với ren M30 x 2.
Bảng 1 - Các kích thước của chân van
Kích thước tính bằng milimét
| Ren chân van X | Đường kính gờ thân van, | Chiều dài chân van Z | Đoạn thoát dao ren, | |
| Nhỏ nhất | Lớn nhất | |||
| M18 x 1,5 - 6g | 28 | 22 | 24 | 2,5 |
| M25 x 2,0 - 6g | 35 | 25 | 27 | 3,5 |
| M30 x 2,0 - 6g | 43 | 25 | 30 | 3,5 |
| CHÚ THÍCH 1: Đoạn ren phù hợp với TCVN 2246-1 (ISO 68-1). Đường kính và bước ren được chọn từ ISO 261 và dung sai từ ISO 965-1 và ISO 965-2. CHÚ THÍCH 2: Giá trị lớn nhất của V thích hợp với độ đảo của ren X. | ||||
Bảng 2 - Các kích thước của cổ chai và ren
Kích thước tính bằng milimét
| Ren cổ chai | Đường kính rãnh bít kín | Đường kính đoạn thoát dao ren | Chiều dài nhỏ nhất của ren toàn phần | Chiều sâu của rãnh bít kín | Khoảng cách tới điểm bắt đầu của ren | |
| Nhỏ nhất | Lớn nhất | |||||
| M18 x 1,5-6H | 23,66 | 23,83 |
| 24 |
| 5,5 ± 0,5 |
| M25x2,0-6H | 32,28 | 32,53 |
| 27 |
| 6,5 ± 0,5 |
| M30x2,0-6H | 37,28 | 37,53 |
| 30 |
| 8 ± 0,5 |
| CHÚ THÍCH 1: Dạng ren phù hợp với TCVN 2246-1 (ISO 68-1). Đường kính và bước ren được chọn từ ISO 261 và dung sai từ ISO 965-1 và ISO 965-2. CHÚ THÍCH 2: Giá trị lớn nhất của V thích hợp với độ đảo của ren X. | ||||||
Bảng 3 - Các kích thước của gioăng tròn
Kích thước tính bằng milimét
| Ren | Đường kính trong | Chiều dày |
| M18 x 1,5 - 6H | 18 ± 0,21 | 2,65 ± 0,1 |
| M25 x 2,0 - 6H | 25 ± 0,25 | 3,55 ± 0,1 |
| M30 x 2,0 - 6H | 30 ± 0,29 | 3,55 ± 0,1 |
1) Khía cạnh này được bao gồm trong TCVN 7389 (ISO 13341).
Bạn chưa Đăng nhập thành viên.
Đây là tiện ích dành cho tài khoản thành viên. Vui lòng Đăng nhập để xem chi tiết. Nếu chưa có tài khoản, vui lòng Đăng ký tại đây!