- Tổng quan
- Nội dung
- Tiêu chuẩn liên quan
- Lược đồ
- Tải về
Tiêu chuẩn Quốc gia TCVN 7691:2007 ISO 4703:2001 Điều kiện kiểm máy mài phẳng có băng trượt
| Số hiệu: | TCVN 7691:2007 | Loại văn bản: | Tiêu chuẩn Việt Nam |
| Cơ quan ban hành: | Bộ Khoa học và Công nghệ | Lĩnh vực: | Công nghiệp |
|
Ngày ban hành:
Ngày ban hành là ngày, tháng, năm văn bản được thông qua hoặc ký ban hành.
|
2007 |
Hiệu lực:
|
Đã biết
|
| Người ký: | Đang cập nhật |
Tình trạng hiệu lực:
Cho biết trạng thái hiệu lực của văn bản đang tra cứu: Chưa áp dụng, Còn hiệu lực, Hết hiệu lực, Hết hiệu lực 1 phần; Đã sửa đổi, Đính chính hay Không còn phù hợp,...
|
Đã biết
|
TÓM TẮT TIÊU CHUẨN VIỆT NAM TCVN 7691:2007
Nội dung tóm tắt đang được cập nhật, Quý khách vui lòng quay lại sau!
Tải tiêu chuẩn Việt Nam TCVN 7691:2007
TIÊU CHUẨN QUỐC GIA
TCVN 7691 : 2007
ISO 4703 : 2001
ĐIỀU KIỆN KIỂM MÁY MÀI PHẲNG CÓ HAI TRỤ - MÁY MÀI CÓ BĂNG TRƯỢT - KIỂM ĐỘ CHÍNH XÁC
Test conditions for surface grinding machines with two columns - Machines for grinding slideways - Testing of the accuracy
Lời nói đầu
TCVN 7691 : 2007 thay thế cho phần kiển độ chính xác của TCVN 1998 : 1977
TCVN 7691 : 2007 hoàn toàn tương đương với ISO 4703 : 2001.
Tiêu chuẩn này do Ban kỹ thuật TCVN/TC39 – Máy công cụ biên soạn, Tổng cục Tiêu chuẩn Đo lường Chất lượng đề nghị, Bộ Khoa học và Công nghệ công bố .
ĐIỀU KIỆN KIỂM MÁY MÀI PHẲNG CÓ HAI TRỤ - MÁY MÀI CÓ BĂNG TRƯỢT - KIỂM ĐỘ CHÍNH XÁC.
Test conditions for surface grinding machines with two columns - Machines for grinding slideways - Testing of the accuracy
1 Phạm vi áp dụng
Tiêu chuẩn này qui định các phép kiểm hình học, kiểm gia công, kiểm độ chính xác và khả năng lặp lại định vị trên máy mài phẳng thông dụng, độ chính xác thường có hai trụ dùng để mài các băng trượt, có tham chiếu TCVN 7011-1: 2007 và TCVN 7011-2: 2007.
Tiêu chuẩn này cũng qui định các dung sai có thể áp dụng tương ứng đối với các phép kiểm trên.
Tiêu chuẩn này có thể áp dụng cho các máy có chuyển động mài thẳng và có bàn máy di chuyển được nhưng không bao gồm các máy có bàn máy cố định hoặc bàn chuyển động quay.
Tiêu chuẩn này chỉ áp dụng để kiểm độ chính xác hình học của máy, không áp dụng để kiểm vận hành máy (độ rung, độ ồn bất thường, chuyển động dính trượt của các bộ phận, v.v...) hoặc các đặc tính của máy (tốc độ trục chính, tốc độ tiến, v.v...)
Các phép kiểm này thường được tiến hành trước khi kiểm độ chính xác.
Tiêu chuẩn này cung cấp các thuật ngữ được sử dụng cho các bộ phận chính của máy và tên gọi của trục có tham chiếu ISO 841[1]
CHÚ THÍCH: Ngoài thuật ngữ được sử dụng trong ba ngôn ngữ chính thức của ISO (Anh, Pháp và Nga).Các thuật ngữ tương đương theo tiếng Đức (DIN) và Italia (UNI) cho trong Phụ lục A. Tuy nhiên chỉ có các thuật ngữ theo các ngôn ngữ chính thức mới được coi là thuật ngữ của ISO.
2 Tài liệu viện dẫn
Trong tiêu chuẩn này có viện dẫn các tài liệu sau. Đối với các tài liệu viện dẫn ghi năm ban hành thì áp dụng bản dưới đây. Đối với các tài liệu viện dẫn không ghi năm ban hành thì áp dụng phiên bản mới nhất, bao gồm cả các sửa đổi.
TCVN 7011-1:2007 (ISO 230-1:1996) Qui tắc kiểm máy công cụ - Độ chính xác hình học của máy khi vận hành trong điều kiện không tải hoặc gia công tinh.
TCVN 7011-2:2007 (ISO 230-2:1997) Qui tắc kiểm máy công cụ. Xác định độ chính xác và khả năng lặp lại định vị của các trục điều khiển số.
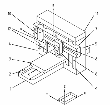
3 Thuật ngữ và tên gọi của trục
Xem Hình 1 và Bảng 1
CHÚ THÍCH: Nếu trục chính nằm ngang được coi là trục chính chủ yếu, tên gọi của các trục (Y-Z và V-W) có thể được đổi lẫn. Trong trường hợp này, R được đặt lại bằng Q, tên gọi trục trong các phép kiểm riêng biệt được thay đổi theo

Hình 1
Bảng 1
| Số tham chiếu | Tiếng Việt | Tiếng Anh |
| 1 | Băng máy | Bed |
| 2 | Đường hướng | Slideway |
| 3 | Bàn máy | Table |
| 4 | Trụ máy trái | Left-hand column |
| 5 | Trụ máy phải | Right-hand column |
| 6 | Đường hướng, trụ máy phải | Slideway, right-hand column |
| 7 | Xà ngang động | Cross-rail |
| 8 | Bàn trượt ngang | Saddle |
| 9 | Đầu mài phải (trục chính thẳng đứng) | Right-hand wheelhead (vertical spindle) |
| 10 | Đầu mài trái (trục chính nằm ngang) | Left-hand wheelhead (vertical spindle) |
| 11 | Xà ngang tĩnh | Bridge |
| 12 | Bánh mài | Grinding wheel |
4 Qui định chung
4.1 Đơn vị đo
Trong tiêu chuẩn này toàn bộ kích thước dài, sai lệch và các dung sai tương ứng được biểu thị bằng milimét, kích thước góc được biểu thị bằng độ, sai lệch góc và dung sai tương ứng được biểu thị chủ yếu theo tỷ số nhưng trong một vài trường hợp, có thể sử dụng micrô-radian hoặc cung-giây. Phải tuân theo biểu thức đơn vị tương đương sau:
0,010/1000 = 10mrad ≈ 2"
4.2 Tham chiếu tiêu chuẩn
Để áp dụng tiêu chuẩn này, phải tham chiếu tiêu chuẩn TCVN 7011-1 đặc biệt là phần lắp đặt máy trước khi kiểm, làm nóng trục chính và các bộ phận chuyển động khác, mô tả các phương pháp đo và độ chính xác của dụng cụ kiểm.
Các ô “quan sát “ của phép kiểm được mô tả trong các phần sau đây, các hướng dẫn kèm theo các điều tham chiếu tương ứng trong TCVN 7011-1 trong trường hợp các phép kiểm có liên quan theo đúng các quy định của TCVN 7011-1.
Tham chiếu TCVN 7011-2 đối với kiểm định vị.
4.3 Trình tự kiểm
Trình tự các phép kiểm trong tiêu chuẩn này không qui định cho kiểm thực tế. Để lắp đặt dụng cụ đo hoặc đầu đo dễ dàng, các phép kiểm có thể tiến hành theo bất kỳ thứ tự nào.
4.4 Thực hiện các phép kiểm
Để kiểm máy, không cần thiết phải kiểm toàn bộ các mục kiểm cho trong tiêu chuẩn này. Khi các phép kiểm được yêu cầu dùng cho kiểm nghiệm thu, người sử dụng lựa chọn các phép kiểm có liên quan đến các bộ phận hoặc các tính chất cần quan tâm theo thoả thuận với nhà chế tạo hoặc nhà cung cấp. Các phép kiểm này phải được qui định rõ ràng trong hợp đồng mua máy. Sự tham chiếu tiêu chuẩn này cho phép kiểm nghiệm thu mà không qui định các phép kiểm được tiến hành và không có sự thoả thuận về chi phí có liên quan không thể được xem là sự ràng buộc đối với bất kỳ bên tham gia hợp đồng nào.
4.5 Dụng cụ đo
Dụng cụ đo chỉ dẫn trong các phép kiểm được mô tả từ Điều 6; 7 và Điều 8 chỉ là ví dụ. Có thể sử dụng dụng cụ đo khác có cùng đại lượng và cùng độ chính xác. Đồng hồ so phải có độ phân giải 0,001mm hoặc nhỏ hơn.
4.6 Dung sai nhỏ nhất
Khi thiết lập dung sai cho một chiều dài đo khác so với giá trị cho trong tiêu chuẩn này (xem 2.3.1.1 của TCVN 7011-1: 2007) thì phải xem xét đến giá trị nhỏ nhất của dung sai là 0,005mm.
4.7 Kiểm gia công
Kiểm gia công chỉ được tiến hành với gia công tinh, không kiểm với gia công thô vì có khả năng tạo ra lực cắt đáng kể.
5 Các điều kiện lắp đặt riêng
5.1 Móng máy
Móng máy là một yếu tố rất cần thiết cho dạng máy này, nó luôn luôn được lắp đặt trong phân xưởng gia công của người sử dụng trên móng được thiết kế và chế tạo phù hợp.
Móng phù hợp với mỗi một kiểu máy và không phải luôn có giá trị trong phân xưởng lắp ráp chế tạo, do đó nếu phép kiểm được tiến hành trên một máy đơn giản, được đặt trên sàn ổn định thì điều này phải được xem xét và ghi rõ trong báo cáo kiểm.
5.2 Yêu cầu riêng
Móng máy phải tách rời khỏi tường bao sàn để không truyền rung động và/hoặc nhiệt.
5.3 Điều kiện nhiệt
Khi bàn máy được vận hành bằng thuỷ lực, tuỳ thuộc vào biến dạng nhiệt do sự chênh nhiệt độ giữa dầu ở phía dưới và nước làm nguội ở bên trên, phép kiểm phải được tiến hành sau khi di chuyển bàn máy và phân bố chất làm nguội cho đủ thời gian để đưa chúng đạt đến điều kiện làm việc theo chỉ dẫn của nhà chế tạo.
5.4 Nhiệt độ kiểm
Sự biến đổi nhiệt độ của phòng kiểm không được vượt quá 20C. Mặt khác, điều kiện nhiệt độ môi trường xung quanh trong suốt thời gian kiểm phải được thoả thuận giữa nhà cung cấp/nhà chế tạo và người sử dụng. Máy phải được đặt trong môi trường này ít nhất 24h trước khi kiểm.
6 Kiểm hình học
6.1 Chuyển động của trục
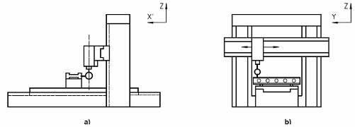
| Đối tượng Kiểm độ thẳng chuyển động dọc của bàn máy (trục X): | G1 | |
| a) Trong mặt phẳng thẳng đứng XY (EYX ); b) Trong mặt phẳng nằm ngang ZX (EZX); | ||
| Sơ đồ
| ||
| Dung sai a) và b) 0,02 đối với chiều dài đo đến 2 000 Đối với chiều dài lớn hơn 2 000 thì cứ mỗi chiều dài của bàn tăng thêm đến 1 000mm thi cộng thêm 0,01mm so với dung sai trước Dung sai lớn nhất: 0,10 Dung sai cục bộ: 0,01 cho bất kỳ chiều dài đo 1 000 | Sai lệch đo được Với X=....... a) b) | |
| Dụng cụ đo Dụng cụ quang học | ||
| Quan sát và tham chiếu 5.2.3.2.1.2, 5.2.3.2.1.3, 5.2.3.2.1.4 của TCVN 7011-1 Các chi tiết quang học được lắp trên đầu mài để giảm tác động của bàn không cứng vững. Giá đỡ của thanh xà ngang tĩnh phải được đặt cùng một khoảng cách như giá đỡ của phôi gia công. Khi lắp đặt ống ngắm phải quan tâm đến độ mềm dẻo của bàn. | ||
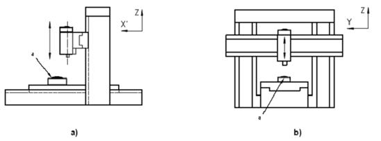
| Đối tượng | G2 | ||||||||||
| Kiểm sai lệch góc chuyển động dọc của bàn máy (trục X): a) Trong mặt phẳng dọc ZX (EBX: bước); b) Trong mặt phẳng ngang YZ (EAX: lăn). | |||||||||||
| Sơ đồ
a) Nivô chuẩn | |||||||||||
| Dung sai
| Sai lệch đo được Với X =....... a) b) | ||||||||||
| Dụng cụ đo Nivô chính xác hoặc phương pháp đo quang học | |||||||||||
| Quan sát và tham chiếu 5.2.3.1.3, 5.2.3.2.2 và 5.2.3.2.2.1 của TCVN 7011-1 Nivô hoặc dụng cụ phải được đặt trên bộ phận chuyển động a) (EBX: bước); theo chiều trục X; b) ( EAX: lăn) ; theo chiều trục Y. Khi chuyển động của trục X gây nên dịch chuyển góc của cả đầu trục chính và bàn kẹp phôi, phải tiến hành đo hai sai lệch góc và xác định điều này. Nivô chuẩn khi sử dụng phải được đặt trên bàn kẹp phôi, và được đặt tại khoảng giữa của phạm vi dịch chuyển. Phép đo phải được tiến hành ít nhất ở năm vị trí có khoảng cách bằng nhau với một khoảng cách lớn nhất là 1 000 dọc theo khoảng chạy trong cả hai chiều chuyển động. Hiệu giữa số chỉ lớn nhất và số chỉ nhỏ nhất của hai chiều không được lớn hơn dung sai. Phép đo phải được lặp lại với nivô được đặt tại hai đầu mút (cách các cạnh trong khoảng 500mm) và tại vị trí giữa bàn. | |||||||||||
| Đối tượng | G3 | |
|
| ||
| Kiểm độ thẳng của chuyển động của bàn trượt đầu mài trên xà ngang động (trục Y): a) Trong mặt phẳng XY (mặt phẳng nằm ngang) (EXY); b) Trong mặt phẳng YZ (mặt phẳng thẳng đứng) (EZY). | ||
| Sơ đồ
| ||
| Dung sai Đối với a) và b) 0,02 đối với chiều dài đo ≤ 1 000 Đối với chiều dài lớn hơn 1 000 thì cứ mỗi chiều dài của bàn tăng thêm đến 1 000mm, cộng thêm 0,01mm so với dung sai trước đó Dung sai lớn nhất: 0,04 Dung sai cục bộ: 0,01 cho bất kỳ chiều dài đo 500 | Sai lệch đo được Với Y =....... a) b) | |
| Dụng cụ đo Thước thẳng, đồng hồ so và căn mẫu hoặc dụng cụ quang học | ||
| Quan sát và tham chiếu 5.2.3.2.1, 5.2.3.2.1.1, 5.2.3.2.1.3 và 5.2.3.2.1.4 của TCVN 7011-1 Cố định xà ngang động tại giữa chiều cao và đặt bàn tại giữa khoảng chạy. Đặt thước thẳng lên trên bàn, song song 1) với chiều chuyển động trục Y của đầu mài, với a) nằm ngang và b) thẳng đứng. Cố định giá đỡ đồng hồ so trên đầu mài để sao cho mũi dò của đồng hồ so tiếp xúc vuông góc với bề mặt của thước thẳng. Dịch chuyển đầu mài theo chiều Y suốt chiều dài đo 2) và ghi số chỉ của đồng hồ so. | ||
| Đối tượng Kiểm sai lệch góc dịch chuyển theo trục Y của chuyển động đầu mài trên xà ngang động (trục Y) | G4 | |
| a) Trong mặt phẳng YZ (EAY : bước); b) Trong mặt phẳng ZX (EBY : lăn) | ||
| Sơ đồ
a) nivô chuẩn | ||
| Dung sai a) và b) 0,04/1000 Dung sai vị trí: 0,02/1000 ( hoặc 20mrad hoặc 4”) với mọi chiều dài đo 250 | Sai lệch đo được a) b) | |
| Dụng cụ đo Ni vô chính xác hoặc dụng cụ quang học. | ||
| Quan sát và tham chiếu 5.2.3.1.3 ; 5.2.3.2.2 và 5.2.3.2.2.1 của TCVN 7011-1 Một nivô phải đặt trên bộ phận chuyển động. a) (EAY : bước) theo chiều trục Y; b) (EBY : lăn) theo chiều trục X. Khi chuyển động của trục Y gây nên dịch chuyển góc của cả đầu trục chính và bàn kẹp phôi, phải tiến hành đo hai sai lệch góc và xác định điều này. Nivô chuẩn khi sử dụng phải được đặt trên bàn kẹp phôi, và được đặt tại khoảng giữa của phạm vi dịch chuyển. Phép đo phải được tiến hành ít nhất ở năm vị trí có khoảng cách bằng nhau với một khoảng cách lớn nhất là 1000 dọc theo khoảng chạy trong cả hai chiều chuyển động Hiệu giữa số chỉ lớn nhất và số chỉ nhỏ nhất của hai chiều không được lớn hơn dung sai. | ||
| Đối tượng Kiểm độ vuông góc giữa chuyển động dọc của bàn máy (trục X) và chuyển động đầu trượt của đầu mài trên xà ngang động (trục Y). | G5 | |
| Sơ đồ
| ||
| Dung sai 0,02 đối với chiều dài đo 500 | Sai lệch đo được | |
| Dụng cụ đo Thước thẳng, ke vuông và đồng hồ so | ||
| Quan sát và tham chiếu 5.5.2.2.4 của TCVN 7011-1 Xà ngang động nằm ở mức thấp nhất của khoảng chạy và được khoá lại. 1) Cố định đồng hồ so/giá đỡ với đầu mài. Đặt thước thẳng lên trên bàn song song với chuyển động theo chiều trục X của bàn máy. 2) Đặt ke vuông ngược với thước thẳng. Đặt đồng hồ so ngược với ke vuông và di chuyển đầu mài theo chiều dài đo rồi đọc số chỉ của đồng hồ so. 3) Quay ke vuông 1800 và đặt đồng hồ so ngược lại với ke vuông và đo lặp lại bằng di chuyển đầu mài theo chiều dài đo, tiến hành như trong bước 2) Xác định giá trị trung bình của sai lệch đo được trong bước 2) và bước 3) đó chính là sai lệch độ vuông góc giữa trục X và trục Y. Nếu chiều rộng bàn lớn hơn1 000 thì phép kiểm phải lặp lại theo các vị trí khác nhau dọc theo chiều rộng bàn. | ||
| Đối tượng Kiểm sai lệch góc của chuyển động thẳng đứng của đầu mài (trục Z): | G6 | |
| a) trong mặt phẳng ZX (EBZ); b) trong mặt phẳng YZ (EAZ). | ||
| Sơ đồ
a) Ni vô chuẩn | ||
| Dung sai a) và b) 0,02/1 000 đối với dịch chuyển thẳng đứng ≤ 300 | Sai lệch đo được a) b) | |
| Dụng cụ đo Dụng cụ đo góc giao thoa lade hoặc nivô chính xác | ||
| Quan sát và tham chiếu 5.2.3.1.3, 5.2.3.2.2 và 5.2.3.2.2.1 của TCVN 7011-1 Một nivô được đặt trên đầu chuyển động, nivô chuẩn phải đặt vào giữa bàn và bàn phải nằm ở vị trí giữa của khoảng chạy. Chiều của nivô phải là: a) theo chiều trục X đối với phép đo EBZ; b) theo chiều trục Y đối với phép đo EAZ; Khi trục Z dịch chuyển gây ra dịch chuyển góc của cả đầu mài và bàn kẹp phôi, tiến hành đo sự khác nhau của hai sai lệch góc và xác định điều này. Phép đo phải tiến hành ít nhất năm vị trí có khoảng cách bằng nhau dọc theo khoảng chạy với cả hai chiều chuyển động. Hiệu giữa số chỉ lớn nhất và nhỏ nhất của đồng hồ so không được lớn hơn dung sai. | ||
| Đối tượng Kiểm độ vuông góc giữa chuyển động thẳng đứng của đầu mài (trục Z) và : | G7 | |
| a) chuyển động dọc của bàn (trục X); b) chuyển động bàn trượt của đầu mài trên xà ngang động (trục Y). | ||
| Sơ đồ
| ||
| Dung sai a) và b) 0,02 trên chiều dài đo 300 | Sai lệch đo được a) b) | |
| Dụng cụ đo Ke vuông trụ, tấm kiểm, căn lá và đồng hồ so | ||
| Quan sát và tham chiếu 5.5.2.2.4 của TCVN 7011-1 Xà ngang động được khoá. Đặt tấm kiểm tại vị trí giữa bàn và điều chỉnh bề mặt của nó song song với cả chuyển động trục X và trục Y. Đặt ke vuông trụ lên tấm kiểm. Cố định đồng hồ so đối với đầu mài và đặt mũi dò của đồng hồ so ngược với ke vuông trụ theo chiều trục X và lấy số chỉ của đồng hồ tại a1 rồi di chuyển đầu mài đến a2 và lấy số chỉ. Xoay ke vuông trụ 1800 và lặp lại phép đo theo cùng một trình tự. Xác định giá trị trung bình của sai lệch đo được. Sau đó kiểm theo chiều Y tại các vị trí b1 và b2. | ||
| Đối tượng Kiểm độ vuông góc giữa chuyển động thẳng đứng của xà ngang động (trục R) và: | G8 | |
| a) chuyển động dọc của bàn máy (trục X); b) chuyển động bàn trượt của đầu mài trên xà ngang động (trục Y). | ||
| Sơ đồ
| ||
| Dung sai a) và b) 0,030 đối với chiều dài đo 500 | Sai lệch đo được a) b) | |
| Dụng cụ đo Đồng hồ so, ke vuông trụ, tấm kiểm và căn lá | ||
| Quan sát và tham chiếu 5.5.2.2.4 của TCVN 7011-1 Đặt tấm kiểm vào giữa bàn và điều chỉnh bề mặt của nó song song đối với cả hai chuyển động theo chiều trục X và trục Y. Đặt ke vuông trụ lên trên tấm kiểm. Cố định đồng hồ so đối với đầu mài và đặt mũi dò của đồng hồ so ngược lại với ke vuông trụ theo chiều trục X, lấy số chỉ tại a1 rồi di chuyển xà ngang động đến a2 và lấy số chỉ của đồng hồ. Trong suốt thời gian đo, khoá đầu mài đối với xà ngang động. Quay ke vuông trụ 1800 và lặp lại phép đo theo cùng một trình tự. Xác định giá trị trung bình của sai lệch đo được. Sau đó kiểm theo chiều Y tại các vị trí b1 và b2. Phép kiểm này không cần thiết, khi không sử dụng xà ngang động để dịch chuyển bánh mài. | ||
| Đối tượng Kiểm độ nằm ngang của xà ngang động trong mặt phẳng YZ (đo góc R) (EAR): | G9 | |
| a) tại vị trí thấp nhất; b) tại vị trí giữa; c) tại vị trí cao nhất. | ||
| Sơ đồ
a Ni vô chuẩn | ||
| Dung sai 0,02/1 000 đối với dịch chuyển thẳng đứng ≤ 1 000 0,03/1 000 đối với < khoảng chạy thẳng đứng ≤ 2 000 | Sai lệch đo được a) b) | |
| Dụng cụ đo Nivô chính xác | ||
| Quan sát và tham chiếu 5.2.3.1.2, 5.2.3.2.2 và 5.2.3.2.2.1 TCVN 7011-1 Nivô phải được đặt nằm ngang trên xà ngang động. Nivô chuẩn phải được đặt giữa bàn và bàn máy phải được đặt ở giữa phạm vi khoảng chạy. Khi chuyển động của trục R gây ra sai lệch góc của cả xà ngang động và bàn kẹp phôi, phải tiến hành đo sự chênh lệch của hai sai lệch góc và phải ghi lại điều này. Di chuyển xà ngang động đến a) vị trí thấp nhất, b) vị trí giữa, c) vị trí cao nhất tính đáy đến đỉnh và ghi số chỉ sai lệch góc. Tải trọng chịu tác động của đầu mài phải được phân bố đối xứng. Xà ngang động được khoá tại mỗi vị trí. Nếu có dụng cụ cân bằng xà ngang động thì có thể sử dụng để giảm sai lệch nằm trong phạm vi dung sai. | ||
| Đối tượng Kiểm độ song song giữa mặt phẳng nghiêng đầu mài và mặt phẳng YZ (đối với các đầu mài nghiêng) | G10 | |
|
| ||
| Sơ đồ
c) Trục nghiêng d) Điểm đo c) Góc nghiêng a | ||
| Dung sai Đối với đồng hồ so đặt cách 500 so với đường tâm nghiêng của đầu mài - 0,02 với a ≤ 300 - 0,03 với a > 300 | Sai lệch đo được | |
| Dụng cụ đo Ke vuông, tấm kiểm, căn lá và đồng hồ so | ||
| Quan sát và tham chiếu 5.4.2.2.2 của TCVN 7011-1 Xà ngang động được cố định tại giữa chiều cao, bàn trượt của đầu mài được cố định giữa khoảng chạy. Đặt tấm kiểm thẳng đứng trên bàn sao cho bề mặt song song với cả chuyển động của trục Y và trục Z. Cố định đồng hồ so với đầu mài sao cho mũi dò của đồng hồ đặt cách đường tâm nghiêng của đầu mài 500. Đặt mũi dò của đường hồ so ngược lại với tấm kiểm theo chiều trục X, nghiêng đầu mài và đọc số chỉ của đồng hồ so. | ||
6.2 Bàn máy
| Đối tượng | G11 | |
| Kiểm độ phẳng bề mặt bàn trong diện tích mài | ||
| Sơ đồ
| ||
| Dung sai Đối với chiều rộng bàn ≤ 1 600: 0,02 với chiều dài đo ≤ 2 000 Cộng thêm 0,005 vào dung sai với mỗi chiều dài đo tăng thêm đến1 000 đối với chiều dài > 2 000, Dung sai lớn nhất: 0,060 Đối với chiều rộng bàn > 1 600 0,02 với chiều dài đo ≤ 2 000 Cộng thêm 0,008 vào dung sai với mỗi chiều dài đo tăng thêm đến 1 000 đối với chiều dài > 2 000, Dung sai lớn nhất: 0,08 | Sai lệch đo được a) b) | |
| Dụng cụ đo Thước thẳng và căn mẫu, nivô chính xác hoặc các dụng cụ khác | ||
| Quan sát và tham chiếu 5. 3.2.2; 5.3.2.3; 5.3.2.4 của TCVN 7011-1 Bàn không khoá ở vị trí giữa khoảng chạy, có thể bỏ qua150 cuối của cả hai đầu mút bàn theo chiều dọc và 50 cuối của cả hai đầu mút bàn theo chiều ngang. Đối với các bàn máy lớn, qui trình đo và qui trình tính toán để giảm bớt sai lệch như sau: a) Một xà ngang tĩnh phải được đặt trên các điểm A và điểm B của hai giá đỡ. Nivô phải được đặt trên xà ngang động và phải chỉnh về 0. b) Xà ngang tĩnh và giá đỡ chuẩn phải đổi chỗ sang điểm C và điểm D . Lấy số chỉ của đồng hồ. c) Phải tiến hành đo độ thẳng của các đường ngang A1-B1, A2-B2, An-Bn d) Đo độ thẳng của đường ngoài theo chiều dọc AC và BD. e) Chiều cao của các cặp điểm A và D, B và C phải được lấy bằng nhau bằng cách tính toán. Chiều cao của điểm cuối của đường ngang phải trùng với điểm tương ứng trên đường dọc. f) Nếu có thể, khoảng cách nhỏ nhất giữa hai mặt phẳng song song trong đó bao gồm bề mặt kiểm, phải được xác định. | ||
| Đối tượng Kiểm độ song song giữa rãnh chữ T giữa hoặc rãnh chữ T chuẩn và dịch chuyển dọc của bàn (trục X). | G12 | |
|
| ||
| Sơ đồ
a rãnh chữ T chuẩn | ||
| Dung sai 0,02 đối với chiều dài đo ≤ 5 000 0,03 đối với chiều dài đo > 5 000 Dung sai 0,01 đối với chiều dài đo 1 000 | Sai lệch đo được | |
| Dụng cụ đo Đồng hồ so và đồ gá chuyên dùng | ||
| Quan sát và tham chiếu 5.4.2.2.1 và 5.4.2.2.2.1 của TCVN 7011-1 Nếu trục chính có thể khoá được thì đồng hồ so có thể lắp trên trục chính. Nếu không thể khoá trục chính được thì đồng hồ so phải được đặt gần trục chính. | ||
| Đối tượng Kiểm độ song song giữa bề mặt bàn và chuyển động dọc theo chiều trục X của bàn. | G13 | |
|
| ||
| Sơ đồ
| ||
| Dung sai 0,025 đối với chiều dài đo ≤ 2 000 Cộng thêm 0,013 vào dung sai với mỗi chiều dài đo tăng thêm 1 000 đối với chiều dài > 2 000, Dung sai lớn nhất: 0,130 | Sai lệch đo được | |
| Dụng cụ đo Đồng hồ so, thước thẳng và căn mẫu | ||
| Quan sát và tham chiếu 5.4.2.2.2.1 TCVN 7011-1 Đồng hồ so phải được cố định trên đầu mài . Mũi dò của đồng hồ so phải tiếp xúc thẳng góc với thước thẳng hoặc căn mẫu hoặc căn mẫu và sai lệch lớn nhất phải được ghi lại. Phép đo phải được tiến hành tại giữa bàn và rất gần với hai cạnh ngoài. Đồng hồ so phải được hiệu chỉnh lại trước mỗi lần đo . | ||
| Đối tượng Kiểm độ song song giữa bề mặt bàn và dịch chuyển ngang của đầu mài dọc theo trục Y. | G14 | |
|
| ||
| Sơ đồ
| ||
| Dung sai 0,025 đối với chiều dài đo ≤ 1 000 Cộng thêm 0,013 vào dung sai với mỗi chiều dài đo tăng thêm 1 000 đối với chiều dài > 1000, Dung sai lớn nhất: 0,050 | Sai lệch đo được | |
| Dụng cụ đo Đồng hồ so, thước thẳng và căn mẫu | ||
| Quan sát và tham chiếu 5.4.2.2.2.2 của TCVN 7011-1 Bàn máy ở giữa khoảng chạy. Đồng hồ so phải được gắn trên đầu mài. Mũi dò đồng hồ so phải được đặt ở điểm a1 trên thước thẳng (căn mẫu) và hiểu chỉnh lại trước khi đo. Đầu mài phải được di chuyển theo chiều dài đo đến điểm a2 và sai lệch lớn nhất phải được ghi lại. Phép đo phải được tiến hành tại vị trí thấp nhất của xà ngang động. | ||
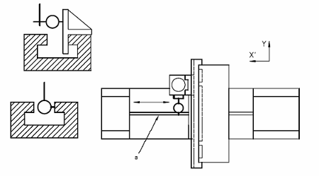
6.3 Trục chính
| Đối tượng Kiểm trục chính mài: | G15 | |
| a) độ đảo hướng kính của côn ngoài; b) độ trượt chiều trục chu kỳ. | ||
| Sơ đồ
| ||
| Dung sai a) và b) 0,005 | Sai lệch đo được a) b) | |
| Dụng cụ đo đồng hồ so | ||
| Quan sát và tham chiếu 5.6.1.2.1; 5.6.1.2.2 ; 5.6.2.2.1 và 5.6.2.2.2 của TCVN 7011-1 a) Mũi dò của đồng hồ so phải đặt vuông góc với bề mặt côn. Ngoài ra đối với yêu cầu của TCVN 7011-1 phép đo phải được tiến hành ở mỗi đầu mút của mặt côn. Quay trục chính bằng tay hoặc bằng một xung lực ngắn của động cơ. b) Mũi dò của đồng hồ so phải đặt trùng với đường tâm trục chính. Cường độ, giá trị và chiều của lực F do nhà chế tạo/nhà cung cấp xác định. Khi sử dụng ổ lăn chịu tải trước thì không cần sử dụng lực F. Quay trục chính bằng tay hoặc bằng một xung lực ngắn của động cơ. Tiến hành toàn bộ phép kiểm đối với trục chính mài thẳng đứng và nằm ngang. | ||
| Đối tượng Kiểm độ vuông góc giữa đường tâm trục chính mài thẳng đứng và: | G16 |
| a) chuyển động dọc của bàn máy (trục X); b) chuyển động của bàn trượt đầu mài trên xà ngang động (trục Y). | |
| Sơ đồ
| |
| Dung sai a) và b) 0,02 / 5001) 1) Khoảng cách giữa hai điểm đo | Sai lệch đo được a) b) |
| Dụng cụ đo Đồng hồ so có cần và thước thẳng hoặc tấm kiểm | |
| Quan sát và tham chiếu 5.5.1.2.4.2 của TCVN 7011-1 a) Đặt thước thẳng thẳng đứng tại tâm của bàn song song với chuyển động của bàn. bàn được khoá tại giữa khoảng chạy. Đưa xà ngang động vào giữa chiều cao và khoá lại. đưa đầu mài có vị trí thẳng đứng vào giữa khoảng chạy và khoá lại. Giá đỡ cần có đồng hồ so được cố định đối với trục chính mài. Cho mũi dò của đồng hồ so tiếp xúc với thước thẳng và đọc số chỉ của đồng hồ. Quay trục chính 1800 và đọc số chỉ mới của đồng hồ. b) Tiến hành kiểm cũng theo cùng một phương pháp với thước thẳng đặt song song với chuyển động của trục Y. | |
| Đối tượng Kiểm độ vuông góc giữa đường tâm trục chính mài nằm ngang và: | G17 |
| a) Chuyển động dọc của bàn (trục X); b) Chuyển động thẳng đứng của xà ngang động (trục Z). | |
| Sơ đồ
| |
| Dung sai a) và b) 0,012 / 300 | Sai lệch đo được |
| Dụng cụ đo Thước thẳng, ke vuông trụ và đồnghồ so | |
| Quan sát và tham chiếu 5.5.1.2.4.2 của TCVN 7011-1 Khoá xà ngang động ở vị trí giữa. a) Đầu mài nằm ngang đặt ở giữa khoảng chạy. Đặt thước thẳng lên bàn song song với chuyển động của bàn theo chiều trục X. Gắn cần đồng hồ so đến trục chính mài. Cho mũi dò của đồng hồ so tiếp xúc với mặt chuẩn của thước thẳng tại vị trí a1 và ghi số chỉ của đồng hồ so. Quay trục chính mài cho đến khi mũi dò tiếp xúc vào điểm a2. b) Đặt ke vuông trên bàn song song với chuyển động của trục Z và kiểm bằng đồng hồ so tại vị trí b1 và b2. | |
7 Kiểm gia công
7.1 Qui định chung
Kiểm gia công M1 và M2 chỉ được tiến hành nếu không có kiểm gia công được qui định riêng ( ví dụ, gia công các mẫu kiểm đặc biệt do người sử dụng qui định).
7.2 Mài bề mặt
| Đối tượng Mài bề mặt 5; 7 hoặc 8 mẫu kiểm. | M1 | |||
| Bề mặt của mẫu kiểm phải tiếp xúc với bàn và phải được mài trước khi kiểm. Mẫu kiểm phải được định vị như sau: - Trong trường hợp có 5 mẫu kiểm: một mẫu đặt ở giữa bàn; bốn mẫu đặt bốn góc bàn; - Trường hợp có 7 hoặc 8 mẫu kiểm: phải theo thoả thuận. | ||||
| Sơ đồ
Gia công: - 5 mẫu kiểm đối với chiều dài bàn ≤ 5 000 - 7 hoặc 8 mẫu kiểm đối với chiều dài bàn > 5 000 vật liệu của mẫu kiểm : gang hoặc bằng thép Toàn bộ các mẫu kiểm phải có cùng độ cứng và phải được cố định phù hợp trên bàn . Kích thước của bề mặt được mài phải nhỏ đến mức có thể ; ví dụ mẫu kiểm hình vuông có cạnh 50x 50 mẫu kiểm trụ có đường kính f50 | ||||
| Phép kiểm được áp dụng | Dung sai | Dụng cụ đo | Quan sát và tham chiếu TCVN 7011-1 | |
| Chiều dày của mẫu kiểm sau khi mài phải giống nhau | Với khoảng cách giữa hai mẫu kiểm: Khoảng cách ≤1000 : 0,01 1000< khoảng cách ≤ 2000 : 0,02 2000< khoảng cách ≤ 3000 : 0,03 khoảng cách > 3000 : 0,04 | Tấm kiểm và đồng hồ so chính xác / giá đỡ | 4.1, 4.2 Tắt máy và đặt đáy mẫu kiểm lên trên tấm kiểm, phải đo liên tiếp với dụng cụ đo phù hợp | |
7.3 Mài các đường trượt
| Đối tượng Mài các bề mặt hẹp F1, F2 và F3 đại diện cho đường hướng. | M2 | |||
| Lắp đặt mẫu kiểm trên bàn sao cho mẫu kiểm không bị biến dạng. Lắp ba mẫu kiểm tại giữa bàn theo chiều dọc có khoảng cách giữa các mẫu bằng nhau sao cho chiều dài của các mẫu kiểm bằng hai phần ba chiều dài bàn. Bề mặt A được sử dụng làm bề mặt chuẩn đối với phép đo phải được chế tạo cẩn thận trước khi lắp. | ||||
| Sơ đồ
l = h h1= h/3 m = l+0,5 L = chiều dài mài 2L /3 = chiều dài của mẫu kiểm được lắp liên tiếp e = chiều rộng của bánh mài l ≥ 3e lmax= 150 | ||||
| Phép kiểm được áp dụng | Dung sai | Dụng cụ đo | Quan sát và tham chiếu TCVN 7011-1 | |
| a) Sự biến đổi chiều cao theo chiều dọc b) Sự biến đổi theo chiều rộng | Đối với a) và b): Đối với chiều dài lắp đặt trên bàn (2L/3): (2L/3) ≤ 2 000 : 0,010 2 000 < (2L/3) ≤ 4 000 : 0,015 4 000 < (2L/3) ≤ 6 000 : 0,020 6 000 <(2L/3) ≤ 8 000 : 0,025 | a) Đồng hồ so chính xác / giá đỡ và tấm kiểm b) Đồng hồ so chính xác / giá đỡ và tấm kiểm hoặc micromet | 4.1, 4.2 Tắt máy và đặt đáy mẫu kiểm lên trên tấm kiểm, phải đo liên tiếp với dụng cụ đo phù hợp. Điểm đo ở giữa chiều rộng và ở khoảng cách 75 từ các đầu mút của bề mặt đáy của mẫu kiểm | |
8 Độ chính xác và khả năng lặp lại định vị của các trục được điều khiển số
Phép kiểm này chỉ được áp dụng đối với các máy mài điều khiển số có hai trụ dùng các đường trượt.
Để áp dụng được phép kiểm này phải tham chiếu TCVN 7011-2, đặc biệt là các điều kiện môi trường, làm nóng máy, các phương pháp đo, đánh giá và giải thích các kết quả.
| Đối tượng Kiểm độ chính xác và khả năng lặp lại đinh vị của chuyển động theo chiều trục X của bàn máy bằng điều khiển số. | P1 | ||||
|
| |||||
| Sơ đồ
| |||||
| Dung sai | Chiều dài đo | Sai lệch đo được | |||
| L ≤ 2000 | 2000<L ≤5000 | 5000< L ≤10000 |
| ||
| * Độ chính xác định vị theo hai chiều A | 0,042 | - | - |
| |
| * Khả năng lặp lại định vị theo một chiều R↑hoặc R↓ | 0,013 | - | - |
| |
| Khả năng lặp lại theo hai chiều R | 0,025 | - | - |
| |
| Giá trị đảo chiều B | 0,016 | 0,025 | 0,040 |
| |
| Giá trị đảo chiều trung bình | 0,010 | 0,016 | 0,025 |
| |
| * Sai lệch định vị hệ thống theo hai chiều E | 0,013 | 0,050 | 0,080 |
| |
| Phạm vi sai lệch định vị trung bình M theo hai chiều | 0,020 | 0,032 | 0,050 |
| |
| Chú thích : * Có thể cung cấp như là cơ sở để nghiệm thu máy | |||||
| Dụng cụ đo Thước đo chiều dài tiêu chuẩn, kính hiển vi hoặc dụng cụ đo laze | |||||
| Quan sát và tham chiếu TCVN 7011-1 và TCVN 7011-2 | |||||
| Đối tượng Kiểm độ chính xác và khả năng lặp lại đinh vị của chuyển động theo chiều trục Y của đầu mài | P2 | |||||
|
được điều khiển số. | ||||||
| Sơ đồ | ||||||
| Dung sai | Chiều dài đo | Sai lệch đo được | ||||
| L ≤ 500 | 500<L≤ 800 | 800<L≤ 1250 | 1250<L ≤2000 |
| ||
| * Độ chính xác định vị theo hai chiều A | 0,022 | 0,025 | 0,032 | 0,042 |
| |
| * Khả năng lặp lại định vị theo một chiều R↑ hoặc R↓ | 0,006 | 0,008 | 0,010 | 0,013 |
| |
| Khả năng lặp lại theo hai chiều R | 0,012 | 0,015 | 0,018 | 0,020 |
| |
| Giá trị đảo chiều B | 0,010 | 0,010 | 0,012 | 0,012 |
| |
| Giá trị đảo chiều trung bình | 0,006 | 0,006 | 0,008 | 0,008 |
| |
| * Sai lệch định vị hệ thống theo hai chiều E | 0,015 | 0,018 | 0,023 | 0,030 |
| |
| Phạm vi sai lệch định vị trung bình M theo hai chiều | 0,010 | 0,012 | 0,015 | 0,020 |
| |
| Chú thích : * Có thể cung cấp như là cơ sở để nghiệm thu máy | ||||||
| Dụng cụ đo Thước đo chiều dài tiêu chuẩn, kính hiển vi hoặc dụng cụ đo laze | ||||||
| Quan sát và tham chiếu TCVN 7011-1 và TCVN 7011-2 | ||||||
| Đối tượng Kiểm độ chính xác và khả năng lặp lại đinh vị của chuyển động theo chiều trục Z của bàn máy được điều khiển số. | P3 | |||||
|
| ||||||
| Sơ đồ
| ||||||
| Dung sai | Chiều dài đo | Sai lệch đo được | ||||
| L ≤ 500 | 500< L ≤ 800 | 800<L≤1250 | 1250<L≤ 2000 |
| ||
| * Độ chính xác định vị theo hai chiều A | 0,022 | 0,025 | 0,032 | 0,042 |
| |
| * Khả năng lặp lại định vị theo một chiều R↑ hoặc R↓ | 0,006 | 0,008 | 0,010 | 0,013 |
| |
| Khả năng lặp lại theo hai chiều R | 0,012 | 0,015 | 0,018 | 0,020 |
| |
| *Giá trị đảo chiều B | 0,010 | 0,010 | 0,012 | 0,012 |
| |
| Giá trị đảo chiều trung bình B | 0,006 | 0,006 | 0,008 | 0,008 |
| |
| * Sai lệch định vị hệ thống theo hai chiều E | 0,015 | 0,018 | 0,023 | 0,030 |
| |
| Phạm vi sai lệch định vị trung bình M theo hai chiều | 0,010 | 0,012 | 0,015 | 0,020 |
| |
| Chú thích : * Có thể cung cấp như là cơ sở để nghiệm thu máy | ||||||
| Dụng cụ đo Thước đo chiều dài tiêu chuẩn, kính hiển vi hoặc dụng cụ đo laze | ||||||
| Quan sát và tham chiếu TCVN 7011-1 và TCVN 7011-2 | ||||||
Phụ lục A
(tham khảo)
Thuật ngữ tương đương theo tiếng Ðức và tiếng Italia
(Xem Điều 3, Hình 1 và Bảng 1)
| Số tham chiếu | Tiếng Đức | Tiếng Italia |
| 1 | Bett | Banco |
| 2 | Führungsbahn | Guida |
| 3 | Tisch | Tavola |
| 4 | Ständer links | Montante sinistro |
| 5 | Ständer rechts | Montante destro |
| 6 | Führungsbahn, Ständer rechts | Guida, montante destro |
| 7 | Querbalken | Traversa mobile |
| 8 | Schlitten | Slitta orizzontale |
| 9 | Schleifspindelstock rechts | Testa porta-mola di destra (mandrino verticale) |
| 10 | Schleifspindelstock links | Testa porta-mola di sinistra (mandrino orizzontale) |
| 11 | Traverse | Traversa fissa |
| 12 | Schleifschelbe | Mola |
THƯ MỤC TÀI LIỆU THAM KHẢO
[1] ISO 841 :2001 Industrial automation systems - Numerical control of machines - Coordinate system and motion nomenclature.(Hệ thống tự động công nghiệp - Máy điều khiển số - Hệ thống toạ độ và danh mục các chuyển động)
1) song song nghĩa là: số chỉ của đồng hồ so tiếp xúc với thước thẳng ở cả hai đầu của chuyển động chỉ ra cùng một giá trị và trong trường hợp này, hiệu lớn nhất của các số chỉ cho sai lệch của độ thẳng
2) Chiều dài đo nghĩa là không phải là toàn bộ chiều dài của xà ngang động mà là khoảng chạy hiệu dụng của đầu mài (thường là chiều dài giữa hai trụ)
Bạn chưa Đăng nhập thành viên.
Đây là tiện ích dành cho tài khoản thành viên. Vui lòng Đăng nhập để xem chi tiết. Nếu chưa có tài khoản, vui lòng Đăng ký tại đây!




















