- Tổng quan
- Nội dung
- Tiêu chuẩn liên quan
- Lược đồ
- Tải về
Tiêu chuẩn Quốc gia TCVN 7761-5:2007 ISO 10245-5:1995 Cơ cấu hạn chế và cơ cấu chỉ báo cổng trục và cầu trục
| Số hiệu: | TCVN 7761-5:2007 | Loại văn bản: | Tiêu chuẩn Việt Nam |
| Cơ quan ban hành: | Bộ Khoa học và Công nghệ | Lĩnh vực: | Công nghiệp |
|
Ngày ban hành:
Ngày ban hành là ngày, tháng, năm văn bản được thông qua hoặc ký ban hành.
|
2007 |
Hiệu lực:
|
Đã biết
|
| Người ký: | Đang cập nhật |
Tình trạng hiệu lực:
Cho biết trạng thái hiệu lực của văn bản đang tra cứu: Chưa áp dụng, Còn hiệu lực, Hết hiệu lực, Hết hiệu lực 1 phần; Đã sửa đổi, Đính chính hay Không còn phù hợp,...
|
Đã biết
|
TÓM TẮT TIÊU CHUẨN VIỆT NAM TCVN 7761-5:2007
Nội dung tóm tắt đang được cập nhật, Quý khách vui lòng quay lại sau!
Tải tiêu chuẩn Việt Nam TCVN 7761-5:2007
TIÊU CHUẨN QUỐC GIA
TCVN 7761-5 : 2007
ISO 10245-5 : 1995
CẦN TRỤC - CƠ CẤU HẠN CHẾ VÀ CƠ CẤU CHỈ BÁO - PHẦN 5: CỔNG TRỤC VÀ CẦU TRỤC
Cranes - Limiting and indicating devices - Part 5: Overhead travelling and portal bridge cranes
Lời nói đầu
TCVN 7761-5 : 2007 hoàn toàn tương đương với ISO 10245-5 : 1995.
TCVN 7761-5 : 2007 do Ban kỹ thuật tiêu chuẩn TCVN/TC 96 Cần cẩu biên soạn, Tổng cục Tiêu chuẩn Đo lường Chất lượng đề nghị, Bộ Khoa học và Công nghệ công bố.
TCVN 7761 gồm các tiêu chuẩn sau, với tên chung Cần trục - Cơ cấu hạn chế và cơ cấu chỉ báo
TCVN 7761-1 : 2007 (ISO 10245-1 : 1994) Phần 1: Yêu cầu chung
TCVN 7761-2 : 2007 (ISO 10245-2 : 1994) Phần 2: Cần trục di động
TCVN 7761-3 : 2007 (ISO 10245-3 : 1999) Phần 3: Cần trục tháp
TCVN 7761-4 : 2007 (ISO 10245-4 : 2004) Phần 4: Cần trục kiểu cần
TCVN 7761-5 : 2007 (ISO 10245-5 : 1995) Phần 5: Cổng trục và cầu trục
CẦN TRỤC - CƠ CẤU HẠN CHẾ VÀ CƠ CẤU CHỈ BÁO - PHẦN 5: CỔNG TRỤC VÀ CẦU TRỤC
Cranes - Limiting and indicating devices - Part 5: Overhead travelling and portal bridge cranes
1. Phạm vi áp dụng
Tiêu chuẩn này qui định các yêu cầu đối với các cơ cấu hạn chế và/hoặc chỉ báo tải trọng, chuyển động, tính năng và môi trường của các cổng trục và cầu trục. Yêu cầu chung đối với các cơ cấu hạn chế và chỉ báo dùng cho cổng trục và cầu trục được nêu trong TCVN 7761-1 : 2007.
2. Tài liệu viện dẫn
TCVN 7761 -1 : 2007 (ISO 10245-1) Cần trục - Cơ cấu hạn chế và cơ cấu chỉ báo - Phần 1: Yêu cầu chung.
ISO 4306-1 : 1990, Cranes - Vocabulary - Part 1: General (Cần trục - Từ vựng - Phần 1: Yêu cầu chung).
ISO 8686-1 : 1989, Cranes - Design principles for loads and load combinations - Part 1: General (Cần trục - Nguyên tắc thiết kế đối với các tải trọng và tổ hợp tải trọng - Phần 1: Yêu cầu chung).
3. Định nghĩa
Tiêu chuẩn này áp dụng định nghĩa trong TCVN 7761 -1 : 2007.
4. Cơ cấu hạn chế tải trọng nâng danh định
4.1. Cổng trục và cầu trục phải được trang bị cơ cấu hạn chế tải trọng nâng danh định, nếu
- có nguy cơ bị lật;
- cổng trục và cầu trục được vận hành với các tải trọng không biết trước có thể dẫn đến sự quá tải của các cơ cấu và kết cấu thép.
4.2. Cơ cấu hạn chế tải trọng nâng danh định phải cho phép tải được nâng và cơ cấu nâng chuyển động đi lên có gia tốc với gia tốc thiết kế trung bình a. Thông thường cơ cấu hạn chế có thể được điều chỉnh và khóa lại ở giá trị thích hợp trong quá trình thử với tải trọng danh định. Đối với các tời nâng được sản xuất hàng loạt thì chỉ cần chỉnh đặt cơ cấu hạn chế tải trọng nâng danh định trong quá trình thử nghiệm ở nhà máy, có tính đến yêu cầu về tính đàn hồi của các kết cấu trên đó lắp các tời.
4.3. Có thể cần thiết phải lắp một thiết bị cho cơ cấu hạn chế để phòng ngừa sự nhạy cảm của nó với các tải trọng động trong quá trình vận hành.
4.4. Việc chỉnh đặt giới hạn tải trọng nâng danh định, QL, phải đáp ứng các điều kiện sau:
![]()
trong đó
a là gia tốc nâng trung bình theo thiết kế;
g là gia tốc trọng trường;
QL là giới hạn tải trọng nâng danh định chỉnh đặt cho môi trường nâng (cáp, xích, v.v ...)
QGL là tải trọng toàn phần bao gồm tải trọng của môi trường nâng, tải trọng của thiết bị nâng tải cố định và tải trọng danh định (tải trọng nâng danh định bằng tải trọng của thiết bị nâng tải không cố định cộng tải trọng có ích);
j2 là hệ số tăng cường (khuyếch đại) được dùng trong tính toán đối với cổng trục và cầu trục theo 6.1.2.2.1 của ISO 8686-1 : 1989.
4.5. Trong các trường hợp đặc biệt khi tải trọng nâng danh định của cổng trục và cầu trục đạt tới một giá trị nào đó và các vị trí của tải được giới hạn tới các giá trị thấp hơn tải trọng danh định của cơ cấu nâng thì hệ thống giới hạn tải trọng nâng danh định phải dừng bất cứ chuyển động nào làm cho hệ thống vượt ra ngoài các giới hạn thiết kế.
4.6. Trong một cổng trục và cầu trục khi hai hoặc nhiều cơ cấu nâng vận hành theo hàng dọc thì các cơ cấu hạn chế tải trọng nâng danh định, khi làm việc cùng với các cơ cấu hạn chế chuyển động có liên quan được vận hành do quá tải, phải khống chế cơ cấu hạn chế các bộ phận điều khiển tất cả các chuyển động gây ra tình trạng quá tải.
5. Cơ cấu chỉ báo tải trọng nâng danh định
5.1. Cổng trục và cầu trục phải được trang bị cơ cấu chỉ báo tải trọng nâng danh định khi tải trọng nâng danh định của cổng trục và cầu trục phụ thuộc vào vị trí của tải.
Phải lắp cơ cấu chỉ báo tải trọng nâng danh định khi cơ cấu này có ảnh hưởng quan trọng tới việc nâng cao chất lượng của bộ phận điều khiển cổng trục và cầu trục và tăng độ an toàn.
Cơ cấu chỉ báo tải trọng nâng danh định phải chỉ báo cho người lái cổng trục và cầu trục và những người ở khu vực lân cận cổng trục và cầu trục biết khi cổng trục và cầu trục đã đạt tới tải trọng nâng danh định và/hoặc cơ cấu hạn chế tải trọng nâng danh định đã khống chế các bộ phận điều khiển.
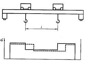
5.2. Trong các cổng trục và cầu trục có tải trọng nâng danh định phụ thuộc vào vị trí của tời (xem Hình 1) và trong trường hợp qui định trong 4.6 thì cơ cấu chỉ báo tải trọng nâng danh định phải phát ra tín hiệu cảnh báo liên tục bằng ánh sáng và/hoặc âm thanh cho người lái cổng trục và cầu trục khi tải trọng gần đạt tới tải trọng nâng danh định. Việc chỉnh đặt bộ phận phát tín hiệu phụ thuộc vào kiểu cổng trục và cầu trục được sử dụng. Thông thường, nên phát ra tín hiệu cảnh báo khi đạt tới 90 % đến 95 % tải trọng nâng danh định.
5.3. Các tín hiệu cảnh báo bằng âm thanh phải đủ to để những người được cảnh báo nghe được trên tiếng ồn chung tại địa điểm vận hành. Âm thanh của tín hiệu cảnh báo phải nhận biết được rõ ràng và không nhầm lẫn với các âm thanh khác.

a) Phải có khoảng cách/nhỏ nhất giữa hai tời để sử dụng toàn bộ tải trọng nâng danh định của các tời. Với khoảng cách ngắn hơn thì tải trọng nâng danh định giảm đi (chủ yếu là để giảm trọng lượng của cầu và giữ cho các tải trọng bánh xe ở trong các giới hạn cho phép).

b) Tải trọng nâng danh định được giới hạn trên dầm công xôn của cổng trục và cầu trục (ví dụ, do tính ổn định, tải trọng ở góc hoặc độ bền của dầm).
Hình 1 - Ví dụ về các trường hợp khi tải trọng nâng danh định của cổng trục và cầu trục bị hạn chế
6. Cơ cấu hạn chế chuyển động và tính năng
6.1. Cơ cấu hạn chế chuyển động
6.1.1. Mọi chuyển động của cổng trục và cầu trục có sự hạn chế trong thiết kế cổng trục và cầu trục phải được trang bị cơ cấu hạn chế chuyển động. Hướng dẫn áp dụng các kiểu cơ cấu hạn chế chuyển động thông dụng nhất dùng cho các chuyển động của cổng trục và cầu trục được giới thiệu trong Bảng 1.
Bảng 1 - Lựa chọn các cơ cấu hạn chế chuyển động
| Chuyển động | Kiểu cơ cấu hạn chế chuyển động | ||||
| Cữ chặn ở đầu mút | Đệm giảm chấn | Công tắc giới hạn hành trình | Cơ cấu làm chậm dần | Công tắc giới hạn lùi | |
| Nâng thông thường Nâng, có tính rủi ro cao |
|
| |
| x 1) |
| Hạ |
|
| |
|
|
| Di chuyển VLT < 0,63 m/s VLT ≥ 0,63 m/s |
|
O ¡ |
O ¡ |
O ¡ |
|
| Di chuyển ngang VCT < 0,80 m/s VCT ≥ 0,80 m/s |
|
O ¡ |
O ¡ |
O ¡ |
|
| Quay xe lăn2) Quay móc2) | | O O1) | O O1) |
|
|
| Nâng cần | | x | | x |
|
| Giải thích các ký hiệu phải sử dụng x nên sử dụng O ít nhất nên sử dụng thêm một cơ cấu hạn chế chuyển động; ¡ ít nhất phải sử dụng thêm một cơ cấu hạn chế chuyển động. 1) Có thể thay thế cơ cấu hạn chế chuyển động trong bảng này bằng cơ cấu hạn chế momen xoắn. 2) Chỉ áp dụng khi góc quay được hạn chế. 3) Đối với các vận tốc và/hoặc khối lượng (động năng) lớn hơn, có thể phải sử dụng nhiều hơn một kiểu cơ cấu hạn chế chuyển động. | |||||
6.1.2. Phải tính đến các gia tốc trong thiết kế đối với các kết cấu do sự vận hành của các cơ cấu hạn chế.
6.1.3. Cơ cấu hạn chế chuyển động phải được thiết kế sao cho gia tốc lớn nhất mà người lái cổng trục và cầu trục tuân theo phải nhỏ hơn 4 m/s2.
6.1.4. Khi có khả năng xảy ra va chạm của hai cổng trục và cầu trục, phải tính đến vấn đề này trong thiết kế các cơ cấu hạn chế chuyển động.
6.2. Cơ cấu hạn chế tính năng
Phải trang bị các cơ cấu hạn chế tính năng dựa trên cơ sở các yêu cầu ứng dụng bao gồm sự điều khiển cổng trục và cầu trục và yêu cầu về an toàn.
7. Cơ cấu chỉ báo chuyển động và tính năng
Phải trang bị các cơ cấu chỉ báo chuyển động và tính năng theo TCVN 7761-1 trên cơ sở các yêu cầu ứng dụng bao gồm điều khiển cổng trục và cầu trục và yêu cầu về an toàn.
Bạn chưa Đăng nhập thành viên.
Đây là tiện ích dành cho tài khoản thành viên. Vui lòng Đăng nhập để xem chi tiết. Nếu chưa có tài khoản, vui lòng Đăng ký tại đây!