- Tổng quan
- Nội dung
- Tiêu chuẩn liên quan
- Lược đồ
- Tải về
Tiêu chuẩn Quốc gia TCVN 12226:2018 Cáp điện lực có cách điện dạng đùn
| Số hiệu: | TCVN 12226:2018 | Loại văn bản: | Tiêu chuẩn Việt Nam |
| Cơ quan ban hành: | Bộ Khoa học và Công nghệ | Lĩnh vực: | Công nghiệp |
|
Ngày ban hành:
Ngày ban hành là ngày, tháng, năm văn bản được thông qua hoặc ký ban hành.
|
28/12/2018 |
Hiệu lực:
|
Đã biết
|
| Người ký: | Đang cập nhật |
Tình trạng hiệu lực:
Cho biết trạng thái hiệu lực của văn bản đang tra cứu: Chưa áp dụng, Còn hiệu lực, Hết hiệu lực, Hết hiệu lực 1 phần; Đã sửa đổi, Đính chính hay Không còn phù hợp,...
|
Đã biết
|
TÓM TẮT TIÊU CHUẨN VIỆT NAM TCVN 12226:2018
Tiêu chuẩn Quốc gia về Cáp điện lực và Yêu cầu Thử nghiệm
Ngày 28/12/2018, Bộ Khoa học và Công nghệ đã ban hành Tiêu chuẩn Quốc gia TCVN 12226:2018, quy định phương pháp và yêu cầu thử nghiệm cho cáp điện lực có cách điện dạng đùn và phụ kiện cáp dùng cho điện áp danh định lớn hơn 30 kV (Um=36kV) đến và bằng 150 kV (Um=170kV). Tiêu chuẩn có hiệu lực ngay từ ngày ban hành.
Tiêu chuẩn này áp dụng cho cáp điện và phụ kiện của hệ thống có điện áp danh định lớn hơn 30 kV và không bao gồm cáp dùng cho các ứng dụng đặc biệt như cáp ngầm dưới biển. Tiêu chuẩn sẽ quy định cụ thể các phương pháp thử nghiệm cần thiết để đảm bảo cáp và phụ kiện đạt yêu cầu kỹ thuật.
Phạm vi và đối tượng áp dụng
Tiêu chuẩn này cung cấp hướng dẫn và yêu cầu cho cáp điện một lõi và ba lõi, bao gồm cả các phụ kiện dùng cho lắp đặt cố định trong điều kiện bình thường làm việc. Các yêu cầu không được áp dụng cho các loại cáp và phụ kiện đặc biệt.
Quy định các phương pháp thử nghiệm
Thử nghiệm thường xuyên: Đây là những thử nghiệm mà nhà chế tạo thực hiện trên từng đoạn cáp để kiểm tra sự phù hợp với các yêu cầu kỹ thuật.
Thử nghiệm mẫu: Thực hiện trên các mẫu cáp và phụ kiện để xác nhận rằng chúng đáp ứng các yêu cầu.
Thử nghiệm điển hình: Thực hiện trước khi cung cấp, để xác nhận các đặc tính của sản phẩm cáp.
Thử nghiệm điện sau khi lắp đặt: Đánh giá tính toàn vẹn của cáp và phụ kiện đã được lắp đặt.
Yêu cầu kỹ thuật đối với cáp
Tiêu chuẩn quy định các đặc tính cần xác nhận, bao gồm:
- Điện áp danh định, cấu trúc và vật liệu của cáp.
- Chiều dày cách điện, chiều dày vỏ ngoài, và tính năng cách điện.
Thử nghiệm điện áp và thấm nước
Cáp phải chịu đựng các thử nghiệm điện áp cao mà không xảy ra phóng điện, đồng thời kiểm tra khả năng chống thấm nước nếu có yêu cầu.
Tài liệu và hệ thống tham khảo
Tiêu chuẩn cũng định nghĩa các tài liệu cần thiết cho việc áp dụng các phương thị thử nghiệm và quy định cụ thể về vật liệu cách điện cho cáp.
TCVN 12226:2018 là công cụ hướng dẫn cho việc đảm bảo an toàn và chất lượng trong sản xuất và sử dụng cáp điện lực có điện áp cao, từ đó bảo vệ người tiêu dùng và hệ thống điện.
Tải tiêu chuẩn Việt Nam TCVN 12226:2018
TIÊU CHUẨN QUỐC GIA
TCVN 12226:2018
IEC 60840:2011
CÁP ĐIỆN LỰC CÓ CÁCH ĐIỆN DẠNG ĐÙN VÀ PHỤ KIỆN CÁP DÙNG CHO ĐIỆN ÁP DANH ĐỊNH LỚN HƠN 30kV (UM=36kV) ĐẾN VÀ BẰNG 150kV (Um = 170 KV) - PHƯƠNG PHÁP VÀ YÊU CẦU THỬ NGHIỆM
Power cables with extruded insulation and their accessories for rated voltages above 30 kV (Um = 36 kV) up to 150kV (Um= 170kV) - Test methods and requirements
Lời nói đầu
TCVN 12226:2018 hoàn toàn tương đương với IEC 60840:2011;
TCVN 12226:2018 do Ban kỹ thuật tiêu chuẩn Quốc gia TCVN/TC/E4 Dây và cáp điện biên soạn, Tổng cục Tiêu chuẩn Đo lường Chất lượng đề nghị, Bộ Khoa học và Công nghệ công bố.
CÁP ĐIỆN LỰC CÓ CÁCH ĐIỆN DẠNG ĐÙN VÀ PHỤ KIỆN CÁP DÙNG CHO ĐIỆN ÁP DANH ĐỊNH LỚN HƠN 30kV (Um = 36kV) ĐẾN VÀ BẰNG 150kV (Um = 170 kV) - PHƯƠNG PHÁP VÀ YÊU CẦU THỬ NGHIỆM
Power cables with extruded insulation and their accessories for rated voltages above 30 kV (Um = 36 kV) up to 150kV (Um= 170kV) - Test methods and requirements
1 Phạm vi áp dụng
Tiêu chuẩn này quy định các phương pháp và yêu cầu thử nghiệm đối với hệ thống cáp điện lực, cáp rời và phụ kiện rời của cáp có điện áp danh định lớn hơn 30 kV (Um = 36 kV) đến và bằng 150 kV (Um = 170 kV) dùng cho hệ thống lắp đặt cố định.
Các yêu cầu áp dụng cho cáp một lõi và cáp ba lõi có màn chắn riêng rẽ và các phụ kiện cáp trong các điều kiện bình thường về lắp đặt và làm việc, nhưng không áp dụng cho các cáp và phụ kiện cáp đặc biệt như cáp sử dụng ngầm dưới biển, đối với các loại cáp này cần sửa đổi các thử nghiệm tiêu chuẩn hoặc các điều kiện thử nghiệm đặc biệt.
Tiêu chuẩn này không đề cập đến mối nối chuyển tiếp giữa cáp cách điện dạng đùn và cáp cách điện bằng giấy.
2 Tài liệu viện dẫn
Các tài liệu viện dẫn sau là cần thiết cho việc áp dụng tiêu chuẩn. Đối với các tài liệu viện dẫn ghi năm công bố thì áp dụng bản được nêu. Đối với các tài liệu viện dẫn không ghi năm công bố thì áp dụng phiên bản mới nhất, bao gồm cả các sửa đổi.
TCVN 6099-1 (IEC 60060-1), Kỹ thuật thử nghiệm điện áp cao - Phần 1: Định nghĩa chung và yêu cầu thử nghiệm
TCVN 6612 (IEC 60228), Ruột dẫn của cáp cách điện
TCVN 6613-1-2 (IEC 60332-1-2), Thử nghiệm cáp điện và cáp quang trong điều kiện chảy - Phần 1-2: Thử nghiệm cháy lan theo chiều thẳng đứng đối với một dây có cách điện hoặc một cáp - Quy trình ứng với nguồn cháy bằng khí trộn trước có công suất 1 kW
TCVN 6614-1-1:2008 (IEC 60811-1-1:2001), Phương pháp thử nghiệm chung đối với vật liệu cách điện và vật liệu làm vỏ bọc của cáp điện và cáp quang - Phần 1-1: Phương pháp áp dụng chung - Đo chiều dày và kích thước ngoài - Thử nghiệm xác định đặc tính cơ
TCVN 6614-1-2:2008 (IEC 60811-1-2:1985, sửa đổi 1:1989 và sửa đổi 2:2000), Phương pháp thử nghiệm chung đối với vật liệu cách điện và vật liệu làm vỏ bọc của cáp điện và cáp quang - Phần 1-2: Phương pháp áp dụng chung - Phương pháp lão hóa nhiệt
TCVN 6614-1-3:2008 (IEC 60811-1-3:2001), Phương pháp thử nghiệm chung đối với vật liệu cách điện và vật liệu làm vỏ bọc của cáp điện và cáp quang - Phần 1-3: Phương pháp áp dụng chung - Phương pháp Thử nghiệm xác định khối lượng riêng - Thử nghiệm hấp thụ nước - Thử nghiệm độ co ngót
TCVN 6614-1-4:2008 (IEC 60811-1-4:1985, sửa đổi 1:1993 và sửa đổi 2:2001), Phương pháp thử nghiệm chung đối với vật liệu cách điện và vật liệu làm vỏ bọc của cáp điện và cáp quang - Phần 1-4: Phương pháp áp dụng chung - Thử nghiệm ở nhiệt độ thấp
TCVN 6614-2-1:2008 (IEC 60811-2-1:2001), Phương pháp thử nghiệm chung đối với vật liệu cách điện và vật liệu làm vỏ bọc của cáp điện và cáp quang - Phần 2-1: Phương pháp quy định cho hợp chất đàn hồi - Thử nghiệm tính kháng ôzôn, thử nghiệm kéo dãn trong lò nhiệt và thử nghiệm ngâm trong dầu khoáng
TCVN 6614-3-1:2008 (IEC 60811-3-1:1985, sửa đổi 1:1994 và sửa đổi 2:2001), Phương pháp thử nghiệm chung đối với vật liệu cách điện và vật liệu làm vỏ bọc của cáp điện và cáp quang - Phần 3-1: Phương pháp quy định cho hợp chất PVC - Thử nghiệm nén ở nhiệt độ cao - Thử nghiệm tính kháng nứt
TCVN 6614-3-2:2008 (IEC 60811-3-2:1985, sửa đổi 1:1993 và sửa đổi 2:2003), Phương pháp thử nghiệm chung đối với vật liệu cách điện và vật liệu làm vỏ bọc của cáp điện và cáp quang - Phần 3-2: Phương pháp quy định cho hợp chất PVC - Thử nghiệm tổn hao khối lượng - Thử nghiệm ổn định nhiệt
TCVN 9810 (ISO 48), Cao su lưu hóa hoặc nhiệt dẻo - Xác định độ cứng (độ cứng từ 10 IRHD đến 100 IRHD)
TCVN 10889:2015 (IEC 60229:2007), Cáp điện - Thử nghiệm trên vỏ ngoài dạng đùn có chức năng bảo vệ đặc biệt
TCVN 10890 (IEC 60230), Thử nghiệm xung trên cáp và phụ kiện cáp
TCVN 10893-3 (IEC 60885-3), Phương pháp thử nghiệm điện đối với cáp điện - Phần 3: Phương pháp thử nghiệm đối với các phép đo phóng điện cục bộ trên đoạn cáp cách điện dạng đùn
IEC 60183, Guide to the selection of high-voltage cables (Hướng dẫn chọn cáp cao áp)
IEC 60287-1-1:2006, Electric cables - Calculation of the current rating - Part 1-1: Current rating equations (100 % load factor) and calculation of losses - General (Cáp điện - Tính thông số dòng điện - Phần 1-1: Công thức tính thông số dòng điện (100 % hệ số tải) và tính tổn hao - Yêu cầu chung)
IEC 60811-4-1:2004, Insulating and sheathing materials of electric and optical cables - Common test methods - Part 4-1: Methods specific to polyethylene and polypropylene compounds - Resistance to environmental stress cracking - Measurement of the melt flow index - Carbon black and/or mineral filler content measurement in polyethylene by direct combustion - Measurement of carbon black content by thermogravimetric analysis (TGA) - Assessment of carbon black dispersion in polyethylene using a microscope (Vật liệu cách điện và vật liệu làm vỏ bọc của cáp điện và cáp quang - Phương pháp thử nghiệm chung - Phần 4-1: Phương pháp quy định cho hợp chất polyetylen và polypropylen - Tính kháng nứt ứng suất môi trường - Đo chỉ số dòng chảy - Đo hàm lượng cacbon đen và/hoặc hàm lượng chất độn vô cơ trong polyetylen bằng cách đốt trực tiếp - Đo hàm lượng cacbon đen bằng cách phân tích nhiệt trọng (TGA) - Đánh giá sự phân tán cacbon đen trong polyetylen sử dụng kính hiển vi)
3 Thuật ngữ và định nghĩa
Trong tiêu chuẩn này, áp dụng các thuật ngữ và định nghĩa sau.
3.1 Định nghĩa các giá trị kích thước (chiều dày, tiết diện, v.v...)
3.1.1
Giá trị danh nghĩa (nominal value)
Giá trị mà nhờ nó một đại lượng được chỉ định và thường được sử dụng trong bảng.
CHÚ THÍCH: Trong tiêu chuẩn này, thông thường, giá trị danh nghĩa là cơ sở của các giá trị cần được kiểm tra bằng phép đo có tính đến các dung sai quy định.
3.1.2
Giá trị giữa (median value)
Khi thu được một số kết quả thử nghiệm và sắp xếp chúng theo thứ tự tăng dần (hoặc giảm dần) thì giá trị giữa là giá trị ở giữa nếu số các giá trị sẵn có là lẻ và là trung bình của hai giá trị ở giữa nếu số các giá trị là chẵn.
3.2 Định nghĩa liên quan đến các thử nghiệm
3.2.1
Thử nghiệm thường xuyên (routine tests)
Thử nghiệm do nhà chế tạo thực hiện trên từng đoạn cáp hoặc phụ kiện đã được chế tạo để kiểm tra sự đáp ứng các yêu cầu quy định của từng đoạn cáp đó.
3.2.2
Thử nghiệm mẫu (sample tests)
Thử nghiệm do nhà chế tạo thực hiện trên các mẫu cáp hoàn chỉnh hoặc các phần được lấy từ cáp hoàn chỉnh hoặc phụ kiện theo tần suất quy định để kiểm tra xác nhận rằng sản phẩm hoàn chỉnh đáp ứng các yêu cầu quy định.
3.2.3
Thử nghiệm điển hình (type tests)
Thử nghiệm được thực hiện trước khi cung cấp, trên cơ sở thương mại chung, một kiểu cáp được quy định trong tiêu chuẩn này để chứng tỏ các đặc tính về tính năng thỏa đáng để đáp ứng ứng dụng dự kiến.
CHÚ THÍCH: Bản chất của các thử nghiệm này là, sau khi thực hiện chúng thì không cần lặp lại trừ khi có những thay đổi về vật liệu hoặc thiết kế hoặc quy trình chế tạo cáp hoặc phụ kiện có thể làm thay đổi các đặc tính về tính năng.
3.2.4
Thử nghiệm chất lượng sơ bộ (prequalification test)
Thử nghiệm được thực hiện trước khi cung cấp, trên cơ sở thương mại chung, một kiểu của hệ thống cáp được đề cập trong tiêu chuẩn này, để chứng tỏ sự phù hợp về tính năng dài hạn của hệ thống cáp hoàn chỉnh.
3.2.5
Mở rộng thử nghiệm chất lượng sơ bộ (extension of prequalification test)
Thử nghiệm được thực hiện trước khi cung cấp, trên cơ sở thương mại chung, một kiểu của hệ thống cáp được đề cập trong tiêu chuẩn này, để chứng tỏ sự phù hợp về tính năng dài hạn của hệ thống cáp hoàn chỉnh, có tính đến hệ thống cáp đã được thử nghiệm chất lượng sơ bộ.
3.2.6
Thử nghiệm điện sau khi lắp đặt (electrical tests after installation)
Thử nghiệm được thực hiện để chứng tỏ tính toàn vẹn của cáp và phụ kiện của cáp khi đã lắp đặt.
3.3 Các định nghĩa khác
3.3.1
Hệ thống cáp (cable system)
Cáp đã lắp đặt các phụ kiện kể cả các thành phần được dùng để hạn chế nhiệt cơ của hệ thống, chỉ giới hạn cho các thành phần được sử dụng cho đầu nối và mối nối.
3.3.2
Ứng suất điện danh nghĩa (nominal electrical stress)
Ứng suất điện được tính tại Uo sử dụng kích thước danh nghĩa.
4 Ký hiệu điện áp và vật liệu
4.1 Điện áp danh định
Trong tiêu chuẩn này, ký hiệu Uo, U và Um được sử dụng để ký hiệu điện áp danh định của cáp và phụ kiện cáp, nghĩa của các ký hiệu này được nêu trong IEC 60183.
4.2 Vật liệu cách điện của cáp
Tiêu chuẩn này áp dụng cho cáp có cách điện bằng vật liệu được cho trong Bảng 1. Tiêu chuẩn này cũng quy định nhiệt độ làm việc cao nhất của ruột dẫn mà dựa vào đó, các điều kiện thử nghiệm được quy định đối với từng loại hợp chất cách điện.
4.3 Màn chắn/vỏ bọc kim loại của cáp
Tiêu chuẩn này áp dụng cho các thiết kế khác nhau trong sử dụng. Tiêu chuẩn này bao gồm các thiết kế cho độ kín nước hướng tâm và các thiết kế khác.
Các thiết kế cho độ kín nước hướng tâm chủ yếu gồm có:
• vỏ bọc kim loại,
• các dải băng hoặc lá kim loại đặt theo chiều dọc liên kết với vỏ ngoài,
• màn chắn hỗn hợp, bao gồm lớp dây kim loại và ngoài ra vỏ bọc kim loại hoặc dải băng kim loại hoặc lá kim loại liên kết với vỏ ngoài, đóng vai trò như một hệ thống chống thấm nước hướng tâm (xem Điều 5),
và các thiết kế khác như:
• dải băng hoặc lá kim loại không liên kết với vỏ ngoài,
• lớp dây kim loại.
CHÚ THÍCH: Trong mọi trường hợp, màn chắn/vỏ bọc kim loại cần có khả năng mang dòng điện sự cố tổng.
4.4 Vật liệu vỏ ngoài của cáp
Các thử nghiệm được quy định cho bốn loại vỏ ngoài như sau:
- ST1 và ST2 gốc polyvinyl clorua (PVC);
- ST3 và ST7 gốc polyetylen (PE).
Việc chọn loại vỏ ngoài phụ thuộc vào thiết kế cáp và điều kiện ràng buộc về cơ, nhiệt và cháy khi làm việc.
Nhiệt độ lớn nhất của ruột dẫn khi làm việc bình thường đối với các loại vật liệu vỏ ngoài khác nhau được nêu trong Bảng 2.
CHÚ THÍCH: Đối với một số ứng dụng, vỏ ngoài có thể được phủ một lớp chức năng (ví dụ, bán dẫn).
5 Phòng ngừa thấm nước vào cáp
Khi hệ thống cáp được lắp đặt trong đất, trong đường hầm dễ bị ngập hoặc trong nước, nên có hệ thống chống thấm nước hướng tâm quanh cáp.
CHÚ THÍCH: Chưa có thử nghiệm thấm nước hướng tâm.
Có thể đặt hệ thống chống thấm nước theo chiều dọc để tránh việc thay thế các phần theo chiều dài của cáp trong trường hợp hư hại do thấm nước.
Thử nghiệm thấm nước theo chiều dọc được cho trong 12.5.14.
6 Đặc tính của cáp
Để tiến hành thử nghiệm cáp hoặc hệ thống cáp được mô tả trong tiêu chuẩn này và ghi lại các kết quả, cáp phải được nhận biết. Các đặc tính dưới đây phải biết trước hoặc được công bố:
a) Tên nhà chế tạo, kiểu, ký hiệu và ngày chế tạo hoặc mã ngày.
b) Điện áp danh định: phải đưa ra các giá trị Uo, U, Um (xem 4.1 và 8.4).
c) Kiểu, vật liệu và tiết diện danh nghĩa của ruột dẫn, tính bằng milimét vuông; kết cấu của ruột dẫn; sự có mặt, nếu có và bản chất của biện pháp để giảm hiệu ứng bề mặt; sự có mặt, nếu có và bản chất của biện pháp để đạt được sự kín nước theo chiều dọc. Nếu tiết diện danh nghĩa không phù hợp với TCVN 6612 (IEC 60228) thì phải công bố điện trở một chiều của ruột dẫn được hiệu chỉnh về 1 km chiều dài và ở 20 °C.
d) Vật liệu và chiều dày danh nghĩa của cách điện (tn) (xem 4.2). Nếu cách điện là XLPE, phải công bố các chất phụ gia đặc biệt nếu áp dụng các giá trị tg δ cao hơn theo Bảng 3.
e) Kiểu chế tạo hệ thống cách điện.
f) Sự có mặt, nếu có, và bản chất của biện pháp bảo vệ chống thấm nước của màn chắn.
g) Vật liệu và cấu tạo của màn chắn kim loại, ví dụ số lượng và đường kính của các sợi dây. (Điện trở một chiều của vỏ bọc kim loại phải được công bố). Vật liệu, cấu tạo và chiều dày danh nghĩa của vỏ bọc kim loại hoặc dải băng hoặc lá kim loại đặt theo chiều dọc liên kết với vỏ ngoài, nếu có;
h) Vật liệu và chiều dày danh nghĩa của vỏ bọc.
i) Đường kính danh nghĩa của ruột dẫn (d).
j) Đường kính toàn bộ danh nghĩa của cáp (D).
k) Đường kính trong danh nghĩa (dii) và đường kính ngoài danh nghĩa tính được (Dio) của cách điện.
l) Điện dung danh nghĩa, được hiệu chỉnh về 1 km chiều dài, giữa ruột dẫn và màn chắn/vỏ bọc kim loại.
m) Ứng suất điện danh nghĩa được tính tại màn chắn ruột dẫn (Ei) và màn chắn cách điện (Eo):


trong đó
Dio = dii + 2tn
Dio là đường kính ngoài danh nghĩa tính toán của cách điện;
dii là đường kính trong danh nghĩa công bố của cách điện;
tn là chiều dày danh nghĩa công bố của cách điện.
Giá trị Uo được cho trong Bảng 4.
7 Đặc tính của phụ kiện
Để tiến hành thử nghiệm hệ thống cáp hoặc phụ kiện được mô tả trong tiêu chuẩn này và ghi lại các kết quả, phụ kiện cáp phải được nhận biết.
Các đặc tính dưới đây phải biết trước hoặc được công bố:
a) cáp được dùng để thử nghiệm phụ kiện phải được nhận biết đúng như trong Điều 6;
b) mối nối ruột dẫn được sử dụng trong các phụ kiện phải được nhận biết đúng, nếu thuộc đối tượng áp dụng, về:
- kỹ thuật lắp ráp,
- dụng cụ, khuôn và việc lắp đặt cần thiết,
- chuẩn bị bề mặt tiếp xúc,
- kiểu, số tham chiếu và phương pháp nhận biết bất kỳ khác của bộ nối,
- mô tả chi tiết thử nghiệm chấp nhận kiểu bộ nối, nếu có;
c) phụ kiện cần thử nghiệm phải được nhận biết đúng về:
- tên nhà chế tạo,
- kiểu, ký hiệu và ngày chế tạo hoặc mã ngày,
- điện áp danh định (xem 6b)),
- hướng dẫn lắp đặt (tham chiếu và ngày).
8 Điều kiện thử nghiệm
8.1 Nhiệt độ môi trường xung quanh
Nếu không có quy định khác trong mô tả chi tiết đối với thử nghiệm cụ thể thì các thử nghiệm phải được thực hiện ở nhiệt độ môi trường xung quanh bằng (20 ± 15) °C.
8.2 Tần số và dạng sóng của các điện áp thử nghiệm tần số công nghiệp
Nếu không có quy định khác trong tiêu chuẩn này, tần số của điện áp thử nghiệm xoay chiều phải trong dải từ 49 Hz đến 61 Hz. Dạng sóng về cơ bản là hình sin. Các giá trị được trích dẫn là giá trị hiệu dụng.
8.3 Dạng sóng của điện áp thử nghiệm xung
Theo TCVN 10890 (IEC 60230), sóng xung phải có thời gian đầu sóng thực từ 1 µs đến 5 µs. Thời gian đến nửa giá trị đỉnh từ 50 µs ± 10 µs như quy định trong TCVN 6099-1 (IEC 60060-1).
8.4 Mối liên quan giữa điện áp thử nghiệm và điện áp danh định
Trong trường hợp điện áp thử nghiệm được quy định trong tiêu chuẩn này là bội số của điện áp danh định Uo thì giá trị Uo để xác định điện áp thử nghiệm phải như quy định trong Bảng 4.
Đối với cáp và phụ kiện có điện áp danh định không được nêu trong bảng thì giá trị Uo để xác định điện áp thử nghiệm có thể bằng với điện áp danh định gần nhất được cho, với điều kiện là giá trị Um đối với cáp và phụ kiện cáp không lớn hơn giá trị tương ứng trong bảng. Nếu không, và đặc biệt nếu điện áp danh định không gần với một trong các giá trị nêu trong bảng thì giá trị Uo để xác định điện áp thử nghiệm phải là giá trị danh định, tức là
.
Điện áp thử nghiệm trong tiêu chuẩn này dựa vào giả thiết là cáp và phụ kiện được sử dụng trong hệ thống phân loại A hoặc B, như xác định trong IEC 60183.
8.5 Xác định nhiệt độ ruột dẫn của cáp
Nên sử dụng một trong các phương pháp thử nghiệm nêu trong Phụ lục A để xác định nhiệt độ thực của ruột dẫn.
9 Thử nghiệm thường xuyên trên cáp và trên cách điện chính của phụ kiện chế tạo sẵn
9.1 Yêu cầu chung
Các thử nghiệm dưới đây được thực hiện trên từng đoạn cáp:
a) thử nghiệm phóng điện cục bộ (xem 9.2);
b) thử nghiệm điện áp (xem 9.3);
c) thử nghiệm điện trên vỏ ngoài của cáp, nếu yêu cầu (xem 9.4).
Trình tự thực hiện thử nghiệm tùy theo nhà chế tạo.
Cách điện chính của phụ kiện chế tạo sẵn phải qua thử nghiệm phóng điện cục bộ (xem 9.2) và thử nghiệm điện áp (xem 9.3) theo một trong các điểm 1), 2) hoặc 3) dưới đây:
1) trên phụ kiện được lắp trên cáp;
2) bằng cách sử dụng phụ kiện trong đó một thành phần của một phụ kiện được thay thế để thử nghiệm;
3) bằng cách sử dụng dụng cụ phụ kiện được mô phỏng trong đó môi trường ứng suất về điện của thành phần cách điện chính được tái lập.
Trong trường hợp 2) và 3), điện áp thử nghiệm phải được chọn sao cho các ứng suất thu được ít nhất là bằng với các ứng suất trên thành phần của một phụ kiện hoàn chỉnh khi chịu điện áp thử nghiệm quy định ở 9.2 và 9.3.
CHÚ THÍCH: Cách điện chính của phụ kiện chế tạo sẵn bao gồm các thành phần tiếp xúc trực tiếp với cách điện của cáp và cần thiết để kiểm soát phân bố điện trường trong phụ kiện. Ví dụ là thành phần cách điện nhựa nhiệt dẻo đúc sẵn hoặc nhựa đồ đầy epoxy mà có thể được sử dụng đơn lẻ hoặc kết nối để cung cấp cách điện cần thiết hoặc màn chắn của phụ kiện.
9.2 Thử nghiệm phóng điện cục bộ
Thử nghiệm phóng điện cục bộ phải được thực hiện theo TCVN 10893-3 (IEC 60885-3) trừ độ nhạy như quy định ở TCVN 10893-3 (IEC 60885-3) phải là 10 pC hoặc tốt hơn. Thử nghiệm cho phụ kiện cũng theo quy tắc như vậy nhưng độ nhạy phải là 5 pC hoặc tốt hơn.
Điện áp thử nghiệm phải được nâng lên từ từ và giữ ở 1,75 U0 trong 10 s rồi sau đó giảm chậm về 1,5 U0 (xem cột 5, Bảng 4).
Phóng điện phát hiện được không được vượt quá độ nhạy công bố từ đối tượng thử nghiệm ở 1,5 U0.
9.3 Thử nghiệm điện áp
Thử nghiệm điện áp phải được thực hiện ở nhiệt độ môi trường xung quanh, sử dụng điện áp xoay chiều tần số công nghiệp.
Điện áp thử nghiệm phải được nâng lên từ từ đến 2,5 U0(xem cột 4, Bảng 4) và duy trì trong thời gian 30 min giữa ruột dẫn và màn chắn/vỏ bọc kim loại.
Không được xảy ra phóng điện đánh thủng cách điện.
9.4 Thử nghiệm điện trên vỏ ngoài của cáp
Khi có yêu cầu thử nghiệm này trong hợp đồng riêng thì vỏ ngoài phải chịu thử nghiệm điện quy định ở Điều 3 của TCVN 10889:2015 (IEC 60229:2007).
10 Thử nghiệm mẫu trên cáp
10.1 Yêu cầu chung
Các thử nghiệm dưới đây phải được thực hiện trên các mẫu được lấy từ lô đại diện, ngoại trừ điểm b) và g) các mẫu có thể là cuộn cáp hoàn chỉnh:
a) kiểm tra ruột dẫn (xem 10.4);
b) đo điện trở của ruột dẫn và màn chắn kim loại (xem 10.5);
c) đo chiều dày cách điện và vỏ ngoài (xem 10.6);
d) đo chiều dày vỏ bọc kim loại (xem 10.7);
e) đo đường kính, nếu yêu cầu (xem 10.8);
f) thử nghiệm kéo dãn trong lò nhiệt đối với cách điện XLPE, EPR và HEPR (xem 10.9);
g) đo điện dung (xem 10.10);
h) đo tỷ trọng cách điện HDPE (xem 10.11);
i) thử nghiệm điện áp xung sét đối với cáp có ứng suất danh nghĩa đã tính trên ruột dẫn > 8,0 kV/mm khi được tính theo Điều 6, điểm m) (xem 10.12);
j) thử nghiệm thấm nước, nếu thuộc đối tượng áp dụng (xem 10.13);
k) thử nghiệm các thành phần của cáp có dải băng hoặc lá kim loại đặt theo chiều dọc liên kết với vỏ ngoài (xem 10.14).
10.2 Tần suất thử nghiệm
Thử nghiệm mẫu ở các điểm từ a) đến h) và k) ở 10.1 phải được thực hiện trên một đoạn cáp lấy từ từng lô (seri chế tạo) của cáp có cùng kiểu và tiết diện, nhưng không quá 10 % chiều dài cáp trong hợp đồng, được làm tròn đến số nguyên gần nhất.
Tần suất của các thử nghiệm ở điểm i) và j) ở 10.1 phải theo quy trình kiểm soát chất lượng đã thỏa thuận. Trong trường hợp không có thỏa thuận này thì phải thực hiện một thử nghiệm đối với các hợp đồng có chiều dài cáp lớn hơn 20 km.
10.3 Lặp lại thử nghiệm
Nếu một mẫu lấy từ đoạn cáp bất kỳ không đạt bất kỳ thử nghiệm nào trong 10.1 thì phải lấy thêm các mẫu khác từ hai đoạn cáp khác của cùng một lô và chịu cùng các thử nghiệm như mẫu ban đầu không đạt. Nếu cả hai mẫu bổ sung đều đạt thử nghiệm thì tất cả các cáp trong lô mà các mẫu được lấy từ đó phải được xem là phù hợp với các yêu cầu của tiêu chuẩn này. Nếu một trong hai mẫu bổ sung không đạt thì lô mà các mẫu được lấy từ đó được xem là không phù hợp.
10.4 Kiểm tra ruột dẫn
Kiểm tra sự phù hợp với các yêu cầu đối với kết cấu của ruột dẫn của TCVN 6612 (IEC 60228) bằng cách xem xét và bằng phép đo, khi có thể.
10.5 Đo điện trở của ruột dẫn và màn chắn kim loại
Đoạn cáp, hoặc một mẫu từ chiều dài này, phải được đặt trong phòng thử nghiệm được duy trì ở nhiệt độ không đổi hợp lý, trong ít nhất 12 h trước thử nghiệm. Trong trường hợp có nghi ngờ về nhiệt độ ruột dẫn hoặc màn chắn kim loại không như nhiệt độ phòng thì phải đo điện trở sau khi cáp được đặt trong phòng thử nghiệm trong 24 h. Một cách khác, có thể đo điện trở trên một mẫu ruột dẫn hoặc màn chắn kim loại được ổn định trong ít nhất 1 h trong bể chất lỏng có khống chế nhiệt độ.
Điện trở một chiều của từng ruột dẫn hoặc màn chắn kim loại được hiệu chỉnh về nhiệt độ 20 °C và 1 km chiều dài theo các công thức và hệ số nêu ở TCVN 6612 (IEC 60228). Đối với màn chắn không phải bằng đồng hoặc nhôm, hệ số nhiệt độ và công thức hiệu chỉnh phải được lấy tương ứng từ Bảng 1 và 2.1.1 của IEC 60287-1-1:2006.
Điện trở một chiều đã hiệu chỉnh của ruột dẫn ở 20 °C không được vượt quá giá trị lớn nhất thích hợp quy định trong TCVN 6612 (IEC 60228) hoặc giá trị được công bố.
Điện trở một chiều đã hiệu chỉnh của màn chắn kim loại ở 20 °C không được vượt quá giá trị được công bố.
10.6 Đo chiều dày cách điện và vỏ ngoài của cáp
10.6.1 Yêu cầu chung
Phương pháp thử nghiệm phải theo Điều 8 của TCVN 6614-1-1 (IEC 60811-1-1).
Từng đoạn cáp được chọn cho thử nghiệm phải được đại diện bằng một mảnh cáp lấy từ một đầu cáp sau khi loại bỏ những phần có thể bị hư hại, nếu cần thiết.
10.6.2 Yêu cầu đối với cách điện
Chiều dày nhỏ nhất đo được không được thấp hơn 90 % giá trị danh nghĩa:
tmin ≥ 0,90 tn
và, ngoài ra:

trong đó:
tmax là chiều dày lớn nhất, tính bằng milimét;
tmin là chiều dày nhỏ nhất, tính bằng milimét;
tn là chiều dày danh nghĩa, tính bằng milimét.
CHÚ THÍCH: tmax và tmin được đo ở cùng một tiết diện của cách điện.
Chiều dày của màn chắn bán dẫn trên ruột dẫn và trên cách điện không được tính vào chiều dày cách điện.
10.6.3 Yêu cầu đối với vỏ ngoài cáp
Chiều dày nhỏ nhất đo được không được nhỏ hơn 85 % giá trị danh nghĩa quá 0,1 mm:
tmin ≥ 0,85 tn - 0,1
trong đó:
tmin là chiều dày nhỏ nhất, tính bằng milimét;
tn là chiều dày danh nghĩa, tính bằng milimét.
Ngoài ra, đối với cáp có vỏ ngoài đặt trực tiếp lên bề mặt về cơ bản là nhẵn, trung bình của các giá trị đo được được làm tròn đến 0,1 mm theo Phụ lục B không được nhỏ hơn chiều dày danh nghĩa.
Yêu cầu này không áp dụng cho vỏ ngoài đặt lên bề mặt không nhẵn, ví dụ như bề mặt được tạo thành bởi màn chắn kim loại dạng sợi dây và/hoặc dải băng hoặc vỏ bọc kim loại lượn sóng.
10.7 Đo chiều dày của vỏ bọc kim loại
Áp dụng thử nghiệm dưới đây nếu cáp có vỏ bọc kim loại là chì, hợp kim chì hoặc nhôm.
10.7.1 Vỏ bọc chì hoặc hợp kim chì
Nếu cáp có vỏ bọc chì hoặc hợp kim chỉ thì chiều dày nhỏ nhất của vỏ bọc kim loại không được nhỏ hơn 95 % chiều dày danh nghĩa quá 0,1 mm:
tmin ≥ 0,95 tn - 0,1
Chiều dày của vỏ bọc được đo theo một trong các phương pháp dưới đây, tùy theo nhà chế tạo.
10.7.1.1 Phương pháp dải băng
Phép đo phải được thực hiện với micromet có các mặt phẳng có đường kính từ 4 mm đến 8 mm và độ chính xác bằng ± 0,01 mm.
Phải thực hiện phép đo trên một mảnh vỏ bọc thử nghiệm dài khoảng 50 mm lấy ra từ cáp hoàn chỉnh. Mảnh thử nghiệm phải được rạch theo chiều dọc và làm phẳng một cách cẩn thận. Sau khi làm sạch mảnh thử nghiệm, thực hiện đủ số lượng phép đo dọc theo chu vi của vỏ bọc và ở cách mép của mảnh thử nghiệm đã làm phẳng ít nhất là 10 mm đề đảm bảo đo được chiều dày nhỏ nhất.
10.7.1.2 Phương pháp vành tròn
Phép đo phải được thực hiện với micromet có một đầu đo phẳng và một đầu hình cầu, hoặc một đầu phẳng và một đầu chữ nhật phẳng có chiều rộng là 0,8 mm và chiều dài là 2,4 mm. Đầu đo hình cầu hoặc đầu đo hình chữ nhật phẳng phải được đặt vào mặt trong của vành tròn. Độ chính xác của micromet phải là ± 0,01 mm.
Phải thực hiện phép đo trên một vành tròn của vỏ bọc được cắt cẩn thận từ mẫu. Chiều dày phải được xác định ở một số lượng đủ các điểm theo chu vi của vành tròn để đảm bảo đo được chiều dày nhỏ nhất.
10.7.2 Vỏ bọc nhôm phẳng hoặc lượn sóng
Chiều dày nhỏ nhất của vỏ bọc không được nhỏ hơn 90 % chiều dày danh nghĩa quá 0,1 mm đối với vỏ bọc nhôm phẳng:
tmin ≥ 0,9 tn - 0,1
và 85 % chiều dày danh nghĩa quá 0,1 mm đối với vỏ bọc nhôm lượn sóng:
tmin ≥ 0,85 tn - 0,1
Phép đo phải được thực hiện với micromet có các đầu hình cầu bán kính khoảng 3 mm. Độ chính xác phải là ± 0,01 mm.
Phải thực hiện phép đo trên một vành tròn của vỏ bọc nhôm dài khoảng 50 mm được lấy cẩn thận từ cáp hoàn chỉnh. Chiều dày phải được xác định ở một số lượng đủ các điểm theo chu vi của vành tròn để đảm bảo đo được chiều dày nhỏ nhất.
10.8 Đo đường kính
Nếu người mua yêu cầu đo đường kính lõi và/hoặc đường kính toàn bộ của cáp thì phải thực hiện các phép đo theo 8.3 của TCVN 6614-1-1:2008 (IEC 60811-1-1:2001).
10.9 Thử nghiệm kéo dãn trong lò nhiệt đối với cách điện XLPE, EPR và HEPR
10.9.1 Quy trình
Quy trình lấy mẫu và thử nghiệm phải được thực hiện theo Điều 9 của TCVN 6614-2-1:2008 (IEC 60811 -2-1:2001) sử dụng điều kiện nêu ở Bảng 8.
Mảnh thử nghiệm phải được lấy từ phần cách điện có mức liên kết ngang được xem là thấp nhất đối với quá trình lưu hóa được sử dụng.
10.9.2 Yêu cầu
Kết quả thử nghiệm phải phù hợp với các yêu cầu nêu ở Bảng 8.
10.10 Đo điện dung
Điện dung phải được đo giữa ruột dẫn và màn chắn/vỏ bọc kim loại ở nhiệt độ môi trường xung quanh và nhiệt độ được ghi lại cùng với dữ liệu thử nghiệm.
Giá trị điện dung đo được phải được hiệu chỉnh về 1 km chiều dài và không được vượt quá giá trị danh nghĩa công bố quá 8 %.
10.11 Đo tỷ trọng của cách điện HDPE
10.11.1 Quy trình
Tỷ trọng HDPE được đo sử dụng mẫu và quy trình thử nghiệm nêu ở Điều 8 của TCVN 6614-1-3:2008 (IEC 60811-1-3:2001).
10.11.2 Yêu cầu
Kết quả thử nghiệm phải phù hợp với các yêu cầu nêu ở Bảng 8.
10.12 Thử nghiệm điện áp xung sét
Chỉ yêu cầu thử nghiệm này đối với cáp có ứng suất điện danh nghĩa trên ruột dẫn > 8,0 kV/mm.
Thử nghiệm này phải được thực hiện trên cáp hoàn chỉnh dài tối thiểu 10 m không bao gồm các phụ kiện, ở nhiệt độ ruột dẫn cao hơn nhiệt độ lớn nhất của ruột dẫn trong hoạt động bình thường từ 5 K đến 10 K.
Cụm lắp ráp chỉ được gia nhiệt bằng dòng điện đi qua ruột dẫn, cho đến khi cáp đạt đến nhiệt độ yêu cầu.
CHÚ THÍCH: Vì lý do thực tế, nếu không đạt được nhiệt độ thử nghiệm thì có thể đặt cách nhiệt bổ sung.
Điện áp xung được đặt theo quy trình nêu ở TCVN 10890 (IEC 60230).
Cáp phải chịu được 10 xung điện áp dương và 10 xung điện áp âm với giá trị thích hợp nêu ở cột 8, Bảng 4 mà không bị hỏng.
Không được xảy ra phóng điện đánh thủng.
10.13 Thử nghiệm thấm nước
Nếu thuộc đối tượng áp dụng, các mẫu phải được lấy từ cáp hoàn chỉnh, thử nghiệm được áp dụng và phải đáp ứng các yêu cầu như quy định ở 12.5.14.
10.14 Thử nghiệm các thành phần của cáp có dải băng hoặc lá kim loại đặt theo chiều dọc liên kết với vỏ ngoài
Đối với cáp có dải băng hoặc lá kim loại đặt theo chiều dọc, liên kết với vỏ ngoài thì phải lấy 1 m mẫu từ cáp hoàn chỉnh và chịu các thử nghiệm và yêu cầu ở 12.5.15.
11 Thử nghiệm mẫu trên phụ kiện
11.1 Thử nghiệm trên thành phần
Đặc tính của từng thành phần phải được kiểm tra theo quy định kỹ thuật của nhà chế tạo phụ kiện, thông qua các báo cáo thử nghiệm từ nhà cung cấp thành phần đã cho hoặc thông qua các thử nghiệm nội bộ.
Nhà chế tạo phụ kiện đã cho phải cung cấp danh mục các thử nghiệm đã thực hiện trên từng thành phần, chỉ ra tần suất của từng thử nghiệm.
Các thành phần phải được kiểm tra theo bản vẽ của chúng. Không được có sai lệch nằm ngoài dung sai công bố.
CHÚ THÍCH: Vì thành phần là khác nhau giữa các nhà chế tạo nên không thể xác định các thử nghiệm mẫu chung cho các thành phần trong tiêu chuẩn này.
11.2 Thử nghiệm trên phụ kiện hoàn chỉnh
Đối với các phụ kiện trong đó cách điện chính không thể thử nghiệm thường xuyên (xem 9.1), các thử nghiệm điện dưới đây phải được nhà chế tạo thực hiện trên phụ kiện đã được lắp ráp hoàn chỉnh:
a) thử nghiệm phóng điện cục bộ (xem 9.2);
b) thử nghiệm điện áp (xem 9.3).
Trình tự thực hiện thử nghiệm tùy theo nhà chế tạo.
CHÚ THÍCH: Ví dụ về cách điện chính không được thử nghiệm thường xuyên là cách điện kiểu dải băng và/hoặc được đúc sẵn tại nơi chế tạo.
Các thử nghiệm này phải được thực hiện trên một phụ kiện của từng loại theo hợp đồng nếu số loại lớn hơn 50.
Nếu mẫu không đạt một trong hai thử nghiệm trên thì phải lấy thêm hai mẫu phụ kiện khác cùng loại từ hợp đồng và chịu cùng các thử nghiệm. Nếu cả hai mẫu bổ sung đều đạt thử nghiệm thì tất cả các phụ kiện còn lại của cùng loại được lấy từ hợp đồng phải được xem là phù hợp với các yêu cầu của tiêu chuẩn này. Nếu một trong hai mẫu bổ sung không đạt thì loại phụ kiện này của hợp đồng được xem là không phù hợp.
12 Thử nghiệm điển hình trên hệ thống cáp
12.1 Yêu cầu chung
Thử nghiệm quy định ở điều này nhằm chứng tỏ tính năng phù hợp của hệ thống cáp.
Bảng các điều khoản tham chiếu được xem xét đối với thử nghiệm điển hình trên hệ thống cáp được nêu trong Phụ lục C.
CHÚ THÍCH: Thử nghiệm trên đầu nối đề cập đến các điều kiện môi trường không được quy định trong tiêu chuẩn này.
12.2 Phạm vi phê duyệt kiểu
Khi thử nghiệm điển hình được thực hiện thành công trên một hoặc nhiều hệ thống cáp có mặt cắt cụ thể và có cùng điện áp danh định và kết cấu, phê duyệt kiểu được xem là hợp lệ đối với các hệ thống cáp nằm trong phạm vi áp dụng của tiêu chuẩn này với các mặt cắt, điện áp danh định và kết cấu còn lại đáp ứng tất cả các điều kiện từ a) đến f):
CHÚ THÍCH 1: Thử nghiệm điển hình đã được thực hiện thành công theo phiên bản trước của IEC 60840:2011 là hợp lệ.
a) nhóm điện áp không cao hơn điện áp của (các) hệ thống cáp được thử nghiệm;
CHÚ THÍCH 2: Trong trường hợp này, hệ thống cáp có cùng nhóm điện áp danh định là các hệ thống mà điện áp danh định có chung giá trị Um, điện áp cao nhất dùng cho thiết bị và cùng mức điện áp thử nghiệm (xem cột 1 và cột 2 của Bảng 4).
b) mặt cắt của ruột dẫn không lớn hơn mặt cắt của ruột dẫn của cáp được thử nghiệm;
c) cáp và phụ kiện có cùng kết cấu hoặc kết cấu tương tự như của (các) hệ thống cáp đã thử nghiệm;
CHÚ THÍCH 3: Cáp và phụ kiện có cùng kết cấu là các cáp và phụ kiện có cùng kiểu và cùng quá trình chế tạo cách điện và màn chắn bán dẫn. Không cần thiết phải lặp lại các thử nghiệm điển hình về điện cho số lượng khác nhau về ruột dẫn và kiểu hoặc vật liệu bộ nối hoặc cho lớp bảo vệ đặt lên các lõi có màn chắn hoặc lên bộ phận cách điện chính của phụ kiện, trừ khi những chi tiết này có ảnh hưởng lớn đến kết quả thử nghiệm.
d) ứng suất điện danh nghĩa đã tính và ứng suất điện áp xung được tính theo kích thước danh nghĩa tại màn chắn ruột dẫn của cáp không vượt quá 10 % ứng suất tính được tương ứng của (các) hệ thống cáp đã thử nghiệm.
e) ứng suất điện danh nghĩa đã tính tại màn chắn cách điện và ứng suất điện áp xung tính theo kích thước danh nghĩa không vượt quá ứng suất tính được tương ứng của (các) hệ thống cáp đã thử nghiệm.
f) ứng suất điện danh nghĩa đã tính và ứng suất điện áp xung được tính theo kích thước danh nghĩa trong các bộ phận cách điện chính của phụ kiện và tại giao diện của cáp và phụ kiện không vượt quá ứng suất tính được tương ứng của (các) hệ thống cáp đã thử nghiệm.
Không cần thực hiện các thử nghiệm điển hình trên thành phần cáp (xem 12.5) của các mẫu lấy từ cáp có thông số đặc trưng về điện áp khác và/hoặc tiết diện ruột dẫn khác trừ khi sử dụng vật liệu và/hoặc quá trình chế tạo khác. Tuy nhiên, có thể yêu cầu lặp lại các thử nghiệm lão hóa trên các mảnh của cáp hoàn chỉnh để kiểm tra tính tương thích về vật liệu (xem 12.5.4) nếu sự phối hợp các vật liệu đặt lên lõi có màn chắn khác với cáp được thực hiện thử nghiệm điển hình trước đó.
Chứng chỉ thử nghiệm điển hình được ký bởi đại diện của tổ chức chứng kiến có năng lực hoặc báo cáo của nhà chế tạo cho kết quả thử nghiệm và được ký bởi tổ chức đạt chất lượng thích hợp hoặc chứng chỉ thử nghiệm điển hình được cấp bởi phòng thử nghiệm độc lập phải được chấp nhận là bằng chứng về thử nghiệm điển hình.
12.3 Tóm tắt các thử nghiệm điển hình
Các thử nghiệm điển hình phải bao gồm thử nghiệm điện trên hệ thống cáp hoàn chỉnh như quy định ở 12.4 và thử nghiệm không điện thích hợp trên thành phần cáp và cáp hoàn chỉnh như quy định ở 12.5.
Thử nghiệm không điện trên thành phần cáp hoặc cáp hoàn chỉnh được liệt kê ở Bảng 5, chỉ ra thử nghiệm thích hợp cho từng vật liệu cách điện và vỏ ngoài. Thử nghiệm trong điều kiện cháy chỉ được yêu cầu nếu nhà chế tạo muốn công bố sự phù hợp với thử nghiệm này như một tính chất đặc biệt của thiết kế cáp.
Thử nghiệm được liệt kê ở 12.4.2 phải được thực hiện trên một hoặc nhiều mẫu của cáp hoàn chỉnh, tùy thuộc vào số lượng phụ kiện bao gồm, tối thiểu 10 m chiều dài không kể phụ kiện.
Chiều dài tối thiểu của cáp giữa các phụ kiện phải là 5 m.
Phụ kiện phải được lắp đặt sau khi thử nghiệm uốn trên cáp. Phải thử nghiệm một mẫu của từng loại phụ kiện.
Cáp và phụ kiện phải được lắp ráp theo hướng dẫn của nhà chế tạo với mức và số lượng vật liệu được cung cấp, kể cả dầu bôi trơn, nếu có.
Bề mặt bên ngoài của phụ kiện phải khô và sạch nhưng cáp hoặc phụ kiện không phải chịu bất kỳ sự biến dạng nào không theo hướng dẫn của nhà chế tạo mà có thể làm thay đổi đặc tính điện, nhiệt hoặc cơ.
Trong quá trình thử nghiệm theo c) đến g) của 12.4.2, cần phải thử nghiệm các mối nối có lắp bảo vệ bên ngoài. Nếu có thể chỉ ra rằng bảo vệ bên ngoài không ảnh hưởng đến tính năng của cách điện mối nối, ví dụ không có ảnh hưởng về nhiệt cơ hoặc tính tương thích, thì không nhất thiết phải lắp bảo vệ.
Phép đo điện trở màn chắn bán dẫn mô tả ở 12.4.9 phải được thực hiện trên mẫu riêng rẽ.
12.4 Thử nghiệm điển hình về diện trên hệ thống cáp hoàn chỉnh
12.4.1 Giá trị điện áp thử nghiệm
Trước các thử nghiệm điển hình về điện, chiều dày cách điện phải được đo bằng phương pháp quy định ở 8.1 của TCVN 6614-1-1:2008 (IEC 60811-1-1:2001) trên mảnh chiều dài đại diện được sử dụng cho thử nghiệm, để kiểm tra chiều dày trung bình không vượt quá giá trị danh nghĩa.
Nếu chiều dày trung bình của cách điện không vượt quá giá trị danh nghĩa quá 5 % thì điện áp thử nghiệm phải là giá trị quy định ở Bảng 4 đối với điện áp danh định của cáp.
Nếu chiều dày trung bình của cách điện vượt quá giá trị danh nghĩa quá 5 % nhưng không quá 15 % thì điện áp thử nghiệm phải được điều chỉnh để cho ứng suất điện tại màn chắn ruột dẫn bằng với ứng suất đặt lên khi chiều dày trung bình của cách điện bằng giá trị danh nghĩa và điện áp thử nghiệm là giá trị bình thường quy định cho điện áp danh định của cáp.
Đoạn cáp được sử dụng cho thử nghiệm điển hình về điện không được có chiều dày cách điện trung bình quá giá trị danh nghĩa 15 %.
12.4.2 Thử nghiệm và trình tự thử nghiệm
Thử nghiệm ở các điểm từ a) đến h) phải được thực hiện theo trình tự sau:
a) thử nghiệm uốn trên cáp (xem 12.4.3), sau đó là thử nghiệm lắp đặt phụ kiện và thử nghiệm phóng điện cục bộ ở môi trường xung quanh (xem 12.4.4);
b) đo tg δ (xem 12.4.5);
CHÚ THÍCH 1: Thử nghiệm này có thể được thực hiện trên mẫu có các đầu nối thử nghiệm đặc biệt khác với mẫu được sử dụng cho các thử nghiệm còn lại của trình tự thử nghiệm này.
c) thử nghiệm điện áp chu kỳ gia nhiệt (xem 12.4.6);
d) thử nghiệm phóng điện cục bộ (xem 12.4.4):
- ở nhiệt độ môi trường xung quanh, và
- ở nhiệt độ cao.
Các thử nghiệm phải được thực hiện sau chu kỳ cuối cùng của điểm c) hoặc một cách khác, sau thử nghiệm điện áp xung sét ở điểm e) dưới đây;
e) thử nghiệm điện áp xung sét, sau đó là thử nghiệm điện áp tần số công nghiệp (xem 12.4.7);
f) thử nghiệm phóng điện cục bộ, nếu chưa thực hiện ở điểm d) ở trên;
g) thử nghiệm bảo vệ bên ngoài mối nối (xem Phụ lục G);
CHÚ THÍCH 2: Các thử nghiệm này có thể áp dụng cho mối nối đã đạt thử nghiệm ở điểm c), thử nghiệm điện áp chu kỳ gia nhiệt hoặc cho mối nối riêng rẽ đã đạt ít nhất ba chu kỳ nhiệt (xem Phụ lục G).
CHÚ THÍCH 3: Nếu cáp và mối nối không phải chịu điều kiện ướt khi làm việc (tức là không được chôn trực tiếp dưới đất hoặc không bị ngâm trong nước liên tục hoặc không gián đoạn) thì có thể bỏ qua thử nghiệm ở G.3 và G.4.2.
h) kiểm tra hệ thống cáp có cáp và phụ kiện đã hoàn thành các thử nghiệm ở trên (xem 12.4.8);
j) điện trở suất của màn chắn bán dẫn (xem 12.4.9) phải được đo trên mẫu riêng rẽ.
Điện áp thử nghiệm phải phù hợp với các giá trị nêu ở cột thích hợp của Bảng 4.
12.4.3 Thử nghiệm uốn
Mẫu cáp phải được uốn quanh trụ thử nghiệm (ví dụ, tang trống) ít nhất một vòng hoàn chỉnh ở nhiệt độ môi trường xung quanh rồi tháo mẫu thử nghiệm ra mà không quay trục. Sau đó, mẫu được quay 180° và lặp lại quy trình này.
Chu kỳ hoạt động này phải được tiến hành ba lần.
Đường kính của trụ thử nghiệm không được lớn hơn:
- đối với cáp có vỏ bọc bằng nhôm phẳng:
• 36 (d + D) + 5 % đối với cáp một lõi;
• 25 (d + D) + 5 % đối với cáp ba lõi;
- đối với cáp có vỏ bọc bằng chì, hợp kim chì, kim loại lượn sóng hoặc dải băng hoặc lá kim loại đặt theo chiều dọc (xếp chồng hoặc hàn) liên kết với vỏ ngoài:
• 25 (d + D) + 5 % đối với cáp một lõi;
• 20 (d + D) + 5 % đối với cáp ba lõi;
- đối với cáp khác:
• 20 (d + D) + 5 % đối với cáp một lõi;
• 15 (d + D) + 5 % đối với cáp ba lõi;
trong đó:
d là đường kính danh nghĩa của ruột dẫn, tính bằng milimét (xem Điều 6, điểm i));
D là đường kính danh nghĩa toàn bộ của cáp, tính bằng milimét (xem Điều 6, điểm j)).
CHÚ THÍCH: Không quy định dung sai âm nhưng thử nghiệm ở đường kính thấp hơn giá trị quy định chỉ được thực hiện nếu có sự đồng ý của nhà chế tạo.
12.4.4 Thử nghiệm phóng điện cục bộ
Thử nghiệm phóng điện cục bộ phải được tiến hành theo TCVN 10893-3 (IEC 60885-3), độ nhạy phải là 5 pC hoặc tốt hơn.
Điện áp thử nghiệm phải được tăng lên từ từ và giữ ở 1,75 Uo trong 10 s rồi sau đó từ từ giảm chậm xuống còn 1,5 Uo (xem cột 5, Bảng 4).
Khi thực hiện ở nhiệt độ cao, thử nghiệm phải được thực hiện trên cụm lắp ráp có nhiệt độ ruột dẫn của cáp lớn hơn từ 5 K đến 10 K so với nhiệt độ lớn nhất của ruột dẫn của cáp trong hoạt động bình thường. Nhiệt độ ruột dẫn được duy trì trong phạm vi các giới hạn công bố trong ít nhất 2 h.
Cụm lắp ráp chỉ được gia nhiệt bằng dòng điện đi qua ruột dẫn, cho đến khi cáp đạt đến nhiệt độ yêu cầu.
CHÚ THÍCH: Vì lý do thực tế, nếu không đạt được nhiệt độ thử nghiệm thì có thể đặt cách nhiệt bổ sung.
Phóng điện phát hiện được từ đối tượng thử nghiệm không được vượt quá độ nhạy công bố ở 1,5 Uo.
12.4.5 Đo tg δ
Mẫu được gia nhiệt bằng dòng điện đi qua ruột dẫn và nhiệt độ của ruột dẫn được xác định bằng cách đo điện trở của nó hoặc bằng cảm biến đo nhiệt độ trên ruột dẫn của mẫu khác của cùng một cáp, được gia nhiệt theo cùng một phương pháp.
Mẫu phải được gia nhiệt cho đến khi ruột dẫn đạt đến nhiệt độ lớn hơn nhiệt độ lớn nhất của ruột dẫn trong hoạt động bình thường từ 5 K đến 10 K.
CHÚ THÍCH: Vì lý do thực tế, nếu không đạt được nhiệt độ thử nghiệm thì có thể đặt cách nhiệt bổ sung.
Tg δ phải được đo với điện áp xoay chiều tần số công nghiệp Uo ở nhiệt độ được quy định ở trên (xem cột 6, Bảng 4).
Giá trị đo được không được cao hơn các giá trị nêu ở Bảng 3.
12.4.6 Thử nghiệm điện áp chu kỳ gia nhiệt
Cáp được uốn thành hình chữ U theo đường kính như quy định ở 12.4.3.
Cụm lắp ráp được gia nhiệt bằng dòng điện qua ruột dẫn cho đến khi ruột dẫn của cáp đạt đến nhiệt độ ổn định lớn hơn nhiệt độ lớn nhất của ruột dẫn trong hoạt động bình thường từ 5 K đến 10 K.
CHÚ THÍCH 1: Vì lý do thực tế, nếu không đạt được nhiệt độ thử nghiệm thì có thể đặt cách nhiệt bổ sung.
Phải gia nhiệt trong ít nhất 8 h. Nhiệt độ của ruột dẫn được duy trì trong giới hạn nhiệt độ quy định trong ít nhất 2 h của từng giai đoạn gia nhiệt. Sau đó, để nguội tự nhiên trong ít nhất 16 h cho đến khi nhiệt độ ruột dẫn nhỏ hơn hoặc bằng 30 °C hoặc nhiệt độ môi trường xung quanh ± 10 K, chọn giá trị nào lớn hơn. Dòng điện qua ruột dẫn trong 2 h cuối của từng giai đoạn gia nhiệt phải được ghi lại.
Chu kỳ gia nhiệt và để nguội phải được thực hiện 20 lần.
Trong suốt toàn bộ giai đoạn thử nghiệm, điện áp 2 Uo được đặt lên cụm lắp ráp (xem cột 7, Bảng 4).
Cho phép gián đoạn thử nghiệm, với điều kiện là toàn bộ 20 chu kỳ gia nhiệt chịu điện áp đã hoàn thành.
CHÚ THÍCH 2: Chu kỳ gia nhiệt có nhiệt độ ruột dẫn lớn hơn nhiệt độ lớn nhất của ruột dẫn trong hoạt động bình thường 10 K được xem là có hiệu lực.
12.4.7 Thử nghiệm điện áp xung sét sau đó thử nghiệm điện áp tần số công nghiệp
Cụm lắp ráp được gia nhiệt bằng dòng điện qua ruột dẫn cho đến khi ruột dẫn của cáp đạt đến nhiệt độ ổn định lớn hơn nhiệt độ lớn nhất của ruột dẫn trong hoạt động bình thường từ 5 K đến 10 K.
Nhiệt độ của ruột dẫn được duy trì trong giới hạn nhiệt độ quy định trong ít nhất 2 h.
CHÚ THÍCH: Vì lý do thực tế, nếu không đạt được nhiệt độ thử nghiệm thì có thể đặt cách nhiệt bổ sung.
Điện áp xung sét phải được đặt theo quy trình nêu trong TCVN 10890 (IEC 60230).
Cụm lắp ráp phải chịu được 10 xung điện áp dương và 10 xung điện áp âm với giá trị thích hợp nêu ở cột 8, Bảng 4 mà không bị hỏng hoặc phóng điện bề mặt.
Sau thử nghiệm xung sét, cụm lắp ráp phải chịu thử nghiệm điện áp tần số công nghiệp ở 2,5 Uo trong 15 min (xem cột 9, Bảng 4). Tùy theo nhà chế tạo, thử nghiệm này có thể được thực hiện trong giai đoạn để nguội hoặc ở nhiệt độ môi trường xung quanh.
Không được xảy ra đánh thủng cách điện hoặc phóng điện bề mặt.
12.4.8 Kiểm tra
12.4.8.1 Cáp và phụ kiện
Kiểm tra cáp bằng cách phân chia mẫu cáp và nếu có thể, phân chia phụ kiện bằng cách tháo rời, bằng mắt thường hoặc mắt có điều chỉnh thị lực, phải cho thấy không có dấu hiệu suy giảm (ví dụ suy giảm về điện, rò rỉ, ăn mòn hoặc co ngót gây hại) làm ảnh hưởng đến hệ thống khi vận hành.
12.4.8.2 Cáp có dải băng hoặc lá kim loại đặt theo chiều dọc, liên kết với vỏ ngoài
Mẫu cáp dài 1 m phải được lấy từ đoạn cáp và chịu thử nghiệm ở 12.5.15.
12.4.9 Điện trở suất của màn chắn bán dẫn
Phép đo điện trở suất của màn chắn bán dẫn của cáp phải được thực hiện trên một mẫu riêng biệt.
Điện trở suất của màn chắn bán dẫn dạng đùn đặt lên ruột dẫn và lên cách điện phải được xác định bằng cách đo các mảnh thử nghiệm được lấy từ lõi mẫu cáp như được chế tạo và mẫu cáp đã được xử lý lão hóa để thử nghiệm tính tương thích của vật liệu thành phần như quy định ở 12.5.4.
12.4.9.1 Quy trình
Quy trình thử nghiệm theo Phụ lục D.
Phép đo phải được thực hiện ở nhiệt độ cao nhất của một dẫn ± 2 K trong hoạt động bình thường.
12.4.9.2 Yêu cầu
Điện trở suất, trước và sau lão hóa, không được vượt quá các giá trị dưới đây:
- màn chắn ruột dẫn: 1 000 Ω∙m;
- màn chắn cách điện: 500 Ω∙m;
12.5 Thử nghiệm điển hình không điện trên thành phần cáp và trên cáp hoàn chỉnh
Các thử nghiệm này bao gồm:
a) kiểm tra kết cấu cáp (xem 12.5.1);
b) thử nghiệm để xác định đặc tính cơ của cách điện trước và sau lão hóa (xem 12.5.2);
c) thử nghiệm để xác định đặc tính cơ của vỏ ngoài trước và sau lão hóa (xem 12.5.3);
d) thử nghiệm lão hóa trên các mảnh cáp hoàn chỉnh để kiểm tra tính tương thích của vật liệu (xem 12.5.4):
e) thử nghiệm tổn hao khối lượng của vỏ ngoài PVC loại ST2 (xem 12.5.5);
f) thử nghiệm nén ở nhiệt độ cao trên vỏ ngoài (xem 12.5.6);
g) thử nghiệm trên vỏ ngoài PVC (ST1 và ST2) ở nhiệt độ thấp (xem 12.5.7);
h) thử nghiệm sốc nhiệt trên vỏ ngoài PVC (ST1 và ST2) (xem 12.5.8);
i) thử nghiệm tính kháng ôzôn của cách điện EPR và HEPR (xem 12.5.9);
j) thử nghiệm kéo dãn trong lò nhiệt của cách điện EPR, HEPR và XLPE (xem 12.5.10);
k) đo tỷ trọng của cách điện HDPE (xem 12.5.11);
l) đo hàm lượng cacbon đen của vỏ ngoài PE đen (ST3 và ST7, xem 12.5.12);
m) thử nghiệm trong điều kiện cháy (xem 12.5.13);
n) thử nghiệm thấm nước (xem 12.5.14);
o) thử nghiệm trên thành phần của cáp có dải băng hoặc lá kim loại đặt theo chiều dọc, liên kết với vỏ ngoài (xem 12.5.15).
p) thử nghiệm độ co ngót đối với cách điện PE, HDPE và XLPE (xem 12.5.16);
q) thử nghiệm độ co ngót đối với vỏ bọc PE (ST3 và ST7) (xem 12.5.17);
r) xác định độ cứng của cách điện HEPR (xem 12.5.18);
s) xác định mô đun đàn hồi của cách điện HEPR (xem 12.5.19).
12.5.1 Kiểm tra kết cấu cáp
Kiểm tra ruột dẫn và đo chiều dày cách điện, vỏ ngoài và vỏ bọc kim loại phải được thực hiện và tuân theo các yêu cầu nêu ở 10.4, 10.6 và 10.7.
12.5.2 Thử nghiệm để xác định đặc tính cơ của cách điện trước và sau lão hóa
12.5.2.1 Lấy mẫu
Lấy mẫu và chuẩn bị mảnh thử nghiệm phải được thực hiện như mô tả ở 9.1 của TCVN 6614-1-1:2008 (IEC 60811-1-1:2001).
12.5.2.2 Xử lý lão hóa
Xử lý lão hóa phải được thực hiện như mô tả ở 8.1 của TCVN 6614-1-2:2008 (IEC 60811-1-2:2001, sửa đổi 1:1989 và sửa đổi 2:2000) trong điều kiện quy định trong Bảng 6.
12.5.2.3 Ổn định và thử nghiệm cơ
Ổn định và đo đặc tính cơ phải được thực hiện như mô tả ở 9.1 của TCVN 6614-1-1:2008 (IEC 60811- 1-1:2001).
12.5.2.4 Yêu cầu
Kết quả thử nghiệm đối với mảnh thử nghiệm chưa lão hóa và đã lão hóa phải phù hợp với các yêu cầu nêu trong Bảng 6.
12.5.3 Thử nghiệm để xác định đặc tính cơ của vỏ ngoài trước và sau lão hóa
12.5.3.1 Lấy mẫu
Lấy mẫu và chuẩn bị mảnh thử nghiệm phải được thực hiện như mô tả ở 9.2 của TCVN 6614-1-1:2008 (IEC 60811-1-1:2001).
12.5.3.2 Xử lý lão hóa
Xử lý lão hóa phải được thực hiện như mô tả ở 8.1 của TCVN 6614-1-2:2008 (IEC 60811-1-2:2001, sửa đổi 1:1989 và sửa đổi 2:2000) trong điều kiện quy định ở Bảng 7.
12.5.3.3 Ổn định và thử nghiệm cơ
Ổn định và đo đặc tính cơ phải được thực hiện như mô tả ở 9.2 của TCVN 6614-1-1:2008 (IEC 60811- 1-1:2001).
12.5.3.4 Yêu cầu
Kết quả thử nghiệm đối với mảnh thử nghiệm chưa lão hóa và đã lão hóa phải phù hợp với các yêu cầu nêu ở Bảng 7.
12.5.4 Thử nghiệm lão hóa trên các mảnh cáp hoàn chỉnh để kiểm tra tính tương thích của vật liệu
12.5.4.1 Yêu cầu chung
Thử nghiệm lão hóa trên các mảnh cáp hoàn chỉnh được thực hiện để kiểm tra cách điện, lớp bán dẫn dạng đùn và vỏ ngoài không bị suy giảm chất lượng quá mức do tiếp xúc với các thành phần khác của cáp khi làm việc.
Thử nghiệm áp dụng cho tất cả các kiểu cáp.
12.5.4.2 Lấy mẫu
Mẫu phải được lấy từ cáp hoàn chỉnh như mô tả ở 8.1.4 của TCVN 6614-1-2:2008 (IEC 60811-1-2:2001, sửa đổi 1:1989 và sửa đổi 2:2000).
12.5.4.3 Xử lý lão hóa
Xử lý lão hóa mảnh cáp phải được thực hiện trong lò không khí như mô tả ở 8.1.4 của TCVN 6614-1- 2:2008 (IEC 60811-1-2:2001, sửa đổi 1:1989 và sửa đổi 2:2000) trong các điều kiện dưới đây:
- nhiệt độ: lớn hơn (10 ± 2) K so với nhiệt độ cao nhất của ruột dẫn của cáp trong hoạt động bình thường (xem Bảng 1);
- thời gian: 7 x 24 h.
12.5.4.4 Thử nghiệm cơ
Mảnh thử nghiệm là cách điện và vỏ bọc lấy từ mảnh cáp đã lão hóa phải được chuẩn bị và chịu các thử nghiệm cơ như mô tả ở 8.1.4 của TCVN 6614-1-2:2008 (IEC 60811-1-2:2001, sửa đổi 1:1989 và sửa đổi 2:2000).
12.5.4.5 Yêu cầu
Sự khác nhau giữa các giá trị giữa của độ bền kéo và độ dãn dài tại thời điểm đứt sau lão hóa và các giá trị tương ứng thu được khi chưa lão hóa (xem 12.5.2 và 12.5.3) không được vượt quá các giá trị áp dụng cho thử nghiệm sau lão hóa trong lò không khí quy định ở Bảng 6 đối với cách điện và Bảng 7 đối với vỏ ngoài.
12.5.5 Thử nghiệm tổn hao khối lượng của vỏ ngoài PVC loại ST2
12.5.5.1 Quy trình
Quy trình lấy mẫu và thử nghiệm phải phù hợp với 8.2 của TCVN 6614-3-2:2008 (IEC 60811-3-2:1985, sửa đổi 1:1993 và sửa đổi 2:2003).
12.5.5.2 Yêu cầu
Kết quả thử nghiệm phải phù hợp với yêu cầu nêu ở Bảng 9.
12.5.6 Thử nghiệm nén ở nhiệt độ cao trên vỏ ngoài
12.5.6.1 Quy trình
Thử nghiệm nén ở nhiệt độ cao đối với vỏ ngoài ST1, ST2 và ST7 phải được thực hiện theo 8.2 của TCVN 6614-3-1:2008 (IEC 60811-3-1:1985, sửa đổi 1:1994 và sửa đổi 2:2001), sử dụng các điều kiện thử nghiệm nêu trong phương pháp thử nghiệm này và trong Bảng 7.
12.5.6.2 Yêu cầu
Kết quả thử nghiệm phải phù hợp với yêu cầu nêu ở Điều 8 của TCVN 6614-3-1:2008 (IEC 60811-3- 1:1985, sửa đổi 1:1994 và sửa đổi 2:2001).
12.5.7 Thử nghiệm trên vỏ ngoài PVC (ST1 và ST2) ở nhiệt độ thấp
12.5.7.1 Quy trình
Quy trình lấy mẫu và thử nghiệm trên vỏ ngoài PVC (ST1 và ST2) ở nhiệt độ thấp phải phù hợp với Điều 8 của TCVN 6614-1-4:2008 (IEC 60811-1-4:1985, sửa đổi 1:1993 và sửa đổi 2:2001), sử dụng nhiệt độ thử nghiệm quy định trong Bảng 9.
12.5.7.2 Yêu cầu
Kết quả thử nghiệm phải phù hợp với yêu cầu nêu ở Điều 8 của TCVN 6614-1-4:2008 (IEC 60811-1- 4:1985, sửa đổi 1:1993 và sửa đổi 2:2001).
12.5.8 Thử nghiệm sốc nhiệt trên vỏ ngoài PVC (ST1 và ST2)
12.5.8.1 Quy trình
Thử nghiệm sốc nhiệt trên vỏ ngoài ST1 và ST2 phải được thực hiện như mô tả ở 9.2 của TCVN 6614- 3-1:2008 (IEC 60811-3-1:1985, sửa đổi 1:1994 và sửa đổi 2:2001), sử dụng nhiệt độ và thời gian thử nghiệm theo Bảng 9.
12.5.8.2 Yêu cầu
Kết quả thử nghiệm phải phù hợp với yêu cầu nêu ở 9.2 của TCVN 6614-3-1:2008 (IEC 60811-3- 1:1985, sửa đổi 1:1994 và sửa đổi 2:2001).
12.5.9 Thử nghiệm tính kháng ôzôn của cách điện EPR và HEPR
12.5.9.1 Quy trình
Cách điện EPR và HEPR phải được thử nghiệm tính kháng ôzôn theo quy trình lấy mẫu và thử nghiệm mô tả ở Điều 8 của TCVN 6614-2-1:2008 (IEC 60811-2-1:2001). Nồng độ ôzôn và thời gian thử nghiệm phải phù hợp với Bảng 8.
12.5.9.2 Yêu cầu
Kết quả thử nghiệm phải phù hợp với yêu cầu nêu ở Điều 8 của TCVN 6614-2-1:2008 (IEC 60811-2-1:2001).
12.5.10 Thử nghiệm kéo dãn trong lò nhiệt của cách điện EPR, HEPR và XLPE
Cách điện EPR, HEPR và XLPE phải chịu thử nghiệm kéo dãn trong lò nhiệt theo 10.9 và phải phù hợp với các yêu cầu của 10.9.
12.5.11 Đo tỷ trọng của cách điện HDPE
Tỷ trọng của cách điện HDPE phải được đo theo 10.11 và phải phù hợp với các yêu cầu của 10.11.
12.5.12 Đo hàm lượng cacbon đen của vỏ ngoài PE đen (ST3 và ST7)
12.5.12.1 Quy trình
Hàm lượng cacbon đen của vỏ ngoài ST3 và ST7 phải được đo theo quy trình lấy mẫu và thử nghiệm mô tả ở Điều 11 của IEC 60811 -4-1:2004.
12.5.12.2 Yêu cầu
Giá trị danh nghĩa của hàm lượng cacbon đen phải là (2,5 ± 0,5) %.
CHÚ THÍCH: Cho phép giá trị thấp hơn đối với các ứng dụng đặc biệt không phơi nhiễm UV.
12.5.13 Thử nghiệm trong điều kiện cháy
Thử nghiệm trong điều kiện cháy theo TCVN 6613-1-2 (IEC 60332-1-2) phải được thực hiện trên một mẫu cáp hoàn chỉnh, nếu nhà chế tạo mong muốn công bố thiết kế riêng của cáp phù hợp với yêu cầu này.
Kết quả phải phù hợp với yêu cầu nêu ở TCVN 6613-1-2 (IEC 60332-1-2).
12.5.14 Thử nghiệm thấm nước
Thử nghiệm thấm nước được áp dụng cho các thiết kế cáp trong đó có hệ thống chống thấm nước theo chiều dọc như công bố ở Điều 6, điểm c) và điểm f). Thử nghiệm được thiết kế để đáp ứng yêu cầu đối với cáp ngầm dưới đất mà không áp dụng cho cáp có kết cấu để sử dụng như cáp ngầm dưới biển.
Thiết bị, mẫu, quy trình và yêu cầu thử nghiệm phải theo Phụ lục E.
12.5.15 Thử nghiệm trên thành phần của cáp có dải băng hoặc lá kim loại đặt theo chiều dọc, liên kết với vỏ ngoài
Mẫu phải chịu các thử nghiệm sau:
a) kiểm tra bằng cách xem xét (xem Điều F.1);
b) độ bền kết dính của lá kim loại (xem Điều F.2);
c) độ bền bong tróc của lá kim loại xếp chồng (xem Điều F.3).
Thiết bị, mẫu, quy trình và yêu cầu thử nghiệm phải theo Phụ lục F.
12.5.16 Thử nghiệm độ co ngót của cách điện PE, HDPE và XLPE
12.5.16.1 Quy trình
Thử nghiệm độ co ngót phải được thực hiện trên cách điện PE, HDPE hoặc XLPE sử dụng quy trình lấy mẫu và thử nghiệm mô tả theo Điều 10 của TCVN 6614-1-3 (IEC 60811-1-3) trong các điều kiện quy định ở Bảng 8.
12.5.16.2 Yêu cầu
Kết quả thử nghiệm phải phù hợp với các yêu cầu nêu trong Bảng 8.
12.5.17 Thử nghiệm độ co ngót đối với vỏ ngoài PE (ST3 và ST7)
12.5.17.1 Quy trình
Thử nghiệm độ co ngót phải được thực hiện trên vỏ ngoài PE của ST3 và ST7 sử dụng quy trình lấy mẫu và thử nghiệm phải được thực hiện theo Điều 11 của TCVN 6614-1-3 (IEC 60811-1-3) và trong các điều kiện quy định ở Bảng 7.
12.5.17.2 Yêu cầu
Kết quả thử nghiệm phải phù hợp với yêu cầu nêu trong Bảng 7.
12.5.18 Xác định độ cứng của cách điện HEPR
12.5.18.1 Quy trình
Quy trình lấy mẫu và thử nghiệm phải được thực hiện theo Phụ lục H.
12.5.18.2 Yêu cầu
Kết quả thử nghiệm phải phù hợp với các yêu cầu nêu trong Bảng 8.
12.5.19 Xác định môđun đàn hồi của cách điện HEPR
12.5.19.1 Quy trình
Lấy mẫu, chuẩn bị mảnh thử nghiệm và quy trình thử nghiệm phải được thực hiện theo Điều 9 của TCVN 6614-1-1 (IEC 60811-1-1).
Phải đo các tải yêu cầu để đạt độ dãn dài 150 %. Ứng suất tương ứng được tính bằng cách chia tải đo được cho tiết diện của mảnh thử nghiệm chưa kéo dãn. Các tỷ số giữa ứng suất và độ dãn phải được xác định để thu được các môđun đàn hồi ở 150 % độ dãn dài.
Môđun đàn hồi phải là giá trị giữa.
12.5.19.2 Yêu cầu
Kết quả thử nghiệm phải phù hợp với yêu cầu nêu trong Bảng 8.
13 Thử nghiệm chất lượng sơ bộ hệ thống cáp
13.1 Yêu cầu chung và dải phê chuẩn thử nghiệm chất lượng sơ bộ
Khi thử nghiệm chất lượng sơ bộ trên một hệ thống cáp được thực hiện thành công thì nhà chế tạo cũng như nhà cung cấp các hệ thống cáp của cùng một họ với hệ thống cáp đã thử nghiệm với các thông số đặc trưng về điện áp bằng hoặc nhỏ hơn là đạt chất lượng, với điều kiện là các ứng suất điện danh nghĩa tính được tại màn chắn cách điện của cáp nhỏ hơn hoặc bằng hệ thống cáp đã thử nghiệm.
Thử nghiệm chất lượng sơ bộ phải được thực hiện trên hệ thống cáp trong đó các ứng suất điện danh nghĩa tính được ở màn chắn ruột dẫn sẽ cao hơn 8,0 kV/mm và/hoặc ở màn chắn cách điện cao hơn 4,0 kV/mm. Phải thực hiện thử nghiệm chất lượng sơ bộ, ngoại trừ:
- nếu hệ thống cáp có kết cấu và phụ kiện giống nhau của cùng họ đã đạt chất lượng sơ bộ cho điện áp danh định cao hơn;
- hoặc nếu nhà chế tạo có thể chứng tỏ kinh nghiệm vận hành tốt với hệ thống cáp có ứng suất điện tính được cao hơn hoặc bằng trên màn chắn ruột dẫn và cách điện, trong (các) bộ phận cách điện chính và trong các đường biên của phụ kiện và của phụ kiện có cùng họ;
- hoặc nếu nhà chế tạo đã đáp ứng các yêu cầu của thử nghiệm dài hạn tương đương theo quy định của quốc gia hoặc của khách hàng trên hệ thống cáp có cùng kết cấu và phụ kiện của cùng họ.
Khi một hệ thống cáp đã đạt chất lượng sơ bộ được thay đổi bằng cách đổi một cáp và/hoặc phụ kiện với một cáp và/hoặc phụ kiện khác cũng đã đạt chất lượng sơ bộ trong một hệ thống cáp khác có ứng suất điện danh nghĩa tính được tại màn chắn cách điện bằng hoặc lớn hơn của hệ thống được thay đổi thì việc đánh giá chất lượng sơ bộ này được mở rộng cho cáp và/hoặc phụ kiện này hoặc cáp và/hoặc phụ kiện khác nếu tất cả các yêu cầu ở 13.3 đều được đáp ứng.
Khi một hệ thống cáp đã đạt chất lượng sơ bộ được thay đổi bằng cách sử dụng cáp và/hoặc phụ kiện khác không phải là một phần của hệ thống cáp đã đạt chất lượng sơ bộ hoặc đã đạt chất lượng sơ bộ trong một hệ thống cáp khác có ứng suất điện danh nghĩa tính được tại màn chắn cách điện nhỏ hơn của hệ thống được thay đổi thì thử nghiệm chất lượng sơ bộ phải được thực hiện trên hệ thống cáp hoàn chỉnh mới này bằng cách đáp ứng tất cả các yêu cầu ở 13.2.
Danh mục các thử nghiệm chất lượng sơ bộ và mở rộng thử nghiệm chất lượng sơ bộ được nêu trong Phụ lục C.
CHÚ THÍCH 1: Thử nghiệm chất lượng sơ bộ được thực hiện chỉ khi có thay đổi thiết yếu về hệ thống cáp liên quan đến vật liệu, quá trình chế tạo, thiết kế và các mức ứng suất điện thiết kế.
CHÚ THÍCH 2: Sự thay đổi thiết yếu được xác định là thay đổi có thể làm ảnh hưởng bất lợi đến tính năng của hệ thống cáp. Nhà cung cấp cần cung cấp nội dung chi tiết cho trường hợp, bao gồm bằng chứng thử nghiệm, nếu có các sửa đổi được công bố là không bao gồm sự thay đổi thiết yếu.
CHÚ THÍCH 3: Nên thực hiện thử nghiệm chất lượng sơ bộ sử dụng cáp có tiết diện lớn để bao gồm được các khía cạnh về nhiệt cơ.
Chứng chỉ thử nghiệm chất lượng sơ bộ được ký bởi đại diện của tổ chức chứng kiến có năng lực hoặc báo cáo của nhà chế tạo cho kết quả thử nghiệm và được ký bởi tổ chức đạt chất lượng thích hợp hoặc chứng chỉ thử nghiệm chất lượng sơ bộ được cấp bởi phòng thử nghiệm độc lập phải được chấp nhận là bằng chứng về thử nghiệm chất lượng sơ bộ.
13.2 Thử nghiệm chất lượng sơ bộ trên hệ thống cáp hoàn chỉnh
13.2.1 Tóm tắt thử nghiệm chất lượng sơ bộ
Thử nghiệm chất lượng sơ bộ phải bao gồm các thử nghiệm điện trên hệ thống cáp hoàn chỉnh dài tối thiểu 20 m của cáp kích cỡ đầy đủ, bao gồm ít nhất một phụ kiện của từng loại phụ kiện. Chiều dài tối thiểu của cáp giữa các phụ kiện phải là 10 m. Trình tự thử nghiệm như sau:
a) thử nghiệm điện áp chu kỳ gia nhiệt (xem 13.2.4);
b) thử nghiệm điện áp xung sét (xem 13.2.5);
c) kiểm tra hệ thống cáp sau khi hoàn thành các thử nghiệm ở trên (xem 13.2.6).
Có thể có trường hợp một hoặc nhiều phụ kiện không đáp ứng tất cả các yêu cầu của thử nghiệm chất lượng sơ bộ ở 13.2. Sau khi sửa chữa lại cụm thử nghiệm, thử nghiệm chất lượng sơ bộ có thể được tiếp tục trên hệ thống cáp còn lại (cáp với các phụ kiện còn lại). Trong trường hợp tất cả các yêu cầu của thử nghiệm ở 13.2 đáp ứng bởi hệ thống cáp còn lại thì hệ thống còn lại là đạt chất lượng sơ bộ. Phụ kiện hoặc các phụ kiện không đáp ứng các yêu cầu bị loại trừ khỏi quá trình đánh giá chất lượng sơ bộ. Tuy nhiên, thử nghiệm có thể được tiếp tục để đánh giá chất lượng sơ bộ cáp với phụ kiện được thay thế cho đến khi tất cả các yêu cầu ở 13.2 được đáp ứng. Nếu nhà chế tạo quyết định đưa vào phụ kiện đã được sửa chữa trong quá trình đánh giá chất lượng sơ bộ hệ thống cáp thì việc thử nghiệm chất lượng sơ bộ của hệ thống hoàn chỉnh được xem là bắt đầu sau khi sửa chữa.
13.2.2 Giá trị điện áp thử nghiệm
Trước khi thử nghiệm chất lượng sơ bộ, phải đo chiều dày cách điện của cáp và điều chỉnh các giá trị điện áp thử nghiệm, nếu cần, như quy định ở 12.4.1.
13.2.3 Bố trí thử nghiệm
Cáp và phụ kiện phải được lắp ráp theo quy định trong hướng dẫn của nhà chế tạo, với mức phủ và số lượng vật liệu được cung cấp, kể cả chất bôi trơn, nếu có.
Có thể thực hiện thử nghiệm trong phòng thử nghiệm mà không nhất thiết phải mô phỏng các điều kiện lắp đặt thực.
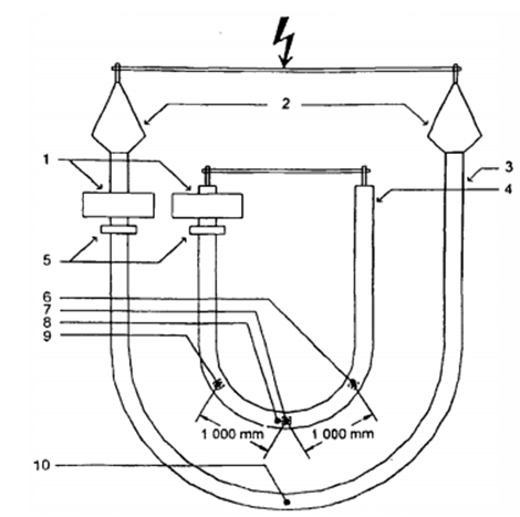
Nếu mối nối được thiết kế để sử dụng cho cả hệ thống lắp đặt mềm dẻo và cứng vững thì một mối nối phải được lắp đặt với kết cấu mềm dẻo còn mối nối khác trong kết cấu cứng vững, xem Hình 1. Nếu mối nối chỉ được thiết kế để sử dụng cho hệ thống lắp đặt cứng vững thì mối nối này phải được lắp đặt cố định cứng vững ở cả hai phía. Nếu mối nối được thiết kế chỉ cho hệ thống lắp đặt mềm dẻo thì mối nối này phải được lắp đặt mềm dẻo ở cả hai phía.
Vòng thử nghiệm phải được uốn hình chữ U với đường kính quy định ở 12.4.3.
CHÚ THÍCH: Ví dụ ở Hình 1 là dễ dàng nhận biết hơn mô phỏng đầy đủ các điều kiện bố trí thực tế. Các khía cạnh về nhiệt cơ của thiết kế không được thử nghiệm với bố trí thử nghiệm này.
Trong trường hợp đặc biệt khi xem xét các khía cạnh nhiệt cơ, bố trí thử nghiệm đặc biệt thể hiện các điều kiện lắp đặt theo thiết kế cần được xem xét. Điều kiện môi trường xung quanh có thể thay đổi giữa các hệ thống lắp đặt và trong quá trình thử nghiệm và được xem là không có ảnh hưởng lớn.
Điều kiện thử nghiệm ngoài trời có thể được áp dụng, không áp dụng các giới hạn quy định thông thường về nhiệt độ môi trường không khí (20 ± 15) °C.

CHÚ DẪN:
| 1 thanh nẹp | J1 Mối nối được thiết kế để cố định cứng vững và mềm dẻo | J2 Mối nối chỉ cho hệ thống lắp đặt mềm dẻo |
Hình 1 - Ví dụ về bố trí thử nghiệm chất lượng sơ bộ
13.2.4 Thử nghiệm điện áp chu kỳ gia nhiệt
Cụm lắp ráp được gia nhiệt bằng dòng điện qua ruột dẫn cho đến khi ruột dẫn của cáp đạt đến nhiệt độ lớn hơn nhiệt độ lớn nhất của ruột dẫn trong hoạt động bình thường từ 0 K đến 5 K. Điều kiện biến đổi của môi trường xung quanh có thể cần điều chỉnh dòng điện qua ruột dẫn trong khi thử nghiệm.
Bố trí gia nhiệt phải được chọn sao cho ruột dẫn của cáp đạt được nhiệt độ quy định nêu trên, cách xa các phụ kiện. Nhiệt độ bề mặt của cáp phải được ghi lại để tham khảo.
Nhiệt độ được đặt ít nhất 8 h. Nhiệt độ của ruột dẫn được duy trì trong giới hạn nhiệt độ quy định trong ít nhất 2 h của từng giai đoạn gia nhiệt. Sau đó, để nguội tự nhiên trong ít nhất 16 h đến nhiệt độ ruột dẫn nhỏ hơn hoặc bằng 30 °C hoặc trong phạm vi 10 K của nhiệt độ môi trường xung quanh, chọn giá trị nào cao hơn.
CHÚ THÍCH 1: Vì lý do thực tế, nếu không đạt được nhiệt độ thử nghiệm thì có thể đặt cách nhiệt bổ sung.
Chu kỳ gia nhiệt và để nguội được thực hiện ít nhất 180 lần. Trong toàn bộ thời gian thử nghiệm, điện áp 1,7 Uo được đặt lên cụm lắp ráp.
Không được có phóng điện đánh thủng.
CHÚ THÍCH 2: Phép đo phóng điện cục bộ được khuyến cáo để cho cảnh báo trước về khả năng suy giảm và cho phép sửa chữa trước khi hỏng.
CHÚ THÍCH 3: Cho phép có một số chu kỳ trong đó thời gian ở nhiệt độ cao và/hoặc thấp không đáp ứng toàn bộ yêu cầu nhưng tối đa là 10 chu kỳ.
CHÚ THÍCH 4: Tổng số chu kỳ phải được thực hiện, bất kể gián đoạn.
CHÚ THÍCH 5: Chu kỳ gia nhiệt có nhiệt độ ruột dẫn lớn hơn nhiệt độ lớn nhất của ruột dẫn trong hoạt động bình thường 5 K được xem là có hiệu lực.
13.2.5 Thử nghiệm điện áp xung sét
Thử nghiệm này phải được thực hiện trên một hoặc nhiều mẫu cáp, tổng chiều dài tối thiểu là 10 m, được cắt từ cụm lắp ráp có nhiệt độ ruột dẫn cao hơn nhiệt độ lớn nhất của ruột dẫn trong hoạt động bình thường từ 0 K đến 5 K. Nhiệt độ ruột dẫn phải được duy trì trong phạm vi các giới hạn nhiệt độ quy định trong ít nhất 2 h.
CHÚ THÍCH 1: Một cách khác, có thể thực hiện thử nghiệm trên toàn bộ cụm lắp ráp thử nghiệm.
CHÚ THÍCH 2: Vì lý do thực tế, nếu không đạt được nhiệt độ thử nghiệm thì có thể đặt cách nhiệt bổ sung.
Điện áp xung được đặt theo quy trình nêu ở TCVN 10890 (IEC 60230).
Mẫu cáp phải chịu được 10 xung điện áp dương và 10 xung điện áp âm với giá trị thích hợp nêu ở cột 8, Bảng 4 mà không bị hỏng.
13.2.6 Kiểm tra
Kiểm tra hệ thống cáp (cáp và phụ kiện) và các yêu cầu phải như quy định ở 12.4.8.
13.3 Thử nghiệm mở rộng chất lượng sơ bộ của hệ thống cáp
13.3.1 Tóm tắt thử nghiệm mở rộng chất lượng sơ bộ
Các thử nghiệm để mở rộng chất lượng sơ bộ bao gồm thử nghiệm điện trên hệ thống cáp hoàn chỉnh như quy định ở 13.3.2 và thử nghiệm không điện trên cáp như quy định ở 12.5 khi cáp chịu việc mở rộng chất lượng sơ bộ.
13.3.2 Thử nghiệm điện để mở rộng chất lượng sơ bộ trên hệ thống cáp hoàn chỉnh
13.3.2.1 Yêu cầu chung
Các thử nghiệm liệt kê ở 13.3.2.3 phải được thực hiện trên một hoặc nhiều mẫu cáp hoàn chỉnh của hệ thống cáp đã được đánh giá chất lượng sơ bộ tùy thuộc vào số lượng phụ kiện bao gồm. Mẫu hệ thống cáp gồm ít nhất một phụ kiện của từng kiểu cần mở rộng chất lượng sơ bộ. Thử nghiệm có thể được thực hiện trong phòng thử nghiệm mà không nhất thiết phải mô phỏng điều kiện lắp đặt thực tế.
Chiều dài tối thiểu của cáp giữa các phụ kiện phải là 5 m. Tổng chiều dài cáp tối thiểu phải là 20 m.
Cáp và phụ kiện phải được lắp ráp theo quy định trong hướng dẫn của nhà chế tạo, với mức phủ và số lượng vật liệu được cung cấp, kể cả chất bôi trơn, nếu có.
Nếu chất lượng sơ bộ của mối nối đã được mở rộng để sử dụng cho các hệ thống lắp đặt mềm dẻo và hệ thống lắp đặt cứng vững thì một mối nối phải được lắp đặt theo kết cấu mềm dẻo và một mối nối khác được lắp đặt theo kết cấu cứng vững, xem Hình 2.
Nếu cáp là một phần của việc mở rộng chất lượng sơ bộ thì vòng thử nghiệm phải có dạng hình chữ U với đường kính quy định ở 12.4.3.
Với các ngoại trừ nêu ở 13.3.2.2, tất cả các thử nghiệm liệt kê ở 13.3.2.3 phải được áp dụng lần lượt cho cùng mẫu. Phụ kiện phải được lắp đặt sau thử nghiệm uốn cáp.
Phép đo điện trở suất của màn chắn bán dẫn mô tả ở 12.4.9 phải được thực hiện trên mẫu riêng rẽ.
Không yêu cầu đo điện trở suất của màn chắn bán dẫn nếu việc mở rộng chất lượng sơ bộ chỉ cho phụ kiện.

CHÚ DẪN:
1 đầu nối
2 thanh nẹp
3 mối nối
Hình 2 - Ví dụ về bố trí thử nghiệm chất lượng sơ bộ để mở rộng thử nghiệm chất lượng sơ bộ hệ thống có mối nối khác, được thiết kế cho hệ thống lắp đặt cứng vững cũng như hệ thống lắp đặt mềm dẻo
13.3.2.2 Giá trị điện áp thử nghiệm
Trước khi mở rộng các thử nghiệm chất lượng sơ bộ về điện, phải đo chiều dày cách điện của cáp và giá trị điện áp thử nghiệm đã điều chỉnh, nếu cần, như quy định ở 12.4.1.
13.3.2.3 Trình tự các thử nghiệm điện để mở rộng chất lượng sơ bộ
Trình tự bình thường của các thử nghiệm điện để mở rộng chất lượng sơ bộ như sau:
a) thử nghiệm uốn (xem 12.4.3) mà không thử nghiệm phóng điện cục bộ (xem 12.4.4), sau đó là lắp đặt phụ kiện như một phần của các thử nghiệm mở rộng chất lượng sơ bộ;
b) thử nghiệm phóng điện cục bộ (xem 12.4.4) được đặt sau thử nghiệm uốn để kiểm tra chất lượng của phụ kiện được lắp;
c) thử nghiệm chu kỳ nhiệt không điện áp (xem 13.3.2.4);
d) đo tg δ (xem 12.4.5);
CHÚ THÍCH 1: Thử nghiệm này có thể được thực hiện trên mẫu cáp khác có các đầu nối thử nghiệm đặc biệt so với cáp được sử dụng cho các trình tự thử nghiệm còn lại.
e) thử nghiệm điện áp chu kỳ gia nhiệt (xem 12.4.6);
f) thử nghiệm phóng điện cục bộ (xem 12.4.4) ở nhiệt độ môi trường xung quanh và ở nhiệt độ cao. Thử nghiệm này phải được thực hiện sau chu kỳ cuối cùng của điểm e) nêu trên hoặc một cách khác, sau thử nghiệm điện áp xung sét ở điểm g) dưới đây;
g) thử nghiệm điện áp xung sét sau đó là thử nghiệm điện áp tần số công nghiệp (xem 12.4.7);
h) thử nghiệm phóng điện cục bộ, nếu chưa thực hiện trong điểm e) ở trên;
i) thử nghiệm bảo vệ bên ngoài các mối nối (xem Phụ lục G);
CHÚ THÍCH 2: Các thử nghiệm này có thể áp dụng cho mối nối đã đạt thử nghiệm ở điểm c), thử nghiệm điện áp chu kỳ gia nhiệt hoặc cho mối nối riêng rẽ khác đã đạt ít nhất ba chu kỳ nhiệt (xem Phụ lục G).
CHÚ THÍCH 3: Nếu cáp và mối nối không phải chịu điều kiện ướt khi vận hành (tức là không trực tiếp chôn dưới đất hoặc không bị ngâm không gián đoạn hoặc liên tục trong môi trường nước) thì có thể bỏ qua Điều G.3 và G.4.2.
j) kiểm tra hệ thống cáp có cáp và phụ kiện phải được thực hiện sau khi hoàn chỉnh các thử nghiệm ở trên (xem 12.4.8);
k) điện trở suất của màn chắn bán dẫn (xem 12.4.9) phải được đo trên mẫu riêng rẽ.
Giá trị điện áp thử nghiệm phải phù hợp với các giá trị nêu trong cột thích hợp của Bảng 4 có điều chỉnh cuối cùng theo 13.3.2.2.
13.3.2.4 Thử nghiệm chu kỳ gia nhiệt không điện áp
Cụm lắp ráp được gia nhiệt bằng dòng điện qua ruột dẫn cho đến khi ruột dẫn của cáp đạt đến nhiệt độ lớn hơn nhiệt độ lớn nhất của ruột dẫn trong hoạt động bình thường từ 5 K đến 10 K.
Phải gia nhiệt trong ít nhất 8 h. Nhiệt độ của ruột dẫn được duy trì trong giới hạn nhiệt độ quy định trong ít nhất 2 h của từng giai đoạn gia nhiệt. Sau đó, để nguội tự nhiên trong ít nhất 16 h cho đến khi nhiệt độ ruột dẫn nhỏ hơn hoặc bằng 30 °C hoặc trong phạm vi 10 K của nhiệt độ môi trường xung quanh, chọn giá trị nào lớn hơn. Dòng điện qua ruột dẫn trong 2 h cuối của từng giai đoạn gia nhiệt phải được ghi lại.
Chu kỳ gia nhiệt và để nguội phải được thực hiện 60 lần.
CHÚ THÍCH: Chu kỳ gia nhiệt có nhiệt độ ruột dẫn lớn hơn nhiệt độ lớn nhất của ruột dẫn trong hoạt động bình thường 5 K được xem là có hiệu lực.
14 Thử nghiệm điển hình cáp
14.1 Yêu cầu chung
Thử nghiệm được quy định trong điều này để chứng tỏ tính năng của cáp là thỏa đáng.
Quy trình thử nghiệm phải được thực hiện trên cáp trong đó ứng suất điện danh nghĩa tính được tại màn chắn ruột dẫn không cao hơn 8,0 kV/mm và ở màn chắn cách điện không cao hơn 4,0 kV/mm. Trong các trường hợp khác, áp dụng các thử nghiệm điển hình trên hệ thống cáp theo Điều 12.
Danh mục các thử nghiệm điển hình trên cáp được nêu ở Phụ lục C.
14.2 Phạm vi phê duyệt kiểu
Khi thử nghiệm điển hình được thực hiện thành công trên một hoặc nhiều cáp có tiết diện quy định và điện áp danh định cụ thể thì phê duyệt kiểu phải được công nhận có hiệu lực cho các cáp của cùng một kiều với diện tích tiết diện của ruột dẫn và/hoặc điện áp danh định khác với điều kiện từ a) đến e) đều được đáp ứng.
CHÚ THÍCH 1: Thử nghiệm điển hình đã được thực hiện thành công theo phiên bản IEC 60840:2011 cũng có hiệu lực.
a) Nhóm điện áp không cao hơn điện áp của (các) cáp đã thử nghiệm.
CHÚ THÍCH 2: Trong trường hợp này, cáp của nhóm có cùng điện áp danh định là các cáp mà điện áp danh định có cùng giá trị điện áp cao nhất dùng cho thiết bị, Um và các mức điện áp thử nghiệm như nhau (xem cột 1 và 2 của Bảng 4).
b) Tiết diện ruột dẫn không lớn hơn tiết diện của cáp đã thử nghiệm.
c) Cáp có cùng kết cấu hoặc kết cấu tương tự cáp đã thử nghiệm.
CHÚ THÍCH 3: Cáp có kết cấu tương tự là cáp có cùng kiểu và quá trình chế tạo cách điện và màn chắn bán dẫn. Việc lặp lại các thử nghiệm điển hình về điện không nhất thiết khi tính đến sự khác nhau về kiểu ruột dẫn hoặc vật liệu hoặc của các lớp bảo vệ đặt lên lõi có màn chắn trừ khi chúng có nhiều khả năng có ảnh hưởng đáng kể lên kết quả thử nghiệm. Trong một số trường hợp, có thể thích hợp để lặp lại một hoặc nhiều thử nghiệm điển hình (ví dụ, thử nghiệm uốn, thử nghiệm chu kỳ gia nhiệt và/hoặc thử nghiệm tính tương thích).
d) Ứng suất điện danh nghĩa tính được tại màn chắn ruột dẫn của cáp không vượt quá ứng suất điện danh nghĩa tại màn chắn ruột dẫn của (các) cáp đã thử nghiệm quá 10 %.
e) Ứng suất điện danh nghĩa tính được tại màn chắn cách điện của cáp không vượt quá ứng suất điện danh nghĩa tại màn chắn cách điện của (các) cáp dã thử nghiệm.
Thử nghiệm điển hình trên các thành phần cáp (xem 12.5) không cần phải thực hiện trên các mẫu lấy từ cáp có thông số đặc trưng về điện áp khác và/hoặc tiết diện ruột dẫn khác trừ khi sử dụng vật liệu và/hoặc quá trình chế tạo khác. Tuy nhiên, việc lặp lại các thử nghiệm lão hóa trên các mảnh của cáp hoàn chỉnh để kiểm tra tính tương thích về vật liệu (xem 12.5.4) có thể được yêu cầu nếu sự phối hợp các vật liệu đặt lên lõi có màn chắn khác với cáp được thực hiện thử nghiệm điển hình trước đó.
Chứng chỉ thử nghiệm điển hình được ký bởi đại diện của tổ chức chứng kiến có năng lực hoặc báo cáo của nhà chế tạo cho kết quả thử nghiệm và được ký bởi tổ chức đạt chất lượng thích hợp hoặc chứng chỉ thử nghiệm điển hình được cấp bởi phòng thử nghiệm độc lập phải được chấp nhận là bằng chứng về thử nghiệm điển hình.
14.3 Tóm tắt các thử nghiệm điển hình
Các thử nghiệm điển hình phải bao gồm thử nghiệm điện trên hệ thống cáp hoàn chỉnh như quy định ở 12.4.1 và 14.4 và thử nghiệm không điện thích hợp trên thành phần cáp và cáp hoàn chỉnh như quy định ở 12.5.
Thử nghiệm không điện trên thành phần cáp hoặc cáp hoàn chỉnh được liệt kê ở Bảng 5, chỉ ra thử nghiệm thích hợp cho từng vật liệu cách điện và vỏ ngoài. Thử nghiệm trong điều kiện cháy chỉ được yêu cầu nếu nhà chế tạo muốn công bố sự phù hợp với thử nghiệm này như một tính chất đặc biệt của thiết kế cáp.
14.4 Thử nghiệm điển hình về điện trên cáp hoàn chỉnh
Các thử nghiệm ở các điểm từ a) đến f) phải được thực hiện theo trình tự trên mẫu cáp hoàn chỉnh dài ít nhất 10 m không kể các phụ kiện thử nghiệm:
a) thử nghiệm uốn trên cáp (xem 12.4.3), sau đó là thử nghiệm lắp đặt phụ kiện và thử nghiệm phóng điện cục bộ (xem 12.4.4);
b) đo tg δ (xem 12.4.5);
CHÚ THÍCH 1: Thử nghiệm này có thể được thực hiện trên mẫu có các đầu nối thử nghiệm riêng khác với mẫu được sử dụng cho các thử nghiệm còn lại của trình tự thử nghiệm này.
c) thử nghiệm điện áp chu kỳ gia nhiệt (xem 12.4.6), sau đó là phép đo phóng điện cục bộ ở nhiệt độ môi trường xung quanh (xem 12.4.4), mà sẽ phải được thực hiện sau chu kỳ cuối cùng hoặc một cách khác, sau thử nghiệm điện áp xung sét (xem điểm d) dưới đây);
d) thử nghiệm điện áp xung sét, sau đó là thử nghiệm điện áp tần số công nghiệp (xem 12.4.7);
e) thử nghiệm phóng điện cục bộ ở nhiệt độ môi trường xung quanh (xem 12.4.4), nếu chưa thực hiện ở điểm c) ở trên;
f) kiểm tra cáp khi hoàn thành các thử nghiệm ở trên (xem 12.4.8);
g) điện trở suất của màn chắn bán dẫn (xem 12.4.9) phải được đo trên mẫu riêng rẽ.
Điện áp thử nghiệm phải phù hợp với các giá trị nêu ở cột thích hợp của Bảng 4.
15 Thử nghiệm điển hình phụ kiện
15.1 Yêu cầu chung
Thử nghiệm được quy định trong điều này để chứng tỏ tính năng của phụ kiện là thỏa đáng.
Quy trình thử nghiệm phải được thực hiện trên phụ kiện của cáp trong đó ứng suất điện danh nghĩa tính được tại màn chắn ruột dẫn không cao hơn 8,0 kV/mm và ở màn chắn cách điện không cao hơn 4,0 kV/mm. Trong các trường hợp khác, áp dụng các thử nghiệm điển hình trên hệ thống cáp theo Điều 12.
Danh mục các thử nghiệm điển hình trên cáp được nêu ở Phụ lục C.
CHÚ THÍCH: Các thử nghiệm trên đầu nối liên quan đến điều kiện môi trường không được quy định trong tiêu chuẩn này.
15.2 Phạm vi phê duyệt kiểu
Khi thử nghiệm điển hình được thực hiện thành công trên một hoặc nhiều phụ kiện với một hoặc nhiều cáp có tiết diện quy định và cùng điện áp danh định và kết cấu thì phê duyệt kiểu phải được công nhận có hiệu lực cho các phụ kiện thuộc phạm vi của tiêu chuẩn này với điện áp danh định, kết cấu khác và các phụ kiện với các cáp khác, với điều kiện từ a) đến d) đều được đáp ứng.
CHÚ THÍCH 1: Thử nghiệm điển hình đã được thực hiện thành công theo phiên bản trước của IEC 60840:2011 cũng có hiệu lực.
a) Nhóm điện áp không cao hơn điện áp của (các) phụ kiện đã thử nghiệm.
CHÚ THÍCH 2: Trong trường hợp này, phụ kiện của nhóm có cùng điện áp danh định là các phụ kiện mà điện áp danh định có cùng giá trị điện áp cao nhất dùng cho thiết bị, Um và các mức điện áp thử nghiệm như nhau (xem cột 1 và 2 của Bảng 4).
b) Cáp có tiết diện của ruột dẫn, điện áp danh định và kết cấu khác nằm trong phạm vi phê duyệt kiểu như quy định ở 12.4. Khi ứng suất điện danh nghĩa tính được tại màn chắn cách điện của cáp không vượt quá 2,5 kV/mm, phê duyệt kiểu phải được xem là có hiệu lực cho các phụ kiện trên tất cả các cáp trong dải này.
c) Phụ kiện có cùng kết cấu hoặc kết cấu tương tự phụ kiện đã thử nghiệm.
CHÚ THÍCH 3: Phụ kiện có kết cấu tương tự là phụ kiện có cùng kiểu và quá trình chế tạo cách điện và màn chắn bán dẫn. Việc lặp lại các thử nghiệm điển hình về điện không nhất thiết khi tính đến sự khác nhau về kiểu bộ nối hoặc vật liệu hoặc của các lớp bảo vệ đặt lên cách điện chính của phụ kiện trừ khi chúng có nhiều khả năng có ảnh hưởng đáng kể lên kết quả thử nghiệm. Trong một số trường hợp, có thể thích hợp để lặp lại một hoặc nhiều thử nghiệm điển hình (ví dụ, thử nghiệm phóng điện cục bộ).
d) Ứng suất điện danh nghĩa tính được bên trong các bộ phận cách điện chính của phụ kiện và tại giao diện của cáp và phụ kiện không vượt quá ứng suất điện danh nghĩa đối với (các) phụ kiện đã thử nghiệm.
Chứng chỉ thử nghiệm điển hình được ký bởi đại diện của tổ chức chứng kiến có năng lực hoặc báo cáo của nhà chế tạo cho kết quả thử nghiệm và được ký bởi tổ chức đạt chất lượng thích hợp hoặc chứng chỉ thử nghiệm điển hình được cấp bởi phòng thử nghiệm độc lập phải được chấp nhận là bằng chứng về thử nghiệm điển hình.
15.3 Tóm tắt các thử nghiệm điển hình
Phụ kiện phải phù hợp với các thử nghiệm quy định ở 15.4.1 và 15.4.2.
Chiều dài tối thiểu của cáp giữa các phụ kiện phải là 5 m.
Phải thử nghiệm một mẫu của từng loại phụ kiện.
Phụ kiện phải được lắp đặt trước khi thử nghiệm phóng điện cục bộ lần đầu.
Phụ kiện phải được lắp trên cáp theo hướng dẫn của nhà chế tạo với mức và số lượng vật liệu được cung cấp, kể cả dầu bôi trơn, nếu có.
Bề mặt bên ngoài của phụ kiện phải khô và sạch nhưng cáp hoặc phụ kiện không phải chịu bất kỳ sự biến dạng nào không theo hướng dẫn của nhà chế tạo mà có thể làm thay đổi đặc tính điện, nhiệt hoặc cơ.
Trong quá trình thử nghiệm theo điểm a) đến g) của 15.4.2, cần phải thử nghiệm các mối nối có lắp bảo vệ bên ngoài. Nếu có thể thể hiện được rằng bảo vệ bên ngoài không ảnh hưởng đến tính năng của cách điện mối nối, ví dụ không có ảnh hưởng về nhiệt cơ hoặc tính tương thích, thì không nhất thiết phải lắp bảo vệ.
15.4 Thử nghiệm điển hình về điện trên phụ kiện
Phụ kiện phải chịu thử nghiệm theo trình tự sau:
a) thử nghiệm phóng điện cục bộ ở nhiệt độ môi trường xung quanh (xem 12.4.4);
b) thử nghiệm điện áp chu kỳ gia nhiệt (xem 12.4.6);
CHÚ THÍCH 1: Cáp có thể được uốn hình chữ U với đường kính như quy định ở 12.4.3.
c) thử nghiệm phóng điện cục bộ (xem 12.4.4):
- ở nhiệt độ môi trường xung quanh, và
- ở nhiệt độ cao.
Các thử nghiệm phải được thực hiện sau chu kỳ cuối cùng của điểm b) hoặc một cách khác, sau thử nghiệm điện áp xung sét ở điểm d) dưới đây;
d) thử nghiệm điện áp xung sét, sau đó là thử nghiệm điện áp tần số công nghiệp (xem 12.4.7):
e) thử nghiệm phóng điện cục bộ, nếu chưa thực hiện ở điểm c) ở trên;
f) thử nghiệm bảo vệ bên ngoài mối nối (xem Phụ lục G);
CHÚ THÍCH 2: Các thử nghiệm này có thể áp dụng cho mối nối đã đạt thử nghiệm ở điểm b), thử nghiệm điện áp chu kỳ gia nhiệt hoặc cho mối nối riêng rẽ đã đạt ít nhất ba chu kỳ nhiệt (xem Phụ lục G).
CHÚ THÍCH 3: Nếu cáp và mối nối không phải chịu điều kiện ướt khi làm việc (tức là không được chôn trực tiếp dưới đất hoặc không bị ngâm trong nước liên tục hoặc không gián đoạn) thì có thể bỏ qua thử nghiệm ở điểm f).
g) kiểm tra phụ kiện đã hoàn thành các thử nghiệm ở trên (xem 12.4.8.1);
Điện áp thử nghiệm phải phù hợp với các giá trị nêu ở cột thích hợp của Bảng 4.
16 Thử nghiệm điện sau lắp đặt
16.1 Yêu cầu chung
Thử nghiệm được thực hiện trên hệ thống lắp đặt mới khi hệ thống cáp đã được lắp đặt hoàn chỉnh.
Thử nghiệm vỏ ngoài một chiều theo 16.2 và/hoặc thử nghiệm cách điện xoay chiều theo 16.3 được khuyến cáo.
Đối với hệ thống lắp đặt chỉ thử nghiệm vỏ ngoài theo 16.2 thì quy trình đảm bảo chất lượng trong khi lắp đặt phụ kiện có thể thay thế thử nghiệm cách điện theo 16.3, theo thỏa thuận giữa người mua và chủ thầu.
16.2 Thử nghiệm điện áp một chiều trên vỏ ngoài
Mức điện áp và thời gian đặt quy định ở Điều 5 của TCVN 10889:2015 (IEC 60229:2007) phải được đặt giữa từng vỏ bọc kim loại hoặc màn chắn kim loại và đất.
Để thử nghiệm có hiệu quả, đất cần tiếp xúc tốt với tất cả các bề mặt ngoài của vỏ ngoài. Lớp dẫn trên vỏ ngoài có thể hỗ trợ việc này.
16.3 Thử nghiệm điện áp xoay chiều trên cách điện
Điện áp thử nghiệm xoay chiều đặt vào phải theo thỏa thuận giữa người mua và chủ thầu. Dạng sóng về cơ bản là hình sin và tần số từ 20 Hz đến 300 Hz. Điện áp theo cột 10 của Bảng 4 được đặt trong 1 h.
Một cách khác, điện áp Uo có thể được đặt trong 24 h.
CHÚ THÍCH: Đối với các hệ thống lắp đặt đã được sử dụng, có thể sử dụng điện áp thấp hơn và/hoặc thời gian ngắn hơn. Các giá trị này cần theo thỏa thuận, có tính đến tuổi thọ, môi trường, lịch sử phóng điện đánh thủng và mục đích thực hiện thử nghiệm.
Bảng 1 - Hợp chất cách điện dùng cho cáp
| Hợp chất cách điện | Nhiệt độ cao nhất của ruột dẫn | ||
| Làm việc bình thường | Ngắn mạch | ||
| Nhựa nhiệt dẻo polyetylen tỷ trọng thấp | (PE) | 70 | 130a |
| Nhựa nhiệt dẻo polyetylen tỷ trọng cao | (HDPE) | 80 | 160a |
| Polyetylen liên kết ngang | (XLPE) | 90 | 250 |
| Cao su etylen-propylen | (EPR) | 90 | 250 |
| Cao su etylen-propylen cao phân tử hoặc cứng | (HEPR) | 90 | 250 |
| a Đối với PE và HDPE, nhiệt độ ngắn mạch lớn hơn đến 20 °C so với các nhiệt độ nêu trong bảng có thể được chấp nhận cho các lớp bán dẫn trên ruột dẫn và cách điện và theo thỏa thuận giữa nhà chế tạo và người mua. | |||
Bảng 2 - Hợp chất vỏ bọc dùng cho cáp
| Hợp chất vỏ bọc | Ký hiệu rút gọn | Nhiệt độ cao nhất của ruột dẫn khi làm việc bình thường |
| Polyvinyl clorua (PVC) | ST1 | 80 |
| ST2 | 90 | |
| Polyetylen (PE) | ST3 | 80 |
| ST7 | 90 |
Bảng 3 - Yêu cầu tg δ đối với hợp chất cách điện dùng cho cáp
| Ký hiệu hợp chất (xem 4.2) | PE | HDPE | EPR/HEPR | XLPE |
| Tg δ lớn nhất 10-4 | 10 | 10 | 50 | 10a |
| a Đối với cáp được chế tạo từ hợp chất XLPE có chứa phụ gia, tg δ lớn nhất là 50 x 10-4. | ||||
Bảng 4 - Điện áp thử nghiệm
| 1 | 2 | 3 | 4a | 5a | 6a | 7a | 8a | 9a | 10b |
| Điện áp danh định | Điện áp cao nhất dùng cho thiết bị | Giá trị Uo để xác định điện áp thử nghiệm | Thử nghiệm điện áp ở 9.3 | Thử nghiệm phóng điện cục bộ ở 9.2 và 12.4.4 | Đo tg δ ở 12.4.5 | Thử nghiệm điện áp chu kỳ gia nhiệt ở 12.4.6 | Thử nghiệm điện áp xung sét ở 10.12, 12.4.7 và 13.2.5 | Thử nghiệm điện áp xung đóng cắt ở 12.4.7 | Thử nghiệm điện áp sau lắp đặt ở 16.3 |
| U | Um | Uo | 2,5 Uo | 1,5 Uo | Uo | 2 Uo |
| 2,5 Uo |
|
| kV | kV | kV | kV | kV | kV | kV | kV | kV | kV |
| 45 đến 47 | 52 | 26 | 65 | 39 | 26 | 52 | 250 | 65 | 52 |
| 60 đến 69 | 72,5 | 36 | 90 | 54 | 36 | 72 | 325 | 90 | 72 |
| 110 đến 115 | 123 | 64 | 160 | 96 | 64 | 128 | 550 | 160 | 128 |
| 132 đến 138 | 145 | 76 | 190 | 114 | 76 | 152 | 650 | 190 | 132 |
| 150 đến 161 | 170 | 87 | 218 | 131 | 87 | 174 | 750 | 218 | 150 |
| a Nếu cần, các điện áp thử nghiệm này phải được điều chỉnh như quy định ở 12.4.1. b Nếu cần, các điện áp thử nghiệm này phải được điều chỉnh như quy định ở 16.3. | |||||||||
Bảng 5 - Thử nghiệm điển hình không điện đối với hợp chất cách điện và hợp chất vỏ ngoài của cáp
| Ký hiệu hợp chất (xem 4.2 và 4.4) | Cách điện | Vỏ ngoài | |||||||
| PE | HDPE | EPR | HEPR | XLPE | ST1 | ST2 | ST3 | ST7 | |
| Kiểm tra kết cấu Thử nghiệm chống thấm nướca | Áp dụng bất kể loại vật liệu vỏ bọc và vật liệu vỏ ngoài | ||||||||
| Đặc tính cơ (Độ bền kéo và độ dãn dài tại thời điểm đứt) |
|
|
|
|
|
|
|
|
|
| a) không lão hóa | x | x | x | x | x | x | x | x | x |
| b) sau khi lão hóa trong lò không khí | x | x | x | x | x | x | x | x | x |
| c) sau khi lão hóa trong không khí có áp suất | - | - | x | x | - | - | - | - | - |
| d) sau khi lão hóa cáp hoàn chỉnh (thử nghiệm tính tương thích) | x | x | x | x | x | x | x | x | x |
| Thử nghiệm nén ở nhiệt độ cao | - | - | - | - | - | x | x | - | x |
| Đáp ứng ở nhiệt độ thấp |
|
|
|
|
|
|
|
|
|
| a) Thử nghiệm độ dãn dài ở nhiệt độ thấp | - | - | - | - | - | x | x | - | - |
| b) Thử nghiệm va đập ở nhiệt độ thấp | - | - | - | - | - | x | x | - | - |
| Tổn hao khối lượng trong lò không khí | - | - | - | - | - | - | x | - | - |
| Thử nghiệm sốc nhiệt | - | - | - | - | - | x | x | - | - |
| Thử nghiệm khả năng chịu ôzôn | - | - | x | x | - | - | - | - | - |
| Thử nghiệm kéo dãn trong lò nhiệt | - | - | x | x | x | - | - | - | - |
| Đo tỷ trọng | - | x | - | - | - | - | - | - | - |
| Hàm lượng cacbon đen b | - | - | - | - | - | - | - | x | x |
| Thử nghiệm độ co ngót | x | x | - | - | x | - | - | x | x |
| Xác định độ cứng | - | - | - | x | - | - | - | - | - |
| Xác định môđun đàn hồi | - | - | - | x | - | - | - | - | - |
| CHÚ THÍCH: x thể hiện thử nghiệm điển hình cần áp dụng. | |||||||||
| a Áp dụng cho các thiết kế cáp trong đó nhà chế tạo công bố có hệ thống chống thấm nước theo chiều dọc. b Chỉ đối với vỏ bọc ngoài màu đen. | |||||||||
Bảng 6 - Yêu cầu thử nghiệm đối với các đặc tính cơ của hợp chất cách điện của cáp (trước và sau lão hóa)
| Ký hiệu hợp chất (xem 4.2) | Đơn vị | PE | HDPE | XLPE | EPR | HEPR |
| Nhiệt độ lớn nhất của ruột dẫn khi làm việc bình thường | °C | 70 | 80 | 90 | 90 | 90 |
| Không lão hóa (TCVN 6614-1-1 (IEC 60811-1-1), 9.1) |
|
|
|
|
|
|
| Độ bền kéo, giá trị nhỏ nhất | N/mm2 | 10,0 | 12,5 | 12,5 | 4,2 | 8,5 |
| Độ dãn dài tại thời điểm đứt, giá trị nhỏ nhất | % | 300 | 350 | 200 | 200 | 200 |
| Sau khi lão hóa trong lò không khí (TCVN 6614-1-2 (IEC 60811-1-2), 8.1) Xử lý: |
|
|
|
|
|
|
| nhiệt độ | °C | 100 | 110 | 135 | 135 | 135 |
| dung sai | K | ± 2 | ± 2 | ± 3 | ± 3 | ± 3 |
| thời gian | h | 240 | 240 | 168 | 168 | 168 |
| Độ bền kéo: |
|
|
|
|
|
|
| a) giá trị sau lão hóa, giá trị nhỏ nhất | N/mm2 | - | - | - | - | - |
| b) biến đổia, giá trị lớn nhất | % | - | - | ± 25 | ± 30 | ± 30 |
| Độ dãn dài tại thời điểm đứt: |
|
|
|
|
|
|
| a) giá trị sau lão hóa, giá trị nhỏ nhất | % | 300 | 350 | - | - | - |
| b) biến đổia, giá trị lớn nhất | % | - | - | ± 25 | ± 30 | ± 30 |
| Sau khi lão hóa trong trong không khí có áp suất (55 ± 2) N/cm2 (TCVN 6614-1-2 (IEC 60811-1-2), 8.2) a) Xử lý: |
|
|
|
|
|
|
| nhiệt độ | °C | - | - | - | 127 | 127 |
| dung sai | K | - | - | - | ± 1 | ± 1 |
| thời gian | h | - | - | - | 40 | 40 |
| Biến đổi b, giá trị lớn nhất của |
|
|
|
|
|
|
| b) Độ bền kéo | % | - | - | - | ±30 | ±30 |
| c) Độ dãn dài tại thời điểm đứt | % | - | - | - | ± 30 | ±30 |
| a Biến đổi: chênh lệch giữa giá trị giữa thu được sau khi lão hóa và giá trị giữa thu được không lão hóa được thể hiện bằng phần trăm của giá trị giữa thu được không lão hóa. | ||||||
Bảng 7 - Yêu cầu thử nghiệm đối với các đặc tính cơ của hợp chất vỏ bọc của cáp (trước và sau lão hóa)
| Ký hiệu hợp chất | Đơn vị | ST1 | ST2 | ST3 | ST7 |
| Không lão hóa (TCVN 6614-1-1 (IEC 60811-1-1), 9.2) |
|
|
|
|
|
| Độ bền kéo, giá trị nhỏ nhất | N/mm2 | 12,5 | 12,5 | 10,0 | 12,5 |
| Độ dãn dài tại thời điểm đứt, giá trị nhỏ nhất | % | 150 | 150 | 300 | 300 |
| Sau khi lão hóa trong lò không khí (TCVN 6614-1-2 (IEC 60811-1-2), 8.1) Xử lý: |
|
|
|
|
|
| nhiệt độ | °C | 100 | 100 | 100 | 110 |
| dung sai | K | ± 2 | ± 2 | ± 2 | ± 2 |
| thời gian | h | 168 | 168 | 240 | 240 |
| Độ bền kéo: |
|
|
|
|
|
| a) giá trị sau lão hóa, giá trị nhỏ nhất | N/mm2 | 12,5 | 12,5 | - | - |
| b) biến đổia, giá trị lớn nhất | % | ± 25 | ± 25 | - | - |
| Độ dãn dài tại thời điểm đứt: |
|
|
|
|
|
| a) giá trị sau lão hóa, giá trị nhỏ nhất | % | 150 | 150 | 300 | 300 |
| b) biến đổia, giá trị lớn nhất | % | ± 25 | ± 25 | - | - |
| Thử nghiệm nén ở nhiệt độ cao (TCVN 6614-3-1 (IEC 60811-3-1), 8.2) |
|
|
|
|
|
| Nhiệt độ thử nghiệm | °C | 80 | 90 | - | 110 |
| Dung sai | K | ± 2 | ± 2 | - | ± 2 |
| Thử nghiệm độ co ngót (TCVN 6614-1-3 (IEC 60811-1-3), Điều 11) |
|
|
|
|
|
| Nhiệt độ thử nghiệm | °C | - | - | 80 | 80 |
| Dung sai | K | - | - | ± 2 | ± 2 |
| Thời gian | h | - | - | 5 | 5 |
| Số chu kỳ gia nhiệt |
| - | - | 5 | 5 |
| Độ co ngót lớn nhất cho phép | % | - | - | 3,0 | 3,0 |
| a Biến đổi: chênh lệch giữa giá trị giữa thu được sau khi lão hóa và giá trị giữa thu được không lão hóa được thể hiện bằng phần trăm của giá trị giữa thu được không lão hóa. | |||||
Bảng 8 - Yêu cầu thử nghiệm đối với các đặc tính cụ thể của các hợp chất cách điện của cáp
| Ký hiệu hợp chất | Đơn vị | PE | HDPE | XLPE | EPR | HEPR |
| Khả năng chịu ôzôn (TCVN 6614-2-1 (IEC 60811-2-1:2001), Điều 8) |
|
|
|
|
|
|
| Nồng độ ôzôn (theo thể tích) | % | - | - | - | 0,025 đến 0,030 | 0,025 đến 0,030 |
| Thời gian thử nghiệm mà chưa nứt | h | - | - | - | 24 | 24 |
| Thử nghiệm kéo dãn trong lò nhiệt (TCVN 6614-2-1 (IEC 60811-2-1), Điều 9) Xử lý: |
|
|
|
|
|
|
| nhiệt độ không khí | °C | - | - | 200 | 250 | 250 |
| dung sai | K | - | - | ± 3 | ± 3 | ± 3 |
| thời gian chịu tải | min | - | - | 15 | 15 | 15 |
| ứng suất cơ | N/cm2 | - | - | 20 | 20 | 20 |
| Độ dãn dài lớn nhất có tải | % | - | - | 175 | 175 | 175 |
| Độ dãn dài vĩnh viễn lớn nhất sau khi để nguội | % | - | - | 15 | 15 | 15 |
| Thử nghiệm độ co ngót (TCVN 6614-1-3 (IEC 60811-1-3), Điều 10) |
|
|
|
|
|
|
| Khoảng cách L giữa các vạch dấu | mm | 200 | 200 | 200 | - | - |
| Nhiệt độ thử nghiệm | °C | 100 | 115 | 130 | - | - |
| Dung sai | K | ± 2 | ± 2 | ± 2 | - | - |
| Thời gian | h | 6 | 6 | 6 | - | - |
| Độ co ngót lớn nhất cho phép | % | 4,5 | 4,5 | 4,5 | - | - |
| Tỷ trọng (TCVN 6614-1-3 (IEC 60811-1-3), Điều 8) |
|
|
|
|
|
|
| Tỷ trọng nhỏ nhất | g/cm3 | - | 0,94 | - | - | - |
| Xác định độ cứng (xem Phụ lục H) |
|
|
|
|
|
|
| IRHDa, giá trị nhỏ nhất |
| - | - | - | - | 80 |
| Xác định môđun đàn hồi (xem 12.5.15) |
|
|
|
|
|
|
| Mô đun tại độ dãn dài 150 %, giá trị nhỏ nhất | N/mm2 | - | - | - | - | 4,5 |
| a IRHD: đơn vị độ cứng quốc tế của cao su. | ||||||
Bảng 9 - Yêu cầu thử nghiệm đối với các đặc tính cụ thể đối với hợp chất vỏ bọc PVC của cáp
| Ký hiệu hợp chất | Đơn vị | ST1 | ST2 |
| Tổn hao khối lượng trong lò không khí (TCVN 6614-3-2 (IEC 60811-3-2), 8.2) Xử lý: |
|
|
|
| nhiệt độ | °C | - | 100 |
| dung sai | K | - | ± 2 |
| thời gian | h | - | 168 |
| Tổn hao khối lượng lớn nhất cho phép | mg/cm2 | - | 1,5 |
| Đáp ứng ở nhiệt độ thấpa (TCVN 6614-1-4 (IEC 60811-1-4), Điều 8) a) Thử nghiệm độ dãn dài nguội trên mảnh thử nghiệm dạng chày: |
|
|
|
| Nhiệt độ thử nghiệm | °C | -15 | -15 |
| Dung sai | K | ± 2 | ± 2 |
| b) Thử nghiệm va đập nguội: |
|
|
|
| Nhiệt độ | °C | -15 | -15 |
| Dung sai | K | ± 2 | ± 2 |
| Thử nghiệm sốc nhiệt (TCVN 6614-3-1 (IEC 60811-3-1), Điều 9) Xử lý: |
|
|
|
| nhiệt độ | °C | 150 | 150 |
| dung sai | K | ± 3 | ± 3 |
| thời gian | h | 1 | 1 |
| a Do điều kiện khí hậu, một số tiêu chuẩn quốc gia khác có thể yêu cầu sử dụng nhiệt độ thấp hơn. | |||
Phụ lục A
(tham khảo)
Xác định nhiệt độ ruột dẫn cáp
A.1 Mục đích
Đối với một số thử nghiệm, cần nâng ruột dẫn cáp đến nhiệt độ cho trước, thường cao hơn từ 5 K đến 10 K so với nhiệt độ cao nhất khi làm việc bình thường trong khi cáp đang đóng điện, ở tần số công nghiệp hoặc các điều kiện xung. Do đó, không thể tiếp cận ruột dẫn để đo trực tiếp nhiệt độ.
Ngoài ra, nhiệt độ ruột dẫn cần được duy trì trong dải hạn chế (5 K) trong khi nhiệt độ môi trường xung quanh có thể thay đổi trong một dải rộng hơn.
Mặc dù hiệu chuẩn sơ bộ cáp cần thử nghiệm hoặc việc tính toán có thể thỏa mãn ở vị trí thứ nhất nhưng sự biến đổi về điều kiện môi trường xung quanh trong quá trình thử nghiệm có thể dẫn đến sai lệch về nhiệt độ của ruột dẫn ra ngoài dải.
Vì vậy, cần thực hiện hiệu chuẩn sơ bộ trên cáp thử nghiệm để xác định nhiệt độ thực của ruột dẫn trong quá trình thử nghiệm phụ kiện, có tính đến sự thay đổi cho phép của nhiệt độ môi trường xung quanh.
Hướng dẫn được nêu dưới đây cho các phương pháp được sử dụng phổ biến.
A.2 Hiệu chuẩn nhiệt độ ruột dẫn của vòng thử nghiệm chính
A.2.1 Quy định chung
Mục đích của việc hiệu chuẩn là xác định nhiệt độ của ruột dẫn bằng cách đo trực tiếp với dòng điện cho trước, trong phạm vi dải nhiệt độ yêu cầu của thử nghiệm.
Cáp được sử dụng để hiệu chuẩn (dưới đây gọi là cáp chuẩn) cần lấy từ cùng đoạn cáp được dùng cho vòng thử nghiệm chính.
A.2.2 Lắp đặt cáp và cảm biến nhiệt độ
Nên thực hiện việc hiệu chuẩn trên đoạn cáp có chiều dài tối thiểu là 5 m, được lấy từ cùng một cáp như thử nghiệm. Đoạn cáp phải sao cho sự truyền nhiệt theo chiều dọc đến các đầu của cáp không ảnh hưởng đến nhiệt độ ở giữa 2 m cáp quá 2 K.
Cảm biến nhiệt độ cần được gắn vào giữa cáp chuẩn: một cảm biến gắn vào ruột dẫn (TC1c) và một cảm biến gắn trên bề mặt ngoài hoặc ngay dưới bề mặt bên ngoài (TC1s).
Hai cảm biến nhiệt độ khác, TC2c và TC3c cần đặt trên ruột dẫn của cáp chuẩn (xem Hình A.1), mỗi cảm biến cách điểm giữa khoảng 1 m.
Nên gắn cảm biến nhiệt độ vào ruột dẫn bằng phương tiện cơ khí vì chúng có thể di chuyển do rung ruột dẫn cáp trong khi gia nhiệt. Cần cẩn thận để duy trì tốt tiếp xúc nhiệt trong khi thử nghiệm và để ngăn ngừa rò nhiệt ra môi trường xung quanh. Nên gắn (các) cảm biến nhiệt độ như trên Hình A.2 giữa hai sợi của ruột dẫn có hoặc giữa ruột dẫn (đặc) và màn chắn một dẫn. Để cho phép tiếp cận ruột dẫn ở giữa cáp chuẩn, cần làm một vạch nhỏ bằng cách bóc bỏ các lớp phía trên ruột dẫn. Sau khi lắp (các) cảm biến nhiệt độ, có thể đặt lại các lớp đã bóc ra. Việc này có thể phục hồi đáp ứng nhiệt của cáp chuẩn.
CHÚ THÍCH: Để chứng tỏ một lượng nhiệt không đáng kể truyền về các đầu cáp, chênh lệch giữa các số đọc của TC1c, TC2c và TC3c cần nhỏ hơn 2 K.
Nếu vòng thử nghiệm chính thực bao gồm một số đoạn cáp riêng rẽ được lắp đặt gần nhau thì các đoạn cáp này phải chịu hiệu ứng nhiệt lân cận. Do đó, việc hiệu chuẩn được thực hiện cần tính đến bố trí thử nghiệm thực tế, các phép đo được thực hiện trên đoạn cáp nóng nhất (thường là đoạn ở giữa).

CHÚ DẪN:
| 1 | máy biến dòng cảm ứng | 6 | TC3c (ruột dẫn) |
| 2 | đầu nối | 7 | TC1c (ruột dẫn) |
| 3 | cáp cần thử nghiệm | 8 | TC1s (vỏ bọc) |
| 4 | cáp chuẩn (≥ 5 m) | 9 | TC2c (ruột dẫn) |
| 5 | máy biến dòng đo lường | 10 | TCs (vỏ bọc) |
Hình A.1 - Bố trí thử nghiệm điển hình dùng cho vòng chuẩn và vòng thử nghiệm chính

CHÚ DẪN
| 1 | ruột dẫn | 5 | vỏ ngoài của cáp |
| 2 | màn chắn bán dẫn | 6 | cảm biến nhiệt độ |
| 3 | cách điện | 7 | hợp chất mềm cách nhiệt |
| 4 | vỏ bọc kim loại |
|
|
Hình A.2 - Ví dụ về bố trí cảm biến nhiệt độ trên ruột dẫn của vòng chuẩn
A.2.3 Phương pháp hiệu chuẩn
Việc hiệu chuẩn cần thực hiện ở vị trí không có gió lùa ở nhiệt độ (20 ± 15) °C.
Bộ ghi nhiệt độ cần được sử dụng để đo nhiệt độ ruột dẫn, vỏ bọc và nhiệt độ môi trường xung quanh một cách đồng thời.
Cáp cần được gia nhiệt cho đến khi nhiệt độ ruột dẫn, được chỉ ra bằng cảm biến nhiệt độ TC1c của Hình A.1, đạt ổn định và đạt đến nhiệt độ như sau: cao hơn từ 5 K đến 10 K so với nhiệt độ cao nhất của ruột dẫn cáp khi làm việc bình thường như nêu trong Bảng 1.
Khi đạt được ổn định, cần ghi lại giá trị dưới đây:
- nhiệt độ ruột dẫn: giá trị trung bình tại vị trí 1, 2 và 3;
- nhiệt độ vỏ bọc tại ví trí TC1s;
- nhiệt độ môi trường xung quanh;
- dòng điện gia nhiệt.
A.3 Gia nhiệt cho thử nghiệm
A.3.1 Phương pháp 1 - Thử nghiệm bằng cáp chuẩn
Ở phương pháp này, cáp chuẩn giống như cáp được sử dụng cho thử nghiệm được gia nhiệt bằng dòng điện có giá trị như vòng thử nghiệm chính.
Lắp đặt cáp và cảm biến nhiệt độ cho cả hai vòng thử nghiệm như nêu trong Điều A.2.
Bố trí thử nghiệm cần sao cho:
- cáp chuẩn mang dòng điện giống như ở vòng thử nghiệm chính ở mọi lúc,
- cần lắp đặt theo cách sao cho các ảnh hưởng gia nhiệt lẫn nhau được tính đến trong suốt thử nghiệm.
Dòng điện gia nhiệt của cả hai vòng thử nghiệm cần được điều chỉnh sao cho nhiệt độ ruột dẫn được duy trì trong các giới hạn quy định.
Cảm biến nhiệt độ (TCs) được lắp trên hoặc bên dưới bề mặt ngoài của vòng thử nghiệm chính ở điểm nóng nhất, thường là ở giữa, theo cách sao cho cảm biến nhiệt độ TCs được lắp tại điểm nóng nhất của cáp chuẩn.
CHÚ THÍCH 1: Nhiệt độ được đo bằng cảm biến nhiệt độ lắp trên hoặc dưới vỏ ngoài của vòng thử nghiệm chính (TCs) và trên vòng chuẩn (TC1s) được sử dụng để kiểm tra xem vỏ bọc ngoài của cả hai vòng thử nghiệm có cùng nhiệt độ hay không.
Nhiệt độ đo bằng cảm biến nhiệt độ TC1c trên ruột dẫn của vòng chuẩn có thể được xem xét đại diện cho nhiệt độ ruột dẫn của vòng thử nghiệm đã đóng điện.
CHÚ THÍCH 2: Nhiệt độ ruột dẫn của vòng thử nghiệm chính có thể cao hơn một chút so với nhiệt độ ruột dẫn của vòng chuẩn do các tổn hao điện môi. Nếu cần, có thể thực hiện hiệu chỉnh.
Tất cả các cảm biến nhiệt độ cần được nối với đồng hồ ghi nhiệt độ để cho phép theo dõi nhiệt độ. Dòng điện gia nhiệt của từng vòng thử nghiệm cần được ghi lại để chứng tỏ rằng hai dòng điện có cùng giá trị trong suốt thời gian thử nghiệm. Chênh lệch giữa các dòng điện gia nhiệt cần duy trì trong phạm vi ±1 %.
Cáp chuẩn có thể được nối nối tiếp với cáp thử nghiệm nếu nhiệt độ được đo qua một tuyến sợi quang hoặc tương đương.
A.3.2 Phương pháp 2 - Thử nghiệm bằng cách tính nhiệt độ ruột dẫn và đo nhiệt độ bề mặt
A.3.2.1 Hiệu chuẩn nhiệt độ ruột dẫn của cáp thử nghiệm
Mục đích của việc hiệu chuẩn là để xác định nhiệt độ ruột dẫn bằng phép đo trực tiếp dòng điện đã cho trong dải nhiệt độ quy định cho thử nghiệm.
Cáp được sử dụng để hiệu chuẩn cần giống như cáp được sử dụng cho thử nghiệm, và phương pháp gia nhiệt cần giống nhau.
Hệ thống lắp đặt gồm cáp và các cảm biến nhiệt độ dùng cho hiệu chuẩn cần như nêu trong Điều A.2.
Việc hiệu chuẩn cần được thực hiện theo A.2.3 đối với cáp chuẩn.
A.3.2.2. Thử nghiệm dựa trên phép đo nhiệt độ bên ngoài
Trong khi hiệu chuẩn và trong quá trình thử nghiệm vòng chính, nhiệt độ ruột dẫn của cáp của vòng thử nghiệm chính cần được tính theo IEC 60853-2, dựa trên nhiệt độ bên ngoài đo được của vỏ ngoài (TCs). Phép đo cần được thực hiện bằng cảm biến nhiệt độ tại điểm nóng nhất, gắn vào hoặc gắn bên dưới bề mặt bên ngoài, theo cách giống như đối với cáp chuẩn.
CHÚ THÍCH: Một cách khác, có thể sử dụng IEC 60287-1-1 nếu chứng tỏ được rằng nhiệt độ tiệm cận quá độ đạt được trong thời gian quy định.
Dòng điện gia nhiệt cần được điều chỉnh để đạt giá trị yêu cầu của nhiệt độ ruột dẫn, dựa trên nhiệt độ bên ngoài đo được của vỏ ngoài.
Phụ lục B
(quy định)
Làm tròn số
Khi các giá trị được làm tròn thành số các chữ số thập phân quy định, ví dụ khi tính giá trị trung bình từ một số phép đo hoặc khi suy ra giá trị nhỏ nhất bằng cách áp dụng dung sai phần trăm đối với một giá trị danh nghĩa đã cho, phương pháp này như dưới đây.
Nếu sau chữ số cuối cùng được giữ lại, trước khi làm tròn, là các số 0, 1, 2, 3 hoặc 4 thì chữ số cuối cùng được giữ lại này vẫn được giữ nguyên (làm tròn xuống).
Nếu sau chữ số cuối cùng được giữ lại, trước khi làm tròn, là các số 9, 8, 7, 6 hay 5 thì chữ số cuối cùng được giữ lại này sẽ được tăng thêm một (làm tròn lên).
VÍ DỤ:
2,449
2,45 làm tròn đến hai chữ số thập phân
2,449
2,4 làm tròn đến một chữ số thập phân
2,453
2,45 làm tròn đến hai chữ số thập phân
2,453
2,5 làm tròn đến một chữ số thập phân
25,0478
25,048 làm tròn đến ba chữ số thập phân
25,0478
25,05 làm tròn đến hai chữ số thập phân
25,0478
25,0 làm tròn đến một chữ số thập phân.
Phụ lục C
(tham khảo)
Danh mục thử nghiệm điển hình, thử nghiệm chất lượng sơ bộ và mở rộng thử nghiệm chất lượng sơ bộ của hệ thống cáp, cáp và phụ kiện
Thử nghiệm điển hình hệ thống cáp, cáp và phụ kiện được nêu ở Điều 12, 14 và 15, tương ứng.
Bảng C.1 nêu tóm tắt và điều khoản tham chiếu đối với thử nghiệm điển hình hệ thống cáp, cáp và phụ kiện.
Thử nghiệm chất lượng sơ bộ hệ thống cáp được nêu ở 13.1 và 13.2.
Mở rộng thử nghiệm chất lượng sơ bộ của hệ thống cáp được nêu ở 13.1 và 13.3.
Bảng C.2 nêu tóm tắt và điều khoản tham chiếu đối với thử nghiệm chất lượng sơ bộ của các hệ thống cáp này.
Bảng C.3 nêu tóm tắt và điều khoản tham chiếu đối với mở rộng thử nghiệm chất lượng sơ bộ của các hệ thống cáp này.
Bảng C.1 - Thử nghiệm điển hình trên hệ thống cáp
| Điểm | Thử nghiệm | Điều | ||
| Hệ thống cáp | Cáp | Phụ kiện | ||
| a | Yêu cầu chung | 12.1 | 14.1 | 15.1 |
| b | Phạm vi phê duyệt kiểu | 12.2 | 14.2 | 15.2 |
| c | Thử nghiệm điển hình về điện | 12.4 | 14.4 | 15.4 |
| d | Giá trị điện áp thử nghiệm | 12.4.1 | 12.4.1 | 12.4.1 |
| e | Thử nghiệm uốn | 12.4.3 | 12.4.3 | - |
|
| Thử nghiệm phóng điện cục bộ ở nhiệt độ môi trường xung quanh | 12.4.4 | 12.4.4 | 12.4.4 |
| f | Đo tg δ | 12.4.5 | 12.4.5 | - |
| g | Thử nghiệm điện áp chu kỳ gia nhiệt | 12.4.6 | 12.4.6 | 12.4.6 |
| h | Thử nghiệm phóng điện cục bộ ở nhiệt độ cao | 12.4.4 | - | 12.4.4 |
|
| Thử nghiệm phóng điện cục bộ ở nhiệt độ môi trường xung quanh (sau chu kỳ cuối hoặc sau thử nghiệm điện áp xung sét ở điểm i) | 12.4.4 | 12.4.4 | 12.4.4 |
| i | Thử nghiệm điện áp xung sét sau đó là thử nghiệm điện áp tần số công nghiệp | 12.4.7 | 12.4.7 | 12.4.7 |
| j | Thử nghiệm phóng điện cục bộ ở nhiệt độ cao (nếu chưa thực hiện sau điểm g) ở trên) | 12.4.4 | - | 12.4.4 |
|
| Thử nghiệm phóng điện cục bộ ở nhiệt độ môi trường xung quanh (nếu chưa thực hiện sau điểm g) ở trên) | 12.4.4 | 12.44 | 12.4.4 |
| k | Thử nghiệm bảo vệ bên ngoài các mối nối | Phụ lục G | - | Phụ lục G |
| l | Kiểm tra | 12.4.8 | 12.4.8 | 12.4.8.1 |
| m | Điện trở suất của màn chắn bán dẫn | 12.4.9 | 12.4.9 | - |
| n | Thử nghiệm điển hình không điện trên thành phần cáp và trên cáp hoàn chỉnh | 12.5 | 12.5 | - |
Bảng C.2 - Thử nghiệm chất lượng sơ bộ hệ thống cáp có ứng suất điện của ruột dẫn danh nghĩa đã tính lớn hơn 8,0 kV/mm hoặc ứng suất điện của cách điện danh nghĩa đã tính lớn hơn 4,0 kV/mm
| Điểm | Thử nghiệm | Điều |
| Hệ thống cáp | ||
| a | Yêu cầu chung và dải phê chuẩn thử nghiệm chất lượng sơ bộ | 13.1 |
| b | Thử nghiệm chất lượng sơ bộ trên hệ thống cáp hoàn chỉnh | 13.2 |
| c | Tóm tắt thử nghiệm chất lượng sơ bộ | 13.2.1 |
| d | Giá trị điện áp thử nghiệm | 13.2.2 |
| e | Bố trí thử nghiệm | 13.2.3 |
| f | Thử nghiệm điện áp chu kỳ gia nhiệt | 13.2.4 |
| g | Thử nghiệm điện áp xung sét | 13.2.5 |
| h | Kiểm tra | 13.2.6 |
Bảng C.3 - Mở rộng thử nghiệm chất lượng sơ bộ hệ thống cáp
| Điểm | Thử nghiệm | Điều |
| Hệ thống cáp | ||
| a | Thử nghiệm để mở rộng chất lượng sơ bộ của hệ thống cáp | 13.3 |
| b | Tóm tắt mở rộng thử nghiệm chất lượng sơ bộ của hệ thống cáp | 13.3.1 |
| c | Thử nghiệm điện mở rộng chất lượng sơ bộ trên hệ thống cáp hoàn chỉnh | 13.3.2 |
| d | Yêu cầu chung | 13.3.2.1 |
| e | Giá trị điện áp thử nghiệm | 13.3.2.2 |
| f | Trình tự của thử nghiệm điện mở rộng chất lượng sơ bộ trên hệ thống cáp hoàn chỉnh | 13.3.2.3 |
| g | Thử nghiệm điện áp chu kỳ gia nhiệt | 13.3.2.4 |
Phụ lục D
(quy định)
Phương pháp đo điện trở suất của màn chắn bán dẫn
Mỗi mảnh thử nghiệm phải được chuẩn bị từ một mẫu cáp hoàn chỉnh dài 150 mm.
Mảnh thử nghiệm màn chắn ruột dẫn phải được chuẩn bị bằng cách cắt làm đôi mẫu lõi theo chiều dọc, loại bỏ ruột dẫn và lớp phân cách, nếu có (xem Hình D.1a). Mảnh thử nghiệm màn chắn cách điện phải được chuẩn bị bằng cách loại bỏ tất cả các lớp bọc từ mẫu lõi (xem Hình D.1b).
Quy trình xác định điện trở suất khối của màn chắn như sau:
Bốn điện cực sơn bạc A, B, C và D (xem Hình D.1a và Hình D.1b) phải được áp vào các bề mặt bán dẫn. Hai thế điện cực, B và C, phải cách nhau 50 mm và hai điện cực dòng, A và D, phải cách các thế điện cực ít nhất là 25 mm về phía ngoài.
Việc đấu nối với các điện cực phải được thực hiện bằng các kẹp thích hợp. Khi đấu nối với các điện cực màn chắn ruột dẫn, phải đảm bảo rằng các kẹp được cách điện với màn chắn cách điện trên bề mặt ngoài của mẫu thử nghiệm.
Cụm lắp ráp này phải được đặt trong lò đã được gia nhiệt trước đến nhiệt độ quy định và sau một thời gian ít nhất là 30 min, điện trở giữa các điện cực phải được đo bằng một mạch điện, công suất của mạch không được vượt quá 100 mW.
Sau các phép đo điện, đường kính ngoài của màn chắn ruột dẫn và màn chắn cách điện và chiều dày của màn chắn ruột dẫn và màn chắn cách điện phải được đo ở nhiệt độ môi trường xung quanh, mỗi đường kính là trung bình của sáu phép đo thực hiện trên mẫu thể hiện trên Hình D.1b.
Điện trở suất khối ρ, tính bằng ôm.mét, được tính như sau:
a) màn chắn ruột dẫn

trong đó
ρc là điện trở suất khối, tính bằng ôm.mét;
Rc là điện trở đo được, tính bằng ôm;
Lc là khoảng cách giữa các thế điện cực, tính bằng mét;
Dc là đường kính ngoài của màn chắn ruột dẫn, tính bằng mét;
Tc là chiều dày trung bình của màn chắn ruột dẫn, tính bằng mét.
b) màn chắn cách điện

trong đó
ρi là điện trở suất khối, tính bằng ôm.mét;
Ri là điện trở đo được, tính bằng ôm;
Li là khoảng cách giữa các thế điện cực, tính bằng mét;
Di là đường kính ngoài của màn chắn cách điện, tính bằng mét;
Ti là chiều dày trung bình của màn chắn cách điện, tính bằng mét.

CHÚ DẪN:
1 màn chắn cách điện B, C thế điện cực
2 màn chắn ruột dẫn A, D điện cực dòng
Hình D.1a - Đo điện trở suất khối của màn chắn ruột dẫn

CHÚ DẪN:
1 màn chắn cách điện B, C thế điện cực
2 màn chắn ruột dẫn A, D điện cực dòng
Hình D.1b - Đo điện trở suất khối của màn chắn cách diện
Hình D.1 - Chuẩn bị mẫu để đo suất điện trở của màn chắn ruột dẫn và màn chắn cách điện
Phụ lục E
(quy định)
Thử nghiệm thấm nước
E.1 Mảnh thử nghiệm
Mẫu cáp hoàn chỉnh dài ít nhất 6 m chưa phải chịu bất kỳ thử nghiệm nào mô tả ở 12.4 hoặc 14.4 phải chịu thử nghiệm uốn như mô tả ở 12.4.3.
Cắt một đoạn cáp dài 6 m từ mẫu cáp đã chịu thử nghiệm uốn ở trên rồi đặt nằm ngang. Một khoanh có chiều rộng xấp xỉ 50 mm phải được lấy ra từ chính giữa của đoạn cáp này. Khoanh này gồm tất cả các lớp bên ngoài màn chắn cách điện. Trong trường hợp ruột dẫn được công bố có vật chắn thì khoanh này cũng phải có tất cả các lớp bên ngoài ruột dẫn.
Nếu cáp có chứa các vật chắn gián đoạn ngăn nước thấm theo chiều dọc thì mẫu phải chứa ít nhất hai vật chắn này, một khoanh được lấy ra từ giữa các vật chắn. Trong trường hợp này, khoảng cách trung bình giữa các vật chắn ở các cáp này cần được quy định và chiều dài mẫu cáp phải được xác định tương ứng.
Các bề mặt phải được cắt sao cho các bề mặt chung được thiết kế để kín nước theo chiều dọc phải sẵn sàng tiếp xúc với nước. Các bề mặt chung không được thiết kế kín nước theo chiều dọc phải được gắn kín bằng vật liệu thích hợp hoặc cắt bỏ các lớp bọc bên ngoài.
Bố trí thiết bị thích hợp (xem Hình E.1) để cho phép một ống có đường kính ít nhất là 10 mm được đặt theo chiều thẳng đứng phía trên khoanh để lộ ra và gắn vào bề mặt của vỏ bọc ngoài. Mối gắn kín ở chỗ cáp đi ra thiết bị không được tạo ra ứng suất cơ lên cáp.
CHÚ THÍCH: Đáp ứng của một số vật chắn nhất định với việc thấm nước theo chiều dọc có thể phụ thuộc vào thành phần cấu tạo của nước (ví dụ, độ pH, nồng độ ion). Nên sử dụng nước máy bình thường cho thử nghiệm này, trừ khi có quy định khác.
E.2 Thử nghiệm
Ống được đổ đầy nước trong 5 min ở nhiệt độ môi trường xung quanh bằng (20 ± 10) °C sao cho độ cao của nước trong ống cao hơn 1 m so với tâm cáp (xem Hình E.1).
Mẫu phải được giữ nguyên trong 24 h.
Sau đó, mẫu phải chịu 10 chu kỳ gia nhiệt. Ruột dẫn phải được gia nhiệt bằng phương pháp thích hợp cho đến khi ruột dẫn đặt đến nhiệt độ ổn định cao hơn nhiệt độ lớn nhất của ruột dẫn từ 5 K đến 10 K khi làm việc bình thường, tuy nhiên không được đạt đến 100 °C.
Thời gian của chu kỳ gia nhiệt phải là 8 h. Nhiệt độ ruột dẫn phải được duy trì trong phạm vi các giới hạn nhiệt độ quy định trong ít nhất 2 h của từng chu kỳ gia nhiệt. Sau đó phải để nguội tự nhiên trong ít nhất 16 h.
Độ cao của nước phải duy trì ở 1 m.
CHÚ THÍCH: Không đặt điện áp trong quá trình thử nghiệm, nên nối một cáp giả nối tiếp với cáp cần thử nghiệm, nhiệt độ được đo trực tiếp trên ruột dẫn của cáp giả này.
E.3 Yêu cầu
Trong thời gian thử nghiệm, nước không được thoát ra từ các đầu của mảnh thử nghiệm.

CHÚ DẪN:
| 1 | bình tạo cột nước | d | Giá trị nhỏ nhất, Ø10 mm (bên trong) |
| 2 | lỗ thông | s | Xấp xỉ 50 mm |
| 3 | cáp | p | đoạn cáp dài = 8 000 mm |
Hình E.1 - Sơ đồ bố trí thiết bị thử nghiệm thấm nước
Phụ lục F
(quy định)
Thử nghiệm các thành phần của cáp có dải băng hoặc lá kim loại đặt theo chiều dọc, liên kết với vỏ ngoài
F.1 Kiểm tra bằng cách xem xét
Cáp phải được phân chia và kiểm tra bằng mắt. Việc kiểm tra các mẫu bằng mắt thường hoặc mắt có điều chỉnh thị lực mà không dùng kính phóng đại phải cho thấy không có vết nứt hoặc phân tách của lá kim loại của lớp phủ bảo vệ tách lớp hoặc gây hỏng hóc cho các phần khác của cáp.
F.2 Độ bền kết dính của lá kim loại
F.2.1 Quy trình
Mẫu thử nghiệm phải được lấy từ lớp phủ cáp trong đó lá kim loại được dính vào vỏ ngoài.
Chiều dài và chiều rộng của mẫu thử nghiệm tương ứng là 200 mm và 10 mm.
Một đầu của mẫu thử nghiệm phải được bóc bỏ giữa đoạn 50 mm và 120 mm và được đưa vào trong máy thử nghiệm kéo bằng cách kẹp đầu tự do của vỏ ngoài hoặc màn chắn cách điện vào một ngàm kẹp. Đầu tự do của lá kim loại phải được quay ngược lại và kẹp trong ngàm kẹp còn lại như thể hiện ở Hình 1.

CHÚ DẪN:
1 vỏ ngoài 2 lá kim loại hoặc lá kim loại tách lớp 3 ngàm kẹp
Hình F.1 - Kết dính của lá kim loại
Mẫu phải được duy trì gần thẳng đứng trong mặt phẳng của ngàm Kẹp trong khi thử nghiệm bằng cách giữ mẫu.
Sau khi điều chỉnh cơ cấu ghi liên tục, lá kim loại phải được tách ra khỏi mẫu với góc xấp xỉ 180° và việc phân tách này được tiếp tục cho đến khi đủ một khoảng cách để chỉ ra giá trị về độ bền kết dính. Ít nhất một nửa diện tích liên kết còn lại phải được bóc bỏ với tốc độ xấp xỉ 50 mm/min.
F.2.2 Yêu cầu
Sau đó, độ bền kết dính phải được tính bằng cách chia lực bong tróc, tính bằng Niu tơn cho chiều rộng của mẫu, tính bằng milimét. Tối thiểu năm mẫu được giao nộp cho thử nghiệm này và giá trị tối thiểu về độ bền kết dính không được nhỏ hơn 0,5 N/mm.
CHÚ THÍCH: Nếu độ bền kết dính lớn hơn độ bền kéo của lá kim loại thì thử nghiệm độ bền kéo sẽ đứt trước khi bóc, thử nghiệm kết thúc và ghi lại điểm đứt.
F.3 Độ bền bong tróc của lá kim loại xếp chồng
F.3.1 Quy trình
Mẫu dài 200 mm được lấy từ cáp hoàn chỉnh có phần lá kim loại xếp chồng. Mảnh thử nghiệm được chuẩn bị bằng cách cắt phần xếp chồng từ mẫu này như thể hiện ở Hình F.2.

CHÚ DẪN:
1 mảnh thử nghiệm 2 vỏ ngoài 3 lá kim loại hoặc lá kim loại tách lớp
Hình F.2 - Ví dụ về lá kim loại xếp chồng
Thử nghiệm phải được tiến hành theo cách như mô tả ở Điều F.2. Bố trí mảnh thử nghiệm như thể hiện ở Hình F.3.

CHÚ DẪN:
1 vỏ ngoài 2 lá kim loại hoặc lá kim loại tách lớp 3 ngàm kẹp
Hình F.3 - Độ bền bong tróc của lá kim loại xếp chồng
F.3.2 Yêu cầu
Giá trị tối thiểu của độ bền bong tróc không được nhỏ hơn 0,5 N/mm.
CHÚ THÍCH: Nếu độ bền kết dính lớn hơn độ bền kéo của lá kim loại thì thử nghiệm độ bền kéo sẽ đứt trước khi bóc, thử nghiệm kết thúc và ghi lại điểm đứt.
Phụ lục G
(quy định)
Thử nghiệm bảo vệ bên ngoài các mối nối
G.1 Yêu cầu chung
Phụ lục này quy định quy trình được chấp nhận cho thử nghiệm phê duyệt kiểu về bảo vệ bên ngoài mối nối của tất cả các kiểu, được sử dụng trong các mối nối được chôn ngầm trong đất hoặc bộ ngắt có vỏ bọc được sử dụng trên hệ thống cáp điện lực có bọc cách điện và, trong trường hợp sử dụng, vỏ bọc kết hợp cách điện từng phần với màn chắn gián đoạn.
Nhà chế tạo mối nối phải cung cấp bản vẽ trong đó hệ thống chống thấm nước được nhận biết rõ ràng.
G.2 Phạm vi phê duyệt
Trong trường hợp yêu cầu phê duyệt bảo vệ bên ngoài mối nối kể cả lối vào cho các hạng mục như dây liên kết, bảo vệ bên ngoài được thử nghiệm phải bao gồm các tính chất thiết kế này.
Thử nghiệm thành công bảo vệ bên ngoài mối nối dùng cho phụ kiện cách điện có bọc từng phần sẽ cho phê duyệt bảo vệ này đối với phụ kiện tương tự có cách điện không bọc từng phần nhưng không có nghĩa ngược lại.
Trong trường hợp việc phê duyệt được chấp nhận cho thiết kế bảo vệ bên ngoài mối nối thì tất cả các bảo vệ bên ngoài mối nối được yêu cầu bởi cùng nhà chế tạo, bao gồm cùng nguyên lý thiết kế cơ bản, sử dụng cùng vật liệu và trong dải đường kính đã thử nghiệm, ở điện áp thử nghiệm nhỏ hơn hoặc bằng, được xem là đạt.
Thử nghiệm ở G.3 và G.4 được áp dụng lần lượt lên một mối nối đã đạt thử nghiệm điện áp chu kỳ gia nhiệt (xem 12.4.6) hoặc lên mối nối riêng rẽ đã trải qua ít nhất ba chu kỳ nhiệt không điện áp, như quy định ở 12.4.2, điểm g), CHÚ THÍCH 2.
G.3 Ngâm trong nước và chu kỳ gia nhiệt
Cụm lắp ráp thử nghiệm phải được ngâm trong nước ở độ sâu không nhỏ hơn 1 m tại điểm cao nhất của bảo vệ vỏ ngoài. Trong trường hợp lý tưởng, việc này có thể đạt được bằng cách sử dụng một bình nước dự trữ nối vào một bình kín có chưa cụm lắp ráp thử nghiệm. Nước phải chạm đến (các) tấm chắn nước do nhà chế tạo công bố.
Tổng 20 chu kỳ gia nhiệt/làm mát được đặt vào bằng cách nâng nhiệt độ nước trong phạm vi từ 15 K đến 20 K thấp hơn nhiệt độ cao nhất của ruột dẫn cáp trong điều kiện làm việc bình thường, ở từng chu kỳ, nước phải được tăng đến nhiệt độ quy định, duy trì ở mức này trong ít nhất 5 h rồi làm nguội về nhiệt độ cao hơn nhiệt độ môi trường xung quanh trong vòng 10 K. Nhiệt độ thử nghiệm có thể đạt được bằng cách trộn nước này với nước có nhiệt độ cao hơn hoặc thấp hơn. Thời gian tối thiểu của từng chu kỳ gia nhiệt phải là 12 h và thời gian tăng nhiệt độ của nước đến nhiệt độ quy định phải càng giống càng tốt với thời gian làm nguội nước về nhiệt độ nhỏ hơn hoặc bằng 30 °C hoặc cao hơn nhiệt độ môi trường 10 K.
G.4 Thử nghiệm điện áp
G.4.1 Yêu cầu chung
Khi hoàn thành các chu kỳ gia nhiệt, và với cụm thử nghiệm vẫn được ngâm trong nước, thực hiện thử nghiệm điện áp như dưới đây.
G.4.2 Cụm lắp ráp bao gồm phụ kiện có cách điện không bọc từng phần
Điện áp thử nghiệm bằng 25 kV một chiều được đặt trong 1 min giữa màn chắn/vỏ bọc kim loại của cáp điện và mặt ngoài nối đất của bảo vệ bên ngoài mối nối.
G.4.3 Cụm lắp ráp bao gồm cách điện có bọc từng phần
G.4.3.1 Thử nghiệm điện áp một chiều
Điện áp thử nghiệm bằng 25 kV một chiều được đặt trong 1 min giữa màn chắn/vỏ bọc kim loại của cáp điện, ở đầu bất kỳ của phụ kiện và đặt giữa màn chắn/vỏ bọc và mặt ngoài nối đất của bảo vệ bên ngoài mối nối.
G.4.3.2 Thử nghiệm điện áp xung sét
Để thử nghiệm từng phần nối đất, điện áp thử nghiệm theo Bảng G.1 được đặt giữa màn chắn/vỏ bọc kim loại và mặt ngoài của cụm lắp ráp trong khi ngâm nước. Nếu không thể thực hiện thử nghiệm xung trên cụm lắp ráp trong khi ngâm nước thi có thể lấy ra khỏi nước và thử nghiệm xung với thời gian trễ tối thiểu hoặc có thể duy trì tình trạng ướt bằng cách bọc bằng vải ướt hoặc có thể đặt lớp phủ dẫn điện lên toàn bộ mặt ngoài của cụm thử nghiệm.
Đối với thử nghiệm giữa màn chắn/vỏ bọc kim loại, cụm lắp ráp phải được lấy ra khỏi nước trước khi thử nghiệm xung.
Quy trình thử nghiệm được thực hiện theo 10890 (IEC 60230), mối nối ở nhiệt độ môi trường xung quanh.
Bảng G.1 - Thử nghiệm điện áp xung
| Điện áp xung sét danh định đối với cách điện chính a kV | Mức xung | |||
| Giữa các bộ phận | Giữa từng bộ phận và đát | |||
| Dây nối liên kết ≤3 m | Dây nối liên kết >3 m và ≤ 10 mb | Dây nối liên kết ≤3 m | Dây nối liên kết >3 m và ≤ 10 mb | |
| kV | kV | kV | kV | |
| 250 đến 325 | 60 | 60 | 30 | 30 |
| > 325 đến 750 | 60 | 75 | 30 | 37,5 |
| a Xem Bảng 4, cột 8. b Nếu bộ giới hạn điện áp vỏ bọc được đặt gần mối nối thì sử dụng điện áp dây nối liên kết ≤ 3 m. | ||||
Không được xảy ra phóng điện đánh thủng trong bất kỳ thử nghiệm nào ở trên.
G.5 Kiểm tra cụm thử nghiệm
Khi hoàn thành các thử nghiệm quy định ở G.4, cụm thử nghiệm phải được kiểm tra.
Hộp bảo vệ bên ngoài mối nối được đổ đầy hợp chất lấy ra được phải được xem là thỏa đáng nếu không có bằng chứng nhìn thấy được về các lỗ trống bên trong hoặc dịch chuyển bên trong của hợp chất do thấm nước hoặc tổn hao hợp chất qua các mối bịt khác nhau hoặc vách hộp.
Đối với các bảo vệ bên ngoài mối nối có thiết kế và vật liệu thay thế khác, không được có bằng chứng thấm nước hoặc ăn mòn bên trong.
Phụ lục H
(quy định)
Xác định độ cứng của cách điện HEPR
H.1 Mảnh thử nghiệm
Mảnh thử nghiệm phải là một mẫu cáp hoàn chỉnh với tất cả các lớp bọc bên ngoài cách điện HEPR cần đo, được loại bỏ cẩn thận. Một cách khác, có thể sử dụng một mẫu lõi cách điện.
H.2 Quy trình thử nghiệm
Các thử nghiệm được thực hiện theo TCVN 9810 (ISO 48) với các ngoại lệ được chỉ ra dưới đây.
H.2.1 Bề mặt của bán kính cong lớn
Dụng cụ thử nghiệm, phù hợp với TCVN 9810 (ISO 48), phải được kết cấu sao cho có thể tựa chắc chắn lên cách điện HEPR và cho phép chân của dụng cụ nén và dụng cụ đánh dấu tiếp xúc thẳng đứng với bề mặt này. Việc này được thực hiện theo một trong hai cách sau:
a) dụng cụ được lắp các chân di chuyển được trong các khớp nối vạn năng sao cho chúng tự điều chỉnh trên bề mặt cong;
b) đế của dụng cụ đo được lắp hai thanh song song A và A’ cách nhau một khoảng tùy thuộc vào độ cong của bề mặt (xem Hình EH.1).
Các phương pháp trên có thể sử dụng trên các bề mặt có bán kính cong nhỏ tới bằng 20 mm.
Khi chiều dày của cách điện HEPR cần thử nghiệm nhỏ hơn 4 mm thì phải sử dụng dụng cụ đo như mô tả trong phương pháp ở TCVN 9810 (ISO 48) cho các mảnh thử nghiệm mỏng và nhỏ.
H.2.2 Bề mặt của bán kính cong nhỏ
Trên các bề mặt có bán kính cong quá nhỏ đối với các quy trình được mô tả trong H.2.1 thì mảnh thử nghiệm phải được đỡ trên cũng một đế cứng vững giống như dụng cụ thử nghiệm theo cách sao cho giảm thiểu tổng thể chuyển dịch của cách điện HEPR khi gia tăng lực đánh dấu lên dụng cụ đánh dấu và sao cho dụng cụ đánh dấu ở phía trên theo chiều thẳng đứng trục của mảnh thử nghiệm. Các quy trình thích hợp như sau:
a) bằng cách đặt mảnh thử nghiệm trong rãnh hoặc máng trong khuôn kim loại (xem Hình E.2a);
b) bằng cách đặt các đầu ruột dẫn của mảnh thử nghiệm trong khối chữ V (xem Hình E.2b).
Bán kính cong nhỏ nhất của bề mặt cần đo theo các phương pháp trên phải tối thiểu là 4 mm.
Đối với bán kính nhỏ hơn, phải sử dụng dụng cụ đo như mô tả trong phương pháp ở TCVN 9810 (ISO 48) cho các mảnh thử nghiệm mỏng và nhỏ.
H.2.3 Ổn định và nhiệt độ thử nghiệm
Thời gian nhỏ nhất giữa sản xuất, tức là lưu hóa và thử nghiệm phải là 16 h.
Thử nghiệm phải được thực hiện ở nhiệt độ bằng (20 + 2) °C và các mảnh thử nghiệm phải được duy trì ở nhiệt độ này trong ít nhất 3 h ngay trước thử nghiệm.
H.2.4 Số phép đo
Một phép đo phải được thực hiện ở từng điểm trong số ba hoặc năm điểm khác nhau phân bố xung quanh mảnh thử nghiệm. Giá trị giữa của các kết quả được lấy làm độ cứng của mảnh thử nghiệm, ghi vào báo cáo đến số nguyên gần nhất tính theo độ cứng cao su quốc tế (IRHD).

Hình H.1 - Thử nghiệm trên các bề mặt có bán kính cong lớn
|
|
|
| Hình H.2a - Mảnh thử nghiệm trong rãnh | Hình H.2b - Mảnh thử nghiệm trong khối chữ V |
Hình H.2 - Thử nghiệm trên các bề mặt có bán kính cong nhỏ
Thư mục tài liệu tham khảo
[1] IEC 60287 (tất cả các phần), Electric cables - Calculation of the current rating (Cáp điện - Tính thông số dòng điện)
[2] IEC 60853-2, Calculation of the cyclic and emergency current rating of cables - Part 2: Cyclic rating of cables greater than 18/30 (36) kV and emergency ratings for cables of all voltages (Tính thông số dòng điện thay đổi theo chu kỳ và dòng điện khẩn cấp của cáp - Phần 2: Thông số chu kỳ của cáp lớn hơn 18/30 (35) kV và thông số khẩn cấp đối với cáp với tất cả mức điện áp)
[3] IEC 61443, Short-circuit temperature limits of electric cables with rated voltages above 30 kV (Um = 36 kV) (Giới hạn nhiệt độ ngắn mạch của cáp điện có điện áp danh định lớn hơn 30 kV (Um = 36 kV))
[4] Electra No. 128, Guide to the protection of specially bonded cable systems against sheath overvoltages, January 1990, pp 46-62 (Hướng dẫn bảo vệ hệ thống cáp liên kết đặc biệt chống quá điện áp vỏ)
[5] Electra No. 141, Guidelines for tests on high voltage cables with extruded insulation and laminated protective coverings, April 1992, pp 53-61 (Hướng dẫn thử nghiệm cáp cao áp có cách điện kiểu đùn và lớp phủ bảo vệ phân lớp)
[6] Electra No. 157, CIGRE Technical Brochure: Accessories for HV extruded cables, December 1994, pp 84-89 (Phụ kiện dùng cho cáp cao áp cách điện kiểu đùn)
[7] Electra No. 173, After laying tests on high-voltage extruded insulation cable systems, August 1997, pp 32-41 (Thử nghiệm sau khi rải cáp trên hệ thống cáp cách điện kiểu đùn cao áp)
[8] Electra No. 205, Experiences on AC after laying tests after installation on the main insulation of polymeric (E)HV cable systems, December 2002, pp 26-36 (Thực nghiệm về các thử nghiệm xoay chiều sau khi rải cáp sau khi lắp đặt trên cách điện chính của hệ thống cáp điện polyme cao áp)
[9] Electra No. 227, Revision of qualification procedures for extruded high voltage AC underground cable systems, August 2006, pp 31-37 (Xem xét lại quy trình đánh giá chất lượng đối với hệ thống cáp ngầm dưới đất điện áp xoay chiều cao cách điện kiểu đùn)
[10] CIGRE Technical Brochure 303, Revision of qualification procedures for extruded (extra) high voltage a.c. underground cables; CIGRE Working Group 81-06; 2006 (Xem xét lại quy trình đánh giá chất lượng đối với cáp ngầm dưới đất điện áp xoay chiều (rất) cao cách điện kiểu đùn)
Mục lục
Lời nói đầu
1 Phạm vi áp dụng
2 Tài liệu viện dẫn
3 Thuật ngữ và định nghĩa
3.1 Định nghĩa các giá trị kích thước (chiều dày, tiết diện, v.v…)
3.2 Định nghĩa liên quan đến các thử nghiệm
3.3 Các định nghĩa khác
4 Ký hiệu điện áp và vật liệu
4.1 Điện áp danh định
4.2 Vật liệu cách điện của cáp
4.3 Màn chắn/vỏ bọc kim loại của cáp
4.4 Vật liệu vỏ ngoài của cáp
5 Phòng ngừa thấm nước vào cáp
6 Đặc tính của cáp
7 Đặc tính của phụ kiện
8 Điều kiện thử nghiệm
8.1 Nhiệt độ môi trường xung quanh
8.2 Tần số và dạng sóng của các điện áp thử nghiệm tần số công nghiệp
8.3 Dạng sóng của điện áp thử nghiệm xung
8.4 Mối liên quan giữa điện áp thử nghiệm và điện áp danh định
8.5 Xác định nhiệt độ ruột dẫn của cáp
9 Thử nghiệm thường xuyên trên cáp và trên cách điện chính của phụ kiện chế tạo sẵn
9.1 Yêu cầu chung
9.2 Thử nghiệm phóng điện cục bộ
9.3 Thử nghiệm điện áp
9.4 Thử nghiệm điện trên vỏ ngoài của cáp
10 Thử nghiệm mẫu trên cáp
10.1 Yêu cầu chung
10.2 Tần suất thử nghiệm
10.3 Lặp lại thử nghiệm
10.4 Kiểm tra ruột dẫn
10.5 Đo điện trở của ruột dẫn và màn chắn/vỏ bọc kim loại
10.6 Đo chiều dày cách điện và vỏ ngoài của cáp
10.7 Đo chiều dày của vỏ bọc kim loại
10.8 Đo đường kính
10.9 Thử nghiệm kéo dãn trong lò nhiệt đối với cách điện XLPE, EPR và HEPR
10.10 Đo điện dung
10.11 Đo tỷ trọng của cách điện HDPE
10.12 Thử nghiệm điện áp xung sét
10.13 Thử nghiệm thấm nước
10.14 Thử nghiệm các thành phần của cáp có dải băng hoặc lá kim loại đặt theo chiều dọc liên kết với vỏ ngoài
11 Thử nghiệm mẫu trên phụ kiện
11.1 Thử nghiệm trên thành phần
11.2 Thử nghiệm trên phụ kiện hoàn chỉnh
12 Thử nghiệm điển hình trên hệ thống cáp
12.1 Yêu cầu chung
12.2 Phạm vi phê duyệt kiểu
12.3 Tóm tắt các thử nghiệm điển hình
12.4 Thử nghiệm điển hình về điện trên hệ thống cáp hoàn chỉnh
12.5 Thử nghiệm điển hình không điện trên thành phần cáp và trên cáp hoàn chỉnh
13 Thử nghiệm chất lượng sơ bộ hệ thống cáp
13.1 Yêu cầu chung và dải phê chuẩn thử nghiệm chất lượng sơ bộ
13.2 Thử nghiệm chất lượng sơ bộ trên hệ thống cáp hoàn chỉnh
13.3 Thử nghiệm mở rộng chất lượng sơ bộ của hệ thống cáp
14 Thử nghiệm điển hình cáp
14.1 Yêu cầu chung
14.2 Phạm vi phê duyệt kiểu
14.3 Tóm tắt các thử nghiệm điển hình
14.4 Thử nghiệm điển hình về điện trên cáp hoàn chỉnh
15 Thử nghiệm điển hình phụ kiện cáp
15.1 Yêu cầu chung
15.2 Phạm vi phê duyệt kiểu
15.3 Tóm tắt các thử nghiệm điển hình
15.4 Thử nghiệm điển hình về điện trên phụ kiện
16 Thử nghiệm điện sau lắp đặt
16.1 Yêu cầu chung
16.2 Thử nghiệm điện áp một chiều trên vỏ ngoài
16.3 Thử nghiệm điện áp xoay chiều trên cách điện
Phụ lục A (tham khảo) - Xác định nhiệt độ ruột dẫn cáp
Phụ lục B (quy định) - Làm tròn số
Phụ lục C (tham khảo) - Danh mục thử nghiệm điển hình, thử nghiệm chất lượng sơ bộ và mở rộng thử nghiệm chất lượng sơ bộ của hệ thống cáp, cáp và phụ kiện cáp
Phụ lục D (quy định) - Phương pháp đo điện trở suất của màn chắn bán dẫn
Phụ lục E (quy định) - Thử nghiệm thấm nước
Phụ lục F (quy định) - Thử nghiệm các thành phần của cáp có dải băng hoặc lá kim loại đặt theo chiều dọc, liên kết với vỏ ngoài
Phụ lục G (quy định) - Thử nghiệm bảo vệ bên ngoài các mối nối
Phụ lục H (quy định) - Xác định độ cứng của cách điện HEPR
Thư mục tài liệu tham khảo
Bạn chưa Đăng nhập thành viên.
Đây là tiện ích dành cho tài khoản thành viên. Vui lòng Đăng nhập để xem chi tiết. Nếu chưa có tài khoản, vui lòng Đăng ký tại đây!

