- Tổng quan
- Nội dung
- Tiêu chuẩn liên quan
- Lược đồ
- Tải về
Tiêu chuẩn TCVN 12671-4-1:2025 Cáp sạc xe điện điện áp đến 0,6/1 kV - Phần 4-1
| Số hiệu: | TCVN 12671-4-1:2025 | Loại văn bản: | Tiêu chuẩn Việt Nam |
| Cơ quan ban hành: | Bộ Khoa học và Công nghệ | Lĩnh vực: | Công nghiệp |
| Trích yếu: | IEC 62893-4-1:2020 Cáp sạc dùng cho xe điện có điện áp danh định đến và bằng 0,6/1 kV - Phần 4-1: Cáp dùng cho sạc điện một chiều theo theo chế độ 4 của TCVN 13078-1 (IEC 61851-1) - Sạc điện một chiều không sử dụng hệ thống quản lý nhiệt | ||
|
Ngày ban hành:
Ngày ban hành là ngày, tháng, năm văn bản được thông qua hoặc ký ban hành.
|
22/01/2025 |
Hiệu lực:
|
Đã biết
|
| Người ký: | Đang cập nhật |
Tình trạng hiệu lực:
Cho biết trạng thái hiệu lực của văn bản đang tra cứu: Chưa áp dụng, Còn hiệu lực, Hết hiệu lực, Hết hiệu lực 1 phần; Đã sửa đổi, Đính chính hay Không còn phù hợp,...
|
Đã biết
|
TÓM TẮT TIÊU CHUẨN VIỆT NAM TCVN 12671-4-1:2025
Tiêu chuẩn quốc gia TCVN 12671-4-1:2025 về cáp sạc cho xe điện: Những quy định quan trọng
Tiêu chuẩn quốc gia TCVN 12671-4-1:2025, được ban hành theo quyết định của Bộ Khoa học và Công nghệ, quy định về cáp sạc dùng cho xe điện có điện áp danh định lên tới và bằng 0,6/1 kV, cụ thể là cáp dùng cho sạc điện một chiều theo chế độ 4 của TCVN 13078-1 (IEC 61851-1). Tiêu chuẩn này có hiệu lực từ ngày công bố và thay thế các quy định tương ứng trước đây về cáp sạc cho xe điện.
Tiêu chuẩn này áp dụng cho các cáp không được thiết kế để sử dụng với hệ thống quản lý nhiệt, yêu cầu cáp có độ bền và khả năng hoạt động dưới nhiệt độ cao nhất 90 °C. Điều này mang lại sự an toàn cao hơn cho người tiêu dùng và đảm bảo các thiết bị hoạt động ổn định trong quá trình sạc.
Về cấu trúc, cáp được yêu cầu có các lõi dẫn điện với kích thước từ 4 mm² tới 150 mm², cùng với các lõi phụ để cung cấp điện cho các thiết bị điện trên xe trong quá trình sạc. Tiêu chuẩn cũng quy định rõ các yêu cầu kỹ thuật, như cách điện, vỏ bọc và đặc tính phun khí, nhằm đảm bảo độ bền và an toàn cho sản phẩm khi sử dụng.
Ngoài ra, TCVN 12671-4-1:2025 cũng đề cập đến các phương pháp thử nghiệm để đánh giá chất lượng cáp. Các thử nghiệm này bao gồm điện áp, độ bền cơ học và khả năng chịu nhiệt. Yêu cầu về thử nghiệm đáp ứng các tiêu chuẩn khắt khe để sản phẩm ra thị trường đạt yêu cầu chất lượng và bảo vệ an toàn cho người sử dụng.
Tiêu chuẩn này khuyến cáo cáp nên được sử dụng trong các điều kiện môi trường từ -25 °C đến 45 °C, phù hợp cho cả sử dụng trong nhà và ngoài trời, tùy theo loại cáp.
TCVN 12671-4-1:2025 được xây dựng nhằm mục tiêu tạo ra một khung pháp lý hiệu quả cho việc sản xuất và sử dụng cáp sạc cho xe điện tại Việt Nam, đảm bảo đáp ứng các yêu cầu chất lượng quốc tế, đồng thời tạo điều kiện thuận lợi cho việc phát triển ngành công nghiệp xe điện tại nước ta.
Tiêu chuẩn này chính thức có hiệu lực từ khi được công bố, tạo cơ sở pháp lý cho các tổ chức, doanh nghiệp và người tiêu dùng trong việc lựa chọn và sử dụng cáp sạc cho xe điện một cách an toàn và hiệu quả.
Tải tiêu chuẩn Việt Nam TCVN 12671-4-1:2025
TIÊU CHUẨN QUỐC GIA
TCVN 12671-4-1:2025
IEC 62893-4-1:2020
CÁP SẠC DÙNG CHO XE ĐIỆN CÓ ĐIỆN ÁP DANH ĐỊNH ĐẾN VÀ BẰNG 0,6/1 KV - PHẦN 4-1: CÁP DÙNG CHO SẠC ĐIỆN MỘT CHIỀU THEO CHẾ ĐỘ 4 CỦA TCVN 13078-1 (IEC 61851-1) - SẠC ĐIỆN MỘT CHIỀU KHÔNG SỬ DỤNG HỆ THỐNG QUẢN LÝ NHIỆT
Charging cables for electric vehicles of rated voltages up to and including 0,6/1 kV - Part 4-1: Cables for DC charging according to mode 4 of IEC 61851-1 - DC charging without use of a thermal management system
Lời nói đầu
TCVN 12671-4-1:2025 hoàn toàn tương đương với IEC 62893-4-1:2020;
TCVN 12671-4-1:2025 do Ban kỹ thuật tiêu chuẩn quốc gia TCVN/TC/E4 Dây và cáp điện biên soạn, Viện Tiêu chuẩn Chất lượng Việt Nam đề nghị, Ủy ban Tiêu chuẩn Đo lường Chất lượng Quốc gia thẩm định, Bộ Khoa học và Công nghệ công bố.
Bộ TCVN 12671 (IEC 62893), Cáp sạc dùng cho xe điện có điện áp danh định đến và bằng 0,6/1 kV, gồm các phần sau:
1) TCVN 12671-1:2019 (IEC 62893-1:2017), Phần 1: Yêu cầu chung
2) TCVN 12671-2:2019 (IEC 62893-2:2017), Phần 2: Phương pháp thử nghiệm
3) TCVN 12671-3:2019 (IEC 62893-3:2017), Phần 3: Cáp sạc điện xoay chiều theo các chế độ 1, 2 và 3 của IEC 62851-1 có điện áp danh định đến và bằng 450/750 V
4) TCVN 12671-4-1:2025 (IEC 62893-4-1:2020), Phần 4-1: Cáp dùng cho sạc điện một chiều theo chế độ 4 của TCVN 13078-1 (IEC 61851-1) - Sạc điện một chiều không sử dụng hệ thống quản lý nhiệt
5) TCVN 12671-4-2:2025 (IEC TS 62893-4-2:2021), Phần 4-2: Cáp dùng cho sạc điện một chiều theo chế độ 4 của TCVN 13078-1 (IEC 61851-1) - Cáp được thiết kế để sử dụng với hệ thống quản lý nhiệt
CÁP SẠC DÙNG CHO XE ĐIỆN CÓ ĐIỆN ÁP DANH ĐỊNH ĐẾN VÀ BẰNG 0,6/1 KV - PHẦN 4-1: CÁP DÙNG CHO SẠC ĐIỆN MỘT CHIỀU THEO CHẾ ĐỘ 4 CỦA TCVN 13078-1 (IEC 61851-1) - SẠC ĐIỆN MỘT CHIỀU KHÔNG SỬ DỤNG HỆ THỐNG QUẢN LÝ NHIỆT
Charging cables for electric vehicles of rated voltages up to and including 0,6/1 kV - Part 4-1: Cables for DC charging according to mode 4 of IEC 61851-1 - DC charging without use of a thermal management system
1 Phạm vi áp dụng
Tiêu chuẩn này áp dụng cho cáp dùng cho sạc điện một chiều theo chế độ 4 của TCVN 13078-1 (IEC 61851-1). Các cáp này không được thiết kế để sử dụng với hệ thống quản lý nhiệt như quy định trong TCVN 13078-23 (IEC 61851-23).
Cáp sạc quy định trong bộ TCVN 12671 (IEC 62893) (tất cả các phần) được thiết kế để sử dụng cho các thiết bị điện thuộc thiết bị cấp II.
Nhiệt độ làm việc cao nhất của ruột dẫn đối với các cáp trong tiêu chuẩn này là 90 °C.
Các phương pháp thử nghiệm quy định được nêu trong TCVN 12671-2 (IEC 62893-2), TCVN 9615-2 (IEC 60245-2), TCVN 6613-1-2 (IEC 60332-1-2), TCVN 11341-1:2016 (IEC 62821-1:2015), Phụ lục B và trong các phần liên quan của IEC 60811.
TCVN 9616 (IEC 62440) được sử dụng làm hướng dẫn để sử dụng một cách an toàn cho các cáp thuộc tiêu chuẩn này cùng với Điều 5 của tiêu chuẩn này.
2 Tài liệu viện dẫn
Các tài liệu viện dẫn sau đây là cần thiết cho việc áp dụng tiêu chuẩn. Đối với các tài liệu viện dẫn ghi năm công bố thì áp dụng bản được nêu. Đối với các tài liệu viện dẫn không ghi năm công bố thì áp dụng phiên bản mới nhất, bao gồm cả các sửa đổi.
TCVN 6610-2:2007 (IEC 60227-2:2003), Cáp cách điện bằng polyvinyl clorua có điện áp danh định đến và bằng 450/750 V - Phần 2. Phương pháp thử
TCVN 6613-1-2 (IEC 60332-1-2), Thử nghiệm cáp điện trong điều kiện cháy - Phần 1-2: Thử nghiệm cháy lan theo chiều thẳng đứng đối với một dây có cách điện hoặc một cáp - Quy trình ứng với nguồn cháy bằng khí trộn trước có công suất 1 kW
TCVN 7447-5-54 (IEC 60364-5-54), Hệ thống lắp đặt điện của các tòa nhà - Phần 5-54: Lựa chọn và lắp đặt thiết bị điện - Bố trí nối đất/ dây bảo vệ và dây liên kết bảo vệ
TCVN 9615-2:2013 (IEC 60245-2:1998), Cáp cách điện bằng cao su - Điện áp danh định đến và bằng 450/750 V - Phần 2: Phương pháp thử nghiệm
TCVN 9616:2013 (IEC 62440:2008), Cáp điện có điện áp danh định đến và bằng 450/750 V - Hướng dẫn sử dụng
TCVN 11341-1:2016 (IEC 62821-1:2015), Cáp điện - Cáp có cách điện và vỏ bọc bằng nhựa nhiệt dẻo, không có halogen, ít khói, có điện áp danh định đến và bằng 450/750 V - Phần 1: Yêu cầu chung
TCVN 12671-1:2019 (IEC 62893-1:2017), Cáp sạc dùng cho xe điện có điện áp danh định đến và bằng 0,6/1 kV - Phần 2: Yêu cầu chung
TCVN 12671-2:2019 (IEC 62893-2:2017), Cáp sạc dùng cho xe điện có điện áp danh định đến và bằng 0,6/1 kV - Phần 2: Phương pháp thử nghiệm
TCVN 13078-1 (IEC 61851-1), Hệ thống sạc điện có dây dùng cho xe điện - Phần 1: Yêu cầu chung
TCVN 13078-23 (IEC 61851-23), Hệ thống sạc điện có dây dùng cho xe điện - Phần 23: Trạm sạc điện một chiều cho xe điện
IEC 60811-401:2012, AMD1:2017, Electric and optical fibre cables - Test methods for non-metallic materials - Part 401: Miscellaneous tests - Thermal ageing methods - Ageing in an air oven (Cáp điện và cáp quang - Phương pháp thử nghiệm dùng cho vật liệu phi kim loại - Phần 401: Các thử nghiệm khác - Phương pháp lão hóa nhiệt - Lão hóa trong lò không khí)
3 Thuật ngữ và định nghĩa
Tiêu chuẩn này áp dụng các thuật ngữ và định nghĩa nêu trong TCVN 12671-1:2019 (IEC 62893-1:2017) và các thuật ngữ và định nghĩa dưới đây.
3.1
Lõi dẫn điện phụ trợ (auxiliary power core)
Lõi của cáp được sử dụng để cấp nguồn phụ trợ để vận hành các thiết bị điện trên xe trong quá trình sạc mà không sử dụng nguồn pin (ví dụ: kiểm soát môi trường).
3.2
Lõi cảm biến nhiệt độ (temperature sensor core)
Lõi của cáp được sử dụng để cung cấp các tín hiệu về nhiệt độ để vận hành hệ thống cấp điện cho xe điện (EVSE).
4 Cáp dùng cho mục đích chung - Cáp mềm dùng cho chế độ tải nặng
4.1 Ký hiệu mã
Ký hiệu mã là 12671 TCVN 126 hoặc 62893 IEC 126 đối với cáp không có halogen, hợp chất vỏ bọc EVM-1 và 12671 TCVN 127 hoặc 62893 IEC 127 đối với cáp không có halogen, hợp chất vỏ bọc EVM-2.
Ký hiệu mã là 12671 TCVN 128 hoặc 62893 IEC 128 đối với cáp có hợp chất vỏ bọc EVM-3.
4.2 Điện áp danh định
0,6/1 kV AC đến và bằng 1,5 kV DC.
4.3 Kết cấu
4.3.1 Cỡ cáp
Cỡ cáp phải là:
• Lõi dẫn điện: 4 mm2 đến 150 mm2 - hai lõi trở lên.
• Lõi điều khiển (CC) hoặc lõi pilot (CP): không quy định số lõi, xem 8.2 d) của TCVN 12671-1:2019 (IEC 62893-1:2017) về cỡ cáp.
• Dây dẫn nối đất bảo vệ (PE[1]) tùy chọn - một lõi: cỡ tối thiểu của dây dẫn PE hoặc dây dẫn kết hợp chức năng của cả dây dẫn nối đất bảo vệ và dây dẫn điểm giữa (PEM[2]) phải phù hợp với Phụ lục B, Bảng B.1 hoặc Bảng B.2 hoặc, trong trường hợp có thỏa thuận giữa nhà chế tạo và khách hàng về các yêu cầu ngắn mạch, tiết diện danh nghĩa của dây dẫn PE hoặc PEM phải tuân theo các tính toán quy định trong TCVN 7447-5-54 (IEC 60364-5-54) hoặc TCVN 13078-23 (IEC 61851-23).
• Lõi dẫn điện phụ trợ (tùy chọn): 2,5 mm2 đến 6 mm2 - hai lõi.
• Lõi cảm biến nhiệt độ (tùy chọn): Không quy định số lõi, xem 8.2 d) của TCVN 12671-1:2019 (IEC 62893-1:2017) về cỡ cáp.
4.3.2 Cách điện
Cách điện của lõi dẫn điện phải là hợp chất EVI-2 theo quy định trong TCVN 12671-1 (IEC 62893-1).
Cách điện của các lõi pilot (CP), lõi dẫn điện phụ trợ, lõi điều khiển (CC) hoặc lõi cảm biến nhiệt độ phải là hợp chất EVI-1 hoặc EVI-2 của TCVN 12671-1 (IEC 62893-1).
Đối với các lõi dẫn điện phụ trợ, chiều dày lớp cách điện danh nghĩa không được nhỏ hơn 0,8 mm.
4.3.3 (Các) màn chắn (tùy chọn)
Màn chắn trên lõi hoặc cụm lõi (ví dụ như lõi đôi hoặc lõi bốn) phải gồm một lưới đan bằng đồng có độ phủ kín tối thiểu 80 %, như quy định trong Phụ lục D.
4.3.4 Nhận biết lõi
Việc nhận biết các lõi dẫn điện của cáp phải được thực hiện bằng cách sử dụng vật liệu cách điện có màu hoặc bằng bề mặt có màu. Mỗi lõi dẫn điện của cáp chỉ được có một màu, ngoại trừ lõi được nhận biết bằng tổ hợp màu xanh lục và màu vàng.
Màu của lõi điều khiển (CC), lõi pilot (CP), lõi cảm biến nhiệt độ hoặc lõi khác bất kỳ phải được nhận biết rõ ràng và khác với màu của lõi dẫn điện.
Có thể nhận biết lõi bằng số nếu cách điện của lõi có cùng màu và được đánh số tuần tự, bắt đầu từ số 1. Các chữ số phải dễ đọc và bền.
4.3.5 Cụm lõi
Các lõi phải được xoắn với nhau.
Có thể sử dụng lớp độn ở giữa. Không được đặt một lõi ở giữa.
Cụm lõi có thể được bọc xung quanh bằng một lớp phân cách (ví dụ: dải băng) và/hoặc lớp độn trước khi đặt vỏ bọc.
Có thể đặt màn chắn theo 8.6 của TCVN 12671-1:2019 (IEC 62893-1:2017) xung quanh cụm lõi.
4.3.6 Vỏ bọc
Vỏ bọc phải là hợp chất EVM-1 của TCVN 12671-1 (IEC 62893-1) đối với kiểu cáp 12671 TCVN 126 hoặc 62893 IEC 126, EVM-2 của TCVN 12671-1 (IEC 62893-1) đối với kiểu cáp 12671 TCVN 127 hoặc 62893 IEC 127 và EVM-3 của TCVN 12671-1 (IEC 62893-1) đối với kiểu cáp 12671 TCVN 128 hoặc 62893 IEC 128.
Việc bọc vỏ bọc phải sao cho cáp hoàn chỉnh có hình dạng tương đối tròn.
4.3.7 Ghi nhãn
Cáp phải được ghi nhãn với ký hiệu mã tương ứng theo 4.1.
Từng cáp phải có ký hiệu mã đầy đủ theo yêu cầu trong tiêu chuẩn này, độ liên tục của ghi nhãn trên vỏ bọc phải phù hợp với Điều 6 của TCVN 12671-1:2019 (IEC 62893-1:2017) và thêm các yêu cầu sau:
- điện áp danh định;
- số lượng và tiết diện danh nghĩa của ruột dẫn của các lõi dẫn điện và dây dẫn nối đất bảo vệ (PE), nếu có.
Cho phép ghi nhãn bổ sung, ví dụ như năm chế tạo, nhưng không được có mâu thuẫn hoặc gây trở ngại với các ghi nhãn được yêu cầu.
4.3.8 Điện cảm giữa các lõi dẫn điện
Xem Phụ lục E.
4.4 Yêu cầu
Từng cáp phải phù hợp với các yêu cầu thích hợp nêu ở TCVN 12671-1 (IEC 62893-1) và các yêu cầu cụ thể của tiêu chuẩn này.
Thử nghiệm phải theo Phụ lục A, và các thử nghiệm liên quan được chỉ ra trong cột 6 và cột 7 Bảng A.1.
a) Chiều dày cách điện và vỏ bọc phải phù hợp với Bảng B.1 đối với kiểu 126 và Bảng B.2 đối với kiểu 127 và 128.
b) Chiều dày cách điện của lõi dẫn điện phụ trợ nên là 0,8 mm. Đối với các lõi điều khiển (CC), lõi pilot (CP) và bất kỳ lõi nào khác nhỏ hơn hoặc bằng 0,75 mm2, xem 8.3.3 của TCVN 12671-1:2019 (IEC 62893-1:2017).
c) Yêu cầu cần đáp ứng đối với thử nghiệm tính tương thích như được nêu trong Phụ lục A của TCVN 12671-1:2019 (IEC 62893-1:2017).
d) Điều kiện và yêu cầu thử nghiệm cần đáp ứng đối với thử nghiệm va đập ở nhiệt độ thấp phải như nêu ở 5.8 của TCVN 12671-2:2019 (IEC 62893-2:2017).
e) Điều kiện và yêu cầu thử nghiệm cần đáp ứng đối với thử nghiệm khả năng chịu ép phải như nêu ở 5.7 của TCVN 12671-2:2019 (IEC 62893-2:2017).
f) Thử nghiệm uốn (8.1 của Bảng A.1) phải phù hợp với Phụ lục C.
5 Hướng dẫn sử dụng cáp
Thông tin hướng dẫn chung được nêu trong TCVN 9616 (IEC 62440) phải được sử dụng. Ngoài ra, thông tin cụ thể từ Bảng 1 và Bảng 2 phải được tính đến đối với các sản phẩm được quy định trong tiêu chuẩn này.
Bảng 1 - Các điều kiện sử dụng được dự kiến của cáp sạc dùng cho xe điện (điều kiện môi trường)
| 1 | 2 |
| Ký hiệu mã | 12671 TCVN 126 hoặc 62893 IEC 126, 12671 TCVN 127 hoặc 62893 IEC 127 và 12671 TCVN 128 hoặc 62893 IEC 128 |
| Hình dạng cáp | Tròn |
| Kết cấu ruột dẫn | Cấp 5 |
| 1 Chế độ a 1.1 Tải nặng |
+ |
| 2 Có nước 2.1 Điều kiện AD 7 b |
+ |
| 3 Ăn mòn của các chất ô nhiễm 3.1 Điều kiện AF 3 b |
+ |
| 4 Va đập 4.1 Điều kiện AG 2 b |
+ |
| 5 Rung 5.1 Điều kiện AH 3 b |
+ |
| 6 Thực vật 6.1 Điều kiện AK 2 b |
- |
| 7 Động vật 7.1 Điều kiện AL 2 b |
- |
| 8 Sử dụng ngoài trời |
|
| 8.1 Điều kiện AN 3 b | + |
| 8.2 Vĩnh viễn c | + |
| 9 Uốn thường xuyên | + |
| 10 Xoắn thường xuyên | + |
| CHÚ DẪN: | |
| “+” = chấp nhận được | “-” = không thích hợp |
| a Xem định nghĩa trong Phụ lục C của TCVN 9616:2013 (IEC 62440:2008). b Xem định nghĩa trong Phụ lục A của TCVN 9616:2013 (IEC 62440:2008). c Xem định nghĩa trong Phụ lục B của TCVN 9616:2013 (IEC 62440:2008). | |
Bảng 2 - Khuyến cáo sử dụng cáp sạc dùng cho xe điện
| 1 | 2 | 3 |
| Ký hiệu mã | Khuyến cáo sử dụng | Lưu ý |
| 12671 TCVN 126 hoặc 62893 IEC 126 và 12671 TCVN 127 hoặc 62893 IEC 127 | Sử dụng cho chế độ sạc 4 của TCVN 13078-1 (IEC 61851-1) | Nhiệt độ lưu kho tối đa: +45 °C Nhiệt độ tối thiểu để lắp đặt và vận chuyển: -25 °C Cáp được dự kiến để sử dụng trong nhà và ngoài trời. |
| 12671 TCVN 128 hoặc 62893 IEC 128 | Sử dụng cho chế độ sạc 4 của TCVN 13078-1 (IEC 61851-1). Chỉ sử dụng ngoài trời (do thành phần halogen trong trường hợp cháy). | Nhiệt độ lưu kho tối đa: +45 °C Nhiệt độ tối thiểu để lắp đặt và vận chuyển: -25 °C Cáp được dự kiến để sử dụng ngoài trời. |
Phụ lục A
(quy định)
Thử nghiệm đối với cáp hoàn chỉnh
Bảng A.1 -Thử nghiệm đối với kiểu cáp 12671 TCVN 126, 127 và 128 hoặc 62893 IEC 126, 127 và 128
| 1 | 2 | 3 | 4 | 5 | 6 | 7 | |
| Số TT | Thử nghiệm a | Loại thử nghiệm | Phương pháp thử nghiệm được nêu trong | Khả năng thử áp dụng nghiệm | |||
| Tiêu chuẩn | Điều | 12671 TCVN 126 hoặc 62893 IEC 126 và 12671 TCVN 127 hoặc 62893 IEC 127 | 12671 TCVN 128 hoặc 62893 IEC 128 | ||||
| 1 | Thử nghiệm điện b |
|
|
|
|
| |
| 1.1 | Điện trở ruột dẫn | T, S | TCVN 9615-2:2013 (IEC 60245-2:1994) | 2.1 | x | x | |
| 1.2 | Thử nghiệm điện áp trên cáp hoàn chỉnh | T, S | TCVN 9615-2:2013 (IEC 60245-2:1994) | 2.2 |
|
| |
| 1.3 | - ở 3 500 V xoay chiều, hoặc 7 000 V một chiều Thử nghiệm điện áp ở 3 500 V xoay chiều trên tất cả các lõi: | T | TCVN 9615-2:2013 (IEC 60245-2:1994) | 2.3 | x | x | |
| 1.4 | Điện trở cách điện ở 90 °C | T | TCVN 6610-2:2007 (IEC 60227-2:2003) | 2.4 | x | x | |
| 1.5 | Khả năng chịu điện áp một chiều dài hạn của cách điện - điện áp đặt ở 0,9 kV một chiều - thời gian thử nghiệm (240 ± 2) h - nhiệt độ 85 °C | T | TCVN 12671-2:2019 (IEC 62893-2:2017) | 5.1.1 | x | x | |
| 2 | Thử nghiệm kết cấu và kích thước |
|
|
|
|
| |
| 2.1 | Kiểm tra sự phù hợp với các yêu cầu về kết cấu | T, S | TCVN 12671-1:2019 (IEC 62893-1:2017) |
| x | x | |
| 2.2 | Đo chiều dày cách điện | T, S | TCVN 9615-2:2013 (IEC 60245-2:1994) | 1.9 | x | x | |
| 2.3 | Đo chiều dày vỏ bọc | T, S | TCVN 9615-2:2013 (IEC 60245-2:1994) | 1.10 | x | x | |
| 2.4 | Đo kích thước ngoài |
|
|
|
|
| |
| 2.4.1 | - giá trị trung bình | T, S | TCVN 9615-2:2013 (IEC 60245-2:1994) | 1.11 | x | x | |
| 2.4.2 | - đô ô van | T, S | TCVN 9615-2:2013 (IEC 60245-2:1994) | 1.11 | x | x | |
| 3 | Thử nghiệm vật liệu cách điện | T | TCVN 12671-1:2019 (IEC 62893-1:2017) c | 8.3.1 | x | x | |
| 4 | Thử nghiệm vật liệu vỏ bọc | T | TCVN 12671-1:2019 (IEC 62893-1:2017) c | 8.7.1 | x | x | |
| 5 | Thử nghiệm tính tương thích | T | TCVN 12671-1:2019 (IEC 62893-1:2017) | Phụ lục A | x | x | |
| 6 | Thử nghiệm va đập ở -35 °C d | T | TCVN 12671-2:2019 (IEC 62893-2:2017) | 5.8 | x | x | |
| 7 | Thử nghiệm co ngót | T | TCVN 12671-1:2019 (IEC 62893-1:2017) | 8.8.6 | x | x | |
| 8 | Độ bền cơ của cáp hoàn chỉnh |
|
|
|
|
| |
| 8.1 | Thử nghiệm uốn, sau khi ngâm trong nước, được thực hiện sau thử nghiệm điện áp trên các lõi như 1.2 của Bảng này. | T | TCVN 12671-4-1:2025 (IEC 62893-4-1:2020) | Phụ lục C | x | x | |
| 9 | Thử nghiệm khả năng chịu ép | T | TCVN 12671-2:2019 (IEC 62893-2:2017) | 5.7 | x | x | |
| 10 | Thử nghiệm khả năng chịu thời tiết/UV | T | TCVN 12671-2:2019 (IEC 62893-2:2017) | 5.2 | x | x | |
| 11 | Khả năng chịu hóa chất | T | TCVN 12671-2:2019 (IEC 62893-2:2017) | 5.3 | x | x | |
| 12 | Thử nghiệm trong điều kiện cháy |
|
|
|
|
| |
| 12.1 | Thử nghiệm trên cáp đơn thẳng đứng | T | TCVN 6613-1-2 (IEC 60332-1-2) | - | x | x | |
| 13 | Đánh giá halogen đối với tất cả các vật liệu phi kim loại e | T, S | TCVN 11341-1:2016 (IEC 62821-1:2015) | Phụ lục B | x | - | |
| a Thứ tự đưa ra không phải là một trình tự thử nghiệm. b Các điều kiện và yêu cầu thử nghiệm cụ thể được nêu trong cột 6 của Bảng 4 của TCVN 12671-1:2019 (IEC 62893-1:2017). c Tài liệu này bao gồm tất cả các phương pháp thử và yêu cầu đối với vật liệu. Vật liệu cần thử nghiệm được lấy từ cáp đã hoàn thiện. d Ở những quốc gia có nhiệt độ cực thấp có thể sử dụng các giá trị khác. e Kiểu 126 (EVM-1) phải tuân theo TCVN 12671-1:2019 (IEC 62893-1:2017), 8.8.5. | |||||||
Phụ lục B
(quy định)
Bảng kích thước cáp và điện trở cách điện của cáp
CHÚ THÍCH 1: Kích thước ngoái của cáp được tính theo TCVN 10347 (IEC 60719).
CHÚ THÍCH 2: Kích thước ngoài trung bình trong Bảng B.1 và Bảng B.2 đề cập đến kết cấu có ít hơn hoặc bằng hai lõi điều khiển.
Bảng B.1 - Dữ liệu chung đối với kiểu 126 (EVM-1)
| 1 | 2 | 3 | 4 | 5 | 6 | 7 |
| Số lượng và tiết diện danh nghĩa của ruột dẫn của lõi dẫn điện b | Tiết diện danh nghĩa của dây dẫn PE | Chiều dày cách điện c | Chiều dày vỏ bọc | Kích thước ngoài trung bình a | Điện trở cách điện nhỏ nhất d ở 90 °C | |
| Giá trị quy định | Giá trị quy định | Giới hạn dưới | Giới hạn trên | |||
| mm2 | mm2 | mm | mm | mm | mm | MΩ × km |
| 2 x 4 | 4 | 0,8 | 1,1 | 10,6 | 13,3 | 0,007 9 |
| 2 x 6 | 6 | 0 8 | 1,2 | 11,8 | 14,8 | 0,006 8 |
| 2 x 10 | 10 | 0,8 | 1,3 | 13,9 | 17,4 | 0,005 5 |
| 2 x 16 | 16 | 0,8 | 1,5 | 16,6 | 20,7 | 0,004 4 |
| 2 x 25 | 16 | 1,0 | 1,7 | 20,7 | 25,9 | 0,004 3 |
| 2 x 35 | 16 | 1,0 | 1,9 | 23,8 | 29,7 | 0,003 7 |
| 2 x 50 | 25 | 1,1 | 2,2 | 27,9 | 34,8 | 0,003 4 |
| 2 x 70 | 35 | 1,2 | 2,5 | 32,6 | 40,7 | 0,003 1 |
| 2 x 95 | 50 | 1,2 | 2,7 | 36,1 | 45,1 | 0,002 8 |
| 2 x 120 | 70 | 1,3 | 2,9 | 40,4 | 50 5 | 0,002 7 |
| 2 x 150 | 95 | 1,5 | 32 | 45,1 | 56,4 | 0,002 8 |
| a Các giá trị được chỉ ra chỉ để tham khảo. b Các lõi dẫn điện có thể được chia thành hai lõi nhỏ hơn. e Chiều dày này được đưa ra cho lõi dẫn điện. Đối với dây dẫn PE, áp dụng chiều dày cách điện ứng với tiết diện bằng với tiết diện của lõi dẫn điện. d Chỉ áp dụng cho phương pháp thử nghiệm của TCVN 6610-2:2007 (IEC 60227-2:2003). | ||||||
Bảng B.2 - Dữ liệu chung đối với kiểu 127 (EVM-2) và kiểu 128 (EVM-3)
| 1 | 2 | 3 | 4 | 5 | 6 | 7 |
| Số lượng và tiết diện danh nghĩa của ruột dẫn của lõi dẫn điện b | Tiết diện danh nghĩa của dây dẫn PE | Chiều dày cách điện c | Chiều dày vỏ bọc | Kích thước ngoài trung bình a | Điện trở cách điện nhỏ nhất d ở 90 °C | |
| Giá trị quy định | Giá trị quy định | Giới hạn dưới | Giới hạn trên | |||
| mm2 | mm2 | mm | mm | mm | mm | MΩ × km |
| 2 x 4 | 4 | 0,8 | 1,9 | 12,1 | 15,2 | 0,007 9 |
| 2 x 6 | 6 | 0,8 | 2,0 | 13,4 | 16,7 | 0 006 8 |
| 2 x 10 | 10 | 0,8 | 2,2 | 15,2 | 19,0 | 0,005 5 |
| 2 x 16 | 16 | 0,8 | 2,4 | 17,9 | 22,3 | 0,004 4 |
| 2 x 25 | 16 | 1,0 | 2,8 | 22,4 | 28,0 | 0,004 3 |
| 2 x 35 | 16 | 1,0 | 3,2 | 25,8 | 32,3 | 0,003 7 |
| 2 x 50 | 25 | 1,1 | 3,6 | 30,1 | 37,7 | 0 003 4 |
| 2 x 70 | 35 | 1,2 | 4,0 | 35,1 | 43,8 | 0,003 1 |
| 2 x 95 | 50 | 1,2 | 4,4 | 38,9 | 48,7 | 0,002 8 |
| 2 x 120 | 70 | 1,3 | 4,8 | 43,6 | 54,5 | 0,002 7 |
| 2 x 150 | 95 | 1,5 | 5,3 | 48,7 | 60,9 | 0,002 8 |
| a Các giá trị được chỉ ra chỉ để tham khảo. b Các lõi dẫn điện có thể được chia thành hai lõi nhỏ hơn. c Chiều dày này được đưa ra cho lỗi dẫn điện. Đối với dây dẫn PE, áp dụng chiều dày cách điện ứng với tiết diện bằng với tiết diện của lõi dẫn điện. d Chỉ áp dụng cho phương pháp thử nghiệm của TCVN 6610-2:2007 (IEC 60227-2:2003). | ||||||
Phụ lục C
(quy định)
Thử nghiệm uốn
Xem 8.8.3.3 của TCVN 12671-1:2019 (IEC 62893-1:2017).
CHÚ THÍCH 1: ISO 14572:2011, 5.9 được đề cập trong 8.8.3.3 của TCVN 12671-1:2019 (IEC 62893-1:2017) đã bị thay thế bằng ISO 19642-2:2019, 5.3.4.
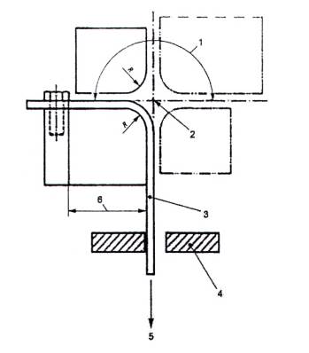
Ngoài ra, thiết bị phải tương tự như thiết bị được chỉ ra trên Hình C.1. Bất kỳ thiết bị nào cũng được chấp nhận miễn là nó đáp ứng các yêu cầu của thử nghiệm:
• 15 chu kỳ trong một phút;
• Số chu kỳ: 5 000.
CHÚ THÍCH 2: Một chu kỳ là từ vị trí 0° đến -90° và ngược lại và từ 0° đến +90° và ngược lại.
Bán kính uốn R = 5 lần đường kính ngoài của cáp (dung sai bán kính uốn:
).
Trong trường hợp một trong các mẫu không đạt các yêu cầu nêu trong 8.8.3.3 của TCVN 12671-1:2019 (IEC 62893-1:2017) thì phải thử nghiệm hai mẫu bổ sung (lấy từ cùng chiều dài cáp). Thử nghiệm được coi là đạt yêu cầu nếu cả hai thử nghiệm đều đáp ứng các yêu cầu đã nêu.
Trong trường hợp chiều dài không đủ thì các mẫu thử lại có thể được lấy từ chiều dài/đơn hàng sản xuất khác có cùng kết cấu.

CHÚ DẪN:
1 một chu kỳ (90° mỗi bên)
2 trục
3 cáp
4 hướng dẫn cố định (tùy chọn)
5 lực, F
6 khoảng cách điểm cố định (khuyến cáo tối thiểu là 100 mm)
Hình C.1 - Thiết bị uốn theo chu kỳ
Phụ lục D
(quy định)
Màn chắn
Tỷ lệ phần trăm vùng phủ kín B của màn chắn được tính theo công thức sau:
![]()
Trong đó
![]()
| D | là đường kính trung bình của màn chắn (đường kính bên dưới màn chắn cộng với 2 d tính bằng mm); |
| d | là đường kính sợi dây danh nghĩa tính bằng mm (dùng cho màn chắn); |
| S | là chiều dài bước xoắn của sợi dây trong màn chắn, mm; |
| m1 | là số lượng bó dây được bó theo một chiều (số cuộn nhỏ); |
| m2 | là số lượng bó dây được bó theo chiều còn lại (số cuộn nhỏ); |
| n1, n2 | là số lượng sợi dây dùng cho từng bó tương ứng. |
Phụ lục E
(tham khảo)
Điện cảm của cáp giữa DC+ và DC-
Tổng điện cảm của cáp không nên vượt quá 1 μH/m giữa các lõi dẫn điện DC+ và DC-.
Thư mục tài liệu tham khảo
[1] TCVN 10347 (IEC 60719), Tính giới hạn dưới và giới hạn trên của các kích thước ngoài trung bình của cáp có điện áp đến và bằng 450/750 V
[2] IEC 60811-404, Electric and optical fibre cables - Test methods for non-metallic materials - Part 404: Miscellaneous tests - Mineral oil immersion test for sheaths (Cáp điện và cáp quang - Phương pháp thử vật liệu phi kim loại - Phần 404: Các thử nghiệm khác - Thử nghiệm ngâm dầu khoáng cho vỏ bọc)
[3] IEC 60811-501, Electric and optical fibre cables - Test methods for non-metallic materials - Part 501: Mechanical tests - Tests for determining the mechanical properties of insulating and sheathing compounds (Cáp điện và cáp quang - Phương pháp thử vật liệu phi kim loại - Phần 404: Các thử nghiệm khác - Thử nghiệm ngâm dầu khoáng cho vỏ bọc)
[4] IEC 60811-505, Electric and optical fibre cables - Test methods for non-metallic materials - Part 505: Mechanical tests - Elongation at low temperature for insulations and sheaths (Cáp điện và cáp quang - Phương pháp thử vật liệu phi kim loại - Phần 505: Thử nghiệm cơ học - Độ giãn dài ở nhiệt độ thấp đối với cách điện và vỏ bọc)
[5] ISO 14572:2011, Road vehicles - Round, sheathed, 60 V and 600 V screened and unscreened single or multi-core cables - Test methods and requirements for basic and high-performance cables (eventually to be replaced by ISO 19642-2:2019) (Phương tiện giao thông đường bộ - Cáp tròn, có vỏ bọc, cáp đơn hoặc đa lõi có vỏ bọc 60 V và 600 V - Phương pháp thử nghiệm và yêu cầu đối với cáp cơ bản và cáp hiệu suất cao (được thay thế bằng ISO 19642-2:2019))
[6] ISO 19642-2:2019, Road vehicles - Automotive cables - Part 2: Test methods (Phương tiện giao thông đường bộ - Cáp ô tô - Phần 2: Phương pháp thử)
MỤC LỤC
Lời nói đầu
1 Phạm vi áp dụng
2 Tài liệu viện dẫn
3 Thuật ngữ và định nghĩa
4 Cáp dùng cho mục đích chung - Cáp mềm dùng cho chế độ tải nặng
4.1 Ký hiệu mã
4.2 Điện áp danh định
4.3 Kết cấu
4.4 Yêu cầu
5 Hướng dẫn sử dụng cáp
Phụ lục A (quy định) - Thử nghiệm đối với cáp hoàn chỉnh
Phụ lục B (quy định) - Bằng kích thước cáp và điện trở cách điện của cáp
Phụ lục C (quy định) - Thử nghiệm uốn
Phụ lục D (quy định) - Màn chắn
Phụ lục E (tham khảo) - Điện cảm của cáp giữa DC+ và DC-
Thư mục tài liệu tham khảo
[1] Dây dẫn PE: Dây dẫn nối đất bảo vệ (Xem định nghĩa 195-02-11 của IEC 60050-195)
[2] Dây dẫn PEM: Dây dẫn kết hợp chức năng của cả dây dẫn nối đất bảo vệ và dây dẫn điểm giữa. (Xem định nghĩa 195-02-13 của IEC 60050-195)
Bạn chưa Đăng nhập thành viên.
Đây là tiện ích dành cho tài khoản thành viên. Vui lòng Đăng nhập để xem chi tiết. Nếu chưa có tài khoản, vui lòng Đăng ký tại đây!