- Tổng quan
- Nội dung
- Tiêu chuẩn liên quan
- Lược đồ
- Tải về
Tiêu chuẩn TCVN 11988-3:2017 Kích thước mặt phân cách của côn rỗng có mặt bích tiếp xúc
| Số hiệu: | TCVN 11988-3:2017 | Loại văn bản: | Tiêu chuẩn Việt Nam |
| Cơ quan ban hành: | Bộ Khoa học và Công nghệ | Lĩnh vực: | Công nghiệp |
|
Ngày ban hành:
Ngày ban hành là ngày, tháng, năm văn bản được thông qua hoặc ký ban hành.
|
2017 |
Hiệu lực:
|
Đã biết
|
| Người ký: | Đang cập nhật |
Tình trạng hiệu lực:
Cho biết trạng thái hiệu lực của văn bản đang tra cứu: Chưa áp dụng, Còn hiệu lực, Hết hiệu lực, Hết hiệu lực 1 phần; Đã sửa đổi, Đính chính hay Không còn phù hợp,...
|
Đã biết
|
TÓM TẮT TIÊU CHUẨN VIỆT NAM TCVN 11988-3:2017
Nội dung tóm tắt đang được cập nhật, Quý khách vui lòng quay lại sau!
Tải tiêu chuẩn Việt Nam TCVN 11988-3:2017
TIÊU CHUẨN QUỐC GIA
TCVN 11988-3:2017
ISO 3937-3:2008
TRỤC GÁ DAO PHAY DẪN ĐỘNG BẰNG VẤU - PHẦN 3: KÍCH THƯỚC MẶT PHÂN CÁCH CỦA CÔN RỖNG CÓ MẶT BÍCH TIẾP XÚC
Cutter arbors with tenon drive - Part 3: Dimensions of hollow taper interface with flange contact surface
Lời nói đầu
TCVN 11988-3:2017 hoàn toàn tương đương ISO 3937-3:2008
TCVN 11988-3:2017 do Ban kỹ thuật tiêu chuẩn quốc gia TCVN/TC 29, Dụng cụ cầm tay biên soạn, Tổng cục Tiêu chuẩn Đo lường Chất lượng đề nghị, Bộ Khoa học và Công nghệ công bố.
Bộ TCVN 11988 (ISO 3937), Trục gá dao phay dẫn động bằng vấu bao gồm các phần sau:
- TCVN 11988-1:2017 (ISO 3937-1:2008), Phần 1: Kích thước côn Morse.
- TCVN 11988-2:2017 (ISO 3937-2:2008), Phần 2: Kích thước côn 7/24.
- TCVN 11988-3:2017 (ISO 3937-3:2008), Phần 3: Kích thước mặt phân cách của côn rỗng có mặt bích tiếp xúc.
TRỤC GÁ DAO PHAY DẪN ĐỘNG BẰNG VẤU - PHẦN 3: KÍCH THƯỚC MẶT PHÂN CÁCH CỦA CÔN RỖNG CÓ MẶT BÍCH TIẾP XÚC
Cutter arbors with tenon drive - Part 3: Dimensions of hollow taper interface with flange contact surface
1 Phạm vi áp dụng
Tiêu chuẩn này quy định các kích thước của trục gá dao phay dẫn động bằng vấu, mặt phân cách của côn rỗng có mặt bích tiếp xúc (HSK). Tiêu chuẩn này quy định các kích thước của trục gá dao phay dẫn động bằng vấu và mặt tiếp xúc mở rộng của các dao phay.
Các kích thước có tính lắp lẫn của ổ trục dao phay trên trục gá dao phay phù hợp với ISO 2780 - Các kích thước của vít hãm sử dụng phù hợp với ISO 12164-1.
2 Tài liệu viện dẫn
Các tài liệu viện dẫn sau rất cần thiết cho việc áp dụng tiêu chuẩn này. Đối với các tài liệu viện dẫn ghi năm công bố thì áp dụng phiên bản được nêu. Đối với các tài liệu viện dẫn không ghi năm công bố thì áp dụng phiên bản mới nhất, bao gồm cả các sửa đổi, bổ sung (nếu có).
TCVN 2263-1:2007 (ISO 2768-1:1989), Dung sai chung - Phần 1: Dung sai của các kích thước dài và kích thước góc không có chỉ dẫn dung sai riêng (General tolerances - Part 1: Tolerances for linear and angular dimensions without individual tolerance indications).
ISO 2780, Milling cuttenrs with tenon drive - Interchangesbility dimensions for cutter arbors - Metric series (Dao phay dẫn động bằng vấu - Các kích thước có tính lắp lẫn dùng cho các trục gá dao phay - Loạt hệ mét).
ISO 12164-1, Hollow taper interface with flange contact surface - Part 1: Shanks - Dimensions (Mặt phân cách của côn rỗng có mặt bích tiếp xúc - Phần 1: Thân trục gá côn - Kích thước).
3 Kích thước
3.1 Quy định chung
Tất cả các kích thước và dung sai được tính bằng milimet. Các dung sai không được quy định phải là các cấp dung sai “m” phù hợp với TCVN 2263-1:2007 (ISO 2768-1:1989).
3.2 Trục gá mặt tiếp xúc bình thường với mặt phân cách của côn rỗng có mặt bích tiếp xúc
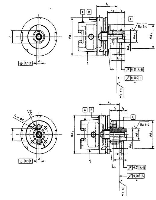
Các kích thước của trục gá mặt tiếp xúc bình thường với mặt phân cách của côn rỗng có mặt bích tiếp xúc được giới thiệu trên Hình 1 và được cho trong Bảng 1.

CHÚ DẪN
1 mặt phân cách của côn rỗng có bích tiếp xúc phù hợp với ISO 12164-1, Kiểu A
a Không được lồi.
b Nếu được qui định, tiện rãnh phù hợp với ISO 12164-1.
CHÚ THÍCH: Hình vẽ này chỉ là sơ đồ và không được dùng như một bản vẽ thiết kế
Hình 1 - Trục gá với mặt phân cách của côn rỗng có mặt bích tiếp xúc
Bảng 1 - Trục gá mặt tiếp xúc bình thường với mặt phân cách của côn rỗng có mặt bích tiếp xúc
| HSK | d1 | d2 h6 | d3 min. | d4 | l1 0 -1 | l2 min. | l3a | l4 | a h11 | b h11 | c min |
| 32 | 32 | 13 | 28 | M6 | 12 | 18 | 30 | 50 | 8 | 4,5 | 14 |
| 16 | 32 | M8 | 17 | 20 | 30 | 50 | 8 | 5 | 17 | ||
| 40 | 40 | 16 | 32 | M8 | 17 | 20 | 30 | 50 | 8 | 5 | 17 |
| 22 | 40 | M10 | 19 | 28 | 30 | 50 | 10 | 5,6 | 24,5 | ||
| 50 | 50 | 16 | 32 | M8 | 17 | 20 | 14 | 40 | 8 | 5 | 17 |
| 22 | 40 | M10 | 19 | 28 | 19 | 45 | 10 | 5,6 | 24,5 | ||
| 27 | 48 | M12 | 21 | 32 | 34 | 60 | 12 | 6,3 | 30,5 | ||
| 63 | 63 | 16 | 32 | M8 | 17 | 20 | 24 | 50 | 8 | 5 | 17 |
| 22 | 40 | M10 | 19 | 28 | 24 | 50 | 10 | 5,6 | 24,5 | ||
| 27 | 48 | M12 | 21 | 32 | 34 | 60 | 12 | 6,3 | 30,5 | ||
| 32 | 58 | M16 | 24 | 36 | 34 | 60 | 14 | 7 | 33,5 | ||
| 40 | 70 | M20 | 27 | 45 | 34 | 60 | 16 | 8 | 44,5 | ||
| 80 | 80 | 16 | 32 | M8 | 17 | 20 | 24 | 50 | 8 | 5 | 17 |
| 22 | 40 | M10 | 19 | 28 | 24 | 50 | 10 | 5,6 | 24,5 | ||
| 27 | 48 | M12 | 21 | 32 | 24 | 50 | 12 | 6,3 | 30,5 | ||
| 32 | 58 | M16 | 24 | 36 | 34 | 60 | 14 | 7 | 33,5 | ||
| 40 | 70 | M20 | 27 | 45 | 34 | 60 | 16 | 8 | 44,5 | ||
| 100 | 100 | 16 | 32 | M8 | 17 | 20 | 21 | 50 | 8 | 5 | 17 |
| 22 | 40 | M10 | 19 | 28 | 21 | 50 | 10 | 5,6 | 24,5 | ||
| 27 | 48 | M12 | 21 | 32 | 21 | 50 | 12 | 6,3 | 30,5 | ||
| 32 | 58 | M16 | 24 | 36 | 21 | 50 | 14 | 7 | 33,5 | ||
| 40 | 70 | M20 | 27 | 45 | 31 | 60 | 16 | 8 | 44,5 | ||
| 50 | 90 | M24 | 30 | 50 | 41 | 70 | 18 | 9 | 55 | ||
| 60 | 110 | M30 | 40 | 63 | 46 | 75 | 20 | 10 | 65 | ||
| a Các giá trị được cho chỉ dùng để tham khảo | |||||||||||
3.3 Trục gá mặt tiếp xúc lớn với mặt phân cách của côn rỗng có mặt bích tiếp xúc
Kích thước của trục gá mặt tiếp xúc lớn với mặt phân cách của côn rỗng có mặt bích tiếp xúc được giới thiệu trên Hình 1 và được cho trong Bảng 2.
Bảng 2 - Trục gá mặt tiếp xúc lớn với mặt phân cách của côn rỗng có mặt bích tiếp xúc
| HSK | d1 | d2 h6 | d3 min. | d4 | d5 | d6 | l1 0 -1 | l2 min. | l3a | l4 | a h11 | b h11 | c min |
| 40 | 40 | 16 | 38 | M8 | - | - | 17 | 20 | 30 | 50 | 8 | 5 | 17 |
| 22 | 48 | M10 | - | - | 19 | 28 | 30 | 50 | 10 | 5,6 | 24,5 | ||
| 27 | 60 | M12 | - | - | 21 | 32 | 34 | 60 | 12 | 6,3 | 30,5 | ||
| 50 | 50 | 16 | 38 | M8 | - | - | 17 | 20 | 14 | 40 | 8 | 5 | 17 |
| 22 | 48 | M10 | - | - | 19 | 28 | 19 | 45 | 10 | 5,6 | 24,5 | ||
| 27 | 60 | M12 | - | - | 21 | 32 | 34 | 60 | 12 | 6,3 | 30,5 | ||
| 32 | 78 | M16 | - | - | 24 | 36 | 34 | 60 | 14 | 7 | 33,5 | ||
| 63 | 63 | 16 | 38 | M8 | - | - | 17 | 20 | 24 | 50 | 8 | 5 | 17 |
| 22 | 48 | M10 | - | - | 19 | 28 | 24 | 50 | 10 | 5,6 | 24,5 | ||
| 27 | 60 | M12 | - | - | 21 | 32 | 34 | 60 | 12 | 6,3 | 30,5 | ||
| 32 | 78 | M16 | - | - | 24 | 36 | 34 | 60 | 14 | 7 | 33,5 | ||
| 40 | 89 | M20 | 66,7 | M12 | 27 | 45 | 34 | 60 | 16 | 8 | 44,5 | ||
| 80 | 80 | 16 | 38 | M8 | - | - | 17 | 20 | 14 | 40 | 8 | 5 | 17 |
| 22 | 48 | M10 | - | - | 19 | 28 | 24 | 50 | 10 | 5,6 | 24,5 | ||
| 27 | 60 | M12 | - | - | 21 | 32 | 24 | 50 | 12 | 6,3 | 30,5 | ||
| 32 | 78 | M16 | - | - | 24 | 36 | 34 | 60 | 14 | 7 | 33,5 | ||
| 40 | 89 | M20 | 66,7 | M12 | 27 | 45 | 34 | 60 | 16 | 8 | 44,5 | ||
| 100 | 100 | 16 | 38 | M8 | - | - | 17 | 20 | 14 | 40 | 8 | 5 | 17 |
| 22 | 48 | M10 | - | - | 19 | 28 | 21 | 50 | 10 | 5,6 | 24,5 | ||
| 27 | 60 | M12 | - | - | 21 | 32 | 21 | 50 | 12 | 6,3 | 30,5 | ||
| 32 | 78 | M16 | - | - | 24 | 36 | 21 | 50 | 14 | 7 | 33,5 | ||
| 40 | 89 | M20 | 66,7 | M12 | 27 | 45 | 31 | 60 | 16 | 8 | 44,5 | ||
| 50 | 120 | M24 | - | - | 30 | 50 | 41 | 70 | 18 | 9 | 55 | ||
| 60 | 130 | M30 | 101,6 | M16 | 40 | 63 | 46 | 75 | 20 | 10 | 65 | ||
| a Các giá trị được cho chỉ dùng để tham khảo | |||||||||||||
4 Vật liệu
Vật liệu do nhà sản xuất quy định, nhưng độ bền kéo tối thiểu phải là 800 N/mm2
Độ cứng phải đạt 56 (+4) HRC
Thư mục tài liệu tham khảo
[1] ISO 8015, Technical drawings - Fundamental tolerancing principle (Bản vẽ kỹ thuật - Nguyên tắc cơ bản cho quy định dung sai).
Bạn chưa Đăng nhập thành viên.
Đây là tiện ích dành cho tài khoản thành viên. Vui lòng Đăng nhập để xem chi tiết. Nếu chưa có tài khoản, vui lòng Đăng ký tại đây!