- Tổng quan
- Nội dung
- Quy chuẩn liên quan
- Lược đồ
- Tải về
Quy chuẩn kỹ thuật quốc gia QCVN 12-27:2024/BCT An toàn sản phẩm vật liệu nổ công nghiệp - Thuốc nổ ANFO
| Số hiệu: | QCVN 12-27:2024/BCT | Loại văn bản: | Quy chuẩn Việt Nam |
| Cơ quan ban hành: | Bộ Công Thương | Lĩnh vực: | Công nghiệp |
| Trích yếu: | về An toàn sản phẩm vật liệu nổ công nghiệp - Thuốc nổ ANFO | ||
|
Ngày ban hành:
Ngày ban hành là ngày, tháng, năm văn bản được thông qua hoặc ký ban hành.
|
25/12/2024 |
Hiệu lực:
|
Đã biết
|
| Người ký: | Đang cập nhật |
Tình trạng hiệu lực:
Cho biết trạng thái hiệu lực của văn bản đang tra cứu: Chưa áp dụng, Còn hiệu lực, Hết hiệu lực, Hết hiệu lực 1 phần; Đã sửa đổi, Đính chính hay Không còn phù hợp,...
|
Đã biết
|
TÓM TẮT QUY CHUẨN VIỆT NAM QCVN 12-27:2024/BCT
QCVN 12-27:2024/BCT về An toàn sản phẩm vật liệu nổ công nghiệp - Thuốc nổ ANFO: Những quy định quan trọng ảnh hưởng tới tổ chức, cá nhân liên quan
Quy chuẩn kỹ thuật quốc gia QCVN 12-27:2024/BCT về an toàn sản phẩm vật liệu nổ công nghiệp - thuốc nổ ANFO được Bộ Công Thương ban hành theo Thông tư số 34/2024/TT-BCT ngày 25 tháng 12 năm 2024, có hiệu lực từ ngày 01 tháng 7 năm 2025 và thay thế Quy chuẩn QCVN 04:2012/BCT. Quy chuẩn này áp dụng cho tất cả tổ chức và cá nhân có hoạt động liên quan tới thuốc nổ ANFO trên lãnh thổ Việt Nam.
Quy chuẩn này quy định rõ các chỉ tiêu kỹ thuật, phương pháp thử nghiệm và quản lý thuốc nổ ANFO với mã HS 3602.00.00. Các tổ chức, cá nhân phải thực hiện công bố hợp quy và gắn dấu hợp quy (dấu CR) trước khi lưu thông sản phẩm trên thị trường, cũng như ghi nhãn theo quy định hiện hành.
Các chỉ tiêu kỹ thuật quan trọng
- Khối lượng riêng rời: từ 0,80 đến 0,95 g/cm3.
- Tốc độ nổ: từ 3000 đến 4500 m/s.
- Khả năng sinh công: từ 105 đến 130% so với TNT tiêu chuẩn.
- Độ nhạy kích nổ: yêu cầu mồi nổ phải đáp ứng các tiêu chuẩn an toàn.
Phương pháp thử nghiệm và quy trình đánh giá
Quy chuẩn cũng chỉ ra rõ ràng phương pháp để xác định các chỉ tiêu kỹ thuật, yêu cầu tổ chức và cá nhân phải có các dụng cụ và thiết bị phù hợp. Các thí nghiệm phải được tiến hành tối thiểu 03 lần để đảm bảo độ tin cậy của kết quả, với sai số giữa các phép thử không được vượt quá các mức quy định.
Trách nhiệm rõ ràng trong việc quản lý và công bố
Các tổ chức sản xuất, kinh doanh thuốc nổ ANFO có trách nhiệm phải tuân thủ quy định nhằm đảm bảo chất lượng sản phẩm theo quy định của Luật Chất lượng sản phẩm hàng hóa. Ngoài ra, các tổ chức này cần phải đăng ký bản công bố hợp quy tại Sở Công Thương nơi đặt trụ sở.
Điều khoản chuyển tiếp
Các sản phẩm thuốc nổ ANFO đã được công bố hợp quy trước ngày 01 tháng 7 năm 2025 theo Quy chuẩn cũ vẫn được tiếp tục sử dụng đúng theo thời hạn sử dụng đã công bố.
Kết luận
Quy chuẩn QCVN 12-27:2024/BCT thiết lập rõ ràng các tiêu chuẩn an toàn và trách nhiệm đối với thuốc nổ ANFO, ảnh hưởng trực tiếp đến hoạt động sản xuất, kinh doanh của các tổ chức và cá nhân trong lĩnh vực này. Quy chuẩn này không chỉ giúp nâng cao mức độ an toàn trong việc sử dụng vật liệu nổ mà còn định hình cách thức quản lý chất lượng sản phẩm trên thị trường trong nước.
QCVN 12 - 27:2024/BCT
QUY CHUẨN KỸ THUẬT QUỐC GIA VỀ AN TOÀN SẢN PHẨM VẬT LIỆU NỔ CÔNG NGHIỆP - THUỐC NỔ ANFO
National technical regulation on safety of industrial explosive materials - ANFO explosive
LỜI NÓI ĐẦU
QCVN 12 - 27:2024/BCT do Tổ soạn thảo Quy chuẩn kỹ thuật Quốc gia về an toàn sản phẩm vật liệu nổ công nghiệp - thuốc nổ ANFO biên soạn, Cục Kỹ thuật an toàn và Môi trường công nghiệp trình duyệt, Bộ Khoa học và Công nghệ thẩm định, Bộ trưởng Bộ Công Thương ban hành theo Thông tư số 34/2024/TT-BCT ngày 25 tháng 12 năm 2024.
Quy chuẩn này thay thế Quy chuẩn kỹ thuật quốc gia về thuốc nổ ANFO số QCVN 04:2012/BCT.
QUY CHUẨN KỸ THUẬT QUỐC GIA VỀ AN TOÀN SẢN PHẨM VẬT LIỆU NỔ CÔNG NGHIỆP - THUỐC NỔ ANFO
National technical regulation on safety of industrial explosive materials - ANFO explosive
I. QUY ĐỊNH CHUNG
1. Phạm vi điều chỉnh
Quy chuẩn kỹ thuật này quy định chỉ tiêu kỹ thuật, phương pháp thử và quy định quản lý đối với thuốc nổ ANFO có mã HS 3602.00.00.
2. Đối tượng áp dụng
Quy chuẩn kỹ thuật này áp dụng cho các tổ chức, cá nhân có hoạt động liên quan tới thuốc nổ ANFO trên lãnh thổ Việt Nam và các tổ chức, cá nhân khác có liên quan.
3. Giải thích từ ngữ
Trong Quy chuẩn kỹ thuật này, các từ ngữ dưới đây được hiểu như sau:
3.1. Khối lượng riêng rời: Là khối lượng của một đơn vị thể tích thuốc nổ ANFO ở trạng thái rời đổ đống hay còn gọi là khối lượng riêng đổ đống hoặc tỷ trọng rắc.
3.2. Độ nhạy kích nổ: Là ngưỡng để thuốc nổ có thể phát nổ khi bị kích thích bằng sóng xung kích được tạo ra từ các phương tiện gây nổ (kíp nổ, mồi nổ, dây nổ) hoặc va đập hoặc ma sát hoặc ngọn lửa.
II. QUY ĐỊNH VỀ KỸ THUẬT
4. Tài liệu viện dẫn
Các tài liệu viện dẫn trong Quy chuẩn kỹ thuật này được áp dụng phiên bản được nêu ở dưới đây.
QCVN 01:2019/BCT - Quy chuẩn kỹ thuật quốc gia về an toàn trong sản xuất, thử nghiệm, nghiệm thu, bảo quản, vận chuyển, sử dụng, tiêu hủy vật liệu nổ công nghiệp và bảo quản tiền chất thuốc nổ.
QCVN 12-25:2024/BCT - Quy chuẩn kỹ thuật quốc gia về an toàn sản phẩm vật liệu nổ công nghiệp - kíp nổ điện số 8.
QCVN 12-31:2024/BCT - Quy chuẩn kỹ thuật quốc gia về an toàn sản phẩm vật liệu nổ công nghiệp - dây nổ chịu nước.
QCVN 12-24:2024/BCT - Quy chuẩn kỹ thuật quốc gia về an toàn sản phẩm vật liệu nổ công nghiệp - mồi nổ dùng cho thuốc nổ công nghiệp.
TCVN 6421:1998 - Vật liệu nổ công nghiệp - Xác định khả năng sinh công bằng cách đo sức nén trụ chì.
TCVN 6424:1998 - Vật liệu nổ công nghiệp - Xác định khả năng sinh công bằng con lắc xạ thuật.
TCVN 4851:1989 - Nước để phân tích dùng trong phòng thí nghiệm - Yêu cầu kỹ thuật và phương pháp thử.
5. Chỉ tiêu kỹ thuật
Chỉ tiêu kỹ thuật của thuốc nổ ANFO được quy định tại Bảng 1.
Bảng 1 - Chỉ tiêu kỹ thuật của thuốc nổ ANFO
| Tên chỉ tiêu | Đơn vị tính | Chỉ tiêu |
| 1. Khối lượng riêng rời | g/cm3 | Từ 0,80 đến 0,95 |
| 2. Tốc độ nổ đo trong lỗ khoan hoặc trong ống thép | m/s | Từ 3 000 đến 4 500 |
| 3. Khả năng sinh công bằng con lắc xạ thuật (so sánh với TNT tiêu chuẩn) | % | Từ 105 đến 130 |
| 4. Độ nén trụ chì (đo trong ống thép) | mm | Không nhỏ hơn 14 |
| 5. Độ nhạy kích nổ |
| Mồi nổ |
6. Đóng thỏi, bao gói
6.1. Đóng thỏi
Thuốc nổ ANFO được đóng thỏi với đường kính không nhỏ hơn 60 mm bằng màng Poly Etylen (PE) và Poly Propylen (PP).
6.2. Bao gói
6.2.1. Các thỏi thuốc nổ ANFO được đóng vào hộp giấy cacton hoặc trong bao Poly Propylen (PP) theo quy định tại QCVN 01:2019/BCT và các quy định của pháp luật hiện hành về bao gói vật liệu nổ công nghiệp.
6.2.2. Thuốc nổ ANFO dạng rời được bao gói trong vỏ bao hai lớp, lớp vỏ trong bằng màng PE, lớp vỏ ngoài bằng bao PP. Khối lượng tịnh mỗi bao 25 kg hoặc khối lượng và quy cách khác theo nhu cầu sử dụng.
7. Phương pháp thử
7.1. Xác định khối lượng riêng rời
7.1.1. Nguyên tắc
Khối lượng riêng rời của thuốc nổ ANFO được xác định bằng cách đổ tự do thuốc nổ từ một khoảng cách nhất định vào dụng cụ đã biết trước thể tích. Từ thể tích dụng cụ và khối lượng thuốc nổ ANFO đã chiếm chỗ xác định được khối lượng riêng rời.
7.1.2. Vật tư, thiết bị, dụng cụ
7.1.2.1. Thuốc nổ ANFO.
7.1.2.2. Cân kỹ thuật, sai số 0,01 g.
7.1.2.3. Bình hứng thể tích 1 000 ml.
7.1.2.4. Nước để phân tích dùng trong phòng thí nghiệm theo quy định tại TCVN 4851:1989.
7.1.2.5. Bình hút ẩm.
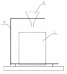
Bộ dụng cụ để xác định khối lượng riêng rời thể hiện theo Hình 1.

1. Bình hứng 2. Phễu 3. Giá đỡ
Hình 1 - Bộ dụng cụ để xác định khối lượng riêng rời
7.1.3. Cách tiến hành
Rửa sạch các bình hứng bằng hỗn hợp K2Cr2O7/H2SO4, tráng lại bằng nước cất 3 lần. Sấy khô bình hứng ở 100 - 105 °C; để nguội trong bình hút ẩm đến nhiệt độ phòng rồi cân và ghi khối lượng G1.
Đặt bình hứng dưới phễu sao cho đáy phễu hướng đồng trục với tâm của bình hứng, đáy phễu cách mặt bình hứng khoảng từ 15 mm đến 20 mm. Cố định khoảng cách này trong cả quá trình làm thí nghiệm.
Đổ thuốc nổ ANFO vào phễu sao cho rơi xuống đầy bình hứng phía dưới. Dùng thước phẳng gạt ngang mặt bình hứng. Cân khối lượng bình hứng đã chứa thuốc nổ và ghi khối lượng G2.
7.1.4. Tính kết quả
Khối lượng riêng của mẫu thử, tính theo công thức:
| ρ = | G2 - G1 | (g/cm3) (1) |
| V |
Trong đó:
G1: Khối lượng bình hứng, g.
G2: Khối lượng bình hứng và mẫu, g.
V: Thể tích bình hứng, cm3.
Thí nghiệm được lặp lại 3 lần, chênh lệch kết quả giữa 3 lần thí nghiệm không được lớn hơn 0,05 g/cm3. Kết quả phân tích là giá trị trung bình của ba lần thử, làm tròn đến 0,01 g/cm3.
7.1.5. Đánh giá kết quả
Mẫu thử đạt yêu cầu về khối lượng riêng khi đáp ứng quy định nêu tại Điều 5 của Quy chuẩn kỹ thuật này.
7.2. Xác định tốc độ nổ đo trong lỗ khoan
7.2.1. Nguyên tắc
Dùng máy đo thời gian xác định thời gian sóng truyền nổ qua một chiều dài nhất định trên cột thuốc từ đó xác định tốc độ nổ.
7.2.2. Vật tư, thiết bị, dụng cụ
7.2.2.1. Thuốc nổ ANFO.
7.2.2.2. Máy đo tốc độ nổ MicroTrap.
7.2.2.3. Máy nổ mìn chuyên dụng hoặc nguồn điện một chiều từ 6 V đến 12 V.
7.2.2.4. Dây điện trở, cáp dẫn tín hiệu (loại RG - 58).
7.2.2.5. Kíp nổ điện số 8 theo quy định tại QCVN 12-25:2024/BCT.
7.2.2.6. Mồi nổ dùng cho thuốc nổ công nghiệp, loại 175 g/quả theo quy định tại QCVN 12-24:2024/BCT.
7.2.2.7. Thước vạch chuẩn, dao cắt dây, băng dính cách điện.
7.2.2.8. Cáp đo tốc độ nổ.
7.2.2.9. Máy tính cài phần mềm phân tích theo máy đo.
7.2.3. Yêu cầu kỹ thuật:
Cáp đo tốc độ nổ và cáp dẫn tín hiệu không được dập hoặc đứt gẫy.
Tổng trở của cáp đo tốc độ nổ sử dụng từ 50 Ω đến 3 000 Ω.
Thời gian trễ nổ tại các lỗ khoan tăng dần theo chiều từ đầu dây cáp đo tốc độ nổ lỗ khoan đầu tiên đến đầu dây cáp đo tốc độ nổ lỗ khoan nối với cáp dẫn tín hiệu đến máy MicroTrap.
Đối với lỗ khoan sử dụng một mồi nổ, để đảm bảo lượng thuốc nổ trong lỗ khoan được kích nổ hoàn toàn không ảnh hưởng đến chỉ tiêu phá vỡ đất đá, yêu cầu chiều sâu lỗ khoan đo tốc độ nổ từ 10 m đến 15 m. Đối với lỗ khoan có nhiều khối mồi nổ thì phải tính toán sao cho thời gian trễ nổ của các khối mồi nổ này tăng dần từ dưới đáy lỗ khoan lên hoặc phải chập hai mồi nổ lại (nếu dùng hai quả mồi kích nổ) thả xuống cách đáy lỗ khoan từ 0,5 m đến 2 m tùy theo chiều cao cột thuốc.
Phép đo thực hiện từ 01 đến 03 lỗ khoan liền kề nhau.
7.2.4. Cách tiến hành
7.2.4.1. Chuẩn bị mẫu theo Hình 2.

Hình 2 - Sơ đồ chuẩn bị mẫu và đo tốc độ nổ trong lỗ khoan
7.2.4.2. Dùng dao cắt gọt 5 cm chiều dài lớp vỏ của phần đầu của cáp đo tốc độ nổ. Xoắn hai đầu vừa gọt lại với nhau và quấn băng dính cách điện bên ngoài để bảo vệ hai đầu dây này.
7.2.4.3. Dùng dây và thước vạch chuẩn đo để xác định chiều sâu của các lỗ khoan sẽ dùng để đo tốc độ nổ, ghi chiều sâu của từng lỗ khoan.
7.2.4.4. Nạp thuốc nổ và nạp bua xuống lỗ khoan (đường kính lỗ khoan phụ thuộc vào đường kính thỏi thuốc).
7.2.4.5. Gập vuông góc tại vị trí phần dây điện trở nhô lên mặt phẳng nằm ngang và ròng dây điện trở sang lỗ tiếp theo. Sau khi nạp thuốc và bua, phần đầu dây đo điện trở còn lại để thừa ra cách miệng lỗ khoan cuối cùng từ 5 m đến 8 m và được nối với cáp truyền tín hiệu dẫn đến nơi trú ẩn kết nối cáp với máy Microtrap.
7.2.4.6. Nối hai đầu dây của dây điện trở với cáp dẫn tín hiệu về máy máy đo. Kiểm tra, cài đặt máy ở chế độ sẵn sàng đo (sẵn sàng ghi lại các dữ liệu của quá trình nổ).
Tiến hành kích nổ lỗ mìn, máy đo sẽ bắt đầu thu nhận thông tin về tốc độ nổ, kết quả đo được phân tích trên máy tính bằng phần mềm đi kèm máy.
7.2.5. Tính kết quả
Thí nghiệm được tiến hành tối thiểu 03 lần, sai số giữa các kết quả đo không được lớn hơn ± 200 m/s. Kết quả là giá trị trung bình của các phép thử, làm tròn đến số nguyên.
7.2.6. Đánh giá kết quả
Mẫu thử đạt yêu cầu về tốc độ nổ khi đáp ứng quy định nêu tại Điều 5 của Quy chuẩn kỹ thuật này.
7.3. Xác định tốc độ nổ đo trong ống thép
7.3.1. Nguyên tắc
Dùng máy đo thời gian xác định thời gian sóng truyền nổ qua một chiều dài nhất định trên cột thuốc từ đó xác định tốc độ nổ.
7.3.2. Vật tư, thiết bị, dụng cụ
7.3.2.1. Thuốc nổ ANFO.
7.3.2.2. Máy đo tốc độ nổ và dây quang đồng bộ.
7.3.2.3. Máy nổ mìn chuyên dụng hoặc nguồn điện một chiều từ 6 V đến 12 V.
7.3.2.4. Thuốc nổ nhũ tương dùng cho lộ thiên theo quy định tại QCVN 04:2020/BCT.
7.3.2.5. Kíp nổ điện số 8 theo quy định tại QCVN 12-25:2024/BCT.
7.3.2.6. Cân kỹ thuật độ chính xác 0,01 g.
7.3.2.7. Thước mét, dao cắt, băng dính, giấy krap.
7.3.2.8. Dụng cụ tạo lỗ đường kính Ф3mm và Ф7,5 mm.
7.3.2.9. Hầm thử nổ chuyên dụng đảm bảo an toàn, không cho mảnh thép bắn ra ngoài khu vực hầm thử.
7.3.2.10. Ống thép có đường kính trong 40 ± 0,1 mm, chiều dày thành ống từ 3 đến 5 mm, chiều dài ống 400 mm. Ở các vị trí cách một đầu 50 mm và 150 mm thành ngoài của ống thép, mỗi vị trí khoan một lỗ có đường kính 3 mm để làm lỗ lắp đặt dây quang (như Hình 3). Dùng băng dính dán bịt kín lỗ luồn dây.

Hình 3 - Ống thép phục vụ đo tốc độ nổ
7.3.3. Chuẩn bị mẫu
Dùng giấy kraft và băng dính để bịt kín một đầu ống thép gần lỗ đặt dây stop, cân khối lượng ống thép trước khi nạp thuốc.
Nhồi từ từ thuốc nổ vào ống thép, đồng thời dùng một thanh gỗ gõ nhẹ vào thành ngoài của ống thép đến khi bề mặt thuốc nổ không còn bị lún xuống thì dừng lại, chiều dài nhồi thuốc là từ 220 mm đến 230 mm. Cân khối lượng ống thép sau nhồi để xác định khối lượng thuốc nhồi và tính mật độ thuốc nổ nhồi trong ống. Mật độ thuốc trong ống đảm bảo đạt từ 0,80 g/cm3 đến 0,95 g/cm3.
Nhồi thuốc nổ nhũ tương phía trên thuốc nổ ANFO để làm mồi nổ. Nhồi thuốc nổ nhũ tương cần nhồi chặt, chiều dài nhồi từ 170 mm đến 180 mm. Dùng giấy kraft và băng dính bịt lại chờ sử dụng.
7.3.4. Cách tiến hành
7.3.4.1. Kiểm tra máy đo tốc độ nổ và tín hiệu dây quang (đèn stop, start) hoạt động bình thường.
7.3.4.2. Rải 1 lớp cát để tạo mặt phẳng đặt mẫu thử.
Dùng dụng cụ tạo lỗ Ф3 để tra dây quang, đặt dây quang vuông góc với trục của mẫu thử tại vị trí lỗ đã tạo trên ống, gắn dây quang đảm bảo đúng thứ tự đếm của máy đo (Start, stop).
Dùng dụng cụ chuyên dụng tạo lỗ Ф7,5 mm để tra kíp nổ số 8.
Sơ đồ thử nghiệm như hình 4.

Hình 4 – Sơ đồ thử nghiệm xác định tốc độ nổ trong ống thép
7.3.4.3. Nối hai đầu dây quang vào máy đo tốc độ nổ. Tra kíp vào lỗ vừa được tạo ra trên mẫu thử sao cho ngập hết 2/3 kíp trong lỗ tạo ra trên mẫu thử.
7.3.4.4. Kiểm tra sự hoạt động và tính ổn định của máy đo (sẵn sàng ghi lại các dữ liệu của quá trình nổ); kiểm tra an toàn khu vực thử nổ, thông báo bằng loa hoặc hô khẩu lệnh trước khi tiến hành kích nổ.
7.3.4.5. Tiến hành kích nổ mẫu thử, máy đo sẽ thu nhận thông tin, xử lý số liệu và hiển thị kết quả đo trên máy.
7.3.5. Tính kết quả
Thí nghiệm được tiến hành tối thiểu 03 lần, sai số giữa các kết quả đo không lớn hơn 200 m/s. Kết quả là giá trị trung bình của các phép thử, làm tròn đến số nguyên.
7.3.6. Đánh giá kết quả
Mẫu thử đạt yêu cầu về tốc độ nổ khi đáp ứng quy định nêu tại Điều 5 của Quy chuẩn kỹ thuật này.
7.4. Xác định khả năng sinh công bằng con lắc xạ thuật
Thực hiện theo TCVN 6424:1998.
7.5. Xác định độ nén trụ chì
7.5.1. Nguyên tắc
Dùng một khối thuốc nổ có khối lượng nhất định nhồi trong ống thép hình trụ. Đặt khối thuốc nổ lên một khối chì hình trụ có cùng đường kính. Cho khối thuốc nổ, dưới tác dụng của lực nổ trụ chì biến dạng. Hiệu số chiều cao của trụ chì trước và sau khi nổ là trị số biểu hiện sức phá của thuốc nổ.
7.5.2. Vật tư, thiết bị, dụng cụ
7.5.2.1. Thuốc nổ ANFO.
7.5.2.2. Ống thép hình trụ có đường kính trong 40 mm ± 0,1 mm, thành ống có độ dày từ 1,0 mm đến 1,5 mm, được bao kín một đầu bảo đảm giữ tốt mẫu trong quá trình thí nghiệm.
7.5.2.3. Nắp đậy có đường kính từ 38 mm đến 40 mm, được cắt từ giấy có độ dày từ 1 mm đến 1,5 mm. Dùng dụng cụ chuyên dùng tạo lỗ tròn ở tâm có đường kính 7,5 mm để tra kíp nổ.
7.5.2.4. Chày gỗ chuyên dụng (xem Phụ lục A TCVN 6421:1998).
7.5.2.5. Trụ chì (Phụ lục A).
7.5.2.6. Đĩa thép đệm (Phụ lục A TCVN 6421:1998).
7.5.2.7. Đế thép để trụ chì (Phụ lục A TCVN 6421:1998).
7.5.2.8. Kíp nổ điện số 8 theo quy định tại QCVN 12-25:2024/BCT.
7.5.2.9. Cân kỹ thuật, độ chính xác 0,01 g.
7.5.2.10. Thước kẹp.
7.5.2.11. Máy nổ mìn chuyên dụng hoặc nguồn điện một chiều từ 6 V đến 12 V.
7.5.3. Cách tiến hành
7.5.3.1. Cho vào ống thép, dùng chày chuyên dùng nén mẫu thuốc đạt đến khối lượng riêng từ 0,80 g/cm3 đến 0,95 g/cm3 và tạo lỗ tra kíp, với chiều sâu 15 mm.
7.5.3.2. Đo chiều cao của trụ chì trước khi nổ, chính xác đến 0,1 mm.
7.5.3.3. Đặt tấm đế thép vào vị trí thử nghiệm trên bê tông hay nền phẳng chắc chắn, đặt trụ chì lên đế thép, tiếp theo đặt đĩa thép, đặt ống thép chứa mẫu thí nghiệm lên đĩa thép.
7.5.3.4. Tra kíp nổ vào lỗ đã tạo trên mẫu thuốc, định vị chắc chắn bằng dây chằng với bốn móc thép. Sơ tán đến nơi trú quy định, kỹ thuật viên nối kíp nổ với dây nguồn điểm hỏa và điểm hỏa nổ.
7.5.3.5. Đo chiều cao trụ chì sau khi nổ được tiến hành như sau:
Dùng dùi sắt nhọn rạch hai đường kính vuông góc với nhau trên bề mặt trụ sau khi nổ.
Dùng thước kẹp đo chiều cao của trụ tại bốn vị trí là giao điểm của hai đường kính trên với đường sinh của trụ chì với độ chính xác là 0,1 mm.
Tiến hành đo ít nhất ba lần tại cùng một vị trí.
Chiều cao của trụ chì sau khi nổ là giá trị trung bình của bốn giá trị đo trên.
Mỗi mẫu tiến hành thử hai lần.
Xác định độ nén trụ chì được thể hiện theo Hình 5.

|
|
|
|
| Trụ chì trước khi nổ | Trụ chì sau khi nổ | Đĩa thép đệm |
| 1 - Đế thép để trụ chì | 5 - Ống thép | 2 - Trụ chì |
| 6 - Thuốc nổ | 3 - Dây chằng | 7 - Đệm giấy |
| 4 - Đĩa thép đệm | 8 - Kíp nổ điện số 8 |
|
Hình 5 - Sơ đồ thiết bị xác định độ nén trụ chì
7.5.4. Tính kết quả
Sức phá thuốc nổ (∆H) tính bằng milimét, xác định theo công thức sau:
∆H = H1 - H2
trong đó
H1 là chiều cao trụ chì trước khi nổ, tính bằng mm;
H2 là chiều cao trụ chì sau khi nổ, tính bằng mm.
Sai số giữa các kết quả đo không được lớn hơn ± 1 mm. Kết quả là giá trị trung bình của các phép thử, làm tròn đến số nguyên.
7.5.5. Đánh giá kết quả
Mẫu thử đạt yêu cầu về độ nén trụ chì khi đáp ứng quy định nêu tại Điều 5 của Quy chuẩn kỹ thuật này.
7.6. Xác định độ nhạy kích nổ
7.6.1. Nguyên tắc
Sử dụng phụ kiện kích nổ theo yêu cầu để kích nổ thuốc nổ ANFO.
7.6.2. Vật tư, thiết bị, dụng cụ
7.6.2.1. Thuốc nổ ANFO.
7.6.2.2. Kíp nổ điện số 8 theo quy định tại QCVN 12-25:2024/BCT.
7.6.2.3. Mồi nổ dùng cho thuốc nổ công nghiệp, loại 175 g/quả theo quy định tại QCVN 12-24:2024/BCT.
7.6.2.4. Dây nổ chịu nước 12 g/m, dài 500 mm theo quy định tại QCVN 12-31:2024/BCT.
7.6.2.5. Tấm chì dài 400 mm, rộng 200 mm, dày 10 mm.
7.6.2.6. Máy nổ mìn chuyên dụng hoặc nguồn điện một chiều từ 6 V đến 12 V.
7.6.2.7. Dụng cụ tạo lỗ đường kính 2 mm và 7,5 mm.
7.6.2.8. Hầm nổ hoặc bãi thử nổ.
7.6.3. Cách tiến hành
7.6.3.1. Lấy ngẫu nhiên 03 mẫu thuốc trong lô hàng cần kiểm tra độ nhạy kích nổ, bao gói vào ống giấy kraft hoặc hoặc túi PP hoặc ống PVC dày 1,0 mm, đường kính 80 mm, chiều dài không nhỏ hơn 200 mm và đảm bảo khối lượng riêng nằm trong khoảng quy định tại Điều 5 của Quy chuẩn kỹ thuật này.
7.6.3.2. Đặt mẫu thuốc nổ đã chuẩn bị trên mặt cát bằng phẳng.
7.6.3.3. Rạch đầu thỏi thuốc, tra mồi nổ vào thỏi thuốc, sau đó tra kíp vào lỗ trên quả mồi nổ. Dùng dụng cụ tạo lỗ, tạo lỗ sâu trên thỏi thuốc ở phía đối diện với phía tra kíp và đưa 2 cm đến 3 cm đoạn dây nổ vào lỗ, cố định dây nổ trên tấm chì bằng băng dính sao cho khoảng cách từ đáy của thỏi thuốc nổ đến đầu tấm chì không nhỏ hơn 300 mm.
7.6.3.4. Đấu hai đầu dây dẫn của kíp điện vào đường dây điện khởi nổ chính và tiến hành kích nổ bằng máy nổ mìn. Tiến hành khởi nổ.
Xác định độ nhạy kích nổ được thể hiện theo Hình 6.

1. Kíp nổ điện số 8 2. Mồi nổ dùng cho thuốc nổ công nghiệp
3. Thuốc nổ ANFO 4. Dây nổ 5. Tấm chì
Hình 6 - Sơ đồ xác định độ nhạy kích nổ
7.6.4. Đánh giá kết quả
Yêu cầu toàn bộ các mẫu đem thử phải nổ hết (trên tấm chì có vết của dây nổ) thì kết luận loại thuốc nổ đó có độ nhạy kích nổ theo quy định.
7.7. Quy định về an toàn trong thử nghiệm
Phải tuân thủ quy định về an toàn trong bảo quản, sử dụng, tiêu hủy vật liệu nổ công nghiệp theo quy định tại Quy chuẩn số QCVN 01:2019/BCT trong quá trình thử nghiệm và tiêu hủy mẫu không đạt yêu cầu.
7.8. Quy định về sử dụng phương tiện đo
Phương tiện đo phải được kiểm định, hiệu chuẩn theo quy định của pháp luật về đo lường. Trong toàn bộ thời gian quy định của chu kỳ kiểm định, hiệu chuẩn, đặc tính kỹ thuật đo lường của phương tiện đo phải được duy trì trong suốt quá trình sử dụng.
III. QUY ĐỊNH VỀ QUẢN LÝ
8. Quy định về quản lý
8.1. Thuốc nổ ANFO phải công bố hợp quy phù hợp quy định kỹ thuật tại Điều 5 của Quy chuẩn kỹ thuật này, gắn dấu hợp quy (dấu CR) và ghi nhãn hàng hóa trước khi lưu thông trên thị trường. Việc ghi nhãn thuốc nổ ANFO được thực hiện theo quy định tại khoản 1 Điều 10 Nghị định số 43/2017/NĐ-CP ngày 14 tháng 4 năm 2017 của Chính phủ về nhãn hàng hóa, được sửa đổi, bổ sung bởi khoản 5 Điều 1 Nghị định số 111/2021/NĐ-CP ngày 09 tháng 11 năm 2021 của Chính phủ sửa đổi, bổ sung một số điều Nghị định số 43/2017/NĐ-CP ngày 14 tháng 4 năm 2017 của Chính phủ về nhãn hàng hóa và QCVN 01:2019/BCT.
8.2. Thuốc nổ ANFO sản xuất trong nước phải thực hiện công bố hợp quy theo quy định tại Thông tư số 36/2019/TT-BCT ngày 29 tháng 11 năm 2019 của Bộ trưởng Bộ Công Thương quy định quản lý chất lượng hàng hóa nhập khẩu thuộc trách nhiệm quản lý của Bộ Công Thương (sau đây viết tắt là Thông tư số 36/2019/TT-BCT).
8.3. Thuốc nổ ANFO nhập khẩu phải thực hiện kiểm tra nhà nước về chất lượng hàng hóa nhập khẩu theo quy định tại Nghị định số 132/2008/NĐ-CP ngày 31 tháng 12 năm 2008 của Chính phủ quy định chi tiết thi hành một số điều của Luật Chất lượng sản phẩm, hàng hóa; Nghị định số 74/2018/NĐ-CP ngày 15 tháng 5 năm 2018 của Chính phủ sửa đổi, bổ sung một số điều của Nghị định số 132/2008/NĐ-CP ngày 31 tháng 12 năm 2008 của Chính phủ quy định chi tiết thi hành một số điều Luật Chất lượng sản phẩm, hàng hóa; Nghị định số 154/2018/NĐ-CP ngày 09 tháng 11 năm 2018 của Chính phủ sửa đổi, bổ sung, bãi bỏ một số quy định về điều kiện đầu tư, kinh doanh trong lĩnh vực quản lý nhà nước của Bộ Khoa học và Công nghệ và một số quy định về kiểm tra chuyên ngành.
9. Công bố hợp quy
9.1. Việc công bố hợp quy thuốc nổ ANFO sản xuất trong nước, nhập khẩu phải dựa trên kết quả kết quả chứng nhận của tổ chức chứng nhận được Bộ Công Thương chỉ định theo quy định tại Thông tư số 36/2019/TT-BCT hoặc được thừa nhận theo quy định của Thông tư số 27/2007/TT-BKHCN ngày 31 tháng 10 năm 2007 của Bộ trưởng Bộ Khoa học và Công nghệ hướng dẫn việc ký kết và thực hiện các Hiệp định và thỏa thuận thừa nhận lẫn nhau kết quả đánh giá sự phù hợp (sau đây viết tắt là Thông tư số 27/2007/TT-BKHCN).
9.2. Chứng nhận hợp quy
Chứng nhận hợp quy đối với thuốc nổ ANFO sản xuất trong nước, nhập khẩu thực hiện theo phương thức 5 “Thử nghiệm mẫu điển hình và đánh giá quá trình sản xuất; giám sát thông qua thử nghiệm mẫu lấy tại nơi sản xuất hoặc trên thị trường hoặc lô hàng nhập khẩu kết hợp với đánh giá quá trình sản xuất” hoặc phương thức 7 “Thử nghiệm, đánh giá lô sản phẩm, hàng hóa” tại cơ sở sản xuất theo quy định tại khoản 1 Điều 5 Thông tư số 28/2012/TT-BKHCN ngày 12 tháng 12 năm 2012 của Bộ trưởng Bộ Khoa học và Công nghệ quy định về công bố hợp chuẩn, công bố hợp quy và phương thức đánh giá sự phù hợp với tiêu chuẩn, quy chuẩn kỹ thuật (sau đây viết tắt là Thông tư số 28/2012/TT-BKHCN).
9.3. Thử nghiệm phục vụ việc chứng nhận hợp quy phải được thực hiện bởi tổ chức thử nghiệm được Bộ Công Thương chỉ định theo quy định tại Thông tư số 36/2019/TT-BCT hoặc tổ chức được thừa nhận theo quy định của Thông tư số 27/2007/TT-BKHCN.
9.4. Trình tự, thủ tục và hồ sơ công bố hợp quy
Trình tự, thủ tục và hồ sơ công bố hợp quy đối với thuốc nổ ANFO sản xuất trong nước và nhập khẩu thực hiện theo quy định tại Thông tư số 36/2019/TT-BCT.
10. Sử dụng dấu hợp quy
Dấu hợp quy và sử dụng dấu hợp quy phải tuân thủ theo quy định tại khoản 2 Điều 4 của Thông tư số 28/2012/TT-BKHCN.
IV. TRÁCH NHIỆM CỦA TỔ CHỨC, CÁ NHÂN
11. Trách nhiệm của tổ chức sản xuất, kinh doanh, nhập khẩu thuốc nổ ANFO
11.1. Tổ chức sản xuất, kinh doanh thuốc nổ ANFO phải tuân thủ quy định tại Quy chuẩn kỹ thuật này và đảm bảo chất lượng phù hợp với quy định tại Luật Chất lượng sản phẩm hàng hóa.
11.2. Tổ chức sản xuất, nhập khẩu thuốc nổ ANFO phải đăng ký bản công bố hợp quy tại Sở Công Thương nơi đăng ký kinh doanh theo quy định tại Thông tư số 36/2019/TT-BCT.
12. Trách nhiệm của cơ quan quản lý nhà nước
12.1. Cục Kỹ thuật an toàn và Môi trường công nghiệp chủ trì phối hợp với Vụ Khoa học và Công nghệ thuộc Bộ Công Thương, các đơn vị có liên quan hướng dẫn, kiểm tra việc thực hiện Quy chuẩn kỹ thuật này.
12.2. Sở Công Thương các tỉnh, thành phố trực thuộc Trung ương kiểm tra, đôn đốc về thực hiện các thủ tục công bố hợp quy theo quy định tại Quy chuẩn kỹ thuật này kiểm tra việc tuân thủ các quy định về quản lý chất lượng thuốc nổ ANFO của các doanh nghiệp trên địa bàn quản lý.
V. TỔ CHỨC THỰC HIỆN
13. Tổ chức thực hiện
13.1. Quy chuẩn kỹ thuật này có hiệu lực thi hành kể từ ngày 01 tháng 7 năm 2025.
13.2. Trong quá trình thực hiện Quy chuẩn kỹ thuật này, trường hợp tổ chức, cá nhân có khó khăn, vướng mắc đề nghị phản ánh về Bộ Công Thương để xem xét, hướng dẫn.
13.2. Trong trường hợp các văn bản quy phạm pháp luật, Tiêu chuẩn, Quy chuẩn viện dẫn tại Quy chuẩn kỹ thuật này có sửa đổi, bổ sung hoặc được thay thế thì thực hiện theo quy định tại văn bản mới ban hành.
14. Điều khoản chuyển tiếp
Sản phẩm thuốc nổ ANFO được công bố hợp quy trước ngày 01 tháng 7 năm 2025 theo Quy chuẩn kỹ thuật quốc gia về thuốc nổ ANFO số QCVN 04:2012/BCT được tiếp tục sử dụng theo thời hạn sử dụng đã công bố./.
Bạn chưa Đăng nhập thành viên.
Đây là tiện ích dành cho tài khoản thành viên. Vui lòng Đăng nhập để xem chi tiết. Nếu chưa có tài khoản, vui lòng Đăng ký tại đây!


