- Tổng quan
- Nội dung
- Quy chuẩn liên quan
- Lược đồ
- Tải về
Quy chuẩn kỹ thuật Quốc gia QCVN 03:2019/BCT An toàn đối với trạm biến áp phòng nổ hầm mỏ
| Số hiệu: | QCVN 03:2019/BCT | Loại văn bản: | Quy chuẩn Việt Nam |
| Cơ quan ban hành: | Bộ Công Thương | Lĩnh vực: | Công nghiệp |
|
Ngày ban hành:
Ngày ban hành là ngày, tháng, năm văn bản được thông qua hoặc ký ban hành.
|
29/11/2019 |
Hiệu lực:
|
Đã biết
|
| Người ký: | Đang cập nhật |
Tình trạng hiệu lực:
Cho biết trạng thái hiệu lực của văn bản đang tra cứu: Chưa áp dụng, Còn hiệu lực, Hết hiệu lực, Hết hiệu lực 1 phần; Đã sửa đổi, Đính chính hay Không còn phù hợp,...
|
Đã biết
|
TÓM TẮT QUY CHUẨN VIỆT NAM QCVN 03:2019/BCT
QCVN 03:2019/BCT: Quy chuẩn kỹ thuật quốc gia về an toàn trạm biến áp phòng nổ trong mỏ hầm lò
Quy chuẩn kỹ thuật Quốc gia QCVN 03:2019/BCT được ban hành bởi Bộ Công Thương theo Thông tư số 38/2019/TT-BCT ngày 29 tháng 11 năm 2019, và có hiệu lực thi hành ngay sau đó. Quy chuẩn này quy định các yêu cầu kỹ thuật an toàn đối với trạm biến áp phòng nổ sử dụng trong các mỏ hầm lò có khí cháy, nổ và bụi nổ.
Phạm vi điều chỉnh và đối tượng áp dụng
Quy chuẩn xác định phạm vi điều chỉnh là các trạm biến áp phòng nổ có công suất ≥ 50 kVA và không áp dụng cho các trạm biến áp không phòng nổ, biến áp dầu. Đối tượng áp dụng bao gồm các tổ chức, cá nhân liên quan đến trạm biến áp phòng nổ trong mỏ hầm lò trên lãnh thổ Việt Nam.
Các yêu cầu kỹ thuật an toàn
Quy chuẩn yêu cầu rằng trạm biến áp phòng nổ phải có công suất danh định nằm trong khoảng từ 50 đến 4.000 kVA, với điện áp sơ cấp là 6.000V hoặc 10.000V và điện áp thứ cấp từ 400V đến 3.450V. Đối với vị trí lắp đặt, độ dốc quy định không quá ±15° và trạm phải được đặt ở nơi khô ráo, thông gió.
Quản lý và kiểm định
Quy định về quản lý trong điều 10 yêu cầu trạm biến áp phòng nổ phải được đánh giá sự phù hợp với các tiêu chuẩn an toàn tại Chương II của quy chuẩn, trước khi đưa vào sử dụng. Việc hợp quy và kiểm định được thực hiện bởi các tổ chức đủ điều kiện theo quy định hiện hành.
Ghi nhãn và hồ sơ quản lý
Điều 11 quy định rằng trạm biến áp phải được ghi nhãn với thông tin như kiểu, loại, công suất định mức (kVA), điện áp định mức (V), số chứng chỉ phòng nổ, và năm chế tạo. Các tài liệu kỹ thuật của nhà chế tạo cũng cần phải được lưu giữ theo yêu cầu tại Điều 12, trong đó có giấy chứng nhận chất lượng và hướng dẫn sử dụng.
Trách nhiệm của các bên liên quan
Quy chuẩn cũng quy định trách nhiệm của các cơ quan quản lý nhà nước và các tổ chức cá nhân liên quan đến việc tuân thủ các quy định về an toàn đối với trạm biến áp phòng nổ sử dụng trong mỏ hầm lò, từ quá trình vận hành đến kiểm tra thường xuyên.
Tổng quan, QCVN 03:2019/BCT nhằm tăng cường an toàn trong các hoạt động khai thác than, bảo vệ sức khỏe của người lao động và giảm thiểu rủi ro cháy nổ trong môi trường khai thác hầm lò.
Tải quy chuẩn Việt Nam QCVN 03:2019/BCT
QCVN 03:2019/BCT
QUY CHUẨN KỸ THUẬT QUỐC GIA VỀ AN TOÀN TRẠM BIẾN ÁP PHÒNG NỔ SỬ DỤNG TRONG MỎ HẦM LÒ
National technical regulation on safety for explosion-proof transformers sub-station used in underground mine
LỜI NÓI ĐẦU
QCVN 03:2019/BCT do Ban soạn thảo Quy chuẩn kỹ thuật Quốc gia về an toàn trạm biến áp phòng nổ sử dụng trong mỏ hầm lò, Cục Kỹ thuật an toàn và Môi trường công nghiệp trình duyệt, Bộ Công Thương ban hành theo Thông tư số 38/2019/TT-BCT ngày 29 tháng 11 năm 2019.
MỤC LỤC
QUY CHUẨN KỸ THUẬT QUỐC GIA VỀ AN TOÀN TRẠM BIẾN ÁP PHÒNG NỔ SỬ DỤNG TRONG MỎ HẦM LÒ
LỜI NÓI ĐẦU
MỤC LỤC
Chương I Quy định chung
Điều 1. Phạm vi điều chỉnh
Điều 2. Đối tượng áp dụng
Điều 3. Tài liệu viện dẫn
Điều 4. Giải thích từ ngữ
Chương II Quy định về kỹ thuật an toàn
Điều 5. Các yêu cầu chung
Điều 6. Yêu cầu đối với vỏ phòng nổ
Điều 7. Yêu cầu đối với máy biến áp điện lực phòng nổ
Điều 8. Cụm đóng - cắt và điều khiển cao áp phòng nổ
Điều 9. Cụm đóng - cắt và điều khiển hạ áp phòng nổ
Chương III Quy định về quản lý
Điều 10. Quy định về hợp quy
Điều 11. Quy định về ghi nhãn
Điều 12. Yêu cầu về hồ sơ quản lý trạm biến áp phòng nổ sử dụng trong mỏ hầm lò
Điều 13. Yêu cầu về kiểm tra trong quá trình vận hành
Điều 14. Thời hạn và nội dung kiểm tra
Điều 15. Yêu cầu về thử nghiệm và kiểm định
Chương IV Tổ chức thực hiện
Điều 16. Trách nhiệm của Cơ quan quản lý nhà nước
Điều 17. Trách nhiệm của tổ chức, cá nhân có liên quan tới trạm biến áp phòng nổ sử dụng trong mỏ hầm lò
Điều 18. Hiệu lực thi hành
Phụ lục A KẾT CẤU LẮP ĐẶT TRẠM BIẾN ÁP PHÒNG NỔ SỬ DỤNG TRONG MỎ HẦM LÒ
Phụ lục B CÁC MẪU SỔ GHI CHÉP
QUY CHUẨN KỸ THUẬT QUỐC GIA VỀ AN TOÀN TRẠM BIẾN ÁP PHÒNG NỔ SỬ DỤNG TRONG MỎ HẦM LÒ
National technical regulation on safety for explosion-proof transformers sub-station used in underground mine
Chương I
QUY ĐỊNH CHUNG
Điều 1. Phạm vi điều chỉnh
1. Quy chuẩn kỹ thuật này quy định các yêu cầu kỹ thuật an toàn đối với trạm biến áp phòng nổ sử dụng trong mỏ hầm lò có khí cháy, nổ và bụi nổ.
2. Quy chuẩn kỹ thuật này không áp dụng đối với:
a) Trạm biến áp phòng nổ sử dụng trong mỏ hầm lò có công suất danh định < 50 kVA.
b) Trạm biến áp không phòng nổ, biến áp dầu.
Điều 2. Đối tượng áp dụng
Quy chuẩn kỹ thuật này áp dụng đối với những tổ chức, cá nhân có liên quan đến trạm biến áp phòng nổ sử dụng trong mỏ hầm lò trên lãnh thổ Việt Nam.
Điều 3. Tài liệu viện dẫn
1. QCVN 01: 2011/BCT Quy chuẩn kỹ thuật quốc gia về an toàn trong khai thác than hầm lò.
2. QCVN 04: 2017/BCT Quy chuẩn kỹ thuật quốc gia về an toàn trong khai thác quặng hầm lò.
3. QCVN QTĐ-5: 2009/BCT Quy chuẩn kỹ thuật quốc gia về kỹ thuật điện - Tập 5 Kiểm định trang thiết bị hệ thống điện.
4. QCVN QTĐ-6: 2008/BCT Quy chuẩn kỹ thuật quốc gia về kỹ thuật điện - Tập 6 Vận hành, sửa chữa trang thiết bị hệ thống điện.
5. TCVN 4255: 2008 (IEC 60529:2001) Cấp bảo vệ bằng vỏ ngoài (mã IP).
6. TCVN 6099-1: 2016 (IEC 60060-1:2010) Kỹ thuật thử nghiệm điện áp cao - Phần 1: Định nghĩa chung và yêu cầu thử nghiệm.
7. TCVN 6306-1: 2015 (IEC 60076-1:2011) Máy biến áp điện lực - Phần 1: Quy định chung.
8. TCVN 6306-2: 2006 (IEC 60076-2:1993) Máy biến áp điện lực - Phần 2: Độ tăng nhiệt.
9. TCVN 6306-3: 2006 (IEC 60076-3:2000) Máy biến áp điện lực - Phần 3: Mức cách điện, thử nghiệm điện môi và khoảng cách ly bên ngoài không khí.
10. TCVN 6306-5: 2006 (IEC 60076-5:2006) Máy biến áp điện lực - Phần 5: Khả năng chịu ngắn mạch.
11. TCVN 6306-11: 2009 (IEC 60076-11:2018) Máy biến áp điện lực - Phần 11: Máy biến áp kiểu khô.
12. TCVN 6592-1: 2009 (IEC 60947-1:2007) Thiết bị đóng - cắt và điều khiển hạ áp - Phần 1: Quy tắc chung.
13. TCVN 6592-2: 2009 (IEC 60947-2:2009) Thiết bị đóng - cắt và điều khiển hạ áp - Phần 2: Áptômát.
14. TCVN 7079-5: 2002 (IEC 60079-5: 2015) Thiết bị điện dùng trong mỏ hầm lò - Phần 5: Thiết bị đổ đầy cát - dạng bảo vệ “q”.
15. TCVN 7079-7: 2002 (IEC 60079-7: 2017) Thiết bị điện dùng trong mỏ hầm lò - Phần 7: Tăng cường độ tin cậy - Dạng bảo vệ “e”.
16. TCVN 7079-11: 2002 (IEC 60079-11: 2011) Thiết bị điện dùng trong mỏ hầm lò - Phần 11: An toàn tia lửa - Dạng bảo vệ “i”.
17. TCVN 7079-17: 2003 (IEC 60079-17: 2017) Thiết bị điện dùng trong mỏ hầm lò - Phần 17: Kiểm tra va bảo dưỡng thiết bị.
18. TCVN 8096-200: 2010 (IEC 62271-200:2003) Tủ điện đóng - cắt và điều khiển cao áp - phần 200: Tủ điện đóng - cắt và điều khiển xoay chiều có vỏ bọc bằng kim loại dùng cho điện áp danh định lớn hơn 1 kV đến và bằng 52 kV.
19. TCVN 8096-202: 2017 (IEC 62271-202:2014) Cụm đóng - cắt và điều khiển áp cao - Phần 202: Trạm biến áp lắp sẵn cao áp/hạ áp.
20. TCVN 9630-3: 2013 (IEC 60243-3:2001) Độ bền điện của vật liệu cách điện - Phương pháp thử - Phần 3: Yêu cầu bổ sung đối với thử nghiệm xung 1,2/50 ms.
21. TCVN 10888-0: 2015 (IEC 60079-0:2017) Khí quyển nổ - Phần 0: Thiết bị - Yêu cầu chung.
22. TCVN 10888-1: 2015 (IEC 60079-1:2014) Khí quyển nổ - Phần 1: Bảo vệ thiết bị bằng vỏ không xuyên nổ “d".
Điều 4. Giải thích từ ngữ
1. Vỏ không xuyên nổ dạng “d” là vỏ trong đó có chứa các bộ phận có thể mồi cháy hỗn hợp khí nổ và có thể chịu được áp lực xuất hiện trong vụ nổ bên trong của hỗn hợp khí nổ đó và ngăn ngừa sự lan truyền vụ nổ ra khí quyển nổ xung quanh vỏ.
2. Điền đầy “q” là dạng bảo vệ trong đó các bộ phận bên trong vỏ thiết bị được bao quanh hoàn toàn bằng vật liệu điền đầy để ngăn cản sự lan truyền nổ ra môi trường khí cháy, nổ và bụi nổ bên ngoài vỏ.
3. Vật liệu điền đầy là các vật liệu rắn cách điện được đổ đầy trong khoang vỏ máy biến áp điện lực phòng nổ.
4. Trạm biến áp phòng nổ sử dụng trong mỏ hầm lò là tổ hợp gồm 3 phần: Máy biến áp điện lực phòng nổ; cụm đóng - cắt và điều khiển cao áp phòng nổ; cụm đóng - cắt và điều khiển hạ áp phòng nổ và kết nối cao áp, hạ áp.
5. Máy biến áp điện lực phòng nổ là máy biến áp điện lực có bảo vệ thiết bị bằng vỏ không xuyên nổ dạng “d” hoặc bằng vật liệu điền đầy “q”.
6. Cụm đóng - cắt và điều khiển cao áp phòng nổ là thiết bị đóng - cắt, đo lường và điều khiển đầu vào cao áp của trạm biến áp phòng nổ sử dụng trong mỏ hầm lò, bao gồm: Cầu dao cách ly, máy cắt cao áp và các thiết bị đo lường, điều khiển, bảo vệ có vỏ không xuyên nổ dạng “d”.
7. Cụm đóng - cắt và điều khiển hạ áp phòng nổ là thiết bị đóng - cắt, đo lường và điều khiển đầu ra hạ áp của trạm biến áp phòng nổ sử dụng trong mỏ hầm lò, bao gồm: Áptômát và các thiết bị đo lường, điều khiển, bảo vệ có vỏ không xuyên nổ dạng “d”.
8. Kết nối cao áp, hạ áp là các kết nối để truyền dẫn điện giữa máy biến áp điện lực phòng nổ với cụm đóng - cắt và điều khiển cao áp, cụm đóng - cắt và điều khiển hạ áp phòng nổ.
Chương II
QUY ĐỊNH VỀ KỸ THUẬT AN TOÀN
Điều 5. Các yêu cầu chung
1. Đối với các mỏ hầm lò có khí cháy, nổ và bụi nổ phải sử dụng trạm biến áp phòng nổ sử dụng trong mỏ hầm lò đáp ứng các quy định tại Quy chuẩn kỹ thuật này.
2. Yêu cầu về vị trí lắp đặt:
a) Độ dốc không quá ±15° so với vị trí cân bằng và ở những khảm, trạm và đường lò có kết cấu chống giữ đảm bảo an toàn.
b) Khô ráo và được thông gió đảm bảo theo quy định tại QCVN 01: 2011/BCT, QCVN 04: 2017/BCT.
3. Trạm biến áp phòng nổ sử dụng trong mỏ hầm lò có kết cấu lắp đặt được quy định tại Phụ lục A của Quy chuẩn kỹ thuật này.
4. Thông số kỹ thuật
a) Công suất danh định: Từ 50 ÷ 4 000 kVA.
b) Điện áp danh định.
- Điện áp sơ cấp 6 000 V, 10 000 V.
- Điện áp thứ cấp 400 V, 690 V, 1 200 V, 3 450 V.
c) Tần số danh định: 50 Hz.
d) Tổ nối dây của máy biến áp: Y/y-0, Y/Δ-11 hoặc Δ/y-11.
5. Cơ cấu di chuyển của trạm biến áp
Trong quá trình vận chuyển trong mỏ hầm lò, trạm biến áp phòng nổ sử dụng trong mỏ hầm lò phải có bánh xe lắp ở phần khung dưới của máy biến áp phù hợp với các kích thước đường ray 900 mm hoặc 600 mm; phải được cố định sau khi lắp đặt.
6. Móc treo
Móc treo phải được lắp trực tiếp trên vỏ máy, đảm bảo chịu được tải trọng của máy trong quá trình vận chuyển và lắp đặt.
7. Bộ phận nối đất
a) Trong khoang đấu cáp và hai phía đối diện bên ngoài của vỏ máy biến áp điện lực phòng nổ; cụm đóng - cắt và điều khiển cao áp phòng nổ; cụm đóng - cắt và điều khiển hạ áp phòng nổ phải có cơ cấu để đảm bảo bắt các dây tiếp đất chắc chắn và được hàn vào vỏ.
b) Dây dẫn và thanh tiếp đất: Thực hiện theo các quy định tại QCVN 01: 2011/BCT, QCVN 04: 2017/BCT.
Điều 6. Yêu cầu đối với vỏ phòng nổ
1. Các bộ phận của vỏ phòng nổ bao gồm:
a) Các khoang đấu cáp.
b) Các cổ cáp đầu vào và cổ cáp đầu ra, các phễu cáp.
c) Các bộ phận sứ xuyên qua thành và vách phòng nổ.
d) Các phần tử xuyên sáng.
đ) Các nút bấm điều khiển, khóa chuyển mạch.
e) Các cơ cấu điều khiển truyền chuyển động quay hoặc tịnh tiến.
g) Các chốt, các lỗ liên quan và các phần tử trống.
h) Các cơ cấu bắt chặt đặc biệt.
i) Các cơ cấu liên động.
k) Các nắp mở nhanh.
l) Bộ phận nối đất.
2. Yêu cầu đối với vỏ không xuyên nổ dạng “d”
a) Các dạng mối ghép phòng nổ
- Mối ghép phòng nổ dạng nút ống, hình trụ không có lỗ bắt bu lông như Hình 1.

Chú dẫn:
c - Bề rộng mối ghép phòng nổ phần mặt phẳng, mm.
d - Bề rộng mối ghép phòng nổ phần hình trụ, mm.
f - Khoảng hở của mép vát, mm.
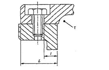
L - Bề rộng nhỏ nhất của mối ghép phòng nổ, mm; L = c + d với điều kiện: c ≥ 3,0 mm , f ≤ 1,0 mm.
T - Phía bên trong của vỏ thiết bị.
Hình 1. Mối ghép phòng nổ dạng nút ống, hình trụ không có lỗ bắt bu lông
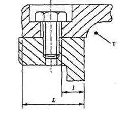
- Mối ghép phòng nổ dạng nút ống, hình trụ có lỗ bắt bu lông như Hình 2.

Chú dẫn:
a - Bề rộng mối ghép phần hình trụ, mm.
b - Bề rộng mối ghép phần mặt phẳng đến lỗ bu lông, mm.
i - Khe hở của mối ghép hình trụ, mm.
I - Khoảng cách nhỏ nhất từ bên trong thiết bị đến lỗ bu lông, mm; I = a + b nếu i ≤ 0,2 mm.
L - Bề rộng nhỏ nhất của mối ghép phòng nổ, mm.
T - Phía bên trong của vỏ thiết bị.
Hình 2. Mối ghép phòng nổ dạng nút ống, hình trụ có lỗ bắt bu lông
- Mối ghép phòng nổ dạng mặt bích phẳng như Hình 3.

Chú dẫn:
L - Khoảng cách nhỏ nhất từ bên trong thiết bị đến lỗ bu lông, mm.
L - Bề rộng nhỏ nhất của mối ghép phòng nổ, mm.
T - Phía bên trong của vỏ thiết bị.
Hình 3. Mối ghép phòng nổ dạng mặt bích phẳng
Khoảng cách nhỏ nhất từ bên trong thiết bị đến lỗ bu lông phải đảm bảo các yêu cầu trong Bảng 1.
Bảng 1. Khoảng cách nhỏ nhất từ bên trong thiết bị đến lỗ bu lông.
| I (mm) | L (mm) |
| 6 | < 12,5 |
| 8 | 12,5 ≤ L < 25 |
| 9 | ≥ 25 |
- Mối ghép phòng nổ mặt bích có gioăng đệm như Hình 4.

Chú dẫn:
G - Gioăng đệm.
L - Bề rộng mối ghép phòng nổ, mm.
T - Phía bên trong của vỏ thiết bị.
Hình 4. Mối ghép phòng nổ mặt bích có gioăng đệm
- Mối ghép phòng nổ dạng trục xoay như Hình 5.

Chú dẫn:
L - Bề rộng mối ghép phòng nổ, mm.
Hình 5. Mối ghép phòng nổ dạng trục xoay
Trường hợp cần thao tác đi qua thành của vỏ không xuyên nổ, chiều rộng của mối ghép phải lớn hơn 25 mm.
- Mối ghép phòng nổ dạng trục xoay có bạc lót như Hình 6.

Chú dẫn:
L - Bề rộng mối ghép phòng nổ, mm.
Hình 6. Mối ghép phòng nổ dạng trục xoay có bạc lót
- Mối ghép phòng nổ dạng ren, vít như Hình 7.

Chú dẫn:
T - Bước ren.
Y - Chiều dài ăn khớp của ren, mm.
α - Góc đỉnh ren, độ.
Hình 7. Mối ghép phòng nổ dạng ren, vít
b) Chiều rộng và khe hở nhỏ nhất của mối ghép phòng nổ:
- Đối với các mối ghép dạng: Nút ống, hình trụ, mặt bích, trục xoay: Theo quy định trong Bảng 2.
Bảng 2. Chiều rộng và khe hở nhỏ nhất của mối ghép phòng nổ
| Dạng mối ghép | Chiều rộng nhỏ nhất của mối ghép L (mm) | Khe hở nhỏ nhất (mm) | ||||||||||||||
| Thể tích (cm3) V ≤ 100 | Thể tích (cm3) 100 < V ≤ 500 | Thể tích (cm3) 500 < V ≤ 2000 | Thể tích (cm3) 2 000 < V ≤ 5750 | Thể tích (cm3) V > 5750 | ||||||||||||
| I | IIA | IIB | I | IIA | IIB | I | IIA | IIB | I | IIA | IIB | I | IIA | IIB | ||
| Nút ống, hình trụ, mặt bích, trục xoay | 6 9,5 12,5 25 | 0,30 0,35 0,40 0,50 | 0,30 0,30 0,30 0,40 | 0,20 0,20 0,20 0,20 | - 0,35 0,40 0,50 | - 0,30 0,30 0,40 | - 0,20 0,20 0,20 | - 0,08 0,40 0,50 | - 0,08 0,30 0,40 | - 0,08 0,20 0,20 | - - 0,40 0,50 | - 0,08 0,20 0,40 | - 0,08 0,15 0,20 | - - 0,40 0,50 | - 0,08 0,20 0,40 | - - 0,15 0,20 |
| Chú dẫn: + Kí hiệu: I là nhóm thiết bị dùng cho các mỏ có khí mê tan. + Kí hiệu: IIA và IIB là nhóm thiết bị dùng cho các mỏ có khí cháy khác mêtan. | ||||||||||||||||
- Đối với mối ghép dạng ren, vít tuân thủ theo các yêu cầu sau:
+ Ít nhất 05 ren được ăn khớp với nhau.
+ Bước ren ≥ 0,7 mm.
+ Góc đỉnh răng bằng 606 (± 5°).
+ Chiều dài ăn khớp của ren ≥ 5 mm với V ≤ 100 cm3.
+ Chiều dài ăn khớp của ren ≥ 8 mm với V > 100 cm3.
c) Cơ cấu bắt chặt đặc biệt.
Tất cả các mối ghép phòng nổ sử dụng bu lông bắt chặt phải có các vòng đệm vênh chống trôi và chỉ mở được khi sử dụng các dụng cụ.
d) Cơ cấu liên động phải đảm bảo hoạt động đúng chức năng.
đ) Nắp mở nhanh phải có cơ cấu liên động; chỉ mở được sau khi đã cắt điện và cơ cấu liên động đã được mở.
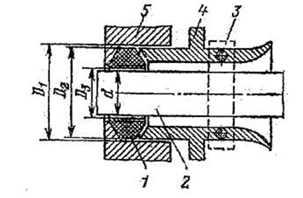
e) Cổ cáp khi đấu nối phải:
+ Được bắt chặt vào vỏ thiết bị và có đầy đủ các chi tiết để làm kín và kẹp chặt cáp theo Hình 8.

Chú dẫn:
1 - Vòng cao su bịt kín cáp.
2 - Cáp điện cao su.
3 - Chi tiết kẹp cáp.
4 - Chi tiết vào cáp để ép chặt gioăng đệm cao su.
5 - Vỏ thiết bị.
D - Đường kính ngoài của cáp điện cao su, mm.
D1 - Đường kính trong của cổ cáp, mm.
D2, D3 - Đường kính ngoài, trong của gioăng đệm cao su, mm.
Hình 8. Cổ cáp khi được đấu nối
Khoảng cách từ D3 ÷ d ≤ 2 mm.
+ Khoảng cách lớn nhất giữa cỗ cáp, gioăng đệm và cáp điện cao su theo quy định tại Bảng 3.
Bảng 3. Khoảng cách lớn nhất giữa cổ cáp, gioăng đệm và cáp điện cao su
| D2 (mm) | Khoảng cách từ D1-:- D2 (mm) | Khoảng cách từ D3 -:- d (mm) |
| < 20 | ≤ 1 | ≤ 2 |
| 20 -:- 60 | ≤ 2 | |
| > 60 | ≤ 3 |
+ Các chi tiết của cổ cáp phải được vặn chặt để đảm bảo tính năng làm kín.
+ Gioăng cao su phải đảm bảo không bị nứt, đàn hồi tốt, cáp điện không bị kéo căng trong quá trình vận hành.
+ Ở cổ cáp cao áp có sử dụng vật liệu điền đầy là bitum cách điện, khối bitum khi đông cứng phải đảm bảo không có vết nứt.
- Cổ cáp chưa được đấu nối phải được bịt kín theo Hình 9.

Chú dẫn:
1 - Nút bịt kín.
2 - Vòng cao su bịt kín.
3 - Chi tiết đầu vào cáp để ép kín.
4 - Chi tiết kẹp cáp.
Hình 9. Cổ cáp chưa được đấu nối
3. Yêu cầu về khe hở và khoảng cách rò
Các yêu cầu về khe hở giữa các phần mang điện và khoảng cách rò trên bề mặt cách điện theo quy định trong Bảng 4.
Bảng 4. Khe hở và khoảng cách rò trên bề mặt cách điện
| Điện áp làm việc (V) | Khoảng cách rò nhỏ nhất (mm) | Khe hở nhỏ nhất (mm) | ||
| Nhóm vật liệu | ||||
| I | II | IIIa |
| |
| ≤ 20 | 1,6 | 1,6 | 1,6 | 1,6 |
| 25 | 1,7 | 1,7 | 1,7 | 1,7 |
| 32 | 1,8 | 1,8 | 1,8 | 1,8 |
| 40 | 1,9 | 2,4 | 3,0 | 1,9 |
| 50 | 2,1 | 2,6 | 3,4 | 2,1 |
| 63 | 2,1 | 2,6 | 3,4 | 2,1 |
| 80 | 2,2 | 2,8 | 3,6 | 2,2 |
| 100 | 2,4 | 3,0 | 3,8 | 2,4 |
| 125 | 2,5 | 3,2 | 4,0 | 2,5 |
| 160 | 3,2 | 4,0 | 5,0 | 3,2 |
| 200 | 4,0 | 5,0 | 6,3 | 4,0 |
| 250 | 5,0 | 6,3 | 8,0 | 5,0 |
| 320 | 6,3 | 8,0 | 10,0 | 6,0 |
| 400 | 8,0 | 10 | 12,5 | 6,0 |
| 500 | 10 | 12,5 | 16 | 8,0 |
| 630 | 12 | 16 | 20 | 10 |
| 800 | 16 | 20 | 25 | 12 |
| 1 000 | 20 | 25 | 32 | 14 |
| 1 250 | 22 | 26 | 32 | 18 |
| 1 600 | 23 | 27 | 32 | 20 |
| 2 000 | 25 | 28 | 32 | 23 |
| 2 500 | 32 | 36 | 40 | 29 |
| 3 200 | 40 | 45 | 50 | 36 |
| 4 000 | 50 | 56 | 63 | 44 |
| 5 000 | 63 | 71 | 80 | 50 |
| 6 300 | 80 | 90 | 100 | 60 |
| 8 000 | 100 | 110 | 125 | 80 |
| 10 000 | 125 | 140 | 160 | 100 |
| Chú dẫn: - Các điện áp đưa ra theo IEC 60664-1. Điện áp làm việc có thể quá 10% mức điện áp ghi trong bảng trên. - Giá trị khoảng cách rò và khe hở trên dựa vào sức chịu đựng điện áp nguồn lớn nhất ±10%. | ||||
3. Yêu cầu đối với bảo vệ thiết bị bằng vật liệu điền đầy “q”
a) Mức độ bảo vệ của vỏ trạm biến áp
Bảo vệ của vỏ phải lớn hơn hoặc bằng mức IP54 trong TCVN 4255: 2008 (IEC 60529-2001).
b) Vỏ phải được làm kín theo 2 dạng sau:
- Làm kín vĩnh viễn tại thời điểm chế tạo, không có khả năng mở được: Trên vỏ ngoài của máy biến áp điện lực phòng nổ phải thể hiện dòng chữ “vỏ này đã được làm kín vĩnh viễn và không thể sửa chữa”.
- Làm kín không vĩnh viễn: Sau khi mở lắp ra làm kín lại, không ảnh hưởng tới vỏ, vật liệu điền đầy, mức độ làm kín. Chiều cao tối thiểu của vật liệu điền đầy phải phủ kín lỗ quan sát; không đủ chiều cao phải bổ sung.
Điều 7. Yêu cầu đối với máy biến áp điện lực phòng nổ
1. Các bộ phận bên trong của máy biến áp điện lực phòng nổ được thực hiện theo tiêu chuẩn TCVN 6306-11: 2009 (IEC 60076-11: 2004).
2. Cấp cách điện
Cách điện của máy biến áp điện lực phòng nổ phải chịu được điện áp thử nghiệm với tần số công nghiệp, trong thời gian t = 60 s đảm bảo giá trị quy định trong Bảng 5.
Bảng 5. Điện áp thử nghiệm ở tần số công nghiệp
Đơn vị: kV
| Điện áp danh định (giá trị hiệu dụng) | Điện áp hoạt động tối đa (giá trị hiệu dụng) | Điện áp thử nghiệm ở tần số công nghiệp (giá trị hiệu dụng) |
| ≤ 1 | - | 3 |
| 1,2 | - | 4,2 |
| 3,45 | - | 10 |
| 6 | 7,2 | 20 |
| 10 | 12 | 28 |
3. Thông số điện áp và tổ nối dây được quy định trong Bảng 6.
Bảng 6. Thông số điện áp và tổ nối dây
| Công suất danh định (kVA) | Thông số biến áp | Tổ nối dây | |
| Điện áp sơ cấp (V) | Điện áp thứ cấp (V) | ||
| Từ 50 ÷ 560 | 6 000 (10 000) | 690 (400) | Y/y-0 (Y/Δ-11) |
| 1 200 (690) | |||
| > 560 ÷ 2 500 | 1 200 (690) 3450 | Y/y-0 (Y/Δ-11) Δ/y-11 | |
| > 2 500 ÷ 4 000 | 1 200 (3 450) | Y/y-0 Δ/y-11 | |
4. Nấc điều chỉnh điện áp phía sơ cấp quy định trong Bảng 7.
Bảng 7. Nấc điều chỉnh điện áp phía sơ cấp
| Nấc điều chỉnh | Điện áp sơ cấp (V) | |
| +5% | 6 300 | 10 500 |
| 0% | 6 000 | 10 000 |
| -5% | 5 700 | 9 500 |
5. Phương pháp làm mát và kí hiệu tuân thủ theo TCVN 6306-11: 2009 (IEC 60076-11:2004).
6. Nhiệt độ bề mặt lớn nhất của biến áp phòng nổ sử dụng trong mỏ hầm lò trong mọi trường hợp vận hành không được vượt quá 150 °C.
7. Đối với máy biến áp điện lực phòng nổ có loại bảo vệ bằng vật liệu điền đầy “q” phải tuân thủ quy định tại các khoản 1 đến khoản 6 Điều này và đảm bảo các yêu cầu sau:
a) Các bộ phận bên trong của máy biến áp được lấp đầy bởi các vật liệu điền đầy và làm kín.
b) Chỉ được vận hành máy biến áp khi chiều cao lớp vật liệu điền đầy đảm bảo quy định tại điểm b khoản 3 Điều 6 Quy chuẩn kỹ thuật này.
c) Khoảng cách nhỏ nhất xuyên qua lớp vật liệu điền đầy quy định trong Bảng 8.
Bảng 8. Khoảng cách nhỏ nhất xuyên qua lớp vật liệu điền đầy
| Điện áp hiệu dụng xoay chiều hoặc một chiều (V) | Khoảng cách nhỏ nhất (mm) |
| U ≤ 250 | 5 |
| 400 | 6,3 |
| 500 | 8 |
| 800 | 10 |
| 1 000 | 14 |
| 1 600 | 16 |
| 2 500 | 25 |
| 3 200 | 32 |
| 4 000 | 40 |
| 5 000 | 50 |
| 6 300 | 63 |
| 8 000 | 80 |
| 10 000 | 100 |
Điều 8. Cụm đóng - cắt và điều khiển cao áp phòng nổ
1. Yêu cầu chung
a) Cụm đóng - cắt và điều khiển cao áp phòng nổ có bộ tiếp điểm ngắt mạch loại chân không hoặc loại tiếp điểm phải có:
- Cơ cấu điều khiển đóng - cắt.
- Phần tử bảo vệ điện áp xung.
- Chế độ bảo vệ: Quá tải, ngắn mạch, điện áp thấp, quá áp, mất pha, quá nhiệt.
b) Cụm đóng - cắt và điều khiển cao áp phòng nổ không có bộ tiếp điểm ngắt mạch loại chân không hoặc loại tiếp điểm phải có:
- Tác động cắt điện khi xảy ra: Quá tải, ngắn mạch, điện áp thấp, quá áp, mất pha, quá nhiệt của máy biến áp điện lực phòng nổ.
- Chịu được dòng ngắn mạch lớn nhất và nhiệt trong thời gian ngắn mạch.
- Chỉ dẫn vị trí “cắt”, vị trí “đóng” và hiển thị các thông số vận hành như: Điện áp, dòng điện.
- Cửa được khóa liên động cơ khí, đảm bảo không thể mở khi chưa được cắt điện.
2. Các thông số kỹ thuật
a) Điện áp danh định: 6 000 V, 10 000 V.
b) Dòng điện danh định: Từ 50 A ÷ 630 A.
c) Dòng cắt ngắn mạch danh định không nhỏ hơn 10 kA, thời gian ngắn mạch nhỏ hơn 2 s, dòng ngắn mạch không nho hơn 16 lần dòng danh định.
3. Mức chịu cách điện
a) Cách điện của cụm đóng - cắt và điều khiển cao áp phòng nổ phải chịu được điện áp thử nghiệm với tần số công nghiệp, trong thời gian t = 60 s đảm bảo giá trị quy định trong Bảng 9.
Bảng 9. Mức điện áp thử nghiệm của cụm đóng - cắt và điều khiển cao áp
Đơn vị: kV
| Điện áp danh định (giá trị hiệu dụng) | Điện áp tối đa của thiết bị (giá trị hiệu dụng) | Điện áp thử nghiệm ở tần số công nghiệp (giá trị hiệu dụng) | Điện áp chịu được xung sét (giá trị danh định) | ||
| Pha - đất | Các tiếp điểm khi mở | Pha - đất | Các tiếp điểm khi mở | ||
| 6 | 7,2 | 23 | 26 | 40 | 46 |
| 10 | 12 | 30 | 34 | 60 | 70 |
b) Mức cách điện mạch điều khiển phải chịu được điện áp thử nghiệm với tần số công nghiệp là 2 kV, trong thời gian t = 60 s.
4. Khóa liên động của cụm đóng - cắt và điều khiển cao áp phòng nổ phải đảm bảo:
a) Khi máy cắt ở vị trí đóng, dao cách ly không vận hành được.
b) Khi dao cách ly ở vị trí đóng, không mở được nắp cửa.
c) Khi nắp cửa ở vị trí mở thì bộ tiếp điểm mạch lực không đóng được.
d) Khi bộ tiếp điểm mạch lực ở vị trí đóng thì cơ cấu truyền động đóng tiếp điểm mạch lực không thể hoạt động.
đ) Chỉ sử dụng dao cách ly đối với máy biến áp có công suất ≤ 1000 kVA. Dao cách ly chỉ được đóng - cắt điện khi phụ tải phía hạ áp đã được cắt điện.
5. Cụm đóng - cắt và điều khiển cao áp phòng nổ phải có chỉ dẫn cơ học về vị trí “đóng”, “cắt”.
6. Bộ phận nối đất: Tuân thủ theo các quy định tại khoản 7 Điều 5 của Quy chuẩn kỹ thuật này.
7. Sơ đồ nguyên lý điện: Phải được gắn vào bên trong vỏ của cụm đóng - cắt và điều khiển cao áp phòng nổ.
Điều 9. Cụm đóng - cắt và điều khiển hạ áp phòng nổ
1. Yêu cầu chung
a) Cụm đóng - cắt và điều khiển hạ áp phòng nổ có bộ tiếp điểm ngắt mạch loại chân không hoặc loại tiếp điểm phải có:
- Cơ cấu điều khiển đóng - cắt.
- Phần tử bảo vệ điện áp xung.
- Chế độ bảo vệ: Quá tải, ngắn mạch, mất pha, rò điện.
b) Cụm đóng - cắt và điều khiển hạ áp phòng nổ không có bộ tiếp điểm ngắt mạch loại chân không hoặc loại tiếp điểm phải có:
- Chịu được dòng ngắn mạch động điện và dòng ổn định nhiệt trong thời gian ngắn mạch.
- Chỉ dẫn vị trí “cắt", vị trí “đóng" và hiển thị các thông số vận hành như: Điện áp, dòng điện.
- Cửa được khóa liên động cơ học, đảm bảo không thể mở khi chưa được cắt điện.
2. Các thông số kỹ thuật
a) Điện áp danh định: 380 V, 660 V, 1 140 V, 3 300 V.
b) Dòng điện danh định: Từ 200 ÷ 2 100 A.
3. Mức chịu cách điện
a) Đối với mạch lực và mạch điều khiển, bảo vệ được chỉ định để kết nối với mạch lực, điện áp thử nghiệm được quy định trong Bảng 10.
b) Đối với mạch điều khiển, bảo vệ không được chỉ định để kết nối với mạch lực, điện áp thử nghiệm chịu được quy định trong Bảng 11.
c) Trong thời gian duy trì điện áp thử nghiệm đảm bảo không có sự cố hoặc phóng điện đánh thủng cách điện.
Bảng 10. Điện áp thử nghiệm mạch lực với tần số f = 50 Hz, trong thời gian t = 60 s
Đơn vị: V
| Điện áp danh định (giá trị hiệu dụng) | Điện áp thử nghiệm (giá trị hiệu dụng) |
| 660 | 3 000 |
| 1140 | 4 200 |
| 3 300 | 12 000 |
Bảng 11. Điện áp thử nghiệm mạch điều khiển, bảo vệ với tần số f = 50 Hz, trong thời gian t = 60 s
Đơn vị: V
| Điện áp danh định (giá trị hiệu dụng) | Điện áp thử nghiệm (giá trị hiệu dụng) |
| ≤ 60 | 1 000 |
| > 60 | 2U + 1 000 (không nhỏ hơn 1 500) |
d) Thông số bảo vệ rò điện của thiết bị đóng - cắt có điện áp danh định từ 3 300 V trở xuống theo quy định trong Bảng 12.
Bảng 12. Thông số bảo vệ rò điện của cụm đóng - cắt và điều khiển hạ áp
| Điện áp danh định (V) | Trị số chỉnh định điện trở tác động rò một pha (kΩ) | Trị số chỉnh định điện trở khóa rò điện mỗi pha (kΩ) | Thời gian tác động với điện trở rò 1 kΩ (ms) |
| 380 | 3,5 | 7 | ≤ 200 |
| 660 | 11 | 22 | |
| 1 140 | 20 | 40 | |
| 3 300 | 50 | 100 | |
| Chú dẫn: Thời gian tác động bảo vệ rò bao gồm cả thời gian tác động của các thiết bị cắt điện; các thông số bảo vệ rò điện có sai số giữa giá trị điện trở tác động và giá trị được quy định trong Bảng 12 không quá 20%. | |||
đ) Sơ đồ nguyên lý điện: Phải được gắn vào bên trong khoang đấu cáp của cụm đóng - cắt và điều khiển hạ áp phòng nổ.
Chương III
QUY ĐỊNH VỀ QUẢN LÝ
Điều 10. Quy định về hợp quy
1. Trạm biến áp phòng nổ phải được đánh giá sự phù hợp với các quy định về kỹ thuật an toàn tại Chương II của Quy chuẩn kỹ thuật này và được gắn dấu hợp quy trước khi đưa vào sử dụng; phải được kiểm định, kiểm tra, thử nghiệm trong quá trình sử dụng vận hành theo quy định tại Chương III và Chương IV của quy chuẩn kỹ thuật này.
2. Đánh giá sự phù hợp trạm biến áp phòng nổ được thực hiện bởi Tổ chức đánh giá sự phù hợp (kiểm định/ thử nghiệm) đã đăng ký hoạt động theo quy định của Nghị định 107/2016/NĐ-CP ngày 01 tháng 7 năm 2016 của Chính phủ quy định về điều kiện kinh doanh dịch vụ đánh giá sự phù hợp và Nghị định số 154/2018/NĐ-CP ngày 09 tháng 11 năm 2018 của Chính phủ sửa đổi, bổ sung, bãi bỏ một số quy định về điều kiện đầu tư, kinh doanh trong lĩnh vực quản lý nhà nước của Bộ Khoa học và Công nghệ và một số quy định về kiểm tra chuyên ngành.
3. Công bố hợp quy thực hiện trên cơ sở kết quả đánh giá sự phù hợp theo quy định tại Thông tư số 28/2012/TT-BKHCN ngày 12 tháng 12 năm 2012 của Bộ trường Bộ Khoa học và Công nghệ quy định về công bố hợp chuẩn, công bố hợp quy và phương thức đánh giá sự phù hợp tiêu chuẩn, Quy chuẩn kỹ thuật, Thông tư số 02/2017/TT-BKHCN ngày 31 tháng 3 năm 2017 sửa đổi một số điều Thông tư số 28/2012/TT-BKHCN và Thông tư số 48/2011/TT-BCT ngày 30 tháng 12 năm 2011 quy định quản lý chất lượng sản phẩm, hàng hóa nhóm 2 thuộc phạm vi quản lý của Bộ Công Thương.
4. Việc đánh giá trạm biến áp phòng nổ phù hợp với Quy chuẩn kỹ thuật này được thực hiện theo Phương thức 8 quy định tại khoản 1 Điều 5 Thông tư số 28/2012/TT-BKHCN.
Điều 11. Quy định về ghi nhãn
Nhãn trạm biến áp phòng nổ sử dụng trong mỏ hầm lò phải phù hợp với quy định tại Nghị định số 43/2017/NĐ-CP ngày 14 tháng 4 năm 2017 của Chính phủ quy định về nhãn hàng hóa và đáp ứng các yêu cầu sau:
1. Máy biến áp điện lực phòng nổ; cụm đóng - cắt và điều khiển cao áp phòng nổ; cụm đóng - cắt và điều khiển hạ áp phòng nổ phải được ghi nhãn.
2. Thông tin ghi trên nhãn của máy biến áp điện lực phòng nổ phải có các nội dung sau:
a) Kiểu, loại.
b) Công suất danh định, kVA.
c) Điện áp danh định, V.
d) Dòng điện danh định, A.
đ) Tần số danh định, Hz.
e) Số pha.
g) Tổ đấu dây.
h) Cấp cách điện.
i) Điện áp ngắn mạch, kV.
k) Kí hiệu làm mát.
l) Dạng bảo vệ nổ.
m) Cấp bảo vệ kín.
n) Số chứng chỉ phòng nổ.
o) Số chế tạo của nhà máy.
p) Năm chế tạo.
3. Nhãn cụm đóng - cắt và điều khiển cao áp phòng nổ và cụm đóng - cắt và điều khiển hạ áp phòng nổ phải có các nội dung sau:
a) Kiểu, loại.
b) Điện áp danh định, V.
c) Dòng điện danh định, A.
d) Tần số danh định, Hz.
đ) Dạng bảo vệ nổ.
e) Cấp bảo vệ kín.
g) Số chứng chỉ phòng nổ.
h) Số chế tạo của nhà máy.
i) Năm chế tạo.
Điều 12. Yêu cầu về hồ sơ quản lý trạm biến áp phòng nổ sử dụng trong mỏ hầm lò
1. Phải có đầy đủ các tài liệu kỹ thuật của nhà chế tạo. Trường hợp tài liệu kỹ thuật tiếng nước ngoài phải có bản dịch sang tiếng Việt được công chứng, gồm:
a) Giấy chứng nhận chất lượng; chứng từ chứng nhận xuất xứ.
b) Hướng dẫn vận chuyển, sử dụng, bảo dưỡng và bảo quản.
2. Lập hồ sơ quản lý từ khi bắt đầu đưa vào sử dụng bao gồm:
a) Thiết kế lựa chọn trạm biến áp phòng nổ sử dụng trong mỏ hầm lò được phê duyệt.
b) Thiết kế thi công, vị trí lắp đặt trạm.
c) Hồ sơ nghiệm thu sau lắp đặt.
d) Hồ sơ hoàn công lắp đặt.
đ) Hồ sơ kiểm định.
e) Quy trình vận hành.
g) Sổ ghi kết quả kiểm tra kỹ thuật an toàn và theo dõi tình trạng hoạt động của máy trong quá trình sử dụng; sổ kiểm tra rơle bảo vệ rò điện.
h) Nội quy an toàn, quy trình trong vận chuyển, lắp đặt, kiểm tra, vận hành, bảo dưỡng, sửa chữa và bảo quản trạm biến áp phòng nổ sử dụng trong mỏ hầm lò.
Điều 13. Yêu cầu về kiểm tra trong quá trình vận hành
1. Kiểm tra, đánh giá các tính năng kỹ thuật được thực hiện theo QCVN QTĐ-5: 2009/BCT, QCVN QTĐ-6: 2008/BCT, TCVN 7079-17: 2003, TCVN 6306-11: 2009 (IEC 60076-11: 2004), TCVN 8096-200: 2010 (IEC 62271-200: 2003), TCVN 6592-2: 2009 (IEC 60947-2: 2009).
2. Các phương pháp kiểm tra:
a) Kiểm tra bằng trực quan: Kiểm tra xác định, mà không cần sử dụng tiếp cận bằng thiết bị hoặc các dụng cụ.
b) Kiểm tra trực tiếp: Kiểm tra những bộ phận ở bên ngoài bằng trực quan và xác định các khuyết tật bằng cách sử dụng dụng cụ, thiết bị. Kiểm tra trực tiếp không được mở vỏ hoặc cắt điện thiết bị.
c) Kiểm tra chi tiết: Kiểm tra trong đó bao gồm những nội dung của kiểm tra trực tiếp và xác định các khuyết tật bằng sử dụng dụng cụ, thiết bị. Kiểm tra chi tiết phải cắt điện và mở vỏ thiết bị.
Điều 14. Thời hạn và nội dung kiểm tra
1. Thời gian kiểm tra tuân thủ theo quy định tại QCVN 01: 2011/BCT, QCVN 04: 2017/BCT.
2. Nội dung kiểm tra
a) Kiểm tra hàng ca
Nội dung kiểm tra theo Bảng 13.
Bảng 13. Nội dung kiểm tra hàng ca
| STT | Nội dung kiểm tra | Phương pháp kiểm tra | Kết quả kiểm tra cho phép vận hành |
| 1 | Vị trí biến áp | Bằng trực quan, trực tiếp | Không có nguy cơ đá rơi và nước nhỏ giọt. |
| 2 | Lắp đặt | Bằng trực quan, trực tiếp | Lắp đặt chắc chắn trên móng hoặc giá đỡ tin cậy, vẹt gỗ hoặc bê tông, không bị xô lệch rung động trong vận hành. Các đường cáp vào ra đúng kỹ thuật không bị kéo căng, gập gẫy. |
| 3 | Tình trạng bên ngoài của vỏ | Bằng trực quan, trực tiếp | Nguyên vẹn không có các hư hỏng biến dạng vĩnh cửu |
| 4 | Tiếp đất | Bằng trực quan, trực tiếp | Các bộ phận tiếp đất của máy biến áp gồm: - Thanh tiếp đất chính. - Các dây tiếp đất mềm của các bộ phận, biến áp lực, tủ cao thế, tủ hạ thế, các cổ cáp vào ra. - Dây cáp tiếp đất của rơ le bảo vệ rò điện cách tiếp đất chính ≥ 5 m. Phải có đầy đủ, được bắt chắc chắn và tin cậy. |
| 5 | Kiểm tra các thông số vận hành của biến áp thông qua bảng hiển thị hoặc các đồng hồ chỉ thị. Tiếng kêu của biến áp | Bằng trực quan, trực tiếp | Các thông số vận hành gồm: Điện áp, dòng điện, điện trở rò của mạng và các thông số khác trước khi chế tạo tiếp tục. Xem xét các thông báo về sự cố đã xảy ra trong ca trước (nếu có). Tiếng kêu êm bình thường không có tiếng kêu, rung động hoặc va đập lạ. |
| 6 | Kiểm tra tác động của rơ le bảo vệ rò điện | Bằng trực quan, trực tiếp | Thử tác động của nút bảo vệ rò. Quan sát giá trị chỉ số điện trở rò khi rơ le tác động và ghi kết quả kiểm tra vào bảng thử rơ le rò. |
| 7 | Kiểm tra sơ đồ nguyên lý cung cấp điện, nội quy an toàn và quy trình vận hành của máy biến áp phòng nổ | Bằng trực quan, trực tiếp | - Phải có sơ đồ nguyên lý cung cấp điện chính xác rõ ràng được cập nhật theo hiện trạng ở vị trí dễ quan sát và có đủ các thông số bảo vệ cung cấp điện. - Phải có nội quy, quy trình vận hành rõ ràng dễ đọc, dễ quan sát. |
| 8 | Kiểm tra thiết bị an toàn | Bằng trực quan, trực tiếp | Phải có đầy đủ trong trạng thái sẵn sàng làm việc tốt: Găng ủng cách điện cao áp (6-10) kV phải được kiểm định dán tem còn hạn kiểm định, ghế cách điện thao tác tủ điện áp cao, thùng cát chống cháy, các bình bọt chống cháy, xẻng và phương tiện chữa cháy khác, hàng rào ngăn cách an toàn. |
| 9 | Kiểm tra cơ cấu liên động | Bằng trực quan, trực tiếp | Các cơ cấu liên động để thao tác của tủ cao áp, tủ hạ áp, liên động giữa cao áp và hạ áp phải còn nguyên bản không bị cong vênh, hư hỏng làm mất tính năng liên động. |
| 10 | Kiểm tra các mối ghép phòng nổ | Bằng trực quan, trực tiếp | - Tất cả các mối ghép phòng nổ (nắp mở nhanh, nắp mở chậm, các mặt bích, trục xoay) phải còn nguyên vẹn không bị biến dạng, cong vênh vĩnh cửu, phải có đầy đủ các bu lông đúng chủng loại, có vòng đệm vênh và được vặn chặt chắc chắn. - Không được sử dụng các bu lông không đúng chủng loại. - Không cho vận hành biến áp khi có các mối ghép phòng nổ thiếu bất kỳ các bu lông bị hoặc lỏng. |
| 11 | Kiểm tra các cổ cáp vào, ra | Bằng trực quan, trực tiếp | - Các cổ dẫn cáp vào ra phải đủ chi tiết bộ phận đặc biệt là (vòng đệm cáp bằng cao su) và được vặn chặt, các loại cáp sử dụng phải phù hợp với vòng đệm cáp bằng cao su và phải được ép chặt không thể kéo ra được. - Cáp lắp đặt phải không được chịu lực dọc hoặc lực uốn theo cáp. |
| 12 | Kiểm tra các phần tử xuyên sáng cho màn hiển thị hoặc tín hiệu | Bằng trực quan, trực tiếp | Các phần tử xuyên sáng để quan sát thông số vận hành hoặc thông báo tín hiệu phải còn nguyên vẹn không được sứt, nứt, vỡ, biến dạng vĩnh cửu và được kẹp chặt đúng vị trí đảm bảo chức năng quan sát. |
| 13 | Vệ sinh, kiểm tra các tấm nhãn của máy biến áp | Bằng trực quan, trực tiếp | - Vệ sinh sạch sẽ bụi bẩn bám bên ngoài phía trên của thành vỏ. - Các tấm ghi nhãn phải đầy đủ nguyên vẹn, sạch sẽ dễ đọc và không bị hư hỏng, mở các thông số, không nhìn được rõ ràng. |
b) Kiểm tra hàng tuần
Nội dung kiểm tra: Ngoài nội dung các công việc kiểm tra hàng ca phải kiểm tra thêm các nội dung theo Bảng 14.
Bảng 14. Nội dung kiểm tra hàng tuần
| STT | Nội dung kiểm tra | Phương pháp kiểm tra | Kết quả kiểm tra cho phép vận hành |
| 1 | Mối ghép phòng nổ nắp tủ cao áp | Trực tiếp | - Kiểm tra khe hở mối ghép phòng nổ theo chu vi của mối ghép, khe hở phải đảm bảo yêu cầu kỹ thuật. - Vặn chặt các bu lông bị lỏng. |
| 3 | Mối ghép phòng nổ khoang đấu cáp của tủ cao áp | Trực tiếp | - Kiểm tra khe hở mối ghép phòng nổ theo chu vi của mối ghép, khe hở phải đảm bảo yêu cầu kỹ thuật. - Vặn chặt các bu lông bị lỏng. |
| 4 | Các cổ cáp vào ra cao áp hạ áp | Trực tiếp | Vặn chặt tất cả các bu lông của cổ cáp và các cơ cấu chống trôi |
| 5 | Mối ghép phòng nổ nắp tủ hạ áp | Trực tiếp | - Kiểm tra khe hở mối ghép phòng nổ theo chu vi của mối ghép, khe hở phải đảm bảo yêu cầu kỹ thuật. - Vặn chặt các bu lông bị lỏng. |
| 6 | Mối ghép phòng nổ khoang đấu cáp của tủ hạ áp | Trực tiếp | - Kiểm tra khe hở mối ghép phòng nổ theo chu vi của mối ghép, khe hở phải đảm bảo yêu cầu kỹ thuật. - Vặn chặt các bu lông bị lỏng. |
| 7 | Mối ghép phòng nổ của các nắp trên thân biến áp. | Trực tiếp | - Kiểm tra khe hở mối ghép phòng nổ theo chu vi của mối ghép, khe hở phải đảm bảo yêu cầu kỹ thuật. - Vặn chặt các bu lông bị lỏng. |
c) Kiểm tra hàng quý
Nội dung kiểm tra: Ngoài nội dung các công việc kiểm tra hàng tuần phải kiểm tra thêm các nội dung theo Bảng 15.
Bảng 15. Nội dung kiểm tra hàng quý
| STT | Nội dung kiểm tra | Phương pháp kiểm tra | Kết quả kiểm tra cho phép vận hành |
| 1 | Mối ghép phòng nổ nắp tủ cao áp | Trực tiếp | Vặn chặt tất cả các bu lông hoặc cơ cấu bắt chặt phòng nổ, kiểm tra khe hở mối ghép phòng nổ theo chu vi của mối ghép, khe hở phải đảm bảo yêu cầu kỹ thuật. |
| 2 | Mối ghép phòng nổ khoang đấu cáp của tủ cao áp | Trực tiếp | |
| 3 | Các cổ cáp vào ra cao áp hạ áp | Trực tiếp | Vặn chặt tất cả các bu lông của cổ cáp và các cơ cấu chống trôi. |
| 4 | Mối ghép phòng nổ nắp tủ hạ áp | Trực tiếp | Vặn chặt tất cả các bu lông hoặc cơ cấu bắt chặt phòng nổ, kiểm tra khe hở mối ghép phòng nổ theo chu vi của mối ghép, khe hở phải đảm bảo yêu cầu kỹ thuật. |
| 5 | Mối ghép phòng nổ khoang đấu cáp của tủ hạ áp | Trực tiếp | |
| 6 | Mối ghép phòng nổ của các nắp trên thân biến áp | Trực tiếp | |
| 7 | Hệ thống tiếp đất | Trực tiếp | - Kiểm tra củng cố hệ thống tiếp đất và đo điện trở tiếp đất. - Giá trị điện trở tiếp đất đảm bảo Rtd ≤ 2 Ω, đo tại bất kỳ vị trí nào. |
| 8 | Hệ thống bảo vệ | Trực tiếp | Kiểm tra tác động bảo vệ của các bộ bảo vệ thông minh của máy biến áp. |
d) Kiểm tra hàng năm
Nội dung kiểm tra: Ngoài nội dung các công việc kiểm tra hàng quý phải kiểm tra thêm các nội dung theo Bảng 16.
Bảng 16. Nội dung kiểm tra hàng năm
| STT | Nội dung kiểm tra | Phương pháp kiểm tra | Kết quả kiểm tra cho phép vận hành |
| 1 | Các mối ghép dạng trục xoay (cơ cấu liên động, nút bấm, trục tay quay) | Trực tiếp | Vặn chặt tất cả các bu lông hoặc cơ cấu bắt chặt phòng nổ, kiểm tra khe hở mối ghép phòng nổ theo chu vi của mối ghép, khe hở phải đảm bảo yêu cầu kỹ thuật. |
| 2 | Các mối ghép của phần tử xuyên sáng, tín hiệu. | Trực tiếp | Kiểm tra khe hở mối ghép phòng nổ theo chu vi của mối ghép, khe hở phải đảm bảo yêu cầu kỹ thuật. |
3. Kết quả kiểm tra phải được ghi vào số kiểm tra theo mẫu tại Phụ lục B Quy chuẩn kỹ thuật này.
4. Kết quả kiểm tra phải được xử lý và đưa ra các quyết định cần thiết đảm bảo máy hoạt động an toàn.
5. Khi phát hiện máy không đảm bảo an toàn người theo dõi, vận hành phải dừng hoạt động và báo cáo người có trách nhiệm để xử lý.
6. Kết quả kiểm tra
Sau khi kiểm tra phải đưa ra kết luận về tình trạng kỹ thuật an toàn trạm biến áp phòng nổ sử dụng trong mỏ hầm lò và chỉ cho phép đưa vào sử dụng hoặc tiếp tục vận hành những thiết bị đảm bảo kỹ thuật an toàn.
Điều 15. Yêu cầu về thử nghiệm và kiểm định
1. Trạm biến áp phòng nổ sử dụng trong mỏ hầm lò trước khi đưa vào sử dụng phải được thử nghiệm và kiểm định. Thời hạn kiểm định, điều kiện kiểm định, thiết bị kiểm định, các bước kiểm định, biên bản kiểm định và giấy chứng nhận kết quả kiểm định thực hiện theo quy trình kiểm định số 11 (QTKĐ: 11-2017/BCT) tại Thông tư số 10/2017/TT-BCT ngày 26 tháng 7 năm 2017 ban hành quy trình kiểm định kỹ thuật an toàn đối với máy, thiết bị, vật tư có yêu cầu nghiêm ngặt về an toàn lao động thuộc thẩm quyền quản lý của Bộ Công Thương.
2. Theo các loại hình kiềm định, các phép thử nghiệm, kiểm định phải được thực hiện theo hướng dẫn kỹ thuật, phương pháp thử, quy trình thử nghiệm và các thiết bị thử nghiệm cho trong các tiêu chuẩn TCVN 10888-0: 2015 (lEC 60079-0: 2011), TCVN 10888-1: 2015 (IEC 60079-1: 2014), IEC 60079-5: 2007, IEC 60079-7: 2006, IEC 60079-11: 2006, TCVN 6306-11: 2009 (IEC 60076-11: 2004), TCVN 8096-202: 2017 (IEC 62271-202: 2014), TCVN 8096-200: 2010 (IEC 62271-200: 2003), TCVN 6592-2: 2009 (IEC 60947-2: 2009), TCVN 6099-1: 2007 (IEC 60060-1: 1989), TCVN 9630-3: 2013 (IEC 60243-3: 2001).
Nội dung thực hiện theo Bảng 17.
Bảng 17. Nội dung thử nghiệm, kiểm định
| STT | Nội dung kiểm tra, thử nghiệm | Kiểm định lần đầu | Kiềm định định kỳ | Kiểm định bất thường |
| I | Kiểm tra, thử nghiệm tính năng phòng nổ đối với dạng bảo vệ vỏ không xuyên nổ dạng “d” |
|
|
|
| 1 | Kiểm tra các loại mối ghép phòng nổ: - Độ nhấp nhô của bề mặt, vết rò rỉ, xước, rãnh..w. - Chiều dài mối ghép. - Khe hở mối ghép. - Khe hở từ bên trong đến lỗ bắt bu lông. - Mối ghép ren. - Mối ghép phần tử xuyên sáng. - Bảo vệ môi trường của mối ghép. | √ | √ | √ |
| 2 | Kiểm tra gioăng, đệm mối ghép | √ | √ | √ |
| 3 | Vật liệu chế tạo vỏ phòng nổ | - | - | x |
| 4 | Kiểm tra độ bền chịu nhiệt của các vật liệu chế tạo vỏ bằng Plastic | - | - | x |
| 5 | Kiểm tra điện trở bề mặt của vật liệu Plastic | - | - | x |
| 6 | Kiểm tra nạp tĩnh điện của vật liệu Plastic | - | - | x |
| 7 | Kiểm tra các cơ cấu liên động | √ | √ | √ |
| 8 | Kiểm tra sự nguyên vẹn và lắp đặt đúng của các phễu cáp, cổ cáp vào ra | √ | √ | √ |
| 9 | Kiểm tra sự kẹp chặt và độ kín của các cổ cáp, phễu cáp mạch lực và mạch điều khiển | - | - | x |
| 10 | Kiểm tra chịu va đập của phân tử xuyên sáng, vật liệu Plastic | √ | - | x |
| 11 | Thử nghiệm sốc nhiệt cho phần tử xuyên sáng | - | - | x |
| 12 | Kiểm tra sự nguyên vẹn của hệ thống các cực tiếp đất | √ | √ | √ |
| 13 | Kiểm tra sự nguyên vẹn của các phần tử lấp chỗ trống (phần tử Ex) | √ | √ | x |
| 14 | Thử nghiệm xác định áp suất nổ chuẩn | - | - | x |
| 15 | Thử nghiệm quá áp suất bên trong (độ bền cơ học của vỏ) | - | - | x |
| 16 | Thử nghiệm không lan truyền sự cháy của vụ nổ từ bên trong ra bên ngoài | - | - | x |
| 17 | Thử nghiệm mômen xoắn cho các cọc đấu dây và ống dẫn cáp | √ | - | x |
| 18 | Kiểm tra khe hở và khoảng cách rò giữa các phần dẫn điện trực tiếp | √ | - | x |
| 19 | Thử nghiệm các mạch điều khiển an toàn tia lửa | - | - | x |
| 20 | Kiểm tra sự, nguyên vẹn của mạch điều khiển an toàn tia lửa | √ | √ | x |
| 21 | Kiểm tra tình trạng bên ngoài của vỏ thiết bị | √ | √ | √ |
| II | Kiểm tra, thử nghiệm vật liệu điền đầy đối với dạng bảo vệ điền đầy “q” |
|
|
|
| 1 | Mức độ làm kín vỏ | √ | √ | √ |
| 2 | Chiều cao tối thiểu của vật liệu điền đầy | √ | √ | √ |
| 3 | Khoảng cách nhỏ nhất xuyên qua lớp vật liệu điền đầy | √ | √ | √ |
| III | Kiểm tra, thử nghiệm các tính năng kỹ thuật điện của máy biến áp điện lực |
|
|
|
| 1 | Đo điện trở cách điện các cuộn dây máy biến áp | √ | √ | √ |
| 2 | Đo điện trở thuần (Rdc) của các cuộn dây biến áp | √ | √ | √ |
| 3 | Đo tỷ số biến áp | √ | - | √ |
| 4 | Xác định tổ đấu dây của máy biến áp | √ | - | √ |
| 5 | Thử bền cách điện của các cuộn dây | √ | - | √ |
| 6 | Kiểm tra các cảm biến nhiệt độ | √ | √ | √ |
| IV | Kiểm tra, thử nghiệm các tính năng kỹ thuật điện của cụm đóng - cắt và điều khiển cao áp |
|
|
|
| 1 | Kiểm tra, thử nghiệm sự hoạt động tin cậy của các phần cơ học, liên động | √ | √ | √ |
| 2 | Kiểm tra điện trở cách điện mạch lực và mạch điều khiển | √ | √ | √ |
| 3 | Thử độ bền cách điện của mạch lực và mạch điều khiển | √ | - | √ |
| 4 | Kiểm tra điện trở tiếp xúc của các tiếp điểm mạch lực | √ | √ | √ |
| 5 | Kiểm tra các máy biến áp điều khiển và đo lường (Tu) | √ | √ | √ |
| 6 | Kiểm tra các biến dòng điện điều khiển và đo lường (Ti) | √ | √ | √ |
| 7 | Kiểm tra, thử nghiệm các tính năng điều khiển bảo vệ của hệ thống (quá tải, ngắn mạch, thấp áp, nhiệt độ và cơ cấu bảo vệ) | √ | √ | √ |
| 8 | Kiểm tra, thử nghiệm xác định thời gian cắt của bảo vệ | √ | - | √ |
| 9 | Kiểm tra thiết bị bảo vệ quá điện áp tự nhiên (chống sét) | √ | √ | √ |
| 10 | Kiểm tra hiệu chuẩn các thiết bị đo lường | √ | √ | √ |
| V | Kiểm tra, thử nghiệm các tính năng kỹ thuật điện của cụm đóng - cắt và điều khiển hạ áp |
|
|
|
| 1 | Kiểm tra, thử nghiệm sự hoạt động tin cậy của các phần cơ học, liên động | √ | √ | √ |
| 2 | Kiểm tra điện trở cách điện của mạch lực và mạch điều khiển | √ | √ | √ |
| 3 | Thử độ bền cách điện của mạch lực và mạch điều khiển | √ | - | √ |
| 4 | Kiểm tra điện trở tiếp xúc của các tiếp điểm mạch lực | √ | √ | √ |
| 5 | Kiểm tra máy biến áp cung cấp điện điều khiển, bảo vệ và tín hiệu | √ | √ | √ |
| 6 | Kiểm tra các máy biến dòng điện (Ti) sử dụng cho bảo vệ và đo lường | √ | √ | √ |
| 7 | Kiểm tra, thử nghiệm các tính năng điều khiển bảo vệ của hệ thống (quá tải, ngắn mạch, thấp áp, nhiệt độ và cơ cấu bảo vệ) | √ | √ | √ |
| 8 | Kiểm tra, thử nghiệm sự hoạt động của hệ thống bảo vệ rò điện và hệ thống liên động khóa rò điện | √ | √ | √ |
| 9 | Kiểm tra hệ thống bảo vệ giám sát cách điện | √ | √ | √ |
| 10 | Kiểm tra, thử nghiệm xác định thời gian cắt của bảo vệ | √ | - | √ |
| 11 | Kiểm tra thiết bị bảo vệ quá điện áp chuyển mạch | √ | √ | √ |
| 12 | Kiểm tra hiệu chuẩn các thiết bị đo lường | √ | √ | √ |
| Chú dẫn: - Kí hiệu “√” chỉ hạng mục kiểm tra, thử nghiệm bắt buộc. - Kí hiệu “x” chỉ hạng mục kiểm tra, thử nghiệm khi công tác sửa chữa, đại tu có sự thay đổi của các cấu trúc và thông số của mạch điện mà nó ảnh hưởng tới các đặc tính kỹ thuật và mức độ của dạng bảo vệ nổ hoặc được thực hiện theo yêu cầu. - Kí hiệu chỉ hạng mục không cần kiểm tra, thử nghiệm. | ||||
- Các hạng mục và thông số cụ thể của các phép kiểm tra, thử nghiệm được thực hiện theo hướng dẫn của các tiêu chuẩn kỹ thuật được áp dụng và theo tài liệu hướng dẫn của nhà chế tạo.
- Đối với dạng bảo vệ điền đầy “q” theo phương pháp bọc kín vĩnh viễn không thử nghiệm, kiểm định theo mục 3 phần II Bảng 17 Quy chuẩn kỹ thuật này.
2. Báo cáo, đánh giá kết quả thử nghiệm, kiểm định
Báo cáo, đánh giá kết quả thử nghiệm, kiểm định phải chỉ ra cụ thể kết quả kiểm tra/thử nghiệm đạt hoặc không đạt các yêu cầu kỹ thuật trong các tiêu chuẩn, quy chuẩn áp dụng.
a) Thử nghiệm, kiểm định đạt yêu cầu khi: Đáp ứng các yêu cầu kỹ thuật của các tiêu chuẩn, Quy chuẩn kỹ thuật được áp dụng tại Bảng 17.
b) Thử nghiệm, kiểm định không đạt yêu cầu khi: Không đáp ứng một trong các yêu cầu kỹ thuật của các tiêu chuẩn, Quy chuẩn kỹ thuật được áp dụng tại Bảng 17.
Chương IV
TỔ CHỨC THỰC HIỆN
Điều 16. Trách nhiệm của Cơ quan quản lý nhà nước
1. Cục Kỹ thuật an toàn và Môi trường công nghiệp, Bộ Công Thương có trách nhiệm:
a) Hướng dẫn, tổ chức triển khai thực hiện các quy định tại Quy chuẩn kỹ thuật này.
b) Thanh tra, kiểm tra việc thực hiện các nội dung được quy định tại Quy chuẩn kỹ thuật này đối với các tổ chức có liên quan tới trạm biến áp phòng nổ sử dụng trong hầm lò.
2. Sở Công Thương các tỉnh, thành phố theo chức năng, quyền hạn phối hợp với Cục Kỹ thuật an toàn và Môi trường công nghiệp, Bộ Công Thương hoặc trực tiếp thanh tra, kiểm tra việc thực hiện các nội dung được quy định tại Quy chuẩn kỹ thuật này.
Điều 17. Trách nhiệm của tổ chức, cá nhân có liên quan tới trạm biến áp phòng nổ sử dụng trong mỏ hầm lò
1. Tuân thủ các quy định của Quy chuẩn kỹ thuật này.
2. Tổ chức, cá nhân sử dụng trạm biến áp phòng nổ sử dụng trong mỏ hầm lò:
a) Kiểm tra trong quá trình vận hành.
b) Thực hiện hoặc thuê đơn vị có đủ chức năng thí nghiệm, kiểm định theo quy định tại Quy chuẩn kỹ thuật này và các yêu cầu của văn bản pháp luật khác có liên quan.
c) Lập hồ sơ quản lý và sử dụng an toàn trạm biến áp phòng nổ sử dụng trong mỏ hầm lò theo quy định tại Quy chuẩn kỹ thuật này.
d) Sau thời hạn 6 tháng Thông tư ban hành Quy chuẩn kỹ thuật này có hiệu lực, gửi báo cáo các nội dung trạm biến áp phòng nổ sử dụng trong mỏ hầm lò đang hoạt động chưa đảm bảo kỹ thuật an toàn theo quy định tại Quy chuẩn kỹ thuật này và Phương án cải tạo, trang bị bổ sung về Cục Kỹ thuật an toàn và Môi trường công nghiệp Bộ Công Thương, đồng thời gửi báo cáo về Sở Công Thương trên địa bàn tỉnh để quản lý.
3. Các tổ chức thử nghiệm, kiểm định
Tổ chức thử nghiệm, kiểm định phải thực hiện các nội dung quy định tại Quy chuẩn kỹ thuật này và phải chịu trách nhiệm trước pháp luật về các kết quả thử nghiệm, kiểm định.
Điều 18. Hiệu lực thi hành
1. Quy chuẩn kỹ thuật này có hiệu lực thi hành kể từ ngày 01 tháng 7 năm 2020.
2. Mỏ hầm lò đang sử dụng trạm biến áp phòng nổ trước ngày Quy chuẩn kỹ thuật quốc gia về an toàn đối với trạm biến áp phòng nổ sử dụng trong mỏ hầm lò được ban hành được tiếp tục sử dụng không quá 12 tháng kể từ ngày Quy chuẩn này có hiệu lực. Sau thời gian nêu trên, trạm biến áp phòng nổ sử dụng trong mỏ hầm lò phải đáp ứng các quy định của Quy chuẩn kỹ thuật này.
3. Trong trường hợp các văn bản quy phạm pháp luật, quy chuẩn, tiêu chuẩn được dẫn chiếu tại Quy chuẩn kỹ thuật này được sửa đổi, bổ sung, thay thế thì việc áp dụng theo quy định của văn bản mới đó.
4. Tổ chức, cá nhân trong quá trình thực hiện Quy chuẩn kỹ thuật này, nếu phát hiện những điều chưa phù hợp đề nghị phản ánh về Bộ Công Thương để xem xét, nghiên cứu, điều chỉnh./.
PHỤ LỤC A
KẾT CẤU LẮP ĐẶT TRẠM BIẾN ÁP PHÒNG NỔ SỬ DỤNG TRONG MỎ HẦM LÒ
1. Kết cấu liền khối
Kết cấu liền khối, bao gồm: Cụm đóng - cắt và điều khiển cao áp, hạ áp phòng nổ được lắp ráp trực tiếp với máy biến áp điện lực phòng nổ thành một khối qua các mối ghép phòng nổ dạng mặt bích được bắt chặt bằng các bu lông, theo mẫu Hình A.1.

Kí hiệu:
1 - Máy biến áp điện lực phòng nổ.
2 - Cụm đóng - cắt, đo lường và điều khiển cao áp phòng nổ.
3 - Cụm đóng - cắt, đo lường và điều khiển hạ áp phòng nổ.
Hình A.1. Kết cấu liền khối của trạm biến áp phòng nổ sử dụng trong mỏ hầm lò
2. Kết cấu tách rời
Kết cấu tách rời, bao gồm: Cụm đóng - cắt, đo lường và điều khiển cao áp, hạ áp phòng nổ được lắp ráp với máy biến áp điện lực phòng nổ bằng cáp nối cao áp và cáp nối hạ áp, theo mẫu Hình A.2.

Kí hiệu:
1 - Máy biến áp điện lực phòng nổ độc lập.
2 - Cụm đóng - cắt, đo lường và điều khiển cao áp phòng nổ cung cấp điện cao áp cho biến áp lực.
3 - Cụm đóng - cắt, đo lường và điều khiển hạ áp phòng nổ cung cấp điện hạ áp cho phụ tải.
4 - Cáp nối cao áp có chiều dài không quá 10 m.
5 - Cáp nối hạ áp có chiều dài không quá 10 m
Hình A. 2. Kết cấu tách rời của trạm biến áp phòng nổ sử dụng trong mỏ hầm lò
PHỤ LỤC B
CÁC MẪU SỔ GHI CHÉP
SỔ GHI KẾT QUẢ KIỂM TRA KỸ THUẬT AN TOÀN VÀ THEO DÕI TÌNH TRẠNG HOẠT ĐỘNG CỦA TRẠM BIẾN ÁP PHÒNG NỔ SỬ DỤNG TRONG MỎ HẦM LÒ
Bộ phận, Công trường, Phân xưởng: …………………………………………………
Đơn vị: ……………………………………………..
Bắt đầu ghi sổ từ ngày ……….. tháng ……… năm ..............
Kết thúc ghi sổ vào ngày ……….. tháng ………. năm .............
Phần I
| TT | Các hạng mục kiểm tra | Ngày, tháng, năm | |||
| 1 | 2 | n | 31 | ||
| 1 | Vị trí biến áp |
|
|
|
|
| 2 | Kiểm tra công tác lắp đặt |
|
|
|
|
| 3 | Kiểm tra tình trạng bên ngoài của vỏ |
|
|
|
|
| 4 | Kiểm tra tiếp đất |
|
|
|
|
| 5 | Kiểm tra các thông số vận hành của biến áp thông qua bảng hiển thị hoặc các đồng hồ chỉ thị và kiểm tra tiếng kêu của biến áp |
|
|
|
|
| 6 | Kiểm tra sự làm việc tin cậy của rơ le bảo vệ rò điện |
|
|
|
|
| 7 | Kiểm tra sơ đồ cung cấp điện của máy biến áp và nội quy vận hành |
|
|
|
|
| 8 | Kiểm tra thiết bị an toàn |
|
|
|
|
| 9 | Kiểm tra cơ cấu liên động |
|
|
|
|
| 10 | Kiểm tra các mối ghép phòng nổ |
|
|
|
|
| 11 | Kiểm tra các cổ cáp vào, ra |
|
|
|
|
| 12 | Kiểm tra các phần tử xuyên sáng cho màn hiển thị hoặc tín hiệu |
|
|
|
|
| 13 | Vệ sinh, kiểm tra các tấm nhãn của máy biến áp |
|
|
|
|
| 14 | Kiểm tra mối ghép phòng nổ nắp tủ cao áp |
|
|
|
|
| 15 | Kiểm tra mối ghép phòng nổ khoang đấu cáp của tủ cao áp |
|
|
|
|
| 16 | Kiểm tra các cổ cáp vào ra cao áp hạ áp |
|
|
|
|
| 17 | Kiểm tra mối ghép phòng nổ nắp tủ hạ áp |
|
|
|
|
| 18 | Kiểm tra mối ghép phòng nổ khoang đấu cáp của tủ hạ áp |
|
|
|
|
| 19 | Kiểm tra mối ghép phòng nổ của các nắp trên thân biến áp. |
|
|
|
|
| 20 | Kiểm tra mối ghép dạng trục xoay (cơ cấu liên động, nút bấm, trục tay quay) |
|
|
|
|
| 21 | Kiểm tra mối ghép của phần tử xuyên sáng, tín hiệu. |
|
|
|
|
| 22 | Chữ ký của người kiểm tra |
|
|
|
|
| 23 | Chữ ký của người giám sát |
|
|
|
|
Phần II
| Ngày, tháng | Ghi các hỏng hóc của các cơ cấu hoặc các thiết bị | Phương pháp khắc phục các bộ phận hư hỏng, thời gian thực hiện. Họ, tên người thực hiện | Đánh giá về thực hiện khắc phục hư hỏng. Chữ ký của người thực hiện và người quản lý |
| 1 | 2 | 3 | 4 |
| … | ……………. | ……………………… | ………………………………. |
|
|
|
|
|
|
|
|
|
|
Hướng dẫn ghi sổ
Phần I: Ghi chép tình trạng của các chi tiết, thiết bị, cơ cấu của máy biến áp sau khi kiểm tra.
- Cột 3 ghi theo thứ tự từng ngày, tháng. Trong cột ghi kí hiệu:
“T” - Chỉ chi tiết, cụm chi tiết còn tốt;
“H” - Chỉ chi tiết, cụm chi tiết hỏng;
“CKT” - Chỉ chi tiết, cụm chi tiết chưa được kiểm tra.
- Nhận xét ………………………… (của người được giao nhiệm vụ kiểm tra ghi).
Phần II: Ghi các hỏng hóc (chi tiết hỏng, mức độ hỏng hóc và phương pháp khắc phục chúng).
Người được giao nhiệm vụ tiến hành kiểm tra ghi vào cột 2 tính chất và mức độ hỏng của các bộ phận và đánh dấu kí hiệu “H” vào Phần I.
Trong cột 3, Người quản lý ghi phương án khắc phục chi tiết, bộ phận hỏng và người chịu trách nhiệm thực hiện các phương án khắc phục.
Ghi chú:
a) Mỗi thiết bị trạm biến áp phòng nổ sử dụng trong mỏ hầm lò phải có một quyển sổ riêng, sổ phải được để tại trạm biến áp phòng nổ.
b) Người chịu trách nhiệm về các sổ này là cán bộ kỹ thuật có chuyên môn về cơ điện mỏ.
c) Số phải được đánh số trang và đóng dấu giáp lai của mỏ.
d) Kết quả kiểm tra hàng quý và hàng năm không ghi vào số mà được lập thành biên bản và ghi đầy đủ các thông số kỹ thuật an toàn kiểm tra được. Phó giám đốc phụ trách cơ điện phải nhận xét và ký đóng dấu.
Bạn chưa Đăng nhập thành viên.
Đây là tiện ích dành cho tài khoản thành viên. Vui lòng Đăng nhập để xem chi tiết. Nếu chưa có tài khoản, vui lòng Đăng ký tại đây!