- Tổng quan
- Nội dung
- VB gốc
- Tiếng Anh
- Hiệu lực
- VB liên quan
- Lược đồ
-
Nội dung hợp nhất
Tính năng này chỉ có tại LuatVietnam.vn. Nội dung hợp nhất tổng hợp lại tất cả các quy định còn hiệu lực của văn bản gốc và các văn bản sửa đổi, bổ sung, đính chính... trên một trang. Việc hợp nhất văn bản gốc và những văn bản, Thông tư, Nghị định hướng dẫn khác không làm thay đổi thứ tự điều khoản, nội dung.
Khách hàng chỉ cần xem Nội dung hợp nhất là có thể nắm bắt toàn bộ quy định hiện hành đang áp dụng, cho dù văn bản gốc đã qua nhiều lần chỉnh sửa, bổ sung.
- Tải về
Thông tư 62/2019/TT-BCA quy định tổ chức lễ tang Công an nhân dân
| Cơ quan ban hành: | Bộ Công an |
Số công báo:
Số công báo là mã số ấn phẩm được đăng chính thức trên ấn phẩm thông tin của Nhà nước. Mã số này do Chính phủ thống nhất quản lý.
|
Đang cập nhật |
| Số hiệu: | 62/2019/TT-BCA | Ngày đăng công báo: | Đang cập nhật |
| Loại văn bản: | Thông tư | Người ký: | Tô Lâm |
| Trích yếu: | Quy định về tổ chức lễ tang trong Công an nhân dân | ||
|
Ngày ban hành:
Ngày ban hành là ngày, tháng, năm văn bản được thông qua hoặc ký ban hành.
|
25/11/2019 |
Ngày hết hiệu lực:
Ngày hết hiệu lực là ngày, tháng, năm văn bản chính thức không còn hiệu lực (áp dụng).
|
Đã biết
|
|
Áp dụng:
Ngày áp dụng là ngày, tháng, năm văn bản chính thức có hiệu lực (áp dụng).
|
Đã biết
|
Tình trạng hiệu lực:
Cho biết trạng thái hiệu lực của văn bản đang tra cứu: Chưa áp dụng, Còn hiệu lực, Hết hiệu lực, Hết hiệu lực 1 phần; Đã sửa đổi, Đính chính hay Không còn phù hợp,...
|
Đã biết
|
| Lĩnh vực: | Cán bộ-Công chức-Viên chức Chính sách | ||
TÓM TẮT THÔNG TƯ 62/2019/TT-BCA
Quy định về tổ chức lễ tang trong Công an nhân dân
Ngày 25/11/2019, Bộ Công an đã ban hành Thông tư 62/2019/TT-BCA quy định về tổ chức lễ tang trong Công an nhân dân, có hiệu lực từ ngày 10/01/2020.
Thông tư này áp dụng cho sĩ quan, hạ sĩ quan, chiến sĩ nghĩa vụ, học viên các trường Công an nhân dân, công nhân Công an, lao động hợp đồng trong Công an nhân dân hy sinh, từ trần; cán bộ Công an đã nghỉ hưu từ trần. Đối tượng không áp dụng bao gồm những người chết do tự sát, bị kỷ luật hoặc bị kết án theo Bộ Luật hình sự.
Nguyên tắc tổ chức lễ tang
Lễ tang trong Công an nhân dân phải được tổ chức trang nghiêm, chu đáo, tiết kiệm, phù hợp với truyền thống dân tộc và nếp sống văn minh. Không kết hợp lễ tang theo nghi thức Công an nhân dân với phong tục địa phương. Khuyến khích các hình thức an táng như hỏa táng, điện táng.
Hình thức lễ tang
Có năm hình thức lễ tang: Lễ tang cấp Nhà nước, lễ tang cấp cao trong Công an nhân dân, lễ tang cán bộ đang công tác có cấp bậc hàm Đại tá trở xuống, lễ tang cán bộ Công an đã nghỉ hưu, và lễ tang công nhân Công an và lao động hợp đồng.
Trách nhiệm tổ chức lễ tang
Công an đơn vị, địa phương chủ trì tổ chức lễ tang, thành lập Ban Tổ chức lễ tang, xây dựng kế hoạch, phân công nhiệm vụ, điều hành tổ chức lễ tang, đảm bảo kinh phí và thanh quyết toán theo quy định.
Trang phục và băng tang
Người hy sinh, từ trần mặc lễ phục hoặc trang phục thường dùng, đeo cấp hiệu, phù hiệu. Cán bộ, chiến sĩ dự lễ tang mặc lễ phục hoặc trang phục thường dùng tùy theo cấp độ lễ tang. Thành viên Ban Lễ tang và Ban Tổ chức lễ tang đeo băng tang đen trên cánh tay trái.
Một số quy định khác
Lễ tang theo nghi thức Công an nhân dân gồm: Lễ viếng, Lễ truy điệu, Lễ đưa tang, Lễ an táng. Linh cữu không để quá 48 giờ từ khi khâm liệm đến khi an táng. Không rắc vàng mã, tiền trong quá trình đưa thi hài. Trường hợp đặc biệt có thể tổ chức lễ tang ở hình thức cao hơn do lãnh đạo Bộ Công an quyết định.
Văn bản này được thay thế bởi 09/2026/TT-BCA
Xem chi tiết Thông tư 62/2019/TT-BCA có hiệu lực kể từ ngày 08/01/2020
Tải Thông tư 62/2019/TT-BCA
| BỘ CÔNG AN | CỘNG HÒA XÃ HỘI CHỦ NGHĨA VIỆT NAM Hà Nội, ngày 25 tháng 11 năm 2019 |
THÔNG TƯ
Quy định về tổ chức lễ tang trong Công an nhân dân
____________
Căn cứ Nghị định số 01/2018/NĐ-CP ngày 06 tháng 8 năm 2018 của Chính phủ quy định chức năng, nhiệm vụ, quyền hạn và cơ cấu tổ chức của Bộ Công an;
Căn cứ Nghị định số 105/2012/NĐ-CP ngày 17 tháng 12 năm 2012 của Chính phủ về tổ chức lễ tang cán bộ, công chức, viên chức;
Theo đề nghị của Cục trưởng Cục Tổ chức cán bộ;
Bộ trưởng Bộ Công an ban hành Thông tư quy định về tổ chức lễ tang trong Công an nhân dân.
Chương I
QUY ĐỊNH CHUNG
Điều 1. Phạm vi điều chỉnh và đối tượng áp dụng
Thông tư này quy định về tổ chức lễ tang đối với sĩ quan, hạ sĩ quan, chiến sĩ nghĩa vụ, học viên các trường Công an nhân dân, công nhân Công an (sau đây gọi là cán bộ, chiến sĩ), người lao động làm việc theo hợp đồng lao động hưởng lương từ ngân sách Nhà nước (sau đây gọi là lao động hợp đồng) trong Công an nhân dân hy sinh, từ trần; cán bộ Công an đã nghỉ hưu từ trần; trách nhiệm của Công an đơn vị, địa phương trong việc tổ chức lễ tang; chi phí tổ chức lễ tang; chế độ viếng cán bộ, chiến sĩ, thân nhân cán bộ, chiến sĩ, lao động hợp đồng, Trưởng, Phó trưởng Công an xã, thị trấn và Công an viên bán chuyên trách đang công tác hy sinh, từ trần.
Điều 2. Đối tượng không áp dụng
1. Cán bộ, chiến sĩ, lao động hợp đồng chết do tự sát, bị kỷ luật “tước danh hiệu Công an nhân dân” hoặc “buộc thôi việc”; cán bộ, chiến sĩ đã xuất ngũ, thôi việc, chuyển ngành; cán bộ Công an đã nghỉ hưu sau đó bị kết án một trong các tội được quy định trong Bộ Luật hình sự.
2. Thân nhân của cán bộ, chiến sĩ, lao động hợp đồng đang công tác, Trưởng, Phó trưởng công an xã, thị trấn và công an viên bán chuyên trách chết do tự sát hoặc bị truy cứu trách nhiệm hình sự.
3. Trường hợp đặc biệt do lãnh đạo đơn vị chủ trì tổ chức lễ tang quyết định.
Điều 3. Nguyên tắc tổ chức lễ tang
1. Tổ chức lễ tang theo nghi thức Công an nhân dân phải đảm bảo trang nghiêm, chu đáo, tiết kiệm, phù hợp với truyền thống dân tộc và nếp sống văn minh.
2. Không kết hợp tổ chức lễ tang theo nghi thức Công an nhân dân với tổ chức lễ tang theo phong tục, tập quán của địa phương. Khuyến khích tổ chức an táng theo các hình thức hỏa táng, điện táng.
3. Trường hợp cán bộ hy sinh, từ trần thuộc đối tượng áp dụng nhiều hình thức lễ tang khác nhau thì tổ chức lễ tang theo quy định đối với hình thức lễ tang cao nhất.
Điều 4. Hình thức lễ tang
1. Lễ tang cấp Nhà nước.
2. Lễ tang cấp cao trong Công an nhân dân.
3. Lễ tang cán bộ đang công tác có cấp bậc hàm Đại tá trở xuống.
4. Lễ tang cán bộ Công an đã nghỉ hưu.
5. Lễ tang công nhân Công an và lao động hợp đồng.
Điều 5. Trách nhiệm tổ chức lễ tang
Đơn vị, địa phương chủ trì tổ chức lễ tang thành lập Ban Tổ chức lễ tang, xây dựng kế hoạch, phân công nhiệm vụ, điều hành tổ chức lễ tang, đảm bảo kinh phí và thanh quyết toán theo quy định.
1. Cán bộ, chiến sĩ, lao động hợp đồng đang công tác hy sinh, từ trần thuộc Công an đơn vị, địa phương nào thì do Công an đơn vị, địa phương đó chủ trì tổ chức lễ tang. Nếu lễ tang cán bộ, chiến sĩ hy sinh, từ trần tổ chức ở xa đơn vị, địa phương nơi công tác thì Công an đơn vị, địa phương có cán bộ hy sinh, từ trần chủ trì phối hợp với Công an địa phương nơi tổ chức lễ tang.
2. Cán bộ Công an nghỉ hưu từ trần cư trú tại địa phương nào thì Công an địa phương đó chủ trì, phối hợp với Công an đơn vị, địa phương nơi cán bộ công tác trước khi nghỉ hưu hoặc đơn vị được phân công tiếp nhận, quản lý và thực hiện chính sách (đối với trường hợp đơn vị công tác đã sáp nhập, giải thể) cùng cấp ủy Đảng, chính quyền địa phương và gia đình tổ chức lễ tang.
Riêng, đối với cán bộ Công an công tác tại các đơn vị trực thuộc Bộ nghỉ hưu tại thành phố Hà Nội và thành phố Hồ Chí Minh (nếu có bộ phận thường trú) từ trần thì do đơn vị mà cán bộ đó công tác trước khi nghỉ hưu chủ trì phối hợp với Công an, chính quyền địa phương và gia đình tổ chức lễ tang. Trường hợp đơn vị công tác của cán bộ trước khi nghỉ hưu đã sáp nhập, giải thể thì đơn vị được phân công tiếp nhận, quản lý và thực hiện chính sách phối hợp với Công an, chính quyền địa phương và gia đình tổ chức lễ tang.
3. Cán bộ Công an biệt phái hy sinh, từ trần thì tùy tình hình và yêu cầu nghiệp vụ, đơn vị quản lý cán bộ biệt phái thống nhất với cơ quan nhận cán bộ biệt phái phối hợp với gia đình tổ chức lễ tang. Trường hợp tổ chức lễ tang theo nghi thức Công an nhân dân thì đơn vị quản lý cán bộ biệt phái chủ trì, phối hợp với cơ quan nhận cán bộ biệt phái tổ chức lễ tang.
Điều 6. Trang phục và băng tang
1. Trang phục
a) Đối với người hy sinh, từ trần
Sĩ quan Công an nhân dân: Mặc lễ phục hoặc trang phục thường dùng; đeo cấp hiệu, cành tùng đơn (đối với lễ phục), phù hiệu, mũ kêpi đặt trên ngực, Công an hiệu hướng lên phía đầu người hy sinh, từ trần; giày da để cạnh hai bàn chân.
Hạ sĩ quan, chiến sĩ, học viên Công an nhân dân: Mặc trang phục thường dùng, đeo cấp hiệu, phù hiệu; giày và mũ kêpi đặt như trường hợp sĩ quan.
Công nhân Công an, lao động hợp đồng: Mặc thường phục;
b) Đối với cán bộ, chiến sĩ dự lễ tang
Dự lễ tang cấp Nhà nước: Mặc lễ phục Công an nhân dân, đội mũ kêpi; trường hợp đặc biệt thực hiện theo quyết định của Bộ trưởng.
Các trường hợp còn lại, mặc trang phục thường dùng, đội mũ kêpi.
2. Băng tang
Thành viên Ban Lễ tang và Ban Tổ chức lễ tang đeo băng tang đen (có chiều rộng 07cm) trên cánh tay trái.
Điều 7. Một số quy định khác
1. Tổ chức lễ tang theo nghi thức Công an nhân dân gồm: Lễ viếng, Lễ truy điệu, Lễ đưa tang, Lễ an táng (hoặc hỏa táng, điện táng). Căn cứ vào cấp bậc, chức vụ, quá trình công tác của người hy sinh, từ trần và điều kiện cụ thể để tổ chức lễ tang theo nghi thức Công an nhân dân cho phù hợp.
Lễ viếng, lễ truy điệu tổ chức tại nhà tang lễ; lễ đưa tang và lễ an táng thực hiện trong cùng một ngày.
2. Trường hợp tổ chức lễ viếng tại gia đình thì nơi tổ chức lễ tang phải bảo đảm các điều kiện cần thiết để việc tổ chức lễ tang được trang trọng, chu đáo; thi hài người từ trần phải được khâm liệm vào linh cữu và bảo đảm vệ sinh, nhất là đối với người có bệnh lây nhiễm. Linh cữu được để không quá 48 (bốn mươi tám) giờ, kể từ khi khâm liệm đến khi tổ chức lễ an táng. Trong thời gian tổ chức lễ viếng tại gia đình không cử nhạc tang trước 06 giờ sáng và sau 22 giờ đêm; âm thanh bảo đảm không vượt quá độ ồn cho phép; không sử dụng các nhạc khúc không phù hợp trong lễ tang.
3. Linh cữu người từ trần quàn tại nhà tang lễ hoặc gia đình không để ô cửa có lắp kính trên nắp quan tài.
4. Không rắc vàng mã, không rắc các loại tiền do Ngân hàng Nhà nước Việt Nam phát hành và ngoại tệ trong quá trình đưa thi hài từ nhà tang lễ hoặc từ gia đình đến nơi an táng.
5. Trường hợp, nhiều cán bộ, chiến sĩ hy sinh trong khi làm nhiệm vụ trực tiếp đấu tranh chống tội phạm, làm nhiệm vụ chữa cháy, dũng cảm cứu nạn, cứu hộ... hoặc làm nhiệm vụ huấn luyện chiến đấu, diễn tập phục vụ quốc phòng, an ninh có tính chất nguy hiểm thì có thể được tổ chức lễ tang ở hình thức cao hơn, do lãnh đạo Bộ Công an quyết định nhằm tuyên truyền, giáo dục, nêu gương.
6. Đối với trường hợp cán bộ Công an bị kỷ luật bằng hình thức cách chức, giáng chức hoặc giáng cấp bậc hàm thì lễ tang được tổ chức theo hình thức lễ tang tương ứng với chức danh, chức vụ hoặc cấp bậc hàm của cán bộ Công an tại thời điểm hy sinh, từ trần.
Chương II
TỔ CHỨC LỄ TANG
Mục 1
LỄ TANG CẤP NHÀ NƯỚC
Điều 8. Đối tượng và nghi thức tổ chức Lễ tang cấp Nhà nước
1. Cán bộ Công an có chức danh hoặc cấp bậc hàm quy định tại Điều 21 Nghị định số 105/2012/NĐ-CP ngày 17 tháng 12 năm 2012 của Chính phủ về tổ chức lễ tang cán bộ, công chức, viên chức (sau đây viết gọn là Thông tư số 105/2012/NĐ-CP) từ trần thì thực hiện lễ tang theo quy định tại Chương 3 Nghị định số 105/2012/NĐ-CP.
2. Văn phòng chủ trì, phối hợp với Cục Tổ chức cán bộ giúp lãnh đạo Bộ thực hiện nhiệm vụ được Ban Tổ chức Lễ tang cấp Nhà nước phân công.
Mục 2
LỄ TANG CẤP CAO TRONG CÔNG AN NHÂN DÂN
Điều 9. Chức danh được tổ chức Lễ tang cấp cao trong Công an nhân dân
Cán bộ đang công tác hoặc đã nghỉ hưu có chức vụ hoặc cấp bậc hàm sau đây khi hy sinh, từ trần được tổ chức Lễ tang cấp cao trong Công an nhân dân:
1. Ủy viên Ban Chấp hành Trung ương Đảng, ủy viên dự khuyết Ban Chấp hành Trung ương Đảng, ủy viên Đảng ủy Công an Trung ương, Thứ trưởng.
2. Tổng cục trưởng, Phó Tổng cục trưởng và tương đương.
3. Cán bộ Công an đang công tác giữ chức vụ: Cục trưởng, Tư lệnh và tương đương; Giám đốc Công an tỉnh, thành phố trực thuộc Trung ương.
4. Sĩ quan cấp bậc hàm Thiếu tướng trở lên.
5. Cán bộ được tặng thưởng Huân chương Độc lập hạng Nhất trở lên; cán bộ được tặng giải thưởng Hồ Chí Minh (giải thưởng cá nhân) là Anh hùng lực lượng vũ trang nhân dân, Anh hùng Lao động (trừ trường hợp quy định tại Khoản 6 Điều 7 Thông tư này).
Điều 10. Chủ trì tổ chức lễ tang
1. Lãnh đạo Bộ chủ trì
a) Đối với cán bộ đang công tác
Ủy viên Ban chấp hành Trung ương Đảng, ủy viên Đảng ủy Công an Trung ương; Thứ trưởng; sĩ quan có cấp bậc hàm Trung tướng; Cục trưởng, Tư lệnh và tương đương, Giám đốc Công an tỉnh, thành phố trực thuộc Trung ương.
Công an đơn vị, địa phương có cán bộ hy sinh, từ trần chủ trì, phối hợp với Văn phòng, Cục Tổ chức cán bộ giúp lãnh đạo Bộ tổ chức lễ tang;
b) Đối với cán bộ đã nghỉ hưu
Nguyên ủy viên Ban chấp hành Trung ương Đảng, nguyên ủy viên Đảng ủy Công an Trung ương, nguyên Thứ trưởng, nguyên Tổng cục trưởng và tương đương; sĩ quan có cấp bậc hàm Trung tướng.
Đơn vị công tác của cán bộ trước khi nghỉ hưu từ trần hoặc đơn vị được phân công tiếp nhận, quản lý và thực hiện chính sách đối với cán bộ nghỉ hưu từ các đơn vị chia tách, sáp nhập, giải thể chủ trì, phối hợp với Văn phòng, Cục Tổ chức cán bộ giúp lãnh đạo Bộ tổ chức lễ tang.
2. Lãnh đạo Công an đơn vị, địa phương chủ trì đối với cán bộ thuộc các chức danh còn lại (đối với cán bộ đang công tác) hoặc đơn vị, địa phương quản lý, thực hiện chính sách (đối với cán bộ đã nghỉ hưu) tổ chức lễ tang.
3. Đối với cán bộ Công an công tác tại các địa phương từ trần, nếu Thành ủy, Tỉnh ủy đảm nhận chủ trì tổ chức lễ tang thì thực hiện theo quy định của địa phương.
4. Trường hợp đặc biệt do lãnh đạo Bộ Công an xem xét, quyết định.
Điều 11. Công tác chuẩn bị
Trước khi tổ chức lễ tang, đơn vị chủ trì thực hiện các công việc sau:
1. Thành lập Ban Tổ chức lễ tang.
2. Xác định địa điểm tổ chức lễ viếng, lễ truy điệu, lễ an táng hoặc hỏa táng, điện táng.
3. Phối hợp gia đình xác định thời gian tổ chức lễ viếng, lễ truy điệu, lễ đưa tang, lễ an táng hoặc hỏa táng, điện táng.
4. Đăng tin buồn và thông báo cho các cơ quan, đơn vị liên quan biết.
5. Tóm tắt tiểu sử, chuẩn bị điếu văn, lời cảm ơn; ảnh chân dung; huân chương, huy chương (nếu có); vòng hoa tiêu biểu, vòng hoa luân chuyển; băng tang, sổ tang; xe phục vụ lễ tang; hệ thống âm thanh...
6. Bố trí các lực lượng phục vụ lễ tang: Đội tiêu binh, danh dự; Đội nhạc lễ (nếu có); cán bộ, chiến sĩ làm nhiệm vụ túc trực bên linh cữu, khiêng hoa, khiêng linh cữu, dẫn viếng, đăng ký viếng...
7. Chuẩn bị kinh phí phục vụ tổ chức lễ tang theo quy định.
Điều 12. Ban Tổ chức lễ tang
1. Ban Tổ chức lễ tang do lãnh đạo Bộ chủ trì có từ 13 đến 15 thành viên, do Bộ trưởng Bộ Công an quyết định; Trưởng Ban Tổ chức lễ tang là lãnh đạo Bộ Công an.
2. Ban Tổ chức lễ tang của Công an các đơn vị, địa phương có từ 11 đến 13 thành viên do lãnh đạo Công an đơn vị, địa phương chủ trì lễ tang quyết định; Trưởng Ban Tổ chức lễ tang là lãnh đạo Công an đơn vị, địa phương.
3. Đối với cán bộ nghỉ hưu từ trần, thành phần Ban Tổ chức lễ tang có thêm đại diện gia đình, cấp ủy và chính quyền địa phương, đại diện Câu lạc bộ Công an hưu trí nơi cán bộ đó tham gia sinh hoạt.
4. Trường hợp đặc biệt do Trưởng Ban tổ chức lễ tang xem xét, quyết định.
Điều 13. Đứng tên đưa tin buồn, lời điếu
1. Ban Chấp hành Trung ương Đảng Cộng sản Việt Nam, Đảng ủy Công an Trung ương, Bộ Công an và gia đình (nếu là Đại biểu Quốc hội thì ghi thêm Quốc hội nước Cộng hòa xã hội chủ nghĩa Việt Nam) đứng tên đưa tin buồn đối với trường hợp cán bộ hy sinh, từ trần giữ chức danh ủy viên Ban Chấp hành Trung ương Đảng.
Tin buồn, tóm tắt tiểu sử kèm ảnh người hy sinh, từ trần (cỡ 06cm X 09cm) được đăng trên các báo, truyền hình theo quy định tại Khoản 3 Điều 35 Nghị định số 105/2012/NĐ-CP.
Văn phòng chủ trì, phối hợp với Cục Tổ chức cán bộ và gia đình chuẩn bị tin buồn, tóm tắt tiểu sử, lời điếu, lời cảm ơn và thông qua Trưởng Ban Tổ chức lễ tang trước khi đưa tin.
2. Đảng ủy Công an Trung ương, Bộ Công an, đơn vị có cán bộ hy sinh, từ trần và gia đình đứng tên đưa tin buồn đối với các trường hợp còn lại. Tin buồn đăng trên trang nhất báo Công an nhân dân, truyền hình Công an nhân dân kèm ảnh (cỡ 06cm X 09cm) và tóm tắt tiểu sử cán bộ hy sinh, từ trần (trừ trường hợp thuộc Khoản 1 Điều này). Việc đăng tin buồn trên báo Nhân dân và đưa tin buồn trên Đài Truyền hình Việt Nam thực hiện theo quy định của Chính phủ.
Đơn vị chủ trì tổ chức lễ tang phối hợp với đơn vị có liên quan và gia đình chuẩn bị tin buồn, tóm tắt tiểu sử, lời điếu, lời cảm ơn và thông qua Trưởng Ban Tổ chức lễ tang trước khi đưa tin.
Điều 14. Trang trí lễ đài
1. Lễ đài trang trí phông nền đen và dòng chữ trắng “Vô cùng thương tiếc đồng chí ...”.
2. Bàn thờ đặt trước và chính giữa phông, dưới lễ đài; trên bàn thờ có ảnh cỡ 40cm X 30cm của cán bộ hy sinh, từ trần, giá huân chương, lư hương, cây đèn.
3. Linh cữu phủ Công an kỳ (kích thước 3m X 2m) đặt trên giá đỡ chính giữa lễ đài, đầu hướng về phía lễ đài.
4. Bàn thờ nhỏ đặt phía dưới linh cữu, có bát hương để trưởng các đoàn đến thắp hương viếng; phía trước bàn thờ có giá để vòng hoa của các đoàn đến viếng.
Điều 15. Vòng hoa tiêu biểu, vòng hoa luân chuyển
1. Ban Tổ chức lễ tang chuẩn bị 02 vòng hoa tiêu biểu của Đảng ủy Công an Trung ương, Bộ Công an và gia đình đặt hai bên bàn thờ. Vòng hoa có băng vải đỏ, chữ vàng (kích thước 1,2m X 0,2m).
2. Ban Tổ chức lễ tang chuẩn bị 15 (mười lăm) vòng hoa luân chuyển, băng vải đen, kích thước 1,2m X 0,2m với dòng chữ trắng “Vô cùng thương tiếc đồng chí... ”; trong thông báo tin buồn có ghi: Các đoàn đến viếng không mang vòng hoa và băng vải đen mà sử dụng vòng hoa viếng do Ban Tổ chức lễ tang chuẩn bị.
Điều 16. Túc trực bên linh cữu, đơn vị danh dự
1. Túc trực bên linh cữu
Túc trực bên linh cữu có 02 sĩ quan cấp tá (do đơn vị chủ trì tổ chức lễ tang đảm nhiệm); 04 hạ sĩ quan, chiến sĩ (do lực lượng Cảnh sát cơ động đảm nhiệm).
Thời gian túc trực bên linh cữu trước lễ viếng 05 phút đến khi kết thúc lễ truy điệu. Trường hợp thời gian tổ chức lễ viếng kéo dài trên 04 giờ thì Trưởng ban Tổ chức lễ tang quyết định việc túc trực bên linh cữu cho phù hợp với thực tế nơi tổ chức lễ tang.
2. Đơn vị danh dự: gồm 40 đồng chí, trong đó có 01 sĩ quan chỉ huy, 03 đồng chí tổ Công an kỳ và sĩ quan dẫn viếng; từ 10 đến 12 chiến sĩ làm nhiệm vụ khiêng hoa (do lực lượng Cảnh sát cơ động đảm nhiệm).
Điều 17. Sử dụng xe trong lễ tang
1. Sử dụng từ 9 đến 13 xe, gồm: 01 xe cờ truyền thống của lực lượng Công an nhân dân, ảnh, giá huân, huy chương; 02 xe chở đội danh dự; 02 xe chở đội nhạc lễ; 01 xe chở hoa; 01 xe chở hoặc kéo linh cữu; 01 đến 04 xe ca chở gia đình và cán bộ, chiến sĩ đi đưa tang và 01 đến 02 xe Ban Tổ chức lễ tang.
2. Xe cờ truyền thống, xe chở đội danh dự, xe chở đội nhạc lễ, xe chở hoa và xe chở linh cữu (gọi là xe nghi lễ) do lực lượng Cảnh sát cơ động đảm nhiệm. Xe chở gia đình, xe chở cán bộ, chiến sĩ đi đưa tang và xe Ban Tổ chức lễ tang do đơn vị chủ trì tổ chức lễ tang bố trí.
Điều 18. Nhạc lễ phục vụ lễ tang
1. Đội nhạc lễ Công an nhân dân phục vụ lễ viếng, lễ truy điệu, lễ an táng (hoặc hỏa táng, điện táng) đối với trường hợp do lãnh đạo Bộ chủ trì tổ chức lễ tang.
2. Các trường hợp khác, dùng băng nhạc buồn, bài “Hồn tử sĩ” và hành khúc tang lễ trong lễ viếng, lễ truy điệu, lễ an táng hoặc hỏa táng.
Điều 19. Trình tự tổ chức lễ tang
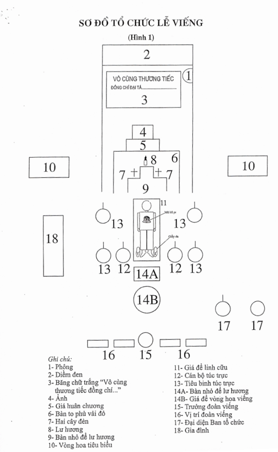
1. Lễ viếng (sơ đồ tổ chức lễ viếng thực hiện theo Phụ lục số 1 kèm theo Thông tư này).
Trước khi tổ chức lễ viếng, đại diện Ban Tổ chức lễ tang công bố Quyết định về việc thành lập Ban Tổ chức lễ tang; thông báo thời gian tổ chức lễ viếng, lễ truy điệu, lễ đưa tang và lễ an táng.
a) Đến giờ viếng, khi các lực lượng phục vụ lễ tang và những người tham dự lễ tang đã vào vị trí theo quy định, Ban Tổ chức lễ tang thông báo “Lễ viếng đồng chí.... bắt đầu”. Sau đó, giới thiệu các đoàn vào viếng;
b) Sắp xếp đội hình các đoàn vào viếng
Hai chiến sĩ khiêng hoa, hướng vòng hoa về phía đoàn, “trình hoa”. Sau đó xoay vòng hoa lại, “đi nghiêm” chậm rãi trước đoàn vào vị trí viếng.
Trưởng đoàn.
Các thành viên trong đoàn đi thành một hoặc hai hàng dọc.
Sĩ quan dẫn viếng đi chếch phía sau, bên phải Trưởng đoàn;
c) Đến vị trí viếng
Hai chiến sĩ khiêng hoa đứng lại, phối hợp xoáy và đặt vòng hoa vào giá hoa viếng, hướng mặt vòng hoa về phía đoàn viếng, sửa lại ngay ngắn rồi quay đằng sau đi đều về đứng ở hai bên.
Sĩ quan dẫn viếng dẫn đoàn viếng đứng thành hàng ngang. Tùy số lượng đoàn viếng nhiều hay ít mà bố trí đứng thành một hoặc nhiều hàng ngang. Trưởng đoàn đứng chính giữa hàng, sĩ quan dẫn viếng đứng về bên phải đoàn viếng;
d) Mặc niệm
Khi đoàn viếng đã ổn định đội hình, đồng chí Trưởng đoàn lên dâng hương. Người điều khiển âm thanh mở nhạc “Hồn tử sĩ”, nếu có Đội nhạc lễ Công an nhân dân thì cử bài “Hồn tử sĩ”. Khi nghe bài “Hồn tử sĩ”, mọi người trong đoàn viếng mặc niệm. Nếu mặc trang phục Công an nhân dân thì hàng ngang trên cùng thực hiện động tác chào, mắt hướng về nơi đặt linh cữu - chào vĩnh biệt người đã mất. Khi nhạc dừng lại, thôi chào, thôi mặc niệm. Nếu không có nhạc thì đồng chí trưởng đoàn hoặc sĩ quan dẫn viếng hô: “Một phút mặc niệm bắt đầu”, cán bộ, chiến sĩ thực hiện động tác chào vĩnh biệt người đã mất, hết thời gian mặc niệm hô “thôi”. Nếu mặc thường phục thì đứng nghiêm, đầu hơi cúi, vĩnh biệt người đã mất;
đ) Đi quanh linh cữu
Sĩ quan dẫn viếng hướng dẫn đoàn viếng đi thành một hàng dọc theo thứ tự: Trưởng đoàn, sau đó đến các thành viên trong đoàn. Sĩ quan dẫn viếng đi bên phải Trưởng đoàn, đi vòng từ bên phải linh cữu (phía trong cán bộ túc trực) lên đầu linh cữu rồi vòng đến vị trí nơi gia đình, thân nhân người đã mất, chia buồn với gia đình, sau đó đi ra khỏi khu vực viếng. Trưởng đoàn vào ghi sổ tang.
Hai chiến sĩ khiêng hoa từ hai bên đi vào đưa vòng hoa về nơi quy định.
2. Lễ truy điệu (sơ đồ tổ chức lễ truy điệu thực hiện theo Phụ lục số 2 kèm theo Thông tư này).
Đến giờ làm lễ truy điệu, Đại diện Ban Tổ chức lễ tang mời các đồng chí lãnh đạo, thành viên Ban Tổ chức lễ tang, các đoàn dự lễ tang, đơn vị nghi lễ... vào vị trí tổ chức lễ truy điệu.
a) Đại diện Ban Tổ chức lễ tang tuyên bố: “Lễ truy điệu đồng chí (cấp bậc, họ tên) bắt đầu”. Sau đó, mời đồng chí Trưởng ban Tổ chức lễ tang đọc điếu văn; đọc điếu văn xong, đồng chí Trưởng ban Tổ chức lễ tang hoặc sĩ quan chỉ huy đơn vị danh dự làm nhiệm vụ tuyên bố: “Phút mặc niệm bắt đầu” đồng thời thực hiện động tác quay hướng về phía linh cữu.
Người điều khiển âm thanh mở nhạc “Hồn tử sĩ”, nếu có Đội nhạc lễ Công an nhân dân thì cử nhạc “Hồn tử sĩ”.
Đội danh dự thực hiện động tác bồng súng chào. Tất cả mọi người dự lễ truy điệu đứng nghiêm, mặc niệm; cán bộ, chiến sĩ mặc trang phục Công an nhân dân đứng nghiêm thực hiện động tác chào. Kết thúc nhạc “Hồn tử sĩ”, các đại biểu thôi mặc niệm, Đội danh dự thôi chào.
Đại diện Ban Tổ chức lễ tang hoặc đại diện gia đình cảm ơn (nếu có);
b) Ban Tổ chức lễ tang tuyên bố: “Lễ truy điệu đồng chí (cấp bậc, họ tên) kết thúc” và mời các đồng chí lãnh đạo, đại biểu, các đoàn, gia đình đi vòng quanh linh cữu tiễn biệt lần cuối. Sau đó, Đội nhạc lễ (nếu có), Đội danh dự, tiêu binh ra khỏi vị trí. Các đội công tác thực hiện nhiệm vụ theo quy định.
3. Lễ đưa tang
a) Chuyển linh cữu lên xe tang
Đội nghi lễ và đoàn xe tang triển khai đội hình theo quy định.
Chiến sĩ danh dự gấp Công an kỳ phủ trên linh cữu.
Hai chiến sĩ mang ảnh, giá huân chương đến vị trí trước linh cữu để đi trước linh cữu.
Đội khiêng linh cữu vào khiêng linh cữu ra xe, các đại biểu, Ban Tổ chức lễ tang có thể cùng tham gia khiêng linh cữu.
Khi linh cữu được khiêng ra, thứ tự đi sau linh cữu là gia đình, các đồng chí lãnh đạo, tiếp đến là đại biểu và các đoàn...
Đến xe tang, đặt linh cữu lên xe tang hoặc giá kéo. Chiến sĩ mang ảnh, giá huân chương để lên xe chở Công an kỳ. Đối với lễ tang của sĩ quan cấp uỷ, hạ sĩ quan, chiến sĩ không có xe Công an kỳ thì mang ảnh, giá huân chương (nếu có), lên xe linh cữu. Bộ phận khiêng hoa, hương... đưa hoa, hương lên xe theo quy định.
Lãnh đạo, gia đình, đại biểu, thân quyến lên các xe đưa tang;
b) Khi linh cữu đã được đặt lên xe chở linh cữu (hoặc xe kéo), các lực lượng đã chuẩn bị xong, Ban Tổ chức lễ tang ra lệnh cho đoàn xe tang xuất phát, thứ tự các xe theo Phụ lục số 3 kèm theo Thông tư này.
Tốc độ, hành trình, cự ly của các xe đưa tang do Ban Tổ chức lễ tang quy định. Nhưng phải đảm bảo tuyến đường đi từ nơi tổ chức lễ viếng đến nơi an táng hoặc hỏa táng là phù hợp nhất. Không thực hiện rước di ảnh của người hy sinh, từ trần qua gia đình. Nếu an táng, hỏa táng ở địa phương khác nơi tổ chức lễ tang thì chỉ có xe linh cữu, xe hoa đi cùng gia đình về nơi an táng, hỏa táng, đơn vị tổ chức lễ tang phối hợp với chính quyền địa phương, gia đình tổ chức lễ an táng, hỏa táng. Trường hợp đặc biệt do đồng chí Trưởng Ban Tổ chức lễ tang quyết định.
4. Lễ an táng hoặc hỏa táng
a) An táng
Đoàn xe tới nơi an táng, đỗ xe vào các vị trí quy định, lực lượng nghi lễ vào các vị trí làm nhiệm vụ.
Đội khiêng linh cữu chuyển linh cữu đặt lên giá trước huyệt.
Gia đình, các đồng chí lãnh đạo và các đoàn tham dự lễ an táng đứng sau linh cữu theo hướng dẫn của Ban Tổ chức lễ tang.
Đội danh dự đứng thành hai đến bốn hàng ngang song song với linh cữu, đội nhạc lễ (nếu có) đứng hướng đối diện với đội danh dự.
Khi các lực lượng đã vào vị trí ổn định, Ban Tổ chức lễ tang tuyên bố: “Lễ an táng đồng chí (cấp bậc, họ tên) bắt đầu”.
Đội khiêng linh cữu khiêng linh cữu đặt trên huyệt.
Ban Tổ chức lễ tang tuyên bố “Hạ huyệt”.
Đội công tác hạ huyệt.
Khi linh cữu đã đặt vào vị trí, Ban Tổ chức lễ tang mời các đồng chí lãnh đạo, gia đình thân quyến bỏ nắm đất đầu tiên. Sau đó gia đình về đứng bên phải hoặc bên trái huyệt, các đồng chí lãnh đạo, các đại biểu về vị trí thích hợp.
Ban Tổ chức lễ tang tuyên bố “Lấp huyệt”.
Đội công tác làm nhiệm vụ lấp huyệt.
Lấp huyệt xong, đặt hoa lên mộ.
Sau khi đặt vòng hoa lên mộ xong, Ban Tổ chức lễ tang tuyên bố “Vĩnh biệt đồng chí (cấp bậc, họ tên) Phút mặc niệm bắt đầu”. Đội danh dự bồng súng chào, mọi người dự lễ an táng mặc niệm, cán bộ, chiến sĩ mặc trang phục Công an nhân dân đứng nghiêm thực hiện động tác chào.
Mặc niệm xong, Đội danh dự “thôi chào”, mọi người thôi mặc niệm.
Kết thúc lễ an táng, Ban Tổ chức lễ tang tuyên bố “Lễ an táng đồng chí (cấp bậc, họ tên) kết thúc”; cảm ơn các đồng chí lãnh đạo, các cơ quan, đoàn thể... rồi mời mọi người dự lễ an táng đi một vòng quanh mộ, vĩnh biệt lần cuối người đã mất. Các đại biểu chia buồn với gia đình rồi ra về. Các lực lượng phục vụ lễ tang theo hướng dẫn của Ban Tổ chức lễ tang lần lượt ra khỏi khu vực lễ an táng;
b) Hỏa táng: Ban Tổ chức lễ tang phối hợp với Đài hỏa táng và gia đình tổ chức hỏa táng theo quy định.
5. Các nội dung khác thực hiện theo quy định tại Điều 84 Thông tư số 36/2019/TT-BCA ngày 18/9/2019 của Bộ trưởng Bộ Công an quy định về nghi lễ Công an nhân dân.
Điều 20. Một số nội dung khác
Nơi tổ chức lễ tang, nơi an táng, xây mộ và chi phí thực hiện theo Nghị định số 105/2012/NĐ-CP và hướng dẫn của Bộ Tài chính.
Mục 3
LỄ TANG CÁN BỘ ĐANG CÔNG TÁC CÓ CẤP BẬC HÀM ĐẠI TÁ TRỞ XUỐNG
Điều 21. Chủ trì tổ chức lễ tang
1. Thủ trưởng các đơn vị trực thuộc Bộ, Giám đốc bệnh viện, học viện, Hiệu trưởng trường Công an nhân dân, Giám đốc Công an tỉnh, thành phố trực thuộc Trung ương, chủ trì tổ chức lễ tang đối với cán bộ đang công tác giữ chức vụ từ Trưởng phòng và tương đương trở lên (trừ cán bộ thuộc đối tượng tại Mục 2); cán bộ có cấp bậc hàm Đại tá thuộc đơn vị hy sinh, từ trần.
Tùy tình hình cụ thể; lãnh đạo Công an đơn vị, địa phương chủ trì hoặc phân cấp, uỷ quyền chủ trì tổ chức lễ tang đối với cán bộ thuộc đơn vị, địa phương giữ chức vụ lãnh đạo Phó Trưởng phòng và tương đương trở xuống; cán bộ có cấp bậc hàm Thượng tá trở xuống hy sinh, từ trần đảm bảo trang nghiêm, chu đáo và thống nhất.
2. Cán bộ, chiến sĩ đi học, công tác, chữa bệnh ở nước ngoài từ trần thì Công an đơn vị, địa phương quản lý cán bộ chủ trì, phối hợp với đơn vị Tình báo phụ trách địa bàn, Cục Đào tạo, Cục Đối ngoại, Đại sứ quán hoặc cơ quan đại diện Nhà nước Việt Nam ở nước sở tại và gia đình tổ chức lễ tang.
3. Cán bộ, chiến sĩ hy sinh, từ trần đang trong thời gian học tập trung tại các học viện, trường Công an nhân dân thì lãnh đạo học viện, trường Công an nhân dân chủ trì tổ chức lễ tang.
Trường hợp cán bộ, chiến sĩ học hệ vừa làm vừa học hy sinh, từ trần thì đơn vị công tác chủ trì, phối hợp với nhà trường tổ chức lễ tang.
4. Cán bộ, chiến sĩ được cử đi học tại các trường ngoài ngành Công an hy sinh, từ trần thì đơn vị trực tiếp quản lý cán bộ, chiến sĩ đi học chủ trì tổ chức lễ tang.
Điều 22. Công tác chuẩn bị lễ tang
Công tác chuẩn bị tổ chức lễ tang thực hiện như quy định tại Điều 11 Thông tư này.
Điều 23. Ban Tổ chức lễ tang
Lãnh đạo đơn vị chủ trì tổ chức lễ tang quyết định thành lập Ban Tổ chức lễ tang. Trưởng Ban Tổ chức lễ tang là một đồng chí lãnh đạo đơn vị. Số lượng, thành phần Ban Tổ chức lễ tang do đơn vị chủ trì tổ chức lễ tang quyết định.
Điều 24. Đứng tên đưa tin buồn, lời điếu
1. Đứng tên đưa tin buồn
a) Bộ Công an, đơn vị và gia đình đứng tên đưa tin buồn trên trang 2 báo Công an nhân dân đối với trường hợp cán bộ hy sinh, từ trần là lãnh đạo cấp Cục và tương đương, lãnh đạo Công an tỉnh, thành phố trực thuộc Trung ương, lãnh đạo bệnh viện, học viện, trường Công an nhân dân;
b) Đơn vị và gia đình đứng tên đưa tin buồn trên trang 2 báo Công an nhân dân đối với cán bộ hy sinh, từ trần là lãnh đạo cấp phòng, cấp huyện và tương đương; cán bộ cấp bậc hàm Đại tá, Thượng tá; Anh hùng lực lượng vũ trang; Anh hùng lao động; Thầy thuốc nhân dân; Nhà giáo nhân dân; Nghệ sĩ nhân dân; Giáo sư, Phó Giáo sư.
Việc đăng tin buồn trên báo Nhân dân hoặc các phương tiện thông tin đại chúng đối với các trường hợp này thực hiện theo quy định tại Nghị định số 105/2012/NĐ-CP.
2. Chuẩn bị tin buồn, tóm tắt tiểu sử, lời điếu
Đơn vị chủ trì tổ chức lễ tang phối hợp với gia đình và chính quyền địa phương chuẩn bị tin buồn, tóm tắt tiểu sử, lời điếu và thông qua Trưởng ban Tổ chức lễ tang trước khi đưa tin trên báo.
Điều 25. Nơi tổ chức lễ tang và nơi an táng
1. Cán bộ, chiến sĩ hy sinh, từ trần ở địa phương nào thì tổ chức lễ tang và an táng hoặc hỏa táng ở nghĩa trang của địa phương đó.
2. Trường hợp gia đình có nguyện vọng đưa thi hài về an táng ở nghĩa trang địa phương khác thì Trưởng ban Tổ chức lễ tang căn cứ quy định và ý kiến bệnh viện xem xét, quyết định.
Điều 26. Trang trí lễ đài
Đối với nơi tổ chức lễ tang có điều kiện thì thực hiện trang trí lễ đài như quy định tại Điều 14 Thông tư này. Những nơi khác, tuỳ theo tình hình cụ thể để trang trí lễ đài phù hợp, đảm bảo trang nghiêm.
Điều 27. Vòng hoa tiêu biểu, vòng hoa luân chuyển
1. Ban Tổ chức lễ tang chuẩn bị 02 vòng hoa tiêu biểu, dải băng màu đen, chữ trắng ghi: “Vô cùng thương tiếc đồng chí...” đặt hai bên bàn thờ.
2. Ban Tổ chức lễ tang chuẩn bị từ 10 (mười) đến 15 (mười lăm) vòng hoa luân chuyển, băng vải đen, kích thước 1,2m x 0,2m với dòng chữ trắng “Vô cùng thương tiếc đồng chí...”; trong thông báo tin buồn có ghi: Các đoàn đến viếng không mang vòng hoa và băng vải đen mà sử dụng vòng hoa viếng do Ban Tổ chức lễ tang chuẩn bị.
Điều 28. Túc trực bên linh cữu, đơn vị danh dự
1. Thời gian túc trực bên linh cữu: thực hiện như quy định tại Khoản 1, Điều 16 Thông tư này.
2. Túc trực bên linh cữu
a) Sĩ quan cấp Đại tá, Thượng tá hoặc giữ chức vụ từ Phó Trưởng phòng và tương đương trở lên: 02 sĩ quan cấp tá hoặc cấp úy và 04 hạ sĩ quan, chiến sĩ;
b) Sĩ quan cấp Trung tá, Thiếu tá: 02 sĩ quan cấp úy và 04 hạ sĩ quan, chiến sĩ;
c) Sĩ quan cấp úy và hạ sĩ quan, chiến sĩ: 04 hạ sĩ quan, chiến sĩ.
2. Đơn vị danh dự, khiêng hoa
a) Sĩ quan cấp tá hoặc giữ chức vụ từ Phó Trưởng phòng và tương đương trở lên: 24 đồng chí, trong đó có 01 sĩ quan chỉ huy và 03 đồng chí tổ Công an kỳ. Từ 08 đến 10 chiến sĩ làm nhiệm vụ khiêng hoa;
b) Sĩ quan cấp úy và hạ sĩ quan, chiến sĩ: 13 đồng chí, trong đó có 01 chỉ huy. Có 08 chiến sĩ làm nhiệm vụ khiêng hoa.
3. Sĩ quan túc trực bên linh cữu do đơn vị chủ trì tổ chức lễ tang đảm nhiệm. Hạ sĩ quan, chiến sĩ túc trực bên linh cữu, khiêng hoa, dẫn viếng và đơn vị danh dự do lực lượng Cảnh sát cơ động đảm nhiệm.
Điều 29. Sử dụng xe trong lễ tang
1. Số lượng xe sử dụng trong lễ tang
a) Sĩ quan cấp Thượng tá, Đại tá hoặc giữ chức vụ từ Phó Trưởng phòng và tương đương trở lên sử dụng từ 7 đến 9 xe gồm: 01 xe cờ truyền thống của lực lượng Công an nhân dân, 01 đến 02 xe đội danh dự, 01 xe chở hoa, 01 xe chở linh cữu, 02 đến 03 xe ca chở gia đình và cán bộ, chiến sĩ đi đưa tang, 01 xe Ban Tổ chức lễ tang;
b) Sĩ quan cấp Thiếu tá, Trung tá sử dụng từ 5 đến 7 xe gồm: 01 xe cờ truyền thống của lực lượng Công an nhân dân, 01 xe đội danh dự, 01 xe chở linh cữu, 01 đến 03 xe ca chở gia đình và cán bộ, chiến sĩ đi đưa tang, 01 xe Ban Tổ chức lễ tang;
c) Sĩ quan cấp úy và hạ sĩ quan, chiến sĩ sử dụng từ 3 đến 5 xe gồm: 01 xe chở linh cữu, 01 xe đội danh dự, 01 đến 03 xe chở gia đình, Ban Tổ chức lễ tang và cán bộ, chiến sĩ đi đưa tang.
2. Xe nghi lễ phục vụ lễ tang do lực lượng Cảnh sát cơ động đảm nhiệm. Xe phục vụ gia đình, Ban Tổ chức lễ tang và cán bộ, chiến sĩ đi đưa tang do đơn vị chủ trì tổ chức lễ tang đảm nhiệm.
Điều 30. Nhạc lễ phục vụ lễ tang
Sử dụng băng nhạc bài “Hồn tử sĩ” và hành khúc tang lễ trong lễ viếng và lễ truy điệu.
Điều 31. Trình tự tổ chức lễ tang
Trình tự tổ chức lễ tang thực hiện theo quy định tại Điều 19 Thông tư này.
Mục 4
LỄ TANG CÁN BỘ CÔNG AN NGHỈ HƯU
Điều 32. Đối tượng được tổ chức lễ tang theo nghi thức Công an nhân dân
Cán bộ từ trần là người hoạt động cách mạng trước ngày 01/01/1945, người hoạt động cách mạng từ 01/01/1945 đến ngày khởi nghĩa tháng Tám năm 1945; Anh hùng lực lượng vũ trang, Anh hùng lao động, Đại biểu Quốc hội, Thầy thuốc nhân dân, Nhà giáo nhân dân, Nghệ sĩ nhân dân, Giáo sư, Phó Giáo sư, lãnh đạo cấp phòng, cấp huyện và tương đương trở lên; cán bộ cấp bậc hàm Đại tá nếu địa phương nơi cán bộ từ trần có đủ điều kiện tổ chức lễ tang theo nghi thức Công an nhân dân thì được tổ chức lễ tang như lễ tang cán bộ đang công tác có cấp bậc hàm Đại tá trở xuống hy sinh, từ trần.
Điều 33. Chủ trì tổ chức lễ tang
1. Cán bộ thuộc đối tượng quy định tại Điều 32 Thông tư này từ trần cư trú tại địa phương nào thì Công an tỉnh, thành phố trực thuộc Trung ương đó chủ trì, phối hợp với đơn vị công tác trước đây của cán bộ nghỉ hưu, chính quyền địa phương và gia đình tổ chức lễ tang.
Nếu cán bộ trước khi nghỉ hưu công tác tại các đơn vị trực thuộc Bộ nghỉ hưu tại thành phố Hà Nội và thành phố Hồ Chí Minh thì thực hiện như quy định tại Khoản 2 Điều 5 Thông tư này.
Tùy theo tình hình cụ thể, Công an tỉnh, thành phố trực thuộc Trung ương phân cấp hoặc ủy quyền tổ chức lễ tang đối với cán bộ công an nghỉ hưu cư trú tại địa phương cho phù hợp.
2. Cán bộ không thuộc đối tượng quy định tại Điều 32 Thông tư này từ trần thì chính quyền địa phương và gia đình chủ trì phối hợp với Công an cấp quận, huyện nơi cán bộ cư trú tổ chức lễ tang. Đơn vị có cán bộ nghỉ hưu từ trần tổ chức đoàn đến viếng hoặc có thể gửi vòng hoa viếng nếu ở xa.
Điều 34. Ban Tổ chức lễ tang
Đơn vị chủ trì tổ chức lễ tang quyết định thành lập Ban Tổ chức lễ tang, Trưởng Ban Tổ chức lễ tang là lãnh đạo đơn vị chủ trì tổ chức lễ tang. Tham gia Ban Tổ chức lễ tang có đại diện Công an, chính quyền địa phương nơi cán bộ nghỉ hưu cư trú, đại diện Câu lạc bộ Công an hưu trí nơi đồng chí đó sinh hoạt và đại diện gia đình.
Điều 35. Đưa tin buồn, lời điếu
1. Đứng tên đưa tin buồn
a) Bộ Công an, đơn vị công tác trước khi nghỉ hưu của cán bộ từ trần và gia đình đứng tên đưa tin buồn trên trang 2 báo Công an nhân dân đối với cán bộ từ trần nguyên là lãnh đạo cấp Cục, lãnh đạo Công an tỉnh, thành phố trực thuộc Trung ương; lãnh đạo bệnh viện, học viện, trường Công an nhân dân;
b) Công an các đơn vị, địa phương và gia đình đứng tên đưa tin buồn trên trang 2 báo Công an nhân dân đối với cán bộ nguyên là lãnh đạo cấp phòng, cấp huyện và tương đương; cán bộ cấp bậc hàm Đại tá; Anh hùng lực lượng vũ trang, Anh hùng lao động, Thầy thuốc nhân dân, Nhà giáo nhân dân, Nghệ sĩ nhân dân, Giáo sư, Phó Giáo sư (trừ trường hợp do Bộ Công an đứng tên đưa tin buồn).
Việc đăng tin buồn trên báo Nhân dân hoặc các phương tiện thông tin đại chúng đối với các trường hợp này thực hiện theo quy định tại Nghị định số 105/2012/NĐ-CP.
2. Đơn vị chủ trì tổ chức lễ tang phối hợp với gia đình chuẩn bị tin buồn, lời điếu và thông qua Trưởng ban Tổ chức lễ tang trước khi đưa tin trên báo hoặc phương tiện thông tin đại chúng.
Mục 5
LỄ TANG CÔNG NHÂN CÔNG AN, LAO ĐỘNG HỢP ĐỒNG
Điều 36. Trách nhiệm tổ chức lễ tang
1. Tổ chức lễ tang đối với công nhân Công an, lao động hợp đồng từ trần, thực hiện theo quy định tại Chương V Nghị định số 105/2012/NĐ-CP ngày 17/12/2012 của Chính phủ về tổ chức lễ tang đối với cán bộ, công chức, viên chức Nhà nước từ trần.
2. Công nhân Công an, lao động hợp đồng hy sinh trong khi làm nhiệm vụ được tổ chức lễ tang như quy định đối với sĩ quan cấp úy đang công tác hy sinh, từ trần.
3. Công nhân Công an, lao động hợp đồng đang công tác từ trần do cơ quan, đơn vị trực tiếp quản lý cùng gia đình chủ trì tổ chức lễ tang.
4. Công nhân Công an, lao động hợp đồng đã nghỉ hưu từ trần do chính quyền địa phương và gia đình chủ trì tổ chức lễ tang; đơn vị công tác trước khi nghỉ hưu tổ chức đoàn đến viếng hoặc có thể gửi vòng hoa viếng nếu ở xa.
Mục 6
KINH PHÍ TỔ CHỨC LỄ TANG
Điều 37. Lễ tang cấp Nhà nước và Lễ tang cấp cao
Kinh phí phục vụ tổ chức Lễ tang cấp Nhà nước và Lễ tang cấp cao trong Công an nhân dân thực hiện theo quy định tại Nghị định số 105/2012/NĐ-CP và văn bản hướng dẫn của Bộ Tài chính.
Điều 38. Lễ tang cán bộ, chiến sĩ đang công tác
1. Kinh phí phục vụ tổ chức lễ tang đối với cán bộ, chiến sĩ, lao động hợp đồng đang công tác hy sinh, từ trần ngoài việc được trợ cấp mai táng theo quy định tại Luật Bảo hiểm xã hội (bằng 10 tháng tiền lương cơ sở) còn được Bộ Công an hỗ trợ thêm 12 tháng tiền lương cơ sở quy định tại thời điểm cán bộ, chiến sĩ, lao động hợp đồng hy sinh, từ trần.
2. Trường hợp gia đình cán bộ, chiến sĩ đang công tác hy sinh, từ trần tự đảm nhận tổ chức lễ tang thì đơn vị có cán bộ, chiến sĩ hy sinh, từ trần chi trả cho gia đình khoản kinh phí phục vụ tổ chức lễ tang quy định tại Khoản 1 Điều này.
Điều 39. Lễ tang cán bộ công an đã nghỉ hưu
Kinh phí phục vụ tổ chức lễ tang đối với cán bộ Công an đã nghỉ hưu từ trần thuộc đối tượng được tổ chức lễ tang theo nghi thức của lực lượng Công an nhân dân quy định tại Điều 32 Thông tư này do gia đình cán bộ từ trần đảm bảo và thanh toán với cơ quan Bảo hiểm xã hội nơi cư trú. Đơn vị chủ trì tổ chức lễ tang đảm bảo chi phí phục vụ phần nghi lễ của lực lượng Công an nhân dân: tiêu binh, danh dự và phương tiện chở đội tiêu binh, danh dự.
Chương III
CHẾ ĐỘ VIẾNG
Điều 40. Đối tượng được tổ chức viếng
1. Cán bộ, chiến sĩ, lao động hợp đồng đang công tác hoặc đã nghỉ hưu hy sinh, từ trần.
2. Thân nhân của cán bộ, chiến sĩ, lao động hợp đồng đang công tác hy sinh, từ trần gồm: Bố, mẹ đẻ; bố, mẹ vợ hoặc chồng; người trực tiếp nuôi dưỡng cán bộ, chiến sĩ từ nhỏ; vợ, hoặc chồng; con.
3. Trưởng, Phó trưởng Công an xã, thị trấn và Công an viên bán chuyên trách đang công tác hy sinh, từ trần.
Điều 41. Phân cấp tổ chức viếng
1. Cán bộ, chiến sĩ, lao động hợp đồng đang công tác hoặc đã nghỉ hưu hy sinh, từ trần và thân nhân cán bộ, chiến sĩ, lao động hợp đồng đang công tác hy sinh, từ trần thuộc đơn vị nào thì đơn vị đó đi viếng. Trường hợp ở quá xa nơi đơn vị đóng trụ sở thì trao đổi, đề nghị Công an địa phương nơi tổ chức lễ tang làm đại diện đến viếng.
2. Trưởng, Phó trưởng Công an xã, thị trấn và Công an viên bán chuyên trách đang công tác hy sinh, từ trần thì Công an cấp huyện trực tiếp quản lý tổ chức viếng.
Điều 42. Kinh phí tổ chức viếng
Đơn vị (theo quy định tại Điều 41 Thông tư này) đi viếng cán bộ, chiến sĩ, lao động hợp đồng đang công tác hoặc đã nghỉ hưu; thân nhân cán bộ, chiến sĩ, lao động hợp đồng, Trưởng, Phó Trưởng Công an xã, thị trấn và Công an viên bán chuyên trách đang công tác hy sinh, từ trần được chi mua vòng hoa, hương nến và các vật dụng cần thiết khác bằng 01 (một) tháng tiền lương cơ sở theo quy định của Chính phủ tại thời điểm đi viếng. Đơn vị tổ chức đoàn đi viếng hoặc thay mặt đơn vị, địa phương đi viếng được chi và quyết toán kinh phí viếng theo quy định.
Chương IV
TỔ CHỨC THỰC HIỆN
Điều 43. Kinh phí đảm bảo
Kinh phí tổ chức lễ tang quy định tại Mục 6 Chương II và kinh phí tổ chức đi viếng quy định tại Điều 42 Chương III Thông tư này do ngân sách Bộ Công an đảm bảo.
Điều 44. Hiệu lực thi hành
Thông tư này có hiệu lực kể từ ngày 08 tháng 01 năm 2020 và thay thế Thông tư số 15/2013/TT-BCA ngày 15/3/2013 của Bộ trưởng Bộ Công an quy định chế độ tang lễ trong Công an nhân dân và các văn bản hướng dẫn trước đây của Bộ Công an.
Điều 45. Trách nhiệm thi hành
1. Thủ trưởng các đơn vị trực thuộc Bộ, Giám đốc bệnh viện, học viện, Hiệu trưởng Trường Công an nhân dân, Giám đốc Công an tỉnh, thành phố trực thuộc Trung ương chịu trách nhiệm quán triệt và tổ chức thực hiện Thông tư này.
2. Bộ Tư lệnh Cảnh sát cơ động chịu trách nhiệm hướng dẫn chi tiết về trang phục, trang bị của đội danh dự và bố trí sắp xếp đội hình trong lễ viếng, lễ truy điệu, lễ đưa tang, lễ an táng để thực hiện thống nhất trong Công an nhân dân.
4. Cục Tổ chức cán bộ có trách nhiệm hướng dẫn, kiểm tra, đề xuất xử lý những vướng mắc phát sinh trong quá trình thực hiện Thông tư này.
Quá trình thực hiện, nếu có vướng mắc, Công an các đơn vị, địa phương báo cáo về Bộ (qua Cục Tổ chức cán bộ) để nghiên cứu, giải quyết./.
| Nơi nhận: - Các đồng chí Thứ trưởng (để chỉ đạo); - Công an các đơn vị, địa phương (để thực hiện); - Lưu: VT, V03, X01(P8) | BỘ TRƯỞNG
|




Bạn chưa Đăng nhập thành viên.
Đây là tiện ích dành cho tài khoản thành viên. Vui lòng Đăng nhập để xem chi tiết. Nếu chưa có tài khoản, vui lòng Đăng ký tại đây!
Bạn chưa Đăng nhập thành viên.
Đây là tiện ích dành cho tài khoản thành viên. Vui lòng Đăng nhập để xem chi tiết. Nếu chưa có tài khoản, vui lòng Đăng ký tại đây!