- Tổng quan
- Nội dung
- VB gốc
- Tiếng Anh
- Hiệu lực
- VB liên quan
- Lược đồ
-
Nội dung hợp nhất
Tính năng này chỉ có tại LuatVietnam.vn. Nội dung hợp nhất tổng hợp lại tất cả các quy định còn hiệu lực của văn bản gốc và các văn bản sửa đổi, bổ sung, đính chính... trên một trang. Việc hợp nhất văn bản gốc và những văn bản, Thông tư, Nghị định hướng dẫn khác không làm thay đổi thứ tự điều khoản, nội dung.
Khách hàng chỉ cần xem Nội dung hợp nhất là có thể nắm bắt toàn bộ quy định hiện hành đang áp dụng, cho dù văn bản gốc đã qua nhiều lần chỉnh sửa, bổ sung.
- Tải về
Thông tư 48/2016/TT-BTNMT quy định kỹ thuật cơ sở dữ liệu địa lý tỷ lệ 1:250.000
| Cơ quan ban hành: | Bộ Tài nguyên và Môi trường |
Số công báo:
Số công báo là mã số ấn phẩm được đăng chính thức trên ấn phẩm thông tin của Nhà nước. Mã số này do Chính phủ thống nhất quản lý.
|
Đã biết
|
| Số hiệu: | 48/2016/TT-BTNMT | Ngày đăng công báo: |
Đã biết
|
| Loại văn bản: | Thông tư | Người ký: | Nguyễn Thị Phương Hoa |
|
Ngày ban hành:
Ngày ban hành là ngày, tháng, năm văn bản được thông qua hoặc ký ban hành.
|
28/12/2016 |
Ngày hết hiệu lực:
Ngày hết hiệu lực là ngày, tháng, năm văn bản chính thức không còn hiệu lực (áp dụng).
|
Đã biết
|
|
Áp dụng:
Ngày áp dụng là ngày, tháng, năm văn bản chính thức có hiệu lực (áp dụng).
|
Đã biết
|
Tình trạng hiệu lực:
Cho biết trạng thái hiệu lực của văn bản đang tra cứu: Chưa áp dụng, Còn hiệu lực, Hết hiệu lực, Hết hiệu lực 1 phần; Đã sửa đổi, Đính chính hay Không còn phù hợp,...
|
Đã biết
|
| Lĩnh vực: | Tài nguyên-Môi trường |
TÓM TẮT THÔNG TƯ 48/2016/TT-BTNMT
Ngày 28/12/2016, Bộ Tài nguyên và Môi trường đã ban hành Thông tư số 48/2016/TT-BTNMT quy định kỹ thuật cơ sở dữ liệu địa lý tỷ lệ 1:250.000, bao gồm: hệ quy chiếu tọa độ, cấu trúc nội dung, yêu cầu về trình bày dữ liệu, lược đồ GML trong phân phối dữ liệu.
Theo đó, khi thu nhận đối tượng không gian, cần thu nhận từ các dữ liệu địa lý, bản đồ địa hình và các dữ liệu bản đồ khác mới nhất tính đến thời điểm thi công; có độ chính xác bằng hoặc cao hơn dữ liệu địa lý tỷ lệ 1:250.000; trường hợp cập nhật mới có thể sử dụng ảnh máy bay, ảnh vệ tinh có độ phân giải phù hợp hoặc đo vẽ trực tiếp.
Về nguyên tắc chọn bỏ và khái quát đối tượng không gian, Thông tư quy định, phải ưu tiên chọn các đối tượng có tính đặc trưng, tiêu biểu, có ý nghĩa quan trọng, có độ chính xác cao hơn; đảm bảo phản ánh đúng sự phân bố, trạng thái và các quan hệ của các đối tượng địa lý khác nhau; khi khái quát hình dạng các đối tượng hình tuyến cần giữ lại các khúc uốn có đường kính ≥75m, các đối tượng vùng có chiều dài cạnh góc ≥75m; đường giao thông cũng như các đối tượng hình tuyến khác không được trùng vào đường bờ nước hoặc tim dòng chảy, trường hợp chúng quá gần có thể xê dịch cách tim dòng chảy hoặc đường bờ nước 50m…
Thông tư này có hiệu lực thi hành kể từ ngày 15/02/2017.
Xem chi tiết Thông tư 48/2016/TT-BTNMT có hiệu lực kể từ ngày 15/02/2017
Tải Thông tư 48/2016/TT-BTNMT
|
BỘ TÀI NGUYÊN VÀ Số: 48/2016/TT-BTNMT |
CỘNG HÒA XÃ HỘI CHỦ NGHĨA VIỆT NAM Hà Nội, ngày 28 tháng 12 năm 2016 |
THÔNG TƯ
QUY ĐỊNH KỸ THUẬT CƠ SỞ DỮ LIỆU ĐỊA LÝ TỶ LỆ 1:250.000
Căn cứ Nghị định số 21/2013/NĐ-CP ngày 04 tháng 3 năm 2013 của Chính phủ quy định chức năng, nhiệm vụ, quyền hạn và cơ cấu tổ chức của Bộ Tài nguyên và Môi trường;
Căn cứ Nghị định số 45/2015/NĐ-CP ngày 06 tháng 5 năm 2015 của Chính phủ về hoạt động đo đạc và bản đồ;
Theo đề nghị của Cục trưởng Cục Đo đạc và Bản đồ Việt Nam, Vụ trưởng Vụ Khoa học và Công nghệ, Vụ trưởng Vụ Pháp chế;
Bộ trưởng Bộ Tài nguyên và Môi trường ban hành Thông tư quy định kỹ thuật cơ sở dữ liệu địa lý tỷ lệ 1:250.000.
Điều 1. Phạm vi điều chỉnh
Thông tư này quy định các chỉ tiêu kỹ thuật cơ sở dữ liệu địa lý tỷ lệ 1:250.000, bao gồm: hệ quy chiếu tọa độ, cấu trúc nội dung, yêu cầu về trình bày dữ liệu, lược đồ GML trong phân phối dữ liệu.
Điều 2. Đối tượng áp dụng
Thông tư này áp dụng đối với cơ quan nhà nước, tổ chức, cá nhân liên quan đến việc xây dựng, cập nhật, sử dụng cơ sở dữ liệu địa lý tỷ lệ 1:250.000.
Điều 3. Hệ quy chiếu tọa độ
Hệ quy chiếu tọa độ cơ sở dữ liệu địa lý tỷ lệ 1:250.000 quy định tại Phụ lục 7 Quy chuẩn kỹ thuật quốc gia về chuẩn thông tin địa lý cơ sở ban hành kèm theo Thông tư số 02/2012/TT-BTNMT ngày 19 tháng 3 năm 2012 của Bộ trưởng Bộ Tài nguyên và Môi trường (QCVN 42:2012/BTNMT) và Thông tư số 973/2001/TT-TCĐC ngày 20 tháng 6 năm 2001 của Tổng cục trưởng Tổng cục Địa chính (nay là Bộ Tài nguyên và Môi trường) về hướng dẫn áp dụng Hệ quy chiếu và Hệ tọa độ quốc gia VN-2000.
Điều 4. Cấu trúc nội dung
1. Mô hình cấu trúc nội dung dữ liệu không gian và thuộc tính dữ liệu địa lý tỷ lệ 1:250.000 quy định tại Phụ lục 1 ban hành kèm theo Thông tư này.
2. Chỉ tiêu nội dung dữ liệu không gian và thuộc tính dữ liệu địa lý tỷ lệ 1:250.000 quy định tại Phụ lục 2 ban hành kèm theo Thông tư này.
3. Siêu dữ liệu địa lý tỷ lệ 1:250.000 được lập thành tệp cho từng kiểu đối tượng địa lý, lớp đối tượng địa lý trừ những lớp rỗng và gói dữ liệu cơ sở dữ liệu địa lý tỷ lệ 1:250.000. Cấu trúc và tiêu chí thu nhận thông tin siêu dữ liệu được quy định tại Phụ lục 8 ban hành kèm theo QCVN 42: 2012/BTNMT.
4. Chất lượng và hướng dẫn xây dựng chất lượng dữ liệu địa lý tỷ lệ 1:250.000 quy định tại Phụ lục 3 ban hành kèm theo Thông tư này.
5. Mô hình khái niệm dữ liệu không gian, mô hình khái niệm dữ liệu thời gian quy định tại các Phụ lục 3, 4 và 5 của QCVN 42: 2012/BTNMT.
Điều 5. Yêu cầu về trình bày dữ liệu
1. Lược đồ, danh mục, chỉ thị trình bày đối tượng địa lý quy định tại Phụ lục 10 ban hành kèm theo QCVN 42:2012/BTNMT.
2. Màu sắc và ký hiệu trình bày đối tượng địa lý ở tỷ lệ 1:250.000 phải đảm bảo thống nhất với trình bày các đối tượng địa lý cùng loại trong hệ thống cơ sở dữ liệu quốc gia.
Điều 6. Lược đồ GML trong phân phối dữ liệu
Lược đồ GML trong phân phối dữ liệu địa lý tỷ lệ 1:250.000 quy định tại Phụ lục 4 ban hành kèm theo Thông tư này.
Điều 7. Hiệu lực thi hành
Thông tư này có hiệu lực thi hành kể từ ngày 15 tháng 02 năm 2017.
Điều 8. Tổ chức thực hiện
1. Các Bộ, cơ quan ngang Bộ, cơ quan thuộc Chính phủ, Ủy ban nhân dân các tỉnh, thành phố trực thuộc Trung ương và các tổ chức, cá nhân có liên quan chịu trách nhiệm thi hành Thông tư này.
2. Cục Đo đạc và Bản đồ Việt Nam, Bộ Tài nguyên và Môi trường có trách nhiệm hướng dẫn và kiểm tra việc thực hiện Thông tư này.
Trong quá trình thực hiện nếu có vướng mắc, các cơ quan nhà nước, tổ chức, cá nhân kịp thời phản ánh về Bộ Tài nguyên và Môi trường để xem xét, quyết định./.
|
Nơi nhận: |
KT. BỘ TRƯỞNG |
PHỤ LỤC 1
MÔ HÌNH CẤU TRÚC NỘI DUNG DỮ LIỆU KHÔNG GIAN VÀ THUỘC TÍNH DỮ LIỆU ĐỊA LÝ TỶ LỆ 1:250.000
(Ban hành kèm theo Thông tư số 48/2016/TT-BTNMT ngày 28 tháng 12 năm 2016 của Bộ trưởng Bộ Tài nguyên và Môi trường)
1. Dữ liệu địa lý tỷ lệ 1:250.000 (NenDiaLy250N)

Hình 1
|
Tên gói |
Phạm vi áp dụng |
|
|
Tên |
Tiếng Việt |
|
|
NenDiaLy250N |
Nền địa lý tỷ lệ 1:250.000 |
Quy định kiểu đối tượng địa lý trừu tượng mô tả các thuộc tính chung cho tất cả các kiểu đối tượng địa lý ở tỷ lệ 1:250.000. |
|
CoSoDoDac |
Cơ sở đo đạc |
Quy định cấu trúc dữ liệu của các kiểu đối tượng địa lý ở tỷ lệ 1:250.000 thuộc chủ đề Điểm đo đạc cơ sở. |
|
BienGioiDiaGioi |
Biên giới quốc gia-địa giới hành chính |
Quy định cấu trúc dữ liệu của các kiểu đối tượng địa lý ở tỷ lệ 1:250.000 thuộc chủ đề Biên giới quốc gia và Địa giới hành chính. |
|
DiaHinh |
Địa hình |
Quy định cấu trúc dữ liệu của các kiểu đối tượng địa lý ở tỷ lệ 1:250.000 thuộc chủ đề Địa hình. |
|
ThuyHe |
Thủy hệ |
Quy định cấu trúc dữ liệu của các kiểu đối tượng địa lý ở tỷ lệ 1:250.000 thuộc chủ đề Thủy hệ. |
|
GiaoThong |
Giao thông |
Quy định cấu trúc dữ liệu của các kiểu đối tượng địa lý ở tỷ lệ 1:250.000 thuộc chủ đề Giao thông. |
|
DanCuCoSoHaTang |
Dân cư - Cơ sở hạ tầng |
Quy định cấu trúc dữ liệu của các kiểu đối tượng địa lý ở tỷ lệ 1:250.000 thuộc chủ đề Dân cư và Công trình hạ tầng. |
|
PhuBeMat |
Phủ bề mặt |
Quy định cấu trúc dữ liệu của các kiểu đối tượng địa lý ở tỷ lệ 1:250.000 thuộc chủ đề Phủ bề mặt. |
|
Kiểu đối tượng: |
|
|
Tên |
NenDiaLy250N |
|
Tên tiếng Việt |
Nền địa lý tỷ lệ 1:250.000 |
|
Mô tả |
Lớp UML trừu tượng mô tả các đặc tính chung của các đối tượng địa lý trên đất liền, biển và đảo Việt Nam được thu nhận ở tỷ lệ 1:250.000. Nền địa lý tỷ lệ 1:250.000 bao gồm 7 gói dữ liệu: Cơ sở đo đạc, Biên giới quốc gia-Địa giới hành chính, Địa hình, Thủy hệ, Giao thông, Dân cư-Cơ sở hạ tầng, Phủ bề mặt |
|
Tên các thuộc tính |
maNhanDang, ngayThuNhan, ngayCapNhat. |
|
Thuộc tính đối tượng: |
|
|
Tên |
maNhanDang |
|
Mô tả |
Mỗi đối tượng địa lý có maNhanDang duy nhất trong cơ sở dữ liệu địa lý tỷ lệ 1:250.000. maNhanDang gồm 04 (bốn) phần liên tiếp nhau, trong đó: - Phần 1 gồm 4 ký tự là mã cơ sở dữ liệu tỷ lệ 1:250.000. - Phần 2 gồm 6 ký tự là mã phiên hiệu mảnh bản đồ tỷ lệ 1:250.000. - Phần 3 gồm 4 ký tự là mã đối tượng địa lý quy định trong Danh mục đối tượng địa lý cơ sở quốc gia. Trường hợp đối tượng địa lý không có trong Danh mục được bổ sung theo quy định Phụ lục 5. Phương pháp lập danh mục đối tượng địa lý ban hành kèm theo QCVN 42: 2012/BTNMT. - Phần 4 gồm 6 chữ số là số thứ tự của đối tượng địa lý cùng kiểu trong tập dữ liệu. Ví dụ: 250NF48D01AA01000001 - Phần 1: 250N là mã cơ sở dữ liệu tỷ lệ 1:250.000. - Phần 2: F48D01 là mã của mảnh bản đồ địa hình tỷ lệ 1:250.000 có phiên hiệu F-48-D-1. - Phần 3: AA01 là mã đối tượng trong Danh mục đối tượng địa lý cơ sở quốc gia. - Phần 4: 000001 là số thứ tự của đối tượng trong tập dữ liệu. |
|
Kiểu dữ liệu |
CharacterString. |
|
Tên |
ngayThuNhan |
|
Mô tả |
Ngày thu nhận thông tin đối tượng địa lý. |
|
Kiểu dữ liệu |
DateTime |
|
Tên |
ngayCapNhat |
|
Mô tả |
Ngày cập nhật thông tin đối tượng địa lý. |
|
Kiểu dữ liệu |
DateTime |
2. Cơ sở đo đạc (CoSoDoDac)

Hình 2
|
Kiểu đối tượng: |
|||
|
Tên |
CoSoDoDac |
||
|
Tên tiếng Việt |
Cơ sở đo đạc |
||
|
Mô tả |
Gói dữ liệu bao gồm đối tượng trừu tượng: Điểm gốc đo đạc quốc gia và Điểm đo đạc cơ sở quốc gia. |
||
|
Kiểu cơ sở |
NenDiaLy250N |
||
|
Tên các thuộc tính |
soHieuDiem, geo |
||
|
Thuộc tính đối tượng: |
|||
|
Tên |
soHieuDiem |
||
|
Mô tả |
Số hiệu điểm. |
||
|
Kiểu dữ liệu |
CharacterString |
||
|
Tên |
Geo |
||
|
Mô tả |
Thuộc tính không gian của đối tượng. |
||
|
Kiểu dữ liệu |
GM_Point |
||
|
Kiểu đối tượng: |
|||
|
Tên |
DiemGocQuocGia |
||
|
Tên tiếng Việt |
Điểm gốc đo đạc quốc gia |
||
|
Mô tả |
Kiểu đối tượng địa lý trừu tượng, gồm các kiểu đối tượng địa lý: Điểm gốc tọa độ quốc gia, Điểm gốc độ cao quốc gia, Điểm gốc vệ tinh và Điểm gốc trọng lực. |
||
|
Kiểu cơ sở |
CoSoDoDac |
||
|
Tên các thuộc tính |
maDoiTuong |
||
|
Thuộc tính đối tượng: |
|||
|
Tên |
maDoiTuong |
||
|
Mô tả |
Theo Danh mục đối tượng địa lý cơ sở quốc gia. |
||
|
Kiểu miền giá trị |
Xác định |
||
|
Danh sách giá trị |
Mã |
Nhãn |
Mô tả |
|
GA01 |
Gốc tọa độ |
Điểm gốc tọa độ quốc gia |
|
|
GA02 |
Gốc độ cao |
Điểm gốc độ cao quốc gia |
|
|
|
GA03 |
Gốc vệ tinh |
Điểm gốc vệ tinh |
|
|
GA04 |
Gốc trọng lực |
Điểm gốc trọng lực |
|
Kiểu đối tượng: |
|||||
|
Tên |
DiemCoSoQuocGia |
||||
|
Tên tiếng Việt |
Điểm đo đạc cơ sở quốc gia |
||||
|
Mô tả |
Kiểu đối tượng địa lý trừu tượng, gồm các kiểu đối tượng địa lý: Điểm tọa độ cơ sở quốc gia, Điểm độ cao cơ sở quốc gia và Điểm trọng lực cơ sở quốc gia. |
||||
|
Kiểu cơ sở |
CoSoDoDac |
||||
|
Tên các thuộc tính |
maDoiTuong, loaiCapHang. |
||||
|
Thuộc tính đối tượng: |
|||||
|
Tên |
maDoiTuong |
||||
|
Mô tả |
Theo Danh mục đối tượng địa lý cơ sở quốc gia. |
||||
|
Kiểu miền giá trị |
Xác định |
||||
|
Danh sách giá trị |
Mã |
Nhãn |
Mô tả |
||
|
GB01 |
Tọa độ |
Điểm tọa độ cơ sở quốc gia |
|||
|
|
GB02 |
Độ cao |
Điểm độ cao cơ sở quốc gia |
||
|
|
GB04 |
Trọng lực |
Điểm trọng lực cơ sở quốc gia. |
||
|
Tên |
loaiCapHang |
||||
|
Mô tả |
Loại cấp hạng. |
||||
|
Kiểu dữ liệu |
Integer |
||||
|
Danh sách giá trị |
Mã |
Nhãn |
Mô tả |
||
|
1 |
Cấp 0 |
|
|||
|
2 |
Hạng I |
|
|||
|
3 |
Hạng II |
|
|||
|
4 |
Hạng III |
|
|||
|
5 |
Hạng IV |
|
|||
3. Biên giới quốc gia-Địa giới hành chính (BienGioiDiaGioi)

Hình 3.1

Hình 3.2

Hình 3.3
|
Tên |
BienGioiDiaGioi |
||||
|
Tên tiếng Việt |
Biên giới quốc gia và địa giới hành chính |
||||
|
Mô tả |
Gói dữ liệu bao gồm nhóm đối tượng: Đường biên giới quốc gia, Đường địa giới hành chính, Địa phận, Vùng biển và các kiểu đối tượng Điểm cơ sở lãnh hải, Đường cơ sở lãnh hải. |
||||
|
Kiểu cơ sở |
NenDiaLy250N |
||||
|
Kiểu đối tượng: |
|||||
|
Tên |
DuongBienGioi |
||||
|
Tên tiếng Việt |
Đường biên giới quốc gia |
||||
|
Mô tả |
Kiểu đối tượng địa lý trìu tượng gồm các kiểu đối tượng địa lý: Đường biên giới quốc gia trên đất liền và Đường biên giới quốc gia trên biển. |
||||
|
Kiểu cơ sở |
NenDiaLy250N |
||||
|
Tên các thuộc tính |
maDoiTuong, loaiHienTrangPhapLy, quocGiaLienKe, chieuDai, geo. |
||||
|
Thuộc tính đối tượng: |
|||||
|
Tên |
maDoiTuong |
||||
|
Mô tả |
Theo Danh mục đối tượng địa lý cơ sở quốc gia. |
||||
|
Kiểu miền giá trị |
Xác định |
||||
|
Danh sách giá trị |
Mã |
Nhãn |
Mô tả |
||
|
AA01 |
Trên đất liền |
Đường biên giới quốc gia trên đất liền |
|||
|
AA02 |
Trên biển |
Đường biên giới quốc gia trên biển |
|||
|
Tên |
loaiHienTrangPhapLy |
||||
|
Mô tả |
Hiện trạng pháp lý của đường biên giới quốc gia tại thời điểm thu nhận dữ liệu |
||||
|
Kiểu dữ liệu |
Integer |
||||
|
Danh sách giá trị |
Mã |
Nhãn |
Mô tả |
||
|
1 |
Xác định |
|
|||
|
2 |
Chưa xác định |
|
|||
|
Tên |
quocGiaLienKe |
||||
|
Mô tả |
Tên của quốc gia liền kề. |
||||
|
Kiểu dữ liệu |
CharacterString |
||||
|
Tên |
chieuDai |
||||
|
Mô tả |
Chiều dài của tuyến đường biên giới quốc gia |
||||
|
Kiểu dữ liệu |
Real |
||||
|
Đơn vị đo |
Ki lô mét (km) |
||||
|
Tên |
geo |
||||
|
Mô tả |
Thuộc tính không gian của đối tượng. |
||||
|
Kiểu dữ liệu |
GM_Curve |
||||
|
Kiểu đối tượng: |
|||||
|
Tên |
DuongDiaGioi |
||||
|
Tên tiếng Việt |
Đường địa giới hành chính |
||||
|
Mô tả |
Kiểu đối tượng địa lý trìu tượng gồm các kiểu đối tượng địa lý: Đường địa giới hành chính cấp tỉnh và Đường địa giới hành chính cấp huyện. |
||||
|
Kiểu cơ sở |
NenDiaLy250N |
||||
|
Tên các thuộc tính |
maDoiTuong, loaiHienTrangPhapLy, donViHanhChinhLienKeTrai, donViHanhChinhLienKePhai, chieuDai, geo, edge. |
||||
|
Thuộc tính đối tượng: |
|||||
|
Tên |
maDoiTuong |
||||
|
Mô tả |
Theo Danh mục đối tượng địa lý cơ sở quốc gia. |
||||
|
Kiểu miền giá trị |
Xác định |
||||
|
Danh sách giá trị |
Mã |
Nhãn |
Mô tả |
||
|
AC01 |
Cấp tỉnh |
Đường địa giới hành chính cấp tỉnh |
|||
|
AC02 |
Cấp huyện |
Đường địa giới hành chính cấp huyện |
|||
|
Tên |
loaiHienTrangPhapLy |
||||
|
Mô tả |
Hiện trạng pháp lý của đường địa giới hành chính tại thời điểm điều tra. |
||||
|
Kiểu dữ liệu |
Integer |
||||
|
Danh sách giá trị |
Mã |
Nhãn |
Mô tả |
||
|
1 |
Xác định |
Đã được xác nhận bằng văn bản giữa các đơn vị hành chính liền kề. |
|||
|
2 |
Chưa xác định |
Chưa được xác nhận bằng văn bản giữa các đơn vị hành chính liền kề. |
|||
|
Tên |
donViHanhChinhLienKeTrai |
||||
|
Mô tả |
Tên của đơn vị hành chính cùng cấp liền kề bên trái đường địa giới hành chính theo hướng từ điểm đầu đến điểm cuối của đường địa giới hành chính. Hướng chỉ mang tính chất tương đối. |
||||
|
Kiểu dữ liệu |
CharacterString |
||||
|
Tên |
donViHanhChinhLienKePhai |
||||
|
Mô tả |
Tên của đơn vị hành chính cùng cấp liền kề bên phải đường địa giới theo hướng từ điểm đầu đến điểm cuối của đường địa giới, hướng chỉ mang tính chất tương đối. |
||||
|
Kiểu dữ liệu |
CharacterString |
||||
|
Tên |
chieuDai |
||||
|
Mô tả |
Chiều dài của tuyến địa giới hành chính các cấp. |
||||
|
Kiểu dữ liệu |
Real |
||||
|
Đơn vị đo |
Ki lô mét (km) |
||||
|
Tên |
geo |
||||
|
Mô tả |
Thuộc tính không gian của đối tượng. |
||||
|
Kiểu dữ liệu |
GM_Curve |
||||
|
Tên |
edge |
||||
|
Mô tả |
Áp dụng để biểu thị quan hệ không gian với kiểu đối tượng DiaPhan. |
||||
|
Kiểu dữ liệu |
TP_Edge |
||||
|
Kiểu đối tượng: |
|||||
|
Tên |
DiaPhan |
||||
|
Tên tiếng Việt |
Địa phận |
||||
|
Mô tả |
Kiểu đối tượng địa lý trìu tượng, gồm: Địa phận hành chính cấp tỉnh và Địa phận hành chính cấp huyện. |
||||
|
Kiểu cơ sở |
NenDiaLy250N |
||||
|
Tên các thuộc tính |
maDoiTuong, maDonViHanhChinh, ten, dienTich, geo, face |
||||
|
Thuộc tính đối tượng: |
|||||
|
Mô tả |
Theo Danh mục đối tượng địa lý cơ sở quốc gia. |
||||
|
Kiểu miền giá trị |
Xác định |
||||
|
|
Mã |
Nhãn |
Mô tả |
||
|
Danh sách giá trị |
AD01 |
Cấp tỉnh |
Địa phận hành chính cấp tỉnh |
||
|
AD02 |
Cấp huyện |
Địa phận hành chính cấp huyện |
|||
|
Tên |
maDonViHanhChinh |
||||
|
Mô tả |
Theo quy định Phụ lục 2 ban hành kèm theo Thông tư này. |
||||
|
Kiểu dữ liệu |
CharacterString |
||||
|
Tên |
ten |
||||
|
Mô tả |
Theo quy định Phụ lục 2 ban hành kèm theo Thông tư này. |
||||
|
Kiểu dữ liệu |
CharacterString |
||||
|
Tên |
dienTich |
||||
|
Mô tả |
Theo quy định Phụ lục 2 ban hành kèm theo Thông tư này. |
||||
|
Kiểu dữ liệu |
Real |
||||
|
Đơn vi đo |
Ki lô mét vuông (km2) |
||||
|
Tên |
geo |
||||
|
Mô tả |
Thuộc tính không gian của đối tượng. |
||||
|
Kiểu dữ liệu |
GM_Surface |
||||
|
Tên |
face |
||||
|
Mô tả |
Quan hệ không gian với kiểu đối tượng DuongDiaGioi. |
||||
|
Kiểu đối tượng: |
|||||
|
Tên |
DuongCoSoLanhHai |
||||
|
Tên tiếng Việt |
Đường cơ sở lãnh hải |
||||
|
Mô tả |
Theo Danh mục đối tượng địa lý cơ sở quốc gia. |
||||
|
Kiểu cơ sở |
NenDiaLy250N |
||||
|
Tên các thuộc tính |
maDoiTuong, chieuDai, geo |
||||
|
Tên các vai trò quan hệ |
diQuaDiemCoSoLanhHai |
||||
|
Thuộc tính đối tượng: |
|||||
|
Tên |
maDoiTuong |
||||
|
Mô tả |
Theo Danh mục đối tượng địa lý cơ sở quốc gia. |
||||
|
Kiểu miền giá trị |
Xác định |
||||
|
Danh sách giá trị |
Mã |
Nhãn |
Mô tả |
||
|
AB01 |
Đường cơ sở lãnh hải |
|
|||
|
Tên |
chieuDai |
||||
|
Mô tả |
Chiều dài của đoạn đường cơ sở lãnh nối giữa 2 Điềm cơ sở lãnh hải liền nhau. |
||||
|
Kiểu dữ liệu |
Real |
||||
|
Đơn vị đo |
Ki lô mét (km) |
||||
|
Tên |
geo |
||||
|
Mô tả |
Thuộc tính không gian của đối tượng. |
||||
|
Kiểu dữ liệu |
GM_Curve |
||||
|
Quan hệ đối tượng: |
|||||
|
Tên |
diQuaDCSLH |
||||
|
Mô tả |
Biểu thị quan hệ với đối tượng DiemCoSoLanhHai. |
||||
|
Kiểu đối tượng: |
|
||
|
Tên |
DiemCoSoLanhHai |
||
|
Tên tiếng Việt |
Điểm cơ sở lãnh hải |
||
|
Mô tả |
Theo Danh mục đối tượng địa lý cơ sở quốc gia. |
||
|
Kiểu cơ sở |
NenDiaLy250N |
||
|
Tên các thuộc tính |
maDoiTuong, soHieuDiem, viDo, kinhDo, doCaoH, geo |
||
|
Tên các vai trò quan hệ |
namTrenDuongCoSoLanhHai. |
||
|
Thuộc tính đối tượng: |
|||
|
Tên |
maDoiTuong |
||
|
Mô tả |
Theo Danh mục đối tượng địa lý cơ sở quốc gia. |
||
|
Kiểu miền giá trị |
Xác định |
||
|
Danh sách giá trị |
Mã |
Nhãn |
Mô tả |
|
AG01 |
Điểm cơ sở lãnh hải |
Theo Danh mục đối tượng địa lý cơ sở quốc gia. |
|
|
Tên |
soHieuDiem |
||
|
Mô tả |
Số hiệu điểm. |
||
|
Kiểu dữ liệu |
CharacterString |
||
|
Tên |
viDo |
||
|
Mô tả |
Vĩ độ của Điểm cơ sở lãnh hải. |
||
|
Kiểu dữ liệu |
Real |
||
|
Đơn vị đo |
Độ |
||
|
Tên |
kinhDo |
||
|
Mô tả |
Kinh độ của Điểm cơ sở lãnh hải. |
||
|
Kiểu dữ liệu |
Real |
||
|
Đơn vị đo |
Độ |
||
|
Tên |
doCaoH |
||
|
Mô tả |
Giá trị độ cao thủy chuẩn H trong hệ độ cao biên giới của Điểm cơ sở lãnh hải. |
||
|
Kiểu dữ liệu |
Real |
||
|
Đơn vị đo |
Mét |
||
|
Tên |
geo |
||
|
Mô tả |
Thuộc tính không gian của đối tượng. |
||
|
Kiểu dữ liệu |
GM_Point |
||
|
Quan hệ đối tượng: |
|||
|
Tên |
namTrenDCSLH |
||
|
Mô trả |
Áp dụng để biểu thị quan hệ với đối tượng DuongCoSoLanhHai. |
||
|
Kiểu đối tượng: |
|||
|
Tên |
VungBien |
||
|
Tên tiếng Việt |
Vùng biển |
||
|
Mô tả |
Kiểu đối tượng địa lý trìu tượng, gồm kiểu đối tượng địa lý: Vùng nội thủy, Lãnh hải, Vùng tiếp giáp lãnh hải và Vùng nước lịch sử. |
||
|
Kiểu cơ sở |
NenDiaLy250N |
||
|
Tên các thuộc tính |
maDoiTuong, dienTich, geo |
||
|
Thuộc tính đối tượng: |
|||
|
Tên |
maDoiTuong |
||
|
Mô tả |
Theo Danh mục đối tượng địa lý cơ sở quốc gia. |
||
|
Kiểu miền giá trị |
Xác định |
||
|
Dan sách giá trị |
Mã |
Nhãn |
Mô tả |
|
AE01 |
Vùng nội thủy |
Theo Danh mục đối tượng địa lý cơ sở quốc gia |
|
|
AE02 |
Lãnh hải |
||
|
AE03 |
Vùng tiếp giáp lãnh hải |
||
|
|
AE06 |
Vùng nước lịch sử |
|
|
Tên |
geo |
||
|
Mô tả |
Thuộc tính không gian của đối tượng. |
||
|
Kiểu dữ liệu |
GM_Surface |
||
4. Địa hình (DiaHinh)

Hình 4
|
Kiểu đối tượng: |
|
|||||
|
Tên |
DiaHinh |
|||||
|
Tên tiếng Việt |
Địa hình |
|||||
|
Mô tả |
Gói dữ liệu bao gồm các đối tượng địa lý: Địa danh sơn văn, Địa hình đặc biệt, Điểm độ cao, Điểm độ sâu, Đường bình độ. |
|||||
|
Kiểu cơ sở |
NenDiaLy250N |
|||||
|
Kiểu đối tượng: |
|
|||||
|
Tên |
DiaDanhSonVan |
|||||
|
Tên tiếng Việt |
Địa danh sơn văn |
|||||
|
Mô tả |
Tên gọi các kiểu đối tượng địa lý thuộc chủ đề địa hình: bán đảo, cánh đồng, dãy núi, núi, đồi, mũi đất, cao nguyên, thung lũng, đồng bằng. |
|||||
|
Kiểu cơ sở |
NenDiaLy250N |
|||||
|
Tên các thuộc tính |
maDoiTuong, loaiDoiTuongSonVan, ten, geo |
|||||
|
Thuộc tính đối tượng: |
||||||
|
Tên |
maDoiTuong |
|||||
|
Mô tả |
Mã bổ sung theo phương pháp xây dựng danh mục đối tượng địa lý tại QCVN 42: 2012/BTNMT. |
|||||
|
Kiểu miền giá trị |
Xác định |
|||||
|
Danh sách giá trị |
Mã |
Nhãn |
Mô tả |
|||
|
DA05 |
Địa danh sơn văn |
|
||||
|
Tên |
loaiDoiTuongSonVan |
|||||
|
Mô tả |
Loại đối tượng sơn văn |
|||||
|
Kiểu dữ liệu |
Integer |
|||||
|
Danh sách giá trị |
Mã |
Nhãn |
Mô tả |
|||
|
4 |
Bán đảo |
|
||||
|
15 |
Cánh đồng |
|
||||
|
29 |
Dãy núi |
|
||||
|
35 |
Đồi |
|
||||
|
59 |
Mũi đất |
|
||||
|
70 |
Núi |
|
||||
|
89 |
Thung lũng |
|
||||
|
110 |
Cao nguyên |
|
||||
|
111 |
Đồng bằng |
|
||||
|
Tên |
ten |
|||||
|
Mô tả |
Tên gọi của đối tượng sơn văn. |
|||||
|
Kiểu dữ liệu |
Real |
|||||
|
Tên |
geo |
|||||
|
Mô tả |
Thuộc tính không gian của đối tượng. |
|||||
|
Kiểu dữ liệu |
GM_Point. |
|||||
|
Kiểu đối tượng: |
||||||
|
Tên |
DiemDoCao |
|||||
|
Tên tiếng Việt |
Điểm độ cao |
|||||
|
Mô tả |
Theo Danh mục đối tượng địa lý cơ sở quốc gia. |
|||||
|
Kiểu cơ sở |
NenDiaLy250N |
|||||
|
Tên các thuộc tính |
maDoiTuong, loaiDiemDoCao, doCaoH, geo. |
|||||
|
Thuộc tính đối tượng |
||||||
|
Tên |
maDoiTuong |
|||||
|
Mô tả |
Theo Danh mục đối tượng địa lý cơ sở quốc gia. |
|||||
|
Kiểu miền giá trị |
Xác định |
|||||
|
Danh sách giá trị |
Mã |
Nhãn |
Mô tả |
|||
|
EA01 |
Điểm độ cao |
|
||||
|
Tên |
loaiDiemDoCao |
|||||
|
Mô tả |
Loại điểm độ cao. |
|||||
|
Kiểu dữ liệu |
Integer |
|||||
|
Danh sách giá trị |
Mã |
Nhãn |
Mô tả |
|||
|
1 |
Đặc trưng |
Điểm độ cao tại vị trí đặc trưng địa hình. |
||||
|
2 |
Thường |
Điểm độ cao được xác định để đảm bảo mật độ theo quy định |
||||
|
Tên |
doCaoH |
|||||
|
Mô tả |
Giá trị độ cao của điểm độ cao. |
|||||
|
Kiểu dữ liệu |
Real |
|||||
|
Đơn vị đo |
Mét |
|||||
|
Tên |
geo |
|||||
|
Mô tả |
Thuộc tính không gian của đối tượng. |
|||||
|
Kiểu dữ liệu |
GM_Point |
|||||
|
Kiểu đối tượng: |
||||||
|
Tên |
DiemDoSau |
|||||
|
Tên tiếng Việt |
Điểm độ sâu |
|||||
|
Mô tả |
Theo Danh mục đối tượng địa lý cơ sở quốc gia. |
|||||
|
Kiểu cơ sở |
NenDiaLy250N |
|||||
|
Tên các thuộc tính |
maDoiTuong, doSauH, geo |
|||||
|
Thuộc tính đối tượng |
||||||
|
Tên |
maDoiTuong |
|||||
|
Mô tả |
Theo Danh mục đối tượng địa lý cơ sở quốc gia. |
|||||
|
Kiểu miền giá trị |
Xác định |
|||||
|
Danh sách giá trị |
Mã |
Nhãn |
Mô tả |
|||
|
EA02 |
Điểm độ sâu |
|
||||
|
Tên |
doSauH |
|||||
|
Mô tả |
Giá trị độ cao của điểm độ sâu. |
|||||
|
Kiểu dữ liệu |
Real |
|||||
|
Đơn vị đo |
Mét |
|||||
|
Tên |
geo |
|||||
|
Mô tả |
Thuộc tính không gian của đối tượng. |
|||||
|
Kiểu dữ liệu |
GM_Point |
|||||
|
Kiểu đối tượng: |
|||||
|
Tên |
DiaHinhDacBiet |
||||
|
Tên tiếng Việt |
Địa hình đặc biệt |
||||
|
Mô tả |
Kiểu đối tượng địa lý trìu tượng gồm các kiểu đối tượng địa hình không thể hiện được bằng đường bình độ. |
||||
|
Kiểu cơ sở |
NenDiaLy250N |
||||
|
Tên các thuộc tính |
maDoiTuong, ten, geo |
||||
|
Thuộc tính đối tượng: |
|||||
|
Tên |
maDoiTuong |
||||
|
Mô tả |
Theo Danh mục đối tượng địa lý cơ sở quốc gia. |
||||
|
Kiểu miền giá trị |
Xác định |
||||
|
Danh sách giá trị |
Mã |
Nhãn |
Mô tả |
||
|
|
EB01 |
Bãi đá trên cạn |
Theo Danh mục đối tượng địa lý cơ sở quốc gia. |
||
|
|
EB02 |
Bờ dốc tự nhiên |
|||
|
|
EB04 |
Cửa hang động |
|||
|
|
EB06 |
Địa hình bậc thang |
|||
|
|
EB07 |
Địa hình lồi |
|||
|
|
EB08 |
Địa hình cát |
|||
|
|
EB09 |
Địa hình lõm |
|||
|
|
EB10 |
Hố cacxtơ |
|||
|
|
EB11 |
Khe rãnh |
|||
|
|
EB12 |
Miệng núi lửa |
|||
|
|
EB13 |
Địa hình núi đá |
|||
|
|
EB15 |
Sườn đứt gãy |
|||
|
|
EB18 |
Vách đứng |
|||
|
|
EB21 |
Địa hình cắt xẻ nhân tạo |
|||
|
Tên |
ten |
||||
|
Mô tả |
Tên gọi của đối tượng. |
||||
|
Kiểu dữ liệu |
CharacterString |
||||
|
Tên |
geo |
||||
|
Mô tả |
Thuộc tính không gian của đối tượng. |
||||
|
Kiểu dữ liệu |
GMPoint, GM Curve, GM_Surface. Quy định cụ thể cho từng đối tượng tại Phụ lục 2 ban hành kèm Thông tư này. |
||||
|
Kiểu đối tượng: |
|||||
|
Tên |
DuongBinhDo |
||||
|
Tên tiếng Việt |
Đường bình độ |
||||
|
Mô tả |
Kiểu đối tượng địa lý trìu tượng, gồm các kiểu đối tượng: Đường bình độ và đường bình độ sâu. |
||||
|
Kiểu cơ sở |
NenDiaLy250N |
||||
|
Tên các thuộc tính |
maDoiTuong, loaiDuongBinhDo, doCaoH, geo. |
||||
|
Thuộc tính đối tượng: |
|||||
|
Tên |
maDoiTuong |
||||
|
Mô tả |
Theo Danh mục đối tượng địa lý cơ sở quốc gia. |
||||
|
Kiểu miền giá trị |
Xác định |
||||
|
Danh sách giá trị |
Mã |
Nhãn |
Mô tả |
||
|
EA03 |
Bình độ |
Theo Danh mục đối tượng địa lý cơ sở quốc gia. |
|||
|
EA04 |
Bình độ sâu |
||||
|
Tên |
loaiDuongBinhDo |
||||
|
Mô tả |
Loại đường bình độ. |
||||
|
Kiểu dữ liệu |
Integer |
||||
|
Danh sách giá trị |
Mã |
Nhãn |
Mô tả |
||
|
1 |
Cơ bản |
|
|||
|
2 |
Nửa khoảng cao đều |
|
|||
|
3 |
Phụ |
|
|||
|
4 |
Nháp |
|
|||
|
Tên |
doCaoH |
||||
|
Mô tả |
Giá trị độ cao của đường bình độ. |
||||
|
Kiểu dữ liệu |
Real |
||||
|
Đơn vị đo |
Mét |
||||
|
Tên |
geo |
||||
|
Mô tả |
Thuộc tính không gian của đối tượng. |
||||
|
Kiểu dữ liệu |
GM_Curve |
||||
5. Thủy hệ

Hình 5.1

Hình 5.2
|
Tên |
ThuyHe |
||||||
|
Tên tiếng Việt |
Thủy hệ |
||||||
|
Mô tả |
Gói dữ liệu bao gồm các kiểu đối đối tượng địa lý: Biển, Đảo, Nước mặt, Biến đổi dòng chảy, Bãi dưới nước, Tim dòng chảy, Nút dòng chảy, Mạch nước, Đường bờ nước, Cửa sông, Đập, Đê, Đầm lầy, Bãi bồi. |
||||||
|
Kiểu cơ sở |
NenDiaLy250N |
||||||
|
Kiểu đối tượng: |
|||||||
|
Tên |
Bien |
||||||
|
Tên tiếng Việt |
Biển |
||||||
|
Mô tả |
Kiểu đối tượng địa lý trìu tượng, gồm các kiểu đối tượng địa lý: Biển, Vịnh-vũng. |
||||||
|
Kiểu cơ sở |
NenDiaLy250N |
||||||
|
Tên các thuộc tính |
maDoiTuong, ten, geo |
||||||
|
Thuộc tính đối tượng: |
|||||||
|
Tên |
maDoiTuong |
||||||
|
Mô tả |
Theo Danh mục đối tượng địa lý cơ sở quốc gia. |
||||||
|
Kiểu miền giá trị |
Xác định |
||||||
|
Danh sách giá trị |
Mã |
Nhãn |
Mô tả |
||||
|
LC03 |
Biển |
Theo Danh mục đối tượng địa lý cơ sở quốc gia. |
|||||
|
LC06 |
Vịnh-vũng |
||||||
|
Tên |
ten |
||||||
|
Mô tả |
Tên gọi của đối tượng. |
||||||
|
Kiểu dữ liệu |
CharacterString |
||||||
|
Tên |
geo |
||||||
|
Mô tả |
Thuộc tính không gian của đối tượng. |
||||||
|
Kiểu dữ liệu |
GM_Point |
||||||
|
|
|||||||
|
Kiểu đối tượng: |
|||||||
|
Tên |
Dao |
||||||
|
Tên tiếng Việt |
Đảo |
||||||
|
Mô tả |
Kiểu đối tượng địa lý trìu tượng, gồm các kiểu đối tượng địa lý: Đảo, Quần đảo. |
||||||
|
Kiểu cơ sở |
NenDiaLy250N |
||||||
|
Tên các thuộc tính |
maDoiTuong, ten, loaiTrangThaiXuatLo, geo. |
||||||
|
Thuộc tính đối tượng: |
|||||||
|
Tên |
maDoiTuong |
||||||
|
Mô tả |
Theo Danh mục đối tượng địa lý cơ sở quốc gia, bổ sung đối tượng Quần đảo. |
||||||
|
Kiểu miền giá trị |
Xác định |
||||||
|
Danh sách giá trị |
Mã |
Nhãn |
Mô tả |
||||
|
LC04 |
Đảo |
Theo Danh mục đối tượng địa lý cơ sở quốc gia. |
|||||
|
|
LC09 |
Quần đảo |
Một vùng gồm tổng thể các đảo, kể cả bộ phận của các đảo, các vùng nước tiếp liền và các thành phần tự nhiên khác có liên quan với nhau đến mức tạo thành một thể thống nhất về địa lí, kinh tế, chính trị, hay lịch sử. |
||||
|
Tên |
ten |
||||||
|
Mô tả |
Tên gọi của đối tượng. |
||||||
|
Kiểu dữ liệu |
CharacterString |
||||||
|
Tên |
geo |
||||||
|
Mô tả |
Thuộc tính không gian của đối tượng. |
||||||
|
Kiểu dữ liệu |
GM_Surface, GM_Point. |
||||||
|
Kiểu đối tượng |
|||||||
|
Tên |
CuaSong |
||||||
|
Tên tiếng Việt |
Cửa sông |
||||||
|
Mô tả |
Cửa sông là nơi dòng sông đổ ra biển hoặc vào hồ lớn. |
||||||
|
Tên các thuộc tính |
maDoiTuong, ten |
||||||
|
Thuộc tính đối tượng: |
|||||||
|
Tên |
maDoiTuong |
||||||
|
Mô tả |
Mã bổ sung theo phương pháp xây dựng danh mục đối tượng địa lý tại QCVN 42: 2012/BTNMT. |
||||||
|
Kiểu miền giá trị |
Xác định |
||||||
|
Danh sách giá trị |
Mã |
Nhãn |
Mô tả |
||||
|
|
LC08 |
Cửa sông |
Nơi dòng sông chảy ra biển hoặc đổ vào hồ lớn. Quy ước là giao điểm của đường trìu tượng (đường nối 2 điểm tiếp giáp Đường bờ nước của sông và Đường bờ biển nơi sông đổ ra biển) với Tim dòng chảy. |
||||
|
Tên |
ten |
||||||
|
Mô tả |
Tên cửa sông. |
||||||
|
Kiểu dữ liệu |
CharacterString |
||||||
|
Tên |
geo |
||||||
|
Mô tả |
Thuộc tính không gian của đối tượng. |
||||||
|
Kiểu dữ liệu |
GM_Point |
||||||
|
Kiểu đối tượng: |
|||||||
|
Tên |
BaiDuoiNuoc |
||||||
|
Tên tiếng Việt |
Bãi dưới nước |
||||||
|
Mô tả |
Đối tượng địa lý trừu tượng, bao gồm: Bãi đá dưới nước, Rạn san hô và Bãi cỏ rong-tảo. |
||||||
|
Kiểu cơ sở |
NenDiaLy250N |
||||||
|
Tên các thuộc tính |
maDoiTuong, ten, geo |
||||||
|
Thuộc tính đối tượng: |
|||||||
|
Tên |
maDoiTuong |
||||||
|
Mô tả |
Theo danh mục đối tượng địa lý cơ sở quốc gia. |
||||||
|
Kiểu miền giá trị |
Xác định |
||||||
|
Danh sách giá trị |
Mã |
Nhãn |
Mô tả |
||||
|
LC01 |
Bãi đá dưới nước |
Theo Danh mục đối tượng địa lý cơ sở quốc gia. |
|||||
|
LC07 |
Rạn san hô |
||||||
|
LC10 |
Bãi cỏ rong-tảo |
||||||
|
Tên |
loaiTrangThaiXuatLo |
||||||
|
Mô tả |
Trạng thái ngập nước của các Bãi dưới nước |
||||||
|
Kiểu dữ liệu |
Integer |
||||||
|
Danh sách giá trị |
Mã |
Nhãn |
Mô tả |
||||
|
|
1 |
Chìm |
Luôn chìm dưới mặt nước |
||||
|
|
2 |
Nổi |
Nổi trên mặt nước ngay cả khi thủy triều lên cao nhất. |
||||
|
|
3 |
Nửa chìm, nửa nổi |
Khi thủy triều lên thì nổi, khi thủy triều xuống thì xuất lộ trên mặt nước. |
||||
|
Tên |
geo |
||||||
|
Mô tả |
Thuộc tính không gian của đối tượng. |
||||||
|
Kiểu dữ liệu |
GM_Surface |
||||||

Hình 5.3
|
Kiểu đối tượng: |
|||||
|
Tên |
BaiBoi |
||||
|
Tên tiếng Việt |
Bãi Bồi |
||||
|
Mô tả |
Theo Danh mục đối tượng địa lý cơ sở quốc gia. |
||||
|
Kiểu cơ sở |
NenDiaLy250N |
||||
|
Tên các thuộc tính |
maDoiTuong, ten, loaiBaiBoi, geo |
|
|||
|
Thuộc tính đối tượng: |
|
||||
|
Tên |
maDoiTuong |
|
|||
|
Mô tả |
Theo Danh mục đối tượng địa lý cơ sở quốc gia. |
|
|||
|
Kiểu miền giá trị |
Xác định |
|
|||
|
Danh sách giá trị |
Mã |
Nhãn |
Mô tả |
|
|
|
LD01 |
Bãi bồi |
Theo Danh mục đối tượng địa lý cơ sở quốc gia. |
|
||
|
Tên |
ten |
|
|||
|
Mô tả |
Tên gọi của đối tượng. |
|
|||
|
Kiểu dữ liệu |
CharacterString |
|
|||
|
Tên |
loaiBaiBoi |
|
|||
|
Mô tả |
Là loại bãi bồi. |
|
|||
|
Kiểu dữ liệu |
Integer |
|
|||
|
Danh sách giá trị |
Mã |
Nhãn |
Mô tả |
|
|
|
1 |
Cát |
|
|
||
|
2 |
Bùn |
|
|
||
|
3 |
Đá, sỏi |
|
|
||
|
4 |
Loại khác |
|
|
||
|
Tên |
loaiTrangThaiXuatLo |
|
|||
|
Mô tả |
Trạng thái ngập nước của các bãi bồi |
|
|||
|
Kiểu dữ liệu |
Integer |
|
|||
|
Danh sách giá trị |
Mã |
Nhãn |
Mô tả |
|
|
|
|
1 |
Chìm |
Luôn chìm dưới mặt nước |
|
|
|
2 |
Nổi |
Nổi trên mặt nước ngay cả khi thủy triều lên cao nhất. |
|
||
|
3 |
Nửa chìm, nửa nổi |
Khi thủy triều lên thì nổi, khi thủy triều xuống thì xuất lộ trên mặt nước. |
|
||
|
Tên |
geo |
|
|||
|
Mô tả |
Thuộc tính không gian của đối tượng. |
|
|||
|
Kiểu dữ liệu |
GM_Surface |
|
|||
|
Kiểu đối tượng: |
||||||
|
Tên |
BienDoiDongChay |
|||||
|
Tên tiếng Việt |
Biến đổi dòng chảy |
|||||
|
Mô tả |
Là các đối tượng trên sông, suối làm thay đổi dòng chảy tự nhiên. Bao gồm các kiểu đối tượng địa lý: Ghềnh, Thác. |
|||||
|
Kiểu cơ sở |
NenDiaLy250N |
|||||
|
Tên các thuộc tính |
maDoiTuong, ten, chieuDai, geo |
|||||
|
Thuộc tính đối tượng: |
||||||
|
Tên |
maDoiTuong |
|||||
|
Mô tả |
Theo Danh mục đối tượng địa lý cơ sở quốc gia |
|||||
|
Kiểu miền giá trị |
Xác định |
|||||
|
Danh sách giá trị |
Mã |
Nhãn |
Mô tả |
|||
|
LD02 |
Ghềnh |
Theo Danh mục đối tượng địa lý cơ sở quốc gia. |
||||
|
LD03 |
Thác |
|||||
|
Tên |
ten |
|||||
|
Mô tả |
Tên gọi của đối tượng. |
|||||
|
Kiểu dữ liệu |
CharacterString |
|||||
|
Tên |
ChieuDai |
|||||
|
Mô tả |
Chiều dài đoạn sông có ghềnh, thác. |
|||||
|
Kiểu dữ liệu |
Real |
|||||
|
Tên |
geo |
|||||
|
Mô tả |
Thuộc tính không gian của đối tượng. |
|||||
|
Kiểu dữ liệu |
GM_Curve, GM_Point |
|||||
|
Kiểu đối tượng: |
||||||
|
Tên |
MachNuoc |
|||||
|
Tên tiếng Việt |
Mạch nước |
|||||
|
Mô tả |
Theo Danh mục đối tượng địa lý cơ sở quốc gia. |
|||||
|
Kiểu cơ sở |
NenDiaLy250N |
|||||
|
Tên các thuộc tính |
maDoiTuong, ten, loaiNguonNuoc, geo |
|||||
|
Thuộc tính đối tượng |
||||||
|
Tên |
maDoiTuong |
|||||
|
Mô tả |
Theo Danh mục đối tượng địa lý cơ sở quốc gia. |
|||||
|
Kiểu miền giá trị |
Xác định |
|||||
|
Danh sách giá trị |
Mã |
Nhãn |
Mô tả |
|||
|
|
LA05 |
Mạch nước |
|
|||
|
Tên |
ten |
|||||
|
Mô tả |
Tên gọi của đối tượng |
|||||
|
Kiểu dữ liệu |
CharaterString |
|||||
|
Tên |
LoaiNguonNuoc |
|||||
|
Mô tả |
Loại nguồn nước |
|||||
|
Kiểu dữ liệu |
Integer |
|||||
|
Danh sách giá trị |
Mã |
Nhãn |
Mô tả |
|||
|
|
1 |
Khoáng |
Nước thiên nhiên dưới đất, có nơi lộ ra trên mặt đất, có chứa một số hợp chất có hoạt tính sinh học với nồng độ cao theo quy định của Tiêu chuẩn Việt Nam hoặc theo tiêu chuẩn nước ngoài được Nhà nước Việt Nam cho phép áp dụng. |
|||
|
|
2 |
Nóng |
Nước thiên nhiên dưới đất, có nơi lộ ra trên mặt đất, luôn luôn có nhiệt độ cao theo quy định của Tiêu chuẩn Việt Nam hoặc theo tiêu chuẩn nước ngoài được Nhà nước Việt Nam cho phép áp dụng. |
|||
|
Tên |
geo |
|||||
|
Mô tả |
Thuộc tính không gian của đối tượng địa lý |
|||||
|
Kiểu dữ liệu |
GM_Point |
|||||

Hình 5.4
|
Kiểu đối tượng: |
|||||
|
Tên |
DuongBoNuoc |
||||
|
Tên tiếng Việt |
Đường bờ nước |
||||
|
Mô tả |
Theo Danh mục đối tượng địa lý cơ sở quốc gia. |
||||
|
Kiểu cơ sở |
NenDiaLy250N |
||||
|
Tên các thuộc tính |
maDoiTuong, loaiTrangThaiDuongBoNuoc, loaiDuongBoNuoc, geo |
||||
|
Thuộc tính đối tượng: |
|||||
|
Tên |
maDoiTuong |
||||
|
Mô tả |
Theo Danh mục đối tượng địa lý cơ sở quốc gia. |
||||
|
Kiểu miền giá trị |
Xác định |
||||
|
Danh sách giá trị |
Mã |
Nhãn |
Mô tả |
||
|
LG01 |
Đường bờ nước |
|
|||
|
Tên |
loaiTrangThaiDuongBoNuoc |
||||
|
Mô tả |
Trạng thái đường bờ nước. |
||||
|
Kiểu dữ liệu |
Integer |
||||
|
Danh sách giá trị |
Mã |
Nhãn |
Mô tả |
||
|
1 |
Rõ ràng |
|
|||
|
2 |
Không rõ ràng |
|
|||
|
Tên |
loaiDuongBoNuoc |
||||
|
Mô tả |
Phân loại đường bờ nước cho từng loại đối tượng thủy văn |
||||
|
Kiểu dữ liệu |
Integer |
||||
|
Danh sách giá trị |
Mã |
Nhãn |
Mô tả |
||
|
|
1 |
Ao, hồ |
Theo Danh mục đối tượng địa lý cơ sở quốc gia. |
||
|
|
2 |
Biển |
|||
|
|
3 |
Đầm-phá |
|||
|
|
4 |
Kênh-mương |
|||
|
|
5 |
Hồ chứa |
|||
|
|
6 |
Sông suối |
|||
|
Kiểu đối tượng: |
|||||
|
Tên |
NuocMat |
||||
|
Tên tiếng Việt |
Nước mặt |
||||
|
Mô tả |
Kiểu đối tượng địa lý trừu tượng, gồm các kiểu đối tượng địa lý: Kênh mương, Sông suối và Mặt nước tĩnh. |
||||
|
Kiểu cơ sở |
NenDiaLy250N |
||||
|
Tên các thuộc tính |
face |
||||
|
Thuộc tính đối tượng: |
|||||
|
Tên |
face |
||||
|
Mô tả |
Quan hệ không gian với kiểu đối tượng DuongBoNuoc. |
||||
|
Kiểu dữ liệu |
TP_Face |
||||
|
Kiểu đối tượng: |
|||
|
Tên |
MatNuocTinh |
||
|
Tên tiếng Việt |
Mặt nước tĩnh |
||
|
Mô tả |
Kiểu đối tượng trừu tượng gồm các kiểu đối tượng địa lý: Ao, hồ đầm phá, hồ chứa. |
||
|
Kiểu cơ sở |
NuocMat |
||
|
Tên các thuộc tính |
maDoiTuong, ten, geo |
||
|
Thuộc tính đối tượng: |
|||
|
Tên |
maDoiTuong |
||
|
Mô tả |
Theo Danh mục đối tượng địa lý cơ sở quốc gia. |
||
|
Kiểu miền giá trị |
Xác định |
||
|
Danh sách giá trị |
Mã |
Nhãn |
Mô tả |
|
LB01 |
Ao, hồ |
Theo Danh mục đối tượng địa lý cơ sở quốc gia. |
|
|
LB02 |
Đầm phá |
||
|
LB03 |
Hồ chứa |
||
|
Tên |
ten |
||
|
Mô tả |
Tên gọi của đối tượng. |
||
|
Kiểu dữ liệu |
CharacterString |
||
|
Tên |
geo |
||
|
Mô tả |
Thuộc tính không gian của đối tượng. |
||
|
Kiểu dữ liệu |
GM_Surface. |
||
|
Kiểu đối tượng: |
|||||||
|
Tên |
KenhMuong |
||||||
|
Tên tiếng Việt |
Kênh mương |
||||||
|
Mô tả |
Theo Danh mục đối tượng địa lý cơ sở quốc gia. |
||||||
|
Kiểu cơ sở |
NuocMat |
||||||
|
Tên các thuộc tính |
maDoiTuong, geo |
||||||
|
Thuộc tính đối tượng: |
|||||||
|
Tên |
maDoiTuong |
||||||
|
Mô tả |
Theo danh mục đối tượng địa lý cơ sở quốc gia. |
||||||
|
Kiểu miền giá trị |
Xác định |
||||||
|
Danh sách giá trị |
Mã |
Nhãn |
Mô tả |
||||
|
|
LA04 |
Kênh mương |
Theo danh mục đối tượng địa lý cơ sở quốc gia. |
||||
|
Tên |
ten |
||||||
|
Mô tả |
Tên gọi của đối tượng. |
||||||
|
Kiểu dữ liệu |
CharacterString |
||||||
|
Tên |
geo |
||||||
|
Mô tả |
Thuộc tính không gian của đối tượng. |
||||||
|
Kiểu dữ liệu |
GM_Surface |
||||||
|
Kiểu đối tượng: |
|||||||
|
Tên |
SongSuoi |
||||||
|
Tên tiếng Việt |
Sông suối |
||||||
|
Mô tả |
Theo Danh mục đối tượng địa lý cơ sở quốc gia. |
||||||
|
Kiểu cơ sở |
NuocMat |
||||||
|
Tên các thuộc tính |
maDoiTuong, loaiTrangThaiNuocMat, geo. |
||||||
|
Thuộc tính đối tượng: |
|||||||
|
Tên |
maDoiTuong |
||||||
|
Mô tả |
Theo Danh mục đối tượng địa lý cơ sở quốc gia. |
||||||
|
Kiểu miền giá trị |
Xác định |
||||||
|
Danh sách giá trị |
Mã |
Nhãn |
Mô tả |
||||
|
LA07 |
Sông suối |
|
|||||
|
Tên |
loaiTrangThaiNuocMat |
||||||
|
Mô tả |
Chỉ trạng thái dòng chảy của nước mặt Sông suối: ổn định, không ổn định, khó xác định. |
||||||
|
Kiểu miền giá trị |
Integer |
||||||
|
Danh sách giá trị |
Mã |
Nhãn |
Mô tả |
||||
|
1 |
Ổn định |
Sông suối có trạng thái nước mặt tồn tại quanh năm. |
|||||
|
2 |
Không ổn định |
Sông suối có trạng thái nước mặt xuất hiện theo mùa. |
|||||
|
3 |
Khó xác định |
Áp dụng đối với nước mặt không rõ ràng (Dòng chảy qua sình lầy, địa hình dải ven bờ chịu tác động tự nhiên, nhân tạo làm phá vỡ đường bờ tự nhiên). |
|||||
|
Tên |
ten |
||||||
|
Mô tả |
Tên gọi của đối tượng. |
||||||
|
Kiểu dữ liệu |
CharacterString |
||||||
|
Tên |
geo |
||||||
|
Mô tả |
Thuộc tính không gian của đối tượng. |
||||||
|
Kiểu dữ liệu |
GM_Surface. |
||||||
|
Kiểu đối tượng: Tim dòng chảy |
|||||||
|
Tên |
TimDongChay |
||||||
|
Tên tiếng Việt |
Tim dòng chảy |
||||||
|
Mô tả |
Theo Danh mục đối tượng địa lý cơ sở quốc gia. |
||||||
|
Tên các thuộc tính |
maDoiTuong, ten, loaiDongChay, geo. |
||||||
|
Thuộc tính đối tượng: |
|||||||
|
Tên |
maDoiTuong |
||||||
|
Mô tả |
Theo Danh mục đối tượng địa lý cơ sở quốc gia. |
||||||
|
Kiểu miền giá trị |
Xác định |
||||||
|
Danh sách giá trị |
Mã |
Nhãn |
Mô tả |
||||
|
|
LA08 |
Tim dòng chảy |
|
||||
|
Tên |
loaiDongChay |
||||||
|
Mô tả |
|
||||||
|
Kiểu miền giá trị |
Xác định |
||||||
|
Danh sách giá trị |
Mã |
Nhãn |
Mô tả |
||||
|
|
1 |
Sông suối |
Tim của dòng chảy tự nhiên. |
||||
|
|
2 |
Kênh mương |
Tim dòng chảy nhân tạo. |
||||
|
|
3 |
Đoạn qua hồ |
Đường nối 2 giữa điểm vào và ra khi sông suối, kênh mương chảy vào hồ rồi lại tiếp tục từ hồ chảy tiếp theo quy luật tự nhiên. |
||||
|
Tên |
ten |
||||||
|
Mô tả |
Tên gọi của sông suối kênh mương theo Danh mục địa danh do Bộ Tài nguyên và Môi trường ban hành. |
||||||
|
Kiểu dữ liệu |
CharacterString |
||||||
|
Tên |
geo |
||||||
|
Mô tả |
Thuộc tính không gian của đối tượng. |
||||||
|
Kiểu dữ liệu |
GM_Curve |
||||||
|
Kiểu đối tượng: |
||||
|
Tên |
NutMangDongChay |
|||
|
Tên tiếng Việt |
Nút Mạng dòng chảy |
|||
|
Mô tả |
Theo Danh mục đối tượng địa lý cơ sở quốc gia |
|||
|
Tên các thuộc tính |
maDoiTuong, geo |
|||
|
Thuộc tính đối tượng: |
||||
|
Tên |
maDoiTuong |
|||
|
Mô tả |
Theo danh mục đối tượng địa lý cơ sở. |
|||
|
Kiểu miền giá trị |
Xác định |
|||
|
Danh sách giá trị |
Mã |
Nhãn |
Mô tả |
|
|
LA06 |
Nút mạng dòng chảy |
|
||
|
Tên |
geo |
|||
|
Mô tả |
Thuộc tính không gian của đối tượng. |
|||
|
Kiểu dữ liệu |
GM_Point |
|||
|
Tên |
node |
|||
|
Mô tả |
Thuộc tính quan hệ không gian của đối tượng |
|||
|
Kiểu dữ liệu |
TP_Node |
|||

Hình 5.5
|
Kiểu đối tượng: |
||||
|
Tên |
Dap |
|||
|
Tên tiếng Việt |
Đập |
|||
|
Mô tả |
Theo Danh mục đối tượng địa lý cơ sở quốc gia. |
|||
|
Kiểu cơ sở |
NenDiaLy250N |
|||
|
Tên các thuộc tính |
maDoiTuong, ten, loaiDap, geo |
|||
|
Thuộc tính đối tượng: |
||||
|
Tên |
maDoiTuong |
|||
|
Mô tả |
Theo Danh mục đối tượng địa lý cơ sở quốc gia. |
|||
|
Kiểu miền giá trị |
Xác định |
|||
|
Danh sách giá trị |
Mã |
Nhãn |
Mô tả |
|
|
LE04 |
Đập |
|
||
|
Tên |
ten |
|||
|
Mô tả |
Tên gọi của đối tượng. |
|||
|
Kiểu dữ liệu |
CharacterString |
|||
|
Tên |
loaiDap |
|||
|
Mô tả |
Loại đập |
|||
|
Kiểu dữ liệu |
Integer |
|||
|
Danh sách giá trị |
Mã |
Nhãn |
Mô tả |
|
|
|
1 |
Chắn sóng |
|
|
|
2 |
Dâng |
|
||
|
3 |
Tràn |
|
||
|
Tên |
dungLamGiaoThong |
|||
|
Mô tả |
Loại Đập được dùng làm đường giao thông. |
|||
|
Kiểu dữ liệu |
Boolean |
|||
|
Tên |
geo |
|||
|
Mô tả |
Thuộc tính không gian của đối tượng. |
|||
|
Kiểu dữ liệu |
GM_Curve |
|||
|
Kiểu đối tượng: |
|||
|
Tên |
De |
||
|
Tên tiếng Việt |
Đê |
||
|
Mô tả |
Theo Danh mục đối tượng địa lý cơ sở quốc gia. |
||
|
Kiểu cơ sở |
NenDiaLy250N |
||
|
Tên các thuộc tính |
maDoiTuong, ten, dungLamGiaoThong, geo. |
||
|
Thuộc tính đối tượng: |
|||
|
Tên |
maDoiTuong |
||
|
Mô tả |
Theo Danh mục đối tượng địa lý cơ sở quốc gia. |
||
|
Kiểu miền giá trị |
Xác định |
||
|
Danh sách giá trị |
Mã |
Nhãn |
Mô tả |
|
LE05 |
Đê |
|
|
|
Tên |
ten |
||
|
Mô tả |
Tên gọi của đối tượng. |
||
|
Kiểu dữ liệu |
CharacterString |
||
|
Tên |
dungLamGiaoThong |
||
|
Mô tả |
Tuyến đê được dùng làm đường giao thông. |
||
|
Kiểu dữ liệu |
Boolean |
||
|
Tên |
geo |
||
|
Mô tả |
Thuộc tính không gian của đối tượng. |
||
|
Kiểu dữ liệu |
GM_Curve |
||
|
Kiểu đối tượng: |
|||
|
Tên |
DamLay |
||
|
Tên tiếng Việt |
Đầm lầy |
||
|
Mô tả |
Theo Danh mục đối tượng địa lý cơ sở quốc gia. |
||
|
Kiểu cơ sở |
NenDiaLy250N |
||
|
Tên các thuộc tính |
maDoiTuong, ten, geo |
||
|
Thuộc tính đối tượng: |
|||
|
Tên |
maDoiTuong |
||
|
Mô tả |
Theo Danh mục đối tượng địa lý cơ sở quốc gia. |
||
|
Kiểu miền giá trị |
Xác định |
||
|
Danh sách giá trị |
Mã |
Nhãn |
Mô tả |
|
LH01 |
Đầm lầy |
|
|
|
Tên |
ten |
||
|
Mô tả |
Tên gọi của đối tượng. |
||
|
Kiểu dữ liệu |
CharacterString |
||
|
Tên |
Geo |
||
|
Mô tả |
Thuộc tính không gian của đối tượng. |
||
|
Kiểu dữ liệu |
GM_Surface |
||
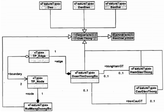
6. Giao Thông (GiaoThong)

Hình 6.1

Hình 6.2
|
Kiểu đối tượng: |
|||
|
Tên |
GiaoThong |
||
|
Tên tiếng Việt |
Giao thông |
||
|
Mô tả |
Gói dữ liệu bao gồm nhóm kiểu đối tượng: Bến bãi, Đèn biển, Cầu giao thông, Đèo, Hầm giao thông, Đoạn tim đường bộ, Nút mạng đường bộ. |
||
|
Kiểu cơ sở |
NenDiaLy250N |
||
|
Kiểu đối tượng: |
|
||
|
Tên |
DenBien |
||
|
Tên tiếng Việt |
Đèn biển |
||
|
Mô tả |
Theo Danh mục đối tượng địa lý cơ sở quốc gia. |
||
|
Kiểu cơ sở |
NenDiaLy250N |
||
|
Tên các thuộc tính |
maDoiTuong, ten, geo |
||
|
Thuộc tính đối tượng: |
|||
|
Tên |
maDoiTuong |
||
|
Mô tả |
Theo Danh mục đối tượng địa lý cơ sở quốc gia. |
||
|
Kiểu miền giá trị |
Xác định |
||
|
Danh sách giá trị |
Mã |
Nhãn |
Mô tả |
|
HH02 |
Đèn biển |
|
|
|
Tên |
ten |
||
|
Mô tả |
Tên gọi của đối tượng. |
||
|
Kiểu dữ liệu |
CharacterString |
||
|
Tên |
Geo |
||
|
Mô tả |
Thuộc tính không gian của đối tượng. |
||
|
Kiểu dữ liệu |
GM_Point |
||
|
Kiểu đối tượng: |
||||
|
Tên |
BenBai |
|||
|
Tên tiếng Việt |
Bến bãi |
|||
|
Mô tả |
Kiểu đối tượng trìu tượng, gồm các kiểu đối tượng địa lý: Bến phà, Ga đường sắt, Cảng biển, Cảng thủy nội địa, Cảng hàng không. |
|||
|
Kiểu cơ sở |
NenDiaLy250N |
|||
|
Tên các thuộc tính |
maDoiTuong, capBenBai, ten, geo |
|||
|
Thuộc tính đối tượng: |
||||
|
Tên |
maDoiTuong |
|||
|
Mô tả |
Theo Danh mục đối tượng địa lý cơ sở quốc gia. |
|||
|
Kiểu miền giá trị |
Xác định |
|||
|
Danh sách giá trị |
Mã |
Nhãn |
Mô tả |
|
|
|
HA03 |
Bến phà |
|
|
|
|
HB02 |
Ga đường sắt |
|
|
|
|
HC03 |
Cảng biển |
|
|
|
|
HC04 |
Cảng thủy nội địa |
|
|
|
|
HD01 |
Cảng hàng không |
|
|
|
Tên |
capBenBai |
|||
|
|
Mã |
Nhãn |
Mô tả |
|
|
|
1 |
Quốc tế |
Có tuyến giao thông nối với nước ngoài. |
|
|
|
2 |
Nội địa |
Các tuyến giao thông chỉ trong lãnh thổ Việt Nam. |
|
|
Tên |
ten |
|||
|
Mô tả |
Tên gọi của đối tượng. |
|||
|
Kiểu dữ liệu |
CharacterString |
|||
|
Tên |
geo |
|||
|
Mô tả |
Thuộc tính không gian của đối tượng. |
|||
|
Kiểu dữ liệu |
GM_Point |
|||

Hình 6.3
|
Kiểu đối tượng: |
||||||
|
Tên |
CauGiaoThong |
|||||
|
Tên tiếng Việt |
Cầu giao Thông |
|||||
|
Mô tả |
Theo Danh mục đối tượng địa lý cơ sở quốc gia. |
|||||
|
Kiểu cơ sở |
NenDiaLy250N |
|||||
|
Tên các thuộc tính |
maDoiTuong, ten, loaiCauGiaoThong, loaiChucNangCau, taiTrong, chieuDai, chieuRong, geo. |
|||||
|
Tên các vai trò quan hệ |
trenDoanDB, trenDoanDS. |
|||||
|
Thuộc tính đối tượng: |
||||||
|
Tên |
maDoiTuong |
|||||
|
Mô tả |
Theo Danh mục đối tượng địa lý cơ sở quốc gia. |
|||||
|
Kiểu miền giá trị |
Xác định |
|||||
|
Danh sách giá trị |
Mã |
Nhãn |
Mô tả |
|
||
|
|
HG02 |
Cầu |
Theo Danh mục đối tượng địa lý cơ sở quốc gia. |
|
||
|
Tên |
ten |
|||||
|
Mô tả |
Tên gọi của đối tượng. |
|||||
|
Kiểu dữ liệu |
CharacterString |
|||||
|
Tên |
loaiCauGiaoThong |
|||||
|
Mô tả |
Loại cầu giao thông. |
|||||
|
Kiểu dữ liệu |
Integer |
|||||
|
Danh sách giá trị |
Mã |
Nhãn |
Mô tả |
|||
|
|
1 |
Cầu thường |
Bao gồm các loại cầu 1 tầng có kết cấu kiên cố, thường gặp trên thực tế. Ví dụ như cầu: Bê tông, gạch, đá, sắt... |
|||
|
2 |
Phao |
Là loại cầu được thiết kế bằng vật liệu nổi. |
||||
|
|
3 |
Treo |
Là loại cầu được treo trên các trụ cầu, có sử dụng cáp treo mặt cầu. |
|||
|
4 |
Tầng |
Là cầu có từ 2 tầng trở lên. |
||||
|
5 |
Quay |
Là loại cầu có khớp nối không cố định khi cần thiết có thể quay, gập để tàu thuyền qua lại. |
||||
|
6 |
Khác |
Không thuộc các loại cầu đã chỉ ra cụ thể trên. |
||||
|
Tên |
loaiChucNangCau |
|||||
|
Mô tả |
Chức năng sử dụng cầu giao thông. |
|||||
|
Kiểu dữ liệu |
Integer |
|||||
|
Danh sách giá trị |
Mã |
Nhãn |
Mô tả |
|||
|
1 |
Chung |
Cầu tàu hỏa và ôtô cùng lưu thông được. |
||||
|
2 |
Đường bộ |
Cầu chỉ có ôtô và các phương tiện khác qua được. |
||||
|
3 |
Đường sắt |
Cầu chỉ có được sắt được lưu thông. |
||||
|
4 |
Vượt |
Cầu vượt qua các đường cao tốc. |
||||
|
Tên |
taiTrong |
|||||
|
Mô tả |
Khả năng chịu tải khai thác của cầu và đường để đảm bảo tuổi thọ công trình theo thiết kế. |
|||||
|
Kiểu dữ liệu |
Real |
|||||
|
Đơn vị đo |
Tấn |
|||||
|
Tên |
chieuDai |
|||||
|
Mô tả |
Chiều dài của cầu. |
|||||
|
Kiểu dữ liệu |
Real |
|||||
|
Đơn vị đo |
Mét |
|||||
|
Tên |
chieuRong |
|||||
|
Mô tả |
Chiều rộng của cầu. |
|||||
|
Kiểu dữ liệu |
Real |
|||||
|
Đơn vị đo |
Mét |
|||||
|
Tên |
geo |
|||||
|
Mô tả |
Thuộc tính không gian của đối tượng. |
|||||
|
Kiểu dữ liệu |
GM_Point, GM_Curve. |
|||||
|
Quan hệ đối tượng |
|
|||||
|
Tên |
trenDoanDB |
|||||
|
Mô tả |
Quan hệ với đối tượng DoanTimDuongBo. |
|||||
|
Tên |
trenDoanDS |
|||||
|
Mô tả |
Quan hệ với đối tượng DoanDuongSat. |
|||||
|
Kiểu đối tượng: |
||||||||||||
|
Tên |
Deo |
|||||||||||
|
Tên tiếng Việt |
Đèo |
|||||||||||
|
Mô tả |
Theo Danh mục đối tượng địa lý cơ sở quốc gia. |
|||||||||||
|
Kiểu cơ sở |
NenDiaLy250N |
|||||||||||
|
Tên các thuộc tính |
maDoiTuong, ten, chieuDai, geo |
|||||||||||
|
Thuộc tính đối tượng: |
||||||||||||
|
Tên |
maDoiTuong |
|||||||||||
|
Mô tả |
Theo Danh mục đối tượng địa lý cơ sở quốc gia. |
|||||||||||
|
Kiểu miền giá trị |
Xác định |
|||||||||||
|
Danh sách giá trị |
Mã |
Nhãn |
Mô tả |
|||||||||
|
HG04 |
Đèo |
|
||||||||||
|
Tên |
ten |
|||||||||||
|
Mô tả |
Tên gọi của đối tượng. |
|||||||||||
|
Kiểu dữ liệu |
CharacterString |
|||||||||||
|
Tên |
chieuDai |
|||||||||||
|
Mô tả |
Chiều dài của đèo. |
|||||||||||
|
Kiểu dữ liệu |
Real |
|||||||||||
|
Đơn vị đo |
Mét |
|||||||||||
|
Quan hệ đối tượng |
|
|||||||||||
|
Tên |
trenDoanDB |
|||||||||||
|
Mô tả |
Quan hệ với đối tượng DoanTimDuongBo. |
|||||||||||
|
Tên |
trenDoanDS |
|||||||||||
|
Mô tả |
Quan hệ với đối tượng DoanDuongSat |
|||||||||||
|
Tên |
geo |
|||||||||||
|
Mô tả |
Thuộc tính không gian của đối tượng. |
|||||||||||
|
Kiểu dữ liệu |
GM_Point |
|||||||||||
|
Kiểu đối tượng: |
|
|||||||||||
|
Tên |
DoanTimDuongBo |
|||||||||||
|
Tên tiếng Việt |
Đoạn tim đường bộ |
|||||||||||
|
Mô tả |
Tim đường bộ, cầu đường bộ, hầm đường bộ, bến phà đường bộ. |
|||||||||||
|
Kiểu cơ sở |
NenDiaLy250N |
|||||||||||
|
Tên các thuộc tính |
maDoiTuong, loaiDuongBo, loaiChatLieuTraiMat, loaiHienTrangSuDung, loaiKetCau, doRong, ten, tenTuyen1, tenTuyen2, tenTuyen3, geo, edge. |
|||||||||||
|
Thuộc tính đối tượng: |
||||||||||||
|
Tên |
maDoiTuong |
|||||||||||
|
Mô tả |
Theo Danh mục đối tượng địa lý cơ sở quốc gia. |
|||||||||||
|
Kiểu miền giá trị |
Xác định |
|||||||||||
|
Danh sách giá trị |
Mã |
Nhãn |
Mô tả |
|||||||||
|
|
HA13 |
Đoạn tim đường bộ |
|
|||||||||
|
Tên |
loaiDuongBo |
|||||||||||
|
Mô tả |
Phân loại theo cấp quản lý quy định tại Luật giao thông đường bộ. |
|||||||||||
|
Kiểu dữ liệu |
Integer |
|||||||||||
|
Danh sách giá trị |
Mã |
Nhãn |
Mô tả |
|||||||||
|
|
1 |
Cao tốc |
Đường dành cho xe cơ giới, có dải phân cách chia đường cho xe chạy hai chiều riêng biệt; không giao nhau cùng mức với một hoặc các đường khác; được bố trí đầy đủ trang thiết bị phục vụ, bảo đảm giao thông liên tục, an toàn, rút ngắn thời gian hành trình và chỉ cho xe ra, vào ở những điểm nhất định. Đường do Bộ giao thông vận tải đặt tên. |
|||||||||
|
3 |
Dẫn |
Tuyến đường nối giữa các đường cao tốc, trục chính, đường dẫn lên cầu. |
||||||||||
|
4 |
Giao thông nông thôn |
Là đường bộ ở nông thôn đảm bảo cho các phương tiện cơ giới loại trung, nhẹ và thô sơ tham gia qua lại, phục vụ sản xuất nông, lâm, ngư nghiệp, giao lưu kinh tế xã hội của các làng xã, thôn, xóm. |
||||||||||
|
5 |
Phố |
Đường đô thị, gồm lòng đường và hè phố. |
||||||||||
|
6 |
Làng, ngõ, phố |
Là các ngõ, ngách, hẻm trong đô thị; đường trong làng, thôn, xóm, hoặc đường nối giữa các điểm dân cư; đường nội bộ trong các khu đô thị, khu công nghiệp, khu chế xuất, khu kinh tế, khu kinh tế cửa khẩu, khu thương mại - dịch vụ. |
||||||||||
|
|
7 |
Chính |
Là đường bảo đảm giao thông chủ yếu trong khu vực. Bao gồm: đường quốc lộ; đường tỉnh; đường huyện; đường xã và các tuyến đường nối liền các khu công nghiệp, khu chế xuất, khu kinh tế, khu kinh tế cửa khẩu. Trong trường hợp đoạn đường chính là đường phố có tên thì ưu tiên đường chính. |
|||||||||
|
|
8 |
Đường nội bộ |
Đường trong các khu đô thị, khu công nghiệp, khu chế xuất, khu kinh tế, khu kinh tế cửa khẩu, khu thương mại - dịch vụ, đường trong công viên, lâm trường, nông trường, khu công nghiệp, khu chế xuất; đường chia lô rừng, đường băng trong sân bay. |
|||||||||
|
|
9 |
Gom |
Là đường để gom hệ thống đường giao thông nội bộ của các khu đô thị, khu công nghiệp, khu chế xuất, khu kinh tế, khu kinh tế cửa khẩu, khu thương mại - dịch vụ và các đường khác vào đường chính hoặc vào đường nhánh trước khi đấu nối vào đường chính. |
|||||||||
|
Tên |
loaiChatLieuTraiMat |
|||||||||||
|
Mô tả |
Phân loại chất liệu trải mặt của đoạn mặt đường tương ứng. |
|||||||||||
|
Kiểu dữ liệu |
Integer |
|||||||||||
|
Danh sách giá trị |
Mã |
Nhãn |
Mô tả |
|||||||||
|
-1 |
Không xác định |
|
||||||||||
|
1 |
Bê tông |
Đường có bề mặt kết cấu hoàn toàn bằng bê tông. |
||||||||||
|
5 |
Nhựa |
Đường có bề mặt kết cấu hoàn toàn nhựa đường. |
||||||||||
|
2 |
Gạch |
Đường có bề mặt ốp lát hoàn toàn bằng gạch. |
||||||||||
|
3 |
Đá sỏi |
Đường có bề mặt là sỏi, đá hoặc phối hợp cả gạch, sỏi, đá. |
||||||||||
|
4 |
Đường đất |
Đường có bề mặt chủ yếu là đất và đường mòn. |
||||||||||
|
Tên |
loaiHienTrangSuDung |
|||||||||||
|
Mô tả |
Hiện trạng sử dụng đường bộ. |
|||||||||||
|
Kiểu dữ liệu |
Integer |
|||||||||||
|
Danh sách giá trị |
Mã |
Nhãn |
Mô tả |
|||||||||
|
1 |
Đang sử dụng |
Đoạn đường xe đang lưu thông. |
||||||||||
|
2 |
Đang xây dựng |
Đoạn đường đang thi công hoặc đã xong nhưng xe chưa được lưu thông. |
||||||||||
|
Tên |
loaiKetCau |
|||||||||||
|
Mô tả |
Mô tả kiểu kết cấu của đoạn đường bộ dựa vào các công trình giao thông trên tuyến. |
|||||||||||
|
Kiểu dữ liệu |
Integer |
|||||||||||
|
Danh sách giá trị |
Mã |
Nhãn |
Mô tả |
|||||||||
|
1 |
Qua cầu kiên cố |
Đoạn tính từ đuôi mố cầu này đến đuôi mố cầu kia. |
||||||||||
|
3 |
Qua hầm |
Đoạn tính từ cửa hầm này đến cửa hầm kia. |
||||||||||
|
4 |
Qua đập |
Đoạn tính giữa 2 đầu của đập. |
||||||||||
|
5 |
Trên đê |
Đoạn đường bộ trùng với đê. |
||||||||||
|
8 |
Đường trên cao |
Đoạn đường trên cao không cùng mặt phẳng. |
||||||||||
|
Tên |
doRong |
|||||||||||
|
Mô tả |
Độ rộng đoạn đường bao gồm cả lề đường. |
|||||||||||
|
Kiểu dữ liệu |
Real |
|||||||||||
|
Đơn vị đo |
Mét |
|||||||||||
|
Tên |
ten |
|||||||||||
|
Mô tả |
Tên của đường theo Quyết định Danh mục tên, số hiệu của Bộ Giao thông vận tải; UBND, Hội đồng nhân dân cấp tỉnh, cấp huyện ban hành. Tên đường phố. |
|||||||||||
|
Kiểu dữ liệu |
CharacterString |
|||||||||||
|
Tên |
tenTuyen1 |
|||||||||||
|
Mô tả |
Tên đường quốc lộ trong trường hợp đoạn đường bộ đồng thời thuộc tuyến quốc lộ, đường tỉnh, đường huyện và đường khác. |
|||||||||||
|
Kiểu dữ liệu |
CharacterString |
|||||||||||
|
Tên |
tenTuyen2 |
|||||||||||
|
Mô tả |
Tên đường tỉnh trong trường hợp đoạn đường bộ đồng thời thuộc tuyến quốc lộ, đường tỉnh, đường huyện và đường khác. |
|||||||||||
|
Kiểu dữ liệu |
CharacterString |
|||||||||||
|
Tên |
tenTuyen3 |
|||||||||||
|
Mô tả |
Tên đường huyện trong trường hợp đoạn đường bộ đồng thời thuộc tuyến quốc lộ, đường tỉnh, đường huyện và đường khác. |
|||||||||||
|
Kiểu dữ liệu |
CharacterString |
|||||||||||
|
Tên |
geo |
|||||||||||
|
Mô tả |
Thuộc tính không gian của đối tượng. |
|||||||||||
|
Kiểu dữ liệu |
GM_Curve |
|||||||||||
|
Tên |
edge |
|||||||||||
|
Mô tả |
Thuộc tính mô tả quan hệ không gian giữa các đoạn tim đường bộ. |
|||||||||||
|
Kiểu dữ liệu |
TP_Edge |
|||||||||||
|
Quan hệ đối tượng: |
||||||||||||
|
Tên |
trongHamGT |
|||||||||||
|
Mô tả |
Biểu thị quan hệ với đối tượng HamGiaoThong. |
|||||||||||
|
Tên |
trenCauGT |
|||||||||||
|
Mô tả |
Biểu thị quan hệ với đối tượng CauGiaoThong. |
|||||||||||
|
Kiểu đối tượng: |
|||||
|
Tên |
HamGiaoThong |
||||
|
Tên tiếng Việt |
Hầm giao Thông |
||||
|
Mô tả |
|
||||
|
Kiểu cơ sở |
NenDiaLy250N |
||||
|
Tên các thuộc tính |
maDoiTuong, ten, loaiHamGiaoThong, chieuCao, chieuRong, chieuDai, geo. |
||||
|
Tên các vai trò quan hệ |
trenDoanDB, trenDoanDS. |
||||
|
Thuộc tính đối tượng: |
|||||
|
Tên |
maDoiTuong |
||||
|
Mô tả |
Theo Danh mục đối tượng địa lý cơ sở quốc gia. |
||||
|
Kiểu miền giá trị |
Xác định |
||||
|
Danh sách giá trị |
Mã |
Nhãn |
Mô tả |
||
|
|
HG05 |
Hầm giao thông |
|
||
|
Tên |
ten |
||||
|
Mô tả |
Tên gọi của đối tượng. |
||||
|
Kiểu dữ liệu |
CharacterString |
||||
|
Tên |
loaiHamGiaoThong |
||||
|
Mô tả |
Loại hầm giao thông. |
||||
|
Kiểu dữ liệu |
Integer |
||||
|
Danh sách giá trị |
Mã |
Nhãn |
Mô tả |
||
|
1 |
Hầm đường bộ |
|
|||
|
2 |
Hầm đường sắt |
|
|||
|
Tên |
chieuCao |
||||
|
Mô tả |
Là khoảng cách tính từ nền hầm đến trần của hầm. |
||||
|
Kiểu dữ liệu |
Real |
||||
|
Đơn vị đo |
Mét |
||||
|
Tên |
chieuRong |
||||
|
Mô tả |
Là chiều rộng hầm là khoảng cách giữa 2 chân tường của hầm |
||||
|
Kiểu dữ liệu |
Real |
||||
|
Đơn vị đo |
Mét |
||||
|
Tên |
chieuDai |
||||
|
Mô tả |
Là khoảng cách giữa 2 cửa hầm vào và ra. |
||||
|
Kiểu dữ liệu |
Real |
||||
|
Đơn vị đo |
Mét |
||||
|
Tên |
geo |
||||
|
Mô tả |
Thuộc tính không gian của đối tượng. |
||||
|
Kiểu dữ liệu |
GM_Curve, GM_Point. |
||||
|
Quan hệ đối tượng |
|
||||
|
Tên |
trenDoanDB |
||||
|
Mô tả |
Áp dụng để biểu thị quan hệ với đối tượng DoanTimDuongBo. |
||||
|
Tên |
trenDoanDS |
||||
|
Mô tả |
Áp dụng để biểu thị quan hệ với đối tượng DoanDuongSat. |
||||
|
Kiểu đối tượng: |
|||
|
Tên |
NutMangDuongBo |
||
|
Tên tiếng Việt |
Nút mạng đường bộ |
||
|
Mô tả |
Theo Danh mục đối tượng địa lý cơ sở quốc gia. |
||
|
Kiểu cơ sở |
NenDiaLy250N |
||
|
Tên các thuộc tính |
maDoiTuong, geo, node |
||
|
Thuộc tính đối tượng: |
|||
|
Tên |
maDoiTuong |
||
|
Mô tả |
Theo Danh mục đối tượng địa lý cơ sở quốc gia. |
||
|
Kiểu miền giá trị |
Xác định |
||
|
Danh sách giá trị |
Mã |
Nhãn |
Mô tả |
|
HA10 |
Nút mạng giao thông đường bộ |
|
|
|
Tên |
geo |
||
|
Mô tả |
Thuộc tính không gian của đối tượng. |
||
|
Kiểu dữ liệu |
GM_Point |
||
|
Tên |
node |
||
|
Mô tả |
Thuộc tính quan hệ không gian của đối tượng. |
||
|
Kiểu dữ liệu |
TP_Node |
||

Hình 6.4
|
Kiểu đối tượng: |
|||||||||||
|
Tên |
DoanDuongSat |
||||||||||
|
Tên tiếng Việt |
Đoạn đường sắt |
||||||||||
|
Mô tả |
Theo Danh mục đối tượng địa lý cơ sở quốc gia. |
||||||||||
|
Kiểu cơ sở |
NenDiaLy250N |
||||||||||
|
Tên các thuộc tính |
maDoiTuong, loaiChucNangDuongSat, loaiKetCauDuongSat, loaiDuongSat, loaiHienTrangSuDung, geo, edge. |
||||||||||
|
Tên vai trò quan hệ |
trong HamGT, trenCauGT |
||||||||||
|
Thuộc tính đối tượng: |
|||||||||||
|
Tên |
maDoiTuong |
||||||||||
|
Mô tả |
Theo Danh mục đối tượng địa lý cơ sở quốc gia. |
||||||||||
|
Kiểu miền giá trị |
Xác định |
||||||||||
|
Danh sách giá trị |
Mã |
Nhãn |
Mô tả |
||||||||
|
HB01 |
Đoạn đường sắt |
|
|||||||||
|
Tên |
loaiChucNangDuongSat |
||||||||||
|
Mô tả |
Chức năng sử dụng đường sắt. |
||||||||||
|
Kiểu dữ liệu |
Integer |
||||||||||
|
Danh sách giá trị |
Mã |
Nhãn |
Mô tả |
||||||||
|
1 |
Chuyên dùng |
Đường sắt phục vụ nhu cầu vận tải riêng của tổ chức, cá nhân. |
|||||||||
|
2 |
Đô thị |
Đường sắt phục vụ nhu cầu đi lại hàng ngày của hành khách ở thành phố, vùng phụ cận; |
|||||||||
|
3 |
Quốc gia |
Đường sắt phục vụ nhu cầu vận tải chung của cả nước, từng vùng kinh tế và liên vận quốc tế; |
|||||||||
|
Tên |
loaiKetCauDuongSat |
||||||||||
|
Mô tả |
Kết cấu đường sắt. |
||||||||||
|
Kiểu dữ liệu |
Integer |
||||||||||
|
Danh sách giá trị |
Mã |
Nhãn |
Mô tả |
||||||||
|
1 |
Qua cầu |
|
|||||||||
|
2 |
Trên cao |
|
|||||||||
|
3 |
Qua hầm |
|
|||||||||
|
2 |
Kết cấu khác |
|
|||||||||
|
Tên |
loaiDuongSat |
||||||||||
|
Mô tả |
Loại đường sắt |
||||||||||
|
Kiểu dữ liệu |
Integer |
||||||||||
|
Danh sách giá trị |
Mã |
Nhãn |
Mô tả |
||||||||
|
1 |
Đơn |
Đường sắt trên một nền chỉ có một đường ray cho một loại tàu chạy qua. |
|||||||||
|
2 |
Lồng |
Đường sắt mà trên một nền đặt 3 thanh ray để chạy 2 loại tàu có độ rộng khác nhau. |
|||||||||
|
|
3 |
Kép |
Là loại đường sắt trên một nền có 2 đường ray, đảm bảo cho 2 tàu có thể chạy ngược chiều nhau cùng một lúc. |
||||||||
|
Tên |
loaiHienTrangSuDung |
||||||||||
|
Mô tả |
Hiện trạng sử dụng đoạn đường sắt. |
||||||||||
|
Kiểu dữ liệu |
Integer |
||||||||||
|
Danh sách giá trị |
Mã |
Nhãn |
Mô tả |
||||||||
|
1 |
Đang sử dụng |
Đã thông xe qua lại. |
|||||||||
|
2 |
Đang xây dựng |
Đang thi công xe chưa qua lại được. |
|||||||||
|
3 |
Không sử dụng |
Đã hỏng không còn sử dụng nữa. |
|||||||||
|
Tên |
geo |
||||||||||
|
Mô tả |
Thuộc tính không gian của đối tượng. |
||||||||||
|
Kiểu dữ liệu |
GM_Curve |
||||||||||
|
Kiểu đối tượng: |
|||||||||||
|
Tên |
NutDuongSat |
||||||||||
|
Tên tiếng Việt |
Nút đường sắt |
||||||||||
|
Mô tả |
Vị trí mà đoạn đường sắt có sự thay đổi về thuộc tính, nơi giao nhau của các đoạn đường sắt. |
||||||||||
|
Kiểu cơ sở |
NenDiaLy250N |
||||||||||
|
Tên các thuộc tính |
maDoiTuong, geo, node. |
||||||||||
|
Thuộc tính đối tượng: |
|||||||||||
|
Tên |
maDoiTuong |
||||||||||
|
Mô tả |
Theo Danh mục đối tượng địa lý cơ sở quốc gia. |
||||||||||
|
Kiểu miền giá trị |
Xác định |
||||||||||
|
Danh sách giá trị |
Mã |
Nhãn |
Mô tả |
||||||||
|
HB04 |
Nút đường sắt |
|
|||||||||
|
Tên |
geo |
||||||||||
|
Mô tả |
Thuộc tính không gian của đối tượng. |
||||||||||
|
Kiểu dữ liệu |
GM_Point |
||||||||||
|
Tên |
node |
||||||||||
|
Mô tả |
Thuộc tính mô tả quan hệ không gian giữa các đoạn đường sắt. |
||||||||||
|
Kiểu dữ liệu |
TP_Node |
||||||||||
7. Dân cư-Công trình hạ tầng (DanCuCoSoHaTang)

Hình 7.1
|
Kiểu đối tượng: |
|||||||
|
Tên |
DanCuCoSoHaTang |
||||||
|
Tên tiếng Việt |
Dân cư-Công trình hạ tầng |
||||||
|
Mô tả |
Gói dữ liệu bao gồm các kiểu đối tượng: Điểm dân cư, Nhà độc lập, Vùng nội đô, Đường dây tải điện, Trạm quan trắc, Trạm thu phát sóng, Danh Lam thắng cảnh, Di tích lịch sử văn hóa, Ranh giới khu chức năng, Khu chức năng. |
||||||
|
Kiểu cơ sở |
NenDiaLy250N |
||||||
|
Kiểu đối tượng: |
|
||||||
|
Tên |
DiemDanCu |
||||||
|
Tên tiếng Việt |
Điểm dân cư |
||||||
|
Mô tả |
Đối tượng trìu tượng bao gồm kiểu đối tượng địa lý: Thôn và Khu đô thị. |
||||||
|
Kiểu cơ sở |
NenDiaLy250N |
||||||
|
Tên các thuộc tính |
maDoiTuong, ten, soDan, loaiDiemDanCu, geo. |
||||||
|
Thuộc tính đối tượng: |
|||||||
|
Tên |
maDoiTuong |
||||||
|
Mô tả |
Theo Danh mục đối tượng địa lý cơ sở quốc gia. |
||||||
|
Kiểu miền giá trị |
Xác định |
||||||
|
Danh sách giá trị |
Mã |
Nhãn |
Mô tả |
||||
|
CA01 |
Điểm dân cư |
Điểm trung tâm của điểm dân cư nông thôn là thôn, xóm, làng, bản, phum, sóc... và khu đô thị trong Vùng nội đô. |
|||||
|
Tên |
ten |
||||||
|
Mô tả |
Tên gọi của đối tượng. |
||||||
|
Kiểu dữ liệu |
CharacterString |
||||||
|
Tên |
soDan |
||||||
|
Mô tả |
Số dân của điểm dân cư theo số liệu do Sở Nội vụ tỉnh cung cấp. |
||||||
|
Kiểu dữ liệu |
Integer |
||||||
|
Tên |
loaiDiemDanCu |
||||||
|
Mô tả |
Loại điểm dân cư. |
||||||
|
Kiểu dữ liệu |
Integer |
||||||
|
Danh sách giá trị |
Mã |
Nhãn |
Mô tả |
||||
|
1 |
Thôn |
Điểm dân cư thuộc đơn vị hành chính cấp xã được thành lập theo quyết định của UBND cấp tỉnh, ví dụ như: thôn, xóm, ấp, bản, phum, sóc, buôn, plei... |
|||||
|
|
3 |
Khu đô thị |
Điểm trung tâm của khu vực dân cư trong đô thị, được đầu tư xây dựng mới đồng bộ về hạ tầng kỹ thuật, hạ tầng xã hội và nhà ở. Ví dụ: Mỹ Đình, Ecopark, Phú Mỹ Hưng, Royalcity, Ciputra, Timecity...) |
||||
|
Tên |
geo |
||||||
|
Mô tả |
Thuộc tính không gian của đối tượng. |
||||||
|
Kiểu dữ liệu |
GM_Point |
||||||
|
Kiểu đối tượng: |
|||||||
|
Tên |
NhaDoclap |
||||||
|
Tên tiếng Việt |
Nhà độc lập |
||||||
|
Mô tả |
Đối tượng sử dụng để mô tả đặc trưng phân bố nhà ở của dân cư nông thôn là thôn, xóm, làng bản hoặc tương đương. Các điểm dân cư nông thôn có nhà phân bố tập trung hay rải rác thành một quần cư và có tên gọi riêng; hoặc các nhà có vị trí độc lập, có tính định hướng ở ngoài khu vực dân cư nông thôn và Vùng nội đô. |
||||||
|
Kiểu cơ sở |
NenDiaLy250N |
||||||
|
Tên các thuộc tính |
maDoiTuong, geo |
||||||
|
Thuộc tính đối tượng: |
|||||||
|
Tên |
maDoiTuong |
||||||
|
Mô tả |
Mã đối tượng địa lý được bổ sung theo phương pháp xây dựng danh mục đối tượng địa lý cơ sở kèm theo QCVN: 42/2012-BTNMT. |
||||||
|
Kiểu miền giá trị |
Xác định |
||||||
|
Danh sách giá trị |
Mã |
Nhãn |
Mô tả |
||||
|
CB04 |
Nhà độc lập |
Nhà được ký hiệu hóa để thể hiện phân bố dân cư. Tương tự đối tượng nhà độc lập của bản đồ địa hình tỷ lệ 1:250.000. |
|||||
|
Tên |
geo |
||||||
|
Mô tả |
Thuộc tính không gian của đối tượng. |
||||||
|
Kiểu dữ liệu |
GM_Point |
||||||
|
Kiểu đối tượng: |
|||||||
|
Tên |
VungNoiDo |
||||||
|
Tên tiếng Việt |
Vùng nội đô |
||||||
|
Mô tả |
Là vùng khoanh bao nội thành của thành phố, thị xã, thị trấn, khu vực dân cư kiểu đô thị. |
||||||
|
Kiểu cơ sở |
NenDiaLy250N |
||||||
|
Tên các thuộc tính |
maDoiTuong, ten, geo. |
||||||
|
Thuộc tính đối tượng: |
|||||||
|
Tên |
maDoiTuong |
||||||
|
Mô tả |
Mã đối tượng địa lý được bổ sung theo phương pháp xây dựng danh mục đối tượng địa lý cơ sở kèm theo QCVN: 42/2012-BTNMT. |
||||||
|
Kiểu miền giá trị |
Xác định |
||||||
|
Danh sách giá trị |
Mã |
Nhãn |
Mô tả |
||||
|
|
CA02 |
Vùng nội đô |
Khoanh bao trên cơ sở phân bố nhà của vùng trung tâm đô thị. |
||||
|
Tên |
ten |
||||||
|
Mô tả |
Tên gọi của thị trấn, thị xã, thành phố của các tỉnh, thành phố trực thuộc Trung ương có Vùng nội đô tương ứng. |
||||||
|
Kiểu dữ liệu |
CharacterString |
||||||
|
Tên |
geo |
||||||
|
Mô tả |
Thuộc tính không gian của đối tượng. |
||||||
|
Kiểu dữ liệu |
GM_Surface |
||||||

Hình 7.2

Hình 7.3
|
Kiểu đối tượng: |
|||
|
Tên |
DuongDayTaiDien |
||
|
Tên tiếng Việt |
Đường dây tải điện |
||
|
Mô tả |
Theo Danh mục đối tượng địa lý cơ sở quốc gia. |
||
|
Kiểu cơ sở |
NenDiaLy250N |
||
|
Tên các thuộc tính |
maDoiTuong, dienAp, geo. |
||
|
Thuộc tính đối tượng: |
|||
|
Tên |
maDoiTuong |
||
|
Mô tả |
Theo Danh mục đối tượng địa lý cơ sở quốc gia. |
||
|
Kiểu miền giá trị |
Xác định |
||
|
Danh sách giá trị |
Mã |
Nhãn |
Mô tả |
|
|
BA03 |
Đường dây tải điện |
|
|
Tên |
dienAp |
||
|
Mô tả |
Chỉ số điện áp của tuyến đường dây tải điện. |
||
|
Kiểu dữ liệu |
Real |
||
|
Đơn vị đo |
Ki lô vôn (KV) |
||
|
Tên |
geo |
||
|
Mô tả |
Thuộc tính không gian của đối tượng. |
||
|
Kiểu dữ liệu |
GM_Curve |
||

Hình 7.4
|
Kiểu đối tượng: |
|||
|
Tên |
TramQuanTrac |
||
|
Tên tiếng Việt |
Trạm quan trắc |
||
|
Mô tả |
Theo Danh mục đối tượng địa lý cơ sở quốc gia. |
||
|
Kiểu cơ sở |
NenDiaLy250N |
||
|
Tên các thuộc tính |
maDoiTuong, loaiTramQuanTrac, geo |
||
|
Thuộc tính đối tượng: |
|||
|
Tên |
maDoiTuong |
||
|
Mô tả |
Theo Danh mục đối tượng địa lý cơ sở quốc gia. |
||
|
Kiểu miền giá trị |
Xác định |
||
|
Danh sách giá trị |
Mã |
Nhãn |
Mô tả |
|
BI04 |
Trạm quan trắc |
|
|
|
Tên |
loaiTramQuanTrac |
||
|
Mô tả |
Loại trạm quan trắc. |
||
|
Kiểu dữ liệu |
Integer |
||
|
Danh sách giá trị |
Mã |
Nhãn |
Mô tả |
|
1 |
Hải văn |
|
|
|
2 |
Khí tượng |
|
|
|
4 |
Thủy văn |
|
|
|
Tên |
geo |
||
|
Mô tả |
Thuộc tính không gian của đối tượng. |
||
|
Kiểu dữ liệu |
GM_Point |
||
|
Kiểu đối tượng: |
|||
|
Tên |
TramThuPhatSong |
||
|
Tên tiếng Việt |
Trạm thu phát sóng |
||
|
Mô tả |
Theo Danh mục đối tượng địa lý cơ sở quốc gia. |
||
|
Kiểu cơ sở |
NenDiaLy250N |
||
|
Tên các thuộc tính |
maDoiTuong, geo |
||
|
Thuộc tính đối tượng: |
|||
|
Tên |
maDoiTuong |
||
|
Mô tả |
Theo Danh mục đối tượng địa lý cơ sở quốc gia. |
||
|
Kiểu miền giá trị |
Xác định |
||
|
Danh sách giá trị |
Mã |
Nhãn |
Mô tả |
|
|
BB04 |
Trạm thu phát sóng |
|
|
Tên |
geo |
||
|
Mô tả |
Thuộc tính không gian của đối tượng. |
||
|
Kiểu dữ liệu |
GM_Point |
||

Hình 7.5
|
Kiểu đối tượng: |
|||||||||
|
Tên |
DiTichLichSuVanHoa |
||||||||
|
Tên tiếng Việt |
Di tích lịch sử văn hóa |
||||||||
|
Mô tả |
Đối tượng trìu tượng bao gồm các kiểu đối tượng địa lý: đình, đền, chùa, nhà thờ, cổng thành, cột cờ, tháp cổ, tượng đài hoặc tương tự và các công trình khác được Nhà nước công nhận là các di tích lịch sử văn hóa. |
||||||||
|
Kiểu cơ sở |
NenDiaLy250N |
||||||||
|
Tên các thuộc tính |
maDoiTuong, ten, xepHang, geo |
||||||||
|
Thuộc tính đối tượng: |
|||||||||
|
Tên |
maDoiTuong |
||||||||
|
Mô tả |
Theo Danh mục đối tượng địa lý cơ sở quốc gia. |
||||||||
|
Kiểu miền giá trị |
Xác định |
||||||||
|
Danh sách giá trị |
Mã |
Nhãn |
Mô tả |
||||||
|
BP02 |
Đình |
Theo Danh mục đối tượng địa lý cơ sở quốc gia. |
|||||||
|
BP03 |
Đền |
||||||||
|
BO03 |
Chùa |
||||||||
|
BO04 |
Nhà thờ |
||||||||
|
BQ03 |
Cổng thành |
||||||||
|
BQ05 |
Cột cờ |
||||||||
|
BQ12 |
Tháp cổ |
||||||||
|
BQ14 |
Tượng đài |
||||||||
|
BS02 |
Khu lăng mộ |
||||||||
|
BS05 |
Di tích khác |
||||||||
|
Tên |
xepHang |
||||||||
|
Mô tả |
Phân loại theo tiêu chuẩn và quyết định của cơ quan Nhà nước. |
||||||||
|
Kiểu miền giá trị |
Xác định |
||||||||
|
Kiểu dữ liệu |
Integer |
||||||||
|
Danh sách giá trị |
Mã |
Nhãn |
Mô tả |
||||||
|
|
1 |
Di sản thế giới |
Di tích có giá trị đặc biệt tiêu biểu của quốc gia được Tổ chức Giáo dục, Khoa học và Văn hóa của Liên hợp quốc xem xét đưa vào Danh mục di sản thế giới. |
||||||
|
|
2 |
Di tích quốc gia đặc biệt |
Di tích có giá trị đặc biệt tiêu biểu của quốc gia do Thủ tướng Chính phủ quyết định xếp hạng. |
||||||
|
|
3 |
Cấp Quốc gia |
Di tích có giá trị tiêu biểu của quốc gia do Bộ trưởng Bộ Văn hóa - Thông tin quyết định xếp hạng. |
||||||
|
|
4 |
Cấp tỉnh |
Di tích có giá trị tiêu biểu của địa phương do Chủ tịch Ủy ban nhân dân cấp tỉnh quyết định xếp hạng. |
||||||
|
Tên |
ten |
||||||||
|
Mô tả |
Tên gọi của đối tượng. |
||||||||
|
Kiểu dữ liệu |
CharacterString |
||||||||
|
Tên |
geo |
||||||||
|
Mô tả |
Thuộc tính không gian của đối tượng. |
||||||||
|
Kiểu dữ liệu |
GM_Point |
||||||||
|
Kiểu đối tượng: |
|||||||||
|
Tên |
DanhLamThangCanh |
||||||||
|
Tên tiếng Việt |
Danh lam thắng cảnh |
||||||||
|
Mô tả |
Kiểu đối tượng mô tả cảnh quan thiên nhiên hoặc địa điểm có sự kết hợp giữa cảnh quan thiên nhiên với công trình kiến trúc có giá trị lịch sử thẩm mỹ, khoa học. |
||||||||
|
Kiểu cơ sở |
NenDiaLy250N |
||||||||
|
Tên các thuộc tính |
maDoiTuong, ten, geo. |
||||||||
|
Thuộc tính đối tượng |
|||||||||
|
Tên |
maDoiTuong |
||||||||
|
Mô tả |
Theo Danh mục đối tượng địa lý cơ sở quốc gia và bổ sung mã của đối tượng BT04 - Danh lam thắng cảnh theo quy định phương pháp lập danh mục đối tượng địa lý cơ sở của QCVN 42:2012/BTNMT. |
||||||||
|
Kiểu miền giá trị |
Xác định |
||||||||
|
Danh sách giá trị |
Mã |
Nhãn |
Mô tả |
||||||
|
|
BT01 |
Khu bảo tồn thiên nhiên |
Theo Danh mục đối tượng địa lý cơ sở quốc gia. |
||||||
|
|
BT03 |
Danh lam thắng cảnh |
Danh lam thắng cảnh là cảnh quan thiên nhiên hoặc địa điểm có sự kết hợp giữa cảnh quan thiên nhiên với công trình kiến trúc có giá trị lịch sử thẩm mỹ, khoa học. |
||||||
|
Tên |
ten |
||||||||
|
Mô tả |
Tên gọi của đối tượng. |
||||||||
|
Kiểu dữ liệu |
CharacterString |
||||||||
|
Tên |
geo |
||||||||
|
Mô tả |
Thuộc tính không gian của đối tượng. |
||||||||
|
Kiểu dữ liệu |
GM_Point. |
||||||||

Hình 7.6
|
Kiểu đối tượng: |
||||
|
Tên |
KhuChucNang |
|||
|
Tên tiếng Việt |
Khu chức năng |
|||
|
Mô tả |
Đối tượng trìu tượng bao gồm vị trí hoặc phạm vi khu vực của đối tượng hạ tầng kinh tế - xã hội. |
|||
|
Kiểu cơ sở |
NenDiaLy250N |
|||
|
Tên các thuộc tính |
maDoiTuong, ten, diaChi, geo |
|||
|
Thuộc tính đối tượng: |
||||
|
Tên |
maDoiTuong |
|||
|
Mô tả |
Theo Danh mục đối tượng địa lý cơ sở quốc gia. |
|||
|
Kiểu miền giá trị |
Xác định |
|||
|
Danh sách giá trị |
Mã |
Nhãn |
Mô tả |
|
|
BH02 |
Khu du lịch |
Theo Danh mục đối tượng địa lý cơ sở quốc gia. |
||
|
BH03 |
Bãi tắm |
|||
|
BK03 |
Cửa khẩu |
|||
|
BL02 |
Khu chế xuất |
|||
|
BL03 |
Khu công nghiệp |
|||
|
BL04 |
Khu khai thác |
|||
|
BL15 |
Giàn khai thác dầu khí |
Công trình xây dựng được dùng khoan các giếng để khai thác và xử lý dầu, khí thiên nhiên, và chứa dầu tạm trong khi chờ chuyên chở đến nơi chế biến hoặc bán ra thị trường. Trong nhiều trường hợp, giàn khoan còn các phân khu chức năng khác như nhà ở cho đội ngũ nhân viên. |
||
|
BL07 |
Nhà máy |
Theo Danh mục đối tượng địa lý cơ sở quốc gia. |
||
|
BL13 |
Ruộng muối |
|||
|
BL14 |
Khu nuôi trồng thủy sản |
|||
|
BM04 |
Sân gôn |
|||
|
BM05 |
Sân vận động |
|||
|
BN08 |
Trung tâm thương mại |
|||
|
BQ04 |
Công viên |
|||
|
BV02 |
Nghĩa trang liệt sỹ |
|||
|
BV03 |
Nghĩa trang |
|||
|
BV09 |
Nhà hỏa táng |
Nơi làm lễ hỏa táng cho người đã chết. |
||
|
Tên |
tên |
|||
|
Mô tả |
Tên gọi của đối tượng. |
|||
|
Kiểu dữ liệu |
CharacterString |
|||
|
Tên |
diaChi |
|||
|
Mô tả |
Địa chỉ của đối tượng. |
|||
|
Kiểu dữ liệu |
CharacterString |
|||
|
Tên |
geo |
|||
|
Mô tả |
Thuộc tính không gian của đối tượng. |
|||
|
Kiểu dữ liệu |
GM_Point |
|||
|
Kiểu đối tượng: |
||||
|
Tên |
RanhGioiKhuChucNang |
|||
|
Tên tiếng Việt |
Ranh giới khu chức năng |
|||
|
Mô tả |
Theo Danh mục đối tượng địa lý cơ sở quốc gia. |
|||
|
Kiểu cơ sở |
NenDiaLy250N. |
|||
|
Tên các thuộc tính |
maDoiTuong, geo, edge. |
|||
|
Thuộc tính đối tượng: |
||||
|
Tên |
maDoiTuong |
|||
|
Mô tả |
Theo Danh mục đối tượng địa lý cơ sở quốc gia. |
|||
|
Kiểu miền giá trị |
Xác định |
|||
|
Danh sách giá trị |
Mã |
Nhãn |
Mô tả |
|
|
|
KB03 |
Ranh giới khu chức năng |
|
|
|
Tên |
geo |
|||
|
Mô tả |
Thuộc tính không gian của đối tượng. |
|||
|
Kiểu dữ liệu |
GM_Curve |
|||
8. Phủ bề mặt

Hình 8
|
Kiểu đối tượng: |
||||
|
Tên |
PhuBeMat |
|||
|
Tên tiếng Việt |
Phủ bề mặt |
|||
|
Mô tả |
Gói dữ liệu địa lý bao gồm đối tượng địa lý: Phủ bề mặt, Ranh giới phủ bề mặt. |
|||
|
Kiểu cơ sở |
NenDiaLy250N |
|||
|
Kiểu đối tượng: |
||||
|
Tên |
PhuBeMat |
|||
|
Tên tiếng Việt |
Phủ bề mặt |
|||
|
Mô tả |
Kiểu đối tượng mô tả các cảnh quan cơ bản của bề mặt địa hình. |
|||
|
Kiểu cơ sở |
NenDiaLy250N |
|||
|
Tên các thuộc tính |
maDoiTuong, ten, loaiPhuBeMat, geo, face. |
|||
|
Thuộc tính đối tượng: |
||||
|
Tên |
maDoiTuong |
|||
|
Mô tả |
Theo Danh mục đối tượng địa lý cơ sở quốc gia. |
|||
|
Kiểu miền giá trị |
Xác định |
|||
|
Danh sách giá trị |
Mã |
Nhãn |
Mô tả |
|
|
IA02 |
Khu dân cư |
Theo Danh mục đối tượng địa lý cơ sở quốc gia. |
||
|
IA03 |
Khu khai thác |
|||
|
IA04 |
Vùng đất trống |
|||
|
IA05 |
Công trình |
|||
|
IB02 |
Khu canh tác nông nghiệp |
|||
|
IB03 |
Đồng cỏ |
|||
|
IB04 |
Rừng |
|||
|
IB05 |
Thực phủ chưa thành rừng |
|||
|
IB06 |
Thực phủ có dân dân cư |
|||
|
IG01 |
Nước mặt |
|||
|
Tên |
ten |
|||
|
Mô tả |
Tên gọi của đối tượng. |
|||
|
Kiểu dữ liệu |
CharacterString |
|||
|
Tên |
loaiPhuBeMat |
|||
|
Mô tả |
Loại phủ bề mặt |
|||
|
Kiểu dữ liệu |
Integer |
|||
|
Danh sách giá trị |
Mã |
Nhãn |
Mô tả |
|
|
|
1 |
Cây lúa |
Thuộc tính của đối tượng Khu canh tác nông nghiệp có mã IB02. |
|
|
|
2 |
Cây lương thực khác |
Thuộc tính của đối tượng Khu canh tác nông nghiệp có mã IB02. |
|
|
|
3 |
Cây công nghiệp ngắn ngày |
Thuộc tính của đối tượng Khu canh tác nông nghiệp có mã IB02. |
|
|
|
5 |
Cây ăn quả |
Thuộc tính của đối tượng Khu canh tác nông nghiệp có mã IB02. |
|
|
|
14 |
Cây công nghiệp dài ngày |
Thuộc tính của đối tượng Khu canh tác nông nghiệp có mã IB02 |
|
|
|
13 |
Cây trồng nông nghiệp khác |
Thuộc tính của đối tượng Khu canh tác nông nghiệp có mã IB02. Bao gồm tất cả các loại rau màu, cây cảnh, sen súng, cây dược liệu, ớt... |
|
|
|
4 |
Cây dừa, cọ |
Thuộc tính của đối tượng Rừng có mã IB04 và Thực phủ chưa thành rừng có mã IB05. |
|
|
|
6 |
Cây bụi |
Thuộc tính của đối tượng Rừng có mã IB04. |
|
|
|
7 |
Cây hỗn hợp |
Thuộc tính của đối tượng Rừng có mã IB04. |
|
|
|
8 |
Cây lá kim |
Thuộc tính của Rừng có mã IB04 và Thực phủ chưa thành rừng có mã IB05. |
|
|
|
9 |
Cây lá rộng |
Thuộc tính của đối tượng Rừng có mã IB04 và Thực phủ chưa thành rừng có mã IB05. |
|
|
|
11 |
Cây ưa mặn, chua phèn |
Thuộc tính của đối tượng Rừng có mã IB04 và Thực phủ chưa thành rừng có mã IB05. |
|
|
|
12 |
Cây tre nứa |
Thuộc tính của đối tượng Rừng có mã IB04 và Thực phủ chưa thành rừng có mã IB05. |
|
|
|
15 |
Công trình công nghiệp |
Thuộc tính của đối tượng Công trình có mã IA05. |
|
|
|
16 |
Công trình giao thông |
Thuộc tính của đối tượng Công trình có mã IA05. |
|
|
|
17 |
Công trình thủy lợi |
Thuộc tính của đối tượng Công trình có mã IA05. |
|
|
|
18 |
Công trình đang xây dựng |
Thuộc tính của đối tượng Công trình có mã IA05. |
|
|
|
19 |
Công trình khác |
Thuộc tính của Công trình có mã IA05 |
|
|
Tên |
geo |
|||
|
Mô tả |
Thuộc tính không gian của đối tượng. |
|||
|
Kiểu dữ liệu |
GM_Surface |
|||
|
Tên |
face |
|||
|
Mô tả |
Áp dụng để biểu thị quan hệ không gian với kiểu đối tượng RanhGioiPhuBeMat. |
|||
|
Kiểu dữ liệu |
TP_Face |
|||
|
Kiểu đối tượng: |
|||||
|
Tên |
RanhGioiPhuBeMat |
||||
|
Tên tiếng Việt |
Ranh giới phủ bề mặt |
||||
|
Mô tả |
Đường giới hạn phạm vi phân bố của từng đối tượng phủ bề mặt. Ranh giới phủ bề mặt có quan hệ Topology với từng đối tượng phủ bề mặt. |
||||
|
Kiểu cơ sở |
NenDiaLy250N |
||||
|
Tên các thuộc tính |
maDoiTuong, loaiRanhGioiPhuBeMat, geo, edge. |
||||
|
Thuộc tính đối tượng: |
|||||
|
Tên |
maDoiTuong |
||||
|
Mô tả |
Theo Danh mục đối tượng địa lý cơ sở quốc gia. |
||||
|
Kiểu miền giá trị |
Xác định |
||||
|
Danh sách giá trị |
Mã |
Nhãn |
Mô tả |
||
|
|
KB02 |
Ranh giới phủ bề mặt |
|
||
|
Tên |
loaiRanhGioiPhuBeMat |
||||
|
Mô tả |
Loại ranh giới phủ bề mặt. |
||||
|
Kiểu miền giá trị |
Xác định |
||||
|
Kiểu dữ liệu |
Integer |
||||
|
Danh sách giá trị |
Mã |
Nhãn |
Mô tả |
||
|
|
1 |
Thực vật |
|
||
|
2 |
Khác |
|
|||
|
Tên |
geo |
||||
|
Mô tả |
Thuộc tính không gian của đối tượng. |
||||
|
Kiểu dữ liệu |
GM_Curve |
||||
|
Tên |
edge |
||||
|
Mô tả |
Quan hệ không gian với kiểu đối tượng PhuBeMat. |
||||
|
Kiểu dữ liệu |
TP_Edge |
||||
PHỤ LỤC 2
CHỈ TIÊU NỘI DUNG DỮ LIỆU KHÔNG GIAN VÀ THUỘC TÍNH DỮ LIỆU ĐỊA LÝ TỶ LỆ 1:250.000
(Ban hành kèm theo Thông tư số 48/2016/TT-BTNMT ngày 28 tháng 12 năm 2016 của Bộ trưởng Bộ Tài nguyên và Môi trường)
I. Quy định chung
1. Nguyên tắc thu nhận đối tượng không gian
a) Thu nhận từ các dữ liệu địa lý, bản đồ địa hình và các dữ liệu bản đồ khác mới nhất tính đến thời điểm thi công; có độ chính xác bằng hoặc cao hơn dữ liệu địa lý tỷ lệ 1:250.000.
b) Trong trường hợp cập nhật mới có thể sử dụng ảnh máy bay, ảnh vệ tinh có độ phân giải phù hợp hoặc đo vẽ trực tiếp.
c) Nguyên tắc chọn bỏ và khái quát đối tượng không gian:
- Đảm bảo tính đầy đủ, độ chính xác theo quy định tại Khoản 3, 4 Mục này và quy định chi tiết tại Mục II Phụ lục này cho từng đối tượng.
- Ưu tiên chọn các đối tượng có tính đặc trưng, tiêu biểu, có ý nghĩa quan trọng, có độ chính xác cao hơn; đảm bảo phản ánh đúng sự phân bố, trạng thái và các quan hệ của các đối tượng địa lý khác nhau.
- Các chỉ tiêu lựa chọn theo diện tích, chiều dài, chiều rộng, mật độ cho từng đối tượng địa lý quy định tại Mục II Phụ lục này.
- Khi khái quát hình dạng các đối tượng hình tuyến cần giữ lại các khúc uốn có đường kính ≥75m; các đối tượng vùng có chiều dài cạnh góc ≥75m.
- Đường giao thông cũng như các đối tượng hình tuyến khác không được trùng vào đường bờ nước hoặc Tim dòng chảy. Trong trường hợp chúng quá gần có thể xê dịch cách Tim dòng chảy hoặc Đường bờ nước 50m.
d) Kiểu hình học (geo) của từng kiểu đối tượng địa lý tuân theo quy định mô hình cấu trúc dữ liệu địa lý tỷ lệ 1:250.000 tại Phụ lục 1; trong Phụ lục 1, mục “geo” nếu quy định 2 hoặc 3 kiểu dữ liệu GM_Point, GM_Curve, GM_Surface thì thuộc tính từng kiểu đối tượng trong danh sách giá trị được quy định cụ thể tại Mục II Phụ lục này.
2. Nguyên tắc thu nhận thuộc tính
a) Thuộc tính và các quan hệ gán cho mỗi kiểu đối tượng địa lý được quy định cụ thể tại Phụ lục 1 và chỉ tiêu nội dung quy định tại Mục II của Phụ lục này.
b) Các thông tin thuộc tính đảm bảo mô tả đúng đặc trưng, phân loại các đối tượng địa lý; đảm bảo mới nhất, chính xác và có nguồn gốc rõ ràng.
c) Thuộc tính “ten” của đối tượng địa lý bao gồm cả yếu tố chung và riêng của địa danh. Địa danh không được viết tắt.
d) Thuộc tính “ten” của tất cả các đối tượng địa lý được thu nhận và chuẩn hóa theo các tài liệu và thứ tự ưu tiên sau:
- Các văn bản quy phạm pháp luật quy định về thành lập, giải thể, gia nhập hoặc điều chỉnh địa giới hành chính các cấp.
- Các Danh mục địa danh hành chính; Danh mục dân cư, sơn văn, thủy văn, kinh tế - xã hội; Danh mục địa danh biển đảo; Danh mục sông liên tỉnh, ngoại tỉnh do Bộ Tài nguyên và Môi trường ban hành.
- Các Danh mục khác do cơ quan Nhà nước có thẩm quyền ban hành (nếu có).
- Trường hợp không thể thu thập đủ tài liệu nêu trên thì cho phép thu nhận từ tài liệu khác do các Sở, ngành ở địa phương cung cấp, Niên giám thống kê mới nhất. Khi đó, địa danh phải được chuẩn hóa theo Thông tư số 23/2011/TT-BTNMT ngày 06 tháng 7 năm 2011 của Bộ trưởng Bộ Tài nguyên và Môi trường ban hành Quy chuẩn kỹ thuật quốc gia về chuẩn hóa địa danh phục vụ công tác thành lập bản đồ (QCVN 37: 2011/BTNMT).
- Trường hợp các địa danh không thống nhất giữa các tài liệu trên phải chuẩn hóa theo QCVN 37:2011/BTNMT.
đ) Thuộc tính ten đường giao thông:
- Thuộc tính ten cho từng tuyến đường bộ theo quyết định đặt tên và Danh mục tên đường do Bộ Giao thông Vận tải, UBND, Hội đồng nhân dân cấp tỉnh, huyện ban hành.
- Đoạn đường tim đường bộ có nhiều loại đường bộ trùng nhau (ví dụ: một đường phố đồng thời là đường quốc lộ, đường tỉnh...) thì thu nhận các thuộc tính: Ten, tenTuyen1, tenTuyen2, tenTuyen3. Trong đó: thuộc tính ten là tên phố hoặc tên đường do địa phương quản lý; thuộc tính tenTuyen1 là tên đường quốc lộ; thuộc tính tenTuyen2 là tên đường tỉnh; thuộc tính tenTuyen3 là tên đường huyện.
3. Nguyên tắc thu nhận biên giới quốc gia và địa giới hành chính
a) Thu nhận tất cả các đối tượng địa lý liên quan đến đường biên giới quốc gia và địa giới hành chính đảm bảo tính trọn vẹn lãnh thổ quốc gia và đơn vị hành chính các cấp.
b) Các đối tượng không gian và thuộc tính của đường biên giới quốc gia và địa giới hành chính phải được thu nhận theo pháp luật hiện hành.
4. Nguyên tắc thu nhận đối tượng Đoạn tim đường bộ
a) Thu nhận tất cả Đoạn tim đường bộ có chiều dài ≥2,5km. Không thu nhận thuộc tính Đoạn tim đường bộ khi có chiều dài <2,5km và thuộc tính khi đó được khái quát vào Đoạn tim đường bộ liền kề.
b) Các Đoạn tim đường bộ cùng thuộc tính phải liên tục kể cả đoạn qua sông có mặt nước, qua cầu, điểm dân cư và các đối tượng độc lập khác.
c) Chỗ giao nhau của các Đoạn tim đường bộ (ngã ba, ngã tư..) được phép chồng ký hiệu để đảm bảo tính liên tục của đường giao thông. Tại các điểm này có một đỉnh.
d) Thuộc tính loaiDuongBo: được phân loại theo mục đích sử dụng. Chỉ tiêu cụ thể quy định tại Mục II Phụ lục này.
d) Thuộc tính DoRong: là độ rộng của Nền đường và lề đường tương ứng với Đoạn tim đường bộ; giá trị độ rộng lấy chẵn mét và theo số liệu do Bộ Giao thông Vận tải công bố hoặc theo kết quả đo đạc thực tế tại thời điểm thi công; Độ rộng của Đoạn tim đường bộ qua cầu, hầm, đập tổng hợp vào độ rộng của đường bộ đi qua.
đ) Thuộc tính loaiChatLieuTraiMat
- Thuộc tính loaiChatLieuTraiMat được xác định cho từng đoạn đường bộ đang sử dụng khi có chiều dài ≥2,5km; Trường hợp chất liệu trải mặt thay đổi trên đoạn < 2,5km được khái quát vào đoạn Tim đường bộ liền kề có chiều dài lớn hơn; thông tin chất liệu trải mặt theo tài liệu của Bộ Giao thông Vận tải hoặc Sở Giao thông Vận tải ở địa phương; nếu không có phải điều tra thực địa.
- Chất liệu trải mặt không xác định cho các đoạn đường bộ đang xây dựng.
e) Thuộc tính loaiHienTrangSuDung bao gồm: đang sử dụng và đang xây dựng.
g) Thuộc tính loaiKetCau: thu nhận đoạn đường vừa đê (thuộc tính Trên đê); đoạn đường trên cao là đường không cùng mức với các đường trên mặt đất, còn lại là thuộc tính loại Khác.
5. Nguyên tắc thu nhận Tim dòng chảy
a) Thu nhận đường trung tuyến giữa 2 đường bờ nước của sông, suối, kênh, mương có chiều dài ≥2,5km. Sông, suối, kênh, mương phải là đối tượng đường liên tục, không đứt đoạn. Mỗi nhánh sông, suối, kênh mương có tên riêng phải là đối tượng riêng biệt.
b) Tim dòng chảy phải bắt liền vào Đường bờ nước. Tại các điểm bắt nối phải có một nude.
c) Đoạn Tim dòng chảy đi qua Hồ chứa phải vẽ liên tục không ngắt để đảm bảo tính liên tục của dòng chảy sông, suối. Phân biệt đoạn qua hồ chứa bằng nude.
d) Thu nhận hướng Tim dòng chảy theo đúng hiện trạng dòng chảy tự nhiên.
II. Chỉ tiêu nội dung
1. Cơ sở đo đạc
|
Kiểu đối tượng |
Mã đối tượng |
Chỉ tiêu nội dung |
|
1. Điểm gốc đo đạc quốc gia |
|
- Thu nhận vị trí, thuộc tính các điểm có mốc còn tồn tại trên thực địa theo số liệu mới nhất do Cục Đo đạc và Bản đồ Việt Nam cung cấp. - Đảm bảo tính đồng đều trong khu vực mảnh bản đồ địa hình tỷ lệ 1:250.000. - Không phân biệt loại mốc chôn dưới đất hay gắn vào địa vật. - Lựa chọn theo thứ tự ưu tiên: gốc, cơ sở; cấp hạng cao đến cấp hạng thấp hơn. - Chỉ tiêu số lượng điểm/625km2 như sau: tất cả các Điểm đo đạc quốc gia; 02 Điểm tọa độ cơ sở quốc gia và 01 Điểm độ cao cơ sở quốc gia. - 01 Điểm trọng lực trong mạng lưới trọng lực quốc gia. |
|
Điểm gốc tọa độ quốc gia |
GA01 |
|
|
Điểm gốc độ cao quốc gia |
GA02 |
|
|
Điểm gốc vệ tinh |
GA03 |
|
|
Điểm gốc trọng lực |
GA04 |
|
|
2. Điểm đo đạc cơ sở quốc gia |
|
|
|
Điểm tọa độ cơ sở quốc gia |
GB01 |
|
|
Điểm độ cao cơ sở quốc gia |
GB02 |
|
|
Điểm trọng lực trong mạng lưới trọng lực quốc gia. |
GB04 |
2. Biên giới quốc gia và địa giới hành chính
|
Kiểu đối tượng |
Mã đối tượng |
Chỉ tiêu nội dung |
|
Đường biên giới |
|
- Thu nhận từ các tài liệu, bản đồ biên giới quốc gia, cơ sở dữ liệu địa giới quốc gia mới nhất do Cục Đo đạc và Bản đồ Việt Nam cung cấp. - Đảm bảo chính xác và tương quan địa lý với các đối tượng địa lý liên quan. - Thu nhận đầy đủ và chính xác vị trí Đường biên giới quốc gia và phân biệt trên đất liền, trên biển; đảm bảo chính xác các góc ngoặt, ngã 3 biên giới. - Đường biên giới quốc gia trùng với các đối tượng hình tuyến (như sông, suối, kênh, mương, đường giao thông...) thì dữ liệu phải đảm bảo trùng khít vị trí với các đối tượng này. - Thu nhận các thuộc tính Loại hiện trạng pháp lý bao gồm: Xác định và Chưa xác định; Tên quốc gia liền kề; thuộc tính Chiều dài được thu nhận từ tài liệu do Cục Đo đạc và Bản đồ Việt Nam cung cấp. Đơn vị là km. |
|
Đường biên giới quốc gia trên đất liền |
AA01 |
|
|
Đường biên giới quốc gia trên biển |
AA02 |
|
|
Đường địa giới |
|
- Thu nhận đầy đủ đường địa giới hành chính cấp tỉnh, huyện từ Bộ bản đồ địa giới hành chính các cấp trong Hồ sơ địa giới hành chính các cấp mới nhất tính đến thời điểm thi công do Cục Đo đạc và Bản đồ Việt Nam hoặc Sở Tài nguyên và Môi trường tỉnh cung cấp. - Trong quá trình thi công phải cập nhật theo các văn bản quy phạm pháp luật mới nhất (tính ở thời điểm thi công) về thành lập mới hoặc điều chỉnh địa giới hành chính các cấp. - Đảm bảo chính xác và thể hiện rõ vị trí các góc ngoặt, ngã 3, ngã 4 đường địa giới, tính tương quan địa lý với các đối tượng địa lý liên quan. - Đoạn địa giới vừa là địa giới cấp huyện, cấp tỉnh thì tại đó đối tượng không gian được thu nhận là đường địa giới cấp tỉnh; Đoạn địa giới vừa là địa giới cấp huyện, cấp tỉnh trùng với Đường biên giới quốc gia thì tại đó đối tượng không gian được thu nhận là Đường biên giới quốc gia. - Đường địa giới trùng với các đối tượng hình tuyến (như sông, suối, kênh, mương, đường giao thông, các ranh giới khác...) thì dữ liệu phải đảm bảo trùng khít vị trí với các đối tượng này. - Thu nhận các thuộc tính: Loại hiện trạng pháp lý gồm xác định và chưa xác định; Tên đơn vị hành chính các cấp liền kề trái, phải. - Số liệu Chiều dài thu nhận theo tài liệu do Cục Đo đạc và Bản đồ Việt Nam cung cấp. Đơn vị là km. |
|
Đường địa giới hành chính cấp tỉnh |
AC01 |
|
|
Đường địa giới hành chính cấp huyện |
AC02 |
|
|
Địa phận |
|
- Đối tượng dạng vùng được tạo ra từ Đường địa giới hành chính các cấp tương ứng và Đường biên giới quốc gia. Bao gồm: địa phận hành chính cấp tỉnh, huyện. Đảm bảo quan hệ Topology với các đường địa giới hành chính. - Số liệu diện tích theo số liệu kiểm kê đất đai công bố kỳ gần nhất và theo Nghị định của Chính phủ về điều chỉnh địa giới hành chính các cấp (chia tách, sáp nhập, thành lập mới). Đơn vị là km2. - Tên, mã đơn vị hành chính theo quy định tại Quyết định số 124/2004/TTg ngày 08 tháng 07 năm 2004 về việc ban hành Danh mục và mã các đơn vị hành chính Việt Nam. |
|
Địa phận hành chính cấp tỉnh |
AD01 |
|
|
Địa phận hành chính cấp huyện |
AD02 |
|
|
Đường cơ sở lãnh hải |
AB01 |
- Thu nhận từ các tài liệu, bản đồ biên giới quốc gia, cơ sở dữ liệu biên giới quốc gia do Cục Đo đạc và Bản đồ Việt Nam cung cấp. - Thu nhận vị trí, số hiệu điểm, vĩ độ, kinh độ, độ cao H của tất cả các Điểm cơ sở lãnh hải, Đường cơ sở lãnh hải. - Thuộc tính Chiều dài được thu nhận cho từng đoạn Đường cơ sở lãnh hải là đường thẳng nối giữa 2 Điểm cơ sở lãnh hải) và từ các tài liệu do Cục Đo đạc và Bản đồ Việt Nam cung cấp. |
|
Điểm cơ sở lãnh hải |
AG01 |
|
|
Vùng biển |
|
- Các đối tượng vùng được tạo thành từ ranh giới vùng biển tương ứng theo định nghĩa tại QCVN 42: 2012/BTNMT. - Thu nhận đối tượng không gian và thuộc tính Diện tích từ các văn kiện, tài liệu, bản đồ biên giới quốc gia, cơ sở dữ liệu địa giới quốc gia do Cục Đo đạc và Bản đồ Việt Nam cung cấp. |
|
Vùng nội thủy |
AE01 |
|
|
Lãnh hải |
AE02 |
|
|
Vùng tiếp giáp lãnh hải |
AE03 |
|
|
Vùng nước lịch sử |
AE06 |
3. Địa hình
|
Kiểu đối tượng |
Mã đối tượng |
Chỉ tiêu thu nhận |
||||||||
|
Địa danh sơn văn |
DA05 |
- Thu nhận vị trí đối tượng địa lý theo danh sách giá trị ở Phụ lục 1 kèm theo Thông tư. Vị trí đối tượng địa lý của địa danh xác định như sau: . Núi và đồi: thu nhận điểm trùng với điểm độ cao cao nhất của núi, đồi đó. . Mũi đất là điểm nhô ra biển xa nhất của bờ biển có địa danh mũi đất. . Các địa danh khác là điểm trung tâm của các vùng đất được xác định trên cơ sở các mô tả về giới hạn phạm vi đối tượng địa lý của địa danh đó từ các sách địa lý Việt Nam thu thập được. - Dãy núi: Thu nhận đường sống núi đi qua các đỉnh núi chính là thành phần mô tả dãy núi. Xác định núi thành phần trên cơ sở các mô tả trong các sách địa lý thu thập được. - Các Địa danh sơn văn theo Danh mục địa danh dân cư, sơn văn, thủy văn và kinh tế - xã hội thể hiện trên bản đồ và các danh mục khác do Bộ Tài nguyên và Môi trường ban hành. |
||||||||
|
|
|
|||||||||
|
Điểm độ cao |
EA01 |
- Thu nhận các điểm tại vị trí đặc trưng địa hình như: đỉnh núi, đỉnh đồi, yên ngựa, đỉnh đèo, điểm thấp nhất của thung lũng, đáy hố, chỗ thay đổi độ dốc, ở chân các đối tượng có tính chất phương vị hoặc ở nơi giao nhau các đường giao thông; xác định giá trị độ cao tại các vị trí thu nhận được. - Giá trị độ cao lấy chẵn đến mét. Khu vực một số đồng bằng thấp hoặc vùng ven biển có độ cao dưới 1 mét thì thu nhận chính xác đến 0,1 mét. - Mật độ điểm độ cao như sau: . Đồng bằng, đồi có độ cao dưới 200 m, độ dốc nhỏ hơn 3°: mật độ 20 điểm/625km2; . Đồi, núi thấp, cao nguyên có độ cao từ 200-1500 m, độ dốc từ 3° - 20°: mật độ 15 điểm/625km2. . Núi trung bình, núi cao có độ cao trên 1500 m, độ dốc lớn hơn 20°: mật độ 10 điểm/625km2. - Đối với khu vực địa hình không thể hiện được bằng đường bình độ thì mật độ điểm tăng gấp đôi. - Thu nhận các điểm cao nhất, thấp nhất trong khu vực mảnh bản đồ địa hình quốc gia tỷ lệ 1:250.000. - Các đảo có diện tích từ ≥6km2 phải thu nhận điểm cao nhất, thấp nhất của đảo. |
||||||||
|
Điểm độ sâu |
EA02 |
Thu nhận điểm độ sâu đáy biển với mật độ như sau: - Đối với khu vực có độ sâu 0-20 mét: 11-15 điểm/625km2. Đối với khu vực sâu dưới 20 m: 5-10 điểm/625km2. - Ưu tiên thu nhận điểm độ sâu tại những vị trí đặc trưng để mô tả đúng bề mặt địa hình đáy biển. - Thu nhận các điểm sâu nhất trong khu vực phạm vi mảnh bản đồ địa hình tỷ lệ 1:250.000. |
||||||||
|
Địa hình đặc biệt |
|
|||||||||
|
Bãi đá trên cạn |
EB01 |
- Thu nhận phạm vi khu vực đá hoặc đất đá lẫn lộn trên bề mặt, tập trung hay rải rác thành bãi có diện tích ≥ 1km². - Áp dụng kiểu dữ liệu không gian GM_Surface. |
||||||||
|
Bờ dốc tự nhiên |
EB02 |
- Thu nhận Bờ dốc tự nhiên của bờ biển, bờ sông, hồ có độ dài ≥1km. - Áp dụng kiểu dữ liệu không gian GM_Curve. |
||||||||
|
Cửa hang động |
EB04 |
- Thu nhận điểm vị trí là điểm giữa Cửa hang động nổi tiếng, có ý nghĩa cho khoa học và hoạt động du lịch và thu nhận tên hang động. - Áp dụng kiểu dữ liệu không gian GM_Point. |
||||||||
|
Địa hình bậc thang |
EB06 |
- Thu nhận địa hình ruộng bậc thang có diện tích ≥ 6km2. không thu nhận tỷ cao. - Thu nhận đường bờ ruộng bậc thang có chiều dài ≥2,5km. Trường hợp đường bờ ruộng bậc thang trùng với đường bình độ thì tại đó 2 đối tượng trùng khít nhau. - Thu nhận có lựa chọn các đường bờ ruộng và đảm bảo dãn cách tối thiểu bằng khoảng cách giữa 2 đường bình độ cơ bản tại đó. - Áp dụng kiểu dữ liệu không gian GM_Curve. |
||||||||
|
Địa hình lồi |
EB07 |
- Chỉ thu nhận gò đống nhân tạo, tự nhiên đường kính ≥ 250m và có ý nghĩa đặc trưng, định hướng hoặc ở các khu vực có nhiều gò, đống phân bố tập trung hay hiếm địa vật. - Thu nhận vùng theo đường chân gò, đống nơi tiếp giáp với mặt đất. Phân biệt loại tự nhiên và nhân tạo. - Không thu nhận thuộc tính tỷ cao. - Áp dụng kiểu dữ liệu không gian GM_Surface. |
||||||||
|
Địa hình cát |
EB08 |
Thu nhận vùng theo đường khoanh bao phạm vi bề mặt địa hình đặc trưng là cát có diện tích ≥1,5km2. < 1,5km2 không thu nhận. - Địa hình cát ổn định, chưa ổn định có diện tích lớn hơn ≥ 6km2 thu nhận thêm đường bình độ vẽ nháp. - Áp dụng kiểu dữ liệu không gian GM_Surface. |
||||||||
|
Địa hình lõm |
EB09 |
- Chỉ thu nhận hố địa hình đường kính ≥250m và có ý nghĩa đặc trưng, định hướng hoặc ở các khu vực hiếm địa vật. - Thu nhận theo đường bờ ngoài cùng miệng. Phân biệt loại hố tự nhiên và nhân tạo. - Không thu nhận thuộc tính tỷ sâu. - Áp dụng kiểu dữ liệu không gian GM_Surface. |
||||||||
|
Hố cacxtơ |
EB10 |
- Thu nhận vùng Hố cacxtơ có đường kính ≥125m trên cơ sở đường bờ miệng hố hoặc đường bình độ trùng với miệng hố. - Hố cacxtơ có đường kính <125m chỉ thu nhận ở khu vực đặc trưng, có phân bố nhiều đối tượng hoặc có ý nghĩa định hướng; chọn lọc các hố mật độ và đảm bảo hình dạng khu vực phân bố. - Áp dụng kiểu dữ liệu không gian GM_Surface. |
||||||||
|
Khe rãnh |
EB11 |
- Thu nhận Khe rãnh có độ rộng <125m. Khi Khe rãnh có độ rộng ≥125m thu nhận bằng đường bình độ hoặc thu nhận thành đối tượng vách đá, sườn dốc, bờ dốc tùy theo đặc điểm địa hình. Thu nhận độ sâu các khe rãnh có tỷ sâu lớn, đặc trưng. - Thu nhận các khe đảm bảo mật độ sau:
- Áp dụng kiểu dữ liệu không gian GM_Curve. |
||||||||
|
Miệng núi lửa |
EB12 |
- Thu nhận vị trí trung tâm toàn bộ đối tượng này và thu nhận độ cao, tên gọi nếu có. - Áp dụng kiểu dữ liệu không gian GM_Point. |
||||||||
|
Địa hình núi đá |
EB13 |
- Thu nhận vùng là có bề mặt địa hình chủ yếu là núi đá. Chỉ thu nhận khu vực có diện tích ≥1.5km2. - Áp dụng kiểu dữ liệu không gian GM_Surface. |
||||||||
|
Sườn đứt gãy |
EB15 |
- Thu nhận vị trí địa hình bị đứt gãy không theo quy luật của dáng đất tự nhiên có độ dài ≥1km. - Áp dụng kiểu dữ liệu không gian GM_Curve. |
||||||||
|
Vách đứng |
EB18 |
- Thu nhận vị trí của địa hình, nơi đỉnh vách đá dựng đứng, không thể biểu thị được bằng đường bình độ, có độ dài ≥1km. - Áp dụng kiểu dữ liệu không gian GM_Curve và không thu nhận tỷ cao. |
||||||||
|
Địa hình cắt xẻ nhân tạo |
EB21 |
- Thu nhận vị trí nơi địa hình bị cắt xẻ nhân tạo thành vách, tầng bậc do xây dựng các công trình (trừ công trình giao thông, thủy lợi) có độ dài ≥1km. - Áp dụng kiểu dữ liệu không gian GM_Curve. |
||||||||
|
Đường bình độ |
|
- Lựa chọn khoảng cao đều trên cơ sở phân vùng địa hình Việt Nam như sau: . Vùng đồng bằng là địa hình có độ dốc không quá 3° Đồng bằng Bắc bộ và đồng bằng Nam bộ có độ cao không quá 25m, đồng bằng ven biển miền trung có độ cao 45 đến 50m, đồng bằng vùng Đông Nam bộ có độ cao 120 đến 150m. . Vùng đồi là vùng phần lớn địa hình có độ dốc khoảng 3° đến 15°, độ cao không quá 200m. . Vùng núi thấp là vùng địa hình có độ dốc từ 15° đến 20°, độ cao từ 200-800m. . Vùng núi trung bình là vùng địa hình có độ dốc từ 20° đến 30°, độ cao từ 800-2500m. . Cao nguyên là địa hình vùng núi có bề mặt tương đối bằng phẳng hoặc gợn sóng đôi khi có đồi. Diện tích rộng có độ cao 500m trở lên. . Vùng núi cao là vùng có độ dốc trên 30°, độ cao trên 2500m. |
||||||||
|
Đường bình độ |
EA03 |
- Thu nhận chỏm bình độ có đường kính ≥125m; các chỏm bình độ có đường kính <125m và cách nhau 7m có cùng độ cao được phép gộp; những đỉnh núi quan trọng có đường kính <125m phải thu nhận điểm độ cao. - Khái quát đường bình độ giữ lại các khe chính, các khe không được chọn phải nhập vào địa hình dương. Giữ lại các khe có chiều rộng ≥125m. Trường hợp cần thiết để mô tả đúng địa hình cho phép thu nhận khe có chiều rộng ≤125m và được phép xê dịch lên phía địa hình dương để mô tả đúng đặc trưng của địa hình nhưng không được quá ½ khoảng cao đều. - Đường bình độ không được cắt nhau, Đường bình độ phải thể hiện phù hợp với Tim dòng chảy. Phản ánh mức độ chia cắt loại địa hình. Đường bình độ khi đi qua sông suối phải có 1 đỉnh vào sông suối và điểm đó phải là điểm nhọn nhất của đường bình độ tại đó. - Khoảng cao đều đường bình độ cơ bản được quy định như sau trên cơ sở phân vùng địa hình Việt Nam:
|
||||||||
|
Cơ bản |
|
Đường bình độ có các độ cao 20m, 40m, 100 m. Chỉ tiêu cụ thể cần được chỉ ra cho từng khu vực trong Dự án hoặc Thiết kế kỹ thuật - Dự toán (TKKT-DT). |
||||||||
|
Nửa khoảng cao đều |
|
Đường bình độ có giá trị tương ứng bằng ½ khoảng cao đều cơ bản; dùng để thể hiện khu vực địa hình mà đường bình độ cơ bản chưa thể hiện hết được dáng đất. Thường là những nơi mà khoảng cách giữa 2 bình độ cơ bản cách xa nhau hoặc nơi địa hình cắt xẻ phức tạp. Chỉ tiêu này cần được chỉ ra cụ thể cho từng khu vực trong TKKT-DT. |
||||||||
|
Phụ |
|
Đường bình độ có giá trị bằng ¼ khoảng cao đều cơ bản. Áp dụng trường hợp đường bình độ cơ bản và đường bình độ nửa khoảng cao đều chưa mô tả đủ chi tiết đặc trưng bề mặt địa hình. Chỉ tiêu này cần được chỉ ra cụ thể cho từng khu vực trong TKKT-DT. |
||||||||
|
Nháp |
|
Đường bình độ vẽ có tính chất mô tả khái quát dáng đất ở các địa hình khu vực khai thác, địa hình cát khô, khu vực cửa sông, lạch...). Chỉ tiêu này cần được chỉ ra cụ thể cho từng khu vực trong TKKT-DT. |
||||||||
|
Đường bình độ sâu |
EA04 |
- Thu nhận các đường bình độ sâu như sau: 5, 10, 20, 50, 100, 200, 300, 400, 500, 700, 1000, 1500, 2500, 3000, 4000 mét. - Thu nhận chỏm bình độ sâu có đường kính ≥125m; các chỏm bình độ có đường kính <125m cách nhau 75m được phép gộp; cách nhau xa hơn thì thu nhận điểm độ sâu. |
||||||||
|
4. Thủy hệ |
||||||||||
|
Biển |
Đối tượng trừu tượng bao gồm: Biển, Vịnh - vũng |
|||||||||
|
Biển |
LC03 |
- Thu nhận vị trí điểm trung tâm và gán tên cho các đối tượng này. Vị trí điểm trung tâm của biển, vũng, vịnh được xác định trên cơ sở phạm vi tương đối của biển, vũng, vịnh dựa vào các tài liệu bản đồ và mô tả từ các tài liệu địa lý có nguồn gốc rõ ràng. - Áp dụng kiểu dữ liệu không gian GM_Point. |
||||||||
|
Vịnh - vũng |
LC06 |
|||||||||
|
Đảo |
LC 04 |
- Thu nhận tất cả các đảo có diện tích ≥0.03km2 áp dụng kiểu dữ liệu không gian GM_Surface. Thu nhận vùng trên cơ sở xác định đường bờ nước các đảo, cồn, cù lao, hòn, đá, đảo san hô (gọi chung là đảo) như sau: trường hợp có vết đường bờ thì xác định vị trí vết đường bờ; Trường hợp không có vết đường bờ được xác định là mép nước thủy triều cao nhất tại thời điểm thu nhận. - Trường hợp các đảo có diện tích <0.03km2 áp dụng kiểu dữ liệu không gian GM_Point. Chỉ thu nhận khi đảo làm biên giới quốc gia, địa giới hành chính, đảo có tính định hướng và khu vực có nhiều đảo; khu vực có nhiều đảo, đá nhỏ có mật độ dày cho phép chọn bỏ nhưng phải đảm bảo phạm vi và mật độ phân bố; không được gộp, ghép các đảo. |
||||||||
|
Quần đảo |
LC09 |
Khoanh vùng tất cả các quần đảo có tên, bao gồm: tổng thể các đảo thành phần kể cả các bộ phận của đảo, các vùng nước tiếp liền và các thành phần tự nhiên khác có liên quan với nhau đến mức tạo thành về thực thể thống nhất về địa lí, kinh tế và chính trị, hay được coi như thế về mặt lịch sử. Thu nhận thuộc tính “tên” theo Danh mục địa danh biển đảo do Bộ Tài nguyên và Môi trường ban hành. Áp dụng kiểu dữ liệu GM_Surface. |
||||||||
|
Cửa sông |
LC08 |
- Trường hợp sông đổ ra biển: thu nhận vị trí giao điểm của đường nối giữa 2 điểm tiếp giáp giữa đường bờ biển và đường bờ sông suối nơi đổ ra biển với Tim dòng chảy tương ứng. - Trường hợp cửa sông đổ vào hồ: thu nhận vị trí giao điểm của đường nối giữa 2 điểm tiếp giáp giữa đường bờ hồ và đường bờ sông suối nơi đổ vào hồ với Tim dòng chảy sông tương ứng. - Trường hợp cửa biển: thu nhận vị trí trung tâm khu vực cửa biển. - Thuộc tính “ten” bao gồm cả danh từ chung đi kèm (nếu có). - Áp dụng kiểu dữ liệu không gian không gian GM_Point. |
||||||||
|
Bãi dưới nước |
|
Đối tượng trìu tường gồm: Bãi đá dưới nước, Rạn san hô, Bãi cỏ rong. |
||||||||
|
Bãi đá dưới nước |
LC01 |
- Khu vực hình thành từ các đá độc lập, bãi đá ngoài biển. Thu nhận vùng từ đường khoanh bao ranh giới ngoài cùng phạm vi phân bố có diện tích ≥1,5km2. - Các Bãi đá dưới nước <1,5km2 thu nhận khi có liên quan đến chủ quyền lãnh thổ, biên giới quốc gia, địa giới hành chính. - Phân biệt loại hiện trạng: nổi, chìm, nửa chìm nửa nổi. - Áp dụng kiểu dữ liệu không gian không gian GM_Surface. |
||||||||
|
Rạn san hô |
LC07 |
- Khu vực có các quần thể san hô. Thu nhận vùng theo ranh giới ngoài cùng phạm vi phân bố san hô có diện tích ≥ 1,5km2. - Các Rạn san hô <1,5km2 thu nhận khi có liên quan đến chủ quyền lãnh thổ, biên giới quốc gia, địa giới hành chính. - Phân biệt loại hiện trạng: nổi, chìm, nửa chìm nửa nổi. - Áp dụng kiểu dữ liệu không gian không gian GM_Surface. |
||||||||
|
Bãi cỏ rong, tảo |
LC10 |
- Khu vực có Bãi cỏ rong, tảo ngoài biển. Thu nhận theo ranh giới ngoài cùng phạm vi phân bố cỏ rong, tảo có diện tích ≥1,5km2. - Các Bãi cỏ rong, tảo <1,5km2 thu nhận khi có liên quan đến chủ quyền lãnh thổ, biên giới quốc gia, địa giới hành chính. - Áp dụng kiểu dữ liệu không gian GM_Surface. |
||||||||
|
Bãi bồi |
LD01 |
- Bãi bồi bao gồm bãi bồi ven sông, cù lao trên sông, bãi bồi ven biển và cù lao trên biển. Thu nhận trên cơ sở phân loại và tài liệu do Tổng cục Quản lý đất đai cung cấp. Thu nhận các cù lao trên sông, cù lao trên biển theo chỉ tiêu thu nhận Đảo; - Thu nhận ranh giới giới hạn các bãi bồi ven sông, ven biển có diện tích ≥1,5km2. - Các bãi bồi, cù lao trên sông <1,5km2 thu nhận khi có liên quan đến biên giới quốc gia, địa giới hành chính. - Thu nhận thuộc tính Loại bãi bồi: cát, bùn, sỏi, đá sỏi và khác; Thu nhận tên các bãi bồi ven sông, biển và cù lao trên sông, biển. - Áp dụng kiểu dữ liệu không gian GM_Surface. |
||||||||
|
Biến đổi dòng chảy |
|
Đối tượng trừu tượng bao gồm: Ghềnh, Thác. |
||||||||
|
Ghềnh |
LD02 |
- Thu nhận Ghềnh nổi tiếng có giá trị kinh tế cấp tỉnh, quốc gia; là địa vật xác định biên giới quốc gia, địa giới hành chính các cấp. - Áp dụng kiểu dữ liệu không gian GM_Curve khi ghềnh dài ≥500m. Thu nhận tại vị trí bắt đầu và kết thúc của đoạn ghềnh và phải trùng với Tim dòng chảy. - Áp dụng kiểu dữ liệu không gian GM_Point khi đoạn sông có ghềnh dài <500m. |
||||||||
|
Thác |
LD03 |
- Thu nhận đường nối 2 bờ sông, suối tại vị trí cao nhất nơi nước đổ xuống khi thay đổi độ cao đột ngột; - Thác trên sông có độ rộng ≥125m áp dụng kiểu dữ liệu không gian GM_Curve. - Thu nhận Thác trên sông có độ rộng nhỏ hơn <125m là danh lam thắng cảnh nổi tiếng có giá trị kinh tế cấp tỉnh, quốc gia; là địa vật xác định biên giới quốc gia, địa giới hành chính các cấp. Áp dụng kiểu dữ liệu không gian GM_Point. - Không thu nhận thuộc tính chiều cao thác, ghềnh. - Thu nhận tên của Thác đã lựa chọn nếu có. |
||||||||
|
Mạch nước |
LA05 |
- Thu nhận điểm trung tâm của nguồn nước khoáng, nước nóng có tính định hướng, có giá trị kinh tế hoặc chữa bệnh. - Thu nhận thuộc tính Loại nguồn nước bao gồm: khoáng, nóng theo tài liệu thu nhận được ở sở chuyên ngành tỉnh, thành phố. |
||||||||
|
Đường bờ nước |
LG01 |
- Thu nhận và phân biệt đường bờ biển; đường bờ nước của sông, suối, ngòi, rạch, kênh, mương có độ rộng ≥125m và có chiều dài ≥2,5km; đường bờ nước của hồ, ao, hồ chứa có diện tích ≥0.03km2. - Thu nhận chính xác các loại đường bờ biển của Việt Nam và những đặc điểm địa mạo của chúng. - Đối với các đối tượng hồ chứa, kênh mương: đường bờ nước được xác định thông qua vết cắt xẻ địa hình (đào, đắp) rõ ràng trên thực địa. - Đối với các đối tượng sông suối, hồ, đầm lớn tự nhiên: là đường giới hạn của mức nước cao nhất trung bình nhiều năm được tạo thành bởi hoạt động của nước. Loại bờ này thường có vết hàn do ngấn nước hoặc chỗ thay đổi độ dốc đột ngột. - Khu vực có nhiều hồ, ao, hồ chứa thì được chọn lọc; Khu vực có ít nguồn nước cho phép chọn thêm hồ, ao ngoài chỉ tiêu. Tuy nhiên, cả 2 trường hợp phải đảm bảo mật độ và hình dạng phạm vi phân bố. - Đường bờ nước phải là đối tượng liên tục, đảm bảo quan hệ hình học (Topology) với đối tượng nước mặt tương ứng. - Khi khái quát đường bờ nước giữ lại các khúc uốn có đường kính ≥75m; các khúc uốn nhỏ hơn nhưng mô tả đặc trưng các dạng bờ biển, sông già, sông trẻ, có địa vật độc lập thì phải thu nhận. - Thuộc tính loaiTrangThaiDuongBoNuoc được thu nhận như sau: . Rõ ràng: nhận dạng được chính xác thông qua đường xẻ sâu, bờ lở đất hoặc bờ đắp cao để hình thành lòng chứa của ao, hồ, sông, suối, kênh, mương... trên thực địa. . Không rõ ràng: những khu vực bề mặt địa hình ven bờ phức tạp hoặc đã chịu tác động nhân tạo (xây dựng, canh tác, đào bới)... hoặc không có dấu hiệu để nhận dạng đoạn đường bờ nước, đôi khi phải nội suy từ các đối tượng địa hình có liên quan để đảm bảo tính liên tục trên toàn tuyến. - Áp dụng kiểu dữ liệu không gian GM_Curve. |
||||||||
|
Tim dòng chảy |
LA08 |
- Là đường trung tuyến của tất cả sông suối, kênh mương có độ rộng ≥125m và sông, suối, kênh mương có độ rộng <125m. Phân biệt 2 loại Tim dòng chảy: sông suối, kênh mương. - Thu nhận tim kênh, mương, sông, suối có chiều dài ≥2,5km; khi chiều dài <2,5km chỉ thu nhận kênh mương, sông suối làm biên giới quốc gia, địa giới hành chính, nhánh duy nhất đổ ra biển, nhánh duy nhất đổ vào hồ. - Đối với khu vực có mật độ kênh mương, sông suối quá dày đặc cho phép chọn bỏ sao cho dãn cách tối thiểu là 0.8km. - Mỗi nhánh kênh mương, sông suối cùng tên phải là một đối tượng riêng biệt và liên tục. Tại các ngã ba, tư sông nơi sông có cấp cao hơn đổ vào sông chính hoặc sông cấp nhỏ hơn phải tạo đỉnh. - Trường hợp sông suối chảy vào hồ sau đó chảy tiếp (sông có Hồ chứa), Tim dòng chảy phải liên tục. Tại nơi Tim dòng chảy cắt đường bờ nước của hồ tạo đỉnh. - Sông có nhiều nhánh đổ ra biển: mỗi nhánh có một Tim dòng chảy. - Trường hợp sông có cù lao, bãi bồi trên sông, suối cho phép Tim dòng chảy phân chia và phù hợp với đặc trưng phân bố của bãi bồi. - Khi thu nhận Tim dòng chảy giữ lại các khúc uốn có đường kính lớn hơn 75m. - Thu nhận tên sông suối, kênh mương nếu có theo quy định tại Mục I. - Xem hướng dẫn thu nhận Tim dòng chảy tại Mục II.8 Phụ lục này. |
||||||||
|
Nút mạng dòng chảy |
LA06 |
Nút được tạo tại điểm đầu và cuối của mỗi nhánh sông có tên. Tại nơi sông, suối gặp nhau: Tim dòng chảy của sông chính được vẽ liên tục; các sông là phụ lưu phải bắt liền vào đối tượng đường bờ nước (nếu có) và có đỉnh tại đó, tạo nút cho Tim dòng chảy của sông phụ lưu tại ngã ba. Hướng dẫn tạo nút tại Mục II.8 Phụ lục này. |
||||||||
|
Nước mặt |
|
Đối tượng trìu tượng bao gồm: mặt nước tĩnh (Hồ, ao; đầm phá; Hồ chứa) và đối tượng sông suối, kênh mương. |
||||||||
|
Sông suối |
LA07 |
- Thu nhận vùng theo đường bờ nước tương ứng của kênh mương, sông suối có độ rộng ≥125m. - Trường hợp kênh mương, sông suối có độ rộng ≤125m không thu nhận do trùng với Tim dòng chảy. - Xác định loại mặt nước: thường xuyên, theo mùa, khó xác định. - Áp dụng kiểu dữ liệu không gian GM_Surface. |
||||||||
|
Kênh mương |
LA04 |
|||||||||
|
Mặt nước tĩnh |
|
Mặt nước tĩnh là đối tượng trìu tượng bao gồm kiểu đối tượng: Hồ ao, Đầm phá, Hồ chứa. Hồ ao, đầm phá, hồ chứa được thu nhận vùng tạo từ đối tượng Đường bờ nước của đối tượng địa lý tương ứng và đảm bảo quan hệ topology với đối tượng này. |
||||||||
|
Ao, hồ |
LB01 |
|||||||||
|
Đầm, phá |
LB02 |
|||||||||
|
Hồ chứa |
LB03 |
|||||||||
|
Đập |
LE04 |
- Thu nhận vị trí đường tâm bề mặt của đập. Thu nhận các đập có chiều dài ≥250m, áp dụng kiểu dữ liệu GM_Curve. - Các đập có chiều dài <250m nhưng có ý nghĩa thủy điện, kinh tế đối với đơn vị hành chính cấp tỉnh trở lên, áp dụng kiểu dữ liệu GM_Point. Thu nhận loại đập: chắn sóng, dâng, tràn. |
||||||||
|
Đê |
LE05 |
- Thu nhận vị trí đường tâm mặt đê (tương tự như thu nhận Tim đường bộ) các đê có chiều dài ≥1,5km. - Phân biệt tuyến đê được dùng làm đường giao thông có chiều dài ≥1,5km, các đê làm giao thông có chiều dài ngắn hơn tổng quát hóa vào đê không làm giao thông. Không thu nhận giá trị tỷ cao. |
||||||||
|
Đầm lầy |
LH01 |
- Thu nhận vùng theo đường giới hạn phạm vi các đầm lầy có diện tích ≥1,5km2; - Khu vực đầm lầy có thực vật có diện tích ≥12km2 thì thu nhận tên loại thực vật theo chỉ tiêu nội dung tương ứng ở gói dữ liệu Phủ bề mặt. |
||||||||
5. Giao Thông
|
Kiểu đối tượng |
Mã đối tượng |
Chỉ tiêu thu nhận |
|
Đèn biển |
HH02 |
Thu nhận vị trí toàn bộ Đèn biển đã xây dựng kiên cố tại tâm của chân Đèn biển ở ven bờ biển, trong vùng nước cảng biển và vùng biển của quốc gia. Thu nhận tên riêng nếu có. |
|
Bến bãi |
|
- Kiểu đối tượng trìu tượng, bao gồm: Bến phà, Ga đường sắt, Cảng biển, Cảng thủy nội địa, Cảng hàng không. - Thu nhận thuộc tính capBenBai: Quốc tế, nội địa. - Thuộc tính ten theo các Quyết định của Bộ Giao thông Vận tải hoặc các Sở Giao thông Vận tải. - Áp dụng kiểu dữ liệu không gian GM_point. |
|
Bến phà |
HA03 |
- Thu nhận điểm là vị trí phà neo đậu đón hoặc trả khách qua sông; chỉ thu nhận đối với bến phà ôtô qua được. Thu nhận tên phà nếu có. - Biểu thị quan hệ với đối tượng DuongBo. |
|
Ga đường sắt |
HB02 |
- Thu nhận các ga chính của đường sắt quốc gia và đường sắt đô thị. Các ga xép, ga hàng hóa chỉ thu nhận ở loại đường sắt quốc gia. - Thu nhận tại điểm là vị trí nhà ga chính. |
|
Cảng biển |
HC03 |
- Thu nhận Cảng theo Danh mục phân loại cảng biển do Thủ tướng Chính phủ và Bộ trưởng Bộ Giao thông Vận tải công bố theo quy định tại Quyết định số 70/2013/QĐ-TTg ngày 19/11/2013 về việc công bố danh mục phân loại cảng biển Việt Nam cập nhật nếu có văn bản thay thế ở thời điểm thi công. - Thu nhận điểm là vị trí bến đón trả hành khách hoặc hàng hóa của các cảng biển được xây dựng cố định có các tuyến giao thông hàng hải. |
|
Cảng thủy nội địa |
HC04 |
- Chỉ thu nhận các Cảng thủy nội địa được xây dựng cố định trên các tuyến giao thông thủy nội địa thuộc loại I, II theo quy định tại Luật Giao thông đường thủy nội địa số 23/2004/QH11 và Danh mục công bố của Bộ Giao thông Vận tải. - Thu nhận điểm là vị trí bến đón, trả hành khách hoặc hàng hóa của các Cảng thủy nội địa được xây dựng cố định có các tuyến giao thông. - Áp dụng kiểu dữ liệu GM_Point. |
|
Cảng hàng không |
HD01 |
- Thu nhận vị trí trung tâm của nhà chính thuộc cảng hàng không đang hoạt động; không thu nhận cảng hàng không đã ngừng hẳn hoạt động và đường băng đã bị phá hủy, bãi cất hạ cánh đã sử dụng vào mục đích khác. - Thu nhận tên cảng hàng không. - Áp dụng kiểu dữ liệu GM_Point. |
|
Cầu giao thông |
HG02 |
- Thu nhận đối tượng cầu giao thông có độ dài ≥125m, áp dụng kiểu dữ liệu GM_curve. - Trường hợp qua sông có độ rộng nhỏ hơn thu nhận điểm, áp dụng kiểu dữ liệu GM_Point. Thu nhận vị trí nơi tim cầu cắt Tim dòng chảy. - Phân loại cầu như sau: thường, phao, treo, tầng, quay và cầu khác. - Thu nhận phân biệt chức năng cầu: cầu chung cho cả đường sắt và đường bộ qua được; cầu chỉ có đường bộ qua được, cầu chỉ có đường sắt qua được; cầu vượt. - Thu nhận tên cầu, chiều dài, chiều rộng, trọng tải theo các tài liệu chuyên ngành do Bộ Giao thông Vận tải hoặc Sở Giao thông Vận tải cung cấp. Trường hợp các nguồn tài liệu này không đủ thì lấy theo kết quả đo đạc, điều tra hoặc theo các biển báo ghi chú tại thực địa. Trường hợp đặc biệt nếu không thu nhận được tên gọi và trọng tải cầu cho phép được để trống. |
|
Đèo |
HG04 |
Thu nhận điểm là vị trí yên ngựa trên Tim đường bộ; Chỉ thu nhận các đèo có tên. Tên, chiều dài theo tài liệu chuyên ngành do Bộ Giao thông Vận tải hoặc Sở Giao thông Vận tải cung cấp hoặc các biển báo ghi chú tại thực địa. Áp dụng kiểu dữ liệu GM_Point. |
|
Đoạn tim đường bộ |
HA13 |
- Đoạn tim đường bộ là đường nối các điểm trung tuyến của 2 vai đường. - Thu nhận Đoạn tim đường bộ của tất cả các đường có chiều dài tối thiểu là 2.5km. Ưu tiên thu nhận các đường bộ là biên giới quốc gia và địa giới hành chính, các đường ngắn nhất nối với các đường cấp cao hơn. - Đối với những đoạn đường có dải phân cách cố định, mỗi phần đường có một Đoạn tim đường bộ (các Đoạn tim đường bộ song song với nhau). - Khái quát hóa đảm bảo quan hệ với đối tượng Nút mạng đường bộ trong quan hệ Topology. Đoạn tim đường bộ qua cầu, hầm cho phép thu nhận liên tục. Đối tượng cầu, hầm đảm bảo trùng vị trí với Đoạn tim đường bộ. * Chỉ tiêu thu nhận đối tượng không gian như sau: - Thu nhận đầy đủ Đường Cao tốc và Đường dẫn nối giữa các đường cao tốc, trục chính, đường dẫn lên cầu. - Đường chính: Thu nhận đầy đủ các đường quốc lộ; Thu nhận có lựa chọn và ưu tiên theo thứ tự các đường tỉnh, đường huyện, đường liên xã và các tuyến đường nối liền các khu công nghiệp, khu chế xuất, khu kinh tế, khu kinh tế cửa khẩu. Trong trường hợp đoạn đường chính là đường phố có tên thì ưu tiên đường chính. - Đường giao thông nông thôn: thu nhận có chọn lọc và đảm bảo ưu tiên các đường đi đến hoặc đường là biên giới quốc gia, địa giới hành chính; đường ngắn nhất nối các điểm dân cư; đường nối các đường cấp cao hơn; đường đến ga đường sắt, bến tàu; đường dẫn đến các mỏ, các nguồn nước; đường qua vùng đầm lầy. - Thu nhận có chọn lọc đường Phố có tên gọi trong khu vực trung tâm thành phố, thị xã, thị trấn. Đảm bảo rõ ràng chính xác đồ hình chung mạng lưới đường bộ trong đô thị. Thể hiện rõ ràng mối quan hệ với các đường giao thông ngoài đô thị và Vùng nội đô. Chỉ tiêu như sau: . Thu nhận tất cả các đường phố chính là các đường trục, đường qua ga, qua bến tàu, qua trung tâm hành chính, đường vành đai đảm bảo phản ánh đúng đồ hình mặt bằng cơ bản của đô thị. . Các đường phố khác thu nhận đảm bảo dãn cách các đường nhỏ nhất là 750m sao cho thể hiện được mặt bằng và tương quan mật độ giữa các khu vực. - Đường làng-ngõ-phố: Thu nhận có chọn lọc các ngõ, ngách, hẻm trong đô thị; đường trong làng, thôn, xóm, hoặc đường nối giữa các điểm dân cư; Đảm bảo thể hiện được đặc trưng mạng lưới đường. - Đường nội bộ: là đường trong các khu đô thị, khu công nghiệp, khu chế xuất, khu kinh tế, khu kinh tế cửa khẩu, khu thương mại - dịch vụ, đường trong công viên, lâm trường, nông trường, khu công nghiệp, khu chế xuất; đường chia lô rừng, đường băng trong sân bay. - Đường Gom: là đường để gom hệ thống đường giao thông nội bộ của các khu đô thị, khu công nghiệp, khu chế xuất, khu kinh tế, khu kinh tế cửa khẩu, khu thương mại - dịch vụ và các đường khác vào đường chính hoặc vào đường nhánh trước khi đấu nối vào đường chính. * Thu nhận thuộc tính như sau: - Thuộc tính Chất liệu trải mặt bao gồm các loại: Bê tông, gạch, đá sỏi, đất, nhựa. - Thu nhận thuộc tính Loại hiện trạng sử dụng, gồm: đang sử dụng, đang xây dựng; thu nhận thuộc tính Độ rộng; thuộc tính loại kết cấu: trên đê, đường trên cao, qua cầu, qua hầm, qua đập. - Thu nhận mạng lưới tim đường bộ tuân theo các chỉ dẫn tại Mục II.8 Phụ lục này và đảm bảo quan hệ với đối tượng NutMangDuongBo trong quan hệ Topology. |
|
Nút mạng đường bộ |
HA10 |
Điểm đầu, cuối của đoạn tim đường bộ. Hướng dẫn tạo nút tại Mục II.8 Phụ lục này. |
|
Hầm giao thông |
HG05 |
- Thu nhận đối tượng Hầm có chiều dài ≥1km, áp dụng kiểu dữ liệu GM_curve. - Hầm có chiều dài nhỏ hơn thu nhận GM_Point. Thu nhận vị trí chia đôi chiều dài hầm. - Phân biệt Hầm thuộc đường sắt và đường ô tô, không thu nhận hầm cho người đi bộ. - Thu nhận chiều cao, chiều dài, chiều rộng tất cả các Hầm. - Đối tượng Hầm trùng vị trí tuyệt đối tượng Tim đường bộ. |
|
Đoạn đường sắt |
HB01 |
- Thu nhận vị trí tâm của đường ray thuộc các tuyến đường sắt quốc gia, đường sắt đô thị, đường sắt chuyên dụng trong các khu công nghiệp, khu chế xuất, nhà máy, khu mỏ, bến cảng. - Thu nhận đường sắt đang sử dụng. Cho phép lược bỏ các đường sắt trong khu vực ga, đường dẫn vào các đê- pô, xưởng sửa chữa, nhà máy, khu mỏ, bến cảng và các đường nhánh ít quan trọng. - Các đường sắt đang xây dựng chỉ thu nhận khi nền đường đắp bằng đất đã hoàn chỉnh; các đường sắt hỏng không còn sử dụng đủ chỉ tiêu 2.5km mới thu nhận. - Thuộc tính đường sắt thu nhận như sau: - Thu nhận loại chức năng đường sắt: Chuyên dụng, đô thị, quốc gia; loại kết cấu đường sắt: trên cao, kết cấu khác. - Thu nhận loại Đường sắt: lồng, đơn, kép; - Thuộc tính Hiện trạng sử dụng: đang sử dụng, đang xây dựng, không sử dụng. - Biểu thị quan hệ không gian: đối tượng Đoạn đường sắt đảm bảo trùng khít vị trí với cầu, hầm. |
|
Nút đường sắt |
HB04 |
Nút đường sắt được tạo tại tất cả các điểm đầu, cuối, điểm tại đó đường sắt thay đổi thuộc tính. |
6. Dân cư - Công trình hạ tầng (danCuCoSoHatang)
|
Kiểu đối tượng |
Mã đối tượng |
Thu nhận |
|
Điểm dân cư |
CA01 |
- Thu nhận phân biệt điểm dân cư là: thôn xóm, khu đô thị mới. Áp dụng kiểu dữ liệu không gian GM_Point. - Tất cả các điểm dân cư phải có tên gọi, số dân, theo các tài liệu công bố của nhà nước hoặc do tỉnh cung cấp. - Khu đô thị: thu nhận có chọn lọc các khu đô thị mới, khu nhà đa chức năng có tính định hướng, nổi bật trong và ngoài các loại đô thị (như Phú Mỹ Hưng, Mỹ Đình, Timecity...). - Thôn xóm: thu nhận có chọn lọc các điểm dân cư là thôn, xóm nơi có mật độ dày. Căn cứ vào mật độ và đặc điểm phân bố của điểm dân cư nông thôn để lựa chọn số lượng điểm dân cư. Số lượng điểm dân cư thu nhận trên 625 km2 như sau: . Mật độ dày đặc: trên 75 điểm; . Mật độ trung bình: 50-75 điểm; . Thưa thớt: dưới 50 điểm. - Trường hợp Thôn, xóm có nhà phân bố tập trung, dễ dàng nhận biết được đường bao khu vực phân bố: thu nhận vị trí trung tâm trên cơ sở khoanh vùng phạm vi phân bố nhà. - Trường hợp Thôn xóm có nhà phân bố rải rác hoặc dạng trải dọc hai bên đường giao thông, kênh rạch, sông suối hoặc trên nương, trong khu vực canh tác thì thu nhận điểm duy nhất tại vị trí nhà UBND, trung tâm văn hóa, chính trị hoặc khu vực nhà phân bố dày đặc nhất của Thôn, xóm. |
|
Nhà độc lập |
CB04 |
- Lựa chọn các nhà đảm bảo mô tả hình dạng phạm vi phân bố, mật độ tương ứng khu vực thôn xóm; phân biệt thôn xóm có dân cư tập trung, dân cư phân bố rải rác, dân cư phân bố dọc đường giao thông, dọc theo sông. - Lựa chọn Nhà đảm bảo tương quan mật độ tương đối giữa các thôn xóm này với thôn xóm khác cũng như mật độ phân bố chung toàn khu vực. - Khi lựa chọn nhà ưu tiên các nhà ở rìa thôn xóm; các nhà cạnh kênh mương rạch; gần các ngã 3 sông, đường giao thông; các nhà xác định đặc trưng hình dạng phạm vi phân bố của thôn xóm cũng như trong cả khu vực. - Đối với thôn, xóm có nhà phân bố tập trung khi phạm vi phân bố có hình dạng rõ rệt, có diện tích ≥0.25km2, đảm bảo sử dụng ít nhất 3 đối tượng Nhà độc lập để thể hiện. - Đối với dân cư nông thôn phân bố rải rác, khó xác định hình dạng phân bố hoặc nhà phân bố rải dọc theo đường giao thông, sông, kênh, mương phải đảm bảo mô tả được các đặc trưng phân bố cơ bản. - Áp dụng kiểu dữ liệu không gian GM_Point. |
|
Vùng nội đô |
CA02 |
- Thu nhận tất cả vùng thuộc nội thành, nội thị của các thành phố, thị xã, thị trấn và dân cư đô thị loại 5 tại thời điểm thi công; thể hiện rõ ràng, chính xác hình dạng chung của vùng dân cư đô thị. - Thu nhận vùng trên cơ sở vị trí các nhà, khối nhà ngoài cùng tạo nên hình dạng phạm vi phân bố khu vực nội thành, các khu vực kiểu đô thị. Đảm bảo tương quan với các đối tượng đường phố, đường phố dừng tại đường bao Khu nội đô. - Thuộc tính Tên: lấy tên thành phố, thị xã, thị trấn có vùng nội đô hoặc tên xã trường hợp khu vực kiểu dân cư thành thị của xã chưa được công nhận là thị trấn.. - Áp dụng kiểu dữ liệu không gian GM_Surface cho tất cả các khu nội đô. |
|
Đường dây tải điện |
BA03 |
- Là đường dây điện có điện áp từ 500 KV trở lên; thu nhận chỉ số điện áp. - Trên sơ đồ đường dây phải chỉ rõ vị trí các đường dây giao nhau không cùng mức. Khi thu nhận phải đảm bảo mỗi đường dây là một đối tượng riêng biệt, đặc trưng bởi giá trị điện áp tương ứng. - Áp dụng kiểu dữ liệu không gian GM_Curve. |
|
Trạm quan trắc |
BI04 |
- Là điểm trung tâm trạm khí tượng thủy văn quốc gia và phân biệt các loại Hải văn, Thủy văn, Khí tượng, Môi trường. Thu nhận có tính chất đại diện cho vùng địa lý kinh tế. - Áp dụng kiểu dữ liệu không gian GM_Point. |
|
Trạm thu phát sóng |
BB04 |
Vị trí trung tâm các trạm phát thanh, truyền hình của Đài phát thanh, truyền hình từ cấp tỉnh trở lên. Áp dụng kiểu dữ liệu không gian GM_Point. |
|
Khu chức năng |
|
- Khu chức năng có tính đại diện, tiêu biểu cho quốc gia, vùng kinh tế, tỉnh, thành phố. - Là vị trí trung tâm hoặc vị trí nhà chính của khu chức năng theo chỉ tiêu quy định dưới đây. - Thuộc tính tên được thu nhận nếu có. |
|
Khu du lịch |
BH02 |
- Là vị trí trung tâm Khu du lịch có tính tiêu biểu trong tỉnh hoặc quốc gia. - Áp dụng kiểu dữ liệu không gian GM_Point. |
|
Bãi tắm |
BH03 |
- Là vị trí các các bãi tắm chính đang được quản lý và khai thác sử dụng. Thu nhận tên bãi. - Áp dụng kiểu dữ liệu không gian GM_Point. |
|
Cửa khẩu |
BK03 |
- Là điểm tại vị trí nhà chính Cửa khẩu. Áp dụng kiểu dữ liệu không gian GM_Point. |
|
Khu chế xuất |
BL02 |
- Là vị trí nhà trung tâm của Khu chế xuất. - Áp dụng kiểu dữ liệu không gian GM_Point. |
|
Khu công nghiệp |
BL03 |
- Là điểm tại vị trí nhà xưởng chính Khu công nghiệp. - Áp dụng kiểu dữ liệu không gian GM_Point. |
|
Khu khai thác |
BL04 |
- Là vị trí có hầm, giếng mỏ lớn, nổi tiếng trong khu vực. Những giếng, mỏ dừng khai thác chỉ thu nhận khi có ý nghĩa lịch sử. Thu nhận tên gọi nếu có. - Áp dụng kiểu dữ liệu không gian GM_Point. |
|
Giàn khai thác dầu khí |
BL15 |
- Là vị trí trung tâm các giàn khai thác dầu khí. - Áp dụng kiểu dữ liệu không gian GM_Point. |
|
Nhà máy |
BL07 |
- Là vị trí trung tâm nhà, xưởng chính của Nhà máy nằm ngoài khu đô thị, có tính định hướng rõ rệt. Các nhà máy trong khu đô thị thu nhận những nhà máy có tính định hướng. - Áp dụng kiểu dữ liệu không gian GM_Point. |
|
Ruộng muối |
BL13 |
Là vùng tạo từ ranh giới Ruộng muối có diện tích ≥1,5km2. Nhỏ hơn không thu nhận. Áp dụng kiểu dữ liệu không gian GM_Surface. |
|
Khu nuôi trồng thủy sản |
BL14 |
- Là vùng tạo từ ranh giới Khu nuôi trồng thủy sản có diện tích ≥1,5km2. Nhỏ hơn không thu nhận. Áp dụng kiểu dữ liệu không gian GM_Surface. |
|
Sân gôn |
BM04 |
- Thu nhận điểm tại vị trí trung tâm Sân gôn được xây dựng theo tiêu chuẩn quốc gia. Ưu tiên thể hiện ngoài khu đô thị. Áp dụng kiểu dữ liệu không gian GM_Point. |
|
Sân vận động |
BM05 |
- Là vị trí trung tâm Sân vận động cấp quốc gia, cấp tỉnh được xây dựng theo tiêu chuẩn quốc gia. - Ưu tiên thể hiện ngoài khu đô thị. Trong đô thị chỉ thu nhận các sân vận động có tính quốc gia, tiêu biểu của tỉnh. Áp dụng kiểu dữ liệu không gian GM_Point. |
|
Trung tâm thương mại |
BN08 |
- Là vị trí trung tâm tòa nhà chính khu trung tâm thương mại đại diện cho tỉnh, quốc gia. - Áp dụng kiểu dữ liệu không gian GM_Point. |
|
Nghĩa trang liệt sỹ |
BV02 |
Điểm trung tâm của vùng theo ranh giới sử dụng đất của các nghĩa trang cấp quốc gia hoặc có diện tích ≥1,5km2. |
|
Công viên |
BQ04 |
Điểm trung tâm của vùng theo ranh giới sử dụng đất của các công viên cấp quốc gia hoặc có diện tích ≥1,5km2. |
|
Nghĩa trang |
BV03 |
Điểm là trung tâm vùng theo ranh giới sử dụng đất của các nghĩa trang đã được quy hoạch có diện tích ≥1,5km2. Không thu nhận khu vực mộ rải rác, tự phát. |
|
Nhà hỏa táng |
BV09 |
Là điểm tại vị trí trung tâm nhà hỏa táng. |
|
Danh lam thắng cảnh |
|
- Đối tượng trìu tượng bao gồm Khu bảo tồn thiên nhiên, Công viên và Danh lam thắng cảnh khác. - Là cảnh quan thiên nhiên hoặc địa điểm có sự kết hợp giữa cảnh quan thiên nhiên với công trình kiến trúc có giá trị lịch sử thẩm mỹ, khoa học ngoại trừ Khu bảo tồn thiên nhiên. - Áp dụng kiểu dữ liệu không gian. Áp dụng kiểu dữ liệu không gian GM_Point. |
|
Khu bảo tồn thiên nhiên |
BT01 |
Điểm là trung tâm vùng theo ranh giới sử dụng đất tất cả các khu bảo tồn thiên nhiên gồm vườn quốc gia, khu dự trữ thiên nhiên, khu bảo tồn loài sinh cảnh, khu bảo vệ cảnh quan xếp hạng cấp quốc gia và cấp tỉnh. |
|
Danh lam thắng cảnh |
BT03 |
Điểm là trung tâm Danh lam thắng cảnh khác có giá trị du lịch nổi tiếng có tính tiêu biểu cho một tỉnh và được nhiều người biết đến. Thu nhận tên gọi. |
|
Di tích lịch sử - văn hóa |
|
- Đối trừu tượng gồm các đối tượng địa vật là di tích lịch sử-văn hóa. - Vị trí trung tâm của khu vực hoặc nhà chức năng là di tích lịch sử - văn hóa theo danh mục quản lý mới nhất thu thập được từ các Sở ngành ở địa phương. - Ưu tiên thể hiện ngoài khu đô thị. Khu vực đô thị chỉ thu nhận có chọn lọc những di tích lịch sử đã xếp hạng cấp quốc gia, tiêu biểu, nổi bật có tính định hướng được nhiều người biết đến. - Áp dụng kiểu dữ liệu không gian GM_Point. |
|
Đình |
BP02 |
Vị trí tại nhà chính của Đền, Đình, Chùa, Nhà thờ có ý nghĩa lịch sử, văn hóa và được xếp hạng cấp quốc gia, cấp tỉnh. |
|
Đền |
BP03 |
|
|
Chùa |
BO03 |
|
|
Nhà thờ |
BO04 |
|
|
Cổng thành |
BQ03 |
Vị trí tại các công trình kiến trúc có ý nghĩa lịch sử, văn hóa đã được xếp hạng cấp quốc gia; hoặc nổi tiếng hoặc có tính định hướng rõ rệt. |
|
Cột cờ |
BQ05 |
|
|
Tháp cổ |
BQ12 |
|
|
Tượng đài |
BQ14 |
|
|
Khu lăng mộ |
BS02 |
Vị trí trung tâm Khu lăng mộ có ý nghĩa lịch sử, văn hóa và được xếp hạng cấp quốc gia, cấp tỉnh. |
|
Di tích khác |
BS05 |
Là vị trí trung tâm của các di tích không thuộc các đối tượng trên ở cấp quốc gia trở lên. |
|
Ranh giới khu chức năng |
KB03 |
- Ranh giới khu chức năng được khoanh bao trên cơ sở ranh giới sử dụng đất của các đối tượng Khu chức năng, Di tích lịch sử văn hóa, Danh lam thắng cảnh đã được lựa chọn trong gói dữ liệu này và đối tượng Bến bãi của Gói dữ liệu giao thông có diện tích ≥1,5km2. Trường hợp nhỏ hơn không thu nhận. - Trong trường hợp cá biệt các khu chức năng không có ranh giới sử dụng đất rõ ràng có thể được phép xác định theo phạm vi phân bố thực tế của các đối tượng trên thực địa. - Không phân biệt loại ranh giới khu chức năng là thành lũy, hàng rào hay tường vây. - Áp dụng kiểu dữ liệu không gian GM_Curve. |
7. PhuBeMat
|
Kiểu đối tượng |
Mã đối tượng |
Thu nhận |
|
Phủ bề mặt |
|
- Đối tượng thể hiện đặc điểm các cảnh quan cơ bản của bề mặt lãnh thổ Việt Nam trên đất liền và trên biển bao gồm các đối tượng: Vùng đất trống, Khu dân cư, Khu khai thác, Công trình, Khu canh tác nông nghiệp, Thực phủ trong khu dân cư, Đồng cỏ, Rừng, Thực phủ chưa thành rừng, Nước mặt và Ranh giới phủ bề mặt. - Thu nhận vùng trên cơ sở khoanh bao hình dạng phạm vi phân bố các đối tượng không gian có tính phủ bề mặt của tất cả các nhóm đối tượng địa lý thủy hệ, địa hình, dân cư, công trình hạ tầng, giao thông theo danh sách các đối tượng này ở các gói dữ liệu tương ứng. - Thu nhận các vùng đất trống, thực vật, khu đất nuôi trồng, công viên ở ngoài Vùng nội đô và Khu dân cư nông thôn. - Thu nhận vùng và ranh giới vùng thực vật có diện tích ≥1,5km2; - Các vùng thực vật <1,5km2 cùng loại: nếu cách nhau ≤75m được phép gộp, diện tích sau khi gộp phải đảm bảo có diện tích ≥1,5km2. Các trường hợp khác thì không thu nhận. - Trường hợp Ranh giới phủ bề mặt cách các đối tượng giao thông, đường bờ nước sông suối, kênh mương ≤75m thì ranh giới vùng thực vật trùng với Đường bờ nước, Sông suối, Kênh mương, Tim đường bộ. - Trường hợp vùng Phủ bề mặt quá lớn và phức tạp có thể chia vùng thành nhiều vùng con liền cạnh nhau nhưng không được phép chồng đè lên nhau và giữa chúng có khoảng trống. - Khi thu nhận các đối tượng Phủ bề mặt phải đảm bảo quan hệ Topology với các đối tượng ranh giới tương ứng của chúng. |
|
Khu dân cư |
IA02 |
- Thu nhận tất cả Vùng nội đô ở gói dữ liệu Dân cư-Công trình hạ tầng. - Thu nhận vùng từ đường bao phạm vi của thôn, xóm, làng, bản phân bố tập trung có diện tích ≥0.03km2. - Trường hợp thôn, xóm dày đặc không phân biệt phạm vi giữa các thôn, xóm khác nhau. - Trường hợp phạm vi phân bố tập trung có diện tích <0.03km2 không thu nhận vùng. - Thể hiện phân biệt vùng dân cư trải dọc theo đường giao thông, sông suối kênh rạch. - Trường hợp dân cư phân tán, cần xác định tương đối phạm vi thôn xóm có tên để khoanh vùng nơi có dân cư tập trung nhất nhưng vẫn đảm bảo tính phân tán. |
|
Khu khai thác |
IA03 |
Thu nhận vùng theo chỉ tiêu ranh giới khu khai thác ở Gói dữ liệu Dân cư - Công trình hạ tầng. |
|
Vùng đất trống |
IA04 |
- Vùng đất không có Khu dân cư, Khu khai thác, công trình xây dựng, Khu canh tác nông nghiệp, Rừng, Thực phủ chưa thành rừng, Đồng cỏ, Nước mặt có diện tích ≥1.5km2 (Khu vực còn lại của tất cả các đối tượng phủ bề mặt). Trường hợp nhỏ hơn được gộp vào các vùng phủ bề mặt liền kề. - Tích hợp đối tượng Bãi cát, Vùng núi đá ở gói Địa hình. |
|
Công trình |
IA05 |
- Là khu vực bao gồm: công trình công nghiệp, giao thông, thủy lợi. - Thu nhận vùng tạo từ Ranh giới khu chức năng của gói dữ liệu Dân cư-Cơ sở hạ tầng theo chỉ tiêu như sau: . Công trình công nghiệp: vùng tạo từ ranh giới khu chế xuất, Khu công nghiệp, Nhà máy, Ruộng muối của gói dữ liệu Dân cư-Cơ sở hạ tầng. . Công trình thủy lợi: Vùng tạo từ Hồ chứa, Kênh mương. . Công trình giao thông: Vùng tạo từ ranh giới khu chức năng Bến bãi của gói Dân cư-Cơ sở hạ tầng. . Công trình khác: vùng tạo theo chỉ tiêu ranh giới các đối tượng Di tích lịch sử; Danh lam thắng cảnh; các khu chức năng còn lại trừ Công trình công nghiệp, Khu khai thác từ gói dữ liệu Dân cư-Cơ sở hạ tầng. |
|
Khu canh tác nông nghiệp |
IB02 |
- Thu nhận khu vực cây trồng có diện tích ≥1,5km2. Khu vực cây trồng có diện tích <1,5km2 gộp vào vùng đất trống. Chỉ tiêu như sau: . Cây lúa: bao gồm lúa nương và lúa nước; trường hợp chỉ trồng 1 vụ lúa trong năm (vụ khác trồng rau màu) hoặc nhiều vụ lúa trên cùng một diện tích cũng thuộc loại này. . Cây lương thực khác: là các cây lương thực khác trừ lúa. Ví dụ: ngô, khoai, sắn... . Cây công nghiệp ngắn ngày: là loại cây chỉ sống trong một vụ hoặc một hoặc hai năm. Ví dụ: mía, lạc, đậu tương và bông vải... . Cây công nghiệp dài ngày (lâu năm): là cây trồng lâu năm như cây công nghiệp trừ cây ăn quả. Ví dụ: cà phê, chè, tiêu... . Cây ăn quả: là cây công nghiệp dài ngày cho quả. Ví dụ: xoài, cóc, nhãn, vải, bưởi, chanh... . Cây trồng nông nghiệp khác: gồm rau màu, cây cảnh, sen súng, dược liệu, cây trồng thân dây, cây trồng thân cỏ, cây trồng thân bụi... - Không thu nhận các vùng canh tác nông nghiệp có trong khu vực đô thị và khu vực thôn, xóm. - Có quan hệ topo với đối tượng Ranh giới phủ bề mặt tương ứng. |
|
Đồng cỏ |
IB03 |
Thu nhận vùng Đồng cỏ có diện tích ≥1,5km2, chiều cao ≥0,5 m và có mục đích chăn thả vật nuôi. Các vùng có khác gộp vào Vùng đất trống. |
|
Rừng |
IB04 |
- Rừng là một hệ sinh thái bao gồm quần thể thực vật rừng, động vật rừng, vi sinh vật rừng, đất rừng và các yếu tố môi trường khác, trong đó cây gỗ, tre nứa hoặc hệ thực vật đặc trưng là thành phần chính có độ che phủ của tán rừng từ 0,1 trở lên. Rừng gồm rừng trồng và rừng tự nhiên trên đất rừng sản xuất, đất rừng phòng hộ, đất rừng đặc dụng. Một đối tượng được xác định là rừng nếu đạt được cả 3 tiêu chí sau: . Là một hệ sinh thái, trong đó thành phần chính là các loài cây lâu năm thân gỗ, cau dừa có chiều cao vút ngọn từ 5,0 mét trở lên (trừ rừng mới trồng và một số loài cây rừng ngập mặn ven biển), tre nứa,...có khả năng cung cấp gỗ, lâm sản ngoài gỗ và các giá trị trực tiếp và gián tiếp khác như bảo tồn đa dạng sinh học, bảo vệ môi trường và cảnh quan. . Rừng mới trồng các loài cây thân gỗ và rừng mới tái sinh sau khai thác rừng trồng có chiều cao trung bình trên 1,5 m đối với loài cây sinh trưởng chậm, trên 3,0 m đối với loài cây sinh trưởng nhanh và mật độ từ 1.000 cây/ha trở lên được coi là rừng. . Các hệ sinh thái nông nghiệp, nuôi trồng thủy sản có rải rác một số cây lâu năm là cây thân gỗ, tre nứa, cau dừa,... không được coi là rừng. . Độ tán che của tán cây là thành phần chính của rừng phải từ 0,1 trở lên. . Diện tích liền khoảnh tối thiểu từ 0,5 ha trở lên, nếu là dải cây rừng phải có chiều rộng tối thiểu 20 mét và có từ 3 hàng cây trở lên. Cây trên các diện tích tập trung dưới 0,5 ha hoặc dài cây hẹp dưới 20 mét được gọi là cây phân tán. Không thu nhận loại này. - Thuộc tính loaiPhuBeMat quy định cho đối tượng Rừng và Thực phủ chưa thành rừng. Mô tả phân loại theo loài cây như sau: . Cây dừa, cọ: là rừng có thành phần chiếm trên 75% số cây là các loại cọ, cau, dừa. . Cây hỗn hợp: là rừng gỗ có tỷ lệ hỗn giao theo số cây của mỗi loại từ 25% đến 75%. Rừng hỗn giao gỗ - tre nứa: là rừng có cây gỗ chiếm > 50% độ tàn che; Rừng hỗn giao tre nứa - gỗ: là rừng có cây tre nứa chiếm > 50% độ tàn che. . Cây lá kim: là rừng có cây lá kim chiếm trên 75% số cây. . Cây lá rộng: là rừng gỗ có cây lá rộng chiếm trên 75% số cây. . Cây ưa mặn, chua phèn: thực vật mọc trên đất chua mặn hay còn gọi là đất phèn. Gồm sú, vẹt... chiếm trên 75% số cây. . Cây tre nứa: là các loài cây thuộc họ tre nứa như: tre, mai, diễn, nứa, luồng, vầu, lô ô, le, mạy san, hóp, lùng, bương, giang, v.v... chiếm trên 75% số cây. . Cây bụi: cây bụi hay cây bụi thấp là các loài cây được phân biệt bằng một thân cây có rất nhiều nhánh thấp xum sê và chiều cao dưới 5m nhưng không quá ngắn so với các loài cây thân thảo hay các loài cỏ. - Thu nhận các vùng Rừng có diện tích ≥1,5km2 bao gồm cả trong khu vực đô thị. - Khi diện tích trên 12km2 thu nhận thêm tên loại cây. - Thu nhận vùng là Khu bảo tồn thiên nhiên trên cơ sở ranh giới khu chức năng tương ứng ở gói dữ liệu Dân cư-Công trình hạ tầng. |
|
Thực phủ chưa thành rừng |
IB05 |
Thu nhận vùng các thực phủ chưa đủ tiêu chí xác định là Rừng có diện tích ≥1,5km2. |
|
Thực phủ trong khu dân cư |
IB06 |
Thôn xóm, khu đô thị, khu vực nghĩa trang, nghĩa trang liệt sỹ có độ che phủ tán cây ≥20% tổng diện tích. Thu nhận vùng trên cơ sở ranh giới khu vực phân bố nhà của các thôn xóm có diện tích ≥ 1,5km2. |
|
Nước mặt |
IG01 |
Thu nhận vùng Nước mặt là hồ ao, đầm phá, hồ chứa, sông suối, kênh mương, vùng biển và khu nuôi trồng thủy sản từ gói dữ liệu Thủy hệ. |
|
Ranh giới phủ bề mặt |
KB02 |
Ranh giới phủ bề mặt bao gồm: ranh giới thực vật và ranh giới Khác. - Ranh giới thực vật: thu nhận ranh giới phân chia các loại thực vật theo chỉ tiêu phân loại trong gói dữ liệu này. Bao gồm ranh giới: các loại rừng; các loại Khu canh tác nông nghiệp; Đồng cỏ; Thực phủ chưa thành rừng. Đảm bảo Ranh giới thực vật có quan hệ toplogy với các đối tượng này. - Ranh giới Khác bao gồm: . Ranh giới Vùng nội đô ở gói dữ liệu Dân cư-Cơ sở Hạ tầng. . Đường bao phạm vi phân bố Nhà độc lập của thôn xóm, làng, bản có diện tích ≥0.03km2 cơ sở tạo nên đối tượng Khu dân cư. . Ranh giới các khu chức năng: Bến bãi, Khu khai thác Ranh giới khu chế xuất, Khu công nghiệp, Nhà máy ở gói dữ liệu Dân cư-Công trình hạ tầng. - Đảm bảo quan hệ Topology với các đối tượng địa lý hình tuyến tham gia phân vùng lớp phủ bề mặt như tim đường bộ, Tim dòng chảy, đường bờ nước. |
8. Minh họa cách thu nhận Đoạn tim đường bộ, Tim dòng chảy, đối tượng cửa sông
|
|
Minh họa |
Giải thích hình vẽ |
Mô tả |
|
1 |
|
Đường A liên tục không được ngắt đoạn tại chỗ giao với đường B. Tại vị trí giao nhau có 1 đỉnh của đường A. Một nút được tạo ở vị trí cuối đường B. |
Tim đường phải giao nhau tại ngã ba: - Tim đường nhánh phải được tiếp xúc với tim đường chính. - Tim của các đường cùng cấp tiếp xúc tại vị trí trung tâm ngã ba. |
|
2 |
|
Một nút được tạo ở vị trí giao nhau của cả 3 đường A, B, C. |
|
|
3 |
|
Cả hai đường khi qua ngã tư đều không đổi thuộc tính, cho nên không có nút. Tại vị trí giao nhau thì phải tạo đỉnh cho hai đối tượng. |
Giao nhau tại ngã tư không có đường vòng xuyến: Đoạn tim đường bộ không bị phân đoạn nếu như không thay đổi thuộc tính. |
|
4 |
|
Một nút được sinh ra tại vị trí các đối tượng thay đổi thuộc tính. Như hình vẽ là nút của đường A và C |
Có một trong số các đối tượng thay đổi thuộc tính qua ngã tư: Đối tượng nào thay đổi thuộc tính thì bị phân đoạn tại vị trí giao nhau. |
|
5 |
|
Đối với đường có giải phân cách cố định: Các quy tắc thu nhận dữ liệu được áp dụng giống với trường hợp không có giải phân cách. Chỉ khác nhau ở chỗ vị trí sinh nút của mô hình (Xem hình vẽ) Tại vị trí giao nhau giữa các đoạn tim đường thì phải tạo đỉnh cho các đối tượng. |
Đối với đường có giải phân cách cố định tồn tại tim đường cho mỗi đường một chiều và nút được tạo tại giao điểm của tim mỗi đường với tim của giải phân cách. |
|
6 |
|
Giao nhau tại ngã tư có vòng xuyến cố định |
Đoạn tim đường bộ không phân đoạn nếu không thay đổi thuộc tính và không phải tạo đỉnh tại điểm giao nhau (bỏ vòng xuyến). |
|
7 |
|
Trường hợp cầu, hầm và đường không có giải phân cách và đường khác loại, tạo nút tại điểm thay đổi thuộc tính. |
Đối với đoạn đường qua cầu, hầm không có giải phân cách cố định và các đối tượng vượt sông, suối: - Đoạn tim đường bộ liên tục không đứt quãng kể cả đoạn đường qua sông, suối có đường bờ. - Trường hợp đường thay đổi tính chất thì tạo Nút được tạo tại vị giữa tim cầu. |
|
8 |
|
Trường hợp cầu, hầm và đường không có giải phân cách và đường cùng loại. |
|
|
9 |
|
Trường hợp cầu, hầm không có giải phân cách và đường có giải phân cách cùng loại. |
|
|
10 |
|
Trường hợp cầu, hầm có 2 giải phân cách và đường có 2 giải phân cách cùng loại. |
Đối với đoạn đường qua cầu, hầm có giải phân cách cố định: - Đoạn tim đường bộ liên tục không đứt quãng kể cả đoạn đường qua sông, suối có đường bờ. - Trường hợp đường thay đổi tính chất thì Nút được tạo tại vị giữa tim cầu. - Các đoạn tim đường bộ trên cầu, hầm được phép trùng giải phân cách cố định. |
|
11 |
|
Trường hợp cầu, hầm có 2 giải phân cách và đường có 2 giải phân cách nhưng khác loại. |
|
|
12 |
|
Trường hợp cầu, hầm có 1 giải phân cách và đường không có giải phân cách nhưng khác loại. |
|
|
13 |
|
Xác định đối tượng Cửa sông (GM_Point). |
Tại đây có 2 đối tượng: Nút tim dòng chảy và đối tượng Cửa sông trùng nhau. |
|
14 |
|
Hình 1. Xác định đối tượng Tim dòng chảy khi sông đổ vào hồ và không chảy tiếp. Hình 2. Tạo nút tại ngã 3 của 3 sông khác tên nhau. |
Tim sông liên tục qua hồ, tại giao điểm đường bờ hồ và Tim dòng chảy tạo đỉnh. |
|
15 |
|
Xác định đối tượng tim sông khi qua hồ và chảy tiếp (Hồ chứa thủy điện) và sông phụ chảy vào sông chính (sông B chảy vào sông A) |
Tim dòng chảy liên tục qua hồ; tại chỗ Tim dòng chảy cắt đường bờ nước tạo đỉnh ở cả sông và đường bờ nước; tại chỗ sông B tiếp sông A tạo nút tại sông B và đỉnh trên sông A |
PHỤ LỤC 3
CHẤT LƯỢNG VÀ HƯỚNG DẪN XÂY DỰNG CHẤT LƯỢNG DỮ LIỆU ĐỊA LÝ TỶ LỆ 1:250.000
(Ban hành kèm theo Thông tư số 48/2016/TT-BTNMT ngày 28 tháng 12 năm 2016 của Bộ trưởng Bộ Tài nguyên và Môi trường)
1. Tiêu chí đánh giá chất lượng lượng dữ liệu địa lý
|
STT |
Tiêu chí chất lượng dữ liệu địa lý |
Tiêu chí thành phần |
Nội dung đánh giá |
Phép đo chất lượng |
|
1 |
Mức độ đầy đủ của dữ liệu |
Mức độ dư thừa thông tin |
- Đối tượng - Thuộc tính đối tượng. - Quan hệ đối tượng. |
Xác định tỷ lệ, số phần tử, phần trăm thông tin dư thừa. |
|
Mức độ thiếu thông tin |
- Đối tượng. - Thuộc tính đối tượng - Quan hệ đối tượng. |
Xác định tỷ lệ, số phần tử, phần trăm thông tin thiếu. |
||
|
2 |
Mức độ phù hợp của dữ liệu với mô hình cấu trúc dữ liệu |
Tuân thủ lược đồ ứng dụng |
- Kiểu đối tượng. - Thuộc tính đối tượng. |
Xác định số phần tử thông tin không tuân thủ theo mô cấu trúc dữ liệu khái niệm. |
|
Tuân thủ miền giá trị |
Thuộc tính đối tượng. |
Xác định số thuộc tính của đối tượng không tuân thủ miền giá trị. |
||
|
Tuân thủ định dạng |
Tập dữ liệu. |
Xác định tỷ lệ đối tượng được lưu trữ không tuân thủ mô hình cấu trúc dữ liệu vật lý. |
||
|
Tuân thủ quan hệ không gian |
- Kiểu đối tượng. - Đối tượng. |
Xác định số đối tượng trùng lặp. Xác định số lỗi tự chồng đè của cung. Xác định các cung tự chồng đè. Xác định số lỗi tự cắt nhau của cung. |
||
|
Xác định các cung tự cắt. Xác định số lỗi đỉnh treo của cung. Các cung có đỉnh treo. Xác định tỷ lệ lỗi vùng nhỏ. Xác định lỗi vùng nhỏ. Xác định số bề mặt chồng xếp không hợp lệ. Xác định lỗi chồng xếp bề mặt. Xác định số khoảng hở giữa các bề mặt. Xác định khoảng hở giữa các bề mặt. Xác định số lỗi bề mặt tự giao không hợp lệ. Xác định bề mặt tự giao. |
||||
|
Điểm không nằm tại vị trí đầu, cuối cung. Đầu, cuối cung không trùng với vị trí của điểm. Xác định cung không trùng với cung. |
||||
|
Xác định số lỗi chồng xếp không hợp lệ giữa cung và bề mặt. Xác định số lỗi quan hệ giữa đường biên và bề mặt. Xác định số lỗi quan hệ giữa bề mặt và đường biên. |
||||
|
3 |
Độ chính xác vị trí của đối tượng địa lý |
Độ chính xác tuyệt đối về mặt phẳng. |
Thuộc tính không gian |
Xác định sai số trung phương vị trí mặt phẳng. |
|
Độ chính xác tương đối về mặt phẳng. |
Thuộc tính không gian |
|
||
|
Độ chính xác tuyệt đối về độ cao. |
Thuộc tính không gian |
Xác định sai số trung phương độ cao. |
||
|
Độ chính xác tương đối về độ cao. |
Thuộc tính không gian |
|
||
|
4 |
Độ chính xác thời gian của đối tượng địa lý |
Tính hợp lệ |
Thuộc tính thời gian |
Xác định độ chính xác thời gian. |
|
5 |
Mức độ chính xác của thuộc tính chủ đề |
Phân loại đúng |
- Đối tượng - Thuộc tính đối tượng |
Xác định tỷ lệ thông tin phân loại sai. |
|
Độ chính xác thuộc tính định tính |
Thuộc tính đối tượng |
Tính phần trăm thuộc tính nhận giá trị đúng. |
||
|
Độ chính xác thuộc tính định lượng |
Thuộc tính đối tượng |
Xác định độ chính xác thuộc tính định lượng. |
2. Phép đo chất lượng
2.1. Phép đo chất lượng cơ bản
|
Tên phép đo chất lượng cơ bản |
Mô tả |
Ví dụ |
Kiểu giá trị |
|
Xác định lỗi |
Xác định phần tử dữ liệu có lỗi hay không. - “Đúng” là có lỗi. - “Sai” là không có lỗi. |
Sai |
Boolean (logic) |
|
Đếm lỗi |
Tổng số lỗi được phát hiện trong dữ liệu. |
11 |
Số nguyên |
|
Đếm phần tử đúng |
Tổng số phần tử đúng trong dữ liệu. |
189 |
Số nguyên |
|
Tính phần trăm phần tử lỗi |
Số phần tử lỗi chia cho tổng số phần tử được kiểm tra nhân với 100. |
1,89 |
Phần trăm |
|
Tính phần trăm phần tử đúng |
Số phần tử đúng chia cho tổng số phần tử được kiểm tra nhân với 100. |
95 |
Phần trăm |
|
Xác định tỷ lệ lỗi |
Là tỷ số phần tử lỗi trên số phần tử kiểm tra. |
11:582 |
Tỷ lệ |
2.2. Xác định tỷ lệ thông tin dư thừa
|
Tên phép đo chất lượng |
Xác định tỷ lệ thông tin dư thừa. |
|
Tên phép đo chất lượng cơ bản |
Xác định tỷ lệ lỗi. |
|
Định nghĩa |
Tỷ lệ giữa tổng số phần tử thông tin (đối tượng, thuộc tính đối tượng, quan hệ đối tượng) dư thừa trên tổng số thông tin phải thu nhận trong phạm vi dữ liệu được kiểm tra. |
|
Kiểu giá trị |
Tỷ lệ (ví dụ, 3:1000) |
|
Đơn vị đo |
Phần tử thông tin (đối tượng, thuộc tính đối tượng, quan hệ đối tượng). |
2.3. Xác định số phần tử thông tin dư thừa
|
Tên phép đo chất lượng |
Xác định số phần tử thông tin dư thừa. |
|
Tên phép đo chất lượng cơ bản |
Đếm lỗi. |
|
Định nghĩa |
Tổng số phần tử thông tin (đối tượng, thuộc tính đối tượng, quan hệ đối tượng) dư thừa trong phạm vi dữ liệu được kiểm tra. |
|
Kiểu giá trị |
Số nguyên. |
|
Đơn vị đo |
Phần tử thông tin (đối tượng, thuộc tính đối tượng, quan hệ đối tượng). |
2.4. Tính phần trăm thông tin dư thừa
|
Tên phép đo chất lượng |
Tính phần trăm thông tin dư thừa |
|
Tên phép đo chất lượng cơ bản |
Tính phần trăm phần tử lỗi |
|
Định nghĩa |
Số phần tử thông tin (đối tượng, thuộc tính đối tượng, quan hệ đối tượng) dư thừa chia cho tổng số phần tử thông tin trong phạm vi kiểm tra dữ liệu nhân với 100. |
|
Kiểu giá trị |
Phần trăm |
|
Đơn vị đo |
Phần tử thông tin (đối tượng, thuộc tính đối tượng, quan hệ đối tượng) |
2.5. Xác định tỷ lệ thông tin thiếu
|
Tên phép đo chất lượng |
Xác định tỷ lệ thông tin thiếu |
|
Tên phép đo chất lượng cơ bản |
Xác định tỷ lệ lỗi |
|
Định nghĩa |
Tỷ lệ giữa tổng số phần tử thông tin (đối tượng, thuộc tính đối tượng, quan hệ đối tượng) thiếu trên tổng số phần tử thông tin phải thu nhận trong phạm vi dữ liệu được kiểm tra. |
|
Kiểu giá trị |
Tỷ lệ (ví dụ, 3:1000) |
|
Đơn vị tính |
Phần tử thông tin (đối tượng, thuộc tính đối tượng, quan hệ đối tượng) |
2.6. Xác định số phần tử thông tin thiếu
|
Tên phép đo chất lượng |
Xác định số phần tử thông tin thiếu |
|
Tên phép đo chất lượng cơ bản |
Đếm lỗi |
|
Định nghĩa |
Tổng số phần tử thông tin (đối tượng, thuộc tính đối tượng, quan hệ đối tượng) thiếu trong phạm vi dữ liệu được kiểm tra. |
|
Kiểu giá trị |
Số nguyên |
|
Đơn vị đo |
Phần tử thông tin (đối tượng, thuộc tính đối tượng, quan hệ đối tượng) |
2.7. Tính phần trăm thông tin thiếu
|
Tên phép đo chất lượng |
Tính phần trăm thông tin thiếu. |
|
Tên phép đo chất lượng cơ bản |
Đếm lỗi |
|
Định nghĩa |
Số phần tử thông tin (đối tượng, thuộc tính đối tượng, quan hệ đối tượng) thiếu chia cho tổng số phần tử thông tin trong phạm vi kiểm tra dữ liệu nhân với 100. |
|
Kiểu giá trị |
Phần trăm |
|
Đơn vị đo |
Phần tử thông tin (đối tượng, thuộc tính đối tượng, quan hệ đối tượng). |
2.8. Xác định số phần tử thông tin không tuân thủ theo mô cấu trúc dữ liệu khái niệm
|
Tên phép đo |
Xác định số phần tử thông tin không tuân thủ theo mô cấu trúc dữ liệu khái niệm. |
|
Tên phép đo chất lượng cơ bản |
Đếm lỗi |
|
Định nghĩa |
Tổng số phần tử thông tin dữ liệu (đối tượng, thuộc tính đối tượng) không tuân thủ theo mô cấu trúc dữ liệu khái niệm. |
|
Kiểu giá trị |
Số nguyên |
|
Đơn vị đo |
Phần tử thông tin |
2.9. Xác định số thuộc tính của đối tượng không tuân thủ miền giá trị
|
Tên phép đo |
Xác định số thuộc tính của đối tượng không tuân thủ miền giá trị. |
|
Tên phép đo chất lượng cơ bản |
Đếm lỗi |
|
Định nghĩa |
Xác định tổng số thuộc tính của đối tượng không tuân thủ miền giá trị được quy định trong mô hình cấu trúc dữ liệu khái niệm. |
|
Kiểu giá trị |
Số nguyên |
|
Đơn vị đo |
Số thuộc tính |
2.10. Xác định tỷ lệ đối tượng được lưu trữ không tuân thủ mô hình cấu trúc dữ liệu vật lý
|
Tên phép đo |
Xác định tỷ lệ đối tượng được lưu trữ không tuân thủ mô hình cấu trúc dữ liệu vật lý. |
|
Tên phép đo chất lượng cơ bản |
Xác định tỷ lệ lỗi. |
|
Định nghĩa |
Tỷ lệ giữa tổng số đối tượng có cấu trúc dữ liệu vi phạm mô hình cấu trúc dữ liệu vật lý trên tổng số đối tượng thuộc phạm vi dữ liệu kiểm tra. |
|
Kiểu giá trị |
Tỷ lệ. |
|
Đơn vị đo |
Số đối tượng. |
2.11. Xác định số đối tượng trùng lặp
|
Tên phép đo |
Xác định số đối tượng trùng lặp |
|
Tên phép đo chất lượng cơ bản |
Đếm lỗi. |
|
Định nghĩa |
Xác định tổng số đối tượng cùng kiểu trùng lặp hoàn toàn về không gian trong dung sai cho phép trên tổng số đối tượng cùng kiểu trong phạm vi dữ liệu kiểm tra. |
|
Kiểu giá trị |
Số nguyên |
|
Ví dụ |
Dung sai tìm kiếm = 1m |
|
Đơn vị đo |
Số lỗi |
2.12. Xác định số lỗi tự chồng đè của cung
|
Tên phép đo |
Xác định số lỗi tự chồng đè của cung |
|
Tên phép đo chất lượng cơ bản |
Đếm lỗi |
|
Định nghĩa |
Tổng số đối tượng tự chồng đè không hợp lệ trong phạm vi dữ liệu. |
|
Kiểu giá trị |
Số nguyên |
|
Ví dụ |
|
|
Đơn vị đo |
Số lỗi |
2.13. Xác định các cung tự chồng đè
|
Tên phép đo |
Xác định các cung tự chồng đè |
|
Tên phép đo chất lượng cơ bản |
Xác định lỗi |
|
Định nghĩa |
Xác định có hay không có cung tự chồng đè |
|
Kiểu giá trị |
Boolean |
|
Ví dụ |
|
2.14. Xác định số lỗi tự cắt nhau của cung
|
Tên phép đo |
Xác định số lỗi tự cắt nhau của cung |
|
Tên phép đo chất lượng cơ bản |
Đếm lỗi |
|
Định nghĩa |
Xác định tổng số đối tượng tự cắt nhau không hợp lệ trong phạm vi dữ liệu. |
|
Kiểu giá trị |
Số nguyên |
|
Ví dụ |
|
|
Đơn vị đo |
Số lỗi |
2.15. Xác định các cung tự cắt
|
Tên phép đo |
Xác định các cung tự cắt |
|
Tên phép đo chất lượng cơ bản |
Xác định lỗi |
|
Định nghĩa |
Xác định có hay không có cung tự cắt |
|
Kiểu giá trị |
Boolean |
|
Ví dụ |
|
2.16. Xác định số lỗi đỉnh treo của cung
|
Tên phép đo |
Xác định số lỗi đỉnh treo của cung |
|
Tên phép đo chất lượng cơ bản |
Đếm lỗi |
|
Định nghĩa |
Xác định tổng số đối tượng có đỉnh đầu, cuối là đỉnh treo. |
|
Kiểu giá trị |
Số nguyên |
|
Ví dụ |
|
|
Đơn vị đo |
Số lỗi |
2.17. Xác định các cung có đỉnh treo
|
Tên phép đo |
Xác định các cung có đỉnh treo |
|
Tên phép đo chất lượng cơ bản |
Chỉ thị lỗi |
|
Định nghĩa |
Xác định có hay không cung có đỉnh treo |
|
Kiểu giá trị |
Boolean |
|
Ví dụ |
|
2.18. Xác định tỷ lệ lỗi vùng nhỏ
|
Tên phép đo |
Xác định tỷ lệ lỗi vùng nhỏ |
|
Tên phép đo chất lượng cơ bản |
Xác định tỷ lệ lỗi |
|
Định nghĩa |
Xác định tổng số lỗi vùng nhỏ trên tổng số vùng trong phạm vi dữ liệu kiểm tra. |
|
Kiểu giá trị |
Tỷ lệ |
|
Tham số |
Vùng nhỏ được xác định theo tiêu chí diện tích đã được quy định cho từng kiểu đối tượng địa lý ở Phụ lục số 2. |
|
Ví dụ |
Chỉ thu nhận khu vực núi đá có diện tích <1.5km2. Tức là nhỏ hơn chỉ tiêu cần thu nhận. |
|
Đơn vị đo |
Số lỗi |
2.19. Xác định có lỗi vùng nhỏ
|
Tên phép đo |
Xác định lỗi vùng nhỏ |
|
Tên phép đo chất lượng cơ bản |
Xác định lỗi |
|
Định nghĩa |
Xác định có hay không có lỗi vùng nhỏ trong phạm vi dữ liệu kiểm tra |
|
Kiểu giá trị |
Boolean |
|
Tham số |
Vùng nhỏ được xác định theo tiêu chí diện tích |
|
Ví dụ |
Chỉ thu nhận khu vực núi đá có diện tích <1.5km2. Tức là nhỏ hơn chỉ tiêu cần thu nhận. |
2.20. Xác định số bề mặt chồng xếp không hợp lệ
|
Tên phép đo |
Xác định số bề mặt chồng xếp không hợp lệ |
|
Tên phép đo chất lượng cơ bản |
Đếm lỗi |
|
Định nghĩa |
Tổng số bề mặt chồng xếp không gian sai trong phạm vi dữ liệu kiểm tra |
|
Kiểu giá trị |
Số nguyên |
|
Ví dụ |
3 - là vùng chồng xếp |
|
Đơn vị đo |
Số lỗi |
2.21. Xác định lỗi chồng xếp bề mặt
|
Tên phép đo |
Xác định lỗi chồng xếp bề mặt |
|
Tên phép đo chất lượng cơ bản |
Xác định lỗi |
|
Định nghĩa |
Xác định có hay không có sự chồng xếp giữa các bề mặt |
|
Kiểu giá trị |
Boolean |
|
Ví dụ |
3 - là vùng chồng xếp |
2.22. Xác định số khoảng hở giữa các bề mặt
|
Tên phép đo |
Xác định số khoảng hở giữa các bề mặt |
|
Tên phép đo chất lượng cơ bản |
Đếm lỗi |
|
Định nghĩa |
Là tổng số bề mặt khuyết giữa các bề mặt trong phạm vi dữ liệu kiểm tra |
|
Kiểu giá trị |
Số nguyên |
|
Ví dụ |
5 - là khoảng hở giữa các bề mặt |
2.23. Xác định khoảng hở giữa các bề mặt
|
Tên phép đo |
Xác định khoảng hở giữa các bề mặt |
|
Tên phép đo chất lượng cơ bản |
Xác định lỗi |
|
Định nghĩa |
Xác định có hay không có khoảng hở giữa các bề mặt |
|
Kiểu giá trị |
Boolean |
|
Ví dụ |
5 - là khoảng hở giữa các bề mặt |
2.24. Xác định số lỗi bề mặt tự giao không hợp lệ
|
Tên phép đo |
Xác định số lỗi bề mặt tự giao không hợp lệ |
|
Tên phép đo chất lượng cơ bản |
Đếm lỗi |
|
Định nghĩa |
Tổng số đối tượng tự giao không hợp lệ trong phạm vi dữ liệu kiểm tra. |
|
Kiểu giá trị |
Số nguyên |
|
Ví dụ |
1 - Vùng thực vật 2 - Tự giao không hợp lệ |
|
Đơn vị đo |
Số lỗi |
|
Tên phép đo |
Xác định bề mặt tự giao |
|
Tên phép đo chất lượng cơ bản |
Xác định lỗi |
|
Định nghĩa |
Xác định có hay không có các bề mặt tự giao |
|
Kiểu giá trị |
Boolean |
|
Ví dụ: 1- Vùng thực vật; 2 - Tự giao không hợp lệ |
|
2.25. Điểm không nằm tại vị trí đầu, cuối cung
|
Tên phép đo |
Điểm không nằm tại vị trí đầu, cuối cung |
|
Tên phép đo chất lượng cơ bản |
Xác định lỗi |
|
Định nghĩa |
Xác định xem có hay không đối tượng điểm không nằm tại đầu, cuối cung |
|
Kiểu giá trị |
Boolean (Đúng, nếu có điểm nằm độc lập; ngược lại nhận giá trị Sai) |
|
Ví dụ |
Nút không nằm đầu, cuối Tim đường bộ |
2.26. Xác định lỗi đầu, cuối cung không trùng với vị trí của điểm.
|
Tên phép đo |
Xác định lỗi đầu, cuối cung không trùng với vị trí của điểm. |
|
Tên phép đo chất lượng cơ bản |
Xác định lỗi |
|
Định nghĩa |
Xác định xem có hay không đối tượng cung mà tại đầu, cuối cung không trùng với đối tượng điểm |
|
Kiểu giá trị |
Boolean |
|
Ví dụ: Đầu hoặc cuối Tim đường bộ không có Nút |
|
2.27. Xác định cung không trùng với cung
|
Tên phép đo |
Xác định cung không trùng với cung |
|
Tên phép đo chất lượng cơ bản |
Xác định lỗi |
|
Định nghĩa |
Xác định đối tượng dạng cung không trùng với một đối tượng dạng cung của kiểu đối tượng khác. |
|
Kiểu giá trị |
Boolean |
|
Ví dụ: Lỗi Tim cầu không trùng với Tim đường |
|
2.28. Xác định số lỗi chồng xếp không hợp lệ giữa cung và bề mặt
|
Tên phép đo |
Xác định số lỗi chồng xếp không hợp lệ giữa cung và bề mặt |
|
Tên phép đo chất lượng cơ bản |
Đếm lỗi |
|
Định nghĩa |
Là tổng số lỗi chồng xếp không hợp lệ giữa cung và bề mặt |
|
Kiểu giá trị |
Số nguyên |
|
Ví dụ: Lỗi Đường sắt đi qua hồ. |
Đường sắt |
|
Đơn vị đo |
Số lỗi |
2.29. Xác định số lỗi quan hệ giữa đường biên và bề mặt
|
Tên phép đo |
Xác định số lỗi quan hệ giữa đường biên và bề mặt |
|
Tên phép đo chất lượng cơ bản |
Đếm lỗi |
|
Định nghĩa |
Tổng số cung không trùng với biên của bề mặt. |
|
Kiểu giá trị |
Số nguyên |
|
Ví dụ: Lỗi trong quan hệ Topo giữa Đường bờ nước và mặt nước |
|
|
Đơn vị đo |
Số lỗi |
2.30. Xác định số lỗi quan hệ giữa bề mặt và đường biên
|
Tên phép đo |
Xác định số lỗi quan hệ giữa bề mặt và đường biên |
|
Tên phép đo chất lượng cơ bản |
Đếm lỗi |
|
Định nghĩa |
Tổng số bề mặt có biên không trùng với cung. |
|
Kiểu giá trị |
Số nguyên |
|
Ví dụ: Lỗi trong quan hệ Topo giữa Đường bờ nước và mặt nước |
|
|
Đơn vị đo |
Số lỗi |
2.31. Xác định độ chính xác vị trí mặt phẳng
|
Tên phép đo |
Xác định sai số trung phương vị trí mặt phẳng. |
|
Tên phép đo chất lượng cơ bản |
Không áp dụng. |
|
Định nghĩa |
Xác định sai số trung phương của tập điểm trong tập dữ liệu so với tập điểm kiểm tra |
|
Mô tả |
Tính sai số trung phương vị trí mặt phẳng giữa tập điểm dữ liệu và tập điểm kiểm tra theo công thức:
Trong đó: - mmp là sai số sai số trung phương vị trí mặt phẳng - mx là sai số trung phương vị trí mặt phẳng theo thành phần x tính theo công thức:
- my là sai số trung phương vị trí mặt phẳng theo thành phần y tính theo công thức:
- xd,i, yd,i là tọa độ của điểm thứ i trong tập điểm dữ liệu. - xk,i, yk,i là tọa độ của điểm thứ i trong tập điểm kiểm tra. - n là số điểm được kiểm tra. - i là số nguyên dương từ 1 đến n |
|
Kiểu giá trị |
Số thực |
|
Đơn vị đo |
Mét |
2.32. Xác định độ chính xác độ cao
|
Tên phép đo |
Xác định sai số trung phương độ cao. |
|
Tên phép đo chất lượng cơ bản |
Không áp dụng. |
|
Định nghĩa |
Xác định sai số trung phương độ cao của tập điểm kiểm tra với tập điểm tương ứng có độ cao có độ chính xác cao hơn. |
|
Mô tả |
Tính sai số trung phương độ cao theo công thức:
Trong đó: - mz là sai số trung phương độ cao. - zd,i là giá trị độ cao của điểm kiểm tra thứ i trong tập dữ liệu. - zk,i là giá trị độ cao của điểm thứ i trong tập kiểm tra. - n là số điểm được kiểm tra. - i là số nguyên dương từ 1 đến n. |
|
Kiểu giá trị |
Số thực |
|
Đơn vị đo |
Mét |
2.33. Xác định độ chính xác thời gian
|
Tên phép đo |
Xác định độ chính xác thời gian. |
|
Tên phép đo chất lượng cơ bản |
Xác định lỗi. |
|
Định nghĩa |
Ngày thu nhận hoặc ngày cập nhật có sai khác so với thông tin ghi nhận trong siêu dữ liệu. |
|
Kiểu giá trị |
Boolean |
2.34. Xác định tỷ lệ thông tin phân loại sai
|
Tên phép đo |
Xác định tỷ lệ thông tin phân loại sai. |
|
Tên phép đo chất lượng cơ bản |
Xác định tỷ lệ lỗi. |
|
Định nghĩa |
Tổng số phần tử thông tin (đối tượng, thuộc tính đối tượng) phân loại sai trên tổng số phần tử thông tin thuộc phạm vi dữ liệu kiểm tra. |
|
Kiểu giá trị |
Tỷ lệ |
|
Đơn vị đo |
Phần tử thông tin. |
2.35. Xác định số thông tin phân loại sai
|
Tên phép đo |
Xác định số thông tin phân loại sai. |
|
Tên phép đo chất lượng cơ bản |
Đếm lỗi. |
|
Định nghĩa |
Xác định tổng số phần tử thông tin (đối tượng, thuộc tính đối tượng) phân loại sai so với thực tế trong phạm vi dữ liệu kiểm tra. |
|
Kiểu giá trị |
Số nguyên |
|
Đơn vị đo |
Phần tử thông tin |
2.36. Tính phần trăm thông tin phân loại đúng
|
Tên phép đo |
Tính phần trăm thông tin phân loại đúng. |
|
Tên phép đo chất lượng cơ bản |
Tính phần trăm phần tử đúng. |
|
Định nghĩa |
Số phần tử thông tin (đối tượng, thuộc tính đối tượng) phân loại đúng chia cho tổng số phần tử thông tin trong phạm vi kiểm tra dữ liệu nhân 100. |
|
Kiểu giá trị |
Phần trăm |
|
Đơn vị đo |
Phần tử thông tin |
3.37. Tính phần trăm thuộc tính nhận giá trị đúng
|
Tên phép đo |
Tính phần trăm thuộc tính nhận giá trị đúng. |
|
Tên phép đo chất lượng cơ bản |
Tính phần trăm phần tử đúng. |
|
Định nghĩa |
Số lượng phần tử dữ liệu đúng chia cho số lượng phần tử dữ liệu trong thực tế cần thu nhận nhân với 100. |
|
Kiểu giá trị |
Phần trăm (%) |
2.38. Xác định độ chính xác thuộc tính định lượng
|
Tên phép đo |
Xác định độ chính xác thuộc tính định lượng. |
|
Tên phép đo chất lượng cơ bản |
Không áp dụng. |
|
Định nghĩa |
Là giá trị số tuyệt đối của hiệu giá trị thuộc tính trong tập dữ liệu và giá trị thuộc tính tương ứng trong tập dữ liệu kiểm tra. |
|
Mô tả |
mi = |ai - Ai| Trong đó: - mi là trị số sai số tuyệt đối. - ai là giá trị thuộc tính của đối tượng thứ i trong tập dữ liệu. - Ai là giá trị thuộc tính của đối tượng thứ i tương ứng trong tập dữ liệu kiểm tra. |
|
Kiểu giá trị |
Số thực |
3. Phương pháp đánh giá chất lượng
3.1. Tập dữ liệu kiểm tra
Chọn tập dữ liệu kiểm tra theo một trong hai cách sau:
- Sử dụng tập dữ liệu hiện thời làm tập dữ liệu kiểm tra.
- Sử dụng tập dữ liệu độc lập có độ chính xác cao hơn tập dữ liệu kiểm tra.
3.2. Phạm vi kiểm tra
Chọn phạm vi kiểm tra theo một trong hai cách sau:
- Kiểm tra toàn bộ tập dữ liệu.
- Lấy mẫu kiểm tra (xem mục phương pháp lấy mẫu).
3.3. Cách kiểm tra
- Kiểm tra thủ công: Người kiểm tra sử dụng phương pháp so sánh trực tiếp để đưa ra kết luận về chất lượng của tập dữ liệu được kiểm tra.
- Kiểm tra tự động: Người kiểm tra sử dụng các công cụ, phần mềm hỗ trợ đưa ra kết luận về chất lượng của tập dữ liệu được kiểm tra.
3.4. Các phương pháp kiểm tra
|
Tên phương pháp |
Tập dữ liệu kiểm tra |
Cách kiểm tra |
Phạm vi kiểm tra |
Mô tả phương pháp |
|
IMF |
I |
M |
F |
Kiểm tra thủ công toàn bộ tập dữ liệu. Tập dữ liệu kiểm tra chính là tập dữ liệu hiện thời. |
|
IMS |
I |
M |
S |
Kiểm tra thủ công toàn bộ tập dữ liệu mẫu. Tập dữ liệu kiểm tra thuộc tập dữ liệu hiện thời. |
|
IAF |
I |
A |
F |
Kiểm tra tự động bằng công cụ, phần mềm toàn bộ tập dữ liệu. Tập dữ liệu kiểm tra chính là tập dữ liệu hiện thời. |
|
IAS |
I |
A |
S |
Kiểm tra tự động bằng công cụ phần mềm toàn bộ tập dữ liệu mẫu. Tập dữ liệu kiểm tra thuộc tập dữ liệu hiện thời. |
|
EMF |
E |
M |
F |
Kiểm tra thủ công toàn bộ tập dữ liệu. Tập dữ liệu kiểm tra là độc lập. |
|
EMS |
E |
M |
S |
Kiểm tra thủ công toàn bộ tập dữ liệu mẫu. Tập dữ liệu kiểm tra là độc lập. |
|
EAF |
E |
A |
F |
Kiểm tra tự động bằng công cụ, phần mềm toàn bộ tập dữ liệu. Tập dữ liệu kiểm tra là độc lập. |
|
EAS |
E |
A |
S |
Kiểm tra tự động bằng công cụ phần mềm toàn bộ tập dữ liệu mẫu. Tập dữ liệu kiểm tra là độc lập. |
Trong đó:
I - Tập dữ liệu kiểm tra là tập dữ liệu hiện thời.
E - Tập dữ liệu kiểm tra là tập dữ liệu độc lập.
A - Sử dụng công cụ, phần mềm hỗ trợ kiểm tra tự động.
M - Kiểm tra thủ công.
F - Kiểm tra toàn bộ tập dữ liệu.
S - Kiểm tra theo mẫu được chọn.
4. Chỉ tiêu chất lượng đối tượng địa lý
4.1. Chỉ tiêu chất lượng dữ liệu chung cho các đối tượng địa lý
|
Phép đo chất lượng |
Chỉ tiêu |
Phương pháp KT |
|
Xác định số phần tử thông tin không tuân thủ theo mô cấu trúc dữ liệu khái niệm. |
0 |
IAF |
|
Xác định số thuộc tính của đối tượng không tuân thủ miền giá trị. |
0 |
4.2. Chất lượng dữ liệu thuộc chủ đề Cơ sở đo đạc
|
Phép đo chất lượng |
Chỉ tiêu |
Phương pháp KT |
|
Tính phần trăm thông tin dư thừa (đối tượng, thuộc tính đối tượng) |
0% |
EMS |
|
Xác định số đối tượng trùng lặp |
0 |
IAF |
|
Xác định sai số trung phương vị trí mặt phẳng |
0 |
|
|
Tính phần trăm thông tin thiếu (đối tượng, thuộc tính đối tượng) |
0% |
EMS |
|
Tính phần trăm thông tin phân loại đúng (đối tượng, thuộc tính đối tượng) |
100% |
|
|
Tính phần trăm thuộc tính nhận giá trị đúng |
100% |
4.3. Chỉ tiêu chất lượng dữ liệu thuộc chủ đề biên giới quốc gia - địa giới hành chính
|
Phép đo chất lượng |
Chỉ tiêu |
Phương pháp kiểm tra |
|
Tính phần trăm thông tin dư thừa (đối tượng, thuộc tính đối tượng) |
0% |
EMS |
|
Xác định số đối tượng trùng lặp |
0 |
IAF |
|
Tính phần trăm thông tin thiếu (đối tượng, thuộc tính đối tượng) |
0% |
EMS |
|
Xác định sai số trung phương vị trí mặt phẳng |
≤ ±90 m |
|
|
Tính phần trăm thông tin phân loại đúng (đối tượng, thuộc tính đối tượng) |
100% |
|
|
Tính phần trăm thuộc tính nhận giá trị đúng |
100% |
|
Kiểu đối tượng |
Phép đo chất lượng |
Kiểu đối tượng quan hệ |
Chỉ tiêu |
Phương pháp kiểm tra |
|
Đường địa giới hành chính |
Xác định các cung tự chồng đè |
|
Sai |
IAF |
|
Xác định các cung tự cắt |
|
Sai |
||
|
Xác định số lỗi đỉnh treo của cung |
|
Sai |
||
|
Xác định số lỗi quan hệ giữa đường biên và bề mặt |
Địa phận |
0 |
||
|
Địa phận |
Xác định số lỗi quan hệ giữa bề mặt và đường biên |
Đường địa giới hành chính |
0 |
|
4.4. Chất lượng dữ liệu thuộc chủ đề Địa hình
|
Phép đo chất lượng |
Chỉ tiêu |
Phương pháp kiểm tra |
||||||||||||
|
Tính phần trăm thông tin dư thừa (đối tượng, thuộc tính đối tượng) |
5% |
EMS |
||||||||||||
|
Xác định số đối tượng trùng lặp |
0 |
IAF |
||||||||||||
|
Tính phần trăm thông tin thiếu (đối tượng, thuộc tính đối tượng) |
5% |
|
||||||||||||
|
Xác định sai số trung phương vị trí mặt phẳng |
a) Sai số trung phương vị trí điểm độ cao, địa vật trên đất liền, đảo so với vị trí của điểm khống chế ngoại nghiệp gần nhất: - Đối với khu vực đồng bằng và đồi: ≤ ±90m. - Đối với khu vực núi và núi cao: < ±125m. b) Sai số trung phương vị trí mặt phẳng của các điểm độ sâu so với các điểm định vị trên bờ không được vượt quá 75 m. c) Sai số trung phương vị trí mặt phẳng của địa vật nổi trên mặt nước có vị trí tâm là tâm ký hiệu thu nhận trên dữ liệu so với tọa độ điểm định vị trên bờ không được vượt quá 75m. Đối với các địa vật có độ di động trên mặt biển như phao tiêu, đèn luồng, sai số trên được cộng với phạm vi di động có thể của địa vật. d) Sai số trung phương vị trí mặt phẳng của các địa vật chìm dưới đáy biển, sông cho phép là ±200m. e) Trong mọi trường hợp các sai số không được mang tính hệ thống. |
EMS |
||||||||||||
|
Xác định sai số trung phương độ cao |
a) Sai số trung phương độ cao của đường bình độ, điểm đặc trưng địa hình, điểm ghi chú độ cao thu nhận trên dữ liệu so với độ cao điểm khống chế ngoại nghiệp gần nhất không vượt quá ½ khoảng cao đều đường bình độ cơ bản. Đối với khu vực ẩn khuất và đặc biệt khó khăn các sai số được phép tăng lên 1,5 lần. b) Sai số trung phương độ sâu của điểm độ sâu sau khi đã quy đổi về hệ độ cao nhà nước:
c) Sai số trung bình độ sâu của đường bình độ sâu cơ bản so với mốc “0” của trạm nghiệm triều gần nhất:
|
|
||||||||||||
|
Tính phần trăm thông tin phân loại đúng (đối tượng, thuộc tính đối tượng) |
95% |
|
||||||||||||
|
Tính phần trăm thuộc tính nhận giá trị đúng |
95% |
|
||||||||||||
|
Xác định độ chính xác thuộc tính định lượng (áp dụng cho các đối tượng có thuộc tính định lượng, đơn vị tính theo đơn vị đo của thuộc tính định lượng tương ứng) |
0 m |
|
||||||||||||
|
Kiểu đối tượng |
Phép đo chất lượng |
Kiểu đối tượng quan hệ |
Chỉ tiêu |
Phương pháp kiểm tra |
|
Đường bình độ |
Xác định các cung tự chồng đè |
|
Sai |
IAF |
|
Xác định các cung tự cắt |
|
Sai |
||
|
Địa hình đặc biệt |
Xác định lỗi vùng nhỏ (chỉ áp dụng quy tắc về diện tích) |
|
Sai |
4.5. Chất lượng dữ liệu thuộc chủ đề Giao thông
|
Phép đo chất lượng |
Chỉ tiêu |
Phương pháp kiểm tra |
|
Tính phần trăm thông tin dư thừa (đối tượng, thuộc tính đối tượng) |
5% |
EMS |
|
Xác định số đối tượng trùng lặp |
0 |
IAF |
|
Tính phần trăm thông tin thiếu (đối tượng, thuộc tính đối tượng) |
5% |
EMS |
|
Xác định sai số trung phương vị trí mặt phẳng |
Sai số trung phương vị trí địa vật so với vị trí của điểm khống chế ngoại nghiệp gần nhất: - Đối với khu vực đồng bằng và đồi: ≤ ±90 m. - Đối với khu vực núi và núi cao: ≤ ±125 m. - Đối với khu vực ẩn khuất và đặc biệt khó khăn các sai số được phép tăng lên 1,5 lần; Trong mọi trường hợp các sai số đều không được mang tính hệ thống. |
|
|
Tính phần trăm thông tin phân loại đúng (đối tượng, thuộc tính đối tượng) |
95% |
|
|
Tính phần trăm thuộc tính nhận giá trị đúng |
95% |
|
|
Xác định độ chính xác thuộc tính định lượng (áp dụng cho các đối tượng có thuộc tính định lượng, đơn vị tính theo đơn vị đo của thuộc tính định lượng tương ứng) |
0 |
|
Kiểu đối tượng |
Phép đo chất lượng |
Kiểu đối tượng quan hệ |
Chỉ tiêu |
Phương pháp kiểm tra |
|
Tim đường bộ |
Xác định số lỗi tự chồng đè của cung |
|
0 |
IAF |
|
Xác định số lỗi tự cắt nhau của cung |
|
0 |
||
|
Xác định đầu, cuối cung không trùng với vị trí của điểm |
Nút mạng đường bộ |
Sai |
||
|
Nút mạng đường bộ |
Xác định điểm không nằm tại vị trí đầu, cuối cung |
Tim đường bộ |
Sai |
|
|
Cầu giao thông |
Xác định cung không trùng với cung thuộc kiểu đối tượng khác |
Tim đường bộ hoặc Đoạn đường sắt |
Sai |
|
|
Hầm giao thông |
Xác định cung không trùng với cung thuộc kiểu đối tượng khác |
Tim đường bộ hoặc Đoạn đường sắt |
Sai |
|
|
Đoạn đường sắt |
Xác định số lỗi tự chồng đè của cung |
|
0 |
|
|
Xác định số lỗi tự cắt nhau của cung |
|
0 |
||
|
Xác định đầu, cuối cung không trùng với vị trí của điểm |
Nút mạng đường sắt |
Sai |
||
|
Nút mạng đường sắt |
Xác định điểm không nằm tại vị trí đầu, cuối cung |
Đoạn đường sắt |
Sai |
|
4.6. Quy định chất lượng đối với dữ liệu thuộc chủ đề Thủy hệ
|
Phép đo chất lượng |
Chỉ tiêu |
Phương pháp kiểm tra |
|
Tính phần trăm thông tin dư thừa (đối tượng, thuộc tính đối tượng) |
5% |
EMS |
|
Xác định số đối tượng trùng lặp |
0 |
IAF |
|
Tính phần trăm thông tin thiếu (đối tượng, thuộc tính đối tượng) |
5% |
EMS |
|
Xác định sai số trung phương vị trí mặt phẳng |
Sai số trung phương vị trí địa vật so với vị trí của điểm khống chế ngoại nghiệp gần nhất: - Đối với khu vực đồng bằng và đồi: ≤ ±90 m. - Đối với khu vực núi và núi cao: ≤ ±125 m. - Đối với khu vực ẩn khuất và đặc biệt khó khăn các sai số được phép tăng lên 1,5 lần; Trong mọi trường hợp các sai số đều không được mang tính hệ thống. |
|
|
Tính phần trăm thông tin phân loại đúng (đối tượng, thuộc tính đối tượng) |
95% |
|
|
Tính phần trăm thuộc tính nhận giá trị đúng |
95% |
|
|
Xác định độ chính xác thuộc tính định lượng (áp dụng cho các đối tượng có thuộc tính định lượng, đơn vị tính theo đơn vị đo của thuộc tính định lượng tương ứng) |
0 |
|
Kiểu đối tượng |
Phép đo chất lượng |
Kiểu đối tượng quan hệ |
Chỉ tiêu |
Phương pháp kiểm tra |
|
Sông suối |
Xác định số lỗi tự chồng đè của cung |
|
0 |
IAF |
|
Xác định số lỗi tự cắt nhau của cung |
|
0 |
||
|
Xác định lỗi vùng nhỏ (chỉ áp dụng quy tắc về diện tích) |
|
Sai |
||
|
Xác định lỗi chồng xếp bề mặt |
|
Sai |
||
|
Xác định khoảng hở giữa các bề mặt |
|
Sai |
||
|
Xác định số lỗi bề mặt tự giao không hợp lệ |
|
0 |
||
|
Xác định số lỗi quan hệ giữa bề mặt và đường biên |
Đường bờ nước sông suối |
0 |
||
|
Kênh mương |
Xác định số lỗi tự chồng đè của cung |
|
0 |
IAF |
|
Xác định số lỗi tự cắt nhau của cung |
|
0 |
||
|
Xác định lỗi vùng nhỏ (chỉ áp dụng quy tắc về diện tích) |
|
Sai |
||
|
Xác định lỗi chồng xếp bề mặt |
|
Sai |
||
|
Xác định khoảng hở giữa các bề mặt |
|
Sai |
||
|
Xác định số lỗi bề mặt tự giao không hợp lệ |
|
0 |
||
|
Xác định số lỗi quan hệ giữa bề mặt và đường biên |
Đường bờ nước kênh mương |
0 |
||
|
Mặt nước tĩnh |
Xác định số lỗi tự chồng đè của cung |
|
0 |
IAF |
|
Xác định số lỗi tự cắt nhau của cung |
|
0 |
||
|
Xác định lỗi vùng nhỏ (chỉ áp dụng quy tắc về diện tích) |
|
Sai |
||
|
Xác định lỗi chồng xếp bề mặt |
|
Sai |
||
|
Xác định khoảng hở giữa các bề mặt |
|
Sai |
||
|
Xác định số lỗi bề mặt tự giao không hợp lệ |
|
0 |
||
|
Xác định số lỗi quan hệ giữa bề mặt và đường biên |
Đường bờ nước Ao/hồ, đầm/phá, hồ chứa |
0 |
4.7. Chất lượng dữ liệu thuộc chủ đề Dân cư - cơ sở hạ tầng
|
Phép đo chất lượng |
Chỉ tiêu |
Phương pháp kiểm tra |
|
Tính phần trăm thông tin dư thừa của đối tượng, thuộc tính đối tượng. |
5% |
EMS |
|
Xác định số đối tượng trùng lặp |
0 |
IAF |
|
Tính phần trăm thông tin thiếu của đối tượng, thuộc tính đối tượng. |
5% |
EMS |
|
Xác định sai số trung phương vị trí mặt phẳng |
Sai số trung phương vị trí địa vật so với vị trí của điểm khống chế ngoại nghiệp gần nhất: - Đối với khu vực đồng bằng và đồi: ≤ ±90 m. - Đối với khu vực núi và núi cao: ≤ ±125 m. - Đối với khu vực ẩn khuất và đặc biệt khó khăn các sai số được phép tăng lên 1,5 lần; Trong mọi trường hợp các sai số đều không được mang tính hệ thống. |
|
|
Tính phần trăm thông tin phân loại đúng (đối tượng, thuộc tính đối tượng) |
95% |
|
|
Tính phần trăm thuộc tính nhận giá trị đúng |
95% |
|
|
Xác định độ chính xác thuộc tính định lượng (áp dụng cho các đối tượng có thuộc tính định lượng, đơn vị tính theo đơn vị đo của thuộc tính định lượng tương ứng) |
0 |
|
Kiểu đối tượng |
Phép đo chất lượng |
Kiểu đối tượng quan hệ |
Chỉ tiêu |
Phương pháp kiểm tra |
|
Khu chức năng |
Xác định lỗi vùng nhỏ (chỉ áp dụng quy tắc về diện tích) |
|
Sai |
IAF |
|
Xác định lỗi chồng xếp bề mặt |
|
Sai |
||
|
Xác định khoảng hở giữa các bề mặt |
|
Sai |
||
|
Xác định số lỗi bề mặt tự giao không hợp lệ |
|
0 |
||
|
Xác định số lỗi quan hệ giữa bề mặt và đường biên |
Ranh giới khu chức năng |
0 |
||
|
Ranh giới khu chức năng |
Số lỗi quan hệ giữa đường biên và bề mặt |
Khu chức năng |
0 |
4.8. Chất lượng dữ liệu thuộc chủ đề Phủ bề mặt
|
Phép đo chất lượng |
Chỉ tiêu |
Phương pháp kiểm tra |
|
Tính phần trăm thông tin dư thừa (đối tượng, thuộc tính đối tượng) |
5% |
EMS |
|
Xác định số đối tượng trùng lặp |
0 |
IAF |
|
Tính phần trăm thông tin thiếu (đối tượng, thuộc tính đối tượng) |
5% |
EMS |
|
Xác định sai số trung phương vị trí mặt phẳng |
Sai số trung phương vị trí địa vật so với vị trí của điểm khống chế ngoại nghiệp gần nhất: - Đối với khu vực đồng bằng và đồi: ≤ ±90 m. - Đối với khu vực núi và núi cao: ≤±125 m. Đối với khu vực ẩn khuất và đặc biệt khó khăn các sai số được phép tăng lên 1,5 lần; trong mọi trường hợp các sai số đều không được mang tính hệ thống. |
|
|
Tính phần trăm thông tin phân loại đúng (đối tượng, thuộc tính đối tượng) |
95% |
|
|
Tính phần trăm thuộc tính nhận giá trị đúng |
95% |
|
Kiểu đối tượng |
Phép đo chất lượng |
Kiểu đối tượng quan hệ |
Chỉ tiêu |
Phương pháp kiểm tra |
|
Phủ bề mặt |
Xác định lỗi vùng nhỏ |
|
Sai |
IAF |
|
Xác định lỗi chồng xếp bề mặt |
|
Sai |
||
|
Xác định khoảng hở giữa các bề mặt |
|
Sai |
||
|
Xác định số lỗi bề mặt tự giao không hợp lệ |
|
0 |
||
|
Xác định số lỗi quan hệ giữa bề mặt và đường biên |
Ranh giới phủ bề mặt |
0 |
||
|
Ranh giới phủ bề mặt |
Xác định số lỗi quan hệ giữa đường biên và bề mặt |
Phủ bề mặt |
0 |
5. Phương pháp lấy mẫu kiểm tra
5.1. Kích thước mẫu
Để đánh giá độ chính xác của tập dữ liệu thì kích thước mẫu dữ liệu được kiểm tra phải thỏa mãn các điều kiện sau:
|
Thông tin lấy mẫu |
Kích thước tập dữ liệu |
Kích thước mẫu so với tập dữ liệu |
|
Đối tượng |
Tổng số đối tượng trong tập dữ liệu |
20% |
|
Diện tích mẫu |
Diện tích được bao phủ bởi tập dữ liệu |
20% |
|
Tổng chiều dài mẫu |
Tổng chiều dài của các đối tượng trong tập dữ liệu |
10% |
|
Số đỉnh trong mẫu |
Tổng số đỉnh của các đối tượng trong tập dữ liệu |
10% |
Đối với trường hợp lấy mẫu kiểm tra độ chính xác vị trí của tập dữ liệu thì phải thỏa mãn thêm các yêu cầu sau:
- Phạm vi không gian lấy mẫu phải tương ứng với phạm vi không gian của tập dữ liệu kiểm tra.
- Khi phạm vi của tập dữ liệu cần đánh giá độ chính xác có dạng hình chữ nhật thì phân bố của tập điểm kiểm tra phải thỏa mãn 2 điều kiện sau:
+ Khoảng cách giữa các điểm kiểm tra không được vượt quá 1/10 khoảng cách của đường chéo hình chữ nhật.
+ Mật độ của các điểm kiểm tra trong mỗi một ¼ hình chữ nhật không được nhỏ hơn 20% tập điểm kiểm tra.

5.2. Xác định mẫu
- Lấy mẫu ngẫu nhiên theo các lô dữ liệu. Chọn ngẫu nhiên một hoặc nhiều lô dữ liệu trong phạm vi tập dữ liệu kiểm tra. Tổng hợp các lô dữ liệu trong mẫu phải thỏa mãn các yêu cầu về kích thước mẫu.

Lấy mẫu ngẫu nhiên từ các dữ liệu
- Lấy mẫu ngẫu nhiên từ các dữ liệu chia sẵn. Phân chia tập dữ liệu cần kiểm tra thành các lô dữ liệu, sau đó chọn mẫu từ một số lô dữ liệu sao cho thỏa mãn điều kiện về kích thước mẫu:

PHỤ LỤC 4
LƯỢC ĐỒ GML TRONG PHÂN PHỐI DỮ LIỆU ĐỊA LÝ TỶ LỆ 1:250.000
(Ban hành kèm theo Thông tư số 48/2016/TT-BTNMT ngày 28 tháng 12 năm 2016 của Bộ trưởng Bộ Tài nguyên và Môi trường)
1. Lược đồ ứng dụng GML và cấu trúc dữ liệu Shapefile dạng rút gọn
1.1. Danh mục thẻ GML, tên tệp Shapefile
|
STT |
Tên đối tượng |
Tên thẻ GML/Tên tệp SHP |
Kiểu mô tả không gian hình học |
||
|
GM_Point |
GM_Curve |
GM_Surface |
|||
|
1 |
Điểm gốc tọa độ quốc gia |
GA01 |
_0 |
|
|
|
2 |
Điểm gốc độ cao quốc gia |
GA02 |
_0 |
|
|
|
3 |
Điểm gốc vệ tinh |
GA03 |
_0 |
|
|
|
4 |
Điểm gốc trọng lực |
GA04 |
_0 |
|
|
|
6 |
Điểm tọa độ cơ sở quốc gia |
GB01 |
_0 |
|
|
|
7 |
Điểm độ cao cơ sở quốc gia |
GB02 |
_0 |
|
|
|
9 |
Điểm trọng lực trong mạng lưới trọng lực quốc gia. |
GB04 |
_0 |
|
|
|
10 |
Đường biên giới quốc gia trên đất liền |
AA01 |
|
_1 |
|
|
11 |
Đường biên giới quốc gia trên biển |
AA02 |
|
_1 |
|
|
12 |
Đường địa giới hành chính cấp tỉnh |
AC01 |
|
_1 |
|
|
13 |
Đường địa giới hành chính cấp huyện |
AC02 |
|
_1 |
|
|
15 |
Địa phận hành chính cấp tỉnh |
AD01 |
|
|
_2 |
|
16 |
Địa phận hành chính cấp huyện |
AD02 |
|
|
_2 |
|
18 |
Đường cơ sở lãnh hải |
AB01 |
|
_1 |
|
|
19 |
Điểm cơ sở lãnh hải |
AG01 |
_0 |
|
|
|
20 |
Vùng nội thủy |
AE01 |
|
|
_2 |
|
21 |
Lãnh hải |
AE02 |
|
|
_2 |
|
22 |
Vùng tiếp giáp lãnh hải |
AE03 |
|
|
_2 |
|
23 |
Vùng nước lịch sử |
AE06 |
|
|
_2 |
|
24 |
Địa danh sơn văn |
DA05 |
_0 |
|
|
|
25 |
Điểm độ cao |
EA01 |
_0 |
|
|
|
26 |
Điểm độ sâu |
EA02 |
_0 |
|
|
|
27 |
Bãi đá trên cạn |
EB01 |
|
|
_2 |
|
28 |
Bờ dốc tự nhiên |
EB02 |
|
_1 |
|
|
29 |
Cửa hang động |
EB04 |
_0 |
|
|
|
31 |
Địa hình bậc thang |
EB06 |
|
|
_2 |
|
32 |
Địa hình lồi |
EB07 |
|
|
_2 |
|
33 |
Địa hình cát |
EB08 |
|
|
_2 |
|
34 |
Địa hình lõm |
EB09 |
|
|
_2 |
|
35 |
Hố cacxtơ |
EB10 |
|
|
_2 |
|
36 |
Khe rãnh |
EB11 |
|
_1 |
|
|
37 |
Miệng núi lửa |
EB12 |
_0 |
|
|
|
38 |
Địa hình núi đá |
EB13 |
|
|
_2 |
|
40 |
Sườn đứt gãy |
EB15 |
|
_1 |
|
|
42 |
Vách đứng |
EB18 |
|
_1 |
|
|
44 |
Địa hình cắt xẻ nhân tạo |
EB21 |
|
_1 |
|
|
45 |
Đường bình độ |
EA03 |
|
_1 |
|
|
46 |
Đường bình độ sâu |
EA04 |
|
_1 |
|
|
47 |
Biển |
LC03 |
_0 |
|
|
|
48 |
Vịnh, vũng |
LC06 |
_0 |
|
|
|
49 |
Đảo |
LC04 |
_0 |
|
_2 |
|
49a |
Bãi đá dưới nước |
LC01 |
|
|
_2 |
|
49b |
Rạn san hô |
LC07 |
|
|
_2 |
|
49c |
Bãi cỏ rong, tảo |
LC10 |
|
|
_2 |
|
49d |
Cửa sông-Cửa biển |
LC08 |
_0 |
|
|
|
49e |
Quần đảo |
LC09 |
_0 |
|
|
|
50 |
Bãi bồi |
LD01 |
|
|
_2 |
|
51 |
Ghềnh |
LD02 |
_0 |
_1 |
|
|
52 |
Thác |
LD03 |
_0 |
_1 |
|
|
54 |
Mạch nước |
LA05 |
_0 |
|
|
|
55 |
Đường bờ nước |
LG01 |
|
_1 |
|
|
58 |
Kênh, Mương |
LA04 |
|
_1 |
_2 |
|
58a |
Tim dòng chảy |
LA08 |
|
_1 |
|
|
58b |
Nút mạng dòng chảy |
LA06 |
_0 |
|
|
|
59 |
Ao, hồ |
LB01 |
|
|
_2 |
|
60 |
Đầm, phá |
LB02 |
|
|
_2 |
|
61 |
Hồ chứa |
LB03 |
|
|
_2 |
|
62 |
Sông, Suối |
LA07 |
|
_1 |
_2 |
|
65 |
Đập |
LE04 |
|
_1 |
|
|
66 |
Đê |
LE05 |
|
_1 |
|
|
70 |
Đầm lầy |
LH01 |
|
|
_2 |
|
71 |
Đèn biển |
HH02 |
_0 |
|
|
|
73 |
Bến phà |
HA03 |
_0 |
|
|
|
74 |
Ga đường sắt |
HB02 |
_0 |
|
|
|
77 |
Cảng biển |
HC03 |
_0 |
|
|
|
78 |
Cảng thủy nội địa |
HC04 |
_0 |
|
|
|
79 |
Cảng hàng không |
HD01 |
_0 |
|
|
|
80 |
Cầu giao thông |
HG02 |
_0 |
_1 |
|
|
82 |
Đèo |
HG04 |
_0 |
|
|
|
83 |
Đoạn tim đường bộ |
HA13 |
|
_1 |
|
|
88 |
Đường nội bộ |
HA20 |
|
_1 |
|
|
89 |
Hầm giao thông |
HG05 |
_0 |
_1 |
|
|
100 |
Đoạn đường sắt |
HB01 |
|
_1 |
|
|
101 |
Nút đường sắt |
HB04 |
_0 |
|
|
|
102 |
Điểm dân cư |
CA01 |
_0 |
|
|
|
103 |
Đường dây tải diện |
BA03 |
|
_1 |
|
|
106 |
Trạm quan trắc |
BI04 |
_0 |
|
|
|
107 |
Trạm thu phát sóng |
BB04 |
_0 |
|
|
|
108 |
Cổng thành |
BQ03 |
_0 |
|
|
|
109 |
Cột cờ |
BQ05 |
_0 |
|
|
|
110 |
Tháp cổ |
BQ12 |
_0 |
|
|
|
111 |
Tượng đài |
BQ14 |
_0 |
|
|
|
133 |
Khu du lịch |
BH02 |
_0 |
|
|
|
134 |
Bãi tắm |
BH03 |
_0 |
|
|
|
138 |
Cửa khẩu |
BK03 |
_0 |
|
|
|
139 |
Khu chế xuất |
BL02 |
_0 |
|
|
|
140 |
Khu công nghiệp |
BL03 |
_0 |
|
|
|
141 |
Khu khai thác |
BL04 |
_0 |
|
|
|
143 |
Lâm trường |
BL06 |
_0 |
|
|
|
144 |
Nhà máy |
BL07 |
_0 |
|
|
|
145 |
Nông trường |
BL08 |
_0 |
|
|
|
148 |
Ruộng muối |
BL13 |
|
|
_2 |
|
149 |
Khu nuôi trồng thủy sản |
BL14 |
|
|
_2 |
|
151 |
Sân gôn |
BM04 |
_0 |
|
|
|
152 |
Sân vận động |
BM05 |
_0 |
|
|
|
159 |
Trung tâm thương mại |
BN08 |
_0 |
|
|
|
160 |
Đình |
BP02 |
_0 |
|
|
|
161 |
Đền |
BP03 |
_0 |
|
|
|
162 |
Chùa |
BO03 |
_0 |
|
|
|
163 |
Nhà thờ |
BO04 |
_0 |
|
|
|
165 |
Công viên |
BQ04 |
_0 |
|
|
|
170 |
Khu bảo tồn thiên nhiên |
BT01 |
_0 |
|
|
|
175 |
Danh lam thắng cảnh |
BT03 |
_0 |
|
|
|
176 |
Khu lăng mộ |
BS02 |
_0 |
|
|
|
177 |
Nghĩa trang liệt sỹ |
BV02 |
_0 |
|
|
|
178 |
Nghĩa trang |
BV03 |
_0 |
|
|
|
181 |
Bến bãi |
HI01 |
_0 |
|
|
|
182 |
Nhà độc lập |
CB02 |
_0 |
|
|
|
183 |
Vùng nội đô |
CB03 |
|
|
_2 |
|
184 |
Ranh giới khu chức năng |
KB03 |
|
_1 |
|
|
185 |
Khu dân cư |
IA02 |
|
|
_2 |
|
186 |
Khu khai thác |
IA03 |
|
|
_2 |
|
187 |
Vùng đất trống |
IA04 |
|
|
_2 |
|
188 |
Công trình |
IA05 |
|
|
_2 |
|
189 |
Khu canh tác nông nghiệp |
IB02 |
|
|
_2 |
|
190 |
Đồng cỏ |
IB03 |
|
|
_2 |
|
191 |
Rừng |
IB04 |
|
|
_2 |
|
192 |
Thực phủ chưa thành rừng |
IB05 |
|
|
_2 |
|
193 |
Thực phủ trong khu dân cư |
IB06 |
|
|
_2 |
|
194 |
Nước mặt |
IG01 |
|
|
_2 |
|
195 |
Ranh giới phủ bề mặt |
KB02 |
|
_1 |
|
1.2. Danh mục thuộc tính
|
STT |
Tên đối tượng |
Tên thuộc tính |
GML, SHP |
Kiểu giá trị |
|
1 |
Điểm gốc tọa độ quốc gia |
Mã đối tượng |
MDT |
C(4) |
|
Số hiệu điểm |
SHD |
C(50) |
||
|
Mã nhận dạng |
MND |
C(18) |
||
|
Ngày thu nhận |
NTN |
DATETIME |
||
|
Ngày cập nhật |
NCN |
DATETIME |
||
|
2 |
Điểm gốc độ cao quốc gia |
Mã đối tượng |
MDT |
C(4) |
|
Số hiệu điểm |
SHD |
C(50) |
||
|
Mã nhận dạng |
MND |
C(18) |
||
|
Ngày thu nhận |
NTN |
DATETIME |
||
|
Ngày cập nhật |
NCN |
DATETIME |
||
|
3 |
Điểm gốc vệ tinh |
Mã đối tượng |
MDT |
C(4) |
|
Số hiệu điểm |
SHD |
C(50) |
||
|
Mã nhận dạng |
MND |
C(18) |
||
|
Ngày thu nhận |
NTN |
DATETIME |
||
|
Ngày cập nhật |
NCN |
DATETIME |
||
|
4 |
Điểm gốc trọng lực |
Mã đối tượng |
MDT |
C(4) |
|
Số hiệu điểm |
SHD |
C(50) |
||
|
Mã nhận dạng |
MND |
C(18) |
||
|
Ngày thu nhận |
NTN |
DATETIME |
||
|
Ngày cập nhật |
NCN |
DATETIME |
||
|
6 |
Điểm tọa độ cơ sở quốc gia |
Mã đối tượng |
MDT |
C(4) |
|
Loại cấp hạng |
CHS |
N(1,0) |
||
|
Loại mốc |
LMO |
N(1,0) |
||
|
Số hiệu điểm |
SHD |
C(50) |
||
|
Mã nhận dạng |
MND |
C(18) |
||
|
Ngày thu nhận |
NTN |
DATETIME |
||
|
Ngày cập nhật |
NCN |
DATETIME |
||
|
7 |
Điểm độ cao cơ sở quốc gia |
Mã đối tượng |
MDT |
C(4) |
|
Loại cấp hạng |
CHS |
N(1,0) |
||
|
Loại mốc |
LMO |
N(1,0) |
||
|
Số hiệu điểm |
SHD |
C(50) |
||
|
Mã nhận dạng |
MND |
C(18) |
||
|
Ngày thu nhận |
NTN |
DATETIME |
||
|
Ngày cập nhật |
NCN |
DATETIME |
||
|
9 |
Điểm trọng lực quốc gia |
Mã đối tượng |
MDT |
C(4) |
|
Loại cấp hạng |
CHS |
N(1,0) |
||
|
Loại mốc |
LMO |
N(1,0) |
||
|
Số hiệu điểm |
SHD |
C(50) |
||
|
Mã nhận dạng |
MND |
C(18) |
||
|
Ngày thu nhận |
NTN |
DATETIME |
||
|
Ngày cập nhật |
NCN |
DATETIME |
||
|
10 |
Đường biên giới quốc gia trên đất liền |
Mã đối tượng |
MDT |
C(4) |
|
Loại hiện trạng pháp lý |
HTP |
N(1,0) |
||
|
Quốc gia liền kề |
QGK |
C(50) |
||
|
Chiều dài |
CDI |
N(10,4) |
||
|
Mã nhận dạng |
MND |
C(18) |
||
|
Ngày thu nhận |
NTN |
DATETIME |
||
|
Ngày cập nhật |
NCN |
DATETIME |
||
|
11 |
Đường biên giới quốc gia trên biển |
Mã đối tượng |
MDT |
C(4) |
|
Loại hiện trạng pháp lý |
HTP |
N(1,0) |
||
|
Quốc gia liền kề |
QGK |
C(50) |
||
|
Chiều dài |
CDI |
N(10,4) |
||
|
Mã nhận dạng |
MND |
C(18) |
||
|
Ngày thu nhận |
NTN |
DATETIME |
||
|
Ngày cập nhật |
NCN |
DATETIME |
||
|
12 |
Đường địa giới hành chính cấp tỉnh |
Mã đối tượng |
MDT |
C(4) |
|
Loại hiện trạng pháp lý |
HTP |
N(1,0) |
||
|
Đơn vị hành chính liền kề trái |
LKT |
C(50) |
||
|
Đơn vị hành chính liền kề phải |
LKP |
C(50) |
||
|
Chiều dài |
CDI |
N(10,4) |
||
|
Mã nhận dạng |
MND |
C(18) |
||
|
Ngày thu nhận |
NTN |
DATETIME |
||
|
Ngày cập nhật |
NCN |
DATETIME |
||
|
13 |
Đường địa giới hành chính cấp huyện |
Mã đối tượng |
MDT |
C(4) |
|
Loại hiện trạng pháp lý |
HTP |
N(1,0) |
||
|
Đơn vị hành chính liền kề trái |
LKT |
C(50) |
||
|
Đơn vị hành chính liền kề phải |
LKP |
C(50) |
||
|
Chiều dài |
CDI |
N(10,4) |
||
|
Mã nhận dạng |
MND |
C(18) |
||
|
Ngày thu nhận |
NTN |
DATETIME |
||
|
Ngày cập nhật |
NCN |
DATETIME |
||
|
15 |
Địa phận hành chính cấp tỉnh |
Mã đối tượng |
MDT |
C(4) |
|
Mã đơn vị hành chính |
MHC |
C(18) |
||
|
Tên |
TEN |
C(50) |
||
|
Diện tích |
DTI |
N(10,4) |
||
|
Mã nhận dạng |
MND |
C(18) |
||
|
Ngày thu nhận |
NTN |
DATETIME |
||
|
Ngày cập nhật |
NCN |
DATETIME |
||
|
16 |
Địa phận hành chính cấp huyện |
Mã đối tượng |
MDT |
C(4) |
|
Mã đơn vị hành chính |
MHC |
C(18) |
||
|
Tên |
TEN |
C(50) |
||
|
Diện tích |
DTI |
N(10,4) |
||
|
Mã nhận dạng |
MND |
C(18) |
||
|
Ngày thu nhận |
NTN |
DATETIME |
||
|
Ngày cập nhật |
NCN |
DATETIME |
||
|
Ngày thu nhận |
NTN |
DATETIME |
||
|
Ngày cập nhật |
NCN |
DATETIME |
||
|
18 |
Đường cơ sở lãnh hải |
Mã đối tượng |
MDT |
C(4) |
|
Chiều dài |
CDI |
N(10,4) |
||
|
Mã nhận dạng |
MND |
C(18) |
||
|
Ngày thu nhận |
NTN |
DATETIME |
||
|
Ngày cập nhật |
NCN |
DATETIME |
||
|
19 |
Điểm cơ sở lãnh hải |
Mã đối tượng |
MDT |
C(4) |
|
Số hiệu điểm |
SHD |
C(50) |
||
|
Vĩ độ |
VDO |
N(10,4) |
||
|
Kinh độ |
KDO |
N(10,4) |
||
|
Độ cao H |
DAH |
N(10,4) |
||
|
Mã nhận dạng |
MND |
C(18) |
||
|
Ngày thu nhận |
NTN |
DATETIME |
||
|
Ngày cập nhật |
NCN |
DATETIME |
||
|
20 |
Vùng nội thủy |
Mã đối tượng |
MDT |
C(4) |
|
Diện tích |
DTI |
N(10,4) |
||
|
Mã nhận dạng |
MND |
C(18) |
||
|
Ngày thu nhận |
NTN |
DATETIME |
||
|
Ngày cập nhật |
NCN |
DATETIME |
||
|
21 |
Lãnh hải |
Mã đối tượng |
MDT |
C(4) |
|
Diện tích |
DTI |
N(10,4) |
||
|
Mã nhận dạng |
MND |
C(18) |
||
|
Ngày thu nhận |
NTN |
DATETIME |
||
|
Ngày cập nhật |
NCN |
DATETIME |
||
|
22 |
Vùng tiếp giáp lãnh hải |
Mã đối tượng |
MDT |
C(4) |
|
Diện tích |
DTI |
N(10,4) |
||
|
Mã nhận dạng |
MND |
C(18) |
||
|
Ngày thu nhận |
NTN |
DATETIME |
||
|
Ngày cập nhật |
NCN |
DATETIME |
||
|
23 |
Vùng nước lịch sử |
Mã đối tượng |
MDT |
C(4) |
|
Diện tích |
DTI |
N(10,4) |
||
|
Mã nhận dạng |
MND |
C(18) |
||
|
Ngày thu nhận |
NTN |
DATETIME |
||
|
Ngày cập nhật |
NCN |
DATETIME |
||
|
24 |
Địa danh sơn văn |
Mã đối tượng |
MDT |
C(4) |
|
Tên |
TEN |
C(50) |
||
|
Mã nhận dạng |
MND |
C(18) |
||
|
Ngày thu nhận |
NTN |
DATETIME |
||
|
Ngày cập nhật |
NCN |
DATETIME |
||
|
25 |
Điểm độ cao |
Mã đối tượng |
MDT |
C(4) |
|
Độ cao H |
DAH |
N(10,4) |
||
|
Loại điểm độ cao |
LDD |
N(1,0) |
||
|
Mã nhận dạng |
MND |
C(18) |
||
|
Ngày thu nhận |
NTN |
DATETIME |
||
|
Ngày cập nhật |
NCN |
DATETIME |
||
|
26 |
Điểm độ sâu |
Mã đối tượng |
MDT |
C(4) |
|
Độ sâu H |
DSA |
N(10,4) |
||
|
Mã nhận dạng |
MND |
C(18) |
||
|
Ngày thu nhận |
NTN |
DATETIME |
||
|
Ngày cập nhật |
NCN |
DATETIME |
||
|
27 |
Bãi đá trên cạn |
Mã đối tượng |
MDT |
C(4) |
|
Tên |
TEN |
C(50) |
||
|
Tỷ cao tỷ sâu |
TCS |
N(10,4) |
||
|
Mã nhận dạng |
MND |
C(18) |
||
|
Ngày thu nhận |
NTN |
DATETIME |
||
|
Ngày cập nhật |
NCN |
DATETIME |
||
|
28 |
Bờ dốc tự nhiên |
Mã đối tượng |
MDT |
C(4) |
|
Tên |
TEN |
C(50) |
||
|
Tỷ cao tỷ sâu |
TCS |
N(10,4) |
||
|
Mã nhận dạng |
MND |
C(18) |
||
|
Ngày thu nhận |
NTN |
DATETIME |
||
|
Ngày cập nhật |
NCN |
DATETIME |
||
|
29 |
Cửa hang động |
Mã đối tượng |
MDT |
C(4) |
|
Tên |
TEN |
C(50) |
||
|
Tỷ cao tỷ sâu |
TCS |
N(10,4) |
||
|
Mã nhận dạng |
MND |
C(18) |
||
|
Ngày thu nhận |
NTN |
DATETIME |
||
|
Ngày cập nhật |
NCN |
DATETIME |
||
|
31 |
Địa hình bậc thang |
Mã đối tượng |
MDT |
C(4) |
|
Tên |
TEN |
C(50) |
||
|
Tỷ cao tỷ sâu |
TCS |
N(10,4) |
||
|
Mã nhận dạng |
MND |
C(18) |
||
|
Ngày thu nhận |
NTN |
DATETIME |
||
|
Ngày cập nhật |
NCN |
DATETIME |
||
|
32 |
Địa hình lồi |
Mã đối tượng |
MDT |
C(4) |
|
Tên |
TEN |
C(50) |
||
|
Tỷ cao tỷ sâu |
TCS |
N(10,4) |
||
|
Mã nhận dạng |
MND |
C(18) |
||
|
Ngày thu nhận |
NTN |
DATETIME |
||
|
Ngày cập nhật |
NCN |
DATETIME |
||
|
33 |
Địa hình cát |
Mã đối tượng |
MDT |
C(4) |
|
Tên |
TEN |
C(50) |
||
|
Tỷ cao tỷ sâu |
TCS |
N(10,4) |
||
|
Mã nhận dạng |
MND |
C(18) |
||
|
Ngày thu nhận |
NTN |
DATETIME |
||
|
Ngày cập nhật |
NCN |
DATETIME |
||
|
34 |
Địa hình lõm |
Mã đối tượng |
MDT |
C(4) |
|
Tên |
TEN |
C(50) |
||
|
Tỷ cao tỷ sâu |
TCS |
N(10,4) |
||
|
Mã nhận dạng |
MND |
C(18) |
||
|
Ngày thu nhận |
NTN |
DATETIME |
||
|
Ngày cập nhật |
NCN |
DATETIME |
||
|
35 |
Hố cacxtơ |
Mã đối tượng |
MDT |
C(4) |
|
Tên |
TEN |
C(50) |
||
|
Tỷ cao tỷ sâu |
TCS |
N(10,4) |
||
|
Mã nhận dạng |
MND |
C(18) |
||
|
Ngày thu nhận |
NTN |
DATETIME |
||
|
Ngày cập nhật |
NCN |
DATETIME |
||
|
36 |
Khe rãnh |
Mã đối tượng |
MDT |
C(4) |
|
Tên |
TEN |
C(50) |
||
|
Tỷ cao tỷ sâu |
TCS |
N(10,4) |
||
|
Mã nhận dạng |
MND |
C(18) |
||
|
Ngày thu nhận |
NTN |
DATETIME |
||
|
Ngày cập nhật |
NCN |
DATETIME |
||
|
37 |
Miệng núi lửa |
Mã đối tượng |
MDT |
C(4) |
|
Tên |
TEN |
C(50) |
||
|
Tỷ cao tỷ sâu |
TCS |
N(10,4) |
||
|
Mã nhận dạng |
MND |
C(18) |
||
|
Ngày thu nhận |
NTN |
DATETIME |
||
|
Ngày cập nhật |
NCN |
DATETIME |
||
|
38 |
Địa hình núi đá |
Mã đối tượng |
MDT |
C(4) |
|
Tên |
TEN |
C(50) |
||
|
Tỷ cao tỷ sâu |
TCS |
N(10,4) |
||
|
Mã nhận dạng |
MND |
C(18) |
||
|
Ngày thu nhận |
NTN |
DATETIME |
||
|
Ngày cập nhật |
NCN |
DATETIME |
||
|
40 |
Sườn đứt gãy |
Mã đối tượng |
MDT |
C(4) |
|
Tên |
TEN |
C(50) |
||
|
Tỷ cao tỷ sâu |
TCS |
N(10,4) |
||
|
Mã nhận dạng |
MND |
C(18) |
||
|
Ngày thu nhận |
NTN |
DATETIME |
||
|
Ngày cập nhật |
NCN |
DATETIME |
||
|
42 |
Vách đứng |
Mã đối tượng |
MDT |
C(4) |
|
Tên |
TEN |
C(50) |
||
|
Tỷ cao tỷ sâu |
TCS |
N(10,4) |
||
|
Mã nhận dạng |
MND |
C(18) |
||
|
Ngày thu nhận |
NTN |
DATETIME |
||
|
Ngày cập nhật |
NCN |
DATETIME |
||
|
44 |
Địa hình cắt xẻ nhân tạo |
Mã đối tượng |
MDT |
C(4) |
|
Tên |
TEN |
C(50) |
||
|
Tỷ cao tỷ sâu |
TCS |
N(10,4) |
||
|
Mã nhận dạng |
MND |
C(18) |
||
|
Ngày thu nhận |
NTN |
DATETIME |
||
|
Ngày cập nhật |
NCN |
DATETIME |
||
|
45 |
Đường bình độ |
Mã đối tượng |
MDT |
C(4) |
|
Loại đường bình độ |
LBD |
N(1,0) |
||
|
Loại khoảng cao đều |
KCD |
N(1,0) |
||
|
Độ cao H |
DAH |
N(10,4) |
||
|
Mã nhận dạng |
MND |
C(18) |
||
|
Ngày thu nhận |
NTN |
DATETIME |
||
|
Ngày cập nhật |
NCN |
DATETIME |
||
|
46 |
Đường bình độ sâu |
Mã đối tượng |
MDT |
C(4) |
|
Loại đường bình độ |
LBD |
N(1,0) |
||
|
Loại khoảng cao đều |
KCD |
N(1,0) |
||
|
Độ sâu H |
DSA |
N(10,4) |
||
|
Mã nhận dạng |
MND |
C(18) |
||
|
Ngày thu nhận |
NTN |
DATETIME |
||
|
Ngày cập nhật |
NCN |
DATETIME |
||
|
47 |
Biển |
Mã đối tượng |
MDT |
C(4) |
|
Tên |
TEN |
C(50) |
||
|
Mã nhận dạng |
MND |
C(18) |
||
|
Ngày thu nhận |
NTN |
DATETIME |
||
|
Ngày cập nhật |
NCN |
DATETIME |
||
|
48 |
Vịnh, vũng |
Mã đối tượng |
MDT |
C(4) |
|
Tên |
TEN |
C(50) |
||
|
Mã nhận dạng |
MND |
C(18) |
||
|
Ngày thu nhận |
NTN |
DATETIME |
||
|
Ngày cập nhật |
NCN |
DATETIME |
||
|
49 |
Đảo |
Mã đối tượng |
MDT |
C(4) |
|
Tên |
TEN |
C(50) |
||
|
Mã nhận dạng |
MND |
C(18) |
||
|
Ngày thu nhận |
NTN |
DATETIME |
||
|
Ngày cập nhật |
NCN |
DATETIME |
||
|
49a |
Bãi đá dưới nước |
Mã đối tượng |
MDT |
C(4) |
|
Tên |
TEN |
C(50) |
||
|
Mã nhận dạng |
MND |
C(18) |
||
|
Ngày thu nhận |
NTN |
DATETIME |
||
|
Ngày cập nhật |
NCN |
DATETIME |
||
|
49b |
Rạn san hô |
Mã đối tượng |
MDT |
C(4) |
|
Tên |
TEN |
C(50) |
||
|
Mã nhận dạng |
MND |
C(18) |
||
|
Ngày thu nhận |
NTN |
DATETIME |
||
|
Ngày cập nhật |
NCN |
DATETIME |
||
|
49c |
Bãi cỏ rong, tảo |
Mã đối tượng |
MDT |
C(4) |
|
Tên |
TEN |
C(50) |
||
|
Mã nhận dạng |
MND |
C(18) |
||
|
Ngày thu nhận |
NTN |
DATETIME |
||
|
Ngày cập nhật |
NCN |
DATETIME |
||
|
49d |
Cửa sông |
Mã đối tượng |
MDT |
C(4) |
|
Tên |
TEN |
C(50) |
||
|
Mã nhận dạng |
MND |
C(18) |
||
|
Ngày thu nhận |
NTN |
DATETIME |
||
|
Ngày cập nhật |
NCN |
DATETIME |
||
|
50 |
Bãi bồi |
Mã đối tượng |
MDT |
C(4) |
|
Tên |
TEN |
C(50) |
||
|
Loại bãi bồi |
LBA |
N(1,0) |
||
|
Loại trạng thái xuất lộ |
TTB |
N(1,0) |
||
|
Mã nhận dạng |
MND |
C(18) |
||
|
Ngày thu nhận |
NTN |
DATETIME |
||
|
Ngày cập nhật |
NCN |
DATETIME |
||
|
51 |
Ghềnh |
Mã đối tượng |
MDT |
C(4) |
|
Tên |
TEN |
C(50) |
||
|
Mã nhận dạng |
MND |
C(18) |
||
|
Ngày thu nhận |
NTN |
DATETIME |
||
|
Ngày cập nhật |
NCN |
DATETIME |
||
|
52a |
Thác |
Mã đối tượng |
MDT |
C(4) |
|
Tên |
TEN |
C(50) |
||
|
Mã nhận dạng |
MND |
C(18) |
||
|
Ngày thu nhận |
NTN |
DATETIME |
||
|
Ngày cập nhật |
NCN |
DATETIME |
||
|
52b |
Tim dòng chảy |
Mã đối tượng |
MDT |
C(4) |
|
Tên |
TEN |
C(50) |
||
|
Mã nhận dạng |
MND |
C(18) |
||
|
Ngày thu nhận |
NTN |
DATETIME |
||
|
Ngày cập nhật |
NCN |
DATETIME |
||
|
53 |
Sông, Suối |
Mã đối tượng |
MDT |
C(4) |
|
Loại trạng thái nước mặt |
TTD |
N(1,0) |
||
|
Tên |
TEN |
C(50) |
||
|
Mã nhận dạng |
MND |
C(18) |
||
|
Ngày thu nhận |
NTN |
DATETIME |
||
|
Ngày cập nhật |
NCN |
DATETIME |
||
|
55 |
Đường bờ nước |
Mã đối tượng |
MDT |
C(4) |
|
Loại ranh giới nước mặt |
LRG |
N(1,0) |
||
|
Mã nhận dạng |
MND |
C(18) |
||
|
Ngày thu nhận |
NTN |
DATETIME |
||
|
Ngày cập nhật |
NCN |
DATETIME |
||
|
58 |
Kênh, Mương |
Mã đối tượng |
MDT |
C(4) |
|
Tên |
TEN |
C(50) |
||
|
Mã nhận dạng |
MND |
C(18) |
||
|
Ngày thu nhận |
NTN |
DATETIME |
||
|
Ngày cập nhật |
NCN |
DATETIME |
||
|
59 |
Ao, hồ |
Mã đối tượng |
MDT |
C(4) |
|
Tên |
TEN |
C(50) |
||
|
Mã nhận dạng |
MND |
C(18) |
||
|
Ngày thu nhận |
NTN |
DATETIME |
||
|
Ngày cập nhật |
NCN |
DATETIME |
||
|
60 |
Đầm, phá |
Mã đối tượng |
MDT |
C(4) |
|
Tên |
TEN |
C(50) |
||
|
Mã nhận dạng |
MND |
C(18) |
||
|
Ngày thu nhận |
NTN |
DATETIME |
||
|
Ngày cập nhật |
NCN |
DATETIME |
||
|
61 |
Hồ chứa |
Mã đối tượng |
MDT |
C(4) |
|
Tên |
TEN |
C(50) |
||
|
Mã nhận dạng |
MND |
C(18) |
||
|
Ngày thu nhận |
NTN |
DATETIME |
||
|
Ngày cập nhật |
NCN |
DATETIME |
||
|
62 |
Mạch nước |
Mã đối tượng |
MDT |
C(4) |
|
Loại nguồn nước |
LNN |
N(1,0) |
||
|
Tên |
TEN |
C(50) |
||
|
Mã nhận dạng |
MND |
C(18) |
||
|
Ngày thu nhận |
NTN |
DATETIME |
||
|
Ngày cập nhật |
NCN |
DATETIME |
||
|
65 |
Đập |
Mã đối tượng |
MDT |
C(4) |
|
Tên |
TEN |
C(50) |
||
|
Loại đập |
LDA |
N(1,0) |
||
|
Dùng làm giao thông |
LGT |
N(1,0) |
||
|
Mã nhận dạng |
MND |
C(18) |
||
|
Ngày thu nhận |
NTN |
DATETIME |
||
|
Ngày cập nhật |
NCN |
DATETIME |
||
|
66 |
Đê |
Mã đối tượng |
MDT |
C(4) |
|
Tên |
TEN |
C(50) |
||
|
Dùng làm giao thông |
LGT |
N(1,0) |
||
|
Mã nhận dạng |
MND |
C(18) |
||
|
Ngày thu nhận |
NTN |
DATETIME |
||
|
Ngày cập nhật |
NCN |
DATETIME |
||
|
Loại hình thái taluy |
HTT |
N(1,0) |
||
|
Tỷ cao tỷ sâu |
TCS |
N(1,0) |
||
|
Mã nhận dạng |
MND |
C(18) |
||
|
Ngày thu nhận |
NTN |
DATETIME |
||
|
Ngày cập nhật |
NCN |
DATETIME |
||
|
70 |
Đầm lầy |
Mã đối tượng |
MDT |
C(4) |
|
Tên |
TEN |
C(50) |
||
|
Mã nhận dạng |
MND |
C(18) |
||
|
Ngày thu nhận |
NTN |
DATETIME |
||
|
Ngày cập nhật |
NCN |
DATETIME |
||
|
71 |
Đèn biển |
Mã đối tượng |
MDT |
C(4) |
|
Tên |
TEN |
C(50) |
||
|
Loại báo hiệu giao thông |
LBG |
N(1,0) |
||
|
Mã nhận dạng |
MND |
C(18) |
||
|
Ngày thu nhận |
NTN |
DATETIME |
||
|
Ngày cập nhật |
NCN |
DATETIME |
||
|
73 |
Bến phà |
Mã đối tượng |
MDT |
C(4) |
|
Tên |
TEN |
C(50) |
||
|
Mã nhận dạng |
MND |
C(18) |
||
|
Ngày thu nhận |
NTN |
DATETIME |
||
|
Ngày cập nhật |
NCN |
DATETIME |
||
|
74 |
Ga đường sắt |
Mã đối tượng |
MDT |
C(4) |
|
Tên |
TEN |
C(50) |
||
|
Mã nhận dạng |
MND |
C(18) |
||
|
Ngày thu nhận |
NTN |
DATETIME |
||
|
Ngày cập nhật |
NCN |
DATETIME |
||
|
77 |
Cảng biển |
Mã đối tượng |
MDT |
C(4) |
|
Tên |
TEN |
C(50) |
||
|
Mã nhận dạng |
MND |
C(18) |
||
|
Ngày thu nhận |
NTN |
DATETIME |
||
|
Ngày cập nhật |
NCN |
DATETIME |
||
|
78 |
Cảng thủy nội địa |
Mã đối tượng |
MDT |
C(4) |
|
Tên |
TEN |
C(50) |
||
|
Mã nhận dạng |
MND |
C(18) |
||
|
Ngày thu nhận |
NTN |
DATETIME |
||
|
Ngày cập nhật |
NCN |
DATETIME |
||
|
79 |
Cảng hàng không |
Mã đối tượng |
MDT |
C(4) |
|
Tên |
TEN |
C(50) |
||
|
Mã nhận dạng |
MND |
C(18) |
||
|
Ngày thu nhận |
NTN |
DATETIME |
||
|
Ngày cập nhật |
NCN |
DATETIME |
||
|
80 |
Cầu giao thông |
Mã đối tượng |
MDT |
C(4) |
|
Tên |
TEN |
C(50) |
||
|
Loại cầu giao thông |
LCU |
N(1,0) |
||
|
Loại chức năng cầu |
CGT |
N(1,0) |
||
|
Tải trọng |
TTR |
N(10,4) |
||
|
Chiều dài |
CDI |
N(10,4) |
||
|
Chiều rộng |
CRO |
N(10,4) |
||
|
Mã nhận dạng |
MND |
C(18) |
||
|
Ngày thu nhận |
NTN |
DATETIME |
||
|
Ngày cập nhật |
NCN |
DATETIME |
||
|
82 |
Đèo |
Mã đối tượng |
MDT |
C(4) |
|
Tên |
TEN |
C(50) |
||
|
Mã nhận dạng |
MND |
C(18) |
||
|
Ngày thu nhận |
NTN |
DATETIME |
||
|
Ngày cập nhật |
NCN |
DATETIME |
||
|
83 |
Đoạn tim đường bộ |
Mã đối tượng |
MDT |
C(4) |
|
Loại đường bộ |
LDB |
N(1,0) |
||
|
Loại chất liệu trải mặt |
CTM |
N(1,0) |
||
|
Loại kết cấu |
LKC |
N(1,0) |
||
|
Độ rộng |
DRG |
N(10,4) |
||
|
Tên |
TEN |
C(50) |
||
|
Tên tuyến 1 |
TU1 |
C(50) |
||
|
Tên tuyến 2 |
TU2 |
C(50) |
||
|
Tên tuyến 3 |
TU3 |
C(50) |
||
|
Mã nhận dạng |
MND |
C(18) |
||
|
Ngày thu nhận |
NTN |
DATETIME |
||
|
Ngày cập nhật |
NCN |
DATETIME |
||
|
88 |
Đường nội bộ |
Mã đối tượng |
MDT |
C(4) |
|
Mã nhận dạng |
MND |
C(18) |
||
|
Ngày thu nhận |
NTN |
DATETIME |
||
|
Ngày cập nhật |
NCN |
DATETIME |
||
|
89 |
Hầm giao thông |
Mã đối tượng |
MDT |
C(4) |
|
Tên |
TEN |
C(50) |
||
|
Loại hầm giao thông |
LHA |
N(1,0) |
||
|
Chiều cao |
CAO |
N(10,4) |
||
|
Chiều rộng |
DRG |
N(10,4) |
||
|
Chiều dài |
CDI |
N(10,4) |
||
|
Mã nhận dạng |
MND |
C(18) |
||
|
Ngày thu nhận |
NTN |
DATETIME |
||
|
Ngày cập nhật |
NCN |
DATETIME |
||
|
Ngày thu nhận |
NTN |
DATETIME |
||
|
Ngày cập nhật |
NCN |
DATETIME |
||
|
94 |
Phần đường trên cao |
Mã đối tượng |
MDT |
C(4) |
|
Mã nhận dạng |
MND |
C(18) |
||
|
Ngày thu nhận |
NTN |
DATETIME |
||
|
Ngày cập nhật |
NCN |
DATETIME |
||
|
95 |
Nút mạng giao thông đường bộ |
Mã đối tượng |
MDT |
C(4) |
|
Mã nhận dạng |
MND |
C(18) |
||
|
Ngày thu nhận |
NTN |
DATETIME |
||
|
Ngày cập nhật |
NCN |
DATETIME |
||
|
100 |
Đoạn đường sắt |
Mã đối tượng |
MDT |
C(4) |
|
Tên |
TEN |
C(50) |
||
|
Loại chức năng đường sắt |
CNS |
N(1,0) |
||
|
Loại kết cấu đường sắt |
KCS |
N(1,0) |
||
|
Mã nhận dạng |
MND |
C(18) |
||
|
Ngày thu nhận |
NTN |
DATETIME |
||
|
Ngày cập nhật |
NCN |
DATETIME |
||
|
101 |
Nút đường sắt |
Mã đối tượng |
MDT |
C(4) |
|
Mã nhận dạng |
MND |
C(18) |
||
|
Ngày thu nhận |
NTN |
DATETIME |
||
|
Ngày cập nhật |
NCN |
DATETIME |
||
|
102 |
Điểm dân cư |
Mã đối tượng |
MDT |
C(4) |
|
Loại điểm dân cư |
LDD |
N(1,0) |
||
|
Tên |
TEN |
C(50) |
||
|
Mã nhận dạng |
MND |
C(18) |
||
|
Ngày thu nhận |
NTN |
DATETIME |
||
|
Ngày cập nhật |
NCN |
DATETIME |
||
|
103 |
Đường dây tải điện |
Mã đối tượng |
MDT |
C(4) |
|
Tên |
TEN |
C(50) |
||
|
Điện áp |
DAP |
N(10) |
||
|
Mã nhận dạng |
MND |
C(18) |
||
|
Ngày thu nhận |
NTN |
DATETIME |
||
|
Ngày cập nhật |
NCN |
DATETIME |
||
|
106 |
Trạm quan trắc |
Mã đối tượng |
MDT |
C(4) |
|
Loại trạm quan trắc |
LTQ |
N(1,0) |
||
|
Mã nhận dạng |
MND |
C(18) |
||
|
Ngày thu nhận |
NTN |
DATETIME |
||
|
Ngày cập nhật |
NCN |
DATETIME |
||
|
107 |
Trạm thu phát sóng |
Mã đối tượng |
MDT |
C(4) |
|
Mã nhận dạng |
MND |
C(18) |
||
|
Ngày thu nhận |
NTN |
DATETIME |
||
|
Ngày cập nhật |
NCN |
DATETIME |
||
|
108 |
Cổng thành |
Mã đối tượng |
MDT |
C(4) |
|
Tên |
TEN |
C(50) |
||
|
Mã nhận dạng |
MND |
C(18) |
||
|
Ngày thu nhận |
NTN |
DATETIME |
||
|
Ngày cập nhật |
NCN |
DATETIME |
||
|
109 |
Cột cờ |
Mã đối tượng |
MDT |
C(4) |
|
Tên |
TEN |
C(50) |
||
|
Mã nhận dạng |
MND |
C(18) |
||
|
Ngày thu nhận |
NTN |
DATETIME |
||
|
Ngày cập nhật |
NCN |
DATETIME |
||
|
110 |
Tháp cổ |
Mã đối tượng |
MDT |
C(4) |
|
Tên |
TEN |
C(50) |
||
|
Mã nhận dạng |
MND |
C(18) |
||
|
Ngày thu nhận |
NTN |
DATETIME |
||
|
Ngày cập nhật |
NCN |
DATETIME |
||
|
111 |
Tượng đài |
Mã đối tượng |
MDT |
C(4) |
|
Tên |
TEN |
C(50) |
||
|
Mã nhận dạng |
MND |
C(18) |
||
|
Ngày thu nhận |
NTN |
DATETIME |
||
|
Ngày cập nhật |
NCN |
DATETIME |
||
|
Ngày thu nhận |
NTN |
DATETIME |
||
|
Ngày cập nhật |
NCN |
DATETIME |
||
|
133 |
Khu du lịch |
Mã đối tượng |
MDT |
C(4) |
|
Tên |
TEN |
C(50) |
||
|
Địa chỉ |
DIC |
C(50) |
||
|
Mã nhận dạng |
MND |
C(18) |
||
|
Ngày thu nhận |
NTN |
DATETIME |
||
|
Ngày cập nhật |
NCN |
DATETIME |
||
|
134 |
Bãi tắm |
Mã đối tượng |
MDT |
C(4) |
|
Tên |
TEN |
C(50) |
||
|
Địa chỉ |
DIC |
C(50) |
||
|
Mã nhận dạng |
MND |
C(18) |
||
|
Ngày thu nhận |
NTN |
DATETIME |
||
|
Ngày cập nhật |
NCN |
DATETIME |
||
|
138 |
Cửa khẩu |
Mã đối tượng |
MDT |
C(4) |
|
Tên |
TEN |
C(50) |
||
|
Địa chỉ |
DIC |
C(50) |
||
|
Mã nhận dạng |
MND |
C(18) |
||
|
Ngày thu nhận |
NTN |
DATETIME |
||
|
Ngày cập nhật |
NCN |
DATETIME |
||
|
139 |
Khu chế xuất |
Mã đối tượng |
MDT |
C(4) |
|
Tên |
TEN |
C(50) |
||
|
Địa chỉ |
DIC |
C(50) |
||
|
Mã nhận dạng |
MND |
C(18) |
||
|
Ngày thu nhận |
NTN |
DATETIME |
||
|
Ngày cập nhật |
NCN |
DATETIME |
||
|
140 |
Khu công nghiệp |
Mã đối tượng |
MDT |
C(4) |
|
Tên |
TEN |
C(50) |
||
|
Địa chỉ |
DIC |
C(50) |
||
|
Mã nhận dạng |
MND |
C(18) |
||
|
Ngày thu nhận |
NTN |
DATETIME |
||
|
Ngày cập nhật |
NCN |
DATETIME |
||
|
141 |
Khu khai thác |
Mã đối tượng |
MDT |
C(4) |
|
Tên |
TEN |
C(50) |
||
|
Địa chỉ |
DIC |
C(50) |
||
|
Mã nhận dạng |
MND |
C(18) |
||
|
Ngày thu nhận |
NTN |
DATETIME |
||
|
Ngày cập nhật |
NCN |
DATETIME |
||
|
143 |
Lâm trường |
Mã đối tượng |
MDT |
C(4) |
|
Tên |
TEN |
C(50) |
||
|
Địa chỉ |
DIC |
C(50) |
||
|
Mã nhận dạng |
MND |
C(18) |
||
|
Ngày thu nhận |
NTN |
DATETIME |
||
|
Ngày cập nhật |
NCN |
DATETIME |
||
|
144 |
Nhà máy |
Mã đối tượng |
MDT |
C(4) |
|
Tên |
TEN |
C(50) |
||
|
Địa chỉ |
DIC |
C(50) |
||
|
Mã nhận dạng |
MND |
C(18) |
||
|
Ngày thu nhận |
NTN |
DATETIME |
||
|
Ngày cập nhật |
NCN |
DATETIME |
||
|
145 |
Nông trường |
Mã đối tượng |
MDT |
C(4) |
|
Tên |
TEN |
C(50) |
||
|
Địa chỉ |
DIC |
C(50) |
||
|
Mã nhận dạng |
MND |
C(18) |
||
|
Ngày thu nhận |
NTN |
DATETIME |
||
|
Ngày cập nhật |
NCN |
DATETIME |
||
|
148 |
Ruộng muối |
Mã đối tượng |
MDT |
C(4) |
|
Tên |
TEN |
C(50) |
||
|
Địa chỉ |
DIC |
C(50) |
||
|
Mã nhận dạng |
MND |
C(18) |
||
|
Ngày thu nhận |
NTN |
DATETIME |
||
|
Ngày cập nhật |
NCN |
DATETIME |
||
|
149 |
Khu nuôi trồng thủy sản |
Mã đối tượng |
MDT |
C(4) |
|
Tên |
TEN |
C(50) |
||
|
Địa chỉ |
DIC |
C(50) |
||
|
Mã nhận dạng |
MND |
C(18) |
||
|
Ngày thu nhận |
NTN |
DATETIME |
||
|
Ngày cập nhật |
NCN |
DATETIME |
||
|
151 |
Sân gôn |
Mã đối tượng |
MDT |
C(4) |
|
Tên |
TEN |
C(50) |
||
|
Địa chỉ |
DIC |
C(50) |
||
|
Mã nhận dạng |
MND |
C(18) |
||
|
Ngày thu nhận |
NTN |
DATETIME |
||
|
Ngày cập nhật |
NCN |
DATETIME |
||
|
159 |
Trung tâm thương mại |
Mã đối tượng |
MDT |
C(4) |
|
Tên |
TEN |
C(50) |
||
|
Địa chỉ |
DIC |
C(50) |
||
|
Mã nhận dạng |
MND |
C(18) |
||
|
Ngày thu nhận |
NTN |
DATETIME |
||
|
Ngày cập nhật |
NCN |
DATETIME |
||
|
160 |
Đình |
Mã đối tượng |
MDT |
C(4) |
|
Tên |
TEN |
C(50) |
||
|
Địa chỉ |
DIC |
C(50) |
||
|
Mã nhận dạng |
MND |
C(18) |
||
|
Ngày thu nhận |
NTN |
DATETIME |
||
|
Ngày cập nhật |
NCN |
DATETIME |
||
|
161 |
Đền |
Mã đối tượng |
MDT |
C(4) |
|
Tên |
TEN |
C(50) |
||
|
Địa chỉ |
DIC |
C(50) |
||
|
Mã nhận dạng |
MND |
C(18) |
||
|
Ngày thu nhận |
NTN |
DATETIME |
||
|
Ngày cập nhật |
NCN |
DATETIME |
||
|
162 |
Chùa |
Mã đối tượng |
MDT |
C(4) |
|
Tên |
TEN |
C(50) |
||
|
Địa chỉ |
DIC |
C(50) |
||
|
Mã nhận dạng |
MND |
C(18) |
||
|
Ngày thu nhận |
NTN |
DATETIME |
||
|
Ngày cập nhật |
NCN |
DATETIME |
||
|
163 |
Nhà thờ |
Mã đối tượng |
MDT |
C(4) |
|
Tên |
TEN |
C(50) |
||
|
Địa chỉ |
DIC |
C(50) |
||
|
Mã nhận dạng |
MND |
C(18) |
||
|
Ngày thu nhận |
NTN |
DATETIME |
||
|
Ngày cập nhật |
NCN |
DATETIME |
||
|
165 |
Công viên |
Mã đối tượng |
MDT |
C(4) |
|
Tên |
TEN |
C(50) |
||
|
Địa chỉ |
DIC |
C(50) |
||
|
Mã nhận dạng |
MND |
C(18) |
||
|
Ngày thu nhận |
NTN |
DATETIME |
||
|
Ngày cập nhật |
NCN |
DATETIME |
||
|
170 |
Khu bảo tồn thiên nhiên |
Mã đối tượng |
MDT |
C(4) |
|
Tên |
TEN |
C(50) |
||
|
Địa chỉ |
DIC |
C(50) |
||
|
Mã nhận dạng |
MND |
C(18) |
||
|
Ngày thu nhận |
NTN |
DATETIME |
||
|
Ngày cập nhật |
NCN |
DATETIME |
||
|
175 |
Di tích lịch sử - văn hóa |
Mã đối tượng |
MDT |
C(4) |
|
Tên |
TEN |
C(50) |
||
|
Địa chỉ |
DIC |
C(50) |
||
|
Mã nhận dạng |
MND |
C(18) |
||
|
Ngày thu nhận |
NTN |
DATETIME |
||
|
Ngày cập nhật |
NCN |
DATETIME |
||
|
176 |
Khu lăng mộ |
Mã đối tượng |
MDT |
C(4) |
|
Tên |
TEN |
C(50) |
||
|
Địa chỉ |
DIC |
C(50) |
||
|
Mã nhận dạng |
MND |
C(18) |
||
|
Ngày thu nhận |
NTN |
DATETIME |
||
|
Ngày cập nhật |
NCN |
DATETIME |
||
|
177 |
Nghĩa trang liệt sỹ |
Mã đối tượng |
MDT |
C(4) |
|
Tên |
TEN |
C(50) |
||
|
Địa chỉ |
DIC |
C(50) |
||
|
Mã nhận dạng |
MND |
C(18) |
||
|
Ngày thu nhận |
NTN |
DATETIME |
||
|
Ngày cập nhật |
NCN |
DATETIME |
||
|
178 |
Nghĩa trang |
Mã đối tượng |
MDT |
C(4) |
|
Tên |
TEN |
C(50) |
||
|
Địa chỉ |
DIC |
C(50) |
||
|
Mã nhận dạng |
MND |
C(18) |
||
|
Ngày thu nhận |
NTN |
DATETIME |
||
|
Ngày cập nhật |
NCN |
DATETIME |
||
|
181 |
Bến bãi |
Mã đối tượng |
MDT |
C(4) |
|
Tên |
TEN |
C(50) |
||
|
Địa chỉ |
DIC |
C(50) |
||
|
Mã nhận dạng |
MND |
C(18) |
||
|
Ngày thu nhận |
NTN |
DATETIME |
||
|
Ngày cập nhật |
NCN |
DATETIME |
||
|
182 |
Nhà độc lập |
Mã đối tượng |
MDT |
C(4) |
|
Tên |
TEN |
C(50) |
||
|
Mã nhận dạng |
MND |
C(18) |
||
|
Ngày thu nhận |
NTN |
DATETIME |
||
|
Ngày cập nhật |
NCN |
DATETIME |
||
|
183 |
Vùng nội đô |
Mã đối tượng |
MDT |
C(4) |
|
Tên |
TEN |
C(50) |
||
|
Mã nhận dạng |
MND |
C(18) |
||
|
Ngày thu nhận |
NTN |
DATETIME |
||
|
Ngày cập nhật |
NCN |
DATETIME |
||
|
184 |
Ranh giới khu chức năng |
Mã đối tượng |
MDT |
C(4) |
|
Tên |
TEN |
C(50) |
||
|
Địa chỉ |
DIC |
C(50) |
||
|
Mã nhận dạng |
MND |
C(18) |
||
|
Ngày thu nhận |
NTN |
DATETIME |
||
|
Ngày cập nhật |
NCN |
DATETIME |
||
|
185 |
Khu dân cư |
Mã đối tượng |
MDT |
C(4) |
|
Tên |
TEN |
C(50) |
||
|
Loại phủ bề mặt |
LPM |
N(18) |
||
|
Mã nhận dạng |
MND |
C(18) |
||
|
Ngày thu nhận |
NTN |
DATETIME |
||
|
Ngày cập nhật |
NCN |
DATETIME |
||
|
186 |
Khu khai thác |
Mã đối tượng |
MDT |
C(4) |
|
Tên |
TEN |
C(50) |
||
|
Loại phủ bề mặt |
LPM |
N(1,0) |
||
|
Mã nhận dạng |
MND |
C(18) |
||
|
Ngày thu nhận |
NTN |
DATETIME |
||
|
Ngày cập nhật |
NCN |
DATETIME |
||
|
187 |
Vùng đất trống |
Mã đối tượng |
MDT |
C(4) |
|
Tên |
TEN |
C(50) |
||
|
Loại phủ bề mặt |
LPM |
N(1,0) |
||
|
Mã nhận dạng |
MND |
C(18) |
||
|
Ngày thu nhận |
NTN |
DATETIME |
||
|
Ngày cập nhật |
NCN |
DATETIME |
||
|
188 |
Công trình |
Mã đối tượng |
MDT |
C(4) |
|
Tên |
TEN |
C(50) |
||
|
Loại phủ bề mặt |
LPM |
N(1,0) |
||
|
Mã nhận dạng |
MND |
C(18) |
||
|
Ngày thu nhận |
NTN |
DATETIME |
||
|
Ngày cập nhật |
NCN |
DATETIME |
||
|
189 |
Khu canh tác nông nghiệp |
Mã đối tượng |
MDT |
C(4) |
|
Tên |
TEN |
C(50) |
||
|
Loại phủ bề mặt |
LPM |
N(1,0) |
||
|
Mã nhận dạng |
MND |
C(18) |
||
|
Ngày thu nhận |
NTN |
DATETIME |
||
|
Ngày cập nhật |
NCN |
DATETIME |
||
|
190 |
Đồng cỏ |
Mã đối tượng |
MDT |
C(4) |
|
Tên |
TEN |
C(50) |
||
|
Loại phủ bề mặt |
LPM |
N(1,0) |
||
|
Mã nhận dạng |
MND |
C(18) |
||
|
Ngày thu nhận |
NTN |
DATETIME |
||
|
Ngày cập nhật |
NCN |
DATETIME |
||
|
191 |
Rừng |
Mã đối tượng |
MDT |
C(4) |
|
Tên |
TEN |
C(50) |
||
|
Loại phủ bề mặt |
LPM |
N(1,0) |
||
|
Mã nhận dạng |
MND |
C(18) |
||
|
Ngày thu nhận |
NTN |
DATETIME |
||
|
Ngày cập nhật |
NCN |
DATETIME |
||
|
192 |
Thực phủ chưa thành rừng |
Mã đối tượng |
MDT |
C(4) |
|
Tên |
TEN |
C(50) |
||
|
Loại phủ bề mặt |
LPM |
N(1,0) |
||
|
Mã nhận dạng |
MND |
C(18) |
||
|
Ngày thu nhận |
NTN |
DATETIME |
||
|
Ngày cập nhật |
NCN |
DATETIME |
||
|
193 |
Thực phủ trong khu dân cư |
Mã đối tượng |
MDT |
C(4) |
|
Tên |
TEN |
C(50) |
||
|
Loại phủ bề mặt |
LPM |
N(1,0) |
||
|
Mã nhận dạng |
MND |
C(18) |
||
|
Ngày thu nhận |
NTN |
DATETIME |
||
|
Ngày cập nhật |
NCN |
DATETIME |
||
|
194 |
Nước mặt |
Mã đối tượng |
MDT |
C(4) |
|
Tên |
TEN |
C(50) |
||
|
Loại phủ bề mặt |
LPM |
N(1,0) |
||
|
Mã nhận dạng |
MND |
C(18) |
||
|
Ngày thu nhận |
NTN |
DATETIME |
||
|
Ngày cập nhật |
NCN |
DATETIME |
||
|
195 |
Ranh giới phủ bề mặt |
Mã đối tượng |
MDT |
C(4) |
|
Loại ranh giới phủ bề mặt |
LRG |
N(1,0) |
||
|
Mã nhận dạng |
MND |
C(18) |
||
|
Ngày thu nhận |
NTN |
DATETIME |
||
|
Ngày cập nhật |
NCN |
DATETIME |
Bạn chưa Đăng nhập thành viên.
Đây là tiện ích dành cho tài khoản thành viên. Vui lòng Đăng nhập để xem chi tiết. Nếu chưa có tài khoản, vui lòng Đăng ký tại đây!
Bạn chưa Đăng nhập thành viên.
Đây là tiện ích dành cho tài khoản thành viên. Vui lòng Đăng nhập để xem chi tiết. Nếu chưa có tài khoản, vui lòng Đăng ký tại đây!





































