- Tổng quan
- Nội dung
- VB gốc
- Tiếng Anh
- Hiệu lực
- VB liên quan
- Lược đồ
-
Nội dung hợp nhất
Tính năng này chỉ có tại LuatVietnam.vn. Nội dung hợp nhất tổng hợp lại tất cả các quy định còn hiệu lực của văn bản gốc và các văn bản sửa đổi, bổ sung, đính chính... trên một trang. Việc hợp nhất văn bản gốc và những văn bản, Thông tư, Nghị định hướng dẫn khác không làm thay đổi thứ tự điều khoản, nội dung.
Khách hàng chỉ cần xem Nội dung hợp nhất là có thể nắm bắt toàn bộ quy định hiện hành đang áp dụng, cho dù văn bản gốc đã qua nhiều lần chỉnh sửa, bổ sung.
- Tải về
Quyết định số 12/2008/QĐ-BTNMT của Bộ Tài nguyên và Môi trường về việc ban hành “Quy chuẩn kỹ thuật quốc gia về phân định địa giới hành chính và lập hồ sơ địa giới hành chính các cấp
| Cơ quan ban hành: | Bộ Tài nguyên và Môi trường |
Số công báo:
Số công báo là mã số ấn phẩm được đăng chính thức trên ấn phẩm thông tin của Nhà nước. Mã số này do Chính phủ thống nhất quản lý.
|
Đã biết
|
| Số hiệu: | 12/2008/QĐ-BTNMT | Ngày đăng công báo: |
Đã biết
|
| Loại văn bản: | Quyết định | Người ký: | Nguyễn Văn Đức |
|
Ngày ban hành:
Ngày ban hành là ngày, tháng, năm văn bản được thông qua hoặc ký ban hành.
|
18/12/2008 |
Ngày hết hiệu lực:
Ngày hết hiệu lực là ngày, tháng, năm văn bản chính thức không còn hiệu lực (áp dụng).
|
Đã biết
|
|
Áp dụng:
Ngày áp dụng là ngày, tháng, năm văn bản chính thức có hiệu lực (áp dụng).
|
Đã biết
|
Tình trạng hiệu lực:
Cho biết trạng thái hiệu lực của văn bản đang tra cứu: Chưa áp dụng, Còn hiệu lực, Hết hiệu lực, Hết hiệu lực 1 phần; Đã sửa đổi, Đính chính hay Không còn phù hợp,...
|
Đã biết
|
| Lĩnh vực: | Địa giới hành chính |
TÓM TẮT QUYẾT ĐỊNH 12/2008/QĐ-BTNMT
* Địa giới hành chính các cấp - Ngày 18/12/2008, Bộ trưởng Bộ Tài nguyên và Môi trường đã ban hành Quyết định số 12/2008/QĐ-BTNMT ban hành “Quy chuẩn kỹ thuật quốc gia về phân định địa giới hành chính (ĐGHC) và lập hồ sơ ĐGHC các cấp”. Quy chuẩn này áp dụng để phân định và lập hồ sơ địa giới hành chính cho các xã, phường, thị trấn; quận huyện, thị xã, thành phố trực thuộc tỉnh; tỉnh, thành phố trực thuộc Trung ương khi có sự điều chỉnh ĐGHC theo quyết định của cơ quan có thẩm quyền. Trường hợp ĐGHC các cấp trùng với đường biên giới quốc gia thì thể hiện theo đường biên giới quốc gia như trên bản đồ… Mốc ĐGHC các cấp phải được cắm vào vị trí giao nhau của đường ĐGHC và ở những vị trí dễ xảy ra tranh chấp sau này. Khi không cắm được mốc đúng trên đường ĐGHC thì cắm ở một bên đường ĐGHC tại vị trí thuận lợi, ổn định và gần đường ĐGHC nhất. Trường hợp vị trí giao nhau của đường ĐGHC các cấp là đỉnh núi, trên sông, hồ, suối, biển thì không phải cắm mốc. Khi chôn mốc ĐGHC phải có sự chứng kiến của đại diện cơ quan hành chính nhà nước các bên có liên quan và đại diện cơ quan hành chính nhà nước cấp cao hơn. Riêng đối với chôn mốc cấp tỉnh thì do đại diện cơ quan hành chính nhà nước của các tỉnh có liên quan chứng kiến. Quyết định này có hiệu lực sau 15 ngày, kể từ ngày đăng Công báo.
Xem chi tiết Quyết định 12/2008/QĐ-BTNMT có hiệu lực kể từ ngày 22/01/2009
Tải Quyết định 12/2008/QĐ-BTNMT
|
BỘ TÀI NGUYÊN VÀ MÔI TRƯỜNG Số: 12/2008/QĐ-BTNMT |
CỘNG HÒA XÃ HỘI CHỦ NGHĨA VIỆT NAM Hà Nội, ngày 18 tháng 12 năm 2008 |
QUYẾT ĐỊNH
BAN HÀNH “QUY CHUẨN KỸ THUẬT QUỐC GIA VỀ PHÂN ĐỊNH ĐỊA GIỚI HÀNH CHÍNH VÀ LẬP HỒ SƠ ĐỊA GIỚI HÀNH CHÍNH CÁC CẤP”
-----------
BỘ TRƯỞNG BỘ TÀI NGUYÊN VÀ MÔI TRƯỜNG
Căn cứ Luật Tiêu chuẩn và Quy chuẩn kỹ thuật ngày 29 tháng 6 năm 2006;
Căn cứ Luật đất đai ngày 26 tháng 11 năm 2003;
Căn cứ Nghị định số 127/2007/NĐ-CP ngày 01 tháng 8 năm 2007 của Chính phủ quy định chi tiết thi hành một số điều của Luật Tiêu chuẩn và Quy chuẩn kỹ thuật;
Căn cứ Nghị định số 12/2002/NĐ-CP ngày 22 tháng 01 năm 2002 của Chính phủ về hoạt động đo đạc và bản đồ;
Căn cứ Nghị định số 119/CP ngày 16 tháng 9 năm 1994 của Chính phủ ban hành quy định về việc quản lý, sử dụng hồ sơ địa giới, bản đồ địa giới và mốc địa giới hành chính các cấp;
Căn cứ Nghị định số 25/2008/NĐ-CP ngày 04 tháng 3 năm 2008 của Chính phủ quy định chức năng, nhiệm vụ, quyền hạn và cơ cấu tổ chức của Bộ Tài nguyên và Môi trường;
Theo đề nghị của Vụ trưởng Vụ Khoa học và Công nghệ, Vụ trưởng Vụ Pháp chế và Cục trưởng Cục Đo đạc và Bản đồ Việt Nam,
QUYẾT ĐỊNH:
Điều 1. Ban hành kèm theo Quyết định này “Quy chuẩn kỹ thuật quốc gia về phân định địa giới hành chính và lập hồ sơ địa giới hành chính các cấp”.
Điều 2. Quyết định này có hiệu lực sau 15 ngày, kể từ ngày đăng Công báo và thay thế Quyết định số 77/QĐKT ngày 12 tháng 5 năm 1993 của Cục trưởng Cục Đo đạc và Bản đồ Nhà nước ban hành “Quy định kỹ thuật thành lập và quản lý hồ sơ địa giới hành chính các cấp” và Thông tư số 03/TT-LN ngày 17 tháng 9 năm 1992 của Ban Tổ chức - Cán bộ Chính phủ và Cục Đo đạc và Bản đồ Nhà nước hướng dẫn về việc tổ chức kiểm tra, nghiệm thu hồ sơ địa giới hành chính các cấp.
Điều 3. Bộ trưởng, Thủ trưởng cơ quan ngang Bộ, cơ quan thuộc Chính phủ, Chủ tịch Ủy ban nhân dân các tỉnh, thành phố trực thuộc Trung ương và các tổ chức, cá nhân có liên quan chịu trách nhiệm thi hành Quyết định này.
|
Nơi nhận: |
KT. BỘ TRƯỞNG |
|
CỘNG HÒA XÃ HỘI CHỦ NGHĨA VIỆT NAM
QCVN :2008/BTNMT
QUY CHUẨN KỸ THUẬT QUỐC GIA National technical regulation on demarcation and creating legal documents for administrative boundaries of all levels
HÀ NỘI – 2008 |
MỞ ĐẦU
QCVN :2008/BTNMT do Cục Đo đạc và Bản đồ Việt Nam biên soạn, Vụ Khoa học và Công nghệ trình duyệt và được ban hành theo Quyết định số 12/2008/QĐ-BTNMT ngày 18 tháng 12 năm 2008 của Bộ trưởng Bộ Tài nguyên và Môi trường.
MỤC LỤC
|
TT |
Nội dung |
Trang |
|
1 |
1. QUY ĐỊNH CHUNG |
4 |
|
2 |
1.1. Phạm vi điều chỉnh |
4 |
|
3 |
1.2. Đối tượng áp dụng |
4 |
|
4 |
1.3. Các từ viết tắt và giải thích từ ngữ dùng trong văn bản |
4 |
|
5 |
2. QUY ĐỊNH KỸ THUẬT |
5 |
|
6 |
2.1. Phân định địa giới hành chính |
5 |
|
7 |
2.1.1. Công tác chuẩn bị |
5 |
|
8 |
2.1.2. Xác định đường ĐGHC, vị trí cắm mốc ĐGHC, điểm đặc trưng |
5 |
|
9 |
2.1.3. Cắm mốc ĐGHC |
6 |
|
10 |
2.1.4. Thành lập bản đồ ĐGHC các cấp |
7 |
|
11 |
2.1.5. Mô tả ĐGHC các cấp |
10 |
|
12 |
2.2. Lập hồ sơ địa giới hành chính |
12 |
|
13 |
2.2.1. Hồ sơ ĐGHC cấp xã bao gồm các tài liệu sau: |
12 |
|
14 |
2.2.2. Hồ sơ ĐGHC cấp huyện bao gồm các tài liệu sau: |
12 |
|
15 |
2.2.3. Hồ sơ ĐGHC cấp tỉnh bao gồm các tài liệu sau: |
12 |
|
16 |
2.2.4. Xác lập tính pháp lý của các tài liệu trong hồ sơ ĐGHC các cấp |
12 |
|
17 |
2.2.5. Trình bày và đóng tập hồ sơ ĐGHC |
13 |
|
18 |
2.3. Chỉnh lý, bổ sung hồ sơ ĐGHC đối với các đơn vị hành chính đã có hồ sơ ĐGHC. |
14 |
|
19 |
3. QUY ĐỊNH VỀ QUẢN LÝ |
15 |
|
20 |
3.1. Kiểm tra, nghiệm thu hồ sơ địa giới hành chính các cấp |
15 |
|
21 |
3.1.1. Yêu cầu về kiểm tra, nghiệm thu |
15 |
|
22 |
3.1.2. Trách nhiệm kiểm tra nghiệm thu |
15 |
|
23 |
3.1.3. Tổ chức thực hiện kiểm tra, nghiệm thu |
16 |
|
24 |
3.2. Thẩm định hồ sơ địa giới hành chính |
17 |
|
25 |
3.3. Giao nộp, quản lý, sử dụng hồ sơ, mốc địa giới hành chính các cấp |
17 |
|
26 |
4. TỔ CHỨC THỰC HIỆN |
17 |
|
27 |
PHẦN PHỤ LỤC BẮT BUỘC THỰC HIỆN |
17-48 |
QUY CHUẨN KỸ THUẬT QUỐC GIA
VỀ PHÂN ĐỊNH ĐỊA GIỚI HÀNH CHÍNH VÀ LẬP HỒ SƠ ĐỊA GIỚI HÀNH CHÍNH CÁC CẤP
National technical regulation on demarcation and creating legal documents for administrative boundaries of all levels
1. QUY ĐỊNH CHUNG
1.1. Phạm vi điều chỉnh
Quy chuẩn này áp dụng để phân định và lập hồ sơ địa giới hành chính cho các xã, phường, thị trấn (sau đây gọi chung là cấp xã); quận, huyện, thị xã, thành phố trực thuộc tỉnh (sau đây gọi chung là cấp huyện); tỉnh, thành phố trực thuộc Trung ương (sau đây gọi chung là cấp tỉnh) khi có sự điều chỉnh địa giới hành chính theo quyết định của cơ quan nhà nước có thẩm quyền.
Trường hợp đường địa giới hành chính các cấp trùng với đường biên giới quốc gia thì thể hiện theo đường biên giới quốc gia như trên bản đồ đã được Bộ Ngoại giao và Bộ Tài nguyên và Môi trường thẩm định về biên giới.
1.2. Đối tượng áp dụng
Quy chuẩn này áp dụng đối với Ủy ban nhân dân các cấp, các cơ quan, tổ chức, cá nhân có liên quan đến việc phân định và lập hồ sơ địa giới hành chính các cấp.
1.3. Các từ viết tắt và giải thích từ ngữ dùng trong văn bản
1.3.1. Các từ viết tắt:
1.3.1.1. ĐGHC: Địa giới hành chính
1.3.1.2. UBND: Ủy ban nhân dân
1.3.2. Giải thích từ ngữ.
1.3.2.1. Đường ĐGHC các cấp là đường ranh giới phân chia lãnh thổ theo phân cấp quản lý hành chính.
1.3.2.2. Phân định ĐGHC là việc xác định đường ĐGHC, cắm mốc ĐGHC trên thực địa và thể hiện lên bản đồ có xác nhận của các đơn vị hành chính có liên quan.
1.3.2.3. Điều chỉnh ĐGHC là việc chia tách, sáp nhập, thành lập mới đơn vị hành chính làm thay đổi đường ĐGHC và diện tích tự nhiên của một hoặc một số đơn vị hành chính theo quyết định của cơ quan nhà nước có thẩm quyền.
1.3.2.4. Bản đồ ĐGHC là bản đồ chuyên đề được lập trong quá trình lập hồ sơ ĐGHC cho từng đơn vị hành chính trên cơ sở nền bản đồ địa hình quốc gia ở tỷ lệ quy định có thể hiện các đường ĐGHC, các mốc ĐGHC và các yếu tố địa lý, địa danh khác có liên quan đến ĐGHC được cơ quan nhà nước có thẩm quyền xác nhận.
1.3.2.5. Hồ sơ ĐGHC là bộ tài liệu được lập cho từng đơn vị hành chính bao gồm các văn bản, số liệu và bản đồ ĐGHC.
1.3.2.6. Điểm đặc trưng là điểm được lựa chọn để phục vụ việc mô tả đường ĐGHC trong hồ sơ ĐGHC.
1.3.2.7. Chôn mốc ĐGHC là chôn các loại mốc ĐGHC được đúc bằng bê tông, xây các mốc ĐGHC bằng gạch đá hoặc gắn các loại mốc ĐGHC làm bằng đá lên các vật kiến trúc kiên cố hoặc lên đá tại các vị trí đã lựa chọn để cắm mốc ĐGHC.
1.3.2.8. Các yếu tố ĐGHC bao gồm: Mốc ĐGHC, đường ĐGHC và điểm đặc trưng trên đường ĐGHC.
2. QUY ĐỊNH KỸ THUẬT
2.1. Phân định địa giới hành chính
2.1.1. Công tác chuẩn bị
Công tác chuẩn bị phân định ĐGHC bao gồm việc thu thập, nghiên cứu, phân tích, đánh giá các tài liệu sau:
2.1.1.1. Văn bản của cơ quan nhà nước có thẩm quyền về điều chỉnh ĐGHC.
2.1.1.2. Bản đồ địa hình, bản đồ địa chính và các loại bản đồ có liên quan đến điều chỉnh ĐGHC.
2.1.1.3. Hồ sơ ĐGHC của các đơn vị hành chính có liên quan đến sự điều chỉnh ĐGHC.
2.1.2. Xác định đường ĐGHC, vị trí cắm mốc ĐGHC, điểm đặc trưng
2.1.2.1. Đường ĐGHC phải được các bên liên quan thống nhất xác định trên bản đồ và thực địa căn cứ theo văn bản của cơ quan nhà nước có thẩm quyền về điều chỉnh ĐGHC.
2.1.2.2. Vị trí cắm mốc, vị trí điểm đặc trưng được xác định trên bản đồ và thực địa phải đảm bảo các yêu cầu sau:
a) Vị trí cắm mốc.
- Mốc ĐGHC các cấp phải được cắm tại vị trí giao nhau của đường ĐGHC và ở những vị trí dễ xảy ra tranh chấp sau này. Khi không cắm được mốc đúng trên đường ĐGHC thì cắm ở một bên đường ĐGHC tại vị trí thuận lợi, ổn định và gần đường ĐGHC nhất. Trường hợp vị trí giao nhau của đường ĐGHC các cấp là đỉnh núi, trên sông, suối, hồ, biển thì không phải cắm mốc;
- Số lượng mốc, vị trí, loại mốc ĐGHC cần phải cắm do UBND các cấp có liên quan thống nhất quyết định.
b) Vị trí điểm đặc trưng trên đường ĐGHC
- Điểm đặc trưng trên đường ĐGHC cấp xã là các điểm ngoặt, vị trí giao nhau của đường ĐGHC cấp xã không cắm mốc; điểm đặc trưng trên đường ĐGHC cấp xã được đánh số liên tục từ 1 đến hết, chiều đánh số do các bên liên quan thống nhất xác định;
- Điểm đặc trưng trên đường ĐGHC cấp huyện là các mốc ĐGHC cấp xã nằm trên đường ĐGHC cấp huyện và giao điểm không chôn mốc của các đường ĐGHC cấp xã với đường ĐGHC cấp huyện. Số hiệu điểm đặc trưng trên đường ĐGHC cấp huyện là chữ viết tắt của tên các đơn vị hành chính liên quan;
Ví dụ: (NT-NC-TN) – ngã ba địa giới của 3 xã Nậm Tăm, Nậm Cha, Tả Ngảo
- Điểm đặc trưng trên đường ĐGHC cấp tỉnh là các mốc ĐGHC cấp huyện nằm trên đường ĐGHC cấp tỉnh và giao điểm không chôn mốc của các đường địa giới cấp huyện với đường ĐGHC cấp tỉnh. Số hiệu điểm đặc trưng trên đường ĐGHC cấp tỉnh là chữ viết tắt của tên các đơn vị hành chính liên quan;
Ví dụ: (ĐA-TL-ML) – ngã ba địa giới của 3 huyện: Đông Anh, Từ Liêm, Mê Linh.
c) Các vị trí được lựa chọn để cắm mốc và sử dụng làm điểm đặc trưng phải được kiểm tra, xác minh ngoài thực địa và thống nhất quyết định giữa các bên liên quan.
2.1.3. Cắm mốc ĐGHC
2.1.3.1. Quy cách mốc
Mốc ĐGHC được chia thành 3 cấp: xã, huyện, tỉnh. Tùy theo điều kiện địa hình cụ thể tại từng vị trí cắm mốc, mỗi cấp mốc đều được lựa chọn, sử dụng một trong 5 loại mốc sau:
a) Mốc đúc bê tông thông thường: sử dụng cho tất cả các vùng; quy cách mốc đúc bê tông thông thường quy định tại Phụ lục 1.
b) Mốc xây: sử dụng cho vùng núi, đi lại, vận chuyển khó khăn; mốc xây bằng cát, đá, xi măng và trát phẳng các mặt; hình dáng và chiều cao mốc xây như mốc đúc bê tông thông thường, các kích thước khác tăng gấp 2 lần so với kích thước mốc đúc bê tông thông thường; không có khung sắt làm cốt nhưng phải có lõi sắt Φ8 làm tâm mốc.
c) Mốc gắn trên đá: sử dụng cho vùng núi đá, đi lại, vận chuyển khó khăn; mốc làm bằng đá mài phẳng mặt kích thước 30 cm x 30 cm x 5 cm có lõi sắt Φ8 làm tâm mốc; mốc gắn với nền đá bằng xi măng, cát nhô cao hơn mặt đá từ 10 cm đến 35 cm và được trát phẳng xung quanh.
d) Mốc gắn trên vật kiến trúc kiên cố: sử dụng cho vùng đô thị; mốc làm bằng tấm đá ốp lát màu xanh lục hoặc bằng tấm bê tông có lưới sắt làm cốt; mặt mốc được đánh bóng có dạng hình chữ nhật các cạnh 40 cm x 50 cm, dày 2,0 cm đến 2,5 cm, bốn góc có 4 lỗ để bắt ốc (Φ8); Mốc được gắn vào vật kiến trúc kiên cố bằng ốc, cách mặt đất khoảng 1,5 m.
đ) Mốc cắm ngang bằng mặt hè phố, đường giao thông: sử dụng cho vùng đô thị;
Mốc làm bằng bê tông không cần khung sắt làm cốt nhưng phải có lõi sắt Φ8 làm tâm mốc. Mốc có dạng hình hộp vuông kích thước 40 cm x 40 cm x 40 cm trát phẳng mặt, mốc được chôn và gắn bằng xi măng, cát ngang bằng mặt hè phố, mặt đường đường giao thông;
Ghi chú trên mặt mốc ĐGHC theo quy định tại Phụ lục 2.
2.1.3.2. Đánh số hiệu mốc ĐGHC
Số hiệu mốc trên mỗi tuyến ĐGHC phải đảm bảo nguyên tắc không có số hiệu trùng nhau, bao gồm những thành phần theo trình tự sau:
a) Tên viết tắt của các đơn vị hành chính trực tiếp quản lý mốc đặt trong dấu ngoặc đơn, có gạch nối giữa các tên viết tắt;
b) Số lượng các đơn vị hành chính trực tiếp quản lý mốc ghi ngay sau dấu ngoặc đơn. Trường hợp mốc ĐGHC không thể cắm đúng trên đường ĐGHC thì phải thêm số 0 vào trước số lượng các đơn vị hành chính trực tiếp quản lý mốc;
c) Chữ viết tắt của cấp mốc hành chính ghi tiếp ngay sau số lượng đơn vị hành chính trực tiếp quản lý mốc: cấp tỉnh là T., cấp huyện là H., cấp xã là X.;
d) Số thứ tự của mốc ghi bằng số Ả rập sau chữ viết tắt của cấp mốc hành chính theo thứ tự tăng dần;
Ví dụ: (PT-TĐ-LC) 3H.1 là số hiệu mốc ĐGHC giữa huyện Phong Thổ, huyện Tam Đường và thị xã Lai Châu khi mốc được cắm đúng trên đường ĐGHC;
(PT-TĐ-LC) 03H.1 là số hiệu mốc ĐGHC giữa huyện Phong Thổ, huyện Tam Đường và thị xã Lai Châu khi mốc được cắm không đúng trên đường ĐGHC.
2.1.3.3. Chôn mốc ĐGHC các cấp
a) Mốc ĐGHC các cấp chôn tại vị trí đã được các bên liên quan thống nhất lựa chọn; mặt mốc có ghi tên của đơn vị hành chính nào thì hướng mặt mốc về phía đơn vị hành chính đó;
b) Khi chôn mốc ĐGHC phải có sự chứng kiến của đại diện cơ quan hành chính nhà nước các bên có liên quan và đại diện cơ quan hành chính nhà nước cấp cao hơn. Riêng đối với chôn mốc cấp tỉnh thì do đại diện cơ quan hành chính nhà nước của các tỉnh có liên quan chứng kiến.
2.1.3.4. Sau khi chôn mốc ĐGHC phải lập bản xác nhận sơ đồ vị trí mốc ĐGHC theo mẫu quy định tại Phụ lục 3-a, b,c; đo tọa độ mốc ĐGHC các cấp và xác định tọa độ các điểm đặc trưng trên đường ĐGHC các cấp theo quy định sau:
a) Tọa độ các mốc ĐGHC các cấp đo tại thực địa với độ chính xác tương đương độ chính xác của điểm trạm đo theo quy định đo vẽ thành lập bản đồ địa hình tỷ lệ 1:5000 hiện hành; giá trị tọa độ mốc ĐGHC ghi chính xác đến 0,01m; lập Bảng xác nhận tọa độ mốc ĐGHC theo mẫu quy định tại Phụ lục 4;
b) Tọa độ các điểm đặc trưng trên đường ĐGHC cấp xã được xác định trên bản đồ địa hình dạng số sử dụng làm nền cho bản đồ ĐGHC. Tọa độ điểm đặc trưng ghi chính xác đến 0,01m; lập Bảng tọa độ các điểm đặc trưng theo mẫu quy định tại Phụ lục 5;
c) Khi lập hồ sơ ĐGHC cấp huyện, cấp tỉnh sử dụng số liệu tọa độ các mốc ĐGHC các cấp và các điểm đặc trưng từ bộ hồ sơ ĐGHC cấp xã; trường hợp bản đồ ĐGHC cấp xã khác múi chiếu với bản đồ ĐGHC cấp huyện, cấp tỉnh thì phải tính chuyển số liệu tọa độ của cấp xã cho phù hợp với múi chiếu của bản đồ ĐGHC cấp huyện, cấp tỉnh; bảng tọa độ các mốc ĐGHC và các điểm đặc trưng trên đường ĐGHC cấp huyện, cấp tỉnh lập theo mẫu quy định tại Phụ lục 6; giá trị tọa độ ghi chính xác đến 0,01m.
2.1.3.5. Sau khi hoàn thành việc chôn mốc ĐGHC, phải bàn giao mốc ĐGHC các cấp cho các đơn vị hành chính trực tiếp quản lý mốc và lập biên bản bàn giao theo mẫu quy định tại Phụ lục 7.
2.1.4. Thành lập bản đồ ĐGHC các cấp
2.1.4.1. Quy định chung về thành lập bản đồ ĐGHC các cấp
a) Bản đồ nền sử dụng để lập bản đồ ĐGHC các cấp là bản đồ địa hình quốc gia dạng số trong hệ tọa độ và hệ quy chiếu quốc gia VN-2000;
b) Số hiệu mảnh bản đồ ĐGHC là số hiệu của mảnh bản đồ nền. Ngoài ra mỗi mảnh bản đồ phải đánh số thứ tự theo nguyên tắc từ trái sang phải, từ trên xuống dưới theo thứ tự sắp xếp của các mảnh bản đồ trong đơn vị hành chính;
c) Tỷ lệ bản đồ nền sử dụng đề thành lập bản đồ ĐGHC quy định như sau:
|
Cấp hành chính |
Vùng đô thị, đồng bằng |
Vùng trung du, miền núi |
|
Cấp xã |
1/2.000-1/25.000 |
1/10.000-1/50.000 |
|
Cấp huyện |
1/10.000-1/50.000 |
1/25.000-1/50.000 |
|
Cấp tỉnh |
1/10.000-1/50.000 |
1/50.000 |
Trong khoảng tỷ lệ quy định trên đối với bản đồ ĐGHC cấp xã phải chọn bản đồ nền có tỷ lệ lớn nhất và mới nhất hiện có; đối với cấp huyện và cấp tỉnh, tùy theo tình hình tài liệu bản đồ địa hình hiện có để lựa chọn bản đồ mới nhất, có tỷ lệ nhỏ hơn tỷ lệ của bản đồ ĐGHC cấp xã để làm bản đồ nền.
c) Nội dung bản đồ ĐGHC các cấp gồm những thành phần sau:
- Các yếu tố nội dung của bản đồ nền dùng để lập bản đồ ĐGHC;
- Các yếu tố ĐGHC bao gồm: mốc ĐGHC; đường ĐGHC; điểm đặc trưng trên đường ĐGHC;
- Các yếu tố địa lý liên quan đến đường ĐGHC bao gồm các yếu tố cần thể hiện theo quy định nội dung của bản đồ địa hình tỷ lệ tương ứng được sử dụng như vật định hướng để xác định vị trí và mô tả đường ĐGHC;
- Địa danh các đơn vị hành chính trong mảnh bản đồ; địa danh dân cư, thủy văn, sơn văn và kinh tế xã hội trong phạm vi đơn vị hành chính và phạm vi 2 cm ngoài đường ĐGHC cấp xã tại thời điểm lập bản đồ.
d) Sản phẩm bản đồ ĐGHC các cấp bao gồm:
- Bản đồ ĐGHC dạng số, dữ liệu số của bản đồ ĐGHC theo quy định của bản đồ địa hình tỷ lệ tương ứng;
- Bản đồ ĐGHC in trên giấy, được xác lập tính pháp lý theo quy định tại điểm 2.2.4.1 Quy chuẩn này;
đ) Phương pháp thành lập bản đồ ĐGHC các cấp.
- Bản đồ ĐGHC cấp xã được thành lập bằng phương pháp đo vẽ, xác định tại thực địa để bổ sung, chỉnh sửa các yếu tố ĐGHC, các yếu tố địa lý liên quan đến đường ĐGHC cấp xã (bao gồm cả đường ĐGHC cấp huyện, cấp tỉnh khi trùng với đường ĐGHC của xã trên bản đồ nền);
- Bản đồ ĐGHC cấp huyện được thành lập bằng phương pháp biên vẽ các yếu tố ĐGHC và các yếu tố địa lý liên quan đến đường ĐGHC từ bản đồ ĐGHC cấp xã lên bản đồ nền ĐGHC cấp huyện;
- Bản đồ ĐGHC cấp tỉnh được thành lập bằng phương pháp biên vẽ các yếu tố ĐGHC và các yếu tố địa lý liên quan đến đường ĐGHC từ bản đồ ĐGHC cấp huyện lên bản đồ nền ĐGHC cấp tỉnh;
- Các yếu tố ĐGHC thể hiện trên bản đồ ĐGHC theo ký hiệu bản đồ ĐGHC quy định tại Phụ lục 8;
- Đường ĐGHC các cấp được thể hiện trên bản đồ ĐGHC theo ký hiệu và quy định về thể hiện đường ĐGHC trên bản đồ địa hình ở tỷ lệ tương ứng;
- Bản đồ ĐGHC các cấp sau khi thành lập được biên tập, in trên giấy theo quy định kỹ thuật về biên tập chế in bản đồ địa hình hiện hành; đường ĐGHC các cấp chỉ thể hiện đến đường biên giới quốc gia; trường hợp đường ĐGHC các cấp trùng nhau thì thể hiện đường ĐGHC cấp cao nhất;
- Các yếu tố địa lý liên quan đến đường ĐGHC và địa danh thể hiện trên bản đồ ĐGHC theo quy định ký hiệu bản đồ địa hình tỷ lệ tương ứng;
- Trình bày ngoài khung bản đồ ĐGHC các cấp theo mẫu quy định tại Phụ lục 9.
2.1.4.2. Thành lập bản đồ ĐGHC cấp xã.
a) Các yếu tố ĐGHC thể hiện theo quy định sau:
- Mốc ĐGHC các cấp được chuyển lên bản đồ ĐGHC cấp xã theo số liệu tọa độ đã đo;
- Đường ĐGHC các cấp được thể hiện trên bản đồ ĐGHC cấp xã theo kết quả phân định ĐGHC;
- Đường ĐGHC các cấp chỉ vẽ đến bờ biển; trường hợp trên bản đồ nền đã biểu thị đường ĐGHC trên biển mà không có tranh chấp thì giữ nguyên như bản đồ nền;
- Các đảo, bãi đá ở trên biển phải ghi chú tên đơn vị hành chính quản lý ở trong ngoặc đơn đặt dưới tên đảo hoặc cạnh đảo. Trường hợp đảo, bãi đá nằm cách xa đất liền (ngoài phạm vi của tờ bản đồ có phần đất liền) thì phải làm sơ đồ thuyết minh kèm theo;
- Trong trường hợp trên tuyến ĐGHC còn tranh chấp thì trên bản đồ phải thể hiện đường ĐGHC đúng thực trạng mà các cấp đã kiến nghị theo quan điểm của mỗi bên.
b) Chỉnh sửa, bổ sung các yếu tố địa lý liên quan đến đường ĐGHC cấp xã.
- Các yếu tố địa lý liên quan mới xuất hiện trong phạm vi 2 cm trên bản đồ về hai bên đường ĐGHC ở mọi tỷ lệ, phải đo vẽ, bổ sung và biểu thị theo quy định mức độ nội dung cần thể hiện của bản đồ địa hình tỷ lệ tương ứng; những yếu tố không còn tồn tại trên thực địa phải xóa bỏ;
- Những đối tượng được chọn làm vật chuẩn để xác định vị trí các mốc ĐGHC, những đối tượng có ý nghĩa định hướng được dùng để mô tả đường ĐGHC nếu chưa có trên bản đồ nền đều phải bổ sung thể hiện đầy đủ;
- Các đối tượng hình tuyến phải vẽ đến điểm ngoặt gần nhất, kể cả trường hợp ngoài phạm vi 2 cm dọc theo đường địa giới.
c) Thống kê địa danh
Toàn bộ địa danh thể hiện trên bản đồ ĐGHC trong phạm vi đơn vị hành chính phải lập phiếu thống kê theo mẫu quy định tại Phụ lục 10 bao gồm:
- Phiếu thống kê địa danh dân cư
- Phiếu thống kê địa danh sơn văn
- Phiếu thống kê địa danh thủy văn
d) Lập sơ đồ thuyết minh ĐGHC
- Đối với khu vực đô thị, dân cư đông đúc nếu bản đồ ĐGHC chưa thể hiện rõ vị trí của đường ĐGHC thì phải lập sơ đồ thuyết minh kèm theo. Sơ đồ thuyết minh được lập cho toàn bộ đường ĐGHC của đơn vị hành chính hoặc lập riêng cho từng tuyến hoặc từng đoạn địa giới tùy theo mức độ cần thiết do các bên liên quan thống nhất quyết định;
- Tài liệu sử dụng để lập sơ đồ thuyết minh ĐGHC là tài liệu mới nhất được lựa chọn từ một trong số các tài liệu sau: bản đồ địa hình tỷ lệ lớn hơn tỷ lệ bản đồ ĐGHC cấp xã, bản đồ địa chính cơ sở, bản đồ địa chính, bản đồ địa chính trích đo; kích thước sơ đồ thuyết minh ĐGHC bằng kích thước tờ bản đồ nền. Trình bày sơ đồ thuyết minh theo mẫu tại Phụ lục.
2.1.4.3. Thành lập bản đồ ĐGHC cấp huyện
a) Mốc ĐGHC và đường ĐGHC các cấp trên bản đồ ĐGHC cấp huyện được chuyển vẽ từ bản đồ ĐGHC cấp xã;
b) Các mốc ĐGHC cấp xã nằm trên đường ĐGHC cấp huyện và giao điểm giữa đường ĐGHC cấp xã với đường ĐGHC cấp huyện không cắm mốc được coi là những điểm đặc trưng trên đường ĐGHC cấp huyện và biểu thị theo quy định biểu thị điểm đặc trưng trên bản đồ ĐGHC cấp huyện;
c) Các yếu tố địa lý liên quan đến đường ĐGHC cấp huyện phải chuyển vẽ từ bản đồ ĐGHC cấp xã lên bản đồ ĐGHC cấp huyện theo nguyên tắc biên tập, tổng hợp nội dung bản đồ địa hình khi chuyển đổi tỷ lệ tương ứng.
2.1.4.4. Thành lập bản đồ ĐGHC cấp tỉnh.
a) Mốc ĐGHC cấp huyện, cấp tỉnh và đường ĐGHC các cấp trên bản đồ ĐGHC cấp tỉnh được chuyển vẽ từ bản đồ ĐGHC cấp huyện; trên bản đồ ĐGHC cấp tỉnh không tô bo đường ĐGHC cấp xã;
b) Các mốc ĐGHC cấp huyện nằm trên đường ĐGHC cấp tỉnh và giao điểm giữa đường ĐGHC cấp huyện với đường ĐGHC cấp tỉnh không cắm mốc được coi là những điểm đặc trưng trên đường ĐGHC cấp tỉnh và biểu thị theo quy định biểu thị điểm đặc trưng lên bản đồ ĐGHC cấp tỉnh;
c) Các yếu tố địa lý liên quan đến đường ĐGHC cấp tỉnh phải chuyển vẽ từ bản đồ ĐGHC cấp huyện lên bản đồ ĐGHC cấp tỉnh theo nguyên tắc biên tập, tổng hợp nội dung bản đồ địa hình khi chuyển đổi tỷ lệ tương ứng.
2.1.5. Mô tả đường ĐGHC các cấp
2.1.5.1. Phương pháp và quy định về mô tả.
a) Mỗi tuyến ĐGHC đều phải lập mô tả đường ĐGHC; mô tả đường ĐGHC được lập bằng cách dùng lời văn viết mô tả rõ ràng, chính xác vị trí của đường ĐGHC trên thực địa tuần tự theo một hướng lựa chọn, lần lượt từ điểm này đến điểm tiếp theo. Mô tả phải được lập cho tất cả các tuyến ĐGHC và khép kín toàn bộ đơn vị hành chính, riêng đối với những đơn vị hành chính có đường biên giới quốc gia hoặc giáp biển thì chỉ mô tả đến đường biên giới quốc gia hoặc đến biển;
b) Mô tả đường ĐGHC đối với cấp xã phải lập và ký xác nhận theo hình thức biên bản và gọi là biên bản xác nhận mô tả đường ĐGHC cấp xã; mô tả đường ĐGHC đối với cấp huyện, tỉnh được lập trên cơ sở biên tập, tổng hợp nội dung từ các biên bản xác nhận mô tả đường ĐGHC cấp xã và gọi là bản xác nhận mô tả đường ĐGHC;
c) Mỗi tuyến ĐGHC giữa hai đơn vị hành chính cho phép mô tả theo toàn tuyến hoặc chia thành một số đoạn để mô tả. Nội dung mô tả phải căn cứ theo đúng thực trạng đường ĐGHC trên thực địa, các mốc ĐGHC đã chôn, các điểm đặc trưng trên đường ĐGHC đã xác định, khoảng cách giữa chúng để mô tả; mô tả đường ĐGHC phải phù hợp với nội dung bản đồ ĐGHC, những yếu tố không biểu thị trên bản đồ thì không đưa vào mô tả;
d) Trong trường hợp trên tuyến ĐGHC còn tranh chấp thì phải mô tả nêu rõ thực trạng và ý kiến đề xuất giải quyết theo quan điểm của mỗi bên.
2.1.5.2. Lập biên bản xác nhận bản mô tả đường ĐGHC cấp xã
a) Mỗi tuyến hoặc mỗi đoạn ĐGHC chung giữa 2 xã đều phải lập biên bản xác nhận mô tả. Tập hợp các Biên bản xác nhận mô tả là nội dung mô tả đầy đủ cho đường ĐGHC của một xã;
b) Trong biên bản xác nhận mô tả đường ĐGHC cấp xã phải thể hiện rõ những nội dung sau:
- Số hiệu tờ bản đồ có đường ĐGHC; sơ đồ thuyết minh ĐGHC kèm theo (nếu có);
- Các tuyến ĐGHC cấp cao trùng với tuyến ĐGHC cấp xã;
- Điểm khởi đầu và điểm kết thúc của tuyến ĐGHC cấp xã; số đoạn ĐGHC; chiều dài toàn tuyến ĐGHC; phương pháp đo chiều dài tuyến;
- Trong mỗi đoạn ĐGHC phải mô tả rõ từng địa vật cụ thể có khả năng tồn tại ổn định trên thực địa mà đường ĐGHC đi qua hoặc được dùng làm căn cứ để xác định đường ĐGHC; chiều dài của từng đoạn ĐGHC;
- Trường hợp đường ĐGHC đi theo các địa vật có khả năng biến động như sông, suối, đường giao thông thì trong biên bản xác nhận mô tả phải nêu rõ ý kiến thống nhất giữa các bên liên quan về biện pháp xử lý khi địa vật có thay đổi.
c) Các số liệu nêu trong biên bản xác nhận mô tả phải thống nhất với bản đồ và sơ đồ thuyết minh.
Biên bản xác nhận mô tả đường ĐGHC cấp xã lập theo mẫu quy định tại Phụ lục 11.
2.1.5.3. Lập bản xác nhận mô tả đường ĐGHC cấp huyện, cấp tỉnh
a) Bản xác nhận mô tả đường ĐGHC cấp huyện, cấp tỉnh được lập trên cơ sở biên tập tổng hợp nội dung từ các biên bản xác nhận mô tả tuyến ĐGHC cấp xã trùng với đường ĐGHC cấp huyện, cấp tỉnh và căn cứ theo bản đồ ĐGHC cấp huyện, cấp tỉnh;
b) Bản xác nhận mô tả đường ĐGHC cấp huyện, cấp tỉnh lập theo từng tuyến bắt đầu từ ngã ba ĐGHC ba huyện đồng thời cũng là ngã ba ĐGHC giữa ba xã (đối với cấp huyện); khởi đầu từ ngã ba ĐGHC giữa ba tỉnh đồng thời là ngã ba địa giới giữa ĐGHC ba huyện (đối với cấp tỉnh); mô tả rõ hướng đi và những địa vật mà đường ĐGHC đi qua, ngã ba ĐGHC ba huyện hoặc ba tỉnh mà tuyến ĐGHC kết thúc; nêu chiều dài toàn tuyến ĐGHC và số đoạn ĐGHC; độ dài của mỗi đoạn ĐGHC. Trong mỗi đoạn ĐGHC phải ghi rõ tên các xã hoặc các huyện cụ thể về hai phía mà đoạn đó là ĐGHC;
c) Các số liệu về chiều dài tuyến ĐGHC, đoạn ĐGHC, mốc ĐGHC trong bản xác nhận mô tả đường ĐGHC cấp huyện, cấp tỉnh phải phù hợp với số liệu trong hồ sơ ĐGHC của cấp xã, cấp huyện liên quan;
d) Bản xác nhận mô tả ĐGHC cấp huyện, cấp tỉnh lập theo mẫu quy định tại Phụ lục 12, 13.
2.1.5.4. Lập Bản mô tả tình hình chung về ĐGHC các cấp.
Trong hồ sơ ĐGHC của tất cả các cấp phải có Bản mô tả tình hình chung về ĐGHC. Trong bản mô tả tình hình chung về ĐGHC mỗi cấp phải nêu khái quát hiện trạng công tác quản lý ĐGHC, nêu rõ số quyết định, thời gian ban hành và nội dung quyết định của cơ quan nhà nước có thẩm quyền về việc điều chỉnh ĐGHC, diện tích tự nhiên, dân số của đơn vị hành chính. Bản mô tả tình hình chung về ĐGHC lập theo mẫu quy định tại Phụ lục 14-a,b,c
2.2. Lập hồ sơ địa giới hành chính
2.2.1. Hồ sơ ĐGHC cấp xã bao gồm các tài liệu sau:
2.2.1.1. Các văn bản pháp lý về thành lập xã, và điều chỉnh ĐGHC xã;
2.2.1.2. Bản đồ, ĐGHC cấp xã;
2.2.1.3. Các bản xác nhận sơ đồ vị trí các mốc ĐGHC cấp xã, huyện, tỉnh trên đường ĐGHC của xã;
2.2.1.4. Bản xác nhận tọa độ các mốc ĐGHC cấp xã;
2.2.1.5. Bảng tọa độ các điểm đặc trưng trên đường ĐGHC cấp xã;
2.2.1.6. Bản mô tả tình hình chung về ĐGHC cấp xã;
2.2.1.7. Các Biên bản xác nhận mô tả đường ĐGHC cấp xã;
2.2.1.8. Các phiếu thống kê địa danh (dân cư, thủy văn, sơn văn);
2.2.1.9. Biên bản bàn giao mốc ĐGHC các cấp.
2.2.2. Hồ sơ ĐGHC cấp huyện bao gồm các tài liệu sau:
2.2.2.1. Các văn bản pháp lý về thành lập huyện, và điều chỉnh ĐGHC huyện.
2.2.2.2. Bản đồ ĐGHC cấp huyện;
2.2.2.3. Các Bản xác nhận sơ đồ vị trí các mốc ĐGHC cấp huyện, tỉnh trên đường ĐGHC của huyện;
2.2.2.4. Bảng tọa độ các mốc ĐGHC và các điểm đặc trưng trên đường ĐGHC cấp huyện;
2.2.2.5. Bản mô tả tình hình chung về ĐGHC cấp huyện;
2.2.2.6. Các bản xác nhận mô tả đường ĐGHC cấp huyện;
2.2.3. Hồ sơ ĐGHC cấp tỉnh bao gồm các tài liệu sau:
2.2.3.1. Các văn bản pháp lý về thành lập tỉnh, và điều chỉnh ĐGHC tỉnh.
2.2.3.2. Bản đồ ĐGHC cấp tỉnh;
2.2.3.3. Các bản xác nhận sơ đồ vị trí các mốc ĐGHC cấp tỉnh trên đường ĐGHC của tỉnh;
2.2.3.4. Bảng tọa độ các mốc ĐGHC và các điểm đặc trưng trên đường ĐGHC cấp tỉnh;
2.2.3.5. Bản mô tả tình hình chung về ĐGHC cấp tỉnh;
2.2.3.6. Các bản xác nhận mô tả đường ĐGHC cấp tỉnh;
2.2.4. Xác lập tính pháp lý của các tài liệu trong hồ sơ ĐGHC các cấp
2.2.4.1. Xác lập tính pháp lý trên bản đồ ĐGHC các cấp:
a) Chủ tịch UBND cấp xã, huyện, tỉnh ký tên, đóng dấu xác nhận ở ngoài góc khung Đông nam các mảnh bản đồ trong bộ bản đồ ĐGHC thuộc phạm vi quản lý hành chính của mình;
b) Chủ tịch UBND cấp xã, huyện, tỉnh liên quan ký tên, đóng dấu bên trong nội dung các mảnh bản đồ ĐGHC vào phạm vi thuộc quản lý hành chính của mình và cách đường ĐGHC chung với cấp lập hồ sơ từ 2cm đến 3cm;
2.2.4.2. Xác lập tính pháp lý trên sơ đồ vị trí các mốc ĐGHC cấp:
a) Chủ tịch UBND cấp tỉnh trực tiếp quản lý mốc ký xác nhận sơ đồ vị trí mốc ĐGHC cấp tỉnh.
b) Chủ tịch UBND cấp huyện trực tiếp quản lý mốc ký xác nhận và Chủ tịch UBND cấp tỉnh ký chứng thực sơ đồ vị trí mốc ĐGHC cấp huyện.
c) Chủ tịch UBND cấp xã trực tiếp quản lý mốc ký xác nhận và Chủ tịch UBND cấp huyện ký chứng thực sơ đồ vị trí mốc ĐGHC cấp xã.
2.2.4.3. Xác lập tính pháp lý trên Bản xác nhận tọa độ các mốc ĐGHC: Chủ tịch UBND cấp quản lý trực tiếp mốc ký vào Bản xác nhận tọa độ các mốc ĐGHC cấp tương ứng; Người lập, người kiểm tra ký và ghi rõ họ tên.
2.2.4.4. Người lập, người kiểm tra ký và ghi rõ họ tên; UBND các cấp ký đóng dấu chứng thực vào bảng tọa độ các điểm đặc trưng trên đường ĐGHC cấp xã, bảng tọa độ mốc ĐGHC và các điểm đặc trưng trên đường ĐGHC cấp huyện, cấp tỉnh.
2.2.4.5. Người lập ký và ghi rõ họ tên UBND các cấp ký đóng dấu vào bản mô tả tình hình chung về ĐGHC các cấp;
2.2.4.6. Xác lập tính pháp lý đối với biên bản xác nhận mô tả đường ĐGHC cấp xã quy định như sau:
a) Chủ tịch UBND cấp xã của hai bên liên quan ký biên bản xác nhận mô tả tuyến ĐGHC cấp xã.
b) Đại diện cơ quan chuyên môn cấp huyện gồm Phòng Nội vụ - Lao động Thương binh và Xã hội, Phòng Tài nguyên và Môi trường và đơn vị thi công ký chứng kiến.
2.2.4.7. Đối với bản xác nhận mô tả đường ĐGHC cấp huyện, cấp tỉnh: Chủ tịch UBND cấp huyện, cấp tỉnh liên quan trực tiếp ký xác nhận.
2.2.4.8. Đối với phiếu thống kê địa danh (dân cư, thủy văn, sơn văn): Người lập phiếu, ký và ghi rõ họ tên, Chủ tịch UBND cấp xã ký xác nhận.
2.2.4.9. Đối với biên bản bàn giao mốc ĐGHC các cấp: Chủ tịch UBND cấp tỉnh ký bên giao mốc, Chủ tịch UBND xã ký bên nhận mốc.
2.2.4.10. Đối với bản sao các văn bản pháp lý về điều chỉnh ĐGHC xã, huyện, tỉnh: ký xác nhận sao y bản chính theo quy định tại Thông tư liên tịch số 55/TTLT-BNV-VPCP ngày 06/5/2005 của Bộ Nội vụ và Văn phòng Chính phủ.
2.2.5. Trình bày và đóng tập hồ sơ ĐGHC
2.2.5.1. Hồ sơ ĐGHC các cấp lập mới được trình bày và đóng tập theo quy định tại Phụ lục 15-a,b,c,d.
2.2.5.2. Bản đồ ĐGHC lập mới được trình bày và đóng tập theo quy định tại Phụ lục 16.
2.3. Chỉnh lý, bổ sung hồ sơ ĐGHC đối với các đơn vị hành chính đã có hồ sơ ĐGHC.
2.3.1. Những đơn vị hành chính được điều chỉnh ĐGHC theo quyết định của cơ quan nhà nước có thẩm quyền thì thực hiện chỉnh lý, bổ sung hồ sơ ĐGHC theo quy định sau:
2.3.1.1. Giữ nguyên hiện trạng bộ hồ sơ ĐGHC hiện trạng sử dụng được lập theo chỉ thị 364/CT hoặc theo các Quyết định của cơ quan Nhà nước có thẩm quyền, không cạo sửa, tẩy xóa, xé lẻ bộ hồ sơ hiện có;
2.3.1.2. Những tài liệu và văn bản pháp lý trong hồ sơ hiện đang sử dụng có nội dung còn phù hợp với nội dung Quyết định điều chỉnh ĐGHC mới của cơ quan nhà nước có thẩm quyền thì được sao lục đưa vào hồ sơ ĐGHC chỉnh lý, bổ sung;
2.3.1.3. Đối với tuyến ĐGHC không thay đổi và không chôn thêm mốc ĐGHC phải bổ sung bản sao Quyết định điều chỉnh ĐGHC mới của cơ quan nhà nước có thẩm quyền vào tập hồ sơ ĐGHC hiện đang sử dụng;
2.3.1.4. Những tài liệu lập mới trong hồ sơ ĐGHC được phải được xác lập tính pháp lý theo quy định tại Quy chuẩn này;
2.3.1.5. Những tài liệu bổ sung thêm và những tài liệu liên quan khác đến chỉnh lý hồ sơ ĐGHC đều phải đóng bổ sung vào tập hồ sơ hiện đang sử dụng;
2.3.1.6. Trường hợp có điều chỉnh đường ĐGHC và chôn thêm mốc mới thì phải bổ sung thêm những tài liệu sau vào tập hồ sơ hiện đang sử dụng:
a) Bản thống kê danh mục tài liệu mới bổ sung;
b) Bản sao văn bản của cơ quan Nhà nước có thẩm quyền về điều chỉnh ĐGHC;
c) Bản tổng hợp những thay đổi về ĐGHC;
d) Bản xác nhận sơ đồ vị trí mốc mới bổ sung;
đ) Bản xác nhận tọa độ các mốc ĐGHC và các điểm đặc trưng mới bổ sung trên đường ĐGHC;
e) Các Biên bản xác nhận mô tả tuyến ĐGHC mới lập;
g) Các Biên bản bàn giao mốc ĐGHC mới bổ sung.
2.3.2. Tài liệu sử dụng để chỉnh lý, bổ sung bản đồ ĐGHC gồm:
2.3.2.1. Quyết định của cấp có thẩm quyền về điều chỉnh ĐGHC;
2.3.2.2. Bản đồ ĐGHC hiện đang sử dụng;
2.3.2.3. Bản đồ nền theo quy định tại Quy chuẩn này;
2.3.2.4. Bản xác nhận sơ đồ vị trí mốc ĐGHC mới bổ sung; biên bản xác nhận mô tả tuyến ĐGHC mới điều chỉnh; bản xác nhận tọa độ mốc ĐGHC; bảng tọa độ các điểm đặc trưng trên đường ĐGHC.
2.3.3. Chỉnh lý, bổ sung bản đồ ĐGHC theo quy định sau
2.3.3.1. Bổ sung, chỉnh sửa ký hiệu đường địa giới, mốc ĐGHC, địa danh hành chính, địa danh dân cư, thủy văn, sơn văn có thay đổi; bổ sung, chỉnh sửa các yếu tố địa lý liên quan đến đường ĐGHC trong phạm vi 2 cm trên bản đồ về hai bên đường ĐGHC cấp xã;
2.3.3.2. Trình bày bản đồ ĐGHC được chỉnh lý bổ sung theo quy định tại Phụ lục 9, ngoài ra tại góc phía Đông bắc ngoài khung mảnh bản đồ ghi bổ sung dòng chữ: “Mảnh bản đồ được chỉnh lý bổ sung theo Quyết định số, ngày, tháng, năm của cơ quan nhà nước có thẩm quyền về việc điều chỉnh ĐGHC”.
2.3.4. Tính pháp lý trên các tài liệu chỉnh lý, bổ sung của hồ sơ ĐGHC các cấp được xác lập theo quy định sau:
2.3.4.1. Các tài liệu lập mới thì xác lập tính pháp lý, theo quy định tại Quy chuẩn này.
2.3.4.2. Các tài liệu có nội dung không thay đổi được sao lục và do cơ quan hành chính nhà nước cấp trên quản lý trực tiếp xác nhận.
2.3.5. Các tài liệu chỉnh lý, bổ sung của hồ sơ ĐGHC các cấp đóng tập theo quy định sau:
2.3.5.1. Bản đồ ĐGHC mới chỉnh lý, bổ sung được đóng tiếp vào tập bản đồ ĐGHC hiện đang sử dụng xây dựng theo chỉ thị 364/CT hoặc theo các quyết định của cơ quan nhà nước có thẩm quyền.
2.3.5.2. Các văn bản tài liệu mới chỉnh lý, bổ sung được đóng tiếp vào tập hồ sơ ĐGHC hiện đang sử dụng xây dựng theo chỉ thị 364/CT hoặc theo các quyết định của cơ quan nhà nước có thẩm quyền.
3. QUY ĐỊNH VỀ QUẢN LÝ
3.1. Kiểm tra, nghiệm thu hồ sơ địa giới hành chính các cấp
3.1.1. Yêu cầu về kiểm tra, nghiệm thu
3.1.1.1. Kiểm tra, nghiệm thu hồ sơ ĐGHC phải được thực hiện ngay sau khi hoàn thành từng hạng mục công việc, sản phẩm;
3.1.1.2. Hồ sơ ĐGHC sau khi nghiệm thu phải đảm bảo được lập đầy đủ theo quy định tại Quy chuẩn này, các số liệu phải chính xác, từ ngữ sử dụng trong các văn bản phải ngắn gọn, rõ ràng, dễ hiểu và thống nhất giữa các cấp;
3.1.1.3. Khi kết thúc nghiệm thu hồ sơ ĐGHC phải lập báo cáo gửi cơ quan quản lý cấp trên nêu rõ số lượng và chất lượng từng tài liệu đã kiểm tra, nghiệm thu trong hồ sơ ĐGHC;
3.1.1.4. Phiếu ghi ý kiến kiểm tra, Biên bản nghiệm thu, Bảng danh mục tài liệu đã nghiệm thu trong quá trình kiểm tra, nghiệm thu lập theo mẫu quy định tại Phụ lục 18-a,b,c;
3.1.1.5. Những ý kiến liên quan đến đề nghị xử lý của cơ quan Trung ương (Bộ Nội vụ, Bộ Tài nguyên và Môi trường) phải lập thành văn bản đề nghị riêng.
3.1.2. Trách nhiệm kiểm tra nghiệm thu
3.1.2.1. Đơn vị sản xuất tự kiểm tra 100% sản phẩm do đơn vị mình thi công;
3.1.2.2. UBND các cấp kiểm tra nghiệm thu hồ sơ ĐGHC thuộc trách nhiệm quản lý trực tiếp của mình và kiểm tra nghiệm thu hồ sơ ĐGHC của cấp dưới thuộc thẩm quyền quản lý;
3.1.2.3. Sở Nội vụ, Sở Tài nguyên và Môi trường có trách nhiệm giúp UBND tỉnh hướng dẫn và tổ chức thực hiện công tác tra kiểm tra nghiệm thu hồ sơ ĐGHC, các cấp;
3.1.2.4. UBND cấp tỉnh nghiệm thu và chịu trách nhiệm trước Chính phủ về chất lượng toàn bộ hồ sơ ĐGHC các cấp thuộc thẩm quyền quản lý của mình. Để bảo đảm giá trị sử dụng lâu dài, nếu trong quá trình sử dụng phát hiện có sai sót thì UBND cấp tỉnh phải có biện pháp chỉ đạo các cấp liên quan chỉnh lý, bổ sung kịp thời và báo cáo cơ quan quản lý cấp trên, không để kéo dài.
3.1.3. Tổ chức thực hiện kiểm tra, nghiệm thu
3.1.3.1. Tài liệu giao nộp để kiểm tra nghiệm thu bao gồm toàn bộ tài liệu trong bộ hồ sơ ĐGHC và các tài liệu liên quan trong quá trình thi công phục vụ cho việc kiểm tra nghiệm thu như sổ đo, bảng tính, biên bản kiểm nghiệm máy và các tài liệu khác.
3.1.3.2. Nghiệm thu hồ sơ ĐGHC các cấp
a) UBND mỗi cấp thành lập một tổ chuyên viên giúp việc để thực hiện công tác kiểm tra và nghiệm thu hồ sơ ĐGHC thuộc thẩm quyền quản lý trực tiếp và kiểm tra nghiệm thu hồ sơ ĐGHC của cấp dưới thuộc quyền quản lý. Tổ chuyên viên có nhiệm vụ:
- Giúp UBND tổ chức thực hiện và theo dõi quá trình kiểm tra nghiệm thu; chuẩn bị các công việc cần thiết cho việc kiểm tra nghiệm thu sản phẩm ngay sau khi hoàn thành;
- Thực hiện kiểm tra cơ sở pháp lý và nội dung kỹ thuật đối với các sản phẩm đưa vào kiểm tra nghiệm thu;
- Chỉ ra những thiếu sót và yêu cầu đơn vị thi công có trách nhiệm bổ sung, sửa chữa hoặc yêu cầu làm lại khi cần thiết;
- Kiểm tra việc sửa chữa, bổ sung hoặc làm lại (nếu có); giúp UBND cấp mình xác lập tính pháp lý cho hồ sơ, xác nhận việc hoàn thành của đơn vị thi công và soạn thảo báo cáo nghiệm thu gửi cấp trên;
b) Khi kiểm tra, nghiệm thu hồ sơ ĐGHC ở mỗi cấp, phải có đại diện của UBND cấp trên trực tiếp tham gia; riêng đối với bộ hồ sơ ĐGHC cấp tỉnh, thì UBND tỉnh tự tổ chức kiểm tra nghiệm thu.
3.1.3.3. Mức độ kiểm tra nghiệm thu các loại tài liệu quy định như sau:
a) Đối với hồ sơ ĐGHC cấp xã:
- Đơn vị thi công tự tổ chức kiểm tra 100% các hạng mục công việc và tài liệu trong hồ sơ ĐGHC do đơn vị thi công thực hiện;
- UBND cấp xã kiểm tra 100% tất cả các hạng mục công việc và tài liệu của hồ sơ ĐGHC cấp xã do đơn vị thi công thực hiện;
- UBND cấp huyện: kiểm tra 30% chất lượng mốc địa giới hành chính; đo kiểm tra lại tọa độ của 30% mốc ĐGHC, kiểm tra lại việc xác định tọa độ của 30% điểm đặc trưng; kiểm tra đối chiếu tại thực địa 30% đối với bản đồ ĐGHC và bản xác nhận sơ đồ vị trí các mốc ĐGHC các cấp; kiểm tra 30% đối với biên bản xác nhận mô tả đường ĐGHC cấp xã, phiếu thống kê địa danh (dân cư, thủy văn, sơn văn);
- UBND cấp tỉnh: kiểm tra 20% chất lượng mốc địa giới hành chính; kiểm tra 10% đối với các hạng mục công việc và tài liệu khác như quy định đối với UBND cấp huyện;
b) Đối với hồ sơ ĐGHC cấp huyện
- Đơn vị thi công tự tổ chức kiểm tra 100% các hạng mục công việc và tài liệu trong hồ sơ ĐGHC do đơn vị thi công thực hiện;
- UBND cấp huyện kiểm tra 100% tất cả các hạng mục công việc và tài liệu của hồ sơ ĐGHC cấp huyện do đơn vị thi công thực hiện;
- UBND cấp tỉnh kiểm tra 50% tất cả các hạng mục công việc và tài liệu;
c) Đối với hồ sơ địa giới hành chính cấp tỉnh
- Đơn vị thi công tự tổ chức kiểm tra 100% tất cả các hạng mục công việc và tài liệu trong hồ sơ ĐGHC do đơn vị thi công thực hiện;
- UBND cấp tỉnh kiểm tra 100% tất cả các hạng mục công việc và tài liệu của hồ sơ ĐGHC cấp tỉnh do đơn vị thi công thực hiện; Bộ Nội vụ chủ trì phối hợp với Bộ Tài nguyên và Môi trường căn cứ tình hình cụ thể để quyết định mức độ phúc tra cần thiết các hạng mục công việc và tài liệu thuộc Hồ sơ ĐGHC cấp tỉnh trong quá trình thẩm định.
3.2. Thẩm định hồ sơ địa giới hành chính
Việc thẩm định hồ sơ ĐGHC thực hiện theo quy định tại Khoản 3 mục 2 Thông tư Liên tịch số 06/2006/TTLT-BTNMT-BNV-BNG-BQP Bộ Tài nguyên và Môi trường, Nội vụ, Ngoại giao và Quốc phòng ngày 13/6/2006 hướng dẫn quản lý công tác đo đạc và bản đồ về địa giới hành chính và biên giới quốc gia.
4. TỔ CHỨC THỰC HIỆN
4.1. Bộ Tài nguyên và Môi trường phối hợp với Bộ Nội vụ có trách nhiệm hướng dẫn và kiểm tra việc thực hiện Quy chuẩn này;
4.2. Căn cứ yêu cầu của công tác quản lý, sử dụng hồ sơ ĐGHC các cấp, sự phát triển của công nghệ, kỹ thuật áp dụng trong xây dựng hồ sơ ĐGHC, Bộ Tài nguyên và Môi trường có trách nhiệm phối hợp với Bộ Nội vụ kiến nghị cơ quan nhà nước có thẩm quyền sửa đổi, bổ sung Quy chuẩn kỹ thuật này khi cần thiết;
4.3. Trong trường hợp các văn bản quy phạm pháp luật mà quy chuẩn này dẫn chiếu áp dụng có sự sửa đổi, bổ sung hoặc được thay thế thì thực hiện theo quy định tại văn bản mới;
4.4. Trong quá trình thực hiện nếu có vướng mắc cần kịp thời phản ánh về Cục Đo đạc và Bản đồ Việt Nam thuộc Bộ Tài nguyên và Môi trường để phối hợp xem xét, giải quyết.
|
|
KT. BỘ TRƯỞNG |
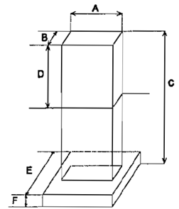
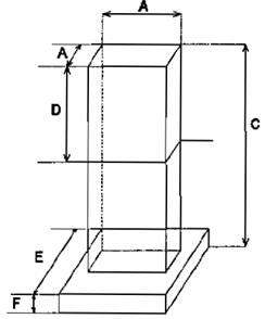
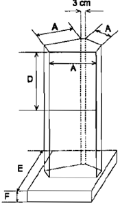
PHỤ LỤC 1
QUY CÁCH MỐC ĐÚC BÊ TÔNG THÔNG THƯỜNG
|
|
|
|
Mốc hai mặt |
Mốc bốn mặt |
|
|
|
|
Mốc ba mặt |
Lõi sắt làm cốt cho mốc |
|
TT |
Cấp |
A |
B |
C |
D |
E |
F |
|
1 |
Xã |
30 |
20 |
80 |
30 |
50 |
15 |
|
2 |
Huyện |
35 |
25 |
80 |
30 |
50 |
15 |
|
3 |
Tỉnh |
40 |
30 |
80 |
30 |
50 |
15 |
Kích thước mốc đúc bê tông thông thường
PHỤ LỤC 2
MẪU GHI CHÚ TRÊN MẶT MỐC ĐỊA GIỚI HÀNH CHÍNH

Hình thức ghi trên mặt mốc chôn ngang bằng mặt hè phố, đường giao thông
|
05 |
Số thứ tự mốc |
|
04P |
Loại mốc |
|
13,6 |
Khoảng cách và hướng từ mốc đến ngã tư địa giới |
|
P.6 |
Chữ viết tắt (phường) |
(Các ghi chú, chữ, số đều khắc chìm, nét chữ 0,5 - 1,0 cm)

Hình thức ghi trên mặt mốc gắn trên vật kiến trúc kiên cố
1,2,3,4 Vị trí 4 ốc vít cách góc của mốc 10 cm
Đinh ốc đường kính 8, dài 15 cm, đầu ngoài êcu dài 15 cm
(Các ghi chú, chữ, số đều khắc chìm, nét chữ 0,5 cm)

Hình thức ghi chú trên mặt mốc đúc bê tông thông thường và mốc xây
PHỤ LỤC 3
MẪU BẢN XÁC NHẬN SƠ ĐỒ VỊ TRÍ MỐC ĐGHC
PHỤ LỤC 3A
CẤP XÃ
BẢN XÁC NHẬN SƠ ĐỒ VỊ TRÍ MỐC ĐỊA GIỚI HÀNH CHÍNH
Số hiệu mốc:
Thuộc mảnh bản đồ địa hình:
|
10 cm |
10 cm
|
|
Tỷ lệ 1/
Nơi cắm mốc (nói rõ vị trí):
Tại (gần) thôn (xóm) ………………….. Xã ………………. Huyện …………. Tỉnh ……………..
Tại (gần) thôn (xóm) ………………….. Xã ………………. Huyện …………. Tỉnh ……………..
Tại (gần) thôn (xóm) ………………….. Xã ………………. Huyện …………. Tỉnh ……………..
|
STT |
Tên vật chuẩn |
Số liệu đo từ mốc |
Ghi chú |
|
|
Góc phương vị |
Khoảng cách |
|||
|
A B C |
|
|
|
|
………, ngày … tháng … năm ….
Địa phương cắm mốc xác nhận
|
TM.UBND |
TM.UBND |
TM.UBND |
TM.UBND |
|
Chức vụ |
Chức vụ |
Chức vụ |
Chức vụ |
|
Ký tên,
|
Ký tên,
|
Ký tên,
|
Ký tên,
|
|
Họ và tên |
Họ và tên |
Họ và tên |
Họ và tên |
Cấp quản lý chứng thực
|
TM.UBND |
TM.UBND |
TM.UBND |
TM.UBND |
|
Ngày, tháng, năm |
Ngày, tháng, năm |
Ngày, tháng, năm |
Ngày, tháng, năm |
|
Chức vụ |
Chức vụ |
Chức vụ |
Chức vụ |
|
Ký tên,
|
Ký tên,
|
Ký tên,
|
Ký tên,
|
|
Họ và tên |
Họ và tên |
Họ và tên |
Họ và tên |
Ghi chú: Nội dung trong sơ đồ mốc vẽ màu như bản đồ địa hình ở tỷ lệ tương ứng
PHỤ LỤC 3B
CẤP HUYỆN
BẢN XÁC NHẬN SƠ ĐỒ VỊ TRÍ MỐC ĐỊA GIỚI HÀNH CHÍNH
Số hiệu mốc:
Thuộc mảnh bản đồ địa hình:
|
10 cm |
10 cm
|
|
Tỷ lệ 1/
Nơi cắm mốc (nói rõ vị trí):
Tại (gần) thôn (xóm) ………………….. Xã ………………. Huyện …………. Tỉnh ……………..
Tại (gần) thôn (xóm) ………………….. Xã ………………. Huyện …………. Tỉnh ……………..
Tại (gần) thôn (xóm) ………………….. Xã ………………. Huyện …………. Tỉnh ……………..
|
STT |
Tên vật chuẩn |
Số liệu đo từ mốc |
Ghi chú |
|
|
Góc phương vị |
Khoảng cách |
|||
|
A B C |
|
|
|
|
………, ngày … tháng … năm ….
Địa phương cắm mốc xác nhận
|
TM.UBND |
TM.UBND |
TM.UBND |
TM.UBND |
|
Chức vụ |
Chức vụ |
Chức vụ |
Chức vụ |
|
Ký tên,
|
Ký tên,
|
Ký tên,
|
Ký tên,
|
|
Họ và tên |
Họ và tên |
Họ và tên |
Họ và tên |
Cấp quản lý chứng thực
|
TM.UBND |
TM.UBND |
TM.UBND |
TM.UBND |
|
Ngày, tháng, năm |
Ngày, tháng, năm |
Ngày, tháng, năm |
Ngày, tháng, năm |
|
Chức vụ |
Chức vụ |
Chức vụ |
Chức vụ |
|
Ký tên,
|
Ký tên,
|
Ký tên,
|
Ký tên,
|
|
Họ và tên |
Họ và tên |
Họ và tên |
Họ và tên |
Ghi chú: Nội dung trong sơ đồ mốc vẽ màu như bản đồ địa hình ở tỷ lệ tương ứng
PHỤ LỤC 3C
CẤP TỈNH
BẢN XÁC NHẬN SƠ ĐỒ VỊ TRÍ MỐC ĐỊA GIỚI HÀNH CHÍNH
Số hiệu mốc:
Thuộc mảnh bản đồ địa hình:
|
10 cm |
10 cm
|
|
Tỷ lệ 1/
Nơi cắm mốc (nói rõ vị trí):
Tại (gần) thôn (xóm) ………………….. Xã ………………. Huyện …………. Tỉnh ……………..
Tại (gần) thôn (xóm) ………………….. Xã ………………. Huyện …………. Tỉnh ……………..
Tại (gần) thôn (xóm) ………………….. Xã ………………. Huyện …………. Tỉnh ……………..
|
STT |
Tên vật chuẩn |
Số liệu đo từ mốc |
Ghi chú |
|
|
Góc phương vị |
Khoảng cách |
|||
|
A B C |
|
|
|
|
………, ngày … tháng … năm ….
Địa phương cắm mốc xác nhận
|
TM.UBND |
TM.UBND |
TM.UBND |
TM.UBND |
|
Chức vụ |
Chức vụ |
Chức vụ |
Chức vụ |
|
Ký tên,
|
Ký tên,
|
Ký tên,
|
Ký tên,
|
|
Họ và tên |
Họ và tên |
Họ và tên |
Họ và tên |
Ghi chú: Nội dung trong sơ đồ mốc vẽ màu như bản đồ địa hình ở tỷ lệ tương ứng
PHỤ LỤC 4
CẤP XÃ
BẢNG XÁC NHẬN TỌA ĐỘ MỐC ĐỊA GIỚI HÀNH CHÍNH
|
Xã …….. |
huyện …….. |
tỉnh …….. |
|
|
Và các |
|
|
Xã …….. |
huyện …….. |
tỉnh …….. |
|
Xã …….. |
huyện …….. |
tỉnh …….. |
|
Xã …….. |
huyện …….. |
tỉnh …….. |
|
STT |
Số hiệu mốc |
Tọa độ |
Ghi chú |
|
|
X (m) |
Y (m) |
|||
|
1 |
2 |
3 |
4 |
5 |
|
1 |
|
|
|
|
|
2 |
|
|
|
|
|
3 |
|
|
|
|
|
4 |
|
|
|
|
|
5 |
|
|
|
|
|
6 |
|
|
|
|
|
… |
|
|
|
|
|
Người lập bảng: …………. |
Người kiểm tra: …………. |
|
|
|
|
…………, ngày … tháng …năm …. |
…….., ngày … tháng … năm ….. |
PHỤ LỤC 5
CẤP XÃ
BẢNG TỌA ĐỘ CÁC ĐIỂM ĐẶC TRƯNG TRÊN ĐƯỜNG ĐỊA GIỚI HÀNH CHÍNH
THEO ĐOẠN MÔ TẢ: TỪ ………………. ĐẾN …………………
Xã ………………. Huyện …….. Tỉnh …………………..
Và xã ……………. Huyện ………. Tỉnh ………………..
|
STT |
Số hiệu mốc, |
Tọa độ |
Ghi chú |
|
|
X (m) |
Y (m) |
|||
|
1 |
2 |
3 |
4 |
5 |
|
1 |
|
|
|
|
|
2 |
|
|
|
|
|
3 |
|
|
|
|
|
4 |
|
|
|
|
|
5 |
|
|
|
|
|
6 |
|
|
|
|
|
7 |
|
|
|
|
|
8 |
|
|
|
|
|
9 |
|
|
|
|
|
|
|
|
|
|
|
Người lập bảng: …………. |
Người kiểm tra: …………. |
|
|
|
|
…………, ngày … tháng …năm …. |
…….., ngày … tháng … năm ….. |
PHỤ LỤC 6
CẤP HUYỆN (TỈNH)
BẢNG TỌA ĐỘ CÁC MỐC ĐỊA GIỚI HÀNH CHÍNH VÀ ĐIỂM ĐẶC TRƯNG TRÊN ĐƯỜNG ĐỊA GIỚI HÀNH CHÍNH
THEO ĐOẠN MÔ TẢ: TỪ ………………. ĐẾN …………………
Huyện ………………. Tỉnh …………………..
Và Huyện ……………… Tỉnh …………………
(Tỉnh …………. và tỉnh ………………)
|
STT |
Số hiệu mốc, |
Tọa độ |
Ghi chú |
|
|
X (m) |
Y (m) |
|||
|
1 |
2 |
3 |
4 |
5 |
|
1 |
|
|
|
|
|
2 |
|
|
|
|
|
3 |
|
|
|
|
|
4 |
|
|
|
|
|
5 |
|
|
|
|
|
6 |
|
|
|
|
|
7 |
|
|
|
|
|
8 |
|
|
|
|
|
9 |
|
|
|
|
|
|
|
|
|
|
|
Người lập bảng: ………….
|
Người kiểm tra: …………. |
|
…………, ngày … tháng …năm …. |
…….., ngày … tháng … năm ….. |
PHỤ LỤC 7
MẪU BIÊN BẢN BÀN GIAO MỐC ĐGHC
CỘNG HÒA XÃ HỘI CHỦ NGHĨA VIỆT NAM
Độc lập – Tự do – Hạnh phúc
--------------
BIÊN BẢN BÀN GIAO MỐC ĐỊA GIỚI HÀNH CHÍNH
Căn cứ Nghị định số 119/CP ngày 16/9/1994 của Chính phủ ban hành quy định về việc quản lý, sử dụng hồ sơ địa giới, bản đồ địa giới và mốc ĐGHC các cấp;
Thực hiện Nghị định số …./…/NĐ-CP ngày …. tháng …. năm …. của Chính phủ về việc …………………………………………………….
Ủy ban nhân dân tỉnh ……….. bàn giao cho UBND xã …………………. có số hiệu sau để bảo quản:
- Mốc ĐGHC cấp tỉnh:
- Mốc ĐGHC cấp huyện:
- Mốc ĐGHC cấp xã:
Trong quá trình bảo quản, nếu phát hiện thấy mốc ĐGHC bị phá hủy, hư hỏng hoặc xê dịch thì UBND các xã có liên quan có trách nhiệm khôi phục lại trong thời hạn nhanh nhất, đồng thời báo cáo lên cấp quản lý cao hơn.
Biên bản này được lưu vào hồ sơ ĐGHC các cấp theo quy định.
………., ngày … tháng … năm …………
|
Bên nhận |
Bên giao |
PHỤ LỤC 8
MẪU KÝ HIỆU BẢN ĐỒ ĐỊA GIỚI HÀNH CHÍNH
|
TT |
LOẠI ĐỐI TƯỢNG |
KÝ HIỆU |
GIẢI THÍCH |
|
1 |
Tô bo đường địa giới tỉnh |
|
Địa giới hành chính tỉnh bao ngoài lãnh thổ 15 mm Đoạn 2 cm của địa giới 2 tỉnh khác: mỗi phía rộng 15 mm |
|
2 |
Tô bo đường địa giới huyện |
|
Địa giới hành chính huyện bao ngoài lãnh thổ 10 mm Đoạn 2 cm của địa giới 2 huyện khác: mỗi phía rộng 10 mm Địa giới hành chính huyện trong nội bộ tỉnh: mỗi phía rộng 4 mm |
|
3 |
Tô bo đường địa giới xã |
|
Địa giới hành chính xã bao ngoài lãnh thổ 5 mm Đoạn 2 cm của địa giới 2 xã khác: mỗi phía rộng 5 mm Địa giới hành chính xã trong nội bộ huyện: mỗi phía rộng 2 mm |
|
4 |
Các loại mốc (dùng chung một ký hiệu) |
|
Vòng tròn đường kính 4 mm, weight = 5 |
|
5 |
Số hiệu mốc địa giới tỉnh |
2T.9 |
Font: VnTimeH, cao 3 mm |
|
6 |
Số hiệu mốc địa giới huyện |
2H.11 |
Font: VnTimeH, cao 3 mm |
|
7 |
Số hiệu mốc địa giới xã |
3X.15 |
Font: VnTimeH, cao 3 mm |
|
8 |
Điểm đặc trưng và số hiệu |
23 ʘ |
Vòng tròn đường kính 2,6 mm, |
Ghi chú: Các ký hiệu khác trên bản đồ ĐGHC sử dụng theo quy định ký hiệu của bản đồ địa hình tỷ lệ tương ứng
PHỤ LỤC 9
TRÌNH BÀY NGOÀI KHUNG BẢN ĐỒ ĐGHC CÁC CẤP

PHỤ LỤC 10
CÁC PHIẾU THỐNG KÊ ĐỊA DANH
PHIẾU THỐNG KÊ ĐỊA DANH DÂN CƯ
Xã ………. Huyện ……….. Tỉnh
|
|
Tổng số dân: …… người Tổng số hộ: ….. hộ Diện tích tự nhiên: ………. Ha |
|
STT |
Cấp (ấp, buôn, bản, thôn, xóm, tổ, …) |
Tên đang dùng trong các văn bản (hoặc là tên chính) |
Tên dùng trước khi có tên hiện nay |
|
1 2 . |
|
|
|
|
Ngày … tháng … năm …. |
…….., ngày ……. tháng ……. năm ……… |
PHIẾU THỐNG KÊ ĐỊA DANH THỦY VĂN
Xã ………. Huyện ……….. Tỉnh
|
STT |
Loại (sông, suối, kênh, mương, hồ, đập, cửa biển, …) |
Tên đang dùng trong các văn bản (hoặc là tên chính) |
Tên dùng trước khi có tên hiện nay |
|
1 2 . |
|
|
|
|
Ngày … tháng … năm …. |
…….., ngày ……. tháng ……. năm ……… |
PHIẾU THỐNG KÊ ĐỊA DANH SƠN VĂN
Xã ………. Huyện ……….. Tỉnh
|
STT |
Loại (dãy núi, núi, đồi, đèo, hang động, …) |
Tên đang dùng trong các văn bản (hoặc là tên chính) |
Tên dùng trước khi có tên hiện nay |
|
1 2 . |
|
|
|
|
Ngày … tháng … năm …. |
…….., ngày ……. tháng ……. năm ……… |
PHỤ LỤC 11

PHỤ LỤC 12
MẪU BIÊN BẢN XÁC NHẬN MÔ TẢ ĐGHC CẤP XÃ
CỘNG HÒA XÃ HỘI CHỦ NGHĨA VIỆT NAM
Độc lập – Tự do – Hạnh phúc
--------------
BIÊN BẢN XÁC NHẬN MÔ TẢ ĐỊA GIỚI HÀNH CHÍNH
Tuyến ĐGHC giữa
|
Xã …………. |
Huyện ………….. |
Tỉnh …………… |
|
|
Và |
|
|
Xã …………. |
Huyện ………….. |
Tỉnh …………… |
Chúng tôi gồm:
1. Ông: ……………. Chức vụ: Chủ tịch UBND xã ……………………………..
2. Ông: …………… Chức vụ: Chủ tịch UBND xã ……………………………..
Với sự chứng kiến của các:
1. Ông: ……………………… Chức vụ: …………………………………
2. Ông: ……………………… Chức vụ: …………………………………
3. Ông: ……………………… Chức vụ: …………………………………
4. Ông: ……………………… Chức vụ: …………………………………
5. Ông: ……………………… Chức vụ: Tổ trưởng, đại diện đơn vị thi công.
Cơ quan thi công: …………………………………………………………….
Sau khi đã cùng nhau xem xét trên bản đồ và đi khảo sát ở thực địa, dọc theo tuyến ĐGHC, chúng tôi thống nhất xác nhận mô tả tuyến ĐGHC giữa hai xã như sau:
Tuyến ĐGHC giữa xã …………………………. trùng với tuyến ĐGHC giữa huyện ………………….. (nếu có) nằm trên các mảnh bản đồ địa hình tỷ lệ ………………… có các phiên hiệu sau:
………………………………..
………………………………..
Tuyến ĐGHC khởi đầu từ ngã ba địa giới 3 xã: ……………………, được đánh dấu trên thực địa bằng mốc bê tông ………………………….. Theo hướng chính là hướng …………….., đường địa giới chủ yếu đi theo ………………………………. và kết thúc tại ngã ba địa giới ba xã ……………………………., được đánh dấu trên thực địa bằng mốc bê tông ……………. (mốc chôn tại ………………., cách ngã ba địa giới ………m về phía ……………)
Tổng chiều dài của tuyến địa giới là ………m, gồm ….. mốc địa giới, …….. điểm đặc trưng, chia làm ……. đoạn; chiều dài các đoạn đo ………… và được mô tả cụ thể như sau:
Đoạn 1: Khởi đầu từ ngã ba địa giới 3 xã: …………, theo hướng Đông – Đông bắc, đường địa giới đi ……………………….., đến điểm đặc trưng số ……. Đoạn địa giới này dài …….m.
………………….
Đoạn ….: Từ điểm đặc trưng số …., theo hướng ……………., đường địa giới đi ……………, đến kết thúc tại ngã ba địa giới ba xã: ……………. được đánh dấu trên thực địa bằng mốc bê tông ………………… (mốc chôn tại ………………., cách ngã ba địa giới …m về phía ……….). Đoạn địa giới này dài ….m.
Chúng tôi cam đoan những vấn đề nêu trên là đúng với thực địa, phù hợp với bản đồ ĐGHC, biên bản này có giá trị pháp lý trong công tác quản lý nhà nước đối với các cấp chính quyền từ nay về sau.
Biên bản này làm thành 10 bản có nội dung như nhau. Mỗi UBND xã giữ 05 bản để đưa vào Hồ sơ ĐGHC xã của mình.
Biên bản làm tại xã …………….., ngày … tháng … năm ….
|
TM. UBND xã ………. |
TM. UBND xã …………… |
|
Người chứng kiến
|
|
|
Đại diện |
Đại diện |
PHỤ LỤC 13
MẪU BẢN XÁC NHẬN MÔ TẢ ĐGHC CẤP TỈNH
BẢN XÁC NHẬN MÔ TẢ ĐỊA GIỚI HÀNH CHÍNH
Tuyến ĐGHC giữa
Tỉnh ……………..
Và tỉnh ….....………..
Tuyến ĐGHC giữa tỉnh …… và tỉnh … nằm trên ….. mảnh bản đồ địa hình tỷ lệ …….. hệ VN-2000 do Bộ Tài nguyên và Môi trường xuất bản năm ……., có phiên hiệu sau: …………………
Tuyến ĐGHC khởi đầu từ ngã ba địa giới giữa ba huyện, đồng thời là ngã ba địa giới giữa ba tỉnh: huyện … tỉnh ……, huyện …………… và huyện ….….. tỉnh ……… (đỉnh núi), được đánh dấu trên bản đồ bằng điểm đặc trưng có ký hiệu: (…………). Hướng chung của đường địa giới là hướng ………, đường địa giới đi theo sống núi và kết thúc tại ngã ba địa giới giữa ba huyện, đồng thời là ngã ba địa giới giữa ba tỉnh: huyện …. và huyện … tỉnh ….., huyện ……. tỉnh ……. (đỉnh cao.....), được đánh dấu trên bản đồ bằng điểm đặc trưng có ký hiệu: (……….).
Tổng chiều dài toàn tuyến là ….m. Trên tuyến ĐGHC này không chôn mốc, gồm có ………. điểm đặc trưng, chia thành …… đoạn và được mô tả cụ thể như sau:
Đoạn 1: Khởi đầu từ ngã ba địa giới giữa ba huyện, đồng thời là ngã ba địa giới giữa ba tỉnh: huyện ……. tỉnh ………., huyện ………. và huyện …….. tỉnh…….. (đỉnh núi), được đánh dấu trên bản đồ bằng điểm đặc trưng có ký hiệu: (……….), theo hướng ……., đường địa giới đi theo sống núi đến ngã ba địa giới giữa ba huyện: huyện …. tỉnh ………, huyện ……… và huyện ……… tỉnh …… (đỉnh cao ……), được đánh dấu trên bản đồ bằng điểm đặc trưng có ký hiệu: (…….). Đoạn này dài …..m. Đây chính là tuyến địa giới giữa huyện …….. tỉnh ……….. và huyện …….. tỉnh ……..
Đoạn …….: từ ngã ba địa giới giữa ba huyện: huyện ………. và huyện ………. tỉnh ……….., huyện ……….. tỉnh ……… (đỉnh núi), được đánh dấu trên bản đồ bằng điểm đặc trưng có ký hiệu: (…………), theo hướng ………. rồi chuyển hướng ……….., đường địa giới đi theo sống núi và kết thúc tại ngã ba địa giới giữa ba huyện, đồng thời là ngã ba địa giới giữa ba tỉnh: huyện ………… và huyện………. tỉnh …………, huyện ……… tỉnh ……. (đỉnh cao ………..), được đánh dấu trên bản đồ bằng điểm đặc trưng có ký hiệu: (…….). Đoạn này dài ………m. Đây chính là tuyến địa giới giữa huyện …….. tỉnh ………. và huyện ……. tỉnh ………….
Bản xác nhận mô tả tuyến ĐGHC này được lập trên cơ sở các biên bản xác nhận mô tả tuyến ĐGHC giữa các huyện có đường ĐGHC trùng lên đường ĐGHC của hai tỉnh.
Bản xác nhận mô tả này được làm thành 08 bản có nội dung và giá trị như nhau. Mỗi UBND tỉnh giữ 04 bản để đưa vào hồ sơ ĐGHC tỉnh của mình.
|
Ngày … tháng … năm ……….. |
Ngày … tháng … năm ……….. |
PHỤ LỤC 14
MẪU BẢN MÔ TẢ TÌNH HÌNH CHUNG VỀ ĐGHC
PHỤ LỤC 14A
CẤP XÃ
MÔ TẢ TÌNH HÌNH CHUNG VỀ ĐỊA GIỚI HÀNH CHÍNH
Xã ………. Huyện ……… Tỉnh ………
Xã ……….., huyện …….., tỉnh ……….. được thành lập theo Nghị định số / /NĐ-CP ngày ....... của Chính phủ, trên cơ sở ………………., có vị trí địa lý nằm ở phía …………. của huyện …………., tỉnh ………. (*)
Phía …………. giáp với xã ………., huyện ……….., tỉnh ……………
Phía …………. giáp với xã ………., huyện ……….., tỉnh ……………
Phía …………. giáp với xã ………., huyện ……….., tỉnh ……………
Tổng chiều dài toàn tuyến là ……… m , trong đó:
Với xã …………, dài …………. m
Với xã …………, dài …………. m
Với xã …………, dài …………. m
Đường ĐGHC chủ yếu đi theo ……………………. Gồm … mốc ĐGHC.
Trong đó: - Mốc ba mặt: ……………….
- Mốc hai mặt: ……………….
Các tuyến địa giới đã được UBND xã …………… và các xã liên quan xác nhận trên thực địa, lập biên bản xác nhận mô tả tuyến ĐGHC; cắm mốc địa giới và lập bản xác nhận sơ đồ vị trí mốc, lập bản đồ ĐGHC.
Các mốc địa giới, ngã ba địa giới và điểm đặc trưng đều được đo tọa độ và thống kê theo bảng riêng
Ghi chú: mục (*) đối với các xã chỉ điều chỉnh một phần ĐGHC thì phần đầu bản mô tả chung bổ sung là: “Khi thực hiện Chỉ thị 364/CT của Chủ tịch Hội đồng Bộ trưởng (nay là Thủ tướng Chính phủ), xã ………, huyện …….., tỉnh …………, (nêu tình hình điều chỉnh; hoặc có số thay đổi giáp ranh một số tuyến với xã liên quan). Nay thực hiện Nghị định số / /NĐ-CP ngày ……….. của Chính phủ, trên cơ sở ………., có vị trí địa lý nằm ở phía ….. của huyện …., tỉnh ……….”, (tiếp theo mô tả như trên).
|
………, ngày … tháng … năm ……….. |
……….., ngày … tháng … năm ……….. |
PHỤ LỤC 14B
CẤP HUYỆN
MÔ TẢ TÌNH HÌNH CHUNG VỀ ĐỊA GIỚI HÀNH CHÍNH
Huyện ……… Tỉnh ………
|
|
Dân số: ………….. người |
Huyện ……….. nằm ở phía …… của tỉnh, có diện tích tự nhiên là …. ha, dân số ….. người (tính đến tháng …… năm …..), có …. thị trấn và …. xã.
Huyện ………….. tiếp giáp với ……….. huyện cùng tỉnh, với các huyện ……….. của tỉnh …………, với (nước nào) và giáp biển …………….. ở phía …………. với tổng chiều dài đường ĐGHC (kể cả tuyến trùng lên cấp tỉnh, Quốc giới, đường bờ biển) là …….. km. Đường ĐGHC cấp huyện trên thực địa chủ yếu chạy …………………………….. (nêu khái quát như chạy theo sông, suối, đường phân thủy, tụ thủy, theo bờ vùng, bờ thửa ….) và tiếp giáp với huyện, tỉnh khác như sau:
- Phía Bắc giáp huyện (huyện cùng tỉnh), tuyến ĐGHC dài ….. km.
- Phía Đông giáp huyện ……….. tỉnh ………., tuyến ĐGHC dài …… km.
…………………………………………………………………………..
Trên đường ĐGHC các cấp của huyện đã cắm …….. mốc. Trong đó mốc cấp tỉnh là ……., mốc cấp huyện …………., mốc cấp xã …………
Trên địa bàn cả huyện có ………. tuyến ĐGHC cấp xã, với tổng chiều dài là ………. km, trong đó trùng lên ĐGHC cấp tỉnh là ……. tuyến, trùng lên ĐGHC cấp huyện là ………. tuyến và có ………….. xã giáp với nước ………………..
Bản đồ ĐGHC cấp xã của huyện được thành lập năm …………. trên nền bản đồ địa hình tỷ lệ …………. do ……………… xuất bản năm ………… Đã làm hoàn chỉnh hồ sơ của ………… xã, thị trấn.
Bản đồ ĐGHC cấp huyện thành lập trên nền bản đồ địa hình tỷ lệ ……….. do …………….. xuất bản năm ………., bằng phương pháp ……………. từ các bộ bản đồ ĐGHC của cấp xã. Bộ bản đồ ĐGHC cấp huyện gồm ……………. tờ, có phiên hiệu sau: …………….. và được đóng thành tập.
Các mốc ĐGHC, các tuyến ĐGHC trên địa bàn cả huyện đã được UBND cấp xã, huyện có liên quan xác định tại thực địa, cắm mốc, lập bản xác nhận sơ đồ vị trí mốc ĐGHC, lập biên bản xác nhận mô tả ĐGHC, đã được thể hiện trên bản đồ ĐGHC của huyện và đã được xác nhận, chứng thực theo quy định.
|
………, ngày … tháng … năm ……….. |
……….., ngày … tháng … năm ……….. |
PHỤ LỤC 14C
CẤP TỈNH
MÔ TẢ TÌNH HÌNH CHUNG VỀ ĐỊA GIỚI HÀNH CHÍNH
Tỉnh ………
|
|
Dân số: ………….. người |
Tỉnh ……….. nằm ở ……, có diện tích tự nhiên là …. ha, dân số ….. người (tính đến tháng …… năm …..), có …. thành phố, ………… quận, ……… huyện với …….. phường, ……. thị trấn và …… xã.
Đường ĐGHC của tỉnh dài …. km, trên thực địa chủ yếu chạy … và tiếp giáp với các tỉnh ………., nước …………………. cụ thể như sau:
- Phía Bắc giáp nước …………….. đoạn quốc giới dài …………… km.
- Phía Đông giáp tỉnh ………………, tuyến ĐGHC dài …………….. km.
Trên đường ĐGHC các cấp của tỉnh đã cắm …….. mốc. Trong đó cấp tỉnh là ……. mốc, cấp huyện …………. mốc và cấp xã …………mốc.
Trên địa bàn cả tỉnh có ………. tuyến ĐGHC cấp xã, dài ………. km, có ………. tuyến ĐGHC cấp huyện dài ……….. km, có ……….. huyện giáp với nước và có ………. huyện giáp với biển …………….. Số tuyến ĐGHC cấp xã trùng lên ĐGHC cấp huyện là …….. tuyến. Trên đường ĐGHC cấp tỉnh có ……… tuyến ĐGHC cấp huyện và ……. tuyến ĐGHC cấp xã đi trùng lên.
Bản đồ ĐGHC cấp xã được thành lập năm ………. trên nền bản đồ địa hình tỷ lệ …….. do ………… xuất bản năm ……….. đã làm đầy đủ cho …….. xã.
Bản đồ ĐGHC cấp huyện được thành lập năm …………. trên nền bản đồ địa hình tỷ lệ …………. do ……………… xuất bản năm ………… Đã làm đầy đủ cho ……….. huyện.
Bản đồ ĐGHC của tỉnh thành lập trên nền bản đồ địa hình tỷ lệ ……….. do ………….. xuất bản năm ………., bằng phương pháp ……………. từ các bộ bản đồ ĐGHC của cấp xã, huyện. Bộ bản đồ ĐGHC cấp tỉnh gồm ……………. tờ, có phiên hiệu sau: …………….. và được đóng thành tập.
Các mốc ĐGHC, các tuyến ĐGHC trên địa bàn cả tỉnh đã được UBND cấp xã, huyện, tỉnh có liên quan xác định tại thực địa, cắm mốc, lập bản xác nhận sơ đồ vị trí mốc ĐGHC, lập biên bản xác nhận mô tả ĐGHC, đã được thể hiện trên bản đồ ĐGHC các cấp, có xác nhận, chứng thực theo quy định.
|
………, ngày … tháng … năm ……….. |
……….., ngày … tháng … năm ……….. |
PHỤ LỤC 15
HƯỚNG DẪN ĐÓNG GÓI HỒ SƠ ĐGHC
PHỤ LỤC 15A
CẤP XÃ
BẢN THỐNG KÊ DANH MỤC CÁC TÀI LIỆU
|
1. Bản sao các văn bản pháp lý về thành lập xã và điều chỉnh ĐGHC xã của cơ quan nhà nước có thẩm quyền |
|
|
ĐGHC cấp xã (phường, thị trấn) …. |
Số lượng … bản Từ trang … đến trang |
|
2. Bản xác nhận sơ đồ vị trí mốc ĐGHC … |
Số lượng … bản Từ trang … đến trang |
|
3. Bảng xác nhận tọa độ các mốc ĐGHC … |
Số lượng … bản Từ trang … đến trang |
|
4. Bảng tọa độ các điểm đặc trưng trên đường ĐGHC |
Số lượng … bản Từ trang … đến trang |
|
5. Mô tả tình hình chung về ĐGHC |
Số lượng … bản Từ trang … đến trang |
|
6. Biên bản xác nhận mô tả đường ĐGHC |
Số lượng … bản Từ trang … đến trang |
|
7. Phiếu thống kê địa danh dân cư … |
Số lượng … bản Từ trang … đến trang |
|
8. Phiếu thống kê địa danh thủy hệ …. |
Số lượng … bản Từ trang … đến trang |
|
9. Phiếu thống kê địa danh sơn văn …. |
Số lượng … bản Từ trang … đến trang |
|
10. Biên bản bàn giao mốc ĐGHC |
Số lượng … bản Từ trang … đến trang |
|
11. Bộ bản đồ ĐGHC |
Số lượng …. mảnh |
PHỤ LỤC 15B
CẤP HUYỆN
BẢN THỐNG KÊ DANH MỤC CÁC TÀI LIỆU
|
1. Bản sao văn bản của cơ quan nhà nước có thẩm quyền về thành lập huyện và điều chỉnh ĐGHC huyện của cơ quan nhà nước có thẩm quyền điều chỉnh |
|
|
ĐGHC huyện (quận, thị xã, thành phố) |
Số lượng … bản Từ trang … đến trang |
|
2. Bản xác nhận sơ đồ vị trí mốc ĐGHC |
Số lượng … bản Từ trang … đến trang |
|
3. Bảng tọa độ các mốc và các điểm đặc trưng trên đường ĐGHC |
Số lượng … bản Từ trang … đến trang |
|
4. Mô tả tình hình chung về ĐGHC |
Số lượng … bản Từ trang … đến trang |
|
5. Bản xác nhận mô tả đường ĐGHC |
Số lượng … bản Từ trang … đến trang |
|
6. Bộ bản đồ ĐGHC |
Số lượng … mảnh |
PHỤ LỤC 15C
CẤP TỈNH
BẢN THỐNG KÊ DANH MỤC CÁC TÀI LIỆU
|
1. Bản sao văn bản của cơ quan nhà nước có thẩm quyền về thành lập tỉnh và điều chỉnh ĐGHC tỉnh của cơ quan nhà nước có thẩm quyền điều chỉnh |
|
|
ĐGHC tỉnh (thành phố) trực thuộc TW … |
Số lượng … bản Từ trang … đến trang |
|
2. Bản xác nhận sơ đồ vị trí mốc ĐGHC |
Số lượng … bản Từ trang … đến trang |
|
3. Bảng tọa độ các mốc và các điểm đặc trưng trên đường ĐGHC |
Số lượng … bản Từ trang … đến trang |
|
4. Mô tả tình hình chung về ĐGHC |
Số lượng … bản Từ trang … đến trang |
|
5. Bản xác nhận mô tả đường ĐGHC |
Số lượng … bản Từ trang … đến trang |
|
6. Bộ bản đồ ĐGHC |
Số lượng … mảnh |
PHỤ LỤC 16
MẪU TỜ BÌA CỦA TẬP HỒ SƠ ĐGHC CẤP XÃ

PHỤ LỤC 17
MẪU TRÌNH BÀY BÌA TẬP BẢN ĐỒ ĐỊA GIỚI HÀNH CHÍNH

Ghi chú: Tại phụ lục 16, 17 đối với hồ sơ cấp huyện (hoặc tỉnh) thì dòng tên xã, được thay thế vị trí dòng tên huyện (hoặc tỉnh) tương ứng.
PHỤ LỤC 18
CÁC MẪU VĂN BẢN KIỂM TRA, NGHIỆM THU
PHIẾU GHI Ý KIẾN KIỂM TRA NGHIỆM THU
Tên thành quả: …………………………………………………………………………………………
… Người sản xuất ……………………….. Người kiểm tra ………………………………………..
……………. Ngày kiểm tra ………………………………
|
Số hiệu |
Trang |
Dòng |
Nội dung vấn đề |
Ý kiến kiểm tra |
Ý kiến kiểm tra lại |
Tình hình sửa chữa |
|
|
|
|
|
|
|
|
|
|
|
|
|
|
|
|
|
|
|
|
|
|
|
|
|
|
|
|
|
|
|
|
|
|
|
|
|
|
|
|
|
|
|
|
|
|
|
|
|
|
|
|
|
|
|
|
|
|
|
|
|
|
|
|
|
|
|
|
|
|
|
|
|
|
|
|
|
|
|
|
|
|
|
|
|
|
|
|
|
|
|
|
|
|
|
|
|
|
|
|
|
|
|
|
|
|
|
|
|
|
|
|
|
Người được kiểm tra |
Người kiểm tra |
PHỤ LỤC 18B
MẪU BIÊN BẢN NGHIỆM THU SẢN PHẨM HỒ SƠ ĐGHC
|
Tỉnh: ………………………… |
CỘNG HÒA XÃ HỘI CHỦ NGHĨA VIỆT NAM |
|
|
Hà Nội, ngày tháng năm |
BIÊN BẢN NGHIỆM THU SẢN PHẨM HỒ SƠ ĐGHC
TỈNH: …………………….
(Theo phương án Kinh tế - Kỹ thuật … )
Phần Hồ sơ ĐGHC cấp xã (huyện, tỉnh)
Chúng tôi gồm:
1. Ông (bà) ……………………… Chức vụ ……………. Đại diện ………………………………
2. Ông (bà) ……………………… Chức vụ ……………. Đại diện ………………………………
3. Ông (bà) ……………………… Chức vụ ……………. Đại diện ………………………………
Có sự chứng kiến của
1. Ông (bà) ……………………… Chức vụ ……………. Đại diện ………………………………
2. Ông (bà) ……………………… Chức vụ ……………. Đại diện ………………………………
3. Ông (bà) ……………………… Chức vụ ……………. Đại diện ………………………………
Đã tiến hành kiểm tra, nghiệm thu hồ sơ ĐGHC cấp xã (huyện, tỉnh) do …….. thực hiện
Kết quả kiểm tra nghiệm thu như sau
1. Tổ chức và phương pháp kiểm tra nghiệm thu: (nêu ngắn gọn về tổ chức và phương pháp đã tiến hành kiểm tra nghiệm thu).
2. Tài liệu đã giao nộp để kiểm tra, nghiệm thu (thống kê đầy đủ)
3. Kết quả kiểm tra chất lượng sản lượng.
(Nêu trình tự kết quả chất lượng đối với từng loại hồ sơ)
A- Hồ sơ địa giới hành chính cấp xã.
B- Hồ sơ địa giới hành chính cấp huyện
C- Hồ sơ địa giới hành chính cấp tỉnh
Mỗi chủng loại công việc, mỗi loại tài liệu cần nêu rõ tổng khối lượng, số lượng đã kiểm tra trong phòng, ngoài thực địa, tỷ lệ kiểm tra, chất lượng đạt được.
Nhận xét và đánh giá
Nhận xét chung về kết quả do các đơn vị sản xuất thực hiện đã được các cấp nghiệm thu. Đánh giá cụ thể các hồ sơ nào đạt, mức độ; Hồ sơ nào không đạt, lý do. Kiến nghị biện pháp khắc phục cụ thể, khối lượng công việc đã hoàn thành.
|
Ngày tháng năm 2008 |
Ngày tháng năm 2008 |
PHỤ LỤC 18C
MẪU BẢNG DANH MỤC TÀI LIỆU ĐÃ NGHIỆM THU
BẢNG DANH MỤC TÀI LIỆU ĐÃ NGHIỆM THU
(Kèm theo biên bản kiểm tra nghiệm thu …, ngày … tháng … năm …….)
Hồ sơ địa giới hành chính …………………………………………………………………….
|
Số TT |
Loại sản phẩm |
Đơn vị |
Hình thức và khối lượng nghiệm thu |
Phân loại |
Thời gian nghiệm thu |
Ghi chú |
|
|
|
|
|
|
|
|
|
|
|
|
|
|
|
|
|
|
|
|
|
|
|
|
|
|
|
|
|
|
|
|
|
|
|
|
|
|
|
|
|
|
|
|
|
|
|
|
|
|
|
|
|
|
|
|
|
|
|
|
|
|
|
|
|
|
|
|
|
|
|
|
|
|
|
|
|
|
|
|
|
|
|
|
|
|
|
|
|
|
|
|
|
|
|
|
|
Ngày ….. tháng …….. năm…… |
Ngày … tháng … năm |
Bạn chưa Đăng nhập thành viên.
Đây là tiện ích dành cho tài khoản thành viên. Vui lòng Đăng nhập để xem chi tiết. Nếu chưa có tài khoản, vui lòng Đăng ký tại đây!
Bạn chưa Đăng nhập thành viên.
Đây là tiện ích dành cho tài khoản thành viên. Vui lòng Đăng nhập để xem chi tiết. Nếu chưa có tài khoản, vui lòng Đăng ký tại đây!











