- Tổng quan
- Nội dung
- Tiêu chuẩn liên quan
- Lược đồ
- Tải về
Tiêu chuẩn Quốc gia TCVN 5848:1994 Đất đèn
| Số hiệu: | TCVN 5848:1994 | Loại văn bản: | Tiêu chuẩn Việt Nam |
| Cơ quan ban hành: | Bộ Khoa học, Công nghệ và Môi trường | Lĩnh vực: | Công nghiệp |
|
Ngày ban hành:
Ngày ban hành là ngày, tháng, năm văn bản được thông qua hoặc ký ban hành.
|
1994 |
Hiệu lực:
|
Đã biết
|
| Người ký: | Đang cập nhật |
Tình trạng hiệu lực:
Cho biết trạng thái hiệu lực của văn bản đang tra cứu: Chưa áp dụng, Còn hiệu lực, Hết hiệu lực, Hết hiệu lực 1 phần; Đã sửa đổi, Đính chính hay Không còn phù hợp,...
|
Đã biết
|
TÓM TẮT TIÊU CHUẨN VIỆT NAM TCVN 5848:1994
Nội dung tóm tắt đang được cập nhật, Quý khách vui lòng quay lại sau!
Tải tiêu chuẩn Việt Nam TCVN 5848:1994
TIÊU CHUẨN VIỆT NAM
TCVN 5848 – 1994
ĐẤT ĐÈN
Calcium carbide
Lời nói đầu
TCVN 5848 – 1994 do Vụ Khoa học kỹ thuật Bộ công nghiệp nặng biên soạn, Tổng cục Tiêu chuẩn – Đo lường – Chất lượng đề nghị và được Bộ Khoa học, Công nghệ và Môi trường ban hành.
ĐẤT ĐÈN
Calcium carbide
Tiêu chuẩn này áp dụng cho đất đèn, sản xuất từ đá vôi và than antraxit, dùng để sản xuất khí axetylen và các sản phẩm hóa chất khác.
Công thức hóa học CaC2
1. Yêu cầu kỹ thuật
Đất đèn phải phù hợp với các yêu cầu kỹ thuật ghi trong bảng 1
Bảng 1
| Tên chỉ tiêu | Mức | |
| 1 | 2 | |
| 1. Khí axetylen khô, lít, phát sinh từ 1kg đất đèn, ở nhiệt độ 20oC và áp suất 760 mm Hg, không nhỏ hơn | 260 | 240 |
| 2. Hàm lượng hiđro photphua, %, không lớn hơn | 0,08 | |
| 3. Hàm lượng hiđro sunfua, %, không lớn hơn | 0,15 | |
| 4. Kích thước, mm, không nhỏ hơn | 25 | |
Khi tính toán khối lượng thực với đơn vị đo quy ước, ta cùng một kg đất đèn giả định với lượng khí axetylen 260 lít sinh ra và tính theo công thức
Trong đó:
G – Khối lượng đất đèn giả định, kg;
V- Lượng khí axetylen sinh ra từ 1 kg đất đèn, lít;
G1 – Khối lượng thực của đất đèn, kg.
2. Phương pháp thử
2.1. Lấy mẫu và chuẩn bị mẫu
2.1.1. Lấy mẫu và xử lý mẫu theo TCVN 1694 – 75.
2.1.2. Lấy mẫu đất đèn theo từng lô hàng. Lô hàng là lượng sản phẩm có cùng chỉ tiêu chất lượng và được sản xuất cùng đợt nhưng không quá 65 tấn.
2.1.3. Khi lấy mẫu mở nắp thùng, bỏ lớp bên trên, sau đó lấy tại ba vị trí trên, giữa và dưới với lượng mẫu 1kg ở mỗi thùng. Các lượng mẫu lấy được đem gộp lại, đập vỡ thành các hạt nhỏ không quá 15mm. Loại từ từ bằng phương pháp chia tư, giữ lại khoảng 0,5kg để phân tích.
2.1.4. Mẫu đem phân tích được đựng trong lọ nhựa hoặc thủy tinh khô có nút kín, dán nhãn ghi rõ.
Tên sản phẩm;
Số hiệu lô hàng;
Ngày lấy mẫu
2.2. Hóa chất dùng để phân tích là loại tinh khiết hóa học (TKHH) hoặc tinh khiết phân tích (TKPT).
2.3. Nước cất theo TCVN 2117 – 77.
2.4. Xác định lượng khí axetylen sinh ra từ đất đèn.
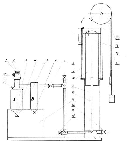
2.4.1. Mô tả thiết bị (hình 1)
| 1. Nắp; | 14. Van; |
| 2. Chỗ cho mẫu vào; | 15. Bệ máy; |
| 3. Thùng phát sinh khí; | 16. Miệng nước; |
| 4. Van cầu; | 17. Búa cân bằng; |
| 5. Thùng phân ly dịch khí | 18. Búa điều chỉnh; |
| 6.7.8. Van cầu; | 19. Áp kế chữ U; |
| 9. Thước đo; | 20. Bánh xe cân bằng; |
| 10. Chuông chụp; | 21. Lỗ nước vào; |
| 11. Thùng nước muối bão hòa; | 22. Tay đẩy |
| 12. Ống thải khí trung tâm; | 23. Nhiệt kế do nhiệt độ của khí |
| 13. Bể thùng phát sinh; |
|
2.4.2. Tiến hành thử
Cân 50g mẫu với độ chính xác 0,01g kích thước 1 – 8 mm. Mở van khí thải 8, đưa vào thùng phát sinh khí 3 hai lít nước qua ống 21. Đóng ván nước vào ống 21. Điều chỉnh thiết bị đo về vị trí số 0 trên thang đo. Đóng van thải khí 8. Mở nắp 1 cho 50g mẫu vào thùng phát sinh khí 3, vặn chặt nắp lại. Đợi sau 10 phút đọc số liệu trên thang đo và nhiệt kế.

Hình 1. Thiết bị đo lượng phát sinh khí
Lượng khí axetylen phát sinh (G), được tính bằng l/kg, ở điều kiện tiêu chuẩn của mẫu đo, theo công thức:
trong đó:
P – Áp lực không khí, hiệu chỉnh theo nhiệt độ đến 0 kPa (tra theo bảng 2);
P’- Áp lực hơi nước của muối bão hòa (tra theo bảng 3), kPa;
V – Lượng khí phát sinh đo được ở điều kiện thí nghiệm, l/kg;
t – Nhiệt độ khí trong chuông lúc đo, oC.
Bảng 2
| Nhiệt độ, oC | Trị số hiệu chỉnh, kPa |
| 5-12 | 0,133 |
| 13-20 | 0,267 |
| 21-28 | 0,400 |
| 29-36 | 0,533 |
| 37-44 | 0,667 |
Bảng 3
| Nhiệt độ (oC) | Áp suất P (kPa) | Nhiệt độ (oC) | Áp suất P (kPa) | Nhiệt độ (oC) | Áp suất P (kPa) | Nhiệt độ (oC) | Áp suất P (kPa) |
| 0 | 0453 | 10 | 0,920 | 20 | 1,760 | 30 | 3,200 |
| 1 | 0,480 | 11 | 0,987 | 21 | 1,880 | 31 | 3,370 |
| 2 | 0,520 | 12 | 1,050 | 22 | 2,000 | 32 | 3,560 |
| 3 | 0,560 | 13 | 1,130 | 23 | 2,120 | 33 | 3,760 |
| 4 | 0,600 | 14 | 1,210 | 24 | 2,253 | 34 | 3,975 |
| 5 | 0,653 | 15 | 1,290 | 25 | 2,386 | 35 | 4,200 |
| 6 | 0,707 | 16 | 1,373 | 26 | 2,533 | 36 | 4,453 |
| 7 | 0,760 | 17 | 1,466 | 27 | 2,693 | 37 | 4,706 |
| 8 | 0,813 | 18 | 1,560 | 28 | 2,853 | 38 | 4,973 |
| 9 | 0,867 | 19 | 1,653 | 29 | 3,026 | 39 | 5,253 |
2.5. Xác định hàm lượng khí hidro sunphua
2.5.1. Mô tả thiết bị (hình 2)
1) Bình tam giác dùng để phân hủy đất đèn, có miệng mài được nối với bình nhỏ giọt, dung tích 250 – 500 ml;
2) Bình nhỏ giọt dung tích 250 -500 ml;
3) Chậu dùng làm lạnh bình phản ứng;
4) Ống chữ U nạp bông thủy tinh và được nút kín phía trên (khí ra và vào theo nhánh bên của ống);
5 + 6 ) Bình rửa khí dùng để tách hidro sunphua;
7) Bình cầu đáy bằng dung tích 1 lít, để xác định hàm lượng hidro photphua;
8) Bình nhỏ giọt có dung tích 50 – 100ml;
9 + 10) Hệ thống hút khí gồm hai bình dung tích 1,5 lít, nối với nhau bằng ống cao su.
Bình số 1,5,7 và 9 được đậy chặt bằng nút cao su có 2 lỗ. Nút cao su của bình 1: một lỗ cắm ống nhỏ giọt đường kính 3mm, sâu 5-10 mm kể từ mặt dưới của nút, một lỗ cắm ống thủy tinh hình thước thợ, đầu dưới của ống phải thấp hơn mặt dưới của nút. Nút cao su của bình 5 cắm hai ống dẫn khí hình thước thợ. Ống dẫn khí vào kéo dài tới đáy bình ống dẫn khí ra cắm sâu 80 mm so với mặt dưới của nút.
Nút cao su của bình 9: một lỗ cắm thủy tinh hình thước thợ của bình 8, cắm sâu hơn mặt dưới của nút lỗ kia nối với ống cao su mềm thông với bình thứ hai của bình hút khí 9. Tất cả các phần riêng biệt của hệ thống thiết bị này đều được nối với nhau bằng ống cao su mềm.
2.5.2. Thuốc thử và dung dịch
Dung dịch cadimi axetat 0,1M hoặc cadimi, clorua 0,1M;
Axit axetic, dung dịch 80 và 90%;
Dung dịch iot kim loại 1N và 0,01N;
Natri axetat;
Natri thiosunfat dung dịch 0,1N và 0,01N;
Axit clohydric, d = 1,185;
Hồ tinh bột, dung dịch 0,5%.
Nước cất theo TCVN 2117 – 77.
Pha chế dung dịch cadimi axetat 0,1M: lấy 29g cadimi axetat hoặc 22g cadimi clorua hòa tan trong nước (trường hợp cần thiết có thể lọc), cho thêm 10 ml axit axetic và 10g natri axetat, thêm nước cất cho vừa đủ một lít và khuấy đều.
2.5.3. Tiến hành thử
Rót khoảng 10ml dung dịch cadimi axetat vào bình rửa khí 5 và 6. Đổ đầy nước cất tới nút của bình 7 và 9, bình 10 đổ nước cất đến nhánh bên. Nối các phần của hệ thống thiết bị với nhau và thử lại độ kín của hệ thống.
Cân 30 g đất đèn với độ chính xác 0,01kg đổ vào bình 1 đã được sấy khô. Đổ nước lạnh vào chậu 3, khóa ổ bình 2 và 8, đóng chặt. Đổ nước cất vào bình 2 và mở khóa cho nước chạy chậm không quá 2-3 giọt trong một phút. Quá trình phân hủy đất đèn xảy ra đều đặn trong khoảng 2 – 5 giờ. Quay ngược phễu nhỏ giọt 8 xuống phía dưới (như hình vẽ) và bắt chặt vào giá. Cho 2 -2,5 lít khí axetylen vào bình 7 để xác định hidro photphua khi nước trong bình 7 bị khí axetylen đẩy ra hết, lật bình về vị trí ban đầu cho đến khi kết thúc phân hủy của mẫu đất đèn. Để khỏi mất khí, bình 2 luôn được bổ sung nước cất. Khi kết thúc phản ứng phân hủy axetylen, bình 1 cần được đổ đầy nước để đẩy hết khí trong bình. Việc đổ nước vào bình 1 từ đầu cho đến nửa thể tích bình thực hiện dưới áp lực bằng cách khóa bình 8 và kẹp chặt ống cao su nối giữa bình 8 và 9 và ống cao su nối bình 2 với hệ thống hút khô 11.
Tách bình 7 ra khỏi bình rửa khí 6 bằng cách kẹp chặt ống cao su nối giữa chúng và đồng thời tiến hành tách các bình 5 và 6, tách ống chữ U khói bình rửa khí 5.
Cần tuân theo đúng trình tự trên để tránh rớt được dung tích từ bình này sang bình kia.
Trút dung dịch trong cả hai bình rửa khí vào một bình để chuẩn độ. Đổ vào đó một lượng dư dung dịch iot 0,1N (khoảng 10 – 20 ml tùy theo lượng hidro sunphua có trong đất đèn) và 5-10 ml axit clohydric. Sau 5 -10 phút dung dịch iot dư được chuẩn độ bằng dung dịch natri thiosunphat 0,1 N với sự có mặt của hồ tinh bột dung dịch 0,5%.

Hình 2. Thiết bị dùng để xác định lượng khí hidro sunfua và hidro photphua
Hàm lượng hidro sunpha (H2S), (X) được tính bằng % theo công thức
Trong đó:
V1 – Thể tích chính xác dung dịch iot 0,1N, ml;
V2 – Thể tích dung dịch natri thiosunphat 0,1N dùng chuẩn độ lượng iot dư, ml;
0,001188 – lượng hidro sunphua tính ra lít (ở áp suất 760 mm Hg và 20oC) tương ứng với 1ml dung dịch iot 0,1N;
G – Khối lượng mẫu đất đèn, gam;
V – Thể tích khí axetylen, sinh ra từ 1kg đất đèn, lít.
2.5.4. Xác định hàm lượng khí hidro photphua.
Tách bình 7 đã được nạp đầy khí axetylen ra khỏi hệ thống hút khí 9, mở nút bình 8. Để khí trong bình có áp suất khí quyển mở nhanh khóa ở bình 8 cho khí thừa đi ra. Quan sát áp suất và nhiệt độ khí. Đóng khóa bình 8, tráng bình 8 bằng nước cất. Dùng buret rót vào bình 8 từ 20-25 ml; dung dịch iot 0,01N. Thận trọng cho dung dịch iot vào bình 7, tránh không khí lọt vào .
Dùng nước cất tráng bình 8 từ 2-3 lần và đổ vào bình 7. Lắc bình 7 trong 1 phút, mở khóa bình 8, lấy kẹp khỏi ống cao su, mở rút bình, dùng nước cất tráng nút và bình. Chuẩn lượng iot dư bằng dung dịch natri thiosunphat 0,01N với sự có mặt của hồ tinh bột, dung dịch 0,5 %
Hàm lượng khí hydro photphua, (X1) được tính bằng % theo công thức :
Trong đó:
V1 – Thể tích dung dịch iot 0,01N, ml;
V2 – Thể tích dung dịch natri thiosunphat 0,01N, ml;
0,035 – Lượng hidro photphua tính ra ml tương ứng với 1ml dung dịch iot 0,01N;
V – Thể tích khí axetylen được tính bằng ml ở áp suất 760 mm Hg và nhiệt độ 20oC, theo công thức:
Trong đó:
Vo – Thể tích bình, ml;
Po – Áp suất khí quyển ở nhiệt độ không khí xung quanh, mm Hg;
t – Nhiệt độ không khí khi tiến hành thí nghiệm, oC ;
Wt – Áp suất của hơi nước bão hòa ở nhiệt độ t, mm Hg.
3. Bao gói, ghi nhãn, bảo quản, vận chuyển và an toàn
3.1. Đất đèn được đựng trong thùng sắt 50 kg hoặc 100 kg.
3.2. Thùng đựng đất đèn được chế tạo riêng, tuân thủ các quy định về an toàn
3.3. Trước khi thùng đem sử dụng phải thử độ kín bằng cách đậy chặt và nhúng chìm xuống nước từ 2 – 3 phút mà nước không được thấm vào trong mới đạt yêu cầu về độ kín.
3.4. Thùng đựng đất đèn bên ngoài có nhãn ghi rõ:
Tiêu chuẩn cơ quan chủ quản;
Tên cơ sở sản xuất ;
Tên sản phẩm;
Khối lượng thô và tinh;
Mức chất lượng;
Số hiệu tiêu chuẩn;
Ký hiệu phòng nước và lửa ;
Ngày, tháng, năm sản xuất.
Bạn chưa Đăng nhập thành viên.
Đây là tiện ích dành cho tài khoản thành viên. Vui lòng Đăng nhập để xem chi tiết. Nếu chưa có tài khoản, vui lòng Đăng ký tại đây!