- Tổng quan
- Nội dung
- Tiêu chuẩn liên quan
- Lược đồ
- Tải về
Tiêu chuẩn Quốc gia TCVN 10665-1:2014 ISO 3686-1:2000 Điều kiện kiểm máy khoan và doa tọa độ một trục chính và ụ rơ vôn ve độ chính xác cao có chiều cao bàn máy cố định và trục chính thẳng đứng-Kiểm độ chính xác-Phần 1: Máy kiểu một trụ
| Số hiệu: | TCVN 10665-1:2014 | Loại văn bản: | Tiêu chuẩn Việt Nam |
| Cơ quan ban hành: | Bộ Khoa học và Công nghệ | Lĩnh vực: | Công nghiệp |
|
Ngày ban hành:
Ngày ban hành là ngày, tháng, năm văn bản được thông qua hoặc ký ban hành.
|
2014 |
Hiệu lực:
|
Đã biết
|
| Người ký: | Đang cập nhật |
Tình trạng hiệu lực:
Cho biết trạng thái hiệu lực của văn bản đang tra cứu: Chưa áp dụng, Còn hiệu lực, Hết hiệu lực, Hết hiệu lực 1 phần; Đã sửa đổi, Đính chính hay Không còn phù hợp,...
|
Đã biết
|
TÓM TẮT TIÊU CHUẨN VIỆT NAM TCVN 10665-1:2014
Nội dung tóm tắt đang được cập nhật, Quý khách vui lòng quay lại sau!
Tải tiêu chuẩn Việt Nam TCVN 10665-1:2014
TIÊU CHUẨN QUỐC GIA
TCVN 10665-1:2014
ISO 3686-1:2000
ĐIỀU KIỆN KIỂM MÁY KHOAN VÀ DOA TỌA ĐỘ MỘT TRỤC CHÍNH VÀ Ụ RƠ VÔN VE ĐỘ CHÍNH XÁC CAO CÓ CHIỀU CAO BÀN MÁY CỐ ĐỊNH VÀ TRỤC CHÍNH THẲNG ĐỨNG - KIỂM ĐỘ CHÍNH XÁC - PHẦN 1: MÁY KIỂU MỘT TRỤ
Test conditions for high accuracy turret and single spindle coordinate drilling and boring machines with table of fixed height with vertical spindle - Testing of the accuracy – Part 1: Single column type machines
Lời nói đầu
TCVN 10665-1:2014 hoàn toàn tương đương với ISO 3686-1:2000.
TCVN 10665-1:2014 do Ban kỹ thuật tiêu chuẩn quốc gia TCVN/TC 39 Máy công cụ biên soạn, Tổng cục Tiêu chuẩn Đo lường Chất lượng đề nghị, Bộ Khoa học và Công nghệ công bố.
Bộ TCVN 10665 (ISO 3686) Điều kiện kiểm máy khoan và doa tọa độ một trục chính và ụ rơ vôn ve độ chính xác cao có chiều cao bàn máy cố định và trục chính thẳng đứng - Kiểm độ chính xác bao gồm các phần sau:
- TCVN 10665-1:2014 (ISO 3686-1:2000) Phần 1: Máy kiểu một trụ;
- TCVN 10665-2:2014 (ISO 3686-2:2000) Phần 2: Máy kiểu cổng có bàn máy di động.
ĐIỀU KIỆN KIỂM MÁY KHOAN VÀ DOA TỌA ĐỘ MỘT TRỤC CHÍNH VÀ Ụ RƠ VÔN VE ĐỘ CHÍNH XÁC CAO CÓ CHIỀU CAO BÀN MÁY CỐ ĐỊNH VÀ TRỤC CHÍNH THẲNG ĐỨNG - KIỂM ĐỘ CHÍNH XÁC - PHẦN 1: MÁY KIỂU MỘT TRỤ
Test conditions for high accuracy turret and single spindle coordinate drilling and boring machines with table of fixed height with vertical spindle - Testing of the accuracy – Part 1: Single column type machines
1. Phạm vi áp dụng
Tiêu chuẩn này quy định các phép kiểm hình học và các phép kiểm gia công các máy khoan và doa tọa độ kiểu trục chính thẳng đứng, có một trụ máy, có tham chiếu tiêu chuẩn TCVN 7011-1 (ISO 230-1). Tiêu chuẩn này cũng quy định dung sai thích hợp tương ứng cho các phép kiểm đó.
Cần lưu ý rằng, ngoài các nguyên công khoan và doa, có thể thực hiện các nguyên công phay nhẹ với các máy này. Tuy nhiên, tiêu chuẩn này không đề cập đến các máy doa gá dẫn hoặc các trung tâm gia công.
Tiêu chuẩn này chỉ áp dụng để kiểm tra xác nhận độ chính xác của máy, không áp dụng để kiểm vận hành máy (độ rung, độ ồn bất thường, chuyển động giật cục của các bộ phận, …) và cũng không áp dụng để kiểm các đặc tính của máy (như tốc độ quay trục chính, lượng chạy dao, …), các phép kiểm này thường được thực hiện trước khi kiểm độ chính xác.
Tiêu chuẩn này đưa ra các thuật ngữ sử dụng cho các bộ phận chính của máy và ký hiệu các trục phù hợp với ISO 841.
2. Tài liệu viện dẫn
Các tài liệu viện dẫn sau là cần thiết cho việc áp dụng tiêu chuẩn này. Đối với các tài liệu viện dẫn ghi năm công bố thì áp dụng bản được nêu. Đối với các tài liệu viện dẫn không ghi năm công bố thì áp dụng phiên bản mới nhất, bao gồm cả các sửa đổi (nếu có).
TCVN 7011-1:2007 (ISO 230-1:1996) Quy tắc kiểm máy công cụ - Phần 1: Độ chính xác hình học của máy khi vận hành trong điều kiện không tải hoặc gia công tinh;
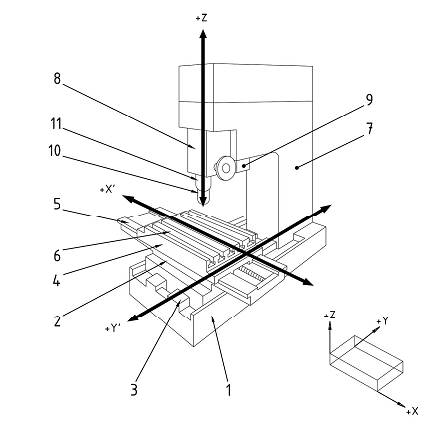
3. Thuật ngữ và ký hiệu các trục
Xem Hình 1 và Bảng 1

Hình 1
Bảng 1
| Số tham chiếu | Tiếng Việt | Tiếng Anh | Tiếng Pháp |
| 1 | Băng máy | Bed | Banc |
| 2 | Bàn trượt ngang | Transverse saddle | Chariot transversal |
| 3 | Đường hướng bàn trượt | Slideways for saddle | Glissières de chariot transversal |
| 4 | Bàn máy | Table | Table |
| 5 | Đường hướng bàn máy | Slideways for table | Glissières de table |
| 6 | Bề mặt bàn máy | Table surface | Surface de fixation |
| 7 | Trụ máy | Column | Montant |
| 8 | Ụ trục chính | Spindle head | Poupée porte-broche |
| 9 | Đường trượt cho ụ trục chính | Slide for spindle head | Guidage de poupée porte- broche |
| 10 | Trục chính | Spindle | Broche |
| 11 | Ống mang và dẫn hướng trục chính | Quyll | Fourreau porte-broche |
4. Lưu ý ban đầu
4.1. Đơn vị đo
Trong tiêu chuẩn này, tất cả các kích thước thẳng, các sai lệch thẳng và các dung sai tương ứng được tính bằng milimét; các kích thước góc được tính bằng độ, các sai lệch góc và các dung sai tương ứng chủ yếu được biểu thị bằng các tỉ số, nhưng trong một số trường hợp, để cho rõ ràng dễ hiểu có thể sử dụng đơn vị micrôradian hoặc giây (cung). Cần lưu ý sự tương đương của các biểu thức sau:
0,010/1000 = 10 μrad ≈ 2’’
4.2. Tham chiếu TCVN 7011-1 (ISO 230-1)
Để áp dụng tiêu chuẩn này, cần phải tham chiếu TCVN 7011-1 (ISO 230-1), đặc biệt là việc lắp đặt máy trước khi kiểm, việc làm nóng trục chính và các bộ phận chuyển động khác, mô tả các phương pháp đo và độ chính xác khuyến nghị của thiết bị kiểm.
Trong ô “Quan sát và tham chiếu” của các phép kiểm được mô tả trong các Điều 5 và 6, các hướng dẫn được kèm theo bằng việc tham chiếu tới nội dung tương ứng của TCVN 7011-1 (ISO 230-1) trong các trường hợp phép kiểm được đề cập tuân theo các quy định của tiêu chuẩn đó.
4.3. Trình tự kiểm
Trình tự các phép kiểm được trình bày trong tiêu chuẩn này không quy định thứ tự kiểm thực tế. Để lắp đặt các dụng cụ hoặc đồng hồ đo dễ dàng, các phép kiểm có thể được thực hiện theo thứ tự bất kỳ.
4.4. Thực hiện các phép kiểm
Khi kiểm máy, không phải lúc nào cũng cần thiết hoặc có thể thực hiện tất cả các phép kiểm được mô tả trong tiêu chuẩn này. Khi kiểm nghiệm thu, người sử dụng lựa chọn các phép kiểm có liên quan đến các bộ phận và/hoặc các đặc tính của máy mà họ quan tâm theo thỏa thuận với nhà sản xuất/nhà cung cấp. Các phép kiểm này phải được quy định rõ ràng khi đặt hàng mua máy.
Cần lưu ý rằng, đối với các máy khoan có ụ rơ vôn ve, tất cả các phép kiểm hình học liên quan đến chuyển động quay của trục chính, tức là các phép kiểm G9, G10, G11 và G12 cần phải được thực hiện đối với tất cả các trục chính.
4.5. Dụng cụ đo
Dụng cụ đo được chỉ dẫn trong các phép kiểm được mô tả trong các Điều 5 và 6 chỉ là các ví dụ. Có thể sử dụng dụng cụ đo khác có cùng đại lượng đo và ít nhất cùng độ chính xác. Đồng hồ so có mặt số phải có độ phân giải 0,001 mm.
4.6. Dung sai nhỏ nhất
Khi thiết lập dung sai cho một chiều dài đo khác so với giá trị cho trong tiêu chuẩn này (xem 2.3.1.1 của TCVN 7011-1:2007 (ISO 230-1:1996)), thì phải xem xét rằng giá trị nhỏ nhất của dung sai là 0,005 mm.
4.7. Kiểm gia công
Kiểm gia công chỉ được thực hiện với gia công tinh. Không kiểm với gia công thô vì chúng có thể sinh ra lực cắt đáng kể.
5. Kiểm hình học
5.1. Các trục tịnh tiến
| Đối tượng | G1 |
| Kiểm độ thẳng của chuyển động theo trục X trong mặt phẳng nằm ngang XY (EYX). | |
| Sơ đồ
| |
| Dung sai 0,015 đối với chiều dài đo đến 1000 | Sai lệch đo được |
| Dụng cụ đo Thước kiểm thẳng và đồng hồ so có mặt số hoặc kính hiển vi và dây căng hoặc các phương pháp quang học. | |
| Quan sát và tham chiếu TCVN 7011-1:2007 (ISO 230-1:1996) 5.2.1.1, 5.2.3, 5.2.3.1.2 và 5.2.3.2.1 Đối với tất cả các dạng cấu hình máy, phải đặt thước kiểm thẳng, dây căng hoặc gương phản xạ thẳng trên bàn máy. Nếu trục chính có thể khóa được, có thể lắp đồng hồ so có mặt số, kính hiển vi hoặc giao thoa kế trên trục chính; nếu trục chính không thể khóa được, dụng cụ đo phải được đặt trên ụ trục chính của máy. Đường thẳng đo cần phải gần với tâm bàn máy càng nhất có thể. | |
| Đối tượng | G2 | |
| Kiểm độ vuông góc giữa chuyển động dọc của bàn máy (trục X) với chuyển động của bàn trượt ngang (trục Y). | ||
| Sơ đồ
| ||
| Dung sai 0,02 cho chiều dài đo 500 | Sai lệch đo được | |
| Dụng cụ đo Thước kiểm thẳng, đồng hồ so có mặt số và ke vuông | ||
| Quan sát và tham chiếu TCVN 7011-1:2007 (ISO 230-1:1996) 5.5.2.2.4 a) Điều chỉnh một nhánh của ke vuông song song với chuyển động theo trục X (song song nghĩa là các giá trị đọc trên cả hai đầu của nhánh này giống nhau), sau đó đặt thước kiểm thẳng tựa vào nhánh còn lại của ke vuông. b) Tiếp đó kiểm chuyển động theo trục Y. | ||
| Đối tượng | G3 | |
| Kiểm độ vuông góc giữa bề mặt bàn máy và chuyển động thẳng đứng của ống mang và dẫn hướng trục chính (trục Z): a) Trong mặt phẳng đối xứng thẳng đứng YZ của máy; b) Trong mặt phẳng ZX vuông góc với mặt phẳng đối xứng thẳng đứng của máy. | ||
| Sơ đồ
| ||
| Dung sai a) 0,015 cho chiều dài đo 300 với α ≤ 90o b) 0,015 cho chiều dài đo 300 | Sai lệch đo được a) b) | |
| Dụng cụ đo Đồng hồ so có mặt số và ke vuông | ||
| Quan sát và tham chiếu TCVN 7011-1:2007 (ISO 230-1:1996) 5.5.2.2.2 Khóa bàn máy ở vị trí trung tâm. Khóa ụ trục chính, trục chính và bàn trượt ụ trục chính. | ||
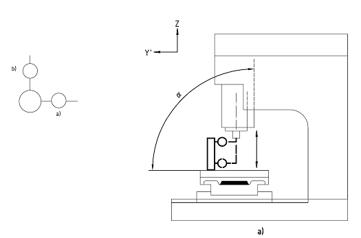
| Đối tượng | G4 | |
| Kiểm độ vuông góc giữa bề mặt bàn máy và chuyển động thẳng đứng của ụ trục chính hoặc ụ rơ vôn ve a) Trong mặt phẳng đối xứng thẳng đứng YZ của máy; b) Trong mặt phẳng ZX vuông góc với mặt phẳng đối xứng thẳng đứng của máy. | ||
| Sơ đồ
| ||
| Dung sai a) 0,015 cho chiều dài đo 300 với α ≤ 90o b) 0,015 cho chiều dài đo 300 | Sai lệch đo được a) b) | |
| Dụng cụ đo Đồng hồ so có mặt số và ke vuông dạng trụ | ||
| Quan sát và tham chiếu TCVN 7011-1:2007 (ISO 230-1:1996) 5.5.2.2.2 Khóa bàn máy ở vị trí trung tâm. Khóa bàn trượt bàn máy. | ||
5.2 Bàn máy
| Đối tượng | G5 | |
| Kiểm độ phẳng của bề mặt bàn máy. | ||
| Sơ đồ
| ||
| Dung sai 0,03 đối với chiều dài đo đến 1000 Đối với mỗi lượng tăng thêm 1000 với chiều dài vượt quá 1000, cộng thêm 0,01 vào dung sai tương ứng trước Sai lệch lớn nhất cho phép: 0,05 | Sai lệch đo được | |
| Dụng cụ đo Nivô chính xác hoặc thước kiểm thẳng và các căn mẫu | ||
| Quan sát và tham chiếu TCVN 7011-1:2007 (ISO 230-1:1996) 5.3.2.2 và 5.3.2.3 Khóa bàn máy ở vị trí trung tâm. | ||
| Đối tượng | G6 | |
| Kiểm độ song song của bề mặt bàn máy với: a) Chuyển động ngang của bàn trượt (trục Y); b) Chuyển động dọc của bàn máy (trục X). | ||
| Sơ đồ
| ||
| Dung sai Đối với a) và b): 0,015 đối với chiều dài đo 300 Sai lệch lớn nhất cho phép: 0,03 | Sai lệch đo được | |
| Dụng cụ đo Thước kiểm thẳng và đồng hồ so có mặt số | ||
| Quan sát và tham chiếu TCVN 7011-1:2007 (ISO 230-1:1996) 5.4.2.2.2.1 Nếu trục chính có thể khóa được, có thể lắp đồng hồ so có mặt số lên trục chính. Nếu trục chính không thể khóa được, khi đó đồng hồ so có mặt số phải được đặt trên ụ trục chính của máy với trục Z được khóa. Đầu đo của đồng hồ so có mặt số phải được đặt gần trùng trên đường tâm trục chính. Khóa ụ trục chính lại. a) Bàn máy (trục X) được khóa lại; b) Bàn trượt (trục Y) được khóa lại. Phép đo có thể được thực hiện trên một thước kiểm thẳng được đặt song song với bề mặt bàn máy. Nếu chiều dài bàn máy lớn hơn 1000 mm, phép kiểm phải được thực hiện bằng các dịch chuyển liên tiếp của thước kiểm thẳng. | ||
| Đối tượng | G7 | |
| Kiểm độ song song của rãnh chữ T dọc ở giữa hoặc rãnh chữ T chuẩn của bàn máy với chuyển động dọc của bàn máy (trục X). | ||
| Sơ đồ
| ||
| Dung sai 0,015 đối với chiều dài đo 500 Sai lệch lớn nhất cho phép: 0,035 | Sai lệch đo được | |
| Dụng cụ đo Đồng hồ so có mặt số | ||
| Quan sát và tham chiếu TCVN 7011-1:2007 (ISO 230-1:1996) 5.4.2.2.2.1 Bàn trượt (trục Y) được khóa lại. Đồng hồ so có mặt số có thể được đặt trên trục chính hoặc ụ trục chính. | ||
| Đối tượng | G8 | |
| Kiểm độ song song của rãnh chữ T ngang ở giữa hoặc rãnh chữ T chuẩn của bàn máy với chuyển động bàn trượt ngang (trục Y). | ||
| Sơ đồ
| ||
| Dung sai 0,015 đối với chiều dài đo 500 Sai lệch lớn nhất cho phép: 0,035 | Sai lệch đo được | |
| Dụng cụ đo Đồng hồ so có mặt số | ||
| Quan sát và tham chiếu TCVN 7011-1:2007 (ISO 230-1:1996) 5.4.2.2.2.1 Bàn máy được khóa ở vị trí trung tâm. Đồng hồ so có mặt số có thể được đặt trên trục chính hoặc ụ trục chính. | ||
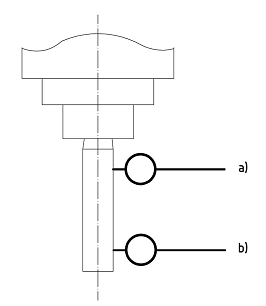
5.3. Trục chính
| Đối tượng | G9 | |
| Kiểm độ đảo mặt côn trong của trục chính: a) Tại gần đầu mút trục chính; b) Tại vị trí cách đầu mút trục chính 300 mm. | ||
| Sơ đồ
| ||
| Dung sai a) 0,01 b) 0,02 | Sai lệch đo được a) b) | |
| Dụng cụ đo Đồng hồ so có mặt số và trục kiểm | ||
| Quan sát và tham chiếu TCVN 7011-1:2007 (ISO 230-1:1996) 5.6.1.2.3 Phép kiểm phải được lặp lại đối với tất cả các trục chính, trong trường hợp với các máy khoan có ụ rơ vôn ve. | ||
| Đối tượng | G10 | |
| Kiểm: a) Độ trượt chiều trục có tính chu kỳ; b) Độ đảo mặt đầu của đầu mút trục chính (bao gồm cả độ trượt chiều trục có tính chu kỳ). | ||
| Sơ đồ
| ||
| Dung sai a) 0,01 b) 0,02 | Sai lệch đo được a) b) | |
| Dụng cụ đo Đồng hồ so có mặt số | ||
| Quan sát và tham chiếu TCVN 7011-1:2007 (ISO 230-1:1996) a) 5.6.2.2.1 và 5.6.2.2.2 Lực F, do nhà cung cấp/nhà sản xuất máy quy định, phải được tác động vào bằng cách ép hướng vào hộp trục chính đối với các phép kiểm a) và b). b) 5.6.3.2 Khoảng cách A từ đồng hồ so có mặt số b) tới đường tâm trục chính phải lớn nhất có thể. Phép kiểm phải được lặp lại đối với tất cả các trục chính, trong trường hợp với các máy khoan có ụ rơ vôn ve. | ||
| Đối tượng | G11 | |
| Kiểm độ vuông góc giữa đường tâm trục chính và bề mặt bàn máy: a) Trong mặt phẳng đối xứng thẳng đứng YZ của máy; b) Trong mặt phẳng ZX vuông góc với mặt phẳng đối xứng thẳng đứng của máy. | ||
| Sơ đồ
| ||
| Dung sai 1) Các máy có một trục chính: a) 0,015/300a với α ≤ 90o b) 0,015/300a 2) Các máy có ụ rơ vôn ve: a) 0,025/300a với α ≤ 90o b) 0,025/300a a Khoảng cách giữa hai điểm tiếp xúc đo | Sai lệch đo được
a) b)
a) b) | |
| Dụng cụ đo Đồng hồ so có mặt số, thước kiểm thẳng hoặc căn mẫu | ||
| Quan sát và tham chiếu TCVN 7011-1:2007 (ISO 230-1:1996) 5.5.1.2.1 và 5.5.1.2.4.2 Trục chính, bàn máy và bàn trượt được khóa lại. Trong trường hợp các máy khoan có ụ rơ vôn ve, phép kiểm phải được lặp lại cho tất cả các trục chính ở vị trí thẳng đứng. Việc kiểm độ vuông góc của một trục chính đại diện phải được thực hiện bằng định vị ụ trục chính lần lượt ở các vị trí thấp nhất, giữa và cao nhất. | ||
5.4. Ụ rơ vôn ve nhiều trục chính
| Đối tượng | G12 | |
| Kiểm độ chính xác định vị các trục của bề mặt lắp bên trong của các trục chính và kiểm độ lặp lại của các định vị này: a) Trong mặt phẳng thẳng đứng ZX vuông góc với một mặt phẳng thẳng đứng chứa trục tâm quay của ụ rơ vôn ve; b) Trong mặt phẳng thẳng đứng YZ chứa cả hai trục quay của ụ rơ vôn ve và của trục chính. | ||
| Sơ đồ
| ||
| Dung sai Đối với a) và b) 0,02 | Sai lệch đo được a) b) | |
| Dụng cụ đo Đồng hồ so có mặt số và trục kiểm | ||
| Quan sát và tham chiếu TCVN 7011-1:2007 (ISO 230-1:1996) 5.4.1.2.1 và 6.4 Đối với a) và b), giá đỡ đồng hồ so có mặt số phải được chỉnh đặt sao cho đầu đo nằm trên đường tâm của trục kiểm và gần với đầu mút trục chính nhất có thể. Đồng hồ so có mặt số phải được chỉnh để đưa ra giá trị đọc 0 trên trục kiểm ở vị trí trục chính chuẩn tại vị trí độ đảo trung bình. Đối với a) khi đó dịch chuyển bàn trượt ngang (trục Y) để đưa đồng hồ so có mặt số ra xa. Ụ rơ vôn ve phải được xoay một vòng hoàn chỉnh. Nếu không thể xoay một vòng hoàn chỉnh, ụ rơ vôn ve phải được xoay đi cung lớn nhất có thể của một vòng tròn, đầu tiên theo một chiều, sau đó theo chiều ngược lại, để đưa ụ rơ vôn ve trở lại vị trí ban đầu của nó. Sau đó ụ rơ vôn ve được phân độ, được khóa lại và quan sát sai lệch. Sau đó ụ rơ vôn ve được phân độ đến vị trí kế tiếp và trục kiểm được di chuyển khỏi trục chính chuẩn. Tương tự nhưng không chỉnh lại đồng hồ so có mặt số về 0, trục chính phải được xoay đến vị trí độ đảo trung bình và quan sát sai lệch trước và sau một vòng quay hoàn chỉnh (hoặc một phần vòng quay) của rơ vôn ve. Lắp lại cho tất cả các trục chính: a) Bàn máy (trục X) được khóa lại. b) Bàn trượt (trục Y) được khóa lại. | ||
6. Kiểm gia công
| Đối tượng | M1 | |
| Kiểm độ chính xác khoảng cách và độ chênh lệch đường kính của các lỗ được gia công trong các điều kiện gia công tinh: a) Độ chính xác khoảng cách; b) Độ chênh lệch đường kính được đo theo các phương X và Y. | ||
| Sơ đồ
| ||
| Dung sai a) Độ chính xác khoảng cách (đối với các lỗ trên và dưới) với 90 và 120: 0,02 với đường chéo (150): 0,03 b) Độ đồng tâm theo các phương X và Y: 0,02 | Sai lệch đo được a)
b) | |
| Dụng cụ đo Máy đo tọa độ hoặc máy đo quang học Dụng cụ đo đường kính trong, các chốt và panme | ||
| Quan sát và tham chiếu TCVN 7011-1:2007 (ISO 230-1:1996) Các lỗ được gia công trước có thể được gia công trước khi chỉnh đặt phôi trên bàn máy hoặc sau khi chỉnh đặt, nhưng cần có sự cắt gọt hướng kính một cách đồng đều. Có thể sử dụng các chi tiết có các lỗ đã được khoan trước, cần đảm bảo sao cho một lượng dư đồng đều sẽ được loại bỏ trong quá trình doa tinh. | ||
THƯ MỤC TÀI LIỆU THAM KHẢO
[1] ISO 841:2001 Industrial automation systems and integration - Numerical control of machines - Coordinate system and motion nomenclature (Các hệ thống và tổ hợp tự động công nghiệp – Máy điều khiển số - Hệ thống tọa độ và danh mục chuyển động)
[2] ISO 3190:1975 Test conditions for turret and single spindle co-ordinate drilling machines with vertical spindle – Testing of the accuracy (Điều kiện kiểm máy khoan tọa độ ụ rơ vôn ve và trục chính đơn có trục chính đứng – Kiểm độ chính xác)
Bạn chưa Đăng nhập thành viên.
Đây là tiện ích dành cho tài khoản thành viên. Vui lòng Đăng nhập để xem chi tiết. Nếu chưa có tài khoản, vui lòng Đăng ký tại đây!












