- Tổng quan
- Nội dung
- Tiêu chuẩn liên quan
- Lược đồ
- Tải về
Tiêu chuẩn TCVN 10956-2:2017 Đồng hồ điện tử đo thể tích dầu mỏ
| Số hiệu: | TCVN 10956-2:2017 | Loại văn bản: | Tiêu chuẩn Việt Nam |
| Cơ quan ban hành: | Bộ Khoa học và Công nghệ | Lĩnh vực: | Công nghiệp |
|
Ngày ban hành:
Ngày ban hành là ngày, tháng, năm văn bản được thông qua hoặc ký ban hành.
|
2017 |
Hiệu lực:
|
Đã biết
|
| Người ký: | Đang cập nhật |
Tình trạng hiệu lực:
Cho biết trạng thái hiệu lực của văn bản đang tra cứu: Chưa áp dụng, Còn hiệu lực, Hết hiệu lực, Hết hiệu lực 1 phần; Đã sửa đổi, Đính chính hay Không còn phù hợp,...
|
Đã biết
|
TÓM TẮT TIÊU CHUẨN VIỆT NAM TCVN 10956-2:2017
Nội dung tóm tắt đang được cập nhật, Quý khách vui lòng quay lại sau!
Tải tiêu chuẩn Việt Nam TCVN 10956-2:2017
TIÊU CHUẨN QUỐC GIA
TCVN 10956-2:2017
HƯỚNG DẪN ĐO DẦU MỎ - ĐO DÒNG BẰNG HỆ THỐNG ĐO KIỂU ĐIỆN TỬ - PHẦN 2: ĐỒNG HỒ THỂ TÍCH
Guidelines for petroleum measurement - Flow measurement using electronic metering systems - Part 2: Displacement meters
MỤC LỤC
Lời nói đầu
1 Phạm vi áp dụng
2 Tài liệu viện dẫn
3 Thuật ngữ, định nghĩa
4 Mô tả của một hệ thống đo chất lỏng kiểu điện tử
4.1 Thành phần của một hệ thống đo chất lỏng kiểu điện tử
4.2 Sự bố trí các thành phần của hệ thống ELM
4.3 Quá trình xử lý dữ liệu
5 Độ không đảm bảo hệ thống
5.1 Yêu cầu chung
6 Hướng dẫn thiết kế, lựa chọn và sử dụng của các thành phần ELM
6.1 Thiết bị sơ cấp - Lựa chọn và lắp đặt
6.2 Thiết bị thứ cấp - Lựa chọn và lắp đặt
7 Vận hành thử các hệ thống mới và hệ thống sửa đổi
7.1 Yêu cầu chung
8 Thuật toán của thiết bị điện đo chất lỏng kiểu điện tử
8.1 Tổng quát
8.2 Các hướng dẫn
9 Các yêu cầu về kiểm tra và báo cáo
9.1 Khái quát
9.2 Bản ghi cấu hình
9.3 Bản ghi lượng giao dịch(QTR)
9.4 Xem xét dữ liệu ELM
9.5 Sự duy trì dữ liệu
9.6 Bản ghi sự kiện
9.7 Bản ghi cảnh báo và lỗi
9.8 Bản ghi kiểm tra
10 Thiết bị hiệu chuẩn và kiểm định
10.1 Các thiết bị đòi hỏi hiệu chuẩn/kiểm định
10.2 Kiểm định và hiệu chuẩn - Mục đích và sử dụng
10.3 Tần suất kiểm định và hiệu chuẩn
10.4 Trang thiết bị kiểm định và hiệu chuẩn
10.5 Các quy trình hiệu chuẩn
10.6 Các quy trình kiểm định
10.7 Xem xét nhiệt độ môi trường
11 Bảo mật
11.1 Sự truy cập
11.2 Sự ngăn cấm truy cập
11.3 Tính nguyên vẹn của dữ liệu được lưu
11.4 Thuật toán bảo vệ
11.5 Bảo vệ bộ nhớ
Phụ lục A (tham khảo) Máy tính phù hợp với phần cứng và các giới hạn phần mềm
Phụ lục B (tham khảo) Các bộ chuyển đổi A/D và độ phân giải
Phụ lục C (tham khảo) Sự hiệu chính thân nổi cho các nhiệt kế thủy tinh
Phụ lục D (tham khảo) Điện trở với nhiệt độ cho các nhiệt kế RTD bạch kim trong công nghiệp
Phụ lục E (tham khảo) Thiết bị hiệu chuẩn và kiểm định
Phụ lục F (tham khảo) Độ chính xác yêu cầu trong việc đo nhiệt độ, áp suất và tỷ trọng cho độ chính xác mong muốn của các hệ số chính CTL và CPL
Phụ lục G (tham khảo) Các tính toán độ không đảm bảo
Lời nói đầu
TCVN 10956-2:2016 được xây dựng trên cơ sở tham khảo API 21.2:2000 Manual of petroleum measurement standard - Chapter 21: Flow measurement using electronic metering systems - Section 2: Electronic liquid volume measurement using positive displacement and turbine meters.
TCVN 10956-2:2016 do Ban kỹ thuật tiêu chuẩn quốc gia TCVN/TC 30 Đo lưu lượng lưu chất trong ống dẫn kín biên soạn, Tổng cục Tiêu chuẩn Đo lường Chất lượng đề nghị, Bộ Khoa học và Công nghệ công bố.
Bộ TCVN 10956 Hướng dẫn đo dầu mỏ - Đo dòng bằng hệ thống đo kiểu điện tử gồm các tiêu chuẩn sau:
TCVN 10956-1:2015 Phần 1: Đồng hồ tuabin
TCVN 10956-2:2016 Phần 2: Đồng hồ thể tích
HƯỚNG DẪN ĐO DẦU MỎ - ĐO DÒNG BẰNG HỆ THỐNG ĐO KIỂU ĐIỆN TỬ - PHẦN 2: ĐỒNG HỒ THỂ TÍCH
Guidelines for petroleum measurement - Flow measurement using electronic metering systems - Part 2: Displacement meters
1 Phạm vi áp dụng
Tiêu chuẩn này đưa ra hướng dẫn để sử dụng hiệu quả hệ thống đo chất lỏng kiểu điện tử (ELM) đối với phép đo hydrocacbon lỏng đơn pha tại điều kiện đo bằng đồng hồ đo thể tích có hệ thống sử dụng hệ số hiệu chính do ảnh hưởng trực tuyến của nhiệt độ lên chất lỏng (CTL) và ảnh hưởng của áp suất lên chất lỏng (CPL).
2 Tài liệu viện dẫn
Các tài liệu viện dẫn sau rất cần thiết cho việc áp dụng tiêu chuẩn này. Đối với các tài liệu viện dẫn ghi năm công bố thì áp dụng phiên bản được nêu. Đối với các tài liệu viện dẫn không ghi năm công bố thì áp dụng phiên bản mới nhất, bao gồm cả các sửa đổi, bổ sung (nếu có).
TCVN 10953-4:2015, Hướng dẫn đo dầu mỏ - Hệ thống kiểm chứng - Phần 4: Phương pháp nội suy xung
API 4.2 Conventional pipe provers (API 4.2: Ống chuẩn thông thường).
API 12.2 Calculation of petroleum quantities using dynamic measurement methods and volume correction factors (Tính đại lượng đo sử dụng phương pháp đo động và hệ số hiệu chính thể tích).
API Rp 500 Classification of locations for electrical installations at petroleum facilities classified as class 1, division 1 và division 2 (Phân loại vị trí để lắp đặt thiết bị điện cho các phương tiện đo dầu mỏ được phân loại là lớp 1, khu 1 và 2).
3 Thuật ngữ, định nghĩa
Tiêu chuẩn này sử dụng các thuật ngữ và định nghĩa sau:
3.1
Chu kỳ tính toán (accounting period)
Khoảng thời gian cố định, chẳng hạn như một ngày, một tuần hoặc khoảng thời gian yêu cầu để chuyển giao tất cả hoặc một phần của một lô hàng.
3.2
Bộ chuyển đổi tương tự sang số (A/D) (analog to digital (A/D) converter)
Bộ xử lý dùng để chuyển một tín hiệu điện tương tự sang tín hiệu số tương ứng.
3.3
Độ chính xác (accuracy)
Mức độ khác biệt giữa giá trị thực với giá trị tính toán hoặc hiển thị trên thiết bị đo
3.4
Lịch sử hoạt động (audit trail)
Bản ghi của thiết bị điện tử dùng để đo chất lỏng bao gồm các phép đo kiểm định hoặc hiệu chuẩn cho tất cả các thiết bị thứ 3 và thiết bị sơ cấp, các thông số thực cho thiết bị sơ cấp, các giá trị hằng số, thời gian và ngày tháng của bất kỳ sự thay đổi nào tác động lên thể tích đã được báo cáo và tất cả tài liệu được yêu cầu, dưới các điều kiện kiểm tra và báo cáo yêu cầu; Bản ghi cũng có thể bao gồm sự phân định những nguyên nhân gây ra sự thay đổi. Lịch sử hoạt động có thể bao gồm một hoặc nhiều bản ghi trong thiết bị điện tử hoặc dạng sao chép cứng.
3.5
Lô hàng (batch)
Một chuyến hàng riêng biệt được xác định bởi thể tích, khoảng thời gian tính toán hoặc chất lượng.
3.6
Hiệu chuẩn (calibration)
Thử nghiệm hoặc điều chỉnh ELM hoặc các thành phần hệ thống để phù hợp với chuẩn dẫn xuất quy chiếu để tạo ra các giá trị chính xác trong phạm vi vận hành định trước của ELM.
3.7
Khoảng hiệu chuẩn (calibration span)
Chênh lệch giữa giới hạn hiệu chuẩn lớn nhất và nhỏ nhất.
3.8
Hệ số hiệu chính kết hợp (CCF) (combined correction factor)
Hệ số kết hợp từ hai hay nhiều hệ số hiệu chính, chẳng hạn như hiệu chính ảnh hưởng của nhiệt độ lên chất lỏng (CTL), hiệu chính ảnh hưởng của áp suất lên chất lỏng (CPL), hệ số đồng hồ (MF) và các hệ số còn khác. Mục đích của CCF là để giới hạn ảnh hưởng của sai số của việc làm tròn số hoặc số cụt trong việc đo thể tích và các tính toán. Chi tiết xem trong API 12.2.
3.9
Hệ số đồng hồ phức hợp (CMF) (composite meter factor)
Hệ số kết hợp giữa hệ số đồng hồ với hệ số hiệu chính cho hệ số nén giữa điều kiện áp suất vận hành và điều kiện áp suất cơ sở. CMF có thể được sử dụng cho các ứng dụng đồng hồ mà tại đó áp suất xem như là hằng số trong suốt quá trình đo.
3.10
Bản ghi cấu hình (configuration log)
Bản ghi chứa và nhận dạng tất cả các tham số lưu lượng được lựa chọn trong một bản ghi lượng giao nhận.
3.11
Tỷ trọng kế (densitometer)
Bộ chuyển đổi và một bộ điều chế tín hiệu được sử dụng để chuyển đổi tỷ trọng của chất lỏng thành tín hiệu điện.
3.12
Bộ chuyển đổi số-tương tự(D/A) (digital to analog (D/A) converter)
Bộ xử lý dùng để chuyển đổi các tín hiệu số thành các tín hiệu điện tương tự tương ứng.
3.13
Thiết bị điện tử phía dòng ra (downstream electronic device)
Thiết bị bất kỳ nhận các đầu ra từ mộ thiết bị thứ ba.
3.14
Bản ghi sự kiện (event log)
Bản ghi ghi nhớ và lưu lại toàn bộ các ngoại lệ và các sự thay đổi của các tham số của hệ thống hoặc các tham số lưu lượng trong phạm vi của bản ghi cấu hình mà có tác động tới số lượng bản ghi giao nhận
3.15
Thiết bị điện tử dùng để đo chất lỏng (ELM) (electronic liquid measurement)
Hệ thống đo sử dụng thiết bị tính điện tử có thuật toán đo chất lỏng theo tiêu chuẩn API và có chức năng bảo mật/sửa đổi, có các đầu vào nhiệt độ và áp suất trực tuyến và các đầu vào xung đồng hồ tuyến tính. Tính toán CPL/CTL tại chu kỳ thời gian tối thiểu gắn với các khuyến nghị kiểm định/hiệu chuẩn, sử dụng tùy chọn biến tỷ trọng trực tiếp, và chú ý tới thiết bị thứ cấp của hệ thống giúp giảm độ không chính xác của phép đo
3.16
Thiết bị tính toán lưu lượng (flow computation device)
Bộ xử lý số học có bộ nhớ đi kèm cho phép tín hiệu chuyển đổi điện thể hiện biến đầu vào từ hệ thống đo chất lỏng và thực hiện tính toán để đưa ra lưu lượng và dữ liệu tổng. Đôi khi được gọi là thiết bị tổng hợp dòng, máy tính dòng hoặc thiết bị thứ ba.
3.17
Thể tích chuẩn tổng (GSV) (gross Standard volume)
Thể tích tại điều kiện cơ sở đã được hiệu chính cho tính năng của đồng hồ (MF hoặc CMF).
2.18
GSVm (GSVm)
Thể tích tại điều kiện cơ sở được hiển thị bởi đồng hồ tại điều kiện thử nghiệm.
3.19
GSVp (GSVp)
Thể tích tại điều kiện cơ sở được hiển thị bởi chuẩn tại điều kiện thử nghiệm.
3.20
Thể tích chỉ thị (IV) (indicated volume)
Sự thay đổi trong số đọc của đồng hồ xảy ra trong quá trình giao hoặc nhận.
3.21
Thể tích chuẩn chỉ thị (ISV) (indicated Standard volume)
Thể tích chỉ thị của đồng hồ được hiệu chính về các điều kiện cơ sở. Không hiệu chính tính năng đồng hồ (MF hoặc CMF).
3.22
Biến đầu vào (input variable)
Với mục đích của thiết bị điện tử để đo chất lỏng, một biến đầu vào là một giá trị dữ liệu kết hợp với dòng hoặc trạng thái của chất lỏng được dùng trong bộ phận tính dòng sử dụng trong quá trình tính toán. Đầu vào này có thể là một biến đo được từ một bộ chuyển đổi/truyền phát hoặc giá trị cố định được nhập vào bằng tay. Áp suất, nhiệt độ và tỷ trọng tương đối là ví dụ của các biến đầu vào.
3.23
Bộ cách ly (isolator)
Thiết bị chia tách một phần của mạch điện tử từ các phần khác để bảo vệ chống lại các vấn đề điện áp, tiếp đất và có thể sử dụng để sao chép hoặc chuyển đổi các tín hiệu và bảo vệ chống lại các tín hiệu từ bên ngoài.
3.24
Chu kỳ tính toán chính (mcp) (main calculation period)
Chu kỳ thời gian tính toán giữa hai tính toán các hệ số hiệu chính kết hợp liên tiếp.
3.25
Hệ số của đồng hồ chuẩn (master meter factor)
Số hạng không thứ nguyên đạt được bằng cách chia giá trị thể tích chuẩn tổng (GSVp) của chất lỏng qua đồng hồ chuẩn với thể tích chuẩn chỉ thị (ISVm) như đã được ghi bởi đồng hồ tổng trong quá trình thử nghiệm.
3.26
Hệ số đồng hồ (MF) (meter factor)
Số hạng không thứ nguyên đạt được bằng cách chia thể tích của chất lỏng qua chuẩn (được hiệu chính tới các điều kiện chuẩn trong quá trình thử nghiệm) với thể tích chuẩn chỉ thị (ISV) như đã được ghi bởi đồng hồ.
3.27
Tuyến tính hóa hệ số đồng hồ (meter factor linearization)
Quá trình hiệu chính thiết bị đo đối với độ lệch trong tính năng hoặc các kết quả thử nghiệm thông qua phạm vi vận hành đã công bố gây ra bởi thay đổi trong quá trình hoặc các điều kiện vận hành, chẳng hạn như lưu lượng hoặc độ nhớt.
3.28
Không có dòng chảy (no-flow)
Không có dòng chất lỏng chảy qua thiết bị sơ cấp.
3.29
Số tổng tích lũy không có khả năng đặt lại (nonresettable totalizer)
Một thanh ghi tích lũy lưu lại và tính tổng lượng chất lỏng chảy vào hoặc qua một thiết bị đo. Số tổng tích lũy không được đặt lại trong điều kiện vận hành bình thường.
3.30
Bên ngoài (off-site)
Một vị trí không gần với thiết bị sơ cấp.
3.31
Tại chỗ (on-site)
Một vị trí gần với thiết bị sơ cấp.
3.32
Bù hệ số CPL/CTL trực tuyến (on-line CPL/CTL compensation)
Sự tính hệ số CPL và CTL liên tiếp trong mỗi chu kỳ tính toán chính.
3.33
Độ không đảm bảo tính năng (performance uncertainty)
Khả năng của thiết bị hoặc hệ thống để lặp lại các tham số thử nghiệm trong dải các điều kiện vận hành đã được dự đoán trước.
3.34
Điểm giao nhận (point of custody transfer)
Địa điểm vật lý mà tại đó những lượng dầu mỏ được trao đổi giữa các bên.
3.35
Bản ghi số lượng giao nhận (QTR) (quantity transaction record)
Một bộ lịch sử các dữ liệu các giá trị đã được tính toán và các thông tin trong những định dạng đã được định trước mà chúng hỗ trợ cho việc xác định số lượng thông qua chu kỳ tính toán. QTR còn được gọi là một “tấm vé đo lường".
3.36
Sai số ngẫu nhiên (random error)
Độ lệch trong phép đo so với một giá trị thực, không thể ước lượng trước thông qua một loạt các phép đo lặp lại trong cùng một điều kiện thử nghiệm. Một số lượng lớn những phép đo lặp lại như vậy sẽ chỉ ra các sai số lớn hơn sẽ xuất hiện với tần suất ít hơn những sai số nhỏ hơn và phần lớn các độ lệch chuẩn giảm một cách đặc trưng trong phạm vi xác định.
3.37
Tần số lấy mẫu (sampling frequency)
Số lượng các mẫu trên đơn vị thời gian của một biến đầu vào được phục hồi để kiểm soát, tích lũy hoặc tính toán.
3.38
Chu kỳ lấy mẫu (sampling period)
Thời gian tính bằng giây giữa sự phục hồi của các tham số dòng chảy để giám sát, tích lũy hoặc tính toán.
3.39
Cảm biến (sensor)
Thiết bị tạo tín hiệu đầu ra khả dụng tương ứng với đại lượng đo. Một đại lượng đo là một đại lượng vật lý, một thuộc tính, hoặc điều kiện được đo. Đầu ra là tín hiệu điện, được tạo ra bởi cảm biến và là hàm của đại lượng đo.
3.40
Bộ điều chế tín hiệu (signal conditioner)
Sự khuếch đại tín hiệu hoặc sự chuẩn bị của một tín hiệu đầu vào tới thiết bị thứ ba. Ví dụ điển hình là bộ khuếch đại trước của đồng hồ đo thể tích.
3.41
Sai số hệ thống (systematic error)
Sai số phổ biến xuyên suốt một loạt các phép đo. Sai số này sẽ dẫn đến một độ lệch không đổi so với giá trị thực và nếu có thể truy nguyên thì thường có thể giảm đến nguyên nhân ấn định được trong hệ thống thực hiện phép đo.
3.42
Dẫn xuất (traceability)
Thuộc tính của phép đo hoặc giá trị của chuẩn mà nhờ đó có thể dẫn xuất đến chuẩn đo lường, thông thường là chuẩn quốc gia hoặc chuẩn quốc tế, thông qua một chuỗi phép so sánh liên tục.
3.43
Bộ chuyển đổi (transducer)
Thiết bị tạo tín hiệu điện, số hoặc tương tự, tỷ lệ với tham số biến được truyền tới thiết bị thứ ba.
3.44
Bộ truyền phát (transmitter)
Thiết bị chuyển đổi tín hiệu từ cảm biến thành một dạng phù hợp cho quá trình lan truyền thông tin đo lường từ vị trí thực hiện phép đo tới các vị trí tín hiệu được sử dụng. Tín hiệu thông thường được chuyển đổi thành tín hiệu dòng điện, xung, hoặc dạng tín hiệu số nối tiếp. Cảm biến có thể tách biệt hoặc có thể là một phần của bộ chuyển đổi.
3.45
Tỷ số phạm vi của đồng hồ (turndown ratio-meters)
Tỷ số của giá trị lưu lượng lớn nhất có thể của đồng hồ trong các điều kiện vận hành bình thường với giá trị lưu lượng nhỏ nhất có thể của đồng hồ.
3.46
Tỷ số phạm vi của các bộ truyền phát (turndown ratio-transmitters)
Tỷ lệ của giá trị dải phía trên (URV) với giá trị dải phía dưới (LRV) cho mỗi bộ truyền phát đã được thiết kế. Ví dụ, nếu một bộ truyền có dải vận hành là 0 đến 103 421 Pa (phạm vi nhỏ nhất) và 0 đến 1 034210 Pa (phạm vi lớn nhất) thì tỷ số phạm vi của bộ truyền phát là 10:1.
3.47
Độ không đảm bảo (uncertainty)
Độ chệch của giá trị quan sát hoặc tính toán so với giá trị thực
3.48
Kiểm định (verification)
Quá trình xác nhận hoặc chứng minh độ chính xác của các biến đầu vào một hệ thống đo tại các điều kiện vận hành bình thường, sử dụng thiết bị chuẩn được dẫn xuất từ chuẩn đã được chứng nhận.
3.49
Trung bình trọng số (weighted average)
Giá trị trung bình của một biến trọng số tại lưu lượng vận hành bình thường hoặc thể tích được tích lũy. Trung bình của biến lấy trọng số theo lưu lượng hoặc số gia thể tích như nhau, hoặc có thể trung bình của mẫu tại những khoảng thời gian giống nhau và lấy trọng theo số gia thể tích xuất hiện trong những khoảng thời gian này.
Với phương pháp thời gian cơ sở, giá trị trung bình trọng số của áp suất/nhiệt độ là tổng của các giá trị áp suất/nhiệt độ trong các khoảng thời gian đều nhau, nhân với thể tích trong các khoảng thời gian đó và chia cho thể tích tổng được đo.
4 Mô tả của một hệ thống đo chất lỏng kiểu điện tử
4.1 Thành phần của một hệ thống đo chất lỏng kiểu điện tử
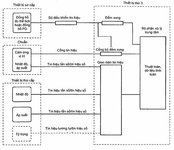
4.1.1 Thiết bị sơ cấp
Thiết bị sơ cấp hoặc đồng hồ chuyển đổi lưu lượng chất lỏng thành tín hiệu có thể đo được, chẳng hạn như xung điện tử được tạo ra bởi đồng hồ đo thể tích. Trong việc xác định độ không đảm bảo của ELM thì trong tiêu chuẩn này không đề cập đến độ không đảm bảo của chính bản thân các thiết bị sơ cấp. Xem Hình 1 về ví dụ của một hệ thống ELM điển hình.
4.1.2 Thiết bị thứ cấp
Trong các hệ thống ELM, các thiết bị thứ cấp tương ứng với các đầu vào của áp suất, nhiệt độ, tỷ trọng, và các biến khác tương ứng với các thay đổi trong các giá trị đầu ra. Những thiết bị này thường biết đến như là các bộ truyền phát khi chúng được thiết kế đặc biệt để truyền thông tin từ một vị trí này tới một vị trí khác bằng việc bổ sung mạch điện tử để chuyển đổi đầu ra của thiết bị thành một tín hiệu chuẩn. Tín hiệu này có thể là tín hiệu tương tự, tín hiệu số hoặc tín hiệu tần số.
4.1.3 Thiết bị thứ 3
Một thiết bị thứ ba đôi khi được biết đến như một thiết bị tính toán dòng chảy, hoặc là máy tính lưu lượng. Thiết bị này nhận thông tin từ thiết bị sơ cấp và thiết bị thứ cấp, sử dụng các hướng dẫn đã được lập trình trước, tính toán ra lượng giao nhận thương mại của chất lỏng chảy qua thiết bị sơ cấp.
4.2 Sự bố trí các thành phần của hệ thống ELM
Các thiết bị sơ cấp và thứ cấp được xét theo định nghĩa là lắp đặt tại chỗ. Thiết bị thứ ba có thể được lắp đặt tại chỗ hoặc bên ngoài.
4.3 Quá trình xử lý dữ liệu
Đầu ra từ thiết bị thứ ba phải phù hợp với yêu cầu về kiểm tra, báo cáo, và yêu cầu bảo mật dữ liệu được nêu trong tiêu chuẩn này.
5 Độ không đảm bảo hệ thống
5.1 Yêu cầu chung
5.1.1 Độ không đảm bảo trong thể tích chuẩn tổng (GSV) chỉ được quy cho hệ thống đo chất lỏng kiểu điện tử. Dựa vào độ không đảm bảo kết hợp, bao gồm nhưng không giới hạn:
a) Tính năng của các thiết bị trong hệ thống.
b) Sự phù hợp với các yêu cầu về lắp đặt.
c) Phương pháp sử dụng để truyền phát tín hiệu dữ liệu (tương tự, tần số hoặc tín hiệu số).
d) Tính nhất quán của đường truyền tín hiệu từ cảm biến tới đầu vào của thiết bị thứ ba.
e) Phương pháp tính toán.
f) Tần số tính toán và lấy mẫu.
5.1.2 Một hệ thống đo chất chất lỏng bằng điện tử (các thiết bị thứ cấp và thiết bị thứ ba) phải được thiết kế để đạt được độ không đảm bảo là ± 0,25 % của lưu lượng đo ứng với mức tin cậy 95 % trong toàn bộ dải vận hành được xác định từ các kết quả hiệu chuẩn và khi so sánh với độ không đảm bảo của một hệ thống đo đồng nhất. Xem thêm trong Phụ lục F và G để biết thêm thông tin về yêu cầu của độ chính xác và phương pháp để xác định độ không đảm bảo của một hệ thống cụ thể.
5.1.3 Độ không đảm bảo của ELM được dựa trên các các mẫu đầu vào của thiết bị thứ cấp tại những khoảng thời gian tối thiểu 5 s. Tiêu chuẩn này cũng cung cấp các quy trình tính toán độ không đảm bảo dựa trên các thành phần riêng rẽ được lựa chọn của một hệ thống đo. Tiêu chuẩn này cũng bao gồm độ không đảm bảo của độ phi tuyến của số hiệu chính thể tích nhưng không bao gồm các độ không đảm bảo của các đầu vào mặc định.
5.1.4 Để làm giảm độ không đảm bảo hệ thống, nên lắp đặt và duy trì một cách thường xuyên các thiết bị thứ cấp trực tuyến. Với các giá trị của thiết bị thứ cấp không thay đổi đáng kể (được xác định bằng thỏa thuận của các bên liên quan), các đầu vào cố định hoặc mặc định của thiết bị thứ cấp có thể được sử dụng và khi tính độ không đảm bảo, độ lệch chuẩn mong muốn lớn nhất có thể được thay thế trực tiếp cho các dung sai chuẩn. Điều quan trọng là các giá trị đầu vào cố định được đánh giá lại một cách định kỳ vì khi được thiết lập thì chúng dễ dàng bị bỏ qua.
5.1.5 Để tính độ không đảm bảo, tất cả các thiết bị đầu vào thứ cấp được xem xét để duy trì trong phạm vi sai số đã liệt kê trong Hình 2 từ cảm biến tới thiết bị thứ ba (bao gồm bất kỳ việc điều khiển tín hiệu nào) đã nêu trong hình vẽ. Sai số bất kỳ do sai lệch so với “0” được coi là sai số hệ thống. Chi tiết xem trong API 13.1.
5.1.6 Có thể có sự khác biệt trong các cấu hình hệ thống. Các tính toán được mô tả ở đây phải phù hợp với đa số nhưng chúng không đại diện cho tất cả các cấu hình của các hệ thống. Sơ đồ trong Hình 2 mô tả một cấu hình cụ thể và các kết quả của các ví dụ tính toán được tổng kết trong Bảng G.1 của Phụ lục G. Những kết quả này là cụ thể với các ví dụ được cung cấp cho khí thiên nhiên lỏng (NGL), dầu thô và bao gồm các thành phần như đã được chỉ ra trong Hình 2 nhưng không bao gồm độ không đảm bảo của thành phần sơ cấp, đồng hồ và chuẩn.
6 Hướng dẫn thiết kế, lựa chọn và sử dụng của các thành phần ELM
6.1 Thiết bị sơ cấp - Lựa chọn và lắp đặt
6.1.1 Việc lựa chọn đồng hồ được dựa trên các yêu cầu về vận hành (chẳng hạn như lưu lượng, độ nhớt, thể tích chảy qua) và các yêu cầu vật lý (chẳng hạn như môi trường, khả năng truy cập hoặc tần suất vận hành). Tiêu chuẩn này đề cập đến đồng hồ thể tích như thiết bị sơ cấp. Một thiết bị sơ cấp có 2 thành phần chính: Thành phần đo sự quay, và một đầu ra để thể hiện thể tích đơn vị chảy thông qua đồng hồ.
6.1.2 Đồng hồ trong hệ thống ELM hoặc là điện tử hoặc là cơ-điện tạo ra các xung đại diện cho các đơn vị thể tích riêng lẻ chảy qua đồng hồ. Xung đồng hồ cơ-điện tử là phổ biến với một số đồng hồ tua bin. Các đồng hồ cũng được chế tạo để tạo ra đầu ra dạng cơ-điện và dạng điện. Hệ thống ELM phải được thiết kế phù hợp với đặc tính của các xung đầu ra sao cho đặc tính của xung đầu ra được phát hiện chính xác tại tất cả các lưu lượng có thể.

Hình 1 - Hệ thống ELM điển hình

CHÚ DẪN:
| Đại lượng đo | Mô tả | Sai số cho phép | Tiêu chuẩn |
| Tm | Nhiệt độ của chất lỏng lưu kế | 0,25 °C (0,5 °F) | API 7.2 |
| RHObm | Tỷ trọng cơ sở tại lưu lượng kế | 1,0 kg/m3 | API 14.6 |
| Pm | Áp suất chất lỏng tại lưu lượng kế | 20 kPag (3 psig) | API 21.2 |
| Tp | Nhiệt độ chất lỏng tại chuẩn | 0,1 °C (0,2°F) | API 7.2 |
| RHObp | Tỷ trọng cơ sở tại chuẩn | 1,0 kg/m3 | API 14.6 |
| Pp | Áp suất chất lỏng tại chuẩn | 20 kPag (3 psig) | API 21.1 |
| N | Số gia nhỏ nhất có thể nhận thấy | 1/10 000 | API 4.8 |
Hình 2 - Ví dụ về tính toán độ không đảm bảo hệ thống
6.2 Thiết bị thứ cấp - Lựa chọn và lắp đặt
6.2.1 Yêu cầu chung
6.2.1.1 Các thiết bị thứ cấp cung cấp vòng lặp dữ liệu thời gian thực, không bao gồm dữ liệu dòng từ các thiết bị thứ cấp, mà có thể được truyền tới một thiết bị thứ ba. Các thiết bị thứ cấp có thể được chia thành làm 5 loại:
a) Cảm biến,
b) Bộ truyền phát,
c) Bộ chuyển đổi tín hiệu sang dạng số,
d) Bộ cách ly,
e) Bộ điều chế tín hiệu.
6.2.1.2 Bộ chuyển đổi tín hiệu sang dạng số đọc đầu ra của cảm biến hoặc bất kì tín hiệu tương tự nào và chuyển đổi tín hiệu đó thành giá trị tín hiệu số để sẵn sàng cho quá trình xử lý tín hiệu. Bộ chuyển đổi tín hiệu có thể được thiết kế bên trong bộ truyền phát, thiết bị tính toán dòng chảy chất lỏng, hoặc một vài thiết bị trung gian khác.
6.2.1.3 Bộ cách ly chia tách một phần của một vòng lặp so với các phần còn lại để bảo vệ chống lại các vấn đề về tiếp đất và điện áp chuẩn và có thể được sử dụng để tái tạo hoặc chuyển đổi các tín hiệu và bảo vệ chống lại sự xuất hiện của các tín hiệu lạ từ bên ngoài.
6.2.1.4 Các giới hạn vận hành và các tác động của điều kiện môi trường lên độ chính xác của tất cả các thiết bị thứ cấp phải được chỉ ra một cách rõ ràng. Ảnh hưởng của sự thay đổi nhiệt độ lên phạm vi vận hành cụ thể cũng phải được chỉ ra.
6.2.1.5 Các ảnh hưởng lớn nhất của tất cả các yếu tố có thể làm giảm độ chính xác, chẳng hạn như nhiệt độ môi trường, độ ẩm, áp suất tĩnh, rung động, biến động của công suất nguồn cấp và độ nhạy về vị trí nối phải được chỉ ra bởi nhà sản xuất.
6.2.1.6 Các lỗ thăm nhiệt và cảm biến nhiệt phải đồng bộ. Đường kính và độ sâu của lỗ thăm nhiệt phải đảm bảo sự truyền nhiệt chuẩn xác tới cảm biến. Các lò xo được dùng để đảm bảo cảm biến được cách ly với đáy hoặc cạnh của lỗ thăm nhiệt. Môi trường dẫn nhiệt phải được sử dụng để đảm bảo sự truyền nhiệt chuẩn xác giữa cảm biến và lỗ thăm nhiệt. Chiều sâu của lỗ thăm nhiệt trong đường ống mà nhiệt độ chất lỏng đang được đo phải đủ để đảm bảo nhiệt của chất lỏng truyền tới phần làm việc của cảm biến.
6.2.1.7 Các lỗ thăm nhiệt quy chiếu (đôi khi được gọi là lỗ thử nhiệt) nên bố trí cạnh lỗ của cảm biến nhiệt độ. Bên trong của lỗ thăm nhiệt phải có kích thước vừa với thiết bị quy chiếu cỡ chuẩn xác cho thiết bị tham chiếu.
6.2.1.8 Các lỗ lấy áp phải được đặt tại cùng cao độ với thiết bị sơ cấp để loại trừ sụt áp hoặc tăng áp. Bộ truyền phát phải được đặt ngang bằng hoặc bên dưới của lỗ lấy áp để duy trì chất lỏng điền đầy.
6.2.1.9 Tất cả các thiết bị thứ cấp phải được lắp đặt và bảo dưỡng phù hợp với hướng dẫn của nhà sản xuất.
6.2.1.10 Tất cả các thiết bị thứ cấp sử dụng cho các thiết bị đo chất lỏng kiểu điện tử dùng trong giao nhận thương mại mà không đáp ứng được các giới hạn vận hành do sự tiếp xúc với nhiệt độ, độ ẩm hoặc các điều kiện môi trường khác thì phải được bảo vệ một cách phù hợp.
6.2.11 Tần suất hiệu chuẩn hoặc kiểm định các thiết bị thứ cấp có thể giảm ảnh hưởng của sự thay đổi nhiệt độ theo mùa lên độ chính xác của thiết bị. Các thiết bị được trang bị vi xử lý có thể bù điện cho các ảnh hưởng của môi trường và vận hành.
6.2.2 Lựa chọn và lắp đặt
6.2.2.1 Bộ truyền phát thông minh với bộ truyền phát thông thường
6.2.2.1.1 Bộ truyền phát thông minh có thể đưa ra nhiều lợi ích mà bộ truyền phát thông thường tương tự không có:
a) Dải vận hành rộng hơn,
b) Quy trình hiệu chuẩn,
c) Cải thiện về tính năng,
d) Tốc độ trôi thấp,
e) Loại trừ các sai số vòng lặp (trôi tương tự, chuyển đổi tương tự.v.v).
6.2.2.1.2 Điều quan trọng là đọc các thông số kỹ thuật của thiết bị một cách cẩn thận. Điều 6.2.2.2; 6.2.2.3 và 6.2.3.4 nêu các khía cạnh về thông số kỹ thuật của bộ truyền phát.
6.2.2.2 Độ chính xác của bộ truyền phát
6.2.2.2.1 Độ chính xác “công bố” của bộ truyền phát có thể được tính theo: a) phần trăm của giá trị dải trên (URV), b) phần trăm của khoảng hiệu chuẩn, hoặc, c) Phần trăm của số đọc. Ví dụ một bộ truyền đổi với giá trị dải trên là 3 447 378 Pa thì hiệu chuẩn trong dải từ 0 tới 2 068 427 Pa. Cũng giả định áp suất vận hành bình thường là 1 378 951 Pa.
6.2.2.2.2 Nếu độ chính xác công bố là 0,25 % của giá trị URV, thì độ chính xác sẽ là 861 844 Pa.
6.2.2.2.3 Nếu độ chính xác công bố là 0,25 % của dải hiệu chuẩn, thì độ chính xác sẽ là 517 106 Pa.
6.2.2.2.4 Nếu độ chính xác công bố là 0,25 % của số đọc, thì độ chính xác sẽ là 344 73 Pa.
6.2.2.3 Ảnh hưởng của quy trình và lắp đặt lên độ chính xác của bộ truyền phát
6.2.2.3.1 Các thông số kỹ thuật của bộ truyền phát thường công bố độ chính xác như nêu trong 6.2.2.2. Điều này được gọi là độ chính xác công bố hoặc độ chính xác phòng thử nghiệm. Độ chính xác của việc lắp đặt của bộ truyền phát cũng có thể bị tác động bởi các yếu tố sau:
a) Nhiệt độ môi trường - tính theo phần trăm của giá trị URV hoặc khoảng theo mỗi độ thay đổi nhiệt độ.
b) Ảnh hưởng của sự rung động - tính theo phần trăm của giá trị URV hoặc khoảng theo đơn vị của lực G.
c) Nguồn cung cấp - tính theo phần trăm giá trị URV hoặc khoảng trên vôn của điện áp nguồn cung cấp.
d) Vị trí lắp đặt - tính theo phần trăm của hiệu chuẩn giá trị “không” hoặc khoảng vận hành.
6.2.2.3.2 Đánh giá các điều kiện này rất quan trọng do chúng có thể có ảnh hưởng đáng kể tới độ chính xác của bộ truyền phát được lắp đặt. Để công bố độ chính xác lắp đặt của bộ truyền phát, tất cả các sai số có thể được tính toán bằng cách sử dụng phương pháp căn bậc hai của các tổng bình phương, hoặc RSS. Trong nhiều trường hợp, các điều kiện lắp đặt có thể tạo ra nhiều sai số được phát hiện trong độ chính xác công bố hoặc trong phòng thử nghiệm của bộ truyền phát.
6.2.2.3.3 Bộ truyền phát lắp đặt trong các vị trí chịu nhiệt độ khắc nghiệt thì lắp thêm một bộ kiểm soát nhiệt độ môi trường hoặc vỏ cách ly.
6.2.2.4 Tỷ số phạm vi
Trong các bộ truyền phát thông thường, việc lựa chọn dải vận hành liên quan đến độ chính xác của nó. Bộ truyền phát thông minh có thể được thiết kế để có tỷ số phạm vi lớn hơn, cho phép dễ dàng hơn trong việc xác định phạm vi trong bất kỳ lĩnh vực ứng dụng nào. Bộ truyền đổi thông thường có tỷ số phạm vi là 10:1 trong khi các bộ truyền đổi thông minh thường có tỷ lệ về phạm vi lưu lượng là 50:1 hoặc lớn hơn.
6.3 Thiết bị thứ ba - Lựa chọn và lắp đặt
6.3.1 Một thiết bị thứ ba nhận dữ liệu từ các thiết bị sơ cấp và thứ cấp để tính lưu lượng. Thiết bị thứ ba được lập trình hoặc cấu hình để thu thập dữ liệu, tính toán lưu lượng, thể tích và cung cấp một lịch sử hoạt động.
6.3.2 Khi lựa chọn thiết bị thứ ba phải xem xét đến:
a) Mức độ của khả năng cấu hình.
b) Số lượng và kiểu xử lý các đầu vào và đầu ra.
c) Các yêu cầu về điện.
d) Các yêu cầu về môi trường.
e) Tần số lấy mẫu.
f) Khả năng tạo ra lịch sử hoạt động và các báo cáo liên quan.
g) Bảo vệ dữ liệu và thuật toán.
6.3.3 Nhà sản xuất phải công bố ảnh hưởng của độ tuyến tính, độ hồi sai và độ lặp lại đối với những dải vận hành cụ thể. Ảnh hưởng của sự thay đổi nhiệt độ môi trường đến giá trị “không” và phạm vi cho một dải vận hành cụ thể cũng phải được cung cấp.
6.3.4 Thiết bị thứ ba phải thỏa mãn các giới hạn vận hành đối với sự tiếp xúc với nhiệt độ, độ ẩm hoặc các điều kiện môi trường khác hoặc thiết bị phải được bảo vệ một cách phù hợp.
6.3.5 Thiết bị thứ ba được lắp đặt và bảo dưỡng phù hợp với các hướng dẫn của nhà sản xuất. Việc lắp đặt theo 7.4.
6.3.6 Tham khảo Phụ lục A, B và E để biết thêm thông tin chi tiết.
6.4 Thiết bị ELM và thiết bị đi kèm
6.4.1 ELM và thiết bị đi kèm, bao gồm thiết bị truyền thông và bộ điều chế tín hiệu, phải được lắp đặt và bảo dưỡng phù hợp với hướng dẫn của nhà sản xuất và tuân thủ các quy định của quốc gia hoặc địa phương. Lắp đặt phải phù hợp với dịch vụ và môi trường bao gồm dao động của nhiệt độ môi trường, sự có mặt của chất độc hại hoặc chất ăn mòn, độ ẩm, bụi, rung động, và phân loại vùng nguy hiểm. ELM phải có bảo vệ nhiễu tần số radio và bảo vệ nhiễu điện từ phù hợp cho môi trường vận hành dự kiến.
6.4.2 Hệ thống ELM phải có cơ cấu triệt quá độ về điện trên tất cả các nguồn, truyền thông, dữ liệu đầu vào và đầu ra để cung cấp bảo vệ khỏi quá điện áp quá độ. Các quá độ xuất hiện trên các đường dây tín hiệu từ một số nguồn khác nhau, bao gồm sự phóng tĩnh điện, đóng cắt tải cảm ứng, sét cảm ứng, và cặp dây nguồn. Bộ triệt quá độ được thiết kế để kẹp hoặc giữ quá điện áp quá độ hoặc phóng hoặc làm yếu, theo cách đó, nối tắt quá điện áp xuống đất. Bộ triệt quá độ có thể là loại không hỏng, tức là loại vẫn tác động nhiều lần hoặc loại hỏng, tức là loại cần phải thay cho các quá độ tiếp theo. Cần một nối đất tốt để bộ triệt quá độ vận hành tốt. Cần tham vấn nhà sản xuất để có bộ triệt quá độ hợp lý để sử dụng.
6.4.3 Nếu ELM không được kiểm chứng đối với lắp đặt trong các khu vực nguy hiểm cho các thiết bị điện, như đã được xác định trong các quy phạm về điện và vị trí của dụng cụ đo được phân loại là khu vực nguy hiểm thì nên theo các hướng dẫn thiết kế khuyến nghị trong API RP 500.
6.4.4 ELM phải được cấp bằng nguồn cấp liên tục và ổn định phù hợp với quá trình vận hành.
6.4.5 ELM dự kiến để kiểm chứng phải được thiết kế để đáp ứng các yêu cầu về thời gian chuyển mạch của quả cầu cảm biến như đã được nêu trong API 4.2 và phải tương ứng với sự bắt đầu hoặc kết thúc bộ tích lũy xung chuẩn tại thời điểm bắt đầu hoặc kết thúc của một lượt kiểm trong phạm vi một xung và phải tích lũy được từng xung của đồng hồ trong suốt quá trình kiểm chứng. Các yêu cầu bổ sung cho ELM dự kiến để kiểm chứng bằng ống chuẩn dung tích nhỏ phải có khả năng nội suy xung hoặc đáp ứng được các yêu cầu về thời gian như đã được đề cập trong TCVN 10953-4:2015.
6.4.6 ELM thường được lắp đặt trong môi trường không được kiểm soát. Phản ứng của thiết bị này dưới các điều kiện thời tiết thay đổi có thể ảnh hưởng tới tính năng và độ chính xác của phép đo lưu lượng chất lỏng. Sự thay đổi của nhiệt độ môi trường hoặc nhiệt độ khắc nghiệt có thể gây ra độ lệch hệ thống đáng kể trong độ chính xác phép đo. Dải nhiệt độ vận hành và ảnh hưởng tương ứng của nó lên độ không đảm bảo đo phải được cân nhắc khi lựa chọn và lắp đặt ELM.
6.4.7 Xem Phụ lục B để biết thêm thông tin chi tiết về các bộ chuyển đổi A/D và độ phân giải của chúng.
6.5 Lắp cáp
Việc lắp cáp phải được kiểm chứng theo các cáp dịch vụ và được lắp đặt phù hợp với các yêu cầu về điện. Việc lắp cáp tín hiệu phải được bảo vệ phù hợp khỏi các thành phần môi trường xung quanh và được bảo vệ khỏi nhiễu điện bên ngoài. Các tín hiệu nhiễu phải được giảm tối thiểu bằng cách sử dụng bộ cách ly về điện phù hợp được lắp đặt giữa nguồn dòng điện xoay chiều và các dây tín hiệu tại tất cả các thời điểm. Cách ly về điện có thể đạt được bằng việc sử dụng những cáp được thiết kế đặc biệt hoặc tuyến cáp nguồn và các cáp tín hiệu được đi trong các ống dẫn khác nhau.
7 Vận hành thử các hệ thống mới và hệ thống sửa đổi
7.1 Yêu cầu chung
7.1.1 Hệ thống mới hoặc hệ thống được sửa đổi phải được kiểm tra để đảm bảo rằng tất các các thành phần là tương thích với nhau. Bảng điều khiển gắn trên thiết bị mà được yêu cầu tiếp đất phải được tiếp đất tới thiết bị tiếp đất chung. Điện áp của nguồn cung cấp phải được kiểm tra để đảm bảo đúng về mặt điện thế và sự có mặt của nhiễu. Tất cả các tín hiệu phải được kiểm tra từ nguồn tới giá trị chuyển đổi của chúng trong các bộ phận kỹ thuật trong hệ thống ELM. Mỗi một vòng lặp bộ truyền phát 4 mA đến 20 mA phải được kiểm tra để đảm bảo tổng trở kháng của vòng lặp nằm trong quy định vận hành của bộ truyền phát đó tại mức điện áp cung cấp. Để mỗi bộ truyền phát tạo ra tín hiệu đầu ra lớn nhất cả thủ công (với các bộ truyền đổi thông minh) hoặc tín hiệu đầu vào lớn nhất mô phỏng tới mỗi bộ truyền phát để đảm bảo rằng tất cả các tín hiệu tương tự đầu ra đạt được 100 % mức tín hiệu. Sự vượt quá của trở kháng vòng lặp có thể giới hạn khả năng của bộ truyền phát cung cấp toàn bộ đầu ra trong một vòng lặp dòng điện. Tương tự như vậy, sự quá tải có thể hạn chế khả năng của bộ truyền phát cung cấp toàn bộ đầu ra đến một vòng lặp điều khiển điện áp. Cũng cần kiểm tra phần trăm tín hiệu “không” của bộ truyền phát.
7.1.2 Mọi thiết bị tạo xung phải được kiểm tra từ nguồn tới bộ tích lũy. Nếu có thể, tạo ra các xung bằng đặt cảm biến vào môi trường vật lý thực, dòng chảy, nhiệt độ, áp suất và tỷ trọng, tại cả mức lớn nhất và nhỏ nhất. Điều này sẽ kiểm tra được sự phù hợp giữa thiết bị sơ cấp và bất kỳ thiết bị tạo xung hoặc thiết bị cảm biến. Nếu không thể mô phỏng các điều kiện dòng chảy thì sử dụng một bộ tạo xung với biên độ, tần số và các đặc tính về hình dạng xung gần giống với xung có thể tạo ra bởi thiết bị sơ cấp để kiểm tra tín hiệu. Cuối cùng tốc độ, hình dạng, độ rộng, mức trên và mức dưới của xung phải được kiểm tra dựa vào các yêu cầu của thiết bị thứ ba.
7.1.3 Bộ tích luỹ xung của ELM phải được kiểm tra để khẳng định phù hợp với bộ tích lũy chuẩn tới ± 2 số đếm hoặc tốt hơn khi tích lũy tối thiểu 200 000 xung. Không thể hiệu chuẩn bộ tính tổng bằng điện tử mặc dù ngưỡng độ nhạy và các hằng số lọc có thể điều chỉnh. Điều này phải được điều chỉnh trong quá trình vận hành hệ thống và không yêu cầu thêm bất kỳ sự điều chỉnh nào.
7.1.4 Bất kỳ sự hỏng hóc phần cứng nào của các thiết bị thứ ba phải được kiểm tra. Kiểm tra nguồn cung cấp bên trong có mức phù hợp hay không. Khi không có xung nào được tạo ra từ các thiết bị sơ cấp, vận hành các thiết bị khác nhau mà các thiết bị này là các bộ phát có tiềm năng gây nhiễu, đồng thời kiểm tra các thiết bị thứ ba nếu nhận các xung giả. Cần theo dõi đặc biệt các thiết bị kết nối radio và van điện hoặc mạch điều khiển động cơ có đấu nối gần với vị trí đo hoặc kiểm chứng.
7.1.5 Các thiết bị được lập trình phải được kiểm tra sự phù hợp về chức năng và độ chính xác. Các chương trình và các bảng cấu hình giống nhau chỉ cần có duy nhất một chương trình hoặc bảng đại diện và được kiểm chứng tính sao y về điện. Các biến cố định phải được nhập vào và mỗi một hệ số phải được xác nhận dựa vào sự tính toán bằng tay hoặc giá trị từ các bảng tra. Các chương trình, các bảng, các tham số được nhập bằng tay phải được kiểm tra một cách riêng biệt từng mục một.
8 Thuật toán của thiết bị điện đo chất lỏng kiểu điện tử
8.1 Tổng quát
Mục đích của điều này không phải để xác định mọi sự khác nhau trong các công thức về lưu lượng nhưng sẽ cung cấp những hướng dẫn cụ thể cho các thuật toán mà nó phù hợp cho tất cả các hệ thống đo chất lỏng kiểu điện tử.
8.2 Các hướng dẫn
8.2.1 Thuật toán
8.1.1.1 Điều này xác định các thuật toán cho việc đo thể tích chất lỏng. Các thuật toán xác định các phương pháp lấy mẫu, tính toán và các kỹ thuật tính trung bình.
8.2.1.2 Khi áp dụng các phương pháp này với đồng hồ thể tích, các thuật toán, các công thích hợp và các phương pháp làm tròn số được nêu trong API 12.2.
8.2.1.3 Các hệ số hiệu chính nhiệt độ và áp suất được kết hợp và cũng có thể được kết hợp với hệ số đồng hồ, nếu phù hợp, bằng cách nhân một dãy các hệ số hiệu chính với nhau (CCF). Phương pháp nhân lần lượt và làm tròn được nêu trong API 12.2.
8.2.1.4 Tất cả các thuật toán hỗ trợ và các công thức được tham chiếu như việc xác định tỷ trọng cơ sở, các hệ số hiệu chính nhiệt độ và áp suất cho chất lỏng được đo sẽ được áp dụng phù hợp theo tiêu chuẩn phù hợp.
8.2.1.5 Để tính toán các lượng thể tích cơ sở tương đương, các thuật toán phải được sử dụng để xác định tỷ trọng chất lỏng cơ sở, các hệ số hiệu chính nhiệt độ và áp suất. Các thuật toán sử dụng cho chất lỏng cụ thể được nêu trong API 12.2.
8.2.1.6 Trong các ứng dụng đo chất lỏng, đại lượng tổng được xác định bằng tổng của các đại lượng riêng rẽ tại khoảng lưu lượng xác định. Với dạng công thức này, đại lượng tổng được biểu diễn theo công thức sau:
|
| (1) |
Trong đó:
| Σ | là phép tính tổng trong những khoảng thời gian p; |
| Qtot | là đại lượng được tích lũy giữa thời gian t0 và t; |
| Qp | là thể tích chỉ thị (IV) đo tại điều kiện lưu lượng trong mỗi chu kỳ lấy mẫu p; |
| t0 | là thời gian bắt đầu vận hành; |
| t1 | là thời gian kết thúc của quá trình vận hành. |
8.2.1.7 Các biến quá trình ảnh hưởng đến lưu lượng thường thay đổi trong quá trình truyền qua đồng hồ. Vì vậy, để đạt được đại lượng tổng, cần tính tổng của dòng trong suốt quá trình truyền, cho phép các điều kiện thay đổi liên tục.
8.2.1.8 Trong các ứng dụng đo chất lỏng, thiết bị sơ cấp cung cấp phép đo đơn vị thể tích thực tại các điều kiện dòng chảy. Các đơn vị thể tích trong các khoảng thời gian được cung cấp là từ các số đếm hoặc các xung mà các xung đó tỷ lệ tuyến tính với đơn vị thể tích như sau:
|
| (2) |
Trong đó:
| counts | là số đếm tích lũy từ thiết bị sơ cấp trong những khoảng thời gian p tính bằng s; |
| KF | là hệ số K (số đếm trên đơn vị thể tích). |
8.2.1.9 Đại lượng tức thời của lưu lượng trên đơn vị thời gian, chẳng hạn như lưu lượng trên giờ hoặc lưu lượng trên ngày, có thể được tính theo công thức sau:
|
| (3) |
Trong đó:
| qp | là đại lượng lưu lượng tức thời trên chu kỳ thời gian p; |
| Qp | là thể tích tổng; |
| p | là chu kỳ lấy mẫu (tính bằng s); |
| k | là hệ số chuyển đổi. |
| VÍ DỤ: | k = 60 nếu đơn vị lưu lượng là min; k = 3600 nếu đơn vị lưu lượng là 1 h; k = 86400 nếu đơn vị lưu lượng là 24 h. |
8.2.1.10 Độ phân biệt của đại lượng lưu lượng qp trong công thức 3 tỷ lệ với số lượng số đếm tích lũy trong chu kỳ lấy mẫu và tỷ lệ nghịch với chu kỳ lấy mẫu.
8.2.2 Hệ số hiệu chính thể tích chất lỏng
Các hệ số hiệu chính thể tích chất lỏng được dùng để ước lượng cho các sự thay đổi của tỷ trọng và thể tích gây ra do ảnh hưởng của nhiệt độ và áp suất lên chất lỏng. Các hệ số hiệu chính là:
CTL: Hiệu chính cho ảnh hưởng của nhiệt độ lên chất lỏng tại các điều kiện vận hành bình thường.
CPL: Hiệu chính cho ảnh hưởng của hệ số nén chất lỏng tại các điều kiện vận hành bình thường.
8.2.3 Hiệu chính cho ảnh hưởng của nhiệt độ lên chất lỏng (CTL)
8.2.3.1 Khi dầu mỏ chịu tác động của sự thay đổi nhiệt độ thì tỷ trọng sẽ giảm khi nhiệt độ tăng hoặc tăng khi nhiệt độ giảm. Sự thay đổi tỷ trọng tỷ lệ với hệ số giãn nở nhiệt của chất lỏng mà thay đổi cùng với tỷ trọng cơ sở (RHOb) và nhiệt độ chất lỏng.
8.2.3.2 Tiêu chuẩn phù hợp cho hệ số hiệu chính CTL nêu trong API 12.2.
8.2.3.3 Trung bình trọng số CTL được tính toán bởi tiêu chuẩn phù hợp và tính trung bình theo 9.2.1.3 sẽ được lưu như một phần của bản ghi đại lượng giao nhận nêu trong Điều 10.
8.2.4 Hiệu chính cho ảnh hưởng của áp suất lên chất lỏng (CPL)
8.2.4.1 Nếu chất lỏng chịu tác động của sự thay đổi áp suất thì tỷ trọng sẽ tăng khi áp suất tăng hoặc giảm khi áp suất giảm. Sự thay đổi tỷ trọng tỷ lệ với hệ số nén của chất lỏng (F), hệ số nén này phụ thuộc cả vào tỷ trọng cơ sở (RHOb) và nhiệt độ. Tiêu chuẩn phù hợp cho hệ số hiệu chính này nêu trong API 12.2.
8.2.4.2 Hệ số hiệu chính cho ảnh hưởng của áp suất lên chất lỏng có thể tính toán theo công thức sau:
|
| (4) |
Và
(Pea - Pba) ≥ 0
Trong đó
| Pba | là áp suất cơ sở, tính bằng đơn vị áp suất tuyệt đối; |
| Pea | là áp suất hơi bão hòa tại nhiệt độ mà chất lỏng được đo, tính bằng đơn vị áp suất tuyệt đối; |
| P | là áp suất vận hành, tính bằng đơn vị áp suất của thiết bị đo; |
| F | là hệ số nén của chất lỏng. |
8.2.4.3 Áp suất hơi bão hòa (Pea) được xem xét bằng với áp suất cơ sở (Pba) với các chất lỏng có áp suất hơi bão hòa nhỏ hơn hoặc bằng áp suất khí quyển tại nhiệt độ chất lỏng được đo.
8.2.4.4 Trung bình trọng số CPL được tính bằng tiêu chuẩn phù hợp và lấy trung bình theo 9.2.1.3 sẽ được lưu như một phần của đại lượng giao nhận nêu trong Điều 10.
8.2.5 Áp dụng CTL và CPL cho các hệ thống ELM
Các hệ thống đo chất lỏng kiểu điện tử cho phép bù cho ảnh hưởng của áp suất và nhiệt độ lên thể tích của chất lỏng bằng tính toán điện tử theo thời gian thực của CTL và CPL trong quá trình đo. Khi kiểm soát kiểm chứng và tính toán được thực hiện tại thiết bị thứ ba, hoặc khi đầu ra của thiết bị thứ ba trình bày thể tích đã được bù được sử dụng như là đầu vào của thiết bị chuẩn, CTL và CPL cũng có thể được áp dụng bởi hệ thống ELM trong suốt quá trình kiểm chứng.
Phải cẩn thận để đảm bảo việc bù chỉ được áp dụng một lần cho các đại lượng được đo và cho các đại lượng sử dụng trong quá trình kiểm chứng để xác định các hệ số đồng hồ.
8.2.5.1 Kiểm chứng
8.2.5.1.1 Khi kiểm chứng một đồng hồ sử dụng thiết bị thứ ba để tính toán hệ số đồng hồ và xung đầu vào của đồng hồ tới thiết bị thứ ba là không bù cho sự thay đổi của nhiệt độ và/hoặc áp suất, các hệ số lần lượt phải nhập thủ công vào thiết bị thứ ba (CTLm, CPLm, CTLp và CPLp).
8.2.5.1.2 Khi bù áp suất được thực hiện trực tuyến bởi thiết bị thứ ba, thì hệ số đồng hồ kết hợp không được tính toán trong quá trình kiểm chứng.
8.2.5.2 Vận hành thông thường
Các thể tích được tính toán và tích lũy trong một chu kỳ đếm bởi thiết bị thứ ba sử dụng trực tuyến các hệ số CTLm và CPLm là các thể tích chuẩn tổng. Hệ số hiệu chính cho nhiệt độ và áp suất không được áp dụng, kể cả thủ công hoặc bởi các hệ thống khác cho thể tích chuẩn tổng trong bản ghi giao nhận thương mại sau khi thể tích chuẩn tổng được tạo ra bởi thiết bị thứ ba.
8.2.6 Các khoảng thời gian tính toán
8.2.6.1 Tần số lấy mẫu của bộ tính tích lũy xung sẽ thực hiện và số gia thể tích tính được (dùng phương trình 1) cho phép tính trọng số của các biến quá trình và xác định chính xác thể tích được hiệu chính. Chu kỳ mẫu có thể cố định hoặc thay đổi theo những khoảng thời gian nhưng không vượt quá 5 s.
8.2.6.2 Trong tất cả các trường hợp, mọi xung từ thiết bị sơ cấp phải được đếm. Phép tính hệ số hiệu chính kết hợp (CCF) sẽ được thực hiện trong những khoảng thời gian tính toán chính (mcp) trong 1 min hoặc ít hơn. Các chu kỳ tính toán chính dài hơn có thể được quy định nếu mọi sự chênh lệch được chấp nhận bởi các bên liên quan.
8.2.6.3 Tại cuối mỗi chu kỳ tính toán chính (mcp), một hệ số hiệu chính kết hợp (CCF) được tính bằng cách sử dụng các biến đầu vào như nêu trong 9.2.8 và kỹ thuật tính trung bình được nêu trong 9.2.1.3 không yêu cầu ghi lại hệ số CCF trong bản ghi giao nhận thương mại :
| CCFmcp = CTLmcp x CPLmcp | (5) |
Trong đó:
CCFmcp là hệ số hiệu chính kết hợp cho chu kỳ tính toán chính;
CTLmcp là hiệu chính cho ảnh hưởng của nhiệt độ lên chất lỏng trong điều kiện vận hành bình thường của chu kỳ tính toán chính;
CPLmcp là hiệu chính cho ảnh hưởng của áp suất lên chất lỏng trong điều kiện vận hành bình thường của chu kỳ tính toán chính.
8.2.7 Tính thể tích
8.2.7.1 Tại cuối mỗi chu kỳ tính toán chính (mcp) các hệ số hiệu chính cho nhiệt độ và áp suất (CTL và CPL) được tính bằng cách sử dụng các biến đầu vào lưu lượng như đã được xác định bởi các kỹ thuật nêu trong 8.2.8. Phương trình 6 và 7 đảm bảo hệ số CCF được sử dụng để hiệu chính giá trị Qp về các điều kiện cơ sở là đại diện điều kiện dòng tồn tại khi các xung đồng hồ sử dụng để tính toán Qp, được tích lũy.
8.2.7.2 Trừ khi có sự đồng ý của các bên, chu kỳ tính toán chính (mcp) lớn hơn 5 s yêu cầu CCF đã tính chỉ được sử dụng để hiệu chính cho đại lượng thể tích tích lũy trong cùng chu kỳ tính toán chính (mcp) mà hệ số CCF dựa vào:
| Qbmcpi = Qpmcpi x CCFmcpi | (6) |
Trong đó:
Qbmcpi là đại lượng thể tích tại điều kiện cơ sở cho chu kỳ tính toán chính thứ i;
Qpmcpi là đại lượng thể tích đo tại các điều kiện dòng cho chu kỳ tính toán chính thứ i;
CCFmcpi là hệ số hiệu chính kết hợp dựa trên chu kỳ tính toán chính thứ i.
8.2.7.3 Trong tất cả các trường hợp khi chu kỳ tính toán chính là 5 s hoặc ít hơn, hoặc khi có sự đồng ý của các bên liên quan, hệ số hiệu chính kết hợp được tính toán mới nhất có thể sử dụng để hiệu chính cho đại lượng thể tích (Qp) sử dụng phương trình (7):
| Qb = Qp x CCFpmcp | (7) |
Trong đó:
Qb là đại lượng thể tích tại điều kiện cơ sở đối với chu kỳ lấy mẫu p:
Qp là thể tích chỉ thị (IV) đo được tại các điều kiện dòng chảy cho mỗi chu kỳ lấy mẫu p;
CCFpmcp là hệ số hiệu chính kết hợp dựa trên chu kỳ tính toán chính trước (pmcp).
8.2.7.4 Khi các thể tích được tính toán bởi ELM được xem xét lại thì phải có thể tái lặp các kết quả của mỗi phép tính thể tích riêng biệt (sử dụng một tập hợp đầu vào đơn lẻ của áp suất, nhiệt độ, tỷ trọng,v.v.) tới 1/10 000 hoặc tốt hơn sử dụng các phép tính kiểm tra.
8.2.8 Lấy mẫu các biến lưu lượng
8.2.8.1 Thuật toán sử dụng để tính toán các đại lượng thể tích cơ bản yêu cầu lấy mẫu của các biến động lực chẳng hạn như nhiệt độ, áp suất và tỷ trọng của lưu lượng. Khoảng thời gian lấy mẫu của biến động lực đầu vào sẽ là cứ 5 s lấy một lần. Mẫu được lấy nhiều lần trong mỗi khoảng thời gian 5 s có thể được tính trung bình bằng cách sử dụng một trong các kỹ thuật nêu trong 9.2.1.3.
8.2.8.2 Khi phương pháp thể tích của kỹ thuật trung bình trọng số được sử dụng, thì kích cỡ của thể tích mẫu phải được lựa chọn sao cho các biến lưu lượng được lấy mẫu trong phạm vi 5 s yêu cầu cho lưu lượng nhỏ nhất trong các điều kiện vận hành bình thường.
8.2.8.3 Khi số đếm đầu ra của cảm biến sơ cấp là nhỏ hơn một xung trong mỗi 5 s, các biến đầu vào có thể được lấy mẫu một lần trên một số đếm.
8.2.8.4 Khoảng thời gian lấy mẫu nhỏ hơn thường lệ có thể được sử dụng nếu có thể chứng minh được sự tăng giá trị độ không đảm bảo là không lớn hơn 0,05 % và khoảng thời gian lấy mẫu lâu hơn là có thể chấp nhận.
8.2.8.5 Tốc độ lấy mẫu yêu cầu để hiệu chính thể tích chuẩn sẽ giống như tốc độ yêu cầu đối với xác định đại lượng - đó là lấy mẫu tối thiểu mỗi 5 s hoặc lấy ít nhất một mẫu trên hành trình pittông của chuẩn.
8.2.9 Điều kiện không có dòng chảy
Không có dòng chảy là không có chất lỏng chảy qua thiết bị sơ cấp. Trong điều kiện không có dòng chảy, các biến đầu vào vẫn có thể liên tục được lấy mẫu và hiển thị cho mục đích giám sát, nhưng sẽ không có ảnh hưởng lên giá trị trung bình sử dụng trong các tính toán thể tích.
8.2.10 Xác định các đại lượng giao nhận
8.2.10.1 Thể tích chỉ thị (IV) được xác định tại điều kiện áp suất và nhiệt độ trong giao nhận thương mại sử dụng công thức sau:
|
| (8) |
Trong đó:
Σ là phép tính tổng cho tất cả các chu kỳ lấy mẫu trong suốt quá trình giao nhận;
IV là thể tích chỉ thị được tích lũy trong quá trình giao nhận;
QTp là thể tích thực được đo tại các điều kiện dòng cho mỗi chu kỳ lấy mẫu p trong suốt thời gian giao nhận T, chu kỳ lấy mẫu p không vượt quá 1 min;
n là mẫu cuối cùng được lấy tại cuối của quá trình giao nhận.
8.2.10.2 Thể tích chuẩn chỉ thị (ISV) được xác định tại điều kiện điều kiện nhiệt độ và áp suất cơ sở hoặc quy chiếu cho cho giao nhận thương mại. Sự hiệu chính tính năng của đồng hồ (MF) là không được áp dụng:
|
| (9) |
Trong đó:
Σ là phép tính tổng cho tất cả các chu kỳ lấy mẫu trong quá trình giao nhận;
ISV là thể tích chuẩn chỉ thị được tích lũy trong suốt quá trình giao nhận;
QTp đại lượng thể tích thực được đo tại các điều kiện dòng cho mỗi chu kỳ lấy mẫu p trong giao nhận T, chu kỳ lấy mẫu p không được vượt quá 1 min;
n là mẫu cuối cùng được lấy tại cuối quá trình giao nhận;
CCFTp là hệ số hiệu chính áp suất và nhiệt độ kết hợp trong ảnh hưởng đối với mỗi chu kỳ lấy mẫu p trong thời gian giao nhận T.
8.2.10.3 Thể tích chuẩn tổng (GSV) được xác định tại áp suất và nhiệt độ cơ sở hoặc quy chiếu cho giao nhận thương mại và hiệu chính được thực hiện cho hệ số đồng hồ (MF).
8.2.10.4 Khi hệ số đồng hồ không được áp dụng trong một khoảng thời gian sau khi giao nhận hoàn thành, phương trình sau đây được sử dụng:
| GSV = ISV x MF | (10) |
Trong đó:
MF là hệ số hiệu chính đồng hồ trong quá trình giao nhận.
8.2.10.5 Trong trường hợp sử dụng nhiều hơn một hệ số đồng hồ, MF là trung bình trọng số của hệ số đồng hồ cho sự giao nhận, phương pháp nêu trong 2.9.13 được sử dụng để xác định trung bình.
8.2.10.6 Khi hệ số đồng hồ được áp dụng một cách liên tục trong suốt giao nhận, thể tích chuẩn tổng được tính theo phương trình sau:
|
| (11) |
Trong đó
GSV là thể tích tổng chuẩn được tích lũy trong suốt quá trình giao nhận,
QTp là đại lượng thể tích thực được đo tại các điều kiện dòng cho mỗi chu kỳ lấy mẫu p trong suốt thời gian giao nhận T, chu kỳ lấy mẫu p không vượt quá 1 min,
CCFTpgsv là hệ số hiệu chính kết hợp của nhiệt độ, áp suất và đồng hồ trong ảnh hưởng đối với mỗi chu kỳ lấy mẫu p trong suốt quá trình giao nhận T, chu kỳ lấy mẫu p không vượt quá 1 min.
8.2.11 Quy tắc làm tròn số được sử dụng với thiết bị thứ ba
8.2.11.1 Chênh lệch giữa các kết quả của các phép tính có thể xảy ra do sự khác biệt về thiết bị hoặc các ngôn ngữ lập trình do các sự thay đổi trong một dãy phép nhân và các quy trình làm tròn. Để đảm bảo tính nhất quán, các hệ số hiệu chính riêng lẻ được nhân riêng theo một dãy và được làm tròn tới số thập phân được yêu cầu. API 12.2 nêu chi tiết về tuần tự hiệu chính và các quy trình làm tròn số, cắt số được sử dụng trong các tính toán CCF.
8.2.11.2 Số gia thể tích được tính toán cho mỗi mcp không được làm tròn hay cắt bớt. Phương pháp làm tròn hay cắt bớt của các thể tích, chẳng hạn như thể tích chuẩn tổng tại cuối mỗi chu kỳ của bản ghi đại lượng giao nhận phải phù hợp với API 12.2 trừ khi có sự đồng của các bên liên quan.
8.2.12 Kiểm tra xác nhận các tính đại lượng được bởi các thiết bị tính toán lưu lượng thời gian thực
8.2.12.1 Các thiết bị tính lưu lượng kiểu điện tử xuất hiện vấn đề duy nhất khi cố gắng thực hiện kiểm tra đại lượng tính được sử dụng phương pháp thời gian thực dựa trên đại lượng tính được tại cuối một giao nhận sử dụng phương pháp nêu trong API 12.2.
8.2.12.2 Ví dụ sau đây trình bày các giới hạn của việc kiểm tra tính toán liên quan tới các hệ số hiệu chính được làm tròn tới độ phân giải một số thập phân cụ thể. Để đơn giản tính toán, một ví dụ liên quan đến giao nhận các lượng hàng của hai bể chứa (như một giao nhận), mỗi bể chứa chính xác 100 000 thùng dầu thô nhưng khác nhau về nhiệt độ và áp suất phân phối. Nhiệt độ, áp suất và trọng lực API thực tế sử dụng trong ví dụ là được chọn chỉ với một điểm trình bày. Áp suất bão hòa giả sử < 0 Pa.
VÍ DỤ: Dầu thô, 65 API60, chỉ thị tổng là 100 000 thùng được phân phối tại 75 °F và 195 psi. Khi đó chỉ thị tổng 100 000 thùng được chuyển tại 76 °F và 205 psig.
Dựa trên cùng thể tích tại các nhiệt độ và áp suất khác nhau, giá trị trung bình của trọng số lưu lượng và các hệ số hiệu chính là:
| Nhiệt độ |
|
|
| = 75,5°F |
| CTL | =0,9898 (API 11.1 Bảng 6A) |
| Áp suất |
|
|
| = 200 psi |
| CPL | = 1,0018 (API 11.2.1) |
| Hệ số hiệu chính kết hợp | |
| CCF | =CTL x CPL |
|
| = 0,9898 x 1,0018 |
|
| = 0,9916 (được làm tròn theo API 12.2) |
Thể tích chuẩn tổng hoặc đại lượng kiểm tra, được tính toán theo API 12.2 sử dụng phương pháp trung bình trọng số lưu lượng:
| GSV | = 200 000 x 0,9916 |
|
| = 198 320 thùng |
Thiết bị tính toán dòng tích hợp giống như thể tích chỉ thị như các đại lượng mẫu nhỏ hơn. Mỗi một đại lượng mẫu được hiệu chính riêng biệt sử dụng hệ số phù hợp.
100 000 thùng chỉ thị đầu tiên được hiệu chính như sau:
| Nhiệt độ = 75 °F | |
| CTL | = 0,9901 (API 11.1, Bảng 6A) |
| Áp suất | =195 psi |
| CPL | = 1,0017 (API 11.2.1) |
| Hệ số hiệu chính kết hợp | |
| CCF | = 0,9918 (làm tròn theo API 12.2) |
| Thể tích chuẩn tổng cho 100 000 thùng đầu tiên | |
| GSV | = 100 000x0,9918 |
|
| = 99 180 thùng |
| 100 000 thùng được chỉ thị thứ hai được hiệu chính như sau: | |
| Nhiệt độ = 76 °F | |
| CTL | = 0,9894 (API 11.1, Bảng 6A) |
| Áp suất | = 205 psi |
| CPL | = 1,0018 (API 11.2.1) |
| Hệ số hiệu chính kết hợp | |
| CCF | = 0,9912 (được làm tròn theo API 12.2) |
| Thể tích chuẩn tổng cho 100 000 thùng thứ hai | |
| GSV | = 100 000x0,9912 |
|
| = 99 120 thùng |
| Thể tích chuẩn tổng cho tổng lượng giao nhận sử dụng thiết bị tính toán dòng thời gian thực là: | |
|
| = 99 180 + 99 120 |
|
| = 198 300 thùng. |
Trong ví dụ trên, hai phương pháp tính toán tạo ra sự khác nhau 20 thùng, khoảng 0,01 %. Sự khác biệt này có thể dải từ 0 đến xấp xỉ 0,01 %, do sự phân biệt và các mức làm tròn của các hệ số hiệu chính.
8.2.13 Các kỹ thuật lấy trung bình
8.2.13.1 Có hai kỹ thuật lấy trung bình khác nhau có thể được thực hiện trên cùng các biến lưu lượng được lấy mẫu hoặc biến đầu vào được sử dụng để tính lượng dòng hoặc để cung cấp các giá trị chi tiết trong Điều 10.
8.2.13.2 Các kỹ thuật này như sau:
a) Phương pháp thể tích-trung bình trọng số (WA) của một biến là trung bình của các giá trị biến được lấy mẫu tại cùng những khoảng thể tích đều nhau và là đại diện cho thể tích tổng của mẫu:
|
| (12) |
Trong đó:
WA là trung bình trọng số của giá trị biến (Var);
Vari là giá trị của biến được lấy mẫu tại khoảng thời gian thứ i;
n là số lượng của các khoảng thể tích đều nhau.
b) Phương pháp theo thời gian-trung bình trọng số của một biến là tổng của các giá trị biến được lấy mẫu trong suốt các khoảng thời gian nhân với thể tích được xác định trong cùng khoảng thời gian đó sau đó chia cho toàn bộ thể tích được đo:
|
| (13) |
Trong đó
WA là trung bình trọng số của một giá trị biến(Var) cho tổng thể tích được đo;
Vari là giá trị của biến được lấy mẫu tại khoảng thời gian i;
Q1 là thể tích được đo trong khoảng thời gian i;
Qtot là tổng thể tích được đo;
ttot là tổng các khoảng thời gian.
8.2.14 Trung bình trọng số và các điều kiện không có dòng chảy
8.2.14.1 Các tính toán trung bình trọng số phải không được thực hiện trong các điều kiện không có dòng chảy.
8.2.14.2 Các công thức tính trung bình công bố ở trên đạt dòng chảy “không” như sau:
Phương trình 12: Nếu không có dòng chảy xuất hiện, không có khoảng thể tích và phương trình không được thực hiện.
Phương trình 13: Giá trị biến được tính tổng sau khi nhân với Qi, bằng “0” trong điều kiện không có dòng chảy
8.2.15 Tỷ trọng chất lỏng
8.2.15.1 Tỷ trọng của chất lỏng tại điều kiện cơ sở (RHOb) phải được biết chính xác để tính hệ số hiệu chính CTL và CPL
8.2.15.2 Tỷ trọng chất lỏng tại các điều kiện cơ sở (RHOb) có thể được xác định bởi một trong các phương pháp sau:
a) Sự tương quan tỷ trọng theo kinh nghiệm,
b) Một phương trình trạng thái,
c) Công thức kỹ thuật tương ứng.
8.2.15.3 Điều quan trọng để nhận ra rằng tỷ trọng của lòng tại các điều kiện nhiệt độ, áp suất dòng chảy là liên quan tới tỷ trọng của chất lỏng tại điều kiện cơ sở (RHOb) bởi hệ số CTL và CPL. Trong các trường hợp khi mà tỷ trọng dòng chảy(RHOtp) được đo bằng cách sử dụng một tỷ trọng kế trực tuyến, tỷ trọng tại các điều kiện cơ sở (RHOb) có thể được xác định theo công thức sau:
|
| (14) |
8.2.15.4 Xem thêm API 12.3, Phụ lục B hoặc các tiêu chuẩn phù hợp liên quan khác về các khuyến cáo tương quan giữa tỷ trọng, nhiệt độ, áp suất chất lỏng cho các chất lỏng khác nhau.
8.2.15.5 Phương pháp được lựa chọn để xác định tỷ trọng chất lỏng tại các điều kiện cơ sở (RHOb) phải được đồng ý của các bên liên quan.
8.2.16 Nguồn gốc của các hệ số hiệu chính
8.2.16.1 Các tính toán trong điều này được sử dụng để hiệu chính thể tích đo được của chất lỏng trong mối quan hệ với thể tích của nó tại các điều kiện cơ sở. Các hệ số hiệu chính được cung cấp để điều chỉnh thể tích được đo và thể tích chuẩn và/hoặc các phép đo kiểm chứng về các điều kiện cơ sở.
8.2.16.2 Cả đồng hồ và chuẩn dùng để đo cả áp suất và nhiệt độ để hiệu chính một cách hiệu quả đồng hồ và chuẩn đối với các ảnh hưởng đó. Bố trí các thiết bị áp suất và nhiệt độ phải phù hợp với API 4.8
8.2.17 Các hệ số hiệu chỉnh cho chuẩn bằng thép
8.2.17.1 Các hệ số hiệu chỉnh cho chuẩn bằng thép được thực hiện để tính sự thay đổi của thể tích chuẩn do ảnh hưởng của nhiệt độ và áp suất lên thép. Các hệ số này là:
a) CTS-hiệu chính cho sự giãn nở và/hoặc sự co ngót nhiệt của thép tại vỏ của chuẩn do nhiệt độ chất lỏng trung bình của chuẩn (xem 9.2.18).
b) CPS-hiệu chính cho sự giãn nở và/hoặc co ngót do áp suất của thép tại vỏ của chuẩn do áp suất chất lỏng trung bình của chuẩn (xem 9.2.19).
8.2.17.2 Khi biết thể tích của thùng chứa tại điều kiện cơ sở (Vb) thì thể tích tại bất kỳ các điều kiện áp suất, nhiệt độ nào khác (Vtp) có thể được tính toán theo phương trình sau:
| Vtp = Vb x CTS x CPS | (15) |
8.2.17.3 Ngược lại, khi biết thể tích của thùng chứa tại bất kỳ nhiệt độ áp suất nào (Vtp) thì thể tích tại điều kiện cơ sở được tính như sau:
|
| (16) |
8.2.18 Hiệu chính cho ảnh hưởng của nhiệt độ lên thép (CTS)
Bất kỳ bình chứa bằng kim loại, ống chuẩn thông thường, bình chuẩn hoặc dụng cụ kiểm tra di động, sẽ thay đổi thể tích khi có sự thay đổi nhiệt độ. Thể tích thay đổi không phụ thuộc vào hình dạng chuẩn nhưng tỷ lệ với hệ số giãn nở nhiệt khối của vật liệu. Hệ số giãn nở nhiệt khối của vật liệu có hiệu lực khi ngăn/đoạn được hiệu chuẩn và giá đỡ cảm biến chuyển mạch được làm từ một loại vật liệu (ống chuẩn thông thường, bình chuẩn và phép đo hiện trường).
8.2.18.1 Hiệu chính cho chuẩn hoặc thùng chứa vách đơn
8.2.18.1.1 CTS cho ống chuẩn thông thường, các bình chuẩn hở và bình kiểm tra di động giả định là vật liệu kết cấu đơn và có thể được tính toán từ:
| CTS = 1 + [(T - Tb) x Gc] | (17) |
Trong đó
Gc là hệ số giãn nở khối trung bình trên nhiệt độ của vật liệu của thùng chứa được tạo ra giữa Tb và T;
Tb là nhiệt độ cơ sở;
T là nhiệt độ trung bình của chất lỏng trong thùng chứa.
8.2.18.1.2 Hệ số giãn nở khối trung bình (Gc) của ống chuẩn hoặc bình chuẩn hở phải như nhau đối với các vật liệu sử dụng trong chế tạo ngăn hiệu chuẩn. Tuy nhiên, các giá trị của Gc trong Bảng 1 phải được sử dụng nếu không biết hệ số giãn nở nhiệt khối.
8.2.18.1.3 Hệ số giãn nở khối trung bình (Gc) trong báo cáo hiệu chuẩn cung cấp bởi cơ quan hiệu chuẩn phải được sử dụng cho phép đo hiện trường.
8.2.18.2 Hiệu chính cho ống chuẩn dung tích nhỏ với các cảm biến bên ngoài
8.2.18.2.1 Cần một tiếp cận khác về hệ số của giãn nở khối trung bình được sử dụng trong tính toán CTS cho ống chuẩn, bình chuẩn và phép đo hiện trường cho một số ống chuẩn dung tích nhỏ cụ thể bởi thiết kế của chúng. Cảm biến thường được gắn bên ngoài hơn là trên chính thùng chuẩn. Vì vậy, thể tích thay đổi do xuất hiện nhiệt độ được xác định xét về mặt tiết diện của thùng chuẩn và sự thay đổi khoảng cách giữa các cảm biến. Đôi khi vị trí của những cảm biến này có thể là trên đồ gá bằng thép cacbon hoặc thép không gỉ, nhưng thường chúng sẽ nằm trên đồ gá được làm bằng hợp kim đặc biệt mà có và hệ số giãn nở có độ tuyết tính rất nhỏ.
8.2.18.2.2 Với ống chuẩn dung tích nhỏ mà cảm biến không được đặt trên phần hiệu chuẩn của đường ống, hệ số hiệu chính do ảnh hưởng của nhiệt độ (CTS) có thể được tính toán từ:
| CTS = (1 + [(Tp - Tb) x (Ga)]) x (1 + [(Td - Tb) x (Gl)] | (18) |
Trong đó
Ga là hệ số giãn nở diện về nhiệt của buồng chuẩn;
Gl là hệ số giãn nở dài về nhiệt của trục pittông;
Tb là nhiệt độ cơ sở;
Td là nhiệt độ của trục gắn cảm biến quang hoặc trục pittông trên ống chuẩn dung tích nhỏ (SVP) với các cảm biến đặt bên ngoài;
Tp là nhiệt độ của buồng chuẩn.
Bảng 1 - Hệ số giãn nở nhiệt của thép (Gc, Ga, Gl)
| Loại thép | Hệ số giãn nở nhiệt của thép |
| (trên °C) | |
| A) Hệ số khối, Gc | |
| Các bon nhẹ | 3,35E-05 |
| Thép không gỉ 304 | 5,18E-05 |
| Thép không gỉ 316 | 4,77E-05 |
| Thép không gỉ 17-4PH | 3,24E-05 |
| B) Hệ số diện tích, Ga | |
| Các bon nhẹ | 2,23E-05 |
| Thép không gỉ 304 | 3,46E-05 |
| Thép không gỉ 316 | 3,18E-05 |
| Thép không gỉ 17-4PH | 2,16E-05 |
| C) Hệ số dài, Gl | |
| Các bon nhẹ | 1,12E-05 |
| Thép không gỉ 304 | 1,73E-05 |
| Thép không gỉ 316 | 1,59E-05 |
| Thép không gỉ 17-4PH | 1,0SE-05 |
8.2.18.2.3 Hệ số giãn nở nhiệt về diện và dài cần giống nhau cho các vật liệu sử dụng trong việc chế tạo chuẩn. Các giá trị có trong Bảng 1 sẽ được sử dụng khi không biết các hệ số biết.
8.2.19 Hiệu chính cho ảnh hưởng của áp suất lên thép (CPS)
Nếu một thùng chứa bằng kim loại, chẳng hạn như ống chuẩn thông thường, bình chuẩn hoặc một phép kiểm tra chịu tác động của áp suất bên trong, các thành của thùng chứa sẽ giãn đàn hồi và thể tích của thùng chứa cũng sẽ thay đổi theo.
8.2.19.1 Hiệu chính cho chuẩn hoặc thùng chứa thành đơn
8.2.19.1.1 Mặc dù các giả thiết đơn giản được sử dụng trong phương trình bên dưới, với các mục đích thực tế hệ số hiệu chính cho ảnh hưởng của áp suất bên trong lên thể tích của thùng chứa dạng trụ, CPS, có thể được tính toán theo :
|
| (19) |
Giả sử Pb=0, phương trình 19 trở thành
|
| (19a) |
và
ID = OD - (2 x WT)
Trong đó
| p | là áp suất vận hành bên trong của chuẩn trong bộ phận đo áp suất; |
| Pb | là áp suất cơ sở trong bộ phận đo áp suất; |
| ID | đường kính trong của thùng chứa; |
| E | ứng suất đàn hồi của vật liệu thùng chứa; |
| OD | đường kính ngoài của thùng chứa; |
| WT | chiều dày thành của thùng chứa. |
8.2.19.1.2 Ứng suất đàn hồi (E) cho ống chuẩn hoặc bình chuẩn hở phải là vật liệu sử dụng trong chế tạo của phần hiệu chuẩn. Khi không biết ứng suất đàn hồi thì áp dụng các giá trị trong Bảng 2.
Bảng 2 - Ứng suất đàn hồi của thùng chứa bằng thép(Gc, Ga, Gl)
| Loại thép | Hệ số giãn nở nhiệt của thép |
| (trên KPa) | |
| Các bon nhẹ | 2,07E+08 |
| thép không gì 304 | 1,93E+08 |
| thép không gỉ 316 | 1,93E+08 |
| thép không gỉ 17-4PH | 1,97E+08 |
8.2.19.1.3 Ứng suất đàn hồi (E) trong báo cáo hiệu chuẩn của cơ quan hiệu chỉnh là một nếu sử dụng cho bình chuẩn sao truyền riêng lẻ. Các giá trị nêu trong Bảng 2 phải được sử dụng nếu ứng suất đàn hồi là không biết. Hiệu chính cho thùng chứa vỏ kép hoặc chuẩn . Một vài chuẩn được thiết kế với một thành kép để cân bằng áp suất bên trong và bên ngoài buồng hiệu chuẩn. Trong trường hợp này, phần đo bên trong của chuẩn không chịu tác động của áp suất bên trong, và các vỏ của buồng bên trong này không chịu tác động của giãn đàn hồi. Vì vậy trong trường hợp đặc biệt này:
CPS = 1,0000
8.2.20 Các hệ số hiệu chính kết hợp (CCF, CCFp, CCFm)
8.2.20.1 Khi nhân một số lớn (chẳng hạn, thể tích chỉ thị) với một số nhỏ (chẳng hạn, một hệ số hiệu chính) lặp đi lặp lại nhiều lần thì độ chụm có thể bị suy giảm. Bên cạnh đó, các sai số có thể xuất hiện trong các phép tính do sai khác trong dãy nối tiếp và làm tròn giữa máy và/hoặc chương trình. Để giảm thiểu các sai số này, một phương pháp được chọn lựa là phương pháp hệ số hiệu chính tổng hợp trong một dãy cụ thể và các mức phân biệt tối đa. Phương pháp kết hợp hai hoặc nhiều hơn hệ số hiệu chính trước tiên là để thu được một hệ số hiệu chính kết hợp (CCF) bằng cách nhân các hệ số hiệu chính riêng lẻ và làm tròn CCF tới số chữ số thập phân yêu cầu.
8.2.20.2 Ba hệ số hiệu chính kết hợp đã được chấp nhận để giảm thiểu các sai số trong các tính toán. Ba hệ số là:
hệ số hiệu chính kết hợp (CCF),
hệ số hiệu chính kết hợp cho đồng hồ (CCFm),
hệ số hiệu chính kết hợp cho chuẩn (CCFp).
a) Cho các tính toán giấy đo lường để xác định GSV:
| CCF = CTL x CPL x MF | (20) |
hoặc,
| CCF = CTL x CPL x CMF | (20a) |
CHÚ THÍCH: Nếu thể tích chỉ thị được bù nhiệt độ thì giá trị của CTL được cài đặt bằng 1,0000 trong phép tính hệ số CCF
CHÚ THÍCH: Khi sử dụng CMF, giá trị của CPL sẽ được cài bằng 1,0000 cho CCF
b) Đối với các tính toán kiểm chứng để xác định GSVP:
| CCFp = CTSp x CPSp x CTLp x CPLp | (21) |
c) Đối với các tính toán kiểm chứng để xác định ISVm:
| CCFm = CTLm x CPLm | (22) |
CHÚ THÍCH: Khi sử dụng các số đọc đồng hồ đã bù nhiệt (ISVm), giá trị CTL sẽ được cài đặt bằng 1,0000 đối với báo cáo tính toán CCFm.
8.2.21 Các hệ số đồng hồ và các hệ số đồng hồ kết hợp
8.2.21.1 Yêu cầu chung
Các hệ số đồng hồ và hệ số đồng hồ kết hợp được sử dụng để điều chỉnh cho sự không chính xác đi kèm với tính năng của đồng hồ như được xác định tại thời điểm kiểm chứng. Trừ khi đồng hồ được trang bị một cơ cấu điều chỉnh chuyển đổi bản ghi để tính hệ số đồng hồ, hệ số đồng hồ phải được áp dụng cho thể tích được chỉ thị của đồng hồ.
8.2.21.1.1 Hệ số đồng hồ
Hệ số đồng hồ (MF) được xác định tại thời điểm hiệu chuẩn bởi công thức dưới đây:
|
| (23) |
Trong đó
GSVp = BPV x CCFP;
ISVm = IVm x CCFm;
IVm = hiệu chuẩn trung bình KF
KF = Hệ số - K;
BPV = thể tích chuẩn cơ bản
8.2.21.1.2 Hệ số đồng hồ kết hợp
Hệ số đồng hồ kết hợp (CMF) có thể được sử dụng trong các ứng dụng khi mà tỷ trọng, nhiệt độ, và áp suất được coi là hằng số trong suốt chu kỳ của QTR hoặc các thay đổi trong các tham số có thể dự đoán được dẫn tới các độ không đảm bảo có thể chấp nhận bởi các bên liên quan. Hệ số đồng hồ kết hợp được xác định tại thời điểm kiểm chứng được tính theo bởi công thức dưới đây:
| CMF = CPLm x MF | (24) |
8.2.21.2 Tuyến tính hóa hệ số đồng hồ
8.2.21.2.1 Có thể cân nhắc để tuyến tính hóa hệ số đồng hồ trong phạm vi thiết bị thứ ba khi lưu lượng hoặc độ nhớt thay đổi đủ để ảnh hưởng tới hệ số đồng hồ. Phương pháp tuyến tính hóa bao gồm các bảng của các hệ số đồng hồ với lưu lượng hoặc độ nhớt cho mỗi đồng hồ hoặc sản phẩm. Các hệ thống có các biến quá trình quan trọng, sẽ có lợi nhất từ việc tuyến tính hóa hệ số đồng hồ. Hệ thống tuyến tính hóa có thể áp dụng cho kiểm chứng định kỳ tại điểm lưu lượng đơn, miễn là đồng hồ vận hành trong phạm vi được khuyến cáo. Tuyến tính hóa này sẽ không loại trừ việc phải xác định hệ số đồng hồ bằng kiểm chứng hoặc thay thế các hệ số đồng hồ có được trước đó khi gặp phải độ trôi độ nhớt dp thay đổi sản phẩm và/hoặc nhiệt độ.
8.2.21.2.2 Hiện chưa có phương pháp cụ thể nào được áp dụng tuyến tính hóa, các bên liên quan phải thỏa thuận phương pháp ưu tiên cho hệ thống ELM.
8.2.22 Hệ số K và hệ số K kết hợp
Đối với một số ứng dụng, hệ số K mới (KF) và hệ số K kết hợp (CKF) được sử dụng, để loại bỏ sự cần thiết áp dụng các hệ số hiệu chính đồng hồ cho thể tích chỉ thị (IV). Bằng cách thay đổi KF hoặc CKF tại thời điểm kiểm chứng, đồng hồ được điều chỉnh điện tử tại thời điểm kiểm chứng để đảm bảo rằng hệ số đồng hồ tương đối thống nhất.
8.2.22.1 Hệ số K
Một hệ số K mới được xác định tại thời điểm kiểm chứng bằng công thức dưới đây:
|
| (25) |
8.2.22.2 Hệ số K kết hợp
Hệ số K kết hợp mới có thể được sử dụng trong các ứng dụng khi khối lượng riêng, nhiệt độ, và áp suất là tương đối ổn định trong suốt chu kỳ đo. Hệ số K kết hợp mới được xác định tại thời điểm kiểm chứng theo công thức dưới đây:
|
| (26) |
9 Các yêu cầu về kiểm tra và báo cáo
9.1 Khái quát
9.1.1 Một hệ thống đo lường chất lỏng bằng điện tử sẽ có khả năng thiết lập kiểm lịch sử bằng cách biên soạn và lưu giữ đủ thông tin để xác minh các lượng giao nhận. Do độ chính xác của một hệ thống ELM cũng bị tác động bởi quá trình hiệu chuẩn sử dụng chuẩn, việc kiểm tra lịch sử cũng cần thiết cho chuẩn. Kiểm tra lịch sử sẽ bao gồm các bản ghi giao dịch, nhật ký các cấu hình, nhật ký các sự kiện, nhật ký các cảnh báo, các bản ghi về số lượng giao dịch đúng, và các bản ghi về các phép thử hiện trường. Thông tin về kiểm tra lịch sử có thể được lưu trữ trong định dạng giấy hoặc điện tử.
9.1.2 Các yêu cầu về kiểm tra lịch sử áp dụng chỉ với dữ liệu có ảnh hưởng tới các tính toán thể tích thực và lượng giao nhận. Các hệ thống bên ngoài hiện trường thường thực hiện các chức năng khác với những mục được mô tả trong tiêu chuẩn. Những chức năng khác này không thuộc vào tiêu chuẩn này. Chỉ những dữ liệu kết hợp với phép đo là yêu cầu về kiểm tra và báo cáo
9.1.3 Các phần phụ sau đây định nghĩa mục đích của mỗi kiểu báo cáo, các dữ liệu yêu cầu chứa trong đó, và thời gian lưu giữ tối thiểu cho các thông tin đó, mục đích để giữ tính toàn vẹn của các lượng giao nhận tính toán bởi thiết bị máy tính lưu lượng, có thể được kiểm tra.
9.1.4 Lý do ban đầu cho việc lưu giữ lịch sử dữ liệu là để tạo ra sự hỗ trợ cho các lượng hiện thời và trước đó được báo cáo trong phép đo và các thông báo về số lượng cho một chu kỳ tính cho trước. Dữ liệu sẽ cung cấp đủ thông tin để áp dụng các điều chỉnh hợp lý nếu thiết bị đo lường chất lỏng điện tử dừng chức năng đo hoặc là không chính xác, hoặc khi các tham số đo lường là được ghi không đúng.
9.1.5 Khi dữ liệu phải được sửa đổi bởi vì nó không đúng, các giá trị gốc phải được truy cập để tính hiệu lực của các giá trị ước lượng có thể được xác nhận. Các phương pháp của việc xác định ướng lượng các giá trị đúng nằm ngoài phạm vi của tiêu chuẩn này.
9.2 Bản ghi cấu hình
9.2.1 Một bản ghi cấu hình là một nguồn thông tin được yêu cầu để kiểm tra các lượng được tính cho một chu kỳ thanh toán. Thông tin yêu cầu có thể được tạo ra từ dữ liệu trong phạm vi thiết bị tính toán lưu lượng, các báo cáo chuẩn, hoặc các nguồn khác. Bản ghi sẽ chứa và nhận dạng tất cả các tham số về hằng số dòng chảy sử dụng trong việc tạo ra bản ghi lượng giao dịch. Thuật ngữ “các tham số về hằng số dòng chảy” hoặc “các dữ liệu cố định” không có nghĩa rằng thông tin sẽ không bao giờ thay đổi kể từ khi nó được nhập vào, nhưng nó có thể thay đổi với mỗi chu kỳ hoặc lô hàng tính toán. Ví dụ hệ số đồng hồ được xem xét là một tham số hằng số dòng chảy, mặc dầu nó có thể thay đổi theo tuần hoặc tháng khi đồng hồ được kiểm chứng. Bản ghi cấu hình sẽ được tạo ra từ dữ liệu và thông tin được liệt kê dưới đây, đi cùng với bất kỳ hạng mục bổ xung nào mà được cho là cần thiết.
9.2.1.1 Đồng hồ tuyến tính
a) Số nhận dạng hoặc/và số sê-ri đồng hồ.
b) Hệ số đồng hồ.
c) Nhiệt độ cơ sở.
d) Áp suất bão hòa.
e) Áp suất cơ sở.
f) Hệ số K của đồng hồ.
g) Chức năng các đầu vào/ra.
h) Các đơn vị kỹ thuật.
i) Thời gian và ngày tháng in ra bản ghi cấu hình.
j) Đường kính bên trong của sản phẩm.
k) Thông tin về phạm vi/giá trị không, dải chết, và các khoảng bù sử dụng.
l) Các giới hạn cảnh báo trên và dưới của dòng chảy.
m) Cảnh báo ngoài các giới hạn dải cho các giá trị đo.
n) Phiên bản phần mềm.
o) Bộ nhận dạng thuật toán (chẳng hạn chuẩn sử dụng để tính toán hệ số CTL và CPL).
p) Hệ số giãn nở nhiệt nếu nó chưa được chỉ rõ trong các bảng sử dụng.
q) Các giá trị mặc định cho bất kỳ đầu vào trực tiếp nào trong trường hợp phát sinh lỗi chẳng hạn như nhiệt độ, áp suất, khối lượng riêng, áp suất hơi bão hòa, sự lắng đọng và nước (S&W).
9.2.1.2 Dữ liệu của chuẩn (nếu có thể áp dụng)
a) Bộ nhận dạng chuẩn,
b) Thể tích chuẩn cơ sở,
c) Số sê-ri của chuẩn,
d) Đường kính trong của chuẩn,
e) Chiều dày,
f) Các chức năng vào/ra,
g) Dữ liệu luyện kim để tính toán CTSp và SPSp,
h) Giới hạn chấp nhận; độ lặp lại; độ tái lặp; số lần chạy.
9.2.1.3 Đồng hồ chuẩn
a) Hệ số đồng hồ
b) Số nhận dạng đồng hồ
c) Số sê-ri
d) Hệ số K.
9.1.4 Dữ liệu tùy chọn
a) Tổng lượng đo mong muốn để sử dụng trong tính toán mẫu.
b) Phần trăm lô hàng đến khi kết thúc cho cảnh báo kết thúc lô hàng.
c) Thông tin về xung của bộ lấy mẫu (tỷ lệ với dòng chảy hoặc thời gian).
d) Mẫu thể tích mong muốn.
e) Kích cỡ thu mẫu của bộ lấy mẫu.
f) Đường cong đặc tuyến RTD.
g) Các hằng số liên quan đến vận hành của bộ tỷ trọng kế.
h) Giá trị mặc định của giá trị áp suất hơi và S&W.
9.2.2 Nơi mà các thuật toán nhân có thể được lựa chọn cho tính toán lượng hoặc hệ số, bản ghi cấu hình sẽ lưu lại lựa chọn đã được tạo ra. Nơi mà thuật toán lựa chọn được kiểm soát bởi kiểu sản phẩm hoặc các lô-gic khác, tiêu chí thuật toán lựa chọn phải rõ ràng.
9.3 Bản ghi lượng giao dịch (QTR)
Bản ghi này bao gồm thông tin tới hạn liên quan đến giao nhận thương mại các chất lỏng. Thông tin này bao gồm số lượng giao nhận thương mại cuối cùng tại các điều kiện chuẩn, một số thuộc tính của chất lỏng, các hệ số hiệu chính và số đọc sử dụng trong tính toán lượng giao nhận thương mại, sự nhận dạng đồng hồ, và thời gian của giao dịch. Mặc dù nó có thể tính toán chính xác lượng giao nhận thương mại hoàn tất từ các thông tin khác trong lượng bản ghi giao dịch, điều này không thường xuyên đúng bởi vì giá trị trung bình của các biến và sự làm tròn số trong tính toán, số lượng bản ghi giao dịch được sử dụng để theo dõi thông tin về sự di chuyển của chất lỏng từ sự vận hành đến tính toán và giữa các bên trong thỏa thuận giao nhận thương mại. Trong giao nhận lô hàng, QTR liên quan đến sự xuất nhập cụ thể của sản phẩm, thông thường với số lượng xác định trước. Trong sự vận hành liên tục QTR liên quan đến lượng di chuyển trong suốt một chu kỳ tính toán cụ thể, như ngày, tuần hoặc tháng.
Đơn vị của phép đo cho tất cả các biến trong QTR phải được chỉ rõ cụ thể.
9.3.1 Thông tin yêu cầu
9.3.1.1 Bản ghi lượng giao dịch phải bao gồm các thông tin sau:
a) Thời gian và ngày tháng bắt đầu và kết thúc.
b) Các số đọc bắt đầu và kết thúc(Mro, MRc).
c) Ký hiệu nhận dạng loại sản phẩm khi nhiều sản phẩm được đo với một đồng hồ.
d) Ký hiệu nhận dạng dàn đồng hồ nơi mà có nhiều hơn một dàn.
e) Ký hiệu nhận dạng đồng hồ.
f) Hệ số đồng hồ (MF) hoặc hệ số đồng hồ kết hợp (CMF) và hoặc hệ số K (KF).
g) Hệ số hiệu chính nhiệt độ trung bình (CTL).
h) Hệ số hiệu chính áp suất trung bình (CPL).
i) Khối lượng riêng và nhiệt độ quan sát khi mẫu được sử dụng để xác định khối lượng riêng tại các điều kiện cơ sở.
j) Áp suất trung bình trọng số (PWA).
k) Nhiệt độ trung bình trọng số (TWA).
l) Khối lượng riêng trung bình trọng số (DWA) hoặc khối lượng riêng mặc định tại các điều kiện tham chiếu.
m) S&W hoặc hiệu chính cho S&W nơi mà nước hoặc chất cặn lắng tồn tại trong các lượng không đáng kể.
n) Thể tích chuẩn thực (NSV).
o) Ký hiệu nhận dạng QTR.
p) Thể tích chuẩn tổng (GSV).
9.3.1.2 Nơi mà không có chất cặn lắng hoặc nước tồn tại trong dòng chảy giao nhận thương mại, hoặc nơi mà chúng được xem xét là một phần của sản phẩm, thể tích chuẩn thực sẽ bằng với thể tích chuẩn tổng.
9.3.1.3 Cần phải có quy định tại chỗ để ngăn nhiều QTR được tạo ra đối với xuất nhập lô hàng cùng một sản phẩm tại các thời điểm khác nhau trong suốt quá trình giao hàng đến mức không chắc chắn bản ghi lượng giao dịch nào là chính thức. Điều này có thể cần phương thức yêu cầu khởi động lại thể tích tích lũy tại mỗi thời điểm mà một QTR được tạo ra, sử dụng của một “cờ QTR chính thức hoặc tạm thời”, sử dụng riêng biệt các báo cáo cho các kiểm tra thể tích vận hành và QTR, hoặc phương pháp phù hợp khác.
9.3.2 Xem xét lại dữ liệu
Nên xem xét lại dữ liệu trong bản ghi lượng giao dịch, lịch xem xét và tên hoặc ký hiệu nhận dạng của bên thực hiện xem xét lại phải được lưu lại. Phải bao gồm một vài cách nhận dạng dữ liệu đã thay đổi. Bản ghi số lượng giao dịch gốc phải được duy trì.
9.3.3 Các nguồn dữ liệu
9.3.3.1 Tất cả thông tin yêu cầu trong bản ghi lượng giao dịch có thể không được truy cập tại thời điểm nhận hàng, sẽ không cần thiết lưu tất cả bởi một thiết bị hoặc trên một bản ghi sao chép cứng. Điều này có thể chấp nhận được miễn là có sự chấp nhận của các bên liên quan và tất cả các thông tin yêu cầu đều được ghi lại và có thể sẵn sàng liên quan tới giao dịch.
9.3.3.2 Bản ghi lượng giao dịch, nó có thể được tạo ra thủ công hoặc bởi một thiết bị thứ ba, thông thường được đánh dấu hoặc bằng cách nào đó được gán nhãn với ký hiệu nhận dạng bởi người hoặc các bên mà xác nhận rằng thông tin được chứa bên trong là chính xác.
9.3.4 Các hệ số đồng hồ phức hợp
Khi các hệ số phức hợp K hoặc các hệ số đồng hồ được sử dụng, hoặc khi một mối liên quan toán học được sử dụng để thay đổi chúng dựa trên một vài sản phẩm hoặc đặc tính vận hành, trung bình trọng số lưu lượng của hệ số K hoặc hệ số đồng hồ sẽ được lưu lại trên bản ghi lượng giao dịch, và tất cả hệ số và hằng số sẽ được duy trì trong cùng một bản ghi cấu hình. Nơi mà nhiều kiểm chứng được thực hiện trong quá trình giao nhận của một lô hàng đơn hoặc trong suốt một chu kỳ tính toán đơn, một QTR riêng biệt có thể được tạo ra cho từng kiểm chứng.
9.4 Xem xét dữ liệu ELM
Để kiểm tra hoạt động đúng của một hệ thống ELM và cung cấp các trạng thái hiện tại của hệ thống đo, cần xem xét các tham số ELM. Điều này có thể thực hiện bằng cách hiển thị tại chỗ, sử dụng thiết bị cầm tay để đặt cấu hình/xem xét, một bản cứng in ra theo yêu cầu, hoặc một vài cách hiển thị truy cập từ xa. Các thông tin dưới đây cần phải đánh giá:
a) Các biến quá trình đầu vào, theo đơn vị kỹ thuật.
b) Các thanh ghi xung tích lũy.
c) Các điều kiện cảnh báo.
d) Thể tích tích lũy trong lô hàng hoặc chu kỳ thời gian tính toán.
9.5 Sự duy trì dữ liệu
9.5.1 Sự lưu giữ của các bản ghi hàng giờ là không yêu cầu. Trong các giao dịch mà các lô hàng giao nhận diễn ra trong một ngày và nơi mà mất hoặc gián đoạn của bản ghi lượng giao nhận theo lô hàng hoặc ngày sẽ dẫn đến không có thông tin mà có thể làm cơ sở cho việc ước lượng thể tích giao nhận, thông tin theo giờ sẽ có ích trong dữ liệu được tham khảo.
9.5.2 Quy định, biểu thuế, hoặc hợp đồng sẽ chỉ rõ chu kỳ lưu giữ tối thiểu cho tất cả dữ liệu kiểm tra theo vết.
9.6 Bản ghi sự kiện
9.6.1 Bản ghi sự kiện phải là một phần của gói kiểm tra cho chu kỳ tính toán. Bản ghi sự kiện sử dụng để lưu lại những ngoại lệ và những thay đổi tới các tham số của dòng chảy hoặc dữ liệu cố định có chứa trong bản ghi cấu hình mà nó có tác động lên số lượng trong bản ghi lượng giao dịch, bản ghi sự kiện được tạo ra bởi phần cứng hoặc người vận hành. Những sự kiện này bao gồm, nhưng không bị giới hạn bởi thay đổi hoặc sửa đổi trong 9.2.
9.6.2 Mỗi lần một tham số dòng chảy hoặc dữ liệu cố định có thể tác động QTR, bị thay đổi trong hệ thống, giá trị mới và cũ, đi cùng với ngày và thời gian thay đổi phải được lưu lại theo trình tự thời gian. Mong muốn lưu được các số đọc của bộ tích lũy không thể xóa bất cứ khi nào giá trị lưu lượng thay đổi mà có thể tác động đến QTR.
9.6.3 Ngoài việc thay đổi bản ghi cấu hình, những sự kiện dưới đây có thể được lưu.
a) Thời gian lỗi nguồn và/hoặc thời gian khởi động.
b) Các thông báo chuẩn đoán lỗi phần cứng của ELM.
c) Số lần truy cập vào và ra hệ thống ELM được bảo vệ bằng mật khẩu.
d) Giá trị bắt buộc mặc định tại đầu vào và đầu ra.
e) Thời gian tải và cài đặt một chương trình mới hoặc tệp tin cấu hình khi mà dữ liệu không được thu thập.
9.7 Bản ghi cảnh báo và lỗi
Bản ghi này sử dụng để lưu ý tới bất kỳ cảnh báo hệ thống nào hoặc cảnh báo do người sử dụng định ra hoặc các điều kiện lỗi (chẳng hạn như vượt quá dải nhiệt độ hoặc áp suất) xảy ra. Bản ghi này bao gồm mô tả điều kiện cho mỗi cảnh báo và số lần mà điều kiện đó xảy ra và được xóa. Bản ghi này được sử dụng ban đầu để hỗ trợ vận hành hệ thống ELM bằng cách đưa cho người sử dụng thông tin về quá trình và thông tin về lỗi thiết bị. Tối thiểu, một cảnh báo phải được ghi lại bất cứ khi nào mà có đầu vào nào vượt quá dải vận hành của nó.
9.8 Bản ghi kiểm tra
Một bản ghi kiểm tra sẽ là một phần của gói kiểm tra và nó phải chứa bất kỳ tài liệu hoặc bản ghi (điện tử hoặc bản sao cứng) được tạo ra trong quá trình thử hoặc vận hành thiết bị đo mà tác động đến tính toán các lượng đo.Tài liệu sẽ bao gồm, nhưng không giới hạn:
a) Các báo cáo về hiệu chuẩn/kiểm định như định nghĩa ở Điều 11 bên dưới.
b) Các nhãn thay đổi thiết bị.
c) Các báo cáo đánh giá thiết bị ngoại vi.
10 Thiết bị hiệu chuẩn và kiểm định
10.1 Các thiết bị đòi hỏi hiệu chuẩn/kiểm định
Các thiết bị ELM dưới đây yêu cầu hiệu chuẩn/kiểm định:
a) Các thiết bị xử lý tín hiệu đầu vào ELM, như các bộ chuyển đổi A/D, mạch xung và tần số đầu vào.
b) Bộ tạo tín hiệu ra của ELM, chẳng hạn như các bộ chuyển đổi D/A và các cạc xung hoặc tín hiệu số đầu ra.
c) Các bộ chuyển đổi nhiệt độ.
d) Các bộ chuyển đổi áp suất.
e) Các bộ chuyển đổi xung và cuộn dây lấy tín hiệu.
f) Các thiết bị điều chế tín hiệu trung gian và cách ly .
g) Các bộ tỷ trọng kế trực tuyến.
h) Tín hiệu truyền tới các thiết bị điện tử phía sau.
10.2 Kiểm định và hiệu chuẩn - Mục đích và sử dụng
10.2.1 Kiểm định là quá trình so sánh các tham số hiện trường thực tế (hoặc các tham số mô phỏng đại diện của điều kiện hiện trường như được đo bởi thiết bị dẫn xuất tham chiếu) với thiết bị hiển thị thứ ba. Kiểm định xác nhận thiết bị đang vận hành trong phạm vi dung sai cho phép hoặc có yêu cầu về hiệu chuẩn, sửa chữa hay không. Kiểm định nên thực hiện theo chu kỳ giữa các lần hiệu chuẩn như là một sự kiểm tra cho sự phù hợp hoặc độ trôi khi thời gian giữa các lần hiệu chuẩn là dài.
10.2.2 Hiệu chuẩn là quá trình kiểm tra hoặc điều chỉnh các thành phần của hệ thống ELM để phù hợp với các chuẩn tham chiếu dẫn xuất để tạo ra các giá trị chính xác trong dải vận hành đã được chỉ ra của ELM. Các thủ tục hiệu chuẩn nên bao gồm thiết bị cảm biến, kể cả các bộ chuyển đổi áp suất. Nếu một lô hàng được sử dụng trong quy trình hiệu chuẩn cho các bộ chuyển đổi nhiệt độ sẽ bao gồm cả cảm biến. Tuy nhiên thông thường sử dụng điện trở thay thế khi hiệu chuẩn các bộ chuyển đổi nhiệt độ kiểu RTD. Khi trường hợp này, yêu cầu một bước kiểm định liên quan đến cảm biến
10.3 Tần suất kiểm định và hiệu chuẩn
10.3.1 Các thiết bị tham chiếu hoặc hệ thống chuẩn sử dụng trong hiệu chuẩn/kiểm định ELM nên được kiểm tra định kỳ dựa vào một thiết bị đo hoặc hệ thống cao hơn ít nhất một mức trong chuỗi dẫn xuất và sau đó được hiệu chuẩn hoặc thay thế phù hợp. Chu kỳ khuyến cáo là 2 năm và không vượt quá 5 năm. Các điều kiện hiện trường và tần suất sử dụng có thể quy định khoảng thời gian hiệu chuẩn ngắn hơn.
10.3.2 Độ chính xác của ELM nên được kiểm tra theo quý. Khoảng thời gian này được khuyến cáo là tối đa và không loại trừ kiểm định hoặc giám định thường xuyên hơn khi được yêu cầu do điều kiện vận hành hoặc thỏa thuận trong hợp đồng. Khoảng kiểm định tối đa có thể vượt quá bởi sự chấp thuận lẫn nhau hoặc khi được bảo đảm bởi phép đo và dữ liệu kiểm định/hiệu chuẩn. Tối thiểu hàng năm một quá trình kiểm định hoặc hiệu chuẩn tại tối thiểu 3 điểm trong dải vận hành nên được thực hiện. Cũng tại thời điểm này, các bộ chuyển đổi có các đầu ra tương tự đang được sử dụng nên được kiểm tra ở mức 0 % và 100 % giá trị đầu ra để đảm bảo rằng bộ chuyển đổi có thể đạt tới các điểm mút.
10.3.3 Sự hiệu chuẩn sẽ cần thiết bất cứ khi nào một phép kiểm tra kiểm định phát hiện một sự khác biệt không thể chấp nhận giữa giá trị đo hoặc tạo ra bởi chuẩn tham chiếu dẫn xuất với giá trị đo và sử dụng bởi ELM, và trong khoảng thời gian quy định theo hợp đồng.
10.4 Trang thiết bị kiểm định và hiệu chuẩn
10.4.1 Độ không đảm bảo tối đa cho phép của thiết bị hiệu chuẩn/kiểm định sẽ không lớn hơn 1/2 của độ chính xác mong muốn của thiết bị được hiệu chuẩn. Cho dầu thô và sản phẩm từ dầu mỏ với khối lượng riêng nặng hơn 85 API (khối lượng riêng tương đối là 0,6535), độ chính xác của thiết bị đo nhiệt độ là ± 0,5 °F (hoặc 0,3 °C), của thiết bị đo áp suất là ± 3 PSI (20 kPa), và khối lượng riêng tương đối của phép đo sẽ là ± 0,001. Với Hydrocacbon nhẹ hơn 0,6535 có thể yêu cầu chặt chẽ hơn về dung sai để duy trì độ chính xác phù hợp của các hệ số CTL và CPL. Phụ lục F có chứa các bảng trình bày tác động của sai số nhiệt độ, áp suất, khối lượng riêng tương ứng với các hệ số hiệu chính trong việc hiệu chính thể tích và có thể sử dụng như hướng dẫn để xác định độ nhạy cho từng ứng dụng riêng biệt. Một phân tích cho tác động của mỗi biến đầu vào dựa vào bản ghi lượng và lượng giao dịch cuối cùng, sử dụng kỹ thuật đã mô tả trong mục 6 “độ không đảm bảo hệ thống”, cũng có thể thực hiện để xác định độ chính xác yêu cầu thực tế cho mỗi tham số được thể hiện với đơn vị phù hợp cho tham số đó (°F, °C, PSI, kPa,...)
10.4.2 Độ không đảm bảo đối với đọc ra hoặc các thiết bị đo thông thường là liên quan tới phần trăm của toàn bộ thang đọc. Độ không đảm bảo của số đọc mong muốn phải được tính toán cho từng điểm. Ví dụ, một thiết bị đo với độ chính xác được chỉ ra là 0,05 % trong toàn bộ dải đo từ 0 tới 100 sẽ tương ứng với một độ chính xác chỉ 0,2 % của số đọc tại 25 (0,05 % của 100 = 0,05; 0,05/25 = 0.2 %). Các chữ số có nghĩa cũng phải được thể hiện trên số đọc ra để đảm bảo độ chính xác phù hợp của phép đo.
10.5 Các quy trình hiệu chuẩn
Các thiết bị ELM và các cảm biến, bộ chuyển đổi và bộ phân tích riêng lẻ của nó khác biệt đáng kể trong các phương pháp hiệu chuẩn. Một số có điểm không, phạm vi và điều chỉnh tuyến tính, trong khi một số chỉ có điểm không và phạm vi. Một số khác được hiệu chuẩn thông qua sự điều chỉnh phần mềm hệ thống (các bộ chuyển đổi thông minh) và yêu cầu không cần sự điều chỉnh cơ học. Tín hiệu đầu ra của chúng có thể là điện áp, dòng điện hoặc tần số xung hoặc cũng có thể là kết nối số. Với những lý do này, người sử dụng phải tham khảo tới hướng dẫn vận hành của nhà sản xuất cho từng bước của các quy trình hiệu chuẩn.
10.5.1 Các vòng lặp tín hiệu đa thành phần
10.5.1.1 Phần lớn Vòng lặp tín hiệu sẽ bao gồm một bộ truyền đổi mà bộ này gửi trực tiếp tín hiệu của nó tới đầu vào thiết bị ELM. Trong quá trình chạy thử thiết bị, mỗi một thành phần trong phạm vi vòng lặp tín hiệu I/O của ELM cần được hiệu chuẩn riêng biệt sử dụng thiết bị dẫn xuất. Toàn bộ hệ thống hiệu chuẩn sau đó cần thực hiện bằng cách đặt các cảm biến vào trong một điều kiện vật lý đã được biết (nhiệt độ, áp suất,...) và điều chỉnh một thiết bị đơn cho tới khi một giá trị số chuyển đổi cuối cùng phù hợp với đại lượng vật lý đã biết trong phạm vi dung sai yêu cầu. Ưu tiên, và có thể là cần thiết, cho việc thực hiện cùng những bước này cho các phép hiệu chuẩn thông thường.
10.5.1.2 Thậm chí với mỗi thành phần đơn lẻ trong vòng lặp đã được hiệu chuẩn đúng, các thành phần kết hợp có thể không tái tạo phù hợp một đầu vào chuẩn tại thiết bị thứ ba bởi vì tác động tích lũy của các sai số của từng thiết bị. Kết quả là cần thiết để xác định cho mỗi hệ thống thiết bị nào phải được điều chỉnh cuối cùng. Trong trường hợp bộ chuyển đổi thông thường, thiết bị điển hình là bộ chuyển đổi. Một vài bộ chuyển đổi thông minh không tạo ra sự điều chỉnh cuối cùng đơn giản và thiết bị thứ ba sẽ là lựa chọn ưu tiên. Nơi mà nhiều thiết bị phức tạp cùng hiện diện trong một vòng lặp đơn, cùng một thiết bị luôn nên được điều chỉnh cho mỗi vòng lặp hiệu chuẩn. Không mong muốn hiệu chuẩn lại dải đo của đầu vào thiết bị thứ ba, từ 0-300 thành 3-300, trong trường hợp tín hiệu thấp hơn 1 %, để hiệu chuẩn toàn bộ vòng lặp. Tuy nhiên, nếu một thiết bị thứ ba có yêu cầu sự điều chỉnh số các giá trị của phạm vi tương tự, điều này có thể chấp nhận.
10.5.1.3 Khi các tín hiệu biến quá trình được hiệu chuẩn, bất kể thiết bị trong vòng lặp được điều chỉnh, kết quả cuối cùng phải là tín hiệu đại diện thiết bị thứ ba phải phù hợp với tín hiệu tham chiếu trong phạm vi dung sai yêu cầu.
10.5.2 Hiệu chuẩn đầu vào của thiết bị thứ ba của ELM
Có thể hiệu chuẩn xử lý tín hiệu cho các đầu vào tương tự tại thiết bị thứ ba của ELM. Nếu một thiết bị thứ ba của ELM nhận các tín hiệu tương tự, và xử lý tín hiệu cho các đầu vào đó có thể được hiệu chuẩn, cũng có thể cần thiết điều chỉnh riêng biệt chúng trước khi hiệu chuẩn toàn bộ tín hiệu vòng lặp. Việc hiệu chuẩn này không được thực hiện thường xuyên bởi vì các đầu vào này thường khá ổn định hoặc không điều chỉnh. Một nguồn tín hiệu dẫn xuất đã biết, dòng, xung,... sẽ dẫn xuất trên đầu vào thiết bị thứ ba tối thiểu tại 3 điểm trên toàn dải đo. Thiết bị thứ ba sẽ được hiệu chuẩn trong phạm vi dung sai yêu cầu.
10.5.3 Các thiết bị hiệu chuẩn trung gian
Sử dụng bộ điều chế trung gian và cách ly tín hiệu trung gian là không được khuyến khích do các độ không đảm bảo bổ sung được đưa vào. Các thiết bị được hiệu chuẩn riêng biệt trước khi hiệu chuẩn hệ thống. Các thiết bị này được hiệu chuẩn đặc biệt bởi điểm 0 và toàn bộ dải đo của tín hiệu đầu vào và hiệu chuẩn cho tín hiệu đầu ra chuẩn xác. Người ta cũng có thể chấp nhận sử dụng thiết bị thứ ba như là thiết bị đọc ra bởi sự hiệu chuẩn đầu tiên cho nó, sau đó hiệu chuẩn các thiết bị trung gian bằng cách làm việc với các cảm biến.
10.5.4 Sự hiệu chuẩn các thiết bị nhiệt độ
10.5.4.1 Hiệu chuẩn bộ truyền đổi được thực hiện bởi kiểm định cảm biến và bộ truyền đổi cùng với nhau như là một bộ phận, với cảm biến đặt trong môi trường kiểm soát nhiệt độ hoặc bởi mô phỏng đầu vào cảm biến nhiệt độ cho nhiệt cho trước. Mô phỏng cảm biến thực hiện tốt nhất khi thuộc tính của mỗi cảm biến riêng lẻ là được biết và sử dụng, như đối lập với các bảng được tiêu chuẩn hóa. Thiết bị mô phỏng nên có độ phân giải tối thiểu và sai số 0,1 °F hoặc 0,05 °C.
10.5.4.2 Nếu một cảm biến thay đổi trong một bộ truyền đổi nhiệt độ thông minh, và một bộ truyền đổi yêu cầu đạt được yêu cầu nghiêm ngặt về độ chính xác, toàn bộ bộ truyền đổi nên được đưa về nhà sản xuất hoặc một phòng thử nghiệm đo lường được đánh giá để hiệu chuẩn lại như một bộ phận để đảm bảo thuộc tính đo lường được duy trì.
10.5.4.3 Các đồ thị trong Hình 3 mô tả dung sai IEC 751 cho lớp A và B của các cảm biến RTD. Điều này cũng được tham chiếu tới các nhà sản xuất như là tính hoán đổi hoặc các phạm vi chính xác. Mỗi nhà sản xuất riêng biệt có thể có phạm vi dung sai khác cho các cảm biến đặc thù của họ. Như thấy trên đồ thị, một sai số lớn hơn 1,8 °F hoặc 0,9 °C có thể tạo ra bởi RTD lớp B, phụ thuộc vào dải nhiệt độ vận hành. Vì lý do này, nếu phương pháp hiệu chuẩn điện trở thay thế được sử dụng, mỗi bảng nhiệt-điện trở RTD riêng biệt phải được sử dụng. Hơn nữa, nhà sản xuất yêu cầu đối với thiết bị của họ sử dụng Callendar-Van Dusen, IPTS68, ITS90, hoặc các hằng số hiệu chuẩn tương tự. Các hằng số này xuất phát bởi thử nghiệm các cảm biến RTD riêng biệt. Các hằng số cho các RTD riêng biệt sau đó được nạp vào lần lượt các bộ truyền đổi của họ.

Hình 3 - Biểu đồ dung sai RTD 100 Ohm
10.5.4.4 Bất kể một sự mô phỏng cảm biến hoặc một bình điều nhiệt được sử dụng hay không, tối thiểu 3 điểm nên được kiểm tra. Nếu bất kỳ sự điều chỉnh được tạo ra, cả số đọc “trước” và “sau” nên được lưu lại. Nếu điều chỉnh tuyến tính được thực hiện, tuân thủ các quy trình của nhà sản xuất để xác định điểm tại đó điều chỉnh được thực hiện.
10.5.4.5 Sự hiệu chuẩn cảm biến nhiệt độ thực tế là không thể thực hiện bởi người sử dụng, nhưng cảm biến phải bao gồm trong vòng lặp khi kiểm định hệ thống. Nếu chỉ kiểm định một điểm đơn nhiệt độ được thực hiện, nó nên thực hiện tại điểm rất gần nhiệt độ dòng chảy. Nếu 2 hoặc nhiều hơn các điểm nhiệt độ được thực hiện kiểm định, các điểm này nên phủ phạm vi vận hành mong muốn.
10.5.4.6 Kiểm định cuối cùng tại điều kiện vận hành bình thường nên được thực hiện bằng cách đặt cảm biến và bộ chuyển đổi về trở lại điểm làm việc và và kiểm tra số đọc trên ELM so với đầu đo nhiệt độ dẫn xuất. Quan trọng phải chỉ rõ đúng kiểu cảm biến nhúng (một phần hoặc toàn bộ) và sử dụng một môi trường dẫn nhiệt để đảm bảo nhiệt truyền đúng từ vỏ tới cảm biến. Xem trong 10.6.1 cho thông tin về sử dụng chính xác đầu đo nhiệt.
10.5.5 Hiệu chuẩn các thiết bị đo áp suất
10.5.5.1 Hiệu chuẩn bộ truyền đổi được thực hiện bằng cách dùng áp suất đã biết trên cảm biến áp suất. Bộ truyền đổi nên được kiểm tra tại tối thiểu 3 điểm. Nếu bất kỳ sự điều chỉnh nào được thực hiện, cả số đọc “trước” và “sau” sẽ được lưu lại. Nếu các sự điều chỉnh tuyến tính được thực hiện, tuân thủ các thủ tục của nhà sản xuất để xác định điểm thực hiện điều chỉnh. Độ chênh lệch cao độ giữa nguồn áp suất và cảm biến có thể tạo ra sai số khi môi chất là chất lỏng. Điều này trở nên đáng kể khi áp suất là thấp (100 psi/700 kPa hoặc nhỏ hơn). Các bộ truyền đổi và thiết bị chuẩn không nên gắn trên đường dòng đang được đo.
10.5.5.2 Một kiểm định cuối cùng tại các điều kiện vận hành bình thường nên được thực hiện bằng cách đặt cảm biến và bộ truyền đổi ngược trở lại dịch vụ và kiểm tra số đọc trên thiết bị thứ ba so với áp suất dẫn xuất chuẩn.
10.5.6 Hiệu chuẩn các thiết bị điện tử phía hạ lưu
Các thiết bị điện tử phía hạ lưu có mối liên kết số tới thiết bị thứ ba, phải tạo ra một cách thức để đảm bảo rằng dữ liệu được truyền từ thiết bị thứ ba và dữ liệu nhận được là một và giống nhau.
10.5.7 Kiểm chứng các thiết bị tỷ trọng kế
10.5.7.1 Kiểm chứng một tỷ trọng kế được thực hiện đặc biệt bởi tính toán hệ số tỷ trọng kế. Thủ tục hiệu chuẩn cho các ứng dụng giao nhận được tạo ra trong Chương 14, Phần 6 “Đo liên tục khối lượng riêng” của API MPMS. Hệ số tỷ trọng (DMF) được xác định bằng công thức:
| DMF | = | ρtp |
| phương pháp hệ số tỷ trọng kế |
Trong đó
ρtp tỷ trọng chuẩn trong cùng đơn vị như là tỷ trọng kế trực tuyến trực tuyến.
10.5.7.2 Nếu tỷ trọng kế tạo ra một tín hiệu ra tương tự được sử dụng như một đầu vào của thiết bị thứ ba, tín hiệu này phải được hiệu chuẩn theo khuyến cáo của nhà sản xuất.
10.5.8 Hiệu chuẩn các bộ truyền đổi thông thường
Các bộ truyền đổi mà nó tạo ra tín hiệu tương tự đầu ra cho phép hiệu chỉnh điểm 0, phạm vi và đôi khi điều chỉnh tuyến tính. Khi hiệu chuẩn một bộ truyền đổi thông thường đặt biến quá trình tương ứng với giá trị dải thấp và điều chỉnh điểm 0. Áp dụng toàn thang của biến quá trình và điều chỉnh phạm vi. Kiểm tra độ tuyến tính tại điểm giữa, điểm vận hành bình thường hoặc điểm được chỉ ra bởi nhà sản xuất. Tất cả các giá trị cần nằm trong phạm vi cấp chính xác đã công bố của bộ truyền đổi. Chỉnh tuyến tính nếu có thể. Bất kỳ điều chỉnh độ tuyến tính phải điều chỉnh tiếp theo điểm 0 và phạm vi.
10.5.9 Hiệu chuẩn các bộ truyền đổi thông minh
10.5.9.1 Các bộ truyền đổi thông minh có chứa cả phần tương tự và phần số với phần đầu vào và đầu ra đang là tương tự và phần điều chế tín hiệu trung gian đang là số. Điều chế tín hiệu đầu ra số, trước khi chuyển đổi sang tín hiệu tương tự, thường có thể là một tín hiệu số tới thiết bị thứ ba. Sử dụng khả năng truyền của tín hiệu số là mong muốn bởi vì nó loại trừ hai bộ chuyển đổi tương tự/số. Nếu tín hiệu số đang được sử dụng và nếu phần đầu vào tương tự không thể điều chỉnh bởi người sử dụng, thiết bị thứ ba cần có thể thực hiện sự hiệu chính cho các thiết bị thứ cấp. Vì vậy việc nắm rõ hiệu chuẩn các phần khác nhau của các bộ truyền đổi thông minh là quan trọng.
10.5.9.2 Các nhà sản xuất bộ truyền đổi áp suất thông minh thường ghép cảm biến và các thiết bị điện tử khi chúng thường cùng có mặt trong cùng 1 vỏ của bộ truyền đổi và được cung cấp như là một đơn vị. Các hệ thống cảm biến nhiệt độ thường bao gồm các cảm biến và thiết bị điện tử riêng biệt nhau. Trong khi một vài nhà sản xuất có thể ghép một bộ truyền đổi thông minh với một cảm biến nhiệt độ, thông thường để thuận tiện cho người sử dụng.
10.5.9.3 Trừ khi tín hiệu ra số đang được sử dụng, tín hiệu đầu ra tương tự của bộ truyền đổi thông minh nên được hiệu chuẩn trước, cần phải sử dụng hoặc trang thiết bị chuẩn độ chính xác cao hoặc thiết bị thứ ba. Nếu thiết bị thứ ba sử dụng để đọc ra kết quả, bất kỳ thiết bị trung gian và phần đầu vào của thiết bị thứ ba phải được hiệu chuẩn trước khi hiệu chuẩn bộ truyền đổi thông minh.
10.5.9.4 Để đạt độ chính xác cao nhất, phần đầu vào của bộ truyền đổi thông minh cần ghép khớp với cảm biến. Không phải toàn bộ các bộ truyền đổi cho phép người sử dụng truy cập vào chức năng này. Trong trường hợp cảm biến kiểu RTD và nhiệt điện trở, điện trở tại tối thiểu 3 điểm nhiệt độ nên được biết, 2 trong số đó phù hợp với các điềm mút của dải hiệu chuẩn.
10.6 Các quy trình kiểm định
Các phép kiểm tra kiểm định là một công cụ chuẩn sửa lỗi giá trị (nhưng không thay thế được cho hiệu chuẩn) và nên được thực hiện bởi việc so sánh giá trị ELM tại các điều kiện vận hành bình thường của mỗi một biến đầu vào với giá trị được xác định bởi chuẩn tham chiếu dẫn xuất. Bằng cách sử dụng giá trị hiển thị, độ chính xác của các tín hiệu điện tử giữa các cảm biến và thiết bị tính toán lưu lượng cũng sẽ được kiểm định. Giới hạn kiểm tra nên được xác lập cho sự khác biệt giữa chuẩn tham chiếu và thiết bị thứ ba. Phân tích độ nhạy sẽ xác định giới hạn phù hợp cho mỗi biến. Phụ lục F đã được tạo ra như một sự trợ giúp trong việc đánh giá các ảnh hưởng của nhiệt độ, áp suất và khối lượng riêng nhờ vào các hệ số CTL và CPL. Xem Phần 6 để có thêm các thảo luận về độ nhạy và tác động của nó dựa vào độ không đảm bảo. Các phép kiểm định, được thực hiện thường xuyên hơn hiệu chuẩn, tạo ra sự đảm bảo rằng các thiết bị thứ hai và thứ ba đang liên tục làm việc trong phạm vi giới hạn kiểm soát có thể chấp nhận. Nếu các kết quả của các phép kiểm tra kiểm định rơi ra ngoài giới hạn kiểm soát có thể chấp nhận được, một phép hiệu chuẩn và chuẩn đoán lỗi sẽ được yêu cầu.
10.6.1 Kiểm định của các thiết bị đo nhiệt độ
10.6.1.1 Kiểm định cảm biến/bộ truyền đổi được thực hiện bởi việc so sánh nhiệt độ của dòng chảy tại các điều kiện bình thường, được chỉ thị bởi thiết bị ELM, với một nhiệt kế chuẩn. Điều này được thực hiện tốt nhất bằng cách sử dụng một nhiệt kế chuẩn gần với cảm biến nhiệt kế của ELM và với dòng chảy đủ để loại trừ sự phân tầng nhiệt độ. Nhiệt độ nên đặt tại các điều kiện vận hành bình thường. Các nhiệt kế điện tử là một sự lựa chọn tốt hơn nếu các lỗ lấy nhiệt kế cản trở việc sử dụng phù hợp các nhiệt kế thủy tinh. Các nhiệt kế điện tử phải đạt được các yêu cầu của Chương 7 MPMS. Như một sự lựa chọn, một bể nhiệt, cài đặt tại điều kiện vận hành bình thường, có thể được sử dụng thích ứng với cả cảm biến nhiệt của ELM và nhiệt kế chuẩn.
10.6.1.2 Các nhiệt kế thủy tinh chính xác có dụng sai khắc vạch thang đo từ 0,2 °F đến 0,5 °F và nên được cung cấp với một bảng hiệu chính thang đo. Chúng có thể là kiểu nhúng một phần hoặc nhúng toàn phần. Các nhiệt kế nhúng một phần nên được nhúng tới mức phù hợp như đã được đánh dấu trên nhiệt kế. Sử dụng tại các chiều sâu nhúng khác nhau hoặc tại các nhiệt độ môi trường khác biệt đáng kể đối với nhiệt độ mà nhiệt kế được chứng nhận có thể yêu cầu việc hiệu chính thân. Các nhiệt kế nhúng toàn phần được nhúng điển hình một phần trong lỗ lấy nhiệt. Phần thân sử dụng bên ngoài lỗ lấy nhiệt sẽ đáp ứng với nhiệt độ môi trường, phần thân này có thể gây ra một sai số đọc đáng kể, phụ thuộc vào sự khác biệt giữa nhiệt độ đang được đo và nhiệt độ môi trường, và phần thân lộ trong điều kiện khí quyển. Việc hiệu chính có thể được thực hiện, và một phương pháp hiệu chính cho các nhiệt kế nhúng toàn phần có trong Phụ lục C.
10.6.1.3 Khi một phép kiểm tra kiểm định được thực hiện, các số đọc “trước” nên được lưu lại và so sánh với thiết bị chuẩn. Nếu số đọc “trước” sai so với thiết bị chuẩn trong phạm vi giới hạn kiểm soát yêu cầu, việc hiệu chuẩn thiết bị đó sẽ được yêu cầu. Nhiệt kế chuẩn nên có độ phân giải tối thiểu là 0,2 °F (0,1 °C). Nếu thiết bị đang được kiểm định là để cung cấp dữ liệu để sử dụng trong suốt quá trình kiểm chứng, nó nên phù hợp trong phạm vi 0,2 °F (0,1 °C) của thiết bị chuẩn.
10.6.2 Kiểm định các thiết bị đo áp suất
10.6.2.1 Kiểm định cảm biến/bộ truyền đổi được thực hiện bởi việc đo áp suất của dòng chảy tại cùng vị trí lỗ lấy áp như cảm biến áp suất ELM hoặc một lỗ lấy áp gần cạnh với lỗ đo áp suất. Phải không có khác biệt đáng kể chênh áp giữa các lỗ đo. Áp suất nên được kiểm tra tại các điều kiện vận hành bình thường.
10.6.2.2 Các tác động của sự thay đổi áp suất nên thể tích của hy-dro-cac-bon nặng nhỏ hơn so với tác động gây ra bởi nhiệt độ. Thiết bị cảm biến áp suất với độ chính xác ± 3 psi (20 kPa) là phù hợp khi sử dụng Bảng 11.2.1 (xem Chú thích 1). Khi sử dụng các hệ số từ chương 11.2.2 của MPMS cho hy-dro-cac-bon nhẹ, độ chính xác tối thiểu là ± 3 psi (20 kPa) có thể được yêu cầu trong phần nhạy nhất của bảng tại các áp suất vận hành thấp (xem Chú thích 2). Tại các áp suất cao và các phần khác của bảng, chỉ cần độ chính xác thấp hơn nếu không đặt ra yêu cầu. Hy-dro-cac-bon nhẹ rất nhạy với nhiệt độ và áp suất, và việc phân tích độ nhạy được khuyến cáo khi sử dụng Bảng 11.2.2 hoặc các mô hình toán khác, chẳng hạn như công thức trạng thái. Xem phần 6 cho thêm thông tin về độ không đảm bảo.
CHÚ THÍCH 1: Tại phần nhạy nhất của bảng hiệu chính của nhiệt độ và áp suất trong chương 11.1 và 11.2.1, sự thay đổi theo thể tích gây ra bởi sự thay đổi 0,1 °F (0,56 °C) trùng với thay đổi thể tích gây ra bởi sự thay đổi 26 psi (179,3 kPa).
CHÚ THÍCH 2: Phần nhạy nhất là xấp xỉ tại tỷ trọng tương đối 0,390 và tại nhiệt độ tối đa là 82,5 °F (28,1 °C).
10.6.3 Kiểm định của các thiết bị đo tỷ trọng
Thủ tục kiểm định các trang thiết bị đo tỷ trọng có thể thực hiện bởi một trong các phương pháp sau đây. Tuy nhiên việc kiểm chứng cho các trang thiết đo tỷ trọng ngoài hiện trường nên thực hiện theo API MPMS, Chương 14, Phần 6, sử dụng phương pháp dùng tỷ trọng kế:
a) So sánh mẫu trực tiếp sử dụng bình tỷ trọng kế;
b) So sánh mẫu trực tiếp sử dụng tỷ trọng kế phòng thử nghiệm;
c) So sánh mẫu trực tiếp sử dụng tỷ trọng kế;
d) So sánh với tỷ trọng kế chuẩn mắc song song hoặc nối tiếp;
e) Kiểm định sử dụng chất lưu chuẩn.
Phương pháp phù hợp phụ thuộc vào yêu cầu độ chính xác. Quá trình làm sạch, sửa chữa hoặc hiệu chuẩn của tỷ trọng kế “trực tuyến” được cho phép nếu các kết quả so sánh vượt ra ngoài độ chính xác công bố của thiết bị hoặc giá trị đó vượt quá những giá trị được chấp thuận. Sử dụng các dung môi phù hợp cho chất lưu đang được đo. Làm sạch bằng cơ học cần thực hiện một cách thận trọng để không phá hủy bề mặt của thiết bị cảm biến. Lấy tất cả các chất cặn lắng nào tìm thấy trên cảm biến. Sau khi tỷ trọng kế được làm sạch, cần thiết phải thực hiện một phép so sánh kiểm định khác với một môi chất hoặc thiết bị tham chiếu.
10.6.3.1 Kiểm định tỷ trọng kế sử dụng bình tỷ trọng
Bình tỷ trọng nhận được mẫu có cùng tỷ trọng, nhiệt độ và áp suất như tỷ trọng kế trực tuyến tại thời điểm mẫu dược lấy.
10.6.3.2 Sử dụng các tỷ trọng kế tại phòng thử nghiệm và dụng cụ đo tỷ trọng yêu cầu tỷ trọng, nhiệt độ, áp suất là đạt được tại thời điểm mẫu được lấy, hoặc tỷ trọng được chỉ thị được hiệu chính về điều kiện chuẩn. Các chất lưu dễ bay hơi phải được lấy mẫu và kiểm chứng dưới áp suất. Do thông thường không thể tái tạo lại các điều kiện đối với các tỷ trọng kế tại phòng thử nghiệm hay thiết bị đo tỷ trọng như tại các tỷ trọng kế trực tuyến, việc hiệu chính thường được thực hiện với cả các tỷ trọng kế trực tuyến và các số đọc tỷ trọng chuẩn để đạt được các tỷ trọng tại các điều kiện chuẩn. Các tỷ trọng kế tại phòng thử nghiệm thông thường có buồng kiểm soát nhiệt độ cho phép đặt tới nhiệt độ chuẩn, vì vậy không cần thiết phải hiệu chính nhiệt độ về điều kiện chuẩn. Nếu chất lưu là ổn định tại các điều kiện chuẩn tới mức mà áp suất có thể bỏ qua, không cần hiệu chính áp suất. Tham khảo ASTM D 5002 cho phương pháp sử dụng tỷ trọng kế tại phòng thử nghiệm và API MPMS Chương 9, Phần 1, 2 và 3 cho phương pháp dùng dụng cụ đo tỷ trọng.
10.6.3.3 Kiểm định tỷ trọng kế sử dụng tỷ trọng kế mắc nối tiếp.
Các so sánh định kỳ với một tỷ trọng kế chuẩn hoặc tỷ trọng kế dư ra mắc nối tiếp cho phép tỷ trọng thực tế được so sánh, miễn sao cùng nhiệt độ và áp suất tại mỗi thiết bị. Nếu không được, cần đo nhiệt độ và/hoặc áp suất tại mỗi thiết bị và thực hiện hiệu chính số đọc về điều kiện chuẩn.
10.6.3.4 Kiểm định tỷ trọng kế sử dụng các môi chất chuẩn
Việc sử dụng các môi chất chuẩn yêu cầu tỷ trọng kế trực tuyến được cách ly từ môi chất làm việc. Nếu môi chất chuẩn là phù hợp và gần với tỷ trọng làm việc, việc làm sạch có thể không cần thiết. Hai chất lưu sẵn có là không khí và nước cất được khử khí. Nó sẽ là cần thiết để làm sạch các phần nhúng ướt của tỷ trọng kế trước khi thử nghiệm với 2 môi chất này. Các hy-dro-cac-bon phải được loại bỏ và dung môi cuối cùng phải phù hợp với nước. Công thức Wagenbreth có thể được sử dụng để xác định tỷ trọng của nước tại các nhiệt độ khác nhau. Chương 14, phần 6 của API MPMS có chứa các công thức cho không khí cũng như công thức Wagenbreth.
10.6.4 Kiểm định các thiết bị tạo ra xung
Tính bảo mật và trung thực của các tín hiệu xung có thể được cải thiện bằng cách sử dụng phương pháp so sánh xung như mô tả trong API MPMS Chương 5, Phần 5. Điều này cùng với việc kiểm chứng thường xuyên sẽ đảm bảo độ chính xác của xung. Có thể sử dụng máy hiện sóng để đánh giá mức và hình dạng của xung. Thiết bị phải sẵn sàng để kiểm định xung cho bất kỳ phương pháp nào được sử dụng. Kiểm tra này có thể được thực hiện hoặc định kỳ với trang thiết bị kiểm tra riêng biệt hoặc liên tục bên trong thiết bị thứ ba của ELM.
10.6.5 Kiểm định kênh đầu vào xung
10.6.5.1 Nên chú ý rằng hầu hết các kênh đầu vào xung được sử dụng trong thiết bị thứ ba ELM không có điều chỉnh để biến đổi tín hiệu đầu vào. Các điều chỉnh ngưỡng kích hoạt có thể tác động tới số lượng xung được phát hiện. Trong chế độ chẩn đoán trong thiết bị thứ ba với tín hiệu đầu vào hiển thị, tần số hiển thị nên bằng với tần số cảm ứng từ bộ hiệu chuẩn tần số được dẫn xuất. Một phương pháp thay thế là lấy các giá trị tích lũy tại thời gian đã biết và tính tần số để so sánh với bộ hiệu chuẩn.
10.6.5.2 Để kiểm định độ chính xác của lượng hiển thị đối với lượng xung đến thiết bị thứ ba từ bộ phát xung, kích hoạt một số rời rạc các xung từ bộ phát xung được dẫn xuất vào trong thiết bị thứ ba. Tính toán lưu lượng tổng bằng cách sử dụng các xung tạo ra và hệ số K. So sánh lượng này với lượng hiển thị.
10.7 Xem xét nhiệt độ môi trường
10.7.1 Các thiết bị ELM thông thường được lắp đặt trong môi trường không kiểm soát. Phản ứng của các thiết bị này dưới điều kiện thay đổi khí hậu có thể tác động tới đặc tính đo lường và độ chính xác của phép đo lưu lượng. Mọi sự thay đổi hoặc quá ngưỡng của nhiệt độ môi trường có thể gây ra độ lệch hệ thống đáng kể và có những tác động nghiêm trọng lên độ chính xác của phép đo. Dải nhiệt độ môi trường và tác động tương ứng của nó lên độ không đảm bảo (thí dụ thay đổi phần trăm toàn thang/độ so với chuẩn) nên được liệt kê trong các thông số kỹ thuật về đặc trưng đo lường của nhà sản xuất và nên được xem xét khi lựa chọn và lắp đặt thiết bị ELM.
10.7.2 Băng hiệu chuẩn nên được xem xét nếu các điều kiện môi trường tương thích với hiệu chuẩn tại hiện trường. Trong quá trình kiểm định/hiệu chuẩn tại hiện trường, nhiệt độ môi trường nên được ghi lại. Các dao động nhiệt độ theo mùa nên được cân nhắc khi chuẩn bị lịch thời gian kiểm định và hiệu chuẩn. Sự thay đổi đáng kể trong nhiệt độ môi trường có thể tác động tới hiệu chuẩn thiết bị cũng như các thiết bị EFM đang được hiệu chuẩn.
10.7.3 Trang thiết bị thứ cấp được bảo vệ môi trường bằng cách sử dụng vỏ bọc hoặc vật liệu cách ly cũng nên được bảo vệ tương tự trong suốt quá trình hiệu chuẩn hoặc di chuyển tới môi trường được kiểm soát có cùng điều kiện. Kiểm định các thiết bị như vậy nên được thực hiện với thiết bị được cân bằng trong buồng được kiểm soát môi trường của nó.
11 Bảo mật
11.1 Sự truy cập
Chỉ người chủ sở hữu lưu lượng kế hoặc người đại diện được chỉ định bởi chủ hợp đồng mới có đủ thẩm quyền để hiệu chuẩn hoặc thay đổi chức năng của hệ thống đo lường theo bất cứ cách nào. Hơn nữa, người chủ sở hữu hoặc người đại diện được chỉ định bởi chủ hợp đồng bị giới hạn các hành động theo hợp đồng là cần thiết và thích hợp, xét tới các thực hành công nghiệp và các nghĩa vụ của hợp đồng.
11.2 Sự ngăn cấm truy cập
11.2.1 Các hệ thống phải được thiết kế để hạn chế sự truy cập cho mục đích thay đổi bất cứ các biến đầu vào mà có thể tác động đến kết quả đo bởi những người mà được ủy quyền để thực hiện. Một phương pháp khuyến cáo để đạt được mục đích này là yêu cầu nhập vào một mã bảo vệ duy nhất chứa ít nhất 4 ký tự trước khi thực hiện bất cứ vận hành nào mà có thể tác động tới kết quả đo. Các chủ sở hữu nên xem xét gắn những mã duy nhất hoặc biện pháp bảo vệ tới từng người để đảm bảo tất cả các bên cố gắng truy cập có thể nhận biết và đếm được.
11.2.2 Những biện pháp bảo vệ luân phiên cũng có thể được sử dụng để kiểm soát sự truy cập tới hệ thống. Những biện pháp này có thể bao gồm các thiết bị cơ khí và/hoặc các mức bảo vệ điện tử bổ xung.
11.2.3 Một mã bảo vệ có thể được sử dụng tại bất cứ thời điểm nào mà dữ liệu được thu thập từ hệ thống. Một mã bảo vệ sẽ được sử dụng tại mọi thời điểm mà bất cứ sự thay đổi hoặc sửa đổi nào được thực hiện làm thay đổi các lượng đang được đo.
11.3 Tính nguyên vẹn của dữ liệu được lưu
11.3.1 Sự thay đổi với bất cứ tham số lưu lượng nào sẽ nên lưu lại trong một lịch sử hoạt động như là phần của một bản ghi sự kiện, như đã được mô tả trong Phần 10.
11.3.2 Tại mỗi thời điểm một hằng số lưu lượng thay đổi trong hệ thống mà nó tác động tới thể tích được tính, giá trị mới và giá trị cũ, cùng với ngày và thời gian thay đổi, sẽ được lưu lại bằng phương pháp điện tử hoặc sao lưu phần cứng. Người ta cũng mong muốn lưu lại các số đọc tổng không xóa được bất cứ khi nào một giá trị lưu lượng bị thay đổi mà có thể tác động tới QTR.
11.3.3 Bất cứ sự điều chỉnh hoặc hiệu chính nào đến kết quả gốc hoặc là các giá trị được tính toán sẽ được lưu riêng và sẽ không làm thay đổi dữ liệu gốc. Cả dữ liệu gốc và dữ liệu được điều chỉnh kết thúc phải được duy trì. Sự điều chỉnh hoặc hiệu chính sẽ được thể hiện trong lịch sử hoạt động và sẽ chỉ thị rõ các giá trị mới và cũ và ngày tháng, thời gian của một hoặc các chu kỳ tác động bởi sự thay đổi. Một vài phương pháp xác định hiệu quả ngày tháng thay đổi phải được cung cấp.
11.4 Thuật toán bảo vệ
11.4.1 Tất cả các thuật toán sử dụng để tính toán lượng sẽ được bảo vệ khỏi sự thay đổi tại hiện trường hoặc các mức tài khoản hành chính, thậm chí bởi những người được cung cấp mã bảo vệ cần thiết để thực hiện các chức năng thông dụng khác. Sự thay đổi các thuật toán sẽ yêu cầu người mua và người bán sự chứng thực và phê duyệt và bởi các bên chịu tác động (chính phủ, nhà sản xuất thiết bị, người mua, người bán tương thích).
11.4.2 Khuyến cáo sự tách biệt của các chương trình và các cấu hình sử dụng cho tính toán lưu lượng và các hoạt động liên quan từ đó sử dụng cho các chức năng khác .
11.4.3 Sử dụng các thiết bị vật lý khác nhau là các cách tách biệt được ưu tiên. Tuy nhiên sự tách biệt các chức năng đó trong giao nhận từ các chương trình khác trong phạm vi một thiết bị đơn lẻ có thể chấp nhận được nếu thực hiện được việc bố trí bảo vệ đầy đủ và phải được chấp thuận bởi tất cả các bên có liên quan. Nên có các giới hạn truy cập riêng biệt, chẳng hạn như các mật khẩu khác nhau, mục đích để các chức năng bảo dưỡng hoặc kiểm soát không thể tác động tới tính toán lưu lượng hoặc ngược lại.
11.4.4 Theo sát sự thay đổi tới thuật toán hoặc các chức năng kiểm soát, hệ thống phải được kiểm tra toàn bộ để kiểm để kiểm tra sự hoạt động đúng của các chức năng tính toán lưu lượng giao nhận.
11.5 Bảo vệ bộ nhớ
11.5.1 Để tạo ra sự bảo vệ tối đa và tính toàn vẹn của dữ liệu, thiết bị ELM thứ ba sẽ được cung cấp một nguồn điện dự phòng hoặc khả năng phục hồi tất cả các dữ liệu trên bộ nhớ không xóa được theo chu kỳ không nhỏ hơn khoảng thời gian thông thường mà dữ liệu được thu thập cho thiết bị.
11.5.2 Khi nguồn điện sơ cấp bị gián đoạn, thời gian và ngày tháng của sự cố và thời gian và ngày tháng phục hồi lại trạng thái bình thường sẽ được lưu lại trong bản ghi sự kiện.
Phụ lục A
(tham khảo)
Máy tính phù hợp với phần cứng và các giới hạn phần mềm
A.1 Thông tin chung
A1.1 Phụ lục A không được viết như là một hướng dẫn hoặc toàn bộ thông tin liên quan đến toán máy tính. Nó chỉ được viết để cảnh báo người sử dụng thiết bị tính toán lưu lượng các nguồn sai số tiềm tàng có thể xuất hiện khi dữ liệu được điều khiển không đúng.
A1.2 Các máy tính số lưu các giá trị số học như thông tin nhị phân trong các thanh ghi bộ nhớ. Giá trị của các bit nhị phân và định dạng cụ thể của các bít thay đổi tùy thuộc theo kiểu dữ liệu và dạng mô hình tính toán.
A1.3 Một máy tính thực hiện các phép tính bởi điều khiển các thanh ghi, hoặc bởi một cấu trúc lập trình tuần tự (chẳng hạn như phần mềm) hoặc bởi sử dụng một mạch tích hợp đồng xử lý toán học đặc biệt (chẳng hạn như phần cứng).
A1.4 Trong thực tế, không có sự khác biệt giữa việc thực hiện các phép tính sử dụng phần mềm và phần cứng. Cả hai phương pháp là chính xác như nhau và là đối tượng dẫn đến các sai số tiềm tàng nếu các vận hành được tạo ra không phù hợp. Sự khác biệt chính giữa phần cứng và phần mềm là phần cứng đó thực hiện các toán tử toán học nhanh hơn.
A1.5 Độ rộng bít bên trong của vi xử lý hoặc máy tính là một chức năng của các thanh ghi dữ liệu bên trong sử dụng để kiểm soát dữ liệu (chẳng hạn 8 bít, 16 bít, 32 bít,...). Kích cỡ bít của các thanh ghi nội tại này không nên nhầm lẫn với kích cỡ bít của giá trị số đang được hoạt động trên đó. Một vi xử lý 8 bít có thể thực hiện cùng phép toán mà vi xử lý 32 bít thực hiện, nhưng sẽ mất nhiều thời gian hơn.
A.2 Các kiểu số sử dụng bởi máy tính
A2.1 Tổng quát chung
Dữ liệu số trong phạm vi máy tính thông thường rơi vào 2 dạng: số nguyên và số phẩy động.
A2.2 Các số nguyên
A2.2.1 Các số nguyên là các thanh ghi hoặc các thanh ghi giả được tạo ra trong bộ nhớ. Các số nguyên này là vài dạng số của độ rộng bít nhị phân (chẳng hạn 8 bít, 16 bít, 32 bít hoặc lớn hơn). Giá trị số lớn nhất có thể lưu trữ như một số nguyên là 2n - 1 trong đó n bằng với kích cỡ bít của thanh ghi số nguyên.
A2.2.2 Một số nguyên 16 bít vì vậy có thể thể hiện 216- 1 hoặc 65535. Tương tự như vậy một số nguyên 32 bít có thể thể hiện cớ bất kỳ một số nguyên lớn nhất bằng 232- 1 hoặc 4294967294. Một số nguyên cũng có thể biểu diễn 1 số có dấu (chẳng hạn +2501 tới -1235). Giá trị số nguyên có dấu dương lớn nhất có thể lưu là 2n-1 - 1 (bởi vì số 0 được tính như 1 số dương). Giá trị số nguyên có dấu âm lớn nhất có thể lưu là 2n-1 trong đó n là kích thước của bít của thanh ghi nguyên.
VÍ DỤ: một số nguyên có dấu 32 bít có thể biểu diễn bất kỳ số nguyên nào trong phạm vi giữa 231-1 (2147483646) và -231 (-2147483647).
A2.2.3 Một số nguyên có thể biểu diễn chính xác phần chẵn bất kỳ của bất kỳ số nào trong phạm vi giới hạn của nó.
A2.3 Các số phẩy động
A2.3.1 Các số phẩy động cũng có thể là các thanh ghi hoặc thanh ghi giả được hình thành từ các vị trí bộ nhớ. Các định dạng bít của các số phẩy động là phức tạp hơn, bao gồm một trường mũ và một trường phần định trị.
A2.3.2 Việc sử dụng phương pháp lưu trữ ký hiệu khoa học nhị phân chuyển độ phân giải và độ chính xác tuyệt đối của một số thành phạm vi lớn hơn của các số.
A2.3.3 Các số phẩy động là có thể biểu diễn một phạm vi lớn hơn của các giá trị dương và âm, số nguyên hoặc phân số, nhưng có thể không biểu diễn số chính xác.
A2.3.4 Số lượng bít được gán cho phần định trị hoặc phần phân số của một số xác định độ phân giải hoặc độ chính xác của số. Số lượng bít được gán cho phần mũ của số xác định phạm vi lớn nhất của số.
A2.3.5 Kích cỡ bít của phần mũ và phần định trị có thể thay đổi giữa các hệ thống máy tính khác nhau, nhưng có 2 dạng của các số phẩy động như được mô tả trong tiêu chuẩn IEEE cho số học số phẩy động nhị phân:
a) Độ chính xác đơn:
* Phạm vi xấp xỉ từ ±1,7 x 1038 đến ±1,7 x 10-38
* Độ phân giải xấp xỉ là 1/1,6 x 106
b) Độ chính xác kép
* Phạm vi xấp xỉ từ ±18 x 10308 đến ±18 x 10-308
* Độ phân giải xấp xỉ là 1/4,5 x 1015
A.3 Các vấn đề có thể xuất hiện
A3.1 Tổng quát chung
Những sai số mô tả bên dưới là điển hình của các kiểu sai số có thể xuất hiện khi dữ liệu được xử lý không phù hợp trong phạm vi máy tính.
A3.2 Tràn trên và tràn dưới của số nguyên
Các sai số kiểu tràn trên và tràn dưới của số nguyên xuất hiện khi nhân hoặc chia các số nguyên, và kết quả, hoặc kết quả trung gian, vượt quá khả năng lưu trữ của các thanh ghi hệ thống sử dụng trong phép tính. Các dấu hiệu của điều này là các số thay đổi tản mạn trong dấu của chúng, và/hoặc đột nhiên thay đổi lớn không mong muốn trong giá trị của kết quả dưới các điều kiện vận hành nhất định.
A3.3 Các sai số về độ phân giải của số phẩy động
A3.3.1 Các sai số về độ phân giải của số phẩy động xảy ra khi trừ hoặc cộng các số phẩy động nhỏ với các số phẩy động lớn. Các sai số này xảy ra bởi vì phần cứng hoặc phần mềm tính toán đầu tiên phải chuẩn hóa (làm bằng nhau) các trường số mũ của 2 số trước khi cộng các trường định trị của các số. Điều này được thực hiện bởi sự dịch chuyển trường định trị của bên phải số nhỏ và tăng trường số mũ cho tới khi 2 số mũ là bằng nhau. Thiết bị tính toán phải cung cấp đủ độ rộng bít thanh ghi trong suốt phép tính số học để đảm bảo rằng các bít có ý nghĩa nhỏ nhất của phần định trị là không bị cắt, do đó suy giảm độ phân giải của số.
A3.3.2 Các dấu hiệu của vấn đề này là các số tổng dừng tính tổng tích lũy khi số tổng này đạt tới một giá trị nhất định hoặc khi lưu lượng dòng chảy dưới một giá trị cụ thể. Các dấu hiệu khác là các tính toán hội tụ không đồng quy và các trung bình trọng số mà nó chính xác cho các lượng giao nhận nhỏ nhưng không chính xác cho các lượng giao nhận lớn.
A3.4 Các sai số tích lũy
Hầu hết các thiết bị tính toán lưu lượng tính toán số lượng dòng chảy tổng bằng cách cộng một cách tương đối nhiều các lượng tính toán nhỏ cho chu kỳ giao nhận tổng. Ví dụ, một giao dịch thương mại sau 24 h yêu cầu tối thiểu 86400 s tính toán và tính tổng (giả sử rằng chu kỳ tính toán chính là 1 s). Việc tính toán và tích phân đúng mỗi các lượng mẫu riêng lẻ sao cho chính xác là quan trọng. Ví dụ, một sai số nhất quán là 0,0001 trọng lượng đơn vị khi cộng mỗi một mẫu trên mỗi giây sẽ có nghĩa sai số tích lũy là 8,6 lượng đơn vị trong mỗi 24 h.
A3.5 Tích phân số nguyên
A3.5.1 Trong nhiều trường hợp bởi vì khả năng biểu diễn một cách chính xác dải các số của nó, lượng tổng được lưu trong các thanh ghi số nguyên. Trong những trường hợp này, các lượng mẫu riêng biệt được tính toán tại các độ phân giải có khả năng chấp nhận được và phải lấy tổng tại độ phân giải lớn nhất cho tới khi lượng tổng bằng hoặc lớn hơn độ phân giải bộ lấy tổng số nguyên. Phần nguyên của lượng tổng phải được dịch chuyển thành bộ lấy tổng số nguyên mà không có sai số và lượng phân số duy trì được lưu là tổng lượng các mẫu theo sau. Ví dụ, một thiết bị tính toán lưu lượng điển hình đang tính toán lượng 0,5555555556 thùng cho mỗi một giây của mẫu (bằng 2000 barrel/giờ). Nó đang tích lũy lượng tổng trong thanh ghi số nguyên với đơn vị của 1 barrel.
A 3.5.2 Ví dụ trình bày 1 phương pháp có thể sử dụng để thực hiện tích phân số nguyên với sai số có thể chấp nhận được. Chú ý rằng 1 sai số nhỏ của lượng trong 1 s là tồn tại, thậm chí nó có thể được tính toán tới 10 chữ số có nghĩa theo API MPMS Chương 12.2 lượng mẫu trong 1 s tại trường hợp này không thể biểu diễn chính xác lưu lượng dòng chảy, là 2000 thùng/giờ.
Phụ lục B
(tham khảo)
Các bộ chuyển đổi A/D và độ phân giải
B.1 Tổng quát chung
B.1.1 Số lượng bít hỗ trợ bởi bộ chuyển đổi A/D định nghĩa dải của chuyển đổi, thông thường được biểu diễn như là số đếm những phân đoạn mà có thể sử dụng để xác định độ phân giải. Độ phân giải được liên quan tới số của các phân đoạn mà 1 bộ chuyển đổi chia một tín hiệu tương tự vào. Độ phân giải là khác so với độ chính xác, đối với bộ chuyển đổi A/D là sai số xác định biên độ của tín hiệu. Độ chính xác được xác định ban đầu bởi độ ổn định, độ tuyến tính và độ lặp lại của bộ chuyển đổi A/D nhưng độ phân giải không phù hợp có thể giới hạn độ chính xác có thể đạt được của bất kỳ thiết bị nào. Xem Bảng B.1.
B.1.2 Các số tổng (hoặc phân đoạn) có thể được tính toán bằng cách lấy số mũ 2 của các bít tổng dưới đây:
Số đếm tổng = 2các bít tổng
Nếu biết các số đếm tổng có thể, độ phân giải có thể được tính toán theo phần trăm toàn dải như:
Độ phân giải = 100 x 1/các số đếm
VÍ DỤ: Giả sử một bộ chuyển đổi A/D 12 bít đang được sử dụng, số đếm tổng = 212 = 4096 số đếm. Vì vậy độ phân giải là 1/4096 hoặc theo phần trăm toàn dải là:
Độ phân giải % fs = 100 x 1/4096 = 0,0244 % FS
B.1.3 Trong thực tế một vài người chỉ sử dụng một phần của toàn dải của bộ chuyển đổi A/D để kiểm tra dải hiệu chuẩn thông thường của cảm biến. Các số đếm A/D còn lại được sử dụng để kiểm tra cảm biến trong miền quá dải trên hoặc miền thấp dưới dài. Xem Hình B.1.
B.1.4 Độ phân giải cơ bản của bộ chuyển đổi A/D giữ nguyên không thay đổi. Tuy nhiên dải tín hiệu đầu vào được dịch chuyển bởi bộ chuyển đổi A/D có thể khác với dải hoạt động được hiệu chuẩn.
Bảng B.1 - Độ phân giải của bộ chuyển đổi A/D
| Số lượng bít | Số đếm tổng | Độ phân giải (% FS) |
| 8 | 256 | 0,390625 |
| 12 | 4096 | 0,024414 |
| 14 | 16,384 | 0,006103 |
| 16 | 65,536 | 0,001526 |
| 18 | 262,144 | 0,000381 |
| 24 | 16,777,216 | 0,000006 |

Hình B.1 - Số đếm A/D theo cảm biến đầu vào cung cấp cho vùng ngoài/dưới phạm vi
Phụ lục C
(tham khảo)
Sự hiệu chính thân nổi cho các nhiệt kế thủy tinh
Độ chính xác của các nhiệt kế thủy tinh được hiệu chuẩn thông thường với toàn bộ thân được nhúng trong bể nhiệt mà bể đó xác định nhiệt độ của bầu nhiệt kế. Tuy nhiên, thực tế chung khi sử dụng một nhiệt kế thủy tinh thân của nó lộ ra bên ngoài của lỗ lấy nhiệt hoặc chất lỏng. Dưới các điều kiện như thế này, cả thân và thủy ngân trong phần thân lộ ra có nhiệt độ khác với bầu nhiệt kế. Điều này tạo ra một sai số trong nhiệt độ quan sát. Do hệ số giãn nở nhiệt của thủy tinh là nhỏ hơn thủy ngân nhiệt độ quan sát sẽ nhỏ hơn giá trị nhiệt độ đúng nếu bầu thủy ngân nóng hơn phần thân và lớn hơn giá trị đúng của nhiệt độ nếu gra-đi-en nhiệt là đảo nghịch. Với công việc yêu cầu chính xác, độ lớn của sai số này chỉ có thể xác định bởi thực nghiệm. Tuy nhiên trong hầu hết các ứng dụng và nơi mà thiếu thông tin của nhà sản xuất thì độ chính xác đủ để áp dụng công thức dưới đây, công thức lưu ý tới sự khác biệt về hệ số giãn nở nhiệt giữa thủy tinh và thủy ngân:
Tc=T+kn(T-t)
Trong đó
Tc nhiệt độ hiệu chính;
T nhiệt độ quan sát;
t nhiệt độ trung bình của phần thân lộ ra ngoài;
n số của độ lộ ra trên bề mặt của chất lỏng mà nhiệt độ của nó đang được đo;
k hệ số hiệu chính thủy ngân-thủy tinh; với độ F là 0,00009 còn với độ bách phân là 0,00016.
CHÚ THÍCH: Được trích dẫn từ ASTM E77.
Phụ lục D
(tham khảo)
Điện trở với nhiệt độ cho các nhiệt kế RTD bạch kim trong công nghiệp
D.1 Tổng quát chung
D1.1 Một vài bộ truyền đổi nhiệt độ thông minh có thể điều chỉnh tới 1 hoặc 2 điểm trên đường cong của nó nhưng yêu cầu rằng các giá trị đầu vào sử dụng trong giá trị bảng Ohm chuẩn thay vì độ của nhiệt độ. Sự hiệu chính Callendar-Van Dusen dưới đây là một phương pháp có thể sử dụng để tính toán bảng điện trở RTD nếu nhiệt độ là được biết cho nhiệt kế RTD với hệ số anpha là 0,00385. Các kỹ thuật tương tự có thể sử dụng cho các kiểu RTD khác. Nếu các hằng số cụ thể được biết cho cảm biến RTD, các giá trị bảng duy nhất với cảm biến đó có thể tính toán bằng cách sử dụng các công thức này:
Cho dải nhiệt độ từ 0 °C tới 850 °C
Rt = R0[1+At+Bt2]
Cho dải nhiệt độ từ -200 °C tới 0 °C
Rt = R0[1 +At+Bt2+C(t-100)t3]
Trong đó
| IPTS-68 | ITS-90 |
| A = 3,90802 x 10-3 | 3,9083-3 x 10-3 |
| B = -5,802 x 10-7 | -5,775 x 10-7 |
| C = -4,2735 x 10-12 | -4,183 x 10-17 |
Trong đó:
R0 điện trở thông thường của RTD tại 0 °C (32 °F), thông thường là 100 Ohm;
Rt điện trở của RTD tại nhiệt độ quan sát;
t nhiệt độ quan sát, °C.
D1.2 Hằng số ITS-90 là từ IEC 751 bản chỉnh sửa 2 và cập nhật công thức Callendar (0 °C và trước 0 °C) và công thức Callendar-Van Dusen (dưới 0 °C) mà các công thức được sử dụng trong DIN 43760 và các tiêu chuẩn khác dựa trên IPTS-68 để mang tới ITS-90. Người sử dụng các nhiệt kế được lưu ý để xác định thang nhiệt độ mà nhiệt độ được báo cáo, và khi sử dụng hoặc tham khảo tới một chuẩn, cần biết thang nhiệt độ mà chuẩn sử dụng.
D.1.3 Ngược lại, hiệu chính Callendar-Van Dusen có thể sử dụng để xác định nhiệt độ điện trở RTD. Với nhiệt độ trên 0 °C, một tính toán trực tiếp có thể được thực hiện. Với nhiệt độ dưới 0 °C, một bước lặp là cần thiết. Tuy nhiên, với dải nhiệt độ mà các bảng hiệu chính thể tích của hy-đrô-các-bon có thể áp dụng trên dải nhiệt độ đó thì một kết quả chính xác phù hợp có thể đạt được với một bước lặp đơn. Tới -50 °C sai số chỉ là 7x10-8 °C. Các sai số gia tăng tới 0,0025 °C tại nhiệt độ -200 °C. Trong khi các hằng số A, B và c cho mỗi RTD nên được sử dụng chính xác nhất, các hằng số chuẩn từ IED 751 được trình bày trong các ví dụ dưới đây khi các hằng số cụ thể nào đó bị thiếu. R0 thực tế tại 0 °C nên luôn luôn sử dụng, tuy nhiên:
Với dải từ 0 °C tới + 850 °C:

Với dải từ -200 °C tới 0 °C:


Trong đó

Trong đó
| IPTS-68 | ITS-90 |
| A= 3,90802 x 10-3 | 3,9083-3 x 10-3 |
| B= -5,802 x 10-7 | -5,775 x 10-7 |
| C= -4,2735 x 10-12 | -4,183 x 10-12 |
R0 điện trở RTD tại 0 °C, thông thường là 100 ohm, sử dụng giá trị thực tế của Ro nếu nó được biết;
Rt điện trở của RTD tại nhiệt độ đang đo;
S là hệ số hình dạng;
t là nhiệt độ, °C;
ti là giá trị tính toán ban đầu của nhiệt độ;
W1 là hệ số điện trở.
Phụ lục E
(tham khảo)
Thiết bị hiệu chuẩn và kiểm định
E.1 Áp suất
Thiết bị kiểm định và hiệu chuẩn áp suất được sử dụng để xác định chính xác hoặc tạo ra một tín hiệu áp suất trên thành phần cảm biến áp suất của một bộ truyền đổi áp suất tĩnh. Áp suất sử dụng cho tính toán bộ truyền đổi áp suất có thể được cung cấp từ các nguồn khác nhau. Đầu ra điện tử của bộ cảm biến áp suất sau đó được điều chỉnh hoặc hiệu chuẩn tương ứng với tín hiệu áp suất.
Trang thiết bị hiệu chuẩn/kiểm định áp suất được chia làm 3 dạng chính sau:
E.1.1 Thiết bị hiệu chuẩn quả cân
E.1.1.1 Một thiết bị mà tạo ra một tín hiệu thủy lực hoặc khí nén bằng cách đặt các khối lượng đã biết lên một pit-tông với kích cỡ đã biết là thông thường nhắc tới như một “bộ kiểm tra quả cân”. Bằng cách sử dụng các khối lượng chính xác và một pit-tông với tiết diện được xác định chính xác, những thiết bị này tạo nên một chuẩn thứ cho việc đo áp suất.
E.1.1.2 Do độ nhạy của thiết bị hiệu chuẩn/kiểm định, cần cân nhắc tới các hằng số trọng trường, cao độ, nhiệt độ, dao động, sự chuyển động của không khí và các yếu tố ảnh hưởng của môi trường khác. Tại vĩ độ nhỏ hơn 40° và lớn hơn 50° hoặc tại cao độ vượt quá 5 000 feet, các bộ kiểm tra quả cân có thể có sai số lớn hơn 0,05 % nếu các sự hiệu chính phù hợp không được thực hiện. Các quả cân có thể thông thường bị cắt bởi nhà sản xuất cho lực hấp dẫn cục bộ hoặc hiệu chính phù hợp được thực hiện để tính toán áp suất thực tế tạo ra. Lực hấp dẫn cục bộ có thể lấy từ:
NOAA, khảo sát địa chất quốc tế, N/NGS12
E.1.1.3 NGS sẽ cần đến vĩ độ, kinh độ và cao độ. Công thức đầu tiên bên dưới có thể sử dụng để tính toán một hệ số hiệu chính. Các công thức cuối cùng có thể được sử dụng để tính toán lực hấp dẫn cục bộ với độ chính xác đủ cho hầu hết các công việc hiệu chuẩn.
P = Pdw x g/980,665
Trong đó
g giá trị lực hấp dẫn cục bộ, cm/s2 là được biết bởi NGS hoặc sử dụng công thức bên dưới;
Pdw áp lực quả cân tại 980,665 cm/s2 (45°);
Từ 30° tới 60°:
g=980,665+[0,087(L-45)]-0,000094H
Từ 0° tới 90°:
g = 978,01855 - 0,0028247L + 0,0020299L2
-0,000015058L3 - 0,000094H
T rong đỏ
L kinh độ, °;
H chênh cao trên mực nước biển, feet.
Nhiệt độ sẽ tác động tới pit-tông và tiết diện của xy-lanh của bộ kiểm tra quả cân. Sự hiệu chính sau đây có thể được áp dụng cho sai số này:
![]()
Trong đó
ac hệ số giãn nở dài về nhiệt của xy-lanh;
ap hệ số giãn nở dài về nhiệt của pit-tông;
Ct hệ số hiệu chính cho nhiệt độ không tiêu chuẩn;
T nhiệt độ của cụm chi tiết xi-lanh - pit-tông, °F;
Tref nhiệt độ chuẩn sử dụng bởi nhà sản xuất bộ kiểm tra quả cân, thông thường là 77 °F.
E.1.2 Thiết bị hiệu chuẩn có thể điều chỉnh
Các thiết bị áp lực có thể điều chỉnh tạo ra một tín hiệu áp lực và đo tín hiệu tạo ra đó. Tín hiệu được điều chỉnh tới áp suất mong muốn được chỉ thị bởi thiết bị đo. Bộ tạo tín hiệu có thể được kế hợp với thiết bị đo-Sự kết hợp thông thường nhắc tới như một bộ hiệu chuẩn- hoặc bộ tạo ra áp lực và sự kết hợp các thiết bị đo lường có thể gồm có hai hoặc nhiều hơn các thiết bị riêng biệt.
E.1.3 Các thiết bị hiệu chuẩn đọc ra áp suất
Các thiết bị đọc ra chỉ đo tín hiệu áp suất cung cấp tới bộ truyền đổi áp suất từ quá trình hoặc từ nguồn bên ngoài.
E.2 Nhiệt độ
E.2.1 Thiết bị hiệu chuẩn/kiểm định nhiệt độ dòng chảy được sử dụng để kiểm định và hiệu chuẩn các thiết bị đo lường nhiệt độ của dòng chảy chất lưu. Nhiệt độ đo của dòng chất lưu được thực hiện bởi một thiết bị nhiệt độ với đồ gá cơ học phù hợp cho việc gắn nó trong dòng chảy. Phép đo thực hiện bởi phần tử cảm biến được sử dụng trực tiếp bởi thiết bị ELM hoặc truyền đổi thành các tín hiệu điện tử khác, chẳng hạn như dòng điện từ 4 mA đến 20 mA, bằng một bộ truyền đổi cho đầu vào đến thiết bị ELM.
E.2.2 Trong suốt quá trình kiểm định/hiệu chuẩn, cảm biến có thể đặt trong môi trường được kiểm soát nhiệt độ (một bể hoặc khối nhiệt). Độ chính xác của môi trường hiệu chuẩn nên là ± 0,2 °F (0,1 °C) hoặc tốt hơn. Yêu cầu về độ chính xác này bao gồm sự không đồng đều của bể hoặc khối nhiệt và độ chính xác của chuẩn nhiệt độ. Cần cẩn trọng thực hiện việc đặt cảm biến trong môi trường để tác động nhỏ nhất của độ dẫn nhiệt từ cảm biến tới nhiệt độ khí quyển, làm nóng không đều hoặc các yếu tố khác.
E.2.3 Các phương pháp thông dụng khác của việc hiệu chuẩn các bộ truyền đổi nhiệt điện trở RTD sử dụng một hộp điện trở chuẩn. Tín hiệu nhiệt vào trong bộ truyền đổi là được mô phỏng bằng cách thay thế một điện trở tương đương với RTD tại các điểm nhiệt độ mong muốn. Điều này sẽ loại bỏ sự cần thiết việc kiểm soát nhiệt độ môi trường tại hiện trường. Sau khi bộ truyền đổi được hiệu chuẩn sử dụng phương pháp thay thế điện trở, nó là được kết nối với cảm biến RTD. Một phép thử lỗ lấy nhiệt gần lỗ lấy nhiệt RTD được sử dụng để đo nhiệt độ dòng chảy bằng cách sử dụng một thiết bị chuẩn nhiệt độ chính xác. Môi chất phải đang di chuyển ngang qua các lỗ để loại trừ sự phân tầng bề mặt. Sự điều chỉnh cuối cùng sau đó được thực hiện tại nhiệt độ vận hành bình thường mà nhiệt độ đó hiệu chính cho bất kỳ khoảng lệch gây ra bởi thành phần RTD hoặc dây nối. Bất kỳ sự hiệu chính nào tại điểm này nên là tối thiểu hoặc nguyên nhân sẽ cần được xem xét. Hình 3 trình bày sự cần thiết đối với cảm biến trong hiệu chuẩn.
E.2.4 Các nhiệt kế điện tử cầm tay phải đạt được các yêu cầu trong Chương 7, Phần 3 của API MPMS.
E.3 Các bộ tạo tín hiệu điện tử
E.3.1 Các bộ tạo tín hiệu tương tự
E.3.1.1 Các bộ tạo tín hiệu tương tự được sử dụng để kiểm định/hiệu chuẩn thiết bị ELM mà thiết bị này nhận một đầu vào tương tự điện tử. Các tín hiệu tương tự chuẩn bao gồm Vôn (V) và mi-li-am-pe (mA). Các ứng dụng ELM điển hình yêu cầu các đầu vào tương tự cho kiểm định/hiệu chuẩn bao gồm các máy tính dòng mà nó nhận các tín hiệu tương tự từ các thành phần áp suất, nhiệt độ, tỷ trọng kế và các bộ truyền đổi khác.
E.3.1.2 Một bộ tạo tín hiệu tương tự có thể bao gồm hoặc thiết bị kết hợp mà kết hợp cả một nguồn tín hiệu và thiết bị đọc ra (bộ hiệu chuẩn) hoặc các thiết bị riêng lẻ được kết nối để tạo ra một nguồn tín hiệu với một màn hình hoặc bộ chỉ thị riêng biệt. Mỗi một phần của một thiết bị kết hợp hoặc hệ thống ghép nối mà hệ thống đó là sử dụng cho kiểm định/hiệu chuẩn ELM phải đạt được các yêu cầu được thiết lập trong tiêu chuẩn áp dụng cho phần đó của thiết bị hoặc của hệ thống được sử dụng.
E.3.1.3 Các thiết bị tạo ra một tín hiệu tương tự (điện áp, tần số hoặc dòng điện) phải đạt được các tiêu chuẩn sau đây cho sự ổn định và sự cấu thành của tín hiệu:
a) Độ ổn định có nghĩa rằng nguồn điện áp hoặc dòng điện sẽ không biểu hiện mức dao động lớn hơn ± 0,1 % trên chu kỳ 150 % của chu kỳ thời gian mà phép đo được yêu cầu thực hiện
b) Sự cấu thành của tín hiệu là giới hạn 0,1 % độ gợn sóng tối đa cho phép.
c) Các thiết bị đo tín hiệu số hoặc xung hoặc các thiết bị đọc ra trên các thiết bị kết hợp hoặc bộ hiệu chuẩn phải đạt được yêu cầu tiêu chuẩn cho “các bộ đa năng kế số điện tử” như mô tả trong E.3.6
E.3.2 Các bộ tạo ra tín hiệu xung
E.3.2.1 Các bộ tạo ra tín hiệu xung được sử dụng để kiểm định/hiệu chuẩn thiết bị ELM mà thiết bị này nhận một tín hiệu đầu vào xung. Các tín hiệu xung thông thường được tạo ra bởi các đồng hồ thể tích.
E.3.2.2 Biên độ xung tối đa và tối thiểu của các bộ phát xung nên là có khả năng điều chỉnh được 5 % cho trường hợp xấu nhất qua mức được tạo ra bởi thiết bị được mô phỏng. Tần số đầu ra của bộ phát xung phải có khả năng điều chỉnh gấp hai lần giữa tần số lớn nhất của thiết bị đó đang được mô phỏng và bằng một nửa của tần số nhỏ nhất của thiết bị đang được mô phỏng. Cho mức kiểm tra an ninh xung A và B, cần thiết để có bộ phát xung 2 kênh mà bộ này có thể thay đổi về pha điện của các tín hiệu xung cho việc mô phỏng một đồng hồ tuyến tính với 2 đầu vào xung.
E.3.3 Các bộ phát tín hiệu tần số
Các bộ phát tín hiệu tần số được sử dụng cho kiểm định/hiệu chuẩn thiết bị ELM nhận đầu vào tín hiệu xung cho các thiết bị đo tỷ trọng nên tuân thủ theo các yêu cầu về biên độ xung như đã chỉ ra trong E.3.2 và tạo ra một khoảng thời gian theo chu kỳ/định kỳ có độ ổn định và chính xác tốt hơn 2 lần thiết bị được mô phỏng.
E.3.4 Các bộ phát tín hiệu số
E.3.4.1 Các bộ phát tín hiệu số sử dụng để kiểm định/hiệu chuẩn thiết bị ELM nhận tín hiệu điện tử số.
E.3.4.2 Tiêu chuẩn này không bao gồm các yêu cầu cho các giao thức hoặc các phương pháp kết nối về số, chẳng hạn như RS-232, RS-485, ...Các yêu cầu cho việc sử dụng và kiểm định/hiệu chuẩn của các phương pháp kết nối số được bao gồm trong các tiêu chuẩn được ban hành bởi các nhóm và các tổ chức khác nhau, chẳng hạn như IEEE và EIA.
E.3.4.3 Một bộ phát tín hiệu số có thể bao gồm hoặc các thiết bị kết hợp mà nó tích hợp cả nguồn tín hiệu và thiết bị hiển thị (bộ hiệu chuẩn) hoặc các thiết bị rời rạc được kết nối để tạo ra nguồn tín hiệu với bộ chỉ thị riêng biệt hoặc bộ hiển thị. Mỗi một phần của một thiết bị kết hợp hoặc hệ thống lắp ghép mà thiết bị hoặc hệ thống đó sử dụng cho kiểm định/hiệu chuẩn ELM sẽ đạt được các yêu cầu được thiết lập trong tiêu chuẩn này cho các phần của thiết bị hoặc hệ thống sử dụng cho kiểm định hoặc hiệu chuẩn.
E.3.5 Các thiết bị thay thế điện trở
E.3.5.1 Các thiết bị thay thế điện trở được sử dụng để mô phỏng đầu vào các bộ cảm biến nhiệt điện trở (RTD) trong quá trình hiệu chuẩn của thiết bị ELM.
E.3.5.2 Các thiết bị điện trở sẽ là kiểu cầu mười hoặc các thành phần điện trở riêng biệt mà các thành phần này đã được chuẩn bị cho sử dụng như là một chuẩn điện trở. Độ phân giải nên là 0,01 ohm với độ chính xác tối thiểu là 0,05 %.
E.3.6 Các bộ đa năng kế số điện tử
E.3.6.1 Các bộ đa năng kế số điện tử (DMM) là các thiết bị đọc ra sử dụng để đo các tham số điện tử khác nhau kết hợp với việc kiểm định/hiệu chuẩn của các thiết bị đo ELM. Các tham số được đo bao gồm điện áp, dòng điện, tần số và điện trở. Các thông số kỹ thuật và các yêu cầu được liệt kê trong phần này cho các bộ đa năng kế cũng sẽ được áp dụng cho các thiết bị đo chỉ một hoặc nhiều hơn các tham số và với các thiết bị hiển thị tích hợp thiết bị nguồn/ thiết bị đo hoặc bộ hiệu chuẩn.
E.3.6.2 Tất cả các DMM sẽ có, tối thiểu, 4 chữ số hiển thị có nghĩa cho tất cả các phép đo sử dụng trong việc kiểm định/hiệu chuẩn các thiết bị đo ELM. Các đồng hồ kiểu tương tự hoặc cơ khí không được sử dụng. Độ chính xác tổng tối thiểu của các thông số kỹ thuật ểu cho các tham số và phạm vi sử dụng thông thường trên các thiết bị đo ELM là 0,05 %. Tỷ trọng kế và các thiết bị dao động tương tự như vậy sẽ yêu cầu thiết bị đo tần số có độ chính xác là 0,005 % hoặc tốt hơn. Chú ý rằng các dung sai đó đã bao gồm việc tác động nên độ không đảm bảo của số cuối cùng.
E.4 Tần suất hiệu chuẩn của thiết bị chuẩn
E.4.1 Người ta khuyến cáo rằng tất cả các thiết bị điện tử chuẩn sử dụng trong kiểm định hoặc hiệu chuẩn thiết bị đo ELM được kiểm tra và hiệu chuẩn định kỳ. Chu kỳ khuyến cáo cho thiết bị điện tử kiểm định/hiệu chuẩn ngoài hiện trường là 2 năm hoặc nhỏ hơn. Chu kỳ khuyến cáo cho thiết bị đo áp suất hoặc nhiệt kế thủy tinh là 5 năm hoặc nhỏ hơn.Các điều kiện hiện trường và tần suất của việc sử dụng có thể ra lệnh các khoảng hiệu chuẩn ngắn hơn. Chuẩn sử dụng cho kiểm định/hiệu chuẩn sẽ được dẫn xuất tới các chuẩn đầu được duy trì bởi một tổ chức chuẩn được công nhận quốc tế chẳng hạn như NIST.
E.4.2 Các nhãn dán hoặc nhãn hiệu chuẩn được gắn có chỉ thị ngày tháng hiệu chuẩn hoặc kiểm định, bên hoặc người thực hiện giám định, hạn ngày tháng của lần đánh giá kế tiếp.
E.4.3 Các thiết bị đo chịu các điều kiện khắc nhiệt của hiện trường có thể được yêu cầu chu kỳ kiểm định/hiệu chuẩn thường xuyên hơn có thể xác định bởi thực nghiệm. Các thiết bị đo bị rơi hoặc phá sẽ không sử dụng cho tới khi chúng được kiểm định hoặc hiệu chuẩn.
Phụ lục F
(tham khảo)
Độ chính xác yêu cầu trong việc đo nhiệt độ, áp suất và tỷ trọng cho độ chính xác mong muốn của các hệ số chính CTL và CPL
Độ chính xác của các tính toán CTL và CPL bị tác động bởi độ chính xác của phép đo nhiệt độ, áp suất và tỷ trọng. Bảng B-1 tới Bảng B-32 lập thành bảng cho độ chính xác yêu cầu của việc đo nhiệt độ, áp suất và tỷ trọng để đạt được độ chính xác mong muốn trong các kết quả tính toán CTL và CPL. Toàn bộ độ chính xác cuối cùng đã được cài đặt là 0,02 % ngoại trừ các bảng cho hy-dro- các-bon nhẹ đang sử dụng báo cáo nghiên cứu 148 GPA. Các bảng hy-dro-các-bon nhẹ đã được cài đặt là 0,05 % do khả năng bay hơi của nó là lớn hơn. Từng phân tích riêng lẻ nên được thực hiện khi sự vận hành gần với miền giới hạn, do độ nhạy với áp suất, nhiệt độ hoặc tỷ trọng có thể thay đổi rất nhanh.
Phép nội suy tuyến tính có thể được sử dụng để đánh dấu các phép đo nhiệt độ, áp suất hoặc tỷ trọng yêu cầu với các đích dung sai CTL và CPL khác nhau.
Bảng F.1 - Sai số nhiệt độ dung sai tính bằng °C đối với dầu thô và JP4 phổ biến để duy trì độ chính xác của CTL ± 0,02 % sử dụng Bảng 54A, AP111.1
| Tỷ trọng kg/m3 | Nhiệt độ °C | |||||||
| -18 | 0 | 25 | 50 | 75 | 100 | 125 | 150 | |
| 1075 | 0,38 | 0,38 | 0,38 | 0,37 | 0,37 | 0,37 | 0,37 | 0,36 |
| 1000 | 0,33 | 0,33 | 0,32 | 0,32 | 0,32 | 0,32 | 0,32 | 0,31 |
| 900 | 0,27 | 0,27 | 0,26 | 0,26 | 0,26 | 0,26 | 0,25 | 0,25 |
| 800 | 0,21 | 0,21 | 0,21 | 0,20 | 0,20 | 0,20 | 0,20 | - |
| 700 | 0,16 | 0,16 | 0,16 | 0,16 | 0,15 | - | - | - |
| 610 | 0,13 | 0,12 | 0,12 | 0,12 | 0,12 | - | - | - |
Bảng F.2 - Sai số trọng lực tính bằng API đối với dầu thô và JP4 phổ biến để duy trì độ chính xác của CTL ± 0,02 % sử dụng Bảng 6A, API 11.1
| API | Nhiệt độ °F | ||||||
| 0 | 50 | 100 | 150 | 200 | 250 | 300 | |
| 0 | 0,75 | 4,46 | 1,11 | 0,49 | 0,31 | 0,23 | 0,18 |
| 20 | 0,65 | 3,88 | 0,96 | 0,42 | 0,27 | 0,20 | 0,15 |
| 40 | 0,58 | 3,42 | 0,84 | 0,37 | 0,24 | 0,17 | - |
| 60 | 0,52 | 3,07 | 0,75 | 0,33 | 0,21 | - | - |
| 80 | 0,48 | 2,78 | 0,68 | 0,30 | 0,19 | - | - |
| 100 | 0,44 | 2,55 | 0,62 | 0,27 | 0,17 | - | - |
Bảng F.3 - Sai số tỷ trọng đối với hydrocacbon lỏng để duy trì độ chính xác CTL ± 0,02 % sử dụng Bảng 54A, AP111.1
| Tỷ trọng kg/m3 | Nhiệt độ °C | |||||||
| -18 | 0 | 25 | 50 | 75 | 100 | 125 | 150 | |
| 1075 | 6,2 | 13,5 | 20,2 | 5,7 | 3,3 | 2,3 | 1,8 | 1,4 |
| 1000 | 5,0 | 10,9 | 16,2 | 4,6 | 2,7 | 1,9 | 1,4 | 1,2 |
| 900 | 3,7 | 8,0 | 11,8 | 3,3 | 1,9 | 1,4 | 1,0 | 0,84 |
| 800 | 2,6 | 5,6 | 8,3 | 2,3 | 1,4 | 0,95 | 0,73 |
|
| 700 | 1,7 | 3,8 | 5,5 | 1,6 | 0,90 | - | - | - |
| 610 | 1,2 | 2,5 | 3,7 | 1,0 | 0,59 | - | - | - |
Bảng F.4 - Sai số nhiệt độ dung sai tính bằng °C đối với sản phẩm phổ biến để duy trì độ chính xác của CTL ± 0,02 % sử dụng Bảng 54B, API 11.1
| Tỷ trọng kg/m3 | Nhiệt độ °C | |||||||
| -18 | 0 | 25 | 50 | 75 | 100 | 125 | 150 | |
| 1075 | 0,33 | 0,33 | 0,32 | 0,32 | 0,32 | 0,32 | 0,32 | 0,31 |
| 1000 | 0,30 | 0,30 | 0,30 | 0,29 | 0,29 | 0,29 | 0,29 | 0,29 |
| 900 | 0,26 | 0,26 | 0,26 | 0,26 | 0,25 | 0,25 | 0,25 | 0,25 |
| 800 | 0,22 | 0,22 | 0,21 | 0,21 | 0,21 | 0,21 | 0,21 | - |
| 700 | 0,15 | 0,15 | 0,15 | 0,15 | 0,14 | - | - | - |
| 653 | 0,14 | 0,14 | 0,13 | 0,13 | 0,13 | - | - | - |
Bảng F.5 - Sai số tỷ trọng đối với sản phẩm phổ biến để duy trì độ chính xác của CTL ± 0,02 sử dụng Bảng 54B, AP111.1
| Tỷ trọng kg/m3 | Nhiệt độ °C | |||||||
| -18 | 0 | 25 | 50 | 75 | 100 | 125 | 150 | |
| 1075 | 8,5 | 18,6 | 27,6 | 7,8 | 4,5 | 3,2 | 2,4 | 2,0 |
| 1000 | 7,1 | 15,6 | 23,1 | 6,6 | 3,8 | 2,7 | 2,0 | 1,7 |
| 900 | 5,5 | 12,1 | 17,9 | 5,1 | 2,9 | 2,1 | 1,6 | 1,3 |
| 800 | 2,7 | 5,8 | 8,6 | 2,4 | 1,4 | 0,98 | 0,75 | - |
| 700 | 2,1 | 4,6 | 6,8 | 1,9 | 1,1 | - | - | - |
| 653 | 1,8 | 3,8 | 5,6 | 1,6 | 0,91 | - | - | - |
Bảng F.6 - Sai số nhiệt độ tính bằng °C đối với dầu bôi trơn để duy trì độ chính xác của CTL ± 0,02 % sử dụng Bảng 54D, API 11.1
| Tỷ trọng kg/m3 | Nhiệt độ °C | |||||||
| -20 | 0 | 25 | 50 | 75 | 100 | 125 | 150 | |
| 1164 | 0,38 | 0,37 | 0,37 | 0,37 | 0,36 | 0,36 | 0,36 | 0,36 |
| 1100 | 0,36 | 0,35 | 0,35 | 0,35 | 0,34 | 0,34 | 0,34 | 0,34 |
| 1075 | 0,35 | 0,34 | 0,34 | 0,34 | 0,34 | 0,33 | 0,33 | 0,33 |
| 1050 | 0,34 | 0,34 | 0,33 | 0,33 | 0,33 | 0,33 | 0,32 | 0,32 |
| 1000 | 0,32 | 0,32 | 0,32 | 0,31 | 0,31 | 0,31 | 0,31 | 0,31 |
| 950 | 0,31 | 0,30 | 0,30 | 0,30 | 0,30 | 0,29 | 0,29 | 0,29 |
| 900 | 0,29 | 0,29 | 0,29 | 0,28 | 0,28 | 0,28 | 0,28 | 0,28 |
| 850 | 0,28 | 0,27 | 0,27 | 0,27 | 0,26 | 0,26 | 0,26 | 0,26 |
| 800 | 0,26 | 0,26 | 0,25 | 0,25 | 0,25 | 0,25 | 0,25 | 0,24 |
Bảng F.7 - Sai số tỷ trọng đối với sản phẩm phổ biến để duy trì độ chính xác của CTL ± 0,02 % sử dụng Bảng 54D, API 11.1
| Tỷ trọng kg/m3 | Nhiệt độ °C | |||||||
| -20 | 0 | 25 | 50 | 75 | 100 | 125 | 150 | |
| 1164 | 12 | 29 | 43 | 12 | 7,1 | 5,0 | 3,8 | 3,1 |
| 1100 | 11 | 26 | 38 | 11 | 6,3 | 4,4 | 3,4 | 2,8 |
| 1075 | 11 | 25 | 37 | 10 | 6,0 | 4,2 | 3,2 | 2,6 |
| 1050 | 10 | 24 | 35 | 10 | 5,7 | 4,0 | 3,1 | 2,5 |
| 1000 | 9,2 | 21 | 32 | 9,0 | 5,2 | 3,6 | 2,8 | 2,3 |
| 950 | 8,3 | 19 | 29 | 8,1 | 4,7 | 3,3 | 2,5 | 2,0 |
| 900 | 7,5 | 17 | 26 | 7,3 | 4,2 | 2,9 | 2,3 | 1,8 |
| 850 | 6,7 | 15 | 23 | 6,5 | 3,8 | 2,6 | 2,0 | 1,6 |
| 800 | 5,9 | 14 | 20 | 5,7 | 3,3 | 2,3 | 1,8 | 1,4 |
Phụ lục G
(tham khảo)
Các tính toán độ không đảm bảo
G.1 Các tính toán độ không đảm bảo
G.1.1 Các tính toán bao gồm 3 bước riêng biệt:
a) Xác định các thành phần bao gồm trong tính toán độ không đảm bảo.
b) Xác định ý nghĩa của chúng xét về mặt thể tích (thông thường theo %).
c) Kết hợp thống kê các thành phần.
G1.2 Các thành phần trong ví dụ ở Bảng G.1 đã được nhận diện theo Hình G.1. Chu kỳ giao nhận số lượng, sai số của hệ thống đo đếm, thiết bị kiểm định thứ cấp, thiết bị thứ ba và độ không tuyến tính của các hiệu chính thể tích được coi là hệ thống. Các độ không đảm bảo của việc lấy mẫu số đếm xung trong quá trình hiệu chuẩn được xem xét như là thành phần ngẫu nhiên.

| Đo | Mô tả | Độ lệch cho phép | Nguồn |
| Tm | Nhiệt độ của chất lỏng lưu kế | 0,25 °C (0,5°F) | API 7.2 |
| RHObm | Tỷ trọng cơ sở tại lưu lượng kế | 1,0 kg/m3 | API 14.6 |
| Pm | Áp suất chất lỏng tại lưu lượng kế | 20 kPag (3 psig) | API 21.2 |
| Tp | Nhiệt độ chất lỏng tại chuẩn | 0,1 °C (0,2°F) | API 7.2 |
| RHObp | Tỷ trọng cơ sở tại chuẩn | 1,0 kg/m3 | API 14.6 |
| Pp | Áp suất chất lỏng tại chuẩn | 20 kPag (3 psig) | API 21.1 |
| N | Số gia nhỏ nhất có thể nhận thấy | 1/10 000 | API 4.8 |
CHÚ THÍCH: Ví dụ này không phản ánh tất cả các nguồn sai số có thể mà có thể bổ sung vào độ không đảm bảo của hệ thống đo và không bao hàm giải pháp tốt hơn hoặc độ chính xác không thể đạt được.
Bảng G.1 - Ví dụ về tính toán độ không đảm bảo hệ thống
G.1.3 Trong các tính toán sau, các sai số hệ thống và ngẫu nhiên gây ra độ không đảm bảo về thể tích nhỏ hơn 0,001 % thì có thể bỏ qua. Hai độ lệch chuẩn của giá trị trung bình được sử dụng để thể hiện xấp xỉ 95 % của tập hợp mẫu dưới đường cong phân bố chuẩn. Mức tin cậy 95 % có nghĩa rằng 95 % của các mẫu hoặc các phép thử được sử dụng để triển khai nó có kết quả rơi trong phạm vi giới hạn đã chỉ ra.
G.2 Quy trình tính toán độ không đảm bảo hệ thống của một thiết bị thứ cấp
G.2.1 Từ các bảng hiệu chính về thể tích phù hợp, xác định lượng thay đổi thể tích trên đơn vị thay đổi của đầu vào. Do việc làm tròn số trong các bảng, cần thiết phải sử dụng một phạm vi vừa đủ để tạo ra độ chính xác phù hợp của sự thay đổi tính toán trên từng đơn vị của phép đo vật lý. Ví dụ, tính toán sự khác biệt trong các hệ số hiệu chuẩn thể tích cho sự thay đổi tăng kế tiếp nhiệt độ trên phương diện nhiệt độ trung bình của bể, sử dụng nó như sự thay đổi của thể tích trên đơn vị nhiệt độ thay đổi. Nhân nó với độ lệch chuẩn có thể cho phép trong hiệu chuẩn, trong các đơn vị của giá trị đầu vào, để tạo ra độ không đảm bảo mong muốn lớn nhất cho thành phần đó. Độ không đảm bảo này sẽ được giả định là sai số hệ thống cho các hiệu chính nhiệt độ và áp suất trong cả hệ thống đo và các vận hành thử nghiệm tại mức tin cậy 95 %.
G.2.2 Trong ví dụ dịch vụ NGL của Bảng G.1, sự hiệu chính thể tích trên đơn vị thay đổi đã được tính toán cho một khoảng 10 °C xung quanh giá trị nhiệt độ trung bình là 25 °C và cho tỷ trọng trung bình là 525 kg/m3. CTL bằng 0,986 tại 20,0 °C và cho tỷ trọng trung bình là 525,0 kg/m3 có thể tìm thấy trong Bảng 54.CTI bằng 0,958 tại 30,0 °C và 525,0 kg/m3. Sự thay đổi trong thể tích trên sự thay đổi nhiệt độ sẽ là:

G.2.3 Độ lệch chuẩn có thể cho phép là 0,25°C giữa thiết bị chuẩn và thiết bị đo nhiệt độ, ý nghĩa xét về mặt thể tích sẽ trở thành:
![]()
G.2.4 Dấu âm có thể bỏ qua vì nó sẽ bị mất trong tính toán độ không đảm bảo tổng hợp của hệ thống.
G.2.5 Trong các đơn vị thông thường, hiệu chỉnh thể tích trên thay đổi đơn vị có thể được tính toán cho một khoảng 18 °F xung quanh giá trị nhiệt độ trung bình là 77,0 °F và tỷ trọng tương đối trung bình là 0,525. CTL là 0,988 tại 68,0 °F và 0,525 có thể tìm thấy trong Bảng 24. CTL bằng 0,960 tại 86,0 °F và 0,525. Sự thay đổi thể tích trên sự thay đổi đơn vị nhiệt độ là:


Hình G.2 - Ví dụ độ không tuyến tính của NGL
G.2.6 Độ lệch chuẩn có thể cho phép là 0,50 °F giữa một thiết bị sơ cấp và thiết bị thứ cấp đo nhiệt độ, ý nghĩa về mặt thể tích trở thành:
-0,0016∆V°F x 0,50°C x 100 = - 0,080%
G.2.7 Các sự khác biệt giữa Bảng 54 và 24 và việc làm tròn số trong °F của sự chuyển đổi từ °C là những lý do cho 2 kết quả khác nhau đạt được khi sử dụng đơn vị thông thường và đơn vị theo hệ mét.
G.2.8 Các sai số đo nhiệt độ sẽ tác động đến các số hiệu chính CPL nhưng chỉ với một độ nhỏ. Độ không đảm bảo trong các ví dụ nhỏ hơn 0,001 % là có thể bỏ qua. Sai số gây ra bởi tỷ trọng đo sai của NGL sẽ tác động đáng kể lên cả CTL và CPL nhưng chỉ các độ không đảm bảo thể tích sẽ bù cho nhiệt độ trên nhiệt độ chuẩn và cộng thêm đối với các nhiệt độ dưới nhiệt độ chuẩn, ở đây dấu âm phải được mang cho tới khi hoàn tất tính toán độ không đảm bảo thành phần. Với các giá trị nhiệt độ trung bình (25,0 °C), áp suất (17,5 bar) và tỷ trọng (525,0 kg/m3), một sai số dương trong tỷ trọng sẽ gây ra sai số 0,016 % của CTL, -0,006 % của CPL và sai số kết hợp trong thể tích là -0,01 %. Sai số kết hợp là duy nhất được báo cáo trong bàng ví dụ G.1 NGL.
G.3 Thủ tục tính toán độ không đảm bảo hệ thống phi tuyến
G.3.1 Việc tính toán độ không đảm bảo của thành phần phi tuyến như sự khác biệt giữa giá trị trung bình của CTL và CPL xác định tại nhiệt độ trung bình có trọng số cho chu kỳ giao nhận số lượng. Sử dụng CTL xác định cho các cực trị của dải nhiệt độ nên đưa ra một ước lượng bên ngoài của độ không đảm bảo.
G.3.2 Đồ thị cho một sự thay đổi nhiệt độ trên chu kỳ giao nhận số lượng trong Hình G.2 có thể giúp để trình bày độ không đảm bảo của thành phần phi tuyến. Một lưu lượng cố định được sử dụng để đơn giản hóa việc trung bình nhiệt độ.
G.3.3 Trung bình của CTLs là 0,970 xác định cho 20,0 °C và 30,0 °C, với dải tỷ trọng xuất hiện trong giao nhận. CTL xác định cho nhiệt độ trung bình 25 °C là 0,973. Sự khác biệt lớn nhất dưới những điều kiện này là 0,003 hoặc 0,3 %. Độ không đảm bảo này đã được khai triển lượng giác qua thể tích giao dịch bằng cách chia sự khác biệt lớn nhất này cho 2. Kết quả độ không đảm bảo đo do độ phi tuyến là 0,15 % tại mức tin cậy 95 %. Áp suất không được bao gồm vì tác động của nó là không đáng kể dưới các điều kiện của ví dụ.
G.3.4 Trong đơn vị thông lệ, trung bình của CTLs xác định cho 68,0 và 86,0 °F qua dải tỷ trọng tương đối gặp trong giao dịch (0,500 đến 0,550) sẽ là 0,972. CTL xác định cho nhiệt độ trung bình 77,0 °F là 0,974; và sự khác biệt lớn nhất là 0,002 hoặc 0,2 %. Độ không đảm bảo này được triển khai qua thể tích giao nhận, sẽ là 0,10 %. Các sự khác biệt trong các kết quả giữa đơn vị mét và đơn vị thông lệ tương ứng với sự khác biệt trong Bảng 54 và Bảng 24. Chú ý rằng tỷ trọng 500,0 kg/m3 là tương quan thực thế với một tỷ trọng tương đối là 0,499.
G.4 Thủ tục tính toán độ không đảm bảo ngẫu nhiên
G.4.1 Độ lệch chuẩn có thể cho phép trong sai số của số đếm xung là một dải giá trị. Độ không đảm bảo ngẫu nhiên là không thể xác định mà không xem xét số lượng của số lần mẫu thực hiện mà nó tạo dải. Với một số lượng so sánh xung quanh 5, độ không đảm bảo trong độ lệch chuẩn trung bình có thể được giả sử là một nữa của dải độ lệch chuẩn có thể cho phép. Một số nhân, đại diện cho mức độ tin cậy của số lượng mẫu sử dụng, số Student t, phải là một thừa số trong công thức. Độ không đảm bảo của sai số số đếm 1 xung trong hệ thống kiểm chứng đồng hồ được tính toán như sau:
![]()
Trong đó
t giá trị trong bảng thống kê tương ứng với mức tin cậy 95 % và bậc tự do là n -1 ;
s độ lệch mẫu chuẩn;
n số lần chạy mẫu.
Thay thế các giá trị vào ta được:
![]()
G.4.2 Dấu có thể là dương hoặc âm, mặc dù độ không đảm bảo là ngẫu nhiên, nhưng có thể bị bỏ ở điểm này, vì nó sẽ bị mất trong tính toán độ không đảm bảo hệ thống tổng hợp. Độ lệch chuẩn ở đây đã được xác định là một nửa của dải độ lệch chuẩn có thể cho phép (0,01 % hoặc 1/100000).
G.5 Độ không đảm bảo hệ thống tổng hợp
G.5.1 Các độ không đảm bảo thành phần được kết hợp bằng cách lấy căn bậc hai của tổng bình phương các thành phần không đảm bảo đo riêng biệt. Cả các độ không đảm bảo hệ thống và ngẫu nhiên là được kết hợp theo cách này:
![]()
Trong đó
a độ không đảm bảo ngẫu nhiên (95 %);
b độ không đảm bảo hệ thống (95 %);
c độ không đảm bảo tổng (95 %).
CHÚ THÍCH: Các độ không đảm bảo hệ thống sử dụng trong các ví dụ này giả sử độ lệch chuẩn có thể cho phép đại diện 95 % của phân bố xác suất. Trong các ví dụ không trình bày ở đây, nhân 0,95 với độ lệch chuẩn cho phép.
G.5.2 Với các số hạng được liệt kê trong ví dụ NGL trong Bảng G.1, độ không đảm bảo tổng của hệ thống đã được tính toán như tổng căn bậc hai (RSS) như sau:
![]()
c = 0,169%
G.5.3 Phân tích RSS thông thường được thực hiện trên các độ lệch chuẩn đơn, nhưng các bước có thể được lưu lại mà không đánh mất độ chính xác bởi làm việc trực tiếp trong 2 độ lệch chuẩn. Độ không đảm bảo tổng sẽ được xác định trực tiếp trong 2 độ lệch chuẩn (mức tin cậy xấp xỉ 95 %). Các ước lượng khắt khe hơn của độ không đảm bảo là khả dụng sử dụng các kỹ thuật của công thức đạo hàm, mô phỏng và phân tích số. Tuy nhiên các bảng hiệu chỉnh thể tích được xem xét để thuận tiện hơn nhưng có thể sử dụng với độ chính xác kém hơn một chút.
G.6 Kết quả
G.6.1 Các ví dụ trong Bảng G.1 đã thực hiện từ các thao tác đại diện của ELM cho NGL và dầu thô và thể hiện các kết quả cho các cấu hình được mô tả trong Hình G.1. Các độ không đảm bảo hệ thống thành phần đã tạo ra để cho phép người sử dụng chuẩn phù hợp với các tính toán độ không đảm bảo hệ thống tổng hợp với các cấu hình khác.
G.6.2 Đánh giá độ không đảm bảo hệ thống có thể là công cụ đo lường giá trị. Nó có thể sử dụng để đáng giá các khả năng hệ thống, để đánh giá đặc tính của một hệ thống với hệ thống khác, để làm nổi bật các nguồn của sai số tiềm tàng, để cho phép thiết kế các phương tiện mới, để xem xét các khả năng nhạy thành phần, để tạo thuận lợi trong việc duy trì quản lý nguồn tài nguyên và để đánh giá tính năng đặc tính mong muốn của sự giám định.
Bảng G.1 - Ví dụ về độ không đảo bảo đo của hệ thống ELM
| Phạm vi | Đơn vị | NGL | Dầu ma zút/thô |
| Nhiệt độ | °C | 2 000 đến 3 000 | 1 000 đến 3 000 |
| Tỷ trọng | Tỷ trọng tương đối | 0,550 đến 0,499 | 0,8003 đến 0,9007 |
|
| kg/m3 | 550 đến 500 | 800 đến 900 |
| Áp suất | psi | 218 đến 290 | 145 đến 290 |
|
| bar | 15 đến 20 | 10 đến 20 |
| Áp suất hơi | psia | 145 |
|
|
| Bar (tuyệt đối) | 10 |
|
| Số đếm xung trung bình |
| 10 000 | 10000 |
| Đo | Độ lệch cho phép | Độ không đảm bảo thể tích (95 %) | |
| Tm | 0,25 °C | 0,021 | |
| RHObm | 1 kg/m3 | 0,001 | |
| Pm | 0,2 bar | 0,002 | |
| Tp | 0,1 °C | 0,009 | |
| RHObp | 1 kg/m3 | 0,001 | |
| Pp | 0,2 bar | 0,002 | |
| N | 1 | 0,006 | |
| Tuyến tính CTL |
| 0,050 | |
| Độ không đảm bảo hệ thống tổng |
| 0,055 | |
CHÚ THÍCH: Ví dụ này không bao gồm độ không đảm bảo của thiết bị sơ cấp và không bao hàm kết quả ứng dụng cho tất cả các hệ thống ELM.
Bạn chưa Đăng nhập thành viên.
Đây là tiện ích dành cho tài khoản thành viên. Vui lòng Đăng nhập để xem chi tiết. Nếu chưa có tài khoản, vui lòng Đăng ký tại đây!






