- Tổng quan
- Nội dung
- Tiêu chuẩn liên quan
- Lược đồ
- Tải về
Tiêu chuẩn Quốc gia TCVN 12552:2018 Khí thiên nhiên - Xác định hợp chất lưu huỳnh
| Số hiệu: | TCVN 12552:2018 | Loại văn bản: | Tiêu chuẩn Việt Nam |
| Cơ quan ban hành: | Bộ Khoa học và Công nghệ | Lĩnh vực: | Công nghiệp |
|
Ngày ban hành:
Ngày ban hành là ngày, tháng, năm văn bản được thông qua hoặc ký ban hành.
|
2018 |
Hiệu lực:
|
Đã biết
|
| Người ký: | Đang cập nhật |
Tình trạng hiệu lực:
Cho biết trạng thái hiệu lực của văn bản đang tra cứu: Chưa áp dụng, Còn hiệu lực, Hết hiệu lực, Hết hiệu lực 1 phần; Đã sửa đổi, Đính chính hay Không còn phù hợp,...
|
Đã biết
|
TÓM TẮT TIÊU CHUẨN VIỆT NAM TCVN 12552:2018
Nội dung tóm tắt đang được cập nhật, Quý khách vui lòng quay lại sau!
Tải tiêu chuẩn Việt Nam TCVN 12552:2018
TIÊU CHUẨN QUỐC GIA
TCVN 12552:2018
ISO 19739:2004
KHÍ THIÊN NHIÊN - XÁC ĐỊNH HỢP CHẤT LƯU HUỲNH BẰNG PHƯƠNG PHÁP SẮC KÝ KHÍ
Natural gas - Determination of sulfur compounds using gas chromatography
Lời nói đầu
TCVN 12552:2018 hoàn toàn tương đương với ISO 19739:2004 và Bản đính chính kỹ thuật 1:2009.
TCVN 12552:2018 do Ban kỹ thuật Tiêu chuẩn quốc gia TCVN/TC193 Sản phẩm khí biên soạn, Tổng cục Tiêu chuẩn Đo lường Chất lượng đề nghị, Bộ Khoa học và Công nghệ công bố.
Lời giới thiệu
Các hợp chất lưu huỳnh có thể đã có sẵn trong khí thiên nhiên và còn tồn tại ở dạng vết sau khi xử lý, hoặc chúng có thể được bơm vào khí để có thể phát hiện bằng khứu giác vì lý do đảm bảo an toàn.
Việc tiêu chuẩn hóa phương pháp để xác định các hợp chất lưu huỳnh trong khí thiên nhiên là cần thiết do tính đa dạng của các hợp chất này [hydro sulfua, cacbonyl sulfua, tetrahydrothiophen (THT), v.v...] và các yêu cầu của các phép xác định (độ không đảm bảo yêu cầu, phép đo tại đầu giếng, tại bảo dưỡng nhà máy hoặc đường ống vận chuyển, v.v...).
Để người sử dụng lựa chọn phương pháp thích hợp nhất với nhu cầu và thực hiện các phép đo trong các điều kiện tốt nhất, tiêu chuẩn này đưa ra các yêu cầu cần thiết để thực hiện phân tích lưu huỳnh.
KHÍ THIÊN NHIÊN - XÁC ĐỊNH HỢP CHẤT LƯU HUỲNH BẰNG PHƯƠNG PHÁP SẮC KÝ KHÍ
Natural gas - Determination of sulfur compounds using gas chromatography
CẢNH BÁO: Một số hợp chất lưu huỳnh có thể gây ra các rủi ro nghiêm trọng về sức khỏe
1 Phạm vi áp dụng
Tiêu chuẩn này quy định việc xác định sulfua hydro, cacbonyl sulfua, C1 đến C4 thiol, sulfua và tetrahydrothiophene (THT) sử dụng sắc ký khí (GC). Phụ thuộc vào phương pháp được lựa chọn từ những phương pháp được nêu ở các phụ lục, các dải áp dụng đối với phép xác định hợp chất lưu huỳnh có thể khác nhau, nhưng dù sử dụng phương pháp nào thì đều phải áp dụng các yêu cầu của tiêu chuẩn này.
2 Tài liệu viện dẫn
Các tài liệu viện dẫn sau là cần thiết cho việc áp dụng tiêu chuẩn này. Đối với các tài liệu viện dẫn ghi năm công bố thì áp dụng phiên bản được nêu. Đối với các tài liệu viện dẫn không ghi năm công bố thì áp dụng phiên bản mới nhất, bao gồm cả các sửa đổi, bổ sung (nếu có).
TCVN 6910-2 (ISO 5725-2), Độ chính xác (độ đúng và độ chụm) của phương pháp đo và kết quả đo - Phần 2: Phương pháp cơ bản xác định độ lặp lại và độ tái lập của phương pháp đo tiêu chuẩn
TCVN 12546 (ISO 10715), Khí thiên nhiên - Hướng dẫn lấy mẫu
ISO 6141, Gas analysis - Requirements for certificates for calibration gases and gas mixtures (Phân tích khí - Các yêu cầu đối với chứng nhận cho hỗn hợp khí và khí hiệu chuẩn)
ISO 6143, Gas analysis - Comparison methods for determining and checking the composition of calibration gas mixtures (Phân tích khí - Các phương pháp so sánh xác định và kiểm tra thành phần của hỗn hợp khí hiệu chuẩn)
ISO 6145-10, Gas analysis - Preparation of calibration gas mixtures using dynamic volumetric methods - Part 10: Permeation method (Phân tích khí - Chuẩn bị hỗn hợp khí hiệu chuẩn sử dụng phương pháp thể tích động lực - Phần 10: Phương pháp thẩm thấu)
ISO 14532:2001, Gas natural - Vocabulary (Khí thiên nhiên - Từ vựng)
3 Thuật ngữ và định nghĩa
Trong tiêu chuẩn này áp dụng các thuật ngữ và định nghĩa sau.
3.1
Alkan thiol (alkane thiol)
Alkyl mercaptan (alkyl mercaptan)
Hợp chất lưu huỳnh hữu cơ có công thức chung R-SH (trong đó R là nhóm alkyl), hoặc xuất hiện tự nhiên hoặc được bổ sung làm chất tạo mùi cho khí thiên nhiên
[ISO 14532:2001, định nghĩa 2.5.3.3.1]
VÍ DỤ: Metanthiol (MeSH), etanthiol (EtSH), 2-metylpropan-2-thiol (tert-butylmercaptan TBM).
3.2
Alkyl disulfua (alkyl disulfide)
Hợp chất lưu huỳnh hữu cơ có công thức chung R-S-S-R (trong đó R và R là các nhóm alkyl)
[ISO 14532:2001, định nghĩa 3.5.3.3.3]
3.3
Alkyl sulfua (alkyl sulfide)
Thioete (thioether)
Hợp chất lưu huỳnh hữu cơ có công thức chung R-S-R (trong đó R và R là các nhóm alkyl), hoặc xuất hiện tự nhiên hoặc được bổ sung làm chất tạo mùi cho khí thiên nhiên
[ISO 14532:2001, định nghĩa 3.5.3.3.2]
VÍ DỤ: dimetyl sulfua (DMS), dietyl sulfua (DES).
3.4
Cacbonyl sulfua (cacbonyl sulfide)
COS
Hợp chất lưu huỳnh được thấy trong khí thiên nhiên, góp phần vào tổng hàm lượng lưu huỳnh
[ISO 14532:2001, định nghĩa 3.5.3.3.4]
3.5
Độ phân giải sắc ký khí (chromatographic resolution)
Đặc tính hiệu suất cột mô tả mức độ tách của hai peak liền kề trong sắc ký khí
[ISO 14532:2001, định nghĩa 2.5.3.4.6]
CHÚ THÍCH: Độ phân giải được đo gấp hai lần khoảng cách giữa mức tối đa của các peak được ghi danh chia cho tổng các giao điểm trên đường nền được tạo bởi các tiếp tuyến với các peak ở nửa chiều cao.
3.6
Sulfua vòng (cyclic sulfide)
Thioete (thioether)
Hợp chất lưu huỳnh hữu cơ vòng có một nguyên tử lưu huỳnh kết hợp trong vòng hydrocacbon no.
VÍ DỤ: Tetrahydrothiophen (thiophan hoặc thiacyclopentan, THT), nghĩa là C4H8S, được thêm vào khí thiên nhiên làm chất tạo mùi.
[ISO 14532:2001, định nghĩa 2.5.3.3.6]
3.7
Hydro sulfua (hydrogen sulfide)
H2S
Không màu, khí độc có mùi giống như mùi trứng thối
[ISO 14532:2001, định nghĩa 2.5.3.3.8]
3.8
Các điều kiện quy chiếu thông thường (normal reference conditions)
Các điều kiện chuẩn về áp suất, nhiệt độ và độ ẩm (trạng thái bão hòa) bằng 101,325 kPa và 273,15 K đối với khí thực, khô.
[ISO 14532:2001, định nghĩa 2.6.1.3]
3.9
Các điều kiện quy chiếu tiêu chuẩn (Standard reference conditions)
Các điều kiện chuẩn về áp suất, nhiệt độ và độ ẩm (trạng thái bão hòa) bằng với 101,325 kPa và 288,15 K đối với khí thực, khô.
[ISO 14532:2001, định nghĩa 2.6.1.4]
3.10
Lưu huỳnh tổng (total sulfur)
Tổng hàm lượng lưu huỳnh được tìm thấy trong khí thiên nhiên [ISO 14532:2001, định nghĩa 2.5.3.3.17]
CHÚ THÍCH: Tổng lượng lưu huỳnh có thể được xác định bằng phương pháp phân tích không phân biệt giữa các hợp chất lưu huỳnh riêng lẻ.
3.11
Hỗn hợp khí chuẩn công tác (working reference gas mixture)
WRM
Hỗn hợp khí chuẩn công tác (working Standard gas mixture)
Hỗn hợp khí mà mức số lượng thành phần của nó đã được xác nhận bằng so sánh trực tiếp với hỗn hợp khí chuẩn thứ cấp (CRM)
[ISO 14532:2001, định nghĩa 2.5.3.5.2.3]
3.12
Hỗn hợp khí chuẩn thứ cấp (secondary Standard gas mixture)
Hỗn hợp khí mà mức số lượng thành phần của nó đã được xác nhận bằng so sánh trực tiếp với PSM
[ISO 14532:2001, định nghĩa 2.5.3.5.2.2]
3.13
Hỗn hợp khí chuẩn đầu (primary standard gas mixture)
PSM
Hỗn hợp khí mà mức số lượng thành phần của nó đã được xác định có độ chính xác cao nhất và có thể được sử dụng làm khí chuẩn để xác định mức số lượng của các hỗn hợp khí khác
[ISO 14532:2001, định nghĩa 2.5.3.5.2.1]
4 Nguyên tắc
Tất cả các cấu tử quan trọng hoặc các nhóm cấu tử được xác định trong mẫu dạng khí được phân tách về mặt lý học bằng thiết bị sắc ký khí (GC) và được đo bằng cách so sánh với khí hiệu chuẩn hoặc khí chuẩn. Khí được sử dụng để hiệu chuẩn và khí mẫu phải được phân tích bằng hệ thống đo giống nhau trong bộ các điều kiện như nhau.
5 Thiết bị, dụng cụ
5.1 Thiết bị sắc ký khí, bao gồm dụng cụ bơm, lò, hệ thống điều chỉnh để kiểm soát nhiệt độ và áp suất, detector.
5.2 Cột sắc ký, cột dạng ống được làm bằng vật liệu trơ với các hợp chất lưu huỳnh (xem 6.4), và pha tĩnh có thể tách các hợp chất lưu huỳnh được phân tích để sao cho độ phân giải giữa hai peak liền kề không nhỏ hơn 1,5.
CHÚ THÍCH 1: Danh mục các cột sắc ký được chủ yếu được sử dụng trong phân tích lưu huỳnh xem Phụ lục A.
CHÚ THÍCH 2: Không có sự phân tách sắc ký giữa COS và H2S sẽ dẫn đến sai số trong tính toán tổng lượng lưu huỳnh.
5.3 Detector để phát hiện các hợp chất lưu huỳnh:
- lưu huỳnh - đặc trưng,
- đa đặc trưng (đáp ứng với halogen, lưu huỳnh), và/hoặc
- các detector chung
Các detertor phù hợp được nêu trong Phụ lục B.
CHÚ THÍCH 1: Các vấn đề tách trên cột có thể được giải quyết bằng cách sử dụng detector lưu huỳnh đặc trưng, do các hydrocacbon sẽ không nhìn thấy được.
CHÚ THÍCH 2: Các nhiễu nền có thể xảy ra trong phân tích lưu huỳnh với detector/phương pháp nhất định.
CHÚ THÍCH 3 : Đáp ứng lưu huỳnh có thể bị ảnh hưởng bởi các hiệu ứng nguội nhanh do các hydrocacbon tạo ra.
CHÚ THÍCH 4: Nhiều detector sử dụng trạng thái kích hoạt các phân tử hoặc nguyên tử để phát hiện lưu huỳnh. Một nguyên tử hoặc phân tử có một điện tử dịch chuyển từ quỹ đạo thông thường của nó sang quỹ đạo khác (nhiều năng lượng hơn) được gọi là nguyên tử hoặc phân tử được kích hoạt. Khi nó bình thường, trở lại trạng thái thông thường, điện tử này quay trở lại quỹ đạo thông thường của nó phát ra lượng tử ánh sáng (photon). Năng lượng của photon này liên quan đến sự khác biệt về năng lượng giữa các quỹ đạo. Bước sóng của photon là riêng biệt đối với từng trạng thái kích hoạt. Do vậy, nếu các photon của bước sóng khác nhau bị phân tách (bằng thiết bị lọc, máy đơn sắc, lăng kính nhiễu xạ, v.v...) thì có thể đo được lượng các photon cụ thể.
6 Lấy mẫu
Quy trình lấy mẫu là rất quan trọng trong phân tích các hợp chất lưu huỳnh. Các hợp chất lưu huỳnh có xu hướng hấp phụ mạnh trên, hoặc phản ứng hóa học với, các vật liệu kết cấu khác nhau. Hàm lượng các hợp chất lưu huỳnh thấp trong mẫu và hỗn hợp khí hiệu chuẩn đặt ra yêu cầu về quy trình lấy mẫu để đảm bảo rằng các hợp chất lưu huỳnh có số lượng chính xác đến được detector phân tích.
Tiến hành lấy mẫu đại diện theo phương thức sao cho mẫu đại diện cho khối khí tại thời điểm lấy mẫu. Lấy mẫu và chuyển mẫu phải theo TCVN 12546 (ISO 10715).
Thu gom mẫu và chuyển mẫu đến địa điểm cách biệt chỉ nên thực hiện khi không sẵn có lựa chọn khác. Sau đó, nên chạy ống nhuộm màu bên ngoài để có một vài phương thức kiểm tra xác nhận mức độ gần đúng của các hợp chất lưu huỳnh có mặt trước khi vận chuyển mẫu. Mức độ quan trọng này phụ thuộc vào loại hợp chất lưu huỳnh quan tâm: etyl mercaptan, EM, có hoạt tính hơn tetrahydrothiophen, THT, ví dụ, EM bị mất trong khi vận chuyển ít hơn THT.
Thời gian thổi làm sạch cần đủ dài để có được các kết quả phân tích ổn định trong độ lệch chuẩn chấp nhận được của thiết bị phân tích. Thời gian thổi làm sạch cần thiết sẽ phụ thuộc vào loại và nồng độ hợp chất lưu huỳnh, các vật liệu kết cấu trong tiếp xúc khí và dòng khí qua vòng lặp mẫu.
CHÚ THÍCH: Các chai chứa mẫu lót phenolic thì tốt hơn các chai chứa lót thủy tinh hoặc PTFE hoặc các được làm bằng thép không gỉ.
6.1 Cảnh báo về an toàn
Yêu cầu các cảnh báo về an toàn khi thao tác với chai chứa khí có hỗn hợp khí dễ cháy có áp được nêu trong TCVN 12546 (ISO 10715). Nếu bộ điều áp được nối với chai chứa khí, luôn sử dụng bộ điều áp có vật liệu kết cấu theo khuyến nghị của nhà sản xuất khí hiệu chuẩn.
6.2 Kiểm soát nhiệt độ
Khi chai chứa hỗn hợp khí hiệu chuẩn hoặc khí mẫu đến địa điểm sử dụng, đảm bảo rằng nhiệt độ chai chứa được giữ trên nhiệt độ ngưng tụ (như được nêu trên giấy chứng nhận). Nếu xảy ra ngưng tụ trong quá trình vận chuyển hoặc lưu giữ, bảo quản chai chứa ở nhiệt độ môi trường xung quanh theo hướng nằm ngang trong ít nhất 7 ngày. Lăn chai chứa sẽ làm giảm thời gian đồng nhất hóa.
Luôn luôn bảo quản cả khí mẫu và khí hiệu chuẩn ở cùng nhiệt độ phù hợp.
Để giảm bất kỳ sự hấp phụ các mức nồng độ thấp của hợp chất lưu huỳnh khi sử dụng khí hiệu chuẩn hoặc mẫu, nên gia nhiệt đường ống vận chuyển từ chai chứa và van bơm nhánh (ví dụ đến 90 °C).
6.3 Vật liệu kết cấu
Sự có mặt của các hợp chất lưu huỳnh trong khí mẫu hoặc khí hiệu chuẩn làm cho việc lựa chọn vật liệu kết cấu trong thiết bị giảm áp, đường ống vận chuyển, vòng mẫu và cột tách là rất quan trọng. Luôn luôn tuân thủ các cảnh báo chung theo TCVN 12546 (ISO 10715).
6.4 Tính sạch
Khi chai chứa khí mẫu hoặc khí hiệu chuẩn kết nối với hệ thống khí, luôn kiểm tra bằng mắt kết nối trên cửa ra van chai chứa, cẩn thận lau sạch bụi bẩn hoặc các hạt bằng vải sạch. Bất kỳ dấu hiệu nào của độ ẩm xuất hiện, cần phải làm sạch bằng khí trơ.
Đảm bảo rằng tất cả các đường ống vận chuyển không bị bụi bẩn, gỉ, dầu mỡ hoặc có các hạt bụi. Thay đổi tất cả các ống/khớp nối nếu có nghi ngờ có tạp chất. Có thể dùng thiết bị lọc hạt, tuy nhiên thiết bị này chỉ được bao gồm vật liệu được đề xuất trong TCVN 12546 (ISO 10715).
6.5 Lắp đặt chai chứa khí hiệu chuẩn
Việc lắp đặt chai chứa khí hiệu chuẩn và sử dụng hỗn hợp khí đã chứng nhận phụ thuộc vào phương pháp mà mẫu khí được lấy và được phân tích/so sánh. Để giảm thiểu bề mặt khi tiếp xúc khí, điều quan trọng là kết nối khí hiệu chuẩn càng gần với điểm phun càng tốt. Một nguyên tắc đối với việc nối chai chứa khí hiệu chuẩn trong lấy mẫu trực tiếp được nêu trong TCVN 12546 (ISO 10715), Phụ lục A.
6.6 Kiểm soát áp suất
Như được mô tả đối với thao tác lấy mẫu ở TCVN 12546 (ISO 10715), thiết bị giảm áp thường được yêu cầu để nạp khí mẫu và khí hiệu chuẩn vào thiết bị phân tích. Thông thường, đây là van giảm áp được kết nối trực tiếp hoặc gần với chai chứa khí mẫu và khí hiệu chuẩn. Chỉ sử dụng bộ điều áp được làm bằng vật liệu đã được nhà sản xuất hỗn hợp khí hiệu chuẩn thông qua.
Để giảm thiểu hơn nữa bất kỳ tác động nào của sự hấp phụ, van kim điều chỉnh tinh (được chế tạo từ vật liệu đã được phê duyệt) có thể kết nối trực tiếp với van bình. Đảm bảo rằng dải áp suất đã được chứng nhận của van này phù hợp với dải của tổng hệ thống và không có bất kỳ quy định an toàn quốc gia hoặc địa phương ngăn cấm việc này.
Không bao giờ sử dụng hỗn hợp khí hiệu chuẩn có tổng áp suất nhỏ hơn áp suất được khuyến nghị trên giấy chứng nhận. Nếu không có khuyến nghị, ngừng sử dụng hỗn hợp nếu tổng áp suất nhỏ hơn 10 % áp suất nạp đã được chứng nhận.
Luôn luôn sử dụng cùng áp suất giảm khi phun hỗn hợp hiệu chuẩn và mẫu khí thiên nhiên. Kiểm soát dòng xả bằng van kim, không bằng cách điều chỉnh van giảm áp.
Nếu sử dụng một số khí hiệu chuẩn có các nồng độ hợp chất lưu huỳnh khác nhau, điều quan trọng là luôn sử dụng cùng van kim đối với hỗn hợp khí hiệu chuẩn, cần lưu ý nhu cầu thay đổi van kim theo các mức nồng độ khác nhau.
6.7 Xả van giảm áp và đường ống vận chuyển
Do xu hướng mạnh của hợp chất lưu huỳnh hấp phụ các vật liệu kết cấu khác nhau, điều quan trọng là phải làm sạch tất cả các bề mặt (có tiếp xúc với khí) từ van chai chứa khí đến điểm phun. Sử dụng van giảm áp gắn trực tiếp trên bộ kết nối van chai chứa, việc xả sạch cần bao gồm một số chu trình “nạp và xả hết” như được nêu trong TCVN 12546 (ISO 10715). Phương thức thực hiện tốt là kết nối đường vận chuyển tổng từ van giảm áp với cửa thông gió và bao gồm xả sạch tất cả các đường qua vòng mẫu.
Khi phân tích khí hiệu chuẩn có các mức nồng độ khác nhau, luôn luôn xả các đường ống vận chuyển và các van bằng khí N2 khô để tránh hiệu ứng bộ nhớ.
6.8 Kiểm soát lưu lượng
Như được nêu trong TCVN 12546 (ISO 10715), dòng cuộn xoáy có ích trong hệ thống lấy mẫu. Tốc độ dòng của khí hiệu chuẩn với ống 3,175 mm (1/8 in) ít nhất là 80 mL/min đến 100 mL/min. Khi xả sạch khí hiệu chuẩn để so sánh phân tích với mẫu khí thiên nhiên, tốc độ dòng cần giống như tốc độ dòng khí mẫu.
Với các khí nhẹ như H2 hoặc He trong hỗn hợp khí hiệu chuẩn, có thể quan trọng là tốc độ dòng xả sạch của hỗn hợp khí hiệu chuẩn không bao giờ dưới 10 mL/min, để tránh các ảnh hưởng tách của khí nhẹ hơn so với khí nặng hơn (sự rửa giải).
Ngừng dòng chảy ngay trước khi phun mẫu/tiêu chuẩn là cách thức tốt nhất để giảm thiểu sự chênh lệch các thể tích khí phun do sự thay đổi đối áp. Tuy nhiên, lưu ý bất kỳ thay đổi nào trong áp suất khí quyển trong quá trình phân tích tổng thể.
6.9 Kiểm soát khuếch tán
Cần phải tránh bất kỳ rò rỉ nào do khuếch tán của hỗn hợp khí hoặc trong không khí ra bên ngoài bằng cách sử dụng bộ điều áp có màng không thấm qua được.
Lưu ý rằng sử dụng loại ống polyme trong đường ống vận chuyển khí có thể gây ra các vấn đề liên quan đến khuếch tán độ ẩm từ không khí môi trường.
6.10 Tự động hóa và chuỗi lấy mẫu
Các lần phun lặp lại và để đạt được phản hồi ổn định từ mỗi hợp chất lưu huỳnh trong hỗn hợp khí mẫu và hiệu chuẩn, cần lắp đặt và sử dụng van lấy mẫu khí tự động được lập trình. Thông thường, xu hướng là, do hiện tượng hấp phụ, peak từ một số hợp chất lưu huỳnh tăng trong suốt lần phun đầu tiên, nhưng sau một vài lần phun lặp lại các khu vực peak trở nên càng ngày càng ổn định, số các lần phun lặp lại theo yêu cầu được xác định dựa trên khu vực đạt được từ mỗi hợp chất lưu huỳnh.
Các lần phun lặp lại của cùng hỗn hợp hiệu chuẩn trước và sau khi phân tích so sánh với một hoặc nhiều mẫu đưa ra biểu thị tốt của bất kỳ độ trôi nào trong đáp ứng detector trong tổng thời gian phân tích.
7 Hiệu chuẩn
Thực hiện hiệu chuẩn thường xuyên sử dụng hỗn hợp khí chuẩn công tác được chứng nhận theo ISO 6143 hoặc thiết bị thẩm thấu theo ISO 6145-10. Hỗn hợp khí chuẩn công tác phải có số lượng và nồng độ các hợp chất lưu huỳnh thích hợp trong khí thiên nhiên hoặc metan phụ thuộc vào các đặc tính của detector (ví dụ làm nguội nhanh hydrocacbon). Với chai chứa khí luôn luôn sẵn có giấy chứng nhận hỗn hợp phù hợp với ISO 6141.
CHÚ THÍCH 1: Các hợp chất lưu huỳnh ở nồng độ thấp trong hỗn hợp khí thường dễ bị thất thoát do hấp thụ hoặc phản ứng. Chuẩn bị những hỗn hợp như vậy yêu cầu cẩn trọng nghiêm ngặt đối với việc làm sạch các bề mặt chai chứa và ống được sử dụng để vận chuyển, sử dụng các hợp chất có độ tinh khiết, đặc biệt khí nền, và với quy trình chuẩn bị. Tính ổn định của hỗn hợp có thể chứng minh được bằng các phân tích lặp lại thường xuyên các hỗn hợp, sử dụng làm chuẩn hỗn hợp đã được chuẩn bị động có thành phần tương tự. Chuẩn bị các hỗn hợp đã được thực hiện và chứng minh trước đó và đã được đánh giá thành công về tính ổn định là hình thức đảm bảo tốt nhất đối với người sử dụng.
CHÚ THÍCH 2: Vấn đề khác đối với khuếch tán được gây ra do kết nối các van giảm áp với chai chứa. Không khí có chứa trong van giảm áp sẽ khuếch tán vào chai chứa khi van chai chứa được mở trong khi van giảm áp vẫn đóng. Ví dụ oxy sẽ oxy hóa mecaptan thành disulfua.
8 Phân tích
Thực hiện phân tích định lượng và xác định nồng độ khối lượng và độ không đảm bảo của các hợp chất lưu huỳnh khác nhau trong khí thiên nhiên theo ISO 6143.
Lưu ý về hấp phụ đặc biệt và/hoặc các vấn đề về hóa chất có thể xảy ra khi thao tác với các cấu tử khí lưu huỳnh. Việc Phun lặp lại cùng một hỗn hợp khí chuẩn công tác trước và sau phân tích so sánh có thể đưa ra biểu thị về bất kỳ độ trôi nào do hấp phụ lưu huỳnh trong suốt tổng thời gian phân tích.
9 Các đặc tính tính năng yêu cầu đối với phân tích lưu huỳnh
Các đặc tính tính năng yêu cầu đối với phân tích lưu huỳnh được xác định từ thử nghiệm thành thạo do bảy phòng thử nghiệm ở các quốc gia khác nhau thực hiện. Hai hỗn hợp sau - được nêu ra ở đây có tên lUPAC/hợp chất và nồng độ khối lượng của chúng được biểu thị bằng miligam trên mét khối (theo các điều kiện quy chiếu thông thường) - được phân tích.
a) Hỗn hợp 1
| - Hydro sulflua (H2S): | 3 mg/m3 |
| - Metan (CH4): | nền |
| b) Hỗn hợp 2 |
|
| - Cacbonyl sulfua (COS): | 5 mg/m3 |
| - Metanthiol (MeSH): | 5 mg/m3 |
| - Etanthiol (EtSH): | 5 mg/m3 |
| - 2-Metylpropan-thiol (TBM): | 6 mg/m3 |
| - Diehyl sulfua (DES) | 10 mg/m3 |
| - Tetrahydrothiophen (THT): | 25 mg/m3 |
| - Metan (CH4): | nền |
Bảy phòng thí nghiệm sử dụng các khí hiệu chuẩn và các phương pháp khác nhau, số liệu thu được được nêu trong Bảng 1.
Bảng 1 - Các đặc tính tính năng đối với phân tích lưu huỳnh
| Hợp chất | Nồng độ khối lượng (hợp chất lưu huỳnh trong metan) mg/m3 (điều kiện quy chiếu thông thường) | Độ lặp lại có thể đạt được (tuyệt đối) mg/m3 (điều kiện quy chiếu thông thường) | Độ lặp lại có thể đặt được (tương đối) % | Thỏa thuận về sự thành thạo (tương đối) % |
| H2S | 3 | 0,1 | 3 | 25 |
| COS | 5 | 0,1 | 2 | 15 |
| MeSH | 5 | 0,1 | 2 | 10 |
| EtSH | 5 | 0,2 | 4 | 30 |
| TBM | 6 | 0,4 | 7 | 25 |
| DES | 10 | 0,2 | 2 | 20 |
| THT | 25 | 1,0 | 4 | 20 |
Các giá trị thỏa thuận về sự thành thạo được trích dẫn trong Bảng 1 được tính dựa trên điểm số z như được xác định trong Tài liệu tham khảo [5] (xem 4.1, 4.2, 4.3), và là các giới hạn mà giữa những giới hạn này hai phòng thử nghiệm phải đạt được kết quả phân tích tiêu chuẩn đã biết sử dụng các khí hiệu chuẩn và các phương pháp khác nhau. Hai phòng thử nghiệm phân tích tiêu chuẩn nồng độ khối lượng đã biết 25 mg/m3 của THT. Nếu các kết quả nằm trong dải từ 19 mg/m3 đến 31 mg/m3, khi đó chúng có thể so sánh được, nghĩa là 25 mg/m3 ± 5 mg/m3 (20 % của thỏa thuận về sự thành thạo được nêu ở Bảng 1) ± 1 mg/m3 (4 % của độ lặp lại có thể đạt được được nêu ở Bảng 1).
Độ lặp lại được nêu ở Bảng 1 được tính theo cách sau: hai lần sai số tiêu chuẩn dựa trên các giá trị n-1 [95 % khoảng tin cậy, xem TCVN 6910-2 (ISO 5725-2)], không có số lạc [xem TCVN 6910-2 (ISO 5725-2), 7.3.4.1], giả định phân bố thông thường được tính bằng 5 phân tích.
10 Báo cáo thử nghiệm
Báo cáo thử nghiệm phải bao gồm ít nhất thông tin sau:
a) Viện dẫn tiêu chuẩn này và phương pháp phân tích được sử dụng;
b) Nhận dạng mẫu bao gồm:
- Thời gian/ngày lấy mẫu;
- Dòng/điểm mẫu (vị trí), và
- Nhận dạng chai chứa (đối với lấy mẫu điểm).
c) Viện dẫn hệ thống hiệu chuẩn được sử dụng;
d) Nồng độ khối lượng mẫu, bao gồm số các chữ số phù hợp với chứng chỉ WRM và kích cỡ lỗi, bao gồm kết quả về phép tính độ không đảm bảo;
e) Các nhận xét, bao gồm
- Bất kỳ sai lệch nào với quy trình xác định, và/hoặc;
- Các vấn đề liên quan đến mẫu
f) Ngày phân tích, tên phòng thử nghiệm và chữ ký của người phân tích.
Phụ lục A
(Tham khảo)
Các cột thường được sử dụng trong phân tích lưu huỳnh (có pha nội và các kích thước)
| Pha tĩnh | Kích thước | Loại | Độ dày màng của pha tĩnh df μm | Các hợp chất |
| 100 % dimetylpolysiloxan | 50 m x 0,32 mm | Mao quản | 5 | Hydro sulfua, mercaptan, cacbonyl sulfua, dietyl sulfua, dipropyl sulfua |
| 100 % dimetylpolysiloxan | 30 m x 0,32 mm | Mao quản | 4 | Hydro sulfua, cacbon disulfua, sulfua dioxit |
| Ống mở lớp rỗng | 30 m x 0,32 mm | Mao quản | 4 | Hydro sulfua, cacbonyl sulfua, mercaptan |
| Polyme styrene-divinylbenzen | 30 m x 0,32 mm | Mao quản | 10 | Hydro sulfua, cacbonyl sulfua, metyl sulfua, mercaptan, tetrahydrothiophen |
| 5 % phenyl - 95 % dimetylpolysiloxan | 25 m x 0,53 mm | Mao quản | 5 | Hydro sulfua, mercaptan, cacbon disulfua, cacbonyl sulfua, dimetyl disulfua, dimetyl sulfua, sulfua dioxit, thiophene |
| 50 % phenyl - 50 % dimetylpolysiloxan | 1,5 m x 3,175 mm (1/8 in) | Nhồi | 80 mesh đến 100 mesh | Hydro sulfua, cacbonyl sulfua, mercaptan |
| 100 % dimetylpolysiloxan | 1,5 m x 3,175 mm (1/8 in) | Nhồi | 80 mesh đến 100 mesh | Hydro sulfua, cacbonyl sulfua |
| 40 % dynonyl phthalat | 30 cm | - | 80 mesh đến 100 mesh | Tetrahydrothiophen, mercaptan |
| CHÚ THÍCH: Đây không phải là danh mục đầy đủ. Các phát triển gần đây có thể dẫn đến có các cột khác. | ||||
Phụ lục B
(Tham khảo)
Các loại detector được sử dụng trong phân tích lưu huỳnh
B.1 Tổng quát
Tóm tắt các đặc tính của các loại detector được mô tả ở đây, xem Bảng B.1.
B.2 Detector phát xạ nguyên tử (AED)
Các chất rửa giải của sắc ký khí đi vào trong khoang mà plasma được sinh ra và duy trì bởi các dạng năng lượng khác nhau (hầu hết do cảm ứng vi sóng). Các photon do các nguyên tử suy yếu phát thải khi đó có thể được tách bằng bước sóng và được đo. Detector này được dùng chuyên dụng cho các nguyên tử khác nhau.
Xem Phụ lục F.
B.3 Detector điện hóa (ED)
Các chất rửa giải của sắc ký khí được thổi nhẹ lên bề mặt một chất điện phân mà các hợp chất lưu huỳnh phản ứng. Phản ứng này sinh ra một dòng điện tử (phản ứng oxy hóa khử). Hai điện cực được nhúng vào chất điện phân để đo dòng được sinh ra này. Detector này đa đặc trưng đối với các hợp chất khác nhau, phụ thuộc vào chất điện phân được chọn.
Xem Phụ lục D.
B.4 Detector bẫy điện tử (ECD)
Detector bẫy điện tử bao gồm nguồn phóng xạ được sử dụng để tạo ra dòng điện tử. Dòng này được đo bằng các điện cực. Khi các chất rửa giải của sắc ký khi đi qua khoang này, một số điện tử có thể phản ứng với các chất rửa giải, do vậy thay đổi dòng đo (phương thức điện áp DC). Đặc trưng phụ thuộc vào sự khác biệt của ái lực hợp chất đối với các điện tử. Phản hồi khi đó phụ thuộc lớn vào hợp chất.
B.5 Detector quang hóa ngọn lửa (FPD)
Các chất rửa giải của sắc ký khí được đốt trong ngọn lửa loại FID có tỷ lệ H2/không khí cụ thể, Khi được đốt như vậy, lưu huỳnh và phospho có chứa trong các hydrocacbon sẽ tạo ra các loại huỳnh quang (có thể so sánh với phân tử được kích hoạt). Trong quá trình hồi phục của những loại này, các photon cụ thể sẽ được phát xạ. Những loại này được tách ra bằng bộ lọc quang và khi đó có thể đo được. Có nhiều biến số (ngọn lửa đơn, ngọn lửa đôi, đáp ứng tuyến tính, xung). Detector này là đặc thù. Có các nhiễu đã biết (nguội nhanh) với các hydrocacbon, đáp ứng không tuyến tính nhưng thường có thể được hiệu chính điện tử. Các phát triển mới của detector này được thực hiện để hạn chế những vấn đề nêu trên.
Xem các Phụ lục C và G.
B.6 Detector quang hóa ngọn lửa xung (PFPD)
Giống như FPD, detector này sử dụng ngọn lửa nhưng nó có thể cung cấp độ nhạy và độ chọn lọc tốt hơn đối với lưu huỳnh và phospho. Hai dòng khí có tính cháy khác nhau đi vào đáy buồng đốt qua các đường ống khí hẹp (trái lại FPD chỉ có một dòng khí). Công năng của dòng khí nạp thứ hai là để giúp làm đầy dung tích ngoài của buồng đốt trong khi chất phân tích và khí đốt đầu tiên chảy vào buồng đốt. Dòng thứ hai cũng giúp tối ưu độ sáng phát xạ chất phân tích trong quá trình đốt. Tại đỉnh của PFPD là một sợi dây đánh lửa luôn nóng đỏ. Khi đó các khí chảy vào buồng đốt bao gồm các chất phân tích thoát ra khỏi cột GC đi đến hỗn hợp dễ cháy, chúng được đốt cháy bằng sợi dây đánh lửa và ngọn lửa lan tỏa ra đằng sau bên dưới buồng đốt. Ngọn lửa đằng trước tắt, nghĩa là nó sử dụng hết tất cả vật liệu dễ cháy nhanh nhất trong buồng đốt, ít hơn 10 ms và ngọn lửa tắt. Sau xung ngọn lửa tắt nhanh, các chất phân tích cháy chậm hơn được kích hoạt và phát ra ánh sáng đặc trưng cho các nguyên tố của nó. Trong suốt quá trình này, bộ nhân quang ghi lại nguồn đến của ánh sáng của chất phân tích từ buồng đốt. Sau khoảng 300 ms, ngọn lửa xung lại lần nữa vì vật liệu cháy mới nạp vào buồng đốt từ ống nạp và cột GC và sự kết hợp đó lại tạo ra hỗn hợp dễ cháy. Theo cách này, khoảng ba xung ngọn lửa được ghi lại mỗi s.
Xem Phụ lục I.
B.7 Detector dẫn điện phân Hall (ELCD hoặc HELCD)
Các chất rửa giải của sắc ký khi được trộn với khí phản ứng trong ống phản ứng. Khi đó sản phẩm tạo thành được trộn với dung môi đã khử ion hóa. Sau đó đo độ dẫn điện. Detector này là đa đặc trưng (các hợp chất có chứa halogen, lưu huỳnh, nitơ), phụ thuộc vào dung môi hấp thụ được lựa chọn.
B.8 Detector chọn lọc khối lượng (MSD)
Các chất rửa giải của sắc ký khí được bắn phá bằng các điện tử, gây ra sự đứt gãy liên kết và ion hóa phân tử. Các ion khi đó được tăng tốc và được đặt vào trường điện từ. Các bán kính đường đi của chúng là hàm khối lượng của chúng. Có nhiều học thuyết mô tả quá trình ion hóa phân tử. Tỷ lệ ion được sinh ra bởi các phân tử khác nhau thì khác nhau. Detector này là đặc thù về khối lượng.
Xem Phụ lục E.
B.9 Detector quang ion hóa (PID)
Các chất rửa giải của sắc ký khí được kích hoạt bởi các photon của đèn UV và ion hóa. Đo các hạt mang điện tạo thành giữa hai điện cực. Detector này là đa đặc trưng đối với các hợp chất khác nhau, phụ thuộc vào đèn được chọn để kích hoạt và tiềm năng ion hóa của các hợp chất. Chỉ sử dụng cho H2S.
B.10 Detector nhiệt ion hóa (TID)
Tương tự với detector quang ion hóa nhưng ion hóa được tạo ra bằng nhiệt độ cao.
B.11 Detector huỳnh quang hóa học lưu huỳnh (SCD)
Các chất rửa giải của GC được trộn với các hợp chất phản ứng và sẽ tạo thành các loại được kích hoạt mà sẽ hồi phục các photon phát xạ. Detector phát quang hóa học lưu huỳnh thông thường sử dụng ozon dưới áp suất giảm dần. Detector này là đặc thù.
Xem Phụ lục H.
B.12 Detector tính dẫn nhiệt (TCD)
Các chất rửa giải của sắc ký khí đi qua khoang mà sợi đốt được gia nhiệt. Khoang khác được phun bằng khí chuẩn tạo thành sợi đốt thứ hai. Hai sợi đốt là phần của cầu cân bằng (Wheatstone). Nếu các chất rửa giải có chứa các sản phẩm có tính dẫn nhiệt khác với khí chuẩn, dòng điện sẽ được sinh ra trong cầu. Khi đó tín hiệu này được đo. Detector này không đặc trưng.
B.13 Detector chì axetat H2S
Các chất rửa giải phản ứng trong thiết bị hydro hóa nhiệt độ cao, giả định rằng các hợp chất lưu huỳnh được chuyển đổi thành hydro sulfua. Các chất rửa giải khi đó đi qua giấy đã được xử lý chì axetat mà sẽ phản ứng với H2S được sinh ra. Phép đo quang học hóa đen của dải được sử dụng để phát hiện các hợp chất lưu huỳnh. Detector này là đặc thù.
Bảng B.1 - Các detector và đặc tính của chúng
| Detector | Đặc tính | Giới hạn phát hiện | Tuyến tính | Gây nhiễu | Sử dụng chính | Ghi chú |
| AEDa | +++++b | ++++ | +++++ | Chưa biết | Nguyên tố đặc thù | Đa mục đích |
| EDa | ++++ | +++ | ++++ | Chưa biết | Chất điện phân đặc thù | - |
| ECD | Thay đổic | Thay đổid | ++++ | Có khả năng | Các halogen | Phóng xạ |
| FPDa | ++++ đến +++++ | ++ đến ++++ | ++ đến ++++ | Các hydrocacbon | Lưu huỳnh, phospho | Được sử dụng rộng rãi |
| HELCD hoặc ELCD | ++++ | +++ | +++ đến +++++ | Có khả năng | Các hologen | - |
| MSDa | Không đặc thù | +++ | ++ đến ++++ | Chưa biết | Tất cả các hợp chất hữu cơ | Đa mục đích |
| PID | + | ++++ | +++++ | Có khả năng | Các hợp chất vô cơ, các hydrocacbon thơm | - |
| TID | - | - | - | Có khả năng | - | - |
| SCDa | +++++ | +++++ | ++++ | Chưa biết | Các hợp chất lưu huỳnh | Giới hạn phát hiện thấp |
| TCD | Không đặc thù | ++ | +++ | có | - | Không mang tính chọn lọc |
| Chì axetat H2S | +++++ | - | - | - | - | - |
| + không đặc thù | ||||||
| ++++ đặc thù nhưng có thể phát hiện các hợp chất không lưu huỳnh khác ít tính nhạy hơn | ||||||
| +++++ rất đặc thù - chỉ phát hiện các hợp chất có chứa lưu huỳnh | ||||||
| a detector được sử dụng trong thử nghiệm chính xác b tốt nhất c phụ thuộc vào ứng dụng (chỉ H2S hoặc tất cả các hợp chất) d phụ thuộc vào ứng dụng (chỉ H2S hoặc tất cả các hợp chất) | ||||||
Phụ lục C
(Tham khảo)
Phương pháp GC sử dụng cột mao quản và FPD
C.1 Áp dụng
Phương pháp này quy định các điều kiện đối với phân tích định tính và định lượng các hợp chất lưu huỳnh trong khí thiên nhiên tại mức nồng độ khối lượng 0,5 mg/m3 đến khoảng 600 mg/m3 (tại các điều kiện quy chiếu thông thường) bằng sắc ký khí.
Một ví dụ về áp dụng đối với các chỉ dẫn hoạt động này là kiểm soát chất lượng khí thiên nhiên, bao gồm phân tích các hợp chất sau:
- hydro sulfua (H2S) (giới hạn thấp hơn của dải nồng độ 1 mg/m3 tại các điều kiện quy chiếu thông thường);
- cacbonyl sulfua (COS);
- metan-, etan-, 2-metylpropan-2-thiol (tert-butyl mercaptan) (MeSH, EtSH, TBM);
- dietyl sulfua (DES);
- tetrahydrothiophen (THT, C4H8S).
C.2 Thiết bị, dụng cụ
C.2.1 Sắc ký khí, có chứa cột mao quản silic oxit nóng chảy (styren-divinylbenzen polyme).
C.2.1.1 Thiết bị phun mẫu: van lấy mẫu khí, có khả năng vận hành ở chế độ tách/không tách có vòng mẫu 2 mL. Đặt chế độ tốc độ dòng tách tại 15 mL/min. Để tránh hiện tượng hấp phụ và giải hấp, không được sử dụng kim loại trong phần này của thiết bị.
C.2.1.2 Cột silic oxit nóng chảy, có chiều dài 30 m, đường kính trong 0,32 mm, và được nhồi bằng styren-divinylbenzen polyme có độ dày màng 10 μm.
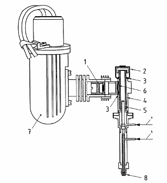
C.2.2 Detector quang kế ngọn lửa (FPD) (xem hình C.1)
Chất rửa giải cột được trộn với hydro và sau đó được cho cháy trong không khí. Ánh sáng phát ra từ ngọn lửa đi qua thấu kính, bộ lọc, và đến ống bộ nhân quang sinh ra một tín hiệu điện tử.
FPD được sử dụng để phát hiện lưu huỳnh, phospho hoặc các hợp chất thiếc mà tạo ra các phản ứng phát quang hóa học có phát xạ tại các bước sóng đặc trưng của các loại S2, HPO và Sn.
Bức xạ lưu huỳnh tại 394 nm và cường độ của nó tỷ lệ xấp xỉ với bình phương của nồng độ.

CHÚ DẪN:
1 Kết cấu bộ lọc quang học
2 Nắp đậy
3 Vòng chữ O
4 Lớp lót thủy tinh
5 Phun lửa
6 Kết cấu bộ lọc cửa sổ
7 Kết cấu ống bộ nhân quang
8 Kết nối cột
a không khí đi vào
b hydro đi vào
Hình C.1 - Detector quang kế ngọn lửa (FPD)
C.3 Cách tiến hành
C.3.1 Dòng khí
Áp dụng các giá trị sau
| - helium: | 207 kPa |
| - tốc độ dòng cột: | 1,53 mL/min |
| - lưu lượng khí tại detector | |
| 1) Hydro: | 100 mL/min |
| 2) Không khí: | 95 mL/min |
C.3.2 Nhiệt độ
Áp dụng các nhiệt độ sau.
| - lò: | 70 °C trong 4 min |
| - tốc độ gia nhiệt: | 5 °C/min |
| - nhiệt độ cuối cùng: | 200 °C trong 5 min |
| - thiết bị phun: | 150 °C |
| - detector: | 375 °C |
C.3.3 Thời gian rửa giải
Bao gồm các chất sau
| - hydro sulfua: | 2,44 min |
| - cacbonyl sulfua: | 3,30 min |
| - metanthiol: | 8,76 min |
| - etanthiol: | 15,58 min |
| - 2-metylpropan-2-thiol: | 24,39 min |
| - dietyl sulfua: | 27,91 min |
| - tetrahydrothiophen: | 30,88 min |
| - thời gian phân tích: | 35 min |
C.4 Tính toán
Mối quan hệ giữa đáp ứng FPD và nồng độ lưu huỳnh được nêu trong phương trình:
| A = k Cn | (C.1) |
trong đó
| A | là tín hiệu của peak cấu tử; |
| k | là hằng số; |
| C | là nồng độ khối lượng; |
| n | là số mũ. |
Phương trình (1) có thể sắp xếp lại thành
| Ig A = Ig k + n Ig C | (C.2) |
Đối với hầu hết các kết quả chính xác, số mũ n phải được xác định với ít nhất hai khí tiêu chuẩn có chứa thành phần quan tâm tại hai mức nồng độ: nồng độ thứ nhất tại 20 % (C1) của nồng độ khối lượng toàn bộ thang đo và nồng độ thứ hai tại 80 % (C2). Khi đó n được xác định là
|
| (C.3) |
Trong đó
A1 là tín hiệu của peak cấu tử tại 20 % toàn bộ thang đo;
A2 là tín hiệu của peak cấu tử tại 80 % toàn bộ thang đo
Và
|
| (C.4) |
Các giá trị n và k có thể được sử dụng để xác định nồng độ khối lượng của mẫu theo phương trình (C.1).
Mối quan hệ giữa đáp ứng của detector và nồng độ là không tuyến tính (nhưng nồng độ tỷ lệ với căn bậc hai của diện tích). Vì vậy, hỗn hợp hiệu chuẩn phải được sử dụng, trong đó nồng độ khối lượng của mỗi cấu tử gần với nồng độ khối lượng của cùng cấu tử trong mẫu được phân tích.

CHÚ DẪN:
X thời gian, min
Y đáp ứng
Hình C.2 - Sắc ký đồ của hỗn hợp 1 (H2S trong metan)

CHÚ DẪN:
X thời gian, min
Y đáp ứng
Hình C.3 - Sắc ký đồ của hỗn hợp 2 (COS, MeSH, EtSH, TBM, DES, THT trong metan)
Phụ lục D
(Tham khảo)
Phương pháp GC sử dụng ED
D.1 Áp dụng
Phương pháp này áp dụng với các hợp chất sau:
- hydro sulfua
- metan-, etan-, propan-, 2-metylpropan-2-thiol (tert-butyl mercaptan)
- tetrahydrothiophen
Không áp dụng để xác định cacbonyl sulfua.
Theo các điều kiện ứng dụng thông thường, phương pháp này có thể được sử dụng để xác định hàm lượng của từng hợp chất trong dải nồng độ khối lượng từ 0,1 mg đến 100 mg, với nồng độ khối lượng được biểu thị bằng miligam của lưu huỳnh trên mét khối khí tại nhiệt độ và áp suất tiêu chuẩn. Thông thường, phạm vi ứng dụng đối với THT tương đương là 15 mg đến 40 mg trên mét khối khí.
Detector điện hóa được sử dụng không nhạy đối với các cấu tử chính của khí thiên nhiên.
CHÚ THÍCH: Các điều kiện sắc ký đã mô tả có thể xác định được hydro sulfua và metanthiol nếu tỷ lệ nồng độ của hydro sulfua với nồng độ của metanthiol nhỏ hơn 10. Tương tự áp dụng với hai thiol được rửa giải liên tiếp. Có thể cải thiện tính năng của cột sắc ký để gia tăng tỷ lệ này.
D.2 Thiết bị, dụng cụ
Hai thiết bị khác nhau dựa trên cùng một nguyên tắc phát hiện có thể được sử dụng để tiến hành phân tích hoặc trong 50 min (thiết bị 1) hoặc 10 min (thiết bị 2), sử dụng chuyển đổi cột. Hai thiết bị này vận hành tại nhiệt độ phòng và về cơ bản bao gồm bốn phần.
D.2.1 Thiết bị phun mẫu: để tránh hiện tượng hấp phụ và giải hấp, nghiêm cấm sử dụng kim loại trong phần này của thiết bị.
D.2.2.1 Phun thủ công: sử dụng xylanh khí để lấy mẫu, và bơm ngay qua vách cao su phủ PTFE tại đỉnh cột.
D.2.1.2 Phun tự động: chương trình cài đặt kiểm soát các van đường phun đối với khí được phân tích. Các phần không phải là kim loại của thiết bị phun là polyamide (các vòng) hoặc PTFE (vị trí các van điện từ).
D.2.2 Cột
D.2.2.1 Một cột thủy tinh (thiết bị 1) được thiết lập như được thể hiện ở Hình D.1 và như sau
- chiều dài: 40 cm
- đường kính trong: 4 mm
- vật liệu nhồi (nền): Chromosorb W, có kích cỡ hạt 150 μm đến 180 μm (80 mesh đến 100 mesh, loại Tyler)
- vật liệu nhồi (trong pha tĩnh):
1) Đối với hai phần ba đầu tiên của chiều dài cột, Silicon DC 200,40 g trên 100 g nền
2) Đối với một phần ba cuối, dinonyl phthalat, 40 g trên 100 g nền
D.2.2.2 Ba cột thủy tinh (thiết bị 2) được thiết lập như Hình D.2 và như sau.
D.2.2.2.1 Cột 1
- chiều dài: 25 cm
- đường kính trong: 4 mm
D.2.2.2.2 Cột 2
- chiều dài: 140 cm
- đường kính trong: 4 mm
D.2.2.2.3 Cột 3
- chiều dài: 18 cm
- đường kính trong: 4,7 mm
D.2.2.2.4 Vật liệu nhồi (nền); Chromosorb W, có kích cỡ hạt 150 μm đến 180 μm (80 mesh đến 100 mesh, loại Tyler)
D.2.2.2.5 Vật liệu nhồi (trong pha tĩnh); Silicon OV 101 20 g trên 100 g nền
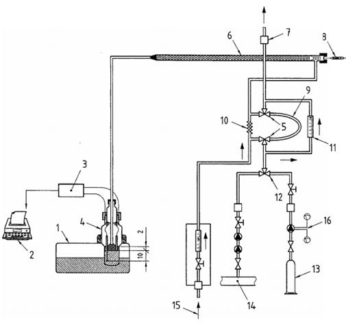
D.2.3 Ba detector điện hóa học (ED): một dành cho thiết bị 1 và hai dành cho thiết bị 2 (xem Hình D.2).
Mỗi detector bao gồm một bình chứa bằng thủy tinh hoặc metyl polymethacrylat. Các điện cực, hai mảnh lưới platin được xếp song song thành mạng lưới (đường kính 35 mm, 3600 sợi trên cm2), được hàn cách 30 mm ống thủy tinh borosilicat và kết nối riêng biệt với bộ khuếch đại hoặc với bộ ghi bằng sợi platin.
Chất điện phân, dung dịch crom(VI) oxit trong nước cất (0,66 mol/L), được chứa trong bình mà trong đó ống có các điện cực nhúng dung dịch đó được lưu giữ bằng mao dẫn trong ống tại mức trên của mạng lưới, mức trong bình tự thân xấp xỉ khoảng giữa hai mạng lưới.
Dòng khí từ cột sắc ký được xả qua ống thủy tinh có đường kính trong 2 mm, 5 mm trên mức trên mạng lưới.
Ngay khi sự rửa giải hợp chất lưu huỳnh xảy ra, phản ứng oxy hóa khử xảy ra trên bề mặt điện cực tạo ra sự chênh lệch thế giữa các điện cực, do vậy tạo ra dòng điện mà được đo trong mạch đo kháng trở thấp.
VÍ DỤ: Tetrahydrothiophen (THT) bị oxy hóa thành tetramethylene sulphoxide theo phản ứng chung:

Detector này với sự thay đổi nhiệt độ đột ngột. Vì vậy thiết bị phải được đặt ở khu vực có nhiệt độ ổn định hoặc thậm chí tốt hơn là trong môi trường có kiểm soát nhiệt độ.
Mối quan hệ giữa đáp ứng detector và nồng độ không thực sự là tuyến tính. Phải sử dụng hỗn hợp hiệu chuẩn, trong đó nồng độ của mỗi cấu tử gần với nồng độ của cùng cấu tử trong khí thiên nhiên được phân tích. Điều này hạn chế áp dụng các phương pháp tự động đối với các khí có sự biến thiên lớn về nồng độ khối lượng của các hợp chất lưu huỳnh.
D.3 Cách tiến hành
D.3.1 Chuẩn bị thiết bị 1
D.3.1.1 Khí mang
Khí mang phải là nitơ tại áp suất xấp xỉ 2 x 105 Pa (2 bar) và tốc độ dòng chảy 100 mL/min tại 293 K (20 °C).
D.3.1.2 Phun tự động
Điều chỉnh các tốc độ dòng của khí được phân tích và hỗn hợp khí hiệu chuẩn đến 150 mL/min để xả vòng phun
D.3.2 Chuẩn bị thiết bị 2
D.3.2.1 Khí mang
Khí mang phải như sau
a) Đường dẫn A - khí mang đối với phép xác định THT: nitơ tại áp suất xấp xỉ 1 x 105 Pa (2 bar) và tốc độ dòng 150 mL/min tại 293 K (20 °C).
b) Đường dẫn B - khí mang đối với phép xác định thiol: nitơ tại áp suất xấp xỉ 1,6 x 105 Pa (1,6 bar) và tốc độ dòng 80 mL/min tại 293 K (20 °C).
D.3.2.2 Phun tự động
Điều chỉnh các tốc độ dòng của khí được phân tích và hỗn hợp khí hiệu chuẩn đến 150 mL/min để xả vòng phun
D.3.3 Phân tích
Phun 20 mL mẫu, không kể thiết bị phun được sử dụng. Đây là dung tích lớn nhất và có thể giảm khi nồng độ khối lượng của các hợp chất lưu huỳnh cao.
D.3.4 Thời gian rửa giải
D.3.4.1 Thiết bị 1
Nếu vận hành tự động, thời gian chu trình phân tích, bao gồm các giai đoạn phun và rửa giải, khoảng 1 h.
Thứ tự và thời gian rửa giải đối với các thành phần khác nhau tại 20 °C đối với tốc độ dòng 100 mL/min phải như sau.
| - hydro sulfua (chỉ đối với vận hành thủ công): | 30 s |
| - MeSH: | 60 s |
| - EtSH: | 80 s |
| - 2-Propanthiol | 160 s |
| - 2-Methylpropane-2-thiol: | 240 s |
| - 1-Propanthiol: | 290 s |
| - 2-Butan thiol: | 560 s |
| - Tetrahydrothiophen: | 2100 s |
| - thời gian phân tích: | 45 min |
Để giảm tổng thời gian phân tích, có thể tăng tốc việc rửa giải tetrahydrothiophen bằng cách tăng tốc độ dòng khí mang, sau khi rửa giải butan-2-thiol, từ 100 mL/min đến 500 mL/min bằng thiết bị tự động. Tổng thời gian phân tích chỉ là 15 min trong khi vẫn chỉ sử dụng một lần phun.
D.3.4.2 Thiết bị 2
Nếu vận hành tự động, thời gian chu trình phân tích, bao gồm các giai đoạn phun và rửa giải, khoảng 10 min.
Thứ tự và thời gian rửa giải đối với các thành phần khác nhau tại 298 K (20 °C) tại các điều kiện được đề cập ở trên phải như sau.
| a) Đường dẫn A: tetrahydrothiophene: | 320 s |
| b) Đường dẫn B |
|
| - hydro sulfua (chỉ đối với hoạt động thủ công): | 30 s |
| - MeSH: | 80s |
| - EtSH: | 125 s |
| - 2-Propanthiol | 140 s |
| - 2-Metylpropan-2-thiol: | 220 s |
| - 1-Propanthiol: | 260 s |
| - 2-Butan thiol: | 430 s |
| - thời gian phân tích: | 10 min |

CHÚ DẪN
| 1 | Bồn chứa | 9 | Vòng mẫu |
| 2 | Bộ tích phân | 10 | Bộ phận hạn chế |
| 3 | Tín hiệu tới bộ tích phân | 11 | Lưu lượng kế kiểu phao |
| 4 | Detector | 12 | Van điện từ chọn lọc |
| 5 | Các van điện từ | 13 | Khí hiệu chuẩn |
| 6 | Cột sắc ký RSH + THT | 14 | Mẫu phân tích |
| 7 | Lỗ thông khí | 15 | Khí mang |
| 8 | Phun thủ công | 16 | Van kim |
Hình D.1 - Thiết bị 1

CHÚ DẪN:
| 1 | bồn chứa | 10 | Vòng mẫu |
| 2 | Detector THT | 11 | Lưu lượng kế kiểu |
| 3 | Tín hiệu tới bộ tích phân | 12 | Khí hiệu chuẩn |
| 4 | Bộ tích phân | 13 | Mẫu phân tích |
| 5 | Tín hiệu tới bộ tích phân | 14 | Khí mang RSH |
| 6 | Detector RSH | 15 | Khí mang THT |
| 7 | Bồn chứa | 16 | Bộ phận hạn chế |
| 8 | Lỗ thông khí | 17 | Van điện từ |
| 9 | Phun thủ công | 18 | Van kim |
Hình D.2- Thiết bị 2
Phụ lục E
(Tham khảo)
Phương pháp GC sử dụng MSD
E.1 Áp dụng
Phương pháp có thể áp dụng với các hợp chất sau:
- Hydro sulfua (H2S);
- Cacbonyl sulfua (COS);
- Metan-, etan-, 2-metylpropan-2-thiol (tert-butyl mercaptan) (MeSH, EtSH, TBM);
- Dietyl sulfua (DES);
- Tetrahydrothiophen (THT, C4H8S).
Theo các điều kiện áp dụng thông thường, phương pháp này có thể được sử dụng để xác định hàm lượng của từng hợp chất có dải nồng độ khối lượng từ 0,1 mg đến 100 mg (nồng độ khối lượng được biểu thị bằng miligam của lưu huỳnh) trên mét khối của khí tại nhiệt độ và áp suất tiêu chuẩn. Thông thường, dải áp dụng đối với THT tương đương là 15 mg đến 60 mg trên mét khối khí.
Detector có thể được cấu hình sao cho thiết bị không nhạy với các cấu tử chính của khí thiên nhiên.
E.2 Thiết bị, dụng cụ
Sắc ký khí có chứa cột mao quản silic oxit nung chảy (nhựa metylsilicon liên kết ngang) và detector chọn lọc khối lượng.
E.2.1 Thiết bị phun mẫu
E.2.1.1 Van lấy mẫu khí có vòng mẫu 0,3 mL. Để tránh hiện tượng hấp phụ và giải hấp, không được sử dụng kim loại trong phần này của thiết bị.
E.2.1.2 Phun tự động bằng phương pháp lập trình kiểm soát van dòng phun đối với khí được phân tích. Các phần không phải kim loại của thiết bị phun là vật liệu polyamide (vòng) hoặc PTFE (bệ của van điện từ).
E.2.1.3 Cột silic oxit nung chảy và có chiều dài 50 cm, đường kính trong 0,2 mm và được nhồi nhựa Silicon liên kết ngang có độ dày màng 0,5 μm.
E.2.2 Detector chọn lọc khối lượng (MSD), có chứa nguồn ion tác động điện tử, bộ lọc khối lượng mạch bốn cực hyperbolic, detector số nhân điện tử, bốn bảng điện, một nguồn cung cấp điện, một bơm khuếch tán dầu và một bơm dòng trước cơ học.
Phần mềm hệ thống dữ liệu bao gồm các chương trình hiệu chuẩn MS, thu được số liệu và xử lý số liệu. Các chương trình hiệu chuẩn có thể điều chỉnh điện áp ở nguồn ion, hiệu chính thiết lập khối lượng và kiểm soát phân hình của thiết bị phân tích khối lượng. Hơn nữa, hệ thống thu số liệu cho phép điều khiển tổng dòng ion hoặc ion cụ thể (ở chế độ kiểm soát ion chọn lọc).
VÍ DỤ: Tetrahydrothiophen bị bắn phá bởi nguồn ion tác động điện tử và bị phân mảnh như sau:
THT + e+ > CH2 - CH2 - S (peak nền)
E.3 Cách tiến hành
E.3.1 Chuẩn bị thiết bị, dụng cụ
E.3.1.1 Khí mang
Khí mang phải là heli (độ tinh khiết ít nhất là 99,995 %) tại áp suất xấp xỉ 2 x105 Pa (2 bar) và tốc độ dòng 12 mL/min tại 293 K (20 °C).
E.3.1.2 Phun tự động
Điều chỉnh tốc độ dòng của khí được phân tích và hỗn hợp khí hiệu chuẩn đến 150 mL/min để xả vòng phun.
E.3.2 Phân tích
Phun 0,3 mL mẫu sử dụng thiết bị phun.
E.3.3 Thời gian rửa giải
Thứ tự rửa giải đối với hợp chất khác nhau tại 20 °C đối với tốc độ dòng 12 mL/min phải như sau:
| - H2S: | 2,93 min |
| - COS: | 3,59 min |
| - MeSH: | 10,90 min |
| - EtSH: | 19,02 min |
| - TBM: | 25,15 min |
| - DES: | 30,96 min |
| - THT: | 35,67 min |
Để giảm tổng thời gian phân tích, cũng có thể tăng tốc sự rửa giải tetrahydrothiophen bằng cách tăng nhiệt độ đến 120 °C. Hydro sulfua và cacbonyl sulfua sẽ không bị phân tách.
Xem Hình E.1.

CHÚ DẪN:
X thời gian, min
Y abundance (độ nhiều)
Hình E.1 - Sắc ký đồ của hỗn hợp 2 (COS, MeSH, EtSH, TBM, DES, THT trong metan)
Phụ lục F
(Tham khảo)
Phương pháp GC sử dụng AED
F.1 Áp dụng
Phương pháp này có thể áp dụng cho các hợp chất sau:
- Hydro sulfua (H2S)
- Cacbonyl sulfua (COS)
- Metan-, etan-, 2-metylpropan-2-thiol (tert-butyl mercaptan) (MeSH, EtSH, TBM):
- Diethyl sulfua (DES);
- Tetrahydrothiophen (THT, C4H8S).
F.2 Thiết bị, dụng cụ
F.2.1 Sắc ký khí cột mao quản, trang bị bộ phận lập trình áp suất cột và nhiệt độ và detector phát xạ nguyên tử (AED), và lắp với van phun khí có khả năng vận hành ở chế độ không tách/có tách xung.
F.2.2 Cột silic ôxit nung chảy, hai mao quản, được ghép để cột có chiều dài 100 m.
F.2.2.1 Cột 1
- chiều dài: 50 m
- đường kính trong: 0,32 mm
- vật liệu nhồi: CP-Sil 5 có độ dày màng 5 μm
F.2.2.2 Cột 2
- chiều dài: 50 m
- đường kính trong: 0,32 mm
- vật liệu nhồi: CP-Sil 5 có độ dày màng 10 μm
F.3 Cách tiến hành
F.3.1 Chuẩn bị thiết bị, dụng cụ
F.3.1.1 Lò
Áp dụng các điều kiện sau
| - Nhiệt độ ban đầu | 40 °C |
| - Thời gian ban đầu | 15 min |
| - Tốc độ lập trình | 15 °C/min |
| - Nhiệt độ cuối cùng | 230 °C |
| - Thời gian cuối cùng | 12 min |
F.3.1.2 Áp suất
Áp dụng các điều kiện sau.
| - Áp suất ban đầu | 150 kPa |
| - Thời gian ban đầu | 12,5 min |
| - Tốc độ lập trình | 68 kPa/min |
| - Áp suất cuối cùng | 285,7 kPa |
F.3.2 Phun
| Phải thực hiện như sau. |
|
| - Gia nhiệt phun tách xung | 130 °C |
| - Áp suất | 150 kPa |
| - Xung phun | 170 kPa trong 0,6 min |
| - Tỷ số tách | 3:1 |
| - Dụng cụ tận thu khí | 2 min đến 15 mL/min tổng dòng helium |
F.3.3 Detector phát xạ nguyên tử
Các dòng phát xạ AED được kiểm tra là ba dòng ở khoảng 181 nm (danh định) có khí xả O2 và H2, lượng phát hiện được tối thiểu là 1,0 pg/s, chọn lọc theo cacbon là khoảng 30000.
F.4 Thời gian rửa giải
| Phải như sau. |
|
| - H2S: | 10,8 min |
| - COS: | 11,6 min |
| - MeSH: | 15,2 min |
| - EtSH: | 18,1 min |
| - TBM: | 22,3 min |
| - DES: | 26,2 min |
| - THT: | 29,4 min |
| - Tổng thời gian phân tích: | 40 min |

Các vết H2S, COS 5 mg/m3, MeSH 5 mg/m3, EtSH 5 mg/m3, TBM 6 mg/m3, DES 10 mg/m3, THT 25 mg/m3
CHÚ DẪN:
X thời gian, min
Y số đếm
Hình F.1 - Sắc ký đồ của hỗn hợp 2
Phụ lục G
(Tham khảo)
Các phương pháp GC sử dụng cột chuyển đổi và FPD
G.1 Áp dụng
Các phương pháp có thể được áp dụng với các hợp chất sau:
- Hydro sulfua (H2S)
- Cacbonyl sulfua (COS)
- Metan-, etan-, 2-metylpropan-2-thiol (tert-butyl mercaptan) (MeSH, EtSH, TBM):
- Dietyl sulfua (DES);
- Tetrahydrothiophen (THT, C4H8S).
G.2 Thiết bị, dụng cụ
Những phương pháp này sử dụng sắc ký khí cột nhồi tiêu chuẩn có bộ phận lập trình nhiệt độ và detector quang kế ngọn lửa (FPD). Detector quang kế ngọn lửa hoạt động tại 150 °C ở chế độ ngọn lửa đơn như được mô tả ở [5]. Sắc ký phù hợp với bộ kiểm soát lưu lượng kênh đôi đối với khí mang (heli) và kiểm soát lưu lượng kênh đơn đối với các khí detector (hydro và không khí).
G.2.1 Ba cột nhồi bằng thép không gỉ được đặt trong lò sắc ký: cột phân tích OV17 (cột 1), tiền cột QS Porapak2) ngắn và một cột phân tích QS porapak dài hơn (cột 2) theo hình G.1 và G.2 và như sau.
G.2.1.1 Cột 1 (phân tích)
- chiều dài: 180 cm
- đường kính ngoài: 3 mm
- vật liệu nhồi: 20 % m/m OV17 trên Chromosorb W và cỡ hạt 100 đến 120 lưới
G.2.1.1 Tiền cột
- chiều dài: 30 cm
- đường kính ngoài: 3 mm
- đóng gói: QS Porapak đã rửa bằng axêton và cỡ hạt 80 mesh đến 100 mesh
G.2.1.3 Cột 2 (Phân tích)
- chiều dài: 180 cm
- đường kính ngoài: 3 mm
- vật liệu nhồi: QS Porapak đã rửa bằng axêton và cỡ hạt 80 mesh đến 100 mesh

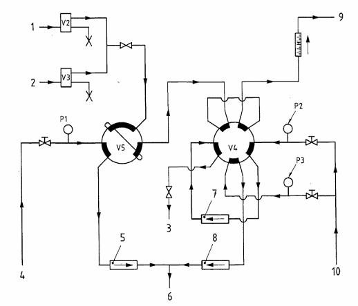
CHÚ DẪN:
1 mẫu
2 khí hiệu chuẩn
3 lỗ sục rửa
4 chuyển tải 1
5 cột OV17
6 FPD
7 tiền cột QS Porapak
8 cột QS Porapak
9 lỗ khí hiệu chuẩn/mẫu
10 chuyển tải 2
V2, V3, V4, V5 xem G.2.2
Hình G.1 - Sơ đồ sắc ký lưu huỳnh - chế độ phun mẫu

CHÚ DẪN:
1 mẫu
2 khí hiệu chuẩn
3 lỗ sục rửa
4 chuyển tải 1
5 cột OV17
6 FPD
7 tiền cột QS Porapak
8 cột QS Porapak
9 lỗ khí hiệu chuẩn/mẫu
10 chuyển tải 2
V2, V3, V4, V5 xem G.2.2
Hình G.2 - Sơ đồ sắc ký lưu huỳnh - chế độ sục rửa
G.2.2 Van
Các van như sau
V2 (tùy chọn): chuyển đổi dòng mẫu bật và tắt
V3 (tùy chọn): chuyển đổi khí hiệu chuẩn bật và tắt
V4: van lấy mẫu khí tự động 10 cổng
V5: van lấy mẫu khí tự động 6 cổng
G.2.3 Cấu hình
Hai cột QS Porapak được kết nối với van lấy mẫu khí 10 cổng. Van này được cấu hình sao cho ở vị trí phun, khí mẫu được phun trên cột trước QS Porapak được kết nối hàng loạt với cột phân tích QS Porapak và ở vị trí tải, cột trước QS Porapak được sục rửa đến lỗ thông khí trong khi cột phân tích QS Porapak tiếp tục được rửa giải đến detector. Theo các điều kiện đẳng nhiệt thông thường, cột QS Porapak (với cột trước sục rửa) phân tách hydro sulfua và cacbonyl sulfua.
Cột OV17 được kết nối với van lấy mẫu khí tự động 6 cổng. Van này được cấu hình thông thường để phun mẫu trên cột OV17. Theo các điều kiện đẳng nhiệt thông thường, cột OV17 phân tách etanthiol, 2-metylpropan-2-thiol, metyl etyl sulfua và dietyl sulfua.
Hai van cần được gắn trong lò sắc ký. Cả hai van cần phù hợp với vòng mẫu được làm từ ống PTFE có đường kính ngoài 6 mm. Cỡ vòng mẫu sẽ cần phù hợp với các yêu cầu phân tích, nhưng sử dụng cỡ vòng điển hình 2 mL đến 5 mL. Vòng mẫu được kết nối hàng loạt sao cho các vòng có thể được làm sạch cùng lúc.
Đầu ra của cột OV17 và đầu ra của cột phân tích QS Porapak được nối với nhau tại điểm T sao cho các dòng của cột kết hợp đi vào detector FPD.
Dòng cột QS Porapak là 170 mL/min có áp lực thoát 340 kPa.
Dòng cột OV17 là 100 mL/min có áp lực thoát 340 kPa.
G.3 Cách tiến hành
Có thể sử dụng các phương pháp được lập trình ba nhiệt độ và bốn phân tích đẳng nhiệt.
a) Phương pháp 1 đo H2S, COS, EtSH, TBM, MeSH và DES đẳng nhiệt tại 50 °C. Hình G.3 là một sắc ký đồ thu được bằng việc sử dụng phương pháp 1. Thực hiện hai lần phun mẫu.
1) Thực hiện lần phun mẫu đầu tiên sử dụng van 10 cổng (V4). Sử dụng cột QS Porapak dài để phân tách hydro sulfua và COS. Súc rửa các hợp chất nặng hơn từ cột trước QS Porapak ngắn.
2) Ba phút sau, sau khi rửa giải hydro sulfua và COS, thực hiện phun mẫu lần hai sử dụng van 6 cổng (V5). Phân tách etanthiol, 2-methylpropane-2-thiol, methyl ethyl sulfua và dietyl sulfua trên cột OV 17. Chu trình phân tích khoảng 11 min.

CHÚ DẪN:
X thời gian, min
1 H2S (4,3 mg/m3)
2 COS (chưa xác định)
3 EtSH (0,24 mg/m3)
4 TBM (0,48 mg/m3)
5 MeSH (0,43 mg/m3)
6 DES (2,9 mg/m3)
Hình G.3 - Sắc ký khí sử dụng phương pháp 1
b) Phương pháp 2 là phiên bản lập trình nhiệt độ của phương pháp 1 mà phương pháp này mở rộng phạm vi phép đo để bao gồm các hợp chất khác như tetrahydrothiophen và disulfua. Nó đo H2S và COS đẳng nhiệt tại 50 °C, như trên. Phun mẫu thứ hai lên cột OV17 tại 50 °C nhưng sau rửa giải đẳng nhiệt EtSH và TBM, lập trình nhiệt độ cột OV17 đến 150 °C tại 10 °C/min. Hình G.4 là sắc ký đồ thu được sử dụng phương pháp 2. Chu trình phân tích khoảng 30 min (20 min phân tích + 10 min để nguội).

CHÚ DẪN:
X thời gian, min
1 H2S (4,3 mg/m3)
2 COS (chưa xác định)
3 EtSH (0,24 mg/m3)
4 TBM (0,48 mg/m3)
5 MeSH (0,43 mg/m3)
6 DES (2,9 mg/m3)
Hình G.4 - Sắc ký khí sử dụng phương pháp 2
c) Phương pháp 3 là phương pháp phân tích chất tạo mùi cổ điển đầu tiên được đưa vào trong thiết bị phân tích mùi tự động nguyên gốc. Nó đo EtSH, TBM, MeSH và DES đẳng nhiệt tại 50 °C, sử dụng cột OV17. Hình G.5 là sắc ký đồ thu được sử dụng phương pháp 3. Thực hiện phun mẫu đơn sử dụng van 6 cổng (V5). Chu trình phân tích là khoảng 8 min.

CHÚ DẪN:
X thời gian, min
1 EtSH (0,24 mg/m3)
2 TBM (0,48 mg/m3)
3 MeSH (0,43 mg/m3)
4 DES (2,9 mg/m3)
Hình G.5 - Sắc ký khí sử dụng phương pháp 3
d) Phương pháp 4 là phiên bản lập trình nhiệt độ của phương pháp 3. Sau rửa giải đẳng nhiệt của EtSH và TBM tại 50 °C, lập trình nhiệt độ cột OV17 đến 150 °C tại 10 °C/min. Hình G.6 là sắc ký đồ thu được sử dụng phương pháp 4. Chu trình phân tích khoảng 25 min. Phương pháp 4 cũng có thể được sử dụng để đo các hợp chất nặng hơn nếu có.

CHÚ DẪN:
X thời gian, min
1 EtSH (0,46 mg/m3)
2 TBM (1,02 mg/m3)
3 MeSH (0,87 mg/m3)
4 DES (27,0 mg/m3)
Hình G.6 - Sắc ký khí sử dụng phương pháp 4
e) Phương pháp 5 sử dụng hai cột QS Porapak để đo H2S và COS đẳng nhiệt tại 50 °C. Hình G.7 là sắc ký đồ thu được sử dụng phương pháp 5. Sử dụng van 10 cổng (V4) để phun mẫu trên tiền cột QS Porapak, trước tiên theo loạt với cột phân tích QS Porapak. Sau khi cho H2S và COS từ tiền cột QS Porapak sang cột phân tích QS Porapak, cho V4 vào vị trí “tải trọng mẫu” và súc rửa để thông hơi tất cả các hợp chất nặng hơn còn lại trên cột trước QS Porapak. Sau đó phân tách H2S và COS và rửa giải từ cột phân tích QS Porapak. Chu trình phân tích khoảng 3 min.

CHÚ DẪN:
X thời gian, min
1 H2S (1,8 mg/m3)
2 COS (~ 1 mg/m3)
Hình G.7 - Sắc ký khí sử dụng phương pháp 5
f) Phương pháp 6 là phương pháp QS Porapak được lập trình nhiệt độ để đo H2S, COS, EtSH, TBM, MeSH và DES sử dụng cột đơn lẻ và phun mẫu đơn lẻ. Hình 8 là sắc ký đồ thu được sử dụng phương pháp 6. Phun mẫu sử dụng van 10 cổng (V4) trên cột trước QS Porapak theo loạt với cột phân tích QS Porapak (hiệu quả nhất là cột QS Porapak đơn). Rửa giải H2S và COS đẳng nhiệt tại 50 °C và sau đó nhanh chóng lập trình cột QS Porapak kết hợp đến 150 °C tại 35 °C/min. Sau đó rửa giải các mercaptan và sulfua đẳng nhiệt tại 150 °C. Chu trình phân tích khoảng 25 min (15 min phân tích + 10 min để nguội).

CHÚ DẪN:
X thời gian, min
1 H2S (12 mg/m3)
2 COS (chưa xác định)
3 EtSH (0,8 mg/m3)
4 TBM (1,1 mg/m3)
5 MeSH (1,0 mg/m3)
6 DES (5,9 mg/m3)
Hình G.8 - Sắc ký khí sử dụng phương pháp 6
g) Phương pháp 7 là phiên bản tăng tốc của phương pháp 5. Nó được sử dụng đối với phân tích nhanh H2S. Hình G.9 là sắc ký đồ thu được sử dụng phương pháp 7. Tăng tốc phương pháp bằng cách tăng áp suất khí mang từ 336 kPa đến 470 kPa, và bằng cách tăng nhiệt độ cột từ 50 °C đến 70 °C. Theo các điều kiện này, chu trình phân tích hydro sulfua khoảng 1,2 min.

CHÚ DẪN:
X thời gian, min
1 H2S (3,4 mg/m3)
Hình G.9 - Sắc ký sử dụng phương pháp 7
G.4 Tính toán
Mối quan hệ giữa đáp ứng FPD và nồng độ lưu huỳnh được đưa ra như sau
| A = k Cn | (G.1) |
trong đó
A là tín hiệu của peak cấu tử;
k là hằng số;
C là nồng độ khối lượng;
n là số mũ.
phương trình (G.1) có thể sắp xếp lại thành
| lg A = lg k + n lg C | (G.2) |
Đối với hầu hết các kết quả chính xác, số mũ n phải được xác định với ít nhất hai khí tiêu chuẩn có chứa hợp chất quan tâm tại hai mức nồng độ; mức thứ nhất tại 20 % (C1) của toàn bộ mức nồng độ khối lượng và mức thứ hai 80 % (C2). Khi đó n được xác định là
|
| (G.3) |
trong đó
A1 là tín hiệu của peak cấu tử tại 20 % của toàn bộ thang đo;
A2 là tín hiệu của peak cấu tử tại 80 % của toàn bộ thang đo.
và
|
| (G.4) |
Các giá trị n và k có thể được sử dụng để xác định nồng độ khối lượng của mẫu theo phương trình (G.1).
Mối quan hệ giữa đáp ứng detector và nồng độ không phải là tuyến tính (nhưng nồng độ tỷ lệ với căn bậc hai của diện tích). Vì vậy, hỗn hợp hiệu chuẩn phải được sử dụng mà theo đó nồng độ khối lượng của mỗi hợp chất gần với nồng độ khối lượng của cùng hợp chất trong mẫu được phân tích.
Phụ lục H
(Tham khảo)
Phương pháp GC sử dụng cột mao quản và SCD
H.1 Áp dụng
Phương pháp này bao gồm xác định các hợp chất có chứa lưu huỳnh trong khí thiên nhiên và các hỗn hợp khí tương tự tại mức nồng độ khối lượng 0,5 mg/m3 bằng sắc ký khí.
Một ví dụ về ứng dụng đối với chỉ dẫn hoạt động này là kiểm soát chất lượng của khí thiên nhiên, bao gồm phân tích các hợp chất sau:
- Hydro sulfua (H2S);
- Cacbonyl sulfua (COS);
- Metan-, etan-, n-propane-2-methylpropane-2-thiol (tert-butyl mercaptan) (MeSH, EtSH, n-PrSH TBM);
- Diethyl sulfua (DES);
- Tetrahydrothiophene (THT, C4H8S).
H.2 Thiết bị, dụng cụ
H.2.1 Sắc ký khí
H.2.1.1 Cột mao quản silic oxit nung chảy, có chiều dài 25 m và đường kính trong 0,53 mm, vật liệu nhồi CP-PoraBOND Q3) có độ dày màng 10 μm.
H.2.1.2 Detector quang hóa học lưu huỳnh (SCD). Xem Hình H.1.
H.2.2 Vòng mẫu dung tích 0,05 mL.

CHÚ DẪN:
| 1 | cửa nạp hydro | 5 | cặp nhiệt ngẫu |
| 2 | cửa xả ra khoang phản ứng | 6 | ống inconel (xem chú thích) |
| 3 | cửa nạp không khí | 7 | đầu vào cột |
| 4 | chì gia nhiệt |
|
|
CHÚ THÍCH: Ống inconel là một ví dụ về sản phẩm có sẵn trên thị trường. Thông tin này được đưa ra để tạo điều kiện thuận lợi cho người sử dụng và không phải là khuyến nghị của tiêu chuẩn này cho sản phẩm.
Hình H.1 - Bố cục của thiết bị
H.3 Cách tiến hành
H.3.1 Dòng khí
Áp dụng các giá trị sau
| - Helium: | 85 kPa |
| - Dòng khí tại thiết bị kiểm soát | |
| 1) Hydro: | 100 mL/min |
| 2) Không khí tổng hợp: | 40 mL/min |
| 3) Oxy: | 8 mL/min |
H.3.2 Nhiệt độ
Áp dụng nhiệt độ sau.
| - Lò: | 50 °C trong 5 min |
| - Tốc độ gia nhiệt | 10 °C/min |
| - Nhiệt độ cuối cùng: | 200 °C trong 5 min |
| - Thiết bị phun A: | 115 °C |
| - Bề mặt chung không có ngọn lửa: | 800 °C (20 kPa đến 33 kPa) |
H.3.3 Detector
SCD cung cấp phương tiện tách và phân tích hiệu quả các hợp chất lưu huỳnh bay hơi, tạo ra đáp ứng đẳng mol và tuyến tính đối với các hợp chất lưu huỳnh như sau
- Độ nhạy: < 0,5 pg S/s
- Tính chọn lọc: > 107 pg S/g C
- Độ tuyến tính: > 105
Detector không phải làm nguội nhanh đáp ứng hợp chất lưu huỳnh hoặc nhiễu từ các hợp chất đồng rửa giải tại các thể tích lấy mẫu GC thông thường. Cơ chế hoạt động của SCD sinh ra một hệ số đáp ứng đối với lưu huỳnh, trái với các detector khác mà các hệ số đáp ứng đơn lẻ đối với mỗi chất phân tích có liên quan phải được xác định.
SCD là detector chọn lọc lưu huỳnh đối với sắc ký khí (và chất lưu siêu tới hạn). Hoạt động của nó dựa trên phát quang hóa học (phản ứng sản sinh cao) từ phản ứng của ozon với lưu huỳnh monoxit (SO) được sản sinh từ việc đốt cháy chất phân tích:
Hợp chất lưu huỳnh (chất phân tích) + O2 → SO + H2O + các sản phẩm khác
SO + O3 → SO2 + O2 + hv (< 400) (theo các điều kiện quy chiếu thông thường)
Bơm chân không kéo các sản phẩm cháy vào khoang phản ứng tại áp suất thấp, mà ozon dư được bổ sung. Ánh sáng được sinh ra từ phản ứng kế tiếp được phát hiện bằng ống nhân quang và tín hiệu được khuếch đại để hiển thị hoặc cung cấp cho hệ thống số liệu.
Detector có bộ đốt hydro chuyên dụng gắn kèm được thiết kế để nâng cao sản xuất bán thành phẩm SO. Bộ đốt này được gắn trong cổng detector của sắc ký khí. Thiết bị điều khiển bề mặt chung cung cấp kiểm soát nhiệt độ và điều chỉnh dòng khí để vận hành bộ đốt.
H.3.4 Thiết bị điều khiển bề mặt chung
Thiết bị điều khiển bề mặt chung cung cấp tất cả các kiểm soát đối với vận hành bộ đốt. Các thông số được theo dõi hoặc điều chỉnh bằng thiết bị kiểm soát giao diện bao gồm nhiệt độ bộ đốt, tốc độ dòng khí và hydro và áp suất bộ đốt.
H.3.5 Bộ đốt (xem hình H.2)
Bộ đốt bao gồm bộ phận tháp có chứa bộ phận lò, cặp nhiệt điện và khuôn ống cháy inconel. Chuyển đổi các hợp chất chứa lưu huỳnh thành SO xảy ra trong buồng phản ứng gốm đặt trong bộ phận bộ đốt. Cột sắc ký được lập trình trong đáy khu vực đốt và được gắn vào bộ đốt thép không gỉ bằng kết nối Hewlett-Packard4) đối với các cột mao quản.

CHÚ DẪN:
| 1 | bộ điều khiển bề mặt chung | 6 | mẫu |
| 2 | buồng phản ứng | 7 | cửa nạp mẫu |
| 3 | thiết bị tạo ô-dôn | 8 | bộ đốt |
| 4 | bơm chân không nhỏ A | 9 | đường vận chuyển |
| 5 | thiết bị điều khiển bơm chân không |
|
|
| a | hydro |
|
|
| b | không khí |
|
|
Hình H.2 - Bộ đốt
H.3.6 Thiết bị phun mẫu
Xem Hình H.3.

a) Giao diện trực tiếp tại cột

b) Phun tách/không tách
CHÚ DẪN:
| 1 | vòng mẫu | 5 | lỗ thông 1 |
| 2 | van 6 cổng | 6 | bơm chân không |
| 3 | van 3 cổng | 7 | lỗ thông 2 |
| 4 | thiết bị điều khiển áp suất | 8 | thiết bị phun tách/không tách |
| a | bệ trong (carrier in) |
|
|
| b | mẫu trong |
|
|
| c | giao diện trực tiếp tới cột |
|
|
| d | đến cột |
|
|
Hình H.3 - Thiết bị phun mẫu
H.3.7 Bơm chân không
Bơm chân không được bịt kín bằng dầu được sử dụng để tạo ra áp suất hoạt động trong khoảng 0,3 kPa và 1,33 kPa trong buồng phản ứng. Bơm chân không hoạt động là SCD nhằm mục đích
- thu thập và chuyển khí đốt từ bộ đốt sang buồng phản ứng
- chuyển ô-dôn từ thiết bị tạo ô-dôn sang buồng phản ứng, và
- giảm nguội nhanh va chạm không phóng xạ của các loại phát xạ (SO2) trong buồng phản ứng phát quang hóa học
H.4 Thời gian rửa giải
Thời gian rửa giải phải như sau
| - H2S: | 0,5 min |
| - COS: | 0,9 min |
| - MeSH: | 3,5 min |
| - EtSH: | 9,5 min |
| - n-PrSH: | 13,4 min |
| - TBM: | 14,5 min |
| - DES: | 16,1 min |
| - THT: | 17,3 min |

CHÚ DẪN:
X thời gian, min
Y đáp ứng (x 106)
Hình H.4 - Sắc ký hỗn hợp 2 (COS, MeSH, EtSH, TBM, DES, THT trong metan)
Phụ lục I
(Tham khảo)
Phương pháp GC sử dụng cột mao dẫn và PFPD
I.1 Áp dụng
Phương pháp có thể áp dụng các hợp chất sau:
- Hydro sulfua (H2S);
- Cacbonyl sulfua (COS):
- Metan-, etan-, 2-methylpropane-2-thiol (tert-butyl mercaptan) (MeSH, EtSH, TBM):
- Diethyl sulfua (DES):
- Tetrahydrothiophene (THT, C4H8S).
Nó có thể được áp dụng để xác định các mercaptan khác và các sulfua nhưng có thể cần áp dụng các quy trình hoạt động.
CHÚ THÍCH: Đối với phép đo COS trong khí thiên nhiên, với các điều kiện được mô tả bên dưới, có thể có một số nhiễu do tác động nguội nhanh của propan.
I.2 Thiết bị, dụng cụ
I.2.1 Sắc ký khí, được trang bị một detector chuyên dụng và bao gồm ba phần như sau.
I.2.1.1 Hệ thống phun, bao gồm một van điện 10 cổng có vòng inox 250 μL
I.2.1.2 Cột silic oxit nung chảy, chiều dày 50 m và có đường kính trong 0,53 mm, vật liệu nhồi CP-Sil 5 CB có độ dày màng 5 μm.
I.2.2 Detector
Detector được sử dụng là PFPD (detector quang kế ngọn lửa xung), dựa trên phương thức mới và có bằng sáng chế và có thiết kế bao gồm nguồn cháy và dòng khí cháy mà không đủ để duy trì ngọn lửa liên tục.
Trong hoạt động, ngọn lửa bốc cháy lan qua detector, đốt cháy mẫu, sau đó tự tắt sau khi hỗn hợp cháy đã hết, tạo ra xung phát xạ ánh sáng. Lưu huỳnh, nitơ và các nguyên tử khác loại được đặc trưng đơn nhất theo bức xạ trễ thời gian thành phần cụ thể, được biểu hiện sau khi ngọn lửa xung tắt. Phát xạ C-H rất nhanh: OH* + C2 → CH* + CO. Trong khi những chất liên quan đến các hợp chất lưu huỳnh đến chậm và tiếp tục lâu hơn: H + H + S2 -> S2* + H2 và/hoặc S + S → S2*
Sử dụng bộ lọc băng tần phù hợp và điện tử đặc biệt, tín hiệu được quan sát chi trong quá trình phá xạ của bộ phận quan tâm, cung cấp tính lựa chọn tối ưu.
Đáp ứng của detector này đối với các hợp chất lưu huỳnh không được nguội nhanh bởi các hydrocacbon như là FPD thông thường.
I.3 Cách tiến hành
I.3.1 Chuẩn bị thiết bị, dụng cụ
I.3.1.1 Khí mang
Khí này phải là heli (ít nhất 99,995 %) tại áp suất khoảng 4 x 105 Pa (4 bar) và tốc độ dòng 10 mL/min tại 293 K (20 °C).
I.3.1.2 Thiết bị phun
Áp dụng các điều kiện sau
- Nhiệt độ: nhiệt độ phòng
- Thời gian xả trước lần phun thứ nhất: 30 min
I.3.1.3 Detector
Áp dụng các điều kiện sau
| - Nhiệt độ: | 150 °C |
| - Tốc độ dòng hydro: | 10 mL/min |
| - Tốc độ dòng khí 1: | 34 mL/min |
| - Tốc độ dòng khí 2: | 10 mL/min |
I.3.1.4 Cột
| a) Hỗn hợp 1 |
|
| Để phân tách H2S và COS (1) | |
| - Nhiệt độ: | 35 °C đẳng nhiệt |
| b) Hỗn hợp 2 |
|
| Tất cả các hợp chất khác |
|
| - Nhiệt độ ban đầu: | 40 °C trong 3 min |
| - Tốc độ gia nhiệt: | 15 °C/min |
| - Nhiệt độ cuối cùng: | 150 °C |
I.3.2 Phân tích
Thứ tự và thời gian rửa giải đối với các thành phần là
| a) Hỗn hợp 1 |
|
| - H2S: | 1,9 min |
| - COS: | 2,0 min |
| b) Hỗn hợp 2 |
|
| - MeSH: | 2,8 min |
| - EtSH: | 4,3 min |
| - TBM: | 6,3 min |
| - DES: | 8,4 min |
| - THT: | 10,2 min |
I.3.3 Hiệu chuẩn
Thực hiện hiệu chuẩn ngoài
I.4 Tính toán
Mối quan hệ giữa đáp ứng PFPD và nồng độ lưu huỳnh được đưa ra theo công thức
| A = k Cn | (I.1) |
trong đó
A là tín hiệu của peak cấu tử
k là hằng số
C là nồng độ khối lượng
n là số mũ
phương trình (I.1) có thể sắp xếp lại thành
| lg A = lg k + n lg C | (I.2) |
đối với hầu hết các kết quả chuẩn xác, số mũ n phải được xác định bằng ít nhất hai khí tiêu chuẩn có chứa chất quan tâm tại hai mức nồng độ: mức thứ nhất tại 20 % (C1) của toàn bộ mức nồng độ khối lượng và mức thứ hai tại 80 % (C2). Khi đó n được xác định là
|
| (I.3) |
trong đó
A1 là tín hiệu của peak cấu tử tại 20 % của toàn bộ thang đo;
A2 là tín hiệu của peak cấu tử tại 80 % của toàn bộ thang đo.
và
|
| (I.4) |
Các giá trị n và k có thể được sử dụng để xác định nồng độ khối lượng của mẫu theo phương trình (I.1).
Mối quan hệ giữa đáp ứng detector và nồng độ không phải là tuyến tính (nhưng nồng độ tỷ lệ với căn bậc hai của diện tích). Vì vậy, hỗn hợp hiệu chuẩn phải được sử dụng mà theo đó nồng độ khối lượng của mỗi hợp chất gần với nồng độ khối lượng của cùng hợp chất trong mẫu được phân tích.

Hình I.1 - Sắc ký hỗn hợp 2 (COS, MeSH, EtSH, TBM, DES, THT trong metan)
Thư mục tài liệu tham khảo
[1] ISO 6142, Gas analysis - Preparation of calibration gas mixtures - Gravimetric method (Phân tích khí - Chuẩn bị hỗn hợp khí hiệu chuẩn- Phương pháp khối lượng)
[2] ISO Guide to the expression of uncertainty in measurements (Hướng dẫn ISO để biểu thị độ không đảm bảo trong phép đo)
[3] EURACHEM/CITAC Guide, Quantifying uncertainty in analytical measurement (Hướng dẫn EURACHEM/CITAC, Định lượng độ không bảo đảm trong phép đo phân tích)
[4] ISO 14111, Natural gas - Guidelines to traceability in analysis (Khí thiên nhiên - Hướng dẫn truy xuất nguồn gốc trong phân tích)
[5] The international harmonized protocol for the proficiency testing of (chemical) analytical laboratories, Technical report, international union of pure and applied chmeistry (1993) (Hiệp ước hài hòa quốc tế đối với thử nghiệm thành thạo của các phòng thí nghiệm phân tích (hóa học), Báo cáo kỹ thuật, Hội hóa học tinh khiết và ứng dụng quốc tế (1993)]
[6] K. A. GOODE In Journal of the institute of petroleum (K. A. GOODE trong Tạp chí của Viện Dầu mỏ, 56, trang. 33-41 1970)
2) Porapak và Chromosorb là những ví dụ về các sản phẩm có sẵn trên thị trường. Thông tin này được đưa ra là để thuận lợi cho người sử dụng và không phải khuyến nghị của tiêu chuẩn này cho sản phẩm.
3) PoraBOND Q là ví dụ về sản phẩm có sẵn trên thị trường. Thông tin này được đưa ra là để thuận lợi cho người sử dụng và không phải khuyến nghị của tiêu chuẩn này cho sản phẩm.
4) Hewlett Packard là tên thương mại của sản phẩm được cung cấp bởi Hewlett Packard. Thông tin này được đưa ra để tạo điều kiện thuận lợi cho người sử dụng và không phải là khuyến nghị của tiêu chuẩn này cho sản phẩm. Có thể sử dụng và không phải là khuyến nghị của tiêu chuẩn này cho sản phẩm. Có thể sử dụng các sản phẩm tương đương nếu chúng cho các kết quả giống nhau.
Bạn chưa Đăng nhập thành viên.
Đây là tiện ích dành cho tài khoản thành viên. Vui lòng Đăng nhập để xem chi tiết. Nếu chưa có tài khoản, vui lòng Đăng ký tại đây!

