- Tổng quan
- Nội dung
- VB gốc
- Tiếng Anh
- Hiệu lực
- VB liên quan
- Lược đồ
-
Nội dung hợp nhất
Tính năng này chỉ có tại LuatVietnam.vn. Nội dung hợp nhất tổng hợp lại tất cả các quy định còn hiệu lực của văn bản gốc và các văn bản sửa đổi, bổ sung, đính chính... trên một trang. Việc hợp nhất văn bản gốc và những văn bản, Thông tư, Nghị định hướng dẫn khác không làm thay đổi thứ tự điều khoản, nội dung.
Khách hàng chỉ cần xem Nội dung hợp nhất là có thể nắm bắt toàn bộ quy định hiện hành đang áp dụng, cho dù văn bản gốc đã qua nhiều lần chỉnh sửa, bổ sung.
- Tải về
Thông tư 27/2023/TT-BCT ban hành QCVN 12-15:2023/BCT về dây dẫn tín hiệu nổ
| Cơ quan ban hành: | Bộ Công Thương |
Số công báo:
Số công báo là mã số ấn phẩm được đăng chính thức trên ấn phẩm thông tin của Nhà nước. Mã số này do Chính phủ thống nhất quản lý.
|
Đang cập nhật |
| Số hiệu: | 27/2023/TT-BCT | Ngày đăng công báo: | Đang cập nhật |
| Loại văn bản: | Thông tư | Người ký: | Nguyễn Sinh Nhật Tân |
|
Ngày ban hành:
Ngày ban hành là ngày, tháng, năm văn bản được thông qua hoặc ký ban hành.
|
21/12/2023 |
Ngày hết hiệu lực:
Ngày hết hiệu lực là ngày, tháng, năm văn bản chính thức không còn hiệu lực (áp dụng).
|
Đang cập nhật |
|
Áp dụng:
Ngày áp dụng là ngày, tháng, năm văn bản chính thức có hiệu lực (áp dụng).
|
Đã biết
|
Tình trạng hiệu lực:
Cho biết trạng thái hiệu lực của văn bản đang tra cứu: Chưa áp dụng, Còn hiệu lực, Hết hiệu lực, Hết hiệu lực 1 phần; Đã sửa đổi, Đính chính hay Không còn phù hợp,...
|
Đã biết
|
| Lĩnh vực: | Công nghiệp, Hóa chất - Vật liệu nổ công nghiệp |
TÓM TẮT THÔNG TƯ 27/2023/TT-BCT
Ngày 21/12/2023, Bộ Công Thương đã ra Thông tư 27/2023/TT-BCT ban hành Quy chuẩn kỹ thuật quốc gia về an toàn sản phẩm vật liệu nổ công nghiệp - dây dẫn tín hiệu nổ. Cụ thể như sau:
1. 05 chỉ tiêu kỹ thuật của dây dẫn tín hiệu nổ bao gồm:
- Đường kính ngoài;
- Tốc độ truyền tín hiệu;
- Độ bền kéo danh định;
- Độ nhạy gợi nổ;
- Khả năng chịu chấn động.
2. Nguyên tắc xác định tốc độ truyền tín hiệu như sau: Tín hiệu ánh sáng của sóng kích nổ trong ống được ghi nhận bằng bóng cảm quan và thông qua bộ chuyển đổi, được chuyển thành tín hiệu điện, làm khởi động và dừng máy đo thời gian. Từ thời gian đo được và khoảng cách giữa hai điểm khởi động, dừng (bia) tính được tốc độ dẫn nổ.
3. Dây dẫn tín hiệu nổ phải được công bố hợp quy phù hợp quy định của Quy chuẩn kỹ thuật quốc gia, gắn dấu hợp quy (dấu CR) và ghi nhãn hàng hóa trước khi lưu thông trên thị trường.
Thông tư có hiệu lực kể từ ngày 01/7/2024.
Xem chi tiết Thông tư 27/2023/TT-BCT có hiệu lực kể từ ngày 01/07/2024
Tải Thông tư 27/2023/TT-BCT
|
BỘ CÔNG THƯƠNG Số: 27/2023/TT-BCT |
CỘNG HÒA XÃ HỘI CHỦ NGHĨA VIỆT NAM Hà Nội, ngày 21 tháng 12 năm 2023 |
THÔNG TƯ
Ban hành Quy chuẩn kỹ thuật quốc gia về an toàn sản phẩm vật liệu nổ công nghiệp - dây dẫn tín hiệu nổ
Căn cứ Luật Tiêu chuẩn và Quy chuẩn kỹ thuật ngày 29 tháng 6 năm 2006;
Căn cứ Luật Quản lý, sử dụng vũ khí, vật liệu nổ và công cụ hỗ trợ ngày 20 tháng 6 năm 2017;
Căn cứ Luật Chất lượng sản phẩm, hàng hóa ngày 21 tháng 11 năm 2007;
Căn cứ Nghị định số 96/2022/NĐ-CP ngày 29 tháng 11 năm 2022 của Chính phủ quy định chức năng, nhiệm vụ, quyền hạn và cơ cấu tổ chức của Bộ Công Thương;
Căn cứ Nghị định số 127/2007/NĐ-CP ngày 01 tháng 8 năm 2007 của Chính phủ quy định chi tiết thi hành một số điều của Luật Tiêu chuẩn và Quy chuẩn kỹ thuật; Nghị định số 78/2018/NĐ-CP ngày 16 tháng 5 năm 2018 của Chính phủ sửa đổi, bổ sung một số điều của Nghị định số 127/2007/NĐ-CP ngày 01 tháng 8 năm 2007 của Chính phủ quy định chi tiết thi hành một số điều Luật Tiêu chuẩn và quy chuẩn kỹ thuật;
Căn cứ Nghị định số 132/2008/NĐ-CP ngày 31 tháng 12 năm 2008 của Chính phủ quy định chi tiết thi hành một số điều của Luật Chất lượng sản phẩm, hàng hóa; Nghị định số 74/2018/NĐ-CP ngày 15 tháng 5 năm 2018 của Chính phủ sửa đổi, bổ sung một số điều của Nghị định số 132/2008/NĐ-CP ngày 31 tháng 12 năm 2008 của Chính phủ quy định chi tiết thi hành một số điều Luật Chất lượng sản phẩm, hàng hóa; Nghị định số 154/2018/NĐ-CP ngày 09 tháng 11 năm 2018 của Chính phủ sửa đổi, bổ sung, bãi bỏ một số quy định về điều kiện đầu tư, kinh doanh trong lĩnh vực quản lý nhà nước của Bộ Khoa học và Công nghệ và một số quy định về kiểm tra chuyên ngành;
Theo đề nghị của Cục trưởng Cục Kỹ thuật an toàn và Môi trường công nghiệp;
Bộ trưởng Bộ Công Thương ban hành Thông tư ban hành Quy chuẩn kỹ thuật quốc gia về an toàn sản phẩm vật liệu nổ công nghiệp - dây dẫn tín hiệu nổ.
Điều 1. Ban hành Quy chuẩn kỹ thuật quốc gia
Ban hành kèm theo Thông tư này Quy chuẩn kỹ thuật quốc gia về an toàn sản phẩm vật liệu nổ công nghiệp - dây dẫn tín hiệu nổ.
Ký hiệu: QCVN 12 - 15:2023/BCT.
Điều 2. Hiệu lực thi hành
1. Thông tư này có hiệu lực từ ngày 01 tháng 7 năm 2024.
2. Quy chuẩn kỹ thuật quốc gia về an toàn sản phẩm vật liệu nổ công nghiệp - dây dẫn tín hiệu nổ số QCVN 12-15:2023/BCT có hiệu lực từ ngày 01 tháng 7 năm 2024.
3. Bãi bỏ Thông tư số 15/2012/TT-BCT ngày 12 tháng 6 năm 2012 của Bộ trưởng Bộ Công Thương ban hành Quy chuẩn kỹ thuật quốc gia về dây dẫn tín hiệu nổ.
4. Sản phẩm dây dẫn tín hiệu nổ được công bố hợp quy theo Quy chuẩn kỹ thuật quốc gia về dây dẫn tín hiệu nổ số QCVN 06:2012/BCT trước ngày 01 tháng 7 năm 2024 được tiếp tục sử dụng theo thời hạn sử dụng được công bố.
Điều 3. Tổ chức thực hiện
Chánh Văn phòng Bộ, Cục trưởng các Cục: Kỹ thuật an toàn và Môi trường công nghiệp, Hóa chất; Vụ trưởng Vụ Khoa học và Công nghệ; Giám đốc Sở Công Thương các tỉnh, thành phố trực thuộc Trung ương; Thủ trưởng các cơ quan, tổ chức và cá nhân có liên quan chịu trách nhiệm thi hành Thông tư này./.
|
Nơi nhận: |
KT. BỘ TRƯỞNG |
QCVN 12 - 15:2023/BCT
Quy chuẩn kỹ thuật quốc gia về an toàn sản phẩm vật liệu nổ công nghiệp - dây dẫn tín hiệu nổ
National technical regulation on safety of industrial explosive materials - Shock tube
LỜI NÓI ĐẦU
QCVN 12 - 15:2023/BCT do Tổ soạn thảo Quy chuẩn kỹ thuật Quốc gia về an toàn sản phẩm vật liệu nổ công nghiệp - dây dẫn tín hiệu nổ biên soạn, Cục Kỹ thuật an toàn và Môi trường công nghiệp trình duyệt, Bộ Khoa học và Công nghệ thẩm định, Bộ trưởng Bộ Công Thương ban hành theo Thông tư số 27/2023/TT-BCT ngày 21 tháng 12 năm 2023. Quy chuẩn này thay thế Quy chuẩn kỹ thuật quốc gia về dây dẫn tín hiệu nổ số QCVN 06:2012/BCT.
Quy chuẩn kỹ thuật quốc gia về an toàn sản phẩm vật liệu nổ công nghiệp - dây dẫn tín hiệu nổ
National technical regulation on safety of industrial explosive materials - Shock tube
I. QUY ĐỊNH CHUNG
1. Phạm vi điều chỉnh
Quy chuẩn kỹ thuật này quy định chỉ tiêu kỹ thuật, phương pháp thử và quy định quản lý đối với dây dẫn tín hiệu nổ có mã HS 3603.50.00.
2. Đối tượng áp dụng
Quy chuẩn kỹ thuật này áp dụng cho các tổ chức, cá nhân có hoạt động liên quan tới dây dẫn tín hiệu nổ trên lãnh thổ Việt Nam và các tổ chức, cá nhân khác có liên quan.
3. Giải thích từ ngữ
Trong Quy chuẩn kỹ thuật này, các từ ngữ dưới đây được hiểu như sau:
3.1. Dây dẫn tín hiệu nổ (hay còn gọi là dây dẫn nổ): Là phương tiện dùng để truyền sóng kích nổ để gây nổ kíp nổ phi điện.
3.2. Tốc độ truyền tín hiệu (hay còn gọi là tốc độ nổ của dây dẫn tín hiệu nổ): Là tốc độ bùng cháy của lớp thuốc dẫn nổ trám ở mặt trong của ống dây dẫn tín hiệu nổ khi được gây nổ ở một nhiệt độ nhất định.
3.3. Độ nhạy của dây dẫn tín hiệu nổ (hay còn gọi là độ nhạy gợi nổ): Là khả năng nổ của dây dẫn tín hiệu nổ dưới tác dụng của sóng xung kích được tạo ra bởi nguồn gây nổ.
4. Tài liệu viện dẫn
Các tài liệu viện dẫn trong Quy chuẩn kỹ thuật này được áp dụng phiên bản được nêu ở dưới đây. Trường hợp tài liệu viện dẫn đã được sửa đổi, bổ sung hoặc thay thế, áp dụng phiên bản mới nhất.
- QCVN 01:2019/BCT - Quy chuẩn kỹ thuật quốc gia về an toàn trong sản xuất, thử nghiệm, nghiệm thu, bảo quản, vận chuyển, sử dụng, tiêu hủy vật liệu nổ công nghiệp và bảo quản tiền chất thuốc nổ.
- QCVN 02:2015/BCT - Quy chuẩn kỹ thuật quốc gia về các loại kíp nổ điện.
5. Chỉ tiêu kỹ thuật
Chỉ tiêu kỹ thuật của dây dẫn tín hiệu nổ được quy định tại Bảng 1.
Bảng 1. Chỉ tiêu kỹ thuật của dây dẫn tín hiệu nổ
|
TT |
Tên chỉ tiêu |
Đơn vị tính |
Chỉ tiêu |
|
1 |
Đường kính ngoài |
mm |
3,0 ± 0,2 |
|
2 |
Tốc độ truyền tín hiệu |
m/s |
Không nhỏ hơn 1 600 |
|
3 |
Độ bền kéo danh định |
N |
Không nhỏ hơn 180 N |
|
4 |
Độ nhạy gợi nổ |
|
Các dây dẫn tín hiệu nổ cắm trong bạc thử nổ phải truyền nổ hết khi gây nổ bằng kíp nổ cường độ số 8 |
|
5 |
Khả năng chịu chấn động |
|
Dây dẫn tín hiệu nổ không phát nổ, không hư hỏng kết cấu khi thử trên máy thử chấn động chuyên |
6. Bao gói, ghi nhãn
6.1. Dây dẫn tín hiệu nổ được bao gói trong túi PE và bảo quản trong hòm gỗ hoặc hộp cacton theo quy định tại QCVN 01:2019/BCT và các quy định của pháp luật hiện hành về bao gói vật liệu nổ công nghiệp.
6.2. Thực hiện ghi nhãn dây dẫn tín hiệu nổ theo quy định tại khoản 1 Điều 10 Nghị định số 43/2017/NĐ-CP ngày 14 tháng 4 năm 2017 của Chính phủ về nhãn hàng hóa, được sửa đổi, bổ sung bởi khoản 5 Điều 1 Nghị định số 111/2021/NĐ-CP ngày 09 tháng 11 năm 2021 của Chính phủ sửa đổi, bổ sung một số điều Nghị định số 43/2017/NĐ-CP ngày 14 tháng 4 năm 2017 của Chính phủ về nhãn hàng hóa và QCVN 01:2019/BCT.
7.1.1. Dụng cụ
Thước cặp Panme, độ chính xác ± 0,02 mm.
7.1.2. Tiến hành
Mẫu được lấy ngẫu nhiên đại diện cho lô dây dẫn tín hiệu nổ, mỗi mẫu thử được cắt đoạn dài không nhỏ hơn 1,2 m. Số lượng mẫu thử: 10 mẫu.
7.1.3. Đánh giá kết quả
Mẫu thử đạt yêu cầu về kích thước theo quy định nêu tại Điều 5 của Quy chuẩn kỹ thuật này.
7.2.1. Nguyên tắc
Tín hiệu ánh sáng của sóng kích nổ trong ống được ghi nhận bằng bóng cảm quan và thông qua bộ chuyển đổi, được chuyển thành tín hiệu điện, làm khởi động và dừng máy đo thời gian. Từ thời gian đo được và khoảng cách giữa hai điểm khởi động, dừng (bia) tính được tốc độ dẫn nổ.
7.2.2. Chuẩn bị mẫu thử
Mẫu được lấy ngẫu nhiên đại diện cho lô dây dẫn tín hiệu nổ, mỗi mẫu thử được cắt đoạn dài 2,0 m. Số lượng mẫu thử: 05 mẫu (Cho phép sử dụng mẫu sau khi xác định đường kính ngoài để tiến hành xác định tốc độ truyền tín hiệu).
7.2.3. Thiết bị:
- Máy đo thời gian, sai số 10-6 s;
- Bộ thu tín hiệu quang hoặc dây dẫn tín hiệu quang;
- Bộ phát hỏa dùng để phát hỏa dây dẫn tín hiệu nổ.
7.2.4. Tiến hành thử
- Luồn đoạn dây dẫn tín hiệu nổ vào đầu thu tín hiệu khởi động (start) và đầu thu tín hiệu dừng (stop) của bộ thu tín hiệu quang hoặc dây dẫn tín hiệu quang. Kéo thẳng đoạn dây dẫn tín hiệu nổ. Khoảng cách của đầu thu tín hiệu khởi động (start) đến đầu gây nổ của dây dẫn tín hiệu nổ không nhỏ hơn 0,3 m. Đầu dây còn lại đưa vào trong chụp phòng nổ;
- Thao tác đặt thời gian thử, ấn nút chuẩn bị thử trên máy đo thời gian;
- Gây nổ dây dẫn tín hiệu nổ ở đầu dây gắn đầu thu tín hiệu khởi động (start) bằng bộ phát hỏa;
- Đọc kết quả đo được trên máy đo thời gian (∆t).
Sai số giữa các kết quả đo không được lớn hơn ± 200 m/s. Kết quả là giá trị trung bình của các phép thử, làm tròn đến số nguyên.
7.2.5. Tính kết quả
Tốc độ truyền tín hiệu D, tính bằng m/s, tính theo công thức:
Trong đó:
- ∆t là thời gian đọc trên máy đo thời gian, s;
- L là khoảng cách giữa đầu thu tín hiệu khởi động (start) và đầu thu tín hiệu dừng (stop), m.
7.2.6. Đánh giá kết quả
Mẫu thử đạt yêu cầu khi tốc độ dẫn nổ thử đạt yêu cầu quy định tại Điều 5 của Quy chuẩn kỹ thuật này.
7.3.1. Chuẩn bị mẫu thử
Mẫu được lấy ngẫu nhiên đại diện cho lô dây dẫn tín hiệu nổ, mỗi mẫu thử được cắt đoạn dài 20 ± 1 cm. Số lượng mẫu thử: 05 mẫu (Cho phép sử dụng mẫu sau khi xác định đường kính ngoài để tiến hành xác định độ bền kéo danh định).
7.3.2. Thiết bị, dụng cụ
- Máy thử lực kéo;
- Mỏ lết;
- Kéo.
7.3.3. Tiến hành thử
- Đặt tốc độ của máy thử lực kéo từ 80 mm/min đến 90 mm/min;
- Kẹp chặt 02 đầu dây dẫn tín hiệu nổ của kíp vào hai đầu gá kẹp của máy thử sao cho mẫu không bị chùng, khoảng cách giữa 2 má kẹp từ 50 mm đến 60 mm;
- Cho máy thử lực kéo hoạt động đến khi dây dẫn tín hiệu nổ của mẫu bị đứt thì tắt máy;
- Đọc kết quả trên máy.
7.3.4. Đánh giá kết quả
Mẫu thử đạt yêu cầu khi lực kéo đứt không nhỏ hơn 180 N.
Trường hợp có 1 mẫu không đạt yêu cầu, thì cho phép lấy mẫu thử lại lần 2 với số lượng như lần đầu. Nếu lần thử này toàn bộ các mẫu thử đều đạt yêu cầu thì đánh giá đạt yêu cầu.
7.4. Xác định độ nhạy gây nổ
7.4.1. Chuẩn bị mẫu thử
Mẫu được lấy ngẫu nhiên đại diện cho lô dây dẫn tín hiệu nổ, chiều dài mẫu không nhỏ hơn 1,5 m. Mỗi lần thử 20 mẫu.
7.4.2. Vật liệu, dụng cụ
- Kíp nổ điện số 8 theo quy định tại QCVN 02:2015/BCT;
- Máy nổ mìn chuyên dụng hoặc nguồn điện một chiều từ 6 V đến 12 V;
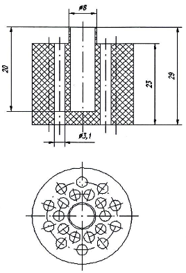
- Bạc thử: Chế tạo từ nhựa PE cao áp (HDPE) theo Hình 1.

Hình 1. Bạc thử độ nhạy gợi nổ
Ghi chú: Chiều dày lớp nhựa giữa lỗ tra kíp với lỗ tra dây dẫn tín hiệu nổ và giữa các lỗ tra dây dẫn tín hiệu nổ với nhau không nhỏ hơn 01 mm, chiều dày lớp nhựa giữa thành ngoài của bạc và các lỗ của lớp ngoài cùng không nhỏ hơn 02 mm.
7.4.3. Tiến hành
- Lần lượt cắm 20 đoạn dây dẫn tín hiệu nổ vào các lỗ cắm của bạc và để thừa ra khoảng 10 cm phía mặt bạc có lỗ tra kíp. Đầu kia được buộc lại bằng dây;
- Cắm kíp nổ điện số 8 vào lỗ tra kíp của bạc đến hết cỡ, sao cho kíp không tự tuột ra. Đặt toàn bộ trong chụp phòng nổ hoặc bãi đất trống;
- Nối dây dẫn điện của kíp với nguồn gây nổ;
- Trở về vị trí an toàn, kích nổ kíp;
- Sau 01 min ra kiểm tra mẫu thử.
7.4.4. Đánh giá kết quả
Yêu cầu: Toàn bộ dây dẫn tín hiệu nổ phải được truyền nổ hết và phải nổ hoàn toàn.
Trường hợp có 1 mẫu không nổ thì cho phép lấy mẫu thử lại lần 2 với số lượng như lần đầu. Nếu lần thử này toàn bộ các mẫu thử đều nổ hết thì đánh giá đạt yêu cầu.
7.5.1. Thiết bị, dụng cụ
- Máy thử chấn động chuyên dụng có biên độ dao động 150 ± 2 mm, tần số dao động 60 ± 1 lần/min;
- Đồng hồ bấm giây;
- Thước đo chiều dài, có vạch chia 1 mm.
7.5.2. Chuẩn bị mẫu thử
Mẫu được lấy ngẫu nhiên đại diện cho lô dây dẫn tín hiệu nổ, mỗi mẫu thử được cắt đoạn dài không nhỏ hơn 2 m, hàn bịt kín 02 đầu. Số lượng mẫu thử: 10 mẫu.
7.5.3. Tiến hành thử
- Cuốn dây dẫn tín hiệu nổ thành cuộn có đường kính không nhỏ hơn 10 cm, phù hợp với kích thước của hòm chấn động. Đặt các cuộn mẫu thử theo chiều thẳng đứng vào giữa hòm thử chấn động. Chèn chặt các khe hở bằng bìa carton, giấy hoặc vải. Đậy nắp kín và gài khóa hòm chấn động;
- Đặt máy ở chế độ sẵn sàng làm việc. Đóng nguồn điện để máy chấn động hoạt động, đồng thời ghi thời gian bắt đầu chấn động;
- Khi thời gian chấn động đủ 05 min, bấm công tắc ngừng máy, kiểm tra tình trạng mặt ngoài và kết cấu của mẫu thử.
7.5.4. Đánh giá kết quả
Mẫu thử đạt yêu cầu khi không phát nổ, không hư hỏng kết cấu.
Trường hợp có ít nhất 01 mẫu không đạt yêu cầu, tiến hành lấy mẫu thử lại lần 2 với số lượng mẫu thử gấp 02 lần số lượng mẫu theo yêu cầu lần 1. Lần thử này yêu cầu toàn bộ mẫu đạt yêu cầu. Trường hợp thử lần 2, có 01 mẫu không đạt thì kết luận lô hàng không đạt yêu cầu.
7.6. Quy định về an toàn trong thử nghiệm
Phải tuân thủ quy định về an toàn trong bảo quản, sử dụng, tiêu hủy vật liệu nổ công nghiệp theo quy định tại Quy chuẩn số QCVN 01:2019/BCT trong quá trình thử nghiệm và tiêu hủy mẫu không đạt yêu cầu.
7.7. Quy định về sử dụng phương tiện đo
Phương tiện đo phải được kiểm định, hiệu chuẩn theo quy định của pháp luật về đo lường. Trong toàn bộ thời gian quy định của chu kỳ kiểm định, hiệu chuẩn, đặc tính kỹ thuật đo lường của phương tiện đo phải được duy trì trong suốt quá trình sử dụng.
8. Quy định về quản lý
8.1. Dây dẫn tín hiệu nổ phải công bố hợp quy phù hợp quy định kỹ thuật tại Điều 5 của Quy chuẩn kỹ thuật này, gắn dấu hợp quy (dấu CR) và ghi nhãn hàng hóa trước khi lưu thông trên thị trường.
8.2. Dây dẫn tín hiệu nổ sản xuất trong nước, nhập khẩu phải thực hiện kiểm tra nhà nước về chất lượng hàng hóa theo quy định tại Nghị định số 132/2008/NĐ-CP ngày 31 tháng 12 năm 2008 của Chính phủ quy định chi tiết thi hành một số điều của Luật Chất lượng sản phẩm, hàng hóa; Nghị định số 74/2018/NĐ-CP ngày 15 tháng 5 năm 2018 của Chính phủ sửa đổi, bổ sung một số điều của Nghị định số 132/2008/NĐ-CP ngày 31 tháng 12 năm 2008 của Chính phủ quy định chi tiết thi hành một số điều Luật Chất lượng sản phẩm, hàng hóa Nghị định số 154/2018/NĐ-CP ngày 09 tháng 11 năm 2018 của Chính phủ sửa đổi, bổ sung, bãi bỏ một số quy định về điều kiện đầu tư, kinh doanh trong lĩnh vực quản lý nhà nước của Bộ Khoa học và Công nghệ và một số quy định về kiểm tra chuyên ngành.
9. Công bố hợp quy
9.1. Việc công bố hợp quy dây dẫn tín hiệu nổ sản xuất trong nước, nhập khẩu phải dựa trên kết quả chứng nhận của tổ chức chứng nhận được Bộ Công Thương chỉ định theo quy định tại Thông tư số 36/2019/TT-BCT ngày 29 tháng 11 năm 2019 của Bộ trưởng Bộ Công Thương quy định quản lý chất lượng sản phẩm, hàng hóa thuộc trách nhiệm quản lý của Bộ Công Thương (sau đây viết tắt là Thông tư số 36/2019/TT-BCT) hoặc được thừa nhận theo quy định của Thông tư số 27/2007/TT-BKHCN ngày 31 tháng 10 năm 2007 của Bộ trưởng Bộ Khoa học và Công nghệ hướng dẫn việc ký kết và thực hiện các Hiệp định và thỏa thuận thừa nhận lẫn nhau kết quả đánh giá sự phù hợp (sau đây viết tắt là Thông tư số 27/2007/TT-BKHCN).
9.2. Chứng nhận hợp quy
Chứng nhận hợp quy đối với dây dẫn tín hiệu nổ sản xuất trong nước, nhập khẩu thực hiện theo phương thức 5 “Thử nghiệm mẫu điển hình và đánh giá quá trình sản xuất; giám sát thông qua thử nghiệm mẫu lấy tại nơi sản xuất hoặc trên thị trường hoặc lô hàng nhập khẩu kết hợp với đánh giá quá trình sản xuất” hoặc phương thức 7 “Thử nghiệm, đánh giá lô sản phẩm, hàng hóa” tại cơ sở sản xuất theo quy định tại khoản 1 Điều 5 Thông tư số 28/2012/TT-BKHCN ngày 12 tháng 12 năm 2012 của Bộ trưởng Bộ Khoa học và Công nghệ quy định về công bố hợp chuẩn, công bố hợp quy và phương thức đánh giá sự phù hợp với tiêu chuẩn, quy chuẩn kỹ thuật (sau đây viết tắt là Thông tư số 28/2012/TT-BKHCN).
9.3. Thử nghiệm phục vụ việc chứng nhận hợp quy phải được thực hiện bởi tổ chức thử nghiệm được Bộ Công Thương chỉ định theo quy định tại Thông tư số 36/2019/TT-BCT hoặc tổ chức được thừa nhận theo quy định của Thông tư số 27/2007/TT-BKHCN.
9.4. Trình tự, thủ tục và hồ sơ công bố hợp quy
Trình tự, thủ tục và hồ sơ công bố hợp quy đối với dây dẫn tín hiệu nổ sản xuất trong nước và nhập khẩu thực hiện theo quy định tại Thông tư số 36/2019/TT-BCT.
10. Sử dụng dấu hợp quy
Dấu hợp quy phải tuân thủ theo khoản 2 Điều 4 của quy định về chứng nhận hợp chuẩn, chứng nhận hợp quy và công bố hợp chuẩn, công bố hợp quy ban hành kèm theo Thông tư số 28/2012/TT-BKHCN.
11.1. Trách nhiệm của tổ chức sản xuất, kinh doanh, nhập khẩu dây dẫn tín hiệu nổ
11.1.1. Tổ chức sản xuất, kinh doanh dây dẫn tín hiệu nổ phải đảm bảo yêu cầu quy định tại Phần II, thực hiện quy định tại Phần III của Quy chuẩn kỹ thuật này và đảm bảo chất lượng phù hợp với quy định tại Luật Chất lượng sản phẩm hàng hóa.
11.1.2. Tổ chức sản xuất, nhập khẩu dây dẫn tín hiệu nổ phải đăng ký bản công bố hợp quy tại Sở Công Thương nơi đăng ký kinh doanh theo quy định tại Thông tư số 36/2019/TT-BCT.
11.2. Trách nhiệm của cơ quan quản lý nhà nước
11.2.1. Cục Kỹ thuật an toàn và Môi trường công nghiệp chủ trì phối hợp với Vụ Khoa học và Công nghệ thuộc Bộ Công Thương, các đơn vị có liên quan hướng dẫn, kiểm tra việc thực hiện Quy chuẩn kỹ thuật này.
11.2.2. Sở Công Thương các tỉnh, thành phố trực thuộc Trung ương kiểm tra, đôn đốc về thực hiện các thủ tục công bố hợp quy theo quy định tại Quy chuẩn kỹ thuật này và kiểm tra việc tuân thủ các quy định về quản lý chất lượng dây dẫn tín hiệu nổ của các doanh nghiệp trên địa bàn quản lý.
Sản phẩm phẩm dây dẫn tín hiệu nổ được công bố hợp quy theo Quy chuẩn kỹ thuật quốc gia về dây dẫn tín hiệu nổ số QCVN 06:2012/BCT trước ngày 01 tháng 7 năm 2024 được tiếp tục sử dụng theo thời hạn sử dụng được công bố.
13. Hiệu lực thi hành
13.1. Quy chuẩn kỹ thuật này có hiệu lực thi hành kể từ ngày 01 tháng 7 năm 2024.
13.2. Trong quá trình thực hiện Quy chuẩn kỹ thuật này, trường hợp tổ chức, cá nhân có khó khăn, vướng mắc đề nghị phản ánh về Bộ Công Thương để xem xét, giải quyết.
13.2. Trong trường hợp các văn bản quy phạm pháp luật, Tiêu chuẩn viện dẫn tại Quy chuẩn kỹ thuật này có sửa đổi, bổ sung hoặc được thay thế thì thực hiện theo quy định tại văn bản hiện hành./.
Sản phẩm phẩm dây dẫn tín hiệu nổ được công bố hợp quy theo Quy chuẩn kỹ thuật quốc gia về dây dẫn tín hiệu nổ số QCVN 06:2012/BCT trước ngày 01 tháng 7 năm 2024 được tiếp tục sử dụng theo thời hạn sử dụng được công bố.
13. Hiệu lực thi hành
13.1. Quy chuẩn kỹ thuật này có hiệu lực thi hành kể từ ngày 01 tháng 7 năm 2024.
13.2. Trong quá trình thực hiện Quy chuẩn kỹ thuật này, trường hợp tổ chức, cá nhân có khó khăn, vướng mắc đề nghị phản ánh về Bộ Công Thương để xem xét, giải quyết.
13.2. Trong trường hợp các văn bản quy phạm pháp luật, Tiêu chuẩn viện dẫn tại Quy chuẩn kỹ thuật này có sửa đổi, bổ sung hoặc được thay thế thì thực hiện theo quy định tại văn bản hiện hành./.
13.1. Quy chuẩn kỹ thuật này có hiệu lực thi hành kể từ ngày 01 tháng 7 năm 2024.
13.2. Trong quá trình thực hiện Quy chuẩn kỹ thuật này, trường hợp tổ chức, cá nhân có khó khăn, vướng mắc đề nghị phản ánh về Bộ Công Thương để xem xét, giải quyết.
13.2. Trong trường hợp các văn bản quy phạm pháp luật, Tiêu chuẩn viện dẫn tại Quy chuẩn kỹ thuật này có sửa đổi, bổ sung hoặc được thay thế thì thực hiện theo quy định tại văn bản hiện hành./.
Bạn chưa Đăng nhập thành viên.
Đây là tiện ích dành cho tài khoản thành viên. Vui lòng Đăng nhập để xem chi tiết. Nếu chưa có tài khoản, vui lòng Đăng ký tại đây!
Bạn chưa Đăng nhập thành viên.
Đây là tiện ích dành cho tài khoản thành viên. Vui lòng Đăng nhập để xem chi tiết. Nếu chưa có tài khoản, vui lòng Đăng ký tại đây!