- Tổng quan
- Nội dung
- VB gốc
- Tiếng Anh
- Hiệu lực
- VB liên quan
- Lược đồ
-
Nội dung hợp nhất
Tính năng này chỉ có tại LuatVietnam.vn. Nội dung hợp nhất tổng hợp lại tất cả các quy định còn hiệu lực của văn bản gốc và các văn bản sửa đổi, bổ sung, đính chính... trên một trang. Việc hợp nhất văn bản gốc và những văn bản, Thông tư, Nghị định hướng dẫn khác không làm thay đổi thứ tự điều khoản, nội dung.
Khách hàng chỉ cần xem Nội dung hợp nhất là có thể nắm bắt toàn bộ quy định hiện hành đang áp dụng, cho dù văn bản gốc đã qua nhiều lần chỉnh sửa, bổ sung.
- Tải về
Thông tư 31/2023/TT-BCT ban hành QCVN 12-19:2023/BCT về an toàn sản phẩm vật liệu nổ công nghiệp-kíp nổ điện tử
| Cơ quan ban hành: | Bộ Công Thương |
Số công báo:
Số công báo là mã số ấn phẩm được đăng chính thức trên ấn phẩm thông tin của Nhà nước. Mã số này do Chính phủ thống nhất quản lý.
|
Đang cập nhật |
| Số hiệu: | 31/2023/TT-BCT | Ngày đăng công báo: | Đang cập nhật |
| Loại văn bản: | Thông tư | Người ký: | Nguyễn Sinh Nhật Tân |
|
Ngày ban hành:
Ngày ban hành là ngày, tháng, năm văn bản được thông qua hoặc ký ban hành.
|
21/12/2023 |
Ngày hết hiệu lực:
Ngày hết hiệu lực là ngày, tháng, năm văn bản chính thức không còn hiệu lực (áp dụng).
|
Đang cập nhật |
|
Áp dụng:
Ngày áp dụng là ngày, tháng, năm văn bản chính thức có hiệu lực (áp dụng).
|
Đã biết
|
Tình trạng hiệu lực:
Cho biết trạng thái hiệu lực của văn bản đang tra cứu: Chưa áp dụng, Còn hiệu lực, Hết hiệu lực, Hết hiệu lực 1 phần; Đã sửa đổi, Đính chính hay Không còn phù hợp,...
|
Đã biết
|
| Lĩnh vực: | Công nghiệp, Hóa chất - Vật liệu nổ công nghiệp |
TÓM TẮT THÔNG TƯ 31/2023/TT-BCT
Ngày 21/12/2023, Bộ Công Thương đã ra Thông tư 31/2023/TT-BCT ban hành Quy chuẩn kỹ thuật quốc gia về an toàn sản phẩm vật liệu nổ công nghiệp - kíp nổ điện tử. Cụ thể như sau:
1. 10 chỉ tiêu kỹ thuật của kíp nổ điện tử bao gồm:
- Cường độ nổ;
- Độ bền mối ghép miệng;
- Đường kính ngoài của kíp;
- Chiều dài kíp;
- Khả năng chống uốn của kíp;
- Khả năng chịu nước, độ sâu 20,0 m (tương đương 2,0 atm);
- Khả năng kháng rơi của kíp;
- Lập trình độ giữ chậm của kíp;
- Thời gian giữ chậm tối đa;
- Khả năng chịu chấn động.
2. Kíp nổ điện tử sản xuất trong nước, nhập khẩu phải thực hiện kiểm tra Nhà nước về chất lượng hàng hóa theo quy định của Nghị định số 132/2008/NĐ-CP; Nghị định 72/2018/NĐ-CP.
3. Việc công bố hợp quy kíp nổ điện tử sản xuất trong nước, nhập khẩu phải dựa trên kết quả chứng nhận của tổ chức chứng nhận được Bộ Công Thương chỉ định theo quy định tại Thông tư 36/2019/TT-BCT hoặc được thừa nhận theo quy định tại Thông tư 27/2007/TT-BKHCN.
Thông tư có hiệu lực từ ngày 01/7/2024.
Xem chi tiết Thông tư 31/2023/TT-BCT có hiệu lực kể từ ngày 01/07/2024
Tải Thông tư 31/2023/TT-BCT
|
BỘ CÔNG THƯƠNG Số: 31/2023/TT-BCT |
CỘNG HÒA XÃ HỘI CHỦ NGHĨA VIỆT NAM Hà Nội, ngày 21 tháng 12 năm 2023 |
THÔNG TƯ
Ban hành Quy chuẩn kỹ thuật quốc gia về an toàn
sản phẩm vật liệu nổ công nghiệp - kíp nổ điện tử
______________
Căn cứ Luật Tiêu chuẩn và Quy chuẩn kỹ thuật ngày 29 tháng 6 năm 2006;
Căn cứ Luật Quản lý, sử dụng vũ khí, vật liệu nổ và công cụ hỗ trợ ngày 20 tháng 6 năm 2017;
Căn cứ Luật Chất lượng sản phẩm, hàng hóa ngày 21 tháng 11 năm 2007;
Căn cứ Nghị định số 96/2022/NĐ-CP ngày 29 tháng 11 năm 2022 của Chính phủ quy định chức năng, nhiệm vụ, quyền hạn và cơ cấu tổ chức của Bộ Công Thương;
Căn cứ Nghị định số 127/2007/NĐ-CP ngày 01 tháng 8 năm 2007 của Chính phủ quy định chi tiết thi hành một số điều của Luật Tiêu chuẩn và Quy chuẩn kỹ thuật; Nghị định số 78/2018/NĐ-CP ngày 16 tháng 5 năm 2018 của Chính phủ sửa đổi, bổ sung một số điều của Nghị định số 127/2007/NĐ-CP ngày 01 tháng 8 năm 2007 của Chính phủ quy định chi tiết thi hành một số điều Luật Tiêu chuẩn và quy chuẩn kỹ thuật;
Căn cứ Nghị định số 132/2008/NĐ-CP ngày 31 tháng 12 năm 2008 của Chính phủ quy định chi tiết thi hành một số điều của Luật Chất lượng sản phẩm, hàng hóa; Nghị định số 74/2018/NĐ-CP ngày 15 tháng 5 năm 2018 của Chính phủ sửa đổi, bổ sung một số điều của Nghị định số 132/2008/NĐ-CP ngày 31 tháng 12 năm 2008 của Chính phủ quy định chi tiết thi hành một số điều Luật Chất lượng sản phẩm, hàng hóa; Nghị định số 154/2018/NĐ-CP ngày 09 tháng 11 năm 2018 của Chính phủ sửa đổi, bổ sung, bãi bỏ một số quy định về điều kiện đầu tư, kinh doanh trong lĩnh vực quản lý nhà nước của Bộ Khoa học và Công nghệ và một số quy định về kiểm tra chuyên ngành;
Theo đề nghị của Cục trưởng Cục Kỹ thuật an toàn và Môi trường công nghiệp;
Bộ trưởng Bộ Công Thương ban hành Thông tư ban hành Quy chuẩn kỹ thuật quốc gia về an toàn sản phẩm vật liệu nổ công nghiệp - kíp nổ điện tử.
Điều 1. Ban hành Quy chuẩn kỹ thuật quốc gia
Ban hành kèm theo Thông tư này Quy chuẩn kỹ thuật quốc gia về an toàn sản phẩm vật liệu nổ công nghiệp - kíp nổ điện tử.
Ký hiệu: QCVN 12-1912023/BCT.
Điều 2. Hiệu lực thi hành
1. Thông tư này có hiệu lực từ ngày 01 tháng 7 năm 2024.
2. Quy chuẩn kỹ thuật quốc gia về an toàn sản phẩm vật liệu nổ công nghiệp - kíp nổ điện tử số QCVN 12-19:2023/BCT có hiệu lực từ ngày 01 tháng 7 năm 2024.
Điều 3. Tổ chức thực hiện
Chánh Văn phòng Bộ, Cục trưởng các Cục: Kỹ thuật an toàn và Môi trường công nghiệp, Hóa chất; Vụ trưởng Vụ Khoa học và Công nghệ; Giám đốc Sở Công Thương các tỉnh, thành phố trực thuộc Trung ương; Thủ trưởng các cơ quan, tổ chức và cá nhân có liên quan chịu trách nhiệm thi hành./.
|
Nơi nhận: - Ủy ban Khoa học công nghệ và Môi trường; - Các Bộ, cơ quan ngang Bộ, cơ quan thuộc CP; - Lãnh đạo Bộ Công Thương; - Các đơn vị thuộc Bộ Công Thương; - UBND các tỉnh, thành phố trực thuộc TW; - Sở Công Thương các tỉnh, thành phố trực thuộc - Cục Kiểm tra VBQPPL (Bộ Tư pháp); - Công báo; - Website Chính phủ, Bộ Công Thương; - Lưu: VT, ATMT. |
KT. BỘ TRƯỞNG THỨ TRƯỞNG
Nguyễn Sinh Nhật Tân |

CỘNG HÒA XÃ HỘI CHỦ NGHĨA VIỆT NAM
QCVN 12 - 19:2023/BCT
QUY CHUẨN KỸ THUẬT QUỐC GIA
VỀ AN TOÀN SẢN PHẨM VẬT LIỆU NỔ CÔNG NGHIỆP
- KÍP NỔ ĐIỆN TỬ
National technical regulation on safety of industrial explosive
materials - electronic detonator
HÀ NỘI - 2023
LỜI NÓI ĐẦU
QCVN 12 - 19:2023/BCT do Tổ soạn thảo Quy chuẩn kỹ thuật Quốc gia về an toàn sản phẩm vật liệu nổ công nghiệp - Kíp nổ điện tử biên soạn, Cục Kỹ thuật an toàn và Môi trường công nghiệp trình duyệt, Bộ Khoa học và Công nghệ thẩm định, Bộ trưởng Bộ Công Thương ban hành theo Thông tư số 31/2023/TT-BCT ngày 21 tháng 12 năm 2023.
QUY CHUẨN KỸ THUẬT QUỐC GIA VỀ AN TOÀN SẢN PHẨM VẬT LIỆU NỔ CÔNG
NGHIỆP - KÍP NỔ ĐIỆN TỬ
National technical regulation on safety of industrial explosive materials -
electronic detonator
I. QUY ĐỊNH CHUNG
1. Phạm vi điều chỉnh
Quy chuẩn kỹ thuật này quy định chỉ tiêu kỹ thuật, phương pháp thử và quy định quản lý đối với kíp nổ điện tử có mã HS 3603.40.00.
2. Đối tượng áp dụng
Quy chuẩn kỹ thuật này áp dụng cho các tổ chức, cá nhân có hoạt động liên quan tới kíp nổ điện tử trên lãnh thổ Việt Nam và các tổ chức, cá nhân khác có liên quan.
3. Giải thích từ ngữ
Trong Quy chuẩn kỹ thuật này, các từ ngữ dưới đây được hiểu như sau:
3.1. Cường độ nổ: Là khả năng công phá của kíp nổ.
3.2. Kíp nổ điện tử: Là tổ hợp kíp nổ trong đó thời gian trễ đạt được nhờ một chip điện tử được kích hoạt bằng điện.
3.3. Hệ thống kíp nổ điện tử: Là hệ thống đặt thời gian trễ, kích hoạt, kiểm tra kíp nổ điện tử bao gồm: Bộ kích hoạt bắn, bộ thử nghiệm và bộ lập trình.
3.4. Bộ kích hoạt bắn (firing unit): Là thiết bị được sử dụng trong hệ thống kích hoạt điện tử để bắt đầu một vụ nổ. Một thiết bị như vậy có thể điều khiển hoặc lập trình hoặc kiểm tra các kíp nổ điện tử và sạc tụ điện của các kíp nổ điện tử trước khi kích nổ của vụ nổ. Thiết bị này có thể được điều khiển bởi một máy tính.
3.5. Bộ thử nghiệm (testing unit): Là thiết bị đo hệ thống kích nổ điện tử tại hiện trường để kiểm tra các kíp nổ điện tử hoặc mạch kích nổ. Bộ thử này không thể kích nổ kíp nổ điện tử.
3.6. Bộ lập trình (programming unit): Là thiết bị được sử dụng tại hiện trường để lập trình thời gian trễ hoặc địa chỉ cho một kíp nổ điện tử. Thiết bị này cũng có thể sử dụng để kiểm tra kíp nổ điện tử và không thể kích nổ kíp nổ điện tử.
II. QUY ĐỊNH VỀ KỸ THUẬT
4. Tài liệu viện dẫn
Các tài liệu viện dẫn trong Quy chuẩn kỹ thuật này được áp dụng phiên bản được nêu ở dưới đây. Trường hợp tài liệu viện dẫn đã được sửa đổi, bổ sung hoặc thay thế, áp dụng phiên bản mới nhất.
- QCVN 01:2019/BCT - Quy chuẩn kỹ thuật quốc gia về an toàn trong sản xuất, thử nghiệm, nghiệm thu, bảo quản, vận chuyển, sử dụng, tiêu hủy vật liệu nổ công nghiệp và bảo quản tiền chất thuốc nổ.
5. Chỉ tiêu kỹ thuật
Chỉ tiêu kỹ thuật của kíp nổ điện tử được quy định tại Bảng 1.
Bảng 1. Chỉ tiêu kỹ thuật của kíp nổ điện tử
|
TT |
Tên chỉ tiêu |
Đơn vị tính |
Chỉ tiêu |
|
1 |
Cường độ nổ |
|
Xuyên thủng tấm chì dày 6 mm, đường kính lỗ xuyên chì ≥ đường kính ngoài của kíp |
|
2 |
Độ bền mối ghép miệng (chịu lực kéo tĩnh trong thời gian 01 min, dây dẫn không được tụt khỏi nút cao su hoặc xê dịch mắt thường nhìn thấy) |
kg |
2,0 |
|
3 |
Đường kính ngoài của kíp |
mm |
Từ 7,0 đến 7,6 |
|
4 |
Chiều dài kíp |
mm |
89 |
|
5 |
Khả năng chống uốn của kíp |
N |
50 |
|
6 |
Khả năng chịu nước, độ sâu 20,0 m (tương đương 2,0 atm) |
h |
8 |
|
7 |
Khả năng kháng rơi của kíp |
m |
5 |
|
8 |
Lập trình độ giữ chậm của kíp |
ms |
1,0 |
|
9 |
Thời gian giữ chậm tối đa |
s |
10 hoặc theo đặt hàng |
|
10 |
Khả năng chịu chấn động |
|
Kíp nổ điện tử không phát nổ, không hư hỏng kết cấu khi thử trên máy thử chấn động chuyên dụng |
6. Bao gói, ghi nhãn
6.1. Kíp nổ điện tử được bao gói trong hộp giấy, túi PE và bảo quản trong hòm gỗ hoặc hộp cacton theo quy định tại QCVN 01:2019/BCT và các quy định của pháp luật hiện hành về bao gói vật liệu nổ công nghiệp.
6.2. Thực hiện ghi nhãn kíp nổ điện tử theo quy định tại khoản 1 Điều 10 Nghị định số 43/2017/NĐ-CP ngày 14 tháng 4 năm 2017 của Chính phủ về nhãn hàng hóa, được sửa đổi, bổ sung bởi khoản 5 Điều 1 Nghị định số 111/2021/NĐ-CP ngày 09 tháng 11 năm 2021 của Chính phủ sửa đổi, bổ sung một số điều Nghị định số 43/2017/NĐ-CP ngày 14 tháng 4 năm 2017 của Chính phủ về nhãn hàng hóa và QCVN 01:2019/BCT
7. Phương pháp thử
7.1. Xác định cường độ nổ
7.1.1. Thiết bị, dụng cụ
- Thiết bị thử cường độ nổ chuyên dụng: Xem hình 1, điểm 5.1, TCVN 7460:2005;
- Tấm chì hình tròn được chế tạo bằng phương pháp đúc, sau đó gia công nguội, kích thước của tấm chì như sau: đường kính 30 mm ± 1 mm, chiều dày 6 mm ± 0,1 mm. Chì dùng để đúc tấm chì phải đạt các chỉ tiêu chất lượng: Hàm lượng chì đạt ≥ 99,5 %, tạp chất ≤ 0,5 %;
- Bộ phát hỏa dùng để phát hỏa kíp nổ.
7.1.2. Chuẩn bị mẫu thử
- Số lượng mẫu thử: 05 kíp;
- Cho phép lấy kíp đã qua thử chấn động đạt yêu cầu.
7.1.3. Tiến hành thử
- Đặt tấm chì chắc chắn vào vị trí quy định trong thiết bị thử cường độ nổ chuyên dụng. Đặt kíp theo phương thẳng đứng, đáy kíp tiếp xúc tại tâm tấm chì. Dùng dụng cụ định vị giữ kíp chắc chắn và ổn định, đảm bảo kíp và tấm chì không bị xê dịch trước khi khởi nổ;
- Lắp cửa bảo vệ thiết bị thử nghiệm. Sau đó tiến hành đấu nối kíp vào bộ phát hỏa dùng để phát hỏa kíp nổ;
- Kích nổ kíp bằng bộ phát hỏa dùng để phát hỏa kíp nổ. Sau khi kíp nổ, chờ 2 min thì tiến hành kiểm tra tình trạng mẫu thử và tấm chì;
- Tiến hành thử nghiệm như trên lần lượt hết số kíp cần thử.
7.1.4. Đánh giá kết quả
Mẫu thử đạt yêu cầu khi nổ xuyên thủng tấm chì, đường kính lỗ thủng trên tấm chì bằng hoặc lớn hơn đường kính ngoài của kíp.
Lô kíp được đánh giá đạt yêu cầu nếu toàn bộ mẫu thử đạt yêu cầu. Trường hợp khi thử, có 01 kíp không đạt yêu cầu, tiến hành lấy mẫu thử lại lần 2 với số lượng kíp gấp 02 lần số lượng kíp theo yêu cầu lần 1. Lô kíp được đánh giá đạt yêu cầu nếu toàn bộ mẫu thử đạt yêu cầu. Trường hợp thử lần 2, có 01 kíp không đạt yêu cầu thì kết luận lô hàng không đạt yêu cầu.
7.2. Xác định độ bền mối ghép miệng
7.2.1. Thiết bị, dụng cụ
- Thanh treo kíp nổ;
- Bộ quả cân có khối lượng 2,0 kg;
- Đồng hồ bấm giây;
- Thước đo chiều dài có chia vạch 1 mm.
7.2.2. Mẫu thử
Số lượng: 05 kíp.
7.2.3. Tiến hành thử
Gắn chắc chắn phần kíp lên thanh treo, đầu kia (đầu dây dẫn) của mẫu treo quả cân khối lượng 2,0 kg, treo trong thời gian 01 min.
7.2.4. Đánh giá kết quả
- Yêu cầu dây dẫn không được tụt khỏi nút cao su hoặc xê dịch mắt thường nhìn thấy;
- Trường hợp có ít nhất 01 mẫu thử không đạt yêu cầu, tiến hành thử lại lần 2 với số lượng mẫu thử gấp 02 lần số lượng kíp theo yêu cầu lần 1. Yêu cầu lần thử này toàn bộ mẫu thử đạt yêu cầu. Trường hợp thử lần 2, có 01 mẫu không đạt thì kết luận lô hàng không đạt yêu cầu.
7.3. Xác định đường kính, chiều dài kíp
7.3.1. Dụng cụ
- Thước cặp Panme, độ chính xác ± 0,02 mm;
- Thước đo chiều dài, có vạch chia 1 mm.
7.3.2. Tiến hành
- Lấy ngẫu nhiên 20 kíp trong lô hàng cần kiểm tra, dùng thước cặp đo đường kính ngoài của vỏ kíp và dùng thước đo chiều dài của dây dẫn
- Khi kiểm tra chỉ được cầm một kíp, không được va đập hoặc để kíp rơi xuống đất. Không xoay vặn nhiều lần làm cho dây dẫn bị gãy, đứt hoặc bị tuột khỏi kíp.
7.3.3. Đánh giá kết quả
Mẫu thử đạt yêu cầu về kích thước theo quy định nêu tại Điều 5 của Quy chuẩn kỹ thuật này.
7.4. Xác định khả năng chống uốn của kíp
7.4.1. Nguyên tắc: Mẫu thử chịu lực uốn bằng cách cố định một đầu vào khối thép và gắn vật nặng vào đầu còn lại. Mẫu thử đạt yêu cầu khi không phát nổ hoặc không bị nứt, vỡ vỏ kíp.
7.4.2. Dụng cụ
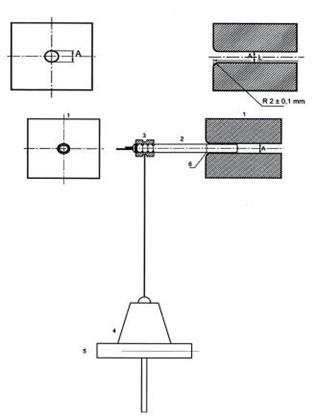
Thiết bị xác định khả năng chống uốn của kíp theo hình 1.

Hình 1. Thiết bị khả năng chống uốn của kíp
Thiết bị xác định khả năng chống uốn của kíp gồm 01 khối thép có khoan lỗ chiều dài tối thiểu 30 mm, đường kính của lỗ không được lớn hơn đường kính của kíp 0,1 mm, bán kính phần vát của đầu lỗ phải là 2 ± 0,1 mm.
7.4.4. Đánh giá kết quả
Mẫu thử đạt yêu cầu khi toàn bộ kíp không phát nổ hoặc nứt vỡ vỏ kíp khi chịu uốn với lực quy định tại Điều 5 của Quy chuẩn kỹ thuật này.
Trường hợp có ít nhất 01 kíp không đạt yêu cầu, tiến hành lấy mẫu thử lại lần 2 với số lượng mẫu thử gấp 02 lần số lượng kíp theo yêu cầu lần 1. Lần thử này yêu cầu toàn bộ mẫu thử đạt yêu cầu theo quy định. Trường hợp thử lần 2, có 01 kíp không đạt yêu cầu thì kết luận lô hàng có khả năng chịu nước không đạt yêu cầu.
7.5. Xác định khả năng chịu nước
7.5.1. Thiết bị, dụng cụ
- Thiết bị ngâm nước chuyên dụng để xác định thời gian chịu nước của kíp có khả năng nâng áp suất nước bên trong lên áp suất trên 0,2 MPa (2,0 bar);
- Thiết bị thử cường độ nổ chuyên dụng của kíp;
- Máy đo thời gian chuyên dụng, độ phân giải 10-6 s;
7.5.2. Chuẩn bị mẫu thử
- Số lượng: 10 kíp;
- Mẫu đã kiểm tra kích thước đạt yêu cầu theo quy định nêu tại Điều 5 của Quy chuẩn kỹ thuật này.
7.5.3. Tiến hành thử
- Lần lượt cho mẫu thử vào bình đến hết số lượng thử, đậy nắp bình và vặn chặt. Dùng bơm không khí bơm khí vào bình kín, nâng áp suất của bình lên đến áp suất 0,2 MPa (2,0 bar), thì bắt đầu tính thời gian;
- Khi thời gian đủ 8 h, lấy mẫu ra khỏi thùng nước, lau khô mẫu;
- Tiến hành đo thời gian giữ chậm của kíp.
7.5.4. Đánh giá kết quả
Mẫu thử đạt yêu cầu khi toàn bộ kíp phát nổ.
Trường hợp có ít nhất 01 kíp không đạt yêu cầu, tiến hành lấy mẫu thử lại lần 2 với số lượng mẫu thử gấp 02 lần số lượng kíp theo yêu cầu lần 1. Lần thư này yêu cầu toàn bộ mẫu thử đạt yêu cầu theo quy định. Trường hợp thử lần 2, có 01 kíp không đạt yêu cầu thì kết luận lô hàng có khả năng chịu nước không đạt yêu cầu.
7.6. Xác định khả năng kháng rơi của kíp
7.6.1. Nguyên tắc:
Thả rơi tự do kíp trong ống thép ở độ cao thẳng đứng 5 ± 0,02 m so với sàn bê tông cứng. Kíp nổ được cố định trong kẹp hướng xuống dưới và chiều cao được đo giữa sàn và điểm thấp nhất của kíp nổ. Mở cơ cấu nhả của kẹp để thả ngòi nổ. Lặp lại thử nghiệm trên 50 kíp nổ.
7.6.2. Đánh giá kết quả
Mẫu thử đạt yêu cầu khi toàn bộ kíp không phát nổ.
7.7. Xác định thời gian giữ chậm
7.7.1. Nguyên tắc
Xác định thời gian giữ chậm theo nguyên tắc xác định thời gian trễ nổ theo lập trình của kíp nổ kể từ khi kíp được kích nổ đến khi kíp phát nổ.
7.7.2. Thiết bị, dụng cụ
- Bộ kích hoạt bắn hoặc bộ lập trình hoặc bộ thử nghiệm do nhà sản xuất quy định chỉ được sử dụng để thực hiện các thử nghiệm;
- Bộ đếm thời gian hoặc máy hiện sóng có phương tiện đo thời gian trễ giữa xung bắt đầu và xung dừng với độ chính xác 0,01 ms;
- Phương tiện để cung cấp xung kích nổ có thể là tín hiệu do bộ kích hoạt bắn hoặc kíp nổ đưa ra với độ trễ bằng 0 (theo đặc điểm kỹ thuật của nhà sản xuất);
- Các phương tiện cung cấp xung dừng cho bộ đếm thời gian/máy hiện sóng có thể bao gồm, đối với các thử nghiệm với kíp nổ hoàn chỉnh, cảm biến quang học hoặc cảm biến áp suất cung cấp xung điện khi thuốc cháy cơ bản của kíp nổ được bắt đầu, đối với các thử nghiệm với kíp nổ giả, một cảm biến, tùy theo thiết bị sử dụng để thay thế đầu cầu chì, cung cấp xung điện khi thiết bị đó mô phỏng sự kích nổ.
7.7.3. Chuẩn bị mẫu thử
Để xác định chính xác độ trễ của bộ phận điện tử, cho phép sử dụng kíp nổ giả (kíp nổ chỉ với các bộ phận điện tử, đầu cầu chì có thể được thay thế bằng đèn LED hoặc thiết bị khác có thể cung cấp một tín hiệu thích hợp mà thiết bị đo có thể phát hiện được (xem Phụ lục). Đối với kíp nổ có thể lập trình, phần điện tử có thể được sử dụng lại cho các thử nghiệm.
Đối với kíp nổ lập trình được và không lập trình được, thử nghiệm 20 kíp nổ hoặc 20 kíp nổ giả của mỗi độ trễ ở khoảng 10%, 25%, 50%, 75% và 100% thang thời gian do nhà sản xuất quy định. Nếu các thử nghiệm này được thực hiện trên kíp nổ giả, thì bổ xung, thử nghiệm 20 kíp nổ hoàn chỉnh của mỗi độ trễ ở khoảng 25% và 75% thang thời gian do nhà sản xuất quy định.
Đối với kíp nổ được lập trình sẵn, thử 20 kíp hoặc 20 kíp giả của mỗi số trễ do nhà sản xuất quy định. Nếu các thử nghiệm này được thực hiện trên kíp nổ giả, thì bổ sung, thử nghiệm 20 kíp nổ hoàn chỉnh ở khoảng 25% và 75% thang thời gian do nhà sản xuất quy định.
Đối với tất cả các loại kíp nổ điện tử có thể lập trình, cũng thử nghiệm 20 kíp nổ, mỗi kíp trong hai số trễ liên tiếp ở khoảng 25% và 75% thang thời gian do nhà sản xuất quy định để xác minh rủi ro chồng lấp là không đáng kể. Các thử nghiệm này được thực hiện ở nhiệt độ môi trường xung quanh.
Đối với tất cả các loại kíp nổ điện tử cũng phải thử ở nhiệt độ nhỏ nhất và ở nhiệt độ lớn nhất do nhà sản xuất quy định, 20 kíp nổ hoặc kíp giả ở thời gian trễ dài nhất do nhà sản xuất quy định.
7.7.4. Thử nghiệm
Kết nối kíp nổ/kíp nổ giả với bộ bắn, lắp cảm biến xung kích nổ thích hợp/hoặc kíp nổ số 0 và cảm biến xung dừng thích hợp, kích nổ (theo quy trình của nhà sản xuất) kíp nổ/kíp nổ giả và ghi lại từng thời gian trễ riêng lẻ.
7.7.5. Đánh giá kết quả
- Tính giá trị trung bình (tm) và (các) độ lệch chuẩn của mỗi khoảng thời gian được thử nghiệm và xác định độ chính xác của hệ thống ở nhiệt độ môi trường;
- So sánh các kết quả (tm và s) thu được ở nhiệt độ tối thiểu, môi trường xung quanh và nhiệt độ tối đa để xác định sự phụ thuộc của nhiệt độ;
- Nếu các thử nghiệm đã được thực hiện trên kíp nổ giả, so sánh kết quả thu được giữa kíp nổ giả và kíp nổ để tính toán thời gian trễ;
- So sánh các kết quả này với thông số kỹ thuật của nhà sản xuất.
Lô kíp được đánh giá đạt yêu cầu nếu toàn bộ mẫu thử đạt yêu cầu. Trường hợp có ít nhất 01 kíp không đạt yêu cầu về thời gian giữ chậm theo quy định, tiến hành lấy mẫu thử lại lần 2 với số lượng mẫu thử gấp 02 lần số lượng kíp theo yêu cầu lần 1. Yêu cầu toàn bộ mẫu thử đạt yêu cầu về thời gian giữ chậm. Trường hợp thử lần 2, có 01 kíp không đạt yêu cầu về thời gian giữ chậm theo quy định tại Điều 5 của quy chuẩn này, thì kết luận lô hàng không đạt yêu cầu.
7.8. Xác định khả năng chịu chấn động
7.8.1. Thiết bị, dụng cụ
- Máy thử chấn động chuyên dụng có biên độ dao động 150 ± 2 mm, tần số dao động 60 ± 1 lần/min;
- Đồng hồ bấm giây;
- Thước đo chiều dài, có vạch chia 1 mm.
7.8.2. Chuẩn bị mẫu thử
Số lượng mẫu thử: 10 kíp.
7.8.3. Tiến hành thử
- Xếp kíp vào trong hộp giấy chuyên dụng thành 02 hàng, mỗi hàng 05 cái, xếp tráo đầu. Đặt hộp chứa kíp vào trong hòm gỗ của máy thử chấn động, dùng bìa, giấy chèn chặt. Đậy nắp kín và gài khóa hòm chấn động;
- Đặt máy ở chế độ sẵn sàng làm việc. Đóng nguồn điện để máy chấn động hoạt động, đồng thời ghi thời gian bắt đầu chấn động;
- Khi thời gian chấn động đủ 05 min, bấm công tắc ngừng máy, kiểm tra tình trạng mặt ngoài và kết cấu của mẫu thử.
7.8.4. Đánh giá kết quả
Mẫu thử đạt yêu cầu khi không phát nổ, không hư hỏng kết cấu.
Trường hợp có ít nhất 01 kíp không đạt yêu cầu, tiến hành lấy mẫu thử lại lần 2 với số lượng mẫu thử gấp 02 lần số lượng kíp theo yêu cầu lần 1. Lần thử này yêu cầu toàn bộ kíp đạt yêu cầu. Trường hợp thử lần 2, có 01 kíp không đạt thì kết luận lô hàng không đạt yêu cầu.
7.9. Quy định về an toàn trong thử nghiệm
Phải tuân thủ quy định về an toàn trong bảo quản, sử dụng, tiêu hủy vật liệu nổ công nghiệp theo quy định tại Quy chuẩn số QCVN 01:2019/BCT trong quá trình thử nghiệm và tiêu hủy mẫu không đạt yêu cầu.
7.10. Quy định về sử dụng phương tiện đo
Phương tiện đo phải được kiểm định, hiệu chuẩn theo quy định của pháp luật về đo lường. Trong toàn bộ thời gian quy định của chu kỳ kiểm định, hiệu chuẩn, đặc tính kỹ thuật đo lường của phương tiện đo phải được duy trì trong suốt quá trình sử dụng.
III. QUY ĐỊNH VỀ QUẢN LÝ
8. Quy định về quản lý
8.1. Kíp nổ điện tử phải công bố hợp quy phù hợp quy định kỹ thuật tại Điều 5 của Quy chuẩn kỹ thuật này, gắn dấu hợp quy (dấu CR) và ghi nhãn hàng hóa trước khi lưu thông trên thị trường.
8.2. Kíp nổ điện tử sản xuất trong nước, nhập khẩu phải thực hiện kiểm tra nhà nước về chất lượng hàng hóa theo quy định tại Nghị định số 132/2008/NĐ-CP ngày 31 tháng 12 năm 2008 của Chính phủ quy định chi tiết thi hành một số điều của Luật Chất lượng sản phẩm, hàng hóa; Nghị định số 74/2018/NĐ-CP ngày 15 tháng 5 năm 2018 của Chính phủ sửa đổi, bổ sung một số điều của Nghị định số 132/2008/NĐ-CP ngày 31 tháng 12 năm 2008 của Chính phủ quy định chi tiết thi hành một số điều Luật Chất lượng sản phẩm, hàng hóa Nghị định số 154/2018/NĐ-CP ngày 09 tháng 11 năm 2018 của Chính phủ sửa đổi, bổ sung, bãi bỏ một số quy định về điều kiện đầu tư, kinh doanh trong lĩnh vực quản lý nhà nước của Bộ Khoa học và Công nghệ và một số quy định về kiểm tra chuyên ngành.
9. Công bố hợp quy
9.1. Việc công bố hợp quy kíp nổ điện tử sản xuất trong nước, nhập khẩu phải dựa trên kết quả chứng nhận của tổ chức chứng nhận được Bộ Công Thương chỉ định theo quy định tại Thông tư số 36/2019/TT-BCT ngày 29 tháng 11 năm 2019 của Bộ trưởng Bộ Công Thương quy định quản lý chất lượng sản phẩm, hàng hóa thuộc trách nhiệm quản lý của Bộ Công Thương (sau đây viết tắt là Thông tư số 36/2019/TT-BCT) hoặc được thừa nhận theo quy định của Thông tư số 27/2007/TT-BKHCN ngày 31 tháng 10 năm 2007 của Bộ trưởng Bộ Khoa học và Công nghệ hướng dẫn việc ký kết và thực hiện các Hiệp định và thỏa thuận thừa nhận lẫn nhau kết quả đánh giá sự phù hợp (sau đây viết tắt là Thông tư số 27/2007/TT-BKHCN).
9.2. Chứng nhận hợp quy
Chứng nhận hợp quy đối với kíp nổ điện tử sản xuất trong nước, nhập khẩu thực hiện theo phương thức 5 “Thử nghiệm mẫu điển hình và đánh giá quá trình sản xuất; giám sát thông qua thử nghiệm mẫu lấy tại nơi sản xuất hoặc trên thị trường hoặc lô hàng nhập khẩu kết hợp với đánh giá quá trình sản xuất" hoặc phương thức 7 “Thử nghiệm, đánh giá lô sản phẩm, hàng hóa” tại cơ sở sản xuất theo quy định tại khoản 1 Điều 5 Thông tư số 28/2012/TT-BKHCN ngày 12 tháng 12 năm 2012 của Bộ trưởng Bộ Khoa học và Công nghệ quy định về công bố hợp chuẩn, công bố hợp quy và phương thức đánh giá sự phù hợp với tiêu chuẩn, quy chuẩn kỹ thuật (sau đây viết tắt là Thông tư số 28/2012/TT-BKHCN).
9.3. Thử nghiệm phục vụ việc chứng nhận hợp quy phải được thực hiện bởi tổ chức thử nghiệm được Bộ Công Thương chỉ định theo quy định tại Thông tư số 36/2019/TT-BCT hoặc tổ chức được thừa nhận theo quy định của Thông tư số 27/2007/TT-BKHCN.
9.4. Trình tự, thủ tục và hồ sơ công bố hợp quy
Trình tự, thủ tục và hồ sơ công bố hợp quy đối với kíp nổ điện tử sản xuất trong nước và nhập khẩu thực hiện theo quy định tại Thông tư số 36/2019/TT-BCT.
10. Sử dụng dấu hợp quy
Dấu hợp quy phải tuân thủ theo khoản 2 Điều 4 của quy định về chứng nhận hợp chuẩn, chứng nhận hợp quy và công bố hợp chuẩn, công bố hợp quy ban hành kèm theo Thông tư số 28/2012/TT-BKHCN.
IV. TRÁCH NHIỆM CỦA TỔ CHỨC, CÁ NHÂN
11. Trách nhiệm của tổ chức, cá nhân
11.1. Trách nhiệm của tổ chức sản xuất, kinh doanh, nhập khẩu kíp nổ điện tử
11.1.1. Tổ chức sản xuất, kinh doanh kíp nổ điện tử phải đảm bảo yêu cầu quy định tại Phần II, thực hiện quy định tại Phần III của Quy chuẩn kỹ thuật này và đảm bảo chất lượng phù hợp với quy định tại Luật Chất lượng sản phẩm hàng hóa.
11.1.2. Tổ chức sản xuất, nhập khẩu kíp nổ điện tử phải đăng ký bản công bố hợp quy tại Sở Công Thương nơi đăng ký kinh doanh theo quy định tại Thông tư số 36/2019/TT-BCT.
11.2. Trách nhiệm của cơ quan quản lý nhà nước
11.2.1. Cục Kỹ thuật an toàn và Môi trường công nghiệp chủ trì phối hợp với Vụ Khoa học và Công nghệ thuộc Bộ Công Thương, các đơn vị có liên quan hướng dẫn, kiểm tra việc thực hiện Quy chuẩn kỹ thuật này.
11.2.2. Sở Công Thương các tỉnh, thành phố trực thuộc Trung ương kiểm tra, đôn đốc về thực hiện các thủ tục công bố hợp quy theo quy định tại Quy chuẩn kỹ thuật này và kiểm tra việc tuân thủ các quy định về quản lý chất lượng kíp nổ điện tử của các doanh nghiệp trên địa bàn quản lý.
V. TỔ CHỨC THỰC HIỆN
12. Tổ chức thực hiện
12.1. Quy chuẩn kỹ thuật này có hiệu lực thi hành kể từ ngày 01 tháng 7 năm 2024.
12.2. Trong quá trình thực hiện Quy chuẩn kỹ thuật này, trường hợp tổ chức, cá nhân có khó khăn, vướng mắc đề nghị phản ánh về Bộ Công Thương để xem xét, hướng dẫn.
12.3. Trong trường hợp các văn bản quy phạm pháp luật, Tiêu chuẩn viện dẫn tại Quy chuẩn kỹ thuật này có sửa đổi, bổ sung hoặc được thay thế thì thực hiện theo quy định tại văn bản hiện hành./.
Phụ lục
Đề xuất thay thế đầu nổ kíp nổ (kíp nổ giả)
Đặc điểm chung của kíp nổ điện tử là một số dây dẫn hoạt động dẫn vào vỏ đến bộ phận điện tử và ở một nơi nào đó tối thiểu tồn tại hai tiếp điểm cho bộ phận kích nổ, giống như đầu cầu chì hoặc một thiết bị tương tự. Đối với thử nghiệm chức năng điện tử, rất hữu ích khi thay thế đầu cầu chì bằng thiết bị phát sáng quang học như đèn LED (Điốt phát quang), bóng đèn, cuộn dây từ tính, điện trở shunt để đo xung kích nổ, kết hợp thay thế điện trở và cuộn dây từ tính cho đo xung bắn hoặc đầu cầu chì có thể thay thế để phát hiện xung bắn. Nếu cần thiết, vỏ có thể được bịt kín bằng cao su silicone ở phần cuối của thiết bị được thay thế. Đối với điện tử, khó hơn để làm phép thử nghiệm mà không có làm kín.

Trong đó: 1. Đèn Led
Hình 1. Ví dụ cho thay thế đèn led

Trong đó: 1. Bóng đèn
Hình 2 - Ví dụ cho thay thế bóng đèn

Trong đó: 1. Cuộn điện từ
Hình 3 - Ví dụ cho thay thế cuộn điện từ

Trong đó: 1. Điện trở 2. Điện trở shunt
Hình 4 - Ví dụ cho thay thế điện trở shunt

Trong đó: 1. Điện trở 2. Cuộn điện từ
Hình 5 - Ví dụ cho kết hợp của thay thế điện trở và cuộn điện từ

Trong đó: 1. Đầu cầu chì
Hình 6 - Ví dụ thay thế đầu cầu chì
Bạn chưa Đăng nhập thành viên.
Đây là tiện ích dành cho tài khoản thành viên. Vui lòng Đăng nhập để xem chi tiết. Nếu chưa có tài khoản, vui lòng Đăng ký tại đây!
Bạn chưa Đăng nhập thành viên.
Đây là tiện ích dành cho tài khoản thành viên. Vui lòng Đăng nhập để xem chi tiết. Nếu chưa có tài khoản, vui lòng Đăng ký tại đây!